Информационная система
«Ёшкин Кот»

XXXecatmenu

Руководящий документ отрасли

 

 

РУКОВОДСТВО
ПО ПРОВЕДЕНИЮ
ПЛАНОВО-ПРОФИЛАКТИЧЕСКИХ
И АВАРИЙНО-ВОССТАНОВИТЕЛЬНЫХ
РАБОТ НА ЛИНЕЙНО-КАБЕЛЬНЫХ
СООРУЖЕНИЯХ СВЯЗИ
ВОЛОКОННО-ОПТИЧЕСКОЙ
ЛИНИИ ПЕРЕДАЧИ

 

 

 

Минсвязи России
Москва

 

 

Предисловие

1 РАЗРАБОТАН Центральным научно-исследовательским институтом связи (ЦНИИС) Министерства РФ по связи и информатизации

ВНЕСЕН Департаментом электросвязи Министерства РФ по связи и информатизации

2 УТВЕРЖДЕН Министерством РФ по связи и информатизации.

3 ВВЕДЕН В ДЕЙСТВИЕ информационным письмом от 28.05.2001 № 3160

4 ВВЕДЕН ВПЕРВЫЕ

 

 

Содержание

1 Область применения

2 Основные положения по технической эксплуатации ЛКС ВОЛП

3 Определения и сокращения

4 Классификация видов повреждений оптических кабелей

5 Планово-профилактические работы на ЛКС ВОЛП

5.1 Организация и объем выполнения планово-профилактических работ

5.2 Технология выполнения ППР

6 Аварийно-восстановительные работы

6.1 Организация работ по восстановлению работоспособности поврежденной кабельной линии

6.2 Способы восстановления ЛКС ВОЛП при аварийных повреждениях ОК

6.3 Технология проведения АВР

6.4 Оптические кабельные вставки

6.5 Комплектация ВОКВ

6.6 Хранение и транспортировка

6.7 Указания по эксплуатации ВОКВ

6.8 Технические мероприятия по восстановлению линии передачи по временной схеме

6.9 Организация работ по восстановлению поврежденной кабельной линии по постоянной схеме

Приложение А

Оснащение ремонтно-восстановительной спецмашины (ЛИОК) на базе автомашины КАМАЗ (УРАЛ, ЗИЛ) и др.

Приложение Б

Состав АБВ № 1, ведомость ее комплекта

Приложение В

Состав АБВ № 2. ведомость ее комплекта. Состав бригад ППР

Приложение Г

Журнал учета работы ВОКВ

Приложение Д

Муфты оптические и их основные особенности

Приложение Е

Механические соединители и их основные характеристики

Приложение Ж

Комплектации временных оптических кабельных вставок

Приложение И

План-график проверок ВОКВ на 200 ¼ г.

Приложение К

Универсальная временная оптическая кабельная вставка (УВОКВ)

Приложение Л

Библиография

 

 

Введение

Настоящее "Руководство по проведению планово-профилактических и аварийно-восстановительных работ на ЛКС ВОЛП (далее "Руководство") разработано в соответствии с требованиями "Правил технической эксплуатации линейно-кабельных сооружений междугородных линий передачи", книга 3, М.. 1998.

"Руководство" рассматривает организационно-технические мероприятия при выполнении планово-профилактических и аварийно-восстановительных работ в процессе эксплуатации ЛКС ВОЛП.

Концепция выполнения аварийно-восстановительных работ изложена в "Рекомендациях по восстановлению работоспособности оптического кабеля с помощью временных оптических кабельных вставок (ВОКВ) на магистральных и внутризоновых линиях передачи", М, Резонанс, 1997.

В настоящем "Руководстве" осуществлена дальнейшая проработка этой концепции с учетом опыта использования временных оптических кабельных вставок для различных условий применения на объектах ОАО "Ростелеком" [1, 2, 3, 4], а также "Временной инструкции по устранению линейных повреждений ВОЛП", разработанной ТЦМС-5 ОАО "Ростелеком" [5].

 

РД 45.180-2001

Руководящий документ отрасли

 

РУКОВОДСТВО ПО ПРОВЕДЕНИЮ ПЛАНОВО-ПРОФИЛАКТИЧЕСКИХ И
АВАРИЙНО-ВОССТАНОВИТЕЛЬНЫХ РАБОТ НА ЛИНЕЙНО-КАБЕЛЬНЫХ
СООРУЖЕНИЯХ СВЯЗИ ВОЛОКОННО-ОПТИЧЕСКИХ ЛИНИЙ ПЕРЕДАЧИ

Дата введения 2001-04

 

1 Область применения

Настоящий Руководящий документ отрасли устанавливает порядок и объем проведения профилактических и аварийно-восстановительных работ на ЛКС ВОЛП с помощью временных и постоянных оптических кабельных вставок для различных случаев повреждения. Руководящий документ предназначен для применения при эксплуатации подземных оптических кабелей магистральной, соединительных и внутризоновых сетей передачи.

2 Основные положения по технической эксплуатации ЛКС ВОЛП1)

___________

1 В настоящем Руководящем документе отрасли рассматриваются объемы планово-профилактических работ на ЛКС ВОЛП и традиционные «ручные» методы их выполнения. Автоматизированная система контроля за состоянием линейного тракта ВОЛП (мониторинга) в настоящее время проходит опытную проверку на сетях связи. С ее введением в эксплуатацию существующие объемы и методы ППР будут скорректированы и найдут свое отражение в новой редакции.

2.1 Организация технической эксплуатации ЛКС ВОЛП производится в соответствии с требованиями [6] и [7].

2.2 При проведении планово-профилактических, ремонтных и аварийно-восстановительных работ на ЛКС ВОЛП помимо обычных механизмов и оборудования, используемых на линиях с медножильными кабелями, применяется специализированное оборудование - сварочные аппараты, оптические рефлектометры, локаторы электронных маркеров, специально оборудованные автомобили для монтажа и измерений ОК, специализированный монтажный инструмент и др. Для полноценного применения такого оборудования требуется наличие квалифицированного персонала, постоянно поддерживающего соответствующие технологические навыки.

Для уменьшения эксплуатационных затрат в качестве основного метода обслуживания ЛКС ВОЛП рекомендуется использовать централизованный метод, предусмотренный для эксплуатации ВОЛП в соответствии с раздел 4 [6]. В случаях, когда при авариях на ЛКС ВОЛП невозможно обеспечить время восстановления поврежденной кабельной линии за 10 часов, используется децентрализованный или комбинированный методы обслуживания.

Метод обслуживания определяется руководством эксплуатационного предприятия.

2.3 Техническая эксплуатация ЛКС ВОЛП может -осуществляться с участием центра технической эксплуатации (ЦТЭ).

2.4 Планово-профилактическое обслуживание ЖС ВОЛП осуществляется периодически, в соответствии с планом, утвержденным главным инженером эксплуатационного предприятия. При организации технической эксплуатации с участием ЦТЭ обслуживание осуществляется в соответствии с планом, утвержденным главным инженером эксплуатационного предприятия.

Результаты работ, выполняемых в процессе технического обслуживания, фиксируются в соответствующей документации согласно 4.6 [6].

2.5 Для выполнения планово-профилактических и аварийно-восстановительных работ на ЖС ВОЛП на эксплуатационном предприятии должен создаваться соответствующий запас ОК, оптических муфт, ВОКВ и т.д.

Величина эксплуатационного запаса по каждой ВОЛП определяется проектом на линию и распределяется между эксплуатационными предприятиями пропорционально объему соответствующего оборудования.

Эксплуатационный запас строительных длин ОК должен комплектоваться с учетом реальных строительных длин ОК на участке обслуживания с целью обеспечения возможности полноценной замены любой из поврежденных строительных длин ОК.

Хранение эксплуатационного запаса производится в соответствии с НТД на каждый вид изделий.

3 Определения и сокращения

В настоящем «Руководстве ¼» применены следующие термины с соответствующими определениями.

Нормальное состояние ЛКС («Норма») - состояние, при котором параметры передачи ОВ, сопротивление изоляции наружной полиэтиленовой оболочки (при наличии бронепокровов) находятся в пределах установленных допусков, отсутствует нарушение целостности бронепокровов по всей длине ОК.

Предупредительное состояние ЛКС («Предупреждение») - состояние ЛКС, при котором параметры передачи ОВ находятся в пределах установленных допусков, а сопротивление изоляции наружной полиэтиленовой оболочки вышло за пределы установленных допусков, либо нарушилась целостность внешних защитных металлических элементов ОК.

Поврежденное состояние ЛКС - («Повреждение») - состояние, при котором параметры передачи ОВ (всех или их части) ОК вышли за пределы установленных допусков, но при этом не наступил перерыв в действии связи.

Аварийное состояние ЛКС («Авария») - состояние, при котором параметры передачи всех ОВ вышли за установленные пределы, и наступил перерыв действия связей.

В настоящем документе применены следующие сокращения:

АВБ

- аварийно-восстановительная бригада

АВР

- аварийно-восстановительные работы

ВОКВ

- временная оптическая кабельная вставка

ВОКВО

- ВОКВ одноэлементная

ВОКВМ

- ВОКВ многоэлементная

ВОЛП

- волоконно-оптическая линия передачи

ГЦУМС

- главный центр управления магистральными связями и телевидением ОАО "Ростелеком"

КИП

- контрольно-измерительный пункт

КУ

- кабельный участок

ЛКС

- линейно-кабельные сооружения

ЛТЦ

- линейно-технический цех

ЛИОК

- лаборатория (кабельная) измерений и монтажа оптического кабеля

МЗВ

- муфта защитная временная

НРП

- необслуживаемый регенерационный пункт

НТД

- нормативная техническая документация

ОВ

- оптическое волокно

ОК

- оптический кабель

ОП

- оконечный пункт

ОРП

- оконечный регенерационный пункт

ПОКВ

- постоянная оптическая кабельная вставка

ППР

- планово-профилактические работы

РВБ

- ремонтно-восстановительная бригада

СМ

- соединитель механический

СОР

- соединитель оптический разъемный

СОУ

- служба оперативного управления

ЭП

- эксплуатационное предприятие: ТУСМ (технический узел магистральных связей и телевидения ОАО «Ростелеком»), ЭТУС (эксплуатационно-технический узел связи АО «Электросвязь»)

УПУ

- узловой пункт управления

ЦЛКС

- цех линейно-кабельных сооружений

ЦСП

- цифровые системы передачи

ЦТЭ

- центр технической эксплуатации

ЭКУ

- элементарный кабельный участок

САМ-ОК

- система автоматического мониторинга волоконно-оптических кабелей

4 Классификация видов повреждений оптических кабелей

Виды повреждений ОК классифицируют как:

- одиночный обрыв ОК;

- обрыв ОК в нескольких местах;

- повреждение ОК с обрывом всех или части ОВ и с сохранением целостности защитных покровов;

- повышенное затухание ОВ;

- повреждение наружной полиэтиленовой оболочки ОК с сохранением работоспособности ОВ при сохранении целостности металлических бронепокровов;

- повреждение наружной полиэтиленовой оболочки ОК с сохранением работоспособности ОВ при нарушении целостности бронепокровов.

5 Планово-профилактические работы на ЛКС ВОЛП

5.1 Организация и объем выполнения планово-профилактических работ

5.1.1 Планово - профилактические работы (ППР) являются составной частью технического обслуживания ЛКС ВОЛП, проводимого в соответствии с положениями [6].

5.1.2 Планово-профилактические работы проводятся периодически в соответствии с планом, утвержденным главным инженером эксплуатационного предприятия, и включают в себя мероприятия, целью проведения которых является своевременное выявление и устранение возникающих отклонений оптических и электрических характеристик ЛКС от установленных норм.

5.1.3 Планово - профилактические работы на ЛКС ВОЛП включают в себя:

- измерение параметров передачи незадействованных ОВ на ВОЛП (целесообразно проводить в автоматическом режиме при оснащении эксплуатационного предприятия системой автоматического мониторинга ОК);

- измерение в ручном режиме характеристик активных ОВ на ВОЛП при наличии WDM мультиплексоров и фильтров (в автоматическом режиме измерения проводится при оснащении эксплуатационных предприятий системами автоматического мониторинга ОК);

- измерение сопротивления изоляции пластмассовой оболочки ОК, содержащего металлические конструктивные элементы (выполняется по участкам линии, между оптическими муфтами, оборудованными КИП);

- контроль состояния заземлений на НРП контейнерного типа (установленных непосредственно в грунт) и контроль заземлений вводов ОК с металлическими конструктивными элементами в помещениях обслуживаемых пунктов;

- принятие дополнительных мер защиты ОК при изменениях на трассе, влияющих на грозозащищенность ЛКС (установка новых опор линий связи, линий электропередачи и др. вблизи трассы, вырубка леса вблизи трассы и т.д.).

- контроль глубины залегания ОК и уточнение картограмм прохождения трассы ВОЛП. Периодичность контроля глубины залегания ОК и выбор проверяемых участков трассы устанавливается эксплуатационным предприятием.

5.2 Технология выполнения ППР

5.2.1 Измерение параметров передачи ОВ ВОЛП

5.2.1.1 Измерение затухания ОК рекомендуется производить не реже одного раза в год по всем незадействованным ОВ с использованием оптического рефлектометра.

5.2.1.2 Совместно с измерениями по предыдущему пункту рекомендуется для обнаружения локальных дефектов ОВ производить измерения с помощью оптического рефлектометра на малых (£100 нс) длительностях импульса.

5.2.1.3 На оконечных и регенерационных пунктах, где имеется постоянный эксплуатационный персонал, рекомендуется проводить измерения по специально выделенному волокну (не реже 2 раза в год и по мере необходимости) оптическим рефлектометром.

5.2.1.4 Полученные рефлектограммы должны храниться в электронном виде (на магнитных и иных носителях информации) в подразделениях, ответственных за техническую эксплуатацию ЛКС ВОЛП.

5.2.1.5 Измерения параметров передачи ОВ проводятся силами эксплуатационного предприятия.

5.2.2 Измерение электрических параметров пластмассовой оболочки ОК и устройств защиты ЛКС от внешних электромагнитных влияний

5.2.2.1 Контроль электрического сопротивления изоляции пластмассовых оболочек ОК (броня-земля) и целостность броневых покровов проводится ежегодно (весной).

В зависимости от величины электрического сопротивления изоляции пластмассовой оболочки ОК различают следующие состояния внешних покровов ЛКС ВОЛП:

- норма - Rиз ³ 5 Мом´км;

- предупредительное - 0,1 Мом´км £ Rиз < 5 Мом´км;

- аварийное - Rиз < 0,1 Мом´км.

5.2.2.2 Работы по измерению электрических параметров пластмассовой оболочки ОК и целостности брони проводятся силами ЛТЦ.

5.2.3 Измерение электрических параметров устройств защиты ЛКС от грозовых воздействий

5.2.3.1 Периодичность контроля состояния заземляющих устройств на НРП и ОРП - два раза в год - зимой и летом при максимальном промерзании и высыхании грунта (зимой - при наличии предусмотренного проектом специального измерительного заземления);

Сопротивление заземляющих устройств, обеспечивающих защиту ЛКС ВОЛП от ударов молнии, контролируемое один раз в год перед началом грозового сезона, должно быть не более:

10 Ом - для грунтов с rгрунта £ 100 Ом´м;

20 Ом - для грунтов с 100 < rгрунта £ 500 Ом´м;

30 Ом - для грунтов с 500 < rгрунта £ 1000 Ом´м;

50 Ом - для грунтов с rгрунта > 1000 Ом´м.

5.2.3.2 Сопротивление измерительного заземляющего устройства не должно быть более 100 Ом в грунтах с удельным сопротивлением до 100 Ом´м и не должно быть более 200 Ом - в грунтах с удельным сопротивлением более 100 Ом´м.

5.2.3.3 Измерения электрических параметров устройств защиты линейно-кабельных сооружений проводятся силами ЛТЦ.

5.2.4 Анализ результатов измерений электрических и оптических параметров ЛКС ВОЛП

5.2.4.1 По результатам профилактических измерений электрических и оптических параметров ЛКС ВОЛП составляется план проведения работ, направленных на устранение выявленных повреждений.

5.2.4.2 Результаты измерений электрического сопротивления изоляции пластмассовой оболочки кабеля сравниваются с предыдущими и в случае несоответствия минимально допустимому значению Rиз = 0.1 МОм´км (Rиз < 0,1 МОм´км - аварийное состояние) проводятся работы по отысканию и устранению мест понижения сопротивления изоляции.

5.2.4.3 Результаты проведенных измерений оптических параметров волокон сравниваются с результатами приемо-сдаточных измерений (путем сравнения рефлектограмм), и в случае обнаружения их отклонения (увеличение затухания строительных длин или мест стыка ОВ более чем на 0,2 дБ, появления локальных дефектов и т.д.) принимается решение по устранению причин их возникновения.

5.2.4.4 Если причины возникших отклонений текущей рефлектограммы от контрольной неизвестны, или их устранение осуществимо в плановом порядке, то намечается план дополнительных измерений, направленных на их дальнейшее изучение.

5.2.4.5 Состав измерений и их объем утверждается главным инженером эксплуатационного предприятия.

5.2.5 Ведение производственной документации

5.2.5.1 Эксплуатационные предприятия и их отделения должны иметь основные нормативные документы по эксплуатации ЛКС ВОЛП и вести производственную документацию с целью систематического анализа состояния ЛКС ВОЛП, причин, характера и длительности повреждений и аварий, а также для накопления статистических данных.

Состав обязательной производственной документации, хранящейся на предприятии (отделении) и в структурных подразделениях, определяется перечнем, утвержденным главным инженером предприятия (отделения).

Производственная документация по эксплуатации ЛКС ВОЛП подразделяется на нормативно-справочную, оперативно-техническую, техническую приемо-сдаточную и организационную.

5.2.5.2 В состав нормативно-справочной документации входят: государственные и отраслевые стандарты, стандарты предприятий, правила, инструкции, положения, рекомендации, распорядительные документы, нормативно-технические и руководящие указания Минсвязи России.

5.2.5.3 Оперативно-техническая документация составляется и ведется работниками эксплуатационных предприятий в процессе обслуживания ЛКС ВОЛП. В состав оперативно-технической документации входят:

- паспорта (планшеты) кабельных трасс;

- монтажные схемы ЭКУ с оптическими привязками к муфтам;

- паспорта на оптические муфты;

- протоколы измерений электрических и оптических параметров кабелей связи;

- запись рефлектограмм OB ВОЛП в электронном виде;

- паспорта заземляющих устройств;

- протоколы измерений заземляющих устройств;

- документация по охранно-разъяснительной работе;

- акты повреждений и аварий на ЛКС ВОЛП;

- статистическая документация по эксплуатации ЛКС ВОЛП.

5.2.5.4 В состав технической документации входят: паспорта, формуляры и технические описания на оборудование и приборы, паспорта (сертификаты) на кабельные изделия.

5.2.5.5 В состав приемо-сдаточной документации входит документация, предъявляемая строительными организациями при сдаче в эксплуатацию построенных или реконструированных ЛКС ВОЛП. Порядок и объем подготовки приемо-сдаточной документации определяется действующими указаниями по сдаче объектов в эксплуатацию и требованиями по ее составлению.

5.2.5.6 К организационным документам относятся: положения о службах, отделах и структурных подразделениях (ЦЛКС, ЛТЦ), должностные инструкции работников, приказы и распоряжения по предприятию об эксплуатации ЛКС, планы и отчеты об их выполнении, журналы учета и планы проведения технической учебы, документация по охране труда и технике безопасности, другая организационная документация.

5.2.5.7 Конкретные формы документации, порядок их заполнения и хранения определяются соответствующими Инструкциями и приказами по предприятию.

5.2.6 Техническое обслуживание приборов

5.2.6.1 Все приборы, используемые при эксплуатации ЛКС ВОЛП, должны быть типов, имеющих сертификат Минсвязи России, а приборы, подлежащие государственному метрологическому контролю и надзору в соответствии с РД 45.002-94 «Руководство по установлению номенклатуры средств измерений, подлежащих поверке» - иметь сертификат Госстандарта России об утверждении типа.

Конкретные экземпляры приборов, используемые при эксплуатации, должны иметь действующие клейма о поверке (калибровке).

5.2.6.2 Техническое обслуживание приборов (рефлектометров, сварочных аппаратов, оптических тестеров и т.д.) должно проводиться в соответствии с инструкциями по эксплуатации на данные типы приборов специалистами, имеющими необходимую квалификацию, уполномоченными на такое обслуживание приказами (распоряжениями) по эксплуатационному предприятию.

6 Аварийно восстановительные работы

6.1 Организация работ по восстановлению работоспособности поврежденной кабельной линии

6.1.1 АВР являются составной частью технического обслуживания ЛКС ВОЛП, проводимого на ЭКУ в соответствии с положениями [6].

6.1.2 АВР являются особым видом ремонтных работ на линиях передачи, основным требованием к которым является их немедленная организация в объемах, обеспечивающих восстановление передачи информации в кратчайшие сроки и их проведение вплоть до установления постоянного или временного варианта восстановления даже при неблагоприятных внешних условиях.

В процессе АВР выполняется широкий спектр работ - измерительные, монтажно-кабельные, земляные, охранные (надзор) и т.п.

6.1.3 Основными причинами повреждений подземных ОК являются:

- механические повреждения ОК при выполнении строительно-монтажных работ сторонними организациями в пределах охранных зон кабельной линии, а также в результате актов вандализма (так называемые локальные, визуально наблюдаемые повреждения);

- механические повреждения ОК от перемещения грунтов (обвалы, пучения, оползни, селевые потоки и т.д.), как правило, в пределах одной-двух строительных длин оптического кабеля;

- повреждения ОВ за счет старения или попадания в сердечник кабеля влаги;

- повреждения кабелей от грозовых воздействий (при наличии металлических элементов в конструкции оптического кабеля);

- повреждения ОК от воздействия грызунов, пожаров и т.д. Перечисленные виды повреждений ОК требуют организации коротких (до 50 м) и протяженных (до 7 км) оптических кабельных вставок.

6.1.4 К общим требованиям, предъявляемым к организации АВР на линиях передачи, относятся:

- максимальное использование средств механизации и максимально возможное совмещение во времени разнородных работ и операций;

- одновременная (по возможности) доставка ремонтных бригад и средств механизации к месту производства работ;

- обеспечение быстрой концентрации технических средств и персонала в местах возникновения аварий линейных сооружений.

6.1.5 Аварии на ЛКС ВОЛП устраняются специально обученными бригадами с численностью, определяемой действующими нормативами производственного штата. Непосредственное руководство АВР осуществляет начальник ЦЛКС (ЛТЦ), а при больших объемах разрушений или стихийных бедствиях - главный инженер эксплуатационного предприятия. При необходимости оказания помощи при проведении восстановительных работ на место аварии службой оперативного управления (СОУ) или руководством эксплуатационного предприятия направляются специалисты по ЛКС ВОЛП ближайшего отделения эксплуатационного предприятия (данного или соседнего).

6.1.6 При устранении аварий должны использоваться специально оборудованные мобильные лаборатории (ЛИОК), укомплектованные необходимым инвентарем, инструментом, измерительными приборами, оптическими кабельными вставками и средствами механизации (приложение А).

6.1.7 Работы по восстановлению сопротивления изоляции ОК и целостности броневых покровов проводятся силами ЛТЦ с привлечением специалистов АВБ эксплуатационного предприятия.

6.1.8 Работы по восстановлению линий передачи ВОЛП проводятся ЛТЦ совместно с АВБ эксплуатационного предприятия (при необходимости).

6.2 Способы восстановления ЛКС ВОЛП при аварийных повреждения ОК

6.2.1 Восстановление ЛКС ВОЛП при аварийных повреждениях ОК обеспечивается:

- организаций временной схемы восстановления линии передачи ВОЛП с последующим переходом на постоянную схему, в том числе с использованием схемы резервных обходов;

- организацией постоянной схемы восстановления линии передачи ВОЛП на участке повреждения.

6.2.2 Временная схема восстановления линии передачи ВОЛП организуется во всех случаях, когда по результатам обследования района или места повреждения ОК ожидаемое время организации постоянного варианта восстановления превышает установленный норматив.

6.2.3 Постоянная схема восстановления линии передачи ВОЛП организуется:

- после реализации временной схемы;

- в случаях видимого, локального, одиночного повреждения ОК, когда норматив времени восстановления линии передачи ВОЛП может быть обеспечен без предварительной организации временной схемы восстановления ВОЛП.

6.3 Технология проведения АВР

6.3.1 Последовательность и расчетные сроки различных операций и этапов восстановительных работ регламентируются технологической картой, которая разрабатывается в соответствии с алгоритмом устранения аварий и нормативов на виды работ для каждой ВОЛП с учетом типа ОК, условий прохождения трассы и времени года, и утверждается руководством эксплуатационного предприятия. При разработке и утверждении технологических карт необходимо исходить из того, что время на восстановление линии передачи ВОЛП должно быть минимальным и не превышать 10 часов.

6.3.2 Восстановление линий передачи ВОЛП в чрезвычайных ситуациях производится в соответствии с утвержденными нормативными документами [8].

При длительном проведении АВР необходимо организовать сменную работу членов бригад с обеспечением питания и отдыха работников соответствующих смен.

6.3.3 Технологическая карта на АВР состоит из разделов, регламентирующих область применения, организацию и технологию работ, технико-экономические показатели (время восстановления связи, время окончательного устранения аварии и трудоемкость устранения аварии), и оговаривает применение материально-технических ресурсов.

Структура типовой технологической карты приведена на рисунке 1.

 

Рисунок 1, лист 1 - Структура типовой технологической карты по АВР

 

Рисунок 1, лист 2 - Структура типовой технологической карты по АВР

6.4 Оптические кабельные вставки

6.4.1 Классификация и область применения

6.4.1.1 По назначению оптические кабельные вставки подразделяются на постоянные (ПОКВ) и временные (ВОКВ).

6.4.1.2 ПОКВ предназначены для организации постоянной схемы восстановления линии передачи ВОЛП.

Для ПОКВ, как правило, используется ОК той же марки и емкости, что и поврежденный линейный кабель. Длина ПОКВ должна составлять не менее 50 м.

6.4.1.3 ВОКВ используются для организации временной схемы восстановления ВОЛП. В зависимости от вида повреждения оптического кабеля восстановление его по временной схеме осуществляется с помощью одно- или многоэлементных ВОКВ (классифицируемых по числу отрезков ОК, составляющих ВОКВ).

6.4.1.4 Одноэлементная ВОКВ (ВОКВО) организуется в случае локального механического повреждения ОК, когда место повреждения можно определить визуальным путем, но монтаж постоянной вставки не может быть выполнен в нормативные сроки.

6.4.1.5 Многоэлементная ВОКВ (ВОКВМ) организуется, когда:

- повреждение носит локальный и скрытый характер, т.е. его нельзя определить визуально, и время на определение места повреждения и устранение аварии превышает норму на восстановление ОК по постоянной схеме;

- повреждение ОК имеет значительную протяженность (от 200 м до 7 км) или имеется несколько повреждений одной или нескольких соседних строительных длин.

6.4.2 Характеристика ВОКВ

6.4.2.1 ВОКВ бывают одноэлементные и многоэлементные. Одноэлементная ВОКВ (ВОКВО) представляет собой отрезок ОК из эксплуатационного запаса для данной линии, концы которого подготовлены для монтажа с поврежденным линейным кабелем. Это существенно упрощает переход от временной схемы организации связи к постоянной и сокращает время такого перехода.

6.4.2.2 Для ВОКВО может быть также использован специальный малогабаритный ОК длиной около 50 м (что достаточно при устранении локальных повреждений линейного ОК). В случае протяженного участка повреждений линейного ОК может быть также использована одноэлементная ВОКВ протяженностью вплоть до строительной длины линейного ОК.

6.4.2.3 Соединение ОВ поврежденного ОК и кабеля ВОКВО осуществляется с помощью механических соединителей (СМ) [9] или же сваркой ОВ (рисунок 2).

6.4.2.4 Для оперативного перекрытия протяженных участков повреждений линейного ОК наиболее целесообразно использовать многоэлементные ВОКВ [10] конструктивные особенности которых должны обеспечивать развертывание OK BOKBM ручным способом, без необходимости применения специальных механизмов. В настоящем Руководстве рассматриваются два типа многоэлементной ВОКВ: ВОКВМ-1 и ВОКВМ-2, отличающиеся в основном методами соединения отрезков ОК (приложение Ж, таблицы Ж.2 и Ж.3).

6.4.2.5 ВОКВМ-1 (рисунок 3) представляет собой набор из двух - восьми отрезков ОК длиной 800 - 1000 м каждый.

Подключение ВОКВМ-1 к поврежденному ОК и соединение отрезков кабеля между собой выполняется с помощью механических соединителей или сваркой ОВ.

6.4.2.6 Для сокращения времени монтажа отрезков OK BOKBC-1 концы ОВ предварительно подготавливаются для сращивания и защищаются специальными колпачками и внешними кожухами. При использовании многоразовых механических соединителей возможна их предварительная установка на ОВ, с защитой при транспортировке внешними кожухами.

6.4.2.7 ВОКВМ-1 наиболее целесообразно использовать при малом энергетическом запасе на поврежденном регенерационном участке (менее 3 дБ), учитывая, что современные механические соединители обеспечивают потери в соединении около 0,1 - 0,2 дБ.

 

а) - общая схема;

б) - соединение ОВ поврежденного ОК и волокон вставки с помощью механических соединителей.

1 - линейный ОК;

2 - линейная разветвительная муфта;

3 - OK BOKBO;

4 - ОК ПОКВ;

5 - механические соединители;

6 - волокна линейного ОК;

7 - волокна OK BOKBO.

Рисунок 2 - Схема одноэлементной ВОКВ и схема ее монтажа с поврежденным
линейным ОК, выполняемого с использованием механических соединителей.

 

1 - линейный OK;

2 - линейная разветвительная муфта;

3 - волокна линейного ОК;

4 - механические соединители;

5 - волокна OK BOKBM-1;

6 - ОКВОКВМ-1;

7 - временная защитная муфта.

Рисунок 3 - Схема ВОКВМ-1 и схема ее монтажа с поврежденным линейным ОК.

 

1 - линейный ОК;

2 - линейная разветвительная муфта;

3 - волокна линейного ОК;

4 - механические соединители;

5 - волокна OK BOKBM-2;

6 - OK B0KBM-2;

7 - временная защитная муфта;

8 - оптические разъемные соединители.

Рисунок 4 - Схема ВОКВМ-2 и схема ее монтажа с поврежденным линейным ОК.

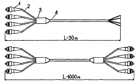
6.4.2.8 ВОКВМ-2 (рисунки 4 и 5) состоит из двух концевых отрезков ОК длиной по 30 м и двух-восьми одноэлементных промежуточных отрезков ОК длиной около 800 - 1000 м каждый (приложение К).

 

1 - вилки СОР;

2 - ОВ в защитной трубке;

3 - «перчатка» на ОК;

4 - ОК ВОКВС-2.

Рисунок 5 - Концевой и промежуточный отрезки ВОКВМ-2

ОВ отрезков ОК в производственных условиях с одной стороны армируются вилками соединителей оптических разъемных (СОР) (рисунок 5) Для этого на конец кабеля устанавливается «перчатка», с помощью которой выполняется распределение волокон на отдельные модули с последующей установкой на них вилок СОР. С противоположной стороны ОВ концевых отрезков ОК соединяются с волокнами поврежденного ОК с помощью механических соединителей

Наличие концевых отрезков в данной ВОКВМ создает существенное преимущество при осуществлении контроля затухания в процессе монтажа СМ с помощью только оптического тестера (без необходимости применения рефлектометра) Кроме того, концевые отрезки многоэлементной ВОКВМ-2, соединенные между собой с помощью одного СОР, могут эффективно заменить одноэлементную ВОКВ.

6.4.2.9 Промежуточные отрезки ВОКВМ-2 армируются вилками СОР с двух сторон. Взаимное соединение вилок всех отрезков составной ВОКВМ-2 выполняется посредством розеток СОР (рисунок 6).

 

1 - вилки СОР;

2 - волоконные модули;

3 - защитные колпачки;

4 - розетка СОР.

Рисунок 6 - Соединение вилок СОР.

6.4.2.10 Конструкция ВОКВМ-2 позволяет более оперативно осуществлять восстановление ОК, чем при использовании ВОКВМ-1.

6.4.3 Общие технические требования к ВОКВ

6.4.3.1 Согласно [7], рекомендуемый диапазон энергетического запаса, выделяемый на эксплуатацию оптического кабеля ВОЛП, составляет от 2 до 6 дБ. Следовательно, суммарное затухание ЭКУ при применении любого типа ВОКВ, смонтированной на поврежденном ОК, должно удовлетворять вышеуказанным значениям.

6.4.3.2 При локальном повреждении линейного ОК длина кабеля вставки должна составлять не менее 50 м.

Данная величина определяется длиной вырезаемой части поврежденного ОК (по 10 м в обе стороны от места обрыва ОК с целью обеспечения гарантии целостности волокон ОК) и длиной откапываемых концов ОК по 15 м, обеспечивающих их извлечение из траншеи и выполнение монтажа ВОКВО в палатках или ЛИОК.

6.4.3.3 При наличии нескольких повреждений в пределах строительной длины линейного ОК требуется значительная длина кабеля ВОКВ. Это вызывает существенное увеличение массы ОК и габаритов кабельного барабана и, тем самым, предопределяет только механизированную прокладку кабеля ВОКВ. В этом случае оперативное развертывание одноэлементной ВОКВ возможно лишь при расположении кабельной трассы вдоль автомобильных дорог.

Для оперативного перекрытия протяженных участков поврежденного линейного ОК наиболее целесообразно использовать многоэлементные ВОКВ, конструктивные особенности которых должны обеспечивать развертывание ОК ВОКВ ручным способом.

При этом должны быть выполнены следующие требования:

- оптический кабель ВОКВМ должен иметь малые габаритные размеры и массу, удовлетворять необходимым оптическим, механическими климатическим требованиям, обеспечивать многократную перемотку и т.д.;

- длина отрезков ОК не должна превышать 1100 м;

- масса барабана с кабелем должна быть не более 60 кг;

- должна быть обеспечена возможность перемещения барабанов и размоток ОК как со специальных тележек, так и вручную;

- должна быть обеспечена оперативность монтажа ВОКВМ;

- должна быть обеспечена необходимая временная защита от внешних механических повреждений, пыли и влаги мест соединений отдельных отрезков ОК ВОКВМ.

6.4.3.4 Соединение оптических волокон поврежденного ОК с ОВ любых типов ВОКВ должно выполняться с помощью механических соединителей или сваркой ОВ.

6.4.3.5 Защита мест соединений линейного кабеля и кабелей вставки (ПОКВ и ВОКВ) должна осуществляться посредством линейных разветвительных муфт с числом вводов не менее трех [11].

6.4.3.6 ВОКВ должны комплектоваться необходимым специализированным монтажным инструментом, а также необходимой технической документацией [10, 12]

6.4.4 Технические требования к элементам ВОКВ

6.4.4.1 Для ВОКВО и ВОКВМ должен использоваться оптический кабель наружным диаметром не более 7,5 мм, удовлетворяющий следующим требованиям:

- количество одномодовых ОВ: 4 - 12;

- затухание ОВ: не более 0,35 дБ/км (l = 1,31 мкм) и не более 0,22 дБ/км (l = 1,55 мкм);

- масса ОК: не более 50 кг/км;

- усилие поперечного сжатия ОК: 1,0 кН/см;

- стойкость ОК к осевому закручиванию ±360° на длине 1 м: 20 циклов;

- допустимый радиус стационарного изгиба ОК при монтаже: 150 мм;

- диапазон рабочих температур ОК: от минус 40 до 50 °С;

- количество допустимых перемоток ОК: не менее 50 при температуре выше минус 10 °С и не менее 20 при температуре ниже минус 10 °С.

6.4.4.2 Многоэлементные ВОКВ должны поставляться и храниться на легковесных металлических барабанах, удовлетворяющих следующим требованиям:

- барабаны должны представлять собой сварную конструкцию из стальных труб диаметром около 20 мм;

- на один барабан должно помещаться не менее 1100 м оптического кабеля;

- в состав кабельного барабана должна входить подставка-козлы, обеспечивающая намотку и размотку ОК, а также переноску барабана с ОК вручную.

- масса барабана с подставкой должна быть не более 10 кг.

- для транспортировки барабана с ОК вдоль трассы вручную должна быть предусмотрена тележка.

6.4.4.3 При организации временного варианта восстановления ОК соединение неармированных оптических волокон между собой (при подключении ОК ВОКВ к линейному кабелю или взаимном соединении отрезков ОК ВОКВМ-1) наиболее целесообразно осуществлять с помощью механических соединителей [9].

Характеристики механических соединителей, которые могут быть использованы при монтаже одно- и многоэлементных вставок приведены в Приложении Е.

Армирование оптических волокон ВОКВМ-2 следует выполнять вилками разъемных оптических соединителей типа FC/SPC или FC/APC, обеспечивающих:

- затухание стыка 0,2 - 0,4 дБ,

- обратное отражение стыка - 40 дБ (FC/SPC) и - 65 дБ (FC/APC).

Для сочленения вилок должны использоваться прецизионные розетки (адаптеры).

6.4.4.4 В местах подключения временной вставки к линейному ОК должны устанавливаться разветвительные муфты, имеющие как минимум три ввода. Один из них используется для ввода линейного ОК; второй используется для ввода ОК постоянной вставки; третий - для ввода ОК временной вставки. Герметизация вводов линейного ОК и кабеля постоянной вставки обеспечивается, как правило, термоусаживаемыми трубками с подклеивающим слоем или же герметиками.

Основные типы муфт, рекомендуемых из представленных на российском рынке для восстановления поврежденного ОК, приведены в приложении Д.

Защита мест соединений отрезков ОК ВОКВМ должна осуществляться с помощью временных защитных муфт многократного применения (МЗВ), конструкция которых должна обеспечивать оперативный монтаж и демонтаж вводимых и соединяемых в ней элементов и их защиту от пыли и влаги.

Корпус МЗВ должен быть выполнен из легкого ударопрочного материала, крепление оптического кабеля ВОКВ в корпусе МЗВ должно обеспечивать стойкость к растягивающему усилию не менее 400 Н.

6.4.4.5 ВОКВ должны быть укомплектованы необходимым инструментом и принадлежностями для выполнения их монтажа.

6.5 Комплектация ВОКВ

В комплект ВОКВ входят элементы, необходимые для ее монтажа. Конкретные примеры комплектации одноэлементной и многоэлементных (ВОКВМ-1 и ВОКВМ-2) временных кабельных вставок приводятся в Приложении Ж.

6.6 Хранение и транспортировка

6.6.1 Хранение ВОКВ осуществляется в соответствии с требованиями, изложенными в разделе 8 [6].

6.6.2 Условия хранения ОК для ВОКВ должны обеспечивать их длительную сохранность без изменения оптических и механических характеристик, а также свойств защитных покровов.

6.6.3 Хранение ОК длиной до 1100 м производится на соответствующих барабанах, а ВОКВО до 50 м - в бухтах.

6.6.4 Кабели на барабанах и в бухтах должны храниться в закрытом помещении, с обеспечением защиты от прямого воздействия солнечных лучей.

6.6.5 Барабаны с ОК при хранении должны размещаться таким образом, чтобы имелась возможность для проведения измерений и испытаний кабеля.

На каждом барабане указываются:

- тип ВОКВ;

- номер барабана;

- марка и длина ОК;

- тип ОВ и их количество.

6.6.6 ВОКВ небольшой длины (до 50 м), смотанные в бухты, должны храниться в специальных ящиках или на стеллажах. К бухте должна быть прикреплена бирка с указанием типа ВОКВ, длины ОК, типа и количества ОВ.

6.6.7 Лакокрасочные покрытия металлических барабанов должны восстанавливаться в местах их нарушения.

6.6.8 Для доставки барабанов с кабелем к месту АВР должны использоваться транспортные средства, обеспечивающие в наиболее неблагоприятных условиях сезона проходимость в условиях данной местности.

6.7 Указания по эксплуатации ВОКВ

6.7.1 Указания по технике безопасности.

6.7.1.1 При организации и осуществлении восстановления линии передачи ВОЛП по временной схеме с помощью ВОКВ следует руководствоваться [13], с учетом особенностей производства работ с ОК.

6.7.1.2 Ответственным за охрану труда и технику безопасности при проведении работ техническим персоналом являются начальник ЦЛКС (ЛТЦ) и руководитель работ.

6.7.1.3 К работам по оборудованию ВОКВ допускаются лица, прошедшие производственное обучение, проверку знаний в квалификационной комиссии предприятия связи и прошедшие инструктаж по особенностям работы с ВОКВ в линейных условиях.

6.7.1.4 К работам по оборудованию ВОКВ допускаются лица, имеющие квалификационную группу по электробезопасности не ниже третьей.

6.7.1.5 Не допускается проводить работы в регенерационных пунктах и в местах расположения соединительных муфт одному работнику.

6.7.1.6 Работы в НРП должны проводиться с учетом требований ОСТ 45.119-99 «Система стандартов безопасности труда. Пункты регенерационные волоконно-оптических линий передачи. Общие требования безопасности».

6.7.2 Техническое обслуживание ВОКВ

6.7.2.1 Техническая эксплуатация ВОКВ включает:

- осуществление технического надзора за размещением, подготовкой к работе элементов ВОКВ;

- осуществление технического обслуживания элементов ВОКВ в установленные сроки;

- подготовка элементов ВОКВ к эксплуатации после каждого использования при АВР (пополнение элементов, выходящих из строя);

- ведение производственной документации и отчетности, отражающих объемы выполненных работ.

6.7.2.2 Техническое обслуживание элементов ВОКВ должно выполняться работниками ЦЛКС (ЛТЦ). Выполнение указанных выше работ организует начальник ЦЛКС (ЛТЦ).

6.7.2.3 Техническое обслуживание элементов ВОКВ должен выполнять электромеханик (старший электромеханик).

6.7.2.4 Начальник ЦЛКС (ЛТЦ) ежегодно должен составлять:

- план-график осмотра, ремонта, замены и проверок элементов ВОКВ;

- годовой план пополнения неисправных элементов ВОКВ. План-график и годовой план должны утверждаться главным инженером эксплуатационного предприятия, который одновременно принимает решение о порядке их реализации.

6.7.2.5 Для учета выполненных работ по техническому обслуживанию элементов ВОКВ и учета работ по пополнению элементов ВОКВ должна вестись производственная документация.

Виды производственной документации и место ее хранения приведены в таблице 1, а формы этой документации указаны в приложении Г и в приложении И.

6.7.2.6 Техническое обслуживание ВОКВ должно предусматривать:

- обеспечение постоянной технической исправности ВОКВ;

- устранение причин, вызывающих неисправности;

- своевременную замену вышедших из строя или пополнение элементов ВОКВ.

6.7.2.7 Выполнение работ по техническому обслуживанию ВОКВ в установленные сроки и в полном объеме обязательно и не зависит от технического состояния, времени года и места размещения ВОКВ.

Таблица 1

Наименование

Назначение

Место хранения

Ответственный

План-график периодического осмотра и проверок элементов ВОКВ

Устанавливает периодичность осмотров и проверок

ЦЛКС
(ЛТЦ)

Старший
электромеханик
ЦЛКС (ЛТЦ)

Журнал учета работы ВОКВ

Учет выполненных работ по обслуживанию ВОКВ

 

6.7.2.8 Техническое обслуживание ВОКВ заключается в проверках полноты наличия и исправности элементов ВОКВ в процессе проведения периодических осмотров и проверок.

6.7.2.9 Осмотру и проверкам подвергаются все элементы, входящие в комплектацию ВОКВ.

6.7.2.10 После получения ВОКВ эксплуатационное предприятие осуществляет ее входной контроль, включающий в себя проверку комплектации ВОКВ и визуальный осмотр всех ее элементов, а также проверку оптических параметров ВОКВ в сборе.

6.7.2.11 Проверка оптических параметров предусматривает измерение общего затухания в каждом волокне смонтированной ВОКВ и измерение сигнала отражения от соединений отрезков вставки. Допускается осуществлять монтаж отрезков ВОКВ и дальнейший контроль параметров кабеля, находящегося на барабанах и в бухтах.

Величины допустимых отклонений измеренных значений параметров от паспортных величин приведены в таблице 2.

6.7.2.12 Периодические визуальные осмотры ВОКВ, проверку комплектации, измерения оптических параметров ее элементов следует производить один раз в полгода, а также после каждого использования ВОКВ при АВР.

6.7.2.13 В процессе проведения периодических измерений оптических параметров ВОКВ достаточным является определение затухания в отдельных строительных длинах во всех ОВ (концевых и средних отрезках ОК) вставки. Измерения выполняются с помощью рефлектометра или оптического тестера и с использованием нормализующей длины (катушка ОВ длиной около 1 км), армированной эталонными СОР.

6.7.2.14 При обнаружении повреждений или утере элементов ВОКВ должны быть приняты безотлагательные меры по устранению повреждений и доукомплектации ВОКВ. Характерные неисправности элементов ВОКВ и методы их устранения приведены в соответствующих инструкциях по эксплуатации.

Таблица 2

Количество составных элементов смонтированной ВОКВ

Интегральное значение допускаемого превышения, дБ:

затухания

сигнала обратного отражения

1

0,2

-

2

0,3

-3

3

0,4

-3

4

0,5

-4

5

0,6

-4

6

0,7

-5

7

0,8

-5

8

0,9

-5

 

6.7.2.15 Данные о работах, выполняемых при техническом обслуживании ВОКВ, должны регистрироваться в журнале учета работы ВОКВ (Приложение Г).

6.8 Технические мероприятия по восстановлению линии передачи по временной схеме

При устранении аварий могут быть использованы технологии, основанные на централизованном, децентрализованном и комбинированном методах обслуживания ВОЛП.

6.8.1 Технология АВР при децентрализованном методе обслуживания

6.8.1.1 При децентрализованном методе обслуживания аварии на ЛКС ВОЛП устраняются бригадами кабельных участков эксплуатационного предприятия.

6.8.1.2 Как правило, организация временной связи с использованием ВОКВ выполняется силами того ЛТЦ, в зоне обслуживания которого произошла авария. В помощь бригаде одновременно направляется бригада ближайшего соседнего ЛТЦ независимо от границ эксплуатационного предприятия, а также АВБ эксплуатационного предприятия.

6.8.1.3 Непосредственное руководство работами при авариях осуществляет начальник ЛТЦ. При задержке устранения аварии сверх установленного срока, а также при больших объемах разрушения или стихийных бедствиях на место аварии выезжает начальник или главный инженер эксплуатационного предприятия, а также представители эксплуатационного предприятия.

6.8.1.4 Поврежденный ЭКУ определяется дежурным техперсоналом ОРП на основании данных системы управления ВОЛП.

6.8.1.5 О результатах определения поврежденного ЭКУ технический персонал ОРП по установленной схеме оповещения ставит в известность УПУ, оповещает АВБ №1, сообщает начальнику АВБ ЛТЦ, начальнику или главному инженеру эксплуатационного предприятия, записывает в журнал сведения о начале аварии, когда и кому сообщено об этом.

6.8.1.6 Если повреждение произошло на ЭКУ, прилегающем к ОРП, то измерение расстояния до места повреждения проводит дежурный техперсонал ОРП.

6.8.1.7 Получив сведения от дежурного персонала о поврежденном ЭКУ, АВБ №1 (приложение Б) немедленно выезжает к ближайшему из НРП, между которыми произошло повреждение, и с помощью оптического рефлектометра определяет расстояние до места повреждения ОК.

6.8.1.8 Результаты измерений АВБ №1 сообщает на ОРП.

6.8.1.9 Если в линейном кабеле имеются исправные свободные ОВ, то необходимо переключить на них ЦСП. Для этого на обоих НРП, прилегающих к поврежденному участку, произвести перекоммутацию оптических шнуров на оптическом оконечном устройстве и убедиться в восстановлении нормальной работы ВОЛП, связавшись со сменным персоналом ОРП. После этого необходимо выяснить причины повреждения ОВ линейного кабеля и принять меры по их устранению.

6.8.1.10 После доклада на ОРП измеритель АВБ № 1 остается на НРП для поддержания связи с ОРП и организации связи при помощи оптического телефона по свободному ОВ (номер ОВ определяется технологической картой по АВР) с местом повреждения. Остальная часть бригады продолжает локализацию места повреждения с использованием трассопоисковых приборов.

6.8.1.11 Начальник ЛТЦ, получив сообщение об аварии, не ожидая результатов измерений расстояния до места повреждения ОК, немедленно приступает к сбору и подготовке АВБ №2 (приложение В) к выезду на трассу.

6.8.1.12 Сбор АВБ № 2 производится по заранее разработанной схеме.

6.8.1.13 АВБ № 2, не дожидаясь результатов локализации места повреждения, выезжает на НРП, где находится измеритель АВБ № 1 и, получив от него информацию о расстоянии до места повреждения, выезжает на помощь АВБ № 1.

6.8.1.14 После локализации места повреждения организуется служебная связь с места повреждения до ближайшего НРП, где находится измеритель АВБ № 1, и передается информация для УПУ о ходе АВР.

6.8.1.15 АВБ № 2 проводит земляные работы на месте повреждения согласно разделу «Земляные работы».

6.8.1.16 По окончании земляных работ бригада АВБ эксплуатационного предприятия проводит подготовку и монтаж ВОКВ, при этом количество восстановленных ОВ должно быть не меньше числа занятых ОВ до повреждения кабеля плюс два резервных ОВ.

6.8.1.17 После соединения необходимого числа ОВ с места повреждения передается запрос на ОРП о возобновлении работы системы передачи.

6.8.1.18 Если все системы передачи работают нормально, то муфты ВОКВ паспортизируются, герметизируются, и передается сообщение в УПУ об устранении аварии на ВОЛП.

6.8.1.19 По окончании работ по организации временной схемы восстановления ВОЛП с использованием ВОКВ проводят мероприятия по ее защите и охране от внешних воздействий.

6.8.2 Технология АВР при централизованном и комбинированном методах обслуживания

6.8.2.1 Отличие технологии АВР при централизованном методе обслуживания ВОЛП заключается в следующем:

- во время АВР на ВОЛП все функции АВБ № 1 ЛТЦ (КУ) выполняет АВБ эксплуатационного предприятия;

- количество АВБ эксплуатационного предприятия при этом зависит от их мест базирования и топологии обслуживаемой сети;

- оснащенность АВБ эксплуатационного предприятия включает в себя состав оборудования АВБ №1 и всю комплектацию ремонтно-восстановительной машины (ЛИОК);

- при АВР АВБ эксплуатационного предприятия использует две автомашины, одна из которых, как правило, на базе автомашины КАМАЗ (ЗИЛ), вторая на базе автомашины УАЗ;

- функции ЛТЦ при АВР в этом случае ограничиваются земляными работами.

6.8.2.2 Отличие технологии АВР при комбинированном методе обслуживания ВОЛП заключается в том, что создаются так называемые опорные пункты ВОЛП на базе существующих ЛТЦ, количество которых определяется особенностями трасс ВОЛП. Задачей опорных пунктов является обеспечение восстановления ОК по временной схеме в случае задержки прибытия АВБ эксплуатационного предприятия. Оснащение опорных пунктов (рекомендуемое) приведено в приложении А.

6.8.3 Локализация места повреждения

6.8.3.1 Локализацией места повреждения ОК является комплекс мероприятий, направленных на определение места повреждения ОК на местности.

6.8.3.2 Эффективная локализация места повреждения ОК разделяется на несколько этапов:

- определение поврежденного ЭКУ с использованием системы контроля ВОЛП;

- определение с НРП (ОРП) зоны повреждения ЭКУ при помощи оптического рефлектометра или САМ-ОК (при измерениях оптическим рефлектометром необходимо строго соблюдать правила техники безопасности и инструкцию по эксплуатации на используемый прибор!);

- поиск места повреждения на местности при помощи трассопоисковых приборов;

- визуальное наблюдение места повреждения ОК.

6.8.3.3 При аварии на ВОЛП сменный персонал ОРП на основании данных системы управления ВОЛП определяет поврежденный ЭКУ и передает эту информацию в УПУ.

6.8.3.4 Если повреждение произошло на прилегающем к ОРП участке регенерации, то сменный персонал ОРП проводит измерения с помощью оптического рефлектометра по всем свободным оптическим волокнам для определения расстояния от точки измерения до места повреждения ОК и выявления исправных ОВ на данном участке.

При определении расстояния до места повреждения результаты измерений по разным ОВ могут отличаться, поэтому в качестве измеренного необходимо брать среднее значение по всем свободным ОВ.

6.8.3.5 Если свободные ОВ на поврежденном ЭКУ отсутствуют, то измерения следует проводить по ОВ, используемым для передачи информации. Подключать оптический рефлектометр к ОВ, используемым для приема, не допускается, т.к. это может привести к выходу из строя оптического рефлектометра.

6.8.3.6 Если поврежден ЭКУ между НРП, то измерения по 6.8.3.4 - 6.8.3.5 с НРП, ближайшего по отношению к месту нахождения измерителя, проводит АВБ № 1 ЛТЦ (эксплуатационного предприятия).

6.8.3.7 При использовании систем автоматического мониторинга волоконно-оптических кабелей (САМ-ОК) измерения на поврежденном участке по п. 6.8.3.4 проводит оператор центра технического обслуживания.

6.8.3.8 Используя результаты измерений по 6.8.3.4 - 6.8.3.7, измеритель АВБ ЛТЦ (эксплуатационного предприятия) определяет расстояние по волокну до места повреждения ОК от ближайшей к повреждению муфты. При этом необходимо использовать данные «оптических расстояний» до муфт, содержащиеся в технической документации на поврежденный участок.

6.8.3.9 Полученное расстояние до места повреждения ОК по 6.8.3.8 специалист АВБ приводит в соответствие с физической длиной кабеля по формуле:

Lфиз = Lопт. / k,                                                                                     (1)

где Lфиз - физическая длина ОК от ближайшей муфты до места повреждения;

Lопт. - оптическая длина ОК от ближайшей муфты до места повреждения;

k - коэффициент укорочения физической длины ОК по отношению к оптической ОК (берется из технической документации на поврежденный участок).

6.8.3.10 После определения физической длины ОК от ближайшей муфты до места повреждения специалист АВБ ЛТЦ (эксплуатационного предприятия) по планшетным схемам определяет место повреждения на карте.

6.8.3.11 В том случае, если точность определения места повреждения на карте по какой-либо причине (большое расстояние до места повреждения, отсутствие в технической документации оптических расстояний до муфт со стороны проведения измерений и т.п.) вызывает сомнения, то измерения по п.п. 6.8.3.4 - 6.8.3.10 повторяют с другого НРП.

6.8.3.12 После привязки точки повреждения ОК к трассе по карте представители АВБ ЛТЦ (эксплуатационного предприятия) выезжают к ближайшей муфте с КИП от места, где произошло повреждение.

6.8.3.13 Подключив генератор трассопоискового прибора на КИП к бронепокрову ОК, проверяют наличие сигнала генератора в 40 - 50 метрах от КИП. Затем АВБ выезжает в район повреждения и по уровню генератора определяет с поверхности земли место повреждения ОК.

6.8.3.14 Если место повреждения кабелеискателем не определяется (например, когда внешние покровы ОК не повреждены), то участок предполагаемого повреждения перекрывается ВОКВ:

а) между соседними муфтами,

б) на расстоянии примерно 30 м в каждую сторону от предполагаемого места повреждения.

6.8.3.15 Для поддержки связи с остальной частью АВБ № 1 и охраны генератора у КИП остается член АВБ с переносной радиостанцией.

6.8.4 Техническая документация, используемая при восстановлении ЛКС ВОЛП1)

___________

1) Данная техническая документация используется и при организации постоянной схемы восстановления.

Для оперативного устранения аварии на ЛКС ВОЛП АВБ ЛТЦ (эксплуатационного предприятия) должна иметь следующую техническую документацию:

- монтажные схемы на ЭКУ (схема расположения строительных длин ОК с указанием расстояний между муфтами, расстояний до муфт от НРП (ОРП), меток на кабеле на входе в муфты, запаса кабеля в котлованах, схема расположения КИП);

Примечание - Все расстояния в монтажных схемах приводятся по меткам расстояния, нанесенным изготовителем кабеля на его оболочке.

- таблицу с «оптическими расстояниями» от НРП (ОРП) до муфт, которая составляется по результатам измерений оптическим рефлектометром (таблица нарастающих длин);

- таблицу коэффициентов укорочения длины ОК по отношению к длине волокна по участкам;

- планшетные схемы ЭКУ;

- настоящую инструкцию;

- таблицу расцветок ОВ для различных марок ОК;

- инструкции на русском языке по эксплуатации для используемых приборов и оборудования;

- инструкции на русском языке по монтажу муфт, используемых для устройства временной связи;

- схемы подключения линейных шнуров («пигтейлов») к станционным («патчкордам») на оптических кроссах;

- список телефонов НРП (ОРП) по каналам служебной связи;

- технологическую карту на проведение АВР;

- рефлектограммы всех ЭКУ (по возможности);

- паспорта на ЭКУ и каждую муфту;

- распределение ОВ на ЭКУ (с разветвительными муфтами);

- данные о фирме-изготовителе ОВ;

- схема задействования ОВ на ЭКУ.

6.8.5 Организация служебной связи1)

_________

1) Данная техническая документация используется и при организации постоянной схемы восстановления.

6.8.5.1 Служебная связь является необходимым элементом технологического процесса АВР и организуется немедленно по прибытии АВБ на поврежденный ЭКУ.

6.8.5.2 В процессе АВР организуются временные каналы служебной связи:

- между ОРП, где произошла авария;

- между НРП по границам поврежденного регенерационного участка;

- между НРП и котлованами, на которых ведутся АВР;

- между котлованами, на которых ведется монтаж ВОКВ.

6.8.5.3 В зависимости от технических возможностей служебная связь может быть телефонной оптической, телефонной электрической, радиотелефонной и комбинированной. Она обеспечивается при помощи средств служебной связи, входящих в комплект оснащения ЛИОК, а также радиостанций, установленных стационарно на автомашинах КУ (ЛТЦ).

6.8.5.4 Каналы служебной радиотелефонной связи организуются при помощи радиостанций, либо при помощи альтернативных видов связи (сотовая, транкинговая, спутниковая и т.д.).

6.8.5.5 При наличии на КУ (ОРП) стационарной УКВ радиостанции, работающей на высокоподнятую антенну, организуется радиоканал "АВБ - КУ" с помощью мобильной УКВ радиостанции.

Если протяженность канала превышает радиус действия имеющихся радиостанций, может быть применена ретрансляция через оператора промежуточной радиостанции, временно разворачиваемой в определенном месте на трассе кабельной линии, либо через стационарный автоматический ретранслятор.

Применение ретрансляции дает возможность осуществлять непрерывную радиосвязь КУ (ОРП) с движущейся вдоль трассы кабеля бригадой.

При наличии оптических телефонов связь между АВБ и НРП осуществляется по ОВ, номер которого определен технологической картой на АВР, путем подключения «пигтейла» со стороны повреждения через механический соединитель и через переходную розетку и «патчкорд» со стороны НРП (ОРП).

6.8.6 Прокладка и монтаж ВОКВ

6.8.6.1 При устройстве временных вставок кабель следует прокладывать по земле, по опорам существующих воздушных линий связи, радиофикации, деревьям и кустам, по дну небольших рек и других водных преград. При затоплении местности кабель может быть проложен в обход водной преграды.

6.8.6.2 При пересечении железной или шоссейной дорог ВОКВ следует прокладывать в резервных каналах. При отсутствии резервного канала следует:

- на пересечении шоссейной дороги оборудовать воздушный переход ВОКВ, с расстоянием от нижней точки ОК до полотна шоссейной дороги не менее 5,5 м;

- на пересечении железной дороги ВОКВ прокладывать под рельсами вдоль шпалы;

- на пересечении грунтовой дороги кабель ВОКВ прокладывать в канале, прорытом через дорогу на глубину 150 - 200 мм и присыпать грунтом.

6.8.6.3 Подвеска кабеля ВОКВ на опорах существующих линий предварительно должна быть согласована с владельцами этих линий.

6.8.6.4 Прокладка ВОКВ через небольшие реки (шириной до 100 м) и другие водные преграды может быть осуществлена в соответствии с [2].

6.8.6.5 При прокладке ВОКВ при температуре ниже минус 10 °С во избежание повреждения ОК следует применять меры к его прогреву перед прокладкой (например, в кузове отапливаемой автомашины, в котловане, накрытом брезентом и т.д.).

6.8.6.6 После организации временной схемы восстановления линии передачи ВОЛП с помощью ВОКВ организуются мероприятия по охране ВОКВ с использованием людских резервов и необходимых транспортных средств на период проведения АВР [14].

6.8.6.7 После каждого использования ВОКВ она должна быть очищена от загрязнений, намотана на барабан или смотана в бухты, доставлена к месту штатного хранения и проверена.

В целях обеспечения большей надежности работы ВОКВ рекомендуется при наличии возможности заглублять ВОКВ и МЗВ. в грунт не менее, чем на 0,25 м.

6.8.6.8 После обнаружения места повреждения ОК необходимо откопать две траншеи длиной не менее 5 м, начала которых находятся в 10 м от места повреждения* (рисунок 7).

____________

* Длина определяется условиями местности, сезоном, составом грунта, размещением рабочего места (палатка, ЛИОК) и пр.

6.8.6.9 Профиль траншеи при земляных работах может иметь вид, приведенный на рисунке 8.

 

Рисунок 7 - Схема траншеи при восстановлении ВОЛИ с помощью ВОКВ

 

Рисунок 8 - Профиль траншеи.

6.8.6.10 В начале траншеи «А» со стороны повреждения «А» обрезается (бокорезами или отрезной машиной) и подается на поверхность земли. С учетом того, что на преодоление глубины траншеи и на изгибы ОК используется около 2 м длины ОК, на поверхности грунта будет находится длина ОК, обеспечивающая подключение к ней оптической кабельной вставки.

6.8.6.11 Вблизи траншеи устанавливается палатка с монтажным столом или размещается ЛИОК.

6.8.6.12 Аналогичные работы проводят со стороны траншеи «Б».

6.8.6.13 Способы и средства выполнения земляных работ определяются в зависимости от плотности, связности, влажности и состава грунта, а также в зависимости от его состояния (талый или мерзлый).

6.8.6.14 Рытье котлованов (траншей) в талых грунтах выполняется в основном вручную, штыковыми и совковыми лопатами. В непесчаных грунтах естественной влажности рытье котлованов на глубину заложения ОК (0,9 - 1,2 м) обычно производится без крепления стенок.

6.8.6.15 В песчаных грунтах естественной влажности котлованы (траншеи) глубиной до 1 м могут разрабатываться с небольшими откосами стен (с крутизной откосов* 1:0,25) без крепления стен.

___________

* Крутизна откосов определяется как отношение глубины разработки к проекции откоса на горизонтальную плоскость.

6.8.6.16 При глубине свыше 1 м котлованы (траншеи) в песчаных грунтах естественной влажности должны разрабатываться с крутизна откосов 1:0,5 без крепления, либо с вертикальными стенками, укрепленными распорками по всей высоте.

6.8.6.17 Крепление стен котлована (траншеи) в грунтах естественной влажности выполнятся досками толщиной 40 - 50 мм, устанавливаемыми горизонтальными рядами вплотную к стенке. Доски прижимаются к вертикальным стенкам котлована (траншеи) с помощью стоек и горизонтальных распорок. Для крепления котлованов могут быть использованы также заранее заготовленные инвентарные щиты.

6.8.6.18 В малопрочных водонасыщенных грунтах при интенсивном притоке грунтовых вод применяется шпунтовое крепление (ограждение) стен котлованов или траншей.

6.8.6.19 Рытье котлованов и траншей для вскрытия кабеля и кабельных муфт в твердых породах и мерзлых грунтах производится лопатами с предварительным рыхлением грунта мотобетоноломами или электромолотками, получающими питание от передвижных бензоэлектрических агрегатов.

6.8.6.20 Рыхление грунта и выемка его из котлована (траншеи) производится послойно. В непосредственной близости от кабеля разработка грунта производится лопатами. Применение в непосредственной близости от ОК отбойных молотков и бетоноломов может быть оправдано только необходимостью срочного вскрытия ОК для подключения ВОКВ.

6.8.6.21 Для откачки воды из колодцев, котлованов и траншей используются переносные (или перевозимые на специальных прицепах) насосы.

6.8.6.22 После визуального обнаружения локального места повреждения линейного ОК для организации временной связи с помощью одноэлементной ВОКВ выполняются следующие основные мероприятия:

- откапываются две траншеи длиной не менее 5 м, начало которых находится на расстоянии около 10 м от места повреждения ОК (рисунок 7);

- отрытый ОК разрезается на расстоянии около 10 м в каждую сторону от места повреждения, очищается от загрязнений и заводится в ЛИОК или палатку;

- концы линейного ОК вводятся в разветвительные муфты и монтируются согласно инструкции на соответствующую муфту.

- одновременно с выполнением вышеуказанных работ разматывается одноэлементной ВОКВ длиной 50 м (или конечные отрезки многоэлементной ВОКВ длиной по 30 м каждый);

- концы ОК вставки освобождаются от защитных кожухов и вводятся в разветвительные муфты (третьи вводы муфт используются для ввода ОК постоянной вставки);

- посредством вводного устройства, штатно установленного на ОК ВОКВО, выполняется крепление и герметизация кабеля в линейной муфте;

- производится монтаж линейного ОК и кабеля ВОКВО, а также их волокон с помощью сварки или механических соединителей;

- после восстановления необходимого числа волокон линейного ОК с помощью ВОКВО измеряется затухание во временных соединениях и общие потери в линейном тракте с помощью рефлектометра;

- при обеспечении необходимых параметров в соединениях и установлении соответствия измеренного затухания энергетическому потенциалу системы, производится включение оборудования линейного тракта.

6.8.6.23 Необходимость использования многоэлементных ВОКВ определяется обстоятельствами, изложенными выше. Отсутствие возможности определить места повреждения линейного ОК визуальным путем предусматривает две схемы организации временной связи.

6.8.6.24 Согласно первой схеме необходимо с концов регенерационного участка с помощью рефлектометра определить места повреждения линейного ОК. Для средней длины регенерационного участка (порядка 100 км) ошибка в определении расстояния рефлектометром среднего класса в середине - самом "слабом" месте участка (L » 50 км) будет составлять:

                                                                               (2)

Данная величина погрешности должна учитываться при определении мест установки разветвительных муфт.

В установленных местах выполняется откопка ОК и котлованов для разветвительных муфт. Откопанный ОК разрезается, его концы очищаются от загрязнений и вводятся в линейные разветвительные муфты.

Дальнейший порядок монтажа линейного ОК и OK BOKBM аналогичен рассмотренному в 6.8.6.22.

Одновременно выполняются работы по прокладке и монтажу промежуточных отрезков ВОКВМ. Путем последовательного наращивания строительных длин ВОКВМ обеспечивается перекрытие поврежденного участка ОК значительной протяженности.

Детально вопросы прокладки и монтажа ВОКВМ-1 и ВОКВМ-2 изложены в соответствующих инструкциях, входящих в состав комплектации этих изделий.

Применение данной схемы организации временной связи целесообразно по времени и трудозатратам лишь при проведении работ в летнее время и при легком составе грунта.

6.8.6.25 Вторая схема предусматривает развертывание ВОКВМ между линейными муфтами, ограничивающими участок повреждения ОК. Линейные муфты откапываются, вскрываются, сростки "рабочих" волокон демонтируются. С двух сторон поврежденного участка выполняются измерения (рефлектометром) с целью уточнения мест повреждений ОК.

Одновременно выполняется прокладка и стыковка отрезков ВОКВМ. Целесообразно вести размотку и стыковку отрезков ВОКВМ двумя бригадами с двух сторон участка. Оптические кабели ВОКВМ вводятся в линейную муфту и фиксируются с помощью вводных устройств. Далее волокна линейного ОК соединяются с ОВ вставки посредством СМ или же сваркой.

Согласно данным хронометража, время стыковки отдельных отрезков составной ВОКВ одним работником составляет для механического соединителя 3 - 5 минут; для соединения двух вилок СОР - 1,5 минуты.

Время монтажа двух отрезков 8-ми волоконного ОК с помощью СОР (с учетом ввода, закрепления ОК в МЗВ и укладки волоконных модулей) 15 мин.

Общее время прокладки, монтажа и измерений смонтированной ВОКВС длиной 4,5 км (5 барабанов с ОК по 900 м в каждом) - 2,5 часа.

При организации временной связи по второй схеме к преимуществам этой схемы следует отнести:

- отсутствие необходимости в монтаже линейных разветвительных муфт;

- повышение точности определения мест повреждения ОК за счет подключения рефлектометра к ОВ в демонтируемых муфтах.

Эффективность применения данной схемы существенно повышается при проведении АВР на линиях передачи, оптический кабель которых проложен в защитных пластмассовых трубах [15].

Линейные муфты таких линий размещаются в специальных смотровых устройствах (пунктах оперативного доступа). Это существенно уменьшает объем земляных работ, выполняемых для подключения к ОК.

Недостатком данной схемы является проводимый демонтаж линейных муфт, ограничивающих участок повреждения ОК, и необходимость восстановления нарушенных рабочих волокон линейного ОК, а также самих муфт.

6.8.6.26 После монтажа ВОКВМ производятся контрольные измерения и последующее подключение оборудования линейного тракта [16].

6.9 Организация работ по восстановлению поврежденной кабельной линии ВОЛП по постоянной схеме

6.9.1 Общие положения.

6.9.1.1 Восстановление поврежденной ВОЛП по постоянной схеме производится с использованием постоянной оптической кабельной вставки (ПОКВ).

Непосредственное, без применения ВОКВ, время включения ПОКВ не должно превышать времени устранения линейного повреждения на ВОЛП, а именно 10 часов.

6.9.1.2 Для обеспечения надежной работы ВОЛП необходимо, чтобы тип и количество волокон кабеля ПОКВ были такими же, как и у восстанавливаемой ВОЛП. Исключения составляют случаи, когда применение другого типа ОК для постоянной вставки позволит снизить вероятность нового повреждения ВОЛП на восстанавливаемом участке трассы ОК. При этом во всех случаях необходимо стремиться к тому, чтобы тип ОВ и их изготовитель на восстанавливаемой ВОЛП и в ПОКВ был один и тот же.

6.9.1.3 Строительная длина ОК, используемая для ПОКВ, должна пройти входной контроль (с использованием нормализующей длины ОВ не менее 1 км).

6.9.1.4 Тип и марка муфт, используемых при установке ПОКВ, должны соответствовать требованиям 6.4.4.4.

6.9.1.5 Выбор мест включения ПОКВ осуществляется в зависимости от характера и условий повреждения ОК, состояния местности (наличие пересечений рядом с местом повреждения, рельеф местности, наличие болот, грунтовых вод и т.д.) и определяется надежностью работы и удобством эксплуатации ВОЛП.

6.9.1.6 Во всех случаях для монтажа постоянной вставки необходимо иметь в наличии две АВБ, укомплектованные соответствующим оборудованием согласно приложениям А и Б.

6.9.1.7 Монтаж ПОКВ с линейным ОК осуществляется путем сварки ОВ на муфтах двумя бригадами параллельно.

6.9.1.8 Перед монтажом ПОКВ необходимо выполнить подготовительные работы, которые позволят сократить время простоя кабельной магистрали:

- прокладка ПОКВ в отрытую траншею или кабелеукладчиком (при большой длине ПОКВ),

- прокладка ПОКВ в канализации (если повреждение произошло в городской черте),

- подготовка котлованов для муфт ПОКВ,

- откопка кабеля с каждой стороны от повреждения,

- разделка и ввод концов кабеля ПОКВ в оптические муфты и т.д.

6.9.1.9 Прокладка ПОКВ осуществляется в соответствии с принятыми правилами строительства ВОЛП силами или при участии ЛТЦ, в зоне которого произошло повреждение.

6.9.1.10 Перед началом работ по включению ПОКВ необходимо обеспечить служебную связь:

- между ЛИОК, в которых будет производиться монтаж ОК;

- между ЛИОК и прилегающими НРП или ОРП;

- между регенерационными пунктами, на участке между которыми произошло повреждение ОК.

6.9.1.11 Монтаж муфт ПОКВ должен проводится в соответствии с инструкцией по монтажу используемой муфты и при температуре, допустимой для работы с ОК. При этом климатические условия в ЛИОК должны соответствовать требованиям руководства по эксплуатации сварочного аппарата.

6.9.1.12 После сварки ОВ производятся их контрольные измерения рефлектометром.

6.9.1.13 После измерений муфты паспортизируются, герметизируются, и восстановленная ВОЛП сдается в эксплуатацию.

6.9.1.14 После завершения работ по прокладке ОК постоянной вставки и по монтажу муфт проводится рекультивация земель на участке проведения земляных работ.

6.9.2 Определение длины ПОКВ

6.9.2.1 Длина ПОКВ в каждом конкретном случае определяется индивидуально, в зависимости от характера повреждения ОК, и может находиться в пределах от 50 метров до строительной длины.

6.9.2.2 При определении длины ПОКВ необходимо учитывать следующие факторы: разрешающая способность рефлектометра, характер и протяженность повреждения, наличие или отсутствие продольных нагрузок на кабель, условия местности, где произошло повреждение.

6.9.2.3 Если повреждение ОК стало результатом вандализма (локальный обрыв кабеля), то в этом случае, как правило, на ОК при повреждении не воздействуют продольные нагрузки. В этом случае длина ПОКВ может быть минимальной (около 50 метров).

6.9.2.4 При повреждении ОК в результате воздействия землеройных машин либо при повреждении ОК в результате смещения грунта, разрушения кабельной канализации и т.д., возможно появление продольных нагрузок на ОК, которые могут привести к ускоренному усталостному разрушению ОВ. В этом случае длина ПОКВ определяется на основании анализа условий повреждения.

6.9.3 Способы включения ПОКВ.

6.9.3.1 При организации ПОКВ следует руководствоваться положениями, изложенными в 6.2.

6.9.3.2 В зависимости от условий повреждения ВОЛП возможны следующие варианты включения ПОКВ:

- путем врезки ПОКВ в строительную длину ОК (в этом случае общее количество муфт на кабельной линии увеличивается на две, т.е. появляются две новые муфты);

- путем врезки ПОКВ на стыке строительных длин ОК (в этом случае общее количество муфт оптической линии увеличивается на одну муфту, т.е. одна муфта перемонтируется, а вторая является новой);

- путем замены всей строительной длины ОК (в этом случае количество муфт на оптической линии не изменяется, а происходит перемонтаж уже существующих муфт).

6.9.4 Переход от ВОКВ к ПОКВ без перерыва действия связей

6.9.4.1 Во всех случаях перед началом работ по переходу от ВОКВ к ПОКВ необходимо подать заявку в СОУ для оповещения потребителей о возможном пропадании связи.

6.9.4.2 Переход от ВОКВ к ПОКВ без перерыва связи возможно в следующих случаях:

- наличие возможности резервирования трафика поврежденной ВОЛП с помощью других линий передачи;

- наличие достаточного количества свободных волокон в восстанавливаемом ОК (при резервировании систем передачи по схеме «1+1»).

6.9.4.3 Далее рассматривается организация работ для второго случая, технология работ для первого случая аналогична описанной в 6.9.1 - 6.9.3.

6.9.4.4 Для осуществления перехода от ВОКВ к ПОКВ без перерыва действия связи в последнем случае необходимо выполнение следующих условий:

- в ходе АВР при включении ВОКВ разделка и подготовка концов поврежденного ОК должна выполняться в соответствии с инструкцией на муфту, которая будет использована при монтаже ПОКВ. Это решение принимает руководитель АВБ в зависимости от характера и условий повреждения и хода АВР;

- конструкция муфт и кабеля восстанавливаемой ВОЛП должны позволять осуществить такой переход без перерыва действия связей.

6.9.4.5 При переходе от ВОКВ к ПОКВ во втором случае проводятся все необходимые подготовительные работы по 6.9.1.11, вскрываются муфты ВОКВ, затем во вскрытые муфты устанавливается кабель ПОКВ. Свободные волокна поврежденного ОК свариваются с соответствующими волокнами ПОКВ и производится проверка качества сварки с помощью рефлектометра. После этого осуществляют перевод систем передачи, работающих по ВОКВ, на смонтированные волокна ПОКВ.

6.9.4.6 Далее освобожденные волокна ВОКВ отключаются от линейного кабеля, ВОКВ удаляется из муфт, и проводится сварка и проверка рефлектометром оставшихся волокон ПОКВ и линейного кабеля.

6.9.4.7 Когда все волокна ПОКВ и линейного кабеля сварены и проверены, системы передачи переключаются на исходные (до аварии) номера оптических волокон.

6.9.5 Методика контроля затухания сростков оптического волокна при монтаже постоянной кабельной вставки

6.9.5.1 Затухание на соединениях ОВ при монтаже ПОКВ измеряется оптическим рефлектометром.

6.9.5.2 В качестве основной рекомендуется методика однократного измерения суммарного затухания в двух соединениях ОВ по концам кабельной вставки. В качестве альтернативной - методика раздельного измерения затухания каждого из стыков кабельной вставки (традиционная методика).

6.9.5.3 Суммарное затухание в двух соединениях ОВ по концам кабельной вставки не должно превышать: 0,2 дБ в 100 % сростков, 0,1 дБ в 50 % сростков.

6.9.5.4 Измерения на основе методики однократного измерения суммарного затухания в двух соединениях ОВ по концам кабельной вставки производятся в следующем порядке:

а) Измерения выполняются с одной стороны, с ближайшего от кабельной вставки конца регенерационного участка.

б) В процессе измерений вставка рассматривается на рефлектограмме как один сросток, измерения выполняются в соответствие с техническим описанием оптического рефлектометра по методике измерения затухания соединения ОВ.

в) Параметры оптического рефлектометра, в том числе длительность

в) Параметры оптического рефлектометра, в том числе длительность зондирующего импульса и время усреднения, должны выбираться так, чтобы отношение сигнал/помеха SNR в месте отображения вставки на рефлектограмме удовлетворяло условию

SNR ³ аз, дБ.

Значения аз могут быть рассчитаны по формуле

аз = -5 × lg (10а/10 - 1),                                                                                     (3)

где а - значение измеряемой величины.

При этом длина прилегающих к вставке регулярных участков ОВ должна быть не менее значений, указанных в таблице 3.

Таблица 3

Длительность зондирующего импульса

10 нс

100 нс

1 мкс

Минимальная длина участка волокна

40 м

80 м

600 м

 

г) Результат измерения суммарного затухания в двух соединениях ОВ по концам кабельной вставки ас, определяется формулой

ас = ар + d1 + d2, дБ,                                                                (4)

где ар - значение суммарного затухания в двух соединениях ОВ по концам

кабельной вставки, определяемое по рефлектограмме,

d1 и d2 - поправки.

д) 3начение поправки d1 определяется формулой

d1 = (aВ - a2) × LB, дБ,                                                            (5)

где LB - длина кабельной вставки, км;

aВ, a2 - коэффициенты затухания оптических волокон кабельной вставки и уложенной за ней строительной длины, соответственно, дБ/км.

Если длина вставки LВ £ 400 м, то можно полагать d1 = 0.

е) Если вставка выполняется внутри одной строительной длины, то поправка d2 = 0 дБ.

Если вставка выполняется на стыке строительных длин ОК, значение поправки d2 определяется формулой

d2  = ½ (ар2 - ар1), дБ,                                                             (6)

где ар2, ар1 - результаты измерения затухания стыка оптических волокон строительных длин до и после кабельной вставки соответственно. Они получены при измерениях, выполненных до повреждения ОК (ремонт которого осуществляется данной вставкой) с двух сторон ЭКУ: со стороны строительной длины, уложенной перед вставкой и за ней, соответственно, дБ.

ж) Согласно 6.9.5, перечисление д, е, если длина вставки менее 400 м и она выполняется внутри одной строительной длины ОК, то ас = ар.

и) Если допускается применение альтернативной методики двухстороннего раздельного измерения затухания соединений кабельной вставки, а именно: при двухсторонних измерениях отношение сигнал/помеха по 6.9.5, перечисление в, а длина вставки и прилегающих к ней регулярных участков волокна не менее значений по таблице 1, то измеритель вправе выбрать, по какой методике (основной или альтернативной) выполнять измерения.

6.9.6 Идентификация деградирующих соединений ОВ кабельной вставки

6.9.6.1 Деградирующее соединение ОВ - это соединение ОВ кабельной вставки и линейного ОК, затухание которого имеет тенденцию к увеличению.

6.9.6.2 Идентификация деградирующих соединений ОВ кабельной вставки осуществляется оптическим рефлектометром. Для идентификации используются методы сравнения и наложения, при этом сравниваются исходная и текущая рефлектограммы ОВ.

6.9.6.3 Исходная рефлектограмма ОВ - характеристика обратного рассеяния ОВ, полученная в результате контрольных измерений после монтажа постоянной вставки.

Текущая рефлектограмма ОВ - характеристика обратного рассеяния волокна, полученная в результате периодических измерений.

6.9.6.4 Рефлектограммы снимаются с одной стороны и с ближайшего от кабельной вставки конца ЭКУ.

6.9.6.5 Длительность зондирующего импульса выбирается таким образом, чтобы перекрываемое импульсом расстояние LИ не превышало длины кабельной вставки LB (т.е. LИ £ LB). Для оценки расстояния LИ можно пользоваться таблицей 4.

Таблица 4

Длительность зондирующего импульса

10 нс

100 нс

1 мкс

Перекрываемое импульсом расстояние, м

5

30

200

 

6.9.6.6 Значения расстояний до начала и конца кабельной вставки берутся из протоколов контрольных измерений в процессе монтажа вставки.

6.9.6.7 В качестве основного метода оценки рекомендуется метод сравнения, в качестве альтернативного - метод наложения.

6.9.6.8 Способ сравнения реализуется следующим образом:

а) Длительность зондирующего импульса и число усреднений выбираются таким образом, чтобы отношение сигнал/помеха в точке измерений (в месте отображения конца кабельной вставки на рефлектограмме) удовлетворяло условию по 6.9.5, перечисление в.

б) В соответствии с техническим описанием оптического рефлектометра на экран дисплея оптического рефлектометра вызываются исходная и текущая рефлектограммы. Затем на рефлектометре устанавливается режим сравнения рефлектограмм. Разность приведенных рефлектограмм на рисунке 9 в области кабельной вставки отображается на экране дисплея перепадом - ступенькой вверх.

 

Рисунок 9 - Пример отображения разности исходной и текущей рефлектограмм

в) В соответствии с руководством по эксплуатации оптического рефлектометра измеряется расстояние до ступеньки на рефлектограмме, отображающей разность значений исходной и текущей рефлектограмм. Если это расстояние соответствует расстоянию до соединения линейного ОК со вставкой, то это соединение следует считать деградирующим.

6.9.6.9 Метод наложения реализуется следующим образом:

а) Длительность зондирующего импульса и число усреднений рефлектометра выбираются таким образом, чтобы соотношение сигнал/помеха в точке измерений (в месте отображения конца кабельной вставки на рефлектограмме) удовлетворяло условию по 6.9.5, перечисление в.

б) В соответствии с руководством по эксплуатации рефлектометра на экран дисплея оптического рефлектометра вызывается исходная и текущая рефлектограммы.

в) Рефлектограммы масштабируются так, чтобы кабельная вставка занимала около 1/5 экрана дисплея и располагалась посередине.

г) Совмещают регулярные участки исходной и текущей рефлектограмм, расположенные перед вставкой (рисунок 10).

д) Совмещают регулярные участки исходной и текущей рефлектограмм, расположенные за вставкой (рисунок 11).

е) Если при совмещении регулярных участков рефлектограмм до вставки прилегающие к ним участки рефлектограмм расходятся сразу от конца регулярного участка (рисунок 10а), а при совмещении регулярных участков рефлектограмм за вставкой прилегающие к ним участки рефлектограмм на вставке совпадают с погрешностью 10 - 20 % (рисунок 11а), то как «деградирующее» идентифицируют соединение в начале кабельной вставки.

ж) Если при совмещении регулярных участков рефлектограмм до вставки прилегающие к ним участки рефлектограмм на вставке совпадают с погрешностью 10 - 12 % (рисунок 10б), а при совмещении регулярных участков рефлектограмм за вставкой прилегающие к ним участки рефлектограмм на вставке расходятся сразу перед началом регулярного участка (рисунок 11б), то как «деградирующее» идентифицируют соединение в конце кабельной вставки.

и) Если при совмещении регулярных участков рефлектограмм до вставки прилегающие к ним участки рефлектограмм на вставке расходятся сразу от конца регулярного участка, а при совмещении регулярных участков рефлектограмм за вставкой прилегающие к ним участки рефлектограмм на вставке расходятся сразу перед началом регулярного участка (рисунок 11б), то как «деградирующее» идентифицируют оба соединения.

 

Рис. 10 - К определению «деградирующего» соединения

 

Рис. 11. К определению «деградирующего» соединения

 

Приложение А

(рекомендуемое)

Оснащение ремонтно-восстановительной спецмашины (ЛИОК)
на базе автомашины КАМАЗ (УРАЛ, ЗИЛ и др.)

Таблица А.1

Наименование изделия

Кол.

Примечание

Агрегат бензоэлектрический АБ-2

1 шт.

Мощность 2 кВА

Рефлектометр оптический

1 шт.

 

Сварочный аппарат

1 шт.

 

Оптический тестер (комплект)

1 компл.

 

Комплект оптических телефонов

1 компл.

 

Инструмент для монтажа ОК с очистителем ОК

1 компл.

Набор инструментов зависит от типа используемой ВОКВ

Муфты с ремонтным комплектом

3 шт.

Для использования при организации постоянной вставки

Шнуры "патчкорд"

2 шт.

Длина шнуров 20 м

Комплект для восстановления изоляции пластмассовой оболочки ОК

1 компл.

 

Термоусаживаемые колпачки для ОК

10 шт.

 

Фонарь электрический

1 шт.

 

Электромолоток

2 шт.

 

Стол для монтажа ОК

1 шт.

 

Термос для воды на 10 л.

2 шт.

 

Измерительная катушка с ОВ

1 шт.

Длина ОВ 500 м

Инструмент для монтажа механических соединителей

1 компл.

 

Механический соединитель

Количество соответствует удвоенному кол-ву волокон в ОК, плюс 4 шт.

 

 

Приложение Б

(рекомендуемое)

Состав АВБ № 1, ведомость ее комплекта

1 Состав бригады 5 человек:

- измеритель (ст. эл. мех.)

- электромеханик по ЛКС ВОЛС (3 чел.);

- водитель на а/м УАЗ.

2 Документы:

- планшет ЭКУ;

- монтажная схема ЭКУ с КИП и значениями измерений Rиз оболочки;

- таблицы оптических расстояний до муфт ("оптические привязки");

- схемы включения ОВ на оптических кроссах;

- схема соответствия цветов и номеров волокон в ОК;

- таблица коэффициентов укорочения физической длины ОК по отношению к оптической из-за особенностей конструкций ОК;

- технологические карты на устранение повреждений на ЭКУ.

3 Приборы и устройства:

- рефлектометр оптический с измерительной катушкой (длина ОВ 500 м);

- генератор трассовый с кабелеискателем;

- переносный заземлитель генератора;

- радиостанция переносная, либо альтернативные средства связи, (сотовый, транкинговый или спутниковый телефон и др.) - 2 шт.;

- радиостанция, стационарно установленная на автомашине;

- электронный калькулятор.

4 Инструмент:

- комплект инструментов для монтажа муфт с очистителем кабеля от гидрофобного заполнителя;

- комплект инструментов для монтажа механических соединителей;

- механические соединители в размере не менее удвоенного числа волокон в ОК, плюс 4 шт.

5 Временная вставка (комплект).

6 Прочее:

- ключи от НРП;

- бидон с водой;

- лопаты: совковая и штыковая; -лом;

- агрегат бензоэлектрический АБ-0,5 (мощностью 0,5 кВА).

 

Приложение В

(рекомендуемое)

Состав АВБ № 2, ведомость ее комплекта

1 Состав бригады: 6 - 8 человек на автомашине ГАЗ-66 (ЗИЛ - 131);

2 ВОКВМ - 1 компл.

3 Бензоэлектроагрегат АБ-2 (мощностью 2,2 кВА) - 1 шт.;

4 Переносной электрический шнур-удлинитель - 2 шт.;

5 Палатка - 2 шт.;

6 Стол для монтажа ОК - 2 шт.;

7 Бидон с водой на 30 л - 2 шт.;

8 Электрообогреватель - 2 шт.;

9 Шанцевый инструмент (лопата совковая - 3 шт., штыковая - 5 шт.; лом - 2 шт.)

10 Сапоги болотные - 2 пары

11 Переносная радиостанция - 3 шт.;

12 Электромолоток- 1 шт.;

13 Мегаомметр- 1 шт.

Состав бригад по ППР

Таблица В.1

Вид ППР

Состав и оснащение бригады

Примечание

Измерение сопротивления изоляции «бронепокров ОК -земля» и целостности брони

Водитель (а/м УАЗ) -1 чел.
Измеритель (электромеханик) - 2 чел.
Мегаомметр типа М4100/1-5 (1 шт.)

Бригада организуется из состава сотрудников ЛТЦ.

Измерение параметров устройств защиты ЛКС

Водитель (а/м УАЗ) - 1 чел.
Измеритель (электромеханик ЛТЦ)-2 чел.
Измеритель (инженер ЭП) - 1 чел.
Мегаомметр типа М4100/1-5 (1 шт.),
прибор ИМПИ-3,«Dynatel» фирмы «3М» или аналог, аккумулятор - 1 шт.

Бригада организуется из состава сотрудников ЛТЦ при участии сотрудника ЭП.

Измерение параметров передачи ОВ

Водитель (а/м УАЗ) - 1 чел.
Измеритель (инженер ЭП) -1 чел.
Оптический рефлектометр (1 шт.),
комплект измерительных шнуров,
катушка ОВ,
источник энергоснабжения рефлектометра.

Бригада организуется из состава сотрудников ЭП.

 

Приложение Г

(рекомендуемое)

ЖУРНАЛ учета работы ВОКВ


 

Магистраль _______________________ Объект эксплуатации ________________________

Место нахождения ВОКВ ____________________ Дата поступления на склад __________

 

Тип ВОКВ, и длина ОК на барабане (бухте),
входящего в состав ВОКВ

Дата
осмотра и
проверки

Вид проверки

Заключение

Осмотр

Измерение ОВ после использования

Элементы ВОКВ

Коэффициент затухания в ОВ, дБ/км

1

2

3

4

5

6

1

2

3

4

5

6

7

8

ВОКВМ-1, № 1, 980 м

 

+

+

+

+

+

-

0,21

0,20

0,21

0,19

0,20

0,20

0,19

0,21

Отсутствует элемент № 6, затухание соответствует норме.

№ 2, ¼¼

 

 

 

 

 

 

 

 

 

 

 

 

 

 

 

 

№ 3, ¼¼

 

 

 

 

 

 

 

 

 

 

 

 

 

 

 

 

№ 6, ¼¼

 

 

 

 

 

 

 

 

 

 

 

 

 

 

 

 

ВОКВМ-1, (1 +2 + 3 + ¼ + 6)

 

 

0,21

0,21

0,20

0,20

0,21

0,19

0,19

0,20

 

Проверку проводил:

фамилия

должность

подпись

 


 

Приложение Д

(справочное)

Муфты оптические и их основные конструктивные особенности

Таблица Д.1

Тип муфты, изготовитель

Емкость, сростков ОВ

Конструктивные особенности

"МОНСТР" ООО
"Севербуммаш" (Россия)

48

Тупиковая муфта из нержавеющей стали.

Герметизация кабелей термоусаживаемыми трубками, кожуха с основанием - резиновой прокладкой.

Количество вводов - 3.

R 30208
Фирма "Reichle+De-Massari" (Швейцария)

48

Тупиковая муфта из полиэтилена высокой плотности.

Герметизация кабелей термоусаживаемыми трубками, кожуха с основанием - резиновой прокладкой.

Количество вводов - 3.

FOSC 100
Фирма "Raychem" (США)

48

Тупиковая муфта из полипропилена.

Герметизация кабелей, а также кожуха с основанием - термоусаживаемыми трубками.

Количество вводов - 5.

UCSO 4-6
Фирма RXS/Siemens (ФРГ)

20

Корпус муфты имеет по 2 кабельных ввода с каждой стороны.

Герметизация корпуса и вводов ОК - герметиком.

Количество вводов - 5

2500 LG
Фирма "AT&T" (США)

24

Тупиковая муфта из полипропилена.

Герметизация корпуса с основанием -резиновой прокладкой, кабелей сальниками и заливкой.

Количество вводов - 2 или 6.

2173-S
Фирма «3М» (США)

48

Муфта из полипропилена.

Герметизация корпуса с основанием и кабелей - герметиком.

Количество вводов - 2 с каждой стороны.

МТОК-96
ЗАО «Связьстройдеталь» (Россия)

96

Тупиковая муфта из полиэтилена.

Герметизация кабелей, а также корпуса с оголовником - термоусаживаемыми трубками.

3 кабельных ввода и 2 ввода для КИП.

МОМЗ
ОАО «Лентелефонстрой» (Россия)

 

Муфта из нержавеющей стали.

Герметизация кабелей - сальниками, корпуса с крышкой - резиновыми прокладками.

Количество вводов определяется заказом.


 

Приложение Е

(справочное)

Механические соединители и их основные характеристики

Таблица Е.1

Марка механического соединителя и изготовитель

Нормируемое количество соединений

Средние вносимые потери, дБ

Величина обратного отражения, ДБ

Габаритные размеры, мм

Масса, г

Диапазон рабочих температур, °С

Fibrlok П-2529
Фирма «3М» (США)

1

£0,1

-45

38´3,8´6,4

1,25

-45 ¼ +80

«CSL Light splice»
Фирма «AT&T» (США)

1

£0,2

-50

37,8´5´5,7

1,00

-40 ¼ +85

СМУ-1
ЦНИИС (Россия)

£100

£0,1

-50

65´4

0,9

-40 ¼ +120

ACA-US-126
(США)

£10

£0,2

-50

54´5,7

0,9

-40 ¼ +80

CORELINK
Фирма «AMP» (США)

£10

£0,1

-55

51´7,6´3,3

1,5

-40 ¼ +80

 

Приложение Ж

(справочное)

Комплектации временных оптических кабельных вставок

Таблица Ж.1 -Комплектация одноэлементной временной оптической кабельной вставки

Обозначение

Наименование

Кол-во

Обозначение упаковочного или укладочного места

Примечание

 

ВОКВО

Вставка оптическая кабельная временная одноэлементная

 

 

 

1

ОК

Оптический кабель ОККВ-10-02-0,21-8 ПБТ l = 50 м

1 шт.

В бухте

 

2

МЛР

Муфта линейная разветвительная*

2 шт.

В индивидуальной таре

 

3

УВ

Устройство ввода

2 шт.

На ОК

 

4

КЗ

Защитный кожух для концов ОК

2 шт.

На ОК

 

5

КИ

Комплект инструментов

1 комп.

В монтажном чемодане (МЧ)

 

6

СМУ-1

Соединитель механический**

1 комп.

В индивидуальной таре

Внутри МЧ

 

 

Комплект эксплуатационной документации

 

 

 

7

ТО и ИЭ

Техническое описание и инструкция по эксплуатации

1 шт.

В индивидуальной таре

Внутри МЧ

8

П

Паспорт

1 шт.

В индивидуальной таре

Внутри МЧ

* Данный комплект предусматривает использование линейной разветвительной муфты типа "Монстр" (ООО "Севербуммаш").

** Один комплект СМУ-1 содержит 20 механических соединителей.

 

Таблица Ж.2 - Комплектация для 6- волоконной ВОКВМ-1 (длиной 3,3 км)

Обозначение

Наименование

Кол-во

Обозначение упаковочного или укладочного места

Примечание

ВОКВМ-1

Вставка оптическая кабельная временная многоэлеменгная

 

 

 

ДС

Строительные длины ОК:

 

 

 

 

l = 1053 м

1 шт.

На барабане

 

 

l = 1120 м

1 шт.

На барабане

 

 

l = 1140 м

1 шт.

На барабане

 

БК

Барабан кабельный с тележкой

3 шт.

 

 

МЗВ

Муфта защитная временная

2 шт.

В индивидуальной таре

 

СМУ-1

Соединитель механический*

2 комп.

В индивидуальной таре

Внутри МЧ

МЛР

Муфта линейная разветвительная**

2 шт.

В индивидуальной таре

 

УВ

Устройство ввода

2 шт.

На ОК

 

КЗ

Защитный кожух для концов ОК

6 шт.

На ОК

 

КИ

Комплект инструментов

1 ком.

Внутри МЧ

 

 

Комплект эксплуатационной документации

 

 

 

ТО и ИЭ

Техническое описание и инструкция по эксплуатации

1 шт.

В индивидуальной таре

Внутри МЧ

П

Паспорт

1 шт.

В индивидуальной таре

Внутри МЧ

* Один комплект СМУ-1 содержит 20 механических соединителей.

** Данный комплект предусматривает использование линейной разветвительной муфты типа "Монстр" (ООО "Севербуммаш").

 

Таблица Ж.3 - Комплектация 8-волоконной многоэлементной ВОКВМ-2 вставки (длиной 4,5 км)

Обозначение

Наименование

Кол-во

Обозначение упаковочного или укладочного места

Примечание

ВОКВМ-2

Вставка оптическая кабельная временная многоэлементная

 

 

 

ОК

Концевой отрезок:

 

 

 

 

l = 35 м

1 шт.

В бухте

 

 

l = 35 м

1 шт.

В бухте

 

ОС

Промежуточный отрезок:

 

 

 

 

l = 913 м

1 шт.

На барабане

 

 

l = 894 м

1 шт.

На барабане

 

 

l = 889 м

1 шт.

На барабане

 

 

l = 894 м

1 шт.

На барабане

 

 

l = 850 м

1 шт.

На барабане

 

БК

Барабан кабельный с тележкой

5 шт.

 

 

МЗВ

Муфта защитная временная

6 шт.

В индивидуальной таре

 

PC

Соединительная розетка FC

48 шт.

В индивидуальной таре

Внутри МЧ

СМУ-1

Соединитель механический*

1 комп.

В индивидуальной таре

Внутри МЧ

МЛР

Муфта разветвительная **

2 шт.

В индивидуальной таре

 

УВ

Устройство ввода

2 шт.

НаОК

 

КЗ

Защитный кожух для концов ОК

14 шт.

НаОК

 

КИ

Комплект инструментов

1 комп.

Внутри МЧ

 

 

Комплект эксплуатационной документации

 

 

 

ТО и ИЭ

Техническое описание и инструкция по эксплуатации

1 шт.

В индивидуальной таре

Внутри МЧ

П

Паспорт

1 шт.

В индивидуальной таре

Внутри МЧ

* Один комплект СМУ-1 содержит 20 механических соединителей.

** Данный комплект предусматривает использование линейной разветвительной муфты типа "Монстр" (ООО "Севербуммаш").

 

Приложение И

(рекомендуемое)

План-график проверок ВОКВ на 200 ¼ г.

Таблица И.1

Виды работ

Периодичность

Проверку произвел (дата, фамилия, подпись) *

1-е полугодие

2-е полугодие

Проверка комплектации, осмотр элементов ВОКВ

1 раз в 6 мес.

 

 

Пополнение утерянных элементов ВОКВ

1 раз в 6 мес. и после каждого использования

 

 

Ремонт (замена) неисправных элементов ВОКВ

1 раз в 6 мес. и после каждого использования

 

 

* В графе фиксируется также время использования ВОКВ при АВР.

 

Приложение К

(рекомендуемое)

Универсальная временная оптическая кабельная вставка (УВОКВ)

УВОКВ предназначена для оперативного временного восстановления поврежденного ОК, а в комплекте с оптико-электронной аппаратурой преобразования - и для восстановления ЭКУ линий передачи, построенных на медных кабелях связи. Разработана по заказу ОАО "Ростелеком".

УВОКВ также может быть использована для организации оперативной связи по ОК на локальных сетях связи различного назначения.

Комплектация:

- до восьми строительных длин 4-х ,6-ти, 8-ми или 121) волоконного ОК длиной до 1200 м2) каждая, оконцованные с двух сторон разъемными соединителями и оснащенных защитными кожухами;

- две строительные длины ОК длиной 30 м каждая, оконцованные с одной стороны разъемными соединителями и защитными кожухами;

- розетки оптические соединительные;

- механические соединители оптические;

- муфты линейные разветвительные;

- муфты защитные временные;

- барабаны кабельные с тележкой.

___________

1) Количество волокон определяется Заказчиком

2) Длина определяется Заказчиком (максимальная длина - 1200 м).

Преимущества:

1. Оперативность организации связи.

2. Возможность восстановления повреждения ОК протяженностью от нескольких метров до 7 км.

3. Малые оптические потери вставки: средние потери смонтированной УВОКВ на 1 км длины не более 0,5 дБ (l = 1,55 мкм).

4. Малые габориты и масса

5 Простота технологии монтажа, невысокие требования к квалификации персонала, выполняющего прокладку и монтаж УВОКВ.

6. Возможность монтажа УВОКВ во взрывоопасных и труднодоступных местах.

ОСНОВНЫЕ ТЕХНИЧЕСКИЕ ХАРАКТЕРИСТИКИ

Оптический кабель

тип ОККВ-10-02-0,21-6(8)
диаметр 7,5 мм, масса 55 кг/км
растягивающее усилие: 1,5 кН
раздавливающее усилие: 1 кН/см
количество одномодовых волокон: 4,6 или 8
Затухание не более:
0,35 дБ/км(
l = 1,31 мкм)
0,21 дБ/км(
l = 1,55 мкм)

диапазон рабочих температур от минус 40 °С до50 °С
количество допустимых перемоток:
20 - при температуре выше минус 10 °С
7 - при температуре ниже минус 10 °С
допустимый радиус изгиба - 30 мм

 

 

Разъемные оптические соединители (коннектор + розетка)

тип: FC/SPC, FC/APC
оптические потери
< 0,3 дБ
обратное отражение
< -40 дБ, < -60 дБ*
рабочая температура от минус 40 °С до 50 °С
количество стыковок-расстыковок - 500 (мах
< 0,2 дБ/км)

 

 

Механические оптические соединители

Тип: Fibrlok (3M), ACA-UC ULTRA (США),
СМУ-1 (ЦНИИС)
оптические потери
< 0.2 дБ
обратное отражение
< -50 дБ
рабочая температура от минус 40 °С до 80 °С

 

 

Муфта линейная разветвительная

тип: "'Монстр'" (ООО "Севербуммаш")
количество вводов 3
Емкость. 48 сростков
материал корпуса: нержавеющая сталь
габариты: 370
´170 мм, масса 6 кг

 

 

Муфта защитная временная

тип: тупиковый
степень защиты IР54 по ГОСТ 14254-80
габариты: 78
´212´250 мм, масса 2 кг

 

 

Барабан кабельный с тележкой

Тип ПКБ-1
габариты: 720
´300 мм, масса 15 кг
общая масса барабана с кабелем длиной 1000 м: 70 кг

____________

* Требуемая величина определяется Заказчиком.

 

Приложение Л

(справочное)

Библиография

[1] Рекомендации по восстановлению работоспособности оптического кабеля с помощью временных оптических кабельных вставок на магистральной и внутризоновых линиях передачи. М., Госкомсвязи России, 1997 г.

[2] Инструкция по аварийно-восстановительным работам на междугородных кабельных линиях связи. М., 1978 г.

[3] Временная инструкция по аварийно-восстановительным работам на волоконно-оптических линиях связи. ТЦМС-22, 1997 г.

[4] Руководство по прокладке, монтажу и сдаче в эксплуатацию волоконно-оптических линий связи магистральных и внутризоновых сетей (Линейно-кабельные сооружения). М., ССКТБ-ТОМАС , 1993 г.

[5] Инструкция по устранению линейных повреждений ВОЛС. ТЦМС-5, 1997 г.

[6] Правила технической эксплуатации линейно-кабельных сооружений междугородных линий передачи, книга 3. М., «Резонанс», 1998 г.

[7] РД 45.047-99 Линии передачи волоконно-оптические на магистральной и внутризоновых первичных сетях ВСС России. Том «Техническая эксплуатация». М, «Резонанс», 1999 г.

[8] Типовая инструкция по восстановлению ВОЛП в чрезвычайных ситуациях для оптического кабеля, проложенного в грунт. ОАО «Ростелеком», 1998 г.

[9] Соединитель механический. Техническое описание и инструкция по эксплуатации. М., ЦНИИС, 1995 г.

[10] Вставки оптические кабельные временные. Техническое описание и инструкция по эксплуатации. М., ЦНИИС, 1995 г.

[11] Муфта тупиковая оптического кабеля МТОК-96 . Технические условия 5206-016-27564371-98.

[12] Руководство по монтажу муфты МТОК 96-01-IV для магистральных и зоновых оптических кабелей связи (Редакция 2). Утверждено Связьстройдеталь 1999 г.

[13] Правила по охране труда при работах на кабельных линиях связи и проводного вещания (радиофикации). М., Недра,1996 г.

[14] Правила охраны линий и сооружений связи Российской Федерации. М, 1995 г.

[15] Типовая инструкция по восстановлению ВОЛП в чрезвычайных ситуациях для оптического кабеля, проложенного в защитной пластмассовой трубе. НТЦ связи ЦНИИС-РТК, 1999 г.

[16] Нормы приемо-сдаточных измерений элементарных кабельных участков магистральных и внутризоновых подземных волоконно-оптических линий передачи сети общего пользования. М., Госкомсвязи России, 1997 г.

 



© 2013 Ёшкин Кот :-)