Информационная система
«Ёшкин Кот»

XXXecatmenu

Согласовано

Руководитель предприятия

п/я В-2119 - базовой

организации по метрологии

по электротермометрии

_______________ И.Р. Рылик

«___»_________ 1985 г.

Утверждаю

Зам. руководителя

предприятия п/я Р-6237

_______________ А.Л. Пинчевский

«_21_»____10___ 1985 г.

Методические указания

Термопреобразователи с унифицированным выходным сигналом типа тспу-0183, тсму-0283, тхау-0383, тппу-0483

Методика поверки

Ми 1031-85

Зам. руководителя

предприятия п/я В-2119

______________ О.Л. Николайчук

«___»_________ 1985 г.

Разработаны: предприятием п/я В-2119 организации п/я А-3541, предприятием п/я Р-6137

Исполнители: Байко А.Ф., Шлиян З.Г., Козицкий И.Ф., Борис Ю.В., Коломийцев Л.А.

Утверждены: предприятием п/я Р-6237

Настоящие методические указания распространяются на термопреобразователи с унифицированным выходным сигналом (в дальнейшем - термопреобразователи) типов тспу-0183, тсму-0283, тхау-0383, тппу-0483, изготовленных по ТУ 25-04 (500.282.241)-85 для диапазона температур от минус 200 °С до 1300 °С, и устанавливают методику их первичной и периодической поверок.

Настоящая методика соответствует требованиям гост 8.375-80 и гост 8.042-83.

Межповерочный интервал периодической поверки термопреобразователей 1 год.

Основная погрешность термопреобразователя не должна превышать значений, указанных в таблице 1.

Таблица 1

Тип термопреобразователя

Номинальная статическая характеристика преобразования термопреобразователя, мА

Диапазон измерения температуры, °С

Предел допускаемого значения основной погрешности, %

Номинальная статическая характеристика преобразования первичного преобразователя по гост 6651-78 и гост 3044-77

Тспу-0183

0 - 5

или

4 - 20

От минус 25 до 25

1,0

100П

От              0 до 100

0,5

От              50 до 100

1,0

От              0 до 200

0,5

От минус 200 до 50

1,0

 

От минус 100 до 50

1,0

50П

 

От минус 50 до 400

0,25

 

От              0 до 600

1,0

 

От              0 до 400

0,25

ТСМУ-0283

0 - 5

или

4 - 20

От              0 до 50

1,0

50М

От минус 25 до 25

1,0

От              0 до 100

0,5

От              50 до 100

1,0

От              0 до 200

0,5

ТХАУ-0383

0 - 5

или

4 - 20

От минус 50 до 300

2,0

ха68

От минус 50 до 600

1,5

От минус 50 до 800

1,5

От минус 50 до 1000

1,5

ТППУ-0483

0 - 5

или

4 - 20

От 600 до 1000

0,5

Пп68

От 600 до 1300

0,5

1. операции поверки

1.1. При проведении поверки должны быть выполнены следующие операции:

1.1.1. Внешний осмотр (п. 6.1)

1.1.2. Проверка электрического сопротивления изоляции (п. 6.3.1).

1.1.3. Определение значения основной погрешности (п.п. 6.3.2, 6.3.3).

2. СРЕДства поверки

2.1. При проведении поверки должны быть применены следующие средства:

поверочная установка типа УТТ-6 (Хд.0.282.003 ТУ) с пределами воспроизведения температуры от 0 до 1200 °С;

нулевой термостат типа ТН-12 (10922-00 ТУ) или ванна для льдо-водяной смеси с теплоизолированными стенками, или сосуды Дьюара для воспроизведения температуры плавления льда с погрешностью не более ±0,02 °С;

паровой термостат типа ТП-5 (10738-00 ТУ) для воспроизведения температуры кипения воды с погрешностью не более ±0,03 °С;

термостат масляный типа ТМ-3 ТУ 50.169-80 для диапазона температур от 95 до 300 °С, градиентом температуры в рабочем пространстве не более 0,05 °С/см или типа СЖМЛ-19/2,5 (ТУ 16.531.539-75) для диапазона температур от 95 до 250 °С;

водяной термостат типа УТ-15 (ТУ 64-1-2622-75) для диапазона температур от 20 до 95 °С или ТВ-4 (Хд.2.998-004) для диапазона температур от 5 до 95 °С;

горизонтальная трубчатая электропечь типа СУОЛ-0,4 2,5/15-И1, СУОЛ 0,4.4/12-М2-У4.2, Т-40/600 (ГОСТ 13474-79) для диапазона температур от 100 до 1300 °С с рабочим пространством длиной не менее 500 мм, диаметром 40 - 50 мм, градиент температур по оси печи (в средней ее части) не должен превышать 0,5 °С/см на участке длиной не менее 50 мм;

жидкостный криостат типа ГСП-5 для диапазона температур от минус 210 до 20 °С, глубина ванны не менее 250 мм, температурный градиент не более 0,05 °С/см;

образцовый платиновый термометр сопротивления 1-го разряда типа ПТС-10 (ГОСТ 22978-78) с диапазоном измерения от 0 до 630 °С;

образцовый платиновый термометр сопротивления низкотемпературный 2-го разряда типа ТСПН-3 (ПИ2.821.021) с диапазоном измерения от минус 200 до 0 °С;

образцовый платинородий-платиновый термоэлектрический термометр 2-го или 3-го разряда типа ППО (ТУ 50-104-29) с диапазоном измерения от 300 до 1200 °С;

образцовый платинородиевый термоэлектрический термометр 2-го разряда типа ПР 30/6 (ТУ Ат.2.821.000) с диапазоном измерения от 600 до 1800 °С;

образцовые стеклянные ртутные термометры 2-го разряда с диапазоном измерений от минус 30 до 360 °С по ГОСТ 2045-71;

измерительный потенциометр постоянного тока класса точности не ниже 0,01 по ГОСТ 7165-78, например, типа Р-363-2 или вольтметр универсальный Щ31; ТУ 25-04-3305-77;

измерительная катушка электрического сопротивления класса точности 0,01 с номинальным значением сопротивления 10 Ом, 100 Ом по ГОСТ 23737-79, например типа Р321, Р331;

нормальный элемент класса точности не ниже 0,02 по ГОСТ 1954-75, например, типа НЭ-65;

мегаомметр типа М4100/3 по ТУ 25-04-2131-78;

магазин сопротивлений типа Р4831 класса точности 0,02, ТУ 25-04.3919-80;

инспекторский ртутный барометр типа СР-Б, ТУ 25.11.1220-76, погрешность ±0,01 кПа, пределы измерения 68 - 107 кПа;

амперметр класса точности 1,0 по ГОСТ 8711-60 с верхним пределом измерения до 15 А;

психрометр бытовой ПБ-1Б по ГОСТ 9177-74;

стеклянные ртутные термометры типа ТЛ-18 и ТЛ-19 по ГОСТ 2045-71;

аккумуляторные батареи или сухие элементы напряжением 1,2 - 2,2 В типа НКП, ГОСТ 9240-79 или типа «Девиз», ГОСТ 3316-74;

блок питания Б5-45, 3.233.219 ТУ, напряжение от 0 до 50 В;

металлические уравнительные блоки (никелевый и медный) длиной 200 - 250 мм наружные диаметры которых выбирают в зависимости от размера рабочего пространства печи, а внутренние посадочные размеры под поверяемые и образцовые термопреобразователи должны соответствовать конфигурации их монтажных размеров (см. справочное приложение 4, 5, 6);

стеклянные пробирки длиной (150 ± 10) мм, внутренним диаметром (6,5 ± 0,5) мм, со стенками толщиной не более 1 мм;

сухое трансформаторное масло для заливки в стеклянные пробирки по (10 - 15) мм в каждую;

жидкий азот по ГОСТ 9293-74;

многопозиционный бестермоточный переключатель типа ПБТ;

металлический сосуд Дьюара типа АСД-16 или типа СТГ-40.

Примечания: 1. Некоторые из указанных средств поверки входят в поверочные установки.

2. Допускается применять другие средства поверки, в том числе универсальные и автоматизированные поверочные установки, прошедшие метрологическую аттестацию или поверенные в органах государственной метрологической службы и удовлетворяющие требованиям настоящих методических указаний.

3. При поверке по п. 6.3.2 допускается применять измерительные комбинированные приборы класса точности 0,05 - 0,1 в зависимости от типа поверяемого термопреобразователя, например, Щ300 ТУ 25-04.3717-79.

3. ТРЕБОВАНИЯ Безопасности

3.1. При проведении поверки должны быть соблюдены следующие требования безопасности:

3.1.1. «Правила технической эксплуатации электроустановок потребителей», утвержденные Госэнергонадзором, и требования установленные ГОСТ 12.2.007.0-75.

3.1.2. При проведении поверки с использованием сжиженных газов необходимо соблюдать правила техники безопасности и производственной санитарии, установленные ГОСТ 8.133-74.

4. Условия поверки

4.1. При проведении поверки должны быть соблюдены следующие условия:

температура окружающего воздуха (20 ± 5) °С;

относительная влажность воздуха от 30 до 80 %;

атмосферное давление от 84 до 106,7 кРа;

отклонения напряжения электрического питания от номинального значения (24 ± 0,48) В; (48 ± 0,96) В в зависимости от исполнения поверяемого термопреобразователя;

сопротивления нагрузки с учетом линии связи и сопротивления измерительного прибора не должны превышать 2,5 кОм для выходного сигнала от 0 до 5 мА и 1 кОм для выходного сигнала от 4 до 20 мА;

отсутствие вибрации;

рабочее положение термопреобразователя - произвольное.

5. ПОДГОТОВКА К РАБОТЕ

5.1. Перед проведением поверки должны быть выполнены следующие подготовительные работы

5.1.1. Проверить наличие паспортов и свидетельств аттестации и поверки метрологическими органами применяемых средств измерений.

5.1.2. Проверить наличие паспорта, подтверждающего соответствие термопреобразователя требованиям технических условий.

5.1.3. Подготовить средства измерений и вспомогательное оборудование применяемые при поверке к работе в соответствии с эксплуатационной документацией.

5.1.4. Подготовить льдо-водяную смесь. Лед должен быть приготовлен из чистой водопроводной или дистиллированной воды. Термостат для воспроизведения температуры плавления льда должен быть заполнен смесью мелко дробленого льда и охлажденной воды. Лед должен быть увлажнен и уплотнен во всей массе, чтобы в смеси льда и воды не было пузырей воздуха. Избыток воды следует сливать.

5.1.5. Паровой (водяной) термостат для воспроизведения температуры кипения воды должен быть заполнен водопроводной или дистиллированной водой и помещен на расстоянии не менее 1000 мм от измерительной установки.

5.1.6. При определении температуры кипения воды при атмосферном давлении с помощью барометра, его устанавливают таким образом, чтобы уровень ртути в чашке барометра находился на одной высоте с чувствительным элементом поверяемого термопреобразователя (допускаемое отклонение ±300 мм).

5.1.7. Образцовый платиновый термометр должен быть погружен в рабочую камеру парового термостата на глубину не менее 300 мм, образцовый стеклянный ртутный термометр - до отсчитываемой отметки на шкале термометра. При применении водяного, масляного, оловянного термостатов или криостата необходимо обеспечить одинаковую глубину погружения образцового термометра и поверяемого термопреобразователя.

5.1.8. Для увеличения срока службы образцовый термоэлектрический преобразователь необходимо поместить в кварцевую защитную пробирку. Рабочий конец его должен касаться дна пробирки.

Свободное пространство в пробирке засыпьте порошком окиси алюминия.

5.1.9. При поверке термопреобразователей в электропечи необходимо установить зону с максимальной температурой. Зона максимальной температуры, предварительно, определяется любым методом.

5.1.10. Поверка при температурах выше 300 °С проводится в электропечах. Образцовый термопреобразователь и поверяемый помещают в уравнительный блок (см. приложение 4), свободное пространство засыпают окисью алюминия, блок затем центрируется по оси электропечи и помещается так, чтобы рабочие концы поверяемого и образцового термопреобразователей находились в зоне максимальной температуры.

Допускается при температурах выше 300 °С поверку проводить в пробирках из спеченной окиси алюминия. Поверяемый и образцовый термопреобразователи плотно связывают хромелевой или алюмелевой проволокой (при температуре выше 1000 °С - платинородиевой), помещают в пробирку и засыпают окисью алюминия.

5.1.11. При использовании образцового платинового термометра сопротивления типа ТСП-10 необходимо учитывать, что его эксплуатация допускается только в вертикальном положении. В этом случае необходимо устанавливать электропечь в вертикальное положение.

5.1.12. После установки термопреобразователя в электропечь, закройте отверстия электропечи крышками или пережженным асбестом. Частицы асбеста не должны попадать в рабочее пространство печи.

5.1.13. Поверка термопреобразователей при температурах ниже минус 50 °С выполняется в криостатах или сосудах Дьюара с сжиженными газами. Образцовый платиновый термометр сопротивления и поверяемый термопреобразователь помещают в медный уравнительный блок (см. приложение 5) и погружают в криостат или сосуд Дьюара.

5.1.14. Свободные концы образцового термоэлектрического термометра поддерживаются при температуре равной 0 °С. Для этого к свободным концам термоэлектродов присоединять медные провода и места соединения, без изоляции, погрузить в стеклянные пробирки, засыпать окисью алюминия или залить сухим трансформаторным маслом на глубину на менее (25 - 30) мм. Пробирки поместить в льдоводяную смесь на глубину не менее (120 - 150) мм.

6. Проведение поверки

6.1. Внешний осмотр

6.1.1. При внешнем осмотре должно быть установлено соответствие термопреобразователя следующим требованиям:

термопреобразователь должен соответствовать требованиям нормативно-технической документации в части маркировки и комплектности;

защитная арматура термопреобразователя не должна иметь видимых на глаз повреждений, которые могут повлиять на работу термопреобразователя;

внутри головки термопреобразователя не должно быть незакрепленных предметов.

6.1.2. При наличии дефектов покрытий, несоответствия комплектности, маркировки, необходимо определить возможность дальнейшего применения термопреобразователя и целесообразность проведения дальнейшей поверки.

6.2. Опробование

6.2.1. Для проверки действия поверяемого термопреобразователя необходимо поместить термопреобразователь в термостат (электропечь) с температурой соответствующей любой точке диапазона измерения и убедиться в наличии выходного сигнала, который должен быть в диапазоне 0 - 5 мА или 4 - 20 мА.

6.2.2. Извлечь термопреобразователь из термостата (электропечи), показания выходного сигнала должны измениться в сторону температуры окружающих условий.

6.3. Определение метрологических характеристик

6.3.1. Проверка электрического сопротивления изоляции

6.3.1.1. Проверка электрического сопротивления изоляции цепей термопреобразователя проводят на постоянном токе с помощью мегаомметра с номинальным напряжением 500 В.

6.3.1.2. Мегаомметр подключают к закороченным контактам 1, 2, 3, 4 штепсельного разъема термопреобразователя и корпусу термопреобразователя (предварительно соединив между собой защитную арматуру термопреобразователя и корпус штепсельного разъема).

6.3.1.3. Отсчет показаний по мегаомметру проводится по истечении 1 мин после приложения напряжения, или меньшего времени, за которое показания мегаомметра практически установятся.

Сопротивление изоляции должно составлять не менее 20 МОм.

6.3.2. Определение значения основной погрешности.

6.3.2.1. Поверяемые точки, в зависимости от типов термопреобразователей и диапазона измерения, должны соответствовать указанным в табл. 2.

Таблица 2

Тип термопреобразователя

Диапазон измерения температуры, °С

Поверяемые точки, °С

ТСПУ-0183

От минус 25 до 25

минус 25, 0, 25

От               0 до 100

0, 50, 100

От               50 до 100

50, 80, 100

От               0 до 200

0, 100, 200

От минус 200 до 50

минус 195, 0, 50

От минус 100 до 50

минус 100, 0, 50

От минус 50 до 400

0, 100, 400

От               0 до 600

0, 100, 600

От               0 до 400

0, 100, 400

ТСМУ-0283

От                0 до 50

0, 25, 50

От минус 25 до 25

минус 25, 0, 25

От                0 до 100

0, 50, 100

От                50 до 100

50, 80, 100

От                0 до 200

0, 100, 200

ТХАУ-0383

От минус 50 до 300

0, 100, 300

От минус 50 до 600

0, 300, 600

От минус 50 до 800

0, 400, 800

От минус 50 до 1000

0, 600, 1000

ТППУ-0483

От 600 до 1000

600, 800, 1000

От 600 до 1300

600, 1000, 1200

6.3.2.2. Поверка термопреобразователей проводится при температурах, близких к указанным в таблице 2 и отличающихся от них не более чем на ±5 °С при поверке в жидкостных термостатах и ±10 °С - в электропечах, за исключением верхних и нижних значений диапазона измерения.

6.3.2.3. Определение основной погрешности термопреобразователей проводится методом сличения с показаниями образцовых термометров по схемам, указанным в приложении 1 и 2.

6.3.2.4. Поверяемый термопреобразователь погружают в термостатах (электропечь) на глубину не менее 250 мм. Время выдержки до начала измерения не менее 30 мин, в течение этого времени поверяемый термопреобразователь должен быть подключен к блоку питания для прогрева.

6.3.2.5. Отрегулируйте, по достижению в термостате (электропечи) требуемой температуры, силу тока в нагревательной обмотке так, чтобы скорость изменения температуры в термостате (электропечи) не превышала (0,2 - 0,4) К/мин.

6.3.2.6. Отсчет значений необходимо проводить, начиная с образцового термометра, а затем поверяемого термопреобразователя. Серия измерений должна содержать не менее четырех отсчетов в каждой поверяемой температурной точке.

6.3.2.7. Значения заносят в протокол поверки. Выполняют необходимые операции для всех значений поверяемых точек. Поверку рекомендуется начинать в точках с наименьшим значением температуры для положительного диапазона измерения термопреобразователя.

6.3.3. При выпуске из производства определение значения основной погрешности термопреобразователей типа ТСПУ-0183 и ТСМУ-0283 допускается определять путем раздельной проверки первичного преобразователя и блока электроники. Методика проверки и обработка результатов приведены в приложении 3.

7. ОБРАБОТКА РЕЗУЛЬТАТОВ ИЗМЕРЕНИЙ

7.1. В зависимости от применяемых образцовых термометров измеряют и записывают: UN - падение напряжения на измерительной катушке сопротивления; Utобр - падение напряжения на образцовом термометре сопротивления; Rtобр - сопротивление образцового термометра; Еtобр - термо-э.д.с. образцового термоэлектрического термометра; tобр - показания образцового стеклянного термометра; Jx - показания поверяемого термопреобразователя.

7.2. По результатам четырех отсчетов показаний по потенциометру вычисляют средние арифметические значения: , Utобр, Еtобр, .

7.3. При использовании образцового платинового термометра сопротивления в диапазоне от 0 до 630 °С расчет температуры опыта (t0) по измеренному сопротивлению Rtобр образцового платинового термометра выполняется по приведенным в свидетельстве значениям R0 и констант a и d по ГОСТ 8.427-80.

При компенсационном методе измерения значение Rtобр определяется по формуле

                                                          (1)

где ,  - средние арифметические значения падения напряжения соответственно на образцовом платиновом термометре сопротивления и на измерительной катушке, мВ;

RN - значение сопротивления измерительной катушки, вычисленное для температуры, которую катушка имела во время измерения, Ом.

7.4. Температуру опыта (t0) по образцовому низкотемпературному платиновому термометру сопротивления в диапазоне от минус 200 до 0 °С определяют в следующей последовательности;

рабочий ток через термометр не должен превышать 1 мА;

измерить сопротивление термометра Rtобр при измеряемой температуре Т;

определите значение относительного сопротивления (WT) по формуле

                                                              (2)

где R0 - сопротивление образцового термометра при 0 °С указанное в паспорте на термометр;

по стандартной таблице T = f(Wст) ГОСТ 8.157-75, считая что Wт = Wст определите ориентировочное значение температуры опыта;

определите по паспортным данным на термометр значение поправки DWт = Wт - Wст;

рассчитайте значение Wст, используя значение относительного сопротивления Wт и поправку DWт;

по стандартной таблице ГОСТ 8.157-75 определите значение температуры (t0), соответствующее найденному Wст.

При необходимости расчет повторить до сходимости двух последовательных приближений температуры в пределах ±0,01 °К.

7.8. При использовании образцового термоэлектрического термометра значение температуры опыта (t0) определяется по формуле

                                                (3)

где  - среднее арифметическое значение термо-э.д.с. образцового термометра, определенного по потенциометру, мВ;

Есвид. - значение термо-э.д.с. взятое из свидетельства на образцовый термометр, ближайшее к Еtобр мВ;

tсвид. - температура, соответствующая Есвид., °С;

DЕ/Dt - приращение термо-э.д.с. образцового термоэлектрического термометра на единицу температуры (мВ/°С), взятое из таблицы 3 для образцового термометра с номинальной статической характеристикой ПП68 и из таблицы 4 для - ПР30/668.

Таблица 3

Температура t, °С

300

400

500

600

700

800

900

1000

1100

1200

Значение (DЕ/Dt)×103 мВ/°С

9,1

9,5

9,8

10,2

10,6

10,9

11,2

11,5

11,8

12,0

Таблица 4

Температура t, °С

600

700

800

900

1000

1100

1200

1300

Значение (DЕ/Dt)×103 мВ/°С

6,1

7,0

7,9

8,6

9,3

10,0

10,6

11,0

7.6. Температуру опыта (t0) по образцовому термоэлектрическому термометру можно определить и с помощью таблиц ГОСТ 3044-77 и свидетельства на образцовый термометр.

Определяют значение . Находят поправку (D).

D = Есвид. - Етабл.                                                              (4)

где Есвид. - термо-э.д.с. образцового термометра по свидетельству в температурной точке ближайшей к ;

Етабл. - значение термо-э.д.с по ГОСТ 3044-77 соответствующее температурной точке определенной по свидетельству (Есвид.).

К показаниям  вводят поправку (D) с учетом знака, и по ГОСТ 3044-77 находят температуру опыта (t0).

7.7. Если температуру опыта (t0) определяют с помощью образцового ртутностеклянного термометра, то к среднему арифметическому значению прибавляют поправку, взятую из свидетельства на термометр.

7.8. При определении температуры опыта (t0) в точке кипения воды по барометрическому давлению, считывают значения по барометру (Р) и по термометру барометра (t). К полученному значению по барометру вводят поправки и значения температуры кипения воды определяют по таблицам ГОСТ 8.427-61.

7.9. Определить значение температуры (tx) измеренное поверяемым термопреобразователем по формуле

                                             (5)

где Jx - измеренное значение выходного сигнала поверяемого термопреобразователя, мА;

tmax, tmin - максимальное и минимальное значения диапазона измерения поверяемого термопреобразователя, соответственно, °С;

DJв - диапазон изменения выходного сигнала поверяемого термопреобразователя, равный 5 мА или 16 мА, в зависимости от исполнения термопреобразователя.

Jmin = 0 при DJв = 5 мА; Jmin = 4 мА при DJв = 16 мА

7.10. Основная погрешность поверяемого термопреобразователя (Dg) определяется по формуле

                                                  (6)

7.11. Основная погрешность термопреобразователя не должна превышать значений указанных в табл. 1.

8. ОФОРМЛЕНИЕ РЕЗУЛЬТАТОВ ПОВЕРКИ

8.1. Результаты поверки оформляются протоколом по форме приложения 8.

8.2. Положительные результаты первичной поверки предприятие-изготовитель оформляет нанесением поверительного клейма на пломбу термопреобразователя с записью в паспорте результата и даты поверки (при этом запись должна быть удостоверена клеймом).

8.3. Результаты периодической государственной или ведомственной поверки оформляются нанесением поверительного клейма или выдачей свидетельства о поверке по форме, установленной органами Госстандарта или ведомственной метрологической службой.

8.4. Термопреобразователи, не удовлетворяющие требованиям настоящих методических указаний, к выпуску в обращение и к применению не допускают. Клеймо предыдущей поверки гасят и выдают извещение о непригодности к дальнейшему применению.

Приложение 1

Обязательное

Схема подключения термопреобразователя и образцового термоэлектрического термометра к электроизмерительной установке при поверке

Описание: 1

А1 - электропечь; А2 - теплоизоляционный сосуд (нулевой термостат); А3 - потенциометр; ПТ - поверяемый термопреобразователь; ОТ - образцовый термоэлектрический термометр; Rн - сопротивление нагрузки; Rи - измерительная катушка сопротивления; БП - блок питания; Р1 - амперметр; S1 - бестермоточный переключатель; Т1 - регулятор напряжения.

Приложение 2

Обязательное

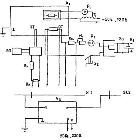
Схема подключения термопреобразователя и образцового платинового термометра сопротивления к электроизмерительной установке при поверке

Описание: 1

А1 - термостат; А2 - потенциометр; ПТ - поверяемый термопреобразователь; ОТ - образцовый платиновый термометр сопротивления; RN, RN1 - измерительные катушки сопротивления; Rн - сопротивление нагрузки; Р1 - амперметр; Р2 - миллиамперметр; S1 - бестермоточный переключатель; БП - блок питания; S2 - кнопка; S3 - инверсионный переключатель; Б1 - батареи; М1 - магазин сопротивления; Т1 - регулятор напряжения.

Приложение 3

Обязательное

Определение значения основной погрешности термопреобразователей типа тспу-0183 и тсму-0283 путем раздельной проверки первичного преобразователя и блока электроники

1. Поверяемые точки, в зависимости от типов термопреобразователей и диапазона измерения, должны соответствовать указанным в табл. 2.

2. Снять крышку термопреобразователя и отключить первичный преобразователь от выводных контактов 1, 2, 3, 4 на печатной плате.

3. Выводы первичного преобразователя, учитывая что выводы отключенные от контактов 1, 3 являются потенциальными, а 2, 4 - токовыми, подключают по четырехпроводной схеме к потенциометрической установке (см. приложение 3 ГОСТ 8.461-82).

4. Определяют сопротивление первичного преобразователя при температуре плавления льда (R0) и при температуре кипения воды (R100) по ГОСТ 8.461-82.

5. Определяют отношение сопротивления W100 по формуле

                                                         (1)

6. Определяют отклонение сопротивления DR0 при 0 °С от номинального и отклонение значения DW100 от номинального по формулам

DR0 = R0 - R0ном                                                           (2)

DW100 = W100 - W100ном

где R0ном и W100ном - номинальные значения по ГОСТ 6651-78.

7. В зависимости от величины температуры поверяемой точки определяют погрешность первичного преобразователя от отклонения DR0 и DW100 по формулам

                                                (4)

                                          (5)

где t - температура поверяемой точки.

где Rtном - номинальное сопротивление первичного преобразователя при температуре t по ГОСТ 6651-78

                                             (6)

8. С учетом знака определяют погрешность первичного преобразователя по формуле

DП = Dt(DR0) + Dt(DW100)                                               (7)

9. Для определения погрешности блока электроники собирают схему согласно рисунку, предварительно отключив первичный преобразователь.

10. На вход блока электроники подают номинальное значение сопротивления первичного преобразователя Rtном соответствующее температуре поверяемой точки t, определенное по приложению 1 ГОСТ 6651-78.

11. Определяют значение температуры (tx), измеренное блоком электроники по формуле

                                             (8)

где Jx - измеренное значение выходного сигнала блока электроники, мА;

DJв - диапазон изменения выходного сигнала поверяемого термопреобразователя, равный 5 мА или 16 мА, в зависимости от исполнения термопреобразователя;

tmax, tmin - максимальное и минимальное значения диапазона измерения температуры поверяемого термопреобразователя, °С

Jmin = 0 при DJв = 5 мА; Jmin = 4 мА при DJв = 16 мА.

12. Определяют погрешность блока электроники в поверяемой точке диапазона измерения.

DЭ = tx - t                                                                   (9)

13. Основная погрешность поверяемого термопреобразователя (Dg) определяется по формуле

                                             (10)

14. Основная погрешность термопреобразователя не должна превышать значений, указанных в табл. 1.

Описание: 1

Рисунок

мс - магазин сопротивления; ПТ - поверяемый термопреобразователь; БП - блок питания; Rн - сопротивление нагрузки; R - измерительная катушка сопротивления; ВУ - вольтметр универсальный.

Приложение 4

Справочное

Уравнительные блоки для положительных температур

Описание: 1

ПРИЛОЖЕНИЕ 5

Справочное

МЕДНЫЙ уравнительный блок для отрицательных температур

Описание: 1

приложение 6

Справочное

МЕТАЛЛИЧЕСКИй уравнительный блок для термопреобразователя тспу-0183 с диапазоном измерения от 0 до 400 °С

Описание: 1

Размеры, мм

L

l

627

102

757

232

1. Крышка, 2. Сальник, 3. Труба, 4. Цилиндр, 5. Втулка, 6. Втулка, 7. Втулка, 8. Труба, 9. Сальник

ПРИложение 7

Справочное

ОПИСАНИЕ КОНСТРУКЦИИ МЕТАЛЛИЧЕСКОГО БЛОКА

Металлический блок (см. приложение 6) состоит из цилиндра 4, изготовленного из сплава ДТ16, в который запрессована втулка 5 из нержавеющей стали 12Х18Н9Т. С двух сторон в цилиндр ввинчиваются трубы 3 и 8. Втулки 6 обеспечивают симметричное расположение металлического блока относительно отверстия трубчатой электропечи. Крышка 1 фиксирует положение блока в электропечи. При помощи сальников 2 и 9, изготовленных из асбеста, закрываются отверстия электропечи в процессе измерения. Сальник 9 может передвигаться вдоль трубы 8. Труба 3 имеет два исполнения по длине. Этим обеспечивается установка в блок термопреобразователей с различными монтажными длинами.

При определении показаний термопреобразователя металлический блок устанавливают в трубчатую электропечь сопротивления.

Термопреобразователь через трубу 3 устанавливают в цилиндр 4. Монтажная часть термопреобразователя должна прижиматься с постоянным усилием к торцевой поверхности втулки 5. Прижим должен обеспечиваться при помощи подвижного щтуцера и пружины термопреобразователя.

Штуцер ввинчивается в трубу 3.

Образцовый термопреобразователь через трубу 8 помещается в отверстие втулки 5 до упора.

Сальники 2 и 9 должны плотно закрывать отверстие трубчатой электропечи.

При измерении градиент температур по всей длине цилиндра 4 не должен превышать 1 °С.

ПРИЛОЖение 8

Справочное

Форма протокола поверки

ПРОТОКОЛ

поверки термопреобразователя __________________________ № ___________________

дата выпуска _____________________ 19___ г. принадлежащий ____________________

___________________________________________________________________________

Средства поверки:

Установка типа ________________________

Образцовый термометр ________________ разряда, типа _______________, № ________

Катушка сопротивления № _____________, класса ______________

Потенциометр постоянного тока типа ________________, класса _________ № _______

Термостаты типа _________________

Мегаомметр типа ________________, класса _________________

Условия поверки: ___________________________________________________________

___________________________________________________________________________

Дата поверки __________________ 19__ г.

РеЗУльтаты ПОВЕРКИ

1. Результаты внешнего осмотра _______________________________________________

___________________________________________________________________________

2. Результаты проверки электрического сопротивления изоляции

___________________________________________________________________________

___________________________________________________________________________

___________________________________________________________________________

3. Результаты проверки основной допускаемой погрешности

Тип термопреобразователя №

Температурные точки поверки, °С

Показание образцового термометра, °С

Показания поверяемого термопреобразователя, °С

Основная допускаемая погрешность термопреобразователя, %

4. Заключение по результатам поверки_________________________________________

__________________________________________________________________________

Дата __________________ Поверку проводил ______________   ______________

подпись                            фамилия


Часть 2. Пирометры

Описание: 1


СОДЕРЖАНИЕ

1. Операции поверки. 2

2. Средства поверки. 2

3. Требования безопасности. 3

4. Условия поверки. 4

5. Подготовка к работе. 4

6. Проведение поверки. 5

7. Обработка результатов измерений. 7

8. Оформление результатов поверки. 9

Приложение 1. Схема подключения термопреобразователя и образцового термоэлектрического термометра к электроизмерительной установке при поверке. 9

Приложение 2. Схема подключения термопреобразователя и образцового платинового термометра сопротивления к электроизмерительной установке при поверке. 9

Приложение 3. Определение значения основной погрешности термопреобразователей типа тспу-0183 и тсму-0283 путем раздельной проверки первичного преобразователя и блока электроники. 10

Приложение 4. Уравнительные блоки для положительных температур. 13

Приложение 5. Медный уравнительный блок для отрицательных температур. 13

приложение 6. Металлический уравнительный блок для термопреобразователя тспу-0183 с диапазоном измерения от 0 до 400 °С.. 14

Приложение 7. Описание конструкции металлического блока. 14

Приложение 8. Форма протокола поверки. 14

 

 



© 2013 Ёшкин Кот :-)