ОТРАСЛЕВОЙ СТАНДАРТ
Детали
и сборочные единицы трубопроводов АС Рраб <
2,2 МПа (22 кгс/см2), t ≤
350 °С
|
ОСТ
34-42-666-84
|
ЗАГЛУШКИ
ПЛОСКИЕ ПРИВАРНЫЕ
|
Срок действия не ограничен
1 Настоящий стандарт
распространяется на плоские приварные заглушки из углеродистой стали для
трубопроводов групп В и С атомных станций по "Правилам АЭУ".
Стандарт соответствует "Правилам АЭУ".
2 Допускается применение плоских приварных заглушек по
настоящему стандарту для трубопроводов, на которые распространяются
"Правила пара и горячей воды" и СНиП
3.05.05-84.
Пределы применения заглушек приведены в таблице 1.
Таблица 1
Условное давление Ру, МПа
(кгс/см2)
|
Рабочее давление Рраб,
МПа (кгс/см2) для температуры среды, °С
|
200
|
250
|
300
|
350
|
4,00 (40,0)
|
2,20 (22,0)
|
2,20 (22,0)
|
2,20 (22,0)
|
2,20 (22,0)
|
2,50 (25,0)
|
1,90 (19,0)
|
1,70 (17,0)
|
1,60 (16,0)
|
1,60 (16,0)
|
1,40 (14,0)
|
1,20 (12,0)
|
1,10 (11,0)
|
1,00 (10,0)
|
1,00 (10,0)
|
0,90 (9,0)
|
0,75 (7,5)
|
0,66 (6,6)
|
0,63 (6,3)
|
0,60 (6,0)
|
0,54 (5,4)
|
0,48 (4,8)
|
0,40 (4,0)
|
0,40 (4,0)
|
0,40 (4,0)
|
0,35 (3,5)
|
0,30 (3,0)
|
0,26 (2,6)
|
0,25 (2,5)
|
0,25 (2,5)
|
0,23 (2,3)
|
0,19 (1,9)
|
0,17 (1,7)
|
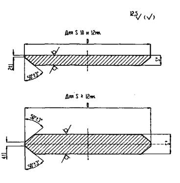
3 Конструкция и размеры плоских приварных заглушек
должны соответствовать указанным на рисунке 1
и в таблицах 2 и 3.

Рисунок 1
Таблица 2
Размеры в миллиметрах
Обозначение заглушки плоской приварной
|
Условное давление Ру, МПа
(кгс/см2)
|
Условный проход Dy
|
Dн
|
Dp
|
S
|
S1
|
S1, не менее
|
L
|
l
|
e
|
g
|
Масса, кг
|
Номин.
|
Пред. откл
|
не менее
|
01
|
≤ 4,0 (40)
|
50
|
57
|
52
|
+0,30
|
3
|
10
|
2,5
|
125
|
10
|
13
|
6
|
0,75
|
02
|
65
|
76
|
71
|
1,10
|
03
|
4,0 (40)
|
80
|
89
|
84
|
+0,35
|
3,5
|
12
|
3,0
|
130
|
17
|
8
|
1,63
|
04
|
≤ 2,5 (25)
|
10
|
13
|
6
|
1,53
|
05
|
4,0 (40)
|
100
|
108
|
102
|
4
|
14
|
10
|
5
|
2,30
|
06
|
2,5 (25)
|
12
|
17
|
8
|
07
|
≤ 1,6 (16)
|
10
|
13
|
6
|
2,18
|
08
|
4,0 (40) и 2,5 (25)
|
125
|
133
|
127
|
+0,40
|
14
|
10
|
5
|
3,14
|
09
|
1,6 (16)
|
12
|
17
|
8
|
3,09
|
10
|
≤ 1,0 (10)
|
10
|
13
|
6
|
2,89
|
11
|
4,0 (40)
|
150
|
159
|
151
|
5
|
18
|
4,0
|
135
|
5,25
|
12
|
2,50 (25) и 1,60 (16)
|
14
|
10
|
5
|
4,66
|
13
|
1,00 (10,0)
|
12
|
17
|
8
|
4,61
|
14
|
≤ 0,60 (6,0)
|
10
|
13
|
6
|
4,33
|
15
|
4,00 (40,0)
|
200
|
219
|
208
|
+0,46
|
7
|
25
|
145
|
15
|
15
|
7
|
12,37
|
16
|
2,50 (25,0)
|
18
|
13
|
6
|
10,22
|
17
|
1,60 (16) и 1,00 (10)
|
14
|
130
|
10
|
5
|
8,60
|
18
|
0,60 (6,0)
|
12
|
17
|
8
|
8,49
|
19
|
≤ 0,40 (4,0)
|
10
|
13
|
6
|
8,02
|
20
|
4,00 (40) и 2,50 (25)
|
250
|
273
|
259
|
+0,52
|
8
|
25
|
5,0
|
145
|
20
|
15
|
7
|
18,49
|
21
|
1,60 (16,0)
|
|
18
|
13
|
6
|
15,23
|
22
|
1,00 (10,0)
|
14
|
130
|
10
|
5
|
12,76
|
23
|
0,40 (4,0)
|
12
|
17
|
8
|
12,55
|
24
|
0,25 (2,5)
|
10
|
13
|
6
|
11,80
|
25
|
2,50 (25) и 1,60 (16)
|
300
|
325
|
311
|
25
|
4,5
|
145
|
15
|
7
|
24,65
|
26
|
1,00 (10,0)
|
300
|
325
|
311
|
+0,52
|
8
|
18
|
4,5
|
145
|
13
|
6
|
20,04
|
27
|
0,60 (6) и 0,40 (4)
|
14
|
130
|
10
|
5
|
16,68
|
28
|
0,25 (2,5)
|
12
|
17
|
8
|
16,23
|
29
|
1,60 (16,0)
|
350
|
377
|
361
|
+0,57
|
9
|
25
|
5,0
|
145
|
15
|
7
|
32,71
|
30
|
1,00 (10,0)
|
18
|
13
|
6
|
26,58
|
31
|
0,60 (6) и 0,40 (4)
|
14
|
130
|
10
|
5
|
22,12
|
32
|
0,25 (2,5)
|
12
|
17
|
8
|
21.50
|
33
|
1,60 (16) и 1,00 (10)
|
400
|
426
|
410
|
+0,63
|
25
|
145
|
15
|
7
|
40,20
|
34
|
0,60 (6,0)
|
18
|
13
|
6
|
32,39
|
35
|
≤ 0,40 (4,0)
|
14
|
130
|
10
|
5
|
26,82
|
36
|
1,00 (10) и 0,60 (6)
|
500
|
530
|
516
|
+0,70
|
8
|
25
|
5,5
|
145
|
15
|
7
|
57,17
|
37
|
0,40 (4,0)
|
18
|
13
|
6
|
44,87
|
38
|
0,25 (2,5)
|
14
|
130
|
10
|
5
|
36,73
|
39
|
0,60 (6) и 0,40 (4)
|
600
|
630
|
616
|
25
|
145
|
15
|
7
|
77,57
|
40
|
0,25 (2,5)
|
18
|
10
|
5
|
60,36
|
41
|
0,40 (4,0)
|
700
|
720
|
706
|
+0,80
|
25
|
145
|
15
|
7
|
98,67
|
42
|
0,25 (2,5)
|
18
|
16
|
6
|
76,20
|
43
|
≤ 0,40 (4,0)
|
800
|
820
|
804
|
+0,90
|
9
|
25
|
6,5
|
15
|
7
|
127,4!
|
44
|
0,25 (2,5)
|
900
|
920
|
902
|
10
|
7,5
|
159,84
|
45
|
1000
|
1020
|
1002
|
+1,00
|
192,95
|
Пример условного обозначения плоской приварной
заглушки с условным проходом Dy 50 мм, на
условное давление Ру 4 МПа для трубопроводов группы С по "Правилам
АЭУ" с контролем сварного соединения для Шв категории по ПНАЭ
Г-7-010-89:
Заглушка С
50-4-Шв 01 ОСТ34-42-666-84,
то же, для трубопроводов, на которые распространяются "Правила
пара и горячей воды":
Заглушка П
50-4 01 ОСТ 34-42-666-84.
то же, для трубопроводов, на которые распространяются СНиП
3.05.05-84:
Заглушка 50-4
01 ОСТ 34-42-666-84.
Таблица 3
Размеры в миллиметрах
Обозначение заглушки
плоской приварной
|
Поз 1 Диск
|
Поз. 2 Патрубок
|
Обозначение по
настоящему стандарту
|
Размеры, мм
|
Материал по
ОСТ
34-42-658, раздел
|
Масса, кг
|
Dн×S
|
L*
|
01
|
1-01
|
57×3
|
125
|
1
|
0,50
|
02
|
1-02
|
76×3
|
0,68
|
03
|
1-03
|
89×3,5
|
130
|
0,96
|
04.
|
1-04
|
05
|
1-05
|
108×4
|
1,33
|
06
|
1-06
|
07
|
1-07
|
08
|
1-08
|
133×4
|
1,65
|
09
|
1-09
|
10
|
1-10
|
11
|
1-11
|
159×5
|
135
|
2,56
|
12
|
1-12
|
13
|
1-13
|
14
|
1-14
|
15
|
1-15
|
219×7
|
145
|
5,31
|
16
|
1-16
|
17
|
1-17
|
130
|
4,76
|
18
|
1-18
|
19
|
1-19
|
20
|
1-20
|
273×8
|
145
|
7,58
|
21
|
1-21
|
22
|
1-22
|
130
|
6,80
|
23
|
1-23
|
24
|
1-24
|
25
|
1-25
|
325×8
|
145
|
9,07
|
26
|
1-26
|
27
|
1-27
|
130
|
8,13
|
28
|
1-28
|
29
|
1-29
|
377×9
|
145
|
11,84
|
30
|
1-30
|
31
|
1-31
|
130
|
10,62
|
32
|
1-32
|
33
|
1-33
|
426×9
|
145
|
13,42
|
34
|
1-34
|
35
|
1-35
|
130
|
12,03
|
36
|
1-36
|
530×8
|
145
|
3
|
14,93
|
37
|
1-37
|
38
|
1-38
|
130
|
13,39
|
39
|
1-39
|
630×8
|
145
|
17,797
|
40
|
1-40
|
41
|
1-41
|
720×8
|
20,37
|
42
|
1-42
|
43
|
1-43
|
820×9
|
26,10
|
44
|
1-44
|
920×10
|
32,54
|
45
|
1-45
|
1020×10
|
36,12
|
* - Размер - после обработки по чертежу 1
|
4
Конструкция и размеры диска должны соответствовать указанным на рисунке 2 и в таблице 4.

_____________
* - Размеры для справок
Рисунок 2
Таблица 4
Размеры в миллиметрах
Обозначение
|
D
|
S
|
Масса, кг
|
1-01
|
47
|
10
|
0,11
|
1-02
|
66
|
0,22
|
1-03
|
78
|
12
|
0,36
|
1-04
|
10
|
0,32
|
1-05
|
96
|
14
|
0,70
|
1-06
|
12
|
0,57
|
1-07
|
10
|
0,50
|
1-08
|
121
|
14
|
1,14
|
1-09
|
12
|
0,94
|
1-10
|
10
|
0,81
|
1-11
|
146
|
18
|
2,11
|
1-12
|
14
|
1,69
|
1-13
|
12
|
1,41
|
1-14
|
10
|
1,20
|
1-15
|
201
|
25
|
5,50
|
1-16
|
18
|
4,12
|
1-17
|
14
|
3,28
|
1-18
|
12
|
2,74
|
1-19
|
10
|
2,34
|
1-20
|
253
|
25
|
8,94
|
1-21
|
18
|
6,65
|
1-22
|
14
|
5,26
|
1-23
|
253
|
12
|
4,42
|
1-24
|
10
|
3,76
|
1-25
|
305
|
25
|
13,21
|
1-26
|
18
|
9,77
|
1-27
|
14
|
7,71
|
1-28
|
12
|
6,51
|
1-29
|
355
|
25
|
18,10
|
1-30
|
18
|
13,33
|
1-31
|
14
|
10,51
|
1-32
|
12
|
8,89
|
1-33
|
404
|
25
|
23,64
|
1-34
|
18
|
17,37
|
1-35
|
14
|
13,67
|
1-36
|
510
|
25
|
38,27
|
1-37
|
18
|
27,92
|
1-38
|
14
|
21,92
|
1-39
|
610
|
25
|
55,04
|
1-40
|
18
|
40,16
|
1-41
|
700
|
25
|
72,86
|
1-42
|
18
|
53,07
|
1-43
|
798
|
25
|
95,11
|
1-44
|
896
|
120,33
|
1-45
|
996
|
149,09
|
5 Материал.
- дисков - лист в соответствии с сортаментом листов по
ОСТ
34-42-658, раздел 4;
- патрубков - см. табл. 3 настоящего стандарта.
6 Диаметры дисков D уточнить по
фактическим внутренним диаметрам патрубков с учетом допускаемого зазора не
более 2 мм на сторону.
7 Контроль качества сварного соединения диска с
патрубком - в соответствии с ОСТ
34-42-660 в зависимости от категории.
Допускается послойный визуальный контроль (с
регистрацией результатов контроля в журнале ОТК) и измерение.
8 Общие требования к подготовке кромок под сварку с
трубопроводом - по ОСТ
34-42-659.
9 Маркировать товарный знак завода-изготовителя, условный проход,
условное давление и обозначение по настоящему стандарту.
10 Неуказанные предельные отклонения размеров 
11 Остальные технические требования - по ОСТ
34-42-660.
УТВЕРЖДЕН ПРИКАЗОМ Министерства энергетики и
электрификации СССР от 24.04.1984 г. № 163.
ИСПОЛНИТЕЛИ В.И. Есарев, В.В. Горбачев, И.А. Головин,
Л.М. Иванова, Л.Е. Иевлева, М.В. Морозюк, Е.А. Голубева
ЗАРЕГИСТРИРОВАН ВИФС за № 8330084 от 21.09.84
ССЫЛОЧНЫЕ НОРМАТИВНО-ТЕХНИЧЕСКИЕ ДОКУМЕНТЫ
Обозначение НТД, на которые дана ссылка
|
номер пункта, подпункта перечисления,
приложения
|
Правила АЭУ
|
1, абзацы 1 и 2, 3,табл. 2, пример
|
Правила пара и горячей воды
|
2, 3, табл. 2, пример, 2-ий абзац
|
РД 03-94
|
|
СНиП
3.05.05-84
|
2, 3, табл. 2, пример, 3-ий абзац
|
ПНАЭ
Г-7-010-89
|
3, табл. 2, пример, 1-ый абзац
|
ОСТ
34-42-658-84
|
3, табл. 3, поз. 2; 5
|
ОСТ
34-42-659-84
|
8
|
ОСТ
34-42-660-84
|
7, 11
|
ПЕРЕИЗДАНИЕ С ИЗМЕНЕНИЯМИ
Извещение № 1 от 06.03.86 № 32а
Изменение № 2 от 20.09.88 № 374а
Извещение № 3 от 25.12.90 № 176а
Изменение № 4 от 02.06.95 № 117
Изменение № 5 от 23.01.01 № 18
|