Информационная система
«Ёшкин Кот»

XXXecatmenu

отраслевой стандарт

СОЕДИНЕНИЯ ПРОВОДОВ С ЭЛЕМЕНТАМИ ЭЛЕКТРОРАДИОТЕХНИЧЕСКИХ УСТРОЙСТВ

Технические требования

ОСТ 1 01032-82

На 36 страницах

Взамен ОСТ 1 00033-73

 

Проверено в 1986 г.

Срок действия продлен до 01.07.98

Ограничение срока действия снято

 

Распоряжением Министерства от 16 июня 1982 г. № 087-16 срок действия установлен с 1 июля 1983 г.

1. Настоящий стандарт устанавливает технические требования к неразборным и разборным соединениям проводов с элементами электрорадиотехнических устройств, агрегатов, приборов, узлов и т.п. (в дальнейшем изложении - соединения проводов).

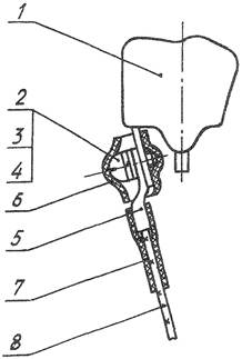
2. Соединение провода с контактом соединителей серий ШР*, 2РТ, 2РТТ, 2РМ, 2РМД, PC, PPM47, РПКМ, РП15, ОНЦ-БС-1, ОНЦ-БС-2, ГРМП1, РБН 2 должно производиться в соответствии с черт. 1.

____________

* В новых разработках не применять.

1 - соединитель; 2 - провод; 3 - трубка электроизоляционная

Черт. 1

3. Соединение провода с контактом соединителя типа РСГ должно производиться в соответствии с черт. 2.

1 - соединитель; 2 - провод; 3 - трубка электроизоляционная

Черт. 2

4. Соединение провода с контактом соединителей серии МР1 и ОНЦ-БС-4 должно производиться в соответствии с черт. 3.

1 - соединитель; 2 - провод; 3 - трубка электроизоляционная

Черт. 3

5. Соединение провода с контактом соединителя серии СШР должно производиться в соответствии с черт. 4.

1 - соединитель; 2 - провод; 3 - трубка электроизоляционная

Черт. 4

6. Соединение провода с контактом соединителя серии Р должно производиться в соответствии с черт. 5.

1 - соединитель; 2 - провод; 3 - трубка электроизоляционная

Черт. 5

7. Соединение одного или двух проводов площадью сечения жилы 0,2 мм2 и менее каждого с контактом соединителей серий ШР*, 2РТТ, 2РМ, 2РМД, PC, PPM47 и Р при помощи наконечника должно производиться в соответствии с черт. 6.

___________

* В новых разработках не применять.

1 - соединитель; 2 - провод; 3 - наконечник по ОСТ 1 13701-81; 4 - трубка электроизоляционная

Черт. 6

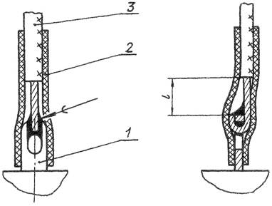
8. Соединение провода с контактом соединителя при диаметре провода, меньшем диаметра контакта, должно производиться в соответствии с черт. 7.

1 - соединитель; 2 и 3 - трубка электроизоляционная термоусаживаемая; 4 - провод

Черт. 7

9. Соединение провода с лепестком при диаметре провода, меньшем размера лепестка, должно производиться в соответствии с черт. 8.

1 - лепесток; 2 и 3 - трубка электроизоляционная термоусаживаемая; 4 - провод

Черт. 8

10. Соединение провода площадью сечения жилы 0,2 мм2 и менее с лепестком с отверстием должно производиться в соответствии с черт. 9.

1 - лепесток; 2 - трубка электроизоляционная; 3 - провод

Черт. 9

11. Соединение провода площадью сечения жилы от 0,35 до 1,5 мм2 включительно с лепестком с отверстием должно производиться в соответствии с черт. 10.

1 - лепесток; 2 - трубка электроизоляционная; 3 - провод

Черт. 10

12. Соединение провода площадью сечения жилы 2,5 мм2 и более с лепестком с отверстием должно производиться в соответствии с черт. 11.

1 - лепесток; 2 - трубка электроизоляционная; 3 - провод

Черт. 11

13. Соединение двух проводов площадью сечения жилы 0,2 мм2 и менее каждого с лепестком с отверстием должно производиться в соответствии с черт. 12.

1 - лепесток; 2 - трубка электроизоляционная; 3 - провод

Черт. 12

14. Соединение двух проводов площадью сечения жилы от 0,85 до 1,50 мм2 включительно каждого с лепестком с отверстием должно производиться в соответствии с черт. 13.

1 - лепесток; 2 - трубка электроизоляционная; 3 - провод

Черт. 13

15. Соединение двух проводов площадью сечения жилы 2,5 мм2 и более каждого с лепестком с отверстием должно производиться в соответствии с черт. 14.

1 - лепесток; 2 - трубка электроизоляционная; 3 - провод

Черт. 14

16. Соединение проводов, направленных в разные стороны, с лепестком с отверстием должно производиться в соответствии с черт. 15.

1 - лепесток; 2 - бирка маркировочная; 3 - провод

Черт. 15

17. Соединение провода с лепестком с отверстием с последующим огибанием лепестка должно производиться в соответствии с черт. 16.

1 - лепесток; 2 - бирка маркировочная; 3 - провод

Черт. 16

18. Соединение провода, идущего снизу к лепестку с отверстием, должно производиться в соответствии с черт. 17.

1 - лепесток; 2 - трубка электроизоляционная; 3 - провод

Черт. 17

19. Соединение провода с полукруглым лепестком с отверстием должно производиться в соответствии с черт. 18.

1 - лепесток; 2 - трубка электроизоляционная; 3 - провод

Черт. 18

20. Соединение провода с плоским лепестком без отверстия должно производиться в соответствии с черт. 19.

1 - лепесток; 2 - провод

Черт. 19

21. Соединение лепестков с отверстием при помощи перемычки должно производиться в соответствии с черт. 20.

1 - лепесток; 2 - проволока

Черт. 20

22. Соединение с круглым контактом одного ила двух проводов площадью сечения жилы до 0,2 мм2 каждого, расположенных вдоль оси контакта, при помощи наконечника должно производиться в соответствии с черт. 21.

1 - контакт; 2 - трубка электроизоляционная; 3 - наконечник по ОСТ 1 13709-81; 4 - провод

Черт. 21

23. Соединение с круглым контактом проводов площадью сечения жилы до 0,2 мм2 каждого, расположенных перпендикулярно оси контакта, при помощи наконечника должно производиться в соответствии с черт. 22.

1 - контакт; 2 - трубка электроизоляционная; 3 - наконечник по ОСТ 1 13710-81; 4 - провод

Черт. 22

24. Соединение с круглым контактом одного или двух проводов площадью сечения жилы от 0,85 до 1,50 мм2 включительно каждого, расположенных вдоль оси контакта, при помощи наконечника должно производиться в соответствии с черт. 23.

1 - контакт; 2 - трубка электроизоляционная; 3 - наконечник по ОСТ 1 13708-81; 4 - провод

Черт. 23

25. Соединение с круглым контактом одного или двух проводов площадью сечения жилы от 0,35 до 1,50 мм2 включительно каждого, расположенных перпендикулярно ост контакта, при помощи наконечника должно производиться в соответствии с черт. 24.

1 - контакт; 2 - трубка электроизоляционная; 3 - наконечник по ОСТ 1 13707-81; 4 - провод

Черт. 24

26. Соединение с круглым контактом нескольких проводов без применения наконечников должно производиться в соответствии с черт. 25.

1 - контакт; 2 - провод; 3 - панель

Черт. 25

27. Соединение с круглым контактом обмоточного провода типов ПЭВ, ПЭЛШО и других диаметром проволоки от 0,02 до 0,10 мм включительно должно производиться в соответствии с черт. 26.

1 - контакт; 2 - провод; 8 - панель

Черт. 26

28. Соединение провода с круглым изогнутым контактом должно производиться в соответствии с черт. 27.

1 - контакт; 2 - трубка электроизоляционная; 3 - провод

Черт. 27

29. Соединение с круглым контактом провода, расположенного вдоль оси контакта, без наконечника должно производиться в соответствии с черт. 28.

1 - контакт; 2 - трубка электроизоляционная; 3 - провод

Черт. 28

30. Соединение проводов с клеммами двухрядной колодки должно производиться в соответствии с черт. 29.

1 - провод; 2 - трубка электроизоляционная; 3 - наконечник; 4 - гайка; 5 - шайба пружинная; 6 - шайба защитная; 7 - колодка клеммная

Черт. 29

31. Соединение проводов с клеммами двухрядной колодки с применением перемычки должно производиться в соответствии с черт. 30.

1 - наконечник; 2 - гайка; 3 - шайба пружинная; 4 - шайба защитная; 5 - перемычка; 6 - колодка клеммная; 7 - провод

Черт. 30

32. Соединение проводов с клеммами однорядной колодки должно производиться в соответствии с черт. 31.

1 - колодка; 2 - наконечник; 3 - гайка; 4 - шайба пружинная; 5 - шайба защитная; 6 - трубка электроизоляционная; 7 - провод

Черт. 31

33. Соединение провода с гнездом электроэлемента путем зажима винтом должно производиться в соответствии с черт. 32.

1 - электроэлемент; 2 - наконечник по ОСТ 1 13700-81; 3 - провод; 4 - винт

Черт. 32

34. Соединение провода с контактом электроэлемента путем зажима винтом должно производиться в соответствии с черт. 33 и 34.

1 - электроэлемент; 2 - шайба защитная; 3 - шайба пружинная; 4 - винт; 5 - наконечник; 6, 7 - трубка электроизоляционная термоусаживаемая; 8 - провод

Черт. 33

1 - электроэлемент; 2 - шайба защитная; 3 - шайба пружинная; 4 - винт; 5 - наконечник; 6, 7 - трубка электроизоляционная термоусаживаемая; 8 - провод

Черт. 34

33. Соединение провода с контактом электроэлемента с защитой предохранительным колпачком должно производиться в соответствии с черт. 35.

1 - провод; 2 - бирка маркировочная; 3 - бандаж по ОСТ 1 03856-79; 4 - наконечник; 5 - колпачок предохранительный по ГОСТ 19323-73; 6 - гайка; 7 - шайба защитная; 8 - шайба пружинная; 9 - электроэлемент

Черт. 35

36. Соединение провода, заделанного в чашечный наконечник, с электроэлементом (вилкой, розеткой типа 47К, 48К и др.) должно производиться в соответствии с черт. 36.

1 - гайка; 2 - шайба пружинная; 3 - шайба защитная; 4 - наконечник чашечный по ОСТ 1 13713-81; 5 - электроэлемент; 6 - контакт электроэлемента; 7 - трубка электроизоляционная; 8 - провод

Черт. 36

37. Соединение проводов с одной клеммой для варианта без ограничительных выступов должно производиться в соответствии с черт. 37.

1 - клемма; 2 - гайка; 3 - шайба пружинная; 4 - шайба защитная; 5 - наконечник; 6 - трубка электроизоляционная; 7 - провод

Черт. 37

38. Соединения проводов должны обеспечивать надежную работу бортовой электрической сети летательных аппаратов во всех условиях эксплуатации.

39. Диаметр жил проводов, соединяемых с хвостовиками контактов электрических соединителей, не должен превышать внутренних диаметров отверстий хвостовиков контактов. При подборе проводов руководствоваться техническими условиями на соединители, учитывая, что при облуживании диаметр жилы провода увеличивается на 5 - 10 %.

В контакт диаметром 1,5 мм соединителя 2РМД не допускается подпаивать провод площадью сечения жилы более 0,75 мм2.

40. Использование контактов электрорадиотехнических устройств, коммутационной аппаратуры, их элементов, электрических соединителей и т.п. для разветвления цепей не допускается и для этой цели применять:

- клеммные и переходные колодки, к которым допускается соединение до трех проводов, включая перемычки и выводы навесных элементов электромонтажа при условии свободного размещении в отверстии лепестка и если не затруднится монтаж соседних проводов;

- муфты сращивания по ОСТ 1 12273-77 для бортового монтажа;

- опорные точки на плате для приборного монтажа.

41. Общая площадь сечения жил проводов, соединяемых с лепестками, выводами и контактами, определяется допустимой плотностью тока в наименьшем сечении лепестка, вывода или контакта, при этом:

- площадь сечения жил проводов и количество проводов, соединяемых с контактами, не должны превышать установленных норм по техническим условиям на конкретные электроэлементы;

- с контактами электрических соединителей не допускается соединение более одного провода без наконечника и более двух проводов с наконечником.

42. Провода при соединении юс с контактами и лепестками перед пайкой должны быть механически закреплены и во время пайки неподвижны. Пайка проводов встык не допускается.

Пайку проводов в электрические соединители, имеющие цилиндрические контакты, производить в соответствии с черт. 1 - 7 без механического крепления.

43. Радиус изгиба провода должен быть не менее размера, указанного в технических условиях на данный провод. При отсутствии таких указаний внутренний радиус изгиба должен быть не менее:

- трехкратного размера наружного диаметра провода для монтажных проводов;

- пятикратного размера наружного диаметра провода для бортовых проводов.

44. Детали из резины, содержащей серу, и провода с резиновой изоляцией не должны находиться в непосредственной близости или соприкасаться с контактами, покрытыми серебром.

45. Заделку изоляции и оплетки на концах проводов производить по ОСТ 1 03584-78.

46. При соединении проводов с элементами электрорадиотехнических устройств применять наконечники по ОСТ 1 13696-81 - ОСТ 1 13713-81 и ОСТ 1 12320-78.

47. Заделку проводов в наконечники производить в соответствии с ОСТ 1 03816-78, ОСТ 1 03967-81.

48. Соединение проводов площадью сечения жил 0,20 мм2 и менее в контакты соединителей должно производиться:

- в межблочных и бортовых жгутах - с помощью наконечника по ОСТ 1 13701-81;

- во внутриблочном монтаже и при монтаже проводами марок БПДОУ, БИФ бр и БФС бр - без наконечника.

49. Наконечник по ОСТ 1 13701-81 должен припаиваться по всей площади прилегания его к контакту.

50. При пайке нескольких проводов к лепестку каждая жила провода должна быть закреплена отдельно.

51. При пайке проводов, в зависимости от рабочей температуры, необходимо применять припои согласно рекомендуемому приложению 1.

52. Применяемый при лужении и пайке флюс должен удовлетворять требованиям действующей отраслевой документации.

53. Для обеспечения прочного и надежного соединения концы проводов и выводы элементов электромонтажа перед пайкой должны быть облужены.

54. Облуживание жилы провода выполнять по действующей отраслевой документации тем же припоем, которым выполняется пайка, так, чтобы зона облуживания не доходила до среза изолинии не менее чем на 1 мм, кроме проводов, изоляция которых закреплена в наконечник.

55. Для качественного обслуживания жил проводов площадью сечения 0,2 - 1,0 мм2, входящих в бортовые и межблочные жгуты, применять теплоотводы, обеспечивающие необходимый размер необлуженной зоны.

Примечание. Провода всех сечений и марок, запаиваемые в угловые электрические соединители, необходимо облуживать с применением теплоотводов.

56. Облуженный провод должен быть покрыт ровным слоем припоя без острых выступов, иметь скелетный характер, т.е. под припоем должен быть виден контур провода.

Не допускается затекание припоя под изоляцию.

57. Укорачивание облуженного конца провода, подпаиваемого к хвостовикам контактов электрических соединителей, не допускается. При необходимости откусывания лишней длины жилы провода произвести повторное облуживание.

58. Отверстие лепестка паяного соединения должно быть заполнено припоем настолько, чтобы обеспечить надежное соединение.

59. Внешний вид паяного соединения должен отвечать следующим требованиям:

- поверхность паяных соединений должна быть ровной и гладкой;

- контуры паяного соединения должны просматриваться под слоем припоя, т.е. пайка должна быть скелетной;

- не допускаются излишние наплывы припоя или нехватка его на опаиваемых деталях;

- не допускаются поры, вздутия, трещины, острые выступы припоя, вкрапления флюса и инородные включения в паяном соединении.

60. При соединении монтажных проводов без наконечника с контактами соединителей или лепестками длина l должна быть равной (2 ± 0,5) мм.

При соединении бортовых проводов марок БПДО, БИН, БИф, БФС и т.д., обладающих повышенной жесткостью изоляции, с контактами соединителей или лепестками максимальная длина l оголенного участка провода должна быть:

- до двух наружных диаметров подпаиваемого провода площадью сечения жилы 0,75 мм2 и менее;

- до полутора наружных диаметров подпаиваемого провода площадью сечения жилы от 1,0 до 2,5 мм2 включительно;

- до одного наружного диаметра подпаиваемого провода площадью сечения жилы 4 мм2 и более.

При этом минимальная длина оголенного участка провода после пайки для всех площадей сечений жил должна быть не менее 2 мм, максимальная длина для площадей сечений жил 4 мм2 и более должна быть не более 6 мм.

61. Пайка монтажных соединений должна обеспечивать надежность электрического контакта и механическую прочность соединения.

62. Испытания паяных соединений на механическую прочность должны проводиться в соответствии с ОСТ 1 00822-81. Значения разрывных усилий паяных соединений указаны в справочном приложении 2.

63. Соединение проводов с электрическими соединителями, подлежащими герметизации, и их герметизация производятся в соответствии с ОСТ 1 00912-78.

Соединение проводов с контактами соединителей типа СНЦ 27 ¸ СНЦ 32, работающих при пониженных амплитудных значениях рабочего напряжения (Uраб £ 170 В), производить в соответствии с п. 2 настоящего стандарта.

Заделку проводов в обжимные контакты электрических соединителей типа СНЦ производить в соответствии с ОСТ 1 03867-77.

64. При соединении проводов с клеммой с резьбовым зажимом крутящие моменты должны соответствовать значениям, указанным в рекомендуемом приложении 3. Необходимость затяжки тарированным инструментом устанавливает разработчик конструкторской документации.

Нанесение смазки на сочетающиеся крепежные детали электрического соединения не допускается.

65. При соединении проводов с электроэлементами, имеющими незадействованные клеммы, крепежные детали на незадействованных клеммах завернуть и законтрить аналогично задействованным клеммам.

66. Все наконечники на колодках, контакторах, реле, выключателях и т.д. должны устанавливаться и фиксироваться, опираясь на электроизоляционные ребра, стенки и т.д., или устанавливаться таким образом, чтобы при возможном повороте наконечника гайка могла только затягиваться. Для фиксирования наконечников рекомендуется применять электроизоляционные термоусаживаемые трубки.

67. Соединение проводов с электроэлементами, в комплект которых входят наконечники, должно производиться только с помощью этих наконечников.

68. Для электрической защиты и снятия механического напряжения соединений применять:

- при рабочей температуре проводов до 100 °С трубки Радпласт Т-2 ТУ 6-19-299-86 (не усаженные или предварительно усаженные перед установкой на соединение);

- при рабочей температуре проводов от 105 до 135 °С трубки Радпласт Т-2 ТУ 6-19-299-86 с усадкой на соединении;

- при рабочей температуре проводов более +135 °С электроизоляционные трубки из фторопласта 4Д ГОСТ 22056-76.

При соединении с соединителями и колодками смешанных проводов (низкотемпературных и высокотемпературных) на низкотемпературные провода допускается устанавливать электроизоляционные трубки из фторопласта 4Д ГОСТ 22056-76 или предварительно усаженные перед установкой на соединение трубки Радпласт Т-2 ТУ 6-19-299-86.

69. Длину термоусаживаемых трубок для защиты паяных соединений рекомендуется выбирать равной (25 ± 5) мм.

Для малогабаритных соединителей серий PC, MP допускается уменьшение длины термоусаживаемых трубок до 15 мм.

70. Длина и диаметр термоусаживаемых трубок для защиты паяных соединений подбираются с учетом 40 - 50 % поперечной и 15 % продольной усадки в процессе нагрева.

71. Диаметр термоусаживаемых трубок выбирается таким образом, чтобы трубка в расширенном состоянии свободно устанавливалась на хвостовик контакта (лепестка) и на провод, а после усадки плотно охватывала провод и хвостовик контакта (лепесток).

Для обеспечения вышеуказанного требования расширенная трубка выбирается по большему элементу соединения (провода или хвостовика контакта).

72. Электроизоляционная нетермоусаживаемая трубка, применяемая для защиты паяного соединения, должна устанавливаться с натягом.

73. При соединении провода с контактом соединителя или лепестком при диаметре провода, меньшем диаметра контакта, на провод устанавливается дополнительная термоусаживаемая трубка длиной 10 - 15 мм в соответствии с черт. 7 и 8.

74. Установка термоусаживаемых трубок с натягом и на острые кромки деталей недопустима из-за возможного разрыва трубок при их термообработке.

75. Электроизоляционная трубка должна быть надета на провод перед пайкой соединения.

76. При применении термоусаживаемых трубок в качестве защитных не допускается применение лакокрасочных покрытий и меток на контакте.

77. При соединении провода с лепестком с отверстием в соответствии с черт. 17 допускается вместо электроизоляционной трубки влагозащитное лакокрасочное покрытие лепестка и оголенной жилы провода.

Выбор влагозащитного лакокрасочного покрытия производить в соответствии с ОСТ 1 90111-83.

78. Допускается использовать электроизоляционные трубки одновременно в качестве маркировочных бирок в соответствии с ОСТ 1 00081-79.

79. Предохранительные колпачки выбираются в зависимости от площади сечения соединяемого провода по ГОСТ 19328-73.

Необходимость и места установки предохранительных колпачков устанавливаются разработчиком изделия.

80. Наложение бандажа производить в соответствии с ОСТ 1 03856-79.

81. Соединение провода, направившего вдоль оси лепестка, не имеющего отверстия, должно производиться в соответствии с черт. 38.

1 - контакт; 2 - трубка электроизоляционная; 3 - провод

Черт. 38

82. Соединение с круглым контактом двух проводов, идущих сверху, без применения наконечников должно производиться в соответствии с черт. 39.

1 - контакт; 2 - трубка электроизоляционная; 3 - провод

Черт. 39

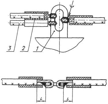
83. Соединение проводов с клеммами двухрядной колодки при плотном монтаже должно производиться в соответствии с черт. 40.

84. Соединение проводов с клеммами двухрядной колодки с применением перемычки при плотном монтаже должно производиться в соответствии с черт. 41.

85. Соединение одного провода при большой разности диаметров провода и клеммы, или нескольких проводов с контактом электрорадиоэлемента путем зажима винтом должно производиться в соответствии с черт. 42.

Запись в технической документации соединения проводов с элементами электрорадиотехнических устройств;

Соединения проводов с элементами электрорадиотехнических устройств по ОСТ 1 01032-82.

1 - провод; 2 - трубка электроизоляционная; 3 - наконечник; 4 - гайка; 5 - шайба пружинная; 6 - шайба защитная; 7 - колодка клеммная

Черт. 40

1 - наконечник; 2 - гайка; 3 - шайба пружинная; 4 - шайба защитная; 5 - перемычка; 6 - колодка клеммная; 7 - провод

Черт. 41

1 - электроэлемент; 2 - шайба защитная; 3 - шайба пружинная; 4 - винт; 5 - наконечник; 6, 7 - трубки электроизоляционные термоусаживаемые; 8 - провод

Черт. 42

ПРИЛОЖЕНИЕ 1
Рекомендуемое

Припои, применяемые при соединении проводов, выполняемом методом пайки, с элементами электрорадиотехнических устройств, указаны в таблице.

Рабочая температура, °С

Припои

Марка

Обозначение стандарта

До 150

ПОССу-40-0,5

ПОССу-61-0,5

ГОСТ 21981-76

Олово 02

ТУ 48-13-17-77

Олово 03

ГОСТ 860-75

ПСрМО5 (ВПр9)

ГОСТ 19738-74

До 200

ПСрОСу8 (ВПр6)

До 250

ПСр3Кд

ПСр2,5

Примечания: 1. Припои ПОССу-40-0,5; ПОССу-61-0,5; ПСр3Кд и ПСр2,5 применять с антикоррозионной защитой - грунтовка ЭП-076 (ТУ 6-10-755-84) в два слоя.

2. В случае применения термоусаживаемых трубок защитные лакокрасочные покрытия не применяются для всех типов припоев.

ПРИЛОЖЕНИЕ 2
Справочное

Значения разрывных усилий паяных соединений указаны в таблице.

Площадь сечения жилы провода, мм2

Разрывное усилие, Н (кгс), не менее

0,03

6,0 (0,6)

0,05

10,0 (1,0)

0,08

13,7 (1,4)

0,12

27,5 (2,8)

0,20

44,1 (4,5)

0,35

60,8 (6,2)

0,50

88,2 (9,0)

0,75

137,2 (14,0)

1,00

186,2 (19,0)

1,50

284,2 (29,0)

2,50

392,0 (40,0)

4,00

588,0 (60,0)

6,00

784,0 (80,0)

10,00

1960,0 (200,0)

16,00

2450,0 (250,0)

25,00

35,00

50,00

4900,0 (500,0)

70,00

95,00

Примечание. Значения разрывных усилий паяных соединений проводов с упрочненной жилой площадью сечения 0,20; 0,35; 0,50 мм2 должны быть не менее значений соответственно: 60,8 Н (6,2 кгс); 88,2 Н (9,0 кгс); 137,2 Н (14,0 кгс).

ПРИЛОЖЕНИЕ 3
Рекомендуемое

Крутящие моменты для затяжки болтовых соединений проводов с элементами электрорадиотехнических устройств указаны в таблице.

Контактирующие детали

Резьба

Крутящий момент Н·м, (кгс×м)

Болт

Гайка

Материал

Покрытие

Материал

Покрытие

Латунь

Оловянирование

Латунь

Оловянирование

М4

0,98 ± 0,1 (0,10 ± 0,01)

М5

1,96 ± 0,2 (0,20 ± 0,02)

М6

3,43 ± 0,3 (0,35 ± 0,03)

М8

9,80 ± 1,0 (1,00 ± 0,10)

М10

18,64 ± 2,0 (1,90 ± 0,20)

М12´1,5

29,40 ± 3,0 (3,00 ± 0,30)

Сталь

Кадмирование

Сталь

Кадмирование

М4

1,76 ± 0,2 (0,18 ± 0,02)

М5

3,90 ± 0,2 (0,40 ± 0,02)

М6

6,40 ± 0,3 (0,65 ± 0,03)

М8

16,20 ± 0,4 (1,65 ± 0,04)

М10

35,80 ± 0,5 (3,65 ± 0,05)

 



© 2013 Ёшкин Кот :-)