Информационная система
«Ёшкин Кот»

XXXecatmenu

Министерство связи Российской Федерации

Акционерное общество
по разработке и совершенствованию
технологий строительства сооружений связи
АООТ «ССКТБ-ТОМАС»

УТВЕРЖДАЮ

Заместитель

Министра связи

Российской Федерации

Н.Ф. Пожитков

21 декабря 1995 г.

I

РУКОВОДСТВО ПО СТРОИТЕЛЬСТВУ
линейных сооружений местных сетей связи

Москва - 1996

Руководство содержит требования и указания по технологии и организации строительства линейных сооружений местных сетей связи, обязательные для всех организаций, осуществляющих строительство, проектирование и эксплуатацию указанных сооружений.

ПРЕДИСЛОВИЕ

Настоящее «Руководство по строительству линейных сооружений местных сетей связи» разработано акционерным обществом по разработке и совершенствованию технологий строительства сооружений связи» (АООТ «ССКТБ - ТОМАСС») взамен действующей «Общей инструкции по строительству линейных сооружений городских телефонных сетей» (М. Связь, 1978).

В Руководстве учтены современный уровень развития техники связи, новые типы кабелей связи (в том числе оптические), линейного оборудования и технология их монтажа, новые разработки средств измерительной техники, опыт строительных организаций по механизации и индустриализации строительно-монтажных работ, технологические требования, изложенные в специальных частных инструкциях, ТУ и других нормативных документах. В случаях наличия расхождений в требованиях Руководства и действующих (до переработки) отдельных инструктивных материалов при выполнении работ следует выполнять требования Руководства.

Данное Руководство является обязательным для проектных, строительных и эксплуатационных организаций Министерства связи Российской Федерации, а также вневедомственных организаций в случае выхода принадлежащих им средств связи на Взаимоувязанную сеть связи Российской Федерации (ВСС России).

Обеспечение безопасных условий труда, пожаровзрывобезопасности и охраны окружающей среды при производстве работ должно осуществляться с соблюдением требований Системы стандартов безопасности труда, нормативных документов Госгортехнадзора России и ведомственных нормативных документов по этим вопросам.

При разработке Руководства разделы 1, 2, 7 - 10, 19 составлены Ю.Г. Каневским, 3 - Е.П. Дубровским, 4, 12 - А.К. Беленко, 5, 6 - А.П. Рыбаковым, 11 - С.М. Кулешовым, А.А. Никитиным и В.В. Кольцовым, 13 - А.А. Никитиным, 14 - С.П. Кромом, 15 - Н.Г. Княжером, 16 - Г.И. Инюшиным, 17 - к.т.н. К.К. Никольским, 18 - к.т.н. Л.Д. Разумовым.

Рассмотрение полученных замечаний по первой редакции и подготовка экспертного заключения с конкретными рекомендациями выполнено рабочей группой, состоящей из специалистов АО «Мостелефонстрой», АО «Союзтелефонстрой», концерна «Связьстрой», ЦНИИС, ЛОНИИС, ГП МГТС, института «Гипросвязь», АООТ «ССКТБ-ТОМАСС».

Руководство было рассмотрено и одобрено экспертной комиссией Министерства связи СССР.

Руководство состоит из девятнадцати разделов, размещенных в двух частях.

В I-ой части помещены следующие разделы:

Раздел 1 - «Организация строительства линейных сооружений местных сетей связи»;

Раздел 2 - «Земляные работы»;

Раздел 3 - «Строительство подземной кабельной канализации связи»;

Раздел 4 - «Прокладка кабелей в подземной кабельной канализации, коллекторах, тоннелях и по мостам»;

Раздел 5 - «Прокладка кабелей местных сетей связи в грунте»;

Раздел 6 - «Прокладка кабелей через водные преграды»;

Раздел 7 - «Устройство вводов кабелей в общественные и жилые здания и прокладка в них кабелей»;

Раздел 8 - «Строительство воздушных столбовых линий связи c подвеской проводов и кабелей»;

Раздел 9 - «Строительство стоечных линий связи».

Во II-ой части помещены следующие разделы:

Раздел 10 - «Устройство абонентских пунктов»;

Раздел 11 - «Монтаж электрических кабелей местных сетей связи»;

Раздел 12 - «Монтаж оптических кабелей местных сетей связи»;

Раздел 13 - «Включение в кабельную линию контейнеров аппаратуры ИКМ»;

Раздел 14 - «Электрические измерения и испытания электрических кабелей местных сетей связи»;

Раздел 15 - «Измерения и испытания оптических кабелей местных сетей связи»;

Раздел 16 - «Испытания герметичности кабелей и постановка их под постоянное избыточное воздушное давление»;

Раздел 17 - «Защита подземных металлических сооружений связи от коррозии»;

Раздел 18 - «Защита линейных сооружений от опасных напряжений и токов»;

Раздел 19 - «Приемка в эксплуатацию законченных строительством линейных сооружений местных сетей связи».

Ответственное и техническое редактирование, а также подготовка Руководства к изданию осуществлены к.т.н. В.И. Максимовым и Ю.Г. Каневским.

РАЗДЕЛ 1
ОРГАНИЗАЦИЯ СТРОИТЕЛЬСТВА ЛИНЕЙНЫХ СООРУЖЕНИЙ МЕСТНЫХ СЕТЕЙ СВЯЗИ

ОБЩИЕ ПОЛОЖЕНИЯ

1.1. Сеть электросвязи - технологические системы, обеспечивающие один или несколько видов передач: телефонную, телеграфную, факсимильную, передачу данных и иных видов документальных сообщений, включая обмен информацией между ЭВМ, телевизионное, звуковое и иные виды радио- и проводного вещания.

1.2. Взаимоувязанная сеть связи (ВСС России) - комплекс технологически сопряженных сетей электросвязи на территории Российской Федерации, обеспеченный общим централизованным управлением.

Сеть связи общего пользования - составная часть ВСС России, открытая для пользования всем физическим и юридическим лицам, в услугах которой этим лицам не может быть отказано.

Ведомственные сети связи - сети электросвязи министерств и иных федеральных органов исполнительной власти, создаваемые для удовлетворения производственных и иных специальных нужд, имеющие выход на сеть связи общего пользования.

1.3. Местная телефонная сеть связи является частью первичной сети ВСС России, которая ограничена территорией города с пригородом или сельского района.

1.4. Местные телефонные сети состоят из линейных и станционных сооружений.

Линейные сооружения включают в себя абонентские (АЛ) и соединительные линии (СЛ). Абонентская линия представляет собой совокупность цепей, соединяющих городскую или сельскую (районную) телефонную станцию с телефонным аппаратом, и состоит из участков: магистрального, распределительного и абонентской проводки.

Абонентские линий могут быть прямого питания, включаемые посредством проложенных кабелей непосредственно на телефонную станцию, или включаемые в телефонную станцию по шкафной схеме через шкафы распределительные (ШР).

Линии от телефонных аппаратов до распределительных коробок называются абонентской проводкой. Десять абонентских проводок включаются в распределительную телефонную коробку (КРТ), от которой отходит десятипарный распределительный кабель.

(Поправка).

Распределительные кабели от нескольких КРТ, как правило, включаются в распределительный кабель соответствующей емкости, который прокладывается к распределительному шкафу (ШР) и распаивается на его оконечные устройства. Совокупность линий между распределительными коробками и распределительными шкафами носит название распределительной сети. От распределительных шкафов к АТС прокладываются магистральные участки абонентской сети; отдельные станции, в том числе междугородные, связываются соединительными линиями (СЛ).

1.5. Линейные сооружения местной связи представляют собой комплекс технических средств, образующих среду распространения, состоящую из кабельной или воздушной линии связи, по парам проводов которой создаются физические цепи, предназначенные для передачи сигналов электросвязи:

1.6. Линейно-кабельные сооружения местной связи состоят:

· из кабелей, проложенных в кабельной канализации, в коллекторах, в грунте, в зданиях по стеновым основаниям и в каналах, а также подвешенных на столбовых и стоечных опорах;

· всех видов муфт и сростков;

· необслуживаемых усилительных (НУП) и регенерационных пунктов (НРП);

· распределительных шкафов и коробок;

· оборудования для содержания кабелей под избыточным воздушным (газовым) давлением;

· вмонтированных в кабель пупиновских ящиков;

· кабельных переходов через автомобильные, железные дороги, подземные коммуникации и водные преграды.

1.7. К сооружениям воздушных линий связи относятся:

· столбовые воздушные линии, провода которых подвешены на деревянных, железобетонных опорах или деревянных в железобетонных приставках опорах;

· кабельные опоры с устройствами кабельными переходными (УКП);

· вводы линий связи и проводного вещания в предприятия связи;

· переходы воздушных линий при пересечениях контактных сетей наземного электротранспорта, железных и шоссейных дорог, линий электропередачи и связи;

· стоечные линии, провода которых подвешены на установленных на крышах зданий промежуточных, угловых и оконечных стойках.

1.8. Основными видами строительно-монтажных работ при строительстве линейных сооружений являются:

· производство земляных работ, строительство кабельной канализации, прокладка кабелей в канализации, коллекторах, тоннелях, прокладка кабелей в грунте, прокладка кабелей через водные преграды, автомобильные и железные дороги, устройство кабельных вводов в здания с прокладкой кабелей по стенам с установкой оконечных устройств;

· строительство столбовых линий с установкой и оснасткой опор, подвеской проводов и кабелей, оборудованием молниеотводов; устройство стоечных линий с производством тех же работ, что и на столбовых линиях, а также абонентских пунктов с прокладкой однопарных кабелей, установкой телефонных аппаратов и устройством заземлений (при воздушном вводе);

· устройство линейных вводов в здания телефонных станций с установкой металлоконструкций и арматуры в помещениях вводов кабелей, перчаточных и приямках;

· работы по монтажу кабелей в смотровых устройствах канализации, в котлованах, на воздушных кабельных линиях и на стенах зданий; пупинизация и симметрирование кабелей, а также включение (зарядка) кабелей в боксы, коробки и кабельные ящики;

· производство электрических измерений в процессе монтажа кабелей, а также на законченных монтажом линиях связи; защита кабелей от коррозии, от опасных напряжений и токов;

· монтаж оборудования для содержания кабелей под избыточным давлением и постановка кабелей под постоянное избыточное давление;

· составление исполнительной документации на законченные строительством линейные сооружения для предъявления их к сдаче рабочим приемочным комиссиям.

ОРГАНИЗАЦИЯ СТРОИТЕЛЬНОГО ПРОИЗВОДСТВА

ОСНОВНЫЕ ПРИНЦИПЫ ОРГАНИЗАЦИИ СТРОИТЕЛЬНО-МОНТАЖНЫХ РАБОТ

1.9. Организация строительного производства включает в себя совокупность организационных и технических мероприятий, обеспечивающих наиболее эффективное использование рабочей силы, машин, механизмов, материалов, в результате чего достигается успешное выполнение производственных целей, ввод в действие объектов строительства своевременно, при минимальных трудовых и материальных затратах и при высоком качестве работ.

1.10. При производстве работ по строительству линейных сооружений местных сетей должны соблюдаться требования, предусмотренные Государственными стандартами, Ведомственными строительными нормами Минсвязи России (ВСН), техническими условиями (ТУ), действующими правилами техники безопасности и настоящим Руководством.

1.11. При осуществлении строительства объектов на участках сложившейся городской застройки условия производства работ с выделением опасных зон, границ и осей подземных сооружений и коммуникаций должны быть согласованы с органами государственного надзора, местной Администрацией и эксплуатационными организациями.

1.12. Выполнение работ сезонного характера необходимо предусматривать в наиболее благоприятное время. Для круглогодичного строительства линейных сооружений должен создаваться задел, позволяющий производить работы в зимних условиях без выполнения трудоемких земляных работ.

1.13. Строительно-монтажные работы должны быть максимально механизированы. При производстве земляных, погрузочно-разгрузочных, транспортных и кабельных работ, имеющих большую трудоемкость, должна, по возможности, применяться комплексная механизация, то есть механизация как главного, так и вспомогательных и сопутствующих строительных процессов.

Рекомендуется применять индустриальные методы строительства, при которых возможно большая часть работ производится в условиях подсобных производств, в результате чего сокращается объем работ на трассах.

1.14. Работы по строительству местных телефонных сетей выполняются организациями и физическими лицами, имеющими лицензии на производство того или иного вида работ и зарегистрированными на строительную деятельность в установленном законодательством порядке. Заказчиками сооружений местных сетей связи могут выступать юридические и физические лица, имеющие финансовые средства и представившие поручительство по требованию подрядчика.

1.15. Организации Заказчика (или физические лица), генподрядные организации заключают между собой договор подряда на строительство сооружений местных сетей связи, содержащий общие (неизменные, как правило, для всех случаев) и особые условия, отражающие специфику конкретного объекта строительства или необычные местные обстоятельства, требующие включения дополнительных согласованных обязательств.

Отношения между ними основываются исключительно на договорных условиях, при этом рекомендуется для практического применения при оформлении и заключении договоров подряда на строительство объектов использовать «Руководство по составлению договоров подряда на строительство в Российской Федерации». Госстрой РФ, М., 1994. Указанное руководство разработано по поручению правительства Российской Федерации в соответствии с действующим законодательством и является методическим пособием, но не носит директивный характер.

(Поправка).

1.16. Права и обязанности ответственного исполнителя работ (производитель работ, мастер, бригадир, рабочий) регламентируются должностными инструкциями и контрактными соглашениями.

ПОДГОТОВКА СТРОИТЕЛЬНОГО ПРОИЗВОДСТВА

1.17. Подготовка строительного производства должна обеспечить технологическое развертывание строительно-монтажных работ и взаимоувязанную деятельность всех партнеров, участвующих в строительстве линейных сооружений.

1.18. Общая организационно-техническая подготовка строительства включает в себя: обеспечение проектно-сметной документации и ее входной контроль, заключение договоров подряда и субподряда на строительство, отвод в натуре трасс строительства кабельной канализации, прокладки кабелей, воздушных линий связи; оформление разрешений (ордеров) и допусков на производство работ, организацию поставки на строительство материалов, оборудования, конструкций и готовых изделий; подготовка автотранспорта и механизмов; получение и складирование оборудования, материалов, нетиповых изделий; формирование подразделений рабочей силой в соответствии с расчетом ее потребности, а также инструмента, инвентаря, средств малой механизации и измерительной аппаратуры; изыскание и подготовку жилья для рабочих; размещение участка строительства, приобъектного склада.

1.19. При ознакомлении с трассами прокладки линий местной связи необходимо уточнить: характеристику грунтов и характер местности; наличие и характер пересечений трасс с линиями электропередач, автомобильными и железными дорогами, водными преградами, подземными сооружениями; участки трасс строительства кабельной канализации и прокладки кабелей в грунте, на которых возможна механизация земляных работ; пункты размещения кабельных или других площадок и необходимых складских помещений; наличие жилья, питьевой воды, организацию питания работающих; состояние дорог и подъездов к местам складирования материалов, на трассах прокладки кабелей и строительства ВЛС; состояние и строительную готовность зданий и помещений, предназначенных для монтажа оборудования связи и в первую очередь шахты и кросса; наличие предприятий, способных изготовлять сборные железобетонные колодцы, железобетонные опоры и приставки для строительства, отпускать товарный бетон и условия предоставления этих услуг.

1.20. Во время подготовки к строительству каждого объекта местных сетей должно также предусматриваться: изучение линейным персоналом проекта и рабочих чертежей, а также в натуре трасс строительства линейных сооружений связи; составление, при необходимости, проекта производства работ (ППР).

1.21. Из-за специфических особенностей для большинства объектов строительства местной телефонной связи рекомендуется разрабатывать проекты производства работ (ППР). Они являются документами инженерной подготовки производства, определяющими рациональную организацию работ на строительстве и составляются в целях определения наиболее эффективных методов выполнения строительно-монтажных работ, способствующих снижению их себестоимости и трудоемкости, а также улучшению качества работ, что конечном итоге должно обеспечить получение прибыли. При разработке ППР рекомендуется использовать указания и формы, приведенные в СНиП 3.01.01-85*. «Организация строительного производства», М., 1990 и в «Рекомендациях по составлению проектов производства работ на строительство линейных сооружений ГТС», ССКТБ, М., 1982.

1.22. Качество выполняемых работ, производительность труда рабочего и совершенствование организации труда в значительной степени зависит от технической оснащенности инструментом, приспособлениями и средствами малой механизации. При комплектовании ими рекомендуется пользоваться разработанными ССКТБ нормокомплектами, наименование и индекс которых приведены в табл. 1.1.

Таблица 1.1

Индекс нормокомплекта

Наименование нормокомплекта

1

2

ГТС-ЛС-1

Нормокомплект инструмента, приспособлений и инвентаря для выполнения земляных работ при строительстве линейных сооружений связи ГТС

ГТС-ЛС-2

То же для оснащения бригады по строительству кабельной канализации

ГТС-ЛС-3

То же для оснащения бригады по заготовке каналов и протягиванию кабелей в кабельной канализации

ГТС-ЛС-4

То же для оснащения бригады по прокладке кабелей в траншеях (при размотке кабеля с кабельной тележки)

ГТС-ЛС-5

То же для выполнения работ по прокладке кабелей по стенам зданий и устройству ввода в здания

ГТС-ЛС-6

То же для звена по монтажу кабелей ГТС

ГТС-ЛС-7

То же для выполнения работ по устройству столбовых линий связи с подвеской кабелей и проводов

ГТС-ЛС-8

То же для выполнения работ по устройству стоечных линий связи с подвеской кабелей и проводов

КМ-ЛС-1

То же для оснащения звена по механизированной прокладке магистральных и внутризоновых кабелей связи в грунте с помощью кабелеукладчика

КМ-ЛС-2

То же для оснащения звена рабочих по устройству горизонтальных скважин с помощью установки БГ-3М (КМ-170)

КМ-ЛС-3

То же для оснащения звена по монтажу кабелей магистральных линий связи

КОНТРОЛЬ КАЧЕСТВА СТРОИТЕЛЬНО-МОНТАЖНЫХ РАБОТ

1.23. Особое место при выполнении договорных обязательств Исполнителя по строительству объектов местной телефонной связи занимают вопросы контроля качества строительно-монтажных работ, которое определяется соответствием их показателей требованиям проекта и нормативной документации.

1.24. В процессе технической подготовки строительного производства рекомендуется проводить следующие мероприятия, способствующие повышению качества СМР: изучение проектной документации и принятие решений по совершенствованию организации работ по внедрению прогрессивной технологии, накопленного опыта, рациональному составу механизмов, инструмента и приспособлений; обеспечению нормативной документацией, проектами производства работ, технологическими картами или технологическими схемами на весь комплекс выполняемых работ.

1.25. В процессе материально-технического обеспечения строительства целесообразны мероприятия, положительно влияющие на качество СМР, а именно: своевременная и комплектная поставка изделий, материалов, необходимых для строительства; организация проверки качества поставляемых изделий и материалов, оборудования; обеспечение нормативного качества изделий, изготавливаемых на подсобных предприятиях Исполнителя работ.

1.26. При комплектовании строительства квалифицированными кадрами должны учитываться, как минимум, следующие требования: квалификация специалистов должна соответствовать технической сложности выполняемых работ, а программы подготовки и повышения квалификации специалистов должны предусматривать изучение методов повышения качества СМР, в том числе прогрессивной технологии, новых механизмов, инструмента и приспособлений, а также анализ характерных дефектов, допускаемых при выполнении работ и методов их предотвращения.

Целесообразно также рекомендовать: создание условий для качественного выполнения СМР, основанных на объективном планировании, обеспечивающем ритмичное выполнение работ; обеспечении удовлетворительных бытовых условий на объектах, особенно линейных, что уменьшает текучесть рабочей силы, а также эффективное применение системы материального стимулирования повышения качества строительно-монтажных работ.

1.27. Контроль качества СМР должен осуществляться на всех стадиях их выполнения и подразделяется на следующие формы: входной; операционный; приемочный; инспекционный.

При входном контроле производится проверка соответствия поступающих на строительство проектно-сметной документации, оборудования, конструкций, монтажных узлов и материалов установленным требованиям.

При этом проверяется также соблюдение правил их транспортирования, складирования и хранения.

Состав проверок, испытаний и измерений, осуществляемых в процессе входного контроля, и порядок их оформления определяются соответствующими инструкциями. Проверка электрических параметров оборудования производится после его монтажа.

При операционном контроле производится проверка технологической дисциплины и качества работ в процессе выполнения и после завершения определенной производственной операции. Состав и его порядок устанавливаются схемами операционного контроля качества (СОКК), разрабатываемыми непосредственно организацией - ответственным Исполнителем работ.

Все выявленные в процессе операционного контроля дефекты должны быть устранены до начала выполнения последующих операций. Пример схемы операционного контроля приведен в табл. 1.2.

При приемочном контроле производится проверка качества выполненных конструктивных элементов, отдельных сооружений, видов работ и объектов в целом. Промежуточная приемка выполненных работ осуществляется представителями технического надзора, назначаемыми Заказчиком. В качестве представителей Заказчика могут быть назначены специалисты, выделенные эксплуатационной организацией.

1.28. Освидетельствованию в натуре при промежуточной приемке представителем технического надзора совместно с представителем организации Исполнителя подлежат скрытые работы, которые при выполнении последующих завершающих операций становятся недоступными для осмотра без вскрытий или проведения других мероприятий. К таким видам работ относятся: прокладка трубопроводов и строительство колодцев кабельной канализации; прокладка кабелей и защитных проводов в грунте; прокладка кабелей в каналах кабельной канализации; устройство кабельных переходов через автомобильные и железные дороги; устройство кабельных переходов через водные преграды; монтаж муфт и сростков кабелей; монтаж заземлений; строительство НУП и НРП; сборка, оснастка и установка опор и подвеска проводов воздушных линий связи.

Таблица 1.2

Схема операционного контроля качества работ.

Строительство кабельной канализации

№ пп

Этапы проверки

Кто проверяет (условно)

1

2

3

4

5

6

бригадир

мастер

прораб

совместно с технадзором

1

Разбивка трассы для строительства канализации

2

Глубина и качество дна траншеи

3

Качество, укладки труб и заделки их стыков

4

Глубина котлована для установки смотровых устройств

5

Качество установки, монтажа и отделки колодцев, заделка ввода труб

6

Проверка качества работ перед предъявлением кабельной канализации к сдаче рабочей комиссии

Условные обозначения:

Самоконтроль

Редкая выборочная проверка

Выборочная проверка

Сплошная проверка

Представитель технического надзора Заказчика должен информироваться представителем Исполнителя работ когда, где и какие работы выполняются, систематически приглашаться на место этих работ для освидетельствования их качества и составления актов на скрытые и другие выполненные работы. В случае неявки в назначенное время представителя технического надзора Заказчика акты составляются представителями строительно-монтажной организации в одностороннем порядке.

В случае отказа представителя технического надзора Заказчика от подписания актов на скрытые работы из-за некачественного выполнения работ, он сообщает об этом организации Заказчика и Подрядчика для принятия соответствующих мер. Акты на скрытые работы по их видам, в которых указаны проверяемые показатели, составляются соответственно по разработанным и действующим нормам, известным Заказчику и Исполнителю работ.

1.29. При инспекционном контроле производится выборочная проверка соблюдения технологической дисциплины и качества строительно-монтажных работ. Инспекционный контроль осуществляется комиссиями, назначаемыми приказом оганизации-подрядчика. Результаты инспекционного контроля оформляются актом комиссии или отчетом, которые представляются должностному лицу, назначившему инспекцию, для принятия мер по выводам комиссии.

1.30. В соответствии с договором подряда, как правило, подрядчиком (Исполнителем) на строительной площадке ведется журнал производства работ с момента начала работ и до их завершения; при этом в договоре по соглашению сторон определяется порядок ведения (по каждому объекту в отдельности или в целом по стройке, или видам работ), а также оговаривается право Заказчика по контролю за содержанием журнала.

Требования Заказчика в части выполнения работ и ведения журнала должны выполняться подрядчиком (Исполнителем) в обязательном порядке и отражаются в журнале в виде записи, подтверждающей выполнение этих требований.

РАЗДЕЛ 2
ЗЕМЛЯНЫЕ РАБОТЫ

ОБЩИЕ ПОЛОЖЕНИЯ

2.1. При строительстве линейных сооружений местной связи производятся земляные работы, к которым относятся:

а) рыхление грунта, рытье и засыпка траншей и котлованов для прокладки и монтажа кабелей, а также для строительства кабельной канализации связи;

б) рытье котлованов для устройства НУП и НРП на кабельных линиях, проложенных в грунте;

в) устройство бестраншейным способом горизонтальных скважин, через автомобильные, железные дороги и другие коммуникации для прокладки кабелей;

г) бурение и рытье ям для установки опор воздушных линий связи;

д) планировка трассы перед отрывкой траншей механизмами и прокладкой кабелей кабелеукладочной техникой;

е) рекультивация нарушенного слоя грунта.

Работы по погрузке и отвозке оставшегося грунта, подвозке песка или мягкого грунта, вскрытие и восстановление уличных покровов являются сопутствующими при выполнении земляных работ.

2.2. Выполнение земляных работ может производиться только при наличии утвержденной проектной документации.

2.3. При производстве земляных работ следует выполнять кроме требований настоящего «Руководства...» также требования действующих СНиП на земляные работы, «Правил охраны линий связи» и «Отраслевых строительно-технологических норм на монтаж сооружений и устройств связи, радиовещания и телевидения (ОСТН-600-93 Минсвязи России)».

Работы по прокладке кабельных линий местной связи в местах пересечения ими охранных зон магистральных трубопроводов газовой и нефтяной промышленности, а также электрических сетей должны выполняться с учетом требований соответствующих Инструкций по производству земляных работ в охранных зонах указанных подземных коммуникаций.

2.4. До начала земляных работ в населенных пунктах заказчик обязан оформить в органах территориальной администрации разрешение на выполнение предусмотренных проектом работ и передать его подрядчику.

Подрядчик обязан на основании разрешения получить ордер на производство работ.

В ордере указываются:

а) фамилия, имя, отчество и должность лица, ответственного за ведение работ;

б) срок выполнения строительных работ на объекте, увязанный с представленным проектом производства работ;

в) организации, на которые возлагаются работы по восстановлению дорожных покрытий, пересадке зеленых насаждений, и сроки выполнения этих работ;

г) организации, представители которых должны быть вызваны на место до начала земляных работ.

2.5. Производство земляных работ в пределах охранных зон действующих подземных сооружений (кабели электрические и связи, трубопроводы и т.п.), а также надземных сооружений при их пересечении (железные дороги, шоссе), при прокладке кабеля по обочине и пр. допускается только при наличии письменного разрешения организации, эксплуатирующей эти сооружения и в присутствии ее представителя, а также ответственного исполнителя работ. Производство работ в таких местах должно быть согласовано и отражено в проектной документации.

2.6. Строительная организация обязана не позднее, чем за трое суток до начала земляных работ, указанных в п. 2.5, письменно уведомить о предстоящих работах, а за сутки - вызвать к месту работ представителей заинтересованных организаций для уточнения местоположения принадлежащих им сооружений и согласования мер, исключающих повреждение этих сооружений. До прибытия представителей производство земляных работ запрещается.

2.7. При работе в пределах охранных зон подземных коммуникаций ответственный исполнитель работ обязан проинструктировать под расписку бригадира и машинистов, работающих на механизмах, об условиях производства работ, показать места прохождения подземных коммуникаций по чертежам и в натуре, обозначить границы, в пределах которых запрещено работать с помощью землеройных механизмов, а также применять ударные механизмы.

Должно быть проведено предварительное шурфование для точного определения подземных сооружений, пересекаемых трассой прокладываемого кабеля связи или трубопровода кабельной канализации.

Шурфы должны иметь длину 1 м по оси будущей траншеи. В том случае, когда подземные сооружения проходят параллельно будущей трассе, шурфы должны быть вырыты перпендикулярно ее оси через каждые 20 м. Длина каждого шурфа должна превышать ширину проектируемой траншеи с каждой ее стороны не менее, чем на 0,3 м.

Глубина шурфов, если разыскиваемые сооружения не обнаруживаются, должна превышать глубину траншеи на 0,2 м. Шурфование должно производиться в присутствии представителя организации, эксплуатирующей подземные сооружения.

Вскрытые при шурфовании и при разработке траншей подземные сооружения должны быть защищены специальным коробом и подвешены способом, указанным в рабочих чертежах.

2.8. Рабочая документация, ордер на право производства работ и копия письменного документа-извещения должны находиться на месте производства работ.

2.9. При обнаружении в ходе выполнения земляных работ подземных сооружений, не указанных в рабочих чертежах, работы должны быть немедленно прекращены до выяснения назначения этих сооружений и согласования дальнейшего производства работ с их владельцами.

2.10. При случайном повреждении какого-либо подземного сооружения ответственный исполнитель работ обязан немедленно прекратить работы в этом месте, принять меры, обеспечивающие безопасность работающих, и сообщить о случившемся своему руководителю и в аварийную службу эксплуатирующей организации.

2.11. При обнаружении газа в траншеях или котлованах работы в них должны быть немедленно прекращены, а люди выведены из опасной зоны. Работы могут быть продолжены только после прекращения дальнейшего поступления газа.

2.12. Все поврежденные при разработке траншей сооружения (кюветы, водоспуски, арыки, каналы, насыпи, усовершенствованные покрытия, ограждения и т.п.) должны быть восстановлены. На пахотных землях должна быть произведена рекультивация плодородного слоя грунта. Объем и условия выполнения работ по рекультивации определяются проектной документацией.

2.13. При рытье траншей и котлованов необходимо следить, чтобы размеры разрываемого участка (особенно в городах и населенных пунктах) позволяли закончить работы в течение рабочего дня.

2.14. При строительстве линейных сооружений местных сетей земляные работы должны быть максимально механизированы.

Разработка грунта вручную допускается в случаях, когда применение механизмов по местным условиям невозможно (например, при строительстве кабельной канализации и прокладке кабеля в районах городов, насыщенных подземными коммуникациями) или экономически нецелесообразно из-за малых объемов работ и невыгодности в этом случае транспортировки механизмов на значительные расстояния.

ХАРАКТЕРИСТИКА И КЛАССИФИКАЦИЯ ГРУНТОВ

2.15. Грунт - любая горная порода или почва, залегающая в верхних слоях земной коры. Грунты имеют следующие основные характеристики, определяющие способы их разработки:

а) объемная масса - масса 1 м3 грунта в естественном состоянии;

б) плотность - масса 1 м3 грунта в плотном состоянии,

в) сцепление - начальное сопротивление грунта сдвигу;

г) рыхление - увеличение объема грунта при нарушении его естественной структуры (измеряют в процентах);

д) влажность - степень насыщения грунта водой (определяется в процентах, как отношение массы воды в грунте к массе твердых частиц);

е) угол естественного откоса - угол между горизонтальной плоскостью и боковой поверхностью земляного сооружения, при котором грунт находится в состоянии предельного равновесия.

2.16. По трудности разработки грунты классифицируются по одиннадцати группам (см. табл. 2.1). Наиболее часто встречающиеся грунты относятся к I, II и III группам.

Таблица 2.1

Классификация грунтов

Наименование и характеристика грунтов

Средняя объемная масса в плотном состоянии, кг/м3

Группа грунта

1

2

3

Песок:

- естественной влажности с примесью гравия, гальки или щебня в количестве до 20 % объема

1600

I

- то же - до 40 % по объему

1700

II

- сухой барханный и дюнный

1600

II

Глина:

- жирная, мягкая, а также насыпная, слежавшаяся, с примесью гравия, гальки, щебня и строительного мусора

1800

II

- тяжелая и мягкая ломовая, с теми же примесями, а также с примесью булыг до 10 % от объема

1950

III

- твердая карбонная кембрийская

2000

IV

Грунт растительного слоя:

- без корней

1200

I

- с корнями

1200

II

- с примесью строительного мусора, щебня и гравия

1400

II

Супесок без примесей и с примесью гравия, гальки или щебня

1600 - 1900

I

Строительный мусор

1850

III

Суглинок:

- легкий и лессовидный

1600

I

- то же слежавшийся с примесью гравия и гальки или щебня в количестве до 10 % объема

1750 - 1900

II

- тяжелый с примесью булыг

1950

III

Чернозем и каштановый грунт

1200 - 1300

II

Гравий (галька):

- мелкий, размером до 20 мм

1700

I

- средний, размером до 40 мм

1750

II

- крупный, размером до 150 мм

1950

III

- мелкий и средний с примесью булыг массой до 10 кг

1900

III

Лесс:

- естественной влажности, рыхлый

1600

I

- то же с примесью гравия и гальки

1800

II

- сухой

1750

II

- плотный

1800

III

- отвердевший

1800

IV

Гипс

2200

IV

Известняк:

- мягкий

1200

V

- мергелистый слабый

2300

IV

- крепкий плотный

2700

VII

- крепкий долометизированный

2800

VIII

- плотный окварцованный

2900

IX

Дресва

1800

IV

Торф

600

I

Туф

1100

V

Песчаник:

- выветрившийся

2200

V

- слабый

2500

VI

- глинистый

2200

VI

- очень плотный

2700

VIII

Шлак:

- котельный рыхлый

756

I

- слежавшийся металлургический

1000

II

- металлургический невыветрившийся

1500

IV

Грунты, гнейсы, фюриты и др.:

- сильно выветрившиеся

2200 - 2600

V - VII

- не тронутые выветриванием

2800 - 3300

VIII - XI

РАЗБИВКА ТРАСС

2.17. Разбивка трасс прокладки кабелей в грунте или для строительства кабельной канализации должна производиться в строгом соответствии с рабочими чертежами, по геодезическим отметкам.

2.18. Разбивка трассы состоит из двух рабочих операций:

а) переноса с рабочего чертежа в натуру и закрепления поворотных и основных промежуточных центров оси трассы, которые должны даваться в абсолютных привязках от местных ориентиров и от «красной линии» застройки. Разбивка должна производиться с помощью геодезического инструмента, при привязке к местным ориентирам - с помощью мерной цепи или рулетки;

б) определения прямолинейности и переноса в натуру продольной оси трассы между поворотными и основными промежуточными центрами с помощью вешек, мерной цепи или рулетки.

2.19. Закрепление прямолинейности трасс, а также мест контрольных точек при прокладке подземных сооружений с помощью вех должно выполняться следующим образом.

Главную веху № 1 высотой 3 - 4 м с красным флажком устанавливают в исходной точке, а вторую такую же веху № 2 устанавливают в следующей точке (в поворотном или основном промежуточном центре) так, чтобы ее было видно со стороны первой вехи. Затем между первой и второй вехами устанавливают веху № 3 таким образом, чтобы она находилась в створе (на одной прямой) с первой и второй вехами. Третью и последующие вехи устанавливают со стороны первой через каждые 40 - 50 м.

Правильность установки третьей вехи проверяют глазомерной визировкой с первой на вторую веху. Если третья веха находится на прямой, соединяющей первую и вторую вехи, она закрывает собой для наблюдателя со стороны первой вехи вторую веху и наоборот. Места установки фиксируют кольями (рис. 2.1).

Untitled-1

Рис. 2.1. Установка вех

Колья, применяемые для разбивки трасс, должны иметь длину 30 - 40 см и диаметр 3 - 4 см. Нижнюю часть кола затесывают на конце, а на верхней делают срез для маркировки. Для забивки кола заготавливают гнездо с помощью лома.

2.20. При ручной разработке траншеи на расстоянии, равном половине ее ширины от колышков, следует натягивать шнур, обозначающий линию одного из краев траншеи.

2.21. В том случае, когда при разбивке обнаружатся несоответствие рабочих чертежей натуре и необходимость выполнения работ с отклонением от проектных данных, строительная организация должна пригласить представителей заказчика и проектной организации для решения вопроса об изменении трассы, что оформляется актом или коррекцией рабочего чертежа, которая должна быть удостоверена подписями представителей заказчика, проектной и заинтересованной организаций.

2.22. В процессе разбивки трасс ГТС необходимо учитывать следующее:

а) пересечение улиц подземными сооружениями ГТС должно осуществляться под углом 90° к оси улицы, только при невозможности этого допускается отклонение от прямого угла в пределах не более 45°;

б) пересечение рельсовых путей (железнодорожных и трамвайных) подземными сооружениями ГТС должно осуществляться только под углом 90°;

в) в садах, парках и скверах разбивка трасс должна производиться в присутствии представителя садово-паркового хозяйства и зеленого строительства с учетом наименьших повреждений зеленых насаждений.

2.23. При разбивке трассы прокладки кабельной канализации и кабелей связи в грунте необходимо соблюдать минимальные расстояния между ними и другими сооружениями, приведенные в табл. 2.2.

Таблица 2.2

Наименование сооружений

Минимальные расстояния (в свету), м

по горизонтали

по вертикали (при пересечении)

1

2

3

Мосты магистральных автомобильных и железных дорог общегосударственного значения:

- через внутренние водные пути, судоходные реки, каналы и водохранилища

1000

-

- через сплавные реки

300

-

- через несудоходные и несплавные реки

50 - 100

-

Мосты автомобильных и железных дорог областного и местного значения:

- через судоходные реки и каналы

200

-

- через остальные реки

50 - 100

-

Автомобильные и железные дороги

5 (от края подошвы насыпи)

1 (ниже полотна автодороги или подошвы рельса)

0,8 (ниже дна кювета1))

Кабельная канализация (от трубопровода до колодца)

0,25

0,1

Городская канализация

0,5

0,25/0,152)

Газопроводы высокого давления - до 5,5 МПа (55 кгс/см2), нефтепроводы и трубопроводы на загородной трассе

10

0,5/0,15

Газопроводы давлением 5 кПа - 1,2 МПа (0,05 - 12 кгс/см2) на городской трассе (при сближении и пересечении с кабелем)

1

0,5/0,15

Газопроводы давлением 0,6 - 1,2 МПа (6 - 12 кгс/см2) на городской трассе (при сближении и пересечении с кабельной канализацией)

3

0,15

То же, давлением 0,3 - 0,6 МПа (3 - 6 кгс/см2)

2

0,15

То же, давлением 5 кПа - 0,3 МПа (0,05 - 3 кгс/см2)

1,5

0,15

То же, давлением до 5 кПа (0,05 кгс/см2)

1

0,15

Газопроводы давлением 5 кПа (0,05 кгс/см2), проложенные по стенам зданий

1

-

Водопроводы разводящей сети диаметром до 300 мм при сближении и пересечении с кабелем

0,5

0,25/0,15

То же, при сближении и пересечении с кабельной канализацией

0,5

0,15

Водопроводы разводящей сети диаметром свыше 300 мм при сближении и пересечении с кабелем или кабельной канализацией

1

0,25/0,15

Коллекторы общие для подземных сетей

0,5

-

Здания в городах и поселках городского типа (от красной линии)

0,6

-

Бортовой камень улицы

1,5

-

Стены и опоры тоннелей и путепроводов (на уровне или ниже основания)

0,5

-

Насыпи или бровки каналов (от подошвы насыпи или бровки канала)

1

-

Оросительные каналы (от бровки канала)

1,5

-

Стволы деревьев в городах

1,5

-

Кабели силовые напряжением до 220 кВ

0,63)

0,54)

Опоры (подземная часть) ВЛ (переменного тока) напряжением 750 кВ или ближайшие электроды их заземлителей при удельном сопротивлении земли, Ом · м:

до 100

155)

-

101 - 500

255)

-

501 - 1000

405)

-

свыше 1000

505)

-

Опоры (подземная часть) ВЛ (переменного тока) напряжением 110 - 500 кВ или ближайшие электроды их заземлителей при удельном сопротивлении земли, Ом · м:

до 100

156)

-

101 - 500

256)

-

501 - 1000

406)

-

свыше 1000

506)

-

Расстояние от ближайшего провода ВЛ переменного тока напряжением 750 кВ (его проекции на горизонтальную плоскость) до подземного кабеля ЛС, ПВ (кабельной канализации) при удельном сопротивлении земли, Ом · м:

до 500

30

-

501 - 1000

40

-

свыше 1000

50

-

Расстояние от проводов ВЛ напряжением 400 - 500 кВ до вершины кабельной опоры ЛС и ПВ (при пересечении)

20

-

Опоры ВЛ напряжением 1 - 35 кВ или ближайшие электроды их заземлителей при удельном сопротивлении земли (ρ), Ом · м:

до 100

0,83√ρ6)

-

101 - 500

106)

-

501 - 1000

116)

-

свыше 1000

0,35√ρ6)

-

Заземлители деревянных опор или незаземленные опоры ВЛ с неизолированными проводами напряжением до 1 кВ при пересечении с подземным или подвесным кабелем ЛС и ПВ;

-

- в населенной местности

37)

-

- в ненаселенной местности

107)

-

Опоры незаземленные деревянные ВЛ с неизолированными проводами напряжением до 1 кВ при пересечении с подземным или подвесным кабелем:

-

- в населенной местности

2

-

- в ненаселенной местности

5

-

- в стесненных условиях

18)

-

Расстояние от основания кабельной опоры ЛС и ПВ до ближайшего рельса электрифицированной ж.д. (по перпендикуляру к полотну ж.д.) при угле пересечения (в плане) подземного кабеля ЛС и ПВ с осью полотна дороги:

90°

20

-

85°

30

-

80°

40

-

75°

50

-

Опоры контактных сетей наземного электротранспорта напряжением 1 - 35 кВ при пересечении с подземным кабелем ЛС и ПВ при удельном сопротивлении земли (ρ), Ом · м:

до 100

0,83√ρ

-

101 - 500

10

-

501 - 1000

11

-

свыше 1000

0,35√ρ

-

Опоры контактных сетей наземного электротранспорта напряжением до 1 кВ при пересечении с подземным кабелем ЛС и ПВ:

- в населенной местности

3

-

- в ненаселенной местности

10

-

Расстояние от места пересечения подземного кабеля ЛС и ПВ с электрифицированной ж.д. до стрелок, крестовин и мест присоединения отсасывающих кабелей

10

-

То же, при пересечении трамвайных путей

3

-

Расстояние от опор контактных сетей при пересечении электрифицированных ж.д. до колодцев кабельной канализации

15

-

Трамвайные пути

2 от ближайшего рельса

11) (ниже подошвы рельса)

Кабели связи

0,59)

0,25/0,1510)

Кабели сетей проводного вещания класса I

1,0

-(0,2510))

То же, класса II

0,5

-(0,2510))

Заземлители молниеотводов ВЛС

25

-

Опоры, подпоры, оттяжки ВЛС:

- в населенной местности

1

-

- в ненаселенной местности

по расчету

-

1) При защите кабеля в кювете кирпичом, бетонными плитами и т.п. это расстояние может быть уменьшено до 0,5 м.

2) В числителе указаны расстояния при прокладке кабелей непосредственно в грунте, в знаменателе - в трубах, а при отсутствии дроби - для обоих случаев.

3) При сближении низкочастотных кабелей связи с силовыми кабелями напряжением до 10 кВ допускается 0,25 м при условии защиты кабелей (прокладка в трубах, установка несгораемых перегородок и т.п.).

4) При пересечении с силовыми кабелями напряжением до 35 кВ в стесненных условиях допускается 0,15 м при условии разделения кабелей на всем участке пересечения плюс 1 м в каждую сторону плитами или трубами из бетона или другого равнопрочного материала; при этом кабель связи должен быть расположен выше силового кабеля.

5) При прокладке кабеля в стальной трубе или покрытии его швеллером по длине, равной расстоянию между крайними проводами ВЛ плюс 15 м с каждой стороны от крайних проводов, допускается уменьшение этих расстояний до 10 м.

6) При прокладке кабеля в стальной трубе или покрытии его швеллером по длине, равной расстоянию между крайними проводами ВЛ плюс 10 м с каждой стороны от крайних проводов, допускается уменьшение этих расстояний до 5 м.

7) Данные расстояния могут быть уменьшены соответственно до 2 и 5 м при прокладке кабеля в стальной трубе или покрытии его швеллером или угловой сталью по длине в обе стороны относительно опоры не менее 3 м в населенной местности и 9 м - в ненаселенной местности.

8) При этом кабель должен быть проложен в стальной трубе или покрыт швеллером или угловой сталью по длине в обе стороны от опоры не менее 3 м.

9) Норма дана для кабелей ЛС и кабельной канализации.

10) При пересечении кабеля ПВ с кабелями ЛС и ПВ это расстояние должно быть не менее 0,5 м; при этом прокладываемый кабель ПВ на всем участке пересечения плюс 1 м с каждой стороны от него должен быть заключен в трубу.

Примечание. Кабели и кабельная канализация прокладываются:

- выше канализационных и водопроводных сетей;

- выше или ниже действующих кабелей связи, силовых кабелей, газопроводов, нефтепроводов и теплосетей.

ОГРАЖДЕНИЕ УЧАСТКОВ ПРОИЗВОДСТВА ЗЕМЛЯНЫХ РАБОТ

2.24. Участки производства земляных работ в городских условиях должны ограждаться рогатками на переносных стойках (рис. 2.2,а и 2.2,б), а при производственной необходимости или по требованию территориальной администрации - инвентарными щитами (рис. 2.3,а и 2.3,б) или глухим забором.

На ограждении должны быть указаны: наименование строительной организации, фамилия и номер телефона производителя работ.

Untitled-1

а) ограждение котлована и траншеи

Untitled-1

б) ограждение траншеи, отрытой на тротуаре

Рис. 2.2. Ограждение траншей и котлованов рогатками на переносных стойках

Рис. 2.3а. Щит инвентарного ограждения

Рис. 2.3б. Стойка для установки щита инвентарного ограждения

2.25. При необходимости производства земляных работ на проезжей части дороги организация, производящая эти работы, должна согласовать с местными органами ГАИ схему ограждения места работы и расстановки дорожных знаков с указанием видов работ и сроков их выполнения. Место производства работ, затрудняющее движение транспорта, должно быть ограждено днем знаками «тихий ход», а с наступлением темноты и при густом тумане - красным световым сигналом. Световые сигналы устанавливают на концах траншей и у котлованов.

2.26. Для обеспечения нормального прохода транспорта и пешеходов при разрытии улиц, дорог и проездов над траншеями должны устанавливаться транспортные мосты (рис. 2.4) и пешеходные мостики с перилами (рис. 2.5). Транспортные мосты должны быть рассчитаны на проезд через улицу безрельсового транспорта с нагрузкой на ось, равной 10 т, а при въезде во дворы - 7 т.

Пешеходный инвентарный мостик должен иметь размеры: ширину не менее 0,75 м, высоту с перилами - 1,0 м.

Длина мостов и мостиков должна перекрывать траншею или котлован за пределы естественного откоса с тем, чтобы при их использовании не происходило обрушение стенок.

Траншеи и котлованы под транспортными мостами должны быть закреплены распорами.

Untitled-1

Рис. 2.4. Мост транспортный

Untitled-1

Рис. 2.5. Пешеходный мостик

2.27. Место производства работ под трамвайными путями должно быть ограждено специальными ограждениями и сигналами, устанавливаемыми на расстоянии, предусмотренном правилами по технике безопасности при производстве этих работ.

ВСКРЫТИЕ И ВОССТАНОВЛЕНИЕ ДОРОЖНЫХ И УЛИЧНЫХ ПОКРОВОВ

2.28. Вскрытие дорожных и уличных покровов является наиболее трудоемким рабочим процессом, предшествующим выполнению земляных работ и поэтому нуждающимся в максимальной механизации.

2.29. Вскрытие асфальтовых покровов производится с помощью асфальторезов и пневматического отбойного инструмента.

Для вскрытия бетонных покровов и оснований улиц и дорог следует применять бетоноломы.

Отбойные молотки и бетоноломы приводятся в действие передвижными компрессорными станциями.

2.30. Булыжные мостовые можно вскрывать с помощью одноковшовых экскаваторов или с применением пневматического отбойного инструмента.

2.31. Вскрытие уличных покровов производится на площади, определяемой размерами траншей или котлованов с учетом норм дополнительного вскрытия покровов, приведенных в табл. 2.3.

2.32. При производстве работ в парках и скверах верхний растительный покров рассматривается как уличный покров.

2.33. Полученные от вскрытия уличных покровов материалы, а также другие верхние слои почвы во избежание их засыпки и засорения вынимаемым из траншеи грунтом следует складывать на расстоянии не менее 1 м от края траншеи со стороны, противоположной отвалу грунта.

2.34. Временное замощение траншей и котлованов на проезжей части должно производиться строительной организацией, выполняющей земляные работы, сразу же после их завершения. Окончательное восстановление уличных покровов производится специализированными организациями по договорам со строительными организациями.

Таблица 2.3

Нормы дополнительного вскрытия уличных покровов

Тип покрытия

Ширина дополнительного вскрытия на каждой стороне траншеи или котлована

Асфальтовый покров

по 0,1 м

Мостовая из штучных камней

по 0,2 м

Плитный тротуар

Деревянные мостки

Плиты или доски снимаются в пределах, не допускающих их обвала в траншею, котлован или яму

Дерн в парках

по 0,1 м

Растительный слой на скверах и газонах

по 0,15 м

РАЗРАБОТКА ГРУНТОВ В ТРАНШЕЯХ И КОТЛОВАНАХ ОТКРЫТЫМ СПОСОБОМ

2.35. Траншеи и котлованы для прокладки и монтажа кабелей, а также для строительства кабельной канализации должны, как правило, отрываться механизированным способом.

2.36. В зависимости от типов линейно-кабельных сооружений и условий выполнения земляных работ рекомендуется применять следующие землеройные механизмы:

а) при рытье траншей на загородных участках кабельных линий СТС, а также для прокладки трубопроводов в городских районах новой застройки - экскаваторы непрерывного действия цепные и роторные, например, типа ЭТЦ-165, ЭТЦ-208Д, ЭТЦ-252, ЭТР-161, ЭТР-134, ЭТР-204, а при малых объемах - одноковшовые экскаваторы, например, типа ЭО-2621В, Э-304Г, ЭО-3322Б1;

б) при рытье котлованов для установки сборных железобетонных колодцев кабельной канализации, монтажа муфт в грунте, а также для устройства НУП и НРП - экскаваторы одноковшовые, например, типа ЭО-2621В, Э-304Г.

2.37. Ширина траншей, разрабатываемых землеройными механизмами, определяется размерами рабочего органа (ковша, скребка).

2.38. Ширина траншей при ручном способе разработки в зависимости от количества прокладываемых кабелей и глубины их прокладки приведена в табл. 2.4

2.39. При разработке в отвал грунт следует складывать:

а) у котлованов и у траншей глубиной до 1,2 м - на расстоянии не менее 0,5 м от бровки (в населенных пунктах - со стороны проезжей части улиц);

б) у котлованов глубиной более 1,2 м - на расстоянии не менее 1 м от бровки.

При рытье котлованов допускается выбрасывать грунт на две стороны.

Таблица 2.4

Ширина траншей при ручном способе разработки

Глубина траншеи, м

Ширина траншеи по верху, м

без креплений

с креплением

при количестве кабелей

1

2

3

4

1

2

3

4

0,5

0,35

0,35

0,40

0,40

-

-

-

-

0,6 - 0,7

0,35

0,40

0,45

0,45

-

-

-

-

0,9

0,40

0,40

0,45

0,50

-

-

-

-

1,0

0,45

0,45

0,50

0,55

0,55

0,55

0,60

0,65

1,2

0,50

0,50

0,55

0,60

0,60

0,60

0,65

0,70

Примечания: 1. Ширина траншей по низу должна быть на 0,1 м меньше ширины траншей по верху.

2. Ширина траншей в скальных и мерзлых грунтах при предварительном рыхлении взрывным способом определяется принятой технологией буровзрывных работ.

2.40. На склонах оврагов, крутых подъемах и спусках свыше 30° и до 45° траншея должна быть вырыта зигзагообразно («змейкой»), с максимальным отклонением от осевой прямой линии 1,5 м на длине 5 м (рис. 2.6). При уклонах от 30° до 45° прокладывается кабель с обычной броней (например, КСППБ), а при уклонах свыше 45° - с проволочной броней (КСППК).

Рис.2.6. Зигзагообразная траншея при уклоне 30 - 45°:

1 - траншея; 2 - кабель

РАЗРАБОТКА ТРАНШЕЙ И КОТЛОВАНОВ В МЕРЗЛЫХ ГРУНТАХ

2.41. В мерзлых грунтах при толщине мерзлого слоя до 0,25 м допускается разработка траншей одноковшовыми экскаваторами с ковшом емкостью до 0,5 м3 без предварительного рыхления. При глубине промерзания грунта более, чем на 0,25 м необходимо производить предварительное рыхление грунта на всю глубину промерзания с удалением разрыхленного грунта одноковшовым экскаватором, либо разрабатывать траншеи на полную глубину роторными экскаваторами в соответствии с их техническими характеристиками.

Рекомендуется применение роторного экскаватора типа ЭТР-134, баровой машины типа ДГП-ЗУМ или цепного траншейного экскаватора типа ЭТЦ-208Д.

2.42. При разработке вручную траншей и котлованов в мерзлом грунте, осуществляемой, как правило, для строительства кабельной канализации в городских районах с большим количеством подземных коммуникаций, применяется предварительный отогрев грунта.

В табл. 2.5 приведены способы оттаивания грунта.

2.43. На практике применяется оттаивание мерзлых грунтов сжиганием под металлическими коробами дровяного топлива. Применение в качестве топлива угля и нефтепродуктов практически невозможно из-за сильного загрязнения окружающего воздуха. Наиболее приемлемым представляется осуществление отогрева грунта с помощью газовых горелок инфракрасного излучения. Этот метод требует соответствующего технического оснащения и внедрения в строительное производство.

2.44. При прогреве грунта в населенных пунктах, где имеются подземные сооружения, должны соблюдаться правила техники безопасности и обеспечиваться сохранность этих сооружений.

Таблица 2.5

Технико-экономические показатели различных способов оттаивания грунта

Метод и способ оттаивания

Толщина слоя оттаивания, м

Расход тепла, энергии или топлива для оттаивания 1 м3 грунта

Продолжительность оттаивания грунта на глубину 1 м, ч

Трудоемкость оттаивания 1 м3 грунта, чел.-дн.

Стоимость оттаивания 1 куб. м грунта в ценах 1984 г., руб.

Кострами под металлическим коробом

0,4 - 0,5

24

0,11

2,05 - 2,37

То же жидким топливом

0,4 - 0,5

24

1,04 - 1,71

Поверхностными паровыми регистрами

до 1,0

50 - 100 кг

48

0,21

1,23

Нагревательным щитом с проводом КСОП

до 1,0

33,4 кВт-ч

100

0,044

0,87

Электроотражательными печами

до 1,0

45,0 кВт-ч

24 - 48

Электро-тепляками

до 0,7

45 - 63 кВт-ч

36 - 48

0,28

1,02 - 2,12

Факельными газовыми горелками под коробом

до 1,0

24

0,14

0,81 - 1,59

Горелками инфракрасного излучения:

- при однослойном оттаивании

0,4 - 0,8

118000 ккал

17,7

0,09

1,20

- при многослойном оттаивании

0,1 - 0,3

36300 ккал

5,7

0,03

0,40

Горизонтальными струйными электродами

до 0,8

60 кВт-ч

20 - 35

0,07

1,76

Вертикальными поверхностными электродами

до 0,8

30 - 95 кВт-ч

49

0,07

1,76

Токами высокой частоты

до 1,5

10 - 32 кВт-ч

0,5 - 1

КРЕПЛЕНИЕ СТЕН ТРАНШЕЙ И КОТЛОВАНОВ

2.45. Разработка траншей и котлованов с вертикальными стенками в грунтах естественной влажности без крепления может производиться на глубине:

не более 1 м - в насыпных, песчаных и гравелистых грунтах;

не более 1,25 м - в супесчаных и суглинистых грунтах;

не более 1,5 м - в глинистых грунтах;

не более 2 м - в особо плотных грунтах.

При этом выполнение работ следует производить немедленно вслед за отрывкой траншей и котлованов.

2.46. При превышении указанных глубин рытье траншей и котлованов допускается только при условии крепления вертикальных стен или устройстве откосов допустимой крутизны (рис. 2.7).

Наибольшая допустимая крутизна откосов траншей и котлованов в грунтах естественной влажности должна определяться по табл. 2.6.

Untitled-1

Рис. 2.7. Определение крутизны откоса

2.47. Рытье траншей и котлованов в мерзлых грунтах всех пород, за исключением сухого песчаного, можно вести с вертикальными стенками без креплений на всю глубину их промерзания. При углублении ниже уровня промерзания должно производиться крепление.

2.48. Траншеи и котлованы в сухих (сыпучих) песчаных грунтах, независимо от степени их промерзания, следует разрабатывать с обеспечением установленной крутизны откосов или с устройством крепления стен.

2.49. Рыть траншеи и котлованы в отогретых (размороженных) грунтах следует выполнять с обеспечением необходимой крутизны откосов или устройством креплений стен в тех случаях (или местах), когда глубина отогретого участка превышает размеры, указанные в табл. 2.6.

Таблица 2.6

Максимально допустимая крутизна откосов траншей и котлованов

Грунт

Крутизна откосов при глубине выемок, м

до 1,5

от 1,5 до 3

от 3 до 5

угол1)

Н/А2)

угол

Н/А

угол

Н/А

Насыпной естественной влажности

76°

1:0,25

45°

1:1,00

38°

1:1,25

Песчаный и гравийный влажный, но не насыщенный

63°

1:0,50

45°

1:1,00

45°

1:1,00

Глинистый естественной влажности:

- супесь

76°

1:0,25

56°

1:0,67

50°

1:0,85

- суглинок

90°

1:0,00

63°

1:0,50

53°

1:0,75

- глина

90°

1:0,00

76°

1:0,25

63°

1:0,50

Лессовидный сухой

90°

1:0,00

63°

1:0,50

63°

1:0,50

1) угол между направлением откоса и горизонталью

2) отношение высоты откоса Н к его заложению А

Примечание. При глубине выемки свыше 5 м крутизна откоса устанавливается расчетным путем.

2.50. На пересечениях с железнодорожными или трамвайными путями необходимо разрабатывать траншеи и котлованы с обязательным креплением их стен. Крепить пути рельсовыми пакетами следует только в случаях, предусмотренных проектом, согласованным со службой эксплуатации данных путей.

2.51. Виды крепления котлованов и траншей с вертикальными стенками приведены в табл. 2.7.

Таблица 2.7

Виды крепления котлованов и траншей с вертикальными стенками

Грунтовые условия

Виды крепления

Грунты сухие, способные сохранять отвесные стены при глубине до 2 м

Горизонтально-рамное (рис. 2.8а)

Грунты оползающие сухие и плотные грунты (если траншеи или котлованы остаются открытыми на длительный срок)

Горизонтально-сплошное (рис. 2.8б)

Грунты связанные сухие при отсутствии грунтовых вод в глубине разработки не более 3 м

Горизонтальные с прозорами (рис. 2.8в)

Грунты водонасыщенные

Смешанное: горизонтальное, сплошное и шпунты (рис. 2.8г)

Грунты связанные сухие при отсутствии грунтовых вод

Вертикально-рамное (рис. 2.8д)

Грунты сыпучие при глубоких траншеях и грунты с прослойками плывуна

Вертикально-сплошное (рис. 2.8е)

2.52. Крепить траншеи и котлованы глубиной до 5 м следует, как правило, инвентарными приспособлениями. Инвентарные металлические винтовые распорки (рис. 2.9) применяют для сокращения расхода лесных материалов.

При глубине более 3 м крепления должны производиться по отдельным проектам, утвержденным руководством строительной организации.

2.53. При отсутствии инвентарных приспособлений детали крепления траншей и котлованов должны изготавливаться на месте с соблюдением следующих требований:

а) для крепления грунтов естественной влажности (кроме песчаных) должны применяться доски толщиной не менее 40 мм, а для грунтов повышенной влажности - не менее 50 мм. Доски следует укладывать за вертикальные стойки вплотную к грунту с укреплением распорками;

б) стойки креплений должны устанавливаться не реже чем через 1,5 м;

в) расстояние между распорками по вертикали не должно превышать 1 м. Распорки закрепляются упором;

г) над бровками верхние доски должны выступать не менее чем на 15 см;

д) узлы креплений, на которые опираются полки для переброски грунта, необходимо сделать усиленными. Полки ограждаются бортовыми досками высотой не менее 15 см.

2.54. Разработку выемок в грунтах, насыщенных водой (плывунах), следует осуществлять по индивидуальным проектам, предусматривающим безопасные способы производства работ - искусственное водопонижение, шпунтовое крепление и др.

2.55. Крепления котлованов и траншей следует разбирать снизу вверх, по мере обратной засыпки грунта и одновременно снимать не более двух - трех досок в нормальном грунте, не более одной доски - в плывунах.

Перед удалением досок нижней части крепления выше должны устанавливаться временные косые распорки, причем старые распорки разрешается удалять только после установки новых; крепления должны разбираться в присутствии ответственного исполнителя работ.

В местах, где разборка креплений может вызвать повреждения строящихся сооружений, а также в грунтах - плывунах возможно крепления частично или полностью оставлять в грунте.

2.56. Стенки котлованов и траншей, разрабатываемых землеройными машинами, должны крепиться готовыми щитами, которые опускают и распирают сверху (рабочим опускаться в нераскрепленную траншею запрещается). Разработку траншей землеройными машинами без устройства креплений необходимо вести с откосами.

2.57. Необходимость, объем и способ крепления траншей определяются проектно-сметной документацией.

Untitled-1

Рис. 2.8. Способы крепления стенок траншей и котлованов:

а) горизонтально-рамное; б) горизонтально-сплошное; в) горизонтальное с прозорами; г) смешанное: горизонтальное, сплошное и шпунты; д) вертикально-рамное; е) вертикально-сплошное

Untitled-1

Рис. 2.9. Винтовые распорки для крепления траншей

ЗАСЫПКА ТРАНШЕЙ И КОТЛОВАНОВ, ОТВОЗКА ГРУНТА

2.58. При засыпке траншей и котлованов на загородных участках трассы прокладки кабеля должны быть установлены в соответствующих местах замерные столбики. Все подземные сооружения (муфты, кабель, проложенные трубы и т.п.) должны быть зафиксированы в рабочих чертежах проекта и «привязаны» к постоянным ориентирам.

Засыпку траншей и котлованов, как правило, следует производить с помощью механизмов: бульдозеров и траншеезасыпщиков.

2.59. На городских участках траншеи следует засыпать вынутым грунтом с таким расчетом, чтобы наиболее рыхлая его часть отсыпалась в нижние слои траншеи.

Траншеи, вырытые с предварительным снятием твердого дорожного покрытия, следует засыпать песчаным грунтом.

В зимнее время траншеи и котлованы следует засыпать талым грунтом или песком.

2.60. Засыпка грунта должна производиться слоями толщиной не свыше 20 см с их тщательным послойным уплотнением с помощью электрических, пневматических или ручных трамбовок.

При применении для засыпки бульдозеров необходимо также обеспечивать послойную засыпку с уплотнением грунта.

2.61. Засыпка траншей и котлованов грунтом, засоренным строительным мусором, остатками твердого покрытия и т.д., не допускается.

2.62. Траншеи, отрытые в скальных грунтах, необходимо засыпать привозным рыхлым грунтом без скальных остатков или песком на высоту 0,2 - 0,3 м для предохранения от механических повреждений кабеля или труб. Остальную часть траншеи засыпают вынутым из нее грунтом.

2.63. Траншеи, имеющие крепления стен, засыпаются после снятия креплений. Если разборка крепления невозможна (опасна), последние, как отмечалось, могут быть частично или полностью оставлены в траншее и засыпаны.

2.64. На загородных участках трассы, а также на неспланированных и незамощенных улицах над траншеей должен быть образован валик из грунта для компенсации его последующей усадки.

2.65. Засыпка траншей и котлованов в местах вскрытых действующих подземных сооружений должна производиться в присутствии представителей соответствующих эксплуатационных организаций.

2.66. При строительстве сооружений ГТС грунт, оставшийся после прокладки трубопроводов, кабелей и установки колодцев, а также засоренный грунт и строительный мусор должны быть вывезены с места работ.

2.67. Землю следует отвозить на автомобилях-самосвалах, а погружать во всех возможных случаях с помощью механических погрузчиков или одноковшовых экскаваторов. Ручная погрузка грунта производится при малых объемах, когда применение механизмов нецелесообразно. При выемке грунта из котлованов одноковшовыми экскаваторами избыточный грунт следует погружать в автомашины непосредственно роющим механизмом.

2.68. Избыточный грунт нужно отвозить, в первую очередь, в места, где должна быть произведена подсыпка грунта до планировочной отметки. Только после этого грунт следует вывозить на свалки, местоположение которых должно согласовываться с органами территориальной администрации.

2.69. При погрузке и отвозке грунта необходимо следить за тем, чтобы вместе с грунтом не увозились с трассы кондиционные материалы, полученные от вскрытия уличных покровов (камень, плиты и пр.).

УСТРОЙСТВО ГОРИЗОНТАЛЬНЫХ СКВАЖИН ДЛЯ КАБЕЛЬНЫХ ПЕРЕХОДОВ ЧЕРЕЗ АВТОМОБИЛЬНЫЕ И ЖЕЛЕЗНЫЕ ДОРОГИ

2.70. При невозможности осуществления кабельного перехода через автомобильные и железные дороги открытым способом следует производить устройство горизонтальных скважин скрытой проходкой под дорогами.

2.71. Скрытая проходка может производиться:

а) проколом с уплотнением грунта без его выемки;

б) бурением;

в) вдавливанием футляра (стальной трубы большого диаметра) с выемкой из нее грунта.

2.72. Работы по устройству горизонтальных скважин должны производиться только при наличии рабочего чертежа, согласованного со всеми заинтересованными организациями. Работы по устройству горизонтальных скважин через железные дороги должны выполняться в присутствии представителей дороги.

2.73. Во всех случаях устройства горизонтальных скважин должна быть произведена разбивка трассы скважины, разбивка и отрывка входного и приемного котлованов. Стены отрываемых котлованов необходимо крепить надежно инвентарными щитами или досками толщиной 40 мм с распорками, независимо от типа оборудования.

2.74. Устройство горизонтальных скважин проколом производится с помощью пневмопробойников, например, типа ИП-4603, ИП-4605 (рис. 2.10), технические характеристики которых приведены в табл. 2.8.

Сжатый воздух к пневмопробойникам подается от передвижных компрессорных станций, например, типа ЗИФ-55, ПВ-10, ПР-10М.

2.75. Конструкция пневмопробойника позволяет производить возврат его из скважины посредством реверсирования в случае встречи с непреодолимым препятствием или при отклонении от необходимого направления.

Untitled-1

Рис. 2.10. Пневмопробойник ИП-4603:

а) без расширителя; б) с расширителем диаметром 200 мм; в) с расширителем диаметром 300 мм

Таблица 2.8

Технические данные пневмопробойников

Показатели

ИП-4603

ИП-4605

Диаметр скважины, мм:

- без расширителя

130

90

- с расширителем

200, 250

150, 180

Длина пробиваемой скважины, м

50

50

Скорость проходки, м/ч:

- в грунте I группы

25 - 60

40 - 50

- в грунте II группы

15 - 30

30 - 40

- в грунте III группы

8 - 15

8 - 15

Масса без шлангов и расширителей, кг

до 90

до 50

Энергия удара, кгс · м

23 - 25

18 - 20

Частота ударов в минуту

390

850

Номинальное давление сжатого воздуха, кгс/см2

6

6

Расход сжатого воздуха, м3/мин

3,5

2,5

Долговечность машины, ч

550

550

2.76. Работы по проколу скважины производят в указанной ниже последовательности, соблюдая следующие требования:

а) отрывают входной и приемный котлованы.

Длина входного котлована (вдоль оси скважины) должна быть 5 м, ширина - 1 м, глубина должна соответствовать проектной глубине заложения скважины, но не менее 1 м (во избежание самопроизвольного выхода пневмопробойника на поверхность).

Длина приемного котлована должна быть 1,8 - 2,0 м, а ширина и глубина на 0,5 м больше, чем входного.

При длине скважин более 20 м рекомендуется глубину заложения скважины принимать не менее 1,5 м.

Входной и приемный котлованы должны располагаться на расстоянии не менее 3 м от нолевой бровки кювета, дороги.

Дно входного котлована должно быть выравнено строго горизонтально по уровню.

Расположение котлованов и механизмов показано на рис. 2.11;

Untitled-1

Рис. 2.11. Расположение входного и приемного котлованов и механизмов при устройстве скрытого перехода:

1 - компрессорная станция; 2 - пневмопробойник; 3 - входной котлован; 4 - приемный котлован

б) пневмопробойник укладывают на дно котлована и ориентируют его в заданном направлении (в горизонтальной и вертикальной плоскостях) с помощью шнура, отвеса и уровня, как это показано на рис. 2.12;

Untitled-1

Рис. 2.12. Установка пневмопробойника:

1, 2, 6 - стойки; 3 - шнур; 4 - приемный котлован; 5 - пневмопробойник

в) для придания пневмопробойнику при пуске нужного направления в вертикальных и горизонтальных плоскостях рекомендуется применять пусковое устройство типа ИК-9214;

г) пневмопробойник подключают к компрессору с помощью предварительно продутого сжатым воздухом шланга, имеющего на конце штуцер (муфту);

д) шланг укладывают на земле восьмерками или змейкой во избежание самопроизвольного вращения патрубка, как показано на рис. 2.13;

е) открыв вентиль у ресивера, производят пуск пневмопробойника (при неудаче повторный пуск производят перегибанием и последующим резким распрямлением шланга).

Untitled-1

Рис. 2.13. Укладка шланга от компрессора

При запуске пневмопробойника рекомендуется подавать пониженное давление 3 - 4 кгс/см2;

ж) в начале углубления пневмопробойника, пока не произойдет его надежное сцепление с грунтом, необходимо прикладывать к нему усилие в направлении движения с помощью рычага (лома);

з) после того, как пневмопробойник углубится в грунт на 1/2 длины корпуса, машину необходимо остановить, проверить положение пневмопробойника и в случае отклонения его при помощи лома сместить хвостовую часть пневмопробойника в нужную сторону.

После этого запустить пневмопробойник и давление довести до номинального (6 кгс/см2).

При прохождении слабых грунтов, если движение машины вперед прекращается (машина работает на одном месте), рекомендуется снизить давление сжатого воздуха.

Во избежание самореверсирования или остановки пневмопробойника в процессе работы нужно постоянно следить за тем, чтобы шланг входил в скважину без перегибов и вращения. При выходе пневмопробойника из грунта во избежание обрушения стенки приемного котлована следует снизить давление до 3 - 4 кгс/см2;

и) скважину при необходимости расширяют вторичной проходкой пневмопробойником с закреплением на его корпусе расширителя соответствующего диаметра;

к) при встрече с непреодолимым препятствием или при недопустимом отклонении пневмопробойника от нужного направления он должен быть остановлен и возвращен из скважины посредством реверсирования, которое осуществляется в соответствии с заводской инструкцией, прилагаемой к пневмопробойнику;

л) после выхода пневмопробойника из грунта в приемный котлован прекращают подачу воздуха и вынимают пневмопробойник из котлована;

м) при низкой температуре и высокой влажности, когда есть опасность обмерзания машины, рекомендуется применять влагоотделители и смазывать пробойник дизельным топливом;

н) асбестоцементные трубы следует соединять между собой с помощью стальных манжет (рис. 2.14) и по мере их соединения заталкивать в скважину с помощью рычага (лома) и опорной доски. При этом на конец первой трубы следует надеть пробку (используют пробки, которыми закрывают незанятые каналы кабельной канализации).

При возникновении затруднений в заталкивании в скважину труб вручную рекомендуется трубы затягивать в скважину с помощью лебедки типа ЛР-1-400, ТА-1, устанавливаемой в приемном котловане.

Untitled-1

Рис. 2.14. Стык асбестоцементных труб с помощью стальных манжет:

1 - асбестоцементная труба; 2 - манжета стальная; 3 - буртик для упора асбестоцементной трубы

2.77. Устройство горизонтальных скважин диаметром до 250 мм в грунтах I - IV групп может осуществляться гидропрессом БГ-3М, обычно входящим в состав комплексной машины КМ-170 (рис. 2.15), смонтированной на базе автомобиля, например ЗИЛ-157.

На раме автомашины смонтированы: насос Н-401 для подачи масла в гидропресс БГ-3М, гидрокран 4031 (4030), насос IB 20/5 или IB 20/10 для откачки грунтовых и талых вод из котлована. Все агрегаты имеют привод от двигателя автомобиля.

Сменное оборудование комплексной машины КМ-170 состоит из гидропресса БГ-3М, комплекта штанг (30 шт.), комплекта расширителей на 1, 2 и 3 канала, опорных плит для гидропресса БГ-3М, вспомогательного инструмента и инвентаря.

Untitled-1

Рис. 2.15. Комплексная машина КМ-170

Установка БГ-3М может также работать от бензодвигателя с насосным агрегатом. Технические данные гидропресса БГ-3М приведены в табл. 2.9.

Таблица 2.9

Технические данные гидропресса БГ-3М

Давление в цилиндре, кг/см2

300

Скорость продавливания отверстий в грунте, м/мин

1,2

Усилие, развиваемое прессом, тс

30

Размер котлована под пресс, мм:

- длина

2000

- ширина

1600

- глубина

500 (глубже оси прокладки кабеля)

2.78. Устройство горизонтальной скважины производится в следующей последовательности:

а) отрывается входной (рабочий) котлован прямоугольной формы длиной 220 см и шириной 160 см, дно которого должно располагаться на 50 см ниже оси прокладываемых трубопроводов (глубина заложения трубопровода определяется проектом).

На дне котлована должен быть сделан настил из досок толщиной 40 мм, закрепленных на трех поперечных брусьях 150×100 мм. Отрывается также траншея на другой стороне перехода;

б) закрепляются стенки котлована способами, указанными в п. 2.73;

в) устанавливается строго горизонтально (по уровню) гидропресс. Опорные плиты устанавливаются параллельно и вертикально (рис. 2.16);

г) после запуска установки в грунт заталкивается первая штанга с навинченным конусообразным наконечником диаметром 70 мм.

По мере вдавливания в грунт штанги навинчиваются друг на друга до появления первой штанги с наконечником в траншее на другой стороне перехода;

д) сняв наконечник диаметром 70 мм, на конец штанги навинчивают расширитель диаметром 130 мм и штангу с расширителем протягивают в скважине в обратном направлении. Диаметр скважины можно увеличить, последовательно протягивая штангу с расширителями диаметром 170, 210 и 250 мм в обоих направлениях;

е) в скважину затягивают асбестоцементные трубы, как указано в п. 2.76 н).

Untitled-1

Рис. 2.16. Установка гидравлического пресса в рабочем котловане

УСТРОЙСТВО КАБЕЛЬНЫХ ПЕРЕХОДОВ С ПРОКЛАДКОЙ АСБЕСТОЦЕМЕНТНЫХ ТРУБ В МЕТАЛЛИЧЕСКИХ ФУТЛЯРАХ

2.79. Бестраншейная прокладка трубопроводов кабельной канализации через железные и автомобильные дороги при количестве каналов больше шести производится, как правило, с устройством металлического футляра методом продавливания.

Этот способ заключается в том, что продавливаемая труба концом, снабженным ножом, вдавливается в массив грунта, после чего образовавшийся грунтовый керн разрабатывают и удаляют из трубы (футляра).

2.80. Установки для продавливания металлических футляров, как правило, монтируются с применением гидродомкратов ГД-170/1150, ГД-170/1600 или ГД-500/600, насосов высокого давления и контрольных приборов.

Указанные выше домкраты имеют обратный ход.

2.81. Наиболее распространенными установками для продавливания металлических футляров являются: установка, разработанная СКБ Главмосстроя, установка ПУ-2 конструкции ЦНИИподземмаш и установка У-12/60 Гипронефтеспецмонтажа.

2.82. Установка СКБ Главмосстроя, например, имеет следующие технические данные:

Диаметр кожуха, мм................................................................................... 920

Максимальная длина прокладки, м.......................................................... до 60

Скорость прокладки, м/смена................................................................... 6 - 10

Ход штоков гидродомкратов, мм............................................................. 1150

Давление в гидросистеме, мПа................................................................. 30

Максимальное усилие гидродомкратов, кН............................................ 3400

Общая установленная мощность, кВт...................................................... 51,5

Общая масса установки, т......................................................................... 13

Технология применения этой установки приведена в типовых проектных решениях «Бестраншейная прокладка трубопроводов канализации кабелей связи 1-045-3-86», разработанных проектным институтом «Гипросвязь-2».

2.83. Установка У-12/60 для бестраншейной прокладки труб предназначена для прокладки стальных труб (кожухов) диаметром 1220 мм в сухих и увлажненных грунтах I - III групп. Применение установки дает возможность производить все работы при бестраншейной прокладке кожуха без присутствия рабочих на забое, с механизированной разработкой и удалением грунта.

Установка У-12/60 имеет следующие технические данные:

Диаметр кожуха, мм................................................................................... 1220

Длина прокладки, м................................................................................... 60

Длина секции (наибольшая), м................................................................. 6

Усилие продавливания, кН....................................................................... 3400

Мощность приводных электродвигателей, кВт..................................... 18

Масса отдельного блока, кг....................................................................... 2420

Масса установки, т..................................................................................... 12,7

Головка установки приваривается к продавливаемому кожуху (трубе) и воспринимает сопротивление грунта. Удаление грунта осуществляют с помощью челнока, расположенного внутри головки, оснащенной запорным устройством.

Для бестраншейной прокладки трубы (кожуха) с помощью установки У-12/60 должен быть подготовлен котлован длиной 13 м, шириной 3 м и глубиной на 0,1 м ниже проектной отметки основания прокладываемой трубы. В задней части котлован расширяется и углубляется для монтажа основания из брусьев и шпал и установки инвентарного башмака.

Работа заключается в периодическом вдавливании прокладываемой трубы на длину хода домкратов (1000 мм) с последующим извлечением челнока из прокладываемой трубы и его разгрузкой.

При работе установки необходимо обеспечивать надежное крепление челнока в головке.

Заполнение челнока грунтом обеспечивается вдавливанием трубы гидравлическими домкратами при расклинивании челнока в головке продавливаемой трубы.

Разгрузку челнока производят в отвал или транспорт.

РЕКУЛЬТИВАЦИЯ ЗЕМЕЛЬ

2.84. Рекультивация земель заключается в восстановлении плодородного слоя земли, нарушенного при выполнении земляных работ.

Для этого при рытье траншей в зоне пахотных земель плодородный слой снимается, транспортируется и складируется до окончания земляных работ, после чего он должен быть нанесен на нарушенные площади почвы. Места отвала плодородного слоя почвы не должны быть подвержены затоплению водой и загрязнению мусором.

2.85. Снятие, транспортировка и нанесение плодородного слоя почвы должны осуществляться до наступления устойчивых отрицательных температур.

2.86. Снятие и перемещение плодородного слоя почвы производится бульдозером, а при отсутствии механизмов - вручную.

2.87. Рекультивация земель должна выполняться в строгом соответствии с проектом.

РАЗДЕЛ 3
СТРОИТЕЛЬСТВО ПОДЗЕМНОЙ КАБЕЛЬНОЙ КАНАЛИЗАЦИИ СВЯЗИ

ОБЩИЕ ПОЛОЖЕНИЯ

3.1. Подземная кабельная канализация связи представляет собой систему трубопроводов и колодцев, сооружаемую от здания АТС до распределительных шкафов и кабельных вводов в жилые и административные строения и на опоры воздушных линий, предназначенную для прокладки (затягивания) в каналах кабелей связи. Сооружения должны быть механически прочными, долговечными, водонепроницаемыми, экономичными и удобными для производства различных кабельных работ, изготовляться из недефицитных материалов и не оказывать вредного влияния на кабели.

3.2. Здания АТС имеют помещение ввода кабелей с выходом в многоотверстные блоки кабельной канализации или тоннель, а при наличии и совпадении трасс - в общегородские или ведомственные подземные коллекторы и частично - в тоннели метрополитена.

3.3. Помещения ввода кабелей должны устраиваться в гидроизолированных подвальных этажах зданий АТС (или других строений) под помещением кросса станции. Ввод кабельной канализации в АТС емкостью 10 и 20 тысяч номеров необходимо устраивать с двух противоположных сторон здания.

3.4. Помещение ввода кабелей должно быть оборудовано крепежными конструкциями для раскладки и распайки кабелей, стационарным и взрывобезопасным электроосвещением, вентиляцией, сигнализацией и др.

На станциях малой емкости вместо помещения ввода кабелей устраивают приямок с вводным шкафом или осуществляют распайку линейных кабелей в станционном колодце.

3.5. Подземные коллекторы представляют собой тоннели прямоугольного или круглого сечения, строящиеся вдоль магистралей города при значительном скоплении различных подземных коммуникаций (кабелей связи, электрокабелей, теплосети, водопровода и т.п.). Коллекторы должны быть оборудованы крепежными конструкциями для раскладки коммуникаций различного назначения, системами герметичного электроосвещения, сигнализации, водоудаления, вентиляции и др.

Строительство коллекторов ведется обычно городскими организациями инженерных сооружений открытым или закрытым способами на различных глубинах в зависимости от местных условий.

3.6. Подземные трубопроводы кабельной канализации связи должны сооружаться из одно- и многоотверстных труб (блоков) - общим числом до 48, а возможно и более каналов, прокладываемых, преимущественно, под пешеходной частью уличных проездов.

3.7. На расстоянии до 150 м друг от друга, а также в местах поворота или разветвления трубопровода устраивают колодцы (смотровые устройства) проходного, углового или разветвительного типа. При прокладке кабеля типа ТПП, емкостью 1400×2 и более, расстояние между колодцами не должно превышать 120 м.

Вход в колодцы обеспечивается через чугунные люки с наружными крышками. В колодцах должны свободно выполняться работы по затягиванию (вытягиванию) кабелей в каналы трубопровода, сращиванию их отдельных длин (пролетов), выяснению и устранению кабельных повреждений, замене отдельных пролетов кабелей и т.п.

3.8. В колодцах могут также размещаться ящики с катушками индуктивности (пупиновские ящики) и контейнеры регенераторов систем передачи ИКМ.

3.9. Для прокладки трубопроводов связи должны использоваться асбестоцементные, бетонные и полиэтиленовые трубы (блоки), а в местах вынужденного уменьшения заглубления - и стальные трубы с соответствующей обработкой.

Допускается использование поливинилхлоридных (винилитовых) и пековолокнистых труб, однако они используются значительно реже. Проводятся работы по изысканию новых материалов и типов (конструкций) труб, пригодных для прокладки трубопроводов кабельной канализации.

ТИПЫ И РАЗМЕРЫ ТРУБ И БЛОКОВ КАБЕЛЬНОЙ КАНАЛИЗАЦИИ СВЯЗИ

3.10. На магистральных направлениях кабельной канализации связи должны использоваться трубы и блоки с круглыми внутренними каналами диаметром 100 мм (для полиэтиленовых труб 93 - 103 мм).

3.11. На незагруженных направлениях, в тупиковых участках, кабельных вводах в здания и выводах на опоры воздушных линий целесообразно применять трубы с внутренним диаметром канала 55 - 58 и 66 - 69 мм.

3.12. Использование тех или иных типов и размеров труб (блоков) на различных участках кабельной сети должно определяться проектом. Основные формы и размеры труб и блоков представлены на рис. 3.1.

3.13. Асбестоцементные безнапорные трубы получили наибольшее распространение из-за ряда преимуществ в сравнении с другими типами. Они имеют диаметр 100 - 118 мм, длину 3 и 4 м, с массой одного метра 6,0 кг. Эти трубы могут поставляться с асбестоцементными муфтами диаметром 140 - 160 мм и длиной 150 мм для стыковки труб.

Механические и испытательные характеристики должны соответствовать стандарту.

3.14. Бетонные (цементно-песчаные) трубы и блоки прямоугольной формы изготовляют с круглым внутренним каналом диаметром 100 мм и длиной 1 м. Трубы и блоки могут изготовляться одно-, двух- и трехотверстными, а в перспективе - до 12 отверстий (каналов) включительно. Для изготовления труб (блоков) должен использоваться бетон марки 200, с водоцементным отношением 0,42 - 0,47 и с соотношением цемента и песка 1:3 и 1:4.

При испытаниях изготовленных труб после 28-дневного вызревания в естественных условиях одно - трехотверстные трубы (блоки) должны выдерживать, не разрушаясь, изгибающую нагрузку от 6,4 кН (650 кгс) до 15,2 кН (1550 кгс). Масса труб составляет: одноотверстных - 32 кг, двухотверстных - 56 кг и трехотверстных - 80 кг.

Для прокладки труб (блоков) изготовляют бетонные подкладки длиной 160, 280 и 410 мм и шириной 120, 120 и 140 мм соответственно для одно-, двух- и трехотверстных труб.

3.15. Полиэтиленовые трубы изготовляются из полиэтилена высокой плотности (ПВП) и низкой плотности (ПНП), при этом трубы из ПНП имеют большую толщину стенок. Для кабельной канализации должны использоваться трубы с наружным диаметром 110 и 63 мм и внутренним диаметром соответственно 97 - 101 и 55 - 57 мм. Длина труб с наружным диаметром 110 мм из ПВП (или ПНП) и диаметром 63 мм из ПВП колеблется от 5,5 до 12,0 м, а с наружным диаметров 63 мм из ПНП - до 200 м, в бухтах, диаметр которых не более 3 м. Соединение труб осуществляется методом стыковой сварки.

Untitled-1

Рис. 3.1. Основные формы и размеры труб и блоков кабельной канализации связи:

а) - бетонные; б) - асбестоцементные; в) - полиэтиленовые

3.16. Поливинилхлоридные (винилитовые) трубы могут применяться для кабельной канализации и закладных устройств скрытой проводки в зданиях. Для кабельной канализации такие трубы используются крайне редко, но в зарубежной практике, в ряде стран, имеющих их производство, нашли широкое применение. Трубы характеризуются высокой морозостойкостью - от минус 15 °С до минус 40 °С и пределами прочности на сжатие 48 - 98 МПа (500 - 1000 кгс/кв. см). Трубы имеют диаметры 6/10 - 100/110 мм при массе одного метра соответственно 0,07 - 4,06 кг. Стыковка труб осуществляется путем устройства раструба, подогрева и использования клея или лака.

3.17. Стальные трубы используются в отдельных случаях при вынужденном уменьшении заглубления из-за наличия на трассе ранее проложенных других коммуникаций или сооружений. Изогнутые стальные трубы могут применяться при установке распределительных шкафов и устройстве кабельных вводов в здания и на опоры воздушных линий. Используются также стальные трубы при прокладке кабелей под мостами, на стенах зданий, по вертикальным шахтам, под полами и в стеновых блоках зданий и т.п. Стальные трубы поставляются диаметром 6/10,2 - 125/140 мм при массе одного метра 0,47 - 18,24 кг.

УСЛОВИЯ ПРОКЛАДКИ КАБЕЛЬНОЙ КАНАЛИЗАЦИИ СВЯЗИ

3.18. Одним из основных критериев применения различных типов труб для прокладки подземной кабельной канализации является вертикальная нагрузка, которую они могут выдержать, не разрушаясь и не деформируясь, на глубине 0,4 - 2,0 м. На проложенные трубы действуют постоянные и временные нагрузки. Постоянной нагрузкой является давление грунта засыпки траншеи и массы самих труб с затянутыми в них кабелями, а временной - наезд на трассу транспортных средств. Расчетными нагрузками от наезда транспортных средств является давление от колесных и гусеничных механизмов массой 10 - 80 т (НК-10 ... НК-80) и 60 т (НГ-60).

3.19. Глубина прокладки трубопроводов определяется с учетом вертикальных нагрузок и типов применяемых труб (блоков) (табл. 3.1).

3.20. Минимальная глубина траншей для кабельной канализации связи должна определяться данными, приведенными в табл. 3.2 и 3.3.

3.21. Трубопровод кабельной канализации должен прокладываться с уклоном не менее 3 - 4 мм на 1 м длины от середины пролета в сторону колодцев для обеспечения стока попадающей в каналы воды (из трубопровода в колодцы).

На местности с достаточным естественным уклонов трубопровод может одинаково заглубляться по всей длине пролета и лишь на подходах к колодцам ему должен придаваться уклон, обеспечивающий ввод в колодцы на заданных вертикальных отметках.

На местности без достаточного снижения трубопровод должен прокладываться с уклоном в одну сторону, когда у одного колодца задается минимальное, а у другого - завышенное заглубление, или с уклоном в обе стороны от места пролета с минимальным заглублением (рис. 3.2).

Таблица 3.1

Минимально допустимое заглубление трубопроводов кабельной канализации связи

Типы труб (блоков)

Минимальное расстояние от поверхности уличного покрытия до верхней трубы, м

под пешеходной частью улиц

под проезжей частью улиц

Асбестоцементные, полиэтиленовые, поливинилхлоридные, пековолокнистые

0,4

0,6

Бетонные (цементно-песчаные), керамические

0,5

0,7

Стальные

0,2

0,4

Примечания: 1. Под трамвайными и железнодорожными путями расстояние от подошвы рельса до верха трубы любого типа должно составлять не менее 1 м.

2. Под арыками и кюветами расстояние от их дна до верхней трубы должно составлять не менее 0,5 м.

3. При вероятности до кладки труб минимальное заглубление должно, учитывать планируемую докладку.

4. Под проезжими частями улиц полиэтиленовые трубы должны иметь дополнительную защиту.

5. Приведенные данные относятся к заглублению трубопроводов в пролетах. На вводах труб в колодцы глубина заложения должна составлять не менее 0,7 м под пешеходной и 0,8 м - под проезжей частями улиц.

Таблица 3.2

Минимальная глубина траншей для трубопроводов кабельной канализации в наивысшей точке пролета, м

Трубы

Место прокладки труб

Число рядов труб по высоте

1

2

3

4

5

6

Асбестоцементные, полиэтиленовые, поливинилхлоридные, пековолокнистые с каналами диаметром 100 мм

в пешеходной части улиц

0,52

0,66

0,80

0,94

1,08

1,22

в проезжей части улиц

0,72

0,86

1,00

1,14

1,28

1,42

под трамвайными и железнодорожными путями

1,22

1,36

1,50

1,64

1,78

1,92

То же, диаметром 55 мм

в пешеходной части улиц

0,46

0,54

0,63

0,71

0,80

0,88

в проезжей части улиц

0,66

0,74

0,83

0,91

0,99

1,08

Бетонные (цементно-песчаные), керамические с каналами диаметром 100 мм

в пешеходной части улиц

0,65

0,81

0,97

1,13

1,29

1,45

в проезжей части улиц

0,85

1,01

1,17

1,33

1,49

1,65

под трамвайными и железнодорожными путями

1,25

1,41

1,57

1,73

1,89

2,05

Стальные с каналами диаметром 100 мм

в пешеходной части улиц

0,32

0,45

0,58

0,70

0,83

0,96

в проезжей части улиц

0,52

0,65

0,77

0,89

1,02

1,14

под трамвайными и железнодорожными путями

1,22

1,35

1,47

1,59

1,72

1,84

Таблица 3.3

Глубина траншей для трубопроводов кабельной канализации связи на вводах в колодцы, м

Трубы

Место прокладки труб

Число рядов труб по высоте

1

2

3

4

5

6

Асбестоцементные, полиэтиленовые, поливинилхлоридные, пековолокнистые и стальные с каналами диаметром 100 мм

в пешеходной части улиц

0,82

0,96

1,10

1,24

1,38

1,52

в проезжей части улиц

0,92

1,06

1,20

1,34

1,48

1,62

То же, диаметром 55 мм

в пешеходной части улиц

0,76

0,84

0,92

1,00

1,08

1,16

в проезжей части улиц

0,86

0,94

1,02

1,10

1,18

1,26

Бетонные (цементно-песчаные), керамические с каналами диаметром 100 мм

в пешеходной части улиц

0,85

1,01

1,17

1,33

1,49

1,65

в проезжей части улиц

0,95

1,11

1,27

1,43

1,59

1,75

Примечание. В колодцы типа ККС-1 трубы вводятся на уровне днища, т.е. глубина траншей не должна превышать 0,7 м.

Untitled-1

Рис. 3.2. Профили прокладки трубопроводов кабельной канализации связи:

а) на ровной местности; б) на местности с недостаточным естественным уклоном; в) на местности с достаточным естественным уклоном; г) с минимальным заглублением при наличии других подземных коммуникаций и защитой трубопровода связи железобетонными плитами

1 - кабельный колодец; 2 - трубопровод; 3 - железобетонные плиты защиты; 4 - коммуникации другого назначения

3.22. В процессе прокладки трубопровода установленная величина уклона должна контролироваться специальной рейкой с отвесом или уклономером.

3.23. При прокладке трубопровода в траншее, отрываемой не целым пролетом от одного до другого колодца, а отдельными участками из-за загруженности уличного проезда городским транспортом, соблюдение общего уклона затруднено. Это может быть также вызвано подземными коммуникациями другого назначения, ранее проложенными с недостаточным заглублением или оказавшимися в других отметках после реконструкции улиц со срезкой грунта. В таких случаях должны приниматься дополнительные меры для соблюдения возможного уклона применительно к данной местности, а величины и места отклонений фиксироваться в технической документации.

3.24. При наличии на трассе прокладки трубопровода кабельной канализации других коммуникаций и строений минимально допустимое сближение с ними должно соответствовать расстояниям, приведенным в табл. 2.2 (раздел 2).

3.25. В горизонтальной плоскости трасса прокладки трубопровода, как правило, должна быть прямолинейной. Однако в отдельных случаях, предусмотренных проектом, и при выявлении неучтенных препятствий допускается некоторое отклонение трассы от прямой линии по плавной кривой из расчета не более 1 см на 1 м длины трубопровода.

3.26. При подготовке к прокладке трубопровода необходимо иметь в виду, что отдельные виды труб имеют некоторые отклонения в наружных и внутренних размерах по диаметру и толщине стенок. Поэтому при раскладке труб на бровке траншеи они должны подбираться таким образом, чтобы в соседних стыкуемых секциях трубы не имели существенной разницы в толщине стенок.

3.27. Перед прокладкой трубы (блоки) должны быть вывезены на трассу и разложены вдоль траншеи, по возможности, на свободной от грунта бровке, в пределах 1 м от ее края. Трубы следует укладывать под некоторым углом к оси траншеи, в устойчивом положении, исключающем произвольное их сползание и падение в раскопку. Этим обеспечивается свободная и быстрая перекладка труб с бровки в траншею при прокладке трубопровода.

3.28. Для обеспечения прямолинейности прокладываемого трубопровода на дне траншеи необходимо натянуть шнур (проволоку), закрепляемый на колышках. Каждая укладываемая труба должна касаться шнура боковой поверхностью, не оттягивая его в сторону. Трубы перед опусканием в траншею и стыковкой должны тщательно осматриваться и очищаться от случайных загрязнений.

3.29. Каналы начальных концов труб должны быть сразу плотно закрыты полиэтиленовыми, бетонными или деревянными пробками (рис. 3.3). По окончании прокладки пролета трубопровода все каналы конечной стороны следует также закрыть пробками во избежание попадания в них воды и мусора. В случае вынужденного приостановления работ в средней части пролета трубопровода каналы также необходимо закрывать временно пробками, а траншею защищать земляными валиками для предохранения от дождевых и талых вод.

Untitled-1

Рис. 3.3. Бетонная пробка для закрытия канала трубопровода связи

3.30. Перед засыпкой траншеи проложенный трубопровод тщательно осматривается прорабом (мастером) с участием представителя заказчика, и соответствие его техническим требованиям должно быть зафиксировано актом на скрытые работы. Перед сдачей в эксплуатацию проходимость каналов должна быть проверена пробным цилиндром.

3.31. Средние объемы земляных работ при рытье и засыпке траншей и отвозке грунта приведены в справочнике «Строительство кабельных сооружений связи» - М., «Радио и связь», 1988.

ПРОКЛАДКА АСБЕСТОЦЕМЕНТНЫХ ТРУБ

3.32. При прокладке асбестоцементных труб на спланированное дно траншеи необходимо насыпать валики из просеянного грунта высотой 50 - 70 мм по ширине всего трубопровода. Валики следует разместить таким образом, чтобы от их осей до концов труб оставалось расстояние 200 - 300 мм.

3.33. На валики укладывается первая крайняя труба. Чтобы углубить ее, сначала приподнимается один и затем второй концы трубы и с некоторым усилием вдавливаются. Заданный уклон трубы должен контролироваться рейкой или уклономером и корректироваться большим или меньшим утоплением одного из ее концов. Аналогично следует укладывать и другие трубы нижнего ряда, оставляя между ними промежутки в 20 - 25 мм. После прокладки первого ряда все промежутки между трубами необходимо засыпать мягким грунтом до стенок траншеи с тщательной трамбовкой деревянной лопаткой толщиной 10 - 15 мм. После трамбовки первый ряд проложенных труб должен быть засыпан мягким грунтом или песком так, чтобы после уплотнения между ним и следующим рядом труб обеспечивалась прослойка толщиной 20 - 25 мм. Так же прокладываются и последующие ряды труб со сдвигом каждого из них по отношению к предыдущему на 200 - 250 мм (рис. 3.4).

Untitled-1

Рис. 3.4. Прокладка асбестоцементных труб в многоотверстные блоки:

а) сдвиг труб в каждом последующем ряду; б) расстояния между трубами в ряду и между рядами; в) деревянная лопатка для трамбовки грунта между трубами

Перед стыкованием труб внутренняя и наружная поверхности каналов должны быть очищены от загрязнений и концы их сведены вплотную. Если при этом будет выявлено расхождение по внутренним и наружным диаметрам из-за недоброкачественной рассортировки, трубу заменяют.

3.34. Стыковка труб может осуществляться различными способами. В последние годы наибольшее распространение получил способ стыковки труб при помощи полиэтиленовых манжет (муфт) диаметром 116/122 мм и длиной 80 мм, с кольцеобразной перегородкой высотой 3 мм в середине муфты по внутреннему диаметру (рис. 3.5,а). Такие муфты должны предварительно прогреваться в бачке с горячей водой, нагретой до 90 - 100 °С, с выдержкой не менее 10 мин.

Горячую, несколько расширившуюся муфту, надевают одним концом на ранее проложенную трубу до упора во внутреннюю перегородку. Очищенный конец второй трубы вставляют в муфту с противоположной стороны также до упора во внутреннюю перегородку. Плотность стыковки достигается легкими ударами молотком или кувалдой по торцу трубы через приложенную доску.

Этот способ стыковки труб приемлем только при прокладке их в нормальных сухих грунтах. На трассах с высоким уровнем грунтовых вод поверхность концов стыкуемых труб должна обмазываться по всей окружности битумом, разжиженным в керосине.

Untitled-1

Рис. 3.5. Заделка стыков асбестоцементных труб при помощи:

а) полиэтиленовых муфт; б) металлических манжет

1 - полиэтиленовая муфта; 2 - асбестоцементные трубы; 3 - лента гидроизола (металлоизола, бризола, смоляная); 4 - манжета из кровельной стали; 5 - цементно-песчаная масса

3.35. Имеет также распространение способ стыковки труб при помощи металлических манжет, обмазываемых цементно-песчаным раствором. При его применении очищенные концы труб плотно составляются, и место их стыка обматывается одним слоем ленты гидроизола (металлоизола, бризола) или смоляной, шириной 50 - 60 мм. Поверх ленты накладывают и затягивают манжету из листовой стали с замковыми вырезами размерами 430×60 мм. Подготовленный стык по всей длине и окружности обмазывают цементно-песчаной массой толщиной 10 - 15 мм (рис. 3.5,б).

3.36. Разновидностью манжетного способа является стыкование труб при помощи стальной манжеты, накладываемой на слой смоляной ленты с прогревом ее пламенем паяльной лампы или газовой горелки. После этого на горячую манжету должен быть намотан второй слой смоляной ленты с дополнительным подогревом. Оплавляясь, смола ленты достаточно надежно уплотняет стык и изолирует манжету от коррозии. Этот способ стыкования обеспечивает меньшую возможность влагопроницаемости и приемлем для увлажненных грунтов.

3.37. Для мокрых грунтов наиболее надежным является способ стыкования труб при помощи асбестоцементных муфт, заливаемых горячим битумом.

В этом случае расстояние между прокладываемыми трубами должно быть увеличено до 30 - 35 мм, а каждый последующий стык смещен по отношению к предыдущему в горизонтальной и вертикальной плоскостях на 200 - 250 мм. В асбестоцементных муфтах предварительно следует пробить по два отверстия диаметром 15 - 20 мм в одной продольной линии. При необходимости муфту и концы труб следует просушить пламенем паяльной лампы (газовой горелки).

Подготовленную муфту необходимо надеть на конец одной трубы, пододвигая последнюю в стык с ранее проложенной. Место стыка нужно обмотать двумя слоями битумной (смоляной) ленты шириной 60 - 70 мм и продвинуть на него муфту, размещая ее отверстиями вверх. Концы муфты зачеканивают смоляной прядью, сухой ветошью или паклей. В одно отверстие муфты следует заливать горячий расплавленный битум до момента его появления во втором отверстии и постепенной усадки. Охлаждение битума должно происходить в естественных условиях, и до отвердения битума стык шевелить нельзя (рис. 3.6,а).

3.38. На трассах, где грунт и трубопровод могут подвергаться некоторым смещениям и колебаниям, для стыковки необходимо применять асбестоцементные муфты с резиновыми кольцами. В таких случаях должны использоваться напорные асбестоцементные трубы с обточенными концами. При стыковке на конец одной трубы следует надвинуть муфту и два резиновых кольца, размещаемых на установленном расстоянии друг от друга и конца трубы (по шаблону). Вторую трубу укладывают в стык с первой и при помощи специальных рычагов или двух ломов муфту перемещают на середину стыка. При этом резиновые кольца перекатываются по обточенным концам труб и занимают симметричное положение по отношению к линии стыка. С обеих сторон муфты зазоры зачеканивают смоляной прядью (рис. 3.6,б).

Рис. 3.6. Заделка стыков асбестоцементных труб при помощи асбестоцементных муфт:

а) с заливкой расплавленным битумным компаундом; б) с применением резиновых колец

1 - асбестоцементная муфта; 2 - отверстия для заливки компаунда; 3 - смоляные пряди; 4 - лента смоляная (битумная); 5 - битумный компаунд; 6 - резиновые кольца; 7 - асбестоцементные трубы

ПРОКЛАДКА БЕТОННЫХ (ЦЕМЕНТНО-ПЕСЧАНЫХ) ТРУБ И БЛОКОВ

3.39. При прокладке бетонных труб вначале на спланированном дне траншеи по шаблону должны быть размечены места их стыковки. В отмеченных местах на ширину трубы (блока) устраивают углубления (выемки) для железобетонных подкладок соответствующих размеров. Глубина выемок определяется так, чтобы после укладки каждая труба (блок) своей нижней плоскостью лежала на спланированном дне траншеи с одновременным обеспечением заданного уклона. В плотных грунтах допускается вместо подкладок заполнять углубления раствором сырого бетона (рис. 3.7).

Untitled-1

Рис. 3.7. Прокладка бетонных (цементно-песчаных) труб:

а) блок из рядов бетонных труб; б) размещение труб на бетонных подкладках или выемках в грунте, заполненных цементно-песчаной массой; в) стыковка труб с заполнением зазоров цементно-песчаной массой

1 - железобетонная подкладка; 2 - бетонные трубы; 3 - цементно-песчаная масса; 4 - песок; 5 - выемка в грунте

После установки подкладок их выемки заполняют цементно-песчаной массой, укладывая ее холмиком так, чтобы гребень возвышался над серединой впадины, а у краев не доходил до ее верхних обрезов. При использовании выемок в грунте они должны аналогично заполняться цементно-песчаной массой.

Каждая последующая труба должна вставляться замковым выступом во впадину (уступ) стыкуемой трубы до плотного упора. Для удобства стыковки и укладки следует пользоваться двумя стальными держателями (крюками). При этом один работник должен заводить концы держателей под трубу вблизи стыка, несколько приподнимая ее, а другой - направлять стыковку руками. Под тяжестью уложенной трубы цементно-песчаная масса в выемке подкладки или в углублении грунта разравнивается, заполняя их и зазор стыкуемых труб.

3.40. Качество стыка проверяется визуально и контрольной штангой (рис. 3.8), которая должна свободно проходить место стыка, без задержек и повышенного трения. Зазор между концами состыкованных труб должен быть минимальным и одинаковым по всему периметру их обрезов. Общее направление укладываемых и стыкуемых труб должно контролироваться натянутым по дну траншеи шнуром.

При прокладке одной трубы после проверки штангой место стыка по всему периметру смоченных водой поверхностей обмазывают цементно-песчаной массой марки 50 (100) шириной 60 - 75 мм и толщиной 7 - 10 мм.

Untitled-1

Рис. 3.8. Крюк-держатель и контрольная штанга:

1 - кровельная сталь; 2 - деревянная скалка

3.41. Прокладку многоотверстных блоков рекомендуется производить в соответствии с рис. 3.9. При этом нижний ряд блоков необходимо укладывать с помощью бетонных подкладок соответствующих размеров или углублений в дне траншеи. Между соседними блоками в ряду следует обеспечивать зазоры в 4 - 5 мм, которые на расстоянии 50 - 70 мм в обе стороны от оси стыка должны заполняться бетонным раствором, а в остальной части - песком. Верх и боковые стороны стыка необходимо промазать цементным раствором.

Каждый последующий ряд труб должен укладываться на предыдущий по слою песчаной подготовки толщиной 10 - 15 мм со сдвигом стыков на 150 - 200 мм по отношению к каждому предыдущему ряду. В местах стыка слой песчаной подготовки должен прерываться на ширине 75 - 100 мм. На нижние трубы наносят слой цементно-песчаной массы толщиной 10 - 15 мм с возвышающимся валиком по оси стыка.

Дальнейшую укладку труб производят аналогично. В процессе прокладки крайние каналы трубопровода следует проверять контрольной штангой и при необходимости обеспечивать подправку.

После окончания заделки стыков их осторожно присыпают песком или мягкой землей.

Untitled-1

Рис. 3.9. Некоторые варианты компоновки блоков из одно - трехотверстных бетонных труб

ПРОКЛАДКА ПОЛИЭТИЛЕНОВЫХ ТРУБ

3.42. При хранении, транспортировке и прокладке полиэтиленовых труб следует учитывать их горючесть, воздействие теплоизлучений и возможность сплющивания. Все работы должны выполняться с учетом возможности их деформации при температуре выше +20 °С и растрескивания с образованием трещин при температуре ниже минус 10 °С.

3.43. Развозку труб по трассе следует производить непосредственно перед укладкой, размещая их вдоль траншеи по бровке, свободной от грунта. Концы труб сваривают на длине каждого пролета канализации.

3.44. Сварка труб должна выполняться на специальных станках, состоящих из станины, зажимных хомутов и рычага, с применением нагревательного диска и фрезы (рис. 3.10).

Untitled-1

Рис. 3.10. Сварка полиэтиленовых труб:

а) станок для закрепления концов труб; б) нагревательный диск; в) фреза с комбинированными резцами для торцовки и снятия фаски

1 - рычаг станка; 2 - зажимные хомуты; 3 - полиэтиленовые трубы; 4 - выступ для нагревания диска; 5 - дюралевая трубка; 6 - электроконтактный термометр или термодатчик; 7 - деревянная (пластмассовая) рукоятка; 8 - комбинированные резцы

Процесс сварки заключается в подготовке концов труб по диаметру, снятии с них фаски, оплавлении и сжатии с определенным усилием до отвердения.

Для этого сначала концы свариваемых труб жестко фиксируются в зажимных хомутах, один из которых может перемещаться, сближая и отдаляя трубы посредством рычага. По всей длине торцы труб должны быть плотно подогнаны один к другому, без видимых просветов, отторцованы. Затем по всей внутренней окружности торцов обеих труб снимают фаску на 1/3 толщины стенок.

Торцовку и снятие фаски выполняют одновременно специальной ручной фрезой с комбинированными резцами. При этом фрезу надвигают на конец одной из труб. Конец второй трубы вводят во фрезу с другой стороны поворотом рычага станка. Посредством съемной ручки рычага фрезу несколько раз поворачивают вперед и назад на угол не менее 120° по окружности. После этого обратным поворотом рычага станка трубы разводят, фрезу снимают и проверяют качество обработки концов труб. При необходимости операцию повторяют.

3.45. Оплавление концов труб должно производиться при помощи латунного или медного диска, нагреваемого электрическим током или пламенем паяльной лампы (газовой горелки). Температуру нагрева контролируют регулируемым биметаллическим термодатчиком или термоконтактным термометром, помещаемым в рукоятке диска.

Сварку труб ПНП производят при температуре 180 - 200 °С, а ПВП - 200 - 220 °С. Нагретый до заданной температуры диск помещают между концами труб в станке. Действуя рычагом, концы труб прижимают к нагревателю, вследствие чего торцы их оплавляются. По истечении 10 - 15 с трубы несколько раздвигают и извлекают нагреватель, а оплавленные концы с некоторым усилием вновь сжимают. После естественного остывания в течение 0,5 - 1,0 мин трубы извлекают из зажимных хомутов и станок переносят к месту последующей сварки.

3.46. Аналогично свариваются трубы на протяжении всего пролета трубопровода. Качество сварки проверяется визуально. Линия спая должна быть затянута оплавленным полиэтиленом с выступанием внешних валиков на одинаковую высоту (1 - 2 мм) и ширину по всему шву сварки.

3.47. Сваренные трубы по всей длине пролета канализации при помощи лямок опускаются на спланированное дно траншеи с соблюдением прямолинейности и установленного уклона. Каждая последующая секция сваренных труб укладывается параллельно предыдущей с прослойкой между ними, равной 20 мм. Уложенные трубы засыпают мягким грунтом или песком с тщательной трамбовкой.

3.48. При укладке блоков из нескольких рядов труб каждый последующий ряд укладывается на предыдущий с прослойкой мягкого грунта или песка толщиной 50 мм. При этом, в отличие от асбестоцементных, оси полиэтиленовых труб смещаются в каждом последующем ряду поочередно вправо и влево на половину расстояния между трубами (рис. 3.11). Верхний ряд труб присыпают также слоем мягкой земли или песка толщиной не менее 100 мм, а затем вырытым грунтом.

Untitled-1

Рис. 3.11. Укладка полиэтиленовых труб в траншее:

1 - полиэтиленовые трубы; 2 - мягкий грунт или песок

ПРОКЛАДКА ПОЛИВИНИЛХЛОРИДНЫХ ТРУБ

3.49. Прокладка поливинилхлоридных (винилитовых) труб должна осуществляться в основном по той же технологии, что и прокладка полиэтиленовых труб. Стыковку труб производят также на бровке траншеи, используя раструбные и муфтовые соединения с применением клея (рис. 3.12).

Рис. 3.12. Соединение поливинилхлоридных (винилитовых) труб:

а) раструбное; б) муфтовое

1 - клей; 2 - раструб; 3 - муфта

3.50. Раструб отформовывается специальной оправкой на предварительно разогретом до температуры 100 - 130 °С одном из концов стыкуемых труб или плотно надвигаемой на стык поливинилхлоридной муфты. В раструбе или муфте концы труб закрепляются клеем или лаком.

Для этого пригодны клеи: марки PC-20, состоящий из 80 % метиленхлорида и 20 % перхлорвиниловой смолы, или марки РСД-15, состоящий из 85 % дихлорэтана технического и 15 % перхлорвиниловой смолы в весовых частях. Могут также использоваться лаки марки № 1 ПХВ-1 и № 2 ПХВ-2.

3.51. Для кабельной канализации должны использоваться трубы с внутренним диаметром 100 мм. Трубы меньших диаметров (25 - 50 мм) используются в закладных устройствах скрытой проводки в жилых и административных зданиях.

ПРОКЛАДКА ТРУБОПРОВОДА НА МОСТАХ

3.52. Прокладка трубопровода кабельной канализации на мостах через реки, железные дороги, шоссе, уличные проезды и др. осуществляется применительно к конструктивным особенностям каждого моста.

3.53. В зависимости от длины и ширины пролетов моста, конструкции ферм, числа каналов трубопровода и т.п. составляется технический проект, в котором, помимо указанного, должны быть учтены и такие факторы, как вибрация сооружений при проходе транспорта, подверженность более резким и частым перепадам температур, воздействие внешней среды, необходимость дополнительной защиты сооружений от возможных механических повреждений при проходе транспортных средств, ледоходе и т.п. На разводных мостах через реки и каналы дополнительно должны быть решены вопросы прокладки сооружений в местах разводных (раздвижных) конструкций. Все принятые решения, согласовываются с организацией, осуществляющей эксплуатацию мостовых сооружений.

3.54. Наиболее целесообразной является прокладка асбестоцементных или полиэтиленовых труб в конструкциях моста. На больших городских мостах прокладку трубопровода обычно осуществляют в тротуарных ячейках с укладкой труб в один или два ряда. Для подхода к мосту с двух сторон устраивают колодцы, между которыми и прокладывают трубопровод в его пролетных частях.

Трубы блоков небольшой емкости размещают в один ряд. Трубопровод с большим числом каналов обычно выводят из колодцев уложенным в три, четыре и более рядов. На подходах к устоям моста трубопровод веерообразно, плавно перемещают в один или два ряда для укладки в тротуарных ячейках (рис. 3.13).

3.55. При значительной длине пролетов моста в его пешеходной части должны устраиваться нетиповые смотровые устройства, крышками которых являются съемные железобетонные плиты тротуара.

Поверх плит обычно наносится общий слой асфальта по всему тротуару, и вскрытие смотровых устройств приравнивается к раскопкам с последующим асфальтированием.

Untitled-1

Рис. 3.13. Прокладка кабельной канализации на мостах:

а) переход трубопровода под тротуаром моста; б) тротуарная ячейка

1 - колодец; 2 - перевод трубопровода из двух в один ряд; 3 - смотровое устройство под настилом тротуара (со снятой плитой тротуара); 4 - трубы канализации; 5 - настил тротуара

3.56. При небольших пролетах моста тротуарные ячейки могут использоваться и без прокладки трубопровода, с размещением кабелей непосредственно на дно образованной ниши. Для уменьшения вибрации на дно ниши необходимо настелить упругие основания из асбестовых очесов или других материалов.

3.57. В случаях, когда вдоль обеих сторон моста проходят уличные проезды с проложенной кабельной канализацией связи, под мостом должны быть устроены колодцы и из них - кабельные переходы в нижнюю часть (шахту) мостовых устоев. Шахта и нижняя часть моста должны быть оборудованы крепежными конструкциями для раскладки кабелей.

3.58. На раздвижных мостах трубопровод прокладывается с обеих сторон моста одним из указанных способов. В раздвижных частях целесообразно использовать подводные бронированные кабели, укладываемые в дно реки. Спуск кабелей в реку должен выполняться по неподвижным устоям моста с защитой их от механических повреждений проходящими судами и ледоходом.

3.59. При отсутствии пустот (ячеек) под тротуаром моста и необходимости прокладки небольшого числа кабелей трубопровод должен подвешиваться к стальным конструкциям мостовых ферм. Для этого следует изготовить стальные хомуты по размерам несущей балки. На хомутах должны закрепляться стальные накладки и на них - трубопровод. Под накладками следует разместить пружинные амортизаторы, смягчающие вибрацию трубопровода с кабелями при проезде транспорта. Крепление трубопровода может быть выполнено также в деревянных колодках с полукруглыми вырезами по форме и размерам прокладываемых труб (рис. 3.14).

3.60. Если при прокладке кабелей небольшой длины используются стальные трубы, то они должны быть тщательно обработаны в торцах со снятием заусениц и покрыты с внутренней и наружной сторон расплавленным битумом или другим изолирующим составом. Это имеет особо важное значение при проходе под мостом электрифицированной железной дороги.

Untitled-1

Рис. 3.14. Крепежные устройства для прокладки трубопровода под мостом:

а) подвеска на пружинных амортизаторах; б) укладка труб в деревянных колодках

1 - стальная балка моста; 2 - стальной хомут; 3 - трубы; 4 - пружинные амортизаторы; 5 - настил тротуара; 6 - деревянные колодки

ВВОД ТРУБОПРОВОДОВ В КОЛОДЦЫ КАБЕЛЬНОЙ КАНАЛИЗАЦИИ

3.61. Ввод трубопроводов в колодцы (смотровые устройства) должен осуществляться через предусмотренные для этого проемы в торцовых и боковых стенках. Все каналы трубопровода следует размещать в одной вертикальной и горизонтальной плоскостях с отступлением от внутренней поверхности стенки колодца на 30 - 40 мм (рис. 3.15).

Untitled-1

Рис. 3.15. Ввод трубопровода в кабельные колодцы:

а) общий вид; б) обработка полиэтиленовых труб при вводе в колодец

1 - колодец; 2 - трубопровод; 3 - битумная лента; 4 - полиэтиленовая труба; 5 - раствор цемента со щебенкой

3.62. Свободные просветы проемов необходимо заделывать кирпичной кладкой, а промежутки между трубами - кирпичной щебенкой на цементном растворе. Лицевая плоскость вводного блока должна быть тщательно выровнена цементным раствором при вставленных в каналы пробках.

3.63. В целях достижения большей герметичности обработку проема с введенными трубами следует производить с двух сторон стенок колодца (из колодца и из котлована) до его засыпки грунтом.

3.64. Полиэтиленовые трубы должны вводиться в проем колодца с предварительной обмоткой очищенных концов пятью слоями битумной ленты с прогревом ее до оплавления пламенем паяльной лампы или газовой горелки. Пустоты также заделывают кирпичом и цементным раствором.

КОЛОДЦЫ КАБЕЛЬНОЙ КАНАЛИЗАЦИИ СВЯЗИ

3.65. Колодцы кабельной связи (ККС) подразделяются по следующим основным признакам:

а) по конструкции, размерам и соотношению размеров - на типовые и специальные;

б) по расположению на трубопроводе (улице) - на проходные, угловые, разветвительные и станционные;

в) по материалу - на железобетонные и кирпичные;

г) по расчетной вертикальной нагрузке в месте устройства - для проезжей части улиц (80 т) и непроезжей части улиц (10 т);

д) по типоразмерам - на колодцы кабельной связи (ККС) пяти основных размеров (ККС-1 - ККС-5), колодцы кабельной связи специальные (ККСС) двух основных размеров (ККСС-1 и ККСС-2) и колодцы станционные (ККСст) четырех размеров (для АТС емкостью 3 - 20 тыс. номеров);

е) по форме - на многогранные, прямоугольные, квадратные и овальные.

3.66. Типовые колодцы строят по определенным расчетным конструктивным данным на трубопроводах с установленным числом каналов.

3.67. Проходные колодцы (ККС) устраивают на прямолинейных участках трасс трубопровода, а также в местах, где угол отклонения от прямой линии трассы не превышает 30°.

3.68. Угловые колодцы (ККСу) строят в местах поворота трассы трубопровода под углом 90°. При повороте трассы на угол, несколько больший или меньший 90°, в каждом случае принимается соответствующее решение с учетом направления оси угловой вставки для ввода трубопровода со стороны поворота канализации.

В зависимости от материала, способа изготовления и местных условий они могут быть с угловыми вставками к проходным колодцам и специально угловыми. Сборные железобетонные угловые колодцы устраивают с угловыми вставками. Специально угловая конструкция применяется только при изготовлении монолитных железобетонных колодцев или при выкладке кирпичных колодцев на месте.

3.69. Разветвительные колодцы (ККСр) устраивают в местах разветвления трубопровода. Сборные железобетонные разветвительные колодцы устраивают из типовых проходных колодцев с двумя угловыми вставками. Специальные разветвительные колодцы применяют только при изготовлении монолитных железобетонных устройств или при выкладке кирпичных колодцев на месте (в котловане).

3.70. Станционные колодцы (ККСст) устраивают непосредственно у здания АТС и с торцовой стороны соединяют трубопроводом или тоннелем (коллектором) со станционной кабельной шахтой. С боковых сторон трубопровод разветвляется на два противоположных направления. По числу вводимых каналов трубопровода и габаритам станционные колодцы разделяются в зависимости от емкости строящейся АТС на 3, 6, 10 или 20 тыс. номеров. Станционные колодцы строят монолитными железобетонными или кирпичными с железобетонным перекрытием.

3.71. Специальные колодцы (ККСС) строятся при числе вводимых каналов до 36 и 48. Если число вводимых каналов превышает предельную величину, то устраивают нетиповые колодцы по отдельным проектным решениям.

3.72. Колодцы типа ККС-1 и ККС-2 могут быть только проходными, а ККС-3 - ККС-5 - проходными, угловыми и разветвительными.

Колодец ККС-1 рассчитан на ввод одного канала трубопровода, ККС-2 - двух каналов, ККС-3 - до шести каналов включительно, ККС-4 - до двенадцати каналов и ККС-5 - до двадцати четырех каналов.

Колодцы специального типа ККСС-1 и ККСС-2 рассчитаны на ввод соответственно до тридцати шести и сорока восьми каналов трубопровода.

3.73. Форма железобетонных колодцев определяется их типами, кирпичные колодцы всех типов выкладывают овальной формы, а типа ККСст - овально-многогранной формы.

При наличии в месте строительства других подземных коммуникаций или строений форма колодца может быть произвольной в зависимости от местных условий и с согласованием с соответствующими организациями. Нетиповая форма может быть придана и при переустройстве (расширении) существующих колодцев на действующем трубопроводе при докладке каналов. Обычно в таких случаях выкладывают нетиповые кирпичные колодцы специального типа.

3.74. Технические данные типовых сборных железобетонных колодцев, изготовляемых по ТУ 45.1418-89, приведены в табл. 3.4.

Таблица 3.4

Типы сборных железобетонных колодцев

Типоразмер колодца

Допустимая нагрузка, т

Условные обозначения

Число вводимых каналов

проходной

угловой

разветвительный

5

80

ККС-5-80

ККСу-5-80

ККСр-5-80

24

10

ККС-5-10

ККСу-5-10

ККСр-5-10

24

4

80

ККС-4-80

ККСу-4-80

ККСр-4-80

12

10

ККС-4-10

ККСу-4-10

ККСр-4-10

12

3

80

ККС-3-80

ККСу-3-80

ККСр-3-80

6

10

ККС-3-10

ККСу-3-10

ККСр-3-10

6

2

80

ККС-2-80

-

-

2

10

ККС-2-10

-

-

2

1

10

ККС-1-10

-

-

1

1-ый специальный

80

ККСС-1-80

ККССу-1-80

ККССр-1-80

36

То же, на существующей канализации

80

ККСС-1-1-80

ККССу-1-1-80

ККССр-1-1-80

36

2-ой специальный

80

ККСС-2-80

ККССу-2-80

ККССр-2-80

48

То же, на существующей канализации

80

ККСС-2-1-80

ККССу-2-1-80

ККССр-2-1-80

48

5-ый для контейнеров НРП, К-12, ИКМ-30

80

ККС-5М-80

-

-

24

Примечания: 1. Колодец ККС-1-10 в ТУ не учтен.

2. Колодцы 5-1 типоразмеров раньше назывались соответственно колодцами большого, среднего, малого типов, коробками большого и малого типов.

3. Станционные колодцы классифицируются соответственно емкости АТС.

3.75. Типы применяемых колодцев определяются проектом в зависимости от числа каналов трубопровода на каждом участке трассы, его направления (поворота и разветвления), емкости АТС, прокладки на пешеходной или проезжей частях улиц и перспектив развития сети на заданный период с учетом последующей докладки трубопровода без переустройства колодцев.

Необходимость и способы гидроизоляции колодцев, предотвращения их разрушения в грунтах, подверженных пучению, морозобойным трещинам, смещению в неустойчивых почвах (плывунах, заболоченных участках, оврагах) определяются в процессе проектирования.

ОСНОВНЫЕ МАТЕРИАЛЫ ДЛЯ СТРОИТЕЛЬСТВА И ИЗГОТОВЛЕНИЯ КОЛОДЦЕВ КАБЕЛЬНОЙ СВЯЗИ И ДРУГИХ УСТРОЙСТВ КАНАЛИЗАЦИИ

3.76. Основными материалами для изготовления и строительства колодцев и других устройств кабельной канализации являются цемент, песок (гравий, щебень), используемая для их затворения вода, а также кирпич и арматурная сталь.

3.77. Для образования бетона (искусственного камня) цемент с заполнителями (песок, гравий, щебень) затворяют чистой водой в определенных весовых соотношениях. В зависимости от предела прочности установлены марки бетона: 50, 75, 100, 150, 200, 300, 400 и 500. Созревающий бетон необходимо предохранять от сотрясений и высыхания.

В отличие от бетона цементно-песчаные растворы приготовляют из цемента и песка, затворяемых водой. В зависимости от соотношений компонентов растворы подразделяются по маркам: 25, 50, 75 и 100.

3.78. Для повышения прочности бетонных конструкций, подвергающихся воздействию растягивающих, изгибающих и скалывающих усилий, в них при изготовлении вводят стальные арматурные каркасы из отдельных стержней, скрепляемых проволокой или сваркой. В качестве арматуры должны использоваться горячекатанные круглые стержни гладкого или периодического профиля шести классов (от А-I до А-VI) диаметром 6 мм и более. Изделия называют железобетонными.

3.79. Для кирпичных сооружений связи должен использоваться глиняный красный кирпич прямоугольной формы семи марок: 75 - 300.

Строительство кирпичных колодцев должно производиться из такого кирпича марки 75.

3.80. От качества и правильности дозировки используемых компонентов зависит прочность и длительность срока службы построенных сооружений, поэтому они должны строго контролироваться.

3.81. Технические данные бетонов, цементно-песчаных растворов и кирпича, используемых при строительстве сооружений связи, приведены в табл. 3.5 - 3.7.

Таблица 3.5

Марки бетонов, цементно-песчаных растворов и кирпича, применяемых для строительства кабельных колодцев связи

Наименование изделий

Марка

бетона

кирпича

раствора

Элементы сборных железобетонных колодцев

200

-

-

Соединение элементов сборных железобетонных колодцев в грунте:

- сухом

-

-

50

- мокром

-

-

100

Монолитные железобетонные колодцы

200

-

-

Стены кирпичных колодцев

-

75

50

Днища кирпичных колодцев

50/75

-

100

Перекрытия кирпичных и монолитных железобетонных колодцев

200

-

-

Штукатурка стен кирпичных колодцев

-

-

50

Регулировочные кольца под люк

200

-

50

Таблица 3.6

Примерный состав бетона в номинальной дозировке на 1 м3

Марка бетона

Цемент марки 200 - 300, кг

Песок, м3

Гравий, м3

50/75

190

0,50

0,8

100

220

0,48

0,8

150

250

0,46

0,8

200

280

0,44

0,8

300

340

0,40

0,8

Таблица 3.7

Примерный состав цементно-песчаных растворов в объемной дозировке

Марка раствора

Соотношение цемента и песка для цемента марки:

100

150

200

300

25

1:5

1:6

1:9

1:12

50

1:2,5

1:3

1:4,5

1:6

100

-

-

1:2,5

1:3

ИЗГОТОВЛЕНИЕ И СТРОИТЕЛЬСТВО ЖЕЛЕЗОБЕТОННЫХ КОЛОДЦЕВ

3.82. Типовые сборные железобетонные колодцы изготовляют на заводах железобетонных изделий. В удаленных районах, с учетом местных условий, колодцы могут изготовляться и на участках или полигонах предприятий, ведущих основное строительство сооружений связи.

Изготовление колодцев регламентируется техническими условиями, специальными технологическими руководствами, картами и другой технической документацией.

3.83. Сборные железобетонные колодцы типа ККС-1 изготовляют квадратной (рис. 3.16), а типа ККС-2 - шестигранной (рис. 3.17) формы.

Проходные колодцы типа ККС-3, ККС-4 и ККС-5 имеют восьмигранную форму (рис. 3.18).

Угловые колодцы типа ККСу-3, ККСу-4 и ККСу-5 (рис. 3.19) изготовляют с угловой вставкой, с левой или с правой стороны проходного колодца в зависимости от поворота трассы трубопровода.

Разветвительные колодцы типа ККСр-3, ККСр-4 и ККСр-5 (рис. 3.20) изготовляют с двумя угловыми вставками с обеих сторон проходного колодца.

Untitled-1

Рис. 3.16. Сборный железобетонный колодец типа ККС-1

Untitled-1

Рис. 3.17. Сборный железобетонный колодец типа ККС-2

Untitled-1

Рис. 3.18. Сборные железобетонные колодцы проходные типа ККС-3, ККС-4 и ККС-5

Untitled-1

Рис. 3.19. Сборные железобетонные колодцы угловые типа ККСу-3, ККСу-4 и ККСу-5

Untitled-1

Рис. 3.20. Сборные железобетонные колодцы разветвительные типа ККСр-3, ККСр-4 и ККСр-5

3.84. Основные размеры сборных железобетонных колодцев приведены в табл. 3.8.

3.85. Колодцы типа ККС-2 - ККС-5 изготовляют из двух отдельных составных частей (половин): нижней с днищем и половиной боковых стен и верхней с перекрытием и верхней частью боковых стен. В перекрытии предусмотрено круглое отверстие для входного люка.

В зависимости от грузоподъемности средств механизации и автотранспорта сборку колодцев целесообразно осуществлять на месте изготовления и вывозить на трассу в полностью готовом виде, с вмазанными стальными ершами для крепления кронштейнов или консольными крюками в колодцах ККС-1 и ККС-2. Однако допускается производить вмазку стальных ершей и на месте, в оставленные для этого при изготовлении отверстия (гнезда).

3.86. На трубопроводе емкостью более 24 каналов строят сборные железобетонные колодцы специального типа (ККСС) прямоугольной формы двух основных типоразмеров: ККСС-1 (рис. 3.21) при числе каналов 25 - 36 и ККСС-2 (рис. 3.22) при числе каналов 37 - 48.

В местах поворота или разветвления трассы трубопровода посредством угловых вставок устраивают угловые колодцы специального типа ККССу-1 или ККССу-2 (рис. 3.23), а также разветвительные колодцы специального типа ККССр-1 или ККССр-2 (рис. 3.24).

Таблица 3.8

Основные размеры проходных, угловых и разветвительных железобетонных колодцев

Колодец

Размеры, мм

L

В

H

hB

hH

ТB

ТH

aB

аH

By

Bp

ККС-5-80

2990

1600

2030

1020

1000

120

100

110

90

-

-

ККCу-5-80

2990

1600

2030

1020

1000

120

100

110

90

2035

-

ККСр-5-80

2990

1600

2030

1020

1000

120

100

110

90

-

2470

ККС-5-10

2990

1600

2010

1000

1000;

100

100

90

90

-

-

ККСу-5-10

2990

1600

2010

1000

1000

100

100

90

90

2035

-

ККСр-5-10

2990

1600

2010

1000

1000

100

100

90

90

-

2470

ККС-4-80

2390

1300

2010

1000

1000

100

100

90

90

-

-

ККСу-4-80

2390

1300

2010

1000

1000

100

100

90

90

1630

-

ККСр-4-80

2390

1300

2010

1000

1000

100

100

90

90

-

1960

ККС-4-10

2390

1300

1990

1000

980

100

80

90

70

-

-

ККСу-4-10

2390

1300

1990

1000

980

100

80

90

70

1630

-

ККСр-4-10

2390

1300

1990

1000

980

100

80

90

70

-

1960

ККС-3-80

1950

1160

1810

900

900

100

100

90

90

-

-

ККСу-3-80

1950

1160

1810

900

900

100

100

90

90

1500

-

ККСр-3-80

1950

1160

1810

900

900

100

100

90

90

-

1840

ККС-3-10

1950

1160

1770

880

880

80

80

70

70

-

-

ККСу-3-10

1950

1160

1770

880

880

80

80

70

70

1500

-

ККСр-3-10

1950

1160

1770

880

880

80

80

70

70

-

1840

ККС-2-80

1350

1030

1570

780

780

80

80

70

70

-

-

ККС-2-10

1350

1030

1570

780

780

80

80

70

70

-

-

Примечания: 1. Размеры колодцев ККС-1 показаны на рис. 3.16.

2. Конструкция и основные размеры колодца ККС-5М, предназначенного для размещения в нем контейнеров НРП-12 и аппаратуры ИКМ-30, отличаются от колодца ККС-5-80 лишь некоторыми деталями, имея те же основные размеры.

Untitled-1

Рис. 3.21. Проходной сборный железобетонный колодец специального типа ККСС-1 на 25 - 36 каналов трубопровода

Untitled-1

Рис. 3.22. Проходной сборный железобетонный колодец специального типа ККСС-2 на 37 - 48 каналов трубопровода

Untitled-1

Рис. 3.23. Угловой сборный железобетонный колодец специального типа ККССу-1

Untitled-1

Рис. 3.24. Разветвительный сборный железобетонный колодец специального типа ККССр-1

Угловые колодцы типа ККССу-2 и разветвительные ККССр-2 монтируют из проходных колодцев ККСС-2 и угловых вставок аналогично изображенным на рис. 3.23 и 3.24.

387. Угловые вставки к сборным железобетонным проходным колодцам представляют собой специальные железобетонные устройства (карманы), пристраиваемые к типовым проходным колодцам для ввода трубопровода со стороны поворота или разветвления трассы канализации.

Такие вставки изготовляются из двух частей (половин): верхней и нижней. При сборке в заводских условиях вставки к колодцам типа ККС-4 и ККС-3, кроме того, могут применяться и цельными.

Двухэлементные угловые вставки к колодцам типа ККС-3-80(10), ККС-4-80(10) и ККС-5-80(10) изображены на рис. 3.25, а одноэлементные вставки к колодцам типа ККС-3-80(10) и ККС-4-80(10) - на рис. 3.26. Их размеры приведены в табл. 3.9.

Разработаны и применяются также конструкции цельных и двухэлементных угловых вставок для установки на существующем блоке к сборным железобетонным колодцам специального типа.

Untitled-1

Рис. 3.25. Двухэлементная угловая вставка к сборным железобетонным колодцам типа ККС-3-80(10), ККС-4-80(10) и ККС-5-80(10):

а) верх (ККС-3-В1); б) низ (ККС-3-В2)

Untitled-1

Рис. 3.26. Одноэлементная угловая вставка к сборным железобетонным колодцам типа ККС-3-80(10) и ККС-4-80(10)

Таблица 3.9

Основные размеры угловых вставок, мм

Колодец

а

б

в

г

д

е

Н

hн

hв

Двухэлементные вставки (верх и низ) - рис. 3.25

ККС-5-80(10)

810

710

585

435

400

550

-

570

570

ККС-4-80(10)

725

625

470

330

300

440

-

570

570

ККС-3-80(10)

565

465

550

340

300

510

-

470

470

Одноэлементные (цельные) вставки - рис. 3.26

ККС-4-80(10)

725

625

470

330

300

440

1150

575

575

ККС-3-80(10)

565

465

550

340

300

510

950

475

425

3.88. Опорное железобетонное кольцо ОК-1 под люк колодца (рис. 3.27) устанавливается в створ с круглым отверстием в перекрытии. В зависимости от глубины заложения перекрытия колодца с уровнем дорожного покрытия под каждый люк может быть подложено одно или несколько опорных колец.

Untitled-1

Рис. 3.27. Опорное железобетонное кольцо под люк колодца

3.89. Типовые железобетонные станционные колодцы строятся четырех типоразмеров: для АТС емкостью 3, 6, 10 и 20 тысяч номеров.

Конструкция станционных колодцев показана на рис. 3.28, а основные размеры приведены в табл. 3.10.

Untitled-1

Рис. 3.28. Станционный железобетонный колодец

Таблица 3.10

Основные размеры монолитных железобетонных колодцев станционного типа, м

Емкость АТС, номеров

А

Б

В

Г

А

Е

Ж

З

И

R

3000

2,0

2,125

1,8

0,875

0,75

1,25

0,75

0,13

0,12

6,3

6000

4,3

2,600

2,2

1,650

1,00

1,62

0,75

0,18

0,13

10,4

10000

5,0

3,000

2,2

2,000

1,00

1,65

1,00

0,20

0,13

9,1

20000

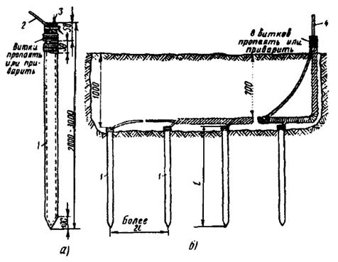
6,0

3,000

2,2

2,250

1,50

1,65

1,00

0,20

0,13

12,4

Примечания: 1. На колодцы для АТС емкостью 3000 номеров устанавливается один люк, на другие колодцы - по два люка.

2. Перекрытия станционных колодцев устраивают из типовых железобетонных плит П-1-80(10), П-2-80(10) и П-3-80(10).

3.90. Транспортировка и монтаж сборных железобетонных колодцев допускается при достижении ими не менее 70 % проектной прочности. Работы выполняют при помощи автокранов с соответствующей грузоподъемностью и вылетом стрелы. Крепление строп производят за стальные петли, вмонтированные при изготовлении колодца или его деталей и связанные с арматурным каркасом.

3.91. Наиболее рациональной является схема организации работ, при которой колодец или его элементы выгружаются с автомашины сразу в котлован (рис. 3.29). При этом должно выверяться его правильное положение в вертикальной и горизонтальной плоскостях при помощи рейки, уровня и отвеса.

3.92. В местах стыковки половин или отдельных элементов колодца на каждую уложенную часть (деталь) должен наноситься слой цементно-песчаного раствора толщиной 5 - 10 мм. Перед наложением раствора все стыкуемые поверхности должны смачиваться водой для более прочного схватывания цементно-песчаной массы с бетоном изделий. После сборки колодца излишки раствора следует удалить или дополнить, если его недостаточно, тщательно разглаживая все швы.

В случаях, предусмотренных проектом, отдельные элементы сборного колодца скрепляют между собой при помощи стальных накладок, свариваемых с их арматурным каркасом.

Untitled-1

Рис. 3.29. Монтаж сборного железобетонного колодца:

1 - котлован; 2 - нижняя часть колодца; 3 - траншея; 4 - верхняя часть колодца; 5 - автокран

3.93. Сборка угловых и разветвительных колодцев должна осуществляться с предварительной пробивкой окон (проемов) в стенках проходных колодцев для угловых вставок. Эти работы выполняются до установки колодцев в котлован. При использовании двухэлементных угловых вставок сначала к проему необходимо пристроить нижнюю ее часть с упором в стенку проема и ненарушенное дно котлована. Затем на верхний срез нижней половины следует нанести цементно-песчаный раствор и опустить верхнюю часть. Все стыкуемые поверхности необходимо смачивать водой, а по окончании работ - загладить швы стыковки.

3.94. Сборные железобетонные колодцы специального типа строятся по отдельному проектному решению и рабочим чертежам применительно к данной местности.

Наиболее приемлемым является опробованный способ монтажа колодцев, когда на выровненное и хорошо утрамбованное дно котлована наносят слой бетонной подготовки толщиной 100 мм. Стеновые блоки устанавливают на уложенную подготовку во взаимнопротивоположных положениях, внутрь нижними горизонтальными плоскостями (подошвами). Жесткая связь между стеновыми блоками (подошвами) в днище обеспечивается петлевыми выпусками арматуры, через которые пропускают стальной стержень с последующим бетонированием. Плиты перекрытия связывают между собой и со стеновыми блоками накладными металлическими деталями, привариваемыми к таким же деталям сборных железобетонных элементов.

Все пазы между стеновыми блоками, плитами перекрытий и днищем заполняются цементно-песчаным раствором.

Штыри для крепления кронштейнов приваривают к специальным арматурным выпускам каркаса стеновых блоков. Аналогично крепят и другие устройства для иных коммуникаций.

3.95. В случаях применения монолитных железобетонных колодцев в отрытом котловане устанавливают наружную и внутреннюю опалубки и между ними - арматурный каркас. Пространство между опалубками заполняют уплотняемым бетоном марки 200. Раствор бетона должен доставляться на трассу в готовом виде в количестве, необходимом для полного заполнения.

При этом наиболее рациональным способом строительства монолитных колодцев является непрерывный процесс их бетонирования, для чего необходимо использовать заранее подготовленные опалубки наружных и внутренних стенок в виде отдельных щитов и днища.

Наружная опалубка изготовляется из щитов длиной на всю высоту колодца, а внутренняя - высотой на половину колодца и шириной не более 0,6 м. Этим обеспечивается плавный изгиб стенок колодца и выемка щитов через люк по окончании работы. Стальную арматуру необходимо также заблаговременно сваривать и связывать отдельными щитами (полотнами).

3.96. В проектных решениях может быть предусмотрена и несколько иная технология строительства монолитных колодцев применительно к местным условиям и возможностям исполнителей.

СТРОИТЕЛЬСТВО КИРПИЧНЫХ КОЛОДЦЕВ

3.97. Строительство кирпичных колодцев в сравнении со строительством сборных железобетонных требует больших затрат труда и времени, поэтому оно оправдано только при наличии соответствующих обоснований, когда применение сборного железобетона невозможно, затруднено или нецелесообразно. Применение кирпичных колодцев вполне допустимо при незначительной потребности в смотровых устройствах на удаленных объектах строительства, когда организация изготовления их из железобетона требует высоких затрат и времени, а доставка издалека - нерентабельна. Допустимо применение кирпичных колодцев также в стесненных уличных условиях, не позволяющих использовать мощные грузоподъемные технические средства, в пригородной зоне, при наличии других подземных коммуникаций, переустройстве (расширении) колодцев, загруженных кабелями и т.п.

3.98. Форма типовых кирпичных проходных, угловых и разветвительных колодцев типа ККС-2 - ККС-5 должна быть овальной, а ККС-1 - квадратной. Станционные кирпичные колодцы на 3 - 20 тысяч номеров должны выполняться смешанной (многогранно-овальной) формы.

3.99. При строительстве кирпичных колодцев всех типов следует использовать готовые железобетонные перекрытия соответствующей формы и размера. Однако допускается устройство перекрытий из набора готовых стандартных железобетонных плит. В отдельных случаях перекрытие может изготовляться на месте с использованием арматурного каркаса и раствора бетона, закладываемых в опалубку. Днища колодцев должны устраиваться также из готовых железобетонных плит или бетонироваться на месте (в котловане) перед кладкой стен.

3.100. При строительстве кирпичных колодцев каждого типоразмера следует использовать специальные легкие шаблоны овальной формы. По наружному обводу шаблона на подготовленном днище сначала необходимо нанести слой цементно-песчаного раствора толщиной 10 - 15 мм и затем выложить первый ряд кирпичей по всему периметру колодца. Затем шаблон нужно удалить, и последующие ряды кирпичей должны укладываться по первому ряду с выверкой вертикальности и горизонтальности стенок отвесом и рейкой.

Кирпичи должны укладываться со взаимной переменой порядка кладки («тычковых» и «ложковых» рядов). С внутренней стороны колодца швы кирпичной кладки необходимо разделать под расшивку («в подрезку») с тщательным разглаживанием и удалением (добавлением) излишков (нехватки) раствора. По мере возведения стен в установленных местах по шаблону следует закладывать стальные ерши для крепления кронштейнов и петли («серьги») для установки блоков при втягивании кабелей.

3101. При строительстве колодцев во влажных (мокрых) грунтах наружную сторону стен необходимо оштукатурить сплошным слоем цементно-песчаного раствора толщиной 3 - 5 мм.

3.102. Типовой колодец ККС-1 изображен на рис. 3.30. Конструкция типовых кирпичных колодцев ККС-5 - ККС-2 представлена на рис. 3.31, а их основные размеры - в табл. 3.11.

Untitled-1

Рис. 3.30. Кирпичный колодец типа ККС-1

Untitled-1

Рис. 3.31. Проходные кирпичные колодцы типа ККС-2, ККС-3, ККС-4 и ККС-5

Таблица 3.11

Основные размеры проходных кирпичных колодцев, мм

Колодец

а

б

в

г

д

е

ж

R

Д

Е

в кирпичах

ККС-5

2800

1400

900

1800

250

250

100

120

4000

1

1

ККС-4

2200

1100

700

1800

250

250

100

3000

1

1

ККС-3

1800

1000

600

1600

250

125

250

100

2000

1

0,5

1

ККС-2

1200

900

550

1400

250

125

250

80

1150

1

0,5

1

Примечание. В числителе указаны размеры в пешеходной части улиц, а в знаменателе - в проезжей.

3.103. Угловые и разветвительные кирпичные колодцы показаны на рис. 3.32 и 3.33, а их размеры - в табл. 3.12 и 3.13.

Untitled-1

Рис. 3.32. Угловые кирпичные колодцы типа ККСу-3, ККСу-4 и ККСу-5

Untitled-1

Рис. 3.33. Разветвительные кирпичные колодцы типа ККСр-3, ККСр-4 и ККСр-5

Таблица 3.12

Основные размеры типовых угловых кирпичных колодцев, мм

Колодец

А

Б

В

Г

А

Е

Ж

З

И

К

Л

R

КСу-5

2800

1400

900

1800

1060

740

550

315

565

375

100

180

4000

КСу-4

2200

1100

700

1800

820

500

450

260

470

330

100

3000

КСу-3

1800

1000

600

1600

620

300

450

260

470

330

100

2000

Примечание. В числителе указаны размеры в пешеходной части улиц, а в знаменателе - в проезжей.

Таблица 3.13

Основные размеры типовых разветвительных кирпичных колодцев, мм

Колодец

А

Б

В

Г

А

Е

Ж

З

И

К

Л

М

R

КСр-5

2800

2000

1400

900

740

1060

315

550

375

565

1800

100

120

4000

КСр-4

2200

1600

1100

700

500

820

260

450

330

470

1800

100

3000

КСр-3

1800

1500

1000

600

300

620

260

450

330

470

1600

100

2000

Примечание. В числителе указаны размеры в пешеходной части улиц, а в знаменателе - в проезжей.

3.104. Конфигурация типовых станционных колодцев представлена рис. 3.34, а их основные размеры - в табл. 3.14.

Untitled-1

Рис. 3.34. Станционные кирпичные колодцы

Таблица 3.14

Основные размеры станционных кирпичных колодцев, мм

Для АТС емкостью, тыс. номеров

А

Б

В

Г

Д

Е

Ж

З

И

К

Л

М

Н

R

20

6000

3000

1000

2730

2250

1500

1650

350

2200

375

130

200

850

12400

10

5000

3000

1000

2600

2000

1000

1650

350

2200

375

130

200

850

9100

6

4300

2600

750

2300

1650

1000

1620

230

2200

250

375

130

200

750

10400

3

2500

2125

750

1525

875

750

1250

125

1800

250

375

120

150

0

6300

Примечание. В числителе указаны размеры в пешеходной части улиц, а в знаменателе - в проезжей.

3.105. Перекрытия для типовых кирпичных колодцев изготовляют в виде отдельных или сборных железобетонных плит. Для проходных кирпичных колодцев типа ККС-5 - ККС-2 и угловых типа ККСу-5 - ККСу-3 перекрытия изготовляют в виде одной железобетонной плиты с отверстием под люк.

Для разветвительных кирпичных колодцев типа ККСр-5 - ККСр-3 перекрытия могут изготовляться сборными из двух железобетонных плит: одной (большей) с отверстием под люк и второй (меньшей) - без отверстия.

Для станционных кирпичных колодцев могут применяться готовые сборные железобетонные перекрытия допускается также применение сборных железобетонных перекрытий, состоящих из двух плит, изготовляемых на стройплощадке или заводе железобетонных изделий. При этом для колодца АТС на 3000 номеров одна плита (большая) изготовляется с отверстием под люк, а вторая (меньшая) - без отверстия. Для станционных кирпичных колодцев АТС на 6 - 20 тысяч номеров обе плиты (одинаковых размеров) изготовляются с отверстиями под люк.

При малом числе кирпичных станционных и разветвительных колодцев на объекте строительства допускается также бетонирование перекрытий на месте (в котловане) с применением арматурных каркасов и деревянных опалубок.

КОТЛОВАНЫ ДЛЯ КАБЕЛЬНЫХ КОЛОДЦЕВ СВЯЗИ

3.106. Формы и размеры котлованов для колодцев различных типов, отрываемых без крепления и с креплением стен, рассчитаны на минимально возможный объем земляных работ. При этом учитывается размещение основных деталей колодцев на слежавшийся выровненный, хорошо подтрамбованный грунт.

Основными типами являются котлованы для проходных, угловых, разветвительных, станционных и специальных колодцев различных типов (рис. 3.35).

Размеры котлованов приведены в табл. 3.15.

Untitled-1

Рис. 3.35. Котлован для строительства кабельных колодцев:

а) проходных ККС и ККСС; б), в) угловых ККСу и ККССу; г) разветвительных ККСр и ККССр; д) кирпичных и монолитных железобетонных разветвительных; е) станционных

Таблица 3.15

Размеры котлованов для колодцев кабельной связи, мм

Колодец

А

Б

В

Г

Д

Епеш

Епр

Ж

З

И

ПРОХОДНЫЕ

сборные железобетонные

ККС-5

3,6

3,8

2,2

2,4

-

-

-

2,25

2,35

-

-

-

ККС-4

3,0

3,2

1,9

2,1

-

-

-

2,25

2,30

-

-

-

ККС-3

2,6

2,8

1,8

2,0

-

-

-

2,05

2,10

-

-

-

ККС-2

2,0

2,2

1,7

1,9

-

-

-

1,8

1,9

-

-

-

ККС-1

1,2

1,4

1,2

1,4

-

-

-

0,80

-

-

-

-

монолитные железобетонные

ККС-5

4,2

4,4

2,8

3,0

-

-

-

2,25

2,35

-

-

-

ККС-4

3,6

3,8

2,5

2,7

-

-

-

2,25

2,30

-

-

-

ККС-3

3,2

3,4

2,4

2,6

-

-

-

2,05

2,10

-

-

-

ККС-2

2,6

2,8

2,3

2,5

-

-

-

1,8

1,9

-

-

-

кирпичные с наружной штукатуркой стен

ККС-5

4,1

4,3

2,7

2,9

-

-

-

2,25

2,35

-

-

-

ККС-4

3,5

3,7

2,4

2,6

-

-

-

2,25

2,35

-

-

-

ККС-3-10

3,1

3,3

2,1

2,3

-

-

-

2,05

-

-

-

-

ККС-3-80

3,1

3,3

2,3

2,5

-

-

-

-

2,15

-

-

-

ККС-2-10

2,5

2,7

2,0

2,2

-

-

-

1,85

-

-

-

-

ККС-2-80

2,5

2,7

2,2

2,4

-

-

-

-

1,90

-

-

-

ККС-1

1,5

1,7

1,5

1,7

-

-

-

0,80

-

-

-

-

УГЛОВЫЕ

сборные железобетонные, составленные из проходного и угловой вставки

ККСу-5

3,6

3,8

2,2

2,4

3,4

3,6

1,7

1,9

-

2,25

2,35

1,8

-

1,2

ККСу-4

3,0

3,2

1,9

2,1

3,1

3,3

1,5

1,7

-

2,25

2,30

1,7

2,0

1,2

ККСу-3

2,6

2,8

1,8

2,0

3,0

3,2

1,2

1,4

-

2,05

2,10

1,5

-

1,2

кирпичные с наружной штукатуркой стен

ККСу-5

4,1

4,3

2,7

2,9

3,0

3,2

-

0,3

2,25

2,35

-

2,2

2,4

-

ККСу-4

3,5

3,7

2,4

2,6

2,7

2,9

-

0,3

2,25

2,35

-

2,0

2,2

-

ККСу-3

3,1

3,3

2,3

2,5

2,6

2,8

-

0,3

2,05

2,15

-

1,8

2,0

-

монолитные железобетонные

ККСу-5

4,2

4,4

2,8

3,0

3,1

3,3

-

0,3

2,25

2,35

-

2,4

2,6

-

ККСу-4

3,6

3,8

2,5

2,7

2,8

3,0

-

0,3

2,25

2,30

-

2,2

2,4

-

ККСу-3

3,2

3,4

2,4

2,6

2,6

2,8

-

0,2

2,05

2,10

-

1,9

2,1

-

разветвительные

сборные железобетонные, составленные из проходного и двух угловых вставок

ККСр-5

3,6

3,8

2,2

2,4

4,6

4,8

1,7

1,9

-

2,25

2,35

1,8

-

1,2

ККСр-4

3,0

3,2

1,9

2,1

4,3

4,5

1,5

1,7

-

2,25

2,30

1,7

-

1,2

ККСр-3

2,6

2,8

1,8

2,0

4,2

4,4

1,2

1,4

-

2,05

2,10

1,5

-

1,2

кирпичные с наружной штукатуркой стен

ККСр-5

4,1

4,3

2,7

2,9

3,3

3,5

-

0,30

2,25

2,35

-

2,2

2,4

-

ККСр-4

3,5

3,7

2,4

2,6

2,9

3,1

-

0,25

2,25

2,35

-

2,0

2,2

-

ККСр-3

3,1

3,3

2,3

2,5

2,8

3,0

-

0,25

2,05

2,15

-

1,8

2,0

-

монолитные железобетонные

ККСр-5

4,2

4,4

2,8

3,0

3,4

3,6

-

0,30

2,25

2,35

-

2,4

2,6

-

ККСр-4

3,6

3,8

2,5

2,7

3,0

3,2

-

0,25

2,25

2,30

-

2,2

2,4

-

ККСр-3

3,2

3,4

2,4

2,6

2,9

3,1

-

0,25

2,05

2,10

-

1,9

2,1

-

СТАНЦИОННЫЕ

кирпичные с наружной штукатуркой для АТС на 3000 номеров

в пешеходной части

3,8

4,0

2,0

2,2

3,4

3,6

1,8

2,0

1,0

2,3

-

-

-

-

в проезжей части

4,1

4,3

2,2

2,4

3,7

3,9

1,9

2,1

1,1

-

2,4

-

-

-

для АТС на 6000 номеров

в пешеходной части

5,6

5,8

2,2

2,4

3,9

4,1

2,0

2,2

1,8

2,8

-

-

-

-

в проезжей части

5,9

6,1

2,3

2,5

4,2

4,4

2,1

2,3

1,9

-

2,9

-

-

-

для АТС на 10000 номеров

в пешеходной и проезжей частях

6,6

6,8

2,7

2,9

4,6

4,8

2,1

2,3

2,25

2,8

2,9

-

-

-

для АТС на 20000 номеров

в пешеходной и проезжей частях

7,6

7,8

2,8

3,0

4,6

4,8

2,6

2,8

2,5

2,9

2,9

-

-

-

монолитные железобетонные

для АТС на 3000 номеров

в пешеходной части

3,9

4,1

2,2

2,4

3,6

3,8

2,1

2,3

0,9

2,3

-

-

-

-

в проезжей части

4,0

4,2

2,3

2,5

3,6

3,8

2,1

2,3

0,95

-

2,4

-

-

-

для АТС на 6000 номеров

в пешеходной части

5,7

5,9

2,4

2,6

4,1

4,3

2,3

2,5

1,7

2,8

-

-

-

-

в проезжей части

5,9

2,5

4,2

2,4

1,75

-

2,9

-

-

-

для АТС на 10000 номеров

в пешеходной части

6,5

6,7

2,8

3,0

4,5

4,7

2,3

2,5

2,1

2,8

-

-

-

-

в проезжей части

6,6

6,8

2,9

3,1

4,6

4,8

2,4

2,6

2,1

-

2,9

-

-

-

для АТС на 20000 номеров

в пешеходной и проезжей частях

7,6

7,8

3,0

3,2

4,6

4,8

2,8

3,0

2,4

2,9

2,9

-

-

-

колодцы специального типа

проходной ККСС-1

4,6

2,7

-

-

-

2,5

2,5

-

-

-

ККСС-2

6,4

2,7

-

-

-

2,5

2,5

-

-

-

угловой ККССу-1

4,6

2,7

3,6

2,4

-

2,5

2,5

2,1

-

0,9

ККССу-2

6,4

2,7

3,6

2,4

-

2,5

2,5

2,1

-

0,9

разветвительный ККССр-1

4,6

2,7

4,0

2,4

-

2,5

2,5

2,1

-

0,9

ККССр-2

6,4

2,7

4,0

2,4

-

2,5

2,5

2,1

-

0,9

Примечания: 1. В числителе указаны размеры котлованов без крепления стен, в знаменателе - с креплением. 2. Епеш - пешеходная часть, Епр - проезжая часть.

ОБОРУДОВАНИЕ КОЛОДЦЕВ КАБЕЛЬНОЙ СВЯЗИ

3.107. Колодцы кабельной связи оборудуют входными круглыми чугунными люками с двумя крышками: верхней чугунной и нижней (внутренней) стальной. На внутренней крышке устроено запорное приспособление для закрытия колодца на замок и ручка для ее подъема (вынимания). Для колодцев, устраиваемых в пешеходной части улиц, должны использоваться люки легкого типа, рассчитанные на нагрузку 30 т, а в проезжей части - люки тяжелого типа на нагрузку 80 т. Каждый люк имеет отверстие для проверки загазованности колодца, не открывая крышек; оно не должно ничем загрязняться.

Масса люка легкого типа 82 кг, а тяжелого - 138 кг (рис. 3.36).

3.108. При установке люка на перекрытии колодца сначала должны быть подложены железобетонные опорные кольца на ровной поверхности с круглым отверстием для входа в колодец. Их укладывают по слою раствора бетона толщиной 10 - 12 мм. Основание люка и место стыка его с опорными кольцами следует обмазать бетонным раствором со щебенкой толщиной 30 - 50 мм.

В проезжих частях улиц для большей устойчивости люки тяжелого типа должны закрепляться (привязываться) к арматуре перекрытий стальной проволокой диаметром 6 мм с усиленным бетонированием. Верхняя плоскость крышки люка во всех случаях должна строго совпадать с уровнем уличного покрытия или поверхностью грунта.

3.109. Для раскладки кабелей все колодцы, кроме ККС-1 и ККС-2, должны оборудоваться стальными кронштейнами (рис. 3.37). Кронштейны изготовляются типа ККП из полосовой и типа ККУ - из угловой стали.

На кронштейнах необходимо устанавливать чугунные консоли одно - шестиместные (рис. 3.38), в зависимости от намечаемой нагрузки закрепляемые консольными болтами (рис. 3.39,а). Допускается применение маломестных консолей из алюминиевого сплава.

Untitled-1

Рис. 3.36. Чугунные люки тяжелого и легкого типов для кабельных колодцев:

1 - корпус (рама); 2 - верхняя чугунная крышка; 3 - нижняя стальная крышка; 4 - запорное приспособление; 5 - ручка; 6 - отверстие для проверки загазованности колодца

Untitled-1

Рис. 3.37. Кронштейны стальные кабельные:

а) КПК-600; б) КПК-1300; в) ККУ-1300; г) ККУ-1900

1 - основание; 2 - стальной сухарь

Untitled-1

Рис. 3.38. Консоли чугунные для кабельных колодцев, шахт, коллекторов:

а) ККЧ-1; б) ККЧ-2; в) ККЧ-3; г) ККЧ-4; д) ККЧ-5; е) ККЧ-6

Untitled-1

Рис. 3.39. Крепежные детали для кабельных колодцев:

а) консольный болт; б) анкерный болт (стальной ерш); в) консольный крюк; г) стальная серьга (петля)

3.110. В колодцах типа ККС-3 и ККС-4 следует устанавливать по два кронштейна на каждой продольной стенке, а в колодцах типа ККС-5 - по три кронштейна. В угловых и разветвительных колодцах, при необходимости, могут быть установлены дополнительные кронштейны на торцевых стенах и в простенках между ними. В станционных колодцах малых АТС кронштейны устанавливают на трех стенках, а в колодцах для АТС на 6 - 20 тысяч номеров, кроме того, и в средней части колодца с креплением их в днище и в перекрытии. К стенам колодца кронштейны должны крепиться анкерными болтами (стальными ершами), вмазываемыми в предусмотренные для этого выемки (рис. 3.39,б).

В колодцах типа ККС-1 и ККС-2 вместо кронштейнов следует вмазывать в стенки консольные крюки (рис. 3.39,в), по одному в колодцах типа ККС-1 и по два - в колодцах типа ККС-2.

3.111. В колодцах с числом в основании вводного блока до четырех каналов следует устанавливать двухместные консоли, а при пяти - шести каналах в основании - трехместные. В станционных и других кабельных шахтах, в коллекторах и тоннелях должны устанавливаться трех - шестиместные консоли.

3.112. В нижних частях торцевых стен кирпичных колодцев типов ККС-2 - ККС-5 при их кладке должны закладываться стальные петли (серьги) для крепления круглых переносных блоков при затягивании кабелей в каналы канализации (рис. 3.39,г).

В сборных железобетонных колодцах для этой цели могут быть использованы стальные подъемные петли, связанные с арматурным каркасом.

3.113. Вмазка стальных ершей в стенки сборных колодцев должна производиться при их изготовлении до вывоза на трассу строительства. Стальные ерши, кронштейны, внутренние крышки люков и другие стальные детали должны быть окрашены серой масляной краской или битумным лаком.

3.114. По окончании строительства и оборудования колодцев все входящие в них свободные каналы трубопровода должны быть плотно закрыты пластмассовыми, бетонными или деревянными пробками, последние - с прокладкой ветоши.

Занятые кабелями каналы заделывают паклей или ветошью и замазывают технической замазкой на олифе. В состав такой замазки входят: мел - 80 % и олифа - 20 % или мел - 68 %, канифоль - 14 % и машинное масло - 18 %. Заделка занятых кабелями каналов может осуществляться также деревянными пробками с выбитым сектором для пропуска кабеля небольшого диаметра с использованием ветоши и замазки.

ОСОБЕННОСТИ ПРОКЛАДКИ КАБЕЛЬНОЙ КАНАЛИЗАЦИИ СВЯЗИ В ЗАГРУЖЕННЫХ И СЛОЖНЫХ УЛИЧНЫХ УСЛОВИЯХ

3.115. Прокладка и докладка кабельной канализации к существующим сооружениям в стесненных уличных проездах, насыщенных различными подземными коммуникациями, нередко требует принятия дополнительных технических решений с изменением типовых конструкций и установленных рекомендаций производства работ.

3.116. Строительство подземных сооружений различного профиля обычно совмещают с реконструкцией уличных проездов и выполняют в установленные, как правило, сжатые сроки.

В практике строительства канализационных сооружений связи имеют место случаи непосредственного сближения с ранее проложенными бронированными электрокабелями высокого напряжения, необходимости наращивания или снижения высоты колодцев, дополнительного крепления люков, подвески трубопровода и т.п.

3.117. Непосредственное сближение вновь прокладываемой кабельной канализации связи с ранее проложенными бронированными электрокабелями может быть в местах параллельных трасс и пересечений. При благоприятных условиях иногда возможно некоторое смещение места строящегося колодца или электрокабелей в ту или другую сторону, однако во многих случаях это невозможно из-за наличия других сооружений и отсутствия запасов длины кабелей.

В этих случаях допускается размещение электрокабеля в стенке колодца в разрезной трубе (рис. 3.40) или на его перекрытии. Для этого необходимо разрезать вдоль асбестоцементную (стальную) трубу диаметром 100 - 150 мм и обработать места разреза с полным удалением заусениц и наплывов металла. К каждой трубе подготовить по два стальных крепежных хомута в виде полуколец с отогнутыми концами. В отогнутых концах просверлить отверстия для скрепления их болтами диаметром 6 мм. Для изготовления хомутов обычно используют полосовую сталь размером 30×4 мм.

Untitled-1

Рис. 3.40. Строительство колодцев в местах ранее проложенных электрокабелей:

1 - разрезные трубы с электрокабелями; 2 - люк колодца; 3 - хомут, скрепляющий трубу; 4 - трубопровод кабельной связи; 5 - колодец; 6 - электрокабель; 7 - болт

3.118. В процессе работ электрический кабель под наблюдением представителя электросети должен быть освобожден от грунта и осторожно заключен в разрезанную трубу, скрепляемую на концах хомутами. Длина трубы зависит от размеров колодца с учетом выхода ее концов на 1 м с каждой стороны колодца. Кабель обнажают и заключают в трубу до выемки из-под него грунта. Сверху трубу обертывают слоем толя, концы которого должны заходить под крепежные хомуты. Затем кабель подвешивают, не меняя его положения, и продолжают земляные работы.

Стены колодца необходимо выкладывать до уровня подвешенного электрокабеля, после чего подвеску снимают и трубу с кабелем замуровывают в толщу его стенки. Если позволяет уровень заглубления кабеля, то труба с кабелем может быть проложена на перекрытии колодца.

При наличии нескольких электрокабелей с ответвлением на разные направления они также могут быть проложены в разрезных трубах на перекрытии колодца. В необходимых случаях перекрытие колодца может быть несколько более заглублено.

3.119. По окончании работ колодец засыпают обычным порядком, но с особой осторожностью в местах укладки электрокабелей. О размещении электрокабелей в стенах или в перекрытии колодца должны быть сделаны соответствующие отметки в технической документации.

3.120. Переустройство кабельных колодцев связи производят при необходимости докладки трубопровода к существующему блоку, устройстве новых ответвлений канализации, изменении уровня дорожных покрытий и т.п.

Значительная емкость ранее проложенного трубопровода и большое число докладываемых труб может вызвать замену типа колодца или частичное его расширение в пределах допустимых возможностей.

Если работы выполняются одновременно с реконструкцией улиц, и изменяется уровень дорожных покрытий, то переустройство колодцев может ограничиться поднятием или опусканием их железобетонных перекрытий или горловин люков. Высота горловины люка во всех случаях не должна превышать 0,5 м, а верхняя плоскость крышки люка должна строго соответствовать поверхности уличного покрытия.

3.121. При необходимости полного переустройства колодец следует откопать, снять или разобрать перекрытие и подвесить действующие кабели к временным крепежным конструкциям (балкам, стойкам). Стены и днище колодца должны быть разобраны и удалены из образовавшегося котлована с подвешенными кабелями. Новое днище обычно бетонируют на месте с предварительным подравниванием дна котлована. На затвердевшем днище выкладывают кирпичные стенки по габаритам заданного типоразмера.

3.122. Действующие кабели должны быть последовательно перемещены на вновь укрепленные кронштейны и консоли с упразднением временных крепежных конструкций подвески. На возведенные стенки необходимо установить снятое или новое железобетонное перекрытие и люк.

При перекладке кабелей необходимо использовать некоторые запасы их длин в переустраиваемом и соседних колодцах, менять места на консолях и, в крайних случаях, производить замену отдельных пролетов.

3.123. В случае прохождения в колодце значительных пучков кабелей крупных емкостей они могут быть оставлены в прежнем положении, но с заменой кронштейнов и креплением их в днище и перекрытии колодца. Для доступа к кабелям с противоположных сторон может быть использовано двухлючное перекрытие или изменена форма колодца.

3.124. При непрочных уличных покрытиях, на склонах уличных проездов, в местах разворота тяжелого транспорта и т.п., обычного крепления люка на горловине колодца бывает недостаточно. Для устойчивого длительного положения люка, помимо закрепления его стальной проволокой диаметром 4 - 6 мм, вокруг опорных колец и нижней части рамы люка необходимо уложить кольцеобразные железобетонные сегменты разной толщины на цементно-песчаном растворе. Кладка сегментов должна превышать основание люка на 30 - 50 мм и от середины высоты рамы люка до перекрытия обмазываться (оштукатуриваться) бетонным раствором со щебенкой слоем толщиной 30 - 50 мм (рис. 3.41).

Untitled-1

Рис. 3.41. Усиленное крепление люка кабельного колодца:

1 - цементно-песчаный раствор со щебенкой; 2 - железобетонные сегменты; 3 - люк; 4 - железобетонные опорные кольца; 5 - перекрытие колодца; 6 - стальная проволока

3.125. Вывод кабелей небольшой емкости из трубопровода в пролете канализации необходимо осуществлять путем вскрытия и разделки одного - двух каналов и устройства в этом месте колодца типа ККС-2. Колодец следует размещать так, чтобы трубопровод частично попал в его боковую стенку (рис. 3.42).

Untitled-1

Рис. 3.42. Устройство колодца типа ККС-2 на действующем трубопроводе с вскрытием одного канала

3.126. Подвеску действующего трубопровода кабельной канализации связи устраивают в местах разрытий при пересечении его вновь прокладываемыми сооружениями связи или другими коммуникациями на больших глубинах, а также в процессе строительства подземных пешеходных переходов, транспортных тоннелей, коллекторов и т.п.

Подвеска трубопровода связи может также производиться при параллельном прохождении новой кабельной канализации или бронированных кабелей в непосредственной близости к существующим сооружениям связи.

3.127. Способы подвески трубопровода связи весьма разнообразны и зависят от емкости (числа каналов) блока, длины обнажаемого участка, состояния грунта, расположения соседних сооружений и др. Балки для подвески должны выбираться в зависимости от емкости и типа подвешиваемого трубопровода и габаритов подвески.

3.128. Колодцы специального типа (нетиповой конструкции) устраивают при оборудовании кабельных переходов через реки и другие водоемы. Такие колодцы строят, если количество подводных кабелей более двух (с перспективой дальнейшего увеличения их количества) в местах стыка подводных кабелей с кабельной канализацией.

Из колодца до выхода кабелей в реку (водоем) следует прокладывать стальные трубы, нижние концы которых должны выходить в дно водоема ниже поверхности ледяного покрова в зимнее время. В каждом пакете укладываемых труб необходимо предусматривать резервные трубы для последующих прокладок и аварийных ситуаций. Стальные трубы следует покрывать антикоррозионным составом (битумом, лаком) и плотно заделывать бетонными или деревянными пробками с обоих концов.

При количестве труб перехода до 12 может устраиваться колодец типа ККС-5, вводный проем которого должен быть несколько изменен, а при 13 - 24 каналах - колодец нетиповой инструкции.

ПОМЕЩЕНИЯ ВВОДА КАБЕЛЕЙ ТЕЛЕФОННОЙ СТАНЦИИ

3.129. Помещение ввода кабелей телефонной станции является головным сооружением кабельной канализации, через которое кабели вводятся в здание станции, и в котором, как правило, многопарные линейные кабели распаиваются на станционные кабели емкостью 100 пар.

Помещение должно строиться без окон, со стенами, полом и потолком из огнеупорных материалов (железобетон, кирпич), с надежной гидроизоляцией. Оно размещается под помещением кросса и его площадь примерно равна площади последнего.

Помещение ввода кабелей должно быть оборудовано центральным (водяным) отоплением, вентиляцией, герметичным электроосвещением и отдельным запираемым входом (рис. 3.43).

3.130. В помещение ввода кабелей от станционных колодцев должны вводиться крупные блоки кабельной канализации емкостью до 96 каналов. В здания АТС емкостью 10 тысяч номеров и более ввод трубопровода должен осуществляться с двух противоположных направлений. При определенных условиях ввод от станционного колодца целесообразно осуществлять путем устройства коллектора (тоннеля) небольшой протяженности (рис. 3.44).

Вводному трубопроводу или тоннелю должен придаваться некоторый уклон от помещения ввода кабелей в сторону станционного колодца. Это необходимо для предотвращения или ограничения поступления воды из станционного колодца.

Untitled-1

Рис. 3.43. Помещение ввода кабелей:

1 - вводной блок; 2 - отрезки труб в перекрытии; 3 - кросс; 4 - защитные полосы; 5 - желоб (кабельрост); 6 - кабели емкостью 100 пар; 7 - разветвительные муфты; 8 - газонепроницаемые муфты; 9 - консоли на кронштейнах; 10 - распределительные стативы КСУ; 11 - помещение КСУ; 12 - входные двери

Untitled-1

Рис. 3.44. Ввод кабелей через тоннель:

1 - станционный колодец; 2 - тоннель; 3 - помещение ввода кабелей; 4 - кабели

3.131. Для раскладки и распайки линейных кабелей помещение ввода кабелей следует оборудовать кронштейнами, укрепляемыми на стенах и, при необходимости, на полу и потолке, расположенными в два и более рядов. Для придания большей прочности в загруженных помещениях ввода кронштейны могут скрепляться полосовыми или угловыми стальными конструкциями, образующими единый металлический каркас. На кронштейнах крепят многоместные чугунные консоли.

Крепежные конструкции должны размещаться таким образом, чтобы расстояния от первых (нижних) рядов консолей до пола было равно 300 мм, а между рядами (ярусами) консолей - не менее 200 мм. В отдельных случаях допускается уменьшение расстояний между консолями до 150 - 180 мм. При этом должны обеспечиваться вертикальные и горизонтальные изгибы кабелей с установленными радиусами.

В верхней части каркаса должны устраиваться металлические желоба (кабельросты) шириной 0,5 - 0,6 м в горизонтальном направлении для раскладки пакетов мелких (обычно 100-парных) кабелей, подаваемых в кросс. С этой целью в перекрытие между помещением ввода кабелей и кроссом должны быть заложены отрезки металлических труб (патрубки) диаметром 38 - 63 мм, в каждый из которых при необходимости может быть пропущено до трех кабелей включительно. Трубы должны выступать на 100 - 150 мм от пола в помещении кросса и на 30 - 50 мм от потолка в помещении ввода кабелей. Со стороны кросса патрубки должны быть герметично заделаны паклей и замазкой или залиты кабельной массой.

Распайку линейных кабелей крупной емкости производят в разветвительных муфтах («перчатках»), размещаемых между консолями в горизонтальных рядах, как и в кабельных колодцах.

3.132. Каждое помещение ввода кабелей должно быть надежно защищено от попадания воды и горючих (взрывоопасных) газов, могущих проникнуть в кабельную канализацию. Для этого необходимо, чтобы вводный блок асбестоцементных труб, а также каналы, свободные и занятые, были герметичными.

Устройство герметичного блока осуществляется послойным бетонированием рядов асбестоцементных труб бетонной смесью марки 200, состоящей из гипсоглиноземистого расширяющегося цемента марки 300, песка и мелкозернистого гравия.

Количество материалов на 1 м3 бетона: цемент - 280 кг, песок - 0,4 м3, гравий - 0,8 м3.

При устройстве ввода из коллектора в стенном проеме здания должен быть устроен герметичный блок из отрезков асбестоцементных труб, длина которых определяется толщиной стены.

3.133. Проверка герметичности ввода труб должна осуществляться путем обдува заполненного проема с внешней стороны колодца струей воздуха от передвижного компрессора (ЗИФ-55 или другого) с давлением 39,2 · 104 Па (4 кгс/см2) в течение 1 мин. В помещении ввода кабелей по поверхности вводного блока должна быть нанесена мыльная пена, наблюдение за которой позволяет определить надежность герметичности.

3.134. Для герметизации каналов необходимо применять специальные герметизирующие устройства, разработанные ССКТБ, состоящие из двух металлических дисков диаметром 97 мм и толщиной 4 мм, стягивающихся по центру шпилькой М6×100 или болтом с гайкой М6. Между дисками закладывается герметизирующая нетвердеющая строительная мастика, изготовленная на основе этилен-пропиленового каучука, бутил-каучука, наполнителей и пластификаторов. Герметизация каналов, занятых кабелями, осуществляется аналогично, но с использованием дисков, стягивающихся несколькими болтами и имеющих 1 - 4 отверстия для кабелей (рис. 3.45).

Герметизация каналов достигается тем, что при завинчивании гаек на болтах пластичная герметизирующая мастика, сжимаемая дисками, уплотняется, заполняя объем между дисками и внутренней поверхностью канала, а также между кабелями и кромками отверстий в дисках. При этом мастика надежно адгезирует с поверхностями.

Извлечение в случае необходимости герметизирующего устройства из канала производится с помощью специальных съемников.

Испытание герметичности канала с герметизирующим устройством осуществляется путем подачи воздуха под давлением в каналы с одновременным нанесением пенообразующего раствора на герметизирующее устройство. Отсутствие пузырей свидетельствует о герметичности вводного отрезка канала.

При герметизации вводов кабелей необходимо пользоваться «Руководством по герметизации вводов кабелей предприятий связи», М., ССКТБ, 1986.

3.135. В помещениях ввода кабелей достаточной высоты допускается вертикальное расположение специальных разветвительных муфт. Также их можно размещать в отдельном помещении - перчаточной (рис. 3.46).

3.136. На станциях малой емкости для ввода линейных кабелей может быть устроен приямок с вводным шкафом (рис. 3.47) или оборудован ввод с применением изогнутых труб от станционного колодца до помещения кросса (рис. 3.48). В последнем случае распайка линейных кабелей производится непосредственно в станционном колодце.

Untitled-1

Рис. 3.45. Герметизирующее устройство для заделки каналов трубопровода (свободных и занятых 1 - 4 кабелями) в помещении ввода кабелей:

1 - стальной диск; 2 - болт или шпилька М6×100; 3 - нетвердеющая мастика

Untitled-1

Рис. 3.46. Помещение ввода кабелей с перчаточной:

1 - вводный блок; 2 - помещение ввода кабелей; 3 - перчаточная; 4 - желоб (кабельрост); 5 - вертикальные перчатки; 6 - кронштейны с консолями; 7 - газонепроницаемые муфты

Untitled-1

Рис. 3.47. Приямок с вводным шкафом:

1 - кронштейны с консолями; 2 - вводный блок; 3 - приямок; 4 - вводный шкаф; 5 - кабели 100×2; 6 - перчатки

Untitled-1

Рис. 3.48. Ввод кабелей с распайкой в станционном колодце:

1 - станционный колодец; 2 - вводный блок; 3 - изогнутые трубы; 4 - желоб с кабелями 100×2

РАСПРЕДЕЛИТЕЛЬНЫЕ ШКАФЫ

3.137. Распределительные шкафы поставляются емкостью 1200×2, 600×2, 300×2 и 150×2 двух типов: ШРП - для установки помещениях и ШР - для установки на улицах.

Тип, емкость и место установки каждого шкафа определяются проектом с соответствующими согласованиями.

Шкафы типа ШРП должны устанавливаться в подъездах зданий или других удобных помещениях. В современных зданиях из панельных (блочных) железобетонных конструкций шкафы следует устанавливать вплотную к стене подъезда (рис. 3.49). В старых толстостенных подъездах шкафы могут устанавливаться с полным (заподлицо) или частичным утоплением в толщу стены. Для этого в стене предварительно вырубается ниша, при условии, что это не ослабит прочности здания.

Рис. 3.49. Распределительный шкаф ШРП, установленный в подъезде здания:

1 - подвал здания; 2 - крепление труб; 3 - изогнутые трубы; 4 - шкаф ШРП; 5 - первый этаж здания; 6 - двери подъезда; 7 - колодец

3.138. При установке распределительного шкафа в помещении от ближайшего колодца, который называется шкафным, через подвал должны прокладываться изогнутые трубы. Верхние концы труб должны заводиться в нижнюю часть шкафа, а нижние - в проем колодца. При некотором удалении шкафа от шкафного колодца или места установки шкафа от наружной стены здания трубы следует заводить в проем фундамента до внутренней стены подвала.

3.139. Уличные распределительные шкафы должны устанавливаться на изготовленных в заводских условиях железобетонных цоколях (рис. 3.50) или на бетонокирпичных фундаментах, устраиваемых на месте. К цоколю или фундаменту, изготовляемому на месте, шкаф следует прикреплять болтами.

При использовании цоколя асбестоцементные трубы от шкафного колодца необходимо заводить в проем нижней его части с заделкой цементно-песчаным раствором. Если фундамент под шкаф изготовляют на месте, то изогнутые трубы замуровывают в его стенки. Нижние концы изогнутых труб стыкуют с трубопроводом от шкафного колодца.

3.140. Такой способ устройства ввода трубопровода в шкаф приемлем, если расстояние до ближайшего колодца не превышает 35 м. При большем расстоянии или при необходимости некоторого разворота трубопровода у шкафа или непосредственно под ним должен быть построен кабельный колодец. Допускается установка шкафа непосредственно на перекрытии колодца с устройством в его перекрытии щели для вывода кабелей (рис. 3.51).

3.141. От шкафного колодца к шкафу емкостью 1200×2 должны прокладываться четыре трубы канализации, к шкафу емкостью 600×2 - три, к шкафу емкостью 300×2 - две и к шкафу емкостью 150×2 - одна труба.

3.142. Каналы трубопровода, введенного в шкаф и в шкафной колодец, должны быть тщательно, герметично заделаны с целью предотвращения случайного проникновения воды и взрывоопасных газов через колодцы в шкаф и помещение.

3.143. Каждый шкаф должен быть окрашен снаружи серой, а внутри - черной масляной краской и не иметь механических и иных повреждений, что должно быть визуально проверено перед установкой шкафа.

Untitled-1

Рис. 3.50. Распределительный шкаф ШР, установленный на улице:

а) шкаф, установленный на кирпично-бетонном фундаменте; б) цокольный бетонный фундамент

1 - изогнутые стальные трубы; 2 - бетон; 3 - кирпичная кладка; 4 - вентиляционная труба; 5 - шкафная доска

Untitled-1

Рис. 3.51. Распределительный шкаф ШР, установленный на перекрытии колодца:

1 - шкаф ШР; 2 - шкафной колодец; 3 - колодец на трассе; 4 - фундамент под шкаф на перекрытии колодца; 5 - щель в перекрытии колодца для ввода кабелей в шкаф; 6 - трубопровод связи

КОЛЛЕКТОРЫ

3.144. Коллекторы представляют собой подземные железобетонные тоннели прямоугольной или круглой формы, предназначенные для прокладки в них различных подземных коммуникаций. Они строятся под тротуарной частью улиц на глубине 1,0 - 1,2 м открытым способом. На загруженных транспортом магистралях и площадях города коллекторы сооружают на больших глубинах (до 10 - 15 м) способом щитовой проходки, и обычно они имеют круглое сечение.

Каждый коллектор может быть общегородским для прокладки различных коммуникаций и ведомственным для прокладки только кабелей связи, электрокабелей или трубопроводов отопительных систем и др.

В общегородских коллекторах размещают кабели связи, силовые кабели, водопроводы, теплопроводы, воздуховоды, трубы городской канализации и др. Прокладка газопроводов в общегородских коллекторах большого сечения не разрешается.

3.145. Коллекторы сооружают из готовых железобетонных элементов (днища, стеновых блоков и перекрытия) или отдельных секций прямоугольного профиля. Круглые коллекторы глубокого заложения обычно собирают из сборных секционных элементов.

3.146. Каждый коллектор общего типа должен оборудоваться стационарным электроосвещением, вентиляцией, средствами водоудаления, системой сигнализации и автоматики диспетчерского управления и др.

3.147. Для размещения и крепления прокладываемых коммуникаций коллекторы оборудуют стальными крепежными конструкциями различных типов. Для раскладки кабелей связи используются кронштейны типа ККУ с чугунными консолями, прикрепляемые к анкерным болтам (ершам) на расстоянии не более 900 мм друг от друга. Вертикальное расстояние между консолями - не менее 150 - 180 мм. Между крепежными деталями с разложенными на них коммуникациями обеспечивается эксплуатационный проход не менее 800 мм.

3.148. Для ввода в коллектор канализационно-кабельных сооружений связи устраиваются специальные трапециевидные вводные камеры с размерами оснований 3 и 7 м и шириной (высотой трапеции) 2,3 м. В перекрытии вводной камеры должен устанавливаться стандартный чугунный люк для подачи или извлечения кабелей связи. Трубопровод кабельной канализации вводят через асбестоцементные гильзы с сальниковыми уплотнителями с целью предохранения от поступления воды и газов в коллектор (рис. 3.52).

3.149. Типовыми являются более 10 профилей общегородских коллекторов с внутренними габаритами: 1,7 - 2,7 м по ширине и 1,8 - 3,0 м по высоте.

Ввод кабелей связи в такие коллекторы, сооружаемые на больших глубинах, осуществляется через вертикальные шахты, также оборудованные стандартными чугунными люками.

3.150. Решения о необходимости строительства коллекторов в загруженных уличных условиях принимаются проектными, эксплуатационными и строительными организациями города.

3.151. Частично кабели связи по согласованию с владельцем могут прокладываться в тоннелях метрополитена на стальных сварных крепежных конструкциях. Для этого обычно используют бронированные кабели без верхней джутовой оплетки.

Untitled-1

Рис. 3.52. Вводная камера в коллектор:

1 - кронштейны с консолями; 2 - кабели; 3 - гильзы с сальниковыми уплотнителями; 4 - трубопровод связи; 5 - стеновые железобетонные блоки; 6 - галерея коллектора; 7 - вводная камера

СТРОИТЕЛЬСТВО И ОБОРУДОВАНИЕ КОЛОДЦЕВ ДЛЯ РАЗМЕЩЕНИЯ НЕОБСЛУЖИВАЕМЫХ РЕГЕНЕРАЦИОННЫХ ПРОМЕЖУТОЧНЫХ ПУНКТОВ СИСТЕМ ПЕРЕДАЧИ ИКМ

3.152. Контейнеры НРП на соединительных линиях ГТС должны размещаться в колодцах кабельной канализации связи. На сетях крупной емкости для размещения контейнеров должны строиться отдельные колодцы, располагаемые вблизи существующего колодца действующей канализации (рис. 3.53). Строящиеся колодцы для контейнеров должны быть связаны с существующим колодцем трех - четырехотверстным трубопроводом с диаметром каналов 100 мм протяженностью не более 50 м.

Untitled-1

Рис. 3.53. Расположение колодцев для установки контейнеров НРП-К12:

1 - трубопровод действующей канализации; 2 - колодец типа ККС-5; 3 - колодцы для размещения контейнеров НРП-К12; 4 - трех - четырехотверстный трубопровод

3.153. Типовым решением предусматривается размещение шести контейнеров НРП в колодце типа ККС-5 и восьми контейнеров - в колодце специального типа с установкой их на днище и боковых стенках колодцев.

3.154. В колодцах типа ККС-5 четыре контейнера размещаются на днище, на железобетонных фундаментах-подставках высотой 200 мм и два контейнера - на боковых стенках колодца с использованием крепежных металлоконструкций. В колодцах специального типа четыре контейнера размещаются также на фундаментах-подставках и четыре контейнера - на боковых стенках.

В качестве фундаментов-подставок могут использоваться типовые железобетонные плиты или кирпичные кладки на цементно-песчаном растворе.

3.155. Контейнеры НРП должны быть заземлены путем устройства в котловане колодца контурного защитного заземления. В качестве заземлителей должны использоваться электроды из прутковой стали диаметром 12 мм и длиной 5 м при удельном сопротивлении грунта до 200 Ом · м и из угловой стали размером 50×50×5 мм - при удельном сопротивлении грунта свыше 200 Ом · м. Электроды соединяются между собой по контуру колодца полосовой сталью размером 40×4 мм посредством сварки.

3.156. Сопротивление защитных заземляющих устройств должно быть не более 10 Ом для грунтов с удельным сопротивлением менее 100 Ом · м и не более 30 Ом - для грунтов удельным сопротивлением более 100 Ом · м.

СТРОИТЕЛЬСТВО КАБЕЛЬНОЙ ЛОТКОВОЙ КАНАЛИЗАЦИИ СВЯЗИ НА ПЕРЕУВЛАЖНЕННЫХ ГРУНТАХ СЕВЕРА

3.157. На переувлажненных пучинистых грунтах Севера и Сибири целесообразно сооружать кабелепроводы в виде полуподземных сборных железобетонных каналов (лотков) для прокладки в них кабелей связи.

3.158. Конструктивно лотковая канализация связи составляется из типовых железобетонных лотков и плит перекрытия различных размеров.

Железобетонные лотки изготовляются десяти типоразмеров (Л1 - Л10) длиной 2970 мм и сечением от 760×370 мм (Л1) до 2380×730 мм (Л10) при толщине основания от 80 мм (Л1) до 140 мм (Л10). Для их изготовления используется бетон марки 300.

Железобетонные плиты перекрытия изготовляются восьми типоразмеров (П1 - П8) длиной от 2980 мм (П1) до 2990 мм (П5, П8) при ширине от 850 мм (П1) до 2409 мм (П5, П8) и толщине от 70 мм (П1) до 160 мм (П5, П8).

По отдельным разработкам перекрытия могут изготовляться шириной 2500 мм и толщиной 220 мм.

3.159. Конструкция лотков и размещение в них кабелей связи показаны на рис. 3.54. Для раскладки кабелей используют стальные кронштейны, привариваемые к металлической полосе на расстоянии 1000 мм друг от друга. К кронштейнам крепятся многоместные чугунные консоли. Укладка кабелей может также производиться на деревянных подставках, которые могут быть одно-, двух- или трехрядными. Толщина их должна быть 60 мм, а радиус вырезов мест под кабели - 40 мм.

Untitled-1

Рис. 3.54. Конструкция лотка Л1

3.160. Железобетонные плиты перекрытия укладывают на лотки подъемными механизмами, используя имеющиеся на плитах подъемные петли или скобы из углеродистой стали диаметром 10 - 18 мм. Для исключения случайного сдвига плит относительно лотков каналов предусматривается приварка отрезков угловой стали размером 70×70×8 мм длиной 150 мм или фиксаторных штифтов. С этой целью плиты перекрытия могут изготовляться с выступом в нижней плоскости, входящей внутрь лотка или корытообразной формы. Плиты должны укладываться с прокладкой листовой микропористой резины толщиной 10 - 15 мм или пороизола диаметром 45 мм.

3.161. Соединение железобетонных лотков между собой следует осуществлять с помощью металлических полос размером 30×10 мм, привариваемых к закладным элементам с двух внутренних сторон каналов лотков. При этом через 50 м должны устраиваться деформационные швы, зачеканиваемые каболкой и заливаемые горячим битумом. Так же заделываются и все стыки лотков на различных участках лотковой канализации.

3.162. Все металлические детали лотковой канализации связи (полосы, кронштейны, консоли, скобы, фиксаторные штифты и др.), а также все поверхности плит перекрытия и внутренние поверхности лотков следует покрывать битумной краской или другими антикоррозионными покрытиями.

3.163. Для предохранения лотков от заполнения водой прокладку их в грунтах следует осуществлять на возможно меньшую глубину и обязательно выше уровня грунтовых вод.

Для уменьшения попадания в каналы надгрунтовых вод вертикальные стенки лотков необходимо поднимать выше уровня грунта на 100 мм.

При высоком уровне грунтовых вод следует сооружать полуподземную или даже наземную лотковую канализацию связи с учетом предварительной или последующей планировки местности.

3.164. При сооружении лотковой канализации связи в опасных местах пучения грунта необходимо обеспечить защиту лотков от воздействия касательных и нормальных сил морозного пучения. Меры по снижению этих сил должны быть предусмотрены проектом и конкретными техническими решениями.

3.165. При строительстве кабельной лотковой канализации связи рекомендуется руководствоваться «Временными техническими указаниями по проектированию и строительству кабельной лотковой канализации на переувлажненных грунтах Севера», Минсвязи СССР, ГСС, КОНИИС, М., 1978.

РАЗДЕЛ 4
ПРОКЛАДКА КАБЕЛЕЙ В ПОДЗЕМНОЙ КАБЕЛЬНОЙ КАНАЛИЗАЦИИ, КОЛЛЕКТОРАХ, ТОННЕЛЯХ И ПО МОСТАМ

ОБЩИЕ ПОЛОЖЕНИЯ. ВХОДНОЙ КОНТРОЛЬ СТРОИТЕЛЬНЫХ ДЛИН

4.1. Работы в кабельной канализации по прокладке кабелей должны выполняться при строгом соблюдении требований действующих «Правил техники безопасности при работах на кабельных линиях связи и проводного вещания», основными из которых являются: ограждение открываемых колодцев и зон работ, проверка колодцев на наличие опасных газов, вентилирование колодцев, принятие мер предосторожности при наличии в колодцах кабелей с напряжением дистанционного питания и кабелей проводного вещания.

4.2. Для своевременной приемки и разгрузки поступающих барабанов с кабелем и их хранения необходимо заблаговременно подготовить кабельные площадки. Размеры площадок следует рассчитывать на размещение максимального количества барабанов, направляемых в данный пункт, предусмотрев автотранспорт и разгрузочные средства.

После разгрузки барабанов с кабелем, на железнодорожных разгрузочных пунктах необходимо произвести тщательный их внешний осмотр, сверить с накладными число мест, соответствие маркировки и упаковки требованиям ТУ на кабель. На все обнаруженные дефекты для предъявления иска необходимо составить акт с участием представителей подрядчика, заказчика и других заинтересованных организаций для предъявления претензий поставщику.

4.3. Все кабели, поступившие на строительство, должны быть зарегистрированы в ведомостях учета строительных длин и пройти входной контроль. Кабели, не прошедшие входного контроля, прокладке не подлежат.

Во время проведения входного контроля внешним осмотром необходимо проверить состояние барабанов и их обшивки. В случае обнаружения незначительных повреждений их следует устранить собственными силами на месте. Если барабан на месте отремонтировать невозможно или обнаруженные дефекты могут создать опасность повреждения кабеля при транспортировании или при прокладке, то с уведомлением заказчика кабель с этого барабана должен быть перемотан на исправный барабан плотными и ровными витками. Не допускается перемотка с барабана на барабан, если они установлены на щеки. При перемотке необходимо осуществлять визуальный контроль целостности наружной оболочки кабеля. Перемотке также подлежит поступивший оптический кабель, если выведенный на щеку барабана нижний конец имеет длину менее 1,7 м (запас для измерений).

4.4. После вскрытия обшивки барабана следует проверить наличие заводского паспорта (протокола), соответствие данных строительной длины, указанных в паспорте и данным, обозначенным на щеке барабана.

В паспорте на низкочастотные многопарные кабели (свыше 100 пар) и высокочастотные симметричные кабели должны быть указаны величины избыточного воздушного давления, дата и температура его заводской проверки.

В протоколе на оптический кабель должны быть указаны: длина кабеля, коэффициент затухания, дисперсия, тип покрытия и геометрические размеры каждого оптического волокна, дата изготовления. При отсутствии протокола на оптический кабель необходимо запросить его дубликат у завода-изготовителя и совместно с заказчиком решить вопрос об использовании данной строительной длины.

4.5. В строительных длинах кабелей, содержащихся под постоянным избыточным воздушным давлением, необходимо проверить наличие и величину этого давления, его соответствие паспортным данным (с учетом поправок на разность температур).

В случае, когда давление в кабеле ниже давления, указанного в паспорте, следует произвести контрольную проверку его герметичности в течение 24 часов, установив давление в кабеле 80 - 100 кПа. Если давление не изменится, то кабель следует считать годным для прокладки. Такую же проверку необходимо произвести в кабеле, если на него отсутствует заводской паспорт.

Если при проверке обнаружено отсутствие избыточного воздушного давления в кабеле, необходимо произвести проверку целостности жил и измерение сопротивления их изоляции между собой и по отношению к металлической оболочке или экрану, а также проверить целостность экрана. При положительных результатах измерений следует установить и устранить причину негерметичности оболочки с последующей проверкой строительной длины избыточным воздушным давлением 80 - 100 кПа в течение 24 часов.

4.6. При визуальной проверке строительных длин, обращается внимание на внешнее состояние кабеля: отсутствие вмятин, порезов, пережимов, перекруток и пр. Если при внешнем осмотре обнаружены повреждения оболочки, то эти повреждения следует устранить имеющимися средствами (термоусаживаемыми трубками, термоусаживаемыми лентами, наплавлением полиэтиленовой ленты или кабельной оболочки под стеклолентой, пайкой и пр.). В этих случаях на электрических кабелях производят проверку жил на обрыв и сообщение, а также измеряют сопротивление их изоляции. Кабели, содержащиеся под избыточным воздушным давлением, после электрической проверки подлежат проверке на герметичность избыточным давлением 80 - 100 кПа в течение 48 часов.

4.7. На оптических кабелях после внешнего осмотра, при отсутствии повреждений и наличии паспорта необходимо произвести измерение затухания оптических волокон, предварительно убедившись в их целостности путем просветки источником света. При измерении проверяют соответствие километрического затухания оптических волокон норме, установленной для данного кабеля. Эту часть входного контроля целесообразно производить в сухом отапливаемом помещении.

Результаты входного контроля должны фиксироваться в протоколах по установленной форме (см. формы 15.1, 15.2 в разделе 15).

В случае выявления значительных дефектов кабеля, (обрыв волокон, превышение их километрического затухания от установленной нормы и др.), должен быть составлен акт с участием представителей подрядчика, заказчика и других заинтересованных организаций. При этом следует руководствоваться Законом Российской Федерации «О защите прав потребителей».

ГРУППИРОВАНИЕ СТРОИТЕЛЬНЫХ ДЛИН КАБЕЛЯ

4.8. Предназначенные для прокладки строительные длины кабелей должны быть распределены по пролетам кабельной канализации. Перед распределением (группированием) строительных длин кабеля рабочий чертеж на прокладку его должен быть сопоставлен с фактическими длинами пролетов и проведена проверка соответствия типов колодцев, установленных по трассе. При обследовании трассы также следует определить их состояние: наличие воды, льда, оснастки арматурой. Необходимо проверить возможность прокладки кабеля по тем каналам, которые указаны на рабочем чертеже, их занятость другими кабелями, наличие заготовочной проволоки. Для прокладки магистральных кабелей, как правило, занимаются центральные каналы. Распределительные кабели прокладывают в верхних крайних каналах для удобства вывода их в здания. При прокладке оптического кабеля по возможности используют каналы, расположенные в середине блока кабельной канализации по вертикали и у края по горизонтали.

Если прокладка будет производиться с одного из транзитных колодцев в два направления, необходимо заранее определить эти колодцы. Преимущественно для этого следует выбирать угловые колодцы.

4.9. При группировании кабеля, прокладываемого в кабельной канализации, необходимо подбирать строительные длины таким образом, чтобы остатки кабеля, с учетом выкладки в колодцах и запаса на монтаж соединительной муфты, были минимальными. При подборке строительных длин необходимо учитывать особенности трассы, наличие угловых колодцев, допустимые усилия тяжения кабеля, имеющиеся технические средства для прокладки, а также возможность транзитной прокладки кабеля и места расположения соединительных муфт.

4.10. Симметричные высокочастотные кабели, кроме требований, приведенных в п. 4.9, группируются по величине переходного затухания на ближнем конце и средним значениям рабочей емкости. При группировании строительных длин этих кабелей рекомендуется пользоваться «Руководством по строительству линейных сооружений магистральных внутризоновых кабельных линий связи» (М, «Радио и связь», 1986, раздел 4, п.п. 4.61 - 4.66 «Группирование кабелей и пупиновских ящиков»).

4.11. При группировании строительных длин оптических кабелей, кроме требований п. 4.9, следует учитывать, что строительная длина оптического кабеля составляет от 1000 до 2000 м. И, как правило, должна быть затянута в канал кабельной канализации всей длиной (транзитом через колодцы). Разрезание строительной длины крайне нежелательно, так как каждая дополнительная муфта (стык оптического волокна) может вызвать завышение расчетного затухания линии.

При подборе строительных длин оптического кабеля следует исходить из того, что на одном регенерационном участке должен быть кабель только одной марки, с одним типом оптического волокна и его покрытия, одним типом центрального силового элемента. В отличие от электрических кабелей, запас оптического кабеля для монтажа соединительной муфты должен быть значительным и составлять по 8 м от канала с каждой стороны (для монтажа муфт кабеля в спецмашине).

ПОДГОТОВКА КАБЕЛЬНОЙ КАНАЛИЗАЦИИ К ПРОКЛАДКЕ КАБЕЛЯ

4.12. До начала проведения работ руководитель работами должен получить разрешение от соответствующего эксплуатационного предприятия на право их производства в смотровых устройствах данного района.

4.13. В соответствии с требованиями безопасности исполнителей и людей, оказавшихся в рабочей зоне, возле вскрываемых колодцев по обе стороны устанавливаются ограждения - барьеры. На проезжей части ограждения следует установить со стороны движения транспорта на расстоянии не менее 2 м от люка колодца. Кроме того, на расстоянии 10 - 15 м от ограждения навстречу движению транспорта должны быть установлены предупредительные знаки. При плохой видимости дополнительно должны быть установлены световые сигналы. Перед началом работ в колодцах, расположенных на проезжей части, необходимо поставить в известность местные органы ГАИ о месте и времени проведения работ.

4.14. В колодцах, в которых предстоит работать, необходимо проверить отсутствие газов: метана, пропана и углекислого газа. Временно открывается не менее, чем по одному каналу (желательно верхнему), и через 10 - 15 мин снова производится проверка на отсутствие вредных газов.

4.15. Для прокладки кабеля или стального каната (троса) в канале кабельной канализации в нем необходимо предварительно проложить стальную проволоку диаметром 3 мм - сделать заготовку канала. Заготовку канала производят тремя способами:

· металлическими палками длиной по 1 м, свинчивающимися между собой в плеть;

· полиэтиленовой трубкой ПНД 32 т, длиной до 150 м;

· стеклопрутком, заключенным в полиэтиленовый шланг наружным диаметром 11 мм и длиной до 150 м, намотанным на специальный тамбур, обеспечивающий удобство работы с прутками, исключающий его самопроизвольное раскручивание («УЗК» - устройство заготовки каналов - рис. 4.1).

Untitled-1

Рис. 4.1. Устройство заготовки каналов

Заготовку каналов металлическими палками производят заталкиванием в канал, наращивая их свинчиванием. При выходе первой палки в смежном колодце к ее хвостовому наконечнику прикрепляют заготовочную стальную проволоку диаметром 3 мм и вытягивают палки, отвинчивая по одной. На прямолинейных участках трассы или при заготовке свободных каналов палки рекомендуется пропускать не развинчивая через несколько колодцев, пока это продвижение возможно.

Обычно палки рекомендуется применять при заготовке труднопроходимых каналов. При работе с палками следует избегать их раскручивания в канале. Если раскручивание произошло, то для извлечения плети палок следует пользоваться специальной воронкой для улавливания и свинчивания разомкнувшейся плети в канале.

Заготовку каналов полиэтиленовой трубкой производят проталкиванием, по возможности, через все транзитные колодцы. На труднопроходимых участках трассы обеспечивают вспомогательную подтяжку трубки рабочими. Заготовочную проволоку следует крепить к хвостовому наконечнику и протаскивать вместе с трубкой. Если продвижение трубки становится невозможным из-за возникших препятствий в канале, то трубку рекомендуется несколько раз провернуть по часовой стрелке и против часовой стрелки с одновременным проталкиванием в канал.

Наиболее эффективной является заготовка каналов приспособлениями УЗК. При этом стеклопруток проталкивают в канал, разматывая его с тамбура через транзитные колодцы вместе с заготовочной проволокой, прикрепленной к хвостовому наконечнику (с подтяжкой прутка в транзитных колодцах). При прокладке кабеля массой до 0,5 кг/м к хвостовому наконечнику стеклопрутка можно прикрепить кабель и проложить его в канале.

4.16. При подготовке к прокладке в занятых каналах (особенно палками) необходимо принимать меры, предупреждающие повреждения проложенных ранее кабелей. В частности головные и хвостовые наконечники (палок, полиэтиленовых труб, стеклопрутка), не должны иметь острых кромок и заусенцев, при креплении заготовки не должно быть выступающих острых концов проволоки, а ее скрутки необходимо обмотать липкой лентой.

4.17. Прокладка оптических кабелей связи в кабельной канализации производится как по свободным, так и по занятым каналам. Прокладка по свободным каналам должна производиться при условии, что в этих каналах не будет в дальнейшем докладки электрических кабелей связи, а только оптических, одной массы в количестве не более 5 - 6. Если же докладка электрических кабелей предусматривается, то оптический кабель в свободном канале должен прокладываться только в полиэтиленовой трубе.

Оптические кабели с броней из стеклопластиковых стержней, стальных проволок и лент с защитной полиэтиленовой оболочкой поверх брони, могут прокладываться как по свободным, так и по занятым каналам без затягивания в полиэтиленовую трубу.

4.18. При прокладке полиэтиленовой трубы в канале кабельной канализации необходимо использовать те же способы, что и при заготовке канала проволокой при помощи такой же трубы (см. п. 4.15). Бухту полиэтиленовой трубы расположить возле начального колодца, конец трубы ввести в канал и проталкивать, по возможности, вперед по трассе. В транзитных колодцах осуществлять вспомогательную подтяжку. При прекращении прохождения трубы ее следует подтягивать обратно к начальному колодцу с обрезкой в каждом транзитном колодце, оставляя длину 200 - 250 мм от торца канала.

4.19. Если оптический кабель прокладывается по каналам, расположенным у края блока по горизонтали, то трубу обрезать не рекомендуется, а впоследствии выложить в колодце вместе с проложенным в нее кабелем.

4.20. Для защиты оптического кабеля в кабельных колодцах после прокладки трубы рекомендуется на ее обрезанные концы надвинуть и протолкнуть в канал отрезок пластмассовой полиэтиленовой трубы или металлорукав большего диаметра. При выкладке кабеля по форме колодца гофрированную трубу или металлорукав следует надвинуть на кабель и пропустить в противоположный канал.

4.21. Если прокладка кабеля осуществляется через некоторое время после прокладки полиэтиленовой трубы, то концы всех проложенных полиэтиленовых труб необходимо временно закрыть полиэтиленовыми колпачками. Водонепроницаемость стыка колпачка с кабелем рекомендуется обеспечить обмоткой 5 - 7 слоями липкой пластмассовой ленты.

При прокладке полиэтиленовой трубы в кабельной канализации маломерные ее остатки необходимо перераспределять на короткие пролеты трассы, определяя их по рабочему чертежу. Допускается стыковка маломерных длин полиэтиленовой трубы для прокладки на участках трассы, не превышающих 70 - 80 м. Стыковку следует производить с помощью металлической манжеты длиной 150 мм, толщиной стенки 1,5 - 2,0 мм, с внутренним диаметром, соответствующим внешнему диаметру полиэтиленовой трубы. Предварительно на торцах труб с внутренней стороны необходимо снять фаску углом 30 градусов, установить металлическую манжету на стык обеих труб. Рядом с манжетой нанести герметик (сэвилен, ГИПК-14-13, КРУС-1 или КРД), а затем надвинуть и усадить соответствующую термоусаживаемую трубку длиной 250 мм.

4.22. Если прокладка предусмотрена проектом только в полиэтиленовых трубах и для оптических кабелей выделяется отдельный канал, то рекомендуется затянуть в него сразу несколько полиэтиленовых труб одного или разных диаметров. Для этого необходимо предварительно провести «заготовку» канала проволокой или тросом и с их помощью затянуть одновременно весь блок труб.

При значительном количестве больших пролетов целесообразно использовать зонтичный пневмопроходчик. Для его применения требуется передвижная компрессорная станция, обеспечивающая подачу сжатого воздуха под избыточным давлением 590 кПа.

4.23. Нередко возникают случаи, когда в результате проникновения в канал грунтовых вод каналы в отдельных местах оказываются заполненными песком, глиной, илом и т.п., при этом каналы необходимо прочистить. Для прочистки следует применять специальные стальные совки (рис. 4.2).

Untitled-1

Рис. 4.2. Совок для очистки засоренных каналов

Образовавшийся в канале лед рекомендуется удалить с помощью пара от передвижного парообразователя. Если прочистка каналов не дает положительных результатов, то этот участок канализации следует вскрыть и отремонтировать. При необходимости выполняются вставки из отрезков новых цельных или разрезных труб.

4.24. В процессе подготовки кабельной канализации к прокладке кабеля проверяется проходимость каналов. Для этого пробный цилиндр (рис. 4.3) соединяют карабином (рис. 4.4а) с металлической щеткой (рис. 4.4б).

Untitled-1

Рис. 4.3. Цилиндр пробный

Untitled-1

Рис. 4.4а. Карабин

Диаметр пробного цилиндра должен быть:

· 92 мм - для асбестоцементных и бетонных труб диаметром 100 мм;

· 82 мм - для асбестоцементных и бетонных труб диаметром 90 мм, а также полиэтиленовых труб диаметром 100 мм.

Untitled-1

Рис. 4.4б. Щетка для прочистки канала

4.25. Если пробный цилиндр и щетка проходят по каналу с большим трудом, то их следует извлечь из канала. Заготовочную проволоку целесообразно заменить канатом. Канат прикрепляется с одной стороны к пробному цилиндру, с другой стороны - к щетке. Протаскивая цилиндр и щетку несколько раз вперед и назад через труднопроходимое место, очищают канал от загрязнений. Рекомендуется проводить комплексную очистку с использованием стального совка. После очистки канала цилиндр и щетку извлекают в начальном колодце. К щетке прикрепляют заготовочную проволоку и снова протаскивают через канал вместе с проволокой.

4.26. До начала прокладки кабелей все колодцы, в которых намечаются (проводятся) работы, должны быть проверены на отсутствие вредных газов, провентилированы и осушены, открыты смежные каналы, установлены ограждения.

ПРОКЛАДКА ЭЛЕКТРИЧЕСКИХ КАБЕЛЕЙ В КАБЕЛЬНОЙ КАНАЛИЗАЦИИ

4.27. В каналах кабельной канализации прокладываются кабели всех видов проводной связи, не имеющие поверх оболочки броневых защитных покрытий.

4.28. Барабан с кабелем, как правило, устанавливается на кабельных домкратах возле первого начального колодца со стороны трассы. Прокладка может вестись с барабана, установленного также на кабельном транспортере (тележке). Подвеска барабанов должна быть такой, чтобы при подаче кабеля в канал он разматывался с верха барабана. При этом необходимо отрегулировать его горизонтальное положение для исключения сползания во время вращения в одну из сторон (рис. 4.5).

Рис. 4.5. Установка барабана с кабелем у колодца

4.29. В качестве тягового средства используют кабельную машину, оборудованную лебедкой с приводом от двигателя автомашины, или ручную лебедку. Легкие кабели (массой до 3000 кг/км) целесообразно затягивать в канализацию вручную без применения специальных тяговых средств. В качестве тянущего элемента в основном используют стальную проволоку диаметром 3 мм или стальной канат (трос). При прокладке кабеля по занятым каналам тяжение рекомендуется производить стальным канатом, ошлангованным полиэтиленом или пеньковым, а также синтетическим канатами. Отдельные требования к условиям прокладки приведены в табл. 4.1.

Таблица 4.1

Масса кабеля

Средства тяжения

Вид тянущего элемента

до 3000 кг/км

вручную

стальная проволока диаметром 3 мм, стальной канат

до 6000 кг/км

кабельная машина, ручная лебедка 15 - 30 кН

стальной канат диаметром 8,0 - 8,8 мм

свыше 6000 кг/км

кабельная машина

стальной канат диаметром 11,5 мм

Пробный цилиндр, щетка и канат, конец которого должен быть заделан петлей и оснащен коушем, скрепляют между собой карабинами.

К щетке прикрепляют конец заготовочной проволоки, которую протягивают по каналу через весь пролет.

4.30. Протянутый по каналу канат освобождается от пробного цилиндра и щетки, скрепляется с концом кабеля посредством специального стального кабельного чулка (рис. 4.6), через карабин.

Untitled-1

Рис. 4.6. Чулки стальные кабельные:

а - концевой; б - сквозной; в - разрезной

Размеры чулков приведены в табл. 4.2. При прокладке кабелей емкостью свыше 600 пар между чулком и кабелем необходимо устанавливать компенсатор кручения (рис. 4.7) для предотвращения осевого скручивания кабеля при тяжении.

Рис. 4.7. Компенсатор кручения

Таблица 4.2

Номер чулка

Максимальный наружный диаметр кабеля, мм

Разрывная прочность чулка

16

16

2,0

21

21

3,0

28

28

5,0

38

38

7,0

50

50

10

63

63

13

73

73

17

83

83

20

4.31. На кабелях со свинцовой оболочкой, для обеспечения более плотного обжатия сердечника чулком, оболочку рекомендуется усадить обивкой деревянным молотком, на кабелях с полиэтиленовой оболочкой по концу на всей длине чулка наложить 3 - 4 слоя пластмассовой или прорезиненной ленты. Концевой чулок надевается на кабель и закрепляется в 2 - 3 местах наложением бандажей из мягкой стальной проволоки диаметром 1,5 - 2,0 мм. При прокладке кабеля по занятому каналу стальной чулок по всей длине должен быть обмотан 2 - 3 слоями пластмассовой или прорезиненной ленты. При прокладке кабелей большой емкости или большой массы (если возникает вероятность больших тяговых усилий) сердечник вместе с чулком необходимо прошить стальной проволокой в нескольких местах и закрепить бандажом.

4.32. Прокладку кабеля следует производить при температуре окружающего воздуха не ниже:

минус 20 °С - для кабелей в свинцовой оболочке;

минус 10 °С - для кабелей в полиэтиленовой оболочке.

Прокладку кабелей при более низких температурах производят после предварительного прогрева его на барабане или выдержки в закрытом отапливаемом помещении в течение 48 часов при температуре 20 - 22 °С. Для прогрева кабеля, непосредственно перед прокладкой применяют портативные подогреватели и специальный брезентовый чехол, надеваемый на барабан.

4.33. Подготовленный к прокладке конец кабеля вводится в канал с одновременной подмоткой тягового каната лебедкой или вручную с противоположной стороны в колодце. Для предотвращения повреждения его оболочки на вход канала первого колодца (и во всех транзитных колодцах) необходимо устанавливать разрезные полиэтиленовые втулки или кабельные колена (рис. 4.8).

Untitled-1

Рис. 4.8. Приспособления для защиты затягиваемого кабеля на вводе в канал

а - кабельное колено; б - разрезная предохранительная втулка; в - защита кабеля кабельным коленом; г - защита кабеля разрезной втулкой

Кабель должен входить в канал по плавной круговой траектории и не касаться люка колодца. Скорость тяжения кабеля должна быть равномерной и находиться в пределах 9 - 30 м/мин в зависимости от массы прокладываемого кабеля, длины пролета, сложности трассы.

4.34. Руководство прокладкой осуществляет монтажник, имеющий наивысшую в данной бригаде (звене) квалификацию и находящийся во время прокладки возле барабана с кабелем. Для оперативного управления прокладкой рекомендуется организовывать радиосвязь по всей трассе рациями УКВ.

4.35. Кабельную машину или ручную лебедку устанавливают в непосредственной близости от люка колодца. При необходимости, на выходе из канала и на верхней кромке люка колодца применяют кабельные колена или блочное колено, состоящее из набора роликов.

4.36. При прокладке кабелей в свинцовой оболочке для уменьшения трения целесообразно применять смазку оболочки техническим вазелином, но при условии, что в этом канале нет и не предвидится прокладка кабелей с полиэтиленовой оболочкой. Если прокладка ведется через несколько пролетов, то и в транзитных колодцах следует организовать дополнительную смазку свинцовой оболочки кабеля. При прокладке кабелей в полиэтиленовой оболочке технический вазелин для смазки применять нельзя, разрешается использовать для этого нейтральные и не активные к полиэтилену смазки (например, гидрофобное заполнение кабеля, ЛЗК-1).

4.37. Часто прокладку кабелей большой емкости и значительной длины осуществляют с ручной вспомогательной подтяжкой в транзитных колодцах с использованием специального разрезного чулка (рис. 4.6в).

4.38. При выходе прокладываемого кабеля из канала в приемном колодце устанавливается специальный блок для горизонтального подтягивания кабеля (рис. 4.9а, б), который крепится к специальной серьге, заделанной в нижнюю часть стенки колодца. При отсутствии серьги можно использовать различного рода вертикальные стойки или упоры (рис. 4.9в, г). Концевой чулок с кабеля следует снять и заменить сквозным (рис. 4.9б).

Untitled-1

Рис. 4.9. Приспособление для подтягивания троса из канала:

а - серьга и блок; б - серьга, блок, колена и ролики; в - телескопическая стойка и блок; г - вертикальная блочная стойка

Подтягивая кабель и перемещая сквозной чулок к выходу их канала, вытянуть кабель на длину, необходимую для выкладки и монтажа соединительной муфты, без учета кабеля под чулком, который после вытягивания должен быть отрезан.

4.39. Кабели небольшой емкости и массы следует прокладывать без применения блоков и без замены концевого чулка сквозным. Во всех случаях установка кабельных колен и разрезных пластмассовых воронок обязательна.

ПРОКЛАДКА ОПТИЧЕСКИХ КАБЕЛЕЙ

4.40. Прокладку оптических кабелей связи в кабельной канализации производят как ручным, так и механизированным способами с использованием различных механизмов и приспособлений. Это вызвано, в первую очередь, большими строительными длинами кабеля, сравнительно малыми допустимыми усилиями тяжения и необходимостью соблюдать радиус изгиба кабеля. Усилие тяжения и радиус изгиба должны ответствовать требованиям технических условий на промываемый кабель.

4.41. Рекомендуемый состав механизмов и приспособлений, используемых при прокладке оптического кабеля в кабельной канализации, состоит из:

· лебедки концевой с ручным, бензиновым или электрическим приводами с регулируемым ограничителем усилия тяжения для протягивания кабеля по каналу или полиэтиленовой трубе, проложенной в канал;

· устройства для размотки кабеля с барабана, заменяющего тяжелые козлы-домкраты или кабельную тележку, применяющиеся при прокладке электрических кабелей;

· трубы гофрированной с продольным разрезом для ввода кабеля через люк колодца в канал канализации (или полиэтиленовую трубу, проложенную в канале);

· роликов люкоогибных для прохождения заготовочной проволоки и кабеля через люк колодца;

· горизонтальной распорки и блока кабельного для плавного поворота кабеля в угловом колодце;

· полиэтиленовых разрезных воронок направляющих, устанавливаемых на канал канализации или на полиэтиленовую трубу, проложенную в канале, для предотвращения повреждения кабеля и обеспечения требуемого радиуса изгиба кабеля на входе и выходе канала;

· наконечника кабельного с чулком для тяжения кабеля на центральный силовой элемент и полиэтиленовую оболочку;

· компенсатора кручения;

· лебедки промежуточной с ограничителем усилия тяжения для вспомогательной подтяжки кабеля в транзитных колодцах.

4.42. До выезда на трассу прокладки кабеля, как правило, проводят подготовительные работы: проверяют комплектность и работоспособность механизмов и приспособлений и регулируют (при необходимости) с помощью динамометра тяговое усилие концевой и промежуточных лебедок, которое не должно превышать допустимого тягового усилия, установленного техническими условиями на прокладываемый кабель. Концевую лебедку необходимо отрегулировать на усилие, менее установленного для кабеля (98 - 147 Н). Промежуточные лебедки отрегулировать на усилие, не превышающее 640 - 690 Н. Проверку и регулировку лебедок целесообразно производить в присутствии представителя заказчика оформлением протокола.

4.43. Перед прокладкой оптического кабеля все механизмы, устройства, барабан с кабелем, ограждения, лестницы и пр., развозят по трассе и приступают к их установке.

4.44. Устройство для размотки кабеля с барабана устанавливается на расстоянии 1,5 - 2,0 м от люка первого колодца, с которого начинается прокладка кабеля. На люк колодца устанавливается рама с гофрированной трубой для ввода кабеля в канал канализации. Барабан с кабелем (обшивка удалена) размещается со стороны трассы прокладки так, чтобы сход кабеля производился сверху (рис. 4.10).

Untitled-1

Рис. 4.10. Установка устройства для размотки оптического кабеля

С противоположной стороны на люк последнего выходного колодца устанавливают люкоогибные ролики (рис. 4.11), а в 2 - 3 м от люка - концевую лебедку.

Untitled-1

Рис. 4.11. установка люкоогибных роликов

Во всех транзитных колодцах на полиэтиленовую трубу, проложенную в канале, устанавливают на входе и выходе канала по одному противоугону (рис. 4.12) и по одной предохранительной воронке (рис. 4.13).

Untitled-1

Рис. 4.12. Установка противоугона на полиэтиленовую трубу

Untitled-1

Рис. 4.13. Установка воронки на полиэтиленовую трубу

Если прокладка будет вестись без полиэтиленовой трубы, то в канал устанавливают воронки, диаметр которых соответствует диаметру канала (рис. 4.14).

Рис. 4.14. Установка воронки в трубу канала

Во всех угловых колодцах устанавливают горизонтальную распорку и блок кабельный (рис. 4.15).

Untitled-1

Рис. 4.15. Установка горизонтальной распорки и блока кабельного

В колодцах среднего и малого типа проход кабеля должен осуществляться вспомогательной подтяжкой вручную. Во всех транзитных колодцах на сложных участках трассы размещают промежуточные тяговые лебедки. При отсутствии таких лебедок вспомогательная подтяжка кабеля в этих колодцах также должна осуществляться вручную.

4.45. Прокладку оптического кабеля разрешается проводить при температуре окружающего воздуха не ниже минус 10 °С.

4.46. Конец кабеля оборудуется наконечником с компенсатором кручения, обеспечивающим тяжение кабеля за центральный силовой элемент и полиэтиленовую оболочку (рис. 4.16).

Untitled-1

Рис. 4.16. Установка наконечника с чулком и компенсатором кручения на конце кабеля

Компенсатор кручения соединяется с заготовочной проволокой обычной скруткой, на которую накладывается обмотка из 3 - 4 слоев липкой пластмассовой ленты (крутка не должна выступать за габариты наконечника и компенсатора кручения).

Затягивание кабеля производят ручной концевой тяговой лебедкой, установленной у последнего колодца, вращая ее барабан равномерно, избегая рывков (рис. 4.17).

4.47. Во время прокладки необходимо следить за работой промежуточных тяговых лебедок в транзитных колодцах. Средняя скорость прокладки кабеля составляет 5 - 7 м/мин. При отсутствии промежуточных лебедок вспомогательную подтяжку следует делать вручную с усилием не более 600 - 700 Н. Рекомендуется заранее подготовить рабочих для выполнения этих работ. При подтягивании кабеля руками запрещается упираться ногами в стенки колодца или его арматуру. Нельзя допускать перегибов кабеля. Необходимо также следить, чтобы впереди не образовывалась петля и кабель равномерно уходил в противоположный канал.

Untitled-1

Рис. 4.17. Затягивание кабеля в канал с помощью концевой ручной лебедки

4.48. При прокладке кабеля для уменьшения трения рекомендуется применять нейтральную смазку оболочки кабеля, указанную в п. 4.36. При прокладке кабеля в полиэтиленовой трубе очень эффективным является способ протяжки кабеля с помощью микрошариков. При этом способе в полиэтиленовую трубу вдуваются сжатым воздухом в необходимом количестве полимерные или стеклянные микрошарики диаметром от 0,2 до 0,3 мм, обеспечивая на всем протяжении трубы равномерное покрытие ее внутренней поверхности плотностью, примерно, один шарик на 1,5 - 2,0 см2, что снижает коэффициент трения при прокладке почти в пять раз. При этом главным условием остается требование к внутренней поверхности трубы. Она должна быть ровной, без каких либо шероховатостей и чистой (недопустимо присутствие песка, глины, ила и т.п.).

На сложных участках трассы и при наличии больших строительных длин кабеля, его прокладку производят в два направления с одного из транзитных колодцев, расположенного примерно на третьей части длины пролета. Желательно, чтобы это был угловой колодец. Вначале целесообразно проложить большую длину в одну сторону, затем оставшийся на барабане кабель размотать, уложить восьмеркой возле колодца и далее проложить в другую сторону. Если есть возможность, кабель можно размотать большими петлями вдоль трассы и затем проложить.

4.49. При появлении кабеля в последнем приемном колодце концевую лебедку перемещают на расстояние 20 - 25 м и продолжают вытяжку кабеля из колодца по люкоогибным роликам, обеспечивая, тем самым, запас кабеля на выкладку и монтаж.

4.50. Закончив выкладку кабеля, его конец возле чулка необходимо обрезать и загерметизировать полиэтиленовым колпачком.

ВЫКЛАДКА КАБЕЛЕЙ

4.51. Вытянутый из канала кабель (или его конец) необходимо протереть от смазки и загрязнений. На консолях, где кабель должен быть уложен, устанавливаются подкладки из бризола, гидроизола, рубероида или отходов полиэтиленовой оболочки.

4.52. Кабель укладывается по форме колодца, не допуская перекрещивания с другими проложенными кабелями и не перекрывая отверстий каналов кабельной канализации. Допустимый радиус изгиба кабелей в полиэтиленовой оболочке должен быть не менее двенадцати их диаметров, в свинцовой оболочке - не менее семи их диаметров; оптических кабелей, как правило, не менее двадцати их диаметров. При укладке кабелей, чтобы избежать пережимов и повреждений оболочки, необходимо применять кабельные колена. Электрические кабели в полиэтиленовой оболочке большой емкости необходимо изгибать после глубокого прогрева оболочки и сердечника в местах изгиба, снимая внутреннее механическое напряжение полиэтиленовой оболочки. Прогрев следует производить горячим воздухом от паяльной лампы, установив ее под кабелем, а над кабелем - козырек (как при сушке сердечников кабеля при монтаже муфт). Температура горячего воздуха выдерживается в пределах 60 - 70 °С. Время прогрева зависит от емкости кабеля (примерное время прогрева кабеля ТПП 600×2 - 1 час). После прогрева кабель необходимо изогнуть, применяя кабельные колена и временно закрепить на предназначенном месте. Кабели в полиэтиленовой оболочке емкостью до 300 пар можно выкладывать без предварительного прогрева.

Выкладку кабеля в транзитных колодцах следует начинать с последнего колодца к первому, где установлен барабан. При необходимости для подтяжки кабеля используют все имеющиеся средства, кабельные блоки, разрезные чулки, лебедки и пр.

4.53. Кабели емкостью свыше 100 пар после прокладки и выкладки проверяются на герметичность избыточным воздушным давлением 80 - 100 кПа в течение 24 часов.

4.54. Оптические кабели подтягивают и укладывают по форме колодца на консоли соответствующего ряда вручную, начиная с середины пролета в обе стороны, используя вытянутый в последнем колодце запас (20 - 25 м). Запас кабеля, необходимый для монтажа соединительной муфты, должен быть по 8 м от канала с обоих концов кабеля.

4.55. Запас кабеля, оставляемый в колодце для монтажа муфты, рекомендуется свернуть кольцами диаметром 1000 - 1200 м, уложить и прикрепить к кронштейнам.

4.56. После выкладки оптического кабеля необходимо произвести контрольные измерения затухания оптических волокон, результат которых должен быть в пределах установленной километрической нормы. После проверки кабеля колпачки на его концах должны быть восстановлены.

ПРОКЛАДКА КАБЕЛЕЙ В КОЛЛЕКТОРАХ

4.57. Прокладке в коллекторах подлежат электрические и оптические небронированные кабели связи в свинцовой, стальной, алюминиевой оболочках. Учитывая свободное открытое положение кабелей, их следует прокладывать как максимальными строительными длинами, так и минимальными (кроме оптических).

4.58. Кабельная тележка или кабельные домкраты с барабаном кабеля устанавливаются у люка, ведущего в коллектор, в направлении прокладки кабеля так, чтобы кабель поступал в люк при размотке с верха барабана.

4.59. Прокладка кабеля может производиться вручную и механизированно.

Прокладка кабеля вручную состоит из трех основных операций: размотки кабеля с барабана, разноски его по коллектору и укладки его на консоли.

При прокладке вручную кабель разматывают с барабана, опускают через люк, где его подхватывают находящиеся в коллекторе рабочие, которые переносят на руках вдоль коллектора и укладывают кабель на пол. При этом количество рабочих определяется из расчета нагрузки кабеля на одного человека - не более 35 кг.

После того как вся длина кабеля размотана и уложена на пол коллектора, рабочие поднимают его в один или несколько приемов (в зависимости от количества рабочих) и укладывают на заданные проектом ряд и место на консолях. В зависимости от высоты заданного ряда консолей кабель укладывают непосредственно с пола, со стремянок или приставных лестниц (оснащенных резиновыми башмаками).

При наличии средств механизации (лебедок для тяжения кабеля и роликов, по которым он протягивается), прокладка осуществляется в соответствии с организацией и технологией выполнения работ, приведенных в «Рекомендациях по прокладке кабелей связи в коллекторах», ССКТБ, М., 1983.

ПРОКЛАДКА КАБЕЛЕЙ В ТОННЕЛЯХ

4.60. Прокладке в тоннелях подлежат как бронированные кабели без джутового покрова, так и не бронированные, включая оптические. Тип и марка кабеля для каждого конкретного случая определяются проектом.

4.61. При прокладке барабан с кабелем устанавливается на грузовую платформу, транспортируемую вдоль трассы. По мере продвижения платформы кабель сматывают с барабана и укладывают на консоли.

4.62. В случае отсутствия рельсовых путей прокладку кабеля производят одним из нижеуказанных способов:

· выноской кабеля бригадой рабочих вдоль тоннеля;

· протяжкой по раскаточным роликам;

· с барабана, установленного на кабельном транспортере;

· с барабана, установленного на кабельных домкратах.

ПРОКЛАДКА КАБЕЛЯ ПО МОСТАМ

4.63. В зависимости от конструкции моста, его протяженности, кабельных проходов и пр. способ прокладки кабеля определяется проектным техническим решением, при этом рассчитываются и предлагаются материальные и технические средства, а также меры безопасности проведения работ.

4.64. В случаях наличия труб, проложенных под пешеходной частью моста, или огнестойких желобов с боковой стороны моста прокладку кабеля производят в соответствии с пп. 4.27 - 4.39.

4.65. Оптические кабели прокладывают по мостам, если максимальная частота и амплитуда вибрации не превышает допустимой величины для этого кабеля, установленной требованиями технических условий. Прокладку их следует производить так же, как и электрических кабелей, с учетом их особенностей.

ИЗВЛЕЧЕНИЕ КАБЕЛЯ ИЗ КАБЕЛЬНОЙ КАНАЛИЗАЦИИ

4.66. Перед извлечением кабеля, проложенного в кабельной канализации, рекомендуется демонтировать все соединительные муфты и свободные концы кабеля загерметизировать колпачками.

4.67. Для извлечения из канализации электрического кабеля связи, непригодного для дальнейшего использования, на конец кабеля целесообразно надеть концевой чулок. Чулок закрепить бандажами с прошивкой сердечника стальной проволокой. Крепление должно быть надежным, рассчитанным на большие тяговые усилия. Кабель вытягивается через люк кабельной машиной или ручной лебедкой на всю длину пролета и затем наматывается на пустой барабан. При вытягивании кабеля на люк колодца и на выходе канала устанавливаются кабельные колена.

4.68. При извлечении кабеля, пригодного для дальнейшей эксплуатации, на конец извлекаемого кабеля надевается и закрепляется также сквозной кабельный чулок. В колодце устанавливается кабельный блок, через который пропускается тяговый канат от кабельной машины или ручной лебедки. Канат скрепляется с чулком посредством карабина. При извлечении кабеля большой емкости необходима установка между чулком и канатом компенсатора кручения (рис. 4.7).

Кабель следует извлекать на длину, равную расстоянию от канала до упора чулка в блок, каждый раз передвигая чулок к каналу. Освободившийся кабель необходимо сразу наматывать на пустой барабан ровными витками. При намотке кабеля следует визуально контролировать состояние наружной оболочки. При незначительных дефектах их необходимо немедленно устранить. При более серьезных повреждениях их надо отметить липкой пластмассовой лентой и зафиксировать характер повреждения. После намотки на барабан всей длины кабеля к барабану прикрепляют бирку, на которой указывают: марку кабеля, емкость, диаметр жил, длину, годность к дальнейшему использованию и характер отмеченных повреждений. Извлеченный кабель проверяют на наличие обрывов и сообщений жил, сопротивление их изоляции и на герметичность избыточным воздушным давлением 80 - 100 кПа в течение 96 часов.

4.69. При извлечении из канала оптического кабеля применяют кабельные наконечники, обеспечивающие тяжение кабеля за центральный силовой элемент и его наружную оболочку. После его извлечения, в случае его дальнейшего использования, проверяют целостность оптических волокон, основные элементы конструкции, измеряют оптические характеристики.

РАЗДЕЛ 5
ПРОКЛАДКА КАБЕЛЕЙ МЕСТНЫХ СЕТЕЙ СВЯЗИ В ГРУНТЕ

ОБЩИЕ ПОЛОЖЕНИЯ

5.1. Непосредственно в грунте прокладываются кабели бронированные стальными лентами с джутовым или пластмассовым покрытием (ТБ, ТЗБ, ТППБ, ТППБШп, МКСБ, КСППБ и т.п.) или стальными проволоками (ТК, ТЗК, КСПЗК и др.).

5.2. Кабели ГТС и сельской связи могут прокладываться в предварительно отрытую траншею или бестраншейным механизированным способом (с помощью кабелеукладчиков), если объемы работ, грунтовые условия и расстояния перевозки механизмов к месту работ делают применение этого способа экономически целесообразным.

5.3. При прокладке кабелей в грунт следует руководствоваться положениями и требованиями, изложенными в разделе 2 (п.п. 2.3 - 2.13), определяющими правила производства работ в пределах охранных зон, порядок оформления документов на производство земляных работ.

5.4. При прокладке кабеля в отрытую траншею работы следует организовывать с таким расчетом, чтобы траншея в открытом (незасыпанном) состоянии оставалась в течение минимального промежутка времени.

5.5. При прокладке кабелей механизированным способом или вручную в отрытую траншею необходимо обеспечить согласованность действий участвующих в прокладке подачей команд с помощью УКВ радиостанций, мегафонов или других средств.

5.6. По мере прокладки кабеля на поворотах трассы, пересечениях с другими сооружениями, переходах через реки, а также на стыках строительных длин должны быть установлены замерные столбики или другие (временные) знаки с нанесением на них соответствующих надписей (номер муфты, направление поворота и т.д.).

5.7. Температура окружающей среды, при которой допускается транспортировка, хранение и прокладка кабелей связи, должна соответствовать требованиям ГОСТ (ТУ) на данный тип кабеля. В случае прокладки кабеля при температуре ниже предусмотренной ГОСТ и ТУ должен производиться прогрев кабеля.

РАЗБИВКА ТРАССЫ

5.8. При разбивке трассы подземной кабельной линии связи работы следует выполнять в последовательности, изложенной в разделе 2 (п.п. 2.17 - 2.22), соблюдая при этом расстояния между сооружениями связи и другими сооружениями в соответствии с табл. 2.2.

5.9. В процессе разбивки трассы необходимо определить места, где перед прокладкой кабеля требуется планировка местности.

5.10. Если трасса кабельной линии связи запроектирована на местности, занятой посевами, необходимо перед прокладкой оформить разрешение землепользователей на производство работ в соответствии с согласованиями, обусловленными в проектной документации.

5.11. В лесистой местности предварительно должна производиться разбивка просеки. Здесь осевую линию трассы обозначают вехами, устанавливаемыми в пределах видимости. Затем следует вырубить просеку по визирной линии, после чего она вырубается на всю ширину в соответствии с проектом.

5.12. При прокладке кабеля в гористой местности, по крутым склонам, через овраги, на крутых берегах рек с уклоном свыше 30° первоначально следует произвести разбивку осевой линии, а затем двух боковых, параллельных осевой, ограничивающих ширину изгибов зигзагообразной траншеи (рис. 2.6).

ПРОКЛАДКА КАБЕЛЕЙ

5.13. Перед прокладкой кабелей в отрытую траншею дно ее должно быть выровнено и очищено от камней, строительного мусора и других предметов, которые могут повредить проложенный кабель после засыпки траншеи грунтом.

5.14. В скальных грунтах перед прокладкой кабеля дно траншеи должно быть очищено от острых выступов, камня и крупного щебня; под кабелем и над ним должен быть уложен защитный слой мягкого (разрыхленного) грунта или песка толщиной не менее 10 см.

5.15. Глубина прокладки кабеля определяется проектом и не должна отклоняться от принятой в проекте величины более, чем на 10 см.

5.16. Прокладка кабеля в отрытые траншеи должна производиться только после проверки их глубины. После прокладки кабеля и засыпки траншеи должен быть составлен акт на скрытые работы с участием представителя, осуществляющего технический надзор.

5.17. В процессе механизированной прокладки должен производиться непрерывный контроль за глубиной заложения рабочего ножа, который должен постоянно находиться на заданной глубине.

В грунтах, где щель непосредственно после прокладки кабеля остается открытой, контроль глубины заложения следует производить через каждые 40 - 50 м при помощи специальной деревянной планки с нанесенными на ней мерными отметками. Проверка глубины заложения кабеля при помощи лопаты категорически запрещается.

5.18. При отклонении от запроектированной глубины более, чем на 10 см (в сторону уменьшения) кабелеукладочная колонна должна быть немедленно остановлена. Прокладка кабеля может быть продолжена только после установления причин, вызвавших выглубление ножа кабелеукладчика, и их устранения (очистка от корней, удаление посторонних предметов, необходимость замены ножа и др.) с последующим доуглублением проложенного кабеля до проектной глубины.

5.19. Ширина траншеи зависит от количества прокладываемых кабелей. При этом учитывается ширина, занимаемая кабелями, промежутки между ними и стенками траншеи (по 50 мм). Принимая диаметр кабеля равным в среднем 50 мм, ширина подошвы траншеи определяется в 150, 250, 350 и 450 мм соответственно при прокладке одного, двух, трех и четырех кабелей (рис. 5.1).

При механизированном рытье ширина траншеи, кроме минимально необходимой для прокладки кабелей, определяется еще и фактической шириной рабочего органа применяемого землеройного механизма, которая может превышать потребную ширину траншеи для прокладки кабелей.

При ручной разработке минимальная ширина траншеи ограничивается шириной землекопной лопаты.

Untitled-1

Рис. 5.1. Ширина подошвы траншей в зависимости от количества прокладываемых кабелей

5.20. Прокладку кабеля в подготовленную траншею выполняют одним из следующих способов:

а) опускают кабель в траншею сразу с барабана, установленного в специально оборудованном кузове автомашины или на кабельной тележке, которые передвигаются вдоль траншеи;

б) протаскивают кабель с помощью каната и лебедки по роликам, установленным на дне траншеи; при этом кабель сматывают с барабана, установленного на кабельных домкратах или кабельной тележке;

в) разносят кабель на руках вдоль траншеи так, чтобы он не имел резких изгибов и не волочился по земле, в то время, как барабан с кабелем установлен на домкраты или кабельную тележку, а рабочие сматывают кабель с барабана.

5.21. При сматывании кабеля барабан должен свободно вращаться по оси. Равномерное вращение барабана может обеспечиваться специальным механизмом или вручную рабочими. Вращение барабана за счет тяги кабеля не допускается. Кабель должен свободно сходить с барабана сверху.

При сматывании кабеля, особенно в холодное время года, необходимо строго следить за тем, чтобы из-за слипания витков не имели места заломы кабеля при сходе его с барабана. Исключение таких заломов обеспечивается четким регулированием скорости вращения барабана.

При прокладке кабеля с движущейся автомашины или кабельной тележки рабочие, передвигающиеся вслед за машиной, принимают сматываемый кабель и укладывают его на дно траншеи. Скорость движения барабана с кабелем вдоль траншеи не должна превышать 1 км/ч.

5.22. При прокладке кабеля вручную необходимое число рабочих определяется из расчета нагрузки на одного рабочего не более 35 кг массы кабеля. В случае невозможности сматывания кабеля с барабана сразу на полную длину, например, при недостаточном количестве рабочих, применяют метод так называемой «петли» (рис. 5.2). Барабан в этом случае устанавливают посредине или в другой, заранее отмеренной точке трассы. При использовании этого метода следует особо внимательно следить за тем, чтобы радиусы изгибов кабеля были не меньше минимально допустимых по ГОСТ или ТУ для данного типа кабеля, и исключалась возможность образования перекруток и вмятин.

Untitled-1

Рис. 5.2. Разноска кабеля вручную вдоль траншеи напрямую или методом «петли»

5.23. При прокладке кабеля должна обеспечиваться полная сохранность наружной джутовой обмотки или защитных пластмассовых оболочек. Не допускается волочение кабеля по земле или по дну траншеи, через препятствия и т.п. Особой осторожности требует обращение с наружными защитными антикоррозийными покровами кабелей в алюминиевых и стальных оболочках.

5.24. Кабель должен быть уложен посредине дна траншеи без натяжения - со слабиной и плотно прилегать к дну траншеи.

При прокладке нескольких кабелей в одной траншее их следует располагать параллельно с расстоянием между ними не менее 50 мм без перекрещивания.

В месте стыка строительных длин кабелей их концы должны перекрывать друг друга (рис. 5.3) на величину не менее, м:

· кабели симметричные (МКСБ, МКБ, ТЗБ).................................................... 1,25

· то же с пластмассовыми оболочками (ЗКП, ЗКВ)........................................ 2,80

· кабели в алюминиевых и стальных оболочках............................................. 1,80

· кабели симметричные с круглой проволочной броней............................... 1,80

· кабели ГТС........................................................................................................ 1,50

· кабели СТС типа КСПП.................................................................................. 3,60

· оптические кабели............................................................................................ 8,00

Untitled-1

Рис. 5.3. Выкладка концов кабелей в котловане

5.25. Для максимального совмещения муфт в одном котловане необходимо подбирать барабаны с кабелями примерно одинаковой длины с размещением их в шахматном порядке.

Если разница в длинах кабеля не позволяет размещать две муфты в одном котловане, то в каждом отдельном случае необходимо определить целесообразность обрезки одного из концов кабеля или разноса муфт в разные котлованы, сопоставляя стоимость отрезанных концов кабеля со стоимостью разработки дополнительного котлована.

5.26. При пересечении проезжей части улиц, автомобильных и железных дорог кабели связи прокладываются в асбестоцементных или полиэтиленовых трубах с выводом их по обе стороны проезжей части улицы, подошвы насыпи или полевой бровки на длину не менее 1 м. Трубы должны прокладываться с уклоном в одну из сторон.

При пересечении постоянных грунтовых непрофилированных дорог кабели могут прокладываться без труб, с покрытием их кирпичом или бетонными плитками (рис. 5.4).

Untitled-1

Рис. 5.4. Дополнительная защита кабеля от возможных механических повреждений

На пересечениях с полевыми дорогами покрытия кабелей не требуется.

При пересечении несколькими бронированными кабелями дорог местного значения с грунтовым или булыжным покрытием допускается прокладывать эти кабели непосредственно в грунт (без труб) при обязательной одновременной закладке рядом с кабелями резервных труб в количестве, определяемом проектом.

(Поправка).

На концах пересечений дорог и улиц бронированными кабелями в случаях, предусмотренных проектом, устанавливаются колодцы.

Пересечения кабелем и трубопроводом автомобильных проездов и рельсовых путей следует осуществлять под углом не менее 75° к их оси. Места пересечения железнодорожных путей должны находиться не ближе 3 м от стрелок, крестовин и отсасывающих фидеров.

ПРОКЛАДКА ОПТИЧЕСКОГО КАБЕЛЯ КАБЕЛЕУКЛАДОЧНЫМ КОМПЛЕКСОМ КНВ-2К

5.27. Перед началом прокладки проверяют состояние всех закладных пальцев, шплинтов, соединителей, узлов и деталей. Проверяют затяжку всех болтовых соединений, соединений трубопроводов гидропровода, затяжку вилок карданного вала на вибраторе и ходоуменьшителе. Необходимо убедиться в отсутствии осевого люфта валов вибратора. При наличии люфта необходимо отрегулировать конические подшипники вибратора.

5.28. Подготавливают барабаны с кабелем для установки их на переднее навесное оборудование, для чего необходимо:

а) установить оси барабанов соответствующего размера в осевые отверстия барабанов;

б) зафиксировать оси барабанов по отношению к барабанам фиксаторами, препятствующими в дальнейшем осевому сдвигу барабанов.

5.29. На месте начала прокладки отрывают котлован размерами 3000×1500×1200 мм.

5.30. Прокладку кабеля кабелеукладчиком производят в следующей технологической последовательности:

а) опускают монобалку передней навески и поочередно погружают кабельные барабаны сначала в проушины левых вилочных захватов, затем - правых;

б) поднимают монобалку передней навески и заправляют кабель в направляющие ролики на тракторе;

в) при опущенном заднем навесном оборудовании кабель в кассету заправляют с запасом 5,0 - 5,5 м;

г) двигаясь в пассивном режиме, заглубляют рабочий орган на максимально возможную глубину, но не менее 1 м, после чего включают вибратор. Если при заглублении рабочего органа до глубины 1 м не хватает тяги кабелеукладчика, необходимо прицепить бульдозер или трактор.

5.31 Передачу кабелеукладчика и бульдозера при прокладке выбирают в соответствии с группой грунта, состояния его верхнего слоя и глубины прокладки. При прокладке на заболоченных участках или на переувлажненном грунте двигаются только на пониженных передачах.

5.32. В процессе прокладки кабеля обслуживающий персонал должен занимать строго отведенные места, следя за правильностью прохождения кабеля, его натяжением и стабильностью глубины прокладки. При этом оператор кабелеукладчика следит за натяжением кабеля при его сходе с барабана. При появлении пробуксовки кабелеукладчика последний останавливают подачей сигнала оператору, далее прокладка ведется только в сцепе с трактором или бульдозером.

5.33. В месте окончания одной строительной длины и начала другой отрывают котлован размерами 3000×1500×1200 мм. Конец проложенного кабеля освобождают из кассеты. Оставшаяся длина конца кабеля (запас) должна быть 8,0 м.

С другой стороны котлована заряжают в кассету конец следующей строительной длины кабеля, оставляя тот же запас - 8 м.

После прокладки необходимо проверить, надежно ли защищены концы кабеля полиэтиленовыми колпачками.

(Поправка).

ОСОБЕННОСТИ ПРОКЛАДКИ КАБЕЛЕЙ С НАРУЖНЫМИ ПЛАСТМАССОВЫМИ ОБОЛОЧКАМИ

5.34. Прокладка кабелей с наружными защитными пластмассовыми оболочками может производиться ножевыми кабелеукладчиками, рабочие органы которых обеспечивают сохранность пластмассовых оболочек от механических повреждений (задиров, царапин, проколов), а также в предварительно отрытую траншею.

5.35. При прокладке кабелей с наружными пластмассовыми оболочками кабелеукладчиком по заболоченным участкам, в лесистой местности, в плотных грунтах, где возможен его неравномерный ход, необходимо вести тщательный контроль за синхронностью размотки кабеля и обеспечением его слабины перед входом в кассету.

5.36. Для исключения повреждения пластмассовых оболочек лопатами при откопке котлованов для монтажа соединительных муфт перекрытие концов строительных длин кабеля должно быть обмотано по всей длине слоем ленты стеклоткани или другого материала, не вызывающего загрязнения внутренней поверхности кассеты (обмотка кабельной битуминизированной лентой не допускается).

Обмотку следует начинать с конца строительной длины, подлежащей прокладке, с некоторым послаблением плотности обмотки в направлении к барабану (рис. 5.5).

Рис. 5.5. Обмотка кабеля с наружной пластмассовой оболочкой на стыке строительных длин

5.37. Для прокладки кабелей с наружными защитными пластмассовыми оболочками должны применяться кабеленаправляющие кассеты, конструкция которых показана на рис. 5.6.

Такие кассеты должны применяться для прокладки кабелей только с пластмассовыми оболочками во избежание загрязнения кассеты битумными компаундами.

При прокладке кабеля следует периодически осматривать внутреннюю часть кассеты и по мере необходимости очищать ее.

Рис. 5.6. Кассета для прокладки кабеля с наружной пластмассовой оболочкой

5.38. При прокладке кабеля с пластмассовыми оболочками в отрытые траншеи должны быть соблюдены меры предосторожности во избежание повреждений оболочек, возникающих в результате их взаимодействия с твердыми включениями грунта, асфальтового или бетонного покрытий и т.д. Волочение кабеля по поверхности грунта (асфальта, бетона) не допускается.

ОСОБЕННОСТИ ПРОКЛАДКИ КАБЕЛЯ В МЕРЗЛЫХ И ВЕЧНОМЕРЗЛЫХ ГРУНТАХ

5.39. С целью продления сезона кабелеукладочных работ прокладку кабелей следует вести в начальный период зимы, когда грунт промерзает не более, чем на 0,2 - 0,3 м, а температура окружающего воздуха не ниже минус 10 °С. При таких условиях перед прокладкой кабелей мерзлый слой грунта рыхлят с помощью тракторного рыхлителя, специального пропорщика или кабелеукладчика с пропорочным ножом. Число проходов пропорщика зависит от состава грунта и степени его промерзания. После пропорки трассы кабель прокладывается обычной кабелеукладочной колонной.

5.40. В случае промерзания грунта на глубину более 30 см кабели прокладывают кабелеукладочной колонной после неоднократной пропорки или в траншею, отрытую роторными экскаваторами или баровыми машинами.

5.41. При температуре окружающего воздуха ниже минус 10 °С кабель перед прокладкой следует предварительно отогреть.

5.42. Процесс оттаивания грунта в районах вечной мерзлоты протекает очень медленно, вследствие чего период прокладки кабеля ножевыми кабелеукладчиками весьма непродолжителен и ограничивается двумя - тремя месяцами в году (в летне-осенний период). Удлинение сезона кабелеукладочных работ достигается за счет многократной пропорки трасс с помощью прицепных пропорщиков или кабелеукладчиков, оборудованных пропорочными ножами. Тяговый сцеп кабелеукладчика составляет в этом случае семь - восемь тракторов тягового класса 100 кН.

Предварительная пропорка трассы наиболее эффективна при использовании разрыхлителей мерзлых грунтов и горных пород, смонтированных на базе мощных гусеничных тракторов тягового класса не менее 250 кН.

5.43. При производстве работ в районах вечной мерзлоты нужно тщательно следить за сохранением дернового и мохового покровов, нарушение которых может повлечь за собой ухудшение условий проходимости и нежелательные изменения теплового режима грунта. По этим же причинам работы по подготовке трассы, вырубке лесных просек рекомендуется производить до начала оттаивания грунта. Условия производства работ значительно улучшаются при использовании самоходных строительных и транспортных машин повышенной проходимости.

5.44. На участках трассы, где глубина сезонно-оттаивающего слоя грунта меньше требуемой глубины заложения кабеля, а также в низинах, на участках, непроходимых в период оттаивания грунта, кабелепрокладочные работы рекомендуется выполнять ранней весной или поздней осенью, когда деятельный (сезонно-оттаивающий) слой грунта находится в мерзлом состоянии, а температура воздуха - в пределах, допустимых для кабельных работ.

5.45. На отдельных участках, особенно в пределах города, для разработки прочных грунтов (мерзлых и скальных) применяется рыхление пневматическими и электрическими отбойными молотками.

5.46. При разработке мерзлых грунтов в населенных пунктах рекомендуется применять способы оттаивания грунтов, приведенные в разделе 2.

РАЗДЕЛ 6
ПРОКЛАДКА КАБЕЛЕЙ ЧЕРЕЗ ВОДНЫЕ ПРЕГРАДЫ

ОБЩИЕ ПОЛОЖЕНИЯ

6.1. На переходах через внутренние водные пути прокладываются в основном кабели, бронированные круглыми стальными оцинкованными проволоками, но в каждом конкретном случае тип кабеля определяется проектом. В воде, агрессивной по отношению к металлической оболочке кабелей, прокладываются кабели, имеющие полиэтиленовое покрытие.

6.2. Все кабельные переходы должны быть согласованы проектной организацией со всеми заинтересованными организациями, и в частности.

· с организациями, эксплуатирующими водные пути;

· с управлениями по охране и воспроизводству рыбных запасов и регулированию рыболовства;

· с территориальными управлениями по регулированию использования и охране вод;

· с городской администрацией, если кабельный переход расположен в городе или поселке городского типа;

· с организациями, эксплуатирующими мосты, если кабель прокладывается по мостам;

· с землепользователями (на подходе к переходу) и владельцами вблизи расположенных подводных сооружений: дюкеров, водозаборов, кабелей и т.д.

6.3. При прокладке кабелей на размываемых берегах с уклоном более 30° рытье траншеи на подъемах и спусках должно производиться вручную зигзагообразно («змейкой») с отклонением от оси направления прокладки на 1,5 м на участке длиной 5 м (рис. 2.6).

6.4. При прокладке кабеля на крутых берегах и в скальных грунтах вырубают штробу. Кабель в скальных грунтах прокладывают по песчаной подушке толщиной (верхнего и нижнего слоя) не менее 0,15 м.

6.5. Способ укрепления грунтов на откосе определяется проектом. Не рекомендуется допускать расхождение в длинах кабелей верхнего и нижнего створов переходов; при невозможности выполнения этого требования допускается отклонение в створах длин кабелей по затуханию: симметричного кабеля - не более 1,74 дБ, коаксиального - в пределах допуска на отклонение проектной длины усилительного участка от номинальной, оптического - не более 0,05 дБ.

6.6. Охранная зона кабельного перехода через водную преграду располагается на расстоянии 100 м от нее (выше по течению от верхнего створа и, соответственно, ниже нижнего створа перехода).

6.7. Все работы (как подводные, так и надводные) проводятся в соответствии с нормативными документами, предусматривающими безопасность их производства. При выполнении работ обязательно применение специальных приспособлений и техники, обеспечивающих безопасность труда работающих.

ПОДГОТОВИТЕЛЬНЫЕ РАБОТЫ

6.8. При подготовке к строительству кабельного перехода через водные преграды необходимо:

· изучить проектную документацию, технические условия и требования, обусловленные согласованиями;

· обследовать створы перехода и подходы к нему, а также уточнить на месте перехода конкретные условия и способы производства работ;

· заключить (при необходимости) с субподрядными подводно-техническими (водолазными) организациями договор (заказ - наряд) на выполнение работ, требующих применение водолазного труда, обеспечить эти организации проектной документацией;

· составить план и проект производства работ;

· укомплектовать объект рабочей силой, механизмами, кабелем, материалами, измерительной аппаратурой и необходимыми приспособлениями;

· подготовить строительные площадки, жилье, временные здания и сооружения;

подготовить кабели для прокладки на переходе, включая его испытания, проверки и электроизмерения.

6.9. Перед началом работ необходимо произвести разбивку трассы кабельного перехода с учетом реперов, установленных на переходе в процессе проектирования. Ось перехода закрепляется на берегах хорошо видимыми с воды знаками: створными знаками, щитами, вешками или щелевыми стволами. Пример разбивки трассы приведен на рис. 6.1.

Untitled-1

Рис. 6.1. Схема разбивки трассы подводного перехода и закрепления створа реперами и створными знаками:

1 - информационные запрещающие знаки «Подводный переход»; 2 - створные знаки на период строительства; 3 - репер постоянный; 4 - репер рабочий; 5 - водомерный пост; 6 - место для складирования грунта, вынутого из траншеи

При выполнении работ в ночное время створные знаки должны освещаться огнями, как правило, желтого цвета в отличие от огней судоходной обстановки (красный, зеленый, белый).

6.10. Трассу кабельного перехода при необходимости дополнительно ограничивают рабочими реперами, устанавливаемыми на берегу вне рабочей зоны. Если береговых знаков недостаточно для ориентировки на воде (например, при большой ширине реки или водохранилища), то в створе кабельного перехода должны устанавливаться дополнительные вехи или буи, имеющие раскраску, отличную от раскраски знаков судоходной обстановки (рис. 6.2). Места установки этих вех или буев должны быть заблаговременно согласованы со службой безопасности судовождения.

Untitled-1

Рис. 6.2. Временные буи для ориентировки створа перехода:

а) пробковый шар или бочка; б) деревянный брус; в) отрезок бревна; г) отрезок вехи

1 - якорь «кошка»; 2 - камень массой 25 - 60 кг; 3 - кусок рельса; 4 - кусок якорной цепи

6.11. На всех кабельных переходах до начала работ по разработке подводной траншеи необходимо выполнить промеры (с точностью ±0,1 м) пересекаемой водной преграды строго в заданном проектом створе. Результаты промеров наносят на проектный продольный профиль перехода.

6.12. Перед разработкой подводной траншеи (или прокладкой кабеля через водные преграды шириной более 25 м и глубиной более 1 м кабелеукладчиками) производят водолазное обследование трассы кабельного перехода с целью выявления и удаления предметов, которые могут помешать прокладке кабелей (корней, топляков, камней, затонувших судов и т.д.).

Ширина полосы обследования водолазом трассы кабельного перехода зависит от механизмов, применяемых при разработке траншеи, характера грунтов русла водоема, интенсивности судоходства, сплава леса и других факторов; она является величиной переменной и определяется проектом. Границы обследуемой полосы дна реки закрепляются буями (рис. 6.3).

Рис. 6.3. Обследование и разбивка трассы подводного перехода:

1 - створные знаки; 2 - рабочие реперы; 3 - пограничный буй; 4 - граница траншеи; 5 - перемещение водолаза; 6 - ходовой трос для ориентировки водолаза; 7 - водолазный бот; 8 - зона обследования (до 5 м); 9 - рабочая группа створов

6.13. Водолазное обследование трассы прокладки кабеля по дну водоема производят как до начала разработки траншеи, так и после прокладки кабеля до обратной его засыпки с целью недопущения его перехлестов. Результаты водолазного обследования и контрольных промеров оформляются актом, составленным с привлечением органов эксплуатации, технадзора, генподрядчика, а в необходимых случаях - с участием проектной организации.

ПРОКЛАДКА КАБЕЛЯ ЧЕРЕЗ ВОДНЫЕ ПРЕГРАДЫ НОЖЕВЫМ КАБЕЛЕУКЛАДЧИКОМ

6.14. Перед прокладкой кабеля кабелеукладчиком необходимо произвести двух - трехразовую пропорку дна реки в створе перехода. Прогон пропорщика осуществляется с помощью тросов и тракторных лебедок, установленных на противоположных берегах, или с использованием тяговых усилий тракторов.

6.15. Через реки глубиной до 0,8 м с пологими берегами и плотным невязким дном кабели прокладываются механизированной колонной так же, как и на всем протяжении трассы. На реках глубиной от 0,8 м до 6,0 м кабелеукладчик протаскивается через водную преграду (шириной до 300 м) тракторной лебедкой или колонной тракторов; при этом контролируется и должна быть обеспечена необходимая слабина кабеля на входе его в кассету ножа.

6.16. Работы по прокладке кабеля ножевыми кабелеукладчиками через водоемы выполняются в следующей последовательности:

· подготовительные работы;

· срезка береговых откосов крутизной не более 20° (планировка) бульдозером или экскаватором на ширину 3 - 4 м для обеспечения плавного спуска кабелеукладчика с берегов и выхода его из воды;

· двух - трехкратная пропорка;

· отмыв гидромониторами обнаруженных при водолазном обследовании препятствий и удаление их с трассы;

· проверка герметичности оболочки кабеля избыточным воздушным давлением, испытание постоянным током, прозвонка жил;

· погрузка кабеля на кабелеукладчик и прокладка его кабелеукладчиком, протаскиваемым на тросах тягой тракторами или тракторными лебедками с последующим водолазным обследованием трассы кабельного перехода и электроизмерениями параметров проложенного кабеля.

ПРЕДВАРИТЕЛЬНАЯ РАЗРАБОТКА ПОДВОДНЫХ ТРАНШЕЙ

6.17. При невозможности бестраншейной прокладки кабели на переходах через водные преграды прокладываются в предварительно разработанные подводные траншеи. На судоходных реках и водохранилищах подводные траншеи для прокладки кабелей разрабатываются техническими средствами специализированных субподрядных организаций («Подводречстроя» и др.).

6.18. На несудоходных реках подводные траншеи в русле при глубине до 0,8 м разрабатывают экскаваторами. При этом при больших глубинах экскаваторы необходимо устанавливать на понтонах, перемещаемых по створу перехода с помощью тросов лебедками.

6.19. Разработанные на полную глубину до проектных отметок подводные траншеи принимаются по акту комиссией в составе представителей: органов эксплуатации или технадзора, генподрядчика, технического участка пути или района гидросооружений (на судоходных реках или каналах) и организации, выполняющей подводно-технические работы. Приемка траншеи производится промером дна траншеи по оси кабельного перехода от горизонта воды, отметка которого известна (принимается по данным водомерного поста, оборудованного на переходе).

6.20. Акт приемки готовой траншеи является основным документом, разрешающим прокладку кабелей на переходе.

ПРОКЛАДКА КАБЕЛЯ С ПЛАВСРЕДСТВ В ГОТОВУЮ ТРАНШЕЮ

6.21. При прокладке кабеля в готовую траншею производят следующие работы:

· установку знаков судоходной обстановки, ограждающих подводный переход на судоходных и сплавных водных преградах;

· промер глубин и водолазное обследование отрытой траншеи методом обхода по ходовому тросу;

· расшивку барабанов с кабелем, проведение комплекса испытаний его и погрузку барабанов с кабелем на плавсредства;

· прокладку кабеля в подводную траншею с выводом его концов на берега не менее чем на 30 - 50 м;

· проведение комплекса испытаний проложенного кабеля;

· монтаж русловых муфт, если ширина водной преграды больше строительной длины кабеля;

· засыпку подводных и береговых траншей до проектных отметок. На участках трассы, где кабель засыпается каменистым или скальным грунтом, кабель предварительно должен быть защищен слоем песка толщиной 15 - 20 см, а при больших скоростях течения - мешками с песком;

· при необходимости выполняется укрепление берегов с целью их защиты от размыва и повреждения проложенных кабелей;

· восстанавливаются поврежденные откосы и растительность.

6.22. Прокладка кабеля при глубине водной преграды до 0,5 м производится вручную, а при большей глубине - со специально оборудованных плавсредств (понтонов и барж-площадок), на которых устанавливаются для размотки барабаны с кабелем или укладывается «восьмерками» смотанный кабель. При этом кабель прокладывается в траншею вручную с опущенного за борт лотка или через специальное спусковое устройство.

6.23. На реках шириной до 200 м со скоростью течения до 1 м/с и глубиной до 6 м кабели прокладывают с плавплощадки, передвигающейся вдоль трассы по натянутому тросу. Для этого через водоем перемещают стальной трос, один конец которого крепят к анкеру на берегу, а другой - к барабану носовой лебедки, установленной на плавсредстве. При наличии течения в 100 м выше створа перехода на противоположном берегу оборудуется еще один анкер, и трос от него подается на лебедку, установленную на корме плавсредства. При этом перемещение плавсредства точно по створу прокладки кабеля осуществляется одновременным выбиранием троса носовой лебедкой и стравливания троса кормовой лебедки.

6.24. На судоходных реках и водохранилищах шириной более 400 м кабель прокладывается с плавсредств, ведомых буксирным теплоходом.

6.25. Прокладка кабеля со льда производится при достижении льдом необходимой прочности, позволяющей использовать гусеничные и колесные машины. Прорезь во льду (майна) устраивается ледорезными (ледофрезерными) машинами. Ширина майны не более 0,6 м, длина - 20 м. Между прорезями во льду оставляются нетронутые перемычки шириной 0,5 - 0,7 м. Кабель вдоль прорезей раскатывается по кабельным роликам, расположенным через 3 - 5 м, или с использованием саней-лыж. Возможна также установка кабельного барабана на домкратах в кузове автомобиля. Кабель раскатывают, вытягивая его лебедкой или автомобилем. Раскатанный вдоль прорези кабель укладывают сразу по всей длине перехода, последовательно разрушая оставленные перемычки.

6.26. При наличии сильного течения снос кабеля со створа предупреждают с помощью кольев, заглубленных в дно на 10 - 15 см, а при наличии большой глубины водоема - с помощью оттяжек. Укладку предварительно спущенного в прорезь кабеля непосредственно в разработанную траншею производят водолазы.

6.27. При устройстве кабельных переходов через реки, берега которых облицованы гранитом, кабели должны быть проложены в трубах. Отверстия труб должны располагаться на 1 м ниже нижней кромки ледового покрова при минимальном зимнем горизонте воды. После прокладки кабеля поврежденные набережные восстанавливаются.

6.28. При ширине перехода большей, чем строительная длина кабеля, расположение муфт на подводном кабеле выбирается так, чтобы они, по возможности, оказались вне судового хода и на небольших глубинах.

6.29. После прокладки кабеля в подводные траншеи производятся:

· водолазное обследование проложенных кабелей с целью обнаружения и недопущения их взаимных перехлестов;

· промеры глубин с целью установления фактических отметок заложения кабеля и соответствия их проектным;

· измерение характеристик кабеля постоянным током и проверка его герметичности избыточным давлением;

· фиксация проложенных кабелей и соединительных муфт по береговым ориентирам;

· составление акта, разрешающего засыпку траншей с проложенными кабелями;

· засыпка траншей по технологии, указанной в рабочих чертежах;

· составление исполнительной документации.

УКРЕПЛЕНИЕ ПОДВОДНЫХ КАБЕЛЕЙ В БЕРЕГАХ

6.30. Для укрепления подводных кабелей на крутых (более 30°) береговых откосах их укладывают при минимальном горизонте воды в зигзагообразную траншею длиной до 50 м с отклонением от оси направления прокладки на 1,5 м по длине 5 м («змейкой»). При необходимости может устраиваться дополнительное укрепление кабелей путем укладки их на берегу в траншею, отрытую в виде «восьмерки». По внутренней стенке «восьмерки» могут быть установлены заподлицо деревянные или железобетонные столбы высотой не менее 1,6 м, диаметром 0,2 м с углублением в дно траншеи на 0,8 м.

6.31. На переходах через водоемы с каменистым или скалистым дном и аналогичными грунтами в береговых зонах зигзагообразная прокладка кабелей не практикуется; способы укрепления кабелей на таких переходах определяются проектом.

6.32. При «миграционных» процессах рек, опасности размыва или переформирования берегов (что может вызвать оголение или повреждение проложенных на переходе кабелей) проектом должны предусматриваться берегоукрепительные работы, которые должны выполняться в строгом соответствии с требованиями действующих СНиП.

ОГРАЖДЕНИЕ ПОДВОДНЫХ КАБЕЛЬНЫХ ПЕРЕХОДОВ

6.33. Зона выполнения подводных кабельных переходов ограждается на судоходных путях запрещающими знаками судоходной обстановки - «Подводный переход» (створные столбы), которые устанавливаются в 100 м выше и ниже по течению от места расположения перехода на обоих берегах. Знаки должны быть хорошо видны с судов. Диск знака должен иметь диаметр не менее 1,2 м и быть окрашен в соответствии с требованиями ГОСТа (перечеркнутый якорь) (рис. 6.4). В темное время суток знаки должны освещаться желтыми проблесковыми огнями, расположенными на дисках.

Рис. 6.4. Информационный запрещающий знак:

1 - диск соответствующего диаметра; 2 - опора

6.34. На судоходных каналах по согласованию с администрацией гидросооружений допускается установка одного запрещающего знака по оси перехода, освещаемого в ночное время двумя вертикально расположенными на диске огнями желтого цвета. Проводка для освещения знаков должна быть скрытой (в стальных трубах).

На стенках набережных, облицованных гранитом и бетонными блоками, створные знаки устанавливаются непосредственно на стенках, в местах, недоступных для посторонних лиц.

РАЗДЕЛ 7
УСТРОЙСТВО ВВОДОВ КАБЕЛЕЙ В ОБЩЕСТВЕННЫЕ И ЖИЛЫЕ ЗДАНИЯ И ПРОКЛАДКА В НИХ КАБЕЛЕЙ

ОБЩИЕ ПОЛОЖЕНИЯ

7.1. К вводам кабелей местной сети в здания относится часть линейных сооружений на участке от вводного колодца кабельной канализации или коллектора (сцепки), а также от вводной опоры воздушной линии связи до оконечных кабельных устройств, установленных в зданиях.

7.2. В здания вводятся распределительные кабели, проложенные от распределительных шкафов или магистральные - непосредственно от АТС (при прямом питании).

7.3. Способ ввода кабелей определяется проектом.

7.4. Кабельные вводы имеют наружные устройства (расположенные снаружи зданий) и внутридомовые (смонтированные непосредственно внутри зданий).

7.5. Внутридомовые проводки сетей связи по конструкции могут быть:

а) с открытой проводкой (рис. 7.1);

б) со скрытой проводкой (рис. 7.2);

в) со смешанной проводкой (рис. 7.3).

При открытой проводке кабели прокладываются, а арматура устанавливается на поверхности стен и других строительных конструкций.

При скрытой проводке кабели прокладываются в каналах, а кабельная арматура монтируется в нишах или люках, устраиваемых в толще конструктивных элементов зданий.

Смешанная проводка содержит элементы обоих указанных выше типов устройств.

Рис. 7.1. Устройство телефонной сети в общественном здании способом открытой проводки:

1 - распределительный кабель; 2 - лестничная проводка; 3 - телефонная распределительная коробка 10×2; 4 - защитный желоб; 5 - разветвительная коробка; 6 - вводная фарфоровая втулка

Untitled-1

Рис. 7.2. Устройство телефонной сети в общественном здании способом скрытой проводки:

1 - ниша слаботочной сети; 2 - магистральные каналы; 3 - абонентские каналы для вывода кабелей и проводов в каналы плинтусов; 4 - проход под дверью в трубе; 5 - съемный угол плинтуса; 6 - коробки типа КП для подключения абонентских устройств

Рис. 7.3. Устройство телефонной сети в жилом доме способом смешанной проводки:

1 - ниша типа ЭРТ; 2 - вводные ниши; 3 - стояк телефонной сети; 4 - стояк радиотрансляционной сети; 5 - стояк электроосветительной сети; 6 - монтажная ниша телефонной и радиотрансляционной сетей; 7 - монтажная ниша осветительно-бытовой электросети; 8, 9 - каналы для ввода сетей в квартиры; 10 - телефонный аппарат; 11 - громкоговоритель

7.6. Независимо от типа ввода (подземный или воздушный), ввод кабеля связи следует производить в месте, удаленном от вводов электрокабелей, водопровода и других подземных коммуникаций, а также в месте, доступном для осмотра ввода в период эксплуатации.

7.7. Отдельные виды строительно-монтажных работ, выполняемые при устройстве вводов кабелей, технология которых не описана в настоящем разделе (прокладка трубопроводов и строительство колодцев кабельной канализации, протягивание и монтаж в ней кабелей и т.п.), необходимо выполнять по технологии, приведенной в соответствующем разделе настоящего Руководства.

УСТРОЙСТВО ПОДЗЕМНОГО ВВОДА КАБЕЛЯ В ЗДАНИЕ

7.8. Подземный ввод кабеля в здание может быть выполнен одним из следующих способов:

а) к месту ввода кабеля от проходящей мимо кабельной канализации прокладывается трубопровод, по которому кабель вводится в подвальное помещение (техническое подполье) с последующим выходом его наверх, на лестничные клетки и прокладкой по их стенам открытой или в каналах - скрытой проводкой (рис. 7.4,а);

б) кабель выводится из подземной канализации по трубопроводу на наружную стену дворового или бокового фасада здания и далее прокладывается открыто по стене между первым и вторым этажами, с ответвлениями через стену на лестничные клетки (рис. 7.4,б);

в) бронированным кабелем к месту ввода кабеля в подвальное помещение или на наружную стену здания;

г) через коллекторы малого сечения (сцепки) (рис. 7.4,в).

Рис. 7.4. Варианты устройства подземных вводов в здания

7.9. Трубопровод к вводу здания следует прокладывать от ближайшего колодца действующей кабельной канализации. В том случае, когда это невозможно, в месте отвода на канализации устанавливают дополнительный колодец (ККС-2).

7.10. Для ввода кабеля в здания, расположенные в глубине квартала, допускается прокладка кабеля от других каблированных зданий. В этом случае от каблированного здания прокладывается подземный трубопровод-перемычка. При длине перемычки до 30 м трубопровод прокладывается без колодца, при длине более 30 м - у ввода в здание строится колодец (ККС-2) (рис. 7.5,а). Ввод от каблированного здания может быть выполнен также через внутриквартальные коллекторы малого сечения (сцепки) (рис. 7.5,б).

Untitled-1

Рис. 7.5. Устройство вводов в здания, расположенные в глубине квартала:

а) с помощью трубопроводов-перемычек; б) через внутриквартальные коллекторы малого сечения (сцепки)

7.11. В качестве трубопровода от действующей канализации до ввода кабеля следует применять полиэтиленовые трубы с внешним диаметром 63 мм, поставляемые длинномерными отрезками (до 200 мм), что позволяет производить их прокладку без стыков и этой же трубой выполнить ввод в подвальное помещение (техническое подполье) или вывод на наружную стену здания (рис. 7.6) и далее через проходы в стенах на лестничные клетки (рис. 7.7).

1 - изогнутая на конце пластмассовая труба, проложенная от колодца до стены здания; 2 - защитный желобок из тонколистовой стали; 3 - кабель; 4 - разветвительная муфта; 5 - ввод кабеля через сквозное отверстие на лестничную клетку; 6 - кабель для остальных лестничных клеток

Рис. 7.6. Вывод кабеля на наружную стену здания и открытая прокладка его по стене

1 - сквозное отверстие в стене; 2 - открыто проложенный по стенам кабель; 3 - телефонная распределительная коробка; 4 - стояк с защитным желобком из тонколистовой стали

Рис. 7.7. Ввод кабеля на лестничную клетку и прокладка его по внутренним стенам

7.12. При отсутствии полиэтиленовых труб для прокладки трубопровода от действующей канализации должны применяться асбестоцементные трубы.

7.13. В том случае, когда проектом предусмотрен ввод голого кабеля из кабельной канализации или бронированного кабеля непосредственно в технический коридор (рис. 7.8,а) или в подвальное помещение (рис. 7.8,б), прокладка кабеля может осуществляться:

а) по стенам подвала с креплением и защитой кабеля от механических повреждений металлическими желобами;

б) в газовых или винилпластовых трубах, прокладываемых по стенам подвала;

в) в каналах железобетонных плит перекрытий;

г) открыто по стенам;

д) на консолях или воздушных желобах (кабельростах);

е) на подвесных конструкциях к потолку;

ж) на стальном тросе.

Прокладка кабелей способами, указанными в пунктах г), д), е), ж), допускается только в тех случаях, когда подвальное помещение недоступно для входа посторонних лиц.

7.14. Трасса прокладки кабеля по подвалу должна быть выбрана с учетом кратчайшего расстояния от ввода кабеля в подвал до мест вертикальных подъемов кабелей по стоякам и наименьшего количества пробиваемых сквозных отверстий.

Untitled-1

Рис. 7.8. Проход кабельного ввода:

а) через технический коридор; б) через подвальное помещение

7.15. Прокладку кабеля по подвалу в газовых или пластмассовых трубах следует вести в следующей последовательности:

а) разметить места установки деталей для крепления труб;

б) пробить сквозные отверстия для прохода труб сквозь стены и перекрытия и гнезда для установки крепежных деталей;

в) установить крепежные детали для крепления труб;

г) проложить трубы;

д) затянуть кабель в трубы;

е) установить защитные металлические желоба на смонтированные разветвительные муфты;

ж) произвести заделку всех проходов трубопроводов;

з) окрасить металлические трубы и желоба.

7.16. Крепление труб диаметром 3/4² на прямых участках должно быть не реже, чем через 1,5 м, труб диаметром от 1 и выше - не реже, чем через 2,5 м. На поворотах трубы крепятся через 0,25 м от вершины угла в обе стороны.

В качестве деталей для крепления труб следует применять крюки-«костыли», стальные полоски, скобы однолапковые и двухлапковые.

Крюк-«костыль» устанавливается в пробитое в стене гнездо и закрепляется строительным гипсом или цементным раствором.

Стальные полоски пристреливаются к стене с помощью строительно-монтажного пистолета или прибиваются вручную дюбелями-гвоздями (рис. 7.9). При креплении трубы она обнимается полоской, концы которой заделываются в замок.

Рис. 7.9. Крепление трубы с помощью стальных полосок:

1 - дюбель-гвоздь; 2 - стальная полоска

При креплении труб однолапковыми или двухлапковыми скобами последние следует закреплять на стене с помощью шурупов и дюбелей или спиралей, устанавливаемых в просверленные (пробитые) гнезда, или пристреливать к строительному основанию с помощью строительно-монтажного пистолета.

Проложенную металлическую трубу необходимо окрасить масляной краской любого цвета или битумным лаком.

7.17. Прокладку кабеля в канале плит перекрытия следует производить в следующей технологической последовательности:

а) простукиванием молотком по плитам перекрытия уточнить место нахождения пустотного канала плиты;

б) электросверлилкой или зубилом (шлямбуром) пробить отверстие в канал перекрытия на входе и выходе кабеля;

в) произвести протяжку кабеля через канал каждой плиты перекрытия;

г) после монтажа кабель в местах выхода на поверхность консольных колонн, а также разветвительные муфты защитить металлическими желобами.

7.18. Кабели по подвальному помещению могут прокладываться по консольным крюкам (рис. 3.39).

7.19. Прокладку кабеля в подвальном помещении на стальном канате необходимо производить с соблюдением следующей технологической последовательности:

а) в стену, через которую выполняется ввод кабеля, закрепить анкер проходной (рис. 7.10) или крюк;

б) на проушину надеть головку болта винтовой стяжки (тальрепа) (рис. 7.11);

Рис. 7.10. Анкер проходной

Рис. 7.11. Винтовая стяжка (тальреп)

в) на одном конце стального каната диаметром 6 - 9 мм выполнить оконечную заделку, которую надеть на головку другого болта винтовой стяжки;

г) в противоположной стене подвального помещения также закрепить анкер или болт с проушиной, через которую пропустить второй конец стального каната. Канат натянуть и закрепить оконечной заделкой;

д) винтовой стяжкой отрегулировать необходимую стрелу провеса стального каната, после чего отмерить необходимую длину кабеля, равную длине подвального помещения плюс запас на вывод в кабельную канализацию, плюс запас на прокладку кабеля вверх на лестничную клетку до оконечного устройства;

е) кабель проложить по полу подвального помещения и подвесить на стальном канате со стремянки с помощью стальных подвесов, оставляя в бухтах запасы кабеля, указанные в пункте д).

7.20. Прокладка кабелей открыто по стенам подвального помещения производится так же, как и по стенам зданий (п.п. 7.30 - 7.41).

7.21. В том случае, когда ввод кабеля предусмотрен на наружную стену здания и отсутствуют полиэтиленовые трубы, кабель следует вводить при помощи изогнутой стальной трубы, сопряженной с трубопроводом, проложенным от кабельной канализации (рис. 7.12).

Untitled-1

Рис. 7.12. Вывод трубопровода на наружную стену здания при устройстве кабельного ввода

1 - трубопровод кабельной канализации; 2 - изогнутая труба; 3 - стальной защитный желоб; 4 - кабель; 5 - переходная пробка

7.22. Выводную трубу с подземным трубопроводом соединяют с помощью бетонной или деревянной пробки с заделкой стыка цементным раствором.

Конструкция переходной пробки показана на рис. 7.13. Ее размеры определяются наружным и внутренним диаметрами соединяемых труб.

Рис. 7.13. Конструкция переходной пробки:

1 - асбестоцементная труба; 2 - стальная изогнутая труба; 3 - переходная пробка

7.23. Стальная изогнутая труба должна иметь следующие размеры, мм:

· внутренний диаметр........................................................................................ 50

· радиус изгиба.................................................................................................... 400 - 500

· длина горизонтальной части........................................................................... 600 - 700

· длина вертикальной части............................................................................... 1100

Изогнутая труба должна быть выведена на высоту 0,7 м от поверхности земли и утоплена в стене не менее, чем на половину своего наружного диаметра.

7.24. Кабель, проложенный по стене выше выводной трубы, должен быть защищен от возможных механических повреждений на высоту не менее 3 м от земли. Защита должна осуществляться желобами из тонколистовой стали толщиной 0,8 - 1,0 мм. Звенья желобов наращивают и крепят к стене в местах сочленения желобов стальными накладками с помощью шурупов на дюбелях (проволочных спиралях), устанавливаемых в высверленные в стене гнезда на строительном гипсе (алебастре). Применение для этой цели деревянных пробок запрещается.

Нижний конец желоба следует наложить на выводную трубу и закрепить переходной накладкой.

Труба, желоба и накладки должны плотно прилегать к стене, для чего допускается их изгибание и подштроблирование стены.

Верхние отверстия трубы и желоба после прокладки кабеля должны быть заделаны просмоленной паклей и цементным раствором или строительным гипсом.

7.25. Штробы в стенах из кирпича, шлакоблоков, гипсолита и т.п. рекомендуется выполнять с помощью механизма для выборки борозд или электромолотка. При отсутствии средств механизации штробление следует производить с помощью зубила и кувалды.

7.26. В том случае, когда стена выполнена из материала, трудно поддающегося штроблению, например, бетона, трубу необходимо крепить к стене скобами, пристреливаемыми с помощью строительно-монтажного пистолета. Сочленение верхнего конца трубы с защитным желобом рекомендуется выполнять с помощью переходной накладки, изготовленной из тонколистовой стали.

УСТРОЙСТВО ВОЗДУШНОГО ВВОДА КАБЕЛЯ В ЗДАНИЕ

7.27. Воздушный ввод кабеля в здание может выполняться от столбовой или от стоечной линий связи.

7.28. От стоечной линии кабель должен вводиться через изогнутую стальную трубу на чердак и там заводиться на установленный кабельный ящик (рис. 7.14,а) или прокладываться по конструкциям чердака вдоль здания (рис. 7.14,б) с ответвлениями на лестничные клетки через отверстия-«сквозняки», просверливаемые в чердачном перекрытии, и далее до распределительных коробок. Кабели, прокладываемые на чердаках по деревянным конструкциям, следует крепить скрепами и толевыми гвоздями.

Untitled-1

Рис. 7.14. Воздушный ввод подвесного кабеля со стоечной линии:

1 - кабель; 2 - стальной канат; 3 - дужка запаса; 4 - защитная обмотка каболкой; 5 - изогнутая вводная труба на крыше; 6 - крепление кабеля скрепами на шурупах или гвоздях; 7 - кабельный ящик; 8 - доска, укрепленная на балках чердака; 9 - стоечная опора на крыше; 10 - хомут, скрепляющий стойку с вводной трубой; 11 - пакетик кроссировочных проводов от кабельного ящика к проводам на стойке

Проложенные на чердаке кабели должны быть защищены от механических повреждений на высоту до 2,3 м металлическими желобами.

7.29. При выполнении ввода кабеля со столбовой линии связи опора, с которой вводится кабель, должна находиться не далее 40 м от стены здания. При большей длине - устанавливаются дополнительные опоры.

От столбовой опоры кабель нужно подавать к стене здания на стальном канате, имеющем оконечную заделку, которая надевается на закрепленный в стене крюк КН-16. Кабель вводится в здание через отверстие в стене (рис. 7.15). Отверстие в стене должно быть заделано просмоленной каболкой.

Кабель от крюка может также прокладываться открыто по наружной стене здания с ответвлениями через отверстия в стене внутрь здания на лестничные клетки.

Untitled-1

Рис. 7.15. Ввод подвесного кабеля в здание:

1 - кабель; 2 - подвесной канат; 3 - подвеска для кабеля; 4 - петля с коушем; 5 - крюк КН-16; 6 - спираль из мягкой стальной проволоки; 7 - изолирующая трубка

ОТКРЫТАЯ ПРОКЛАДКА КАБЕЛЕЙ ПО СТЕНАМ ЗДАНИЙ

7.30. При выборе способа крепления кабелей необходимо учитывать структуру материала, из которого выполнено стеновое основание (бетон, шлакобетон, гипсолит, кирпич, дерево и т.п.), а также конструктивные формы строительных элементов здания.

При этом предпочтение должно отдаваться наиболее прогрессивным и индустриальным способам, которые исключают трудоемкие пробивные работы, обеспечивают быстроту, удобство выполнения креплений и позволяют нагружать установленные крепежные конструкции в кратчайший срок после их установки.

В этом отношении рекомендуется пристрелка с помощью строительно-монтажного пистолета крепежных деталей или приклеивание их к строительным основаниям или подвешивание кабелей на стальном канате по технологии, приведенной в п. 7.19.

7.31. До начала работ должны быть проверены электрические параметры кабелей, подготовлен необходимый инструмент, проверена исправность электроинструментов, а также лестниц и стремянок.

7.32. При прокладке кабелей работы должны выполняться в следующей технологической последовательности:

а) разметка трассы прокладки кабеля;

б) заготовка (подготовка) трассы прокладки кабелей;

в) прокладка и крепление кабеля;

г) установка и крепление защитных желобов;

д) заделка борозд, отверстий и штукатурка нарушенной поверхности стен.

7.33. Выбор трасс прокладки кабелей (проводов) должен производиться с учетом требований проекта, конфигурации строительных оснований, наличия скрытых электропроводок, сантехнических и других коммуникаций, а также в соответствии с требованиями защиты кабелей от механических повреждений.

7.34. Разметку следует производить с учетом следующих требований:

а) трасса прокладки кабеля распределительной телефонной сети по наружным стенам должна располагаться на высоте не менее 2,8 и не более 5,0 м от земли, а по внутренним стенам - на высоте не менее 2,3 м от пола и 0,1 м от потолка. Если указанная высота прокладки не может быть обеспечена, должна быть предусмотрена защита кабеля от повреждений;

б) расстояние между телефонным кабелем, проложенным по стене, и проходящими параллельно изолированными проводками осветительной, силовой или радиотрансляционной сети должно быть не менее 25 мм;

в) вертикальные направления трассы кабелей должны размечаться отвесно, с учетом архитектурных линий;

г) кабель разрешается пропускать сквозь отверстия в карнизах и других выступах зданий;

д) в швах между бетонными панелями размещать крепления запрещается;

е) на участках параллельной прокладки двух кабелей разрешается крепить их общей фигурной скобой или двумя скрепами под общий винт;

ж) сквозные отверстия, пробиваемые для прохода кабелей через стены и перегородки, могут быть общими для двух и большего числа кабелей;

з) при параллельной прокладке нескольких кабелей по одной трассе их взаимное расположение должно обеспечивать минимальное количество их пересечений при ответвлениях;

и) распределительные коробки должны располагаться на стене так, чтобы к ним был обеспечен свободный доступ на расстоянии от потолка не менее 150 мм. Запрещается устанавливать распределительные коробки над дверями, проемами и окнами.

7.35. Разметку трасс прокладки кабелей необходимо выполнять в следующей последовательности:

а) в соответствии с рабочими чертежами определить и разметить места установки оконечных устройств (распределительных коробок, кабельных ящиков, боксов и т.п.);

б) разметить точки провешивания осей трасс и их поворотов, места пробивки сквозных отверстий, проходов, нанося мелом или карандашом их наружные очертания;

в) с помощью отбойного шнура, на поверхность которого нанесен сыпучий краситель (синька, уголь, мел и т.п.), нанести линии трасс.

При этом вертикальные и горизонтальные линии разметки должны быть параллельны линиям сопряжений стен и потолков;

г) с помощью линейки - шаблона разметить места установки крепежных деталей, соблюдая следующие расстояния: для прокладки кабелей распределителей сети по горизонтали - через каждые 350 мм, по вертикали - через 500 мм, в местах поворота кабеля - 100 мм от вершины угла в обе стороны.

Нанесение линий прокладки кабеля производят обычно два монтажника связи - кабельщика, которые, наметив высоту прокладки кабеля по точкам разметки, производят отбивку шнуром линий трасс. В качестве прогрессивного приспособления, сокращающего затраты труда при разметке трасс, рекомендуется применять линейку-рамку, с помощью которой разметка выполняется одним монтажником (рис. 7.16).

Рис. 7.16. Применение линейки-рамки для разметки трассы при открытой прокладке кабелей по стенам зданий

7.36. После разметки следует производить работы по подготовке трассы, заключающиеся в установке крепежных деталей и сверлении (пробивке) отверстий для устройства проходов кабелей через стены и потолки, а также устройство борозд на пересечениях трассы кабеля с препятствиями.

Крепежные детали могут устанавливаться в просверленные (пробитые) гнезда, или приклеиваться к строительному основанию с помощью специального клея, или закрепляться с помощью строительно-монтажного пистолета.

В качестве крепежных деталей применяются: скрепы пластинчатые из тонколистовой оцинкованной стали для крепления кабелей с наружным диаметром до 15 мм (рис. 7.17), фасонные скобы для крепления кабелей с наружным диаметром свыше 15 мм (рис. 7.18).

Untitled-1

Рис. 7.17. Скрепа пластинчатая

Untitled-1

Рис. 7.18. Скоба фасонная

7.37. При установке крепежных деталей в гнезда их сверление (пробивку) рекомендуется производить с помощью сверлильных машин типов ИЭ-1035Э, ИЭ-1036Э, ИЭ-1032-1, ИЭ-1302 и др. со сверлами, имеющими наконечники из высокопрочной стали. Пробивка может выполняться также электрическими молотками типов ИЭ-4207, ИЭ-4210, оснащенными бурами диаметром 16 и 24 мм, а также пневматическими молотками, оснащенными трубчатыми пробойниками ПТ-28 с твердосплавными зубьями. Рабочие инструменты для пробивных работ показаны на рис. 7.19.

Untitled-1

Рис. 7.19. Рабочие инструменты для пробивных работ:

а) цилиндрическое сверло с пластинками из твердого сплава; б) спиральное сверло с пластинками из твердого сплава; в) пробойник к электро- и пневмомолотку; г) коронка типа КГС для сверления гнезд; д) шлямбур для электросверлилки; е) бурики

Если электросверлилку по каким-либо причинам применить нельзя, гнезда пробиваются вручную при помощи коротких шлямбуров, пробойников или зубил.

7.38. Во избежание повреждений электрических проводов, проходящих под штукатуркой или в толще стен, место, выбранное для сверления или пробивки отверстий в стенах, должно быть предварительно проверено. Проверка наличия скрытых электропроводок производится внешним осмотром по расположению установленной арматуры (светильников, выключателей, распаечных коробок, щитков и т.п.).

К работам по сверлению, пробивке, штроблению следует приступать при наличии полной уверенности, что на пути сверла, пробойника, шлямбура отсутствуют скрытые коммуникации.

7.39. В заготовленные гнезда рекомендуется устанавливать:

а) дюбели пластмассовые с вворачиваемыми в них шурупами (рис. 7.20,а);

б) дюбели с распорной гайкой (рис. 7.20,б);

в) спирали из мягкой стальной проволоки с вворачиваемыми в них шурупами (рис. 7.21,а);

г) свернутый в трубку пластикат с ввернутым в нее шурупом (рис. 7.21,б);

д) пластинчатые скрепы, вмазываемые в гнездо строительным гипсом или закрепленные дюбелем-гвоздем.

Рис. 7.20. Дюбели:

а) пластмассовый; б) с распорной гайкой

Рис. 7.21. Способы крепления фасонной скобы:

а) с помощью спирали; б) с помощью свернутого в трубку пластиката

1 - спираль из мягкой стальной проволоки; 2 - полоска пластиката; 3 - кабель; 4 - алебастр (строительный гипс)

7.40. В связи с тем, что принцип закрепления дюбеля в гнезде основан на расклинивании его стенок при ввинчивании шурупа, необходимо, чтобы диаметр гнезда превышал диаметр дюбеля не более, чем на 1,2 - 2,0 мм, а глубина равнялась длине дюбеля.

7.41. К деревянным стенам фасонные скобы должны крепиться шурупами длиной 25 - 30 мм или толевыми гвоздями той же длины (рис. 7.22).

Рис. 7.22. Крепление фасонной скобы к деревянной стене:

1 - кабель; 2 - фасонная скоба; 3 - шуруп

УСТАНОВКА ДЕТАЛЕЙ КРЕПЛЕНИЯ НА СТРОИТЕЛЬНЫХ ОСНОВАНИЯХ С ПОМОЩЬЮ КЛЕЕВ

7.42. Установка на стеновых основаниях деталей крепления с помощью клея «Стык-10» или других марок клеев, прошедших испытания, позволяет исключить выполнение для указанной цели трудоемких работ по пробивке или сверлению гнезд, что существенно повышает производительность труда и снижает трудоемкость указанных работ.

Применение клеев для установки деталей крепления особенно эффективно при прокладке кабелей и установке распределительных коробок по бетонным, железобетонным, металлическим, стеклянным (стеклоблоки), керамическим основаниям, на которых невозможно или затруднено проведение пробивочных и сверловочных работ.

7.43. Детали крепления можно приклеивать к строительным основаниям, поверхностный слой которых обладает достаточной прочностью для их удержания.

В том случае, когда строительное основание не имеет достаточной прочности, на поверхности имеются отслоения, рыхлые места, неровности, загрязнения, устранение которых невозможно, необходимо отказаться от установки деталей крепления методом приклеивания.

7.44. Клеящая композиция (клей) «Стык-10» состоит из смеси клея полиуретанового «Стык-3-8» (ТУ 88 УССР 193.042.82), разработанного Институтом химии высокомолекулярных соединений Академии наук Украины (ИХВС АН Украины) и гипсового теста (наполнитель). Она предназначена для приклеивания деталей крепления кабелей и линейной арматуры к различным строительным основаниям (кирпичным, бетонным, железобетонным, керамзитобетонным, металлическим, стеклянным, керамическим).

7.45. Технические данные клея «Стык-10» и клеевых соединений:

· клей «Стык-10» обладает повышенной конфекционной способностью (вязкостью), что позволяет приклеивать установочные изделия на различные прочные строительные основания без удерживающих приспособлений, не опасаясь их сползания или отрыва.

Начальная прочность приклеивания на сдвиг составляет не менее 0,01 кгс/см2;

· клей «Стык-10» позволяет производить приклеивание как в помещениях, так и на открытом воздухе при температурах от минус 15 до +60 °С.

Допустимая влажность воздуха при этом не регламентируется.

Температурный интервал эксплуатации клеевых соединений от минус 60 до +80 °С;

· отвердение клея, которое происходит за счет влаги, содержащейся в наполнителе, зависит от температуры окружающей среды и происходит за 16 - 24 часа.

Время контактного схватывания составляет 30 - 40 мин.

Время набора 50-процентной адгезионной прочности - 4 - 5 ч;

· адгезионная прочность клеевых соединений сталь-бетон при нормальном отрыве (разрушение по бетону) составляет 1,5 - 2,0 МПа (15 - 20 кгс/см2), при сдвиге - 2,0 - 2,5 МПа (20 - 25 кгс/см2);

· адгезионная прочность клеевого соединения древесина-бетон (разрушение по древесине) составляет 1,5 - 1,8 МПа (15 - 18 кгс/см2);

· прочность приклеивания к строительным основаниям деталей крепления клеем «Стык-10» достаточна для длительной эксплуатации.

7.46. В качестве деталей для крепления кабелей связи следует применять скрепы, изготовленные из тонколистовой оцинкованной стали толщиной 0,6 - 0,7 мм.

Скрепа (рис. 7.23) состоит из пластины, которая приклеивается к строительному основанию, и полоски, посредством которой закрепляется кабель. Длина полоски выбирается в зависимости от внешнего диаметра кабеля.

7.47. На склеиваемых поверхностях не должно быть признаков смазочных материалов (масел, мазута и других нефтепродуктов), побелки, грязи, пыли, ржавчины и других загрязнений.

Untitled-1

Рис. 7.23. Скрепа для прокладки кабеля с помощью клея

7.48. Подготовка поверхности строительных оснований заключается в очистке ее от указанных загрязнений и выравнивании.

Очистка поверхности от грязи, следов цементного раствора производится с помощью цикли бытовой ЦБ-40 или скребка и стальной щетки. Очистка поверхности от побелки и пыли производится ветошью, смоченной водой. Жировые пятна должны быть также удалены с помощью цикли, а затем эти места должны быть протерты ветошью, смоченной в бензине.

Детали крепления (скрепы, скобы и др.) перед приклеиванием должны быть очищены от загрязнений и, если это необходимо, протерты ветошью, смоченной в бензине.

7.49. Работы по приклеиванию деталей крепления должны производиться монтажниками связи - кабельщиками, прошедшими обучение данному методу и инструктаж по технике безопасности.

7.50. Инструменты для приготовления клея: сито с диаметром отверстий 0,25 мм, стакан полиэтиленовый емкостью 250 мл, мерный стаканчик емкостью 50 мл, мешалка стальная.

7.51. Клей «Стык-10» следует приготавливать в нужных количествах непосредственно перед началом работ по приклеиванию. Компоненты - полиуретановая основа и гипсовое тесто - берутся в равном соотношении по объему. Гипсовое тесто готовится смешением гипса строительного с водой.

Учитывая, что в практике производства строительно-монтажных работ взвешивание компонентов затруднено, для приготовления клея необходимо использовать объемные мерки. Компоненты берутся в следующих пропорциях:

· гипс строительный - 0,6 мерки;

· вода - 0,4 мерки;

· полиуретановая основа клея - 1 мерка.

7.52. Последовательность приготовления клея:

а) в чистый полиэтиленовый или стеклянный стакан объемом 200 - 250 мл мерными стаканчиками отмерить 30 мл гипса, 20 мл воды и размешивать до получения густого (сметанообразного) гипсового теста (гипс перед применением необходимо просеять через сито с диаметром отверстий 0,25 мм). В качестве мерного стаканчика рекомендуется применять аптекарскую полиэтиленовую мензурку;

б) в полученное гипсовое тесто добавить полный до краев мерный стаканчик полиуретанового клея «Стык-3-8» и тщательно перемешивать в течение 5 - 10 мин до получения однородной массы (пропорции компонентов показаны на рис. 7.24);

Untitled-1

Рис. 7.24. Пропорции компонентов для составления клея «Стык-10»

в) приготовленный клей должен отстояться 10 - 15 мин.

Приготовление клея необходимо производить в количестве, достаточном для выполнения работ по приклеиванию в течение не более одного часа (по 1, 2, 3 мерки клея).

В процессе работы с клеем его необходимо периодически перемешивать.

7.53. После разметки трассы прокладки кабелей и подготовки поверхности следует произвести приклеивание деталей крепления в следующей последовательности:

а) шпателем нанести слой клея «Стык-10» в месте приклеивания на площадь немногим более площади детали крепления (скрепы, скобы и т.п.). При этом толщина клеевого слоя не должна превышать 1 мм на шероховатых строительных основаниях (бетон, керамзитобетон, кирпич и т.п.) и 0,7 мм - на гладких (стекло, облицовочная плитка и т.д.).

Наносить клей следует как бы втирая его до полного смачивания поверхности;

б) деталь крепления установить на место приклеивания, прижать рукой с усилием 5 - 10 кг и притереть к строительному основанию, в результате чего толщина клеевого слоя становится минимальной, а также улучшается смачивание поверхностей, что повышает прочность.

Для повышения прочности клеевого соединения следует нанести слой клея толщиной 0,5 - 1,0 мм по периметру приклеенного основания скрепы;

в) таким образом следует произвести приклеивание всех деталей крепления на участке прокладки кабеля или другой линейной арматуры. Выравнивать положение приклеенных деталей следует сразу же после приклеивания.

7.54. Приклеивание при температуре ниже минус 15 °С не допускается. При отрицательных температурах с мест приклеивания необходимо удалить наледь и иней.

Места, загрязненные клеем, очищаются до начала его отвердения.

При сильном тумане или в дождливую погоду образовавшуюся водяную пленку на строительном основании необходимо удалить механическим способом.

7.55. С помощью клея «Стык-10» можно устанавливать на стеновых основаниях распределительные коробки. В качестве детали крепления применяется деревянный брусок прямоугольной формы. Бруски должны изготавливаться из отходов твердых пород древесины (дуб, бук, ясень, береза и др.). Приклеивание брусков должно производиться по технологии, приведенной в п. 7.53. Распределительная коробка крепится к приклеенному бруску шурупами 30×6 мм (рис. 7.25).

Untitled-1

Рис. 7.25. Способ крепления распределительной коробки на стене

УСТАНОВКА ДЕТАЛЕЙ КРЕПЛЕНИЯ ПРИСТРЕЛКОЙ

7.56. Крепление деталей пристрелкой производится монтажным пистолетом ПЦ-84 (ПЦ 52-1) (рис. 7.26). Применение пистолета дает возможность производить крепление деталей к строительным конструкциям за одну рабочую операцию. Это значительно повышает производительность труда и снижает трудоемкость прокладки кабелей.

Untitled-1

Рис. 7.26. Монтажный пистолет

Применение строительно-монтажного пистолета в особенности целесообразно при креплении деталей к высокопрочным строительным основаниям из бетона, железобетона и металла, сверление гнезд в которых весьма трудоемко.

Пистолет обладает большой маневренностью, так как его работа не зависит от источников энергии.

7.57 При работе с пистолетом следует руководствоваться требованиями «Руководящего технического материала «Инструмент пороховой. Типы, технические данные, область применения, хранение и ремонт» РТМ 36.6-87», ММСС СССР, «Руководства по применению строительно-монтажного пистолета ПЦ-84 (ПЦ 52-1) при строительстве объектов связи», ССКТБ, М., 1990 и Паспорта пистолета ПЦ 84.000.000 ПС.

7.58. Крепление деталей с помощью пистолета производится дюбелями-гвоздями марки ДГ и дюбелями-винтами марки ДВ (рис. 7.27).

Несъемное крепление должно осуществляться при помощи дюбелей-гвоздей, съемное - при помощи дюбелей-винтов, на резьбу которых навертываются гайки.

7.59. В пистолетах ПЦ-84 (ПЦ 52-1) применяются специальные беспульные патроны групп: Д (длинные), К (короткие) и МПУ (усиленные) (рис. 7.28).

Untitled-1

Рис. 7.27. Дюбели для монтажного пистолета

Untitled-1

Рис. 7.28. Монтажные патроны:

а) патрон Д; б) патрон К; в) патрон МПУ

1 - гильза; 2 - пороховой заряд; 3 - пыж; 4 - ударный состав; 5 - запальные отверстия; 6 - капсюль; 7 - место окраски патрона

7.60. Работа с пистолетом ПЦ-84 должна выполняться рабочим, прошедшим специальное обучение и имеющим удостоверение.

Рабочие, применяющие пистолет, должны иметь и пользоваться индивидуальными средствами защиты: каской, защитным щитком или предохранительными очками, противошумными наушниками группы А и перчатками.

7.61. При пристрелке деталей крепления необходимо выполнять следующие требования:

а) ширина пристреливаемой детали крепления должна быть не менее 20 мм;

б) наименьшая толщина строительного бетонного или железобетонного основания в месте забивания дюбеля должна быть равна 80 мм;

в) расстояние от точки забивания дюбеля до ближайшего края строительного основания должно быть не менее 100 мм - для бетонного, железобетонного и кирпичного оснований;

г) при креплении на неоштукатуренной кирпичной поверхности дюбель следует забивать в горизонтальный шов кирпичной кладки;

д) наименьшее расстояние между соседними дюбелями, забиваемыми в строительное основание, должно быть 50 мм для бетонного и железобетонного оснований;

е) при пристрелке к бетонному и кирпичному основанию стальной детали толщиной 3 - 4 мм, расстояние между соседними дюбелями должно быть не менее 200 мм;

ж) пристреливаемая деталь должна плотно прилегать к строительному основанию;

з) после выстрела головка дюбеля-гвоздя должна плотно прижимать закрепленную деталь без разрушения и деформации детали и центрирующей шайбы.

7.62. Основные правила работы с пистолетом приводятся ниже. Для выполнения работы с пистолетом рабочий должен:

а) получить от производителя работ (мастера) допуск-наряд на производство работ, получить также пистолет и патроны (не более дневной нормы);

б) ознакомиться с рабочими чертежами прокладки кабелей по стенам здания, выяснить, каков материал стенового основания, осмотреть произведенную разметку мест установки деталей крепления;

в) определить наличие в местах пристрелки стальной арматуры, скрытых проводок и других инженерных коммуникаций для исключения возможности повреждения их дюбелем;

г) по табл. 7.1 произвести выбор дюбелей и патронов в зависимости от типа строительного основания и закрепляемой детали;

Таблица 7.1

Выбор дюбелей и патронов при пристрелке деталей с помощью пистолета ПЦ-84 (ПЦ 52-1)

Вид материала строительной конструкции

Обозначение дюбеля/шифр патрона

Класс по прочности на сжатие

Марка

Пристрелка стальных деталей толщиной, мм

Забивка дюбелей-винтов

0,8 - 2,0

3,0 - 4,0

Тяжелый бетон:

В25

М300

ДГ 3,7×35

К4

ДГ 3,7×35

К4

ДГ 3,7×40

К4

ДГ 4,5×35

Д3

ДГ 4,5×35

Д3

ДГ 4,5×40

Д4

ДВ М6×45

К3

ДВ М6×45

К3 (К2)

ДВ М8×45

Д2

ДВ М8×45

К4 (К3)

В30

М400

В12,5

М150

В22,5

М300

В7,5

М100

ДГ 4,5×50

ДГ 4,5×50

ДВ М6×50

ДВ М8×55

В10

М150

Д3

Д4

К3

К4

Легкий бетон:

В3,5

М50

ДГ 4,5×60

ДГ 4,5×60

ДВ М8×70

В10

М150

Д1

Д2

К4

Кирпичная кладка:

- неоштукатуренная (забивка дюбеля в горизонтальный шов);

ДГ 3,7×40

К3

не рекомендуется

ДВ М6×50

К2

ДВ М8×55

К3

- оштукатуренная

ДГ 3,7×50

К4

не рекомендуется

ДВ М6×55

К3

Примечание. Дюбели и патроны, приведенные в скобках, рекомендованы для забивки в бетон со щебневым заполнителем прочностью менее 80 МПа.

д) зарядить пистолет дюбелем и патроном в соответствии с указаниями, приведенными в паспорте пистолета;

е) принять устойчивое положение, установить прижим пистолета в точку забивки дюбеля под прямым углом к стеновому основанию, нажать на рукоятку и оттянуть до отказа спусковой рычаг, после чего произойдет выстрел. При работе на высоте оператор должен твердо стоять на устойчивом основании: лесах, подмостях, вышке или стремянке, имеющих верхнюю площадку, огражденную перилами высотой не менее 1 м;

ж) если выстрел не последовал (произошла осечка) - не открывая пистолет, повторно оттягивают пусковой рычаг 2 - 3 раза. Если осечка повторилась, пистолет держат прижатым к основанию в течение одной минуты, затем открывают его и удаляют патрон.

УСТРОЙСТВО ПРОХОДОВ ДЛЯ КАБЕЛЯ СКВОЗЬ СТЕНЫ И ПЕРЕКРЫТИЯ

7.63. Устройство проходов для кабеля сквозь стены и перекрытия рекомендуется выполнять с помощью электросверлилок ИЭ-1305-1, ИЭ-1040, ИЭ-1206, ИЭ-1035Э, оснащенных сверлами-проходниками или шлямбурами длиной 250, 400 и 700 мм, армированными твердосплавными пластинками.

Для бурения отверстий в высокопрочных стеновых основаниях рекомендуется применять бетонолом с электрическим приводом типа ИЭ-4601 (С-850А), работающий на принципе ударно-вращательного действия и развивающий большую энергию удара, или специальную ударно-вращательную насадку к электросверлилке.

Передача в насадке преобразовывает вращательное движение электросверлилки в ударно-вращательное, что значительно облегчает и ускоряет процесс сверления.

7.64. При сверлении и пробивке отверстий и гнезд, штроблении борозд с помощью электроинструмента необходимо применять диэлектрические перчатки и очки и строго соблюдать правила техники безопасности.

ПРОКЛАДКА И КРЕПЛЕНИЕ КАБЕЛЕЙ

7.65. После окончания работ по установке крепежных деталей производится прокладка и крепление кабелей. Прокладка кабеля по трассе с приклеенными скрепами должна производиться после отвердения клея (по истечении 16 - 24 ч).

7.66. Кабели перед прокладкой должны быть проверены на целостность жил, отсутствие сообщений и соответствие нормам сопротивления изоляции.

7.67. Прокладку кабелей необходимо производить в указанной ниже технологической последовательности:

а) с помощью рулетки отмерить длину концов кабеля каждой емкости и нарезать отрезки с учетом запаса разделки концов для монтажа муфт.

Этот запас должен составлять для кабелей емкостью 10×2 - 250 мм, 20×2 и 30×2 - 300 мм, 50×2 - 350 мм, 100×2 - 450 мм на каждый конец;

б) произвести размотку кабеля по земле (или по полу) вдоль наружной или внутренней стены здания. Кабель должен лежать с некоторой (1 - 2 %) слабиной;

в) конец кабеля протянуть через все сквозные отверстия, встречающиеся на трассе;

г) у стены установить стремянку (лестницу), с которой один из монтажников крепит кабель, подаваемый ему с земли (пола) другим монтажником.

При этом кабель крепится в зависимости от типа крепления приклеенными скрепами, либо пластинчатыми скрепами, либо фасонными скобами при креплении их шурупами на пластмассовых дюбелях.

7.68. При прокладке кабелей необходимо соблюдать следующие требования:

· кабель должен быть проложен прямолинейно, не иметь вмятин, перекручиваний и плотно прилегать к стене;

· при параллельной прокладке двух кабелей разрешается их крепление двумя фигурными скрепами под один шуруп, при этом кабель большей емкости прокладывается выше кабеля меньшей емкости. Такое расположение кабелей позволяет при ответвлении избежать их взаимного пересечения;

· в тех случаях, когда полностью избежать пересечений не удается, нужно следить за тем, чтобы кабели большей емкости прилегали к стене, меньшей емкости - огибали их сверху или снизу (в штробе). Если освинцованный кабель пересекает электропроводку, он должен быть заключен в трубку из изоляционного материала (резиноэбонитовую, пластикатовую).

· на прямых участках неизменной емкости кабеля его следует прокладывать одной длиной без соединительных муфт;

· если трасса прокладки кабелей неудобна (много сквозных отверстий, поворотов, протяжка через стояки, а также при использовании маломерных кусков кабеля), допускается монтаж муфт;

· разветвительные муфты необходимо размещать на горизонтальном участке трассы;

· запрещается размещать муфты над лестничными маршами, рядом с водосточными трубами, наружными газопроводами. В исключительных случаях разрешается размещение муфт на вертикальных участках.

Скобы должны располагаться так, как показано на рис. 7.29.

Untitled-1

Рис. 7.29. Крепление кабеля при изменениях направления трассы

7.69. Рекомендуется отрезки кабелей по отдельным трассам прокладки заготавливать централизованно в производственных мастерских по предварительным замерам. Например, при монтаже распределительных коробок жилы одного из концов отмеренного отрезка кабеля распаиваются на плинт распределительной коробки, кабель подвергается электрической проверке, сматывается в бухту, на которой закрепляется бирка с указанием участка прокладки. Бухты кабелей поставляются на объект, где прокладку начинают с закрепления распределительной коробки.

ЗАЩИТА КАБЕЛЕЙ ОТ МЕХАНИЧЕСКИХ ПОВРЕЖДЕНИЙ

7.70. Защита кабеля от механических повреждений должна производиться металлическими желобами двух типов: I тип - длиной 700 мм, II тип - 1000 мм. Крепление желобов проводится накладками с помощью шурупов, ввинчиваемых в установленные дюбели или спирали.

Установку защитных устройств необходимо производить в следующих местах:

а) под водосточными трубами - желобом длиной 700 мм с равными концами по обе стороны трубы;

б) под пожарной лестницей в том случае, если она отстоит от стены менее, чем на 1 м - по 0,5 м в каждую сторону;

в) под окнами лестничных клеток (ближе 0,5 м от лаза окна) - на ширину окна и по 0,5 м в каждую сторону;

г) на выходе кабеля из-под балкона - по 0,5 м с каждой стороны;

д) на чердаках - на всем протяжении трассы кабеля, если высота прокладки ниже 2,3 м от пола;

е) на лестничных клетках на вертикальных участках - на высоту 2,3 м.

Нижние концы защитных желобов на лестничных клетках и в коридорах необходимо заделывать в перекрытии цементным раствором.

Кабели, проложенные под карнизом, в дополнительной защите не нуждаются.

7.71. Установку защитных желобов следует производить в следующей последовательности:

а) параллельно оси прокладки кабеля сверху и снизу от нее разметить (по накладке) и пробить гнезда для установки кабелей. При этом необходимо учитывать, что при установке одного желоба расстояние между дюбелями по горизонтали оставляет 660 мм для желобов I типа и 960 мм - для II типа.

При установке двух и более желобов соприкасающиеся желоба должны крепиться одной накладкой. В этом случае первая накладка устанавливается на расстоянии 20 мм от края желоба, а расстояние между последующими накладками равно длине каждого желоба. Последняя накладка устанавливается также на 20 мм от края желоба;

б) накладки закрепить шурупами, ввинчиваемыми в дюбеля;

в) в крайних желобах зазор между строительным основанием и желобом заделать строительным гипсом;

г) желоба и накладки окрасить масляной краской в тон с окраской строительного основания.

ПРОКЛАДКА КАБЕЛЕЙ В КАНАЛАХ СКРЫТОЙ ПРОВОДКИ

7.72. В соответствии с требованиями ОСТН-600-93 Минсвязи России (п. 3.336) общественные и жилые здания должны быть оборудованы в процессе строительства закладными устройствами скрытой проводки для прокладки кабелей и проводов сетей связи и радио (подпольными и стенными каналами, трубными разводками, пустотами под плинтусами, галтелями, а также нишами, коробками, смотровыми пунктами), как это оговорено в проекте.

7.73. При прокладке кабелей в каналах скрытой проводки необходимо:

а) произвести проверку кабеля, предназначенного к прокладке, на целостность жил, отсутствие сообщений и соответствие нормам сопротивления изоляции;

б) произвести замеры длин трасс прокладки кабелей, отмотать и отрезать от кабеля на барабане (бухте) отрезки, соответствующие замеренным длинам с учетом запаса разделки концов для распайки в плинт распределительной коробки и для монтажа муфт;

в) в скрытые горизонтальные свободные каналы при длине пролета до 10 м кабель следует прокладывать без заготовки, проталкивая его в канал;

г) в свободных и занятых горизонтальных каналах с длиной пролета более 10 м кабели необходимо прокладывать с предварительной заготовкой каналов стальной проволокой диаметром 3 - 4 мм или отрезком стеклопластикового прутка. При этом конец проволоки должен быть заделан петлей и обмотан изоляционной лентой, а при заготовке занятых кабелями каналов на конце прутка должен быть наконечник.

При длине кабеля до 50 м затягивание в канал надо производить, скрепляя его непосредственно с заготовкой мягкой перевязочной проволокой. При длине кабеля более 50 м - с помощью кабельного чулка соответствующего размера, скрепляемого с заготовкой перевязочной проволокой.

Затягивание кабеля в свободный непрямолинейный канал, а также кабелей емкостью 100×2 и более, следует производить с помощью кабельного чулка, скрепленного со стальным канатом, предварительно затянутым в канал проволочной заготовкой.

Затягивание кабелей в занятый канал должно производиться при помощи стального каната, покрытого полиэтиленовым шлангом, или пеньковой (синтетической) веревки.

Место соединения кабеля с канатом должно быть обмотано изоляционной лентой;

д) в вертикальных каналах кабели необходимо прокладывать сверху вниз без заготовки; снизу вверх с предварительной заготовкой; в занятых каналах, независимо от направления подачи кабеля, - с предварительной заготовкой.

По возможности кабель длиной более 10 м, проложенный в вертикальном канале, следует крепить через каждые 50 см скобами из оцинкованной жести. Если такая возможность отсутствует, кабель до прокладки необходимо крепить перевязочной проволокой к стальному канату через каждые 50 см, после чего канат вместе с кабелем опустить в канал;

е) кабели в подпольные желоба (каналы) должны укладываться при снятых крышках на деревянные прокладки (скалки), собираться в пакет и крепиться к скалкам скобами из оцинкованной жести.

РАЗДЕЛ 8
СТРОИТЕЛЬСТВО ВОЗДУШНЫХ СТОЛБОВЫХ ЛИНИЙ СВЯЗИ С ПОДВЕСКОЙ ПРОВОДОВ И КАБЕЛЕЙ

ОБЩИЕ ПОЛОЖЕНИЯ

8.1. Воздушные столбовые линии Министерства связи России разделяются по назначению на линии:

междугородной телефонной связи;

местных телефонных сетей (городских и сельских);

сетей проводного вещания.

В связи с широким внедрением на местных телефонных сетях кабельных линий связи в настоящее время воздушные столбовые линии применяются более ограниченно в качестве соединительных (межстанционных) и абонентских линий сельской связи, а в отдельных случаях - как абонентские линии ГТС.

8.2. В зависимости от метеорологических условий местности типы воздушных линий определяются по табл. 8.1.

Таблица 8.1

Типы линий

Расчетные климатические условия района

Допускаемая масса гололеда, изморози или мокрого снега, не более, г/пог. м

О

(облегченный)

Негололедный или гололедный со средней толщиной стенки льда на проводе до 5 мм или изморози - до 20 мм

до 150

Н

(нормальный)

Гололед с толщиной стенки льда на проводе до 10 мм или изморози - свыше 20 мм

до 400

У

(усиленный)

Гололед с толщиной стенки льда на проводе до 15 мм или изморози - свыше 20 мм

до 800

ОУ

(особо усиленный)

Гололед с толщиной стенки льда на проводе до 20 мм или изморози - свыше 20 мм

до 1400

8.3. Типовые профили воздушных линий связи и номера мест цепей на опорах показаны на рис. 8.1а, б.

Рис. 8.1а. Типовые профили воздушных линий связи

Рис. 8.1б. Типовые профили воздушных линий связи

Наиболее распространенными профилями сельских ВЛС и ГТС являются профили № 1а, 2а, 3а с расстояниями между крюками - 300 мм.

Типовые профили опор для линий совместной подвески телефонных цепей сельской связи и проводного вещания показаны на рис. 8.2.

Untitled-1

Рис. 8.2. Типовые профили опор для линий совместной подвески

На линиях совместной подвески цепь проводного вещания, как правило, подвешивается на первом (верхнем) месте, а телефонные цепи, с целью предотвращения влияния цепи проводного вещания, располагаются от этой цепи на расстоянии 1,2 м.

8.4. Строительство воздушных столбовых линий связи с подвеской проводов включает в себя выполнение следующих работ:

а) изготовление и оснастку опор;

б) разбивку трассы линии;

в) транспортировку опор и материалов на трассу;

г) бурение (рытье) ям под опоры;

д) установку и укрепление опор;

е) раскатку проволоки и соединение проводов;

ж) подвеску и регулирование проводов;

з) вязку проводов на изоляторах;

и) монтаж проводов при скрещивании;

к) оборудование кабельных опор.

8.5. При подвеске кабеля на опорах ВЛС выполняют следующие работы:

а) установка на опорах арматуры для крепления несущего или встроенного в кабель стального каната;

б) раскатка несущего стального каната по трассе, его подвеска с регулировкой стрелы провеса;

в) раскатка кабеля, крепление его к стальному канату.

При подвеске кабеля с встроенным тросом производится раскатка кабеля по трассе, подъем его на опоры, регулировка стрел провеса и крепление встроенного троса в специальных зажимах, установленных на опорах.

ЛИНЕЙНАЯ АРМАТУРА, МАТЕРИАЛЫ И ИНСТРУМЕНТ

8.6. На столбовых линиях местных сетей применяется линейная проволока: стальная оцинкованная диаметром 2; 2,5; 3; 4 мм, биметаллическая (сталемедная) марок БСМ-1 и БСМ-2, сталеалюминиевая проволока марки БСА-КПЛ диаметром 2,7; 4,3 мм, провода с атмосферостойкой изоляцией ПСБАР, ПСБАП, ПРСП.

8.7. Для крепления (вязки) на изоляторах стальных проводов диаметром 1,5 - 2 мм, 3 мм, 4 мм применяют стальную оцинкованную проволоку диаметром соответственно 1,2; 2,0; 2,5 мм.

Для крепления биметаллической сталемедной проволоки диаметром 4; 3; 2; 1,6 мм применяют медную или биметаллическую проволоку диаметром соответственно 2,5; 2,0; 1,2 мм.

8.8. Для оснастки опор и траверс применяется следующая арматура:

а) крюки стальные типа КН для крепления изоляторов на опорах типоразмеров: КН-20, КН-18, КН-16, КН-12;

б) штыри стальные типа ШТ для крепления изоляторов на траверсах. Они имеют типоразмеры: ШТ-20Д, ШТ-16Д, ШТ-12Д и ШТ-20УД - для оснастки деревянных траверс и ШТ-20С, ШТ-16С и ШТ-12С - для оснастки стальных траверс;

в) Г-образные кронштейны для скрещивания телефонных цепей, подвешиваемых на крюках;

г) подвесные крюки и накладки для скрещивания цепей, подвешиваемых на траверсах;

д) изоляторы фарфоровые типа ТФ, имеющие типоразмеры в зависимости от диаметров крюков и штырей ТФ-12, ТФ-16, ТФ-20.

8.9. Траверсы изготавливаются из древесины (сосна, ель, лиственница) и стали.

Как деревянные, так и стальные траверсы могут быть четырехштырные и восьмиштырные.

8.10. В качестве линейных крепежных материалов применяют болты с гайками, шайбы, шурупы с шестигранной головкой («глухарь»), барочные гвозди, скобы строительные, подкосы, коуши, зажимы двухболтовые и трехболтовые, трубки медные для соединения биметаллических (сталемедных) проводов.

8.11. При строительстве воздушных столбовых линий связи применяется следующий специальный инструмент: когти, пояса с цепью и карабином, блоки, ключи для ввертывания крюков, багры, рогачи, струги, ломики хомутовые, бурава, плоскогубцы, острогубцы, клуппы вильчатые, тиски ручные.

В качестве средств малой механизации применяются машины ручные сверлильные, гайковерты, лебедки, ручные мотопилы, электропилы.

При комплектовании инструмента для строительства воздушных столбовых линий связи рекомендуется пользоваться разработанным ССКТБ «Нормокомплектом средств малой механизации, инструмента, приспособлений и инвентаря для выполнения работ по устройству столбовых линий связи с подвеской кабелей и проводов». Шифр нормокомплекта ГТС-ЛС-7.

Порядок применения специального инструмента и средств малой механизации приведен ниже, по мере описания технологии выполнения работ.

ОПОРЫ

8.12. Опоры воздушных столбовых линий подразделяются на следующие типы:

а) промежуточные, устанавливаемые на прямолинейных участках линии;

б) угловые, устанавливаемые в местах изменения направления линии;

в) переходные, устанавливаемые в местах перехода линий связи через железные, автомобильные дороги, водные и другие преграды;

г) контрольные, устанавливаемые в местах, где провода линии подвергаются контрольным электроизмерениям и испытаниям;

д) оконечные (вводные) и кабельные, устанавливаемые в пунктах ввода проводов в предприятия связи или здания другого назначения или при переходе с воздушной линии на кабельную.

8.13. По материалу изготовления опоры подразделяются на деревянные, железобетонные и деревянные в железобетонных приставках.

8.14. Деревянные опоры должны изготавливаться из хвойных пород деревьев: лиственницы, сосны, кедра и ели.

8.15. Деревянные опоры, приставки и траверсы должны быть пропитаны антисептиком, одним из способов, приведенных в «Инструкции по пропитке деревянных опор, подпор, приставок и траверс» (Приложение 4 «Правил строительства и ремонта воздушных линий связи и радиотрансляционных сетей». Часть 1. «Связь», М., 1975).

8.16. В целях экономии древесины необходимо осуществлять изготовление и применение железобетонных опор и приставок.

8.17. Железобетонные опоры для воздушных линий связи различаются по форме поперечного сечения, прочности на изгиб и длине.

Они изготавливаются длиной 6,5; 7,5 и 8,5 м. В зависимости от типов линий, числа подвешиваемых проводов, габарита линии и длины пролета железобетонные опоры рассчитаны на изгибающие моменты в плоскости, перпендикулярной оси линии связи: 1,75; 2,75; 4,4 и 6,8 т. м.

8.18. Рекомендуется применять железобетонные опоры типа ПО (прямоугольная, облегченная с ненапряженной арматурой) или ПОН (с предварительно напряженной стержневой арматурой) (рис. 8.3).

Рис. 8.3. Опоры типа ПО и ПОН

Данные этих опор приведены в таблице 8.2.

Таблица 8.2

Типы опор

Расчетный изгибающий момент, т. м.

Размеры поперечного сечения h×B, см

Масса опоры, кг, при длине, м

6,5

7,5

8,5

ПО-1,75 и ПОН-1,75

1,75

24×14

314

390

-

ПО-2,75 и ПОН-2,75

2,75

24×14

410

455

-

ПО-4,4 и ПОН-4,4

4,4

30×18

-

725

810

ПО-6,8 и ПОН-6,8

6,8

30×18

-

-

810

Могут также применяться железобетонные опоры центрифугированные круглые.

8.19. Для удлинения опор и с целью экономии древесины следует применять железобетонные приставки прямоугольного типа ПР с ненапряженной стержневой арматурой (рис. 8.4) и таврового типа ПТ с предварительно напряженной стержневой арматурой.

Untitled-1

Рис. 8.4. Приставки железобетонные:

а) прямоугольного типа ПР; б) таврового типа ПТ

Справочные данные о железобетонных приставках приведены в табл. 8.3а.

Таблица 8.3а

Справочные данные железобетонных приставок

Тип

Расчетный изгибающий момент двойных железобетонных приставок с вкладышем, т. м.

Размеры поперечного сечения, мм, а - для ПР, а×b×h для ПТ

Масса, кг

перпендикулярно к оси направления линии

вдоль оси направления линии

ПР-0,6-2,8

1,75

1,0 (0,5)

170*

169

ПР-0,6-3,0

1,75

1,0 (0,5)

170*

179

ПР-0,8-3,0

2,75

1,14 (0,57)

170*

179

ПР-0,8-3,2

2,75

1,14 (0,57)

170*

190

ПР-1,2-3,0

4,40

1,22 (0,61)

200*

209

ПР-1,2-3,2

4,40

1,22 (0,61)

200*

224

ПР-2,0-3,2

6,80

2,0 (1,0)

200*

224

ПР-2,0-3,5

6,80

2,0 (1,0)

200*

245

ПТ-0,6-3,0

1,90

1,0 (0,5)

100×140×170**

152

ПТ-0,8-3,25

2,72

1,3 (0,65)

100×140×170**

165

ПТ-1,2-3,25

4,40

1,9 (0,95)

100×180×220**

250

ПТ-1,7-3,25

6,10

2,4 (1,20)

100×180×220**

250

ПТ-2,2-3,25

8,80

2,8 (1,40)

100×180×220**

250

ПТ-2,2-4,25

8,80

2,8 (1,40)

100×180×220**

325

____________________

* Для ПР

** Для ПТ

ПР - приставка прямоугольная; ПТ - приставка трапецеидальная; первое число в обозначении типа приставки означает величину нормируемого расчетного изгибающего момента в направлении, перпендикулярном к оси линии связи в тонно-метрах на уровне заделки приставки в грунт, а второе - длину приставки в метрах. В скобках указаны величины изгибающего момента в направлении вдоль оси линии.

Выбор типа и количества приставок для укрепления опор приведен в табл. 8.3б.

Таблица 8.3б

Выбор типа и количества приставок для укрепления опор

Число проводов

Номер профиля

Длина опоры с приставкой, м

Тип линии

О

Н

У

ОУ

Типы и число приставок

4

1; 1-а

6,5

ПР-0,8 или ПТ-0,8

ПР-0,8 или ПТ-0,8

ПР-0,8 или ПТ-0,8

ПР-0,8 или ПТ-0,8

6

1; 1-а

6,5

ПР-0,8 Û ПТ-0,8

ПР-0,8 Û ПТ-0,8

ПР-0,8 Û ПТ-0,8

ПР-1,2 Û ПТ-1,2

8

1; 1-а

7,5

2ПР-0,6 Û ПТ-1,2

ПР-1,2 Û ПТ-1,2

ПР-1,2 Û ПТ-1,2

ПР-2,0 Û ПТ-1,7

4

1; 1-а

8,0

2ПР-0,6 Û ПТ-1,7

2ПР-0,6 Û ПТ-1,7

2ПР-0,6 Û ПТ-2,2

2ПР-0,6 Û ПТ-2,2

6

1; 1-а

8,0

2ПР-0,6 Û ПТ-1,7

2ПР-0,6 Û ПТ-1,7

2ПР-0,6 Û ПТ-2,2

2ПР-0,6 Û ПТ-2,2

8

1; 1-а

8,0

2ПР-0,6 Û ПТ-1,7

2ПР-0,6 Û ПТ-1,7

2ПР-0,6 Û ПТ-2,2

2ПР-0,6 Û ПТ-2,2

4

1; 1-а

8,5

2ПР-0,6 Û ПТ-1,7

2ПР-0,6 Û ПТ-1,7

2ПР-0,6 Û ПТ-2,2

2ПР-0,6 Û ПТ-2,2

6

1; 1-а

8,5

2ПР-0,6 Û ПТ-1,7

2ПР-0,6 Û ПТ-1,7

2ПР-0,6 Û ПТ-1,7

2ПР-0,6 Û ПТ-1,7

8

1; 1-а

8,5

2ПР-0,6 Û ПТ-1,7

2ПР-0,6 Û ПТ-1,7

2ПР-0,8 Û ПТ-2,2

2ПР-0,8 Û ПТ-2,2

10

1; 1-а

8,5

2ПР-0,6 Û ПТ-1,7

2ПР-0,8 Û ПТ-1,7

2ПР-1,2 Û ПТ-1,2

2ПР-1,2 Û 2ПТ-1,2

12

6; 6-а

8,5

2ПР-0,6 Û ПТ-1,7

2ПР-0,6 Û ПТ-1,7

2ПР-0,8 Û 2ПТ-1,2

2ПР-1,2 Û 2ПТ-1,2

16

7; 7-а

8,5

ПР-2,0 Û ПТ-2,2

2ПР-0,8 Û ПТ-2,2

2ПР-0,8 Û 2ПТ-0,8

2ПР-1,2 Û 2ПТ-1,2

16

2; 2-а

8,5

ПР-2,0 Û ПТ-2,2

2ПР-0,8 Û 2ПТ-0,8

2ПР-0,8 Û 2ПТ-0,8

2ПР-1,2 Û 2ПТ-1,2

20

3; 3-а; 8; 9

8,5

2ПР-0,8 Û 2ПТ-0,8

2ПР-0,8 Û 2ПТ-0,8

2ПР-1,2 Û 2ПТ-1,2

2ПР-1,2 Û 2ПТ-1,2

28

4; 4-а

8,5

2ПР-1,2 Û 2ПТ-1,2

2ПР-1,2 Û 2ПТ-1,2

2ПР-1,2 Û 2ПТ-1,2

2ПР-2,0 Û 2ПТ-1,7

32

10; 11

7,5

2ПР-1,2 Û 2ПТ-1,2

2ПР-1,2 Û 2ПТ-1,2

2ПР-2,0 Û 2ПТ-1,7

2ПР-2,0 Û 2ПТ-2,2

32

5

7,5

2ПР-1,2 Û 2ПТ-1,2

2ПР-1,2 Û 2ПТ-1,2

2ПР-2,0 Û 2ПТ-1,7

2ПР-2,0 Û 2ПТ-2,2

40

5

8,5

2ПР-1,2 Û 2ПТ-1,2

2ПР-2,0 Û 2ПТ-2,0

2ПР-2,0 Û 2ПТ-2,0

2ПР-2,0 Û 2ПТ-2,2

Примечания: 1. Цифра «2», стоящая перед типом приставки, указывает на количество приставок.

2. При выборе типа, расчетного момента и количества устанавливаемых приставок следует учитывать возможность увеличения числа подвешенных на опоре проводов.

ИЗГОТОВЛЕНИЕ И ОСНАСТКА ОПОР

8.20. Изготовление опор включает в себя:

а) очистку бревен от коры, луба и заделку вершины на два ската;

б) изготовление деталей сложных опор, устройство сопряжений и креплений между ними;

в) сборку сложных опор;

г) припасовку железобетонных приставок к деревянным стойкам опор;

д) подготовку железобетонных опор к оснастке траверсами и другой арматурой.

8.21. При оснастке опор и траверс выполняют следующие работы:

а) оснастку опор крюками и изоляторами;

б) установку на траверсах штырей и изоляторов;

в) установку на опорах траверс.

8.22. Изготовление и оснастку опор (при их количестве более 100) рекомендуется производить на специально оборудованной площадке (полигоне) с применением электроинструмента и других средств механизации, чтобы на трассу вывозить опоры в максимальной готовности (сборности), что способствует индустриализации строительства, повышению производительности труда и улучшению качества работ.

8.23. Место для размещения площадки необходимо выбирать в зависимости от протяженности трассы, мест дислокации участка, и разгрузки поступающих деревянных столбов, железобетонных опор, приставок, траверс и других материалов.

Для оборудования площадки рекомендуется создавать комплекты механизированного инструмента.

8.24. Обработку и оснастку опор на трассе при незначительном объеме работ рекомендуется производить при помощи подвижных узлов механизации.

Подвижной узел малой механизации представляет собой автомобиль или двухосный автоприцеп, на котором скомплектованы средства малой механизации, инструмент и смонтирована передвижная электростанция для осуществления автономного электропитания.

Перечень средств малой механизации, инструмента для оснащения специально оборудованной площадки и подвижного узла механизации для обработки и оснастки опор приведен в табл. 8.4.

Таблица 8.4

Перечень
средств механизации и приспособлений, необходимых для оснащения специально оборудованной площадки и
подвижного узла механизации дл
я изготовления, обработки и оснастки опор и траверс

Наименование машин и механизмов

Тип (марка)

Количество

Назначение

для специально оборудованной площадки

для подвижного узла механизации

1

2

3

4

5

Электростанция

АБ-2-Т/230

-

1

для энергоснабжения электроинструмента

Щит распределительный

3

1

для распределения электроэнергии по потребителям

Цепная электропила

ЦНИИМЭ

К-5м или К-6

1

1

для заделки вершин на два ската и опиловки столбов

Элекросучкорезка со сменной окорочной головкой

РЭС-2

2

1

для снятия коры и луба

Окорочный инструмент

ОА-19

2

1

то же

Электросверлилки с комплектами сверл по дереву, торцевых ключей и торцевых патронов

ИЭ-1015 или ИЭ-1017

2

1

для сверления в опорах отверстий под крюки и болты для крепления траверс, а также для механизации гайковертных работ при оснастке траверс штырями и насадке изоляторов

Гайковертный наконечник

-

2

1

для завинчивания гаек при сборке и оснастке опор

Фреза торцевая с установочной рамой

-

1

1

для выполнения врубок на опоре под траверсы

Электрошлифовальная машина

С-475 (И-54)

1

1

привод к торцевой фрезе

Шаблоны:

для ускорения и облегчения разметки

а) для разметки отверстий на опоре под крюки;

2

1

6) для разметки вершины опоры на два ската

2

1

то же

в) для сверления отверстий под штыри в деревянных траверсах

2

1

то же

Ручной инструмент в номенклатуре и количестве, приведенном в Нормокомплекте ГТС ЛС-7.

Примечания: 1. Производительность специально оборудованной площадки с указанным набором средств механизации составляет 20 обработанных и оснащенных опор и 45 оснащенных восьмиштырных траверс в смену (8 ч).

2. Производительность подвижного узла механизации 10 - 12 обработанных опор и 22 оснащенных траверсы в смену.

8.25. При изготовлении и оснастке опор необходимо выполнять следующие указания и рекомендации:

а) удаление с поверхности коры и луба производить с помощью электросучкорезки, а при ее отсутствии - окорочной лопатой и стругом;

б) запиловку или затеску вершины столба на два ската делать под углом 45 градусов с гребнем шириной 30 мм (см. рис. 8.5). Столбы, имеющие одностороннюю кривизну, затесывать так, чтобы кривизна столба была направлена вдоль линии. Для запиловки вершины, обрезки столбов рекомендуется использовать бензомоторную пилу «Дружба» или электропилу. При отсутствии средств механизации применяются ручные пилы. Разметку заделки вершины столба рекомендуется производить с помощью шаблона (рис. 8.6);

Рис. 8.5. Правильно обработанная вершина опоры

Untitled-1

Рис. 8.6. Шаблон для разметки опиловки или затески вершины опоры

Шаблон может быть изготовлен из 2 - 3 мм фанеры, картона или листовой стали толщиной 0,5 - 0,7 мм;

в) оснастка столба должна производиться так, чтобы после его установки гребень был расположен: при оснастке крюками - перпендикулярно линии, при оснастке траверсами - по направлению линии;

г) разметку отверстий в столбе для ввертывания крюков рекомендуется производить при помощи шаблона (рис. 8.7).

Рис. 8.7. Шаблон разметки отверстий в столбе для ввертывания крюков

Отверстия сверлятся с помощью электрической сверлильной машины, а на трассе - буравом. Диаметр сверла или бурава берется на 2 мм меньше диаметра нарезной части крюка.

Глубина отверстий должна быть на 10 мм меньше длины нарезки крюка, для чего на сверле или бураве делается отметка, показывающая глубину отверстия. Крюк ввертывается сначала руками, а затем с помощью специального ключа, так чтобы после ввертывания расстояние между крюком и столбом равнялось 2 см, что может определяться толщиной ладони руки (рис. 8.8а).

На угловых, а также на всех опорах линий У и ОУ крюки следует ввертывать вплотную к опоре (рис. 8.8б).

На угловых опорах при вылете угла более 7,5 м на каждый провод должны устанавливаться два крюка, расположенные на расстоянии 80 мм друг от друга (рис. 8.8в).

Рис. 8.8. Правила ввертывания крюков

Двойные крюки устанавливаются также на оконечных опорах. Оснастка опоры крюками с изоляторами показана на рис. 8.9.

Рис. 8.9. Оснастка опоры крюками с изоляторами

д) перед креплением деревянных траверс к столбу они должны быть оснащены штырями и изоляторами. В связи с тем, что штыри в отверстия деревянных траверс вставляются (забиваются) в большинстве случаев с усилием, рекомендуется эту трудоемкую операцию выполнять малооборотной электрической машиной, оснащенной торцовым ключом для ввертывания штырей (рис. 8.10). Гайки рекомендуется завинчивать с помощью гайковерта или электрической машиной, оснащенной гайковертной муфтой максимального момента.

Untitled-1

Рис. 8.10. Торцовый ключ для ввертывания штырей деревянных траверс

Траверсы стальные для воздушных линий должны выпускаться оснащенными штырями и подкосами (приваренными);

е) траверсы должны крепиться к столбу во врубках с помощью болтов и подкосов.

Ширина врубок должна быть равна ширине устанавливаемых траверс, глубина для деревянных траверс должна быть 15 мм, а для стальных - 5 мм. Врубки должны быть покрыты креозотовым маслом. Отверстия для траверсных болтов в столбе сверлятся на полигоне с помощью сверлильной машины, на линии - буравом.

Болты диаметром 16 мм, длиной 300, 320 и 350 мм с длиной нарезки 100 мм применяются для крепления деревянных траверс к одинарным опорам; длиной 400, 420 и 450 мм - для крепления двойных траверс и подпор к опорам.

Стальные траверсы должны крепиться к столбу шурупами с шестигранной головкой размерами 12×100 мм.

Крепление стальных траверс на промежуточных опорах показано на рис. 8.11.

Untitled-1

Рис. 8.11. Крепление стальных траверс на промежуточных опорах

Способ крепления траверс на опорах типа ПО и ПОН показан на рис. 8.12. Траверсы должны устанавливаться параллельно друг другу и перпендикулярно к оси столба, а на уклонах линии в 20 градусов и больше - врубки и отверстия делают под углом к оси столба, равным углу подъема линии;

Untitled-1

Рис. 8.12. Способ крепления траверс на опорах типа ПО и ПОН

1 - болт М-16 с нарезкой с обеих сторон; 2 - угловая сталь 40×40×5; 3 - планка 40×40×5

ж) изоляторы на штыри и крюки следует навертывать, применяя полиэтиленовый колпачок с резьбой, навинчиваемый на верхнюю часть штыря или крюка. При отсутствии колпачков необходимо применять каболку, которую нужно наматывать плотными рядами на крюк или штырь. Толщина слоя каболки должна быть такой, чтобы изолятор навертывался с усилием.

Для навертывания изоляторов рекомендуется применять редуктор с подсоединенными муфтой и патроном, малооборотную сверлильную машину типа ИЭ-1023, оснащенную патроном для навинчивания изоляторов или специальный ключ. Изолятор должен навертываться до отказа строго вертикально, причем желобок на его головке следует устанавливать по направлению провода;

з) длина и диаметр промежуточных опор в зависимости от числа подвешиваемых проводов, профиля и габарита линий приведены в табл. 8.5.

Таблица 8.5

Число проводов

Номер профиля

Общая длина опор

Минимальный диаметр опоры в вершине, см, для линий типов

О

Н

У

ОУ

4

1, 1а

6,5

12

12

12

13

8

1, 1а

7,5

12

14

14

15

10

1, 1а

8,5

14

15

15

16

12

6

8,5

12

14

16

19

16

2, 2а и 7, 7а

8,5

14

17

18

20

20

3, 3а и 8

8,5

15

18

19

21

24

5

6,5

16

18

19

22

32

5

7,5

18

22

-

-

40

5

8,5

20

25

-

-

и) угловые полуанкерные, кабельные и другие сложные опоры и детали для их укрепления (оттяжки, подпоры, якорные лежни, стержни и др.) следует изготовлять на полигоне и после контрольной сборки вывозить на трассу в собранном и разобранном виде (в зависимости от наличия соответствующих транспортных средств).

к) железобетонные опоры перед транспортировкой на трассу должны быть на полигоне соответствующим образом обработаны.

Обработка заключается в удалении деревянных пробок из отверстий или в прочистке закладных отрезков стальных труб, заложенных в отверстия опоры. Удаление деревянных пробок из отверстий опоры производится с помощью электросверлильной машины со сверлом соответствующего диаметра (если их невозможно выбить пробойником).

Железобетонные опоры должны быть тщательно проверены внешним осмотром на соответствие требованиям технических условий (размеры раковин, впадин, сколов, наличие трещин и т.п.). Трещины в опорах не допускаются, за исключением поверхностных усадочных, ширина которых не должна превышать 0,1 мм;

л) крепление железобетонных приставок к деревянным опорам должно производиться при помощи хомутов из стальной оцинкованной проволоки диаметром 4 - 5 мм или из проволоки-катанки диаметром 6 мм.

Количество витков проволоки - от четырех до восьми, в зависимости от нагрузки линии и от диаметра применяемой для хомутов проволоки.

Проволочные хомуты следует затягивать вокруг опоры и приставок с помощью монтажного ломика.

Предварительно деревянный столб (стойка) должен быть обработан с помощью электрорубанка или топора, так чтобы он плотно припасовывался к выступам приставок.

При укреплении опоры двумя приставками между ними должны быть закреплены деревянные антисептированные или бетонные вкладыши. Укрепление деревянных опор железобетонными приставками показано на рис. 8.13.

Untitled-1

Рис. 8.13. Укрепление деревянных опор железобетонными приставками:

а) одной приставкой; б) двумя приставками с деревянным вкладышем; в) двумя приставками с бетонным вкладышем

РАЗБИВКА ТРАССЫ ЛИНИИ

8.26. Разбивку трассы воздушной столбовой линии связи необходимо производить в строгом соответствии с рабочими чертежами.

8.27. Трасса строительства линии должна быть согласована с заинтересованными организациями: с органами местной власти, управлениями железных и автомобильных дорог, организациями, ведающими лесными, речными хозяйствами и т.п.

8.28. При разбивке и строительстве линии необходимо строго соблюдать установленные габариты, приведенные в табл. 8.6.

При определении габаритов необходимо учитывать наибольшее провисание проводов, которое бывает при наивысшей для данной местности температуре или при гололеде.

Таблица 8.6

Габариты воздушных линий связи

Характеристика габарита

Расстояние, м не менее

1

2

Расстояние от земли до нижнего провода для линий, идущих вдоль железных дорог вне населенных пунктов*

2,5

Расстояние от земли до нижнего провода для линий, идущих вдоль автомобильных или грунтовых дорог вне населенных пунктов

3,0

Расстояние между нижним проводом линии и тросом, несущим контактный провод электр. железных дорог

2,0

Расстояние от провода линии при пересечении с контактным проводом трамвая, считая до головки рельса

8,0

То же для троллейбуса, до поверхности дорожного полотна

9,0

Расстояние от земли до нижнего провода линий при пересечении автомобильных дорог

5,5

Расстояние между нижним проводом линий и головкой рельса при пересечении линией железнодорожного полотна нормальной и узкой колеи

7,5

Расстояние от земли до нижнего провода линии, проходящей в черте населенного пункта

4,5

Расстояние между нижним проводом фидерной цепи ПВ и верхним проводом линии связи, а также при пересечении проводов ПВ между собой

1,25

Расстояние между нижним проводом одной и верхним проводом другой линии при их пересечении между собой для наинизшей и наивысшей температур

0,6

Расстояние от наинизшей точки провода линии при пересечении рек и каналов до наиболее высоких мачт судов при высшем уровне воды

1,0

Расстояние от наинизшей точки провода линии до верхней точки габарита сплава** при горизонте наивысшего паводка пересекаемых сплавных рек и каналов

1,0

Расстояние от опор до головки ближайшего рельса при расположении линии вдоль железнодорожного полотна

1,3 высоты надземной части опоры

Горизонтальное расстояние между ближайшими к строению проводом и вертикальной плоскостью, проходящей через край карниза, или другой наиболее выступающей части строения (балкона, фонаря)

2,25

Расстояние между наинизшей точкой нижнего провода столбовой линии и коньком крыши для линий МТС, идущих вдоль железных дорог

1,5

Расстояние от ветвей деревьев до проводов линии:

а) в городах

1,25

б) в пригородных местностях

2,0

Расстояние от земли до нижнего провода абонентского ввода над тротуаром, огородом, садом или пустырем

3,0

Расстояние от головки рельса до полуанкерной опоры или подпоры линии, пересекающей полотно железной дороги

10,0

Расстояние от опор до подземных трубопроводов, водо-, газо-, нефте- и теплопроводов, а также канализационных труб

1,0

Расстояние от опор до пожарных гидрантов, колодцев (люков) и водоразборных колонок

2,0

Расстояние от опор до бензиновой колонки

5,0

Расстояние от опор до электрических кабелей всех назначений

1,0

Расстояние по горизонтали от бровки дорожного полотна до основания подпор переходных опор. На участках стесненной трассы это расстояние определяется по согласованию между заинтересованными организациями при условии дополнительного укрепления опор

высоты опоры

Вертикальное расстояние от полотна дороги до оттяжки опоры при пересечении оттяжкой:

а) пешеходных проходов

3,5

б) проездов

5,5

____________________

* Населенным пунктом считается территория городов, поселков, деревень, промышленных предприятий, парков, бульваров и прочих мест, посещаемых населением. Прилегающие к населенному пункту огороды, сады и т.п. рассматриваются также как территория населенного пункта.

* Габаритом сплава называется расстояние от водной поверхности реки (канала) до наивысшей точки сооружений на сплаве (домика, вышки, сигнальной вехи и т.п.).

8.29. Разбивка трассы линии должна производиться от начала линии до первого поворота и далее между точками изменения направления линии. При разбивке следует соблюдать точность при определении длины пролетов.

Допустимые отклонения длин пролетов нормируются по длинам элементов скрещивания (обычно равной двум пролетам). Отсчет элементов начинается от начала линии.

Допустимые отклонения длин элементов приведены в табл. 8.7.

Таблица 8.7

Длина элемента, м

Допустимое отклонение длины элемента, м

35

±6,0

40

±6,5

50

±7,0

60

±8,0

70

±8,5

80

±9,0

100

±10,0

125

±11,0

166

±13,0

8.30. Для разбивки линии необходимо иметь:

а) мерную цепь для промера пролетов или отрезок проволоки, равный длине пролета;

б) деревянные вехи длиной 3 - 4 мм;

в) деревянные колышки длиной 30 - 40 см, диаметром 3 - 4 см для отметки мест установки опор;

г) флажки и свисток для сигнализации;

д) топор для заготовки колышков и забивки их в землю;

е) стальную саперную лопату.

8.31. Разбивка линии на прямых участках производится с помощью трех вех.

В начале линии или в точке изменения направления линии устанавливают веху № 1. На выбранном направлении ставят веху № 2, так чтобы ее было видно со стороны вехи № 1. Около вехи № 1 забивают колышек, обозначающий место установки первой опоры.

От вехи № 1 мерной цепью отмеривают расстояние, равное длине пролета. Точное положение второй опоры находят, устанавливая веху № 3 в створе вех № 1 и № 2. Для этой цели веху № 3 передвигают вправо или влево до тех пор, пока она при визировании от вехи № 1 не закроет веху № 2. Место установки второй опоры также отмечают колышком, на котором записывают номер опоры. Таким же образом определяют место установки следующих опор.

После разбивки половины расстояния между вехами № 1 и № 2 перемещают веху № 1 на место предпоследнего колышка, не меняя положения вехи № 3, а веху № 2 передвигают вперед на расстояние ясной видимости, но не дальше, чем в точку поворота направления линии, и устанавливают ее в створе вех № 1 и № 3 (рис. 8.14).

Рис. 8.14. Разбивка линии на прямых участках

8.32. Если трасса проходит через возвышенность, используют дополнительную (четвертую) веху и место для установки столба находят следующим образом (рис. 8.15):

Рис. 8.15. Разбивка линии на пересеченной местности

а) веху № 2 устанавливают за возвышенностью, у подножия холма;

б) на возвышенное место, в точках, из которых видны одновременно обе вехи (№ 1 и № 2), устанавливают вехи № 3 и № 4. Веху № 4 перемещают до тех пор, пока она не окажется на прямой линии, соединяющей вехи № 3 и № 2;

в) затем веху № 3 перемещают до тех пор, пока она не окажется на прямой линии, соединяющей вехи № 1 и № 4;

г) последовательным визированием вехи № 3 на веху № 2 и вехи № 4 на веху № 1 добиваются того, чтобы все четыре вехи находились на одной линии;

д) разбивку линии между вехами № 1 и № 3, № 3 и № 4, № 4 и № 2 производят, как указано в п. 8.31.

8.33. Если вылет угла больше 15 м, что соответствует внутреннему углу 45 градусов или углу поворота линии 35 градусов, то угол необходимо разбить на два. В населенных пунктах, где указанное требование не может быть выполнено, на угловой опоре для каждого провода нужно устанавливать два штыря ШУ-2Д или два крюка.

Для обозначения места установки угловой опоры внутри угла на расстоянии 25 - 35 см от основного колышка забивается второй колышек.

Пролеты, смежные с угловой опорой, должны иметь нормальную длину. При числе проводов более четырех и нормальном вылете угла более 5 м длины смежных пролетов должны быть равны половине нормальной. Кроме того, при числе проводов восемь и более опоры, смежные с угловой, укрепляются подпорами или оттяжками.

8.34. При строительстве столбовых линий ГТС разбивку трассы выполняют с учетом следующих дополнительных требований:

а) опоры, как правило, должны устанавливаться в пешеходной части улиц;

б) расстояние от опоры до бровки тротуара или кювета не должно превышать 0,5 м;

в) опоры и их крепления не должны мешать уличному движению пешеходов и транспорта;

г) провода должны пересекать улицы перпендикулярно осям последних. В порядке исключения допускается пересечение под углом не менее 45 градусов;

д) линия, по возможности, не должна проходить по одной стороне улицы с линией освещения;

е) опора пересекающего пролета устанавливается в том месте (при пересечении улиц), где впоследствии возможно ответвление проводов;

ж) установка опор против ворот, калиток, дверей и окон, а также на дне сточных канав и кюветов не допускается.

ТРАНСПОРТИРОВАНИЕ ОПОР

8.35. Опоры, как правило, должны перевозиться на автомобилях с прицепами-роспусками.

8.36. Для погрузки и выгрузки опор следует применять автомобильные краны. При отсутствии автокранов применяются лебедки и самоудерживающиеся покати (по две штуки на погрузку).

8.37. Подъем железобетонных и деревянных опор при погрузке и разгрузке автокранами должен производиться с помощью строп, которые крепятся к железобетонным опорам и приставкам за монтажные петли, или через отверстия в теле опор.

8.38. Железобетонные опоры и приставки следует тщательно оберегать от повреждений, возникающих при толчках и ударах.

8.39. При погрузке железобетонных опор или приставок на автомашины нижний ряд должен укладываться на деревянные подкладки, размещаемые в местах расположения монтажных скоб или в местах, указанных для строповки. Между рядами опор или приставок должны прокладываться деревянные прокладки из досок или брусков.

Во избежание смещения деревянных или железобетонных опор (приставок) при транспортировке они должны быть надежно укреплены.

8.40. После обработки и оснастки опор их развозят по линии, выгружая у колышков, забитых в грунт при разбивке трассы. Опоры укладывают комелем к колышку.

Разгрузка опор сбросом не допускается. Запрещается перемещение опоры по трассе волоком.

РЫТЬЕ ЯМ ПОД ОПОРЫ

8.41. Рытье ям под опоры, как правило, должно производиться бурильно-крановыми машинами, которые бурят скважины диаметром 0,35; 0,5; 0,8 м глубиной до 2 - 3 м.

Производительность бурильно-крановой машины при глубине ямы 1,6 м в грунте II группы составляет 70 - 80 ям в смену (8,2 часа). При рытье ям с одновременной установкой опор без их выверки и засыпки ям производительность составляет 35 - 40 опор в смену.

Исходя из вышеизложенного и учитывая значительную трудоемкость работ по рытью ям, рекомендуется при строительстве ВЛС большой протяженности (более 10 км) использовать бурильно-крановую машину только для рытья ям, а установку опор производить с помощью автокрана.

8.42. Рытье ям под опоры вручную допускается, в виде исключения, в стесненных уличных условиях или при незначительных объемах работ, когда нецелесообразно направлять бурильно-крановую машину на трассу строящейся линии, находящуюся на значительном расстоянии от ее дислокации.

При ручном способе рытье ям в грунтах I, II групп производится с помощью копальных остроконечных и подборочных лопат, рыхление грунта - с помощью ломов и киркомотыг. В каменистых, скалистых и мерзлых грунтах рыхление должно осуществляться с помощью компрессора и отбойных молотков и, в виде исключения, стальными клиньями и кувалдами.

8.43. Ямы для опор, пробуренные бурильно-крановой машиной, имеют круглую форму, а отрытые ручным способом - ступенчатую (рис. 8.16).

Untitled-1

Рис. 8.16. Формы ям:

а - для одинарной опоры, отрытая бурильно-крановой машиной или бурофрезом; б - то же, отрытая вручную; в - для подпоры, отрытая вручную; г - то же, для оттяжки

Глубина ям (закопки опор) зависит от характера грунта, количества подвешиваемых проводов, длины опоры и определяется по табл. 8.8.

Таблица 8.8

Глубина закопки опор

Количество проводов

Грунт I - II групп при длине опор, м

Грунт IV группы при длине опор, м

7,5

8,5 и 9,5

11 и 13

7,5 - 9,5

11 и 13

2 - 12

1,4

1,5

1,6

1,1

1,3

14 - 24

1,5

1,6

1,7

1,1

1,3

26 - 40

-

1,8

1,9

1,1

1,3

Примечание. В слабых грунтах, а также на склонах холмов более 45 градусов ямы выкапываются на 150 мм глубже.

Глубина ям для подпор в грунтах I и II групп должна быть равной 1 м, в грунтах III группы - 0,6 м, IV группы - 0,5 м. Глубина ям для отбойных тумб в грунтах I и II групп - 1 м, III группы - 0,8 м и IV группы - 0,6 м.

8.44. Расположение ям для промежуточных, угловых и оконечных опор при рытье ручным способом показано на рис. 8.17.

Ямы для промежуточных и противоветровых опор должны отрываться по направлению линии. При этом отвесные стенки смежных ям должны быть направлены в разные стороны.

Ямы для оконечных и угловых опор следует отрывать с отвесной стенкой в сторону натяжения проводов. Колышек, находящийся внутри угла, должен прилегать к отвесной стенке ямы. Для опор, смежных с угловыми и оконечными, ямы должны отрываться так, чтобы отвесные стенки их были обращены в сторону, противоположную угловой и оконечной опорам.

Рис. 8.17. Расположение ям для промежуточных, угловых и оконечных опор при рытье ручным способом

8.45. Форма ям для угловых опор с подпорами показана на рис. 8.18.

Рис. 8.18. Форма ям для угловых опор с подпорами

Расстояние А между ямой для опоры и ямой для подпоры или якоря оттяжки указано в табл. 8.9.

Таблица 8.9

Расстояние между ямой для основного столба ямой для подпоры или якоря оттяжки

Длина вертикальных столбов, м

А, м

6,5

2,80

7,5

2,70

8,5

3,15

УСТАНОВКА И УКРЕПЛЕНИЕ ОПОР

8.46. Установка опор должна производиться бурильно-крановой машиной или автокраном сразу же после отрывки ям.

8.47. При установке опоры с помощью БКГМ ее стропуют подъемным канатом на расстоянии не менее 2/3 длины опоры от комля, после чего с помощью стрелы и лебедки опору поднимают и отпускают в яму (рис. 8.19).

Рис. 8.19. Установка опор с помощью БКГМ

При этом рабочий - землекоп должен веревкой удерживать вершину опоры и регулировать установку ее в яму. Не снимая подъемного каната, опору следует выверить по вертикали и в створ опор линии, после чего яму засыпать грунтом с послойным трамбованием.

8.48. В тех случаях, когда отсутствует возможность применения машин, установку опор выполняют вручную. При этом оснащенную и подготовленную опору необходимо уложить вдоль линии со стороны ступенек ямы так, чтобы ее комель упирался в доску, установленную у задней отвесной стенки ямы.

Рабочие поднимают опору за вершину, затем один из рабочих подпирает ее вертикальную часть рогачом, а остальные, передвигаясь поочередно к середине опоры, поднимают ее при помощи рогачей и багра до тех пор, пока комель опоры не достигнет дна ямы и опора займет вертикальное положение. После подъема опоры доску вынимают из ямы и опору выравнивают в линию с ранее установленными. Промежуточные опоры следует устанавливать по отвесу точно в створе линии.

Одновременно с выравниванием поднятой опоры ее кантуют с расчетом, чтобы крюки или траверсы расположились перпендикулярно направлению линии. После окончательного выравнивания опоры яму засыпают грунтом, вырытым при ее выкапывании. Грунт плотно утрамбовывают слоями в 15 - 20 см при помощи механической или ручной трамбовки. Излишек грунта насыпают вокруг опоры в виде конусообразного возвышения и также утрамбовывают.

8.49. До подвески проводов угловая опора должна быть укреплена оттяжкой или подпорой. Оттяжка или подпора устанавливается в плоскости, разделяющей угол между проводами на угловой опоре пополам. Подпора ставится к опоре с внутренней стороны этого угла, оттяжка - с внешней стороны.

8.50. Угловую опору следует устанавливать с некоторым наклоном вершины в сторону, противоположную направлению равнодействующей натяжению проводов или подвешенного кабеля (рис. 8.20).

Оттяжки следует изготавливать из стальной оцинкованной проволоки диаметром 4 - 5 мм, свиваемой в жгут. Количество проволок в жгуте зависит от нагрузки и угла поворота линии и может колебаться от двух до семи.

Нижний конец оттяжки необходимо закреплять за якорный жгут, который должен быть изготовлен из такой же проволоки, что и оттяжка и заделан за якорный лежень (рис. 8.21).

Рис. 8.20. Угловая опора, укрепленная подпорой (профиль 1а)

Рис. 8.21. Угловая опора, укрепленная подпорой и оттяжкой

8.51. Железобетонные опоры следует укреплять только оттяжками, которые нужно крепить к железобетонным опорам при помощи двухушковых хомутов (рис. 8.22).

Untitled-1

Рис. 8.22. Крепление подкосов и оттяжек к железобетонной опоре

Угловую опору нужно укреплять одной оттяжкой, оконечные и кабельные опоры - двумя оттяжками. При этом хомут размещают под первой траверсой.

8.52. Полуанкерные опоры (рис. 8.23) применяются при переходах через железные дороги, на удлиненных пролетах, в качестве вводных и кабельных опор, а также для увеличения устойчивости линии в гололедных районах.

Untitled-1

Рис. 8.23. Полуанкерная опора, укрепленная подпорами

Рис. 8.24. Крепление верхней части подпоры к полуанкерной опоре

Они должны укрепляться подпорами. Крепление подпоры к верхней части опоры следует выполнять так, как показано на рис. 8.24.

КАБЕЛЬНЫЕ ОПОРЫ

8.53. Кабельные опоры должны устанавливаться в местах перехода воздушной линии на кабельную.

В качестве кабельной опоры при числе проводов не более шестнадцати следует устанавливать одинарную опору (рис. 8.25), укрепленную подпорой или оттяжкой.

Untitled-1

Рис. 8.25. Кабельная опора:

1 - молниеотвод; 2 - кабельная площадка; 3 - заземление; 4 - кабельный ящик; 5 - шурупы с шестигранной головкой 12×100; 6 - стальной желоб; 7 - ступени; 8 - изогнутая труба; 9 - отверстие 6 мм

Untitled-1

Рис. 8.26. Укороченная кабельная ОКУ

При числе проводов больше шестнадцати должна устанавливаться полуанкерная опора или сдвоенная опора, укрепленная подпорой или оттяжкой.

8.54. В настоящее время в строительство ВЛС начали внедрять кабельные опоры, представляющие собой железобетонную стойку длиной 2950 мм, с поперечным сечением 160×170 мм, на которой с помощью хомутов из полосовой стали укреплен кабельный ящик (рис. 8.26). В качестве стойки может быть использована железобетонная приставка для опор ВЛС типа ПР-5,9-2,8 или ПР-5,9-3,0 ТУ45 609-73.

8.55. Кабельные опоры должны устанавливаться в местах, имеющих свободный доступ для обслуживающего персонала; на берегах рек они должны устанавливаться в незатопляемой местности.

8.56. Для соединения проводов с жилами вводных кабелей или кабельных вставок на кабельных опорах воздушных линий сельской связи, в зависимости от их назначения, должны устанавливаться кабельные шкафы типа УКМШ и ШКМ или кабельные ящики ГТС типа УКП.

8.57. Кабельную опору следует оборудовать кабельной площадкой, ступенями, молниеотводами и заземлением. Кабель, проложенный по опоре, должен быть защищен стальным желобом или сталью уголкового профиля.

8.58. Кабельная опора также должна быть оборудована пятью восьмиштырными траверсами при емкости кабельного ящика 20×2 и тремя траверсами - при емкости 10×2.

Кабельный ящик должен быть укреплен на опоре шурупами с шестигранной головкой (глухарями) 6×80 мм и с установкой по отвесу.

8.59. Кабельная площадка должна прикрепляться к опоре сквозными болтами M16×280 мм на расстоянии 1400 мм от настила площадки.

Ступени должны быть из круглой стали диаметром 16 - 18 мм длиной 250 мм. Один конец ступени должен иметь отверстие 6 мм, второй - винтовую накатку длиной 70 мм.

Ввинчивание ступеней должно быть выполнено под углом 45 градусов к плоскости траверс по одну сторону опоры (пешеходную), на расстоянии 30 см одна от другой.

Ступени скрепляются между собой свитой из двух концов стальной проволоки диаметром 3 - 4 мм, одна из которых должна быть пропущена через отверстия в ступенях. Концы проволоки укрепляются глухарями.

8.60. Нижняя ступень устанавливается на расстоянии 1,7 м от земли, а верхняя - ниже кабельной площадки на 350 мм. Ступень ввинчивается в тело опоры на 100 мм, при этом ширина ступени должна быть не менее 140 - 150 мм.

8.61. Для защиты опор воздушной линии связи от ударов молнии на кабельных вводных угловых и переходных опорах должны быть установлены молниеотводы, выполненные из целого отрезка стальной оцинкованной проволоки диаметром 4 - 5 мм.

Кабельный ящик следует заземлить, подключая к молниеотводу медный провод (ПР) диаметром не менее 2 мм с пропайкой припоем ПОССу-30.

Молниеотвод должен быть укреплен на опоре скобами через каждые 300 мм и расположен на боковой стороне опоры, противоположной стороне установки ступеней (рис. 8.25).

8.62. Для устройства заземления следует использовать обрезки стальных труб или уголковой стали, длина, диаметр и сечение которых зависит от удельного сопротивления грунта и определяется проектом.

Устройство трубчатых заземлений показано на рис. 8.27.

Untitled-1

Рис. 8.27. Устройство заземления:

а - одной трубой; б - несколькими трубами:

1 - труба стальная; 2 - стальная проволока диаметром 5 мм; 3 - хомут из перевязочной проволоки диаметром 2 мм; 4 - проволока стальная диаметром 4 - 5 мм

При устройстве заземления у железобетонной опоры его отвод и провод от кабельного ящика припаивают к оголенной арматуре в верхней и нижней частях опоры.

После устройства молниеотвода и заземления кабельной опоры должны быть проведены электрические измерения сопротивления заземления, величина которого не должна превышать нормы, указанные в табл. 8.10 и 8.11.

Таблица 8.10

Нормы сопротивлений для заземлений в зависимости от числа проводов

Удельное сопротивление грунта, Ом/м

Число проводов, введенных в кабельный ящик

до 5

6 - 10

11 - 20

21 - 40

Сопротивление заземления, не более, Ом

До 50 (чернозем, торф)

12

9

7

6

50 - 100 (глина, суглинок)

14

10

8

7

100 - 300 (супесок)

17

13

10

9

300 - 500 (песок)

24

18

14

12

500 - 1000 (каменистый грунт)

30

22

17

15

Таблица 8.11

Нормы сопротивления для молниеотводов в зависимости от удельного сопротивления грунта

Удельное сопротивление грунта, Ом/м

До 100 (чернозем, торф, глина, суглинок)

100 - 300 (супесок)

300 - 500 (песок)

500 - 100 (каменистый грунт)

Сопротивление заземления для молниеотводов, не более, Ом

80

100

1500

200

РАСКАТКА ПРОВОЛОКИ И СОЕДИНЕНИЕ ПРОВОДОВ

8.63. Проволоку рекомендуется раскатывать по земле с двойного тамбура, установленного на автомобиль. При этом одновременно раскатываются два провода, предварительно закрепленные за опору, от которой начинается раскатка (рис. 8.28).

Untitled-1

Рис. 8.28. Раскатка проволоки с двухтамбурной установки

При раскатке проволоки следует следить, чтобы автомобиль передвигался равномерно. Необходимо исключить закручивания, спутывание проволоки и появление на ней барашков. При необходимости рабочий, находящийся у тамбура, должен притормаживать его имеющимся тормозом. Если при размотке проволоки образуется «барашек» (затянувшаяся петля), он должен быть вырезан. Вырезаются также и места проволоки, на которых имеются дефекты: надломы, трещины, расплющенности и т.п. Если невозможно вести раскатку проволоки с автомобиля, ее следует производить с переносного облегченного тамбура (рис. 8.29).

Untitled-1

Рис. 8.29. Раскатка проволоки вручную с переносного облегченного тамбура

8.64. Стальная проволока после раскатки должна быть вытянута. При этом один конец проволоки зажимают в блочную лапку, которую при помощи петли или хомута закрепляют у основания начальной опоры вытягиваемого участка (6 - 8 пролетов) (рис. 8.30а).

На другом конце вытягиваемого участка проволоку зажимают в блочную лапку, присоединенную к опоре через динамометр и блоки (рис. 8.30б).

Величины усилий при вытягивании проволоки необходимо контролировать динамометром, они должны соответствовать величинам, приведенным в табл. 8.12.

Вытягивать медную или биметаллическую проволоку не допускается, неровные места и изгибы должны быть выровнены деревянным молотком на деревянной доске.

Таблица 8.12

Диаметр провода, мм

Допустимое усилие в проволоке, кг

5,0

350

4,0

230

3,0

130

2,0 - 2,3

90

Untitled-1

Один конец проволоки зажать в блочную лапку, которую при помощи петли или хомута закрепить у основания опоры

Untitled-1

На другом конце вытягиваемого участка проволоку зажать в блочную лапку, присоединенную к блокам через динамометр

Рис. 8.30. Закрепление проволоки при вытягивании:

а - у основания начальной опоры; б - у конечной опоры

8.65. Сталеалюминиевую проволоку АС перед подвеской необходимо вытягивать с помощью деревянного зажима (рис. 8.31).

Величина силы тяжения, контролируемая динамометром, должна быть равна для АС-10-981 Н (100 кгс), для АС-16-1471,5 Н (150 кгс) и для АС-25-2943 Н (300 кгс).

8.66. Концы стальных проводов, как правило, соединяются при помощи термитно-муфельных патронов и специальных сварочных клещей (рис. 8.32). При этом необходимо:

а) торцы свариваемых проводов подравнять напильником под прямым углом;

б) рычаг клещей отвести до отказа, затем концы свариваемых проводов зажать в клещи с таким расчетом, чтобы стык проводов находился примерно в середине между зажимами;

Untitled-1

Рис. 8.31. Деревянный зажим для вытягивания проволоки

Рис. 8.32. Сварка стальных проводов

Untitled-1

Рис. 8.33. Термитно-муфельный патрон

Untitled-1

Рис. 8.34. Образцы термитно-муфельной сварки проводов:

а - правильно; б и в - неправильно

Масса муфельного патрона

Диаметр свариваемого провода, мм

Размеры муфельного патрона, мм

Масса патрона, г

D

Н

d

3

12,5

17

3,2

3,5

4

17,5

20

4,2

9

5

21,5

23,5

5,2

18

в) на один из концов провода надеть термитно-муфельный патрон (рис. 8.33); клещи свести до отказа, патрон надвинуть так, чтобы середина его приблизительно совпадала с плоскостью стыка проводов; если патрон идет по проводу туго, нужно его сдвинуть, удалить со стыка обычно образующуюся в этом случае термитную пыль, а затем установить патрон обратно;

г) надев предохранительные очки, сварщик должен поджечь термитной спичкой патрон;

д) после того, как патрон сгорит, клещи постепенно свести до отказа;

е) когда сгоревший патрон остынет до потемнения, его следует сбить с провода в специальное корытце, клещи снять с провода.

Для сварки коррозированных проводов рекомендуется применять буру.

Кривые сварки должны переделываться. Такая сварка обычно происходит из-за неправильной установки проводов в клещах или из-за преждевременного сжатия клещей (рис. 8.34).

Сваренный провод по 10 см в одну и другую стороны от места сварки необходимо покрыть суриком или битумом.

8.67. Провода диаметром 1,5 - 2,0 мм следует соединять скруткой так, как показано на рис. 8.35. Сначала провода нужно скрутить между собой, а затем каждый из концов проводов плотно намотать на провода. Далее правый конец провода отогнуть влево, сделать в разгонку два оборота в середине скрутки и восемь витков вокруг левого провода. Такую же операцию, но в противоположном направлении, проделать и с левым концом провода.

Untitled-1

Рис. 8.35. Соединение проводов скруткой

8.68. Медные и биметаллические сталемедные провода следует соединять при помощи медных трубок. При этом концы проводов зачищают мелкой наждачной бумагой на длине 160 мм и вводят в трубки так, чтобы они выступали на 5 мм из нее с обоих концов. Затем концы трубки зажимают в струбцинах клуппа (рис. 8.36) и ключом, устанавливаемым посередине трубки, делают полтора оборота.

Untitled-1

Рис. 8.36. Соединение проводов при помощи медных трубок

8.69. Стальной провод с биметаллическим должен соединяться термитной сваркой.

8.70. Концы сталеалюминиевых проводов марки АС следует соединять при помощи алюминиевых трубок длиной 250 мм. Для соединения концы проводов нужно зачистить мелкой наждачной бумагой на длину 300 мм и ввести трубку так, чтобы они выступали из нее на 50 мм с обоих концов. Затем концы трубки зажать щипцами и закрутить ее, делая три полных оборота по часовой стрелке одними из щипцов, вторые щипцы должны оставаться при этом неподвижными.

8.71. При соединении медных и биметаллических сталемедных проводов с проводами АС медный или биметаллический провод необходимо залудить равномерным слоем ПОС-30, а затем соединить с проводом АС с помощью алюминиевой трубки (соединителя). В виде исключения допускается соединение стальных проводов наложением на сросток плотного бандажа из оцинкованной перевязочной проволоки и пропайкой сростка припоем ПОССу-30-2 (рис. 8.37).

Рис. 8.37. Соединение стальных проводов наложением на сросток бандажа из оцинкованной перевязочной проволоки

В качестве флюса служит паяльная кислота или паяльная паста. Перед наложением бандажа линейные провода должны быть тщательно зачищены личным напильником или наждачной бумагой (до металлического блеска).

ПОДВЕСКА И РЕГУЛИРОВАНИЕ ПРОВОДОВ

8.72. После размотки и вытяжки проводов их поднимают с земли на опоры с помощью шестов с вилками или при помощи веревок с крючками. При этом каждый провод укладывается в желоба изоляторов на промежуточных опорах и на шейки изоляторов на угловых опорах. Одновременно с этим проверяется прочность и правильность насадки изоляторов. Запрещается класть провода (особенно из цветных металлов) на крюки и стальные траверсы.

8.73. Регулирование проводов должно производиться на протяжении шести - восьми пролетов или на расстоянии между двумя местами скрещивания. Натягивание и регулирование проводов производится при помощи блоков, закрепленных на одной из опор. При этом провода зажимаются лапками для натяжения проводов.

Для повышения производительности труда рекомендуется производить натягивание и регулирование одновременно двух или четырех проводов при помощи комбинированных блоков (рис. 8.38).

Untitled-1

Рис. 8.38. Крепление комбинированных блоков при одновременном регулировании двух проводов

8.74. Стрелы провеса проводов зависят от длины пролета, температуры окружающего воздуха, диаметра провода. Они определяются по табл. 8.13 - 8.15.

Регулирование проводов следует производить по величине натяжения проводов с помощью динамометра, подсоединяемого между блоками и лапками, или при помощи реек (рис. 8.39).

Таблица 8.13

Стрелы провеса медных, биметаллических и стальных проводов диаметром 2,5 - 5,0 мм

Температура, °С, для зоны

Стрела провеса, см, при длине пролета, м

I

II

III

35,7

40

50

62,5

83,3

-55

-40

-25

8

10

15,5

24

42

-50

-35

-20

8,5

10,5

16,5

25,5

45

-45

-30

-15

9

11,5

18

27,5

48

-40

-25

-10

10

12,5

19,5

30

52

-35

-20

-5

11

14

21,5

33

56

-30

-15

0

12,5

15,5

23,5

35

59

-25

-10

+5

14

17

25,5

38

63

-20

-5

+10

15,5

19

28

41

68

-15

0

+15

17,5

21

31

45

73

-10

+5

+20

19,5

23,5

34

49

7,8

-5

+10

+25

22

26,5

37

53

82

0

+15

+30

24,5

29,5

41

56

87

+5

+20

+35

27,5

32

44

60

92

+10

+25

+40

30

35

48

65

97

+15

+30

+45

33

38

51

69

102

+20

+35

+50

36

41

54

73

106

+25

+40

+55

38

44

57

77

110

+30

+45

+60

41

47

60

81

114

Примечание. Значения стрел провеса до 30 см могут иметь допуск до 0,5 см, а свыше 30 см - до 1 см.

Таблица 8.14

Стрелы провеса стальных и биметаллических проводов диаметром 1,2 - 2,0 мм

Температура, °С, для зоны

Стрела провеса, см, при длине пролета, м

I

II

III

40

50

62,5

83,3

1

2

3

4

5

6

7

-55

-40

-25

8

14

21

41

-45

-30

-15

9

15

23

43

-40

-25

-10

10

16

25

45

-35

-20

-5

11

17

27

47

-30

-15

0

11

18

28

50

-25

-10

+5

12

19

30

53

-20

-5

+10

13

20

32

56

-15

0

+15

14

22

35

60

-10

+5

+20

15

24

37

64

-5

+10

+25

17

26

39

68

0

+15

+30

18

28

43

73

+5

+20

+35

20

31

47

78

+10

+25

+40

23

34

51

84

+15

+30

+45

25

37

55

89

+25

+40

+55

30

43

63

100

+30

+45

+60

35

49

70

112

Таблица 8.15

Тяжение биметаллических и стальных проводов

Температура, °С

Тяжение, кгс, для проводов диаметром, мм

Длина пролета 40 м

Длина пролета 50 м

1,2

1,5

2,0

3,0

1,2

1,5

2,0

3,0

-30

19,6

30,6

54,3

96,1

18,5

28,8

51,2

95,4

-25

17,6

27,5

49,0

86,3

17,2

26,8

47,7

88,3

-20

16,1

25,1

44,6

78,4

16,2

25,3

44,9

79,8

-15

16,1

25,1

44,6

71,4

15,3

23,8

42,4

73,5

-10

14,7

23,0

40,8

64,9

14,5

22,6

40,2

67,5

-5

13,6

21,2

37,7

58,0

13,8

21,5

38,3

61,5

0

12,5

19,6

34,9

52,5

12,5

19,6

34,9

55,5

+5

11,8

18,4

32,7

46,9

11,8

18,0

32,0

50,7

+10

10,4

16,2

28,8

41,6

10,6

16,6

29,5

46,6

+15

9,8

15,3

27,2

37,4

9,8

15,4

27,3

42,0

+20

8,8

13,8

24,5

34,5

8,9

13,9

24,7

39,1

+25

7,7

12,0

21,3

31,5

8,1

12,7

22,5

35,9

+30

7,1

11,0

19,6

29,0

7,4

11,6

20,7

33,8

Температура, °С

Длина пролета 62,5 м

Длина пролета 83,5 м

1,2

1,5

2,0

3,0

1,2

1,5

2,0

3,0

-30

18,8

29,3

52,1

98,2

17,7

27,3

49,3

99,6

-25

17,2

26,8

47,7

89,7

17,0

26,5

47,1

91,8

-20

15,9

24,9

44,3

81,2

16,3

25,4

45,2

85,5

-15

15,4

24,0

42,7

77,0

15,3

23,8

42,4

81,2

-10

14,4

22,4

39,9

70,7

14,5

22,6

40,2

75,6

-5

13,5

21,0

37,4

65,6

13,7

21,4

38,0

70,6

0

12,3

19,2

34,2

59,8

12,8

20,0

35,5

65,5

+5

11,6

18,2

32,3

54,9

12,0

18,7

33,3

61,3

+10

11,0

17,3

30,7

50,8

11,2

17,6

31,2

58,3

+15

10,2

15,6

27,8

48,0

10,5

16,4

29,1

55,0

+20

9,2

14,3

25,4

44,9

9,8

15,3

27,2

51,9

+25

8,4

13,2

23,5

41,4

9,1

14,2

25,3

49,2

+30

7,8

12,2

21,8

39,7

8,6

13,4

23,9

46,8

8.75. Регулирование стрелы провеса провода с помощью реек производится в следующей последовательности:

а) на опорах с двух сторон регулируемого участка у изоляторов на провод подвешиваются две рейки;

б) визиры обеих реек ставятся на величину, соответствующую стреле провеса для данного пролета (по таблицам 8.13, 8.14), с учетом температуры окружающего воздуха. При этом визиры обеих реек на проводе должны быть направлены в разные стороны;

в) рабочий, находящийся на одной из опор, смотрит через отверстие в визире (или поверх поперечины) одной рейки на отверстие (поперечину) другой рейки; провод натягивают или ослабляют блоками до тех пор, пока нижняя точка провеса провода не окажется на линии, проходящей через отверстия в визирах рейки (рис. 8.39);

г) после получения необходимой стрелы провеса провод закрепляют на изоляторах перевязочной проволокой на протяжении всего регулируемого участка.

8.76. При регулировании нескольких цепей достаточно отрегулировать только один верхний провод, а все остальные провода регулируют, наблюдая за их параллельностью.

Untitled-1

Рис. 8.39. Определение стрелы провеса провода:

1 - рейка для измерения стрелы провеса; 2 - стрела провеса провода; 3 - воображаемые прямые линии

При подвеске проводов на вновь строящейся линии опоры могут быть выведены из вертикального положения силой тяги проводов. Чтобы этого не случилось, необходимо последнюю опору, на которой закрепляются провода, до снятия блоков укрепить временной оттяжкой. Эта оттяжка заделывается одним концом за вершину укрепляемой опоры и другим - за основание последующей опоры. Снимается оттяжка после натягивания проводов в следующих пролетах.

8.77. При работе с биметаллическими проводами лапки блоков должны быть с параллельными губками и медными вкладышами.

ВЯЗКА ПРОВОДОВ НА ИЗОЛЯТОРАХ

8.78. Отрегулированные провода закрепляют на изоляторах промежуточной, угловой или оконечной опорах вязками, которые не должны допускать перемещения провода из одного пролета в другой.

Вязка производится перевязочной проволокой, длина которой указана в табл. 8.16.

8.79. На прямых участках линии вязку выполняют двумя кусками перевязочной проволоки в следующем порядке (рис. 8.40):

Untitled-1

Рис. 8.40. Вязка проводов на изоляторах промежуточных опор

Untitled-1

Рис. 8.41. Крепление провода к изолятору на угловой опоре

а) куском перевязочной проволоки охватывают шейку изолятора так, чтобы один из концов проволоки был длиннее другого на величину, равную диаметру головки изолятора;

б) оба конца перевязочной проволоки скручивают таким образом, чтобы они вплотную подходили к желобку в головке изолятора;

в) вторым куском перевязочной проволоки охватывают шейку изолятора с другой стороны и также скручивают концы проволоки до желобка в головке изолятора;

г) длинные концы обоих кусков перевязочной проволоки перекидывают соответственно на другую сторону изолятора через провод, находящийся в желобке, и отгибают вниз; затем их вместе с короткими концами при помощи специальных плоскогубцев (имеющих в губках углубления) плотно навивают на линейный провод. При отсутствии таких плоскогубцев биметаллические или медные провода вяжут плоскогубцами с медными вкладышами без насечек.

Таблица 8.16

Диаметр линейной проволоки, мм

Тип изолятора

Диаметр перевязочной проволоки, мм

Длина перевязочной проволоки, см

на прямых участках

на угловых опорах

5 и 4

ТФ-20

2,5

51

56

4

ТФ-20

2,5

50

55

4

ТФ-16

2,5

46

51

3

ТФ-12

2,0

45

50

3

ТФ-12

2,0

40

45

2,5

ТФ-12

1,2

35

40

2,0

ТФ-12

1,2

34

39

1,5

ТФ-12

1,0

30

35

8.80. На угловых опорах провода закрепляются одним отрезком проволоки. При этом отрезок перевязочной проволоки, длина которого определена по табл. 8.16, прикладывают крестообразно к линейному проводу. Концы перевязочной проволоки обвивают вокруг шейки изоляторов, а затем при помощи плоскогубцев плотно обвивают вокруг линейного провода (рис. 8.41).

Крепление проводов на оконечных опорах производится так, как показано на рис. 8.42.

Untitled-1

Рис. 8.42. Крепление стального провода на оконечной опоре

8.81. Провода цветных металлов на оконечной опоре закрепляют с помощью медной трубки так, как показано на рис. 8.43.

Untitled-1

Рис. 8.43. Оконечная заделка провода из цветного металла

Untitled-1

Рис. 8.44. Оконечная заделка провода малого диаметра скруткой

При отсутствии трубок оконечную заделку делают так, как показано на рис. 8.44.

8.82. Сталеалюминиевые провода крепят на изоляторах алюминиевой мягкой проволокой диаметром 3 мм или стальной оцинкованной перевязочной проволокой диаметром 2,5 мм. В месте вязки на провод по направлению повива алюминиевых проводников плотно наматывают алюминиевую ленту.

При вязке биметаллических сталемедных проводов биметаллической перевязочной проволокой под последнюю подкладывают медную ленту (фольгу) размером 300×10×0,1 мм. Если применяется медная перевязочная проволока, медную ленту не подкладывают.

8.83. При креплении (вязке) проводов на изоляторах рекомендуется пользоваться клетневкой.

МОНТАЖ ПРОВОДОВ ПРИ СКРЕЩИВАНИИ

8.84. Скрещивание проводов производится с целью уменьшения влияния между цепями. Схемы скрещивания должны быть в составе проектной документации.

8.85. Монтаж проводов при скрещивании производится при траверсном профиле линии на накладках (точечное скрещивание) (рис. 8.45) или на подвесных крюках (в пролетах), а при крюковом профиле линии - на Г-образных кронштейнах (рис. 8.46).

Untitled-1

8.45. Устройство скрещивания проводов на накладках

Untitled-1

8.46. Устройство скрещивания на Г-образных кронштейнах

ПОДВЕСКА КАБЕЛЕЙ НА ВОЗДУШНЫХ СТОЛБОВЫХ ЛИНИЯХ СВЯЗИ

8.86. Подвеска кабелей на воздушных столбовых линиях связи определяется проектным решением. Она применяется на распределительных участках ГТС при телефонизации районов индивидуальной застройки, на абонентских и межстанционных линиях СТС, в горной местности, где подземная прокладка кабеля затруднена, в местах с густой сетью арыков, на переходе кабельных линий через глубокие овраги и реки, имеющие обрывистые склоны и в других обоснованных проектом условиях.

8.87. Подвеска, как правило, производится на опорах существующих воздушных линий связи.

Для подвески применяются специальные кабели, содержащие в своей конструкции несущий стальной канат (ТППт), а также ТПП (ТПВ), ТГ и КСПП, подвешиваемые на стальном канате.

На опорах ВАС местных сетей допускается подвеска кабелей емкостью до 100 пар.

8.88. Кабель без встроенного каната подвешивают на стальном оцинкованном канате с помощью подвесов из листовой оцинкованной стали (рис. 8.47). Размеры подвесов и поясков приведены в табл. 8.17.

Таблица 8.17

Размеры подвесов и поясков

Размеры подвесов, мм

Размеры поясков, мм

D

d

С

l

L

h

11

9

40

17

45

13

16

9

40

17

45

13

20

12

45

25

60

15

24

12

55

30

72

18

34

14

65

30

72

18

Стальной канат крепят ниже проводов, на расстоянии 350 мм от нижней траверсы или крюка, с помощью чугунных клемм или стальных столбовых консолей (рис. 8.48 и 8.49), которые предварительно закрепляют на промежуточных опорах шурупами с шестигранной головкой размерами 12×100 мм.

Untitled-1

Рис. 8.47. Подвесы из листовой оцинкованной стали

Untitled-1

Рис. 8.48. Способ крепления подвесного кабеля и каната на промежуточной опоре

Untitled-1

Рис. 8.49. Штампованная стальная столбовая консоль

На угловых опорах, если кабель подвешен со стороны внешнего угла, устанавливают две консоли (клеммы) (рис. 8.50). При подвеске кабеля со стороны внутреннего угла консоли крепят к опоре сквозными болтами.

Untitled-1

Рис. 8.50. Крепление стального каната с кабелем на угловой опоре двумя столбовыми консолями со стороны внешнего угла поворота линии:

1 - кабель; 2 - подвес; 3 - стальной канат; 4 - столбовая консоль; 5 - опора

При значительном угле поворота линии (близким к 90 градусам) следует крепить стальной канат двумя оконечными вязками.

На оконечных опорах стальной канат закрепляют специальной клеммой, проволокой или струбциной (винтовой стяжкой) (рис. 8.51).

Untitled-1

Рис. 8.51. Оконечная заделка стального каната:

а - при помощи клеммы; б - вязочной проволокой и жилами стального каната; в - при помощи струбцины:

1 - опора; 2 - шуруп с шестигранной головкой; 3 - клемма; 4 - заделка вязочной проволокой; 5 - заделка отдельными жилами стального каната; 6 - хомут; 7 - струбцина

Устройство сростков стального каната в пролете не допускается.

8.89. Подвеску стального каната и кабеля производят в следующем порядке:

а) устанавливают консоли и другие крепежные детали на опорах;

б) заготавливают стальной канат, диаметр которого выбирают в зависимости от массы подвешиваемого кабеля и типа линии, по табл. 8.18;

в) стальной канат с козел-домкратов, установленных на земле или на автомобиле, разматывают вдоль столбовой линии;

г) стальной канат закрепляют оконечной заделкой на первой (в начале линии) опоре и навешивают его на консоли промежуточных;

д) на оконечной опоре участка подвески канат закрепляют в лапки и натягивают с помощью блоков. При этом задается стрела провеса, выбранная по таблице. Стрелу провеса устанавливают с помощью двух реек так, как это указано в п. 8.75 (рис. 8.39).

По окончании регулировки стальной канат на оконечной опоре регулируемого участка крепят концевой заделкой, а на промежуточных опорах - в столбовых консолях;

е) кабель с козел-домкратов или с кабельного транспортера разматывают и укладывают на грунт вдоль линии в 1,0 - 1,5 м от опор;

ж) производят подвеску кабеля к стальному канату с телескопической вышки или автомашины, оборудованной раздвижной вышкой или с лестниц. Подвесы устанавливают через каждые 350 мм так, чтобы они плотно обжимали кабель и свободно висели на канате. Расстояние от опоры до подвеса должно быть не более 170 мм. Все подвесы закрепляют металлическими поясками;

з) при отсутствии возможности крепить кабель к канату на высоте, его опускают участками по 6 - 10 пролетов с таким расчетом, чтобы он оставался на высоте 1,0 - 1,5 м от земли, и крепят к нему кабель. На угловых и оконечных опорах кабель крепят с лестницы или поднявшись на опору с помощью монтерских когтей и пояса. Кабель можно поднимать к тросу двойным роликом так, как это показано на рис. 8.52. В этом случае двойной ролик должен передвигаться по канату рабочим с помощью веревки, закрепленной на корпусе арматуры ролика;

и) муфты располагают около опор, выдерживая следующие расстояния от опоры: прямые муфты на расстоянии 450 - 500 мм, разветвительные - до 700 мм от оси опоры (рис. 8.53).

к) на промежуточных опорах кабель должен быть изогнут дугой под консолью на угловых, оконечных и вводных опорах должен быть оставлен запас кабеля в виде полукольца с радиусом равным 12 - 15 диаметров кабеля;

Untitled-1

Рис. 8.52а. Подвеска кабеля с помощью двойного ролика

Untitled-1

Рис. 8.52б. Двойной ролик для подвески кабеля:

1 - стальной канат; 2 - кабель

Рис. 8.53. Выкладка и расположение муфт на подвесных кабелях:

а - при монтаже разветвительной муфты; б - при монтаже соединительной муфты; в - при монтаже муфты на кабеле со встроенным тросом (канатом);

1 - столбовая опора; 2 - столбовая консоль; 3 - отдельный подвесной канат; 4 - основной подвесной кабель; 5 - ответвляющиеся кабели; 6 - дужки запаса; 7 - подвесы из оцинкованной стали; 8 - муфта разветвительная; 9 - муфта соединительная; 10 - кабель со встроенным тросом; 11 - трос (в полиэтиленовом шланге), отделенный от кабеля; 12 - сросток троса; 13 - стяжки из каната или стальной оцинкованной проволоки; 14 - полиэтиленовые прокладки

Кабели со встроенным канатом подвешивают в указанной выше последовательности, с той разницей, что при этом исключаются работы по раскатке и подвеске стального каната.

Встроенный канат закрепляют в специальной столбовой консоли так, как это показано на рис. 8.54.

Рис. 8.54. Стальная столбовая консоль для подвески кабеля со встроенным стальным канатом:

а - на промежуточной опоре; б - на угловой опоре; в - разрез:

1 - кабель со встроенным стальным канатом; 2 - стальная консоль; 3 - опора; 4 - проволочный хомут; 5 - крепежный болт

8.90. Стальной канат, на котором подвешен кабель, должен быть заземлен в начале и в конце линии, а также через каждые 250 м.

Таблица 8.18

Типы стальных канатов для подвески кабелей местных сетей на столбовых опорах и нормируемые стрелы провеса

Масса 1 км подвешиваемого кабеля, кг

Тип линии

Тип стального каната

Заданная стрела провеса каната, см, в пролете длиной 40 м при температуре, °С

-20

-10

0

+10

+20

+30

До подвески кабеля

400

О, Н и У

1×7-4,2-140-1

62

67

72

77

80

84

450

О, Н и У

1×7-4,2-140-1

60

64

70

74

78

82

600

О, Н и У

1×7-4,2-140-1

55

60

65

70

74

78

750

О и Н

1×7-4,2-140-1

48

53

59

64

69

74

750

У

1×7-6,0-140-1

65

70

74

78

82

86

1050

О, Н и У

1×7-6,0-140-1

63

68

72

76

80

84

1100

О и Н

1×7-6,0-140-1

69

64

69

73

77

81

1100

У

1×7-6,0-140-1

59

64

69

73

77

81

1450

О и Н

1×7-6,0-140-1

45

51

57

62

67

72

1450

У

1×7-6,0-140-1

58

63

67

72

76

80

1700

О, Н и У

1×7-6,0-140-1

53

58

63

68

73

77

После подвески кабеля

400 - 1700

О, Н и У

Все указанные

83

86

89

92

95

98

Масса 1 км подвешиваемого кабеля, кг

Тип линии

Тип стального каната

Заданная стрела провеса каната, см, в пролете длиной 50 м при температуре, °С

-20

-10

0

+10

+20

+30

До подвески кабеля

400

О, Н и У

1×7-4,2-140-1

76

82

88

94

99

103

450

О, Н и У

1×7-4,2-140-1

67

71

80

86

92

97

600

О, Н и У

1×7-4,2-140-1

58

65

71

78

84

90

750

О и Н

1×7-4,2-140-1

64

71

77

93

89

95

750

У

1×7-6,0-140-1

76

82

88

91

94

103

1050

О, Н и У

1×7-6,0-140-1

70

76

82

88

92

99

1100

О и Н

1×7-6,0-140-1

65

72

78

84

90

96

1100

У

1×7-6,0-140-1

78

84

90

95

100

105

1450

О и Н

1×7-6,0-140-1

43

51

58

65

77

87

1450

У

1×7-6,0-140-1

59

66

73

79

85

91

1700

О, Н и У

1×7-6,0-140-1

52

59

66

73

79

85

После подвески кабеля

400 - 1700

О, Н и У

Все указанные

104

108

111

114

117

120

Примечания: 1. В негололедных районах кабель массой до 1100 кг/км, а в слабогололедных районах массой до 750 кг/км допускается подвешивать на оцинкованной стальной проволоке диаметром 5 мм (за исключением пролетов на переходах).

2. Стрела провеса кабелей ТППт (с встроенным тросом) регулируется по нормам последней строки таблицы.

РАЗДЕЛ 9
СТРОИТЕЛЬСТВО СТОЕЧНЫХ ЛИНИЙ

УСТРОЙСТВО СТОЕЧНЫХ ЛИНИЙ

9.1. Стоечные линии состоят из установленных на крышах зданий металлических опор-стоек, на которые подвешены провода или распределительные кабели.

9.2. Опоры-стойки изготовляют четырех типов СПТ-1, СПТ-2, СПТ-6 и СПТ-10 для подвески соответственно одной, двух, шести и десяти пар проводов (рис. 9.1).

Рис. 9.1. Стоечные опоры

Основным материалом для изготовления стоек служат трубы стальные диаметром 48 и 27 мм.

9.3. По месту установки стойки подразделяются на промежуточные, оконечные и кабельные.

Для перехода с чердака на крышу или обратно применяют выводные трубы, укрепляемые самостоятельно или к стойкам с помощью двойного хомута (рис. 9.2).

На трассах с подвеской только кабелей в качестве промежуточных и оконечных опор применяют, как правило, выводные трубы.

В качестве кабельных опор, устанавливаемых в месте соединения проводов с жилами кабеля (через кабельный ящик), следует применять стойки СПТ-10 или СПТ-6.

Untitled-1

Рис. 9.2. Установка выводной трубы:

а - у стойки; б - самостоятельно; в - хомут

Как промежуточные опоры для подвески одной пары проводов (при отсутствии перспективы подвески второй пары проводов) могут применяться штыри из круглой стали диаметром 12 мм и длиной 700 мм, установленные на крыше и для устойчивости связанные между собой стальной оцинкованной проволокой диаметром 2 мм и укрепленные оттяжками (рис. 9.3).

Untitled-1

Рис. 9.3. Установка пары штырей

9.4. В комплект арматуры стоек входят следующие детали: колпачок, опорное кольцо, копыто, подкопытник, ступеньки струбцины, болты с гайками и шайбами, чугунные хомуты и болты для их крепления, стальные хомуты. На стоечных линиях следует применять стальные и биметаллические (сталемедные) провода диаметром 1,2 - 2,0 мм. При пересечении проводов проводного вещания или высокого напряжения необходимо подвешивать изолированные провода.

Для подвески и закрепления проводов применяют изоляторы ТФ-12. Порядок оснастки штырей изоляторами приведен в разделе 8.

Количество изоляторов, которыми оснащаются траверсы стоек, определяется числом фактически подвешиваемых проводов.

УСТАНОВКА И УКРЕПЛЕНИЕ СТОЕЧНЫХ ОПОР

9.5. При разбивке трассы и выборе мест установки стоек необходимо уточнить проектные решения с соблюдением следующих требований:

а) трасса стоечной линии должна быть, по возможности, прямолинейной и иметь минимальное количество пересечений с другими линиями, особенно с линиями электропередачи;

б) длина пролета стоечной линии, как правило, не должна превышать 80 м. При невозможности выполнения этого, в виде исключения допускается увеличение пролета до 100 м;

в) опоры стоечной линии следует размещать на зданиях примерно одинаковой высоты для уменьшения резких перегибов подвешиваемых проводов или кабелей в вертикальной плоскости;

г) опоры следует устанавливать как можно ближе к гребню крыши для обеспечения возможно большего расстояния от подвешиваемых проводов или кабелей до поверхности крыши и вершин деревьев;

д) трасса подвески проводов должна быть выбрана с таким расчетом, чтобы расстояние между ними и выступающими устройствами крыши (трубы, слуховые окна, антенны, надстройки и др.) было не менее 0,8 м, а расстояние от проводов (кабеля) до телевизионных антенн - не менее 3 м;

е) не должно быть препятствий для установки стойки и ее оттяжек;

ж) стоечные опоры должны быть установлены строго вертикально. Заделка оттяжек должна допускать возможность регулирования их натяжения (в пределах 50-процентной винтовой нарезки струбцины);

з) стоечные опоры должны быть установлены так, чтобы их траверсы располагались перпендикулярно основному направлению линии, а при разветвлении - направлению равнодействующей силы тяжения отходящих линий;

и) на зданиях с железобетонными кровлями или с железобетонными стропилами в целях уменьшения вибрации проводов стойки устанавливают над лестничными клетками или над шахтами лифтов.

9.6. Установка стойки на наклонной крыше с деревянными стропилами должна производиться в следующей последовательности рабочих операций, при выполнении которых необходимо:

а) с крыши здания простукиванием и осмотром с чердака определить место прохода стойки через крышу и место ее закрепления хомутом на стропиле. В подрешетнике и железной кровле пробойником пробить сквозное отверстие - метку центра отверстия для стойки;

б) с крыши здания при помощи зубила и молотка вырубить в железной кровле отверстие для основания стойки: диаметром 29 мм - для стоек СПТ-1 и СПТ-2 и диаметром 51 мм - для стоек СПТ-6 и СПТ-10. Отверстия для болтов с проушинами крепления оттяжек стойки пробивают в кровле при помощи пробойника и молотка;

в) через вырубленное в железной кровле отверстие с помощью коловорота просверлить сквозное отверстие в подрешетнике для прохода стойки через крыши (по центру метки);

г) на основание стойки надеть стальное копыто вплотную к упорному кольцу; под основанием копыта на стойку намотать четыре - пять витков каболки (или надеть войлочную шайбу), промазать основание копыта суриком (замазкой), установить стойку в отверстие крыши и удерживать ее в вертикальном положении;

д) на чердаке закрепить стойку на стропильной балке, для чего:

наложить хомут на вертикально установленную стойку и разметить отверстия для болтов крепления хомута к стропильной балке;

наклонить стойку и ручным буравом просверлить отверстия в стропильной балке для болтов крепления хомута;

установить стойку вертикально и закрепить ее на стропильной балке при помощи хомута (хомутов) и болтов с гайками.

При этом стойки типа СПТ-6 следует крепить к стропильной балке одним чугунным хомутом, типа СПТ-10 и выводные трубы - двумя хомутами, а стойки СПТ-1 и СПТ-2 крепят сквозным болтом диаметром 10 мм (рис. 9.4).

Рис. 9.4. Крепление стоек:

а - СПТ-10 двумя хомутами, б - СПТ-6 одним хомутом, в - СПТ-1 и СПТ-2 болтом;

1 - труба стойки; 2 - хомут; 3 - строительная балка; 4 - чугунное копыто; 5 - упорное кольцо, 6 - войлочная прокладка; 7 - болты с обваркой; 8 - болт без обварки

Допускается крепить стойку и выводные трубы хомутами из круглой стали диаметром 12 мм (рис. 9.5). При установке стоек не разрешается выпиливать или подрубать стропильные балки.

Untitled-1

Рис. 9.5. Крепление стойки стальным хомутом к стропильной балке:

1 - труба стойки; 2 - стальной хомут из круглой стали диаметром 12 мм с шайбами и гайками; 3 - стропильная балка; 4 - чугунное корыто; 5 - упорное кольцо; 6 - войлочная прокладка

е) изготовить оттяжки, при этом оттяжки должны изготовляться для стоек типа СПТ-1, СПТ-2 и пары штырей из двух свитых вместе стальных оцинкованных проволок диаметром 2 мм, а для стоек типов СПТ-6 и СПТ-10 и для выводных труб следует применять стальную оцинкованную проволоку диаметром 5 мм.

ж) закрепить стойку на крыше здания оттяжками, для чего:

разметить отверстия для болтов с проушинами, чтобы они проходили через железную кровлю, подрешетник и, по возможности, через стропила, а также, чтобы оттяжки были под углом 90 градусов друг к другу и под углом 45 градусов - по отношению к направлению траверсы и к основанию стойки;

при помощи пробойника пробить отверстия в железной кровле, ручным буравом просверлить отверстия в подрешетнике (стропиле) и закрепить в них болты с проушинами для оттяжек;

через отверстия в траверсе прикрепить к ней концы оттяжек закруткой концов проволоки;

за проушины болтов зацепить крюки струбцин, к струбцинам прикрепить закруткой концы оттяжек;

при помощи струбцин натянуть оттяжки и выполнить регулировку стойки по отвесу;

места прилегания стального копыта и основания стойки к крыше, а также места установки болтов с проушинами для крепления оттяжек промазать суриком;

наружную поверхность фарфоровой втулки и внутреннюю поверхность верхнего конца стойки обмазать суриком, установить ее в верхнее отверстие стойки и плотно прижать к ее торцу.

Заделка оттяжек должна допускать возможность последующей регулировки их натяжения в пределах до половины винтовой резьбы струбцины.

Стойки типов СПТ-1, СПТ-2 и СПТ-6 и пары штырей нужно укреплять четырьмя оттяжками, а стойки типа СПТ-10 - восемью оттяжками, располагаемыми в два яруса по вертикали.

При укреплении установленных штырей оттяжками, верхний конец каждой оттяжки крепится за выемку в верхней части штыря, а нижний - за гребень шва металлической кровли через просверленное в нем отверстие (рис. 9.3).

9.7. При установке стоечных опор на неметаллической кровле (шиферной, черепичной, этернитовой) в месте установки опор вскрывают и удаляют на минимально возможной площадке элементы мягкой кровли, вместо которой укладывают листы оцинкованной кровельной стали с таким расчетом, чтобы верхняя часть листа заходила под элементы неметаллической кровли, а нижняя часть накрывала элементы кровли сверху, обеспечивая сток дождевой воды. В остальном установка стоечных опор на крышах с неметаллической кровлей производится также как и на металлических крышах. Установка стойки на крыше с неметаллической кровлей показана на рис. 9.6.

Рис. 9.6. Установка стоечных опор на неметаллических крышах

Установка стойки 10×2 и детали ее крепления показаны на рис. 9.7.

Untitled-1

Рис. 9.7. Установка стойки 10×2 и детали ее крепления:

а - заделка оттяжки за траверсу стойки; б - заделка оттяжки за струбцину с болтом; в - копыто чугунное; г - хомут чугунный:

1 - болт с кольцом длиной 260 - 440 мм диаметром 10 - 12 мм; 2 - струбцина с колодкой; 3 - оттяжки; 4 - войлочная прокладка; 5 - копыто; 6 - упорное кольцо; 7 - колпачок; 8 - провод ЛТВ-В или ЛТР-В; 9 - хомуты; 10 - стропила; 11 - пучок кроссировочных проводов; 12 - кабельный ящик; 13 - кабель 10×2; 14 - провод заземления

УСТАНОВКА ТЕЛЕФОННЫХ СТОЕК НА ПЛОСКИХ СОВМЕЩЕННЫХ КРОВЛЯХ

9.8. Установка телефонных стоек на плоских совмещенных кровлях, часто применяющихся в современном жилищном строительстве, должна производиться в приведенной ниже последовательности выполнения следующих технологических операций:

а) разметка мест установки стойки и крепления оттяжек;

б) вскрытие кровельного ковра до плиты перекрытия в местах установки закладных частей для крепления стойки и оттяжек;

в) пробивка отверстий и борозд в каналах плит перекрытия и установка в них закладных деталей;

г) заполнение бетонной смесью отверстий и борозд вместе с установленными в них закладными деталями;

д) восстановление кровельного ковра;

е) установка стойки и крепление ее оттяжками.

9.9. При разметке мест установки стоек, крепления оттяжек и при вскрытии кровельного ковра необходимо выполнять следующие требования:

а) место установки стойки выбирать с таким расчетом, чтобы расстояние от трассы подвески проводов и кабеля до радиостоек было не менее 0,8 м, а от телевизионных антенн - не менее 3 м;

б) место установки оконечной стойки выбирать с учетом возможности установки на лестничной клетке или в коридоре кабельного ящика в непосредственной близости от стойки;

в) разметку мест крепления оттяжек следует производить так, чтобы угол наклона оттяжки к горизонту был не более 45 градусов, а угол, образуемый оттяжкой и стволом стойки, соответственно, не менее 45 градусов. Для этого через намеченную точку установки стойки необходимо провести две перпендикулярные линии. На каждой линии от центра отмерить расстояние: для стоек СПТ-1 - 345 мм, СПТ-2 - 520 мм, СПТ-6 и СПТ-10 - 870 мм и через эти точки провести параллельные прямые: две - по вертикали, две - по горизонтали. При этом образуется квадрат, вершины углов которого являются центрами мест установки анкеров для крепления оттяжек (рис. 9.8).

г) приняв за центры размеченные точки установки закладных деталей, в каждом месте на кровельном ковре мелом очертить площадь вскрытие ковра - квадрат размером 700×700 мм;

д) с помощью топора, лопаты, лома и торцевых кусачек вскрыть кровельный ковер, сохраняя, по возможности, слои мягких материалов (рубероида, стеклохолста и толя). Для этого надрезы мягких материалов нужно делать по диагонали квадрата. Слои мягких материалов отогнуть, как показано на рис. 9.9. Сыпучие материалы следует выбирать лопатой и укладывать на кровле для использования при восстановлении кровельного ковра.

Untitled-1

Рис. 9.8. Расположение оттяжек стойки:

а - вид спереди:

1 - вертикальная труба стойки; 2 - оттяжки; 3 - траверсы;

б - вид сверху

Рис. 9.9. Вскрытый кровельный ковер

9.10. Для крепления стойки применяется опорная гильза (рис. 9.10), для крепления стяжек - анкер типа АКО-1 (рис. 9.11).

Untitled-1

Рис. 9.10. Опорная гильза для установки телефонной стойки

Рис. 9.11. Анкер для крепления оттяжек типа АКО-1

9.11. Установку закладных деталей следует производить в следующем порядке:

а) легким постукиванием молотка по поверхности перекрытия, освобожденного от кровельного ковра, необходимо определить расположение пустотных каналов, ближайших к размеченной точке установки стойки и через ближайший пустотный канал пробить сквозное отверстие по диаметру опорной гильзы;

б) по обе стороны от пробитого отверстия в плите пробить борозды, совпадающие со смежными пустотными каналами перекрытия. Длина борозды 450 мм, ширина 55 мм;

в) на дно борозды уложить слой бетонной смеси М-200 толщиной 50 - 60 мм, в которой поместить («утонить») траверсы (уголки) с укрепленными на них болтами;

г) надев на болты опорную плиту с приваренной к ней гильзой, выровнять траверсы (уголки) так, чтобы сквозное отверстие, пробитое в плите, совпало с отверстием в гильзе (проверяется штырем длиной 1 м на совмещение отверстий) и гильза была строго вертикальна (по отвесу).

В случае необходимости произвести выравнивание гильзы по отвесу, регулируя положение опорной плиты с помощью металлических подкладок;

д) после выравнивания уголков и болтов плиту с опорной гильзой снять и борозды вместе с установленными в них закладными частями заполнить бетонной смесью.

Во избежание растекания бетонной смеси по длине канала рекомендуется по обоим концам уголков в канале устанавливать пробки из пакли или ветоши;

е) после заливки борозд бетонной смесью плиту с опорной гильзой надеть на болты и оставить до затвердевания бетонной смеси;

ж) после затвердевания бетонной смеси опорную плиту с помощью гаек прочно закрепить на болтах, еще раз проверяя вертикальность гильзы;

з) если проектом не предусматривается установка вместе со стойкой выводной трубы для кабеля, то следует изготовить опорную плиту с двумя приваренными гильзами (рис. 9.12). При этом в плите перекрытия нужно пробить два сквозных отверстия;

и) монтаж анкера для крепления оттяжки следует выполнять так же и в той же последовательности, что и монтаж опорной гильзы.

Рис. 9.12. Опорная плита с двумя приваренными гильзами для установки стойки вместе с выводной трубой

9.12. При восстановлении кровельного ковра следует обратить внимание на тщательное соблюдение технологии всех операций, чтобы обеспечить восстановление гидроизоляционных свойств кровли.

Кровельный ковер должен восстанавливаться послойно. При этом, по возможности, следует использовать материалы, сохранившиеся в процессе демонтажа ковра: сыпучие материалы утеплителей и мягкие материалы кровли.

Рубероид, стеклоткани и другие мягкие материалы должны настилаться на горячей битумной мастике, разогретой до температуры 160 - 180 градусов, за исключением одного слоя толя, который стелится насухо.

После восстановления толевого слоя на опорную гильзу стойки и анкера нужно надеть металлическую гильзу с приваренным фланцем (рис. 9.13).

Untitled-1

Рис. 9.13. Гильзы с фланцем

Зазор между гильзами необходимо заполнить смоляной паклей.

Армированную цементную стяжку необходимо восстанавливать, предварительно приварив концы наружной арматуры к фланцу металлической гильзы.

Во избежание проникновения влаги через зазор между гильзами, на опорной гильзе и теле анкера нужно крепить «фартук» из оцинкованной стали с обжимным кольцом на болтах.

Конструкция примыкания кровли к опорной гильзе и анкеру показана на рис. 9.14.

Рис. 9.14. Конструкция примыкания кровли к опорной гильзе и к анкеру

9.13. В опорную гильзу следует установить стойку и закрепить ее распорными болтами.

Струбцины оттяжек надевают на ушко болта гильзы анкера и перемещением колодок струбцин с помощью гаек регулируют натяжение оттяжки.

Стоечные опоры должны устанавливаться строго вертикально (по отвесу) и развертываться так, чтобы траверсы располагались перпендикулярно к основному направлению подвешенных проводов, а при их разветвлении - перпендикулярно направлению равнодействующей силы тяжения отходящих проводов линии.

9.14. Арматура и стойки, устанавливаемые как на крышах, так и на чердаках, должны быть выкрашены в черный или серый цвет.

ОБОРУДОВАНИЕ УСТРОЙСТВ ПОДХОДА К СТОЕЧНЫМ ОПОРАМ

9.15. Около всех стоек, устанавливаемых на зданиях высотой более одного этажа (в том числе на вновь строящихся реконструируемых и капитально ремонтируемых) с металлическими или другими кровлями, должны оборудоваться люки с закрывающимися крышками и лестницами, закрепленными на чердаках (рис. 9.15).

Рис. 9.15. Люк для выхода на крышу (место соприкосновения кровли с оковкой угловой рамы и все щели промазать замазкой на сурике):

1 - рама люка; 2 - крышка люка в сборе; 3 - брусок; 4 - кольцо стальное (2 шт.); 5 - оковка угловой рамы (4 шт.)

Крышки люков должны быть оборудованы упорами, предохраняющими их от самозакрывания при ветре.

При отсутствии возможности устройства люка от слухового окна следует натягивать стальную оцинкованную проволоку диаметром не менее 5 мм или стальной канат.

Проволока должна быть надежно закреплена за хомут, укрепленный на слуховом окне и заделываться скруткой за планку закрепленную на стволе стойки. Высота закрепления планки - 0,8 м (рис. 9.16).

Untitled-1

Рис. 9.16. Крепление предохранительного каната к стойке и слуховому окну

Вдоль проволоки (каната) необходимо оборудовать трапы (рис. 9.17). Надежность предохранительного провода (каната) должна проверяться ежегодно.

Рис. 9.17. Устройство мостков и трапа для подхода к стойке

9.16. На домах, имеющих кровлю из шифера, черепицы, рубероида (толя), с уклоном 30 градусов и выше, у стоек должны оборудоваться люки и рабочие площадки. На чердаке для подъема к люку должна быть изготовлена и закреплена лестница (рис. 9.18).

Untitled-1

Рис. 9.18. Общий вид выходного люка и рабочей площадки

9.17. На крышах жилых зданий высотой 10 м и более при уклоне крыши более 10 градусов должны устраиваться ограждения высотой не менее 0,6 м.

ПОДВЕСКА ПРОВОДОВ

9.18. Подвеску проводов можно производить двумя способами: поочередным перетягиванием всех подвешиваемых проводов между каждыми двумя зданиями (между первым и вторым, вторым и третьим и т.д.) или перетягиванием поочередно каждого провода по всей длине подвешиваемого участка линии («захватки»).

9.19. При подвеске проводов поочередным перетягиванием всех подвешиваемых проводов, с крыш соседних зданий опускают до земли веревки длиной более на 10 - 15 м длины пролета.

Спущенные концы веревок связывают узлом, который подтягивают на крышу первого здания; к узлу привязывают конец провода, и последний перетягивают на крышу соседнего здания, где он временно закрепляется на стоечной опоре свободной вязкой с помощью пеньковой, капроновой или другой веревки.

После этого веревка перетягивается обратно на крышу первого здания, и процесс повторяется для второго, третьего и т.д. проводов.

Перетягивание проводов в последующих пролетах производится аналогично первому пролету. Регулировку и окончательное закрепление проводов на изоляторах производят после временной подвески всех проводов во всех пролетах данной линии.

9.20. При большом количестве подвешиваемых проводов (восемь, десять и более) перетягивание производят поочередно по одному проводу сразу вдоль всей линии. Для этого веревки одновременно опускают со всех домов линии, связывают между собой и натягивают. К каждому узлу последовательно привязывают конец провода и перетягивают его от стойки к стойке с закреплением временными свободными вязками (рис. 9.19).

Рис. 9.19. Подвеска проводов на стоечных линиях:

1 - веревка; 2 - провод; 3 - стойка; 4 - узел связанных веревок; I - IV - рабочие

После подвески вдоль всей линии каждый провод регулируют и закрепляют окончательной вязкой на изоляторах.

9.21. Проволоку рекомендуется разматывать с ручного тамбура, который подают через чердак и выводной люк на рабочую площадку, оборудованную у стойки или через слуховое окно по трапу на крышу здания. Если размотка проволоки производится с бухты, ее необходимо во избежание спутывания витков попеременно поворачивать с одной стороны на другую после роспуска равного количества витков.

При подвеске проводов необходимо тщательно оберегать их от царапин о металлические поверхности.

9.22. Пример закрепления проводов на промежуточной стоечной опоре показан на рис. 9.20, на оконечной - на рис. 9.21.

Рис. 9.20. Вязка проводов на изоляторах промежуточной стойки:

1 - линейный провод; 2 - вязочная проволока; 3 - изолятор

Untitled-1

Рис. 9.21. Закрепление провода на изоляторе оконечной телефонной стойки

9.23. Данные стрел провеса определяются по табл. 9.1.

Таблица 9.1

Температура в тени, °С

Длина пролета, м

60

80

100

Стрела провеса, см

-30

20

38

59

-25

22

40

62

-20

24

42

65

-15

25

44

69

-10

27

47

73

-5

29

50

78

0

31

54

82

+5

34

57

87

+10

36

61

93

+15

39

66

99

+20

43

71

105

+25

47

76

111

+30

51

82

120

9.24. При работе на крышах зданий необходимо строго соблюдать требования правил техники безопасности, в том числе требование о необходимости перед выходом на металлическую кровлю с помощью индикатора напряжения убедиться в отсутствии в ней опасного напряжения.

При выходе на крышу следует закрепить карабин монтерского пояса за канат, протянутый между слуховым окном и стойкой. Дойдя до стойки, закрепиться за нее цепью монтерского пояса.

УСТАНОВКА КАБЕЛЬНОГО ЯЩИКА И ВКЛЮЧЕНИЕ ПРОВОДОВ

9.25. Кабельная стойка должна быть оборудована кабельным ящиком для соединения воздушных проводов с жилами кабеля.

Кабельный ящик нужно устанавливать на чердаке, на отдельной монтажной доске, прикрепляемой шурупами по дереву с шестигранной головкой к стропильным балкам.

9.26. Контактные винты на плинтах кабельного ящика следует соединять с отходящими со стойки к абонентским пунктам проводами проводом марки ЛТВ-В или ЛТР-В.

9.27. Провода ЛТВ должны быть пропущены внутри стоечной опоры по вертикальной трубе, а затем по трубчатой траверсе через отверстия в последней (находящееся под штырями) выведены к соответствующей паре изоляторов.

При выходе из отверстия в трубчатой траверсе провод ЛТВ должен быть пропущен через изолирующую втулку, заделан на изоляторах траверсы (рис. 9.22) и припаян к опущенным вниз концам (отросткам) стального провода.

Провод ЛТВ для заделки следует сложить в виде двух петель, надеть на изолятор и затянуть на шейке так, чтобы между выводной втулкой и изолятором остался запас провода, располагаемый в виде полукольца.

Конец провода ЛТВ, включаемого в плинты кабельного ящика, заделывают так же, как и на кабельных опорах столбовых линий.

Untitled-1

Рис. 9.22. Соединение провода ЛТВ-В (ЛТР-В) с линейным проводом на стойке:

1 - провод ЛТВ-В (ЛТР-В); 2 - резиновая изоляция; 3 - медная жила; 4 - линейный провод; 5 - изолятор; 6 - траверса; 7 - труба стойки

9.28. Чердачные кабельные ящики должны иметь заземление для разрядников, которое оборудуют так же, как и заземления для кабельных ящиков на столбах. Заземляющий проводник от кабельного ящика должен иметь сечение не менее 4 кв. мм, проложен в пределах чердака изолированным и закреплен скобами отдельно от кабеля.

ПОДВЕСКА КАБЕЛЕЙ НА СТОЕЧНЫХ ЛИНИЯХ

9.29. На стоечных линиях подвешивают кабели марки ТГ, ТПП и ТППт емкостью до 30×2×0,5.

9.30. Кабели следует подвешивать на семижильном стальном канате, диаметр которого выбирают по таблице 8.18.

В негололедных районах допускается подвеска кабелей на стальной оцинкованной проволоке диаметром 5 мм.

9.31. Кабель к канату следует крепить подвесами через каждые 350 мм.

9.32. Подвешиваемые канат или проволока не должны иметь сростков в пролете.

9.33. Стальной канат или проволоку следует подвешивать попролетно по всей длине трассы способом, приведенным в п. 9.20.

9.34. После регулировки стрелы провеса стальной канат или проволоку необходимо закреплять за стойку оконечной заделкой. Для возможности регулировки натяжения в пролетах стального каната оконечную заделку рекомендуется выполнять через струбцину (винтовую стяжку).

9.35. Барабан с кабелем или бухту кабеля следует размещать на земле возле здания, от которого начинается подвеска, или, что предпочтительнее, на крыше здания (если имеется такая возможность).

9.36. В том случае, когда подвеска кабеля производится с земли, работы необходимо выполнять в указанной ниже последовательности:

а) барабан с кабелем установить на козлы-домкраты;

б) с крыш двух зданий, между которыми подвешивают кабель, спустить веревки (рис. 9.23). За конец веревки, спущенной с крыши здания, с которого начинают подвеску (здания № 1), закрепить конец кабеля, поднять его на крышу и временно закрепить.

Untitled-1

Рис. 9.23. Способ подвески кабеля на стойках с помощью веревок, спущенных с крыш зданий

С крыши здания № 1 снова спустить веревку на землю, связать ее прочным узлом с веревкой, спущенной с крыши здания № 2. Натянув веревку между зданиями, закрепить конец кабеля за конец веревки и, подтягивая ее с крыши здания № 2, закрепить кабель на канате стальными скрепами, устанавливая их через каждые 350 мм. При этом скрепы должны обжимать кабель и свободно висеть на канате, обеспечивая свободное перетягивание по нему кабеля;

в) по достижении кабеля стойки, установленной на здании № 2, концы кабеля пропустить в выводные трубы и ввести в здания на длину, достаточную для сращивания с концом кабеля от кабельного ящика. У входа в выводную трубу должен быть оставлен запас кабеля в виде дуги с обмоткой кабеля на этом участке просмоленной лентой;

г) многопролетную подвеску кабеля следует производить аналогично приведенной в п. 9.20, с той разницей, что по мере перемещения из пролета в пролет кабеля необходимо перевешивать подвесы с одной стойки на другую;

9.37. При подвеске кабелей на стоечных линиях рекомендуется осуществлять связь между рабочими с помощью УКВ радиостанций.

СОДЕРЖАНИЕ

Предисловие. 1

Раздел 1. Организация строительства линейных сооружений местных сетей связи. 2

Общие положения. 2

Организация строительного производства. 4

Основные принципы организации строительно-монтажных работ. 4

Подготовка строительного производства. 5

Контроль качества строительно-монтажных работ. 7

Раздел 2. Земляные работы.. 9

Общие положения. 9

Характеристика и классификация грунтов. 11

Разбивка трасс. 12

Ограждение участков производства земляных работ. 16

Вскрытие и восстановление дорожных и уличных покровов. 18

Разработка грунтов в траншеях и котлованах открытым способом.. 19

Разработка траншей и котлованов в мерзлых грунтах. 20

Крепление стен траншей и котлованов. 21

Засыпка траншей и котлованов, отвозка грунта. 24

Устройство горизонтальных скважин для кабельных переходов через автомобильные и железные дороги. 25

Устройство кабельных переходов с прокладкой асбестоцементных труб в металлических футлярах. 30

Рекультивация земель. 31

Раздел 3. Строительство подземной кабельной канализации связи. 31

Общие положения. 31

Типы и размеры труб и блоков кабельной канализации связи. 32

Условия прокладки кабельной канализации связи. 34

Прокладка асбестоцементных труб. 37

Прокладка бетонных (цементно-песчаных) труб и блоков. 40

Прокладка полиэтиленовых труб. 42

Прокладка поливинилхлоридных труб. 44

Прокладка трубопровода на мостах. 44

Ввод трубопроводов в колодцы кабельной канализации. 46

Колодцы кабельной канализации связи. 47

Основные материалы для строительства и изготовления колодцев кабельной связи и других устройств канализации. 49

Изготовление и строительство железобетонных колодцев. 50

Строительство кирпичных колодцев. 60

Котлованы для кабельных колодцев связи. 65

Оборудование колодцев кабельной связи. 68

Особенности прокладки кабельной канализации связи в загруженных и сложных уличных условиях. 72

Помещения ввода кабелей телефонной станции. 75

Распределительные шкафы.. 80

Коллекторы.. 82

Строительство и оборудование колодцев для размещения необслуживаемых регенерационных промежуточных пунктов систем передачи икм... 83

Строительство кабельной лотковой канализации связи на переувлажненных грунтах севера. 84

Раздел 4. Прокладка кабелей в подземной кабельной канализации, коллекторах, тоннелях и по мостам.. 86

Общие положения. Входной контроль строительных длин. 86

Группирование строительных длин кабеля. 87

Подготовка кабельной канализации к прокладке кабеля. 88

Прокладка электрических кабелей в кабельной канализации. 92

Прокладка оптических кабелей. 96

Выкладка кабелей. 100

Прокладка кабелей в коллекторах. 101

Прокладка кабелей в тоннелях. 101

Прокладка кабеля по мостам.. 101

Извлечение кабеля из кабельной канализации. 102

Раздел 5. Прокладка кабелей местных сетей связи в грунте. 102

Общие положения. 102

Разбивка трассы.. 103

Прокладка кабелей. 103

Прокладка оптического кабеля кабелеукладочным комплексом кнв-2к.. 106

Особенности прокладки кабелей с наружными пластмассовыми оболочками. 107

Особенности прокладки кабеля в мерзлых и вечномерзлых грунтах. 109

Раздел 6. Прокладка кабелей через водные преграды.. 109

Общие положения. 109

Подготовительные работы.. 110

Прокладка кабеля через водные преграды ножевым кабелеукладчиком.. 113

Предварительная разработка подводных траншей. 113

Прокладка кабеля с плавсредств в готовую траншею.. 114

Укрепление подводных кабелей в берегах. 115

Ограждение подводных кабельных переходов. 115

Раздел 7. Устройство вводов кабелей в общественные и жилые здания и прокладка в них кабелей. 116

Общие положения. 116

Устройство подземного ввода кабеля в здание. 118

Устройство воздушного ввода кабеля в здание. 125

Открытая прокладка кабелей по стенам зданий. 126

Установка деталей крепления на строительных основаниях с помощью клеев. 130

Установка деталей крепления пристрелкой. 133

Устройство проходов для кабеля сквозь стены и перекрытия. 136

Прокладка и крепление кабелей. 136

Защита кабелей от механических повреждений. 137

Прокладка кабелей в каналах скрытой проводки. 138

Раздел 8. Строительство воздушных столбовых линий связи с подвеской проводов и кабелей. 139

Общие положения. 139

Линейная арматура, материалы и инструмент. 143

Опоры.. 143

Изготовление и оснастка опор. 146

Разбивка трассы линии. 153

Транспортирование опор. 156

Рытье ям под опоры.. 157

Установка и укрепление опор. 159

Кабельные опоры.. 162

Раскатка проволоки и соединение проводов. 165

Подвеска и регулирование проводов. 170

Вязка проводов на изоляторах. 173

Монтаж проводов при скрещивании. 175

Подвеска кабелей на воздушных столбовых линиях связи. 176

Раздел 9. Строительство стоечных линий. 181

Устройство стоечных линий. 181

Установка и укрепление стоечных опор. 184

Установка телефонных стоек на плоских совмещенных кровлях. 187

Оборудование устройств подхода к стоечным опорам.. 194

Подвеска проводов. 196

Установка кабельного ящика и включение проводов. 198

Подвеска кабелей на стоечных линиях. 199

 



© 2013 Ёшкин Кот :-)