Информационная система
«Ёшкин Кот»

XXXecatmenu

Описание: ris_38

ПРИГОТОВЛЕНИЕ БИТУМА
НА АСФАЛЬТОБЕТОННОМ ЗАВОДЕ (АБЗ)

 

 

I. ОБЛАСТЬ ПРИМЕНЕНИЯ

Технологическая карта составлена на основе методов научной организации труда и предназначена для использования при разработке проекта производства работ и организации работ и труда на строительном объекте.

В технологической карте предусмотрено применение электроподогрева на всех узлах технологической схемы (в битумохранилище, в приямке, в котлах битумоплавильной батареи, в битумопроводах) и приготовление битума в жаротрубных котлах при обогреве котлов газовым топливом.

Во всех случаях применения технологической карты необходима привязка ее к местным условиям в зависимости от технологической схемы и конструкции битумного хозяйства АБЗ, а также от марки и влажности битума.

II. УКАЗАНИЯ ПО ТЕХНОЛОГИИ ПРОИЗВОДСТВЕННОГО ПРОЦЕССА

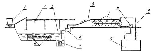
В закрытом битумохранилище битум подогревают до текучего состояния, после чего он стекает в приямок. В приямке битум нагревают до жидкотекучего состояния (температура 80 - 100 °С) и затем битумным насосом перекачивают в котлы битумоплавильной батареи (см. рисунок).

В котлах из битума выпаривают воду, а затем обезвоженный битум перекачивают в расходный котел, где его подогревают до рабочей температуры и подают по трубопроводам к смесителям асфальтобетона.

Описание: ris_39

Технологическая линия приготовления битума:

1 - железнодорожный бункер; 2 - битумохранилище; 3 - приямок; 4 - электронагреватели битумохранилища; 5 - электронагреватель приямка; 6 - битумный насос Д-171 (ДС-3); 7 - битумные котлы; 8 - битумопровод; 9 - смесительный узел

Требования к готовности предшествующих работ

На прирельсовые базы, как правило, битум доставляют по железной дороге в цистернах или бункерных полувагонах. На притрассовые базы битум поступает в битумовозах с прирельсовых баз и сливается в битумохранилища или в битумоплавильные котлы.

Битум размещают в битумохранилищах закрытого типа с водонепроницаемым перекрытием, бетонным резервуаром и приямком.

Хранение битума в открытых битумохранилищах ямного типа запрещено, так как это приводит к обводнению битума до 30 %.

Перед сливом битума битумохранилище должно быть очищено, отремонтировано и разделено на секции. Битумы различных марок должны храниться отдельно.

Пробы битума для лабораторных испытаний качества и соответствия маркам, паспортным данным и требованиям ГОСТ отбирают перед сливом его в битумохранилище.

Вязкие битумы, применяемые в дорожном строительстве, должны отвечать требованиям ГОСТ 22245-76, жидкие - ГОСТ 11955-74.

Разогрев битума в битумохранилище и приямке

В камере битумохранилища битум предварительно подогревают до 60 - 65 °С, а в приямке - до 80 - 100 °С.

Для разогрева битума в обоих случаях используют типовое электронагревательное устройство, разработанное Всесоюзным научно-исследовательским институтом электротермического оборудования (ВНИИЭТО).

Таблица 1

Техническая характеристика нагревательной установки ВНИИЭТО

Показатели

Днище битумохранилища

Приямок битумохранилища

Рабочая температура, °С

60

90

Установленная мощность, кВт

132

50

Количество нагревателей

4

1

Производительность т/ч

3

3

Напряжение в нагревателях, В

380

380

Число электрических зон

4

1

Система соединения

«Звезда»

-

электронагреватель днища битумохранилища представляет собой спиральные нагревательные элементы из стальной проволоки диаметром 5 мм, навитой на асбестоцементные трубы, которые укладывают в ниши на полу битумохранилища. Нагреватель разбит на четыре самостоятельно регулируемые электрические зоны. Каждый нагреватель днища в свою очередь состоит из двенадцати спиралей, смонтированных на асбестоцементных трубах диаметром 125 мм.

Длина нагревателя одной фазы - 145 м (4 последовательно соединенных спирали). Концы каждой фазы нагревателя приварены электросваркой к выводным шинам сечением 4×40 мм из стали марки Ст. 3.

Нагреватель приямка состоит из шести нагревателей, закрепленных на шестигранной раме, сваренной из угловой стали. Нагревательным элементом служит стальная проволока диаметром 5 мм, навитая на рамке из асбестоцементных планок толщиной 30 мм. Шаг навивки - 20 мм, длина проволоки одной фазы - 94 м. Каждая фаза нагревателя размещается на двух рамках. Концы нагревателя соединяют с нейтралью и выводами с помощью электросварки. Нагреватель устанавливают на дно приямка, а сверху закрывают сеткой.

Вся пускорегулирующая аппаратура, в том числе и электроконтактные термометры битумной массы, размещена на панели щита управления.

Электрическая часть обеспечивает как ручное, так и автоматическое регулирование температуры. При этом на любой фазе нагревателя поддерживается напряжение 220 в, даже в случае перегорания одной или двух фаз нагревателя. Защита от короткого замыкания осуществляется индивидуальными и общими воздушными автоматическими выключателями 6АВ, АВ. Магнитные пускатели 1-5ПМ обеспечивают включение, блокировку и автоматическое регулирование температуры.

В автоматическом режиме осуществляется двухпозиционное регулирование (включение и отключение полной мощности) с помощью электроконтактных термометров 1-5ЭКТ и промежуточных реле 1-6РП, управляющих работой магнитных пускателей.

Схема предусматривает сигнализацию о включении цепей управления и нагревателей каждой зоны.

Блокировка осуществляется с помощью выключателя ВК (связанного с дверью, закрывающей вход на рабочую площадку), который отключает напряжение на включенных нагревателях при открывании двери битумохранилища.

Транспортировка битума по трубам

Разогретый в приямке битум по трубопроводам перекачивают в котлы битумоплавильной установки с помощью насоса Д-171 (ДС-3), который включает только после разогрева битумопроводов.

Наружный электрообогрев битумопроводов применяют при подаче битума от битумохранилища к битумоплавильной установке (особенно при длинных коммуникациях), так как транспортировка битума с температурой 90 - 100 °С по трубам с применением внутреннего электрообогрева приводит к увеличению потерь напора, что значительно снижает пропускную способность битумопровода.

У битумопроводов с наружным электрообогревом на трубу диаметром 83 мм, предварительно заземленную, наматывают шнуровой асбест диаметром 5 мм, а затем диаметром 3 мм. На два слоя асбеста наматывают нихромовую ленту размером 10×1 мм, которая служит нагревателем. Поверх нихромовой ленты наматывают шнуровой асбест диаметром 5 и 3 мм, затем накладывают рубероид шириной 10 см, который обматывается шпагатом, пропитанным антисептиком.

Приготовление битума в битумоплавильной батарее

Приготовление битума заключается в выпаривании из него влаги и подогреве обезвоженного битума до рабочей температуры с помощью электро- или газоподогрева. Битумная батарея состоит из трех битумных котлов и 1 - 2 рабочих (расходных) котлов с полезной емкостью по 15 т каждый.

Электроподогрев. Битумные котлы оборудуют электронагревателями, представляющими собой три асбестоцементные трубы, разрезанные по длине (2,2 м) на две части.

По наружному периметру труб наматывают ленточный нихром сечением 10×1 мм и длиной 36 м. Нагревательные элементы крепят болтами к деревянным подкладкам, закрепленным скобами к днищу котла. Концы нихромовой ленты нагревательных элементов приваривают электросваркой к выводным шинам. На электронагреватели подается напряжение 220 в. Котлы битумной батареи заземлены.

После прогрева битумопроводов поочередно заполняют битумные котлы битумом на 3/4 их геометрического объема. Количество подаваемого битума в котлы регулируют при помощи задвижки. Излишки битума через перепускной клапан по возвратной трубе сливают в битумохранилище.

После наполнения каждого котла битумом включают его электронагреватели.

Газоподогрев. Битумные котлы с жаровыми трубами оборудованы газовыми горелками инжекторного типа.

После прогрева битумопроводов поочередно заполняют битумные котлы и подготавливают горелки к розжигу. Для вентиляции топки и дымоходов открывают шиберы на дымоходе, продувные дверцы и регулятор первичного воздуха. После вентиляции закрывают регулятор первичного воздуха у горелки, открывают задвижку на пуске газопровода и убеждаются, что давление в системе соответствует нормальному, кран на газопроводе «свеча» открыт, открывают вентиль на пуск газопровода и в течение нескольких минут продувают газопровод «свечу» газом, после чего кран на «свече» закрывают.

Окончив эту подготовку, зажигают переносной запальник (работающий на газе), подносят через отверстие для розжига к выходному отверстию горелки, открывают задвижку горелки и ожидают, чтобы газ загорелся. Когда убедятся, что газ горит, закрывают кран запальника, извлекают его из топки и укладывают на специально отведенное место. Для нормального горения производят регулировку первичного воздуха, пока пламя не станет синевато-фиолетовым, без красноватых коптящих языков.

После включения электронагревателей или розжига газовых горелок битум нагревают до температуры 110 - 120 °С, перемешивая его механической мешалкой. При появлении признаков вспенивания в битумные котлы вводят противопенный препарат СКТН-1 по 2 - 3 капли на 10 т битума.

Перед употреблением препарат СКТН-1 предварительно взбалтывают и вводят в битум капельницей или пипеткой. После введения препарата пена спадает и при дальнейшем повышении температуры не образуется.

Режим выпаривания продолжается до полного удаления влаги из битума, признаками которого является образование чистой зеркальной поверхности битума без пузырьков воздуха и следов пены. Окончательно готовность битума устанавливают испытанием пробы в лаборатории.

Обезвоженный битум перекачивают в расходный котел и нагревают до рабочей температуры.

Таблица 2

Температура нагрева битума для приготовления асфальтобетонных смесей

Марка битума

Температура в °С

без поверхностно-активных веществ

с поверхностно-активными веществами

БН 90/130; БНД 90/130; БН 60/90; БНД 60/90; БНД 40/60

130 - 150

110 - 130

БН 200/300; БНД 200/300; БН 130/200; БНД 130/200

100 - 120

90 - 110

СГ 130/200

90 - 100

90 - 100

СГ 70/130; МГ 70/130

80 - 90

80 - 90

БГ 70/130

70 - 80

70 - 80

Битум при рабочей температуре разрешается держать только при работе смесительной установки, но не более 5 часов. При длительных перерывах в работе смесительной установки следует поддерживать температуру вязких битумов не выше 80 °С, жидких - не выше 60 °С не более 12 часов.

Температуру битума контролируют через каждые 2 ч с помощью термопар, установленных в битумных котлах, или термометра, который опускают в горловину битумного котла.

При транспортировке битума по битумопроводу от битумоплавильной установки к смесительному агрегату применяют внутренний электрообогрев битумопровода. Внутри битумопровода помещают стержневой электронагреватель, состоящий из кожуха (труба диаметром 18,4 м), стального стержня диаметром 8 мм с надетыми на него керамическими муфтами. Трубы битумопровода должны быть заземлены.

Технические характеристики электронагревателей приведены в сборнике отраслевых нормалей «Элементы битумопроводов», ОН2201-47-66-ОН2201-5266, выпущенным ВНИИСтройдормашем в 1967 г.

Работы по приготовлению битума должны выполняться в соответствии с требованиями следующих нормативных документов:

1. СНиП III-40-78 «Автомобильные дороги. Правила производства и приемки работ», М., «Транспорт», 1979.

2. «Руководство по строительству дорожных асфальтобетонных покрытий», М., «Транспорт», 1978.

Указания по технике безопасности

1. Расположение и конструкция узлов битумоплавильных установок должны обеспечивать удобный доступ к ним и безопасность монтажа, эксплуатации и ремонта.

2. По наружному контуру верхней площадки обмуровки битумоплавильных котлов необходимо устраивать ограждения высотой не менее 1 м, лестницу шириной не менее 0,7 м с перилами, а также кирпичный борт высотой не менее 0,2 м, предохраняющий от стекания битума по стенкам битумоплавильной установки.

3. Горловины (люки) котлов должны закрываться решеткой с размерами ячеек 250×250 мм, а также крышками.

4. Битумоплавильные котлы и установки должны быть оборудованы системой, позволяющей осуществлять циркуляцию подогреваемого битума.

При отсутствии циркуляционной системы необходимо устраивать механические мешалки.

5. При закачке битума из битумохранилища насос разрешается включать только после обогрева битумопровода, так как в остывшей трубе оставшийся битум создает пробку, что приводит к разрыву трубы.

6. В битумохранилище, оборудованном электронагревательными устройствами, необходимо соблюдать следующие требования:

электрооборудование, а также битумные котлы, насосы, битумопроводы должны быть заземлены;

в битумохранилище следует устанавливать закрытые взрывобезопасные светильники, а электропроводку помещать в трубах;

спирали электронагревательных элементов должны быть полностью погружены в битум;

технологическая линия электроподогрева битума должна быть оборудована световой сигнализацией;

обслуживание электронагревательной установки разрешается лицам, прошедшим специальное обучение, ознакомленным с правилами безопасной эксплуатации установки и имеющим право работы на электроустановках. Квалификация по технике безопасности должна быть не ниже III группы.

7. При газоподогреве конструкция топки должна обеспечивать попадание в жаровые трубы только горячих газов.

При производстве работ необходимо соблюдать требования следующих документов:

1. СНиП III-А.11-70 «Техника безопасности в строительстве», М., Стройиздат, 1970.

2. «Правила техники безопасности при строительстве, ремонте и содержании автомобильных дорог», М., «Транспорт», 1978.

III. УКАЗАНИЯ ПО ОРГАНИЗАЦИИ ТРУДА

Приготовление битума ведется, как правило, круглосуточно. В каждую смену весь комплекс работ выполняет асфальтобетонщик (варильщик) 3 разр., имеющий первую квалификационную группу по технике безопасности.

В его обязанности входят: разогрев битума в битумохранилище, обогрев трубопроводов, заполнение котлов битумом, включение электронагревателей в сеть или розжиг газовых горелок, приготовление битума до рабочей температуры, перекачивание битума в рабочий (расходный) котел, подача битума по битумопроводам на смесительную установку или загрузка готового битума в автоцистерны или автогудронаторы. В необходимых случаях асфальтобетонщик дозирует и вводит поверхностно-активные добавки в битум:

В начале смены асфальтобетонщик получает задание от мастера на приготовление битума и принимает смену от асфальтобетонщика предыдущей смены. Он осматривает битумохранилище (устанавливает наличие битума требуемых марок, исправность электронагревательных элементов), проверяет исправность битумных насосов и битумопроводов, осматривает битумные котлы, проверяет заполнение котлов битумом, определяет степень его готовности.

В течение смены асфальтобетонщик ведет наблюдение за технологическим режимом, поддерживает общий порядок на территории битумохранилища и битумоплавильной батареи и ведет сменный журнал.

Рабочее место асфальтобетонщика (битумоплавильная батарея и битумохранилище) должно содержаться в чистоте и порядке. На площадке и в проходах между горловинами котлов не должно находиться посторонних предметов. Лестницы должны иметь поручни. Места, загрязненные битумом, должны посыпаться песком с последующим удалением сгустков битума. При битумоплавильной батарее должен быть ящик с песком и щит с полным комплектом противопожарного оборудования.

Общий надзор за работой электронагревательных элементов в битумохранилище и их ремонт выполняет электрослесарь асфальтобетонного завода, который входит в звено рабочих, обслуживающих смесительную установку. Электрослесарь должен иметь квалификационную группу по электробезопасности не ниже III.


IV. ГРАФИК ПРОИЗВОДСТВЕННОГО ПРОЦЕССА

Приготовление битума в котлах с полезной емкостью 15000 л с помощью электро- или газоподогрева

Описание: ris_40

Примечания. 1. Подогрев битума в приямке ведется круглосуточно, поэтому эта работа не включена в график.

2. При работе с тремя котлами для приготовления 45 т битума затрачивается 15,8 чел-ч с учетом совмещения операций.


V. КАЛЬКУЛЯЦИЯ ЗАТРАТ ТРУДА НА ПРИГОТОВЛЕНИЕ БИТУМА В КОТЛАХ С ПОЛЕЗНОЙ ЕМКОСТЬЮ 15000 л С ПОМОЩЬЮ ЭЛЕКТРО- ИЛИ ГАЗОПОДОГРЕВА

Шифр норм и расценок

Состав звена

Описание работ

Единица измерения

Объем работ

Норма времени, чел.-ч.

Расценка, руб.-коп.

Нормативное время на полный объем работ, чел-ч

Стоимость затрат труда на полный объем работ, руб.-коп.

ТНиР-1, § Т1-35, № 7, K = 1,08 к расценке на вредность

Асфальтобетонщик (варильщик)

3 разр. - 1

Разогрев битумопровода. Заполнение котлов битумом. Разжигание форсунки или включение электронагревателей. Приготовление битума. Отключение форсунки или электронагревателей. Перекачивание готового битума в рабочий котел

т

45

0,37

0-22,1

16,65

9-95

Итого

16,65

9-95

Примечание. Разогрев битума в приямке битумохранилища ведется круглосуточно, поэтому эта работа не включена в калькуляцию.

VI. ОСНОВНЫЕ ТЕХНИКО-ЭКОНОМИЧЕСКИЕ ПОКАЗАТЕЛИ

Наименование показателей

Единица измерения

По калькуляции А

По графику Б

На сколько процентов показатель по графику больше (+) или меньше (-), чем по калькуляции

Трудоемкость на приготовление 45 т битума

чел.-дн.

2,08

1,98

-4,8

Средний разряд рабочих

-

3

3

-

Среднедневная заработная плата на одного рабочего

руб.-коп.

4-78

5-02

+5,02

VII. МАТЕРИАЛЬНО-ТЕХНИЧЕСКИЕ РЕСУРСЫ

А. Основные материалы

Наименование применяемых материалов

ГОСТ

Количество на приготовление 10 т битума

Битум нефтяной дорожный вязкий

22245-76

10, 15 т

Битум нефтяной дорожный жидкий

11955-74

10, 15 т

Синтетический препарат СКТН-1

13835-73

2 - 3 капли

Примечание. В расходе исходного битума учтены потери битума в процессе его приготовления в размере 0,15 т на 10 т приготовленного битума.

Б. Машины, оборудование, инструмент, инвентарь

Наименование

Марка

Количество

Электронагреватели днища битумохранилища

Конструкции ВНИИЭТО

4

То же для приямка

То же

1

Котлы емкостью (полезной) 15000 л

БКЖ-15

4 - 5

Битумные насосы

Д-171 (ДС-3)

2

Гаечные ключи

-

Комплект

Термопара

-

4 - 5

Газовая горелка

-

4 - 5

Манометры

-

4 - 5

Электронагреватели для котлов

-

4 - 5

VIII. КАРТА ОПЕРАЦИОННОГО КОНТРОЛЯ КАЧЕСТВА ПРИГОТОВЛЕНИЯ БИТУМА НА АСФАЛЬТОБЕТОННОМ ЗАВОДЕ (АБЗ)

ОК-II-064

Требования к качеству работ

1. Выпаривание продолжается до полного удаления влаги из битума, признаками которого является образование чистой зеркальной поверхности без пузырьков воздуха и следов пены. Окончательно готовность битума устанавливают испытанием пробы в лаборатории.

2. Рабочая температура нагрева битумов должна быть в пределах, указанных в табл. 2 технологической карты, и ее можно поддерживать не более 5 часов. Разрешается поддерживать температуру вязких битумов не выше 80 °С, жидких - не выше 60 °С не более 12 часов.

СНиП III-40-78; ГОСТ 22245-76; ГОСТ 11955-74.

I

Основные операции, подлежащие контролю

Приготовление битума

II

Состав контроля

Температура разогрева битума. Наличие влаги

III

Методы и средства контроля

Визуальный, измерительный. Термометр, внешний осмотр, таблица температур нагрева битума

IV

Режим и объем контроля

Периодически, не реже, одного раза в смену. Одна проба из каждого котла

V

Лицо, контролирующее операцию

Мастер, лаборант

VI

Лицо, ответственное за организацию и осуществление контроля

Прораб

VII

Привлекаемые для контроля подразделения

Лаборатория АБЗ

VIII

Где регистрируются результаты контроля

Журнал приготовления битума

СОДЕРЖАНИЕ

I. Область применения. 1

II. Указания по технологии производственного процесса. 1

III. Указания по организации труда. 5

IV. График производственного процесса. 7

V. Калькуляция затрат труда на приготовление битума в котлах с полезной емкостью 15000 л с помощью электро- или газоподогрева. 8

VI. Основные технико-экономические показатели. 8

VII. Материально-технические ресурсы.. 8

VIII. Карта операционного контроля качества приготовления битума на асфальтобетонном заводе (АБЗ) 9

 

 



© 2013 Ёшкин Кот :-)