ЦНИИПРОМЗДАНИЙ
РЕКОМЕНДАЦИИ ПО ОЦЕНКЕ НАДЁЖНОСТИ
СТРОИТЕЛЬНЫХ КОНСТРУКЦИЙ
ЗДАНИЙ И СООРУЖЕНИЙ
ПО ВНЕШНИМ ПРИЗНАКАМ
Москва 2001 г.
Изложена методика - для быстрой оценки надежности
стальных, железобетонных, каменных и деревянных конструкций на основе имеющихся
в них повреждений и дефектов, а также оценка технического состояния зданий или
сооружений по состоянию отдельных конструкций.
Дана методика по прогнозированию вероятности аварий
зданий и сооружений по показателям проекта, строительства и эксплуатации.
Рекомендации предназначены для работников служб,
занимающихся эксплуатацией зданий и сооружений, инженеров-проектировщиков,
разрабатывающих новые проекты, проекты реконструкции или осуществляющих
авторский надзор за строительством, а также могут быть использованы при
обследовании зданий и сооружений.
Настоящие рекомендации разработаны к.т.н.
Добромысловым А.Н. при участии инж. Фролова Ю.В., Кузиной О.Л., Третьяковой
С.В. в развитие ранее выпущенной работы ЦНИИПромзданий в 1989 г.
СОДЕРЖАНИЕ
ПРЕДИСЛОВИЕ
При эксплуатации зданий и сооружений, а также при их
обследовании широко применяются для оценки технического состояния конструкций
визуальные обследования. В связи с этим возникает необходимость в установлении
надежности обследуемых конструкций по внешним признакам повреждений.
Как показали наблюдения, в процессе эксплуатации
конструкций происходит циклическое изменение их надежности, что связывается с
изменчивостью величин нагрузок и изменением несущей способности вследствие
различных повреждений.
При достижении конструкцией определенного уровня
надежности в ней будут наблюдаться необратимые повреждения: трещины, потеря
устойчивости сжатых элементов, пластические деформации, коррозионные
повреждения и т.п. Повреждения критического характера в конструкциях могут
привести к обрушению конструкции и аварии здания или сооружения.
Учет влияния повреждений на надежность конструкции
зданий и сооружений обобщен в настоящих рекомендациях.
Для удобства оценки надежности составлены подробные
таблицы для различных видов конструкций. Своевременная оценка технического
состояния конструкций и сооружений позволит вовремя провести их ремонт и
усиление и тем самым обеспечить их надежность при эксплуатации.
Не менее важным вопросом является экспертиза здания
или сооружения на предрасположенность к аварии. Выявление таких объектов по
предлагаемой в рекомендациях методике позволит эксперту или автору проекта
критически подойти к оценке их надежности и принять в случае необходимости
дополнительные мероприятия по контролю качества, что в итоге будет
способствовать повышению надежности.
1. ОБЩИЕ ПОЛОЖЕНИЯ
1.1. Настоящие Рекомендации предназначены для
приближенной оценки надежности эксплуатируемых отдельных строительных
конструкций и надежности зданий и инженерных сооружений в целом. По результатам
этих оценок устанавливается пригодность конструкций зданий и инженерных
сооружений для эксплуатации, сроки ремонтов, а также необходимость применения
более точных методов установления надежности конструкций.
1.2. Оценка надежности строительных конструкций при
эксплуатации производится на основе имеющихся в них повреждений,
устанавливаемых на основе визуальных обследований.
1.3. Оценка вероятностей аварий зданий и сооружений и их
надежность осуществляется по методике экспертных оценок.
1.4. Под надежностью строительных конструкций понимается
сохранение во времени, установленного нормами их качества: необходимой несущей
способности, долговечности, деформативности.
2. ОЦЕНКА НАДЕЖНОСТИ СТРОИТЕЛЬНЫХ КОНСТРУКЦИЙ ПО ИХ
ПОВРЕЖДЕНИЯМ
2.1. Повреждения в конструкции разделяются в зависимости
от причин их возникновения на две группы: от силовых воздействий и от
воздействия внешней среды. Последняя группа повреждений снижает не только
прочность конструкции, но и уменьшает ее долговечность. Основные виды
повреждений стальных, железобетонных, каменных и деревянных конструкций
приведены на рис. 1 ... 31 приложения 6.1.
2.2. В зависимости от имеющейся поврежденности и
надежности, техническое состояние конструкций разделяется на 5 категорий:
нормальное, удовлетворительное, не совсем удовлетворительное,
неудовлетворительное, аварийное.
2.3. Влияние повреждений на надежность конструкций
оценивается посредством уменьшения общего нормируемого коэффициента надежности
(запаса) g0 = gm·gc·gf·gn конструкций в
процессе эксплуатации, где gm - коэффициент надежности по материалу, gс -
коэффициент условий работы, gf - коэффициент надежности по нагрузке, gn
- коэффициент надежности по назначению.
Относительная надежность конструкции при эксплуатации у
= g/g0 и поврежденность конструкции e = 1 - у, где g -
фактический коэффициент надежности конструкции с учетом имеющихся повреждений.
Значения у и e, а также
приближенная стоимость С ремонта по восстановлению первоначального
качества в процентах по отношению к первоначальной стоимости для различных
категорий технического состояния конструкций приведены в табл. 1.
2.4. Оценка технического состояния стальных,
железобетонных каменных и деревянных конструкций, на основе имеющихся в них
повреждений, приведена в таблицах 2 - 5. При этом оценка надежности конструкций должна
проводиться по максимальному повреждению на длине конструкции. Для оценки
категории состояния конструкции необходимо наличие хотя бы одного признака,
приведенного в графах 2, 3 таблиц.
2.5. Общая оценка поврежденности здания и сооружения
производится по формуле
, (2.1)
где
e1, e2, ... ei - максимальная величина повреждений отдельных видов
конструкций, a1, a2, ... ai -
коэффициенты значимости отдельных видов конструкций.
При оценке величин повреждений учитывают их
максимальную величину, так как авария здания или сооружения обычно происходит
из-за наличия критического дефекта в отдельно взятой конструкции.
Коэффициенты значимости конструкций устанавливаются на
основании экспертных оценок, учитывающих социально-экономические последствия
разрушения отдельных видов конструкций, характера разрушения (разрушение с
предварительным оповещением посредством развития пластических деформаций или
мгновенное хрупкое разрушение). При отсутствии данных коэффициенты значимости ai
принимаются: для плит и панелей перекрытия и покрытия a = 2, для балок a = 4, для ферм a = 7, для колонн a = 8, для несущих
стен и фундаментов a = 3, для прочих строительных конструкций a = 2.
КАТЕГОРИЯ ТЕХНИЧЕСКОГО СОСТОЯНИЯ
Таблица 1
Категория
технического состояния
|
Описание
технического состояния
|
Относительная
надежность y = g/g0
|
Поврежденность e =1 - y
|
Стоимость
ремонта С, %
|
1
|
2
|
3
|
4
|
5
|
1
|
Нормальное исправное состояние.
Отсутствуют видимые повреждения. Выполняются все требования действующих норм
и проектной документации. Необходимости в ремонтных работах нет.
|
1
|
0
|
0
|
2
|
Удовлетворительное
работоспособное состояние. Несущая способность конструкций обеспечена,
требования норм по предельным состояниям II группы и
долговечности могут быть нарушены, но обеспечиваются нормальные условия
эксплуатации. Требуется устройство антикоррозийного покрытия, устранение
мелких повреждений.
|
0,95
|
0,05
|
0 - 11
|
3
|
Не совсем удовлетворительное,
ограниченно работоспособное состояние. Существующие повреждения
свидетельствуют о снижении несущей способности. Для продолжения нормальной
эксплуатации требуется ремонт по устранению поврежденных конструкций.
|
0,85
|
0,15
|
12 - 36
|
4
|
Неудовлетворительное,
(неработоспособное) состояние. Существующие повреждения свидетельствуют о
непригодности к эксплуатации конструкций. Требуется капитальный ремонт с усилением
конструкций. До проведения усиления необходимо ограничение действующих
нагрузок. Эксплуатация возможна только после ремонта и усиления.
|
0,75
|
0,25
|
37 - 90
|
5
|
Аварийное состояние.
Существующие повреждения свидетельствуют о возможности обрушения конструкций.
Требуется немедленная разгрузка конструкции и устройство временных креплений,
стоек, подпорок, ограждений опасной зоны. Ремонт в основном проводится с
заменой аварийных конструкций.
|
0,65
|
0,35
|
91 - 130
|
Относительная оценка надежности здания или сооружения
производится по формуле
у = 1 - e. (2.2)
2.6. При проведении экспресс-обследований общая оценка
технического состояния зданий и сооружений может быть произведена по таблицам 6 ... 16, в
зависимости от имеющихся в них характерных повреждений.
2.7. Величину повреждения строительных конструкций через t лет
ее эксплуатации определяют по формуле
, (2.3)
где
-
постоянная износа, определяемая по данным обследования на основании изменения
несущей способности в момент обследования; у - относительная надежность,
определяемая по категории технического состояния конструкции в зависимости от
повреждений по табл. 1; tj - срок эксплуатации
в годах на момент обследования.
2.8. Срок эксплуатации конструкции до капитального
ремонта в годах определяется по формуле
, (2.4)
где
λ - постоянная износа, определяемая по п. 2.7.
2.9. Срок эксплуатации конструкции до аварийного
состояния
.
3. ПРОГНОЗИРОВАНИЕ ВЕРОЯТНОСТИ АВАРИЙ
3.1. Аварии зданий и сооружений возникают в основном
из-за допущенных грубых ошибок и просчетов, допущенных при разработке проектов,
строительстве и эксплуатации. В случае неблагоприятного прогноза назначаются
дополнительные меры по проверке качества проектирования, строительства и
эксплуатации с целью устранения обнаруженных дефектов.
3.2. Недостаточная надежность проекта может возникнуть
вследствие:
а) несоответствия принятой расчетной модели
действительной работе конструкций из-за отсутствия или неполноты норм на проектирование,
неясности расчетных схем и фактических условий работы и эксплуатации объекта;
б) недостаточных данных о действующих нагрузках и
воздействиях;
в) недостаточных сведениях о свойствах и изменчивости
материалов, конструкций и оснований, а также масштабного фактора;
г) применения новых неапробированных типов
конструкций;
д) недостаточной сопротивляемости сооружения случайным
воздействиям и повреждениям;
е) допущенных ошибок из-за отсутствия достаточного
опыта проектировщиков, сложности расчета и конструирования, недостатка времени
на проектирование.
3.3. Некачественное строительство объектов может
возникнуть вследствие:
а) применения дефектных материалов;
б) использования необычных или неапробированных
методов возведения;
в) плохого контроля за качеством строительства,
неудовлетворительным взаимодействием проектировщиков и строителей;
г) низкой квалификации производственного персонала,
частая смена производственного персонала;
д) неудовлетворительной обстановки на стройке:
недостаток времени, средств, плохие взаимоотношения персонала.
3.4. Некачественная эксплуатация может возникнуть
вследствие:
а) завышений проектных нагрузок;
б) отступлений от правил эксплуатации;
в) использования объекта не по назначению;
г) отсутствия контроля за состоянием здания или
сооружения;
д) эксплуатации здания или сооружения с неустраненными
дефектами;
е) снижения прочности конструкций во времени
вследствие накопления повреждений: коррозии, выветривания, изменения грунтовых
условий, усталости материала и т.п.
3.5. Определение вероятности аварии производят на
основании анализа условий, влияющих на надежность сооружений, используя
экспертные оценки, что не исключает применение расчетных данных или данных
натурных обследований.
Опросная анкета, на которую анонимно отвечают эксперты,
содержит ряд оценочных условий, каждое из которых имеет свой удельный вес, с
общей суммой всех условий равной 1 (см. табл. 17).
3.6. Каждое условие оценивается по бальной шкале и имеет
5 вариантов ответа: 1 (неприемлемо), 2 (неудовлетворительно), 3
(удовлетворительно), 4 (хорошо), 5 (отлично).
Условную надежность здания или сооружения b определяют по формуле
, где Рi - удельная
оценка надежности, получаемая умножением удельного веса условия на оценку в
баллах.
3.7. Полученные значения b для
сооружения сравнивают со шкалой оценок надежности (см. табл. 18).
3.8. В таблице 17 приведены типовые условия анализа надежности
сооружения, находящегося в эксплуатации. При необходимости может быть проведен
анализ только надежности проекта, а число условий может быть дополнено или
изменено.
3.9. Для более достоверных оценок надежности зданий и
сооружений против аварии их оценку осуществляют несколькими независимыми
экспертами.
4. ОЦЕНКА ТЕХНИЧЕСКОГО СОСТОЯНИЯ ЗДАНИЙ ПОСЛЕ ЗЕМЛЕТРЯСЕНИЯ
ПО ВНЕШНИМ ПРИЗНАКАМ
4.1. Оценка технического состояния зданий и сооружений
производится согласно пп. 2.4 и 2.5 на основе имеющихся повреждений отдельных
конструкций. При этом оценка надежности конструкций должна проводиться по
максимальному повреждению.
4.2. При проведении экспресс-обследований общая оценка
технического состояния зданий и сооружений производится по таблицам 19, 20.
5. ОЦЕНКА ТЕХНИЧЕСКОГО СОСТОЯНИЯ ЗДАНИЙ ПОСЛЕ ПОЖАРА ПО
ВНЕШНИМ ПРИЗНАКАМ
Оценка технического состояния зданий и сооружений
производится согласно пп. 2.4 и 2.5 на основе характерных
повреждений при пожарах, приведенных в таблицах 22, 23.
6. ПРИЛОЖЕНИЯ
6.1.
ХАРАКТЕРНЫЕ ПОВРЕЖДЕНИЯ СТРОИТЕЛЬНЫХ КОНСТРУКЦИЙ

Рис. 1. Повреждения стальных конструкций
а
- общая потеря устойчивости балки; б - то же стойки; в - то же резервуара; г -
местная потеря устойчивости сжатого пояса балки; д - то же днища резервуара
(хлопун); е - механическое повреждение элемента (погнутость) в его плоскости; ж
- то же элементов; з - отклонение фермы от вертикали

Рис. 2. Повреждения стальных конструкций
Коррозия
элементов: а - общая; б - местная; в - язвенная; г - щелевая; д - трещины в
фасонке по металлу и сварному шву; е - трещины в резервуаре по краю отверстия;
1 - трещина; 2 - квадратное отверстие

Рис. 3. Дефекты сварных соединений
а
- неравномерное сечение шва, кратеры; б - прожоги; в - резкий переход металла
шва к основному металлу; г - неполномерность шва; д - наплывы; е - подрезы
основного металла; ж - трещины; з - непровары; и - шлаковые включения

Рис. 4. Места зарождения усталостных трещин в стальных
конструкциях
а - в соединениях
прикрепления ребер жесткости балок к сплошной стене; б - в стыковых
соединениях; в, г - в нахлесточных соединениях; д - в верху подкрановых балок;
Т1 - трещина по сварному шву; Т2, Т3 - по металлу

Рис. 5. Трещины при разрушении изгибаемых железобетонных
элементов
а - от действия
изгибающего момента на различных стадиях работы; б - от поперечной силы; в - в
короткой консоле

Рис. 6. Трещины при разрушении железобетонных элементов
а -
центрально-растянутого; б, в - центрально-сжатого; г, д - внецентренно-сжатого;
1 - участок раздробления бетона

Рис. 7. Трещины в железобетонных балках
а - без
предварительного напряжения; б - предварительно напряженных; 1 - наклонные
трещины; 2 - наклонные трещины, переходящие в горизонтальные; 3 - вертикальные
трещины; 4 - горизонтальные трещины; 5 - трещины в месте сопряжения стенки и
верхнего пояса; 6 - система прерывистых трещин в опорной зоне балки; 7 - откол
угла защитного слоя бетона при проскальзовании высокопрочной проволоки

Рис. 8. Трещины при разрушении плит
а - балочной (вид
снизу); б - опертой по контуру (вид снизу); в - сборной панели перекрытия; 1 -
наклонные трещины до нижней грани ребра; 2 - вертикальные трещины; 3 - откол
бетона опоры

Рис. 9. Трещины в железобетонных фермах
а - в сжатом поясе и
узле; б - в растянутом раскосе; в - в опорном узле; г - в растянутом поясе и
узле; 1 - серия наклонных трещин; 2 - лещадка; 3 - трещина в месте сопряжения
раскоса и пояса; 4, 5 - трещины в поясе фермы; 6 - серия вертикальных трещин; 7
- горизонтальная трещина; 8 - наклонная трещина, доходящая до нижней грани
пояса; 9 - откол лещадок; 10 - вертикальные трещины; 11 - горизонтальные
трещины

Рис. 10. Технологические трещины в железобетонной балке
покрытия
1, 2 - от расслоения и зависания бетонной массы при
бетонировании и расширении металлических паровых рубашек; 3 - усадочные; 4 - от
расслоения при бетонировании и от усадки

Рис. 11. Расположение усадочных трещин на монолитной
железобетонной стене резервуара
1, 2 - трещины от усадки; 3 - рабочий шов бетонирования

Рис. 12. Характерные дефекты железобетонных подкрановых балок
1 - непроектное крепление балки к колонне, повреждение
крепления; 2 - обрыв элемента крепления балки к надкрановой части колонны; 3 -
разрушение бетона полки в опорной зоне; 4 - косые трещины у опоры; 5 - силовые
вертикальные трещины в свесах полок; 6 - оголение арматуры от ее коррозии; 7 -
местное разрушение свесов полок; 8 - разрушение свесов полок в местах установки
упоров; 9 - горизонтальные трещины; 10 - разрушение бетона в опорной зоне; 11 -
нарушение анкеровки закладной детали

Рис. 13. Повреждения фундаментов
а - под
железобетонные колонны; б - под стальные колонны; в - ленточных фундаментов; 1
- трещина в стаканной части от недостатка арматуры; 2 - трещина от изгиба
нижней ступени; 3 - коррозия бетона и арматуры; 4 - скол граней; 5 - отслоение
защитного слоя; 6 - трещина вдоль анкерного болта; 7 - разрушение бетона от
размораживания; 8 - разрушение кладки; 9 - расслоение кладки

Рис. 14. Трещины от нагрузки в железобетонных оболочках
а - куполов; б -
двоякой кривизны; в - цилиндрических; 1 - кольцевая трещина с внутренней
стороны; 2 - меридианальные трещины; 3 - трещины при местном разрушении; 4 -
трещины от изгиба; 5, 6 - продольные трещины с внутренней и наружной
поверхности

Рис. 15. Характер развития трещин от нагрузки в сжатой
кирпичной кладке
а - малоразвитые
трещины; б - развитие трещин по высоте и увеличение их ширины; в - трещины при
разрушении

Рис. 16. Повреждения каменных конструкций
а - трещины в стене
от усадки монолитной перемычки; б - трещины в кирпичной колонне при нагрузке ее
угла; в - трещины и скол в кирпичной пилястре; г - деформация и трещины стены
подвала от давления грунта; д - трещины в карнизе от распора при температурных
деформациях или распора стропил без затяжек; 1 - трещины; 2 - перемычка; 3 -
стена; 4 - колонна; 5 - скол кирпичной кладки

Рис. 17. Характерные трещины в стенах зданий от осадки
основания
1 - слабый грунт; 2 - котлован; 3 - жесткое включение
значительных размеров; 4 - новое сооружение; 5 - старое сооружение; 6 - шов
примыкания

Рис. 18.
Трещины в растянутом стыке деревянной конструкции

Рис. 19.
Повреждения деревянных наслонных стропил

Рис. 20. Повреждения деревянных стропил

Рис. 21. Характерные повреждения конструкций жилых и
общественных зданий
1 - расслоение кладки цоколя; 2 - повреждение опор
деревянных балок; 3 - расслоение кладки карниза; 4 - протечки и разрушение
кровли; 5 - коррозия или образование трещин в железобетонных балках перекрытия;
6 - трещины в кладке в месте опор ригелей; 7 - коррозия и трещины в
железобетонных плитах перекрытий; 8 - гниль маурлата и стропил; 9 - трещины в
перегородках и поперечных стенах; 10 - трещины и протечки в стене подвала

Рис. 22. Характерные повреждения конструкций одноэтажных
промзданий
1 - расслоение кладки цоколя; 2 - повреждение крепления
стены к колонне; 3 - трещины и расслоение кладки карниза; 4 - разрушение
железобетонных плит; 5 - коррозия нижнего пояса пролетного строения; 6 -
трещины в опорном узле; 7 - разрушение подкрановых балок; 8 - разрушение
креплений подкрановых балок к колоннам; 9 - коррозия арматуры железобетонных
колонн, механические повреждения; 10 - разрушение перемычек над окнами

Рис. 23. Характерные повреждения конструкций многоэтажных
промзданий
1 - расслоение кладки цоколя; 2 - трещины и расслоение
кладки карниза; 3 - разрушение железобетонных плит покрытия; 4 - расстройство
стыка ригеля; 5 - расстройство стыка балок перекрытия; 6 - коррозия арматуры
железобетонных колонн, механические повреждения; 7 - разрушение плит
перекрытия; 8 - разрушение перемычек над окнами

Рис. 24. Повреждения стальных цилиндрических резервуаров
а - разрез; б - план
днища; 1 - окрайка днища; 2 - упорный уголок; 3 - вмятина; 4 - отрыв кровли от
стен; 5 - местная потеря устойчивости; 6 - трещина по сварному шву, выходящая
на основной металл; 7 - трещина по основному металлу; 8 - трещина по сварному
шву; 9 - местная коррозия; 10 - хлопун (выпучина); 11 - местная просадка
основания; 12 - зазор между краем днища и основанием; 13 - гофры; 14 - сквозные
коррозионные отверстия

Рис. 25. Повреждения стен железобетонных цилиндрических
силосов
а - наружная
поверхность; б - внутренняя поверхность; 1 - бреши; 2 - вертикальные трещины
шириной 0, 1 ... 3 мм; 3 - смятие бетона в горизонтальных швах бетонирования; 4
- горизонтальная трещина; 5 - выпучивание домкратных стержней; 6 -
горизонтальные и вертикальные трещины от перегрузки в области пластических
шарниров; 7 - коррозионное разрушение бетона и арматуры; 8 - разрушение
защитного слоя бетона от горячего сыпучего материала с провисанием кольцевой
арматуры; 9 - истирающий износ защитного слоя бетона

Рис. 26. Трещины от нагрузки в железобетонных бункерах
а - прямоугольный
бункер; б - цилиндрический бункер (резервуар) с коническим днищем; 1 - трещины
перегрузки в призматической части; 2 - то же пирамидальной воронки; 3 - трещина
от отрыва воронки; 4 - трещина от общего изгиба бункера; 5 - трещины от
перегрузки при разрушении цилиндрической части; 6 - то же конической части

Рис. 27. Повреждения железобетонных прямоугольных резервуаров
1 - трещины от перегрузки гидравлическим давлением; 2 -
разрушение бетона в уровне жидкости от размораживания; 3 - трещины от
неравномерной осадки; 4 - отслоение защитного слоя и коррозия арматуры; 5 -
трещины от усадки бетона; 6 - протечки в температурно-усадочном шве; 7 -
разрушение стыков сборных панелей

Рис. 28. Повреждение кирпичных дымовых труб
1 - приподнятие колпака из-за коррозии футеровки; 2 -
выпадение отдельных кирпичей; 3 - трещины и расчленение оголовка; 4 -
искривление верхней части ствола из-за коррозии; 5 - коррозия и разрыв стяжных
колец; 6 - вертикальные трещины; 7 - горизонтальные трещины; 8 - крен трубы
из-за неравномерной осадки

Рис. 29. Повреждения кирпичных стен от сейсмических
воздействий
а - одноэтажного здания;
б - торцевой стены; в - перегородок; 1 - обрушение штукатурки; 2 - сквозные
трещины

Рис. 30. Повреждение железобетонных ригелей каркасных зданий
от сейсмических воздействий
а, б - балок; в -
ригеля; 1 - сквозная трещина; 2 - скол бетона; 3 - арматура

Рис. 31. Разрушение железобетонных колонн от сейсмических
воздействий
а - многоэтажных
каркасных зданий; б - одноэтажных промзданий
ОЦЕНКА ТЕХНИЧЕСКОГО СОСТОЯНИЯ СТАЛЬНЫХ КОНСТРУКЦИЙ ПО
ВНЕШНИМ ПРИЗНАКАМ
Таблица 2
Категория
состояния конструкции
|
Признаки
силовых воздействий на конструкцию
|
Признаки
воздействия внешней среды на конструкцию
|
1
|
Нет
|
Нет
|
2
|
Нет
|
Местами разрушено
антикоррозионное покрытие. На отдельных участках коррозия отдельными пятнами
с поражением до 5 % сечения. Местные погнутости от ударов транспортных
средств и другие повреждения, приводящие к ослаблению сечения до 5 %.
|
3
|
Прогибы изгибаемых элементов
превышают 1/150 пролета.
|
Пластинчатая ржавчина с
уменьшением площади сечения несущих элементов до 15 %. Местные погнутости от
ударов транспортных средств и другие механические повреждения, приводящие к
ослаблению сечения до 15 %. Погнутость узловых фасонок ферм.
|
4
|
Прогибы изгибаемых элементов
более 1/75 пролета. Потеря местной устойчивости конструкций (выпучивание
стенок и поясов балок и колонн). Срез отдельных болтов или заклепок в
многоболтовых соединениях. Наличие трещин во второстепенных элементах.
|
Коррозия с уменьшением
расчетного сечения несущих элементов до 25 %. Трещины в сварных швах или
околошовной зоне. Механические повреждения, приводящие к ослаблению сечения
до 25 %. Отклонения ферм от вертикальной плоскости более 15 мм. Расстройство
узловых соединений от проворачивания болтов или заклепок.
|
5
|
Прогибы изгибаемых элементов
более 1/50 пролета. Потеря общей устойчивости балок или сжатых элементов.
Разрыв растянутых элементов ферм. Наличие трещин в основном материале
элементов.
|
Коррозия с уменьшением
расчетного сечения несущих элементов более 25 %. Расстройство стыков со
взаимным смещением опор.
|
ОЦЕНКА ТЕХНИЧЕСКОГО СОСТОЯНИЯ ЖЕЛЕЗОБЕТОННЫХ
КОНСТРУКЦИЙ ПО ВНЕШНИМ ПРИЗНАКАМ
Таблица 3
Категория
состояния конструкции
|
Признаки
силовых воздействий на конструкцию
|
Признаки воздействия
внешней среды на конструкцию
|
1
|
Волосяные трещины (до 0,1 мм).
|
Имеются отдельные раковины,
выбоины.
|
2
|
Трещины в растянутой зоне
бетона не превышают 0,3 мм.
|
На отдельных участках с малой
величиной защитного слоя проступают следы коррозии распределительной арматуры
или хомутов. Шелушение ребер конструкций. На поверхности бетона мокрые или
масляные пятна, изменение цвета бетона.
|
3
|
Трещины в растянутой зоне
бетона до 0,5 мм.
|
Продольные трещины в бетоне
вдоль арматурных стержней от коррозии арматуры. Коррозия арматуры до 10 %
площади стержней. Бетон в растянутой зоне на глубине защитного слоя между
стержнями арматуры легко крошится. Снижение прочности бетона до 20 %.
|
4
|
Ширина раскрытия нормальных
трещин в балках не более 1 мм и протяженность трещин более 3/4 высоты балки.
Сквозные нормальные трещины в колоннах не более 0,5 мм. Прогибы изгибаемых
элементов более 1/75 пролета.
|
Отслоение защитного слоя бетона
и оголение арматуры. Коррозия арматуры до 15 %. Снижение прочности бетона до
30 %.
|
5
|
Ширина раскрытия нормальных
трещин в балках более 1 мм при протяженности трещин более 3/4 их высоты.
Косые трещины, пересекающие опорную зону и зону анкеровки растянутой арматуры
балок. Сквозные наклонные трещины в сжатых элементах. Хлопающие трещины в
конструкциях, испытывающих знакопеременные воздействия. Выпучивание арматуры
в сжатой зоне колонн. Разрыв отдельных стержней рабочей арматуры в растянутой
зоне, разрыв хомутов в зоне наклонной трещины. Раздробление бетона в сжатой
зоне. Прогибы изгибаемых элементов более 1/50 пролета при наличии трещин в
растянутой зоне более 0,5 мм.
|
Оголение всего диаметра
арматуры стержня. Коррозия арматуры более 15 % сечения. Снижение прочности бетона
более 30 %. Расстройство стыков.
|
ОЦЕНКА ТЕХНИЧЕСКОГО СОСТОЯНИЯ КАМЕННЫХ КОНСТРУКЦИЙ ПО
ВНЕШНИМ ПРИЗНАКАМ
Таблица 4
Категория
состояния конструкции
|
Признаки
силовых воздействий на конструкцию
|
Признаки
воздействия внешней среды на конструкцию
|
1
|
Трещины в отдельных кирпичах,
не пересекающие растворные швы.
|
Нет
|
2
|
Волосные трещины, пересекающие
не более двух рядов кладки (длиной 15 - 18 см).
|
Выветривание раствора швов до 1
см.
|
3
|
Трещины, при пересечении не
более четырех рядов кладки.
|
Размораживание и выветривание
кладки, отслоение облицовки на глубину до 15 % толщины.
|
4
|
Вертикальные и косые трещины в
несущих стенах на высоту более четырех рядов кладки. Образование вертикальных
трещин между продольными и поперечными стенами, разрывы или выдергивание
отдельных стальных связей и анкеров крепления стен к колоннам и перекрытиям.
Местное (краевое) повреждение кладки на глубину до 2 см под опорами ферм,
балок и перемычек в виде трещин и лещадок; вертикальные трещины по концам
опор, пересекающие не более трех рядов кладки
|
Размораживание и выветривание
кладки, отслоение облицовки на глубину до 25 % толщины. Наклоны и выпучивание
стен и фундаментов в пределах этажа не более чем на 1/6 их толщины. Смещение
плит перекрытий на опорах не более 1/5 глубины заделки, но не более 2 см.
|
5
|
Вертикальные и косые трещины в
несущих стенах и столбах на высоту всей стены. Отрыв продольных стен от
поперечных в местах их пересечения, разрывы или выдергивание стальных связей
и анкеров, крепящих стены к колоннам и перекрытиям. Повреждение кладки под
опорами ферм, балок и перемычек в виде трещин, раздробления камня,
образование вертикальных или косых трещин, пересекающих более трех рядов
кладки, в месте примыкания пилястры к стене
|
Размораживание и выветривание
кладки на глубину до 40 % толщины. Наклоны и выпучивание стен в пределах
этажа на 1/3 их толщины и более, смещение (сдвиг) стен, столбов и фундаментов
по горизонтальным швам. Смещение плит перекрытий на опорах более 1/5 глубины
заделки в стене. Полная потеря прочности раствора (раствор легко разбирается
руками).
|
ОЦЕНКА ТЕХНИЧЕСКОГО СОСТОЯНИЯ ДЕРЕВЯННЫХ КОНСТРУКЦИЙ
ПО ВНЕШНИМ ПРИЗНАКАМ
Таблица 5
Категория
состояния конструкции
|
Признаки
силовых воздействий на конструкцию
|
Признаки
воздействия внешней среды на конструкцию
|
1
|
Нет
|
Волосные усадочные трещины в
конструкциях
|
2
|
Ослабление креплений отдельных
болтов, хомутов, скоб
|
Большие щели между досками
наката и балками перекрытия
|
3
|
Продольные трещины в
конструкциях. Сдвиги и отслоения в швах и в узлах конструкций заметные на
глаз. Прогибы изгибаемых элементов превышают предельные значения СНиП II-26-80
|
Следы протечек, мокрые пятна в
конструкциях. Гниль в мауэрлате и в концах стропильных ног, снижающая
прочность до 15 %
|
4
|
Глубокие трещины в элементах.
Трещины, в работающих на скалывание торцах по ширине более 25 % от толщины
элемента. Сильное обмятие и зазоры более 3 мм в рабочих поверхностях врубок.
Смятие древесины вдоль волокон по линии болтов и нагелей на 1/2 их диаметра.
Потеря местной устойчивости элементов конструкций. Прогибы изгибаемых
элементов более 1/75 пролета
|
Гниль в местах заделки балок в
наружные стены. Гниль в мауэрлате, стропилах, обрешетке, накате, снижающая
прочность до 25 %
|
5
|
Прогибы изгибаемых элементов
более 1/50 пролета. Быстроразвивающиеся деформации. Сквозные трещины в
накладках стыков по линии болтов ферм. Трещины в растянутых элементах,
выходящие на кромки. Надломы и разрушения отдельных конструкций. Скалывание
врубок. Потеря устойчивости конструкций (поясов ферм, арок, колонн)
|
Поражение гнилью и жучком
строительных конструкций, приводящее к снижению их прочности более 25 %
|
Примечание.
Оценка повреждения стальных элементов металлодеревянных конструкций
производится по табл. 2.
ОЦЕНКА ТЕХНИЧЕСКОГО СОСТОЯНИЯ ЖИЛЫХ И ОБЩЕСТВЕННЫХ
ЗДАНИЙ ПО ВНЕШНИМ ПРИЗНАКАМ
Таблица 6
Категория
технического состояния здания
|
Признаки
силовых воздействий
|
Признаки
воздействия внешней среды
|
1
|
2
|
3
|
1
|
Каменные
конструкции
В кирпичной кладке в отдельных
кирпичах имеются выбоины, трещины, не пересекающие растворные швы
Железобетонные
конструкции
В железобетонных конструкциях
имеются отдельные волосные трещины с шириной раскрытия не более 0,1 мм
|
Нет
|
2
|
Каменные
конструкции
В кирпичной кладке трещины,
пересекающие не более двух рядов кладки. Трещины в перегородках в местах
сопряжения с потолками шириной до 2 мм
Железобетонные
конструкции
Образование трещин в растянутой
зоне изгибаемых элементов с раскрытием до 0,3 мм. Трещины в швах между
сборными плитами перекрытий шириной до 2 мм
Стальные
конструкции
Видимых повреждений нет
|
Каменные
конструкции
Выветривание раствора швов
кладки до 1 см
Сетчатые трещины 0,1 ... 0,2 мм
на поверхностях панелей и блоков, шелушение и растрескивание поверхности,
местное отслоение облицовки и фактурного слоя панелей стен, отпадение местами
штукатурки
Железобетонные
конструкции
Следы коррозии
распределительной арматуры
Стальные
конструкции
Местное разрушение
антикоррозионного покрытия. На отдельных участках коррозия пятнами с
поражением до 5 % сечения
|
3
|
Каменные
конструкции
В кирпичной кладке стен
трещины, пересекающие не более 4-х рядов кладки. Вертикальные трещины
раскрытием до 2 мм в кладке, блоках и перемычных панелях продольных стен.
Трещины в перегородках в местах сопряжения с потолком шириной до 10 мм.
|
Каменные
конструкции
Разрушение кладки или отслоение
облицовки на глубину до 15 % толщины стены.
|
4
|
Железобетонные
конструкции
Образование трещин в растянутой
зоне изгибаемых элементов до 0,5 мм. Смещение сборных железобетонных плит
перекрытий относительно друг друга по высоте до 3 см.
Стальные
конструкции
Относительные прогибы
изгибаемых элементов до 1/150 пролета.
Деревянные конструкции
Прогибы изгибаемых элементов
заметны на глаз и превышают значения СНиП.
Каменные
конструкции
В кирпичной кладке стен и
столбов трещины, пересекающие более четырех рядов кладки.
Образование вертикальных трещин
между продольными и поперечными стенами.
Образование вертикальных трещин
в местах опирания балок или ферм длиной до 20 см.
Вертикальные и наклонные
трещины сдвига в верхних этажах с раскрытием до 10 мм в местах сопряжения
разнонагруженных стен.
Вертикальные сквозные трещины в
продольных и поперечных стенах по высоте здания по сплошным или ослабленным
проемам или стыкам панелей с раскрытием до 10 мм.
Трещины в перегородках более 10
мм. Диагональные трещины по углам простенков до 3 мм, вертикальные трещины по
перемычкам до 3 мм, в местах установки балконных плит
Железобетонные
конструкции
Ширина раскрытия нормальных
трещин изгибаемых элементов в растянутой зоне до 1 мм. Прогибы элементов до
1/80 пролета.
Стальные
конструкции
Прогибы изгибаемых элементов до
1/80 пролета.
Деревянные
конструкции
Прогибы изгибаемых элементов до
1/80 пролета. Трещины в элементах, работающих на скалывание.
|
Железобетонные
конструкции
Образование продольных трещин
вдоль рабочей арматуры из-за ее коррозии.
Стальные
конструкции
Пластинчатая ржавчина с
уменьшением сечения элементов до 10 % сечения из-за коррозии.
Деревянные
конструкции
Следы протечек. Гниль мауэрлата
и конца стропильных ног, снижающая прочность до 15 %.
Каменные
конструкции
Разрушение кладки или отслоение
облицовки до 25 % толщины стены. Наклоны и выпучивания стен и фундаментов в
пределах этажа не более чем на 1/6 их толщины. Заметное выпучивание
перегородок.
Высокая водо- и
воздухопроницаемость стыков стеновых панелей.
Отклонение кирпичных колонн и
столбов от вертикали более 3 см.
Железобетонные конструкции
Отслоение защитного слоя
железобетонных конструкций с уменьшением сечения арматуры до 15 % из-за
коррозии. Снижение прочности бетона до 30 %.
Стальные
конструкции
Коррозия элементов до 25 %
сечения. Отклонение ферм от вертикальной плоскости более 15 мм.
Деревянные
конструкции
Гниль в местах заделки балок в
наружные стены, мауэрлатов, стропил и наката, снижающая прочность до 25 %.
|
5
|
Каменные
конструкции
Отрыв продольных стен от
поперечных.
Вертикальные и косые трещины в
местах опирания балок или ферм длиной более 20 см.
Выпучивание или смещение
панелей стен, разрушение узлов крепления панелей.
Вертикальные сквозные трещины в
продольных и поперечных стенах по высоте здания с раскрытием более 10 мм.
Обрушение отдельных
конструкций.
Железобетонные
конструкции
Ширина раскрытия трещин
изгибаемых элементов в растянутой зоне более 1 мм. Раздробление бетона сжатой
зоны. Разрыв арматуры в балках. Выпучивание продольной арматуры в колоннах.
Прогибы более 1/80 пролета.
|
Каменные
конструкции
Разрушение кладки на глубину до
40 % толщины стены.
Полная потеря прочности
раствора (раствор легко разбирается руками).
Наклоны и выпучивание стен в
пределах этажа более 1/3 их толщины.
Сдвиг стен и фундаментов по
горизонтальным швам.
Железобетонные
конструкции
Уменьшение сечения арматуры
из-за коррозии более 15 %. Снижение прочности бетона более 30 %. Расстройство
стыков. Заниженная площадь опирания плит (менее 5 см).
|
Стальные
конструкции
Потеря устойчивости балок и
сжатых элементов колонн и ферм.
Разрыв растянутых элементов.
Прогибы более 1/80 пролета.
Деревянные
конструкции
Прогибы изгибаемых элементов
более 1/80 пролета. Быстронарастающая деформация. Сквозные трещины в
накладках стыков по линии болтов ферм. Трещины в нижних поясах ферм по сучку.
Надломы и разрушения отдельных конструкций. Скалывание врубок. Потеря
устойчивости сжатых элементов.
|
Стальные
конструкции
Коррозия с уменьшением
расчетного сечения несущих элементов более 25 %.
Расстройство стыков элементов
со взаимным смещением опор.
Деревянные
конструкции
Поражение гнилью строительных
конструкций более 25 % сечения.
|
ОЦЕНКА ТЕХНИЧЕСКОГО СОСТОЯНИЯ ПРОМЫШЛЕННЫХ ЗДАНИЙ ПО
ВНЕШНИМ ПРИЗНАКАМ
Таблица 7
Категория
технического состояния здания
|
Признаки
силовых воздействий
|
Признаки воздействия
внешней среды
|
1
|
2
|
3
|
1
|
Каменные
конструкции
В кирпичной кладке в отдельных
кирпичах имеются трещины, не пересекающие растворные швы.
Железобетонные
конструкции
В железобетонных конструкциях
имеются отдельные волосяные трещины с шириной раскрытия не более 0,1 мм.
|
Нет
|
2
|
Каменные
конструкции
В кирпичной кладке трещины,
пересекающие не более двух рядов кладки.
Железобетонные
конструкции
Образование трещин в растянутой
зоне изгибаемых элементов с раскрытием до 0,3 мм. Выпадение раствора в швах
между плитами перекрытия. Трещины в швах между сборными плитами перекрытий
шириной до 2 мм.
Стальные
конструкции
Видимых повреждений нет.
|
Каменные
конструкции
Выветривание раствора швов
кладки до 1 см. Отпадение местами штукатурки.
Железобетонные
конструкции
Следы коррозии
распределительной арматуры. Следы увлажнения бетона.
Стальные
конструкции
Местное разрушение
антикоррозионного покрытия. На отдельных участках коррозия пятнами с поражением
до 5 % сечения.
|
3
|
Каменные
конструкции
В кирпичной кладке трещины,
пересекающие не более 4-х рядов кладки. Трещины в перегородках шириной до 10
мм.
Железобетонные
конструкции
Образование трещин в растянутой
зоне изгибаемых элементов до 0,5 мм.
Стальные
конструкции
Относительные прогибы балок до
1/150 пролета
|
Каменные
инструкции
Разрушение кладки на глубину до
15 % толщины стены.
Железобетонные
конструкции
Образование продольных трещин
вдоль рабочей арматуры из-за коррозии.
Отдельные выколы бетона.
Стальные
конструкции
Пластинчатая ржавчина с
уменьшением сечения элементов до 10 % сечения из-за коррозии. Местные
погнутости элементов от ударов транспортных средств.
|
4
|
Каменные
конструкции
В кирпичной кладке трещины,
пересекающие более 4-х рядов кладки.
Образование вертикальных трещин
между продольными и поперечными стенами.
Образование трещин и сколов в
местах опирания балок и ферм на пилястры длиной до 20 см.
Вертикальные сквозные трещины в
продольных и поперечных стенах с раскрытием до 10 мм. Трещины в перегородках
более 10 мм.
Железобетонные
конструкции
Ширина раскрытия нормальных
трещин изгибаемых элементов в растянутой зоне до 1 мм. Прогибы элементов до
1/80 пролета.
Стальные
конструкции
Прогибы балок заметные на глаз
(до 1/80 пролета). Выпучивание стенок и поясов балок и колонн.
|
Каменные
конструкции
Разрушение кладки до 25 %
толщины стены.
Наклоны и выпучивание стен и
фундаментов не более чем на 1/5 их толщины. Заметное выпучивание перегородок,
нарушение их связи с колоннами и стенами.
Отклонение кирпичных колонн от
вертикали более 3 см.
Железобетонные
конструкции
Отслоение защитного слоя
железобетонных конструкций с уменьшением сечения арматуры до 15 % из-за
коррозии.
Снижение прочности бетона до 30
%.
Стальные
конструкции
Коррозия элементов до 25 %
сечения. Отклонение ферм от вертикальной плоскости более 15 мм.
|
5
|
Каменные
конструкции
Отрыв продольных несущих стен
от поперечных.
Вертикальные и косые трещины в
местах опирания балок или ферм на пилястры длиной более 20 см. Разрушение
крепления узлов панелей стен.
Вертикальные сквозные трещины в
продольных и поперечных стенах по высоте здания с раскрытием более 10 мм.
Обрушение отдельных
конструкций.
|
Каменные
конструкции
Размораживание и выветривание
кладки стен на глубину до 40 % толщины стены.
Полная потеря прочности
раствора (раствор легко разбирается руками).
Наклоны и выпучивание стен в
пределах этажа более 1/3 их толщины.
Сдвиг стен и фундаментов по
горизонтальным швам.
|
Железобетонные
конструкции
Ширина раскрытия трещин
изгибаемых элементов в растянутой зоне более 1 мм. Раздробление бетона сжатой
зоны.
Сквозные наклонные трещины в
сжатых элементах. Выпучивание арматуры в сжатой зоне колонн.
Разрыв арматуры в растянутой
зоне и хомутов в зоне наклонной трещины.
Прогибы изгибаемых элементов до
1/80 пролета.
Стальные
конструкции
Потеря устойчивости балок и
сжатых элементов колонн и ферм. Разрыв растянутых элементов.
Наличие трещин в основном материале
элементов и подкрановых балках.
Прогибы изгибаемых элементов
более 1/80 пролета.
|
Железобетонные
конструкции
Уменьшение сечения арматуры
из-за коррозии более 15 %. Снижение прочности бетона более 30 %. Заниженная
площадь опирания плит покрытия и перекрытия (менее 5 см).
Стальные
конструкции
Коррозия с уменьшением
расчетного сечения несущих элементов более 25 %.
Расстройство стыков со взаимным
смещение опор.
|
ОЦЕНКА ТЕХНИЧЕСКОГО СОСТОЯНИЯ ЭСТАКАД И ОТДЕЛЬНО
СТОЯЩИХ ОПОР ПОД ТЕХНОЛОГИЧЕСКИЕ ТРУБОПРОВОДЫ ПО ВНЕШНИМ ПРИЗНАКАМ
Таблица 8
Категория
технического состояния сооружения
|
Признаки
силовых воздействий
|
Признаки
воздействия внешней среды
|
1
|
2
|
3
|
2
|
Железобетонные
эстакады
Нет
|
Ржавые пятна, следы коррозии распределительной
арматуры на бетонной поверхности.
Образование видимых трещин
вдоль хомутов и распределительной арматуры с малым защитным слоем из-за
коррозии арматуры.
|
3
|
Образование трещин в балках в
растянутой зоне до 0,5 мм.
|
Образование продольных трещин
вдоль рабочей арматуры с раскрытием трещин 1 - 6 мм из-за коррозии арматуры.
|
4
|
Ширина раскрытия нормальных
трещин в растянутой зоне изгибаемых элементов до 1 мм. Деформация, перекосы и
разрушения отдельных траверс из-за перенапряжения.
Осадка отдельных фундаментов
более 0,002 В, где В - расстояние между опорами, а крен превышает 0,002.
|
Отслоение защитного слоя
железобетонных конструкций с уменьшением сечения арматуры до 15 % из-за
коррозии арматуры.
Снижение прочности бетона до 30
%.
|
5
|
Ширина раскрытия трещин
изгибаемых элементов более 1 мм. Раздробление бетона сжатой зоны. Разрыв
арматуры в балках и колоннах опор. Разрушение траверс в пролете из-за
перенапряжения.
Выпучивание отдельных стержней
сжатой зоны колонн, балок и ферм.
Крен опор превышает 0,05.
|
Уменьшение сечения арматуры
более 15 % сечения вследствие коррозии.
Оголение всего диаметра
арматуры конструкции.
Снижение прочности бетона более
30 %.
|
2
|
Стальные
эстакады
Нет
|
Местное разрушение
антикоррозионного покрытия. На отдельных участках коррозия пятнами с
поражением до 5 % сечения.
|
3
|
Относительные прогибы
изгибаемых элементов более 1/200.
|
Пластинчатая ржавчина с
уменьшением площади сечения элементов до 10 % из-за коррозии.
Отсутствие ряда опорных частей
под трубами. Местные погнутости от ударов транспортных средств.
|
4
|
Пластические деформации (изгиб)
траверс из-за температурных деформаций.
Потеря местной устойчивости
отдельных конструкций (выпучивание стенок и поясов).
Трещины в сварных швах.
Прогибы изгибаемых элементов
более 1/75 пролета. Крен опор превышает 0,002.
|
Коррозия элементов с
уменьшением расчетного сечения до 25 %.
Щелевая коррозия связей с
разрывом сварных швов.
Отклонение ферм от вертикальной
плоскости более 15 мм.
|
5
|
Потеря общей устойчивости балок
и сжатых элементов колонн и ферм.
Разрыв отдельных растянутых
элементов.
Наличие трещин в основном
материале элементов. Разрушение траверс в пролете из-за перегрузки. Прогибы
изгибаемых элементов более 1/50 пролета Крен опор превышает 0,05.
|
Коррозия с уменьшением
расчетного сечения несущих элементов более 25 %.
Расстройство стыков опирания
пролетных строений.
|
ОЦЕНКА ТЕХНИЧЕСКОГО СОСТОЯНИЯ ЖЕЛЕЗОБЕТОННЫХ ЕМКОСТНЫХ
СООРУЖЕНИЙ ПО ВНЕШНИМ ПРИЗНАКАМ
Таблица 9
Категория
технического состояния сооружения
|
Признаки
силовых воздействий
|
Признаки
воздействия внешней среды
|
1
|
2
|
3
|
2
|
Трещины в растянутой зоне
бетона до 0,3 мм.
|
Следы коррозии
распределительной арматуры.
Выщелачивание и частичное
разрушение бетона в уровне жидкости.
Отдельные механические
повреждения бетона, не превышающие 5 % сечения.
Частичное разрушение
антикоррозионного покрытия стальных закладных деталей и конструкций, на
отдельных участках коррозия отдельными пятнами с поражением до 5 % сечения.
Разрушение отмосток вокруг
сооружения.
|
3
|
Трещины в растянутой зоне
бетона до 0,5 мм.
|
Образование продольных трещин
вдоль арматуры от ее коррозии, местами обнажение арматуры из-за разрушения
бетона, разрушение бетона на глубине защитного слоя бетона.
Пластинчатая ржавчина на
стержнях оголенной арматуры в зоне продольных трещин в бетоне вдоль
арматурных стержней или на закладных деталях, металлоконструкциях (коррозия
стали до 10 %) стен.
Снижение прочности бетона стен,
днища и покрытия до 20 % и до 30 % в прочих конструкциях.
Разрушение бетона отдельных
стыков сборных стен.
|
4
|
Наличие трещин шириной более
0,5 мм в стенах днища и покрытий.
Разрушение второстепенных
конструкций: проходных мостиков, лотков и т.п.
Неравномерные осадки и крен
сооружения, заметные на глаз.
Расстройство стыков сборных
элементов покрытия со взаимным их смещением.
|
Отслоение и разрушение
защитного слоя стены с оголением арматуры.
Снижение прочности бетона стен
и покрытия до 30 %.
Коррозия арматуры до 15 %
сечения. Коррозия закладных деталей до 25 %.
Потеря герметичности покрытия и
стен.
|
5
|
Ширина раскрытия нормальных
трещин в стенах, днище и покрытии более 1 мм. Выпучивание арматуры и смятие
бетона в колоннах.
Разрыв отдельных стержней
рабочей арматуры в растянутой зоне и хомутов.
Прогибы изгибаемых элементов
покрытия и стен более 1/50 пролета при наличии трещин в растянутой зоне.
|
Коррозия арматуры стен и
покрытий более 15 % сечения.
Оголение всего диаметра рабочей
арматуры изгибаемых элементов стен и покрытия.
Снижение прочности бетона более
30 %.
Коррозия стальных несущих
закладных деталей более 30 %.
|
ОЦЕНКА ТЕХНИЧЕСКОГО СОСТОЯНИЯ СТАЛЬНЫХ РЕЗЕРВУАРОВ ПО
ВНЕШНИМ ПРИЗНАКАМ
Таблица 10
Категория
технического состояния сооружения
|
Признаки
силовых воздействий
|
Признаки
воздействия внешней среды
|
1
|
2
|
3
|
2
|
Равномерная осадка основания до
20 см.
Разность осадок диаметрально
противоположных точек контура днища до 80 мм.
Разность осадок основания по
периметру между смежными точками кольцевого фундамента, отстающими друг от
друга на расстоянии 6 м до 3 см.
Крен резервуара до 0,002.
|
Разрушение местами
антикоррозионного покрытия. Коррозия пятнами. Отдельные вмятины в корпусе и
покрытии глубиной не более 50 мм. Выпучины и вмятины на поверхности стенки не
превышают 40 мм.
|
3
|
Значительная до 30 см
равномерная осадка резервуара.
Разность осадок диаметрально
противоположных точек контура днища до 10 см.
Общий крен резервуара до 0,005.
Выпучина и хлопун днища высотой
до 200 мм на площади до 2 м2.
|
Местная просадка под днищем
глубиной не более 150 мм на площади не более 2 м, образование зазора между
днищем и основанием от его осыпания.
Выпучины и вмятины на
поверхности стенок до 60 мм.
Коррозия на отдельных участках
или на всей длине вертикальных и горизонтальных сварных соединений внутренней
поверхности стенки резервуара. Характер коррозии: точечные углубления
осповидного типа и групп раковин глубиной от 2 до 3 мм, переходящие в
сплошные полосы.
Коррозия внутренней поверхности
первого пояса стенки на значительной длине в зоне примыкания к днищу.
Характер коррозии: группы раковин глубиной до 1,5 мм, а также точечные
углубления осповидного типа.
Пластинчатая ржавчина покрытия
с уменьшением площади сечения элементов до 15 %.
|
4
|
Равномерная осадка основания
более 30 см.
Общий крен резервуара до 0,02.
Местная выпучина на первом
поясе стенки резервуара, возникающая в результате осадки подводящего
трубопровода.
Выпучина-складка на днище с
резкими перегибами и изломами, выпучины высотой более 200 мм на площади 2 м2.
Трещины в сварных швах
конструкций покрытия длиной до 100 мм без выхода на основной металл.
Потеря местной устойчивости
стен и покрытия от вакуума. Отрыв поясов полуферм покрытия от стенки
резервуара. Центральная опорная стойка поднялась.
|
Зазоры между бетонным кольцом
основания и окрайком днища до 100 мм на значительном протяжении.
Коррозия днища и кровли до 35 %
сечения. Коррозия стен с уменьшением сечения до 25 %.
Выпучины и вмятины на
поверхности стен более 60 мм.
|
5
|
Трещины в сварных швах днища и
стен.
Трещины в основном металле стен
и днищ.
Потеря устойчивости стен
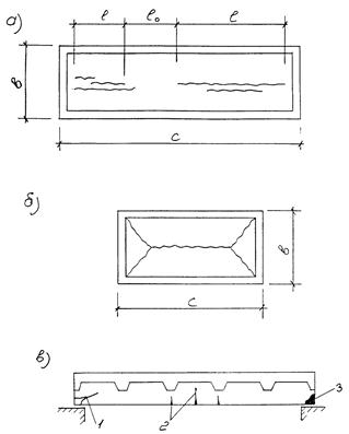
(гофры) из-за неравномерного крена.
Разрушение конструкций
покрытия.
Общий крен резервуара более
0,02.
|
Зазоры между днищем и
основанием более 100 мм на значительном протяжении.
Коррозия стен резервуара более
25 % сечения.
Коррозия днища и кровли более
35 %.
|
ОЦЕНКА ТЕХНИЧЕСКОГО СОСТОЯНИЯ СТАЛЬНЫХ КОНВЕЙЕРНЫХ
ГАЛЕРЕЙ ПО ВНЕШНИМ ПРИЗНАКАМ
Таблица 11
Категория
технического состояния сооружения
|
Признаки
силовых воздействий
|
Признаки
воздействия внешней среды
|
1
|
2
|
3
|
2
|
Нет
|
Местное разрушение
антикоррозионного покрытия. На отдельных участках коррозия пятнами с
поражением до 5 % сечения.
|
3
|
Прогибы балок и ферм превышают
1/250 пролета.
Поперечные отклонения опор
превышают 1/250 высоты опор до низа ферм.
|
Пластинчатая ржавчина с
уменьшением из-за коррозии площади сечения элементов до 10 %. Местные
погнутости от ударов транспортных средств. Погнутость узловых фасонок ферм.
|
4
|
Потеря местной устойчивости
конструкций (выпучивание стенок и поясов балок).
Трещины в швах или околошовной
зоне.
Срез отдельных болтов в
многоболтовом соединении.
Сильная вибрация балок и ферм.
Прогибы элементов превышают
1/75 пролета.
|
Коррозия элементов с
уменьшением расчетного сечения несущих элементов до 25 %. Отклонение ферм от
вертикальной плоскости более 15 мм.
Щелевая коррозия сочленяемых
элементов (например, спаренных уголков ферм), приводящая к выпучиванию
элементов и частичному разрушению сварных швов. Местные погнутости опор
транспортными средствами.
Отслоение защитного слоя бетона
перекрытий.
|
5
|
Наличие трещин в основном
металле, в особенности в растянутых и изгибаемых элементах. Прогибы балок и
ферм более 1/50 пролета. Потеря общей устойчивости балок и сжатых элементов
ферм. Разрыв отдельных растянутых элементов.
|
Коррозия несущих конструкций
более 25 % сечения.
Расстройство стыков со взаимным
смещением опор.
|
ОЦЕНКА ТЕХНИЧЕСКОГО СОСТОЯНИЯ ЖЕЛЕЗОБЕТОННЫХ СИЛОСОВ
ПО ВНЕШНИМ ПРИЗНАКАМ
Таблица 12
Категория
технического состояния
|
Признаки
силовых воздействий
|
Признаки
воздействия внешней среды
|
1
|
2
|
3
|
2
|
Трещины в стенах до 0,3 мм.
|
Следы коррозии
распределительной арматуры.
Изменение окраски бетона.
Частичное разрушение
антикоррозионного покрытия стальных закладных деталей и конструкций.
Повреждение отмосток вокруг
силосов.
|
3
|
Трещины в подсилосных воронках
до 0,5 мм.
Трещины вертикальные в стенах
силосов с раскрытием до 0,8 мм при длине менее 1/4Н, где Н - высота стен
силосов. Трещины горизонтальные с раскрытием до 1 мм, расположенные через 1 -
2 м по высоте.
Отдельные бреши во внутренних
стенах размером не более 40´40
см без выпученности бетона в зоне брешей и трещин, отходящих от брешей.
Средние осадки силосных
корпусов более 40 см, а крен более 0,004.
|
Местами отслоение защитного
слоя бетона стен.
Коррозия арматуры до 10 %.
Местами обнажение арматуры
из-за разрушения бетона.
|
4
|
Трещины в подсилосных воронках
до 1 мм.
Вертикальные трещины в стенах с
раскрытием до 1 мм при длине трещин более 1/4Н при количестве не более трех
на одном силосе.
Отдельные бреши в наружных
стенах силосов размером 40´40
см без выпученностей бетона в зоне брешей и трещин, отходящих от брешей.
Выпучивание стен силосов с
отдельными трещинами. Выпучивание домкратных стержней.
Крен силосного корпуса более
0,012.
|
Разрушение Защитного слоя
бетона с оголением арматуры.
Коррозия арматуры до 15 %
сечения.
Снижение прочности бетона
фундаментной плиты до 30 %. Уменьшение сечения стальных воронок от истирания
до 25 % их сечения.
|
5
|
Трещины в силосах с раскрытием
более 1 мм при их длине более 1/4Н.
Горизонтальные трещины
раскрытия более 0,5 мм через 15 - 30 см в надкапительной зоне или в
простенках стен, над фундаментом плиты.
Сетка пересекающихся
горизонтальных и вертикальных трещин с раскрытием более 0,3 мм на отдельных
участках.
Смятие бетона по горизонтальным
швам бетонирования в отдельных силосах.
Бреши в наружных стенах силосов
размером более 40´40 см при
наличии выпученностей в зоне брешей. Выпучивание домкратных стержней с обрывами
горизонтальной арматуры. Сдвиги участков стен силосов по горизонтальным
плоскостям.
|
Коррозия арматуры более 15 %
сечения.
Снижение прочности бетона
фундаментной плиты более 30 %.
Уменьшение сечения стальных
воронок от истирания более 25 % сечения.
|
ОЦЕНКА ТЕХНИЧЕСКОГО СОСТОЯНИЯ ГРАДИРЕН ПО ВНЕШНИМ
ПРИЗНАКАМ
Таблица 13
Категория
технического состояния сооружения
|
Признаки
силовых воздействий
|
Признаки
воздействия внешней среды
|
1
|
2
|
3
|
2
|
Трещины не превышают 0,3 мм.
|
Местное разрушение защитного
слоя бетона.
Признаки разрушения бетона на
входных окнах.
Следы коррозии
распределительной арматуры.
Потеки конденсата на наружной
поверхности оболочки.
Зоны фильтрации и выщелачивания
бетона в верхней части градирни.
Антикоррозионное покрытие
стальных конструкций и деталей разрушено.
|
3
|
Трещины в растянутой зоне
бетона до 0,5 мм.
Прогибы изгибаемых элементов
превышают 1/150 пролета.
|
Продольные трещины в бетоне
вдоль арматурных стержней от коррозии арматуры. Коррозия арматуры до 10 %
площади стержней.
Разрушение бетона в зоне
входных окон и в местах соприкасания с водой в резервуаре.
Разрушение бетона в районе швов
оболочки градирни. Обнажение арматуры оболочки в ряде мест с признаками ее
коррозии, особенно в местах стыков ярусов бетонирования.
Небольшие сквозные отверстия в
оболочке. Частичное разрушение торкрета внутренней поверхности оболочки.
Коррозия стальных конструкций и
деталей до 15 %.
|
4
|
Ширина раскрытия нормальных трещин
в балках не более 1 мм.
Сквозные нормальные трещины в
колоннах до 0,5 мм.
Прогибы изгибаемых элементов до
1/50 пролета.
Крен сооружения более 0,004.
|
Отслоение защитного слоя бетона
и оголение арматуры большей части наружной поверхности оболочки. Разрушение
защитного слоя бетона стоек наклонной колоннады бетона до 30 %.
Сквозные отверстия диаметром 30
- 200 мм в оболочке.
Разрушение слоя торкрета на
большей части внутренней поверхности. Зона фильтрации с выщелачиванием
составляет 1/3 площади поверхности оболочки градирен.
Коррозия арматуры до 15 %
сечения.
Коррозия стальных конструкций
до 25 % сечения.
|
5
|
Ширина раскрытия нормальных
трещин в балках более 1 мм.
Косые трещины, пересекающие
опорную зону балок.
Сквозные наклонные трещины в
сжатых элементах.
Выпучивание сжатой продольной
арматуры.
Разрыв отдельных стержней
рабочей арматуры в растянутой зоне. Разрыв хомутов в зоне наклонной трещины.
Раздробление бетона в сжатой
зоне.
Прогибы изгибаемых элементов
более 1/50 пролета.
Потеря устойчивости отдельных
конструкций.
|
Оголение всего диаметра
арматуры.
Коррозия арматуры более 15 %
сечения.
Снижение прочности бетона более
30 %.
Коррозия стальных конструкций
более 25 % сечения.
Расстройство стыков со взаимным
смещение опор.
|
ОЦЕНКА ТЕХНИЧЕСКОГО СОСТОЯНИЯ КИРПИЧНЫХ И
ЖЕЛЕЗОБЕТОННЫХ ДЫМОВЫХ ТРУБ ПО ВНЕШНИМ ПРИЗНАКАМ
Таблица 14
Категория
технического состояния сооружения
|
Признаки
силовых воздействий
|
Признаки
воздействия внешней среды
|
1
|
2
|
3
|
2
|
Кирпичные трубы
Трещины, пересекающие не более
двух рядов кладки.
|
Антикоррозионное покрытие
стальных конструкций и деталей разрушено.
|
3
|
Вертикальные трещины в кладке с
шириной раскрытия до 1 мм.
Крен трубы не превышает 0,004.
|
Коррозия стальных колец и
металлоконструкций (лестницы, площадки) до 15 %.
|
4
|
Сквозные вертикальные трещины в
кладке с шириной раскрытия до 5 мм.
Горизонтальные трещины в кладке
длиной менее 1/3 периметра ствола трубы.
|
Бочкообразные выпучины кладки между
стяжными кольцами.
Приподнятие колпака оголовка
трубы.
Коррозия металлоконструкций до
25 %.
|
5
|
Вертикальные трещины в кладке с
шириной раскрытия более 5 мм.
Горизонтальные трещины в кладке
длиной более 1/3 периметра ствола трубы.
Разрыв стяжных колец.
|
Разрушение оголовка и выпадение
отдельных его звеньев и кирпичей. Кирпичная кладка выпучилась и покрыта
трещинами. Связь кирпича с раствором нарушена.
Коррозия металлоконструкций
более 25 %.
|
2
|
Железобетонные
трубы
Трещины не превышают 0,3 мм.
|
Шелушение защитного слоя
бетона, местное разрушение защитного слоя бетона.
Антикоррозионное покрытие
стальных конструкций разрушено.
|
3
|
Образование вертикальных трещин
с шириной раскрытия до 0,5 мм.
Крен трубы не превышает 0,005.
|
Образование вертикальных трещин
над арматурой вследствие ее коррозии.
Увлажнение бетона ствола с
образованием потеков конденсата с выщелачиванием бетона.
Коррозия арматуры до 10 %
площади стержней.
Коррозия стальных конструкций
до 15 %.
Коррозия футеровки на глубину
более 5 мм, раствора более 15 мм. Наличие крупнопористого бетона или бетона с
недостаточным количеством цементного камня по толщине ствола более 50 мм и от
1/8 до 1/6 окружности трубы.
Вертикальные трещины в
газоходах.
Разрушение отмостки вокруг
трубы.
|
4
|
Отслаивание защитного слоя от
перегрузок в нижней зоне трубы.
Крен трубы превышает 0,005.
Образование вертикальных трещин
с шириной раскрытия до 2 мм.
|
Разрушение, отслаивание
защитного слоя бетона и оголение арматуры на длине окружности более 1 м.
Разрушение бетона шва
бетонирования в одном месте до 1/4 длины окружности.
Коррозия арматуры до 15 %
сечения.
Коррозия стальных конструкций
до 25 % сечения.
Местами выпучивание футеровки.
|
5
|
Выпучивание вертикальных
арматурных стержней ствола.
Раздробление бетона сжатой
зоны.
Прогибы трубы более 1/100
высоты.
Трещины в стволе более 2 мм.
|
Расслоение бетона по толщине
стенки ствола.
Разрушение шва бетонирования в
одном месте более 1/4 длины окружности.
Обвал футеровки.
Коррозия арматуры более 15 %
сечения.
Снижение прочности бетона более
30 %.
Коррозия стальных конструкций
более 25 % сечения. Сквозные разрушения ствола.
Расслоение и выпучивание
футеровки по всей поверхности.
|
ОЦЕНКА ТЕХНИЧЕСКОГО СОСТОЯНИЯ ЖЕЛЕЗОБЕТОННЫХ ТОННЕЛЕЙ ПО ВНЕШНИМ ПРИЗНАКАМ
Таблица 15
Категория
технического состояния сооружения
|
Признаки
силовых воздействий
|
Признаки
воздействия внешней среды
|
1
|
2
|
3
|
2
|
Трещины в бетоне с шириной
раскрытия до 0,3 мм.
|
На отдельных участках с малой
величиной защитного слоя проступают следы коррозии распределительной
арматуры.
На поверхности бетона мокрые
или масляные пятна, высолы, изменение цвета бетона.
|
3
|
Трещины в растянутой зоне
бетона до 0,5 мм
|
В отдельных местах отслоение
защитного слоя бетона. Продольные трещины вдоль арматурных стержней от
коррозии арматуры.
Бетон в растянутой зоне на
глубине защитного слоя крошится от размораживания.
Протечки перекрытия тоннеля от
повреждения гидроизоляции до 5 % площади перекрытия.
Смещение стенок сборных
элементов тоннелей относительно друг друга, нарушение изоляции в стыках и
деформационных, швах вследствие чего происходит протечка грунтовых вод.
Повреждения от пробивки
отверстий в перекрытии.
Промасливание перекрытий и
днища.
|
4
|
Ширина раскрытия нормальных
трещин в конструкциях перекрытия до 1 мм.
Прогибы изгибаемых элементов
более 1/75 пролета.
Трещины в местах стыков блоков
до 10 мм от неравномерных осадок.
|
Отслоение защитного слоя бетона
и оголение арматуры конструкций перекрытия на значительных площадях.
Коррозия арматуры до 15 %
сечения.
Протечки перекрытия свыше 15 %
общей площади перекрытия.
Затопление тоннеля
поверхностными водами.
|
5
|
Ширина раскрытия трещин в
конструкциях перекрытия более 1 мм.
Разрыв отдельных стержней
арматуры в растянутой зоне.
Прогибы изгибаемых элементов
более 1/50 пролета.
Разрушение отдельных
конструкций перекрытия от перегрузки.
|
Оголение всего диаметра
арматуры.
Коррозия арматуры более 15 %
сечения.
Снижение прочности бетона более
30 %.
|
ОЦЕНКА ТЕХНИЧЕСКОГО СОСТОЯНИЯ МОСТОВ ПО ВНЕШНИМ
ПРИЗНАКАМ
Таблица 16
Категория
технического состояния сооружения
|
Признаки
силовых воздействий
|
Признаки воздействия
внешней среды
|
1
|
2
|
3
|
2
|
Одиночные трещины на
поверхности железобетонного пролетного строения раскрытием до 0,2 мм.
|
Разрушение в отдельных местах
окрасочного слоя главных элементов стальных ферм и проезжей части,
незначительная коррозия элементов на отдельных участках, местные погнутости
элементов стальных связей.
Сколы защитного слоя
железобетонного пролетного строения без оголения арматуры, одиночные места
выщелачивания и потеки на поверхности бетона.
В опорах разрушение раствора в
отдельных швах опор, разрушение поверхности кладки в отдельных местах на
глубину до 3 см; одиночные трещины раскрытием до 0,5 мм в массивных и до 0,2
мм в железобетонных конструкциях.
|
3
|
Прогибы изгибаемых элементов
превышают 1/150 пролета.
Многочисленные трещины в
железобетонных конструкциях без предварительного напряжения до 0,2 мм и
отдельные трещины более 0,3 мм, в том числе сквозные, наклонные трещины в
стенках балок; в железобетонных предварительно напряженных пролетных
строениях трещины с раскрытием до 0,15 мм.
|
В стальных пролетных строениях
незначительная коррозия главных элементов ферм, коррозия до 15 % элементов
проезжей части, узловых фасонок и элементов связей; ослабление отдельных
заклепок, деформация отдельных элементов связей.
В железобетонных пролетных
строениях отслоение защитного слоя в отдельных местах с оголением арматуры,
повреждение бетона плиты в отдельных местах от выщелачивания и
размораживания.
В опорах разрушение раствора в
швах на значительной части опоры, разрушение поверхности кладки на глубину до
3 см, а в отдельных местах до 10 см, в железобетонных конструкциях с
обнажением арматуры в отдельных местах, многочисленные трещины раскрытием до
0,5 мм, одиночные до 2 мм в массивных, а в железобетонных конструкциях соответственно
до 0,3 и 0,5 мм; потеки выщелачиваемого раствора в отдельных местах.
|
4
|
Потеря местной устойчивости
отдельных балок.
Срез отдельных болтов или
заклепок в многоболтовых соединениях, ослабление групп заклепок в соединении
главных элементов, разрывы отдельных элементов связей.
В железобетонных пролетных
строениях многочисленные трещины раскрытием более 0,3 мм и отдельные трещины
в балках до 1 мм, расстройство поперечных связей между балками.
|
Значительная коррозия до 25 %
элементов стальных конструкций проезжей части, узловых фасонок и элементов
связей при незначительной коррозии главных элементов ферм.
В железобетонных пролетных
строениях отслоение защитного слоя и оголение арматуры на значительных
площадях, коррозия арматуры до 15 %; значительные повреждения бетона плиты от
выщелачивания и размораживания.
В опорах разрушение раствора в
швах со сдвигом и выпадением одиночных камней; разрушение кладки в массивных
конструкциях на глубину до 10 см, а в отдельных местах более 10 см; разрушение
значительной части защитного слоя железобетонных конструкций с коррозией
арматуры до 15 %, многочисленные развивающиеся трещины раскрытием до 2 мм,
одиночные до 5 мм в массивных конструкциях и соответственно до 0,5 и до 1 мм
в железобетонных; интенсивное выщелачивание раствора.
|
5
|
В стальных пролетных строениях
потеря общей устойчивости балок и сжатых элементов ферм, разрыв отдельных
растянутых элементов ферм, наличие усталостных трещин в элементах главных
ферм.
В железобетонных пролетных
строениях многочисленные трещины с раскрытием более 0,5 мм и отдельные
трещины более 1 мм, косые трещины, пересекающие опорные зоны и зону анкеровки
растянутой арматуры балок. Разрыв отдельных стержней рабочей арматуры в
растянутой зоне, разрыв хомутов в зоне наклонной трещины, раздробление бетона
в сжатой зоне.
Выпучивание арматуры в сжатой
зоне колонн и ферм.
|
Значительная коррозия стальных
элементов более 25 %.
В железобетонных пролетных
строениях оголение всего диаметра арматуры, коррозия арматуры более 15 % сечения,
значительное повреждение бетона от выщелачивания и размораживания, снижающие
прочность более 30 %.
В опорах разрушение раствора в
швах со сдвигом и выпадением рядов или групп камней, разрушение кладки на
глубину более 10 см, в железобетонных опорах разрушение бетона с сильной
коррозией более 15 % арматуры, сквозные трещины, расчленяющие конструкцию на
части, крены опор, заметные на глаз.
|
ЭКСПЕРТНАЯ ОЦЕНКА НАДЕЖНОСТИ ЗДАНИЯ ИЛИ СООРУЖЕНИЯ
Таблица 17
№
|
Условие
надежности
|
Удельный вес
условия
|
Оценка в баллах
|
Удельная
надежность
|
Обоснование
принятого решения
|
1
|
2
|
3
|
4
|
5
|
Качество проекта
|
1
|
Соответствие расчетной модели
сооружения и нагрузки действительной работе
|
0,05
|
|
|
|
|
|
|
|
2
|
Опробированность конструкций и
материалов сооружения в предыдущих сооружениях
|
0,05
|
|
|
|
|
|
|
|
3
|
Учет требований нормативных
документов
|
0,05
|
|
|
|
|
|
|
|
4
|
Квалификация проектировщиков
|
0,1
|
|
|
|
|
|
|
|
5
|
Наличие достаточного времени и
средств на проектирование
|
0,05
|
|
|
|
|
|
|
|
Качество
строительства
|
6
|
Соответствие материалов и
конструкций проекту
|
0,1
|
|
|
|
|
|
|
|
7
|
Опробированность методов
строительства
|
0,05
|
|
|
|
|
|
|
|
8
|
Контроль качества строительства
|
0,1
|
|
|
|
|
|
|
|
9
|
Квалификация кадров
|
0,1
|
|
|
|
|
|
|
|
10
|
Достаточность времени и средств
на строительство
|
0,05
|
|
|
|
|
|
|
|
11
|
Отсутствие отступлений от норм
и проекта
|
0,1
|
|
|
|
|
|
|
|
Качество
эксплуатации
|
12
|
Отсутствие завышения проектных
нагрузок
|
0,05
|
|
|
|
|
|
|
|
13
|
Контроль за исправностью
сооружений и оборудования
|
0,05
|
|
|
|
|
|
|
|
14
|
Соблюдение правил эксплуатации
|
0,1
|
|
|
|
|
|
|
|
|
|
Σ = 1
|
|
|
|
|
|
Σ = p
|
|
Примечание.
1. Условная надежность вычисляется по
формуле
.
2. Оценка в баллах условий
надежности соответствует: 1 - неприемлемо, 2 - неудовлетворительно, 3 -
удовлетворительно, 4 - хорошо, 5 - отлично.
ШКАЛА ОЦЕНКИ НАДЕЖНОСТИ И ВЕРОЯТНОСТИ АВАРИИ ЗДАНИЙ И
СООРУЖЕНИЙ ПРИ ЭКСПЕРТНЫХ ОЦЕНКАХ
Таблица 18
Условная
надежность
b
|
Вероятность
(частота) аварии в год
|
Словесная шкала
оценки надежности
|
1
|
10-6
|
Хорошая
|
0,8
|
10-4
|
Удовлетворительная
|
0,6
|
10-4
|
Неудовлетворительная
|
0,4
|
10-3
|
Недопустимая
|
ОЦЕНКА ТЕХНИЧЕСКОГО СОСТОЯНИЯ ЖИЛЫХ КРУПНОПАНЕЛЬНЫХ
ЗДАНИЙ ПОСЛЕ ЗЕМЛЕТРЯСЕНИЯ ПО ВНЕШНИМ ПРИЗНАКАМ
Таблица 19
Категория
состояния здания
|
Признаки
силовых воздействий землетрясения на конструкции
|
1
|
Отсутствие видимых повреждений
|
2
|
Волосные трещины в штукатурном
слое и по побелке. Оконтуривание волосяными трещинами (0,1 мм) закладных
деталей, выпадение раствора из швов между панелями. Волосяные трещины по
контуру панелей.
|
3
|
Трещины в перемычках над
оконными проемами. Трещины в панелях стен и плитах перекрытий в зонах
устройства внутреннего отопления.
Повсеместно по контуру
элементов, закладных деталей и шпонок трещины с шириной раскрытия до 0,5 мм.
|
4
|
Значительное раскрытие (более
0,3 мм) трещин в перемычках над оконными проемами.
Разрушение отдельных перемычек.
Во многих местах трещины по контуру элементов и шпонок с шириной раскрытия
0,5 - 2 мм.
Трещины во многих несущих
элементах до 0,3 мм, а в некоторых до 2 мм.
Отколы бетона в шпонках,
замоноличивания, а в отдельных местах его раздробление.
Нарушение связей между
элементами: выдергивание закладных деталей, разрушение сварных швов. Взаимные
сдвиги элементов.
|
5
|
Разрушение значительного
количества перемычек и отдельных простенков.
Значительная подвижка стеновых
панелей и плит перекрытий относительно друг друга.
Обрушение отдельных стеновых
панелей, лестничных площадок и маршей. Обрушение отдельных плит покрытия и
перекрытия.
|
Примечание. По
количеству повреждений ко всем подобным конструкциям на данном объекте
оценивается в %: одиночные - до 5, отдельные - до 20, просто повреждения - до
60, массовые - 60 и более.
ОЦЕНКА ТЕХНИЧЕСКОГО СОСТОЯНИЯ ЖИЛЫХ КИРПИЧНЫХ ЗДАНИЙ
ПОСЛЕ ЗЕМЛЕТРЯСЕНИЯ ПО ВНЕШНИМ ПРИЗНАКАМ
Таблица 20
Категория
состояния здания
|
Признаки
силовых воздействий землетрясения на конструкции
|
1
|
Отсутствуют видимые
повреждения.
Осыпание чешуек побелки стен и
потолка.
|
2
|
Тонкие трещины по контуру
перегородок, из углов проемов в опорной части перемычек.
Ширина раскрытия трещин до 0,5
мм.
|
3
|
Трещины в перегородках и швах
между панелями перекрытий. Падение больших кусков штукатурки. Горизонтальные
трещины в узких простенках. Вертикальные трещины в местах сопряжения стен
различного направления. Ширина раскрытия трещин в стенах 0,5 ... 2 мм.
|
4
|
Расслоение перегородок, их
смещение из плоскости или частичное обрушение. Смещение до 10 мм плит
перекрытий и перемычек. Диагональные и x-образные
трещины в сплошных стенах. Наклонные трещины в простенках продольных и
поперечных стен. Ширина раскрытия трещин 2 ... 10 мм.
|
5
|
Отрыв наружных стен от
внутренних. Обрушение значительной части перегородок. Обрушение наружных
самонесущих стен. Частичное обрушение несущих стен. Значительное смещение
перекрытий (более 10 мм) с площадок опирания.
|
Примечание. См.
примечание к табл. 19.
ОЦЕНКА ТЕХНИЧЕСКОГО СОСТОЯНИЯ КОНСТРУКЦИЙ КАРКАСНЫХ
ЗДАНИЙ ПОСЛЕ ЗЕМЛЕТРЯСЕНИЯ ПО ВНЕШНИМ ПРИЗНАКАМ
Таблица 21
Категория
состояния здания
|
Признаки
силовых воздействий землетрясения на конструкции
|
Стены
|
Перегородки
|
Несущие
конструкции
|
1
|
2
|
3
|
4
|
2
|
а) Волосные трещины (до 0,1 мм)
в примыкании стен заполнения к элементам каркаса многоэтажных зданий.
б) Волосные трещины от углов
проемов в опорной части перемычек зданий с несущими и самонесущими стенами.
в) Трещины до 0,3 мм по контуру
примыкания стен заполнения и навесных панелей к каркасу, в швах между
навесными панелями зданий с панельными стенами.
|
Волосные трещины в жестких
перегородках и заделке швов.
Отдельные трещины в
перегородках до 0,3 мм.
|
Изредка трещины в узлах
железобетонного каркаса с шириной раскрытия до 0,3 мм.
|
3
|
а) Трещины до 0,5 мм по контуру
примыкания стен заполнения к каркасу с разрушением штукатурки в некоторых
местах. Отдельные трещины до 0,5 мм в заполнении каркаса, особенно в углах
проемов.
б) Трещины до 0,5 мм от углов
проемов в опорной части перемычек.
в) Трещины до 0,5 мм и обмятия
углов в навесных железобетонных панелях.
|
Трещины до 0,5 мм в
перегородках в местах их примыкания.
|
В единичных случаях трещины в
элементах железобетонного каркаса с шириной раскрытия до 0,5 мм.
Волосные трещины в швах между
панелями перекрытия.
|
4
|
а) Массовые трещины до 1 мм по
контуру примыкания стен заполнения к каркасу с разрушением штукатурки;
горизонтальные и наклонные трещины в заполнении каркаса, в отдельных случаях
трещины до 2 мм в углах проемов.
|
Массовые вертикальные,
горизонтальные и косые сквозные трещины в перегородках с раскрытием до 5 мм,
проломы. Отрыв некоторых перегородок от колонн и покрытия.
|
Отдельные нормальные трещины в
элементах железобетонного каркаса с шириной раскрытия до 1 мм; косые трещины
в отдельных узлах при опорных частях железобетонных ригелей и колонн с
шириной раскрытия до 1 мм;
|
|
б) Горизонтальные трещины в
узких простенках от углов проемов с шириной раскрытия до 2 мм. Изредка косые
трещины в простенках. Вертикальные трещины между продольными и поперечными
стенами. Разрывы или выдергивание отдельных анкеров крепления стен к колоннам
и перекрытиям.
в) В некоторых навесных панелях
трещины до 1 мм, отколы углов, подвижка панелей с выпадением раствора швов.
|
Расслоение материала
перегородок, смещение из плоскости.
|
трещины и выколы в продольных
ребрах железобетонных плит покрытия; сдвижка плит покрытия до 2 см; трещины
до 0,5 мм между сборными настилами перекрытия. Относительные сдвиги плит
покрытия по швам между ними в продольном направлении.
Местное (краевое) повреждение
кладки на глубину до 2 см под опорами ферм и балок.
Потеря устойчивости отдельных
элементов стальных ферм. Обрыв отдельных связей. Повреждения отдельных
сварных швов в местах опирания подкрановых балок на колонны.
|
5
|
а) Массовые трещины в
заполнении каркаса, раскрытие многих из них более 2 мм, в некоторых случаях заполнение
полностью разрушено.
б) Диагональные трещины в
сплошных поперечных каменных стенах, наклонные и горизонтальные трещины в
большинстве простенков продольных и поперечных стен с шириной раскрытия более
2 мм. Отрыв торцевых и поперечных стен от продольных по всей высоте здания,
обрушение парапетов и участков продольных и поперечных стен, разрывы и
выдергивание стальных связей и анкеров, крепящих стены к колоннам и
перекрытиям.
в) Обрушения отдельных стеновых
панелей.
|
Массовые косые и крестовые
трещины в перегородках с шириной раскрытия более 5 мм, обрушение многих
перегородок.
|
Разрушения узлов соединения
колонн с ригелями железобетонного каркаса: раздробление и выкрашивание
бетона, оголение и разрывы арматуры и хомутов. Оголение и выпучивание
арматуры железобетонных колонн, скалывание колонн в средней части одна
относительно другой. Наклонные трещины в приопорной части железобетонных
ригелей и вертикальные в середине пролета с шириной раскрытия более 1 мм.
Расстройство стыков плит покрытия со сдвижкой последних более 1/4 длины
опирания или более 2 см.
|
|
|
Повреждение кладки под опорами
ферм и балок в виде трещины, раздробления камня или смещение рядов кладки по
горизонтальным швам.
Выпучивание стальных ферм из
своей плоскости.
Обрушение отдельных
конструкций.
|
Примечание. По
количеству повреждений конструкций ко всем подобным конструкциям на данном
объекте оценивается в %: единичные - до 5, отдельные - до 20, просто
повреждения - до 60, массовые - 60 и более.
ОЦЕНКА ТЕХНИЧЕСКОГО СОСТОЯНИЯ ЖЕЛЕЗОБЕТОННЫХ
КОНСТРУКЦИЙ ПОСЛЕ ПОЖАРА ПО ВНЕШНИМ ПРИЗНАКАМ
Таблица 22
Категория
состояния
|
Признаки
воздействия пожара на конструкцию
|
Сажа и копоть
|
Изменение цвета
бетона
|
Отколы бетона
|
Оголение
рабочей арматуры
|
Отслоение
поверхностных (1 - 3 см) слоев бетона от остальной массы конструкции,
сцепление арматуры с бетоном
|
Трещины в
бетоне
|
Смещение
конструкции
|
1
|
2
|
3
|
4
|
5
|
6
|
7
|
8
|
Колонны
|
2
|
Есть местами
|
Нет
|
Нет
|
Нет
|
Местами (до 3 шт.) площадью не
более 10 см2 каждое
|
Нет
|
Нет
|
3
|
Нет
|
До розового
|
Один - два небольших, размером
не более 15´15 см и глубиной
менее толщины защитного слоя
|
Нет
|
Местами (до 3 шт.) площадью не
более 30 см2 каждое
|
Сетка микротрещин на
поверхности
|
Нет
|
4
|
Нет
|
До розового или
темно-желтого
|
Более двух, размером не более
15´15 см
|
На глубину не более толщины
защитного слоя. Оголение не более одного стержня
|
Местами (до 3 шт.) на площади
не более 50 см2 каждое
|
Сетка микротрещин и
микротрещины (1 - 2 трещины не более 30 см)
|
Возможное
|
5
|
Нет
|
До темно-желтого
|
Больше по площади, чем при
категории 4
|
На глубину более толщины
защитного слоя с оголением всего периметра арматуры
|
Полностью по всей поверхности
|
Большое количество микротрещин
и макротрещин с длиной более 30 см
|
Есть
|
Плиты перекрытий
и покрытий.
А. Сплошные плиты
|
2
|
В отдельных местах или
отсутствует
|
Нет
|
Один - пять небольших по
площади, до 15 см2 каждый, глубиной до 2 см
|
Нет
|
Сцепление арматуры с бетоном
есть
|
|
|
3
|
В отдельных местах
|
Нет
|
Не более десяти, площадью 30 см2
каждый, глубиной до 3 см, несквозные
|
На длине не более 10 %
|
Сцепление арматуры есть в зоне
анкеровки арматуры
|
|
|
4
|
Все покрыто
|
До розового
|
Не более десяти, площадью 30 см2
каждый, глубиной до 3 см, сквозные
|
На длине более 10 %, но менее
40 %, за исключением зоны анкеровки
|
Сцепление арматуры есть в зоне
анкеровки арматуры
|
|
|
5
|
Нет
|
До темно-желтого
|
Более десяти, площадью более
100 см2 каждый, сквозные
|
По всей длине или у опоры на
длине зоны анкеровки
|
Нарушено сцепление арматуры в
зоне анкеровки
|
|
|
Б. Железобетонные
ребристые плиты
|
2
|
В отдельных местах или
отсутствует
|
|
Нет
|
Нет
|
Сцепление арматуры с бетоном
имеется
|
|
Прогиб в пределах допустимого
нормами
|
3
|
В отдельных местах
|
|
Есть на ребрах, глубиной не
более толщины защитного слоя, кроме зоны анкеровки
|
Одно-два места, не более 1/5
пролета, кроме зоны анкеровки
|
Сцепление арматуры с бетоном
имеется
|
|
Прогиб в пределах допустимого
нормами
|
4
|
Покрыта вся полка
|
|
Есть на ребрах, отдельные в
плите, площадью не более 1/2 площади плиты
|
Одно-два места, не более 1/2
пролета, кроме зоны анкеровки
|
Сцепление арматуры есть только
в зонах анкеровки арматуры
|
|
Прогибы более 1/150 пролета
|
5
|
Нет
|
|
Есть в зоне анкеровки арматуры
и сквозные в плите площадью более 1/2 площади плиты
|
В зоне анкеровки
|
Сцепления арматуры с бетоном
нет
|
|
-«-
|
Балки
|
2
|
В отдельных местах
|
Нет
|
Нет
|
На длине не более 20 см
|
Нет
|
Микротрещин нет. Поперек оси в
растянутой зоне с шириной раскрытия не более 0,3 мм
|
Прогиб в пределах
установленного нормами
|
3
|
Покрыты полностью
|
До розового
|
Отколы углов, на глубину не
более чем до арматуры
|
Наружные края угловых стержней
|
Снизу, кроме зоны анкеровки
арматуры
|
Микротрещины поверхностные,
глубиной не более 2 см. Нормальные макротрещины в растянутой зоне с шириной
раскрытия до 0,5 мм
|
-«-
|
4
|
Нет
|
До темно-желтого
|
Существенные с нижней
поверхности, на глубину не более толщины защитного слоя, кроме зоны анкеровки
арматуры
|
Рабочие стержни на длине не
более 50 % пролета балки
|
На большей части поверхности,
кроме зоны анкеровки арматуры
|
Микротрещины поверхностные,
глубиной не более толщины защитного слоя.
Макротрещины в растянутой зоне
бетона, с шириной раскрытия до 1 мм.
Продольные трещины в зоне
анкеровки арматуры
|
Прогиб в пределах
установленного нормами прогибы более 1/150 пролета
|
5
|
Нет
|
До темно-желтого или серого
|
Существенные с нижней
поверхности, на глубину более толщины защитного слоя и в зоне анкеровки
|
Почти вся рабочая арматура
|
По большей части поверхности,
включая и. зону анкеровки арматуры
|
Микротрещины глубиной более
толщины защитного слоя. Макротрещины в растянутой зоне более 1 мм
|
Прогиб более 1/150
пролета
|
ОЦЕНКА ТЕХНИЧЕСКОГО СОСТОЯНИЯ СТАЛЬНЫХ КОНСТРУКЦИЙ ПОСЛЕ ПОЖАРА ПО ВНЕШНИМ ПРИЗНАКАМ
Таблица 23
Категория
технического состояния
|
Состояние
поверхности металла
|
Деформация
конструкции
|
1
|
Законченность конструкций, но
лакокрасочное покрытие не повреждено
|
Отсутствуют
|
2
|
Разрушено лакокрасочное
покрытие
|
То же
|
3
|
Сталь приобретает цвет
«побежалости».
На стали образуется светлая
окалина
|
Имеется небольшое
коробление
|
4
|
На стали образуется тонкий слой
трудносчищаемой окалины
|
Имеется коробление
|
5
|
Отслоение местами слоя окалины.
Образование толстого слоя
окалины.
Образование твердой и хрупкой
пленки серовато-синего или черного цвета и язв губчатого строения
|
Провисание ненагруженных
элементов под собственным весом.
Сильная деформация нагруженных
конструкций.
Появление участков конструкций
с изломами, разрывами, оплавленного материала.
|
6.7. ПРИБЛИЖЕННОЕ ОПРЕДЕЛЕНИЕ ПРОЧНОСТИ БЕТОНА, КАМНЯ И
РАСТВОРА ПО ВНЕШНИМ ПРИЗНАКАМ
Таблица 24
Марка
камня
|
Класс бетона по
прочности
|
Характерные
признаки повреждения бетона или камня при ударе средней силы заостренной
частью молотка массой 0,4 ... 0,8 кг
|
Марка раствора
|
Характерные
повреждения раствора шва при испытании лезвием ножа
|
Ниже 70
|
менее В5
|
Остается неглубокий след, звук
глухой, края вмятин не осыпаются
|
0 ... 2
|
Раствор легко рыхлится ножом,
высыпается, выдувается
|
70 ... 100
|
В5 ... В7,5
|
Остаются вмятины, материал
крошится и осыпается, звук глуховатый
|
4 ... 10
|
Раствор легко режется ножом
|
100 ... 200
|
В7,5 ... В12,5
|
Остается заметный след на
поверхности, вокруг которого может откалываться материал в виде тонких
листочков
|
25
|
Раствор режется с трудом,
крошится
|
50
|
Раствор крошится, но не режется
|
Выше 200
|
Более В 12,5
|
Остается слабо заметный след на
поверхности материала, звук звонкий
|
100 и более
|
На поверхности шва при движении
лезвия ножа остается светлый или темный след
|
6.8. ПРИМЕРЫ РАСЧЕТОВ НАДЕЖНОСТИ СТРОИТЕЛЬНЫХ КОНСТРУКЦИЙ
ЗДАНИЙ И СООРУЖЕНИЙ
Пример 1
Требуется определить техническое состояние
строительных конструкций промышленного одноэтажного здания.
Здание имеет следующие характеристики:
фундаменты под колонны столбчатые железобетонные,
стены кирпичные, опираются на фундаментные блоки, колонны железобетонные, покрытие
в виде стальных ферм с железобетонными сборными плитами, подкрановые балки
стальные.
На основании визуального обследования здания
установлены следующие величины повреждений различных несущих конструкций:
- железобетонные фундаменты (на основании вскрытия
фундаментов в шурфах) - следы коррозии распределительной арматуры, категория
состояния 2 (табл. 3), поврежденность e1 = 0,05 (табл. 1);
- кирпичные стены - вертикальные трещины в пилястрах
по концам опор ферм, пересекающие до 3-х рядов кладки, категория состояния 4
(табл. 4),
e2 = 0,25;
- железобетонные колонны - продольные трещины в бетоне
вдоль рабочей арматуры с коррозией арматуры до 10 % сечения, категория
состояния 3 (табл. 3), e3 = 0,15;
- стальные фермы покрытия - местами пластинчатая
ржавчина на стержнях фермы с коррозией до 10 % сечения, категория состояния 3
(табл. 2),
e4 = 0,15;
- железобетонные плиты покрытия - продольные трещины
от коррозии вдоль рабочей арматуры, категория состояния 3 (табл. 3) и в
отдельных плитах снижение прочности бетона до 30 %, категория состояния 4
(табл. 3),
e5 = 0,25;
- стальные подкрановые балки - разрушение
антикоррозионного покрытия, категория состояния 2 (табл. 2), e6 = 0,05.
Определим техническое состояние здания в целом с
учетом значимости отдельных конструкций. Коэффициенты значимости примем
согласно п. 2.5
для: фундаментов a1 = 3,
стен a2 = 3,
колонн a3 = 8,
ферм a4 = 7,
плит a5 = 2,
балок a6 = 4.
Общая поврежденность здания

По табл. 1 техническое состояние здания может быть отнесено
к 3 категории.
Для продолжения эксплуатации здания требуется провести
ремонт по устранению поврежденных конструкций: стен, колонн, ферм, плит
покрытия.
Пример 2
Требуется определить техническое состояние
многоэтажного железобетонного каркасного промышленного здания по данным
визуального экспресс-обследования.
На основании обследования выявлены следующие
повреждения конструкций:
выветривание раствора кирпичной кладки стен,
разрушение кирпичной кладки несущих стен в местах карнизов и водосточных труб
на глубину до 12 см (пол кирпича), что при толщине стены 52 см составляет 12/51·100
% = 23 %, в отдельных плитах перекрытий нормальные трещины с шириной раскрытия
в растянутой зоне до 0,3 мм.
Определяем по табл. 7 категорию состояния
конструкций:
- выветривание кладки стен соответствует 2 категории
состояния. Однако для отдельных участков стен в местах карнизов и водосточных
труб с разрушением кладки 23 % толщины стены категория состояния соответствует
4 категории;
- железобетонные плиты, имеющие трещины шириной 0,3
мм, имеют 2 категорию состояния.
По максимальному повреждению на основании табл. 7
техническое состояние здания по надежности относится к 4 категории
(неудовлетворительное). Для продолжения эксплуатации здания требуется провести
ремонт по устранению разрушенной кладки стен.
Пример 3
Требуется определить техническое состояние
крупнопанельного жилого дома по данным визуального обследования.
В ходе обследования были выявлены следующие
повреждения:
в отдельных местах отслоение облицовки цоколя и
фактурного слоя панелей стен, выветривание раствора швов панелей стен, трещины
в перегородках до 10 мм в местах сопряжения с потолками и стенами, трещины в
швах до 1 мм между плитами перекрытий.
На основании табл. 6 категория технического
состояния поврежденных конструкций составляет:
- для цоколя и панелей стен - 2 категория;
- для стыков панелей - 2 категория;
- для перегородок с трещинами - 3 категория;
- для плит перекрытий - 2 категория.
Здание относится к 3-й категории технического
состояния (не совсем удовлетворительное).
Для продолжения нормальной эксплуатации здания следует
выполнить ремонт перегородок с трещинами.
Пример 4
Требуется определить техническое состояние
железобетонной эстакады под технологические трубопроводы.
Эстакада выполнена из типовых железобетонных
конструкций: пролетное строение пролетом 12 м, опоры с шагом 12 м, траверсы с
шагом 4 м.
По данным визуального обследования характерного
участка эстакады различные ее несущие конструкции имели следующие величины
повреждений:
- максимальная величина повреждения траверс e1 = 0,25;
- максимальная величина повреждения пролетного
строения e2 = 0,15;
- максимальная величина повреждения опор e3 = 0,15.
Определим техническое состояние всей эстакады с учетом
значимости отдельных конструкций.
Коэффициенты значимости были приняты по соображениям
последствий разрушения конструкций. Так, например, для эстакады с пролетом 12 м
и шагом траверс 4 м (3 траверсы в пролете) разрушение пролетного строения
приводит к обрушению всех траверс, а обрушение опоры приводит к обрушению двух
пролетных строений с 6-ю траверсами. С учетом сказанного выше для
рассмотренного примера необходимо ввести коэффициенты значимости a1 = 1 для
траверс, a2 = 3 для
пролетных строений, a3 = 6 для
опор.
По формуле (2.1) находим величину
поврежденности сооружения

По табл. 1 техническое состояние эстакады может быть
отнесено к 3 категории.
Для ее надежной эксплуатации требуется проведение
ремонта.
Пример 5
Требуется определить техническое состояние
железобетонного аэротенка по данным визуального обследования.
На основании обследования выявлены следующие
повреждения конструкций: в наружных и внутренних стенах следы коррозии распределительной
арматуры, в большинстве конструкций ходовых мостиков аэротенка отмечается
снижение прочности бетона до 30 % от размораживания.
Определяем по таблице 7 техническое состояние
сооружения, которое может быть отнесено к 3-й категории (e = 0,15), что
говорит о необходимости проведения ремонта.
Пример 6
Требуется определить время капитального ремонта
основных строительных конструкций эстакады под технологические трубопроводы.
На основании натурных обследований по внешним
признакам повреждений установлена величина поврежденности железобетонных опор e0 = 0,12,
стальных пролетных строений en = 0,14.
Относительная надежность конструкций опор и пролетных
строений определяем по формуле (2.2)
Y0 = 1 - e0 = 1 - 0,12 = 0,88, Yn = 1 - en
= 1 - 0,14 = 0,86.
Определяем по формуле (2.3) постоянные износа опор и
пролетных строений при сроке эксплуатации на момент обследования tф = 10 лет
,
.
По формуле (2.4) определяем сроки
капитального ремонта конструкций опор и пролетных строений с начала эксплуатации
лет,
лет,
что говорит о необходимости проведения капитального
ремонта в ближайшее к моменту обследования время.
Пример 7
Требуется оценить надежность и вероятность аварии
железобетонного силоса для цемента по исходным данным, описанным в книге
Шкинева А.Н. «Аварии на строительных объектах, их причины и способы
предупреждения», Стройиздат, 1976, с. 11.
Силосный корпус, состоящий из цилиндрических силосов,
был построен по типовому проекту, разработанному в 1950 г. Высота силоса 26,7
м, внутренний диаметр 9,5 м, толщина стенки 18 см, бетон марки 140. Разгрузку
силосов производили пневматическим способом.
На основании сведений, полученных экспертом на
предприятии, было установлено следующее:
- качество материалов при строительстве силоса
проверялось нерегулярно;
- строительная организация не имела опыта
строительства силосов в скользящей опалубке;
- должностной контроль за качеством строительства не
осуществлялся;
- строительство велось неквалифицированными кадрами,
руководство строительством не имело высшего технического образования;
- в процессе производства работ допускались длительные
перерывы при бетонировании стенок силосов в подвижной опалубке, укладку
арматуры производили не по шаблону.
При эксплуатации силосов имелась вероятность завышения
нагрузок от избыточного давления воздуха при разгрузке силосов, так как это
давление никак не контролировалось.
Приемка силосов в эксплуатацию была проведена с
нарушением правил без загрузки всех силосов для выравнивания осадок;
производилась эксплуатация силосов с трещинами в нарушение предписания об
остановке их эксплуатации.
На основании опыта обследований, эксплуатации и аварий
аналогичных сооружений экспертом в таблице 25 проведена оценка условной
надежности силоса.
ЭКСПЕРТНАЯ ОЦЕНКА НАДЕЖНОСТИ СИЛОСА
Таблица 25
1 - неприемлемо, 2 -
неудовлетворительно, 3 - удовлетворительно, 4 - хорошо, 5 - отлично
№
|
Условие
надежности
|
Удельный вес
условия
|
Оценка в баллах
|
Удельная
надежность
|
Обоснование
принятого решения
|
1
|
2
|
3
|
4
|
5
|
1
|
2
|
3
|
4
|
5
|
6
|
1
|
Соответствие расчетной модели
сооружения и нагрузок действительной работе
|
0,05
|
|
|
3
|
|
|
0,15
|
Недостаточно в нормах был
изучен коэффициент давления при выпуске сыпучего
|
2
|
Опробированность
конструктивного решения
|
0,05
|
|
|
|
4
|
|
0,2
|
Имелся опыт строительства
аналогичных сооружений
|
3
|
Учет требований нормативных
документов
|
0,05
|
|
|
|
4
|
|
0,2
|
Типовой проект
|
4
|
Квалификация проектировщиков
|
0,1
|
|
|
|
4
|
|
0,4
|
Типовой проект
|
5
|
Наличие достаточного времени и
средств на проектирование
|
0,05
|
|
|
|
4
|
|
0,2
|
Типовой проект
|
Качество
строительства
|
6
|
Соответствие материалов и
конструкций проекту
|
0,1
|
1
|
|
|
|
|
0,1
|
Допускались перерывы в
бетонировании. Укладка арматуры проводилась не по шаблону
|
7
|
Опробированность методов
строительства
|
0,05
|
|
2
|
|
|
|
0,1
|
Организация не имела опыта
строительства силосов
|
8
|
Контроль качества строительства
|
0,1
|
|
2
|
|
|
|
0,2
|
Качество проверялось
нерегулярно
|
9
|
Квалификация кадров
|
0,1
|
1
|
|
|
|
|
0,1
|
Строительство велось
неквалифицированными кадрами
|
10
|
Достаточность времени и средств
на строительство
|
0,05
|
|
|
3
|
|
|
0,15
|
Строительство велось в сжатые
сроки
|
11
|
Отсутствие отступлений от норм
и проекта
|
0,1
|
1
|
|
|
|
|
0,1
|
Не была проведена пробная
загрузка перед эксплуатацией
|
Качество
эксплуатации
|
12
|
Отсутствие завышения проектных
нагрузок
|
0,05
|
|
2
|
|
|
|
0,1
|
Давление воздуха при
пневморазгрузке не контролировалось
|
13
|
Контроль за исправностью
сооружения и оборудования
|
0,05
|
1
|
|
|
|
|
0,05
|
Тоже
|
14
|
Соблюдение правил эксплуатации
|
0,1
|
1
|
|
|
|
|
0,1
|
Проводилась эксплуатация с
опасными повреждениями
|
|
|
Σ = 1
|
|
|
|
|
|
P
= 2,15
|
|
Условная надежность силоса
.
В соответствии с табл. 18 условная надежность β =
0,43 и вероятность аварии в год составляет Q = 10-3,
что говорит о недопустимой надежности сооружения.
Фактически силос разрушился через год с начала
эксплуатации из-за разрыва кольцевой арматуры в стенах вследствие занижения ее
сечения в 2 раза по сравнению с проектом.
1. СНиП 3.06.07-87. Мосты и трубы. Правила обследований
и испытаний. ЦИТП, 1988.
2. Руководство по обеспечению долговечности
железобетонных конструкций предприятий черной металлургии при их реконструкции
и восстановлении. Стройиздат, 1982.
3. Руководство по наблюдению и оценке состояния
элеваторных сооружений. ЦНИИпромзернопроект, 1979.
4. Правила оценки физического износа жилых зданий. ВСН 53-86 (Р). Стройиздат,
1988.
5. Добромыслов А.Н. Оценка эксплуатационной надежности
строительных конструкций по внешним признакам.
Проектирование и расчет строительных конструкций.
Общество Знание РСФСР. Ленинградский дом научно-технической пропаганды. Л.,
1989.
6. Добромыслов А.Н. Прогнозирование вероятности аварий
инженерных сооружений. Проектирование и инженерные изыскания. № 2, 1988.
7. Виноградский Д.Ю. и др. Эксплуатация и долговечность
мостов. Будiвельник, 1985.
8. Добромыслов А.Н. Расчет конструкций технологических
эстакад с учетом времени эксплуатации. Инженерные сооружения промышленных
предприятий. Сборник научных трудов. ЦНИИпромзданий, 1987.
9. Добромыслов А.Н. Анализ причин повреждений
строительных конструкций при землетрясениях. Промышленное строительство, № 1,
1991.
10. Добромыслов А.Н. Анализ аварий промышленных зданий и
инженерных сооружений. Промышленное строительство, № 9, 1990.
11. Добромыслов А.Н. Исследование надежности
конструктивных систем. Промышленное строительство, № 12, 1989.
12. Добромыслов А.Н. Натурные исследования долговечности
эстакад под технологические трубопроводы. Промышленное строительство, № 1,
1989.
13. Рекомендации по обследованию и оценке технического
состояния крупнопанельных и каменных зданий. ЦНИИСК им. В.А. Кучеренко, 1988.
14. Рекомендации по обследованию зданий и сооружений,
поврежденных пожаром. Стройиздат, 1987.
15. Рекомендации по определению технического состояния
ограждающих конструкций при реконструкции промышленных зданий. Стройиздат,
1988.
16. Методические рекомендации по инженерному анализу
последствий землетрясений. ЦНИИСК им. В.А. Кучеренко, 1980.