Информационная система
«Ёшкин Кот»

XXXecatmenu

ГОССТРОЙ УССР

КАРТЫ ОРГАНИЗАЦИИ ТРУДА И ТРУДОВЫХ ПРОЦЕССОВ СТРОИТЕЛЬНОГО ПРОИЗВОДСТВА

УСТРОЙСТВО ЦЕМЕНТОБЕТОННОЙ ДОРОЖНОЙ ОДЕЖДЫ

УСТРОЙСТВО УКРЕПИТЕЛЬНЫХ ПОЛОС
ИЗ ГОТОВОЙ ЦЕМЕНТОБЕТОННОЙ СМЕСИ

КТ-17.0-34-8-74

Комплект карт предназначен для организации труда бригад, занятых на устройстве цементобетонных покрытий на дорогах III технической категории комплектом машин Д-375, Д-376.

Карты организации труда определяют рациональный состав бригады, характер и последовательность выполнения работ отдельными членами бригады и звеньями.

Карты трудовых процессов разработаны на основные виды работ при устройстве цементобетонных покрытий дорог с учетом технологии производства работ. Они могут быть использованы при разработке карт организации труда и ППР для различных объектов; при обучении рабочих передовым методам и приемам груда.

Карты организации труда и трудовых процессов являются составной частью инженерно-технологической и организационной подготовки нового производственного года и основой для массового перехода бригад на новую форму хозяйственного расчета (бригадный подряд).

Карты трудовых процессов разработаны в соответствии с «Методическими указаниями по составлению карт трудовых процессов строительного производства», изданными ВНИПИ труда в строительстве Госстроя СССР (1973 г.), а карты организации труда - в соответствии с «Методическими рекомендациями по разработке карт организации труда на специальные виды строительно-монтажных работ» (НИИСП Госстроя УССР, 1974 г.).

Авторы: И.М. Кравченко, Е.П. Середов, В.Ф. Рассовский (трест «Оргдорстрой» Миндорстроя УССР); Т.И. Лозовая, И.М. Тищенко (НИИСП Госстроя УССР).

Редакция литературы по сельскому строительству и озеленению

Заведующая редакцией Н.С. Колесник

КТ-17.0-34-8-74

УСТРОЙСТВО ЦЕМЕНТОБЕТОННОЙ ДОРОЖНОЙ ОДЕЖДЫ

РАЗРАБОТАНА ТРЕСТОМ «ОРГДОРСТРОЙ» МИНДОРСТРОЯ УССР

КАРТА ТРУДОВОГО ПРОЦЕССА СТРОИТЕЛЬНОГО ПРОИЗВОДСТВА

УСТРОЙСТВО УКРЕПИТЕЛЬНЫХ ПОЛОС ИЗ ГОТОВОЙ ЦЕМЕНТОБЕТОННОЙ СМЕСИ

РЕКОМЕНДОВАНА НИИСП ГОССТРОЯ УССР ДЛЯ ВНЕДРЕНИЯ В ДОРОЖНО-СТРОИТЕЛЬНОЕ ПРОИЗВОДСТВО

ВХОДИТ В КОМПЛЕКТ КТП-17.0

ВЗАМЕН КТ-0.0

I. НАЗНАЧЕНИЕ И ЭФФЕКТИВНОСТЬ ПРИМЕНЕНИЯ КАРТЫ

1.1. Карта предназначена для организации труда звена рабочих при устройстве укрепительных полос толщиной 22 см из готовой цементобетонной смеси.

1.2. Показатели производительности труда

№ п.п.

Наименование показателей

Величина показателя

по карте

по ЕНиР

1

Выработка на 1 чел.-день, м

57,2

36,5

2

Затраты труда на 100 м укрепительной полосы, чел.-час.

14,32

22,44

Снижение затрат труда и повышение выработки рабочих достигается в результате применения ножа, который крепят к отвалу автогрейдера, виброплиты и виброплощадки на бункерном распределителе для разравнивания и окончательного уплотнения бетона. Крепление к раме шасси стального листа, который служит скользящей опалубкой, дает возможность исключить работы по установке и снятию деревянной опалубки. Численность звена по сравнению с предусмотренной в ЕНиР уменьшена на 3 чел.

II. ПОДГОТОВКА ПРОЦЕССА И УСЛОВИЯ ЕГО ВЫПОЛНЕНИЯ

2.1. Укрепительные полосы шириной 0,5 м устраивают по обеим сторонам цементобетонного покрытия после отсыпки, уплотнения и окончательной планировки обочин.

2.2. До начала работ должны быть спланированы обочины, подвезен песок для выравнивания основания.

2.3. Распределение и уплотнение бетона производят прицепным бункерным распределителем*, который монтируют на шасси, имеющем с одной стороны колеса для движения по бетонному покрытию, с другой - опорную лыжу из швеллера № 12.

На шасси монтируют также виброплиту для разравнивания и виброплощадку для окончательного уплотнения бетонной смеси. На виброплите и виброплощадке устанавливают электровибраторы типа С-793, которые получают энергию от передвижной электростанции мощностью 4,5 квт. У опорной лыжи к раме шасси крепится стальной лист, который служит скользящей опалубкой. У колес к раме шасси крепят на всю длину бункера направляющий уголок размером 55´15´5 мм, соприкасающийся с бетонным покрытием.

* Конструкция треста «Куйбышевдорстрой».

2.4. Тракторист в начале смены устанавливает бункер над земляным корытом так, чтобы колеса расположились на бетонном покрытии дороги, а опорная лыжа - у внешнего борта земляного корыта. Направляющий уголок бункера при этом должен упираться в грань бетонного покрытия. Низ бункера устанавливают на 2 - 3 см выше проектной отметки бетонной полосы с тем, чтобы создать припуск на уплотнение бетона. Нижняя грань виброплощадки должна быть на уровне проектной отметки бетонной полосы.

2.5. Скорость перемещения бункерного распределителя при распределении бетонной смеси 3 - 5 м/мин.

2.6. При отделке швов кромки смачивать бетон запрещается.

2.7. Обработка поверхности укрепительных полос алюминиевым порошком производится на ширину 20 см от кромки проезжей части.

2.8. Машинист электростанции обеспечивает подачу энергии к вибраторам, ремонтирует электрооборудование.

2.9. Работы следует выполнять, соблюдая правила производства (СНиП III-Д.5-73), а также правила техники безопасности (СНиП III-A.11-70, «Правила техники безопасности при строительстве, ремонте и содержании автомобильных дорог»).

III. ИСПОЛНИТЕЛИ И ОРУДИЯ ТРУДА

3.1. Состав исполнителей:

Машинист автогрейдера          6   разр.  (М-1)          - 1

Машинист электростанции     4      »      (М-2)          - 1

Тракторист                                5   разр.  (Т)              - 1

Бетонщик                                   4      »      (Б-1, Б-2)   - 2

       »                                           3      »      (Б-3, Б-4)   - 2

       »                                           2      »      (Б-5)           - 1

Дорожный рабочий 2 разр. (Д) - 1

Машинист автогрейдера привлекается периодически для кратковременных работ.

Оплата труда М-2 производится по тарифу.

3.2. Инструменты, приспособления, инвентарь

№ п.п.

Наименование

ГОСТ, номер чертежа

Количество, шт.

1

Бункерный распределитель бетона

Конструкция треста «Куйбышевдорстрой»

1

2

Электровибратор С-793

-

1

3

Передвижная электростанция ЖЭС-4,5

-

1

4

Компрессор ЗИФ-55

-

1

5

Вибронож

-

1

6

Лопата подборочная

ГОСТ 3620-63

5

7

Молоток деревянный

-

1

8

Шаблон

Изготовляется в мастерских ДСУ

1

9

Гладилка фигурная

ГОСТ 10403-73

1

10

Гладилка металлическая

ГОСТ 10400-73

1

11

Краскопульт

-

1

3.3. Расход материалов на 100 м2 укрепительных полос

Монолитный бетон М 350 или М 400................. 22,42 м3

Битумная мастика по ГОСТ 2889-67.................... 0,32 т

Битумный грунт на основе лаков.......................... 4,52 кг

Алюминиевый порошок......................................... 1,28 кг

Рефлектирующая краска......................................... 8,0 кг

IV. ТЕХНОЛОГИЯ И ОРГАНИЗАЦИЯ ПРОЦЕССА

4.1. Работы по устройству укрепительных полос выполняют в такой последовательности: отрывка земляного корыта автогрейдером; зачистка вручную; устройство швов расширения; укладка и уплотнение смеси; отделка поверхности и нарезка швов; уход за бетоном; заполнение швов мастикой (ведет отдельное звено).

Схема крепления дополнительного ножа к отвалу автогрейдера:

1 - дополнительный нож; 2 - отвал автогрейдера; 3 - нож отвала.

Шаблон для проверки поверхности выравнивающего слоя:

1 - цементобетонное покрытие; 2 - шаблон; 3 - выравнивающий слой; 4 - основание.

Установка деревянной прокладки шва расширения:

1 - прямоугольный колышек; 2 - закладная рейка; 3 - прокладка шва расширения; 4 - штыри для крепления прокладки; 5 - цементобетонное покрытие; 6 - выравнивающий слой; 7 - основание.

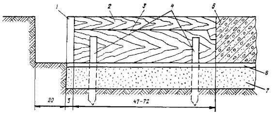
Схема прицепного бункерного распределителя бетона:

1 - бункер; 2 - пружина; 3 - рама распределителя; 4 - электровибратор; 5 - направляющий уголок; 6 - цементобетонное покрытие; 7 - трамбующая и выравнивающая плиты; 8 - скользящая опалубка; 9 - опорная лыжа; 10 - выравнивающий слой; 11 - основание.

4.2. Организация рабочего места

М-1, М-2, Т, Б-1 - Б-5, Д - места нахождения рабочих; 1 - автогрейдер; 2 - трактор С-80; 3 - бункерный распределитель; 4 - вибраторы; 5 - автомобиль-самосвал; 6 - передвижная электростанция; 7 - емкость для битумной эмульсии; 8 - компрессор; 9 - емкость с битумной мастикой.

4.3. График трудового процесса

V. ПРИЕМЫ ТРУДА

№ п.п.

Наименование операций, их продолжительность, исполнители и орудия труда

Характеристика приемов труда

1

Отрывка земляного корыта;

19 мин;

М-1

За 3 - 4 прохода автогрейдера, оборудованного дополнительным ножом, М-1 отрывает в обочине земляное корыто. Ширина корыта должна быть на 15 см больше ширины укрепительной полосы для прохода опорной лыжи бункерного распределителя

2

Подготовка корыта и основания под бетонные полосы;

58 мин;

Д;

лопата, шаблон

Д лопатой зачищает земляное корыто и планирует выравнивающий слой основания под шаблон с необходимой досыпкой песка. Для отвода воды из корыта рабочий отрывает водопропускные воронки в пониженных местах, а также на всем участке через 40 - 50 м

3

Установка упорного бруса и прием бетонной смеси;

28 мин;

Т, Б-5;

лопата, молоток деревянный

Т и Б-5 устанавливают у бункера упорный брус, принимают в бункер цементобетонную смесь из автомобилей-самосвалов, очищают кузов от бетона

4

Установка досок швов расширения;

24 мин;

Б-2, Б-3

Б-2 и Б-3 устанавливают доски швов расширения в местах расположения швов расширения дорожного покрытия. Доску, установленную вертикально и перпендикулярно к кромкам полосы, закрепляют четырьмя штырями (по два с каждой стороны). Доска не должна мешать проходу опорной лыжи бункерного распределителя бетона

5

Распределение бетонной смеси;

76 мин;

Т, Б-5;

лопаты

Б-5 следит за работой вибратора. Т перемещает распределительный бункер с бетонной смесью

6

Отделка поверхности бетона;

104 мин;

Б-1, Б-4;

гладилка

Б-1 и Б-4 обрабатывают внешнюю кромку бетонной полосы фигурной гладилкой так, чтобы кромка была ровной с закругленным углом

7

Устройство поперечных швов;

80 мин;

Б-2, Б-3;

закладные шаблоны, гладилка

Б-3 нарезает вибропластиной поперечные швы через 2,5 - 3 м (в местах швов бетонного покрытия дороги и дополнительно в середине плиты), пользуясь приемом устройства швов с помощью закладных шаблонов, Б-2 помогает ему. Б-2 закладывает в паз деревянные шаблоны, смазанные известково-глинистым раствором, и погружает их на глубину шва (на 1/4 толщины плиты). Б-2 и Б-3 выглаживают гладилками поверхность бетона

8

Разлив пленкообразующего материала;

7 мин;

Б-3;

краскопульт

Б-3 после окончательной отделки поверхности бетона и кромки швов, ручным краскопультом наносит на поверхность бетона пленкообразующий материал за два приема: первый раз, когда на поверхности бетона исчезнет водяная пленка, второй - через 30 - 40 мин

9

Засыпка землей боковых граней;

46 мин;

Д;

лопата

После распределения бетона Д засыпает землей боковые грани укрепительной полосы

СОДЕРЖАНИЕ

 



© 2013 Ёшкин Кот :-)