Информационная система
«Ёшкин Кот»

XXXecatmenu

МИНИСТЕРСТВО ТРАНСПОРТНОГО СТРОИТЕЛЬСТВА

ЦЕНТРАЛЬНЫЙ ИНСТИТУТ НОРМАТИВНЫХ ИССЛЕДОВАНИЙ
И НАУЧНО-ТЕХНИЧЕСКОЙ ИНФОРМАЦИИ «ОРГТРАНССТРОЙ»

 

ТЕХНОЛОГИЧЕСКАЯ КАРТА № 3

НАРЕЗКА КОНТРОЛЬНЫХ ШВОВ СЖАТИЯ В СВЕЖЕУЛОЖЕННОМ БЕТОНЕ МАШИНОЙ ДНШС-60-3М

 

 

 

МОСКВА 1977

 

I. ОБЛАСТЬ ПРИМЕНЕНИЯ

Технологическая карта составлена на устройство контрольных швов с одновременным введением полиэтиленовой прокладки в незатвердевшем цементобетонном покрытии.

В настоящей технологической карте предусмотрены:

нарезка контрольного шва посередине плиты длиной 36 м при ширине покрытия 7,5 м;

сменная производительность ДНШС-60-3М - 155 м покрытия или 34 м швов;

состав звена - 2 человека (работают периодически);

затраты труда на 1000 м2 покрытия - 0,33 чел-дня.

Нарезчик работает в комплекте бетоноукладочных машин и движется по рельс-формам на расстоянии 15 - 20 м вслед за длиннобазовой бетоноотделочной машиной ДБО-7,5; его периодически обслуживает машинист машины ЭНЦ-3 для розлива пленкообразующих материалов. Нарезчик питается электроэнергией от бетоноотделочной машины ДБО-7,5 или от машины для нанесения пленкообразующих материалов.

При применении карты необходима привязка ее к местным условиям производства работ.

II. УКАЗАНИЯ ПО ТЕХНОЛОГИИ ПРОИЗВОДСТВЕННОГО ПРОЦЕССА

До начала нарезки швов размечают поперечные контрольные швы и отмечают деревянными колышками на обочине их положение.

Швы устраивают немедленно после обработки покрытия длиннобазовой бетоноотделочной машиной. Все работы должны быть закончены до начала схватывания бетонной смеси. Если процесс схватывания бетона уже начался, то швы нарезают в твердом бетоне дисковыми нарезчиками.

Нарезчик имеет два рабочих органа: один для нарезки продольного шва, который установлен в средней части передней рамы машины и укреплен неподвижно, второй - для нарезки поперечных швов, перемещающийся по направляющим вдоль рамы нарезчика. Для условий данной технологической карты рабочий орган для нарезки продольного шва не используется.

В качестве прокладки для швов применяется полиэтиленовая пленка (ГОСТ 10354-73), которую разрезают на ленты на специальном станке, одновременно скатывая их в бухты. Ленты нарезают шириной, большей глубины шва на 10 мм. Отклонения линии реза ленты от прямой должны быть в пределах ± 2 мм. Для поперечных швов длина лент равна ширине покрытия.

На месте работ бухты полиэтиленовой ленты укладывают в специальные ящики, установленные на раме нарезчика швов.

Перед установкой в шов лента должна иметь температуру в пределах + 10 - 25 °С.

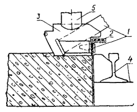
Для нарезки контрольных швов рабочий орган для нарезки поперечных швов подводят к рельс-форме и поворотом колонки устанавливают так, чтобы хвостовик вибропластины был обращен к рельс-форме (рис. 10). Бухту ленты надевают на стержень держателя так, чтобы она разматывалась по часовой стрелке (рис. 11).

Для установки ленты в шов ее заправляют в прорезь вибропластины и несколько протягивают. Конец ленты на длине 1,5 - 2 см обрезают, складывают вдвое и сложенный конец снизу вверх заводят в прорезь фиксатора.

Фиксатор с заправленной лентой устанавливают вплотную с рельс-формой и нажатием руки погружают в бетон до соприкосновения нижней грани ленты с поверхностью бетона. Вибропластину подводят к фиксатору, выправляют ленту, выбирая ее слабину на бухту. Включают вибратор и погружают фиксатор и вибропластину с лентой в бетон до упора головки фиксатора в поверхность рельс-формы. Включают механизм передвижения каретки и продолжают нарезку шва.

Рис. 10. Положение рабочего органа перед нарезкой поперечного шва:

1 - полиэтиленовая прокладка; 2 - головка фиксатора; 3 - вибропластина; 4 - рельс-форма; 5 - наконечник вибратора

Рис. 11. Заправка полиэтиленовой ленты:

1 - вибропластина; 2 - бухта полиэтиленовой ленты

Фиксатор придерживают рукой, пока не прорежут 1,5 - 2 м шва, затем ленту у рельс-формы обрезают ножницами, конец ленты выпрямляют и поверхность бетона в зоне сопряжения отделывают гладилкой.

Сопряжения прокладок с рельс-формами должны быть под углом 90°. Зазор между рельс-формой и концом ленты не должен превышать 15 мм.

В конце шва при упоре вибропластины в рельс-форму муфта предельного момента срабатывает, и каретка рабочего органа останавливается. После этого выключают привод лебедки, а затем вибратор; ленту обрезают и вытягивают из прорези вибропластины крючком. Вибропластину поднимают, очищают от бетонной смеси и поворотом на 180° вокруг вертикальной оси устанавливают для нарезки следующего поперечного шва. Сопряжение ленты с рельс-формой тщательно заделывают гладилкой. Затем включают механизм передвижения машины для выхода нарезчика на линию следующего поперечного шва.

При нарезке всех видов швов нарезчиком ДНШС-60-3М необходимо выполнять следующие требования:

а) рабочие органы нарезчика должны быть в исправном состоянии;

б) вибропластину периодически, особенно при перерывах в работе и в конце смены, нужно очищать от смеси и промывать водой, а по мере износа - заменять;

в) резиновая гладилка должна быть эластичной. В процессе работы ее необходимо периодически очищать и промывать водой, а изношенную заменять новой, изготовленной из диэлектрического коврика толщиной 6 - 10 мм;

г) вибратор рабочего органа должен питаться током напряжением 36 в. Работа на пониженном напряжении не допускается;

д) при работе в холодную погоду полиэтиленовую ленту нужно подогревать до температуры + 10 °С.

К качеству нарезки швов предъявляются следующие требования:

а) шов должен быть прямолинейным; для этого нижнюю направляющую для передвижения рабочего органа ДНШС-60-3М опускают несколько ниже, уменьшая тем самым длину свободного конца штанги, на которой крепится рабочий орган;

б) лента должна быть установлена вертикально и омоноличена бетоном на всю глубину; наплывы бетона у ленты, завал ленты от вертикального положения, зазоры и щели между бетоном и лентой не допускаются;

в) на пересечениях поперечных швов с продольными перерезают ленту продольного шва, лента поперечного шва должна быть цельной; концы ленты продольного шва должны быть уложены под прямым углом к ленте поперечного шва и соприкасаться с ней; не разрешается оставлять концы ленты загнутыми;

г) поверхность бетона у шва должна быть тщательно отделана и не иметь возвышений и впадин, превышение одной кромки шва над другой не должно быть более 3 мм;

д) глубина заложения полиэтиленовой ленты при устройстве поперечных швов должна быть не менее 1/4 толщины покрытия (5,5 см). Лента должна выступать из шва над поверхностью бетона на 0,5 - 1 см.

Дефекты в работе рабочего органа нарезчика и способы их устранения

 

Возможные причины

Способы устранения

Лента рвется при закладке в бетон

1. Прорезь вибропластины имеет заусеницы или забита бетоном.

Очистить прорезь, устранить заусеницы

2. Ширина ленты больше прорези.

Заправить пластину лентой требуемой ширины.

3. Лента неправильно заправлена в прорезь вибропластины

Ленту заправить с правой стороны; разматывание ленты с катушки должно проходить по часовой стрелке

Плохое сцепление ленты с бетоном

Недостаточная вибрация вибропластины вследствие неисправности вибратора, обрыва гибкого шланга, недостаточного напряжения тока, неправильной установки резиновых амортизаторов на валу колонки.

Устранить неисправности в моторе или гибком шланге; отрегулировать напряжение, исправить установку резиновых амортизаторов.

Высокая скорость перемещения рабочего органа

Снизить скорость перемещения рабочего органа

При проходке рабочего органа происходит скалывание и разрушение бетона, лента не омоноличивается

Упущено время нарезки швов, началось схватывание бетона

На участке, на котором началось схватывание бетона, нарезку швов машиной ДНШС-60-3М прекратить, а нарезчик переместить на участок со свежеуложенным бетоном

Вибропластина перекошена или загрязнена затвердевшим бетоном

Пластину установить так, чтобы ее плоскость совпадала с вертикальной плоскостью шва и очистить

При включении электродвигатель не работает

Загрязнились или истерлись щетки кольца

Зачистить щетки и притереть их к поверхности кольца, а при необходимости - заменить

При включении электродвигатель гудит, а вал ротора не вращается или вращается медленно

Нет напряжения в одной из фаз, ослаб контакт в выключателе

Проверить сеть и контактные соединения

Сильно греется рубильник вибратора

Изношены шарикоподшипники, отсутствует или загрязнена смазка вибратора

Сменить подшипники, проверить и обновить смазку

Корпус вибратора под напряжением

Замыкание токоведущих частей на корпус

Найти и устранить замыкание

Гибкий вал скручивается

Нарушена центровка между электродвигателем и вибратором

Исправить центровку

Если в условиях континентального климата или в условиях резкого суточного перепада температуры швы в свежеуложенном бетоне предварительно не нарезали, то для предохранения бетона от температурных трещин применяют следующий способ.

На ранней стадии твердения, когда прочность бетона достигнет 50 - 70 кг/см2, в бетонном покрытии делают прорези на глубину 1/4 - 1/3 толщины покрытия. Для этого применяют самоходный нарезчик конструкции ПКБ Главстроймеханизации, в конструкцию которого рекомендуется внести следующие усовершенствования:

1. Устанавливают вариатор, позволяющий увеличивать скорость вращения режущих дисков с 3260 до 4500 об/мин.

2. Устанавливают вариатор в цепи привода кареток, позволяющий увеличивать скорость подачи кареток с режущими дисками в пределах от 0,3 до 1,2 м/мин.

Для нарезки прорезей на шпиндели режущих головок нарезчика ставят по одному алмазному диску и увеличивают скорость вращения режущих дисков и скорость подачи кареток.

После того, как бетон наберет прочность не менее 100 кг/см2, в обычном порядке нарезают пазы швов сжатия, в том числе и на прорезях.

Техника безопасности при работе с ДНШС-60-3М

Рабочие-бетонщики при отделке швов вручную должны пользоваться медицинскими резиновыми перчатками.

Запрещается заправлять ленту в прорезь вибропластины при включенном электродвигателе вибратора, а также производить смазку, регулировку или какие-либо другие исправления на ходу машины.

Машинисту нарезчика запрещается резко погружать рабочий орган в обрабатываемый бетон, оставлять без надзора машину при включенном вибраторе. Запрещается пригружать вибронож для его вдавливания.

Необходимо постоянно следить за исправным состоянием кабеля, соединяющего нарезчик с источником питания электроэнергией, не допускать натяжения, скручивания и попадания кабеля на рельс-формы.

При перерывах в работе и после окончания работ на участках с большим продольным уклоном необходимо застопорить ходовую часть.

Машинист нарезчика должен следить за тщательным и надежным заземлением понижающего трансформатора машины.

При производстве работ по нарезке швов в свежеуложенном бетоне нарезчиком ДНШС-60-3М следует руководствоваться следующей технической литературой:

1. «Технические указания по устройству деформационных швов в цементобетонных дорожных покрытиях». , Оргтрансстрой, М., 1969.

2. «Руководство по организации труда при производстве строительно-монтажных работ. Глава 28. Дорожные работы». М., 1971.

III. УКАЗАНИЯ ПО ОРГАНИЗАЦИИ ТРУДА

Нарезчик швов ДНШС-60-3М обслуживают машинист 5 разр. и бетонщик 4 разр., которые привлекаются к нарезке швов в свежеуложенном бетоне периодически по мере необходимости.

Машинист является старшим в звене и ответственным за качество устройства и отделки швов. Во время нарезки швов он управляет машиной, наблюдает за правильной работой рабочих органов, следит за тем, чтобы лента хорошо сцеплялась с бетоном. Он заправляет ленту в прорезь вибропластины и выполняет другие операции, связанные с нарезкой швов. В начале смены машинист готовит машину к работе, а в конце смены очищает ее.

Бетонщик заправляет ленту в фиксатор и придерживает его рукой при нарезке в начале шва, обрезает ленту, извлекает фиксатор, очищает его от бетонной смеси, обрабатывает поверхность покрытия у шва и в местах сопряжения. Бетонщик периодически очищает и промывает водой вибропластину и резиновую гладилку. В начале и в конце смены помогает машинисту в подготовке машины к работе, уборке рабочего места, а также нарезает рулонный полиэтилен на ленты и сращивает концы лент для продольных швов.

В свободное время машинист нарезчика ДНШС-60-3М управляет машиной ЭНЦ-3 для розлива пленкообразующих материалов при уходе за бетоном, а бетонщик 4 разр. помогает бетонщикам в окончательной отделке поверхности и кромок бетонного покрытия.



V. КАЛЬКУЛЯЦИЯ ЗАТРАТ ТРУДА НА УСТРОЙСТВО ШВОВ С ЭЛАСТИЧНОЙ ПРОКЛАДКОЙ НАРЕЗЧИКОМ ДНШС-60-3М НА ДВУХ ЗАХВАТКАХ ДЛИНОЙ 310 м ПОКРЫТИЯ (67,5 м швов)

Шифр норм и расценок

Состав звена (бригады)

Описание работ

Единица измерения

Объем работ

Норма времени, чел-ч.

Расценка, руб.-коп.

Нормативное время на полный объем работ, чел-ч

Стоимость затрат труда на полный объем работ, руб.-коп.

ЕНиР-17, § 17-19, № 1

Машинист

Нарезка поперечных швов сжатия

100 м шва

0,68

6,8 (3,4)

4 - 25

4,62

2 - 89

4 разр. - 1

Бетонщик

4 разр. - 1

ЕНиР, Общая часть, п. 4

То же

Переезд нарезчика на 2-й скорости от шва к шву на расстояние 36 м

чел-ч

0,82

1

0 - 62,5

0,82

0 - 51,3

Новая норма Ростовской НИС за 1970 г.

Бетонщики:

Нарезка полиэтиленовой ленты на специальном станке для резки изола

100 м шва

0,68

0,97

0 - 60

0,66

0 - 41

4 разр. - 1

3   »     - 1

Итого: на две захватки 310 м покрытия (2325 м3)

 

 

 

 

6,1

3 - 81

на 1000 м2 покрытия

 

 

 

 

2,62

1 - 64

То же, чел-дн.

 

 

 

 

0,33

 

VI. ОСНОВНЫЕ ТЕХНИКО-ЭКОНОМИЧЕСКИЕ ПОКАЗАТЕЛИ

Наименование показателей

Единица измерения

По графику Б

По калькуляции А

На сколько процентов показатель по графику больше (+) или меньше (-), чем по калькуляции

Затраты труда на 1000 м2 покрытия

чел-дн.

0,33

0,33

-

Средний разряд рабочих

-

4

4

-

Среднедневная заработная плата на одного рабочего

руб.-коп.

5 - 00

5 - 00

-

Сменная выработка одного рабочего

м шва

89,5

89,5

-

Техническая производительность нарезчика ДНШС-60-3М при работе одного бетоноукладочного комплекта ДС-503А (Д-375) и ДБО-7,5 используется не полностью, поэтому рабочий-бетонщик во время технологических перерывов помогает звену бетонщиков на отделке поверхности и кромок покрытия, а машинист управляет машиной ЭНЦ-3 для розлива пленкообразующих.

VII. МАТЕРИАЛЬНО-ТЕХНИЧЕСКИЕ РЕСУРСЫ

А. Основные материалы (на 100 м шва)

Наименование

Марка, ГОСТ

Единица измерения

Количество

на две смены

на 1000 м2 покрытия

Полиэтиленовая лента (шириной 6,5 см)

ГОСТ 10354-73

м2

м

4,6

2

70,7

30,4

Б. Машины, оборудование, инвентарь

Наименование

Марка

Количество

Нарезчик швов

ДНШС-60-3М

1

Станок для резания рулонного изола

-

1

Скалка (труба диаметром 51 мм, длиной 40 - 50 см)

-

1

Нож для резания полиэтилена

ГОСТ 18973-73

1

Гладилка с прорезью

изготовляется в мастерских

1

Удлиненная гладилка

То же

1

Крючок

»

1

Лопаточка металлическая

ГОСТ 9533-71

1

СОДЕРЖАНИЕ

I. Область применения. 1

II. Указания по технологии производственного процесса. 1

III. Указания по организации труда. 5

IV. График устройства контрольных швов с эластичными прокладками нарезчиком ДНШС-60-3М в цементобетонном покрытии шириной 7,5 м на двух сменных захватках длиной 310 м (67,5 м швов) 6

IV. Циклограмма нарезки поперечных швов нарезчиком ДНШС-60-3М.. 6

V. Калькуляция затрат труда на устройство швов с эластичной прокладкой нарезчиком ДНШС-60-3М на двух захватках длиной 310 м покрытия (67,5 м швов) 7

VI. Основные технико-экономические показатели. 7

VII. Материально-технические ресурсы.. 7

 



© 2013 Ёшкин Кот :-)