Информационная система
«Ёшкин Кот»

XXXecatmenu

ТЕХНОЛОГИЧЕСКАЯ КАРТА № 3

МОНТАЖ НАДОПОРНЫХ БЛОКОВ КРАНОМ МСШК-50/50

I. ОБЛАСТЬ ПРИМЕНЕНИЯ

Настоящая технологическая карта разработана на основе методов научной организации труда и предназначена для использования при составлении проектов производства работ и организации труда по монтажу надопорных блоков пролетного строения шлюзовым краном МСШК-50/50.

Надопорные блоки, изготовленные из бетона марки 500, имеют ширину по верхней плите - 11,58 м, ширину по нижней плите - 4,4 м, ширину по фасаду - 1,66 м и высоту - 4,5 м.

Масса надопорного блока - 50 т, объем бетона блока - 19,6 м3.

II. УКАЗАНИЯ ПО ТЕХНОЛОГИИ ПРОИЗВОДСТВЕННОГО ПРОЦЕССА

До начала основных работ по монтажу надопорных блоков должны быть выполнены следующие работы:

закончено сооружение опоры;

нанесены оси опоры, опорных частей и монтажных тумб;

установлены подмости для опирания телескопической опоры крана МСШК-50/50.

Надопорные блоки необходимо устанавливать с особой тщательностью, так как их положение определяет положение монтируемой в дальнейшем «птички».

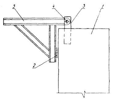
Для монтажа надопорных блоков кран МСШК-50/50 предварительно перемещают в такое положение, при котором его передняя вспомогательная опора - телескопическая стойка - опирается на заранее подвешенные к опоре подмости (рис. 4).

В таком положении краном устанавливают опорные части, монтажные тумбы и надопорные блоки. Необходимые конструкции к монтажному крану подают при помощи 5-тонной лебедки на специальной платформе, установленной по верху собранной части пролетного строения.

Рис. 4. Схема прикрепления подмостей к опоре:

1 - опора; 2 - деревянные прокладки; 3 - закладные детали в опоре; 4 - «палец» диаметром 80 мм; 5 - подмости

Опорную часть стропят двумя кольцевыми стропами и устанавливают по рискам, нанесенным краской по верху опоры. Правильность установки опорных частей (две на одну опору) проверяют нивелиром.

После установки опорных частей устанавливают восемь опорных железобетонных тумб, по четыре на каждый блок. Размеры тумбы - 0,4´0,4´0,5 м, масса - 200 кг. Одновременно на опору подают четыре тумбы - по две на каждом конце траверсы грузовой тележки крана.

Надопорные блоки устанавливают на выверенные опорные части и монтажные тумбы.

В первую очередь устанавливается дальний (от крана) надопорный блок, во вторую - ближний блок. К монтажному крану блок подают повернутым на 90° по отношению к своему проектному положению.

После подачи платформы с блоком к крану его стропят специальной траверсой. Траверса состоит из восьми элементов. К двум полиспастам грузовой тележки крана на шарнирах подвешена распределительная балочка с гаком.

К гаку распределительной балочки подвешена собственно траверса, которая может поворачиваться на 360°. На концах траверсы шарнирно подвешены строповочные балочки. На каждой балочке закреплены по две штанги диаметром 65 мм с резьбой.

Четыре монтажника пропускают штанги через отверстия в верхней плите блока, а затем навинчивают четыре гайки. Блоки перемещают по ферме крана на расстояние 120 м и устанавливают в проектное положение.

После прохождения блоком передней ноги крана его разворачивают на 90° и продолжают подачу на опору.

Траверса крана позволяет при необходимости смещать блок поперек оси моста на 10 - 15 см. Для этого распределительную балочку поднимают одним из двух полиспастов.

Надопорный блок опирается в шести местах: с внутренней стороны - на две постоянные опорные части, с внешней стороны - на четыре монтажные тумбы (рис. 5). В зазорах между верхними плоскостями монтажных тумб и нижней плоскостью плиты блока по мере необходимости устанавливают деревянные прокладки различной толщины.

Рис. 5. Схема прикрепления надопорных блоков к опоре:

1 - надопорный блок; 2 - горизонтальные пучки; 3 - опорные тумбы; 4 - подферменник; 5 - опорная часть; 6 - вертикальные пучки; 7 - опора

Закрепление блока для предотвращения опрокидывания осуществляется двумя тросами диаметром 32 мм.

После установки и временного закрепления первого надопорного блока подают и устанавливают второй (ближний) надопорный блок, который от опрокидывания удерживается краном, для чего блок не расстроповывают. По окончании установки второго блока выполняется работа по заводке рабочих пучков в закрытые каналы блоков.

Надопорные блоки омоноличивают в два этапа. На первом этапе блоки раздвигают на расстояние 30 см и на их торцы наносят эпоксидный клей. Соединение надопорных блоков выполняют путем установки болтов фиксаторов и последующего натяжения шести горизонтальных рабочих пучков из 48 проволок диаметром 5 мм, длиной 5 м. После натяжения пучков блок расстроповывают.

На втором этапе омоноличивания сваривают арматурные выпуски из бетонных упоров блоков, устанавливают опалубку и укладывают бетонную смесь в стыках между упорами блоков. Выправку спаренных надопорных блоков выполняют четырьмя гидравлическими домкратами ДГ-100.

После окончательной установки и выверки в профиле и плане спаренные блоки закрепляют вертикальными арматурными пучками из 48 проволок диаметром 5 мм.

Основные правила по технике безопасности приведены в технологической карте № 1.

III. УКАЗАНИЯ ПО ОРГАНИЗАЦИИ ТРУДА

Комплекс работ по монтажу надопорных блоков пролета выполняет бригада монтажников конструкций в составе 12 чел. (по четыре человека в смену).

Состав звена, работающего в одну смену:

Монтажники конструкций

6 разр. - 1

5   »     - 1

4   »     - 2

Кроме монтажников конструкций по одному в каждую смену заняты:

а) машинист крана МСШК-50/50 - 6 разр.;

б) машинист козлового крана К-451М - 6 разр.;

в) дежурный слесарь по обслуживанию насосных станций и механизмов крана МСШК-50/50 - 5 разр.;

г) дежурный электромонтер, занятый обслуживанием электрохозяйства на участке, в том числе и электрооборудования крана МСШК-50/50, - 5 разр.

Монтаж надопорных блоков начинается с установки резинофторопластовых опорных частей, которые подаются к монтажному крану на специальной платформе по верху ранее смонтированной части пролетного строения. Каждую опорную часть стропят два монтажника (6 и 4 разр.) двумя кольцевыми стропами, подают на опору и устанавливают по рискам, нанесенным краской наверху опоры. В это время двое других монтажников (5 и 4 разр.) устанавливают и прикрепляют инвентарные подвесные подмости к фиксаторам дальнего от крана блока (к месту монтажа дальний блок подается с установленными подмостями). После окончания этой работы эти же монтажники обваривают концы горизонтальных арматурных пучков для установки их в закрытые каналы блоков, а также приваривают на каждый конец пучка петлю из арматуры диаметром 8 мм.

Установку железобетонных опорных тумб и надопорных блоков выполняет звено монтажников в полном составе (4 чел.).

На первом этапе омоноличивания устанавливают горизонтальные пучки, наносят клей на торцы блоков и затем их обжимают. Работу выполняет звено монтажников в полном составе.

Пучки напрягают 60-тонными домкратами двойного действия с подвесных подмостей. Одновременно напрягают два пучка, симметричных относительно оси моста, при этом монтажники конструкций 6 и 4 разр. заняты на одном пучке, 5 и 4 разр. - на другом.

Второй этап омоноличивания также выполняет звено в полном составе.

Выправку спаренных надопорных блоков в профиле и плане выполняют четырьмя домкратами ДГ-100, установленными под спаренными надопорными блоками. У каждого домкрата работает по одному монтажнику. Положение блоков фиксируется деревянными прокладками, устанавливаемыми в зазоре между железобетонными тумбами и блоками. Положение блоков контролируют нивелиром.

Надопорные блоки к опоре прикрепляются вертикальными пучками, на одном конце которых находится сборный анкер с высаженными головками, закрепляющийся в упорах тела опоры. Установку вертикальных пучков в закрытые каналы надопорных блоков и их натяжение выполняет звено монтажников в составе 4 чел.

Расстроповка блоков производится звеном в полном составе с деревянных лестниц. При этом внутри блока двое монтажников 5 и 4 разр. снимают четыре гайки, после чего траверса крана поднимается над плитой блока на высоту около 1 м. На верхней плите остальные двое монтажников 6 и 5 разр. извлекают из траверсы четыре штанги и прикрепляют их к траверсе в горизонтальном положении.

В технологическом графике выполнения комплекса работ по монтажу двух надопорных блоков предусмотрены нормативы на подготовительно-заключительную работу и отдых для монтажников конструкций соответственно в размерах 4 и 12 %.


IV. ГРАФИК МОНТАЖА ДВУХ НАДОПОРНЫХ БЛОКОВ

V. КАЛЬКУЛЯЦИЯ ЗАТРАТ ТРУДА НА МОНТАЖ ДВУХ НАДОПОРНЫХ БЛОКОВ КРАНОМ МСШК-50/50

Шифр норм

Наименование работ

Состав звена

Единица измерения

Объем работ

Норма времени на единицу измерения, чел-ч

Затраты труда на весь объем работ, чел-ч

Расценка на единицу измерения, руб.-коп.

Стоимость затрат труда на весь объем работ, руб.-коп.

Местные нормы Мостоотряда № 57

Погрузка блоков на специальную платформу

Монтажники конструкций:

6 разр. - 1

5    »     - 1

4    »     - 2

1 блок

2

2,24

4,48

1-54

3-08

То же

Погрузка бухт арматурных пучков, тумб и опорных частей

Монтажники конструкций:

4 разр. - 2

3    »      - 2

1 бухта

5

1,6

8

0-94,4

4-72

»

Выгрузка бухт арматурных пучков

То же

То же

1

2,32

2,32

1-37

1-37

»

Выгрузка блоков с платформы краном МСШК-50/50

Монтажники конструкций:

6 разр. - 1

5    »     - 1

4    »     - 2

1 блок

2

2,96

5,92

2-03

4-06

»

Установка резинофторопластовых опорных частей

Монтажники конструкций:

5 разр. - 1

4    »      - 1

1 опорная часть

2

5,2

10,4

3-45

6-90

»

Установка железобетонных опорных тумб

Монтажники конструкций:

5 разр. - 1

4    »     - 1

3    »     - 2

1 тумба

8

6,2

49,6

.3-78

30-24

»

Установка инвентарных подвесных подмостей для натяжения горизонтальных пучков

Монтажники конструкций:

5 разр. - 1

4    »      - 1

1 комплект подмостей

1

1,26

1,26

0-83,6

0-84

»

Обварка концов пучков с приваркой петли

Электросварщик

5 разр. - 1

Монтажник конструкций

3 разр. - 1

1 конец пучка

10

0,82

8,2

0-51,5

5-15

»

Подача для монтажа надопорных тумб, опорных частей

Монтажники конструкций:

6 разр. - 1

5    »     - 1

4    »     - 2

100 м перемещения

8

0,54

4,32

0-37

2-96

»

Установка надопорных блоков массой 50 т краном МСШК-50/50

То же

1 блок

2

1,3,2

26,4

9-05

18-10

»

Установка горизонтальных пучков длиной до 6 м в закрытые каналы надопорных блоков

Монтажники конструкций:

5 разр. - 1

4    »     - 1

3    »     - 2

1 пучок

6

0,4

2,4

0-26,7

1-60

§ 4-4-58

Очистка торцов блоков и нанесение эпоксидного клея на торцы стыкуемых надопорных блоков вручную

Монтажники конструкций:

6 разр. - 1

5    »     - 1

4    »     - 2

1 м2 смазываемой поверхности

15,6

0,44

6,86

0-30,2

4-71

Местные нормы Мостоотряда № 57

Одностороннее натяжение горизонтальных арматурных пучков домкратами усилием 60 т

Монтажники конструкций:

6 разр. - 1

5    »     - 1

4    »     - 1

1 пучок

6

4,8

28,8

3-21

19-26

§ 4-4-27, № 3

Правка и сварка выпусков арматуры шва омоноличивания между блоками

Электросварщик

5 разр. - 1

Монтажник конструкций

3 разр. - 1

100 стыков

0,8

5,9

4,72

3-71

2-97

§ 4-4-28, № 2

Установка дополнительной арматуры диаметром 18 мм из отдельных стержней для омоноличивания

Арматурщики:

5 разр. - 1

4    »     - 1

3    »     - 1

100 кг арматуры

0,4

2,9

1,16

1-82

0-73

§ 4-1-27, т. 8, п. а + б

Устройство деревянной опалубки, шва омоноличивания с последующей разборкой после бетонирования

Плотники:

4 разр. - 1

3    »     - 1

2    »     - 2

1 м2

2,0

2,95

5,9

1-60,7

3-21

§ 4-4-31

Укладка бетонной смеси в конструкцию шва омоноличивания между блоками

Бетонщики:

5 разр. - 1

4    »     - 1

3    »     - 2

1 м3 бетона

2,5

9,2

23,0

5-61

14-03

Местные нормы Мостоотряда № 57

Выверка положения спаренных надопорных блоков

Монтажники конструкций:

6 разр. - 1

5    »     - 1

4    »     - 2

1 спаренный блок

1

24,8

24,8

17-00

17-00

То же

Установка вертикальных арматурных пучков при помощи крана МСШК-50/50

Монтажники конструкций:

6 разр. - 1

5    »     - 1

4    »     - 2

1 пучок

14

2,68

37,52

1-79

25-06

»

Натяжение вертикальных арматурных пучков домкратами усилием 60 тс

Монтажники конструкций:

6 разр. - 1

5    »     - 2

4    »     - 1

То же

14

4,8

67,2

3-21

44-94

»

Расстроповка надопорных блоков после установки

Монтажники конструкций:

6 разр. - 1

5    »     - 1

4    »     - 2

3    »     - 2

1 блок

2

0,54

1,08

0-36,1

0-72

 

Итого

 

 

 

 

324,34

 

214-86

 

Итого (чел-дн)

 

 

 

 

40,5

 

 


VI. ОСНОВНЫЕ ТЕХНИКО-ЭКОНОМИЧЕСКИЕ ПОКАЗАТЕЛИ

Объем сборного железобетона надопорных блоков, м3          39,2

Наименование показателей

Единица измерения

По калькуляции А

По графику Б

На сколько процентов показатель по графику больше (+) или меньше (-), чем по калькуляции

Затраты труда на два надопорных блока

чел-дн

40,5

36

-11,1

Трудоемкость на 1 м3 сборного железобетона

»

1,033

0,918

-11,1

Средний разряд рабочих

разр.

4,49

4,78

+11,4

Среднедневная заработная плата рабочих

руб.

5,30

5,97

+12,4

VII. МАТЕРИАЛЬНО-ТЕХНИЧЕСКИЕ РЕСУРСЫ

А. Основные материалы, полуфабрикаты, детали и конструкции

Наименование

Марка, ГОСТ

Единица измерения

Количество на два надопорных блока

Железобетонные надопорные блоки

По проекту

шт./м3

2/39,2

Пучковая арматура из 48 проволок диаметром 5 мм

ГОСТ 7348-63

шт.

10

Клей эпоксидный

Состав по рецепту Союздорнии

кг

55

Анкеры для заклинки пучков

Чертеж Союздорнии

шт.

20

Сталь арматурная

ГОСТ 5781-75

кг

40

Бетонная смесь

По проекту

м3

2,5

Б. Машины, оборудование, инструмент и инвентарь

Наименование

Марка, ГОСТ, тип

Количество

Кран специальный шлюзовой с двумя гаками грузоподъемностью по 50 т

МСШК-50/50 конструкции СКБ Главмостостроя

1

Кран козловой грузоподъемностью 65 т

К-451М или К-651

1

Гидравлические домкраты двойного действия для натяжения арматурных пучков из 48 проволок диаметром 5 мм

ГОСТ 9628-66

4

Специальная платформа для перевозки блоков

Конструкция СКБ Главмостостроя

1

Траверса механическая для строповки надопорных блоков

То же

1

Железобетонные монтажные тумбы размером 50´ 40´40 см

Чертеж МО-57

8

Гидравлические домкраты грузоподъемностью 100 т

ДГ-100

2

Сварочный трансформатор

ТС-500

1

Стропы универсальные (кольцевые)

ГОСТ 19144-73

4

Инвентарные металлические переставные подмости

Конструкция Мостоотряда 57

1

Ломы стальные строительные

ГОСТ 1405-72

4

Кувалды

ГОСТ 11042-72

2

Метры складные металлические

ГОСТ 7253-54

2

Отвесы массой 400 г

ГОСТ 7948-71

2

Нивелир

ГОСТ 10528-69

1

Теодолит

ГОСТ 10529-70

1

СОДЕРЖАНИЕ

 

 



© 2013 Ёшкин Кот :-)