Информационная система
«Ёшкин Кот»

XXXecatmenu

ОТКРЫТОЕ АКЦИОНЕРНОЕ ОБЩЕСТВО

ПРОЕКТНО-КОНСТРУКТОРСКИЙ И ТЕХНОЛОГИЧЕСКИЙ
ИНСТИТУТ ПРОМЫШЛЕННОГО СТРОИТЕЛЬСТВА
ОАО
ПКТИПРОМСТРОЙ

УТВЕРЖДАЮ

ГЕНЕРАЛЬНЫЙ ДИРЕКТОР, К.Т.Н.

_____________ С.Ю. ЕДЛИЧКА

«_26_» ___февраля___ 2003 Г.

ТЕХНОЛОГИЧЕСКАЯ КАРТА
НА УСТРОЙСТВО ПРОСТЫХ ШТУКАТУРНЫХ
ПОКРЫТИЙ ВНУТРЕННИХ СТЕН И ПЕРЕГОРОДОК

34-03 ТК

ГЛАВНЫЙ ИНЖЕНЕР

_________________ А.В. КОЛОБОВ

НАЧАЛЬНИК ЛАБОРАТОРИИ

_________________ Б.И. БЫЧКОВСКИЙ

2003

Технологическая карта содержит решения по организации и технологии устройства простых штукатурных покрытий внутренних стен и перегородок жилых, гражданских и общественных зданий при их строительстве, реконструкции и ремонте.

В технологической карте приведены: область применения, технология и организация работ, требования к качеству и приемке работ, калькуляция трудовых затрат, график производства работ, потребность в средствах механизации и инструмента, решения по безопасности и охране труда.

Технологическая карта предназначена для производственного персонала, инженерно-технических работников строительных и проектных организаций.

Технологическую карту разработали сотрудники ОАО ПКТИпромстрой:

Громова Ю.А., Савина О.А. - разработка, компьютерная графика и обработка карты;

Черных В.В. - технологическое сопровождение разработки;

Холопов В.Н. - техническое руководство разработки;

Бычковский Б.И. - общее техническое руководство, корректура и нормоконтроль;

к.т.н. Едличка С.Ю. - общее руководство разработкой технологических карт.

Технологическая карта не заменяет ППР. (см. СНиП 3.01.01-85*)

СОДЕРЖАНИЕ

1 ОБЛАСТЬ ПРИМЕНЕНИЯ

1.1 Технологическая карта предназначена для устройства простых штукатурных покрытий внутренних стен и перегородок с применением строительных растворов при строительстве, реконструкции и ремонте жилых, гражданских и общественных зданий.

1.2 Штукатурка - отделочный слой на поверхностях различных конструкций зданий и сооружений (стен, перегородок, перекрытий, колонн), который выравнивает эти поверхности, придает им определенную форму, защищает конструкции от влаги, выветривания, огня, повышает сопротивление теплопередаче, уменьшает воздухопроницаемость и звукопроводность ограждающих конструкций.

1.3 По назначению и свойствам монолитные штукатурки подразделяют на обычные, предназначенные для эксплуатации в нормальных температурно-влажностных условиях, и специальные, выполняющие защитные функции по отношению к основанию.

1.4 Обычные штукатурки в зависимости от тщательности выполнения подразделяют на три категории: простые, улучшенные и высококачественные.

Простую штукатурку делают из двух слоев раствора (обрызга и грунта общей толщиной до 12 мм), схема которой показана на рисунке 1.

1 - основание, 2 - обрызг, 3 - грунт, 4 - накрывка.

Рисунок 1 - Простая штукатурка

1.5 Привязка технологической карты к конкретным объектам и условиям производства работ состоит в уточнении объемов работ, данных потребностей в трудовых и материально-технических ресурсах и корректировке графика производства работ.

2 ОРГАНИЗАЦИЯ И ТЕХНОЛОГИЯ ВЫПОЛНЕНИЯ РАБОТ

2.1 Оштукатуриванию подвергаются поверхности кирпичных, бетонных, гипсобетонных и других стен и перегородок с целью придания поверхности конструкции, независимо от категории и класса зданий и сооружений, защитных и декоративных свойств, повышения сопротивления теплопередаче, уменьшения воздухопроницаемости и звукопроводности ограждающих конструкций.

2.2 Настоящей технологической картой предусматривается устройство простых штукатурных покрытий внутренних стен и перегородок механизированным способом.

2.3 До начала штукатурных работ необходимо:

- закончить общестроительные и монтажные работы, в т.ч. устройство кровли;

- опробовать внутренние системы водопровода, отопления и канализации;

- утеплить помещение и обеспечить в нем температуру не ниже +10 °С и влажность воздуха не более 60 %;

- проверить прочность и устойчивость подмостей;

- тщательно очистить поверхность стены от пыли, грязи, жировых и битумных пятен;

- доставить на рабочее место инструменты;

- проверить механизмы на холостом ходу, тщательно осмотреть шланги, устранить изломы и перегибы;

- промыть шланги известковым молоком;

- исправить все обнаруженные дефекты и отклонения от допусков, установленных СНиП 3.03.01-87 «Несущие и ограждающие конструкции».

2.4 Бетонные и гипсобетонные поверхности до оштукатуривания обрабатываются нарезкой, насечкой и грунтованием.

Кирпичные поверхности очищаются от пыли, грязи, наплывов раствора. При необходимости должны быть произведены насечки поверхности.

От качества подготовки поверхности под отделку зависит сцепление (адгезия) штукатурного покрытия с основанием. Для внутренней отделки стен и перегородок этот показатель должен быть не менее 0,1 МПа.

2.5 На подлежащих оштукатуриванию поверхностях не допускаются жировые, битумные и масляные пятна (следы смазки), высолы, выступающая арматура, ржавчина.

2.6 В сухую погоду при температуре воздуха +23 °С и выше подлежащие оштукатуриванию участки стен из мелкоштучных стеновых материалов (кирпич, блоки и т.д.) необходимо увлажнять.

2.7 Поверхности, подлежащие оштукатуриванию, проверяются провешиванием в вертикальной и горизонтальной плоскостях с установкой инвентарных съемных марок.

2.8 Составы растворов для штукатурных работ и их марки должны быть указаны в проекте. Выбор и применение растворов должен производиться в зависимости от условий, в которых будет находиться здание в период эксплуатации.

2.9 Прочность основания, подлежащего оштукатуриванию, должно быть не менее прочности штукатурного покрытия согласно СНиП 3.04.01-87 «Изоляционные и отделочные покрытия».

2.10 В качестве заполнителя для строительных растворов, применяемых для устройства обрызга и грунта, применяется песок, отвечающий требованиям ГОСТ 8736-93 «Песок для строительных работ. Технические условия». Максимально допустимый размер зерен песка для этих растворов не должен превышать 2,5 мм.

2.11 Вода для приготовления строительных растворов должна удовлетворять требованиям ГОСТ 23732-79 «Вода для бетонов и растворов. Технические условия».

2.12 Строительные растворы в зависимости от способа их нанесения и назначения должны иметь подвижность, определяемую осадкой стандартного конуса согласно ГОСТ. Рекомендуемая подвижность растворов для обрызга, грунта и накрывки приведена в таблице 1.

Таблица 1 - Показатели подвижности раствора

Наименование раствора

Погружение стандартного конуса, см

для механизированного способа нанесения

для ручного способа нанесения

Раствор для обрызга

9 - 14

8 - 12

Раствор для грунта

7 - 8

7 - 8

2.13 Качество готовых растворов должно удовлетворять требованиям СП 82-101-98 «Свод правил на приготовление и применение растворов строительных».

2.14 Оштукатуривание поверхности состоит из следующих последовательных технологических операций, включающих:

- подготовку поверхности под оштукатуривание согласно п. 2.3;

- провешивание поверхностей с устройством маяков;

- прием и транспортирование штукатурных растворов для обрызга и грунта на рабочее место;

- нанесение обрызга;

- нанесение грунта;

- разравнивание нанесенного грунта;

- разделка углов;

- разделка потолочных рустов;

- затирка штукатурных слоев машиной СО-86А или СО-112А;

- отделка откосов и заглушины.

На рисунке 2, 3, 4 представлены следующие технологические операции:

Рисунок 2 - Последовательное нанесение слоев обрызга, грунта

Рисунок 3 - Разравнивание слоя грунта

Рисунок 4 - Механизированная затирка поверхности

2.15 Транспортирование штукатурных растворов и нанесение их на оштукатуриваемую поверхность производится с помощью штукатурных агрегатов, состоящих из штукатурных установок и растворонасосов, а для приготовления, процеживания и транспортирования растворов применяется штукатурный агрегат СО-57Б, технические характеристики которых представлены в таблицах 2 и 3. Как вариант в карте рассматривается и схема приготовления раствора на рабочем месте из сухих смесей.

Таблица 2 - Технические характеристики установок для транспортирования растворов

Показатели

Марки установок

СО-48В

СО-49В

СО-50А

Марка растворонасосов

СО-29

СО-30

СО-10

Подача, м3

2

4

6

Дальность подачи раствора, м

 

 

 

по горизонтали

100

160

250

по вертикали

20

35

50

Вибросито:

 

 

 

производительность, м3

4

4

6

вместимость бункера, м3

0,16

0,16

0,3

размер ячейки сетки, мм

5´5

5´6

5´5

Внутренний диаметр растворопровода, мм

38

50

63

Общая масса комплекта, кг

470

560

508

Таблица 3 - Техническая характеристика штукатурного агрегата СО-57Б

Показатели

Ед. изм.

Размер

Производительность агрегата

м3

2

Растворосмеситель

 

 

Объем готового замеса

л

65

Вместимость смесительного барабана по загрузке

л

80

Электродвигатель:

 

 

мощность

кВт

1,5

напряжение

В

220/380

Растворонасос

 

 

Подача

м3

2

Давление

МПа

1,5

Пластичность раствора по конусу СтройЦНИИ

см

7

Дальность подачи раствора:

 

 

по горизонтали

м

100

по вертикали

м

20

Электродвигатель:

 

 

мощность

кВт

2,2

напряжение

В

220/380

Вибросито

 

 

Электродвигатель:

 

 

мощность

кВт

0,75

напряжение

В

220/380

Масса агрегата

кг

750

2.16 Подача раствора растворонасосами состоит из следующих технологических процессов:

- процеживание раствора самотеком при приемке;

- подача раствора в бункер на этажи;

- установка и переноска рукава по ходу работы;

- очистка сетки бункера от отходов;

- промывка и продувка рукава с удалением пробок.

На обслуживании растворонасосов заняты машинист растворонасоса 3 разряда и два штукатура 2 разряда.

2.17 Температуру в 10 °С в помещении необходимо поддерживать круглосуточно, не менее чем за 2 суток до начала и 12 суток после окончания штукатурных работ.

2.18 Внутренние поверхности каменных и кирпичных стен и перегородок, возведенных методом замораживания, следует оштукатуривать после оттаивания кладки с внутренней стороны не менее чем на половину толщины стены.

2.19 Оштукатуривание поверхности выполняется путем нанесения штукатурных составов в следующей последовательности:

- нанесение обрызга из обычных цементно-песчаных растворов;

- нанесение слоя грунта из обычных цементно-песчаных растворов с последующим его разравниванием и затиркой.

2.20 При нанесении обрызга толщина слоя не должна превышать 5 мм. Через 1 - 2 часа после того, как обрызг начнет затвердевать, наносится грунт толщиной не более 5 мм.

2.21 Ручные штукатурные работы выполняются в соответствии с рекомендуемыми в настоящей карте схемой организации рабочего места, представленной на рисунке 5, с использованием необходимых средств механизации и инструмента и приготовлением раствора на рабочем месте.

Работы выполняет бригада штукатуров в следующем составе:

- штукатуры 4 разряда (1 человек) и 3 разряда (1 человек) выполняют подготовку поверхности под штукатурку и провешивают поверхность с установкой маяков;

- штукатуры 4 разряда (1 человек), 3 разряда (1 человек) и 2 разряда (1 человек) производят нанесение обрызга;

- штукатуры 4 разряда (2 человека) наносят слой грунта;

- штукатур 4 разряда (1 человек) разравнивает грунт и производит его затирку.

1 - стена; 2 - обрызг из цементно-песчаного раствора; 3 - слой грунта из цементно-песчаного раствора; 4 - водопроводный шланг; 5 - противни; 6 - приемный ящик; 7 - растворомешалка; 8 - ящик для цемента.

Рисунок 5 - Схема организации рабочего места при оштукатуривании поверхности вручную

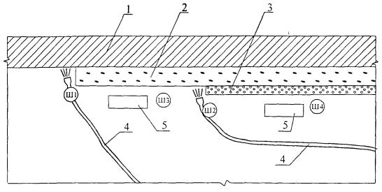
2.22 Схема организации механизированных штукатурных работ представлена на рисунке 6.

1 - стена; 2 - обрызг из цементно-песчаного раствора; 3 - слой грунта из цементно-песчаного раствора; 4 - растворопровод; 5 - ящик для сбора раствора после нанесения обрызга и грунта

Рисунок 6 - Схема организации рабочего места при механизированном ведении штукатурных работ

3 ТРЕБОВАНИЯ К КАЧЕСТВУ И ПРИЕМКЕ РАБОТ

3.1 Контроль качества штукатурных работ должен осуществляться службами строительных организаций, а также производителями работ, мастерами и бригадирами.

3.2 Производственный контроль качества штукатурных работ должен включать входной контроль рабочей документации, материалов и оборудования, операционный контроль производства штукатурных работ и приемочный контроль оштукатуренной поверхности. Состав и содержание производственного контроля представлен в таблице 4.

3.3 При входном контроле рабочей документации производится проверка ее комплектности и достаточности содержащейся в ней технической информации для производства работ.

Конструкции внутренних стен и перегородок в зданиях и сооружениях, подлежащие штукатурным работам, должны соответствовать по качеству выполнения работ и по допускам требованиям соответствующих норм, правил и стандартов.

При входном контроле качества подлежащей оштукатуриванию поверхности выборочно техническим осмотром проверяется качество поверхности и точность геометрических параметров.

Поверхности, подлежащие оштукатуриванию, не должны иметь отклонений, превышающих следующие значения:

- отклонения поверхности и углов кладки от вертикали не более 10 мм;

- неровности на вертикальных поверхностях кладки, обнаруженные при наложении рейки длиной 2 м - до 10 мм;

- отклонение рядов кладки от горизонтали на 10 м длины стены - до 15 мм.

Цементно-песчаные растворы для устройства обрызга и грунта должны удовлетворять требованиям нормативно-технической документации и соответствующих стандартов.

3.4 При подготовке и приготовлении отделочных составов необходимо соблюдать требования, изложенные в таблице 4.

Таблица 4 - Требования к отделочным растворам

Технические требования

Предельные отклонения

Контроль (метод, объем, вид регистрации)

Растворы штукатурные должны проходить без остатка через сетку с размерами ячеек, мм:

-

Измерительный, периодический, 3 - 4 раза в смену, журнал работ

- для обрызга и грунта - 3

- для накрывочного слоя и однослойных покрытий - 1,5

Подвижность раствора - 5

+7

То же, каждой партии

Расслаиваемость - не более 15 %

-

То же, в лабораторных условиях 3 - 4 раза в смену

Водоудерживающая способность - не менее 90 %

-

То же

Прочность сцепления, МПа, не менее:

10 %

То же, не менее 3 измерений на 50 - 70 м2 поверхности покрытия

- для внутренних работ - 0,1

3.5 Сухие штукатурные смеси должны поступать на объект в бумажных мешках.

Маркировка смеси в мешках производится на каждом мешке. Маркировка должна содержать: наименование смеси, назначение смеси, состав смеси, цвет, количество воды затворения, срок хранения.

Складирование мешков с сухой штукатурной смесью производить согласно требованиям стандартов и технических условий на них. В рабочей зоне мешки с сухой смесью разложить вдоль стены, не допуская концентрации нагрузок на одном месте.

3.6 Операционный контроль осуществляется в ходе выполнения штукатурных работ и обеспечивает выявление дефектов с целью принятия мер по их устранению и предупреждению и включает в себя проверку качества подготовки основания, влажности, прочности сцепления штукатурки с основанием, толщину наносимых слоев штукатурки.

При операционном контроле проверяется соблюдение технологии выполнения штукатурных работ, соответствие выполняемых работ СНиП 3.04.01-87 «Изоляционные и отделочные покрытия».

3.7 При приемочном контроле производится проверка качества готовой штукатурки. На готовой поверхности должны отсутствовать трещины, наплывы раствора, пятна, раковины и т.п. Штукатурка должна прочно сцепляться с поверхностью, не отслаиваться, иметь хорошо затертую поверхность без внешних дефектов.

При приемочном контроле проверяются:

- прочность сцепления штукатурки с основанием;

- отклонение оштукатуренной поверхности стен и потолков от вертикали и горизонтали;

- неровности поверхности плавного очертания, обнаруживаемые при накладывании правила или шаблона длиной 2 м;

- отклонение откосов проемов, пилястр, столбов от вертикали и горизонтали;

- отклонения радиуса криволинейной поверхности;

- отклонения ширины откосов от проектной.

3.8 Предельные отклонения оштукатуренной поверхности должны соответствовать требованиям СНиП 3.04.01-87 «Изоляционные и отделочные покрытия» (таблица 5).

Таблица 5 - Допускаемые отклонения оштукатуренной поверхности при простой штукатурке

№ п/п

Наименование

Допускаемые отклонения

1

Неровности поверхности плавного очертания (на 4 м2):

-

не более 3, глубиной (высотой) до 5 мм

2

Отклонение оштукатуренной поверхности стен и перегородок от вертикали (мм на 1 м), мм - 3

Не более 15 мм на всю высоту помещения

3

Отклонение оконных и дверных откосов, пилястр, столбов, лузг, усенков от вертикали и горизонтали (мм на 1 м) не должны превышать

10 мм на весь элемент

4

Отклонение радиуса криволинейных поверхностей, проверяемых лекалом, от проектной величины (на весь элемент) не должен превышать

10 мм

5

Отклонение ширины оштукатуренного откоса от проектной не должен превышать

Не проверяется

6

Отклонение тяг от прямой линии в пределах между углами пересечения и раскреповки

6 мм

7

Допускаемая толщина каждого слоя:

 

обрызга

до 5 мм

грунта

до 5 мм

3.9 Состав и содержание производственного контроля, время и методы контроля представлены в таблице 6.


Таблица 6 - Состав и содержание производственного контроля

Кто контролирует

Производитель работ (мастер)

Вид контроля

Входной

Операционный

Приемочный

Состав контроля

Проверка техдокументации

Проверка качества поверхности, подлежащей оштукатуриванию

Качество поступивших растворов

Наличие маркировки

Качество подготовки основания

Влажность поверхности

Прочность соединения наносимой штукатурки с оштукатуренной поверхностью

Толщина наносимого слоя

Отсутствие следов от затирочного инструмента, наплывов раствора, пятен, высолов, трещин, раковин, бугров, пропусков и т.п.

Отклонение оштукатуренной поверхности от вертикали

Неровности поверхностей плавного очертания

Отклонение оштукатуренной поверхности по горизонтали

Отклонение радиуса криволинейных поверхностей от проектной величины

Отклонения ширины откосов от проектной

Отклонения оконных и дверных откосов от вертикали и горизонтали

Допускаемая толщина штукатурки

Метод контроля

Регистрация

Технический осмотр

Измерительный, периодически 3 - 4 раза в смену

Технический осмотр

Инструментальный выборочный, визуальный сплошной

Инструментальный

Инструментальный, визуальный

Визуальный сплошной

Измерительный, не менее 5 измерений контрольной 2 метровой рейкой на 50 - 70 м поверхности или на отдельном участке меньшей площади в местах, выявленных визуальным осмотром

Измерительный, 3 измерения на один элемент

Измерительный, не менее 5 измерений на 70 - 100 м2 поверхности покрытия

Время контроля

До начала штукатурных работ

 

В процессе работы

После выполнения оштукатуривания

Кто привлекается к контролю

 

Лаборатория

 

Лаборатория

 


4 ТРЕБОВАНИЯ ТЕХНИКИ БЕЗОПАСНОСТИ И ОХРАНЫ ТРУДА, ЭКОЛОГИЧЕСКОЙ И ПОЖАРНОЙ БЕЗОПАСНОСТИ

4.1 Устройство штукатурных покрытий внутренних стен и перегородок должно осуществляться в соответствии со СНиП 12-03-2001 «Безопасность труда в строительстве. Часть 1. Общие требования», СНиП 12-04-2002 «Безопасность труда в строительстве. Часть 2. Строительное производство» и правил пожарной безопасности, предусмотренных в ГОСТ 12.1.004-91* «ССБТ. Пожарная безопасность. Общие требования» и ППБ 01-93** «Правила пожарной безопасности в Российской Федерации».

4.2 К внутренним штукатурным работам с использованием средств подмащивания допускаются лица не моложе 18 лет, имеющие профессиональные навыки, прошедшие медицинское освидетельствование и признанные годными, получившие знания по безопасным методам и приемам труда согласно ГОСТ 12.0.004-90 «ССБТ. Организация обучения безопасности труда. Общие положения», сдавшие экзамены квалификационной комиссии в установленном порядке и получившие соответствующие удостоверения.

4.3 Перед началом работы со штукатурами, машинистом растворонасоса и обслуживающим звеном проводится первичный инструктаж на рабочем месте по безопасному производству работ с записью результатов инструктажа в «Журнал регистрации инструктажа на рабочем месте».

Вновь принимаемые на работу должны пройти вводный инструктаж с записью в «Журнале регистрации вводного инструктажа по охране труда».

4.4 К работе с электрифицированным инструментом допускаются только рабочие, прошедшие специальное обучение согласно ГОСТ 12.0.004-90 «ССБТ. Организация обучения безопасности труда. Общие положения» и инструктаж на рабочем месте по безопасности и охране труда.

4.5 При сухой очистке поверхности и других работах, связанных с выделением пыли и газов, необходимо пользоваться респираторами и защитными очками.

4.6 Работники, занятые производством штукатурных работ или работающие при повышенной запыленности и загазованности воздуха рабочей зоны, должны быть обеспечены индивидуальными и коллективными средствами защиты по ГОСТ 12.4.011-89 «ССБТ. Средства зашиты работающих. Общие требования и классификация».

4.7 Перед началом работ машины и механизмы, используемые для подачи раствора, проверяются на холостом ходу. Корпуса всех механизмов должны быть заземлены, токопроводящие провода надежно изолированы, а пусковые рубильники закрыты.

4.8 К управлению механизмами допускаются лица, прошедшие специальное обучение и сдавшие экзамены по технике безопасности.

4.8 Разборка, ремонт и чистка форсунок, машин, используемых при оштукатуривании, разрешается лишь после снятия давления и отключения машин от сети.

4.10 Рабочее место штукатура-оператора необходимо связывать звуковой сигнализацией с рабочим местом машиниста штукатурных машин.

4.11 Материалы и воздушные шланги растворонасоса необходимо периодически испытывать на удвоенное рабочее давление.

4.12 При работе растворонасоса запрещается перегибать подающие шланги.

Продувку шлангов сжатым воздухом для устранения пробок разрешается производить только после удаления из помещения людей. По окончании работ запрещается снимать воздушный клапан и переходной патрубок, не убедившись в том, что давление упало до нуля.

При работе с растворонасосом необходимо:

- следить, чтобы давление в растворонасосе не превышало допустимых норм, указанных в паспорте;

- удалять растворные пробки, осуществлять ремонтные работы только после отключения растворонасоса от сети и снятия давления;

- осуществлять продувку растворонасоса при отсутствии людей в зоне 10 м и ближе;

- держать форсунку при нанесении раствора под небольшим углом к оштукатуриваемой поверхности и на небольшом расстоянии от нее.

4.13 Переносные инструменты, машины, светильники должны иметь напряжение не более 42 В.

4.14 При применении электрических или работающих на жидком топливе воздухонагревателей для просушивания оштукатуренных поверхностей помещений здания или сооружения необходимо соблюдать требования ППБ 01-93** «Правила пожарной безопасности в Российской Федерации». Запрещается сушить помещения жаровнями и другими устройствами, выделяющими продукты сгорания топлива.

4.15 Рабочая зона при производстве штукатурных работ должна быть освещена в соответствии со СНиП 23-05-95 «Естественное и искусственное освещение» и ГОСТ 12.1.046-85 «ССБТ. Строительство. Нормы освещения строительных площадок». Освещенность рабочих мест должна быть не менее 30 лк. Проект временного освещения должен быть разработан специализированной организацией по заказу подрядчика.

4.16 При применении составов, содержащих вредные и пожароопасные вещества, на рабочих местах должны быть первичные средства пожаротушения, приоткрыты в помещении окна для обеспечения вентиляции, а рабочие должны быть обеспечены респираторами и другими средствами индивидуальной защиты.

4.17 При приготовлении штукатурных растворов на рабочем месте необходимо использовать для этих целей помещения, оборудованные вентиляцией, не допускающей повышения предельно допустимых концентраций вредных веществ в воздухе рабочей зоны. Помещения должны быть обеспечены безвредными моющими средствами и теплой водой.

4.18 При выполнении штукатурных работ внутренних стен и перегородок необходимо строго соблюдать требования безопасности и охраны труда, экологической и пожарной безопасности согласно:

- СНиП 12-03-2001 «Безопасность труда в строительстве. Часть 1. Общие требования»;

- СНиП 12-04-2002 «Безопасность труда в строительстве. Часть 2. Строительное производство»;

- ГОСТ 12.0.004-90 «ССБТ. Организация обучения безопасности труда. Общие положения»;

- ГОСТ 12.1.004-91* «ССБТ. Пожарная безопасность. Общие требования»;

- ПОТ РМ-016-2001 Межотраслевые правила по охране труда (правила безопасности) при эксплуатации электроустановок;

- ППБ 01-93** Правила пожарной безопасности в Российской Федерации;

- СП 12-135-2002 Безопасность труда в строительстве. Отраслевые типовые инструкции по охране труда.

5 ПОТРЕБНОСТЬ В МАТЕРИАЛЬНО-ТЕХНИЧЕСКИХ РЕСУРСАХ

5.1 Потребность в машинах, оборудовании, механизмах и инструментах определяется с учетом выполняемых работ и технических характеристик согласно таблице 7.

Таблица 7 - Ведомость потребности машин, механизмов, оборудования и приспособлений

№ п/п

Наименование

Тип, марка

Техническая характеристика

Назначение

Количество на 1 звено

1

2

3

4

5

6

1

Штукатурная станция

СО-114

Производительность, м3/ч 4

Для приема и транспортирования раствора к рабочему месту

1

Масса, кг                          5000

2

Штукатурный агрегат

СО-57Б

Производительность, м3/ч   2

Для механизированного оштукатуривания поверхности

1

Масса, кг                          750

3

Растворонасос в комплексе с виброщитом и растворопроводом

СО-50А

Производительность, м3/ч   6

Для транспортирования штукатурных растворов и нанесения их на поверхность с помощью сопла (форсунки)

1

Масса, кг                          508

4

Машина штукатурно-затирочная

СО-86А

Производительность, м3/ч 50

Для затирки штукатурных слоев

2

Мощность, кВт         0,2

Напряжение, В           36

Частота тока, Гц        200

Масса, кг                    2,3

5

Машина штукатурно-затирочная

СО-112А

Мощность, кВт         0,2

 

2

Напряжение, В           36

Частота тока, Гц        200

Масса, кг                    2,4

6

Преобразователь тока

ИЭ-9406

Потребляемая мощность, кВт 6

Для преобразования частоты тока

2

Линейное напряжение, В:

сети                             380

вторичное                  42

частота тока, Гц:

сети                             50

вторичная                   200

Масса, кг                    37,1

7

Преобразователь тока

ИЭ-9405

Потребляемая мощность, кВт 8

Для преобразования частоты тока

2

Линейное напряжение, В:

сети                             380

вторичное                  42

Частота тока, Гц:

сети                             50

вторичная                   200

Масса, кг                    61

8

Кельма штукатурная

КШ

Габаритные размеры, мм                                   320´150´70

Для нанесения и разравнивания раствора

10

ГОСТ 9533-81

Масса, кг                    0,3

9

Отрезовка

ОШ

Габаритные размеры, мм                                     250´56´55

Для разделки архитектурных деталей, заделки раковин, трещин

8

ГОСТ 9533-81

Масса, кг                    0,1

10

Сокол дюралюминиевый

 

Габаритные размеры, мм                                  400´400´150

Для переноса и разравнивания раствора

10

Масса, кг                    1,25

11

Ковш для отделочных работ

КШ-0,6

Емкость, м3               0,6

Для набрасывания раствора на поверхность

8

ГОСТ 7945-86*

Масса, кг                    0,3

12

Лопата растворная

ЛР

Габаритные размеры, мм                                     1150´240

Для перемешивания раствора

8

ГОСТ 19596-87*

Масса, кг                    2,1

13

Кисть маховая

КМ

Габаритные размеры, мм                                     185´65

Для смачивания поверхности водой

10

ГОСТ 10597-87*

Масса, кг                    0,19

14

Кисть макловица

КМА

Габаритные размеры, мм                                   250´180´80

Для смачивания поверхности водой

10

ГОСТ 10597-87*

Масса, кг                    0,35

15

Терка деревянная

Т

Габаритные размеры, мм                                   190´110´78

Для затирки штукатурного слоя

10

ГОСТ 25782-90

Масса, кг                    0,4

16

Терка поролоновая

ГОСТ 25782-90

Габаритные размеры, мм                                   200´120´76

Для затирки штукатурного слоя

8

Масса, кг                    0,3

17

Гладилка стальная большая

ГБК-1

Габаритные размеры, мм                                   550´125´68

Для разравнивания и заглаживания штукатурного слоя

8

ГОСТ 10403-80*

Масса, кг                    0,75

18

Гладилка стальная малая

ГОСТ 10403-80*

Габаритные размеры, мм                                     300´125´68

Для разравнивания и заглаживания штукатурного слоя

8

Масса, кг                    0,38

19

Полутерка деревянная

ПТ

Габаритные размеры, мм                                  1500´110´80

Для выравнивания и уплотнения штукатурных слоев

10

ГОСТ 25782-90

Масса, кг                    1,2

20

Правило окованное

ГОСТ 25782-90

Габаритные размеры, мм                                  1800´100´20

Для разравнивания штукатурного раствора и проверки горизонтальной и вертикальной оштукатуренной поверхности

4

Масса, кг                    4,0

21

Правило лузговое

ПЛ800

Габаритные размеры, мм                                     800´78´95

Для отделки лузг

4

ГОСТ 25782-90

Масса, кг                    1,06

22

Правило усеночное

ПУ800

Габаритные размеры, мм                                  800´120´120

Для отделки усенок

4

ГОСТ 25782-90

Масса, кг                    1,2

23

Правило прижимное

ГОСТ 25782-90

Габаритные размеры, мм                                  2500´120´30

Для выравнивания поверхностей

8

Масса, кг                    5,3

24

Маяк дисковый

 

Высота, мм                100

Для провешивания стен

36

Масса, кг                    0,3

25

Шаблон для устройства откосов

 

Габаритные размеры, мм                                  250´385´183

Для оштукатуривания оконных и дверных откосов

4

Масса, кг                    0,3

26

Рейкодержатель универсальный

 

Габаритные размеры, мм                                     175´94

Для крепления маячных деревянных реек и направляющих правил при оштукатуривании откосов и колонн

8

Масса, кг                    1,0

27

Рейкодержатель винтовой

 

Габаритные размеры, мм                                     500´120

Для крепления реек при штукатурке оконных и деревянных откосов в зданиях с бетонными стенами

5

Масса, кг                    2,0

28

Рейкодержатель дуговой

 

Габаритные размеры, мм                                     414´344

Для закрепления деревянных реек при оштукатуривании вертикальных поверхностей колонн, столбов, пилястр

4

Масса, кг                    0,65

29

Рейкодержатель штыревой

 

Габаритные размеры, мм                                     140´80

Для крепления реек при оштукатуривании дверных и оконных откосов в каменных зданиях

10

Масса, кг                    0,14

30

Скребок

 

 

Для очистки поверхности от грязи и наплывов раствора

5

31

Бучарда штукатурная

 

Габаритные размеры, мм                                   245´40´125

Для насечки бетонной поверхности

3

Масса, кг                    1,9

32

Молоток штукатурный

МШТ

Габаритные размеры, мм                                   300´34´125

Для выполнения различных операций

8

ГОСТ 11042-90

Масса, кг                    0,6

33

Расшивка

 

 

Для разделки вогнутых швов

8

34

Линейка для расшивки швов

 

Габаритные размеры, мм                                   1000´90´30

Для направления движения расшивки при обработке швов

8

35

Ножницы ручные для резки металла

ГОСТ 7210-75*Е

Габаритные размеры, мм                                     320´12´50

Для резки металлической сетки

3

Масса, кг                    0,7

36

Острогубцы (кусачки)

 

Габаритные размеры, мм                                     200´40´50

Для перекусывания проволоки

3

Масса, кг                    0,31

37

Пила ножовка поперечная по дереву

ПИ-3

 

Для распиловки древесины

5

ГОСТ 6532-77*

38

Быстроразъемное соединение

 

Габаритные размеры, мм                                     265´97´60

Для соединения шлангов

4

Масса, кг                    1,3

39

Скарпели диаметром 8 и 10 мм

 

 

Для пробивки отверстий, скалывания бетона и раствора

8

40

Уровень строительный

УС5-200

Габаритные размеры, мм                                     500´25´55

Для проверки горизонтальной и вертикальной поверхности

4

ГОСТ 9416-83

Масса, кг                    0,52

41

Уровень гибкий

 

Габаритные размеры, мм                                     255´86

Для проверки горизонтальности расположения и замеров разности уровней поверхности элементов

2

Масса, кг                    1,6

42

Рулетки измерительные металлические

Р20Н2К

Длина ленты, м          20

Для линейных измерений

4

ГОСТ 7502-98

Масса, кг                    0,35

43

Шнур разметочный

 

Габаритные размеры, мм                                     128´77´45

Для провешивания поверхностей

8

Масса, кг                    0,1

44

Угольник специальный

МСМ-82

Габаритные размеры, мм                                   600´155´20

Для определения углов

4

Масса, кг                    0,5

45

Угольник деревянный

ГОСТ 3749-77*

Габаритные размеры, мм                                   600´300´24

Для разметки и проверки прямых углов

4

Масса, кг                    0,4

46

Метр складной металлический

ТУ 12-156-76

Габаритные размеры, мм                                     100´10´4

Для линейных измерений

8

Масса, кг                    0,055

47

Рейка с отвесом

ГОСТ 9416-83

 

Для провешивания вертикальных плоскостей

2

48

Поэтажная емкость 0,35 м3

 

Габаритные размеры, мм                                600´1100´647

Для приема и хранения раствора

2

Масса, кг                    44,0

48

Очки защитные

ЗП-2

 

Для предохранения глаз рабочего при производстве работ механизированным способом

4

ГОСТ 12.4.011-89

50

Ведро

 

 

Для подноски и хранения воды

8

51

Инвентарные шарнирно-панельные подмости

ПС-400

Несущая способность, кг/м2                                     400

Для отделочных работ в помещениях высотой этажа 2,6 м

4

Уровень настила относительно перекрытая, м            0,9 (1,8)

Габаритные размеры, мм                                     55´2,9´3,4

Масса, кг                    234

52

Вышка передвижная сборно-разборная

УЛТ-ЭО50

Высота настила, м    1,0

Для отделочных работ

8

Размер рабочей площадки, м                                     0,55´1,8

Масса, кг                    43

6 ТЕХНИКО-ЭКОНОМИЧЕСКИЕ ПОКАЗАТЕЛИ

6.1 В качестве единицы измерения для составления калькуляции затрат труда и машинного времени, календарного плана производства работ принято 100 м2 площади кирпичной стены при подаче раствора растворонасосом.

6.2 Затраты труда и машинного времени на устройство штукатурных покрытий подсчитаны по «Единым нормам и расценкам на строительные, монтажные и ремонтно-строительные работы», введенным в действие в 1987 г., и представлены в таблице 8.

Таблица 8 - Калькуляция затрат труда и машинного времени на производство работ по устройству простых штукатурных покрытий внутренних стен и перегородок

(Измеритель конечной продукции - 100 м2 поверхности)

№ п/п

Обоснование (ЕНиР и др. нормы)

Наименование технологических процессов

Ед. изм.

Объем работ

Норма времени

Затраты труда

рабочих, чел.-ч

машинистов, чел.-ч (работа машин, маш.-ч)

рабочих, чел.-ч

машинистов, чел.-ч (работа машин, маш.-ч)

1

Е 8-1-1 табл. 2, № 1а

Подготовка кирпичной поверхности стен и перегородок под оштукатуривание

100 м2

1

16,0

-

16,0

-

2

Е 8-1-13 № 2 аб

Подача раствора в бункер на этаж с помощью растворонасоса

м3

1,2

1,6

0,8

1,92

0,96

3

Е 8-1-2 табл. 1, № 1а

Нанесение обрызга растворонасосом

100 м2

1

4,0

-

4,0

-

4

Е 8-1-2 табл. 1, № 3а

Нанесение грунта растворонасосом

100 м2

1

9,6

-

9,6

-

5

Е 8-1-2 табл. 1, № 5а

Затирка штукатурного слоя с разделкой углов вручную

100 м2

1

16,0

-

16

-

Итого:

 

 

 

 

47,5

0,96

6.3 Продолжительность работ на устройство штукатурных покрытий кирпичных стен определяется календарным планом работ, представленным в таблице 9.

Технико-экономические показатели составляют:

- затраты труда, чел.-час............................................................. 47,5

- затраты машинного времени, маш.-ч...................................... 0,96

- продолжительность работ, час................................................. 30,0


Таблица 9 - Календарный план производства работ

(измеритель конечной продукции - 100 м2)


7 ПЕРЕЧЕНЬ ИСПОЛЬЗОВАННОЙ НОРМАТИВНО-ТЕХНИЧЕСКОЙ ЛИТЕРАТУРЫ

1. СНиП 3.01.01-85* «Организация строительного производства».

2. СНиП 3.03.01-87 «Несущие и ограждающие конструкции».

3. СНиП 3.04.01-87 «Изоляционные и отделочные покрытия».

4. СНиП 12-03-2001 «Безопасность труда в строительстве. Часть 1. Общие требования».

5. СНиП 12-04-2002 «Безопасность труда в строительстве. Часть 2. Строительное производство».

6. ГОСТ 12.0.004-90 «ССБТ. Организация обучения безопасности труда. Общие положения».

7. ГОСТ 12.1.004-91* «ССБТ. Пожарная безопасность. Общие требования».

8. ГОСТ 12.4.011-89 «ССБТ. Средства защиты работающих. Общие требования и классификация».

9. ГОСТ 3749-77* «Угольники поверочные 90°. Технические условия».

10. ГОСТ 7210-75*Е «Ножницы ручные для резки металла. Технические условия».

11. ГОСТ 7502-98 «Рулетки измерительные металлические. Технические условия».

12. ГОСТ 8736-93 «Песок для строительных работ. Технические условия».

13. ГОСТ 9416-83 «Уровни строительные. Технические условия».

14. ГОСТ 9533-81 «Кельмы, лопатки и отрезовки. Технические условия».

15. ГОСТ 10597-87* «Кисти и щетки малярные. Технические условия».

16. ГОСТ 11042-90 «Молотки стальные строительные. Технические условия».

17. ГОСТ 19596-87* «Лопаты. Технические условия».

18. ГОСТ 23732-79 «Вода для бетонов и растворов. Технические условия».

19. ГОСТ 25782-90 «Правила, терки и полутерки. Технические условия».

20. ГОСТ 28013-98 «Растворы строительные. Общие технические условия».

21. СП 12-135-2002 Безопасность труда в строительстве. Отраслевые типовые инструкции по охране труда.

22. СП 82-101-98 Свод правил на приготовление и применение растворов строительных.



© 2013 Ёшкин Кот :-)