Техническая характеристика передвижной смесительной установки непрерывного действия ДС-50А
Производительность установки, т/ч................................................... 100
Вес установки, т.................................................................................... 28
Установленная мощность, кВт:
электродвигателей................................................................... 117
электронагревателей................................................................. 3
Напряжение силовой сети, В............................................................... 380
Габаритные размеры установки в рабочем положении, мм:
длина.................................................................................. 21200
ширина............................................................................... 12400
высота................................................................................. 7450
Максимальная скорость транспортирования
смесительной установки ДС-50А, км/ч............................................... 20
Агрегат питания
Геометрическая емкость бункера, м3........................................... 10
Количество бункеров, шт.............................................................. 1
Тип питателя.................................................... Ленточный,
объемного дозирования
Регулирование производительности............. Дистанционное,
ручное
(заслонкой)
Дозатор цемента
Тип......................................................................... Объемный, роторный
Емкость расходного бункера, м3........................ 7,8
(два отсека по 3,9 м3)
Пределы дозирования, т/ч................................................ 2 - 11
Габаритные размеры, мм:
длина....................................................................... 4470
ширина.................................................................... 1900
высота..................................................................... 7450
Вес, т.................................................................................... 3,89
Транспортер
Тип..................................................................................... С-989А
Производительность, м3/ч................................................... 235
Ширина ленты, мм............................................................... 800
Скорость движения ленты, м/сек....................................... 1,58
Мощность привода, кВт...................................................... 13
Расстояние между центрами барабанов, мм................... 15000
Максимальный угол наклона, град...................................... 20
Вес, т..................................................................................... 4,3
Агрегат смесительный
1. Дозатор воды
Тип........................................................................................... Объемный
Пределы дозирования, т/ч......................................................... 1 - 16
Изменение дозы.......................................................... Регулировочным
краном
Привод регулировочного крана:
исполнительный механизм,
тип............................. МЭО
25/100
номинальное время одного оборота, сек....................... 100
мощность, кВт.................................................................. 0,1
2. Смеситель
Тип.......................................................... Двухвальный
лопастной, непрерывного действия
Загрузочная емкость, т................................................................. 2,3
Максимальное время перемешивания, мин................................ 1,5
Количество лопастей, шт.............................................................. 48
3. Бункер накопительный
Полезный объем, м3...................................................................... 2,86
Привод затвора, тип.......................................... Привод-толкатель
винтовой ПТВ-4
Мощность, кВт.............................................................................. 3,8
Габаритные размеры смесительного агрегата
в рабочем
положении, мм:
длина............................................................................... 10000
ширина............................................................................. 3540
высота.............................................................................. 5240
в транспортном
положении, мм:
длина................................................................................ 8300
ширина............................................................................. 2900
высота.............................................................................. 3785
Вес, т............................................................................................. 14,5
Пульт управления с тележкой
Ходовая часть:
количество осей, шт.......................................................... 1
количество колес,
шт......................................................... 2
колея, мм.......................................................................... 1800
Рекомендуемый тягач.................................................... Автомобиль ЗИЛ-13в
Скорость транспортирования, км/ч.............................................. 20
Габаритные размеры пульта управления (внутренние), мм:
длина................................................................................ 2935
ширина............................................................................. 2100
высота.............................................................................. 2125
Вес, т............................................................................................. 2,05
Перед началом
работ по приготовлению цементогрунтовой смеси необходимо
тщательно проверить все оборудование, а также надежность всех болтовых и
электрических соединений.
Настройка
систем дозирования и загрузка смесительной установки материалами
Согласно
полученному из лаборатории рецепту смеси и намеченной производительности
установки системы дозирования грунта, цемента и воды настраивают в такой
последовательности.
Шиберную
заслонку агрегата питания устанавливают от ленты питания на расстоянии, мм:
122 - при производительности 80 - 100 т/ч;
97 - при производительности 60 - 80 т/ч.
Устанавливают
максимальное число оборотов выходного вала вариатора. Бункер агрегата питания
загружают грунтом, а под открытый накопительный бункер устанавливают
автомобиль-самосвал. Последовательно включают (при предварительно опущенной
заслонке) смеситель, транспортер и привод агрегата питания и грунт пропускается
через накопительный бункер в автомобиль-самосвал в течение 2 -
3 мин
(до достижения установившегося режима подачи грунта в
автомобиль-самосвал).
После этого
закрывают затвор накопительного бункера и включают секундомер.
Автомобиль-самосвал
с грунтом отъезжает, а пустой взвешенный - устанавливается под
накопительный бункер. Время замены автомобилей-самосвалов должно составлять не
более 1,5 мин.
Открывают затвор
накопительного бункера и после заполнения кузова автомобиля-самосвала грунтом
закрывают его. и выключают секундомер. После этого автомобиль-самосвал
взвешивают и определяют вес грунта в нем.
Фактическую
производительность определяют по формуле:

где G - вес грунта в автомобиле-самосвале, кг;
t - время по секундомеру, сек.
Настраивают
дозатор цемента изменением числа оборотов ротора вариатором или при помощи
сменных звездочек, при этом число оборотов выходного вала вариатора определяют
по формулам:
для дозатора
цемента при звездочках z1 = 32 и z2 = 12
Пц1 = 53,2 ∙ Qз.ц. ∙ jц,
для дозатора
цемента при установке сменных звездочек z1 =
29 и z2 = 15
Пц2 = 38,62 ∙
Qз.ц. ∙ jц,
где Пц1 и Пц2
- обороты выходного вала вариатора цемента при
соответствующих звездочках, об/мин;
Qз.ц
- заданная производительность дозатора цемента, т/ч;
iц - вес
насыпного цемента, т/м3.
Систему
дозирования воды настраивают поворотом пробки регулировочного крана дозатора
воды при помощи исполнительного механизма МЭО по показаниям счетчика холодной
воды ВКОС-6,3 в следующем порядке.
Устанавливают краны
дозатора так, чтобы вода проходила через счетчик ВКОС-6,3. Открывают все три
вентиля на распределительной трубе, обеспечивая заполнение насоса и трубопроводов водой выше уровня насоса, после чего
включают смеситель, транспортер и ленточный
питатель. При подаче грунта в смеситель включают дозатор воды и по счетчику
ВКОС-6,3 устанавливают необходимую производительность, при этом давление в
магистрали подачи воды должно быть не менее 1,5 - 2 кгс/см2. При меньшем
давлении необходимо закрыть один или два вентиля распределительной трубы.
После настройки
системы дозирования воды краны устанавливают так, чтобы вода в
распределительной трубе не проходила через счетчик ВКОС-6,3.
Оптимальное
количество воды в цементогрунтовой смеси при данной
производительности смесительной установки ориентировочно определяют по внешним
признакам согласно «Указаниям по применению в дорожном и аэродромном
строительстве грунтов, укрепленных вяжущими материалами» (СН
25-64), а затем уточняют лабораторными анализами.
Образцы
цементогрунтовой смеси для испытания в лаборатории берут при установившемся
режиме работы смесительной установки.
При наличии в
грунте глинистых частиц рекомендуется при перемешивании смеси вводить воду
неполностью, а лишь 50 - 60 %, во избежание прилипания смеси к
лопастям смесителя и для повышения производительности установки. Остальные 40
- 50 % воды, требуемой для доведения смеси до
оптимальной влажности, вводят на месте укладки поливо-моечными машинами.
Цемент со склада
подают в расходный бункер при помощи пневмонагнетательной системы при давлении в воздушной магистрали 1,5 кгс/см2.
Для устранения зависания
цемента в бункере имеется ворошитель, который работает от того же привода, что
и агрегат питания.
Промежуточную
емкость для цемента (склад цемента) загружают из подвозящих цементовозов при
помощи компрессорных установок цементовозов.
Заполнение цистерны
водой из водоема производят насосом по трубопроводу, соединяющему насос с
цистерной.
Включение и
выключение насоса осуществляется с пульта управления.
После настройки
смесительной установки на заданную производительность приготовление
смеси осуществляется в такой последовательности:
бункер агрегата
питания, загружают грунтом, а бункер цемента до верхнего уровня - цементом;
включают
последовательно смеситель, транспортер, а затем ленточный питатель агрегата
питания и дозатор цемента для подачи материалов;
при
установившемся режиме работы ленточного питателя и дозатора цемента включают
водяной насос;
вибраторы на
агрегате питания и электромагниты встряхивающих фильтров и бункер цемента
включают периодически.
До настройки
всех агрегатов в установленном режиме выпускаемая смесь не соответствует
нормам, поэтому первые 2 - 3 т смеси погружают в автомобиль-самосвал и отвозят в отвал для
повторной переработки.
Во время работы
установки по приготовлению цементо-грунтовой смеси необходимо
соблюдать следующие правила:
- не допускать
перерывов в работе смесительной установки и в подаче материалов, а также
переполнения накопительного бункера и колебаний отклонения уровней цемента от
заданных (нижнего и верхнего);
- следить за
чистотой загружаемых материалов, не допуская попадания с грунтом камней,
металла или других посторонних предметов;
- следить за
давлением воды в системе дозирования и показаниями амперметра и
вольтметров на пульте управления. При установившемся режиме работы установки эти
показания не должны иметь значительного отклонения, в особенности показания
амперметра, так как увеличение тока свидетельствует о работе электродвигателя привода мешалки с перегрузкой
и требует немедленного ее устранения;
- следить за
нагревом редукторов и подшипников, вовремя смазывать и доливать масло,
поддерживая уровень его не ниже нижних отметок на маслоуказателе;
- следить за
тем, чтобы к моменту окончания работы в бункерах установки
материал не оставался.
По окончании
работы смесительную установку останавливают в следующем порядке:
выключают
дозатор цемента и водяной насос;
выключают
ленточный питатель агрегата питания после освобождения бункера агрегата питания
и ленты транспортера;
опускают вниз
заслонку смесителя;
выключают
электродвигатель смесителя и закрывают затвор накопительного бункера после
полного освобождения смесителя и накопительного бункера.
Остаток грунта
(после отключения подачи воды через смеситель и накопительный бункер) подают в
автомобиль-самосвал и вывозят в отвал.
После выключения
всех агрегатов смесительной установки выключают общий
рубильник, а ящик, в котором он находится, закрывают на замок.
Отключив
установку, необходимо очистить от остатков материалов все рабочие площадки,
протереть манометры, шкалы дозаторов, осмотреть установку и устранить
выявленные при этом неисправности.
Технология
приготовления цементогрунтовой смеси
Грунт,
освобожденный от крупных (более 80
мм) каменистых
включений, погрузчиком, экскаватором или другими погрузочными машинами подают в
бункер агрегата питания, откуда через дозатор грунта поступает в
приемный бункер транспортера.
Цемент по
шлангам подают из склада цемента в оба отсека расходного бункера, а затем в
дозаторы, где он определенными дозами в соответствии с рецептурой подается
на слой грунта, перемещающегося транспортером.
При последующем продвижении происходит частичное перемешивание грунта с цементом. Отдозированные
компоненты (грунт и цемент) транспортером подаются в смеситель.
После
кратковременного «сухого» перемешивания грунт и цемент попадают в
зону подачи воды.
Вода из
промежуточной емкости (цистерны) поступает по шлангам к насосу, установленному на раме полуприцепа. Насос подает
воду к регулировочному крану, настроенному на нужную дозу, и далее через
распределительные трубы в смеситель.
После
тщательного перемешивания готовая смесь из смесителя поступает в накопительный
бункер, откуда смесь выгружается в автомобили-самосвалы.
Цементогрунтовую смесь приготовляют в
соответствии с требованиями СНиП III-Д.5-73 (Стройиздат,
М., 1973) и «Указаниями по применению в
дорожном и аэродромном строительстве грунтов, укрепленных вяжущими материалами»
СН
25-64 (Стройиздат, М., 1965).
Требования
по качеству
Качество
материалов для приготовления смеси и качество цементогрунтовой
смеси должны отвечать требованиям СН
25-64.
Цементогрунтовая
смесь должна быть хорошо перемешана, равномерно
окрашена и иметь однородный состав.
Окончательно
физико-механические свойства цементогрунтовой смеси определяют
испытанием в лаборатории проб смеси, взятых один - два раза в смену из
смесителя.
Указания по
технике безопасности
К работе на
смесительной установке допускаются лица, достигшие
18-летнего возраста, прошедшие курс обучения, имеющие
права на управление смесительной установкой и ее агрегатами и ознакомленные с
правилами техники безопасности.
Персонал,
занятый на обслуживании смесительной установки, должен быть обеспечен
спецодеждой - комбинезонами, головными
уборами, брезентовыми рукавицами,
пылезащитными очками и кожаной обувью.
При работе в
ночное время все рабочие места, проходы и проезды должны быть освещены.
Запрещается
работать на неисправной установке.
До начала работы
перед каждой сменой установка должна быть осмотрена, а результаты осмотра
записаны в книгу
сдачи и приема дежурств. При осмотре проверяют
наличие и исправность защитных ограждений, кожухов, отдельных механизмов и
агрегатов, лестниц, площадок, перил, пожарного инвентаря,
а также освещения.
Течки
транспортера подачи грунта следует обслуживать, со специальной
площадки, расположенной сбоку от бункера и снабженной по периметру перилами
высотой не менее 1 м.
Перед пуском установки
или ее агрегатов машинист смесительной установки (приготовитель цементогрунтовой
смеси) должен оповестить обслуживающий персонал о начале работы звуковым
сигналом. На смесительной установке кроме звуковых должны быть установлены световые сигналы.
На площадке
должны быть установлены указатели проездов и проходов.
Запрещается во
время работы смесителя производить чистку, подтяжку креплений, ремонт отдельных
узлов.
Запрещается
посторонним лицам находиться во время работы в кабине машиниста смесительной
установки и у других рабочих мест. Во время работы смесительной установки
запрещается становиться на смеситель, крышки его должны быть надежно закрыты.
Электропроводка
смесительной установки должна быть выполнена
изолированными проводами и подвешиваться на надежных опорах на высоте (с учетом
провисания) не менее 2,5 м над
рабочим местом, 3 м - над
проходами и 5 м - над
проездами. На высоте менее 2,5
м от
земли провода должны быть заключены в трубы или короба.
Все
металлические части смесительной установки должны быть надежно заземлены.
Вставки
предохранителей следует заменять при отключении пульта и силового шкафа от
электросети. Применение некалиброванных вставок запрещается.
При ремонте
смесительной установки на общем рубильнике следует повесить
предупредительную табличку.
Все лестницы,
подходы, площадки и другие рабочие места должны содержаться в чистоте.
В кабине
машиниста смесительной установки должна быть аптечка первой помощи и емкость с
питьевой водой.
В остальном
следует руководствоваться указаниями «Правил техники безопасности при
строительстве, ремонте и содержании автомобильных дорог»
(«Транспорт», М., 1969).
III.
УКАЗАНИЯ ПО ОРГАНИЗАЦИИ ТРУДА
Смесительная
установка устанавливается либо в карьере, либо около водоема (рис.
2).
Для
высокопроизводительной работы смесительной установки хорошие подъездные дороги
должны обеспечить кольцевое движение автомобилей в зоне смесительной установки.
Подъездные дороги
должны содержаться в исправном состоянии, а в жаркую и ветреную погоду
обязательно поливаться водой.
Грунт
для приготовления смеси доставляют автомобилями-самосвалами и сгружают около
приемного бункера смесительной установки.
Цемент подвозят
цементовозами и загружают в склад цемента.
Вода подается в
цистерну из водоема, расположенного на расстоянии 80 - 100 м от
смесительной установки.
Территория
смесительной установки должна быть обеспечена хорошим водоотводом и освещением.
Смесительная
установка должна быть обеспечена основными и вспомогательными
материалами, полными комплектами инструментов, ремонтной мастерской, средствами
и помещениями для питания и кратковременного отдыха рабочих, душевой,
средствами транспорта для доставки рабочих к месту работ и обратно, питьевой
водой, водой для технических и бытовых целей, аптечкой, противопожарным
инвентарем. На территории смесительной установки должны поддерживаться чистота
и порядок.
На рабочих
местах не должны находиться посторонние предметы. Кабина пульта управления
смесительной установки должна обеспечивать машинисту (приготовителю
цементо-грунтовой смеси) обзор всех агрегатов установки и площадки для подъезда
и маневра автомобилей-самосвалов.
Работы по
приготовлению цементогрунтовой смеси ведутся в две смены.
Смесительную
установку обслуживает бригада в составе 5 чел., в том числе:
приготовители цементогрунтовой смеси - машинист смесительной установки 5 разр. - 1 и помощник машиниста смесительной установки 4 разр. - 1, электромонтажник 4 разр. - 1, слесарь строительный 4 разр. - 1 и подсобный рабочий 2
разр. - 1. Машинист погрузчика 5 разр.
- 1, машинист бульдозера 5 разр. - 1, машинист компрессора 5
разр. - 1 и подсобный рабочий 2 разр. -
1 в состав бригады не включены и оплачиваются
отдельно.

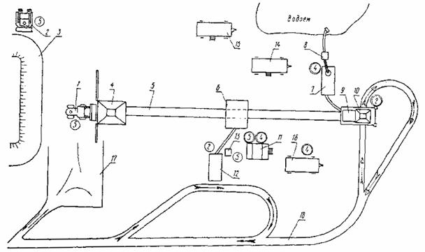
Рис. 2. Организация рабочей площадки в зоне расположения
смесительной установки ДС-50А:
1 - погрузчик ТО-18; 2 - бульдозер Д-492; 3 - место
складирования грунта; 4 - бункер
агрегата питания; 5 - транспортер; 6 -
расходный бункер цемента;
7 - емкость
для воды; 8 - водяной насос; 9 - смеситель; 10
- накопительный бункер; 11 - пульт управления; 12 - склад цемента; 13 - компрессор; 14
- вагончик-лаборатория; 15 - вагончик-душевая, 16 - передвижная электростанция; 17 - площадка для маневра автомобилей-самосвалов; 18 - подъездная грунтовая дорога
Кружками с цифрами обозначены
расстановка
и разряд
рабочих:
включенных в состав бригады;
не включенных в состав бригады;
путь следования автомобилей-самосвалов, доставляющих грунт;
путь следования автоцементовозов;
путь следования
автомобилей-самосвалов под погрузку цементогрунтовой смесью и на доставку ее к месту укладки
Машинист
смесительной установки 5 разр. управляет установкой с пульта
управления, участвует в настройке систем дозирования, следит за подходом, загрузкой
и отправкой автомобилей-самосвалов, подает
звуковой сигнал водителям под погрузку.
Помощник
машиниста смесительной установки 4 разр. следит за работой механизмов, за
подачей материалов, за их наличием в расходных бункерах, производит смазку
установки, вместе с машинистом настраивает системы дозирования,
проверяет наличие воды в резервуаре, осматривает смеситель.
Перед началом
работы машинист смесительной установки и помощник машиниста
должны проверить отсутствие посторонних предметов около вращающихся деталей или
на ленте транспортера.
Электромонтажник
4 разр. проверяет работу электродвигателей при холостом ходе, а также
заземление электродвигателей, подключает смесительную установку к электросети, следит
за работой автоматической системы управления. В
процессе работы электродвигателей он периодически контролирует режим их работы,
нагрев и состояние контактов.
Строительный
слесарь 4 разр. производит мелкий ремонт агрегатов установки,
перед началом работ проверяет работу пневмонагнетательной системы, смазывает
узлы и заливает масло в редукторы.
Подсобный
рабочий 2 разр.
- 1 ведет учет автомобилей-самосвалов, занятых на вывозке цементогрунтовой смеси, и контролирует их подъезд на загрузку
и отъезд к месту укладки.
В обязанности
бригады входит ежедневное техническое обслуживание смесительной установки,
мелкий текущий ремонт, обслуживание в процессе приготовления
смеси.
Рабочие, не
включенные в состав бригады, выполняют следующие
работы:
Машинист
погрузчика 5 разр. загружает агрегат питания грунтом.
Машинист бульдозера
5 разр. производит надвижку грунта в штабель.
Машинист
компрессора 5 разр. заполняет расходный бункер установки цементом, подаваемым
со склада.
Подсобный
рабочий 2 разр.
- 1 присоединяет и отсоединяет шланги при перекачке
цемента из цементовозов на склад и со склада в расходный бункер.