Информационная система
«Ёшкин Кот»

XXXecatmenu

ВСЕСОЮЗНЫЙ НАУЧНО-ИССЛЕДОВАТЕЛЬСКИЙ ИНСТИТУТ ТРАНСПОРТНОГО СТРОИТЕЛЬСТВА (ЦНИИС)

ТОМСКИЙ ГОСУДАРСТВЕННЫЙ ПРОЕКТНО-ИЗЫСКАТЕЛЬСКИЙ ИНСТИТУТ
(ТОМГИПРОТРАНС)

МЕТОДИЧЕСКИЕ УКАЗАНИЯ
ПО ПРОЕКТИРОВАНИЮ ПРОТИВОНАЛЕДНЫХ
МЕРОПРИЯТИЙ И УСТРОЙСТВ

Москва 1970

ПРЕДИСЛОВИЕ

Методические указания по проектированию противоналедных мероприятий и устройств разработаны в развитие соответствующих положений «Технических указаний по изысканиям, проектированию и постройке железных дорог в районах вечной мерзлоты» (ВСН 61-61).

Они основаны на материалах изучения наледей при изысканиях, строительстве и эксплуатации железных дорог Тайшет-Лена, Абакан-Тайшет, в том числе на результатах опытно-экспериментальных исследований, выполненных Томгипротрансом совместно с ЦНИИС и СибЦНИИС. Учтены также данные обобщения многолетнего опыта борьбы с наледями на железных и автомобильных дорогах в Забайкалье и на Дальнем Востоке, материалы научно-технического совещания по обобщению опыта проектирования, строительства и эксплуатации земляного полотна в районах распространения наледей (г. Хабаровск, 1965 г.) и теоретические разработки, известные по опубликованным источникам.

В отличие от предшествующих нормативных документов и литературных источников «Методические указания» включают основы прогнозирования наледного процесса. При этом прогнозирование рассматривается как исходная и составная часть проектирования противоналедных мероприятий и устройств, а также водопропускных сооружений и земляного полотна на наледных участках. Оно направлено на выявление изменений режима действующих наледей, а также на определение мест и режима искусственных наледей, возникающих в связи со строительством дорожных сооружений.

Помимо известных противоналедных мероприятий и устройств, эффективность которых достаточно проверена, «Методическими указаниями» рекомендуются для опытного применения метод активного регулирования термического режима водотоков, а также типы и конструкции земляного полотна и водопропускных сооружений, обеспечивающие оптимальный тепловой режим водотоков в зимний период. Противоналедные мероприятия и устройства рекомендуется предусматривать не только на участках наледей, выявленных в период изысканий, но и в местах вероятного возникновения наледей. К таким местам относятся переходы большинства малых поверхностных водотоков, выемки, канавы и другие выработки, вскрывающие подземные воды в районах с отрицательной среднегодовой температурой воздуха. Все рекомендации по прогнозированию наледей и выбору противоналедных мероприятий и устройств основаны на использовании закономерностей наледного процесса.

Методические указания разработаны канд. геол.-мин. наук Большаковым С.М. (СибЦНИИС), инж. Потатуевой Т.В. (Томгипротранс), под руководством и с участием канд. техн. наук Перетрухина Н.А. (ЦНИИС). Они рассмотрены Техническим управлением Минтрансстроя и одобрены для применения.

Замечания и предложения по содержанию Методических указаний можно направлять по адресу: Москва, И-329, Игарский проезд 2, редакционно-издательский сектор.

ЗАМЕСТИТЕЛЬ ДИРЕКТОРА

ИНСТИТУТА                                                                     А.А. СМОЛЬЯНИНОВ

РУКОВОДИТЕЛЬ ОТДЕЛЕНИЯ

ЗЕМЛЯНОГО ПОЛОТНА И ВЕРХНЕГО

СТРОЕНИЯ ПУТИ                                                           Б.И. ЦВЕЛОДУБ

1. ОБЩИЕ ПОЛОЖЕНИЯ

1. Участки трассы или водотоки, в пределах которых установлено наличие действующих наледей или потенциальные возможности их возникновения в результате строительства дороги и сооружений, следует считать наледными.

2. Выявление и обследование наледных участков и водотоков необходимо осуществлять согласно «Методическим указаниям по инженерно-геологическим исследованиям наледных участков»х).

х) Издание Главтранспроекта, 1969 г.

3. Противоналедные мероприятия и устройства предназначены для предохранения земляного полотна и водопропускных сооружений от вредного воздействия наледей. Поэтому их необходимо проектировать в комплексе с земляным полотном, водопропускными сооружениями и другими объектами, размещаемыми в пределах наледных участков или водотоков.

Классификация наледей

4. При изысканиях и проектировании железных дорог, в том числе противоналедных мероприятий и устройств, рекомендуется применять следующую классификацию наледей.

По физико-геологическим признакам - тип наледей: I - поверхностных вод (постоянных, временных водотоков); II - грунтовых вод рыхлой толщи (с водоупором из немерзлых пород, с водоупором из мерзлых пород); III - подземных вод (ненапорных, напорных); IV - смешанных вод.

По условиям возникновения - род наледей: природные, действующие в естественных условиях; искусственные, возникающие от нарушения водно-теплового режима грунтов и водотоков в результате строительства дорог и сооружений.

По месту отложения - вид наледей: русловые, логовые, косогорные, откосные.

По размерам группы наледей: I - малые (до 1000 куб. м); II - средние (1000 - 10000); III - большие (10000 - 100000); IV - очень большие (100000 - 1000000); V - гигантские (более 1000000).

По степени опасности - категории наледей: неопасные, не оказывающие вредного воздействия на инженерные сооружения; опасные, вызывающие нарушение нормальной работы сооружений; очень опасные, представляющие непосредственную угрозу движению транспорта и устойчивости сооружений.

Прогнозирование наледей

5. Прогнозирование наледей заключается в установлении качественных и количественных характеристик:

изменений наледного процесса в местах действующих наледей;

вероятности возникновения искусственных наледей при строительстве дороги;

степени воздействия наледей на проектируемые объекты.

6. Прогноз наледей необходимо осуществлять на основе закономерностей наледного процесса, обусловленного взаимодействием природных факторов - климатических, геологических, гидрогеологических и гидрологических.

При этом требуется учитывать, что изменения природных факторов, вызываемые строительством дорожных сооружений и устройств, приводит к соответствующему изменению наледного процесса.

В районах с отрицательной среднегодовой температурой воздуха возникновения искусственных наледей следует ожидать:

в выемках, карьерах, а также в местах закладки канав и резервов, вскрывающих водоносные слои или способствующих частичному или полному промерзанию последних;

на участках размещения открытых канав и лотков, используемых для пропуска ручьев и родников подземных вод;

в местах стеснения водоносных слоев фундаментами сооружений, а также высокими насыпями, возводимыми из глинистых грунтов;

на переходах малых и средних водотоков, имеющих в осенне-зимний период года температуру воды +0,2 °С и ниже, в случаях пропуска водотоков через мосты и трубы типовой конструкции;

на участках водотоков с перекатами, порогами, конусами выносов, островами; на устьевых участках рек и их притоков;

на склонах северной экспозиции;

на участках размещения построечных автомобильных дорог в пределах косогоров, имеющих выходы или неглубокое залегание уровня грунтовых вод;

в местах расположения отапливаемых зданий на водоносных грунтах основания.

7. Прогноз наледей составляется по материалам инженерно-геологического исследования наледных участков, с учетом вероятного воздействия проектируемых сооружений на режим водотоков. Возможность возникновения наледи в пределах перехода водотока устанавливается теплотехническими расчетами по данным расхода, скорости, уклону, температуры воды потока в осенне-зимнее время.

8. Объем искусственной наледи можно определять по формуле

V = K(Q × t × a + vc),                                                          (1)

где V - объем наледи, м3;

K - коэффициент «неблагоприятности», принимаемый равным 1,25;

Q - расход водотока средний за зимний период, м3/сутки;

t - ожидаемая длительность действия наледи, сутки;

а - коэффициент увеличения объема воды при переходе в лед, принимаемый равным 1,1;

vс - объем прироста наледи от снега в м3, определяемый по формуле

vc = p × hc × F                                                              (2)

p - плотность снежного покрова, принимаемая по данным метеорологических станций с учетом результатов наблюдений;

hc - высота снежного покрова, средняя из наибольших декадных, принимаемая по данным метеорологических станций;

F - площадь наледи, устанавливаемая с учетом рельефа местности.

9. Степень опасности наледи выявляется в зависимости от типа наледи, ее размера, длительности действия, места и близости расположения наледи от проектируемого объекта, с учетом особенностей ее возможного воздействия на движение транспорта и устойчивость дорожных сооружений.

2. ОСОБЕННОСТИ ИЗЫСКАНИЙ И ТРАССИРОВАНИЯ ЛИНИЙ В ПРЕДЕЛАХ НАЛЕДНЫХ УЧАСТКОВ

10. На стадии разработки проектного задания следует проводить специальные инженерно-геологические исследования всех наледных участков, в том числе участков, в пределах которых по данным прогнозирования, возможно возникновение искусственных наледей. Содержание и объем работ по обследованию наледных участков и представляемые для проектировании противоналедных мероприятий исходные данные должны соответствовать требованиям «Методических указаний по инженерно-геологическим исследованиям наледных участков» и обеспечивать получение данных, необходимых как для прогнозирования наледного процесса и разработки проектных мероприятий по предупреждению активизации наледного процесса, так и для проектирования противоналедных устройств и сооружений.

Инженерно-геологические исследования должны включать изучение: общих физико-геологических условий наледных участков, ледового и термического режимов поверхностных водотоков, источников и водоносных слоев подземных вод, попадающих в зону воздействия дорожного строительства.

Изучение ледотермического режима водотоков должно охватывать, как минимум, осенний и зимний периоды одного сезона.

11. При изысканиях необходимо рассматривать наледи, как опасное физико-геологическое явление подобно карсту и оползням, и укладывать трассу с расчетом на полное исключение или на снижение отрицательного воздействия наледей на проектируемые сооружения. В этом отношении наиболее благоприятными по физико-геологическим условиям для размещения трассы являются водораздельные участки, склоны антиклинальных долин, борта моноклинальных долин с падением слоев пород вглубь склона, верхние части склонов, сложенных породами с горизонтальным налеганием слоев, южные склоны и поверхность речных террас, сложенных дренирующими грунтами (Рис. 1). Менее благоприятными являются речные долины с синклинальным залеганием пород и субсеквентные долины, в зонах тектонических разломов, являющихся путями выхода на поверхность подземных вод, способствующих образованию больших и гигантских наледей.

В пределах Сибирской платформы неблагоприятными участками обычно являются зоны контакта водоносных песчано-известковистых пород с водоупорными аргиллито-мергелистыми толщами; в Якутии и горных системах Забайкалья - неотектонические зоны разломов с восходящими источниками подмерзлотных вод.

Особо неблагоприятными являются участки с выходами групповых родников (трещино-карстовых, пластовых или связанных с зонами тектонических нарушений) и склоны северной экспозиции с распространением вечномерзлых грунтов, имеющие надмерзлотные воды. При трассировании линии рекомендуется рассматривать варианты обхода таких мест с нагорной стороны или варианты переноса трассы на склоны южной экспозиции.

12. На участках с наличием надмерзлотных вод земляное полотно рекомендуется проектировать преимущественно из дренирующих грунтов и предусматривать устройство углубленных водоотводных канав.

13. Водотоки необходимо пересекать на прямых участках, избегая переходов в местах с наличием перекатов, порогов, островов, конусов выноса, а также устьевых участков рек и их притоков и мест выходов источников подземных вод.

14. На переходах средних и малых водотоков с большими природными наледями, в целях свободного пропуска последних, следует рассматривать варианты с увеличением высоты насыпи и отверстия водопропускного сооружения.

15. Служебные и жилые здания не рекомендуется размещать на низких речных террасах и северных склонах с неглубоким залеганием грунтовых вод, во избежание прорыва воды в подполья и здания в зимнее время.

Описание: 1

Рис. 1. Рекомендуемые варианты трассирования дороги (долинным ходом) в наледных районах полувыемкой на разной высоте склона (а, б, в) и насыпью в прирусловой части поймы (г, д, е):

а - по антиклинальной долине; б - по моноклинальной долине; в - по тектонической долине; г - по синклинальной долине; д - при горизонтальном положении слоев; е - при развитии наледи в русле реки; 1 - водоток; 2 - направление стока; 3 - рекомендуемое положение дороги; 4 - источник; 5 - наледь.

3. ВЫБОР И ПРОЕКТИРОВАНИЕ ПРОТИВОНАЛЕДНЫХ МЕРОПРИЯТИЙ, УСТРОЙСТВ И СООРУЖЕНИЙ

16. Исходными данными для выбора и проектирования противоналедных мероприятий и устройств на стадии проектного задания являются:

а. По поверхностным водотокам - расход и температура воды в осенне-зимний период; скорость потока, ширина, глубина и уклон русла; предполагаемые изменения теплового и ледового режимов водотока при строительстве и степень влияния этих изменений на наледный процесс;

б. По подземным водам, вскрываемым выемками, канавами и карьерами - ожидаемый приток и температура воды, мощность и протяженность вдоль пути водоносного слоя, возможные изменения режима вод в связи со строительством;

в. По всем природным наледям - генетический тип наледи, время ее формирования (начало и конец), линейные размеры, площадь и объем наледи, возможные изменения в режиме наледи в связи со строительством, степень опасности наледи для проектируемых сооружений.

Перечисленные данные включаются в пояснительную записку, в которой, кроме того, приводится описание общих физико-геологических условий района, необходимое для прогнозирования наледей и выбора основных проектных решений; прилагаются каталог и график наледных участков в районе трассы, а также паспорта больших, природных наледей, в том числе планы масштаба 1:2000 - 1:5000.

17. Рабочие чертежи противоналедных мероприятий и устройств разрабатываются на основе уточненных данных по всем наледным участкам, в том числе:

описания рельефа, геологии, гидрогеологии и мерзлотно-грунтовых условий;

расхода и температуры воды наледных водотоков в осенне-зимний период, их теплового и ледового режимов, скорости потока;

ширины, глубины и уклона русел;

климатических показателей, необходимых для теплотехнических расчетов;

показателей природных наледей, их генетического типа, линейных размеров, площади и объема наледного льда, периода формирования наледей;

прогнозирования степени опасности наледи;

рекомендуемых проектных решений, с использованием графических материалов - паспорта наледи, плана наледного участка (масштаба 1:500 - 1:2000), геологических разрезов.

18. При выборе противоналедных мероприятий и устройств предпочтение следует отдавать тем из них, которые исключают активизацию природных и возникновение искусственных наледей при постройке дорожных сооружений.

В случаях невозможности или нецелесообразности использования таких мероприятий и устройств, необходимо предусматривать применение средств, обеспечивающих защиту дорожных сооружений от непосредственного воздействия наледей.

19. Противоналедные мероприятия и устройства следует разделять на постоянные и временные.

Постоянные противоналедные устройства необходимо применять на участках действия природных наледей и в местах, где вероятно возникновение искусственных наледей, которые могут вызвать нарушение нормальной работы рассматриваемого объекта или представить опасность движению транспорта и устойчивости сооружения.

Временные мероприятия и устройства требуется применять для непосредственного ограждения рельсовой колеи от наледей, возникающих в результате изменения естественных условий в период строительства, при внезапных появлениях наледей, угрожающих безопасности движения транспорта и исправности сооружений, а также в случаях, когда для проектирования и строительства постоянных противоналедных мероприятий необходимо продолжительное время.

20. Противоналедные мероприятия и устройства необходимо назначать с учетом генетического типа наледи, дебита и температуры воды источника, питающего наледь, рельефа и инженерно-геологических условий в пределах наледного участка, а также в увязке с комплексом проектных решений по конструкциям земляного полотна и водопропускных сооружений и с учетом рекомендуемых мероприятий (Табл. 1).

21. Технико-экономическое сравнение возможных вариантов необходимо выполнять с учетом эксплуатационных затрат, связанных с содержанием противоналедных сооружений и работами по устранению возможного отрицательного воздействия наледей.

Порядок и периодичность технических операций по содержанию противоналедных сооружений и устройств в условиях постоянной эксплуатации должны быть отражены в рабочих чертежах проектов.

Постоянные мероприятия и устройства

22. Мероприятиями и устройствами, устраняющими или сокращающими причины возникновения искусственных наледей и активизацию наледного процесса в местах действия природных наледей, являются: дренаж, каптаж, осушение местности глубокими открытыми канавами и полуоткрытыми лотками, регуляция русел; сосредоточение потока, например, посредством полузапруд или применением лотков, на подходе и в пределах водопропускных сооружений; мосты с увеличенными отверстиями, в том числе свайно-эстакадные; электротермические способы подогрева воды и грунтов. Такие противоналедные мероприятия рекомендуется применять во всех случаях, где это возможно по инженерно-геологическим условиям, ледотермическому режиму водотоков и окажется экономически целесообразным.

Таблица 1

Генетический тип

Особенности режима и формы наледи

Рекомендуемые противоналедные мероприятия

I. НАЛЕДИ ПОВЕРХНОСТНЫХ ВОД

Возникают от стеснения и перемерзания водотока с наступлением сильных морозов и действуют на постоянных водотоках до конца зимы, на временных - в первой половине зимы; распространяются в пределах русла и поймы. Очаги возникновения - перекаты, полыньи, участки растекания потока по мелким руслам, водопропускные трубы и мосты. Поверхность льда - ровная или вогнутая с наличием перепадов и бугров пучения. Лед тонкослоистый, белый и голубой с прослоями оледенелого снега

На переходах с большими природными наледями - увеличение отверстия сооружения и повышение проектной бровки полотна для свободного пропуска наледи. На водотоках с положительным тепловым балансом - безналедный пропуск путем создания оптимального теплового режима водотока регуляцией русла и устройством специальных, при необходимости утепленных, лотков. При малом расходе водотока и неблагоприятном ледотермическом режиме потока - задержание наледи в удалении от пути; электроподогрев воды и плавление льда

II. НАЛЕДИ ГРУНТОВЫХ ВОД РЫХЛОЙ ТОЛЩИ

Возникают от намерзания излившихся на поверхность земли грунтовых вод. Появляются с наступлением первых морозов и прекращают рост в первой половине зимы. Наледи - малые, по форме - плоские, вытянутые поперек потока грунтовых вод и склона. Образуются у мостов и труб, у дорог и троп, в выемках и канавах. Наледный лед имеет включения оледенелого снега, слабо окрашен в цвет грунтов водоносного слоя

Осушение участка понижением уровня грунтовых вод и верхней поверхности вечномерзлых грунтов. Задержание наледи в удалении от дороги мерзлотными поясами и др. Увеличение высоты насыпей и отсыпка их дренирующим грунтом. При малом размере наледи - закрытие входного отверстия водопропускных труб деревянными щитами осенью; весной - уборка щитов и выколка льда для пропуска весенних вод. Предпочтительно применение мостов при низких насыпях

III. НАЛЕДИ ПОДЗЕМНЫХ ВОД

Возникают от стеснения и перемерзания водотоков и действуют в большинстве случаев всю зиму. Скопления льда большой мощности, вытянуты по направлению уклона местности и по течению потока; сопровождаются образованием бугров пучения льда. Наледи тем крупнее, чем мощнее источник питания, достигая местами огромных размеров. Возникают в местах выходов родников на дневную поверхность, в участках повышенного охлаждения водотока - у мостов и труб, а также при вскрытии подземных вод выемками и канавами. Лед наледей голубой, чистый, косослоистый

При вскрытии подземных вод выемками и пересечении дорогой близко расположенных родников - дренаж или каптаж источников с организованным отводом воды в низовую сторону от пути. При переходе водотоков с положительным тепловым балансом - безналедный пропуск с созданием оптимального теплового режима водотока. При отрицательном тепловом балансе - безналедный пропуск с созданием оптимального теплового режима водотока. При отрицательном тепловом балансе и малом расходе - удержание наледи активными противоналедными валами, наледными поясами, заборами.

Электроподогрев воды, плавление льда. Увеличение отверстия мостов, труб. Предпочтительно применение мостов при низких насыпях

IV. НАЛЕДИ СМЕШАННЫХ ВОД (поверхностных, грунтовых, подземных)

Режим и форма наледей разнообразны и определяются особенностями режима вод, питающих наледь и местными физико-геологическими условиями

Комплекс мероприятий с учетом типов наледей, режима и расхода вод, питающих наледи, и особенностей местных условий

23. Дренаж и каптаж целесообразно применять на участках с наличием и возможным развитием наледей подземных вод и четко выраженными водоносными слоями грунтовых вод. Расположение дренажей и глубину их заложения следует назначать в зависимости от требуемой глубины осушения, мощности водоносного слоя и положения водоупора. Расчет дренажей и назначение их конструкции выполняются с использованием обычных методов, на основе данных специальных инженерно-геологических исследований.

Каптаж целесообразно применять на наледных участках при наличии источников подземных вод, выходящих на склоне выше дороги. Каптаж может состоять из одного или нескольких колодцев, а также коротких галерей, канав или лотков, собирающих воду, и отводных устройств.

При разработке конструкции дренажей и каптажных устройств необходимо предусматривать мероприятия, направленные на предотвращение замерзания воды в смотровых колодцах, отводных трубах и на выходе из них. С этой целью рекомендуется отводные трубы закладывать не выше нижней трети глубины сезонного промерзания, а низ трубы на выходе располагать выше поверхности земли на 1,0 м и более. На пологих склонах местности следует применять отепленные оголовки отводных труб.

24. Для отвода из выемок грунтовых вод с ограниченным периодом действия следует применять лотки закрытого типа, рекомендуемые «Альбомом водоотводных устройств», взамен кюветов. Дно лотков следует размещать ниже глубины сезонного промерзания, а в обоснованных случаях - на глубине не менее 80 % мощности деятельного слоя.

25. Осушение местности открытыми канавами целесообразно предусматривать на участках с неглубоким залеганием грунтовой воды и поверхности вечномерзлых грунтов, в том числе в случаях, когда деятельный слой представлен глинистыми грунтами с включением дресвы, а поток грунтовой воды имеет малый дебит и перемерзает зимой.

Размеры канав и способ укрепления откосов назначаются в зависимости от притока и глубины залегания грунтовых вод, площади осушаемой территории, скорости течения воды в канаве в летнее время и других инженерноеологических условий в пределах наледного участка.

При наличии грунтовых вод, не перемерзающих зимой, целесообразно применять канавы в сочетании с неглубоким лотком, например, из половины асбоцементной трубы, втопленной ниже дна канавы.

Для осушения местности, перехвата и отвода грунтовых и надмерзлотных вод на значительное расстояние рекомендуется применять полуоткрытые водоотводные лотки (Рис. 2). Конструкция лотков данного типа обеспечивает минимальную потерю тепла водотоком и улучшает водно-тепловой режим грунтов. Весной лотки требуется очищать от снега и открывать. Осенью лотки необходимо закрывать на всю ширину досками.

Для предохранения от замерзания грунтовой воды, поступающей в канаву в зимнее время, можно использовать снежные отложения. Для задержания снежных отложений над канавой и прилегающей к ней полосе целесообразно использовать посадку ивняка или снегозадерживающие щиты.

26. На переходах постоянных водотоков рекомендуется рассматривать варианты применения: безналедного пропуска водотока, свободного пропуска наледи или удержания наледи в местах, где она не представляет опасности для земляного полотна и водопропускного сооружения.

Безналедный пропуск водотока можно предусматривать при проектировании мостов и труб посредством сосредоточения водотока и создания ему оптимального теплового режима в зимнее время на подходах и в пределах водопропускных сооружений. Для этого требуется расчистка, спрямление или углубление русла, устройство полузапруд, применение специальных лотков - открытых, закрытых, утепленных (Рис. 3, Приложения 3, 4).

Безнадежный пропуск постоянных водотоков может быть также обеспечен, если проектируются:

эстакады и мосты без укрепления русла, но с соответствующим увеличением глубины заложения фундаментов, назначаемым с учетом возможного частичного размыва русла;

трубы под высокими насыпями, закрываемые на зимнее время щитами.

На электрифицированных дорогах можно предусматривать подогрев воды и таяние льда путем применения электротермических способов предотвращения образования наледей (Приложения 5, 6).

Возможность осуществления безналедного пропуска водотока и необходимые конструктивные решения определяются по результатам теплотехнических расчетов, выполняемых на основе данных по изучению ледотермического режима потока.

27. Свободный пропуск наледей целесообразно предусматривать в местах развития больших природных наледей поверхностных и подземных вод, когда уничтожение причин возникновения наледи или задержание наледи в удалении от дороги практически не представляется возможным или оказывается нецелесообразным. Свободный пропуск наледи может быть обеспечен посредством увеличения отверстия моста или путем применения эстакады.

Описание: 1

Рис. 2. Схема деревянного лотка

1 - рама из бревен d = 18 - 20 см; 2 - песчано-гравийный грунт; 3 - втрамбованный гравий слоем 8 см; 4 - доски 30 - 40 мм; 5 - два слоя дерна корнями вверх или слой мятой глины; 6 - снег

Схема железобетонного лотка

1 - железобетонная рама; 2 - железобетонные плиты; 3 - песчаный заполнитель; 4 - дренажные отверстия d = 2,5 см; 5 - втрамбовка гравия слоем 8 см; 6 - доски 30 - 40 мм; 7 - снег; 8 - два слоя дерна корнями вверх или слой мятой глины

Описание: 1

Рис. 3. СХЕМЫ ЛОТКОВ ДЛЯ СОСРЕДОТОЧЕННОГО ПРОПУСКА ВОДОТОКА ЧЕРЕЗ ИСКУССТВЕННОЕ СООРУЖЕНИЕ:

а, б, в - лотки для применения под мостами и в пределах укрепления подводящих и отводящих русел; г - лотки для применения на подходах к укреплению; д - лотки для применения в прямоугольных трубах; 1 - железобетон М200 или гидротехнический ГОСТ 4795-59 Мрз 200; 2 - гравийно-песчаная смесь; 3 - местный грунт; 4 - укрепление искусственного сооружения; 5 - крышка утепленная; 6 - утеплитель; 7 - керамзитовая или шлаковая засыпка; 8 - снег; 9 - лед; 10 - блок трубы; 11 - фундамент; 12 - бетонный или деревянный лоток.

28. К мероприятиям и устройствам, ограждающим земляное полотно, водопропускные и другие дорожные сооружения от вредного воздействия наледей, относятся: противоналедные валы, наледные пояса, мерзлотные грунтовые пояса, противоналедные заборы, водонепроницаемые экраны, фильтрующие насыпи, уширение выемок. Их требуется проектировать в комплексе с земляным полотном, предусматривая не только ограждение земляного полотна от непосредственного воздействия наледей, но и меры по предотвращению избыточного увлажнения грунтов основной площадки в выемках и на нулевых местах, а также - основания низких насыпей и откосов насыпей, проектируемых из глинистых грунтов.

Поэтому ограждающие противоналедные устройства необходимо размещать в удалении от земляного полотна с учетом рельефа местности и водно-теплового режима водотоков и грунтов, вмещающих водоносные слои, и проектировать с расчетом, чтобы эти устройства обеспечивали задержание льда и направляли поток наледных вод к водопропускному сооружению.

Ограждающие мероприятия и устройства следует применять в случаях, когда другие противоналедные средства не могут быть применены по инженерно-геологическим условиям или по технико-экономическим соображениям.

29. Во всех случаях, когда посредством ограждающих устройств не представляется возможности предотвратить непосредственный контакт наледи с земляным полотном, необходимо предусматривать меры, направленные на обеспечение прочности и устойчивости земляного полотна, например, уширение выемки, увеличение высоты насыпи, устройство берм, применение для насыпи дренирующего грунта и т.п.

30. Для задержания наледей в местах, удаленных от полотна, рекомендуется применять мероприятия, активизирующие наледный процесс:

наледные пояса и активные противоналедные валы - для наледей поверхностных водотоков;

мерзлотные пояса - для наледей грунтовых вод.

31. Наледные пояса целесообразно применять для задержания наледей, возникающих на небольших и периодически действующих водотоках. Они представляют собой участки расширяемого русла, покрываемые каменной отмосткой или бетонными плитами (Рис. 4). Размеры поясов следует назначать на основе результатов теплотехнических расчетов (Приложение 1).

Описание: 1

Рис. 4. Схема устройства наледного пояса:

а) вид в плане; б) поперечный разрез пояса; в) схема перепада из сухой каменной кладки; 1 - выход источников; 2 - наледный пояс; 3 - каменное мощение; 4 - подстилающий слой из мха или соломы слоем 0,13 - 0,20 м.

При расчетах глубину потока в пределах пояса рекомендуется принимать равной от 2 до 5 см, а ширину пояса - не менее 1,0 м. В случаях значительного естественного уклона русла наледные пояса целесообразно проектировать с перепадами высотой до 0,5 м (см. Рис. 4, в). Для повышения интенсивности охлаждения потока можно применять наледные пояса с повышенной шероховатостью (Рис. 5).

Количество и расположение наледных поясов устанавливается с расчетом удержания полного объема наледи на необходимом расстоянии от проектируемых объектов - земляного полотна или водопропускного сооружения.

32. Активные противоналедные валы рекомендуется применять для задержания наледей на малых и средних водотоках.

Вал проектируется из грунта со щитом из досок или железобетонных плит, а также с плоским лотком, мощеным камнем или бетонными плитами, размещаемым по руслу выше вала (Рис. 6).

Действие активного противоналедного вала основано на том, что плоский лоток, как наледный пояс, вызывает растекание потока воды тонким слоем, способствует его интенсивному охлаждению, зарождению и развитию наледи перед валом раньше, чем она может возникнуть у водопропускного сооружения, расположенного по руслу ниже вала. Возникновение наледи в пределах плоского лотка будет способствовать заполнению водопропускной канавы и щели под щитом (см. Рис. 6, а). После этого наледь, задерживаемая щитом и валом, станет развиваться вверх по руслу.

Размеры вала и плоского подходного лотка устанавливаются в зависимости от расхода водотока, его ледотермического режима и местных условий (приложения 1, 2). Высота вала принимается по графику ледосборности (Рис. 7) с учетом полного удержания наледи, объем которой ориентировочно определяется по формулам (1, 2).

Размеры водопропускной канавы и щели под щитом следует определять с учетом пропуска весенних вод без разбора щита. Разборку щита необходимо предусматривать только в случаях, когда по прогнозу ожидается особо высокий паводок.

В проектах противоналедных валов необходимо предусматривать:

удаление из основания вала растительно-торфяного покрова;

послойное уплотнение грунта при отсыпке вала в соответствии с нормами уплотнения земляного полотна железных и автомобильных дорог;

укрепление откосов вала посевом трав, а конусов - бетонными плитами, каменной наброской или другими способами в зависимости от скорости течения воды;

сезонную выколку льда под щитами, в том числе в щели и канаве для весеннего пропуска воды.

Описание: 1

РИС. 5. СХЕМА УСТРОЙСТВА НАЛЕДНОГО ПОЯСА С УСИЛЕННОЙ ШЕРОХОВАТОСТЬЮ:

а, б - усиленная шероховатость для пояса бетонной кладки; в - усиленная шероховатость для пояса каменной кладки;

1 - бетонные выступы; 2 - песчаная подготовка слоем 5 см; 3 - отдельные крупные камни; 4 - одиночное мощение камнем; 5 - подстилающий слой из мха или соломы толщиной 0,13 - 0,20 м.

Описание: 1

Рис. 6. СХЕМА АКТИВНОГО ПРОТИВОНАЛЕДНОГО ВАЛА

а - общий вид; б - поперечные разрезы; в - вид в плане; 1 - забор из бревен или железобетонных плит; 2 - столбы железобетонные; 3 - щит из досок или железобетонных плит; 4 - крепление камнем или железобетонными плитами; 5 - вал из грунта; 6 - отводная канава; 7 - лоток с широким горизонтальным днищем

Описание: 1

Рис. 7. График объема льда, задерживаемого заборами высотой Н на местности с различным уклоном

33. Мерзлотные пояса целесообразно применять для задержания в удалении от земляного полотна наледей, возникающих в определенных местах за счет выхода грунтовых вод с небольшим дебитом.

Мерзлотные пояса представляют собой полосы расчистки с валами из снега или грунта и водоотводными канавами (Рис. 8). Из пределов полос расчистки необходимо удалять растительно-моховой покров и снег.

Вид мерзлотных поясов и их количество, размеры полос расчистки, валов и канав следует назначать из условий задержания всего объема наледи. Причем глубину канав требуется принимать не менее 0,6 м, а ширину вала по верху - от 1,0 до 3,0 м, в зависимости от способов производства работ.

Мерзлотные пояса целесообразно размещать на расстоянии 50 - 100 м от ограждаемого участка земляного полотна и друг от друга с расположением в плане согласно рис. 8, б, в, д, е. Концы канав необходимо врезать в борта лога, дну канав - придавать продольный уклон не менее 0,002.

Тип укрепления откосов с нагорной стороны грунтовых валов, полосы вдоль его подошвы и водоотводных канав следует назначать в зависимости от скорости течения паводковых вод.

34. Мерзлотные пояса для задержания речных наледей целесообразно применять на небольших водотоках при неглубоком залегании водоупора под руслом. Они представляют собой канавы шириной 2 - 4 м, вырубаемые во льду (Рис. 8, е). Канавы располагают поперек долин водотоков на расстоянии 200 - 300 м от водопропускного сооружения на отмелях и перекатах, где водоток может быть проморожен быстрее. Канаву следует заглублять на 0,3 - 0,5 м ниже дна русла, а ее концы - врезать в берега на такое расстояние, чтобы предотвратить возможность прохода в береговых наносах вод, питающих наледь. Лед и грунт из канав необходимо укладывать в вал, располагаемый с низовой стороны канавы.

35. Водонепроницаемые экраны с валами из грунта целесообразно применять с целью отдаления от ограждаемого сооружения места выхода грунтовых вод, образующих наледь. Экраны представляют собой траншеи, заполненные водонепроницаемым грунтом, расположенные поперек движения потока грунтовых вод, питающих наледь (Рис. 9). Низ экрана должен быть заглублен в водоупорные породы не менее чем на 0,25 м. Перекрытие экраном потока грунтовых вод должно быть полным, поэтому устройство экранов наиболее рационально в узких логах с неглубоким налеганием водоупорных пород. Высота вала определяется объемом задерживаемой наледи. Ширина вала по верху назначается не менее 3,0 м. Откос вала на 0,20 м выше расчетного горизонта воды от таяния наледи должен быть укреплен, исходя из условия недопущения размыва вала поверхностными и наледными водами в весенний период.

Описание: 1

Рис. 8. МЕРЗЛОТНЫЕ ПОЯСА

а - расчистка; б - расчистка с валом; в - канава с валом; г - схема расположения мерзлотного пояса в плане; д - схема расположения мерзлотного пояса на косогоре; е - схема расположения мерзлотного пояса на промерзающем до дна водотоке; ж - разрез мерзлотного пояса вне водотока; з - схема расположения мерзлотного пояса в комплексе с водоотводным валиком; 1 - удаленный растительно-моховой покров; 2 - наледь; 3 - снег; 4 - торф; 5 - вал из грунта; 6 - канава с продольным уклоном не менее 0,002; 7 - выпуск из канавы в пониженную часть местности; 8 - ось пути; 9 - нагорная канава; 10 - канава шириной 3 - 4 м в речном льду с заглублением в дно водотока на 0,1 - 015 м; 11 - канава в грунте; 12 - вал из льда и снега.

В районах со снежными заносами, во избежание свободного прохода подземных вод под снегом, экран целесообразно размещать за пределами снежного отложения, возникающего у вала.

Описание: 1

Рис. 9. Схема водонепроницаемого экрана с валом:

1 - вал из грунта; 2 - экран (глина, жирный суглинок); 3 - уровень грунтовых вод до устройства экрана; 4 - водоносный слой; 5 - водоупор; 6 - место выхода грунтовых вод после устройства экрана

36. Постоянные противоналедные заборы можно применять для задержания вдали от дороги наледей различных типов, образующихся в одном и том же месте. Высоту забора следует назначать в зависимости от объема льда, но не более 4,0 м (Рис. 10). При необходимости устраивается несколько заборов.

В залесенной местности противоналедные заборы целесообразно проектировать деревянными из местных лесоматериалов. При отсутствии местных лесоматериалов противоналедные заборы следует проектировать из сборных железобетонных элементов.

37. Уширение выемок с установкой противоналедных заборов можно применять для ограждения земляного полотна от наледей небольшой мощности, возникающих при вскрытии выемками трещиноватых скальных или глыбовых пород, а также - на косогорах, когда водоносный слой нечетко выражен, а перехват воды дренажом или канавами затруднен или экономически нецелесообразен.

Противоналедный забор, проектируемый из железобетонных элементов, или деревянный, необходимо размещать вдоль полотна в пределах всей уширенной части выемки. Размеры уширения и высоту забора следует назначать из условий задержания всего объема наледи.

При этом необходимо предусматривать эффективные меры по отводу воды при таянии льда, не допуская переувлажнения грунтов в откосах выемки и основания земляного полотна, например - устройство углубленного кювета или лотка с продольным уклоном не менее 0,005, соответствующее укрепление откосов и дна канавы и т.д. При необходимости следует, кроме того, разрабатывать противопучинные мероприятия.

Описание: 1

Рис. 10. Схема постоянного противоналедного забора:

а - общий вид; б - поперечный разрез по 1-1; в - вид забора в плане; г - вид забора с боку; 1 - забор из бревен d = 16 - 14 см; 2 - анкер; 3 - наледь; 4 - стойка забора из бревен d = 18 см

38. В пределах наледных участков, в случае, когда ожидается отложение наледей в непосредственной близости от земляного полотна, рекомендуется проектировать насыпи из дренирующего грунта. Если дренирующий грунт отсутствует и потребуется использовать недренирующий грунт, на таких участках необходимо проектировать с нагорной стороны бермы, предохраняющие от переувлажнения грунты в теле насыпи, или соответствующую конструкцию откоса и его укрепления.

Бровку насыпей из дренирующих грунтов или бровку бермы из недренирующих следует проектировать с возвышением над расчетной отметкой поверхности наледи не менее чем на 0,5 м.

Временные мероприятия и устройства

39. К временным мероприятиям и устройствам относятся: выколка, взрывание или оттаивание льда для пропуска и отвода наледной воды, валы из снега и льда, сезонные мерзлотные пояса, утепление канав, кюветов, лотков и русел водотоков, заборы из досок или бревен.

40. Выколку льда и отвод воды по каналам во льду рекомендуется применять только при небольших объемах наледей. Для выколки и удаления льда можно применять пневматические молотки, паровые иглы, бульдозеры и другие средства механизации. Взрывной метод можно применять для удаления наледного льда в случае необходимости быстрого устройства водоотводных канав, с целью отвода наледной воды весной. Взрывные работы необходимо выполнять специальным персоналом, с обязательным соблюдением правил, установленных для производства взрывных работ.

41. Для задержания наледей небольших размеров в районах, где снег выпадает рано и в достаточном количестве целесообразно применять валы из снега или льда высотой 0,5 м и более. Их размещают по краю наледи или на расстоянии 3 - 5 м ниже его. Время устройства задерживающих снежных валов следует приурочивать к началу наледеобразования. Количество и размеры валов принимают в зависимости от характера развития и размеров наледи.

42. Сезонные мерзлотные пояса можно применять для задержания грунтовых вод небольшой мощности на участках с неглубоким залеганием поверхности водоупора. Они состоят из полос, очищаемых от снега после каждого снегопада. Ширину полос назначают от 5 до 15 м, в зависимости от мощности наледи и рельефа местности (см. рис. 8, а). Длину полос устанавливают из условия полного перекрытия потока грунтовых вод. Снег укладывают с низовой стороны в вал, параллельно расчищаемой полосе. Количество поясов определяют по размерам наледи и местным условиям.

Сезонные мерзлотные пояса можно устраивать также посредством уплотнения снежного покрова механическими катками или тракторами. Ширину полосы уплотнения принимают от 5 до 20 м, в зависимости от мощности наледи и рельефа, а длину пояса определяют из условия полного перехвата потока грунтовых вод.

43. Утепление канав, кюветов, лотков и русел водотоков, предохраняющее от промерзания поток воды и последующего образования наледи, целесообразно применить на участках со снежным покровом достаточной мощности. Утепление можно проектировать применительно к схемам, приведенным на рис. 11. Канавы, лотки и русла, можно также утеплять посредством воздушной прослойки высотой 20 - 30 см под ледяной коркой толщиной 10 - 12 см, получаемой путем временного подпруживания потока.

Описание: 1

Рис. 11. Схема утепления канав:

1 - мох, торф слоем 0,3 - 0,5 м; 2 - жерди с ветками, уложенные вдоль канавы; 3 - бревна d = 12 - 16 см через 1,0 м; 4 - доска толщиной 5 см; 5 - разрезанная асбестоцементная труба d = 30 см; 6 - снег; 7 - укрепление одерновкой

Описание: 1

Рис. 12. Передвижной противоналедный забор высотой 1,0 м:

а - вид забора сбоку; б - поперечный разрез; в - вид забора в плане; 1 - схватка из пластин d - 12/2 см; 2 - забор из подтоварника d - 12 см; 3 - стойка из пластин d - 18/2 см; 4 - поперечный лежень из бревен d - 18 см; 5 - подкос из подтоварника d - 10 см; 6 - скобы

Описание: 1

Рис. 13. Передвижной противоналедный забор высотой 2,0 м:

а - вид секции забора сбоку; б - разрез; в - вид в плане; 1 - забор из пластин d - 20/2 см; 2 - диагональные схватки из бревен d - 20 см; 3 - поперечные схватки из пластин d - 20/2 см; 4 - стойка треугольной рамы; 5 - поперечный лежень из бревен d - 20 см; 6 - скобы.

44. Сборно-разборные заборы из досок или бревен или переносные щиты из досок целесообразно применять для защиты от наледей грунтовых или поверхностных вод, имеющих непостоянный характер, или меняющих положение в разные годы. Стенки заборов и щитов следует устраивать сплошные, без просветов, применительно к рис. 12, 13. Заборы рекомендуется также применять в качестве временного дополнительного средства в комплексе противоналедных сооружений и устройств на участках со сложными инженерно-геологическими условиями при больших размерах наледей. Количество заборов, их высоту и длину определяют в зависимости от размеров задерживаемой наледи и рельефа местности.

В тех случаях, когда снег выпадает рано в достаточном количестве, заборы можно изготовлять из бревен и досок без притески. В таких случаях забор с обеих сторон обсыпают снегом, который, пропитываясь водой, смерзается с ограждением и хорошо задерживает наледную воду (Рис. 14). Заборы заграждения можно наращивать постепенно, по мере роста наледи. Весной после таяния снега и льда заборы необходимо разбирать и складировать.

Описание: 1

Рис. 14. Схема противоналедного забора-заграждения:

а - вид забора сбоку; б - поперечный разрез; 1 - наледь; 2 - обсыпка снегом; 3 - забор из бревен; 4 - подкосы.

Приложение 1

ПРИМЕР РАСЧЕТА РАЗМЕРОВ НАЛЕДНОГО ПОЯСА

I. Данные для расчета

Расход водотока в осенне-зимний период q = 40 л/сек;

Продольный уклон склона i = 0,010;

Температура потока в осенне-зимний период tp = 0,05 °С;

Среднемесячная температура воздуха самого холодного месяца tв = -25,1 °C.

II. Порядок решения

1. Устанавливаем ориентировочно размеры пояса.

Ширину пояса В, при глубине потока 5 см, определяем по графику (рис. 1, 2). При заданных q и i она равна 1,7 м.

Длину пояса задают. В данном случай она принята равной 4,5 м.

2. Теплопотери открытой поверхностью потока лучеиспусканием Wл можно определить по формуле

Wл = 560(tp - tв) ккал/(м2 × сутки),                                            (1)

где 560 - эмпирический коэффициент.

Wл = 560(+0,05 ° + 25,1 °) = 14100 ккал/(м2 × сутки)

3. Количество тепла, теряемое открытой поверхностью потока за счет испарения Wи зависит от упругости паров воздуха над водой и скорости ветра. Для средней скорости ветра 2 - 3 м/сек она составляет

Wи = 600(4,60 - Р) ккал/(м2 × сутки)                                           (2)

где Р = (50 + tв)3/30000

Wи = 600(4,60 - (50 -25,1)3/30000) = 2460 ккал/(м2 × сутки)

4. Поступление тепла в поток за счет перехода механической энергии в тепловую определяем по формуле

Wмт = -(202000 ´ q ´ i)/B ккал/(м2 × сутки)                                    (3)

Wмт = -(202000 ´ 0,040 ´ 0,010)/1,70 = -48 ккал/(м2 × сутки)

5. Теплопотери дном русла в грунт незначительны, их величина не превышает 1 % от общей величины теплопотерь за счет лучеиспускания и испарения, вследствие чего их можно не учитывать.

Описание: 1

Рис. 1. График определения ширины отмостки наледного пояса и активного вала при пропуске потока глубиной 5 см

Описание: 1

Рис. 2. График определения ширины отмостки наледного пояса и активного вала при пропуске потока глубиной 2 см

6. Теплопотери через поверхность отмостки могут быть определены по методике, изложенной в работех).

х) П. Шнейдер Инженерные проблемы теплопроводности, Изд. иностр. лит., М., 1960.

Расчеты показали, что потери тепла в бетон или отмостку, например для района бассейна реки Ангары, составляют около 50 % от общей величины теплопотерь за счет лучеиспускания и испарения. Исходя из этого величину теплопотерь через поверхность отмостки определяем по формуле

W = 0,5(Wл + Wи - Wмт) ккал/(м2 × сутки)                                     (4)

= 0,5(14100 + 2460 - 48) = 8256 ккал/(м2 × сутки)

7. Общие потери тепла ручьем в окружающую среду составляют

Wобщ = (Wл + Wи - Wмт + Wп)/24 ккал/(м2 × сутки)                                 (8)

Wобщ = (14100 + 2460 - 48 + 8256)/24 = 1031 ккал/(м2 × сутки)

8. Потери тепла ручьем в окружающую среду на наледном поясе будут равны

Wнп = Wобщ ´ В ´ L ккал/(м2 × сутки)                                           (9)

Wнп = 1031 ´ 1,7 ´ 4,5 = 7890 ккал/(м2 × сутки)

9. Температуру потока в конце наледного пояса определяем по формуле

                                               (10)

где g - объемный вес воды;

С - теплоемкость воды;

q - удельный расход потока.

Такой результат означает, что охлаждение потока с расходом 40 л/сек на участке наледного пояса шириной 1,7 м, длиной 4,5 м происходит до температуры ниже 0 °С.

Поскольку достаточным условием для возникновения наледи в пределах наледного пояса является охлаждение воды до 0 °С, можно полагать, что полученная расчетная температура -0,005 °С обеспечит выполнение этого условия. В случаях, когда расчетная температура воды при намечаемых размерах пояса окажется выше нуля, потребуется увеличивать длину или ширину пояса и расчеты повторять после каждого изменения размеров до получения нулевой или отрицательной расчетной температуры воды.


Приложение 2

Описание: 1

Приложение 3

Описание: 1

Пример 1. Пропуск наледного водотока в утепленном лотке через бетонную прямоугольную трубу на ручье Арефьевом км 603, железнодорожной линии Тайшет - Лена

Приложение 4

Пример 2. Пропуск наледного водотока в утепленном лотке под мостом через ручей Еловый, км 674 железнодорожной линии Тайшет - Лена.


Приложение 5

Описание: 1

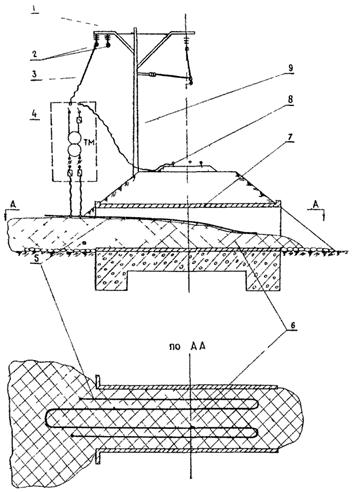
Схема устройства предупреждения наледей у водопропускных сооружений электрифицированных железных дорог:

1 - опора контактной сети; 2 - линия продольного электроснабжения; 3 - специальная штанга; 4 - переносной трансформатор типа ЗНОМ 27,5/0,127 кв; 5 - сопротивление; 6 - лед; 7 - водоток; 8 - труба; 9 - рельс; 10 - гибкий кабель

Приложение 6

Описание: 1

Схема устройства борьбы с наледями у водопропускных сооружений электрифицированных железных дорог:

1 - опора контактной сети; 2 - линия продольного электроснабжения; 3 - специальная штанга; 4 - переносной трансформатор типа ЗНОМ 27,5/0,127 кв; 5 - сопротивление; 6 - лед; 7 - труба; 8 - рельс; 9 - гибкий кабель

 

СОДЕРЖАНИЕ

Предисловие. 1

1. Общие положения. 2

2. Особенности изысканий и трассирования линий в пределах наледных участков. 3

3. Выбор и проектирование противоналедных мероприятий, устройств и сооружений. 5

Приложение 1. Пример расчета размеров наледного пояса. 19

Приложение 2. 22

Приложение 3 Пример 1. Пропуск наледного водотока в утепленном лотке через бетонную прямоугольную трубу на ручье Арефьевом км 603, железнодорожной линии Тайшет - Лена. 22

Приложение 4 Пример 2. Пропуск наледного водотока в утепленном лотке под мостом через ручей Еловый, км 674 железнодорожной линии Тайшет - Лена. 24

Приложение 5 Схема устройства предупреждения наледей у водопропускных сооружений электрифицированных железных дорог. 25

Приложение 6 Схема устройства борьбы с наледями у водопропускных сооружений электрифицированных железных дорог. 25

 

 



© 2013 Ёшкин Кот :-)