Информационная система
«Ёшкин Кот»

XXXecatmenu

ФЕДЕРАЛЬНОЕ АГЕНТСТВО
ПО
ТЕХНИЧЕСКОМУ РЕГУЛИРОВАНИЮ И МЕТРОЛОГИИ

НАЦИОНАЛЬНЫЙ
СТАНДАРТ
РОССИЙСКОЙ
ФЕДЕРАЦИИ

ГОСТ Р ИСО
7176-22-2004

 

КРЕСЛА-КОЛЯСКИ

ЧАСТЬ 22

ПРАВИЛА УСТАНОВКИ

ISO 7176-22:2000

Wheelchairs -

Part 22: Set-up procedures

(IDT)

 

 

Москва

ИПК Издательство стандартов

2005

 

Предисловие

Задачи, основные принципы и правила проведения работ по государственной стандартизации в Российской Федерации установлены ГОСТ Р 1.0-92 «Государственная система стандартизации Российской Федерации. Основные положения» и ГОСТ Р 1.2-92 «Государственная система стандартизации Российской Федерации. Порядок разработки государственных стандартов»

Сведения о стандарте

1 ПОДГОТОВЛЕН Федеральным государственным унитарным предприятием «Всероссийский научно-исследовательский институт стандартизации (ФГУП «ВНИИстандарт»)

2 ВНЕСЕН Техническим комитетом по стандартизации ТК 381 «Технические средства для инвалидов»

3 УТВЕРЖДЕН И ВВЕДЕН В ДЕЙСТВИЕ Приказом Федерального агентства по техническому регулированию и метрологии от 15 декабря 2004 г. 116-ст

4 Настоящий стандарт идентичен международному стандарту ИСО 7176-22:2000 «Кресла-коляски. Часть 22. Порядок установки» (ISO 7176-22:2000 «Wheelchairs - Part 22: Set-up procedures»)

При применении настоящего стандарта рекомендуется использовать вместо ссылочных международных стандартов соответствующие им национальные стандарты, сведения о которых приведены в дополнительном приложении С

5 Настоящий стандарт разработан по заказу Минтруда России в рамках федеральной целевой программы «Социальная поддержка инвалидов на 2000 - 2005 годы», утвержденной Постановлением Правительства Российской Федерации от 14 января 2000 г. 36

6 ВВЕДЕН ВПЕРВЫЕ

Введение

ИСО (Международная организация по стандартизации) [ИCO (ISO)] является всемирной федерацией национальных органов по стандартизации (членов ИСО). Разработку международных стандартов обычно проводят технические комитеты ИСО. Каждый член организации, заинтересованный темой, для работы над которой был создан соответствующий технический комитет, имеет право участвовать в работе этого комитета. В работе принимают участие международные правительственные и неправительственные организации, поддерживающие связь с ИСО. ИСО тесно сотрудничает с Международной электротехнической комиссией [(МЭК (IEC)] по всем вопросам стандартизации в области электротехники.

Международные стандарты разрабатывают в соответствии с правилами Руководства ИСО/МЭК. Часть 3.

Проекты международных стандартов, одобренные техническим комитетом, направляют на согласование членам этого комитета. Для публикации международных стандартов требуется одобрение не менее 75 % проголосовавших членов комитета.

Следует обратить внимание на возможность наличия в настоящем стандарте элементов, которые могут иметь патентные права. ИСО не несет ответственности за патентную чистоту.

Международный стандарт ИСО 7176-22 подготовлен Техническим комитетом ИСО/ТК 173 «Технические системы и средства помощи для инвалидов или людей с ограничениями жизнедеятельности», подкомитетом ПК 1 «Кресла-коляски».

ИСО 7176 состоит из следующих частей под общим заголовком «Кресла-коляски»:

- Часть 1: Определение статической устойчивости.

- Часть 2: Определение динамической устойчивости кресел-колясок с электроприводом.

- Часть 3: Определение эффективности действия тормозной системы.

- Часть 4: Определение теоретической дальности пробега кресел-колясок с электроприводом и скутеров путем измерения расхода энергии.

- Часть 5: Определение габаритных размеров, массы и радиуса поворота.

- Часть 6: Определение максимальной скорости, ускорения и замедления кресел-колясок с электроприводом.

- Часть 7: Определение размеров сиденья и колеса кресла-коляски.

- Часть 8: Определение статической, ударной и усталостной прочности.

- Часть 9: Климатические испытания кресел-колясок с электроприводом.

- Часть 10: Определение возможности кресел-колясок с электроприводом преодолевать препятствия.

- Часть 11: Испытательные манекены.

- Часть 13: Определение коэффициента трения испытательных поверхностей.

- Часть 14: Электросистемы и системы управления кресел-колясок с электроприводом. Требования и методы испытаний.

- Часть 15: Требования к информационному описанию, документированию и маркировке.

- Часть 16: Сопротивление возгоранию частей с мягкой обивкой. Требования и методы испытаний.

- Часть 22: Порядок установки.

Кроме того, следующие части также включены в рабочую программу ИСО/ТК 173:

- Часть 19: Колесные передвижные средства, используемые в автомобилях в качестве сиденья.

- Часть 20: Определение эксплуатационных характеристик кресел-колясок стоячего типа.

- Часть 21: Электромагнитная совместимость кресел-колясок с электроприводом и скутеров. Требования и методы испытаний.

- Часть 23: Устройства для преодоления лестниц, управляемые сопровождающим лицом. Требования и методы испытаний.

- Часть 24: Устройства для преодоления лестниц, управляемые пользователем. Требования и методы испытаний.

ГОСТ Р ИСО 7176-22-2004

НАЦИОНАЛЬНЫЙ СТАНДАРТ РОССИЙСКОЙ ФЕДЕРАЦИИ

КРЕСЛА-КОЛЯСКИ

Часть 22

Правила установки

Wheelchairs. Part 22. Set-up procedures

Дата введения - 2005-07-01

1 Область применения

Настоящий стандарт определяет правила установки кресла-коляски для испытаний по стандартам серии ИСО 7176 в случае отсутствия инструкций изготовителя.

Настоящий стандарт распространяется на кресла-коляски с ручным и электрическим приводами (включая скутеры), предназначенные для эксплуатации внутри и вне помещений.

Для испытаний, требующих соблюдения специальных правил, отличных от установленных настоящим стандартом, следует руководствоваться специальными правилами.

2 Нормативные ссылки

В настоящем стандарте использованы ссылки на следующие стандарты (при этом стороны, заключающие соглашения на основе настоящего стандарта, должны применять самые последние издания нижеприведенных стандартов):

ИСО 6440:1985 Кресла-коляски. Номенклатура, термины и определения

ИСО 7176-7:1996 Кресла-коляски. Часть 7. Определение размеров сиденья и колеса

ИСО 7176-8:1996 Кресла-коляски. Часть 8. Определение статической, ударной и усталостной прочности

ИСО 7176-11:1992 Кресла-коляски. Часть 11. Испытательные манекены

ИСО 7176-15:1996 Кресла-коляски. Часть 15. Требования к информационному описанию, документированию и маркировке

3 Термины и определения

В настоящем стандарте применены термины по ИСО 6440, ИСО 7176-7, ИСО 7176-8, ИСО 7176-11, ИСО 7176-15, а также следующие термины с соответствующими определениями:

отрицательный развал колес (negative camber): Положение колес, при котором плоскости вращения колес имеют отклонение от вертикали, причем вверху расстояние между данными плоскостями больше, чем внизу (рисунок 1).

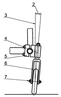
угол установки поворотной оси вилки самоориентирующегося колеса (castor stem angle): Угол между поворотной осью вилки самоориентирующегося колеса и вертикалью.

Примечание - Положительные углы установки поворотной оси вилки самоориентирующегося колеса показаны на рисунке 2.

вилка самоориентирующегося колеса (castor suppor); вилка: Опорный элемент, к которому крепят самоориентирующееся колесо (рисунок 2).

стакан вилки самоориентирующегося колеса (castor stem housing); стакан вилки: Элемент, в котором происходит поворот вилки (рисунок 2).

1 - вертикаль; 2 - отрицательный развал колес

Рисунок 1 - Отрицательный развал колес

а) Узел самоориентирующегося колеса, продольная плоскость

б) Узел самоориентирующегося колеса, поперечная плоскость

1 - положительный угол установки поворотной оси вилки в продольной плоскости; 2 - положительный угол установки поворотной оси вилки в поперечной плоскости; 3 - вертикаль; 4 - поворотная ось вилки; 5 - стакан вилки самоориентирующегося колеса (с узлом крепления); 6 - вилка самоориентирующегося колеса; 7 - ось самоориентирующегося колеса; 8 - направление движения вперед

Рисунок 2 - Узел самоориентирующегося колеса

положение при движении вперед (forward triling position): Положение самоориентирующегося колеса, соответствующее движению кресла-коляски в направлении вперед.

устройство управления (control device): Средство, с помощью которого пользователь управляет креслом-коляской с электроприводом, чтобы двигаться с выбранной скоростью в выбранном направлении.

подвеска (suspension): Амортизирующее устройство, обеспечивающее необходимый угол сиденья при пользовании креслом-коляской на ровной горизонтальной поверхности.

4 Оборудование для испытаний и средства измерений

4.1 Нагрузочное устройство (УН) по ИСО 7176-7.

4.2 Испытательный манекен по ИСО 7176-11.

4.3 Бруски по ИСО 7176-8, заменяющие голеностопную секцию испытательного манекена.

4.4 Средства измерений линейных размеров до 2000 мм, точность не менее ±1 мм.

4.5 Средства измерений углов, точность не менее ±0,2°.

4.6 Средства измерений усилия от 25 до 250 Н, точность не менее ±5 %.

4.7 Средства измерений вращающего момента от 2 до 100 Н×м, точность не менее ±10 %.

4.8 Средства накачки пневматических шин кресла-коляски до давления 106 Па, точность не менее ±0,2×105 Па.

4.9 Твердая горизонтальная испытательная плоскость достаточного размера, выдерживающая кресло-коляску во время проведения испытаний, при этом прогиб не должен быть более 5 мм.

Примечание - Прогиб контролируют с помощью двух мнимых параллельных плоскостей.

4.10 Средства удерживания кресла-коляски от перемещения во время загрузки его УН по ИСО 7176-7.

5 Оснащение кресла-коляски

5.1 Кресло-коляска должно быть оснащено подлокотниками, подголовником, подножками и/или опорами для стопы, предусмотренными для испытаний данного вида. Следует удалить все съемные подушки, ремни и т.п., которые не прикреплены к креслу-коляске и не являются его неотъемлемой частью.

5.2 Размеры и тип батарей для кресла-коляски с электроприводом должны соответствовать инструкции изготовителя. Заряд батареи должен составлять не менее 75 % ее номинальной емкости.

Предупреждение - Некоторые испытания кресла-коляски, оборудованного батареями с жидким электролитом, могут привести к вытеканию электролита и тем самым представлять собой опасность. В этом случае батареи с жидким электролитом могут быть заменены гелевыми или герметичными батареями, имеющими такие же массу и центр тяжести.

6 Регулировка кресла-коляски

6.1 Общие положения

6.1.1 Пневматические шины

Если испытания, установленные в других частях ИСО 7176, требуют соблюдения специальных указаний по регулировке шин, следует руководствоваться ими. Все другие регулировки проводят как указано ниже.

Для кресла-коляски, оснащенного пневматическими шинами, давление воздуха в них должно соответствовать инструкции изготовителя. Если установлен диапазон возможного давления, то следует выбрать максимальное значение. При отсутствии инструкции изготовителя кресла-коляски относительно давления в шинах следует выбрать максимальное давление, установленное изготовителем шины.

6.1.2 Размещение кресла-коляски

Устанавливают кресло-коляску на испытательную плоскость. Самоориентирующиеся колеса должны быть установлены в положение при движении вперед.

6.1.3 Стояночные тормоза

Если испытания, установленные в других частях ИСО 7176, требуют соблюдения специальных указаний по регулировке тормозов, следует руководствоваться ими. Для других случаев регулировки проводят как указано ниже.

Некоторые регулировки могут оказывать влияние на функциональные свойства тормозов, например, если тормозные колодки не прижимаются к контактирующим с ними поверхностям при изменении положения колес. В отсутствие инструкций изготовителя по регулировке тормозов измеряют расстояние между тормозными колодками и поверхностями контакта с ними при отпущенных тормозах. Полученное значение записывают.

Примечание - Значение этого расстояния используют при регулировке тормоза на заключительном этапе регулировки (раздел 7).

6.2 Положение регулируемых элементов

Устанавливают регулируемые элементы кресла-коляски в положение для езды в соответствии с инструкцией изготовителя.

6.3 Регулировка элементов кресла-коляски

6.3.1 Общие положения

При отсутствии указаний изготовителя регулируемые элементы кресла-коляски следует устанавливать как изложено ниже, не изменяя каких-либо регулировок по 6.2. Не следует проводить регулировки, препятствующие нормальному использованию кресла-коляски, как указано изготовителем.

Примечание 1 - При регулировке положения одного элемента кресла-коляски может измениться положение другого элемента, например изменение положения колес может изменить угол наклона сиденья. В связи с этим для некоторых элементов может потребоваться проведение повторных регулировок, чтобы компенсировать влияние регулировок других элементов.

Примечание 2 - Для регулировки используют УН массой 51 кг (11 кг для УН, соответствующего размеру тела ребенка). Для кресел-колясок с подвеской или другими сжимаемыми элементами, к которым относятся колеса и сиденья, регулировки могут быть нарушены, если кресла-коляски предназначены для пользователей большей массы. В таких случаях повторные регулировки в соответствии с разделом 9, перечисление с) 4) могут быть необходимы.

6.3.2 Ведущие колеса

6.3.2.1 Положение оси ведущего колеса по горизонтали

Если положение ведущих колес по горизонтали регулируемое, устанавливают их в среднее положение с допустимым отклонением ±3 мм или, при невозможности, - в положение, ближайшее к среднему, которое обеспечило бы колесную базу, более длинную по сравнению со средним положением колес.

6.3.2.2 Положение оси ведущего колеса по вертикали

Если положение ведущих колес по вертикали регулируемое, устанавливают их в среднее положение с допустимым отклонением ±3 мм или, при невозможности, - в положение, ближайшее к среднему в сторону смещения вниз.

6.3.2.3 Развал ведущих колес

Если развал ведущих колес регулируемый, устанавливают колеса в среднее положение между вертикалью и максимальным отрицательным углом развала или, если это не предусмотрено, - в положение, ближайшее к среднему в сторону увеличения. Если диапазон развала не определен, устанавливают колеса с отрицательным развалом, равным 2° ± 1°. Если это не предусмотрено, устанавливают их с наибольшим возможным развалом (рисунок 1).

6.3.2.4 Ширина колеи ведущих колес

Если ширина колеи ведущих колес регулируемая, устанавливают ее среднее значение, при невозможности этого, - значение, ближайшее к среднему в сторону увеличения. Если при этом происходит контактирование колес с другими элементами кресла-коляски, например с подлокотниками, следует увеличить расстояние между колесами настолько, чтобы обеспечить свободное вращение колес.

6.3.3 Самоориентирующиеся колеса

6.3.3.1 Положение стакана вилки по горизонтали

Если положение стаканов вилок по горизонтали регулируемое, устанавливают их в среднее положение с допустимым отклонением ±3 мм или, если это не предусмотрено, - в положение, ближайшее к среднему в сторону увеличения колесной базы.

6.3.3.2 Положение стакана вилки по вертикали

Если положение стаканов вилок по вертикали регулируемое, устанавливают их в среднее положение с допустимым отклонением ±3 мм или, если это невозможно, - в положение, ближайшее к среднему в сторону смещения вниз.

6.3.3.3 Положение оси самоориентирующихся колес по вертикали

Если положение самоориентирующегося колеса в вилке регулируемое по вертикали, устанавливают его в среднее положение с допустимым отклонением ±3 мм или, при невозможности этого, - в положение, ближайшее к среднему в сторону увеличения расстояния между стаканом вилки и колесом. Не допускаются альтернативные установки самоориентирующихся колес по вертикали, если эти альтернативные установки распространяются только на колеса других диаметров.

6.3.3.4 Ширина колеи самоориентирующихся колес

Если ширина колеи самоориентирующихся колес регулируемая, устанавливают их в среднее положение, при этом колеса должны быть установлены в положение при движении вперед. Если это невозможно, выбирают ширину колеи, ближайшую к средней в сторону увеличения.

6.3.3.5 Угол установки поворотной оси вилки в продольной плоскости

Если угол установки поворотной оси вилки регулируемый в продольной плоскости, устанавливают ось вилки вертикально с допустимым отклонением от плюс 1° до 0° или, если это невозможно, устанавливают ось вилки в положение, ближайшее к вертикальному в сторону положительного угла установки (рисунок 2).

6.3.3.6 Угол установки поворотной оси вилки в поперечной плоскости

Если угол установки поворотной оси вилки регулируемый в поперечной плоскости, устанавливают ось вилки вертикально с допустимым отклонением от плюс 1° до 0° или, если это невозможно, устанавливают ось вилки в положение, ближайшее к вертикальному в сторону положительного угла установки (рисунок 3).

6.3.4 Сиденье и спинка

6.3.4.1 Положение УН

Положение УН в кресле-коляске должно соответствовать ИСО 7176-7.

6.3.4.2 Глубина сиденья

Если эффективная глубина сиденья по ИСО 7176-7 (измерение 2) регулируемая, устанавливают среднюю глубину сиденья. Если это невозможно, выбирают положение, ближайшее к среднему значению глубины в сторону его увеличения.

6.3.4.3 Высота спинки

Если высота спинки по ИСО 7176-7 (измерение 7) регулируемая, устанавливают ее в среднее положение. Если это невозможно, выбирают положение, ближайшее к среднему значению высоты спинки в сторону его увеличения.

6.3.4.4 Высота сиденья

Если сиденье можно регулировать по высоте относительно рамы кресла-коляски, устанавливают сиденье на максимальную высоту для нормальной езды согласно инструкции изготовителя.

6.3.5 Угол наклона сиденья

6.3.5.1 Если угол наклона сиденья можно регулировать относительно рамы кресла-коляски, устанавливают его равным плюс 8° с допустимым отклонением от плюс 3° до 0° по ИСО 7176-7 (измерение 1). Если такой угол невозможен, выбирают угол, ближайший к данному в сторону увеличения. Если это также невозможно, выбирают угол, наиболее приближенный к углу, равному плюс 8°. В случае данной регулировки не принимают во внимание 6.3.1.

6.3.5.2 Если сиденье зафиксировано относительно рамы кресла-коляски или если угол наклона сиденья, равный плюс 8° с допустимым отклонением от плюс 3° до 0°, не достигнут при регулировке согласно 6.3.5.1, устанавливают ведущие колеса так, чтобы угол наклона сиденья был равным плюс 8° с допустимым отклонением от плюс 3° до 0° по ИСО 7176-7. Если такой угол невозможен, выбирают угол, ближайший к данному в сторону увеличения. Если это также невозможно, выбирают угол как можно ближе к углу, равному плюс 8°. В случае данной регулировки не принимают во внимание 6.3.1.

6.3.5.3 Если угол наклона сиденья, равный плюс 8° с допустимым отклонением от плюс 3° до 0°, не достигнут при регулировке согласно 6.3.5.1 и/или 6.3.5.2, регулируют положение самоориентирующихся колес так, чтобы угол наклона сиденья был равным плюс 8° с допустимым отклонением от плюс 3° до 0° по ИСО 7176-7. Если такой угол невозможен, выбирают угол, ближайший к данному в сторону увеличения, или, если и это невозможно, выбирают угол, наиболее приближенный к углу, равному плюс 8°. В случае данной регулировки не принимают во внимание 6.3.3.2 и 6.3.3.3, но не следует проводить регулировку положения самоориентирующихся колес по вертикали, если эта регулировка предусмотрена только для применения самоориентирующихся колес другого диаметра.

6.3.6 Угол наклона спинки

Если угол наклона спинки регулируемый, устанавливают его равным плюс 10° с допустимым отклонением от плюс 3° до 0° по ИСО 7176-7 (измерение 6). Если это невозможно, выбирают угол, ближайший к данному в сторону увеличения, или, если это также невозможно, выбирают угол, наиболее приближенный к углу плюс 10°.

6.3.7 Угол наклона подножки к поверхности сиденья

Если угол наклона подножки регулируемый, устанавливают его как можно ближе к углу, равному 90° по ИСО 7176-7 (измерение 15).

6.3.8 Опора стопы

6.3.8.1 Угол наклона опоры стопы

Если угол наклона опоры стопы регулируемый, устанавливают его как можно ближе к углу, равному 90° по ИСО 7176-7 (измерение 14).

6.3.8.2 Высота опоры стопы

Если высота опоры стопы регулируемая, устанавливают ее как можно ближе к размеру, равному 50 мм по ИСО 7176-7 (измерение 12). Если опора стопы препятствует повороту самоориентирующихся колес, повторно регулируют угол наклона подножки к поверхности сиденья (6.3.7), минимально изменив его так, чтобы обеспечить свободный поворот самоориентирующихся колес.

6.3.9 Устройство управления

6.3.9.1 Установка

Для кресла-коляски с электроприводом, устройство управления которого может занимать различное положение в пространстве, устанавливают его в среднее положение. Если среднее положение не предусмотрено, следует выбрать среднее положение как можно дальше от подлокотника.

6.3.9.2 Электрическая настройка

Настраивают устройство управления в соответствии с инструкцией изготовителя. Если инструкция отсутствует, выбирают настройку, соответствующую максимальной скорости.

6.3.9.3 Другие электрические устройства управления

Устанавливают другие электрические устройства управления, не требующие использования какого-либо инструмента и не влияющие на регулировку по 6.3.4 - 6.3.8, в положение в соответствии с инструкцией изготовителя. Если инструкция отсутствует, устанавливают эти устройства в среднее положение.

6.3.10 Другие элементы

Устанавливают все другие механически регулируемые элементы кресла-коляски в их среднее положение. Если среднее положение не предусмотрено, то устанавливают их в положение, ближайшее к среднему в сторону большей длины, высоты и ширины.

Примечание - Типичными регулируемыми элементами являются подголовники и подлокотники.

7 Заключительные регулировки

После завершения регулировок согласно разделу 6 выполняют следующие заключительные регулировки, отдавая приоритет последним, но при условии, что они не противоречат инструкции изготовителя:

a) В случае необходимости корректируют угол наклона спинки, не изменяя положение ведущих колес и угол наклона сиденья, так чтобы его значение было как можно ближе к плюс 10°. Если такой угол невозможен, выбирают ближайший больший угол или, если это также невозможно, - угол, ближайший к плюс 10°.

b) Если угол наклона сиденья можно регулировать без изменения положения самоориентирующихся или ведущих колес, корректируют его так, чтобы значение этого угла было наиболее приближено к плюс 8°. Если такой угол не предусмотрен, выбирают ближайший больший угол или, если это также невозможно, - угол, ближайший к плюс 8°.

c) Корректируют в случае необходимости угол установки поворотной оси вилки в продольной плоскости, так чтобы отклонение от вертикали было от плюс 1° до 0°, или, если это невозможно, - в положение, ближайшее к вертикальному в сторону положительного угла отклонения. Отклонение поворотной оси вилки самоориентирующегося колеса от вертикали в поперечной плоскости не допускается.

d) В случае регулируемых стояночных тормозов корректируют положение стояночных тормозов согласно инструкции изготовителя. Если инструкция изготовителя отсутствует, проводят коррекцию положения тормозов в соответствии с измерениями по 6.1.3.

8 Заключительный контроль

После завершения регулировок по разделам 5, 6 и 7 необходимо обеспечить затяжку соединений в соответствии с инструкцией изготовителя. Если инструкция отсутствует, следуют указаниям приложения В.

9 Порядок установки испытательного манекена

Если испытания требуют применения испытательного манекена по ИСО 7176-11, руководствуются следующими указаниями для выбора и расположения манекена:

a) Рассчитывают угол между спинкой по разделу 7, перечисление а) и плоскостью сиденья по разделу 7, перечисление b).

b) Выбирают испытательный манекен по ИСО 7176-11, имеющий массу, равную максимальной массе пользователя согласно инструкции изготовителя; при отсутствии такого манекена используют манекен последующей градации по массе по таблице 1.

Таблица 1

В килограммах

Максимальная масса пользователя

Масса испытательного манекена

До 25

25

От 25 до 50

50

Св. 50 до 75

75

Св. 75

100

с) Помещают выбранный испытательный манекен в кресло-коляску следующим образом:

1) располагают манекен симметрично по центру сиденья кресла-коляски с допустимым отклонением ±10 мм;

2) освобождают шарнир между спинной и тазобедренной секциями манекена;

3) корректируют положение манекена в продольном направлении так, чтобы угол наклона его спинной секции совпал с углом между сиденьем и спинкой кресла-коляски, определенным в соответствии с разделом 9, перечисление а), с допустимым отклонением ±3°;

4) проверяют, чтобы угол наклона тазобедренной секции выбранного по ИСО 7176-11 манекена совпал с углом наклона сиденья кресла-коляски, установленным в разделе 7, перечисление b). В случае несовпадения проводят повторную регулировку кресла-коляски, где это применимо, в соответствии с разделами 6 - 8.

Примечание - Если манекен должен быть удален из кресла-коляски во время испытаний и затем возвращен обратно, для ускорения этой процедуры можно применять контрольные отметки положения манекена на раме кресла-коляски.

10 Регистрация результатов установки регулируемых элементов кресла-коляски

Вносят значения измеренных параметров установки регулируемых элементов кресла-коляски в таблицу А.1 приложения А.

Приложение А

(обязательное)

Регистрация параметров регулируемых элементов кресла-коляски после его установки по правилам настоящего стандарта

Идентификация кресла-коляски (тип, номер серии и т.п.).............................................

Изготовитель.........................................................................................................................

Адрес.....................................................................................................................................

Таблица А.1

Регулируемый параметр

Тип оборудования (размер, обозначение, т.п.)

Значение/Положение

Давление в пневматических шинах ведущих колес (6.1.1)

 

 

Давление в пневматических шинах самоориентирующихся колес (6.1.1)

 

 

Расстояние между тормозными колодками и контактирующими с ними поверхностями (6.1.3)

 

 

Положение осей ведущих колес по горизонтали (6.3.2.1)

 

 

Положение осей ведущих колес по вертикали (6.3.2.2)

 

 

Развал ведущих колес (6.3.2.3)

 

 

Ширина колеи ведущих колес (6.3.2.4)

 

 

Положение стакана вилки самоориентирующегося колеса по горизонтали (6.3.3.1)

 

 

Положение стакана вилки самоориентирующегося колеса по вертикали (6.3.3.2)

 

 

Положение оси самоориентирующихся колес по вертикали (6.3.3.3)

 

 

Ширина колеи самоориентирующихся колес (6.3.3.4)

 

 

Угол установки поворотной оси вилки в продольной плоскости (6.3.3.5)

 

 

Угол установки поворотной оси вилки в поперечной плоскости (6.3.3.6)

 

 

Глубина сиденья (6.3.4.2)

 

 

Высота спинки (6.3.4.3)

 

 

Высота сиденья (6.3.4.4)

 

 

Угол наклона сиденья (6.3.5)

 

 

Угол наклона спинки (6.3.6)

 

 

Угол наклона подножки к поверхности сиденья (6.3.7)

 

 

Угол наклона опоры стопы (6.3.8.1)

 

 

Высота опоры стопы (6.3.8.2)

 

 

Устройство управления, установка (6.3.9.1)

 

 

Электрические установочные параметры (6.3.9.2)

 

 

Другие электрические устройства управления (6.3.9.3)

 

 

Другие элементы (6.3.10)

 

 

Заключительные регулировки

 

 

Угол наклона спинки [7 а)]

 

 

Угол наклона сиденья [7 b)]

 

 

Угол установки поворотной оси вилки самоориентирующегося колеса [7 с)]

 

 

Расстояние между тормозными колодками и поверхностями, контактирующими с ними [7 d)]

 

 

Установка манекена

 

 

Рассчитать угол между спинкой и сиденьем [9 а)]

 

 

Размер манекена [9 б)]

 

 

Положение манекена [9 с) 3)]

 

 

Для нерегулируемых элементов указать в таблице: «Нерегулируемый».

Приложение В

(справочное)

Резьбовые соединения кресла-коляски

Регулируемые элементы кресла-коляски обычно фиксируют ручками, ручными зажимами, рычагами и болтами.

Если изготовитель не установил усилие затяжки, в таблице Б.1 приведены рекомендации по выбору максимального момента затягивания в зависимости от типа соединения.

Таблица Б.1 - Выбор максимального момента затягивания

Резьбовое соединение

Размер, мм

Максимальный момент затягивания, Н×м

Ручки/ручные зажимы

- диаметр

Менее 30

2,0

От 30 до 50

3,5

Св. 50

7,0

Рычаги

- длина

Менее или равна 50

5

Св. 50

8

Болты и гайки

- размер под ключ

10

10

17

17

19

25

24

55

Винты

- размер шестигранного гаечного ключа

5

7

6

12

Приложение С

(обязательное)

Сведения о соответствии национальных стандартов Российской Федерации ссылочным международным стандартам

Таблица С.1

Обозначение ссылочного международного стандарта

Обозначение и наименование соответствующего национального стандарта

ИСО 6440:1985

ГОСТ 30475-96 (ИСО 6440-85)/ГОСТ Р 50653-94 (ИСО 6440-85) Кресла-коляски. Термины и определения

ИСО 7176-7:1996

ГОСТ Р 51082-97 (ИСО 7176-7-96) Кресла-коляски. Метод измерения параметров и размеров сиденья и колеса

ИСО 7176-8:1996

ГОСТ Р 51081-97 (ИСО 7176-8-96) Кресла-коляски. Технические требования и методы испытаний на статическую, ударную и усталостную прочность

ИСО 7176-11:1992

ГОСТ Р ИСО 7176-11-96 Кресла-коляски. Испытательные манекены

ИСО 7176-15:1996

*

* Соответствующий национальный стандарт отсутствует. До его принятия рекомендуется использовать перевод на русский язык данного международного стандарта или гармонизированный с ним национальный (государственный) стандарт страны, на территории которой применяется настоящий стандарт. Информация о наличии перевода данного международного стандарта в национальном фонде стандартов или в ином месте, а также информация о действии на территории страны соответствующего национального (государственного) стандарта может быть приведена в национальных информационных данных, дополняющих настоящий стандарт.

 

Ключевые слова: кресла-коляски, правила установки

СОДЕРЖАНИЕ

1 Область применения. 3

2 Нормативные ссылки. 3

3 Термины и определения. 3

4 Оборудование для испытаний и средства измерений. 5

5 Оснащение кресла-коляски. 6

6 Регулировка кресла-коляски. 6

7 Заключительные регулировки. 9

8 Заключительный контроль. 10

9 Порядок установки испытательного манекена. 10

10 Регистрация результатов установки регулируемых элементов кресла-коляски. 10

Приложение А Регистрация параметров регулируемых элементов кресла-коляски после его установки по правилам настоящего стандарта. 10

Приложение В Резьбовые соединения кресла-коляски. 11

Приложение С Сведения о соответствии национальных стандартов Российской Федерации ссылочным международным стандартам.. 12

 

 



© 2013 Ёшкин Кот :-)