Информационная система
«Ёшкин Кот»

XXXecatmenu

ОТРАСЛЕВЫЕ СТАНДАРТЫ

 

ДЕТАЛИ И СБОРОЧНЫЕ ЕДИНИЦЫ ИЗ УГЛЕРОДИСТЫХ
И КРЕМНЕМАРГАНЦОВИСТЫХ СТАЛЕЙ
ДЛЯ ТРУБОПРОВОДОВ ПАРА И ГОРЯЧЕЙ ВОДЫ
С ДАВЛЕНИЕМ
pу ≥ 4,0 МПа (PУ ≥ 40 кгс/см2)
ТЕПЛОВЫХ ЭЛЕКТРОСТАНЦИЙ

ТИПЫ, КОНСТРУКЦИЯ, РАЗМЕРЫ И ТЕХНИЧЕСКИЕ ТРЕБОВАНИЯ

ОСТ 108.104.03-82

 

 

УТВЕРЖДЕН И ВВЕДЕН В ДЕЙСТВИЕ указанием Министерства энергетического машиностроения от 04.06.82 № ВВ-002/4628

ИСПОЛНИТЕЛИ: НПО ЦКТИ и БЗЭМ

СОГЛАСОВАН с Главным управлением по проектированию и научно-исследовательским работам Министерства энергетики и электрификации СССР

Л.М. ВОРОНИН

ОТРАСЛЕВОЙ СТАНДАРТ

ТРОЙНИКИ СВАРНЫЕ ПЕРЕХОДНЫЕ
ДЛЯ ТРУБОПРОВОДОВ ТЭС

КОНСТРУКЦИЯ И РАЗМЕРЫ

ОСТ 108.104.03-82

Взамен НО 1077-60 в части
pном = 380 кгс/см2, t = 280 °С

Указанием Министерства энергетического машиностроения от 04.06.82 № ВВ-002/4628 срок действия установлен

с 01.01.85

до 01.01.96

Несоблюдение стандарта преследуется по закону

1. Настоящий стандарт распространяется на тройники сварные переходные трубопроводов питательной воды тепловых электростанций с абсолютным давлением и температурой воды:

p = 37,27 МПа (380 кгс/см2), t = 280 °С;

p = 23,54 МПа (240 кгс/см2), t = 250 °С;

p = 18,14 МПа (185 кгс/см2), t = 215 °С.

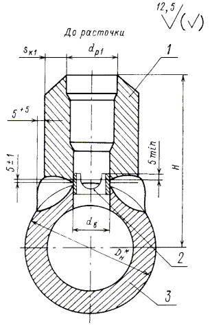
2. Конструкция и размеры сварных тройников должны соответствовать указанным на чертеже и в табл. 1, 2.

3. Выбор сварочных материалов в зависимости от вида сварки производить по ОСТ 108.940.02.

4. После сварки штуцер (поз. 1) растачивается напроход до диаметра dв1 с целью удаления подкладного кольца и корня шва (см. чертеж).

5. Материал корпуса тройника (поз. 3) - труба из стали марки 15ГС по ТУ 14-3-460.

6. Рекомендуемый размер прямого участка уточняется заводом - изготовителем при разработке технологического процесса.

Допускается изготовление подкатанной части без прямых участков.

7. Остальные технические требования - по ОСТ 24.125.60.

8. Масса наплавленного металла уточняется технологическим процессом.

9. Проточку подкатанных концов диаметром dр допускается выполнять на длину не менее длины обжатой части тройника с выходом под углом 25° ± 2°.

10. Пример условного обозначения тройника переходного исполнения 02 с условными проходами Dу = 225 мм, Dу1 = 175 мм:

ТРОЙНИК ПЕРЕХОДНЫЙ 225×175 02 ОСТ 108.104.03.

11. Пример маркировки: 02 ОСТ 108.104.03


Таблица 1

Размеры, мм

Исполнение

Условные проходы

Наружный диаметр и толщина стенки присоединяемых труб

Dн*

Dн2

Dн3

dв

dв1

dр

dр1

L

H

s

sк, не менее

sк1

b, не менее

Масса наплавленного металла, кг

Масса, кг

Dу

Dу1

Номин.

Пред. откл.

Номин.

Пред. откл.

Номин.

Пред. откл.

Номин.

Пред. откл.

Номин.

Пред. откл.

Пред. откл. ± 5

p = 37,27 МПа (380 кгс/см2), t = 280 °С

01

250

200

325×42

273×36

377

310

325

+4

-1

186

+1,3

190

± 0,5

245

+0,72

203

+0,72

850

449

60

36,4

30,8

37

5,1

510

p = 23,54 МПа (240 кгс/см2), t = 250 °С

02**

225

175

273×24

219×19

325

219

273

+4

-1

170

+1,3

174

± 0,5

226

+0,72

182

+0,72

650

306

42

20,2

16,5

17

2,4

214

p = 18,14 МПа (185 кгс/см2), t = 215 °С

03**

225

175

273×19

219×16

325

219

273

+4

-1

170

+1,3

174

± 0,5

236

+0,72

188

+0,72

650

306

28

16,0

13,2

17

2,4

154

* Размер для справок.

** Допускается применять в технически обоснованных случаях.


Таблица 2

Обозначение тройника

Штуцер (поз. 1) 1 шт.

Кольцо подкладное (поз. 2) 1 шт.

Корпус (поз. 3) 1 шт.

Обозначение

01 ОСТ 108.104.03

06 ОСТ 108.462.03

19 ОСТ 108.520.02

-

02 ОСТ 108.104.03

12 ОСТ 108.462.03

17 ОСТ 108.520.02

03 ОСТ 108.104.03

16 ОСТ 108.462.03

17 ОСТ 108.520.02

ИНФОРМАЦИОННЫЕ ДАННЫЕ

1. УТВЕРЖДЕН И ВВЕДЕН В ДЕЙСТВИЕ указанием Министерства энергетического машиностроения от 04.06.82 № ВВ-002/4628

2. ИСПОЛНИТЕЛИ

П.М. Христюк, канд. техн. наук; Д.Д. Дорофеев, канд. техн. наук (руководитель темы); Г.Н. Смирнов (руководитель темы); Л.Н. Жылюк; В.Н. Шанский; Н.В. Москаленко; Д.Ф. Фомина; Г.А. Мисирьянц; В.Ф. Логвиненко; Ф.А. Гловач; А.З. Гармаш; Н.Г. Мазин; А.С. Шестернин

3. ЗАРЕГИСТРИРОВАН Государственным комитетом СССР по стандартам за № 8273724 от 26.02.83

4. ВЗАМЕН НО 1077-60

5. ССЫЛОЧНЫЕ НОРМАТИВНО-ТЕХНИЧЕСКИЕ ДОКУМЕНТЫ

Обозначение НТД, на который дана ссылка

Номер пункта, подпункта, перечисления, приложения

ОСТ 24.125.60-89

7

ОСТ 108.940.02-82

3

ТУ 14-3-460-75

5

ОСТ 108.462.03-82

2

ОСТ 108.520.02-82

2

6. ПЕРЕИЗДАНИЕ (1992 г.) с Изменениями № 1, 2, 3, 4, 5.

Срок действия продлен до 1996 г. Изменением № 4, утвержденным письмом Минтяжмаша СССР от 27.12.90 № ВА-002-1-12060

 

 



© 2013 Ёшкин Кот :-)