ОАО «РОСТОВСКОЕ
ЦЕНТРАЛЬНОЕ ПРОЕКТНО-КОНСТРУКТОРСКОЕ
БЮРО «СТАПЕЛЬ»
ТЕХНОЛОГИЧЕСКИЕ КАРТЫ
НА ВОДОЛАЗНЫЕ
РАБОТЫ ПРИ ПРОВЕДЕНИИ
ВОДОЛАЗНЫХ СПУСКОВ И РАБОТ
Р4404
Ростов-на-Дону 2000
Разработан Открытое акционерное общество «Ростовское центральное проектно-конструкторское
бюро «Стапель»
Руководитель
темы
Генеральный
директор Святенко
А.В.
Ведущий
темы Абрамов
Ю.А.
Ответственные
исполнители Леонтьева Е.В.
Черний
Н.И.
Консультант Главный
водолазный специалист АП БАСУ «Балтийские буксиры»
Грицай
П.М
Согласован Письмом
АП Бассейнового аварийно-спасательного управления «Балтийские буксиры» от
27.11.2000 г. № У-266
Письмом Федеральной инспекции
труда в Ростовской области от 14.11.2000 г. № 24/13/2.3-5
Утвержден Государственная
морская аварийная и спасательно-координационная служба Российской Федерации
Руководитель Карев
В.И.
СОДЕРЖАНИЕ
Введение. 3
1.
Аварийно-спасательные водолазные работы.. 4
1.1.
Обследование корпуса аварийного судна. 4
1.2
Герметизация корпуса аварийного или затонувшего судна с помощью пластыря,
деревянных пробок и клиньев. 8
1.3.
Подводное бетонирование аварийного судна. 15
2.
Судоподъёмные водолазные работы.. 19
2.1.
Обследование затонувшего судна. 19
2.2.
Грунтоуборочные работы, разработка траншей и котлованов. 24
2.3.
Заведение проводников и подъемных стропов (полотенец) под корпус затонувшего
судна. 27
2.4.
Остропка и найтовка судоподъёмных понтонов. 31
2.5.
Спрямление затонувшего судна на грунте. 35
2.6.
Изготовление и установка на затонувшем судне водоотливных шахт и коффердамов. 39
2.7.
Осушение отсеков затонувшего судна откачкой и отжатием воды сжатым воздухом.. 42
2.8.
Продувка судоподъёмных понтонов, перевод поднятого судна на отмель и
постановка на плав, расстройка (перестройка) понтонов. 46
2.9.
Подача в отсеки затонувшего судна вспененного полистирола. 49
2.10.
Остропка и подъем краном отдельных частей судна. 52
3.
Подводно-технические водолазные работы.. 55
3.1 Обследование
дна акватории порта и судоходных каналов. 55
3.2.
Обследование гидротехнических сооружений гравитационого типа. 59
3.3.
Обследование сооружений свайной конструкции. 63
3.4.
Обследование водозаборных сооружений. 66
3.5.
Обследование трубопроводов, уложенных кабелей через реки и водоемы.. 68
3.6.
Подводное бетонирование гидротехнических сооружений. 70
3.7.
Работы у водонапорных сооружений. 75
3.8.
Подъём автомашин, тракторов и другой техники. 78
3.9.
Применение подводного фотографирования и телевидения. 80
3.10.
Укрепление берегов и откосов гидротехнических сооружений. 85
3.11.
Расчистка судоходных каналов. 87
3.12.
Постановка судов в доки и на слипы.. 89
3.13.
Восстановление разрушенных и повреждённых мостов. 91
3.14.
Ремонт спусковых дорожек и отдача спусковых устройств. 94
3.15.
Установка под водой бетонных массивов, блоков, ряжей. 96
3.16.
Разработка траншей и котлованов. 99
3.17.
Прокладка подводных трубопроводов и кабелей. 101
3.18.
Строительство водозаборных сооружений. 105
3.19.
Ремонт металлической свайной конструкции. 107
3.20.
Равнение постелей из каменной наброски при строительстве гидротехнических
сооружений. 109
4.
Судовые водолазные работы.. 112
4.1.
Освидетельствование подводной части судна на плаву. 112
4.2.
Очистка от обрастания корпуса судна под водой. 118
4.3.
Ремонт гребных устройств (ремонт, снятие с конуса вала и постановка гребных винтов;
выемка и постановка гребных валов; выпрессовка и запрессовка дейдвудных и
кронштейновых втулок) 122
4.4.
Ремонт рулевых устройств (устранение отклонения пера руля от диаметральной
плоскости; ремонт рулей, петель, деталей крепления; восстановление кожухов и
обтекателей, съёмка и установка лотков) 127
4.5.
Ремонт и постановка забортных устройств (смена решеток, замена шпилек, очистка
кингстонов, постановка протекторов) 130
4.6.
Сверловка, рубка и другие мелкие работы под водой (сверловка и прорезание
отверстий, рубка металла, рубка и резка троса, чеканка заклепочных и сварных
швов) 133
5.
Подводные электросварочные работы.. 136
5.1.
Подводные электросварочные работы с использованием ручной и полуавтоматической
сварки. 136
5.2.
Выполнение электрокислородной резки металла. 145
6.
Подводные взрывные работы.. 151
6.1
Выполнение подводных взрывных работ. 151
Приложение
1. Форма акта водолазного обследования подводной
части судна. 160
Приложение
2. Форма схемы обследуемого судна. 161
Приложение
3. Форма наряд-задания на производство водолазных
работ. 164
Приложение
4. Форма акта на выполненные водолазные работы.. 165
Приложение
5. Форма схемы повреждений обследуемого
гидросооружения. 166
Приложение
6. Форма типовой рабочей программы обследования
подводной части судна при освидетельствовании. 167
Приложение
7. Форма протокола водолазного обследования
подводной части судна при освидетельствовании. 170
Приложение 8. Форма акта
освидетельствования судна. 172
|
Настоящие
технологические карты разработаны ОАО «Ростовское центральное проектно-конструкторское
бюро «Стапель» в соответствии с техническим заданием Министерства транспорта
Российской Федерации.
Технологические
карты устанавливают единый порядок выполнения водолазных спусков и работ
водолазами предприятий Госморспасслужбы России (БАСУ, УАСПТР, ЭО АСПТР),
содержат требования безопасности организации и охраны труда, и предназначены
для использования при проведении всех видов работ, перечисленных в сборнике.
Сборник
состоит из 42 технологических карт, которые входят в 6 разделов:
-
аварийно-спасательные водолазные работы;
-
судоподъемные водолазные работы;
- судовые
водолазные работы;
-
подводно-технические водолазные работы;
-
подводные электросварочные работы;
-
подводные взрывные работы.
Технологические
карты составлены для проведения водолазных работ при нормальных условиях труда:
- глубина
спуска до 12 м;
- в
дневное время суток;
-
атмосферное давление более 700 мм рт.ст.;
-
видимость под водой не менее 1 м;
-
температура воды от +4 °С до +37 °С;
- температура
воздуха выше 0 °С;
- течение
не более 0,5 м/с;
-
волнение водной поверхности не свыше 2-х баллов;
- воды не
заражены отравляющими и радиоактивными веществами;
- воды не
содержат нефтепродуктов и хозяйственно-бытовых отходов;
- работы
выполняются на чистом грунте или открытой палубе затонувшего судна.
При
производстве водолазных работ, в условиях не соответствующих нормальным, к
нормам времени водолазных станций, рабочих, обслуживающего персонала судов и
плавучих технических средств, связанных с работой водолазной станции, следует
применять повышающие коэффициенты:
- при работе на глубине менее 2,5 м и от 12 м до 20 м 1,1
25 1,4
30 2,3
35 3,2
40 4,3
45 5,2
50 8,6
55 11,0
60 12,0
(водолазные спуски на глубину
более 12,0 м должны быть обеспечены декомпрессионными камерами.)
- при скорости течения от 0,5 м/с до 1,5 м/с 1,2
2,0 1,4
3,0 1,4
(при волнении моря свыше 3 баллов
все водолазные работы, производимые на открытых акваториях морей и водохранилищ
следует прекращать, а водолазные работы, выполняемые на глубине не более 3 м,
следует прекращать при волнении в 2 балла.)
- при радиусе видимости под водой менее 1 м 1,2
- при отсутствии видимости 1,4
- при работе с искусственным освещением 1,15
- при
температуре воды ниже указанной в
нормальных
условиях, а также при наличии
загрязненности
воды вредными примесями
(работа в зимней рубахе) 1,25
Все
работы, освещенные в технологических картах, выполняются в вентилируемом,
автономном и шланговом водолазном снаряжении, выпускаемом как отечественной промышленностью,
так и зарубежными фирмами.
Во всех технологических картах при проведении водолазных спусков
предусмотрена укомплектованность водолазных станций водолазами в соответствия с
РД
31.84.01-90 «Единые правила безопасности труда на водолазных работах», ч.
1.
|
Кол-во водолазов, включая руководителя спусков, чел., не
менее
|
Глубина погружения, м
|
При спуске 1 водолаза под воду
|
При спуске одновременно 2 водолазов под воду
|
До 20
|
3
|
5
|
Свыше 20 до 45
|
4
|
6
|
Свыше 45 до 60
|
6
|
7
|
В зависимости от условий
спуска и характера выполняемых работ, водолазная станция должна быть укомплектована
дополнительным количеством
Условия спуска и
характер выполняемых работ
|
Дополнительное кол-во водолазов
|
Глубина, м
до 20
|
Глубина, м
Св. 20 до 45
|
Глубина, м
Св. 45 до 60
|
Внутри судна, отсека,
помещения
|
1
|
2
|
3
|
С использованием
электросварочного оборудования
|
1
|
1
|
1
|
С использованием
взрывчатых и взрывоопасных веществ
|
1 - 2
|
2 - 3
|
4
|
На течении от 1 до 2 м/с
|
1
|
2
|
2
|
С использованием
механизированного инструмента
|
1
|
1
|
1
|
В нефтепродуктах и
глинистых растворах
|
2
|
2
|
2
|
При вынужденных спусках
на волнении свыше 3 баллов
|
2
|
2
|
9
|
При дыхании кислородом в
барокамере водолазов
|
1
|
1
|
1
|
Использование
технологических карт предусматривает повышение организации производства
водолазных работ и уровня охраны труда при проведении водолазных спусков и
работ с учетом положений РД
31.84.01-90 «Единые правила безопасности труда на водолазных работах».
1. Аварийно-спасательные водолазные работы
1.1. Обследование корпуса аварийного судна
Общие положения
Работа по
обследованию подводной части производится для выявления возможных повреждений и
неисправностей аварийного судна, находящегося на плаву или сидящего на мели.
Спуск
водолазов производится с водолазного бота, пришвартованного к аварийному судну
в дневное время суток при нормальных метеоусловиях.
При
угрозе затопления судна водолазный бот ставится на якорь, а с кормы на судно
подается растительный швартовный канат дупленём (оба конца крепятся на боте.)
Для
обследования всего корпуса судна необходимо производить перестановку
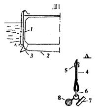
водолазного бота в зависимости от длины судна (позиции I, II, III рисунка 1).
При
выполнении водолазных работ должна быть обеспечена двухсторонняя связь с
ходовым мостиком аварийного судна и постом водолазных спусков.
Водолазные
работы по обследованию аварийного судна выполняются водолазной станцией,
обеспеченной техническими средствами и укомплектованной количеством водолазов в
зависимости от условий, глубины спусков и характера выполняемых работ.
При
обследовании аварийных судов наиболее удобным и самым производительным является
легководолазное снаряжение, однако допускается использовать снаряжение любого
типа.
Руководитель
водолазных работ проводит инструктаж с водолазами по безопасным методам труда,
а с экипажем аварийного судна по безопасным методам обслуживания водолазных
работ. Определяет метод (визуально или с применением подводной фото-
телеаппаратуры) и порядок обследования, количество технических средств (ВМ,
ВРД, рабочих шлюпок и др.), водолазных станций, водолазов, матросов.
Руководитель водолазных спусков распределяет обязанности между водолазами,
обслуживающим персоналом, определяет время пребывания водолазов под водой.
Спуск и подъем
водолазов производится в соответствии с требованиями РД
31.84.01-90 «Единые правила безопасности труда на водолазных работах».

Рисунок 1 -
Позиции водолазного бота
у аварийного судна
Состав работ
|
Технология выполнения работ
|
1. Подготовка к водолазным работам
а) Установка маркировочного
конца для осмотра борта.


1 - борт; 2 - днище; 3 - скуловой киль;
4 - маркировочный (подкильный) конец; 5 - марка;
6 - скоба; 7 - марка магнитная (или
магнитно-вакуумный присос); 8 - груз (балластина).
Рисунок 2 - Схема установки
маркировочного конца
|
Для ориентировки
водолаза выполняется маркировка с помощью маркировочных концов (или
подкильных концов при отсутствии первых). При осмотре бортового участка
маркировочные концы опускаются до скулового пояса, при осмотре днища они
опускаются ниже скуловых килей на величину равную половине ширины судна и
затем закрепляются на ДП при помощи магнитной марки или магнитно-вакуумного
присоса (Рисунок 2).
|
2. Осмотр подводной части корпуса судна.

1 - борт; 2 - днище; 3 - скуловой киль;
4 - ширстрек; 5 - маркировочный подкильный
конец; 6 - марка; 7 - скоба такелажная;
8 - груз.
Рисунок 3 - Схема установки маркировочного подкильного
конца

1 - пазовые сварные швы; 2 - стыковые
сварные швы; 3 - скуловой киль; 4 -
подкильный конец; 5 - кингстонная решетка;
6 - верхняя часть ширстрека.
Рисунок 4 - Схема движения
водолаза в вентилируемом снаряжении при осмотре
корпуса судна
|
Водолазное
обследование судна производится с подкильного конца (Рисунок 3). При
обследовании подводной части корпуса аварийного судна в вентилируемом
снаряжении, водолаз передвигается по маршруту обследования сверху вниз по подкильному
концу к ДП (с одного борта). После обследования полосы по команде
руководителя спуска, подкильный конец переносится на расстояние двойной
видимости и так повторяется до окончания обследования одного борта судна.
Затем производится перестановка водолазного бота на другой борт судна и
обследование продолжается. Обследование производится с носа в корму (или
обратно) по вертикали (Рисунок 4).
При
обследовании наружной обшивки аварийного судна удобнее вести работы в
легководолазном снаряжении, в этом случае, передвигаясь по поясьям челночным
движением от кормы в нос и обратно, на участке, ограниченном маркировочными
подкильными концами, ориентируясь по сварным швам и меткам на концах, а в
случае необходимости - по глубиномеру. При достижении маркировочного конца
следует сместиться по вертикали и продолжать движение в обратном направлении
(Рисунок 5). При осмотре днищевого участка маркировочный
конец вначале опускают ниже скуловых килей осматриваемого судна на величину,
равную половине ширины судна в том месте (Рисунок 5, схема а), а
затем закрепляется на ДП при помощи магнитной марки или магнитно-вакуумного
присоса (Рисунок 5, схема б).
При осмотре
наружной обшивки следует обращать внимание на места наиболее вероятного
появления трещин: пересечение стыков и пазовых швов, углы вырезов для
кингстонов, шпигаты, скуловые кили, район расположения двигателей, стыковые
швы горизонтального киля и др.
Определение
координат дефектов:
а) На месте
обнаружения дефектов устанавливается буёк;
б) Спускается маркировочный конец за борт в
районе нахождения водолаза. Он принимает и заводит его на место нахождения
дефекта. Устанавливает магнитную марку рядом с дефектом. Конец обтягивается и
по отметкам определяется расстояние от дефекта до палубы. О всех дефектах и
их особенностях водолаз докладывает по телефонной связи руководителю работ.
Результаты обследования подводной части судна фиксируются на заранее
заготовленной схеме, на которой изображают борта судна с положением
подкильных концов.
а)
осмотр наружной обшивки борта судна

б)
осмотр наружной обшивки днища судна

1 - пазовые сварные швы; 2 - стыковые
сварные швы; 3 - скуловой киль; 4 -
маркировочный конец; 5 - марка магнитная.
Рисунок 5 - Схема движения
водолаза в легководолазном снаряжении при осмотре
корпуса судна
|
3. Осмотр винто-рулевого комплекса (ВРК)

1 -
водолазная рабочая беседка; 2 - винто-рулевой
комплекс (ВРК).
Рисунок 6 - Осмотр винто-рулевого комплекса с
рабочей водолазной беседки
|
Осмотр
винто-рулевого комплекса следует производить с рабочих водолазных беседок
(Рисунок 4).
После осмотра
винто-рулевого комплекса с одной стороны, водолаз выходит на поверхность,
водолазный бот перешвартовывается на другой борт аварийного судна и осмотр
продолжается.
При осмотре
гребного винта последовательно осматриваются ступица, лопасти, обтекатель.
Определяется наличие и целостность лопастей, крепления обтекателя,
направляющей насадки, сварных швов. Осмотр гребного винта и направляющей
насадки (при наличии) производится с носовой, затем с кормовой стороны.
Следует осмотреть фланцевые соединения пера
руля с баллером, цементировку крепления пера руля с баллером, защитные листы,
подвижное соединение пера руля с рудерпостом Осмотр пера руля производится по
горизонтали челночными движениями от кормовой части пера руля к носовой и
обратно, смещаясь на величину равную половине величины прозрачности воды.
При
обнаружении дефектов следует дать их подробное описание и определить их
положение по ориентирам (лючки, швы и др.).
|
4. Обследование грунта.
|
Обследование
грунта производится вокруг сидящего на мели судна. Обследование
осуществляется методом обхода по ходовому тросу. Перед началом работы
обозначаются границы обследуемой полосы. По границам полосы укладываются
направляющие тросы. В начале полосы устанавливается ходовой трос, имеющий на
концах балластины с буйками. Водолаз осматривает дно передвигаясь от одного
конца ходового троса к другому и дойдя до противоположного конца ходового
троса, водолаз переносит его вместе с балластиной на расстояние двойной
видимости. Второй конец ходового троса переносят на такое же расстояние
матросы, находящиеся в лодке. После этого водолаз продолжает осматривать дно,
двигаясь по ходовому тросу в обратном направлении. При обнаружении
препятствия передает данные о нем руководителю работ и обозначает его
положение буйком, подаваемым ему со шлюпки. Данные об обнаруженных
препятствиях записываются в журнал работ.
|
5. Оформление сдачи-приемки работ.
|
Результаты
осмотра аварийного судна оформляются «Актом водолазного обследования»
(Приложение 1) с приложением схем судна (Приложение 2) и
обследуемого района.
|
Охрана труда
Производство
водолазных работ на аварийных судах до определения рода и количества груза,
степени его опасности для водолаза и принятия необходимых мер безопасности -
ЗАПРЕЩАЕТСЯ.
При
наличии в корпусе судна пробоин, через которые в большом количестве поступает
вода - спуски водолазов запрещаются (заводится пластырь или заполняется водой
отсек). Водолаз, работающий у поврежденного места корпуса судна должен следить
за тем, чтобы не повредить водолазное снаряжение об острые кромки пробоин. При
работе водолаза с грунта под корпусом судна минимальное расстояние между
грунтом и днищем с учетом волнения должно быть не менее 2 метров.
Проходить
между лопастями гребного винта в насадке с одной стороны на другую -
ЗАПРЕЩАЕТСЯ.
При
выполнении водолазных работ по обследованию корпуса аварийного судна надлежит
руководствоваться РД
31.84.01-90 «Единые правила безопасности труда на водолазных работах».
Материально-техническое снабжение
№ п/п
|
Наименование
изделий
|
Количество
|
1
|
Морской водолазный бот, рейдовый водолазный бот
или катер с установленной компрессорной водолазной станцией
|
1 (по необходимости 2 - 3)
|
2
|
Двухвесельная рабочая шлюпка
|
1 (по необходимости 2 - 3)
|
3
|
Подкильный конец
|
по потребности
|
4
|
Буйки
|
по потребности
|
5
|
Расходный трос для буйков
|
по потребности
|
6
|
Водолазная рабочая беседка
|
по потребности
|
7
|
Инструменты, приспособления, принадлежности
|
по потребности
|
8
|
Магнитно-вакуумный присос
|
по потребности
|
9
|
Марка магнитная
|
по потребности
|
10
|
Балластины (груз)
|
по потребности
|
11
|
Осветительная подводная установка
|
1
|
12
|
Фонарь подводный
|
1
|
13
|
Подводная телевизионная установка
|
1
|
14
|
Подводная фото-установка
|
1
|
15
|
Пластырь
|
по потребности
|
1.2 Герметизация корпуса аварийного или
затонувшего судна с помощью пластыря, деревянных пробок и клиньев
Общие положения
Работы по
герметизации корпуса судна выполняются в аварийной ситуации или в
предшествующий подъему подготовительный период, либо при постановке на плав
после подъема приложением внешних сил. Наиболее распространенными повреждениями
корпуса судна являются пробоины, разошедшиеся швы сварных конструкций и трещины
в обшивке.
Кроме
перечисленных повреждений, возникает также необходимость герметизации
конструктивных отверстий в корпусе: иллюминаторов, люков, горловин, шпигатов,
кингстонов и т.п.
Подлежащие
герметизации повреждения или отверстия различают по размерам (площади):
- малые
пробоины, а также шпигаты, иллюминаторы и горловины площадью до 0,05 м2,
- средние
пробоины, а также кингстонные решетки, отверстия циркуляционных трасс
теплообменников и другие отверстия площадью до 0,2 м2,
- большие
пробоины, лазы, малые люки, двери, горловины, и другие отверстия площадью до 2
м2,
- очень
большие пробоины, люки, грузовые порты и другие отверстия площадью свыше 2 м2.
Пробоины заделывают
как изнутри, так и снаружи корпуса судна. В целях подготовки отсеков к откачке,
корпус судна герметизируется снаружи. При подготовке отсека к осушению обжатием
воды с помощью сжатого воздуха целесообразно заделывать малые пробоины и
отверстия также снаружи корпуса, а средние и большие - изнутри.
Спуск
водолазов производится с водолазного бота, установленного на якорь. С кормы на
аварийное судно подается растительный швартовный канат дупленем (оба конца
закреплены на боте).
Водолазные
работы на аварийном судне, находящемся на плаву, выполняются водолазной
станцией, обеспеченной техническими средствами и укомплектованной количеством
водолазов в зависимости от глубины спусков, условий и характера работ.
Спуски
водолазов в воду, загрязненную нефтепродуктами, должны производиться в
гидрокомбинезонах из маслобензостойких материалов (ГК-СВУ-4).
Руководитель
водолазных работ проводит инструктаж с водолазами и лицами обеспечивающими
спуски по безопасным методам труда. Знакомит с результатами обследования и местонахождения
пробоин.
Руководитель
водолазных спусков распределяет обязанности между водолазами и обслуживающим
персоналом, определяет время пребывания водолазов под водой.
Спуск и подъем водолазов производится в соответствии с требованиями РД
31.84.01-90 «Единые правила безопасности труда на водолазных работах».
Состав работ
|
Технология выполнения работ
|
1. Заделка малых пробоин.
|
Малые
пробоины близкой к правильной форме заделывают деревянными пробками. Клиньями
заделывают разошедшиеся швы и небольшие трещины.
Заделка
пробоин пробками и клиньями возможна только в направлении загнутых кромок
(заусенцев).
|
1.1. Подгонка клиньев и пробок на поверхности.
|
Пробки и
клинья обтесывают плотницким топором с таким расчетом, чтобы они входили в
пробоину на 2/3 длины. Концы клиньев строгаются на конус в пределах 2 - 3°.
|
1.2. Подача пробок и клиньев водолазу.

1 -
клинья и пробки; 2 - растительный конец;
3 - балласт.
Рисунок 1 -
Схема подачи клиньев и пробок водолазу
|
Пробки и
клинья малых размеров и массой до 2 кг водолазу подают на растительном конце (с
грузом), к которому их крепят при помощи выбленочного узла (Рисунок 1). Пробки и
клинья больших размеров подают водолазу предварительно забалластированными до
нулевой плавучести.
|
1.3. Заделка пробоин клиньями и пробками под
водой.
|
Заделка
пробоин пробками и клиньями производится водолазами с помощью кувалды с
грунта или с водолазной беседки. При заделке отверстий неправильной формы
пробки перед постановкой обматывают смоленой куделью или паклей, смазанной
солидолом, тавотом или техническим салом.
При забивании
в трещину нескольких клиньев зазоры между ними следует тщательно конопатить.
Если пробка
(клин) плохо забивается в пробоину или держится в ней ненадежно, ее следует
дополнительно обработать или подмотать пакли (кудели).
Для
обнаружения неплотностей после заделки пробоин целесообразно производить
пробные откачки воды из отсека. В процессе откачки водолаз обнаруживает щели
с помощью пакли, увлекаемой током воды. Найденные щели конопатят.
В
значительные неплотности дополнительно забивают мелкие клинья, обмотанные
паклей.
Небольшие
трещины, разошедшиеся швы и пробоины под водой могут быть заделаны клеевой
композицией типа «Аквапласт».
|
1.4. Подрезка выступающих частей клиньев и пробок.
|
Сильно
выступающие наружу концы пробок или клиньев спиливают через два-три часа
после установки, когда древесина достаточно набухнет.
|
2. Заделка средних и больших пробоин.
|
Для наружной заделки
средних и больших пробоин применяют типовые по конструкции мягкие,
полужесткие, жесткие и коробчатые пластыри.
|
2.1. Установка и крепление мягких пластырей.

1 -
коуш; 2 - бензель коуша; 3 - ликтрос;
4 - бензель ликтроса; 5 - люверс выметанный;
6 - парусина; 7 - мат шпигованный; 8 -
кренгельс; 9 - коуш круглый.
Рисунок 2 -
Шпигованный пластырь
|
Мягкие и полужесткие пластыри, как правило, применяют для закрывания
пробоин снаружи корпуса аварийного или затонувшего судна, когда его палуба
находится выше уровня воды.
Размеры и конструкция пластырей зависят от
величины пробоины и глубины ее расположения. Рваные кромки пробоин должны
быть загнуты внутрь затопленных отсеков или срезаны подводной резкой.
Герметизирующим материалом мягких и полужестких пластырей
служит водоупорная парусина, брезент, прорезиненные натуральные или
синтетические ткани.
В качестве мягких пластырей при судоподъемных
работах используют парусиновые, шпигованные и кольчужные пластыри, в качестве
полужестких - тюфячные и пластырь Матросова.
Для изготовления парусинового пластыря берут один
слой парусины и обшивают его по кромкам пеньковым смоленым (окружностью 125 -
150 мм) или стальным (диаметром 14 - 16 мм) ликтросом. По углам пластыря
ликтрос образует петли, в которые заделывают коуши, а в середине верхней
шкаторины - кренгельс, в который заделывают круглый коуш. За кренгельс к
пластырю крепится размеченный (контрольный) шкерт (конец).
Шпигованный пластырь (Рисунок 2) изготавливают из двух слоев парусины, которые
прошивают между собой. Швы располагают на расстоянии 350 - 400 мм друг от
друга. Затем на одну из сторон парусинового полотнища пришивают шпигованный
мат, предохраняющий парусину от разрывов в местах соприкосновения ее с
заусенцами и рваными краями пробоин. Ликтрос ставится такой же, как и на
парусиновом пластыре.
Кольчужный пластырь (Рисунок 3) состоит из стальной сетки, обшитой с каждой
стороны двумя слоями парусины.
Сетка должна иметь свой (из стального троса)
ликтрос, а парусиновые полотнища (наружное и внутреннее) пришиваются к
другому (из пенькового троса) ликтросу. Оба ликтроса по углам пластыря
собираются на коуши Ликтросы сетки и парусиновых полотнищ скрепляются между
собой бензелями по периметру пластыря. В середине каждого кольца сетки ставят
парусиновые шайбы из двух-трех слоев, через которые оба полотнища сшиваются.
Прочность парусиновых
пластырей мала, поэтому ими закрывают небольшие пробоины при обязательной
установке фальшивых шпангоутов на расстоянии не более 350 - 400 мм один от
другого.
Полужесткий
пластырь обладает значительной прочностью, поэтому им покрывают большие
пробоины с постановкой фальшивых шпангоутов или без них.
При заделке полужестким
пластырем большой пробоины под него ставят фальшивые шпангоуты, состоящие из
туго натянутых стальных тросов, балок и других конструкций (например, сварной
решетки из труб и (или) уголков), которые способны создать пластырю дополнительные
промежуточные опоры (Рисунок 4).
Для заведения и остановки мягкого или полужесткого
пластыря на пробоину используют шкоты и подкильные концы из гибкого стального
троса диаметром 17 - 19 мм Шкоты закрепляют к верхним коушам пластыря,
подкильные концы - к нижним.
После уточнения местонахождения пробоины пластырь
в развернутом виде кладут на палубе судна. Затем водолаз заводит под корпус
судна три подкильных конца. Шкоты и подкильные концы крепят к пластырю. К
верхнему ликтросу посредине пластыря закрепляют размеченный (считая от центра
пластыря) контрольный шкерт из пенькового троса или линя, который служит для
контроля глубины погружения пластыря, а к серединам боковых шкаторин -
продольные оттяжки.
Пластырь на шкотах спускают к пробоине снаружи
корпуса, при этом подкильные концы выбирают с другого борта.
Когда пластырь закроет пробоину, водолаз проверяет
правильность его расположения и прилегания к корпусу судна, шкоты и
подкильные концы разносят в стороны под углом 45°, продольные оттяжки
разносят в нос и в корму от пробоины, а затем равномерно обтягивают талями
или палубными механизмами. После установки пластыря водолаз крепит подкильные
концы на палубе затонувшего судна. Затем проводят пробную откачку воды из
отсека, в процессе которой водолазы проверяют герметичность установки
пластыря и устраняют фильтрацию.
Если положительная плавучесть пластыря будет
затруднять его постановку, то к нижней шкаторине следует закрепить балласт,
после установки и закрепления пластыря водолаз снимает балласт.
Длина шкотов и подкильных концов принимается с
таким расчетом, чтобы их можно было разнести в стороны под углом 45°.
|

1 -
коуш; 2 - бензель коуша; 3 - бензель
ликтроса; 4 - ликтрос; 5 - люверс
выметанный; 6 - парусина; 7 - парусиновая шайба;
8 - сетка; 9 - ликтрос сетки.
Рисунок 3 - Кольчужный пластырь
|

1 -
фальшшпангоуты из стального троса; 2 - подкильные
стропы; 3 - шкоты; 4 -контрольный шкет;
5 - продольные оттяжки; 6 - борт судна.
Рисунок 4 - Схема постановки
мягкого (полужесткого) пластыря
|
|
2.2. Установка и крепление плоских деревянных
пластырей.
2.2.1. Предварительное обследование пробоины,
определение её конфигурации и размеров.

1 -
деревянные бруски; 2 - первый слой досок;
3 - парусина; 4 - второй слой досок;
5 - валик из просмоленной пакли.
Рисунок 5 -
Деревянный пластырь с мягкими бортами
|
Обследование
пробоины, уточнение состояния обшивки в районе пробоины с целью выявления
вмятин, трещин, гофр и выступающих конструкций выполняется согласно технологической
карты № 2.1.
В зависимости
от полученных данных и глубины, на которой находится центр пробоины, по
расчету подбирают необходимые материалы.
Размеры пластыря
подбирают с таким расчетом, чтобы он перекрывал края пробоины на 400 - 600 мм
с каждой стороны. На практике установлено, что чем больше пробоина, тем
больший запас необходим на перекрытие. Кроме того, пластырь должен
перекрывать все деформированные части обшивки вокруг пробоины.
Деревянный
пластырь с мягкими бортами (Рисунок 5)
изготавливают из 2-х, 3-х и более слоев досок и мягкой подушки, которой
пластырь устанавливают на пробоину.
На первый,
прилегающий к корпусу слой, ставят доски толщиной 25 мм. Их направление
должно совпадать с направлением образующей наибольшей кривизны корпуса в
районе пробоины. Остальные слои пластыря изготавливают из досок толщиной 40 -
80 мм. На слой тонких досок накладывают одинарный или двойной слой
просмоленной или покрытой суриком парусины, края которой выпускают на 600 -
700 мм с каждой стороны для изготовления уплотнительной подушки. Второй и
последующие слои толстых досок располагают перпендикулярно доскам тонкого
слоя и параллельно между собой, но с разносом пазов. Каждый новый слой
прибивается к предыдущему гвоздями длиной не менее суммарной толщины досок.
Конец каждого гвоздя загибается. Расстояние между гвоздями вдоль волокон 200
- 300 мм, поперек волокон 60 - 70 мм. Далее выполняют работы по устройству
мягкой подушки. Для этого выпущенные края парусины загибают внутрь, плотно
заполняют распушеной просмоленной паклей и прибивают к первому слою досок,
образуя по контуру пластыря эластичный валик, ширина которого может быть от
70 до 120 мм, а высота - 50 - 100 мм.
|
2.2.2. Подготовка пластыря к установке на
пробоину.

а)
- с откидной головкой; б) и в) крючковые.
Рисунок 6 -
Прижимные болты
|
Деревянные
пластыри с мягкими бортами закрепляются изнутри к пробоине с помощью прижимных
болтов, а снаружи - подкильными концами. Количество болтов зависит от
размеров пластыря и условий его постановки. На каждые 0,5 м2
площади пластыря должно приходиться не менее одного болта диаметром 20 - 30
мм.
Болты с
откидной головкой (Рисунок 6(а)) применяются при заделке малых пробоин
диаметром до 400 мм, устанавливая их в центре пластыря.
Крючковые
болты (Рисунок 6 (б и в) применяются при заделке средних и больших
пробоин. Отверстия для них следует сверлить как можно ближе к краю пробоины,
поэтому целесообразно предварительно определить места установки болтов по
шаблону, снятому с пробоины, и затем по нему наметить на пластыре места
сверления отверстий.
Во избежание
фильтрации воды через отверстия для болтов, они должны сверлиться под
соответствующий используемым болтом диаметр, а также иметь уплотнительные
прокладки.
|
2.2.3. Установка пластыря на пробоину и его крепление.

а)
болтом с откидной головкой;
б)
крючковыми болтами:
1 -
наружная обшивка; 2 - болты; 3 - пластырь.
Рисунок 7 -
Крепление пластырей
|
Перед
постановкой пластыря необходимо:
- вставить в
просверленные отверстия прижимные болты так, чтобы крючья были направлены к
середине пластыря, их гайки смазать солидолом, расходить и наживить на 3 - 4
нитки;
- завести под
корпус судна подкильные концы;
- закрепить
тросы к нижним и верхним проушинам пластыря;
- густо
смазать уплотнительную подушку пластыря тавотом, солидолом или техническим
жиром;
-
забалластировать до нулевой плавучести.
Для установки
пластыря на пробоину и его крепления (Рисунок 7) необходимо:
- опустить
пластырь в воду и подвести к пробоине;
- навести
пластырь на пробоину и прижать его к корпусу подкильными концами;
- закрепить
пластырь на пробоине болтами и тросами;
- проверить
правильность положения пластыря;
- устранить
обнаруженные неплотности и зазоры.
Пластыри
площадью более 2 м2 можно при наличии устанавливать с помощью
плавкрана, меньших размеров - с использованием палубных грузоподъемных
механизмов судна обеспечения.
Если
подкильные концы невозможно свободно протащить под днище затонувшего судна,
то их следует заводить подрезкой или с помощью игл, иногда и посредством
промывки тоннелей. При отсутствии таких возможностей пластырь прижимают к
корпусу прижимными тросами, заведенными сквозь пробоину внутрь судна.
Внутренние прижимные тросы крепят за обухи, поставленные на пластыре со
стороны корпуса. Внутри судна (отсека) прижимные тросы крепят за пиллерсы или
другие конструкции (связи) корпуса судна. После закрепления тросы необходимо
надежно обтянуть.
Закрепление
крюком болта за кромку пробоины или за специально установленные изнутри
корпуса судна обрезки стальных труб (арматуры) производится водолазом путем
разворачивания болтов вокруг своей оси и заворачивания гаек. При этом
необходимо следить за тем, чтобы крюк болта не соскочил с места зацепления и
плотно прижимал пластырь к корпусу. Затягивание гаек следует производить
крест накрест.
Крепление
пластыря крючковыми болтами в некоторых случаях целесообразно производить с
помощью двух водолазов. При этом один из них работает внутри корпуса судна, а
второй снаружи.
В процессе работы
водолаз должен внимательно следить, чтобы под пластырь или подкильные концы
не попали шланги или сигнальные концы. Подкильные концы обтягивают талями или
палубными механизмами судна обеспечения.
После
окончания работы рекомендуется осмотреть пластырь по всему периметру и
проверить плотность прилегания уплотнительной подушки к обшивке судна. Если в
какой-либо части подушка неплотно прилегает к корпусу, водолаз конопатит щели
жгутами из смоленой пакли и довертывает в этих местах гайки прижимных болтов.
|
2.3.
Установка и крепление коробчатого деревянного пластыря.

1 - донья пластыря; 2 - стенка пластыря;
3 - методические шины; 4 - подушка; 5 -
проушины.
Рисунок 8 - Коробчатый пластырь
|
Коробчатые деревянные
пластыри применяют для заделки пробоин в местах двойной кривизны корпуса
аварийного или затонувшего судна, а также в случаях, когда исключается
возможность постановки плоских пластырей.
Высота стенок
пластыря позволяет размещать внутри него выступающие кромки пробоин.
Конфигурация его стенок должна соответствовать обводам корпуса. Коробчатые
пластыри делают прямоугольными и фигурными: металлическими сварными или
деревянными из досок и брусьев.
Прямоугольные
пластыри ставят на пробоины, расположенные на прямостенных участках корпуса,
а фигурные применяют для заделки повреждений в местах со значительной
кривизной поверхности корпуса.
Коробчатый
пластырь состоит из днища и стенок, которые у прямоугольного пластыря
одинаковы по высоте, а у фигурного - криволинейные. В местах с большой
кривизной корпуса целесообразно делать пластырь с днищем, состоящим из двух
частей, скрепленных под углом 90° друг к другу (Рисунок 8).
Размеры днища
пластыря должны обеспечивать перекрытие краев пробоины на 400 - 600 мм.
Толщина днища пластыря зависит от его размеров и глубины погружения.
Толщина
стенок коробчатого пластыря зависит также от его размеров и глубины
использования и, как правило, принимается не меньше, чем толщина днища.
Между первым
и вторым слоями досок днища прокладывается 1 - 2 слоя просмоленной или
покрашенной суриком парусины, края которой должны выходить за кромки стенок
на величину, достаточную для устройства уплотнительной подушки.
Если стенки коробчатого
пластыря состоят из одного слоя досок, то парусиной обивают их наружную
сторону.
Для придания
пластырю необходимой жесткости, особенно при больших его размерах, между
стенками и днищем ставятся кницы и распорки, которые не должны касаться выступающих
кромок пробоины и мешать постановке пластыря. Кроме того, стенки и днище
иногда целесообразно укреплять шинами из стальной полосы, швеллера или
угольника. После изготовления коробчатого пластыря к нему закрепляют
проушины, подъемные стропы, подкильные концы и оттяжки.
|
2.3.1. Определение кривизны обводов корпуса и
высоты выступающих частей (кромок, заусениц).
|
Работа
выполняется водолазами, которые снимают размеры пробоины шаблоном из гнущейся
проволоки (катанки).
В любом
случае, кривизну обводов обшивки целесообразно измерить у ближайших
шпангоутов.
|
2.3.2. Установка коробчатого пластыря на пробоину
и его крепление.

1 - подкильные концы; 2 - деревянные подкладки;
3 - тали; 4 - пластырь.
Рисунок 9 - Крепление пластыря на пробоине
|
Установка коробчатого
пластыря производится аналогично установке плоского пластыря (п. 2.2. Рисунок 9). Коробчатые
пластыри больших размеров ставятся, как правило, с применением технических
средств аналогично установки обычных жестких пластырей, однако из-за
отстояния их доньев от обшивки на большое расстояние использовать крючковые
болты и болты с откидными головками бывает затруднительно.
Точность и
надежность установки пластыря на подводную пробоину зависит от действия
водолаза, который при наведении пластыря должен внимательно следить за его
перемещением.
Для контроля
за местонахождением пластыря в период спуска, наведения и удержания на
пробоине рекомендуется к середине верхней его кромки присоединить
маркированный конец через каждые 0,1 - 0,5 м.
Для лучшего
прижатия пластыря к обшивке (Рисунок 9 поз. 2) по
верхнему и нижнему его краям с внешней (наружной) стороны прибивают бруски. В
местах прохода подкильных концов с борта на палубу под них размещают
деревянные подкладки. На палубе подкильные концы обтягивают талями или
другими тяговыми механизмами.
При
подготовке поднятого судна с пластырем к буксировке следует закрепить на
углах пластыря шкоты и разнести их в нос и в корму. В этом случае носовые
шкоты должны быть достаточно прочными, чтобы обеспечить удержание пластыря от
сдвига или срыва при движении судна.
|
3. Заделка днищевых пробоин.

1 - распоры; 2 - клинья; 3 - деревянный
щит.
Рисунок 10 -
Установка щита на пробоину
|
Заделка
днищевых пробоин, при отсутствии груза в трюме, производится изнутри судна
деревянными щитами или бетонированием. Внутри отсека расчищается место, с
помощью электро- кислородной резки удаляются торчащие
куски днищевой обшивки корпуса судна. Из пробоины выбирается грунт, чтобы её
кромки были свободны и под пробоиной получилось углубление в грунте. На
пробоину устанавливается щит, изготовленный по её размеру, его плотно
прижимают и расклинивают (Рисунок 10). Распоры и
клинья скрепляются со щитом строительными скобами, если нет достаточной
прочности, заделку усиливают бетонированием.
Организация,
последовательность и технология работ по заделке пробоин с помощью средств
подводной сварки и бетонирования приведены в технологических картах № 5.1 и 1.3.
|
Охрана труда
Водолаз
должен следить за тем, чтобы не повредить водолазное снаряжение об острые края
пробоины.
При
выполнении водолазных работ на затонувшем или аварийном судне, кроме мер
безопасности, указанных в настоящей технологической карте, надлежит
руководствоваться следующими разделами РД
31.84.01-90 «Единые правила безопасности труда на водолазных работах»:
Общие требования безопасности при выполнении водолазных спусков и работ. Общие
требования. Аварийно-спасательные работы. Судовые водолазные работы. Подводные
электросварочные работы.
Материально-техническое снабжение
№ п/п
|
Наименование
изделий
|
Количество
|
1
|
Морской водолазный бот, рейдовый водолазный бот
или катер, судно обеспечения с установленной компрессорной водолазной
станцией
|
1 (по
необходимости 2 - 3)
|
2
|
Двухвесельная рабочая шлюпка
|
1 (по
необходимости 2 - 3)
|
3
|
Насосы водоотливные в комплекте с шлангами
|
по
потребности
|
4
|
Струбцины, домкраты, тали, скобы такелажные,
зажимы для стальных канатов
|
по
потребности
|
5
|
Цепи такелажные, канаты (стальные, растительные,
синтетические)
|
по
потребности
|
6
|
Лесоматериал для изготовления брусьев, досок,
клиньев
|
по
потребности
|
7
|
Пластыри (мягкие, жесткие с комплектом оснастки)
|
по
потребности
|
8
|
Подкильные концы
|
по
потребности
|
9
|
Водолазная рабочая беседка
|
по
потребности
|
10
|
Ящик инструментальный с инструментом
Инструменты, принадлежности
|
по
потребности
комплект по
потребности
|
11
|
Магнитная марка
|
по
потребности
|
12
|
Магнитный вакуумный присос
|
по
потребности
|
13
|
Проволока бензельная
|
по
потребности
|
14
|
Балластины
|
по
потребности
|
15
|
Установка подводная осветительная
|
по
потребности
|
1.3. Подводное бетонирование аварийного
судна
Общие положения
Подводное
бетонирование выполняется водолазами в дневное время при нормальных метеоусловиях.
Спуск водолаза производится с водолазного бота или другого плавсредства,
установленного на якоря.
Подводное
бетонирование применяется:
- для
более надежной герметизации корпуса после временной заделки пробоин пластырем и
осушения отсека откачкой;
- для
заделки пробоин внутри корпуса в труднодоступных местах (под механизмами, в
междудонном пространстве и т.д.);
- при
невозможности поставить пластырь на пробоину;
- при
хаотическом характере разрушения связей корпуса, не позволяющем заделать повреждения
другим способом;
- при
заделке пробоин судов с железобетонным корпусом.
Водолазные
работы при подводном бетонировании выполняются водолазной станцией,
обеспеченной техническими средствами и укомплектованной количеством водолазов в
зависимости от объёма работ и глубины спусков.
Руководитель
водолазных работ проводит инструктаж по охране труда по результатам водолазного
обследования аварийного судна и технологии выполнения работ. Руководитель
водолазных спусков определяет продолжительность нахождения водолазов под водой
и распределяет обязанности между водолазами.
Спуск и подъем водолазов производится в соответствии с требованиями РД
31.84.01-90 «Единые правила безопасности труда на водолазных работах».
Состав работ
|
Технология выполнения работ
|
1. Водолазное обследование мест повреждения.
|
Водолазное обследование
аварийного судна производится для получения исходных данных для определения
способа заделки бетоном. Обследованием определяются конфигурация, размеры и
площадь пробоины для составления чертежей общего вида пробоины
(Технологическая карта № 1.1).
|
2. Очистка и подготовка места для бетонирования.
|
Производится
разборка завалов судовых конструкций и удаление внутренней обшивки (изоляции)
конструкций в местах бетонирования, тщательная очистка тех участков пробоины,
которые будут соприкасаться с бетоном. По возможности удаляются конструкции,
мешающие установке опалубки.
Металлические
поверхности зачищаются и обезжириваются как можно тщательнее. Для удаления
жировых веществ и нефтепродуктов применяется зеленое мыло, которое подается
водолазу нерастворенным.
|
3. Подготовка материалов для приготовления бетона,
подготовка плавсредств и технических средств.
|
Подготовка к
работе бетономешалок, подъемных средств, средств доставки бетона к месту
бетонирования производится на борту обеспечивающего плавсредства одновременно
с водолазным обследованием места повреждения, очисткой и подготовкой места
работы на судне.
|
4. Установка опалубки при бетонировании пробоин
корпуса.

1 - слой бетона; 2 - опалубка из мешков
с песком; 3 - гарь и песок; 4 -
мешки с песком; 5 - арматура (сетка).
Рисунок 1 - Бетонирование с устройством опалубки из
мешков с песком
|
Опалубка, как
правило, представляет собой деревянный или металлический короб, подкрепленный
ребрами жесткости. Деревянная опалубка изготавливается в основном из досок и
брусьев. Металлическая опалубка ставится для более надежной заделки.
При заделке
бетоном средних пробоин опалубкой могут служить мешки с песком или раствором
бетона, закладываемые вокруг пробоины после установления на нее арматурной
сетки (Рисунок 1). Для уменьшения объема работ в качестве
элементов опалубки целесообразно использовать борта, переборки, шпангоуты,
стрингеры и другие конструкции корпуса судна.
При заделке
больших пробоин металлический каркас опалубки предварительно изготавливается
наверху, затем устанавливается на пробоину и скрепляется с конструкциями
корпуса электросваркой или проволокой.
Внутренняя и
наружная деревянные опалубки тщательно подготавливаются, и не должны иметь
щелей и отверстий. Для этого опалубки конопатят или покрывают с внутренней
стороны парусиной, что предотвращает вытекание цементной массы и образование
внутри бетона пустот и рыхлых мест.
|
5. Установка дренажных (водоотводных) трубок.
|
Водоотводные
трубки необходимо устанавливать при наличии фильтрации воды через пластырь
(пробоину) в процессе откачки воды или при изменении уровня за бортом и в
отсеке. Для сбора фильтрующей воды и защиты бетона от ее воздействия один
конец трубки ставится в нижней части внутренней опалубки, а второй -
выводится за пределы наружной опалубки, ограждающей место бетонирования.
|
6. Приготовление бетонной смеси.

а)
пробоина на скуле;
б)
и в) пробоина в днище
1 -
внутренняя опалубка; 2 - бетон; 3 - щит
наружной опалубки; 4 - подкосы; 5 - пластырь;
6 - продольный брусок; 7 - наружная опалубка;
8 - отводная трубка; 9 - обшивка; 10 -
ящик; 11 - крышка ящика; 12 - лист кровельного
железа; 13 - мешки с бетоном
Рисунок 2 -
Бетонные заделки пробоин корпуса
|
После
затвердевания бетона отводная трубка заглушается деревянной пробкой
(технологическая карта № 1.2).
Бетонную
смесь приготавливают после подготовки места бетонирования непосредственно
перед укладкой в объеме, достаточном для выполнения всей заделки.
Рекомендуемый
состав бетона приведен в Таблице 1.
Таблица 1
Состав
бетонных смесей для подводного бетонирования
Характеристика бетона
|
Дозировка по массе
|
цемент
|
песок
|
гравий
|
Жирный
|
1
|
1
|
-
|
1
|
2
|
-
|
Смеси
для подводного бетонирования должны отвечать общим техническим требованиям и
правилам подбора состава для бетона.
Для
приготовления бетонных смесей для подводного бетонирования используют
цементы: глиноземный, портландцемент, водонепроницаемый расширяющийся (ВРЦ),
водонепроницаемый безусадочный (ВБЦ), гипсоглиноземистый расширяющийся
(ЦРГГ). Применяемый цемент должен иметь марку не ниже 400. Время схватывания
цементов приведено в Таблице 2.
Таблица 2
Время
схватывания цементов
Наименование цемента
|
Начало схватывания, мин
|
Окончание схватывания, мин
|
Портландцемент
|
30
|
720
|
Глиноземистый цемент
|
30
|
720
|
ВРЦ
|
4
|
10
|
ВБЦ
|
1
|
5
|
ЦРГГ
|
20
|
60
|
Цемент Байдапина
|
3
|
75
|
Применяемые
в качестве заполнителей песок, гравий, щебень должны быть чистыми, не
загрязненными глиной, илом, нефтепродуктами. Вода не должна содержать вредных
примесей, препятствующих нормальному схватыванию и твердению цемента.
Рекомендуется применять пресную воду.
Дозировка
материалов для подводного бетонирования приведена в Таблице 3.
Таблица 3
Рекомендуемая
дозировка материалов
Состав бетона
|
Водоцементное отношение (В : Ц)
|
0,55
|
0,65
|
Ц : П : Щ
|
Ц
|
П
|
Щ
|
В
|
Ц
|
П
|
Щ
|
В
|
|
л
|
кг
|
л
|
л
|
л
|
л
|
кг
|
л
|
л
|
л
|
1 : 1,5 : 1
|
43
|
53
|
64
|
43
|
43
|
41
|
51
|
61
|
41
|
31
|
1 : 2 : 1
|
43
|
53
|
85
|
43
|
43
|
37
|
46
|
73
|
37
|
28
|
1 : 2 : 2
|
33
|
40
|
65
|
65
|
33
|
31
|
39
|
63
|
63
|
23
|
1 : 2 : 2,5
|
30
|
38
|
60
|
75
|
30
|
29
|
36
|
58
|
73
|
22
|
Приготовление
бетонной смеси осуществляют в следующей последовательности:
- засыпают в
емкость щебень, сверху песок, на песок насыпают щебень, а затем цемент;
- перемешивают
смесь до получения однородной массы, разгребают ее вдоль бортов емкости;
- наливают
порциями воду в образовавшуюся посередине смеси впадину и смешивают ее с
общей массой.
От качества
перемешивания смеси зависит прочность бетона.
При
температуре воздуха до -10 °С для затвердения бетона на пресной воде к ней
следует добавить поваренную соль из расчета две горсти на ведро, а саму воду
и заполнители необходимо подогреть до 30 - 40 °С.
|
7. Доставка бетонной смеси к месту укладки в
мешках и бадьях.

1 - Леер; 2 - Спусковой трос; 3 - Подвеска
бадьи; 4 - Крышка бадьи с отверстиями;
5 - Заслонка; 6 - Опалубка; 7 - Бетон;
8 - Заделка пробоины; 9 - Бадья.
Рисунок 3 - Подача бетона водолазу в бадьях
|
При подводном
бетонировании пробоин наиболее часто используют способ подачи бетонной смеси
в бадьях или в мешках (Рисунок 3).
От места
подачи до места укладки бетона протягивают леер, по которому скользит вниз подвешенная
на кольце бадья или мешок с бетоном. Металлическая или деревянная бадья имеет
форму усеченной пирамиды емкостью 3 - 5 ведер. Донышко бадьи закрыто
задвижкой, которую водолаз открывает при выпуске смеси. В крышке имеются
отверстия для выхода воздуха при погружении бадьи и входа воды при выпуске
бетонной смеси.
Вместо бадьи
к кольцу может быть подвешен мешок из тонкой парусины емкостью 2 - 3 ведра.
Нижние кромки мешка складываются вдвое и простегиваются парусной ниткой. К
одному из концов нитки привязывается клевантик. Когда мешок дойдет до места,
водолаз вытягивает нитку за клевант, низ мешка освобождается и бетон
вываливается в том месте, где нужно водолазу.
Бетонную
смесь можно подавать также и в марлевых мешках емкостью 2 - 3 ведра. Мешки
укладываются рядами на предварительно установленный металлический каркас,
который перекрывает пробоину и скрепляется с ее кромками и ближайшими связями
корпуса (шпангоуты, стрингеры и пр.). После укладки двух рядов мешки
пробивают насквозь остро заточенными обрезками очищенных от ржавчины и грязи
железных прутьев. Иногда для этой цели можно использовать электроды. Третий
ряд сшивается таким же образом прутьями со вторым и т.д.
В
труднодопустимых местах и местах сложной конфигурации днища (под машинами,
котлами, в днищевых цистернах и выгородках) бетонирование производится
литьем.
Если
возникают трудности с доставкой бетонной смеси к месту укладки, то
бетонирование производится укладкой бетона в мешочках в виде «колбасок»,
размером 1 - 1000 - 1500 мм; Æ 100 - 150 мм.
«Колбаски» по
5 - 7 штук в бадье подаются водолазу, который плотно укладывает их в один
слой на пробоину, заполняя опалубку или используя в качестве последней
корпусные конструкции днища. Следующий слой укладывается поперек нижнего и
т.д. по потребности и объему до 3 - 4 слоев. Процесс схватывания бетона,
уложенного таким способом увеличивается на 4 - 6 часов.
При
бетонировании пробоин больших размеров бетонная смесь подается бетононасосами
по трубам.
Водолаз
перемещает трубу для равномерного заполнения всей опалубки и по мере
заполнения подает команду о подъеме трубы.
|
Охрана труда
При
выполнении водолазных работ по подводному бетонированию надлежит
руководствоваться РД
31.84.01-90 «Единые правила безопасности труда на водолазных работах».
Материально-техническое снабжение
№ п/п
|
Наименование
изделий
|
Количество
|
1
|
Морской водолазный бот (ВМ), рейдовый водолазный
бот или катер с установленной компрессорной водолазной станцией
|
1 (по
необходимости 2 - 3)
|
2
|
Крановая установка (плавкран)
|
по
потребности
|
3
|
Гидромонитор с комплектом шлангов
|
по
потребности
|
4
|
Канаты, тросы, стропы (стальные, растительные
синтетические)
|
по
потребности
|
5
|
Струбцины, домкраты, талрепы, такелажные и
строительные скобы, зажимы для стальных канатов, болты, хомуты, бугели
|
по
потребности
|
6
|
Трубы металлические (с приемным бункером)
|
по
потребности
|
7
|
Металлический каркас
|
при
безнапорном бетонировании
|
8
|
Бетономешалка, растворонасос, растворопровод
|
по
потребности
|
9
|
Портландцемент, цемент, песок, жидкое стекло и
другие катализаторы твердения
|
по
потребности
|
10
|
Проволока, арматура
|
по
потребности
|
11
|
Вибратор
|
по
потребности
|
12
|
Лебедки (ручные, с электро-механическим приводом)
|
по
потребности
|
13
|
Бревна, брусья, подмосты, сваи, опалубочные щиты
|
по
потребности
|
14
|
Инструменты, механизированный инструмент,
принадлежности, скользящие пробки (для труб) и др.
|
по
потребности
|
15
|
Лот с лотлинем длиной 20 - 50 м
|
по
потребности
|
16
|
Балластины
|
по
потребности
|
17
|
Установка подводная осветительная
|
по
потребности
|
2. Судоподъёмные водолазные работы
2.1.
Обследование затонувшего судна
Общие положения
Водолазное
обследование производится для получения данных, необходимых при выполнении
судоподъемных работ. Карта устанавливает порядок выполнения водолазного
обследования затонувшего судна при нормальных метеоусловиях в дневное время.
В
зависимости от места расположения предварительно обозначенного затонувшего
судна водолазные спуски производятся с водолазных судов или с различных
плавсредств, на которых размещаются водолазные станции.
Спуск
водолаза на грунт или к месту работ осуществляется по спусковому или подкильному
концу, на который водолаз переходит с трапа или на беседке.
Количество
водолазных станций, тип используемого водолазного снаряжения и количество
обеспечивающего личного состава, зависят от объема выполняемых работ и условий
их проведения.
Первый
спуск на затонувшее судно должен производить опытный водолаз. Спуск водолаза в
узкостях, особенно при плохой видимости, должен производиться с соблюдением
особых мер предосторожности во избежание травмирования о мачты, антенны и
другие выступающие конструкции затонувшего судна.
Балласт
спускового конца для первого спуска опускается на грунт рядом со знаком
обозначения затонувшего судна (веха, буй и др.).
Снятие
наиболее важных размеров и осмотр отдельных частей, узлов и деталей затонувшего
судна производится дважды (различными водолазами). При этом в случае
расхождения данных, полученных от разных водолазов, контрольное обследование
производится водолазным специалистом.
Водолазные
работы по обследованию затонувшего судна выполняются водолазной станцией,
обеспеченной техническим и водолазным подразделением укомплектованным людьми в
зависимости от глубины спусков, условий и характера выполняемых работ.
Руководитель
водолазных работ проводит инструктаж с водолазами и лицами обеспечивающими
спуски по безопасным методам труда, сообщает результаты замера глубин, скорость
течения, видимость в воде. Знакомит по схемам и чертежам с расположением
надстроек, внутренних помещений, механизмов затонувшего судна, с характером и
количеством груза на нем Руководитель водолазных спусков распределяет
обязанности между водолазами и обслуживающим персоналом, определяет время
пребывания водолазов под водой.
Спуск и подъем водолазов производится в соответствии с требованиями РД
31.84.01-90 «Единые правила безопасности труда на водолазных работах».
Состав работ
|
Технология выполнения работ
|
1. Определение положения затонувшего судна на грунте.

Высота борта строительная
- Н
Заглубление судна в грунт - х
Глубина
от поверхности воды до главной палубы
(м) - h1
Глубина
от поверхности воды до грунта (м) - h2
х
= Н - (h2 -
h1)
Рисунок 1 -
Определение заглубления корпуса судна
|
Производится измерение
глубин у борта судна и штевней до грунта (2 - 3 замера) и до палубы в этих же
местах (Рисунок 1).
Глубины
измеряются со шлюпки лотом, причем места установки лота по отношению к
затонувшему судну указывает водолаз, находящийся в это время на грунте.
Величина
заглубления оконечностей и бортов корпуса судна в грунт может определяться
следующим образом:
- водолаз
лотом промеряет расстояние от палубы до грунта (ставит на лотлине марки,
соответствующие точкам промера), а затем на поверхности измеряется расстояние
от соответствующей марки до конца лота. Для этой цели может быть использована
водолазная рулетка или мерный линь.
Зная высоту
борта судна для места каждого измерения и вычитая из неё результаты замера, получают
величину погружения в грунт.
Результаты
измерений наносятся на эскиз судна, и полученные точки соединяются линией,
которая определяет рельеф грунта вдоль борта.
|
2. Промер глубин для составления планшета глубин.
|
Рельеф дна в районе
местонахождения затонувшего судна устанавливается промерами, которые
производятся лотом со шлюпки. По результатам промеров составляется планшет
глубин, на котором отмечаются отдельные крупные препятствия для возможного
подхода к объекту (камни, части корпуса, судовые конструкции и т.д.) и
указываются глубины над ними.
На планшете
глубин также схематически показывается положение судна, масштаб, отклонения
горизонта воды (полная, средняя и малая вода). Препятствия обозначаются
вехами.
|
4. Обследование и отбор
проб грунта, определение его твердости и толщины ила над грунтом
|
Обследование проводится зигзагообразным движением
водолаза вдоль борта затонувшего судна от носа (кормы) к корме (носу). Ширина
обследования устанавливается руководителем работ. При недостаточной
освещенности водолаз использует подводные светильники, либо наводится на
траекторию движения со шлюпки. При этом обеспечивающие на шлюпке по мере
надобности выбирают или потравливают его кабель-шланг не давая слабины. По
мере движения водолаз постоянно докладывает руководителю спуска о характере
грунта, рельефе дна у борта и об обнаруженных предметах.
Твердость грунта определяется щупом. Одновременно
измеряется толщина ила над грунтом. Характер и плотность грунта уточняются
при анализе проб, взятых водолазом в нескольких местах по длине судна (вблизи
его корпуса) с поверхности грунта и на глубине до двух метров. Места отбора
проб водолаз докладывает руководителю спуска, который отмечает их на
планшете. Обнаруженные на грунте предметы водолаз поднимает при помощи
команды обеспечивающей шлюпки либо обозначает вехами, если их невозможно
поднять сразу.
|
5. Определение крена и
дифферента.

Длина судна (м) -
L
Угол дифферента -
y
Дифферент (в метрах) -
Т
Глубины над штевнями (м) - H1, Н2
Высота полубака (м) -
h
Т = H2 - (H1
+ h)
Т = Lsiny
siny
= Т/L
y = arcsinТ/L
Рисунок 2 - Схема определения дифферента.
|
Водолаз закрепляет спусковой конец непосредственно у места
работ. Обходит судно по палубе или по грунту для установки буйков (вех),
отмечающих его положение. Количество буйков (вех) зависит от размера объекта.
На небольших судах устанавливается два буйка (по одному в оконечностях) на
крупных - ещё одну или несколько пар по бортам. Водолазу, стоящему у места
постановки буя подают свободный конец буйрепа, а буй (веху) сбрасывают в
воду. Получив буйреп, водолаз выбирает его втугую, чтобы он занял
вертикальное положение (длина буйрепа должна учитывать возможные колебания
уровня воды).
Курс затонувшего судна определяется с поверхности,
ориентируясь по носовому и кормовому буям.
Крен и дифферент судна водолаз определяет кренометром,
который подают ему с застопоренной в нулевом положении стрелкой. Прибор
устанавливается на палубе в ДП средней части судна вдоль, а затем поперек
судна (у продольных и поперечных переборок соответственно) в 3 - 5 местах.
Установив кренометр (при необходимости, закрепив его) водолаз отдает стопор
стрелки. Когда стрелка установится, стопорит её и подает прибор для отсчета
на поверхность. Возможно определение крена и дифферента по расчету (см. Рисунки 2 и 3).

Глубины над бортами (м) - Н1 и
Н2
Разность глубин (м) - h
Ширина судна у миделя (м) - В
Угол крена -
q
h = Н2 - Н1;
sinq
= h/В
q = arcsin h/В
Рисунок 3 - Схема определения
угла крена.
|
6. Снятие основных
размеров судна.
|
Водолаз определяет следующие основные размеры и
характеристики судна:
- длину судна по верхней палубе;
- ширину судна на миделе (по верхней палубе);
- высоту борта у миделя;
- длину, высоту, ширину надстроек и их расположение;
- наличие якорей в клюзах, примерную длину вытравленной
якорной цепи и её направление по отношению к диаметральной плоскости судна;
- размеры грузовых трюмов, их расположение, размеры люков
и комингсов, размеры и расположение вентиляционных шахт;
- тип и размеры руля, количество и размеры гребных
винтов;
- форму и конфигурацию форштевня, ахтерштевня, кормы
судна, наличие и размеры подзоров, наличие бортовых килей и район их
расположения;
- расположение мачт, палубных механизмов и т.д.
Эти замеры водолаз делает с помощью мерного линя, который
закрепляется в начальной точке, разматывается с вьюшки до конечной точки и
там закрепляется. Затем водолаз проверяет правильность протяжки линя и
наносит на нем марки, отмечающие какие-либо приметные объекты (предметы). При
этом он по телефону докладывает руководителю спуска, чему соответствует
каждая марка. Линь с конечными и промежуточными марками поднимается на
поверхность, где с него снимаются необходимые размеры. Допускается
использование линя, заранее промаркированного по всей длине бирками с
номерами, нанесенными несмываемой краской.
Вертикальные размеры измеряются лотом
|
7. Обследование корпуса затонувшего судна.

1 -
вески
2 -
марки.
Рисунок 4 -
Определение контура пробоины с помощью весков.
|
а) При
наружном осмотре определяются:
- состояние
корпуса;
- наличие
иллюминаторов, их состояние;
- положение и
состояние винторулевой группы;
-
местонахождение якорей;
- состояние
надстроек, рубок, палуб, люков и других палубных устройств и механизмов;
- наличие и
толщина слоя грунта и других предметов на палубе;
- наличие
выступающих за борт предметов и оборудования.
б) При
обследовании внутренних помещений затонувшего судна устанавливаются:
- наличие,
расположение, состояние и характер повреждения водонепроницаемых переборок;
- состояние
главных и вспомогательных механизмов (сохранность их на фундаментах, наличие повреждений);
- наличие,
характер и состояние грузов в трюмах - наличие и ориентировочное количество
грунта в помещениях (отсеках), имеющих наружные пробоины;
- наличие и
состояние водонепроницаемых люков, дверей, горловин, конструктивных и
технологических вырезов;
- наличие
демонтированных систем арматуры, кингстонов.
При осмотре
повреждений определяют их характер (пробоина, вмятина, трещина, гофр и др.) и
возможность заделки доступными способами и средствами.
Водолазом
определяется положение иллюминаторов «открыт», «закрыт», «выбит».
Следует
обратить особое внимание на их подвижность.
Если якорь
отдан, то необходимо определить направление и натяжение якорь-цепи, место и
глубину залегания якоря.
Обследование производится
одновременно двумя-тремя водолазами в зависимости от удаленности помещений и
возможности постоянного контроля за каждым находящимся на судне водолазом.
Первый
водолаз спускается в отсек (помещение, трюм), а второй - страхующий находится
у места спуска работающего водолаза в готовности к спуску и держит в руках
шланг, кабель-сигнал первого водолаза, следит за его действиями и в случае
необходимости оказывает помощь.
Перед входом
в помещение водолаз набирает себе на руку несколько витков кабель-сигнала и
шланга, передвигаясь вперед, постепенно их отпускает.
Находясь
внутри помещения судна, водолаз обследует его и непрерывно докладывает
руководителю спуска о результатах обследования.
Для судна,
сидящего на камнях, отмечается количество и расположение вошедших в корпус
камней, а также степень их проникновения внутрь судна.
Контур
большой бортовой пробоины определяется с помощью весков (тонкий трос с
грузом). При снятии контура пробоины вески подвешивают по борту на равных
расстояниях друг от друга так, чтобы они перекрывали всю пробоину. (Рисунок 4).
На тросах
весков водолаз ставит марки, соответствующие верхним и нижним контурам
пробоины, а также линии борта по ВП. Затем вески последовательно поднимают
наверх для снятия замеров. Данные измерения наносят на эскиз и получают общую
конфигурацию повреждения. Точность таких измерений, как правило, позволяет
получить лишь общее представление, необходимое для выбора способа заделки
пробоины или определения метода подъема судна. Более точно форму и размер
повреждений устанавливают с помощью проволочных и деревянных шаблонов.
Размеры малых
пробоин замеряются водолазной линейкой, линем или рулеткой. Форма и размеры
таких пробоин определяются с помощью шаблонов или снятием замеров
(водолазными линейками, рулетками или линями). При этом устанавливаются
наличие трещин, гофр, вмятин, величина и направление загиба заусенцев (внутрь
или наружу корпуса). В случае, когда пробоина частично находится в грунте,
производится размыв и удаление грунта в данном месте, после чего определяются
размеры и характер пробоины.
|
8. Оформление сдачи-приемки работ.
|
Результаты
обследования затонувшего судна оформляются «Актом водолазного обследования»
(Приложение 1) с приложением схемы (Приложение 2) судна и
обследуемого района.
|
Охрана труда
Спуски
водолазов на затонувшее судно должны проводиться с использованием подводных светильников.
При обследовании затонувшего судна водолаз должен быть внимательным, чтобы не
провалиться в открытый люк или пробоины и оберегать сигнальный конец и шланг от
запутывания за такелаж и палубные механизмы.
Находясь
во внутреннем помещении затонувшего судна, водолаз должен остерегаться
внезапного падения незакрепленных, нависающих, сорванных со своих мест
предметов и грузов, особенно в судне, лежащем килем вверх или на борту.
Открывать двери и люки следует осторожно - возможно падение предметов из
смежных или расположенных выше помещений.
При
выполнении обследования затонувшего судна, кроме мер безопасности, указанных в
настоящей технологической карте, надлежит руководствоваться следующими
разделами РД
31.84.01-90 «Единые правила безопасности труда на водолазных работах»:
Общие требования безопасности при выполнении водолазных спусков и работ; Общие
требования. Аварийно-спасательные работы. Судоподъемные работы. Работы на
течении. Работы при отрицательных температурах наружного воздуха, а также со
льда и подо льдом; Медицинское обеспечение водолазов во время проведения
водолазных спусков.
Материально-техническое снабжение
№ п/п
|
Наименование
изделий
|
Количество
|
1
|
Морской водолазный бот, рейдовый водолазный бот
или катер с установленной компрессорной водолазной станцией
|
1 (по
необходимости 2 - 3)
|
2
|
Двухвесельная рабочая шлюпка
|
1 (по
необходимости 2 - 3)
|
3
|
Буйки
|
по
потребности
|
4
|
Расходный трос
|
по
потребности
|
5
|
Водолазная рабочая беседка
|
по
потребности
|
6
|
Инструмент, ключи, принадлежности
|
по
потребности
|
7
|
Магнитный присос
|
по
потребности
|
8
|
Магнитный вакуумный присос
|
по потребности
|
9
|
Балластины
|
|
10
|
Фонарь подводный
|
по
потребности
|
11
|
Установка осветительная
|
по
потребности
|
12
|
Водолазный щуп
|
по
потребности
|
13
|
Пробоотборник грунта
|
|
14
|
Планшет водолазный подводный
|
по
потребности
|
15
|
Линейка водолазная
|
по
потребности
|
16
|
Кренометр
|
по
потребности
|
17
|
Футшток водолазный металлический
|
по
потребности
|
18
|
Водолазная рулетка с рукояткой и штырем
|
по
потребности
|
19
|
Материалы для изготовления шаблона
|
по
потребности
|
2.2. Грунтоуборочные работы, разработка
траншей и котлованов
Общие положения
Разработка
грунта производится с целью:
-
устройства котлованов для обеспечения проектной установки судоподъемных понтонов,
создания благоприятных условий при спрямлении (выкренивании) затонувшего судна
на грунте и подрезка подкильных концов;
-
промывки туннелей для заводки стропов и полотенец под корпус затонувшего судна;
-
размывки наносов вокруг судна для уменьшения сил присоса;
-
удаления грунта из внутренних помещений для уменьшения подъемного веса
затонувшего судна;
-
устройства траншеи в направлении вытаскивания судна на берег.
Перед
разработкой грунта должно быть проведено тщательное водолазное обследование судна
с целью определения его положения на грунте и целостности корпуса. В процессе
обследования определяются характер и ориентировочный объем грунта,
устанавливается способ и последовательность его удаления. Производится очистка
грунта от предметов, способных создать препятствия работе с грунтососом
(обрезки канатов, топляк, мусор и т.д.). Способ расчистки грунта определяется
исходя из конкретных условий работы и имеемых средств.
Устройство
котлованов, траншей и удаление наносов вокруг корпуса судна можно производить
грейферными кранами с привлечением водолазов для контроля за ходом работ.
Промывка
туннелей и удаление грунта из внутренних помещений производятся пневматическими
и гидроэжекторными грунтососами, водоструйными эжекторами с предварительным
рыхлением грунта безреактивным стволом гидромониторов.
При
промывке туннелей необходимо исключить случаи оседания грунта под тяжестью
корпуса судна, а также возможность самопроизвольного замывания грунтом
водолаза, когда разрабатываемый грунт откладывается позади него, постепенно
закупоривая его в туннеле.
Грунтоуборочные
работы и промывку туннелей следует вести непрерывно и с максимальной
интенсивностью во избежание их заноса грунтом.
Водолазные
работы при разработке траншей, котлованов и грунтоуборке выполняются водолазной
станцией, обеспеченной техническими средствами и укомплектованной количеством
водолазов в зависимости от глубины спусков и условий работ.
Руководитель
водолазных работ перед началом работ проводит инструктаж по охране труда с
водолазами и лицами обеспечивающими спуски.
Руководитель
водолазных спусков распределяет обязанности между водолазами и определяет время
пребывания водолазов под водой.
Спуск и подъем водолазов производится в соответствии с требованиями РД
31.84.01 -90 «Единые правила безопасности труда на водолазных работах».
Состав работ
|
Технология выполнения работ
|
1. Вспомогательные работы перед началом промывки
туннелей.

1 -
устройство эжекторное; 2 - рукав рабочей воды;
3 - отливной рукав; 4 - поддерживающие стропы.
Рисунок 1 -
Промывка туннеля эжекторным устройством
|
Перед началом
работ производится разметка мест положения туннелей с помощью пенькового
линя, на котором нанесены марки с обозначением мест и границ туннелей.
Водолаз натягивает линь вдоль борта и закрепляет его на палубе. В местах
установки марок к устройствам на палубе водолазом закрепляются вертикальные
вески, идущие до грунта и обозначающие границы туннеля. Промывку туннеля
целесообразно вести одновременно двум водолазом с обоих бортов.
Для
облегчения работы водолаза пневматический или гидроэжекторный грунтосос
должен быть подвешен к стреле или крану-укосине, установленным на
обеспечивающем плавсредстве или стенке.
Все
отсасывающие и размывающие грунт средства должны подаваться на разгрузочных
тросах (Рисунок 1).
При
использовании пневматического грунтососа верхний конец его отливного рукава
подвешивается на пеньковом канате к борту плавсредства на высоте 0,2 - 0,3 м
от поверхности воды и оттягивается в сторону направления течения.
При
использовании пневмогидравлического грунтососа на глубинах более 30 м его
отливной шланг на поверхность не выносится, а закрепляется на 5 - 10 м выше
всасывающего патрубка и отводится в сторону от размываемого участка.
Эффективность
работы грунтососа оценивается по цвету потока водо-грунтовой смеси.
|
2. Работа на грунте.
|
Спуск грунтососа осуществляют после спуска водолаза, по
его команде.
При работе пневматическим грунтососом водолаз
устанавливает его на грунте вертикально и закрепляет к предварительно
установленному балласту или к прочной конструкции затонувшего судна с помощью
пенькового или капронового каната.
Закрепив грунтосос, водолаз запрашивает воздух для работы
грунтососа. Удерживая грунтосос за рукоятки на корпусе, по мере отсоса
переводит его в стороны. Работа грунтососа считается нормальной, если он,
слегка вздрагивая, углубляется в грунт.
Периодически или по мере надобности водолаз должен
проверять чистоту приемной решетки и очищать ее.
Работа начинается с размыва котлована для туннеля
глубиной на 1,5 - 2 м глубже скуловой части корпуса судна в вертикальном
направлении. Водолаз, промывая котлован, должен проверять его направление,
например, по кромкам листовой обшивки судна. Туннель должен идти
перпендикулярно борту судна.
При наличии постоянного течения размыв грунта необходимо начинать
с находящейся выше по течению оконечности затонувшего судна с любого борта.
|
3. Порядок разработки траншей и
котлованов.

Работа
безреактивного ствола перпендикулярно грунта.

Работа
безреактивного ствола веерообразно.
Рисунок 2 -
Схема разработки траншеи безреактивными стволами.
|
По оси
траншеи на расстоянии 50 - 100 м от начала разработки закладывается якорь с
блоком, через который с помощью лебедки прокладывается трос, свободный конец
которого крепится к безреактивному стволу. Перемещение ствола вперед по мере
размыва грунта осуществляет сверху обеспечивающий лебедчик по команде
водолаза. При необходимости трос ослабляют и напорный шланг перемещают назад.
Рабочая вода для работы безреактивного ствола подается от высоконапорного
агрегата ВИА-50, ДПЖН-14/11, либо от системы водяного пожаротушения
обеспечивающего судна с помощью рукавов резинотканевых напорных со спиралью
на рабочее давление 1,5 - 2,0 МПа внутренним Æ 63 мм длиной
18 м. При разработке грунта водолаз направляет безреактивный ствол
перпендикулярно грунту, либо перемещает его веерообразно, смывая частицы
грунта на бровку на расстояние не менее 0,5 м во избежание его обратного
сползания. Стенки траншей и котлованов должны быть пологими в пределах угла
естественного откоса грунта. Водолаз не должен выпускать из рук безреактивный
ствол, находящийся под давлением.
Слежавшийся
грунт и вязкую глину водолаз разрезает напорной струей на отдельные глыбы, а
затем, прекратив на время работу, выносит их за пределы рабочего участка.
При использовании
грунтососа водолаз, определив место размыва по установленным разметкам,
устанавливает его на дно и закрепляет к балласту.
Отливной
рукав и скобу грунтососа крепят с помощью тросов. Тросы должны иметь слабину,
необходимую для последующего углубления грунтососа. При работе с грунтососом
водолаз должен следить, чтобы его шланг и кабель-сигнал не перепутались с
рукавами и тросами грунтососа и безреактивного ствола. После разработки
траншею промеряют футштоком или лотом и по данным промеров вычерчивают ее
профиль. Если промерами обнаружено, что одни места заглублены больше других
или остается недобор грунта и дно траншеи имеет неровности, водолаз
производит работы по планировке и исправлении траншеи - размывает грунт на
возвышениях и сгоняет его во впадины.
|
4. Удаление грунта из внутренних
помещений судна.

1
- крестовина; 2 - корпус; 3 - поручень; 4
- воздушная коробка; 5 - гайка заглушка;
6 - фланец Ду 150; 7 - штуцер
подачи воздуха; 8 - отверстие для воздуха.
Рисунок 3 -
Пневматический грунтосос ПГ-150
|
Технология
выполнения работ аналогична размывке туннелей и траншей. Особенности работ
заключаются в следующем:
- спускаться
в затопленные отсеки должны одновременно два водолаза для помощи друг другу в
случае необходимости. Один водолаз выполняет работу, а другой (обслуживающий)
находится в таком месте, с которого может наблюдать за работающим водолазом и
поддерживать связь с ним и с поверхностью;
- перед
началом работы все двери и люки, через которые проходят рукава гидромонитора
и грунтососа, должны быть открыты, поставлены на стопоры или закреплены
концами. Заделаны или закрыты все отверстия (проемы), через которые произошли
заносы грунта внутрь помещений (технологическая карта № 3.2);
- при работе
с пневматическим грунтососом должно быть предусмотрено устройство (отверстие)
для удаления образующейся воздушной подушки;
- выброс
грунта должен осуществляться за пределы корпуса судна в сторону направления
течения;
- для
исключения повреждения рукавиц об острые предметы, очистка приемной решетки
грунтососа должна осуществляться только металлическим стержнем диаметром 10 -
15 мм длиной около 500 - 600 мм с кольцом-рукояткой и противоположным концом,
расплющенным в форме лопатки;
- после
очистки помещений затонувшего судна все двери (люки) и отверстия, через
которые осуществлялась уборка грунта, должны быть закрыты. При наличии
пробоины, она может быть закрыта щитами и другими предметами, препятствующими
проникновению грунта внутрь помещений (технологические карты № 1.2, 1.3).
|
5. Устройство котлованов и траншей при подъеме
затонувшего судна с помощью грейфера.
|
Способ
разработки грунта грейфером у борта затонувшего судна целесообразно применять
при объемах работ более 1000 м3 на тяжелых грунтах.
Установка и
перемещение плавкрана в процессе работ осуществляется при помощи якорей и
тросов, установленных так, чтобы не мешать подходу шаланд, транспортирующих
грунт.
Периодически
водолазами производится контроль за ходом разработки грунта. Водолазы
производят необходимые промеры траншей и котлованов, дают рекомендации по
перестановке или передвижке плавкрана.
Спуск водолаза
может производиться только после полной остановки грейфера, ковш которого
должен находиться на палубе крана.
|
Охрана труда
Очищать
решетку руками до прекращения подачи воздуха ЗАПРЕЩАЕТСЯ.
Допускается
производить размывку грунта после получения сведений об отсутствии в месте
работ электросиловых и телефонных кабелей, трубопроводов и взрывоопасных
предметов.
ЗАПРЕЩАЕТСЯ
выполнение подводных работ в охранной зоне подводных кабельных линий,
находящихся под напряжением.
В случае
всплытия грунтососа вместе с водолазом лица, обеспечивающие спуск и работу,
должны быстро подобрать шланг и кабель-сигнал водолаза, а также трос и шланги
грунтососа, чтобы предотвратить их падения на грунт.
При
промывке туннеля грунторазмывочными средствами в случае одновременной работы
двух и более водолазов расстояние между ними должно быть не менее 10 м, кроме
случая, когда один из них работает грунтососом, а второй рыхлит грунт перед ним
безреактивным стволом. Действия водолазов должны постоянно согласовываться.
Водолаз не должен выпускать из рук безреактивный ствол, находящийся под
давлением.
Струя из
гидравлического ствола не должна направляться в сторону других водолазов. Для
того чтобы размываемый грунт не отлагался сзади водолаза и не замывал выход из
туннеля необходимо периодически вымывать его из туннеля.
Для
размыва возможного завала грунтом водолаза у места спусков должны содержаться
готовые к действию средства для ликвидации такого завала (грунтососы, эжекторы,
пожарные стволы с рукавами, подключенными к системе водяного пожаротушения
обеспечивающего судна).
Подъем
грунторазмывочного устройства на поверхность после окончания работ должен
осуществляться после полного снятия (по команде водолаза) давления рабочей воды
в напорном трубопроводе.
При
выполнении грунтоуборочных работ, разработке траншей и котлованов надлежит
руководствоваться РД
31.84.01-90 «Единые правила безопасности труда на водолазных работах».
Материально-техническое снабжение
№ п/п
|
Наименование
изделий
|
Количество
|
1
|
Морской водолазный бот, рейдовый водолазный бот
или катер с установленной компрессорной водолазной станцией
|
1 (по необходимости 2 - 3)
|
2
|
Буйки (вехи)
|
по потребности
|
3
|
Балластины
|
по потребности
|
4
|
Футшток
|
по потребности
|
5
|
Пневматический грунтосос ПГ-150
|
1 (по необходимости 2) комплекта
|
6
|
Гидроэжекторный грунтосос ЭКСА-25
|
1 (по необходимости 2) комплекта
|
7
|
Грунтоуборочный эжектор Ду100
|
1 (по необходимости 2) комплекта
|
8
|
Высоконапорный агрегат ВНА-50
|
1 комплект
|
9
|
Высоконапорный агрегат ДПЖН-14/11
|
1 комплект
|
10
|
Лот
|
1 комплект
|
2.3. Заведение проводников и подъемных
стропов (полотенец) под корпус затонувшего судна
Общие положения
Подъемные
стропы (полотенца) заводятся под корпус затонувшего судна для закрепления к
нему технических средств подъема: понтонов и кранов. Подъемные стропы
(полотенца) протаскиваются под корпус судна с помощью стальных проводников.
Судоподъемные
стропы понтонов изготавливаются из стальных канатов.
Судоподъемные
полотенца применяются для подъема судов, обшивка которых может быть перерезана
стропами (особенно на крутом изгибе корпуса), а также для подъема судов с
острыми выступающими частями корпуса. Они разделяются на стальные и тросовые.
Места
заведения стропов размечаются исходя из проекта судоподъема. В качестве
ориентиров используются различные корпусные конструкции, предметы на грунте и
т.д.
Спуск
водолазов производится с водолазного бота, поставленного на якоря или
ошвартованного к судну обеспечения. Водолазные работы выполняются водолазной
станцией, обеспеченной техническими средствами и укомплектованной количеством
водолазов в зависимости от глубины спусков и условий работ.
Руководитель
водолазных работ проводит инструктаж с водолазами, лицами, обеспечивающими
спуски и экипажами задействованных в работе судов по безопасным методам
выполнения работ.
Руководитель
водолазных спусков распределяет обязанности между водолазами, обслуживающим
персоналом и определяет время пребывания каждого водолаза под водой.
Спуск и подъем водолазов производится в соответствии с требованиями РД
31.84.01-90 «Единые правила безопасности труда на водолазных работах».
Состав работ
|
Технология выполнения работ
|
1. Заведение проводника подъемного
стропа подрезкой.

Рисунок 1 -
Подрезка стропов под корпус затонувшего судна
|
Подрезка
проводников выполняется попеременной работой в противоположных направлениях
судовых тяговых механизмов (буксирных лебедок, электрошпилей брашпилей и
т.п.) с двух судов, установленных по обоим бортам затонувшего судна так,
чтобы длина стального каната от места подрезки до каждого судна была в 4 - 5
раз больше глубины (Рисунок 1). Подрезку можно проводить двумя буксирами путем
«пиления» грунта стальным тросом или цепью. Буксиры должны работать без
рывков, плавно наращивая мощность. В качестве подрезного конца может быть
использован цельный, из одного куска, стальной канат диаметром 22 - 30 мм. Составной
подрезной конец может включать цепь калибром 25 мм. При этом соединительные
скобы при натяжении троса, по возможности не должны касаться грунта.
Перед началом
подрезки необходимо под одной из оконечностей судна (обычно носовой) отмыть в
грунте углубление, позволяющее водолазу заложить подрезной конец под штевень.
Если под корпусом есть зазор, через который можно пропустить подрезной конец,
то подрезку целесообразно начинать с этого зазора.
Для
определения местонахождения подрезного конца оба проводящих подрезку судна
подтравливают якорные цепи (швартовы), и выбирают слабину подрезного конца до
тех пор, пока он не примет положение панер. После его закрепления, по
спусковому концу производится спуск водолаза для осмотра.
|
2. Заведение проводников с помощью иглы.

Рисунок 2 -
Схема заведения проводника с использованием
иглы.

1 - игла стальная; 2 - проводник
(трос стальной)

а) простейшая игла; б) гидроигла; в)
передняя оконечность пневматической иглы.
1 - обух; 2 - наконечник с соплами; 3 - штуцерное
соединение труб; 4 - рукоятка; 5 - штуцер
для соединения шланга
Рисунок 3 - Иглы
|
Водолазы с
двух сторон промывают котлованы или туннели. Затем стальной иглой с
закрепленным проводником из стального каната диаметром 11 - 15 мм протыкается
остающаяся при встречной промывке туннелей перемычка шириной 3 - 4 м (Рисунок
2).
Длина иглы
выбирается в зависимости от ширины судна и условий работы. Простейшая игла
одним водолазом заводится под корпус и передается другому водолазу,
находящемуся в туннеле с противоположного борта, который вытаскивает иглу
вместе с проводником на свою сторону. За прохождением проводника следит
первый водолаз и устраняет возможные зацепы.
При использовании
пневмо- или гидроигл, имеющих на конце обух, второй водолаз прикрепляет к
нему скобой стальной канат-проводник диаметром 6 - 8 мм, который затягивается
под корпус при вытаскивании иглы в обратную сторону первым водолазом.
В условиях
нулевой видимости, целесообразно применять простейшие устройства ориентации
иглы в обеих плоскостях, например направляющие, закрепляемые на корпусе
судна, либо откапывать траншею перпендикулярно ДП судна для предотвращения
изгиба или заглубления иглы в грунт.
При большой
ширине судна целесообразно использовать пневматическую или гидроиглу, в
которую поочередно подаются вода или воздух в целях предотвращения ее
замывания грунтом.
Вышедший с
противоположного борта конец гидроиглы можно обнаружить, подав в нее воздух.
Перед
заведением проводников под корпус судна они должны быть размечены для
контроля за продвижением или выравниванием протягиваемых стропов.
Количество
проводников, при необходимости, увеличивают с помощью специальных
приспособлений типа треугольная планка. Условием выполнения работы является
предотвращение переворачивания планки под корпусом судна, для чего два
протягиваемых проводника следует разнести как можно дальше друг от друга.
Другим методом является протягивание двух проводников с помощью такелажной
скобы с последующей разборкой запутавшихся частей на поверхности до их
разделения.
|
3. Заведение проводников с помощью буйка.

1 - буёк;
2 - проводник
Рисунок 4 - Схема протаскивания проводников с помощью
буйка
|
При наличии
расстояния между корпусом затонувшего судна и грунтом (приподнята одна
оконечность, естественный просвет) и сквозных туннелей для заведения
проводников используется тонкий растительный (синтетический) канат с буйком
(плавучестью) на конце.
Водолаз
проталкивает буек до середины ширины корпуса, обеспечивая его всплытие с
противоположного борта. Преимуществом способа является непосредственный вынос
проводника на поверхность. Затем его соединяют со стальным проводником,
который протаскивают под корпус.
В случае
недостаточной величины просвета буек может проталкиваться при помощи
отпорного крюка или длинной тонкой рейки, на конце которой делается вырез в
виде ласточкиного хвоста обеспечивающий удержание буйка относительно рейки
при его продольном перемещении.
Концы
проводников, заведенных под корпус, могут быть закреплены на палубе
поднимаемого судна либо вынесены на поверхность. Каждый из проводников
маркируется деревянной (металлической) биркой, указывающей наименование
стропа для которого заведен проводник, и с какого борта он выходит.
|
4. Протаскивание стропов.

1 - подъемный строп; 2 - затонувшее
судно; 3 - проводник; 4 - лебедка плавкрана;
5 - соединительная скоба; 6 - стропка (может
отсутствовать).
Рисунок 5 - Протаскивание стропов одновременно с
погружением понтона
|
С помощью тяговых
средств судов (шпилей, брашпилей, лебедок) или плавкрана протаскивается
проводник, прочность которого достаточна для протаскивания стропа или
используется заведенный ранее под корпус проводник, конец которого
соединяется стропкой или скобой со сторпом.
Протаскивание
стропа осуществляется выбиранием проводника на одном судне обеспечения и
потравливанием стропа с палубы другого судна по мере натяжения проводника.
Чтобы строп
преждевременно не соскользнул в воду его движение сдерживают шкентелем, присоединенным
к коренному концу стропа и взятым на шпиль или кнехт. По мере продвижения
стропа под корпус судна эти шкентели поочередно разрезаются, освобождая
шлаги. Для меньшего изгиба проводника и стропа при протаскивании
рекомендуется обеспечивать возможно более пологий угол стравливания стропа и
выбирания проводника над грунтом. За прохождением стропа под днище судна
следует внимательно следить по разметке на проводнике.
В зависимости
от количества заводимых стропов (согласно проекта подъёма), заведенные стропа
могут быть временно закреплены на корпусе поднимаемого судна.
Для этого
водолаз подтягивает строп к борту и пеньковым тросом закрепляет его, потом по
его команде дается слабина стропу и заваливает его на палубу. Это повторяется
при протаскивании каждого стропа.
|
5. Протаскивание судоподъемного
полотенца.

1 - скоба
судоподъемная; 2 - полотенце; 3 - строп; 4 - проводник.
Рисунок 6 - Схема протаскивания полотенца
|
Заведение
полотенца под корпус судна производится с помощью стропов, присоединенных к
его концам судоподъёмными скобами. Технология принципиальных отличий от
работы со стропами не имеет (Рисунок 6).
Водолаз
следит за правильным положением полотенца относительно корпуса судна. Когда
спущенное полотенце достигнет борта, водолаз следит за тем, чтобы оно не
ложилось на грунт. При протаскивании полотенца водолаз отходит в сторону.
При заведении
полотенец необходимо следить, чтобы они не перекрутились вокруг продольной
оси.
Стальное
полотенце на нагрузку 400 тс и более изготавливается из высокопрочной
судостроительной стали. Для их заведения под днище производится поочередный
подъем оконечности затонувшего судна над грунтом (в каждом конкретном случае
согласно проекта подъёма). Тросовые полотенца заводятся протаскиванием в
туннель.
|
Охрана труда
При
подаче водолазу судоподъемных стропов и грузоподъемных приспособлений он должен
находиться в стороне от направляющего троса и подходить к нему только с
разрешения руководителя спусков после прекращения подачи стропа.
Перед
началом протаскивания судоподъемных стропов под корпус судна, водолаз должен
находиться вне тоннеля в безопасном месте, следить за тем, чтобы шланг и
кабель-сигнал не были прижаты или затянуты под корпус судна вместе со стропом.
Во время осмотра водолазом положений стропов все работы по их протаскиванию
должны быть прекращены.
При
выполнении работ по заведению проводников и стропов (полотенец), необходимо
руководствоваться следующими разделами РД
31.84.01-90 «Единые правила безопасности труда на водолазных работах»:
Общие требования безопасности при проведении водолазных спусков и работ; Общие
требования. Аварийно-спасательные работы. Судоподъёмные работы.
Подводно-технические работы. Работы на течении. Работы при отрицательных
температурах наружного воздуха, а также со льда и подо льдом; Медицинское
обеспечение водолазов во время проведения водолазных спусков.
Материально-техническое снабжение
№ п/п
|
Наименование
изделий
|
Количество
|
1
|
Морской водолазный бот, рейдовый водолазный бот или
катер с установленной компрессорной водолазной станцией
|
1 (по
необходимости 2)
|
2
|
Судно-спасатель с грузовым устройством
|
кол-во по
проекту
|
3
|
Струбцины, домкраты, талрепы, такелаж и
судоподъемные скобы, зажимы для стальных канатов
|
по необходимости
|
4
|
Инструменты, принадлежности, лебедки ручные и с
эл. (мех.) приводом
|
по
необходимости
|
5
|
Канифас-блоки
|
по
необходимости
|
6
|
Гидромониторы, грунтососы пневматические
(эжекторы) с комплектом шлангов
|
по
необходимости
|
7
|
Стропы судоподъемные (полотенца), подкильные концы
|
по
необходимости
|
8
|
Трос, стропы стальные, растительные
|
по
необходимости
|
9
|
Понтоны
|
по
необходимости
|
2.4. Остропка и найтовка судоподъёмных понтонов
Общие положения
Судоподъемные
понтоны предназначаются для подъема затонувших судов, поддержания их на плаву и
увеличения остойчивости судов, частично ее потерявших, а также уменьшения
осадки судов для снятия их с мели, проводки по мелководью, ввода в доки.
Понтоны представляют
собой плавучие сооружения, по материалу они подразделяются на жесткие и мягкие.
Жесткие -
из судостроительной стали, мягкие - из прорезиненной ткани с оплеткой.
Мягкие
понтоны в настоящее время в отечественной практике судоподъема не используются.
Жесткие
понтоны принято подразделять по их подъемной силе.
Количество
понтонов для подъема судна зависит от величины расчетной отрывной силы, от
подъемной силы понтона, а также от условий, гарантирующих поднимаемому судну
положительную остойчивость при всплытии и обеспечивающих вынос палубы на
поверхность.
Расположение
понтонов по длине судна определяется проектом подъема, исходя из соображений
прочности корпуса, остойчивости и очередности подъема оконечностей. Обычно по
длине судна понтоны располагаются в один ряд, реже, при недостаточной длине
корпуса - в два-три ряда, рядом друг к другу или 2 яруса.
При
расположении понтонов по высоте следует учитывать, что для остойчивости судна
желательно располагать их возможно выше. Вместе с тем, высокое расположение
понтонов уменьшает возможность выноса из воды палубы судна и увеличивает его
осадку после всплытия. Поэтому расположение понтонов выбирают с учетом этих
двух факторов. При расчете центр подъемных сил располагают на 200 - 300 мм выше
центра тяжести судна. Допустимый дифферент судна при подъеме понтонами
определяется условиями их устойчивого положения и прочности конструкций,
стропов и найтовов, связывающих понтоны с судном. Как правило, дифферент не
должен превышать 0,25 - 0,3 длины корпуса судна (15 - 17°).
При
подъеме низкобортных судов (плавпричалов), у которых высота борта равна
диаметру понтонов или меньше его, а также при необходимости обеспечить
поднимаемому объекту малую осадку, остропка понтонов производится в обхват.
Спуск
водолазов производится с водолазного бота, поставленного на якоря (с носа и
кормы) или ошвартованного к судну обеспечения и выполняются только в дневное
время при нормальных метеоусловиях.
Водолазные
работы по остропке и найтовке судоподъёмных понтонов выполняются водолазной станцией,
обеспеченной техническими средствами и укомплектованной количеством водолазов в
зависимости от глубины спусков и условий работ.
Руководитель
водолазных работ проводит инструктаж по охране труда с водолазами и лицами
обеспечивающими спуск, распределяет обязанности и знакомит по чертежам с
проектом остропки и найтовки понтонов.
Спуск и подъем водолазов производится в соответствии с требованиями РД
31.84.01-90 «Единые правила безопасности труда на водолазных работах».
Состав работ
|
Технология выполнения работ
|
1 .Подготовительные работы.
|
Перед началом
работ с судоподъемными понтонами водолазы должны промыть туннели (технологическая
карта № 2.2) и завести судоподъемные стропы (технологическая
карта № 2.3) и подготовить понтоны.
С целью
проверки понтонов перед использованием должны быть выполнены следующие
работы: произведен внешний осмотр; испытаны воздушные ящики; проверены
герметичность наружной обшивки и переборок; проверены и подготовлены системы
продувки и затопления.
|
2. Остропка и затопление понтонов.

1 -
строп понтонный; 2 - направляющие проводники;
3 - затонувшее судно; 4 - понтон; 5 -
«усы» (или подвески); 6 - судно обеспечения.
Рисунок 1 -
Схема затопления понтонов
|
Затопление
понтонов (Рисунок 1) производится с использованием грузовых устройств
спасательных и судоподъёмных судов или плавкранов грузоподъемностью (тяговым
усилием) не менее, чем вес понтона в воде, в следующей последовательности:
- подвести
понтон к месту затопления, поставить к борту поднимаемого судна и взять его
при помощи «усов» или подвески на гак крана;
- пропустить
направляющие проводники через клюзы понтона и спустить их водолазу;
- водолазу
соединить направляющие проводники с огонами подкильных стропов, после чего их
обтянуть и закрепить на палубе плавсредства, с которого ведется остропка;
-
присоединить к штуцерам понтона продувочные рукава;
- открыть
клапаны быстрого затопления и системы продувки;
- опустить
понтон на грунт по направляющим проводникам, поддерживая его за «усы» или
подвески;
- после
полной укладки понтонов на грунт закрыть клапаны быстрого затопления.
Вышедшие из
клюзов понтона огоны стропов водолаз стропит найтовами из пенькового или
тонкого стального троса, чтобы они не соскользнули в клюзы, для этого:
- один конец
накладывается на строп как можно глубже в клюз понтона, второй конец
закрепляется на ближайший обух, после чего:
- отдать
направляющие проводники от стропов и поднять их наверх;
- проверить
закрытие клапанов быстрого затопления, и при необходимости, закрыть их.
Остропка
400-тонных понтонов производится на 4-х стропах (Рисунок 2), которые
попарно крепятся на коромыслах. Коромысла компенсируют разницу длин стропов и
уравновешивают их натяжение, для чего:
- поставить
коромысла в крайнее наклонное положение перед затоплением понтона;
- поставить
коромысла в горизонтальное положение после затопления;
- заложить
вышедшие из клюзов огоны стропов на гаки коромысел;
- отдать
проводники и поднять их наверх.
Для
предохранения стропов от перерезания или повреждения на острых углах
корпусных конструкций применяются подстропные подушки и клетки. При подъеме
судов, затонувших вверх килем, на стыке борта и палубы под стропами устанавливают
угловые подушки. Они служат также для предохранения корпусов судов от
повреждений при подъеме.
|

1 -
шкентель; 2 - коромысло; 3 - строп; 4 -
клюз 400-тонного понтона; 5 - понтон.
Рисунок 2 - Застежка стропа
400-тонного понтона на коромысло
|
3. Укорачивание судоподъемных стропов.
|
При
необходимости укорачивания стропов, водолаз производит заламывание их на
скобе или рогах полуклюза и крепит скобами за подъемные обухи. Если стропы
надо укоротить немного - под них подкладывают одно или несколько бревен
(«закуски») или подкладные клетки. Двойные стропы водолаз обводит вокруг
бревен, пропуская огон между ветвями стропа, а одинарные крепит скобой. Такие
«закуски» могут устанавливаться на каждом из стропов.
|
4. Равнение понтонов.
|
Для равнения
понтонов следует:
- проверить
положение стропов;
-
присоединить продувочные рукава к штуцерам индивидуальной продувки концевых
отсеков обоих понтонов.
Последовательность
выполнения работ по выравниванию зависит от количества задействованных для этого
плавсредств.
Если
задействовано одно плавсредство, то следует:
- приподнять
с помощью грузоподъемного устройства один из парных понтонов в расчетное
положение;
- продуть
концевые отсеки противоположного понтона на 3 - 5 т для выбирания слабины
стропов. У 400-тонного понтона воздух подается в средний отсек при открытом
контрольно-отсекательном клапане;
- выбрать
слабину стропов;
- проверить
положение понтонов, стропов, скоб;
- повторить,
при необходимости, выравнивание понтонов;
- подать
воздух для обеспечения положительной плавучести в концевые отсеки понтона (у
400-тонного понтона - в средний отсек);
- проверить
положение понтона, стропов, скоб, клеток, кранцев, подстропных подушек
посредством водолазного осмотра;
- продуть для
надежной обтяжки стропов концевые отсеки на половину их объема (у 400-тонного
понтона средний отсек продуть до отсекательного клапана);
- произвести
проверку положения понтонов.
Если
задействовано два плавсредства, то следует:
- установить
плавсредства по бортам затонувшего судна;
- приподнять
и выровнять относительно друг друга и корпуса судна оба парных понтона с
помощью грузоподъемных устройств судов обеспечения;
- подать
воздух в концевые отсеки понтонов (в средние отсеки 400-тонных понтонов) для
придания им положительной плавучести и устойчивого положения;
- проверить
положение понтонов, стропов, скоб, клеток, кранцев, подстропных подушек
посредством водолазного осмотра;
- продуть
концевые отсеки на половину их объема для надежной обтяжки стропов (у
400-тонных понтонов средние отсеки продуть до отсекательных клапанов);
- произвести
контрольный осмотр водолазами положения понтонов.
Если после
продувки понтоны не займут расчетное положение, стравить из их отсеков воздух
и произвести повторное выравнивание.
|
5. Найтовка понтонов.

1 - талреп; 2 - найтовы; 3 - соединительная
скоба; 4 - понтон.
Рисунок 3 - Обтяжка найтовов талрепами
|
Понтоны к
поднимаемому судну закрепляют продольными и поперечными найтовами (Рисунок 3), для этого
следует:
- подать
найтов водолазу;
- закрепить
найтов на понтоне за подъемные обухи и перенести его к месту крепления на
корпусе поднимаемого судна;
- обтянуть
найтов и закрепить его тросовыми зажимами или талрепами.
Продольные и
поперечные найтовы следует обтягивать втугую на слабых найтовах понтоны могут
смещаться, что приводит к перегрузке стропов и опасно для самих найтовов, так
как при рывке они могут оборваться.
|
Охрана труда
При остропке,
равнении и найтовке понтонов водолаз должен следить за тем, чтобы он сам,
водолазный шланг или сигнальный конец (кабель-сигнал) не попали между понтоном
и корпусом судна и между стропами и найтовами. Все работы связанные с остропкой
и найтовкой понтона должны выполняться только по команде водолаза.
Погружать
под воду судоподъёмные понтоны по направляющим проводникам следует без участия
водолаза. Перед спуском водолаза для осмотра положения судоподъёмного понтона необходимо
остановить дальнейшее погружение последнего.
Спуск
водолаза для остропки судоподъёмных понтонов должен производится после
окончания опускания их на место. Окончательная установка понтонов в нужное
положение должна производится только по команде работающего водолаза.
При
остропке, равнении и найтовке понтонов водолаз должен избегать резких движений,
чтобы не удариться шлемом о стропа и другие предметы, а также следить за тем,
чтобы он сам, шланг или кабель-сигнал не попали между стропами, найтовами,
понтоном и корпусом судна.
Во время
найтовки судоподъемных понтонов наполнять их или стравливать из них воздух без
предупреждения об этом работающего водолаза - ЗАПРЕЩАЕТСЯ.
При подаче
водолазу судоподъёмных стропов он должен находиться в стороне от направляющего
троса и подходить к ним только с разрешения руководителя спусков после
прекращения подачи. При остропке водолаз должен внимательно следить за тем,
чтобы подъемный трос не перепутался с кабель-сигналом и шлангом, а последние не
попадали бы под строп.
При
выполнении работ по остропке и найтовке судоподъемных понтонов кроме мер
безопасности, указанных в настоящей технологической карте, надлежит
руководствоваться следующими разделами РД
31.84.01-90 «Единые правила безопасности труда на водолазных работах»:
Общие требования безопасности при выполнении водолазных спусков и работ; Общие
требования. Аварийно-спасательные работы. Судоподъёмные работы. Работа на
течении. Работы при отрицательных температурах наружного воздуха, а также со
льда и подо льдом; Медицинское обеспечение водолазов во время проведения
водолазных спусков.
Материально-техническое снабжение
№ п/п
|
Наименование
изделий
|
Количество
|
1
|
Морской водолазный бот, рейдовый водолазный бот
или катер с установленной компрессорной водолазной станцией
|
1 (по
необходимости 2 - 3)
|
2
|
Канифас-блоки
|
по проекту
|
3
|
Судно с грузовым устройством
|
по проекту
|
4
|
Двухвесельная рабочая шлюпка
|
1 (по
необходимости 2)
|
5
|
Понтоны морские (стальные)
|
по проекту
|
6
|
Компрессор технического воздуха
|
по проекту
|
7
|
Канаты, стропы (стальные, растительные,
синтетические)
|
|
8
|
Подкильные концы стальные
|
по проекту
|
9
|
Трос стальной, растительный
|
по проекту
|
10
|
Струбцины, домкраты, талрепы, такелажные скобы,
зажимы для стальных канатов
|
по проекту
|
11
|
Скобы судоподъёмные
|
по проекту
|
12
|
Лебедки ручные, с эл. (мех.) приводом
|
по проекту
|
13
|
Лесоматериал (доски, бревна, брусья и др.)
|
по проекту
|
14
|
Инструменты, ключи, ломы, принадлежности для
заделки огонов
|
по проекту
|
15
|
Установка подводная осветительная
|
по проекту
|
16
|
Рукава длиномерные для продувки понтонов
|
по проекту
|
2.5. Спрямление затонувшего судна на грунте
Общие положения
Спрямление
затонувшего судна производится в случае, если оно лежит на грунте с креном
более 15 - 20° и его подъем в таком положении затруднен или невозможен.
Цель спрямления
заключается в создании наиболее благоприятных условий для приложения подъемных
усилий и возможности постановки его на плав с выносом палубы к поверхности воды
или над водой.
Подъем
судов, крен которых более 150°, целесообразно проводить без выкренивания,
«вверх килем», используя метод отжатия воды из отсеков сжатым воздухом.
В
качестве основных технических средств при спрямлении используются плавучие
краны, судоподъемные понтоны, гини, суда-буксировщики и т.д.
Для
выкренивания судов, имеющих водоизмещение до 2000 т, применяются 1 - 2 вида
средств (плавкраны и понтоны, плавкраны и гини и т.д.).
При
спрямлении судов большого водоизмещения одновременно используются 3 - 4 вида
средств, а для увеличения момента спрямляющих усилий устанавливаются поворотные
балки, кронштейны и другие приспособления.
Работы по
спрямлению судна включают:
-
разметку и обозначение мест монтажа выкренивающих устройств;
- отмыв
грунта со стороны палубы и днища, разработку котлованов;
- монтаж поворотных
балок, кронштейнов и других приспособлений, увеличивающих плечи приложения
усилий;
-
остропку понтонов, закрепление гиней за прочные конструкции судна и приварные
проушины;
-
оборудование контрольных постов для наблюдения за спрямлением, расстановку сил
и средств, создание тяговых усилий.
Спуск
водолазов производится с водолазного бота в дневное время суток при нормальных
метеоусловиях.
Водолазные
работы при спрямлении затонувшего судна выполняются водолазной станцией, обеспеченной
техническими средствами и укомплектованной количеством водолазов в зависимости
от условий, глубины спусков и характера выполняемых работ.
Руководитель
водолазных работ проводит инструктаж по охране труда с водолазами, а с экипажем
аварийного судна по безопасным методам обслуживания водолазных работ.
Определяет метод (визуально или с применением подводной фото- телеаппаратуры) и
порядок обследования, количество технических средств (ВМ, ВРД, рабочих шлюпок и
др.), водолазных станций, водолазов, матросов. Руководитель водолазных спусков
распределяет обязанности между водолазами, обслуживающим персоналом, определяет
время пребывания водолазов под водой.
Спуск и подъем водолазов производится в соответствии с требованиями РД
31.84.01-90 «Единые правила безопасности труда на водолазных работах».
Состав работ
|
Технология выполнения работ
|
1. Разметка места монтажа выкренивающих устройств.

1 - корпус затонувшего судна; 2 - надстройка
судна; 3 - мачта; 4 - буи или вехи.
Рисунок 1 - Обвеховка затонувшего судна
|
При разметке
и обозначении мест монтажа выкренивающих устройств удаляются участки фальшборта
и других судовых конструкций, затрудняющих монтаж устройств, производится
зачистка мест для приварки подпятника поворотной балки, обухов, проушин и
других приспособлений. На борту, выступающем из воды или оголяющемся при
отливе, места монтажа устройств обозначаются краской. Надстройки и мачты
затонувшего судна, а также места установки клеток и других устройств,
представляющие опасность для плавкранов и других судов обеспечения
обвеховываются. (Рисунок 1).
|
2. Отмыв
грунта со стороны палубы и днища, разработка котлованов.

Рисунок 2 - Профилирование скулового котлована
|
Отмыв грунта
со стороны палубы при ее погружении в грунт производится для снижения
отрывного сопротивления выступающих частей корпуса и отдельных конструкций.
Удаление грунта проводится чаще всего водоструйными эжекторами и
пневматическими грунтососами (технологическая карта 2.2). В оконечностях судна, если не мешают надстройки,
возможно использование грейферов.
Отмыв грунта
со стороны днища (из-под скулы) производится для уменьшения кренящего момента
за счет переноса оси поворота ближе к центру тяжести судна.
Скуловой
котлован, на малых глубинах, рекомендуется выполнять в виде двух траншей
(Рисунок 2) с учетом выноса палубы судна ближе к поверхности
или над поверхностью воды. Углы наклона откосов котлованов принимаются
равными углу естественного откоса грунта.
|
3. Монтаж поворотных балок, кронштейнов и других
приспособлений.

1
- поворотная балка; 2 - строп-оттяжка; 3
- подъёмный строп; 4 - подпятник балки.
Рисунок 3 - Схема установки
поворотной балки
|
Поворотные балки,
кронштейны и другие приспособления для увеличения плеч прикладываемых усилий
устанавливаются, как правило, на борту, выступающем из воды с помощью сварки
(технологическая карта 5.1.).
Поворотные
балки (Рисунок 3) обеспечивают использование вертикальных усилий
плавкранов.
Кронштейны
(Рисунок 4) чаще всего изготавливают в виде треугольных ферм
высотой 5 - 7 м, которые служат для увеличения момента тяговых усилий гиней и
судов-буксировщиков в горизонтальном направлении. Вместо кронштейнов на борту
судна могут быть установлены деревянные клетки (Рисунок 5) высотой до
1,5 - 2,0 м, которые должны быть надежно закреплены к корпусу с помощью
найтовов или другим способом, предусмотренным проектом подъёма.

Рисунок 4 - Схема установки кронштейна

Рисунок 5 - Схема установки клеток
|
4. Остропка подъемных и тяговых средств.

1 -
продуваемый понтон; 2 - навесной понтон; 3
- клетки; 4 - приварные проушины.
Рисунок 6 - Остропка понтонов
при спрямлении судна
|
Остропить
понтоны, закрепить гини за прочные конструкции судна и приварные проушины.
При
спрямлении судна остропка понтонов производится со стороны палубы. Так как на
палубе расположены различные устройства и механизмы, в большинстве случаев,
понтоны устанавливаются на специально сконструированные клетки (Рисунок 6). Стропы для
поворота заводятся под корпус судна и закрепляются за прочные конструкции
(комингсы люков, фундаменты, иллюминаторы) или приварные проушины.
Кроме
продуваемых понтонов при спрямлении применяются навесные понтоны, которые
устанавливаются на скуловой части борта и используются в качестве грузов. Для
увеличения веса навесных понтонов их воздушные ящики заполняются водой. Кроме
того, могут заполняться водой сами понтоны после закрывания горловин.
Навесные понтоны устанавливают на борт с помощью плавкранов соответствующей
грузоподъемности и закрепляют к приварным проушинам. Вместо навесных понтонов
могут применяться железобетонные массивы, якоря и другие грузы, которые также
навешиваются плавкранами.
При углах
крена 20 - 40° спрямление судна целесообразно совмещать с его подъемом за
счет разновысотной остропки понтонов. Такая остропка требует продувки
понтонов каждого борта от разных компрессоров при строгом контроле количества
подаваемого воздуха (продутого объема), и тщательной найтовки понтонов
(технологическая карта 2.4).
При
использовании гиней неподвижный блок закрепляют через вертлюг к береговым
«мертвым» якорям, а подвижный блок к браге, закрепленной за прочные конструкции
судна.
|
5. Расстановка
судов при спрямлении и оборудование измерительных постов для наблюдения.

1 -
спрямляемое судно; 2 и 3 - суда буксировщики;
4 - створные знаки; 5 -
кренометр; 6 - визир.
Рисунок 7 - Остропка понтонов
при спрямлении судна
|
Измерительные
посты устанавливаются для наблюдения измерений крена и за возможным смещением
судна в поперечном направлении. Пост включает кренометр большого размера и
визир. Наиболее удобно его оборудовать на кронштейнах, привариваемых к борту
судна. Всего оборудуется не менее двух постов: в носовой и кормовой
оконечностях судна. Наблюдение за показанием кренометра и визирной линией
проводится с берега или неподвижного судна, причала и т.д. При невозможности
установки обоих измерительных постов на судне, один из них оборудуется на
берегу. При полном погружении судна под воду на его борту закрепляются только
визиры, а посты оборудуются на берегу.
При
расстановке судов-буксировщиков следует обеспечить, чтобы направление их тяги
было строго перпендикулярным диаметральной плоскости затонувшего судна. Для
выполнения этого условия необходимо направление движения судов обозначить
створными знаками (Рисунок 7).
Существенное
отклонение направления тяговых усилий судов-буксировщиков от расчетного может
привести к поломке выкренивающих устройств.
В случае
расстановки в тяговых линиях двух судов, первым к затонувшему судну
устанавливается более мощный буксир.
|
Охрана труда
Спуск водолаза
для остропки судоподъемных понтонов производится после опускания их на место.
Погружать под воду судоподъемные понтоны по направляющим проводникам следует
без участия водолаза, перед спуском водолаза для осмотра положения
судоподъемного понтона, его необходимо положить на грунт и снять нагрузку
шкентеля. Все работы связанные с остропкой и найтовкой понтона должны
выполняться только по команде водолаза.
При
остропке, равнении и найтовке понтонов водолаз должен избегать резких движений,
чтобы не удариться шлемом о стропа и другие предметы, а также следить за тем,
чтобы он сам, шланг или кабель-сигнал не попали между стропами, найтовами,
понтоном и корпусом судна.
Во время
найтовки судоподъемных понтонов наполнять их или стравливать из них воздух без
предупреждения об этом работающего водолаза - ЗАПРЕЩАЕТСЯ.
При
подаче водолазу грузоподъемных приспособлений он должен находиться в стороне от
направляющего троса и подходить к нему только с разрешения руководителя спусков
после прекращения подачи груза. При остропке грузов водолаз должен внимательно
следить за тем, чтобы подъемный трос не перепутался с кабель-сигналом и
шлангом, а последние не попадали бы под строп.
При
выполнении работ по спрямлению судна надлежит руководствоваться следующими
разделами РД
31.84.01-90 «Единые правила безопасности труда на водолазных работах»: Общие
требования безопасности при выполнении водолазных спусков и работ; Общие
требования. Аварийно-спасательные работы. Судоподъёмные работы. Работа на
течении. Работы при отрицательных температурах наружного воздуха, а также со
льда и подо льдом. Медицинское обслуживание водолазов во время проведения
водолазных спусков.
В
процессе выполнения работ по спрямлению затонувшего судна необходимо:
- следить
за равномерностью распределения усилий на гинях;
-
контролировать нагрузку на технические средства, создающие тяговые усилия;
-
уменьшать, по возможности, подъемный вес по мере выхода судна на поверхность.
Сбрасывать
канат с барабана через щеку без прокручивания барабана ЗАПРЕЩАЕТСЯ.
Работа с
лебедками, имеющими сломанные зубья шестеренок и неисправные тормоза
ЗАПРЕЩАЕТСЯ.
Лебедку с
электрическим приводом необходимо заземлять, кабели и провода должны быть
защищены от механических повреждений.
Все
вращающиеся части лебедки должны быть надежно ограждены.
Материально-техническое снабжение
Материально-техническое
снабжение принять согласно разработанного проекта на спрямление затонувшего
судна.
2.6. Изготовление и установка на затонувшем судне
водоотливных шахт и коффердамов
Общие положения
Изготовление
и установка водоотливных шахт и коффердамов производится при подъеме
затонувшего судна методом осушения отсеков откачкой (технологическая карта № 2.7), когда палуба
расположена ниже уровня воды (не более 2 м).
Шахты
устанавливают на палубные люки площадью до 1,5 м2. Высота шахт над
уровнем воды выбирается с учетом состояния моря и высоты прилива, но не менее
0,4 - 0,6 м.
При
большом количестве отверстий в палубе или недостаточной ее прочности вместо
шахт предпочтительно устанавливать коффердамы, которые являются продолжением
бортов по всему судну или его части.
Глубина,
с которой может быть поднято судно зависит от прочности палубы, днища и
переборок осушаемого отсека, высоты всасывания водоотливных средств, а также от
прочности и устойчивости самих шахт и коффердамов, возможности устранения
водотечности корпуса.
Установка
шахт производится с помощью плавкранов или других подъемных средств и
водолазов. Порядок выполнения работ определяется проектом.
Водолазные
спуски производятся с водолазного бота, поставленного на якоря (с носа и кормы)
или ошвартованного к судну обеспечения и выполняются в дневное время при
нормальных метеоусловиях.
Водолазные
работы по установке шахт и коффердамов на затонувшем судне выполняются
водолазной станцией, обеспеченной техническими средствами и укомплектованной
количеством водолазов в зависимости от условий и характера выполняемых работ.
Руководитель
водолазных работ проводит инструктаж с водолазами по безопасным методам труда и
с экипажами обслуживающих судов. Определяет метод и порядок выполнения работ,
количество технических средств и водолазных станций.
Руководитель
водолазных спусков распределяет обязанности между водолазами, обслуживающим
персоналом, определяет время пребывания водолазов под водой.
Спуск и подъем водолазов производится в соответствии с требованиями РД
31.84.01-90 «Единые правила безопасности труда на водолазных работах».
Состав работ
|
Технология выполнения работ
|
1. Водолазное обследование места установки шахт и
снятие основных размеров для ее проектирования.
|
Водолазное
обследование места установки шахты выполняется с целью определения состояний
конструкций корпуса, возможности их использования для крепления шахты, снятия
размеров и формы корпуса для изготовления уплотнительной конструкции. При
отсутствии конструктивных чертежей поднимаемого судна водолазное обследование
является, по существу, единственным способом определения необходимого точного
места установки шахты и способа ее закрепления на судне. По результатам
водолазного обследования принимается решение о выполнении сопутствующих
дополнительных работах, либо о переносе места установки шахты.
|
2.
Конструирование шахты (коффердама), проверка расчетом ее прочности,
определение способа установки и крепления.

1 - стенка шахты; 2 - балласт (чугунные
чушки); 3 - уплотнительная подушка; 4 - планка
для установки крючкового болта.
Рисунок 1 - Принципиальная конструкция деревянной водоотливной
шахты.
|
Исходя из
сложности выполняемых работ, глубины затопления судна, положения на грунте,
имеющихся в наличии материалов и т.д., определить конструктивный тип шахты
(деревянная или металлическая).
При конструировании
следует руководствоваться следующими положениями:
- если
отношение сторон перекрытия больше двух, несущие доски следует располагать
вдоль меньшего пролета;
- при
отношении сторон перекрытия меньше двух несущие доски могут располагаться в
двух направлениях.
Конструкция
стенок деревянных шахт и коффердамов аналогична конструкции пластырей
(технологическая карта № 1.2). Количество
слоев и толщина досок определяются по расчету, между досками прокладывают
парусину. На нижней кромке деревянных шахт (Рисунок 1) делают
уплотнительную подушку из пакли. Если шахта металлическая, то к ее низу по
периметру приваривают швеллер либо плоский фланец. В швеллер закладывается
уплотнительная подушка, а к фланцу крепится уплотнитель.
Исходя из
выбранного конструктивного типа шахты, следует определить ее и вес в воде.
При необходимости предусматриваются балластирующие элементы.
Возможные
способы крепления шахты:
- крючковыми
болтами;
- оттяжками с
талрепами;
- болтами;
-
электросваркой;
- другими
приемлемыми способами.
|
3. Изготовление водоотливной шахты или коффердама
на берегу, проверка соответствия присоединительных размеров изделия, доставка
к месту установки.

1 -
упор; 2 - ферма; 3 - кница; 4 - щит;
5 - стойка.
Рисунок 2 -
Коффердам
|
При
изготовлении деревянной водоотливной шахты (коффердама) (Рисунок 2) следует
произвести основные работы:
- отпилить доски
определенной расчетом толщины и требуемых размеров;
- собрать
поочередно щиты стенок шахты (коффердама), проложив парусину между слоями
досок. Если шахта выполнена из одного слоя досок, ее следует обтянуть
парусиной с наружной стороны. При использовании брезента для обеспечения
водонепроницаемости и лучшей сохранности под водой его следует просмолить или
прокрасить суриком на олифе;
- сбить доски
щитов гвоздями длиной не менее суммарной толщины досок, загибая концы гвоздей
внутрь. Расстояние между гвоздями в направлении вдоль волокон составляет 200
- 300 мм, поперек волокон - 60 - 70 мм. При однослойной конструкции шахты
доски щита необходимо прибивать к продольно проложенным доскам, две из
которых расположены по краям щита, а одна - в середине;
- изготовить
по нижнему краю щита мягкую подушку из парусины с куделью.
При
изготовлении подушки рекомендуется сложить парусину в два слоя, прибить один
ее край с внутренней стороны нижней доски щита с нахлестом не менее 50 мм и
расстоянием между гвоздями 60 - 70 мм, затем ее следует загнуть наружу,
плотно заполнить просмоленной паклей, натянуть и прибить с наружной стороны,
после чего обрезать лишнюю парусину. Высота получившегося эластичного валика
должна быть не менее 50 мм;
- сбить щиты
стенок шахты гвоздями согласно эскизу;
- закрепить
по углам шахты подъемные проушины или стропы;
-
забаластировать шахту в нижний части кусками цепей, чугунными балластинами
или другими грузами для придания ей отрицательной плавучести в пределах 5 -
10 кг.
При
изготовлении металлической водоотливной шахты (коффердама) произвести
следующие основные мероприятия:
- разметить
металлический лист согласно размерам шахты по эскизу;
- вырезать
листы соответствующего размера;
- разметить
места присоединения к листу ребер жесткости и иных деталей;
- произвести
сборку и сваривание всех элементов шахты обратноступенчатым способом.
|
4. Установка водоотливной шахты или коффердама на
затонувшем объекте, проверка надежности крепления конструкций и плотности
уплотнительной подушки.

а)
оттяжками с талрепами:
1 -
водоотливной шланг; 2 - шахта; 3 -уплотнительная
подушка; 4 - винтовой талреп; 5 - приварная
проушина.
б)
болтами:
1 -
водоотливной шланг; 2 - шахта; 3 - болты;
4 - приварной комингс с фланцем
в)
крючковыми болтами;
1 -
водоотливной шланг; 2 - крючковые болты; 3
- шахта; 4 - балласт; 5 - уплотнительная
подушка;
Рисунок 3 -
Способы крепления водоотливных шахт.
|
Шахта должна
надежно крепиться к палубе крючковыми болтами, оттяжками с талрепами, сваркой
или другими доступными или наиболее рациональными способами (Рисунок 3), поскольку
в отличие от пластырей она при откачке воды не прижимается гидростатическим
давлением воды к палубе.
При установке
водоотливной шахты следует произвести следующие подготовительные работы:
- очистить
место установки от посторонних предметов, которые могут помешать плотной
посадке шахты. В случае приварки основания шахты к палубе необходимо
подготовить место под сварку;
- приварить
комингсы, обухи и другие приспособления для крепления шахты;
- установить
на шахте крепежные изделия - болты, оттяжки и т.п., закрепить на ней балласт
(при необходимости) и подъемные стропы.
Коффердам
имеет более сложную конструкцию, чем шахта. Он составляется из отдельных
щитов, которые устанавливают на приваренной по контуру палубы комингс и
закрепляют болтами. Щиты устанавливают и закрепляют с помощью стоек, ферм,
упоров и других связей. Стыки между щитами уплотняют для обеспечения
минимальной водотечности при откачке воды. Коффердам должен выдерживать
наружное гидростатическое давление, поэтому обшивка коффердама подкрепляется
набором (ребрами жесткости).
Конструкция
высоких коффердамов должна предусматривать возможность быстрой разборки в
верхней части по мере всплытия и выхода судна из воды для увеличения его
остойчивости и удобства доступа к люкам.
В качестве
коффердама возможно использование выступающей из воды надстройки затонувшего
судна после ее осмотра и герметизации.
Установка
шахт и коффердамов производится плавучими кранами или другими подъемными
средствами с помощью водолазов.
После
установки и закрепления шахты (коффердама) проверяется ее водотечность
пробной откачкой воды. Обнаруженные щели водолазы конопатят куделью. В случае
неплотного прилегания к палубе основание шахты обкладывают брезентом, на
который затем укладывают мешки с песком.
В процессе
пробной откачки также контролируется качество заделки повреждений и отверстий
в корпусе, определяется водотечность и подбираются водоотливные средства в
зависимости от их производительности.
При
удовлетворительных результатах пробной откачки (водотечность незначительна
или отсутствует) производится генеральная откачка.
|
Охрана труда
При выполнении
работ по изготовлению и установке на затонувшем судне водоотливных шахт и
коффердамов следует руководствоваться РД
31.84.01-90 «Единые правила безопасности труда на водолазных работах»:
Организация водолазных спусков и работ; Судоподъёмные работы. Работы на
течении. Работы при отрицательных температурах наружного воздуха, а также со
льда и подо льдом.
При
обследовании затонувшего судна на предмет установки водоотливных шахт или
коффердамов водолаз должен быть очень внимательным, чтобы не провалиться в
открытый люк или пробоину, а также оберегать сигнальный конец (кабель-сигнал) и
шланг от запутывания за такелаж и палубные механизмы.
Выполнение
водолазных работ по установке водоотливных шахт (коффердамов) при частичном
всплытии затонувшего судна могут быть разрешены только в случае надежного
удерживания судна.
Материально-техническое снабжение
Все
основные и сопутствующие материалы рассчитываются согласно принятому
конструктивному типу шахт или коффердамам (деревянные или металлические).
2.7. Осушение отсеков затонувшего судна откачкой и отжатием
воды сжатым воздухом
Общие положения
Осушение
отсеков затонувшего судна откачкой воды переносными водоотливными средствами из
всех или нескольких отсеков корпуса используется для подъема затонувших судов
практически неограниченного водоизмещения, лежащих на ровном киле или с креном.
Откачка
применяется для подъема судов, у которых не нарушена общая продольная прочность
и в достаточной степени возможна герметизация корпуса.
Порядок
осушения отсеков судна водоотливными средствами устанавливается проектом
подъема и должен обеспечивать:
-
намеченную очередность всплытия оконечностей судна;
- сохранение
общей продольной прочности судна при всплытии;
-
положительную поперечную остойчивость.
Поперечную
остойчивость судна необходимо обеспечить на каждый из технологических этапов
подъема:
- отрыве
от грунта одной оконечности и ее всплытии на поверхность;
- отрыве
корпуса от грунта и последующем всплытии (уменьшении осадки) судна.
При
осушении смежных отсеков судна до разных уровней воды должна проверяться
местная прочность соответствующих межотсечных переборок.
Осушение
отсеков затонувшего судна отжатием воды сжатым воздухом применяется при подъеме
плавучих доков, наливных судов, а также судов опрокинутых вверх килем.
При
отжатии воды из герметичных помещений через устройства, оборудованные отжимными
трубами, эти трубы должны доходить до низа помещения либо до уровня, до
которого можно отжимать воду по условиям местной прочности конструкций корпуса.
В
отдельных случаях допускается продувка сжатым воздухом отдельных наиболее
герметичных отсеков судов - помещений форника и ахтерпика.
Осуществление
способа возможно при следующих основных условиях:
- наличие
(или возможность прорезания) в нижней части отсека отверстий, через которые
будет отжиматься вода;
-
возможность герметизации отсека в верхней части с тем, чтобы подача воздуха
превышала потери через неплотности заделки;
-
достаточная прочность корпусных перекрытий, переборок и настилов палуб;
- наличие
средств подачи сжатого воздуха с необходимой суммарной производительностью.
Водолазные
работы по осушению отсеков затонувшего судна выполняются водолазной станцией,
обеспеченной техническими средствами и укомплектованной количеством водолазов в
зависимости от условий, глубины спусков и характера выполняемых работ.
Водолазные
спуски производятся с бота или другого оборудованного плавсредства при нормальных
метеоусловиях и в дневное время.
Руководитель
водолазных работ проводит инструктаж с водолазами, лицами обеспечивающими
спуски и экипажами задействованных в работе судов по безопасным методам труда.
Знакомит всех с документацией и принятым проектом выполнения работ.
Руководитель водолазных спусков распределяет обязанности между водолазами и
обслуживающим персоналом, определяет время пребывания водолазов под водой.
Спуск и подъем водолазов производится в соответствии с требованиями РД
31.84.01-90 «Единые правила безопасности труда на водолазных работах».
Состав работ
|
Технология выполнения работ
|
1. Герметизация корпуса судна при осушении отсеков
затонувшего судна откачкой воды.
|
Технология
выполнения работ по герметизации корпуса затонувшего судна с помощью мягких и
жестких пластырей приведена в технологической карте № 1.2, подводной сварки - в технологической карте № 5.1, подводного бетонирования - в технологической
карте № 1.3. Технология работ по изготовлению шахт и
коффердамов рассмотрена в технологической карте № 2.6.
|
2. Распределение
переносных водоотливных средств по отсекам затонувшего судна, подготовка их к
работе.

1 -
мотонасосы; 2 - отливные шланги; 3 - приемные
шланги; 4 - плашкоут; 5 - беседка; 6-
шланг гибкий методический для отвода выхлопных
газов; 7 - разгрузочные тросы; 8 - трос
беседки.
Рисунок 1 -
Расположение водоотливных насосов при откачке
|
В качестве переносных водоотливных средств применяют
мотонасосы, погружные электронасосы и водоструйные эжекторы.
Водоотливные средства распределяются согласно проекту
подъема, в соответствии с водотечностью корпуса и объемами осушаемых
помещений (Рисунок 1).
В зависимости от обстановки, водоотливные средства
ставятся на палубах и надстройках судна, на подвесных беседках внутри
помещений, а также на плашкоутах и плотинах.
При установке всасывающих рукавов водоотливных средств
следует выполнять требования:
- всасывающие рукава должны комплектоваться из числа
наименее изношенных, а их соединения должны быть исправными и обеспечивать
необходимую герметичность;
- к обуху приемной сетки всасывающего рукава
целесообразно присоединять конец из растительного каната для обеспечения
опускания, выборки рукава (для периодической чистки приемной сетки);
- приемную сетку следует опускать в наиболее глубокое
место в осушаемом отсеке, но не в намытый ил или скопившуюся грязь. При
осушении трюмов, содержащих сыпучие грузы, склонные забивать приемную сетку,
ее надлежит помещать в специальную выгородку большого размера, преграждающую
подсос сыпучего вещества к сетке;
- приемный рукав не должен быть выше приемного патрубка
насоса, так как такое возвышение соответственно уменьшает высоту всасывания;
- в местах изгиба рукавов под них необходимо подкладывать
специальные скаты-ложементы, предотвращающие их смятие.
Водоотливные мотонасосы
устанавливают как можно ближе к поверхности откачиваемой воды. При установке
мотонасосов в закрытых помещениях к выхлопной трубе двигателя присоединяют
гибкий металлический шланг для отвода выхлопных газов на палубу или за борт.
|
|
3. Обслуживание переносных водоотливных средств.

1 - накидная гайка; 2 - диффузор; 3 -
горловина; 4 - полугайка РС; 5 - цилиндр
всасывания; 6 - сопло; 7 - колено-корпус
насоса.
Рисунок 2 - Водоструйный насос ВСН-50
|
Посты обслуживания
мотонасосов необходимо обеспечить вентиляцией, хорошим освещением, телефонной
связью и средствами пожаротушения.
С помощью
погружных электронасосов (Рисунок 2) производят
откачку воды из небольших по объему и низкорасположенных помещений и отсеков.
Электронасос
переносят за рукояти, опускают в помещение с помощью талей или вручную на
страхующем тросе.
Перед
использованием эжекторов по прямому назначению проверяют его
работоспособность без подсоединения приемного рукава (при его наличии).
При наличии
водоотливного эжектора его опускают в затопленное помещение на страхующих
концах с предварительно подсоединенными напорным и отливным рукавами.
Эжекторы ВЭЖ-21 и ВЭЖ-25 могут использоваться без погружения присоединением
приемных рукавов, аналогичных рукавам погружных электронасосов.
|
4. Пробная откачка отсеков.
|
Откачку проводят, как правило, поотсечно после окончания подготовки
отсеков к осушению. В ходе пробной откачки контролируют:
- качество и полноту заделки повреждений;
- герметичность установки шахт и коффердамов.
По результатам пробной откачки оценивают
водотечность корпуса затонувшего судна и на основании расчета
производительности водоотливных средств уточняют необходимое для обеспечения
подъема судна количество водоотливных средств.
При проведении пробной откачки с помощью водолазов
обнаруживают и устраняют неплотности, оставшиеся после заделки пробоин.
Найденные щели конопатят, промазывают специальной замазкой (тавот, солидол,
технический жир и т.п., смешанные с опилками или рубленной куделью). В значительные неплотности дополнительно забивают мелкие клинья, обмотанные куделью.
Во время
работы электронасосов необходимо следить за постоянной бесперебойной откачкой
воды. При работе электронасосов с непогруженным в воду корпусом (допускается
для ЭСН-16/1, ВПЭН-1/1) контролируют
температуру корпуса. При нагреве до температуры свыше 70 °С («не держит»
рука) насос следует выключить.
При работе с эжектором необходимо следить за
постоянным поддержанием номинального давления рабочей воды.
|
5. Генеральная откачка отсеков.
|
Порядок
генеральной откачки отсеков устанавливается проектом подъема.
В районах с
наличием значительных приливно-отливных колебаний уровня воды для генеральной
откачки выбирают время наименьшего уровня воды.
По мере
выхода судна из воды частично разбирают высокие коффердамы для удобства
дальнейших работ и в целях увеличения его остойчивости.
|
6. Герметизация отсеков при осушении отсеков затонувшего
судна отжатием воды сжатым воздухом
|
Герметизацию
отсеков, продуваемых сжатым воздухом, выполняют более тщательно, чем при
откачке воды. Для герметизации используют подводную сварку и бетонирование
(технологические карты №№ 5.1, 2.6).
Пластыри
(заплаты) устанавливают с внутренней стороны отсека, чтобы при продувке
пластырь прижимался к борту или палубе. Применяют жесткие пластыри с
уплотнением из упругой губчатой резины (См. технологическую карту № 1.2).
При
проведении работ по герметизации следует продумывать и обеспечивать
возможность доступа внутрь отсека на случай необходимости проведения
дополнительных работ по герметизации после определения мест утечек воздуха.
|
7. Установка (устройство) регуляторов давления.

1 -
баластный отсек; 2 - продувочный рукав; 3
- струбцина; 4 - технологическое отверстие.
Рисунок 3 -
Схема подъёма транспортного дока
|
В процессе всплытия судна избыточное внутреннее давление
воздуха на палубе возрастает из-за запаздывания истечения воды из отсека,
поэтому во избежание разрушения палубы необходимо предусматривать регуляторы
давления. Простейшими из них являются преднамеренно прорезанные
технологические отверстия в бортовой обшивке (Рисунок 3) или вертикальные
отжимные трубы, проходящие через палубу насквозь.
Прорезание технологических отверстий предполагает:
- изготовление шаблонов с размерами и формой,
соответствующими прорезаемому технологическому отверстию;
- разметку технологических отверстий в расчетных местах
по длине и высоте корпуса;
- прорезание по шаблонам технологических отверстий с
использование электрокислородной (экзотермической) резки.
Установка отжимных труб предусматривает:
- разметку палубы под прорезание отверстий;
- прорезание отверстий в палубе под диаметр подобранных
заранее отжимных труб (необходимое проходное сечение определяют расчетом) с
использованием электрокислородной (экзотермической) резки;
- опускание трубы в отверстие до уровня, соответствующего
расчетному уровню осушения отсека, и приваривание ее к палубе после наложения
«прихваток».
Снаружи трубы должны возвышаться над палубой на 0,1 - 0,2
м и иметь невозвратные клапаны, препятствующие попаданию воды в отсек.
|
8. Монтаж продувочной системы.
|
Продувочные рукава заводят в технологические отверстия и
закрепляют к кромкам отверстий в наружной обшивке с помощью предварительно
заготовленных струбцин или «закусок». При этом принимают меры по защите
рукавов от повреждения острыми кромками отверстий.
Если применяют только отжимные трубы, то продувочные
рукава присоединяют к предварительно приваренным к палубе штуцерам.
Для наливных судов монтируют специальное устройство для
отжатия воды из отсеков, которое устанавливают на горловины цистерн. В состав
устройства входят штуцеры и отжимные трубы, которые собирают из армированных
резинотканевых рукавов.
При монтаже перечисленных устройств проводят пробные
продувки в целях оценки качества герметизации и определения мест утечек
воздуха.
|
9. Обеспечения всплытия судна.
|
Перед подъемом, для уменьшения влияния расширения воздуха,
все отсеки, осушение которых производят отжатием воды, продувают до расчетных
уровней (до выхода воздуха из отжимных труб или технологических отверстий).
Продувку отсеков производят в порядке, определенном
проектом подъема, симметрично с обоих бортов. Давление воздуха, подаваемого в
отсеки, контролируют по манометрам, позволяющим определить как давление в
магистрали, так и в воздушной подушке отсека.
После всплытия судна и окончания стравливания избытка
воздуха верхние клапаны отжимных труб закрывают. Затем приступают к заделке
повреждений и откачке забортной, воды из тех отсеков, которые при подъеме не
осушались. При этом в продутых отсеках постоянно поддерживают расчетное
избыточное давление.
|
Охрана труда
Категорически
ЗАПРЕЩАЕТСЯ поднимать и переносить погружные электронасосы за питающий
электрический кабель.
ЗАПРЕЩАЕТСЯ
вытеснять из грузовых и топливных танков непосредственно за борт воду с
топливом, воду из отсеков с токсическими грузами и грузами, создающими взрывоопасные
смеси с подаваемым сжатым воздухом.
При
проведении работ по осушению отсеков затонувшего судна откачкой и отжатием
надлежит руководствоваться следующими разделами РД
31.84.01-90 «Единые правила безопасности труда на водолазных работах»:
Общие требования. Судоподъёмные работы. Работы на течении. Работы в особых
условиях. Аварийно-спасательные работы.
Материально-техническое снабжение
Потребное
количество плавсредств, водоотливных средств, приспособлений основных и
дополнительных материально-технических ресурсов устанавливается проектом
подъема для каждого конкретного судна.
2.8. Продувка судоподъёмных понтонов, перевод поднятого
судна на отмель и постановка на плав, расстройка (перестройка) понтонов
Общие положения
Продувка
понтонов подразделяется на предварительную и генеральную.
Предварительная
продувка производится для равнения понтонов, надежной обтяжки и проверке
прочности подъемных стропов и обеспечения устойчивого положения понтонов в
месте установки, проверки герметичности соединений продувочных рукавов.
Генеральная
продувка понтонов осуществляется для подъема судна.
При
определении порядка генеральной продувки следует учесть, что добиться
одновременного всплытия обеих оконечностей судна практически невозможно.
Поэтому рекомендуется порядок продувки определить таким образом, чтобы всплыла
именно намеченная к всплытию оконечность судна.
Водолазные
работы по контрольной проверке и генеральной продувке судоподъёмных понтонов
выполняются при нормальных метеоусловиях в дневное время. Спуск водолазов
производится с водолазного бота или со специальных судов.
Работы
выполняются водолазной станцией, обеспеченной техническими средствами и
укомплектованной количеством водолазов в зависимости от глубины спусков,
условий и характера работ.
Руководитель
водолазных работ производит инструктаж с водолазами и лицами обеспечивающими
спуск по безопасным методам труда. Знакомит с особенностями затонувшего судна и
схемами остропки и найтовки понтонов. Руководитель водолазных спусков
распределяет обязанности между водолазами и обслуживающим персоналом,
определяет время пребывания водолазов под водой.
Спуск и подъем водолазов производится в соответствии с требованиями РД
31.84.01-90 «Единые правила безопасности труда на водолазных работах».
Состав работ
|
Технология выполнения работ
|
1. Подготовка к генеральной продувке понтонов.

к -
воздушный компрессор; пк - продувочная коробка;
м - манометр; ш - шланги; п - понтоны.
Рисунок 1 -
Принципиальная схема шланговой системы продувки
понтонов
|
При
подготовке к генеральной продувке понтонов необходимо провести следующие
мероприятия:
- произвести
контрольный водолазный осмотр положения понтонов, судоподъемных скоб,
подушек, клеток и других элементов остропки, проверить степень обтяжки
стропов и найтовов;
- смонтировать
шланговую систему продувки понтонов (Рисунок 1);
- на каждый
шланг у вентиля продувочной коробки прикрепить бирку с обозначением номера
понтона и отсека;
- проверить
прохождение воздуха в отсеки кратковременной подачей его поочередно в каждый
шланг;
- на всех
понтонах в обеих оконечностях выставить вешки, выступающие из воды на 0,5 м;
- закрепить
вешки в оконечностях судна. Момент отрыва оконечности судна может быть
определен по падению этих вешек в воду;
- завести на
поднимаемое судно швартовые или буксирные тросы, которые должны обеспечить
удержание его от нежелательных перемещений при воздействии течения или ветра;
- подготовить
мобильные водоотливные агрегаты и средства их доставки для откачки воды из отсеков
с целью увеличения сил плавучести;
- отвести
плавучие средства обеспечения от поднимаемого судна на безопасное расстояние.
При этом должна быть обеспечена достаточная слабина шлангов во избежание их
отрыва;
- подготовить
шлюпку или катер для высадки группы такелажников на понтоны после всплытия
судна;
- подготовить
и проверить наличие надежной связи поста управления продувкой понтонов со
всеми силами и средствами, принимающими непосредственное участие в
судоподъемных работах.
|
2. Генеральная
продувка понтонов.

1 -
судно обеспечения; 2 - затонувшее судно; 3
- понтоны.
Рисунок 2 -
Положение судна обеспечения во время генеральной
продувки понтонов
|
Генеральная
продувка понтонов производится только при окончательном завершении
подготовительных работ.
Для ее
проведения необходимо:
- вести
непрерывное наблюдение за поверхностью воды над затонувшим судном во время
продувки понтонов, положением вешек и буйков, а также за натяжением
продувочных шлангов и тросов. Признаком приближающегося момента начала
всплытия судна служит появление на поверхности воды мелких пузырьков воздуха
по всему контуру судна или оконечности, всплывающей в первую очередь;
- производить
в период всплытия судна подачу воздуха в понтоны до полной их продувки с целью
получения наибольшего запаса плавучести и остойчивости системы
«судно-понтоны»;
- после
всплытия судна на поверхность выбрать слабину и надежно закрепить тросы,
предусмотренные для удержания судна в стабильном положении, определенном
проектом работ. Одновременно подобрать шланговые линии, не прекращая при этом
продувку понтонов.
По мере
продувки отдельных отсеков, характерным признаком чего является интенсивный
выход воздуха через аппендиксы и нижние горловины понтонов, вентили на
распределительной коробке необходимо перекрыть и тем самым прекратить подачу
воздуха в эти отсеки.
В случае
обрыва шланга продувку понтонов следует приостановить и направить водолаза
для ликвидации обрыва или замены неисправного шланга.
После
всплытия вентили воздушных шлангов на понтонах необходимо закрыть, а шланги
отсоединить, оставив по одному шлангу на каждый понтон.
|
|
3. Перевод судна на отмель и постановка на плав.
|
Судно,
поднятое с помощью понтонов, переводят на мелкое место. Место должно быть
выбрано заблаговременно и обследовано водолазами. Такой район может
находиться рядом с местом проведения работ. В случае более длительной
буксировки все понтоны должны быть полностью продуты, а продувочные вентили
закрыты.
Для
увеличения запаса плавучести целесообразно осушить до начала буксировки ряд
не имеющих повреждений отсеков судна (форпик, румпельное отделение и т.п.).
При буксировке необходимо следить за осадкой понтонов и своевременно
производить их поддув, для чего на обеспечивающем переход судне должен
находиться компрессор и достаточное количество шлангов.
После посадки
судна на грунт производятся работы по герметизации корпуса и откачке воды из
отсеков. При этом рекомендуется не спешить с расстропкой понтонов, оставляя
хотя бы одну пару для обеспечения остойчивости.
|
4. Расстропка (перестройка) понтонов:
4.1. Расстропка на поверхности.
|
Для
расстропки (перестропки) понтонов необходимо произвести следующие
мероприятия:
- снять с
понтонов найтовы и другие тросы, соединяющие их с корпусом судна;
- стравить из
отсеков понтонов воздух до тех пор, пока в стропах не появится слабина,
позволяющая освободить их;
- закрепить
строп пеньковым тросом к подъемным рымам понтона, чтобы он преждевременно не
ушел в клюз понтона после освобождения;
- освободить
строп от стропоукорачивающего устройства;
- выбрать
подъемные стропы через клюзы понтонов наверх после их освобождения с помощью
брашпиля, буксирной лебедки, крана или другого грузоподъемного средства и
уложить их на палубу;
- все отсеки
понтонов необходимо полностью продуть и закрыть воздушные вентили;
- снять
шланги и отвести понтоны от борта судна.
|
4.2. Расстропка понтонов под водой.
|
Для
расстропки понтонов в подводном положении воздух из отсеков понтонов
стравливается и они ложатся на грунт. Работы по освобождению стропов и
закреплению проводников к стропам выполняют водолазы. При этом допускается
вытащить штыри стропоукорачивающего устройства только с одного понтона, а
второй понтон поднять плавкраном к поверхности и продуть. При этом стропы
выйдут из-под корпуса судна и последующую расстропку можно выполнить без
участия водолазов.
|
4.3. Перестройка понтонов.
|
Перестропка
понтонов в более низкое положение производится с целью выноса палубы из воды путем
замены стропов или их укорачивания. Перестропка может проводиться как при
нахождении поднятого судна на плаву, так и на отмели.
Перестройка
на плаву выполняется поочередно с каждой парой понтонов, если подъемная сила
остальных понтонов достаточна для обеспечения необходимого запаса плавучести.
|
Охрана труда
Осмотр
положения понтонов перед генеральной (полной) продувкой водолаз должен
производить, находясь только на их верхних частях. При этом шланг и кабель-сигнал
должны идти в безопасную сторону от поднимаемого судна, чтобы при необходимости
можно было оттянуть водолаза от поднимаемого судна и понтонов.
Спуск
водолазов на судно и понтоны во время их генеральной продувки - ЗАПРЕЩАЕТСЯ.
После
всплытия затонувшего судна на поверхность спуски водолазов для его осмотра
могут быть разрешены только в случае надежного удержания судна на понтонах.
Под
корпус судна и под понтоны спускать водолаза - ЗАПРЕЩАЕТСЯ.
Категорически
запрещается перетягивание стропов под нагрузкой, т.е. стравливание воздуха из
одного понтона при продутом втором понтоне, так как это ведет к повреждению
стропов.
При
выполнении работ по контрольной проверке и генеральной продувке судоподъёмных
понтонов надлежит руководствоваться следующими разделами РД
31.84.01-90 «Единые правила безопасности труда на водолазных работах»:
Организация водолазных спусков и работ; Общие требования безопасности при
выполнении водолазных спусков и работ; Общие требования. Аварийно-спасательные
работы. Работа на течении. Работа при отрицательных температурах наружного
воздуха, а также со льда и подо льдом; Медицинское обеспечение водолазов.
Материально-техническое снабжение
№ п/п
|
Наименование изделий
|
Количество
|
1
|
Морской водолазный бот, рейдовый водолазный бот
или катер с установленной компрессорной водолазной станцией
|
1
(по необходимости 2 - 3)
|
2
|
Судно обеспечения с грузовым устройством
|
одно
|
3
|
Двухвесельная рабочая шлюпка
|
1
(по необходимости 2)
|
4
|
Компрессоры технического воздуха с комплектом
шлангов
|
по
потребности
|
5
|
Трос, стропы стальные и растительные
|
по
потребности
|
6
|
Струбцины, домкраты, талрепы, такелажные скобы,
зажимы для стальных канатов, канифас блоки, лебедки ручные и с эл. (мех.)
приводом
|
по
потребности
|
7
|
Инструменты, принадлежности
|
по
потребности
|
8
|
Установка подводная осветительная
|
по
потребности
|
2.9.
Подача в отсеки затонувшего судна вспененного полистирола
Общие положения
Вспененный
стабилизированный полистирол применяется при подъеме крупнотоннажных
транспортных, пассажирских судов, плавбаз и т.п., имеющих внутренние помещения и
отсеки с большими свободными объемами. Полистирол также используется при
подъеме судов, состояние корпуса которых не позволяет прикладывать
сосредоточенные подъемные усилия.
Принцип
использования полистирола при судоподъеме заключается в том, что предварительно
вспененный и стабилизированный полистирол в виде гранул в струе водяного потока
(гидрополистирольная смесь, содержащая 30 - 35 % гранул) подается в затопленные
отсеки судна. Гранулы полистирола, вытесняя воду из отсека через специально
установленные отжимные трубы или через отверстия в бортовой обшивке, создают
объемную подъемную силу вследствие меньшей по сравнению с водой плотности.
Объем
подготовительных мероприятий и порядок (последовательность работ) подачи
полистирола в отсеки устанавливаются проектом подъема. В проект также включают
расчеты требуемого количества сырья полистирола, подъемных сил, получаемых в
результате подачи полистирола в отсеки, а также расчеты по определению нагрузок
от полистирола, действующих на перекрытия и настилы палуб поднимаемого судна.
Спуск
водолазов производится с водолазного бота или другого оборудованного
плавсредства в дневное время суток при нормальных метеоусловиях.
Все
работы по подготовке отсеков для закачивания полистирола выполняются водолазной
станцией, обеспеченной техническими средствами и укомплектованной количеством
водолазов в зависимости от условий, глубины спусков и характера выполняемых
работ.
Руководитель
водолазных работ проводит инструктаж с водолазами по безопасным методам труда,
а с экипажем аварийного судна по безопасным методам обслуживания водолазных
работ. Определяет метод и порядок обследования, количество технических средств
(ВМ, ВРД, рабочих шлюпок и др.), водолазных станций, водолазов, матросов.
Руководитель водолазных спусков распределяет обязанности между водолазами,
обслуживающим персоналом, определяет время пребывания водолазов под водой.
Спуск и подъем водолазов производится в соответствии с требованиями РД
31.84.01-90 «Единые правила безопасности труда на водолазных работах».
Состав работ
|
Технология выполнения работ
|
1. Тепловая обработка полистирола.
|
Работы по подготовке
и тепловой обработки полистиролом выполняется специально подготовительным и
допущенным персоналом, занимающимся эксплуатацией оборудования полистирольной
установки в соответствии с инструкцией по эксплуатации используемой
полистирольной установки.
|
2. Подготовка отсеков затонувшего
судна к заполнению полистиролом.

1 -
разгрузочный конец; 2 - трубопровод подачи
полистирола; 3 - технологическое отверстие; 4 -
найтовка трубопровода; 5 - проходное сечение
для выхода отжимаемой воды.
Рисунок 1 -
Схема заполнения отсека судна полистиролом
с использованием технологического отверстия в
бортовой обшивке
|
В зависимости
от разработанного проекта, подача полистирола может производиться по схеме (Рисунок 1) с использованием технологического отверстия или
по схеме (Рисунок 2) с использованием люковых закрытий специального
назначения с установкой нагнетательных и отжимных труб.

а -
постановка люкового закрытия; б - подача гидрополистирольной
смеси в помещение; в - установка заглушек;
г - осушение помещения водоотливными средствами.
1 -
люковое закрытие; 2 - напорный трубопровод;
3 - отжимной трубопровод; 4 - заглушки; 5
- водоотливной насос; 6 - всасывающий шланг
насоса.
Рисунок 2 - Схема заполнения
отсека судна полистиролом с использованием
люкового закрытия специального назначения
|
2.1. Установка нагнетательных и отжимных труб.
|
Нагнетательные
и отжимные трубы вводятся в подпалубное пространство отсека с помощью
закрытий специальной конструкции, которые монтируются на комингсы палубных
люков или бортовые иллюминаторы.
Длину труб
выбирают исходя из допустимой (по условиям прочности перекрытий) толщины слоя
полистирола в отсеке. Нижние концы труб раскрепляют внутри отсека к ближайшим
конструктивным элементам корпуса с помощью концов из растительного каната.
|
2.2. Прорезание технологических отверстий для
напорных рукавов.
|
При
необходимости ввода напорных труб со стороны борта, бортовую обшивку
прорезают с помощью подводной электрокислородной (экзотермической) резки
(технологическая карта № 5.2).
Размеры
технологического отверстия определяют из условия, чтобы остающийся после
ввода в него напорного рукава Ду 150 мм зазор для выхода отжимаемой воды имел
проходное сечение не меньше, чем сечение напорного рукава.
Заведение и
установку трубопровода подачи полистирола производят в следующей
последовательности:
- изгибают на
поверхности рукав до требуемого угла и в таком положении закрепляют за
шланговые соединения разгрузочным тросом;
- вывешивают
и опускают в воду трубопровод с помощью грузоподъемных средств судна
обеспечения;
- водолаз
направляет рукав в технологическое отверстие и наблюдает за его вводом внутрь
корпуса, обеспечивает укладку рукава так, чтобы ближайшее шланговое
соединение зашло за кромку отверстия;
- закрепляют
заведенный рукав к краю обшивки хомутом, с помощью специально предусмотренной
струбцины.
|
2.3. Размещение и сборка трубопроводов
гидротранспортирования.
|
Монтаж
системы гидротранспорта полистирола выполняют в следующей последовательности:
- соединяют рукава
системы гидротранспорта полистирола с входными стаканами нагнетательных труб
или специальных люковых закрытий;
- закрепляют
разгрузочным тросом рукава системы гидротранспорта;
- применяют
меры для исключения перетирания рукавов о комингсы люков, дверей, вырезы в
бортах или переборках, иллюминаторы и т.п. в случае прокладывания рукавов
системы гидротранспорта по палубе внутри отсека.
|
2.4. Герметизация отсеков.
|
Выполняется в
общем порядке, изложенном в технологической карте № 1.2. При герметизации целесообразно предусмотреть
возможность безопасного доступа водолаза внутрь отсека под слой полистирола -
для осмотра через специальную шахту.
Отличительной
особенностью подготовки отсеков под полистирол является тщательная
герметизация отверстий всех вентиляционных и других транзитных систем в
верхней части отсека, сообщающих его с другими отсеками и забортным
пространством.
|
3. Предотвращение замусоривания акватории полистиролом
|
Перед началом
подачи полистирола в отсеки вокруг поднимаемого судна выставляют наплавное
боковое заграждение, используемое для локализации плавающих нефтепродуктов.
Готовят плавсредства с подручными приспособлениями для сбора полистирола с
поверхности воды.
|
4. Подача полистирола в отсеки затонувшего судна.
|
Подачу
полистирола в отсеки осуществляют в последовательности, предусмотренной в
проекте подъема судна.
В каждом
отсеке перед началом подачи полистирола трубопровод подачи прокачивают рабочей
водой в течение 1 - 15 минут.
Подачу
полистирола осуществляют до достижения в каждом отсеке слоя расчетной
толщины, после чего начинается выход полистирола через отжимные трубы или
верхний край технологического отверстия.
В ходе работ
по заполнению отсеков полистиролом возможен срыв работы нагнетательного
аппарата или обрыв некоторых рукавов, обусловленный следующими причинами:
- заломами
напорных рукавов на судовых конструкциях;
-
недостаточным проходным сечением для выхода отжимаемой воды;
- обжатием
слоем полистирола напорных или отжимных труб внутри корпуса судна;
- перерывами
в подаче рабочей воды, способствующими образованию полистирольных пробок в
трубопроводе подачи гидрополистирольной смеси;
- заполнением
полистиролом помещения затонувшего судна ниже уровня нагнетательного
патрубка.
При наличии
утечек полистирола из корпуса принимают дополнительные меры по герметизации.
По окончании
подачи вспененного полистирола напорные трубопроводы (шланговые линии)
отсоединяют от фланцев снаружи люковых закрытий, а на фланцах устанавливают
специальные заглушки для исключения возможных выбросов полистирола.
После подъема
судна на поверхность рукава, находящиеся в отсеке, по возможности используют
для его осушения.
|
Охрана труда
Выполнение
водолазных работ по закрытию люков, горловин, трюмов и отсеков затонувших
судов, поднимаемых с помощью специальных химических соединений (вспененного
полистирола, полиуретана и т.п.), разрешается только после прекращения подачи
указанных материалов под воду, а приготовление и хранение плавучих химических
соединений должно быть организовано так, чтобы была исключена возможность
засасывания водолазным компрессором токсичных паров и газов, выделяемых этими
материалами.
При водолазном
обеспечении буксировки (проводке) поднятого судна спускать водолаза для его
осмотра или других целей разрешается только в том случае, если поднятое судно
занимает устойчивое положение, имеет необходимый запас плавучести, а также
отсутствуют другие факторы, препятствующие безопасной работе водолаза. Решение
о спуске водолаза принимает руководитель водолазных работ.
Проведение
водолазных работ при подаче в отсеки затонувшего судна вспененного полистирола
надлежит руководствоваться РД
31.84.01-90 «Единые правила безопасности труда на водолазных работах»:
Общие положения по организации водолазных работ. Общие требования. Судоподъёмные
работы.
Материально-техническое снабжение
Материально-технические
ресурсы, плавсредства, оборудование и приспособления необходимые при выполнении
работ, изложенных в технологической карте № 2.9, принимаются согласно разработанного проекта для
каждого конкретного судна.
2.10. Остропка и подъем краном отдельных частей
судна
Общие положения
По частям
поднимают суда в тех случаях, когда подъем их целиком невозможен или
нецелесообразен. Для подъема секций в основном применяются плавкраны.
Масса и
габариты отдельных частей определяются в зависимости от грузоподъемности
применяемых для этой цели плавучих кранов.
Подъем
крупногабаритных секций (частей) плавучими кранами большой грузоподъемности с
транспортировкой их на берег самим краном или с укладкой на баржи является
наиболее удобным и эффективным.
Водолазные
спуски производятся с бота или другого оборудованного плавсредства при
нормальных метеоусловиях и в дневное время.
Водолазные
работы по остропке отдельных частей судна выполняются водолазной станцией,
обеспеченной техническими средствами и укомплектованной количеством водолазов в
зависимости от глубины спусков, условия и характера работ.
Руководитель
водолазных работ проводит инструктаж с водолазами, лицами обеспечивающими
спуски и экипажами задействованных в работе судов по безопасным методам труда.
Знакомит всех с документацией и принятым проектом выполнения работ.
Руководитель водолазных спусков распределяет обязанности между водолазами и
обслуживающим персоналом, определяет время пребывания водолазов под водой.
Спуск и подъем водолазов производится в соответствии с требованиями РД
31.84.01-90 «Единые правила безопасности труда на водолазных работах».
Состав работ
|
Технология выполнения работ
|
1. Водолазное обследование, определение основных
размеров секции и мест остропки.
|
Водолазное обследование
производится в соответствии с технологической картой № 2.1.
|
2. Определение способа и места остропки секции
затонувшего корабля.

а)
- с использованием подкильных стропов; б) и
в) - через вырезы в бортовой обшивке
с опорой закладных устройств на шпангоуты
и обшивку; г) - через вырезы в палубе
с закладкой болванок под бимс.
Рисунок 1 -
Схемы остропки секций затонувшего судна для
их подъема
|
Выбор способа остропки секций зависит от положения поднимаемой части
судна на грунте и характера грунта, массы и габаритов этой части, прочности
ее отдельных узлов и конструкций. Во всех случаях остропка производится
исходя из технических возможностей используемых для подъема кранов,
грузоподъемность которых должна превышать расчетный вес секции на 20 - 30 %.
Остропка отдельных частей затонувшего судна производится следующими
способами:
- под корпус;
- через вырезы в бортах с опорой «закуски» на набор
корпуса;
- через вырезы в бортах с опорой «закуски» на
обшивку;
- через вырезы в палубе с закладкой «закуски» под
бимсы;
- за специально приваренные судоподъемные
проушины;
- другими наиболее доступными и удобными
известными способами (за якорные клюзы, комингсы люков, иллюминаторы и т.д.).
При достаточной прочности комингсов люков,
палубных конструкций и бортов крепление стропов можно осуществлять так, как
показано на (Рисунок 1).
Перед началом работ по остропке секций водолазы
выполняют дополнительные работы:
- промывку
туннелей (технологическая карта № 2.2), а технология заводки стропов соответствует
описанию в технологической карте № 2.3.
При заводке стропов за якорные клюзы, комингсы
люков водолаз, стоя на палубе, принимает с поверхности проводник со скобой,
пропускает в клюз и стравливает до грунта. Спустившись на грунт, водолаз принимает
с поверхности подъемный строп, который на одном конце имеет свободный огон, а
на другом удавкой из огона закреплено короткое бревно.
К свободному огону водолаз присоединяет проводник
и дает команду о выборе проводника, наблюдая за продергиванием стропа, пока
бревно прижмется к клюзу. Затем водолаз поднимается на палубу, заламывает
строп, вышедший из клюза и крепит его пеньковым концом к какому-либо предмету
на палубе.
При остропке с использованием люка вдоль комингсов
одновременно заводят и крепят два стропа.
За якоря и гребные валы водолаз крепит стропы с
помощью скобы. Водолаз получив строп со скобой в его огоне, обводит строп
вокруг веретена якоря или гребного вала и застегивает скобу.
|
3. Установка плавучих кранов в районе работ.
|
Постановка кранов
в районе работ должна производиться с учетом положения секций на грунте,
направления течения, глубины, силы и направления ветра, наличия подводных
опасностей и прочих условий. После установки крана в положение, при котором
будет осуществляться подъем секции, на его гаки надеваются огоны подъемных
стропов, после чего необходимо проверить неисправность и готовность всех
механизмов крана, отработать систему связи и сигнализации между пунктом
управления подъемом, участвующими средствами и водолазами.
|
4. Выполнение подъема.
|
В общем виде
технология подъема заключается в следующем:
- по размерам
снятым водолазами изготавливаются найтовки;
- кран
обтягивает стропы, проверяется их положение, водолазы крепят стропы найтовыми
и устанавливают подстропные подушки;
- найтовка
стропов производится после их обтяжки нагрузкой, равной не менее 25 %
подъемного веса секции. Одновременно с найтовкой проверяется положение
стропов относительно поврежденных мест и выступающих конструкций секции;
- постепенно
повышается нагрузка на стропы, при этом руководитель работ внимательно следит
за действием нагрузки на кран, стропы и поднимаемую секцию;
- при первых
признаках отрыва секции от грунта и от основной части судна подъем
производится с максимальной осторожностью, поскольку в этот момент кран берет
наибольшую нагрузку и возможны резкие изменения положения секции и стропов.
Если вследствие зацепов, оставшихся необнаруженными, неперерезанных связей
поднять секцию не удается, то она должна быть опущена на грунт для выяснения и
устранения причин;
- во время
подъема следует делать остановки для стока воды из отсеков секций. По мере
выхода секции из воды целесообразно смывать массы грунта струями
гидромониторов с плавкрана, не забираясь на поднимаемую секцию.
|
Охрана труда
При
первых признаках резки подъемными стропами поднимаемой секции и при повреждении
прядей стропа следует немедленно прекратить подъем и принять меры, исключающие
резку или обрыв стропов.
Во время
осмотра водолазом положения стропов все работы по их протаскиванию должны
прекращаться.
Все
действия с грузоподъемными устройствами в период работы водолаза разрешается
проводить только по его командам Подъем секции разрешается начинать только
после выхода водолаза из воды. При нагрузках на плавкран, близких к максимальной
величине прочности судоподъемных стропов, рекомендуется поднимать секцию на
метровую высоту от грунта и постепенно передвигаться с ней к берегу. Маршрут
перемещения первоначально должен быть обследован.
В случае
подъема частей затонувшего судна кранами или несколькими кранами одновременно
необходимо тщательно следить за равномерностью нагрузки на каждый гак или кран,
не допускать опасного крена или дифферента, а также передергивания стропов.
При проведении
работ по остропке и подъёму краном отдельных частей затонувшего судна надлежит
руководствоваться следующими разделами РД
31.84.01-90 «Единые правила безопасности труда на водолазных работах»:
Общие требования. Судоподъёмные работы. Работы на течении. Работы в особых
условиях. Аварийно-спасательные работы.
Материально-техническое снабжение
№ п/п
|
Наименование
изделий
|
Количество
|
1
|
Морской водолазный бот, рейдовый водолазный бот
или катер с установленной компрессорной водолазной станцией
|
1 (по
необходимости 2 - 3)
|
2
|
Инструмент, ключи, принадлежности
|
по
потребности
|
3
|
Фонарь подводный
|
по
потребности
|
4
|
Установка осветительная
|
по
потребности
|
5
|
Планшет водолазный подводный ПВП
|
по
потребности
|
6
|
Линейка водолазная
|
по
потребности
|
7
|
Кренометр ВКУ
|
по
потребности
|
8
|
Водолазная рулетка с рукояткой и штырем
|
по
потребности
|
9
|
Водолазный измеритель-угломер
|
по
потребности
|
10
|
Стропы стальные
|
по
потребности
|
3. Подводно-технические водолазные работы
3.1 Обследование дна акватории порта и
судоходных каналов
Общие положения
Работа выполняется
для определения характера грунта, поиска предметов, каменных глыб, обломков
железобетонных, металлических и деревянных конструкций, препятствующих
нормальной эксплуатации акватории. Работа выполняется в дневное время и при
нормальных метеоусловиях.
В
зависимости от вида обследуемого объекта, условий среды и наличия технических
средств применяются следующие способы водолазного обследования: круговой, по
ходовому тросу, галсовый и тралением.
Круговое
обследование производится на небольшой площади акватории при известном
расположении находящихся на дне предметов.
Поиск по
ходовому тросу выполняется при тщательном обследовании грунта в условиях плохой
видимости на течении, при обследовании удлиненных участков дна, форватеров,
судоходных каналов, трассы траншей для подводных переходов трубопроводов и
кабелей.
Обследование
галсовым способом с подводными средствами движения (ЛСД) осуществляется на
больших площадях дна акватории и каналов.
Обследование
тралением дна акватории производится с целью обнаружения больших предметов на
больших площадях и судоходных каналах.
Водолазное
обследование производится при наличии подводного освещения. Спуск водолаза
производится с водолазного бота или другого плавсредства. Водолаза должна
сопровождать шлюпка с гребцами, руководитель водолазных спусков и страхующий
водолаз. Обследование выполняется водолазной станцией, обеспеченной
техническими средствами и укомплектованной количеством водолазов в зависимости
от условий, глубины спусков и характера выполняемых работ.
Обследование
акватории водолазным способом должно осуществляться только в тех случаях, когда
это невозможно выполнить другими средствами обнаружения предметов (подводное
телевидение, акустические средства, гидролокаторы и др.).
При
обследовании дна акватории используется более удобное легководолазное
снаряжение, позволяющее быстро перемещаться без взмучивания воды, однако работы
выполняются и в вентилируемом снаряжении.
Руководитель
водолазных работ проводит инструктаж водолазов и лиц обеспечивающих спуск по
безопасным методам труда. Руководитель водолазных спусков распределяет
обязанности между водолазами, определяет время пребывания водолазов под водой,
контролирует подготовку технических средств и инструмента для использования по
назначению.
Спуск и подъем водолазов производится в соответствии с требованиями РД
31.84.01-90 «Единые правила безопасности труда на водолазных работах».
Состав работ
|
Технология выполнения работ
|
1. Обследование дна круговым способом

1 -
балластина; 2 - спусковой конец; 3 - ходовая оттяжка; 4 - узлы; 5 -
сигнальный конец.
Рисунок 1 - Круговой способ обследования небольших площадей
|
Установить водолазный
бот в центр обследуемой площади. Опустить спусковой конец с балластиной и
прикрепленной к ней ходовой оттяжкой с концами через 2 - 3 метра в
зависимости от видимости под водой. Водолаз спускается на грунт к балластине,
берет собранную в бухту ходовую оттяжку, отходит, натягивая оттяжку до
первого узла, обходит балластину по кругу, осматривает дно (Рисунок 1). Закончив
обход круга, водолаз, отпускает оттяжку до следующего узла и продолжает
осмотр, двигаясь в обратном направлении.
Водолаз
постоянно докладывает о своих наблюдениях и при обнаружении посторонних
предметов задерживается на месте. По его команде с сопровождающей шлюпки
спускают на буйрепе буй (или веху) с балластом на конце, который он
устанавливает у найденного препятствия.
|
2. Обследование
по ходовому тросу.

1 -
водолазный бот; 2 - границы обследования; 3 - обследуемая полоса (ширина); 4
- ось обследуемой полосы; 5 - ходовой трос; 6 - буйки; 7 - направляющие
тросы; 8 - балластина; 9 - буйреп.
Рисунок 2 - Обследование дна по ходовому тросу
|
Перед началом
работы обозначить границы обследуемой полосы, ширину которой принять более
ширины траншеи (не менее чем на 10 м). По границам полосы уложить
направляющие тросы. В начале полосы установить ходовой трос, имеющий на
концах балластины с буйками на буйрепах. Водолазный бот установить при
отсутствии течения на границе обследуемой полосы, а при наличии его -
несколько выше её на расстоянии от начала полосы, равном половине длины
водолазного шланга. Водолаз осматривает дно передвигаясь от одного конца
ходового троса к другому и дойдя до противоположного конца ходового троса,
водолаз переносит его вместе с балластиной на расстояние двойной видимости (Рисунок 2). Второй конец ходового троса переносят на такое
же расстояние матросы, находящиеся в лодке. После этого водолаз продолжает
осматривать дно, двигаясь по ходовому тросу в обратном направлении.
Широкие полосы
обследуют одновременно двумя водолазами (Рисунок 3). При этом
на границах полосы укладывают ограничительные тросы, а к ходовому тросу по
концам и середине крепят балластины с буйками и дистанционными концами.
Водолазы спускаются к средней балластине и, двигаясь по ходовому концу в
разные стороны, осматривают дно. Дойдя до крайних балластин, переставляют их
вперед, на длину дистанционного конца, образуя ломанную линию движения.
Возвращаются в обратном направлении до среднего груза и переносят его на
длину дистанционного конца. Для образования второй полосы переносят один
ограничительный трос, а второй оставляют на месте.

1 - ходовой
трос; 2 - балластина; 3 - дистанционный конец; 4 - ограничительный трос; I - IV -
последовательность перенесения балластин.
Рисунок 3 - Обследование дна
водоема по ходовому тросу двумя водолазами
|
|
3. Обследование полосами.

1 - буй; 2 -
буйрепы; 3 - балластины; 4 - направляющие тросы; 5 - сигнальный конец; I, II - обследуемые
полосы.
Рисунок 4 - Обследование дна полосами
|
Проложить по
дну два направляющих троса с балластинами (на расстояние двойной видимости).
Водолаз, двигаясь по середине полосы, осматривает дно между тросами (Рисунок 4). По
окончанию осмотра полосы один направляющий трос за буйрепы переносится через
соседний трос, ограничивая следующую полосу обследования. Водолаз обследует
ее, двигаясь в обратном направлении. Таким образом обследуют всю площадь
акватории.
Водолаз постоянно
докладывает руководителю водолазных спусков результаты обследования.
|
4. Обследование галсами.
|
При
обследовании дна акватории галсовым способом водолаз перемещается на ПСД в
границах обследуемой полосы. Ширина обследуемой полосы одного галса зависит
от степени прозрачности воды (но не более 15 м).
При
выполнении работ с использованием ПСД применяется автономное водолазное
снаряжение с открытой схемой дыхания и на водолазе закрепляется контрольный
конец с буйком.
При
длительном плавании используются технические средства связи для переговоров с
руководителем водолазных спусков.
|
5. Обследование тралением
|
Разбить
обследуемую полосу акватории на участки шириной 25 - 30 м и обозначить
границы вехами или буйками. Два водолаза движутся по полосе, протягивая за
собой трал. Над обнаруженным препятствием устанавливается буй или веха. При
буксировке трала катером, шлюпкой или другим плавсредством, когда трал
задевает какой-либо предмет, катер останавливается, водолаз спускается на
дно, осматривает препятствие, осматривает трал, выходит на поверхность и
траление продолжается.
При любом
способе обследования дна рядом с обнаруженным предметом или препятствием
водолаз устанавливает буек или веху и сообщает наверх его характеристики,
положение на грунте, степень заноса. Все сведения заносятся в журнал
водолазного обследования.
|
6. Обследование судоходных каналов.
|
Обследование
судоходных каналов производится методом траления (технологию выполнения работ
см. п. 6 настоящей карты).
|
7. Обследование акватории, примыкающей к
сооружениям
|
Перед
обследованием участков акватории, примыкающих к сооружениям и имеющих большую
протяженность в сторону водоема, полосы для обследования следует разбивать
перпендикулярно сооружению. Направляющие или ограничительные тросы,
обозначающие границы обследуемых полос, в этом случае перекладывают
одновременно с перемещением плавсредств, располагаемых у внешней границы
обследования, которая обозначается буями. Один конец троса переносят с
сооружения, а второй - с плавсредств.
Неширокие
участки дна, примыкающие к сооружениям, рациональнее обследовать
передвижением водолаза параллельно сооружению.
При больших
площадях акваторий, подлежащих обследованию без тщательного осмотра, водолаз
предварительно осматривает их по контуру, а затем по нескольким направлениям,
определяемым руководителем спусков.
Водолаз
постоянно поддерживает связь с руководителем спусков и докладывает наверх о
результатах осмотра.
|
Охрана труда
Плавание на
ПСД запрещается при наличии следующих факторов:
- при
скорости течения воды более 1 м/с;
- при
волнении свыше 2 балов;
- при
видимости под водой грунта на расстоянии менее 3 метров;
- при
атмосферной видимости менее 500 м;
- при
силе ветра более 3 балов;
- в
местах, стесненных для маневрирования плавсредства обеспечения;
- в
случае отсутствия плавсредства обеспечения;
- при
наличии в районе обследования льда, в том числе битого или шуги;
- в
пределах судового хода.
Парное
плавание с использованием ПСД в одном районе допускается только на параллельных
курсах в одном направлении с соответствующим обеспечением надводными
плавсредствами каждого носителя.
На время
осмотра подводной части сооружений и искусственных водных каналов шлюзование и
судоходство не производится.
При
выполнении водолазных работ по обследованию дна акваторий портов и судоходных
каналов необходимо руководствоваться следующими разделами РД
31.84.01-90 «Единые правила безопасности труда на водолазных работах»:
Общие требования безопасности при выполнении водолазных спусков и работ;
Организация водолазных спусков и работ. Работы на течении. Работы при
отрицательных температурах наружного воздуха, а также со льда и подо льдом;
Медицинское обеспечение водолазов во время проведения водолазных спусков.
Материально-техническое снабжение
№ п/п
|
Наименование
изделий
|
Количество
|
1
|
Морской водолазный бот, рейдовый водолазный бот
или катер с установленной компрессорной водолазной станцией
|
1 (по
необходимости 2 - 3)
|
2
|
Двухвесельная рабочая шлюпка
|
1 (по
необходимости 2 - 3)
|
3
|
Установка подводная осветительная
|
по потребности
|
4
|
Оттяжка с марками
|
по
потребности
|
5
|
Буйки, вехи
|
по
потребности
|
6
|
Канат, трос (стальной, синтетический,
растительный)
|
|
7
|
Инструменты, принадлежности (щуп, скребок)
|
по
потребности
|
8
|
Приборы поиска и обнаружения предметов
|
по
потребности
|
9
|
Балластины
|
по
потребности
|
3.2.
Обследование гидротехнических сооружений гравитационого типа
Общие положения
К
гравитационным сооружениям относятся сооружения из массивовой кладки массивов-гигантов,
железобетонных оболочек большого диаметра, ряжей, то есть те сооружения,
которые противостоят давлению волн, льда, грунта благодаря большому
собственному весу.
Водолазное
обследование эксплуатируемых гидротехнических сооружений проводится для
определения их состояния, характера и объёма возможных повреждений.
Обследованию
подлежит подводная часть сооружения и прилегающая к нему полоса грунта (См.
Технологическую карту 3.1).
Подводное
обследование может проводиться визуально, с использованием подводных фото-
кинокамер, телевизионной установки и приборами (толщиномер, трассоискатель и
др.).
Водолазное
обследование выполняется при нормальных метеоусловиях в дневное время.
Спуск
водолаза производится с водолазного бота, плавсредства или непосредственно с
сооружения.
Обследование
гидротехнических сооружений выполняется водолазной станцией, обеспеченной
техническими средствами и укомплектованной количеством водолазов в зависимости
от условий, глубины спусков и характера выполняемых работ.
Руководитель
водолазных работ проводит инструктаж с водолазами и лицами, обеспечивающими
спуск по безопасным методам труда. Совместно с гидротехником знакомит водолазов
по чертежам и схемам с конструкцией и особенностями гидротехнического
сооружения, характером возможных повреждений и нормами допустимых (не
учитываемых) отклонений.
Руководитель
водолазных спусков (старшина-бригадир водолазной станции) распределяет
обязанности между водолазами и обслуживающим персоналом, определяет время
пребывания водолазов под водой.
Спуск и подъем водолазов производится в соответствии с требованиями РД
31.84.01-90 «Единые правила безопасности труда на водолазных работах».
Состав работ
|
Технология выполнения работ
|
1. Подготовка к водолазным работам
|
Перед началом
работ руководитель водолазных работ обязан получить у администрации гидротехнического
сооружения наряд-задание (Приложение 3) на
проведение водолазных работ, согласованное с энергодиспетчером (если работы
ведутся у гидроэлектростанции, плотины и насосных станций) или диспетчером
движения флота (при работах в районе шлюзов и других путевых сооружений),
копия передается начальнику вахты гидросооружения. В наряд-задании
указывается характер работы, место установки водолазной станции, условия
производства водолазных работ, мероприятия по обеспечению их безопасности,
точное время начала и окончания работ (действие наряд-задания - 1 сутки).
Гидротехническое
сооружение разбивается на участки с маркировкой пикетов (границ) так, чтобы водолаз
мог обследовать каждый из них за один ход. Расстояние между ходами
устанавливается в зависимости от условий видимости под водой (от 1 м до 4 - 5
м). Готовятся надводные прожектора и подводные осветительные установки.
Подготавливаются
схемы сооружения для отметок на них обследованных участков и нанесения
обнаруженных повреждений (Приложение № 5).
При
подготовительных работах необходимо произвести расчистку контролируемых
элементов от обрастаний. Места расчистки и размеры расчищаемых участков
устанавливает руководитель работ. Расчистку водолаз производит с помощью
ручного или механизированного инструмента.
|
2. Границы опасных зон для работы водолаза.
|
|
Наименование
сооружений
|
Расстояние от
сооружения, м для бьефов
|
верхнее
|
нижнее
|
Шлюзы, от линии ворот
|
200
|
100
|
Насосные станции, от
приемных решеток
|
100
|
100
|
Гидростанции, от линии приема или сброса воды
|
300
|
200
|
Плотины, от тела плотины
|
300
|
200
|
Водосбросы и водоспуски,
от решеток ограждения
|
50
|
30
|
Заградительные и аварийные ворота, от линии ворот
|
40
|
40
|
|
3. Обследование сооружений:
3.1 из массивовой кладки.
а) Горизонтальные ходы

б) Вертикальные ходы

Рисунок 1 -
Способы обследования гидротехнических сооружений
|
Перед началом
работ сооружение разбивается на участки.
При осмотре
массивовой кладки длина участка принимается равной длине секции стенки в
пределах 20 - 30 метров.
При осмотре
массивов-гигантов участок обследования принимается равным его длине.
При осмотре
оболочек большого диаметра участок равен полупериметру оболочки.
При работе
водолаза в легководолазном снаряжении или с беседки обследование обычно
ведется горизонтальными ходами (Рисунок 1а), а при
обследовании в вентилируемом снаряжении обследование сооружения
осуществляется по ходовому концу вертикальными ходами (Рисунок 1б).
Направление осмотра зависит от высоты подводной части сооружения и местных
условий. При горизонтальных ходах сооружение разделяют на участки длиной по
25 - 30 м, границы которых обозначают маркировочными концами с грузами или
определяют по характерным особенностям (выступы, швы и др.). Обнаружив дефект
или изменения в конструкции, водолаз сообщает сведения об этом по телефону на
поверхность для занесения в журнал и на рабочую схему, осматривает
повреждение и делает необходимые измерения (при необходимости зарисовки на
планшете).
Отклонение
стены сооружения от вертикали определяется по положению отвеса мерной
линейкой (Рисунок 2). При наклоне стены в сторону воды водолаз
измеряет отклонение отвеса (или линя промерного лота) от основания
сооружения, а при наклоне в другую сторону на верхнюю грань перпендикулярно
линии кордона укладывают рейку (брус), а через её конец пропускают отвес (или
линь промерного лота) и устанавливает так, чтобы он соприкасался с
основанием, а замер производится в двух точках у дна и поверхности.
Измерение
наклона оболочек большого диаметра имеет некоторые особенности:
если
необходимо определить наклон сооружения в сторону моря или в противоположную
сторону, то отвес вывешивается с причала в той точке, где диаметральная
плоскость оболочки перпендикулярна линии кордона;
если
необходимо определить направление наклона отдельно стоячей оболочки, то это
можно сделать графическим способом по правилу сложения векторов.
Если оболочка
большого диаметра состоит из нескольких колец, поставленных друг на друга, то
при определении её наклона замеры следует выполнять вверху и внизу каждого
кольца.
Прочность
камня, бетона и др. материалов сооружения определяется скребком из полосового
железа (скобой).
При обнаружении
каверн, выбоин или сдвигов подводных элементов, водолаз определяет размер
дефекта с помощью мерной линейки, а привязку к поверхности воды с помощью
лота или ручного футштока.
Сооружение из
правильной массивовой кладки обследуется на сдвиги, перекосы, сквозные
расколы массивов, резкие отклонения от горизонтального положения курсов
массивов, наклон вертикальной стенки, состояние каменной постели, наличие
вымоин в грунтовом основании. Сооружение из бетонных и железобетонных
элементов обследуется на наличие трещин, сколов бетона, мест оголения
арматуры и характера её коррозии.
Для
массивов-гигантов и оболочек большого диаметра следует установить наличие
пробоин и вымывание через них засыпки, состояние защитных поясов и
антикоррозийных покрытий величину раскрытия швов между элементами и величину
смещения отдельных элементов.
Приблизительное
определение места и величины фильтрации воды через водонапорное сооружение
производится протаскиванием с верхнего бьефа на тросах забалластированного
мешка с паклей. При незначительных повреждениях, когда прижатый давлением
воды мешок с паклей можно оторвать от сооружения вручную, водолаз уточняет
место фильтрации воды при помощи шеста с резиновой пластиной и легким
балластом, чтобы шест не всплывал. Водолаз перемещает шест перед собой по
направлению движения. При больших размерах сквозного отверстия в водонапорном
сооружении, когда прижатый давлением мешок с паклей нельзя оторвать вручную
или при повреждениях на большой глубине, когда есть опасность, что давление воды
может прижать водолаза к поврежденному месту или затянуть его в сквозное
отверстие, предварительно (перед спуском водолаза) к поврежденному участку
подводят деревянный щит (пластырь). В этих случаях спуск водолаза
производится только с нижнего бьефа в защитном устройстве, исключающем
возможность непосредственного контакта водолаза с местом фильтрации воды.
На
прилегающем к сооружению грунте водолаз осматривает состояние каменной
постели, выявляет наличие препятствующих работе предметов, ям или возвышений грунта,
указывает их размеры и положение.
|

При
наклоне в сторону воды.

При наклоне в сторону берега.
1 -
отвес (линь промерного лота); 2 - мерная
линейка; 3 - рейка (брус).
Рисунок 2 - Замер наклона сооружения
|
3.2 имеющих значительные разрушения.

1 - буй (веха); 2 - разрушенные
части сооружения.
Рисунок 3 - Разрушенное сооружение
|
Водолаз
начинает обследование с определения состояния основания сооружения на предмет
устойчивости элементов конструкции (каменной постели и её откосов) и установления
профиля сооружения, определяет границы и размеры разрушенного участка. Если
сооружение не имеет надводной части, то обставляет границы разрушенного
участка вешками или буйками (Рисунок 3). Все
изменения профиля сооружения (наличие сдвигов, поворот отдельных частей,
перелом свай и др.) водолаз передает на поверхность по телефону, где
состояние разрушения наносят на чертеж (схему) сооружения до разрушения. При
обследовании водолаз обращает внимание на возможность использования материала
сооружения при его восстановлении. Работы проводятся при наличии подводного
освещения.
|
4. Обследование ряжевых конструкций.

Рисунок 4 - Ряжевая конструкция
|
При обследовании
сооружений из деревянных ряжей выявляют местоположение выбоин и устанавливают
имеет ли место вымывание или обрушение засыпки через эти выбоины, определяют
перекосы ряжей, проверяют состояние швов между отдельными ряжами, сохранность
их заделки, состояние креплений, фиксируют поломки отдельных венцов и сжимов,
срезывание выступающих частей врубок бревен, истирание стенок и вмятины на
них, отрыв днища ряжев.
Водолаз,
обследуя сооружения ряжевой конструкции (Рисунок 4) (причальные
стенки, пирсы и др.), передвигается в вертикальном направлении, используя
ходовой конец или в горизонтальном направлении на беседке.
Осматривая
каждый венец или углы и сжимы ряжа, обнаружив различного рода повреждения
(вмятины и переломы отдельных венцов и сжимов, расхождение венцов ряжа,
оползни и смывы засыпки через щели венцов и т.д.), водолаз определяет место
повреждения, измеряет расстояние до ближайшей поперечной стенки ряжа и
подсчитывает количество венцов до поверхности воды. Кроме этого, нужно
обследовать и определить степень разъедания древесины древоточцами (надрубив
ее в нескольких местах), а также проверить, в каком состоянии болтовые,
хомутовые и другие крепления ряжа. Следует также установить степень коррозии
металла и насколько прочно обтянуты болты, забиты скобы и насажены хомуты.
Если ряжевое
сооружение разрушено и непригодно для эксплуатации, то водолазное
обследование должно определить, можно ли его восстановить или нужно убрать и
расчистить место для возведения нового сооружения. Порядок обследования
аналогичен изложенному в настоящей технологической карте п. 3.2. Определив
состояние уцелевших элементов сооружения, водолаз должен осмотреть грунт и
определить, насколько он захламлен (древесиной, частями сооружения и т.п.).
Водолазное
обследование вновь строящихся сооружений ряжевой конструкции проводится в
качестве контроля: при установке на подготовленное основание осматривают
отдельные части сооружения, а после завершения строительных работ осматривают
подводную часть сооружения.
|
4. Оформление результатов обследования.
|
После
окончания работ руководитель водолазных работ оформляет акт на выполненные
водолазные работы (Приложение 4). А
ответственный дежурный по сооружению, делает соответствующую запись в
наряд-задании.
|
Охрана труда
Производство
каких-либо работ под водой в зонах шлюзов, гидроэлектростанций, насосных станций,
плотин и других сооружений без наряд-задания - ЗАПРЕЩАЕТСЯ.
Допуск к
водолазным спускам разрешается после проведения следующих мероприятий:
останавливается или закрывается такое количество агрегатов или затворов, чтобы
в радиусе не менее 50 м от места работы водолаза скорость течения воды не
превышала 0,5 м/с; направляющие аппараты и спусковые устройства регулирования
турбин закрываются, механизмы пуска агрегатов, подъема затворов и открытия
ворот выключаются (снимается напряжение, выключается гидравлические устройства.
Вывешиваются запрещающие знаки «Не включать! Работают люди»).
Если
элементы сооружения неустойчивы и могут угрожать безопасности водолаза, спуски
ЗАПРЕЩАЮТСЯ.
Во время
обследования гидротехнического сооружения в районе спуска водолаза забивка
свай, подъем или спуск грузов, перемещение плавсредств и другие работы в
радиусе менее 50 м от места работы водолаза - ЗАПРЕЩАЮТСЯ.
Водолазу
ЗАПРЕЩАЕТСЯ производить осмотр гидротехнического сооружения без рукавиц.
При
выполнении водолазных работ по обследованию гидротехнических сооружений
надлежит руководствоваться следующими разделами РД
31.84.01-90 «Единые правила безопасности труда на водолазных работах»:
Общие требования безопасности при выполнении водолазных спусков и работ; Общие
требования. Подводно-технические работы. Работы на течении. Работы при
отрицательных температурах наружного воздуха, а также со льда и подо льдом.
Медицинское обеспечение водолазов во время проведения водолазных спусков.
Материально-техническое снабжение
№ п/п
|
Наименование
изделий
|
Количество
|
1
|
Морской водолазный бот, рейдовый водолазный бот или
катер с установленной компрессорной водолазной станцией
|
1 (по
необходимости 2 - 3)
|
2
|
Двухвесельная рабочая шлюпка
|
1 (по
необходимости 2 - 3)
|
3
|
Буйки (вехи)
|
по
потребности
|
4
|
Расходный трос (стальной, растительный,
синтетический)
|
по расчету
|
5
|
Инструменты
|
по
потребности
|
6
|
Принадлежности: мерная линейка, щупы с делениями,
штангенциркуль, отвесы, ватерпас, лоты, ручной фудшток, угломер, угольник,
скребок, планшет для зарисовок
|
по
потребности
|
7
|
Приборы (толщиномер и др.)
|
по
потребности
|
8
|
Фото- кинокамеры, телевизионная установка
|
по
потребности
|
9
|
Балластины
|
по
потребности
|
10
|
Установка подводная осветительная
|
по
потребности
|
3.3. Обследование сооружений свайной конструкции
Общие положения
Обследование
эксплуатируемых сооружений на деревянных, железобетонных, металлических свайных
и сваях-оболочках (набережные пирсы, эстакады, спусковые устройства, причальные
стенки) проводится для определения состояния отдельных элементов подводной
части, дна под и перед ними.
Железобетонные
свайные основания проверяются на наличие трещин, сколов бетона, мест оголения
арматуры и характера её коррозии. Признаки разрушения бетона под водой: на
поверхности бетона проявляются пятна, мягкие на ощупь, легко стираемые рукой и
взмучивающие воду. Увеличиваясь в размерах, пятна являются очагами разрушения
бетона. Деревянные свайные основания осматриваются на состояние древесины,
расслоенность, разрушение древоточцами, наличие признаков гниения, деформации
узлов сопряжения (изгиба болтов, тяжей и др.).
Водолазное
обследование сооружений из свайной конструкции выполняется при нормальных
метеоусловиях в дневное время с водолазного бота или другого плавсредства.
Руководитель
водолазных работ проводит инструктаж и знакомит водолазов по чертежам и схемам
с устройством сооружения, условиями производства работ и характером возможных
повреждений.
Руководитель
водолазных спусков (старшина-бригадир водолазной станции) распределяет
обязанности между водолазами и обслуживающим персоналом, определяет время
пребывания водолазов под водой, контролирует подготовку технических средств и
инструментов для использования по назначению.
Водолазное
обследование сооружений из свайной конструкции выполняется водолазной станцией,
обеспеченной техническими средствами и укомплектованной количеством водолазов в
зависимости от условий, глубины спусков и характера выполняемых работ.
Спуск и подъем водолазов производится в соответствии с требованиями РД
31.84.01-90 «Единые правила безопасности труда на водолазных работах».
Состав работ
|
Технология выполнения работ
|
1. Подготовка к водолазным работам
|
Перед началом
работ руководитель водолазных работ обязан получить у администрации
гидротехнического сооружения наряд-задание (Приложение 3) на
проведение водолазных работ, согласованное с энергодиспетчером (если работы
ведутся у гидроэлектростанции, плотины и насосных станций) или диспетчером
движения флота (при работах в районе шлюзов и других путевых сооружений),
копия передается начальнику вахты гидросооружения. В наряд-задании
указывается характер работы, место установки водолазной станции, условия
производства водолазных работ, мероприятия по обеспечению их безопасности,
точное время начала и окончания работ (действие наряд-задания - 1 сутки).
При
обследовании свай следует производить очистку их поверхности от обрастаний по
следующей схеме:
на сваях
прямоугольного сечения производится расчистка по всей высоте шириной поля не
менее 10 см на каждой стороне сваи;
на
цилиндрических сваях расчищаются четыре вертикальные полосы шириной не менее
10 см, ориентированные по сторонам света.
При
обнаружении на расчищенных участках повреждений производится дополнительная
расчистка поверхностей.
|
2. Обследование свайных конструкций.

АВ -
направление перемещения водолаза
Рисунок 1 -
Схема перемещения водолаза при осмотре свайных
конструкций
|
В сооружениях
на деревянных, железобетонных и металлических свайных основаниях и
свай-оболочек обследованию подлежат каждая из свай и узлы сопряжения свай с другими
элементами конструкции.
У
свай-оболочек необходимо установить состояние стыков между отдельными
звеньями.
При
обследовании всех видов свай на участке осмотра наиболее рациональной
является следующая схема работы:
водолаз
проходит под причал перпендикулярно линии кордона и, двигаясь вглубь,
осматривает все сваи поперечного ряда. Каждая свая осматривается во время
погружения водолаза с одной стороны и во время всплытия с другой - при
прямоугольном сечении свай в поле зрения должны постоянно находиться две её
грани (при осмотре сваи двумя водолазами одновременно, каждый осматривает
сваю по своему полупериметру). После осмотра последней сваи водолаз
возвращается и обследует соседний ряд (Рисунок 1).
При обследовании
свай-оболочек водолаз, опускаясь вдоль сваи, осматривает половину её боковой
поверхности, ограниченную диаметральной плоскостью, другая сторона
осматривается при подъёме (Рисунок 2).
|
2.1. деревянных конструкций.
2.2. железобетонных конструкций.
2.3. металлических конструкций.

АВ -
направление перемещения водолаза
Рисунок 2 -
Схема подводного обследования пирса на сваях-оболочках
|
Водолаз сначала
должен проверить, нет ли отклонения свай от вертикальной оси; для этого ему
опускают кренометр или отвес. Если при проверке окажется, что направление
сваи не совпадает с нитью отвеса, то водолаз определяет направление и
приблизительный угол наклона и сообщает об этом наверх. Кроме того, водолаз
устанавливает, в каком состоянии находится древесина. Если сваи расслоены или
разрушены древоточцами, то водолаз передает об этом по телефону и сообщает
порядковый номер сваи, считая от начального места обследования. После этого
он должен осмотреть узлы сопряжения деревянных свай с подкосами, схватками и
элементами верхнего строения. Обнаружив какие-либо повреждения (раскол
древесины болтами, изгиб болтов, хомутов, всякого рода вмятины и др.),
водолаз сообщает о них наверх и, получив гирю лота, подводит ее к
повреждению. По лоту определяется расстояние от поверхности воды до
повреждения и делается вертикальная отметка на стенке сооружения. Если у дна
на сваи образовалась четко выраженная «шейка», водолаз выполняет замеры в
самом тонком месте, а также на участке, граничащем с началом уменьшения
диаметра.
Обследуя
железобетонные сваи, водолаз должен обратить внимание, нет ли на них
оголенных мест, коррозии и белых пятен, которые являются признаками
разрушения бетона, а также установить степень обрастания свай ракушками.
При
обследовании подводной части металлических свайных конструкций водолаз
осматривает защитное покрытие (изоляцию) конструкции и определяет степень коррозии
металла и особенно на переменном горизонте вода, где разрушение проходит
быстрее.
Обследуя
грунт под свайным сооружением, водолаз тщательно осматривает состояние
каменной отсыпки между сваями. Обнаружив оползни или вымоины в отсыпке,
необходимо определить, между какими сваями произошло разрушение, и установить
размеры его. Сильно разрушенные сооружения свайной конструкции водолаз
обследует в той же последовательности, но с выполнением целого ряда
дополнительных работ: кроме определения отклонений свай от вертикали, он
должен определить величину изгибов свай, замерить глубины над изломанными
сваями, определить размеры всего разрушенного участка сооружения и
установить, в каком состоянии находятся элементы сооружения, упавшие на
грунт.
В зависимости
от задания образцы материалов водолаз выносит на поверхность.
|
3. Оформление окончания работ.
|
После
окончания обследования руководитель водолазных работ оформляет акт на
выполненные водолазные работы (Приложение 4) и схему
повреждений гидросооружений (Приложение 5)
ответственному дежурному по сооружению.
|
Охрана труда
Перед
выполнением водолазных работ на сооружениях свайной конструкции обслуживающий персонал
должен быть предупрежден о начале подводных работ, а ответственный
представитель заказчика должен согласовать меры безопасности при выполнении
водолазных работ (запрещение производства работ, которые могут создавать угрозу
безопасности водолазов; забивка сваи, подъем и спуск грузов, перемещение
плавсредств и т.п. - в радиусе менее 50 м от места работы водолазов, а также
выброса предметов и мусора в воду и др.).
Руководитель
работ должен убедиться в устойчивости сооружения и его отдельных элементов.
Если сооружение или его элементы неустойчивы и могут угрожать безопасности
водолазов, спуски последних ЗАПРЕЩАЮТСЯ.
Осмотр
оснований и опор высотой более 12 м водолаз должен начинать с нижней части и
подниматься, по мере обслуживания конструкции, не нарушая при этом режима
декомпрессии.
При
осмотре опор (свай, оболочек) сооружений эстакадного типа водолаз не должен
обходить препятствия более чем на 180°, при этом он должен следить, чтобы
кабель-сигнал не зацепился за монтажные петли и другие выступающие детали
сооружения.
Водолазу
запрещается производить осмотр опор или сооружений эстакадного типа без
рукавиц, просовывать руки или ноги в щели между конструкциями сооружения для
определения зазоров между ними.
Водолаз должен
оберегать стекла иллюминаторов от ударов о торчащие обломки. Следить за длиной
кабель-сигнала, не давать ему большой слабины. Запрещается проходить под
нависшими над грунтом и частями сооружения.
При
выполнении водолазных работ по обследованию сооружение из массивов ряжевой и
свайной конструкций, кроме мер безопасности, указанных в настоящей
технологической карте, надлежит руководствоваться следующими разделами РД
31.84.01-90 «Единые правила безопасности труда на водолазных работах»:
-
организация водолазных спусков и работ:
общие
положения по организации водолазных работ;
общие
требования;
подводно-технические
работы;
работы на
течении,
работы
при отрицательных температурах наружного воздуха, а также со льда и подо льдом;
-
медицинское обеспечение водолазов во время проведения водолазных спусков.
Материально-техническое снабжение
№ п/п
|
Наименование
изделий
|
Количество
|
1
|
Морской водолазный бот, рейдовый водолазный бот
или катер с установленной компрессорной водолазной станцией
|
1 (по
необходимости 2 - 3)
|
2
|
Двухвесельная рабочая шлюпка
|
1 (по
необходимости 2 - 3)
|
3
|
Стропа, трос (стальной, растительный, синтетический)
|
по
потребности
|
4
|
Инструмент, принадлежности (мерная линейка, щуп,
штангенциркуль, отвес, ватерпас, лот, футшток, угломер, угольник, скребок и
др.)
|
по
потребности
|
5
|
Балластины (груз)
|
по
потребности
|
6
|
Установка подводная осветительная
|
по
потребности
|
3.4. Обследование водозаборных сооружений
Общие положения
Водолазное обследование водозаборного сооружения
проводится для обнаружения и удаления препятствующих работе предметов, захламленности
решеток водоприёмника, отложений и наносов, контроля за состоянием оголовка,
его основания и трубопроводов.
Для
улучшения видимости применяются подводные светильники или установка подводная
осветительная.
Спуск
водолаза производится с водолазного бота или другого плавсредства,
установленного на якоря при нормальных метеоусловиях в дневное время.
Водолазное
обследование водозаборных сооружений выполняется водолазной станцией,
обеспеченной техническими средствами и укомплектованной количеством водолазов в
зависимости от объёма и характера работ.
Руководитель
водолазных работ проводит инструктаж с водолазами и лицами, обеспечивающими
спуск по безопасным методам труда. Знакомит водолазов по чертежам и схемам с
устройством водозаборного сооружения, условиями производства работ и возможными
повреждениями.
Руководитель
водолазных спусков (старшина-бригадир водолазной станции) распределяет
обязанности между водолазами и обслуживающим персоналом, определяет время
пребывания водолазов под водой, контролирует подготовку технических средств и
инструментов для использования по назначению.
Спуск и подъем водолазов производится в соответствии с требованиями РД
31.84.01-90 «Единые правила безопасности труда на водолазных работах».
Состав работ
|
Технология выполнения работ
|
1. Подготовка к водолазным работам

1 -
насосная станция; 2 - насосы; 3 - всасывающие
трубы; 4 - водоприёмник; 5 - окна водоприёмника;
6 - плоские сетки
Рисунок 1 -
Водозаборное сооружение берегового раздельного типа

1 -
водоприемник; 2 - насосная станция; 3 - сетки.
Рисунок 2 - Водозаборное сооружение
берегового совмещенного типа
|
Порядок обследования
водозаборного сооружения зависит от величины его подводной части и местных
условий (См. технологическую карту № 3.2).
Различаются
три типа водозаборных сооружений:
- берегового
раздельного типа (Рисунок 1).
- берегового
совмещенного типа (Рисунок 2).
- сооружение
с самотечными линиями (Рисунок 3).

1 -
оголовок; 2 - самотечные трубы или галерея;
3 - береговой колодец; 4 - всасывающие трубы;
5 - насосная станция; 6 - плоские сетки.
Рисунок 3 - Водозаборное сооружение
с самотечными линиями
|
2. Обследование водозаборных сооружений.
|
Спустившись в
район сооружения, водолаз осматривает водоприёмник, его решетки, сетки,
самотечные линии (галереи). Обнаружив дефект или изменения в конструкции,
сообщает сведения об этом по телефону для занесения в журнал, осматривает
повреждения и делает необходимые замеры.
При
обнаружении посторонних предметов, мусора на решетках или сетках
водоприёмника, производит их очистку с применением ручного или
механизированного инструмента.
Очистку от
песка и ила самотечных галерей водолаз производит эжектором или, при незначительном
количестве наносов, используя бадью, подаваемую с поверхности.
Подъём
крупных предметов или бадьи с мусором производится с помощью грузоподъёмного
устройства.
|
3. Обследование водонапорных сооружений.
|
Работы
выполняются аналогично п. 2 настоящей карты.
|
4. Оформление окончания работ.
|
После
окончания работ руководитель водолазных работ оформляет акт на выполненные
водолазные работы (Приложение 4), а
ответственный дежурный по сооружению, убедившись в их прекращении, делает
запись в наряд-задании (Приложение 3).
|
Охрана труда
Работа у водозаборного
сооружения должна проводиться в соответствии с наряд-заданием по согласованному
часовому графику с дополнительным извещением администрации этого сооружения о
месте и времени работы водолазов.
Производство
работ под водой в зоне насосных станций без наряд-задания, а также проведение
водолазных работ по осмотру и очистке водозаборных сооружений без прекращения
их работы - ЗАПРЕЩАЕТСЯ.
При
выполнении водолазных работ по обследованию водозаборных сооружений, надлежит
руководствоваться следующими разделами РД
31.84.01-90 «Единые правила безопасности труда на водолазных работах»:
Организация водолазных спусков и работ; Общие требования безопасности при
выполнении водолазных спусков и работ; Общие требования. Подводно-технические
работы. Работы на течении. Работы при отрицательных температурах наружного
воздуха, а также со льда и подо льдом. Работы с применением механизированного
инструмента; Медицинское обеспечение водолазов во время проведения водолазных
спусков.
Материально-техническое снабжение
№ п/п
|
Наименование
изделий
|
Количество
|
1
|
Морской водолазный бот, рейдовый водолазный бот
или катер с установленной компрессорной водолазной станцией и оборудованный
грузоподъёмным устройством
|
1 (по
необходимости 2 - 3)
|
2
|
Грунтосос (эжектор) с комплектом шлангов
|
по
потребности
|
3
|
Трос, стропы (стальной, растительный,
синтетический)
|
по
потребности
|
4
|
Инструменты, ключи
|
по
потребности
|
5
|
Принадлежности: мерная линейка, щуп, футшток,
угломер, скребок и др.
|
по
потребности
|
6
|
Балластины
|
по
потребности
|
7
|
Установка подводная осветительная
|
по
потребности
|
3.5. Обследование трубопроводов,
уложенных кабелей через реки и водоемы
Общие положения
Водолазный
осмотр трубопроводов и кабелей производится с целью выявления их повреждений, неисправностей
(состояние изоляции, фланцевых и сварных соединений; положения на грунте,
провисание, навал предметов, наличие якорей на незаглубленных частях,
отклонений от проектной отметки и т.п.) и определения характера и объёма
ремонтных работ.
Места повреждений
трубопроводов определяют по пузырькам газа, нефтяным пятнам или завихрениям
воды, выходящим на поверхность. Места повреждения кабеля обнаруживают
специальными приборами поиска и обнаружения кабеля или с помощью водолазов.
Работы
водолазами выполняются в дневное время суток при нормальных метеоусловиях. При
выполнении водолазных работ под ледяным покровом, во льду прорубаются майны на
расстоянии до 50 м одна от другой, это расстояние зависит от длины водолазного
шланга, а из-за слабой видимости подо льдом работы ведутся с применением
подводного освещения.
Спуск
водолаза производится с водолазного бота, установленного на якорь, а в зимний
период прямо со льда.
Водолазное
обследование трубопроводов и кабелей выполняется водолазной станцией, обеспеченной
техническими средствами и укомплектованной количеством водолазов в зависимости
от условий и характера работ.
Руководитель
водолазных работ проводит инструктаж с водолазами и лицами обеспечивающими
спуск по безопасным методам труда.
Руководитель
водолазных работ обязан до начала работ получить от предприятия-владельца
электросилового кабеля или трубопровода письменное уведомление об отключении
электросилового кабеля или трубопровода и согласовать наряд-задание и режим
работы с ответственным представителем заказчика.
Руководитель
водолазных спусков (старшина-бригадир водолазной станции) распределяет
обязанности между водолазами и обслуживающим персоналом, определяет время
пребывания водолазов под водой, контролирует подготовку технических средств и
инструмента для использования по назначению.
Спуск и подъем водолазов производится в соответствии с требованиями РД
31.84.01-90 «Единые правила безопасности труда на водолазных работах».
Состав работ
|
Технология выполнения работ
|
1 .Подготовка к водолазным работам
|
Водолазный
бот устанавливается на месте работ, подготавливается шлюпка с необходимыми приспособлениями.
По береговым ориентирам определяют направление трубопровода (границы
обследуемой полосы). Проводятся подготовительные работы по оборудованию
обследуемой полосы (См. технологическую карту № 3.1).
|
2. Водолазное обследование трубопроводов.

1 - буёк
направляющего конца; 2 - буёк ходового конца; 3 - балластины; 4 -
направляющие концы; 5 - ходовой конец; 6 - щуп; 7 - трубопровод; 8 -
водолазный бот.
Рисунок 1 - Поиск трубопровода в полосе обследования
|
Спустившийся
водолаз, разыскав щупом трубопровод, продвигается вдоль него, ориентируясь
указаниями сверху. По мере продвижения водолаза передвигают и бот. Встретив
на пути размыв грунта, водолаз замеряет его длину и ширину и сообщает данные
по телефону.
При
обследовании трубопровода открытого типа водолаз должен проверять исправность
его креплений, целость изоляции и заметить места провисания.
Если нужно
отыскать на трубопроводе место утечки, то водолаз должен размыть грунт по
всему намеченному для обследования участку и тщательно осмотреть трубопровод.
Если трубопровод находится под давлением, то место повреждения можно
проследить по завихрениям воды, каплям горючего, пузырькам газа и т.д. Чаще
всего повреждения встречаются в соединениях труб, поэтому в первую очередь
осматривают фланцевые и сварные соединения. В месте повреждения водолаз
выставляет буй или веху.
Буй или веху
устанавливают и в том случае, если предстоит смена водолазов. Для этого
первый водолаз в месте окончания обследования ставит буек и выходит наверх, а
второй водолаз спускается в этом месте и возобновляет обследование от
поставленного буя (вехи).
Прокладываемый
трубопровод водолазы обследуют для определения, правильно ли его положение в
траншее или на открытом грунте. По окончании прокладки производится
контрольное водолазное обследование трубопровода для определения глубины
замыва его в траншеях, а если он уложен на открытом грунте, то для проверки
прочности крепления.
|
3. Водолазное обследование кабельных магистралей.

1 - судно, оборудованное грузоподъёмным устройством;
2 - грузовой шнекель; 3 - кабель.
Рисунок 2 - Схема застропки и подъёма кабеля
|
Розыск кабеля
производят с бота, устанавливаемого на трассе и снабженного гидромонитором.
Водолаз размывает грунт по направлению, перпендикулярному линии кабеля.
Обнаружив кабель, водолаз проходит по трассе, осматривая и ощупывая оголенные
участки.
Обнаружив
повреждение внешних слоев изоляции, водолаз принимает с судна, оборудованного
грузоподъёмным устройством грузовой шкентель, закрепляет его за кабель и дает
команду для подъёма наверх. При обрыве кабеля водолаз крепит тросы к обоим
концам и подает на поверхность для ремонта. После ремонта кабель стравливают
на грунт. Водолаз следит, чтобы не образовались скрутки на кабеле. При
обследовании вновь уложенных кабелей водолаз определяет качество замыва их в
грунт, а если кабель лежит на открытом грунте, то положение и крепление его
(См. технологическую карту № 3.17).
|
4. Оформление документации обследования.
|
На каждом
объекте работ необходимо вести журнал и заносить в него показания водолазов,
производивших обследование. По окончании обследования составляется акт на
выполненные водолазные работы (Приложение 4).
Руководитель
водолазных работ обязан дать предприятию-владельцу электросилового кабеля или
трубопровода письменное уведомление о завершении работ.
|
Охрана труда
При
выполнении обследования трубопроводов и кабелей надлежит руководствоваться
следующими разделами РД
31.84.01-90 «Единые правила безопасности труда на водолазных работах «Общие
требования безопасности при выполнении водолазных спусков и работ; Общие
требования. Подводно-технические работы. Работы на течении. Работы при
отрицательных температурах наружного воздуха, а также со льда и подо льдом;
Медицинское обеспечение водолазов во время проведения водолазных спусков.
При розыске
действующих электросиловых кабелей водолазу ЗАПРЕЩАЕТСЯ пользоваться
металлическими щупами и другими острыми предметами.
Спуск и
подъём водолаза производится в соответствии с требованиями РД
31.84.01-90 «Единые правила безопасности труда на водолазных работах».
Материально-техническое снабжение
№ п/п
|
Наименование
изделий
|
Количество
|
1
|
Морской водолазный бот, рейдовый водолазный бот
или катер с установленной компрессорной водолазной станцией
|
1 (по
необходимости 2 - 3)
|
2
|
Судно, оборудованное грузоподъёмным устройством
|
|
3
|
Двухвесельная рабочая шлюпка
|
1 (по
необходимости 2)
|
4
|
Буйки (вехи)
|
по
потребности
|
5
|
Гидромонитор, грунтосос с комплексом шлангов
|
1 (по
необходимости 2)
|
6
|
Расходный трос, канат, стропы (стальной,
синтетический, растительный)
|
по
потребности
|
7
|
Инструмент, принадлежности (щуп, футшток, скребок
и т.д.)
|
по
потребности
|
8
|
Балластины
|
по
потребности
|
9
|
Фонарь подводный
|
по
потребности
|
10
|
Установка подводная осветительная
|
по
потребности
|
3.6. Подводное бетонирование
гидротехнических сооружений
Общие положения
Подводное
бетонирование выполняется водолазами при ремонте, восстановлении и возведении
гидротехнических сооружений (причальных, мостовых, оградительных и др.).
В
зависимости от характера выполняемых работ применяются различные способы подачи
и укладки бетона:
- по
вертикально перемещающимся трубам (способ ВПТ);
- методом
восходящего раствора.
Работы по
бетонированию выполняются водолазами в дневное время при нормальных
метеоусловиях. Спуск водолаза производится с водолазного бота, оборудованного
плавсредства или непосредственно с сооружения.
Водолазные
работы при подводном бетонировании выполняются водолазной станцией,
обеспеченной техническими средствами и укомплектованной количеством водолазов в
зависимости от объёма работ и глубины спусков.
Руководитель
водолазных работ проводит инструктаж с водолазами и лицами обеспечивающими
спуск по безопасным методам труда.
Перед
началом работ по строительству и ремонту гидротехнических сооружений руководитель
водолазных работ должен получить наряд-задание, ознакомить водолазов по
чертежам и по проекту работ с устройством сооружения, условиями производства
работ.
Руководитель
водолазных спусков определяет продолжительность нахождения водолазов под водой
и распределяет обязанности между водолазами.
Спуск и подъем водолазов производится в соответствии с требованиями РД
31.84.01-90 «Единые правила безопасности труда на водолазных работах».
Состав работ
|
Технология выполнения работ
|
1. Подготовительные работы
|
Водолазное
обследование гидротехнических сооружений перед выполнением работ производится
согласно технологической карты № 3.2.
|
2. Очистка и подготовка места для бетонирования.
|
При
подготовке к работам по бетонированию при ремонте и восстановлении
гидротехнических сооружений после водолазного обследования очищают место работы,
устраивают постель из каменной наброски или слоя щебня, гравия и песка (на
раннее уложенном бетоне обрабатывают поверхность, удаляя разрушенный слой,
масляные пятна и ржавчину с арматуры).
|
3. Установка опалубки
при бетонировании гидротехнических сооружений.

1 -
рельсы; 2 - плита; 3 - строп; 4 - проволока.
Рисунок 1 -
Устройство шпунта из бетонных плит
|
Ограждения
для бетонируемого участка применяют различных конструкций: опалубочные щиты,
плиты, ящики, а также металлические и деревянные шпунты.
Для
ограждения бетонируемого участка забивают шпунты или возводят опалубку из
железобетонных плит и щитов. Шпунт забивается с поверхности.
Водолазы
привлекаются к работе, когда шпунт на всем участке уже забит и необходимо
проверить герметичность шпунтовых пазов и стыков шпунта со стенкой кладки.
Спустившийся
водолаз должен тщательно осмотреть каждый паз и стыки шпунта. При обнаружении
расхождения необходимо проконопатить паз, заложить в него жгут из
просмоленной пакли. Стыки шпунта со стенкой кладки водолаз проконопачивает
паклей, а в местах, где расхождение велико, забивает обвернутые паклей
деревянные клинья.
Ограждение из
двухрядного шпунта возводят без помощи водолазов. Герметичность его
достигается засыпкой грунта между рядами.
Если грунт у
ремонтируемого сооружения скалист, то вместо шпунта создают ограждение из
больших опалубочных щитов. Если участок бетонирования сравнительно невелик и ограждение
состоит из одного щита, водолаз осматривает и уплотняет его лишь по
периметру. При наличии двух и более щитов водолаз должен осмотреть и
уплотнить их стыки.
При
устройстве железобетонного ограждения водолазы укладывают плиты в пазы
забитых в грунт рельсов. Водолаз, спустившись к основанию забитых рельсов,
расчищает на месте укладки грунт, а затем принимает и укладывает плиты.
Плиту, остропленную удавкой, опускают на шкентеле. Водолаз должен навесу
подвести плиту к рельсам и направить ее в пазы между ними (Рисунок 1), затем
потребовать слабины шкентеля и, когда плита опустится на место, расстропить
шкентель и вместе со стропом подать его наверх. Последующие плиты укладывают
тем же способом. После укладки одного ряда плит рельсы, между которыми
уложены плиты, туго стягивают закручиваемой проволокой и водолаз переходит на
укладку следующего ряда. Готовое ограждение водолаз осматривает и неплотности
между плитами конопатит паклей. Закончив эту работу, водолаз переходит за
ограждение и устанавливает трубу для подачи бетона.
Если нужно
восстановить поврежденный бетон на отдельных массивах сооружения или
железобетонных сваях, то ограждают бетонируемый участок небольшими
деревянными щитами или ящиками. Перед постановкой ограждения (опалубки)
водолаз металлическим скребком начисто удаляет разрушенный слой бетона и
делает в кладке борозды для лучшего соединения нового бетона со старым.
Если в местах
разрушения имеются жирные пятна нефти, то их следует удалить, срубив слой
бетона. На поврежденном участке массивовой кладки временно закрепляют щит
(опалубку) забиваемыми сваями, клиньями или болтами, заделываемыми в кладку.
Сваи забивают вплотную к стенке сооружения. После установки на место
опущенного между сваями стенкой щита верхние концы свай притягивают оттяжками
к стенке, чем прижимают щит. Если щит оказался не плотно прижатым к стенке,
водолаз поверх щита под сваи забивает деревянные клинья. После этого следует
проконопатить все кромки щита.
На скалистом
грунте, когда сваи забить невозможно, водолаз должен пробить в бетоне по
краям разрушения отверстия, вставить в отверстия шпильки и каждую расклинить
деревянными клиньями. Разделывает отверстия водолаз вручную или
пневматическим бурильным молотком.
Затем к месту
разрушения нужно подвести опалубку, установить ее поверх шпилек и наметить по
ним места для сверления. Потом опалубку поднимают наверх, просверливают
отверстия (для шпилек, для ввода трубы, подающей бетон, и для выхода
вытесняемой бетоном воды) и снова опускают ее водолазу.
Установив и
закрепив опалубку гайками, навернутыми на шпильки, водолаз должен хорошо
проконопатить ее края и установить трубу для подачи раствора.
Установка
опалубки на железобетонную сваю сводится к сборке опалубки на месте
бетонирования и к закреплению с помощью бугелей или болтов.
|
|
4. Подача бетона по вертикально перемещающимся
трубам (способ ВПТ).

1 -
труба; 2 - воронка.
Рисунок 2 -
Схема подачи бетона способом ВПТ

Рисунок
3 - Заполнение участка
бетоном по способу ВПТ
|
Способ ВПТ
применяется при ремонтно-восстановительных работах, когда необходимо получить
однородную монолитную бетонную массу.
На
подготовленное водолазами место опускают металлическую трубу диаметром 200 -
300 мм и устанавливают её вертикально в середину бетонируемого квадрата
(Рисунок 2). В верхней части труба имеет воронку.
Замешанный в
творилах бетон в виде густой и вязкой массы подают в воронку трубы. Трубу по
мере накопления бетона на месте укладки приподнимают на концах стрелы или
треноги.
Применение
вертикально перемещающихся труб требует соблюдения следующих условий:
1) бетон
должен подаваться по трубе непрерывным потоком;
2) нижний
конец трубы всегда должен быть погружен в массу укладываемого бетона;
3) размеры
опалубки должны позволять при бетонировании держать трубу все время в
вертикальном положении и обходиться без последующего равнения поверхности
бетона.
При подаче
бетона способом ВПТ водолаз, находясь у устья трубы, наблюдает за появлением
бетона и сообщает о поступлении раствора на место укладки. Поступление
считается нормальным, если бетон вокруг трубы начинает постепенно возвышаться
и слегка ползти в стороны (Рисунок 3).
По мере
уменьшения раствора в воронку добавляют бетон и подают его непрерывно. Если
движение раствора замедлилось или совершенно прекратилось, то трубу осторожно
приподнимают. Одновременно дают распоряжение водолазу наблюдать за её устьем;
он должен рукой прощупывать в растворе края трубы и, как только обнаружит,
что они приближаются к поверхности уложенного бетона, сигнализировать о
прекращении подъема трубы.
Нельзя
допускать, чтобы края трубы выходили из бетона, так как из неё может
высыпаться весь раствор и труба наполнится водой, что прервет процесс
бетонирования.
Если на
стыках бетонируемых участков уложенный бетон имеет различный уровень,
водолазы выравнивают его поверхность, медленно сдвигая раствор во впадину.
Выравнивать стыки водолаз должен с большой осторожностью, чтобы не вымывался из
раствора цемент. Когда весь участок забетонирован, трубы убирают и ждут
затвердевания бетона.
|
5. Подача
бетона при бетонировании методом восходящего раствора.

1 - бутовая кладка; 2 - труба; 3 - воронка
Рисунок 4 - Схема подачи бетона при способе восходящего
раствора
|
Подача бетона
при бетонировании методом восходящего раствора применяется при заполнении
бетоном бутовой кладки, массивов-гигантов и всякого рода каверн. Он
отличается от способа ВПТ тем, что труба устанавливается неподвижно в бутовой
кладке сооружения или массива. Густой вязкий раствор бетона подается через
воронку трубы с поверхности; он выходит из ее нижнего конца, поднимается
вверх и заполняет бутовую кладку (Рисунок 4). Давление
столба раствора, находящегося в трубе, способствует распространению его в
кладке.
Для
бетонирования способом восходящего раствора применяют трубы диаметром 80 -
100 мм. При бетонировании этим способом трубы устанавливают на некотором
расстоянии от грунта, затем пространство, предназначенное для бетонирования,
засыпают каменной наброской на высоту укладываемого бетона. После этого
водолаз переходит к равнению каменной наброски, а через установленные трубы
начинают вливать раствор. При заливке раствора водолаз находится на наброске
и наблюдает за появлением раствора на ее поверхности. Как только раствор
появится, заливку прекращают, трубы вытаскивают, поднимают наверх и выжидают
затвердевания бутобетона. Точно так же заполняются раствором бетона
пустотелые массивы, предварительно уложенные на место кладки.
|
6. Контрольное водолазное обследование.
|
Контрольное
водолазное обследование бетонируемого участка производят водолазы и в период
затвердения и после полного затвердения бетона.
Спустя
двое-трое суток после бетонирования водолаз должен на ощупь проверить
твердость бетона. Для определения структуры бетона нужно ножом отрезать
кусочки еще слабо затвердевшего бетона и вынести их наверх.
Когда бетон
полностью затвердеет, водолазы отдают крепления опалубки и убирают её. Наплывы
и неровности, образовавшиеся на поверхности бетона, водолаз чистит зубилом и
кувалдой. Если бетонируемый участок имел шпунтовое ограждение, шпунт
разбирают надводными силами и средствами.
После
освобождения бетонируемого участка от опалубки или шпунтового ограждения
производят контрольное водолазное обследование поверхности уложенного бетона.
Водолаз
должен определить степень плотности бетона. Обнаружив в нем пустоты, нужно
определить их местонахождение относительно краев забетонированного участка и измерить
их.
После
контрольного водолазного обследования составляют акт, в котором дают оценку
выполненному подводному бетонированию. Если работа признается
удовлетворительной, сооружение вводят в эксплуатацию, а при заделке пробоин
бетоном приступают к откачке воды из поврежденного отсека судна.
|
Охрана труда
При
выполнении водолазных работ по подводному бетонированию надлежит
руководствоваться РД
31.84.01-90 «Единые правила безопасности труда на водолазных работах».
Материально-техническое снабжение
№ п/п
|
Наименование изделий
|
Количество
|
1
|
Морской водолазный бот (ВМ), рейдовый водолазный
бот или катер с установленной компрессорной водолазной станцией
|
1 (по
необходимости 2 - 3)
|
2
|
Крановая установка (плавкран)
|
по
потребности
|
3
|
Гидромонитор с комплектом шлангов
|
по
потребности
|
4
|
Канаты, тросы, стропы (стальные, растительные
синтетические)
|
по
потребности
|
5
|
Струбцины, домкраты, талрепы, такелажные и
строительные скобы, зажимы для стальных канатов, болты, хомуты, бугели
|
по
потребности
|
6
|
Трубы металлические (с приемным бункером)
|
по
потребности
|
7
|
Бетономешалка, растворонасос, растворопровод
|
по
потребности
|
8
|
Портландцемент, цемент, песок, жидкое стекло и
другие катализаторы твердения
|
по
потребности
|
9
|
Проволока, арматура
|
по
потребности
|
10
|
Вибратор
|
по
потребности
|
11
|
Лебедки (ручные, с электромеханическим приводом)
|
по
потребности
|
12
|
Бревна, брусья, подмосты, сваи, опалубочные щиты
|
по
потребности
|
13
|
Инструменты, механизированный инструмент,
принадлежности, скользящие пробки (для труб) и др.
|
по
потребности
|
14
|
Лот с лотлинем длиной 20 - 50 м
|
по
потребности
|
15
|
Балластины
|
по
потребности
|
16
|
Установка подводная осветительная
|
по
потребности
|
3.7. Работы у водонапорных сооружений
Общие положения
Технологическая
карта устанавливает порядок выполнения водолазных работ у водонапорных
сооружений при нормальных метеоусловиях в дневное время.
Спуск водолаза
производится с водолазного бота, плавсредства или с другого места согласно
наряд-заданию.
Технология
водолазного обследования водонапорного сооружения изложена в технологической
карте № 3.4.
Текущий
ремонт подводной части водонапорных сооружений из бетонных или железобетонных
конструкций состоит из заделки каверн и выбоин в стенках путём удаления
разрушенной части материала и замене его новым.
Водолазные
работы у водонапорных сооружений выполняются водолазной станцией, обеспеченной
техническими средствами и укомплектованной количеством водолазов в зависимости
от условий, глубины спусков и характера выполняемых работ.
Руководитель
водолазных работ проводит инструктаж с водолазами и лицами, обеспечивающими
спуск по технологии выполнения работ и безопасным методам труда. Знакомит
водолазов по чертежам и схемам с конструкцией и особенностями водонапорного
сооружения. Руководитель водолазных спусков (старшина-бригадир водолазной
станции) распределяет обязанности между водолазами и обеспечивающим персоналом,
определяет время пребывания водолазов под водой.
Руководитель
водолазных работ обязан получить у администрации водонапорного сооружения
наряд-задание на проведение водолазных работ, согласованное с энергодиспетчером
(или диспетчером движения флота), копия передается начальнику вахты сооружения.
В наряд-задании указывается характер работы, место установки водолазной
станции, условия производства водолазных работ, мероприятия по обеспечению их
безопасности, точное время начала и окончания работ (действие наряд-задания - 1
сутки).
Производство
каких-либо работ под водой в зонах водонапорных сооружений без наряд-задания -
запрещается.
Допуск к
водолазным спускам разрешается после проведения
следующих мероприятий: останавливается или закрывается
такое количество агрегатов или затворов, чтобы
в радиусе не менее 50 м от места
работы водолаза скорость течения воды не
превышала 0,5 м/с; направляющие
аппараты и спусковые устройства регулирования
турбин закрываются, механизмы пуска агрегатов,
подъема затворов и открытия ворот выключаются
(снимается напряжение, выключаются гидравлические устройства,
вывешиваются запрещающие знаки «не включать!
работают люди»).
Спуски водолазов
с водонапорных сооружений, высота места спуска
с которых от поверхности воды более 2
м (в водолазном снаряжении с открытой схемой дыхания с высоты
более 3 м) должны производиться на водолазной
беседке.
Спуски водолазов
с водонапорных сооружений в условиях фильтрации
воды должны производиться в защитных устройствах,
исключающих присос водолаза к месту фильтрации.
Спуск и подъём водолаза производится в соответствии с требованиями РД
31.84.01-90 «Единые правила безопасности труда на водолазных работах».
Состав работ
|
Технология выполнения работ
|
1. Водолазные работы у водонапорных сооружений.

1 -
упоры; 2 - рабочие окна.
Рисунок 1 - Защитная беседка
|
Работа
водолаза без защитной беседки и специального ограждения его от присоса может
быть допущена при условиях, оговоренных в таблице 1. При глубине начала повреждения
более 10 м, независимо от размеров повреждения, а также при глубине
повреждения менее 10 м, но при размерах повреждения более указанных в таблице
1, работа водолаза должна производиться со специальной защитной беседки
(Рисунки 1 - 2), а в случае, если есть опасность, что давление
воды может прижать водолаза к поврежденному месту или затянуть его в сквозное
отверстие опускать водолаза к месту проведения работ под водой следует только
после подведения к поврежденному участку сооружения деревянного щита
(пластыря).

1 -
нижний бъеф; 2 - верхний бьеф; 3 - плотина;
4 - беседка; 5 - упоры.
Рисунок 2 - Работа водолаза
в защитной беседке у стенки
Таблица
1. Условия работы водолаза без защитной беседки.
Перепад глубин, м
|
Длина повреждений, см
|
менее 25
|
от 25 до 50
|
от 50 до 70
|
более 70
|
Ширина повреждения см
|
1
|
20 - 24
|
11 - 12
|
7 - 8
|
5 - 6
|
2
|
10 - 12
|
5 - 6
|
3,5 - 4
|
2,5 - 3
|
3
|
7 - 8
|
3,5 - 4
|
3 - 3,5
|
2 - 2,5
|
4
|
5 - 6
|
2,5 - 3
|
2,5 - 3
|
1,5 - 2
|
5
|
4 - 5
|
2 - 2,5
|
2 - 2,5
|
1 - 1,5
|
6
|
3 - 4
|
1,5 - 2
|
1,5 - 2
|
1
|
7
|
2 - 3
|
1,5 - 2
|
1,5 - 2
|
0,5 - 1
|
8
|
2 - 3
|
1 - 1,5
|
1 - 1,5
|
0,5 - 1
|
9
|
2
|
1
|
0,75
|
0,5
|
10
|
2
|
1
|
0,75
|
0,5
|
|
2. Заделка каверн и борозд.

1 -
отверстие для выхода воды при бетонировании;
2 - щит опалубки; 3 - границы расчистки
каверны; 4 - границы каверны; 5 - патрубок
для присоединения шланга подачи бетона; 6
- бетон; 7 - шланг; 8 - сетка арматуры;
9- пакля; 10 - новый бетон; 11 - болты
на деревянных пробках.
Рисунок 3 -
Заделка каверн в бетонной стене с помощью
накладной опалубки

1 -
заполнение бетоном; 2 - железобетонная плита;
3 - двутавровые балки (рельсы)
Рисунок 4 - Укрепление разрушенной
бетонной стенки
|
Для заделки
каверн (борозд) на подводных элементах водолаз очищает металлическими
скребками поверхность каверны (борозды) от обрастания и разрушенного материала.
Для прочного удержания бетона в кавернах перед бетонированием их расчищают на
глубину до 20 - 30 см с образованием опорных горизонтальных плоскостей в
старом бетоне. Затем по размерам каверны (борозды) к стене плотно укрепляют
щит опалубки с помощью временных свай или заделываемых в кладку болтов.
Зазоры между щитом и стенкой зашпаклевывают (рисунок 3). После
этого под наблюдением водолаза производится подача бетона по металлической
трубе или резиновому шлангу, который укрепляется в отверстии щита. Для
обеспечения свободного и полного заполнения пустот бетоном в верхней части
щита оставляется отверстие, через которое вода выжимается бетоном.
При
значительном разрушении бетона с образованием больших каверн применяются
следующие способы:
Перед стенкой
с разрушенным бетоном на определенном расстоянии забиваются металлические
сваи двутаврового сечения (или рельсы). Между сваями закладываются
железобетонные плиты толщиной 6 - 8 см (рисунок 4).
Пространство между плитами и разрушенной поверхностью стенки закладывается
бетоном методом подводного бетонирования (См. технологическую карту № 3.6).
В стенку с
разрушенным бетоном с помощью пневматических перфораторов устанавливаются
анкерные болты. На них крепятся металлические щиты из листового железа 4 ~ 6
мм, с ребрами из уголков. Кромки смежных листов соединяются в фальцы. Зазоры
между стенкой и щитами заливают цементным раствором. Металлические щиты
обычно оставляют на сооружении.
В стенку с
разрушенным бетоном устанавливают в шахматном порядке анкерные болты, на
которые крепится проволочная сетка (диаметр прутков до 6 мм). После установки
опалубки из деревянных щитов зазоры между стеной и щитами заливают раствором.
|
3. Ремонт сооружений из железобетона.
|
При ремонте
подводной части сооружения из железобетона водолаз металлическими щетками
производит очистку арматуры от ржавчины, с помощью кувалды, молотка выпрямляет
и арматурной вязальной проволокой восстанавливает поврежденную арматуру
стенки. Затем щиты опалубки крепятся арматурной проволокой непосредственно к
стержням арматуры стенки и производится бетонирование. Опалубка снимается не
ранее 7 дней после окончания бетонирования.
|
4. Работы по очистке кингстонов.
|
Спустившись
на решетку кингстона, водолаз снимает с неё мусор, битый лед и в корзине
подает наверх. Очистка производится вручную или с помощью лебедки, установленной
над водой. Закончив очистку всей площади решетки, водолаз выходит наверх.
|
5. Размещение водолазной техники и средств
технического оснащения на штатные места.
|
Размещение
водолазной техники в исходное положение производится в соответствии с
требованиями Инструкций по эксплуатации.
|
6. Оформление окончания работ.
|
После
окончания работ руководитель водолазных работ дает об этом письменное
подтверждение ответственному дежурному по сооружению.
|
Охрана труда
При выполнении
водолазных работ у водонапорных сооружений, кроме мер безопасности, указанных в
настоящей технологической карте, надлежит руководствоваться следующими
разделами РД
31.84.01-90 «Единые правила безопасности труда на водолазных работах»:
-
организация водолазных спусков и работ:
общие
положения по организации водолазных работ;
- общие
требования безопасности при выполнении водолазных спусков и работ:
общие
требования;
подводно-технические
работы;
работы с
применением механизированного инструмента;
работы на
течении;
работы
при отрицательных температурах наружного воздуха, а также со льда и подо льдом.
Материально-техническое снабжение
№ п/п
|
Наименование
изделий
|
Количество
|
1
|
Морской водолазный бот, рейдовый водолазный бот
или катер с установленной компрессорной водолазной станцией
|
1 (по
необходимости 2 - 3)
|
2
|
Двухвесельная рабочая шлюпка
|
1 (по необходимости
2 - 3)
|
3
|
Водолазная рабочая беседка
|
1
|
4
|
Защитная водолазная беседка
|
1
|
5
|
Стропы, канаты, трос (стальной, растительный,
синтетический)
|
по
потребности
|
6
|
Листовое железо (4 - 6 мм)
|
по
потребности
|
7
|
Анкерные болты, арматурная проволока (сетка)
|
по
потребности
|
8
|
Лесоматериал (щиты, доски и др.)
|
по
потребности
|
9
|
Металлические двутавровые сваи (рельсы)
|
по
потребности
|
10
|
Железобетонные плиты (толщиной 6 - 8 см)
|
по
потребности
|
11
|
Цемент, песок, катализаторы твердения и др.
|
по
потребности
|
12
|
Лебедка (ручная; с эл. мех. приводом)
|
1
|
13
|
Инструменты (кувалда, молоток и др.
механизированный инструмент)
|
по
потребности
|
14
|
Принадлежности (металлические щетки, скребки и
др.)
|
по
потребности
|
15
|
Установка подводная осветительная
|
1
|
3.8. Подъём автомашин, тракторов и другой техники
Общие положения
Технологическая
карта устанавливает порядок выполнения водолазных работ по подъёму автомашин, тракторов
и другой техники при нормальных метеоусловиях в дневное время.
Водолазное
обследование дна акватории, при необходимости, выполняется для поиска объекта и
определения характера грунта по технологической карте № 3.1.
Подъём
автомашин, тракторов и другой техники производится с использованием плавучих
кранов, а в местах, где нет плавучих кранов или место работы для них
недоступно, тяговой силы с берега. При подъеме затонувших объектов со льда применяются
козлы, представляющие собой поднятую на четырех бревнах поперечину, к которой
подвешен блок или тали.
Руководитель
водолазных работ проводит инструктаж с водолазами и лицами, обеспечивающими
спуск по технологии выполнения работ и безопасным методам труда.
Руководитель
водолазных спусков (старшина-бригадир водолазной станции) распределяет
обязанности между водолазами и обслуживающим персоналом, определяет время
пребывания водолазов под водой, контролирует подготовку технических средств и
инструмента для использования по назначению.
Водолазные
работы при подъёме автомашин, тракторов и другой техники выполняются водолазной
станцией, обеспеченной техническими средствами и укомплектованной количеством
водолазов в зависимости от условий, глубины спусков и характера выполняемых
работ.
Спуск и подъём водолаза производится с водолазного бота или другого
плавсредства установленного на якоря и в соответствии с РД
31.84.01-90 «Единые правила безопасности труда на водолазных работах».
Состав работ
|
Технология выполнения работ
|
Водолазные работы при подъёме
автомашин, тракторов и другой техники.

1 -
козлы; 2 - майна во льду; 3 - шкентель;
4 - строп; 5 - лебедка.

остропка
автомашины
Рисунок 1 -
Подъём автомашины со льда с помощью
козел
|
Водолаз
обследует положение объекта на грунте и определяет места для крепления
подъёмных стропов.
При вытаскивании
на берег автомашин и тракторов с помощью тракторов или установленных на
берегу лебедок водолаз крепит стропы серьгой или удавкой за буксирный гак или
раму. Закрепленный строп водолаз соединяет скобой с тросом, поданным с
берега. Когда трос будет натянут, водолаз осматривает положение стропа в
местах соединения с объектом. Если строп может соскочить с места крепления,
водолаз требует дать слабины троса и, поправив строп, закрепляет его
растительным концом. До того, как начнут вытаскивать затонувшую машину или
трактор, водолаз обследует грунт в направлении троса, идущего с берега. Если
имеется большой слой ила, водолаз размывает его с помощью гидроствола, а
отдельные камни уносит в сторону. На объекте крепится буёк, который в
дальнейшем указывает перемещение объекта.
После
остропки и обтяжки стропов водолаз должен выйти на поверхность. Тяжелые
объекты следует поднимать с грунта с учетом сил присоса, плавно, без рывков и
на малой скорости.
Работы по
подъёму объектов необходимо прекращать при волнении поверхности воды в месте
производства работ свыше 2 баллов.
При подъёме
автомашин (тракторов) плавучим краном или с помощью установленных на льду
козел (Рисунок 1) водолаз заводит два подъёмных стропа: один под раму
автомашины в районе мотора, другой - около задних колес. Огоны стропов
выводит наверх машины и скрепляет их растительным тросом. Затем набрасывает
огоны на гак поданного сверху подъёмного троса или соединяет их с тросом
скобой.
Трактор
острапливают также двумя подъёмными стропами, подведенными в обхват под
гусеницы или за буксирные гаки. Для заводки стропов под гусеницы водолаз
размывает спереди и сзади трактора котлованы, так чтобы часть гусениц
нависала над котлованами. Затем принимает сверху стропы и серединой подводит
их под гусеницы. Огоны заведенных стропов водолаз скрепляет вместе
растительным тросом и соединяет их с подъёмным тросом скобой или накладывает
на гак. Остропив и обтянув стропы, водолаз осматривает их положение на
объекте и выходит на поверхность. После этого объект поднимают из воды.
|
Размещение водолазной техники
|
Размещение
водолазной техники в исходное положение производится в соответствии с
требованиями Инструкций по эксплуатации.
|
Охрана труда
При выполнении
водолазных работ по подъёму автомашин, тракторов и другой техники, кроме мер
безопасности, указанных в настоящей технологической карте, надлежит
руководствоваться следующими разделами РД
31.84.01-90 «Единые правила безопасности труда на водолазных работах»:
-
организация водолазных спусков и работ:
общие
положения по организации водолазных работ;
- общие требования
безопасности при выполнении водолазных спусков и работ:
общие
требования;
судоподъёмные
работы;
подводно-технические
работы;
работы на
течении;
работы
при отрицательных температурах наружного воздуха, а также со льда и подо льдом;
-
медицинское обеспечение водолазов.
Материально-техническое снабжение
№ п/п
|
Наименование
изделий
|
Количество
|
1
|
Морской водолазный бот, рейдовый водолазный бот
или катер с установленной компрессорной водолазной станцией
|
1 (по
необходимости 2 - 3)
|
2
|
Плавкран (при необходимости)
|
1
|
3
|
Двухвесельная рабочая шлюпка
|
1 (по
необходимости 2 - 3)
|
4
|
Гидромонитор с комплектом шлангов
|
1
|
5
|
Канаты, стропы, трос (стальные, растительные,
синтетические)
|
по
потребности
|
6
|
Струбцины, домкраты, талрепа, такелажные скобы,
зажимы для стальных канатов
|
по
потребности
|
7
|
Лебедка с эл. мех. приводом
|
1
|
8
|
Канифас-блоки
|
по
потребности
|
9
|
Комплект материалов для изготовления козел
|
по
потребности
|
10
|
Инструменты, ключи, ломы, принадлежности
|
по
потребности
|
3.9. Применение подводного фотографирования и
телевидения
Общие положения
Технологическая
карта включает в себя методику подводной фотосъемки при нормальных метеоусловиях
в дневное время и применения телевидения при производстве водолазных работ для
получения фото- и киноинформации.
Получение
фотоинформации необходимо осуществлять в три этапа:
1-й этап - предварительное обследование участка и
изучение условий съемки; определение объема необходимой фото-информации и выбор
объектов съемки;
2-й этап - определение положения камеры (точки
съемки), направления съемки и дистанции съемки; определение и осуществление
мероприятий по увеличению контраста яркости деталей объекта;
3-й этап - ориентирование камеры относительно объекта
и экспонирование пленки.
При
подводной фотосъемке необходимо принимать дополнительные меры для повышения
качества изображения, что достигается следующими путями:
а)
увеличением контраста яркости наиболее важных элементов объекта с помощью:
съемки
при боковом, направленном солнечном свете;
съемки
при боковом, направленном искусственном освещении;
предварительной
расчистки и обработки объектов съемки;
б)
уменьшением яркости слоя воды между объектом и фотоаппаратом с помощью:
замещения
мутного слоя воды оптически чистой средой (использование насадок искусственной
видимости);
использования
схем освещения (искусственного или естественного), при котором слой воды между
объектом и фотоаппаратом высвечивается в меньшей степени;
фотосъемки
с минимально возможного расстояния;
в)
выделением необходимых деталей в негативном и позитивном процессах с помощью:
использования
контрастных светочувствительных фотоматериалов и режимов обработки, повышающих контраст
изображения;
ретуши
фотоотпечатков.
В мутной
воде прибрежных акваторий применять светофильтры при фотосъемке не
рекомендуется в связи с их низкой эффективностью.
Определяющими
факторами при выборе фотоаппарата являются: короткофокусный светосильный
объектив, число кадров пленки, простота и удобство управления камерой.
Водонезащищенные камеры помещают в боксы.
Зарубежные
аппараты с водонепроницаемым корпусом и сальниками у рычагов управления
«Калипсо-фот», «Никонос-5» и другие не нуждаются в фото-боксах.
Телевизионный
метод дает возможность участия нескольких специалистов в проведении водолазных
работ, обеспечивает получение подводной фото- и кинодокументации. Можно
использовать забоксированные промышленные телевизионные установки.
Спуск водолаза
производится с водолазного бота, установленного на якоря, и в соответствии с
требованиями РД
31.84.01-90 «Единые правила безопасности труда на водолазных работах».
Руководитель
водолазных работ производит инструктаж с водолазами и лицами, обеспечивающими
спуск, по технологии выполнения работ и безопасным методам труда. Руководитель
водолазных спусков (старшина-бригадир водолазной станции) распределяет
обязанности между водолазами, обслуживающим персоналом, определяет время
пребывания водолазов под водой, контролирует подготовку технических средств и
инструмента для использования по назначению.
Водолазные
работы при подводном фотографировании выполняются водолазной станцией,
обеспеченной техническими средствами и укомплектованной количеством водолазов в
зависимости от условий, глубины спусков и характера выполняемых работ.
Спуски подъём водолаза производится в соответствии с требованиями РД
31.84.01-90 «Единые правила безопасности труда на водолазных работах».
Состав работ
|
Технология выполнения работ
|
1. Предварительное обследование.
|
Оцениваются
условия, определяющие возможности фотосъемки и выбор технических средств.
При оценке
условий следует выяснить:
характер
объекта фотосъемки;
место
расположения объекта (глубина, плановые координаты, положение относительно
солнца и поверхности воды; возможность свободного наблюдения объекта с
различных сторон, наличие элементов, затеняющих объект);
размеры
элементов, по которым определяется состояние объекта;
состояние
элементов объекта съемки (наличие обрастаний, слоя осадков, структура
поверхности, цвет), возможность предварительной подготовки места съемки для
увеличения наглядности снимка;
величину
естественной освещенности объекта, направленность освещения;
величину
предельной визуальной дальности видимости элементов объекта, ее изменение с
изменением точки наблюдения.
По
результатам обследования определяют:
необходимость
использования искусственного освещения;
необходимость
использования насадки искусственной видимости или установочной рамки;
наиболее
удобное (с точки зрения освещенности объекта и направленности освещения)
время фотосъемки при естественном освещении;
количество
снимков, их содержание;
характер
предварительной подготовки места съемки, необходимость использования
вспомогательных средств для увеличения наглядности снимка (очистка места
съемки от обрастаний организмами, использование вспомогательных черных или
белых фоновых поверхностей, использование масштабных реек и пр.);
границы
кадра, координаты точки расположения камеры, направление съемки (по компасу и
уклономеру) и расстояние до объекта съемки в каждом конкретном случае;
примерную
величину экспозиции для каждого снимка.
Перед началом
фотосъёмок ориентировочно определяют максимальное расстояние до объекта съёмки,
при котором возможно получение качественной фотографии с высоким разрешением,
обеспечивающим передачу полной информации об объекте по формуле: Р > 0,25h, где h -
прозрачность воды, измеренная с помощью стандартного белого диска Секта
(дальность фотографирования в слоях воды, близких к поверхности, вчетверо
меньше глубины видимости диска, с глубиной горизонтальная видимость
уменьшается). Расстояние съёмки остаётся постоянным и определяется дальностью
видимости под водой на месте фотографирования. Наводку на резкость водолаз
производит по шкале расстояний по наиболее важной сюжетной части объекта
(выбор точки съёмки и установка освещения должны обеспечить правильное
отражение характера и размера объекта), при этом на шкале дистанции объектива
установить значение расстояния до объекта по формуле: n = P/h, где Р - расстояние от фотокамеры до
объекта, м;
h = l,34 -
коэффициент преломления воды.
|
2. Пробная съемка.
|
Для
определения зависимости между величиной экспозиции и плотностью почернения
выбранного типа пленки, обработанной в конкретных условиях, рекомендуется
проводить экспонометрическую пробную съемку. По результатам пробы строится
экспонометрическая таблица, позволяющая определить нужную величину экспозиции
при съемке объектов. При этом предполагается, что аппаратура, тип пленки,
проявитель и режим проявления при последующей фотосъемке остаются теми же,
что и при экспонометрической пробе.
Определение
экспозиции при естественном освещении и при освещении лампами накаливания
следует проводить с помощью экспонометрической таблицы по показаниям
экспонометра (бокс для экспонометра представляет собой водонепроницаемый
футляр из оргстекла с механизмом управления диском прибора). Когда прибором
непосредственно не пользуются, на бокс надевают светонепроницаемый колпачок,
предохраняющий элемент. При работе в непрозрачной воде полученную величину
диафрагмы необходимо уменьшить в 2 - 4 раза в зависимости от степени
мутности.
Каждый снимок
рекомендуется повторять, увеличив или уменьшив диафрагму на одно значение.
Экспозицию
необходимо изменять с учетом поправки на чувствительность пленки, энергию
вспышки и в случае, когда импульсная лампа используется для дополнительной
подсветки (смешанное освещение) при естественном освещении.
|
3. Фотосъемка
поверхностей, лежащих в разных плоскостях и общих планов.

Рисунок 1 - Рамка для фотосъёмки с близкого расстояния
|
В случаях,
когда снимаемые поверхности лежат в разных плоскостях или когда прозрачность воды
не позволяет получить качественное изображение намеченной к съемке площади
поверхности, следует применять панорамирование - получение изображений
больших поверхностей с перекрытием отдельных участков этой поверхности.
Совмещая позитивные изображения, получают панораму объекта.
При
панорамировании обязательно выполнение следующих требований:
масштаб всех
снимков должен быть одинаковым по всей плоскости изображения. Для определения
размеров объекта при съёмке общих планов, в кадр (в нижнюю часть пространства,
ограниченного полем зрения фотокамеры) помещают предмет, размеры которого
известны, или масштабную линейку (при съёмке с близкого расстояния) с четкими
сантиметровыми и 5-ти сантиметровыми делениями или магнитную марку с
информацией об объекте, способствующую идентификации объекта на обработанном
фотоматериале;
на каждом
снимке должны присутствовать элементы, по которым можно было бы осуществить
привязку данного изображения к соседнему.
Для
выполнения этих требований фотосъемку всех участков необходимо производить с
одного и того же расстояния; направления съемки всех участков, лежащих в
одной плоскости, должны совпадать и быть перпендикулярными к этой плоскости;
каждый участок, не имеющий хорошо видимых элементов привязки к соседним
участкам, должен быть снабжен таковыми.
Наблюдая в
видоискатель за фотографируемым объектом, нажатием на рычаг затвора, водолаз
производит съёмку и переводит кадр.
Лучше всего
панорамирование производить с использованием установочной рамки.
При
фотографировании с расстояния в 30 - 50 см применяется прямоугольная рамка,
размещаемая перед объективом (Рисунок 1). Размеры
рамки зависят от расстояния до объекта съёмки. При работе водолаз
прикладывает рамку вплотную к объекту так, чтобы деталь, изображение которой
надо получить, поместилась в неё. При фотографировании объекта большой
площади (с последующим монтажом отдельных участков) наводка на резкость
производится один раз, объектив фокусируется на 3/4 действительного
расстояния. Работа водолаза сводится к перестановке рамки с учетом небольшого
перекрытия соседнего участка, нажатию рычага спуска и переводу кадра. Рамка
позволяет работать с зеркальной камерой и камерой с дальномером. При
необходимости масштабную линейку крепят к сторонам рамки при помощи хомутиков
со стопорами; что позволяет перемещать линейку в границах кадра.
|
4. Фотосъёмка при искусственном освещении.
|
Для
подводного фотографирования используются специальные, питающиеся с
поверхности переносные светильники или фотовспышка. Для установки переносных
светильников привлекается второй водолаз. Светильники устанавливают впереди и
в стороне от камеры, так, чтобы не было высвечивания слоя воды в поле зрения
фотокамеры (дневной свет даёт дополнительное равномерное освещение). В затемненных местах
используют два источника света. Увеличение мощности освещения в 10 раз
увеличивает дальность видимости в воде только на 15 %, поэтому наиболее
эффективным является приближение источника света к объекту.
Импульсные фотовспышки применяются при
фотографировании с близкого и дальнего (3,5 - 4,5 м) расстояния. При
раздельной герметизации блока питания и импульсной лампы (лампа крепится на
выносном кронштейне) в случае повреждения кабеля питания, в воду происходит
разряд большой мощности. Поэтому производство фотосъёмки с импульсными
осветителями необходимо производить в снаряжении полностью изолирующим
водолаза от воды.
Расположение блока питания и источника освещения в
одном блоке наиболее безопасно. Наилучшей схемой является использование двух
импульсных осветителей расположенных по обе стороны фотокамеры.
|
5. Фотографирование в непрозрачной
воде.

1 -
бокс с фотоаппаратом; 2 - корпус насадки;
3 - осветитель; 4 - малое основание; 5 -
иллюминатор большого основания; 6 - козырьки;
7 - упоры.
Рисунок 3 - Просветляющая насадка.
|
Для
производства фотосъёмки в непрозрачной воде используются просветляющие
насадки различной конструкции.
Насадку в
виде усеченного полого конуса заполненного прозрачной (дистиллированной)
водой или воздухом, с боксом фотокамеры у малого основания и с иллюминатором
у большого основания, водолаз направляет на объект и производит съёмку
(Рисунок 2). Внутри насадки встроена система светильников искусственного
освещения.
В насадках
других конструкций освещение объекта обеспечивается с помощью лампы-вспышки и
вспомогательного отражательного зеркала, а для уменьшения массы и габаритов
применяются отрицательные линзы.
|
6. Применение телевизионной установки
|
Подводные
телевизионные установки должны быть укомплектованы:
- подводной
передающей камерой;
-
искусственным освещением;
-
видеоконтрольным устройством;
-
видеозаписывающим устройством.
При
дистанционном управлении движущейся передающей камерой обеспечивается
получение информации:
- в
труднодоступных и опасных местах;
- при очень
низких температурах;
- при
значительно больших скоростях течения.
Выпускаются
телеустановки различного назначения, укомплектованные видеомагнитофонами и
электронными видеоконтрольными визирами. Системы звуковидения на основе
акустической голографии повышают дальность наблюдения в малопрозрачной воде.
Малогабаритные высокочувствительные камеры позволяют их установку в шлеме
водолаза, что повышает производительность труда и качество производимой
водолазом работы.
Для
проведения подводной видеосъемки в условиях нормальной и пониженной
прозрачности воды с передачей изображения на поверхность на видеомонитор и
видеозапись (используется любой видеомагнитофон или видеоплеер) может
использоваться ручной водолазный телевизионный комплекс РВТК отечественного
производства, обеспечивающий высокое качество изображения.
При
производстве фотосъемки с экрана телевизора, изображение на экране
фотографируется аппаратами с зеркальным визиром. Фотоаппарат снабжается
светозащитным тубусом, который крепится к видеоконтрольному устройству
телевизионной установки. Угловые размеры тубуса и его длину необходимо
определять в зависимости от угла зрения объектива и размера экрана
телевизора. Наводка на резкость производится по растру экрана
видеоконтрольного устройства.
При
фотографировании с экрана телевизора может использоваться любая из
применяемых в настоящее время пленок. Выдержка не должна быть меньше 1/30 с.
Каждый снимок рекомендуется продублировать. Значение диафрагмы подбирается
опытным путем. Яркость экрана должна быть постоянной.
|
7. Обработка и хранение фото- и киноинформации
|
Этапы
получения фотоинформации после съемки рекомендуется описывать в дневнике, где
для каждого изображения отмечаются следующие условия съемки:
положение
объекта съемки (координаты, глубина, направление съемки);
характеристика
объекта;
расстояние по
шкале объектива;
условия
освещения объекта;
экспозиция;
особые
условия.
После
обработки пленку необходимо маркировать - каждому кадру присвоить свой номер.
При применении современных фотоаппаратов маркировку кадров можно производить
автоматически. Контактным способом следует изготовить контрольные отпечатки.
Фотоинформацию необходимо хранить в фототеке, состоящей из фотокаталога,
папки контрольных отпечатков и папки негативов. По каждой пленке следует
заполнять ведомость фотоотпечатков, где дается подробная характеристика
каждого изображения. Фотоинформацию и фотокаталог можно ввести в компьютер.
Киноинформация
хранится в видеокассетах. Для подводной фотосъемки может использоваться любая
черно-белая фото- и кинонегативная пленка, а также аэрофотопленка.
|
8. Размещение водолазной техники.
|
Размещение
водолазной техники в исходное положение производится в соответствии с
требованиями Инструкций по эксплуатации.
|
Охрана труда
При
выполнении водолазных работ по подводному фотографированию, кроме мер
безопасности, указанных в настоящей технологической карте, надлежит
руководствоваться следующими разделами РД
31.84.01-90 «Единые правила безопасности труда на водолазных работах»:
-
организация водолазных спусков и работ:
общие
положения по организации водолазных работ;
- общие
требования безопасности при выполнении водолазных спусков и работ:
общие
требования;
работы на
течении;
работы
при отрицательных температурах наружного воздуха, а также со льда и подо льдом;
- медицинское
обеспечение водолазов.
Материально-техническое снабжение
№ п/п
|
Наименование
изделий
|
Количество
|
1
|
Морской водолазный бот, рейдовый водолазный бот
или катер с установленной компрессорной водолазной станцией
|
1 (по необходимости
2 - 3)
|
2
|
Двухвесельная рабочая шлюпка
|
1 (по
необходимости 2 - 3)
|
3
|
Фотоаппарат и фотобокс
|
1 (фотобокс
по необходимости)
|
4
|
Просветляющая насадка
|
1 (по
необходимости)
|
5
|
Установочная рамка
|
1 - 2
|
6
|
Гидроэкспонометр (в боксе)
|
1
|
7
|
Осветительная аппаратура для подводной фотосъёмки
(импульсная фотовспышка, переносные водолазные светильники)
|
по
потребности
2
|
8
|
Водолазный телевизионный комплекс
|
1
|
9
|
Видеомагнитофон (видеоплеер)
|
по потребности
|
10
|
Буйки с буйрепами
|
по
потребности
|
3.10. Укрепление берегов и откосов гидротехнических
сооружений
Общие положения
Технологическая
карта устанавливает порядок выполнения водолазных работ по укреплению берегов и
откосов гидротехнических сооружений при нормальных метеоусловиях в дневное
время.
Основные
повреждения откосов берегового укрепления гидротехнических сооружений - это
вымыв грунта через швы сборных железобетонных плит, разрушение заделки швов.
Водолазные
работы по укреплению берегов и откосов состоят из следующих этапов:
-
обследование повреждения;
-
обозначение границ повреждения буйками,
-
разборка мощения из плит;
- отсыпка
и равнение каменной постели;
- укладка
плит на место.
Руководитель
водолазных работ проводит инструктаж с водолазами и лицами, обеспечивающими
спуск по технологии выполнения работ и безопасным методам труда. Руководитель
водолазных спусков (старшина-бригадир водолазной станции) распределяет
обязанности между водолазами, обслуживающим персоналом, определяет время
пребывания водолазов под водой, контролирует подготовку технических средств и
инструмента для использования по назначению.
Водолазные
работы по укреплению берегов и откосов гидротехнических сооружений выполняются
водолазной станцией, обеспеченной техническими средствами и укомплектованной
количеством водолазов в зависимости от условий, глубины спусков и характера
выполняемых работ.
Спуск и подъём водолаза производится в соответствии с требованиями РД
31.84.01-90 «Единые правила безопасности труда на водолазных работах».
Состав работ
|
Технология выполнения работ
|
1. Водолазные работы по укреплению берегов
и откосов гидротехнических сооружений.

1 - парапет; 2 - железобетонные плиты;
3 - строп; 4 - вымоина; 5 - плавкран,
6 - буёк.
Рисунок 1 -
Разборка мощения из плит

1 -
железобетонная плита; 2 - монтажные петли;
3 - камень.
Рисунок 2 - Подсыпка камня
в вымоину
|
После проведения водолазного обследования (см. технологическую карту
№ 3.1 и 3.2) и установки буйков у поврежденных участков
берегового укрепления, водолаз приступает к остропке железобетонных плит для
их подъёма краном на поверхность. В зависимости от положения плиты, водолаз
острапливает ее за монтажные петли или другим способом (Рисунок 1). Иногда водолазу приходится производить
повторную перестроповку после переворота плиты на грунте в нормальное
положение. Перед укладкой камня водолаз с помощью напорной струи
гидромонитора удаляет из котлована отложения ила. Затем непосредственно в
вымоину подают камень. В зависимости от размера вымоины, камень подается в
корзинах с помощью лебедки или производится сброс из шаланды с открывающимся
днищем.
Производить дополнительную подсыпку
камня без предупреждения об этом водолаза
- запрещается. На время подсыпки камня без
направляющих устройств (лотков, труб и т.п.)
водолаз должен подниматься на поверхность.
Подача камня
производится постепенно, водолаз разравнивает и плотно укладывает их (Рисунок
2). Не рекомендуется допускать значительную
пересыпку камня (запас на осадку), так как это может явиться причиной
повторного размыва постели в этом месте.
После окончания подготовки каменной постели,
плиту, остропленную за четыре монтажные петли плавкраном подают к месту
установки. Опускают плиту с помощью оттяжек, контролируя её положение по
буйкам.
Спуск водолаза под воду для установки или осмотра
плиты разрешается только после того, как она будет находиться на грунте или
на весу на расстоянии не более 0,25 м по высоте от места установки.
По сигналам водолаза машинист плавкрана путём
переменного подъёма и опускания плиты (совместно с рабочими, удерживающими
оттяжки) точно устанавливает плиту в проектное положение. Водолаз проверяет
правильность установки, расстрапливает плиту и плавкран поднимает стропы.
Плиты укладываются как можно плотнее друг к другу, не допуская образования
больших швов. В случае образования швов (на переломах профиля, на поворотах)
водолаз заделывает их специальными плоскими мешочками с бетоном, подаваемых
ему сверху на концах. В менее ответственных сооружениях заделка швов
производится камнем
|
2. Размещение водолазной техники.
|
Размещение
водолазной техники в исходное положение производится в соответствии с
требованиями Инструкций по эксплуатации.
|
Охрана труда
При
выполнении водолазных работ по укреплению берегов и откосов гидротехнических
сооружений, кроме мер безопасности, указанных в настоящей технологической
карте, надлежит руководствоваться следующими разделами РД
31.84.01-90 «Единые правила безопасности труда на водолазных работах»:
-
организация водолазных спусков и работ
общие
положения по организации водолазных работ;
- общие
требования безопасности при выполнении водолазных спусков и работ
общие
требования;
подводно-технические
работы;
работы на
течении;
работы
при отрицательных температурах наружного воздуха, а также со льда и подо льдом;
-
медицинское обеспечение водолазов.
Материально-техническое снабжение
№ п/п
|
Наименование
изделий
|
Количество
|
1
|
Морской водолазный бот, рейдовый водолазный бот
или катер с установленной компрессорной водолазной станцией
|
1 (по необходимости
2 - 3)
|
2
|
Двухвесельная рабочая шлюпка
|
1 (по
необходимости 2 - 3)
|
3
|
Плавкран
|
1
|
4
|
Гидромонитор с комплектом шлангов
|
1
|
5
|
Лебедки (ручная, с эл. мех. приводом)
|
по
потребности
|
6
|
Стропы, тросы, канаты (стальные, растительные,
синтетические)
|
по
потребности
|
7
|
Буйки
|
по
потребности
|
8
|
Расходный трос для буйков
|
по
потребности
|
9
|
Инструменты, приспособления
|
по
потребности
|
10
|
Футшток
|
1
|
3.11. Расчистка судоходных каналов
Общие положения
Технологическая
карта устанавливает порядок выполнения водолазных работ при обследовании
судоходных каналов при нормальных метеоусловиях в дневное время. Спуск водолаза
производится с водолазного бота установленного на якоря.
Во время
эксплуатации судоходных каналов производятся следующие виды водолазных работ:
-
обследование дна акватории, подводных коммуникаций (см. технологические карты №
3.1, 3.5),
- поиск
затопленных предметов (см. технологическую карту № 3.1),
- подъём
из воды обломков железобетонных, металлических, деревянных конструкций,
затонувших бревен корней деревьев, камней и т.д.;
- укладка
якорей навигационных знаков.
Руководитель
водолазных работ производит инструктаж с водолазами и лицами, обеспечивающими
спуск по технологии выполнения работ и безопасным методам труда. Руководитель
водолазных спусков (старшина-бригадир водолазной станции) распределяет
обязанности между водолазами, обслуживающим персоналом, определяет время
пребывания водолазов под водой, контролирует подготовку технических средств и
инструмента для использования по назначению.
Водолазные
работы при обследовании судоходных каналов выполняются водолазной станцией,
обеспеченной техническими средствами и укомплектованной количеством водолазов в
зависимости от условий, глубины спусков и характера выполняемых работ.
Спуск и подъём водолаза производится в соответствии с требованиями РД
31.84.01-90 «Единые правила безопасности труда на водолазных работах».
Состав работ
|
Технология выполнения работ
|
1. Водолазные работы при обследовании судоходных
каналов.

Рисунок 1 - Захватные приспособления
(клещи, храп)

1 -
скважина; 2 - клинья; 3 - штырь; 4 -
кольцо.
Рисунок 2 - Подъём камня при
помощи клиновидного штыря с кольцом

Рисунок 3 - Подъём камня при
помощи сетки
|
Водолазное
обследование акватории канала - смотри технологическую карту № 3.1.
Для выявления
и устранения препятствий, задерживающих работу земснарядов (камни, карчи и
пр.), а также при авариях с землечерпательными снарядами (обрыв цепей, потеря
ковшей и т.д.) водолаз уточняет положение, размеры и степень занесенности
грунтом препятствия. По данным обследования выбирают тип захватного
приспособления.
К
неопознанным предметам следует подходить осторожно. С этой целью следует
внимательно изучить особенности обнаруженных предметов, надписи на них и
сообщить руководителю спусков форму, размеры и внешние характерные признаки
предметов.
При
возникновении подозрений, что обнаруженный неизвестный предмет представляет
опасность взрыва, химического загрязнения или заражения окружающей среды,
руководитель спуска обязан немедленно поднять водолазов, оповестить
администрацию района для принятия неотложных мер и вызвать специалистов.
Место нахождения предмета должно ограждаться буйками.
Вести
водолазные работы по остропке и подъёму предмета до его опознания и получения
разрешения от специалистов - запрещается.
Для захвата
топляков, карчей, валунов и крупных одиночных камней используются клещи или
храпы (Рисунок 1). Одиночные камни можно поднимать при помощи клиновидного
штыря с кольцом. В верхней части камня делают скважину, в которой закрепляют
штырь двумя клиньями (Рисунок 2). При подъёме клинья прижимаются к стенкам
скважины, штырь оказывается плотно закрепленным в ней и камень поднимается на
поверхность. После подъёма камня штырь осаживают и клинья, а затем и штырь,
вынимают из скважины. Для подъёма камня массой до 150 кг под него подводят
цепную или канатную сетку (Рисунок 3) или
накатывают камень на сетку.
|
2. Размещение водолазной техники и средств
технического оснащения на штатные места.
|
Размещение
водолазной техники в исходное положение производится в соответствии с
требованиями Инструкций по эксплуатации.
|
Охрана труда
При
выполнении водолазных работ при обследовании судоходных каналов, кроме мер
безопасности, указанных в настоящей технологической карте, надлежит
руководствоваться следующими разделами РД
31.84.01-90 «Единые правила безопасности труда на водолазных работах»:
-
организация водолазных спусков и работ
общие
положения по организации водолазных работ;
- общие требования
безопасности при выполнении водолазных спусков и работ
общие
требования;
подводно-технические
работы;
работы с
применением механизированного инструмента;
обследование
и очистка дна акватории и дна водных объектов для массового отдыха;
работы на
течении;
работы
при отрицательных температурах наружного воздуха, а также со льда и подо льдом;
-
медицинское обеспечение водолазов.
Материально-техническое снабжение
№ п/п
|
Наименование
изделий
|
Количество
|
1
|
Морской водолазный бот, рейдовый водолазный бот
или катер с установленной компрессорной водолазной станцией
|
1 (по
необходимости 2 - 3)
|
2
|
Двухвесельная рабочая шлюпка
|
1
|
3
|
Гидромонитор с комплектом шлангов
|
по
потребности
|
4
|
Лебедки (ручная, с эл. мех. приводом)
|
по
потребности
|
5
|
Стропы, тросы, канаты (стальные, растительные,
синтетические)
|
по
потребности
|
6
|
Оттяжка с марками
|
1
|
7
|
Буйки (вехи)
|
по
потребности
|
8
|
Расходный трос для буйков
|
по
потребности
|
9
|
Инструменты, приспособления (пневматический
молоток, машинка сверлильная, кувалда, молоток, щуп, скребок, сетка, футшток
и др.)
|
по
потребности
|
10
|
Балластины
|
по
потребности
|
11
|
Установка подводная осветительная
|
1
|
3.12. Постановка судов в доки и на слипы
Общие положения
Технологическая
карта устанавливает порядок выполнения водолазных работ при постановке судов в
доки и на слипы при нормальных метеоусловиях в дневное время.
При
постановке судов на слипы спуски водолазов производятся с водолазных ботов.
Водолазы
производят подводные работы, связанные с эксплуатацией слипов при подъёме и
спуске судов (очистка стапелей от наносов и посторонних предметов, насаливание
спусковых дорожек и др.), а также наблюдения за правильной посадкой судна на
кильблоки и клетки.
При
постановке судов в плавучие и сухие доки спуски водолазов аналогичны.
Руководитель
водолазных работ производит инструктаж с водолазами и лицами обеспечивающими
спуск по технологии выполнения работ и безопасным методам труда.
Перед
постановкой судна в док, до затопления дока, водолазы должны быть ознакомлены с
расположением кильблоков, с местами и характером повреждений корпуса судна.
Руководитель
водолазных спусков (старшина-бригадир водолазной станции) распределяет
обязанности между водолазами и обслуживающим персоналом, определяет время
пребывания водолазов под водой, контролирует подготовку технических средств и
инструмента для использования по назначению.
При
постановке судна в док или выводе из него при открытых клинкетах батоборта или
откачке (сливе) воды, а также в период проведения дифферентовки или кренования
судна спускать водолазов запрещается.
Водолазные
работы при постановке судов в доки и на слипы выполняются водолазной станцией,
обеспеченной техническими средствами и укомплектованной количеством водолазов в
зависимости от условий, глубины спусков и характера выполняемых работ.
Спуск и подъём водолаза производится в соответствии с требованиями РД
31.84.01-90 «Единые правила безопасности труда на водолазных работах».
Состав работ
|
Технология выполнения работ
|
1. Водолазные работы при постановке судов в доки и
на слипы.

Слип обыкновенный

Слип с
косяком

Слип поперечный
Рисунок 1 -
Судоподъёмные слипы

Продольный разрез дока

Поперечный разрез дока
1 -
затвор; 2 - кильблоки; 3 - распорки; 4 -
судно.
Рисунок 2 - Сухой док
|
Водолаз осматривает
положение кормовой части судна по отношению к её месту в кильблочных клетках.
Затем водолаза поднимают наверх, переводят в район носа судна, снова спускают
в док и он осматривает положение носовой части судна.
При осмотре
клеток и кильблоков запрещается переход водолаза с одной стороны дока на
другую под килем устанавливаемого или стоящего в нём судна.
При
необходимости перестановки плохо прилегающих к обводам судна кильблоков,
водолаз должен отдать их от подушек, придвинуть вплотную к корпусу судна и
снова скрепить с подушками. После осмотра и подгонки кильблоков с обоих
бортов, водолаз выходит из воды.
При
необходимости спуска водолаза в процессе постановки судна в док или вывода из
него, спуск или подъем судна должен быть приостановлен на время пребывания
водолаза под водой.
Если
засоряются решетки осушительной системы, водоотлив прекращают и спускают
водолаза, который собирает попавшие на решетки предметы и подает их наверх.
Очистив решетки полностью, водолаз выходит на поверхность, и только после его
выхода возобновляется водоотлив.
При установке
судна на слип водолаз спускается под воду только после того, как судно
коснется подводной частью кильблоков тележки и все средства подъёма будут
остановлены. Наводку судна на кильблоки водолаз производит поочередно,
вначале с одной оконечности судна, а затем с другой. Водолаз сообщает по
телефону о необходимости переместить тележку. Эти указания должны выполняться
точно и без промедления. При этом водолазу следует находиться на расстоянии
видимости от носа или кормы судна, кабель-сигнал должен быть подобран втугую.
После установки одной части судна на кильблоки тележки, водолаза поднимают на
борт водолазного бота, бот перемещается к другой оконечности судна и
швартуется у стенки слипа за линией поднимаемого судна. Затем водолаз
спускается под воду и производит наводку второй оконечности судна.
Водолазному
боту запрещается находиться у борта поднимаемого судна во время работы
водолаза под водой.
|
2. Размещение водолазной техники.
|
Размещение водолазной
техники в исходное положение производится в соответствии с требованиями
Инструкций по эксплуатации.
|
Охрана труда
При
выполнении водолазных работ при постановке судов в доки и на слипы, кроме мер безопасности,
указанных в настоящей технологической карте, надлежит руководствоваться
следующими разделами РД
31.84.01-90 «Единые правила безопасности труда на водолазных работах»:
-
организация водолазных спусков и работ
общие
положения по организации водолазных работ;
-общие
требования безопасности при выполнении водолазных спусков и работ
общие
требования;
подводно-технические
работы;
работы
при постановке судов на судоподъёмные средства;
работы
при отрицательных температурах наружного воздуха, а также со льда и подо льдом;
-
медицинское обеспечение водолазов.
Материально-техническое снабжение
№ п/п
|
Наименование
изделий
|
Количество
|
1
|
Морской водолазный бот, рейдовый водолазный бот
или катер с установленной компрессорной водолазной станцией
|
1 (по
необходимости 2 - 3)
|
2
|
Двухвесельная рабочая шлюпка
|
1 (по
необходимости 2 - 3)
|
3
|
Стропы, канаты, трос (стальной, растительный,
синтетический)
|
по
потребности
|
4
|
Инструменты, ключи, принадлежности
|
по
потребности
|
3.13. Восстановление разрушенных и
повреждённых мостов
Общие положения
Технологическая
карта устанавливает порядок выполнения водолазных работ по обследованию и
восстановлению разрушенных или поврежденных мостов при нормальных метеоусловиях
в дневное время.
Технология
работ определяется степенью повреждения моста. Работы разделяются на этапы:
1) обследование разрушенных (поврежденных) опор моста
и рухнувших пролетов;
2) расчистка места и уборка разрушенных конструкций
моста;
3) ремонт старых или возведение новых опор;
4) обследование подводной части моста после
восстановления.
Водолазные
работы выполняются водолазной станцией, обеспеченной техническими средствами и
укомплектованной количеством водолазов в зависимости от условий, глубины
спусков и характера выполняемых работ.
При
работах в зимнее время со льда необходимо все водолазное оборудование размещать
в отапливаемом временном помещении площадью не менее 6 м2, которое
устанавливается вблизи опоры перед ледорезом.
Водолазные
работы по восстановлению разрушенных или поврежденных мостов выполняются
водолазной станцией, обеспеченной техническими средствами и укомплектованной
количеством водолазов в зависимости от условий, глубины спусков и характера
выполняемых работ.
Спуск и подъём водолазов производится с водолазного бота или другого
плавредства и в соответствии с требованиями РД
31.84.01-90 «Единые правила безопасности труда на водолазных работах».
Состав работ
|
Технология выполнения работ
|
1. Подготовительные работы.
|
Руководитель
водолазных работ проводит:
- инструктаж
с водолазами и лицами, обеспечивающими спуск, по технологии выполнения работ и
безопасным методам труда. Знакомит водолазов по чертежам и схемам с
устройством моста, условиями проведения работ и характером повреждений.
Руководитель
водолазных спусков (старшина-бригадир водолазной станции):
-
распределяет обязанности между водолазами и обслуживающим персоналом;
- определяет
время пребывания водолазов под водой;
-
контролирует подготовку технических средств и инструмента для использования
по назначению.
Опоры мостов
готовят для работ. Для этого их разбивают на секции при помощи водолазного
метра. На боковой грани опоры на высоте 1 - 1,5 м от горизонта воды через
каждый метр делается мелом наметка с указанием номера секции.
Разбивка
ведется против течения в сторону ледореза, начиная с осевой линии кормовой
части.
Зимой
разбивка опоры на секции производится со льда, после чего вокруг опоры
очищается снег и прорубается кольцевая майна не менее 0,8 - 1,0 м. У ледореза
и кормы, а иногда по оси моста с двух сторон опоры, прорубаются уширенные
спусковые майны размером 2´2 м.
После
разбивки опоры на секции с лодки лот-линем или рейкой промеряются глубины у
каждой секции, а также вверх и вниз от опоры по ее оси через 5 - 10 м на
расстояние 25 - 50 м и в каждую сторону по оси моста через 5 м или под каждым
нижним узлом фермы. Одновременно с этим по нескольким точкам замеряют глубину
воды до обреза фундамента. Средняя отметка обреза фундамента, после
сопоставления с данными построечной документации, наносится на рабочую схему
обследования. С нанесенными на рабочую схему результатами промеров глубин воды
знакомят готовящегося к спуску водолаза.
Плавсредство
с водолазным оборудованием устанавливается выше водореза с учетом величины и
косоструйности течения, на расстоянии, обеспечивающем удобный выход водолаза
на ледорезную грань.
|
2. Водолазное обследование разрушенных или
поврежденных мостов.
|
Водолаз в
первую очередь осматривает кладку обреза фундамента. Далее осмотр ведется
посекционно. Водолаз придерживаясь за спусковой конец, осматривает всю секцию
сверху донизу. При очень плохой видимости осматриваются участки по обе
стороны от спускового конца на расстоянии вытянутой руки. Закончив осмотр
одной секции, водолаз подает команду на перенос спускового конца на следующую
секцию, а сам в это время осматривает грунт у опоры. Осмотр следующей секции
ведется в обратном порядке. По мере перехода от секции к секции, на рабочую
схему наносят все сведения, переданные водолазом по телефону. Окончив осмотр,
водолаз по указанию руководителя проводит фото- или видеосъемку наиболее
важных дефектов.
При подводном
обследовании опоры зимой методика осмотра остается прежней с соблюдением
правил погружения под лед и правил работы при низкой температуре.
При наличии
обрушенных частей моста, водолаз определяет степень их заглубления в грунт и
намечает марками места для резки (Технологическая карта № 5.2) или подрыва (Технологическая карта № 6.1).
|
3. Расчистка места и уборка разрушенных конструкций
моста.

1 -
часть фермы; 2 - строп; 3 - деревянные
прокладки.
Рисунок 1 -
Строповка ферм

Рисунок 2 -
Ключ для подъёма массива

Рисунок 3 - Способы остропки
массивов для подъёма краном
|
Разделка ферм
моста производится электрорезкой или взрывным способом (см. карты №№ 5.2, 6.1). При разрезании коробчатых свай применяется шаблон
для установки правильного направления реза по периметру конструкции.
Отделенную часть сразу убирают, затем продолжают разделку.
При остропке
элементов подъёмный строп заводят вокруг поясов фермы или вокруг нескольких
связей. Там где стропы ложатся на острую кромку, водолазы подкладывают
деревянные прокладки (Рисунок 1).
Тяжелые
элементы моста следует поднимать с грунта с учетом сил присоса, применяя
стропы, траверсы и другие устройства. После остропки и обтяжки стропов
водолаз должен выходить на поверхность. Мелкие камни, детали и другие
предметы следует поднимать в бадьях, корзинах.
Нарушенные
опоры из каменной кладки разбирают с помощью плавкрана. Водолаз буром
проделывает в камнях отверстия, закладывает в них специальные ключи (Рисунок 2),
соединенные со стропами.
Отдельные
массивы поднимают стропом, закрепляя его скобой-удавкой (Рисунок 3). При нахождении
части массива в земле, он должен быть отмыт не менее чем на половину своей
высоты. Строп обводят вплотную к грунту, и скобу располагают посредине
длинной части массива. При положении массива на откосе необходимо отмыть его
так, чтобы над грунтом было не менее 1/3 высоты массива. Скоба должна
располагаться на продольной гране массива на расстоянии 3/4 длины наиболее
погруженной в грунт торцевой грани.
|
4. Восстановление мостов.

1 - насадки; 2 - бугель; 3 - скоба.
Рисунок 4 -
Крепление насадки бугелями и скобами

1 -
планки; 2 - болты.
Рисунок 5 - Соединение свай
планками

1 -
муфта; 2 - бугель
Рисунок 6 - Соединение свай
муфтой и бугелями
|
Водолазные
работы по засыпке подмытых мостовых опор каменной наброской, укладка тюфяков из
железобетонных плит, установка под водой бетонных массивов, блоков, ряжей
изложены в технологических картах № 3.20 - 3.15.
Ремонт
металлических свайных конструкций мостов производится в соответствии с
требованиями технологической карты №
3.19.
При
возведении деревянных свайных конструкций водолаз спиливает концы свай по
риске (надпилу) с помощью шаблона, установленного по футштоку. Шипы на сваях
делают по шаблону. Водолаз наносит риски на торце сваи, подпиливает её и
скалывает лишнее. Изготовленную наверху насадку подают водолазу, который
совмещает её отверстия с шипами и забивает (Рисунок 4). Насадка
крепится к каждой свае с двух сторон строительными скобами или металлическим
бугелем. Для постановки подкоса, водолаз подпиливает сваю не более чем на 1/4
её диаметра и срубывает часть сваи, образуя паз. Схватку, распорку или подкос
водолаз закрепляет временно гвоздями, просверливает отверстие под болты по
центру сваи, затем скрепляет болтами с шайбами.
Для стыковки
деревянных свай с помощью металлических планок, торцы свай спиливают.
Наращиваемый отрезок сваи с планками подают водолазу. Водолаз высверливает
отверстия в коренной свае по разметкам, сделанным по шаблону. Совмещая обе
части сваи, водолаз крепит их с двух сторон планками, через отверстия которых
пропускает болты и заворачивает гайки (Рисунок 5). Для
стыковки свай с помощью муфт их концы затесывают на 30 - 40 см (по размерам
внутреннего диаметра муфт). Муфта насаживается на наращиваемый конец сваи и
подается водолазу, который направляет её на коренную сваю. Сверху по свае
досылают муфту до места (Рисунок 6).
При
повреждении бетона фундаментов, образовании каверн в железобетонных опорах со
значительной коррозией арматуры, водолаз удаляет разрушенный бетон, снимает
ржавчину с арматуры и напорной струёй промывает место заделки. На
поврежденном месте просверливает отверстия, устанавливает в них штыри для
крепления арматуры, укрепляет арматурные сетки и ставит опалубку, затем
производится бетонирование поврежденного участка (См. технологическую карту №
3.6).
|
5. Обследование подводной части моста после
восстановительных работ.
|
Обследование
подводной части моста после испытаний проводится для выявления дефектов
конструкций. Результаты оформляются актом водолазного обследования.
|
Охрана труда
Перед
спуском водолаза руководитель работ должен убедиться в устойчивости сооружения
и его отдельных элементов. Если элементы сооружения неустойчивы и могут
угрожать безопасности водолаза, спуски запрещаются.
Руководитель
работ также должен убедиться в исправности плавсредств или зимой в толщине
льда.
Водолаз
должен оберегать стекла иллюминаторов от ударов о торчащие обломки, следить за
длиной кабель-сигнала, не давать ему большой слабины, запрещается проходить под
нависающими над грунтом частями сооружений.
Кроме
этих мер безопасности надлежит руководствоваться РД
31.84.01-90 «Единые правила безопасности труда на водолазных работах».
Материально-техническое снабжение
№ п/п
|
Наименование
изделий
|
Количество
|
1
|
Морской водолазный бот, рейдовый водолазный бот
или катер с установленной компрессорной водолазной станцией
|
1 (при
необходимости 2)
|
2
|
Плавкран
|
(при
необходимости) 1
|
3
|
Рабочая шлюпка
|
1 - 2
|
4
|
Гидравлический эжектор с комплектом шлангов
|
по
необходимости
|
5
|
Установка подводной сварки и резки в комплекте
|
1 - 2
|
6
|
Буйки, вехи
|
по
необходимости
|
7
|
Стропы, канаты, трос (стальной, растительный,
синтетический)
|
по
необходимости
|
8
|
Струбцины, домкраты, талрепы, зажимы для стальных
канатов.
|
по
необходимости
|
9
|
Механиз. и ручной инструмент (пневм.молоток, пила,
дрель, бур, топор, кувалда)
|
по
необходимости
|
10
|
Компрессор техн. воздуха
|
1
|
11
|
Принадлежности: линейка, футшток, скребок,
шаблоны, метал. щетки и др.
|
по
необходимости
|
12
|
Установка подводная осветительная
|
по
необходимости
|
3.14. Ремонт спусковых дорожек и отдача спусковых
устройств
Общие положения
Технологическая
карта устанавливает порядок выполнения водолазных работ при ремонте спусковых
дорожек и отдаче спусковых устройств при нормальных метеоусловиях в дневное
время. Спусковые дорожки слипов систематически осматриваются водолазами и
поддерживаются в эксплуатационном состоянии. Повреждение дорожек может
происходить во время спуска судна со слипа, а также от ледостава и ледохода.
На
слипах, построенных на акваториях с интенсивным отложением наносов, подводные
части спусковых дорожек подвержены заносам грунтом и требуют периодической
очистки путей и пространства между ними. Очистка подводной части слипов
производится водолазами с использованием подводных грунторазмывочных
механических средств.
Руководитель
водолазных работ производит инструктаж с водолазами и лицами, обеспечивающими
спуск по технологии выполнения работ и безопасным методам труда, знакомит с
устройством слипа, и характером повреждения. Руководитель водолазных спусков
(старшина-бригадир водолазной станции) распределяет обязанности между
водолазами, обслуживающим персоналом, определяет время пребывания водолазов под
водой, контролирует подготовку технических средств и инструмента для
использования по назначению.
Водолазные
работы по ремонту спусковых дорожек и отдаче спусковых устройств выполняются
водолазной станцией, обеспеченной техническими средствами и укомплектованной
количеством водолазов в зависимости от условий, глубины спусков и характера
выполняемых работ.
Спуск и подъём водолаза производится в соответствии с требованиями РД
31.84.01-90 «Единые правила безопасности труда на водолазных работах».
Состав работ
|
Технология выполнения работ
|
1. Ремонт спусковых дорожек.

1 -
рельсы; 2 - шаблон.
Рисунок 1 - Спусковая дорожка
|
При осмотре
дорожек водолаз проверяет прочность крепления каждого рельса к основанию и
замеряет шаблоном расстояние между рельсами (Рисунок 1). Обнаружив дефектные
рельсы, водолаз отдает болты рельсовых накладок, острапливает рельсы и подает
наверх, а вместо них принимает и устанавливает новые. Водолаз укладывает
рельсы на основание, временно укрепляет их кованными гвоздями и размечает
места для отверстий под болты. Затем просверливает отверстия пневматической
сверлильной машинкой. При использовании прежних отверстий для крепления
рельсов, водолаз очищает их и производит контрольное сверление отверстий.
Болты в готовые отверстия устанавливают два водолаза. Сначала ставят болты в
рельсовые накладки у стыков рельсов, затем все остальные. Расстояние между
рельсами всё время контролируют шаблоном, который передвигают по колее
дорожки.
|
2. Модернизация
слипа из сборных крупноразмерных железобетонных элементов.
|
Водолазы
отдают болты на стыках блок-плит и рельсовых путей, затем блок-плиты
острапливают и плавкраном поднимают на поверхность, где производится замена
старых звеньев рельсового пути на новые. После этого, они опускаются на
прежнее место и крепятся.
Способы
подсыпки каменной постели и ремонт свайных оснований изложены в
технологических картах №№ 3.20, 3.13.
|
3. Отдача спусковых устройств.

1 -
металлические шины; 2 - полозья; 3 - поперечные
связи.
Рисунок 2 - Спусковое устройство
|
После спуска
судна со стапелей на воду и при освобождении корпуса от спусковых блоков
водолазам запрещается проходить между корпусом судна и спусковыми блоками, а
также между их деталями, так как разъединенные и всплывшие деревянные детали
спусковых устройств могут прижать водолаза или его кабель-сигнал к корпусу
судна.
Спусковое
устройство отделяют от судна после его спуска на воду и ошвартовки у стенки.
Оно скреплено с судном металлическими шинами, приваренными к бортам,
найтовами или специальными кронштейнами и полотенцами. По отдаче найтовов
водолаз электрорезкой разрезает металлические шины и поперечные связи
полозьев (Рисунок 2).
Если
устройство не отделяется от корпуса судна, производят стаскивание судна с
него. Для этого водолаз у кормы и носа судна крепит к устройству швартовные
концы, которыми его швартуют у стенки. Затем судно буксиром стягивают со
спускового устройства и отводят в сторону. Водолаз острапливает части
устройства: строп берется удавкой вокруг полозьев так, чтобы при подъёме он
обтянулся и не скользил.
|
4. Размещение водолазной техники.
|
Размещение водолазной
техники в исходное положение производится в соответствии с требованиями
Инструкций по эксплуатации.
|
Охрана труда
При
выполнении водолазных работ по ремонту спусковых дорожек и отдаче спусковых устройств,
кроме мер безопасности, указанных в настоящей технологической карте, надлежит
руководствоваться следующими разделами РД
31.84.01-90 «Единые правила безопасности труда на водолазных работах»:
-
организация водолазных спусков и работ
общие
положения по организации водолазных работ;
- общие
требования безопасности при выполнении водолазных спусков и работ
общие
требования;
подводно-технические
работы;
работы
при постановке судов на судоподъёмные средства;
подводные
электросварочные работы;
работы с
применением механизированного инструмента;
работы на
течении;
работы
при отрицательных температурах наружного воздуха, а также со льда и подо льдом;
-
медицинское обеспечение водолазов.
Материально-техническое снабжение
№ п/п
|
Наименование
изделий
|
Количество
|
1
|
Морской водолазный бот, рейдовый водолазный бот
или катер с установленной компрессорной водолазной станцией
|
1 (по необходимости
2 - 3)
|
2
|
Плавкран
|
(при
необходимости)
|
3
|
Двухвесельная рабочая шлюпка
|
1
|
4
|
Гидравлический эжектор с комплектом шлангов
|
1
|
5
|
Установка подводной электрорезки в комплекте
|
1
|
6
|
Стропы, канаты, трос (стальной, растительный,
синтетический)
|
по
потребности
|
7
|
Струбцина, домкраты, талрепы, зажимы для стальных
канатов
|
по
потребности
|
8
|
Механизированный и ручной инструмент (пневмат.
сверлильная машинка, ключи и др.)
|
по потребности
|
9
|
Принадлежности (выдвижная визирная линейка,
раздвижной шаблон, подводный путеизмеритель, приспособление для нивелировки
головок рельсов под водой и др.)
|
по
потребности
|
10
|
Установка подводная осветительная
|
1
|
3.15. Установка под водой бетонных массивов, блоков, ряжей
Общие положения
Технологическая
карта устанавливает порядок выполнения водолазных работ по установке под водой
бетонных массивов, блоков, ряжей при нормальных метеоусловиях в дневное время.
Технологический
процесс включает захват (остропка) и подъем массива, транспортировку его к
месту установки, погружение под воду, установку в проектное положение,
расстройку и перемещение стрелы крана за другим массивом - (Рисунок 1).
В проекте
предусматривается очередность укладки массивов по длине сооружения в
зависимости от плотности грунта. При плотных грунтах в основании - ступенчатой
штрабой и секциями на всю высоту кладки, при слабых грунтах - курсами (рядами)
большой протяженности по длине нескольких секций.
Руководитель
водолазных работ производит инструктаж с водолазами и лицами, обеспечивающими
спуск по технологии выполнения работ и безопасным методам труда. Знакомит с особенностями
работы и местом установки массивов, блоков, ряжей по чертежам и схемам проекта.
Руководитель водолазных спусков (старшина-бригадир водолазной станции)
распределяет обязанности между водолазами, определяет время пребывания их под
водой.
Работы по
установке бетонных конструкций (блоков, массивов, плит и др.) должны
выполняться при скорости течения не более 0,5 м/с.
При
работах в темное время суток должно применяться подводное и надводное
освещение.
Водолазные
работы по установке под водой бетонных массивов, блоков и ряжей выполняются
водолазной станцией, обеспеченной техническими средствами и укомплектованной
количеством водолазов в зависимости от условий, глубины спусков и характера
выполняемых работ.

Спуск и подъём водолазов производится с водолазного бота или другого
плавсредства и в соответствии с РД
31.84.01-90 «Единые правила безопасности труда на водолазных работах».
Состав работ
|
Технология выполнения работ
|
1. Работы по
установке бетонных массивов, блоков, ряжей.

Рисунок 2 -
Ключи для опускания массивов

1 -
плавкран; 2 - массив; 3 - рейка.
Рисунок 3 - Установка массивов
по рейке

1 - каменная постель; 2 - ряжевая конструкция;
3 - якоря; 4 - место рубки ряжа на
берегу.
Рисунок 4 - Установка ряжевой конструкции
|
После
контроля качества каменной постели, водолаз осматривает место установки
массивов, затем производит разбивку и закрепление линии первого курса (ряда),
которая обозначается натяжением проволоки и укладкой вдоль неё легко
обнаруживаемых предметов (рельсы, сваи и т.п.). На месте укладки массива
водолаз устанавливает буек и выходит на поверхность.
Установка
массивов производится плавучим краном. К гаку крана массив крепится при
помощи специальных ключей, заведенных в его отверстия (Рисунок 2). Крановщик,
ориентируясь на буек, опускает массив на постель, а затем поднимает на высоту
не более 0,25 м. Кран стопорится и водолаз вновь спускается под воду.
Спуск
водолаза под воду для установки бетонного массива или его осмотра разрешается
только после того, как нижняя часть массива будет находиться на грунте, на
ниже установленной конструкции или на весу над местом его установки на
расстоянии не более 0,25 м по высоте от места установки.
При установке
массива водолаз должен находиться на безопасном расстоянии от него, с таким
расчетом, чтобы исключить возможность прижатия его самого, а также шланга и
кабель-сигнала к соседним элементам. Безопасное расстояние должно
определяться проектом.
Водолаз
передает по телефону о положении массива по отношению к месту установки,
дальнейшем перемещении, после чего производится его установка на постель. Правильность
установки водолаз проверяет рейкой длиной 1,5 - 2 м, прикладывая её
вертикально и горизонтально к сторонам уложенных массивов (Рисунок 3). После
проверки установки массива, водолаз разворачивает ключи захвата в нейтральное
положение и крановщик по его команде вынимает их из отверстий.
Место
установки следующего массива водолаз предварительно обозначает буйком.
Массивы первого курса (ряда) одной секции укладывают, равняя их по первому
массиву и закрепленной линии, при этом грани их плотно прижимают друг к
другу.
Работу
водолаза проверяет водолазный специалист после укладки каждых 2 - 3 массивов,
чтобы иметь возможность устранить неточность.
Когда ряж
подведен к месту установки, поставлен на якоря и настолько загружен камнями,
что нижняя часть его близка к грунту, водолаз спускается под воду и передает
по телефону о перемещениях ряжа, его положении относительно грунта и ранее
установленного ряжа. При правильном положении ряжа водолаз командует
остановить его передвижку. Если положение ряжа не меняется, водолаз проверяет
плотность прилегания его к соседнему ряжу, размеры откосов постели и
убедившись в правильной его установке, выходит наверх.
Ряж загружают
балластом, пока он не коснется грунта. Последующие ряжи устанавливаются также
(Рисунок 4).
Если ряж
после посадки на основание займет неправильное положение, то водолаз
спускается внутрь него для разгрузки камней, которые он подает в корзинах
наверх. Водолаз разгружает ряж, пока он не начнет всплывать, а затем
переходит на грунт вне ряжа и наблюдает за его установкой.
Показатели определения качества выполненной работы
Показатели
|
Отл
|
Хорошее
|
Брак
|
Размеры вертикального шва, мм
|
не более
|
20
|
30
|
50
|
Смещение смежных массивов друг
от друга, мм
|
не более
|
более
|
20
|
40
|
70
|
Отклонение от проектной линии,
верхнего канта массивов на каждые 100 м стенки, мм
|
не более
|
более
|
100
|
150
|
250
|
|
2. Размещение водолазной
техники и средств технического оснащения на штатные места.
|
Размещение
водолазной техники в исходное положение производится в соответствии с
требованиями Инструкций по эксплуатации.
|
Охрана труда
При выполнении
работ по установке под водой бетонных массивов, блоков и ряжей, кроме мер
безопасности, указанных в настоящей технологической карте, надлежит
руководствоваться следующими разделами РД
31.84.01-90 «Единые правила безопасности труда на водолазных работах»:
- общие
требования безопасности при выполнении водолазных спусков и работ:
общие
требования,
подводно-технические
работы,
работы на
течении,
работа
при отрицательных температурах наружного воздуха, а также со льда и подо льдом;
-
медицинское обеспечение водолазов.
Материально-техническое снабжение
№ п/п
|
Наименование
изделий
|
Количество
|
1
|
Морской водолазный бот, рейдовый водолазный бот
или катер с установленной компрессорной водолазной станцией
|
1 (по
необходимости 2 - 3)
|
2
|
Плавучий кран
|
1
|
3
|
Баржа
|
2
|
4
|
Буксир (при необходимости)
|
1
|
5
|
Двухвесельная рабочая шлюпка
|
1
|
6
|
Ключевой захват
|
2
|
7
|
Стропы, тросы, канаты (стальные, синтетические,
растительные)
|
по
потребности
|
8
|
Проволока
|
по
потребности
|
9
|
Лесоматериал
|
по
потребности
|
10
|
Буйки
|
по
потребности
|
11
|
Расходный трос для буйков
|
по потребности
|
12
|
Футшток ручной
|
1
|
13
|
Инструменты, ключи, принадлежности (комплект)
|
1
|
14
|
Мерная рейка
|
1
|
15
|
Установка подводная осветительная (комплект)
|
1 - 2
|
3.16. Разработка траншей и котлованов
Общие положения
Технологическая
карта устанавливает порядок выполнения подводно-земляных работ по разработке
траншей и котлованов водолазом при нормальных метеоусловиях в дневное время.
Спуск
водолазов производится с водолазного бота или другого плавсредства,
поставленного на якоря выше верхней по течению бровки траншеи.
При
разработке водолазом грунта насосными установками малой мощности используются
сменные рабочие органы: гидромониторные и пневмогидравлические насадки,
гидроэжекторные размыватели, гидропневматические, гидравлические эжекторы,
эрлифты.
Руководитель
водолазных работ проводит инструктаж с водолазами и лицами обеспечивающими
спуск по технологии выполнения работ и безопасным методам труда. Знакомит с
чертежами и схемами проекта, сообщает данные о характере грунта. Руководитель
водолазных спусков (старшина-бригадир водолазной станции) распределяет
обязанности между водолазами и обслуживающим персоналом, определяет время
пребывания водолазов под водой.
Разработку
котлованов, траншей, размывку грунта допускается производить после получения
сведений об отсутствии в месте производства работ электросиловых телефонных
кабелей, трубопроводов и взрывоопасных предметов. Запрещается выполнение
подводных работ в охранной зоне подводных кабельных линий электропередачи, находящихся
под напряжением.
Руководитель
водолазных работ обязан до начала работ получить от владельца электросилового
кабеля или трубопровода письменное уведомление о снятии напряжения с эл. кабеля
или давления в трубопроводе, а от штаба ГО справку об отсутствии взрывоопасных
предметов.
Подводно-земляные
работы по разработке траншей и котлованов выполняются водолазной станцией,
обеспеченной техническими средствами и укомплектованной количеством водолазов в
зависимости от условий, глубины спусков и характера выполняемых работ.
Спуск и подъем водолазов производится в соответствии с требованиями
РД31.84.01-90 «Единые правила безопасности труда на водолазных работах».
Состав работ
|
Технология выполнения работ
|
1. Разработка траншей и котлованов.

Гидромониторная насадка расположена
под углом 80° - 90° к грунту, перемещением вдоль оси траншеи разрабатывается.

Насадка опущена до дна траншеи и
одна её половина доводится до проектного профиля.

Доведение до проектного профиля второй
половины траншеи.
Рисунок 1 -
Схема разработки траншей

1 -
отливной рукав; 2 - якорь с блоком;
3 - балласт; 4 - напорный шланг; 5 -
водолазный бот; 6 - лебедка; 7 - устройство
эжекторное (грунтосос).
Рисунок 2 - Ручная размывка
траншеи
|
Перед началом
производства работ необходимо проверить надежность соединений всех рукавов
грунторазмывочного устройства.
По оси
траншеи на расстоянии 50 - 100 м от начала разработки закладывается якорь с
блоком, через который с помощью лебедки прокладывается трос, свободный конец
которого крепится к насадке напорного шланга. Перемещение насадки вперед по
мере размыва грунта осуществляет сверху матрос-лебедчик по команде водолаза.
При необходимости трос ослабляют и напорный шланг перемещается назад. При использовании
водолазом гидравлического ствола с обычной насадкой к стволу крепится груз 30
- 40 кг. При разработке грунта водолаз направляет гидромониторную насадку
перпендикулярно к грунту, либо перемещает её веерообразно, смывая частицы
грунта на бровку на расстояние не менее 0,5 м во избежании его обратного
сползания. Стенки траншей и котлованов должны быть пологими (в пределах угла
естественного откоса грунта).
Водолаз не
должен выпускать из рук гидравлический ствол, находящийся под давлением.
При использовании
грунтососа (эжектора) водолаз, определив место размыва по установленным
разметкам, устанавливает его на дно и закрепляет к винтовому якорю или
балласту.
В случае
всплытия грунтососа вместе с водолазом, лица, обеспечивающие спуск и работу,
должны быстро подобрать шланг и кабель-сигнал водолаза, а также трос и шланги
грунтососа, чтобы предотвратить их падение на грунт.
Отводной
шланг и скобу грунтососа крепят с помощью тросов. Тросы должны иметь слабину,
необходимую для последующего углубления грунтососа. Конец отводного шланга на
поверхности должен находиться на расстоянии не менее 10 - 15 метров в стороне
от места работы водолаза.
При работе с
грунтососом водолаз должен следить, чтобы его шланг и кабель-сигнал не
перепутались со шлангами грунтососа.
Очищать
руками приемные отверстия устройств любого типа - запрещается.
При осмотре
водолазом размываемого места на грунте, давление в шланге гидромонитора
должно быть снято. В случае одновременной работы в котловане двух или более
водолазов, расстояние между ними должно быть не менее 10 м. Действия
водолазов должны постоянно согласовываться. Струя из гидравлического ствола
не должна направляться в сторону работающего рядом водолаза.
Подъём из
воды предметов (валуны, топляки и др.), мешающих разработке траншеи,
производится с помощью лиц, обеспечивающих работу водолаза.
После
разработки, траншею промеряют футштоком (или лотом) и по данным промера
вычерчивают её профиль. Если промерами обнаружено, что одни места заглублены
больше или остается недобор грунта и дно траншеи имеет волнистость, водолаз
производит работы по планировке и исправлению траншеи - размывает грунт на
возвышениях и сгоняет его во впадины.
Перед спуском
в траншею или котлован, водолаз должен убедиться в том, что их откосы
сформированы и не угрожают обвалом.
Проводить
водолазный осмотр траншей и котлованов во время работы скреперов,
земснарядов, гидромониторов и других мощных грунтоуборочных средств
ЗАПРЕЩАЕТСЯ. Начинать водолазные работы в районе нахождения грунтоуборочных
средств можно только после получения письменного разрешения от руководителя
этих средств. На период водолазного обследования работа грунтоуборочных
средств должна прекращаться.
Подъём
грунторазмывочного устройства на поверхность после окончания производства
работ должен осуществляться только после полного снятия давления рабочей воды
в напорном трубопроводе по команде водолаза.
|
2. Размещение водолазной техники и средств
технического оснащения на штатные места.
|
Размещение водолазной
техники в исходное положение производится в соответствии с требованиями
Инструкций по эксплуатации.
|
Охрана труда
При
выполнении подводно-земляных работ по разработке траншей и котлованов, кроме мер
безопасности, указанных в настоящее технологической карте, надлежит
руководствоваться следующими разделами РД
31.84.01-90 «Единые правила безопасности труда на водолазных работах»:
- общие
требования безопасности при выполнении водолазных спусков и работ:
общие
требования,
подводно-технические
работы,
работы на
течении,
работа
при отрицательных температурах наружного воздуха, а также со льда и подо льдом;
-
медицинское обеспечение водолазов.
Материально-техническое снабжение
№ п/п
|
Наименование
изделий
|
Количество
|
1
|
Морской водолазный бот, рейдовый водолазный бот
или катер с установленной компрессорной водолазной станцией
|
1 (по
необходимости 2 - 3)
|
2
|
Плавучая площадка, понтон с насосной установкой
|
по
необходимости комплект 1
|
3
|
Двухвесельная рабочая шлюпка
|
1
|
4
|
Гидромониторы, грунтососы, (эжекторы) с комплектом
шлангов
|
(комплект)
|
5
|
Трос, стропы (стальные, растительные,
синтетические)
|
по
потребности
|
6
|
Проволока
|
по
потребности
|
7
|
Инструмента, ключи, принадлежности, лебедки
(ручные, с эл. мех. приводом)
|
по
потребности
|
8
|
Канифас-блоки
|
по
потребности
|
9
|
Захватные приспособления (крюк, клеши, храп,
кошка, сетка цепная или канатная, вилка, багор, шест и др.)
|
по
потребности
|
10
|
Лот ручной, футшток
|
по потребности
|
3.17.
Прокладка подводных трубопроводов и кабелей
Общие положения
Технологическая
карта устанавливает порядок выполнения водолазных работ по прокладке подводных
трубопроводов и кабелей при нормальных метеоусловиях в дневное время.
При
прокладке подводных трубопроводов и кабелей производятся: береговые работы:
- сварка
труб в секции;
-
испытание секции на установленное давление;
-
изоляция труб;
- спуск
секций на плав.
Трубы
малого диаметра укладывают цельносваренными, при необходимости, сваривают на
плаву перед их опусканием на грунт на специально оборудованных монтажных площадках
(на понтонах). Отдельные прямолинейные секции трубопроводов большого диаметра
соединяются между собой под водой при помощи фланцевых соединений.
Береговые
и надводные работы в данной технологической карте не рассматриваются.
Руководитель
водолазных работ проводит инструктаж с водолазами и лицами, обеспечивающими
спуск по технологии выполнения работ и безопасным методам труда. Знакомит с
чертежами и схемами проекта, сообщает данные о характере грунта.
Руководитель
водолазных спусков (старшина-бригадир водолазной станции) распределяет
обязанности между водолазами и обслуживающим персоналом, определяет время
пребывания водолазов под водой.
Начинать
водолазные работы в районе нахождения грунтоуборочных средств можно только
после получения письменного разрешения от руководителя этих средств. Во время
опускания или протаскивания трубопровода, а также при движении плавсредств,
ведущих подготовительные работы, водолазу запрещается спускаться под воду.
Спуск водолаза и осмотр уложенного трубопровода разрешается после того, как
трубопровод будет уложен на грунт, а натяжение поддерживающих его тросов
ослаблено.
Водолазные
работы по прокладке подводных трубопроводов и кабелей выполняются водолазной
станцией, обеспеченной техническими средствами и укомплектованной количеством
водолазов в зависимости от условий, глубины спусков и характера выполняемых
работ.
Спуск и подъём водолаза производится с водолазного бота или другого
плавсредства и в соответствии с РД
31.84.01-90 «Единые правила безопасности труда на водолазных работах».
Состав работ
|
Технология выполнения работ
|
1. Способы прокладки подводных трубопроводов:
1.1. Прокладка секций трубороводов большого
диаметра с опорных точек с использованием мягких кранцев.
|
Опорные точки
(площадки на жестких понтонах с лебедками) устанавливаются на якорях, их
количество и расстояние между ними определяется проектом. Заглушенные по
концам секции труб с пристропованными к ним мягкими понтонами на лебедках
устанавливаются над трассой. При помощи мотопомпы (гидромонитора) через
водяной вентиль на одной из заглушек (на второй заглушке установлен воздушный
вентиль) трубопровод заполняется водой, вес его воспринимается понтонами и
лебедками. Трубопровод с подвешенными понтонами медленно погружается на
грунт.
|
1.2. Прокладка секций трубопровода при помощи
мягких понтонов.
|
К заглушенной
по концам секции труб пристрапливаются мягкие понтоны. Секция устанавливается
с помощью буксиров (лебедок), заливается водой. Погружаясь, секция зависает
на понтонах, дальнейшее её погружение обеспечивается вытравливанием воздуха
из понтонов.
|
1.3. Прокладка трубопровода с помощью плавучих
кранов.
|
Секции
трубопровода длиной 12 - 18 м погружают на дно путем заполнения их водой или
отстройки понтонов при постоянной поддержки краном.
|
1.4. Прокладка трубопроводов протаскиванием по
грунту.
|
Головной конец
секции закрывается заглушкой, к нему прикрепляется стальной трос от
специальной тяговой лебедки, установленной на другом берегу водоёма. В
подводной части трассы трубопровод перемещается непосредственно по дну
водоёма. Для уменьшения тягового усилия на трубопроводе могут быть
предварительно закреплены разгружающие понтоны.
|
1.5. Прокладка трубопроводов малых диаметров.
|
При спуске
трубопровода на плав, секции навешивают на парные понтоны с площадками и лебедками
и транспортируют буксиром (или береговой лебедкой) на трассу. Установленная
над трассой секция по общему сигналу стравливается на грунт. Опускание
трубопровода выполняется отдельными этапами, начиная с наиболее глубоководной
части.
|
1.6. Прокладка трубопроводов погружением на
поплавках.
|
Поплавки
навешивают на секцию при спуске её на плав. После доставки секции на трассу,
путем снятия поплавков трубопровод погружается на дно.
|
1.7. Прокладка кабеля.
|
Прокладка
кабеля ведется с судна (плавсредства), двигающегося по трассе над прорытой
траншеей.
|
2. Прокладка подводных
трубопроводов и кабелей.

Рисунок 1 - Фланцевые соединения
|
Перед спуском
в промытые траншеи водолаз должен убедиться в том, что откосы сформировались и
не угрожают обвалом.
Соединение
секций трубопроводов при помощи фланцев. Концы секций трубопровода
удерживаются на тросах приподнятыми над грунтом так, чтобы водолаз имел
доступ к фланцам со всех сторон.
Перед соединением секций трубопровода с помощью
фланцев водолаз должен убедиться в надежности
остропки секции (труб). Для совмещения отверстий под болты одна сторона
секции имеет глухой, а другая поворотный фланец (Рисунок 1).
При выполнении
работ по соединению отдельных секций (труб) все манипуляции с ними должны
производиться только по требованию работающего водолаза.
Водолаз
разворачивает поворотный фланец до совпадения его отверстий с отверстиями
глухого фланца. Сначала он устанавливает два болта с противоположных сторон и
уплотняет соединение резиновыми (клингиритовыми, свинцовыми) прокладками,
установленными на берегу перед опусканием секции на грунт. Затем вставляет
все болты и поочередно закручивает гайки противоположных болтов, чтобы
избежать перекоса.
При монтаже
трубопровода водолазу запрещается находиться под ним.
Соединение
секций трубопровода подводной сваркой - см. технологическую карту № 5.1.
|
3. Крепление трубопроводов, уложенных без
заглубления.

Закрепление
трубопровода деревянными сваями.

Закрепление
трубопровода металлическими винтовыми сваями.
Рисунок 2 - Свайное закрепление трубопровода
|
Трубопровод, уложенный
по дну водоёма без заглубления, водолазы крепят деревянными сваями,
соединенными поперечиной, установленными через определенное расстояние друг
от друга, либо закрепляют на опорах бугелями (скобами из полосового железа с
отверстиями для болтов) или загружают балластом. Сваи забивают с поверхности.
Затем водолаз спиливает их по проектным отметкам и укладывает на них
поперечины, скрепляя их со сваями строительными скобами (Рисунок 2).
Бугель
водолаз накладывает на трубопровод, через отверстие в нем делает разметку для
отверстий в поперечине опоры, затем просверливает их, после чего болтами
закрепляет бугель на опоре.
При загрузке
трубопровода балластом, водолаз навешивает на него связанные попарно цепями
или стальным тросом балластины (чугунные чушки, жел. дор. рельсы и др.),
которые подаются ему с поверхности.
|
4. Отстропка понтонов.
|
Остропка
понтонов после укладки трубопровода может производиться с плавсредств с
помощью автоматических строп или водолазами. Отстропка понтонов водолазами
разрешается только после стравливания из них воздуха. Перед остропкой понтона
от трубопровода водолаз должен убедиться в том, что понтоны лежат на грунте,
а поддерживающие стропы ослаблены.
Опускаться
или подниматься по приспособлениям, поддерживающим трубопровод, отстрапливать
вручную понтоны, имеющие положительную плавучесть под водой - запрещается.
|
5. Прокладка подводных кабелей.
|
Во время
укладки кабеля кабелеукладочной машиной водолазу запрещается находиться под водой.
Спуск водолаза разрешается после укладки кабеля и прекращения работы
кабелеукладочной машины.
Водолаз
двигается по грунту вдоль траншеи и проверяет правильность укладки кабеля,
следит, чтобы не было петель и закруток. Если кабель лег на край траншеи и
его невозможно стянуть на дно, водолаз подмывает грунт, чтобы заглубить
выступающий участок, если кабель имеет провис - подсыпает под него грунт. При
прокладке нескольких кабелей в одну траншею, водолаз замеряет расстояние
между ними и следит, чтобы оно соответствовало проекту.
Во время
протаскивания кабеля через защитные трубы берегового колодца водолаз должен
следить, чтобы его рука, шланг или кабель-сигнал вместе с кабелем не были
втянуты в трубу.
|
6. Замывка подводного трубопровода (кабеля) в траншею.
|
Уложенный на
грунт трубопровод (его фланцевые соединения) детально осматриваются
водолазом.
При прокладке
трубопровода с помощью жестких плавучих понтонов водолаз может производить
осмотр только при полностью опущенных на грунт понтонах. Осмотр понтонов в
процессе погружения трубопровода - запрещается.
Дефекты
укладки устраняются: намывают грунт, устанавливают каменные или ряжевые опоры
под места провисания трубопровода. Срезают направляющие сваи. После
исправления дефектов подводный участок испытывают на герметичность.
Водолазные
спуски для осмотра подводного трубопровода любого диаметра при гидравлическом
или пневматическом испытании разрешается только после снятия давления в
испытываемом трубопроводе.
После
опрессовки приступают к засыпке трубопровода грунтом. Водолаз смывает грунт с
обоих краев в траншею грунторазмывочным стволом. Над уложенной трубой
намывается до 1 м грунта. Если грунта на дне недостаточно, его доставляют на
плавсредствах. При сильном течении поверх намытого грунта делают булыжное
мощение или каменную наброску толщиной 0,3 - 0,5 м (См. технологическую карту
№ 3.20).
Уложенные
кабели предварительно засыпают песчанным грунтом, слоем не менее 0,2 м,
поверх которого насыпается любой грунт.
Законченные
водолазные работы подвергаются контрольному осмотру старшиной группы
водолазов (или водолазным специалистом отряда). Замеченные недостатки
подлежат исправлению.
|
7. Размещение водолазной техники и средств технического
оснащения на штатные места.
|
Размещение
водолазной техники в исходное положение производится в соответствии с
требованиями Инструкций по эксплуатации.
|
Охрана труда
При выполнении
водолазных работ по прокладке подводных трубопроводов и кабелей, кроме мер
безопасности, указанных в настоящей технологической карте, надлежит
руководствоваться следующими разделами РД
31.84.01-90 «Единые правила безопасности труда на водолазных работах»:
-
организация водолазных спусков и работ
общие
положения по организации водолазных работ;
- общие
требования безопасности при выполнении водолазных спусков и работ
общие
требования;
подводно-технические
работы;
работы на
течении;
работы
при отрицательных температурах наружного воздуха, а также со льда и подо льдом;
-
медицинское обеспечение водолазов.
Материально-техническое снабжение
№ п/п
|
Наименование
изделий
|
Количество
|
1
|
Морской водолазный бот, рейдовый водолазный бот
или катер с установленной компрессорной водолазной станцией
|
1 (по необходимости 2 - 3)
|
2
|
Двухвесельная рабочая шлюпка
|
1 (по необходимости 2 - 3)
|
3
|
Компрессор технического воздуха
|
по потребности
|
4
|
Установка подводной сварки в комплекте с кабелем и
электрододержателями
|
по потребности
|
5
|
Гидромонитор с комплектом шлангов
|
по потребности
|
6
|
Понтоны (мягкие, стальные)
|
по потребности
|
7
|
Канаты, тросы, стропы (стальные, растительные,
синтетические), цепи
|
по потребности
|
8
|
Струбцины, домкраты, талрепы, такелажные и
строительные скобы, зажимы для стальных канатов, хомуты, бугели, болты
|
по потребности
|
9
|
Лебедки (ручные, с эл. мех. приводом
|
по потребности
|
10
|
Канифас-блоки
|
по потребности
|
11
|
Лесоматериал (сваи, бревна, брусья и др.)
|
|
12
|
Инструменты (пилы, дрели, ключи, ломы), принадлежности
для заделки огонов и др.
|
по потребности
|
13
|
Балластины (чушки и др.)
|
по потребности
|
14
|
Прокладки (резиновые, клингиритовые, свинцовые)
|
по потребности
|
15
|
Установка подводная осветительная
|
по потребности
|
3.18. Строительство водозаборных сооружений
Общие положения
Технологическая
карта устанавливает порядок выполнения водолазных работ при строительстве
водозаборных сооружений при нормальных метеоусловиях в дневное время.
Производство
береговых и надводных работ в данной технологической карте не рассматривается.
При
строительстве водозаборного сооружения водолазы выполняют подготовку основания
(равнение каменной постели (см. Технологическую карту № 3.20), контроль установки
его приёмной части (оголовка), прокладку подводного трубопровода (см.
Технологическую карту № 3.17)
и присоединение его к оголовку.
Перед
спуском оголовка на воду все водоприёмные окна и патрубки перекрываются.
Оголовок спускают на плав при помощи тяговых лебедок (плавкранов и т.п.).
Транспортировка к месту постановки осуществляется буксирами.
К
железобетонным и металлическим оголовкам для уменьшения осадки и придания большей
остойчивости при транспортировке прикрепляют за специальные проушины мягкие
разгружающие понтоны. Оголовки, имеющие малую осадку, частично заполняют водой.
На месте установки оголовок швартуют к канатам лебедок, расположенных на берегу
или на заякоренных плавсредствах. Фиксируется положение оголовка при помощи
свай, забитых в грунт по его контуру.
Опускание
оголовка на дно осуществляется путем заливки его водой и стравлением воздуха из
понтонов.
Оголовки
небольшой массы устанавливаются в проектное положение плавучим краном.
Для
опускания ряжевого оголовка на дно его загружают камнями и по мере увеличения
веса оголовок медленно погружается в воду и садится на подготовленное
основание.
Окончательная
установка оголовка в плановое положение достигается подтягиванием его за
канаты, которыми он раскрепляется с лебедок.
Руководитель
водолазных работ проводит инструктаж с водолазами и лицами, обеспечивающими
спуск по технологии выполнения работ и безопасным методам труда. Знакомит с
чертежами и схемами проекта, сообщает данные о характере грунта.
Руководитель
водолазных спусков (старшина-бригадир водолазной станции) распределяет
обязанности между водолазами и обслуживающим персоналом, определяет время
пребывания водолазов под водой.
Водолазные
работы по строительству водозаборных сооружений выполняются водолазной
станцией, обеспеченной техническими средствами и укомплектованной количеством
водолазов в зависимости от условий, глубины спусков и характера выполняемых
работ.
Спуск и подъём водолаза производится с водолазного бота или другого
плавсредства и в соответствии с РД
31.84.01-90 «Единые правила безопасности труда на водолазных работах».
Состав работ
|
Технология выполнения работ
|
1. Строительство водозаборных сооружений,
металлический оголовок

железобетонный
оголовок

1 -
водоприёмный патрубок; 2 - основание; 3 - водоводы.
Рисунок 1 -
Оголовки водозаборных сооружений
|
Спуск водолаза
для установки конструкции оголовка разрешается только после того, как нижняя
часть конструкции будет полностью находиться на грунте или на весу над местом
ее установки на расстоянии не более 0,25 м по высоте от места установки.
При установке
оголовка (Рисунок 1) водолаз должен находиться на безопасном
расстоянии от опущенной конструкции, с таким расчетом, чтобы исключить
возможность прижатия его самого, а также шланга и кабель-сигнала.
Когда
оголовок подведен к месту установки, поставлен на якоря, раскреплен канатами
и погружен в воду настолько, что нижняя его часть близка к грунту, водолаз
опускается под воду и передает по телефону данные о перемещениях оголовка,
его положении относительно грунта. При правильном положении оголовка водолаз
дает команду остановить передвижку и опустить его на грунт.
Если
положение оголовка не меняется, водолаз производит обследование оголовка,
размеров откосов постели и, убедившись в правильной его установке, отдает
крепление понтонов, канатов или стропов плавкрана.
Если ряжевый
оголовок не займет правильного положения, то водолаз спускается внутрь него
для разгрузки камней, пока ряж не начнет всплывать. Добившись правильного
положения ряжа, водолаз снова загружает его, затем переходит на грунт вне
ряжа и наблюдает за его повторной установкой.
Для
предупреждения размыва грунта вокруг оголовка водолазы делают каменную
наброску.
|
2. Размещение водолазной техники и средств
технического оснащения на штатные места.
|
Размещение
водолазной техники в исходное положение производится в соответствии с
требованиями Инструкций по эксплуатации.
|
Охрана труда
При
проведении водолазных работ по строительству водозаборных сооружений, кроме мер
безопасности, указанных в настоящей технологической карте, надлежит
руководствоваться следующими разделами РД
31.84.01-90 «Единые правила безопасности труда на водолазных работах»:
-
организация водолазных спусков и работ;
общие
положения по организации водолазных работ;
- общие
требования безопасности при выполнении водолазных спусков и работ
судовые
водолазные работы;
подводно-технические
работы;
работы на
течении;
работы
при отрицательных температурах наружного воздуха, а также со льда и подо льдом;
-
медицинское обеспечение водолазов.
Материально-техническое снабжение
№ п/п
|
Наименование
изделий
|
Количество
|
1
|
Морской водолазный бот, рейдовый водолазный бот
или катер с установленной компрессорной водолазной станцией
|
1 (по необходимости 2 - 3)
|
2
|
Плавкран (при необходимости)
|
1
|
3
|
Буксир (при необходимости)
|
2
|
4
|
Двухвесельная рабочая шлюпка
|
1 - 2
|
5
|
Понтоны (мягкие)
|
по потребности
|
6
|
Компрессор технического воздуха
|
комплект
|
7
|
Канаты, тросы, стропы (стальные, растительные,
синтетические), цепи
|
по потребности
|
8
|
Струбцины, домкраты, талрепы, зажимы для стальных
канатов
|
по потребности
|
9
|
Лебедки (с эл. мех. приводом, ручные)
|
по потребности
|
10
|
Канифас-блоки
|
по потребности
|
11
|
Лесоматериал (бревна, сваи и др.)
|
по потребности
|
12
|
Инструменты, ключи, ломы, принадлежности для
заделки огонов
|
по потребности
|
3.19. Ремонт металлической свайной
конструкции
Общие положения
Технологическая
карта устанавливает порядок выполнения водолазных работ по ремонту
металлической свайной конструкции при нормальных метеоусловиях в дневное время.
Металлические
свайные конструкции могут иметь следующие повреждения:
механического
характера:
-
трещины, вызванные концентрацией напряжения, повышенной хладоломкостью,
остаточными напряжениями от сварки, реализацией усталостных явлений;
- разрушение
под действием нагрузок;
коррозионные
разрушения:
-
поверхностное, сквозное, межкристаллическое (поврежденные участки вырезаются
(технологическая карта 3.2.) и завариваются (технологическая карта 3.1.) накладными листами
соответствующей толщины и необходимого размера).
При
ремонте металлической свайной конструкции производится замена пришедших в
негодность элементов, заделка щелей, смена схваток, раскосов, постановка
дополнительных листов или уголков на поврежденные места конструкции, сварка
лопнувших элементов и другие работы.
Руководитель
водолазных работ производит инструктаж с водолазами и лицами, обеспечивающими
спуск по технологии выполнения работ и безопасным методам труда. Знакомит
водолазов по чертежам с устройством металлической свайной конструкции,
условиями производства работ и характером повреждений.
Руководитель
водолазных спусков (старшина-бригадир водолазной станции) распределяет
обязанности между водолазами и обслуживающим персоналом, определяет время
пребывания водолазов под водой, контролирует подготовку технических средств и
инструментов для использования по назначению.
Водолазные
работы по ремонту металлической свайной конструкции выполняются водолазной
станцией, обеспеченной техническими средствами и укомплектованной количеством
водолазов в зависимости от условий, глубины спусков и характера выполняемых
работ.
Перед выполнением
водолазных работ по ремонту металлической свайной
конструкции персонал сооружения должен быть предупрежден
о начале подводных работ, а ответственный
представитель заказчика должен согласовать меры
безопасности при выполнении водолазных работ
(запрещение производства работ, которые могут
создавать угрозу безопасности водолазов).
К выполнению
электросварочных работ под водой допускаются
водолазы, прошедшие соответствующее обучение, имеющие
квалификационное свидетельство и допущенные к
этим работам приказом руководителя предприятия
(см. технологические карты № 5.1 - 5.2).
К работе
с механизированным инструментом допускаются водолазы
получившие инструктаж по охране труда и
правилам эксплуатации инструмента. Водолаз перед
началом работы обязан лично осмотреть механизированный
инструмент и убедиться в его исправности
пробным включением.
Спуск и подъём водолаза производится с водолазного бота или другого
плавсредства и в соответствии с РД
31.84.01-90 «Единые правила безопасности труда на водолазных работах».
Состав работ
|
Технология выполнения работ
|
1. Ремонт металлической
свайной конструкции.

Рисунок 1 -
Положение зубила при рубке заклепок

1 -
шпунт; 2 - металлическая накладка; 3 - сварной
шов; 4 - крючковатый болт.
Рисунок 2 - Заделка щелей в
металлическом шпунте

стопорный узел из цепи

крепление храпцами
Рисунок 3 - Способы остропки
свай для их выдергивания
|
Перед началом ремонта металлических элементов свайной
конструкции водолаз тщательно удаляет ржавчину, растительные и органические образования
с их поверхности.
Наиболее слабые места металлических конструкций:
- замковые соединения (шпунтовых свай);
- узлы сопряжения металлических свай с ростверками;
- узловые соединения элементов осуществленные сваркой,
клепкой, резьбовыми креплениями.
Съёмка поврежденных элементов конструкции производится
только по указанию руководителя работ. Для снятия элементов, если стык
металлических свай осуществлен на заклепках, водолаз срубает их и разъединяет
швы. Рубку (уплотнение) заклёпок водолаз производит с беседки.
Подавать механизированный
инструмент водолазу, держа его за шланг
или электрокабель - запрещается.
Водолаз устанавливает зубило пневматического молотка под
головку заклёпки (Рисунок 1), упираясь в платформу беседки, с силой надавливает на
рукоятку молотка и, нажимая на курок, открывает подачу воздуха. Когда головка
заклепки отпадает, водолаз прекращает нажим на курок.
Держать инструмент за защитный кожух,
шланг, прекращать подачу воздуха путем переламывания
шланга - запрещается. При появлении неисправностей,
водолаз должен прекратить работу, отключить
инструмент и подать его на поверхность.
При прекращении подачи воздуха, перерывах в
работе водолаз должен отключать инструмент.
Работа молотка вхолостую недопустима.
Срубленная заклёпка выбивается кувалдой и металлическим
стержнем (выколоткой). Для уплотнения ослабевших заклёпок молоток
заправляется обжимкой.
Снятый элемент подается на поверхность, а вместо него
водолаз устанавливает новый, соединяя его болтами с соседними. Стяжные
болты вставляются в отверстия от срубленных заклёпок. Если постановка болтов
невозможна, водолаз приваривает болты к соседним элементам конструкции, а
затем подтягивает устанавливаемый элемент, надевая на них накладки и нажимные
гайки. Перед заделкой щелей в металлическом шпунте водолаз производит обмеры
для изготовления накладки. Постановка металлической накладки на щели
производится водолазом с помощью протяжных крюков (Рисунок 2) или
приваркой к сваям по предварительной разметке.
Сломанные или
пришедшие в негодность в результате интенсивной коррозии сваи и шпунты
выдергивают сняв болты крепления, предварительно обеспечив к ним доступ (вскрытие
верхнего строения, удаление верхних курсов массивов и т.п.). Выдёргивание
свай (шпунтов) требует надежного крепления к ним тросов или цепей. Остропка
свай может выполняться узлами, показанными на рисунке 3. После
остропки водолаз, отойдя на безопасное расстояние дает команду обтянуть трос
(цепь), и убедившись, что узел не скользит по свае, выходит на поверхность.
Если прилагаемые усилия оказываются недостаточными для выдергивания, водолаз
размывает грунт вокруг сваи.
Устранение
местных изгибов стальных трубчатых свай производится с помощью тросов или
тяжей, с последующей установкой металлической накладки.
|
2. Размещение
водолазной техники и средств технического оснащения на штатные места.
|
Размещение
водолазной техники в исходное положение производится в соответствии с
требованиями Инструкций до эксплуатации.
|
3. Оформление окончания работ.
|
После
окончания работ руководитель водолазных работ дает об этом письменное
подтверждение ответственному дежурному по сооружению.
|
Охрана труда
При
выполнении водолазных работ по ремонту металлической сварной конструкции, кроме
мер безопасности, указанных в настоящей технологической карте, надлежит
руководствоваться следующими разделами РД
31.84.01-90 «Единые правила безопасности труда на водолазных работах»:
-
организация водолазных спусков и работ
общие
положения по организации водолазных работ;
- общие
требования безопасности при выполнении водолазных спусков и работ
общие
требования;
подводно-технические
работы;
подводные
электросварочные работы;
работа с
применением механизированного инструмента;
работы на
течении;
работы
при отрицательных температурах наружного воздуха, а также со льда и подо льдом;
-
медицинское обеспечение водолазов.
Материально-техническое снабжение
№ п/п
|
Наименование
изделий
|
Количество
|
1
|
Морской водолазный бот, рейдовый водолазный бот
или катер с установленной компрессорной водолазной станцией
|
1 (по
необходимости 2 - 3)
|
2
|
Двухвесельная рабочая шлюпка
|
1 (по
необходимости 2 - 3)
|
3
|
Гидравлический эжектор с комплектом шлангов
|
1
|
4
|
Установка подводной сварки в комплекте с кабелем и
электрододержателями
|
1
|
5
|
Буйки, вехи
|
по
потребности
|
6
|
Стропы, канаты, трос (стальной, растительный,
синтетический), цепи
|
|
7
|
Инструменты, ключи, струбцины, домкраты, талрепы, зажимы
для стальных канатов
|
по
потребности
|
8
|
Механизированный инструмент (пневматический
молоток и др.)
|
по
потребности
|
9
|
Компрессор технического воздуха
|
1
|
10
|
Принадлежности: мерная линейка, щупы, отвес,
футшток, скребок и др.
|
по потребности
|
11
|
Установка подводная осветительная
|
1
|
12
|
Балластины
|
по
потребности
|
3.20. Равнение постелей из каменной
наброски при строительстве гидротехнических сооружений
Общие положения
Технологическая
карта устанавливает порядок выполнения водолазных работ по равнению постелей из
каменной наброски при строительстве гидротехнических сооружений при нормальных
метеоусловиях в дневное время.
Спуск и
подъём водолазов производится с водолазного бота или другого плавредства и в
соответствии с требованиями РД
31.84.01-90 «Единые правила безопасности труда на водолазных работах».
Технологический
процесс включает транспортировку, отсыпку камней под воду, выравнивание и
уплотнение каменной наброски.
Точность
равнения постели:
грубое ±20
см
тщательное ±8
см
весьма тщательное ±3
см
Для
грубого равнения постелей из каменной наброски при значительных объёмах работ
могут быть использованы механические планировщики.
Руководитель
водолазных работ производит инструктаж с водолазами и лицами, обеспечивавшими
спуск, по технологии выполнения работ и безопасным методам труда. Знакомит с
особенностями работа по чертежам, схемам, по проекту равнения постели.
Руководитель водолазных спусков (старшина-бригадир водолазной станции)
определяет обязанности между водолазами, время пребывания их под водой.
После
водолазного обследования грунта и установки буйков (вех) определяющих границы
постели из каменной наброски, производится выгрузка камня из шаланд с
открывающимися днищами или из барж плавкраном с грейферным ковшом.
Водолазные
работы по равнению постели из каменной наброски выполняются водолазной
станцией, обеспеченной техническими средствами и укомплектованной количеством
водолазов в зависимости от условий, глубины спусков и характера выполняемых
работ.
Спуск и подъём водолазов производится с водолазного бота или другого
плавредства и в соответствии с требованиями РД
31.84.01-90 «Единые правила безопасности труда на водолазных работах».
Состав работ
|
Технология выполнения работ
|
1. Равнение постелей из каменной наброски:
1.1. Грубое равнение.

1 -
грунтовое основание; 2 - шаланда с открывающимся
днищем; 3 - буйки на границе постели.
Рисунок 1 -
Отсыпка камня
1.2.
Тщательное равнение

1 -
рейки; 2 - футшток; 3 - контрольная отметка
на фудштоке.
Рисунок 2 - Укладка направляющих
реек

1 -
направляющая рейка; 2 - уровень (ватерпас);
3 - клинообразная планка.
Рисунок 3 - Установка реек
для наклонной постели
1.3. Весьма тщательное
равнение.

1 -
контрольная рейка; 2 - направляющая рейка.
Рисунок 4 - Вид каменной постели
после окончания работ по выравниванию
|
К равнению
постели приступают после того, как промерами будет установлено, что высота
каменной наброски примерно соответствует проектной отметке. Грубое равнение
постели водолаз выполняет на глаз переносом камней с выступающих мест во
впадины. Одновременно сверху замеряют глубины футштоком, который водолаз
устанавливает в нескольких местах по ширине постели. При недостатке камней
делают дополнительную подсыпку, а при излишке водолаз выносит камни за
границу постели или собирает в корзины для подъёма наверх.
По границам
постели водолаз устанавливает вехи (или вбивает колья и протягивает между
ними проволоку по грунту. По направлению проволоки укладывает на каменную наброску
направляющие рейки из узкоколейных рельсов. Иногда вместо реек применятся
металлическая рама, размеры которой соответствуют размерам постели.
После грубой
раскладки реек водолаз переходит к их точной установке по футштоку. На
верхней части футштока имеется контрольная отметка до которой он погружается
в воду и удерживается в таком положении, пока это требуется водолазу.
Водолаз, нащупывая футшток, поднимает или опускает направляющую рейку так,
чтобы она вплотную прижалась к концу футштока. Под поднятую рейку
подкладывает камни в виде столбиков, а затем укрепляет её. Если наброска выше
контрольной отметки, то в ней для укладки реек водолаз делает борозду. По
мере перехода водолаза на другой конец рейки за ним переносят и футшток.
Установив все направляющие рейки водолаз кладет с одного края наброски
поперек их контрольную рейку, длина контрольной рейки должна перекрывать
расстояние между направляющими. Затем передвигая контрольную рейку, водолаз
выполняет равнение, перенося отдельные камни во впадины.
Наклонная
постель возводится водолазом по направляющим рейкам с помощью угломера,
закрепленного на планке, стороны которой имеют заданный угол наклона. Один
конец рейки водолаз устанавливает по футштоку, затем накладывает уровень
около её второго конца и добившись горизонтального положения закрепляет
рейку, подкладывая или убирая камни. После установки направляющих реек
водолаз накладывает поперек них контрольную рейку и выполняет равнение.
Водолаз
производит подсыпку мелкого камня, который подается ему с поверхности в
корзинах или ссыпается в указанном месте, заполняя все промежутки и впадины
между камнями, таким образом выравнивает поверхность под нижнюю кромку
контрольной рейки.
После
промеров футштоком, качество выполненной работы проверяет водолазный специалист.
|
2. Виброуплотнение.

1 -
кран; 2 - виброуплотняющий агрегат; 3 - эл.
вибратор; 4 - башмак; 5 - колонна.
Рисунок 5 - Схема работы виброуплотняющего
агрегата
|
Виброуплотнительный
агрегат поднимают и опускают при помощи гидравлической системы.
|
3. Размещение водолазной техники и средств
технического оснащения на штатные места.
|
Промываются и
просушиваются водолазное снаряжение и средства обеспечения водолазных спусков
и работ. Технические средства размещаются на штатные места.
|
Охрана труда
При
выполнении работ по равнению постелей из каменной наброски при строительстве
гидротехнических сооружений кроме мер безопасности, указанных в настоящей
технологической карте надлежит руководствоваться следующими разделами РД
31.84.01-90 «Единые правила безопасности труда на водолазных работах»:
- общие
требования безопасности при выполнении водолазных спусков и работ:
общие требования,
подводно-технические
работы,
работы на
течении,
работа
при отрицательных температурах наружного воздуха, а также со льда и подо льдом;
-
медицинское обеспечение водолазов.
Производить
водолазные осмотры постели под загруженными плавсредствами (шаландами и т.п.),
а также выполнять водолазные работы в зоне отсыпки камня под воду во время
разгрузки шаланд - ЗАПРЕЩАЕТСЯ.
При
выравнивании каменной наброски производить дополнительную подсыпку камня без
предупреждения об этом водолаза - ЗАПРЕЩАЕТСЯ. На время подсыпки камня без
направляющих устройств (лотков, труб и т.п.) водолаз должен подниматься на
поверхность.
Спуск под
воду направляющих реек, металлической рамы или других приспособлений должен
производиться в отсутствие водолаза. Место спуска должно быть заранее
обозначено вехами или буями.
Водолаз
может опускаться под воду для осмотра и установки рабочего органа
виброуплотнителя только после опускания его на постель.
Во время
виброуплотнения каменной постели спуск водолаза под воду - ЗАПРЕЩАЕТСЯ. Работы
по осмотру и промерам постели можно выполнять после остановки виброуплотняющего
агрегата.
Материально-техническое снабжение
№ п/п
|
Наименование
изделий
|
Количество
|
1
|
Морской водолазный бот, рейдовый водолазный бот или
катер с установленной компрессорной водолазной станцией
|
1 (по
необходимости 2 - 3)
|
2
|
Двухвесельная рабочая шлюпка
|
1 (по
необходимости 2 - 3)
|
3
|
Стропы, тросы, канаты (стальные, растительные,
синтетические)
|
по
потребности
|
4
|
Направляющие рейки (рельсы, металлическая рама)
|
по
потребности
|
5
|
Проволока
|
по
потребности
|
6
|
Лесоматериал
|
по
потребности
|
7
|
Вехи, буйки
|
по
потребности
|
8
|
Расходный трос для буйков
|
по
потребности
|
9
|
Инструменты, ключи, принадлежности (комплект)
|
по
потребности
|
10
|
Футшток
|
2
|
4. Судовые водолазные работы
4.1.
Освидетельствование подводной части судна на плаву
Общие положения
Целью освидетельствования
судов на плаву является определение технического состояния подводной части
наружной обшивки корпуса, винто-рулевого комплекса и донной арматуры.
Перед
освидетельствованием наружная обшивка подводной части корпуса, винто-рулевой
комплекс, кингстонные решетки и т.д. должны быть очищены от обрастаний,
ржавчины и грязи (см. технологическую карту № 4.2).
Водолазные
работы выполняются в дневное время при нормальных метеоусловиях. Спуск водолазов
производится с водолазного бота или плавсредства, укомплектованного водолазными
станциями.
Водолазные
боты и другие плавсредства, участвующие в освидетельствовании, устанавливаются
таким образом, чтобы максимально использовать технические средства. Примерные
позиции установки плавсредств у борта обслуживаемого судна даны на рисунках 1 и 2.
При
проведении освидетельствования у причала порта администрация обслуживаемого судна
должна обеспечить возможность перешвартовки судна (разворот судна другим
бортом).
При
обследовании цилиндрической части корпуса судна водолазный бот устанавливается
таким образом, чтобы длина водолазных шлангов позволяла производить водолазам обследование
максимальной площади корпуса судна с одной стоянки водолазного бота.
Освидетельствование
выполняется водолазной станцией обеспеченной двухсторонней связью, техническими
средствами подводного наблюдения и регистрации, контрольно-измерительными приборами.
Состав водолазного подразделения и численность зависит от объёма и характера
работ.
Работы по
освидетельствованию наружной обшивки ведутся в легководолазном снаряжении.
Руководитель
водолазных работ должен получить от заказчика рабочую программу обследования
подводной части судна (Приложение 6). Согласно этой программе и характеру работ
определяется количество водолазов, одновременно осуществляющих работы под
водой. После чего руководитель водолазных спусков проводит инструктаж с
водолазами по безопасным методам труда и с экипажем судна по безопасным методам
обслуживания водолазных работ. Руководитель водолазных работ распределяет
обязанности между водолазами, обслуживающим персоналом, определяет время
пребывания водолазов под водой.
Спуск и
подъём водолазов производится в соответствии с требованиями РД
31.84.01-90 «Единые правила безопасности труда на водолазных работах».

Рисунок 1 - Позиция постановки и перемещения
водолазного бота при освидетельствовании судна
на полигоне

Рисунок 2 - Позиция постановки и перемещения
водолазного бота при освидетельствовании судна
у причала
Состав работ
|
Технология выполнения работ
|
1. Подготовка к освидетельствованию.
|
Для
ориентировки водолазов на подводной части корпуса судна должна быть
произведена временная маркировка с помощью двух маркировочных отвесов, ограничивающих
район обследования.
Руководитель
водолазных работ обеспечивает подготовку технических средств к подводному
освидетельствованию, которая содержит проверку:
телевизионной
подводной аппаратуры и ее настройку;
подводной
фотоаппаратуры, настройку приспособления для фотографирования;
приборов для
неразрушающего контроля, калибровку приборов по имеющимся эталонам;
инструментов
для измерения линейных величин, их настройки;
комплектации
плавсредств средствами временной маркировки подводной части судна,
приспособлениями для глушения наружных отверстий донно-бортовой арматуры
(ДВА) и выполнения других водолазных работ.
|
2. Освидетельствование винто-рулевого комплекса
(ВРК) и кормовой оконечности судна.

Рисунок 3 -
Позиция постановки водолазного бота при освидетельствовании
кормовой части судна и его ВРК

Рисунок 4 - Схема перемещения
водолаза при обследовании борта судна

Установка отвеса для осмотра борта.

Установка отвеса для осмотра борта и
днища.
1 -
борт; 2 - днище; 3 - скуловой киль;
4 - маркировочный подкильный конец; 5 - марка;
6 - скоба; 7 - марка магнитная; 8 - груз
(балластина).
Рисунок 5 - Схема установки
маркировочного отвеса
|
Освидетельствование
подводной части судна начинается, как правило, с винто-рулевого комплекса
(ВРК) и кормовой оконечности. Позиция постановки плавсредства показана на
рисунке 3.
Перед началом
освидетельствования ВРК один из водолазов спускается под воду и производит
его визуальный осмотр, маркировку лопастей винта, мест повреждений или
дефектов с помощью магнитных или иных марок, если нет постоянной маркировки;
маркировать
также можно мелом.
Маркировка
криволинейных участков кормовой оконечности производится с помощью двух
маркировочных отвесов, прижимаемых к криволинейной поверхности с помощью
магнитных марок или другим способом.
Как правило,
освидетельствование рулевого устройства производится двумя водолазами. Один
водолаз последовательно производит замеры зазоров в подшипниках баллера,
между штырями и петлями руля, замеряет запас на просадку пера руля или
поворотной насадки, производит смену мерительного инструмента и измеряет
величины обнаруженных дефектов и повреждений, сообщая на поверхность их
координаты и особенности. При необходимости по распоряжению руководителя
спусков к производству измерений может привлекаться еще один водолаз.
Второй
водолаз с телекамерой при освидетельствовании должен последовательно
показывать объекты освидетельствования, начиная с показа объекта крупным
планом и, если позволяет видимость, общим планом. Водолаз должен показывать
производство измерения другим водолазом так, чтобы на экране телевизора была
четко видна шкала измерителя и можно было визуально наблюдать объекты
освидетельствования и передавать на поверхность оценку их технического
состояния.
При
обследовании объекта, его изображение записывается при помощи блока
видеозаписи телевизионной установки. Для получения документальных фотографий
объекта производится его фотографирование.
При
обследовании рулевого устройства проводится наружный осмотр пера руля с целью
выявления износа листов обшивки, коррозионных разрушений сварных швов, трещин
и вмятин, при этом наиболее тщательному осмотру должны подвергаться участки
пера руля в районе действия гребного винта, обшивка в районе петель, пробочные
швы. По требованию представителя Российского Морского Регистра Судоходства (PC) производится замер остаточных толщин деталей и
конструкций ВРК.
Остаточные
толщины водолаз замеряет с помощью ультразвуковых или иных толщиномеров.
Остаточная толщина листов пера руля замеряется в местах видимого износа на
площади более 100´100 мм.
Установление
деформаций и проверка профиля сечения пера руля (поворотной насадки)
производятся с помощью шаблона или стальной линейкой для определения зазора
между шаблоном и обшивкой. Обмер протекторов проводится после отбивки
рыхлостей и очистки поверхности от продуктов анодного растворения.
При
обследовании рулевого устройства определяется состояние:
скрепления
пера руля с баллером, степень сохранности цементировки деталей крепления,
величина зазора в подшипнике пятки руля, степень просадки руля;
штырей руля,
величина зазоров в петлях соединения пера руля с рудерпостом;
видимой части
гельмпортовой трубы, видимое скручивание баллера руля.
Освидетельствование
гребного устройства осуществляется одновременно двумя водолазами. Один
водолаз производит обследование визуально и управляет подводной телекамерой,
обеспечивая показ изображений объектов освидетельствования, а также
производство измерений другим водолазом. Необходимые измерения производят с
помощью линеек, щупов, штангенциркулей и пр.
Замеры
зазоров и остаточных толщин производят дважды (второе измерение контрольное).
При совпадении измерений результат считается окончательным. При несовпадении
измерений выясняются и устраняются причины несовпадения и делается
окончательное измерение.
При подводном
освидетельствовании гребного устройства определяется:
состояние
лопастей винта или крыльчатого движителя, наличие погнутостей, забоин, обломов
с указанием размеров повреждений, наличие и степень коррозии и эрозии,
состояние крепления съемных лопастей, наличие стопоров и сохранность их
цементировки;
состояние
корней лопастей и наличие трещин;
состояние и
крепление обтекателей винтов, наличие стопора и состояние его цементировки;
состояние
крепления, уплотнения дейдвудного устройства, шплинтовки гаек стопорного
кольца, следы и возможные остатки намоток и т.п., величина зазоров между
облицовкой вала и подшипником дейдвуда при водяной смазке;
наличие и
состояние протекторной защиты на элементах гребного устройства.
Освидетельствование
кормовой оконечности судна производится водолазами по схеме обследования
борта судна (Рисунок 4), при этом целесообразнее использовать
маркировочные отвесы с магнитными марками. Крепить эти отвесы можно согласно
схеме, показанной на рисунке 5. При отсутствии маркировочных отвесов и концов
можно использовать подкильный конец.
После освидетельствования
ВРК и кормовой части судна водолазы поднимаются на борт водолазного бота
(плавсредства) и производится его перешвартовка для освидетельствования
подводной поверхности цилиндрической части корпуса судна.
|
3. Освидетельствование подводной части корпуса
судна и донно-бортовой арматуры (ДВА).

Рисунок 6 - Схема движения водолаза при обследовании
днища корпуса судна
|
При
освидетельствовании подводной части корпуса судна, донно-бортовой арматуры и навигационного
оборудования может применяться технология, по которой водолаз один спускается
и производит визуальное обследование поверхности судна. По требованию
инспектора PC водолаз
производит последовательный показ отдельных участков подводной части корпуса
или других элементов судна с помощью подводного телевидения.
При
обнаружении повреждений или дефектов водолаз маркирует поврежденное место
специальным мелом (очерчивает габариты) или марками и сообщает координаты
повреждения на поверхность.
При необходимости
производства замеров обнаруженного повреждения с плавсредства спускается
второй водолаз, который выполняет измерения или фотосъемку повреждения и
поднимается на борт плавсредства. Первый водолаз продолжает обследование, и
при обнаружении других дефектов или повреждений спуск второго водолаза,
выполняющего замеры и фотографирование, повторяется.
Может быть
применена технология обследования корпуса двумя водолазами одновременно. При
этом водолаз, выполняющий замеры, должен иметь с собой необходимый инструмент
для измерения линейных величин. Другие инструменты и приспособления подаются
водолазу при необходимости с борта плавсредства.
Обследование
днища судна водолаз производит челночными движениями от скулового киля до диаметральной
плоскости обследуемого судна и обратно вдоль маркировочного (или подкильного)
конца, оставляя маркировочный конец с кормовой или носовой стороны от себя на
расстоянии видимости маркировочного конца, но не более длины вытянутой руки
водолаза для исключения необследованных площадей (Рисунок 6).
Перемещение
маркировочного конца производится по команде руководителя работ после
информации от водолаза о том, что он достиг бортового киля после двойного
хода: до диаметральной плоскости и обратно. Перемещение маркировочного конца
производится на величину, равную зоне, охваченной водолазом при первом
челночном проходе.
Визуальное
обследование борта судна производится челночными движениями по горизонтали
вдоль борта от грузовой ватерлинии (ГЛВ) на участке, ограниченном отвесами
(Рисунок 4). При обследовании борта судна водолаз движется
вдоль корпуса судна, выдерживая горизонт с помощью наручного глубиномера,
опускаясь или поднимаясь при достижении отвеса на величину, определяемую
руководителем водолазных работ, но не большую двойной видимости под водой.
После
окончания обследования участка подводной поверхности судна, ограниченного
отвесами, производится перестановка маркировочных отвесов или подкильного
конца, и обследование продолжается на следующем участке.
По окончании
обследования одного борта судна производится перешвартовка водолазного бота
на другой борт, и обследование судна продолжается от носа к корме (Рисунок 1).
Обследование
судна у причальной стенки производится по схеме обследования судна на
полигоне с перешвартовкой судна после обследования половины его подводной
части, обращенной от стенки.
Одновременно
с освидетельствованием корпуса судна производится осмотр протекторной защиты,
обтекателей вибраторов эхолотов и гидроакустических станций (в выдвинутом
положении), кингстонных ящиков.
В необходимых
случаях по указанию инспектора Регистра Судоходства производится определение
остаточных толщин обшивки корпуса судна. Положение точек для замеров
остаточных толщин листов на наружной обшивке корпуса судна указывается
инспектором PC.
При
освидетельствовании наружной обшивки корпуса определяются:
- общее
состояние наружной обшивки подводной части судна;
- состояние
сварных или заклепочных швов, степень износа листов обшивки;
- сохранность
окрасочного защитного слоя (в процентах от общей подводной площади) корпуса,
площадь коррозии и ее характер на отдельных участках;
- наличие следов
касания грунта, вмятин, гофр, трещин, нарушение цельности сварных и
заклепочных швов и других повреждений с обязательным замером области
повреждений (общие размеры повреждения, стрелка прогиба, характер
повреждения);
- наличие и
состояние скуловых килей и успокоителей качки;
- состояние
кингстонных ящиков и их защитных решеток, приварных патрубков, донно-бортовой
арматуры, вибраторов эхолотов, лагов, поисковых приборов и т.п. и их
обтекателей;
-наличие и
состояние протекторной защиты;
- состояние
листов наружной обшивки в районе штевней.
|
4. Завершающий этап при освидетельствовании.
|
После
окончания освидетельствования подводной части судна водолазы снимают
временную маркировку, заглушки ДБА, устанавливают на штатные места кингстонные
решетки и противотросовый кожух гребного устройства.
|
5. Оформление результатов освидетельствования.
|
Все данные по обследованию и измерениям заносятся в
соответствующие формуляры и наносятся на чертеж-растяжку наружной обшивки
судна.
Результаты обследования
оформляются протоколом водолазного обследования подводной части судна
(Приложение 7) и актом на выполненные
водолазные работы (Приложение 4).
К протоколу прилагаются
соответствующие фотографии, схемы дефектов (при необходимости) и другие
документы, необходимые для более полной оценки технического состояния
освидетельствованных объектов. В протоколе подробно указываются результаты
водолазного обследования: корпуса, протекторной (или катодной) защиты,
кингстонных решеток, скуловых килей, а также бортовых килей (при их наличии),
валопровода и движителей, рулевого устройства, электрорадионавигационного
оборудования, а также дополнительные сведения об объектах
освидетельствования.
Инспектор Регистра на основании увиденного на экране
телевизора технического состояния объекта, протокола водолазного обследования
и акта судовой комиссии, составляет акт освидетельствования судна (Приложение
8). Этот акт служит
основанием для зачета подводного освидетельствования.
Оформленные экземпляры
протокола и акта, а также чертежи, использованные в работе, передаются
заказчику.
|
Охрана труда
При выполнении
работ по освидетельствованию подводной части корпуса судна на плаву следует
руководствоваться РД
31.84.01-90 «Единые правила безопасности труда на водолазных работах».
При
работе под водой с кабельным телевизионным оборудованием следует соблюдать
правила эксплуатации и меры предосторожности в соответствии с эксплуатационной
документацией на телевизионное оборудование, не допускать повреждения
электрического кабеля.
При
работе с подводной телекамерой и манипуляциями с маркировочным отвесом
необходимо следить, чтобы отвес не перехлестнулся с кабелем питания телекамеры
и коммуникациями водолаза.
Обследование
корпуса судна, имеющего выступающие части, разрывы листов обшивки или скуловых
килей должно выполняться осторожно, не допуская появления травм водолаза,
повреждения или запутывания частей водолазного снаряжения и его коммуникаций.
При
работе двух водолазов под водой в одно время и в одном районе между ними должно
соблюдаться необходимое безопасное расстояние.
При
выполнении совместных действий (показ по телевидению процесса измерения)
водолазы должны постоянно следить за своими коммуникациями, чтобы они не
перепутались.
Материально-техническое снабжение
№ п/п
|
Наименование
изделий
|
Количество
|
1
|
Морской водолазный бот, рейдовый водолазный бот
или катер с установленной компрессорной водолазной станцией
|
1 (по
необходимости 2 - 3)
|
2
|
Электромегафон
|
по
потребности
|
3
|
Диск белый
|
по
потребности
|
4
|
Глубиномер
|
по
потребности
|
5
|
Отвес маркировочный из растительного или
синтетического волокна
|
по
потребности
|
6
|
Планка-шаблон
|
по
потребности
|
7
|
Рамка для определения площади сохранившегося окрасочного
слоя на обшивке судна
|
по
потребности
|
8
|
Марка магнитная
|
по
потребности
|
9
|
Бухтиномер
|
по
потребности
|
10
|
Рейка измерительная
|
по
потребности
|
11
|
Линейка
|
по
потребности
|
12
|
Измеритель сварных швов
|
по
потребности
|
13
|
Набор шаблонов для контроля размеров сварных швов
|
по
потребности
|
14
|
Слепкосниматель
|
по
потребности
|
15
|
Пластилин, набор
|
по
потребности
|
16
|
Штангенциркуль
|
по
потребности
|
17
|
Мел, вываренный в соле
|
по
потребности
|
18
|
Ультразвуковой толщиномер подводный
|
по
потребности
|
19
|
Подводная телевизионная установка
|
по
потребности
|
20
|
Средства подводного освещения
|
по
потребности
|
21
|
Фотоаппаратура
|
комплект
|
4.2. Очистка от обрастания корпуса судна под водой
Общие положения
Технологическая
карта устанавливает подготовку и ведения работ по очистке корпуса судна от
обрастания при помощи ручных механизированных машинок и механизированных
устройств.
Очистку от
обрастаний производят в период нахождения судов на межрейсовой стоянке в порту,
на внешнем рейде, который не сильно загрязнен и обеспечивает хорошую видимость.
Глубина под корпусом очищаемого судна до грунта должна быть не менее 2 м по
всей длине, с учетом амплитуды колебания судна при волнении. Очистку производят
с целью:
- удалить
обрастание без вывода судна из эксплуатации;
-
поддержать эксплуатационные характеристики судна;
-
исключить или сократить продолжительность докования;
-
экономить топливо.
К
водолазным работам по очистке судов от обрастания допускается персонал,
прошедший специальную подготовку и практически освоивший Правила, методику и
технику безопасности работы и получивший допуск к самостоятельным работам.
Руководитель
водолазных работ проводит инструктаж с водолазами и лицами, обеспечивающими
спуск по технологии выполнения работ и безопасным методам труда, знакомит их со
схемой очистки, определяет средства для обеспечения водолазных работ.
Руководитель водолазных спусков (старшина-бригадир водолазной станции)
распределяет обязанности между водолазами, обслуживающим персоналом, определяет
время пребывания водолазов под водой, контролирует подготовку технических
средств.
Перед
началом водолазных работ капитан обслуживаемого судна должен ознакомиться с
обязательством (допуском) по обеспечению безопасных условий труда водолазов,
переданным руководителем водолазных работ и принять необходимые меры.
Работа
водолазов по подводной очистке судов от обрастаний производится в легко
водолазном снаряжении плавательного типа, относится к категории тяжелого
физического труда. Особенно очистка оконечностей судна, когда применение
современных механизированных средств очистки в труднодоступных местах
невозможно и для очистки используются скребки и металлические щетки (водолаз,
сидя или стоя на беседке, подведенной непосредственно к месту работы, сдирает
обрастание вручную).
При длине
судна до 70 м очистку рекомендуется вести от одной установки при работе двух
водолазов, которые очищают одновременно два борта. При длине судна от 70 до 140
м рекомендуется работы вести с двух катеров, т.е. работают 4 водолаза, причем
каждая установка обслуживает один борт. При длине более 140 м - количество
установок должно быть не менее трех: два катера швартуются по бортам на расстоянии
примерно трети длины корпуса от носа, а третий катер на корме (очистка
кормового подзора и прилегающих к корме участков борта).
Если
работу выполняют два водолаза одновременно, они перемещаются по горизонтали
параллельно самим себе и ватерлинии судна.
Спуск и подъем водолаза производится с водолазного бота или с судна и в
соответствии с требованиями РД
31.84.01-90 «Единые правила безопасности труда на водолазных работах».
Состав работ
|
Технология выполнения работ
|
1. Водолазный осмотр.
|
Перед
очисткой подводной части корпуса судна, должен быть проведен водолазный осмотр,
в ходе которого определяются условия и возможности выполнения очистки,
характер и степень обрастания, состояние и сохранность защитного покрытия
наружной обшивки, имеющиеся конструктивные особенности подводной части судна.
Осмотр может быть произведен визуально, а также с применением подводного
телевидения или фотографирования отдельных характерных участков (см.
технологическую карту № 1.1 и 4.1). Следует осмотреть один борт или его часть,
кормовую часть днища, кормовой подзор.
По
результатам осмотра, производится оценка степени обрастания, выбирается режим
работы (в заданный период времени) и тип ворса щеток (следует отдавать
предпочтение синтетическому ворсу - в меньшей степени повреждает защитное
покрытие наружной обшивки).
|
2. Очистка подводной части судна:
2.1 Очистка ручными механизированными машинками
типа DS-500

|
Вытравить за борт
гидравлические шланги машинки на необходимую длину. Проверить работу ручной
машинки пробным включением на холостом ходу не прижимая ее к поверхности
обшивки борта.
Скорость
вращения машинки при очистке высока, поэтому возникает эффект присасывания, что
значительно облегчает ведение процесса очистки. Водолаз, создавая перекос в
прижатии, управляет машинкой и заставляет ее двигаться в нужном направлении
посредством развивающейся центробежной силы. Водолаз может регулировать
скорость перемещения щетки по очищаемой поверхности (работая ластами).
Водолаз находится под водой в горизонтальном положении и держит машинку на
уровне груди. Передвигается челночными движениями, начинает, как правило, от
действующей ватерлинии от кормы в нос и обратно отрезками пути длиной до 40
м, постепенно углубляясь. Амплитуда челночных движений может быть снижена до
необходимой, в зависимости от доступности места и значительной кривизны.
В зависимости
от усилия прижатия щетки, степени видимости, качества очистки, состояния корпуса
и степени кривизны очищаемой поверхности, скорость передвижения водолаза
колеблется в пределах 5 - 9 м/мин. Ширина очищаемой полосы составляет около
200 - 250 мм. Очередной проход машинкой делается так, чтобы щетка слегка
перекрывала ранее очищенную полосу обшивки судна. Средняя производительность
очистки составляет 1 - 1,25 м2/мин.
Площадь
очистки обслуживаемого судна ручными механизированными машинками может быть
до 100 %, в зависимости от его размерения, но предпочтительнее очищать
ручными машинками площади подводной части трудно доступные или значительной
кривизны.
|
2.2 Очистка подводной части корпуса судна
устройством «Браш-карт»
|
Большую часть
очищаемой площади корпуса судна под водой составляют поверхности малой
кривизны. Их целесообразно очищать механизированным устройством типа
«Браш-карт».
Вытравить
гидравлические шланги устройства на необходимую длину. Отрегулировать
плавучесть устройства и отбалансировать его. Не прижимая устройство к обшивке
борта, проверить его работу пробным включением на холостом ходу.
Водолаз,
управляющий механизированным устройством должен двигаться по борту к
оконечностям челночными движениями, постепенно заглубляясь, начиная от пояса
переменной ватерлинии и переходя затем на днище судна отрезками пути длиной
от 55 - 60 до 70 - 75 м каждый (в зависимости от размерений судна) в одну, а
затем в другую сторону от места стоянки плавтехсредства. Устройство
«Браш-карт» направлять так, чтобы щетки слегка перекрывали очищенную ранее
полосу обшивки судна.
|
2.3 Очистка устройством и ручной машинкой
совмещенно

Обозначения:
- плавтехсредство
- механизированное
устройство
- машина щеточная
ручная
1 ... 2 - цифрами
обозначены положения плавсредств.
Рисунок 1 -
Типовая схема расстановки и перемещения плавсредств
с установками при выполнении очистки судна
(Вариант 1)
|
Предусматривается
два варианта:
Вариант 1 -
Работа по очистке производится одновременно одним механизированным
устройством типа «Браш-карт» и одной ручной машинкой типа DS-500 от каждой установки, размещенной на
плавтехсредстве (на каждой установке работают две водолазные станции в
смену). Чтобы водолазы не мешали друг другу, они работают на разных участках
очищаемой поверхности в зоне работы данной установки.
Вариант 2 - Работа
по очистке производится последовательно: одним механизированным устройством
типа «Браш-карт», а затем двумя ручными машинками типа DS-500 от каждой установки, размещенной на
плавтехсредстве (на каждой установке работают две водолазные станции с двумя
ручными машинками и одна водолазная станция с устройством «Браш-карт» в
смену). Или сначала работают двумя машинками, а затем устройством.
Устройством
«Браш-карт» очищаются прямолинейные участки, ручной машинкой - поверхности
значительной кривизны.
После очистки
участка подводной части судна с одной установки плавтехсредства поднять
водолазов, выбрать гидравлические шланги устройства «Браш-карт» и машинки
типа DS-500 и
поднять их на борт. При необходимости сменить изношенные щетки на новые.
Выполнить
перешвартовку плавтехсредства на другой участок согласно схемы расстановки и
перемещения плавтехсредств (см. рисунки 1 и 2).
- плавтехсредство
- механизированное
устройство
- машина щеточная
ручная
1 ... 6 - цифрами обозначены положения плавтехсредств.

Рисунок 2 - Типовая схема расстановки
и перемещения плавсредств с установками при
выполнении очистки судна (вариант 2).
|
3. Осмотр подводной части судна после очистки.
|
Качество
очистки подводной части судна определяется водолазным осмотром визуально и по
требованию заказчика с применением телевидения или видео- фотосъемки.
|
Все сведения
по очистке подводной части судна и результаты оценки качества работы
отмечаются в акте о выполнении работ по подводной очистке судна от
обрастания.
|
5. Размещение водолазной техники и средств
технического оснащения на штатные места.
|
Промыть и
просушить водолазное снаряжение. Разместить технические средства на штатные
места. Намотать гидравлические шланги устройств на вьюшки. Разместить
очистные устройства на штатные места.
|
|
|
|
Охрана труда
При
выполнении водолазных работ по очистке от обрастания корпуса судна, кроме мер безопасности,
указанных в настоящей технологической карте, надлежит руководствоваться
следующими разделами РД
31.84.01-90 «Единые правила безопасности труда на водолазных работах»:
- общие
положения по использованию водолазной техники;
-
организация водолазных спусков и работ;
общие
требования;
- общие
требования безопасности при проведении водолазных спусков и работ;
судовые
водолазные работы;
работы с
применением механизированного инструмента;
-
медицинское обеспечение водолазов.
Материально-техническое снабжение
№ п/п
|
Наименование
изделий
|
Количество
|
1
|
Морской водолазный бот, рейдовый водолазный бот или
катер с установленной компрессорной водолазной станцией
|
1 (по необходимости 2 - 3)
|
2
|
Плавтехсредство для размещения водолазной техники
|
1
|
3
|
Гидроприводная установка, укомплектованная
механизированным устройством «Браш-Карт»
|
по потребности
|
4
|
Ручные машинки типа DS-500
|
по потребности
|
5
|
Сменно-запасные части к установке и устройствам
|
по потребности
|
6
|
Щетки очистные для устройства «Браш-Карт» и для
ручных машинок DS-500 с ворсом
различных типов
|
по потребности
|
7
|
Фотокамера, видеокамера и подводное телевидение
|
по потребности
|
8
|
Скребки и металлические щетки
|
по потребности
|
4.3. Ремонт гребных устройств (ремонт,
снятие с конуса вала и постановка гребных винтов; выемка и постановка гребных валов;
выпрессовка и запрессовка дейдвудных и кронштейновых втулок)
Общие положения
Технологическая
карта устанавливает порядок выполнения водолазных работ при ремонте гребных
устройств судов при нормальных метеоусловиях в дневное время. Спуск водолаза
производится с водолазного бота или с судна.
Перед
началом водолазных работ капитан и главный (старший) механик обслуживаемого
судна должны ознакомиться с обязательством по обеспечению безопасных условий труда
водолазов, переданным руководителем водолазных работ и принять необходимые
меры. Осмотр и ремонт должны выполняться после принятия мер, предотвращающих
случайное проворачивание валопровода, поворот лопастей гребного винта
регулируемого шага, пера руля или поворотной насадки. Необходимо закрепить
рули, зафиксировать положение лопастей гребного винта регулируемого шага,
ввести в зацепление и застопорить валоповоротное устройство, предварительно
проверив исправность его действия. Руководитель водолазных работ производит
инструктаж с водолазами и лицами, обеспечивающими спуск, по технологии
выполнения работ и безопасным методам труда, знакомит водолазов по чертежам с
устройством крепления винта на валу, определяет средства для обеспечения
водолазных работ. Руководитель водолазных спусков (старшина-бригадир водолазной
станции) распределяет обязанности между водолазами, обслуживающим персоналом,
определяет время пребывания водолазов под водой, контролирует подготовку
технических средств и инструмента для использования по назначению. Производится
водолазное обследование гребного устройства, его очистка от обрастания и
коррозии.
Определяется
вид повреждения, уточняется конструкция крепления винта, наличие защитного кожуха,
размеры зазоров, гаек, количество стопоров и др. На случай применения взрывного
способа снятия винта измеряется его заглубление в воду и расстояние от винта до
наружной обшивки корпуса судна. Гребной винт устанавливается в такое положение,
чтобы шпоночные пазы расположились в диаметральной плоскости.
Положение гребного
винта следует изменять вручную при помощи
валоповоротного устройства и только по команде
работающего водолаза. По данным
обследования и измерений выбирается способ выполнения работ.
Водолазные
работы при ремонте гребных устройств выполняются водолазной станцией,
обеспеченной техническими средствами и укомплектованной количеством водолазов в
зависимости от условий, глубины спусков и характера выполняемых работ.
Спуски подъем водолазов производится в соответствии с требованиями РД
31.84.01-90 «Единые правила безопасности труда на водолазных работах».
Состав работ
|
Технология выполнения работ
|
1. Ремонт, снятие с конуса вала и постановка
гребных винтов (работы проводятся с водолазной беседки).
1.1. Исправление и замена лопастей винта.

1 - ступица
винта; 2 - съёмная лопасть винта; 3 -
фланец съемной лопасти; 4 - крепление лопасти
(шпильки); 5 - обтекатель; 6 - крепление обтекателя;
7 - цементировка.
Рисунок 1 -
Гребное устройство
|
При замене
лопастей съёмно-лопастных винтов (Рисунок 1) водолаз
очищает головки шпилек от цементного покрытия, гаечным ключом вывертывает
шпильки и сдвигает предварительно остропленную лопасть со ступицы. При
поломке шпилек, водолаз, отделив лопасть, высверливает по центру шпильки
отверстие, забивает в него трех- или четырехгранный металлический стержень и
поворачивая его ключом, вывертывает обломанную шпильку.
При угле
загиба до 20°, толщине металла не более 20 мм для сплава на медной основе и 5
мм для стали, устранение погнутости лопасти осуществляется водолазом правкой.
Правку лопастей винта водолаз выполняет кувалдой или с помощью специального
приспособления (Рисунок 2). При работе кувалдой с противоположной стороны к
лопасти прижимают шаблон или кувалду большей массы, такой вид правки
применяется на катерах и других судах малого водоизмещения. При значительных
повреждениях винта гребное устройство демонтируется и винт снимается.

1 -
подвешивающее устройство; 2 - гидроцилиндр; 3 -
насос; 4 - станина; 5 - рама; 6 - упор;
7 - рычаг; 8 - матрица; 9 - пуансон;
10 - лопасть винта.
Рисунок 2 - Приспособление для
правки лопастей гребных винтов
|
1.2. Снятие обтекателя и
нажимной гайки.
|
Водолаз освобождает пневматическим молотком гнезда болтов
крепления обтекателя и срезает электрокислородным способом или вручную
стопорные планки. Зубилом или керном наносит метки на ступице и обтекателе
для правильной установки его при сборке. Вывертывает сальниковую пробку и на
её место ввертывает рым, за который стропит обтекатель (или обвязывает
обтекатель концом). Конец крепится на турачке швартовного механизма на палубе
судна. Если обтекатель приварен к ступице винта, его срезают
электрокислородной резкой. Водолаз отвертывает гайки шпилек или головки
стопоров (в зависимости от конструкции) крепящие обтекатель специальным
ключом, который вращают тросом выбираемым палубным механизмом по командам
водолаза. Когда обтекатель начнет отворачиваться без усилий, водолаз снимает
его с последних витков и на закрепленном канате подает на поверхность.
Для снятия нажимной гайки водолаз распшлинтовывает и
выбивает кувалдой с использованием латунной выколотки стопорный палец. Затем
отворачивает нажимную гайку, используя ключ с удлиненными рычагами, к
которому крепится выбираемый с палубы конец. При снятии нажимной гайки
следует учитывать направление вращения винта. У винтов правого вращения гайка
имеет левую резьбу и наоборот. Если гайку не удается сдвинуть с места, то на
рычаг ключа устанавливают трубу, в которой свободно ходит груз массой 60 - 70
кг. По командам водолаза груз поднимают на конце и опускают на рычаг ключа.
После сдвига с места гайку отворачивают на несколько оборотов, оставляя на
резьбе до момента сдвига винта с конуса вала.
Используемый при этом
инструмент большой массы должен быть подвешен
на отдельных канатах.
|
1.3. Сдвиг винта с
помощью крючковых болтов.

1 -
лопасть винта; 2 - плита; 3 - крючковые
болты; 4 - гайка; 5 - ступица винта.
Рисунок 3 - Сдвиг винта с
помощью крючковых болтов.
|
Снимаемый гребной винт
должен быть остроплен, а стопорная гайка
ослаблена и оставлена на валу до сдвига
винта с конуса вала. Металлическую плиту со вставленными в неё по количеству
лопастей винта длинными крючковыми болтами с крючьями (Рисунок 3) опускают на концах
водолазу и он заводит крючковые болты за лопасти винта. Затем затягивает
гайки так, чтобы плита располагалась по центру вала перпендикулярно к нему.
Гайки заворачивают ключом с длинным рычагом, к которому крепится выбираемый с
палубы судна конец. Водолаз переставляет ключ на гранях гайки, а также одной
гайки на другую для их равномерной затяжки до тех пор, пока винт не сдвинется
с места.
|
1.4. Сдвиг винта
клиньями.

1 -
лопасть винта; 2 - ступица; 3 - дейдвудная
втулка; 4 - нажимная гайка; 5 - клинья.
Рисунок 4 - Сдвиг винта клиньями.
|
Водолаз устанавливает два комплекта клиньев на
противоположных сторонах винта между ступицей и втулкой дейдвуда (Рисунок 4) и закрепляет их,
подбив кувалдой. Для дальнейшего забивания клиньев используется труба с
грузом. Водолаз направляет и переставляет трубу по мере надобности с одного
клина на другой, наблюдая за сдвигом винта.
|
1.5. Сдвиг винта с
помощью шпилек или съёмника.
|
Шпильки можно использовать для сдвига винтов, имеющих в
торце ступицы отверстия для их ввертывания. Нажимная гайка снимается с вала.
Во избежание падения винта после его сдвига, водолаз закрепляет его стальными
концами, которые проходят в сторону носа судна и обтягиваются. Устройство
состоит из плиты, в которую вставлены три шпильки с гайками и нажимного болта
в центре. После закрепления шпилек в ступице винта, его сдвиг осуществляется
вращением нажимного болта. Водолаз переставляет ключ, который поворачивают с
палубы судна при помощи троса.
Съёмник, состоящий из стакана с нажимным болтом, можно
использовать только для сдвига винтов, имеющих внутреннюю резьбу в торце
ступицы. Водолаз ввертывает его в ступицу, подтягивает нажимной болт и
переставляет ключ, который вращают концом троса с палубы. Винт должен быть
закреплен так, как при использовании шпилек.
|
1.6. Сдвиг винта гидравлическим пакетом

1 - красно-медная
трубка; 2 - отжимная планка; 3 - ступица
винта; 4 - гребной вал; 5 - промежуточный
диск; 6 - гидравлический пакет; 7 - опорный
диск.
Рисунок 5 - Снятие винта гидравлическим
пакетом
|
При сдвиге винта гидравлическим пакетом используются устройства с
крючковыми болтами или шпильками, не имеющие центрального нажимного болта.
После того, как водолаз установит пакет между
нажимной плитой и дополнительным диском, через которые
проходят шпильки или крючковые болты (Рисунок 5), в пакет подают масло под давлением 90 - 100
кГс/см2. Недостаток - разрыв пакета по швам.
|
1.7. Сдвиг винта при помощи взрыва (см.
технологическую карту 6.1).

1 -
заряды; 2 - бруски; 3 - детонирующий шнур;
4 - свинцовые грузики; 5 - шпонка гребного
вала; 6 - гребной вал.
Рисунок 6 - Схема укладки зарядов
для снятия гребного винта силой взрыва
|
Нажимная
гайка остается на гребном валу, нарезная часть хвостовика гребного вала
обертывается ветошью и парусиной или закрывается специальным стаканом. Вес
заряда определяется по таблицам. Заряды взрывчатого вещества привязываются
нитками к дощечкам толщиной 2,5 - 3 см, связываются между собой штертом и
водолаз навешивает их с двух противоположных сторон вала в зазоре между
торцом ступицы винта и дейдвудом или кронштейном, придвигая вплотную к
ступице винта (Рисунок 6). Носовой конец ступицы винта водолаз обертывает
свинцовым листом, мортиру дейдвуда закрывает стальными листами, а между ними
устанавливает деревянные распорки, заряды обвязывает штертом вокруг вала или
навешивает в них свинцовые грузики. После выхода водолаза на поверхность бот
отходит на безопасное расстояние, ставят в известность судовую администрацию,
команда судна оповещается по трансляции. Подается предупредительный сигнал и
через 2 - 3 мин. включением рубильника производят взрыв обоих зарядов
одновременно. Через 10 - 15 минут после взрыва водолаз опускается и проверяет
положение гребного винта.
|
1.8. Снятие гребного винта.
|
Снятие винта
после сдвига по оси вала производят с помощью трех стальных тросов, которые водолаз
закрепляет за винт. Два троса (подъёмные) водолаз крепит за лопасти винта,
третий (для стягивания винта с вала) за ступицу. Подъёмные концы подают через
канифас-блоки на палубу судна и обтягивают втугую. После этого водолаз
свинчивает нажимную гайку (если это не было сделано ранее). Когда трос,
закрепленный за ступицу винта, натягивают, водолаз, действуя деревянным
брусом как рычагом, сдвигает винт с вала.
|
1.9. Постановка гребного винта.
|
Перед
постановкой винта гребной вал поворачивают так, чтобы его шпонка была сверху.
Водолаз смазывает её солидолом. Гребной винт подводят к валу на тросах в
таком положении, чтобы гнездо шпонки в его ступице было также сверху. Винт
наводят на конус вала по указанию водолаза, который после выхода резьбы из
ступицы навертывает на неё нажимную гайку. Для посадки винта на место
нажимная гайка закручивается. Сначала это сделает ключом водолаз, а затем её
вращают с помощью конца, закрепленного за рычаг ключа и поданного на палубу.
Убедившись в правильной посадке винта, водолаз устанавливает стопор нажимной
гайки и крепит обтекатель.
|
1.10. Выемка и постановка гребных валов.

1 -
дейдвудная втулка; 2 - деревянная пробка.
Рисунок 7 - Забивка пробки
в дейдвудную втулку
|
Водолаз снимает
стопорное кольцо, а на его место устанавливает штатными болтами специальный
стакан на резиновой прокладке, полностью закрывающий выступающую часть
гребного винта. Затем изнутри судна отворачивают нажимную втулку сальникового
уплотнения и проверяют герметичность стакана. После этого выкатывают
промежуточный вал, концевой вал затягивают талями. Вместо нажимной втулки
сальникового уплотнения устанавливают заглушку из листовой стали с резиновой
прокладкой. При отсутствии специального стакана используется деревянная
пробка с цементной заливкой выбранная по размеру дейдвудной втулки (Рисунок 7). Водолаз
наблюдает за затаскиванием вала внутрь корпуса и в тот момент, когда
хвостовик вала скроется в мортире дейдвуда (углубится на 200 - 300 мм)
закрывает дейдвуд подготовленной пробкой. Если дейдвудная втулка короткая, то
водолаз останавливает движение вала внутрь, заводит пробку и забивает её,
после чего продолжается дальнейшая выемка вала. При фильтрации пробки водолаз
конопатит зазор смоляной паклей.
Постановка
гребного вала на место производится в соответствии с технологией выемки,
только в обратном порядке. Водолаз проверяет состояние герметизации мортиры
дейдвуда. Заглушку на сальнике снимают, а вал талями заводят в дейдвудную
трубу и устанавливают на место. Деревянную пробку выталкивают при этом валом.
Если был поставлен специальный стакан, то вал заводят в кормовую дейдвудную
втулку почти на всю длину, затем водолаз снимает стакан и вал устанавливают
на место.
|
1.11. Выпрессовка и запрессовка дейдвудных и
кронштейновых втулок.
|
После
установки водолазом деревянной пробки, концевой вал удаляют из дейдвуда. В
дейдвудную трубу изнутри корпуса заводят две половины разъёмного фигурного
фланца в размер трубы с выточкой для дейдвудной втулки. Гребной вал заводят в
дейдвудную трубу и упирают в середину фланца. При помощи установленного в
ахтерпике домкрата гребной вал подают внутрь дейдвудной трубы, выжимая втулку
в воду. Как только фланец втулки отойдет от мортиры дейдвуда настолько, что
её можно застропить, водолаз стропит её канатом, спущенным с палубы. По
выходе втулки из мортиры водолаз перестрапливает её и подает команду для
подъёма втулки наверх. Вал подвигают внутрь судна, после чего водолаз ставит
новую деревянную пробку (по размеру дейдвудной трубы). Выпрессовка
кронштейновых втулок производится аналогично, однако вал подается внутрь
судна только до тех пор, пока он не выйдет из кронштейновой втулки на
расстояние, достаточное для установки водолазом нажимного фланца.
При
запрессовке кормовых дейдвудных втулок используют универсальное
приспособление. Штангу этого приспособления заводят изнутри судна через
отверстие в металлической заглушке до упора в деревянную пробку. Водолазу на
концах подают застропленную втулку и детали приспособления (нажимную планку,
резиновую прокладку и гайку). Водолаз подает втулку к дейдвудной трубе. По
его команде изнутри судна штангой выбивают деревянную пробку и продвигают её
до помещенной на начале резьбы нажимной гайки. Водолаз просовывает штангу
через втулку, надевает резиновую прокладку и нажимную планку, слегка
затягивает от руки гайку. Затем ориентирует втулку по рискам относительно
дейдвудной трубы, поправляет нажимную планку и прокладку, подвертывает гайку,
создавая натяг, и подает команду для запрессовки втулки. Когда втулка дойдет
до места, водолаз крепит её фланец к мортире дейдвуда при помощи штатных
шпилек, затем отворачивает гайку, снимает нажимную планку и прокладку и
подает команду затащить внутрь корпуса штангу. Не дожидаясь, пока штанга
будет полностью вынута, устанавливает на дейдвудную втулку деревянную или
металлическую заглушку.
|
2. Размещение водолазной техники и средств
технического оснащения на штатные места.
|
Размещение
водолазной техники в исходное положение производится в соответствии с
требованиями Инструкций по эксплуатации.
|
Охрана труда
При
выполнении водолазных работ по ремонту гребных устройств кроме мер
безопасности, указанных в настоящей технологической карте, надлежит руководствоваться
следующими разделами РД
31.84.01-90 «Единые правила безопасности труда на водолазных работах»:
-
организация водолазных спусков и работ:
общие
положения по организации водолазных работ;
погружение
водолаза;
подъём и
раздевание водолаза
- общие
требования безопасности при проведении водолазных спусков и работ
общие
требования;
судовые
водолазные работы;
подводные
электросварочные работы;
подводные
взрывные работы;
работы с
применением механизированного инструмента;
работы на
течении;
работы
при отрицательных температурах наружного воздуха, а также со льда и подо льдом;
-
медицинское обеспечение водолазов.
Материально-техническое снабжение
№ п/п
|
Наименование
изделий
|
Количество
|
1
|
Морской водолазный бот, рейдовый водолазный бот
или катер с установленной компрессорной водолазной станцией
|
1 (по необходимости 2 - 3)
|
2
|
Двухвесельная рабочая шлюпка
|
1 (по необходимости 2 - 3)
|
3
|
Беседка рабочая водолазная
|
1
|
4
|
Установка подводной резки и сварки
|
(комплект) 1
|
5
|
Специальные съёмные и универсальные приспособления
(гидравлический пакет, спец. стакан, набор клиньев, метал, плита с крючковыми
захватами, труба с грузами и др.)
|
по потребности
|
6
|
Серповидный ключ, ключ с удлиненным рычагом, ключи
гаечные двухсторонние размером от 14 до 32 мм
|
по потребности
|
7
|
Средства взрывания, ВВ, взрывная машинка
|
(комплект)
|
8
|
Стропы, канаты, тросы (стальные, растительные,
синтетические)
|
по потребности
|
9
|
Струбцины, домкраты, талрепы, такелажные скобы, зажимы
для стальных канатов, канифас-блоки, тали, лебедки ручные, с эл. (мех)
приводом
|
по потребности
|
10
|
Ящик инструментальный
|
по потребности
|
11
|
Пневматический инструмент, ручная дрель, отвертка,
кувалда, молоток, зубило, выколотка, шаблоны, метал, стержни, лом, ведро и
др.
|
по потребности
|
12
|
Лесоматериал (брусья, доски и др.)
|
по потребности
|
13
|
Прокладки (резиновые, свинцовые), листовая резина
|
по потребности
|
14
|
Пакля, солидол, смола.
|
по потребности
|
15
|
Металлические и деревянные заглушки (деревянная
пробка с цементной заливкой), стальные листы, свинцовые грузики
|
по потребности
|
16
|
Установка подводная осветительная
|
по потребности
|
4.4. Ремонт рулевых устройств (устранение
отклонения пера руля от диаметральной плоскости; ремонт рулей, петель, деталей
крепления; восстановление кожухов и обтекателей, съёмка и установка лотков)
Общие положения
Технологическая
карта устанавливает порядок выполнения водолазных работ по ремонту рулевых
устройств судов при нормальных метеоусловиях в дневное время. Спуск водолаза
производится с водолазного бота или с судна.
Руководитель
водолазных работ производит инструктаж с водолазами и лицами обеспечивающими
спуск по технологии выполнения работ и безопасным методам труда, знакомит
водолазов по чертежам с устройством руля, определяет средства для обеспечения
водолазных работ. Руководитель водолазных спусков (старшина-бригадир водолазной
станции) распределяет обязанности между водолазами, обслуживающим персоналом,
определяет время пребывания водолазов под водой, контролирует подготовку
технических средств и инструмента для использования по назначению.
Перед
началом водолазных работ капитан и главный (старший) механик обслуживаемого
судна должны ознакомиться с обязательством по обеспечению безопасных условий
труда водолазов, переданным руководителем водолазных работ, и принять
необходимые меры. Осмотр и ремонт рулевого устройства должны выполняться после
принятия мер, предотвращающих случайное проворачивание валопровода, поворот
лопастей гребного винта регулируемого шага, пера руля или поворотной насадки.
Предварительно
проводится водолазное обследование руля, его очистка от обрастания и коррозии.
Определяется вид повреждения, уточняется конструкция рулевого устройства. По
данным обследования выбирается способ выполнения работ, соответствующий
инструмент и материалы.
Водолазные
работы по ремонту рулевых устройств выполняются водолазной станцией,
обеспеченной техническими средствами и укомплектованной количеством водолазов в
зависимости от условий, глубины спусков и характера выполняемых работ.
Спуск и подъем водолаза производится в соответствии с требованиями РД
31.84.01-90 «Единые правила безопасности труда на водолазных работах».
Состав работ
|
Технология выполнения работ
|
1. Ремонт рулевых устройств.
1.1. Устранение отклонения пера руля от
диаметральной плоскости.
|
Перекладка
руля в процессе ремонта производится вручную талями без использования привода
рулевой машины по команде водолаза. При этом водолаз должен быть на
безопасном расстоянии от руля.
Для
согласования показания рулевого указателя с действительным положением руля
водолаз наблюдает за перекладкой руля на оба борта и докладывает наверх о его
положении. Когда руль полностью переведен на один из бортов, стрелку
указателя закрепляют в соответствующем крайнем положении. При переводе руля
на противоположную сторону стрелка должна показать такой же максимальный угол
для другого борта. Затем руль по определению водолаза устанавливают в
диаметральной плоскости (стрелка указателя при этом должна занимать нулевое
положение). Под наблюдением водолаза руль несколько раз выводят из
диаметральной плоскости и снова возвращают в исходное положение.
|
1.2. Ремонт рулей, петель.

1 -
рудерпост; 2 - скоба; 3 - стропка; 4 -
перо руля; 5 - просверленное отверстие.
Рисунок 1 -
Крепление сорванного руля

1 - струбцина; 2 - планка; 3 - перо руля.
Рисунок 2 - Постановка планки на перо руля
|
Для создания опоры водолазу в месте производства работы должна быть
установлена водолазная рабочая беседка. Используемый инструмент большой массы
должен быть подвешен на отдельных канатах.
При заклинивании руля водолаз ослабляет болты,
приотдавая гайки навесных петель. Если это не помогает, водолаз поочередно
отворачивает гайки, выбивает болты крепления и определяет, где происходит
заедание. Болты немного стачиваются и устанавливаются на место.
Если руль сорван с петель или погнут баллер,
водолаз крепит перо руля к рудерпосту с помощью стальных стропок (Рисунок 1). Для этого в пере руля водолаз просверливает
пневматической сверлильной машинкой с двух сторон отверстия возможно большего
диаметра. Пропуская в отверстия пеньковый конец, измеряет им необходимую
длину стропок. Стропки из стального троса с навешенными на их огоны такелажными
скобами подают водолазу. Водолаз пропускает стропки в отверстия, обводит
вокруг рудерпоста и концы соединяет скобами. После этого проверяют движение
руля на оба борта и согласовывают его положение с указателем.
При поломке руля, которое требует дополнительных креплений, водолаз снимает необходимые размеры
для заготовки планок и зачищает места для их установки. На планках делается
необходимое количество отверстий под болты. Водолаз укрепляет планки с
помощью струбцин и размечает места не пере руля для сверления отверстий
(Рисунок 2). Затем, сняв планки, сверлит отверстия. На
готовые отверстия устанавливает планки и закрепляет их болтами. Каждый болт
должен иметь гайку и контргайку.
|
1.3. Восстановление срезанных кожухов и
обтекателей руля.
|
Изготовленный
по чертежам кожух (обтекатель) подают к месту приварки подвешенным на двух
концах за временные обуха. По команде водолаза, регулируя положение
натяжением концов, кожух (обтекатель) устанавливают на место. Водолаз сваркой
прихватывает его к перу руля, затем заваривает по контуру прилегания
валиковым швом (См. технологическую карту № 5.1) и срезает временные обуха.
|
1.4. Ремонт деталей крепления. Восстановление
стопоров.
|
Водолаз
срезает электрокислородной резкой дефектные стопора (См. технологическую
карту № 5.2), затем с
помощью зубила или электрокислородной строжки подготавливает поверхность и
приваривает новый стопор ручной сваркой (См. технологическую карту № 5.1).
|
1.5. Заполнение полостей деталей портландцементом
|
Разрушенная цементировка
восстанавливается заполнением замазкой, которая подается в целлофановом
мешке. Состав замазки для заполнения полости деталей:
одна часть
портландцемента марки 60;
одна часть
песка кварцевого;
две части 10
%-го хлористого кальция или жидкого калиевого стекла.
Раствор
приготовляется на пресной воде до густоты крутого теста. Водолаз замазывает
полости, выжимая из мешка раствор, как из тюбика. Для предотвращения размыва
места замазки покрывает парусиной и обвязывает. После затвердевания раствора
водолаз снимает парусину, места обмазки зачищает для обеспечения обтекаемости
с помощью шабера-скребка или зубила и молотка.
|
1.6. Съёмка и установка лючков пера руля.

1 - перо руля; 2 - рабочая водолазная
беседка; 3 - лючок; 4 - удлинительный болт;
5 - магнитно-вакуумный присос; 6 - грузовой
конец.
Рисунок 3 - Съемка и установка лючков и кожухов
|
При съёмке
лючка водолаз вывертывает центральный нижний винт и на его место ставит
длинный болт или шпильку с законтренными гайками. Если масса лючка менее 10 кГ
устанавливает на нем марку магнитную, при весе более 10 кГ ставит
магнитно-вакуумный присос и принимает с судна грузовой конец, присоединяет
его при помощи скобы (Рисунок 3). Конец обтягивают по команде водолаза. Водолаз
отворачивает все винты лючка снизу до верха, складывает их в ведро. Затем
страгивает лючок монтажным ломиком и опускает его в нижнее положение. По
команде водолаза выбирают слабину грузового конца и поднимают лючок в верхнее
положение. При уплотнении лючка резиновой прокладкой водолаз прикладывает её
по периметру, затем прижимает лючком. Вставляет винт и заворачивает его,
потом вставляет и заворачивает все винты. Вывертывает болт или шпильку в
нижней части лючка и заворачивает на место винт, подтягивает все винты
вразбивку. Снимает магнитно-вакуумный присос, отдает грузовой конец.
|
2. Размещение
водолазной техники и средств технического оснащения на штатные места.
|
Размещение
водолазной техники в исходное положение производится в соответствии с требованиями
Инструкций по эксплуатации.
|
Охрана труда
При
выполнении водолазных работ по ремонту рулевых устройств, кроме мер
безопасности, указанных в настоящей технологической карте, надлежит
руководствоваться следующими разделами РД
31.84.01-90 «Единые правила безопасности труда на водолазных работах»:
-
организация водолазных спусков и работ;
общие
положения по организации водолазных работ;
- общие
требования безопасности при выполнении водолазных спусков и работ;
судовые
водолазные работы;
подводные
электросварочные работы;
работы с
применением механизированного инструмента;
работы на
течении;
работы
при отрицательных температурах наружного воздуха, а также со льда и подо льдом;
-
медицинское обеспечение водолазов.
Материально-техническое снабжение
№ п/п
|
Наименование изделий
|
Количество
|
1
|
Морской водолазный бот, рейдовый водолазный бот или
катер с установленной компрессорной водолазной станцией
|
1 (по необходимости 2 - 3)
|
2
|
Двухвесельная рабочая шлюпка
|
1 (по необходимости 2 - 3)
|
3
|
Беседка рабочая водолазная
|
1
|
4
|
Установка подводной резки и сварки
|
(комплект) 1
|
5
|
Стропы, канаты, тросы (стальные, растительные,
синтетические)
|
по потребности
|
6
|
Лебедки ручные, с эл. (мех.) приводом, тали,
канифас-блоки, струбцины, домкраты, талрепы, такелажные скобы, зажимы для
стальных канатов
|
по потребности
|
7
|
Ящик инструментальный
|
по потребности
|
8
|
Пневматический инструмент (сверлильная машинка),
ручная дрель, отвертка, шпильковерт, кувалда, молоток, зубило, выколотка,
гаечные ключи, шабер-скребок, лом, ведро, шпильки, удлинен, болт
|
по потребности
|
9
|
Лесоматериал (брусья, доски)
|
по потребности
|
10
|
Портландцемент, песок, кварцевый, жидкое стекло и
др.
|
по потребности
|
11
|
Прокладки, листовая резина
|
по потребности
|
12
|
Пакля, солидол, смола
|
по потребности
|
13
|
Марки магнитные, присос магнитно-вакуумный
|
по потребности
|
14
|
Установка подводная осветительная
|
1
|
4.5. Ремонт и постановка забортных устройств (смена
решеток, замена шпилек, очистка кингстонов, постановка протекторов)
Общие положения
Технологическая
карта устанавливает порядок выполнения водолазных работ по ремонту и постановке
забортных устройств на судах при нормальных метеоусловиях в дневное время.
Спуск водолаза производится с водолазного бота или с судна.
Руководитель
водолазных работ производит инструктаж с водолазами и лицами, обеспечивающими
спуск, по технологии выполнения работ и безопасным методам труда, знакомит
водолазов по чертежам и схемам с особенностями забортного устройства,
определяет средства для обеспечения водолазных работ. Руководитель водолазных
спусков (старшина-бригадир водолазной станции) распределяет обязанности между
водолазами, обслуживающим персоналом, определяет время пребывания водолазов под
водой, контролирует подготовку технических средств и инструмента для
использования по назначению.
Работы по
ремонту забортных устройств и очистке кингстонов должны проводиться с беседок
или подкильных трапов. Очистка кингстонов или решеток должна производиться
специальным инструментом, очистка их руками ЗАПРЕЩАЕТСЯ. При осмотрах или
выполнении работ под корпусом судна проходить под килем судна от одного борта к
другому водолазу ЗАПРЕЩАЕТСЯ. Работы у приемных отверстий или отверстий
шпигатов в подводной части корпуса судна могут быть разрешены только после
прекращения приема (истечения) воды через них.
Перед
началом судовых водолазных работ капитан обслуживаемого судна должен
ознакомиться с обязательством (допуском) по обеспечению безопасных условий
труда водолазов, переданным руководителем водолазных работ, и принять необходимые
меры. При стоянке судна в порту водолазные работы по ремонту подводной части
судна должны выполняться только с разрешения администрации порта.
Водолазные
работы по ремонту и постановке забортных устройств выполняются водолазной
станцией, обеспеченной техническими средствами и укомплектованной количеством
водолазов в зависимости от условий, глубины спусков и характера выполняемых
работ.
Спуск и подъем водолаза производится в соответствии с требованиями РД
31.84.01-90 «Единые правила безопасности труда на водолазных работах».
Состав работ
|
Технология выполнения работ
|
1. Ремонт и постановка забортных устройств.
1.2. Съёмка кингстонной решетки.

1 -
корпус судна; 2 - кингстонная решетка; 3
- грузовой конец; 4 - захват; 5 - присос
магнитно-вакуумный; 6 - крючковый болт; 7
- пенопласт; 8 - барашковые гайки.
Рисунок 1 - Снятие днищевой
кингстонной решетки
|
Водолаз очищает
решетку и детали её крепления от обрастания и ржавчины. Расшплинтовывает и
отдает гайки (или винты), оставив наживленными на шпильках две гайки. С
помощью лома отодвигает решетку, крепит её концом, поданным с судна, отдает
оставшиеся гайки, снимает решетку со шпилек и подает наверх. При съёмке
днищевой кингстонной решетки без подъёма её на поверхность водолаз
присоединяет к ней грузовой конец. Конец обтягивается и крепится. Водолаз
заменяет один болт или шпильку удлиненным болтом, отдает остальные гайки
(болты). Сдвигает решетку ломом, снимает её со шпилек (грузовой конец по
команде водолаза слегка травится) и передвигает решетку в сторону, оставляя
её держаться на удлиненном болте. Если вес решетки более 10 кГ, водолаз
устанавливает в центральной части решетки крючковые болты, на которые
надевает листы пенопласта и фиксирует их гайкой-барашком с шайбой (Рисунок 1). Затем
снимает крепление решетки, как указано выше.
|
1.3. Очистка судовых кингстонов.

1 - водолазный шланг; 2 - кингстон; 3 -
водолазная рабочая беседка; 4 - сигнальный
конец.
Рисунок 2 - Очистка судового кингстона
|
После снятия
решетки водолаз очищает выгородку скребками и щетками (Рисунок 2). При небольших
диаметрах кингстонов на выгородку ставят заглушку. Затем, после его разборки,
очищают кингстон изнутри судна. В качестве заглушки можно использовать
металлический диск с отверстиями для винтов, можно также использовать
пластырь, который укрепляют с помощью крючковых болтов, как при заделке
пробоин. Мелкий ремонт кингстонного ящика производит с помощью сварки (см.
технологическую карту № 5.1). Пробка изготовляется по чертежам данного
кингстона, если пробка большого размера, её балластируют. Водолаз, вставив
пробку в отверстие кингстона, обрезает балласт и забивает пробку кувалдой.
После разборки и очистки кингстона изнутри судна, водолаз удаляет пробку и
устанавливает на место решетку.
При разборке
кингстона изнутри судна водолаз находится под водой, чтобы в случае
просачивания воды он мог принять дополнительные меры для устранения течи.
|
1.4. Замена шпилек.

1 - сломанная шпилька; 2 - сверло.
Рисунок 3 - Замена сломанной шпильки
|
Шпильки с
сорванной резьбой водолаз вывертывает шпильковертом и ввертывает новые.
Сломанные шпильки срубает зубилом и молотком, затем набивает керном заходное
углубление и высверливает шпильку сверлильной машиной (Рисунок 3).
Штангенциркулем снимает размеры отверстий для изготовления новых шпилек.
Установку новых шпилек водолаз производит, выполнив прихватку бурта шпильки
электросваркой с внутренней стороны планки.
|
1.5. Установка кингстонной решетки.
|
Решетку подают
водолазу на грузовом конце, сориентированной в требуемом положении. При
установке решетки на шпильках, водолаз навешивает решетку на шпильки,
наживляет гайки крепления, поджимает решетку и затягивает гайки ключом
вразбивку. При креплении решетки винтами, водолаз ввертывает две направляющие
(временные) шпильки, затем штатные винты, вывертывает временные шпильки,
поджимает решетку, затягивает винты вразбивку. При необходимости снимает
пенопласт, крючковые болты и подает их на поверхность.
|
1.6. Постановка
протекторов.

1 - коромысло; 2 - захват; 3 - присоска;
4 - винт прижима; 5 - протектор; 6 -
корпус судна; 7 - грузовой конец.
Рисунок 4 - Подвешивающее устройство
|
Степень
износа протекторов определяется при дефектации по результатам замеров в сравнении
с объемом протекторов по чертежам. Водолаз производит обмер протектора после
обивки рыхлостей и очистки его поверхности стальной щеткой. При замене
протектора водолаз срезает электросваркой или срубает зубилом арматуру
старого протектора, снимает его. Размечает место установки нового протектора.
Протектор размещается и крепится в захватах специального подвешивающего
устройства (Рисунок 4) так, чтобы он был ориентирован в положение
установки на корпусе судна. Устройство вместе с протектором на грузовом конце
подается водолазу. Водолаз прикладывает к корпусу присоски, ориентирует
протектор в положение установки, с помощью винта прижимает протектор к
корпусу судна и приваривает арматуру. После этого отжимает захваты, отрывает
присоски и устройство подает наверх, зачищает сварные швы. Постановка нового
протектора без демонтажа изношенного производится на расстоянии от 1 до 1,5 м
между ними в местах с максимальным сохранением окраски корпуса.
|
2. Размещение водолазной техники и средств
технического оснащения на штатные места.
|
Размещение
водолазной техники в исходное положение производится в соответствии с
требованиями Инструкций по эксплуатации.
|
Охрана труда
При выполнении
водолазных работ по ремонту и постановке забортных устройств, кроме мер
безопасности, указанных в настоящей технологической карте, надлежит
руководствоваться следующими разделами РД
31.84.01-90 «Единые правила безопасности труда на водолазных работах»:
-
организация водолазных спусков и работ
общие
положения по организации водолазных работ;
- общие
требования безопасности при выполнении водолазных спусков и работ
судовые
водолазные работы;
подводные
электросварочные работы;
работы с
применением механизированного инструмента;
работы на
течении;
работы
при отрицательных температурах наружного воздуха, а также со льда и подо льдом;
-
медицинское обеспечение водолазов.
Материально-техническое снабжение
№ п/п
|
Наименование
изделий
|
Количество
|
1
|
Морской водолазный бот, рейдовый водолазный бот
или катер с установленной компрессорной водолазной станцией
|
1 (по необходимости
2 - 3)
|
2
|
Двухвесельная рабочая шлюпка
|
1 (по
необходимости 2 - 3)
|
3
|
Беседка рабочая водолазная
|
1
|
4
|
Установка подводной резки и сварки
|
(комплект)
|
5
|
Лебедки (ручная, с эл. мех. приводом), тали, блоки,
талрепа, такелажные скобы, зажимы для стальных канатов
|
по
потребности
|
6
|
Стропа, тросы, канаты (стальные, растительные,
синтетические)
|
по
потребности
|
7
|
Ящик инструментальный, инструменты и приспособления
(гайковерт гидравлический, реверсивная сверлильная машина, шпильковерт,
специальное подвешивавшее устройство, штангенциркуль, отвертка, пассатижи,
гаечные ключи, кусачки, зубило, молоток, кувалда, лом, шабер-скребок,
металлическая щетка, удлиненный болт, крючковые болты, шпильки и др.)
|
по
потребности
|
8
|
Прокладки, резина листовая
|
по
потребности
|
9
|
Пенопласт полистирольный плиточный
|
|
10
|
Марки магнитные, присос магнитно-вакуумный
|
по
потребности
|
11
|
Установка подводная осветительная
|
1
|
4.6. Сверловка, рубка и другие мелкие работы под
водой (сверловка и прорезание отверстий, рубка металла, рубка и резка троса,
чеканка заклепочных и сварных швов)
Общие положения
Технологическая
карта устанавливает порядок выполнения водолазных работ по сверловке, рубке и
другим мелким работам под водой при нормальных метеоусловиях в дневное время.
Руководитель
водолазных работ проводит инструктаж с водолазами и лицами, обеспечивающими
спуск, по технологии выполнения работ и безопасным методам труда, определяет
средства для обеспечения водолазных работ. Руководитель водолазных спусков
(старшина-бригадир водолазной станции) распределяет обязанности между
водолазами, обслуживающим персоналом, определяет время пребывания водолазов под
водой, контролирует подготовку технических средств и инструмента для
использования по назначению.
К работе с механизированным инструментом
допускаются водолазы, получившие инструктаж по
безопасности труда и правилам эксплуатации данного
инструмента. Водолаз перед началом работы обязан
лично осмотреть механизированный инструмент и
убедиться в его исправности пробным включением.
Водолазные
работы по сверловке, рубке и чеканке выполняются водолазной станцией, обеспеченной
техническими средствами и укомплектованной количеством водолазов в зависимости
от условий, глубины спусков и характера выполняемых работ.
Спуск и подъём водолаза производится с водолазного бота или другого
плавсредства и в соответствии с РД
31.84.01-90 «Единые правила безопасности труда на водолазных работах».
Состав работ
|
Технология выполнения работ
|
1. Производство сверловки, рубки и других мелких
работ под водой.
1.2. Сверловка и
прорезание отверстий.

1 -
скоба; 2 - болт; 3 - дощатый упор; 4
- сверлильная машинка; 5 - упорный стержень.
Рисунок 1 - Приспособление для
упора сверлильной машинки
|
Запрещается
работать механизированным инструментом с плохо укрепленным рабочим органом
(сверлом, зубилом и др.). Менять, трогать руками рабочий орган до полной его
остановки или обрабатывать детали, держа их на весу. Подводный пневматический
инструмент должен иметь шланг для отвода воздуха из зоны работы водолаза.
Перед включением режущего инструмента (сверлильной машинки, пилы и др.)
водолаз должен убедиться, что кабель-сигнал и другие части снаряжения удалены
от рабочего органа на безопасное расстояние. Во время работы водолаз должен
держать механизированный инструмент за рукоятку и следить, чтобы
кабель-сигнал находился сзади него и не имел слабины.
В намеченных
для сверления местах водолаз выбивает в металле керном углубление под сверло,
затем устанавливает приспособление для упора сверлильной машинки (Рисунок 1), принимает
сверлильную машинку и в подвешенном состоянии, направляя сверло в углубление,
устанавливает её под приспособление. Убедившись, что сверло перпендикулярно
плоскости металла и проверив силу нажима сверла, даёт команду на подачу
воздуха и приводит машинку в действие. Если во время пуска сверло не
вращается, следует ослабить его нажим, немного повернув упорный винтовой
стержень. При работе машинки водолаз, поворачивая стержень, равномерно
нажимает на сверло. Закончив сверление, водолаз застопоривает машинку,
удерживая её в том же положении, поворачивает стержень в обратную сторону и
выводит сверло из отверстия. Если необходимо получить отверстие диаметром
более 32 мм, водолаз сначала просверливает отверстие 8 - 10-ти миллиметровым
сверлом, затем подает машинку наверх для замены на сверло большего диаметра.
Отверстия в деревянных конструкциях водолаз сверлит без приспособлений.
Установив конец сверла в намеченное для сверления место, водолаз, удерживая
машинку за рукоятки, начинает сверление. Сначала он слегка нажимает на
рукоятки, когда сверло достаточно войдет в древесину нажим прекращает и
наблюдает за выходом стружки из отверстия. Если машинка начнет
разворачиваться в сторону, обратную вращению сверла, следует остановить её и
вынуть сверло из древесины, очистив тем самым отверстие. При значительной
толщине древесины очищать отверстие от стружки следует периодически, не давая
сверлу остановиться.
|
1.3. Рубка металла.

Рисунок 2 - Рубка углубления
в металле
|
Пневматический
инструмент должен быть отрегулирован. Пуск рубильного молотка в работу
следует производить только после установки зубила в положение для разделки
объекта, если возникнет предположение, что обрезаемая часть конструкции после
окончания резки может упасть или сдвинуться, ее необходимо прикрепить
стропами к основной конструкции.
Для вырубки
окна в металлическом листе (на трубе), обрубки кромки пробоины и т.п. водолаз
устанавливает зубило пневматического рубильного молотка на расстояние 5 - 6
мм от линии сруба с наклоном 40 - 45° к плоскости металла, направив остриё к
линии сруба (Рисунок 2). Запустив молоток, водолаз продвигает его вдоль
сруба, сохраняя принятое положение и первоначально установленное расстояние.
Надрубив металл с одной стороны линии сруба, водолаз переносит молоток на
другую сторону и повторяет операцию. После этого он устанавливает остриё
зубила в образовавшуюся канавку и, удерживая его перпендикулярно к плоскости
металла, делает углубление, прорубая металл.
|
1.4. Резка и
рубка троса.

1 -
свайка; 2 - трос; 3 - прядь троса.
Рисунок 3 -
Расщепление троса свайкой

1 -
перерезаемая прядь троса; 2 - ножницы; 3
- круглая свайка.
Рисунок 4 - Резка ножницами
стального троса
|
Трос
окружностью до 25 мм перерезается без предварительной подготовки.
Трос большей
толщины расчленяется на отдельные пряди. Водолаз с помощью кувалды подбивает
под одну из прядей металлическую свайку (Рисунок 3), в образовавшуюся щель вставляет неподвижный нож
ножниц и затем перекусывает отделившуюся прядь (Рисунок 4). Таким образом,
перерезаются все остальные пряди троса. При отсутствии ножниц трос
разрубается зубилом (Рисунок 5). Для этого его необходимо уложить на твердое
место и разделить свайкой на отдельные пряди, затем разрубить их одну за
другой. Тросы разрезаются ножовкой, если нет ножниц или невозможно уложить
трос на твердое место, чтобы перерубить зубилом. Водолаз намечает рез на
тросе возможно ближе к месту крепления или зажима и по его сторонам
накладывает марки, чтобы перерезанные пряди не развивались и не мешали
работе.

1 -
кувалда; 2 - плоская свайка; 3 - зубило;
4 - перерезаемая прядь троса.
Рисунок 5 - Рубка стального
троса зубилом
|
1.5. Универсальный ручной гидравлический резак.

Рисунок 5 - Универсальный ручной
гидравлический резак УРГР-01М
|
Хорошо
зарекомендовал себя универсальный ручной гидравлический резак УРГР-01М,
предназначенный для резки металлических (синтетических) канатов (стальной до 36
мм), обесточенных кабелей (до 36 мм) и стержней (прутков из легированной
стали) до 16 мм. Его можно использовать на всех освоенных водолазами
глубинах.
|
1.6. Чеканка заклепочных и сварных швов.
|
Уплотнение
заклёпок в обшивке судна водолаз должен производить с водолазной беседки,
включать пневматический молоток без рабочего органа или со вставленным, но не
прижатым к обрабатываемому месту рабочим органом запрещается.
Водолаз,
установив рубильно-клепальный молоток углублением обжимки на головку заклепки
и нажимая на рукоятку, запускает молоток. Во время работы следует отклонять
молоток поочередно во все стороны от вертикального положения на 30 - 40°,
добиваясь плотной усадки краёв головки заклёпки. Если имеется доступ к
заклёпкам изнутри судна, то по командам водолаза там поддерживают кувалдой
соответствующую заклёпку во время работы молотка. Водолаз прекращает работу
молотка, как только будет полностью устранен люфт заклепки и края головки
будут прилегать к обшивке. При усадке стыкового шва и подготовке его под
сварку водолаз устанавливает заправленный зубилом молоток перпендикулярно к
плоскости подготовляемого к сварке металла. Запустив молоток, водолаз, по
мере усадки кромок стыкового шва, продвигает молоток вперед, все время
удерживая его перпендикулярно.
|
2. Размещение водолазной техники и средств
технического оснащения на штатные места.
|
Размещение
водолазной техники в исходное положение производится в соответствии с
требованиями Инструкций по эксплуатации.
|
Охрана труда
При выполнении
водолазных работ по сверловке, рубке и чеканке, кроме мер безопасности,
указанных в настоящей технологической карте, надлежит руководствоваться
следующими разделами РД
31.84.01-90 «Единые правила безопасности труда на водолазных работах»:
-
организация водолазных спусков и работ
общие
положения по организации водолазных работ;
- общие
требования безопасности при выполнении водолазных спусков и работ
общие
требования;
работы с
применением механизированного инструмента;
работы на
течении;
работы
при отрицательных температурах наружного воздуха, а также со льда и подо льдом;
-
медицинское обеспечение водолазов.
Материально-техническое снабжение
№ п/п
|
Наименование
изделий
|
Количество
|
1
|
Морской водолазный бот, рейдовый водолазный бот
или катер с установленной компрессорной водолазной станцией
|
1 (по
необходимости 2 - 3)
|
2
|
Двухвесельная рабочая шлюпка
|
1 (по необходимости
2 - 3)
|
3
|
Беседка рабочая водолазная
|
1
|
4
|
Стропы, тросы, канаты (стальные, растительные,
синтетические)
|
по
потребности
|
5
|
Лебедки (ручная, с эл. мех. приводом), тали, блоки,
талрепа, такелажные скобы, струбцины, зажимы для стальных канатов
|
по
потребности
|
6
|
Ящик инструментальный, инструменты, приспособления
(кусачки, зубило, кувалда, молоток, керн, лом, свайки плоские и круглые, ножовки
по металлу, ножницы для резки стального каната, приспособления для упора
сверлильной машинки, щетки металлические, скребок)
|
по
потребности
|
7
|
Механизированный инструмент (пневматические
сверлильная машинка, рубильный молоток, пила и др.)
|
по потребности
|
8
|
Марки магнитные, присос магнитно-вакуумный
|
по
потребности
|
9
|
Установка подводная осветительная
|
по
потребности
|
5. Подводные электросварочные работы
5.1.
Подводные электросварочные работы с использованием ручной и полуавтоматической
сварки
Общие положения
Технологическая
карта устанавливает порядок выполнения электросварочных работ с использованием
ручной или полуавтоматической сварки при нормальных метеоусловиях в дневное время,
во всех типах водолазных работ, связанных с электросваркой.
Спуск
водолаза производится с водолазного бота, другого плавсредства или с берега и в
соответствии с требованиями РД
31.84.01-90 «Единые правила безопасности труда на водолазных работах».
Подводные
электросварочные работы выполняются водолазной станцией, обеспеченной
техническими средствами и укомплектованной количеством водолазов в зависимости
от условий, глубины спусков и характера выполняемых работ.
Для
производства работ по сварке применяется стационарное оборудование,
расположенное на водолазных или спасательных судах. При отсутствии на судне
стационарного оборудования применяются автономные средства. Автономный
сварочный агрегат должен находиться как можно ближе к месту работы. Обычно
сварочный агрегат располагается на расстоянии 6 - 15 м от места спуска
водолаза. Баллоны с кислородом размещаются не ближе чем в 5 м от агрегата с
двигателем внутреннего сгорания, причем все они должны быть закреплены.
Для
выполнения работ по сварке под водой существующими способами, применяется
следующее оборудование:
- для
ручной электродуговой сварки: электрододержатель ЭПС-2-76, ЭКД-93, электроды
ЭПС-52, ЭПС-А.
В качестве источников сварочного тока применяются штатные судовые
сварочные преобразователи (В-ТПП-400-90, САМ-400, ВД-309П) или автономные
электросварочные агрегаты (АДС-3001У1, ПАС-400-У1, АДД-4001Т1, АДД-4002Т1,
ВАКС-14-60, ВАКС-25-80). ВДУ-506, ВДУ-601 - для полуавтоматической сварки.
Основные ТТХ сварочных агрегатов:
|
|
АДС-3001 VI
|
А-1660
|
АДД-4001Т1
|
АЛД-4002Т1
|
Пределы регулирования сварочного тока, А
|
60 - 350
|
90 - 280
|
60 - 450
|
60 - 450
|
Номинальный сварочный ток, А
|
|
450
|
400
|
400
|
Номинальное рабочее напряжение, В
|
|
220 (380)
|
36
|
36
|
Габариты, мм
|
3000´2000´2530
|
|
2050´950´1300
|
3400´2010´2200
|
Масса, кг
|
1300
АДС-3001 VI исполняется на шасси прицепа марки ТАПЗ
|
|
855
|
1380
|
Основные ТТХ
|
Электрододержателей
|
Электродов
|
ЭПС-2-76
|
ЭКД-86
|
ЭКД-93
(универсальный)
|
ЭПС-52 (для
подводной сварки малоуглеродистых сталей)
|
ЭПС-А (для
подводной сварки аустенитных и низколегированных сталей)
|
Размеры, мм
|
230´40´40
|
280´90
|
|
350
|
350
|
Масса, кг
|
0,75
|
1,8
|
1,8
|
|
|
Номинальный ток сварки и резки, А
|
|
|
400
|
260
|
300
|
Режим
сварки вручную под водой.
Сила тока
определяется по формуле:
I = K×d, где I - сила тока в A; d
-диаметр электрода в мм, К -
постоянный коэффициент равный 40 - 50 А/мм (при сварке методом опирания К = 50
- 60 А/м).
Основные
рекомендации по режимам подводной сварки, приведены в таблице 1 и
таблице 2.
Таблица 1
Режимы подводной
электродуговой сварки электродами
ЭПС-52
на
глубинах до 10 м
|
Толщина свариваемого металла, мм
|
Положение
сварочного шва в
пространстве
|
Напряжение дуги, В
|
Сварочный ток, А
|
Скорость
сварки, м/ч
|
6 - 8
|
нижнее
вертикальное
потолочное
|
30 - 35
30 - 32
30 - 32
|
180 - 200
160 - 180
150 - 170
|
2,5 - 3,0
2,0 - 2,5
1,5 - 2,0
|
10 - 14
|
нижнее
вертикальное
потолочное
|
38 - 40
36 - 38
36 - 38
|
200 - 220
180 - 200
170 - 190
|
2,0 - 2,5
1,8 - 2,0
1,2 - 1,5
|
Таблица 2
Режимы подводной
механизированной сварки
полуавтоматом А-1660 на
глубинах до 10 м
|
Толщина свариваемого метала, мм
|
Положение
сварочного шва в
пространстве
|
Напряжение дуги, В
|
Сварочный
ток,
А
|
Скорость
сварки, м/ч
|
3 - 4
|
нижнее
вертикальное
потолочное
|
25 - 27
25 - 27
24 - 26
|
120 - 140
120 - 140
90 - 110
|
10 - 12
8 - 10
6 - 8
|
6 - 8
|
нижнее
вертикальное
потолочное
|
28 - 30
26 - 28
24 - 26
|
200 - 240
160 - 180
140 - 160
|
8 - 10
6 - 8
5 - 7
|
10 - 14
|
нижнее
вертикальное
потолочное
|
32 - 36
26 - 30
25 - 28
|
250 - 280
180 - 220
140 - 160
|
6 - 8
4 - 6
4 - 6
|
Примечание. При
сварке
на
больших глубинах напряжение
дуги
увеличивается из расчета
2 - 2,5 В на каждые
последующее 10 м
|
Зависимость между
диаметром электрода и
толщиной стали
|
Толщина
стали,
мм
|
Диаметр
электрода, мм
|
1 - 2
|
2 - 3
|
3 - 4
|
3 - 4
|
4 - 10
|
4 - 5
|
12 - 24
|
5 - 6
|
30 - 60
|
6 - 7
|
Рекомендуемые режимы
подводной сварки по
маркам электродов
|
Марка
электрода
|
Æ эл. стержня, мм
|
Толщина
покрытия, мм
|
Род
и
полярность тока
|
Сила
тока
при
сварке в нижнем положении
|
ЭП-35
|
4 - 5
|
0,6 - 7
|
постоянный,
прямая
|
220 - 240
|
УОНИ 13/45П
|
4
5
|
1,0 - 1,1
1,2 - 1,4
|
постоянный,
прямая и
обратная
|
200 - 220
250 - 270
|
ЭПС-5
|
4
5
|
0,7 - 0,9
0,9 - 1,0
|
постоянный,
прямая и
обратная
|
160 - 220
200 - 275
|
ЭПО-55
|
4
5
|
0,9 - 1,1
1,1 - 1,3
|
постоянный,
прямая и
обратная,
переменный
|
240 - 260
300 - 320
|
ЭПС-52
|
4
5
|
|
постоянный,
прямая,
переменный
|
160 - 200
200 - 250
|
Величина тока
при
сварке
вертикальных швов меньше
на
10 %, потолочного шва
- на
15 %
|
Состав работ
|
Технология выполнения работ
|
1. Подготовка к водолазным работам
|
Руководитель
водолазных работ проводит инструктаж с водолазами и лицами обеспечивающими
спуск по технологии выполнения работ и безопасным методам труда, определяет
средства для обеспечения водолазных работ. Руководитель водолазных спусков
(старшина-бригадир водолазной станции) распределяет обязанности между
водолазами, обслуживающим персоналом, определяет время пребывания водолазов
под водой, контролирует подготовку технических средств и инструмента для
использования по назначению.
|
2. Подводные электросварочные работы с
использованием ручной сварки во всех типах водолазных работ.
2.1. Подготовка рабочего места и подготовка
металла под сварку.

а - стыковое; б - внахлестку; в - тавровое;
г - угловое; д - торцевое; е - электрозаклепками.
Рисунок 1 - Типы сварных соединений и швов

а - зазор; b - смещение кромок; a - угол раскрытия шва; р - притупление кромок.
Рисунок 2 - Элементы геометрической формы подготовки
кромок под сварку
|
Рабочее место
очищается от лишних предметов, при необходимости устанавливается водолазная
беседка. Водолаз очищает поверхность металла, подлежащую сварке от грязи,
окалины и ржавчины до блеска шлифовальной машинкой и подготовляет кромки
листов под сварку. Скос кромок производится пневматическим инструментом. Угол
раскрытия делается для стыкового шва 80 - 90° (Рисунок 1 - 2). Для сварки
методом опирания - 120°, размер притупления 3 - 4 мм. При сварке тавровых
соединений - делается односторонний или двухсторонний скос кромок под углом
50 ± 5°. Кромки для углового соединения не делаются (при толщине листов более
8 мм производится односторонний скос). При сварке соединением внахлестку
зазор между листами должен быть не более 1,0 - 1,5 мм.

а - непрерывное; б - прерывистое;
|
а - нормальный; б - усиленный;
|
в - шахматные; г - цепные.
|
в - ослабленный.
|
Длина прерывистого шва 100 - 200 мм,
расстояние между швами 150 - 300 мм
|
|
Рисунок 1-а - Классификация сварных швов
|
Рисунок 1-б - Сечение сварных швов по протяженности
|
|
2.2. Зажигание дуги.

1 - по направлению электрода; 2 - по
направлению шва; 3 - колебательное.
Рисунок 3 - Движение электрода во время сварки
|
Водолаз вставляет
конец электрода, не покрытый замазкой, в держатель, определяет место сварки
и, приняв удобное положение, подает команду о включении тока. Затем
кратковременно прикасается концом электрода к свариваемому металлу и отводит
его назад на 2 - 3 мм. Возбудив дугу, водолаз перемещает электрод по линии
сварного шва с равномерной скоростью производя одновременно три движения
(Рисунок 3): поступательное по оси электрода по мере его плавления
для поддержания длины дуги, движение в направлении линии сварки для
формирования шва и колебательное - поперек шва для получения необходимой
ширины сварного шва. При перемещении электрода без колебательных движений
образуется шов малой ширины (ниточный). Верхний конец электрода должен быть
наклонен в сторону сварщика.
|
2.3. Наплавка валиков в нижнем положении.

В нижнем положении

Снизу
вверх

Сверху
вниз
В вертикальном положении
Рисунок 4 - Движение конца электрода при наплавке
валика.
|
После
возбуждения дуги водолаз наклоняет электрод на 60° по отношению к валику
вправо или влево и начинает перемещать конец электрода по изделию, совмещая
поступательные движения с колебательными и поддерживая постоянную длину
сварочной дуги (Рисунок 4). Скорость перемещения электрода вдоль шва
сочетается со скоростью плавления электрода, конец электрода должен все время
находиться в передней части кратера. Ширину шва не рекомендуется делать
больше трех диаметров электрода. Формирование валика зависит от правильного
подбора величины сварочного тока. При малом токе валик получается высоким, с
плохим приваром (непровар). При правильно подобранном токе валик хорошо
сплавляется с металлом. При большой силе тока валик получается широким, а на
его краях образуются подрезы (См. режимы сварки). При обрыве дуги необходимо
удалить шлак с кратера, снова зажечь дугу на шве выше кратера на 5 - 6 мм и
продолжить сварку.
|
2.4. Наплавка валиков в вертикальном положении.
|
Наплавка ведется
более короткой дугой. Водолаз наклоняет электрод на 10 - 15° от
горизонтального положения в сторону валика и концом электрода делает
зигзагообразные поперечные движения. При наплавке горизонтального валика на
вертикальную плоскость водолаз наклоняет электрод в сторону движения на 75 -
80° и вниз на 10 - 15°. Колебательные движения электродом делаются поперек
валика в виде косого зигзага, перенося образовавшуюся каплю концом электрода
вверх, не отрывая от сварочной ванны.
|
2.5. Наплавка валика в потолочном положении.
|
Водолаз
наплавляет валики небольшого сечения. Наплавка выполняется справа налево
электродом диаметром 4 мм со специальной тугоплавкой обмазкой для образования
козырька. Дуга должна быть короткой. Конец электрода ведется так, чтобы капля
металла, перешедшая в ванну, быстрее выходила из-под температурного
воздействия дуги и затвердевала. Наклон электрода делается в сторону
расположения валика под углом не менее 80° к поверхности наплавки.
Колебательные движения ведутся поперек валика.
|
2.6. Сварка стыковых соединений в нижнем
положении.

а - непровар сечения; б - прожог и натеки;
в - хорошо сформированный шов; г - подварка;
д - двухсторонняя сварка (непровар).
Рисунок 5 - Стыковой шов без скоса кромок.
|
При сварке
стыковым швом металла толщиной до 5 - 6 мм подготовки скосов кромки не
требуется (Рисунок 5). Зазор должен быть 1,5 - 2 мм. При толщине
металла 10 - 12 мм можно производить сварку с двух сторон (без скоса кромок).
Порядок сварки сходен с наплавкой валика. Водолаз начинает выполнение шва со
сварки первого слоя в вершине угла электродом меньшего диаметра, без
колебательных движений (в ниточку). После первого прохода водолаз делает
зачистку шва от шлака и начинает следующий проход с колебательными
движениями. Возбудив дугу на краю скоса кромки, перемещает её к нижней части
шва, проваривает края скосов кромки (корень шва). На скосах кромок движение
электрода замедляет, а при переходе конца электрода с одной кромки на другую
скорость его движения увеличивает. Сварка ведется до тех пор, пока не будет
заполнено все сечение стыка.
|
2.7. Сварка стыковых соединений в
вертикальном положении.

а - положение
и движение электрода;
б - нижнее
положение;
в - вертикальное
положение;
г - потолочное
положение;
д - порядок
выполнения многослойного шва.
Рисунок 6 - Приемы сварки стыкового соединения с
V-образной разделкой кромок
|
Водолаз
зажигает дугу в верхней точке шва и придает электроду сначала
перпендикулярное, а после образования кратера - наклонное положение. Первый
проход сварки ведется сверху вниз, а последующие - снизу вверх. Колебательные
движения делаются поперек шва в виде зигзага или треугольника. В зависимости
от толщины свариваемых листов стыковые швы могут выполняться однослойными и
многослойными. Стыковые швы c V-образной
подготовкой при толщине металла 7 - 8 мм можно варить одним швом с подваркой
с обратной стороны (Рисунок 6). Горизонтальные швы стыковочных соединений на
вертикальной плоскости выполняются в несколько слоев валиками малого сечения.
Во время сварки (если это возможно) лист наклоняют. Если это сделать нельзя,
то у верхнего листа делается скос кромки под углом 30°. Водолаз возбуждает
дугу на нижней горизонтальной кромке, а затем перемещает её на скошенную
кромку. Колебательные движения делаются те же, что и при наплавке валиков
(Рисунок 7).

а - обычный; б - со скосом одной кромки
(наиболее удобный).
Рисунок
7 - Приёмы сварки
горизонтальных швов в вертикальном положении.
|
2.8. Сварка стыковых соединений в
потолочном положении.

Рисунок 8 - Положение и
движение электрода при потолочной сварке
|
Водолаз делает
первый шов без колебательных движений (в ниточку), затем накладывает
несколько слоев валиков. Электрод наклоняет в сторону сварки на 85 - 90°
(Рисунок 8).
|
2.9. Сварка соединений валиковым швом

а -
потолочное; б - нижнее; в - горизонтальное.
Рисунок 9 -
Положение электрода при сварке внахлестку валиковым
швом в различных положениях

Рисунок 10 - Колебательные движения
концом электрода при сварке внахлестку

а -
сварка «в лодочку»; б - сварка «в угол».
Рисунок 11 - Способы сварки
угловых и тавровых швов.
|
Водолаз
направляет электрод в вершину угла свариваемого соединения в нижнем и
вертикальном положениях и наклоняет под углом 45°, при потолочной сварке -
под углом 65° к горизонтали, а также в сторону сварки (по оси шва) на угол
75° от поверхности шва (Рисунок 9). Сварка
соединений внахлест производится в несколько слоев. Первый слой выполняется
на более повышенных режимах тока. Колебательные движения водолаз выполняет
поперек шва в виде треугольника или спирали (Рисунок 10). Для сварки
нахлестных соединений в вертикальном положении водолаз направляет конец
электрода в вершину угла под 45°, движения электродом делает по треугольнику.
Листы толщиной свыше 8 - 10 мм свариваются в два и более слоев. Первый слой
накладывается в вершину угла без колебательных движений «в ниточку»,
электродом меньшего диаметра по направлению сверху вниз, второй и последующие
слои с колебательными движениями снизу вверх. При сварке внахлест
горизонтального шва на вертикальной плоскости электрод направляется в вершину
угла под 45°, колебательные движения - по треугольнику. В потолочном
положении сварка нахлестных соединений выполняется также, как и стыковых,
однослойными или многослойными швами. Водолаз наклоняет электрод к оси шва на
угол 65° и одновременно в сторону ведения сварки на 75°. Колебательные
движения по спирали поперек шва. Сварка угловых и тавровых соединений не
отличается от сварки внахлестку (Рисунок 11).
|
2.10. Сварка опирающимся электродом

Рисунок 12
- Сварка опирающимся электродом
|
Водолаз
устанавливает электрод с толстым прочным слоем обмазки под углом к
свариваемой поверхности изделия, опираясь на неё краем слоя обмазки. После
возбуждения дуги перемещает её по шву с сохранением постоянного угла наклона
электрода. При движении электрода автоматически поддерживается постоянная
длина дуги и подача электрода в зону дуги по мере его плавления. Это
обеспечивается постоянной величиной козырька. Колебательных движений концом
электрода поперек шва не требуется. Изменяя наклон электрода, можно получить
швы различного сечения, чем больше наклон, тем меньше ширина валика.
Выполнение сварочных швов в вертикальном положении производится сверху вниз,
угол наклона вдоль оси шва равен 40 - 45° (Рисунок 12). Водолаз
наклоняет электрод в сторону ведения сварки и ведет его без колебательных движений.
При сварке стыковых, тавровых соединений и листов внахлестку в нижнем
положении, угол наклона электрода по оси шва к поверхности металла равен 60 -
70°, в сторону от оси при сварке в стык - 90°, при сварке валиковых швов -
45°.
|
3. Полуавтоматическая сварка во всех типах
водолазных работ.

1 -
гибкий шланг; 2 - рукоятка; 3 - диэлектрический
чехол.
Рисунок 13 -
Держатель с гибким шлангом полуавтомата А
1660
нахлесточные угловые

Рисунок 14 - Сварка угловых соединений

а - при толщине листа
1 - 5 мм;
б - при толщине листа
свыше 5 мм
Рисунок 15 - Сварка вертикальных
швов

Рисунок 16 - Сварка потолочных швов
|
Полуавтоматическая
подводная сварка применяется для различных соединений малоуглеродистых и
низколегированных сталей при всех пространственных положениях шва в морской
воде на глубинах до 60 м (полуавтомат А-1660). Сварка производится от
специального источника питания типа ПСТ-500. Шкаф управления устанавливается
в зоне водолазного поста. Включение и выключение электродвигателя механизма
подачи, наблюдение за процессом сварки и регулировку параметров режима сварки
осуществляет оператор. В контейнере размещаются механизм подачи и катушки с
электродной проволокой. Перед спуском внутренняя полость контейнера через
заливную горловину заполняется водой. Во время сварки крышка контейнера и
пробка заливной горловины должны быть закрыты. К месту проведения работ
контейнер подается на грузовом канате. Проволока с катушки сматывается при
вращении подающих роликов и по гибкому шлангу поступает в держатель (Рисунок 13), с помощью
которого водолаз-сварщик направляет проволоку в зону сварки. Сварку водолаз
производит при поперечных колебаниях конца электродной проволоки, амплитуда
колебаний не более 10 мм Сварка ведется справа налево или от себя. При сварке
в нижнем положении листы толщиной до 5 мм свариваются без разделки кромок,
толщиной свыше 5 мм - с разделкой кромок. Сварку угловых соединений
полуавтоматом водолаз выполняет, располагая электрод под углом 45° с наклоном
назад на 10 - 15° (Рисунок 14). Сварка вертикальных швов при толщине листа до 5
мм производится сверху вниз, а при большей толщине снизу вверх (Рисунок 15). При этом в
первом случае угол между осью держателя и вертикалью должен быть 80 - 90°, во
втором - 75 - 80°. Сварка потолочных швов выполняется «углом назад» с
наклоном электрода 35 - 40° (Рисунок 16). При
многопроходной сварке каждый последующий слой водолаз накладывает после
тщательной зачистки от шлака предыдущего слоя и исправления замеченных
дефектов.
|
4. Заварка трещин.
|
Заварку глухих
трещин выполняют при толщине обшивки и стенок профилей набора корпуса корабля
не менее 4 - 5 мм. При толщине обшивки менее 4 мм участок заварки
перекрывается заплатой или дублирующим листом.
Устанавливается
следующий порядок работы:
- подрубить
трещину зубилом;
- зачистить
проволочной щеткой до чистого металла;
- начать
заварку с предварительной разделкой кромок.
Заварку
производят до заполнения всего объема трещины. Предыдущий слой перед
наполнением последующего тщательно зачищают от шлака и брызг металла.
Заварку
сквозных трещин производят с предварительной разделкой или полным вырезанием
трещины. Если это невозможно, то концы трещины засверливают (прожигают дугой)
и выполняют заварку.
При
возможности трещину следует проварить и с обратной стороны.
|
5. Постановка заплат.
|
Повреждение
обследуется, рваные края листов обшивки отрезаются. Место приварки заплаты
зачищается до металлического блеска. Измеряется размер пробоины, снимается
шаблон обвода корпуса по месту постановки заплаты.
К обшивке
корпуса по периметру пробоины приваривается 2 - 3 крепежных скобы для
прижимных струбцин (винтов или клиньев), с помощью которых заплата
подгоняется по месту.
Заплата
приваривается к обшивке по контуру прочно-плотным швом нормального сечения (K = 0,7S) или усиленным
швом (К = 8), если необходимо обеспечить повышенную прочность: однослойным
при толщине заплаты до 6 мм и двух- или трехслойными - при толщине заплаты
более 6 мм.
Прихватка
заплаты и последующая ее приварка выполняются обратноступенчатым способом с длиной
ступени около 100 мм.
Заплаты
вырезают из листов малоуглеродистой стали толщиной 4 - 5 мм без острых углов.
Размер их должен быть такой, чтобы края отверстия в корпусе перекрывались на
100 - 150 мм.
Конструкция
металлических заплат выбирается в зависимости от размеров и характера
отверстий, на которые они устанавливаются. При больших размерах к заплате
заблаговременно приваривается набор.
При заделке
пробоин на изогнутой поверхности корпуса предварительно нужно снять шаблон и
по нему изготовить заплату.
Для снятия
кривизны обводов корпуса на участках, имеющих площадь более 1 м2,
применяют специальные приспособления в виде гребенки (рисунок 8) или
«бороны». По снятому шаблону изготовляют каркас (рис. 10) и по нему
делают заплату.
Подгонка
заплат небольших линейных размеров (до 200 - 300 мм) не требует каких-либо
специальных приспособлений. Такую заплату водолаз-сварщик прижимает рукой к
месту установки, делает прихватки, а затем обваривает по контуру.
|
6. Приварка судоподъёмных проушин.
|
Для приварки
судоподъемных проушин следует:
- подготовить
место установки проушины;
- подать
проушину к месту установки и прижать ее струбцинами или навесить на шпильки,
предварительно установленные на корпусе при помощи сварки или ПДП;
- прихватить
проушину и приварить ее, накладывая швы определенной последовательности. С
целью лучшего прилегания подошвы проушины к обшивке увеличения периметра
сварных швов устанавливают электрозаклепки по числу имеющихся для этой цели
отверстий. Проушины грузоподъемностью 80 т приваривают двухпроходным швом,
грузоподъемностью 200 т - трехпроходным швом, причем первый проход делают
электродами диаметром 4 мм, а последующие - диаметром 5 мм.
|
7. Дефекты сварных швов и проверка
выполнения работ по сварке под водой.

а -
подрезы; б - непровар; в - прожог; г -
наплыв; д - трещины; е - увод (смещение);
ж - перерыв шва.
Рисунок 17 - Наружные дефекты
сварных швов
|
Наружные дефекты
сварных швов приведены на Рисунке 17. Внутренними
дефектами являются: непровары между свариваемыми кромками деталей в корне
шва, пережог металла, внутренние трещины, газовые поры и шлаковые включения
не выходящие на поверхность.
|
7.1. Напряжения и деформация при сварке.
|
Для
уменьшения внутренних напряжений и деформаций при подводной сварке применяют:
прихватку, определенный порядок наложения швов, жесткое крепление и
предварительную обратную деформацию.
|
7.2. Проверка выполнения работ по сварке под
водой.
|
Качество
сварки, выполняемой под водой, проверяется внешним осмотром. Для этого под
воду спускается опытный водолаз-сварщик или водолазный специалист. Обнаруженные
дефекты устраняются. Смещение шва - наплавкой дополнительных валиков, подрезы
- наплавкой узких валиков по линии подреза, пропуски - наложением
дополнительного шва, сквозное проплавление - заваркой отверстия.
|
Охрана труда
Работы по
сварке металла в подводной части корпуса судна, находящегося в порту или на
заводе, должны проводиться с разрешения администрации судна, подтвержденного
оформленным «Разрешением на огневые работы на судне», выданным инспектором ВОХР
с указанием мест проведения работ. К выполнению электросварочных работ под
водой допускаются водолазы, прошедшие соответствующее обучение, имеющие
квалификационное свидетельство и допущенные к этим работам приказом
руководителя предприятия.
Перед
началом работ применяемое подводное оборудование, надежность заземления
сварочной установки и источников сварочного тока должны быть проверены
водолазами под руководством старшины водолазной станции.
Изоляция
электрододержателя проверяется перед каждым спуском. Подводную сварку металла
необходимо проводить только в снаряжении, полностью изолирующем водолаза от
воды. Передний иллюминатор или смотровые стекла должны быть закрыты на 2/3
темными защитными стеклами (светофильтрами) или защитными стеклами, которые
могут откидываться в перерывах между работой. Проведение подводных
электросварочных работ без прямой двухсторонней разговорной связи с
водолазом-сварщиком ЗАПРЕЩАЕТСЯ.
Во
избежании прожога водолазного снаряжения, водолаз должен держать
электрододержатель электродом от себя. Браться руками за электрод, находящийся
под напряжением, класть электрододержатель на грунт, беседку или объект сварки
водолазу ЗАПРЕЩАЕТСЯ. Класть электрододержатель можно только после отключения
тока. Смена электродов под водой производится работающим водолазом только после
отключения подводной сварочной цепи и получения об этом подтверждения по
разговорной связи.
При
выполнении подводных электросварочных работ, кроме мер безопасности, указанных
в настоящей технологической карте, надлежит руководствоваться следующими
разделами РД
31.84.01-90 «Единые правила безопасности труда на водолазных работах»:
-
организация водолазных спусков и работ;
- общие
требования безопасности при выполнении водолазных спусков и работ:
общие
требования;
подводные
электросварочные работы;
работы с
применением механизированного инструмента;
работы на
течении;
работы
при отрицательных температурах наружного воздуха, а также со льда и подо льдом;
-
медицинское обеспечение водолазов.
Материально-техническое снабжение
№ п/п
|
Наименование
изделий
|
Количество
|
1
|
Водолазный морской бот (ВМ), ВРД или другое техническое
средство с установленной компрессорной водолазной станцией
|
1 (по
необходимости 2)
|
2
|
Двухвесельная рабочая шлюпка
|
1 (по
необходимости 2)
|
3
|
Беседка рабочая водолазная
|
1
|
4
|
Сварочный агрегат постоянного тока или преобразователь,
электрододержатель, провод сварочный с клеммами, электроды (в комплекте)
|
1
|
5
|
Полуавтомат для электродуговой сварки, провод
сварочный, проволока стальная сварочная Æ 1,6 - 2,0 мм, проволока порошковая сварочная 2 -
1,6 мм
|
1 комплект
|
6
|
Светофильтры стеклянные для защиты глаз,
упроченные, в наборе - 4 шт., С-5, С-6, С-7, С-8
|
1 (комплект)
|
7
|
Стропы, тросы, канаты (растительные, стальные,
синтетические) и лебедки (ручная с эл. мех. приводом), тали, блоки, талрепы, такелажные
скобы, струбцины, зажимы для стальных канатов
|
по
потребности
|
8
|
Ящик инструментальный. Инструменты (молоток,
зубило, кувалда, ключи гаечные, щетки металлические, шабер, секач, скребок и
др.)
|
по
потребности
|
9
|
Механизированный инструмент (пневматический,
рубильный молоток, сверлильная машинка, пила и др.)
|
по
потребности
|
10
|
Марки магнитные, присос магнитно-вакуумный
|
по
потребности
|
11
|
Установка подводная осветительная
|
1
|
5.2. Выполнение электрокислородной резки
металла
Общие положения
Технологическая
карта устанавливает порядок выполнения электрокислородной и экзотермической
резки металла при нормальных метеоусловиях в дневное время во всех типах водолазных
работ, связанных с кислородной и экзотермической резкой.
Водолазные
работы по резке металла выполняются водолазной станцией, обеспеченной
техническими средствами и укомплектованной количеством водолазов в зависимости
от условий, глубины спусков и характера выполняемых работ.
Спуск и
подъём водолаза производится с водолазного бота, другого плавсредства или с
берега и в соответствии с РД
31.84.01-90 «Единые правила безопасности труда на водолазных работах».
Для
производства работ по резке применяется стационарное оборудование,
расположенное на водолазных или спасательных судах. При отсутствии на судне
стационарного оборудования применяются автономные средства. Основные ТТХ
агрегатов см. «Технологическую карту № 5.1».
Для
выполнения работ по резке под водой применяется:
б) для
ручной электрокислородной резки:
- электрододержатель
ЭКД-8б, ЭКД-93,
-
электроды ЭПР-1;
в) для
ручной экзотермической резки
-
электрододержатель ЭКД-93,
-
электроды типа ЭТС-1, 2, 3.
Универсальный
электрододержатель для подводной экзотермической резки ЭДК-93 с электродом ЭТС-1
производит резку всех корпусных сталей, цветных металлов (кроме меди), бетона,
резины, капрона, композитных структур: стали с бетоном и др. на глубинах до 60
м. Снабжен набором сменных цанговых зажимов.
Силу тока
для подводной резки подбирают применительно к толщине разрезаемого металла,
давление кислорода регулируется применительно к глубине, на которой ведется
резка, и толщине металла согласно Таблице 1.
Таблица 1
Режимы подводной электрокислородной резки электродами ЭПР-1 на глубинах до 10 м
|
Толщина разрезаемого
металла, мм
|
5 - 10
|
10 - 15
|
15 - 20
|
20 - 30
|
30 - 40
|
40 - 50
|
50 - 60
|
60 - 80
|
80 - 100
|
> 100
|
Сила тока,
А
|
200
|
220
|
250
|
275
|
300
|
320
|
350
|
350
|
350
|
400
|
Рабочее давление кислорода, кгс/см2
|
1,5 - 2,0
|
2,0 - 3,0
|
3,0 - 4,5
|
4,5 - 5,5
|
5,5 - 6,0
|
6,0 - 6,5
|
6,5 - 7
|
7,0 - 9,0
|
9,0 - 11,0
|
11,0 - 14
|
Примечания:
1 С увеличением глубины на каждые 10 м давление кислорода должно быть увеличено на 1,0 кгс/см2.
2 С
увеличением длины штангов на каждые 30
м давление кислорода должно быть увеличено на
0,5
кгс/см2.
|
Скорость резки зависит от толщины и типа материала. При резке
неметаллических конструкций поджиг электрода проводится на дополнительном устройстве,
состоящем из сварочного кабеля и струбцины с зажатой в ней металлической
пластиной. Давление кислорода регулируется в зависимости от глубины, на которой
ведется резка, и устойчивости горения электрода. Эффективность реза
определяется коэффициентом использования по стали Кn (Таблица 2)
Таблица 2
Kn = длина
реза/длина сгоревшей части электрода
|
Толщина стали, мм
|
1,0 - 1,3
|
10
|
0,7 - 1,0
|
20
|
0,5 - 0,7
|
30
|

где n - количество электродов ЭТС-1;
SIреза - заданная
длина реза, м;
Кn - коэффициент использования по
стали.
В районах с замерзающими на достаточно продолжительное время акваториями
может применяться резка выступающих надводных частей затонувшего судна со льда.
В этих случаях используется резка с помощью керосинорезов,
ацетилено-кислородная и другие способы надводной резки. При выборе линии реза
следует учитывать возможность продолжения работ в летний период.
Режимы и
нормы
расхода электродов и
кислорода на 1 м
реза
при
подводной электрокислородной резке
на
глубинах до 10 м
|
Параметры
режима и нормы
расхода материалов
|
Толщина
разрезаемого металла, мм
|
10
|
20
|
30
|
40
|
100
|
Напряжение холостого
хода,
В
|
50
|
53
|
55
|
60
|
65
|
Напряжение дуги,
В
|
30
|
32
|
33
|
36
|
40
|
Ток резки,
А
|
200
|
250
|
275
|
320
|
350
|
Давление кислорода,
кгс/см2
|
3,0
|
4,5
|
6,0
|
6,5
|
11,0
|
Расход кислорода,
л
|
400
|
600
|
700
|
1080
|
2840
|
Расход электродов,
шт.
|
3
|
6
|
8
|
9
|
25
|
Примечания:
1 С
увеличением глубины на
каждые
10 м
давление кислорода должно быть
увеличено на 1,0 кгс/см2.
2 Длина
шланга -
30 м.
С
увеличением длины шланга
на
30 м
давление кислорода должно
быть
увеличено на 1,75 кгс/см2.
3 Расход
кислорода с увеличением
глубины на 10 м
возрастает на 50 - 70 %.
|
Производительность электродуговой и электрокислородной резки стали под
водой
на
1 м
реза
на
глубинах до 10 м
|
Толщина разрезаемого метала, мм
|
Время
резки,
мин
|
дуговая
|
кислородная
|
экзотермическая
|
5 - 10
|
45 - 78
|
10 - 23
|
2 - 3
|
10 - 15
|
78 - 108
|
23 - 33
|
3 - 4
|
15 - 20
|
108 - 156
|
33 - 45
|
4 - 5
|
20 - 30
|
156 - 210
|
45 - 60
|
5 - 7
|
30 - 40
|
210 - 270
|
60 - 90
|
7 - 10
|
Наиболее
эффективным методом резки металла является экзотермическая резка. Для подводной
экзотермической резки применяются трубчато-стержневые электроды марки ЭТС-1, которые
эффективнее электродов ЭПР-1 в 1,5 - 2 раза. Экзотермическая резка как под
водой на глубине до 60 м, так и на воздухе позволяет производить разделку всех
корпусных сталей толщиной до 30 мм, цветных металлов толщиной до 20 мм (за
исключением меди), неметаллов: резины, капрона, бетона, а также композитных
структур (стали и резины, стали и бетона и т.п.) толщиной до 40 мм.
Основные
технические характеристики электрода ЭТС-1:
1. Толщина разрезаемых материалов, мм:
- сталей до
30
- цветных металлов (АМГ, титана и т.п.) до
20
2. Длина
электрода, мм 400
3. Диаметр
электрода, мм 10
4. Масса
электрода, кг 0,17
5. Расход
кислорода при резке, л 400
- 500
6. Глубина
использования, м до
60
Примечание:
Электрод ЭТС-1 после поджига горит без дальнейшей подачи электрического тока.
Поджиг может осуществляться от любого источника сварочного тока, в том числе от
аккумуляторных батарей. При резке стали толщиной более 25 - 30 мм целесообразно
осуществлять подпитку постоянным сварочным током величиной 150 А.
Во всем мире с одинаковым успехом, как при простых, так и при сложных
водолазных работах на различных глубинах используется оборудование для
подводной экзотермической резки фирмы DIVEX:
электроды для резки размером: 9,5´457 мм, 6´457 мм, 9,5´915 мм; комбинированный электродержатель «DIVEX ULTRATORCH 300».
Состав работ
|
Технология выполнения работ
|
1. Подготовка к водолазным работам
|
Руководитель
водолазных работ проводит инструктаж с водолазами и лицами, обеспечивающими
спуск по технологии выполнения работ и безопасным методам труда, определяет
средства для обеспечения водолазных работ. Руководитель водолазных спусков
(старшина-бригадир водолазной станции) распределяет обязанности между
водолазами, обслуживающим персоналом, определяет время пребывания водолазов
под водой, контролирует подготовку технических средств и инструмента для
использования по назначению.
Кислородные
баллоны должны быть прочно установлены и закреплены, а их вентили и кислородные
шланги продуты. При длительной работе баллоны собирают с помощью коллекторов
в батарею, которая через выходной редуктор соединяется шлангом с
электрододержателем. К держателю присоединяют минусовый кабель от источника
питания (плюсовый к изделию, подлежащему резке). Подачей давления в
кислородный шланг проверяют на герметичность всю систему. Трубчатый электрод
продувают и после установки его в электрододержатель, опуская в воду,
проверяют под давлением на герметичность. Проверка электрической цепи
осуществляется запуском сварочного аппарата и зажиганием дуги на поверхности.
|
2. Выполнение электрокислородной
резки металла.

1 -
баллоны с кислородом; 2 - кислородный редуктор;
3 - кислородный шланг; 4 - электродержатель
ЭКД-4-86; 5 - сварочный кабель; 6
- рубильник; 7 - электрод трубчатый со
специальной обмазкой; 8 - источник питания.
Рисунок 1 - Установка для подводной
электрокислородной резки металла
|
Водолаз
скребком и металлической щеткой очищает от грязи, водорослей и ржавчины места,
намеченные для реза (при применении экзотермической резки не требуется
предварительной зачистки металла). Резы должны быть минимальной длины по
наименьшей толщине металла. Готовятся средства для удобного подъема или
оттаскивания отрезанной части конструкции. При возможности, для
просматривания реза, следует освещать обратную сторону металла. Перед началом
электрокислородной резки регулируется величина тока и устанавливается
требуемое давление кислорода (см. таблицу).
Для начала
электрокислородной резки необходимо:
- расположить
электрод под прямым углом к плоскости реза;
- открыть
подачу кислорода;
- возбудить
дугу, касаясь электродом металла, и обеспечить её устойчивое горение (дугу
необходимо поддерживать непрерывно, для чего нужно нажимать краями козырька
электрода на поверхность металла);
- открыть
кислородный клапан и подать режущую струю кислорода.
Перемещение
электрода начинается с момента сквозного прожигания металла, которое
определяется по прекращению выдувания металла и шлака в сторону резчика
(электрод держат с небольшим наклоном 10 - 15° в сторону, противоположную
реза). При резке металла толщиной свыше 30 мм электрод следует удерживать под
углом 45° к плоскости реза в сторону, противоположную направлению реза. В
процессе резки водолаз выполняет одновременно два движения: поступательное по
оси электрода для поддержания нормальной дуги и вдоль намеченного реза.
Водолаз равномерно, без перерыва перемещает электрод в полости реза, т.к. при
обрыве дуги резка прекращается. Скорость перемещения электрода вдоль линии
реза должна соответствовать скорости горения металла в струе кислорода.
Перемещение электрода вдоль линии реза начинают после того, как металл будет
прорезан на всю толщину.
Время горения
электрода в пределах одной минуты (водолазу для смены электрода требуется
перекрыть клапан подачи кислорода, заменить электрод на новый и опять
произвести вышеперечисленные необходимые действия).
При резке
металла толщиной 4 - 6 мм, водолаз
ведет электрод по поверхности, не углубляя его в металл. При большей толщине
металла необходимо делать нажим электродом на жидкую ванну металла, сочетая
это с действием режущего кислорода. Вертикальная резка производится сверху
вниз, а горизонтальная - справа налево.
В первую
очередь выполняется резка в потолочном положении во вторую очередь - в
вертикальном положении, в последнюю очередь - в нижнем положении. Резку
начинают с кромки листа. Если конструкция участка, подлежащего резке, такова,
что ее надо начать с середины листа, то в месте начала резки необходимо
предварительно прожечь отверстие. При резке профильного металла, особенно в
местах перехода толщин от меньших к большим, надо регулировать скорость
перемещения электрода, так чтобы не оставалось неразъединенных участков в виде
металлических перемычек (мостиков). Для окончания резки водолаз сначала
обрывает дугу, а затем перекрывает клапан подачи кислорода.
|
3. Экзотермическая резка.
|
Более
эффективный способ и более скоростной.
Для
экзотермической резки водолазу необходимо:
-
скомандовать на поверхность: «Подать ток»;
- открыть
кислородный клапан и подать режущую струю кислорода;
- поджечь
электрод и обеспечить его устойчивое горение;
- дать наверх
команду на отключение напряжения от источника тока;
- начать
резку вдоль линии реза.
|
4. Электрокислородная строжка
(Разделка кромок листа металла под
сварку).

а -
круглые канавки; б - скос.
Рисунок 2 - Разделка кромок
и пазов электродами ЭПР-1
|
Для получения
чашеобразной разделки и круглых форм канавки (Рисунок 2)
используется электрод марки ЭПР-1. Водолаз держит электрод под углом 20 - 45°
к горизонтальной плоскости, перемещая его вдоль линии разделки углом вперед.
При этом захватываются обе состыкованные кромки. Электрод и линия разделки
должны находиться в одной вертикальной плоскости. В случае разделки широкого
шва металла большой толщины, водолаз делает несколько параллельных проходов
электрода с последующим заглублением до требуемых размеров. Снятие фасок
круглым электродом при V и К-образной разделке кромок водолаз
держит электрод сбоку разделываемой кромки перпендикулярно направлению реза и
под углом, соответствующим углу скоса кромок, совершая пилообразные движения
от верхней кромки листа к нижней. При увеличении наклона электрода процесс
строгания ухудшается, а при угле 75 - 80° прекращается и переходит в процесс
разделительной резки.
|
5. Полуавтоматическая
электрокислородная резка металла под водой.
|
Полуавтоматическая
электрокислородная резка производится полуавтоматом типа А-1660, который
рассчитан на резку стали толщиной до 20 мм на глубинах до 20 м. Резка
осуществляется путем непрерывной подачи электродной проволоки и обдувания её
струёй кислорода, подаваемого по шлангу в режущую приставку головки
полуавтомата. Включение сварочного тока и подача проволоки производится
водолазом с помощью пускового устройства головки, управление подачей
кислорода рычагом клапана.
Процесс резки
не отличается от резки, производимой вручную. Водолаз ведет горелку головки
по поверхности металла без углубления.
|
6. Вырезание отверстий в обшивке корпуса судна.
|
Проверяется
содержимое отсека. Для этого в его обшивке сверлится отверстие пневматической
или гидравлической сверлильной машинкой. При обнаружении горючих газов или
жидкостей, их удаляют или замещают водой.
Вырезку
отверстия в обшивке корпуса начинают с «прожига» или просверливания при
большой толщине металла. Далее резку проводят непрерывным разделительным
резом вдоль намеченной линии. Для резки может быть использован как
электродуговой электрокислородный, так и экзотермический способ резки.
|
7. Резка металлических тросов.
|
Предпочтительными
способами перерезания тросов являются электродуговая или электрокислородная
резка.
Если трос
натянут, у места реза с обеих сторон делается оклетневка для предотвращения
стремительного разматывания перерезанных прядей под нагрузкой, способных
ранить водолаза. Перед началом резки необходимо обеспечить неподвижность
троса, уложив его на поверхность, либо слегка натянув.
По очереди
перерезается каждая прядь, начиная с наружной. Хорошие результаты дает резка
последней пряди троса электродуговым способом короткими «вспышками», т.е. с
помощью повторного зажигания дуги. В этом случае в месте возбуждения дуги
проволоки троса будут быстро сгорать.
Таким же
образом, последовательно возбуждая и обрывая дугу можно разрезать трос по
проволокам без опасения повредить близко расположенную конструкцию.
Резку ведут
на прямой полярности (положительный полюс присоединяют к тросу). Ток
рекомендуется выбирать в соответствии с диаметром троса, на 15 - 20 % меньше,
чем при резке сплошного сечения такой же толщины.
|
8. Резка цепей.
|
Резку цепей
осуществляют любым из известных способов. Режимы резки те же, что и при резке
крупных сечений соответствующего диаметра. Резку звеньев цепи производят
рядом с распоркой. Положение водолаза при резке должно быть таким, чтобы
обрезанные концы якорь-цепи его не задели.
|
Охрана труда
Работы по
резке металла в подводной части корпуса судна, находящегося в порту или на
заводе, должны производиться с разрешения администрации судна, подтвержденного
оформленным «Разрешением на огневые работы на судне» выданным инспектором ВОХР
с указанием мест проведения работ. К выполнению работ по резке металла
допускаются водолазы, прошедшие соответствующее обучение, имеющие
квалификационное свидетельство и допущенные к этой работе приказом руководителя
предприятия. Перед началом резки металла под водой необходимо обследовать
объект и на основании этих данных составить план резки, утвержденный
руководителем работ. План должен предусматривать расположение,
последовательность резов и необходимые меры безопасности. Применяемое подводное
оборудование должно быть проверено водолазами под руководством старшины
водолазной станции. Изоляция электрододержателя проверяется перед каждым
спуском.
Подводную
резку металла необходимо производить только в снаряжении, полностью изолирующем
водолаза от воды. Передний иллюминатор или смотровые стекла должны быть закрыты
на 2/3 темными защитными стеклами (светофильтрами) или светофильтрами на всё
стекло, которые могут откидываться в перерывах между работой.
При
работе внутри затопленных отсеков необходимо вентилировать воздухом
образующиеся под подволоком газовые подушки.
Запрещается:
-
включать и выключать ток между электродом и свариваемым (разрезаемым) изделием
без команды водолаза;
-
продолжать работу в случаях прекращения телефонной связи или попадания воды в
рубаху или гидрокомбинезон;
-
осуществлять резку на сосуде или трубопроводе, находящемся под давлением;
-
производить электрокислородную резку днищевых и бортовых конструкций,
обтекателей ГАС и др. без обеспечения надежной вентиляции (скапливании
кислорода и паров ГСМ внутри корпуса может привести к взрывам);
-
проведение работ без прямой двухсторонней разговорной связи с
водолазом-резчиком.
При
повреждении рубахи или шлема в процессе выполнения работ необходимо отключить
ток, поднять водолаза на поверхность и заменить поврежденную часть снаряжения.
В случае
поражения водолаза электрическим током следует:
1. Поднять водолаза на поверхность.
2. Снять с пораженного снаряжение.
3. До прихода врача оказать водолазу первую
медицинскую помощь (см. РД 31.84.01-90 «Единые
правила безопасности труда на водолазных работах» часть 2 «Медицинское
обеспечение водолазов».
При
выполнении подводных работ по резке кроме мер безопасности, указанных в
настоящей технологической карте, надлежит руководствоваться следующими
разделами РД
31.84.01-90 «Единые правила безопасности труда на водолазных работах»:
-
организация водолазных спусков и работ;
- общие
требования безопасности при выполнении водолазных спусков и работ:
общие
требования;
подводные
электросварочные работы;
работы с применением
механизированного инструмента;
работы на
течении;
работы
при отрицательных температурах наружного воздуха, а также со льда и подо льдом;
-
медицинское обеспечение водолазов.
Материально-техническое снабжение
№ п/п
|
Наименование
изделий
|
Количество
|
1
|
Водолазный морской бот (ВМ), ВРД или другое
техническое средство с установленной компрессорной водолазной станцией
|
1
|
2
|
Двухвесельная рабочая шлюпка
|
1
|
3
|
Беседка рабочая водолазная
|
1
|
4
|
Сварочный агрегат постоянного тока или
преобразователь, электрокислородный держатель ЭКД-4-60, провод сварочный с
клеммами, электроды типа ЭПР-1, баллоны с кислородом, редуктор, кислородные
шланги
|
1
|
5
|
Полуавтомат типа ППСР-300-2 с головкой для резки
металла, провод сварочный, проволока стальная сварочная Æ 1,2 - 1,6 мм, баллоны с кислородом, редуктор,
кислородные шланги
|
1
|
6
|
Светофильтры стеклянные для защиты глаз,
упроченные С-5, С-6, С-7, С-8 (комплект)
|
1
|
7
|
Стропы, тросы, канаты (растительные, стальные,
синтетические)
|
по
потребности
|
8
|
Лебедки (ручная, с эл. мех. приводом), тали,
блоки, талрепы, такелажные скобы, струбцины, зажимы для стальных канатов
|
по
потребности
|
9
|
Ящик инструментальный. Инструменты (молоток,
зубило, кувалда, щетки металлические, скребок и др.)
|
по
потребности
|
10
|
Механизированный инструмент (пневматический,
рубильный молоток, сверлильная машинка, пила и др.)
|
по
потребности
|
11
|
Установка подводная осветительная
|
по
потребности
|
12
|
Балласт, марки магнитные, присос
магнитно-вакуумный
|
1
|
6. Подводные взрывные работы
6.1
Выполнение подводных взрывных работ
Общие положения
Технологическая
карта устанавливает порядок выполнения подводных взрывных работ во всех типах
водолазных работ при нормальных метеоусловиях в дневное время.
Взрывные
работы под водой выполняются рабочей группой, обеспеченной водолазной станцией,
обеспеченной техническими средствами и укомплектованной количеством водолазов в
зависимости от условий, глубины спусков и характера выполняемых работ.
Спуск
водолаза производится с водолазного бота, другого плавсредства или с берега и в
соответствии с РД
31.84.01-90 «Единые правила безопасности труда на водолазных работах».
Взрывные
работы должны выполняться по проектам производства работ.
В проекте
должны быть отражены решения по:
-
безопасной организации работ;
-
способам инициирования зарядов;
-
расчетам взрывных сетей;
-
конструкции зарядов и боевиков;
- расходу
взрывчатых материалов;
-
определению опасной зоны и охраны этой зоны;
- другим мерам
безопасности, учитывающим конкретные условия выполнения этих работ.
Разработанный
и утвержденный проект согласовывается со всеми заинтересованными организациями.
После
получения разрешения на производство взрывных работ составляется график, в котором
точно фиксируются дни и время проведения взрывных работ.
Взрывные
работы выполняются с плавсредства (шлюпки, катера), с берега или со льда.
Используются заряды различных взрывчатых веществ (ВВ).
Подрывные
сосредоточенные заряды: СЗ-1, СЗ-3; СЗ-3а; СЗ-б - применяются для перебивания
составных металлических конструкций, балок, гребных валов и т.п., а также для
разрушения разрезанных или отделенных частей на грунте.
Подрывные
удлиненные заряды: СЗ-6м; СЗ-1П; СЗ-4П применяется для перебивания палуб, переборок,
бортовой обшивки, днища, а также для разработки траншей и котлованов.
Сосредоточенные
и удлиненные (шнуровые) заряды изготавливаются на месте проведения работ. Масса
зарядов зависит от материала и размеров подрываемых конструкций.
Подрывные
кумулятивные заряды КЗ-2; КЗ-6; КЗ-7; КЗУ;
У
кумулятивных зарядов обращенные к объекту грани имеют специальные выемки,
облицованные металлической оболочкой. Если выемка не имеет металлической
оболочки, пробивное действие заряда снижается. При уменьшении веса в 4 раза, по
сравнению с обычными, кумулятивные заряды перебивают металл по заданному
направлению и дают рез с относительно небольшими заусенцами и неровностями. Эти
заряды применяются для вырезания отверстий в бортах или на палубе судна, для
перебивания мостовых ферм, шпунта и др.
КК-3 -
применяется для перебивания металлических конструкций, стальных канатов,
якорь-цепей, скоб и т.д. диаметром до 65 мм;
ЛК-3
применяется для перебивания и резки стальных плит, фундаментов, рам и прочих
конструкций.
При
производстве взрывных работ должно быть обеспечено безопасное расстояние (L) для личного состава, судов и плавсредств,
гидротехнических сооружений, определяемое по формуле:

где G - масса заряда, кг;
Н -
глубина погружения заряда, м.
Руководитель
взрывных работ проводит инструктаж по технологии выполнения работ и безопасным
методам труда с водолазами и лицами обслуживающего и вспомогательного
персонала, знакомит их с правилами безопасного обращения с применяемыми
взрывчатыми материалами и принадлежностями для взрывания, а также с порядком
проведения взрывных работ на объекте. Проведение инструктажа оформляется
записью в журнале водолазных работ.
Руководитель
водолазных спусков (старшина-бригадир водолазной станции) распределяет
обязанности между водолазами, обслуживающим персоналом, определяет время
пребывания водолазов под водой, контролирует подготовку технических средств и
инструмента для использования по назначению.
К подводным взрывным работам допускаются водолазы, сдавшие экзамен ВКК
на производство взрывных работ под водой и получившие Единую книжку взрывника с
указанием в ней разрешенных видов взрывных работ.
Состав работ
|
Технология выполнения работ
|
1. Подготовка к водолазным работам
|
Перед применением
электродетонаторы осматривают, проверяя чистоту гильз, отсутствие вмятин,
трещин, окисления, целость мостика. При осмотре детонирующего шнура проверяют
сохранность внешней оболочки, отсутствие переломов, резких перегибов,
разлохмаченных концов, утолщений. Места повреждений вырезают и уничтожают.
Проверка механической части взрывной машинки осуществляется заводом и спуском
пружины; электрическую часть проверяют специальным прибором - пультом, а при
его отсутствии - включением в сеть электролампы напряжением 220 В или путем
взрыва двух параллельно соединенных детонаторов. Целостность жилы
электропроводов проверяется омметром, а состояние изоляции - погружением в
морскую (соленую) воду с последующим замером сопротивления омметром.
|
2. Подготовка и герметизация
зарядов.

1 - порошкообразное ВВ; 2 - узлы детонирующего
шнура.
Рисунок 1 - Бескапсюльное взрывание порошкообразных ВВ.

1 - мешок с порохом; 2 - детонирующий
шнур.
Рисунок 2 - Бескапсюльное взрывание зарядов из пороха.

1 - заряд; 2 - шпагат; 3 - проводники
электродетонатора.
Рисунок 3 - Упаковка зарядов в водостойкую бумагу
пик.

1 - электродетонатор; 2 - детонирующий шнур.
Рисунок 4 - Прикрепление электродетонатора к концу детонирующего
шнура.
|
Величину зарядов
рассчитывает руководитель взрывных работ. Взрывчатые вещества расфасовывают и
укладывают в заряды определенной формы и веса (при необходимости с
балластом). Конец детонирующего шнура завязывают узлом и помещают внутрь
заряда или навивают на него (Рисунки 1 - 2). Каждый из
зарядов герметизируют, крепко связывают шпагатом. Провода от детонатора или
детонирующий шнур выводят из середины одной из сторон (Рисунок 3). К другому
концу детонирующего шнура нитками или изоляционной лентой прикрепляют
электродетонатор (Рисунок 4). Прессованные плавленые взрывчатые вещества в шашках,
не боящиеся влаги, применяют без герметизирующих оболочек. Боевики (часть
заряда ВВ предназначенная для возбуждения детонации основного заряда)
изготовляются на объекте работ из порошкообразных ВВ или из шашек перед
взрывом заряда. Заблаговременная заготовка и снаряжение боевиков запрещается.
Электродетонатор вставляется в гнездо шашки и закрепляется шпагатом.
Проводники электродетонатора со слабиной привязываются к шашке шпагатом.
Привязывать электродетонатор его же проводниками ЗАПРЕЩАЕТСЯ. Если отверстие
в тротиловой шашке не соответствует диаметру гильзы, его можно рассверлить
бронзовой разверткой.
Проводники
электродетонаторов и детонирующий шнур должны присоединяться к зарядам
шпагатом так, чтобы исключить передачу натяжения проводникам детонаторов при
опускании зарядов под воду. Для предохранения проводов электрической взрывной
сети от разрывов следует соединять заряды между собой растительными канатами
меньшей длины, чем у соединительных проводов. Используемая для подводных
взрывов электрическая сеть должна быть двухсторонней, состоящей из проводов,
надежно изолированных от воды. Использование воды в качестве обратного
провода ЗАПРЕЩАЕТСЯ. Концы магистральных проводов, идущие к источнику тока и
проводники электродетонаторов должны быть замкнуты накоротко и изолированы.
Разъединять их разрешается только для проверки сети омметром перед взрывом.
Сращивание проводников электродетонаторов с магистральными проводами можно
производить только в том случае, если концы проводов разъединены от клемм источника
питания.
В качестве
источника тока следует использовать взрывные машинки. Взрывание зарядов
огневым способом под водой ЗАПРЕЩАЕТСЯ.
При всех
операциях с взрывчатыми материалами необходимо соблюдать осторожность, не
допуская резких толчков и сотрясений этих материалов. Курить и пользоваться
открытым огнём на расстоянии менее 100 м от места расположения взрывчатых
веществ ЗАПРЕЩАЕТСЯ.
|
3. Выполнение подводных взрывных работ.
|
Водолаз, спустившись
под воду, осматривает и расчищает место укладки заряда, чтобы обеспечить
непосредственное соприкосновение его с объектом. Для дальнейших погружений
водолазов к месту укладки зарядов необходимо от спускового конца протянуть и
закрепить ходовой конец.
Перед
укладкой зарядов (если взрывчатые вещества укладываются без взрывателей -
перед укладкой боевиков), на судне, ведущем взрывные работы, или на мачте,
установленной на берегу, поднимается сигнал (днем - красный флаг, ночью -
красный огонь), предупреждающий все суда о взрывных работах. Руководитель
взрывных работ обязан убедиться, что в опасной зоне нет других судов,
плавсредств, спускающихся водолазов и купающихся.
Взрывчатые
вещества от места расфасовки переносятся в шлюпку лицами, обеспечивающими
взрывные работы, на руках (в сумках или кассетах) общим весом не более 12 кг.
Детонаторы и боевики переносит водолаз-взрывник или руководитель взрывных
работ. Заряды укладывают в кормовую часть шлюпки так, чтобы они не могли
смещаться при перевозке. В шлюпке должно быть не более 20 зарядов, общей
массой 40 кг. При использовании шнуровых зарядов предельная масса
определяется руководителем работ с учетом способа их укладки.
Размещать и
перевозить в шлюпке другие грузы, присутствовать посторонним лицам, а также
изготовлять или переделывать заряды, проверять детонаторы и изоляцию цепи,
определять плавучесть зарядов и проводить другие работы ЗАПРЕЩАЕТСЯ.
|
3.1. Укладка и крепление заряда на объект.
|
Укладка
зарядов на место взрывания и их крепление производится водолазом по указанию
руководителя взрывных работ. Водолазу следует подавать в руки только по
одному снаряженному заряду. Одиночный снаряженный для укладки заряд подается
взрывником или руководителем взрывных работ непосредственно в руки водолазу с
берега, льда или шлюпки (подавать заряды водолазу с того судна, с которого он
спустился ЗАПРЕЩАЕТСЯ), при этом водолаз обязательно должен быть в воде не
менее чем по грудь. Подача зарядов по сигнальному концу или другому канату, а
также опускание их на электрических проводах или детонирующем шнуре
ЗАПРЕЩАЕТСЯ. Подачу водолазу взрывчатых веществ без средств взрывания
разрешается производить с помощью грузоподъёмных средств. Последующая укладка
подготовленных зарядов для взрыва всей массы ВВ производится по правилам
укладки одиночных зарядов. При необходимости подачи водолазу нескольких
мелких зарядов (общей массой до 20 кг) их укладывают в корзину с гнездами,
которую подают со шлюпки. Спуск водолаза со снаряженным зарядом должен
производиться по спусковому, а если это нужно, и по ходовому концам,
закрепленным у места укладки заряда. Спускаясь на грунт или объект, водолаз в
одной руке держит заряд (или придерживает корзину, опускаемую на тросе), а
другой рукой скользит по ходовому концу. Сигнальный конец (кабель-сигнал) и
водолазный шланг должны идти в другую сторону («враздрай») от подаваемых
проводов, чтобы они не могли перепутаться. При спуске водолаз не должен
допускать ударов зарядов, задевать проводниками за предметы, а также
прижимать заряд к спусковому (ходовому) концу. Водолаз укладывает заряд в
намеченном месте, обеспечив его плотное прилегание к объекту.
Основными
способами крепления зарядов на перебиваемой поверхности (кроме УКП) являются:
-
привязывание зарядов к арматуре;
- прижатие
балластом, уложенным в 2 - 3-х местах по длине заряда;
- поджатие
деревянными упорами или поплавками.
При разделке
бортовой обшивки судна и палубы заряды укладываются снаружи, а при разделке
днища с двойным дном - в междудонном пространстве.
Укладку
нескольких мелких зарядов водолаз начинает с отдаленного участка по
направлению к судну, с которого он спустился. Чтобы заряд не сдвинулся, его
провода (детонирующий шнур) закрепляются к какому-нибудь предмету. После
этого водолаз должен проследить за тем, чтобы, отходя от заряда, не
зацепиться за провода или детонирующий шнур.
|
3.2. Закладка зарядов в шпуры.

Рисунок 5 -
Лопатка для очистки шпура.

1 -
корзина с зарядами; 2 - трос; 3 - груз;
4 - детонирующий шнур; 5 - электропровода.
Рисунок 6 - Закладка зарядов
в мелкие шпуры.
|
Способ
закладки зарядов в шпуры применяется при взрывании скалистых пород, для
разделки и углубления грунта вблизи бортов судов, сидящих на мели, при
проведении дноуглубительных работ.
Руководитель
взрывных работ рассчитывает расстояние между шпурами. Для рыхления грунта
шпуры располагают в один ряд или в несколько рядов в шахматном порядке.
Водолазы с
помощью пневматического бурильного молотка (перфоратора или ручным буром)
делают в грунте шпуры глубиной от 0,5 до 2 м, диаметром 40 - 50 мм.
Пробуренные шпуры очищают специальной лопаткой (Рисунок 5) от ила и
остатков породы. Водолаз заполняет шпур взрывчатым веществом на 2/3 его
глубины. ВВ уплотняется через каждые 10 - 15 см по глубине деревянным
стержнем. Затем в шпур опускают боевик и дозаряжают остальным количеством ВВ.
Уплотнять ВВ в шпуре после укладки боевика не разрешается. Оставшуюся часть
шпура засыпают песком. В мелкие шпуры водолаз закладывает заряды, соединенные
между собой детонирующим шнуром из корзины с ячейками (Рисунок 6). Каждый
заряд должен иметь в нижней части груз, способствующий более легкому
погружению на дно шпура. При закладке необходимо следить за целостью
детонирующего шнура. При взрывании детонирующим шнуром концы его, выходящие
на поверхность, поддерживаются на поплавках; при взрывании
электродетонаторами - взрывная сеть укладывается по грунту. Заложив последний
заряд (боевик) водолаз проверяет целость электропроводов, подает корзину
наверх и выходит из воды.
|
3.3. Способ массового разрушения.

Рисунок 7 - Закладка серии
зарядов.
|
Способ
массового разрушения применяется для взрыва затонувших судов, старых
гидротехнических сооружений. Для этого требуются большие котлованы, способные
вместить заряды до 1000 кг и более.
Водолазный
специалист проводит обследование, намечает места для промывки котлованов и
тоннелей. У борта судна размывают котлованы, а под днищем - тоннели. Водолазы
очищают корпус в местах приложения зарядов от ракушек и грунта до металла.
После этого водолаз закладывает в тоннель серию сосредоточенных зарядов с
положительной плавучестью (к боковым сторонам зарядов прикрепляются
деревянные бруски). Подготовленные заряды последовательно соединяют
детонирующим шнуром в серию и скрепляют растительным концом на определенном
расстоянии друг от друга (Рисунок 7). К заряду,
имеющему запал, крепят электропровода и конец для опускания серии зарядов в
воду. Водолаз, получив заряды, спускается по концу, втягивает концы в тоннель
и, уложив заряды, обрезает балласт и оставляет его на грунте. Втянутые в
тоннель заряды водолаз располагает по корпусу судна на расчищенных местах
так, чтобы конец, скрепляющий заряды был натянут, а детонирующий шнур находился
с наружной стороны. Таким же порядком заряды закладываются в тоннель
противоположного борта. Последние заряды с обоих бортов сводят вплотную и
размещают под килем. Для взрыва молов, мостовых опор и др. водолазы размывают
в грунте под сооружением один или несколько котлованов для размещения
зарядов. Заряды укладывают в котлован вплотную к сооружению правильной
кладкой связками по 50 - 60 кг. Связку с запальной шашкой закладывают в
середину кладки. Заряды должны обеспечить разрушение всей части сооружения от
одного взрыва.
|
3.4. Закладка открытых (накладных)
зарядов.

Стрелкой
указано направление течения.
1 -
заряд; 2 - валун.
Рисунок 8 - Закладка зарядов
на валуны.
|
Закладку открытых
зарядов на поверхности взрываемого объекта применяют для рыхления скальных
пород на незначительную глубину, дробления отдельных каменных глыб,
перебивание трубопроводов, прочных связей и обшивки корпуса судна, съёмки
винтов и механизмов, подрыва мин и др.
Водолаз
обследует и намечает участок для взрывных работ, на границах которого
устанавливает вехи, удаляет со скальной породы ил и выходит на поверхность.
Получив серию приготовленных и уложенных в корзину зарядов, опускается на
грунт, где укладывает заряды вплотную к скале, начиная от кромки участка. Для
взрыва (дробления) каменных глыб водолаз закладывает заряд сверху или сбоку
валуна, плотно прижимая его к поверхности (рисунок 8). После
взрыва наиболее крупные куски валуна разбивают мелкими зарядами.
|
3.5. Разделка на части затонувших судов.

1 - трос; 2 - балласт; 3 - заряды; 4
- планки; - бревна.
Рисунок 9 - Крепление зарядов к борту судна.

1 - стрингер; 2 - киль; 3 - заряд.
Рисунок 10 - Закладка зарядов на стрингеры и кили.

1 - полузаряды ВВ; 2 - деревянные угольники;
3 - шпагат.
Рисунок 11 - Закладка зарядов на гребной вал.
|
Взрывные
работы на судне ведутся по плану проведения взрывных работ, который содержит
следующие разделы:
введение: описывается
характер работ, а также руководящие документы, которые использовались при
разработке плана;
раздел 1 - приводится краткая характеристика подводных
взрывных работ, полное наименование района с указанием местных
гидрологических и геологических условий, особенности производства работ в
акватории порта и расположение гидротехнических сооружений в пределах опасной
зоны;
раздел 2 - приводится способ взрывных работ, расчет массы
зарядов;
раздел 3 - определяется безопасное расстояние от действия
воздушных и сейсмических волн;
раздел 4 - рассчитывается электрическая сеть с учетом
числа одновременно взрываемых зарядов и их массы, принятого типа
электродетонаторов, источника тока, общего сопротивления электроцепи;
раздел 5 - приводятся осуществляемые мероприятия по мерам
безопасности, разработанные из конкретных условий работ.
Все части
судна взрывают отдельными зарядами. Водолаз намечает в соответствии с
проектом места закладки зарядов. Общее направление разделки принимают снизу
вверх. Заряды на бортовой обшивке должны находиться против шпангоутов, на
палубе - против бимсов. Очистив скребком эти места от ракушек и грунта,
водолаз выходит наверх, принимает заряды и доставляет их на место. Для
плотного прижатия зарядов к металлу водолазу подают трос, к которому
прикреплен балласт. Уложив балласт на грунт вплотную к борту, водолаз
обтягивает и крепит на палубе свободный конец троса. Навесив на борт заряды,
накладывает на них планки и бревна: одним концом бревно пропускает под
обтянутый трос, другим кладет на деревянные планки (Рисунок 9). Порядок
разделки днища зависит от его конструкции, расположения судна на грунте,
плотности грунта и др. Если судно стоит на ровном киле на грунте средней
плотности, разделка ведется из котлована, отмытого гидромонитором с двух
бортов. В котлован под днище закладывают удлиненный заряд и взрывают его.
Взрывом перебивается часть днища, удлиняется котлован, что позволяет
разместить очередной заряд для перебивания следующего участка. В последнюю
очередь перебивают киль. Палубу разделывают накладными удлиненными зарядами,
укладывая их сверху и прижимая балластом из камней и кусков металла.
Стрингеры и кили перебивают сосредоточенными одиночными или парными зарядами,
соединенными детонирующим шнуром, которые водолаз накладывает на перебиваемый
элемент (Рисунок 10). Гребные валы и пиллерсы перебивают
сосредоточенными зарядами, составленными из двух частей, которые располагают
с двух противоположных сторон вала (пиллерса) со сдвигом одного относительно
другого (Рисунок 11). Заряды прикрепляют к перебиваемому элементу и
взрывают одновременно при помощи электродетонаторов или детонирующего шнура.
|
3.6. Разделка мостовых
перекрытий.
|
Очередность
подрыва элементов пролетного строения устанавливает руководитель взрывных
работ. Водолаз навешивает в намеченных для взрыва местах фанерные бирки с
порядковым номером взрыва. Затем в отмеченное место закладывает один или два
заряда, плотно прижав их к элементу концом. После взрыва первой пары зарядов
водолаз закладывает вторую и т.д.
|
3.7. Перебивание свай и свайных кустов.

Рисунок 12 - Перебивание свайных кустов.
|
Закладывают заряд
у самого грунта, плотно прикрепляя его растительным концом к свае или кусту
свай. Чтобы не выдернуть провода запала, водолаз крепит их к свае на
некотором расстоянии от заряда. Группу свай толщиной до 40 см, отстоящих друг
от друга на 2 - 2,5 м можно перебить взрывом одного сосредоточенного заряда,
помещенного в середине этой группы (Рисунок 12).
|
3.8. Перебивание подводного трубопровода.

1 -
труба; 2 - заряд.
Рисунок 13 - Перебивание трубопровода.
|
Для этой цели
изготовляют удлиненный заряд. Длина заряда должна перекрывать 2/3 окружности
взрываемой трубы. Водолаз обводит его вокруг трубы и стягивает концы шпагатом
(Рисунок 13). Можно одновременно взрывать заряды,
расположенные на обоих концах разрушенного участка трубопровода. Однако при
взрыве трубы разрушаются на значительном расстоянии.
|
3.9. Перебивание стальных тросов и якорных
канатов.

1 -
заряд; 2 - трос.
Рисунок 14 -
Перебивание троса.

1 -
заряд; 2 - звено цепи.
Рисунок 15 - Перебивание якорного
каната.
|
Водолаз в
намеченном месте прикрепляет к противоположным сторонам троса по одному
заряду (Рисунок 14). Заряды должны быть расположены с промежутком,
равным длине заряда. Якорные цепи перебиваются сосредоточенным зарядом,
который водолаз накладывает на контрафорс звена цепи так, чтобы заряд
полностью перекрыл его (Рисунок 15). Заряд
крепится к цепи пеньковым концом.
|
3.10. Подрыв
обнаруженных на грунте мин.

Рисунок 16 - Установка заряда
на мину.
|
По данным
водолазного обследования минер указывает положение заряда и способ его
крепления к корпусу мины. У буйка, обозначающего место затопления мины, с бота
на грунт спускается водолаз и осматривает место установки заряда, затем
поднимается наверх, принимает заряд от взрывника, находящегося в шлюпке, и
спускается к мине. Заряды прикрепляют к мине шпагатом, навешивают на рым мины
при помощи мягкой проволоки изогнутой крючком.
Закладывать
заряд следует вплотную к корпусу мины, не прикасаясь при этом к ней частями
скафандра (Рисунок 16). На течении заряд закладывается с той стороны мины,
которая находится против течения. Заложив заряд, водолаз проверяет целость
электропроводов и выходит наверх.
|
4. Подъем водолаза.
|
Подъём
водолаза производится в соответствии с требованиями РД
31.84.01-90 «Единые
правила безопасности труда на водолазных работах». После подъёма водолаз
полностью выходит из воды и руководитель водолазного спуска должен его
осмотреть и убедиться в том, что работающий водолаз не вынес на снаряжении
проводов, детонирующего шнура и самих зарядов. С этой же целью поднимается из
воды водолазный трап.
|
5. Проверка электровзрывной сети и производство
взрыва.
|
Проверка
исправности электровзрывной сети, соединение её с источником тока
производится с берега или со шлюпки только после того, как водолаз,
установивший заряды будет поднят из воды, а шлюпка и обеспечивающие средства
отведены на безопасное расстояние, равное 15ÖМ метров, где
М - масса взрываемого заряда (кг), но не менее 100 м.
Перед взрывом
следует убедиться, что приняты все необходимые меры безопасности, водолазы
вышли из воды, обеспечена охрана границ опасной зоны, а работники,
находящиеся на берегу или льду, самоходное плавсредство и шлюпка отошли на
безопасное расстояние, заранее установленное руководителем взрывных работ. В
период производства подводных взрывных работ, кроме подъёма предупреждающих
сигналов, подаются звуковые сигналы в соответствии с требованиями «Единых
правил безопасности при взрывных работах». После этих приготовлений
приступают к взрыву. Взрывать заряды разрешается только водолазу, которому
поручено ведение взрывных работ, по команде руководителя взрывных работ.
После взрыва зарядов электрические провода должны быть отсоединены от
источника тока, концы их замкнуты накоротко, выбраны из воды и намотаны на
вьюшку.
|
6. Ликвидация неисправностей при взрывах.
|
Если взрыва
не последовало, спуск водолаза для осмотра заряда и дальнейших работ разрешается
только через 5 мин после отключения проводов при применении
электродетонаторов мгновенного действия и через 15 минут после отключения
проводов в случае применения электродетонаторов замедленного действия. Если
количество взрывчатого вещества для данной работы не имеет значения,
невзорвавшиеся заряды уничтожают взрывом вновь заложенного заряда.
Дополнительный заряд водолаз укладывает открытым способом вплотную к
неразорвавшемуся. Заряды, заложенные в шпуры (скважины) поднимать
запрещается, они должны быть взорваны заложенными боевиками. Для подъёма
невзорвавшегося заряда наверх водолаз, который его укладывал, должен отдать
крепление, освободить провода и вынести заряд в руке с теми же мерами
предосторожности, которые принимались при его укладке. Поднимать заряды на
концах или проводах запрещается. Заряд принимают от водолаза и передают
руководителю взрывных работ. Если отказавший заряд взорвать или поднять сразу
нельзя, вблизи заряда должны быть выставлены буи и щит, предупреждающий о
наличии заряда под водой.
Поднятый
сигнал о проведении взрывных работ должен опускаться только после
производства взрыва. Если взрыва не произошло, предупреждающий сигнал
опускать не разрешается до тех пор, пока руководитель взрывных работ не
убедится, что взрыв ПРОИЗОЙТИ НЕ МОЖЕТ.
|
7. Размещение водолазной техники и средств
технического оснащения.
|
Размещение
водолазной техники в исходное положение производится в соответствии с
требованиями Инструкций по эксплуатации.
|
Охрана труда
При проведении
подводных взрывных работ, кроме мер безопасности, указанных в настоящей
технологической карте надлежит руководствоваться «Едиными правилами
безопасности при взрывных работах» и следующими разделами РД
31.84.01-90 «Единые правила безопасности труда на водолазных работах»:
-
организация водолазных спусков и работ;
- общие
положения по организации водолазных работ;
- общие
требования безопасности при выполнении водолазных спусков и работ;
подводные
взрывные работы,
работы с
применением механизированного инструмента,
работы на
течении,
работы
при отрицательных температурах наружного воздуха, а также со льда и подо льдом;
- медицинское
обеспечение водолазов.
Проведение
подводных взрывных работ при волнении водной поверхности свыше 2 баллов и силе
ветра свыше 4 баллов, а также при грозе, ливне, тумане, обильном снегопаде -
ЗАПРЕЩАЕТСЯ.
При
ухудшении погоды взрывные работы должны быть немедленно прекращены, а люди
удалены за пределы опасной зоны. Вблизи не поднятого и не взорванного снаряда
должны быть выставлены буи, предупреждающие щиты о наличии заряда под водой.
Подводные
взрывные работы вблизи промышленных, транспортных и других объектов должны
производиться по согласованию с администрацией этих объектов. Руководитель
работ должен сообщить администрации района о времени, месте работ и массе
подрываемых зарядов.
Перед началом
подводных взрывных работ, в соответствии с Проектом, должны быть определены
границы опасных зон как на берегу, так и по акватории и приняты меры к
обеспечению безопасности плавсредств и береговых сооружений в границах этих зон
и вывод людей из опасной зоны.
Расфасовывать
взрывчатые вещества (ВВ), изготовлять заряды и монтировать электрическую
взрывную сеть следует на берегу и грузить на плавсредство в готовом для
взрывания виде, целиком или отдельными линиями.
Производить
подводные взрывные работы без двухсторонней разговорной связи с работающим
водолазом ЗАПРЕЩАЕТСЯ.
Материально-техническое снабжение
№ п/п
|
Наименование изделий
|
Количество
|
1
|
Морской водолазный бот (ВМ),
рейдовый водолазный бот или катер с установленной компрессорной водолазной
станцией
|
1 (по необходимости 2 -
3)
|
2
|
Двухвесельная рабочая
шлюпка
|
1 (по необходимости 2 -
3)
|
3
|
Заряды, средства взрывания
(электродетонаторы, взрывная машинка ПМ-1, ПМ-2, КПМ-2, детонирующий шнур,
изолированные провода (СП-1, СП-2), проверочные и измерительные приборы
(контрольный пульт, омметр)
|
по потребности
|
4
|
Тросы, канаты, стропы
(растительные, стальные, синтетические), шпагат
|
по потребности
|
5
|
Лесоматериал (доски,
брусья, клинья в др.)
|
по потребности
|
6
|
Изоляционная лента,
нитки, бумага пик, тара для зарядов
|
|
7
|
Ящик инструментальный, инструменты
(лопатка для очистки шпуров, щетки металлические, скребок, развертка, ручной
бур и др.)
|
по потребности
|
8
|
Механизированный
инструмент (пневматический бурильный молоток, ручной перфоратор и др.)
|
по потребности
|
9
|
Лебедки (ручная, с эл.
мех. приводом), тали, блоки, талрепы, такелажные скобы, струбцины, зажимы для
стальных канатов
|
по потребности
|
10
|
Гидромонитор, грунтосос
пневматический (эжекторный) с комплектом шлангов
|
по потребности
|
11
|
Вехи, буйки
|
по потребности
|
12
|
Балласт
|
по потребности
|
Приложение
№ 1
Акт
|
водолазного обследования подводной части судна
|
«______»
_________________ 20 ___ г. гор.
______________
|
Настоящий
акт составили представители _______________________________________
|
БАСУ
(территориальной группы) ______________________________________________
|
___________________________________________________________________________
|
___________________________________________________________________________
|
___________________________________________________________________________
|
представители
ЗАКАЗЧИКА __________________________________________________
|
___________________________________________________________________________
|
том,
что в соответствии с заявкой ______________________________________________
|
____________________________________
№ _______ от «____»_ ___________ 20 ___ г.
|
Название
судна ____________________________ Регистровый № ___________________
|
Тип
судна ________________________________ Владелец ________________________
|
Осадка
судна а) носом __________________ м б) кормой _______________ м _________
|
Начало работ
«_____» ___________ 20 ___ г. ____________ часы ____________ минуты
|
Окончание
работ «____» ____________ 20 ___ г. __________ часы ___________ минуты
|
Состояние
моря _____________________________________________________________
|
Видимость
в воде ___________________________________________________________
|
Температура
воздуха ________________________________________________________
|
Результаты водолазного обследования
|
По корпусу
_________________________________________________________________
|
Степень
обрастания корпуса __________________________________________________
|
___________________________________________________________________________
|
___________________________________________________________________________
|
2.
Повреждение корпуса: _____________________________________________________
|
Пробоины
__________________________________________________________________
|
Вмятины
___________________________________________________________________
|
Трещины
__________________________________________________________________
|
3.
Состояние и обрастания кингстонных решеток:
|
а) Бортовых
________________________________________________________________
|
б)
Донных __________________________________________________________________
|
4.
Состояние бортовых килей _________________________________________________
|
5. Протекторы
______________________________________________________________
|
II. По движителям
|
1.
Степень обрастания движителей (указать толщину нарастающего слоя, район
обрастания, характер и прочность прикрепления к металлу)
|
а) Лопасти
_________________________________________________________________
|
___________________________________________________________________________
|
б)
Ступицы ________________________________________________________________
|
___________________________________________________________________________
|
в)
Кожухи __________________________________________________________________
|
___________________________________________________________________________
|
2. Состояние
лопастей _______________________________________________________
|
___________________________________________________________________________
|
___________________________________________________________________________
|
___________________________________________________________________________
|
3.
Состояние и крепление обтекателя ___________________________________________
|
___________________________________________________________________________
|
___________________________________________________________________________
|
4.
Состояние и крепление кожуха ______________________________________________
|
___________________________________________________________________________
|
___________________________________________________________________________
|
5.
Состояние ступицы и сальника, уплотняющего ступицу на валу __________________
|
___________________________________________________________________________
|
___________________________________________________________________________
|
6.
Крепление дейдвудной втулки ______________________________________________
|
___________________________________________________________________________
|
___________________________________________________________________________
|
7.
Зазоры между набором бокаута дейдвудной втулки и облицовкой вала ____________
|
___________________________________________________________________________
|
___________________________________________________________________________
|
III. По рулевому устройству
|
1.
Состояние пера руля _______________________________________________________
|
___________________________________________________________________________
|
___________________________________________________________________________
|
2.
Состояние узла крепления баллера с пером руля _______________________________
|
___________________________________________________________________________
|
___________________________________________________________________________
|
3.
Состояние узла соединения пера руля с пяткой ________________________________
|
___________________________________________________________________________
|
___________________________________________________________________________
|
4.
Положение пера руля ______________________________________________________
|
___________________________________________________________________________
|
___________________________________________________________________________
|
5.
Проседание пера руля ______________________________________________________
|
___________________________________________________________________________
|
___________________________________________________________________________
|
6.
Состояние петель и штырей на рудерпосте ____________________________________
|
___________________________________________________________________________
|
___________________________________________________________________________
|
Обследование произвели:
|
Приложение
№ 2
Порядок заполнения «Схемы обследуемого
судна»
«Схема
обследуемого судна» или (эскиз - заготовка) (Приложение № 2),
выполняется на одной стороне листа формата A3.
На схеме
обследования графически изображаются результаты обследования.
В левом
верхнем углу указывается наименование организации, выполняющей обследование,
адреса и телефоны ее подразделений, наименование обследуемого судна,
судовладельца, время и место обследования.
На
остальной площади эскиза - заготовки размещены:
I. Проекции корпуса судна (вид с правого и левого
бортов, план днища), где после обследования состояния корпуса отмечают вмятины,
трещины, пробоины и т.д.
II. Проекции подводной части рулевого устройства (вид
с правого и левого бортов).
III. Проекции лопастей правого винта.
IV. Проекции лопастей левого винта.
V. Проекция подводной части гребного устройства.
После обследования винто-рулевого комплекса на схеме отмечают состояние руля,
винта, ступицы, кожуха и обтекателя, количество лопастей и их дефекты. В графе
«Дополнительные сведения» перечисляют дополнительные сведения обследования по
корпусу судна и винто-рулевому комплексу, (например, обрастание корпуса судна;
отсутствие кожуха на винте и т.д.)
«Схема
обследования судна» заполняется в 2-х экземплярах: один остается у исполнителя,
второй передается заказчику работ.
Схема
обследуемого судна

Наряд-задание на
производство водолазных работ
|
_______________________________________________
(наименование организации, предприятия, подразделений,
судна)
|
«___» ___________ 20 г. Место работы
___________________
|
(порт, район)
|
Для водолазной
станции № ___________________________________________________
|
(наименование
водолазной станции и ее размещение)
|
___________________________________________________________________________
на
основании _______________________________________________________________
|
(номер и дата
заявки и т.д.)
|
1
Заказчик _________________________________________________________________
|
(наименование
предприятия, адрес и т.д.)
|
___________________________________________________________________________
___________________________________________________________________________
2
Руководитель водолазных работ _____________________________________________
|
(должность,
фамилия, инициалы)
|
3
Руководитель водолазных спусков ____________________________________________
|
(квалификация,
фамилия, инициалы)
|
___________________________________________________________________________
4 Водолазы
_________________________________________________________________
|
(класс,
фамилия, инициалы)
|
___________________________________________________________________________
___________________________________________________________________________
___________________________________________________________________________
5
Медицинское обеспечение осуществляет ______________________________________
|
(должность,
фамилия, инициалы)
|
___________________________________________________________________________
6
Выполнение работ по заданию:
|
начало
_____________________________________________________________________
|
(дата, время)
окончание
__________________________________________________________________
|
(дата, время)
|
7
Объект, краткое описание, организация, последовательность выполнения и объем
работ ______________________________________________________________________
___________________________________________________________________________
___________________________________________________________________________
___________________________________________________________________________
|
Примечание - Формат наряд-задания должен быть 210´297 мм.
|
8 Для
обеспечения работ выделяется персонал и технические средства в количестве
___________________________________________________________________________
___________________________________________________________________________
___________________________________________________________________________
___________________________________________________________________________
|
9 К наряд-заданию
прилагается ________________________________________________
|
(перечень и
номера прилагаемых схем,
___________________________________________________________________________
|
рабочих
чертежей разрезов и т.д.)
|
___________________________________________________________________________
10 При
производстве работ должны быть выполнены меры безопасности
___________________________________________________________________________
___________________________________________________________________________
|
Наряд-задание выдал Наряд-задание
принял
__________________ ____________________
|
(подпись) (подпись)
|
Согласовано:
ответственный представитель Заказчика
___________________________________________________________________________
|
(должность,
подпись)
|
11
Отметка о выполнении задания _____________________________________________
___________________________________________________________________________
___________________________________________________________________________
|
Руководитель водолазных работ Руководитель
водолазных спусков
|
________________________ _____________________________
|
(подпись) (подпись)
|
АКТ НА ВЫПОЛНЕННЫЕ
ВОДОЛАЗНЫЕ РАБОТЫ
|
№ ___________
|
_____________
|
(дата)
|
Настоящий
акт составили представители исполнителя ____________________________
|
___________________________________________________________________________
|
(должность, Ф. И. О.)
|
в том,
что в соответствии с заявкой № _____________от «____» ___________ 20 ___ г. в
|
период
с «__» ___________по «____» ___________ 20 ___ г. в (на) __________________
|
___________________________________________________________________________
|
(место работы)
|
исполнителем
произведены водолазные работы __________________________________
|
___________________________________________________________________________
|
(указываются содержание, объемы, единицы измерения
|
__________________________________________________________________________
выполненных водолазных работ)
|
Работы
выполнялись в условиях:
|
волнение
у места работ _____________________ баллов;
|
глубина
_______________ м, скорость течения ____________________ м/с;
|
температура
воды _____________ °С; температура воздуха ______________ °С;
|
прозрачность
воды ______________________м
|
___________________________________________________________________________
|
(дополнительные факторы, влияющие на выполнение
водолазных работ)
|
___________________________________________________________________________
|
На водолазных работах были использованы следующие
технические средства и вспомогательный персонал:
|
Наименование технических средств и вспомогательного
персонала, единицы измерения
|
Количество
|
Примечание
|
|
|
|
|
Контроль качества выполняемых водолазных работ
осуществляли __________________
|
___________________________________________________________________________
|
(должности, Ф. И. О.)
|
посредством
___________________________________________________________________________
|
(телевидения, фотосъемки, водолазного осмотра и т.п.)
|
___________________________________________________________________________
|
Оценка
качества работы______________________________________________________
|
Замечание
заказчика_________________________________________________________
|
(отмечается наличие или отсутствие
|
___________________________________________________________________________________
|
претензий к исполнителю)
|
Оплату
производит __________________________________________________________
|
(наименование организации (предприятия) заказчика)
|
_________________________________
с расчетного счета № _______________________
|
__________________________
банка города _____________________________________
|
Представители
исполнителя __________________________________________
|
__________________________________________
|
(подпись, Ф. И. О.)
|
Представители
заказчика ____________________________________________
|
____________________________________________
|
(подпись, Ф. И. О.)
|
Расчет стоимости выполненных работ
|
Наименование работ, единицы измерения
|
Количество
|
Цена, руб.
|
Стоимость, руб.
|
Основание
|
|
|
|
|
|
|
Расчет произвел ________________________
|
(подпись, Ф. И. О.)
|
Расчет утвердил ________________________
|
(подпись, Ф. И. О.)
|
Порядок заполнения «Схемы
повреждений обследуемых гидросооружений»
«Схема
повреждений обследуемых гидросооружений» (Приложение № 5) выполняется в масштабе
1:50 или 1:100 в зависимости от размеров сооружений, отдельные узлы выполняются
в масштабе 1:10.
На схеме изображают
графически в виде прямоугольников и квадратов прямые участки обследуемых
сооружений (например, причалы, молы и т.д.) или развернутый вид подводной части
свайных конструкций (например, мостовые опоры, колонны, отдельные оболочки и
т.д.). Схема заполняется условными обозначениями, которые принимаются перед
началом работ. Под изображением прямого участка обследуемого сооружения
обозначают номера пикетов согласно, произведенной разбивки и уклоны,
обозначенные на схеме в градусах и минутах
Схема повреждений обследуемого
гидросооружения

Судовладелец
__________________________
|
Согласовано Утверждаю
|
Инспектор ____________________ ________________________________
|
Российского Морского Регистра Судоходства (должность представителя судовладельца)
|
_____________________________ __________________________
|
(ф., и., о.) (ф., и, о.)
|
Руководитель __________________ «____» ____________________ 20 __ г.
|
водолазных работ
|
______________________________
|
(ф., и., о.)
|
«____» __________________ 20 __
г.
|
Типовая рабочая
программа
|
обследования подводной части судна
_________________________________________
___________________________________________________________________________
|
Регистровый №
_______________________ Тип судна ____________________________
|
Год постройки
______________________ Владелец _______________________________
|
Производит инспектор
_______________________________________________________
|
(ф., и., о.)
|
________________________
инспекции Российского Морского Регистра Судоходства в
(наименование)
|
присутствии представителей
администрации судна:
капитан ____________________________________________________________________
|
(ф., и., о.)
старший механик
___________________________________________________________
|
(ф., и., о.)
представитель судовладельца
_________________________________________________
___________________________________________________________________________
|
(ф., и., о., должность)
|
при участии водолазов
__________________________________________ группы БАСУ
|
На основании заявки от «___»
_______________ 20 ___ г., акта судовой администрации
|
№ __________________от «___»
________________ 20 ___ г. о характере эксплуатации
|
судна
__________________________________ с момента последнего докования и акта
|
очередного освидетельствования № ________________
от «___» _________________ г.
|
__________________________
инспекции Российского Морского Регистра Судоходства
|
предусматривается следующий объём
и порядок освидетельствования подводной части судна:
|
1. Рулевое устройство
|
1.1. Перо руля, поворотная
насадка ____________________________________________
___________________________________________________________________________
|
(указываются
состояние, результаты измерений дефектных участков)
|
1.2. Крепление пера руля с баллером
___________________________________________
___________________________________________________________________________
|
(указываются
состояние, наличие цементной заливки крепежа)
|
1.3. Баллер
_________________________________________________________________
|
(указываются
состояние, зазоры)
|
1.4. Петли и штыри руля
______________________________________________________
|
(указываются
состояние, наличие крепежа, цементной заливки)
|
1.5. Рудерпост ______________________________________________________________
|
(указываются
состояние, результаты измерений дефектных участков)
|
1.6. Видимая часть гельмпортовой
трубы _______________________________________
|
(указывается
состояние)
|
1.7. Посадка руля
____________________________________________________________
|
(указываются
результаты измерений)
|
1.8. Протекторная защита руля
________________________________________________
|
(указывается
состояние)
|
2. Валопроводы и движители
|
2.1. Расположение
___________________________________________________________
|
(ЛБ, ПБ,
средний)
|
2.2. Видимая часть гребного вала
______________________________________________
|
(указываются
состояние и места измерений)
|
2.3. Зазоры в дейдвудном
подшипнике __________________________________________
|
(указываются
величины зазоров и места измерений)
|
2.4. Крепление дейдвудной трубы
______________________________________________
|
(указываются
состояние и наличие стопорных устройств)
|
2.5. Крепление дейдвудного
подшипника _______________________________________
|
(указываются
состояние и наличие стопорных устройств)
|
2.6. Кормовое дейдвудное
уплотнение __________________________________________
|
(указываются состояние,
наличие крепежа и стопорных устройств)
|
2.7. Привинтовое уплотнение
_________________________________________________
|
(указывается
состояние, наличие крепежа и стопорных устройств)
|
2.8. Лопасти гребного винта __________________________________________________
|
(указываются
состояние, результаты измерений дефектных участков)
|
2.9. Крепление лопастей
______________________________________________________
|
(указываются
состояние и наличие стопорных устройств)
|
2.10. Ступица винта
_________________________________________________________
|
(указываются
состояние, результаты измерений дефектных участков, наличие цементной заливки
крепежа)
|
2.11. Обтекатель ____________________________________________________________
|
(указываются
состояние, наличие цементной заливки крепежа)
|
2.12. Противотросовый кожух
_________________________________________________
___________________________________________________________________________
|
(указывается
состояние)
|
3. Корпус
|
3.1. Ахтерштевень, кормовой
подзор ___________________________________________
|
(указываются
состояние и результаты измерений дефектных участков)
|
3.2. Сварные швы корпуса судна _______________________________________________
|
(указываются
состояние, результаты замера износа швов)
|
3.3. Скуловые кили
__________________________________________________________
|
(указываются
состояние и результаты измерений дефектов)
|
3.4. Днище
_________________________________________________________________
|
(указываются
состояние, результаты измерений дефектов)
|
3.5. Бортовая наружная обшивка
_______________________________________________
|
(указываются состояние,
результаты измерений дефектов)
|
3.6. Форштевень
____________________________________________________________
|
(указываются
состояние, результаты измерений дефектов)
|
3.7. Протекторная защита
_____________________________________________________
|
(указывается
состояние)
|
4. Арматура донно-бортовая
|
4.1. Кингстонные решетки и
протекторы ________________________________________
|
(указываются
состояние, дефекты)
|
4.2. Кингстонные выгородки __________________________________________________
|
(указываются
состояние, результаты измерений дефектов)
|
4.3. Выдвижные и
поворотно-выдвижные устройства _____________________________
|
(указываются
состояние, результаты измерений дефектов)
|
4.4. Обтекатели вибраторов
электрорадионавигационной аппаратуры _______________
___________________________________________________________________________
|
(указывается состояние)
4.5. Трубки лагов ____________________________________________________________
|
(указывается состояние)
___________________________________________________________________________
Программу составили представители
судовладельца
|
___________________________
пароходства __________________________
|
(ф., и., о.)
|
________________________________
(ф., и., о.)
|
___________________________
(ф., и., о.)
|
Примечание. Дополнительные объекты, объёмы и виды освидетельствования
могут быть включены в программу по усмотрению инспектора Российского Морского
Регистра Судоходства и администрации судна.
|
Протокол
водолазного обследования подводной части судна при освидетельствовании
|
«___» _______________ 20 ___ г. п.
___________
|
Настоящий протокол составили
представители БАСУ _____________________________
|
(должность, Ф. И. О.)
|
(территориальной группы)
____________________________________________________
|
Руководитель водолазных работ _______________________________________________
|
(Ф. И. О.)
|
Руководители водолазных
спусков:_____________________________________________
|
(Ф. И. О.)
|
Инспектор
_________________________________________________________________
|
(Ф. И. О.)
|
__________________________
инспекции Российского Морского Регистра Судоходства
|
(наименование)
|
Представители заказчика в лице:
______________________________________________
___________________________________________________________________________
|
В соответствии с заявкой
_____________________________________________________
|
№ _____________ от «___»
______________ 20 ___ г. _____________________________
|
БАСУ (территориальной группы)
______________________________________________
|
Свидетельство Регистра о
признании ___________________________________________
|
(наименование предприятия)
|
на выполнение работ по подводному
освидетельствованию № __от «___» _____ 20 __ г.
|
произвела обследование подводной части
судна __________________________________
|
Регистровый №
_____________________ Тип судна ______________________________
|
Год постройки
_____________________ Владелец ________________________________
|
Технические характеристики судна
Расчетная, м Осадка,
м
|
Площадь подводной части, м2
|
Движитель
|
длина
|
ширина
|
Нос
|
Корма
|
Средняя
|
Тип
|
Количество лопастей
|
Конструкция защитного кожуха
|
|
|
|
|
|
|
|
|
|
|
Полигон _______________________________________ Причал №
__________________
|
Видимость в воде
___________________________________________________________
|
Состояние моря
_____________________________________________________________
|
Температура воздуха
_______________________ Температура воды _________________
|
При водолазных работах
использовались:
|
1. Плавсредства
_____________________________________________________________
|
2. Телевизионная установка ___________________________________________________
|
3.
Подводная фотокамера _____________________________________________________
|
4.
Приборы подводной диагностики и инструмент _______________________________
__________________________________________________________________________
__________________________________________________________________________
__________________________________________________________________________
|
Корпус
судна перед освидетельствованием очищен ______________________________
___________________________________________________________________________
|
(указать №
акта и средства очистки)
|
Состояние
поверхности корпуса после очистки удовлетворительное.
Результаты
водолазного обследования:
|
1)
Пробоины _______________________________________________________________
|
(указать
район, размеры)
|
2)
Вмятины _________________________________________________________________
|
(указать
район, размеры)
|
3) Бухтины
_________________________________________________________________
|
(указать
район, размеры)
|
4)
Гофры ___________________________________________________________________
|
(указать
район, размеры)
|
5)
Трещины ________________________________________________________________
__________________________________________________________________________
|
(указать
район, протяженность, количество трещин на листе)
|
6)
Дефекты сварных швов ____________________________________________________
|
(район, вид
дефекта, протяженность)
|
7) Прочие
дефекты __________________________________________________________
__________________________________________________________________________
|
1.2.
Состояние протекторов, установленных на обшивке корпуса ___________________
|
1.3.
Состояние кингстонных решеток ___________________________________________
|
1) бортовых
________________________________________________________________
|
2)
донных __________________________________________________________________
|
1.4.
Состояние бортовых килей ________________________________________________
__________________________________________________________________________
|
2. Валопровода
и движителей _________________________________________________
|
2.1.
Расположение ___________________________________________________________
|
(ЛБ, ПБ)
|
2.2.
Видимая часть гребного вала ______________________________________________
|
(указывается
состояние и место измерения)
|
2.3.
Зазоры в дейдвудном подшипнике __________________________________________
|
(указываются
величины зазоров и места измерений)
|
2.4.
Крепление дейдвудной трубы ______________________________________________
|
(указывается
состояние и наличие стопорных устройств)
|
2.5.
Крепление дейдвудного подшипника _______________________________________
|
(указываются
состояние и наличие стопорных устройств)
|
2.6. Кормовое дейдвудное уплотнение __________________________________________
|
(указываются
состояние, наличие крепежа и стопорных устройств)
|
2.7. Привинтовое уплотнение
_________________________________________________
|
(указывается
состояние, наличие крепежа и стопорных устройств)
|
2.8. Лопасти гребного винта
_________________________________________________
|
(указываются
состояние, результаты измерений дефектных участков)
|
2.9. Крепление лопастей
______________________________________________________
|
(указываются состояние
и наличие стопорных устройств)
|
2.10. Ступица винта
_________________________________________________________
|
(указываются
состояние, результаты измерений дефектных участков, наличие цементной заливки
крепежа)
|
2.11. Обтекатель ____________________________________________________________
|
(указываются
состояние, наличие цементной заливки крепежа)
|
2.12. Протекторная защита
гребного устройства __________________________________
|
(указывается
состояние)
|
2.13. Противотросовый кожух
_________________________________________________
|
(указывается
состояние)
|
3. Рулевого устройства
|
3.1. Состояние пера руля
_____________________________________________________
|
3.2. Состояние узла соединения пера
руля с баллером _____________________________
__________________________________________________________________________
|
3.3. Состояние угла подвижного
соединения пера руля с рудерпостом _______________
__________________________________________________________________________
|
3.4. Положение пера руля
_____________________________________________________
|
3.5. Проседание пера руля ____________________________________________________
|
3.6. Величина зазора во втулке
пятки руля ______________________________________
|
3.7. Величина зазора в
подшипниках пера руля __________________________________
|
4. Электрорадионавигационного оборудования
|
4.1. Состояние вибраторов
эхолотов и их обтекателей _____________________________
__________________________________________________________________________
|
4.2. Состояние трубок лага
____________________________________________________
__________________________________________________________________________
|
(осмотр
производится при их выдвижении ниже днища судна)
|
5. Дополнительные сведения об
объектах освидетельствования _____________________
__________________________________________________________________________
|
Результаты измерений и дефекты
нанесены на соответствующие чертежи корпуса судна и сделаны отметки в судовых
формулярах.
|
Водолазные работы по обследованию
подводной части судна выполнены в __________
____________________
|
(полном, неполном)
объёме, предусмотренном рабочей
программой освидетельствования.
|
Начало работ «___» ___________ 20
___ г. ч ______________ мин __________________
|
Окончание работ «___»
_______________ 20 ___ г. ч __________ мин _______________
|
Претензии со стороны
судовладельца к обследованию ____________________________
__________________________________________________________________________
|
Представители БАСУ: _____________________________
_____________________________
_____________________________
|
Представители судовладельца: ______________________________
______________________________
______________________________
|

|
Российский МОРСКОЙ регистр СУДОХОДСТВА
|
RuSSIAn
MARITIME REGISTER oF SHIPPING
|
АКТ № _________________________
|
ОСВИДЕТЕЛЬСТВОВАНИЯ СУДНА
|
REPORT ON SURVEY OF THE
SHIP
|
Название
судна ___________________________
Регистровый номер _______________
|
Name of ship Registered
number
|
Класс
____________________________ Тип
судна_______________________________
|
Class Type
of ship
|
Флаг _____________________________________ Валовая
вместимость _____________
|
Flag Gross
tonnage
|
Порт
приписки ________________ Дата спуска на воду/последнего докования* _______
|
Port of registry Date
of launching/last dry docking*
|
Год и место
постройки __________________ Место освидетельствования ____________
|
Year and place of build Place
of survey
|
Мною,
инженером-инспектором российскою Морского Регистра Судоходства _______,
|
I, Surveyor to Russian
Maritime Register of Shipping (ф., и., о.,)
|
name
|
___________________________
произведено освидетельствование
|
on (дата) have
carried out the survey
date
|
__________________________________________________________________________
|
__________________________________________________________________________
|
__________________________________________________________________________
|
__________________________________________________________________________
|
__________________________________________________________________________
|
__________________________________________________________________________
|
__________________________________________________________________________
|
__________________________________________________________________________
|
__________________________________________________________________________
|
__________________________________________________________________________
|
__________________________________________________________________________
|
__________________________________________________________________________
|
__________________________________________________________________________
|
__________________________________________________________________________
|
__________________________________________________________________________
|
__________________________________________________________________________
|
__________________________________________________________________________
|
__________________________________________________________________________
|
__________________________________________________________________________
|
__________________________________________________________________________
|
М. П. Инженер
инспектор
|
L. S. Surveyor
|
(подпись)
|
signature
|
* Ненужное зачеркнуть.
Delete as appropriate.
|