Информационная система
«Ёшкин Кот»

XXXecatmenu

МИНИСТЕРСТВО ЭНЕРГЕТИКИ И ЭЛЕКТРИФИКАЦИИ СССР

ГЛАВНОЕ ТЕХНИЧЕСКОЕ УПРАВЛЕНИЕ ПО ЭКСПЛУАТАЦИИ ЭНЕРГОСИСТЕМ

ПРОИЗВОДСТВЕННОЕ ОБЪЕДИНЕНИЕ ПО НАЛАДКЕ,
СОВЕРШЕНСТВОВАНИЮ ТЕХНОЛОГИЙ
И ЭКСПЛУАТАЦИИ ЭЛЕКТРОСТАНЦИЙ И СЕТЕЙ
«СОЮЗТЕХЭНЕРГО»

 

МЕТОДИЧЕСКИЕ УКАЗАНИЯ
ПО ТЕХНИЧЕСКОМУ ОБСЛУЖИВАНИЮ
УСТРОЙСТВА КИВ

 

МУ 34-70-39-83

СО 34.35.669

 

Москва 1983

 

РАЗРАБОТАНО предприятием "Ветехэнерго"

ИСПОЛНИТЕЛЬ М.С. ДАНИЛОВИЧ (электроцех)

УТВЕРЖДЕНО Производственным объединением по наладке, совершенствованию технологии и эксплуатации электростанций и сетей "Союзтехэнерго"

Заместитель главного инженера А.Д. ГЕРР

28 февраля 1983 г.

 

 

Методические указания предназначены для персонала эксплуатационных и наладочных организаций, занимающегося техническим обслуживанием устройств КИВ.

 

 

ОГЛАВЛЕНИЕ

Введение

1. Краткое описание и принцип действия устройства КИВ

2. Меры безопасности

3. Проверка при новом включении

3.1. Подготовительные работы

3.2. Проверка правильности выполнения монтажа

3.3. Проверка аппаратуры

3.4. Выбор схемы подключения ТПС и выставление уставок реле

3.5. Проверка под рабочим напряжением

4. Профилактический контроль и восстановление

Приложение 1 Усредненные значения параметров вводов

Приложение 2 Перечень приборов и аппаратов, необходимых для наладки устройства КИВ

Приложение 3 Основные технические данные аппаратуры устройства КИВ

Приложение 4 Рекомендации по монтажу комплекта устройства КИВ

Приложение 5 Расчет уставок

Приложение 6 Протокол проверки при новом включении устройства КИВ

Приложение 7 Указания оперативному персоналу

 

 

 

МЕТОДИЧЕСКИЕ УКАЗАНИЯ
ПО ТЕХНИЧЕСКОМУ ОБСЛУЖИВАНИЮ

УСТРОЙСТВА КИВ

МУ 34-70-39-83

 

Срок действия установлен
с 01.08.83 г.
до 01.08.88 г.

 

ВВЕДЕНИЕ

Устройство КИВ-500 применяется для защиты изоляции маслонаполненных вводов напряжением 330, 500 и 750 кВ, устанавливаемых на трансформаторах, автотрансформаторах и реакторах (в дальнейшем - трансформаторы).

При техническом обслуживании устройства КИВ следует дополнительно руководствоваться заводским техническим описанием и инструкцией по эксплуатации блок-реле КИВ-500Р.

1. КРАТКОЕ ОПИСАНИЕ И ПРИНЦИП ДЕЙСТВИЯ
УСТРОЙСТВА КИВ

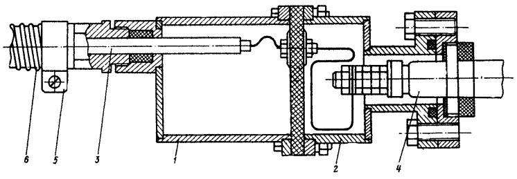
1.1. Комплект устройства КИВ состоит из блок-реле КИВ-500Р, согласующего трансформатора, защитных разрядников; блокирующего реле и заземляющих рубильников.

1.2. Принцип действия устройства основан на измерении суммы трехфазной системы токов, протекающих под воздействием рабочего напряжения через изоляцию трех вводов, включенных в разные фазы (рис. 1). При развитии повреждения изоляции ввода или при увеличении активных утечек во время развития пробоя ввода в предварительно сбалансированной сумме токов появляется составляющая промышленной частоты, на которую реагирует устройство.

Рис. 1. Принципиальная схема переменного тока устройства КИВ:

1 - блок - реле; 2 - шкаф согласующего трансформатора

1.3. Блок-реле КИВ-500Р состоит из сигнального, отключающего и измерительного элементов.

В сигнальный элемент входит реагирующий орган-реле РТ 1, действующее на указательное реле РУ 1 с выдержкой времени реле РВ 1.

В отключающий элемент входит реагирующий орган - реле РТ 2, действующее на выходное реле РП с выдержкой времени реле РВ 2.

Миллиамперметр измерительного элемента градуируется по току первичной обмотки согласующего трансформатора, и по его показаниям можно оценить степень и интенсивность процесса повреждения изоляции вводов.

Блокирующее реле РТбл предназначено для предотвращения ложной работы отключающего элемента при изменении тока скачком, например, из-за нарушения контакта в цепях первичной обмотки трансформатора ТПС. Повреждение изоляции вводов в начальной стадии, как правило, происходит медленно, поэтому увеличение тока от значения, равного уставке срабатывания реле РТ 2, до значения, при котором срабатывает РТбл, превышает выдержку времени реле РВ 2 и таким образом обеспечивается отключение объекта с поврежденным вводом.

Выпускаемые в настоящее время блок-реле имеют повышенную чувствительность отключающего элемента. Поэтому при установке устройства КИВ на вводах 750 кВ нет необходимости в целях повышения чувствительности устройства увеличивать число витков первичной обмотки трансформатора ТТ 3.

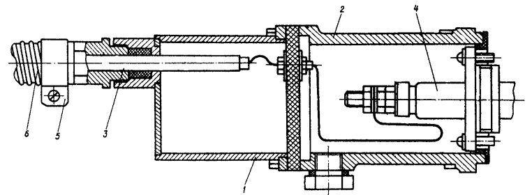
Настоящими Указаниями рекомендуется в схеме постоянного тока использовать замыкающие контакты реле РТбл - (рис. 2). Такое дополнение обеспечит поступление сигнала о повреждении, например, в кабеле, связывающем измерительный вывод с согласующим трансформатором, в начальной стадии повреждения, когда неисправность носит неустойчивый характер. Кроме того, в целях повышения безопасности обслуживающего персонала, а также удобства измерений под рабочим напряжением в шкафу согласующего трансформатора следует устанавливать заземляющие рубильники Р1.

2. МЕРЫ БЕЗОПАСНОСТИ

2.1. Техническое обслуживание устройства КИВ следует проводить в соответствии с действующими Правилами техники безопасности.

2.2. При рабочем напряжении на вводах не допускается размыкания цепей измерительных выводов. Напряжение на разомкнутом измерительном выводе зависит от соотношения емкостей С1 и С2 и может достигать десятков киловольт при номинальном напряжении на вводах.

2.3. При необходимости выполнения переключений на первичной обмотке согласующего трансформатора ТПС необходимо предварительно заземлить измерительные выводы рубильниками Р1, установленными для этой цели в шкафу согласующего трансформатора. На время работы в цепях релейного блока во избежание появления напряжения на вторичной обмотке ТПС также необходимо включать заземляющие рубильники Р 1.

3. ПРОВЕРКА ПРИ НОВОМ ВКЛЮЧЕНИИ

3.1. Подготовительные работы

3.1.1. Подобрать комплект проектной и заводской документации, а также подготовить протокол для внесения данных:.

3.1.2. Для расчета токовых уставок получить данные о значении емкостей основной изоляции вводов С1, которые определяются при измерении угла диэлектрических потерь изоляции вводов. При отсутствии таких данных предварительно можно воспользоваться усредненными параметрами вводов, приведенными в приложении 1.

3.1.3. Для повышения чувствительности отключающего элемента при установке устройства КИВ на вводах 330 и 500 кВ необходимо увеличить число витков первичной обмотки трансформатора ТТ 3. Дополнительные витки следует выполнить проводом ПЭВ-2-1,0.

При установке устройства КИВ на вводах 330 кВ необходимо дополнительно намотать 400 витков, на вводах 500 кВ - 100 витков. Для повышения чувствительности устройства КИВ при использовании его на вводах 500 кВ на рабочее напряжение 400 кВ число витков первичной обмотки трансформатора ТТ 3 необходимо увеличить на 150. Выводы обмоток при этом подключить по схеме рис. 3.

3.1.4. Получить в службе релейной защиты уставки выдержек времени сигнального и отключающего элементов.

Рис. 3. Схема подключения дополнительных витков трансформатора ТТ 3

3.1.5. Убедиться в выполненной поверке миллиамперметра, установленного в блок-реле;

3.1.6. При использовании измерительных: обкладок вводов также для присоединения устройства контроля изоляции под рабочим напряжением КИН (информационно - измерительный комплекс КИН-750 разработан МГП Союзтехэнерго) в проектную схему подключения КИВ следует внести необходимые дополнения.

3.1.7. Для регулирования реле тока, времени и указательных реле подобрать необходимые инструкции.

3.1.8. Подготовить для наладки приборы и аппараты, перечень которых приведен в приложении 2.

3.2. Проверка правильности выполнения монтажа

3.2.1. При внешнем осмотре следует проверить:

- марки и сечения кабелей, связывающих шкаф согласующего трансформатора с измерительными выводами;

- наличие крепления кабеля к кожуху трансформатора;

- правильность выполнения концевых разделок кабелей у измерительных выводов, надежность их подсоединения к выводам, надежность их изоляции от внутренней поверхности коробок или колпаков, затяжку и наличие контргаек, уплотнение кабелей в месте выхода из коробок или колпаков;

- правильность выполнения монтажа в шкафу согласующего трансформатора и соответствие установленной аппаратуры спецификации, приведенной в приложении 3;

- отсутствие механических повреждений аппаратура и надежность контактных соединений в шкафу согласующего трансформатора;

- правильность выполнения концевых разделок кабелей в шкафу согласующего трансформатора и на панели, где установлено блок-реле, наличие бирок на кабелях и правильность надписей;

- наличие и правильность маркировки на рядах зажимов в шкафу согласующего трансформатора и на панели;

- состояние монтажа и аппаратуры блок-реле, надежность контактных соединений;

- наличие и правильность надписей в шкафу согласующего трансформатора и на панели, где установлено блок-реле. Рекомендации по монтажу, комплекта устройства КИВ-500 приведены в приложении 4.

3.3. Проверка аппаратуры

3.3.1. Произвести внутренний осмотр, чистку и проверку механической части аппаратуры. При этом необходимо выполнить:

- чистку от пыли;

- проверку состояния уплотнений кожухов;

- проверку целостности деталей, надежности крепления, затяжки болтов, стягивающих сердечники трансформаторов и дросселя;

- проверку надежности контактных соединений, наличия и правильности установки перемычек на выводах блок-реле;

- проверку состояния изоляции обмоток и соединительных проводников;

- проверку состояния контактных поверхностей;

- проверку и регулирование аппаратуры (лифтов, зазоров, прогибов и др.);

- проверку надежности контактных соединений в гнездах разъемов реле.

При внутреннем осмотре блок-реле необходимо повернуть его подвижную плату.

3.3.2. Проверку разрядников следует производить в следующем объеме:

- измерить пробивное напряжение разрядника при плавном увеличении напряжения промышленной частоты 50 Гц. Ток через разрядник после пробоя должен быть отключен более  чем за 0,5 с, а его амплитуда не должна превышать 0,7 А. Значение пробивного напряжения приведено в приложении 3;

- измерить ток утечки при приложении к разряднику выпрямленного напряжения 1000 В. Ток утечки должен быть не более 6 мкА;

- измерить сопротивление изоляции мегаомметром на напряжение 1000 В. Сопротивление изоляции не должно отличаться более чем на 30 % от заводских данных или результатов ранее проведенных измерений.

3.3.3. Проверка изоляции

Измерение сопротивления изоляции и испытание ее повышенным напряжением должно производиться после полного окончания монтажа устройства КИВ и при снятом рабочем напряжении с защищаемых вводов.

Испытание изоляции относительно земли и между собой электрически не связанных цепей производится переменным напряжением 1000 В в течение 1 мин.

Сопротивление изоляции измеряется мегаомметром на 1000 В до и после испытаний. Значение сопротивления должно быть не менее 10 МОм.

При наличии устройства КИН перед проверкой изоляции переключатель К выбора режима  работы (рис. 4) следует перевести в положение "КИВ".

Рис. 4. Структурная схема подключения устройства КИВ
к измерительным обкладкам вводов при использовании КИН-750:
1 - датчик ДРУ; 2 - коаксиальный кабель; 3 - фазная сборка зажимов;
4 - групповая сборка зажимов; 5 - устройство КИВ

Должна производиться проверка изоляции следующих цепей:

- первичная обмотка трансформатора ТПС совместно с кабелями, подключенными к измерительным выводам.

На время измерения заземлить вторичную обмотку трансформатора ТПС, а вывод Н 1 согласующего трансформатора отсоединить от земли. Во время испытаний разрядники не должны срабатывать;

- вторичная обмотка трансформатора ТПС совместно с соединительным кабелем, подключенным к релейному блоку устройства КИВ.

На время измерения заземлить вторичные обмотки трансформаторов ТТ 2 и ТТ 3;

- вторичные обмотки трансформаторов ТТ 2 и ТТ 3 совместно с питающимися от этих обмоток элементами.

На время измерения закоротить диоды Д 1-Д 4 в выпрямительном мостике В (см. рис. 1), а также заземлить схему постоянного тока в релейном блоке устройства КИВ;

- схема постоянного тока.

На время измерения закоротить диоды Д 1-Д 4 в схеме постоянного тока (см. рис. 2), а также заземлить схему переменного тока релейного блока устройства КИВ.

Испытание схемы постоянного тока повышенным напряжением производится вместе с другими защитами данного трансформатора.

3.3.4. Проверка трансформатора ТТ 3

Проверка производится в случае увеличения числа витков первичной обмотки трансформатора в целях повышения чувствительности устройства КИВ при установке его на вводах 330 или 500 кВ. В этом случае следует проверить коэффициент трансформации и полярность выводов дополнительной обмотки для обеспечения ее согласного включения с основной обмоткой.

При проверке полярности обмотку Wдоп отсоединить от вывода 14. Полярность проверяется индукционным методом; источник постоянного тока подключается ко вторичной обмотке трансформатора.

Коэффициент трансформации измеряется по напряжению. При нажатой кнопке Кн ко вторичной обмотке ТТ 3 следует подвести напряжение 10-15 В и измерить при этом ЭДС на первичной обмотке между выводами 2-18. Значение коэффициента трансформации определяется отношением витков вторичной обмотки к первичной

где WДОП - число дополнительно намотанных витков.

3.3.5. Проверка фильтров высших гармонических составлявших сигнального элемента (Др С 1, С 2, С З, С 4)

Фильтр предназначен для уменьшения влияния высших гармонических составляющих, включая тринадцатую, на работу РТ 1 и показания миллиамперметра.

Коэффициент отстройки определяется как отношение

где IP 50 - ток реле при промышленной частоте тока на входе в блок-реле;

IP ВЧ - ток в реле при высших гармонических составляющих на входе в блок реле.

Измерение токов в реле производится при одном и том же значении тока на входе.

Для проверки фильтра к выводам блок-реле 6-16 следует подвести питание от генератора звуковой частоты. Поддерживая постоянное значение тока в первичной обмотке трансформатора, равное 50 мА, следует изменять его частоту от 50 до 650 Гц. За значением тока во вторичной обмотке следить по показаниям миллиамперметра, подключенного в рассечку зажима 12 (см. рис. 1). Кнопка КН миллиамперметра блок-реле должна быть при этом отпущена.

При частоте 100 Гц коэффициент отстройки должен быть не менее 25; при частоте 150 Гц и выше не менее 100.

При отклонении коэффициента отстройки от указанных значений на 10 % и более необходимо измерить значение емкостей С 1, С 2, СЗ и С4 и полное сопротивление дросселя Др. Значение емкостей должно соответствовать данным, приведенным в приложении 3. Полное сопротивление дросселя при промышленной частоте должно составлять (2800 ± 224) Ом. При необходимости дефектные элементы должны быть заменены.

3.3.6. Проверка фильтра высших гармонических составляющих отключающего элемента (С 5, С 6)

Фильтр предназначен для уменьшения влияния третьей гармонической составляющей тока на работу реле РТ 2 и показания миллиамперметра. Исправность фильтра определяется по коэффициенту отстройки:

где  - ток в реле при токе частоты 150 Гц на входе в блок-реле.

При снятой перемычке с выводов блок-реле 14,16 к выводам 2-18 подвести питание от генератора звуковой частоты. Поддерживая постоянное значение тока в первичной обмотке трансформатора 100 мА, изменять его частоту от 50 до 150 Гц. За значением тока во вторичной обмотке следить по показаниям миллиамперметра блок-реле. При частоте 150 Гц коэффициент отстройки обычно не менее 10. Если коэффициент отстройки окажется менее 8, необходимо измерить значения емкостей С 5 и С 6 и сопоставить их с данными, приведенными в приложении 4, При необходимости конденсаторы следует заменить.

3.3.7. Проверка сигнального, отключающего и блокирующего элементов.

Проверка релейной аппаратуры блок-реле в настоящих Методических указаниях не рассматривается.

При проверке реле РТ 1, РТ 2 и РТбл следует руководствоваться действующей Инструкцией. При проверке реле РТ 1 и РТ 2 ток следует подводить к первичный обмоткам трансформаторов ТТ 2 и ТТ 3. Ток срабатывания реле РТ 2 измерить при различных коэффициентах трансформации трансформатора ТТ 3 при подводе регулируемого тока к выводам 2-18 и 2-14.

Ток срабатывания реле РТ 1 и РТ 2 при уставках в пределах шкалы должен находиться в интервале соответственно 21+46 и 180+360 мА.

При обнаружении в процессе проверки, реле существенного увеличения токов срабатывания или отказа в работе необходимо проверить работоспособность реле РТ 1 и РТ 2 при подводе непосредственно к их обмоткам соответственно напряжения и тока. Если реле окажутся исправными, необходимо проверить трансформаторы ТТ 2 и ТТ З.

Исправность быстронасыщающегося трансформатора ТТ 2 определяется по характеристике намагничивания, снятой на выводах первичной обмотки 6-16, и коэффициенту трансформации, определяемому как отношение напряжения, подведенного ко вторичной, обмотке, к ЭДС, измеренной на выводах первичной обмотки. Проверка производится при снятой перемычке между выводами 8-10. Коэффициент трансформации должен соответствовать отношению витков обмоток трансформатора и быть равным 2. Усредненная характеристика намагничивания исправного трансформатора приведена на рис. 5.

Рис. 5. Характеристика намагничивания трансформатора ТТ 2

Коэффициент трансформации трансформатора ТТ 3 следует проверять согласно п. 3.3.4. При напряжении, подведенном ко вторичной обмотке, ЭДС измеряется на первичной обмотке между выводами 2-14 и 2-18. Коэффициенты трансформации должны быть соответственно равны 30 и 12.

В сигнальный элемент, кроме реле РТ 1, входит индикатор-миллиамперметр, позволяющий определить характер изменения токов, протекающих по основным емкостям контролируемых вводов С 1.

Миллиамперметр имеет три предела измерения по первичному току трансформаторов ТТ2 и ТТ3: 50, 400 и 1000 мА. В нормальном состоянии, когда кнопка КН, отпущена, миллиамперметр имеет два предела: 400 мА при закороченных зажимах 16-18 и 1000 мА при закороченных зажимах 14-16.

Переключение предела на 50 мА производится нажатием кнопки КН. Градуировка на указанные пределы производится резисторами R 5 и R 6.

3.3.8. Проверка реле и цепей постоянного тока

После регулирования реле времени РВ 1 и РВ 2 и- указательных реле РУ 1 и РУ 2 опробовать схему постоянного тока при оперативном напряжении 0,8UН.

3.3.9. Проверка согласующего трансформатора

Первичная обмотка трансформатора Н1 - К1, выполненная с десятью промежуточными отводами, подключается к измерительным обкладкам вводов. Вывод Н1 при работе устройства КИВ заземляется. Ко вторичной обмотке И1 - И4 с двумя промежуточными отводами подключается блок-реле. Обмоточные данные ТПС приведены в приложении 3.

Перед проверкой отсоединить провод от обмоток трансформатора; проверку выполнить в следующем объеме:

1. Снять характеристику намагничивания при подаче напряжения на выводы вторичной обмотки И1 - И4. Напряжение, подводимое к выводам И1 - И4, не должно превышать 130 В. В этом режиме трансформатор работает как повышающий, и напряжение на выводах Н1 - К1 достигает 800 В. Снятую характеристику сопоставить с усредненной характеристикой намагничивания, приведенной на рис .6.

2. Проверить коэффициент трансформации. При этом напряжение подводится последовательно ко всем отводам первичной обмотки. На вторичной обмотке напряжение измеряется на выводах И1 - И3. При напряжении, подведенном к выводам Н 1-6, измерить напряжение на всех выводах вторичной обмотки.

Отводы первичной обмотки позволяют регулировать коэффициент трансформации ступенями (3 ± 1) % в пределах (± 15 ± 5) % от коэффициента трансформации на основных отводах Н1-6. Выводы вторичной обмотки И1 - И2 и И1 - И4 позволяют регулировать коэффициент трансформации в пределах ± 36 % от коэффициента трансформации на основных выводах И1 - И3.

Рис. 6. Характеристика намагничивания согласующего трансформатора ТПС

3.4. Выбор схемы подключения ТПС и выставление уставок реле

Условием протекания минимального тока небаланса Iнб на выходе согласующего трансформатора ТПС является равенство ампер-витков в его первичной обмотке

где  - токи через основную изоляцию вводов;

 - число витков первичной обмотки ТПС в точках подключения измерительных обкладок вводов

Уставки реле сигнального и отключающего элементов рассчитываются в соответствии с приложением 5.

По расчетным значениям токов срабатывания сигнального и отключающего элементов с помощью табл. 1 следует выбрать точки подсоединения блок-реле но вторичной обмотке трансформатора ТПС, положение перемычки на выводах блок-реле (16-18 или 14-16) и точки подсоединения измерительных выводов к первичной обмотке ТПС.

Если токи различаются через изоляцию вводов на 3 % и более, необходимо выбрать соответствующие точки подсоединения к первичной обмотке согласующего трансформатора, исходя из условия равенства ампер-витков. Обмоточные данные согласующего трансформатора приведены в приложении 3. Для удобства выравнивания ампер-витков следует выполнить уставки сигнального и отключающего элементов на основных или близких к основным отводах Н 1-6 первичной обмотки ТПС.

Таблица 1

Iср РТ 1 сигнального элемента, мА

Iср  РТ 2 отключающего элемента, мА

Точки подключения ввода к первичной обмотке ТПС

Точки подключения блок-реле ко вторичной обмотке ТПС

Положение перемычек на выводах блок-реле

Минимальная
уставка реле

Максимальная уставка реле

Минимальная уставка реле

Максимальная
уставка реле

1,8

3,6

5.2

10,4

Н1-К1

И1-И2

16-18
250+400
витков

1,8

3,6

8,5

17,0

Н1-К1

И1-И2

16-18
250+150
витков

1,8

3,6

9.6

19,2

Н1-К1

И1-И2

16-18
250+100
витков

1,8
2,1
2,4

3.6
4,2
4,8

13,5
16,0
19,0

27,0
32,0
38,0

Н1-К1
Н1-6
Н1-1

И1-И2

16-18
соответствует 250 виткам первичной

2,5
2,9
3,4

5,0
5,8
6,8

19,3
22,2
27,0

38,6
44,4
54,0

Н1-К1
Н1-6
Н1-1

И1-ИЗ

3,8
4,5
5,2

7,6

9,0
10,4

30,0
35,0

41,0

60,0
70,0
82,0

Н1-К1
Н1-6
Н1-1

И1-И4

обмотки ТТ 3

1,8
2,1
2,4

3,6
4,2
4,8

40,0
48,0
52,0

80,0
96,0
104,0

Н1-К1
Н1-6
Н1-1

И1-И2

16-14 соответствует 100 виткам первичной обмотки ТТ 3

2,5
2,9
3,4

5,0
5,8
6,8

53,0
60,0
67,0

106,0
120,0
134,0

Н1-К1
Н1-6
Н1-1

И1-ИЗ

3,8
4,5
5,2

7,6
9,0
10,4

76,0
90,0
103,0

152,0
180,0
206,0

Н1-К1
Н1-6
Н1-1

И1-И4

Для выставления уставок реле собрать схему (рис. 7) и к выбранной точке первичной обмотки ТПС подвести токи срабатывания соответственно реле РТ 1, РТ 2 и РТбл. Изменением положения поводка реле добиться их срабатывания при выбранных уставках. Если измерительные выводы подключаются к различным точкам первичной обмотки ТПС, уставки выставлять по току, подведенному к средней точке.

При напряжении 660 В, подведенном к рабочей точке первичной обмотки согласующего трансформатора, проверить отсутствие вибрации, заскакивания контактов к изменения тока срабатывания реле.

Измерить напряжение на рабочем отводе первичной обмотки и на выводах Н1-К1 трансформатора ТПС при протекании номинального тока ввода. При этом напряжение на выводах Н1-К1 не должно превышать 800 В.

При наличии устройства КИН необходимо проверить отстройку напряжения срабатывания разрядников Рр и РрI (см. рис. 4) от измеренного напряжения на рабочем отводе UТПС.

При этом должно соблюдаться следующее соотношение между напряжением срабатывания разрядников Up и напряжением UТПС;

Произвести градуирование миллиамперметра блок-реле по первичному току согласующего трансформатора.

Рис. 7. Схема выставления уставок

3.5. Проверка под рабочим напряжением

3.5.1. Перед подачей рабочего напряжения на вводы необходимо в шкафу согласующего трансформатора рубильниками Р1 заземлить вывода измерительных обкладок. Накладкой Н перевести действие отключающего элемента устройства КИВ на сигнал.

3.5.2. Поочередно, пропуская ток от вывода измерительной обкладки каждой фазы через контрольный миллиамперметр, измерить значения токов через изоляцию вводов. Перед включением и отключением миллиамперметра рубильниками Р1 заземлять измерительные выводы трех фаз. После подключения миллиамперметра в одну из фаз отсоединить провода двух других фаз от ТПС и на время отсчета значения тока снять заземление только с вывода измерительной обкладки, на котором производится измерение. Аналогично произвести измерение токов двух других фаз.

При наличии прибора ВАФ-85 с приставкой, дающей возможность проводить измерение на пределе 0,1 А, значение токов можно измерять этим прибором без разрыва цепи.

3.5.3. По показаниям контрольного вольтметра определить фазные напряжения, на которые включены защищаемые вводы. Если напряжения отличается от номинальных значений, необходимо измеренные значения токов пересчитать к номинальному напряжению и полученный результаты сопоставить со значениями IН, определенными по значениям емкостей С1.

При отклонении расчетных значений токов от измеренных на 5 % и более необходимо произвести перерасчет уставок, новые их значения выставить согласно указаниям разд. 3.4. Для этого необходимо рубильниками Р1 заземлить измерительные обкладки вводов, затем отсоединить провода от первичной обмотки ТПС и приступить к изменению уставок.

3.5.4. По миллиамперметру блок-реле при нажатой кнопке КН измерить ток небаланса, который должен быть минимальным, но достаточным для отсчета оперативным персоналом в процессе эксплуатации. Рекомендуется установить ток небаланса 0,5-1,5 % номинального емкостного тока ввода. При необходимости произвести коррекцию точек подсоединения к первичной обмотке ТПС.

Измерить ток небаланса во вторичной обмотке согласующего трансформатора.

3.5.5. Выполнить запись в журналах о готовности устройства КИВ к вводу в эксплуатацию.

3.5.6. В случае значительной несимметрии фазных напряжений на защищаемых вводах проверку под напряжением следует провести повторно при напряжениях, соответствующих нормальному режиму.

Исключение могут составлять случаи, вызванные изменением схем, например, вводом в эксплуатацию неполнофазной группы реакторов поперечной компенсации. В этом случае необходимо произвести коррекцию выбора точек подсоединения к первичной обмотке ТПС, установив ток небаланса согласно п. 3.5.4. После выравнивания напряжения на защищаемых вводах проверку под напряжением следует произвести повторно.

3.5.7. Результаты проверки устройства заносятся в протокол. Форма протокола проверки устройства при новом включении приведена в приложении 6.

4. ПРОФИЛАКТИЧЕСКИЙ КОНТРОЛЬ И ВОССТАНОВЛЕНИЕ

4.1. Профилактический контроль и восстановление проводятся персоналом службы релейной защиты по графику, составленному в соответствии с действующими положениями и инструкциями.

4.2. Плановые проверки устройства КИВ проводятся совместно с другими устройствами релейной защиты и электроавтоматики, установленными на трансформаторе и, как правило, совмещаются с ремонтом силового электрооборудования.

4.3. Помимо плановых проверок, по мере необходимости могут выполняться внеочередная проверка и послеаварийная проверка.

Необходимость во внеочередной проверке может возникнуть при обнаружении ненормальностей в процессе эксплуатации, например, изменения значения тока небаланса, срабатывания защитных разрядников, нарушения контакта в цепях подключения измерительных обкладок к согласующему трансформатору, замене защищаемых вводов и др.

Послеаварийная проверка проводится для выяснения причин неправильных срабатываний или отказов в работе устройства КИВ.

4.4. Рекомендуемый объем проверок, выполняемый при проведении плановых видов технического обслуживания, указан в табл. 2.

Таблица 2

Вид технического обслуживания

Номера пунктов Методических указаний, в которых указан объем работ, выполняемых при данном виде технического обслуживания

Профилактический контроль

3.1.5;
3.1.7;
3.1.8

3.2.1

3.3

3.3.2;
3.3.3

3.4

3.5.2 - 3.5.4

Профилактическое восстановление

3.1.5;
3.1.7;
3.1.8

3.2.1

3.3

3.3.2;
3.3.3;
3.3.5 - 3.3.9

3.4

3.5.2 - 3.5.4

4.5. Объем проверок, выполняемый при внеочередных и послеаварийных проверках, определяется эксплуатационным персоналом в каждом конкретном случае в зависимости от характера обнаруженных дефектов.

4.6. Указания оперативному персоналу по эксплуатации устройства приведены в приложении 7.

Приложение 1

УСРЕДНЕННЫЕ ЗНАЧЕНИЯ ПАРАМЕТРОВ ВВОДОВ

Тип ввода

С1 + 0,2 С1, пФ

С2, пФ

Ток измерительной обкладки IB + 0,2 IB , мА

 - 330/2000

510 + 102

23800

30,5 + 6,1

 - 500/1600

659 + 132

41700

48,0 + 9,6 при рабочем напряжении 400 кВ

 - 500/300

639 + 128

2150

58,0 +11,6

 - 500/1600

659 + 132

41700

59,8 + 12,0

 - 750/1000

508 + 116

55033

69,1 + 15,8

 - 750/330

639 + 128

2820

87,3 + 17,5

Примечания: 1. Значения емкостей С1 и С2 заводом-изготовителем не нормируются, поэтому приведенные значения ориентировочные.

2. Завод-изготовитель разрешает вводить в работу вводы с увеличением емкости С1 на 20 % по сравнению со значением, приведенным в заводском паспорте

Приложение 2

ПЕРЕЧЕНЬ
ПРИБОРОВ И АППАРАТОВ, НЕОБХОДИМЫХ ДЛЯ НАЛАДКИ
УСТРОЙСТВА КИВ

Наименование

Тип

Технические данные

Примечание

Вольтметр

Э 515

(7,5-60) В

 

Вольтметр

Э 515

(75-600) В

 

Миллиамперметр

Э 513

(25-100) мА

Можно измерить прибором Ц-4311

Трансформатор тока

И 54

Прибор комбинированный

Ц-4342

-

 

Генератор звуковой частоты

ГЗ-56

(0,02-200) кГц

 

Мегаомметр

М1101М

1000 В

 

Мегаомметр

М4100/5

2500 В

 

Повышающий трансформатор

 

С высшим напряжением 1000 В

 

Автотрансформатор

РНО-250-2

2 А

 

Реостат

РСД-3

800 Ом, 0,5 А

 

Автоматический выключатель

АП-50

10 А, 500 В

 

Приложение 3

ОСНОВНЫЕ ТЕХНИЧЕСКИЕ ДАННЫЕ АППАРАТУРЫ
УСТРОЙСТВА КИВ

Обозначение на рис. 1, 2.

Тип или наименование

Технические данные элементов схем

Аппаратура установлена в блок-реле

РТ1

РН53/60Д

2´7000 витков ПЭТВ-0,13

РТ2

РТ40/Ф

2´2000 витков ПЭВ-2/0,25

Д1, Д2, Д3, Д4

Д-226Б

-

РВ1

РВ133

220 В, 18900 витков ПЭЛ-0,14

РВ2

РВ113

220 В, 18900 витков ПЭЛ-0,4

РУ1

РУ21/220

220 В, 61000 витков ПЭЛ-0,05

РУ2

РУ21/0,05

0,05 А, 3600 витков ПЭЛ-0,25

тА

Миллиамперметр Ц 4200

Предел измерения I Ма

Др

Дроссель

4000 ± 40 витков ПЭВ-2/0,27

ТТ2

Трансформатор

Выводы 6-16 - 500 витков ПЭТВ-0,27,

вторичная - 250 витков ПЭТВ-1

ТТЗ

Трансформатор

Выводы 2-14 - 100 витков, 14-18 - 150 витков ПЭВ-2/1,0,

вторичная - 3050 витков ПЭВ-2/0,2

R1, R4

Резистор ПЭВ-25

2,7 кОм

RЗ

Резистор ПЭВ-50

2,7кОм

R5, Rб

Резистор ППЗ-43

15 кОм

R7

Резистор ПЭВ2-10

180 Ом

С1

Конденсатор МБГЧ-1

2´1 мкФ, 500 В; 2 мкФ, 500 В

С2

Конденсатор МБМ

3´0,5 мкФ, 500 В

С3

Конденсатор МБМ

0,1 мкФ, 750 В; 0,05 мкФ, 750 В

С4

Конденсатор МБГЧ-1

1 мкФ, 500 В; 2 мкФ, 250 В

С5

Конденсатор МБГЧ-1

4 мкФ, 250 В

С6

Конденсатор МБГЧ-1

4 мкФ, 250 В

Аппаратура установлена в шкафу согласующего трансформатора

ТПС

Согласующий трансформатор
ТПС-0,66
0,66 кВ

Первичная обмотка: 0,25 А,
выводы Н1-6 2800 витков;
выводы Н1-К1 2800 + 5
´ 3 ±1 % витков;
выводы Н1-1 2800 – 5
´ 3 ±1 % витков
Вторичная обмотка: 1,25 А,
И1-И2 250 витков;
И1-ИЗ 350 витков;
И1-И4 550 витков

Рр

РВ1-00
или
РВН-0,5

Наибольшее допустимое напряжение 1,0 кВ

Пробивное напряжение:

не менее 2,1 кВ
не более 2,8 кВ

Наибольшее допустимое напряжение 0,5 кВ

Пробивное напряжение:

не менее 2,5 кВ
не более 3,0 кВ

Р1

Р-16

20 А

Аппаратура, не входящая в комплект блок-реле

РТбл

РТ-40/0,6

-

Н

НКР-3

10 А, 220 В

Приложение 4

РЕКОМЕНДАЦИИ ПО МОНТАЖУ КОМПЛЕКТА
УСТРОЙСТВА КИВ

1. Соединения согласующего трансформатора устройства КИВ с измерительными выводами следует выполнять с повышенной надежностью. Рекомендуется применять бронированный контрольный кабель с сечением медной жилы или суммарным сечением нескольких жил не менее 6 мм2. В случае применения небронированного кабеля необходимо выполнять его прокладку в металлорукавах или трубах. Место соединения кабеля с измерительным выводом должно быть надежно защищено от загрязнения или увлажнения. Для этого рекомендуется использовать муфты сальникового типа, которые применяются для подключения устройства КИН. Эти муфты обеспечивают механическое крепление кабаля и надежную защиту узла присоединения от загрязнения и увлажнения (рис. П4.1, П4.2). Временно для этой цели на вводах ГБМТП. можно использовать заводскую коробку, заменив ее крышку, изготовленную из цветного металла, на стальную. Для завода кабеля в коробку необходимо вварить в высверленное отверстие проходной патрубок (рис. П4.3). Внутренний диаметр патрубка выбрать в зависимости от диаметра металлорукава или бронированного кабеля. На вводах ГБМР можно использовать заводской колпак, просверлив в его донной части отверстие под внешний диаметр кабеля или металлорукава (рис. П4.4). Жилу кабеля при этом необходимо изолировать полихлорвиниловой трубкой. Уплотнение места завода кабеля в коробку или колпак выполнить изоляционной лентой.

2. В шкафу согласующего трансформатора установить три однофазных рубильника Р-16 для возможности заземления выводов измерительных обкладок на входных зажимах шкафа. Монтажная схема шкафа с установкой заземляющих рубильников приведена на рис. П4.5.

3. На панели, где установлено блок-реле, установить накладку Н для возможности перевода действия отключающего элемента устройства КИВ на сигнал (см. рис. 2).

4. При использовании, устройства КИВ одновременно с информационно-измерительным комплексом КИН-750 ток от измерительных обкладок вводов к устройству КИВ должен подводиться через переключатель выбора режима К контроля изоляции. Переключатель устанавливается в ящике КИН, расположенном рядом со шкафом согласующего трансформатора устройства КИВ. В этом случае подключение кабелей к измерительным выводам вводов выполняется согласно проекту на информационно-измерительный комплекс КИН-750. Структурная схема подключения устройства КИВ к измерительным обкладкам вводов при использовании КИН-750 приведена на рис. 4.

Рис. П4.1. Муфта сальникового типа для вводов ГБМТП:
1 – корпус; 2 – коробка измерительного ввода; 3 – кабель; 4 – измерительный вывод;
5 – хомут; 6 - металлорукав

Рис. П4.2. Муфта сальникового типа для вводов ГБМР:
1 – корпус; 2 – переходный фланец; 3 – кабель; 4 – измерительный вывод;
5 – хомут; 6 - металлорукав

Рис. П4.3. Реконструированная заводская коробка вводов ГБМТП:
1 – крышка; 2 - уплотнение

Рис. П4.4. Реконструированный заводской колпак вводов ГБМР

Рис. П4.5. Монтажная схема шкафа согласующего трансформатора

Приложение 5

РАСЧЕТ УСТАВОК

1. Емкостный ток вводов

По значению емкости основной изоляции вводов С1 (пФ) следует определить ток защищаемых вводов (мА):

где Uл - номинальное линейное напряжение трансформатора, В.

Значение емкости С1 не нормируется, поэтому емкости вводов, установленных на разных фазах одного объекта, могут различаться между собой. При отличии емкостей С1 на 3 % и более для предварительного выбора точек подсоединения первичной обмотки согласующего трансформатора необходимо подсчитать токи тех вводов, емкости которых отличаются на указанное значение.

2. Сигнальный элемент

Срабатывание реле РТ1 должно происходить при токе в первичной обмотке согласующего трансформатора, равном 5-7 % номинального. емкостного тока ввода:

При отличающихся между собой значениях токов отдельных вводов ток срабатывания следует принять равным 6 % среднего тока вводов:

Выдержка времени реле РВ1 должна обеспечивать отстройку от максимальной выдержки времени резервных защит сети; она задается службой релейной защиты.

3. Отключающий элемент

Срабатывание реле РТ2 должно происходить при токе в первичной обмотке согласующего трансформатора, равном 20-25 % номинального емкостного тока ввода:

При отличающихся между собой значениях токов отдельных вводов ток срабатывания следует принять равным 22 % среднего тока вводов:

Выдержка времени отключающего элемента РВ2 должна обеспечивать отстройку от быстродействующих защит, она рекомендуется в пределах 1,2 ¸ 1,3 с. Уставка реле РВ2 задается службой релейной защиты.

Отключающий элемент выполняется с действием на отключение трансформатора.

Для исключения ложной работы отключающего элемента при обрывах или нарушении изоляции кабеля между измерительными выводами и согласующим трансформатором выполняется блокировка с помощью токового реле РТбл. Размыкающие контакты реле РТбл включаются последовательно с замыкающими контактами отключающего реле РТ2. Замыкающие контакты РТбл используются в схеме сигнализации мгновенного действия. Обмотка реле включается в цепь вторичной обмотки согласующего трансформатора.

Срабатывание блокирующего реле должно происходить при токе в первичной обмотке согласующего трансформатора, равном 60-7 % номинального емкостного тока ввода:

Приложение 6

Минэнерго СССР
Организация, выполняющая
Проверку ________________

 

 

 

(Предприятие, объект)

 

Присоединение _________

 

«__» __________ 19 ___ г.

 

 

ПРОТОКОЛ
ПРОВЕРКИ ПРИ НОВОМ ВКЛЮЧЕНИИ
УСТРОЙСТВА КИВ

1. Основные технические данные

Элементы устройства

Тип

Заводской номер

Техническая характеристика

Блок-реле

 

 

 

Согласующий трансформатор

 

 

 

Разрядный

 

 

 

Блокирующее реле

 

 

 

2. Расчет емкостных токов

Тип вводов ____________________. Рабочее напряжение _______________ кВ.

Фаза

Заводской номер

Емкость, пФ

Емкостный ток ввода, мА

С1 =

С2 =

А

 

 

 

 

В

 

 

 

 

С

 

 

 

 

3. Уставки срабатывания элементов устройства КИВ

Реле

Назначение

Первичный ток, Ма

Время, с .

РТ1

Сигнальный элемент

 

 

РТ2

Отключающий элемент

 

 

РТбл

Блокирующее реле

 

 

 

Уставки заданы

 

 

(кем, когда, номер документа)

4. Выполнение требований монтажа

К измерительным выводам проложен кабель ___________________________________

с сечением жил ____________________________________________________________

Место соединения кабелей с измерительными выводами защищено _______________

 

В шкафу ТПС установлены рубильники _______________________________________

Отключающий элемент вводится в работу накладкой ____________________________

Информационно-измерительный комплекс КИН-750

 

 

(установлен)

(не установлен)

5. Замечания по качеству монтажа:

 

 

6. Замечания по состоянию аппаратуры:

 

 

7. Миллиамперметр блок-реле метрологической службой проверен ________________

8. Внутренний осмотр, чистка и проверка механической части аппаратуры _________

 

9. Проверка изоляции

Произведено измерение сопротивления изоляции и испытание повышенным напряжением 1000 В в течение 1 мин следующих цепей:

Первичная обмотка трансформатора ТПС совместно с кабелями, подключенными к измерительным выводам, ____________________ МОм.

Вторичная обмотка трансформатора ТПС совместно с соединительным кабелем, подключенным к релейному блоку, _______________ МОм.

Вторичные обмотки трансформаторов ТТ2 и ТТ3 совместно с питающейся от этих обмоток схемой ___________________________________ МОм.

Цепи оперативного тока ____________________________ МОм.

Цепи сигнализации ________________________________ МОм.

Во время испытаний повышенным напряжением срабатывание разрядников не происходило.

10. Проверка разрядников

 

Фаза

Сопротивление, МОм

Ток утечки, мкА

Напряжение пробоя, Кв

А

 

 

 

В

 

 

 

С

 

 

 

 

11. Проверка сигнального реле РТ1

Ток подводится к выводам 6-16

 

Уставка

1

4

6

Iср, мА

 

 

 

IВ, мА

 

 

 

КВ

 

 

 

 

12. Градуировка миллиамперметра

Регулируя резисторы R5 и Rб, добиться отклонения стрелки миллиамперметра на всю шкалу при следующих условиях:

 

Ток, подведенный к выводам трансформатора

Значение тока, мА

Положение кнопки КН

6-16 ТТ2

50

Нажата

2-18 ТТ3

400

Отпущена

2-14 ТТ3

1000

Отпущена

 

13. Проверка трансформатора ТТ3

(производится в случае увеличения числа витков первичной обмотки):

13.1. Полярность выводов вторичной обмотки ___________________________________

 

13.2. Определение коэффициента трансформации

Напряжение, подведенное ко вторичной обмотке, _______________ В.

ЭДС, измеренная на выводах первичной обмотки 2-15, ___________ В.

Коэффициент трансформации КТ =

14. Проверка отключающего реле РТ2

 

Ток подводится к выводам

2-18

2-14

Уставка

1

4

6

4

Iср, мА

 

 

 

 

IВ, мА

 

 

 

 

КВ

 

 

 

 

 

15. Проверка фильтра сигнального элемента (Др, С1, С2, С3, С4)

К выводам 6-16 блок-реле от генератора звуковой частоты подвести ток I6-16 = 50 мА.

 

Ток на входе

Ток в реле РТ1, мА

Коэффициент отстройки

Частота, Гц

Значение, мА

50

 

 

 

100

 

 

 

150

 

 

 

250

 

 

 

350

 

 

 

450

 

 

 

550

 

 

 

650

 

 

 

 

16. Проверка фильтра отключающего элемента (С5, С6)

К выводам 2-18 блок-реле от генератора звуковой частоты по­вести ток I2-18 = 100 мА.

 

Ток на входе

Показания миллиамперметра блок-реле, дел.

Коэффициент отстройки

Частота, Гц

Значение, мА

50

 

 

 

150

 

 

 

 

17. Проверка блокирующего реле РТбл

Соединение обмоток ____________________

 

Уставка реле

0,15

0,24

0,3

Iср, мА

 

 

 

IВ, мА

 

 

 

КВ

 

 

 

 

 

 

 

18. Проверка реле постоянного тока:

18.1. Проверка реле времени на рабочей уставке

 

Реле

Напряжение, В

Время срабатывания, с

срабатывания

возврата

РВ1

 

 

 

РВ2

 

 

 

 

18.2. Проверка указательных реле

Указательное реле РУ2 проверить вместе с выходным реле РП

 

Реле

Напряжение срабатывания, В

РУ1

 

РУ2

 

 

19. Опробование схемы постоянного тока

Схема опробована при напряжении 0,8Uном

20. Проверка согласующего трансформатора:

20.1. Характеристика намагничивания вторичной обмотки

 

К выводам И1-И4
подвести напряжение, В

20

30

40

60

80

100

130

Ток в обмотке, мА

 

 

 

 

 

 

 

 

 

 

 

 

 

 

 

20.2. Определение коэффициента трансформации

 

Напряжение 220 В подвести к выводам

Н1-1

Н1-2

Н1-3

Н1-4

Н1-5

Н1-6

Н1-7

Н1-8

Н1-9

Н1-10

Напряжение на выводах И1-И3, В

 

 

 

 

 

 

 

 

 

 

 

Напряжение 220 В подвести к выводам Н1-6

 

Измеренное напряжение, В

И1-И4

И1-И3

И1-И2

 

21. Выбор точек подсоединения к трансформатору ТПС

Ток срабатывания:

сигнального реле РТ1 ____________________ мА

отключенного реле РТ2 __________________ мА

Измерительные обкладки подключить к выводам _______________ ТПС

Блок-реле подключить к выводам __________________ ТПС

Положение перемычек на блок-реле __________________________

22. Выбор точек подсоединения к первичной обмотке ТПС по условию выравнивания ампер-витков.

 

Фаза

Ток выводов измерительных обкладок Iном, мА

Отклонение Iном фаз В и С от Iном фазы А, %

Точки подсоединения выводов измерительных обкладок

А

 

 

 

В

 

 

 

С

 

 

 

 

Точки подключения выводов измерительных обкладок выбираются из расчета 3 % общего числа витков первичной обмотки.

23. Выставление уставок реле РТ1, РТ2 и РТбл

Ток подводится к выводам ___________________ первичной обмотки ТПС.

 

Параметр

РТ1

РТ2

РТбл

Iср, мА

 

 

 

IВ, мА

 

 

 

КВ

 

 

 

 

Отсутствие вибрации, заскакивания контактов и изменения тока срабатывания проверено при напряжении на первичной обмотке ТПС 660 В.

При протекании номинального тока ввода _____________ мА напряжение на трансформаторе ТПС равно: UН1 =

UН1 =

Паспортное значение напряжения срабатывания разрядников в схеме КИН составляет Uр =

24. Градуировка миллиамперметра по первичному току ТПС

Ток подводится к выводам __________________________

Отклонение стрелки миллиамперметра на всю шкалу соответствует следующим значениям токов в первичной обмотке ТПС:

при нажатой кнопке КН ______________________________ мА

при отпущенной кнопке КН ___________________________ мА

25. Проверка под рабочим напряжением:

25.1. Ток выводов измерительных обкладок

 

Фаза

Значение тока, мА

Напряжение на защищаемых вводах, кВ

Ток выводов, измерительных обкладок, приведенный к Uном, мА

А

 

 

 

В

 

 

 

С

 

 

 

 

25.2. Ток небаланса

Показания миллиамперметра блок-реле при нажатой кнопке

Кн ______________________________________________ дел.

Ток небаланса во вторичной обмотке ТПС ________________________ мА.

26. Заключение:

 

 

 

Проверку производили:

________________________________

 

________________________________

 

Руководитель работ

___________________________________

 

Приложение 7

УКАЗАНИЯ ОПЕРАТИВНОМУ ПЕРСОНАЛУ

1. В процессе эксплуатации оперативный персонал обязан раз в сутки записывать показания миллиамперметра блок-реле устройства КИВ при нажатой кнопке КН.

2. При срабатывании устройства сигнализации КИВ оперативный персонал должен по миллиамперметру блок-реле произвести измерение тока небаланса и в течение 3-5 мин непрерывно наблюдать за его изменением, нажимая при этом на кнопку КН. В случае обнаружения увеличения тока небаланса при очередном измерении в процессе эксплуатации необходимо также в течение 3-5 мин наблюдать за значением тока. Если при этом ток небаланса увеличивается на 1 или больше делений, оперативный персонал должен срочно отключить трансформатор. Если в течение 3-5 мин наблюдения не обнаруживается дальнейшего увеличения тока небаланса или увеличение не превышает 0,5 делений, необходимо в дальнейшем измерять значение тока через каждые 15 мин до выяснения к устранения причины увеличения тока небаланса или до отключения объекта. При этом дежурный обязан:

- записать результаты измерения в оперативный журнал и сообщить вышестоящему оперативному персоналу значение тока небаланса, скорость его увеличения и о возможной необходимости отключения трансформатора;

- принять срочные меры для- выяснения причин увеличения тока небаланса.

3. Ток небаланса может увеличиться по следующим причинам, не имеющим отношения к повреждению вводов защищаемого оборудования:

- нарушение симметрии напряжений на защищаемых вводах, что может быть обнаружено по щитовому вольтметру;

- интенсивное загрязнение поверхности вводов или увеличение содержания высших гармонических составляющих в фазном напряжении. При этом будет отмечено увеличение тока небаланса в устройствах КИВ, установленных на другом оборудовании этого же напряжения;

- неисправности во вторичных цепях, подключенных к измерительным обкладкам вводов. Поэтому оперативному персоналу необходимо произвести осмотр аппаратуры в шкафу согласующего трансформатора, а при наличии устройства КИН также на зажимах групповой сборки, обратив при этом внимание на наличие зазоров искровых промежутков.

4. При увеличении тока небаланса до значения, превышающего 10 % номинального тока ввода, следует срочно отключить трансформатор. Значение тока ввода следует определить по данным, полученным при градуировке миллиамперметра первичным током.

5. После вывода трансформатора из работы или его отключения устройством КИВ персоналу службы изоляции необходимо произвести контроль изоляции вводов; полученные данные сопоставить с результатами предыдущей проверки и дать заключение об их состоянии.



© 2013 Ёшкин Кот :-)