Информационная система
«Ёшкин Кот»

XXXecatmenu

МИНИСТЕРСТВО ЭНЕРГЕТИКИ И ЭЛЕКТРИФИКАЦИИ СССР

ГЛАВНОЕ НАУЧНО-ТЕХНИЧЕСКОЕ УПРАВЛЕНИЕ ЭНЕРГЕТИКИ
И ЭЛЕКТРИФИКАЦИИ

ПРОИЗВОДСТВЕННОЕ ОБЪЕДИНЕНИЕ ПО НАЛАДКЕ,
СОВЕРШЕНСТВОВАНИЮ ТЕХНОЛОГИИ И ЭКСПЛУАТАЦИИ
ЭЛЕКТРОСТАНЦИЙ И СЕТЕЙ «СОЮЗТЕХЭНЕРГО»

 

МЕТОДИЧЕСКИЕ УКАЗАНИЯ
ПО ИСПЫТАНИЯМ
ЕСТЕСТВЕННОЙ ЦИРКУЛЯЦИИ
В ЭНЕРГЕТИЧЕСКИХ КОТЛАХ

МУ 34-70-174-87

(СО 34.26.719)

 

 

 

СОЮЗТЕХЭНЕРГО

Москва 1988

 

РАЗРАБОТАНО Московским головным предприятием Производственного объединения по наладке, совершенствованию технологии и эксплуатации электростанций и сетей «Союзтехэнерго»

ИСПОЛНИТЕЛЬ В.С. ЩЕТКИН

УТВЕРЖДЕНО Производственным объединением по наладке, совершенствованию технологии и эксплуатации электростанций и сетей «Союзтехэнерго» 15.05.87 г.

Главный инженер К.В. ШАХСУВАРОВ

МЕТОДИЧЕСКИЕ УКАЗАНИЯ ПО
ИСПЫТАНИЯМ ЕСТЕСТВЕННОЙ
ЦИРКУЛЯЦИИ В ЭНЕРГЕТИЧЕСКИХ КОТЛАХ

МУ 34-70-174-87

Срок действия установлен

с 01.09.87 г.

до 01.09.92 г.

Настоящие Методические указания распространяются на стационарные котлы с естественной циркуляцией с абсолютным давлением в барабане от 3,4 до 15,9 МПа (от 34 до 159 кгс/см2).

Методические указания не распространяются на котлы: прямоточные, водогрейные, локомобильных установок, котлы-утилизаторы, а также другие котлы специального назначения.

1. ОБЩИЕ ПОЛОЖЕНИЯ И ОСНОВНЫЕ ПОКАЗАТЕЛИ

Испытания циркуляции позволяют оценить влияние эксплуатационных факторов (изменение нагрузки котла и давления в барабане, фактическое распределение факела по ширине и глубине топки, неравномерность тепловосприятия и загрязнение поверхностей нагрева) на циркуляционные характеристики контуров. Кроме того, результаты испытаний являются наилучшей проверкой средних расчетных показателей работы отдельных панелей экранов.

Испытания циркуляции в основном подразделяются на эксплуатационные, типовые и доводочные.

К эксплуатационным относятся испытания, проводимые при эксплуатации головных образцов, где проверяется надежность циркуляции на большом количестве циркуляционных контуров; к типовым относятся испытания, проводимые в целях проверки эффективности изменений конструкции отдельных циркуляционных панелей или экранов, а также в целях проверки их надежности при работе котла на нерасчетных параметрах; к доводочным относятся испытания, проводимые в целях выяснения причин повреждаемости и оценки изменений, направленных на повышение надежности работы отдельных элементов циркуляционных контуров.

Методические указания устанавливают способы проведения испытаний циркуляции как в стационарных, так и в переходных режимах работы котла.

Перед проведением испытаний составляется рабочая программа. Порядок разработки, согласования, и утверждения программы должен соответствовать «Положению о порядке разработки, составления и утверждения программ испытаний на тепловых гидравлических и атомных электростанциях, в энергосистемах, тепловых и электрических сетях» (М.: СПО Союзтехэнерго, 1986).

Методические указания обязательны для производственных подразделений ПО «Союзтехэнерго», проводящих испытания котельного оборудования.

ОСНОВНЫЕ ПОКАЗАТЕЛИ

Гидравлическая надежность циркуляционного контура определяется по следующим показателям:

- скорость циркуляции;

- скорость воды в опускных трубах;

- полезный напор экрана;

- сопротивление спускной системы контура.

Определению циркуляционной неустойчивости циркуляционного контура соответствуют следующие показатели:

- гидравлическая разверка;

- застой движения;

- опрокидывание потока;

- свободный уровень.

Гидравлическая разверка определяется по разности скоростей циркуляции в отдельных экранных трубах панели по сравнению со средними значениями в контуре.

Застой движения - медленное движение в обогреваемой трубе воды вверх или вниз, а пара - вверх, при котором возможен застой отдельных паровых пузырей в благоприятных для этого участках трубы (отводы, гибы, сварные стыки и т.д.).

Опрокидывание потока появляется вследствие скопления в трубе пара, который не может преодолеть динамического воздействия движущейся вниз воды и выйти из трубы в сборный барабан или коллектор, т.е. возникает запаривание трубы.

Свободный уровень - уровень в трубе, выведенной в паровое пространство барабана, который появляется при прекращении движения воды вследствие невозможности поднять ее до высшей отметки трубы. При этом на участке выше уровня воды в трубе медленно движется насыщенный или перегретый пар.

2. РЕКОМЕНДАЦИИ ПО ВЫПОЛНЕНИЮ ИЗМЕРЕНИЙ

Для оценки гидравлической надежности циркуляционного контура определяются изменения скоростей циркуляции в экранных трубах, скоростей воды в опускных трубах, а также сопротивления его опускной системы и полезного напора экрана.

При проведении испытаний циркуляции для определения скоростей циркуляции и скоростей воды в опускных трубах широко применяются измерительные трубки ЦКТИ (стержневые) и ВТИ (круглые), мало загромождающие сечение труб, в которых они устанавливаются, и имеющие небольшой невосстанавливаемый перепад давлений.

При измерении скоростей измерительными трубками используется разность давлений, возникающая на лобовой и тыльной части трубки, создаваемая набегающим потоком.

Сопротивление опускной системы циркуляционного контура и полезный напор экрана определяется измерением перепадов давлений между верхними и нижними точками соответствующих участков циркуляционных контуров.

Отборы импульсов статического давления в элементах циркуляционных контуров (барабан, выносные циклоны, коллекторы) следует выполнять в местах, защищенных от динамического воздействия потока воды или пароводяной смеси.

При измерении перепадов давлений разность столбов воды в соединительной (импульсной) линии, находящейся при температуре окружающей среды, и в экранной системе котла с температурой насыщения при отборе давления из верхней точки циркуляционного контура значительно больше измеряемых значений сопротивления опускной системы или полезного напора экрана, поэтому ошибка измерения может достичь достаточно большого значения.

Для того, чтобы избежать указанной погрешности, необходимо температуру воды в соединительной линии сделать равной температуре насыщения. Для этого соединительную линию от верхнего отбора перепада давлений прокладывают в опускной трубе, в трубе рециркуляции, или в шунтовой трубе, соединяющей место верхнего отбора давления с нижним коллектором панели экрана. В этом случае введение поправки на разность плотности воды в соединительных линиях не требуется.

При испытаниях выносного солевого отсека дополнительно необходимо предусмотреть измерение его паропроизводительности и уровней воды в выносных циклонах.

Уровень воды в выносном циклоне определяется по перепаду давления между паровой и водяной частью циклона.

Измерение расхода пара из выносных циклонов (паропроизводительность солевого отсека) определяется по перепаду давлений на измерительных сужающих устройствах (диафрагмах) и рассчитанного согласно «Правилам измерения расхода газов и жидкостей стандартными сужающими устройствами: РД 50-213-80» (М.: Издательство стандартов, 1982).

Надежный температурный режим обогреваемых труб является важным фактором их безаварийной работы, поэтому одной из составных частей при проведении испытаний наряду со снятием гидравлических характеристик циркуляционных контуров является проверка температурного режима как наиболее разверенных экранных труб, так и находящихся в зоне наибольших тепловых потоков.

При испытаниях, не связанных с повреждением экранных труб отдельных панелей экранов, измерение скоростей циркуляции следует предусматривать не более чем на 25 % экранных труб исследуемой панели. Измерение скоростей воды в опускных трубах необходимо выполнять во всех опускных трубах тех панелей экранов, где предусмотрено измерение скоростей циркуляции. Это связано с тем, что характер изменения распределения расходов воды по опускным трубам при различных условиях работы котла отражает устойчивость работы циркуляционной панели.

Кроме того, в этих же панелях следует измерить полезный напор экрана и сопротивления опускных систем, так как они являются составляющими звеньями циркуляционной характеристики контура.

Полезный напор пароотводящих труб от верхних коллекторов экранов к барабану или улиткам выносных циклонов обычно не измеряется из-за низкой точности измерений и сложности обработки, а определяется как разность между сопротивлением опускной системы и полезным напором экрана.

При симметричной компоновке панелей циркуляционных контуров допускается выполнение испытаний только на контурах, расположенных на одной из половин топки. Оценка надежности циркуляционных контуров котлов со сложной компоновкой экранов и конфигурацией экранных труб, имеющих горизонтальные и наклонные участки, и оснащение их средствами измерения при проведении испытаний, в каждом случае требуют самостоятельного подхода.

В необходимых случаях (для новых схем и конструкций, предварительной оценки надежности, уточнения вида, характера и причин выявленных нарушений и др.) производится расчет циркуляционных характеристик контуров (или используются результаты заводских расчетов) на основании «Гидравлического расчета котельных агрегатов. Нормативный метод» (М.: Энергия, 1978) или производится оценка запасов надежности отдельных циркуляционных контуров по заводским расчетам - тепловому расчету котла, расчету естественной циркуляции и расчету температурного режима экранных труб.

На основании расчетных данных оценивается надежность циркуляционных контуров. Наименее надежные из них следует более полно оснащать средствами измерений.

3. ПОКАЗАТЕЛИ ТОЧНОСТИ ОПЫТНЫХ ПАРАМЕТРОВ

Погрешность определения показателей, полученных при обработке результатов измерений, не должна превышать значений, указанных в табл. 1.

Таблица 1

Погрешность определения показателей работы контура

Показатель

Погрешность, %

Скорость циркуляции*

-

Скорость воды в опускных трубах*

-

Полезный напор экрана

±5

Сопротивление опускной системы контура

±5

Расход пара в выносных солевых отсеках

±5

Уровень воды в выносных солевых отсеках

±5

Давление насыщенного пара в барабане котла

+5

* Скорость циркуляции и скорость воды в опускных трубах определяется без нормирования точности.

Погрешность определения показателей по результатам измерений определяется следующим образом:

полезный напор экрана δs = δ(Δр);

сопротивление опускной системы δΔpоп = δ(Δр);

уровень воды в выносном циклоне δну = δ(Δр).

Паропроизводительность выносного циклона δDц определяется в соответствии с РД 50-213-60.

Допустимая относительная погрешность измерения расхода и перепадов определяется по формулам:

где δс.у - допускаемая относительная погрешность сужающего устройства;

δд - допускаемая основная относительная погрешность датчика;

δпр - допускаемая основная относительная погрешность прибора;

 - дополнительные относительные погрешности датчика и прибора, определяемые по НТД на конкретные СИ в рабочих условиях эксплуатации.

Относительная погрешность средств измерений (СИ) определяется по формуле

где К - класс точности СИ, %;

ХN - нормирующее значение, равное верхнему пределу измерений или диапазону измерений;

Хi - значение измеряемой величины.

Класс точности СИ определяется по нормативно-технической документации на конкретные средства измерений.

4. СРЕДСТВА ИЗМЕРЕНИЙ ПРИ ИСПЫТАНИЯХ

Перед проведением испытаний составляется схема измерений, которая должна предусматривать весь объем измерений в зависимости от задачи испытаний.

Пример схем измерений для эксплуатационных и доводочных испытаний приведен в приложении 1. Схема измерений для типовых измерений не приводится, так как она связана с реконструкцией отдельных элементов циркуляционного контура котла и не может быть отражена в конкретном решении.

При испытаниях должны применяться стандартизованные средства измерений, метрологически обеспеченные в соответствии с ГОСТ 8.513-84.

Все перепады давлений (скорость воды, сопротивление опускной системы, полезный напор экранов, паропроизводительность и уровень воды в выносных циклонах) должны измеряться датчиками заводского изготовления типов ДМ, ДМЭ, Сапфир 22-ДД, а давление насыщенного пара в барабане котла - манометрами типов МЭД, МПЭ; Сапфир 22-ДИ в комплекте с регистрирующими приборами.

Средства измерений, используемые при испытаниях, должны пройти поверку, иметь поверительные клейма и техническую документацию, свидетельствующие об их годности, и обеспечивать требуемую точность измерений. Для измерения значений основных величин при испытаниях должны применяться самопишущие контрольно-измерительные приборы с аналоговой, цифровой или иной формой записи (непрерывной или с периодичностью регистрации не более 120 с).

Тип, класс точности первичных измерительных преобразователей и самопишущих приборов приведены в табл. 2.

Таблица 2

Датчик

Класс точности

Тип вторичного прибора

Класс точности

 

Перепад давлений

ДМ мод. 3583

1,5

КСД-2

1,0

ДМЭ

1,0; 1,5

КСУ-2

1,0

Сапфир 22-ДД

0,5

КСУ-4

0,5

 

Давление

МЭД

1,0

КСУ-2

1,0

МПЭ

1,0; 1,5

КСУ-2

1,0

Сапфир 22-ДИ

0,5

КСУ-4

0,5

Ориентировочные пределы перепадов давлений датчиков, используемых при испытаниях циркуляционной системы котла, составляют: скорости циркуляции в экранных трубах - 1,6; 2,5 кПа (160; 250 кгс/м2); скорости воды в опускных трубах - 4,0; 6,3 кПа (400; 630 кгс/м2); сопротивление опускной системы и полезный напор экрана - 40; 63 кПа (0,4; 0,63 кгс/см2). В каждом конкретном случае перепады давлений датчиков выбираются в зависимости от давления в котле, высоты его экранной и опускной систем.

Измерение паропроизводительности выносных циклонов (выносных солевых отсеков) и уровней воды в них осуществляется датчиками с перепадами давлений соответственно 2,5 кПа (250 кгс/м2) и 25 кПа (2500 кгс/м2).

5. УСЛОВИЯ ИСПЫТАНИЙ

Во всех видах испытаний циркуляции параметры циркуляции определяются на номинальной, минимальной (по условиям надежности циркуляции воды в контурах, или устойчивого горения твердого топлива), а также на двух промежуточных нагрузках. Если котел работает на двух видах топлива, то при переходе с основного топлива на резервное испытания повторяются в том же объеме.

Параметры работы котла контролируются по поверенным штатным контрольно-измерительным приборам. При проведении испытаний котла, в стационарных режимах должны выдерживаться указанные в табл. 3, допустимые колебания параметров работы котла.

Таблица 3

Показатель

Значение допуска

до 260 т/ч

свыше 260 т/ч

Паропроизводительность, т/ч

±10

±5

Расход питательной воды, т/ч

±10

±5

Давление пара, кгс/см2

±10

±5

Температура питательной воды, °С

±2

±2

Температура перегретого пара (первичного и вторичного), °С

±2

±2

Нагрузка котла не должна превышать максимальной паропроизводительности. Температура перегретого пара и рабочее давление не должны превышать максимальных значений, обусловленных инструкцией завода-изготовителя.

При проведении испытаний для определения максимально и минимально допустимых нагрузок котла по условиям надежности работы его циркуляционной системы параметры работы котла определяются местными инструкциями по его эксплуатации.

Кроме опытов, проводимых при постоянных нагрузках котла, дополнительно проводятся опыты при нестационарных режимах его работы. При этом проверяется влияние на устойчивость циркуляции специально организованных возмущений режима. Параметры работы котла должны при этом выдерживаться в пределах, обусловленных рабочей программой.

К нестационарным опытам в основном относятся следующие режимы работы котла: сброс и набор нагрузки котла при практически постоянном давлении в барабане (т.е. при работе котла на общую магистраль, когда изменение давления в барабане происходит за счет изменения гидравлического сопротивления пароперегревателя), сброс и подъем давления при постоянной тепловой нагрузке котла (т.е. в случае резкого изменения нагрузки турбины, работающей в блоке котел-турбина) и при одновременном изменении давления и нагрузки котла (т.е. при блочной компоновке).

Для определения влияния снижения температуры питательной воды на условия работы циркуляционных контуров проводятся опыты со снижением на 40 - 50 % температуры воды с последующим ее повышением до номинального значения. Опыты проводятся на двух - трех нагрузках (при постоянной паровой, а также при эквивалентной ей тепловой нагрузке котла). Исходя из условий работы электростанции для проведения испытаний следует выбирать такое время, когда электрическая нагрузка меняется мало и не может быть причиной изменения режима работы котла в процессе проведения испытаний.

Кроме опытов с постоянными нагрузками котла и с нестационарными режимами его работы, следует проводить опыты по проверке надежности циркуляции в его контурах при особых режимах его растопок и остановов. В этом случае следует проверить и температурный режим барабана котла.

При выходе из строя во время опытов того или иного прибора экспериментального контроля опыты не прекращаются, если оставшиеся в работе приборы могут дать достаточно полную картину протекающих процессов.

Испытания на котле прекращаются при отклонении параметров работы котла от значений, предусмотренных программой испытаний, в случае одновременного выхода из строя паромера и водомера котла, а также при аварийном положении на котле или электростанции.

6. ПОДГОТОВКА К ИСПЫТАНИЯМ

При выполнении подготовительных работ и монтажа средств испытаний надлежит проверить правильность установки измерительных устройств и соответствие их чертежам. Прокладка соединительных линий измерений скоростей, расходов и перепадов давлений должна отвечать требованиям РД 50-213-80.

Измерительные трубки следует устанавливать только на прямых участках, по возможности дальше от гибов и коллекторов и строго по осевой линии трубы, в которой измеряется расход.

Соединительные линии от стержневых трубок, особенно при измерении малых перепадов давлений, должны прокладываться строго в одной горизонтальной плоскости вдали от горячих поверхностей.

Конструкции измерительных трубок ЦКТИ и ВТИ, а также их коэффициенты расходов приведены в приложении 2.

Шунтовая труба, соединяющая торцы верхнего и нижнего коллекторов панели экрана, используемая для прокладки в ней соединительной линии при измерении полезного напора экрана, выполняется из пароперегревательных труб с наружным диаметром 32 и 38 мм. Трубы ввариваются в торцевые заглушки верхних и нижних коллекторов, а соединительная трубка заводится внутрь верхнего коллектора. Внутреннее сечение шунта при прокладке внутри него соединительной трубки в зависимости от его внутреннего диаметра и наружнего диаметра импульсной трубки будет эквивалентно трубе с внутренним диаметром от 19 до 26 мм. Поэтому установка шунта, работающего как труба рециркуляции, заметного влияния на характеристику работы циркуляционной панели оказать не может.

Для измерения сопротивления опускной системы соединительную трубку целесообразно проводить внутри одной из опускных труб. Однако если опускная труба имеет несколько гибов и прокладка внутри нее соединительной трубки затруднена, ее следует прокладывать в шунте, вваренном в верхнюю часть опускной трубы у барабана котла (в заглушку смотрового штуцера в корпусе выносного циклона) и в торцевую заглушку нижнего коллектора панели экрана.

Соединительная трубка для отбора статического давления из барабана вводится до его внутренней образующей, и во избежание воздействия на нее динамического напора воды ее конец должен быть загнут вдоль горизонтальной оси барабана. Для отбора статического давления из корпуса выносного циклона соединительная трубка вводится в него на глубину смотрового штуцера. Шунтовую трубу по всей ее длине следует тщательно закодировать, а в нижней части трубы для контроля температуры воды, проходящей через нее, следует установить поверхностную термопару. В случае снижения температуры ниже температуры насыщения более чем на 5 % изоляцию шунтовой трубы следует улучшить.

Схемы прокладки соединительных линий в опускных трубах, в трубах рециркуляции и шунтах, при измерении сопротивления опускной системы и полезного напора панели экрана приведены в приложении 3.

Установка измерительных диафрагм для измерений паропроизводительности выносного солевого отсека должна отвечать требованиям РД 50-213-80 с обязательной установкой конденсационных сосудов. Если из выносных циклонов пар отводится по нескольким пароотводящим трубам, то на одной из них устанавливается измерительное сужающее устройство, а на остальных, для выравнивания расхода пара - дроссельные шайбы того же диаметра.

Измерение расхода пара из выносных циклонов целесообразно выполнить как на правом, так и на левом выносных солевых отсеках, что позволит контролировать симметричность положения факела в топке.

Измерительное сужающее устройство следует рассчитывать на небольшой перепад давлений, чтобы при его установке уровень воды в выносном циклоне снижался незначительно. Для выполнения этого условия отношение внутреннего диаметра трубы к диаметру шайбы должно быть не меньше 0,65 - 0,7. В этом случае дополнительное снижение уровня воды в выносных циклонах при номинальной нагрузке котла не будет превышать 200 - 300 мм, что не представляет опасности для работы панели солевого отсека.

Одна из простейших применяемых конструкций измерительных и дроссельных диафрагм приведена в приложении 4.

Для измерения уровня воды в выносном циклоне используется уравнительная труба, которая (если она не установлена при заводской поставке циклона) подсоединяется к предназначенным для нее штуцерам. Один штуцер для измерения уровня воды вваривается в паровую часть уравнительной трубы, а другой - в водяную.

Верхний штуцер отбора давления устанавливается примерно на 1000 мм выше горизонтальной оси барабана, а нижний - на 1500 мм ниже ее. Конкретное расстояние между отборами сигналов по давлению выбирается в зависимости от перепада давлений устанавливаемого датчика.

Соединительные линии обычно применяются диаметром 16´2 или 14´2 мм. Материал - сталь 20. Сварку соединительных линий желательно (а для линий, прокладываемых в шунтах, - обязательно) выполнять газосваркой. Датчики для удобства их обслуживания следует устанавливать в один или два ряда на нулевой отметке под котлом в районе нижних коллекторов экранов.

Перед установкой датчиков на стенды, расположенные на нулевой отметке котла, их следует тщательно проверить в метрологической службе электростанции. У датчиков, предназначенных для измерения скоростей воды, «ноль» следует устанавливать не на нуле шкалы вторичного прибора, а сместить его на 20 % вправо, и перед проведением испытаний провести аттестацию указанных датчиков как нестандартизованных средств измерений. Смещение нулей необходимо из-за того, что при некоторых режимах работы котла скорости циркуляции в части экранных труб и скорости воды в отдельных опускных трубах могут иметь отрицательные значения.

После установки датчиков на стенды у них необходимо проверить установку «нулей» и максимальных значений перепадов.

При проведении испытаний во время растопок и остановов котла «нули» всех датчиков выставляются на середину (50 %) шкалы регистрирующих приборов ввиду того, что в это время циркуляция неустойчива, и перепады давлений, фиксируемые датчиками, могут иметь как положительные, так и отрицательные значения. При этом осуществляется только наблюдение за изменением перепадов без нормирования точности, а датчики используются как индикаторы.

Для проверки температурных условий работы отдельных экранных труб, в наиболее теплонапряженных участках следует установить температурные вставки. Количество и номенклатура материалов, необходимых для монтажа соединительных электрических и трубных проводок, а также электро- и теплоизоляционных материалов, в зависимости от паропроизводительности котла, его конструкции и требуемого объема измерений, определяется в заказной спецификации.

Перед проведением испытаний составляется рабочая программа, в которой должны быть отражены цель, условия и организация проведения опытов, необходимые параметры работы котла, время и продолжительность каждого опыта.

7. ПРОВЕДЕНИЕ ИСПЫТАНИЙ

Перед проведением испытаний должна быть проверена готовность котла и его элементов к испытаниям (газоплотность, наружняя загрязненность поверхностей нагрева, плотность арматуры и др.). Кроме того, следует убедиться в отсутствии заметных внутренних отложений в экранных трубах.

В течение всего опыта должно обеспечиваться соответствие программе испытаний режима горения, избытка воздуха, расхода пара, температуры питательной воды, давления насыщенного пара, температуры перегретого пара.

Перед проведением опытов необходимый режим при сжигании твердого топлива устанавливается за 2 - 3 ч, а при сжигании мазута или газа за один час до начала испытаний.

7.1. Стационарный режим

Проведение испытаний начинают со стационарных режимов работы котла, и желательно с номинальной паропроизводительности, так как при этой нагрузке котла условия работы циркуляционных контуров обычно оптимальные. Затем проводят опыты на нагрузке, преобладающей в условиях эксплуатации, после чего проверяются условия циркуляции на нагрузках котла 50 и 70 % номинальной.

При снижении паропроизводительности котла ниже номинальной следует оценить влияние регулирования нагрузки на надежность циркуляции в отдельных панелях. Кроме того, должны быть проведены опыты при нарушениях топочного режима (отключение и переключение отдельных горелок, переход на резервное топливо и т.д.).

После проведения серии указанных опытов следует определить минимально и максимально допустимые нагрузки котла по условиям надежности циркуляции в отдельных панелях экранов. Последовательность указанных опытов определяется условиями работы электростанции.

Минимально допустимая нагрузка котла по условиям надежности циркуляции регламентируется снижением скоростей циркуляции в разверенных трубах до 0,3 м/с, или появлением в них знакопеременных скоростей. Сказанное не относится к экранным трубам, расположенным в углах топки, или к соседним с ними трубам, так как они находятся в зоне низких тепловых потоков. Указанный нижний предел скоростей циркуляции связан с тем, что при скоростях циркуляции ниже 0,3 м/с перепад давлений, измеряемый датчиками, становится соизмеримым с погрешностью измерений, и обеспечить их достоверность в этом случае нельзя. В случае необходимости измерения скоростей циркуляции ниже 0,3 м/с следует в качестве вторичных приборов установить стеклянные дифманометры типа ДТ-50 или ДТ-150, заполненные легкой жидкостью (γ = 1,5 кг/м3).

Средние значения скоростей циркуляции воды в экранных трубах котлов среднего давления 3,5 - 4,0 МПа (35 - 40 кгс/см2) при номинальной нагрузке обычно составляют 0,5 - 0,6 м/с, а в котлах высокого давления 16,0 МПа (160 кгс/см2) - 1,5 - 1,8 м/с. Полезный напор экрана в зависимости от конструкции, паропроизводительности и давления в котле находится в пределах от 20 до 40 кПа (0,2 - 0,4 кгс/см2), а сопротивление опускной системы от 10 до 30 кПа (0,1 ¸ 0,3 кгс/см2).

Максимально допустимая нагрузка котла определяется по прекращению роста или снижению по мере повышения его нагрузки полезного напора, сопротивления опускных труб и скоростей воды в них, а также скоростей циркуляции в экранных трубах по мере повышения нагрузки котла. Следует отметить, что снижение сопротивления опускной системы контура или появление несоответствия его сопротивления изменению скоростей воды в опускной системе при повышении нагрузки котла может происходить и из-за попадания пара (сноса) в опускные трубы контура.

Такое явление связано с поддержанием низкого уровня воды в барабане котла (выносных циклонах) или с конструктивными дефектами внутрибарабанных сепарационных устройств.

При подозрении на попадание пара в опускные трубы в них на расстоянии 200 - 300 мм от выхода опускной трубы из барабана (днища выносного циклона) следует установить измерительные трубки ВТИ. Появление пара, заметной пульсации или значительно меньшего перепада давлений, чем у измерительных трубок, установленных в нижней части опускных труб, подтверждает попадание пара в опускную систему.

Кроме того, при всех нагрузках котла при определенных условиях его работы могут появляться как застой, так и опрокидывание циркуляции в отдельных экранных трубах циркуляционных панелей, а также появление свободного уровня.

Застой и опрокидывание циркуляции легко определяются при измерении скоростей циркуляции в экранных трубах. В первом случае скорость циркуляции находится около нулевых значений, во втором - имеет отрицательное значение.

Свободный уровень в экранной трубе может появляться в основном в тех экранных трубах, которые имеют непосредственный вход в паровое пространство, причем на всем протяжении, вплоть до входа в барабан, осуществляется их обогрев газами.

Наличие свободного уровня в экранных трубах при проведении испытаний прямым измерением скоростей циркуляции определить практически не представляется возможным.

Косвенное определение свободного уровня заключается в измерении температур металла верхней части экранных труб, имеющих скорость циркуляции, близкую к нулю. При наличии свободного уровня температура металла экранных труб, измеряемая в их верхней части, должна быть значительно выше температуры металла, измеряемой в средней части экрана. Для измерения температур металла экранных труб в обогреваемой зоне следует установить температурные вставки.

Продолжительность каждого опыта при постоянных нагрузках котла при работе его на твердом топливе должна составлять не менее 2 - 3, а на жидком или газообразном - 1 - 2 ч.

7.2. Нестационарные режимы

Испытания при нестационарных режимах проводятся с резким сбросом и набором нагрузки котла при практически постоянном давлении насыщенного пара в барабане или при его изменении, а также со сбросом и повышением давления при постоянной тепловой нагрузке котла. При этом должны фиксироваться характеристики нестационарности (продолжительность и величина возмущения, изменения параметров и т.д.).

В заключение проводятся опыты для определения влияния на надежность циркуляции значительного (до 40 - 50 от номинального значения) снижения температуры питательной воды при постоянной паровой и эквивалентной ей тепловых нагрузках котла.

Перед началом и после проведения опытов с нестационарными режимами котел должен проработать на постоянной нагрузке около 1 ч.

После проведения испытаний при стационарных и нестационарных режимах работы котла в случае необходимости проверяются условия надежности циркуляции при растопках и остановах котла.

Перед началом проведения серии испытаний необходимо тщательно, до появления пара, продуть все соединительные линии к датчикам. В дальнейшем при проведении испытаний следует продувать только забитые соединительные линии или соединительные линии, на которых производилась замена датчиков.

Перед каждым опытом необходимо производить регистрацию и установку «нулей» всех датчиков. В конце опыта регистрация «нулей» повторяется.

Избытки воздуха, температура перегретого пара и остальные показатели работы котла должны поддерживаться согласно режимной карте.

Количество опытов на постоянной нагрузке котла в целях получения более достоверных экспериментальных данных должно быть не менее двух в один день. При нестационарных режимах работы опыты повторяются в случае несоответствия изменения параметров работы котла заданным, а также при выходе из строя в процессе опыта части датчиков по циркуляционному контуру котла.

При проведении испытаний кроме регистрации экспериментальных измерений необходимо регистрировать показатели, характеризующие эксплуатационный режим работы котла: паропроизводительность и расход питательной воды котла, ее температуру, температуру перегретого пара, избыток воздуха, количество работающих горелок и их номера и т.д. Кроме того, следует отмечать операции, проводимые вахтенным персоналом (например, расшлаковка котла, периодическая продувка нижних точек коллекторов экранов, переключение горелок и др.).

Полученный экспериментальный материал рекомендуется обрабатывать сразу же после опытов. Предварительный анализ результатов опытов позволит более целенаправленно проводить последующие опыты и корректировать намеченную программу испытаний.

8. ОБРАБОТКА РЕЗУЛЬТАТОВ ИСПЫТАНИЙ

Для обработки экспериментальных материалов подготавливают таблицы и графики, с помощью которых производится расшифровка измеренных величин.

Перед началом обработки диаграммных лент экспериментальных приборов с опытами стационарных режимов, на них делается отметка времени через каждые 5 мин.

Обработка лент с интервалом в 5 мин осуществляется с использованием специальных шкал, которые соответствуют градуировкам, полученным при тарировках датчиков.

Отсчет при обработке лент производится от нулей, отмеченных на ленте во время проведения опытов.

Результаты измерений при стационарных режимах усредняются, т.е. определяются их среднеарифметические значения за определенный отрезок времени или за опыт.

При обработке диаграммных лент с опытами нестационарных режимов отсечка времени на них делается через 1 мин и результаты измерений не усредняются.

После обработки лент по полученным перепадам давлений определяются показатели, характеризующие работу циркуляционного контура.

Скорости циркуляции и скорости воды в опускных трубах (м/с) определяются по формуле

где α - коэффициент расхода измерительной трубки;

Δр - перепад давлений датчика, кгс/м2;

γ' - плотность воды в трубах циркуляционного контура, кг/м3.

Сопротивление опускной системы циркуляционного контура и полезный напор экрана [кПа (кгс/м2)] определяется равенством:

роп = Δр; Sэ = Δp,

где роп - сопротивление опускной системы циркуляционного контура, кПа (кгс/м2);

Sэ - полезный напор экрана, кПа (кгс/м2);

Δр - перепад давлений датчика, кПа (кгс/м2).

Полезный напор пароотводящих труб [кПа (кгс/м2)] определяется как разность сопротивления опускной системы и полезного напора экрана, т.е.

Sотв = роп - Sэ.

Расход пара из выносных циклонов (паропроизводительность выносного солевого отсека) определяется по перепаду давлений на измерительном сужающем устройстве и рассчитывается по РД 50-213-80.

Уровень воды в выносном циклоне (м) определяется по формуле

где ΔН - расстояние между импульсами отбора давления, м;

h1 - расстояние от оси барабана до верхнего (парового) места отбора давления, м;

h2 - то же, до нижнего (водяного) места отбора сигнала по давлению, м;

γx, γ', γ" - плотность соответственно воды в соединительной линии, воды и пара при температуре насыщения, кг/м3;

Δр - перепад давлений датчика, кг/м2.

Кратность циркуляции в контуре выносного солевого отсека определяется по формуле

где G - расход воды в контуре (т/ч), определяемый по формуле

Gоп = 3,6ωγ'fоп; G = ΣGоп,

fоп - площадь сечения опускной трубы, м2.

Средняя тепловая нагрузка экранных труб солевого отсека [кДж (ккал/ч)] определяется из следующего соотношения:

Qс.о = Dс.оr,

где Dс.о - фактическая паропроизводительность солевого отсека, кг/ч;

r - теплота парообразования воды кДж/кг (ккал/кг).

Усредненные результаты расчетов при обработке экспериментальных данных, полученные в опытах со стационарными режимами работы котла, заносятся в таблицу. Кроме значений экспериментальных величин в таблице должны быть отражены условия работы котла - паропроизводительность, температура питательной воды, избытки воздуха, давление в топке (если котел работает под наддувом), температура перегретого пара, количество и номера работающих горелок.

При обработке результатов измерений по контуру выносного солевого отсека прежде всего следует построить график, отражающий зависимость изменения паропроизводительности солевого отсека от нагрузки котла. Остальные зависимости (скорости циркуляции, скорости воды в опускных трубах, полезный напор экрана, сопротивление опускных труб, кратность циркуляции; средняя тепловая нагрузка панели), строятся от паропроизводительности панели, а не от нагрузки котла. При наличии результатов измерений на других панелях этого бокового экрана (чистый отсек) все полученные циркуляционные характеристики графически изображаются в зависимости от паропроизводительности солевого отсека, так как она практически пропорциональна тепловой нагрузке бокового экрана.

Следует иметь в виду, что обработка нестационарных режимов, а также режимов, связанных с растопками и остановами котла, имеет особенности, заключающиеся в следующем:

- обработка экспериментальных материалов выполняется только в функции от времени;

- по мере изменения давления в барабане котла на все измеряемые параметры вводится поправка на изменение плотности пара и воды.

Результаты измерений при испытаниях нестационарных режимов в таблицу не заносятся.

Оценка погрешностей измерений, полученных при проведении испытаний, проводится по формулам, приведенным в разд. 3, а относительная погрешность приборов выбирается по табл. 2.

Так как измерения скоростей циркуляции и скоростей воды в опускных трубах основаны на измерении перепадов давлений, создаваемых измерительными трубками ЦКТИ или ВТИ, нормирование точности измерений на них не распространяется. Поэтому оценка погрешностей для указанных измерений не проводится.

В заключение следует отметить, что в отдельных случаях, например, после реконструкции панели экранной системы солевого отсека, имеющей ранее циркуляционные повреждения, используя полученные экспериментальные данные, целесообразно расчетным путем оценить надежность контура по отсутствию в них застоя, свободного уровня и опрокидывания потока, пользуясь методикой, приведенной в книге «Гидравлический расчет котельных агрегатов. Нормативный метод».

9. СОСТАВЛЕНИЕ ТЕХНИЧЕСКОГО ОТЧЕТА

По результатам испытаний составляется технический отчет, который утверждается главным инженером предприятия или его заместителем. Отчет должен содержать материалы испытаний, анализ материалов и выводы по работе с оценкой циркуляционной устойчивости котла, условий и границ устойчивости, а также, при необходимости, с рекомендациями по повышению устойчивости. Отчет должен быть оформлен в соответствии с СТП 7010000302-82 либо с ГОСТ 7.32-81.

В разделе технического отчета «Результаты испытаний» следует обратить внимание на характер распределения скоростей циркуляции по ширине экрана, на общий их средний уровень, на характер распределения и уровень скоростей воды в опускных трубах, на значение полезного напора экрана и сопротивление его опускной системы. В случае низких скоростей циркуляции и незначительного их роста при повышении нагрузки котла следует дать оценку причины - низкие тепловые нагрузки экрана или недостаточное сечение опускных или отводящих труб. Отдельно привести оценки работы циркуляционных контуров при нестационарных режимах работы котла, а также при его растопках и остановах.

В отчете следует привести усредненные графики, отражающие изменение скоростей циркуляции и скоростей воды в опускных трубах, а также полезных напоров экранов циркуляционных панелей и сопротивлении их опускных систем при изменении паропроизводительности котла. Указанные графики следует выполнить для каждой циркуляционной панели в отдельности.

Кроме того, необходимо привести графики, отражающие характер распределения скоростей циркуляции в экранных трубах по ширине панели при номинальной нагрузке котла, и при нагрузках 0,7 и 0,5Dном.

По данным опытов с нестационарными режимами строятся режимные графики в функции от времени. Аналогично выполняются графики растопок и остановов котла.

Кроме того, следует провести сравнение результатов полученных опытных материалов с работами, выполненными другими организациями на котлах, имеющих аналогичные циркуляционные контуры.

В разделе «Оценка погрешности измерений» необходимо оценить погрешности измерений всех характеристик циркуляционных контуров, полученных при испытаниях.

В выводах раздела «Заключение» следует отразить основные характеристики циркуляционных контуров при различных нагрузках котла, влияние на них нестационарных процессов.

В случае выявления ненадежной циркуляции в одном из контуров котла следует привести рекомендации по повышению надежности его работы.

10. ТРЕБОВАНИЯ БЕЗОПАСНОСТИ

Лица, участвующие в проведении испытаний, должны знать и выполнять требования, изложенные в «Правилах техники безопасности при эксплуатации тепломеханического оборудования электростанций и тепловых сетей» (М.: Энергоатомиздат, 1985) и иметь запись в удостоверении о проверке знаний.

Приложение 1

ПРИМЕРЫ ВЫПОЛНЕНИЯ СХЕМ ИЗМЕРЕНИЯ ЦИРКУЛЯЦИИ ДЛЯ ЭКСПЛУАТАЦИОННЫХ И НАЛАДОЧНЫХ ИСПЫТАНИЙ

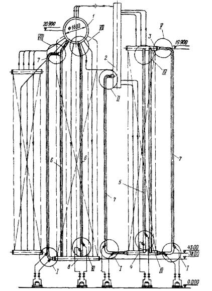
В качестве примера выполнения схемы измерений для эксплуатационной проверки надежности циркуляции на головных образцах котла, приведена схема измерений применительно к котлу БКЗ-420-140НГМ (см. вклейку рис. П1.1). Схемой измерений предусмотрена проверка надежности циркуляции на 50 % циркуляционных контуров котла, т.е. на одном боковом (2 панели), на половине фронтового (4 панели из 7) и половине заднего (1 панель) экранов. Кроме измерений скоростей циркуляции в указанных панелях предусмотрено измерение скоростей воды в опускных трубах и стояках. Измерение полезных напоров экранов и сопротивления их опускных систем намечено в обеих панелях бокового экрана, в средней панели (панель № 5) фронтового и в одной панели заднего экрана. Для оценки тепловой нагрузки панелей солевого отсека предусмотрело измерение расхода пара из блоков выносных циклонов с каждой стороны котла. Одновременно с этим измеряется уровень воды в одном из выносных циклонов.

Общее количество датчиков для проведения циркуляционных испытаний составляет 76 шт. Указанное количество является оптимальным и для котлов большей паропроизводительности. При проведении испытаний циркуляции на котлах паропроизводительностью 160 - 320 т/ч количество датчиков можно уменьшить на 30 - 40 %.

Пример выполнения схемы измерений для доводочных испытаний котла БКЗ-39-75ФБ, на котором были повреждения экранных труб солевых отсеков при повышении нагрузки до 100 - 110 т/ч, приведен на рис. П1.2.

При составлении схемы измерений основное внимание было уделено измерениям циркуляционных характеристик панели солевого отсека и соседней с ней панели бокового экрана. Кроме измерений скоростей циркуляции схемой предусматривается измерение скоростей воды в опускных трубах обеих панелей как основного показателя, характеризующего надежность работы панелей при повышении нагрузки котла сверх номинальной, а также полезного напора панели солевого отсека и сопротивления ее опускной системы. Кроме указанных измерений предусмотрено измерение расхода пара из выносных циклонов с обеих сторон котла. По предлагаемой схеме для проведения работ по выявлению причин циркуляционных повреждений экранных труб солевых отсеков предусмотрена установка 26 датчиков.

Рис. П1.1. Схема измерений для эксплуатационных испытаний надежности циркуляции котла БКЗ-420-140НГМ

Рис. П1.2. Схема измерений для доводочных испытаний котла БКЗ-39-75ФБ

При проведении испытаний, имеющих аналогичную цель, за счет снижения объема измерений скоростей циркуляции по обеим панелям общее количество датчиков можно уменьшить до 18 - 20.

Приложение 2

КОНСТРУКЦИИ ИЗМЕРИТЕЛЬНЫХ ТРУБОК

При выборе той или иной конструкции измерительных трубок (ЦКТИ или ВТИ) следует руководствоваться требуемым перепадом давления, проходным сечением труб, учитывать сложность изготовления той или иной конструкции трубки, а также удобство их монтажа.

Стержневая трубка ЦКТИ (рис. П2.1, а) обычно устанавливается на глубину 1/3 внутреннего диаметра трубы, что уменьшает внутреннее сечение трубы, что имеет существенное значение для труб небольшого диаметра.

На рис. П2.1. б приведена конструкция цилиндрической трубки ВТИ. Для экранных труб с внутренним диаметром 50 - 70 мм диаметр измерительной трубки принимается равным 8 - 10 мм и устанавливают их на глубину 1/2 внутреннего диаметра трубы. К недостаткам цилиндрических трубок следует отнести большую загромождаемость ими внутреннего сечения, а к преимуществам - более простое изготовление и меньший коэффициент расхода, что приводит к увеличению перепада давлений датчика при одном и том же расходе воды.

Наряду с приведенными конструкциями измерительных трубок для измерения скоростей воды в циркуляционных контурах находят применение и цилиндрические сквозные измерительные трубки (рис. П2.1, в), которые отличаются простотой изготовления - только токарная работа и сверловка каналов. Коэффициент расхода у этих трубок тот же, что и у цилиндрических трубок ВТИ.

Рис. П2.1. Конструкция трубок для измерения скоростей циркуляции и скоростей воды в опускных трубах:

а - стержневая трубка ЦКТИ; б - цилиндрическая трубка ВТИ; в - сквозная цилиндрическая трубка; г - упрощенная конструкция цилиндрической трубки

Указанную измерительную трубку можно изготовить упрощенной конструкции - из двух кусков труб небольшого диаметра (рис. П2.1, г). Части трубок свариваются посередине с установкой между ними перегородки так, чтобы не было сообщения между левой и правой полостями трубки. Отверстия отбора импульса по давлению просверливаются вблизи перегородки как можно ближе одно к другому. После сварки трубок место сварки следует тщательно зачистить. Трубка приваривается к штуцерам экранной или опускной трубы.

Для правильной установки измерительных трубок любой конструкции по потоку воды на наружной части торца цилиндра или штуцеров следует сделать риски.

На рис. П2.2 представлены значения коэффициентов расхода стержневых и цилиндрических трубок.

На рис. П2.2, а приведены результаты тарировок стержневых трубок с длиной измерительной части (h), равной 1/2, 1/3 и 1/6 внутреннего диаметра трубы (D). С уменьшением длины измерительной части значение коэффициента расхода трубки увеличивается. Для трубки с h = 1/6D коэффициент расхода приближается к 1. С увеличением внутреннего диаметра трубы коэффициент расхода падает при всех длинах активной части измерителя. Из графика рис. П2.2, а видно, что наименьший коэффициент расхода, а следовательно, и наибольший перепад давлений, имеют трубки с длиной измерительной части, равной 1/2D. При применении их существенно снижается влияние внутреннего диаметра трубопровода.

На рис. П2.2, б приведены результаты тарировок измерительных трубок ВТИ диаметром 10 мм с установкой ее измерительной части на 1/2 внутреннего диаметра трубы. Зависимость коэффициента расхода от отношения диаметров измерительной трубки к трубе, в которой она устанавливается, дана на рис. П2.2, в.

Приведенные коэффициенты расхода справедливы при установке измерительных трубок в экранных трубах, т.е. для чисел Re, находящихся на уровне 103, и приобретают постоянные значения для трубок ЦКТИ при Re ≥ (35 ¸ 40) · 103, а для трубок ВТИ при Re ≥ 20 · 103.

Измерительные трубки описанных конструкций можно использовать для измерения скоростей воды в опускных трубах и стояках. Наиболее подходящая и простая конструкция измерительной трубки для этой цели показана на рис. П2.1, г.

Рис. П2.2. Коэффициент расхода α цилиндрических трубок:

а - стержневая трубка с длиной измерительной части, равной 1/2, 1/3, 1/6 внутреннего диаметра трубы (D); б - результат тарировки измерительной трубки ВТИ диаметром 10 мм с D = 1/2; в - зависимость коэффициента расхода от отношения диаметра измерительной трубки к диаметру трубы; г - зависимость коэффициента расхода от отношения длины участка трубы к диаметру; д - зависимость коэффициентов α и К от отношения d/D; е - погрешность измерения скорости потока в зависимости от угла отклонения измерительной трубки от оси трубы

В опускных трубах измерительные трубки работают в более турбулентном потоке, число Рейнольдса может превысить 105, и коэффициент расхода будет существенно отличаться от тех значений, которые приведены для экранных труб.

На рис. П2.2, г приведен коэффициент расхода для сквозной цилиндрической трубки диаметром 20 мм в зависимости от длины стабилизирующего участка трубы с внутренним диаметром 145 мм.

На рис. П2.2, д показана зависимость коэффициента расхода и поправочного коэффициента от отношения d/D.

Фактический коэффициент расхода в этом случае составит:

αф = αK.

Правильность установки измерительных трубок имеет большое значение для достоверности определения скоростей. Отверстия в трубке, воспринимающие импульс по давлению, должны располагаться строго по вертикальной оси трубы, в которой она устанавливается.

Возможные искажения показания трубки при неточной ее установке, полученные на стенде, показаны на рис. П2.2, е.

В заключение следует отметить, что сравнение измерительных трубок конструкции ЦКТИ и ВТИ с активной длиной измерительной части, равной 1/2D, показывает, что перепад давлений, создаваемый при одинаковом расходе у трубок ВТИ для экранных труб с внутренним диаметром 50 и 76 мм, соответственно в 1,3 и 1,2 раза больше, чем у трубок ЦКТИ. Это обеспечивает большую достоверность измерений, особенно при малых скоростях воды. Поэтому, когда загромождаемость внутреннего сечения трубы измерительной трубкой не имеет решающего значения, для измерения скоростей воды следует применять измерительные трубки ВТИ.

Однако следует учитывать, что измерение скоростей воды, меньших 0,3 м/с, даже трубками ВТИ не дает требуемой точности измерений, так как в этом случае перепад давлений составляет менее 70 - 90 Па (7 - 9 кгс/м2).

Приложение 3

ПРИМЕРЫ ВЫПОЛНЕНИЯ ШУНТОВ ДЛЯ ПРИВЕДЕНИЯ ТЕМПЕРАТУРЫ ВОДЫ В СОЕДИНИТЕЛЬНОЙ ТРУБКЕ К ТЕМПЕРАТУРЕ НАСЫЩЕНИЯ

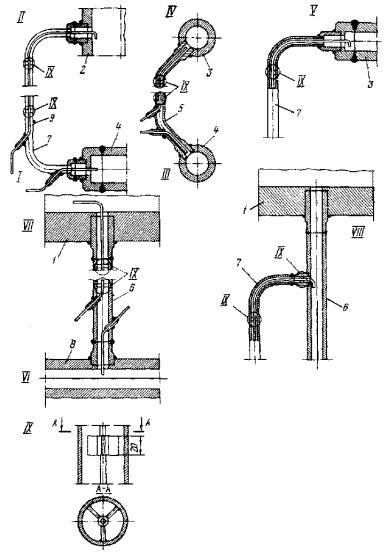
Для приведения температуры воды в соединительной трубке к температуре насыщения применяются различные способы ее прокладки. Наиболее часто для этого выполняется прокладка соединительной трубки внутри «шунта», т.е. в трубе с наружным диаметром около 30 - 40 мм, соединяющей нижний и верхний коллекторы панели экрана, или нижний коллектор с верхним участком опускной трубы, или с нижней частью корпуса выносного наклона.

Рис. П3.1. Прокладки соединительных трубок:

1 - барабан; 2 - выносной циклон; 3 - верхний коллектор солевого отсека; 4 - нижний коллектор солевого отсека; 5 - труба рециркуляции; 6 - опускная труба; 7 - шунт; 8 - нижний коллектор чистого отсека; 9 - поверхностный термоэлектрический термометр

В некоторых случаях соединительную трубку удобно проводить в одной из опускных труб панели или в трубе рециркуляции, соединяющей верхний и нижний коллекторы экранов.

Примеры конструктивного выполнения прокладки соединительных трубок приведены на рис. П3.1.

Полезный напор экрана в основном измеряется с помощью шунта, соединяющего верхний и нижний коллекторы панели экрана. Шунт выполняется из пароперегревательных труб с наружным, диаметром 32 мм (котлы высокого давления) или 38 мм (котлы среднего давления), внутри которого пропускается соединительная трубка. Конструктивное выполнение шунта с установкой в нем соединительных трубок дано на узлах I и V. В нижней части шунта для определения его температуры устанавливается поверхностный термоэлектрический термометр, который при установке несколько раз обматывается вокруг шунтовой трубы и тщательно вместе с ней изолируется.

В случае наличия в контуре экрана труб рециркуляции, для измерения полезного напора экрана соединительную трубку можно проложить в одной из этих труб.

Однако следует иметь в виду, что в этом случае сечение трубы рециркуляции будет несколько уменьшено и эффективность ее работы может быть снижена. Конструктивное выполнение выводов импульсных трубок приведено на узлах III и IV.

Для измерения сопротивления опускной системы контура выносного солевого отсека устанавливается шунт, соединяющий нижнюю часть корпуса выносного циклона с нижним коллектором панели (узлы I, II), а при измерении сопротивления опускной системы панелей чистого отсека соединительная трубка прокладывается или в опускной трубе, или в шунте, соединяющем верхнюю часть опускной трубы с нижним коллектором (узел VIII). Пример установки соединительной трубки в опускной трубе дан на узлах VI и VII. При установке шунта, подсоединяемого к опускной трубе (узел VIII), следует иметь в виду, что в этом случае в результат измерений сопротивления опускной системы не войдет значение сопротивления, связанного со входом воды из барабана в опускную трубу.

Приложение 4

КОНСТРУКЦИЯ ИЗМЕРИТЕЛЬНОЙ ДИАФРАГМЫ

Вварное измерительное сужающее устройство (диафрагма) предназначено для измерения расхода насыщенного пара из выносных циклонов. Для изготовления измерительного сужающего устройства берутся два отрезка труб длиной 200 - 250 мм с тем же диаметром и толщиной стенки, что и пароотводящие трубы из выносного циклона.

Между отрезками труб вставляется измерительная диафрагма и обваривается электродуговой сваркой. Напротив отверстий отбора сигнала по давлению от диафрагмы привариваются штуцера для подвода сигнала по давлению к датчику.

Конструкция измерительной диафрагмы приведена на рис. П4.1.

Рис. П4.1. Конструкция измерительной диафрагмы

СОДЕРЖАНИЕ

1. Общие положения и основные показатели. 1

2. Рекомендации по выполнению измерений. 2

3. Показатели точности опытных параметров. 4

4. Средства измерений при испытаниях. 5

5. Условия испытаний. 6

6. Подготовка к испытаниям.. 7

7. Проведение испытаний. 9

8. Обработка результатов испытаний. 11

9. Составление технического отчета. 13

10. Требования безопасности. 14

Приложение 1. Примеры выполнения схем измерения циркуляции для эксплуатационных и наладочных испытаний. 14

Приложение 2. Конструкции измерительных трубок. 15

Приложение 3. Примеры выполнения шунтов для приведения температуры воды в соединительной трубке к температуре насыщения. 19

Приложение 4. Конструкция измерительной диафрагмы.. 21

 

 



© 2013 Ёшкин Кот :-)