Информационная система
«Ёшкин Кот»

XXXecatmenu

МИНИСТЕРСТВО ТРАНСПОРТНОГО
СТРОИТЕЛЬСТВА

ГОСУДАРСТВЕННЫЙ ВСЕСОЮЗНЫЙ ДОРОЖНЫЙ
НАУЧНО-ИССЛЕДОВАТЕЛЬСКИЙ ИНСТИТУТ
СОЮЗДОРНИИ

МЕТОДИЧЕСКИЕ

РЕКОМЕНДАЦИИ

ПО ПРИМЕНЕНИЮ КУБОВЫХ ОСТАТКОВ
МЕТИЛОВЫХ ЭФИРОВ И АМИНОВ,
А ТАКЖЕ ПОЛИЭТИЛЕНОВЫХ ЭМУЛЬСИЙ
ДЛЯ ПОВЫШЕНИЯ ВОДО- И
МОРОЗОСТОЙКОСТИ АСФАЛЬТОБЕТОНОВ

Утверждены и. о. директора
Союздорнии канд. техн. наук Б.С. Марышевым

Одобрены Минтрансстроем
(№ 373-4п от 1 июня 1982 г.)

Москва 1984

Приведены общие сведения о поверхностно-активных веществах (ПАВ) - кубовых остатках метиловых эфиров и аминов, а также полиэтиленовых эмульсиях, используемых для повышения сцепления битумов с минеральными материалами; требования к их качеству; технология введения в битум и на поверхность минеральных материалов. Применение ПАВ позволяет повысить производительность АБЗ, удлинить сезон строительных работ.

Предисловие

Применение в дорожном строительстве нашей страны разнообразных каменных материалов и битумов в различных климатических условиях в большинстве случаев приводит к необходимости использования поверхностно-активных веществ (ПАВ) для повышения сцепления битумов с минеральными материалами и обеспечения тем самым водо- и морозостойкости асфальтобетонных покрытий. Наиболее эффективными являются катионные ПАВ. В связи с тем, что они до настоящего времени весьма дефицитны, за последние годы проведены исследования, которые показали возможность использования в качестве ПАВ ряда побочных продуктов различных отраслей промышленности - кубовых остатков производства метиловых эфиров (КОМЭ), кубовых остатков производства аминов С17 - С20 (КОА) и полиэтиленовых эмульсий «Оксалит» и «Оксален-30», полученных на основе отходов производства полиэтилена.

Результаты указанных исследований и опытно-экспериментальных работ, проведенных на объектах Каздорстроя, Ленавтодора и Пермского филиала Росдороргтехстроя, позволили разработать настоящие «Методические рекомендации по применению кубовых остатков метиловых эфиров и аминов, а также полиэтиленовых эмульсий для повышения водо- и морозостойкости асфальтобетона». Рекомендации, касающиеся вопросов применения кубовых остатков метиловых эфиров, предназначены для опытного строительства.

В «Методических рекомендациях» излагаются способы введения названных ПАВ, технологические особенности процессов приготовления и уплотнения асфальтобетонных смесей в их присутствии; правила техники безопасности при работе с ними; требования, предъявляемые к качеству ПАВ.

При разработке рекомендаций использованы авторские свидетельства № 806636 и 910913.

Настоящие «Методические рекомендации» составили кандидаты технических наук Д.С. Шемонаева и Л.М. Гохман (Союздорнии), канд. хим. наук Г.Б. Крыжановская (Ленинградский филиал Союздорнии), канд. геолого-минерал. наук О.М. Чугуевская (Свердловский филиал Гипродорнии), инженеры В.В. Назаров (Ленинградский филиал Союздорнии), В.П. Леонтьев и И.М. Улыбина (Свердловский филиал Гипродорнии).

Замечания и пожелания просьба направлять по адресу: 143900, г. Балашиха-6 Московской обл., Союздорнии.

СОДЕРЖАНИЕ

1. Общие положения. 2

2. Применяемые материалы и технические требования к ним.. 2

3. Технология введения ПАВ в процессе приготовления асфальтобетонных смесей. 3

4. Особенности технологии приготовления асфальтобетонных смесей с применением новых ПАВ.. 5

5. Технический контроль. 6

6. Правила хранения ПАВ.. 7

7. Соблюдение правил техники безопасности при работе с полиэтиленовыми эмульсиями, кубовыми остатками метиловых эфиров и аминов С17 - С20 7

Приложение. Краткие сведения о новых ПАВ.. 8

 

1. Общие положения

1.1. Применение новых поверхностно-активных веществ (ПАВ) при устройстве асфальтобетонных покрытий позволяет существенно повысить прочность сцепления битума с поверхностью минеральных материалов. Наиболее эффективными являются катионные ПАВ типа аминов, диаминов и амидоаминов (например БП-3), повышающие сцепление битумов с минеральными материалами кислых и основных пород и одновременно являющиеся замедлителями старения битумов.

1.2. Новые ПАВ, являющиеся побочными продуктами различных отраслей промышленности, рекомендуемые к использованию при устройстве дорожных покрытий с применением битумов, подобно БП-3 улучшают сцепление битумов с минеральными материалами основных и кислых пород.

1.3. Применение новых ПАВ, кроме того, замедляет старение высоковязких битумов (кубовые остатки метиловых эфиров); уменьшает расход битума; снижает температуру нагрева битумов и температуру приготовления асфальтобетонных смесей; повышает водо- и морозостойкость, а следовательно, и долговечность дорожных покрытий. Использование новых ПАВ способствует повышению производительности применяемых асфальтосмесителей и уплотняющих механизмов; удлиняет сезон строительных работ.

2. Применяемые материалы
и технические требования к ним

2.1. Кубовые остатки метиловых эфиров (КОМЭ) должны удовлетворять требованиям ТУ-38407205-82 «Кубовый остаток метиловых эфиров высокомолекулярных СЖК (опытные партии)».

2.2. Кубовые остатки аминов должны удовлетворять требованиям ТУ-6-02-750-78 «Остатки кубовые при производстве аминов С17 - С20».

2.3. Полиэтиленовые эмульсии «Оксалит» и «Оксален-30» должны удовлетворять требованиям соответственно ТУ-6-05-05-125-78 «Эмульсия полиэтиленовая марки «Оксалит» и ТУ 6-05-1115-77 «Эмульсия полиэтиленовая».

Краткие сведения о новых ПАВ приведены в приложении к настоящим «Методическим рекомендациям».

3. Технология введения ПАВ
в процессе приготовления асфальтобетонных смесей

3.1. В условиях АБЗ кубовые остатки метиловых эфиров и аминов С17 - С20 можно вводить непосредственно в битум либо на поверхность минеральных материалов.

3.2. В случае введения названных продуктов в битум в качестве ПАВ, разогретое до необходимой температуры и отдозированное весовым или объемным способом ПАВ можно вводить в рабочий котел битумоплавильных установок, заполненный битумом не более чем на 0,7 его объема, где компоненты перемешиваются до получения однородной смеси путем циркуляции с помощью насоса для перекачки битума. Время перемешивания должно быть не менее 30 мин.

3.3. Готовую смесь в битумном котле при рабочей температуре битума не следует выдерживать более одной рабочей смены.

3.4. В случае приготовления жидких битумов на АБЗ ПАВ целесообразно предварительно растворить в разжижителей в виде раствора ввести в битум.

3.5. При приготовлении асфальтобетонных смесей с применением новых ПАВ следует придерживаться температурных режимов, указанных в табл. 1.

Таблица 1

Вид асфальтобетонной смеси

Марка битума

Температура нагрева битума, °С

Температура смесей, °С

при выпуске из смесителя

в асфальтоукладчике при укладке в конструктивный слой (не ниже)

Горячая

БНД 90/130

БНД 60/90

БНД 40/60

БН 90/130

БН 60/90

110 - 130

120 - 140

100

Теплая

БНД 200/300

БНД 130/200

БН 200/300

БН 130/200

СГ 130/200

90 - 110

80 - 100

100 - 120

80 - 100

70

Холодная

СГ 70/130

МГ 70/130

80 - 90

80 - 90

5*)

10**)

________

*)Температура весной.

**)Температура осенью.

3.6. При введении кубовых остатков метиловых эфиров и аминов С17 - С20 на поверхность минеральных материалов их подают непосредственно в мешалку асфальтосмесителя под давлением Рmax = 0,5 МПа. При этом отдозированное ПАВ предварительно смешивают с пластификатором (1:3), в качестве которого лучше всего использовать битум, применяемый для приготовления асфальтобетонной смеси.

Содержание введенного в качестве пластификатора битума должно входить в общее количество битума, необходимое для приготовления смеси.

3.7. Кубовые остатки метиловых эфиров перед введением в битум или на поверхность минерального материала необходимо разогреть до температуры 35 - 40 °С, кубовые остатки аминов - до 65 - 70 °С.

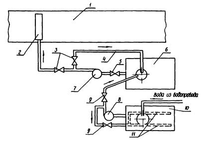
3.8. Полиэтиленовые эмульсии «Оксалит» и «Оксален-30» можно наносить на поверхность каменного материала перед его подачей в сушильный барабан. При введении эмульсии необходимо придерживаться следующей схемы подачи и распределения полиэтиленовой эмульсии, наносимой на каменный материал (см. рисунок).

Разбавление концентрированной эмульсии, поступающей с завода-изготовителя, водой (3:50) осуществляется в рабочем резервуаре 10, куда концентрированная эмульсия из фляг (канистр) переливается вручную.

Перемешивание эмульсии с водой производится насосом 8 и одной из нескольких перфорированных труб 11 путем циркуляции жидкости по замкнутому трубопроводу.

Подача, дозирование и распределение разбавленной эмульсии, наносимой на каменный материал, осуществляется следующим образом.

Приготовленная эмульсия из расходного резервуара 6 дозировочным насосом 7 при открытых кранах 3 и 5 подается в распределительную перфорированную трубу 2. Через отверстия, расположенные в нижней плоской стенке трубы, эмульсия в распыленном виде наносится на каменный материал, перемещаемый транспортерной лентой 1 к сушильному барабану. Суммарная площадь отверстий в распределительной трубе должна быть равна или несколько больше площади сечения напорного трубопровода.

Поскольку производительность насоса 7 подобрана с запасом мощности, требуемое количество эмульсии, подаваемое в единицу времени на каменный материал, регулируется с помощью регулировочных кранов 3. Излишки эмульсии, образующиеся после регулировки, в процессе работы возвращаются по возвратному (шунтирующему) трубопроводу 4 в резервуар 6. Трубопровод может быть использован для дополнительного перемешивания эмульсии в резервуаре 6.

Схема узла подачи, дозирования и распределения эмульсии:

1 - лента транспортера; 2 - труба распределительная перфорированная;
3 - краны регулировочные; 4 - трубопровод шунтирующий;
5, 9 - краны запорные; 6 - Резервуар расходный; 7 - насос дозировочный;
8 - насос перекачки; 10 - резервуар для разбавления эмульсий;
11 - трубы перфорированные

Подбор скорости истечения из распределительной трубы 2 на ленту транспортера производится предварительным тарированием кранов 3.

3.9. Техническая характеристика основного оборудования узла подачи, дозирования и распределения полиэтиленовых эмульсий приведена в табл. 2.

Таблица 2

Наименование оборудования

Техническая характеристика

Насос дозировочный центробежный

Подача средняя 2,5 л/с Частота вращения ротора 2900 об/мин

Мощность электродвигателя 1 кВт

Насос перекачивающий центробежный

Подача средняя 2,5 - 5 л/с

Резервуар расходный

Полезная вместимость 4 - 5 м3

Резервуар для разбавления эмульсии

Полезная вместимость 3 - 4 м3

Краны регулировочные, запорные, пробковые

Размер в соответствии с используемыми трубопроводами

3.10. При изготовлении асфальтобетонной смеси с применением полиэтиленовых эмульсий необходимо придерживаться следующих температурных режимов:

Каменный материал

°С

после сушильного барабана

200 - 300

в смесителе

150 - 160

Битум

Не ниже 150

Асфальтобетонная смесь

Не ниже 110

при укладке

10

при уплотнении

Не ниже 90

Температура воздуха при обработке каменного материала эмульсией не должна быть ниже 0 °С.

4. Особенности технологии приготовления
асфальтобетонных смесей
с применением новых ПАВ

4.1. Все работы по приготовлению, укладке и уплотнению асфальтобетонных смесей следует осуществлять в соответствии с разделами «Руководства по строительству дорожных асфальтобетонных покрытий» (М.: Транспорт, 1978), касающимися смесей с использованием ПАВ.

4.2. Асфальтобетон с применением новых ПАВ, подобранный в соответствии с табл. 5 ГОСТ 9128-76 «Смеси асфальтобетонные дорожные, аэродромные и асфальтобетон. Технические условия», должен удовлетворять требованиям, предъявляемым к горячему, теплому или холодному асфальтобетону.

4.3. Особое внимание необходимо уделять выбору концентрации ПАВ, так как превышение оптимальной концентрации может привести к отрицательному эффекту. Рекомендуемый предел концентраций новых ПАВ указан в табл. 3.

4.4. Оптимальную концентрацию ПАВ необходимо подбирать в лабораторных условиях в каждом конкретном случае с учетом природы минеральных материалов и битума.

4.5. В случае использования в составе асфальтобетона активированного минерального порошка кубовые остатки метиловых эфиров и аминов С17 - С20 вводят в битум. При этом оптимальная концентрация ПАВ может быть ниже рекомендуемого предела.

4.6. Критерием оценки оптимальной концентрации ПАВ в битуме служит весь комплекс физико-механических свойств асфальтобетона, в первую очередь коэффициенты длительной водо- и морозостойкости, а для горячего и теплого асфальтобетонов - также и прочность на сжатие при 50 °С. Коэффициент водостойкости и прочность при 50 °С должны удовлетворять требованиям ГОСТ 9128-76.

Таблица 3

Наименование ПАВ

Концентрация ПАВ, % массы

битума

минерального материала

Кубовый остаток метиловых эфиров (КОМЭ)

3 - 4

0,2 - 0,25

Кубовый остаток аминов С17 - С20 (КОА)

3 - 4

0,2 - 0,25

Полиэтиленовая эмульсия «Оксалит»

-

0,04 - 0,06*)

Полиэтиленовая эмульсия «Оксален-30»

-

0,04 - 0,06*)

________

*)Полиэтиленовыми эмульсиями обрабатывается только минеральный материал, проходящий через сушильный барабан. Минеральный порошок обработке не подвергается.

4.7. Асфальтобетонные смеси с ПАВ можно готовить в асфальтосмесителях, оборудованных лопастными мешалками принудительного действия, придерживаясь режимов перемешивания, указанных выше. Продолжительность перемешивания горячих и теплых асфальтобетонных смесей приведена в табл. 4.

4.8. Время приготовления холодных смесей должно в 1,3 - 1,5 раза превышать время приготовления однотипных горячих и теплых смесей.

4.9. Температура нагрева битумов с применением ПАВ, асфальтобетонных смесей при выпуске из смесителя и укладке в покрытие в зависимости от марки битума приведена выше в настоящих «Методических рекомендациях».

Таблица 4

Вид асфальтобетонной смеси

Время приготовления смеси в лопастной мешалке принудительного действия, °С, при перемешивании

«сухом»

«мокром»

Песчаная

15

30 - 45

Мелко- и среднезернистая

15

25 - 35

Крупнозернистая

-

25 - 30

5. Технический контроль

5.1. При производстве дорожных работ с применением новых ПАВ необходимо контролировать качество ПАВ, битума с добавкой ПАВ, минеральных материалов и точность их дозирования, а также качество асфальтобетонных смесей и правильность технологического процесса их приготовления, укладки и уплотнения. ПАВ следует принимать по паспортным данным завода-поставщика и оценивать его эффективность по величине показателя сцепления битума после введения в него ПАВ с минеральной частью асфальтобетонной смеси; величина показателя сцепления битума определяется по методике ГОСТ 12801-77 «Смеси асфальтобетонные дорожные, аэродромные и асфальтобетон. Методы испытаний».

Качество битумов проверяют в соответствии с требованиями ГОСТ 22245-76 «Битумы нефтяные дорожные вязкие. Технические условия» и ГОСТ 11955-82 'Битумы нефтяные дорожные жидкие».

Качество используемых минеральных материалов и готовой асфальтобетонной смеси проверяют в соответствии с требованиями ГОСТ 9128-76.

5.2. Технологию приготовления асфальтобетонных смесей с применением ПАВ контролируют в соответствии с требованиями «Руководства по строительству дорожных асфальтобетонных покрытий» и разделов 3 и 4 настоящих Методических рекомендаций.»

5.3. В процессе приготовления асфальтобетон ной смеси контролируют дозировку используемых материалов, в первую очередь ПАВ, точность дозирования которого составляет ±15 %; измеряют температуру нагрева минеральных материалов и температуру битума с ПАВ в рабочих котлах через 2 - 3 ч, а также температуру выпускаемой смеси. Качество готовой асфальтобетонной смеси проверяют в лаборатории, для этого из каждого смесителя отбирают одну пробу в смену.

5.4. В процессе устройства покрытия проверяют температуру асфальтобетонной смеси перед уплотнением, толщину уложенного слоя, качество уплотнения и ровность покрытия.

6. Правила хранения ПАВ

6.1. Кубовые остатки метиловых эфиров и аминов С17 - С20 поставляют на объект в обогреваемых железнодорожных цистернах или металлических бочках вместимостью не менее 200 л.

Полиэтиленовые эмульсии «Оксалит» и «Оксален-30» поставляют в оцинкованных флягах вместимостью 40 л (ГОСТ 5799-78 «Фляги для лакокрасочных материалов. Технические условия») или металлических бочках вместимостью 275 л.

Эмульсия, которая транспортировалась при температуре ниже 0 °С, перед использованием должна быть выдержана в рабочем помещении до полного оттаивания.

6.2. Кубовые остатки метиловых эфиров и аминов С17 - С20 необходимо хранить в герметично закрытых емкостях в соответствии с требованиями ГОСТ 1510-76 «Нефть и нефтепродукты. Упаковка, маркировка, транспортирование и хранение»; гарантийный срок хранения ПАВ в этих емкостях - 1 год.

6.3. Полиэтиленовые эмульсии необходимо хранить для предотвращения испарения воды в герметично закрытой таре в отапливаемых помещениях при температуре не выше 30 °С на расстоянии не менее 1 м от нагревательных приборов.

Гарантийный срок хранения полиэтиленовых эмульсий - 6 мес. со дня изготовления.

6.4. По истечении гарантийного срока хранения необходимо подвергать ПАВ анализу на соответствие требованиям технических условий, и только после этого они могут быть использованы по назначению.

7. Соблюдение правил техники безопасности
при работе с полиэтиленовыми эмульсиями,
кубовыми остатками метиловых эфиров
и аминов С17 - С20

7.1. При использовании ПАВ необходимо руководствоваться «Правилами техники безопасности при строительстве, ремонте и содержании автомобильных дорог» (М.: Транспорт, 1979) и «Инструкцией по использованию поверхностно-активных веществ при строительстве дорожных покрытий с применением битумов» ВСН 59-68 (М.: Оргтрансстрой, 1968).

7.2. Следует учитывать, что эмульсии полиэтиленовые марок «Оксалит» и «Оксален-30» не взрывоопасны, негорючи, термостабильны до 350 °С. Эмульсии полиэтиленовые при комнатной температуре не оказывают влияния на организм человека при непосредственном контакте с ними.

Кубовые остатки метиловых эфиров и аминов С17 - С20 - горючие вещества с температурой самовоспламенения выше 300 °С.

7.3. В случае загорания ПАВ его необходимо тушить песком, кошмой, огнетушителями.

7.4. Наряду с соблюдением общих правил техники безопасности и личной гигиены, при работе с кубовыми остатками метиловых эфиров необходима защита органов зрения (защитные очки, щитки). Следует знать, что КОМЭ - продукт малотоксичный (IV класс по ГОСТ 12.1.007-76 «ССБТ. Вредные вещества. Классификация и общие требования безопасности»).

7.5. При работе с кубовыми остатками аминов С17 - С20 обслуживающий персонал должен быть обеспечен защитными очками, резиновыми перчатками, респираторами и противогазами марки КД. При этом следует помнить, что КОА - продукт токсичный (II класс по ГОСТ 12.1.007-76); предельно допустимая концентрация (ПДК) паров КОА в воздухе рабочих помещений не должна превышать 1 мг/м3. Контроль за ПДК осуществляется местным отделением санэпидстанции.

В случае попадания кубовых остатков аминов на кожу необходимо промыть это место 1 - 2 %-ным раствором уксусной кислоты, а затем обильной струей воды с нейтральным мылом.

7.6. Использование кубовых остатков аминов С17 - С20 в качестве ПАВ в асфальтобетонных смесях допускается в условиях строительства дорожных покрытий вне населенных мест.

7.7. Лица моложе 18 лет к работе с кубовыми остатками аминов не допускаются.

7.8. При работе с ПАВ в лабораторных условиях рабочие помещения должны быть обеспечены приточно-вытяжной вентиляцией.

Для взвешивания материалов с ПАВ следует использовать весы технические типа Т-1 или ВЛР-1.

Гидравлический пресс для формования образцов и мешалка для приготовления смесей должны находиться под вытяжными зонтами.

Приложение

Краткие сведения о новых ПАВ

Наименование ПАВ

Характеристика ПАВ

Завод-изготовитель

Ориентировочная стоимость 1 т продукта, руб.

Кубовые остатки аминов С17 - С20

Мазеобразная масса от желтого до светло-коричневого цвета. Состав: не менее 22 % первичных аминов, суммарное содержание первичных и вторичных аминов не менее 56 %, углеводородов не более 40 %. Плотность при 80 °С 997 кг/м3, температура плавления 58 - 66 °С.

Березниковское ПО «Азот» 618401, г. Березники, Пермская обл., Чуртанское шоссе, 75

200

Кубовые остатки метиловых эфиров

Жидкость темно-коричневого цвета. Плотность при 70 °С 913 кг/м3; температура плавления 28,5 - 30,5 °С; кислотное число не более 15 мгКОН/г, эфирное число не более 120 мгКОН/г.

Волгодонский химический завод. 347000, г. Волгодонск Ростовской обл.

120

Полиэтиленовая эмульсия «Оксалит»

Водная дисперсия окисленного полиэтилена низкого давления или композиции полиэтилена низкого давления и полиэтиленового воска ПВ-10. Белая с желтым оттенком однородная масса с содержанием окисленного полиэтиленового воска не менее 25 %; pH эмульсии в пределах 6 - 8,5.

ОНПО «Пластполимер», г. Ленинград

1150

Полиэтиленовая эмульсия «Оксален-30»

Водная дисперсия окисленного полиэтиленового воска ПВО-30 с содержанием окисленного воска не менее 25 %; pH эмульсии в пределах 7 - 8.

То же

1200

 



© 2013 Ёшкин Кот :-)