Информационная система
«Ёшкин Кот»

XXXecatmenu

ГОСТ Р 51688-2000

ГОСУДАРСТВЕННЫЙ СТАНДАРТ РОССИЙСКОЙ ФЕДЕРАЦИИ

 

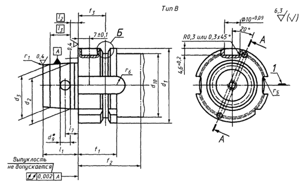
ХВОСТОВИКИ ИНСТРУМЕНТОВ ПОЛЫЕ КОНИЧЕСКИЕ (HSK)

ТИПЫ В И D

Основные размеры

 

 

ГОССТАНДАРТ РОССИИ

Москва

 

Предисловие

1 РАЗРАБОТАН Всероссийским научно-исследовательским инструментальным институтом

ВНЕСЕН Техническим комитетом по стандартизации ТК 95 «Инструмент»

2 ПРИНЯТ И ВВЕДЕН В ДЕЙСТВИЕ Постановлением от 20 декабря 2000 г. № 388-ст

3 В стандарте полностью отражены требования зарубежного стандарта ДИН 69893-2-96 «Хвостовики инструментов полые конические (HSK). Типы В и D. Основные размеры»

4 ВВЕДЕН ВПЕРВЫЕ

 

ГОСТ Р 51688-2000

ГОСУДАРСТВЕННЫЙ СТАНДАРТ РОССИЙСКОЙ ФЕДЕРАЦИИ

Хвостовики инструментов полые конические (HSK)

ТИПЫ В И D

Основные размеры

Hollow taper shank with flat contact surface (HSK) of tools Types В and D.
Basic dimensions

Дата введения 2002-07-01

1 Область применения

Настоящий стандарт распространяется на полые конические хвостовики (HSK) типов В и D с прилеганием по плоскости к торцу шпинделя станка, с внутренним подводом смазочно-охлаждающей жидкости (далее - СОЖ).

Требования настоящего стандарта являются обязательными, кроме 3.3 и 3.4.

2 Нормативные ссылки

В настоящем стандарте использована ссылка на ГОСТ Р 51547-2000 Хвостовики инструментов полые конические типа HSK. Основные размеры.

3 Размеры

3.1 Хвостовики инструментов следует изготовлять двух типов:

В - для автоматической смены инструмента;

D - для ручной смены инструмента.

3.2 Основные размеры хвостовиков инструментов должны соответствовать указанным на рисунках 1, 2 и в таблице 1.

* Наружная фаска не менее 0,5 ´ 45°

1 - плоскость расположения вершины режущей кромки инструмента

Рисунок 1, лист 1

Рисунок 1, лист 2

Остальные размеры и параметры - см. рисунок 1, тип В

Рисунок 2


Таблица 1

В миллиметрах

Номинальный размер

b1

d1

d2

d3

d4

d5

d6

d7, не более

d8

d9

d10, не более

d11

d12

d13

d14

f1

f2, не менее

Н8

h10

Номин.

Пред. откл.

Номин.

Н10

Н10

H11

-0,1

-0,1

-0,1

-0,1

40

10

40

24

+0,007

23,27

+0,005

17

21,0

19

4,2

17,4

4,0

34

34,8

45,00

4

3,0

20

35

+0,005

+0,003

50

12

50

30

+0,007

29,05

+0,005

21

25,5

23

5,0

21,8

4,6

42

43,0

59,30

7

3,5

26

42

+0,005

+0,003

63

16

63

38

+0,009

36,90

+0,006

26

32,0

29

6,8

26,6

6,0

53

55,0

72,30

7

5,0

26

42

+0,006

+0,003

80

18

80

48

+0,011

46,53

+0,007

34

40,0

37

8,4

34,5

7,5

67

70,0

88,80

7

6,0

26

42

+0,007

+0,003

100

20

100

60

+0,013

58,10

+0,008

42

50,0

46

10,2

42,5

8,5

85

92,0

109,75

7

7,0

29

45

+0,008

+0,003

125

25

125

75

+0,015

72,60

+0,009

53

63,0

58

12,0

53,8

12,0

105

117,0

134,75

7

8,5

29

45

+0,009

+0,003

160

32

160

95

+0,018

91,95

+0,011

67

80,0

73

14,0

-

-

130

152,0

169,75

7

10,0

31

47

+0,011

+0,004

Окончание таблицы 1

В миллиметрах

Номинальный размер

f3

f4

h1

h2

l1

l2

l3

l4

l5

l6

l7

l8

r1

r2

r3

r4

r5

r6

Канавка

Уплотнительное кольцо1)

± 0,1

+0,15

-0,4

-0,3

-0,2

js10

-0,1

+0,3

± 0,1

-0,1

40

16

2,00

16,0

12,0

16

3,2

7,3

8,92

8,0

0,8

5,0

16

0,6

4

0,4

0,5

1,0

5,0

0,2´0,1

16´1

50

18

3,75

20,0

15,5

20

4,0

9,5

11,42

8,0

0,8

6,0

20

0,8

5

0,4

1,0

1,5

6,0

0,4´0,2

18,77´1,78

63

18

3,75

25,0

20,0

25

5,0

11,0

14,13

10,0

1,0

7,5

25

1,0

6

0,5

1,5

1,5

8,0

0,6´0,2

21,89´2,62

80

18

3,75

31,5

25,0

32

6,3

14,7

18,13

10,0

1,0

9,0

32

1,2

8

0,6

1,5

2,0

9,0

0,6´0,2

29,82´2,62

100

20

3,75

40,0

31,5

40

8,0

19,0

22,85

12,5

1,5

12,0

40

1,6

10

0,8

2,5

2,5

10,0

1´0,2

36,09´3,53

125

20

3,75

50,0

39,5

50

10,0

24,0

28,56

12,5

1,5

15,0

50

2,0

12

1,0

2,5

2,5

12,5

1´0,2

47,6´3,53

160

22

3,75

62,5

50,0

63

12,5

30,5

36,27

16,0

2,0

18,5

63

2,5

16

1,2

-

3,0

16,0

1,6´0,3

-

1) Необходимое количество колец в поставке зависит от используемых систем и в комплект поставки не входит


Пример условного обозначения конического полого хвостовика типа В с номинальным размером 50:

Хвостовик HSK-B 50 ГОСТ Р 51688-2000

То же, типа D с номинальным размером 50:

Хвостовик HSK-D 50 ГОСТ Р 51688-2000

3.3 Изготовление хвостовиков без наклонных отверстий для подвода СОЖ - по согласованию.

3.4 Изготовление хвостовиков типа D без отверстий на конусе хвостовика - по согласованию.

3.5 Неуказанные радиусы закруглений - 0,2 мм.

3.6 Усилия зажима хвостовиков в зависимости от номинального размера приведены в приложении А.

3.7 Допускается изготовление хвостовиков с поводковым пазом на конусе хвостовика d2 с размерами по ГОСТ Р 51547.

 

ПРИЛОЖЕНИЕ А
(справочное)

Усилия зажима хвостовиков

Конструкция хвостовиков выполнена таким образом, чтобы обеспечить высокое усилие зажима по плоскости прилегания, после чего конус, благодаря деформации, займет свое место.

Усилие зажима распределяется следующим образом: 80 % на прижим по плоскости, 3 - 20 % - на конус, поэтому именно усилие зажима по плоскости прилегания определяет нагрузочную способность хвостовика и жесткость его крепления.

Значения усилий зажима приведены в таблице А.1.

Таблица А.1

Номинальный размер, мм

40

50

63

80

100

125

160

Усилие зажима, кН

5,0

6,8

11,0

18,0

28,0

45,0

70,0

При незначительных нагрузках (чистовая обработка) усилия зажима могут быть меньше, а при больших усилиях зажима (грубая обработка) - больше приведенных в таблице.

 

СОДЕРЖАНИЕ

 

Ключевые слова: инструмент, хвостовики, конические хвостовики, размеры

 

 



© 2013 Ёшкин Кот :-)