Информационная система
«Ёшкин Кот»

XXXecatmenu

ПРАВИТЕЛЬСТВО МОСКВЫ
МОСКОМАРХИТЕКТУРА

РЕКОМЕНДАЦИИ
ПО УСТАНОВКЕ ЭНЕРГОЭФФЕКТИВНЫХ ОКОН
В НАРУЖНЫХ СТЕНАХ ВНОВЬ СТРОЯЩИХСЯ
И РЕКОНСТРУИРУЕМЫХ ЗДАНИЙ

2004

Предисловие

1. В работе даны конструктивные решения узлов размещения оконных блоков из ПВХ и дерева в наружных стенах различных типов, жилых зданий в г. Москве.

Изложены теплотехнические и конструктивные особенности размещения окон в проемах наружных стен зданий с учетом нормативных теплотехнических требований.

Даны рекомендации по технологии монтажа окон в наружных стенах.

Рекомендации предназначены для архитекторов и инженеров-проектировщиков, а также инженерно-технических работников, строительных специальностей.

2. Разработаны ОАО Центральным научно-исследовательским и проектным институтом жилых и общественных зданий (ОАО ЦНИИЭП жилища) - д. арх. Кавиным Е.В. и к. т. н. Беляевым B.C., при участии инженера-конструктора Козыревой Т.Г.

При подготовке данных рекомендаций использованы работы НИИСФ - к. т. н. Матросова Ю.А., к. т. н. Бутовского И.Н. и Сибирского Автодорожного института (СИБАДИ) - к. т. н. Кривошеина А.Д.

3. Подготовлены к утверждению и изданию Управлением перспективного проектирования, нормативов и координации проектно-изыскательских работ Москомархитектуры.

4. Утверждены указанием Москомархитектуры от 09.03.04 № 4.

СОДЕРЖАНИЕ

1. Введение. 2

2. Конструктивные характеристики энергоэффективных оконных блоков. 3

2.1. Оконные блоки с использованием ПВХ профилей. 3

2.2. Деревянные окна. 5

2.3. Сравнительный анализ характеристик энергоэффективных оконных блоков различных типов. 9

3. Обеспечение теплофизических нормативных поэлементных требований к окнам различных типов. 11

3.1. Нормативные теплотехнические требования. 11

3.1.1. Требования к сопротивлению теплопередаче наружных ограждений. 11

3.1.2. Сопротивление воздухопроницанию окон. 11

3.2. Влажностный режим узлов примыканий оконных блоков к стенам.. 12

4. Анализ теплотехнических качеств узлов сопряжений окон с наружными стенами. 13

5. Рекомендации по размещению окон в проемах наружных стен. 20

5.1. Рекомендации по монтажу. 20

5.2. Уплотнение, утепление и герметизация монтажных швов. 21

5.3. Рекомендация по технологии производства работ. 21

6. Рекомендации по размещению окон в наружных стенах. 22

7. Установка оконных блоков в проемах стен. 23

Перечень рисунков. 23

Список нормативных документов и используемых материалов. 67

Приложение 1 Поэлементный расчет оконных блоков и их сопряжений со стенами с учетом воздухопроницаемости. 68

1. Введение

1.1. Рекомендации являются методическим и справочным материалом для специалистов, выполняющих разработку проектов жилых строящихся и реконструируемых зданий в г. Москве.

1.2. Анализ структуры общих теплопотерь в жилых зданиях показывает, что через световые проемы теряется до 60 % - 70 % тепла. При этом значительная его часть уходит через места примыкания окон к стенам и через откосы [4, 16].

Сопротивление теплопередаче, характеризующее теплозащиту наружных ограждающих конструкций, в т.ч. окон нормируется СНиП II-3-79* «Строительная теплотехника» [1], а также введенным с 1.10.03 г. СНиП «Теплозащита зданий» [12]. Более жесткие требования заложены в действующих ныне Московских Городских Строительных Нормах МГСН 2.01-99 Энергосбережение в зданиях. Нормативы по теплозащите и тепло- водо- электроснабжению [2]. В соответствии с МГСН 2.01-99 «приведенное сопротивление теплопередаче Rпр*) для окон в жилых зданиях должно быть не менее 0,54 м2×°С/Вт.

*)

1.3. Для оконных блоков используют в качестве светопрозрачных элементов одно- и двухкамерные стеклопакеты [3]. Применение в стеклопакетах стекол с селективным покрытием (низкоэмиссонных стекол) дополнительно увеличивает сопротивление теплопередаче оконных блоков на 30 %.

Внедрение в практику строительства одностворчатых окон с узкой коробкой из ПВХ повлекло за собой ряд ошибок при проектировании наружных стен зданий, а также при монтаже в них этих светопроницаемых конструкций, заключающихся в неучете при теплотехнических расчетах и разработке проектов особенностей расположения окон в проемах стен.

Одна из ошибок первоначального внедрения таких окон связана с малой шириной пластмассовых коробок и створок оконных блоков в пределах 60 мм, в связи с чем на внутренних поверхностях коробок и оконных откосов, как в однослойных, так и двухслойных стенах возникают зоны с пониженными температурами, приводящие к выпадению конденсата или в ряде случаев их промерзанию.

Окна с более широкой коробкой имеют лучшие теплотехнические показатели, в местах примыкания к стенам, чем окна с узкой коробкой.

1.4. Учитывая, что принципиальных различий в предлагаемых конструкциях оконных блоков из ПВХ профиля нет, они отличаются друг от друга лишь количеством камер и шириной створок и коробок, в данных рекомендациях рассматриваются два принципиально отличающихся оконных блока - из ПВХ профилей (в 2-х вариантах), компании «Эксполанта-С»-«Weltplast» [7] и деревянные окна (в 2-х вариантах), выпускаемые ДОК-1. Дается оценка теплозащитных свойств, каждого из этих блоков в зависимости от местоположения его в проеме стены и решения узлов сопряжения оконных блоков с наружными стенами различных конструкций. В результате этой работы даны рекомендации по монтажу окон из ПВХ и деревянных в климатических условиях Москвы.

1.5. Вопросы исполнения узлов примыкания окон к оконным откосам регламентированы следующими нормативными документами ГОСТ 23166-99 «Блоки оконные», общие технические условия, [6] раздел 9 «общие требования к монтажу» и 10 «Гарантии изготовления», а также ГОСТ 30674-99 «Блоки оконные из поливинилхлоридных профилей» [5] Приложение Г «Общие требования по монтажу изделий», а установка оконных блоков регламентируется ГОСТ 30971-2002 «Швы монтажные узлов примыканий оконных блоков к стеновым проемам» [13].

В указанных документах подробно формулируются основные положения по установке, креплению изделий в проеме, требования к качеству материалов, а также исполнению монтажного шва.

Однако в указанных разделах отсутствует ряд положений, влияющих на теплозащитные качества окон.

1.6. Кроме определения места расположения окон в проеме наружной стены при проектировании и установке окон следует учитывать теплопотери через узлы их примыкания к стенам.

Заполнение зазоров между коробкой и стеной должно выполнять одновременно три функции - защита от воздухопроницания, утепление коробки и предотвращение влагопакопления в месте примыкания ее к четверти.

1.7. Профили из жесткого ПВХ имеют большой коэффициент температурного расширения. Для исключения возможных деформаций окон при их нагреве и охлаждении зазоры между оконными блоками и откосами должны заполняться упругими материалами с учетом линейного удлинения ПВХ.

Непосредственно с этим связано и влияние на теплопотери способов утепления оконных откосов. Необходимость дополнительного утепления откосов зависит от конструкции и материалов наружных стен.

1.8. В данных рекомендациях показано конкретное конструктивное решение узлов примыкания окон из ПВХ профилей и деревянных с узкой и широкой коробкой, отвечающих требованиям энергосбережения в соответствии со СНиП II-3-79*; СНиП 23.02.03 и МГСН 2.01-99, в жилых зданиях с конструкциями наружных стен, указанных в п. 1.9.

1.9. Рекомендации предназначены для проектировщиков и строителей, вновь возводимых и реконструируемых зданий в г. Москве со следующими типами стен: кирпичными слоистыми на гибких связях, однослойных из мелкоштучных блоков, с фасадным утеплением, с вентилируемыми фасадами.

2. Конструктивные характеристики энергоэффективных оконных блоков

2.1. Оконные блоки с использованием ПВХ профилей

Отличительной особенностью оконных профилей из жесткого поливинилхлорида является широкий спектр продукции, выпускаемой в рамках нескольких серий, позволяющих удовлетворить требованиям по теплозащите самых различных климатических районов. Конструктивное решение и основные размеры некоторых профилей на примере «Weltplast» для окон Эксполанта-С представлены на рис. 2.1.

Общей чертой этих окон является применение многокамерных профилей из жесткого поливинилхлорида, армированных профильными элементами из оцинкованной стали. Размеры ПВХ профилей, количество и расположение воздушных камер, форма и сечение стальных армирующих элементов могут сочетаться с различными вариантами остекления.

Наиболее распространенная в России серия характеризуется применением трехкамерных ПВХ-профилей (коробок, рам, импостов) армированных профилями из оцинкованного металла толщиной 1,5 - 2,0 мм. Ширина оконных коробок составляет 60 мм, ширина оконных створок составляет также 60 мм.

Предусмотрена возможность применения однокамерных или двухкамерных стеклопакетов толщиной до 24 мм. При необходимости применения стеклопакетов большей толщины предусмотрено использование специальных створок, а для оконных коробок-уширителей, позволяющих устанавливать стеклопакеты толщиной до 36 мм.

Наилучшие результаты по температуре внутренней поверхности достигаются при использовании створок, имеющих у внутренней поверхности воздушную камеру.

Окна из профилей «Weltplast» имеют три притвора с резиновыми уплотнителями. Как показывают результаты замеров, такое уплотнение при правильном монтаже окон обеспечивает выполнение требований теплотехнических норм по воздухопроницаемости с значительным запасом.

Система «Weltplast» «Termetic» (выпуск 1998 г.) характеризуется переходом на четырехкамерные профили с устройством дополнительного притвора, расположенного в воздушной прослойке между рамой и створкой.

Окна Эксполанта-С из профилей «Weltplast» могут иметь уширенную коробку выполненную с 5-ю воздушными камерами. По сравнению с остальными сериями теплозащитные качества такой оконной коробки являются наилучшими (рис. 2.2).

Окно ПВХ-системы «Weltplast» с коробкой шириной 60 мм

1. Уплотнитель WD 552034

2. Штапик WP 556000

3. Фальцевый вкладыш WC 552051

4. Створка WP 552000

5. Уплотнитель WD 552038

6. Коробка WP 550000

7. Уплотнитель WD 550032

Рис. 2.1

Окно ПВХ-системы «Weltplast» с коробкой шириной 121 мм

1. Створка WP 552000

2. Уплотнитель WD 552038

3. Коробка WP 580000

4. Уплотнитель WD 550032

5. Уплотнитель WD 552034

6. Штапик WP 556000

7. Фальцевый вкладыш WC 552051

Рис. 2.2

2.2. Деревянные окна

В результате анализа, применяемых в настоящее время в строительстве конструкции деревянных окон, в рекомендациях конструктивных решений узлов их примыкания к стенам были приняты энергоэффективные окна (для Москвы) 2-х типов - одинарные со стеклопакетом, с коробкой шириной 68 (78) мм. Приведенное сопротивление теплопередаче r0 = 0,56 - 0,58 м2×°С/Вт. Изоляция внешнего шума R = 36 - 38 дБа (рис. 2.3; 2.5 и 2.6). И двойные, с раздельными переплетами, с остеклением снаружи одним стеклом - 4 мм и стеклопакетом изнутри, с шириной коробки - 134 мм. Приведенное сопротивление теплопередаче r0 = 0,59 м2×°С/Вт. Изоляция внешнего шума r0 = 36 - 38 дБа (см. рис. 2.4; 2.7 и 2.8).

Оба деревянных блока следующей конструкции:

1. Материал - сосна, лиственница, дуб, клееный брус.

2. Отделка - экологическими чистыми красками на водной основе фирм «TIKKURILA», возможна отделка отечественной краской.

3. Остекление одно, двухкамерный стеклопакет, 4/16/4, 4/8/4/8/4, стеклопакет может быть низкоэмиссионный, зеркальный, с К-стеклом или функциональными защитными пленками, возможна установка цветной раскладки внутри стеклопакета.

4. Уплотняющие прокладки - фирмы «DEVENTER» (Германия) из термопластических эластомеров, прочных и долговечных, обеспечивающих высокую герметичность, изоляция в диапазоне от -40 до +60.

5. Фурнитура фирмы «ROTO» (Германия), очень хорошо зарекомендовала себя в российских условиях. Возможна установка не дорогой отечественной фурнитуры.

«ЕВРООКНО»

- одинарное теплозащитное

Альбом РС-8117

ТУ 5361-001-03990233-99

Деревообрабатывающий комбинат № 1

Рис. 2.3

ОДРСП - окно

раздельное теплозащитное

Альбом РС-8123

ту 5361-029-04001232-96 ГОСТ 23166-99

Деревообрабатывающий комбинат № 1

Рис. 2.4

«ЕВРООКНО»

одинарное теплозащитное

Альбом РС-8117

TУ 5361-001-03990233-99

Деревообрабатывающий комбинат № 1

Разрез нижний - 1

1. Коробка деревянная

2. Отделка красками «TIKURILA»

3. Остекление (двухкамерный стеклопакет)

4. Уплотняющие прокладки

5. Створка деревянная

Рис. 2.5

«ЕВРООКНО»

одинарное теплозащитное

Альбом РС-8117

TУ 5361-001-03990233-99

Деревообрабатывающий комбинат № 1

Разрез верхний и боковой (повернут) - 2

1. Коробка деревянная

2. Отделка красками «TIKURILA»

3. Остекление (двухкамерный стеклопакет)

4. Уплотняющие прокладки

5. Створка деревянная

Рис. 2.6

ОДРСП - окно

раздельное теплозащитное

Альбом РС-8123

ТУ 5361-029-04001232-96 ГОСТ 23166-99

Деревообрабатывающий комбинат № 1

Разрез боковой

1. Коробка деревянная

2. Створка деревянная наружная

3. Створка деревянная внутренняя

4. Стекло одинарное

5. Стеклопакет однокамерный

6. Отделка красками «TIKURILA»

7. Уплотнительная прокладка

Рис. 2.7

Разрез по импосту

1. Импост деревянный

2. Створка деревянная наружная

3. Створка деревянная внутренняя

4. Стекло одинарное

5. Стеклопакет однокамерный

6. Отделка красками «TIKURILA»

7. Уплотнительная прокладка

8. Фурнитура фирмы «ROTO»

Рис. 2.8

2.3. Сравнительный анализ характеристик энергоэффективных оконных блоков различных типов

В соответствии с действующими нормами, критерием для оценки теплозащитных качеств ограждающих конструкций зданий является приведенное сопротивление теплопередаче - , м2×°С/Вт.

Величина  окна зависит от теплозащитных качеств светопропускающей части (остекления - ) и непрозрачной части (переплетов - ). При известных значениях  и  приведенное сопротивление теплопередаче окна рассчитывается по формуле:

,                                    (1)

где ,  - площади поверхности светопропускающей и непрозрачной частей окна, м2.

Сравнительная характеристика теплозащитных качеств оконных блоков и переплетов из ПВХ-профилей и деревянных некоторых серий при использовании в том числе стеклопакетов различного конструктивного решения приведена в табл. 1. Представленные значения  получены на основании сертификационных испытаний.

Анализ данных табл. 1 показывает наличие широких возможностей ПВХ-профилей и деревянных данных компаний для изготовления оконных блоков с сопротивлением теплопередаче удовлетворяющим теплотехническим требованиям для г. Москвы.

Что касается применения стеклопакетов из низкоэмиссионного стекла, то на примере конструкции деревянных окон они являются перспективными. Окно с однокамерным стеклопакетом со стеклом с низкоэмиссионным покрытием при расстоянии между стеклом 16 мм имеет приведенное сопротивление теплопередаче  = 0,56 м2×°С/Вт, а окно с раздельными переплетами с тройным остеклением: стекло + стеклопакет (расстояние между стеклами в стеклопакете 8 мм) имеет  = 0,57 м2×°С/Вт, т.е. близкие значения достаточные по теплозащите для г. Москвы (при отношении площади стекла к площади окна 0,7).

Окна с двухкамерным стеклопакетом, а также блоки оконные деревянные в раздельных переплетах с тройным остеклением (стекло + стеклопакет) могут применяться в жилых зданиях в г. Москве.

Таблица 1

Материал профилей

Конструкция профиля, марка

Остекление

Приведенное сопротивление теплопередаче окон

Воздухопроницаемость при DР = 10 Па/100 Па кг/м2×ч

 

Эксполанта-С-Weltplast

ДОК-1

Эксполанта-C-Weltplast

ДОК-1

Fост/Fок

 

0,6

0,7

0,8

0,55

0,6

0,7

 

ПВХ

Трехкамерный профиль коробки/ четырехкамерный профиль створки Арт. Wp 550000/ Wp 552000

Двухкамерный стеклопакет клееный из обычного стекла 3М1-12-3М1-12-3М1

0,57

0,56

0,55

0,31

0,78

 

Пятикамерный профиль коробки/ четырехкамерный профиль створки Apт. Wp 580000/ Wp 552000

0,59

0,58

0,56

0,6

1,97

 

Дерево

Однокамерный стеклопакет. Одно стекло с низкоэмиссионным покрытием 4М1-16-K4 (или двухкамерный стеклопакет

0,58

0,57

0,56

0,98

 

Дерево

Раздельные переплеты с тройным остеклением (стекло + стеклопакет)

0,6

0,76

0,58

0,85

0,57

0,75

0,86

со стеклом с низкоэмиссионным покрытием

 

3. Обеспечение теплофизических нормативных поэлементных требований к окнам различных типов

3.1. Нормативные теплотехнические требования

3.1.1. Требования к сопротивлению теплопередаче наружных ограждений

Требуемый уровень теплозащитных качеств светопрозрачных ограждающих конструкций зданий (оконных и балконных дверных блоков) устанавливается в зависимости от величины градусо-суток отопительного периода (ГСОП):

,                                                          (1)

Для г. Москвы градусосутки отопительного периода в соответствии с табл. 3.2. [1] МГСН равны 5027, а исходя из данных СНиП 23.01-99 [15] ГСОП = (20 + 3,1)214 = 4943° Суток, где:

 - 20 °С в соответствии с п. 3.3.3 и по табл. 3.1 МГСН 2.01-99 [2] расчетная температура внутреннего воздуха;

,  - средняя температура и продолжительность отопительного периода по СНиП 23.01-99 [15].

В таблице 1 представлены требуемые сопротивления теплопередаче наружных ограждений жилых домов для г. Москвы.

Значения нормативных требований к наружным ограждениям жилых зданий

Таблица 2

№№ п/п

Наименование нормативного документа

Требуемое сопротивление теплопередаче наружного ограждения

ГСОП

Стен

Окон

1

2

1

2

1

2

1.

МГСН 2.01-99 [4]

3,159

-

0,54

-

5027

2.

СНиП 23.01-99 [4] и СНиП II-3-79* (98 г.) табл. 1б

-

3,13

-

0,52

4943

3.1.2. Сопротивление воздухопроницанию окон

Сопротивление воздухопроницанию окон и балконных дверей жилых зданий, Rи в соответствии [1, 12] должно быть не менее требуемого сопротивления воздухопроницанию Rитр, м2×ч×Па/кг, определяемого по формуле

,                                                                (2)

где Gн - нормативная воздухонепроницаемость, кг/(м2×ч) [1]; Dр - расчетная разность давлений воздуха на наружной и внутренней поверхностях ограждающих конструкций, Па; Dр0 = 10 Па - разность давлений воздуха, при которой определяется сопротивление воздухопроницанию Rи.

Расчетная разность давлений Dр в соответствии со СНиП II-3-79* и [12] рассчитывается по формуле

,                                           (3)

где Н - высота здания (от поверхности земли до верха карниза), м; V - максимальная из средних скоростей ветра по румбам за январь, повторяемость которых составляет 16 % и более, принимаемая согласно СНиП 23-01-99; ,  - удельные веса соответственно наружного и внутреннего воздуха, Н/м3, определяемые по формуле

g = 3463/(273 + t),                                                            (4)

где t - температура воздуха: внутреннего (для определения ), наружного (для определения ).

3.2. Влажностный режим узлов примыканий оконных блоков к стенам

3.2.1 Влажностный режим элементов наружных стен характеризуется процессами влагонакопления, зависящими от ряда внешних факторов и физических характеристик материалов, от сопротивления паропроницанию слоев конструкций и их расположения.

При проектировании должен учитываться влагообмен в узлах сопряжений оконных блоков со стенами. Анализ указанных факторов дает возможность правильно расположить конструктивные слои, учитывая определенные закономерности влаго и теплообмена.

Расчеты и натурные обследования узлов примыкания окон к стенам показывают, что более плотные и менее паропроницаемые слои должны располагаться с внутренней стороны стыковых швов, а более паропроницаемые с наружной стороны.

В случае если такого расположения не удается выполнить, принимают во внимание соотношения сопротивлений паропроницанию материалов, выражающихся формулой

, м2×ч×Па/кг,

где  - толщина слоя, а  - коэффициент паропроницаемости. Как видно из формулы, меняя толщину слоя можно получить необходимое влагораспределение в конструкции. Это положение необходимо иметь в виду при проектировании. Ниже оно будет проиллюстрировано расчетом.

3.2.2 Расчет влажностного режима примыкания окна к стене

Расчет выполнен на примере узла примыкания окна к стенам, данного на рис. 6.2.

Исходные данные.

В качестве исходных данных приняты следующие коэффициенты паропроницаемости материалов:

Пеноутеплитель  - коэффициент паропроницаемости, равен

 = 0,05 мг/м×ч×Па;

Полимерцемент:  = 0,09, как цементно-песчаный раствор; толщина с внутренней стороны 0,020 м, а снаружи 0,005 м.

Принято наиболее опасное с точки зрения влагонакопления конструктивное решение с узкой коробкой и относительно небольшой протяженностью пеноутеплителя.

Температура в помещении tв = 20 °С, относительная влажность воздуха jв = 55 %.

В соответствии с теплотехническими нормами расчетное сопротивление паропроницанию Rп, м2×ч×Па/мг должно быть не менее большего из требуемых сопротивлений паропроницанию , из условия недопустимости накопления влаги за год эксплуатации и  из условия ограничения влаги в конструкции за период с отрицательными среднемесячными температурами.

Расчет ведется с учетом того, что зона возможной конденсации располагается на внешней границе утеплителя и наружного слоя.

3.2.2.1 Расчетное сопротивление паропроницанию наружной стены до зоны возможной конденсации Rп, м2×ч×Па/мг:

 м2×ч×Па/мг.

3.2.2.2 Расчетное сопротивление паропроницанию части ограждающей конструкции Rп, м2×ч×Па/мг, расположенной между наружной поверхностью и плоскостью возможной конденсации равно:

 м2×ч×Па/мг.

3.2.2.3 Требуемое сопротивление паропроницанию из условия недопустимости накопления влаги в элементе наружной стены примыкания оконного блока за годовой период эксплуатации по СНиП II-3-79* (98) и СНиП 23-02-03 [1, 12]:

 м2×ч×Па/мг.

3.2.2.4 Требуемое сопротивление паропроницанию из условия ограничения влаги в элементе наружной стены примыкания оконного блока за период с отрицательными температурами наружного воздуха Rп, м2×ч×Па/мг по [1, 12]:

 м2×ч×Па/мг,

где .

Как следует из расчета сопротивление паропроницанию Rп от внутренней поверхности до зоны возможной конденсации больше  и , следовательно влажностной режим данной конструкции узла сопряжения оконного блока со стеной удовлетворителен.

4. Анализ теплотехнических качеств узлов сопряжений окон с наружными стенами

В соответствии с экспериментальными и расчетными исследованиями эксплуатационных свойств узлов сопряжений окон со стенами различных конструкций определено, что наиболее низкие теплозащитные качества имеют узлы сопряжений окон с узкой коробкой (60 - 78 мм) с однослойными стенами.

Основная причина отмеченного явления - повышенный сток тепла через не утепленные оконные откосы в обход оконной коробки. При расположении окна в однослойных стенах оконный блок оказывается в зоне отрицательных температур и потери тепла идут не только вдоль оконной коробки, но и в толщу стены с низкими температурами.

В узлах сопряжений оконных блоков с узкой коробкой в конструкциях наружных трехслойных стен с эффективным утеплителем, также как в утепленных снаружи стенах при совмещении с утеплителем коробки, указанного выше явления, не происходит.

Теплотехнические характеристики узлов сопряжений окон*) с узкой коробкой (60 - 78 мм) со стенами различной конструкции приведены в таблице № 3.

*) Окна с профилями из ПВХ.

Как видно в табл. 3, температуры в углу примыкания оконной коробки к откосам выше точки росы и обеспечивают благоприятный температурный режим в слоистых стенах с эффективным утеплителем, при наружной теплоизоляции и в однослойных стенах при следующих условиях:

- при размещении утепляющего вкладыша толщиной 40 - 60 мм между коробкой и четвертью;

- при расположении утеплителя под коробкой по периметру оконного откоса в штрабе глубиной от 60 мм на ширину коробки;

- при утеплении откоса утеплителем толщиной от 20 мм общей шириной 150¸200 мм;

- при совместном утеплении зазора между коробкой и четвертью и оконного откоса.

Наиболее эффективен с точки зрения температуры в однослойных стенах последний вариант. Температура в углу коробки и откоса 13,7 °С, а коэффициент теплотехнической однородности r = 0,95.

То есть теплопотери в варианте 9 (последний вариант) по сравнению с обычным размещением окна без дополнительного утепления откоса при четверти 120 мм уменьшают теплопотери через откос с 29 % до 5 %.

Показатели тепловой эффективности узлов сопряжений оконных блоков со стенами различной конструкции*)

Таблица 3

№№ п/п

Конструкция стены

Утеплитель, м

Расположение коробки при ее толщине*)

dк = 0,06¸0,078

Решение откоса и четверти

Температура внутренней поверхности в углу примыкания оконной коробки к откосу при tн = -28 °С

Коэффициент теплотехнической однородности*)

r

1

2

3

4

5

6

7

1.

Кирпичная слоистая кладка с гибкими связями

Пенополистирол

Коробка в уровне утеплителя, за четвертью

Откос без утепления, между коробкой и откосом утеплитель толщиной 30 мм dч = 20¸30

14,9 °С

0,8

2.

Стена из мелкоштучных материалов, с фасадным утеплением

минвата типа Роквул

Вплотную к утеплителю

Откос без утепления, между коробкой и откосом утеплитель толщиной 30 мм

13,2 °С

3.

Однослойная стена из мелкоштучных материалов (кирпичная)

Коробка примыкает к четверти

Откос без утепления, между коробкой и откосом утеплитель d = 30 мм и четверть dч = 0,12 м

6,37 °С

0,71

4.

Однослойная стена из мелкоштучных материалов (кирпичная)

-

Коробка примыкает к четверти

Четверть d = 0,25 м, откос без утеплителя, между откосом и коробкой утеплитель dч = 20¸30

7,54 °С

0,76

5.

Однослойная стена из мелкоштучных материалов (кирпичная)

-

Теплоизоляция в штрабе по периметру окна

Четверть d = 0,12 м, утеплитель заглублен на глубину 60 - 70 мм

10,9 °С

0,79

6.

Однослойная стена из мелкоштучных материалов (кирпичная)

-

Коробка примыкает к четверти

Четверть из утеплителя d = 0,12 м, откос без утеплителя

8 °С

0,75

7.

Однослойная стена из мелкоштучных материалов (кирпичная)

-

Со смещением оконного блока и утеплением между четвертью и коробкой

За четвертью d = 0,12 м, утеплитель толщиной 70 мм

11,5 °С

0,88

8.

Однослойная стена из мелкоштучных материалов (кирпичная)

С утеплением оконного откоса со стороны помещения

Четверть d = 0,12 м. Откос утеплен

13,1 °С

0,89

9.

Однослойная стена из мелкоштучных материалов (кирпичная)

-

Со смещением окна внутрь и утепление зазора между окном и стеной, утепление откоса

Утеплитель между четвертью и коробкой. Откос утеплен

13,7 °С

0,95

*) В расчетах учитывается влияние только оконных откосов

Сделан сравнительный расчет влияния на тепловую эффективность стены из мелкоштучных материалов, толщиной 0,51 м и узлов ее сопряжения с оконной коробкой и примыкающих к ней откосов.

Расчеты сделаны в соответствии с [14]. Их результаты представлены в таблице 4.

Таблица 4

Глубина размещения оконного блока, м

Ширина коробки, м

Коэффициент теплотехнической однородности

Теплопотери, %

0,12

0,06¸0,078

0,815

18,5

0,12¸0,134

0,83

17,0

0,25

0,06¸0,078

0,825

17,5

0,12¸0,134

0,85

15,0

Примечание: для расчета выбран условный фрагмент стены 3,6´3 м с оконным проемом 1,5´1,5 м.

Данные расчета температурных полей однослойных неутепленных и утепленных (снаружи, фасадных вентилируемых) стен с расположением окна с деревянной узкой (60 - 78 мм) коробкой в проеме при различной глубине (различное расстояние от наружной и внутренней поверхности стены).

В количественном отношении распределение температур в углу коробки и откоса и теплопотерь по откосам по перемычке из железобетона в однослойных стенах из мелкоштучных материалов даны в табл. 5 и на рис. 4.1 - 4.2.

Из рис. 4.1, 4.5 и табл. 5 следует, что углубление оконного блока в сторону помещения повышает температуру в углу коробки и откоса на 2 °С, но очень незначительно изменяет суммарные теплопотери по откосам.

По-другому сказывается расположение окна в проеме стены с фасадным утеплением (см. табл. 5 и рис. 4.3 и 4.4). Так приближение коробки окна вплотную к утеплителю повышает температуру в углу коробки и откоса по перемычке с 7,5 до 13,5 °С, снижая суммарные теплопотери на откосе с 48,6 Вт до 13,9 Вт.

Рис. 4.1

Распределение температур на внутренней поверхности откоса в узле сопряжения оконного блока с однослойной (кирпичной) стеной при ширине четверти 120 мм (верхняя часть окно)

Рис. 4.2

Распределение температур на внутренней поверхности откоса в узле сопряжения оконного блока с однослойной (кирпичной) стеной при ширине четверти 250 мм

Рис. 4.3

Распределение температур на внутренней поверхности откоса в узле сопряжения оконного блока со стеной и примыканием его к жел. бетонной четверти (фасад с вентилируемым воздушным зазором)

Рис. 4.4

Распределение температур на внутренней поверхности откоса в узле сопряжения оконного блока со стеной и примыканием его к утеплителю (фасад с вентилируемым воздушным зазором)

Таблица 5

Вид наружного ограждения

Ширина четверти, м

Тепловые потоки по откосам, Qвт

Температура в углу примыкания коробки окна к откосу, °С

входящий Q°вх

выходящий Q°вых

суммарный Q°сум

Однослойное, из мелкоштучных материалов (кирпич)

0,12

27,3

15,65

42,9

2,9

-"-

0,25

19

23

42

4,9

Однослойное, с наружным утеплением и вентилируемым фасадом, кирпичная кладка d = 0,51 м плюс слой минваты «Роквул», плюс прослойка и экран

0,1

18,7

30,0

48,7

7,5

-"-

Коробка вплотную к утеплителю

7,8

6,12

13,9

13,5

Кроме приведенных выше, выполнялись расчеты следующих узлов конструкций:

- однослойных стен из мелкоштучных материалов (ячеистого бетона g0 = 450 кг/м3, lкладки = 0,166 Вт/м°С);

- однослойных стен из монолитного бетона толщиной 180 - 200 мм, утепленных снаружи;

- однослойных стен из керамзитобетона толщиной 320 - 400 мм, утепленных снаружи.

Ширина оконной коробки из ПВХ 60 и 121 мм, деревянных с толщиной коробки 68 и 134 мм.

Оконные откосы утеплены снаружи пеноутеплителем, а с внутренней пенополистиролом толщиной 15 мм, шириной 150 - 250 мм.

При узкой коробке зазор между четвертью и коробкой заполняется пеноутеплителем толщиной 30 - 60 мм.

Ширина четверти принималась 120 и 250 мм в однослойных стенах.

Рассчитанные конструкции узлов размещения оконных блоков в проемах стен представлены на рисунках, указанных в графе 1 табл. 6, а результаты расчетов температурных полей даны в табл. 6, в графе 8.

Таблица 6

№ рисунка

Расположение узла

Тип окна

Тип стены, g0, кг/м3

Ширина, мм

Толщина основной стены, мм

Минимальная температура в углу коробки откоса, °С

Четверти

Вкладыш (ПСБ-С)

1

2

3

4

5

6

7

8

6.10

Нижняя часть окна

ПВХ, узкая коробка (60 мм)

Однослойная из ячеистого бетона, 450

200

150

600

10,4

6.13

Нижняя часть окна

ПВХ, узкая коробка (60 мм)

Однослойная из ячеистого бетона, 450

100

150

600

9,8

6.43

Нижняя часть окна

Деревянная узкая (68 мм) коробка

Однослойная из ячеистого бетона, 450

100

150

600

9,5

6.40

Нижняя часть окна

Деревянная узкая (68 мм) коробка

Однослойная из ячеистого бетона, 450

200

150

600

10

6.11

Верхняя часть окна

ПВХ, узкая коробка

Однослойная стена ячеистого бетона, 700

200

150

600

15,5

6.14

Верхняя часть окна

ПВХ, узкая коробка

Однослойная стена ячеистого бетона, 700

100

250/150

600

15

14,5

6.41

Верхняя часть окна

Деревянная узкая коробка

Однослойная из ячеистого бетона, 700

200

150

600

15,7

6.44

Верхняя часть окна

Деревянная узкая коробка (68 мм)

Однослойная из ячеистого бетона, 700

100

250

600

14,7

6.26

Верхняя часть окна

Широкая ПВХ коробка (121 мм)

Однослойная из ячеистого бетона, 700

200

150

600

15,9

6.29

Верхняя часть окна

Широкая ПВХ коробка (121 мм)

Однослойная из ячеистого бетона, 700

100

150

600

15,3

6.25

Нижняя часть окна

Широкая ПВХ коробка (121 мм)

Однослойная из ячеистого бетона, g0 = 450

200

150

600

12,4

6.28

Нижняя часть окна

Широкая ПВХ коробка (121 мм)

Однослойная из ячеистого бетона, g0 = 450

100

150

600

12

6.35

Верхняя часть окна

Деревянная узкая коробка (68 мм)

Однослойная стена из керамзитобетона g0 = 1000 с наружным утеплением

-

340

16

dутепл = 100 м

16,7 dу = 150

6.8

Верхняя часть окна

ПВХ узкая коробка (60 мм)

Вентилируемый фасад

-

-

180

17,3

6.22

Нижняя часть окна

Широкая (121 мм) ПВХ коробка

Вентилируемый фасад

-

-

180

15,1

6.23

Верхняя часть окна

Широкая (121 мм) ПВХ коробка

Вентилируемый фасад

-

-

180

17,3

Выводы:

- В наиболее опасной, с технической точки зрения, однослойной стене - при узкой коробке (ПВХ и деревянной) и глубине (расстояние от наружной поверхности) 100 мм минимальная температура в углу коробки и откоса составляет 9,5 °С¸9,8 °С в нижней части окна, при ширине вкладыша из пенополистирола 150 мм (толщина стены из ячеистого бетона 600 мм).

Эта температура выше точки росы 9,3 °С, при tв = 20 °С и jв = 50 % нормируемых для общественных зданий, но ниже точки росы при tв = 20 °С и jв = 55 % нормируемых для жилых зданий.

- Увеличение ширины вкладыша со 150 до 250 мм увеличивает температуру в углу коробки и откоса на 0,5 °С.

- Увеличение глубины расположения окна со 100 до 200 мм (расстояние от наружной поверхности до окна) увеличивает температуру в углу на 0,5¸0,6 °С.

Если сравнить эти данные с приведенными выше для более узкой кирпичной стены (по перемычке), то эффект изменения температуры (повышения) в углу при заглублении окна увеличивается при более тонкой стене с более низкими теплозащитными качествами.

- В верхней части окна температуры во всех случаях и вариантах значительно выше чем нижней и всегда значительно выше минимально допустимых для жилых зданий.

- Температуры в углу окна с деревянной коробкой практически равны с коробкой из ПВХ профилей.

- В углу температура откоса широкой коробки по сравнению с узкой выше на 2,2 °С, что показывает эффективность широкой коробки по сравнению с узкой.

В стенах с наружным утеплением и вентилируемыми фасадами при предложенных решениях температуры в углу коробки и откоса существенно выше допустимых теплотехническими нормами.

5. Рекомендации по размещению окон в проемах наружных стен

5.1. Рекомендации по монтажу

5.1.1 При размещении окон в слоистых стенах, с эффективным утеплителем, оконную коробку следует максимально приблизить к внутренней поверхности утеплителя (рис. 6.1).

5.1.2 При утеплении стен снаружи, если нет четверти, а также в стенах с вентилируемыми фасадами оконная коробка должна примыкать к утеплителю (рис. 6.7 - 6.9). При четвертях необходимо предусматривать дополнительное утепление наружной части оконных откосов (рис. 6.4 - 6.6).

5.1.3 В однослойных наружных стенах из мелкоштучных материалов окна целесообразно приближать к внутренней стороне стены, желательно на расстояние 1/3 ее толщины (от фасада).

5.1.4 В однослойных стенах из мелкоштучных материалов следует располагать термовкладыши вдоль поверхности оконных откосов (рис. 6.10 - 6.15).

При этом термовкладыши должны располагаться по всему периметру окна.

Этот утеплитель должен плотно прилегать к утепляемой поверхности без образования вентилируемых воздушных прослоек. При наклейке утеплителя это достигается за счет нанесения клеящей мастики по периметру откосов с последующим прижатием утеплителя к стенам проема.

5.1.5 При устройстве оконных блоков из ПВХ-профилей и деревянных в кирпичных стенах особое внимание необходимо обращать на теплоизоляцию железобетонных перемычек. В этом месте наиболее вероятно выпадение конденсата вследствие более низких теплозащитных качеств железобетона. При установке окон в реконструируемых зданиях необходимо вскрывать шов (зазор) у наружной перемычки, заполнять его монтажной ППУ пеной и далее производить утепление откосов.

5.1.6 При проектировании и монтаже окон и балконных дверей их ПВХ, осуществляемых специализированными строительными организациями, имеющими лицензию на производство работ должны выполняться следующие условия:

1. Со стороны помещения герметизация швов между коробкой и стеной должна быть более плотной, чем снаружи.

2. Должен обеспечиваться надежный отвод дождевой воды и конденсата наружу из узлов примыкания. Проникновение влаги внутрь стеновых конструкций и помещений не допускается.

3. Конструктивно следует исключить мостики холода, которые являются причиной образования конденсата на внутренних поверхностях оконных проемов.

4. Следует учитывать эксплуатационные температурные изменения габаритных размеров изделий.

5. Для монтажа оконных блоков из ПВХ и деревянных следует применять гибкие анкеры, дюбели, монтажные шурупы.

6. При монтаже окон из ПВХ, усиленными стальными вкладышами, расстояние между крепежными элементами не должно превышать 700 мм.

Расстояние от крепежных элементов до внутренних углов коробок и импостных соединений должно быть не менее 150 мм.

7. При заполнении монтажных швов возможно использовать силиконовые герметики, найритовые и пенополиэтиленовые жгуты, пеноуретановые утеплители, минеральную вату, полиизобутиленовые самоклеющиеся ленты.

5.2. Уплотнение, утепление и герметизация монтажных швов

Заполнение швов примыкания окон к откосам рекомендуется производить с помощью впрыскиваемых монтажных пен (однокомпонентного пенополиуретана марок: ППУ-Вилан-405, Хемлюкс и Макрофлекс финского производства и других аналогичных им ППУ марок, подтвержденных испытаниями в НИИСФ, согласованными ЦНИИЭП жилища), характеризующихся достаточно высокими теплозащитными качествами, хорошей адгезией к строительным конструкциям и долговечностью.

Использование других марок заливочных ППУ не допускается.

Вместо вышеуказанных марок ППУ может быть применен еще напыляемый двухкомпонентный ППУ - 350Н.

Для защиты пеноутеплителя от атмосферных воздействий с наружной стороны швов рекомендуется применение уплотнительной ленты (ПСУЛ), нащельников или заполнение шва полимерцементной мастикой на глубину 5 - 7 мм.

При устройстве дополнительного утепления оконных откосов функции пароизоляции и герметизации швов передаются отделочным слоям оконных откосов. В этом случае утепляющий термовкладыш должен быть надежно защищен от проникновения влаги.

5.3. Рекомендация по технологии производства работ

Установку и крепление окон из ПВХ-профилей и деревянных в наружных стенах различного конструктивного решения необходимо производить, в соответствии с данными рекомендациями, в следующей последовательности:

- очистить оконные откосы от наплывов раствора, штукатурки, строительного мусора и пыли (в реконструируемых зданиях - от остатков старой оконной коробки и конопатки);

- установить оконный блок на несущие подкладки, выровнять его в вертикальной и горизонтальной плоскостях с помощью дистанционных подкладок и клиньев;

- закрепить оконную коробку к несущим конструкциям здания: стенам, перегородкам, колоннам, ригелям и т.п.;

- установить стальные костыли и на них оконные сливы, при этом верх листа оконного слива должен быть заведен в нижний фальц оконной коробки, а боковые поверхности отогнуты и заведены в штробы (канавки) боковых поверхностей наружных откосов;

- увлажнить водой (путем впрыска) шов (зазор) между коробкой окна и стеной по всему периметру оконного блока;

- заполнить монтажной пеной пространство между оконной коробкой и строительными конструкциями. Заполнение производить послойно с контролем качества уплотнения швов, при этом монтажная пена должна частично выдавиться под оконный слив, прижав его к конструкции окна и утеплив подоконную часть стены;

- при большой глубине ниши от старой оконной коробки (в реконструируемых зданиях) для уменьшения расхода монтажной пены возможно введение в пространство шва плитного утеплителя, например полос ПСБ-С, с его приклеиванием к поверхности стены и последующим запениваем стыка;

- до отвердения монтажной пены установить монтажные нащельники покрытые полиэтиленовой пленкой. После отвердения ППУ - пены (через сутки) снять монтажные наличники и пленку, и установить декоративные наличники или произвести отделку поверхностей оконных откосов полимерцементной шпаклевкой;

- при необходимости утепления оконных откосов после заполнения шва монтажной пеной произвести крепление термовкладышей. Установку термовкладышей рекомендуется производить на клеящей водостойкой мастике (полимерцементной). При этом плиты утеплителя рекомендуется сначала прирезать и подогнать по размерам «насухо», затем на их поверхность нанести клеящий раствор (мастику) и произвести крепление с выдавливанием раствора и заполнением швов между отдельными кусками утеплителя. Для исключения образования вентилируемых воздушных прослоек мастику рекомендуется наносить по всему периметру откосов на ширину плит утеплителя;

- утепление произвести по всему периметру окна, включая перемычки и подоконник;

- после утепления произвести установку подоконника. Для исключения протекания влаги через щели между подоконником и оконной коробкой пространство между коробкой и подоконником рекомендуется заполнить силиконовым герметиком;

произвести отделку поверхностей боковых откосов и перемычек оштукатуриванием полимерцементным раствором;

- для исключения растрескивания оштукатуренных откосов при температурных деформациях окна штукатурный слой в месте сопряжения с ПВХ-профилем рекомендуется подрезать мастерком (по свежему раствору) и после высыхания штукатурки заполнить нейтральным силиконовым герметиком;

- установку оконных блоков в стены реконструируемых и монолитных зданий следует производить после окончания наружных работ по их утеплению. Утепление конструкций наружных стен следует производить преимущественно минеральной ватой на базальтовом волокне с группой горючести НГ при температуре плавления не менее 1000 °С.

Твердые вкладыши из базальтового волокна должны быть расположены перед утеплителем стены по периметру оконного проема, иметь толщину 150 мм и быть приклеены к контактирующим слоям полимерцементной мастикой. Утепление зданий с экраном на относе следует выполнять (рисунки 4 - 6, 19 - 21, 34 - 36, 49 - 51 и 7 - 9, 22 - 24, 37 - 39, 52 - 54), руководствуясь «Рекомендациями по проектированию и применению для строительства и реконструкции зданий в г. Москве. Системы с вентилируемым воздушным зазором «Марморок» Москомархитектура. 2001 г., согласованными УСТН и С Госстроя России (№ 9-18/892 от 28.12.2001 г.) и Главного Управления Государственной противопожарной службы МВД России (№ 20/22/06 от 03.01.2002 г.), области применения фасадной системы «Мармарок», получившими техническое свидетельство Госстроя России № ТС-07-0721-03 от 15 мая 2003 г.

6. Рекомендации по размещению окон в наружных стенах

Решения узлов установки оконных блоков разработаны для следующих типов наружных стен:

- кирпичные слоистые стены на гибких связях (вновь строящихся зданий);

- однослойные наружные стены из мелкоштучных ячеистых блоков;

- наружные стены с фасадным утеплителем (в т.ч. для реконструируемых зданий);

- наружные монолитные стены с вентилируемыми фасадами.

Рассмотрены следующие варианты и типы окон:

- из ПВХ профилей с узкой 60-мм и уширенной коробкой (121 мм) с двухкамерными стеклопакетами;

- деревянные с двухкамерным стеклопакетом с узкой (68 мм) коробкой с раздельными переплетами (стеклопакет и стекло) и широкой коробкой (134 мм).

В проектных решениях предусмотрено утепление, уплотнение и герметизация стыков монтажной пеной марок ВИЛАН-405, Хемлюкс и Макрофлекс финского производства с устройством общего покрытия из полимерцементной шпатлевки по оконным откосам.

Для обеспечения возможности температурных деформаций ПВХ-профилей без нарушения пароизоляции облицовки, между оконной рамой и отделочным слоем предусмотрен зазор шириной 2 - 3 мм, заполненной силиконовым герметиком (или его аналогом).

Детали крепления оконных блоков к наружным стенам, размещение подкладок, размеры зазоров между стеной и оконной рамой, указания по технология производства работ следует принимать в соответствии с рекомендациями разд. 5.

Приведенные варианты не исключают возможности применения других конструктивных решений и материалов при соблюдении условий прочности, долговечности, теплозащитных качеств.

Указанные выше технические решения размещения окон в наружных стенах представлены на рисунках 6.1¸6.60.

УСТАНОВКА ОКОННЫХ БЛОКОВ В ПРОЕМАХ СТЕН

Рисунки 6.1 - 6.60

Разрез 1-1 - Вертикальный разрез по низу оконного блока

Разрез 2-2 - Вертикальный разрез по верху оконного блока

Разрез 3-3 - Горизонтальный разрез боковой части оконного блока (изображение повернуто на 90°)

ПЕРЕЧЕНЬ РИСУНКОВ

№ п/п

Конструкция оконного блока и рисунок его разреза

Конструкция стен

3-х слойные кирпичные

Однослойные реконструируемые с наружным утеплением

Монолитные утепленные с экраном на относе

Из штучных блоков ячеистого бетона

С четвертью 200 мм.

С четвертью 100 мм

1

2

3

4

5

6

7

1

Окна из ПBX

1.1

С коробкой - 60 мм

1.1.1

Вертикальный разрез по низу

6.1

6.4

6.7

6.10

6.13

1.1.2

Вертикальный разрез по верху

6.2

6.5

6.8

6.11

6.14

1.1.3

Горизонтальный боковой части

6.3

6.6

6.9

6.12

6.15

1.2

С коробкой - 121 мм

1.2.1

Вертикальный разрез по низу

6.16

6.19

6.22

6.25

6.28

1.2.2

Вертикальный разрез по верху

6.17

6.20

6.23

6.26

6.29

1.2.3

Горизонтальный боковой части

6.18

6.21

6.24

6.27

6.30

2.

Деревянные окна

2.1

С коробкой - 68 мм

2.1.1

Вертикальный разрез по низу

6.31

6.34

6.37

6.40

6.43

2.1.2

Вертикальный разрез по верху

6.32

6.35

6.38

6.41

6.44

2.1.3

Горизонтальный боковой части

6.33

6.36

6.39

6.42

6.45

2.2

С коробкой - 134 мм

2.2.1

Вертикальный разрез по низу

6.46

6.49

6.52

6.55

6.58

2.2.2

Вертикальный разрез по верху

6.47

6.50

6.53

6.56

6.59

2.2.3

Горизонтальный боковой части

6.48

6.51

6.54

6.57

6.60

УСТАНОВКА ОКОННОГО БЛОКА ИЗ ПВХ С КОРОБКОЙ ШИРИНОЙ 60 ММ В 3-Х СЛОЙНЫХ КИРПИЧНЫХ СТЕНАХ

(вертикальный разрез по низу проема)

1. ППУ ВИЛАН-405 или ХЕМЛЮКС или МАКРОФЛЕКС с наружным слоем из полимерцементной мастики

2. ППУ ВИЛАН-405 или ХЕМЛЮКС или МКАРОФЛЕКС

3. Стальная профильная полоса крепления коробки оконного блока

4. Утеплитель - минераловатные плиты или ПСБ-С

5. Кирпич - наружный слой

6. Кирпич - внутренний слой

7. Минераловатная твердая плита (базальтовая)

8. Силиконовый герметик

9. Подоконная доска

Рис. 6.1.

УСТАНОВКА ОКОННОГО БЛОКА ИЗ ПВХ С КОРОБКОЙ ШИРИНОЙ 60 ММ В 3-Х СЛОЙНЫХ КИРПИЧНЫХ СТЕНАХ

(вертикальный разрез по верху проема)

1. ППУ ВИЛАН-405 или ХЕМЛЮКС или МАКРОФЛЕКС с наружным слоем из полимерцементной мастики

2. Железобетонная перемычка

3. Стальная профильная полоса крепления коробки оконного блока

4. Утеплитель - минераловатные плиты или ПСБ-С

5. Кирпич - наружный слой

6. Кирпич - внутренний слой

7. Минераловатная твердая плита (базальтовая)

8. Силиконовый герметик

9. Цементно-песчаный раствор

Рис. 6.2

УСТАНОВКА ОКОННОГО БЛОКА ИЗ ПВХ С КОРОБКОЙ ШИРИНОЙ 60 ММ В 3-Х СЛОЙНЫХ КИРПИЧНЫХ СТЕНАХ

(горизонтальный разрез)

1. ППУ ВИЛАН-405 или XEMЛЮKC или МАКРОФЛЕКС

2. Полимерцементная мастика

3. Стальная профильная полоса крепления коробки оконного блока

4. Утеплитель - минераловатные плиты или ПСБ-С

5. Кирпич - наружный слой

6. Кирпич - внутренний слой

7. Минераловатная твердая плита (базальтовая)

8. Силиконовый герметик

9. Цементно-песчаный раствор

10. Слив

11. Подоконник

Рис. 6.3

УСТАНОВКА ОКОННОГО БЛОКА ИЗ ПВХ С КОРОБКОЙ ШИРИНОЙ 60 ММ В ОДНОСЛОЙНЫХ СТЕНАХ С НАРУЖНЫМ УТЕПЛЕНИЕМ РЕКОНСТРУИРУЕМЫХ ЗДАНИЙ НА ПРИМЕРЕ КП ЗДАНИЙ СЕРИИ П-55, П-51 И П-57

(вертикальный разрез по низу проема)

1. ППУ ВИЛАН-405 или ХЕМЛЮКС или МАКРОФЛЕКС с наружным слоем из полимерцементной мастики

2. ППУ ВИЛАН-405 или ХЕМЛЮКС или МАКРОФЛЕКС

3. Минераловатная полужесткая плита

4. Однослойная стена из легкого бетона

5. Полимерцементный слой, армированный стеклопластиковой сеткой

6. Силиконовый герметик

7. Подоконная доска

8. Пенополистирол - ПСБ-С

9. Слив со стальным костылем крепления

10. Стальная профильная полоса крепления коробки оконного блока

11. Полимерцементный раствор

Рис. 6.4

УСТАНОВКА ОКОННОГО БЛОКА ИЗ ПВХ С КОРОВКОЙ ШИРИНОЙ 60 ММ В ОДНОСЛОЙНЫХ СТЕНАХ С НАРУЖНЫМ УТЕПЛЕНИЕМ

(вертикальный разрез верха проема)

1. ППУ ВИЛАН-405 или ХЕМЛЮКС или МАКРОФЛЕКС

2. Полимерцементная мастика

3. Однослойная стена из ячеистого бетона

4. Утеплитель - минераловатная, полужесткая плита

5. Полимерцементный слой, армированный стеклопластиковой сеткой

6. Оконный блок из ПВХ

7. Силиконовая мастика

8. Цементно-песчаный раствор

9. Пенополистирол ПСБ-С, толщ. 15 мм с полимерцементным покрытием

Рис. 6.5

УСТАНОВКА ОКОННОГО БЛОКА ИЗ ПВХ С КОРОБКОЙ ШИРИНОЙ 60 ММ В ОДНОСЛОЙНЫХ СТЕНАХ С НАРУЖНЫМ УТЕПЛЕНИЕМ РЕКОНСТРУИРУЕМЫХ ЗДАНИЙ

(горизонтальный разрез)

1. ППУ ВИЛАН-405 или ХЕМЛЮКС или МАКРОФЛЕКС

2. Полимерцементная мастика

3. Однослойная стена из ячеистого бетона

4. Утеплитель - минераловатная, полужесткая плита

5. Полимерцементный слой, армированный стеклопластиковой сеткой

6. Слив

7. Подоконная доска

8. Силиконовый герметик

9. Цементно-песчаный раствор

10. ПСБ-С, толщ. 15 мм с полимерцементным покрытием

Рис. 6.6

УСТАНОВКА ОКОННОГО БЛОКА ИЗ ПВХ С КОРОБКОЙ ШИРИНОЙ 60 мм В МОНОЛИТНЫХ СТЕНАХ С НАРУЖНЫМ УТЕПЛЕНИЕМ И ВЕНТИЛИРУЕМЫМ ВОЗДУШНЫМ ЗАЗОРОМ

вертикальный разрез

(на примере системы Марморок)

1. ППУ ВИЛАН-405 или ХЕМЛЮКС или МАКРОФЛЕКС

2. Минераловатная твердая плита (базальтовая)

3. Минераловатная полужесткая плита

4. Силиконовый герметик

5. Подоконная доска

6. ПСБ-С

7. Рубероид

8. Фасадная плитка

9. Стальная профильная полоса крепления коробки оконного блока

10. Полимерцементный раствор

11. Стена из тяжелого бетона

12. Цементно-песчаный раствор

Рис. 6.7

УСТАНОВКА ОКОННОГО БЛОКА ИЗ ПВХ С КОРОБКОЙ ШИРИНОЙ 60 мм В МОНОЛИТНЫХ СТЕНАХ С НАРУЖНЫМ УТЕПЛЕНИЕМ И ВЕНТИЛИРУЕМЫМ ВОЗДУШНЫМ ЗАЗОРОМ

(вертикальный разрез)

1. ППУ ВИЛАН-405 или ХЕМЛЮКС или МАКРОФЛЕКС

2. Минераловатная твердая плита (базальтовая)

3. Минераловатная полужесткая плита (базальтовая)

4. Силиконовый герметик

5. Стальной гнутый уголок 50´50´2 по всей длине с боков и сверху проема

6. Фасадная плитка

7. Монолитный тяжелый бетон

8. Цементно-песчаный раствор

9. Металлический эмалированный лист

Рис. 6.8

УСТАНОВКА ОКОННОГО БЛОКА ИЗ ПВХ С КОРОБКОЙ ШИРИНОЙ 60 мм В МОНОЛИТНЫХ СТЕНАХ С НАРУЖНЫМ УТЕПЛЕНИЕМ И ВЕНТИЛИРУЕМЫМ ВОЗДУШНЫМ ЗАЗОРОМ

(горизонтальный разрез)

1. ППУ ВИЛАН-405 или ХЕМЛЮКС или МАКРОФЛЕКС

2. Минераловатная твердая плита (базальтовая)

3. Минераловатная полужесткая плита (базальтовая)

4. Силиконовый герметик

5. Стальной гнутый уголок 50´50´2 по всей длине с боков и сверху проема

6. Фасадная плитка

7. Цементно-песчаный раствор

8. Монолитный тяжелый бетон

9. Металлический эмалированный лист

10. Стальная профильная полоса крепления коробки оконного блока

11. Слив

12. Подоконная доска

Рис. 6.9

УСТАНОВКА ОКОННОГО БЛОКА ИЗ ПВХ С КОРОБКОЙ 60 ММ В ОДНОСЛОВНЫХ СТЕНАХ ИЗ БЛОКОВ ЯЧЕИСТОГО БЕТОНА С ЧЕТВЕРТЬЮ ШИРИНОЙ 200 ММ В ОКОННОМ ПРОЕМЕ СТЕНЫ

(вертикальный разрез по низу проема)

1. ППУ ВИЛАН-405 или ХЕМЛЮКС или МАКРОФЛЕКС с наружным слоем из полимерцементной мастики

2. ППУ ВИЛАН-405 или ХЕМЛЮКС или МАКРОФЛЕКС

3. Четверть оконного проема стены

4. Оконный блок из ПВХ с коробкой шир. 60 мм

5. Слив, закрепленный стальными костылями

6. Стальная пластина крепления оконной коробки

7. ПСБ-С

8. Силиконовый герметик

9. Подоконная доска

10. Стена из блоков ячеистого бетона g - 450 кг/м3

11. Полимерцементный раствор

12. Цементно-песчаный раствор

Рис. 6.10

УСТАНОВКА ОКОННОГО БЛОКА ИЗ ПВХ С КОРОБКОЙ 60 ММ В ОДНОСЛОЙНЫХ СТЕНАХ ИЗ ЯЧЕИСТОГО БЕТОНА С ЧЕТВЕРТЬЮ ШИРИНОЙ 200 ММ В ОКОННОМ ПРОЕМЕ СТЕНЫ

(вертикальный разрез по верху проема)

1. ППУ ВИЛАН-405 или ХЕМЛЮКС или МАКРОФЛЕКС с наружным слоем из полимерцементной мастики

2. ППУ ВИЛАН-405 или ХЕМЛЮКС или МАКРОФЛЕКС

3. Четверть оконного проема стены

4. Оконный блок из ПВХ с коробкой шир. 60 мм

5. ПСБ-С

6. Силиконовый герметик

7. Полимерцементный раствор

8. Брусковые перемычки ПБ-175.20-14Я плотностью 700 кг/м3

9. Цементно-песчаный раствор

10. Стальная пластина крепления оконной коробки

Рис. 6.11

УСТАНОВКА ОКОННОГО БЛОКА ИЗ ПВХ С КОРОБКОЙ 60 ММ В ОДНОСЛОЙНЫХ СТЕНАХ ИЗ БЛОКОВ ЯЧЕИСТОГО БЕТОНА С ЧЕТВЕРТЬЮ ШИРИНОЙ 200 ММ В ОКОННОМ ПРОЕМЕ СТЕНЫ

(горизонтальный разрез)

1. ППУ ВИЛАН-405 или ХЕМЛЮКС или МАКРОФЛЕКС с наружным слоем из полимерцементной мастики

2. ППУ ВИЛАН-405 или ХЕМЛЮКС или МАКРОФЛЕКС

3. Четверть оконного проема стены

4. Оконный блок из ПВХ с коробкой шир. 60 мм

5. Стена из блока ячеистого бетона g - 450 кг/м3

6. ПСБ-С

7. Слив

8. Подоконная доска

9. Силиконовый герметик

10. Полимерцементный раствор

11. Цементно-песчаный раствор

12. Стальная пластина крепления оконной коробки

Рис. 6.12

УСТАНОВКА ОКОННОГО БЛОКА ИЗ ПВХ С КОРОБКОЙ 60 ММ В ОДНОСЛОЙНЫХ СТЕНАХ ИЗ БЛОКОВ ЯЧЕИСТОГО БЕТОНА С ЧЕТВЕРТЬЮ ШИРИНОЙ 100 ММ В ОКОННОМ ПРОЕМЕ СТЕНЫ

(вертикальный разрез по низу проема)

1. ППУ ВИЛАН-405 или ХЕМЛЮКС или МАКРОФЛЕКС с наружным слоем из полимерцементной мастики

2. ППУ ВИЛАН-405 или ХЕМЛЮКС или МАКРОФЛЕКС

3. Четверть оконного проема стены

4. Оконный блок из ПВХ с коробкой шир. 60 мм

5. Слив

6. Стальная пластина крепления оконной коробки

7. ПСБ-С

8. Силиконовый герметик

9. Подоконная доска

10. Стена из блоков ячеистого бетона g - 450 кг/м3

11. Полимерцементный раствор

12. Цементно-песчаный раствор

Рис. 6.13

УСТАНОВКА ОКОННОГО БЛОКА ИЗ ПВХ С КОРОБКОЙ 60 ММ В ОДНОСЛОЙНЫХ СТЕНАХ ИЗ БЛОКОВ ЯЧЕИСТОГО БЕТОНА С ЧЕТВЕРТЬЮ ШИРИНОЙ 100 ММ В ОКОННОМ ПРОЕМЕ СТЕНЫ

(вертикальный разрез по верху проема)

1. ППУ ВИЛАН-405 или ХЕМЛЮКС или МАКРОФЛЕКС с наружным слоем из полимерцементной мастики

2. ППУ ВИЛАН-405 или ХЕМЛЮКС или МАКРОФЛЕКС

3. Четверть оконного проема стены

4. Оконный блок из ПВХ с коробкой шир. 60 мм

5. Брусковые перемычки ПБ 175.10-1Я g - 450 кг/м3

6. ПСБ-С

7. Стальная полоса крепления оконной коробки

8. Полимерцементный раствор

9. Силиконовый герметик

10. Цементно-песчаный раствор

Рис. 6.14

УСТАНОВКА ОКОННОГО БЛОКА ИЗ ПВХ С КОРОБКОЙ 60 ММ В ОДНОСЛОЙНЫХ СТЕНАХ ИЗ БЛОКОВ ЯЧЕИСТОГО БЕТОНА С ЧЕТВЕРТЬЮ ШИРИНОЙ 100 ММ В ОКОННОМ ПРОЕМЕ СТЕНЫ

(горизонтальный разрез)

1. ППУ ВИЛАН-405 или ХЕМЛЮКС или МАКРОФЛЕКС с наружным слоем из полимерцементной мастики

2. Слив

3. Четверть оконного проема стены

4. Оконный блок из ПВХ с коробкой шир. 60 мм

5. Стена из блока ячеистого бетона g - 450 кг/м3

6. ПСБ-С

7. Цементно-песчаный раствор

8. Силиконовый герметик

9. Полимерцементный раствор

10. Стальная пластина крепления оконной коробки

Рис. 6.15

УСТАНОВКА ОКОННОГО БЛОКА ИЗ ПВХ С КОРОБКОЙ ШИРИНОЙ 121 ММ В 3-Х СЛОЙНЫХ КИРПИЧНЫХ СТЕНАХ

(вертикальный разрез по низу проема)

1. Уширенная часть коробки оконного ПВХ блока

2. ППУ ВИЛАН-405 или ХЕМЛЮКС или МАКРОФЛЕКС

3. Стальная профильная полоса крепления коробки оконного блока

4. Утеплитель - минераловатные плиты или ПСБ-С

5. Кирпич - наружный слой

6. Кирпич - внутренний слой

7. Минераловатная твердая плита

8. Силиконовый герметик

9. Подоконная доска

Рис. 6.16

УСТАНОВКА ОКОННОГО БЛОКА ИЗ ПВХ С КОРОБКОЙ ШИРИНОЙ 121 ММ в трехсЛоЙных кирпичНЫх стенах

(вертикальный разрез по верху проема)

1. Удлиненная часть коробки оконного ПВХ блока

2. ППУ ВИЛАН-405 или ХЕМЛЮКС или МАКРОФЛЕКС

3. Четверть оконного проема по верхней и боковым сторонам

4. Утеплитель - минераловатные плиты или ПСБ-С

5. Кирпич - наружный слой

6. Кирпич - внутренний слой

7. Минераловатная твердая плита (базальтовая)

8. Силиконовый герметик

9. Цементно-песчаный раствор

10. Полимерцементный раствор

Рис. 6.17

УСТАНОВКА ОКОННОГО БЛОКА ИЗ ПВХ С КОРОБКОЙ ШИРИНОЙ 121 ММ В 3-Х СЛОЙНЫХ КИРПИЧНЫХ СТЕНАХ

(горизонтальный разрез)

1. Удлиненная часть коробки оконного ПВХ блока

2. ППУ ВИЛАН-405 или ХЕМЛЮКС или МАКРОФЛЕКС

3. Стальная профильная полоса крепления коробки оконного блока

4. Утеплитель - минераловатные плиты или ПСБ-С

5. Кирпич - наружный слой

6. Кирпич - внутренний слой

7. Минераловатная твердая плита (базальтовая)

8. Силиконовый герметик

9. Цементно-песчаный раствор

10. Полимерцементный раствор

Рис. 6.18

УСТАНОВКА ОКОННОГО БЛОКА ИЗ ПВХ С КОРОБКОЙ ШИРИНОЙ 121 ММ В ОДНОСЛОЙНЫХ СТЕНАХ С НАРУЖНЫМ УТЕПЛЕНИЕМ РЕКОНСТРУИРУЕМЫХ ЗДАНИЙ

(вертикальный разрез низа проема)

1. Уширенная часть коробки оконного ПВХ блока

2. ППУ ВИЛАН-405 или ХЕМЛЮКС или МАКРОФЛЕКС

3. Минераловатная полужесткая плита

4. Однослойная стена из легкого бетона

5. Полимерцементный слой, армированный стеклопластиковой сеткой

6. Силиконовый герметик

7. Подоконная доска

8. Пенополистирол ПСБ-С

9. Полимерцементный раствор

10. Стальная профильная полоса крепления коробки оконного блока

Рис. 6.19

УСТАНОВКА ОКОННОГО БЛОКА ИЗ ПВХ с короБкоЙ шириной 121 MM в однослойных стенах С НАРУЖНЫМ УТЕПЛЕНИЕМ РЕКОНСТРУИРУЕМЫХ ЗДАНИЙ

(вертикальный разрез верха проема)

1. Уширенная часть коробки оконного ПВХ блока

2. ППУ ВИЛАН-405 или ХЕМЛЮКС или МАКРОФЛЕКС

3. Минераловатная полужесткая плита

4. Однослойная стена из легкого бетона

5. Полимерцементный слой, армированный стеклопластиковой сеткой

6. Силиконовый герметик

7. Цементно-песчаный раствор

8. ПСБ-С, толщ. 15 мм.

9. Полимерцементная мастика

Рис. 6.20

УСТАНОВКА ОКОННОГО БЛОКА ИЗ ПВХ С КОРОБКОЙ ШИРИНОЙ 121 ММ В ОДНОСЛОЙНЫХ СТЕНАХ С НАРУЖНЫМ УТЕПЛЕНИЕМ РЕКОНСТРУИРУЕМЫХ ЗДАНИЙ

(горизонтальный разрез)

1. Уширенная часть коробки оконного ПВХ блока

2. ППУ ВИЛАН-405 или ХЕМЛЮКС или МАКРОФЛЕКС

3. Оконный блок из ПВХ, с коробкой шир. 121 мм

4. Утеплитель - минераловатные плиты или ПСБ-С

5. Полимерцементный слой, армированный стеклопластиковой сеткой

6. Однослойная стена из легкого бетона

7. Силиконовый герметик

8. Полимерцементная мастика

9. ПСБ-С

Рис. 6.21

УСТАНОВКА ОКОННОГО БЛОКА ИЗ ПВХ С КОРОБКОЙ ШИРИНОЙ 121 MM В МОНОЛИТНЫХ СТЕНАХ С НАРУЖНЫМ УТЕПЛЕНИЕМ И ВЕНТИЛИРУЕМЫМ ВОЗДУШНЫМ ЗАЗОРОМ

(вертикальный разрез)

1. ППУ ВИЛАН-405 или ХЕМЛЮКС или МАКРОФЛЕКС

2. Минераловатная твердая плита

3. Минераловатная полужесткая плита

4. Силиконовый герметик

5. Подоконная доска

6. ПСБ-С

7. Рубероид

8. Фасадная плитка

9. Стальная профильная полоса крепления коробки оконного блока

10. Полимерцементный раствор

11. Стена из тяжелого бетона

12. Цементно-песчаный раствор

Рис. 6.22

УСТАНОВКА ОКОННОГО БЛОКА ИЗ ПВХ С КОРОБКОЙ ШИРИНОЙ 121 ММ В МОНОЛИТНЫХ СТЕНАХ С НАРУЖНЫМ УТЕПЛЕНИЕМ И ВЕНТИЛИРУЕМЫМ ВОЗДУШНЫМ ЗАЗОРОМ

(вертикальный разрез)

1. ППУ ВИЛАН-405 или ХЕМЛЮКС или МАКРОФЛЕКС

2. Минераловатная твердая плита (базальтовая)

3. Минераловатная полужесткая плита (базальтовая)

4. Силиконовый герметик

5. Стальной гнутый уголок 50´50´2 по всей длине с боков и сверху проема

6. Фасадная плитка

7. Монолитный тяжелый бетон

8. Цементно-песчаный раствор

9. Металлический эмалированный лист

Рис. 6.23

УСТАНОВКА ОКОННОГО БЛОКА ИЗ ПВХ С КОРОБКОЙ ШИРИНОЙ 121 мм В МОНОЛИТНЫХ СТЕНАХ С НАРУЖНЫМ УТЕПЛЕНИЕМ И ВЕНТИЛИРУЕМЫМ ВОЗДУШНЫМ ЗАЗОРОМ

(горизонтальный разрез)

1. ППУ ВИЛАН-405 или ХЕМЛЮКС или МАКРОФЛЕКС

2. Минераловатная твердая плита

3. Минераловатная полужесткая плита

4. Силиконовый герметик

5. Стальной гнутый уголок 50´50´2 по всей длине с боков и сверху проема

6. Фасадная плитка

7. Цементно-песчаный раствор

8. Монолитный тяжелый бетон

9. Металлический эмалированный лист

10. Стальная профильная полоса крепления коробки оконного блока

Рис. 6.24

УСТАНОВКА ОКОННОГО БЛОКА ИЗ ПВХ С КОРОБКОЙ 121 мм В ОДНОСЛОЙНЫХ СТЕНАХ ИЗ БЛОКОВ ЯЧЕИСТОГО БЕТОНА С ЧЕТВЕРТЬЮ ШИРИНОЙ 200 мм В ОКОННОМ ПРОЕМЕ СТЕНЫ

(вертикальный разрез по низу проема)

1. ППУ ВИЛАН-405 или ХЕМЛЮКС или МАКРОФЛЕКС

2. Четверть оконного проема стены

3. Оконный блок из ПВХ с коробкой шир. 60 мм

4. Слив

5. Стальная пластина крепления оконной коробки

6. ПСБ-С

7. Силиконовый герметик

8. Подоконная доска

9. Стена из блоков ячеистого бетона g - 450 кг/м3

10. Полимерцементный раствор

11. Цементно-песчаный раствор

Рис. 6.25

УСТАНОВКА ОКОННОГО БЛОКА ИЗ ПВХ С КОРОБКОЙ 60 ММ В ОДНОСЛОЙНЫХ СТЕНАХ ИЗ ЯЧЕИСТОГО БЕТОНА С ЧЕТВЕРТЬЮ ШИРИНОЙ 200 ММ В ОКОННОМ ПРОЕМЕ СТЕНЫ

(вертикальный разрез по верху проема)

1. Уширенная часть коробки оконного ПВХ блока

2. ППУ ВИЛАН-405 или ХЕМЛЮКС или МАКРОФЛЕКС

3. Четверть оконного проема стены

4. Оконный блок из ПВХ с коробкой шир. 60 мм

5. ПСБ-С

6. Силиконовый герметик

7. Полимерцементный раствор

8. Брусковые перемычки ПБ-175.20-14Я плотностью 700 кг/м3

9. Цементно-песчаный раствор

10. Стальная пластина крепления оконной коробки

Рис. 6.26

УСТАНОВКА ОКОННОГО БЛОКА ИЗ ПВХ С КОРОБКОЙ 121 мм В ОДНОСЛОЙНЫХ СТЕНАХ ИЗ БЛОКОВ ЯЧЕИСТОГО БЕТОНА С ЧЕТВЕРТЬЮ ШИРИНОЙ 200 ММ В ОКОННОМ ПРОЕМЕ СТЕНЫ

(горизонтальный разрез)

1. ППУ ВИЛАН-405 или ХЕМЛЮКС или МАКРОФЛЕКС

2. Слив

3. Четверть оконного проема стены

4. Оконный блок из ПВХ с коробкой шир. 121 мм

5. Стена из блоков ячеистого бетона g - 450 кг/м3

6. ПСБ-С

7. Цементно-песчаный раствор

8. Силиконовый герметик

9. Полимерцементный раствор

10. Стальная полоса крепления оконной коробки

11. Подоконная доска

Рис. 6.27

УСТАНОВКА ОКОННОГО БЛОКА ИЗ ПВХ С КОРОБКОЙ 121 мм В ОДНОСЛОЙНЫХ СТЕНАХ ИЗ БЛОКОВ ЯЧЕИСТОГО БЕТОНА С ЧЕТВЕРТЬЮ ШИРИНОЙ 100 ММ В ОКОННОМ ПРОЕМЕ СТЕНЫ

(вертикальный разрез по низу проема)

1. Уширенная часть коробки оконного ПВХ блока

2. ППУ ВИЛАН-405 или ХЕМЛЮКС или МАКРОФЛЕКС

3. Четверть оконного проема стены

4. Оконный блок из ПВХ с коробкой шир. 60 мм

5. Слив

6. Стальная пластина крепления оконной коробки

7. ПСБ-С

8. Силиконовый герметик

9. Подоконная доска

10. Стена из блоков ячеистого бетона g - 450 кг/м3

11. Полимерцементный раствор

12. Цементно-песчаный раствор

Рис. 6.28

УСТАНОВКА ОКОННОГО БЛОКА ИЗ ПВХ С КОРОБКОЙ 121 ММ В ОДНОСЛОЙНЫХ СТЕНАХ ИЗ БЛОКОВ ЯЧЕИСТОГО БЕТОНА С ЧЕТВЕРТЬЮ ШИРИНОЙ 100 ММ В ОКОННОМ ПРОЕМЕ СТЕНЫ

(вертикальный разрез по верху проема)

1. Уширенная часть коробки оконного ПВХ блока

2. ППУ ВИЛАН-405 или ХЕМЛЮКС или МАКРОФЛЕКС

3. Четверть оконного проема стены

4. Оконный блок из ПВХ с коробкой шир. 60 мм

5. Брусковые перемычки ПБ 175.10-1Я g - 450 кг/м3

6. ПСБ-С

7. Стальная полоса крепления оконной коробки

8. Полимерцементный раствор

9. Силиконовый герметик

10. Цементно-песчаный раствор

Рис. 6.29

УСТАНОВКА ОКОННОГО БЛОКА ИЗ ПВХ С КОРОБКОЙ 121 ММ В ОДНОСЛОЙНЫХ СТЕНАХ ИЗ БЛОКОВ ЯЧЕИСТОГО БЕТОНА С ЧЕТВЕРТЬЮ ШИРИНОЙ 100 ММ В ОКОННОМ ПРОЕМЕ СТЕНЫ

(горизонтальный разрез)

Описание: 1

1. ППУ ВИЛАН-405 или ХЕМЛЮКС или МАКРОФЛЕКС

2. Слив

3. Четверть оконного проема стены

4. Оконный блок из ПВХ с коробкой шир. 121 мм

5. Стена из блоков ячеистого бетона g - 450 кг/м3

6. ПСБ-С

7. Цементо-песчаный раствор

8. Силиконовый герметик

9. Полимерцементный раствор

10. Стальная полоса крепления оконной коробки

11. Подоконная доска

Рис. 6.30

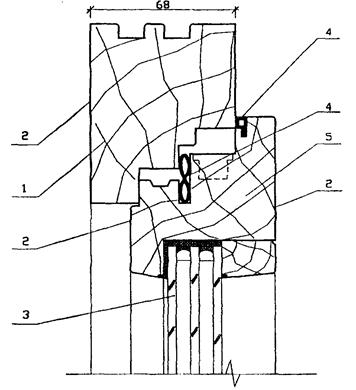
УСТАНОВКА ДЕРЕВЯННОГО ОКОННОГО БЛОКА С КОРОБКОЙ ШИРИНОЙ 68 ММ В 3-Х СЛОЙНЫХ КИРПИЧНЫХ СТЕНАХ

(вертикальный разрез по низу проема)

1. ППУ BИЛAH-405 или ХЕМЛЮКС или МАКРОФЛЕКС с наружным слоем из полимерцементной мастики

2. ППУ ВИЛАН-405 или ХЕМЛЮКС или МАКРОФЛЕКС

3. Стальная профильная полоса крепления коробки оконного блока

4. Утеплитель - минераловатные плиты или ПСБ-С

5. Кирпич - наружный слой

6. Кирпич - внутренний слой

7. Минераловатная твердая плита

8. Силиконовый герметик

9. Подоконная доска

Рис. 6.31

УСТАНОВКА ДЕРЕВЯННОГО ОКОННОГО БЛОКА С КОРОБКОЙ ШИРИНОЙ 68 ММ В 3-х СЛОЙНЫХ КИРПИЧНЫХ СТЕНАХ

(вертикальный разрез по верху проема)

1. ППУ BИЛAH-405 или ХЕМЛЮКС или МАКРОФЛЕКС с наружным слоем из полимерцементной мастики

2. ППУ ВИЛАН-405 или ХЕМЛЮКС или МАКРОФЛЕКС

3. Стальная профильная полоса крепления коробки оконного блока

4. Утеплитель - минераловатные плиты или ПСБ-С

5. Кирпич - наружный слой

6. Кирпич - внутренний слой

7. Минераловатная твердая плита

8. Силиконовый герметик

9. Цементно-песчаный раствор

10. Железобетонная перемычка

11. Полимерцементный раствор

Рис. 6.32

УСТАНОВКА ДЕРЕВЯННОГО ОКОННОГО БЛОКА с коробкой шириной 68 мм в 3-х слоЙных кирпичных стенах

(горизонтальный разрез)

Описание: 1

1. ППУ ВИЛАН-405 или ХЕМЛЮКС или МАКРОФЛЕКС

2. Полимерцементная мастика

3. Стальная профильная полоса крепления коробки оконного блока

4. Утеплитель - минераловатные плиты или ПСБ-С

5. Кирпич - наружный слой

6. Кирпич - внутренний слой

7. Минераловатная твердая плита

8. Силиконовый герметик

9. Цементно-песчаный раствор

10. Полимерцементный раствор

Рис. 6.33

УСТАНОВКА ДЕРЕВЯННОГО ОКОННОГО БЛОКА С КОРОБКОЙ ШИРИНОЙ 68 ММ В ОДНОСЛОЙНЫХ СТЕНАХ С НАРУЖНЫМ УТЕПЛЕНИЕМ РЕКОНСТРУИРУЕМЫХ ЗДАНИЙ

(вертикальный разрез низа проема)

1. ППУ BИЛAH-405 или ХЕМЛЮКС или МАКРОФЛЕКС с наружным слоем из полимерцементной мастики

2. ППУ ВИЛАН-405 или ХЕМЛЮКС или МАКРОФЛЕКС

3. Минераловатная полужесткая плита

4. Однослойная стена из легкого бетона

5. Полимерцементный слой, армированный стеклопластиковой сеткой

6. Силиконовый герметик

7. Подоконная доска

8. Пенополистирол ПСБ-С

9. Полимерцементный раствор

10. Стальная профильная полоса крепления коробки оконного блока

Рис. 6.34

УСТАНОВКА ДЕРЕВЯННОГО ОКОННОГО БЛОКА С КОРОБКОЙ ШИРИНОЙ 68 ММ В ОДНОСЛОЙНЫХ СТЕНАХ С НАРУЖНЫМ УТЕПЛЕНИЕМ РЕКОНСТРУИРУЕМЫХ ЗДАНИЙ

(вертикальный разрез верха проема)

1. ППУ BИЛAH-405 или ХЕМЛЮКС или МАКРОФЛЕКС с наружным слоем из полимерцементной мастики

2. ППУ ВИЛАН-405 или ХЕМЛЮКС или МАКРОФЛЕКС

3. Минераловатная полужесткая плита

4. Однослойная стена из легкого бетона

5. Полимерцементный слой, армированный стеклопластиковой сеткой

6. Силиконовый герметик

7. Цементно-песчаный раствор

8. ПСБ-С, толщ. 15 мм

9. Полимерцементная мастика

Рис. 6.35

УСТАНОВКА ДЕРЕВЯННОГО ОКОННОГО БЛОКА С КОРОБКОЙ ШИРИНОЙ 68 ММ В ОДНОСЛОЙНЫХ СТЕНАХ С НАРУЖНЫМ УТЕПЛЕНИЕМ РЕКОНСТРУИРУЕМЫХ ЗДАНИЙ

(боковой горизонтальный разрез)

1. ППУ ВИЛАН-405 или ХЕМЛЮКС или МАКРОФЛЕКС

2. Деревянный оконный блок с коробкой шир. 68 мм

3. ПСБ-С, толщ. 15 мм.

4. Утеплитель - минераловатные плиты или ПСБ-С

5. Полимерцементный слой, армированный стеклопластиковой сеткой

6. Однослойная стена из легкого бетона

7. Силиконовый герметик

8. Полимерцементная мастика

9. Подоконная доска

10. Слив

Рис. 6.36

УСТАНОВКА ДЕРЕВЯННОГО ОКОННОГО БЛОКА С КОРОБКОЙ ШИРИНОЙ 68 ММ В МОНОЛИТНЫХ СТЕНАХ С НАРУЖНЫМ УТЕПЛЕНИЕМ И ВЕНТИЛИРУЕМЫМ ВОЗДУШНЫМ ЗАЗОРОМ

(вертикальный разрез по низу проема)

1. ППУ ВИЛАН-405 или ХЕМЛЮКС или МАКРОФЛЕКС

2. Минераловатная твердая плита (базальтовая)

3. Минераловатная полужесткая плита (базальтовая)

4. Силиконовый герметик

5. Подоконная доска

6. ПСБ-С

7. Рубероид

8. Фасадная плитка

9. Стальная профильная полоса крепления коробки оконного блока

10. Полимерцементный раствор

11. Стена из тяжелого бетона

12. Цементно-песчаный раствор

Рис. 6.37

УСТАНОВКА ДЕРЕВЯННОГО ОКОННОГО БЛОКА С КОРОБКОЙ ШИРИНОЙ 68 мм В МОНОЛИТНЫХ СТЕНАХ С НАРУЖНЫМ УТЕПЛЕНИЕМ И ВЕНТИЛИРУЕМЫМ ВОЗДУШНЫМ ЗАЗОРОМ

(вертикальный разрез)

1. ППУ ВИЛАН-405 или ХЕМЛЮКС или МАКРОФЛЕКС

2. Минераловатная твердая плита (базальтовая)

3. Минераловатная полужесткая плита (базальтовая)

4. Силиконовый герметик

5. Стальной гнутый уголок 50´50´2 по всей длине с боков и сверху проема

6. Фасадная плитка

7. Монолитный тяжелый бетон

8. Цементно-песчаный раствор

9. Металлический эмалированный лист

Рис. 6.38

УСТАНОВКА ДЕРЕВЯННОГО ОКОННОГО БЛОКА С КОРОБКОЙ ШИРИНОЙ 68 ММ В МОНОЛИТНЫХ СТЕНАХ С НАРУЖНЫМ УТЕПЛЕНИЕМ И ВЕНТИЛИРУЕМЫМ ВОЗДУШНЫМ ЗАЗОРОМ

(горизонтальный разрез)

1. ППУ ВИЛАН-405 или ХЕМЛЮКС или МАКРОФЛЕКС

2. Минераловатная твердая плита

3. Минераловатная полужесткая плита

4. Силиконовый герметик

5. Стальной гнутый уголок 50´50´2 по всей высоте с боков и длине сверху проема

6. Фасадная плитка

7. Цементно-песчаный раствор

8. Монолитный тяжелый бетон

9. Металлический эмалированный лист

10. Стальная профильная полоса крепления коробки оконного блока

Рис. 6.39

УСТАНОВКА ДЕРЕВЯННОГО ОКОННОГО БЛОКА С КОРОБКОЙ 68 мм В ОДНОСЛОЙНЫХ СТЕНАХ ИЗ БЛОКОВ ЯЧЕИСТОГО БЕТОНА С ЧЕТВЕРТЬЮ шириной 200 мм в оконном проеме стены

(вертикальный разрез по низу проема)

1. ППУ ВИЛАН-405 или ХЕМЛЮКС или МАКРОФЛЕКС с наружным слоем из полимерцементной мастики

2. ППУ ВИЛАН-405 или ХЕМЛЮКС или МАКРОФЛЕКС

3. Четверть оконного проема стены

4. Деревянный оконный блок с коробкой шир. 68 мм

5. Слив

6. Стальная пластина крепления оконной коробки

7. ПСБ-С

8. Силиконовый герметик

9. Подоконная доска

10. Стена из блоков ячеистого бетона g - 450 кг/м3

11. Полимерцементный раствор

12. Цементно-песчаный раствор

Рис. 6.40

УСТАНОВКА ДЕРЕВЯННОГО ОКОННОГО БЛОКА С КОРОБКОЙ 68 ММ В ОДНОСЛОЙНЫХ СТЕНАХ ИЗ БЛОКОВ ЯЧЕИСТОГО БЕТОНА С ЧЕТВЕРТЬЮ шириной 200 мм в оконном проеме стены

(вертикальный разрез по верху проема)

1. ППУ ВИЛАН-405 или ХЕМЛЮКС или МАКРОФЛЕКС с наружным слоем из полимерцементной мастики

2. ППУ ВИЛАН-405 или ХЕМЛЮКС или МАКРОФЛЕКС

3. Четверть оконного проема стены

4. Деревянный оконный блок с коробкой шир. 68 мм

5. ПСБ-С

6. Силиконовый герметик

7. Полимерцементный раствор

8. Брусковые перемычки ПБ-175.20-14Я плотностью 700 кг/м3

9. Цементно-песчаный раствор

10. Стальная пластина крепления оконной коробки

Рис. 6.41

УСТАНОВКА ДЕРЕВЯННОГО ОКОННОГО БЛОКА С КОРОБКОЙ 68 ММ В ОДНОСЛОЙНЫХ СТЕНАХ ИЗ БЛОКОВ ЯЧЕИСТОГО БЕТОНА С ЧЕТВЕРТЬЮ ШИРИНОЙ 200 мм В ОКОННОМ ПРОЕМЕ СТЕНЫ

(горизонтальный разрез)

1. ППУ ВИЛАН-405 или ХЕМЛЮКС или МАКРОФЛЕКС с наружным слоем из полимерцементной мастики

2. ППУ ВИЛАН-405 или ХЕМЛЮКС или МАКРОФЛЕКС

3. Четверть оконного проема стены

4. Деревянный оконный блок с коробкой шир. 68 мм

5. Стена из блока ячеистого бетона g - 450 кг/м3

6. ПСБ-С

7. Слив

8. Подоконная доска

9. Силиконовый герметик

10. Полимерцементный раствор

11. Цементно-песчаный раствор

12. Стальная пластина крепления оконной коробки

Рис. 6.42

УСТАНОВКА ДЕРЕВЯННОГО ОКОННОГО БЛОКА С КОРОБКОЙ 68 мм В ОДНОСЛОЙНЫХ СТЕНАХ ИЗ БЛОКОВ ЯЧЕИСТОГО БЕТОНА С ЧЕТВЕРТЬЮ ШИРИНОЙ 100 ММ В ОКОННОМ ПРОЕМЕ СТЕНЫ

(вертикальный разрез по низу проема)

Описание: 1

1. ППУ ВИЛАН-405 или ХЕМЛЮКС или МАКРОФЛЕКС с наружным слоем из полимерцементной мастики

2. ППУ ВИЛАН-405 или ХЕМЛЮКС или МАКРОФЛЕКС

3. Четверть оконного проема стены

4. Деревянный оконный блок с коробкой шир. 68 мм

5. Слив

6. Стальная пластина крепления оконной коробки

7. ПСБ-С

8. Силиконовый герметик

9. Подоконная доска

10. Стена из блоков ячеистого бетона g - 450 кг/м3

11. Полимерцементный раствор

12. Цементно-песчаный раствор

Рис. 6.43

УСТАНОВКА ДЕРЕВЯННОГО ОКОННОГО БЛОКА С КОРОБКОЙ 68 мм В ОДНОСЛОЙНЫХ СТЕНАХ ИЗ БЛОКОВ ЯЧЕИСТОГО БЕТОНА С ЧЕТВЕРТЬЮ ШИРИНОЙ 100 мм В ОКОННОМ ПРОЕМЕ СТЕНЫ

(вертикальный разрез по верху проема)

1. ППУ ВИЛАН-405 или ХЕМЛЮКС или МАКРОФЛЕКС с наружным слоем из полимерцементной мастики

2. ППУ ВИЛАН-405 или ХЕМЛЮКС или МАКРОФЛЕКС

3. Четверть оконного проема стены

4. Деревянный оконный блок с коробкой шир. 68 мм

5. Брусковые перемычки ПБ 175.10-1Я g - 450 кг/м3

6. ПСБ-С

7. Стальная полоса крепления оконной коробки

8. Полимерцементный раствор

9. Силиконовый герметик

10. Цементно-песчаный раствор

Рис. 6.44

УСТАНОВКА ДЕРЕВЯННОГО ОКОННОГО БЛОКА С КОРОБКОЙ 68 ММ В ОДНОСЛОЙНЫХ СТЕНАХ ИЗ БЛОКОВ ЯЧЕИСТОГО БЕТОНА С ЧЕТВЕРТЬЮ ШИРИНОЙ 100 мм В ОКОННОМ ПРОЕМЕ СТЕНЫ

(горизонтальный разрез)

1. ППУ ВИЛАН-405 или ХЕМЛЮКС или МАКРОФЛЕКС

2. Слив

3. Четверть оконного проема стены

4. Деревянный оконный блок с коробкой шир. 68 мм

5. Стена из блоков ячеистого бетона g - 450 кг/м3

6. ПСБ-С

7. Цементно-песчаный раствор

8. Силиконовый герметик

9. Полимерцементный раствор

10. Стальная полоса крепления оконной коробки

11. Подоконная доска

Рис. 6.45

УСТАНОВКА ДЕРЕВЯННОГО ОКОННОГО БЛОКА С КОРОБКОЙ ШИРИНОЙ 134 ММ В 3-Х СЛОЙНЫХ КИРПИЧНЫХ СТЕНАХ

(вертикальный разрез по низу проема)

1. ППУ ВИЛАН-405 или ХЕМЛЮКС или МАКРОФЛЕКС с наружным слоем из полимерцементной мастики

2. ППУ ВИЛАН-405 или ХЕМЛЮКС или МАКРОФЛЕКС

3. Стальная профильная полоса крепления коробки оконного блока

4. Утеплитель - минераловатные плиты или ПСБ-С

5. Кирпич - наружный слой

6. Кирпич - внутренний слой

7. Минераловатная твердая плита (базальтовая)

8. Силиконовый герметик

9. Подоконная доска

10. Полимерцементный раствор

Рис. 6.46

УСТАНОВКА ДЕРЕВЯННОГО ОКОННОГО БЛОКА С КОРОБКОЙ ШИРИНОЙ 134 ММ В 3-Х СЛОЙНЫХ КИРПИЧНЫХ СТЕНАХ

(вертикальный разрез по верху проема)

Описание: 1

1. ППУ ВИЛАН-405 или ХЕМЛЮКС или МАКРОФЛЕКС с наружным слоем из полимерцементной мастики

2. Железобетонная перемычка

3. Стальная профильная полоса крепления коробки оконного блока

4. Утеплитель - минераловатные плиты или ПСБ-С

5. Кирпич - наружный слой

6. Кирпич - внутренний слой

7. Минераловатная твердая плита (базальтовая)

8. Силиконовый герметик

9. Цементно-песчаный раствор

10. Полимерцементный раствор

Рис. 6.47

установка деревянного оконного блока С КОРОБКОЙ ШИРИНОЙ 134 мм В 3-Х СЛОЙНЫХ КИРПИЧНЫХ СТЕНАХ

(горизонтальный разрез)

1. ППУ ВИЛАН-405 или ХЕМЛЮКС или МАКРОФЛЕКС

2. Полимерцементная мастика (раствор)

3. Стальная профильная полоса крепления коробки оконного блока

4. Утеплитель - минераловатные плиты или ПСБ-С

5. Кирпич - наружный слой

6. Кирпич - внутренний слой

7. Минераловатная твердая плита (базальтовая)

8. Силиконовый герметик

9. Цементно-песчаный раствор

Рис. 6.48

УСТАНОВКА ДЕРЕВЯННОГО ОКОННОГО БЛОКА С КОРОБКОЙ ШИРИНОЙ 134 ММ В ОДНОСЛОЙНЫХ СТЕНАХ С НАРУЖНЫМ УТЕПЛЕНИЕМ РЕКОНСТРУИРУЕМЫХ ЗДАНИЙ

(вертикальный разрез низа проема)

1. ППУ ВИЛАН-405 или ХЕМЛЮКС или МАКРОФЛЕКС

2. Минераловатная полужесткая плита

3. Однослойная стена из легкого бетона

4. Полимерцементный слой, армированный стеклопластиковой сеткой

5. Силиконовый герметик

6. Подоконная доска

7. Пенополистирол ПСБ-С

8. Полимерцементный раствор

9. Стальная профильная полоса крепления коробки оконного блока

Рис. 6.49

УСТАНОВКА ДЕРЕВЯННОГО ОКОННОГО БЛОКА С КОРОБКОЙ ШИРИНОЙ 134 ММ В ОДНОСЛОЙНЫХ СТЕНАХ С НАРУЖНЫМ УТЕПЛЕНИЕМ РЕКОНСТРУИРУЕМЫХ ЗДАНИЙ

(вертикальный разрез верха проема)

1. ППУ ВИЛАН-405 или ХЕМЛЮКС или МАКРОФЛЕКС

2. Минераловатная полужесткая плита

3. Однослойная стена из легкого бетона

4. Полимерцементный слой, армированный стеклопластиковой сеткой

5. Силиконовый герметик

6. Цементно-песчаный раствор

7. ПСБ-С, толщ. 15 мм

8. Полимерцементная мастика

Рис. 6.50

УСТАНОВКА ДЕРЕВЯННОГО ОКОННОГО БЛОКА С КОРОБКОЙ ШИРИНОЙ 134 мм В ОДНОСЛОЙНЫХ СТЕНАХ С НАРУЖНЫМ УТЕПЛЕНИЕМ РЕКОНСТРУИРУЕМЫХ ЗДАНИЙ

(боковой горизонтальный разрез)

1. ППУ ВИЛАН-405 или ХЕМЛЮКС или МАКРОФЛЕКС

2. Деревянный оконный блок, с коробкой шир. 134 мм

3. ПСБ-С, толщ. 15 мм

4. Утеплитель - минераловатные плиты или ПСБ-С

5. Полимерцементный слой, армированный стеклопластиковой сеткой

6. Однослойная стена из легкого бетона

7. Силиконовый герметик

8. Полимерцементная мастика

9. Подоконная доска

10. Слив

Рис. 6.51

УСТАНОВКА ДЕРЕВЯННОГО ОКОННОГО БЛОКА С КОРОБКОЙ ШИРИНОЙ 134 ММ В МОНОЛИТНЫХ СТЕНАХ С НАРУЖНЫМ УТЕПЛЕНИЕМ И ВЕНТИЛИРУЕМЫМ ВОЗДУШНЫМ ЗАЗОРОМ

(вертикальный разрез по низу проема)

Описание: 1

1. ППУ ВИЛАН-405 или ХЕМЛЮКС или МАКРОФЛЕКС

2. Минераловатная твердая плита

3. Минераловатная полужесткая плита

4. Силиконовый герметик

5. Подоконная доска

6. ПСБ-С

7. Рубероид

8. Фасадная плитка

9. Стальная профильная полоса крепления коробки оконного блока

10. Полимерцементный раствор

11. Стена из тяжелого бетона

12. Цементно-песчаный раствор

Рис. 6.52

УСТАНОВКА ДЕРЕВЯННОГО ОКОННОГО БЛОКА С КОРОБКОЙ ШИРИНОЙ 134 мм В МОНОЛИТНЫХ СТЕНАХ С НАРУЖНЫМ УТЕПЛЕНИЕМ И ВЕНТИЛИРУЕМЫМ ВОЗДУШНЫМ ЗАЗОРОМ

(вертикальный разрез)

1. ППУ ВИЛАН-405 или ХЕМЛЮКС или МАКРОФЛЕКС

2. Минераловатная твердая плита (базальтовая)

3. Минераловатная полужесткая плита (базальтовая)

4. Силиконовый герметик

5. Стальной гнутый уголок 50´50´2 по всей длине с боков и сверху проема

6. Фасадная плитка

7. Монолитный тяжелый бетон

8. Цементно-песчаный раствор

9. Металлический эмалированный лист

Рис. 6.53

УСТАНОВКА ДЕРЕВЯННОГО ОКОННОГО БЛОКА С КОРОБКОЙ ШИРИНОЙ 134 мм В МОНОЛИТНЫХ СТЕНАХ С НАРУЖНЫМ УТЕПЛЕНИЕМ И ВЕНТИЛИРУЕМЫМ ВОЗДУШНЫМ ЗАЗОРОМ

(горизонтальный разрез)

1. ППУ ВИЛАН-405 или ХЕМЛЮКС или МАКРОФЛЕКС

2. Минераловатная твердая плита (базальтовая)

3. Минераловатная полужесткая плита (базальтовая)

4. Силиконовый герметик

5. Стальной гнутый уголок 50´50´2 по всей высоте с боков и длине сверху проема

6. Фасадная плитка

7. Цементно-песчаный раствор

8. Монолитный тяжелый бетон

9. Металлический эмалированный лист

10. Стальная профильная полоса крепления коробки оконного блока

Рис. 6.54

УСТАНОВКА ДЕРЕВЯННОГО ОКОННОГО БЛОКА С КОРОБКОЙ 134 ММ В ОДНОСЛОЙНЫХ СТЕНАХ ИЗ БЛОКОВ ЯЧЕИСТОГО БЕТОНА С ЧЕТВЕРТЬЮ шириной 200 мм в оконном проеме стены

(вертикальный разрез по низу проема)

1. ППУ ВИЛАН-405 или ХЕМЛЮКС или МАКРОФЛЕКС с наружным слоем из полимерцементной мастики

2. ППУ ВИЛАН-405 или ХЕМЛЮКС или МАКРОФЛЕКС

3. Четверть оконного проема стены

4. Деревянный оконный блок, с коробкой шир. 134 мм

5. Слив

6. Стальная пластина крепления оконной коробки

7. ПСБ-С

8. Силиконовый герметик

9. Подоконная доска

10. Стена из блоков ячеистого бетона g - 450 кг/м3

11. Полимерцементный раствор

12. Цементно-песчаный раствор

Рис. 6.55

УСТАНОВКА ДЕРЕВЯННОГО ОКОННОГО БЛОКА С КОРОБКОЙ 134 мм В ОДНОСЛОЙНЫХ СТЕНАХ ИЗ ЯЧЕИСТОГО БЕТОНА С ЧЕТВЕРТЬЮ ШИРИНОЙ 200 ММ В ОКОННОМ ПРОЕМЕ СТЕНЫ

(вертикальный разрез по верху проема)

1. ППУ ВИЛАН-405 или ХЕМЛЮКС или МАКРОФЛЕКС с наружным слоем из полимерцементной мастики

2. ППУ ВИЛАН-405 или ХЕМЛЮКС или МАКРОФЛЕКС

3. Четверть оконного проема стены

4. Деревянный оконный блок, с коробкой шир. 134 мм

5. ПСБ-С

6. Силиконовый герметик

7. Полимерцементный раствор

8. Брусковые перемычки ПБ-175.20-14Я плотностью 700 кг/м3

9. Цементно-песчаный раствор

10. Стальная пластина крепления оконной коробки

Рис. 6.56

УСТАНОВКА ДЕРЕВЯННОГО ОКОННОГО БЛОКА С КОРОБКОЙ 134 ММ В ОДНОСЛОЙНЫХ СТЕНАХ ИЗ БЛОКОВ ЯЧЕИСТОГО БЕТОНА С ЧЕТВЕРТЬЮ ШИРИНОЙ 200 мм В ОКОННОМ ПРОЕМЕ СТЕНЫ

(горизонтальный разрез)

1. ППУ ВИЛАН-405 или ХЕМЛЮКС или МАКРОФЛЕКС с наружным слоем из полимерцементной мастики

2. ППУ ВИЛАН-405 или ХЕМЛЮКС или МАКРОФЛЕКС

3. Четверть оконного проема стены

4. Деревянный оконный блок, с коробкой шир. 134 мм

5. Стена из блока ячеистого бетона g - 450 кг/м3

6. ПСБ-С

7. Слив

8. Подоконная доска

9. Силиконовый герметик

10. Полимерцементный раствор

11. Цементно-песчаный раствор

12. Стальная пластина крепления оконной коробки

Рис. 6.57

установка деревянного оконного блока С КОРОБКОЙ 134 ММ В ОДНОСЛОЙНЫХ СТЕНАХ ИЗ БЛОКОВ ЯЧЕИСТОГО БЕТОНА С ЧЕТВЕРТЬЮ ШИРИНОЙ 100 ММ В ОКОННОМ ПРОЕМЕ СТЕНЫ

(вертикальный разрез по низу проема)

1. ППУ ВИЛАН-405 или ХЕМЛЮКС или МАКРОФЛЕКС с наружным слоем из полимерцементной мастики

2. ППУ ВИЛАН-405 или ХЕМЛЮКС или МАКРОФЛЕКС

3. Четверть оконного проема стены

4. Деревянный оконный блок, с коробкой шир. 134 мм

5. Слив

6. Стальная пластина крепления оконной коробки

7. ПСБ-С

8. Силиконовый герметик

9. Подоконная доска

10. Стена из блока ячеистого бетона g - 450 кг/м3

11. Полимерцементный раствор

12. Цементно-песчаный раствор

Рис. 6.58

УСТАНОВКА ДЕРЕВЯННОГО ОКОННОГО БЛОКА С КОРОБКОЙ 134 ММ В ОДНОСЛОЙНЫХ СТЕНАХ ИЗ БЛОКОВ ЯЧЕИСТОГО БЕТОНА С ЧЕТВЕРТЬЮ ШИРИНОЙ 100 ММ В ОКОННОМ ПРОЕМЕ СТЕНЫ

(вертикальный разрез по верху проема)

1. ППУ ВИЛАН-405 или ХЕМЛЮКС или МАКРОФЛЕКС с наружным слоем из полимерцементной мастики

2. ППУ ВИЛАН-405 или ХЕМЛЮКС или МАКРОФЛЕКС

3. Четверть оконного проема стены

4. Деревянный оконный блок, с коробкой шир. 134 мм

5. Брусковые перемычки ПБ 175.10-1Я g - 450 кг/м3

6. ПСБ-С

7. Стальная полоса крепления оконной коробки

8. Полимерцементный раствор

9. Силиконовый герметик

10. Цементно-песчаный раствор

Рис. 6.59

УСТАНОВКА ДЕРЕВЯННОГО ОКОННОГО БЛОКА С КОРОБКОЙ 134 ММ В ОДНОСЛОЙНЫХ СТЕНАХ ИЗ БЛОКОВ ЯЧЕИСТОГО БЕТОНА С ЧЕТВЕРТЬЮ ШИРИНОЙ 100 мМ В ОКОННОМ ПРОЕМЕ СТЕНЫ

(горизонтальный разрез)

1. ППУ ВИЛАН-405 или ХЕМЛЮКС или МАКРОФЛЕКС

2. Слив

3. Четверть оконного проема стены

4. Деревянный оконный блок, с коробкой шир. 134 мм

5. Стена из блоков ячеистого бетона g - 450 кг/м3

6. ПСБ-С

7. Цементно-песчаный раствор

8. Силиконовый герметик

9. Полимерцементный раствор

10. Стальная полоса крепления оконной коробки

11. Подоконная доска

Рис. 6.60

Список нормативных документов и используемых материалов

1.    СНиП II-3-79* (изд. 1998 г.) «Строительная теплотехника».

2.    МГСН 2.01-99 Нормативы по теплозащите, тепловодоэлектроснабжению.

3.    ГОСТ 24700. Блоки оконные деревянные со стеклопакетами.

4.    В.М. Бондаренко, Хлевчук В.Р., Матросов Ю.А., Бутовский И.Н. и др. О нормативных требованиях к тепловой защите зданий, БСТ № 11, 2001 г.

5.    ГОСТ 30674. Блоки оконные из поливинилхлоридных профилей.

6.    ГОСТ 23166. Блохи оконные. Общие технические условия.

7.    Система оконных и дверных профилей 2002 г. WELTPLAST МТСК-2,9.

8.    МТСК-2,9-4 Окна и балконные двери из пластмассовых профилей. Правительство Москвы, М., 1998 г.

9.    Узлы сопряжений окон из ПВХ профилей с наружными стенами различного конструктивного решения. Омск. 1998 г.

10.  ГОСТ 25891-83. Здания и сооружения. Методы определения сопротивления воздухопроницанию ограждающих конструкций. - М., 1983.

11.  ГОСТ 26602-85. Окна. Метод определения сопротивления теплопередаче. - М., 1985.

12.  СНиП 23.02.03 «Теплозащита зданий», М., 2003.

13.  ГОСТ 30971-2002. Швы монтажные узлов примыканий оконных блоков к стеновым проемам. М., 2002 г.

14.  Справочное пособие к СНиП II-3-79*, М., Стройиздат, 1990 г.

15.  СНиП 23.01-99. Строительная климатология.

16.  Беляев B.C. Пути повышения энергоэффективности окон и улучшения воздушного режима помещений. Стройресурс, № 5, 2003 г.

Приложение 1

Поэлементный расчет оконных блоков и их сопряжений со стенами с учетом воздухопроницаемости

В действующих нормах строительной теплотехники теплозащитные качества окон нормируются величинами приведенного сопротивления теплопередаче R0тр пр, м2×°С/Вт. Так для Москвы эта величина составляет 0,54 м2×°С/Вт без учета влияния воздухопроницаемости, ГОСТ 26254-84 требует оценивать теплозащиту окон при наличии, как правило, проникания через них воздуха. Это вызывает противоречия в показаниях испытаний одних и тех же типов окон.

Для исключения указанных противоречий и восстановления физического смысла предлагается метод нормирования теплозащиты окон (и стыков) с учетом воздухопроницаемости.

В упрощенном виде формула для определения требуемого сопротивления теплопередаче окна и стыка*) с учетом сквозной (поперечной) воздухопроницаемости (Rофтр) имеет вид:

,                                                  (1)

где А = (tв - tн)/n(tв - tн); tв - требуемая температура внутренней поверхности стыка или окна; для стыка она равна температуре точки росы, для окна = 3 °С; tв и tн - расчетные температуры внутреннего и наружного воздуха; n - коэффициент, равный для стыка 0,90, для трехстворчатых и двухстворчатых окон 0,99, для одностворчатых с одним притвором 1,0; с - удельная теплоемкость, кДж/(кг×°С); W - допустимый (нормируемый) расход воздуха через стык [1, 12] 0,5 кг/(м×ч); через окно [1, 12] 5 - 6 кг/(м2×ч) - для жилых зданий; вф - коэффициент фильтрационного теплообмена, равный 0,28 cW/aв, где aв - коэффициент теплоотдачи внутренней поверхности.

*) монтажного шва

Толщина утеплителя в стыке, исходя из требуемого сопротивления теплопередаче стыка Rофтр, определяется по формуле:

,                                         (2)

; ; ;                              (3)

;

,  - толщины элементов стыка; ,  - сопротивления теплопередаче элементов в сечениях; ,  - коэффициенты теплоотдачи внутренней и наружной поверхностей;  - термические сопротивления слоев в сечениях (за исключением утеплителя в стыке).

Расчетное сопротивление теплопередаче окон и стыков с учетом воздухопроницаемости, которое должно сравниваться с требуемым (с учетом воздухопроницаемости), будет иным, чем без учета воздухопроницаемости.

При этом в известной формуле для определения приведенного расчетного сопротивления теплопередаче наружного ограждения:

,                                                              (4)

 - приведенная температура внутренней поверхности окна или стыка, при наличии сквозной (поперечной) фильтрации воздуха;

для окон:

;                                                       (5)

где Кm = 0,33(0,28 с W R0пр)3/2 + 1;                                          (6)

для стыков:

,                                                  (7)

где R0пр - приведенное сопротивление теплопередаче без учета воздухопроницаемости; l - протяженность сквозных зазоров в стыке в поперечном направлении.

Температура на внутренней поверхности окна и стыка tвм определяется по формуле:

tвм = 2tвфпр - tвг,                                                                   (8)

Расход воздуха для окон определяется по формуле:

W = i×DPк,                                                                         (9)

где i - коэффициент воздухопроницаемости.

Пример теплотехнического расчета

Запроектировать деревянные окна для жилого многоэтажного дома, строящегося в Москве.

Исходные данные.

Расчетная температура внутреннего воздуха tв = 20 °С; наружного в зимний период tн = -28 °С.

Нормативный расход воздуха W = 6 кг/м2×ч; удельная теплоемкость с = 1 кДж/кг×°С; коэффициент теплоотдачи внутренней поверхности aв = 8,7 Вт/м2×°С.

ГСОП равен 4943 в соответствии с [15].

В соответствии с таблицей 1б СНиП II-3-79* (изд. 98 г.) [1, 12] требуемое сопротивление теплопередаче окон без учета воздухопроницаемости R0пр = 0,525 м2×°С/Вт. В соответствии с МГСН 2.01-99 [2] R0пр = 0,54 м2×°С/Вт. Принимаем большее значение.

Требуемая допускаемая температура внутренней поверхности окна 3 °С в соответствии с [1, 12].

Принимается окно с тройным остеклением в раздельно спаренных переплетах.

Определяем требуемое сопротивление теплопередаче окон с учетом воздухопроницаемости по формуле (1):

;

 м2×°С/Вт.

Далее определяем расчетное условное сопротивление теплопередаче окон с учетом воздухопроницаемости по формуле (4) с учетом (5) Rофпр.

Приведенная температура внутренней поверхности окна с учетом воздухопроницаемости по формуле (5) равна:

 °С;

;

 м2×°С/Вт.

Температура на внутренней поверхности окна по формуле (8):

 °С; ;

3,28 > 3 °С;

Величина Rофпр равна требуемой, и минимальная температура выше допустимой, следовательно, теплозащитные качества и конструкция окон удовлетворяют требованиям норм строительной теплотехники.



© 2013 Ёшкин Кот :-)