Информационная система
«Ёшкин Кот»

XXXecatmenu

Министерство жилищно-коммунального хозяйства РСФСР
Ордена Трудового Красного Знамени
Академия коммунального хозяйства им. К.Д. Памфилова

Согласовано

Начальник Главжилуправления

Минжилкомхоза РСФСР

Н.Т. Лопаткин

26 июля 1987 г.

ТИПОВЫЕ ТЕХНИЧЕСКИЕ РЕШЕНИЯ
ПО ПОВЫШЕНИЮ ТЕПЛОЗАЩИТЫ ЗДАНИЙ
СЕРИИ
I-335

Отдел научно-технической информации АКХ
Москва 1987

Содержатся типовые технические решения по повышению теплозащиты зданий серии I-335 при проектировании и выполнении капитального ремонта. Разработаны способы утепления крыш, стен, стыков, опорной части прогона, балконных соединений, оконных и дверных балконных блоков и т.д. Предусмотрено применение новых, эффективных теплоизоляционных материалов, в том числе напыляемых и инъецируемых вспененных пластмасс.

Решения разработаны отделом жилых и коммунальных зданий АКХ им. К.Д. Памфилова (канд. техн. наук Н.М. Вавуло, ст. инженеры Г.Я. Кочмар, Л.В. Булгакова, инж. Т.К. Большакова) и Белжилпроектом (инж. Д.Х. Либерман) и предназначены для работников проектных, ремонтных и жилищно-эксплуатационных организаций.

Замечания и предложения просьба направлять по адресу: 123371, Москва, Волоколамское шоссе, 116, АКХ им. К.Д. Памфилова, отдел жилых и коммунальных зданий.

I. ОБЩИЕ ПОЛОЖЕНИЯ

Более чем двадцатипятилетний опыт эксплуатации и капитального ремонта полносборных домов позволил накопить значительный материал, характеризующий как позитивные, так и негативные результаты наблюдений, оценка которых в настоящее время особенно актуальна в связи с резким увеличением объемов ремонта полносборных зданий в ближайшие годы. Предстоящее увеличение объемов ремонта вызвано тем, что межремонтный срок, определенный положением о проведении планово-предупредительного ремонта жилых и общественных зданий, равен 30 годам и в применении к домам первого поколения застройки объективно отражает потребность в капитальном ремонте зданий, построенных в начале 60-х годов.

Под руководством Госгражданстроя была составлена программа проведения эксперимента по капитальному ремонту и модернизации полносборных жилых зданий серии I-335. Одной из важнейших задач в данной программе явилась часть по обеспечению тепловой защиты с целью ликвидации дефектов зданий, которые выявились в процессе эксплуатации, и улучшения эксплуатационных показателей в целом и, в особенности, ограждающих конструкций, в результате чего должны быть снижены затраты энергоресурсов на отопление и повысится комфортность жилья.

Эталонный типовой проект на капитальный ремонт жилых домов серии I-335 разработан институтом «Белжлпроект» (г. Минск), в него вошли разработки отдела жилых и коммунальных зданий Академии по обеспечению тепловой защиты.

Технические решения по повышению тепловой защиты для проектных организаций, разрабатывающих проектно-сметную техническую документацию на капитальный ремонт жилых домов серии I-335, приводятся в данной работе.

II. РЕМОНТ КРЫШ

Большинство домов серии I-335 построено с бесчердачными крышами, которые не оправдали себя по эксплуатационным качествам практически во всех климатических зонах. Эталонным проектом предусмотрено переустройство бесчердачной крыши в чердачную с холодным чердаком. При этом для повышения эксплуатационных показателей дома следует выполнить следующие работы: ремонт водоотводящих устройств наружного водостока, вентиляционных коробов и шахт, в том числе их теплоизоляцию и герметизацию теплоизоляции трубопроводов; увеличение теплоизоляции чердачного перекрытия.

Чердачное помещение должно быть очищено от строительного мусора. Следует проверить фактическую толщину теплоизоляционного слоя чердачного перекрытия и в случае необходимости дополнить его слоем эффективного легкого теплоизоляционного материала (минераловатные плиты, перлит g = 75 кг/м3, пенополистирол, пенополиуретан, мочевиноформальдегидная пена и т.д.). Обязательно устройство дополнительного слоя утеплителя по периметру чердачного перекрытия на ширину 50 - 70 см или скоса из теплоизоляционного материала под углом 30 - 45° (рис. 1 и 2).

В домах, где выполняется крепление конструкций, концы плит перекрытий следует утеплить путем установки вкладышей из пенополистирола толщиной не менее 3 см.

Следует восстановить герметичность и теплоизолировать вентиляционные короба и шахты. Слуховые окна оборудовать жалюзийными решетками для обеспечения вентиляции чердачного помещения.

Рис. 1. Утепление карнизного блока при его креплении:

1 - пенополистирол; 2 - карнизная плита; 3 - пароизоляция; 4 - отделочный слой; 5 - бетон М-150; 6 - керамзитобетон

Трубопроводы центрального отопления и горячего водоснабжения в пределах чердака теплоизолировать исходя из климатических условий региона на расчетную температуру наружного воздуха.

Переоборудовать бесчердачные крыши в чердачные рекомендуется по примеру решения института «Белжилпроект», приведенного в проекте-эталоне.

Ремонт кровель следует выполнять в сухую погоду при температуре наружного воздуха выше +5 °С.

Рис. 2. Утепление карнизного блока и крепление фризовой панели:

1 - пенополиуретан; 2 - карнизная плита; 3 - пароизоляция; 4 - отделочный слой

Перед устройством гидроизоляционного покрытия кровли (наклейка рулонного ковра, нанесение безрулонного покрытия и т.д.) должны быть закончены все строительно-монтажные работы на крыше, в том числе покрытие оцинкованной сталью карнизных плит по периметру здания и входов на крышу, карнизных и фронтонных свесов, вентшахт.

Чтобы избежать местных утолщений рулонного ковра, его полотнища наклеивают с обязательной разгонкой стыков в смежных слоях. По температурно-усадочным швам укладывают полосы шириной 150 мм, которые наклеивают только с одной стороны шва.

Уложенный кровельный ковер должен отвечать следующим требованиям: отклонения величины фактического уклона от проектного - не более 0,6 %; с поверхности кровли осуществлять полный отвод воды по наружным водостокам; приклейка рулонных материалов - прочная, без отслаивания от основания; стыки каждого слоя полотнищ прошпатлеваны мастикой. Особенно тщательно прошпатлевывают стыки верхнего слоя рулонного материала. Не допускаются вмятины, воздушные метки, пробоины.

III. РЕМОНТ СТЕН

Исследованиями установлено, что теплотехнические качества наружных стен ниже нормируемой величины и значительно ниже экономически целесообразного уровня. Кроме того, имеются трещины стен по периметру чердачного перекрытия, в узловых соединениях панелей и по периметру панелей лестничных клеток.

Целесообразно выполнять дополнительное утепление зданий со стороны фасадов (рис. 3).

Технология выполнения работ. Следует утеплить оконные блоки, прилегающие к наружным стенам. Для этого отбить штукатурку оконных откосов и произвести тщательную конопатку просмоленной паклей, пороизолом, гернитом или пенополиуретаном (поролоном) неплотностей между оконными (балконными) коробками и стеной. При этом уплотняющий материал должен быть обжат не менее чем на 30 %. Затем наклеить точками тонкий слой плит пенополистирола ПСБ-С (20 - 30 мм) на откосы, заделать их цементным раствором, а оконные переплеты в створных частях утеплить установкой полиуретановых (поролоновых) прокладок. Поверхность стен очистить от пыли и грязи сетками с применением моющих средств (МС, смывками СП-6, АФТ-1 и др.). Затем промыть 1 %-ным содовым или хлорным раствором для удаления солевых пятен и лучшей очистки фасадов.

На глубину 50 - 70 мм в шахматном порядке с шагом 600 мм в стены забиваются дюбели, которые на 30 мм выходят из плоскости стен.

Рис. 3. Утепление наружных стен:

а - снаружи; б - изнутри; 1 - отделочный слой; 2 - слой пароизоляции; 3 - существующая наружная стеновая панель; 4 - слой дополнительного теплоизоляционного материала; 5 - защитный слой (ДСП, сухая штукатурка)

На поверхность стен, начиная с угла главного фасада, наклеивают плиты пенополистирола ПСБ-С. Наклейка выполняется клеями ПВА или «Бустилат» точечной приклейкой по 5 точек каждая диаметром 12 - 15 мм и 5 - 7 мм толщиной на 1 м2 поверхности по принципу конверта (четыре точки по краям и одна в середине).

После наклейки полистирола по дюбелям натягивается платяная сетка (ГОСТ 53-36-80) с ячейками 20 ´ 20 или 40 ´ 40 мм или кладочная сетка.

По предварительно смоченной поверхности для антикоррозийного покрытия сетки и лучшего сцепления раствора с утеплителем наносятся набрызг цементного молока. Слой набрызга выравнивать не следует.

После схватывания набрызга наносится штукатурка несколькими слоями сложного раствора 1:2:5 (цемент М400, известь-тесто и песок) общей толщиной 20 - 25 мм. Каждый слой наносится после схватывания предыдущего. Последний слой выравнивается и затирается. Для предотвращения появления трещин на поверхности штукатурки устраиваются температурно-усадочные швы по горизонтали через 2,5 этажа и вертикали примерно по центру каждого фасада. Швы зачеканиваются тиоколовым герметиком после набора раствором марочной прочности.

Оштукатуренная поверхность должна быть окрашена и через 1 - 2 дня обязательно покрыта кремнийорганическими гидрофобными составами ГКЖ-94 (5 %), ГКЖ-11 (3 %). Гидрофобизацию можно не делать только при применении в качестве покраски гидрофобной краски типа «Силал-80».

Утепление промерзающих угловых и узловых стыков производится изнутри. Для равномерного распределения температур внутренних поверхностей наружных стен необходимо выполнить скос из теплоизоляционного материала. Ширина скоса должна быть 300 - 350 мм (рис. 4). Перед утеплением угла стык должен быть отремонтирован, чтобы не допустить увлажнения теплоизоляционного материала.

Дополнительное утепление выполняют плитными теплоизоляционными материалами, обеспечив плотное присоединение утепляющего слоя к утепляемой конструкции.

Рис. 4. Утепление узлов конструкций:

а - верха торцевой стены; б - угла; в - стены и стыка балкона со стеной; 1 - утепление перлитовой штукатуркой по сетке; 2 - панель перекрытия; 3 - балконная плита; 4 - прогон; 5 - тиоколовая мастика; 6 - наружная стена; 7 - уплотнение стыка

Наиболее перспективным способом является заливка вспененными пластмассами типа фенолформальдегидной или мочевиноформальдегидной пены. При этом отделочный слой может быть использован как опалубка. Заливка композиций может осуществляться ручным способом (ручная заливка) и с помощью машин УЗМФП-34 конструкции ВНИИСС, принцип действия которых основан на быстром смешивании двух или более жидких компонентов и на отверждении их в конструкции. Самым дешевым материалом является мочевиноформальдегидная пена типа МФП-1, МФП-2, МФП-3. В момент получения жидкая пена обладает хорошей текучестью, благодаря чему конструкция заполняется ровно без зазоров и раковин. Жидкая пена не оказывает заметного давления на обшивку конструкции. Объемная масса материала 70 - 100 кг/м3, коэффициент теплопроводности 0,03 - 0,04 ккал/(м×ч×°С).

Расчет компонента производится из условия вспенивания в 6 - 10 раз. Высота заполнения фиксируется просверливанием технологических отверстий. Появление пены в отверстиях свидетельствует о достаточности компонента.

Конструктивно утепление выполняется следующим образом: на расстоянии 150 мм по обе стороны от угла на панель набивают антисептированные деревянные рейки, по рейкам набивают отделочный материал из сухой штукатурки, древесно-волокнистой плиты и т.п.

Можно делать ступенчатую заливку материала. Для этого отделочный материал набивают на рейки высотой 1000 - 1500 мм и сверху заливают материал, а затем набивают следующий слой, не доходя до потолка примерно 30 - 50 мм, и заливают до конца. Можно сразу набить отделочный материал, просверлить отверстия по высоте, через 800 мм и заливать утеплитель поэтапно. Для выхода газов, образовывающихся при вспенивании, отверстия следует просверливать сразу по всей высоте.

Утеплять стены наружной стороны можно также напылением асбоперлитовой смеси или пенополиуретана.

Если мест промерзаний немного, то дополнительное утепление наружных стен допустимо выполнять со стороны помещения.

Технология выполнения работ и применяемые материалы выбираются проектировщиками по технико-экономическому обоснованию в соответствие с «Альбомом технических решений по повышению тепловой защиты зданий, утеплению конструктивных узлов при проведении капитального ремонта жилищного фонда», разработанному АКХ им. К.Д. Памфилова совместно с институтом «МосжилНИИпроект» и утвержденному Госгражданстроем (приказ № 40 от 19.02.87).

IV. РЕМОНТ СТЫКОВ

Перед началом герметизации следует подготовить основание под тиоколовый герметик. Непрочное цементно-песчаное заполнение удаляется из стыка при помощи электропневмомолотка или вручную с помощью скарпели и молотка. Специальным крючком удаляются оставшиеся кусочки раствора и проконопатка, находящаяся в неудовлетворительном состоянии. Герметизируемая поверхность очищается металлической щеткой и кистью от грязи и пыли.

В расчищенный и сухой стык закатываются при помощи специального ролика или деревянной чеканкой пористые резиновые прокладка (ПРП) типа пороизола или гернита, пакли, смоляного каната и т.п., которые после заведения в стык должны находиться в обжатом на 30 - 50 % от первоначального диаметра состоянии (рис. 5). Перед уплотнением пороизолом кромки стыка предварительно промазывают мастикой «изол», а гернитом - клеем КН-2. При герметизации стыков значительной ширины могут применяться несколько сплетенных между собой жгутов ПРП. Используемые при герметизации ПРП должны быть сухими, чистыми и не иметь повреждений. При ширине стыков до 10 мм вместо ПРП их уплотняют просмоленной паклей.

Герметик следует наносить на поверхность стыка только после выполнения всех операций по подготовке поверхности сплошной, неразрывной полосой. Герметизация стыка осуществляется последовательно в два приема: при помощи металлического шпателя или деревянной лопатки, небольшую порцию герметика наносят на основание и боковые фаски стыка; при помощи широкого резинового шпателя, лопатка которого повторяет конфигурацию стыка, эту порцию односторонне разравнивают по основанию стыка и в его боковых фасках.

Рис. 5. Заделка стыков между панелями:

1 - тиоколовая мастика; 2 - уплотнение стыка; 3 - заливка стыка пенополиуретаном

Толщина пленки герметика должна быть в пределах 2,0 - 2,5 мм и заходить на прилегающие к стыку кромки панелей не менее чем на 25 мм. При этом ширина пленки должна быть одинаковая как на горизонтальных, так и на вертикальных стыках. На прилегающих к стыку поверхностях стен не должно быть следов герметика.

На вертикальный стык герметик наносится от карниза здания или верха парапета, без разрыва пленки, движением шпателя сверху вниз. Если используется герметик марки У-ЗОМ, то его следует наносить по слою клея 88-Н, которым предварительно покрывают кромки и фаски панелей за 10 мин до герметизации.

Поскольку стыки в ремонтируемых домах не обладают достаточными теплозащитными качествами самым эффективным и технологичным способом заделки их является напыление пенополиуретаном. Такой способ ремонта стыков был проверен на объектах капитального ремонта в г. Риге и Хабаровске.

Все стыковые соединения очищаются так же, как и для вышеописанного способа. Кромки стыков щетками очищаются от остатков раствора и пыли и промываются 1 %-ным раствором соды или хлорной извести.

Приготовленные согласно рецептуре жидкие слои исходных компонентов, дозируемые с помощью насосов (или на весах при ручной заливке), перемешивают и наносят методом напыления на поверхность конструкции; происходит быстрое вспенивание и отверждение пенопластов; продолжительность отверждения очень невелика - 5 - 10 мин, хотя окончательные свойства пенопласт приобретает через 7 - 14 сут. Напыление и заливку производят с помощью установок «Пена-1», «Пена-9» и др., разработанных НПО Полимерстройматериал г. Владимира по двухкомпонентной схеме. Производительность этих установок составляет 3 - 4 кг/мин, что соответствует приблизительно 60 - 80 м2/ч. Эти установки состоят из дозирующего устройства, напылительного пистолета (пистолета-распылителя), расходных емкостей и электропульта управления. Все узлы, за исключением пистолета-распылителя, смонтированы на тележке. Установка работает по двухкомпонентной схеме, дозирование компонентов осуществляется двумя шестеренчатыми насосами. Соотношение компонентов А:Б = 1:1,25.

Сущность процесса напыления пенополиуретана (ППУ) сводится к следующему. Жидкие исходные полиэфирная и изоцианатная композиции равномерно в строго определенном соотношении подаются к напылительному пистолету, который обеспечивает их смешение, распыление и транспортирование, в результате чего они покрывают обрабатываемую поверхность слоем заданной толщины.

Перемешивание компонентов, распыление и транспортирование осуществляется за счет кинетической энергии сжатого воздуха, подаваемого в пистолет-распылитель. После вспенивания толщина нанесенного слоя увеличивается приблизительно в 5 - 10 раз и он окончательно отверждается. При напылении пенопласты равномерно распределяются по фасонным и кривым поверхностям. Для крепления пенополиуретанов к напыляемой поверхности не требуется клеев.

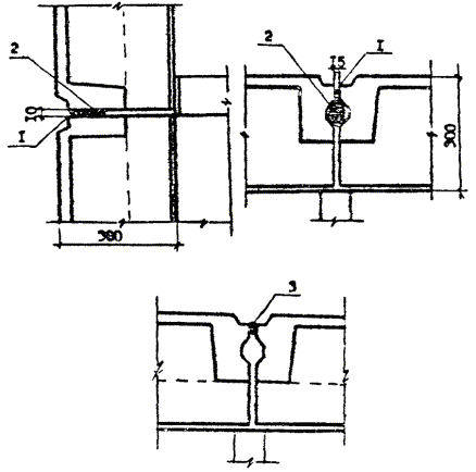
V. УТЕПЛЕНИЕ ОПОРНОЙ ЧАСТИ ПРОГОНА

Место установки прогона и его крепление к закладным деталям панелей является мостиком холода. Отсутствие утепления приводит к увлажнению металлических деталей, появлению конденсационной влаги конструкции и утепляющего слоя панели. Как показали расчеты на электроинтеграторе и натурные исследования, в этих местах наиболее часто бывают случаи промерзаний и увлажнений, а также наибольший процент коррозии металлических деталей.

Для обеспечения надежной работы конструктивного узла следует выполнить тщательное утепление конструкции (рис. 6).

Рис. 6. Узел утепления анкера и плиты перекрытия:

1 - заливка пенополиуретаном; 2 - вкладыш из пенополистирола d = 30 мм

Для утепления необходимо расчистить от старого материала гнездо установки прогона на всю глубину в стеновых панелях с обеих сторон прогона, очистить от коррозии закладные элементы и монтажные накладки, выполнить антикоррозийную окраску, положить между концом прогона и стеновой панелью вкладыши из пенополистирола или залить полость вспененными пластмассами; после утепления полости обетонировать металлические участки узла цементным раствором состава 1:1 слоем не менее 2 см.

VI. УСТРАНЕНИЕ ПРОМЕРЗАНИЯ СТЕН ПОД ЧЕРДАЧНЫМ ПЕРЕКРЫТИЕМ

Для устранения промерзаний по периметру чердачного перекрытия вдоль карниза расчистить зазор между карнизными блоками и плитами перекрытий. Удалить старую засыпку из чердачного перекрытия, чтобы не перегружать его.

В расчищенный зазор между плитой перекрытия и карнизным блоком уложить вкладыши из пенополистирола. Затем пенополистиролом утеплить расчищенный участок чердачного перекрытия; при этом следует проверить и в случае необходимости восстановить слой пароизоляции чердачного перекрытия слоем пергамина, рубероида или полиэтиленовой пленки. По периметру чердачного перекрытия должен быть уложен дополнительный слой теплоизоляции на ширину 500 - 700 мм.

Вместо пенополистирола можно применять другие теплоизоляционные эффективные материалы: минераловатные, цементно-фибролитовые плиты, плиты из стекловаты или штапельного волокна, керамзит объемной массой не более 200 - 300 кг/м3, перлит и т.д. Анкер для крепления карнизных блоков подлежит антикоррозионной окраске и утеплению.

VII. УТЕПЛЕНИЕ КОЛОНН

Установка колонн связана с дополнительным образованием мостиков холода. Условия эксплуатации ухудшаются в связи с тем, что колонны устанавливают у стыков.

Зазоры между колоннами, перегородками и стеновыми панелями должны быть тщательно теплоизолированы. Условия производства работ сложные. Плотность забивки теплоизоляции в гнезда в местах установки закладных деталей сложны и плохо контролируются, однако отсутствие уплотнения материала и наличие неплотностей приведет к образованию конденсата внутри конструкции, коррозии их металлических элементов.

Самым эффективным способом утепления колонн является заливка зазоров между конструкциями вспененным утеплителем. Утепление металлических колонн приведет к повышению эксплуатационных показателей узла, помещения, а также позволит обеспечить требования звукоизоляции.

VIII. УТЕПЛЕНИЕ И ГЕРМЕТИЗАЦИЯ НАРУЖНЫХ СТЕН У БАЛКОНОВ

При проведении натурных исследований выявлено большое количество протечек и промерзаний через стыки между балконными плитами и панелями наружных стен и через сопряжения прогонов балконных дверей с дверными коробками. В первую очередь выявляются дефекты балконов, которыми могут быть: недостаточная плотность раствора в стыке между панелью стены и верхней плоскостью балконной плиты и отсутствие в нем герметика; трещины в цементном полу (цементной стяжке) балконной плиты, трещины в примыкании ее к панели стены; отсутствие галтели из цементного раствора в месте примыканий плиты к стеновой панели; обратный уклон балконной плиты, способствующий отводу дождевой воды к стыку панели стены с балконной плитой; отступления от типового проекта при устройстве балконов, заключающиеся в отсутствии гидроизоляционного ковра (два слоя рубероида по балконной плите), в отсутствии на пороге дверного проема фартука из оцинкованной кровельной стали; недостаточная герметичность сопряжений нижней обвязки дверной коробки с порогом; низкое качество столярных изделий; щели между полотном двери и коробкой, негоризонтальность нижней обвязки коробки, щели в сопряжении вертикального и горизонтального элементов коробки, отсутствие или малая глубина прорезей, усыхание или коробление полотна двери и коробки и пр.

Для устранения протечек через балконные устройства рекомендуется следующая технология производства ремонтных работ: удаляется при помощи отбойного молотка или скарпели непрочная цементная стяжка или цементный пол поверх балконной плиты, после чего теми же инструментами по ней делается насечка; расчищается устье стыка между балконной плитой и панелью стены от заполнения (раствора, пакли и др.) на глубину 40 - 45 мм; перед герметизацией расчищенная часть стыка между балконной плитой и панелью стены просушивается.

По очищенной балконной плите укладывается металлическая тканая сетка с размерами ячеек в свету 10 ´ 10 или 12 ´ 12 мм.

После укладки сетки по балконной плите устанавливаются маячные рейки, определяющие уклон и толщину слоя цементного пола. Толщина вновь устраиваемого по плите цементного пола не должна быть менее 20 мм, а уклон поверхности его к горизонту - менее 1/20. Верхняя отметка пола (у панели стены) над нижней (у свеса балкона) должна быть не менее 40 мм.

Одновременно с устройством цементного пола по балконной плите тем же раствором поверх герметика зачеканивается стык между балконной плитой и панелью стены и делается галтель. На второй или третий день поверхность цементного пола зажелезнить. Затем подрезается нижний брусок коробки балконной двери и на нем укрепляется фартук из оцинкованной кровельной стали. Раствор для цементного пола и штукатурки рекомендуется применять 1:3 (цемент М300 и мелкий песок) с введением в него гидрофобной добавки ГКЖ-10 или ГКЖ-11 в количестве 1,5 кг на 100 кг цемента. Подвижность раствора 4 - 6 см.

IX. УТЕПЛЕНИЕ ОКОННЫХ БЛОКОВ И БАЛКОННЫХ ДВЕРЕЙ

Особое внимание при повышении теплозащиты эксплуатируемых жилых зданий следует уделять герметизации и утеплению заполнений оконных и дверных балконных проемов (рис. 7).

Рис. 7. Герметизация и утепление оконных блоков:

а - существующие способы крепления; б - рекомендуемый способ крепления; 1 - оцинкованная кровельная сталь; 2 - гвоздь; 3 - прорезь в стене (в откосах); 4 - цементно-песчаный раствор; 5 - заделка полиизобутиленовой мастикой; 6 - уплотняющая пенополиуретановая прокладка

Для улучшения герметичности заделки оконных и балконных блоков со стеной необходимо удалить штукатурку откосов, тщательно проконопатить зазор заделки антисептированной паклей или минеральным войлоком, смоченным в алебастровом растворе; затем наружный зазор заделать тиоколовым герметиком и цементно-песчаным раствором; восстановить штукатуру внутренних откосов. Одновременно необходимо сделать сливы из оцинкованной кровельной стали с соответствующим уклоном, выносом от стены и заделкой мест сопряжений их с коробкой и стенами. При промерзании филенок в балконных дверях их утепляют антисептированными листами оргалита, минеральным войлоком или пенополиуретаном, плотно укладываемым в пространство между наружным и внутренним полотном. Важно обеспечить плотность соединений наружных и внутренних переплетов. Необходимо следить за плотной пригонкой штапиков, за очисткой выпусков для конденсата из межрамного пространства и вентиляционных приборов под подоконниками (рис. 8). Периодически, раз в три года, герметизируют стекла замазкой, нанося ее слоем (в том числе и под штапик); затвердевшие и загрязненные уплотняющие прокладки заменяют и устанавливают недостающие. Щели в шиповых соединениях между коробкой и импостом тщательно шпатлюют и закрашивают. В оконных переплетах и дверных полотнах обеспечивают жесткость в угловых сопряжениях установкой угольников, делают пристрожку плохо закрывающихся створок и дверных полотен, уплотняют притворы.

В случае проникновения атмосферной воды через неплотности в заделке необходимо установить слив из оцинкованной стали на тиоколовом герметике, плотно прижать его к коробке, боковыми торцами завести в штрабы оконных откосов, заделать их цементным раствором и промазать герметиком.

Для уменьшения воздухопроницаемости через оконные переплеты необходимо следить, чтобы стекла были установлены на сплошном двойном слое замазки.

Рис. 8. Устройство водоотвода от оконной коробки:

1 - существующая оконная коробка с заполнением; 2 - существующее открытие подоконного слива; 3 - устанавливаемый деревянный брусок; 4 - дополнительно устанавливаемый слив из оцинкованной стали; 5 - крепление дополнительного слива к бруску оцинкованным гвоздем; 6 - дополнительно устанавливаемый на оконный переплет деревянный слив на шурупах впотай; 7 - уплотняющая прокладка

Периодически, через 6 - 9 лет, необходимо заменять изношенные уплотняющие прокладки по периметру оконных переплетов и балконных дверей. Уплотняющие прокладки для окон и балконных дверей должны быть упругими, прочными и морозоустойчивыми из губчатой резины, пенополиуретана или другого пористого материала. Наклеивает их после окончания отделки столярных изделий и полного высыхания окраски. Раскрыв окна, дверь, форточку, тщательно протирают ветошью притворы створок, обнаруженные неровности счищают шпателем. Одновременно подготавливают прокладки. На поверхность притвора по всему периметру створки небольшой кистью наносят тонкий слой масляной краски (белил) или клея КН-2, № 88, БФ-2 шириной, равной ширине прокладки. Затем прокладку накладывают на слой краски или клея и прижимают ее. Окрашивание прокладки не допускается.

Нельзя закрывать оконные переплеты до полного высыхания клея. Наклейку рекомендуется выполнять при плюсовой температуре наружного воздуха по сухим и чистым поверхностям, прокладки должны быть сухими.

У металлических окрытий поясков, сандриков и подоконных отливов в местах примыкания к стенам фасада край отгибают вверх не менее чем на 30 мм и прикрепляют к стенам в специально устроенных бороздках. Свесы этих окрытий должны заканчиваться отворотной лентой, выступать за грань стен на 35 - 50 мм с уклоном не менее 3 % и крепиться оцинкованной проволокой к штырям, вбитым в стену под свесом через 500 - 700 мм. Верхнюю кромку крепят гвоздями длиной 25 мм к оконной коробке, а боковые кромки, входящие в выдру оконных откосов, должны иметь направляющие бортики.

Выполнение перечня работ по повышению теплозащиты ремонтируемых домов серии I-335 позволит достигнуть нормируемых параметров, необходимых для обеспечения сроков службы зданий и санитарно-гигиенических условий проживания. Кроме того, после ремонта будут значительно снижены эксплуатационные затраты за счет увеличения межремонтного срока и экономии топливно-энергетических ресурсов.

X. ПОВЫШЕНИЕ УРОВНЯ ЭКСПЛУАТАЦИИ ДОМОВ СЕРИИ I-335

Отдельно необходимо отметить основные виды работ, которые следует выполнять в технических подпольях: ремонт и устройство теплоизоляции трубопроводов, восстановление поврежденной гидроизоляции стен и пола технического подполья, ремонт отмосток вокруг здания, улучшение работы вентиляции технического подполья или ее устройство вновь, ремонт или установка жалюзийных решеток на продухах, трамбование грунтовых полов или устройство бетонных по щебеночному основанию, устройство переходных мостиков через трубопроводы в местах проходов.

Предлагается устройство мусоропроводов для удаления бытового мусора. Разработка в настоящее время выполнена на стадии проектного предложения и может быть использована в таком виде при проектировании. Для размещения ствола мусоропровода к каждой лестничной клетке пристраивается на всю высоту здания, начиная с отметки входного козырька, помещение размером в плане 1,75 ´ 2,5 м с перекрытиями, расположенными в уровне промежуточных лестничных площадок. Мусоросборная камера смещена в сторону и пристраивается к комнате первого этажа, примыкающей к лестничной клетке. В связи с этим упомянутая комната становится нежилой и используется для хозяйственных нужд.

Комплекс технических решений по усилению теплозащиты капитально ремонтируемых жилых домов серии I-335 разработан с целью улучшения, их эксплуатационных показателей, экономии топливно-энергетических ресурсов, а также комфортных условий для проживающего населения.

Решение вопросов дополнительного утепления является обязательным на стадии проектирования и выполнения ремонта.

СОДЕРЖАНИЕ

 



© 2013 Ёшкин Кот :-)