Информационная система
«Ёшкин Кот»

XXXecatmenu

БИБЛИОТЕКА МУНИЦИПАЛЬНОГО РАБОТНИКА

ЭТАЛОН
РАЗДЕЛА «ТЕХНИЧЕСКАЯ ЭКСПЛУАТАЦИЯ»
ПРОЕКТА РЕМОНТА ПОЛНОСБОРНОГО ЖИЛОГО ДОМА

МОСКВА 1996 ГОД

Эталон раздела «Техническая эксплуатация» проекта капитального ремонта полносборного жилых зданий является методическим пособием по рациональному техническому обслуживанию, текущему ремонту строительных конструкций и инженерного оборудования капитально ремонтируемых жилых домов.

Эталон является примером технических решений, а также определяет и иллюстрирует состав, содержание и оформление проектной документации раздела «Техническая эксплуатация» проекта капитального ремонта жилого дома.

Предназначен для инженерно-технических работников, занятых на эксплуатации жилого фонда, проектировщиков при разработке раздела «Техническая эксплуатация».

Эталон разработан авторским коллективом:

Абашевой Т.И., Булгаковой Л.В., Вавуло Н.М., Воробьевым В.К., Фаликовым B.C., Фирсовой Г.В.

Руководитель авторского коллектива:

член-корреспондент ЖКА, канд. техн. наук Н.М. Вавуло

Союз работников жилищно-коммунального хозяйства России

1. ПОЯСНИТЕЛЬНАЯ ЗАПИСКА К ЭТАЛОНУ РАЗДЕЛА «ТЕХНИЧЕСКАЯ ЭКСПЛУАТАЦИЯ» ПРОЕКТА КАПИТАЛЬНОГО РЕМОНТА ЖИЛОГО ДОМА

1.1. ВВЕДЕНИЕ

Эталон раздела «Техническая эксплуатация» проекта капитального ремонта полносборного жилого дома разработан по заданию Департамента ЖКХ Минстроя России (Инвестор Фирма «Класс»).

Эталон является методическим пособием, содержащим указания по рациональному техническому обслуживанию, текущему ремонту строительных конструкций и инженерного оборудования капитально ремонтируемых жилых домов. Предназначен для инженерно-технических работников, занятых на эксплуатации жилого фонда, проектировщиков при разработки раздела «Техническая эксплуатация».

Эталон не является примером технических решений жилого дома, а определяет и иллюстрирует только состав, содержание и оформление проектной документации раздела «Техническая эксплуатация» проекта капитального ремонта жилого дома.

Эталон раздела «Техническая эксплуатация» проекта капитального ремонта жилых зданий массовых серий типовых проектов разработан авторским коллективом:

к.т.н Вавуло Н.М. (руководитель разработки), инженерами Булгаковой Л.В., Абашевой Т.М. (АКХ им. К.Д. Памфилова), научным сотрудником Воробьевым В.К., инженером Фирсовой Г.В. (МосжилНИИпроект).

1.2. ОБЩАЯ ЧАСТЬ

1.2.1. Раздел «Техническая эксплуатация», содержащий указания по рациональному техническому обслуживанию и ремонту строительных конструкций и инженерного оборудования зданий разрабатывается проектной организацией, выполняющей проект капитального ремонта.

Оформление чертежей раздела «Техническая эксплуатация» следует выполнять с учетом действующих нормативных актов на проектирование.

1.2.2. При разработке раздела «Техническая эксплуатация жилых домов, находящихся в особых условиях эксплуатации необходимо учитывать эти условия для всех конструктивных элементов и инженерного оборудования с использованием типовых проектных решений по технической эксплуатации.

1.2.3. По материалам настоящих методических рекомендаций и эталона раздела «Техническая эксплуатация» могут быть разработаны разделы «Техническая эксплуатация» капитального ремонта жилых зданий типовых серий с различными решениями несущих и ограждающих конструкций. При этом каждому конструктивному решению несущих и ограждающих конструкций должен соответствовать свой графический материал, учитывающий принятые решения типового проекта и проекта капитального ремонта.

1.2.4. Перечень нормативно-методических документов, используемых при разработке раздела приведены в приложении.

1.3. ПОРЯДОК СОСТАВЛЕНИЯ И УТВЕРЖДЕНИЯ РАЗДЕЛА «ТЕХНИЧЕСКАЯ ЭКСПЛУАТАЦИЯ» ПРОЕКТА КАПИТАЛЬНОГО РЕМОНТА ЖИЛОГО ДОМА

1.3.1. Раздел «Техническая эксплуатация» разрабатывается на основе утвержденного задания и плана проектных работ на каждый капитально-ремонтируемый жилой дом.

1.3.2. Задание на разработку раздела «Техническая эксплуатация» входит в состав задания на разработку проектной документации на капитальный ремонт жилого дома.

1.3.3. Раздел «Техническая эксплуатация» в составе проекта капитального ремонта разрабатывается на основании следующих исходных документов:

- титульного списка капитального ремонта;

- технического заключения о состоянии несущих конструкций дома и инженерного оборудования, выполненного специализированной организацией;

- заказ-задание.

1.3.4. В разделе «Техническая эксплуатация» должны быть учтены требования «Положения о проведении планово-предупредительного ремонта жилых и общественных зданий» и «Правил и норм технической эксплуатации жилищного фонда» и других действующих нормативных документов по вопросам эксплуатации жилых зданий.

1.3.5. Раздел «Техническая эксплуатация» должен содержать полную информацию о техническом состоянии жилого дома, принятым в проекте капитального ремонта техническим решениям и условиям правильной эксплуатации конструктивных элементов здания и инженерного оборудования.

1.3.6. Раздел «Техническая эксплуатация» включает:

- основные конструктивные решения ремонта элементов здания, инженерного оборудования и систем, предложения по рациональному техническому обслуживанию конструкций, частей здания, инженерного оборудования (или систем);

- систему контроля за эксплуатацией частей здания и инженерным оборудованием;

- содержания придомовой территории

1.3.7. В разделе должны быть предусмотрены:

- проектный режим эксплуатации (с указанием параметров), обеспечивающих надежную и бесперебойную работу конструкций, частей здания, инженерного оборудования и систем;

- методы и способы, при помощи которых достигается проектный режим эксплуатации;

- места отключения узлов систем инженерного оборудования без нарушения их работы при ремонтах и аварийных ситуациях;

- приборы и оборудование, с помощью которых поддерживается, контролируется и регулируется режим эксплуатации;

- допустимые отклонения от проектных режимов;

- выявленные в процессе эксплуатации неисправности конструкций и инженерного оборудования;

- технические решения по устранению выявленных неисправностей, разработанные в проекте капитального ремонта;

- наиболее ответственные и менее надежные узлы конструкций, на которые надо обратить особое внимание эксплуатационного персонала;

- рекомендации по содержанию конструкций, частей здания, инженерного оборудования и систем;

- основной принцип работы конструкций, частей здания, инженерного оборудования и систем, а также способы и методы устранения мелких неисправностей.

1.3.8. В целях повышения эксплуатационных качеств жилого дома и уровня его обслуживания автору проекта необходимо предусматривать:

- помещение для диспетчерской службы;

- помещения для бытовых нужд проживающего населения;

- облицовку цоколя здания, стен входных тамбуров и лестничных клеток долговечными материалами;

- установку поливочных кранов;

- установку автоматического управления освещением лестничных клеток;

- устройство мусоропроводов, лифтов и т.д.;

- применение тестированных индустриальных элементов и изделий для возможной замены систем инженерного оборудования;

- применение эффективных долговечных материалов для отделки здания.

1.3.9. В раздел «Техническая эксплуатация» включают технический паспорт жилого дома, в котором отражены проектные решения конструктивных элементов жилого дома по типовому проекту и по проекту капитального ремонта.

1.3.10. В пояснительной записке раздела «Техническая эксплуатация» должны быть рассмотрены основные конструктивные решения, принятые по типовым проектам, выявленные в межремонтный срок недостатки, а также мероприятия по их устранению, предусмотренные проектом капитального ремонта по всем конструкциям, элементам здания, инженерного оборудования и систем. Особое внимание необходимо обратить внимание на мероприятия по стенам наружным и внутренним, перекрытиям, перегородкам, инженерному оборудованию.

1.3.11. В качестве графической части в раздел даются чертежи наиболее ответственных узлов конструктивных решений типового проекта и проекта капитального ремонта.

1.3.12. Утверждение раздела «Техническая эксплуатация» проекта капитального ремонта жилых домов типовых серий производится одновременно с утверждением проекта капитального ремонта жилого дома в установленном порядке.

1.3.13. Основное назначение раздела - обеспечить исправное содержание конструкций и инженерного оборудования на весь межремонтный период. Раздел «Техническая эксплуатация» передается вместе с другой исполнительной документацией на капитальный ремонт в жилищно-эксплуатационную организацию, хранится там весь межремонтный период и прикладывается к заказ-заданию при передаче исходных данных для проектирования очередного капитального ремонта.

1.4. ПОРЯДОК РАЗРАБОТКИ РАЗДЕЛА «ТЕХНИЧЕСКАЯ ЭКСПЛУАТАЦИЯ» ПРОЕКТА КАПИТАЛЬНОГО РЕМОНТА ЖИЛЫХ ДОМОВ ТИПОВЫХ СЕРИЙ

1.4.1. Раздел «Техническая эксплуатация» в составе проекта капитального ремонта разрабатывается одновременно с проектом капитального ремонта дома.

1.4.2. Раздел «Техническая эксплуатация» определен эталоном раздела «Техническая эксплуатация» проекта капитального ремонта жилых зданий массовых серий типовых проектов, утвержденным приказом Госгражданстроя от 14 августа 1981 г. № 245 и включает в себя:

- пояснительную записку, состоящую из общих положений, рекомендаций по эксплуатации строительных конструкций и помещений, систем инженерного оборудования;

- графический материал.

1.4.4. В основных положениях пояснительной записки должны быть освещены следующие вопросы:

- цель разработки раздела «Техническая эксплуатация»;

- основания для разработки раздела (для каких условий строительства);

- общие указания о порядке проведения частичных и общих осмотров;

- ссылки на нормативно-инструктивную литературу, использованную при разработке раздела.

1.4.5. В рекомендациях по эксплуатации строительных конструкций и помещений приводятся следующие данные:

- описание конструктивной схемы здания в целом;

- описание конструктивных элементов - фундаментов, стен, перекрытий и т.д. по типовому проекту капитального ремонта.

1.4.6. Приводятся рекомендации по технической эксплуатации каждого конструктивного элемента и инженерного оборудования, перечень возможных нарушений конструктивных элементов, инженерного оборудования и мероприятия по их устранению при капитальном ремонте.

1.4.7. В рекомендациях по эксплуатации каждого вида инженерного оборудования (водоснабжения, канализации, отопления, вентиляции, газоснабжения и электрооборудования) должны быть приведены следующие данные:

- описание устройства и расположение оборудования;

- требования по эксплуатации оборудования и мероприятия по их выполнению;

- требования по технологической последовательности производства ремонтных работ.

1.4.8. При разработке чертежно-графической части раздела «Техническая эксплуатация» следует использовать:

- рабочие чертежи типового проекта;

- чертежи конструктивных узлов инженерного оборудования, измененных при капитальном ремонте.

Графический материал, включенный в раздел «Техническая эксплуатация» должен быть дополнен рекомендациями по методам восстановления конструкций и оборудования в период эксплуатации здания.

1.4.9. Оформление раздела «Техническая эксплуатация» следует выполнять с учетом требований стандартов системы проектной документации.

1.5. ОСНОВНЫЕ ПОЛОЖЕНИЯ ЭТАЛОНА РАЗДЕЛА «ТЕХНИЧЕСКАЯ ЭКСПЛУАТАЦИЯ»

Раздел «Техническая эксплуатация» проекта капитального ремонта жилого дома № 3 по ул. Карпинского в г. Пенза входит в состав проекта капитального ремонта, разработанного на основании следующих документов:

- титульного списка капитального ремонта жилых домов с перепланировкой на 1985 год;

- технического заключения о состоянии несущих конструкций дома, выполненного проектной организацией;

- заказ-задания.

В разделе «Техническая эксплуатация» учтены требования «Правил и норм технической эксплуатации жилищного фонда» и других действующих нормативных документов по вопросам эксплуатации жилых зданий, приведенных в приложении 2 к пояснительной записке.

Своевременное обнаружение и устранение неисправностей при эксплуатации строительных конструкций и инженерного оборудования является обязанностью жилищно-эксплуатационных организаций, эксплуатирующих и осуществляющих ремонт жилых домов.

1.6. технический паспорт дома

Город                    Пенза                     Район               Советский        ПЖРО         11

дом                       № 3                         корп.             1                улица             Карпинского

 

№ п/п

Характеристика здания

По типовому проекту

предусмотрено проектом капитального ремонта

1

2

3

4

 

Жилой дом постройки

1968 г.

1985 г.

 

Типовой проект

серия 1-464

без изменений

 

Надстройка

не производилась

не предусмотрена

 

Планировка

для посемейного заселения

без изменений

 

Количество этажей

5

5

 

Количество квартир

80

80

 

Наличие встроенных помещений

не имеется

без изменений

 

Кровля

совмещенная вентилируемая рулонная

ремонт покрытия и примыканий к выступающим конструкциям

 

Водосток

внутренний

ремонт, прочистка

 

Лестничная клетка

сборные ж/б ступени и марши

ремонт по ликвидации выбоин и трещин ступеней и площадок

 

Наружные стены

трехслойные панельные общей толщиной 250 мм

требуют ремонта и дополнительного утепления

 

Фасад

облицовка керамической плиткой, создание рельефа на поверхности

ремонт

 

Цоколь

облицовка плиткой «кабанчик»; фактурный слой из бетона с добавлением каменной крошки, битого стекла и пр.

ремонт фактурного слоя, наклейкой облицовочной плитки, ремонт штукатурки

 

Стыки

закрытого типа

устранение протечек и продуваемости стыков путем уплотнения прокладок с обжатием на 30 - 50 % и герметизация мастикой; устранение промерзания скосом из теплоизолирующих материалов

 

Балконы из сборных железобетонных плит с гидроизоляцией

ж/б плиты с гидроизоляцией

требуют ремонта по ликвидации обратного уклона, восстановлению гидроизоляцией и водоотводящих металлических сливов

 

Перекрытия

сборные ж/б плиты толщиной 10 см, отертые по контуру

без изменения

 

Внутренние стены

железобетонные несущие панели толщиной 12 см

усилена звукоизоляция, заделаны трещины

 

Двери

одинарные с полотнами из плит ДВП

выполнено усиление входных дверец с оборудованием их доводчиками

 

Окна

спаренные

ремонтируются по главному фасаду, оборудуются третьим слоем стекла без смены коробок, смена уплотняющих прокладок

 

Техническое подполье

высотой 1,6 м; стены из бетонных блоков, полов нет

производится регулировка температурного режима, устройство подготовки под пол и стяжки

 

Полы

 

ремонт в соответствии с техническим решением

2. КОНСТРУКЦИЯ ЗДАНИЯ

2.1. Конструктивная схема здания (Рис. 1 - 5)

Конструктивная схема здания решена с несущими поперечными стенами с опиранием панелей по контуру, что обеспечивает надежную устойчивость и жесткость конструкций.

Конструктивная схема не изменяется.

В случае появления трещин в несущих конструктивных элементах, ржавых пятен в местах расположения закладных деталей, подтопления технического подполья и др. неисправностей прочностного характера рекомендуется вызывать специализированную организацию для определения и устранения неисправности.

2.2. Фундаменты и техническое подполье

а). Характеристика конструкций по типовому проекту

Сборные железобетонные блоки-подушки. Бетон М-200. Сплошные бетонные блоки. Бетон М-100. Стены технического подполья: внутренние - сборные железобетонные панели, бетон М-150, толщиной 14 см; наружные - многослойные.

б). Рекомендации по технической эксплуатации конструкций

Для вентиляции технического подполья в наружных цокольных стенах выполнены продухи с регулируемыми фрамугами имеющими ограничители. Для устранения значительных теплопотерь через техническое подполье дома необходимо поддерживать в холодное время года температуру воздуха не менее 5 °С в помещении, влажность не более 65 % при однократном воздухообмене.

Для поддержания указанного режима необходимо: осуществлять проветривание технического подполья, открывая все продухи в летнее время и регулируя их частичное закрывание зимой; держать закрытой на замок входную дверь в подполье, открывая ее только по мере необходимости; восстанавливать по мере износа уплотняющие прокладки в притворах входных дверей; содержать в исправном состоянии теплоизоляцию трубопроводов центрального отопления и горячего водоснабжения; тщательно уплотнять зазоры в местах прохода всех трубопроводов через стены и фундаменты; содержать в исправном состоянии мостики для перехода через коммуникации; не допускать перегрузок на отмостке дома и на полу технического подполья при производстве ремонтных работ.

В течение отопительного сезона не реже одного раза измеряется температура и влажность воздуха помещения психрометром, температура поверхности стен термощупом, температура горячих поверхностей трубопроводов - обычным уличным термометром через пластилиновую накладку.

Подлежат регулярному наблюдению наиболее уязвимые места: сопряжение цокольных панелей с отмосткой жилого дома; горизонтальная гидроизоляция наружных и внутренних стен технического подполья; вертикальная гидроизоляция стен технического подполья: облицовочный защитный слой цокольных панелей; зоны застоя или притока воды к фундаментам и стенам технического подполья дома.

В случае аварии следует обращать внимание зоны увлажнения и следить за вымовкой грунтов под подошвой фундаментов.

Восстановление стыков между цокольными панелями в случае их неисправности выполняются в соответствии с указаниями, приведенными в разделе «Стены наружные и внутренние».

При обнаружении на стенах и потолках сырых пятен и плесени, образования конденсата на водопроводных трубах следует организовать интенсивное проветривание через окна, двери, продухи.

Окраска металлических поверхностей деталей (трубопроводы, крюки, подвески и пр.) и восстановление неисправностей теплоизоляции в техническом подполье осуществляется частично в порядке подготовки к зиме здания, и в полном объеме при выполнении текущего ремонта каждые 3 года.

Отмостки и тротуары по периметру жилого дома должны быть в исправном состоянии с уклоном 0,03 - 0,3 от здания.

Водоотводящие лотки от жилого дома регулярно очищаются от снега, льда и грязи.

В процессе эксплуатации жилого дома запрещается производить срезку грунта вблизи здания, складировать материалы возле стен здания, допускать подтопление оснований или застой воды, а также утечку воды из коммуникационной сети, сажать деревья ближе 5 м, а кустарник - 1,5 м от стен здания.

Приямки и входы в техническое подполье следует регулярно очищать от мусора и снега.

Земляные работы в непосредственной близости от здания, особенно ниже подошвы фундамента, могут производиться только по специальному разрешению.

Если трещины в панелях продолжают увеличиваться, или будут другие неисправности - обращаться в специализированные организации.

Выявленные неисправности:

Решение по проекту капитального ремонта:

Трещины в плоскости примыкания отмостки к наружным цокольным панелям

Трещины между отмосткой и стеной расчистить и заделать бетоном (асфальтом или горячим битумом)

Нарушение бетонного покрытия пола

Выполнить пол толщиной 100 мм из бетона

Разрушение цементно-песчаного раствора заделки стыков; трещины в цокольных панелях; повреждения, просадки или разрушения фундаментов, вызванные застоем, притоком воды к фундаментам, вымыванием грунта под подошвой или пучением грунтов основания.

Стабилизировавшиеся трещины очистить от грязи, промыть, расшить и заделать цементным раствором. Трещины шириною менее 3 мм расшить до 3 - 5 мм на глубину 20 - 25 мм и заделать жестким цементным раствором марки не менее М-100.

Трещины более 5 мм зачеканить жестким цементным раствором М-100. При появлении небольших трещин, выбоин в стенах технического подполья заделку производить цементным раствором М-100.

Неудовлетворительное состояние водоотводящих лотков от жилого дома

Восстановить водоотводящие лотки

Просадки, образовавшиеся в местах укладки инженерных сетей

Засыпать песчаным грунтом слоями толщиной 20 см с последующим трамбованием каждого слоя и поливкой водой с восстановлением покрытия

Разрушена поверхность входной площадки, имеются выбоины и трещины ступеней, а также повреждение кирпичной кладки стен входа

Разрушенную поверхность входной площадки восстановить материалами, предусмотренными в проекте, выбоины и трещины ступеней заделать цементным раствором с железнением; восстановить поврежденную кирпичную кладку и отремонтировать штукатурку ограждающей стены

Столярные изделия требуют ремонта

Установить новый поручень; повреждения входных дверей и оконных блоков, установленных в подполье, восстановить в соответствии с проектным решением

Имеются щели и трещины в примыканиях стенок и пола приямков к фундаментам

Щели и трещины в местах примыкания стенок и пола приямков к фундаментам заделать горячим битумом

Повышенная влажность воздуха в техническом подполье, вызывающая появление мокрых пятен на стенах и образование конденсата на трубах, а также нарушение антикоррозионного покрытия и утепление трубопроводов

Установить регулируемые жалюзийные решетки на отверстия продухов; выполнить антикоррозионное покрытие трубопроводов двумя слоями изола по очищенной поверхности; затем выполнить тепловую изоляцию трубопроводов отопления матами из минеральной ваты толщиной 100 мм с покровным слоем из стеклоткани по пергамину; обратный трубопровод теплоизоляции не требует


Рис. 1. Узлы устройства продуха для вентиляции подполья

Рис. 2. Узлы устройства продуха для вентиляции подполья

Рис. 3. Деталь устройства продуха технического подполья

Рис. 4. Ввод теплосети

Рис. 5. Детали ввода водопровода, электро и телефонного кабелей, канализационного выпуска, прохождения трубопровода через перекрытия


2.3. Стены наружные и внутренние (Рис. 6 - 8)

а). Характеристика конструкций по типовому проекту

Наружные стены - трехслойные панели общей толщиной 25 см; наружный железобетонный слой - 50 мм; внутренний железобетонный слой - 100 мм; средний слой из полужестких минераловатных плит толщиной 100 мм.

Фактурный слой:

- облицовка малогабаритной глазурованной плиткой;

- из бетона с добавлением каменной крошки.

Внутренние стены: бетонные панели толщиной 12 см.

б). Рекомендации по технической эксплуатации конструкций

Правильная эксплуатация ограждающих конструкций обеспечивается постоянным нормативным температурно-влажностным жилых комнатах - 18 °С при влажности 60 %; в кухне - 15 °С; в ванной - 25 °С, в уборной и лестничных клетках - 16 °С.

Разность температур внутренней поверхности наружной стены в середине простенка и воздуха на уровне 1,5 м от пола не должна превышать 6 °С (температура поверхностей стен измеряется термощупом).

Не менее одного раза в отопительный сезон нужно измерять анемометром воздухообмен в помещениях, психрометром - влажность воздуха и термометром - его температуру.

Нарушение герметичности стыка устанавливается замером температур поверхностей наружных стен.

Нормируемая величина воздухопроницаемости должна быть не более 0,5 кГ/мкв×час.

Подлежат регулярному наблюдению наиболее уязвимые места наружных и внутренних стен: стыки панелей и стен, углы помещений, примыкающих к наружным стенам; простенки и перемычки; места отирания плит перекрытий на стены; стыки сопряжений оконных, дверных заполнений с панелями; защитное покрытие панелей наружных стен; места прохождения водостоков.

Необходимо предохранять стены от увлажнения атмосферными и грунтовыми водами.

В случае появления трещин на наружных и внутренних стенах следует произвести обследование и замеры трещин.

Ширина раскрытия трещин измеряется трещиномером, лепой Боннелля, микроскопом Мир-2.

В зависимости от ширины раскрытия трещины разделяют на неопасные (волосяные до 0,1 мм, мелкие до 0,3 мм разлитые до 0,5 мм) и опасные (большие до 1,0 мм и значительные более 1,0 мм).

Трещины в несущих стенах свидетельствуют либо о неравномерной осадке основания дома, либо о температурных деформациях. После появления трещин надо поставить маяки и вести наблюдение за ними. Стабилизировавшиеся трещины очистить от грязи, промыть водой и заделать.

При появлении трещин в перемычках, под опорами перемычек, под опорами балок, плит и т.д. необходимо привлечь специализированную организацию по определению причин деформаций.

В процессе эксплуатации жилого дома запрещается крепить в стенах и панелях наружных стен оттяжки проводов.

Установку и крепление реклам осуществлять по специально разработанному проекту.

Крепление флагодержателей, уличных знаков следует производить в местах, предусмотренных проектом.

Всем конструкциям, укрепленным на наружных стенах, следует давать уклон от стены, чтобы вода, стекающая с них, не попадала на фасад дома.

В целях сохранности скрытой электропроводки во внутренних стеновых панелях, запрещается пробивка или сверление отверстий без консультации инженера-электрика.

Подвеска предметов домашнего обихода к железобетонным перегородкам разрешается общим весом не более 100 кг с двух сторон.

Выявленные неисправности:

Решение по проекту капитального ремонта:

Повреждение фактурного слоя

Штукатурка цементным раствором

Отслоение облицовочной плитки

Трещины расчистить, трещины промыть водой, зачеканить цементным раствором, выполнить перетирку дефектных мест цементной гидрофобной пастой состава 1:3. После затвердевания затирочного слоя облицовочную плитку приклеить клеем КН-2.

Фасадные плоскости стеновых панелей не совпадают

Провести тщательную заделку горизонтального стыка: в этих местах горизонтальные стыки заделать гидрофобным раствором М-100 с уклоном, промазать тиоколовой мастикой с заводкой ее за панели. Перед нанесением мастики поверхность швов и панелей очистить, высушить и промыть бензином.

Промерзание стен

Стены утеплить дополнительным слоем утеплителя ПСБ-С толщиной 2,5 см, плотно укрепить с внутренней стороны промерзающих панелей между рейками, установленными шагом 1,2 м с отступлением от угла на 20 мм и завести теплоизоляционный слоя на откос оконной коробки. По слою теплоизоляционного материала выполнить слой пароизоляции кровельным пергамином. Отделочный слой - сухая штукатурка.

Утеплить наружный угол с внутренней стороны выполнить в виде скоса из теплоизоляционного материала. Утеплить карнизный узел с внутренней стороны, для чего установить дополнительный карниз из теплоизоляционного материала (рис. 6).

Разрушение нижней кромки наружной стены панели

Восстановить цементным раствором М-150 и затем обработать гидрофобизирующим составом ГКЖ-11.

Пониженная звукоизоляция внутренних стен и перегородок

Выполнить герметизацию всех внутренних каналов, трещин и неплотностей. Щели проконопатить жгутами пакли или пороизола на глубину 15 - 20 мм и затереть цементным раствором М-150. Размеры жгутов подобрать из учета обжатия их в трещине на 20 - 50 %. В местах примыкания пола к внутренним стенам заменить звукоизоляционные прокладки плитами ДВП или минераловатными

Зыбкость, выпучивание, трещины во внутренних стенах

Проверить прочность крепления внутренних стен к наружным и в необходимых случаях дополнительно укрепить ершами, скобами, хомутами.

Трещины шириной менее 3 мм

Расшить до 3 - 5 мм на глубину 20 - 25 мм, заделаны жестким цементным раствором М-100

Трещины более 5 мм

Зачеканить жестким цементным раствором М-100


Рис. 6. Утепление промерзающих конструкций изнутри помещения

Рис. 7. Усиление входных дверей в квартиры без снятия коробоки

Рис. 8. Закладные детали МС-1 и МС-2. Спецификация стали


2.4. Балконы (Рис. 9 - 10)

а). Характеристика конструкций по типовому проекту

Железобетонная плита из бетона М-300 заделанная в стену. Гидроизоляция из 1 слоя рубероида на битумной мастике; цементный пол 20 - 40 мм.

б). Рекомендации по технической эксплуатации конструкций

При намокании нижних и боковых кромок плит лоджий и балконов проводится дополнительная гидрофобизация этих поверхностей следующим составом:

- раствор кремнийорганической жидкости ГКЖ-94 в толуоле концентрации 10 %;

- эмульсия ГКЖ-94;

- Кремнеорганическая жидкость ГКЖ-10, 11; петролатум, нагретый до 80 °С.

При эксплуатации жилого дома необходимо систематически проверять правильность использования жильцами лоджий и балконов, не допускать размещения на них тяжелых вещей, захламления, самовольного остекления и т.д., портящих внешний вид здания и нарушающих нормальную эксплуатацию лоджий.

Категорически запрещается самовольная установка экрана и застройка межбалконного пространства.

Металлические решетки, поручни, кронштейны и деревянные части поручня периодически (через 3 - 5 лет) окрашивают масляной краской с предварительной очисткой от ржавчины.

Цвет окраски балконов на всем здании должен быть в соответствии с колерным паспортом. Балконы должны иметь стандартные экраны по конструкции и цвету, согласованные с районным архитектором.

Если на балконе посажены цветы, следует принять меры против чрезмерного увлажнения пола балкона и затекания воды на стены при поливке растений. Во избежание загрязнения стен зданий и нижерасположенных балконов ящики следует устанавливать на поддонах.

Летом пол балкона нужно очищать от мусора и пыли, а зимой от снега.

Выявленные неисправности:

Решение по проекту капитального ремонта:

Балконные плиты и пол балкона имеют обратный уклон

Выполнить цементную стяжку с уклоном 0,03 от стены, по стяжке наклеить 2 слоя рубероида на битумной мастике, затем сделать цементный пол, армированный металлической сеткой 10 ´ 10 мм с последующим зажелезнением

Трещины и нарушения гидроизоляции в заделке балконной плиты; нарушение герметичности стыков

Гидроизоляционные слои и металлическую сетку завести в горизонтальную штрабу в стене

Вынос слива балкона недостаточен

Слив по периметру балкона, имеющего обратный уклон, сделать шириной равной 1,5 толщины плиты для защиты от попадания воды на нижнюю поверхность плиты и завести под гидроизоляционный ковер

Не поставлен слив из оцинкованной стали на дверной коробке

Установить металлический слив в паз коробки

металлический слив на боковых сторонах балкона не заделан в тело панели или не доведен до стены на 150 - 200 мм или совсем отсутствует

Участок пола по краю стены снять на ширину основания слива; восстановить гидроизоляцию на битуме; установить оцинкованный слив с примыканием торца слива к стене.

Уложить дополнительный слой гидроизоляции на битуме с заведением на основание слива не менее 150 мм; восстановить цементный пол по металлической сетке с ячейками 10 ´ 10 мм

Цементный пол балконной плиты разрушен

Снять разрушенный пол и гидроизоляцию, наклеить новую гидроизоляцию и сделать новый цементный пол толщиной 30 мм по тканевой сетке

Трещины и повреждения бетонных задних краев плит балконов находится в недоступной для ремонта зоне

Загерметизировать горизонтальный стык между балконом и стеной здания. Предварительно стык расчистить и завести в него жгут пористой резиновой прокладки, обжатой на 30 - 40 %, затем стык герметизировать тиоколовым герметиком

Нарушение защитного слоя и оголение бетона

Разрушенный слон бетона на плитах удалить, обнаженные стержни арматуры очистить стальными щетками от ржавчины, произвести насечку, промывку водой, нанести защитный слой цементно-песчаного раствора М-200 (состав 1:1, 1:2)

Имеются разрушения нижней и боковых кромок плит балконов

Кромки восстановить и затем обработать ГКЖ-94 в толуоле концентрации 10 %


Рис. 9. Детали ремонта балконов, лоджий, парапета

Рис. 10. Детали ремонта балконов и лоджий


2.5. Стыки (Рис. 11 - 12)

а). Характеристика конструкций по типовому проекту

Закрытого типа водозащита обеспечивается зачеканкой жестким цементно-песчаным раствором состава 1:3 на расширяющемся цементе или портландцементе М-400; воздухозащита обеспечивается конопаткой на клей смоченной в цементно-известковом растворе; теплоизоляция - установкой пакета из полужестких минеральных плит = 300 кг/кбм толщиной 70 мм, обернутых слоем пергамина.

б). Рекомендации по технической эксплуатации конструкций

Причина промерзания и протечек стыков определяется путем тщательного осмотра панелей стен и инструментального контроля.

Нарушения герметичности стыков устанавливается замером температур поверхности при помощи термощупа; воздухопроницаемость - приборами ИВС-2М или ДСКЗ-1, воздухообмена в помещении - анемометром, температуры и влажности воздуха в помещении психрометром или гигрографом и термографом.

При необходимости в секциях вскрываются стыки наружных стен, производится проверка температурно-влажностного режима помещений и осматриваются наиболее уязвимые места конструкций.

Для повышения качества герметизации и защиты от увлажнения при ремонте стыка грани панелей, показанные на рис. 12, покрываются грунтовками (мастики КН-2, БСХА, 51Г-18, тиоколовая дисперсия Т-50, ГКЖ 84 и пр.).

При наличии протечек или продувания через стыки панелей наружных стен, количество стыков, подлежащих герметизации, назначается в зависимости от характера дефектов.

Технология ремонта панелей стен изложена в «Инструкции по технической эксплуатации крупнопанельных домов» и «Временных технических указаний по организации, механизации и технологии ремонта крупнопанельных зданий».

Причинами промерзания стыковых соединений панелей наружных стен могут быть:

- нарушение герметизации стыков, примыканий оконных, дверных коробок и плит лоджий к стенам;

- неплотная приклейка воздухозащитной ленты в плоскости вертикального стыка.

При появлении промерзающих участков стены на внутренней поверхности их образуется темные пятна. В этом случае по специально разработанному проекту следует сделать утепление конструкции стены.

Выявленные неисправности:

Решение по проекту капитального ремонта:

Трещины в стыках 0,5 - 3 мм, отслаивание и выкрашивание раствора, трещины в углах примыкания панелей, помещениях кухонь и лестничных клетках

Очистить стыки из рыхлого раствора, промыть. Горизонтальные стыки зачеканить гидрофобным раствором, вертикальные - проконопатить просмоленным канатом с обжатием не менее 30 %

Стыки панелей цоколя и первого этажа местами раскрыты, раствор выкрошился, уплотнительная пакля вывалилась

Расчистить шов от старого раствора с помощью зубила и молотка или электродрели с фрезой; стык законопатить просмоленным канатом, ввести герметик; заделать шов цементным раствором состава 1:2 М-100 с добавлением 20 % асбеста.

Поверхность шва предварительно смочить.

Заделать шов цементным раствором

Недостаточная герметизация стыковых соединений

Стык расчистить на глубину до 45 мм и просушить. Взамен удаленных материалов завести упругие пористые резиновые прокладки (гернит на клее КН-2, поризол на мастике изол) в сжатом на 30 - 50 % от первоначальной толщины состоянии. Стыки герметизировать тиоколовой мастикой толщиной 2,0 - 2,5 мм заведением ее на кромки панелей не менее, чем на 25 мм или другим герметизирующим материалом слоем не менее 20 мм с последующей заделкой гидрофобизованным цементным раствором.

Стыки шириной менее 5 мм расчистить до проектной ширины (20 мм), а в стыки шириной 5 - 10 мм завести вместо резиновых прокладок минеральную паклю.

Для защитной окраски герметиков темных тонов (ГС-1, КБ-1, КБ-): и др.) применять перхлорвиниловые краски на алюминиевой пудре или цементно-перхлорвиниловые краски

Протечки в местах сопряжения стен с заполнением оконных проемов

Установить отливной брусок шириной не менее 40 мм на нижних обвязках переплета с капельником; стекла на двойной замазке с плотным их креплением шпильками и штапиками; заменить уплотняющие прокладки в створных частях переплетов; исправить или устанавливать вновь линейное металлическое покрытие из оцинкованной кровельной стали с заведением его к коробке и боковым откосам оконного проема; выполнить герметизацию щелей


Рис. 11. Герметизация стыков

Рис. 12. Герметизация стыков панелей наружных стен


2.6. Окна и двери (Рис. 13 - 17)

а). Характеристика конструкций по типовому проекту

Окна и балконные двери - деревянные со спаренными переплетами.

б). Рекомендации по технической эксплуатации конструкций

Влажность древесины оконных и дверных блоков в зимнее время определяется нейтронным влагомером ЦНВ-1 ЛНИИ АКХ, электронным влагомером ЭДВ-2, ЭВ-2М и электровлагомером УНИИ МОД и не должна превышать 12 %.

Минимальная температура на внутренней поверхности оконного блока в зимнее время должна быть 6 °С.

При подготовке дома к зиме отверстия для стока воды в нижней части коробки и наружные отливы окон, балконов и лоджий должны очищаться от снега, грязи и пыли.

Восстановление уплотнительных прокладок из пенополиуретана в оконных переплетах и входных дверях квартир и в дверях лоджий рекомендуется приклейкой клеем КН-2, № 88 по всей поверхности без покрытия масляной краской.

Контроль качества работ при ремонте дверей и оконных переплетов заключается в проверке правильности крепления шурупами навесов, точности навески дверных полотен и окопных переплетов и их подгонки к притворам коробок.

Запрещается забивать шурупы, ставить нестроганые элементы, оставлять щели между дверным полотном и коробкой более 5 мм, между оконным переплетом и коробкой - более 2 мм.

Восстановление остекления производится на двойной замазке с креплением стекла деревянными штапиками.

Мастику по контуру столярных блоков следует покрывать масляной краской, поврежденные дверные основы необходимо восстановить.

При нарушении защитной окраски столярных изделий ее следует периодически восстанавливать.

Окраска оконных переплетов и дверей может производиться масляными красками (ГОСТ 10503-71), поливинилоацетатными (ВА-27) или стиролбутадиеновыми (КЧ-26).

Деревянные поверхности, ранее окрашенные масляными или синтетическими красками следует расчищать только от непрочной старой окраски; остающуюся прочную краску отмывают от загрязнения.

Выявленные неисправности:

Решение по проекту капитального ремонта:

Недостаточная герметизация оконных и дверных блоков в местах примыкания к стенам

Восстановить уплотнения конопаткой (войлок, пакля и др. смоченные в гипсовом растворе) и заделать гидрофобным раствором М-100, после чего по всей высоте обработать гидрофобным составом ГКЖ-10

Потеря упругости уплотнительных прокладок; неплотности притворов оконных переплетов и дверных полотен

Восстановить уплотнительные прокладки на пенополиуретане путем приклейки клеем КН-2 или № 88 по всей поверхности после высыхания окраски окон

Изменение уклонов и конфигурации деревянных сливов, а также ослабление крепления на наружных переплетах

Установить слив в случае его отсутствия, слив устанавливают на водостойком клее и шпильках, зашпаклевывать и закрасить; при наличии зазоров слив следует закрепить, зашпаклевать и закрасить. Очистить и в случае необходимости углубить капельник на сливе для отвода воды

Неправильный уклон или отсутствие прорезей в нижнем бруске коробки

Исправить или прорезать в нижнем бруске коробки паз для отвода воды шириной 10 мм на расстоянии 50 - 100 мм от края; прорезь должна быть очищена и иметь уклон наружу

растрескивание окрасочного слоя оконных и дверных блоков

Выполнить окраску деревянных деталей масляными красками по расчищенной и отмытой от загрязнений теплой мыльной или 3 % аммиачной водой

неисправность запорной арматуры

Заменить арматуру

нарушение крепления оконных и дверных коробок

Укрепить гвоздями или шурупами в антисептированные пробки, предусмотренные в панелях при изготовлении

разбитые стекла

Остекление произвести на двойной замазке с креплением стекла деревянными шпатиками

перекос и рассыхание дверных полотен

Выполнить пригонку или набивку планок, приклеить филенку, щели заделать рейками по клею

Торцы металлического слива не заведены в тело панели

Пробить горизонтальную, штрабу в панели, завести в нее края слива, заделать штрабу гидрофобным раствором М-100. При недостаточной длине металлических сливов - заменить новыми

Металлический слив неправильно примыкает к нижнему элементу оконной коробки

Слив завести в горизонтальный паз нижнего элемента коробки на суриковой замазке. Место примыкания промазать по всей длине замазкой


Рис. 13. Герметизация примыкания оконного блока к панели


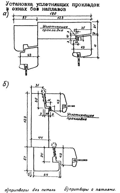
Установка уплотняющих прокладок

При капитальном ремонте установка или замена существующих прокладок всех типов окон и балконных дверей обязательна.

Уплотняющие прокладки устанавливают по всему периметру открывающихся элементов окон и дверей (створок, полотен, форточек фрамуг, клапанов и пр.), в обязательном порядке в притворах внутреннего переплета в окнах любой конструкции, между спаренными переплетами в окнах и дополнительно, если требуется, в притворах наружного переплета, а в окнах с тройными переплетами - в притворах «среднего и наружного переплетов. На открывающихся элементах окон с наплавом прокладки крепят к наплаву. В окнах без наплавов в притворах, где петли отсутствуют, прокладки крепят к четвертям коробок таким образом, чтобы широкие грани прокладок были параллельны плоскости элемента. В притворе с петлями широкие грани прокладок должны быть перпендикулярны плоскости створных элементов. Аналогично располагаются прокладки в притворах форточек, фрамуг, клапанов. В притворах между створками безимпостных окон прокладки размещаются в средней четверти притвора.

Рис. 14. Установка уплотняющих прокладок окон


Рис. 15. Установка уплотняющих прокладок в окнах с наплавом


Установка третьего переплета

Для повышения теплозащиты эксплуатируемых зданий в суровых климатических условиях при капитальном ремонте целесообразно устанавливать третье остекление как для раздельных, так и для спаренных переплетов. Для фиксации створки в момент установки предусмотрен прибор. Их количество на каждую створку 2 шт. Дополнительная створка примыкает к внутреннему переплету через уплотняющую прокладку из пенополиуретана размером 10 ´ 20 мм по периметру. Прижим дополнительной створки осуществляется винтовыми стяжками в количестве 3 шт. на створку. Для запирания створных элементов применяются завертки нарезные со съемными ручками типа ЗВЛ по ГОСТ 5090-79х с изм., но удлиненным стержнем; для размещения завертки типа ЗВЛ в соответствующих местах дополнительной створки рассверливаются отверстия Æ 10 мм. Остекление дополнительной створки осуществляется на шпильках в нетвердеющей замазке. В случае установки дополнительного остекления по требованиям акустической изоляции применяется стекло толщиной 6 мм.

Установка дополнительной створки на оконный блок с раздельными переплетами

Брусок обвязки дополнительной створки

1. Наружный переплёт.

2. Внутренний переплёт.

3. Уплотняющая прокладка.

4. Брусок обвязки дополнительной створки.

Рис. 16. Установка дополнительной створки на оконный блок. Брусок обвязки


Рис. 17. Установка дополнительной створки на оконный блок


2.7. Крыша (Рис. 18 - 22)

а). Характеристика конструкций по типовому проекту

Безчердачная, совмещенная, вентилируемая, рулонная с внутренним водостоком.

б). Рекомендации по технической эксплуатации конструкций

Допустимые прогибы плит покрытия - 1/200 пролета.

Выход на крышу из лестничной клетки через дверь в каждой секции дома.

Люки выхода на крышу - несгораемые, имеют плотные притворы и специальные запирающие устройства.

Уклон крыши - 0,015 обеспечен за счет укладки панелей покрытия на разные отметки опорных, конструкций.

Содержание кровель бесчердачных крыш заключается в проведении очередных и внеочередных технических осмотров (обследований), очистка кровель от мусора и выполнение непредвиденного текущего ремонта.

Ровность и уклоны поверхности кровли проверяют прикладыванием трехметровой рейки. Просвет под ней не должен превышать 5 мм на горизонтальной поверхности в направлении вдоль уклона и 20 мм - на вертикальной поверхности в направлении поперек уклона. Просветы допускаются только плавного очертания и не более 1 на 1 м.

Очистку внутреннего водоотвода от водоприемных воронок до выпуска следует проводить периодически зимой и летом. Очистку стояка внутреннего водоотвода со стороны воронок производят проволочными щетками диаметром, равным диаметру трубы стояка.

Для обеспечения нормальной работы температурных компенсаторов стояка следует ежегодно заменить в них сальниковую набивку.

Устройство надежного сопряжения мастичного покрытия с вертикальными конструкциями (расположенными выше плоскости кровли) обеспечивается нанесением мастики на эти конструкции, усилением мастичного покрытия дополнительными двумя слоями стекломатериала и защитным фартуком из оцинкованной кровельной стали. В конструкции, выступающей над кровлей, закладывают антисептированные деревянные рейки для закрепления пропитанной мастикой стеклоткани или стеклосетки.

В местах перехода от горизонтальной поверхности к вертикальной необходимо установить устройство скоса для качественной и плотной приклейки рулонного материала.

Одновременно с ремонтом кровли следует выполнить следующие работы:

- ремонт элементов, выступающих над кровлей;

- прочистку верхних участков стояков внутренних водостоков и вентиляционных каналов;

- уплотнение стыков примыканий воронок к внутренним водостокам.

Выявленные неисправности:

Решение по проекту капитального ремонта:

Нарушение примыкания рубероидного ковра к выступающим на крыше отдельным трубам

Уложить вокруг трубы слой мешковины, пропитанной суриком, размером 500 ´ 500 мм; наклеить вплотную к трубе нижний слой рубероидного ковра; одеть на трубу патрубок из стального 4-х миллиметрового фланца размером 400 ´ 400 мм и гильзы.

Фланец плотно прижать к слою рубероида, промазанного битумом; законопатить просмоленной паклей зазор между трубой и гильзой патрубка; наклеить на битуме поверх стального фланца патрубка остальные слои рубероида, вплотную подогнав их к гильзе; одеть на трубу при помощи обжимного кольца конический фартук из оцинкованной стали

Не установлены зонты из оцинкованного железа на теле- и радиостойках; место примыкания к стойкам разрушено

Изготовить металлический патрубок, состоящий из стального листа толщиной 3 мм, фланца размером 400 ´ 400 мм; и гильзы с диаметром внутренней трубы равным диаметру стойки 40 мм; патрубок разрезать на две половинки.

Изготовить фартук из оцинкованной стали со стяжным хомутом; уложить вокруг трубы 1 слой мешковины, пропитанной суриком размером 600 ´ 600 мм; надеть на стойку половинки патрубка и плотно установить на слой мешковины; наклеить вокруг стойки, поверх фланца три дополнительных слоя рубероида на битуме; законопатить зазор между стойкой и гильзой патрубка смоляной паклей и залить сверху битумом; установит на стойке конический фартук из оцинкованного железа и закрепить его хомутом со стяжным болтом

Нарушены места сопряжения кровельного ковра с вертикальными поверхностями вентиляционных шахт и выходов на кровлю

Сопряжение кровельного ковра с вертикальными поверхностями выполнить по проекту; завести ковер в выдру стены, установить металлический фартук

Ввиду малого уклона кровли и некачественного выполнения работ на поверхности кровли образуются так называемые «блюдца», в которых застаивается вода

Снять существующий рулонный ковер, выровнять поверхность цементной стяжкой с обеспечением необходимых уклонов и вновь наклеить рубероидный ковер

Воронки внутренних водостоков установлены не по проекту; отметка горловины водостока находится выше отметки кровли.

Битум затекает в воронку и уменьшает полезный диаметр водостока. Вода через место примыкания ковра к воронке проникает в слои утеплителя, а затем через потолок верхнего этажа - в лестничную клетку

Привести конструкцию водостока в соответствие с проектом и требованиями технической эксплуатации

Ликвидация контруклона и восстановление кровельного ковра по козырькам

- очистить козырек от грязи и мусора;

- прибить дюбелями 4,5 ´ 40 мм костыли с шагом 700 мм по периметру козырька;

- уложить на поверхность козырька цементно-песчаный раствор М-100 с уклоном наружу 1,5 %, одновременно устроить наклонный бортик, в который заложить деревянный брусок, предварительно окунув его в раствор битума и бензина 1:1;

- наклеить на мастике МБР-Г-65 двухслойный рулонный ковер;

- закрепить его по свесам посредством отгиба последнего, а у стены - стальной полосой 20 ´ 3 мм с отверстием Æ 5 мм, прибиваемой дюбелями 4,5 ´ 40 мм с шагом 450 - 500 мм;

- сопряжение стены с рулонным ковром загерметизировать резино-битумной мастикой МБР-Г-65, слоем 2 ± 0,5 мм.

Ремонт примыкания кровельного ковра к трубам

- снять со стояка зонт и металлический фартук;

- срезать от стояка до наклонного бортика отсоединившуюся часть кровельного ковра;

- очистить от грязи и мусора зону примыкания кровельного ковра;

- устроить наклонный бортик из цементно-песчаного раствора М-100 высотой 150 мм при уклоне 45° и нанести на него мастику МБР-Г-65;

- наклеить последовательно слой стеклосетки типа ССС, СС-1 (2, 3) и два слоя рубероида с напуском 150 мм на старый рулонный ковер и по 100 мм по отношению друг к другу, причем верхнюю кромку рулонных материалов поднять на 250 мм над уровнем кровли;

- установить и закрепить металлический фартук обжимным кольцом и зонт;

- сопряжение стояка с механическим фартуком загерметизировать резино-битумной мастикой МБР-Г-65 слоем 2 ± 0,5 мм.

Рис. 18. Примыкание кровельного ковра

Ремонт примыкания кровельного ковра к стене

- срезать отслоившуюся часть рулонного ковра со стены наклонного бортика;

- очистить от грязи и мусора зону примыкания кровельного ковра;

- устроить наклонный бортик из цементно-песчаного раствора М-100 высотой 150 мм при уклоне 45° и нанести на него мастику МБР-Г-65;

- уложить последовательно 3 слоя рубероида с напуском 150 мм на старый рулонный ковер и по 100 мм по отношению друг к другу, причем верхнюю кромку рулонных материалов поднять на 250 мм над уровнем кровли;

- кромку кровельного ковра и металлический фартук пристрелить дюбелями 4,5 ´ 40 мм через 200 мм;

- сопряжение стены с кромкой рубероида загерметизировать резино-битумной мастикой МБР-Г-65, слоем 2 ± 0,5 мм.


Рис. 19. Детали кровли

Рис. 20. Детали кровли

Рис. 21. Детали кровли


Ремонт пробоин и разрывов

- очистить и просушить зоны повреждения, приклеить двухслойную рубероидную «заплату» на горячей битумной (типа МБР-Г-65) или холодной изоловой мастике (нахлест 50 мм) или оклеить лентой ликален (ТУ 21-29-88-81) или «Гарлен» с рубероидной защитой сверху.

Ремонт вздутий ковра

- очистить и просушить зоны вздутия; крестообразно разрезать вздутие ковра или вырезать его;

- приклеить двухслойную рубероидную заплату.

Устранение вмятин ковра глубиной до 15 мм

- очистить зоны «блюдец» и наклеить 2 - 3 слоя рубероида на изоловой мастике (внахлест до 100 мм) «заподлицо» с существующим ковром.

Устранение вмятин ковра глубиной более 15 мм

- вырезать весь деформированный участок;

- отремонтировать цементно-песчаную стяжку;

- приклеить 2 - 3 слоя рубероида на изоловой мастике (нахлест до 100 мм).

Примечания:

- запрещается ремонтную гидроизоляцию выполнять из чистого битума (гудрона);

- запрещается стыки панелей покрытия герметизировать битумом и цементно-песчаным раствором;

- при укладке рулонного ковра обязательно выполнять гравийную защиту.

Ремонт разрыва ковра по стыку между панелями

- после очистки зоны повреждения наклеить 2 слоя стеклоткани на мастике «Кровелит» или «Вента» или 3 слоя рубероида на горячей резино-битумной мастике, ленту «Гарлен» или ликален с двумя слоями рубероида по верху.

Рис. 22. Устранение дефектов кровли

Ремонт примыкания ковра к водоприемной воронке

- снять водоприемный колпак и прижимное кольцо;

- снять старый кровельный ковер размером 1 ´ 1 м вокруг воронки;

- очистить и просушить основание под ковром, выполнить разуклонку полимер-раствором или цементно-песчаным раствором М200;

- наклеить вокруг воронки слой стеклосетки (ткани) типа СС-1, 800 ´ 800 мм на мастиках типа МБР;

- наклеить 2 слоя рубероида размером 1 ´ 1 м вровень со старым кровельным ковром;

- наклеить второй слой стеклосетки с напуском 100 мм на старый ковер;

- наклеить два слоя рубероида по всей плоскости участка водосбора;

- установить прижимное кольцо и водоприемный колпак;

- примыкание кольца залить резино-битумной мастикой, уложить защитный слой гравия.

2.8. Перекрытия и полы (Рис. 23 - 25)

а). Характеристика конструкций по типовому проекту

Перекрытия из плоских железобетонных панелей толщиной 100 мм, опираемых по контуру. Полы - в зависимости от назначения помещения.

б). Рекомендации по технической эксплуатации конструкций

Наиболее уязвимые места перекрытий:

1. опорная часть плиты; 2. середина пролета; 3. швы между панелями; 4. места прохождения трубопроводов инженерного оборудования; 5. зоны увлажнения.

Допустимый прогиб плит перекрытия - 1/200 пролета. Прогибы измеряются индикаторам часового типа или прогибомерами системы Максимова, Аистова, ЛИСИ.

В процессе эксплуатации перекрытий могут появиться послеосадочные трещины в местах сопряжения плит перекрытий со стенами.

Детали полов приведены на рис. 23, 25.

В процессе эксплуатации проверяют: горизонтальность пола, отсутствие трещин и щелей, влажность древесины, звукоизоляцию и теплопроводность.

В случае недостаточной звукоизоляции пола, неплотности в местах примыкания панелей перекрытия к стенам следует проконопатить смоляной паклей, пороизолом или заделывают раствором.

Линолеум на теплой основе промывают холодной или теплой водой, натирают восковой мастикой. Соду применять не рекомендуется.

Паркетные полы натирают мастикой один раз в два месяца. Мыть водой не рекомендуется. Полы из керамической плитки моются водой. Раздельная конструкция пола обеспечивает нормальный уровень звукоизоляции от воздушного и ударного шума в междуэтажных перекрытиях.

При снижении уровня звукоизоляции следует:

- отремонтировать рассохшиеся и разрушенные полы;

- заделать все отверстия в перекрытиях и метах прохождения трубопроводов инженерного оборудования;

- заделать все трещины в местах примыкания плит перекрытий к стенам и перегородкам.

Выявленные неисправности:

Решение по проекту капитального ремонта:

Темные пятна на потолке в местах сопряжения плит перекрытия с наружными стенами (промерзание мест сопряжения). Трещины в местах сопряжения плит перекрытия со стенами и перегородками

Расчистить и заделать цементным раствором М-100 и зашпаклевать

Разрушение плит перекрытия в местах подвески светильников

Отверстия уплотнить мягкой минераловатной плитой и заделать цементно-песчаным раствором состава 1:3

Разрушения заделки отверстий в местах прохождения трубопроводов инженерного оборудования

Разобрать пол, расчистить отверстие вокруг трубы, обернуть трубу асбестовым картоном слоем 10 мм, плотно установить гильзу из оцинкованной стали на асбестовый картон, заделать отверстие цементно-песчаным раствором состава 1:3

Повреждение мозаичных полов (трещины, выбоины, сколы)

Поврежденное место расчистить зубилом или рашпилем, удаляя весь отслоившийся слабый раствор. Гнездо для заделки уширяют книзу, а на нижней его поверхности делают насечку. Гнездо очищают и промывают водой. Ремонтируемый участок грунтуют поливинилацетатной эмульсией или латексом СКС-65, разведенным водой в соотношении 1:4. При заделке глубоких трещин и выбоин подготовленное гнездо сначала заделывают поливинилацетатным раствором, а после его схватывания сверху укладывают мозаичный пол. После затвердевания раствора отремонтированный участок шлифуют до уровня пола. Используются полимерацетатные составы на поливинилацетатной дисперсии или на расширяющемся портландцементе с триэтиламином для заделки верхнего слоя, в полимерцементной раствор добавляют мраморную или гранитную крошку, соответствующую по составу примененной

Изношенные и сгнившие доски деревянных полов

Заменить на новые с применением строганных досок 1-го и 2-го сортов из хвойных и лиственных пород (кроме липы и тополя) с пазами и гребнями на боковых гранях. Доски с нижней стороны и по кромкам антисептируются. Рассыхание полов устраняется путем сплачивания с пристрожкой старых и постановкой новых сухих досок.

Повреждения покрытия линолеумных полов

Вырезать дефектный участок, очистить основание и наклеить кусок нового линолеума того же цвета. Прирезку нового и старого линолеума производить на месте повреждения одним надрезом. Для наклейки рекомендуется мастики ДФК-72 или ДФК-8П, кумороно-каучуковая (для резинового линолеума). Наклеенный линолеум покрывают фанерой, плотно прижимают грузом на время твердения мастики.


Рис. 23. Детали полов при панелях перекрытия толщиной 100 мм

Рис. 24. Детали перекрытий при панелях толщиной 100 мм

Рис. 25. Детали полов при панелях перекрытия толщиной 160 мм


Инженерные системы (Рис. 26 - 27)

3.1. Системы центрального отопления и вентиляции

При разработке раздела использованы следующие материалы и документы:

«Правила и нормы технической эксплуатации жилых зданий», МЖКХ РСФСР, 1975 г.

«Методические указания по организации работ по текущему ремонту и наладке инженерного оборудования жилых зданий», 1972 г.

СНиП 2.08.01-85 «Жилые здания».

Выполнение указаний по технической эксплуатации планового раздела дает возможность жилищно-эксплуатационным организациям осуществлять мероприятия по обеспечению нормальной эксплуатации зданий.

Все работы по текущему ремонту следует производить согласно СНиП III-28-75 «Правила производства и приемки работ».

3.1.1. Общие сведения о теплоснабжении дома

Теплоснабжение жилого дома № 3 стр. № 1 по адресу: г. Пенза, ул. Карпинского осуществляется от центрального теплового пункта, расположенного по адресу: ул. Садовая, дом 12, корп. 1.

От ЦТП снабжается теплом 5 зданий. Общая максимальная часовая нагрузка на ЦТП составляет по всем видам потребления 2 ккал/час, в том числе:

на отопление 1,0 ккал/час

на горячую воду 0,8 ккал/час

на вентиляцию 0,2 ккал/час

Максимальная нагрузка на стр. № 1 дома № 3 составляет 0,2 ккал/час. Система отопления здания присоединена к ЦТП по зависимой схеме.

3.1.2. Устройство вентиляции и отопления

Система отопления запроектирована однотрубная, посекционная, тупиковая с верхним разливом.

Магистральные трубопроводы отопления проложены: подающая магистраль - на чердаке, обратная - в техническом подполье. Магистраль подающая и обратная изолированы минеральной ватой 50 и 40 мм соответственно.

В качестве нагревательных приборов установлены конвекторы «Универсал-20».

Приборы отопления установлены под окнами в нишах (без ниш, приоконно или др.).

Подводки к приборам унифицированные (односторонние).

Расширительный бак установлен на чердаке на отметке 36,50 м в здании по адресу: дом № 3, корп. 1, ул. Карпинского и от него проложен сигнальный кабель от реле уровня к ЦТП.

Элеваторный узел управления № 3 - 4 штуки расположены в техническом подполье под секциями № 1, 2, 3, 4 в осях 6, 12, 18, 24. Стояки системы отопления диаметрами 20 и 15 мм проложены открыто на расстоянии 300 мм от окна. На подводках к приборам установлены краны (не установлены краны).

Теплоноситель при данной схеме отопления циркулирует через приборы полностью (не полностью).

3.1.3. Указания по эксплуатации системы отопления

Система отопления работает по графику качественного регулирования отпуска тепла.

При непрогреве всего здания целиком необходимо проверить соответствие расхода теплоносителя и его параметров принятым величинам для данного ЦТП (соответственно гидравлическому режиму тепловых сетей в данном районе и температурному графику на текущий момент).

При недостаточной подаче тепла в дом отрегулировать гидравлический режим в сетях ЦТП или увеличить диаметры конусов, дроссельных шайб в элеваторных узлах, узлах управления до расчетной величины.

При перетопе здания в целом - уменьшить подачу тепла путем уменьшения диаметра конуса или дроссельных шайб на вводе в дом. Правильность гидравлического режима после ЦТП и соответствие его фактическим тепловым нагрузкам зданий должны проверяться персоналом наладочных участков.

Правильность наладки оборудования ЦТП, сетей и систем отопления должны регулярно в начале, в середине года и перед окончанием отопительного сезона освидетельствоваться путем замеров сопротивлений и расчетных расходов: водонагревателей по греющей и нагревательной воде для отопления и горячего водоснабжения; сетей после ЦТП; систем отопления всех корпусов с помощью дифференциальных манометров.

Так как теплоснабжающие организации осуществляют теплоснабжение по температурному графику с качественным регулированием отпуска тепла, то при правильной наладке - установке нужного гидравлического режима в сетях за ЦТП, подбора диаметров конусов элеваторов или дроссельных шайб, другая дополнительная регулировка систем отопления в узлах управления или элеваторных узлах не требуется.

3.2. Система водоснабжения и канализации

3.2.1. Краткое описание инженерных систем

Источником водоснабжения микроквартала является городской водопроводный ввод № 2 Æ = 150 мм, расположенный в ЦТП по адресу ул. Садовая, дом 12, к. 1.

Для учета расхода воды установлен водомер с обводной линией, на которой смонтирована электрифицированная задвижка. Открытие задвижки с одновременным включением пожарного насоса производится дистанционно от пусковых кнопок, установленных в домах повышенной этажности до адресу: ул. Садовая, д. 1, к. 1 и д. 14, к. 1.

Необходимый потребный напор для обеспечения только холодной водой наиболее высокого и отдаленного от ЦТП здания составляет 50 м.

Напор обеспечивается установленными в ЦТП насосами, работающими по последовательной схеме.

Переключение насосов для повышения напора или расхода производится автоматически в зависимости от требуемых напоров на вводе в дом.

Требуемый напор для систем горячего водоснабжения составляет 5,8 м. Для обеспечения дополнительного недостающего напора в сети горячего водоснабжения Н = 8 м (Нгор - Нхол) устанавливается дополнительная группа из двух насосов, работающих в подающе циркуляционном режиме.

При производстве ремонтных работ по замене насосов в любой группе предусмотрена возможность отключения без нарушения эксплуатации систем холодного и горячего водоснабжения.

3.2.2. Наружные инженерные сети

а) Горячее водоснабжение

Сеть горячего водоснабжения, состоящая из 2-х ниток трубопроводов различных диаметров (подающий трубопровод большего диаметра) проложена в общем непроходном 2-х ячейковом канале раздельно от отопления. Трубы имеют тепловую изоляцию из полуцилиндров из минеральной ваты толщиной подающей - 50 мм, обратной - 40 мм.

б) Холодное водоснабжение

Трубопровод холодного водоснабжения проложен из чугунных водопроводных труб и, частично, из газовых водопроводных утолщенных труб с наружной битумной изоляцией, проходит на глубине 2,6 м от поверхности земли.

в) Канализация

Дворовая сеть канализации из керамических раструбных труб диаметром 200 мм с смотровыми колодцами диаметром 1000 мм на поворотах и в местах присоединений. Крышки колодцев круглый год должны очищаться от земли мусора и снега. Расположение колодцев должно отмечаться специальными табличками, прикрепленными к стенам здания с указанием расстояния от колодца.

3.2.3. Внутреннее инженерное оборудование

а) Горячее водоснабжение

Система горячего водоснабжения - из стальных водогазопроводных оцинкованных труб. Для спуска воды из системы магистральные трубопроводы проложены с уклоном в сторону ввода с устройством спускного тройника в нижней точке.

Для возможности полной откачки воды из подвала предусмотрено устройство приямков со съемной решеткой. Пол подвала имеет уклон в сторону приямков.

На подающей магистрали в подвале устроены ответвления к которым присоединены группы подающих стояков с расположенной на них водоразборной арматурой и прямоточными полотенцесушителями. Стояки объединены под потолком верхнего этажа кольцующей перемычкой с подключением к ней одного циркуляционного стояка, присоединенного к циркуляционной магистрали в подвале.

Отключение каждого из подающих и циркуляционного стояков производится двумя вентилями: одного у основания стояка и второго в верхней его части, под потолком последнего этажа.

б) Холодное водоснабжение

Система холодного водоснабжения - из стальных водогазопроводных оцинкованных труб.

Трубопровод, проходящий в подвале для возможности спуска воды из системы, проложен с уклоном в сторону ввода и покрыт противокоррозионной изоляцией. В низшей точке магистрали устанавливается спускной тройник. Для возможности полной откачки воды из подвала предусмотрено устройство приямка. Отключение любого из стояков производится вентилем у его основания.

в) Канализация

Внутренняя канализационная сеть выполнена из чугунных канализационных труб, проходящих открыто. Все санприборы снабжены гидрозатворами. Для прочистки стояков предусмотрены ревизии. Все трубопроводы имеют уклон для стока воды, в процессе эксплуатации категорически запрещается оставлять открытыми прочистки и ревизии в подвальных помещениях. При засорах и подпорах в наружной сети канализации следует немедленно вызывать аварийную службу, ведущую эксплуатацию наружных сетей.

г) Внутренний водосток

В целях приема атмосферных и талых вод на плоской кровле предусмотрена установка приемных водосточных решеток. Стояки монтируются в лестничной клетке из чугунных водопроводных раструбных труб и имеют выпуски в открытый лоток на асфальтированную поверхность отмостки.

е) Газооборудование

Монтаж газопровода выполнен газовыми черными трубами на сварке с открытой прокладкой по строительным конструкциям здания.

Запорная арматура установлена:

- на каждом цокольном этаже;

- на каждом стояке в 1-м этаже.

Обслуживание и техническая эксплуатация газооборудования полностью возложены на газовые эксплуатационные конторы.

При аварийном положении, требующем срочного перекрытия газа на стояке, последующее открытие крана для пуска газа допускается производить только работникам спецслужбы.

В процессе эксплуатации не допускается заделывать стояки коробами, привязывать к газопроводу веревки, крепить к ним мебель, заделывать вентиляционные решетки и устраивать спальные места на кухнях.

3.2.4. Эксплуатация сантехнических систем

После проведения капитального ремонта через каждые три последующие года должен проводиться профилактический текущий ремонт сантехнических систем в соответствии с «Правилами и нормами технической эксплуатации жилищного фонда» по перечню приложения № 5, утвержденным МКХ 31 декабря 1968 года, (издание 1974 г.)

Выполнение работ производить согласно СНиП III-28-75 «Правила производства и приемки работ».

В период между проведением профилактических ремонтов должна проводиться в течение года наладка систем в следующем объеме:

1. Смена прокладок у водоразборной и водозапорной арматуры.

2. Набивка сальников у водоразборной и водозапорной арматуры.

3. Ремонт смывного бачка со сменой шарового крана.

4. Разборка, прочистка и сборка вентилей.

5. Смена груши.

6. Смена поплавка.

7. Прочистка внутренней канализации.

8. Смена манжет у унитазов

9. Регулировка смывного бачка.

В целях подготовки к зимнему периоду ежегодно проводится осенний осмотр инженерного оборудования.

3.2.5. Ликвидация аварийных случаев

При возникновении аварийной ситуации, вызвавшей нарушение работы инженерной системы и грозящей материальными убытками (затопление, подтопление и др.), немедленно локализировать источник аварии путем отключения аварийных участков.

Отключение систем холодного и горячего водоснабжения и отдельных их элементов при аварии и ремонте:

1. Отключение внутриквартирной разводки на подводке к квартире.

2. Отключение стояка холодного водоснабжения запорным вентилем у основания стояка в подвале, а при его дефектности - закрытием вентиля на ответвлении к узлу группы стояков холодного водоснабжения в подвале.

3. Отключение секционного узла или отдельных стояков в узле системы горячего водоснабжения (см. схему секционного узла).

а). Стояк отключается 2-мя вентилями; перекрытием вентиля «1» у основания стояка в подвале и вентилем «2» на стояке в квартире верхнего этажа.

б). При дефектности одного из вентилей или отсутствия жильцов в квартире верхнего этажа необходимо произвести отключение всего секционного узла системы горячего водоснабжения.

Для этого требуется перекрыть вентиль «3» на ответвлении к группе стояков в подвале и второй вентиль «5» у основания циркуляционного стояка.

в). Отключение вентиляционного стояка - вентилем у основания стояка в подвале и вентилем «4» на верхнем этаже.

г). При дефекте трубопровода на ответвлении к группе секционного узла отключение производить способом, указанном в п. 3б.

д). При засоре отдельных элементов внутренней канализационной сети: стояков, магистралей в подвале, выпусков и т.д. произвести немедленное отключение отдельных элементов или всей системы горячего и холодного водоснабжения для прекращения поступления сточных вод в канализационную сеть.


Рис. 26. Образец выполнения плана технического подполья

Рис. 27. Образец выполнения принципиальной схемы секционного узла системы горячего водоснабжения


3.3. Электрооборудование

При разработке раздела были использованы следующие материалы и документы:

- Правила устройства электроустановок - ПУЭ-86.

- Правила технической эксплуатации и техника безопасности электроустановок потребителей ПТЭ и ПТБ-86.

- СНиП 2.08.01-85, издания 1985 года.

- СНиП II-4-79, издания 1980 года.

- Инструкция по проектированию электрооборудования жилых зданий, СН-54482, издания 1982 года.

- Инструктивные материалы Государственной инспекции по энергонадзору, издания 1977 года.

- Правила и нормы технической эксплуатации жилищного фонда МЖКХ РСФСР, издания 1974 года.

- Положение о проведении планово-предупредительного ремонта жилых и общественных зданий. Госстрой СССР, издания 1965 года.

Электрооборудование жилого дома по адресу: ул. Карпинского, дом 3, корп. 1.

Согласно техническим условиям, выданным службой присоединения МКС «Мосэнерго» за № КС-45-17р, осуществляется от трансформаторной подстанции ОТИ 1313, расположенной по адресу:

ул. Садовая, дом 12, корп. 1.

Напряжение электросети 380/220 В. Нейтраль трансформаторов в ТП заземлена наглухо.

По степени обеспечения надежности электроснабжения здание относится ко 2-ой категории потребителей электроэнергии, за исключением противопожарных устройств дома и аварийного освещения путей эвакуации во время пожара, которые относятся к 1-ой категории.

Питающие кабели от ТП марки ААБ, сечением 3 ´ 120 заведены на водораспределительное устройство серии «УБР - 8503» с взаимно-резервируемым кабельными вводами от разных секций щита Н/Н в ТП. «УВР-8503» установлено в специальном электрощитовом помещении, расположенном на 1-м этаже.

На каждом этаже установлены электрошкафы типа ШЛС - 4 м в нишах на высоте 1,2 м от поверхности пола до низа шкафа.

В электрошкафу установлены приборы учета электроэнергии (счетчики), аппараты защиты внутриквартирной сети и общий отключающий аппарат для всех квартир, обслуживаемых, электрошкафом, а также штепсельная розетка с заземляющим контактом для подключения уборочных машин и электроинструментов.

На 1-м этаже в нише установлен шкаф типа ШЛС-200, в котором предусмотрен автомат типа А3716 для защиты стояка и его отключения при ремонте.

3.3.1. Неполадки и их устранение

В процессе эксплуатации и осмотра инженерных сетей и оборудования могут быть обнаружены следующие характерные нарушения, на которые в первую очередь необходимо обратить внимание и принять меры к быстрейшему их устранению. Это:

- выход из строя осветительных устройств, как-то: ламп накаливания, люминесцентных ламп, коммуникационной аппаратуры (выключатели, рубильники, осветительные щитки) - выяснить причину и при необходимости заменить предохранители, выровнять нагрузку на фазы в распределительном устройстве, устранить тем самым перекос фаз, заменить осветительные устройства, вышедшие из строя по истечении срока службы или вследствие износа оксидного слоя (потемнение концов ламп), протереть лампы бензином, особенно коны, заменить пускатель, проверить состояние арматуры и соединений, устранить поврежденные элементы, при необходимости заменить, надежно закрепить;

- мигание люминесцентных ламп - выяснить причину и уменьшить нагрузку (стабилизировать напряжение), протереть лампы бензином, особенно концы, при необходимости заменить пускатель, заменить лампы;

- перегорание плавких вставок в РУ и перегорание жил подводящего кабеля в РУ - выявить и отключить избыточную нагрузку, выявить место короткого замыкания, установить причину;

- повышенный шум дросселя при работе люминесцентных ламп - отрегулировать затяжку пластин дросселя, проверить и привести в соответствие мощности дросселя и лампы;

- перегорание плавких вставок в РУ и перегорание жил подводящего кабеля в РУ - выявить и отключить избыточную нагрузку, выявить место короткого замыкания, установить причину, плавкие вставки заменить, при наличии резерва длины на подводящем кабеле разделать его вновь, при отсутствии резерва кабеля - нарастить с учетом требований ПЭУ;

- возгорание электропроводки - проверить нагрузку сети по току и снять лишних потребителей, проверить предохранители и поставить плавкие вставки по номиналу, заменить поврежденную проводку, для предупреждения пробоя изоляции периодически проводить проверку ее сопротивления, зачистить контакты тепловых реле, выявить и отключить неисправные электроприборы, выявить и устранить причины повреждения.

3.3.2. Аварийные запасы

В соответствии с «Нормами запаса материалов на текущий ремонт жилых зданий»1 при выполнении электротехнических работ на 100 квартир норма запаса годовой потребности составляет:

1 ЛНИИ АКХ им. К.Д. Памфилова, Москва, Стройиздат, 1978 г. Утверждены приказом МЖКХ РСФСР от 15 марта 1976 г. № 148

- повышенный шум дросселя при работе люминесцентных ламп - отрегулировать затяжку пластин дросселя, проверить и привести в соответствие мощности дросселя и лампы;

- перегорание плавких вставок в РУ и перегорание жил подводящего кабеля в РУ - выявить и отключить избыточную нагрузку, выявить место короткого замыкания, установить причину;

выключатели 6,66 шт.

лампы накаливания 6,67 шт.

осветительная арматура 3 шт.

патроны электрические 5 шт.

предохранители 3 шт.

провод электрический 85 м

РЕКОМЕНДАЦИИ ПО УСТРАНЕНИЮ ОТКАЗОВ, ВОЗНИКАЮЩИХ ПРИ ЭКСПЛУАТАЦИИ ИНЖЕНЕРНЫХ СИСТЕМ ЖИЛОГО ДОМА

а) Система отопления

Элемент системы

Неисправность, отказ

Рекомендации по устранению

Узел управления или элеваторный узел

Недостаточная плотность закрытия задвижек

Заменить задвижки

Засоры сопла конуса элеватора, нарушение соосности сопла и корпуса элеватора

Вскрыть конус элеватора и ревизии сопла конуса и камер смещения и нагнетания

Нижние и верхние разводящие магистрали

Наличие свищей или значительной коррозии с ослаблением стенок трубопровода

Заменить частично или полностью на равный диаметр

Нарушение теплоизоляционного покрытия трубопроводов

Восстановить поврежденную изоляцию в соответствии с типовым проектом

Образование провисания трубопроводов («мешков») или контруклонов

Восстановить проектные уклоны

Запорная арматура на магистралях и стояках в пределах чердаков и технических подполий

Недостаточная плотность арматуры, течи через сальниковое уплотнение штока

Подтянуть сальники или перенабить их

Невозможность пользования арматурой из-за ее «закипания»

Заменить арматуру на новую

Срыв квадрата штока при пользовании трубными клещами вместо гаечных ключей

Заменить арматуру на новую

Основания стояков

Наличие свищей или сильная коррозия с утоньшением стенок трубопроводов

Заменить частично или полностью в пределах чердаков и технических подполий на равный диаметр

Стояки или приборы в пределах квартир

Большое количество воздуха в системе. Непрогревы отдельных мест

Установить на ЦТП регулятор давления «до себя» на обратном трубопроводе

Недостаточное давление в обратной магистрали теплосети Мосэнерго при зависимой схеме

Установить на ЦТП регулятор давления «до себя» на обратном трубопроводе

Расположение расширительного бака ниже верхних точек системы - при независимой схеме

Уточнить расположение расширительного бака и поднять его до нужной отметки

Некачественная работа подпиточного устройства - при независимой схеме

Уточнить расположение расширительного бака и поднять его до нужной отметки

б) Система вентиляции

Нет тяги в системе естественной вентиляции при наружной температуре +5 °С и ниже

Засор канала по высоте или у жалюзийной решетки

Провести каналы, найти засор и прочистить

Просветить лампочкой на длинном кабеле с помощью зеркала

Засор или отсутствие перепускных каналов в общий сборный канал из каналов-попутчиков

Недостаточная тяга, не обеспечивающая норму воздухоудаления

Расположение дефлекторов или зонтов на шахте в зоне ветрового подпора (аэродинамические тени)

Вынести оголовок шахты из зоны подпора, нарастив его на 1 м выше линии аэродинамической тени

Частичный засор в каналах или коробах на чердаке

Разобрать чердачные короба, прочистить их и восстановить

Попадание запахов из других квартир. Опрокидывание тяги

При схеме вентиляции в виде одного центрального сборного канала и двух каналов-попутчиков отсутствие рассечек в каналах попутчиках

Установить рассечки ниже вентиляционных решеток с примазкой раствором

Отсутствие обособленных каналов с 2-х верхних этажей, открывающихся непосредственно в атмосферу

Устроить обособленные вытяжные каналы с 2-х верхних этажей с выпуском их выше кровли

При наличии вытяжных каналов из технического подполья или подвала - переохлаждение пола нижнего этажа

Слишком большие продухи в стенах подполья или подвала и, как следствие, снижение температуры воздуха в них ниже +15 °С

Уменьшить продухи в подполье до величины суммарной площади равной 1:400 площади пола подполья или подвала

в) Система горячего водоснабжения

Трубопроводы.

Стояки и разводы по этажам

Необходимость длительного слива воды по отдельным стоякам для получения воды комфортной температуры.

Часть подающих стояков присоединена к циркуляционной магистрали

Требуется перерезка стояков и прокладка дополнительной циркуляционной магистрали

Периодический непрогрев полотенцесушителей по отдельным стоякам. Дефект вызван отсутствием циркуляции

Требуется перерезка стояков и прокладка дополнительной циркуляционной магистрали

В системе имеются замененные участки труб, наличие свищей

При большом количестве пораженных участков требуется замена труб

Коррозия резьбовых соединений, особенно на сгонах

Замена сгонов

Наличие наружной коррозии на подводках к приборам

Требуется замена труб или отдельных участков

Магистральные трубопроводы в техническом подполье

На трубопроводах из черных труб в видимых местах наружная коррозия

Заменить черные трубопроводы на оцинкованные

Теплоизоляция в отдельных местах нарушена

Восстановить теплоизоляцию

Имеются замененные участки трубопроводов

При большом числе замененных участков и наличии дефектов по п. 1 - 3 трубопровод подлежит замене

Запорная арматура и смесители

Запорная отключающая арматура на ряде стояков и квартирных подводках находится в дефектном состоянии и не перекрывает поступление воды, нарушение герметичности в результате износа резьбовой пары

Арматура подлежит замене

Смесители у ванн и моек, нарушение герметичности деталей, износ резьбовых пар, нарушение хромированного покрытия

Арматура подлежит замене

в) Система холодного водоснабжения

Трубопровод, стояки и разводки по этажам

Коррозия резьбовых соединений особенно на сгонах

Замена сгонов

Усиленная коррозия наружной поверхности труб на подводках к приборам

Требуется замена труб

Стояки в санузлах имеют нарушенную изоляцию от конденсата

Восстановить изоляцию

Магистральные трубопроводы в техническом подполье

Трубопроводы из черных труб

Заменить черные трубопроводы на оцинкованные

Имеются замененные участки труб, наружная коррозия

Заменить трубопроводы

Нарушение изоляции

Восстановить изоляцию

Запорная арматура и смесители

Запорная отключающая арматура находится в дефектном состоянии и не перекрывает поступление воды, нарушение герметичности в результате износа резьбовой пары

Арматура подлежит замене

в) Система электрооборудования

Вводно-распределительное устройство

Истечение срока службы и наличие значительных количеств дефектов, способных привести к аварийному положению

Полная замена вводно-распределительного устройства

Истечение срока службы, выход из строя отдельных элементов оборудования вводно-распределительного устройства (переключателей, предохранителей, автоматических выключателей, магнитных пускателей, пакетных переключателей и т.д.)

Замена отдельных элементов оборудования вводно-распределительного устройства

Внутридомовые линии-магистрали освещения и силового электрооборудования, стояки освещения квартир, выполненные на горизонтальных участках проводом в трубах открыто по техническому подполью и на вертикальных участках - скрыто в каналах электропанелей (без труб), а также скрыто в штрабах

Неудовлетворительное сопротивление изоляции проводов

Полная замена проводов неудовлетворительных участков. Ремонт электросети и доведение сопротивления изоляции до нормы

Занижено сечение питающих линий

Полная замена магистралей, стояков с использованием, по возможности, труб, выполненных открыто по техническому подполью, также на вертикальных участках - скрыто по штрабам

Групповые сети общедомового освещения и распределительные сети силового электрооборудования

Неудовлетворительное сопротивление изоляции проводов

Полная замена проводов неудовлетворительных участков. Ремонт электросети и доведение сопротивления изоляции до нормативного

Групповая сеть квартир

Неудовлетворительное сопротивление изоляции проводов

Полная замена проводов неудовлетворительных участков. Ремонт электросети и доведение сопротивления изоляции до нормативного

Лестничный электрошкаф

Истечение срока службы и наличие значительного количества дефектов, способных привести к аварийному состоянию

Полная замена электрошкафа

Истечение срока службы, выход из строя отдельных элементов оборудования электрошкафа (выключатели пакетные, выключатели автоматические, штепсельные розетки и т.д.)

Замена отдельных элементов оборудования электрошкафа

Светильники мест общего пользования: технического подполья, лестничных клеток, входа в подъезды, номерного знака дома и указателя пожарного гидранта (при их наличии), светильники санузлов квартир и установочные изделия - выключатели, штепсельные розетки

Истечение срока службы и выход из строя светильников, выключателей и штепсельных розеток

Замена светильников, выключателей и штепсельных розеток, пришедших в негодность

Приложение 1

ОСНОВНЫЕ СВЕДЕНИЯ О МАТЕРИАЛАХ, ПРИМЕНЯЕМЫХ ДЛЯ ВОДО- И ВОЗДУХОИЗОЛЯЦИИ ЗАКРЫТЫХ И ДРЕНИРОВАННЫХ СТЫКОВ ПАНЕЛЕЙ НАРУЖНЫХ СТЕН

Наименование материала, ГОСТ или ТУ

Описание материала

Назначение материала

Средний расход на 1 п.м. стыка, кг

Основные заводы-изготовители

Примечания

1. Герметизирующие мастики

Универсальный герметизирующе-клеевой состав строительного назначения Унигекс. ТУ 5772-013-17187505-95

Двухкомпонентная отверждающаяся мастика на полиуретановой основе. Цвет марок Унигекс-1 и Унигекс-2 от светло-серого до черного, для марки Унигкс-3 от светло-бежевого до кремового

Унигекс-1 и Унигекс-3: герметизация стыков элементов наружных стен, а также кровельных при максимальной относительной деформации стыков 25 %, Унигекс-2: наклейка линолеума, керамической плитки, камня, паркета и т.п. поверхностная герметизация стыков при ремонте.

0,3 - 0,4

Компания «Гермопласт», г. Москва

Интервал температур эксплуатации -60 °С ± +80 °С. Наносится шприцами всех видов конструкции ЦНИИОМТП, фирмы «Manel» (Испания) и т.п., а так же шпателем. Работы по нанесению следует выполнять при температуре воздуха -25 °С ± +50 °С. Может наносится на невысушенные поверхности. Применение грунтовочных составов не требуется.

Каучук тиолосодержащий наполненный в комплекте с отвердителем (мастика ЛТ-1) ТУ 38.103650-80

Двухкомпонентная отверждающаяся мастика на основе ТПМ-полимера. Цвет серый.

Герметизация стыков элементов наружных стен, при максимальной строительной деформации стыков 25 %

0,3 - 0,4

Завод строительных красок и мастик, г. Москва. Завод им. Кирова, г. Пермь

Интервал температур эксплуатации -60 °С ± +70 °С. Наносится шприцами всех видов конструкции ЦНИИОМТП, фирмы «Manel» (Испания) и т.п., а так же шпателем. Работы по нанесению следует выполнять при температуре воздуха не ниже -20 °С. Может наносится на невысушенные поверхности. Применение грунтовочных составов требуется.

Мастика тиоколовая строительного назначения АМ-0,5 ТУ 84-246-85

Двухкомпонентная отверждающаяся мастика на тиоколовой основе. Цвет серый.

Герметизация стыков между элементами наружных стен, а так же кровельных плит зданий при максимальной относительной деформации стыков 20 %

0,3 - 0,4

Завод строительных красок и мастик, г. Москва. Завод им. Кирова, г. Пермь

Интервал температур эксплуатации -60 °С ± +70 °С. Наносится шприцами всех видов например конструкции ЦНИИЭПжилища, фирмы «Manel» (Испания) и т.п., а также шпателем. Работы по нанесению следует выполнять при положительной температуре воздуха.

Герметик строительного назначения Тиксопрол - AM ТУ 5712-044-18009705-95

Двухкомнонентная отверждающаяся мастика на основе ТПМ-2-полимера, модифицированного тиоколом (марка 01) и жидкого тиокола (марка 05). Цвет серый.

Герметизация стыков элементов наружных стен зданий, а так же кровельных плит при максимальной относительной деформации стыков 25 %.

0,3 - 0,4

Научно-производственная фирма «Герметика», г. Москва.

Интервал температур эксплуатации -60 °С ± +70 °С. Наносится шприцами всех видов конструкции ЦНИИОМТП, фирмы «Manel» (Испания) и т.п., а также шпателем. Работы по нанесению следует выполнять при температуре воздуха: для марки 01: -20 °С ± +35 °С, для марки 05: +5 °С ± +35 °С. Может наносится на невысушенные поверхности.

Герметик полимерный строительный (герметик ПС-1) ТУ 5272-008-17187505-94

Однокомпонентная отверждающаяся мастика на основе каучука СКН-26А. Цвет от бежевого до серо-бежевого

Герметизация стыков элементов наружных стен, а так же кровельных плит зданий при максимальной относительной деформации стыков 20 %. Устранение неплотностей и щелей в местах примыкания элементов при монтаже сантехоборудования.

0,4

Компания «Гермопласт», г. Москва

Интервал температур эксплуатации -40 °С ± +70 °С. Наносится электрогерметизаторами и матиконагнетателями всех видов, например, ИЭ 6602, «Стык-20», «Шмель», «тепличный» и т.п., а также шпателем. Работы по нанесению следует выполнять при температуре воздуха -15 °С ± +40 °С. Применение грунтовочных составов не требуется.

Мастика герметизирующая неотверждающаяся строительная Супермаст ТУ 5772-021-17187505-96

Однокомпанентная неотверждающаяся (пластичная) мастика на основе этиленпропиленового каучука. Относительное удлинение при максимальной нагрузке - не менее 80 %. Цвет от светло коричневого до бежево-зеленого (хаки)

Герметизация и уплотнение стыков элементов наружных стен, а также кровельных плит зданий при максимальной относительной деформации стыков 20 %

1,0

Компания «Гермопласт», г. Москва

Интервал температур эксплуатации -50 °С ± +70 °С. Наносится электрогерметизаторами и мастиконагнетателями всех видов, например, ИЭ 6602, «Стык-20», «Шмель», «тепличный» и т.п., а также шпателем. Работы по нанесению следует выполнять при температуре воздуха не ниже -20 °С. Применение грунтовочных составов не требуется.

Мастика герметизирующаяся неотверждающаяся строительная Эласмаст ТУ 5772-012-17187505-95

Однокомпонентная неотверждающаяся (пластичная) мастика на основе стиральных каучуков. Относительное удлинение при максимальной нагрузке - не менее 70 %. Цвет светло-бежевый

Герметизация и уплотнение стыков элементов наружных стен, а также кровельных плит зданий при максимальной относительной деформации стыков 15 %

1,0

Компания «Гермопласт», г. Москва

Интервал температур эксплуатации -50 °С ± +70 °С. Наносится электрогерметизаторами и мастиконагнетателями всех видов, например, ИЭ 6602, «Стык-20», «Шмель», «тепличный» и т.п., а также шпателем. Работы по нанесению следует выполнять при температуре воздуха не ниже -20 °С. Применение грунтовочных составов не требуется.

Мастика герметизирующая нетвердеющая строительная НГМ-У ТУ 2-29-125-89

Однокомпанентная неотверждающаяся (пластичная) мастика на основе бутилокаучука. Относительное удлинение при максимальной нагрузке - не менее 45 %. Цвет бежевый

Герметизация и уплотнение стыков элементов наружных стен, а также кровельных плит зданий при максимальной относительной деформации стыков 15 %

1,0

Научно-производственная фирма «Герметика», г. Москва.

Интервал температур эксплуатации -50 °С ± +70 °С. Наносится электрогерметизаторами и мастиконагнетателями всех видов, например, ИЭ 6602, «Стык-20», «Шмель», «тепличный» и т.п., а так же шпателем. Работы по нанесению следует выполнять при температуре воздуха не ниже -20 °С.

Мастика герметизирующая нетвердеющая строительная ГОСТ 14791-79

Однокомпанентная неотверждающаяся (пластичная) мастика на основе различных каучуков: полиизобутиленового, этилеленпропиленового, изопренового, бутилового. Относительное удлинение при максимальной нагрузке 35 - 45 %. Цвет от светло-серого до коричневого

Герметизация и уплотнение стыков элементов наружных стен, а также кровельных плит зданий при максимальной относительной деформации стыков 10 %

1,0

Научно-производственная фирма «Герметика», г. Москва. Завод «Стройполимер», г. Хлюпино Московской области

Интервал температур эксплуатации -50 °С ± +70 °С. Наносится электрогерметизаторами и мастиконагнетателями всех видов, например, ИЭ 6602, «Стык-20», «Шмель», «тепличный» и т.п., а так же шпателем. Работы по нанесению следует выполнять при температуре воздуха не ниже -20 °С.

Мастика герметизирующая нетвердеющая морозостойкая строительная Тегерон ТУ 21-29-87-82

Однокомпанентная неотверждающаяся (пластичная) мастика на основе синтетического каучука. Цвет серый.

Герметизация и уплотнение стыков элементов ограждающих конструкций зданий, возводимых в северных районах

0,7

ПО «победа» г. Колпино Ленинградской области

Интервал температур эксплуатации -60 °С + +70 °С. Наносится электрогерметизаторами и мастиконагнетателями всех видов, например, ИЭ 6602, «Стык-20», «Шмель», «тепличный» и т.д., а также шпателем. Работы по нанесению следует выполнять при температуре воздуха не ниже -25 °С.

Мастика герметизирующая, нетвердеющая, строительная, ГОСТ 14791-79

Вязкая однородная масса на основе полиизобутиленового, этиленпропиленового, изопренового и бутилового каучуков; цвет от светло-серого до коричневого

Герметизация закрытых и дренированных стыков панелей наружных стен средних размеров (до 4-х м), мест примыкания оконных и дверных блоков к граням проемов

1,0

Армянский комбинат стройматериалов; Московский завод строительных красок Главмоспромстрой материалов при Мосгорисполкоме

Интервал температур эксплуатации от - 40°С до +70°С; работы по нанесению следует выполнять при температурах не ниже -20°С; В = С

То же, «Тегерон», ТУ 21-29-87-82

Вязкая однородная масса на основе синтетического каучука

То же, для северных районов

0,7

Ленинградское производственное объединение «Победа» Ленпромстройматериалов при Ленгорисполкоме, г. Колпино

Интервал температур эксплуатации от - 60°С до +70°С; работы по нанесению следует выполнять при температурах не ниже -25°С; В = С

Отверждающиеся тиоколовые мастики марок У-30М; У-31; ГОСТ 13489-79; АМ-0,5; КБ-0,5; ТУ 84-246-75

Двухкомпонентные материалы на основе полисульфидного каучука (тиокола); массы пастообразные перед смешиванием и резиноподобные после отвердения; Цвет черный; цвет АМ-0,5 - светло-серый

Герметизация стыков панелей наружных стен, в том числе стыков больших размеров (более 4-х м)

0,3

Казанский завод СК; Московский завод строительных красок Главмоспромстрой материалов при Мосгорисполкоме

Интервал температур эксплуатации от - 50°С до +70°С; работы по нанесению следует выполнять при положительных температурах окружающего воздуха; В = (0,5 - 0,7) С

Отверждающиеся бутилкаучуковые мастики марок «Гермабутил-1», «Гермабутил-2», РСТ УССР 5018-81

Двухкомпонентные материалы на основе бутилкаучука, смешиваемые перед употреблением, темного и светлого цвета

Герметизация стыков сборных сооружений

0,3

 

Интервал температур эксплуатации от -50° до ±80° С; работы по нанесению следует выполнять при температурах не ниже -20° С; мастику «Гермабутил-2» также на влажные; В = 0,5 °С

Отверждающаяся кремнийорганическая мастика «Эластол-11-06», ТУ 6-02-775-76

Однокомпопентный отверждающийся герметик на основе силикатного каучука, светлого цвета

Герметизация стыков панелей наружных стен, в том числе стыков панелей больших размеров (более 4 м) в суровых климатических условиях

0,3

Данковский химзавод, г. Данково Липецкой области

Интервал температур эксплуатации от -55° С до +90° С; работы по нанесению следует выполнять при температуре не ниже -10° С; В = 0,5 °С

2. Уплотняющие прокладки

Прокладки пенополиэтиленовые уплотняющие марки «Вилатерм-СМ» ТУ 6-05-2048-87. Прокладки пенополиэтиленовые уплотняющие марки «Вилатерм-СП» ТУ 6-05-2049-87

Вспененные прокладки, получаемые методом экструзии из композиции на основе полиэтилена высокого давления (низкой плотности), технических добавок и газообразователей. Цвет белый. Поперечное сечение: круглое сплошное Æ 30, 40 и 80 мм (Вилатерм-СП)

Устройство упругой основы под герметизирующие мастики в стыках элементов ограждающих конструкций зданий. Устройство воздухозащиты в стыках всех типов.

0,03 - 0,08 (Вила-терм-СМ) 0,03 - 0,17 (Вила-терм-СП)

Завод пластмасс, г. Нелидово, Тверской области (Вилатерм-СМ). АО «Стройдеталь», г. Москва (Вилатерм-СП)

Интервал температур эксплуатации -60 °С ± +70 °С. Работы по установке прокладок следует выполнять при температуре воздуха не ниже -30 °С. Рекомендуемое обжатие прокладок в стыках 20 - 50 %.

Прокладки резиновые пористые уплотняющие, ГОСТ 19177-81

Вулканизированные пористые прокладки круглого и прямоугольного сечений из резиновых каучуков, цвет черный, коричневый

Уплотнение зазоров в стыках панелей ПС, упругая основа под герметизирующие мастики

1,05 пог. м

Комбинат «Строительные материалы», г. Пески; комбинат «Стройдеталь», г. Москва

Интервал температур эксплуатации от -30° С до +70° С; для морозостойких прокладок от -60° С до +50° С

Прокладки пенополиуретановые уплотняющие «Вилатерм-С» ТУ 6-05-221-653-82

Вспененные прокладки круглого и прямоугольного сечений, цвет белый и черный

То же

1,05 пог. м

ДСК-160, г. Калининград Московской области

Интервал температур эксплуатации от -60° С до +70° С

3. Воздухозащитные ленты

Лента герметизирующаяся самоклеющаяся ТУ 21-57447110-22-90

Герлент-Д лента из полимерного материала с липким слоем, нанесенным на одну сторону и защищенным антиадгезионной бумагой. Ширина 180 мм

Ус-во из нутра оклеечной воздухоизоляции стыков эл. наружных стен

0,4 (при шир. 100 мм)

АООТ «Фили кровля», г. Москва

Инт. тем-р эксп. -50 °С ± +60 °С. Наклеиваются после обработки поверхностей клеем-герметиком 51-Г-18, установку выполняют при t от -10

Лента герметизирующаяся липкая Герсален ТУ 400-1-165-79

Нетвердеющая лента, дублированная с одной стороны нетканым синтетическим материалом; ширина 100, 120 и 200 мм, толщина 3 мм

То же

0,3

АО «Полимерстройматериалы», г. Москва

Интервал температур эксплуатации -60 °С ± +100 °С. Работы по установке лент следует выполнять при температуре воздуха не ниже -10 °С. Поверхность нанесения должна быть обеспылена и обезжирена.

Лента воздухозащитная «Герволент», ТУ 21-2946-76

Лента из невулканизированной резины на основе синтетических каучуков шириной 180 мм, толщиной 1,2 мм

Оклейка межпанельных вертикальных стыков изнутри при монтаже полносборных зданий

0,3

Вильнюсский экспериментальный завод полимерных изделий

Интервал температур эксплуатации от -40° С до +80° С, наклеивается на клеях типа КН или клее-герметике 51-Г-18

Лента герметизирующая самоклеющаяся «Герлен-Д», ТУ 400-1-165-79

Нетвердеющая клейкая лента дублированная с одной стороны нетканым синтетическим материалом; ширина 100, 120, 200 мм, толщина 3 мм

То же

0,4 (при ширине 100 мм)

Московский завод кровельных и полимерных материалов

Интервал температур эксплуатации от -50° С до +80° С. Наклеиваются после обработки поверхностей клеем-герметиком 51-Г-18

Резиновый лист, ГОСТ 7338-77

Лист атмосферостойкой резины

Воздухоотводящий фартук в стыках дренированного типа

Размеры 220 ´ 220 мм

Производственное объединение «Красный треугольник», г. С.-Петербург

Наклеивается на клеях типа КН на верхние грани панелей в местах пересечения вертикального и горизонтального стыков

Фольгоизол, ГОСТ 20429-75

Рулонный материал из тонкой рифленой фольги, покрытой с нижней стороны слоем резино-битумного вяжущего

То же

Размеры 220 ´ 220 мм

Московский завод кровельных и полимерных материалов

Наклеивается на резинобитумных мастиках

4. Грунтовочные и клеящие составы

Герметик высыхающий 51-Г-18 ТУ 400-1-137-78

Однокомпанентный состав на основе дивинилстирольного термоэластопласта в растворителе

Огрунтовка стыкуемых пов-й панелей стен; прикл. воздухоотводящих фартуков и воздухозащитных лент

0,4

Моск. з-д строй. красок Главмоспромстройматериалов при Мосгорисполкоме

Интервал температур эксплуатации от 70° С до +70° С; наносится кистью, шпателем или набрызгом

Мастики клеящие каучуковые КН-2 и КН-3, ГОСТ 24064-80

Вязкие пастообразные массы на основе хлоропренового каучука в растворителе

То же

0,2

МПО «Каучук», БПО «Беларусьрезинотехника», г. Бобруйск

Наносятся кистью, шпателем, набрызгом

Мастики бутилкаучуковые КЗХ-2, КЗХ-40, универсальный праймер УПБ-1 РСТ УССР 5019-81

Двухкомпонентные составы на основе бутилкаучука в растворителе

Огрунтовка граней перед нанесением бутилокаучуковых мастик типа «Гермабутил»

0,2

 

Наносятся кистью, шпателем, набрызгом

Праймер 141-30, ТУ 6-02-983-75

Прозрачная жидкость, бесцветная или желтого цвета

Огрунтовка граней панелей перед нанесением мастики «Эластосил II-08»

0,2

Данковский химзавод, г. Данково Липецкой обл.

Наносятся кистью, шпателем, набрызгом

Приложение 2

ПЕРЕЧЕНЬ ПРИБОРОВ, ПРИМЕНЯЕМЫХ ПРИ ЭКСПЛУАТАЦИИ ЖИЛОГО ДОМА

№ № п/п

Наименование и марка прибора

Завод изготовитель

Примечания

1.

Термометры комнатные и наружные

Клинский Термометровый завод (г. Клин, Московская область)

 

2.

Электронный влагомер ЭВ-2М для измерения влажности древесины

Завод «Электроприбор» (г. Камо)

 

3.

Психрометр аспирационный для измерения температуры и влажности воздуха

Сафоновский завод «Гидрометприбор» (г. Смоленск)

 

4.

Термощуп для измерения температуры поверхности ограждений

Завод «Коммунальник» (АКХ г. Москва)

 

5.

Анемометр АСО-3 для измерения скорости воздушного потока

Опытный завод «Гидрометприбор» (г. Москва)

 

6.

Приборы для определения воздухопроницаемости стыков ИВС-2М и ДСК-1

Экспериментальная база Союзметаллургстрой НИИ проекта (г. Свердловск)

 

7.

Адгезиометр АГ или АГ-2 для измерения величины сцепления вулканизирующихся герметиков с бетонными поверхностями

Экспериментальный завод ЛНИИ АКХ (г. С.-Петербург)

 

Приложение 3

ПЕРИОДИЧНОСТЬ ЧАСТИЧНЫХ ОСМОТРОВ И НОРМЫ ЗАТРАТ ТРУДА НА ИХ ПРОВЕДЕНИЕ

№ № п/п

Конструктивные элементы, отделка и инженерное оборудование

Профессия рабочих

Единица измерения

Количество осмотров в год

Норма времени на ед. измерения в чел./час.

на один осмотр

на год

1.

Кровля

Кровельщик

1000 кв. м кровли

6

3

18

2.

Деревянные конструкции

Плотник

1000 кв. м приведенной жилой площади

2

7

14

3.

Внутренняя и наружная отделка стен (штукатурка, окраска и др.)

Штукатур маляр

то же

2

7

14

4.

Каменные конструкции

Каменщик

то же

2

3,5

7

5.

Печи, дымоходы и вентиляция:

а) печи, топки котлов, борова, дымоходы

печник-каменщик

Печь (котел)

2

0,5

1

 

б) вентиляционные каналы и устройства

то же

1000 кв. м приведенной жилой площади

1

4

4

 

в) системы каналов, газоходов от всех приборов и котлов (газоходы, оголовки)

то же

Газоход

4

1

4

6.

Водопровод, канализация и горячее водоснабжение (оборудование в квартирах, санузлах и нежилых помещениях, в том числе арматура и приборы)

Слесарь-сантехник

100 квартир (приведенных)

6

60

360

7.

Центральное отопление:

а) внутриквартирные устройства

то же

1000 кв. м приведенной жилой площади

2

10

20

 

б) устройства в чердачных и подвальных помещениях

то же

то же

6

4

24

 

в) котлы и котельное оборудование (в отопительный сезон)

то же

Котел

6

1

6

 

г) вводы, тепловые и элеваторные узлы (в отопительный сезон)

то же

Элеваторный узел

6

1

6

8.

Мусоропроводы (все устройства)

Рабочий мусорокамер и слесарь-сантехник

Мусоропровод

24

1

24

9.

Электросети, арматура и электрооборудование в квартирах каменных зданий

Электромонтер

1000 кв. м приведенной жилой площади

1

8

8

10.

Электросети, арматура и электрооборудование на лестничных клетках

то же

100 лестничных площадок

12

9

108

11.

То же на чердаках и в подвалах

то же

1000 кв. м осматриваемых помещений

12

2

24

12.

Ввод, щитовая, наружная проводка и арматура

то же

то же

12

2

24

13.

Силовые установки

то же

Мотор

24

0,5

12

14.

Радио и телеустройства:

а) на кровлях

Электромонтер

Система радио и телеустройства

12

0,5

6

 

б) на чердачных и лестничных клетках

то же

то же

4

1

4

Примечания:

1. Приведенные данные соответствуют требованиям «Правил и норм технической эксплуатации жилищного фонда» 1974 г.

2. В процессе осмотров ведется наладка оборудования и исправляются мелкие нарушения конструкций и оборудования.

3. При определении нормативной численности рабочих 3 кв. м нежилой площади приравниваются к 1 кв. м жилой площади, а 100 кв. м нежилой площади - к одной квартире.

Приложение 4

ПЕРЕЧЕНЬ НОРМАТИВНО-ИНСТРУКТИВНОЙ ЛИТЕРАТУРЫ, ИСПОЛЬЗОВАННОЙ ПРИ РАЗРАБОТКЕ МЕТОДИЧЕСКИХ УКАЗАНИЙ

1. Правила и нормы технической эксплуатации жилого фонда, 1974 г.

2. Инструкция по технической эксплуатации крупнопанельных жилых зданий, 1975 г.

3. Положение о проведении планово-предупредительного ремонта жилых и общественных зданий, 1965 г.

4. СНиП II-Л.1-71 «Жилые здания. Нормы проектирования»

5. СНиП II-3-79 «Строительная теплотехника. Нормы проектирования»

6. СНиП II02-77 «Защита от шума. Нормы проектирования»

7. ЕСН 35-77 «Инструкция по проектированию железобетонных крыш жилых и общественных зданий»

8. Рекомендации по разработке проектов технической эксплуатации жилых зданий и образований. РД-204 УССР 033-78, 1979 г.

9. ЕСН 32-77 «Инструкция по проектированию конструкций панельных жилых зданий»

10. СН 515-82 «Указания по технико-экономической оценке типовых и экспериментальных проектов жилых домов и общественных зданий и сооружений», 1983 г.

11. ECH II-73 «Указания по определению эксплуатационных затрат при оценке проектных решений жилых и общественных зданий», 1974 г.

12. СНиП II-3-76 «Правила производства и приемки работ. Приемка в эксплуатацию законченных строительством предприятий, зданий и сооружений».

13. СН 378-77 «Инструкция по оценке качества строительно-монтажных работ».

14. Временные указания по ремонту конструкций крупнопанельных жилых зданий, Харьков, 1970 г.

15. СН 420-71 «Указания по герметизации стыков при монтаже строительных конструкций».

16. СНиП III-B.14-72 «Полы. Правила производства работ».

17. СНиП III-20-74 «Кровли. Гидроизоляция, пароизоляция и теплоизоляция»

18. Руководство по устройству гидроизоляции при ремонте подвалов, 1961 г.

19. СНиП III-21-73 «Отделочные покрытия строительных конструкций»

20. СНиП III023-76 «Защита строительных конструкций и сооружений от коррозии»

21. Правила техники безопасности при эксплуатации жилых и общественных зданий», утверждены МЖКХ РСФСР, 1976 г.

22. Правила техники безопасности при текущих и капитальном ремонтах жилых и общественных зданий, 1972 г.

23. Методические указания по техническому обследованию эксплуатируемых зданий.

24. Рекомендации по повышению эксплуатационных качеств заполнений оконных и балконных проемов со спаренными переплетами. Утверждены МЖКХ РСФСР, 1975 г.

25. Методические указания об организации работ по текущему ремонту и наладке инженерного оборудования жилых домов подрядным способом, 1972 г.

26. Нормы запаса материалов на текущий ремонт жилищного фонда. Утверждены МЖКХ РСФСР, 1976 г.

27. Типовые нормы обслуживания для рабочих, занятых текущим ремонтом жилищного фонда. Утверждены пост. Госкомитетом СМ СССР по вопросам труда и заработной платы 05.04.1976 г., № 93.

28. Положение о работе рабочих мусоропровода жилищно-эксплуатационных контор районных жилищных управлений г. Москвы.

29. Инструкция по технике безопасности для рабочих мусоропровода, Главмосжилуправление, 1975 г.

30. Временные нормы времени и расценки на уборку лестничных клеток и обслуживание мусоропровода, Главмосжилуправление, 1977 г.

31. Инструкция по устранению шумов лифтов в жилых домах, УЖХ ЦБНТИ МЖКХ РСФСР, Л. 1964 г.

32. Правила устройства электроустановок. 1964 г.

33. Правила технической эксплуатации электроустановок потребителей и правила техники безопасности при эксплуатации электроустановок потребителей. 1970 г.

СОДЕРЖАНИЕ

1. Пояснительная записка к эталону раздела «Техническая эксплуатация» проекта капитального ремонта жилого дома. 1

1.1. Введение. 1

1.2. Общая часть. 1

1.3. Порядок составления и утверждения раздела «Техническая эксплуатация» проекта капитального ремонта жилого дома. 2

1.4. Порядок разработки раздела «Техническая эксплуатация» проекта капитального ремонта жилых домов типовых серий. 3

1.5. Основные положения эталона раздела «Техническая эксплуатация». 4

1.6. Технический паспорт дома. 5

2. Конструкция здания. 6

2.1. Конструктивная схема здания. 6

2.2. Фундаменты и техническое подполье. 6

2.3. Стены наружные и внутренние. 14

2.4. Балконы. 19

2.5. Стыки. 23

2.6. Окна и двери. 27

2.7. Крыша. 35

2.8. Перекрытия и полы. 43

Инженерные системы. 49

3.1. Системы центрального отопления и вентиляции. 49

3.2. Система водоснабжения и канализации. 50

3.3. Электрооборудование. 55

Приложение 1 Основные сведения о материалах, применяемых для водо- и воздухоизоляции закрытых и дренированных стыков панелей наружных стен. 59

Приложение 2 Перечень приборов, применяемых при эксплуатации жилого дома. 66

Приложение 3 Периодичность частичных осмотров и нормы затрат труда на их проведение. 66

Приложение 4 Перечень нормативно-инструктивной литературы, использованной при разработке методических указаний. 67

 



© 2013 Ёшкин Кот :-)