Информационная система
«Ёшкин Кот»

XXXecatmenu

МИНИСТЕРСТВО ТРАНСПОРТА РОССИЙСКОЙ ФЕДЕРАЦИИ
ГОСУДАРСТВЕННАЯ СЛУЖБА ДОРОЖНОГО ХОЗЯЙСТВА

введены в действие

распоряжением Минтранса России

№ ОС-806-р от 15.09.2003

РЕКОМЕНДАЦИИ
ПО ИСПОЛЬЗОВАНИЮ ЭФФЕКТИВНЫХ
КОМПОЗИЦИОННЫХ МАТЕРИАЛОВ
ПРИ ОБУСТРОЙСТВЕ МОСТОВЫХ
СООРУЖЕНИЙ

Москва 2003

1. Разработаны ЗАО «Холдинговая Компания «Автодортехпрогресс» совместно с ООО «Армопроект».

2. Внесены Департаментом эксплуатации и сохранности автомобильных дорог.

3. Приняты и введены в действие распоряжением Министерства транспорта Российской Федерации от 15.09.2003 № ОС-806-р.

Предисловие

Настоящие «Рекомендации по использованию эффективных композиционных материалов при обустройстве мостовых сооружений» разработаны по заданию Государственной службы дорожного хозяйства Минтранса России.

Рекомендации предназначены для использования федеральными и территориальными органами управления дорожным хозяйством, дирекциями строящихся дорог, а также проектными и подрядными производственными организациями при строительстве и ремонте мостовых сооружений и придорожных зон на автомобильных дорогах общего пользования.

Рекомендации разработаны коллективом авторов в составе инж. Попова В.А. (руководитель разработки), канд. техн. наук Лебедева В.И., инж. Покатаева С.А. (ЗАО «Холдинговая Компания «АВТОДОРТЕХПРОГРЕСС»), канд. техн. наук Суханова А.В., инж. Асеева А.В., канд. техн. наук Сисаури В.И. (ООО «Компания «Армопроект»), инж. Диденко А.Б. (ФГУП «Союздорпроект»).

В Рекомендациях учтены замечания и предложения ФГУП «Союздорпроект» (канд. техн. наук В.Д. Браславский); ГУП «Гормост» (В.Н. Федосеев); ОАО «Гипродорнии» (Ю.С. Коробкин); НИЦ ГИБДД МВБ РФ (канд. техн. наук В.Д. Кондратьев).

1. Общие положения

1.1. Настоящие рекомендации предназначены для технологического обеспечения изготовления и установки перильных ограждений из полимерных композиционных материалов (в дальнейшем композиционных материалов) на мостовых сооружениях автомобильных дорог.

1.2. Перильные ограждения на мостовых сооружениях могут использоваться как для устройства собственно перильных ограждений на мостовом полотне, так и для установки на лестничных сходах, устраиваемых на подходах к мостам и путепроводам, временных ограждений опасных мест на стадии строительства сооружений и т.д.

1.3. Перильные ограждения (ограждающие конструкции) из композиционных материалов имеют следующие преимущества:

- малую массу конструкций по сравнению с традиционно применяемыми стальными конструкциями, чугунным литьем (чаще всего на городских мостах) и железобетонными конструкциями;

- коррозионную стойкость по сравнению с металлическими и железобетонными конструкциями (особенно при интенсивном использовании антигололедных составов - композиционные материалы инертны к действию кислот и щелочей);

- морозобезопасность - из-за низкой теплопроводности композиционных материалов перильные ограждения являются «теплыми», т.е. на них можно опираться даже открытой рукой при низких отрицательных температурах;

- значительное удлинение межремонтных сроков, минимальные потребности в содержании, низкие затраты на техническое обслуживание по отношению ко всему сроку службы в целом;

- простоту замены элементов конструкций после аварийных ситуаций;

- малая масса конструкций исключает необходимость в применении при строительстве и ремонте грузоподъемных механизмов и средств, упрощается и уменьшается стоимость и оперативность транспортировки, ремонта и монтажа;

- электробезопасность, так как полимерные композиционные материалы являются диэлектриками и в случае аварий линий электропередач не представляют опасности для пешеходов.

По сравнению со стальными, чугунными или бетонными конструкциями перильные ограждения из композиционных материалов гораздо прочнее при той же массе или гораздо легче при той же прочности.

1.4. В результате применения ограждающих конструкций из композиционных материалов снижаются эксплуатационные затраты по содержанию мостового полотна искусственных сооружений на автомобильных дорогах.

1.5. Перильные ограждения из композиционных материалов следует проектировать с учетом положений настоящих Рекомендаций в соответствии с действующими нормативными документами (СНиП 2.05.03-84*, МГСН 5.02-99 и другие региональные нормы) или требованиями конкретного проекта.

2. Используемые материалы

2.1. Для изготовления элементов перильных ограждений используются композиционные материалы на основе непрерывных волокнистых армирующих материалов (типа стекловолокна и базальтового волокна) и полимерных связующих (типа полиэфирных, винилэфирных и эпоксидных).

2.2. Имеющиеся технологии промышленного производства элементов ограждающих конструкций из композиционных материалов позволяют им отвечать всем современным архитектурным, строительным и эксплуатационным требованиям.

Композиционный материал представляет собой неоднородный сплошной материал, состоящий из двух или более компонентов, среди которых можно выделить непрерывные армирующие элементы, обеспечивающие необходимые механические характеристики материала, и матрицу (или связующее), обеспечивающую совместную работу армирующих элементов. В композиционных материалах высокопрочные волокна воспринимают основные напряжения, возникающие в конструкции при действии внешних нагрузок, и обеспечивают жесткость и прочность в направлении ориентации волокон.

2.3. Непрерывные армирующие материалы, применяемые в конструкционных композиционных материалах, должны удовлетворять комплексу эксплуатационных и технологических требований, к которым относятся требования, обуславливающие прочность, жесткость, стабильность в определенном температурном интервале, химическую стойкость и т.п. Непрерывные армирующие материалы используются в виде нитей, жгутов (ровингов), лент, тканей.

Для рекомендуемых конструкций ограждений наиболее оптимально использование армирующего материала на основе стеклянных и базальтовых волокон, в которых сочетаются достаточные для подобных конструкций физико-механические, теплофизические и химические свойства.

Стеклянные волокна обеспечивают получение несколько меньших характеристик композиционного материала, но они значительно дешевле, что обеспечивает им широкое использование в конструкциях гражданского применения. Базальтовые волокна в настоящее время активно внедряются на рынке композитных конструкций как альтернатива стеклянному волокну. При перспективно меньшей стоимости базальтовые волокна обеспечивают получение более высоких механических и теплофизических характеристик в композиционных материалах.

Диаметр применяемых стекловолокон лежит в диапазоне 6 - 25 мкм и первичная нить, составленная из таких волокон, имеет:

Плотность, г/см3.............................................................................................. 2,5 - 2,6

Модуль упругости, кгс/мм2............................................................................ до 7500.

Базальтовые волокна применяются диаметром 9 - 25 мкм и первичная нить, составленная из таких волокон, имеет:

Плотность, г/см3.............................................................................................. 2,6 - 2,8

Модуль упругости, кгс/мм2............................................................................ 8500 - 11000

2.4. Полимерная матрица является важнейшим компонентом композиционного материала. К ней предъявляются требования, обусловленные механическими и физико-химическими свойствами материала матрицы, которые обеспечивают работоспособность композиции при действии различных эксплуатационных факторов. Механические свойства матрицы должны обеспечивать эффективную совместную работу армирующих волокон при различных видах нагрузок. Прочностные характеристики материала матрицы являются определяющими при сдвиговых нагрузках, нагружении конструкционных материалов в направлениях, отличных от ориентации волокон, а также при циклическом нагружении.

Для данных конструкций рекомендуются композиционные материалы на полимерной термореактивной матрице (связующем).

Термореактивные связующие - низковязкие, легкорастворимые продукты (смолы), способные отверждаться при нагреве под действием отвердителей, катализаторов с образованием после отверждения необратимой структуры (нерастворимой и неплавкой). Наиболее распространенными термореактивными связующими, используемыми в производстве композиционных материалов, являются эпоксидные и полиэфирные связующие, получаемые на основе соответствующих смол.

Эпоксидные смолы представляют собой смесь олигомерных продуктов с эпоксидными группами на концах звеньев. Процесс отверждения смол можно при необходимости проводить в широком интервале температур, и он протекает без выделения летучих с малой объемной усадкой (1 - 5 %). Отвержденные связующие на основе эпоксидных смол имеют достаточно высокие механические характеристики, стойки к действию многих растворителей и агрессивных сред, влагостойкие, их температура эксплуатации может достигать порядка 150-200 °С.

Полиэфирные смолы представляют собой насыщенные сложные эфиры (полималеинаты, олигоакрилаты и т.п.), их смеси между собой или с низкомолекулярными мономерами. Связующие на основе полиэфирных смол могут отверждаться как при комнатной, так и при повышенных температурах. Полиэфиры в отвержденном состоянии характеризуются высокой стойкостью к действию воды, минеральных масел, неорганических кислот, многих органических растворителей, хорошими диэлектрическими свойствами, но несколько меньшими механическими характеристиками по сравнению с эпоксидными.

Все используемые материалы должны иметь соответствующие сертификаты.

Ориентировочные физико-механические характеристики композиционных материалов приведены в приложении № 1.

В пределах эксплуатационных температур (от минус 60 °С до плюс 50 °С) прочностные и упругие характеристики композиционных материалов меняются не существенно.

2.5. Цветовая модификация элементов из композиционных материалов возможна за счет внешней окраски, путем введения соответствующих компонентов в связующее или сочетания первых двух способов. Для окраски применяются эпоксидные, полиэфирные, уретановые, пентафталиевые и другие эмали. Окраска и/или введение в связующее специальных добавок обеспечивает стойкость композиционных материалов к воздействию озона, ультрафиолета, солнечной радиации.

2.6. Для производства элементов перильных ограждений из композиционных материалов наиболее эффективны следующие процессы.

Пултрузионное формование, при котором непрерывный пропитанный связующим армирующий материал протягивается через подогреваемую фильеру необходимой конфигурации. По мере вытягивания из фильеры профиль режется на элементы необходимой длины. Таким образом изготавливаются длинномерные элементы с произвольным сечением: сплошным или полым с продольными каналами. Пултрузионное формование является почти безотходным и высокопроизводительным процессом в виду своей непрерывности.

Контактное формование, при котором на предварительно изготовленную форму необходимой конфигурации накладываются слои ткани из полимерных волокон (нитей) с последующей пропиткой связующим. Последовательно набирается необходимое количество слоев для обеспечения требуемой толщины. Отверждение связующего может происходить при естественной температуре или при нагреве.

3. Сортамент элементов перильного ограждения

3.1. Элементы конструкций перильного ограждения могут быть различных поперечных сечений, например:

- круглое;

- квадратное;

- прямоугольное;

- тавровое;

- двутавровое;

- уголковое (равнополочное и неравнополочное);

- П-образное;

- фасонное (например, верхний поручень перил) (рис. 1).

Использование конкретных материалов и элементов

конструкций определяется конкретным проектом. Предпочтение, как правило, отдается замкнутым профилям, обладающим максимальной прочностью и жесткостью, при хорошей компактности и материалоемкости.

Рис. 1. Вариант фасонного сечения поручня перил

4. Технология производства работ по изготовлению и установке перильного ограждения

4.1. Поставка ограждающих конструкций на объект осуществляется секциями и/или отдельными элементами. Контроль качества и приемка конструкций выполняется Заказчиком, возможно привлечение научных или других организаций, обладающих необходимым опытом работы с этими конструкциями и имеющих специальное оборудование.

При поставке перильных ограждений на объект и их установке допускается транспортировка и последующая установка поручня перил отдельно от секций. При этом длина поручня перил может быть длиннее секции и при установке объединять несколько секций перильного ограждения.

4.2. Объединение секций в ограждение осуществляется за счет следующих возможных вариантов или их сочетаний:

- установки соприкасающихся стоек соседних секций в единый узел крепления (например, башмак) (рис. 9, 10);

- установки поручня перил, при сборке ограждения, с расположением собственных стыков вне стыков секций (возможно использование поручня длиной больше длины секции) (рис. 11);

- использования клеемеханических соединений соприкасающихся стоек соседних секций.

4.3. Для объединения элементов ограждения в секции и крепления отдельных элементов применяются следующие соединения:

- клеевые;

- механические (болтовые, штифтовые, заклепочные);

- клеемеханические.

Наиболее распространенным методом соединения элементов конструкций из композиционных материалов является сбалчивание. Гайки и болты применяют стандартные, но шайбы желательно использовать с наружным диаметром больше обычных, чтобы уменьшить местные напряжения сжатия. Рекомендуется плотная посадка болта в отверстии, так как это значительно снижает местные напряжения в конструкции.

Заклепки - весьма эффективный способ соединения композиционных элементов изделий. Заклепки с головками применяются чаще всего, но при их использовании необходимо предусматривать шайбы для распределения и снижения до минимума местных напряжений. Сборка должна быть рассчитана таким образом, чтобы заклепки не подвергались растяжению.

Штифтовое соединение весьма эффективно при использовании штифтов из композиционных материалов. При использовании таких штифтов и фиксации их клеевыми составами образуется достаточно надежное соединение с однородными материалами.

4.4. Перильное ограждение на мостовых сооружениях и лестничных сходах должно устанавливаться цельными секциями с минимумом узлов крепления или стыковки монтажных элементов (некоторые возможные варианты исполнения секций перильного ограждения показаны на рис. 2, 3, 4, 5, 6, 7, 8).

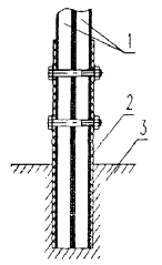
4.5. В железобетонных элементах тротуаров должны устанавливаться закладные элементы, например из композиционных материалов, замкнутого или сплошного сечения для крепления к ним секций ограждения с помощью механического соединения (рис. 9).

4.6. На стальных конструкциях и конструкциях из композиционных материалов должны устанавливаться стальные обоймы или обоймы из композиционных материалов, в которые вставляются стойки ограждений с последующим креплением с помощью механического или клеемеханического соединения (рис. 10).

Рис. 2. Вариант секции перильного ограждения из композиционных материалов

Рис. 3. Вариант секции схода перильного ограждения из композиционных материалов

Рис. 4. Вариант секции перильного ограждения из композиционных материалов с горизонтальными внутренними трубками

Рис. 5. Вариант секции схода перильного ограждения из композиционных материалов с горизонтальными внутренними трубками. Ограждение может быть установлено наклонно

Рис. 6. Вариант секции перильного ограждения из композиционных материалов с внутренним полимерным щитом

Рис. 7. Вариант секции схода перильного ограждения из композиционных материалов с внутренним полимерным щитом

Рис. 8. Некоторые варианты расположения перильного ограждения: вертикальное, наклонное, навесное

Рис. 9. Крепление стоек секций (1) в закладном элементе из композиционных материалов (2), установленном в дорожном полотне (3)

Рис. 10. Скрепление крайних стоек соседних секций (1)

в одном закладном элементе (2)

Рис. 11. Скрепление крайних стоек соседних секций (1) профилем поручня (2)

5. Нагрузки и воздействия

5.1. Конструкции перильного ограждения следует рассчитывать на нагрузки и воздействия и их сочетания в соответствии с СНиП 2.05.03-84* и МГСН 5.02-99.

5.2. Дополнительно, при необходимости, при проектировании рекомендуется учитывать нагрузку от навесных лестниц, люлек, тележек и т.п., используемых на стадии эксплуатации для обслуживания крайних балок и консолей плит, а также возможного крепления коммуникаций к элементам ограждения по согласованию с Заказчиком и разработчиком перильного ограждения.

6. Требования по эксплуатации

6.1. Композиционные материалы должны удовлетворять следующим требованиям:

- полимерные композиционные материалы должны иметь лакокрасочное покрытие или в матрицу должны быть введены красители в сочетании с компонентами, защищающими от ультрафиолетового воздействия.

- сохранять проектные прочностные характеристики в течение всего срока эксплуатации при действующих температурах окружающей среды (при проектировании учитывать климатические характеристики региона привязки перил).

6.2. Не допускается применение металлических щеток, скребков, острых режущих предметов при очистке перил от грязи. Допускается мойка водой с применением щеток из пластиковых волокон.

7. Контроль качества работ

7.1. При выполнении работ подлежат контролю:

- наличие сертификатов на материалы и соответствие материалов сертификатам;

- отклонение отдельных элементов и секций перильного ограждения от проектных размеров;

- качество стыков отдельных элементов в секциях;

- качество крепления секций перильного ограждения к пролетному строению (лестничному сходу) и стыков секций между собой;

- соответствие установленного перильного ограждения плановой и высотной привязке.

8. Обеспечение безопасности работ и охрана окружающей среды

8.1. При производстве работ по изготовлению и установке перильных ограждений следует соблюдать:

СНиП III-4-80*. «Техника безопасности в строительстве»;

СНиП 12-03-99. «Безопасность труда в строительстве»;

«Правила по охране труда при сооружении мостов», 1991;

«Правила техники безопасности и производственной санитарии при сооружении мостов и труб».

8.2. Применяемые материалы должны иметь гигиенические сертификаты.

ВСН 8-89. «Инструкция по охране природной среды при строительстве, ремонте и содержании автомобильных дорог», Минавтодор РСФСР;

СТП 3015-02-13-87. «Охрана труда и окружающей природной среды при проектировании», ЛГТМ.

ПРИЛОЖЕНИЕ № 1

(справочное)

ХАРАКТЕРИСТИКИ СТЕКЛОПЛАСТИКА И БАЗАЛЬТОПЛАСТИКА, ИСПОЛЬЗУЕМЫХ В КОНСТРУКЦИЯХ ПЕРИЛЬНЫХ ОГРАЖДЕНИЙ

№ п/п

Характеристика

Стеклопластик

Базальтопластик

Тип связующего

Полиэфирная

Эпоксидная

Полиэфирная

Эпоксидная

1

Плотность, кг/м3

1800 - 1900

1800 - 1900

1900 - 2000

1900 - 2000

2

Модуль упругости, ГПа

35

50

40

55

Удельный модуль упругости, к×м

 

2895 - 3056

 

3250 - 3421

3

Предел прочности при растяжении, МПа

750

900

1000

1200

Удельный предел прочности, к×м

46 - 48

48 - 51

56 - 59

61 - 64

4

Отношение усталостной прочности к статической (число циклов 107)

0,28

0,29

0,32

0,33

5

Теплопроводность при 20 °С, Вт/(м°С)

0,75

0,50

6

Удельное объёмное электрическое сопротивление, Ом×м

1,0×1010

2,5×1011

7

Коэффициент линейного расширения, ´106 град-1

0,45 - 8,3

0,45 - 8,3

9

Стойкость к воздействию химически агрессивных сред, солевых растворов

Стоек

Стоек

ПРИЛОЖЕНИЕ № 2

Перечень основных нормативно-технических документов

1. СНиП 2.05.03-84*. «Мосты и трубы».

2. МГСН 5.02-99. «Проектирование городских мостовых сооружений».

3. СНиП III-4-80*. «Техника безопасности в строительстве».

4. СНиП 12-03-99. «Безопасность труда в строительстве».

5. «Правила по охране труда при сооружении мостов», 1991.

6. «Правила техники безопасности и производственной санитарии при сооружении мостов и труб».

7. ВСН 8-89 «Инструкция по охране природной среды при строительстве, ремонте и содержании автомобильных дорог», Минавтодор РСФСР.

8. СТП 3015-02-13-87. «Охрана труда и окружающей природной среды при проектировании», ЛГТМ.

СОДЕРЖАНИЕ

Предисловие. 1

1. Общие положения. 1

2. Используемые материалы.. 2

3. Сортамент элементов перильного ограждения. 4

4. Технология производства работ по изготовлению и установке перильного ограждения. 5

5. Нагрузки и воздействия. 9

6. Требования по эксплуатации. 9

7. Контроль качества работ. 9

8. Обеспечение безопасности работ и охрана окружающей среды.. 10

Приложение № 1 Характеристики стеклопластика и базальтопластика, используемых в конструкциях перильных ограждений. 10

Приложение № 2 Перечень основных нормативно-технических документов. 10

 



© 2013 Ёшкин Кот :-)