Информационная система
«Ёшкин Кот»

XXXecatmenu

ОСТ 24.125.161-01

СТАНДАРТ ОТРАСЛИ

ОБОЙМЫ КАТКОВЫЕ ДЛЯ ОПОР
ТРУБОПРОВОДОВ ТЭС И АЭС

КОНСТРУКЦИЯ И РАЗМЕРЫ

Предисловие

1 РАЗРАБОТАН открытым акционерным обществом «Научно-производственное объединение по исследованию и проектированию энергетического оборудования им. И. И. Ползунова» (ОАО «НПО ЦКТИ») и открытым акционерным обществом «Белгородский завод энергетического машиностроения» (ОАО «Белэнергомаш»)

ИСПОЛНИТЕЛИ: от ОАО «Белэнергомаш» ЗАВГОРОДНИЙ Ю.В., СЕРГЕЕВ О.А., РОГОВ В.А.; от ОАО «НПО ЦКТИ» ПЕТРЕНЯ Ю.К., д-р физ.-мат. наук; СУДАКОВ А.В., д-р техн. наук; ДАНЮШЕВСКИЙ И.А., канд. техн. наук; ИВАНОВ Б.Н., канд. техн. наук; ТАБАКМАН М.Л.; ГЕОРГИЕВСКИЙ Н.В.

2 ПРИНЯТ И ВВЕДЕН В ДЕЙСТВИЕ Департаментом промышленной и инновационной политики в машиностроении Министерства промышленности, науки и технологий Российской Федерации письмом № 10-1984 от 31.10.2001 г.

3 ВЗАМЕН ОСТ 108.275.43-80

СТАНДАРТ ОТРАСЛИ

ОБОЙМЫ КАТКОВЫЕ ДЛЯ ОПОР ТРУБОПРОВОДОВ ТЭС И АЭС

Конструкция и размеры

Дата введения 2002-01-01

1 Область применения

Настоящий стандарт распространяется на обоймы катковые для катковых блоков трубопроводов ТЭС и АЭС, изготавливаемых по ОСТ 24.125.160 и ОСТ 24.125.163. Стандарт устанавливает конструкцию и размеры катковых обойм.

2 Нормативные ссылки

В настоящем стандарте использованы ссылки на следующие стандарты:

ГОСТ 1050-88 Прокат сортовой калиброванный со специальной отделкой поверхности из углеродистой качественной конструкционной стали. Общие технические условия

ГОСТ 14637-89 Прокат толстолистовой из углеродистой стали обыкновенного качества. Технические условия

ОСТ 24.125.160-01 Блоки катковые направляющие для опор трубопроводов ТЭС и АЭС. Конструкция и размеры

ОСТ 24.125.163-01 Блоки катковые двухрядные для опор трубопроводов ТЭС и АЭС. Конструкция и размеры

ОСТ 24.125.170-01 Детали и сборочные единицы опор, подвесок, стяжек для линзовых компенсаторов и приводов дистанционного управления арматурой трубопроводов ТЭС и АЭС. Общие технические условия

3 Конструкция и размеры

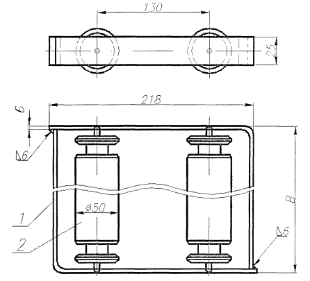
3.1 Конструкция, основные размеры и материал деталей должны соответствовать указанным на рисунке 1 и в таблице 1.

3.2 Маркировка и остальные технические требования по ОСТ 24.125.170.

3.3 Пример условного обозначения обоймы катковой исполнения 01:

ОБОЙМА 01 ОСТ 24.125.161

3.4 Пример маркировки: 03 ОСТ 24.125.161

1 - угольник; 2 - каток

Рисунок 1.

Таблица 1

Исполнение

B, мм

Масса, кг

Угольник, поз. 1, 2 шт.

Каток, поз. 2, 2 шт.

Материал

01

302

10,0

Ст3сп3 ГОСТ 14637

Сталь 45 ГОСТ 1050

02

452

14,5

03

772

26,3

Ключевые слова: катковые обоймы, опоры трубопроводов, конструкция, размеры.

СОДЕРЖАНИЕ

 



© 2013 Ёшкин Кот :-)