Информационная система
«Ёшкин Кот»

XXXecatmenu

ГОСТ 6476-80

МЕЖГОСУДАРСТВЕННЫЙ СТАНДАРТ

 

НАПИЛЬНИКИ ДЛЯ ЗАТАЧИВАНИЯ ПИЛ
ПО ДЕРЕВУ

ТЕХНИЧЕСКИЕ УСЛОВИЯ

 

 

 

 

ИПК ИЗДАТЕЛЬСТВО СТАНДАРТОВ

Москва

 

МЕЖГОСУДАРСТВЕННЫЙ СТАНДАРТ

НАПИЛЬНИКИ ДЛЯ ЗАТАЧИВАНИЯ ПИЛ ПО ДЕРЕВУ

Технические условия

Files for sharpening wood saws.
Specifications

ГОСТ
6476-80

Дата введения 01.01.81

в части разд. 2 - 01.01.86

Вводная часть. (Исключена, Изм. № 2).

1. ТИПЫ

1.1. Напильники должны изготовляться типов:

трехгранные;

ромбические;

круглые;

плоские.

(Измененная редакция, Изм. № 2).

1.2. Напильники должны изготовляться следующих исполнений по твердости (сцепляемости с контрольной пластиной):

01 - 59 HRCэ;

02 - 62 HRCэ.

(Измененная редакция, Изм. № 1, 2).

2. ОСНОВНЫЕ ЭЛЕМЕНТЫ НАСЕЧЕК И РАЗМЕРЫ НАПИЛЬНИКОВ

2.1. Напильники должны изготовляться исполнений:

1 - с перекрестной (двойной) насечкой;

2 - с одинарной насечкой.

Насечки выполняются под углом 60 ° к оси напильника.

Расположение основной и вспомогательной насечек зубьев напильников должно соответствовать указанному на черт. 1 и 2.

Исполнение 1

Черт. 1

Исполнение 2

Черт. 2

2.2. Напильники с двойной насечкой должны иметь 24 основных и 20 вспомогательных насечек; с одинарной - 24 основные насечки на 10 мм длины.

По согласованию с потребителем допускается изготовление напильников с 17 основными и 13 вспомогательными насечками на 10 мм длины.

(Измененная редакция, Изм. № 1).

2.3. Круглые напильники и узкие стороны трехгранных, ромбических и плоских напильников должны иметь только одинарную насечку.

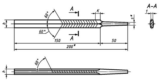
2.4. Размеры напильников должны соответствовать указанным на черт. 3 - 7 и в табл. 1 - 4.

Хвостовики напильников допускается выполнять с симметричным сечением любой формы, кроме круглой.

Трехгранные остроносые напильники

* Размеры для справок.

Черт. 3

Таблица 1

Размеры в мм

Исполнение 1

Исполнение 2

L

L1

l

b

b1

K, не более

s

Обозначение

Применяемость

Обозначение

Применяемость

2833-0001

 

2833-0002

 

150

200

50

9

4,5

15

2,0

2833-0003

 

2833-0004

 

13*

6,5

20

2,5

2833-0023

 

2833-0024

 

200

255

55

16

8,0

3,0

* Допускается изготовление напильников с b = 12 мм.

Пример условного обозначения трехгранного остроносого напильника b = 9 мм исполнения 1:

Напильник 2833-0001 ГОСТ 6476-80

Трехгранные тупоносые напильники

* Размеры для справок.

Черт. 4

Таблица 2

Размеры в мм

Исполнение 1

Исполнение 2

L

L1

l

b

K, не более

s

Обозначение

Применяемость

Обозначение

Применяемость

2833-0005

 

2833-0006

 

150

200

50

9

15

2,0

2833-0007

 

2833-0008

 

13*

20

2,5

2833-0025

 

2833-0026

 

200

255

55

16

3,0

* Допускается изготовление напильников с b = 12 мм.

Пример условного обозначения трехгранного тупоносого напильника b = 9 мм, исполнения 1:

Напильник 2833-0005 ГОСТ 6476-80

Ромбические напильники

* Размеры для справок.

Черт. 5

Таблица 3

Размеры в мм

Исполнение 1

Исполнение 2

b

h

K, не более

s

Обозначение

Применяемость

Обозначение

Применяемость

2833-0009

 

2833-0010

 

19

5

15

2

2833-0011

 

2833-0012

 

24

7

20

2,5

Пример условного обозначения ромбического напильника b = 19 мм, исполнения 1:

Напильник 2833-0009 ГОСТ 6476-80

Круглые напильники

Нет чертежа 6

* Размеры для справок.

Примечание. Допускается по согласованию с потребителем изготовлять напильники без оттянутого участка.

Черт. 6

Таблица 4

мм

Исполнение 2

L

L1

d

d1

l

К, наиб.

s

Обозначение

Применяемость

2833-0014

 

150

200

5,0

2,5

50

15

2,0

2833-0020

 

7,5

4,0

2833-0022

 

200

255

9,5

5,0

55

20

3,0

Пример условного обозначения круглого напильника d = 5 мм, исполнения 2:

Напильник 2833-0014 ГОСТ 6476-80

Плоские напильники

* Размеры для справок.

Черт. 7

Пример условного обозначения плоского напильника исполнения 1:

Напильник 2833-0015 ГОСТ 6476-80

То же, исполнения 2:

Напильник 2833-0016 ГОСТ 6476-80

Примечание. В напильниках всех типов для исполнения 02 по твердости к условному обозначению добавляется индекс 02.

(Измененная редакция, Изм. № 1, 2, 3).

3. ТЕХНИЧЕСКИЕ ТРЕБОВАНИЯ

3.1. Напильники должны изготовляться в соответствии с требованиями настоящего стандарта по рабочим чертежам, утвержденным в установленном порядке.

3.2. Напильники должны изготовляться из инструментальной углеродистой стали марок У13 или У13А по ГОСТ 1435 или из стали 13Х по ГОСТ 5950, профилей номеров 3, 5, 8, 10 по ГОСТ 5210. Допускается изготовлять круглые напильники из стали по ГОСТ 14955.

(Измененная редакция, Изм. № 3).

3.3. Твердость и острота зубьев напильника должны обеспечивать сцепляемость их с контрольной пластинкой, изготовленной из стали тех же марок, что и напильник, двух исполнений по твердости 59 HRCэ; 62 HRCэ.

(Измененная редакция, Изм. № 1, 2).

3.4. 3.5. (Исключены, Изм. № 2).

3.6. Твердость хвостовика напильника на участке от конца до середины его длины не должна превышать 36,5 HRCэ.

(Измененная редакция, Изм. № 1).

3.7. Отношение высоты зуба к нормальному шагу основной насечки должно быть не менее 0,5.

3.8. Передний угол зуба напильника, измеренный в сечении (по вершине зуба), перпендикулярном направлению основной насечки, может быть отрицательным, но не должен превышать минус 10°.

3.9. Предельные отклонения размеров напильников не должны превышать, мм:

длины рабочей части................................................................................................. ±5

длины хвостовика...................................................................................................... ±2,5

ширины плоских напильников, большой диагонали ромбических

и диаметра круглых................................................................................................... ±1,6

ширины сторон трехгранных напильников.............................................................

толщины для плоских и малой диагонали для ромбических напильников......... ±0,8

ширины узкой стороны............................................................................................. ±0,2

разности ширин двух смежных сторон при большом угле ромбического

напильника................................................................................................................. 1

(Измененная редакция, Изм. № 1, 2, 3).

3.10. Предельные отклонения: углов наклона насечки... ±2°, числа основных и вспомогательных насечек на 10 мм длины напильника... ±1 насечка.

(Измененная редакция, Изм. № 2).

3.11. Допуск прямолинейности неоттянутого участка рабочей части трехгранных и круглых напильников - 0,3 мм, ромбических и плоских напильников - 0,5 мм.

(Измененная редакция, Изм. № 1, 2).

3.12. Расстояние конца носка напильника от плоскости неоттянутой части соответствующей стороны напильника должно быть не менее 0,5 мм.

3.13. Отклонение от симметричности оси хвостовика относительно оси рабочей части напильника не должно превышать 0,8 мм.

3.14. На круглых напильниках и на овальной стороне плоских напильников, при насечке рядками, насечки соседних рядков должны перекрывать друг друга.

3.15. На поверхности напильника не должно быть трещин. На рабочей поверхности напильника не должно быть заусенцев, черновин и следов коррозии.

Торец носка напильника должен быть зачищен и не иметь сколов.

Острые кромки на хвостовике должны быть притуплены.

(Измененная редакция, Изм. № 1, 3).

3.16. Разность между наибольшим и наименьшим значениями осевого шага основной или вспомогательной насечки на любом участке рассматриваемой стороны не должна превышать 10 % номинального значения осевого шага.

3.17. Смещение заплечиков относительно друг друга вдоль оси напильника не должно превышать 1 мм.

3.18. (Исключен, Изм. № 2).

3.19. Надежность напильников определяется полным 95 %-ным ресурсом, равным 5000 рабочих ходов на одну сторону напильника, при условиях испытаний, указанных в разд. 5.

Критерием предельного состояния напильников является потеря производительности, выраженная нормой съема металла за 5000 рабочих ходов менее, указанной в табл. .

Таблица

Тип напильников

Исполнение

Норма съема одной стороной, г (за 5000 рабочих ходов)

Трехгранный

1

4,5

2

4,1

Ромбический

1

3,7

2

3,2

Плоский

1

5,7

2

5,5

Круглый

2

3,7

Поправочный коэффициент на норму съема металла для напильников, изготовленных из стали 13Х, равен 1,4 по отношению к указанному в табл. .

(Измененная редакция, Изм. № 3).

3.20. На ненасеченной части каждого напильника или на хвостовике около заплечиков должны быть четко нанесены:

товарный знак предприятия-изготовителя;

буква «П»;

марка стали 13Х (марки стали У13А, У13 не маркируют).

(Измененная редакция, Изм. № 2, 3).

3.21. При упаковывании напильников они должны быть отделены один от другого.

3.22. На потребительской таре должна быть указана твердость напильников.

3.23. Внутренняя упаковка напильников - ВУ-1 по ГОСТ 9.014.

3.24. Остальные требования к упаковке, маркировке транспортной и потребительской тары - по ГОСТ 18088.

3.21 - 3.24. (Введены дополнительно, Изм. № 2).

4. ПРИЕМКА

4.1. Правила приемки - по ГОСТ 23726.

(Измененная редакция, Изм. № 2).

4.2. Периодические испытания, в том числе испытания на надежность, следует проводить один раз в 3 года не менее чем на 5 напильниках.

Испытания напильников должны проводиться на одном типоразмере из каждого типа напильников.

(Измененная редакция, Изм. № 3).

5. МЕТОДЫ КОНТРОЛЯ И ИСПЫТАНИЙ

5.1. Контроль внешнего вида осуществляют визуально.

5.2. При контроле параметров напильников должны применяться методы и средства контроля, погрешность которых должна быть не более:

при измерении линейных размеров - значений, указанных в ГОСТ 8.051;

при измерении углов - 35 % значения допуска на проверяемый угол;

при контроле формы и расположения поверхностей - 25 % значения допуска на проверяемый параметр.

5.3. Ширину и толщину напильника измеряют на ненасеченном участке рабочей части.

5.1 - 5.3. (Измененная редакция, Изм. № 2).

5.4. При испытаниях на работоспособность (сцепляемость с контрольной пластинкой) и надежность напильники проверяют по следующим сторонам:

трехгранные - по трем широким сторонам;

ромбические - по четырем широким;

плоские - по двум широким;

круглые - по двум диаметрально противоположным поверхностям.

5.5. Испытания напильников на работоспособность проводят по сцепляемости с контрольной пластинкой твердостью, указанной в п. 3.3.

Пластинку широкой стороной проводят по зубьям напильника от носка к хвостовику. При этом на зубьях напильника не должно быть следов смятия или выкрашивания их на вершинах. Сцепляемость с контрольной пластинкой и качество насечки на размере К и на расстоянии до 10 мм от торца носка не контролируются.

5.6. Испытания напильников на надежность должны проводиться на специальных испытательных станках, которые должны соответствовать установленным для них нормам точности и жесткости.

5.4 - 5.6. (Измененная редакция, Изм. № 2, 3).

5.7. Насечка напильника, подвергаемого испытанию, должна быть сухой.

5.8. Напильники следует испытывать на образцах (брусках) из углеродистой стали марки У10 по ГОСТ 1435 твердостью 51 - 53 HRCэ.

Трехгранные, ромбические и плоские напильники испытывают на брусках сечением 1,5 ´ 8 мм, круглые напильники - на брусках сечением 1,5 ´ 4 мм.

Перед испытанием все стороны образца должны быть обработаны и иметь параметр шероховатости не более Rz 10 мкм.

5.9. При испытании круглых напильников на торце опиливаемого образца должен быть сделан пропил, кривизна которого должна соответствовать кривизне поверхности испытываемого участка напильника.

5.10. У ромбических и плоских напильников испытанию должен подвергаться рабочий участок, равноудаленный от носка и заплечиков, а у трехгранных и круглых - неоттянутый участок рабочей части.

5.11. Напильники должны испытываться при следующем режиме испытательного станка:

число рабочих ходов - 55 - 60 в минуту;

длина рабочего хода - 65 мм;

прижимающее усилие подачи бруска 20 Н без учета сил трения в механизме подачи бруска и в механизме записи испытательного станка.

5.12. Опиливаемый образец при испытании напильников должен быть взвешен с точностью до 0,1 г.

5.7 - 5.12. (Измененная редакция, Изм. № 2).

5.13. Результаты испытаний следует считать удовлетворительными, если норма снятого металла каждой стороной напильника не менее значений, указанных в табл. .

(Измененная редакция, Изм. № 3).

6. ТРАНСПОРТИРОВАНИЕ И ХРАНЕНИЕ

Транспортирование и хранение напильников - по ГОСТ 18088.

(Измененная редакция, Изм. № 2).

Разд. 7. (Исключен, Изм. № 2).

ПРИЛОЖЕНИЕ

Справочное

РЕКОМЕНДАЦИИ ПО НАЗНАЧЕНИЮ НАПИЛЬНИКОВ

Твердость контрольной пластинки для проверки твердости напильника HRCэ

Твердость затачиваемых пил по дереву HRCэ

59

До 51

62

Св. 51

 

ИНФОРМАЦИОННЫЕ ДАННЫЕ

1. РАЗРАБОТАН И ВНЕСЕН Министерством станкостроительной и инструментальной промышленности СССР

РАЗРАБОТЧИКИ

Г.А. Астафьева, Н.И. Минаева, Т.А. Лавренова

2. УТВЕРЖДЕН И ВВЕДЕН В ДЕЙСТВИЕ Постановлением Государственного комитета СССР по стандартам от 25.01.80 № 353

3. Стандарт полностью соответствует СТ СЭВ 1298-78 и СТ СЭВ 1300-78

4. ВЗАМЕН ГОСТ 6476-67

5. ССЫЛОЧНЫЕ НОРМАТИВНО-ТЕХНИЧЕСКИЕ ДОКУМЕНТЫ

6. Ограничение срока действия снято по протоколу № 5-94 Межгосударственного Совета по стандартизации, метрологии и сертификации (ИУС 11-12-94)

7. ПЕРЕИЗДАНИЕ (август 1998 г.) с Изменениями № 1, 2, 3, утвержденными в ноябре 1984 г., марте 1985 г., декабре 1990 г. (ИУС 2-85, 8-88, 6-90)

 

СОДЕРЖАНИЕ

 

 



© 2013 Ёшкин Кот :-)