Информационная система
«Ёшкин Кот»

XXXecatmenu

ГОСТ 397-79

МЕЖГОСУДАРСТВЕННЫЙ СТАНДАРТ

 

ШПЛИНТЫ

ТЕХНИЧЕСКИЕ УСЛОВИЯ

 

 

 

Москва

Стандартинформ

2006

 

 

МЕЖГОСУДАРСТВЕННЫЙ СТАНДАРТ

ШПЛИНТЫ

Технические условия

Splints.
Specifications

ГОСТ
397-79

Взамен
ГОСТ 397-66

Издание с Изменениями № 1, 2, 3, 4, утвержденными в июне 1980 г., ноябре 1983 г., мае 1987 г., ноябре 1988 г. (ИУС 9-80, 2-84, 8-87,2-89).

Постановлением Государственного комитета СССР по стандартам от 16 февраля 1979 г. № 611 дата введения установлена

01.07.79

Ограничение срока действия снято по протоколу № 7-95 Межгосударственного совета по стандартизации, метрологии и сертификации (ИУС 11-95)

Настоящий стандарт распространяется на шплинты с условным диаметром от 0,6 до 20 мм.

(Измененная редакция, Изм. № 4).

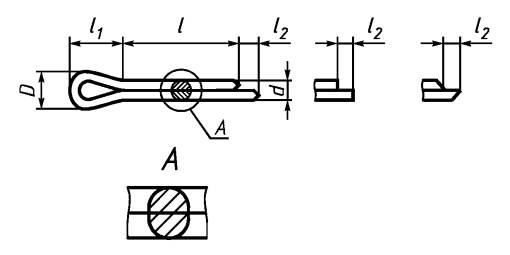
1. КОНСТРУКЦИЯ И РАЗМЕРЫ

1.1. Конструкция и размеры шплинтов должны соответствовать указанным на черт. 1 и в табл. 1 и 2.

Черт. 1

Таблица 1

мм

Условный диаметр шплинта d0*

0,6

0,8

1,0

1,2

1,6

2,0

2,5

3,2

4,0

5,0

6,3

8,0

10,0

13,0

16,0

20,0

d

наиб.

0,5

0,7

0,9

1,0

1,4

1,8

2,3

2,9

3,7

4,6

5,9

7,5

9,5

12,4

15,4

19,3

наим.

0,4

0,6

0,8

0,9

1,3

1,7

2,1

2,7

3,5

4,4

5,7

7,3

9,3

12,1

15,1

19,0

l2

наиб.

1,6

1,6

1,6

2,5

2,5

2,5

2,5

3,2

4,0

4,0

4,0

4,0

6,3

6,3

6,3

6,3

наим.

0,8

0,8

0,8

1,3

1,3

1,3

1,3

1,6

2,0

2,0

2,0

2,0

3,2

3,2

3,2

3,2

l1»

2,0

2,4

3,0

3,0

3,2

4,0

5,0

6,4

8,0

10,0

12,6

16,0

20,0

26,0

32,0

40,0

D

наиб.

1,0

1,4

1,8

2,0

2,8

3,6

4,6

5,8

7,4

9,2

11,8

15,0

19,0

24,8

30,8

38,6

наим.

0,9

1,2

1,6

1,7

2,4

3,2

4,0

5,1

6,5

8,0

10,3

13,1

16,6

21,7

27,0

33,8

Рекомендуемые диаметры
соединяемых деталей

Болт

свыше

-

2,5

3,5

4,5

5,5

7,0

9,0

11,0

14,0

20,0

27,0

39,0

56,0

80,0

120,0

170,0

до

2,5

3,5

4,5

5,5

7,0

9,0

11,0

14,0

20,0

27,0

39,0

56,0

80,0

120,0

170,0

-

Штифт, ось

свыше

-

2,0

3,0

4,0

5,0

6,0

8,0

9,0

12,0

17,0

23,0

29,0

44,0

69,0

110,0

160,0

до

2,0

3,0

4,0

5,0

6,0

8,0

9,0

12,0

17,0

23,0

29,0

44,0

69,0

110,0

160,0

-

_______________

* Условный диаметр шплинта d0 равняется диаметру отверстия под шплинт.

Таблица 2

мм

Длина шплинта l

Теоретическая масса 1000 шт. стальных шплинтов, кг, при условном диаметре d0 в мм

Номин.

Пред. откл.

0,6

0,8

1,0

1,2

1,6

2,0

2,5

3,2

4,0

5,0

6,3

8,0

10

13

16

20

4

± 0,5

0,008

 

 

 

 

 

 

 

 

 

 

 

 

 

 

 

5

0,010

0,021

 

 

 

 

 

 

 

 

 

 

 

 

 

 

6

0,011

0,024

0,042

 

 

 

 

 

 

 

 

 

 

 

 

 

8

0,013

0,029

0,053

0,068

0,140

 

 

 

 

 

 

 

 

 

 

 

10

± 0,8

0,016

0,034

0,061

0,079

0,162

0,268

 

 

 

 

 

 

 

 

 

 

12

0,018

0,039

0,070

0,090

0,185

0,324

0,544

 

 

 

 

 

 

 

 

 

14

 

0,044

0,079

0,101

0,207

0,362

0,603

1,08

 

 

 

 

 

 

 

 

16

 

0,050

0,088

0,112

0,230

0,400

0,663

1,17

2,07

 

 

 

 

 

 

 

18

 

 

0,097

0,123

0,252

0,441

0,723

1,27

2,23

 

 

 

 

 

 

 

20

 

 

0,106

0,134

0,275

0,479

0,782

1,37

2,39

3,93

7,3

 

 

 

 

 

22

 

 

 

0,146

0,279

0,517

0,842

1,46

2,55

4,18

7,7

 

 

 

 

 

25

± 1,2

 

 

 

0,162

0,331

0,573

0,931

1,61

2,79

4,55

8,4

 

 

 

 

 

28

 

 

 

 

0,365

0,630

1,021

1,75

3,03

4,93

9,0

 

 

 

 

 

32

 

 

 

 

0,410

0,705

1,140

1,95

3,35

5,43

9,8

 

 

 

 

 

36

 

 

 

 

 

0,781

1,268

2,14

3,67

5,93

10,7

 

 

 

 

 

40

 

 

 

 

 

0,856

1,387

2,33

3,99

6,43

11,5

19,7

 

 

 

 

45

 

 

 

 

 

 

 

1,536

2,58

4,39

7,05

12,5

21,7

37,9

 

 

 

50

± 1,2

 

 

 

 

 

 

1,685

2,82

4,79

7,80

13,6

23,3

40,6

 

 

 

56

 

 

 

 

 

 

 

3,11

5,27

8,55

14,8

25,4

43,9

 

 

 

63

± 2,0

 

 

 

 

 

 

 

3,44

5,83

9,43

16,3

27,7

47,7

 

 

 

71

 

 

 

 

 

 

 

 

6,47

10,42

17,9

30,4

52,0

97

 

 

Продолжение табл. 2

мм

Длина шплинта l

Теоретическая масса 1000 шт. стальных шплинтов, кг, при условном диаметре d0 в мм

Номин

Пред. откл.

0,6

0,8

1,0

1,2

1,6

2,0

2,5

3,2

4,0

5,0

6,3

8,0

10

13

16

20

80

± 3,0

 

 

 

 

 

 

 

 

7,18

11,55

19,8

33,5

57,0

105

 

 

90

 

 

 

 

 

 

 

 

 

12,80

21,9

36,8

62,4

115

 

 

100

 

 

 

 

 

 

 

 

 

14,04

23,9

40,2

67,8

124

 

 

112

 

 

 

 

 

 

 

 

 

 

26,4

44,3

74,3

136

215

 

125

 

 

 

 

 

 

 

 

 

 

29,1

48,7

81,4

148

233

 

140

 

 

 

 

 

 

 

 

 

 

 

53,7

89,6

162

255

 

160

 

 

 

 

 

 

 

 

 

 

 

60,6

100,5

181

284

467

180

 

 

 

 

 

 

 

 

 

 

 

 

111,4

200

312

512

200

 

 

 

 

 

 

 

 

 

 

 

 

122,3

219

341

558

224

 

 

 

 

 

 

 

 

 

 

 

 

 

261

375

612

250

 

 

 

 

 

 

 

 

 

 

 

 

 

266

413

671

280

 

 

 

 

 

 

 

 

 

 

 

 

 

 

456

738

Примечание. Для определения массы шплинтов, изготовляемых из других материалов, значения массы, указанные в таблице, должны быть умножены на коэффициент: 1,080 - для латуни; 0,356 - для алюминиевого сплава.

(Измененная редакция, Изм. № 1, 2, 3, 4).

2. ТЕХНИЧЕСКИЕ ТРЕБОВАНИЯ

2.1. Шплинты должны изготовляться в соответствии с требованиями настоящего стандарта по рабочим чертежам, утвержденным в установленном порядке.

2.2. Шплинты должны изготовляться из низкоуглеродистых сталей.

Допускается изготавливать шплинты из коррозионно-стойких сталей или из цветных металлов и их сплавов.

Рекомендуемые марки материала и его условное обозначение в соответствии с табл. 3.

Таблица 3

Материал

Условное обозначение материала

Вид покрытия

Низкоуглеродистые стали с содержанием углерода не более 0,20 % по ГОСТ 1050-88 и ГОСТ 380-94

0

Цинковое, хроматированное

Кадмиевое, хроматированное

Окисное

Фосфатное с пропиткой маслом

Коррозионно-стойкая сталь 12Х18Н10Т по ГОСТ 5632-72

2

Окисное из кислых растворов

Латунь Л63 по ГОСТ 15527-2004

3

Никелевое

АМЦ по ГОСТ 4784-97

4

Окисное, наполненное в растворе бихромата калия

(Измененная редакция, Изм. № 1, 2, 3).

2.3. Шплинты из коррозионно-стойкой стали в обоснованных случаях следует подвергать термообработке.

2.4. По требованию потребителя шплинты должны изготавливаться с покрытием.

2.5. Виды покрытий шплинтов должны соответствовать указанным в табл. 3. Толщина металлического покрытия - от 6 до 12 мкм, условные обозначения покрытий - по ГОСТ 1759.0-87.

Допускается:

а) в случае изготовления шплинтов из проволоки с покрытием - отсутствие покрытия на торцах ветвей;

б) в случае готовых шплинтов - отсутствие покрытия на внутренней стороне ветвей в месте их соприкосновения.

(Измененная редакция, Изм. № 2).

2.5а. Технические требования к покрытиям - по ГОСТ 9.301-86.

(Введен дополнительно, Изм. № 4).

2.6. На поверхности шплинтов не допускаются заусенцы, трещины, ржавчина и в месте перехода головки к стержню - острые засечки.

2.7. На ветвях шплинтов допускаются смятие от подающего механизма и продольные царапины.

2.8. Допускается перекос ветвей, не вызывающий изменение размера шплинта за пределы условного диаметра d0.

2.9. Допускается зазор между ветвями шплинтов, не вызывающий изменение размера шплинта за пределы условного диаметра d0. При этом диаметр шплинта со сжатыми ветвями должен соответствовать диаметру d.

3. ПРАВИЛА ПРИЕМКИ

3.1. Правила приемки - по ГОСТ 17769-83 для изделий класса точности В.

При контроле главный геометрический параметр - диаметр шплинта d, остальные параметры - второстепенные; дефекты внешнего вида относятся к малозначительным; контроль механических свойств относится к разрушающему контролю.

(Измененная редакция, Изм. № 3).

4. МЕТОДЫ КОНТРОЛЯ И ИСПЫТАНИЙ

4.1. Внешний вид шплинтов должен проверяться осмотром без применения увеличительных приборов.

4.2. Размеры шплинтов должны контролироваться предельными калибрами или универсальным измерительным инструментом, обеспечивающим требуемую точность измерения.

4.3. Диаметр шплинта должен контролироваться на готовом изделии в двух взаимно перпендикулярных плоскостях.

4.4. При измерении длины шплинта должно использоваться приспособление, показанное на черт. 2.

Черт. 2

45 Шплинты условным диаметром до 5 мм должны выдержать без признаков излома и трещин не менее 3 загибов; шплинты условным диаметром свыше 5 мм - не менее 2 загибов.

Для испытания на загиб предварительно разведенный шплинт зажимают вертикально в губках параллельных тисков (черт. 3) таким образом, чтобы загиб приходился на прямой участок ветви шплинта.

Кромки губок должны иметь радиус закругления, указанный в таблице 4.

Конец шплинта загибают на 90°, причем после возврата загнутого конца в исходное положение производят загиб в том же направлении.

Черт. 3

Таблица 4

мм

Условный диаметр шплинта d0

Радиус закругления кромок губок тисков R

Номин.

Пред. откл.

До 2

0,5

+0,1

Св.   2  »   5

0,8

»     5

1,2

Каждое перемещение загибаемого конца на 90° считают за один загиб. Испытание проводят со скоростью не более одного загиба в секунду.

(Измененная редакция, Изм. № 4).

4.5а. Методы проверки качества и толщины покрытий - по ГОСТ 9.302-88.

(Введен дополнительно, Изм. № 4).

5. УПАКОВКА И МАРКИРОВКА

5.1. Упаковка шплинтов и маркировка тары - по ГОСТ 18160-72.

5.2. Шплинты, имеющие антикоррозионное покрытие, не смазываются.

6. УСЛОВНОЕ ОБОЗНАЧЕНИЕ ШПЛИНТОВ

6.1. Шплинты следует обозначать по схеме, указанной на примере шплинта с условным диаметром 5 мм, длиной 28 мм, из латуни Л63 с никелевым покрытием толщиной 6 мкм.

Примечание. Марка материала 0 (низкоуглеродистая сталь) и отсутствие покрытия в условном обозначении не указываются.

Пример условного обозначения шплинта с условным диаметром 5 мм, длиной 28 мм, из низкоуглеродистой стали, без покрытия:

Шплинт 5´28 ГОСТ 397-79

(Измененная редакция, Изм. № 1, 2).

ПРИЛОЖЕНИЕ. (Исключено, Изм. № 3).

СОДЕРЖАНИЕ

 

 



© 2013 Ёшкин Кот :-)