Информационная система
«Ёшкин Кот»

XXXecatmenu

ГОСТ 370-93

МЕЖГОСУДАРСТВЕННЫЙ СТАНДАРТ

 

СТАНКИ
ВЕРТИКАЛЬНО-СВЕРЛИЛЬНЫЕ

ОСНОВНЫЕ РАЗМЕРЫ. НОРМЫ ТОЧНОСТИ И ЖЕСТКОСТИ

 

 

МЕЖГОСУДАРСТВЕННЫЙ СОВЕТ
ПО СТАНДАРТИЗАЦИИ, МЕТРОЛОГИИ И СЕРТИФИКАЦИИ

Минск

 

Предисловие

1 РАЗРАБОТАН Госстандартом России

ВНЕСЕН Техническим секретариатом Межгосударственного Совета по стандартизации, метрологии и сертификации

2 ПРИНЯТ Межгосударственным Советом по стандартизации, метрологии и сертификации 21 октября 1993 г.

За принятие проголосовали:

Наименование государства

Наименование национального органа по стандартизации

Республика Беларусь

Белстандарт

Республика Кыргызстан

Кыргызстандарт

Республика Молдова

Молдовастандарт

Российская Федерация

Госстандарт России

Республика Таджикистан

Таджикстандарт

Туркменистан

Туркменглавгосинспекция

Украина

Госстандарт Украины

3 Стандарт соответствует международным стандартам ИСО 2772-1-73; ИСО 2773-1-74 в части норм точности. Приложение к стандарту разработано методом прямого применения международных стандартов ИСО 2772-2-73; ИСО 2773-2-73 и полностью им соответствует

4 ВВЕДЕН ВЗАМЕН ГОСТ 1227-79 и ГОСТ 370-81

 

МЕЖГОСУДАРСТВЕННЫЙ СТАНДАРТ

СТАНКИ ВЕРТИКАЛЬНО-СВЕРЛИЛЬНЫЕ

Основные размеры.

Нормы точности и жесткости

Vertical drilling machines.

Basic dimensions. Standards of accuracy and rigidity

ГОСТ
370-93

Дата введения 01.01.95

Настоящий стандарт распространяется на универсальные одношпиндельные и многошпиндельные (рядные) вертикально-сверлильные станки классов точности Н и П, в том числе на станки с программным управлением, изготовляемые для нужд народного хозяйства и экспорта.

Требования настоящего стандарта являются обязательными, за исключением п. 2.7.

1. ОСНОВНЫЕ РАЗМЕРЫ

1.1. Основные размеры устанавливаются для станков следующих исполнений:

1 - на круглой колонне:

а) с плитой;

б) с крестовым столом;

2 - на круглой колонне с подъемным поворотным (вокруг одной или двух осей) откидным столом;

3 - на призматической колонне;

а) с подъемным столом-плитой;

б) с подъемным крестовым столом;

4 - на призматической колонне:

а) с плитой (тумбой);

б) с крестовым столом.

1.2. Основные размеры станков должны соответствовать указанным на черт. 1 и в табл. 1.

Исполнение 1

     

а                                                          б

Исполнение 2

Исполнение 3

Исполнение 4

На чертеже обозначены:

В - ширина рабочей поверхности крестового стола;

В1 - ширина рабочей поверхности стола-плиты;

В2 - ширина рабочей поверхности плиты;

Н - наибольшее расстояние от торца шпинделя до рабочей поверхности крестового

стола;

H1 - наибольшее расстояние от торца шпинделя до рабочей поверхности стола плиты;

Н2 - наибольшее расстояние от торца шпинделя до рабочей поверхности плиты;

L1 - вылет от колонны до оси шпинделя;

h - наибольшее перемещение выдвижного шпинделя.

Черт. 1

Таблица 1

Размеры, мм

Условный диаметр сверления в стали 45 по ГОСТ 1050

3

6

12

16

20

25

32

40

50

63

80

В, не менее

125

160

200

250

320 (250)

400

500

B1, не менее

-

320

400

500

630

800

В2, не менее

160

200

250

400

500

630

800

Длина крестового стола, не менее

200

250

320

400

500

630

800

Н, не менее

125

180

250

320

400

500

560

630

Н1, не менее

-

500

630

750

800

900

Н2, не менее

165

250

400

630

800

1000

1250

1400

Наибольшее перемещение крестового стола по оси координат, не менее

X

160

200

250

320

400

500

630

Y

100

125

160

200

250

320

400

L1, не менее

160

180

200

250

320 (300)

400

500

h, не менее

50

70

100

125

160

200

250

320

400

Конец шпинделя

наружный по ГОСТ 9953

B10

В12

В18

-

внутренний Морзе по ГОСТ 24644

-

1

2

3

4

5

6

с конусностью 7:24 по ГОСТ 24644

-

30

40

50

Размеры Т-образных пазов по ГОСТ 1574

ширина

10; 12

12; 14

14; 18

18; 22

расстояние межу пазами

крестового стола

40; 50

50; 63

63; 80

80; 100

100; 125

стола-плиты, плиты

50; 63

63; 80

80; 100

100; 125

125; 160

Примечание. Значения в скобках не являются предпочтительными.

1.3. Ширина рабочей поверхности крестового стола В, стола-плиты В1 и плиты В2, увеличенная по сравнению с указанной в табл. 1, должна выбираться из ряда Ra 10 ГОСТ 6636, при этом Т-образные пазы и расстояния между ними принимаются в соответствии с установленной шириной стола.

1.4. Станки исполнения 2 могут изготовляться с круглым столом диаметром D, равным ширине стола-плиты В1.

1.5. Длина рабочей поверхности стола-плиты, плиты должна быть не менее ширины В1 и В2 и выбираться из ряда Ra 40 ГОСТ 6636.

1.6. Числовые значения параметров, приведенные в табл. 1 с указанием «не менее», принимаются из ряда Ra 40 ГОСТ 6636.

2. ГЕОМЕТРИЧЕСКАЯ ТОЧНОСТЬ СТАНКА

2.1. Общие требования к испытаниям станков на точность - по ГОСТ 8.

2.2. Схемы и способы измерений геометрических параметров - по ГОСТ 22267 и настоящему стандарту.

2.3. Для многошпиндельных (рядных) станков проверки выполняют для каждого шпинделя.

2.4. Подвижные рабочие органы, не перемещаемые при проведении измерений, устанавливают в среднее положение и при наличии зажимов закрепляют, если отсутствуют дополнительные указания.

2.5. Для накладных столов проверки по пп. 2.8; 2.9; 2.10; 2.11; 2.12; 2.13 и 2.14 проводят вне станка. Проверки - по пп. 2.15 и 2.16 проводятся для столов, оснащенных механизмами поворота.

2.6. Допуски при проверках точности станков не должны превышать значений, указанных в пп. 2.8 - 2.20.

2.7. По согласованию с изготовителем потребитель может выбрать только те проверки из указанных в настоящем стандарте, которые характеризуют интересующие потребителя свойства, но эти проверки должны быть определены при заказе станка.

2.8. Плоскостность рабочей поверхности стола, стола-плиты, плиты

Черт. 2

Черт. 3

Таблица 2

Длина измерения, мм

Допуск, мкм, для станков классов точности

Н

П

До 200

20

12

Св. 200 до 320

25

16

» 320 » 500

30

20

» 500 » 800

40

25

»  800 » 1250

50

30

 

Выпуклость не допускается

Измерения - по ГОСТ 22267, разд. 4, метод 3 (черт. 2, 3). Крайние сечения должны быть расположены от края рабочей поверхности на расстоянии не более 0,2 проверяемой длины.

Примечание. В многошпиндельных станках с общим столом длина измерения располагается симметрично относительно каждого шпинделя и не должна превышать длины измерения аналогичного одношпиндельного станка.

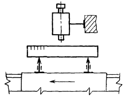
2.9. Прямолинейность траектории продольного и поперечного перемещений крестового стола в горизонтальной плоскости

Черт. 4

Черт. 5

Таблица 3

Длина перемещения, мм

Допуск, мкм, для станков классов точности

Н

П

До 200

12

8

Св. 200 до 320

16

10

» 320 » 500

20

12

» 500 » 800

25

16

» 800 » 1250

30

20

Измерения - по ГОСТ 22267, разд. 3, метод 16 (черт. 4, 5).

Стол перемещают на всю длину хода.

2.10. Параллельность рабочей поверхности крестового стола траектории его продольного и поперечного перемещений

Черт. 6

Таблица 4

Длина перемещения, мм

Допуск, мкм, для станков классов точности

Н

П

До 200

16

10

Св. 200 до 320

20

12

» 320 » 500

25

16

» 500 » 800

30

20

» 800 » 1250

40

25

Измерения - по ГОСТ 22267, разд. 6, метод 1а (черт. 6).

Стол перемещают на всю длину хода.

2.11. Параллельность боковых сторон направляющего паза крестового стола траектории перемещения стола

Черт. 7

Таблица 5

Длина перемещения, мм

Допуск, мкм, для станков классов точности

Н

П

До 200

16

10

Св. 200 до 320

20

12

» 320 » 500

25

16

» 500 » 800

30

20

» 800 » 1250

40

25

Измерения - по ГОСТ 22267, разд. 6, метод 1в (черт. 7).

Стол перемещают на всю длину продольного перемещения, но не более длины паза.

Измерения проводят по обеим боковым сторонам направляющего паза стола.

Допускается между столом и измерительным прибором располагать ползушку или плоскопараллельную концевую меру длины (плитку).

2.12. Перпендикулярность направления поперечного перемещения крестового стола к его продольному перемещению

Черт. 8

Таблица 6

Длина перемещения, мм

Допуск, мкм, для станков классов точности

Н

П

До 200

16

10

Св. 200 до 320

20

12

» 320 » 500

25

16

Измерения - по ГОСТ 22267, разд. 8, метод 1 (черт. 8).

Стол в продольном направлении устанавливают в среднее положение.

Стол в поперечном направлении перемещают на всю длину хода, но не более 500 мм.

2.13. Перпендикулярность рабочей поверхности стола, стола-плиты, плиты к оси вращения шпинделя:

а) в вертикальной плоскости симметрии станка;

б) в вертикальной плоскости, перпендикулярной к плоскости симметрии станка

Черт. 9

Таблица 7

Ширина (диаметр) рабочей поверхности, мм

L, мм

Допуск, мкм, для станков классов точности

Н

П

До 320

150

30

20

Св. 320 до 1250

300

50

30

Примечание. Наклон конца шпинделя по п. 2.13а допускают только к колонне. Для станков с неподъемным крестовым столом допуски уменьшают в 1,25 раза; для станков на круглой колонне и станков с револьверной головкой допуски увеличивают в 1,25 раза.

Измерения - по ГОСТ 22267, разд. 10, метод 1 (черт. 9).

В станках с перемещающимся по высоте столом-плитой измерения проводят в нижнем и верхнем положениях подъемного стола. Перед каждым измерением стол и шпиндельная бабка должны быть зажаты. Шпиндельная бабка находится в среднем положении.

Для станков с круглым вращающимся столом проверку проводят в двух исходных положениях через 180°. За отклонение от перпендикулярности принимают наибольший результат измерений.

Для станков на круглой колонне при проверке перпендикулярности рабочей поверхности плиты к оси вращения шпинделя измерения проводят при повернутом относительно оси колонны столе, при котором освобождается для измерения рабочая поверхность плиты.

2.14. Перпендикулярность траектории перемещения шпинделя (черт. 10.1) или шпиндельной бабки (черт. 10.2) рабочей поверхности стола, стола-плиты, плиты:

а) в вертикальной плоскости симметрии станка;

б) в вертикальной плоскости, перпендикулярной к плоскости симметрии станка

Черт. 10.1

Черт. 10.2

Черт. 10

Таблица 8

Длина перемещения шпинделя (шпиндельной бабки), мм

Допуск, мкм, для станков классов точности

Н

П

До 60

25

16

Св. 60 до 100

30

20

» 100 » 160

40

25

» 160 » 320

60

40

» 320 » 500

80

50

(До 320)

40

25

(Св. 320 до 500)

50

30

Примечание. Наклон конца шпинделя по п. 2.14а допускают только к колонне. Для станков с неподъемным крестовым столом допуски уменьшают в 1,25 раза; для станков на круглой колонне и станков с револьверной головкой допуски увеличиваются в 1,25 раза.

Измерения - по ГОСТ 22267, разд. 9, метод 1б (черт. 10).

В станках с перемещающимся столом измерения проводят в его среднем положении.

Перед измерением стол и шпиндельная бабка должны быть зажаты.

Шпиндельную бабку и шпиндель перемещают на всю длину хода, но не более 500 мм.

2.15. Радиальное биение поверхности центрирующего отверстия или оси поворотного стола

Черт. 11

Черт. 12

Таблица 9

Ширина (диаметр) рабочей поверхности стола, мм

Допуск, мкм, для ставков классов точности

Н

П

До 200

16

10

Св. 200 до 320

20

12

» 320 » 500

25

16

» 500 » 800

30

20

» 800 » 1250

40

25

Измерения - по ГОСТ 22267, разд. 15, метод 1 (черт. 11) или разд. 16, метод 1 (черт. 12).

2.16. Торцовое биение рабочей поверхности поворотного стола

Черт. 13

Таблица 10

Ширина (диаметр) рабочей поверхности стола, мм

Допуск, мкм, для станков классов точности

Н

П

До 200

20

12

Св. 200 до 320

25

16

» 320 » 500

30

20

» 500 » 800

40

25

» 800 » 1250

50

30

Измерение - по ГОСТ 22267, разд. 18, метод 1 (черт. 13).

Измерительный наконечник должен отстоять от оси вращения на радиусе не менее 0,4 ширины (диаметра) рабочей поверхности стола.

Измерения проводят в диаметрально противоположных положениях измерительного прибора.

Допускается проводить измерения с помощью контрольного кольца.

2.17. Радиальное биение конуса шпинделя:

внутреннего:

а) у торца шпинделя;

б) на расстоянии L;

наружного:

в) в середине длины образующей конуса

Черт. 14

Черт. 15

Таблица 11

Условный диаметр сверления, мм

Номер пункта

L, мм

Допуск, мкм, для станков классов точности

Н

П

До 12

2.16а, в

-

12

8

2.16б

100

20

12

Св. 12 до 20

2.16а, в

-

16

10

2.16б

200

25

16

Св. 20 до 80

2.16а, в

-

20

12

2.16б

300

30

20

Измерения - по ГОСТ 22267, разд. 15, методы 1 (черт. 14) или 2 (черт. 15).

2.18. Осевое биение шпинделя (для станков с программным управлением)

Черт. 16

Таблица 12

Условный диаметр сверления, мм

Допуск, мкм, для станков классов точности

Н

П

До 12

8

5

Св. 12 до 20

10

6

» 20 » 40

12

8

» 40 » 80

16

10

Измерения - по ГОСТ 22267, разд. 17, метод 1 (черт. 16).

2.19. Точность линейного позиционирования стола, шпинделя из шпиндельной бабки (для станков с программным управлением и с предварительным набором координат)

2.19.1. Точность двухстороннего позиционирования А

2.19.2. Повторяемость двухстороннего позиционирования Rmax

2.19.3. Точность одностороннего позиционирования A­; А¯

2.19.4. Повторяемость одностороннего позиционирования R­; R¯

Черт. 17

Черт. 18

Черт. 19

Черт. 20

Таблица 13

Наибольшая длина перемещения, мм

Допуск, (A; Rmax; A­; А¯; R­; R¯), мкм, для станков классов точности

Н

П

А

Rmax

A­; А¯

R­; R¯

А

Rmax

A­; А¯

R­; R¯

До 200

25

12

20

10

16

8

12

6

 

Св. 200 до 320

30

16

25

12

20

10

16

8

 

» 320 » 500

40

20

30

16

25

12

20

10

 

» 500 » 800

50

25

40

20

30

16

25

12

 

» 800 » 1250

60

30

50

25

40

20

30

16

 

Примечания:

1. Для станков с отношением продольного и поперечного перемещений не более 1,6 допуски линейного позиционирования устанавливают по наибольшему из указанных перемещений.

2. Для рабочих органов, перемещающихся вдоль оси шпинделя, допуски, указанные в табл. 13, увеличивают, но не более чем в 2 раза.

Измерение - по ГОСТ 27843, разд. 3, методы 1, 2, 3 или 4 (черт. 17 - 20).

Проверку точности линейного позиционирования проводят по каждой линейной оси координат в нулевом положении и произвольных контрольных точках. В нулевом положении определяют только повторяемость одностороннего (двухстороннего) позиционирования, в произвольных контрольных точках - точность и повторяемость двухстороннего позиционирования. При необходимости в произвольных контрольных точках дополнительно определяют точность и повторяемость одностороннего позиционирования в одном или обоих направлениях перемещения.

Количество произвольных контрольных точек должно быть не менее 13.

Крайние контролируемые точки должны быть расположены на расстоянии от концов перемещения не более 0,25 среднего значения расстояний между соседними контролируемыми точками.

Перемещение рабочего органа в контрольные точки проводят на скорости быстрого перемещения.

Термины и определения, методика математической обработки результатов измерений и порядок оформления результатов проверки точности линейного позиционирования - в соответствии с ГОСТ 27843.

2.20. Точность линейных координатных перемещений стола шпинделя и шпиндельной бабки (для станков с цифровой индикацией координат без автоматического позиционирования)

Черт. 21

Черт. 22

Черт. 23

Таблица 14

Наибольшая длина перемещения, мм

Допуск, мкм, для станков классов точности

Н

П

До 200

25

16

Св. 200 до 320

30

20

» 320 » 500

40

25

» 500 » 800

50

30

» 800 » 1250

60

40

Примечание. Для рабочих органов, перемещающихся вдоль оси шпинделя, допуски, указанные в табл. 14, увеличивают, но не более чем в 2 раза.

Измерение - по ГОСТ 22267, разд. 19, методы 1, 2 или 3 (черт. 21 - 23).

3. ТОЧНОСТЬ ОБРАЗЦА-ИЗДЕЛИЯ

3.1. Общие требования к образцам-изделиям - по ГОСТ 25443.

3.2. Точность отверстий и межосевых расстояний образца-изделия (для станков с программным управлением)

Черт. 24

Таблица 15

мм

Ширина (диаметр) рабочей поверхности стола

L

L1

L2

d

До 320

125

80

56569

12-20

Св. 320 до 1250

160

100

70,711

20-30

Для проверки используют предварительно обработанный образец в виде квадратной пластины (черт. 24, табл. 15).

Основание и грани образца-изделия обработаны окончательно.

Таблица 16

Наибольшая длина перемещения, мм

Допуск, мкм, для станков классов точности

Н

П

До 320

30

20

Св. 320 до 1250

40

25

Примечание. Для станков с отношением продольного и поперечного перемещений не более 1,6 допуски межосевых расстояний устанавливают по наибольшему из указанных перемещений.

Образец устанавливают в средней части стола симметрично его средней линии и производят обработку каждого отверстия.

Поле допуска диаметра просверленного отверстия не должно превышать Н12 - для станков класса точности Н; Н11 - для станков класса точности П. При необходимости для выполнения измерений после сверления на станке производят развертывание отверстий.

Измерение отверстий производят с помощью универсальных приборов.

Измерение межосевых расстояний производят в верхней или близкой к ней плоскости образца с помощью:

а) оправок, вставляемых в обработанные отверстия d, и плоскопараллельных концевых мер длины (плиток);

б) координатно-измерительной машины, инструментального или универсального микроскопа;

в) специального приспособления, предназначенного для измерения межосевых расстояний.

Погрешность межосевых расстояний равна разности заданного и фактического расстояний между осями любых двух отверстий.

ПРИЛОЖЕНИЕ

Обязательное

ЖЕСТКОСТЬ СТАНКА (ИСО 2772-2; ИСО 2773-2)

1.1. Общие требования испытания станков на жесткость - по ГОСТ 8.

1.2. Проверку на жесткость проводить на станках с механической подачей шпинделя.

1.3 Изменение положения оси нагруженного шпинделя к рабочей поверхности стола, стола-плиты или плиты под действием осевой статической нагрузки:

1.3.1. В вертикальной плоскости симметрии (черт. 25а)

1.3.2. В плоскости, перпендикулярной к вертикальной плоскости симметрии, проходящей через ось шпинделя (черт. 25а)

Черт. 25

Таблица 17

Исполнение станка

Допускаемые перемещения, мм, для станков классов точности

Н

П

На призматической колонне

1,0/1000

0,6/1000

На круглой колонне

2,0/1000

1,2/1000

Значение осевой нагрузки Р определяют по графику (черт. 26) в зависимости от условного диаметра сверления.

Шпиндельную бабку, стол и шпиндель устанавливают в среднее положение и зажимают.

В конусное отверстие шпинделя 1 вставляют оправку 2, а на шпинделе укрепляют диск 3. На рабочей поверхности стола 4 устанавливают нагружающее устройство 5 для создания осевой силы Р, измерение которой производят динамометром. Два прибора для измерения длин 6 со стойками устанавливают на столе так, чтобы измерительные наконечники касались диска 3 и были перпендикулярны к нему.

Между шпинделем и столом создают плавно возрастающую нагрузку до величины, соответствующей условному диаметру сверления (черт. 26), а затем нагрузку так же плавно снимают. Одновременно считывают показания приборов для измерения длин.

Измерение положения оси шпинделя к поверхности стола, стола-плиты или плиты определяют как разность показаний приборов для измерения длин на расстоянии L между приборами и пересчитывают пропорционально на длину 1000 мм.

Проверка в плоскости по п. 1.3.2 проводится аналогично.

Допускается проводить измерение специальным контрольным приспособлением (черт. 25в).

Черт. 26

 

ИНФОРМАЦИОННЫЕ ДАННЫЕ

ССЫЛОЧНЫЕ НОРМАТИВНО-ТЕХНИЧЕСКИЕ ДОКУМЕНТЫ

Обозначение НТД, на который дана ссылка

Номер пункта

ГОСТ 8-82

2.1, приложение

ГОСТ 1050-88

1.2

ГОСТ 1574-91

1.2

ГОСТ 6636-69

1.3; 1.5; 1.6

ГОСТ 9953-82

1.2

ГОСТ 22267-76

2.2; 2.8 - 12.18; 2.20

ГОСТ 24644-81

1.2

ГОСТ 25443-82

3.1

ГОСТ 27845-88

2.19

СОДЕРЖАНИЕ

 

 



© 2013 Ёшкин Кот :-)