Информационная система
«Ёшкин Кот»

XXXecatmenu

ГОСУДАРСТВЕННЫЙ СТАНДАРТ СОЮЗА ССР

 

СТАНЦИИ СМАЗОЧНЫЕ
МНОГООТВОДНЫЕ ДЛЯ ЖИДКОГО
СМАЗОЧНОГО МАТЕРИАЛА

ТЕХНИЧЕСКИЕ УСЛОВИЯ

ГОСТ 3564-84

 

 

ИЗДАТЕЛЬСТВО СТАНДАРТОВ

Москва

 

ГОСУДАРСТВЕННЫЙ СТАНДАРТ СОЮЗА ССР

СТАНЦИИ СМАЗОЧНЫЕ МНОГООТВОДНЫЕ ДЛЯ ЖИДКОГО СМАЗОЧНОГО МАТЕРИАЛА

Технические условия

Multioutlet oil-lubricating plants. Specifications

ГОСТ
3564-84

Срок действия с 01.01.85

до 01.01.95

Настоящий стандарт распространяется на смазочные многоотводные регулируемые станции (далее - станции) с приводом от механизмов машин или электродвигателя, предназначенные, для подачи при номинальном давлении 10 МПа жидкого смазочного материала кинематической вязкостью от 10 до 1500 мм2/с к трущимся поверхностям машин, работающих в закрытых помещениях при температуре смазочного материала и окружающей среды от 1 до 55 °С, и изготовляемые для нужд народного хозяйства и экспорта.

(Измененная редакция, Изм. № 1).

1. ОСНОВНЫЕ ПАРАМЕТРЫ И РАЗМЕРЫ

1.1. Станции следует изготовлять с числом отводов 2, 4, 8 и 12.

1.2. Станции по типу приводного устройства следует изготовлять следующих исполнений:

1 - со свободным концом вала;

2 - с качательным приводом;

3 - с редуктором i =1:80;

4 - с редуктором i = 1:160 и электродвигателем.

Допускается изготовлять редукторы с i = 1:76 - для исполнения 3, i = 1:152 - для исполнения 4.

Станции по расположению приводного устройства относительно устройства визуального контроля следует изготовлять двух исполнений: 1 - с правой стороны; 2 - с левой стороны.

В станциях исполнения 3 редуктор может быть установлен в одном из четырех положений поворотом на 90, 180 и 270° относительно оси эксцентрикового вала станции, при этом свободный конец вала редуктора относительно устройства визуального контроля будет расположен: 1 - вверх со смещением к задней стенке корпуса; 2 - вниз со смещением к передней стенке корпуса; 3 - вперед вверху; 4 - назад внизу; 5 - вниз со смещением к задней стенке корпуса; 6 - вперед внизу; 7 - вверх со смещением к передней стенке корпуса; 8 - назад вверху.

Станции исполнений 1, 2 и 3 должны иметь рукоятку для ручной прокачки.

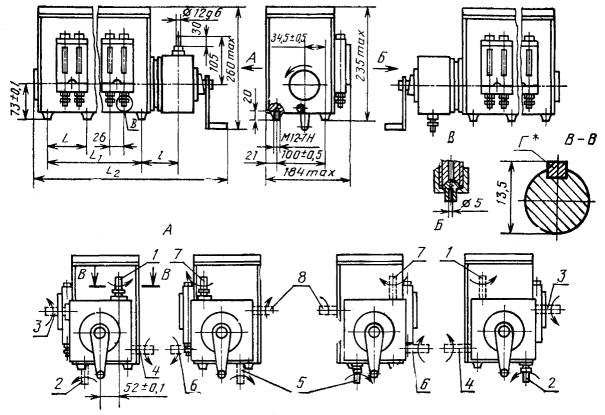
1.3. Основные параметры и размеры станций должны соответствовать указанным в табл. 1 и 2 и на черт. 1 - 4.

Таблица 1

Наименование параметра

Норма для станций с числом отводов

2

4

8

12

Номинальное давление, МПа

10

Номинальный рабочий объем нагнетательного элемента одного отвода, см3

0,32 ± 3 %

Номинальный подаваемый объем смазочного материала в один отвод за один оборот эксцентрикового вала станции, см3, не менее

0,25

Диапазон регулирования подаваемого объема смазочного материала в один отвод за один оборот эксцентрикового вала станции, см3

0,025 - 0,25

Частота вращения эксцентрикового вала станции, с-1 (об/мин), для исполнений:

 

1 - 3

0,04 - 0,4 (2,4 - 24)

4

0,156 (9,4)

Номинальная вместимость бака станция, дм3

2,5

6,3

10

Мощность на валу привода, кВт, не более

0,05

0,06

0,07

0,09

Масса, кг, не более, для исполнений:

 

 

 

 

1

8

10

16

24

2

10

12

18

26

3

11

13

19

27

4

15

17

23

31

Примечания:

1. Параметры указаны при работе станции на минеральном масле вязкостью 100 - 200 мм2/с.

2. Частота вращения эксцентрикового вала станции в исполнении 4 указана при частоте вращения электродвигателя 1500 об/мин и передаточном отношении редуктора i =1:160.

Таблица 2

мм

Исполнение по типу приводного устройства

Число отводов

L
(пред. откл. ± 0,5)

L1
(пред. откл. ±0,5)

L2
не более

l
(пред. откл. ± 1,7)

1

2

-

100

320

48

4

8

300

480

28

12

226

452

640

32

2

2

-

100

320

68,5

4

8

300

480

48,5

12

226

452

640

52,5

3

2

-

100

380

98

4

8

300

540

77,5

12

226

452

700

82,5

4

2

-

100

300

-

4

8

300

460

-

12

226

452

620

-

Исполнение 1

* Размер относится к валу.

Черт. 1

Исполнение 2

Черт. 2

Исполнение 3

*Г Шпонка 4´4´20 ГОСТ 23360

1, 2, 3, 4. 5, 6, 7, 8 - варианты расположения вала редуктора

Черт. 3

Исполнение 4

Черт. 4

Примечание. На черт. 1 - 4 изображены станции с правым расположением приводного устройства относительно устройства визуального контроля.

Изображение станций с левым расположением приводного устройства соответствует зеркальному изображению черт. 1 - 4.

1.4. Условное обозначение станций должно строиться по следующей схеме:

Пример условного обозначения станции исполнения 1, с правым расположением приводного устройства, с 4 отводами, со свободным концом вала, расположенным справа, предназначенной для работы в умеренном климате для категории размещения 4:

Станция 11-04-0 УХЛ4 ГОСТ 3564-84

То же, исполнения 3, с правым расположением приводного устройства, с 8 отводами, свободным концом вала, расположенным назад внизу, предназначенной для работы в умеренном климате для категории размещения 4:

Станция 31-08-4 УХЛ4 ГОСТ 3564-84

То же, исполнения 3, с левым расположением редуктора, 12 отводами, свободным концом вала, направленным вниз со смещением к задней стенке корпуса, предназначенная для работы в тропическом, климате для категории размещения 4.1:

Станция 32-12-5 О4.1 ГОСТ 3564-84

1.2 - 1.4. (Измененная редакция, Изм. № 1).

2. ТЕХНИЧЕСКИЕ ТРЕБОВАНИЯ

2.1. Станции следует изготовлять в соответствии с требованиями настоящего стандарта и ГОСТ 19099 по рабочим чертежам, утвержденным в установленном порядке, а для экспорта - и в соответствии с заказом-нарядом внешнеторговой организации.

(Измененная редакция, Изм. № 1).

2.2. Станции следует изготовлять в климатических исполнениях УХЛ4 и О4.1 по ГОСТ 15150.

2.3. Станции, предназначенные для работы в тропическом климате, должны соответствовать ГОСТ 15151.

2.4. Заправочная горловина станции должна быть оборудована фильтром с номинальной тонкостью фильтрации не грубее 80 мкм.

2.5. Станции должны быть оборудованы визуальным указателем, позволяющим контролировать уровень смазочного материала в баке.

2.6. Усилие, прилагаемое к рукоятке станции при ручной прокачке системы для удаления воздуха, не должно быть более 80 Н при отсутствии давления в системе.

2.7. (Исключен, Изм. № 1).

2.8. Станции должны быть оборудованы устройствами для визуального контроля подачи смазочного материала каждым насосным элементом. Указанное устройство должно обеспечивать возможность настройки подачи каждого насосного элемента с отклонением не более 15 % от заданного значения.

2.9. Наработка до отказа станций не должна быть менее 6000 ч.

Критерий отказа - любая неисправность, вызывающая ремонт или замену изделия.

2.10. Установленный ресурс станций не должен быть менее 35000 ч. Критерий предельного состояния - уменьшение номинального подаваемого объема на 0,05 см3/об у половины насосных элементов станции.

2.9, 2.10. (Измененная редакция, Изм. № 1).

3. ТРЕБОВАНИЯ БЕЗОПАСНОСТИ

3.1. Требования безопасности - по ГОСТ 12.2.086 и ГОСТ 12.2.040.

3.2. Октавные уровни звуковой мощности не должны превышать значений, указанных в табл. 3.

Таблица 3

Шумовые характеристики Lp, дБА в октавных полосах со среднегеометрическими частотами, Гц

Корректированный уровень звуковой мощности LpA, дБА (справ.)

Уровень звука LA, дБА (справ.)

63

125

250

500

1000

2000

4000

8000

86

90

85

81

78

76

75

74

85

72

3.3. Вибрационная характеристика не должна превышать значений, установленных в ГОСТ 12.2.040.

(Измененная редакция, Изм. №1).

3.4. Виброустойчивость и вибропрочность станций должны соответствовать II степени жесткости по ГОСТ 16962.

4. КОМПЛЕКТНОСТЬ

4.1. В комплект станции должна входить рукоятка для прокачки масла (кроме исполнения 4).

4.2. К каждой станции должен быть приложен паспорт. Для станций, предназначенных на экспорт, паспорт должен быть выполнен на языке, указанном в заказе-наряде внешнеторговой организации.

5. ПРАВИЛА ПРИЕМКИ

5.1. Правила приемки - по ГОСТ 22976 и настоящему стандарту.

5.2. Приемосдаточным испытаниям следует подвергать каждую станцию на соответствие требованиям п. 1.3 (в части номинального подаваемого объема в один отвод), а в части герметичности и прочности - по ГОСТ 19099.

5.3. Периодические испытания следует проводить не реже одного раза в 3 года на соответствие требованиям пп. 1.3 (кроме номинального давления и частоты вращения эксцентрикового вала), 2.3, 2.6, 2.8 - 2.10, 3.2 - 3.4, а в части герметичности и прочности - по ГОСТ 19099.

(Измененная редакция, Изм. № 1).

6. МЕТОДЫ ИСПЫТАНИЙ

6.1. Станции следует испытывать на минеральных маслах с кинематической вязкостью 100 - 200 мм2/с и при температуре масла 18 - 20 °С.

(Измененная редакция, Изм. № 1).

6.2. Измерения параметров - по ГОСТ 17108.

Погрешность измерения не должна превышать:

+2,5 % - давления и подаваемого объема;

±3,0 % - массы и мощности;

±2,0 % - частоты вращения;

±0,5 % - рабочего объема;

±4,0 % - вместимости;

±1,0 % - усилия на рукоятке.

6.2а. Основные размеры (п. 1.3) следует проверять универсальным измерительным инструментом.

(Введен дополнительно, Изм. № 1).

6.3. Номинальный подаваемый объем, диапазон регулирования подаваемого объема (п. 1.3) и отклонение настройки подаваемого объема (п. 2.8) следует проверять при номинальном давлении и при частоте вращения 10 об/мин ± 20 %. Подаваемый объем подсчитывают по формуле

,

где Vn - фактический объем смазочного материала, подаваемый станцией за п оборотов вала;

n - число оборотов вала (должно быть не менее 10).

Объем смазочного материала Vn следует измерять мерами вместимости с ценой деления 0,1 мл по ГОСТ 1770.

Номинальное давление контролируют манометром по ГОСТ 3405.

(Измененная редакция, Изм. № 1).

6.4. Номинальный рабочий объем нагнетательного элемента одного отвода (п. 1.3) следует проверять по п. 6.3, но при отсутствии давления на выходе.

6.5. Герметичность и прочность станции следует проверять в течение 1 мин во время работы станции при давлении на всех отводах равном 1,25 Pном.

6.6. Номинальную вместимость бака V (п. 1.3) определяют по формуле

,

где V - вместимость бака, л;

т1 - масса станции со смазочным материалом, кг;

m2 - масса станции без смазочного материала, кг;

δ - плотность смазочного материала, кг/дм3.

6.7. Усилие на рукоятке при ручной прокачке (п. 2.6) следует проверять при номинальном давлении и подаваемом объеме при помощи динамометра по ГОСТ 13837.

6.8. Мощность на валу (п. 1.3) следует определять по ГОСТ 17108.

6.9. (Исключен, Изм. № 1).

6.10. Наработку до отказа (п. 2.9) и установленный ресурс (п. 2.10) следует проверять при номинальных параметрах. Испытания следует проводить на стендах.

6.11. Массу станции без смазочного материала (п. 1.3) следует проверять взвешиванием.

6.12. Уровни звуковой мощности в октавных полосах частот (п. 3.2) следует определять по ГОСТ 12.1.026.

6.13. Вибрационную характеристику следует определять по ГОСТ 12.1.012 и ГОСТ 17108. Виброустойчивость (п. 3.4) следует определять по ГОСТ 16962, испытание 102-1. Вибропрочность (п. 3.4) следует определять по ГОСТ 16962, испытание 103-1.1.

Допускается проверку виброустойчивости и вибропрочности проводить в составе конкретного объекта в реальных условиях эксплуатации.

(Измененная редакция, Изм. № 1).

6.14, 6.15. (Исключены, Изм. № 1).

7. МАРКИРОВКА, УПАКОВКА, ТРАНСПОРТИРОВАНИЕ И ХРАНЕНИЕ

7.1. Маркировка, упаковка, транспортирование и хранение станций должны соответствовать ГОСТ 15108 и требованиям, изложенным в настоящем стандарте.

7.2. Маркировку следует наносить на табличку, прикрепленную к корпусу станции.

7.2.1. На станции должна быть нанесена стрелка, указывающая направление вращения приводного вала.

7.2.2. (Исключен, Изм. № 1).

7.2.3. Содержание и расположение маркировки на торцах ящика для станций, предназначенных для экспорта - в соответствии с требованиями заказа-наряда внешнеторговой организации и ГОСТ 14192 (разд. 5).

7.3. (Исключен, Изм. № 1).

7.3.1. В качестве транспортной тары для станций следует применять ящики типа III-1 по ГОСТ 2991 или складную и разборную тару по соответствующей нормативно-технической документации.

(Измененная редакция, Изм. № 1).

7.3.2. (Исключен, Изм. № 1).

7.3.3. Масса брутто грузового места не должна превышать: для ящиков по ГОСТ 2991 - 200 кг, для транспортного пакета - 1000 кг.

7.3.4 - 7.3.7. (Исключены, Изм. № 1).

7.4. Станции транспортируют любыми видами транспорта в крытых транспортных средствах при условии соблюдения правил перевозки, предусмотренных для данного вида транспорта.

7.5. Условия хранения - 2 (средние) по ГОСТ 15150.

7.6. Срок хранения - 2 года.

8. УКАЗАНИЯ ПО ЭКСПЛУАТАЦИИ

8.1. Класс чистоты смазочного материала, заливаемого в бак станции, не должен быть грубее 12-го класса по ГОСТ 17216.

8.2. В случае неиспользования части отводов станции следует отключить неиспользованный отвод путем завертывания регулировочного винта до отказа.

8.3. Минимальные углы качания рычага качательного приводного устройства без регулировки должны быть не менее 9° в станциях с двумя отводами и не менее 12° - в остальных. При точной регулировке эти углы могут быть уменьшены соответственно в станциях с двумя отводами до 5°, а в остальных - до 7°.

9. ГАРАНТИИ ИЗГОТОВИТЕЛЯ

9.1. Изготовитель должен гарантировать соответствие станций требованиям настоящего стандарта при соблюдении правил эксплуатации транспортирования и хранения.

9.2. Гарантийный срок эксплуатации - 24 мес. со дня ввода станции в эксплуатацию.

9.3. Гарантийный срок эксплуатации станций, предназначенных для экспорта, - 12 мес. со дня их ввода в эксплуатацию, но не более 24 мес. с момента проследования через Государственную границу СССР.

ИНФОРМАЦИОННЫЕ ДАННЫЕ

1. РАЗРАБОТАН И ВНЕСЕН Министерством станкостроительной и инструментальной промышленности СССР

РАЗРАБОТЧИКИ

Л.М. Курганский, М.А. Шифман, Я.С. Ратнер, Л.М. Друзь, Л.И. Геллер, А.Я. Оксененко, В.С. Макаров, Г.Ф. Ливада, А.И. Гольдшмидт, Т.А. Сазонова

2. УТВЕРЖДЕН И ВВЕДЕН В ДЕЙСТВИЕ Постановлением Государственного комитета СССР по стандартам от 28.02.84 № 706

3. Срок проверки - 1993 г.,

периодичность проверки - 5 лет

4. ВЗАМЕН ГОСТ 3564-72

5. ССЫЛОЧНЫЕ НОРМАТИВНО-ТЕХНИЧЕСКИЕ ДОКУМЕНТЫ

6. Переиздание (март 1993 г.) с Изменением № 1, утвержденным в июне 1989 г. (ИУС 9-89)

7. Проверен в 1989 г. Срок действия продлен до 01.01.95 Постановлением Госстандарта СССР от 13.06.89 № 1547

 

СОДЕРЖАНИЕ

 



© 2013 Ёшкин Кот :-)