Информационная система
«Ёшкин Кот»

XXXecatmenu

ГОСТ 30552-98

МЕЖГОСУДАРСТВЕННЫЙ СТАНДАРТ

 

ЗАГОТОВКИ ПРОФИЛЬНЫЕ
(НЕОБРАБОТАННЫЕ ОСИ)
ДЛЯ ПОДВИЖНОГО СОСТАВА
ЖЕЛЕЗНЫХ ДОРОГ КОЛЕИ 1520 мм

Припуски и допуски

 

 

МЕЖГОСУДАРСТВЕННЫЙ СОВЕТ
ПО СТАНДАРТИЗАЦИИ, МЕТРОЛОГИИ И СЕРТИФИКАЦИИ

Минск

 

Предисловие

1 РАЗРАБОТАН Институтом черной металлургии Национальной академии наук Украины (ТК 4), ВНИИЖТ, ГосНИИВ

ВНЕСЕН Госстандартом Украины

2 ПРИНЯТ Межгосударственным Советом по стандартизации, метрологии и сертификации (протокол № 13 от 23 мая 1998 г.)

За принятие проголосовали:

Наименование государства

Наименование национального органа по стандартизации

Азербайджанская Республика

Азгосстандарт

Республика Беларусь

Госстандарт Республики Беларусь

Республика Казахстан

Госстандарт Республики Казахстан

Киргизская Республика

Киргизстандарт

Российская Федерация

Госстандарт России

Республика Таджикистан

Таджикгосстандарт

Туркменистан

Главная государственная инспекция Туркменистана

Республика Узбекистан

Узгосстандарт

Украина

Госстандарт Украины

3 Постановлением Государственного комитета Российской Федерации по стандартизации и метрологии от 14 марта 2000 г. № 55-ст межгосударственный стандарт ГОСТ 30552-98 введен в действие непосредственно в качестве государственного стандарта Российской Федерации с 1 января 2001 г.

4 ВВЕДЕН ВПЕРВЫЕ

 

ГОСТ 30552-98

МЕЖГОСУДАРСТВЕННЫЙ СТАНДАРТ

ЗАГОТОВКИ ПРОФИЛЬНЫЕ
(НЕОБРАБОТАННЫЕ ОСИ) ДЛЯ ПОДВИЖНОГО СОСТАВА
ЖЕЛЕЗНЫХ ДОРОГ КОЛЕИ 1520 мм

Припуски и допуски

Round billets (non-machined axles) of railway wheels for 1520 mm gauge line.
Allowances and tolerances

Дата введения 2001-01-01

1 Область применения

Настоящий стандарт распространяется на профильные заготовки (необработанные оси) для вагонов, электровозов, тепловозов, моторных вагонов и вагонов метрополитена колеи 1520 мм и устанавливает припуск на механическую обработку и предельные отклонения на номинальные размеры заготовок.

2 Нормативные ссылки

В настоящем стандарте использована ссылка на следующий стандарт:

ГОСТ 8026-92 Линейки поверочные. Технические условия

3 Требования

3.1 Профильные заготовки изготовляют методами винтовой прокатки, радиально-ротационной ковкой, свободной ковкой и штамповкой.

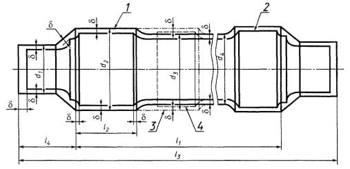
3.2 Форма, припуски на механическую обработку и предельные отклонения на номинальные размеры профильных заготовок приведены на рисунке 1 и в таблице 1.

1 - поверхность профильной заготовки; 2 - поверхность окончательно обработанной оси; 3 - поверхность подступичной части шестерни, моторно-осевого подшипника профильной заготовки; 4 - поверхность подступичной части шестерни, моторно-осевого подшипника окончательно обработанной оси

Рисунок 1 - Условные обозначения размерных характеристик профильных заготовок

Таблица 1

В миллиметрах

Наименование элемента профильной заготовки

Условное обозначение

Предельное отклонение на номинальные размеры

Односторонний припуск на механическую обработку δ

Радиально-ротационная ковка

Винтовая прокатка

Свободная ковка (штамповка)

Радиально-ротационная ковка

Винтовая прокатка

Свободная ковка (штамповка)

Диаметр шейки и предподступицы

d1

+3

-2

+6

-2

±7

7,5

7,5

15

Диаметр подступичной части

d2

+3

-2

+6

-2

±8

7,5

7,5

10

Диаметр подступичной части шестерни, моторно-осевого подшипника

d3

+3

-2

+6

-2

±7

6,5

7,5

10

Диаметр средней части

d4

+3

-2

+6

-2

±7

7,5

7,5

10

Длина по подступицам

l1

+30

-10

±10

+30

-10

-

18

-

Длина подступичной части

l2

+30

+25

+30

20

20

30

Длина заготовки (общая)

l3

+50

-10

+30

-20

+50

-40

13

30

40

Длина шейки с предподступичной частью

l4

±25

+25

-15

±30

-

30

40

Припуски, учитывающие дополнительные технологические операции (для зажима профильных заготовок в станках для механической обработки, вырезки образцов для механических испытаний и т.п.), настоящим стандартом не предусматриваются и вводятся в чертеж по согласованию изготовителя и потребителя.

3.3 Припуски на номинальные размеры оси, установленные настоящим стандартом, необходимо определять из расчета механической обработки с двух сторон. Предельные отклонения устанавливаются на номинальные размеры заготовок.

По согласованию изготовителя с потребителем допускается изготовление профильных заготовок с точной отрезкой по длине и их черновой обдиркой.

3.4 Геометрические параметры в рабочих чертежах профильных заготовок должны быть установлены, исходя из размеров окончательно обработанных осей, согласованных между изготовителем и потребителем.

Линейные размеры профильных заготовок должны определяться методом непосредственной оценки с допустимой погрешностью:

для диаметров - +0,5 мм;

для длин: до 1000 мм - ±1,0 мм,

от 1001 до 2000 мм - ±2,0 мм,

св. 2001 мм - ±3,0 мм.

3.5 Радиусы сопряжений смежных элементов профиля, углы переходов и размеры без предельных отклонений служат для построения профиля и на готовом прокате не контролируются.

3.6 Концы профильных заготовок должны быть обрезаны пилами. По согласованию изготовителя с потребителем допускается обрезка другими способами. У профильных заготовок, подвергаемых ультразвуковому контролю, торцы должны быть обработаны с шероховатостью, обеспечивающей требования контроля.

3.7 Отклонение от перпендикулярности плоскости реза профильных заготовок, изготовленных винтовой прокаткой и радиально-ротационной ковкой, не должно превышать 0,07 диаметра разрезаемого сечения, а по требованию потребителя - 5,0 мм.

Скосы от отрубки концов заготовок, полученных свободной ковкой и штамповкой, не должны превышать 10°.

3.8 Радиальное биение поверхности шеек и средней части относительно поверхности подступичных частей профильных заготовок, изготовленных радиально-ротационной ковкой и винтовой прокаткой, не должно превышать 8 мм, изготовленных свободной ковкой - не более 12 мм.

Радиальное биение шеек и средней части относительно поверхности подступичных частей определяют как разность наибольших и наименьших зазоров в диаметральном направлении между лекальной линейкой типа ШД по ГОСТ 8026 или другим аттестованным измерительным инструментом, наложенными на поверхности подступичных частей, поверхность шеек, среднюю часть в двух перпендикулярных плоскостях. Контроль осуществляют посередине длины контролируемых элементов, а при вращении на станке - по биению профильной заготовки.

3.9 Массу профильных заготовок определяют по номинальным размерам.

 

Ключевые слова: заготовки профильные, припуски, допуски

 

СОДЕРЖАНИЕ

 

 



© 2013 Ёшкин Кот :-)