Термин
|
Определение
|
|
1.
Световой микроскоп
Микроскоп
D. Lichtmikroskop
E. Light microscope
F. Microscope lumineux
|
Оптический прибор, имеющий
не менее чем двухступенчатое увеличение и позволяющий делать видимыми детали
объекта, не различимые невооруженным глазом с расстояния 250 мм.
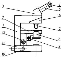
Примечание. Основные составные части светового микроскопа показаны
на чертеже
|

1 - штатив; 2
- предметный столик; 3
- насадка; 4 -
окуляр; 5 - тубус; 6 -
устройство смены объективов; 7 -
микрообъектив; 8 - конденсор; 9 - механизм перемещения конденсора; 10 - коллектор; 11 -
осветительная система; 12 -
механизм фокусировки микроскопа
|
2. Световой микроскоп общего назначения
D. Allgemeinmikroskop
E. General purpose microscope
F. Microscope d’usage general
|
Световой микроскоп,
позволяющий работать преимущественно в светлом поле
|
3. Биологический микроскоп
D. Biologisches Mikroskop
E. Biological microscope
F. Microscope biologique
|
Световой микроскоп
общего назначения, предназначенный для исследований, преимущественно
прозрачных биологических объектов в проходящем свете
|
4. Металлографический микроскоп
D. Metallmikroskop
E. Metallurgical microscope
F. Microscope métallographique
|
Световой микроскоп
общего назначения, предназначенный для исследований непрозрачных объектов в
отраженном свете
|
5. Геолого-рудный микроскоп
D. Erzmikroskop
|
Световой микроскоп общего
назначения, предназначенный для поляризационных исследований прозрачных и
непрозрачных объектов
|
6. Специализированный световой микроскоп
Специализированный
микроскоп
D. Spezialmikroskop
E. Special microscope
F. Microscope spécial
|
Световой микроскоп,
предназначенный специально для определенных видов наблюдений и исследований,
которые обеспечиваются посредством реализации особых физических принципов
действия и методов исследования
|
7. Поляризационный микроскоп
D. Polarisations mikroskop
E. Polarized-light microscope
F. Microscope polarisant
|
По ГОСТ 23778
|
8. Люминесцентный микроскоп
D. Fluoreszenzmikroskop
E. Fluorescence microscope
F. Microscope luminescent
|
Специализированный
световой микроскоп, позволяющий наблюдать люминесценцию объекта благодаря
оснащенности соответствующими источниками света и комбинациями встроенных или
сменных светофильтров.
Примечание. Частным случаем люминесценции является флуоресценция
|
9. Микрофлюориметр
D. Mikrofluorometer
E. Microfluorometer
|
Люминесцентный
микроскоп, позволяющий измерять интенсивность флуоресценции выбранного
участка объекта
|
10.
Интерференционный микроскоп
D. Interferezmikroskop
E. Interference microscope
F. Microscope interferentiel
|
Специализированный
световой микроскоп, позволяющий получать при помощи встроенных в микроскоп
светоделительных элементов два или более
когерентных пучка излучения, которые вызывают интерференционные явления в
плоскости промежуточного изображения
|
11. Микроскоп-фотометр
D. Photometer-mikroskop
|
Специализированный
световой микроскоп, позволяющий измерять поток излучения, исходящего от
выбранного участка изображения
|
12. Микроспектрофотометр
D. Mikrospektral-photometer
E. Microspectro-photometer
F. Microspectro-photomètre
|
По ГОСТ 27176
|
13. Микроспектрофлюориметр
D. Mikrospektral-fluorometer
E. Microspectro-fluorometer
|
По ГОСТ 27176
|
14. Ультрафиолетовый микроскоп
УФ-микроскоп
D. Ultraviolett-mikroskop
E. Ultraviolet microscope
F. Microscope ultraviolet
|
Специализированный
световой микроскоп, в котором изображения объектов, образуемые в
ультрафиолетовых лучах, делаются видимыми при помощи встроенных устройств
|
15. Инфракрасный микроскоп
ИК-микроскоп
D. Infrarotmikroskop
E. Infrared microscope
F. Microscope infrarouge
|
Специализированный
световой микроскоп, в котором изображения объектов, образуемые в инфракрасных
лучах, делаются видимыми при помощи дополнительных устройств
|
16. Стереоскопический микроскоп
Стереомикроскоп
D. Stereomikroskop
E. Stereomicroscope
F. Microscope stéréoscopique
|
Специализированный
световой микроскоп, в котором к наблюдателю от одного участка объекта
направляются под различными углами два изображения, совместно создающие
стереоэффект
|
17. Фотомикроскоп
D. Kameramikroskop
E. Photomicroscope
|
Специализированный
световой микроскоп, оснащенный встроенным фотографическим устройством
|
18. Проекционный микроскоп
D. Projektions-mikroskop
E. Projection microscope
F. Microscope de
projection
|
Специализированный световой
микроскоп, у которого изображение объекта наблюдается на встроенном или
вынесенном проекционном экране
|
19. Контактный
микроскоп
|
Специализированный
световой микроскоп, в котором микрообъектив приводится в непосредственный
контакт с объектом
|
20.
Микроскоп сравнения
D. Vergleichs-mikroskop
E. Comparison microscope
F. Microscope de comparaison
|
Специализированный
световой микроскоп, позволяющий проводить различные исследования посредством
сравнения подобных друг другу объектов
|
21. Высокотемпературный микроскоп
D. Hochtemperatur-mikroskop
E. High-temperature microscope
F. Microscope de haute temperature
|
Специализированный
световой микроскоп, позволяющий исследовать поведение микрообъектов при
температуре, существенно превышающей температуру окружающей среды
|
22. Световой микроскоп с дистанционным управлением
D. Fernbedienbares Lichtmikroskop
E. Remote control light microscope
F. Microscope lumineux é télécommandé
|
Специализированный световой
микроскоп, управление которым частично или полностью осуществляется
дистанционно.
Примечание. Микроскоп с
дистанционным управлением может быть использован для исследования
радиоактивных, ядовитых и других веществ
|
23. Световой микроскоп для анализа изображения
D. Bildanalyse-Lichtmikroskop
E. Light microscope for image analysis
F. Microscope lumineux pour analyse d’image
|
Специализированный
световой микроскоп для измерения и классификации объектов по геометрическим и
оптическим параметрам, осуществляемых в полуавтоматическом или автоматическом
режимах
|
|
24. Микрообъектив
D. Objektiv
E. Objective lens
F. Objectif
|
Оптическая система светового
микроскопа, которая, воспринимая пучок лучей с большим апертурным углом,
исходящий от небольшого в сравнении с ее фокусным расстоянием участка
объекта, образует в световом микроскопе промежуточное изображение объекта на
конечном расстоянии или в бесконечности
|
25. Окуляр светового микроскопа
Окуляр
D. Okular
E. Eyepiece
F. Oculaire
|
Оптическая система
светового микроскопа, образующая видимое глазом наблюдателя увеличенное
изображение промежуточного изображения объекта, создаваемого микрообъективом
|
26. Проекционный окуляр
D. Projektiv
E. Projection eyepiece
|
Оптическая система
светового микроскопа, образующая увеличенное изображение промежуточного
изображения объекта, создаваемого микрообъективом, на внешней плоскости, представляющей
собой экран или светочувствительную поверхность
|
27. Осветительная система светового микроскопа
D. Beleuchtungssystem eines Lichtmikroskops
E. Illumination system of a light microscope
F. Système illuminant de microscope lumineux
|
Оптическая система
светового микроскопа, предназначенная для освещения объекта в световом
микроскопе и содержащая источник света, коллектор.
Примечание. Осветительная система светового микроскопа может
содержать и другие оптические и механические элементы
|
28. Конденсор светового микроскопа
Конденсор
D. Kondensor
E. Condenser
F. Condenseur
|
Оптическая система,
предназначенная для концентрации излучения в плоскости объекта в световом
микроскопе
|
29. Коллектор светового микроскопа
Коллектор
D. Kollektor
E. Light collector
F. Collecteur
|
Оптическая система,
расположенная вблизи источника света и служащая для образования в плоскости
апертурной диафрагмы конденсора светового микроскопа изображения светящегося
тела источника света
|
30. Насадка для светового микроскопа
D. Aufsatz zum
Lichtmikroskop
E. Light microscope attachment
|
Оптическое устройство, присоединяемое к тубусу или
штативу светового микроскопа и расширяющее функциональные возможности
микроскопа.
Примечание. Насадка для светового микроскопа могут
классифицироваться на группы: фотонасадки, фотометрические, спектральные,
тринокулярные и др.
|
|
31. Штатив светового микроскопа
D. Stativ von Lichtmikroskop
E. Stand of a light microscope
F. Support de microscope lumineux
|
Конструктивный
несущий узел светового микроскопа, служащий для установки тубуса, предметного
столика, осветительной системы
|
32. Тубус светового микроскопа
D. Tubus von Lichtmikroskop
E. Tube of a light microscope
F. Tube de microscope lumineux
|
Конструктивный узел
светового микроскопа, служащий для установки окуляра на определенном
расстоянии от микрообъектива
|
33. Предметный столик светового микроскопа
Предметный столик
D. Objekttisch
E. Light microscope stage
F. Platine
|
Конструктивный узел
светового микроскопа, служащий для установки, крепления и, при необходимости,
перемещения объекта
|
34. Механизм фокусировки светового микроскопа
D. Fokussiereinrichtung für Abbildungsoptik
E. Light microscope focussing device
F. Mechanisme de focalisation du microscope lumineux
|
Конструктивный узел
светового микроскопа, предназначенный для получения резкого изображения
объекта посредством перемещения вдоль оптической оси объекта или
микрообъектива.
Примечание. Узел может иметь механизм грубого и точного
перемещения
|
35. Механизм перемещения конденсора светового микроскопа
D. Fokussiereinrichtung für Kondensoren
E. Condenser focussing device
F. Mechanisme de focalisation du condenseur
|
Конструктивный узел
светового микроскопа, служащий для перемещения конденсора вдоль оптической
оси для создания оптимального освещения объекта
|
36. Устройство смены объективов светового микроскопа
D. Objektivwechseleinrichtung von Lichtmikroskop
|
Конструктивный узел
светового микроскопа, служащий для установки и быстрой смены микрообъективов.
Примечание. Как правило, узел выполняется в виде револьверной
головки или щипцового устройства
|
|
37. Покровное стекло светового микроскопа
D. Deckglas
E. Cover glass
F. Couvre-objet
|
Стеклянная
пластинка, предназначенная для предохранения микропрепаратов от пыли и
механических повреждений
|
38. Предметное стекло светового микроскопа
Предметное стекло
D. Objektträger
E. Slide
F. Porte-objet
|
Стеклянная
пластинка, предназначенная для размещения микропрепарата светового микроскопа
|
39. Иммерсионная жидкость для светового микроскопа
D. Irnmersionsflüssigkeit
für Lichtmikroskope
E. Immersion oil for light microscopes
F. Huile d’immersion pour microscopes lumineux
|
Оптическая жидкая
среда, помещаемая между объектом и микрообъективом
|
40.
Объект-микрометр
D. Objektmikrometer
E. Stage micrometer
|
Стеклянная пластинка
со шкалой, предназначенная для определения увеличения, линейного поля зрения
светового микроскопа, цены деления окулярных сеток
|
41.
Тест-объект светового микроскопа
D. Prüfplatte von
Lichtmikroskop
E. Light microscope test plate
F. Plaque d’essais de microscope lumineux
|
Объект,
предназначенный для оценки качества и (или) калибровки светового микроскопа
|
|
42. Видимое увеличение светового микроскопа
D. Lupenvergröβerung
des Mikroskops
|
Величина, определяемая
отношением размера изображения объектива на сетчатке глаза, образованного при
наблюдении через световой микроскоп, к размеру изображения того же объекта,
полученному на сетчатке глаза при наблюдении невооруженным глазом
|
43. Линейное поле светового микроскопа в пространстве
предметов
D. Eintrittsfeld des Lichtmikroskops
E. Linear field of a microscope in the
object space
F. Champs lineaire de microscope en espace-objet
|
Величина,
определяющая наибольший размер изображаемой части объекта, наблюдаемой в
световой микроскоп
|
44.
Выходной зрачок светового микроскопа
D. Austrittspupille des Lichtmikroskops
E. Exit pupil of a light microscope
F. Pupille de sortie du microscope lumineux
|
Изображение апертурной
диафрагмы через окуляр светового микроскопа.
Примечание. Диаметр
выходного зрачка светового микроскопа определяется по формуле

где D' - диаметр выходного зрачка светового микроскопа, мм;
А - апертура микрообъектива;
Г -
видимое увеличение микроскопа
|
45. Предел разрешения светового микроскопа
D. Auflösungsgrenze
des Lichtmikroskops
E. Resolution limit of a light microscope
F. Limite de résolution
du microscope lumineux
|
Минимальное расстояние между двумя элементами объекта,
еще различимыми глазом при наблюдении в световой микроскоп.
Примечание. Предел размещения светового микроскопа определяется по
формуле

где d - предел разрешения светового микроскопа, мкм;
λ - длина волны света, мкм
|
46. Разрешающая способность светового микроскопа
D. Auflösungsvermögen
des Lichtmikroskops
E. Resolving power of a light microscope
F. Pouvoir séparateur du microscope lumineux
|
Величина, обратная пределу разрешения светового
микроскопа
|
47. Глубина резкости светового микроскопа
D. Schärfentiefe des Mikroskops
E. Depth of microscope field
F. Profondeur de champs du microscope
|
Расстояние вдоль оптической оси светового микроскопа, в
пределах которого обеспечивается возможность наблюдения резкого изображения
объемного объекта.
Примечание. Глубина
резкого изображения светового микроскопа определяется по формуле

где Т - глубина резкости светового
микроскопа, мкм
|