Информационная система
«Ёшкин Кот»

XXXecatmenu

ГОСУДАРСТВЕННЫЙ СТАНДАРТ СОЮЗА ССР

 

ПАТРОНЫ РЕЗЬБОВЫЕ
ДЛЯ ЭЛЕКТРИЧЕСКИХ ЛАМП

ОБЩИЕ ТЕХНИЧЕСКИЕ УСЛОВИЯ

 

ГОСТ 2746-90
(МЭК 238-87)

 

 

ГОСУДАРСТВЕННЫЙ КОМИТЕТ СССР ПО УПРАВЛЕНИЮ
КАЧЕСТВОМ ПРОДУКЦИИ И СТАНДАРТАМ

Москва

 

ГОСУДАРСТВЕННЫЙ СТАНДАРТ СОЮЗА ССР

ПАТРОНЫ РЕЗЬБОВЫЕ ДЛЯ
ЭЛЕКТРИЧЕСКИХ ЛАМП

Общие технические условия

Screw holders for electric lamps.
General specifications

ГОСТ
2746-90

(МЭК 238-87)

Дата введения с 01.01.93

1. ОБЛАСТЬ РАСПРОСТРАНЕНИЯ

Настоящий стандарт распространяется на патроны с резьбой Эдисона E14, Е27 и Е40, предназначенные для фиксации и присоединения электрических ламп и ламп-светильников к электрической сети.

Требования к патронам для ламп-светильников в стадии разработки.

Стандарт распространяется на патроны с выключателем, предназначенные для присоединения только к сети переменного тока напряжением не более 250 В.

Стандарт распространяется также на патроны с резьбой Эдисона Б10 для внутренней и наружной установки, предназначенные для присоединения к электрической сети последовательно соединенных ламп, нормированное напряжение на каждой из которых не более 60 В.

Насколько возможно, стандарт распространяется на оболочки патронов иного вида, чем резьбовые, предназначенные для присоединения к электрической сети последовательно соединенных ламп.

Такие патроны используются, например, в елочных гирляндах.

Насколько возможно, стандарт распространяется на оболочки патронов, которые полностью или частично выполнены заодно со светильником или предназначены для встраивания в приборы. Независимые патроны, например, фланцевые, не предназначенные специально для встраивания, испытывают также как светильник.

Стандарт распространяется на патроны, применяемые во внутренних или наружных бытовых и промышленных осветительных установках.

Стандарт также распространяется на патроны для свечеобразных ламп.

В особых условиях, например, для освещения улиц, транспортных средств, во взрывоопасной среде и т.п., могут потребоваться специальные конструкции патронов.

Стандарт не распространяется на патроны типа Е26 d для ламп с двумя телами накала.

Стандарт основан на следующих технических данных ламп общего назначения:

цоколи Е14 используются для ламп, рассчитанных на ток не более 2 А;

цоколи Е27 используются для ламп, рассчитанных на ток не более 4 А;

цоколи Е40 используются для ламп, рассчитанных на ток не более 16 А.

Если номинальное напряжение источника питания не более 130 В, то максимальный ток для цоколя Е40 - 32 А (см: пп. 4.5 и 5.3).

При испытаниях следует использовать лампы общего назначения, цоколи которых имеют превышение температуры, °С, не более:

патроны без температурной маркировки:

110 - для цоколей типа Е14,

140 -  »        »          »      Е27,

200 -  »        »          »      Е40;

патроны с температурной маркировкой:

температура, указанная в маркировке, минус 25.

Настоящий стандарт распространяется на патроны, изготовляемые для нужд народного хозяйства и для экспорта.

Требования настоящего стандарта являются обязательными.

Для нужд народного хозяйства стандарт распространяется на:

патроны для ламп-светильников;

патроны, предназначенные для применения во взрывоопасных помещениях;

патроны иного вида, чем резьбовые, предназначенные для присоединения к электрической сети ламп, соединенных последовательно (например, для елочных гирлянд).

Стандарт распространяется на патроны для свечеобразных ламп только с резьбой Эдисона Е14.

Виды климатического исполнения УХЛ1, УХЛ2, У2, УХЛ3, УХЛ4, УХЛ5, Т1, Т2, Т3, Т5 и 04 по ГОСТ 15150.

Настоящий стандарт может использоваться для целей сертификации.

В стандарте применяются следующие обозначения:

текст без обозначения (шрифт светлый прямой) - технические требования Публикации МЭК 238;

текст, набранный в разрядку, - методы испытаний Публикации МЭК 238;

текст, отмеченный на полях одной вертикальной чертой, - комментарии (примечания) Публикации МЭК 238;

текст, учитывающий национальные особенности СССР, набран:

курсивом - технические требования;

полужирным прямым - методы испытаний;

курсивом с одной вертикальной чертой - примечания.

2. ОПРЕДЕЛЕНИЯ

В стандарте использованы следующие термины и определения.

Разъяснение некоторых терминов приведено также на черт. 1.

2.1. Шнуровой патрон

Патрон с устройством для крепления гибкого шнура, на котором патрон может быть подвешен.

Патрон с устройством для крепления гибкого шнура или гибкого провода и разгрузки их от натяжения и скручивания, на которых патрон может быть подвешен.

2.2. Патрон с резьбовым вводом

Патрон, имеющий в месте ввода проводов деталь с резьбой, которая позволяет соединять патрон с сопряженной резьбовой деталью (прежнее название - ниппельный патрон).

2.3. Фланцевый патрон

Патрон, конструкция которого позволяет устанавливать его с помощью присоединенного или выполненного заодно с ним фланца непосредственно на монтажной поверхности или в соответствующую коробку.

2.4. Встраиваемый патрон

Патрон, предназначенный только для встраивания в светильник, в дополнительный корпус или т.п.

2.4.1. Незащищенный патрон

Встраиваемый патрон, конструкция которого требует дополнительных средств, например, корпуса, для удовлетворения требованиям настоящего стандарта по электробезопасности.

2.4.2. Защищенный патрон

Встраиваемый патрон, конструкция которого удовлетворяет требованиям настоящего стандарта по электробезопасности и по классификации 1Р, если патрон имеет степень защиты по ней.

2.5. Независимый патрон

Патрон, который может быть установлен отдельно от светильника, обеспечивая при этом все необходимые требования защиты в соответствии с его классификацией и маркировкой.

2 6. Комплект зажим / контакт

Деталь или комплект деталей, обеспечивающих электрическое соединение сетевых проводов и контактных поверхностей цоколя лампы.

2.7. Наружный корпус

Цилиндрическая деталь, защищающая потребителя от контакта с цоколем лампы. Деталь может иметь или не иметь наружную резьбу для крепления абажурного кольца.

2.8. Резьбовая гильза

Цилиндрическая деталь с резьбой Эдисона на внутренней поверхности, предназначенная для удержания соответствующей лампы (цоколя). Резьбовая гильза может быть выполнена заодно с наружным корпусом или встроена в него.

Для патронов Е27 и Е40 резьбовая гильза может быть выполнена отдельно от наружного корпуса.

2.9. Изолирующее кольцо

Промежуточная деталь из изоляционного материала, разделяющая металлическую резьбовую гильзу и металлический наружный корпус.

2.10. Абажурное кольцо

Цилиндрическая деталь, имеющая внутреннюю резьбу или другой способ крепления ее на наружном корпусе патрона и предназначенная для удержания абажура.

2.11. Донышко

Часть шнурового патрона или патрона с резьбовым вводом, которая защищает контактные зажимы.

Часть патрона (кроме фланцевых и патронов с креплением за шпильки или отверстия), предназначенная для защиты контактных зажимов и ввода проводов.

2.12. Рабочая изоляция

Изоляция токоведущих деталей, которая обеспечивает основную защиту от поражения электрическим током.

Рабочая изоляция не обязательно включает изоляцию, используемую только в функциональных целях.

2.13. Дополнительная изоляция

Независимая изоляция, предусматриваемая в дополнение к рабочей и предназначенная для защиты от поражения электрическим током при повреждении рабочей изоляции.

2.14. Двойная изоляция

Изоляция, включающая одновременно рабочую и дополнительную изоляцию.

2.15. Усиленная изоляция

Единственная система изоляции, обеспечивающая при определенных условиях защиту от поражения электрическим током, эквивалентную двойной изоляции.

Термин «система изоляции» не предполагает, что изоляция должна представлять собой однородную деталь. Система может содержать несколько слоев, которые нe могут быть испытаны отдельно только как рабочая изоляция или дополнительная изоляция.

Для нужд народного хозяйства определение терминов - по ГОСТ 12.1.009, пп. 2.12 - 2.15.

2.16. Токоведущая деталь

Токоведущая деталь, прикосновение к которой может привести к поражению электрическим током.

2.17. Типовое испытание

Испытание или серия испытаний, проводимых на выборке для типовых испытаний с целью проверки соответствия конструкции конкретного патрона требованиям настоящего стандарта.

Для нужд народного хозяйства эти испытания называются сертификационными.

2.18. Выборка для типовых испытаний

Выборка, состоящая из одного или нескольких идентичных образцов, представленная изготовителем или поставщиком и предназначенная для проведения типовых испытаний.

Для нужд народного хозяйства речь идет о выборке для сертификационных и квалификационных испытаний.

2.19. Лампа-светильник

Комплект, аналогичный разрядной лампе с встроенным ПРА, предназначенный для замены лампы и/или зажигающего устройства.

Термин распространяется также на переходники с встроенными ПРА.

2.20. Резьбовой патрон

Устройство, имеющее резьбу Эдисона, в которую ввинчивается цоколь лампы с соответствующей резьбой для крепления и присоединения лампы к электрической сети.

2.21. Металлический патрон

Патрон, корпус которого полностью или частично изготовлен из металла или из изоляционного материала с токопроводящей поверхностью.

2.22. Патрон из изоляционного материала

Патрон, корпус которого изготовлен из изоляционного материала.

2.23. Угловой патрон

Патрон, корпус которого имеет крепежную плоскость, расположенную параллельно оси лампы.

2.24. Подвесной патрон

Патрон, донышко которого снабжено приспособлением для подвешивания его на крюке или тросе.

2.25. Патрон с абажурным кольцом (кольцами)

Патрон, имеющий на наружной поверхности корпуса резьбу для навинчивания кольца (колец).

2.26. Вкладыш патрона

Часть патрона, если она предусмотрена конструкцией, из изоляционного материала, предназначенная для крепления на ней комплекта зажим - контакт.

2.27. Центральный контакт

Деталь патрона, предназначенная для подвода тока к центральному контакту цоколя лампы.

2.28. Боковой контакт

Деталь патрона, предназначенная для подвода тока к корпусу резьбового цоколя лампы.

2.29. Предельное нижнее положение центрального контакта

Положение центрального контакта при полностью ввернутой лампе.

2.30. Рабочая температура

Наибольшая температура нагрева патрона, при которой он может использоваться.

2.31. Испытательная температура

Значение температуры, при которой проводят соответствующее испытание.

Это значение не может служить критерием для правильности выбора патрона для конкретных условий использования.

2.32. Состояние поставки

Патрон, полностью собранный (без присоединения проводов электрической сети), но не установленный как для нормального использования.

3. ОБЩИЕ ТРЕБОВАНИЯ

Конструкция и изготовление патронов должны обеспечивать при нормальном использовании их надежную работу и безопасность для окружающих.

Проверку, как правило, осуществляют проведением всех указанных в настоящем стандарте испытаний.

Независимые патроны, кроме того, должны соответствовать требованиям разд. 3 (кроме п. 3.2) ГОСТ 17677 (МЭК 598-1).

Патроны должны изготовляться в соответствии с требованиями настоящего стандарта, технических условий (ТУ) на конкретные типы или группы патронов, по технической документации, утвержденной в установленном порядке.

Внешний вид патронов должен соответствовать образцам, требования к которым должны быть установлены в ТУ на конкретные типы или группы патронов.

4. ОБЩИЕ ТРЕБОВАНИЯ К ИСПЫТАНИЯМ

4.1. Испытания по настоящему стандарту являются типовыми.

Испытания по настоящему стандарту относятся к приемо-сдаточным, периодическим, типовым, квалификационным и сертификационным. Требования пп. 4.3 и 4.6 не распространяются на приемо-сдаточные, периодические и типовые испытания.

4.2. При отсутствии других указаний испытания проводят при температуре окружающей среды (20 ± 5) °С, при этом патроны испытывают в состоянии поставки и установленными как для нормального использования.

Испытания проводят в помещении с нормальными климатическими условиями испытаний по ГОСТ 15150, если в методике испытания нет иных указаний.

Если перед проведением периодических, типовых, квалификационных или сертификационных испытаний патроны находились в условиях, не соответствующих нормальным климатическим условиям испытаний, то до начала испытаний патроны должны быть выдержаны не менее 12 ч в помещении с нормальными климатическими условиями испытаний.

4.3. В общем случае все испытания и проверки проводят на:

9 образцах - для патронов без выключателей или

12 образцах - для патронов с выключателем;

в порядке очередности пунктов, указанных ниже:

3 образца - разд. 1 - 12 (кроме п. 10.2) и 14 - 17;

3 образца - разд. 13 (испытывают только патроны с выключателем);

3 образца - разд. 18 и 19;

2 образца - разд. 20 (один образец предназначен для испытания по п. 20.1, другой - по п. 20.3 или 20.4);

1 образец - п. 20.5 и разд. 21.

Кроме того, для контроля безвинтовых контактных зажимов на соответствие п. 10.2 необходимы дополнительные образцы.

По приложению 3 - для испытания по п. 10.2 безвинтовых контактных зажимов.

4.4. В сомнительных случаях калибры, испытательные цоколи и шаблоны ввинчивают в образцы, если нет иных указаний, с приложением следующих вращающих моментов, Н∙м:

0,2 - для патронов Е10;

0,2 - для патронов Е14;

0,4 - для патронов Е27;

0,8 - для патронов Е40.

Испытания проводят только при приложении вращающих моментов, указанных выше, с допуском ± 0,1 Нм.

4.5. Испытания патронов Е40, рассчитанных на ток 32 А, проводят при этом значении тока.

4.6. Патроны считают соответствующими требованиям настоящего стандарта, если все образцы выдержали все испытания, указанные в п. 4.3.

Если один образец не выдержал одно испытание, то проводят повторно это и предыдущие испытания, которые могли бы повлиять на его результаты, на новой выборке образцов в количестве, указанном в п. 4.3. В этом случае патроны должны выдержать как повторные, так и предыдущие испытания. Патроны считают не соответствующими требованиям настоящего стандарта, если отказало более одного образца.

Достаточно, как правило, повторить испытание, по которому получен отрицательный результат, кроме случая, когда образец не выдержал испытаний по разд. 18 и 19 или если произошел отказ бокового или центрального пружинных контактов; в этом случае и то и другое испытания повторяют на второй выборке из трех образцов.

Вместе с первой выборкой образцов допускается направлять в лабораторию испытаний дополнительную выборку которая может потребоваться, если один образец не выдержал испытаний. В этом случае испытательный центр без дополнительного уведомления испытывает новую выборку образцов и должен окончательно забраковать лишь при неудовлетворительных результатах повторных испытаний.

Если дополнительная выборка образцов не поставлена одновременно с первой, отказ в приемке производят в том случае, если не выдержал испытания один образец.

4.7. При испытаниях должны применяться источники переменного (частоты 50 или 60 Гц) или постоянного тока.

Если значения напряжения могут повлиять на результаты измерений, то колебания напряжения не должны быть более 1,0 В.

Электроизмерительные приборы, применяемые для контроля электрических параметров патронов, должны иметь класс точности не ниже 1,5 по ГОСТ 22261.

Допускается применять высоковольтные пробойные установки с комплектующими их электроизмерительными приборами класса точности 4,0 ГОСТ 22261.

4.8. Термоэлектрические преобразователи по ГОСТ 3044, применяемые при испытаниях, должны устанавливаться так, чтобы исключалось образование контуров, в которых могут индуцироваться электродвижущие силы. Крепление термоэлектрических преобразователей не должно ослабевать во время испытания.

4.9. Проверки патронов, связанные с нагревом, проводят, если иное не указано в методе проверки, в установившемся тепловом режиме, за который принимают режим, когда температура остается постоянной либо изменяется не более чем на 1 °С за 30 мин.

4.10. При применении для проверки размеров патронов стандартного измерительного инструмента последний должен обеспечивать погрешность не хуже ±0,1 мм.

4.11. При проведении испытаний, если это влияет на результат испытаний, кроме случаев, оговоренных особо в методике испытания, резьбовые соединения (кроме стопорных винтов и винтов контактных зажимов) должны быть затянуты с приложением вращающего момента, указанного в п. 15.2, стопорные винты (при их наличии) и винты контактных зажимов - в п. 16.1.

5. НОРМИРУЕМЫЕ ПАРАМЕТРЫ

5.1. Нормируемые стандартом значения напряжения: 250 В, 500 В и 750 В. Для патронов Е10 и Е14 и патрона Е27 с выключателем допускается только нормированное напряжение 250 В.

Для остальных патронов нормированное напряжение должно быть не менее 250 В, для патронов Е40 допускается нормированное напряжение 125 В.

Нормированное напряжение должно быть не менее 380 В и указываться в ТУ на конкретные типы или группы патронов.

Проверку проводят внешним осмотром маркировки.

5.2. Нормируемые стандартом значения силы тока, А:

0,5 - для патронов Е10;

2 - для патронов Е14;

2 - для патронов Е27 с выключателем;

4 - для остальных патронов Е27;

16 - для патронов Е40.

Нормируемый ток должен быть не менее нормируемого стандартом значения.

Проверку проводят внешним осмотром маркировки

5.3. Патроны Е40, предназначенные для электрической сети 125* В, могут иметь дополнительно нормируемое значение тока 32 А.

* Это номинальное нормируемое значение напряжения включает все значения напряжения до 130 В включительно.

Проверку проводят внешним осмотром маркировки.

5.4. Нормируемая рабочая температура патронов, предназначенных для использования при повышенной температуре среды (патроны с маркировкой Т) должна быть не ниже 140 °С для патронов Е14; 170 °С - для патронов Е27 и 230 °С - для патронов Е40.

Значения Т должны увеличиваться с кратностью 10 °С.

Патроны, не предназначенные для использования при повышенной температуре среды (маркировка Т), должны быть рассчитаны на нормируемую рабочую температуру, °С:

135 - для патронов Е14 и пластмассовых патронов Е27;

165 - для керамических патронов Е27;

225 - для патронов Е40.

Проверку проводят внешним осмотром маркировки.

5.5. Патроны должны изготовляться на номинальные напряжения и токи, указанные в табл. 1.

Таблица 1

Тип патрона

Номинальное напряжение, В

Номинальный ток, А

без выключателя

с встроенным выключателем

Е14

220

2

2*

Е27

4

Е40

220

16

 

380

 

* Для патронов степени защиты не выше IP 20.

Значение номинального напряжения и тока должны, быть указаны в ТУ на конкретные типы или группы патронов.

Проверку проводят внешним осмотром.

6. КЛАССИФИКАЦИЯ

Патроны классифицируют:

6.1. По материалу наружных деталей:

патроны из изоляционного материала;

металлические патроны.

Патроны, наружные детали которых частично выполнены из металла, и патроны, наружные детали которых выполнены из изоляционного материала с внешней токопроводящей поверхностью, например, с металлизированным наружным корпусом, относятся к металлическим патронам (см. п. 12.3).

Это требование не распространяется на резьбовые вводы и наружные детали, например, металлическое абажурное кольцо, установленное на патроне из изоляционного материала, которые не могут попасть под напряжение даже при повреждении изоляции. Металлические патроны с изоляционным покрытием относятся к металлическим патронам (см. п. 9.4).

Для определения, является ли данная поверхность, например, с токопроводящим покрытием из серебряной краски, токопроводящей, к ней прикладывают два электрода в виде пластинок шириной 1,5 мм и длиной 25 мм и расстоянием между электродами 2 мм. Затем измеряют сопротивление изоляции в соответствии с п. 14.3. Поверхность считают токопроводящей, если сопротивление менее 5 МОм.

6.2. По степени защиты от воды:

нормальные патроны;

каплезащищенные патроны.

6.3. По способу крепления:

патроны с резьбовым вводом;

шнуровые патроны;

фланцевые патроны;

другие патроны.

Примером других патронов являются подвесные патроны без резьбового ввода.

6.4. По наличию выключателя:

патроны с встроенным выключателем;

патроны без выключателя.

6.5. По степени защиты от поражения электрическим током:

защищенные патроны;

незащищенные патроны;

независимые патроны.

7. МАРКИРОВКА

7.1. Патроны, кроме патронов Е10, должны иметь следующую маркировку:

нормируемый ток в амперах;

нормируемое напряжение в вольтах;

символ рода тока, при необходимости (только для патронов с встроенным выключателем);

товарный знак (он может иметь форму заводской марки, знака изготовителя или наименование ответственного поставщика);

обозначение типа;

обозначение типа в виде условного обозначения по разд. 24. Требование вводится с 01.01.95;

символ степени защиты от воды для каплезащищенных патронов (cм. п. 7.2);

обозначение степени защиты наносят в виде букв и цифр или в виде условных символов;

нормируемую температуру «Т», обозначающую предельно допустимую рабочую температуру.

Маркировка нормируемой температуры не требуется для патронов, наружные детали которых полностью изготовлены из керамики. Для таких патронов эта информация наносится на патрон при необходимости или указывается в каталоге изготовителя.

Патроны Е10 должны иметь следующую маркировку:

товарный знак;

обозначение типа;

символ степени защиты от воды, если необходимо.

Проверку проводят внешним осмотром.

Для обозначения типа может применяться каталожный номер.

7.2. При использовании для обозначения тока и напряжения символ «А» обозначает амперы, «V» - вольты.

Для нужд народного хозяйства допускается до 01.01.95 применение символа «В».

Как вариант, могут быть использованы цифры, при этом число, обозначающее нормируемый ток, ставится перед или выше числа, обозначающего нормируемое напряжение, и оба числа разделяются чертой.

Маркировка тока и напряжения может быть одной из следующих:

2А50, или 2/250, или

Символ постоянного тока:

Символ переменного тока:

Символ степени защиты от воды каплезащищенных патронов: 1РХ1

За буквой Т должно следовать значение нормируемой рабочей температуры в градусах Цельсия.

Проверку проводят внешним осмотром.

7.3. Символ степени защиты от воды должен быть нанесен на наружную поверхность патрона.

Проверку проводят внешним осмотром.

7.4. Заземляющий контактный зажим должен быть обозначен символом . Этот символ не должен находиться на винтах, съемных шайбах или других легкосъемных деталях.

Проверку проводят внешним осмотром.

7.5. Маркировка должна быть прочной и легко читаемой.

Проверку проводят внешним осмотром и после испытания по разд. 19 легкими потираниями места нанесения маркировки в течение 15 с с куском ткани, смоченным водой; а затем 15 с с куском ткани, смоченным бензином.

После испытания маркировка должна быть читаема.

Бензин должен быть на основе гексана в качестве растворителя, с максимальным содержанием ароматического углеводорода 0,1 об. %, с содержанием каури-бутанола 29, с начальной температурой кипения около 65 °С, температурой полного испарения (полного кипения) около 69 °С и с плотностью около 0,68 г/см3.

Для нужд народного хозяйства испытание проводят по ГОСТ 18620.

Проверку маркировки, нанесенной методом прессования и штамповки, не проводят.

7.6. Дополнительные требования к маркировке:

при кооперированном изготовлении патронов предприятие-изготовитель отдельных деталей патронов свой товарный знак не ставит;

степень защиты 1Р20 не маркируют;

на патронах маркируют климатическое исполнение и категорию размещения по ГОСТ 15150. Допускается не наносить обозначение климатического исполнения УХЛ4;

при поставках на экспорт на патронах маркируют надпись «Сделано в СССР» на языке, указанном внешнеторговой организацией.

Допускается наносить эту надпись на патронах, используемых в СССР;

на патронах маркируют дату изготовления - месяц и год; допускается указывать две последние цифры года.

Требование действует с 01.01.95.

На патронах, поступающих в розничную продажу, маркируют розничную цену.

Допускается при наличии индивидуальной упаковки патронов розничную цену указывать только на индивидуальной упаковке.

Для патронов, на которые невозможно или нецелесообразно наносить маркировку в полном объеме, число маркировочных данных может быть сокращено. При этом наличие товарного знака, основных технических параметров и даты изготовления является обязательным. Требование не распространяется на патроны, предназначенные для экспорта.

Все виды дополнительной маркировки или отсутствие некоторых обозначений маркировки, а также способ нанесения маркировки должны быть указаны в ТУ на конкретные типы или группы патронов.

Состав и содержание маркировки патронов, предназначенных для экспорта, могут изменяться или дополняться в соответствии с требованиями внешнеторговых объединений.

8. ОСНОВНЫЕ РАЗМЕРЫ

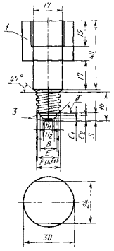
8.1. Патроны Е14, Е27 и Е40 должны соответствовать приложению 1 (стандартный лист 7005-20 МЭК 61-2).

Проверку на соответствие приложению 1 (стандартный лист 7005-20 МЭК 61-2) проводят измерениями, при этом размер X проверяют калибрами по черт. 2, резьба которых соответствует требованиям ГОСТ 28108 (стандартных листов МЭК на цоколи). Кроме того, размеры резьбы патронов проверяют калибрами в соответствии с приложением 2 (стандартные листы 7006-25 и 7006-26 МЭК 61-3).

Проверку размеров по приложению 1 допускается проводить стандартным измерительным инструментом, при этом размеры резьбы патронов Е27 проверяют калибром, указанным на листе 7006-25А приложения 2.

8.2. Патроны должны обеспечивать ввертывание соответствующих ламп и обеспечивать контактирование.

Проверку проводят калибрами по приложению 2 (МЭК 61-3) с учетом указаний, приведенных на стандартных листах:

7006-30 и 7006-31 - для патронов Е14;

7006-30А и 7006-31 - для патронов Е14 для свечеобразных ламп;

7006-21 и 7006-22А - для патронов Е27;

7006-23 и 7006-24 - для патронов Е40.

Проверки калибрами 7006-31, 7006-22А и 7006-24 при этом испытании не проводят.

До разработки калибров для патронов Е10 проверку наличия контакта проводят с помощью соответствующих ламп. Изготовитель патрона представляет для этого лампы, для которых предназначен патрон.

Проверку наличия контакта проводят на патронах в состоянии поставки, а также после испытаний по разд. 18 и п. 19.2.

8.3. Толщина резьбовой гильзы при ее наличии и толщина пружинных бокового (при его наличии) и центрального контактов должна быть не менее указанных в табл. 2.

Таблица 2

мм

Толщина

Е10

Е14

Е27

Е40

Толщина резьбовой гильзы при условии:

 

 

 

 

если гильза не закреплена

0,20

0,30

0,30

0,50

если гильза закреплена при помощи изоляционного материала за счет взаимодействия с гильзой на протяжении не менее ¾ окружности гильзы

0,15

0,25

0,25

0,40

Толщина пружинных бокового или центрального контакта

0,18

0,28

0,38

0,48*

* Об использовании боковых контактов в патронах Е40 см. п. 12.11.

Проверку проводят измерением.

Толщину измеряют с помощью миркометра с трещоткой.

Проверку толщины резьбовой гильзы проводят на трех отдельных образцах, если необходим демонтаж гильзы из корпуса.

При определении толщины резьбовой гильзы проводят две серии измерений по три замера в каждой. Каждую серию измерений проводят на одной из двух образующих резьбовой гильзы. Среднее значение шести измерений должно быть не менее указанного значения.

Отмена требований к этим размерам находится в стадии рассмотрения.

8.4. Рабочая длина резьбы (если она имеется), предназначенная для соединения корпуса с донышком патрона, при условии сопряжения донышка с корпусом не менее чем на одном полном витке резьбы, должна соответствовать одному из следующих требований:

или рабочая длина резьбы должна быть не менее указанной в табл. 3,

Таблица 3

мм

Вид патрона

Е14

Е27

Е40

Металлические патроны:

 

 

 

с накатанной резьбой

5,0

7,0

10,0

с нарезанной резьбой

5,0

5,0

7,0

Патроны из изоляционного материала

5,0

7,0

10,0

или на рабочей длине резьбы должно быть не менее двух полных витков при положительных результатах испытания по п. 15.3, при приложении вращающего момента, равного 1,2 вращающего момента, указанного в п. 15.2.

Требование не распространяется на патроны Е10.

Проверку проводят измерениями.

8.5. Резьба резьбового ввода патронов должна соответствовать:

M10´l - для патронов Е14;

M10´1, М13´1 или М16´1 - для патронов Е27;

M13´1, М16´1 или (G3/8А) - для патронов Е40.

Размер, заключенный в скобки, не является обязательным; кроме того, резьбовой ввод М10 предназначен в основном для внутреннего монтажа в светильнике.

Патроны Е27 должны иметь, как правило, резьбу ввода М12´1;

не допускается применять резьбу М13´1 и G3/8A.

Резьба ввода должна соответствовать указанной на черт. 3 и 4.

Резьба резьбового ввода должна соответствовать ГОСТ 24705.

Требование не распространяется на патроны Е10.

Проверку производят измерениями и калибрами, указанными на черт. 5 или 6.

В сомнительных случаях калибр вводят в резьбовой ввод с приложением вращающего момента, равного 0,5 Н ∙ м.

Проверку производят калибрами по ГОСТ 18465, при этом для резьбы М12´1 в пластмассе допускается применять гладкий непроходной калибр, размеры которого должны соответствовать указанным на черт. 5 с наружным диаметром (11,117 ± 0,004) мм.

8.6. Размеры стопорных винтов, при их наличии, и резьбовых вводов должны быть не менее указанных в табл. 4.

Таблица 4

мм

Номинальный диаметр резьбы

М10´1

М12´1

М13´1

М16´1

(Q3/8А)

Длина резьбы:

 

 

металлического ввода

3

8

ввода из изолированного материала

5

10

Диаметр стопорного винта с головкой

 

 

Винт без головки, для:

2,5

3,0

одного винта

3,0

4,0

более одного винта

3,0

3,0

Допустимое отклонение номинального значения диаметра резьбы - минус 0,15 мм.

Допустимое отклонение диаметра резьбы - по ТУ на конкретные типы или группы винтов.

Проверку проводят измерениями.

Требование не распространяется на патроны Е10.

При необходимости разборки патрона для проверки соответствия требованиям пп. 8.3 - 8.6 эту проверку проводят после испытания по разд. 17.

Проверки по пп. 8.4 - 8.6 при необходимости разборки патронов проводят на трех отдельных образцах.

8.7. Конструкция патронов должна обеспечивать свободное ввертывание и вывертывание ламп даже при наличии на их цоколях неглубоких вмятин. Во избежание повреждения цоколя ламп, контакты патрона не должны иметь острых краев, направленных к цоколю.

Проверку проводят следующим испытанием:

В патрон три раза ввинчивают и вывинчивают серийно выпускаемую лампу с приложением к ней вращающего момента, значение которого указано в разд. 18. После испытания внешним осмотром устанавливают отсутствие повреждений цоколя лампы.

Цоколи ламп считают поврежденными, если на их поверхности имеются трещины и царапины, которые со временем могут привести к заклиниванию цоколя в патроне.

8.8. Отклонения от стандартных размеров в патроне могут допускаться только при условии, что это обеспечивает конкретные технические преимущества и не создают препятствий для ввинчивания в патрон ламп, имеющих стандартные размеры.

При этом необходимо исключить повреждение горла колбы лампы. Это должно проверяться калибрами для проверки наличия контакта.

Патроны с такими отклонениями должны соответствовать остальным требованиям настоящего стандарта насколько это возможно.

Требование не распространяется на патроны для нужд народного хозяйства.

9. ЗАЩИТА ОТ ПОРАЖЕНИЯ ЭЛЕКТРИЧЕСКИМ ТОКОМ

9.1. Патроны Е10, Е14 и Е27 должны быть сконструированы так, чтобы цоколи лампы были недоступны для прикосновения при ввертывании ламп, когда они уже находятся под напряжением.

Метод проверки защиты от отражения электрическим током патронов Е10 во время ввертывания лампы разрабатывается.

Патроны Е40 должны обеспечивать недоступность для прикосновения к цоколю только полностью ввернутой в патрон лампы.

Патроны Е27 с токоведущей резьбовой гильзой должны обеспечивать недоступность для прикосновения к цоколю лампы, только при полностью ввернутой в патрон лампе.

Патроны для свечеобразных ламп испытывают без декоративной оболочки, за исключением тех случаев, когда без этой оболочки патрон явно не пригоден для нормального использования.

Требования пункта не распространяются на незащищенные патроны.

Проверку проводят:

для патронов Е10 с помощью соответствующих ламп и стандартного испытательного щупа по черт 7. Для этой проверки изготовитель патрона должен представить лампы, для которых предназначен патрон;

для патронов Е14, Е27 и Е40 с помощью калибров по приложению 2 (МЭК 61-3);

7006-31 для патронов Е14;

7006-22А для патронов Е27;

7006-24 для патронов Е40.

9.2. Наружные детали защищенных и независимых патронов должны быть сконструированы так, чтобы токоведущие детали, установленные как для нормального использования патронов с ввернутой соответствующей стандартной лампой, были не доступны для прикосновения.

Патроны для свечеобразных ламп испытывают без декоративной оболочки, за исключением тех случаев, когда без этой оболочки патрон явно не пригоден для нормального использования.

Проверку проводят с помощью стандартного испытательного щупа (по черт. 7).

Для проведения испытания:

защищенные патроны устанавливают как для нормального использования, например, на трубку с резьбой или аналогичное приспособление и заряжают проводом наиболее неблагоприятного сечения, которое допускается применять в патроне;

независимые патроны должны быть установлены как для нормального использования на соответствующую плоскую поверхность.

Стандартный испытательный щуп (черт. 7) прикладывают с силой 10 Н во всех возможных положениях, при этом наличие электрического контакта с токоведущими деталями фиксируется электрическим индикатором.

Рекомендуется использовать напряжение не менее 40 В.

Незащищенные патроны испытывают только после их установки в светильник или дополнительный корпус.

Для нужд народного хозяйства незащищенные патроны не испытывают.

9.3. Детали, обеспечивающие защиту от случайного прикосновения к цоколю лампы, должны быть надежно закреплены для предотвращения их разъединения при вывинчивании плотно ввернутой лампы или случайном повороте рассеивателя, при его наличии.

Проверку проводят следующим испытанием:

Донышко соединяют с наружным корпусом с приложением вращающего момента, равного 2/3 от указанного ниже. Затем к испытуемым деталям прикладывают против часовой стрелки в течение 1 мин вращающий момент, равный:

1 Н ∙ м - для патронов Е14;

2 Н ∙ м - для патронов Е27.

Для испытания патрон устанавливают как для нормального использования и испытывают сначала с испытательным цоколем А (черт. 8 или 9), а затем без него.

После испытания детали, обеспечивающие защиту от случайного прикосновения к цоколю лампы, не должны быть разъединены.

Конструкция патронов Е10 должна исключать возможность разборки их без помощи инструмента.

Требования для патронов Е40 разрабатываются.

Метод испытания патронов Е40 должен быть установлен в ТУ на конкретные типы или группы патронов при необходимости.

Требование вводится с 01.01.95.

9.4. Если необходимо присоединение к патрону абажура, то это осуществляют такими независимыми деталями, как абажурное кольцо. Недопустимо крепление абажура между деталями, обеспечивающими защиту от поражения электрическим током.

Проверку проводят внешним осмотром.

9.5. Наружные детали: каплезащищенных патронов, патронов на нормированное напряжение более 250 В, патронов с выключателем, патронов Е10 должны быть изготовлены из изоляционного материала, за исключением резьбовых вводов и тех деталей, которые не могут оказаться под напряжением даже в случае разрушения изоляции.

Лак и эмаль не обеспечивают защиту в соответствии с данным требованием.

Проверку проводят внешним осмотром.

Детали, отдаленные от токоведущих деталей двойной или усиленной изоляцией, рассматривают как детали, которые не могут оказаться под напряжением при разрушении изоляции.

Примером наружной детали, которая не может оказаться под напряжением даже при разрушении изоляции, является металлическое абажурное кольцо, установленное снаружи патрона, изготовленного из изоляционного материала.

Патроны с включателем могут иметь металлические наружные детали при условиях, указанных в п. 12.3.

10. КОНТАКТНЫЕ ЗАЖИМЫ

10.1. Патроны, кроме патронов с монтажными концами, должны иметь контактные зажимы, рассчитанные на присоединение проводов следующих номинальных сечений:

от 0,5 до 0,75 мм2 - для патронов Е10;

от 0,5 до 1,0 мм2 - для патронов Е14 и Е27 с резьбовым вводом М10´1;

от 0,5 до 2,5 мм2 - для остальных патронов Е27;

от 1,5 до 4,0 мм2 - для патронов Е40, рассчитанных на нормируемый ток 16 А;

от 2,5 до 6,0 мм2 - для патронов Е40, рассчитанных на нормируемый ток 32 А.

Фланцевые патроны Е27 должны иметь контактные зажимы, рассчитанные на присоединение:

или медных много- или однопроволочных проводов сечением от 0,5 до 1,5 мм2,

или алюминиевых, или алюмомедных однопроволочных проводов сечением от 0,5 до 2,5 мм2.

Проверку проводят внешним осмотром и присоединением проводов наименьшего и наибольшего из указанных сечений.

Для шнуровых патронов, патронов Е10, Е14, а также патронов Е27 с резьбовым вводом М10´1 применяют гибкие многопроволочные провода, в остальных случаях - жесткие однопроволочные провода.

Тип провода (одно- или многопроволочный, гибкий или жесткий), на который рассчитан контактный зажим патрона, устанавливают в ТУ на конкретные типы или группы патронов.

Патроны с резьбовым вводом испытывают на трубке с резьбой.

Патроны Е27 с безвинтовыми контактными зажимами, предназначенные только для установки в светильниках или другом оборудовании и если изготовитель оборудования (светильников) является изготовителем патронов, могут не полностью соответствовать требованиям по диапазону номинальных сечений.

Диапазон сечений, на который рассчитаны такие патроны Е27 с безвинтовыми контактными зажимами, должен быть указан в ТУ на конкретные типы или группы патронов.

10.2. Контактные зажимы должны быть винтовыми или способ присоединения должен обеспечивать по меньшей мере эквивалентную надежность присоединения.

Винты контактных зажимов должны иметь метрическую резьбу ИСО или резьбу с аналогичным шагом и механической прочностью.

Для нужд народного хозяйства - по ГОСТ 8724.

Проверку проводят внешним осмотром, измерениями и испытаниями по пп. 10.1 и 16.1.

Испытания проводят только для винтовых контактных зажимов.

К патронам Е10 и другим малогабаритным патронам провода могут присоединяться также сваркой, пайкой, сращиванием или другими не менее эффективными способами.

Патроны, за исключением предназначенных только для поставки изготовителем светильников или другого оборудования, могут иметь контактные зажимы, обеспечивающие присоединение как жестких однопроволочных, так и гибких многопроволочных проводов или шнуров.

Безвинтовые контактные зажимы считаются эквивалентными винтовым, если они соответствуют приложению 3 (разд. 15 МЭК 598-1), при этом электрические испытания по п. 15.6 или 15.9 приложения 3 ужесточают следующим образом:

После проверки контактного сопротивления контактные зажимы и контактные соединения помещают в термостат при начальной температуре (20 ± 5) °С.

В процессе испытания через контактный зажим или соединение пропускают ток, равный испытательному току.

До полного окончания проверки падения напряжения испытательная установка в целом, включая провода, не должна перемещаться.

Контактные зажимы подвергают 100 циклам воздействия изменения температуры с длительностью каждого цикла ~1 ч следующим образом.

Температуру в термостате за ~20 мин доводят до испытательной температуры, указанной в п. 19.2, и поддерживают ее с точностью ±5 °С в течение 10 мин. Затем зажимы охлаждают за ~20 мин до температуры в пределах от 20 до 30 °С (допустимо принудительное охлаждение) и выдерживают при этой температуре ~10 мин и после этого, если необходимо для измерения падения напряжения, их охлаждают до температуры (20 ± 5) °С.

Измерение падения напряжения на каждом зажиме проводят после каждых 25 циклов и после 100 циклов, при этом каждый раз температуру устанавливают равной (20 ± 5) °С.

Во всех случаях падение напряжения не должно быть более 22,5 мВ. Если один из зажимов не удовлетворяет этому испытанию, проверку повторяют на втором комплекте зажимов, которые должны полностью выдержать это испытание.

Температуру в термостате измеряют на расстоянии не менее 50 мм от места нахождения комплектов.

Полное падение напряжения двух неразъемных соединений, измеряемых совместно, не должно быть более удвоенной величины, указанной выше.

Если конструкция зажима предусматривает прижатие жилы провода к поверхности из изоляционного материала, то эта поверхность не должна деформироваться так, чтобы нарушались требования п. 16.3.

10.3. Крепление контактных зажимов должно исключать их расшатывание при закреплении или ослаблении в них жилы провода.

Проверку винтовых контактных зажимов проводят внешним осмотром и 10-кратным затягиванием и ослаблением жилы провода наибольшего сечения, указанного в п. 10.1, при этом вращающий момент должен составлять 2/3 указанного в п. 16.1.

Контактный зажим может быть защищен от расшатывания одним стопорным винтом, расположенным в пазу без свободного перемещения, или другим подобным устройством. Заливка компаундом без другого средства стопорения не обеспечивает достаточную защиту.

10.4. Конструкция контактных зажимов должна обеспечивать закрепление жилы провода без ее повреждении между двумя металлическими поверхностями с достаточным контактным нажатием. Конструкция контактных зажимов, должна исключать возможность выдавливания жилы провода при затягивании винтов или гаек.

Зажимы должны допускать присоединение жил проводов без специальной подготовки (например, пропаивание жил, использование кабельных наконечников, образование колец и т.д.).

Проверку проводят внешним осмотром жил проводов после их закрепления по п. 10.1 и после испытания по п. 19.3.

Жилы провода считают поврежденными, если на них имеются глубокие или острые порезы.

Проводники считают поврежденными, если в многопроволочных жилах перерезаются более 25 % проволок, а в однопроволочных деформация превышает 50 % диаметра проводника.

10.5. Контактные зажимы с закреплением жилы провода под торец винта должны иметь размеры не менее указанных в табл. 5.

Диаметр отверстия для жилы провода не должен более чем на 0,6 мм превышать диаметр винта.

Таблица 5

мм

Тип патрона

Номинальный диаметр резьбы

Диаметр отверстия для жилы провода

Длина резьбы в основании зажима

Е10

2,5

2,5

1,8

Е14

2,5

2,5

1,8

Е27

2,5

2,5

1,8

Е40

3,5

3,5

2,5

Длина резьбы винта контактного зажима должна быть не менее суммы диаметра отверстия и длины резьбы в основании зажима.

Длину резьбы в основании зажима измеряют до точки, где резьба прерывается отверстием для жилы провода.

Проверку проводят измерением.

10.6. Размеры контактных зажимов с закреплением жилы провода под головку винта должны быть не менее указанных в табл. 6.

Таблица 6

мм

Тип патрона

Номинальный диаметр резьбы

Длина резьбовой части винта

Длина резьбы в гайке

Номинальная разница между диаметром головки и тела винта

Высота головки винта

Е10

2,5

4,0

1,5

2,5

1,4

Е14

3,0*

5,0

1,5

3,0

1,8

Е27

3,5

5,0

1,5

3,5

2,0

Е40

4,0

6,0

2,5

4,0

2,4

* В некоторых странах номинал 2,8 мм.

Допускается до 01.01.95 в патронах Е27 применять винты контактных зажимов с номинальным диаметром 3,0 мм.

Разница между диаметром головки и телом винта может быть уменьшена на 1 мм, если между головкой винта и жилой провода имеется промежуточный элемент, например, шайба или пластина, защищенный от проворачивания.

Проверку проводят измерением.

Допускаемое отклонение от номинальных значений диаметра резьбы и разницы между диаметрами головки и тела винта - минус 0,15 мм.

Допустимое отклонение от номинальных значений диаметра резьбы и разницы между диаметрами головки и тела винта - по ТУ на конкретные типы или группы винтов.

При необходимости разборки патрона для проверки соответствия требованиям пп. 10.5 и 10.6 эти проверки проводят после испытания по разд. 17.

10.7. Расположение контактных зажимов после правильного присоединения проводов должно исключать возможность случайного контакта между токоведущими деталями или между таковыми и доступными для прикосновения металлическими деталями.

Проверку проводят внешним осмотром и следующим испытанием.

Конец гибкого многопроволочного провода наименьшего сечения, указанного в п. 10.1, очищают от изоляции на длине 4 мм. Одну проволоку провода оставляют свободной, а остальные вводят и закрепляют в контактном зажиме патрона, собранного и установленного как для нормального использования (с затянутыми стопорными винтами и т.д.).

Свободную проволоку изгибают во всех направлениях без повреждения изоляции провода и без резких изгибов вокруг изолирующих перегородок.

Свободная проволока провода, присоединенная к токоведущему контактному зажиму, не должна касаться металлических деталей, не находящихся под напряжением, а свободная проволока провода, присоединенного к заземляющему контактному зажиму, не должна касаться токоведущих деталей.

При необходимости испытание повторяют со свободной проволокой, отогнутой в другом положении.

Требование об исключении резких изгибов вокруг перегородок не означает, что свободная проволока при испытании все время должна быть натянутой. Более того, резкие изгибы производят, когда они могут иметь место при правильной сборке патрона (см. также п. 12.3).

10.8. Длина отверстия для жилы провода за контактным винтом в контактных зажимах с закреплением провода под торец винта, в которых конец провода не виден после его присоединения, должен быть не менее половины диаметра винта или менее 2,5 мм (применяют большее значение).

Проверку проводят измерением.

10.9. Контактные зажимы плавающей конструкции не должны иметь значительный свободный ход в поперечной плоскости и смещаться более чем на 3 мм в продольной плоскости при ввертывании и вывертывании лампы.

Проверку проводят измерением.

Требование не распространяется на патроны для нужд народного хозяйства.

10.10. Требования пп. 10.2 - 10.6 и 10.8 не распространяются на патроны, предназначенные только для установки их в светильниках предприятием-изготовителем светильников, а также на патроны с монтажными концами.

Патроны, предназначенные для установки предприятием-изготовителем в светильниках или для встраивания в другие приборы, могут иметь монтажные концы, втычные контактные зажимы или другие равноценные приспособления.

Монтажные концы должны присоединяться к патрону пайкой, сваркой, опрессовкой или другим равноценным способом.

Монтажные концы должны быть выполнены из изолированных проводов.

Свободный конец провода может быть очищен от изоляции.

Крепление проводов к патрону должно быть достаточным, чтобы противостоять механическим усилиям, возникающим при нормальной эксплуатации.

Проверку проводят внешним осмотром и следующим испытанием, которое проводят после испытания по п. 19.2 на тех же трех образцах.

К каждому монтажному концу в течение 1 мин без рывков прикладывают силу 20 Н в наиболее неблагоприятном направлении.

В процессе испытания испытуемый монтажный конец не должен смещаться с места его крепления.

После испытания патроны не должны иметь повреждений, нарушающих требования настоящего стандарта.

10.11. Контактные винты и гайки винтовых зажимов не должны служить для крепления других элементов патрона.

Проверку проводят внешним осмотром.

11. ЗАЗЕМЛЕНИЕ

11.1. Патроны с резьбовым вводом, шнуровые и фланцевые патроны, не имеющие монтажных концов и имеющие устройство для заземления, должны иметь, по крайней мере, один внутренний заземляющий контактный зажим; другие патроны без резьбового ввода, например, патроны для встраивания, могут иметь внешний заземляющий контактный зажим.

Проверку проводят внешним осмотром.

11.2. Доступные для прикосновения металлические детали патронов с заземляющим контактным зажимом, которые при нарушении изоляции могут оказаться под напряжением, должны иметь надежное соединение с заземляющим контактным зажимом.

Проверку проводят внешним осмотром.

При применении этого требования небольшие изолированные винты и подобные детали для крепления оснований или крышек не относят к доступным для прикосновения деталям, которые могут оказаться под напряжением даже при нарушении изоляции.

11.3. Заземляющие контактные зажимы должны соответствовать требованиям разд. 10.

Детали заземляющего контактного зажима, предназначенные для зажима провода, должны быть надежно защищены от случайного ослабления и должна быть исключена возможность отвинчивания винтов зажимов без применения инструмента случайной разборки рукой безвинтовых контактных зажимов.

Проверку проводят внешним осмотром и испытаниями по разд. 10.

В основном конструкции токоведущих контактных зажимов (соответствующих требованиям настоящего стандарта) имеют достаточную гибкость, чтобы обеспечить соответствие последнему требованию; для других конструкций может быть необходимо предусмотреть принятие таких мер, как, например, использование специальных деталей достаточной гибкости для предотвращения самопроизвольного ослабления зажима.

11.4. Металл, из которого изготовляют заземляющий контактный зажим, должен исключать возникновение коррозии в результате контакта с медным заземляющим проводом.

Винт или корпус заземляющего контактного зажима изготовляют из латуни или другого не менее коррозионностойкого металла, а контактные поверхности должны быть зачищены до блеска.

Проверку проводят внешним осмотром.

Наиболее вероятно возникновение коррозии при контактировании меди с алюминием.

11.5. Металлические детали устройства защиты проводов от натяжения и скручивания, включая зажимные винты устройства, должны быть изолированы от цепи заземления.

Проверку проводят внешним осмотром.

12. КОНСТРУКЦИЯ

12.1. Патроны должны иметь резьбу Эдисона для удержания лампы.

Патроны, за исключением патронов Е10, должны иметь непрерывную резьбу в металлической гильзе, при этом минимальная длина гильзы должна соответствовать приложению 1 (стандартный лист 7005-20 МЭК 61-2).

Требования к минимальной длине резьбовой гильзы патронов E10 разрабатываются.

Допустимо отступление от требования, если конструктивные и технологические допуски обеспечивают проверку патронов всеми калибрами в течение срока службы патрона. Другие сведения по данному вопросу будут приведены в приложении «Серийные испытания», которое разрабатывается.

Патроны должны изготовляться в следующих исполнениях:

с резьбой Е14, Е27, Е40 по ГОСТ 6042 - в металлической гильзе;

с резьбой E14/N и E27/N по ГОСТ 6042 - в пластмассовом или керамическом корпусе.

Допускается изготовление патронов Е27 и Е40 без бокового контакта с токоведущей гильзой.

Конструкция и размещение комплекта зажим/контакт и резьбовой гильзы должны исключать возможность такого их наклона или вращения, которые могут привести к невозможности нормального использования патрона.

Допустимо отклонение от требования непрерывности резьбы, если необходимо получить дополнительное техническое преимущество, например, размещение в прорези гильзы устройства для дополнительной фиксации лампы.

Допускается изготовление патронов с прерывающейся резьбой гильзы, при этом резьба должна иметь не менее четырех витков и прерывистость не должна превышать 30 % размера резьбы.

Проверку проводят внешним осмотром и испытанием калибрами, указанными в разд. 8, которые устанавливаются во всех возможных положениях с небольшим усилием; патрон должен удовлетворять испытаниям калибрами, в особенности калибром-щупом 0,08´50 мм.

Должна быть исключена возможность повреждения горла стандартной лампы при ее ввертывании и вывертывании.

Проверку патронов указанными выше калибрами проводят при приложении вращающих моментов, значения которых указаны в п. 4.4.

12.2. Донышко патрона должно иметь достаточное пространство для сетевых проводов. Детали патрона, к которым могут прикасаться изолированные провода, не должны иметь острых кромок или такую форму, которая может привести к повреждению изоляции.

Патроны с резьбовым вводом должны иметь устройство, ограничивающее ввод трубки в резьбовой ввод, если конструкция патрона не обеспечивает малую вероятность проникновения трубки в резьбовой ввод на значительную глубину, как, например, в патронах для свечеобразных ламп.

Требование о наличии устройства, ограничивающего ввод трубки в резьбовой ввод, вводится с 01.01.95.

Проверку проводят внешним осмотром и пробным монтажом, во время которого патрон заряжают гибкими проводами и кабелем наибольшего сечения, указанного в п. 10.1 для патронов Е14 и патронов Е27 с резьбой ввода М10´1, и проводами сечением на одну ступень меньше наибольшего для остальных патронов Е27 и патронов Е40.

Для шнуровых патронов, патронов Е14 и Е27 с резьбой ввода M10´1 применяют гибкий провод в обычной оболочке, во всех остальных случаях - два или три провода с одно проволочной жилой с полихлорвиниловой изоляцией.

Тип и количество проводов для испытания патронов указывают в ТУ на конкретные типы или группы патронов.

В донышко патрона с резьбовым вводом ввинчивают трубку длиной 10 см. Затем провода вводят через трубку в донышко. После обычной подготовки (снятие изоляции и скручивание многопроволочной жилы) концы проводов их закрепляют в контактных зажимах патрона. По возможности это выполняют так, чтобы при этом деталь, на которой располагаются контактные зажимы, находилась на расстоянии не менее 10 мм от верхней кромки донышка до контактного зажима.

В этом положении провода туго натягивают и закрепляют на свободном конце трубки. После этого патрон собирают.

После демонтажа патронов провода не должны иметь повреждений.

Метод испытания патронов Е27 и Е40 с проводами наибольшего сечения, указанного в п. 10.1, разрабатывается.

Требование об отсутствии острых кромок не распространяется на края резьбового ввода, так как после установки патрона на трубку они не соприкасаются с проводами.

В случае сомнения, для проверки устройства, ограничивающего ввод трубки в резьбовой ввод, патрон навинчивают на остальную трубку или стержень с плоскими торцами и закругленными кромками.

Резьба на конце трубки или стержня должна быть сплошной, с минимальными размерами, указанными на черт. 3 или 4.

После этого в течение 1 мин прикладывают вращающий момент равный Н ∙ м:

1,0 - для резьбового ввода М10´1;

1,3 - для резьбового ввода М13´1; М12´1;

1,6 - для резьбового ввода М16´1 и G 3/8 А.

После этого трубка или стержень не должны входить в пространство, предусмотренное для сетевых проводов в донышке патрона, а патрон не должен иметь повреждений, препятствующих его дальнейшему использованию.

12.3. Доступные для прикосновения детали патронов с выключателем должны быть изготовлены из изоляционного материала, кроме тех случаев, когда конструкция патрона исключает возможность соприкосновения находящегося под напряжением проводника, случайно освободившегося из контактного зажима с доступными для прикосновения металлическими деталями или деталями цепи заземления, а также исключает возможность замыкания ослабленными винтами контактных зажимов или стопорными винтами резьбового ввода токоведущих деталей с доступными для прикосновения металлическими деталями, включая заземляющие контактные зажимы.

Проверку проводят внешним осмотром.

Требование не означает необходимость применения сплошной или частичной изолирующей перегородки.

12.4. В патронах с металлической резьбовой гильзой и металлическим наружным корпусом должна быть исключена возможность соприкосновения этих деталей друг с другом за счет применения изолирующего кольца, которое не должно отделяться без применения инструмента от деталей, находящихся под напряжением, или металлического наружного корпуса.

Проверку проводят внешним осмотром.

Защита изолирующим кольцом считается достаточной, если высота кольца приблизительно равна высоте резьбовой гильзы.

12.5. Патроны с резьбовым вводом должны иметь в донышке устройство для защиты донышка от проворачивания на трубке.

Устройство должно быть управляемо изнутри, за исключением патронов с боковым вводом.

Требование не распространяется на патроны Е10.

Патроны с резьбовым вводом для предотвращения самоотвинчивания их в процессе нормального использования должны иметь стопорное устройство, выполненное по одному из следующих вариантов:

стопорный винт диаметром не менее указанного в вышеприведенной табл. 4 - для патронов с ниппельной резьбой в металле;

стопорный винт по ГОСТ 1481 или пазы для закрепления в арматуре или стопорный винт по ГОСТ 1481 и пазы для закрепления в арматуре одновременно - для патронов с ниппельной резьбой в пластмассе.

Проверку проводят внешним осмотром.

12.6. Шнуровые патроны и патроны, предназначенные для соединения в гирлянду, должны иметь устройство для крепления патрона на гибком шнуре или проводе, обеспечивающее защиту жил шнура или провода в контактных зажимах от натяжения и скручивания, а также закрепление наружной оболочки шнура или провода внутри патрона и защиту ее от истирания.

Способ защиты шнуров или проводов от натяжения и скручивания должен быть очевидным.

Должна быть исключена возможность ввода гибкого шнура или провода в патрон на такую глубину, на которой он (они) подвергался бы воздействию чрезмерных механических или тепловых нагрузок.

Не допустимо завязывать шнур (провода) узлом или перетягивать его (их) тесьмой.

Устройство должно быть изготовлено из изоляционного материала или должно иметь жестко закрепленную изолирующую прокладку, чтобы при повреждении изоляции шнура (провода) доступные для прикосновения металлические детали не оказались под напряжением.

Конструкция устройства должна обеспечивать:

наличие по крайней мере одной детали, закрепленной па патроне или выполненной с ним заодно;

возможность присоединения гибких шнуров (проводов) различных типов, для работы с которыми предназначен патрон;

отсутствие чрезмерного сжатия шнуров (проводов);

сохранность устройства при нормальном затягивании или ослаблении.

Устройство должно допускать присоединение гибких шнуров следующих типов: 245 МЭК 51, 245 МЭК 53, 227 МЭК 52 по ГОСТ 7399.

Проверку проводят внешним осмотром и следующим испытанием.

Патрон заряжают гибким шнуром (проводами), используя защитное устройство. Шнур (провода) вводят в контактные зажимы и винты контактных зажимов слегка затягивают так, чтобы шнур (провода) не могли легко изменить свое положение. После этого с помощью защитного устройства должна быть исключена возможность дальнейшего перемещения шнура (проводов) в патроне.

После этого каждый гибкий провод или жилы шнура подвергают 100-кратному воздействию силой, значение которого указало в табл. 7. Силу прикладывают каждый раз без рывков в течение 1 с.

Сразу после этого гибкий провод (шнур) подвергают воздействию вращающего момента, значение которого указано в табл. 7.

Таблица 7

Общее номинальное сечение проводов или жил шнура, мм2

Сила, Н

Вращающий момент, Н ∙ м

До 1,5 включ.

60

0,15

Св. 1,5  до  3    »

60

0,25

»    13    »    5    »

80

0,35

»    5      »    8    »

120

0,35

По указанной методике патроны испытывают с каждым из соответствующих типов шнуров по ГОСТ 7399 (МЭК 245 или МЭК 227).

Сперва испытание проводят с проводами (шнурами) наименьшего сечения, указанного в п. 10.1, а затем с проводами (шнурами) наибольшего сечения, допускаемого устройством для подвески, или наибольшего сечения, указанного в п. 10.1, выбирают из них меньшее сечение.

Патроны для последовательного соединения в гирлянду испытывают с тем шнуром, на который они рассчитаны. Шнур подвергают 50 раз растягивающему воздействию силой 30 Н. Испытание на скручивание не проводят.

Во время испытания защитное устройство не должно повреждать гибкий шнур. После испытания шнур не должен сместиться более чем на 2 мм, а концы шнура не должны заметно сдвинуться в контактных зажимах.

Для измерения продольного смещения перед началом испытания на шнуре делают отметку на расстоянии 2 см от защитного устройства. В конце испытания измеряют смещение отметки от защитного устройства.

2.7. Устройство для подвески патрона не должно иметь доступных для прикосновения металлических деталей, которые могут оказаться под напряжением, даже при разрушении патрона кроме того, это устройство, ввинчиваемое в патрон с резьбовым вводом, должно соответствовать требованиям п. 12.6.

Проверку проводят внешним осмотром и испытанием по п. 12.6.

12.8. Фланцевые патроны, не предназначенные специально для встраивания, должны иметь полость для сетевых проводов со следующими минимальными размерами:

высота - 7 мм;

длина - равная диаметру или ширине фланца;

ширина - 16 мм с увеличением до окружности диаметром 23 мм в центре полости.

Проверку проводят измерением.

Требование не распространяется на патроны Е10.

12.9. Фланец фланцевых патронов, не предназначенных специально для встраивания, должен допускать крепление винтами диаметром не менее 4 мм.

Проверку проводят калибром по черт. 11. При проверке штифт вводят в отверстие фланца с тыльной стороны. Втулку насаживают на штифт с лицевой стороны, при этом втулка должна входить в углубление для головки винта.

Требование не распространяется на патроны Е10.

12.10. Фланцевые патроны, кроме предназначенных только для встраивания, должны иметь не менее двух кабельных вводов, обеспечивающих введение кабеля с оболочкой или трубопровода настолько, чтобы была обеспечена полная механическая защита жил кабеля на расстоянии не менее 1 мм, измеряемом от наружной поверхности патрона.

Кабельные вводы можно располагать диаметрально противоположно или рядом. Номинальные диаметры кабельных вводов должны быть 10,3 и 16,5 мм с допуском ±0,3 мм. Для керамики допуск  мм.

Проверку проводят измерением и пробным монтажом по п. 10.1.

Для обеспечения этого требования можно применять выбиваемые отверстия, расположенные рядом или диаметрально противоположно.

Требование не распространяется на патроны Е10.

Фланцевые патроны, кроме предназначенных только для встраивания, могут иметь только выбиваемые отверстия.

12.11. Конструкция контактов должна обеспечивать при нормальном использовании надежный электрический контакт.

Функционирование контактов не должно зависеть от функционирования блокировочного устройства между донышком и наружным корпусом патрона.

С 01.01.90 новые патроны Е40 должны иметь токоведущую резьбовую гильзу.

Проблемы контактирования с существующими цоколями ламп показывают, что токоведущая резьбовая гильза является практически единственно правильным решением.

Проверку проводят внешним осмотром и испытанием по п. 19.2.

Допускается применять один боковой контакт.

12.12. Кабельные вводы каплезащищенных патронов должны обеспечивать присоединение сетевых проводов так, чтобы капли воды, текущие по проводам, не могли попасть внутрь патрона.

Проверку проводят внешним осмотром.

12.13. Патроны не должны быть объединены со штепсельными розетками.

Патроны не должны иметь устройств для включения в них штепсельных вилок по ГОСТ 7396.0.

Проверку проводят внешним осмотром.

12.14. Устройства, шунтирующие тело накала лампы, не должны быть составной частью патрона.

Проверку проводят внешним осмотром и, при необходимости, испытанием.

13 ПАТРОНЫ СО ВСТРОЕННЫМ ВЫКЛЮЧАТЕЛЕМ

13.1. Выключатели допускается встраивать только в незащищенные патроны Е14 и Е27, рассчитанные на напряжение 250 В включительно.

Проверку проводят внешним осмотром.

13.2. Конструкция патронов со встроенным выключателем должна исключать возможность случайного контактирования подвижных деталей выключателя с сетевыми проводами.

Проверку проводят испытанием по п. 10.1 и вручную.

13.3. Выключатели в патронах должны соответствовать в пределах разумной применяемости требованиям стандартов на выключатели.

Проверку проводят испытаниями по ГОСТ 25516 (МЭК 328) не только с активной нагрузкой.

Выключатели в патронах Е14 должны быть испытаны на рабочую температуру 100 °С, а выключатели в патронах Е27 - на рабочую температуру 125 °С.

Выключатели в патронах с температурной маркировкой должны быть испытаны на следующую рабочую температуру:

патроны Е14 - температурная маркировка патрона минус 40 °С (Т - 40) °С;

патроны Е27 - температурная маркировка патрона минус 50 °С (Т - 50) °С.

Эти требования пересматриваются.

14. ВЛАГОСТОЙКОСТЬ, СОПРОТИВЛЕНИЕ И ЭЛЕКТРИЧЕСКАЯ ПРОЧНОСТЬ ИЗОЛЯЦИИ

14.1. Оболочки каплезащищенных патронов должны обеспечивать необходимую степень защиты от попадания воды.

Проверку проводят следующим испытанием.

Патроны заряжают соответствующим кабелем или трубопpоводом.

Фланцевые патроны устанавливают на вертикальной поверхности так, чтобы одно из сливных отверстий, если оно есть, было внизу и открыто.

Другие виды патронов устанавливают вертикально отверстием для ввода лампы вниз.

Испытание проводят при помощи устройства, принцип действия которого показан на черт. 12.

Вода в виде дождя должна вертикально падать на поверхность испытуемого патрона с высоты 200 мм от верхнего края патрона достаточно равномерно с интенсивностью от 3 до 5 мм/мин. Продолжительность испытания 10 мин. Температура воды, используемой при испытании, должна быть (15 ± 10) °С.

Непосредственно после испытания проводят проверку электрической прочности патронов по п. 14.3 и проверяют, не попала ли вода в патрон в значительном количестве.

Следует считать, что вода попала в патрон в значительном количестве, если она оказалась на токоведущих деталях. В данном случае резьбовая гильза, которая попадает под напряжение только при ввертывании лампы, не относится к токоведущим деталям.

14.2. Патроны должны быть устойчивы к воздействию влаги, которая может быть при их нормальном использовании.

Проверку проводят испытанием на влагостойкость в соответствии с настоящим пунктом и непосредственно после этого проводят проверку сопротивления и электрической прочности изоляции по п. 14.3.

Кабельные вводы (при их наличии) открывают, если есть выбираемые отверстия, то один из них выламывают.

Испытание на влагостойкость проводят в камере влажности при относительной влажности воздуха 91 - 95 %. Температура воздуха в месте расположения образцов должна быть t = (20 - 30) ° ± 1 °С.

До помещения в камеру влажности образцы выдерживают при температуре между t и t+4 °C.

Патроны выдерживают в камере влажности в течение:

2 суток (48 ч) - для обычных патронов;

7 суток (168 ч) - для каплезащищенных патронов степени защиты IPX1.

В большинстве случаев образцы могут быть доведены до необходимой температуры выдержкой при этой температуре не менее 4 ч до испытания.

Относительную влажность 91 - 95 % создают помещением в камеру влажности насыщенного водного раствора сульфата натрия (Na2SО4) или нитрата калия (KNО3), у которого достаточно велика поверхность контакта с воздухом. Для создания в камере указанной относительной влажности необходимо обеспечить внутри камеры непрерывную циркуляцию воздуха и, по возможности, использовать камеру с тепловой изоляцией.

Испытание патронов, предназначенных для использования в условиях, соответствующих II - VIII степеням жесткости по влажности воздуха по ГОСТ 16962.1, проводят по методу 207-2 ГОСТ 16962.1.

Внутренний объем камеры влажности должен составлять не менее 10 объемов, занимаемых испытуемыми патронами.

По истечении времени пребывания патронов в камере влажности измеряют сопротивление и испытывают электрическую прочность изоляции внутри камеры или вне ее, но не более чем через 5 мин после извлечения патронов из камеры. Затем патроны в течение (24 ± 1) ч выдерживают при нормальных климатических условиях испытаний по ГОСТ 15150 и подвергают внешнему осмотру.

Результаты испытания считают удовлетворительными, если патроны не имеют повреждений, приводящих к нарушению требований настоящего стандарта.

14.3. Сопротивление и электрическая прочность изоляции должны быть обеспечены:

а) между токоведущими деталями различных фаз;

б) между токоведущими деталями различных фаз и наружными металлическими деталями, включая крепежные винты фланца или корпуса фланцевых патронов и доступные соединительные винты;

в) между внутренними и наружными поверхностями изолирующих прокладок металлических корпусов, если эти прокладки необходимы в соответствии с п. 12.3 для обеспечения электробезопасности, или если расстояние между любой токоведущей деталью и металлическим наружным корпусом меньше значений, указанных в п. 4 табл. 12.

Проверку проводят измерением сопротивления изоляции и испытанием электрической прочности изоляции сразу же после проверки на влагостойкость в камере влажности или в помещении, в котором образцы были доведены до температуры t.

Сопротивление изоляции измеряют через 1 мин после приложения напряжения 500 V постоянного тока.

Сопротивление изоляции измеряют последовательно:

1) между токоведущими частями различных фаз;

2) между токоведущими частями различных фаз, соединенными вместе, и корпусом;

3) между доступными для прикосновения металлическими деталями и металлической фольгой, контактирующей с внутренней поверхностью изолирующей прокладки (при ее наличии).

Под термином «корпус», используемом в перечислении 2), понимают наружные металлические детали, крепежные винты донышка и корпуса, доступные соединительные винты, а также металлическую фольгу, контактирующую с наружными изолирующими деталями. Измерения, указанные в перечислениях 1) и 2), проводят сначала на патроне, в который ввернут испытательный цоколь по черт. 13, а затем на патроне без испытательного цоколя.

Выключатель, при его наличии, переводят в положение «включено».

Металлическая фольга, если она применяется при испытании патрона без испытательного цоколя, должна контактировать с металлической гильзой, если она нетоковедущая.

Сопротивление изоляции должно быть, МОм, не менее:

2 - при измерении по перечислению 1);

5 - в остальных случаях.

Непосредственно после измерения сопротивления изоляции между теми же частями, что и при измерении сопротивления изоляции в течение 1 мин прикладывают напряжение переменного тока практически синусоидальной формы частоты 50 или 60 Гц, действующее значение которого равно (2U + 1000) В, где U - нормируемое напряжение. Для патронов с выключателем это напряжение прикладывают, кроме того, между токоведущими деталями различных фаз и другими металлическими деталями при включенном и выключенном положении выключателя.

Для патронов Е10 напряжение, прикладываемое при проверке электрической прочности изоляции между токоведущими частями различных фаз, должно быть снижено до 500 В.

Сначала прикладывают не более половины указанного испытательного напряжения, а затем его быстро доводят до полного значения.

В процессе проверки не должно происходить пробоя изоляции или перекрытия по поверхности.

При замыкании выходных контактных зажимов трансформатора после доведения испытательного напряжения до указанного значения трансформатор высокого напряжения, применяемый при этой проверке, должен обеспечить значение выходного тока не менее 200 мА.

Реле максимального тока не должно отключаться при токе менее 100 мА.

Погрешность измерения действующего значения испытательного напряжения ±3 %.

Тлеющий разряд, не вызывающий заметного падения напряжения, не учитывают.

14.4. Проверку сопротивления изоляции и электрической прочности изоляции дополнительно проводят в холодном обесточенном состоянии при нормальных климатических условиях испытаний по ГОСТ 15150 при приемо-сдаточных испытаниях.

14.4.1. Сопротивление изоляции в холодном обесточенном состоянии при нормальных климатических условиях испытаний по ГОСТ 15150 должно быть не менее 20 МОм.

При приемо-сдаточных испытаниях проводят проверку только между частями, указанными в п. 14.3, перечисления 1) и 2).

Проверку производят по методике п. 14.3.

При приемо-сдаточных испытаниях отсчет допускается проводить непосредственно после установления показаний прибора.

14.4.2. Проверку электрической прочности изоляции проводят по методике п. 14.3 при следующих значениях испытательного напряжения:

1000 В - для патронов на номинальное напряжение 42 В;

2000 В - для патронов на номинальное напряжение 220 В;

2500 В - для патронов на номинальное напряжение 380 В;

3000 В - для патронов на номинальное напряжение 750 В.

При приемо-сдаточных испытаниях проводят проверку между частями, указанными в п. 14.3, перечисления 1) и 2).

При приемо-сдаточных испытаниях допускается длительность испытания (1 ± 0,1) с при условии повышения испытательного напряжения на 25 %.

Токи поверхностного разряда, не вызывающие уменьшение испытательного напряжения более 20 %, не учитывают при оценке результатов проверки.

15. МЕХАНИЧЕСКАЯ ПРОЧНОСТЬ

15.4. Патроны должны обладать механической прочностью и выдерживать нагрузки, возникающие при установке лампы, а также при навинчивании патрона на трубку.

Проверку проводят испытаниями по пп. 15.2 - 15.7.

15.2. Механическую прочность наружного корпуса, резьбовой гильзы и донышка фланца проверяют ввинчиванием испытательного цоколя в образец с приложением в течение 1 мин следующих вращающих моментов:

0,5 Н∙м - для патронов Е10;

0,5 Н∙м - для патронов Е14 для свечеобразных ламп с креплением за резьбовой ввод;

1,2 Н∙м - для патронов Е14 для свечеобразных ламп с креплением за наружный корпус;

1,2 Н∙м - для остальных патронов Е14;

2 Н∙м - для патронов Е27;

4 Н∙м - для патронов Е40.

Испытание патронов проводят с помощью испытательного цоколя В, указанного на черт. 8, 9 или 10.

Размеры испытательных цоколей приведены в табл. 8.

Таблица 8

мм

Тип патрона

Размер S*

Диаметр центрального контакта

Е14

5,5

4,8

Е27

9,5

9,5

Е40

11,0

14,0

* Применение размера S см. черт. 8, 9 или 10.

Размеры испытательного цоколя для патронов Е10 разрабатываются.

В настоящее время испытание проводят с цоколем, имеющим размеры цоколя лампы, для которой предназначен патрон.

Испытание проводят дважды: один раз образец закрепляют за наружный корпус, второй раз образец закрепляют за резьбовой ввод, донышко или фланец, в зависимости от типа патрона.

После окончания испытания образец не должен иметь повреждений, препятствующих его дальнейшему использованию.

15.3. Образец крепят за донышко или фланец и к наружному корпусу прикладывают в течение 1 мин вращающий момент, значение которого указано в п. 15.2, для затягивания резьбового соединения между корпусом и донышком.

Испытание не должно вызывать ослабления резьбового соединения между донышком и корпусом или каких-либо повреждений.

Испытание не проводят на патронах Е10.

15.4. Донышко патронов с резьбовым вводом навинчивают на латунную трубку как для нормального использования, стопорные винты затягивают с вращающим моментом, указанным в табл. 11, и проверяют надежность фиксации резьбового ввода приложением в течение 1 мин вращающего момента, указанного в п. 15.2, но против часовой стрелки.

Крепление резьбового ввода на латунной трубке не должно ослабляться.

Если происходит ослабление крепления, то стопорный винт подтягивают приложением минимального, необходимого для предотвращения ослабления крепления, вращающего момента и его значение регистрируют.

Практически достаточно увеличить затягивающий вращающий момент на ~20 %.

Минимальное значение затягивающего вращающего момента регистрируют для испытания по п. 16.1.

Требование не распространяется на пластмассовые патроны Е27 с резьбовым вводом, не имеющие в устройстве для предотвращения самоотвинчивания стопорных винтов.

Для испытаний по пп. 15.2 - 15.4 рекомендуется использовать установку, указанную на черт. 14.

Испытания по пп. 15.2 - 15.4 проводят на установке по черт. 14.

15.5. Механическую прочность соединения донышка с резьбовым вводом проверяют на установке, указанной на черт. 15.

Образец крепят за резьбовой ввод в горизонтальном положении. В патрон ввинчивают шаблон, имеющий резьбу с максимальными размерами, принятыми МЭК для цоколей ламп, и другие размеры, соответствующие указанным на черт 15, и в течение 1 мин нагружают массой, как указано на черт. 15.

Шаблон должен иметь максимальную резьбу по ГОСТ 28108.

Отклонение конца шаблона не должно быть более 5 мм.

Образец не должен иметь повреждений. При появлении остаточных деформаций образец устанавливают в первоначальное положение и проверку повторяют пять раз. После этого образец не должен иметь повреждений, препятствующих его дальнейшему использованию.

Проверку патронов для свечеобразных ламп не проводят.

Требование не распространяется на патроны с резьбовым вводом, у которых резьба выполнена в пластмассе.

15.6. Проверку механической прочности наружных корпусов из изоляционного материала с токопроводящей поверхностью или без нее, а также изоляционного кольца металлических патронов проводят на установке для испытания на удар (см. п. 15.6.1).

Проверку механической прочности патронов Е10 проводят во вращающемся барабане (см. п. 15.6.2).

15.6.1. Удары по образцу наносят на установке для испытания на удар, указанной на черт. 16. Головку бойка полусферической формы с радиусом 10 мм изготовляют из полиамида твердостью по Роквеллу HR 100. Боек массой (150 ± 1) г жестко крепят на нижнем конце стальной трубки с наружным диаметром 9 мм и толщиной стенок 0,5 мм, при этом крепление верхнего конца трубки должно обеспечивать качание маятника только в одной вертикальной плоскости. Ось качания должна находиться на расстоянии (1000 ± 1) мм от оси бойка.

До 01.01.95 допускается применение бойка, изготовленного из древесины твердых пород с твердостью по Роквеллу HR 100.

Определение твердости по Роквеллу головки бойка из полиамида проводят при следующих условиях:

диаметр шарика - (12,7000 ± 0,0025) мм;

начальная нагрузка - (100 ± 2) Н;

перегрузка - (500 ± 2,5) Н.

Твердость по Роквеллу определяют по ГОСТ 4670.

Конструкция установки должна обеспечивать удержание трубки в горизонтальном положении с силой, приложенной к торцевой поверхности бойка, в пределах от 1,9 до 2,0 Н.

Для крепления образца служит лист фанеры, который верхним и нижним краями крепится к опорной плите, указанной на черт. 17.

Опорная плита изготовляется из стали или чугуна и имеет массу (10 ± 1) кг. Опорная плита с помощью стержней, являющихся осями вращения, крепится к жесткой раме. Раму крепят к массивной стене из кирпича, бетона или аналогичного материала.

До 01.01.95 допускается использование опорной плиты массой менее 10 кг.

Конструкция установки для испытания на удар должна обеспечивать:

такое расположение образца, чтобы точка удара находилась в вертикальной плоскости, проходящей через ось качания маятника;

возможность перемещения образца в горизонтальной плоскости и вращения его вокруг оси, перпендикулярной плоскости монтажной платы;

возможность вращения монтажной платы вокруг вертикальной оси.

Образец устанавливают на монтажной плате так, чтобы ось образца была горизонтальна и параллельна плоскости монтажной платы и наружная поверхность образца касалась фанерного листа. Удар наносится бойком в горизонтальной плоскости.

Точка удара должна лежать в вертикальной плоскости, проходящей через ось качания маятника.

Параллельность оси патронов, имеющих отличную от цилиндрической форму корпуса, плоскости монтажной платы, достигается при помощи сосновых прокладок или прокладок из аналогичного материала.

Для патронов из изоляционного материала удар наносят по краю наружного корпуса. Для металлических патронов удар наносят по наружному корпусу в месте расположения изолирующего кольца.

Боек должен падать с высоты, значение которой указано в табл. 9.

Таблица 9

Материал

Высота падения, см

Керамические детали

10 ± 0,1

Детали из двух материалов

15 ± 0,1

Высота падения - расстояние по вертикали между контрольной точкой в момент спуска маятника и положением этой точки в момент удара.

Контрольную точку наносят на поверхности бойка, где линия, проходящая через точку пересечения осей бойка и стальной трубки, перпендикулярная плоскости, определяемой этими осями, пересекает поверхность бойка.

Наносят пять ударов в точках, равномерно разнесенных по окружности наружного края наружного корпуса и изолирующего кольца.

Для патронов для свечеобразных ламп, испытываемых без декоративной оболочки, высота падения составляет 10 см. По этим патронам наносят по одному удару в двух точках, смещенных по окружности на 90° на расстоянии 5 мм от наружного края патрона.

После испытания на образце не должно быть серьезных повреждений, с точки зрения настоящего стандарта. При этом не должны стать доступными для прикосновения токоведущие детали.

Повреждения, не снижающие пути утечки и воздушные зазоры, ниже значений, указанных в разд. 17, и незначительные сколы, не влияющие на защиту от поражения электрическим током и защиту от воды, не учитывают.

Трещинами, не видимыми невооруженным глазом, и поверхностными повреждениями волокнистых пресс-материалов и аналогичных материалов пренебрегают.

Трещинами или сколами на наружной поверхности какой-либо детали патрона, если патрон даже при отсутствии этой детали соответствует настоящему стандарту, пренебрегают.

15.6.2. Проверку механической прочности патронов Е10 проводят во вращающемся барабане, указанном на черт. 18.

Патрон должен выдерживать без повреждений, снижающих его электробезопасность, 50 падений с высоты 500 мм на стальную плиту толщиной 3 мм в барабане, вращающемся с частотой вращения 5 мин-1 (10 падений в минуту).

15.7. Проверку механической прочности металлических наружных деталей (наружный корпус и донышко) проводят на установке, указанной на черт. 19.

Эти детали испытывают на собранном патроне. К каждой детали дважды в течение 1 мин прикладывают силу, значение которой указано в табл. 10. Силу прикладывают в двух диаметрально противоположных точках с поворотом на 90°.

Испытание не проводят на наружных корпусах и донышках из изоляционного материала с наружным токопроводящим покрытием.

Во время и после испытания деформация образца не должна быть больше значений, указанных в табл. 10.

Таблица 10

Тип патрона

Сила, Н

Максимальная деформация, мм

во время испытания

после испытания

E14

75

1

0,3

Е27

100

2

0,3

Е40

100

4

0,5

Испытание не проводят на патронах Е10.

15.8. Уплотняющие вводы и сальники должны выдерживать механические нагрузки, возникающие при нормальном монтаже и эксплуатации.

Проверку проводят следующим испытанием.

В резьбовые сальники вставляют металлический цилиндрический штырь, диаметр которого округленно до целого числа миллиметров равен меньшему внутреннему диаметру уплотнения ввода. Затем ввод затягивают гаечным ключом с силой 30 Н для металлических и 20 Н для пластмассовых сальников. Силу прикладывают в течение 1 мин с плечом рычага 25 см.

После испытания вводы, сальники и корпуса не должны иметь повреждений.

15.9. Конструкция фланцевых патронов должна исключать возможность повреждения при монтаже.

Проверку проводят следующим испытанием.

Фланец патрона крепят винтами диаметром 4 мм на жестком плоском стальном листе, который имеет два резьбовых отверстия на расстоянии, равном расстоянию между осями отверстий для крепления во фланце. Винты затягивают постепенно при положении максимального вращающего момента, равного 1,2 Н∙м.

Испытание фланцевых патронов, специально предназначенных для встраивания, проводят с помощью устройства, указанного изготовителем патрона.

Устройство для испытания фланцевых патронов, предназначенных только для встраивания, должно быть указано в ТУ на конкретные типы или группы патронов.

После испытания патрон не должен иметь повреждений, препятствующих его дальнейшему использованию.

Требование не распространяется па патроны Е10.

16. ВИНТЫ, ТОКОВЕДУЩИЕ ДЕТАЛИ И СОЕДИНЕНИЯ

16.1. Токоведущие и нетоковедущие винтовые соединения, повреждение которых может нарушить безопасность патрона, должны выдерживать механические нагрузки, возникающие при нормальном использовании.

Винты, передающие контактное нажатие, и винты с номинальным диаметром менее 3 мм, применяемые для соединений в патронах, должны ввинчиваться в металлическую гайку или вставку. Требование не распространяется на стопорные винты.

Проверку материала, из которого изготовлены гайки, проводят внешним осмотром.

Винтовые соединения частично были проверены в разд. 15.

Проверку механической прочности винтов и гаек, передающих контактное нажатие или применяемых в других соединениях патронов, проводят дополнительно следующим испытанием.

Винты завинчивают и отвинчивают:

5 раз - для винтов, ввинчиваемых в металлическую резьбу;

10 раз - для винтов, ввинчиваемых в резьбу в изоляционном материале;

с приложением с помощью динамометрической отвертки вращающего момента, указанного в табл. 11, кроме стопорных винтов, затягиваемых с приложением вращающего момента, указанного в п. 15.4. Значения, указанные в графе 1, распространяются на винты без головки, которые в завинченном состоянии не выступают из отверстия. Графа 2 распространяется на остальные винты.

Винты, ввинчиваемые в резьбу в изоляционном материале, каждый раз полностью ввинчивают и вывинчивают.

Таблица 11

Номинальный диаметр винта, мм

Вращающий момент, Н∙м

1

2

До 2,8 включ.

0,2

0,4

Св.  2,8  »   3,0     »

0,25

0,5 (0,6)

»     3,0  »   3,2     »

0,25 (0,7)

0,6 (1,2)

»     3,2  »   3,6     »

0,4 (0,7)

0,8 (1,2)

»     3,6  »   4,1     »

0,7

1,2

»     4,1  »   47      »

0,7

1,8

»     4,7  »   5,3     »

0,8

2,0

»     5,3

0,8

2,5

Значения, указанные в скобках, - для нужд народного хозяйства.

При испытании винтов контактного зажима в контактный зажим вводят однопроволочный провод наибольшего сечения, указанного в п. 10.1. После каждого ослабления изменяют положение в зажиме.

В процессе испытания не должно возникать повреждений, препятствующих дальнейшему использованию резьбовых соединений.

К винтам, которые применяют для соединений в патронах, относят, например, винты контактных зажимов, винты крепления крышек и т.п., которые должны развинчиваться для образования соединения и т.п. Сюда не относятся соединения с помощью резьбовых трубопроводов и винты для крепления патронов на опоре.

Форма лезвия испытательной отвертки должна соответствовать шлицу испытуемого винта. Винт ввинчивают плавно без рывков.

16.2. Винты, ввинчиваемые в резьбу в изоляционном материале, должны иметь длину резьбы не менее 3 мм плюс ⅓ номинального диаметра винта.

Необходимо обеспечить правильное введение винта в соответствующую резьбу.

Проверку проводят внешним осмотром, измерениями и вручную.

Требование правильности введения винта выполняется, если он вводится без перекоса, что обеспечивается наличием направляющих на закрепляемых деталях, применением утопленной в гайке резьбы или винтов со снятой начальной частью резьбы.

16.3. Конструкция электрических соединений должна исключать передачу контактного нажатия через изоляционный материал, исключая керамику, кроме случаев, когда металлические детали обладают достаточной упругостью для компенсации возможной усадки изоляционного материала.

Проверку проводят внешним осмотром.

16.4. Винты и заклепки, служащие как для электрических, так и механических соединений, должны быть предохранены от ослабления.

Проверку проводят внешним осмотром и вручную.

Защиту от ослабления может обеспечить пружинная шайба. Для заклепок достаточно, чтобы они имели нецилиндрическую форму или выступ.

Заливочные массы, размягчающиеся при нагревании, обеспечивают надежную защиту только для тех винтовых соединений, которые не развинчиваются при нормальном использовании.

Требование вводится с 01.01.95.

16.5. Токоведущие части должны быть изготовлены из меди, сплава с содержанием меди не менее 50 % или материала с равноценными свойствами.

Требование не распространяется на нетоковедущие винты и винты контактных зажимов.

Проверку проводят внешним осмотром и, при необходимости, химическим анализом.

Особое внимание должно уделяться защите от коррозии и поддерживанию механических свойств.

17. ПУТИ УТЕЧКИ И ВОЗДУШНЫЕ ЗАЗОРЫ

17.1. Значение путей утечки и воздушных зазоров должны быть не менее указанных в табл. 12, при этом патрон должен быть установлен, как для нормального использования с ввернутой лампой или без нее.

Диаметр центрального контакта цоколя лампы должен быть, мм:

3,8 - для патронов E10;

5,5 -   »      »           Е14;

10,5 - »      »           Е27;

16,0 - »      »           Е40.

Диаметр используют при расчете путей утечки и воздушных зазоров.

Передвижение любой подвижной детали в патроне должно быть ограничено так, чтобы пути утечки и воздушные зазоры были не менее требуемых значений.

Таблица 12

Расстояние, мм

Нормируемое напряжение

до 250 В включ.

От 250 В до 500 В включ.

От 500 В до 750 В включ.

Пути утечки тока

 

 

 

1. Между токоведущими деталями различных фаз

3

5 (3)

7

2. Между токоведущими деталями и доступными для прикосновения металлическими деталями, включая крепежные винты фланцевых патронов

3

5 (3)

7

Воздушные зазоры

 

 

 

3. Между токоведущими деталями различных фаз

3

4 (3)

5

4. Между токоведущими деталями и наружными деталями, если нет прокладок из изоляционного материала

3

5 (3)

7

5. Между токоведущими деталями и монтажной поверхностью фланцевых патронов

5

7 (5)

9

6. Между токоведущими деталями и границей полости для сетевых проводов фланцевых патронов, не предназначенных специально для встраивания

4

6 (4)

8

7. Между токоведущими деталями и резьбовой гильзой, если гильза не находится под напряжением при вывернутой лампе

2

2

2*

Расстояния для фланцевых патронов

 

 

 

8. Между токоведущими деталями, покрытыми слоем заливочной массы толщиной не менее 2,5 мм, и монтажной поверхностью

4

5 (4)

7

9. Между токоведущими деталями, покрытыми слоем заливочной массы толщиной не менее 2 мм, и границей полости для сетевых проводов

3

5 (3)

7

* Для нужд народного хозяйства - 4 мм.

Значения, указанные в скобках, допускаются до 01.01.95 для патронов для нужд народного хозяйства.

Для патронов Е10 минимальные пути утечки и воздушные зазоры между токоведущими деталями различных фаз уменьшают соответственно на 2 мм.

Проверку проводят измерениями поочередно с сетевыми проводами наибольшего сечения по п. 10.1 и без проводов.

17.2. Заливочная масса не должна выступать за пределы соответствующей полости.

Проверку проводят внешним осмотром.

18. НОРМАЛЬНАЯ РАБОТА

При нормальном использовании не должно возникать чрезмерного износа или других повреждений патрона.

Должны быть исключены серьезные повреждения изоляции и устройства защиты от поражения электрическим током. Изолирующие прокладки, перегородки и подобные детали должны иметь достаточную механическую прочность и должны быть прочно закреплены.

Повышенная температура и вибрация, которые могут возникать при нормальном использовании, не должны приводить к ослаблению электрических соединений.

Проверку проводят следующим испытанием.

Образец заряжают двумя однопроволочными проводами с поливинилхлоридной изоляцией максимального сечения по п. 10.1 и помещают установку для проверки работоспособности, указанную на черт. 20.

Тип (вид) провода для зарядки патрона указывают в ТУ на конкретные типы или группы патронов.

При проверке применяют испытательный цоколь, указанный на черт. 13.

Испытательный цоколь 100 раз с частотой ~15 раз в минуту ввинчивают и вывинчивают, при этом размер S равен, мм:

4,0 - для патрона Е14;

7,7 -  »           »            Е27;

9,0 -  »           »            Е40.

Применение размера S см. черт. 8, 9 или 10.

Первую половину циклов патрон крепят в зависимости от типа патрона за резьбовой ввод, донышко или фланец, а вторую половину - за корпус.

Для патронов, не имеющих ниппель, донышко или фланец, проверку проводят с закреплением патрона только за корпус.

Испытание патронов Е14 и Е27 проводят с испытательными цоколями при напряжении переменного тока 250 В и активной нагрузке, А:

1 - для патронов Е14;

2 -   »        »          Е27.

Испытательный цоколь вывинчивают до размыкания цепи с частотой вращения ~90 мин-1.

Допускается до 01.01.95 применение устройств для вывинчивания калибра с частотой вращения 30 мин-1.

Электрическая схема для испытания указана на черт. 21. Переключатель S предназначен для соединения доступных для прикосновения металлических деталей и опорной поверхности для фланцевых патронов к одному из полюсов источника питания и его переключают после первой половины циклов.

Патроны Е40 испытывают без токовой нагрузки.

Испытательный цоколь ввинчивают с приложением следующих вращающих моментов, Н∙м:

0,4 - для патронов Е14 для свечеобразных ламп;

1 - для патронов Е14;

1,5 - для патронов Е27;

3 - для патронов Е40.

После испытания образец не должен иметь:

износа, препятствующего дальнейшему использованию патрона;

повреждений, ухудшающих защиту от поражения электрическим током;

ослабления электрических контактов;

ослабления крепления корпуса с донышком;

ослабления стопорного винта резьбового ввода;

повреждения сетевых проводов.

Кроме того, образец должен соответствовать требованиям п. 8.2 и выдерживать проверку электрической прочности изоляции по п. 14.3, при этом испытательное напряжение уменьшают на 500 В.

Перед проверкой электрической прочности изоляции испытание на влагостойкость по разд. 14 не проводят.

Требование не распространяется на патроны Е10.

19. ТЕПЛОСТОЙКОСТЬ

19.1. Патроны должны иметь достаточную теплостойкость.

Проверку проводят испытаниями по пп. 19.2 - 19.4.

19.2. В патрон, установленный как для нормального использования, ввинчивают сплошной испытательный цоколь В по черт. 8, 9 или 10, изготовленный из стали (желательно нержавеющей), с приложением вращающего момента, значение которого указано в табл. 13. Затем патрон с ввинченным испытательным цоколем В помещают в термостат, в котором установлена температура, значение которой составляет около половины значения, указанного в таблице. Температуру повышают до требуемой в течение (60 ± 15) мин. После достижения требуемой темпеpатуры и установления теплового режима через патрон в течение 48 ч пропускают ток, равный нормируемому.

После этого патрон вынимают из термостата и охлаждают без испытательного цоколя в течение 24 ч.

По истечении 24 ч сплошной латунный испытательный цоколь А по черт. 8, 9 или 10 ввинчивают в патрон с приложением вращающего момента, значение которого указано в таблице, затем вывинчивают.

Ввинчивание и вывинчивание повторяют 10 раз, после этого измеряют переходное сопротивление между контактными зажимами патрона. Измерение проводят при нормируемом переменном токе напряжением не более 6 В. В патронах с выключателем переходное сопротивление выключателя не учитывают. Измеренное переходное сопротивление не должно быть более указанного в табл. 13.

Таблица 13

Тип патрона

Вращающий момент, Н ∙ м

Испытательная температура, °С

Переходное сопротивление, Ом

Е14

1

145

0,020

Е27

1,5

175

0,020

Е40

3

240

0,004

Патроны с температурной маркировкой «Т» испытывают при температуре на 10 °С больше, указанной в маркировке.

Значение 10 °С пересматривается и временно согласовано с существующими в настоящее время требованиями к патронам Е27.

После испытания образец должен соответствовать требованиям п. 8.2.

Испытательный цоколь А перед его ввинчиванием в патрон для измерения переходного сопротивления тщательно очищают и протирают.

Размеры испытательного цоколя А в части центрального контакта должны соответствовать значениям, указанным в приложении 2 (стандартные листы 7006-30 (Е14), 7006-21 (Е27) или 7006-23 (Е40) МЭК 61-3, при этом размер S должен, быть равен, мм:

4,5 - для патронов Е14;

8,5 -   »        »        Е27;

10,0 - »        »        Е40.

Размеры испытательного цоколя В в части центрального контакта должны соответствовать значениям, указанным в приложении 2 (стандартные листы 7006-31 (Е14), 7006-22А (Е27) или 7006-24 (Е40) МЭК 61-3), при этом размер S должен быть равен, мм:

4,0 - для патронов Е14;

7,7 -  »        »          Е27;

9,0 -  »        »          Е40.

Требование не распространяется на патроны Е10.

19.3. Конструкция контактов и других токоведущих деталей должна исключать их чрезмерный нагрев.

Проверку проводят следующим испытанием сразу же после испытания по п. 19.2 на патроне, заряженном проводами наибольшего сечения по п. 10.1.

Винты контактных зажимов затягивают с приложением вращающего момента, равного 2/3 значения, указанного в п. 16.1.

Патрон устанавливают отверстием для ввода лампы и пропускают через него в течение 1 ч ток, равный 1,25 нормируемого.

Превышение температуры на контактных зажимах не должно быть более 45 К.

Температуру определяют с помощью плавящихся элементов или термоэлектрических преобразователей, но не термометрами.

Для этого испытания применяют специальный испытательный цоколь, указанный на черт. 13.

После испытания проверяют провода на соответствие требованиям п. 10.4. Они не должны иметь повреждений.

В качестве плавящихся элементов могут использоваться шарики из пчелиного воска (диаметр 3 мм, температура плавления 65 °С при условии, что температура окружающей среды равна 20 °С.

Требование не распространяется на матроны Е10.

19.4. Затем проверяют теплостойкость в термостате при температуре, указанной в табл. 14.

Патроны с температурной маркировкой «Т» испытывают при температуре на 35 °С больше указанной в маркировке.

Значение 35 °С пересматривается и временно согласовано с существующими в настоящее время требованиями к патронам Б27.

Таблица 14

Тип патрона

Температура, °С

Е10 - обычный

75

Е10 - составная часть светильника*

75 или рабочая температура +15 (применяют наибольшее значение)

Е14

170

Е27

200

Е40

300

* Для патронов Е10 и других подобных малогабаритных патронов, являющихся составной частью светильника, например, елочных гирлянд, температуру измеряют в светильнике на цоколе лампы на расстоянии 2 мм от стекла колбы.

До 01.01.95 испытание патронов Е14 допускается проводить при температуре 150 °С.

В патрон ввинчивают до упора сплошной стальной испытательный цоколь В (предпочтительно из нержавеющей стали), указанный на черт. 8, 9 или 10. Затем патрон с ввинченным испытательным цоколем помещают в термостат, в котором установлена температура, значение которой составляет около половины значения, указанного в табл. 14. Температуру повышают до требуемой в течение (60 ± 15) мин. Испытание проводят непрерывно в течение 168 ч.

Температуру при испытании поддерживают с допуском ±5 °С.

В процессе испытания не должно возникать повреждений патронов, препятствующих их дальнейшему использованию, в том числе:

ухудшения защиты от повреждения электрическим током;

ослабления электрических контактов;

трещин, вспучивания или усадки материала;

вытекания заливочной массы.

В конце испытания проверяют отсутствие деформаций резьбы Эдисона.

Испытание проводят проходными калибрами по приложению 2 (стандартные листы 7006-25 или 7006-25А МЭК 61-3).

Калибр применяют не для проверки наличия контакта, а исключительно для определения возможной деформации формованного материала.

Кроме того, патрон должен выдержать проверку механической прочности по пп. 15.2 и 15.6 при приложении вращающего момента на 50 % меньше указанного и уменьшении высоты падения до 5 см соответственно.

Заливочная масса не должна вытекать в таком количестве, чтобы оказались оголенными токоведущие детали; простым смещением компаунда пренебрегают.

Испытание не проводят на светильниках.

20. НАГРЕВОСТОЙКОСТЬ, ОГНЕСТОЙКОСТЬ И СОПРОТИВЛЕНИЕ ТОКАМ ПОВЕРХНОСТНОГО РАЗРЯДА

20.1. Детали, на которых крепят контакты и наружные детали патронов из изоляционного материала, а также наружные детали патронов из изоляционного материала с токопроводящим наружным покрытием, должны быть устойчивы к нагреву.

Проверку материалов, кроме керамических, проводят устройством для вдавливания шарика, указанным на черт. 22.

Для патронов Е10 проверку проводят только на тех деталях, на которых крепят контакты.

Поверхность испытуемой детали располагают горизонтально и вдавливают в эту поверхность стальной шарик диаметром 5 мм с силой 20 Н.

Проверку проводят в термостате при температуре, указанной в п. 19.4, кроме патронов Е10, которые проверяют при температуре 125 °С.

Устройство и опору, на которой размещают испытуемую деталь, помещают в термостат на время, достаточное для установления к началу проверки испытательной температуры.

Испытуемую деталь помещают в термостат за 10 мин до установки на ней устройства для вдавливания шарика.

Если поверхность испытуемой детали прогибается, то снизу поддерживают участок детали, на который давит шарик. Для этой же цели, если испытание не может быть проведено на целой детали, можно отделить соответствующую ее часть.

Эта часть должна иметь толщину не менее 2,5 мм, но если требуемая толщина не соблюдена, ее обеспечивают наложением друг на друга двух или более одинаковых частей.

Через 1 ч устройство для вдавливания шарика снимают с испытуемой детали, которую затем в течение 10 с охлаждают приблизительно до комнатной температуры погружением в холодную воду. После этого измеряют диаметр отпечатка шарика, который не должен превышать 2 мм.

Если испытание проводят на криволинейной поверхности, например, корпусе патрона, и если отпечаток имеет форму эллипса, то измеряют короткую ось.

При сомнении измеряют глубину отпечатка и диаметр определяют по формуле

где Р - глубина отпечатка.

20.2. Наружные детали из изоляционного материала (наружный корпус, в том числе с наружной резьбой, донышко или фланец), обеспечивающие защиту от поражения электрическим током и детали из изоляционного материала, на которых располагаются токоведущие детали (комплект зажим/контакт), должны быть устойчивы к воспламенению.

Проверку всех материалов, кроме керамики, проводят испытаниями по п. 20.3 или 20.4.

Требование не распространяется на патроны Е10.

Резьбовые гильзы, находящиеся под напряжением только при ввинченной лампе, не считают токоведущими.

Изоляционный материал, служащий опорой для такого типа гильз, проверяют испытанием по п. 20.3.

20.3. Наружные детали из изоляционного материала, включая и те, которые имеют токопроводящее наружное покрытие, обеспечивающие защиту от поражения электрическим током, испытывают методом раскаленной проволоки по ГОСТ 27483 (МЭК 695-2-1) со следующими уточнениями:

образцом является патрон в сборе. Для проведения испытания может возникнуть необходимость вынуть некоторые детали из патрона, однако условия испытания не должны существенно отличаться от нормального использования;

образец крепят на каретке и прижимают к раскаленной проволоке с силой 1 Н на расстоянии не менее 15 мм от наружного края в направлении центра испытуемой поверхности. Проникновение раскаленной проволоки в образец более 7 мм механически ограниченно.

Если образец слишком мал для проведения испытания, то испытание проводят на отдельном образце из того же материала в форме квадрата 30´30 мм и толщиной, равной минимальной толщине испытуемой детали.

Температура верха петли раскаленной проволоки 650 °С. Через 30 с контакт образца с раскаленной проволокой прерывают.

Температура раскаленной проволоки и ток, проходящий через нее, должны быть стабильными за 1 мин до начала испытания. Необходимо, чтобы термоизлучение проволоки в это время не влияло на образец. Температуру верха петли раскаленной проволоки измеряют термоэлектрическим преобразователем, защищенным огнестойкой оболочкой, которая изготовляется и калибруется в соответствии с требованиями ГОСТ 27483 (МЭК 695-2-1);

пламя или тление образца должно прекратиться через 30 с после удаления раскаленной проволоки, а горящие частицы не должны воспламенять папиросную бумагу, расположенную горизонтально на расстоянии (200 ± 5) мм под образцом.

20.4. Детали из изоляционного материала, на которых располагаются токоведущие детали, испытывают игольчатым пламенем по ГОСТ 27484 (МЭК 695-2-2) со следующими уточнениями:

образцом является патрон в сборе;

для проведения испытания может возникнуть необходимость вынуть некоторые детали из патрона, однако условия испытания не должны существенно отличаться от условий нормального использования;

испытательное пламя направляют на центр испытуемой поверхности;

длительность воздействия пламенем 10 с;

самоподдерживающие пламя должно затухнуть через 30 с после удаления испытательного пламени, а любые горящие частицы, выделяемые образцом, не должны воспламенять папиросную бумагу, расположенную горизонтально на расстоянии (200 ± 5) мм под образцом.

20.5. Изолирующие детали, на которых располагаются токоведущие детали каплезащищенных патронов, должны быть изготовлены из керамики или других материалов, устойчивых к токам поверхностного разряда.

Проверку материалов, кроме керамики, проводят следующим испытанием.

Плоский образец с размерами 15´15 мм располагают горизонтально.

Два электрода из платины, размеры которых указаны на черт. 23, располагают на поверхности образца так, как показано на черт. 21, чтобы их закругленные кромки полностью по всей их длине были прижаты к образцу.

Сила нажатия каждого электрода должна быть ~1 Н.

Электроды подключают к источнику переменного практически синусоидального тока частотой 50 или 60 Гц, напряжением 175 В. Полное сопротивление цепи при замкнутых накоротко электродах регулируют при помощи переменного сопротивления так, чтобы в цепи протекал ток (1,0 ± 0,1) А при cosj = от 0,9 до 1.

В цель включают реле максимального тока с временем отключения 0,5 с.

Поверхность образца смачивают каплями раствора хлористого аммония в дистиллированной воде, падающих посередине между электродами.

Удельное объемное сопротивление раствора 400 Ом∙см при температуре 25 °С, что соответствует концентрации около 0,1 %.

Капли объемом  мм3 падают с высоты 30 - 40 мм.

Интервал времени между каплями должен быть (30 ± 5) с.

Между электродами не должно быть пробоя или перекрытия в течение времени падения 50 капель.

Испытание проводят на трех разных участках одного образца или на трех образцах.

Перед началом каждого испытания тщательно проверяют частоту поверхности электродов, правильность их формы и расположения на образце.

При сомнении испытание повторяют на новом образце или на новой выборке образцов.

Резьбовые гильзы, находящиеся под напряжением только при ввинченной лампе, не считают токоведущими.

Детали из изоляционного материала, которые крепятся на керамических деталях, приравнивают к керамическим деталям при условии, если на керамических деталях соблюдены минимальные пути утечки тока, указанные в разд. 17.

21. ЗАЩИТА ОТ СТАРЕНИЯ И КОРРОЗИИ

21.1. Контакты и другие детали, изготовленные из листового проката меди или медных сплавов, повреждения которых приводит к нарушению безопасности использования патронов, должны быть устойчивы к старению.

Проверку проводят следующим испытанием.

Поверхность образца тщательно очищают, при этом лак снимают ацетоном, а обезжиривание проводят бензином или аналогичным составом.

Образцы при температуре (20 ± 5) °С погружают на 1 ч в насыщенный при этой температуре раствор двухлористой ртути (HgCl2).

После такой обработки образцы промывают в проточной воде; после 24 ч на образцах не должно быть трещин, видимых невооруженным глазом.

Незначительными трещинами наружного корпуса металлических патронов вблизи мест крепления изолирующего кольца пренебрегают.

Во избежание искажения результата испытания образцы не следует брать руками.

При использовании указанных токсичных жидкостей следует соблюдать соответствующие меры предосторожности.

21.2. Детали из черных металлов, окисление которых снижает безопасность использования патронов, должны быть надежно защищены от коррозии.

Проверку проводят следующим испытанием.

Испытуемые детали погружают на 10 мин в обезжиривающий раствор. Затем их погружают на 10 мин в водный раствор хлористого аммония с массовой долей 10 % при температуре (20 ± 5) °С. После этого испытуемые детали подвешивают на 10 мин, не высушивая, но стряхнув капли раствора, в коробе, воздух в котором насыщен влагой при температуре (20 ± 5) °С.

Выдержку проводят в камере влаги при относительной влажности 95 % и температуре (20 ± 5) °С.

Затем образцы сушат в термостате при температуре (100 ± 5) °С, после этого на их поверхностях не должно быть следов коррозии.

Для небольших винтовых пружин и аналогичных деталей, а также для деталей из черных металлов, которые подвергаются истиранию, достаточной защитой от коррозии является слой смазки. Такие детали испытанию не подвергают.

22. ДОПОЛНИТЕЛЬНЫЕ ТРЕБОВАНИЯ ДЛЯ НУЖД НАРОДНОГО ХОЗЯЙСТВА И ЭКСПОРТА

22.1. Габаритные и установочные размеры патронов должны соответствовать установленным в ТУ на конкретные типы или группы патронов.

Проверку проводят при помощи измерительного инструмента и шаблонов.

Результаты проверки считают удовлетворительными, если патроны соответствуют рабочим чертежам, а также ТУ на конкретные типы или группы патронов.

22.2. Масса патронов должна соответствовать установленным в ТУ на конкретные типы или группы патронов.

Проверку массы патронов проводят взвешиванием патронов на весах.

Погрешность измерения массы не должна превышать, %:

±2,5 - для патронов массой не более 20 г;

±5 - для патронов массой более 20 г.

Допускается определять массу одного патрона как среднее арифметическое массы группы патронов.

Результаты проверки считают удовлетворительными, если масса патронов не больше указанной в ТУ на конкретные типы или группы патронов.

22.3. Рабочее положение патронов в пространстве должно быть указано в ТУ на конкретные типы или группы патронов.

Проверку проводят внешним осмотром.

22.4. Номинальные значения климатических факторов - по ГОСТ 15543.1 для климатических исполнений УХЛ1; УХЛ2; У2; УХЛ3; УХЛ4; УХЛ5; Т1; Т2; Т3; Т5 и 04, при этом наибольшая высота над уровнем моря 1000 м.

Допускается по согласованию с потребителем большая высота над уровнем моря, которая должна быть указана в ТУ на конкретные типы или группы патронов.

Климатическое исполнение У2 в новых разработках не применять.

Патроны климатического исполнения Т и О дополнительно должны соответствовать ГОСТ 15963.

Конкретные климатические исполнения и категории размещения должны быть указаны в ТУ на конкретные типы или группы патронов.

Проверку проводят соответствующими испытаниями по ГОСТ 16962.1. При этом в ТУ на конкретные типы или группы патронов устанавливают перечень испытаний по ГОСТ 16962.1, необходимые параметры (характеристики) испытания и критерии результатов испытаний.

22.5. Патроны должны сохранять свои параметры в процессе и после воздействия механических факторов по ГОСТ 17516.

Группа по ГОСТ 17516 должна быть указана в ТУ на конкретные типы или группы патронов.

Проверку проводят соответствующими испытаниями по ГОСТ 16962.1.

При этом в ТУ на конкретные типы или группы испытаний устанавливают перечень испытаний по ГОСТ 16962.1, необходимые параметры (характеристики) испытания и критерии результатов испытаний.

22.6. Патроны, предназначенные для работы в специальных средах, должны соответствовать ГОСТ 24682.

Среда, для которой предназначен патрон, должна быть указана в ТУ на конкретные типы или группы патронов.

Проверку проводят по ГОСТ 24683.

22.7. Степень защиты оболочек патронов должна соответствовать ГОСТ 14254.

Степень защиты и условия обеспечения степени защиты должны быть указаны в ТУ на конкретные типы или группы патронов.

Проверку проводят по ГОСТ 14254.

22.8. Металлические детали патронов должны иметь гальванические покрытия, требования к которым должны соответствовать ГОСТ 9.503.

Материалы соприкасающихся между собой деталей, контактных зажимов и присоединяемых проводов должны соответствовать требованиям ГОСТ 9.005.

Проверку проводят по ГОСТ 9.302.

При приемо-сдаточных испытаниях проверяют наличие и внешний вид покрытий.

22.9. Материалы, применяемые для изготовления патронов, должны соответствовать ТУ на эти материалы.

Детали из изоляционного материала, на которых не крепятся токоведущие детали, должны изготовляться из материалов с физико-механическими характеристиками не ниже, чем:

у пластмасс группы О или Ж по ГОСТ 5689 - для патронов Е14;

у пластмасс группы Ж по ГОСТ 5689 или материала АГ4 по ГОСТ 20437 - для патронов Е27;

у керамических материалов по ГОСТ 13871.

При этом корпус пластмассовых патронов с резьбой E27/N по ГОСТ 6042 должен изготовляться из пресс-материала АГ-4 по ГОСТ 20437 или пластмасс с физико-механическими характеристиками не ниже, чем у пресс-материала АГ-4.

Детали патронов из изоляционного материала, на которых крепятся токоведущие детали, должны изготовляться из материалов с физико-механическими характеристиками не хуже, чем у керамических материалов по ГОСТ 13871 или пресс-материала АГ-4 по ГОСТ 20437. Допускается для патронов Е14 применять пластмассы группы О или Ж по ГОСТ 5689.

Проверку проводят внешним осмотром и, при необходимости, химическим анализом.

22.10. Требования к патронам, предназначенным для работы в схемах с импульсными зажигающими устройствами, по номинальному току, путям утечки, сопротивлению и электрической прочности изоляции, должны быть установлены в ТУ на конкретные типы или группы патронов.

22.11. Патроны с абажурным кольцом должны иметь на наружном корпусе резьбу для крепления абажурного кольца, размеры которой должны соответствовать указанным в приложении 4 (МЭК 399).

Проверку проводят измерениями и калибрами, указанными в приложении 4 (МЭК 399).

23. УПАКОВКА, ТРАНСПОРТИРОВАНИЕ И ХРАНЕНИЕ

23.1. Упаковку, внутреннюю упаковку и транспортную тару должны выбирать по ГОСТ 23216 и указывать в ТУ на конкретные типы или группы патронов.

23.2. На транспортной таре должна быть нанесена маркировка по ГОСТ 14192, содержащая основные, дополнительные, информационные надписи и манипуляционные знаки: «Осторожно, хрупкое!», «Верх, не кантовать!», «Боится сырости», а также должен быть указан способ складирования по ГОСТ 17677. Допускается не указывать способ складирования, если в качестве транспортной тары используются контейнеры.

Все виды дополнительной маркировки транспортной тары должны быть указаны в ТУ на конкретные типы или группы патронов.

23.3. При транспортировании грузовых мест пакетами они должны соответствовать требованиям правил перевозки грузов, действующих на каждом виде транспорта.

Масса и габаритные размеры транспортных пакетов, а также средства и способ пакетирования должны быть указаны в ТУ на конкретные типы или группы патронов.

23.4. Условия транспортирования патронов в части воздействия механических факторов внешней среды должны соответствовать группе 2 ГОСТ 23216.

Условия транспортирования в части воздействия климатических факторов внешней среды - по группе 4 ГОСТ 15150.

Условия хранения - по группе 2 ГОСТ 15150.

Срок сохраняемости патронов - по ТУ на конкретные типы патронов.

23.5. Транспортирование упакованных патронов проводят крытым транспортом в соответствии с правилами перевозок грузов, действующими на соответствующем виде транспорта.

23.6. Упаковка и транспортирование патронов, отправляемых в районы крайнего Севера, - по ГОСТ 15846.

23.7. Проверка соответствия упаковки и транспортной тары - по ГОСТ 23216.

Результаты проверки считают удовлетворительными, если упаковка и тара по устройству, конструкции, размерам и массе соответствует требованиям конструкторской документации.

23.8. Проверка на прочность при транспортировании - по ГОСТ 23216. При наличии манипуляционного знака «ОСТОРОЖНО, ХРУПКОЕ!» испытание на удар при свободном падении не проводят.

Результаты проверки считают удовлетворительными, если:

сохранена целостность упаковки;

патроны не имеют механических повреждений, обнаруженных при внешнем осмотре.

При транспортировании патронов в контейнерах проверку не производят.

23.9. Срок сохраняемости подтверждают натурными испытаниями, одну упаковку с патронами хранят в условиях, оговоренных в п. 23.4, в течение времени, равного сроку сохраняемости, указанному в ТУ на конкретные типы или группы патронов.

По истечении времени хранения упаковку вскрывают и отбирают 10 патронов, которые подвергают испытаниям в объеме периодических.

Результаты испытаний считают удовлетворительными, если отобранные патроны соответствуют всем проверяемым требованиям.

23.10. Проверку массы транспортной тары проводят взвешиванием на весах с погрешностью не более 5 %.

Результаты проверки считают удовлетворительными, если масса транспортной тары не превышает указанную в п. 23.1.

Проверку массы транспортной тары не проводят, если в качестве транспортной тары используют пакеты или контейнеры.

24. СИСТЕМА УСЛОВНЫХ ОБОЗНАЧЕНИЙ

Примечания:

1. Номер модификации присваивается головной организацией.

2. Климатическое исполнение УХЛ категории размещения 4 допускается не указывать.

3. Данная система условных обозначений распространяется на патроны, разработанные после 01.01.87.

Пример условного обозначения

Патрон для резьбового цоколя Е40 с креплением за фланец, с креплением за фланец, с керамическим корпусом, модификации 002, климатического исполнения УХЛ, категории размещения 2:

Патрон Е46 Ф-002 УХЛ 2

25. ПРАВИЛА ПРИЕМКИ

25.1. Для проверки соответствия патронов требованиям настоящего стандарта, а также ТУ на конкретные типы или группы патронов изготовитель проводит приемо-сдаточные, периодические и типовые испытания, а при постановке на производство - квалификационные испытания.

25.2. Приемо-сдаточные испытания

25.2.1. Приемо-сдаточные испытания проводят на каждой партии патронов.

За партию принимают патроны одного типа, изготовленные за одну смену.

25.2.2. Порядок проведения выборочного контроля - по ГОСТ 18242 при уровне дефектности:

2,5 % - при проверке по п. 5.5; разд. 3 (в части внешнего вида); пп. 22.3; 12.5; 16.5; 9.5; разд. 7 (кроме п. 7.5); пп. 22.8; 22.1 и 12.8;

1,0 % - при проверке по п. 14.4.

Уровень контроля и тип плана контроля должны быть указаны в ТУ на конкретные типы или группы патронов.

План контроля проверки соответствия упаковки, транспортной тары и правильности маркировки транспортной тары (пп. 23.1; 23.2; 23.3) должен указываться в ТУ на конкретные типы или группы патронов.

25.3. Периодические испытания

25.3.1. Периодические испытания проводят последовательно по разд. 23 (кроме п. 23.9); п. 5.5; разд. 3; пп. 22.3; 12.5; пп. 16.5; 22.9; 9.5; разд. 7; пп. 22.8; 22.1; 12.8; 22.2; разд. 15 (кроме п. 15.6): пп. 14.4; 19.2; 19.3; 22.7; разд. 10; пп. 22.4; 22.5; разд. 8 (кроме пп. 8.5 и 8.7); пп. 16.1; 16.2; 12.1; разд. 18 и 13 - не реже одного раза в 6 мес.

Для проведения периодических испытаний методом случайного отбора по ГОСТ 18321 отбирают 30 патронов (кроме проверки ресурса) от одной партии, изготовленной в любой из трех декад, предшествующих сроку представления патронов на периодические испытания и выдержавшей приемо-сдаточные испытания. Из них 10 патронов (первая группа) подвергают испытаниям, а 20 (вторая группа) хранят на случай повторных испытаний.

25.3.2. Результаты периодических испытаний считают удовлетворительными, если число дефектных патронов первой группы равно нулю.

Результаты испытаний считают неудовлетворительными, если число дефектных патронов больше одного.

Если один патрон первой группы не соответствует хотя бы одному проверяемому требованию, то проводят испытания второй группы патронов.

Результаты испытаний считают удовлетворительными, если число дефектных патронов второй группы равно нулю.

25.3.3. Периодические испытания на ресурс (разд. 18) проводят не реже одного раза в 6 мес. Для проверки ресурса (нормальная работа) методом случайной выборки по ГОСТ 18321 отбирают 38 патронов из одной партии, изготовленной в любой из трех декад, предшествующих сроку представления патронов на испытания. Из них 19 патронов подвергают проверке, а остальные хранят на случай повторной проверки.

При испытаниях число дефектных патронов должно быть равно нулю.

25.3.4. При получении неудовлетворительных результатов испытаний приемку патронов останавливают.

Повторные испытания проводят после устранения причин дефектов на 10 патронах. Допускается при повторных испытаниях проверять соответствие патронов только по тем требованиям, по которым были получены неудовлетворительные результаты.

Результаты повторных испытаний считают удовлетворительными, если все патроны соответствуют проверяемым требованиям.

При неудовлетворительных результатах повторных испытаний приемку патронов не возобновляют.

Протоколы периодических испытаний предъявляют потребителю по его требованию.

25.3.5. Если выпуск патронов был прерван на срок более 6 мес, то перед возобновлением их приемки следует провести периодические испытания.

25.4. Типовые испытания

25.4.1. Испытания проводят не менее чем на 10 патронах (кроме проверки ресурса). Объем испытаний определяется изготовителем в зависимости от степени возможного влияния предлагаемых изменений на качество патронов.

Проверку ресурса проводят на 19 патронах.

Результаты типовых испытаний считают удовлетворительными, если все патроны соответствуют всем проверяемым требованиям.

25.4.2. По результатам испытаний принимают решение о возможности и целесообразности внесения изменений в конструкцию или технический процесс.

25.5. Результаты типовых испытаний оформляют протоколом, в котором дают заключение о результатах испытаний и рекомендаций по внедрению проверяемого изменения.

25.6. Квалификационные испытания

Порядок проведения квалификационных испытаний - по разд. 4.

25.7. Объем периодических и квалификационных испытаний конкретного типа патрона определяется в зависимости от объема технических требований, установленного в ТУ на конкретные типы или группы патронов.

Патроны, подвергшиеся периодическим, квалификационным и типовым испытаниям, поставке не подлежат.

26. ГАРАНТИИ ИЗГОТОВИТЕЛЯ

Изготовитель гарантирует соответствие патронов требованиям настоящего стандарта, а также ТУ на конкретные типы или группы патронов при соблюдении условий эксплуатации, транспортирования и хранения.

Гарантийный срок эксплуатации патронов 2 года со дня продажи через розничную торговую сеть, а при внерыночном потреблении - со дня ввода в эксплуатацию.

Для патронов, предназначенных для экспорта, гарантийный срок эксплуатации - 24 мес со дня ввода в эксплуатацию, но не более 36 мес с момента их проследования через Государственную границу СССР.

Пример конструкции резьбового патрона

1 - контактная система в сборе; 2 - наружный корпус; 3 - резьбовая гильза; 4 - изолирующее кольцо; 5 - абажурное кольцо; 6 - донышко; 7 - резьбовой ввод

Примечание. В этом примере детали 2, 3 и 4 последовательно соединяют между собой. В других конструкциях детали 1 и 3 могут быть выполнены как одно целое.

Черт. 1

Калибр для проверки минимального расстояния между наружным краем резьбы и центральным контактом

мм

Тип патрона

а

b

c1

d

Е14

8

Е27

10

Е40

20

c1 - значение с, когда отметка совпадает с верхней кромкой калибра. После ввинчивания калибра до упора шток должен иметь возможность движения до тех пор, пока отметка или совпадает с верхней кромкой калибра, или опустится ниже.

Черт. 2

Ниппельная резьба патронов.

Основной и исполнительный профили для гайки и винта

Метрическая резьба

h = 0,86603S

h/4 = 0,21651S

h/8 = 0,10825S

За основной профиль принимают профиль, имеющий предельные отклонения внутренней и наружной резьбы.

Предельные размеры

мм

Обозначение резьбы

S

Винт

Гайка

d

d2

d1

D

D2

D1

Макс.

Мин.

Макс.

Мин.

Макс.

Мин.

Макс.

Мин.

Макс.

Мин.

М 8´1

1

8,000

7,800

7,350

7,238

6,917

8,000

7,462

7,350

7,117

6,917

М 10´1

1

10,000

9,800

9,50

9,238

8,917

10,000

9,462

9,350

9,117

8,917

М 13´1

1

13,000

12,800

12,350

12,190

11,917

18,000

12,510

12,350

12,117

11,917

М 16´1

1

16,000

15,800

15,350

15,190

14,917

16,000

15,510

15,350

15,117

14,917

Черт. 3

Ниппельная резьба патронов.

Основной и исполнительный профили для гайки и винта

Трубная резьба ИСО

h = 0,960491S

1/6 h = 0,160082S

t0 = 2/3 h = 0,640327S

r = 0,137329S

За основной профиль принимают профиль, имеющий отклонения внутренней и наружной резьб.

Предельные размеры

мм

Обозначение резьбы

h*

Винт

Гайка

d

d2

d1

D

D2

D1

Макс.

Мин.

Макс.

Мин.

Макс.

Мин.

Мин.

Макс.

Мин.

Макс.

Мин.

G 3/8

19

16,662

16,412

15,806

15,681

14,950

14,794

16,662

15,931

15,806

15,395

14,950

* Число витков резьбы на дюйм.

Черт. 4

Калибры для метрической резьбы ИСО резьбового ввода

Калибры для винта

 основной профиль (см. черт. 3)

 проходной калибр

 непроходной калибр

мм

Обозначение резьбы

S

d

d2

d1

Износ

Номин.

Пред. откл.

Номнн.

Пред. откл.

Номин.

Пред. откл.

М 10´1

1

9,800

+0,004

9,350

+0,012

8,917

+0,004

0,012

-0,004

-0,020

-0,004

М 13´1

1

12,800

+0,004

12,350

+0,012

11,917

+0,004

0,012

-0,004

-0,020

-0,004

М 16´1

1

15,800

+0,004

15,350

+0,012

14,917

+0,004

0,012

-0,004

-0,020

-0.004

Калибры для гайки

 основной профиль (см. черт. 3)

 проходной калибр

 непроходной калибр

мм

Обозначение резьбы

S

D

D2

D1

Износ

Номин.

Пред. откл.

Номин.

Пред. откл.

Номин.

Пред. откл.

М 10´1

1

10,000

+0,004

9,350

+0,012

9,117

+0,004

0,012

-0,004

+0,020

-0,004

М 13´1

1

13,000

+0,004

12,350

+0,012

12,117

+0,004

0,012

-0,004

+0,020

-0,004

М 16´1

1

16,000

+0,004

15,360

+0,012

15,117

+0,004

0,012

-0,004

+0,020

-0,004

Черт. 5

Калибры для трубной резьбы резьбового ввода

Калибры для винта

 основной профиль (см. черт. 4)

 проходной калибр

 непроходной калибр

мм

Обозначение резьбы

h*

d

d2

d1

Износ

Номин.

Пред. откл.

Номин.

Пред. откл.

Номин.

Пред. откл.

G 3/8 А

19

16,412

15,806

14,950

-

* Число витков резьбы на дюйм.

Калибры для гайки

 основной профиль (см. черт. 4)

 проходной калибр

 непроходной калибр

мм

Обозначение резьбы

h*

D

D2

D1

Износ

Номин.

Пред. откл.

Номин.

Пред. откл.

Номин.

Пред. откл.

G 3/8 А

19

16,662

+0,018

15,806

+0,005

15,395

+0,008

0,005

+0,005

+0,028

0

* Число витков резьбы на дюйм.

Черт. 6

Стандартный испытательный щуп. Соответствует ГОСТ 14254 (МЭК 529 с изменением № 2)

1 - ручка; 2 - ограничитель; 3 - изоляционный материал

Предельные отклонения размеров, не имеющих на чертеже допусков:

для углов  град;

для линейных размеров до 25 мм  мм

св. 25 мм ± 0,2 мм

Материал щупа: например, закаленная сталь.

Обе части щупа могут быть согнуты под углом 90°, но только в одном и том же направлении.

Использование штифта и прорези является только одним из возможных решений ограничения угла сгиба щупа до 90°. Поэтому размеры и их допуски на эти детали не указаны на чертеже. Оптимальная конструкция должна обеспечивать угол сгиба, равный

Черт. 7

Испытательные цоколи А и В для патронов Е14

Испытательный цоколь А

Испытательный цоколь В

1 - сплошная медь; 2 - сплошная сталь; 3 - острые кромки притупить

1 Размеры резьбы испытательных цоколей А и В должны быть между максимальными и минимальными значениями, указанными в ГОСТ 6042-83 (стандартный лист 7004-23 Публикации МЭК 61-1).

Обозначение размера

Размеры

Пред. откл.

Испытательный цоколь А

Испытательный цоколь В

Испытательный цоколь А

Испытательный цоколь В

С1

0,5

1,0

0

0

-0,1

-0,1

С2

2,5

3,0

0

0

-0,1

-0,1

D

3,5

-

+0,1

-

0

S

4,5

4,0

+0,06

0

0

-0,06

H1

4,8

4,8

+0,04

+0,04

-0,04

-0,04

Н2

6

6

+0,04

+0,04

-0,04

-0,04

В

10

10

+0,04

+0,06

0

0

Е

12

12

-

+10

γ

-

45°

-

-10

Черт. 8

Испытательные цоколи А и В для патронов Е27

Испытательный цоколь А           Испытательный цоколь В

1 - сплошная медь; 2 - сплошная сталь; 3 - острые кромки притупить

1 Размеры резьбы испытательных цоколей А и В должны быть между максимальными и минимальными значениями, указанными в ГОСТ 6042 (стандартный лист 7004-21 Публикации МЭК 61-1).

мм

Обозначение размера

Размеры

Пред. откл.

Испытательный цоколь А

Испытательный цоколь В

Испытательный цоколь А

Испытательный цоколь В

С1

0,5

1,2

0

0

-0,04

-0,04

С2

3,5

4,2

0

0

-0,06

-0,06

D1

6,25

5,45

+0,1

+0,1

0

0

D2

-

7,2

-

+ 0,1

0

S

3,5

7,7

+0,04

0

0

-0,04

Н1

9,5

9,5

+0,04

+0,04

-0,04

-0,04

Н2

12,5

12,5

+0,04

+0,04

-0,04

-0,04

В1

18,5

18,5

+0,06

+0,06

0

0

В2

-

20

-

+0,06

0

В3

-

22

-

+0,06

0

Е

23

23

-

-

Черт. 9

Испытательные цоколи А и В патронов Е40

Испытательный цоколь А               Испытательный цоколь В

1 - сплошная медь; 2 - сплошная сталь; 3 - острые кромки притупить

1 Размеры резьбы испытательных цоколей А и В должны находиться в пределах максимальных и минимальных значений, указанных в ГОСТ 6042 (стандартный лист 7004-24 Публикации МЭК 61-1)

мм

Обозначение размера

Размеры

Пред. откл.

Испытательный цоколь А

Испытательный цоколь В

Испытательный цоколь А

Испытательный цоколь В

С1

0,5

1,5

0

0

-0,1

-0,1

С2

6

7

0

0

-0,1

-0,1

D

8

-

+0,1

-

0

S

10

9

+0,06

0

0

-0,06

H1

14

14

+0,04

+0,04

-0,04

-0,04

Н2

19

19

+0,04

+0,04

-0,04

-0,04

В

30

30

+0,06

+0,06

0

0

Е

34

34

-

-

γ

-

45°

-

+10'

-10'

Черт. 10

Калибр для проверки крепежных отверстий фланцевых патронов

мм

Обозначение размера

Размер

Пред. откл.

технологические

износ

а

4,1

+0,03

-0,03

0

b

8,2

+0,03

-0,03

0

с

18

±1

-

1 - втулка; 2 - штифт; 3 - фланец

Черт. 11

Установка для проверки защиты от капель жидкости

Слой песка и гравия для регулирования проникновения воды. Они разделены металлической сеткой (решеткой) или промокательной бумагой.

Примечание. Опора должна быть меньше испытуемого патрона.

Черт. 12

Испытательный цоколь

1 - латунный цоколь; 2 - изоляционный материал

мм

Тип патрона

Тип цоколя

d

h

н

s*

Е

с

Е10

Е10/13

18

60

4

-

-

2,5

Е14

Е14/25´27

38

80

6,2

4,5

12

-

Е27

Е27/27

38

80

11,5

8,5

23

-

Е40

Е40/45

55

100

18,0

10,0

34

-

* Место расположения размера S указано на черт. 8, 9 или 10. Размеры резьбы испытательного цоколя должны находиться в пределах между максимальными и минимальными значениями, указанными в ГОСТ 6042 (стандартные листы 7004-23, 7004-21 и 7004-24 Публикации МЭК 61-1) соответственно для патронов Е14, Е27 и Е40.

Черт. 13

Установка для проверки патронов на скручивание

1 - испытательный цоколь

Черт. 14

Тип патрона

а, мм1

b, мм2

G, кг3

Е14

19

100

1

Е27

25

100

2

Е40

37

140

3

1 Предельное отклонение ±2 мм.

2 Предельное отклонение ±5 мм.

3 Предельное отклонение ±0,05 кг.

Установка для испытания на изгиб

Масса груза должна учитывать массу стержня.

Черт. 15

Установка для испытания на удар

1 - рама; 2 - образец; 3 - монтажная плата для крепления патрона

Черт. 16

Монтажная плата

1 - ось; 2 - фанера; 3 - опорная плита

Черт. 17

Вращающийся барабан

1 - деревянная плита; 2 - сталь; 3 - резина; 4 - гладкий пластмассовый лист

Корпус барабана должен быть изготовлен из стального листа толщиной 1,5 мм.

Детали, на которые попадает образец после падения, должны быть изготовлены из ударопрочной резины твердостью 80 JRHD, а детали, по которым патрон скользит - из гладкого пластмассового листа, например, марки «Formica».

Конструкция барабана должна иметь проем с крышкой из прозрачного ударопрочного материала.

Ось вращения не должна проходить внутрь корпуса барабана.

Черт. 18

Установка для испытания на сжатие

Радиус сферы сжимающихся головок 20 мм

1 - регулятор высоты; 2 - регулятор силы

Черт. 19

Установка для проверки работоспособности

1 - направляющее устройство; 2 - испытательный цоколь; 3 - коллекторные кольца

Черт. 20

Электрическая схема для проверки работоспособности

(установка на черт. 20)

Черт. 21

Устройство для проверки теплостойкости вдавливанием шарика

1 - cфepa; 2 - образец

Черт. 22

Размеры и размещение электродов при испытании на сопротивление токам поверхностного разряда

1 - капельница; 2 - электрод; 3 - образец; 4 - опора

Черт. 23

ПРИЛОЖЕНИЕ 1

Обязательное

Стандартный лист 7005-20 Публикации МЭК 61-2 «Цоколи и патроны для источников света, а также калибры для проверки их взаимозаменяемости и безопасности. Часть 2. Патроны для источников света».

 

ПОЛОЖЕНИЕ РЕЗЬБЫ ПАТРОНА ПО ОТНОШЕНИЮ К ЦЕНТРАЛЬНОМУ КОНТАКТУ

Стр. 1

 

Размеры в миллиметрах

 

Чертеж предназначен только для указания размеров, подлежащих контролю

Резьбовая часть патрона должна быть расположена с учетом размера X при полностью ввернутой лампе.

Резьбовая часть может быть нетоковедущей

Тип

X1

1

Мин.

Макс.

Мин.

Е5

4.5

5,3

-

Е102

7,5

9,3

-

Е14

12

15

5

Е263

17,074

19,054

7

Е27

175

215

7

Е40

27

32

12

1 При отсутствии других указаний этот размер проверяют линейкой с миллиметровой шкалой.

2 В патронах, предназначенных для ламп со стандартным американским цоколем Е10/12, значение Хмакс уменьшено до 8,4 мм.

3 Ближайшие эквиваленты в дюймах: Хмин = 0,672 дюйма, Хмакс = 0,750 дюйма; Vмин = 0,276 дюйма.

4 Это значение проверяют калибром по листу 7006-25В.

5 Это значение проверяют калибром по листу 7006-25А.

7005-20-3

ПРИЛОЖЕНИЕ 2

Обязательное

Стандартные листы 7006-21, 7006-22А, 7006-23, 7006-24, 7006-25, 7006-25А, 7006-26, 7006-30, 7006-30А, 7006-31 Публикации МЭК 61-3 «Цоколи и патроны для источников света, а также калибры для проверки их взаимозаменяемости и безопасности. Часть 3. Калибры»

 

КАЛИБР ДЛЯ ПРОВЕРКИ НАЛИЧИЯ КОНТАКТА В ПАТРОНАХ Е27

Стр. 1

Размеры в миллиметрах

Чертеж предназначен только для иллюстрации основных размеров калибра.

7005-21-4

 

 

КАЛИБР ДЛЯ ПРОВЕРКИ НАЛИЧИЯ КОНТАКТА В ПАТРОНАХ Е27

Стр. 2

 

Обозначение размера

Значение размера

Пред. откл.

В

13,5

+0,05

-0,0

С1

0,5

+0,0

-0,02

С2

5,5

+0,05

-0,0

D1

24,26

+0,0

-0,03

D2

26,45

+0,0

-0,03

Е1

23

-

F

27,1

+0,05

-0,0

G

34,0

+0,02

-0,0

H1

9,5

+0,02

-0,02

Н2

12,5

+0,02

-0,0

I

53,0

+0,03

-0,0

К

23,7

+0,0

-0,02

L

22,0

+0,0

-0,03

M

3,5

+0,0

-0,02

N

28,3

+0,0

-0,02

О

9,5

+0,0

-0,02

Р

3,629

-

Q

2,2

+0,02

-0,0

R1

4,5

+0,05

-0,05

R2

0,15

+0,03

-0,03

r

1,025

-

S

8,5

+0,02

-0,0

Т

21,5

+0,0

-0,02

U

23,3

+0,02

0,0

V

13,5

+0,03

-0,0

1 Размер Е обозначает диаметр, измеряемый на расстоянии S.

2 Острые кромки резьбы закруглить радиусом ~0,5 мм.

Назначение. Проверка наличия контакта в патроне Е27 с лампой, имеющей самые неблагоприятные для контактирования размеры.

Испытание. Когда патрон подключен к электрической цепи, как показано на чертеже, калибр ввинчивают в патрон до упора (значение вращающего момента см. п. 4.4 Публикации МЭК 238).

В этом положении между калибром и краем патрона должен быть зазор* и индикаторная лампа должна загореться.

* Для определения наличия зазора необходимо использовать контрольную пластину толщиной приблизительно 0,08 мм и шириной 5 мм.

7006-21-4

 

 

КАЛИБР ДЛЯ ПРОВЕРКИ НАЛИЧИЯ КОНТАКТА И ЗАЩИТЫ ОТ СЛУЧАЙНОГО ПРИКОСНОВЕНИЯ ПРИ ВВИНЧИВАНИИ ЛАМПЫ В ПАТРОНАХ Е27

Стр. 1

Размеры в миллиметрах

Чертеж предназначен только для иллюстрации основных размеров калибра.

7006-22А-4

 

 

КАЛИБР ДЛЯ ПРОВЕРКИ НАЛИЧИЯ КОНТАКТА И ЗАЩИТЫ ОТ СЛУЧАЙНОГО ПРИКОСНОВЕНИЯ ПРИ ВВИНЧИВАНИИ ЛАМПЫ В ПАТРОНАХ Е27

Стр. 2

 

Обозначение размера

Значение размера

Пред. откл.

А

26,1

+0,0

-0,05

С1

0,5

+0,0

-0,02

С2

3,5

+0,0

-0,03

D1

24,26

+0,0

-0,03

D2

26,45

+0,0

-0,03

Е1

23

-

F

27,1

+0,0

-0,05

G

32,0

+0,0

-0,02

Н1

9,5

+0,02

-0,02

н2

12,5

+0,02

-0,0

I

12,5

+0,1

-0,1

К

28,3

+0,02

-0,0

L

0,5

+0,01

-0,0

М

30,8

+0,0

-0,02

О

19,5

+0,0

-0,1

Р

3,629

-

Q

15

+0,1

-0,1

R

2,5

+0,0

-0,05

r

1,025

-

S

7,0

+0,0

-0,02

T

21,5

+0,1

-0,1

U

10

+0,1

-0,1

V

15

+0,1

-0,1

W

23

+0,1

-0,1

Z

0,5

+0,1

-0,1

α

45°

+30'

-30'

b

37°

+30'

-30'

γ

40°

+30'

-30'

σ

30°

+30'

-30'

1 Размер Е обозначает диаметр, измеряемый на расстоянии S.

7006-21A-4

 

 

КАЛИБР ДЛЯ ПРОВЕРКИ НАЛИЧИЯ КОНТАКТА И ЗАЩИТЫ ОТ СЛУЧАЙНОГО ПРИКОСНОВЕНИЯ ПРИ ВВИНЧИВАНИИ ЛАМПЫ В ПАТРОНАХ Е27

Стр. 3

Назначение. Для следующих проверок патронов Е27:

а) наличие контакта с лампами, имеющими неблагоприятные размеры;

б) защита от случайного прикосновения к токоведущим деталям, т.е. корпусу цоколя во время ввертывания лампы.

Испытание. Патрон включают в электрическую цепь, как показано:

а) когда переключатель А находится в положении 2, а выключатель В - в положении «отключено», калибр ввинчивается до упора. В этом положении обе лампы должны загореться;

в) после испытания а) калибр вывинчивается до погасания ламп. Затем переключатель А переводят в положение 1, а выключатель В оставляют в положении «отключено». После этого калибр медленно ввинчивают до тех пор, пока обе лампы не загорятся. Калибр удерживают в этом положении, выключатель В переводят в положение «включено» и щуп опускают настолько, насколько он может проникнуть между калибром и патроном. В этом положении лампы не должны загореться.

7006-22A-4

 

 

КАЛИБР ДЛЯ ПРОВЕРКИ НАЛИЧИЯ КОНТАКТА В ПАТРОНАХ Е40

Стр. 1

Размеры в миллиметрах

Чертеж предназначен только для иллюстрации основных размеров калибра.

Масштаб 1:1,5

Когда выключатель находится в положении 1 и калибр полностью ввинчен в патрон, индикаторные лампы должны гореть.

7006-23-2

 

 

КАЛИБР ДЛЯ ПРОВЕРКИ НАЛИЧИЯ КОНТАКТА В ПАТРОНАХ Е40

Стр. 2

При сомнении, ввинчен ли калибр полностью, используют пластину толщиной приблизительно 0,08 мм и шириной 5 мм.

Обозначение размера

Значение размера

Пред. откл.

В

30

+0,03

-0,0

С1

0,5

+0,0

-0,05

с2

6

+0,0

-0,05

D

8

+0,05

-0,0

Е

34

 

F

40

+0,05

-0,0

G

52

+0,02

-0,0

H1

14

+0,02

-0,02

H2

19

+0,02

-0,0

I1

58

+0,02

-0,0

I2

65

+0,03

-0,0

M

6

+0,0

-0,02

N

49

+0,0

-0,03

О

3,5

+0,0

-0,03

S

10

+0,03

-0,0

M

34

+0,0

-0,02

1 Резьба калибра должна соответствовать максимальным размерам, указанным для цоколя на готовой лампе в ГОСТ 28108 (стандартный лист 7004-24) с предельным отклонением .

7006-23-2

 

 

КАЛИБР ДЛЯ ПРОВЕРКИ ЗАЩИТЫ ОТ СЛУЧАЙНОГО ПРИКОСНОВЕНИЯ К ТОКОВЕДУЩИМ ЧАСТЯМ ПАТРОНОВ Е40

Стр. 1

Размеры в миллиметрах

Чертеж предназначен только для иллюстрации основных размеров калибра.

Масштаб 1:1,5

1 Резьба калибра должна соответствовать максимальным размерам, указанным для цоколя на готовой лампе в ГОСТ 28108 (стандартный лист 7004-24) с предельным отклонением

7006-24-2

 

 

КАЛИБР ДЛЯ ПРОВЕРКИ ЗАЩИТЫ ОТ СЛУЧАЙНОГО ПРИКОСНОВЕНИЯ К ТОКОВЕДУЩИМ ЧАСТЯМ ПАТРОНОВ Е40

Стр. 2

 

Обозначение размера

Значение размера

Пред. откл.

А

39

+0,0

-0,05

В

30,0

+0,03

-0,0

C1

0,5

+0,0

-0,05

C2

6

+0,0

-0,05

Е

34

-

G

49

+0,0

-0,02

H1

14,0

+0,02

-0,02

H2

19,0

+0,02

-0,0

к

47,79

+0,01

-0,0

L

0,71

+0,01

-0,0

О

19

+0,0

-0,1

Р

15

+0,1

-0,1

Q

20

+ 0,1

-0,1

R

3

+0,0

-0,05

S

8

+0,0

-0,03

Т

34

+0,1

-0,1

U

10

+0,1

-0,1

V

20

+0,1

-0,1

W

29,5

+0,1

-0,1

a

35°

+30

-30

b

37°

+30

-30

g

45°

+10

-10

δ

35°

+30

-30

 

7006-24-2

 

 

КАЛИБР ДЛЯ ПРОВЕРКИ ЗАЩИТЫ ОТ СЛУЧАЙНОГО ПРИКОСНОВЕНИЯ К ТОКОВЕДУЩИМ ЧАСТЯМ ПАТРОНОВ Е40

Стр. 3

Когда выключатель находится в положении 1 и калибр полностью ввинчен в патрон, лампы а и b должны гореть. Затем выключатель переводят в положение 2 и щуп калибра доводят до упора в корпус патрона, при этом не должно быть замыкания цепи и лампы не должны гореть.

7006-24-2

 

 

КАЛИБР «ПРОХОДНОЙ» ДЛЯ ПАТРОНОВ Е27

Стр. 1

Размеры в миллиметрах

Чертеж предназначен только для иллюстрации основных размеров калибра.

7006-25А-2

 

 

КАЛИБР «ПРОХОДНОЙ» ДЛЯ ПАТРОНОВ Е27

Стр. 2

 

Обозначение размера

Значение размера

Пред. откл.

Пред. значение

С

3,5

+0,05

-

-0,0

D

26,55

+0,0

26,52

-0,02

Dl

24,36

+0,0

24,33

-0,02

D22

26,55

+0,015

-

-0,0

Е

23

+0,01

-

-0,0

Н1

9,5

+0,0

-

-0,1

Н2

11,5

+0,1

-

-0,0

L

22,0

+0,03

-

-0,0

Р

3,629

-

-

Q

1,48

-

-

R

4,5

+0,05

-

-0,05

r

1,025

-

-

 

7006-25А-2

 

 

КАЛИБР «ПРОХОДНОЙ» ДЛЯ ПАТРОНОВ Е27

Стр. 3

Продолжение

Обозначение размера

Значение размера

Пред. откл.

Пред. значение

S3

7,0

+0,0

-

-0,02

S11

8,5

+0,02

-

-0,0

U

9,5

+0,0

-

-0,06

V

13,5

+0,03

-

-0,0

X1

17,0

+0,0

-

-0,03

х2

21,0

+0,03

-

-0,0

Z1

13,5

+0,03

-

-0,0

z2

17,0

+0,03

-

-0,0

r1

0,3

+0,0

-

-0,3

a

Примерно 90°

-

-

g

40°

+30'

-

-30'

1 Размер S относится к полностью опущенному штоку.

2 Размер D2 - наружный диаметр нижнего края стакана.

3 Когда шток поднят вверх до упора, отметки «А» и «У» должны совпадать, а нижний край штока должен совпадать с нижним краем калибра. См. размеры b1 и b2.

7006-25А-2

 

 

КАЛИБР «ПРОХОДНОЙ» ДЛЯ ПАТРОНОВ Е27

Стр. 4

Назначение. Проверка:

а) минимальных размеров резьбы патрона по ГОСТ 6042 (листы 7004-21 и 7004-27);

в) размера X по листу 7005-20;

с) механической совместимости патрона с лампой, имеющей неблагоприятные размеры.

Испытание. Резьбовая часть калибра должна ввинчиваться в патрон без значительного усилия (значение вращающего момента см. п. 4.4 Публикации МЭК 238).

Когда калибр ввинчен в патрон до упора отметка «У» должна совпадать с отметкой «А» на корпусе. Затем на калибр одевают стакан, нижний край которого должен опираться на верхний край резьбовой гильзы патрона. Стакан поддерживают в этом положении, а шток проталкивают вниз как можно дальше.

Плоскость стакана должна находиться или между отметками «Х1» и «Х2» штока или на уровне одной из них; шток не должен выступать за эти пределы.

7006-25А-2

 

 

КАЛИБР «НЕПРОХОДНОЙ» ДЛЯ РЕЗЬБЫ ПАТРОНОВ Е10, Е14, Е27 И Е40

Стр. 1

Размеры в миллиметрах

Чертеж предназначен только для иллюстрации основных размеров калибра.

Обозначение размера

Е10

Е14

Е27

Е40

Пред. откл.

С

2,0

4,0

4,5

8,0

+0,0

-0,02

D1

8,76

12,56

24,66

36,45

+0,01

-0,0

Е

5,0

8,0

10,0

17,0

+0,0

-0,2

F

2,0

3,0

4,0

7,0

+0,0

-0,1

G*

8,55

12,33

24,31

35,95

+0,0

-0,04

Масса, кг

Мин. 0,063

Макс. 0,077

Мин. 0,108

Макс. 0,132

Мин. 0,293

Макс. 0,357

Мин. 0,630

Макс. 0,770

 

* Только для центровки калибра.

7006-26-2

 

 

КАЛИБР «НЕПРОХОДНОЙ» ДЛЯ РЕЗЬБЫ ПАТРОНОВ Е10, Е14, Е27 И Е40

Стр. 2

Назначение. Проверка максимального внутреннего диаметра D1 резьбы патронов.

Испытание. Резьбу патрона считают удовлетворительной, если калибр под действием собственной массы не проникает в резьбу за пределы поверхности Т.

7006-26-2

 

 

КАЛИБР ДЛЯ ПРОВЕРКИ НАЛИЧИЯ КОНТАКТА В ПАТРОНАХ Е14

Стр. 1

Размеры в миллиметрах

Чертеж предназначен только для иллюстрации основных размеров калибра.

1 Резьба калибра должна соответствовать максимальным размерам, указанным для цоколя на готовой лампе в ГОСТ 28108 (стандартный лист 7004-23) с предельным отклонением

7006-30-2

 

 

КАЛИБР ДЛЯ ПРОВЕРКИ НАЛИЧИЯ КОНТАКТА В ПАТРОНАХ Е14

Стр. 2

Примечание. Калибр не применяется для патронов, используемых только в светильниках и предназначенных для следующих ламп, если они имеют цоколь Е14 по ГОСТ 28108 (стандартный лист 7004-23):

лампы свечеобразные*;

лампы сферические;

лампы трубчатые;

лампы миниатюрные.

* Для патронов, предназначенных только для свечеобразных ламп см. стандартный лист 7006-30А.

Обозначение размера

Значение размера

Пред. откл.

Обозначение размера

Значение размера

Пред. откл.

в

10

+0,02

н2

6

+0,02

-0,0

-0,0

с1

0,5

+0,0

I

29

+0,03

-0,05

-0,0

с2

2,5

+0,0

M

4,02

+0,0

-0,05

-0,02

D

3,5

+0,05

N

27,15

+0,0

-0,0

-0,03

Е

12

 

О

3,5

+0,0

-0,03

F

13,97

+0,05

S

4,5

+0,03

-0,0

-0,0

G

22

+0,02

T

16

+0,0

-0,0

-0,02

н1

4,8

+0,02

 

 

 

-0,02

 

7006-30-2

 

 

КАЛИБР ДЛЯ ПРОВЕРКИ НАЛИЧИЯ КОНТАКТА В ПАТРОНАХ Е14

Стр. 3

Когда выключатель находится в положении 1 и калибр полностью ввинчен в патрон, индикаторные лампы должны гореть.

При сомнении, ввинчен ли калибр полностью, используют пластину толщиной приблизительно 0,08 мм и шириной 5 мм для измерения зазора между калибром и патроном.

7006-30-2

 

 

КАЛИБР ДЛЯ ПРОВЕРКИ НАЛИЧИЯ КОНТАКТА В ПАТРОНАХ Е14, ПРЕДНАЗНАЧЕННЫХ ТОЛЬКО ДЛЯ СВЕЧЕОБРАЗНЫХ ЛАМП

Стр. 1

Калибр для проверки наличия контакта в патронах, предназначенных только для свечеобразных ламп.

Размеры в миллиметрах

Чертеж предназначен только для иллюстрации основных размеров калибра.

1 Резьба калибра должна соответствовать максимальным размерам, указанным для цоколя на готовой лампе в ГОСТ 28108 (стандартный лист 7004-23) с предельным отклонением

7006-30А-1

 

 

КАЛИБР ДЛЯ ПРОВЕРКИ НАЛИЧИЯ КОНТАКТА В ПАТРОНАХ Е14, ПРЕДНАЗНАЧЕННЫХ ТОЛЬКО ДЛЯ СВЕЧЕОБРАЗНЫХ ЛАМП

Стр. 2

 

Обозначение размера

Значение размера

Пред. откл.

Обозначение размера

Значение размера

Пред. откл.

А

17,6

+0,02

н2

6,0

+0,02

-0,0

-0,0

в

10,0

+0,02

к

22,7

+0,0

-0,0

-0,02

с1

0,5

+0,0

L

1,0

+0,0

-0,05

-0,02

с2

2,5

+0,0

М

1,82

+0,0

-0,05

-0,02

D

3,5

+0,05

N

25,95

+0,0

-0,0

-0,03

Е

12

-

О

4,7

+0,0

-0,03

F

13,97

+0,05

S

4,5

+0,03

-0,0

-0,0

G

19,6

+0,02

т

16,0

+0,0

-0,0

-0,02

Н1

4,8

+0,02

δ

45°

+30

-0,02

-30

 

7006-30А-1

 

 

КАЛИБР ДЛЯ ПРОВЕРКИ НАЛИЧИЯ КОНТАКТА В ПАТРОНАХ Е14, ПРЕДНАЗНАЧЕННЫХ ТОЛЬКО ДЛЯ СВЕЧЕОБРАЗНЫХ ЛАМП

Стр. 3

Когда выключатель находится в положении 1 и калибр полностью ввинчен в патрон, индикаторные лампы должны гореть.

При сомнении, ввинчен ли калибр полностью, используют пластину толщиной приблизительно 0,08 мм и шириной 5 мм для определения наличия зазора между калибром и патроном.

7006-30А-1

 

 

КАЛИБР ДЛЯ ПРОВЕРКИ ЗАЩИТЫ ОТ СЛУЧАЙНОГО ПРИКОСНОВЕНИЯ К ТОКОВЕДУЩИМ ЧАСТЯМ ПАТРОНОВ Е14 ПРИ ВВЕРТЫВАНИИ ЛАМПЫ

Стр. 1

Калибр применяют в тех странах, где проверка защиты от случайного прикосновения к токоведущим частям при ввертывании лампы является обязательной.

Размеры в миллиметрах

Чертеж предназначен только для иллюстрации основных размеров калибра.

1 Резьба калибра должна соответствовать максимальным размерам, указанным для цоколя на готовой лампе в ГОСТ 28108 (стандартный лист 7004-23) с предельным отклонением

7006-31-1

 

 

КАЛИБР ДЛЯ ПРОВЕРКИ ЗАЩИТЫ ОТ СЛУЧАЙНОГО ПРИКОСНОВЕНИЯ К ТОКОВЕДУЩИМ ЧАСТЯМ ПАТРОНОВ Е14 ПРИ ВВЕРТЫВАНИИ ЛАМПЫ

Стр. 2

 

Обозначение размера

Значение размера

Пред. откл.

Обозначение размера

Значение размера

Пред. откл.

А

17,1

+0,0

Р

12

+0,1

-0,05

-0,1

В

10

+0,03

Q

15

+0,1

-0,0

-0,1

с1

0,5

+0,0

R

2

+0,0

-0,05

-0,05

с2

2,5

+0,0

S

3,5

+0,0

-0,05

-0,03

Е

12

-

Т

16

+0,1

-0,1

F

13,97

+0,0

U

10

+0,1

-0,05

-0,1

G

22

+0,0

V

15

+0,1

-0,02

-0,1

Н1

4,8

+0,02

W

18,5

+0,1

-0,02

-0,1

Н2

6

+0,02

a

35°

+30'

-0,0

-30'

К

27,15

+0,01

b

37°

+30'

-0,0

-30'

L

0,71

+0,01

g

15°

+10'

-0,0

-10'

М

1,57

+0,05

δ

35°

+30'

-0,0

-30'

О

19

+0,0

 

 

 

-0,1

 

7006-31-3

 

 

КАЛИБР ДЛЯ ПРОВЕРКИ ЗАЩИТЫ ОТ СЛУЧАЙНОГО ПРИКОСНОВЕНИЯ К ТОКОВЕДУЩИМ ЧАСТЯМ ПАТРОНОВ Е14 ПРИ ВВЕРТЫВАНИИ ЛАМПЫ

Стр. 3

Когда выключатель А находится в положении 2, а выключатель В - в положении «отключено», калибр ввинчивают до того момента, когда лампа а или b загорится.

После этого выключатель В переводят в положение «включено» и щуп калибра вводят до упора в корпус патрона.

Не должно быть замыкания цепи и лампы не должны гореть.

Применение калибра ограничено патронами, устанавливаемыми только в светильниках, в которых применяются следующие лампы, имеющие цоколь Е14 по ГОСТ 28108 (стандартный лист 7004-23):

лампы свечеобразные*;

лампы сферические;

лампы трубчатые;

лампы миниатюрные.

* Патроны, предназначенные только для свечеобразных ламп, должны проверяться этим же калибром.

7006-31-3

ПРИЛОЖЕНИЕ 3

Обязательное

ПУБЛИКАЦИЯ МЭК 598-1 «СВЕТИЛЬНИКИ. ЧАСТЬ 1. ОБЩИЕ ТРЕБОВАНИЯ И ИСПЫТАНИЯ» (С ИЗМЕНЕНИЕМ № 1, 1988 Г.) РАЗДЕЛ 15. БЕЗВИНТОВЫЕ КОНТАКТНЫЕ ЗАЖИМЫ И СОЕДИНИТЕЛИ.

ОБЩИЕ ТРЕБОВАНИЯ

15.1. Область распространения

Раздел содержит требования (кроме требований к размерам) к безвинтовым контактным зажимам и соединениям для медных одно- или многопроволочных проводов сечением до 2,5 мм2, применяемым для внутреннего монтажа светильников, а также для присоединения светильников с лампами накаливания и разрядными лампами к электрической сети с напряжением до 1000 В. Настоящий раздел должен применяться совместно с разделом 0 и другими разделами настоящей публикации, на которые имеются ссылки.

Примеры некоторых видов безвинтовых контактных зажимов и соединений представлены на черт. 17 - 19*.

* В приложении сохранена нумерация чертежей по Публикации МЭК 598-1.

15.2. Термины и определения

15.2.1. Безвинтовые контактные зажимы - устройства, предназначенные для создания соединений в электрических цепях с помощью безвинтовых средств.

15.2.2. Неразъемное соединение - одноразовое постоянное электрическое соединение провода (например, соединение скруткой или опрессовкой провода).

15.2.3. Разъемное соединение - многоразовое электрическое соединение провода как оконцованного, так и без специальной подготовки (например, соединение штырем - плоским или цилиндрическим - с гнездовым контактом или контактные зажимы пружинного типа).

15.2.4. Оконцованный провод - провод, на конце которого стационарно закреплена деталь штыревого соединения (штырь или гнездовой контакт).

15.2.5. Провод без специальной обработки - провод, конец которого не подвергался специальной обработке или на котором не закреплена деталь штыревого соединения. При этом изоляция может быть удалена для обнажения жилы.

Термин «специальная подготовка» означает пропаивание жилы, использование кабельных наконечников или деталей штыревого соединения, образование петель и т.п., но не означает изменение формы жилы перед введением ее в контактный зажим, а также скручивание гибких проводников для большей жесткости их концов.

15.2.6. Испытательный ток - значение тока, установленное изготовителем для безвинтового контактного зажима или соединения. Когда контактный зажим является составной частью светильника, испытательным током должен быть ток, нормируемый для светильника.

15.3. Общие требования

15.3.1. Токоведущие детали контактных зажимов или соединений должны изготовляться из одного из следующих материалов:

меди;

сплавов, содержащих не менее 58 % меди для деталей, работающих на холоде, или не менее 50 % меди - для остальных деталей;

других металлов, имеющих механические свойства и коррозионную стойкость не хуже, чем у вышеуказанных материалов.

15.3.2. Конструкция зажимов или соединений должна обеспечивать зажим жилы провода с достаточным контактным давлением без повреждения этой жилы.

Провод должен зажиматься между металлическими поверхностями. Контактные зажимы, предназначенные для использования только в электрических цепях, рассчитанных на нормируемый ток не более 2 А, могут иметь одну неметаллическую контактную поверхность, если выполняются требования п. 15.3.5.

Примечание. Существенно поврежденной считают жилу, у которой после закрепления в зажиме имеются глубокие надрезы или вмятины.

Провода считают поврежденными, если в многопроволочных жилах перерезается более 25 % проводников, а в однопроволочных деформация превышает 50 % диаметра проводника.

15.3.3. Конструкция контактных зажимов должна обеспечивать ограничение продвижения провода в глубь зажима, когда провод введен и соответствующим образом размещен в зажиме.

15.3.4. Контактные зажимы (кроме предназначенных для присоединения специально подготовленных проводов) должны обеспечивать присоединение проводов без специальной подготовки (см. п. 15.2.5).

Требование не распространяется на безвинтовые контактные зажимы пружинного типа.

Проверку требований пп. 15.3.2 - 15.3.4 проводят внешним осмотром безвинтовых контактных зажимов или соединений после присоединения к ним соответствующих проводов и проведения испытания на нагревостойкость по п. 15.6.2 или 15.9.2.

15.3.5. Конструкция безвинтовых контактных зажимов или соединений должна быть такой, чтобы контактное давление, необходимое для обеспечения хорошей электропроводности в контакте, не передавалось через изоляционные материалы, кроме керамики, чистой слюды и подобных им материалов, если только возможная усадка изоляционного материала не может быть компенсирована дополнительной упругостью металлических деталей зажима или соединения (см. черт. 17, 18 и 19).

15.3.6. Способ присоединения и отсоединения проводов к разъемным безвинтовым контактным зажимам пружинного типа должен быть наглядным и простым.

Отсоединение проводов от контактного зажима должно выполняться с помощью операции, исключающей прямое вытягивание провода вручную; операция должна выполняться рукой или универсальным инструментом.

15.3.7. Безвинтовые контактные зажимы пружинного типа, предназначенные для присоединения нескольких проводов, должны обеспечивать независимый зажим каждого провода.

Контактные зажимы, предназначенные для разъемного соединения, должны обеспечивать одновременное или раздельное отсоединение проводов.

15.3.8. Крепление контактных зажимов должно производиться или непосредственно на светильнике, или в специальном корпусе для зажимов, или другим способом. Крепление зажимов не должно ослабевать при присоединении и отсоединении проводов.

Проверку проводят внешним осмотром, а при сомнении, испытанием по п. 15.5 или 15.8. Во время испытания крепление контактных зажимов не должно ослабляться, а контактные зажимы не должны иметь повреждений, препятствующих их дальнейшему использованию.

Изложенное распространяется не только на контактные зажимы, установленные в светильнике, но и поставляемые отдельно.

Заливка контактных зажимов компаундами не является достаточной. Однако для фиксации контактных зажимов, которые при нормальном использовании не подвергаются механическим воздействиям, могут применяться самозатвердевающие смолы.

15.3.9. Безвинтовые контактные зажимы и соединения должны выдерживать механические, электрические и тепловые воздействия, которые могут возникать при нормальном использовании.

Проверку проводят испытаниями по пп. 15.5; 15.6; 15.8 или п. 15.9.

15.3.10. Изготовитель должен указывать для какого сечения (сечений) провода предназначен конкретный безвинтовой контактный зажим или соединение (или его деталь), а также тип провода, например, одно- или многожильный.

15.4. Общие требования к испытаниям

15.4.1. Подготовка образцов к испытаниям

До испытания безвинтовых контактных зажимов или соединений, установленных в светильниках, следует, если возможно, провести проверку степени защиты светильника от пыли и влаги по ГОСТ 14254 (разд. 9 МЭК 598-1).

15.4.2. Провода для испытаний

Для испытаний должны применяться медные провода рекомендованных изготовителем типов. Если изготовителем указан также диапазон сечений, то испытания проводят с проводами наибольшего и наименьшего сечения.

15.4.3. Контактные зажимы для нескольких проводов

Безвинтовые контактные зажимы, предназначенные для одновременного присоединения нескольких проводов, испытывают с тем числом проводов, которое указано изготовителем.

15.4.4. Сборка контактных зажимов

Каждый контактный зажим в группе или наборе зажимов, например, набор зажимов в пускорегулирующем аппарате, может испытываться как самостоятельный образец.

15.1.5. Количество образцов для испытания

Испытания по пп. 15.5 - 15.8 проводят на четырех контактных зажимах или соединениях. Не менее трех образцов должны соответствовать предъявляемым требованиям. Если один образец не выдержал испытания, то испытания повторяют на новых четырех образцах и все они должны выдержать испытания.

Испытания по п. 15.9 проводят на 10 контактных зажимах.

КОНТАКТНЫЕ ЗАЖИМЫ И СОЕДИНЕНИЯ ДЛЯ ВНУТРЕННЕГО МОНТАЖА СВЕТИЛЬНИКОВ

15.5 Механические испытания

15.5.1. Разъемные соединения

Механическую прочность контактных зажимов или соединений проверяют на выборке из четырех образцов. Если в конкретном светильнике не все имеющиеся контактные зажимы относятся к одному типу, то испытания проводят на четырех образцах каждого типа.

15.5.1.1. Испытание безвинтовых контактных зажимов пружинного типа (черт. 18) проводят с медными жесткими однопроволочными проводами сечения, указанного изготовителем. Если изготовитель указал диапазон сечений, то испытание проводят с проводами наибольшего и наименьшего сечения отдельно.

К двум из четырех испытуемых контактных зажимов присоединяют провода наибольшего сечения, к двум остальным - провода наименьшего сечения. Провода подвергают пяти циклам присоединения и отсоединения, используя каждый раз новый провод. Во время пятого цикла используют провод, который присоединяли в четвертом цикле, при этом установку провода производят на то же место, что и в четвертом цикле. В каждом цикле провода вводят в контактный режим до упора.

Если контактный зажим также предназначен для присоединения жестких многопроволочных проводов, то проводят дополнительное испытание с одним жестким медным многопроволочным проводом. Если указан диапазон сечений, то испытание проводят отдельно с проводом наибольшего и наименьшего сечения. Каждый провод один раз присоединяют и отсоединяют от одного контактного зажима.

После последнего присоединения каждый провод подвергают натяжению силой 4 Н.

15.5.1.2. Разъемные соединения испытывают на растяжение силой, равной 4 Н.

Силу прикладывают к образцу в течение 1 мин плавно, без рывков в направлении, противоположном направлению ввода в данное соединение провода и штыря в гнездовой контакт соединения.

В процессе испытания провод или штырь не должен выходить за пределы соединения. После испытания не должно быть повреждений соединения и проводов, препятствующих их дальнейшему нормальному использованию.

Сила, прикладываемая к проводу для введения его в соединение или для разрыва соединения, должна быть не более 50 Н, а для штыревого соединения должна быть не более указанной при необходимости разъединения соединения.

15.5.2. Неразъемные соединения

Неразъемное соединение должно полностью сохранять работоспособность при приложении растягивающей силы 20 Н в течение 1 мин в направлении разрыва соединения проводов. В некоторых случаях для правильного приложения силы (например, при испытании соединения скруткой) может быть применен специальный инструмент.

При испытании контактных зажимов для нескольких проводов растягивающую силу прикладывают к каждому проводу поочередно.

15.6. Электрические испытания

15.6.1. Проверка контактного сопротивления

Проверку контактного сопротивления контактного зажима или соединения проводят на выборке из четырех зажимов или соединений. Если в контактном светильнике не все имеющиеся контактные зажимы относятся к одному типу, то приведенную ниже проверку проводят на четырех образцах каждого типа.

15.6.1.1. Проверку по п. 15.6.1.3 безвинтовых контактных зажимов пружинного типа проводят с четырьмя медными жесткими неизолированными проводами.

Если предусмотрен диапазон сечений, то два зажима проверяют с проводами наибольшего сечения, а два других - с проводами наименьшего сечения.

15.6.1.2. Проверку штыревых соединений по п. 15.6.1.3 проводят с оконцованными проводами.

15.6.1.3. Через каждый контактный зажим с присоединённым проводом в течение 1 ч пропускают испытательный (переменный или постоянный) ток. Спустя 1 ч при том же значении тока измеряют падение напряжения на каждом контактном зажиме. Точки измерения выбирают по возможности ближе к точкам контактирования, между которыми должно быть измерено падение напряжения. Падение напряжения должно быть не более 15 мВ.

Проверку падения напряжения на каждом контакте и каждом соединении проводят отдельно; например, отдельно измеряют падение напряжения в месте сочленения «провод - гнездовой контакт» и «штырь - втулка».

Суммарная величина падения напряжения в двух независимых точках, когда они измеряются вместе после сочленения соединения, не должна быть более удвоенного значения, указанного выше.

15.6.2. Испытание на нагревостойкость

15.6.2.1. После испытания по п. 15.6.1 проводят испытание на старение в обесточенном состоянии 25 циклами с длительностью каждого цикла 30 мин, во время которого температура на контактном зажиме поддерживается на уровне (100 ± 5) °С. Затем контактный зажим охлаждают до температуры 15 - 30 °С.

15.6.2.2. В процессе испытания после 10 и 25-го циклов измеряют падение напряжения на каждом контактном зажиме.

Результаты испытания считают удовлетворительными, если измеренные после 10 и 25-го цикла значения падения напряжения на каждом зажиме не превышают более чем на 50 % измеренных на этом же зажиме при испытании по п. 15.6.1, или если увеличение составляет не более 2 мВ от первоначального значения.

Результаты испытания считают неудовлетворительными, если измеренное значение падения напряжения на любом из контактных зажимов превысит 22,5 мВ.

Если на одном из испытуемых зажимов значение падения напряжения, измеренное после 10 или 25-го цикла, превысит 50 % или увеличение составит более чем 2 мВ, но не превысит 22,5 мВ, то проводят повторное испытание этих же четырех контактных зажимов по п. 15.6.2.1 и настоящему пункту.

Результаты повторных испытаний считают удовлетворительными, если измеренное значение напряжения на любом зажиме не более 22,5 мВ.

Для штыревых соединений суммарное значение падения напряжения в двух независимых точках, измеренное после сочленения деталей, должно быть не более удвоенного значения, указанного в настоящем пункте.

15.6.2.3. Если в контактном зажиме одна из поверхностей, к которой прижимается жила провода, изготовлена из изоляционного материала, то эта поверхность в процессе испытания на нагревостойкость не должна деформироваться.

Проверку проводят внешним осмотром.

КОНТАКТНЫЕ ЗАЖИМЫ И СОЕДИНЕНИЯ ДЛЯ ПРИСОЕДИНЕНИЯ К ЭЛЕКТРИЧЕСКОЙ СЕТИ

15.7. Провода

Безвинтовые контактные зажимы пружинного типа должны быть рассчитаны на присоединение жестких одно- или многопроволочных проводов сечением, указанным в табл. 1.

Таблица 1

Значение тока, А, не более

Сечение провода, мм2

6

От 0,5 до 1,0

10

»  1,0  »   1,5

16

»  1,5  »   2,5

Примечание. Безвинтовые контактные зажимы принято обозначать цифрой. Например, цифра 0 обычно обозначает ток через зажим не более 6 А. Если значение тока для какой-то детали зажима ниже, чем для самого зажима, то присвоение цифры производят по значению тока этой детали.

Проверку проводят внешним осмотром, проведением измерений и присоединением проводов наименьшего и наибольшего сечения из числа указанных в таблице.

15.8. Механические испытания

Механическую прочность контактных зажимов или соединений проверяют указанными ниже испытаниями на одном из каждых четырех образцов.

15.8.1. Испытание безвинтовых контактных зажимов пружинного типа проводят с медными однопроволочными проводами наименьшего и наибольшего сечения, указанного в п. 15.7. Испытание проводят пятикратным присоединением и отсоединением провода к каждому контактному зажиму. Если в конкретном светильнике не все имеющиеся зажимы относятся к одному типу, то испытания проводят на одном зажиме каждого типа.

Для первых четырех присоединений каждый раз используют новый провод. Для пятого присоединения используют провод, применявшийся в четвертом цикле, который устанавливают в зажиме в то же самое место, что и в четвертом цикле. В каждом цикле провод вводят в контактный зажим до упора.

Если изготовитель указывает, что контактный зажим также рассчитан на присоединение жесткого многопроволочного провода (см. п. 15.3.10), то проводят дополнительно испытание с жесткими медными многопроволочными проводами наибольшего и наименьшего сечения, указанного в п. 15.7. Каждый провод один раз присоединяют и отсоединяют от одного контактного зажима.

После последнего присоединения каждый провод подвергают натяжению силой, значение которой указано в п. 15.8.2.

15.8.2. Штыревые соединения также проверяют на растяжение силой, значение которой указано в табл. 2.

Таблица 2

Значение тока, А, не более

Значение силы, Н

для контактных зажимов пружинного типа

для штыревого соединения

6

20

8

10

30

15

16

30

15

Примечание. Если значение тока для какой-то детали соединения ниже, чем для самого соединения, то значение силы выбирают по этому значению тока.

Силу прикладывают к образцу в течение 1 мин плавно, без рывков, в направлении, противоположном направлению ввода в данное соединение провода или штыря в гнездовой контакт соединения.

В процессе испытания провод или штырь не должен выходить за пределы соединения. После испытания не должно быть повреждений соединения и проводов, препятствующих их дальнейшему нормальному использованию.

15.9. Электрические испытания

15.9.1. Проверка контактного сопротивления

Проверку контактного сопротивления контактных зажимов или соединений проводят на выборке из десяти зажимов или соединений. Если в конкретном светильнике не все имеющиеся контактные зажимы относятся к одному типу, то приведенную ниже проверку проводят на десяти образцах каждого типа.

15.9.1.1. Проверку по п. 15.9.1.3 безвинтовых контактных зажимов пружинного типа проводят десятью медными неизолированными однопроволочными проводами.

К пяти из десяти отобранных контактных зажимов присоединяют провода наибольшего сечения, указанного в п. 15.7, как для нормального использования. Остальные пять зажимов заряжают проводами наименьшего сечения, указанного в п. 15.7, как для нормального использования.

15.9.1.2. Проверку штыревых соединений по п. 15.9.1.3 проводят с оконцованными проводами.

15.9.1.3. Через каждый контактный зажим с присоединенным проводом в течении 1 ч пропускают испытательный (переменный или постоянный) ток.

Спустя 1 ч при том же значении тока измеряют падение напряжения на каждом контактном зажиме. Точки измерения выбирают по возможности ближе к точкам контактирования, между которыми должно быть измерено падение напряжения. Падение напряжения должно быть не более 15 мВ.

Суммарная величина падения напряжения в двух независимых точках, когда они измеряются вместе после сочленения соединения, не должна быть более удвоенного значения, указанного выше.

15.9.2. Испытание на нагревостойкость

Испытание контактных зажимов или соединений на нагревостойкость проводят на зажимах, прошедших испытания по п. 15.9.1.

15.9.2.1. После охлаждения до температуры окружающей среды каждый провод заменяют новым медным однопроволочным неизолированным проводом наибольшего сечения, указанного в п. 15.7. Каждый оконцованный провод заменяют новым и пять раз вставляют в соответствующую ответную часть и пять раз вынимают. Затем снова заменяют провод на новый.

15.9.2.2. Через контактный зажим с присоединенным к нему проводом пропускают испытательный (переменный или постоянный) ток столько времени, сколько необходимо для измерения значения падения напряжения.

На эти измерения, а также на измерения по п. 15.9.2.4 распространяются требования п. 15.9.1.

15.9.2.3. Проводят испытание на старение в обесточенном состоянии 25 циклами с длительностью каждого цикла 30 мин, во время которого температура на контактном зажиме поддерживается на уровне (100 ± 5) °С с последующим охлаждением до температуры 15 - 30 °С.

15.9.2.4. В процессе испытания после 10 и 25-го цикла измеряют падение напряжения на каждом контактном зажиме.

Результаты испытания считают удовлетворительными, если измеренные после 10 и 25-го цикла значения падения напряжения на каждом зажиме не превышают более чем на 50 % измеренного на этом же зажиме при испытании по п. 15.9.2, или если увеличение составляет не более 2 мВ от первоначального значения.

Результаты испытания считают неудовлетворительными, если измеренное, значение падения напряжения на любом из контактных зажимов превысит 22,5 мВ.

Если на одном из испытуемых зажимов значение падения напряжения, измеренное после 10 или 25-го цикла превысит 50 % или увеличение составит более чем 2 мВ, но не превысит 22,5 мВ, то проводят повторное испытание этих же десяти контактных зажимов по п. 15.9.2.3 и настоящему пункту.

Результаты повторных испытаний считают удовлетворительными, если измеренное значение падения напряжения не более 22,5 мВ.

Для штыревых соединений суммарное значение падения напряжения в двух независимых точках, измеренное после сочленения деталей, должно быть не более удвоенного значения, указанного выше.

15.9.2.5. Если в контактном зажиме одна из поверхностей, к которой прижимается жила провода, изготовлена из изоляционного материала, то эта поверхность в процессе испытания на нагревостойкость не должна деформироваться.

Проверку проводят внешним осмотром.

Конструкции электрических соединений неразъемного типа

Величина давления, необходимая для получения надежного электрического контакта, не зависит от материала изолятора, если качество данного контакта не страдает от усадки изолирующего материала.

Черт. 17

Примеры безвинтовых контактных зажимов (пружинного типа)

Приемлемо

Вид с торца

Вид сбоку

Неприемлемо

Вид с торца

Вид сбоку

Черт. 18

Примеры безвинтовых электрических соединений

Электрическое соединение штыревого типа с контактными штырьками пластинчатой формы - ответная часть, контактная штепсельная втулка

Электрическое соединение штыревого типа с контактными штырьками пластинчатой формы - контактный штырек пластинчатой формы

Электрическое соединение штыревого типа с контактными штырьками цилиндрической формы - ответная часть, контактная штепсельная втулка

Электрическое соединение штыревого типа с контактными штырьками цилиндрической формы - контактный штырек цилиндрической формы

Электрические соединения обжимного типа

Электрические соединения с фиксацией провода на контактном штыре по методу накрутки

Черт. 19

ПРИЛОЖЕНИЕ 4

Обязательное

ПУБЛИКАЦИЯ МЭК 399 «СТАНДАРТНЫЕ ЛИСТЫ НА КРУГЛУЮ РЕЗЬБУ ДЛЯ ПАТРОНОВ Е14 И Е27 С АБАЖУРНЫМ КОЛЬЦОМ»

 

КРУГЛАЯ РЕЗЬБА ДЛЯ ПАТРОНОВ Е14 И Е27 С АБАЖУРНЫМ КОЛЬЦОМ

 

Стандартный лист I

Предельные размеры резьбы для металлических или пластмассовых патронов с металлическими или пластмассовыми абажурными кольцами.

Размеры в миллиметрах

1 - кольцо; 2 - патрон

Размер резьбы

Патрон

Кольцо

Н

R1

R2

Тип патрона

d

d1

D

D1

Макс.

Мин.

Макс.

Мин.

Мин.

Макс.

28´2,0

28

27,7

26,6

28,1

26,7

27,0

2,0

0,58

0,45

Е14

40´2,5

40

39,6

38,2

40,1

38,3

38,7

2,5

0,70

0,55

Е27

 

 

КРУГЛАЯ РЕЗЬБА ДЛЯ ПАТРОНОВ Е14 И Е27 С АБАЖУРНЫМ КОЛЬЦОМ

Стр. 1

Стандартный лист II

Предельные размеры резьбы для керамических патронов с металлическими или пластмассовыми абажурными кольцами.

Размеры в миллиметрах

Металлическое кольцо

1 - кольцо; 2 - патрон

Пластмассовое кольцо

1 - кольцо; 2 - патрон

Размер резьбы

Патрон

Кольцо

Тип, патрона

d

d1

D

D1

Макс.

Мин.

Макс.

Мин.

Мин.

Макс.

35´2,74

35

34,5

32,5

35,5

33

33,2

Е14

45´2,74

45

44,5

42,5

45,5

43

43,2

Е27

 

 

КРУГЛАЯ РЕЗЬБА ДЛЯ ПАТРОНОВ Е14 И Е27 С АБАЖУРНЫМ КОЛЬЦОМ

Стр. 2-1

Черт. 1

«Проходной» и «Непроходной» калибры для абажурных колец

Размеры в миллиметрах

1 - «проходной» калибр; 2 - «непроходной» калибр; 3 - острая кромка; 4 - кромка с фаской; 5 - поверхность Т

Резьба 28´2 или 40´2,5 и металлическое                    Резьба 35´2,74 или 45´2,74 для

кольцо 35´2,74 или 45´2.74                                          пластмассового кольца

 

КРУГЛАЯ РЕЗЬБА ДЛЯ ПАТРОНОВ Е14 И Е27 С АБАЖУРНЫМ КОЛЬЦОМ

Стр. 2-2

 

Размер резьбы

D

D1

Пред. откл. D и D1

D3

D41

Е

Е1

F

технологические

на износ

макс.

мин.

28´2

28,1

26,7

+0,03

-0,03

27,005

26,995

26,6

13

11

5

40´2,5

40,1

38,3

+0,03

-0,04

38,705

38,695

38,2

16

13

6

35´2,74

35,5

33,0

+0,03

-0,03

33,205

33,195

32,9

16

13

6

45´2,74

45,5

43,0

+0,03

-0,04

43,205

43,195

42,9

16

13

6

 

Размер резьбы

G

H+0,01

R1

R2

28´2

5

2,00

0,58

0,45

40´2,5

6

2,50

0,70

0,55

35´2,74

6

2,74

0,692

0,53

0,692

0,53

45´2,74

6

2,74

0,692

0,53

0,692

0,53

1 Только для центрирования

2 Металлическое абажурное кольцо

3 Пластмассовое абажурное кольцо.

Назначение:

«проходной» калибр - проверка минимальных размеров резьбы абажурного кольца;

«непроходной» калибр - проверка максимального значения диаметра внутренней резьбы (D1).

 

КРУГЛАЯ РЕЗЬБА ДЛЯ ПАТРОНОВ Е14 И Е27 С АБАЖУРНЫМ КОЛЬЦОМ

Стр. 2-3

Проверка:

«проходной» калибр должен полностью ввинчиваться без чрезмерных усилий;

«непроходной» калибр - под действием собственной массы калибр не должен входить в резьбу так, чтобы поверхность Т оказалась ниже края кольца.

Материал: сталь.

Поверхности, подверженные износу, следует закалить.

 

КРУГЛАЯ РЕЗЬБА ДЛЯ ПАТРОНОВ Е14 И Е27 С АБАЖУРНЫМ КОЛЬЦОМ

Стр. 3-1

Черт. 2

«Проходной» и «непроходной» калибры для патронов

Размеры в миллиметрах

1 - «проходной» калибр; 2 - «непроходной» калибр

Размер резьбы

d

d1

Пред. откл. d и d1

d3

d4 ± 0,5

технологические

на износ

мин.

макс.

28´2,0

28,0

26,6

-0,03

+0,03

27,695

27,705

47

40´2,5

40,0

38,2

-0,03

+0,04

39,595

39,605

60

35´2,74

35,4

32,9

-0,03

+0,03

34,495

34,505

55

45´2,74

45,4

42,9

-0,03

+0,04

44,495

44,505

65

 

 

КРУГЛАЯ РЕЗЬБА ДЛЯ ПАТРОНОВ Е14 И Е27 С АБАЖУРНЫМ КОЛЬЦОМ

Стр. 3-2

 

Размер резьбы

E

H ± 0,01

R1

R2

28´2,0

13

2,00

0,58

0,45

40´2,5

16

2,50

0,70

0,55

35´2,74

16

2,74

0,50

0,50

45´2,74

16

2,74

0,50

0,50

Назначение:

«проходной» калибр - проверка максимальных размеров резьбы патрона;

«непроходной» калибр - проверка минимального значения диаметра d наружной резьбы.

Проверка:

«проходной» калибр - должен полностью ввинчиваться в резьбу без чрезмерных усилий.

«непроходной» калибр - под действием собственного веса калибр не должен полностью входить в резьбу.

Материал: сталь.

Поверхности, подверженные износу, следует закалить.

 

ИНФОРМАЦИОННЫЕ ДАННЫЕ

 

1. РАЗРАБОТАН И ВНЕСЕН Министерством электротехнической промышленности и приборостроения СССР

2. УТВЕРЖДЕН И ВВЕДЕН В ДЕЙСТВИЕ Постановлением Государственного комитета СССР по управлению качеством продукции и стандартам от 29.10.90 № 2717

Настоящий стандарт разработан методом прямого применения международного стандарта МЭК 238-87 «Патроны резьбовые для электрических ламп» с дополнительными требованиями, отражающими потребности народного хозяйства

3. Периодичность проверки - 5 лет

4 ВЗАМЕН ГОСТ 361-85 в части требований к резьбовым патронам

5. ССЫЛОЧНЫЕ НОРМАТИВНО-ТЕХНИЧЕСКИЕ ДОКУМЕНТЫ

Обозначение НТД, на который дана ссылка

Номер раздела, пункта, приложения

ГОСТ 9.005-72

22.8

ГОСТ 9.302-88

22.8

ГОСТ 9.303-84

22.8

ГОСТ 12.1.009-76

2.15

ГОСТ 1481-84

12.5

ГОСТ 3044-84

4.8

ГОСТ 4670-77

15.6

ГОСТ 5689-79

22.9

ГОСТ 6042-83

12.1; 22.9

ГОСТ 7396.0-89

12.13

ГОСТ 7399-80

12.6

ГОСТ 8724-81

10.2

ГОСТ 13871-78

22.9

ГОСТ 14192-77

23.2

ГОСТ 14254-80

22.7

ГОСТ 15150-69

1; 4.2; 14.2; 14.4; 23.4; 24

ГОСТ 15543.1-89

22.4

ГОСТ 15846-79

23.6

ГОСТ 15963-79

22.4

ГОСТ 16962.1-89

14.2; 22.4; 22.5

ГОСТ 17516-72

22.5

ГОСТ 17677-82

3; 23.2

ГОСТ 18242-72

25.2.2

ГОСТ 18321-73

25.3.1, 25.3.3

ГОСТ 18465-73

8.5

ГОСТ 18620-86

7.5

ГОСТ 20437-75

22.9

ГОСТ 22261-82

4.7

ГОСТ 23216-78

23.1; 23.4; 23.7; 23.8

ГОСТ 24682-81

22.6

ГОСТ 24683-81

22.6

ГОСТ 24705-81

8.5

ГОСТ 25516-82

13.3

ГОСТ 27483-87

20.3

ГОСТ 27484-87

20.4

ГОСТ 28108-89

8.1; 15.5; 24; приложение 2

МЭК 61-2 (1969)

8.1; 12.1; приложение 1

МЭК 61-3 (1969)

8.1; 8.2; 9.1; 19.2; 19.4; приложение 2

МЭК 227-5 (1979)

12.6

МЭК 238 (1987)

1

МЭК 245-4 (1980)

12.6

МЭК 328 (1972)

13.3

МЭК 399 (1972)

22.11; приложение 4

МЭК 598-1 (1979)

10.2; 3; приложение 3

МЭК 695-2-1 (1980)

20.3

МЭК 695-2-2 (1980)

20.4

 

СОДЕРЖАНИЕ

1. Область распространения. 1

2. Определения. 2

3. Общие требования. 5

4. Общие требования к испытаниям.. 5

5. Нормируемые параметры.. 7

6. Классификация. 8

7. Маркировка. 9

8. Основные размеры.. 10

9. Защита от поражения электрическим током.. 13

10. Контактные зажимы.. 15

11. Заземление. 19

12. Конструкция. 20

13 патроны со встроенным выключателем.. 24

14. Влагостойкость, сопротивление и электрическая прочность изоляции. 25

15. Механическая прочность. 28

16. Винты, токоведущие детали и соединения. 32

17. Пути утечки и воздушные зазоры.. 34

18. Нормальная работа. 35

19. Теплостойкость. 36

20. Нагревостойкость, огнестойкость и сопротивление токам поверхностного разряда. 38

21. Защита от старения и коррозии. 41

22. Дополнительные требования для нужд народного хозяйства и экспорта. 42

23. Упаковка, транспортирование и хранение. 43

24. Система условных обозначений. 45

25. Правила приемки. 45

26. Гарантии изготовителя. 47

Приложение 1. Стандартный лист 7005-20 публикации мэк 61-2 «цоколи и патроны для источников света, а также калибры для проверки их взаимозаменяемости и безопасности. Часть 2. Патроны для источников света». 62

Приложение 2. Стандартные листы 7006-21, 7006-22а, 7006-23, 7006-24, 7006-25, 7006-25а, 7006-26, 7006-30, 7006-30а, 7006-31 публикации мэк 61-3 «цоколи и патроны для источников света, а также калибры для проверки их взаимозаменяемости и безопасности. Часть 3. Калибры». 62

Приложение 3. Публикация мэк 598-1 «светильники. Часть 1. Общие требования и испытания» (с изменением № 1, 1988 г.) Раздел 15. Безвинтовые контактные зажимы и соединители. 80

Приложение 4. Публикация мэк 399 «стандартные листы на круглую резьбу для патронов е14 и е27 с абажурным кольцом». 88

Информационные данные. 92

 

 



© 2013 Ёшкин Кот :-)