Информационная система
«Ёшкин Кот»

XXXecatmenu

ГОСТ 27069-86

МЕЖГОСУДАРСТВЕННЫЙ СТАНДАРТ

 

ФЕРРОСПЛАВЫ, ХРОМ И МАРГАНЕЦ
МЕТАЛЛИЧЕСКИЕ

МЕТОДЫ ОПРЕДЕЛЕНИЯ УГЛЕРОДА

 

 

 

ИПК ИЗДАТЕЛЬСТВО СТАНДАРТОВ

Москва

 

МЕЖГОСУДАРСТВЕННЫЙ СТАНДАРТ

ФЕРРОСПЛАВЫ, ХРОМ И МАРГАНЕЦ МЕТАЛЛИЧЕСКИЕ

Методы определения углерода

Ferroalloys, metal chromium and metal manganese.
Methods for determination of carbon

ГОСТ
27069-86

Дата введения 01.01.88

Настоящий стандарт устанавливает методы определения углерода в ферросплавах, металлических хроме и марганце: кулонометрический и инфракрасно-абсорбционный (при массовой доле углерода от 0,002 до 10,0 %) и газообъемный (при массовой доле углерода от 0,01 до 10,0 %).

Стандарт соответствует СТ СЭВ 5284-85 в части определения углерода в ферросплавах, металлических хроме и марганце.

1. ОБЩИЕ ТРЕБОВАНИЯ

1.1. Общие требования к методам анализа - по ГОСТ 28473.

(Измененная редакция, Изм. № 2).

1.2. Лабораторная проба должна быть приготовлена в соответствии с табл. 1, с размером частиц, проходящих через сито с сеткой по ГОСТ 6613.

Таблица 1

Анализируемый материал

Характеристика лабораторной пробы

Размер стороны ячейки в свету, мм (номер сетки)

Феррониобий, феррохром углеродистый и азотированный, с массовой долей азота 4 % и более

Порошок

0,080 (№ 008)

Феррохром остальных марок

Стружка толщиной не более 0,2 мм, размельченная в агатовой ступке

1,600 (№ 1,6)

Ферросиликохром, ферросиликоцирконий, ферросилиций, ферросиликомарганец, ферромарганец, ферротитан, ферромолибден, феррованадий, ферровольфрам, силикокальций, ферробор, марганец металлический и азотированный

Порошок

0,160 (№ 016)

Хром металлический

Стружка толщиной не более 0,5 мм, подготовленная по ГОСТ 23916

-

2. КУЛОНОМЕТРИЧЕСКИЙ МЕТОД

2.1. Сущность метода

Метод основан на сжигании навески ферросплава или металла в потоке кислорода при температуре, приведенной в табл. 2. Образовавшийся при сжигании углекислый газ вытесняется потоком кислорода в сосуд, содержащий поглотительный раствор с определенным начальным значением рН.

Таблица 2

Условия определения углерода в ферросплавах, металлических хроме и марганце

Анализируемый материал

Метод определения

Диапазон определяемых концентраций, %

Масса навески пробы, г

Применяемые плавни

Соотношение составных частей плавня

Соотношение анализируемого материала и плавня

Способ подготовки смеси к анализу

Рабочая температура сжигания навески, °C

Марганец металлический

Кулонометрический

От 0,005 до 0,30

0,5

Окись меди

-

1:1

Навеску пробы помещают в лодочку, добавляют плавень и перемешивают

1300 ± 20

Газообъемный

От 0,01 до 0,30

1,0

Окись меди

-

1:1

Инфракрасно-абсорбционный

От 0,005 до 0,30

Анализ проводят согласно прилагаемой инструкции к прибору

Хром металлический

Кулонометрический

От 0,002 до 0,06

0,5

Смесь железа с оловом или

2:1

1:4

Навеску пробы помещают в лодочку, добавляют плавень и перемешивают

1375 ± 25

смесь окиси меди в виде проволоки с железом, или

2:1

1:4

смесь пятиокиси ванадия с железом

1:5

1:2

Газообъемный

От 0,01 до 0,06

1,0

Смесь железа с оловом или

2:1

1:4

смесь окиси меди в виде проволоки с железом, или

2:1

1:4

смесь пятиокиси ванадия с железом

1:5

1:2

Инфракрасно-абсорбционный

От 0,002 до 0,06

Анализ проводят согласно прилагаемой к прибору инструкции

Феррованадий

Кулонометрический

От 0,05 до 1,2

0,5

Окись меди

 

1:1

Навеску пробы помещают в лодочку, прибавляют плавень и перемешивают

1300 ± 20

Газообъемный

От 0,05 до 1,2

1,0

Окись меди

 

1:1

Инфракрасно-абсорбционный

От 0,05 до 1,2

Анализ проводят согласно прилагаемой к прибору инструкции

Ферромарганец

Кулонометрический

От 0,3 до 4,0

0,5

Окись меди

 

1:1

Навеску пробы помещают в лодочку, прибавляют плавень и перемешивают

1300 ± 20

Св. 4,0 » 8,0

0,25

 

1:2

Газообъемный

От 0,3 до 1,2

1,0

Окись меди

 

1:1

Св. 1,2 » 2,4

0,5

 

1:1

 » 2,4 » 5,0 »

0,25

 

1:2

 » 5,0 » 8,0

0,2

 

1:3

Инфракрасно-абсорбционный

От 0,3 до 8,0

Анализ проводят согласно прилагаемой к прибору инструкции

Ферромолибден

Кулонометрический

От 0,01 до 0,6

0,5

Окись меди или смесь окиси меди с железом

3:1

1:2

Навеску помещают в лодочку, добавляют плавень и перемешивают

1325 ± 25

1:2

Газообъемный

От 0,01 до 0,6

1,0

Окись меди или смесь окиси меди с железом

3:1

1:2

1:2

Инфракрасно-абсорбционный

От 0,01 до 0,6

Анализ проводят согласно прилагаемой к прибору инструкции

Ферровольфрам

Кулонометрический

От 0,01 до 0,9

0,5

Окись меди или смесь окиси меди с железом

3:1

1:2

Навеску пробы помещают в лодочку, добавляют плавень и перемешивают

1325 ± 25

1:2

Газообъемный

От 0,01 до 0,9

1,0

Окись меди или смесь окиси меди с железом

3:1

1:2

1:2

Инфракрасно-абсорбционный

От 0,01 до 0,9

Анализ проводят согласно прилагаемой к прибору инструкции

Ферротитан

Кулонометрический

От 0,05 до 1,2

0,5

Олово или смесь окиси меди с железом

1:2

1:1

Навеску пробы помещают в лодочку, добавляют плавень и перемешивают

1300 ± 20

1:2

Газообъемный

От 0,05 до 1,2

1,0

Олово или смесь окиси меди с железом

1:2

1:1

1:2

Инфракрасно-абсорбционный

От 0,05 до 1,2

Анализ проводят согласно прилагаемой к прибору инструкции

Ферробор

Кулонометрический

От 0,01 до 1,8

0,5

Смесь окиси меди с железом или окись меди

1:2

1:2

Навеску пробы помещают в лодочку, добавляют плавень и перемешивают

1350 ± 20

Св. 1,8 » 3,6

0,25

 » 3,6 »4,2

0,2

1:2

Газообъемный

От 0,01 до 1,2

1,0

Смесь окиси меди с железом или окись меди

1:2

1:2

Св. 1,2 » 2,4

0,5

 

 » 2,4 » 4,2

0,25

1:2

Инфракрасно-абсорбционный

От 0,01 до 4,2

Анализ проводят согласно прилагаемой к прибору инструкции

Феррониобий

Кулонометрический

От 0,01 до 0,6

0,5

Окись меди или смесь окиси меди с железом

 

1:4

Навеску пробы помещают в лодочку, добавляют плавень и перемешивают

1350 ± 20

1:4

Газообъемный

От 0,01 до 0,6

1,0

Окись меди или смесь окиси меди с железом

1:2

1:3

1:3

Инфракрасно-абсорбционный

От 0,01 до 0,6

Анализ проводят согласно прилагаемой к прибору инструкции

Ферросиликомарганец

Кулонометрический

От 0,05 до 1,8

0,5

Олово или смесь окиси меди с железом

1:2

1:2

Навеску пробы помещают в лодочку, добавляют плавень и перемешивают

1300 ± 20

Св. 1,8 » 3,7

0,25

1:2

Газообъемный

От 0,05 до 1,2

1,0

Смесь окиси меди с железом

1:1

1:1

Св. 1,2 » 2,4

0,5

1:2

 » 2,4 » 3,7

0,25

1:5

Инфракрасно-абсорбционный

От 0,05 до 3,7

Анализ проводят согласно прилагаемой к прибору инструкции

Ферросилиций

Кулонометрический

От 0,01 до 1,2

0,5

Смесь окиси меди с железом

3:1

1:3

Навеску пробы помещают в лодочку, добавляют плавень и перемешивают

1350 ± 20

Газообъемный

От 0,01 до 1,2

1,0

Смесь окиси меди с железом

3:1

1:3

Инфракрасно-абсорбционный

От 0,01 до 1,2

Анализ проводят согласно прилагаемой к прибору инструкции

Силикокальций

Кулонометрический

От 0,1 до 1,2

0,5

Олово или окись меди

 

1:2

Допускается растирание навески с плавнем в агатовой ступке

1325 ± 25

1:2

Газообъемный

От 0,1 до 1,2

1,0

Олово или окись меди

 

1:2

1:2

Инфракрасно-абсорбционный

От 0,1 до 1,2

Анализ проводят согласно прилагаемой к прибору инструкции

Ферросиликохром

Кулонометрический

От 0,02 до 1,8

0,5

Смесь окиси меди с железом

3:1

1:4

Допускается растирание навески с плавнем в агатовой ступке

1350 ± 20

Св. 1,8 » 3,8

0,25

1:4

 » 3,8 » 6,2

0,1

1:5

Газообъемный

От 0,02 до 1,2

1,0

Смесь окиси меди с железом

3:1

1:3

Св. 1,2 » 2,4

0,5

1:3

 » 2,4 » 5,0

0,25

1:4

 » 5,0 » 6,2

0,20

1:5

Инфракрасно-абсорбционный

От 0,02 до 6,2

Анализ проводят согласно прилагаемой к прибору инструкции

Феррохром

Кулонометрический

От 0,005 до 4,0

0,5

Смесь окиси меди в виде проволоки с железом

2:1

1:4

Навеску пробы помещают в лодочку, добавляют плавень и перемешивают

1375 ± 25

 » 4,0 » 8,0

0,25

1:4

 » 8,0 » 10,0

0,1

1:5

Газообъемный

От 0,01 до 1,2

1,0

Смесь окиси меди в виде проволоки с железом

2:1

1:3

Св. 1,2 » 2,4

0,5

1:4

 » 2,4 » 5,0

0,25

1:4

 » 5,0 » 6,0

0,20

1:5

 » 6,0 » 8,0

0,15

1:5

 » 8,0 » 10,0

0,1

1:5

Инфракрасно-абсорбционный

От 0,005 до 10,0

Анализ проводят согласно прилагаемой к прибору инструкции

Ферросиликоцирконий

Кулонометрический

От 0,05 до 0,6

0,5

Окись меди или смесь окиси меди с железом

3:1

1:4

Допускается растирание навески с плавнем в агатовой ступке

1375 ± 25

1:4

Газообъемный

От 0,05 до 0,6

1,0

Окись меди или смесь окиси меди с железом

3:1

1:3

1:3

Инфракрасно-абсорбционный

От 0,05 до 0,6

Анализ проводят согласно прилагаемой к прибору инструкции

(Измененная редакция, Изм. № 1).

В установке для кулонометрического титрования измеряют количество электричества, необходимое для восстановления исходного значения рН, которое изменяется за счет образования кислоты.

Количество определяемого электричества пропорционально массовой доле углерода в навеске пробы.

2.2. Аппаратура, реактивы и растворы

Экспресс-анализатор типа АН-160, АН-7560, АН-29 и АН-7529.

Готовят к работе согласно прилагаемым инструкциям с дополнением: перед датчиком анализатора устанавливают ловушку, заполненную 10 г гидроперита или асбест, пропитанный двуокисью марганца для поглощения сернистого газа, образующегося при сжигании навески.

Допускается применять анализаторы других типов.

Кислород технический из кислородопровода или баллон с кислородом, снабженный редукционным вентилем.

Трубки огнеупорные муллито-кремнеземистые длиной 650 - 800 мм с внутренним диаметром 18 - 22 мм, прокаленные при рабочей температуре при пропускании через трубку кислорода до отсутствия показания на табло прибора.

Лодочки № 2 фарфоровые по ГОСТ 9147, предварительно прокаленные в муфельной печи при температуре не ниже 900 °С в течение 3 - 4 ч. Прокаленные лодочки хранят в эксикаторе, содержащем гидроксид бария или оксид кальция.

При определении углерода 0,1 % и менее лодочки прокаливают в потоке кислорода непосредственно перед анализом при рабочей температуре.

Аскарит.

Калий хлористый по ГОСТ 4234.

Стронций хлористый 6-водный по ГОСТ 4140.

Натрий тетраборнокислый 10-водный по ГОСТ 4199.

Кислота борная по ГОСТ 9656.

Калий железистосинеродистый 3-водный по ГОСТ 4207.

Плавень. В качестве плавня могут быть использованы:

железо металлическое или карбонильное;

меди (II) окись в виде порошка по ГОСТ 16539, проволоки или гранул, прокаленная при температуре (800 ± 20) °С в течение 3 - 4 ч;

ванадия пятиокись, прокаленная при температуре (450 ± 20) °С в течение 3 - 4 ч;

олово металлическое по ГОСТ 860, соотношение составных частей плавня, а также соотношение массы навески с плавнем указаны в табл. 2.

Допускается применять другие плавни в других соотношениях с навеской.

Массовая доля углерода в плавне не должна превышать значений допускаемых расхождений, приведенных в табл. 4.

Марганца (IV) окись по ГОСТ 4470.

Гидроперит.

Растворы поглотительный и вспомогательный.

Реактивы, применяемые для приготовления растворов, приведенные в табл. 3, помещают в стакан вместимостью 1 дм3, приливают 500 см3 воды и после растворения переносят в мерную колбу вместимостью 1 дм3, разбавляют водой до метки и перемешивают.

Таблица 3

Тип экспресс-анализатора

Масса реактива, г

Хлористый калий

Хлористый стронций

Железисто-синеродистый калий

Борная кислота

Натрий тетраборнокислый

Поглотительный

АН-29

100

100

-

1

-

АН-7529

100

100

-

1

-

АН-160

50

50

-

-

-

АН-7560

50

50

-

-

-

Вспомогательный

АН-29

100

-

100

1

-

АН-7529

100

-

100

1

-

АН-160

50

-

50

-

1

АН-7560

50

-

50

-

1

2.3. Проведение анализа

В лодочку помещают навески пробы и плавня массой, установленной в соответствии с табл. 3.

Затем лодочку помещают в наиболее нагретую часть трубки печи и сразу же закрывают затвором. Устанавливают показание индикаторного цифрового табло на «0» и сжигают пробу при соответствующей температуре, указанной в табл. 3.

В процессе сжигания пробы на цифровом табло осуществляется непрерывный отсчет показаний. Анализ считается законченным, если цифровые показания табло за 1 мин изменяются на величину, не превышающую величину холостого отсчета прибора. Записывают результаты анализа по показаниям табло, открывают затвор и извлекают лодочку.

2.4. Обработка результатов

2.4.1. Массовую долю углерода (X) в процентах вычисляют по формуле

где m1 - масса навески стандартного образца, по которому отградуирован прибор, г;

a - показания прибора при сжигании анализируемой навески, %;

m - масса анализируемой навески, г;

a1 - показания прибора при проведении контрольного опыта на загрязнение реактивов, %.

2.4.2. Нормы точности и нормативы контроля точности определения массовой доли углерода приведены в табл. 4.

Таблица 4

Массовая доля углерода, %

Погрешность результатов анализа Δ, %

Допускаемые расхождения, %

двух средних результатов анализа, выполненных в различных условиях dк

двух параллельных определений

d2

трех параллельных определений

d3

результатов анализа стандартного образца от аттестованного значения δ

От   0,002 до 0,005 включ.

0,0012

0,0015

0,0012

0,0015

0,0008

Св.  0,005  »  0,01   »

0,0016

0,0020

0,0017

0,0020

0,0010

  »    0,01    »  0,02   »

0,004

0,005

0,004

0,005

0,003

  »    0,02    »  0,05   »

0,006

0,008

0,007

0,008

0,004

  »    0,05    »  0,1     »

0,012

0,015

0,012

0,015

0,008

  »    0,1       »  0,2     »

0,016

0,020

0,017

0,020

0,010

  »    0,2       »  0,5     »

0,024

0,030

0,025

0,030

0,016

  »    0,5       »  1,0     »

0,04

0,05

0,04

0,05

0,03

  »    1,0       »  2,0     »

0,06

0,07

0,06

0,07

0,04

  »    2,0       »  5        »

0,08

0,10

0,08

0,10

0,05

  »    5          »  10      »

0,12

0,15

0,12

0,15

0,08

(Измененная редакция, Изм. № 1, 2).

3. ГАЗООБЪЕМНЫЙ МЕТОД

3.1. Сущность метода

Метод основан на сжигании навески пробы в потоке кислорода при температуре, приведенной в табл. 2, и измерении объема образующейся двуокиси углерода.

3.2. Аппаратура, реактивы и растворы

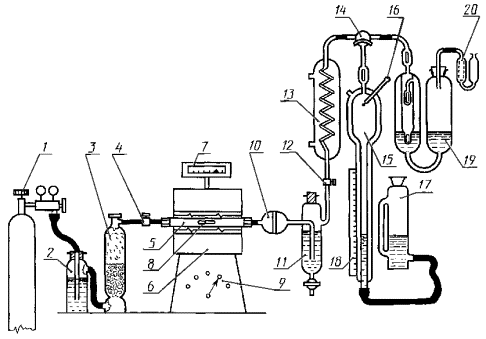
Установка для газообъемного определения углерода, схема которой приведена на чертеже, состоит из кислородопровода или баллона с кислородом, снабженных редукционным вентилем 1; промывной склянки 2, содержащей раствор марганцовокислого калия. Допускается применение сухой очистки кислорода. Для этого склянка 2 заменяется U-образной трубкой, наполненной в первой половине по ходу потока кислорода асбестом, пропитанным оксидом марганца, а во второй ангидроном; сушильной колонки 3, наполненной в нижней части натронной известью или натронным асбестом, а в верхней - ангидроном; огнеупорной муллито-кремнеземистой трубки 5, длиной 650 - 800 мм и с внутренним диаметром 18 - 22 мм. Чтобы концы трубки не нагревались, на них наматывают влажные хлопчатобумажные ленты или используют другое, пригодное для охлаждения концов трубки приспособление. Трубку закрывают с обеих сторон хорошо подогнанными металлическими затворами или резиновыми пробками, в отверстия которых вставляют стеклянные трубки для подключения соединительных резиновых трубок. Резиновые пробки с внутренней стороны защищают от обгорания ободками из асбеста, надетыми на концы стеклянных трубок; трубчатой печи 6, обеспечивающей температуру нагрева до 1400 °С; термопары с регулятором 7 для регулирования температуры печи; фарфоровой лодочки 8; трансформатора 9 для регулирования рабочего напряжения печи; шарообразного сосуда 10 диаметром 20 - 25 мм, наполненного ватой, для улавливания порошкообразных продуктов сгорания; склянки 11 для поглощения сернистого газа, наполненной раствором хромовой кислоты. Свободный объем в склянке над раствором не должен превышать 40 см3; трехходового крана 12; холодильника 13; трехходового U-образного крана 14; эвдиометра 15 (измерительной бюретки); термометра 16; уравнительной склянки 17 с боковым сообщающимся отводом, диаметр которого соответствует диаметру узкой части эвдиометра; шкалы эвдиометра 18 с ценой деления 0,01 или 0,005 %, градуированной по навеске массой 1 г. В зависимости от градуировки шкалы эвдиометра уравнительную склянку наполняют или 2 %-ным раствором серной кислоты или раствором хлористого натрия 260 г/дм3; поглотительного сосуда 19, наполненного раствором гидроксида калия; защитной насадки 20, наполненного натронной известью.

Лодочки фарфоровые № 2 по ГОСТ 9147, предварительно прокаленные при температуре не ниже 900 °С в течение 3 - 4 ч. Прокаленные лодочки сохраняют в эксикаторе, содержащем гидроксид бария или оксид кальция. При определении углерода 0,1 % и менее лодочки прокаливают в потоке кислорода непосредственно перед анализом при рабочей температуре.

Барометр.

Кислород технический из кислородопровода или баллон с кислородом.

Калия гидроокись по ГОСТ 24363, растворы 400 г/дм3 и 100 г/дм3.

Кислота серная по ГОСТ 4204 и 2 %-ный раствор.

Натрий хлористый по ГОСТ 4233, раствор 260 г/дм3.

Калий марганцовокислый по ГОСТ 20490, раствор с массовой концентрацией 40 г/дм3 в растворе гидроксида калия с массовой концентрацией 100 г/дм3.

Известь натронная или аскарит.

Магний хлорнокислый (ангидрон).

Хрома (VI) окись по ГОСТ 3776.

Поглотительный раствор (хромовая кислота): 4 г оксида хрома растворяют в 12 см3 воды и 60 см3 серной кислоты.

Марганца (IV) окись по ГОСТ 4470.

Метиловый красный, индикатор, раствор 1 г/дм3.

Растворы для заполнения уравнительной склянки (затворная жидкость):

для эвдиометра с ценой деления шкалы 0,005 % углерода: к 1 дм3 раствора хлористого натрия добавляют 1 см3 серной кислоты и 2 см3 раствора метилового красного;

для эвдиометра с ценой деления шкалы 0,01 % углерода: к 1 дм3 раствора серной кислоты добавляют 2 см3 раствора метилового красного.

Плавень. В качестве плавня могут быть использованы:

железо металлическое или железо карбонильное;

меди (II) окись в виде порошка по ГОСТ 16539, проволоки или гранул, прокаленная при температуре (800 ± 20) °С в течение 3 - 4 ч;

ванадия пятиокись, прокаленная при температуре (450 ± 20) °С в течение 3 - 4 ч;

олово металлическое по ГОСТ 860.

Соотношение составных частей плавня, а также соотношение массы навески с плавнем приведены в табл. 3.

Допускается применять другие плавни в других соотношениях с навеской. Массовая доля углерода в плавнях не должна превышать величины допускаемых расхождений, приведенных в табл. 4.

3.3. Проведение анализа

3.3.1. Нагревают печь до рабочей температуры, затем пропускают кислород в течение 2 мин для удаления из трубки остатков органических веществ. Проверяют герметичность и работу аппарата. Для этого краном 14 отключают поглотительный сосуд 19 и уравнительную склянку 17 устанавливают на нижнюю полку прибора. Аппарат герметичен, если уровень жидкости в эвдиометре остается без изменения.

Для проверки герметичности печи, целостности муллито-кремнеземистой трубки и всех соединений кран 14 ставят в положение, разобщающее эвдиометр с печью и пускают поток кислорода со скоростью 4 - 5 пузырьков в секунду. Установка герметична, если не наблюдается прохождение пузырьков кислорода через очистительную склянку 2. Если пузырьки кислорода проходят - следует сменить муллито-кремнеземистую или соединительные трубки, проверить пробки, протереть краны, смазать их смазкой и вновь проверить установку на герметичность.

Для насыщения затворной жидкости двуокисью углерода и проверки правильности работы прибора перед проведением анализа сжигают 3 - 4 навески стандартного образца.

3.3.2. В лодочку помещают навеску пробы и плавня массой, установленной в соответствии с табл. 2.

Открывают редукционный вентиль и кран 4 для подачи кислорода и выдерживают навеску в среде кислорода в течение 20 с. Затем при помощи кранов 12 и 14 соединяют печь с эвдиометром. Подача кислорода ведется с таким расчетом, чтобы газовая смесь вытеснила жидкость из широкой части эвдиометра за 5 - 6 мин после начала поступления газовой смеси в эвдиометр. После этого уравнительную склянку ставят на нижнюю полочку аппарата. Как только жидкость в узкой части измерительной бюретки опустится примерно до нулевого деления шкалы, но не ниже, краном 14 перекрывают поступление кислорода в измерительную бюретку.

Поворотом крана 12 соединяют холодильник с атмосферой, а затем кран 14 ставят в положение, соединяющее измерительную бюретку с холодильником и через 15 - 20 с сверяют правильность положения менисков жидкости в узкой части измерительной бюретки и уравнительной склянки. В случае несовпадения уровней, при помощи подвижной шкалы, находят такое положение, при котором уровни жидкости в измерительной бюретке и уравнительной склянке окажутся на одной высоте.

Не вынимая лодочку из фарфоровой трубки, краном 4 перекрывают подачу кислорода в печь.

Поворотом крана 12 разъединяют измерительную бюретку с атмосферой и краном 14 соединяют ее с сосудом для поглощения 19, в который перегоняют газовую смесь поднятием уравнительной склянки 17. Из сосуда для поглощения газовую смесь снова перекачивают в измерительную бюретку и операцию поглощения двуокиси углерода повторяют. Затем устанавливают кран 14 в положение полного разобщения с сосудом для поглощения, уравнительную склянку ставят на нижнюю полочку. Через 15 - 20 с проводят замер объема газа, осторожно перемещая уравнительную склянку вдоль бюретки снизу вверх до выравнивания уровней жидкости в измерительной бюретке и уравнительной склянке. Соответствующее деление шкалы, температуру газа в измерительной бюретке и атмосферное давление записывают.

3.3.3. При анализе трудносгораемых материалов или при определении массовой доли углерода свыше 1,0 %, производят дополнительное (контрольное) сжигание той же навески. Для этого после первого измерения объема двуокиси углерода, поворотом кранов 14 и 12 измерительную бюретку соединяют с наружной атмосферой, заполняют бюретку затворной жидкостью, при помощи крана 12 разъединяют измерительную бюретку с наружной атмосферой и соединяют с печью, затем открывают кран 4 для пуска кислорода в печь и приступают к повторному отбору смеси газа как описано выше. Время забора газа в эвдиометр, при дополнительном сжигании, уменьшают до 2 мин.

Объем первого и второго замеров двуокиси углерода суммируют и принимают за окончательный результат.

Объем поглощенной двуокиси углерода, определенный по шкале эвдиометра, пересчитывают, применяя поправочные коэффициенты, взятые из таблиц, прилагаемых к соответствующим анализаторам.

3.4. Обработка результатов

3.4.1. Массовую долю углерода (X) в процентах вычисляют по формуле

где m1 - масса навески, по которой отградуирована шкала эвдиометра, г; А - массовая доля углерода, найденная по шкале эвдиометра после поглощения двуокиси углерода при сжигании навески пробы, %; А1 - массовая доля углерода, найденная по шкале эвдиометра после поглощения двуокиси углерода в контрольном опыте, %; K - поправочный коэффициент на температуру газа в эвдиометре и атмосферное давление в момент проведения анализа, определяемые по таблице, прилагаемой к соответствующему газоанализатору; m - масса навески пробы, г.

3.4.2. Нормы точности и нормативы контроля точности определения массовой доли углерода приведены в табл. 4.

(Измененная редакция, Изм. № 1).

4. ИНФРАКРАСНО-АБСОРБЦИОННЫЙ МЕТОД

4.1. Сущность метода

Метод основан на сжигании навески ферросплава или металла в потоке кислорода при соответствующей температуре и определении количества образовавшейся двуокиси углерода путем измерения поглощенной ею инфракрасной радиации.

4.2. Аппаратура, реактивы и растворы

Автоматический анализатор, основанный на абсорбции инфракрасной радиации, любого типа. Плавень, поглотительный, вспомогательный растворы и вспомогательные материалы - в зависимости от типа применяемого анализатора.

4.3. Проведение анализа

Перед проведением анализа проводят градуировку прибора по стандартным образцам. Анализ проводят в зависимости от типа анализатора.

4.4. Обработка результатов

4.4.1. Массовую долю углерода определяют по цифровому указателю анализатора.

4.4.2. Нормы точности и нормативы контроля точности определения массовой доли углерода приведены в табл. 4.

(Измененная редакция, Изм. № 1).

 

ИНФОРМАЦИОННЫЕ ДАННЫЕ

1. РАЗРАБОТАН И ВНЕСЕН Министерством черной металлургии СССР

РАЗРАБОТЧИКИ

Н.П. ПОЗДЕЕВ, Н.А. ЧИРКОВ, В.Л. ЗУЕВА, Г.И. ГУСЕВА

2. УТВЕРЖДЕН И ВВЕДЕН В ДЕЙСТВИЕ ПОСТАНОВЛЕНИЕМ ГОСУДАРСТВЕННОГО КОМИТЕТА СССР ПО стандартам от 30.10.86 № 3338

Изменение № 2 принято Межгосударственным Советом по стандартизации, метрологии и сертификации 15.04.94 по переписке (отчет Технического секретариата № 2)

За принятие проголосовали:

Наименование государства

Наименование национального органа по стандартизации

Республика Беларусь

Госстандарт Беларуси

Республика Казахстан

Госстандарт Республики Казахстан

Республика Молдова

Молдовастандарт

Российская Федерация

Госстандарт России

Туркменистан

Главная государственная инспекция Туркменистана

Украина

Госстандарт Украины

3. ВЗАМЕН ГОСТ 13020.2-85, ГОСТ 13151.3-82, ГОСТ 13201.4-77, ГОСТ 13217.2-79, ГОСТ 13230.2-81, ГОСТ 14021.2-78, ГОСТ 14250.2-80, ГОСТ 14638.7-81, ГОСТ 14858.1-81, ГОСТ 15933.1-70, ГОСТ 16591.1-71, ГОСТ 16698.2-71, ГОСТ 17001.1-71, ГОСТ 21600.1-76, ГОСТ 21876.2-76

4. Стандарт соответствует СТ СЭВ 5284-85 в части определения углерода в ферросплавах, металлических хроме и марганце

5. ССЫЛОЧНЫЕ НОРМАТИВНО-ТЕХНИЧЕСКИЕ ДОКУМЕНТЫ

Обозначение НТД, на который дана ссылка

Номер пункта

Обозначение НТД, на который дана ссылка

Номер пункта

ГОСТ 860-75

2.2; 3.2

ГОСТ 6613-86

1.2

ГОСТ 3776-78

3.2

ГОСТ 9147-80

2.2, 3.2

ГОСТ 4140-74

2.2

ГОСТ 9656-75

2.2

ГОСТ 4199-76

2.2

ГОСТ 16539-79

2.2; 3.2

ГОСТ 4204-77

3.2

ГОСТ 20490-75

3.2

ГОСТ 4207-75

2.2

ГОСТ 23916-79

1.2

ГОСТ 4233-77

3.2

ГОСТ 24363-80

3.2

ГОСТ 4234-77

2.2

ГОСТ 28473-90

1.1

ГОСТ 4470-79

2.2, 3.2

 

 

6. Ограничение срока действия снято по протоколу № 2-92 Межгосударственного Совета по стандартизации, метрологии и сертификации (ИУС 2-93)

7. ПЕРЕИЗДАНИЕ (июнь 1999 г.) с Изменениями № 1, 2, утвержденными в октябре 1990 г., декабре 1995 г. (ИУС 6-90, 3-96)

 

СОДЕРЖАНИЕ

 

 



© 2013 Ёшкин Кот :-)