Used petroleum products. Method for the determination of water 

Информационная система
«Ёшкин Кот»

XXXecatmenu

МЕЖГОСУДАРСТВЕННЫЙ СТАНДАРТ

НЕФТЕПРОДУКТЫ ОТРАБОТАННЫЕ

Метод определения воды

Used petroleum products.
Method for the determination of water

ГОСТ
26378.1-84

Дата введения 01.01.87

Сущность метода заключается в определении теплового эффекта реакции гидратации сернокислой меди с водой, содержащейся в отработанном нефтепродукте.

1. АППАРАТУРА И РЕАКТИВЫ

Влагомер (приложение 1).

Воронка стеклянная № 3 по ГОСТ 25336 или полиэтиленовая диаметром 56 - 75 мм.

Мерник для реактива с ручкой (диаметр 22 мм, высота 26 мм).

Часы песочные ЧПН-1 или секундомер.

Термометр ТЛ-4 с ценой деления шкалы 0,1 °С и пределом измерения от 0 до 55 °С.

Медь сернокислая ч. или ч. д. а. по ГОСТ 4165, обезвоженная по ГОСТ 26378.0, п. 4.1.

Керосин, топливо дизельное по ГОСТ 305 или топливо для реактивных двигателей по ГОСТ 10227 любой марки, обезвоженные по ГОСТ 26378.0, п. 4.2.

(Измененная редакция, Изм. № 1).

2. ПОДГОТОВКА К ИСПЫТАНИЮ

2.1. Пробу нефтепродукта, предварительно выдержанную в одном помещении с влагомером или нагретую до комнатной температуры, тщательно перемешивают и наливают в стакан влагомера до метки. Стакан с пробой помещают в корпус влагомера, корпус закрывают крышкой и устанавливают термометр.

2.2. Ручной мешалкой, вмонтированной в крышку влагомера, перемешивают пробу два - три раза в секунду. Через каждую минуту записывают температуру пробы во влагомере с погрешностью не более 0,1 °С. Если температура остается неизменной 2 - 3 мин, ее принимают за начальную температуру испытания.

Если температура во влагомере растет, необходимо выдержать пробу при комнатной температуре еще 5 - 10 мин и повторить определение начальной температуры.

Во избежание нагрева влагомера от рук лаборанта при перемешивании пробы следует придерживать влагомер, слегка касаясь двумя пальцами края нижнего буртика корпуса.

2.1, 2.2. (Измененная редакция, Изм. № 1).

3. ПРОВЕДЕНИЕ ИСПЫТАНИЯ

3.1. Мерником набирают порцию (10,7 ± 0,3) г обезвоженной сернокислой меди и в течение 1 - 2 с высыпают его в пробу нефтепродукта при помощи воронки, вставленной в отверстие крышки влагомера. Закрывают отверстие пробкой.

Перемешивая пробу, записывают показания термометра в конце каждой минуты испытания.

Если температура не повышается и в течение 2 мин остается без изменения или начинает понижаться, записывают наивысшую температуру как конечную температуру испытания.

(Измененная редакция, Изм. № 1).

3.2. После определения воды верхний слой нефтепродукта допускается слить из стаканчика влагомера для последующего использования при определении условной вязкости и температуры вспышки.

3.3. При массовой доле воды более 6,0 % для нефтепродуктов без присадок и более 7,0 % - для нефтепродуктов с присадками для определения воды смешивают 50 см3 отработанного нефтепродукта и 50 см3 обезвоженного (по ГОСТ 26378.0) керосина, дизельного топлива или топлива для реактивных двигателей, полученную смесь заливают в стаканчик влагомера и проводят определение по пп. 2.2 - 3.1.

(Измененная редакция, Изм. № 1).

4. ОБРАБОТКА РЕЗУЛЬТАТОВ

4.1. Разность конечной и начальной температур испытания (Δt) в °С вычисляют по формуле

Δt = t2 - t1,

где t1 - начальная температура испытания, °С;

t2 -   конечная температура испытания, °С.

По полученной разности температур массовую долю воды в нефтепродуктах с присадками, нефтепродуктах неизвестных марок и их смесей находят по табл. 1 приложения 2, в нефтепродуктах без присадок - по табл. 2.

(Измененная редакция, Изм. № 1).

4.2. Если Δt превышает предельные значения, указанные в приложении, определение проводят с разбавлением по п. 3.3, при этом найденную по таблицам массовую долю удваивают.

4.3. (Исключен, Изм. № 1).

5. Точность метода

5.1. Сходимость

Два результата определений, полученные одним исполнителем, признаются достоверными (с 95 %-ной доверительной вероятностью), если расхождение между ними не превышает 0,20 %.

5.2. Воспроизводимость

Два результата испытаний, полученные в двух разных лабораториях, признаются достоверными (с 95 %-ной доверительной вероятностью), если расхождение между ними не превышает 1,0 %».

Разд. 5. (Введен дополнительно, Изм. № 1).

ПРИЛОЖЕНИЕ 1

Обязательное

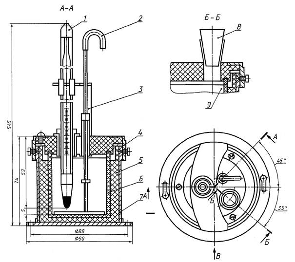
Влагомер

1 - термометр с муфтами; 2 - ручка мешалки; 3 - ручка крышки; 4 - крышка; 5 - термоизоляционный стакан;
6 - стакан влагомера; 7 - корпус; 8 - пробка; 9 - уплотнительное кольцо

ПРИЛОЖЕНИЕ 2

Обязательное

ОПРЕДЕЛЕНИЕ МАССОВОЙ ДОЛИ ВОДЫ

Таблица 1

Нефтепродукты с присадками

Δt, °С

Массовая доля воды, %

Δt, °С

Массовая доля воды, %

Δt, °С

Массовая доля воды, %

 

 

5,2

2,10

9,6

4,20

Менее 1,0

Отсутствие

5,4

2,20

9,8

4,30

1,2

0,30

5,6

2,30

10,0

4,40

1,4

0,40

5,8

2,40

10,2

4,50

1,6

0,50

6,0

2,50

10,4

4,60

1,8

0,60

6,2

2,60

10,6

4,70

2,0

0,70

6,4

2,70

10,8

4,80

2,2

0,80

6,6

2,80

11,0

5,00

2,4

0,90

6,8

2,90

11,2

5,10

2,6

1,00

7,0

3,00

11,4

5,20

2,8

1,10

7,2

3,10

11,6

5,30

3,0

1,20

7,4

3,20

11,8

5,50

3,2

1,25

7,6

3,30

12,0

5,60

3,4

1,30

7,8

3,40

12,2

5,80

3,6

1,40

8,0

3,50

12,4

5,90

3,8

1,50

8,2

3,60

12,6

6,00

4,0

1,60

8,4

3,65

12,8

6,20

4,2

1,70

8,6

3,70

13,0

6,30

4,4

1,80

8,8

3,80

13,2

6,50

4,6

1,85

9,0

3,90

13,4

6,70

4,8

1,90

9,2

4,00

13,6

6,90

5,0

2,00

9,4

4,10

13,7

7,00

Таблица 2

Нефтепродукты без присадок

Δt, °С

Массовая доля воды, %

Δt, °С

Массовая доля воды, %

Δt, °С

Массовая доля воды, %

Δt, °С

Массовая доля воды, %

 

 

5,0

1,80

9,6

3,40

14,2

5,00

0,6

Отсутствие

5,2

1,85

9,8

3,45

14,4

5,05

0,8

0,30

5,4

1,90

10,0

3,50

14,6

5,10

1,0

0,40

5,6

2,00

10,2

3,60

14,8

5,20

1,2

0,45

5,8

2,05

10,4

3,65

15,0

5,25

1,4

0,50

6,0

2,10

10,6

3,70

15,2

5,30

1,6

0,60

6,2

2,20

10,8

3,80

15,4

5,40

1,8

0,65

6,4

2,25

11,0

3,85

15,6

5,45

2,0

0,70

6,6

2,30

11,2

3,90

15,8

5,50

2,2

0,80

6,8

2,40

11,4

4,00

16,0

5,60

2,4

0,85

7,0

2,50

11,6

4,10

16,2

5,70

2,6

0,90

7,2

2,55

11,8

4,15

16,4

5,75

2,8

1,00

7,4

2,60

12,0

4,20

16,6

5,80

3,0

1,10

7,6

2,70

12,2

4,30

16,8

5,90

3,2

1,15

7,8

2,75

12,4

4,35

17,0

6,00

3,4

1,20

8,0

2,80

12,6

4,40

 

 

3,6

1,30

8,2

2,90

12,8

4,50

 

 

3,8

1,35

8,4

2,95

13,0

4,55

 

 

4,0

1,40

8,6

3,00

13,2

4,60

 

 

4,2

1,50

8,8

3,10

13,4

4,70

 

 

4,4

1,60

9,0

3,20

13,6

4,80

 

 

4,6

1,65

9,2

3,25

13,8

4,85

 

 

4,8

1,70

9,4

3,30

14,0

4,90

 

 

ПРИЛОЖЕНИЯ 1, 2. (Введены дополнительно, Изм. № 1).

ИНФОРМАЦИОННЫЕ ДАННЫЕ

1. РАЗРАБОТАН И ВНЕСЕН Государственным комитетом СССР по обеспечению нефтепродуктами

2. УТВЕРЖДЕН И ВВЕДЕН В ДЕЙСТВИЕ Постановлением Государственного комитета СССР по стандартам от 20.12.84 г. № 4756

3. ВВЕДЕН ВПЕРВЫЕ

4. ССЫЛОЧНЫЕ НОРМАТИВНО-ТЕХНИЧЕСКИЕ ДОКУМЕНТЫ

Обозначение НТД, на который дана ссылка

Номер раздела, пункта

ГОСТ 305-82

Разд. 1

ГОСТ 4165-78

Разд. 1

ГОСТ 10227-86

Разд. 1

ГОСТ 25336-82

Разд. 1

ГОСТ 26378.0-84

Разд. 1; 3.3

5. Ограничение срока действия снято Постановлением Госстандарта СССР от 03.04.91 № 433

6. ИЗДАНИЕ с Изменением № 1, утвержденным в апреле 1991 г. (ИУС 7-91)

СОДЕРЖАНИЕ

 

 



© 2013 Ёшкин Кот :-)