Информационная система
«Ёшкин Кот»

XXXecatmenu

ГОСУДАРСТВЕННЫЙ СТАНДАРТ СОЮЗА ССР

 

ИСТОЧНИКИ БЕТА-ИЗЛУЧЕНИЯ
РАДИОНУКЛИДНЫЕ ЗАКРЫТЫЕ

МЕТОДЫ ИЗМЕРЕНИЯ ПАРАМЕТРОВ

 

ГОСТ 26306-84

 

 

ГОСУДАРСТВЕННЫЙ КОМИТЕТ СССР ПО СТАНДАРТАМ

Москва

 

ГОСУДАРСТВЕННЫЙ СТАНДАРТ СОЮЗА ССР

ИСТОЧНИКИ БЕТА-ИЗЛУЧЕНИЯ РАДИОНУКЛИДНЫЕ ЗАКРЫТЫЕ

Методы измерения параметров

Sealed radionuclidic beta-radiation sources.
Methods of parameters measurement

ГОСТ
26306-84

Постановлением Государственного комитета СССР по стандартам от 25 октября 1984 г. № 3650 срок действия установлен

с 01.01.86

до 01.01.91

Несоблюдение стандарта преследуется по закону

Настоящий стандарт распространяется на закрытые радионуклидные источники бета-излучения (далее - источники) и устанавливает методы измерения основных радиационных параметров источников (далее - ОРП) в следующих диапазонах радиационных параметров и максимальной энергии бета-излучения:

внешнего излучения от 10 до 1 - 1·104 с-1 при максимальной энергии бета-излучения от 48 до 640 фДж (от 0,3 до 4,0 МэВ) - абсолютный метод;

внешнего излучения от 2 до 8·107 с-1 при максимальной энергии бета-излучения от 48 до 640 фДж (от 0,3 до 4,0 МэВ) - относительный метод;

внешнего излучения от 1·106 до 3·1012 с-1 при максимальной энергии бета-излучения от 32 до 570 фДж (от 0,2 до 3,5 МэВ) - абсолютный метод;

активности бета-излучающих радионуклидов 5 - 2·108 Бк при максимальной энергии бета-излучения 48 - 640 фДж (0,3 - 4,0 МэВ) - относительный метод;

мощности поглощенной дозы (МПД) 1·104 - 1 Гр·с-1 при максимальной энергии бета-излучения 16 - 640 фДж (0,1 - 4,0 МэВ) - абсолютный метод;

мощности поглощенной дозы 1,4·10-4 - 1,4·10-1 Гр·с-1 при максимальной энергии бета-излучения 16 - 640 фДж (0,1 - 4,0 МэВ ) - относительный метод.

Стандарт не распространяется на методы аттестации эталонных, образцовых и рабочих источников.

Термины, применяемые в стандарте, и определения по ГОСТ 25504-82 и ГОСТ 15484-81.

(Измененная редакция, Изм. № 1).

1. ИЗМЕРЕНИЕ ВНЕШНЕГО БЕТА-ИЗЛУЧЕНИЯ ИСТОЧНИКОВ МЕТОДОМ 2p-CЧEТA БЕТА-ЧАСТИЦ

1.1. Метод распространяется на плоские источники на электропроводящих подложках с внешним излучением 10 - 1·104 с-1. Диапазон максимальной энергии бета-частиц 48 - 640 фДж (0,3 - 4,0 МэВ). Диаметр подложки источников должен быть не более 35 мм, а высота источника вместе с защитным покрытием не должна превышать 2,0 мм. Толщина слоя радиоактивного вещества вместе с электропроводящим защитным покрытием не должна превышать 25 мг/см2.

1.2. Метод основан на регистрации внешнего бета-излучения источника в телесном угле 2p стерадиан с помощью пропорционального 2p-счетчика абсолютным методом.

1.3. Средства измерений, вспомогательные устройства

1.3.1. Измерительная установка с пропорциональным 2p-счетчиком бета-излучения (далее - установка) для измерения внешнего бета-излучения источников, удовлетворяющая следующим требованиям:

установка должна обеспечивать проведение измерений в телесном угле 2p стерадиан;

центр измеряемого источника должен совпадать с вертикальной осью симметрии источника;

установка должна обеспечивать сходимость результатов измерений в пределах ± 2 %;

протяженность пологого участка счетной характеристики (плато) установки должна быть не менее 100 В, наклон плато не должен превышать 2 % на 100 В;

эффективность регистрации бета-излучения на установке должна быть не ниже 99 %, а фон установки должен быть не более 5 имп·с-1.

Установка должна включать в себя следующие основные элементы:

блок детектора - пропорциональный 2p-счетчик;

высоковольтный стабилизированный источник питания с регулировкой напряжения в пределах 1,5 - 3,0 кВ, имеющий нестабильность выходного напряжения за 7 ч непрерывной работы не более 0,5 %, нестабильность при изменении напряжения сети на ± 10 % не более 0,5 %, пульсацию выходного напряжения не более 50 мВ на 1000 В;

блок линейного усилителя-дискриминатора амплитуд импульсов с минимальным порогом срабатывания по входу не более 0.05 мкА;

блок регистрации импульсов с разрешающим временем по двойным импульсам не более 1 мкс.

Приборы, входящие в установку, должны быть поверены в установленном порядке.

1.3.2. Контрольные или образцовые источники бета-излучения 2-го разряда с подложкой диаметром не более 35 мм, толщиной не более 2 мм, покрытые металлизированной пленкой, с внешним излучением в диапазоне 10 - 10·103 c-1, аттестованные в установленном порядке.

1.3.3. Два контрольных источника бета-излучения на одинаковых электропроводящих подложках диаметром 8 - 12 мм, активность радионуклида в которых обеспечивает скорость счета в 2p-счетчике установки в пределах 3·103 - 7·103 имп·с-1.

1.4. Условия проведения измерений

Измерения внешнего бета-излучения источника проводят в условиях, соответствующих рабочим условиям для используемой аппаратуры.

1.5. Подготовка к измерениям

1.5.1. Подготовку установки к проведению измерений проводят в соответствии с технической документацией на установку.

1.5.2. При вводе установки в эксплуатацию или после ее ремонта, при смене рабочего газа счетчика, но не реже раза в месяц, снимают счетную характеристику установки с использованием образцового или контрольного источника бета-излучения.

1.5.2.1. Помещают источник в счетчик установки и ступенями повышают напряжение на счетчике. Для каждого фиксированного напряжения три раза измеряют скорости счета импульсов с временем единичного измерения, выбираемым из условия

,                                                                  (1)

где Тс - время единичного измерения при фиксированном напряжении на счетчике, с;

 п - скорость счета импульсов установки, имп.·с-1.

1.5.2.2. Для каждого фиксированного значения напряжения рассчитывают среднее значение скорости счета импульсов. Если максимальное отклонение измеренного значения скорости счета от среднего при данном значении напряжения превышает 2%, измерения при этом значении напряжения повторяют.

1.5.2.3. Плато выделяют из условия, чтобы при напряжениях, соответствующих началу и концу плато, различие средних значений скорости счета не превышало 3 %.

1.5.2.4. Протяженность плато вычисляют по формуле

DVp = Vp2 - Vp1,                                                                                                       (2)

где DVp - протяженность плато, В;

Vp1, Vp2 - напряжения начала и конца плато соответственно, В.

1.5.2.5. Наклон плато вычисляют по формуле

,                                                  (3)

где Кр - наклон плато, %/В;

n1, n2 - скорости счета импульсов при напряжениях, соответствующих началу и концу плато, имп·с-1.

1.5.2.6. Рабочее напряжение 2p-счетчика вычисляют по формуле

Vp = 1/2 (Vp1+Vp2),                                                     (4)

где Vp - рабочее напряжение 2p-счетчика, В.

1.5.3. При вводе установки в эксплуатацию, после ее ремонта, а также при смене рабочего газа счетчика, но не реже раза в месяц, проверяют сходимость результатов измерений.

Сходимость результатов измерений, характеризуемую средним квадратическим отклонением (СКО) результата измерения, проверяют путем многократных (не менее 20 раз) измерений с одним и тем же образцовым источником бета-излучения при рабочем напряжении на 2p-счетчике. Оценку СКО результата измерения (S) проводят по СТ СЭВ 876-78. Значение S не должно быть более 2 %.

(Измененная редакция, Изм. № 1).

1.5.4. При вводе установки в эксплуатацию или после ее ремонта, а также при смене газа, но не реже двух раз в год, определяют «мертвое» время установки методом двух источников.

1.5.4.1. Помещают в 2p-счетчик установки источник № 1 по п. 1.3.3 и подложку. Измеряют скорость счета импульсов п1 при суммарном времени измерения не меньшем 1000 с.

Допускается делить суммарное время измерения Т на равные интервалы.

1.5.4.2. Заменяют подложку на источник № 2 по п. 1.3.3, не касаясь и не сдвигая источник № 1. Производят измерение скорости счета импульсов п1,2 при том же суммарном времени измерения Т.

1.5.4.3. Заменяют источник № 1 подложкой, не касаясь и не сдвигая источник № 2. Измеряют скорость счета импульсов при том же суммарном времени измерения Т.

1.5.4.4. «Мертвое» время установки и его погрешность вычисляют по формулам

;                                             (5)

;                                                       (6)

где t - «мертвое» время установки, с;

n1, n2, n1,2 - скорости счета импульсов, полученные при измерениях с источником № 1, источником № 2 и источниками № 1 и 2 вместе соответственно, имп·с-1;

δ(t) - абсолютная погрешность определения «мертвого» времени установки для доверительной вероятности 0,95, с;

Т - суммарное время измерений с каждым источником, с.

1.5.5. Перед началом измерений проверяют работу измерительной установки четырехкратным измерением скорости счета импульсов от образцового или рабочего источника бета-излучения.

1.6. Проведение измерений

1.6.1. При проведении измерений активности бета-излучающих нуклидов в источнике и внешнего бета-излучения источника должны быть выполнены следующие операции.

1.6.1.1. Проводят измерение фона ионизирующего излучения; минимальная длительность измерения фона Тф должна удовлетворять условию

,                                                           (7)

где Тф - суммарная длительность измерения фона, с;

n - скорость счета импульсов от источника вместе с фоном, имп·с-1;

nф - скорость счета импульсов фона, имп·с-1;

Sо - среднее квадратическое отклонение, обусловленное характером радиоактивного распада.

(Измененная редакция, Изм. № 1).

1.6.1.2. Помещают источник в 2p-счетчик и при времени экспозиции Тэ · m (m ³ 5), наблюдают показания регистрирующего устройства установки. Время экспозиции Тэ должно удовлетворять условию

,                                                        (8)

где Тэ - время экспозиции одного из m наблюдений с источником, с.

(Измененная редакция, Изм. № 1).

1.6.1.3. После окончания измерений с одним источником или с партией однотипных источников повторяют измерение фона по п. 1.6.1.1.

1.7. Обработка результатов

1.7.1. Статистическую обработку результатов измерений, расчет среднего значения скорости счета импульсов от источника и случайной погрешности проводят по ГОСТ 8.207-76.

1.7.2. Внешнее бета-излучение источника вычисляют по формуле

,                                                             (9)

где Фb - внешнее бета-излучение, с-1;

 - среднее арифметическое значение скорости счета импульсов от источника вместе с фоном, имп.·с-1;

 - скорость счета импульсов фона, усредненная по результатам измерений по пп. 1.6.1.1 и 1.6.1.3, имп.·с-1.

1.7.3. Доверительные границы суммарной погрешности результата измерения внешнего бета-излучения источника вычисляют по формуле

δо (Фb) = K · SΣ (Фb),                                                        (10)

где δо b) - доверительные границы суммарной погрешности результата измерения внешнего бета-излучения источника для вероятности 0,95, %;

K - коэффициент, зависящий от соотношения случайной и неисключенной систематической погрешностей результата измерения, рассчитываемый по ГОСТ 8.207-76;

SΣ b) - оценка суммарного СКО результата измерения внешнего бета-излучения источника, вычисляемая по формуле

,                                     (11)

где S () - оценка СКО результата измерения скорости счета импульсов от источника по п. 1.7.1; S () £ 3 %;

Θ1 - граница неисключенной систематической погрешности, связанной с отличием от нуля наклона плато и отличием от единицы эффективности регистрации бета-излучения 2p-счетчиком, %; Θ1 £ 3 %;

Θ2 - граница неисключенной систематической погрешности, связанной с погрешностью определения «мертвого» времени установки, %; Θ2 оценивают по формуле

,                                                   (12)

где δо (t) - относительная погрешность определения «мертвого» времени установки для доверительной вероятности 0,95; Θ2 £ 0,5 %;

Θ3 - граница неисключенной систематической погрешности, связанной с нестабильностью фона установки, %; Θ3 оценивают по формуле

,                                               (13)

где nф1, nф2 - скорость счета импульсов фона, измеренная соответственно в начале и в конце измерений с источником или партией источников, имп.·с-1; Θ3 £ 3 % для Фb £ 102 с-1; Θ3 £ 1 % для Фb > 102 с-1.

Доверительные границы суммарной погрешности результата измерений внешнего бета-излучения источника для доверительной вероятности 0,95 должны быть в пределах ± 7 % для Фb \ > 102 с-1 и ± 9 % для Фb £ 102 с-1.

Значение параметра следует приводить с тремя, погрешности - с двумя значащими цифрами.

2. ИЗМЕРЕНИЕ АКТИВНОСТИ БЕТА-ИЗЛУЧАЮЩИХ РАДИОНУКЛИДОВ И ВНЕШНЕГО БЕТА-ИЗЛУЧЕНИЯ ИСТОЧНИКА МЕТОДОМ ЗАМЕЩЕНИЯ

2.1. Метод распространяется на источники на плоских подложках с площадью рабочей поверхности не более 160 см2. Диапазон измеряемой активности 5 - 2·108 Бк, внешнего бета-излучения 2 - 8·107 с-1. Диапазон максимальной энергии бета-частиц 48 - 640 фДж (0,3 - 4,0 МэВ).

Максимальные размеры прямоугольных подложек не должны превышать 135 ´ 185 мм2, а максимальный диаметр круглых подложек не должен быть более 143 мм. Высота источника вместе с защитным покрытием не должна быть более 2,0 мм, а толщина активности слоя вместе с электропроводящим покрытием не должна превышать 25 мг/см2.

Метод может быть использован лишь при наличии однотипных по конструкции и составу радионуклидов образцовых источников, аттестованных в соответствии с ГОСТ 8.033-74.

2.2. Активность бета-излучающих радионуклидов и внешнего бета-излучения источника измеряют с помощью измерительной установки методом замещения контролируемого источника образцовым или рабочим, однотипным с измеряемым, с одинаковой площадью рабочей поверхности в идентичных геометрических условиях.

Основой метода является измерение скорости счета импульсов от образцового (рабочего) и контролируемого источников при многократной смене этих источников.

2.3. Средства измерений и вспомогательные устройства

2.3.1. Набор образцовых или рабочих источников бета-излучения, однотипных по конструкции и по составу радионуклидов с контролируемыми источниками, аттестованных в установленном порядке.

2.3.2. Измерительная установка с газоразрядными или сцинтилляционными блоками детектирования, предназначенная для относительных измерений активности бета-излучающих радионуклидов в диапазоне 5 - 2·108 Бк и внешнего излучения от 2 до 8·107 с-1. Детекторы бета-излучения позволяют измерять активность и внешнее излучение источников с площадью рабочей поверхности не более 160 см2. Максимальный уровень собственного фона установки не должен превышать 5 имп.·с-1 при площади источников до 10 см2 и 15 имп.·с-1 при площади источников более 10 см2;

нелинейность градуировочной характеристики установки не должна превышать 3 %;

нестабильность показаний установки в течение 24 ч должна быть не более 3 %.

Установка должна быть поверена в установленном порядке.

2.3.3. Сетки-коллиматоры, предназначенные для снижения нагрузки на детектор.

2.4. Условия измерений - по п. 1.4.

2.5. Подготовка и проведение измерений

2.5.1. Подготовка установки к работе должна быть проведена в соответствии с технической документацией на приборы, входящие в ее состав.

2.5.2. Из набора образцовых или рабочих источников бета-излучения подбирают источник, близкий к контролируемому по технологии изготовления, составу радионуклидов, имеющий одинаковую с последним площадь рабочей поверхности.

При активности нуклидов в контролируемом и образцовом (рабочем) источниках более 1 кБк допускается различие значений активности нуклидов в образцовом (рабочем) и контролируемом источниках не более чем в десять раз, при активности нуклидов менее 1 кБк - не более чем в сто раз.

2.5.3. Измеряют скорость счета импульсов фона (nф), для чего в установку помещают чистую подложку, аналогичную подложке источника. Время измерения фона выбирают в интервале 100 - 1000 с.

2.5.4. В установку вместо чистой подложки помещают образцовый (рабочий) источник бета-излучения и измеряют скорость счета импульсов от этого источника (nо).

2.5.5. В установку вместо образцового (рабочего) источника помещают контролируемый источник бета-излучения и измеряют скорость счета импульсов от этого источника (пк).

2.5.6. Операции измерений по пп. 2.5.3 - 2.5.5 повторяют m раз и получают ряд значений скорости счета nф1, nо1, nк1, nф2, nо2; nк2; …; nфm, nоm, nкm. Число m выбирают, исходя из требуемой точности измерений, установленной в нормативно-технической документации на источник.

Допускается измерять фон в начале и в конце серии измерений в случае стабильности фона и отсутствия влияния на установку посторонних источников излучения.

2.6. Обработка результатов

2.6.1. Для каждой i-й серии измерений вычисляют отношение скоростей счета с учетом поправок на фон и на просчеты из-за «мертвого» времени установки по формуле

,                                                    (14)

где nоi - результат i-го измерения скорости счета импульсов с образцовым (рабочим) источником, имп·с-1;

nкi - результат i-го измерения скорости счета импульсов с контролируемым источником, имп ·с-1;

nфi - результат i-го измерения скорости счета импульсов фона, имп·с-1;

t - «мертвое» время установки.

2.6.2. Вычисляют среднее арифметическое значение отношений скоростей счета импульсов для mс серий измерений по формуле

,                                                              (15)

где  - среднее арифметическое отношений скоростей счета импульсов от контролируемого и образцового источников;

ξi - отношение скоростей счета импульсов для i-й серии, рассчитанное по формуле (14);

mс - число серий измерений.

2.6.3. Активность бета-излучающих нуклидов в источнике вычисляют по формуле

Ак = Ао · ,                                                             (16)

где Ак - активность бета-излучающих нуклидов в источнике, Бк;

Ао - активность бета-излучающих нуклидов в образцовом (рабочем) источнике, Бк.

2.6.4. Внешнее бета-излучение источника вычисляют по формуле

Фbк = Фbo · ,                                                          (17)

где Фbк - внешнее бета-излучение источника, с-1;

Фbo - внешнее бета-излучение образцового (рабочего) источника, с-1.

2.6.5. Вычисляют СКО среднего значения отношений скоростей счета импульсов по формуле

,                                    (18)

где S () - СКО среднего арифметического значения отношений ξi, %.

2.6.6. Оценку границ доверительной погрешности результата измерения активности нуклидов или внешнего бета-излучения источника проводят в соответствии с ГОСТ 8.207-76, считая погрешность аттестации образцового (рабочего) источника одной из составляющих систематической погрешности. Оценку проводят по формуле

δo = K · SΣ ,                                                                (19)

где δo - граница суммарной погрешности результата измерения для доверительной вероятности 0,95, % ;

SΣ - оценка суммарного СКО результата измерения, %, вычисляемая по формуле

,                                              (20)

где θо - погрешность атттестации образцового источника;

θ4 - граница неисключенной систематической погрешности, связанной с нестабильностью показаний установки, %; θ4 £ 3 %;

θ5 - граница неисключенной систематической погрешности, связанной с неточностью определения поправки на «мертвое» время установки, %; θ5 £ l %;

θ6 - граница неисключенной систематической погрешности, связанной с неидентичностью образцового (рабочего), контролируемого источников и неравномерностью чувствительности детектора, %; θ6 £ 4 %;

θ7 - граница неисключенной систематической погрешности, связанной с нестабильностью фона установки, %; θ7 £ 7 % при активности нуклидов в источнике от 5 до 20 Бк; θ7 £ 2 % при активности нуклидов в источнике от 20 до 50 Бк; θ7 £ 0,5 % при активности нуклидов в источнике более 50 Бк.

Доверительные границы погрешности результата измерения активности бета-излучающих нуклидов в источнике для доверительной вероятности 0,95 должны быть в пределах ± 16 % для А £ 20 Бк и в пределах ± 12 % для А > 20 Бк при использовании образцового (рабочего) источника, аттестованного с погрешностью 10 % при доверительной вероятности 0,99.

Значение параметра следует приводить с тремя, погрешности - с двумя значащими цифрами.

2.7. При массовых измерениях с близкими по значениям активности источниками одного типа допускается проводить измерения с партией источников с заранее заданной погрешностью, не превосходящей 25 % для доверительной вероятности 0,95. Уровень просчетов установки не должен превышать 3 %.

2.7.1. Подготовка к измерению

2.7.1.1. Подготовка установки к измерениям должна быть проведена в соответствии с технической документацией на приборы, входящие в ее состав.

2.7.1.2. При вводе установки в эксплуатацию или после ее ремонта определяют градуировочные коэффициенты установки с использованием образцового источника по п. 2.3.1. Длительность измерений образцового источника должна удовлетворять условию (8), где S0 равно 4 %. Скорость счета импульсов фона определяют по п. 2.5.3 до и после градуировки установки; для расчетов используют среднее арифметическое полученных значений. Длительность измерения фона должна удовлетворять условию (7), где S0 равно 4 %.

Градуировочные коэффициенты установки вычисляют по формулам

;                                                            (21)

;                                                          (22)

где L - градуировочный коэффициент установки для внешнего бета-излучения источника, 1/имп.;

М - градуировочный коэффициент установки для активности бета-излучающих радионуклидов в источнике, Бк·с/имп.;

Фbо - внешнее бета-излучение образцового (рабочего) источника, с-1;

Аo - активность бета-излучающих радионуклидов в образцовом источнике, Бк,

no, nф - среднее арифметическое значение скорости счета от образцового (рабочего) источника и при измерениях фона по п. 2.5.6.

(Измененная редакция, Изм. № 1).

2.7.2. Проведение измерений

2.7.2.1. Перед началом измерений и после их окончания проверяют градуировочные коэффициенты установки с помощью образцового источника по п. 2.3.1. Скорость счета импульсов при проверке измеряют не менее четырех раз с суммарной длительностью измерений, удовлетворяющей условию (8), где Sо равно 4 %. Фон установки измеряют не менее четырех раз с суммарной длительностью измерений, удовлетворяющей условию (7), где Sо равно 4 %. Если получаемые при проверке перед началом (в конце) измерений значения градуировочных коэффициентов отличаются от значений, полученных при градуировке установки не более чем на 5 %, то приступают к измерениям (обработке результатов измерений). В противном случае градуировку установки и измерения проводят заново.

(Измененная редакция, Изм. № 1).

2.7.2.2. Измерение с контролируемым источником проводят при суммарной длительности, удовлетворяющей условию (8), где Sо равно 4 %.

При измерении фон измерительной установки проверяют не менее трех раз за 7 - 8 ч непрерывной работы; минимальная длительность измерения фона должна удовлетворять условию (7), где Sо равно 4 %.

Среднее квадратическое отклонение (Sк) результата измерений с контролируемым источником, вычисленное по ГОСТ 8.207-76, не должно превышать 3 %.

(Измененная редакция, Изм. № 1).

2.7.3. Обработка результатов

2.7.3.1. Значения внешнего бета-излучения источника и активности бета-излучающих радионуклидов в источнике вычисляют по формулам

Фb = L(- ) ;                                                            (23)

А = М(- ),                                                              (24)

где  - среднее арифметическое значение скорости счета от контролируемого источника в измерениях по п. 2.7.2.2.

2.7.3.2. Доверительные для вероятности 0,95 границы погрешности измерения внешнего бета-излучения источника и активности бета-излучающих радионуклидов в источнике оценивают по формуле (19), в которой принимают

,                                   (25)

где So, Sк - оценки СКО измерения активности или внешнего бета-излучения образцового и контролируемого источника соответственно, θ4 £ 5 %;

θ8 - граница неисключенной систематической погрешности, связанной с просчетами радиометрической установки, %, θ8 £ 3 %.

Доверительные границы погрешности результата измерения активности бета-излучающих радионуклидов в источнике и внешнего излучения источника для вероятности 0,95 должны быть в пределах ± 25 %.

Значение параметра следует приводить с двумя, погрешности - с одной значащими цифрами.

(Измененная редакция, Изм. № 1).

3. ИЗМЕРЕНИЕ ВНЕШНЕГО БЕТА-ИЗЛУЧЕНИЯ НА УСТАНОВКЕ С ЦИЛИНДРОМ ФАРАДЕЯ

3.1. Метод распространяется на источники с максимальной энергией бета-излучения от 200 до 3540 кэВ и внешним излучением в диапазоне 1·105 - 3·1012 с-1.

(Измененная редакция, Изм. № 1).

3.2. Метод измерений

Внешнее бета-излучение источника измеряется абсолютным методом. Поток бета-частиц, выходящий из радионуклидного источника, помещенного в вакууммированный кожух цилиндра Фарадея, падает на массивный электрод, изолированный от земли, и сообщает ему заряд. Электрод выполнен в виде цилиндрического стакана из алюминия толщиной 10 мм. Интенсивность потока бета-частиц через рабочую поверхность источника (внешнее излучение) измеряют по току, стекающему с электрода, с помощью вольтметра постоянного тока (электрометра). Число бета-частиц, выходящее через рабочую поверхность источника, вычисляют по формуле

,                                                                     (26)

где N - число бета-частиц;

l - ток цилиндра Фарадея, А;

е - заряд электрона, равный 1,602·10-19 Кл.

Относительная погрешность измерения внешнего бета-излучения с доверительной вероятностью 0,95 указанным методом не должна превышать 12 % в диапазоне внешнего излучения 1·105 - 3·1012 с-1.

(Измененная редакция, Изм. № 1).

3.3. Средства измерений и вспомогательные устройства

3.3.1. Цилиндр Фарадея (см. справочные приложения 1, 2), предназначенный для абсолютных измерений внешнего бета-излучения в диапазоне 1·105 - 3·1012 с-1.

3.3.2. Вольтметр постоянного тока (см. справочное приложение 1).

3.3.3. Вакуумметр.

3.3.4. Образцовый источник внешнего бета-излучения второго разряда с радионуклидом стронций-90 с внешним излучением не ниже 106 с-1. Измеренное значение внешнего излучения не должно отличаться от значения, указанного в свидетельстве о поверке, более чем на 10 %.

3.4. Условия измерений

3.4.1. Измерение внешнего бета-излучения источников проводят в условиях, соответствующих рабочим условиям для используемой аппаратуры.

3.4.2. При проведении измерений должны соблюдаться следующие условия:

отсутствие толчков, вибрация постоянных и переменных электрических и магнитных полей напряженностью более 0,1 В·м-1 и 0,1 А·м-1;

остаточное давление воздуха в цилиндре Фарадея не должно быть более 6,6 Па;

сопротивление изоляции измерительного электрода от корпуса цилиндра Фарадея должно быть не менее 104 Ом.

3.5. Подготовка и проведение измерений

3.5.1. Подготовка установки к измерению должна быть проведена в соответствии с технической документацией на приборы, входящие в ее состав.

3.5.2. Образцовые источники устанавливают на подставку внутри цилиндра Фарадея так, чтобы активная часть источника была обращена в сторону измерительного электрода, а между корпусом источника и подставкой был электрический контакт.

3.5.3. Герметизируют цилиндр Фарадея и откачивают его форвакуумным насосом до остаточного давления 6,6 Па, которое измеряют вакуумметром.

3.5.4. По достижении указанного давления в зависимости от значения внешнего излучения источника выбирают один из пределов измерения тока электрометра так, чтобы использовалась большая часть шкалы прибора.

3.5.5. Измерения проводят в соответствии с п. 3.5.3. Число измерений тока m выбирают в зависимости от требуемой погрешности измерений, но не менее пяти.

3.5.6. Вынимают образцовый источник, вновь герметизируют цилиндр Фарадея и в режиме измерения заряда за 100 с измеряют значение фонового тока при остаточном давлении в цилиндре Фарадея не более 6,6 Па.

3.5.7. Внешнее излучение контролируемого источника измеряют в соответствии с пп. 3.5.2 - 3.5.5.

3.6. Обработка результатов

3.6.1. Обработку результатов измерений внешнего бета-излучения источника выполняют по ГОСТ 8.207-76.

3.6.2. Внешнее бета-излучение источника рассчитывают по формуле (26).

3.6.3. Значение измеренного тока вычисляют по формуле

Iизм = Iш - Iф,                                                                  (27)

где Iизм - измеренный ток, А;

Iш - ток по шкале электрометра, А;

Iф - фоновый ток, определенный в соответствии с п. 3.5.6, А.

(Измененная редакция, Изм. № 1).

3.6.4. При внешнем излучении в диапазоне 1·105 - 3·1012 с-1 случайной погрешностью измерения тока в суммарной погрешности можно пренебречь.

(Измененная редакция, Изм. № 1).

3.6.5. В диапазоне внешнего излучения 1·105 - 3·1012 с-1 погрешность результата определяется основной погрешностью электрометра, составляющей в соответствующем диапазоне измерений тока ± 10 % (Р = 0,95) и остатком неисключенных систематических погрешностей, не превышающих 5 % (Р = 0,95). Границы суммарной погрешности результата измерений вычисляют по формуле

,                                                             (28)

где δ0 - граница суммарной погрешности результата измерений;

Θ1 - основная погрешность электрометра;

Θ2 - остаток неисключенной систематической погрешности (< 5 %).

Суммарная относительная погрешность измерения внешнего излучения в диапазоне 1·105 - 3·1012 с-1 не должна превышать 12 %.

Значение параметра следует приводить с тремя, погрешности - с двумя значащими цифрами.

(Измененная редакция, Изм. № 1).

3.7. Массовые измерения внешнего излучения источников допускается проводить на измерительной установке с ионизационной камерой, проградуированной по внешнему излучению с помощью установки с цилиндром Фарадея.

3.7.1. Средства измерений и вспомогательные устройства

Измерительная установка, предназначенная для относительных измерений внешнего излучения, состоит из:

плоскопараллельной ионизационной камеры с диаметром электродов (280 ± 2) мм;

нижнего собирающего электрода, выполненного в виде кольца с сеткой из металлической проволоки диаметром 0,15 - 0,25 мм, и расстоянием между звеньями (10 ± 1) мм.

Внутренний диаметр кольца составляет (250 ± 2) мм, межэлектродное расстояние (100 ± 1) мм. Измерительный прибор - электронный потенциометр; источник питания ионизационной камеры - стабилизированный высоковольтный выпрямитель, обеспечивающий подачу напряжения на высоковольтный электрод ионизационной камеры (4500 ± 100) В.

Примечание. Размеры приведены как справочные.

3.7.2. Подготовка к измерениям

3.7.2.1. Подготовка установки к измерениям должна быть проведена в соответствии с технической документацией на приборы, входящие в ее состав.

3.7.2.2. Перед проведением измерений вычисляют цену деления шкалы потенциометра по току для различных диапазонов измерения по формуле

,                                                                    (29)

где i - цена деления шкалы, А/дел.;

и - предельное значение шкалы, В;

R - значение сопротивления входного резистора диапазона, Ом;

N - число делений шкалы.

Для каждого типа контролируемых источников определяют значение переходного коэффициента от силы ионизирующего тока, отданного внешним излучением источника в объеме ионизационной камеры, к внешнему излучению. Для этого не менее, чем у 10 источников каждого типа измеряют значение внешнего излучения на установке с цилиндром Фарадея и значение силы ионизационного тока на установке с ионизационной камерой.

3.7.2.3. При измерении на установке с ионизационной камерой источник устанавливают в положение для измерения под нижним собирающим электродом камеры рабочей поверхностью в сторону рабочего объема камеры на расстоянии не более 10 мм от нижнего электрода. Силу ионизационного тока измеряют не менее 5 раз, каждый раз убирая и вновь устанавливая источник в положение для измерений.

3.7.2.4. Убирают источник и измеряют силу фонового тока на ионизационной камере.

3.7.2.5. Значение переходного коэффициента вычисляют по формуле

,                                                           (30)

где Kи - значение переходного коэффициента, (с·деление·А)-1;

 - значение внешнего излучения mи-го источника, с-1;

 - среднее арифметическое значение показаний потенциометра при измерении с mи-м источником, деления шкалы;

 - показания потенциометра, соответствующие фоновому току, деления шкалы.

(Измененная редакция, Изм. № 1).

3.7.2.6. Доверительные границы суммарной погрешности результата определения переходного коэффициента при вероятности 0,95 вычисляют по формуле. Они должны быть в пределах ± 20%

,                                            (31)

где δ (Kп) - доверительные границы суммарной погрешности результата определения переходного коэффициента при вероятности 0,95, %;

S (Kп) - среднее квадратическое отклонение среднего значения переходного коэффициента, %;

Θ1 - граница неисключенной систематической погрешности, обусловленной погрешностью измерения внешнего излучения источников на установке с цилиндром Фарадея, %; Θ1 £ 12 %;

Θ2 - граница неисключенной систематической погрешности, обусловленной погрешностью измерения силы ионизационного тока электронным потенциометром, %; Θ2 < 5%.

Переходные коэффициенты определяются вновь при изменении технологии изготовления источников, их конструкции, при изменении конструкции ионизационной камеры, геометрических условий измерения на установке с ионизационной камерой.

Допускается определять среднее значение переходного коэффициента для нескольких типов источников, изготовленных на основе одного или различных бета-излучающих радионуклидов.

(Измененная редакция, Изм. № 1).

3.7.3. Проведение измерений

3.7.3.1. Контролируемый источник устанавливают в положение для измерения и не менее двух раз измеряют силу ионизационного тока, каждый раз убирая и вновь устанавливая источник в положение для измерения.

3.7.3.2. Убирают источник и измеряют силу фонового тока на ионизационной камере.

3.7.4. Обработка результатов

3.7.4.1. Значение внешнего излучения источника вычисляют по формуле

Ф = Kп · (- ),                                                        (32)

где Ф - значение внешнего излучения источника, с-1;

 - среднее арифметическое значение показаний потенциометра при измерениях по п. 3.7.3.2.

3.7.4.2. Доверительные границы суммарной погрешности результата измерения внешнего излучения источника при вероятности 0,95 вычисляют по формуле (33). Они должны быть в пределах ± 25 %.

,                                                   (33)

где δ (Ф)  - доверительные границы суммарной погрешности результата измерения внешнего излучения источника при вероятности 0,95, %.

 Значение результата измерения следует приводить с двумя, погрешности - с одной значащими цифрами.

(Измененная редакция, Изм. № 1).

4. ИЗМЕРЕНИЕ МОЩНОСТИ ПОГЛОЩЕННОЙ ДОЗЫ БЕТА-ИЗЛУЧЕНИЯ С ПОМОЩЬЮ ЭКСТРАПОЛЯЦИОННОЙ КАМЕРЫ

4.1. Метод распространяется на радионуклидные источники бета-излучения медицинского и общетехнического назначения, имеющие плоскую форму рабочей поверхности. Стандарт устанавливает метод и средства измерения мощности поглощенной дозы (МПД) бета-излучения в тканеэквивалентном веществе от 1·10-5 до 1 Гр·с-1 (от 1·10-3 до 100 рад·с-1) в направлении, перпендикулярном к плоскости активной поверхности источника.

Диапазоны энергий бета-частиц 16 - 640 фДж (0,10 - 4,0 МэВ).

Площадь активной поверхности от 0,25 до 100 см2.

Метод измерения МПД бета-излучения с применением экстраполяционной камеры должен использоваться при невозможности применения относительных методов измерения МПД; при этом аппаратура, осуществляющая этот метод, должна быть проверена в соответствии с ГОСТ 8.035-82.

4.2. Средства измерений и вспомогательные устройства

4.2.1. При проведении измерений следует применять следующие измерительные установки, средства измерений и устройства:

экстраполяционную ионизационную тканеэквивалентную камеру плоскопараллельного типа;

электроизмерительное устройство, позволяющее измерять силу постоянного тока обеих полярностей в диапазоне 1·10-13 - 1·10-9 с погрешностью не более ± 5 %;

устройство для установки радионуклидных источников бета-излучения в положение для измерения на заданном расстоянии от плоскости рабочей поверхности источника (или от наружной поверхности ампулы источника), позволяющее изменять расстояние и измерять изменение расстояния с погрешностью не более ± 0,02 мм;

источник постоянного напряжения для питания экстраполяционной камеры, обеспечивающий изменение напряжения обеих полярностей в диапазоне 5 - 300 В при стабильности не менее ± 0,05 %.

4.2.2. Условия измерения должны контролироваться в процессе измерений следующими приборами:

барометром-анероидом;

психрометром аспирационным;

термометром с ценой деления 1 °С, со шкалой от 1 до 100 °С.

(Измененная редакция, Изм. № 1).

4.3. Метод измерений

4.3.1. МПД бета-излучения следует измерять ионизационным методом с использованием тканеэквивалентной экстраполяционной камеры путем регистрации значений силы ионизационного тока в камере при нескольких последовательно увеличивающихся расстояниях между электродами камеры (например, от 0,3 до 1,0 мм) для обеих полярностей напряжения на камере.

Напряженность электрического поля в камере должна быть не менее 500 В·см-1.

По измеренным значениям тока определяют средние арифметические значения тока для каждого расстояния между электродами камеры по формуле

,                                                             (34)

где - среднее арифметическое значение тока, А;

I′, I" - измеренные значения тока при положительной и отрицательной полярностях напряжения соответственно, А.

Методом линейной регрессии рассчитывают значение удельной силы тока (значение силы тока на единицу объема камеры) и по соотношению Брегга-Грея определяют значение МПД бета-излучения в тканеэквивалентном материале.

(Измененная редакция, Изм. № 1).

Примечание. Материалами электродов камеры служат полиметилметакрилат и полиэтилен, которые могут рассматриваться как тканеэквивалентные материалы для электронов с энергией от 20 до 3500 кэВ.

4.3.2. Измерение МПД бета-излучения на заданном расстоянии от источника проводят с помощью экстраполяционной камеры на глубине в тканеэквивалентном фантоме за слоем с поверхностной плотностью 70 г·м-2 (7 мг·см-2).

Примечание. При определении распределения поглощенной дозы бета-излучения в фантоме измерения могут выполняться за слоем тканеэквивалентного вещества с поверхностной плотностью от 5 до 1000 г·м-2 (от 0,5 до 100 мг·см-2).

4.4. Условия измерений

4.4.1. При проведении измерений на установке с экстраполяционной камерой должны соблюдаться следующие условия:

температура окружающей среды (293 ± 5) К [(20 ± 5)°С];

атмосферное давление от 96 до 104 кПа;

относительная влажность окружающего воздуха (65 ± 15) %.

Примечание. Допускается проводить измерения при других значениях температуры и давления, но результаты измерения должны быть приведены к нормальным условиям: температура 293 К, атмосферное давление 101,3 кПа.

4.4.2. В помещении, где проводят измерения, мощность экспозиционной дозы (МЭД) постороннего гамма-излучения не должна превышать 2·10-3 А·кг-1 (0,8 мкР·с-1).

(Новая редакция, Изм. № 1).

4.4.3. Перед началом измерений следует провести контроль измеряемого источника бета-излучения на отсутствие радиоактивных загрязнений.

4.5. Подготовка и проведение измерений

4.5.1. При подготовке к измерениям следует выполнить следующие операции.

4.5.1.1. Опробование измерительной установки:

включение установки и ее прогрев в соответствии с порядком, установленным технической документацией на нее и на входящие в ее состав измерительные средства и источники питания;

проверка исправности вспомогательных устройств;

проверка отсутствия тока утечки камеры.

4.5.1.2. Устанавливают на расстоянии 1 - 2 мм источник бета-излучения.

4.5.1.3. Выбирают измерительный электрод камеры, площадь которого должна быть меньше площади активной поверхности источника. Устанавливают нужную толщину дополнительного фильтра потенциального электрода камеры так, чтобы общая толщина фильтра и электрода соответствовала заданному значению толщины слоя тканеэквивалентного вещества в фантоме от 0,5 до 100 Mг·см-2.

4.5.1.4. Устанавливают минимальное начальное расстояние между электродами камеры, допускаемое конструкцией экстраполяционной камеры.

4.5.2. Измерение МПД бета-излучения проводят в указанной ниже последовательности:

проводят n-кратные (n = 5 ÷ 7) измерения силы ионизационного тока в камере при обеих полярностях напряжения на камере и начальном расстоянии между электродами камеры;

увеличивают расстояние между электродами камеры и вновь проводят измерение силы тока при разных полярностях напряжения на камере. При измерениях используют 5 - 7 значений расстояний между электродами. Результаты измерений фиксируют в журнале наблюдений;

вычисляют значения силы тока по формуле (34).

(Измененная редакция, Изм. № 1).

4.6. Обработка результатов

4.6.1. Обработку результатов измерений МПД бета-излучения радионуклидного источника выполняют по ГОСТ 8.207-76.

4.6.2. По данным измерений строят график зависимости силы тока от расстояния между электродами камеры. Измеренные значения силы тока должны незначительно отклоняться от прямолинейной зависимости.

4.6.3. Значения МПД бета-излучения в тканеэквивалентном веществе вычисляют по формуле

,                                              (35)

где Р - мощность поглощенной дозы, Гр·с-1;

I/d - удельная сила тока камеры, определенная методом линейной регрессии, равная приращению силы тока на единицу расстояния между электродами, А·м-1;

ε - средняя энергия ионообразования в воздухе, равная 33,85 Дж-Кл-1;

SM - значение относительных массовых тормозных способностей тканеэквивалентного вещества и воздуха для электронов. Значение SM для источников на основе радионуклидов стронций-90 + иттрий-90, прометий-147 и таллий-204 следует считать равными 1,114; 1,15 и 1,14 соответственно;

F - площадь измерительного электрода камеры, м2;

ρ20 - значение плотности сухого атмосферного воздуха (при температуре 293 К принимают равным 1,205 кг·м3);

Т - температура воздуха, К;

H - атмосферное давление, кПа.

(Измененная редакция, Изм. № 1).

4.6.4. Поправка на влажность атмосферного воздуха в диапазоне относительной влажности (60 ± 15) % принимается равной 1,000.

4.6.5. Оценку среднего квадратического отклонения кривой регрессии вычисляют по формуле

,                          (36)

где Sр - среднее квадратическое отклонение;

 - отклонение измеренного значения силы тока ионизации от расчетного методом линейной регрессии для расстояния di между электродами камеры;

пd - число точек, соответствующих различным расстояниям (di) между электродами, при которых проводились измерения силы тока;

, - средние арифметические значения силы тока и расстояния, полученные по всем nd измерениям.

(Измененная редакция, Изм. № 1).

4.6.6. Оценку среднего квадратического отклонения для силы ионизационного тока при каждом расстоянии di при измерении времени компенсации вычисляют по формуле

,                               (37)

где Si - среднее квадратическое отклонение силы ионизационного тока;

Ii - значение силы тока, измеренного при расстояниях di;

 - среднее арифметическое значение силы тока по всем n измерениям.

(Измененная редакция, Изм. № 1).

4.6.7. Неисключенную систематическую погрешность вычисляют по формуле

,                                                               (38)

где Θ0 - неисключенная систематическая погрешность результата измерений;

Θi -отдельные составляющие систематической погрешности.

4.6.8. Границы погрешностей результата измерений определяют по формуле

,                                                    (39)

где К - коэффициент Стьюдента, соответствующий числу измерений при доверительной вероятности 0,95.

Предел допускаемой погрешности измерений не должен превышать 7 %. Значение параметра следует приводить с тремя, погрешности - с двумя значащими цифрами.

(Измененная редакция, Изм. № 1).

5. СЦИНТИЛЛЯЦИОННЫЙ МЕТОД ОТНОСИТЕЛЬНЫХ ИЗМЕРЕНИЙ МОЩНОСТИ ПОГЛОЩЕННОЙ ДОЗЫ БЕТА-ИЗЛУЧЕНИЯ

5.1. Метод распространяется на источники медицинского и общетехнического назначения с максимальной энергией бета-частиц от 0,10 до 4,0 МэВ в диапазоне МПД 1,4·10-4 - 1,4·10-1 Гр·с-1 (50 - 50000 рад·ч-1). МПД измеряют как непосредственно на поверхности источников, так и на расстоянии 4 см от поверхности источников; площадь активной поверхности плоских источников от 0,25 до 100 см2.

5.2. Средства измерений и вспомогательные устройства

Блок-схема установки для измерения МПД относительным методом приведена в рекомендуемом приложении 3 и состоит из:

сцинтиляционного дозиметра;

микроамперметра;

набора образцовых источников, аттестованных по МПД.

Измерительная установка со сцинтиляционным дозиметром должна быть аттестована государственными или ведомственными метрологическими службами в установленном порядке.

5.3. Метод измерений

5.3.1. Для относительных измерений МПД бета-излучения в материале, эквивалентном биологической ткани, и для изучения степени равномерности распределения МПД по поверхности источников различной конфигурации используют дозиметр со сцинтиллирующей пластмассой в качестве детектора. На дозиметр передают единицу МПД от установки с экстраполяционной камерой с помощью специально изготовленных плоских калиброванных источников. Для сведения к минимуму возникающих при этом погрешностей плоские калиброванные источники изготавливают по той же технологии, что и источники, подлежащие контролю, и с теми же радионуклидами.

5.3.2. Относительная погрешность измерения МПД бета-излучения с помощью установки равна 10 % с доверительной вероятностью 0,95 во всем диапазоне МПД.

5.4. Условия измерений

5.4.1. Условия проведения измерений - по п. 4.4.1 при относительной влажности окружающего воздуха до 80 %.

5.4.2  Нестабильность напряжения высоковольтного источника питания за 8 ч непрерывной работы не должна быть более ± 0,1 %.

5.4.3. Чувствительность микроамперметра не должна быть менее 1,5·10-9 А/деление, а пределы измерения - 2,0·10-9 - 1,0-10-5 А.

5.4.4. Основная погрешность микроамперметра не должна превышать ± 2 % (Р = 0,95).

5.4.5. Образцовые источники из комплекта, прилагаемого к прибору, должны быть аттестованы с погрешностью, не превышающей 7 % (Р = 0,95).

5.5. Подготовка измерений

5.5.1. При подготовке измерений должны быть проведены следующие работы.

5.5.1.1. Опробование измерительной установки:

включение установки и ее прогрев в соответствии с порядком, установленным технической документацией на нее и на входящие в ее состав измерительные приборы и источники питания;

проверка исправности вспомогательных устройств;

проверка положения переключателя пределов измерений микроамперметра (прибор должен быть арретирован).

5.5.1.2. Разарретируют микроамперметр, установив ручку переключателя значений цены делений в положение «´ 100». Если световой указатель смещен, то корректором устанавливают его на нуль.

5.5.1.3. Подают высокое напряжение на фотоэлектронный умножитель (ФЭУ) датчика и через 10 мин измеряют темновой ток ФЭУ, для чего постепенно увеличивают чувствительность микроамперметра, переставляя переключатель из положения «´ 100» в положение «´ 1».

5.5.1.4. Устанавливают калиброванный источник на предметном столе установки, подводят датчик к источнику и выдерживают в таком положении 30 - 40 мин.

5.5.2. Проводят градуировку прибора с помощью набора образцовых источников, аттестованных по МПД.

5.6. Проведение измерений

5.6.1. При проведении измерений должны быть проведены следующие операции.

5.6.1.1. Измеряемый источник устанавливают на предметном столе установки таким образом, чтобы его рабочая поверхность была обращена к датчику, а геометрический центр источника (или другой требуемый участок) совпадал с центром стола. Этого добиваются вращением соответствующих микрометрических винтов, перемещающих предметный стол с источником в продольном и поперечном направлениях, а также вращением стола вокруг вертикальной оси.

5.6.1.2. Ось датчика должна быть перпендикулярна к поверхности источника. Головка датчика без усилия должна соприкасаться с поверхностью измеряемого источника. Этого добиваются, вращая микрометрический винт вертикального перемещения.

5.6.1.3. По шкале микроамперметра проводят отсчет значений тока.

5.6.1.4. Операции пп. 5.6.1.2 и 5.6.1.3 повторяют 7 - 10 раз.

5.6.2. При градуировке прибора операции 5.6.1.1 - 5.6.1.3 проводят с образцовыми источниками из набора, приложенного к установке.

5.7. Обработка результатов

Обработку результатов измерения МПД бета-излучения радионуклидного источника следует выполнять по ГОСТ 8.207-76.

5.7.1. По градуировочной кривой установки, полученной с помощью набора образцовых источников, аттестованных по МПД, значение измеренной силы тока микроамперметра (после вычисления темнового тока ФЭУ) переводят в значения МПД.

(Измененная редакция, Изм. № 1).

5.7.2. Погрешность результата измерений вычисляют по формуле

,                                                        (40)

где δ - границы погрешности результата измерений при доверительной вероятности 0,95;

Θ1 - неисключенная систематическая погрешность аттестации образцового (или серийного) источника на установке с экстраполяционной камерой;

Θ2 - неисключенная систематическая погрешность измерений на установке со сцинтилляционным дозиметром (погрешность калибровки).

(Измененная редакция, Изм. № 1).

5.7.3. При аттестации образцовых источников на установке с экстраполяционной камерой погрешность Θ1 составляет 7 % (Р = 0,95). Погрешность Θ2 определяется градуировкой сцинтилляционного дозиметра по МПД, она не должна превышать 5 % (Р = 0,95).

5.7.4. Случайная погрешность измерений тока не должна превышать 1 % (Р = 0,95); ее не учитывают при расчете полной погрешности. Значение параметра следует приводить с тремя, погрешности - с двумя значащими цифрами.

6. ОФОРМЛЕНИЕ РЕЗУЛЬТАТОВ ИЗМЕРЕНИЙ

6.1. Все результаты измерений с источниками, а также результаты проверок параметров установок должны быть записаны в журнале измерений и заверены подписью исполнителя.

При обработке результатов измерений на ЭВМ документом являются результаты, обработанные и отпечатанные ЭВМ.

7. ТРЕБОВАНИЯ БЕЗОПАСНОСТИ

7.1. При проведении измерений должны соблюдаться требования «Основных санитарных правил работы с радиоактивными веществами и другими источниками ионизирующих излучений» ОСП-72/87 и «Норм радиационной безопасности» НРБ-76/87, утвержденных Главным санитарным врачом СССР; «Правил технической эксплуатации электроустановок потребителей» и «Правил техники безопасности при эксплуатации электроустановок потребителей», утвержденных Начальником Госэнергонадзора.

(Измененная редакция, Изм. № 1).

7.2. При необходимости следует соблюдать требования безопасности, установленные дополнительно в стандартах или нормативно-технической документации на источники и приборы конкретных типов.

7.3. Перед измерением основных радиационных параметров источники следует проверить на соответствие уровня радиоактивной загрязненности требованиям нормативно-технической документации.

(Измененная редакция, Изм. № 1).

ПРИЛОЖЕНИЕ 1

Рекомендуемое

Блок-схема установки для измерения внешнего излучения с помощью цилиндра Фарадея

ЦФ-101 - цилиндр Фарадея; ВК-16 - вольтметр постоянного тока электрометрический; ВН-461 - форвакуумный насос; ВИТ - 2-вакуумметр; Б2-2 - стабилизатор напряжения сети

ПРИЛОЖЕНИЕ 2

Справочное

Цилиндр Фарадея

1 - измерительный электрод; 2 - источник; 3 - подставка; 4 - шток; 5 - кожух; 6 - крышка; 7 - изолятор; 8 - вакуумное уплотнение

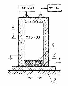
ПРИЛОЖЕНИЕ 3

Рекомендуемое

Схема установки СКД-1

1 - источник радионуклидный; 2 - предметный стол; 3 - сцинтиллятор (ОСТ 6-09-97-82); 4 - светопровод со светофильтрами; 5 - фотоэлектронный умножитель; 6 - корпус датчика; М-195/3 - микроамперметр; ВС-16 - высоковольтный стабилизатор

(Измененная редакция, Изм. № 1).

 

СОДЕРЖАНИЕ

1. Измерение внешнего бета-излучения источников методом 2p-cчeтa бета-частиц. 2

2. Измерение активности бета-излучающих радионуклидов и внешнего бета-излучения источника методом замещения. 6

3. Измерение внешнего бета-излучения на установке с цилиндром фарадея. 10

4. Измерение мощности поглощенной дозы бета-излучения с помощью экстраполяционной камеры.. 13

5. Сцинтилляционный метод относительных измерений мощности поглощенной дозы бета-излучения. 17

6. Оформление результатов измерений. 19

7. Требования безопасности. 19

Приложение 1 Блок-схема установки для измерения внешнего излучения с помощью цилиндра Фарадея. 19

Приложение 2 Цилиндр Фарадея. 20

Приложение 3 Схема установки СКД-1. 20

 



© 2013 Ёшкин Кот :-)