Информационная система
«Ёшкин Кот»

XXXecatmenu

ГОСУДАРСТВЕННЫЙ СТАНДАРТ СОЮЗА ССР

 

СПЛАВЫ ТВЕРДЫЕ СПЕЧЕННЫЕ

МЕТОД ОПРЕДЕЛЕНИЯ УДЕЛЬНОГО
ЭЛЕКТРИЧЕСКОГО СОПРОТИВЛЕНИЯ

 

ГОСТ 25947-83
(СТ СЭВ 3914-82)

 

 

 

ГОСУДАРСТВЕННЫЙ КОМИТЕТ СССР ПО СТАНДАРТАМ

Москва

 

 

ГОСУДАРСТВЕННЫЙ СТАНДАРТ СОЮЗА ССР

СПЛАВЫ ТВЕРДЫЕ СПЕЧЕННЫЕ

Метод определения удельного электрического сопротивления

Sintered hard metals. Method of determination of electric resistance

ГОСТ
25947-83

(СТ СЭВ 3914-82)

Постановлением Государственного комитета СССР по стандартам от 27 октября 1983 г. № 5166 срок действия установлен

с 01.01.85

до 01.01.90

Несоблюдение стандарта преследуется по закону

Настоящий стандарт устанавливает метод определения удельного электрического сопротивления спеченных твердых сплавов.

Метод заключается в пропускании через образец постоянного электрического тока и определении падения напряжения на определенном участке его длины.

Стандарт полностью соответствует СТ СЭВ 3914-82.

(Измененная редакция, Изм. № 1).

1. МЕТОД ОТБОРА ОБРАЗЦОВ

1.2. Для проведения испытаний изготовляют три образца.

1.1., 1.3. Исключены. (Измененная редакция, Изм. № 1).

1.4. Образцы для испытаний должны иметь длину не менее 60 мм. Допускается использовать образцы с круглым или прямоугольным сечением. Образец с круглым сечением должен иметь диаметр (6 ± 0,2) мм, с прямоугольным сечением - размеры сечения (6´8) мм, с предельным отклонением ± 0,2 мм.

1.5. Поверхностный слой образца должен быть удален на глубину не менее 0,1 мм. Шероховатость поверхности Ra должна быть не более 1,5 мкм. На поверхности образца перед испытанием не должно быть трещин или видимых дефектов структуры.

2. АППАРАТУРА

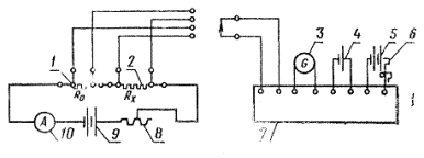
Для определения удельного электрического сопротивления применяют установку, схема которой приведена на чертеже.

1 - набор образцовых сопротивлений класса 0,01 (эталонных); 2 - исследуемое сопротивление; 3 - гальванометр чувствительностью порядка 1∙10-9 А/дел.; 4 - нормальный элемент Вестона; 5 - источник постоянного тока; 6 - реостат; 7 - потенциометр постоянного тока или мост Томсона; 8 - реостат; 9 - источник постоянного тока; 10 - амперметр постоянного тока класса 0,5.

Конструкция приспособления для установки образца и крепления контактов подвода тока и снятия напряжения должна обеспечивать:

острую ножевую поверхность контактов для снятия напряжения;

плотное соприкосновение между образцом и контактами для подвода тока и снятия напряжения;

минимальное переходное электрическое сопротивление между контактами для снятия напряжения и образцом;

измерение расстояния между контактами для снятия напряжения, которое должно быть не менее 15 мм;

при измерении удельного электрического сопротивления вольфрамовых твердых сплавов рекомендуются контакты для снятии напряжения из твердого сплава 92 % WC + 8 % Со, при измерении условного электрического сопротивления титано-вольфрамовых сплавов контакты из сплава 5 % TiC + 10 % Со + 85 % WC.

Прибор типа ИЗВ-1 для измерения диаметра и поперечного сечения образца по ГОСТ 24703-81 или другой прибор, обеспечивающий заданную точность.

Штангенциркуль по ГОСТ 427-75 или другой прибор, обеспечивающий заданную точность.

(Измененная редакция, Изм. № 1).

3. ПОДГОТОВКА К ИСПЫТАНИЮ

3.1. Измеряют расстояние между контактами для снятия напряжения с погрешностью не более 0,1 мм.

3.2. Измеряют диаметр или поперечное сечение образца. При этом должно быть сделано не менее трех измерений на разных участках расчетной длины образца для получения среднего значения диаметра или поперечного сечения.

4. ПРОВЕДЕНИЕ ИСПЫТАНИЯ

4.1. Испытания проводят при температуре (293 ± 5) К (20 ± 5) °С.

4.2. Образец устанавливают в приспособлении и прижимают к нему контакты для подвода тока и снятия напряжения. Через образец пропускают ток определенной силы и потенциометром измеряют падение напряжения на эталонном сопротивлении Ro для определения точного значения силы тока, протекающего через образец. Затем измеряют падение напряжения между контактами. Для устранения вредных электродвижущих сил изменяют направление тока через образец на противоположное и снова измеряют падение напряжения между контактами. На каждом образце проводят не менее шести измерений (три - в одном направлении, три - в противоположном). Измерения следует проводить при таком значении силы тока, чтобы избежать нагрева образца. Рекомендуемая величина силы тока 1 А.

5. ОБРАБОТКА РЕЗУЛЬТАТОВ

5.1. Удельное электрическое сопротивление (ρ), μОм∙см вычисляют по формуле

где V - падение напряжения между контактами, В;

I - сила тока, протекающего через образец, А;

S - площадь поперечного сечения образца мм2;

L - расстояние между контактами, мм.

5.2. За значение удельного электрического сопротивления принимают среднее арифметическое значение шести измерений, округленное до ближайшего 0,1 μОм∙см (1 nОм∙м).

 

СОДЕРЖАНИЕ

 

 



© 2013 Ёшкин Кот :-)