Информационная система
«Ёшкин Кот»

XXXecatmenu

ГОСУДАРСТВЕННЫЙ СТАНДАРТ СОЮЗА ССР

 

ОБРАБОТКА РЕЗАНИЕМ

ТЕРМИНЫ, ОПРЕДЕЛЕНИЯ И ОБОЗНАЧЕНИЯ ОБЩИХ ПОНЯТИЙ

 

ГОСТ 25762-83

 

 

 

 

ГОСУДАРСТВЕННЫЙ КОМИТЕТ СССР ПО СТАНДАРТАМ

Москва

 

ГОСУДАРСТВЕННЫЙ СТАНДАРТ СОЮЗА ССР

ОБРАБОТКА РЕЗАНИЕМ

Термины, определения и обозначения общих понятий

Machining.

Terms, definitions

ГОСТ

25762-83

Постановлением Государственного комитета СССР по стандартам от 26 апреля 1983 г. № 2086 срок введения установлен

с 01.07.84

Настоящий стандарт устанавливает применяемые в науке, технике и производстве термины и определения общих понятий, относящихся ко всем видам обработки резанием, а также буквенные обозначения величин кинематических элементов резания, координатных плоскостей и элементов лезвия.

Термины, установленные стандартом, обязательны для применения в документации всех видов, научно-технической, учебной и справочной литературе.

Стандарт соответствует стандарту ИСО 3002/1-77.

Для каждого понятия установлен один стандартизованный термин. Применение терминов-синонимов вместо стандартизованного термина запрещается.

Недопустимые к применению термины-синонимы приведены в стандарте в качестве справочных и обозначены «Ндп».

Для отдельных стандартизованных терминов в стандарте приведены, в качестве справочных, краткие формы, которые разрешается применять в случаях, исключающих возможность их различного толкования. Установленные определения можно, при необходимости, изменять по форме изложения, не допуская нарушения границ понятий.

В стандарте в качестве справочных приведены иностранные эквиваленты для ряда стандартизованных терминов на немецком (D), английском (Е) и французском (F) языках.

В стандарте приведены алфавитные указатели содержащихся в нем терминов на русском языке и их иностранных эквивалентов.

В стандарте имеется справочное приложение, содержащее таблицу обозначений по настоящему стандарту и стандарту ИСО 3002/1-77.

Стандартизованные термины набраны полужирным шрифтом, их краткая форма - светлым, а недопустимые синонимы - курсивом.

Термин

Обозначение

Определение

Общие понятия

1. Обработка резанием

-

По ГОСТ 3.1109-82

Резание

2. Стружка

-

Деформированный и отделенный в результате обработки резанием поверхностный слой материала заготовки (черт. 1)

D. Span

Е. Chip

F. Coupeau

3. Режущий инструмент

-

По ГОСТ 25751-83

D. Spanendes Werkzeug

Е. Cutting tool

F. Outil de coupe

4. Режим резания

-

Совокупность значений скорости резания, подачи или скорости движения подачи и глубины резания

Кинематические элементы и характеристики резания

5. Главное движение резания

Dr

Прямолинейное поступательное или вращательное движение заготовки или режущего инструмента, происходящее с наибольшей скоростью в процессе резания (черт. 2 - 5).

Примечание. Главное движение резания может входить в состав сложного формообразующего движения, например при точении резьбы

Главное движение

D. Schnittbewegung

Е. Primary motion

F. Mouvement de coupe

6. Скорость главного движения резания

υ

Скорость рассматриваемой точки режущей кромки или заготовки в главном движении резания (черт. 2 - 5)

D. Schnittgeschwindigkeit

E. Cutting speed

F. Vitesse de coupe

7. Движение подачи

Ds

Прямолинейное поступательное или вращательное движение режущего инструмента или заготовки, скорость которого меньше скорости главного движения резания, предназначенное для того, чтобы распространить отделение слоя материала на всю обрабатываемую поверхность.

Ндп. Подача

D. Vorschubbewegung

Е. Feed motion

F. Mouvement d’avance

Примечания:

1. Под обрабатываемой поверхностью понимают поверхность заготовки, которая частично или полностью удаляется при обработке (черт. 1 - 6).

2. Под обработанной поверхностью понимают поверхность, образованную на заготовке в результате обработки (черт. 1 - 6).

3. Движение подачи может быть непрерывным или прерывистым. Прерывистое движение подачи может происходить в перерывах процесса резания.

4. Движение подачи может входить в состав сложного формообразующего движения, например, при шлифовании резьбы.

5. В зависимости от направления движения подачи различают следующие движения подачи: продольное, поперечное и др.

8. Скорость движения подачи

υs

Скорость рассматриваемой точки режущей кромки в движении подачи (черт. 2 - 5)

Скорость подачи

D. Vorschubgeschwindigkeit

Е. Feed speed

F. Vitesse d’avance

9. Подача

S

Отношение расстояния, пройденного рассматриваемой точкой режущей кромки или заготовки вдоль траектории этой точки в движении подачи, к соответствующему числу циклов или определенных долей цикла другого движения во время резания или к числу определенных долей цикла этого другого движения:

D. Vorschub

E. Feed

F. Avance

Примечания:

1. Под циклом движения понимают полный оборот, ход или двойной ход режущего инструмента или заготовки. Долей цикла является часть оборота, соответствующая угловому шагу зубьев режущего инструмента.

2. Под ходом понимают движение в одну сторону при возвратно-поступательном движении.

10. Подача на оборот

So

Подача, соответствующая одному обороту инструмента или заготовки

D. Vorschub je Umdrehung

E. Feed per revolution

F. Avance par tour

11. Подача на зуб

Sz

Подача, соответствующая повороту инструмента или заготовки на один угловой шаг зубьев режущего инструмента.

D. Zahnvorschub

E. Feed per tooth

F. Avance par dent

12. Подача на ход

Sx

Подача, соответствующая одному ходу заготовки или инструмента

D. Vorschub je Hub

E. Feed per stroke

F. Avance par course

13. Подача на двойной ход

D. Vorschub je Doppelhub

E. Feed per double stroke

F. Avance par course double

S2Х

Подача, соответствующая одному двойному ходу заготовки или инструмента

14. Касательное движение

Dк

Прямолинейное поступательное или вращательное движение режущего инструмента, скорость которого меньше скорости главного движения резания и направлена по касательной к режущей кромке, предназначенное для того, чтобы сменять контактирующие с заготовкой участки режущей кромки

15. Скорость касательного движения

υк

Скорость рассматриваемой точки режущей кромки или заготовки в касательном движении

16. Результирующее движение резания

De

Суммарное движение режущего инструмента относительно заготовки, включающее главное движение резания, движение подачи и касательное движение

Результирующее движение

D. Wirkbewegung

Е. Resultant cutting motion

F. Mouvement résultante de coupe

17. Скорость результирующего движения резания

υe

Скорость рассматриваемой точки режущей кромки в результирующем движении резания (черт. 2 - 5)

D. Wirkgeschwindigkeit

E. Resultant cutting speed

F. Vitesse résultante

18. Путь резания

l

Суммарное расстояние, пройденное рассматриваемой точкой режущей кромки в контакте с заготовкой за рассматриваемый интервал времени и измеренное вдоль траектории этой точки в результирующем движении резания

19. Поверхность резания

R

Поверхность, образуемая режущей кромкой в результирующем движении резания (черт. 6)

D. Schnittfläche

E. Transient surface

F. Surface coupéе

20. Поверхность главного движения

Rr

Поверхность, образуемая режущей кромкой в главном движении резания (черт. 6)

21. Рабочая плоскость

Ps

Плоскость, в которой расположены направления скоростей главного движения резания и движения подачи (черт. 2 - 5).

D. Arbettsebene

Е. Working plane

F. Plan de travail

Примечания:

1. В случаях, когда в отдельные моменты времени направления скоростей главного движения резания и движения подачи совпадают (тангенциальное точение, периферийное фрезерование), рабочая плоскость проводится так же, как и в предыдущий, или последующий моменты, когда эти направления не совпадают.

 

 

2. При протягивании, когда отсутствует движение подачи, рабочая плоскость проводится через направление скорости главного движения резания и направление подъема последовательно расположенных зубьев режущего инструмента

22. Угол скорости резания

η

Угол в рабочей плоскости между направлениями скоростей результирующего движения резания и главного движения резания (черт. 2 - 5)

D. Wirkrichtungs-winkel

E. Resultant cutting speed angle

F. Angle de la direction résultante de coupe

23. Угол подачи

μ

Угол в рабочей плоскости между направлениями скоростей движения подачи и главного движения резания

D. Vorschubrich-tungswinkei

E. Feed motion angle

F. Angle de la direction d’avance

Системы координатных плоскостей и координатные плоскости

24. Инструментальная система координат

ИСК

-

Прямоугольная система координат с началом в вершине лезвия (п. 53), ориентированная относительно геометрических элементов режущего инструмента, принятых за базу (черт. 7 - 8)

Примечание. Инструментальная система координат применяется для изготовления и контроля инструмента

D. Werkzeug-Bezugssystem

Е. Tool-in-hand system

F. Système de l’outil en main

25. Статическая система координат

ССК

-

Прямоугольная система координат с началом в рассматриваемой точке режущей кромки, ориентированная относительно направления скорости главного движения резания (черт. 7 - 12).

Примечание. Статическая система координат применяется для приближенных расчетов углов лезвия в процессе резания и для учета изменения этих углов после установки инструмента на станке. Она является в общем случае переходной системой от инструментальной системы координат к кинематической.

D. Maschinen-Bezugssystem

E. Setting system

F. Système de rèfèrence de la ma-chine-outil

26. Кинематическая система координат

КСК

-

Прямоугольная система координат с началом в рассматриваемой точке режущей кромки, ориентированная относительно направления скорости результирующего движения резания (черт. 7 - 12)

D. Wirk-Bezugssystem

Е. Tool-in-use system

F. Système de l’outil en travail

27. Основная плоскость

Pυ

Координатная плоскость, проведенная через рассматриваемую точку режущей кромки перпендикулярно направлению скорости главного или результирующего движения резания в этой точке (черт. 7 - 12).

Примечание. В инструментальной системе координат направление скорости главного движения резания принимается: у токарных и строгальных резцов прямоугольного поперечного сечения - перпендикулярно конструкторской установочной базе резца, у долбежных резцов - параллельно базе, у дисковых токарных резцов, осевых инструментов и фрез - по касательной к траектории вращательного движения инструмента или заготовки, у протяжек - параллельно конструкторской установочной базе или оси протяжки, у долбяков - параллельно оси хвостовика или оси посадочного отверстия долбяка

28. Инструментальная основная плоскость

Pυи

Основная плоскость инструментальной системы координат (черт. 7 - 8)

D. Werkzeug-Bezugsebene

Е. Tool reference plane

F. Plan de rèfèrence de l’outil

29. Статическая основная плоскость

Pυс

Основная плоскость статической системы координат (черт. 7 - 12)

30. Кинематическая основная плоскость

Pυк

Основная плоскость кинематической системы координат (черт. 7 - 12)

D. Wirk-Bezugsebenе

Е. Working reference plane

F. Plan de rèfèrence en travail

31. Плоскость резания

Рп

Координатная плоскость, касательная к режущей кромке в рассматриваемой точке и перпендикулярная основной плоскости (черт. 7 - 12)

32. Инструментальная плоскость резания

Pnи

Координатная плоскость, касательная к режущей кромке в рассматриваемой точке и перпендикулярная инструментальной основной плоскости (черт. 7 - 8)

D. Werkzeug-Hauptschneidenebene

Е. Tool major cutting edge plane

F. Plan d’arête principale de l’outil

33. Статическая плоскость резания

Рпс

Координатная плоскость, касательная к режущей кромке в рассматриваемой точке и перпендикулярная статической основной плоскости (черт. 7 - 12)

34. Кинематическая плоскость резания

Рnк

Координатная плоскость, касательная к режущей кромке в рассматриваемой точке и перпендикулярная кинематической основной плоскости (черт. 7 - 12)

D. Wirk-Hauptschneidenebene

Е. Working major cutting edge plane

F. Plan d’arête principale en travail

35. Главная секущая плоскость

Рτ

Координатная плоскость, перпендикулярная линии пересечения основной плоскости и плоскости резания

36. Инструментальная главная секущая плоскость

Рτи

Координатная плоскость, перпендикулярная линии пересечения инструментальных основной плоскости и плоскости резания (черт. 7 - 8)

D. Werkzeug-Orthogonalebene

Е. Tool orthogonal plane

F. Plan orthogonal de l’outil

37. Статическая главная секущая плоскость

Рτс

Координатная плоскость, перпендикулярная линии пересечения статических основной плоскости и плоскости резания (черт. 7 - 12)

38. Кинематическая главная секущая плоскость

Рτк

Координатная плоскость, перпендикулярная линии пересечения кинематических основной плоскости и плоскости резания (черт. 7 - 12)

D. Wirk-Keilmeßebenе

Е. Working orthogonal plane

F. Plan orthogonal en travail

39. Нормальная секущая плоскость

Рн

Плоскость, перпендикулярная режущей кромке в рассматриваемой точке (черт. 9 - 12).

D. Schneiden-Normalebene

E. Cutting edge normal plane

F. Plan normal á l’arête

40. Секущая плоскость схода стружки

Рс

Плоскость, проходящая через направления схода стружки (п. 87) и скорости резания в рассматриваемой точке режущей кромки

Элементы и характеристики срезаемого слоя и стружки

41. Сечение срезаемого слоя

-

Фигура, образованная при рассечении слоя материала заготовки, отделяемого лезвием за один цикл главного движения резания основной плоскостью.

Примечания:

1. См. примечание к п. 9.

2. В каждом конкретном случае следует дополнительно указывать систему координатных плоскостей, в которой рассматривается сечение срезаемого слоя

Сечение среза

42. Площадь срезаемого слоя

f

Площадь сечения срезаемого слоя

Площадь среза

43. Толщина срезаемого слоя

a

Длина нормали к поверхности резания, проведенной через рассматриваемую точку режущей кромки, ограниченная сечением срезаемого слоя

Толщина среза

44. Ширина срезаемого слоя

b

Длина стороны сечения срезаемого слоя, образованной поверхностью резания (черт. 13)

Ширина среза

Элементы лезвия

45. Передняя поверхность лезвия

Ag

Поверхность лезвия инструмента контактирующая в процессе резания со срезаемым слоем и стружкой (черт. 14 - 17)

Передняя поверхность

D. Spanfläche

Е. Face

F. Face de coupe

46. Задняя поверхность лезвия

Aa

Поверхность лезвия инструмента, контактирующая в процессе резания с поверхностями заготовки (черт 14 - 17)

Задняя поверхность

D. Freifläche

Е. Flank

F. Face de dépouille

47. Режущая кромка

K

Кромка лезвия инструмента, образуемая пересечением передней и задней поверхности лезвия

D. Schneide

E. Cutting edge

F. Aréte

48. Главная режущая кромка

K

Часть режущей кромки, формирующая большую сторону сечения срезаемого слоя (черт. 14 - 17)

D. Werkzeug-Hauptschneide

E. Tool major cutting edge

F. Arête principale de l’outil

49. Вспомогательная режущая кромка

К'

Часть режущей кромки, формирующая меньшую сторону сечения срезаемого слоя (черт. 14 - 17)

D. Werkzeug-Nebenschneide

E. Tool minor cutting edge

F. Arête complémentaire de l’outil

50. Главная задняя поверхность

Aa

Задняя поверхность лезвия инструмента, примыкающая к главной режущей кромке (черт. 14 - 17)

D. Hauptfreifläche

Е. Major flank

F. Face de dépouille principale

51. Вспомогательная задняя поверхность

Aa

Задняя поверхность лезвия инструмента, примыкающая к вспомогательной режущей кромке (черт. 14 - 17)

D. Nebenfreifläche

E. Minor flank

F. Face de dépouille complémentaire

52. Радиус округления режущей кромки

ρ

Радиус кривизны режущей кромки в сечении ее нормальной секущей плоскостью

53. Вершина лезвия

-

Участок режущей кромки в месте пересечения двух задних поверхностей.

Вершина

D. Schneidenecke

Примечание. У проходного токарного резца вершиной является участок лезвия в месте пересечения главной и вспомогательной режущих кромок; у резьбового резца - участок лезвия, формирующий внутреннюю поверхность резьбы; у сверла - точка пересечения главной и вспомогательной режущих кромок

Е. Corner

F. Вес de l’outil

54. Радиус вершины

rв

Радиус кривизны вершины лезвия

D. Eckenradius

Е. Corner radius

F. Rayon de bec

55. Передний угол

g

Угол в секущей плоскости между передней поверхностью лезвия и основной плоскостью (черт. 18 - 21)

D. Spanwinkel

E. Rake

F. Angle de coupe

56. Нормальный передний угол

gи

Передний угол в нормальной секущей плоскости (черт. 18 - 21)

57. Главный передний угол

g

Передний угол в главной секущей плоскости (черт. 18 - 21)

58. Инструментальный главный передний угол

gи

Угол в инструментальной главной секущей плоскости между передней поверхностью лезвия и инструментальной основной плоскостью

D. Werkzeug-Orthogonal-Spanwinkel

Е. Tool orthogonal rake

F. Angle de coupe orthogonal de 1’outil

59. Статический главный передний угол

gс

Угол в статической главной секущей плоскости между передней поверхностью лезвия и статической основной плоскостью (черт. 18 - 21)

60. Кинематический главный передний угол

gк

Угол в кинематической главной секущей плоскости между передней поверхностью лезвия и кинематической основной плоскостью (черт. 18 - 21)

D. Wirk-Orthogonal-Spanwinkel

Е. Working orthogonal rake

F. Angle de coupe orthogonal en travail

61. Рабочий кинематический передний угол

gp

Угол в секущей плоскости схода стружки между передней поверхностью лезвия и кинематической основной плоскостью

62. Задний угол

a

Угол в секущей плоскости между задней поверхностью лезвия и плоскостью резания (черт. 18 - 21)

D. Freiwinkel

Е. Clearance

F. Dépouille

63. Нормальный задний угол

aн

Задний угол в нормальной секущей плоскости (черт. 18 - 21)

64. Главный задний угол

a

Задний угол в главной секущей плоскости (черт. 18 - 21)

65. Инструментальный главный задний угол

aи

Угол в инструментальной главной секущей плоскости между задней поверхностью лезвия и инструментальной плоскостью резания

D. Werkzeug-Orthogonal-Freiwinkel

Е. Tool orthogonal clearance

F. Dépouille orthogonale de l’outil

66. Статический главный задний угол

aс

Угол в статической главной секущей плоскости лезвия между задней поверхностью и статической плоскостью резания (черт. 18 - 20)

67. Кинематический главный задний угол

aк

Угол кинематической главной секущей плоскости между задней поверхностью лезвия и кинематической плоскостью резания (черт. 18, 20 и 21)

D. Wirk-Orthogonal-Freiwinkel

Е. Working orthogonal clearance

F. Dépouille orthogonale en travail

68. Рабочий кинематический задний угол

aр

Угол в рабочей плоскости между задней поверхностью лезвия и направлением скорости результирующего движения резания в рассматриваемой точке режущей кромки

69. Угол заострения

b

Угол в секущей плоскости между передней и задней поверхностями лезвия (черт. 18 - 21)

D. Keilwinkel

Е. Wedge angle

F. Angle de taillant

70. Нормальный угол заострения

bн

Угол заострения в нормальной секущей плоскости

71. Главный угол заострения

b

Угол заострения в главной секущей плоскости (черт. 18 - 21)

72. Инструментальный главный угол заострения

bн

Угол в инструментальной главной секущей плоскости между передней и задней поверхностями лезвия

D. Werkzeug-Orthogonal-Keilwinkel

Е. Tool orthogonal wedge angle

F. Angle de taillant orthogonal de 1’outil

73. Статический главный угол заострения

bс

Угол в статической главной секущей плоскости между передней и задней поверхностями лезвия (черт. 18 - 21)

74. Кинематический главный угол заострения

bк

Угол в кинематической главной секущей плоскости между передней и задней поверхностями лезвия (черт. 18 - 21)

D. Wirk-Orthogonal-Keilwinkel

Е. Working orthogonal wedge angle

F. Angle de taillant orthogonal en travail

75. Угол наклона кромки

λ

Угол в плоскости резания между режущей кромкой и основной плоскостью (черт. 18 - 21)

76. Инструментальный угол наклона кромки

λи

Угол в инструментальной плоскости резания между режущей кромкой и инструментальной основной плоскостью

D. Werkzeug-Neigungswinkel

Е. Tool cutting edge inclination

F. Angle d’inclinaison d’arête de l’outil

77. Статический угол наклона кромки

λc

Угол в статической плоскости резания между режущей кромкой и статической основной плоскостью (черт. 18 - 20)

78. Кинематический угол наклона кромки

λк

Угол в кинематической плоскости резания между режущей кромкой и кинематической основной плоскостью (черт. 18 - 21)

D. Wirk-Neigungswinkel

Е. Working cutting edge inclination

F. Angle d’inclinaison d’arête en travail

79. Угол в плане

j

Угол в основной плоскости между плоскостью резания и рабочей плоскостью (черт. 18 - 21)

80. Инструментальный угол в плане

jи

Угол в инструментальной основной плоскости между инструментальной плоскостью резания и рабочей плоскостью

D. Werkzeug-Einistellwinkel

Е. Tool cutting edge angle

F. Angle de direction d’arête de l’outil

81. Статический угол в плане

jc

Угол в статической основной плоскости между статической плоскостью резания и рабочей плоскостью (черт. 18 - 20)

82. Кинематический угол в плане

jк

Угол в кинематической основной плоскости между кинематической плоскостью резания и рабочей плоскостью (черт. 18, 21)

D. Wirk-Einstellwinkel

Е. Working cutting edge angle

F. Angle de direction d’arête en travail

83. Рабочий кинематический угол в плане

jр

Угол между режущей кромкой и рабочей плоскостью

Характеристики стружки

84. Коэффициент утолщения стружки

Ka

Отношение толщины стружки к толщине срезаемого слоя

Коэффициент утолщения

85. Коэффициент уширения стружки

Kb

Отношение ширины стружки к ширине срезаемого слоя

Коэффициент уширения

86. Коэффициент укорочения стружки

Kl

Отношение длины срезаемого слоя к длине стружки

87. Направление схода стружки

-

Направление движения стружки в плоскости, касательной к передней поверхности лезвия

88. Угол схода стружки

v

Угол в плоскости, касательной к передней поверхности лезвия, между направлением схода стружки и следом главной секущей плоскости

Сила резания

89. Сила резания

Р

Равнодействующая сил, действующих на режущей инструмент при обработке резанием

90. Главная составляющая силы резания

Pz

Составляющая силы резания, совпадающая по направлению со скоростью главного движения резания в вершине лезвия

91. Касательная составляющая силы резания

-

Главная составляющая силы резания при вращательном главном движении резания

Ндп. Тангенциальная составляющая силы резания

92. Осевая составляющая силы резания

Px

Составляющая силы резания, параллельная оси главного вращательного движения резания

93. Радиальная составляющая силы резания

Py

Составляющая силы резания, направленная по радиусу главного вращательного движения резания в вершине лезвия

Обработка резанием

1 - режущая кромка; 2 - лезвие; 3 - стружка; 4 - заготовка

Черт. 1

Элементы движений в процессе резания при обтачивании

1 - направление скорости результирующего движения резания; 2 - направление скорости главного движения резания; 3 - рабочая плоскость Рs; 4 - рассматриваемая точка режущей кромки; 5 - направление скорости движения подачи

Черт. 2

Элементы движений в процессе резания при периферийном фрезеровании

1 - направление скорости результирующего движения резания; 2 - направление скорости главного движения резания; 3 - рабочая плоскость Рs; 4 - рассматриваемая точка режущей кромки; 5 - направление скорости движения подачи

Черт. 3

Элементы движений в процессе резания при фрезеровании концевой угловой фрезой

Черт. 4

Элементы движений в процессе резания при сверлении

1 - направление скорости результирующего движения резания; 2 - направление скорости главного движения резания; 3 - рабочая плоскость Ps; 4 - рассматриваемая точка режущей кромки; 5 - направление скорости движения подачи

Черт. 5

Поверхность резания и поверхность главного движения

1 - поверхность резания R; 2 - поверхность главного движения Rr

Черт. 6

Системы координат и координатные плоскости при фасонном точении

Инструментальная система                  Статическая система                           Кинематическая система

координат                                                   координат                                                координат

Черт. 7

Системы координат и координатные плоскости при ротационном точении

Инструментальная система                     Статическая система                      Кинематическая система

координат                                                      координат                                           координат

Черт. 8

Координатные плоскости при точении

Статическая система координат                                Кинематическая система координат

Черт. 9

Координатные плоскости при периферийном фрезеровании

Статическая система координат                                         Кинематическая система координат

Черт. 10

Координатные плоскости при фасонном фрезеровании

Статическая система координат                                             Кинематическая система координат

Черт. 11

Координатные плоскости при сверлении

Статическая система координат

Кинематическая система координат

Черт. 12

Сечение срезаемого слоя

1 - обрабатываемая поверхность; 2 - обработанная поверхность

Черт. 13

Геометрические элементы токарного резца

1 - передняя поверхность лезвия Аg; 2 - главная режущая кромка К; 3 - вспомогательная режущая кромка К'; 4 - главная задняя поверхность лезвия Аa; 5 - вспомогательная задняя поверхность лезвия А'a; 6 - вершина лезвия

Черт. 14

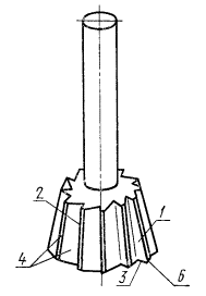
Геометрические элементы цилиндрической фрезы

1 - передняя поверхность лезвия Аg; 2 - главная режущая кромка К; 3 - вспомогательная режущая кромка К'; 4 - главная задняя поверхность лезвия Аa; 5 - вспомогательная задняя поверхность лезвия А'a; 6-вершина лезвия

Черт. 15

Геометрические элементы угловой концевой фрезы

Черт. 16

Геометрические элементы сверла

1 - передняя поверхность лезвия Ag; 2 - главная режущая кромка К; 3 - вспомогательная режущая кромка К'; 4 - главная задняя поверхность лезвия Аa; 5 - вспомогательная задняя поверхность лезвия А''a; 6 - вершина лезвия

Черт. 17

Направление скорости главного движения              Направление скорости резания

Черт. 18

Углы торцовой фрезы со вставными зубьями

Черт. 19

Углы сверла

Черт. 20

Углы торцовой фрезы со вставными квадратными пластинами

Черт. 21

ПРИЛОЖЕНИЕ 1
Справочное

Таблица буквенных обозначений элементов обработки резанием, плоскостей и величин, установленных в настоящем стандарте, и соответствующих им обозначений по стандарту ИСО 3002/1-77

Номер термина

Термин

Обозначение

ГОСТ 25762-83

ИСО 3002/1-77

ГОСТ 25762-83

ИСО 3002/1-77

5

1.6.1

Главное движение резания

Dr

-

6

1.6.1.2

Скорость главного движения резания

υ

υ

7

1.6.2

Движение подачи

Ds

 

8

1.6.2.2

Скорость движения подачи

υs

υf

9

1.6.2

Подача

S

-

10

-

Подача на оборот

So

-

11

-

Подача на зуб

Sz

-

12

-

Подача на ход

Sx

-

13

-

Подача на двойной ход

S2x

-

14

-

Касательное движение

Dк

-

15

-

Скорость касательного движения

υк

-

16

1.6.3

Результирующее движение резания

De

-

17

-

Скорость результирующего движения резания

ve

-

18

-

Путь резания

l

-

19

-

Поверхность резания

R

-

20

-

Поверхность главного движения

Rг

 

21

2.2.2

Рабочая плоскость

Ps

Pfl

22

1.6.5

Угол скорости резания

η

η

23

1.6.4

Угол подачи

μ

φ

27

2.1.1

Основная плоскость

Pυ

Pz

28

-

Инструментальная основная плоскость

Pυи

-

29

-

Статическая основная плоскость

Pυc

-

30

-

Кинематическая основная плоскость

Pυк

Pzl

31

2.1.4

Плоскость резания

Рп

Ps

32

-

Инструментальная плоскость резания

Рпи

-

33

-

Статическая плоскость резания

Pnc

-

34

2.2.4

Кинематическая плоскость резания

Рпк

Psl

35

2.1.6

Главная секущая плоскость

Pτ

Ро

36

-

Инструментальная главная секущая плоскость

Pτи

-

37

-

Статическая главная секущая плоскость

Pτс

-

38

2.2.6

Кинематическая главная секущая плоскость

Pτк

Pol

39

2.1.5

Нормальная секущая плоскость

Pн

Рп

40

-

Секущая плоскость схода стружки

Рс

-

42

-

Площадь срезаемого слоя

f

-

43

2.1.5

Толщина срезаемого слоя

а

-

44

-

Ширина срезаемого слоя

b

-

45

1.3.1

Передняя поверхность

Ag

Ag

46

1.3.1

Задняя поверхность

Aa

Aa

47

1.4.1

Режущая кромка

к

-

48

1.4.1.1

Главная режущая кромка

К

-

49

1.4.1.2

Вспомогательная режущая кромка

К'

S'

50

1.3.2

Главная задняя поверхность

Aa

Aa

51

1.3.2

Вспомогательная задняя поверхность

A'a

A''a

52

1.5.4

Радиус округления режущей кромки

ρ

rк

54

1.5.1

Радиус вершины

rв

rl

55

1.5.1

Передний угол

g

-

56

3.1.2.1

Нормальный передний угол

gн

-

57

-

Главный передний угол

g

-

58

3.1.2.4

Инструментальный главный передний угол

gи

-

59

-

Статический главный передний угол

gс

-

60

3.2.2.4

Кинематический главный передний угол

gк

gol

61

-

Рабочий кинематический передний угол

gρ

-

62

3.2.2.4

Задний угол

a

-

63

3.1.4.1

Нормальный задний угол

aн

an

64

-

Главный задний угол

a

-

65

3.1.4.4

Инструментальный главный задний угол

aи

aо

66

-

Статический главный задний угол

aс

-

67

3.2.4.4

Кинематический главный задний угол

aк

aol

68

-

Рабочий кинематический задний угол

aр

-

69

-

Угол заострения

β

-

70

3.1.3.1

Нормальный угол заострения

βн

βn

71

-

Главный угол заострения

β

-

72

3.1.3.4

Инструментальный главный угол заострения

βи

βо

73

-

Статический главный угол заострения

βс

-

74

3.2.3.4

Кинематический главный угол заострения

βк

βоl

75

-

Угол наклона кромки

λ

-

76

3.1.3.3

Инструментальный угол наклона кромки

λи

-

77

-

Статический угол наклона кромки

λс

λs

78

3.2.1.3

Кинематический угол наклона кромки

λк

λsl

79

3.2.1.3

Угол в плане

j

-

80

3.1.1.1

Инструментальный угол в плане

jи

jz

81

-

Статический угол в плане

jс

-

82

3.2.1.1

Кинематический угол в плане

jк

jzl

83

-

Рабочий кинематический угол в плане

jр

-

84

-

Коэффициент утолщения стружки

Кa

-

85

-

Коэффициент уширения стружки

Кb

-

86

-

Коэффициент укорочения стружки

Кl

-

88

-

Угол схода стружки

v

-

89

-

Сила резания

Р

-

90

-

Главная составляющая силы резания

Pz

-

92

-

Осевая составляющая силы резания

Рх

-

93

-

Радиальная составляющая силы резания

Ру

-

АЛФАВИТНЫЙ УКАЗАТЕЛЬ ТЕРМИНОВ НА РУССКОМ ЯЗЫКЕ

Вершина                                                                                                                            53

Вершина лезвия                                                                                                             53

Движение главное                                                                                                            5

Движение касательное                                                                                                 14

Движение подачи                                                                                                          7

Движение резания главное                                                                                         5

Движение резания результирующее                                                                         16

Движение результирующее                                                                                             16

Инструмент режущий                                                                                                   3

Коэффициент укорочения стружки                                                                           86

Коэффициент утолщения                                                                                                84

Коэффициент утолщения стружки                                                                            84

Коэффициент уширения                                                                                                  85

Коэффициент уширения стружки                                                                              85

Кромка режущая                                                                                                            47

Кромка режущая вспомогательная                                                                           49

Кромка режущая главная                                                                                            48

Направление схода стружки                                                                                        87

Обработка резанием                                                                                                      1

Плоскость основная                                                                                                       27

Плоскость основная инструментальная                                                                   28

Плоскость основная кинематическая                                                                       30

Плоскость основная статическая                                                                               29

Плоскость рабочая                                                                                                         21

Плоскость резания                                                                                                         31

Плоскость резания инструментальная                                                                      32

Плоскость резания кинематическая                                                                         34

Плоскость резания статическая                                                                                  33

Плоскость секущая главная                                                                                        35

Плоскость секущая главная инструментальная                                                     36

Плоскость секущая главная кинематическая                                                        38

Плоскость секущая главная статическая                                                                 37

Плоскость секущая нормальная                                                                                 39

Плоскость секущая схода стружки                                                                             40

Площадь среза                                                                                                                  42

Площадь срезаемого слоя                                                                                             42

Поверхность движения главного                                                                               20

Поверхность задняя                                                                                                          46

Поверхность задняя вспомогательная                                                                      51

Поверхность задняя главная                                                                                       50

Поверхность задняя лезвия                                                                                         46

Поверхность передняя                                                                                                     45

Поверхность передняя лезвия                                                                                     45

Поверхность резания                                                                                                     19

Подача                                                                                                                               7

Подача на зуб                                                                                                                  11

Подача на оборот                                                                                                            10

Подача на ход                                                                                                                  12

Подача на двойной ход                                                                                                  13

Путь резания                                                                                                                   18

Радиус вершины                                                                                                            54

Радиус округления кромки режущей                                                                        52

Резание                                                                                                                              1

Сечение среза                                                                                                                   41

Сечение срезаемого слоя                                                                                              41

Сила резания                                                                                                                   89

ИСК                                                                                                                                    24

Система координат инструментальная                                                                     24

КСК                                                                                                                                    26

Система координат кинематическая                                                                        26

ССК                                                                                                                                    25

Система координат статическая                                                                                 25

Скорость главного движения резания                                                                      6

Скорость движения подачи                                                                                         8

Скорость касательного движения                                                                              15

Скорость подачи                                                                                                              8

Скорость резания                                                                                                             6

Скорость результирующего движения резания                                                      17

Составляющая силы резания главная                                                                      90

Составляющая силы резания касательная                                                              91

Составляющая силы резания осевая                                                                         92

Составляющая силы резания радиальная                                                                93

Составляющая силы резания тангенциальная                                                             91

Стружка                                                                                                                            2

Толщина среза                                                                                                                  43

Толщина срезаемого слоя                                                                                            43

Угол в плане инструментальный                                                                               80

Угол в плане кинематический                                                                                   82

Угол в плане рабочий кинематический                                                                   83

Угол в плане статический                                                                                           81

Угол задний                                                                                                                     62

Угол задний главный                                                                                                    64

Угол задний главный инструментальный                                                               65

Угол задний главный кинематический                                                                   67

Угол задний главный статический                                                                            66

Угол заострения                                                                                                             69

Угол заострения главный                                                                                                71

Угол заострения главный инструментальный                                                        72

Угол заострения главный кинематический                                                            74

Угол заострения главный статический                                                                    73

Угол задний нормальный                                                                                            63

Угол задний рабочий кинематический                                                                    68

Угол заострения нормальный                                                                                     70

Угол наклона кромки                                                                                                   75

Угол наклона кромки инструментальный                                                               76

Угол наклона кромки кинематический                                                                   78

Угол наклона кромки статический                                                                           77

Угол передний                                                                                                                55

Угол передний главный                                                                                               57

Угол передний главный инструментальный                                                          58

Угол передний главный кинематический                                                              60

Угол передний главный статический                                                                       59

Угол передний нормальный                                                                                        56

Угол передний рабочий кинематический                                                                61

Угол подачи                                                                                                                     23

Угол скорости резания                                                                                                  22

Угол схода стружки                                                                                                       88

Ширина среза                                                                                                                   44

Ширина срезаемого слоя                                                                                              44

АЛФАВИТНЫЙ УКАЗАТЕЛЬ ТЕРМИНОВ НА НЕМЕЦКОМ ЯЗЫКЕ

Arbeitsebene                                                                                                                       21

Eckenradius                                                                                                                        54

Freifläche                                                                                                                           46

Freiwinkel                                                                                                                          62

Hauptfreifläche                                                                                                                   50

Keilwinkel                                                                                                                          69

Maschinen-Bezugssystem                                                                                                   25

Nebenfreifläche                                                                                                                  51

Sohneide                                                                                                                             47

Schneidenecke                                                                                                                    53

Sehneiden-Normalebene                                                                                                     39

Schnittbewegung                                                                                                                 5

Schnittfläche                                                                                                                       19

Schnittgeschwindigkeit                                                                                                       6

Span                                                                                                                                    2

Spanendes Werkzeug                                                                                                          3

Spanfläche                                                                                                                          45

Spanwinkel                                                                                                                         55

Vorschub                                                                                                                             9

Vorsehubbewegung                                                                                                             7

Vorschubgeschwindigkeit                                                                                                   8

Vorschub je Doppelhub                                                                                                      13

Vorschub je Hub                                                                                                                 12

Vorschub je Umdrehung                                                                                                      10

Vorschubrichtungswinkel                                                                                                    23

Werkzeug-Bezugsebene                                                                                                      28

Werkzeug-Bezugssystem                                                                                                     24

Werkzeug-Einstellwinkel                                                                                                    80

Werkzeug-Hauptschneide                                                                                                   48

Werkzeug-Nebenschneide                                                                                                   49

Werkzeug-Neigungswinkel                                                                                                 76

Werkzeug-Orthogonalebene                                                                                                36

Werkzeug-Orthogonal-Freiwinkel                                                                                      65

Werkzeug-Orthogonal-Keilwinkel                                                                                      72

Werkzeug-Orthogonal-Spanwinkel                                                                                     58

Wirkbewegung                                                                                                                    16

Werkzeug-Hauptschneidenebene                                                                                        32

Werkzeug-Bezugssystem                                                                                                     24

Wirk-Einstellwinkel                                                                                                           82

Wirkgeschwindigkeit                                                                                                          17

Wirk-Keilmeßebene                                                                                                           38

Wirk-Neigungswinkel                                                                                                         78

Wirk-Orthogonal-Freiwinkel                                                                                              67

Wirk-Orthogonal-Keilwinkel                                                                                             74

Wirk-Orthogonal-Spanwinkel                                                                                             60

Wirkrichtungswinkel                                                                                                           22

Wirk-Hauptschneidenebene                                                                                                31

Zahnvorschub                                                                                                                      11

АЛФАВИТНЫЙ УКАЗАТЕЛЬ ТЕРМИНОВ НА АНГЛИЙСКОМ ЯЗЫКЕ

Chip                                                                                                                                    2

Clearance                                                                                                                            62

Corner                                                                                                                                 53

Corner radius                                                                                                                      54

Cutting edge                                                                                                                        47

Cutting edge normal plane                                                                                                  39

Cutting speed                                                                                                                      6

Cutting tool                                                                                                                         3

Face                                                                                                                                    45

Feed                                                                                                                                    9

Feed motion                                                                                                                        7

Feed motion angle                                                                                                               23

Feed per double stroke                                                                                                       13

Feed per revolution                                                                                                            10

Feed per stroke                                                                                                                   12

Feed per tooth                                                                                                                     11

Feed speed                                                                                                                          8

Flank                                                                                                                                   46

Major flank                                                                                                                         50

Minor flank                                                                                                                         51

Primary motion                                                                                                                   5

Rake                                                                                                                                    55

Resultant cutting motion                                                                                                      16

Resultant cutting speed                                                                                                       17

Resultant cutting speed angle                                                                                              22

Setting system                                                                                                                     25

Tool cutting edge angle                                                                                                       80

Tool cutting edge inclination                                                                                              76

Tool-in-hand system                                                                                                           24

Tool-in-use system                                                                                                             26

Tool major cutting edge                                                                                                      48

Tool major cutting edge plane                                                                                            32

Tool minor cutting edge                                                                                                      49

Tool orthogonal clearance                                                                                                  65

Tool orthogonal plane                                                                                                         36

Tool orthogonal rake                                                                                                          58

Tool orthogonal wedge angle                                                                                             72

Tool reference plane                                                                                                           28

Transient surface                                                                                                                19

Wedge angle                                                                                                                       69

Working cutting edge angle                                                                                                 82

Working cutting edge inclination                                                                                        78

Working major cutting edge plane                                                                                      34

Working orthogonal clearance                                                                                            67

Working orthogonal plane                                                                                                   38

Working orthogonal rake                                                                                                    60

Working orthogonal wedge angle                                                                                       74

Working plane                                                                                                                    21

Working reference plane                                                                                                     30

АЛФАВИТНЫЙ УКАЗАТЕЛЬ ТЕРМИНОВ НА ФРАНЦУЗСКОМ ЯЗЫКЕ

Angle de coupe                                                                                                                   55

Angle de coupe orthogonal de l’outil                                                                                  58

Angle de coupe orthogonal en travail                                                                                 60

Angle de direction d’arête de l’outil                                                                                  80

Angle de direction d’arête en travail                                                                                  82

Angle d’inclinaison d’arête de l’outil                                                                                 76

Angle d’inclinaison d’arête en travail                                                                                78

Angle de la direction d’avance                                                                                           23

Angle de la direction résultante de coupe                                                                           22

Angle de taillant                                                                                                                 69

Angle de taillant orthogonal de l’outil                                                                                72

Angle de taillant orthogonal en travail                                                                                74

Arête                                                                                                                                   47

Arête complémentaire de l’outil                                                                                         49

Arête principale de l’outil                                                                                                  48

Avance                                                                                                                                9

Avance par course                                                                                                              12

Avance par course double                                                                                                  13

Avance par dent                                                                                                                  1

Avance par tour                                                                                                                  10

Bec de l’outil                                                                                                                      53

Coupeau                                                                                                                              2

Dépouille                                                                                                                            62

Dépouille orthogonale de l’outil                                                                                         65

Dépouille orthogonale en travail                                                                                        67

Face de coupe                                                                                                                     45

Face de dépouille                                                                                                               46

Face de dépouille principale                                                                                              50

Face de dépouille complémentaire                                                                                     51

Mouvement d’avance                                                                                                          7

Mouvement résultante de coupe                                                                                          16

Outil de coupe                                                                                                                    3

Plan d’arête principale de l’outil                                                                                        32

Plan d’arête principale en travail                                                                                       34

Plan de référence de l’outil                                                                                                28

Plan de référence en travail                                                                                                30

Plan de travail                                                                                                                    21

Plan normal á l’arête                                                                                                          39

Plan orthogonal de l’outil                                                                                                   36

Plan orthogonal en travail                                                                                                   38

Rayon de bec                                                                                                                      54

Surface couрée                                                                                                                   19

Système de l’outil en main                                                                                                  24

Système de l’outil en travail                                                                                               26

Système de référence de la machine-outil                                                                           25

Vitesse d’avance                                                                                                                 8

Vitesse de coupe                                                                                                                 6

Vitesse résultante                                                                                                                17

СОДЕРЖАНИЕ

 

 



© 2013 Ёшкин Кот :-)