Информационная система
«Ёшкин Кот»

XXXecatmenu

ГОСУДАРСТВЕННЫЙ СТАНДАРТ СОЮЗА ССР

 

АЛЮМИНИЙ И
СПЛАВЫ
АЛЮМИНИЕВЫЕ

МЕТОД ОПРЕДЕЛЕНИЯ СОДЕРЖАНИЯ ВОДОРОДА
В
ЖИДКОМ МЕТАЛЛЕ

ГОСТ 21132.0-75

(СТ СЭВ 2281-80)

 

 

 

ГОСУДАРСТВЕННЫЙ КОМИТЕТ СССР ПО СТАНДАРТАМ

Москва

 

 

ГОСУДАРСТВЕННЫЙ СТАНДАРТ СОЮЗА ССР

АЛЮМИНИЙ И СПЛАВЫ
АЛЮМИНИЕВЫЕ

Метод определения содержания водорода
в жидком металле

Aluminium alloys. Method for
determination of hydrogen
content in molten metal.

ГОСТ
21132.0-75*

(СТ СЭВ 2281-80)

Постановлением Государственного комитета стандартов Совета Министров СССР от 11 сентября 1975 г. № 2380 срок введения установлен

с 01.01.77

Постановлением Госстандарта от 12.01.82 № 35 срок действия продлен

до 01.01.87

Настоящий стандарт устанавливает метод определения содержания водорода в жидком металле по выделению первого пузырька в алюминии и алюминиевых сплавах (при содержании водорода от 0,05 до 1,0 см3 на 100 г металла).

Сущность метода состоит в зависимости количества растворенного водорода в жидком металле от парциального давления водорода в газовой фазе над металлом.

Стандарт полностью соответствует СТ СЭВ 2281-80.

(Измененная редакция, Изм. № 3).

1. АППАРАТУРА, МАТЕРИАЛЫ И РЕАКТИВЫ

Ртуть Р1 по ГОСТ 4658-73.

Шлаковата.

Бензин авиационный по ГОСТ 1012-72.

Смазка вакуумная.

Масло вакуумное ВМ-4 по ГОСТ 23013-73.

Спирт этиловый ректификованный высшей очистки.

Резина вакуумная.

Вата медицинская гигроскопическая по ГОСТ 5556-81.

Асбест листовой и шнуровой.

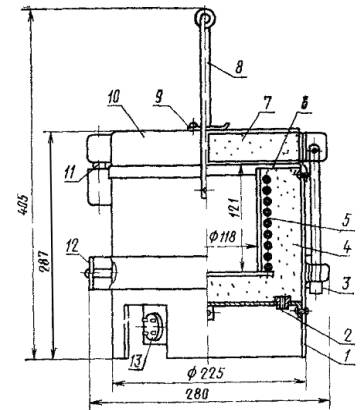
Установка (черт. 1) состоит из герметичной вакуумной камеры с корпусом 7 и крышкой 5, в которой имеется смотровое стекло 3; электропечи сопротивления 6 с терморегулятором 8 и тиглем 4 вместимостью от 30 до 50 см3; хромельалюмелевого термоэлектрического термометра 2 с диаметром проволоки от 0,5 до 0,8 мм, на который надевают защитный чехол диаметром от 5 до 7 мм, длиной 50 мм, для измерения температуры расплава в интервале от 590 °С до 810 °С с погрешностью измерений не более 2,5 °С; форвакуумного насоса 1 типа ВН-461, РВН-20 или ВН-494; механического манометра 11 со шкалой от 0 до 101,08·103 Па (от 0 до 760 мм рт. ст.) для грубого замера давления; стеклянного U-образного манометра 12 со шкалой от 0 до 26,6·103 Па (от 0 до 200 мм. рт. ст.) для более точного замера давления.

Черт. 1

Допускается использование другой аналитической аппаратуры, обеспечивающей получение метрологических параметров, предусмотренных настоящим стандартом. Шахтная печь (черт. 2) служит для предварительного нагрева тиглей установки и термостата.

1 - металлический каркас; 2 - шамотный кирпич; 3 - специальная керамика из четырех секций; 4 - селитовый стержень; 5 - листовой асбест; 6 - крышка; 7 - рычаг; 8 - конечный выключатель; 9 - кожух нагревателей.

Черт. 2

Термостат (черт. 3) служит для поддержания необходимой температуры металла при транспортировании пробы от печи, миксера или раздаточного устройства в тигель установки. В термостат помещают керамический тигель вместимостью от 320 до 350 см3, который нагревают с помощью электропечи сопротивления термостата (черт. 4). Применяется в случае, если установка удалена от места отбора пробы. Ложка для отбора проб, стальная или из литого чугуна с жаростойким покрытием из краски, содержащей мел или каолин (применение асбеста в качестве защитного слоя не допускается), вместимостью:

не менее 100 см3 в случае одного определения из отобранной пробы;

не менее 250 см3 в случае нескольких определений из отобранной в один раз пробы при условии транспортирования пробы в термостате.

Щипцы специальные, служат для перелива расплава из тигля термостата в тигель установки.

1 - корпус; 2 - электроввод; 3 - замок, 4 - нагреватель; 5 - стакан; 6 - фланец; 7 - засыпка - асбест; 8 - ручка; 9 - глазок; 10 - крышка; 11 - ось поворота; 12 - кольцо; 13 - розетка

Черт. 3

1 - корпус печи; 2 - тигель; 3 - спираль; 4 - футеровка; 5 - теплоизоляция; 6 - шлаковата; 7 - контактный болт; 8 - крепежный болт; 9 - полотно; 10 - поддон; 11 - крепежный винт

Черт. 4

(Измененная редакция, Изм. № 3).

3. МЕТОД ОТБОРА ПРОБ*

* Разд. 2 исключен.

3.1. Перед отбором проб проверяют аппаратуру для анализа и подготавливают необходимые условия для проведения анализа в соответствии с описанием по эксплуатации установки.

3.2. При отборе пробы необходимо сохранять содержание водорода на том уровне, на котором оно находится в анализируемом расплаве. Отбор пробы из расплава проводят подогретой в расплаве ложкой. В месте отбора пробы, которое не тождественно месту подогрева ложки, поверхность металла очищают от шлака и осторожным движением погружают ложку в глубь расплава на расстояние не менее 10 см от поверхности металла. Примерно 1/3 часть пробы выливают, а анализ проводят из оставшейся части пробы. Затем сразу же отбирают новую пробу для проведения параллельного анализа. Температура пробы расплава не должна снижаться более чем на 15 °С после помещения ее в установку.

При использовании термостата пробу отбирают ложкой большей вместимости вышеуказанным методом, переливают в тигель термостата, который переносят к установке, и из пробы сразу же друг за другом проводят не менее двух параллельных анализов.

Изменение температуры металла в тигле термостата по отношению к температуре анализируемого расплава не должно быть более чем минус 15 °С или плюс 10 °С. Продолжительность пребывания металла в тигле термостата, начиная от момента отбора пробы до окончания последнего анализа, должна быть не более 20 мин.

(Измененная редакция, Изм. № 3).

4. ПРОВЕДЕНИЕ АНАЛИЗА

4.1. Пробу (или часть пробы из термостата) непрерывной струей переливают в подогретый до температуры расплава тигель установки, предварительно поместив в него термоэлектрический термометр. Изменение температуры металла в тигле установки по отношению к температуре анализируемого расплава не должно быть более чем минус 15 °С или плюс 10 °С.

Перед переливом пробы с поверхности расплава необходимо снять окисную пленку; запрещается снимать окисную пленку с поверхности расплава в тигле установки.

4.2. Закрывают крышку 5 камеры, включают насос 1. Скорость откачки по U-образному манометру при давлении от 26,6·103 до 2,66·103 Па (от 200 до 20 мм. рт. ст.) должна быть не более 6,65·102 Па/с (5 мм рт. ст.). Скорость откачки регулируют краном 10.

(Измененная редакция, Изм. № 3).

4.3. Через окно наблюдают за освещенной поверхностью металла. После появления первого пузырька регистрируют значения температуры металла и остаточного давления над расплавом.

За первый пузырек принимают мелкий пузырек, который появляется не у стенки тигля и за которым, как правило, при незначительном снижении давления на 1,33·103 - 2,66·103 Па (10 - 20 мм рт. ст.) выделяются новые пузырьки.

В отдельных случаях при низких значениях содержания водорода возможно появление только одного единственного пузырька, за которым не следуют другие.

4.4 Разгрузку и подготовку установки к следующему анализу проводят в соответствии с описанием по ее эксплуатации.

5. ОБРАБОТКА РЕЗУЛЬТАТОВ

5.1. Содержание водорода в пробе металла (QH2) в см3 на 100 г металла рассчитывают как среднее арифметическое двух параллельных определений по таблицам или номограммам, полученным по формуле

где T - температура расплава, K, замеренная в момент появления первых пузырьков на поверхности зеркала расплава;

P - давление над металлом, Па, замеренное в момент появления первых пузырьков на поверхности зеркала расплава;

А и В - коэффициенты в уравнении растворимости, определенные для данного сплава (табл. 1).

5.2. Для алюминия и некоторых бинарных сплавов коэффициенты А и В приведены в табл. 1.

Таблица 1

Сплав

Коэффициенты

А

B

Алюминий + 2 % кремния

2800

1,35

Алюминий + 4 % кремния

2950

1,47

Алюминий + 6 % кремния

3000

1,49

Алюминий + 8 % кремния

3050

1,51

Алюминий + 10 % кремния

3070

1,52

Алюминии + 2 % меди

2950

1,46

Алюминий + 4 % меди

3050

1,50

Алюминий + 6 % меди

3100

1,50

Алюминий + 3 % магния

2695

1,50

Алюминий + 6 % магния

2620

1,57

Алюминий

2760

1,35

5.3. Допускаемые расхождения результатов независимых параллельных определений при доверительной вероятности P = 0,95 не должно превышать значений, приведенных в табл. 2.

см3 на 100 г металла                                                                                            Таблица 2

Содержание водорода

Допускаемые расхождения

От 0,05 до 0,1

0,03

Св. 0,1 » 0,2

0,04

» 0,2 » 0,4

0,06

» 0,4 » 0,7

0,12

» 0,7 » 1,0

0,18

 

СОДЕРЖАНИЕ

 

 



© 2013 Ёшкин Кот :-)