
ГОСУДАРСТВЕННЫЙ СТАНДАРТ СОЮЗА
ССР
КРАНЫ КОНСОЛЬНЫЕ
ЭЛЕКТРИЧЕСКИЕ СТАЦИОНАРНЫЕ
Типы
ГОСТ 19811-90
ГОСУДАРСТВЕННЫЙ КОМИТЕТ СССР ПО УПРАВЛЕНИЮ
КАЧЕСТВОМ ПРОДУКЦИИ И СТАНДАРТАМ
Москва
ГОСУДАРСТВЕННЫЙ СТАНДАРТ СОЮЗА ССР
КРАНЫ КОНСОЛЬНЫЕ ЭЛЕКТРИЧЕСКИЕ
СТАЦИОНАРНЫЕ
Типы
Stationary electric cantilever cranes.
Types
|
ГОСТ
19811-90
|
Срок действия с 01.01.91
до 01.01.96
Настоящий стандарт
распространяется на консольные электрические стационарные поворотные краны
общего назначения (далее - краны) с электрической талью по ГОСТ 22584
или зарубежного производства с технической характеристикой, аналогичной
электроталям по ГОСТ 22584 с
механизмом передвижения или без него, групп режима работы 2К и 4К (ГОСТ 25546),
грузоподъемностью от 0,125 до 16 т, управляемые с пола, работающие на
трехфазном токе напряжением 220 или 380 В, частотой 50 Гц, в климатическом
исполнении У категорий размещения 1, 2 и 3 по ГОСТ
15150.
Стандарт не распространяется
на краны, предназначенные для работы во взрывоопасной и пожароопасной средах, в
помещениях с парами кислот и щелочей.
Стандарт устанавливает типы,
основные параметры и размеры кранов и присоединительные размеры их опорных
частей.
1. Краны разделяют на типы:
1 - настенные с ручным
поворотом консоли;
2 - на колонне с верхней и
нижней опорами с ручным поворотом консоли;
3 - на колонне
свободностоящие с ручным поворотом консоли;
4 - на колонне
свободностоящие двухплечевые с ручным поворотом;
5 - настенные с механическим
поворотом консоли;
6 - на колонне с верхней и
нижней опорами с механическим поворотом консоли;
7 - на колонне
свободностоящие с механическим поворотом консоли.
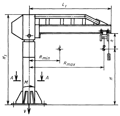
2. Основные параметры и
размеры крана типа 1 должны соответствовать указанным на черт. 1 и в табл. 1, типа 2
- на черт. 2 и в табл. 2, типа 3 - на черт. 3
и в табл. 3, типа 4 - на черт. 4 и в табл. 4, типа 5
- на черт. 5 и в табл. 5, типа 6 - на черт. 6
и в табл. 6, типа 7 - на черт. 7 и в табл. 7.
Присоединительные размеры
опорных частей кранов типов 1, 2, 5, 6 должны соответствовать указанным на
черт. 8 и в табл. 8, типов 3, 4, 7 - на черт. 9 и в табл. 9.
Допускается отклонение
линейных размеров на ± 5 %.
3. Скорости:
0,14 м/с (8 м/мин) -
механизма подъема кранов типов 1 - 7 грузоподъемностью 0,125 - 5,0 т;
0,071 м/с (4 м/мин) -
механизма подъема кранов типов 5 - 7 грузоподъемностью 12,5 и 16,0 т;
0,5 м/с (32 м/мин) -
механизма передвижения грузовой тележки кранов типов 1 - 3 и 5 - 7;
0,032 с-1 (2
об/мин) - частота вращения консоли кранов типов 5 - 7, имеющих вылеты крюка 2,5
и 3,2 м;
0,016 с-1 (1
об/мин) - частота вращения консоли кранов типов 5 - 7, имеющих вылеты крюка
4,0; 5,0 и 6,3 м;
0,008 с-1 (0,5
об/мин) - частота вращения консоли кранов типов 5 - 7, имеющих вылеты крюка 8,0
и 10,0 м. Допускается отклонение скоростей на ± 15 %.
4. Условное обозначение
должно состоять из аббревиатур ККР (кран консольный, ручной поворот консоли) или
ККМ (кран консольный, механический поворот консоли), обозначения типа, значений
грузоподъемности, наибольшего вылета крюка и высоты подъема.
Пример
условного обозначения крана с ручным поворотом консоли, типа 3, грузоподъемностью 1 т, с
наибольшим вылетом крюка Rmax = 10 м и высотой подъема 2,5 м:
ККР 3-1-10-2,5 ГОСТ 19811
5. Установленная мощность
электродвигателей и удельный расход электроэнергии не должны превышать
значений, указанных в табл. 10.
6. Диапазон подъема крюка -
в соответствии с технической характеристикой электрической тали.

Черт. 1
Примечание. Черт. 1 - 7 не определяют
конструкцию крана.
Таблица 1
Размеры,
мм
Код ОКП
|
Грузоподъемность Q, т
|
Вылет
|
Высота подъема H
|
Расстояние между
опорами S
|
Расстояние от оси
вращения до конца консоли L1, не более
|
Расстояние от стены до
оси вращения L2
|
Вертикальный подход h, не более
|
Высота крана H1
|
Статическая нагрузка на
строительную конструкцию, кН, не более
|
Конструктивная масса,
т, не более
|
Удельная масса,
т/т∙м
|
|
наименьший Rmin
|
наибольший Rmax
|
|
горизонтальная Т
|
вертикальная V
|
|
31 5921 7101 07
|
0,25
|
650
|
2500
|
6300
|
800
|
2910
|
240
|
550
|
980
|
11,52
|
6,5
|
0,40
|
0,640
|
|
31 5921 7102 06
|
3200
|
3610
|
14,74
|
7,0
|
0,44
|
0,550
|
|
31 5921 7103 05
|
4000
|
4410
|
18,40
|
7,4
|
0,49
|
0,490
|
|
31 5921 7104 04
|
5000
|
5410
|
23,00
|
8,1
|
0,56
|
0,448
|
|
31 5921 7105 03
|
6300
|
1200
|
6710
|
280
|
1050
|
19,35
|
9,1
|
0,66
|
0,419
|
|
31 5921 7106 02
|
8000
|
8410
|
24,60
|
10,3
|
0,78
|
0,390
|
|
31 5921 7107 01
|
10000
|
10410
|
30,70
|
11,7
|
0,92
|
0,368
|
|
31 5921 7201 04
|
0,5
|
700
|
2500
|
До 18000
|
2870
|
780
|
14,35
|
9,6
|
0,46
|
0,368
|
|
31 5921 7202 03
|
3200
|
3570
|
18,36
|
10,0
|
0,50
|
0,312
|
|
31 5921 7203 02
|
4000
|
4370
|
23,00
|
10,5
|
0,55
|
0,275
|
|
31 5921 7204 01
|
5000
|
1600
|
5370
|
340
|
1250
|
28,10
|
11,2
|
0,62
|
0,248
|
|
31 5921 7205 00
|
6300
|
6670
|
27,11
|
12,5
|
0,75
|
0,238
|
|
31 5921 7206 10
|
8000
|
8370
|
34,40
|
14,2
|
0,92
|
0,230
|
|
31 5921 7207 09
|
10000
|
10370
|
43,00
|
16,2
|
1,12
|
0,224
|
|
31 5921 7401 09
|
1,0
|
750
|
2500
|
1200
|
2920
|
280
|
855
|
1050
|
28,53
|
15,5
|
0,55
|
0,220
|
|
31 5921 7402 08
|
3200
|
3620
|
36,50
|
16,0
|
0,60
|
0,188
|
|
31 5921 7403 07
|
4000
|
1600
|
4420
|
340
|
1250
|
34,24
|
16,7
|
0,67
|
0,168
|
|
31 5921 7404 06
|
5000
|
5420
|
42,80
|
17,7
|
0,77
|
0,154
|
|
31 5921 7405 05
|
6300
|
6720
|
54,00
|
19,4
|
0,941
|
0,149
|
|
31 5921 7406 04
|
8000
|
2000
|
8420
|
420
|
1480
|
54,78
|
24,7
|
1,47
|
0,184
|
|
31 5921 7407 03
|
10000
|
10420
|
68,50
|
26,2
|
1,62
|
0,162
|
|
31 5921 7301 01
|
2,0
|
2500
|
1600
|
2970
|
340
|
1150
|
1250
|
40,60
|
27,5
|
0,75
|
0,150
|
|
31 5921 7302 00
|
3200
|
3670
|
52,00
|
29,0
|
0,90
|
0,141
|
|
31 5921 7303 10
|
4000
|
4470
|
65,00
|
30,5
|
1,05
|
0,131
|
|
Таблица 2
Размеры, мм
Код ОКП
|
Грузоподъемность Q, т
|
Вылет
|
Высота подъема H
|
Расстояние между
опорами S
|
Расстояние от оси
вращения до конца консоли L1, не более
|
Расстояние от стены до
оси вращения L2
|
Вертикальный подход h, не более
|
Высота крана H1
|
Статическая нагрузка на
строительную конструкцию, кН, не более
|
Конструктивная масса,
т, не более
|
Удельная масса,
т/т∙м
|
|
наименьший Rmin
|
наибольший Rmax
|
|
горизонтальная Т
|
вертикальная V
|
|
31 5921 2101 05
|
0,25
|
650
|
2500
|
2000
|
1720
|
2910
|
240
|
550
|
980
|
5,36
|
6,5
|
0,40
|
0,840
|
|
31 5921 2102 04
|
2500
|
2220
|
4,15
|
|
31 5921 2103 03
|
3200
|
2920
|
4,02
|
|
31 5921 2104 02
|
4000
|
3720
|
2,48
|
|
31 5921 2105 01
|
3200
|
2000
|
1720
|
3610
|
6,86
|
7,0
|
0,44
|
0,550
|
|
31 5921 2106 00
|
2500
|
2220
|
5,31
|
|
31 5921 2107 10
|
3200
|
2920
|
4,04
|
|
31 5921 2108 09
|
4000
|
3720
|
3,17
|
|
31 5921 2109 08
|
4000
|
2000
|
1720
|
4410
|
8,37
|
7,5
|
0,49
|
0,490
|
|
31 5921 2111 03
|
2500
|
2220
|
6,64
|
|
31 5921 2112 02
|
3200
|
2920
|
5,05
|
|
31 5921 2113 01
|
4000
|
3720
|
3,96
|
|
31 5921 2114 00
|
5000
|
2000
|
1720
|
5410
|
10,71
|
8,5
|
0,56
|
0,448
|
|
31 5921 2115 10
|
2500
|
2220
|
8,30
|
|
31 5921 2116 09
|
3200
|
2920
|
6,31
|
|
31 5921 2117 08
|
4000
|
3720
|
4,95
|
|
31 5921 2118 07
|
6300
|
2000
|
2150
|
6710
|
280
|
1050
|
10,80
|
9,5
|
0,66
|
0,419
|
|
31 5921 2119 06
|
2500
|
2650
|
8,80
|
|
31 5921 2121 01
|
3200
|
3350
|
7,00
|
|
31 5921 2122 00
|
4000
|
4150
|
5,60
|
|
31 5921 2123 10
|
8000
|
2000
|
2150
|
8410
|
13,71
|
10,5
|
0,78
|
0,390
|
|
31 5921 2124 09
|
2500
|
2650
|
11,14
|
|
31 5921 2125 08
|
3200
|
3350
|
8,80
|
|
31 5921 2126 07
|
4000
|
4150
|
7,10
|
|
31 5921 2128 05
|
1000
|
2000
|
2150
|
10410
|
17,15
|
12,00
|
0,92
|
0,368
|
|
31 5921 2129 04
|
2500
|
2650
|
13,90
|
|
31 5921 2131 10
|
3200
|
3350
|
11,00
|
|
31 5921 2132 09
|
4000
|
4150
|
8,88
|
|
31 5921 2201 02
|
0,5
|
700
|
2500
|
2000
|
1900
|
2870
|
780
|
8,68
|
9,6
|
0,46
|
0,368
|
|
31 5921 2202 01
|
2500
|
2400
|
6,87
|
|
31 5921 2203 00
|
3200
|
3100
|
5,29
|
|
31 5921 2204 10
|
4000
|
3900
|
4,20
|
|
31 5921 2205 09
|
3200
|
2000
|
1900
|
3570
|
11,00
|
10,0
|
0,50
|
0,312
|
|
31 5921 2206 08
|
2500
|
2400
|
8,74
|
|
31 5921 2207 07
|
3200
|
3100
|
6,77
|
|
31 5921 2208 06
|
4000
|
3900
|
5,38
|
|
31 5921 2209 05
|
4000
|
2000
|
1900
|
4370
|
13,80
|
10,5
|
0,55
|
0,275
|
|
31 5921 2211 00
|
2500
|
2400
|
11,00
|
|
31 5921 2212 10
|
3200
|
3100
|
8,60
|
|
31 5921 2213 09
|
4000
|
3900
|
7,05
|
|
31 5921 2214 08
|
5000
|
2000
|
1900
|
5370
|
17,40
|
11,5
|
0,62
|
0,248
|
|
31 5921 2215 07
|
2500
|
2400
|
13,83
|
|
31 5921 2216 06
|
3200
|
3100
|
10,65
|
|
31 5921 2217 05
|
4000
|
3900
|
8,74
|
|
31 5921 2218 04
|
6300
|
2000
|
2250
|
6670
|
340
|
1250
|
18,50
|
12,5
|
0,75
|
0,238
|
|
31 5921 2219 03
|
2500
|
2750
|
15,10
|
|
31 5921 2221 09
|
3200
|
3450
|
12,05
|
|
31 5921 2222 08
|
4000
|
4250
|
10,00
|
|
31 5921 2223 07
|
8000
|
2000
|
2250
|
8370
|
23,50
|
14,5
|
0,92
|
0,230
|
|
31 5921 2224 06
|
2500
|
2750
|
20,00
|
|
31 5921 2225 05
|
3200
|
3450
|
15,50
|
|
31 5921 2226 04
|
4000
|
4250
|
12,50
|
|
31 5921 2227 03
|
10000
|
2000
|
2250
|
10370
|
30,00
|
16,5
|
1,12
|
0,224
|
|
31 5921 2228 02
|
2500
|
2750
|
24,00
|
|
31 5921 2229 01
|
3200
|
3450
|
19,30
|
|
31 5921 2231 07
|
4000
|
4250
|
16,00
|
|
31 5921 2301 10
|
1,0
|
750
|
2500
|
2000
|
1960
|
2920
|
280
|
855
|
1050
|
16,80
|
15,5
|
0,55
|
0,220
|
|
31 5921 2302 09
|
2500
|
2460
|
13,36
|
|
31 5921 2303 08
|
3200
|
3160
|
10,40
|
|
31 5921 2304 07
|
4000
|
3960
|
8,30
|
|
31 5921 2305 06
|
3200
|
2000
|
1960
|
3620
|
21,50
|
16,0
|
0,60
|
0,188
|
|
31 5921 2306 05
|
2500
|
2460
|
17,10
|
|
31 5921 2307 04
|
3200
|
3160
|
13,31
|
|
31 5921 2308 03
|
4000
|
3960
|
10,62
|
|
31 5921 2309 02
|
4000
|
2000
|
1820
|
4420
|
340
|
1250
|
28,90
|
17,0
|
0,67
|
0,168
|
|
31 5921 2311 08
|
2500
|
2320
|
22,66
|
|
31 5921 2312 07
|
3200
|
3020
|
17,40
|
|
31 5921 2313 06
|
4000
|
3820
|
13,76
|
|
31 5921 2314 05
|
5000
|
2000
|
1820
|
5420
|
36,11
|
18,0
|
0,77
|
0,154
|
|
31 5921 2315 04
|
2500
|
2320
|
28,33
|
|
31 5921 2316 03
|
3200
|
3020
|
21,76
|
|
31 5921 2317 02
|
4000
|
3820
|
1480
|
17,21
|
|
31 5921 2318 01
|
6300
|
2000
|
2095
|
6720
|
39,60
|
19,5
|
0,94
|
0,149
|
|
31 5921 2319 00
|
2500
|
2599
|
31,91
|
|
31 5921 2321 06
|
3200
|
3295
|
25,13
|
|
31 5921 2322 05
|
6300
|
4000
|
4095
|
855
|
1480
|
20,22
|
|
31 5921 2323 04
|
8000
|
2000
|
2095
|
8420
|
420
|
50,20
|
25,0
|
1,47
|
0,184
|
|
31 5921 2324 03
|
2500
|
2595
|
40,52
|
|
31 5921 2325 02
|
3200
|
3295
|
31,91
|
|
31 5921 2326 01
|
4000
|
4095
|
25,68
|
|
31 5921 2327 00
|
10000
|
2000
|
2095
|
10420
|
64,20
|
26,5
|
1,62
|
0,162
|
|
31 5921 2328 10
|
2500
|
2595
|
51,00
|
|
31 5921 2329 09
|
3200
|
3295
|
40,00
|
|
31 5921 2331 04
|
4000
|
4095
|
32,50
|
|
31 5921 2401 07
|
2,0
|
2500
|
2000
|
2110
|
2970
|
340
|
1150
|
1250
|
29,85
|
29,0
|
0,75
|
0,150
|
|
31 5921 2402 06
|
2500
|
2610
|
24,13
|
|
31 5921 2403 05
|
3200
|
3310
|
19,03
|
|
31 5921 2404 04
|
4000
|
4110
|
14,60
|
|
31 5921 2405 03
|
3200
|
2000
|
2110
|
3670
|
38,20
|
30,0
|
0,9
|
0,141
|
|
31 5921 2406 02
|
2500
|
2610
|
30,88
|
|
31 5921 2407 01
|
3200
|
3310
|
24,37
|
|
31 5921 2408 00
|
750
|
3200
|
4000
|
4110
|
340
|
1150
|
1250
|
19,61
|
|
31 5921 2409 10
|
4000
|
2000
|
2200
|
4470
|
45,80
|
31,0
|
1,05
|
0,131
|
|
31 5921 2411 05
|
2500
|
2700
|
38,00
|
|
31 5921 2412 04
|
3200
|
3400
|
30,00
|
|
31 5921 2413 03
|
4000
|
4200
|
24,00
|
|
Таблица 3
Размеры,
мм
Код ОКП
|
Грузоподъемность Q, т
|
Вылет
|
Высота подъема H
|
Расстояние от стены до
оси вращения L1
|
Вертикальный подход h, не более
|
Высота крана H1
|
Статическая нагрузка на
строительную конструкцию, кН, не более
|
Конструктивная масса,
т, не более
|
Удельная масса,
т/т∙м
|
|
наименьший Rmin
|
наибольший Rmax
|
|
горизонтальная Т
|
вертикальная V
|
|
31 5921 3005 00
|
0,25
|
650
|
2500
|
2000
|
2940
|
550
|
2850
|
11,2
|
9,0
|
0,87
|
1,392
|
|
31 5921 3006 10
|
2500
|
3350
|
11,5
|
0,90
|
1,440
|
|
31 5921 3007 09
|
3200
|
4050
|
12,2
|
0,97
|
1,552
|
|
31 5921 3008 08
|
4000
|
4850
|
13,0
|
1,05
|
1,680
|
|
31 5921 3009 07
|
3200
|
2000
|
3610
|
2850
|
12,0
|
12,5
|
0,95
|
1,188
|
|
31 5921 3011 02
|
2500
|
3350
|
12,5
|
1,00
|
1,250
|
|
31 5921 3012 01
|
3200
|
4050
|
13,2
|
1,07
|
1,338
|
|
31 5921 3013 00
|
4000
|
4850
|
14,0
|
1,15
|
1,438
|
|
31 5921 3014 10
|
4000
|
2000
|
4410
|
2850
|
12,8
|
16,5
|
1,03
|
1,030
|
|
31 5921 3015 09
|
2500
|
3350
|
13,4
|
1,10
|
1,100
|
|
31 5921 3016 08
|
3200
|
4050
|
14,2
|
1,17
|
1,170
|
|
31 5921 3017 07
|
4000
|
4850
|
15,0
|
1,25
|
1,250
|
|
31 5921 3018 06
|
5000
|
2000
|
5410
|
2850
|
13,8
|
20,0
|
1,13
|
0,904
|
|
31 5921 3019 05
|
2500
|
3350
|
14,5
|
1,20
|
0,960
|
|
31 5921 3021 00
|
3200
|
4050
|
15,2
|
1,27
|
1,016
|
|
31 5921 3022 10
|
4000
|
4850
|
16,0
|
1,35
|
1,080
|
|
31 5921 3023 09
|
6300
|
2000
|
6710
|
3350
|
15,8
|
30,5
|
1,33
|
0,844
|
|
31 5921 3024 08
|
2500
|
3850
|
16,5
|
1,40
|
0,889
|
|
31 5921 3025 07
|
3200
|
4550
|
17,2
|
1,47
|
0,933
|
|
31 5921 3026 06
|
4000
|
5350
|
18,0
|
1,55
|
0,984
|
|
31 5921 3027 05
|
8000
|
2000
|
8410
|
3350
|
17,8
|
38,0
|
1,53
|
0,765
|
|
31 5921 3028 04
|
2500
|
3850
|
18,5
|
1,60
|
0,800
|
|
31 5921 3029 03
|
3200
|
4550
|
19,2
|
1,67
|
0,835
|
|
31 5921 3031 09
|
4000
|
5350
|
20,0
|
1,75
|
0,875
|
|
31 5921 3032 08
|
10000
|
2000
|
10410
|
3350
|
20,8
|
50,5
|
1,83
|
0,732
|
|
31 5921 3033 07
|
2500
|
3850
|
21,5
|
1,90
|
0,760
|
|
31 5921 3034 08
|
3200
|
4550
|
22,2
|
1,97
|
0,788
|
|
31 5921 3035 05
|
4000
|
5350
|
23,0
|
2,05
|
0,820
|
|
31 5921 3257 04
|
0,5
|
700
|
2500
|
2000
|
2870
|
780
|
3100
|
14,5
|
16
|
0,95
|
0,760
|
|
31 5921 3262 07
|
2500
|
3600
|
15,0
|
1,00
|
0,800
|
|
31 5921 3266 03
|
3200
|
4300
|
16,0
|
1,07
|
0,856
|
|
31 5921 3269 00
|
4000
|
5100
|
16,5
|
1,15
|
0,920
|
|
31 5921 3258 03
|
3200
|
2000
|
3570
|
3100
|
15,0
|
23
|
0,99
|
0,619
|
|
31 5921 3263 06
|
2500
|
3600
|
16,5
|
1,04
|
0,650
|
|
31 5921 3267 02
|
3200
|
4300
|
16,1
|
1,11
|
0,694
|
|
31 5921 3271 06
|
4000
|
5100
|
17,0
|
1,19
|
0,744
|
|
31 5921 3259 02
|
4000
|
2000
|
4370
|
3100
|
15,5
|
31
|
1,04
|
0,520
|
|
31 5921 3264 05
|
2500
|
3600
|
16,0
|
1,09
|
0,545
|
|
31 5921 3201 09
|
700
|
4000
|
3200
|
4370
|
4300
|
16,6
|
1,16
|
0,580
|
|
31 5921 3272 05
|
4000
|
5100
|
17,5
|
1,24
|
0,620
|
|
31 5921 3261 08
|
5000
|
2000
|
5370
|
3100
|
16,0
|
38
|
1,10
|
0,440
|
|
31 5921 3265 04
|
2500
|
3600
|
16,5
|
1,15
|
0,460
|
|
31 5921 3268 01
|
3200
|
4300
|
17,2
|
1,22
|
0,488
|
|
31 5921 3273 04
|
4000
|
5100
|
18,0
|
1,30
|
0,520
|
|
31 5921 8201 00
|
6300
|
2000
|
6670
|
3650
|
19,0
|
51
|
1,40
|
0,444
|
|
31 5921 8202 10
|
2500
|
4150
|
19,5
|
1,45
|
0,460
|
|
31 5921 8203 09
|
3200
|
4850
|
21,0
|
1,60
|
0,508
|
|
31 5921 8204 08
|
4000
|
5650
|
22,5
|
1,75
|
0,556
|
|
31 5921 8205 07
|
8000
|
2000
|
8370
|
3660
|
22,0
|
69
|
1,70
|
0,425
|
|
31 5921 8206 06
|
2500
|
4150
|
22,5
|
1,75
|
0,438
|
|
31 5921 8207 05
|
3200
|
4850
|
24,0
|
1,90
|
0,475
|
|
31 5921 8208 04
|
4000
|
5650
|
25,5
|
2,05
|
0,512
|
|
31 5921 8209 03
|
10000
|
2000
|
10370
|
3650
|
25,0
|
91
|
2,00
|
0,400
|
|
31 5921 8211 09
|
2500
|
4150
|
25,5
|
2,05
|
0,410
|
|
31 5921 8212 08
|
3200
|
4850
|
27,0
|
2,20
|
0,440
|
|
31 5921 8213 07
|
4000
|
5650
|
28,5
|
2,35
|
0,470
|
|
31 5921 3362 04
|
1,0
|
750
|
2500
|
2000
|
2920
|
855
|
3160
|
21,3
|
31,0
|
1,13
|
0,452
|
|
31 5921 3366 00
|
2500
|
3660
|
21,8
|
1,18
|
0,472
|
|
31 5921 3369 08
|
3200
|
4360
|
22,5
|
1,25
|
0,500
|
|
31 5921 3373 01
|
4000
|
5160
|
23,3
|
1,33
|
0,532
|
|
31 5921 3363 03
|
3200
|
2000
|
3620
|
3160
|
21,7
|
45,0
|
1,17
|
0,366
|
|
31 5921 3367 10
|
2500
|
3660
|
22,2
|
1,22
|
0,381
|
|
31 5921 3371 03
|
3200
|
4360
|
23,0
|
1,29
|
0,403
|
|
31 5921 3374 00
|
4000
|
5160
|
23,7
|
1,37
|
0,428
|
|
31 5921 3364 02
|
4000
|
2000
|
4420
|
3160
|
24,6
|
59,5
|
1,46
|
0,365
|
|
31 5921 3301 06
|
2500
|
3660
|
25,1
|
1,51
|
0,378
|
|
31 5921 3358 00
|
3200
|
4360
|
26,6
|
1,66
|
0,415
|
|
31 5921 3375 10
|
4000
|
5160
|
28,1
|
1,81
|
0,452
|
|
31 5921 3365 01
|
5000
|
2000
|
3160
|
27,6
|
72,5
|
1,76
|
0,352
|
|
31 5921 3368 09
|
2500
|
3660
|
28,1
|
1,81
|
0,362
|
|
31 5921 3372 02
|
3200
|
4360
|
29,6
|
1,96
|
0,392
|
|
31 5921 3376 09
|
4000
|
5160
|
31,6
|
2,16
|
0,432
|
|
31 5921 8301 08
|
6300
|
2000
|
6720
|
3725
|
30,6
|
93,0
|
2,06
|
0,327
|
|
31 5921 8302 07
|
2500
|
4225
|
31,1
|
2,11
|
0,335
|
|
31 5921 8303 06
|
3200
|
4925
|
32,6
|
2,26
|
0,359
|
|
31 5921 8304 05
|
4000
|
5725
|
34,6
|
3,46
|
0,390
|
|
31 5921 8305 04
|
1,0
|
750
|
8000
|
2000
|
8420
|
855
|
3725
|
33,6
|
125,0
|
2,36
|
0,295
|
|
31 5921 8306 03
|
2500
|
4225
|
34,1
|
2,41
|
0,301
|
|
31 5921 8307 02
|
3200
|
4925
|
36,1
|
2,61
|
0,326
|
|
31 5921 8308 01
|
4000
|
5725
|
39,1
|
2,91
|
0,364
|
|
31 5921 8309 00
|
10000
|
2000
|
10420
|
3725
|
35,6
|
165,0
|
2,56
|
0,256
|
|
31 5921 8311 06
|
2500
|
4225
|
38,1
|
2,81
|
0,281
|
|
31 5921 8312 05
|
3200
|
4925
|
40,1
|
3,01
|
0,301
|
|
31 5921 8313 04
|
4000
|
5725
|
43,1
|
3,31
|
0,331
|
|
31 5921 3654 06
|
2,0
|
750
|
2500
|
2000
|
2970
|
1150
|
3510
|
33,0
|
60,0
|
1,30
|
0,260
|
|
31 5921 3655 05
|
2500
|
4010
|
34,2
|
1,42
|
0,284
|
|
31 5921 3656 04
|
3200
|
4710
|
35,7
|
1,57
|
0,314
|
|
31 5921 3657 03
|
4000
|
5510
|
37,2
|
1,72
|
0,344
|
|
31 5921 3658 02
|
3200
|
2000
|
3670
|
3510
|
36,0
|
80,0
|
1,60
|
0,250
|
|
31 5921 3659 01
|
2500
|
4010
|
37,2
|
1,72
|
0,269
|
|
31 5921 3661 07
|
3200
|
4710
|
38,7
|
1,87
|
0,292
|
|
31 5921 3662 06
|
4000
|
5510
|
40,2
|
2,02
|
0,316
|
|
31 5921 3663 05
|
4000
|
2000
|
4470
|
3510
|
39,0
|
108,0
|
1,90
|
0,238
|
|
31 5921 3664 04
|
2500
|
4010
|
40,2
|
2,02
|
0,252
|
|
31 5921 3665 08
|
3200
|
4710
|
41,7
|
2,17
|
0,271
|
|
31 5921 3666 02
|
4000
|
5510
|
43,2
|
2,32
|
0,290
|
|

Черт. 4
Таблица 4
Размеры, мм
Код ОКП
|
Грузоподъемность Q, т
|
Высота подъема H
|
Вылет наибольший Rmax
|
Длина первого плеча а
|
Длина второго плеча b
|
Статическая нагрузка на
строительную конструкцию, не более
|
Конструктивная масса,
т, не более
|
Удельная масса, т/т·м
|
вертикальная V, кН
|
момент М, кН·м
|
31 5921 4102 07
|
0,125
|
2000
|
2500
|
1350
|
1150
|
7,2
|
8,9
|
0,60
|
1,935
|
31 5921 4103 06
|
2500
|
6,7
|
0,65
|
2,096
|
31 5921 4104 05
|
3200
|
8,2
|
0,70
|
2,258
|
31 5921 4105 04
|
2000
|
3200
|
1700
|
1500
|
7,7
|
10,8
|
0,65
|
1,625
|
31 5921 4106 03
|
2500
|
8,2
|
0,70
|
1,750
|
31 5921 4107 02
|
3200
|
8,7
|
0,75
|
1,875
|
31 5921 4108 01
|
2000
|
4000
|
2100
|
1900
|
8,2
|
12,8
|
0,70
|
1,400
|
31 5921 4109 00
|
2500
|
8,6
|
0,75
|
1,500
|
31 5921 4101 08
|
3200
|
9,2
|
0,80
|
1,600
|
31 5921 4202 04
|
0,25
|
2000
|
2500
|
1350
|
1150
|
9,8
|
11,8
|
0,75
|
1,209
|
31 5921 4203 03
|
2500
|
10,3
|
0,80
|
1,290
|
31 5921 4204 02
|
3200
|
10,8
|
0,85
|
1,360
|
31 5921 4205 01
|
2000
|
3200
|
1700
|
1500
|
10,3
|
14,8
|
0,80
|
1,000
|
31 5921 4206 00
|
2500
|
10,8
|
0,85
|
1,062
|
31 5921 4207 10
|
3200
|
11,3
|
0,90
|
1,125
|
31 5921 4208 09
|
2000
|
4000
|
2100
|
1900
|
10,8
|
19,7
|
0,85
|
0,850
|
31 5921 4209 08
|
2500
|
11,3
|
0,90
|
0,900
|
31 5921 4201 06
|
3200
|
11,8
|
0,95
|
0,950
|
31 5921 4301 02
|
0,5
|
2000
|
2500
|
1350
|
1150
|
14,8
|
19,7
|
1,00
|
0,800
|
31 5921 4302 01
|
2500
|
15,2
|
1,05
|
0,840
|
31 5921 4303 00
|
3200
|
15,7
|
1,10
|
0,880
|
31 5921 4304 10
|
2000
|
3200
|
1700
|
1500
|
15,2
|
27,5
|
1,05
|
0,656
|
31 5921 4305 09
|
2500
|
16,2
|
1,15
|
0,718
|
31 5921 4306 08
|
3200
|
17,2
|
27,2
|
1,25
|
0,781
|
31 5921 4307 07
|
2000
|
4000
|
2100
|
1900
|
16,2
|
32,4
|
1,15
|
0,575
|
31 5921 4308 06
|
2500
|
17,2
|
1,25
|
0,625
|
31 5921 4309 05
|
3200
|
18,2
|
1,35
|
0,675
|

Черт. 5
Таблица 5
Размеры, мм
Код ОКП
|
Грузоподъемность Q, т
|
Вылет
|
Высота подъема Н
|
Расстояние между
опорами S
|
Расстояние от оси
вращения до конца консоли L1, не более
|
Расстояние от стены до
оси вращения, L2
|
Вертикальный подход h, не более
|
Высота крана H1
|
Статическая нагрузка на
строительную конструкцию, кН, не более
|
Конструктивная масса,
т, не более
|
Удельная масса, т/т·м
|
|
наименьший Rmin
|
наибольший Rmax
|
|
горизонтальная Т
|
вертикальная V
|
|
31 5921 1101 09
|
0,5
|
700
|
2,5
|
До 18000
|
1200
|
2870
|
1150
|
780
|
1050
|
14,4
|
12,6
|
0,76
|
0,608
|
|
31 5921 1102 08
|
3,2
|
3570
|
18,4
|
13,0
|
0,80
|
0,500
|
|
31 5921 1103 07
|
4,0
|
4370
|
23,0
|
13,5
|
0,85
|
0,425
|
|
31 5921 1104 06
|
5,0
|
5370
|
28,1
|
14,2
|
0,92
|
0,368
|
|
31 5921 1105 05
|
6,3
|
1600
|
6670
|
1200
|
1250
|
27,1
|
15,5
|
1,05
|
0,333
|
|
31 5921 1106 04
|
8,0
|
8370
|
34,4
|
17,2
|
1,22
|
0,306
|
|
31 5921 1107 03
|
10,0
|
10370
|
43,0
|
19,2
|
1,42
|
0,284
|
|
31 5921 1201 06
|
1,0
|
750
|
2,5
|
1200
|
2920
|
1150
|
855
|
1050
|
28,5
|
18,5
|
0,85
|
0,340
|
|
31 5921 1202 05
|
3,2
|
3620
|
36,5
|
19,0
|
0,90
|
0,281
|
|
31 5921 1203 04
|
4,0
|
1600
|
4420
|
1200
|
1250
|
34,3
|
19,7
|
0,97
|
0,243
|
|
31 5921 1204 03
|
5,0
|
5420
|
41,8
|
20,7
|
1,07
|
0,208
|
|
31 5921 1205 02
|
6,3
|
6720
|
1480
|
54,0
|
22,4
|
1,24
|
0,197
|
|
31 5921 1206 01
|
8,0
|
1200
|
8420
|
1260
|
54,8
|
27,7
|
1,77
|
0,221
|
|
31 5921 1207 00
|
10,0
|
10420
|
68,5
|
29,2
|
1,92
|
0,192
|
|
31 5921 1305 10
|
2,0
|
750
|
2,5
|
1600
|
2970
|
1200
|
1150
|
1250
|
40,6
|
30,5
|
1,05
|
0,210
|
|
31 5921 1306 09
|
3,2
|
3670
|
52,0
|
32,0
|
1,20
|
0,188
|
|
31 5921 1307 08
|
4,0
|
1600
|
4470
|
65,0
|
33,5
|
1,35
|
0,169
|
|
31 5921 1308 07
|
5,0
|
2000
|
5470
|
1260
|
1350
|
65,0
|
34,6
|
1,46
|
0,146
|
|
31 5921 1309 06
|
6,3
|
6770
|
1480
|
81,8
|
35,6
|
1,56
|
0,124
|
|
31 5921 1311 02
|
8,0
|
2500
|
8470
|
1320
|
1750
|
83,1
|
36,6
|
1,66
|
0,104
|
|
31 5921 1312 01
|
10,0
|
10470
|
103,8
|
37,6
|
1,76
|
0,088
|
|
31 5921 1401 00
|
3,2
|
850
|
2500
|
2000
|
3050
|
1260
|
1310
|
1350
|
51,7
|
49,0
|
1,67
|
0,209
|
|
31 5921 1402 10
|
3200
|
3750
|
66,2
|
61,0
|
1,87
|
0,183
|
|
31 5921 1403 09
|
4000
|
4550
|
82,8
|
52,0
|
1,97
|
0,154
|
|
31 5921 1404 08
|
870
|
5000
|
2500
|
5550
|
1320
|
1750
|
82,8
|
56,0
|
2,40
|
0,150
|
|
31 5921 1405 07
|
6300
|
6850
|
104,2
|
57,2
|
2,52
|
0,125
|
|
31 5921 1501 08
|
5,0
|
1045
|
2500
|
2500
|
3200
|
1520
|
64,0
|
73,0
|
2,30
|
0,184
|
|
31 5921 1502 07
|
3200
|
3900
|
81,9
|
74,0
|
2,40
|
0,150
|
|
31 5921 1503 06
|
4000
|
4700
|
102,3
|
75,0
|
2,50
|
0,125
|
|
31 5921 1601 05
|
8,0
|
2500
|
3200
|
105,0
|
105,0
|
2,50
|
0,125
|
|
Таблица 6
Размеры, мм
Код ОКП
|
Грузоподъемность Q, т
|
Вылет
|
Высота
подъема
Н
|
Расстояние между
опорами S
|
Расстояние от оси
вращения до конца консоли L1, не более
|
Расстояние от стены до
оси вращения, L2
|
Вертикальный подход h, не более
|
Высота крана H1
|
Статическая нагрузка на
строительную конструкцию, кН,
не более
|
Конструктивная масса,
т, не более
|
Удельная масса, т/т·м
|
|
наименьший Rmin
|
наибольший Rmax
|
|
горизонтальная Т
|
вертикальная V
|
|
31 5921 6100 00
|
0,5
|
700
|
2500
|
2000
|
1900
|
2870
|
1150
|
780
|
1050
|
8,68
|
12,6
|
0,76
|
0,608
|
|
31
5921 6102 10
|
2500
|
2400
|
6,87
|
|
31 5921 6103 09
|
3200
|
3100
|
5,32
|
|
31 5921 6104 08
|
4000
|
3900
|
4,23
|
|
31 5921 6105 07
|
3200
|
2000
|
1900
|
3570
|
11,12
|
13,0
|
0,80
|
0,500
|
|
31 5921 6106 06
|
2500
|
2400
|
8,80
|
|
31 5921 6107 05
|
3200
|
3100
|
6,81
|
|
31
5921 6108 04
|
4000
|
3900
|
5,42
|
|
31 5921 6109 03
|
4000
|
2000
|
1900
|
4370
|
13,90
|
13,5
|
0,85
|
0,425
|
|
31 5921 6111 09
|
2500
|
2400
|
11,00
|
|
31 5921 6112 08
|
3200
|
3100
|
8,50
|
|
31 5921 6113 07
|
4000
|
3900
|
6,80
|
|
31 5921 6114 06
|
5000
|
2000
|
1900
|
5370
|
17,40
|
14,2
|
0,92
|
0,368
|
|
31 5921 6115 05
|
2500
|
2400
|
14,00
|
|
31 5921 6116 04
|
3200
|
3100
|
10,65
|
|
31 5921 6117 03
|
4000
|
3900
|
8,46
|
|
31 5921 6118 02
|
6300
|
2000
|
2250
|
6670
|
1200
|
1250
|
18,50
|
15,5
|
1,05
|
0,333
|
|
31 5921 6119 01
|
2500
|
2750
|
15,12
|
|
31 5921 6121 07
|
3200
|
3450
|
12,10
|
|
31 5921 6122 06
|
0,5
|
700
|
6300
|
4000
|
4250
|
780
|
1250
|
19,78
|
15,5
|
1,05
|
0,333
|
|
31 5921 6123 05
|
8000
|
2000
|
2250
|
8370
|
23,50
|
17,2
|
1,22
|
0,305
|
|
31 5921 6124 04
|
2500
|
2750
|
20,00
|
|
31 5921 6125 03
|
3200
|
3450
|
15,50
|
|
31 5921 6126 02
|
4000
|
4250
|
12,50
|
|
31 5921 6127 01
|
10000
|
2000
|
2250
|
10370
|
30,00
|
19,2
|
1,42
|
0,284
|
|
31 5921 6128 00
|
2500
|
2750
|
24,00
|
|
31 5921 6129 10
|
3200
|
3450
|
19,30
|
|
31 5921 6131 06
|
4000
|
4250
|
16,00
|
|
31 5921 6201 08
|
1,0
|
750
|
2500
|
2000
|
1960
|
2920
|
1150
|
855
|
1050
|
16,43
|
18,0
|
0,8
|
0,320
|
|
31 5921 6202 07
|
2500
|
2460
|
13,36
|
|
31 5921 6203 06
|
3200
|
3160
|
10,40
|
|
31 5921 6204 05
|
4000
|
3960
|
8,30
|
|
31 5921 6206 04
|
3200
|
2000
|
1960
|
3620
|
21,50
|
19,0
|
0,9
|
0,281
|
|
31 5921 6206 03
|
2500
|
2460
|
17,10
|
|
31 5921 6207 02
|
3200
|
3160
|
13,31
|
|
31 5921 6208 01
|
4000
|
3960
|
10,62
|
|
31 5921 6209 00
|
4000
|
2000
|
1820
|
4420
|
1200
|
1250
|
28,90
|
20,2
|
1,02
|
0,255
|
|
31 5921 6211 06
|
2500
|
2320
|
22,66
|
|
31 5921 6212 06
|
3200
|
3020
|
17,41
|
|
31 5921 6213
04
|
4000
|
3820
|
13,76
|
|
315921 6214 03
|
5000
|
2000
|
1820
|
5420
|
36,11
|
21,2
|
1,12
|
0,224
|
|
31 5921 6215 02
|
2500
|
2320
|
28,33
|
|
31 5921 6216 01
|
3200
|
3020
|
21,76
|
|
31 5921 6217 00
|
4000
|
3820
|
17,20
|
|
31 5921 6218 10
|
6300
|
2000
|
2095
|
6720
|
1480
|
39,60
|
23,0
|
1,3
|
0,206
|
|
31 5921 6219
09
|
2500
|
2595
|
31,91
|
|
31 59216221 04
|
3200
|
3295
|
25,13
|
|
31 5921 6222 03
|
4000
|
4005
|
20,22
|
|
31 5921 6223 02
|
8000
|
2000
|
2095
|
8420
|
1260
|
50,20
|
27,5
|
1,75
|
0,219
|
|
31 5921 6224 01
|
2500
|
2593
|
40,52
|
|
31 5921 6225
00
|
3200
|
3295
|
31,92
|
|
31 5921 6226 10
|
4000
|
4095
|
25,68
|
|
31 5921 6227 09
|
10000
|
2000
|
2095
|
10420
|
64,20
|
29,5
|
1,95
|
0,195
|
|
31 5921 6228 08
|
2500
|
2595
|
51,00
|
|
31 5921 6229 07
|
3200
|
3295
|
40,00
|
|
31 5921 6231 02
|
4000
|
4095
|
32,50
|
|
31 5921 6301 05
|
2,0
|
750
|
2500
|
2000
|
2110
|
2970
|
1200
|
1150
|
1250
|
29,85
|
30,5
|
1,05
|
0,210
|
|
31 5921 6302 04
|
2500
|
2610
|
24,13
|
|
31 5921 6303 03
|
3200
|
3310
|
19,03
|
|
31
5921 6304 02
|
4000
|
4110
|
15,32
|
|
31 5921 6305 01
|
3200
|
2000
|
2110
|
3670
|
38,20
|
32,0
|
1,20
|
0,188
|
|
31 5921 6306 00
|
2500
|
2610
|
30,88
|
|
31 5921 6307 10
|
3200
|
3310
|
24,35
|
|
31 5921 6308 09
|
4000
|
4110
|
19,61
|
|
31 5921 6309 08
|
4000
|
2000
|
2110
|
4470
|
47,75
|
33,5
|
1,35
|
0,169
|
|
31 5921 6311 03
|
2500
|
2610
|
38,60
|
|
31 5921 6312 02
|
3200
|
3310
|
30,44
|
|
31 5921 6313 01
|
4000
|
4110
|
24,52
|
|
31 5921 6314 00
|
5000
|
2000
|
2110
|
5470
|
1260
|
1350
|
59,69
|
34,5
|
1,46
|
0,146
|
|
31 5921 6315 10
|
2500
|
2610
|
48,26
|
|
31 5921 6316 09
|
3200
|
3300
|
38,17
|
|
31 5921 6317 08
|
4000
|
4100
|
30,72
|
|
31 5921 6318 07
|
6300
|
2000
|
2315
|
6770
|
68,55
|
35,6
|
1,56
|
0,124
|
|
31 5921 6319 06
|
2500
|
2815
|
1260
|
1480
|
56,38
|
|
31 5921 6321 01
|
3200
|
3515
|
1150
|
45,15
|
|
31 5921 6322 00
|
4000
|
4319
|
36,78
|
|
31 5921 6323 10
|
8000
|
2000
|
2315
|
8470
|
1320
|
1750
|
87,05
|
36,6
|
1,66
|
0,104
|
|
31 5921 6324 09
|
2500
|
2815
|
71,60
|
|
31 5921 6325 08
|
3200
|
3515
|
57,33
|
|
31 5921 6326 07
|
4000
|
4315
|
46,70
|
|
31 5921 6327 06
|
10000
|
2000
|
2315
|
10470
|
108,80
|
37,6
|
1,76
|
0,088
|
|
31 5921 6328 05
|
2500
|
2815
|
89,48
|
|
31 5921 6329 04
|
3200
|
3515
|
71,66
|
|
31 5921 6331 10
|
4000
|
4315
|
58,38
|
|
31 5921 6401 02
|
3,2
|
850
|
2500
|
2000
|
2260
|
3050
|
1260
|
1810
|
1350
|
44,66
|
49,0
|
1,67
|
0,209
|
|
31 5921 6402 01
|
2500
|
2760
|
36,57
|
|
31 5921 6403 00
|
3200
|
3460
|
29,17
|
|
31 5921 6404 10
|
4000
|
4260
|
23,69
|
|
31 5921 6405 09
|
3200
|
2000
|
2260
|
3750
|
57,16
|
51,0
|
1,87
|
0,183
|
|
31 5921 6406 08
|
2500
|
2760
|
46,81
|
|
31 5921 6407 07
|
3200
|
3460
|
37,34
|
|
31 5921 6408 06
|
4000
|
4260
|
30,32
|
|
31 5921 6409 05
|
3,2
|
850
|
4000
|
2000
|
2260
|
4550
|
1260
|
1310
|
1350
|
71,45
|
52,0
|
1,97
|
0,154
|
|
31 5921 6411 00
|
2500
|
2760
|
58,51
|
|
31 5921 6412 10
|
3200
|
3460
|
46,67
|
|
31 5921 6413 09
|
4000
|
4260
|
37,91
|
|
31 5921 6414 08
|
870
|
5000
|
2000
|
2475
|
5550
|
1320
|
1750
|
81,56
|
56,0
|
2,40
|
0,150
|
|
31 5921 6415 07
|
2500
|
2975
|
67,85
|
|
31 5921 6416 06
|
3200
|
3675
|
54,93
|
|
31 5921 6417 05
|
4000
|
4475
|
45,11
|
|
31 5921 6418 04
|
6300
|
2000
|
2475
|
6850
|
102,76
|
57,2
|
2,52
|
0,125
|
|
31 5921 6419 03
|
2500
|
2975
|
86,49
|
|
31 5921 6421 09
|
3200
|
3675
|
69,21
|
|
31 5921 6422 08
|
4000
|
4475
|
56,83
|
|
31 5921 6423 07
|
8000
|
2000
|
2475
|
8550
|
1530
|
130,49
|
59,5
|
2,75
|
0,107
|
|
31 5921 6424 06
|
2500
|
2975
|
108,56
|
|
31 5921 6425 05
|
3200
|
3675
|
87,88
|
|
31 5921 6426 04
|
4000
|
4475
|
72,17
|
|
31 5921 6427 03
|
10000
|
2000)
|
2475
|
10550
|
163,11
|
63,0
|
3,10
|
0,097
|
|
31 5921 6428 02
|
2500
|
2975
|
135,70
|
|
31 5921 6429 01
|
3200
|
3675
|
109,85
|
|
31 5921 6431 07
|
4000
|
4475
|
90,21
|
|
31 5921 6501 10
|
5,0
|
1045
|
2500
|
2000
|
2685
|
3200
|
1320
|
1520
|
1750
|
58,40
|
73,0
|
2,3
|
0,184
|
|
31 5921 6502 09
|
2500
|
3185
|
49,32
|
|
31 5921 6503 08
|
3200
|
3885
|
40,35
|
|
31 5921 6504 07
|
4000
|
4685
|
33,46
|
|
31 5921 6505 06
|
3200
|
2000
|
2685
|
3900
|
74,73
|
74,0
|
2,4
|
0,150
|
|
31 5921 6506 05
|
2500
|
3185
|
63,00
|
|
31 5921 6507 04
|
3200
|
3885
|
51,64
|
|
31 5921 6508 03
|
4000
|
4685
|
42,83
|
|
31 5921 6509 02
|
4000
|
2000
|
2685
|
4700
|
93,41
|
75,0
|
2,5
|
0,125
|
|
31 5921 6511 08
|
2500
|
3185
|
78,74
|
|
31 5921 6512 07
|
3200
|
3885
|
64,56
|
|
31 5921 6513 06
|
4000
|
4685
|
53,53
|
|
31 5921 6514 05
|
5000
|
2000
|
2440
|
5700
|
1530
|
2150
|
128,48
|
80,0
|
3,0
|
0,120
|
|
31 5921 6515 04
|
2500
|
2940
|
105,63
|
|
31 5921 6516 03
|
3200
|
3640
|
86,13
|
|
31 5921 6517 02
|
4000
|
4440
|
70,61
|
|
31 5921 6518 01
|
5,0
|
1045
|
6300
|
2000
|
2440
|
7000
|
1520
|
161,89
|
84,0
|
3,4
|
0,108
|
|
31 5921 6519 00
|
2500
|
2940
|
134,36
|
|
31 5921 6521 06
|
3200
|
3640
|
108,52
|
|
31 5921 6522 05
|
4000
|
4440
|
88,97
|
|
31 5921 6523 04
|
8000
|
2000
|
2440
|
8700
|
1560
|
205,57
|
87,0
|
3,7
|
0,093
|
|
31 5921 6524 03
|
2500
|
2940
|
170,61
|
|
31 5921 6525 02
|
3200
|
3640
|
137,30
|
|
31 5921 6526 01
|
4000
|
4440
|
112,97
|
|
31 5921 6527 00
|
10000
|
2000
|
2440
|
10700
|
256,98
|
90,0
|
4,0
|
0,080
|
|
31 5921 6528 10
|
2500
|
2940
|
213,26
|
|
31 5921 6529 09
|
3200
|
364»
|
172,25
|
|
31 5921 6531 04
|
4000
|
4440
|
141,22
|
|
31 5921 6601 07
|
8,0
|
1065
|
2500
|
2500
|
3200
|
3200
|
1530
|
1540
|
1750
|
73,44
|
106,0
|
2,6
|
0,130
|
|
31 5921 6602 06
|
3200
|
3900
|
60,26
|
|
31 5921 6603 05
|
4000
|
4700
|
50,0
|
|
31 5921 6604 04
|
5000
|
5700
|
41,23
|
|
31 5921 6605 03
|
3200
|
2500
|
3200
|
3900
|
100,00
|
108,0
|
2,8
|
0,109
|
|
31 5921 6606 02
|
3200
|
3900
|
82,06
|
|
31 5921 6607 01
|
8,0
|
1065
|
3200
|
4000
|
4700
|
1530
|
1540
|
1750
|
68,09
|
|
31 5921 6608 00
|
5000
|
5700
|
56,14
|
|
31 5921 6609 10
|
4000
|
2500
|
2800
|
4700
|
2150
|
142,86
|
110,0
|
3,0
|
0,094
|
|
31 5921 6611 05
|
3200
|
3500
|
114,29
|
|
31 5921 6612 04
|
4000
|
4300
|
93,03
|
|
31 5921 6613 03
|
5000
|
5300
|
75,48
|
|
31 5921 6614 02
|
5000
|
2500
|
2970
|
5700
|
1560
|
170,04
|
112,0
|
3,2
|
0,080
|
|
31 5921 6615 01
|
3200
|
3670
|
137,61
|
|
31 5921 6616 00
|
4000
|
4470
|
112,98
|
|
31 5921 6617 10
|
5000
|
5470
|
92,33
|
|
31 5921 6618 09
|
6300
|
2500
|
2970
|
7000
|
217,18
|
115,0
|
3,5
|
0,070
|
|
31 5921 6619 08
|
3200
|
3670
|
175,75
|
|
31 5921 6621 03
|
4000
|
4470
|
144,30
|
|
31 5921 6622 02
|
5000
|
5470
|
117,92
|
|
31 5921 6701 04
|
12,5
|
2500
|
2500
|
2970
|
3200
|
1560
|
121,22
|
162,0
|
3,7
|
0,118
|
|
31 5921 6702 03
|
3200
|
3670
|
98,10
|
|
31 5921 6703 02
|
4000
|
4470
|
80,54
|
|
31 5921 6704 01
|
5000
|
5470
|
65,82
|
|
31 5921 6705 00
|
1065
|
3200
|
2500
|
2970
|
3900
|
1560
|
1540
|
2150
|
158,25
|
164,0
|
3,9
|
0,098
|
|
31 5921 6706 10
|
3200
|
3670
|
128,07
|
|
31 5921 6707 09
|
4000
|
4470
|
105,15
|
|
31 5921 6708 08
|
5000
|
5470
|
85,93
|
|
31 5921 6709 07
|
4000
|
2500
|
2970
|
4700
|
205,39
|
166,0
|
4,1
|
0,082
|
|
31 5921 6711 02
|
3200
|
3670
|
166,22
|
|
31 5921 6712 01
|
4000
|
4470
|
136,47
|
|
31 5921 6713 00
|
5000
|
5470
|
111,52
|
|
31 5921 6801 01
|
16,0
|
2500
|
2500
|
2970
|
3200
|
154,89
|
202,0
|
4,2
|
0,106
|
|
31 5921 6802 00
|
3200
|
3670
|
125,35
|
|
31 5921 6803 10
|
4000
|
4470
|
102,91
|
|
31 5921 6804 09
|
5000
|
5470
|
84,10
|
|
31 5921 6805 08
|
3200
|
2500
|
2970
|
3900
|
198,66
|
204,0
|
4,4
|
0,086
|
|
31 5921 6806 07
|
3200
|
3670
|
160,77
|
|
31 5921 6807 08
|
4000
|
4470
|
132,00
|
|
31 5921 6808 05
|
5000
|
5470
|
107,87
|
|
Таблица 7
Размеры, мм
Код ОКП
|
Грузоподъемность Q, т
|
Вылет
|
Высота подъема H
|
Расстояние от стены до
оси вращения L1
|
Вертикальный подход h, не более
|
Высота крана H1
|
Статическая нагрузка на
строительную конструкцию, не более
|
Конструктивная масса,
т, не более
|
Удельная масса,
т/т∙м
|
|
наименьший Rmin
|
наибольший Rmax
|
|
вертикальная V, кН
|
момент М, кН·м
|
|
31 5921 3206 04
|
0,5
|
700
|
2500
|
2000
|
2870
|
780
|
3100
|
16,0
|
16
|
1,10
|
0,880
|
|
31 5921 3211 07
|
2500
|
3600
|
16,6
|
1,16
|
0,928
|
|
31 5921 3215 03
|
3200
|
4300
|
17,3
|
1,23
|
0,984
|
|
31 5921 3218 00
|
4000
|
5100
|
18,1
|
1,31
|
1,048
|
|
31 5921 3207 03
|
3200
|
2000
|
3570
|
3100
|
16,4
|
23
|
1,14
|
0,713
|
|
31 5921 3212 06
|
2500
|
3600
|
17,0
|
1,20,
|
0,750
|
|
31 5921 3216 02
|
3200
|
4300
|
17,7
|
1,27
|
0,794
|
|
31 5921 3219 10
|
4000
|
5000
|
18,5
|
1,35
|
0,844
|
|
31 5921 3208 02
|
4000
|
2000
|
4370
|
3100
|
17,2
|
31
|
1,22
|
0,610
|
|
31 5921 3213 05
|
2500
|
3600
|
17,8
|
1,28
|
0,640
|
|
31 5921 3204 06
|
3200
|
4300
|
18,5
|
1,35
|
0,675
|
|
31 5921 3205 05
|
4000
|
5100
|
19,5
|
1,45
|
0,725
|
|
31 5921 3209 01
|
5000
|
2000
|
5370
|
3100
|
18,0
|
38
|
1,30
|
0,520
|
|
31 5921 3214 04
|
2500
|
3600
|
18,6
|
1,36
|
0,544
|
|
31 5921 3217 01
|
3200
|
4300
|
19,3
|
1,43
|
0,572
|
|
31 5921 3221 05
|
4000
|
5100
|
20,1
|
1,51
|
0,604
|
|
31 5921 8214 06
|
6300
|
2000
|
6670
|
3650
|
21,5
|
51
|
1,65
|
0,524
|
|
31 5921 8215 05
|
2500
|
4150
|
23,0
|
1,80
|
0,571
|
|
31 5921 8216 04
|
0,5
|
700
|
6300
|
3200
|
780
|
4850
|
24,5
|
1,95
|
0,619
|
|
31 5921 8217 03
|
4000
|
5650
|
26,0
|
2,10
|
0,667
|
|
31 5921 8218 02
|
8000
|
2000
|
8370
|
3650
|
27,5
|
69
|
1,96
|
0,488
|
|
31 5921 8221 07
|
2500
|
4150
|
26,0
|
2,10
|
0,525
|
|
31 5921 8222 06
|
3200
|
4850
|
27,5
|
2,25
|
0,562
|
|
31 5921 8223 05
|
4000
|
5650
|
29,0
|
2,40
|
0,600
|
|
31 5921 8224 04
|
10000
|
2000
|
1037,0
|
3650
|
27,5
|
91
|
2,25
|
0,450
|
|
31 5921 8225 03
|
2500
|
4150
|
29/)
|
2,40
|
01,480
|
|
31 5921 8226 02
|
3200
|
4850
|
30,5
|
2,55
|
0,510
|
|
31 5921 8227 01
|
4000"
|
5650
|
32,0
|
2,70
|
0,540
|
|
31 5921 3306 01
|
1,0
|
750
|
2500
|
2000
|
2920
|
855
|
3160
|
22,8
|
31,0
|
1,28
|
0,512
|
|
31 5921 3311 04
|
2500
|
3660
|
23,4
|
1,34
|
0,536
|
|
31 5921 3315 00
|
3200
|
4360
|
24,1
|
1,41
|
0,564
|
|
31 5921 3318 08
|
4000
|
5160
|
24,9
|
1,49
|
0,596
|
|
31 5921 3307 00
|
3200
|
2000
|
3620
|
3160
|
23,2
|
45,0
|
1,32
|
0,413
|
|
31 5921 3312 03
|
2500
|
3660
|
23,8
|
1,38
|
0,431
|
|
31 5921 3316 10
|
3200
|
4360
|
24,5
|
1,45
|
0,453
|
|
31 5921 3319 07
|
4000
|
5160
|
25,3
|
1,53
|
0,478
|
|
31 5921 3308 10
|
1,0
|
750
|
4000
|
2000
|
4420
|
855
|
3220
|
27,6
|
59,5
|
1,76
|
0,440
|
|
31 5921 3313 02
|
2500
|
3720
|
28,1
|
1,81
|
0,452
|
|
31 5921 3304 03
|
3200
|
4420
|
20,6
|
1,96
|
0,490
|
|
31 5921 3305 02
|
4000
|
5220
|
31,6
|
2,16
|
0,540
|
|
31 5921 3309 09
|
5000
|
2000
|
5420
|
3220
|
30,6
|
72,5
|
2,06
|
0,412
|
|
31 5921 3314 01
|
2500
|
3720
|
31,1
|
2,11
|
0,422
|
|
31 5921 3317 09
|
3200
|
4420
|
32,6
|
2,26
|
0,452
|
|
31 5921 3321 02
|
4000
|
5220
|
34,6
|
2,46
|
0,492
|
|
31 5921 8314 03
|
6300
|
года
|
6720
|
3725
|
33,6
|
93,0
|
2,36
|
0,375
|
|
31 5921 8315 04
|
2500
|
4225
|
34,1
|
2,41
|
0,383
|
|
31 5921 8316 01
|
3200
|
4925
|
35,6
|
2,56
|
0,406
|
|
31 5921 8317 00
|
4000
|
5725
|
37,6
|
2,76
|
0,438
|
|
31 5921 8318 10
|
8000
|
2000
|
8420
|
3725
|
36,6
|
125,0
|
2,66
|
0,333
|
|
31 5921 8319 09
|
2500
|
4225
|
37,1
|
2,71
|
0,339
|
|
31 5921 8321 04
|
3200
|
4925
|
39,1
|
2,91
|
0,364
|
|
31 5921 8322 03
|
4000
|
5725
|
42,1
|
3,21
|
0,401
|
|
31 5921 8323 02
|
10000
|
2000
|
10420
|
3725
|
40,6
|
165,0
|
3,06
|
0,306
|
|
31 5921 8324 01
|
2500
|
4225
|
41,1
|
3,11
|
0,311
|
|
31 5921 8325 00
|
1,0
|
750
|
3200
|
10420
|
855
|
4925;
|
43,1
|
3,31
|
0,331
|
|
31 5921 8326 10
|
4000
|
5725
|
46,1
|
3,61
|
0,361
|
|
31 5921 3601 08
|
2,0
|
2500
|
2000
|
2970
|
1150
|
3510
|
38,5
|
60
|
1,85
|
0,370
|
|
31 5921 3605 04
|
2500
|
4010
|
40,0
|
2,00
|
0,400
|
|
31 5921 3609 00
|
3200
|
4710
|
41,5
|
2,15
|
0,430
|
|
31 5921 3614 03
|
4000
|
5510
|
43,0
|
2,30
|
0,460
|
|
31 5921 3602 07
|
3200
|
2000
|
3670
|
3510
|
40,5
|
80
|
2,05
|
0,320
|
|
31 5921 3606 03
|
2500
|
4010
|
42,0
|
2,20
|
0,344
|
|
31 5921 3611 06
|
3200
|
4710
|
43,5
|
2,35
|
0,367
|
|
31 5921 3615 02
|
4000
|
5510
|
45,0
|
2,50
|
0,391
|
|
31 5921 3603 06
|
4000
|
2000
|
4470
|
3600
|
42,5
|
108
|
2,25
|
0,281
|
|
31 5921 3607 02
|
2500
|
4100
|
44,0
|
2,40
|
0,300
|
|
31 5921 3612 05
|
3200
|
4800
|
45,5
|
2,55
|
0,319
|
|
31 5921 3616 01
|
4000
|
5600
|
47,0
|
2,70
|
0,338
|
|
31 5921 3604 05
|
5000
|
2000
|
5470
|
3600
|
44,5
|
130
|
2,45
|
0,245
|
|
31 5921 3608 01
|
2500
|
4100
|
46,0
|
2,60
|
0,260
|
|
31 5921 3613 04
|
3200
|
4800
|
48,0
|
2,80
|
0,280
|
|
31 5921 3617 00
|
4000
|
5600
|
50,0
|
3,00
|
0,300
|
|
31 5921 3667 01
|
2,0
|
750
|
6300
|
2000
|
6770
|
1150
|
4015
|
47,5
|
168
|
2,75
|
0,218
|
|
31 5921 3668 00
|
2500
|
4515
|
49,0
|
2,90
|
0,230
|
|
31 5921 3669 10
|
3200
|
5215
|
51,0
|
3,10
|
0,246
|
|
31 5921 3671 05
|
4000
|
6015
|
53,0
|
3,30
|
0,262
|
|
31 5921 3672 04
|
8000
|
2000
|
8470
|
4215
|
55,0
|
225
|
3,50
|
0,219
|
|
31 5921 3673 03
|
2500
|
4715
|
57,0
|
3,70
|
0,231
|
|
31 5921 3674 02
|
3200
|
5415
|
59,0
|
3,90
|
0,244
|
|
31 5921 3675 01
|
4000
|
6215
|
6100
|
4,10
|
0,256
|
|
31 5921 3676 00
|
10000
|
2000
|
10470
|
4215
|
63,0
|
286
|
4,30
|
0,215
|
|
31 5921 3677 10
|
2500
|
4715
|
65,0
|
4,50
|
0,225
|
|
31 5921 3678 09
|
3200
|
5415
|
67,0
|
4,70
|
0,235
|
|
31 5921 3679 08
|
4000
|
6215
|
69,0
|
4,90
|
0,245
|
|
31 5921 3701 05
|
3,2
|
850
|
2500
|
2000
|
3050
|
1310
|
3760
|
55,0
|
90
|
2,30
|
0,288
|
|
31 5921 3704 02
|
2500
|
4260
|
56,5
|
2,45
|
0,306
|
|
31 5921 3707 10
|
3200
|
4960
|
58,0
|
2,60
|
0,325
|
|
31 5921 3712 02
|
4000
|
5760
|
59,5
|
2,75
|
0,344
|
|
31 5921 3702 04
|
3200
|
2000
|
3750
|
3760
|
58,0
|
125
|
2,60
|
0,254
|
|
31 5921 3705 01
|
2500
|
4260
|
59,5
|
2,75
|
0,268
|
|
31 5921 3708 09
|
3,2
|
850
|
3200
|
3200
|
1310
|
4960
|
61,0
|
2,90
|
0,283
|
|
31 5921 3713 01
|
4000
|
5760
|
62,5
|
3,05
|
0,298
|
|
31 5921 3703 03
|
4000
|
2000
|
4550
|
3760
|
61,0
|
168
|
2,90
|
0,227
|
|
31 5921 3706 00
|
2500
|
4260
|
62,5
|
3,05
|
0,238
|
|
31 5921 3709 08
|
3200
|
4960
|
64,0
|
3,20
|
0,250
|
|
31 5921 3714 00
|
4000
|
5760
|
65,5
|
3,35
|
0,262
|
|
31 5921 3742 07
|
870
|
2000
|
5550
|
4375
|
65,0
|
200
|
3,30
|
0,206
|
|
31 5921 3743 00
|
5000
|
2500
|
4875
|
66,5
|
3,45
|
0,216
|
|
31 5921 3744 05
|
3200
|
5575
|
68,5
|
3,65
|
0,228
|
|
31 5921 3745 04
|
4000
|
6375
|
70,5
|
3,85
|
0,241
|
|
31 5921 3746 03
|
6300
|
2000
|
6850
|
4375
|
71,0
|
258
|
3,90
|
0,193
|
|
31 5921 3747 02
|
2500
|
4875
|
72,5
|
4,05
|
0,201
|
|
31 5921 3748 01
|
3200
|
5575
|
74,5
|
4,25
|
0,211
|
|
31 5921 3749 00
|
4000
|
6375
|
76,5
|
4,45
|
0,221
|
|
31 5921 3751 06
|
8000
|
2000
|
8550
|
4532
|
79,0
|
336
|
4,70
|
0,184
|
|
31 5921 3752 05
|
2500
|
5032
|
80,5
|
4,85
|
0,189
|
|
31 5921 3753 04
|
3200
|
5732
|
82,5
|
5,05
|
0,197
|
|
31 5921 3754 03
|
4000
|
6532
|
84,5
|
5,25
|
0,205
|
|
31 5921 3755 02
|
3,2
|
870
|
5000
|
2000
|
10550
|
1310
|
4532
|
87,0
|
429
|
5,50
|
0,172
|
|
31 5921 3756 01
|
2500
|
5032
|
88,5
|
5,65
|
0,176
|
|
31 5921 3757 00
|
3200
|
5732
|
90,5
|
5,85
|
0,183
|
|
31 5921 3758 10
|
4000
|
6532
|
92,5
|
6,05
|
0,189
|
|
31 59218101 03
|
5,0
|
1045
|
2500
|
2000
|
3200
|
1520
|
4585
|
84,0
|
155
|
3,40
|
0,272
|
|
31 5901 8102 02
|
2500
|
5085
|
86,0
|
3,60
|
0,288
|
|
31 5921 8103 01
|
3200
|
5785
|
88,0
|
3,80
|
0,304
|
|
31 5921 8104 00
|
4000
|
6585
|
90,0
|
4,00
|
0,320
|
|
31 5921 8105 10
|
3200
|
2000
|
3900
|
4585
|
87,0
|
192
|
3,70
|
0,231
|
|
31 5921 8106 09
|
2500
|
5085;
|
89,0
|
3,90
|
0,244
|
|
31 5921 8107 08
|
3200
|
5785
|
91,0
|
4,10
|
0,256
|
|
31 5921 8108 07
|
4000
|
6585
|
93,0
|
4,30
|
0,269
|
|
31 5921 8109 06
|
4000
|
2000
|
4700
|
4585
|
91,0
|
235
|
4,10
|
0,205
|
|
31 5921 8111 01
|
2500
|
5085
|
93,0
|
4,30
|
0,215
|
|
31 5921 8112 00
|
3200
|
5785
|
95,0
|
4,50
|
0,225
|
|
31 5921 8113 10
|
4000
|
6586
|
97,0
|
4,70
|
0,235
|
|
31 5921 8114 09
|
5000
|
2000
|
5700
|
4740
|
97,0
|
307
|
4,70
|
0,188
|
|
31 5921 8115 08
|
2500
|
5240
|
99,0
|
4,90
|
0,196
|
|
31 5921 8116 07
|
5,0
|
1045
|
5000
|
3200
|
5700
|
1520
|
5940
|
102,0
|
5,20
|
0,208
|
|
31 5921 8117 06
|
4000
|
6740
|
105,0
|
5,50
|
0,220
|
|
31 5921 8118 05
|
6300
|
2000
|
7000
|
4740
|
103,0
|
393
|
5,30
|
0,168
|
|
31 5921 8119 04
|
2500
|
5240
|
105,0
|
5,50
|
0,175
|
|
31 5921 8121 10
|
3200
|
5940
|
108,0
|
5,80
|
0,184
|
|
31 5921 8122 09
|
4000
|
6740
|
111,0
|
6,10
|
0,194
|
|
31 5921 8123 08
|
8000
|
2000
|
8700
|
4740
|
111,0
|
512
|
6,10
|
0,153
|
|
31 5921 8124 07
|
2500
|
5240
|
113,0
|
6,30
|
0,158
|
|
31 5921 8125 06
|
3200
|
5940
|
116,0
|
6,60
|
0,165
|
|
31 5921 8126 05
|
4000
|
6740
|
119,0
|
6,90
|
0,172
|
|
31 5921 8127 04
|
10000
|
2000
|
10700
|
4740
|
121,0
|
655
|
7,10
|
0,142
|
|
31 5921 8128 03
|
2500
|
5240
|
124,0
|
7,40
|
0,148
|
|
31 5921 8129 02
|
3200
|
5940
|
127,0
|
7,70
|
0,154
|
|
31 5921 8131 08
|
4000
|
6740
|
130,0
|
8,00
|
0,160
|
|
31 5921 8401 05
|
8,0
|
1063
|
2500
|
2500
|
3200
|
1540
|
5100
|
126,0
|
235
|
4,60
|
0,230
|
|
31 5921 8402 04
|
3200
|
5800
|
128,0
|
4,80
|
0,240
|
|
31 5921 8403 03
|
4000
|
6600
|
130,0
|
5,00
|
0,250
|
|
31 5921 8404 02
|
5000
|
7600
|
132,0
|
5,20
|
0,260
|
|
31 5921 8405 01
|
8,0
|
1065
|
3200
|
2500
|
3900
|
1540
|
5100
|
132,0
|
320
|
5,20
|
0,203
|
|
31 5921 8406 00
|
3200
|
5800
|
135,0
|
5,50
|
0,215
|
|
31 5921 8407 10
|
4000
|
6600
|
138,0
|
5,80
|
0,226
|
|
31 5921 8408 09
|
5000
|
7600
|
141,0
|
6,10
|
0,238
|
|
31 5921 8409 08
|
4000
|
2500
|
4700
|
5100
|
138,0
|
400
|
5,80
|
0,181
|
|
31 5921 8411 03
|
3200
|
5800
|
141,0
|
6,10
|
0,191
|
|
31 5921 8412 02
|
4000
|
6600
|
144,0
|
6,40
|
0,200
|
|
31 5921 8413 01
|
5000
|
7600
|
147,0
|
6,70
|
0,209
|
|
31 5921 8414 00
|
9000
|
2500
|
5700
|
5270
|
144,0
|
505
|
6,40
|
0,160
|
|
31 5921 8415 10
|
3200
|
5970.
|
147,0
|
6,70
|
0,168
|
|
31 5921 8416 09
|
4000
|
6770
|
150,0
|
7,00
|
0,175
|
|
31 5921 8417 08
|
5000
|
7770
|
153,0
|
7,30
|
0,183
|
|
31 5921 8418 07
|
6300
|
2500
|
7000
|
5270
|
153,0
|
645
|
7,30
|
0,145
|
|
31 5921 8419 06
|
3200
|
5970
|
156,0
|
7,60
|
0,151
|
|
31 5921 8421 01
|
4000
|
6770
|
159,0
|
7,90
|
0,157
|
|
31 5921 8422 00
|
5000
|
7770
|
162,0
|
8,20
|
0,163
|
|
31 5921 8501 02
|
12,5
|
2500
|
2500
|
3245
|
5270
|
195,0
|
360
|
7,00
|
0,224
|
|
31 5921 8502 01
|
3200
|
5970
|
197,0
|
7,20
|
0,230
|
|
31 5921 8503 00
|
4000
|
6770
|
199,0
|
7,40
|
0,237
|
|
31 5921 8504 10
|
5000
|
7770
|
201,0
|
7,60
|
0,243
|
|
31 5921 8505 09
|
3200
|
2500
|
3945
|
5270
|
198,0
|
470
|
7,30
|
0,182
|
|
31 5921 8506 08
|
3200
|
5970
|
200,0
|
7,50
|
0,188
|
|
31 5921 8507 07
|
4000
|
6770
|
202,0
|
7,70
|
0,192
|
|
31 5921 8508 06
|
5000
|
7770
|
204,0
|
7,90
|
0,198
|
|
31 5921 8509 05
|
4000
|
2500
|
4745
|
5270
|
201,0
|
610
|
7,60
|
0,152
|
|
31 5921 8511 00
|
3200
|
5970
|
203,0
|
7,80
|
0,156
|
|
31 5921 8512 10
|
4000
|
6770
|
206,0
|
8,00
|
0,160
|
|
31 5921 8513 09
|
5000
|
7770
|
207,0
|
8,20
|
0,164
|
|
31 5921 8514 08
|
16,0
|
2500
|
2500
|
3300
|
5270
|
232,0
|
460
|
7,20
|
0,180
|
|
31 5921 8515 07
|
3200
|
5970
|
234,5
|
7,45
|
0,186
|
|
31 5921 8516 06
|
4000
|
6770
|
237,5
|
7,75
|
0,194
|
|
31 5921 8517 05
|
5000
|
7770
|
240,5
|
8,05
|
0,201
|
|
31 5921 8518 04
|
3200
|
2500
|
4000
|
5270
|
234,5
|
590
|
7,45
|
0,146
|
|
31 5921 8519 03
|
3200
|
5970
|
237,0
|
7,70
|
0,150
|
|
31 5921 8521 09
|
4000
|
6770
|
240,0
|
8,00
|
0,156
|
|
31 5921 8522 08
|
5000
|
7700
|
243,0
|
8,30
|
0,162
|
|

Черт. 8
Таблица 8
Q, т
|
Rmax
|
Тип крана
|
D (В), мм
|
H, мм
|
0,25
|
2,5; 3,2; 4; 5
|
1; 2
|
Ø 219
|
200
|
6,3; 8; 10
|
Ø 351
|
250
|
0,5
|
2,5; 3,2; 4; 5
|
1; 2
|
Ø 351
|
250
|
6,3; 8; 10
|
5; 6
|
Ø 426
|
300
|
1,0
|
2,5; 3,2
|
Ø 351
|
250
|
4; 5; 6,3
|
Ø 426
|
300
|
8; 10
|
400
|
2,0
|
2,5; 3,2; 4
|
Ø 426
|
300
|
5; 6,3
|
400
|
8;
|
Ø 530
|
500
|
3,2
|
2,5; 3,2; 4
|
5; 6
|
Ø 530
|
400
|
5; 6,3
|
500
|
8; 10
|
6
|
700
|
5,0
|
2,5; 3,2; 4
|
5; 6
|
Ø 530
|
500
|
5; 6,3
|
6
|
□ 600
|
700
|
8; 10
|
8,0
|
2,5; 3,2; 4
|
5; 6
|
5; 6,3
|
6
|
12,5
|
2,5; 3,2; 4
|
16,0
|
2,5; 3,2
|
Присоединительные размеры опорных
частей консольных кранов типов 3, 4, 7
А - А (см. черт. 3, 4, 7)
Вариант 1

Черт. 9
Таблица 9
Размеры, мм
Тип
|
Грузоподъемность Q, т
|
Вылет L, м
|
D (В)
|
d (Н14)
|
Число отверстий в плите
|
3
|
0,25
|
2,5; 3,2; 4,0; 5,0
|
Ø 700
|
27
|
6
|
и
|
6,3; 8,0; 10,0
|
Ø 900
|
33
|
7
|
0,5
|
2,5; 3,2; 4,0; 5,0
|
Ø 900
|
6,3; 8,0; 10,0
|
Ø 1100
|
40
|
8
|
1,0
|
2,5; 3,2; 4; 5
|
Ø 900
|
33
|
6
|
6,3
|
Ø 1100
|
40
|
8
|
8,0; 10,0
|
Ø 1300
|
2,0
|
2,5; 3,2; 4
|
Ø 1100
|
7
|
5,0; 6,3
|
Ø 1300
|
8,0; 10,0
|
Ø 1400
|
46
|
3,2
|
2,5; 3,2; 4
|
Ø 1300
|
40
|
5,0; 6,3
|
Ø 1400
|
46
|
8,0; 10,0
|
□ 1040
|
48
|
16
|
5,0
|
2,5; 3,2; 4
|
Ø 1400
|
46
|
8
|
5,0; 6,3
|
□ 1040
|
48
|
16
|
8,0; 10,0
|
□ 1340
|
8,0
|
2,5; 3,2; 4
|
□ 1040
|
46
|
8
|
5,0; 6,3
|
□ 1340
|
48
|
16
|
12,5
|
2,5; 3,2; 4
|
16,0
|
2,5; 3,2
|
4
|
0,125
|
2,5; 3,2 4,0
|
Ø 700
|
27
|
6
|
0,5
|
Ø 900
|
33
|
Таблица 10
Грузоподъемность Q, т
|
Установленная мощность
электродвигателей N, кВт, не более
|
Удельный расход
электроэнергии, Вт·ч/т цикл, не более
|
Типы 1 - 4
|
Типы 5 - 7
|
Типы 1 - 4
|
Типы 5 - 7
|
0,125
|
0,25
|
-
|
8,9
|
-
|
0,25
|
0,78
|
-
|
10,0
|
-
|
0,5
|
0,87
|
2,37
|
8,9
|
9,08
|
1,0
|
1,88
|
3,38
|
8,7
|
9,06
|
2,0
|
3,40
|
4,9
|
8,6
|
9,03
|
3,2
|
-
|
7,1
|
-
|
9,03
|
5,0
|
-
|
10,9
|
-
|
9,02
|
8,0
|
-
|
16,5
|
-
|
9,0
|
12,5
|
-
|
16,5
|
-
|
13,0
|
16,0
|
-
|
18,3
|
-
|
16,0
|
ИНФОРМАЦИОННЫЕ ДАННЫЕ
1. РАЗРАБОТАН И ВНЕСЕН Министерством тяжелого
машиностроения СССР
РАЗРАБОТЧИКИ
Э. В. Андреев (руководитель темы), Л.В.
Люберец
2. УТВЕРЖДЕН И ВВЕДЕН В
ДЕЙСТВИЕ Постановлением Государственного комитета СССР по управлению качеством
продукции и стандартам от 22.02.90 № 265
3. Срок проверки - 1994 г., периодичность - 5 лет
4. ВЗАМЕН ГОСТ 19811-82
5. ССЫЛОЧНЫЕ НОРМАТИВНО-ТЕХНИЧЕСКИЕ
ДОКУМЕНТЫ
|