Информационная система
«Ёшкин Кот»

XXXecatmenu

ГОСУДАРСТВЕННЫЙ СТАНДАРТ
СОЮЗА ССР

СТАНКИ ФРЕЗЕРНЫЕ КОНСОЛЬНЫЕ

ОСНОВНЫЕ РАЗМЕРЫ

ГОСТ 165-81

(СТ СЭВ 5939-87)

ИПК ИЗДАТЕЛЬСТВО СТАНДАРТОВ

Москва

ГОСУДАРСТВЕННЫЙ СТАНДАРТ СОЮЗА ССР

СТАНКИ ФРЕЗЕРНЫЕ КОНСОЛЬНЫЕ

Основные размеры

Milling cantilevered machines.
Basic dimensions.

ГОСТ
165-81

(CT СЭВ 5939-87)

Дата введения 01.01.82

1. Настоящий стандарт распространяется на фрезерные консольные станки с горизонтальным, вертикальным и поворотным шпинделями, неповоротным и поворотным столами, с поперечным суппортом (с поперечным перемещением ползуна), в том числе на широкоуниверсальные станки с поворотной головкой, станки с копировальным устройством и станки с программным управлением, в том числе на консольные многоцелевые фрезерно-расточные станки с автоматической сменой инструментов и обрабатываемых заготовок.

Требования настоящего стандарта являются обязательными.

(Измененная редакция, Изм. № 3).

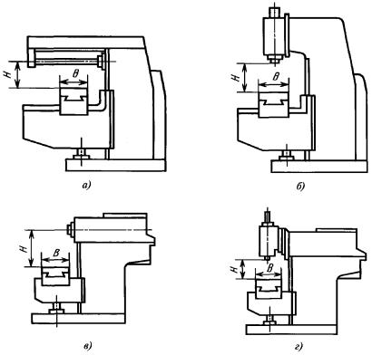
2. Основные размеры станков должны соответствовать указанным на черт. 1, 2 и в таблице.

Черт. 1

Примечание. Чертеж не определяет конструкцию станков.

Черт. 2

Примечание. Чертеж не определяет конструкцию станков.

Размеры, мм

Наименование размеров

Нормы

Размер рабочей поверхности стола

Ширина В по ГОСТ 1574

Черт. 1а, б

100

125

160

200

250

320

400

-

Черт. 1в, г

-

-

-

-

-

320

400

500

Длина L

400

500

630

800

1000

1250

1600

2000

Ход стола, ползуна, не менее

продольный

250

320

400

500

630

800

1000

1200

поперечный

100

(80)

125

(100)

150

(125)

200

(160)

250

(200)

320

(250)

400

(320)

400

Расстояние Н от оси горизонтального или вертикального шпинделя до рабочей поверхности стола (при вдвинутой гильзе)

наибольшее, не менее

200

250

320

360

400

450

450

500

наименьшее, не более

30

50

70

Угол поворота стола в горизонтально-фрезерных станках с поворотным столом (стол в крайнем переднем положении), град, не менее

±45

Конец шпинделя по ГОСТ 24644

30

30; 40

40

40; 45; 50

Конец шпинделя поворотной головки в широкоуниверсальных станках по ГОСТ 24644

-

30; 40

40; 50

Ход гильзы шпинделя (для станков с вертикальным шпинделем и перемещающейся гильзой), не менее

40

60

80

Ход вертикального ползуна со шпинделем (для станков с ползуном), не менее

-

120

150

Угол поворота шпиндельной головки в вертикальной плоскости (для станков с поворотной головкой), град, не менее

±45

Примечание. Размеры, заключенные в скобки, при новом проектировании не применять.

Основные размеры станков с числовым программным управлением, кроме того, должны соответствовать ГОСТ 21610.

(Измененная редакция, Изм. № 1, 3).

2а. Допускается по согласованию с потребителем увеличивать размер В по ряду Ra 10 ГОСТ 6636 с сохранением остальных размеров согласно таблице.

(Введен дополнительно, Изм. № 3).

3. Значения продольного и поперечного ходов стола ползуна допускается увеличивать по ряду Ra 40 по ГОСТ 6636.

4. Для станков с программным управлением допускается уменьшать значение продольного перемещения стола ползуна по ряду Ra 40 по ГОСТ 6636, но не более чем в 1,6 раза по сравнению с указанными в таблице.

5. В станках с вертикальным шпинделем поперечный ход стола должен быть симметричен относительно оси шпинделя с допускаемым отклонением до 0,06В.

При перемещении поперечного ползуна ось вертикального шпинделя должна перекрывать рабочую поверхность стола.

3 - 5. (Измененная редакция, Изм. № 3).

6. Допускается увеличивать, а в станках с поворотным столом уменьшать значение наибольшего расстояния Н по ряду Ra 40 по ГОСТ 6636, но не более чем в 1,25 раза по сравнению с указанным в таблице.

6а. Для станков с автоматической сменой инструмента расстояние Н не регламентируется.

6б. Допускается увеличивать или уменьшать длину рабочей поверхности стола по ряду Ra 40 ГОСТ 6636.

6а, 6б. (Введены дополнительно, Изм. № 3).

7. В станках с копировальным устройством длину стола допускается увеличивать, а продольный ход стола уменьшать по ряду Ra 40 по ГОСТ 6636, но не более чем в 1,6 раза по сравнению со значениями, указанными в таблице.

8. Размеры пазов в столах и расстояния между ними - по ГОСТ 1574.

9. (Исключен, Изм. № 3).

ИНФОРМАЦИОННЫЕ ДАННЫЕ

1. РАЗРАБОТАН И ВНЕСЕН Министерством станкостроительной и инструментальной промышленности СССР

2. УТВЕРЖДЕН И ВВЕДЕН В ДЕЙСТВИЕ Постановлением Государственного комитета СССР по управлению качеством продукции и стандартам от 23.02.81 № 915

3. ВЗАМЕН ГОСТ 165-72

4. ССЫЛОЧНЫЕ НОРМАТИВНО-ТЕХНИЧЕСКИЕ ДОКУМЕНТЫ

Обозначение НТД, на который дана ссылка

Номер пункта

ГОСТ 1574-91

2, 8

ГОСТ 6636-69

3, 4, 6, 7

ГОСТ 21610-82

2

ГОСТ 24644-81

2

5. ПЕРЕИЗДАНИЕ (октябрь 1997 г.) с Изменениями № 1, 2, 3, утвержденными в сентябре 1982 г., июне 1988 г., ноябре 1990 г. (ИУС 12-82, 9-88, 2-91)

 



© 2013 Ёшкин Кот :-)