
ГОСУДАРСТВЕННЫЙ СТАНДАРТ СОЮЗА ССР
ТРОЙНИКИ ВВЕРТНЫЕ ДЛЯ СОЕДИНЕНИЙ
ТРУБОПРОВОДОВ ПО ВНУТРЕННЕМУ КОНУСУ
Конструкция и размеры
ГОСТ 16074-70
ГОСУДАРСТВЕННЫЙ
КОМИТЕТ СССР ПО СТАНДАРТАМ
МОСКВА
ГОСУДАРСТВЕННЫЙ СТАНДАРТ СОЮЗА
ССР
Постановлением Комитета
стандартов, мер и измерительных приборов при Совете Министров СССР от 5 июня
1970 г. № 839 срок введения установлен
с
01.01.71
Несоблюдение
стандарта преследуется по закону
* Переиздание (июнь 1987 г.) с Изменениями № 1, 2,
утвержденными в декабре 1980 г., феврале 1986 г. (ИУС 3-81, 5-86).
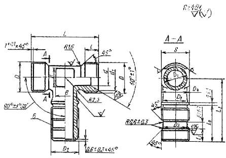
1. Конструкция и размеры
ввертных тройников должны соответствовать указанным на чертеже и в таблице.

Размеры,
мм
Наружный диаметр труб Dн
|
d
|
d1
|
Резьба D
|
D1
|
Резьба D2
|
D3
|
D4
|
S
|
l
|
l1
|
l2
|
L
|
L1
|
В
|
Масса 100 шт. в кг
|
Пред. откл. по h11
|
Пред. откл. ± 0,4
|
Номин.
|
Пред. откл.
|
Пред. откл. ± 0,4
|
Номин.
|
Пред. откл.
|
Номин.
|
Пред. откл..
|
6
|
4
|
11,0
|
M14´1,5
|
9
|
M10
|
7,6
|
10
|
12
|
9
|
7
|
± 0,2
|
24
|
40
|
± 0,4
|
37
|
± 0,4
|
5
|
4,21
|
45
|
4,52
|
53
|
4,83
|
8
|
6
|
13,0
|
M16´1,5
|
11
|
M12´1,5
|
9,6
|
12
|
14
|
8
|
25
|
42
|
41
|
7
|
5,46
|
49
|
5,93
|
57
|
6,32
|
10
|
8
|
15,0
|
M18´1,5
|
13
|
M14´1,5
|
11,6
|
14
|
44
|
43
|
9
|
6,78
|
53
|
7,41
|
63
|
8,03
|
12
|
10
|
17,0
|
M20´1,5
|
15
|
M16´1,5
|
13,6
|
16
|
17
|
9
|
27
|
46
|
47
|
10
|
8,42
|
57
|
9,20
|
67
|
9,98
|
14
|
12
|
19,0
|
M22´1,5
|
17
|
M20´1,5
|
17,6
|
20
|
19
|
10
|
± 0,4
|
29
|
48
|
50
|
13
|
11,15
|
60
|
12,09
|
70
|
13,03
|
16
|
14
|
21,0
|
M24´1,5
|
19
|
M22´1,5
|
19,6
|
22
|
22
|
11
|
54
|
50
|
15
|
13,65
|
60
|
14,58
|
70
|
15,60
|
18
|
16
|
24,0
|
M27´1,5
|
22
|
M24´1,5
|
21,6
|
24
|
24
|
12
|
31
|
58
|
58
|
18,09
|
70
|
19,81
|
82
|
± 0,6
|
21,45
|
20
|
18
|
27,0
|
М30´1,5
|
24
|
M27´1,5
|
24,6
|
27
|
27
|
60
|
62
|
± 0,4
|
22,15
|
74
|
18
|
24,02
|
86
|
± 0,6
|
25,89
|
22
|
20
|
29,0
|
M33´1,5
|
26
|
M30´1,5
|
27,6
|
30
|
12
|
13
|
33
|
66
|
65
|
± 0,4
|
24,33
|
78
|
26,52
|
90
|
± 0,6
|
28,55
|
24
|
22
|
28
|
30
|
65
|
± 0,4
|
22
|
26,28
|
78
|
28,20
|
90
|
± 0,6
|
30,88
|
25
|
23
|
32,0
|
M36´1,5
|
29
|
М33´1,5
|
30,6
|
33
|
13
|
14
|
34
|
70
|
72
|
± 0,4
|
34,16
|
85
|
± 0,6
|
36,58
|
98
|
39,15
|
28
|
26
|
35,0
|
М39´1,5
|
32
|
М36´1,5
|
33,6
|
36
|
32
|
15
|
35
|
74
|
75
|
± 0,4
|
25
|
39,15
|
86
|
± 0,6
|
41,96
|
102
|
44,93
|
30
|
28
|
35,5
|
34
|
36
|
75
|
± 0,4
|
28
|
35,88
|
88
|
± 0,6
|
38,84
|
102
|
42,04
|
32
|
30
|
38,0
|
M42´1,5
|
37
|
М39´1,5
|
36,6
|
39
|
41
|
16
|
36
|
76
|
± 0,6
|
75
|
± 0,4
|
30
|
43,83
|
88
|
± 0,6
|
47,50
|
102
|
51,56
|
34
|
32
|
41,0
|
M45´1,5
|
39
|
M42´1,5
|
39,6
|
42
|
80
|
78
|
± 0,4
|
51,01
|
90
|
± 0,6
|
54,60
|
105
|
59,20
|
36
|
34
|
44,0
|
M48´1,5
|
41
|
M45´1,5
|
42,6
|
45
|
46
|
82
|
78
|
± 0,4
|
56,94
|
90
|
± 0,6
|
60,76
|
105
|
65,67
|
38
|
36
|
43
|
78
|
± 0,4
|
52,96
|
90
|
± 0,6
|
57,02
|
105
|
62,08
|
2.
Материал: штамповки из стали марок 45, 38ХА, 13Х11Н2В2МФ (1Х12Н2ВМФ).
3. Допуск радиального биения
поверхности Б относительно оси резьбы D2 - 0,08 мм.
(Измененная редакция, Изм. № 2).
4. Покрытие кадмием (цинком)
поверхности Б не допускается.
5. Технические требования -
по ГОСТ
16078-70.
Пример условного
обозначения ввертного тройника к
трубопроводу Dн 16 и L1 = 60 мм из стали марки 45:
Тройник ввертной 16-60-022 ГОСТ 16074-70
То же, из стали марки 38ХА:
Тройник ввертной 16-60-021 ГОСТ 16074-70
То же, из стали марки 13Х11Н2В2МФ:
Тройник ввертной 16-60-011 ГОСТ 16074-70
То же, для изделий авиационной и общей
техники:
Тройник
ввертной 16-60-022А ГОСТ 16074-70
Тройник
ввертной 16-60-021А ГОСТ 16074-70
Тройник
ввертной 16-60-011А ГОСТ 16074-70
|