Информационная система
«Ёшкин Кот»

XXXecatmenu

ГОСУДАРСТВЕННЫЙ СТАНДАРТ СОЮЗА ССР

 

ТРОЙНИКИ ПЕРЕХОДНЫЕ С ДИАМЕТРОМ РЕЗЬБЫ 14 мм
НА СРЕДНЕМ ШТУЦЕРЕ ДЛЯ СОЕДИНЕНИЙ
ТРУБОПРОВОДОВ ПО ВНУТРЕННЕМУ КОНУСУ

Конструкция и размеры

 

ГОСТ 16060-70

 

 

 

ГОСУДАРСТВЕННЫЙ КОМИТЕТ СССР ПО СТАНДАРТАМ

МОСКВА

 

ГОСУДАРСТВЕННЫЙ СТАНДАРТ СОЮЗА ССР

ТРОЙНИКИ ПЕРЕХОДНЫЕ С ДИАМЕТРОМ РЕЗЬБЫ 14 мм
НА СРЕДНЕМ ШТУЦЕРЕ ДЛЯ СОЕДИНЕНИЙ
ТРУБОПРОВОДОВ ПО ВНУТРЕННЕМУ КОНУСУ

Конструкция и размеры

Reducer-type tees with thread diameter 14 mm on middle fitting
for tube connections on internal cone.
Construction and dimensions

ГОСТ
16060-70

Постановлением Комитета стандартов, мер и измерительных приборов при Совете Министров СССР от 5 июня 1970 г. № 839 срок введения установлен

с 01.01.71

Несоблюдение стандарта преследуется по закону

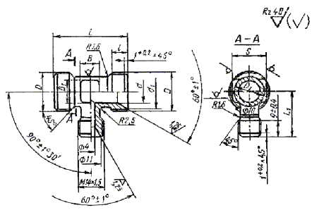
1. Конструкция и размеры переходных тройников должны соответствовать указанным на чертеже и в таблице.

Размеры, мм

Наружный диаметр труб Dн

d

d1

Резьба D

D1

S

l

L

L1

В

B1

Масса 100 шт. в кг

Пред. откл. ± 0,4

12

10

17,0

М20´1,5

15

17

9

42

24

10

10

6,47

14

12

19,0

M22´1,5

17

19

25

12

13

7,66

16

14

21,0

M24´1,5

19

22

11

45

26

15

8,90

18

16

24,0

М27´1,5

22

24

28

17

10,16

20

18

27,0

М30´1,5

24

27

30

13

18

11,33

22

20

29,0

M33´1,5

26

12

48

32

12,66

24

22

28

30

14

22

13,96

25

23

32,0

М36´1,5

29

13

50

14,63

28

26

35,0

М39´1,5

32

32

34

15

25

16,73

30

28

35,5

34

36

28

18,10

32

30

38,0

M42´1,5

37

41

35

16

30

19,50

34

32

41,0

М45´1,5

39

38

20,77

36

34

44,0

М48´1,5

41

46

22,10

38

36

43

28,50

2. Материал: штамповки из стали марок 45, 38ХА, 12Х18Н9Т (Х18Н9Т), 13Х11Н2В2МФ (1Х12Н2ВМФ).

3. Технические требования - по ГОСТ 16078-70.

Пример условного обозначения переходного тройника к трубопроводу Dн 16 из стали марки 45:

Тройник переходной 16-022 ГОСТ 16060-70

То же, из стали марки 38ХА:

Тройник переходной 16-021 ГОСТ 16060-70

То же, из стали марки 12Х18Н9Т:

Тройник переходной 16-012 ГОСТ 16060-70

То же, из стали марки 13Х11Н2В2МФ:

Тройник переходной 16-011 ГОСТ 16060-70

То же, для изделий авиационной и общей техники:

Тройник переходной 16-022А ГОСТ 16060-70

Тройник переходной 16-021А ГОСТ 16060-70

Тройник переходной 16-012А ГОСТ 16060-70

Тройник переходной 16-011А ГОСТ 16060-70

 

 



© 2013 Ёшкин Кот :-)