Информационная система
«Ёшкин Кот»

XXXecatmenu

ГОСУДАРСТВЕННЫЙ СТАНДАРТ СОЮЗА ССР

 

ПОЛУАВТОМАТЫ ПРОТЯЖНЫЕ
ВЕРТИКАЛЬНЫЕ

ОСНОВНЫЕ ПАРАМЕТРЫ И РАЗМЕРЫ

НОРМЫ ТОЧНОСТИ И ЖЕСТКОСТИ

 

ГОСТ 16025-91

 

 

КОМИТЕТ СТАНДАРТИЗАЦИИ И МЕТРОЛОГИИ СССР

Москва

 

ГОСУДАРСТВЕННЫЙ СТАНДАРТ СОЮЗА ССР

ПОЛУАВТОМАТЫ ПРОТЯЖНЫЕ ВЕРТИКАЛЬНЫЕ

Основные параметры и размеры.

Нормы точности и жесткости

Semiautomatic vertical broaching machines.

Basic parameters and dimensions.

Standards of accuracy and rigidity

ГОСТ
16025-91

Дата введения 01.07.92

Настоящий стандарт распространяется на полуавтоматы протяжные вертикальные общего назначения для внутреннего и наружного протягивания, изготовляемые для нужд народного хозяйства и экспорта.

Требования по точности распространяются на полуавтоматы общего назначения класса точности Н с номинальным тяговым усилием от 40 до 400 кН.

Полуавтоматы протяжные общего назначения для внутреннего и наружного протягивания класса точности П с номинальным тяговым усилием до 100 кН должны изготавливаться по согласованной с потребителем номенклатуре проверок норм точности полуавтомата с допусками, в 1,6 раза меньше допусков, указанных в настоящем стандарте для полуавтоматов класса точности Н.

Требования настоящего стандарта являются обязательными, за исключением приложений 1 и 2.

1. ОСНОВНЫЕ ПАРАМЕТРЫ И РАЗМЕРЫ

1.1. Основные параметры и размеры полуавтоматов внутреннего протягивания должны соответствовать указанным на черт. 1 и в табл. 1, полуавтоматов наружного протягивания - на черт. 2 и в табл. 2.

L - наибольшая длина хода рабочих салазок; В - рабочая ширина стола; h - расстояние от оси отверстия в столе до рабочих салазок или рабочих цилиндров; l - расстояние от плоскости стола до нижнего торца вспомогательных салазок; d - диаметр отверстия в столе под планшайбу; d1 - диаметр планшайбы; d2 - диаметр отверстия в планшайбе; А - расстояние между центрами резьбовых отверстий в столе для крепления планшайбы; d3 - диаметр резьбовых отверстий в столе для крепления планшайбы; d4 - центрирующий диаметр под вспомогательный патрон

Черт. 1

Примечание. Чертеж не определяет конструкцию полуавтоматов.

Таблица 1

Наименование параметра и размера

Значение

Номинальное тяговое усилие, кН

40

63

100

160

250

400

630

800

L, мм

1000

1250

1600

1250

1600

2000

1600

2000

2000

В, мм

320

400

500

630

800

h, мм, не менее

130

180

210

250

300

l, мм, не менее

340

420

d-H7, мм

125

140

160

200

250

d1, мм

200

250

280

360

400

d2, мм

80

100

125

160

200

А, мм

110

120

170

250

d3

М16

М24

Конусное отверстие по ГОСТ 25557 под рабочий патрон

Морзе 5

АТ7

Метрический

80АТ7

Метрический

120АТ7

d4 - h6, мм (конусное отверстие по ГОСТ 25557 под вспомогательный патрон)

50

(Морзе 5АТ7)

(Метрический

80АТ7)

L - наибольшая длина- хода рабочих салазок; В - рабочая ширина стола; В1 - рабочая ширина салазок

Черт. 2

Примечание. Чертеж не определяет конструкцию полуавтоматов.

Таблица 2

Наименование параметра и размера

Значение

Номинальное тяговое усилие, кН

40

63

100

160

250

400

L, мм

1000

1250

1600

1250

1600

2000

2500

2000

В, мм

320

560

560

630

710

В1, мм

320

400

500

630

630

Примечания к табл. 1 и 2:

1. Размеры, заключенные в скобки, допускается применять в конструктоп-ской документации, разработанной до 01.07.92.

2. Допускается увеличивать размеры h и l по ряду Ra40 по ГОСТ 6636.

3. Наибольшая длина хода рабочих салазок L указана по жестким упорам.

1.2. Полуавтоматы должны обеспечивать возможность встройки в автоматические или поточные линии с работой по циклу автомата при оснащении их загрузочными, зажимными транспортными устройствами и выводом стружки на высоту не менее 400 мм от уровня пола.

2. ТОЧНОСТЬ ПОЛУАВТОМАТОВ

2.1. Общие требования к испытаниям на точность - по ГОСТ 8.

Схемы и способы измерений геометрических параметров - по ГОСТ 22267 и настоящему стандарту.

Допускается применение методов проверки и средств измерений, отличающихся от указанных в настоящем стандарте, при условии обеспечения выполнения требуемой точности измерения и достоверности определения проверяемых параметров точности в соответствии с ГОСТ 8.

2.2. Нормы точности полуавтоматов класса точности Н не должны превышать значений, указанных в пп. 2.3 - 2.7; 2.9 - 2.13.

ПОЛУАВТОМАТЫ ДЛЯ ВНУТРЕННЕГО ПРОТЯГИВАНИЯ

2.3. Плоскостность рабочей поверхности стола

Таблица 3

Длина большей стороны стола, мм

Допуск, мкм

До 400

30

Св. 400 » 630

40

» 630 » 1000

50

Примечание. Выпуклость не допускается.

Черт. 3

Измерение - по ГОСТ 22267, разд. 4, метод 3.

Количество и расположение проверяемых сечений в соответствии с черт. 3.

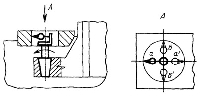
2.4. Концентричность оси отверстия под рабочий патрон в рабочих салазках с осью отверстия под планшайбу в столе:

а) в продольной плоскости полуавтомата;

б) в поперечной плоскости полуавтомата.

Черт. 4

Допуск 30 мкм.

Измерение - по ГОСТ 22267, разд. 14, метод 5 (черт. 4)

Измерительный прибор с помощью вращающейся втулки устанавливают на контрольной оправке.

Поворачивая втулку с измерительным прибором на один оборот, обкатывают поперечное сечение отверстия в столе.

Измерение проводят у крайнего верхнего положения рабочих салазок.

2.5. Перпендикулярность траектории перемещения рабочих салазок к рабочей поверхности стола и прямолинейность этого перемещения:

а) в продольной плоскости полуавтомата;

б) в поперечной плоскости полуавтомата.

Черт. 5

Допуск 30 мкм на длине 300 мм.

Измерение - по ГОСТ 22267, разд. 9, метод 16 (черт. 5).

Измерительный прибор устанавливают на державке, закрепленной на рабочих салазках.

Рабочие салазки с измерительным прибором перемещают от крайнего верхнего положения на заданную длину.

2.6. Концентричность оси буртика во вспомогательных салазках, центрирующего вспомогательный патрон (оси отверстия под вспомогательный патрон), с осью отверстия под рабочий патрон в рабочих салазках:

а) в продольной плоскости полуавтомата;

б) в поперечной плоскости полуавтомата.

Черт. 6

Допуск 60 мкм.

Измерение - по ГОСТ 22267, разд. 14, метод 5 (черт. 6).

Измерительный прибор с помощью вращающейся втулки устанавливают на контрольной оправке.

Поворачивая втулку с измерительным прибором на один оборот, обкатывают поперечное сечение контрольной оправки.

Измерение проводят у крайнего верхнего положения рабочих салазок и у крайнего нижнего положения вспомогательных салазок.

2.7. Взаимная параллельность траекторий перемещения вспомогательных и рабочих салазок:

а) в продольной плоскости полуавтомата;

б) в поперечной плоскости полуавтомата.

Черт. 7

Допуск 60 мкм на длине 300 мм.

Измерение - по ГОСТ 22267, разд. 5, метод 2 (черт. 7).

Регулируемую линейку устанавливают на державке, закрепленной на рабочих салазках.

Измерения проводят у крайнего верхнего положения рабочих и у крайнего нижнего положения вспомогательных салазок.

2.8. Проверка перпендикулярности перемещения вспомогательных салазок к рабочему столу, регламентированная в международном стандарте ИСО 6779-81, приведена в приложении 1.

ПОЛУАВТОМАТЫ ДЛЯ НАРУЖНОГО ПРОТЯГИВАНИЯ

2.9. Плоскостность рабочей поверхности стола

Таблица 4

Длина большей стороны стола, мм

Допуск, мкм

До 400

30

Св. 400 » 630

40

» 630 » 1000

50

Примечание. Выпуклость не допускается.

Черт. 8

Измерение - по ГОСТ 22267, разд. 4, метод 3.

Количество и расположение проверяемых сечений в соответствии с черт. 8.

2.10. Перпендикулярность траектории перемещения рабочих салазок к рабочей поверхности стола и прямолинейность этого перемещения:

а) в продольной плоскости полуавтомата;

б) в поперечной плоскости полуавтомата.

Черт. 9

Допуск:

а) 30 мкм на длине 300 мм, a £ 90°, где a - угол между траекторией перемещения рабочих салазок и рабочей поверхностью стола;

б) 30 мкм на длине 300 мм

Измерение - по ГОСТ 22267, разд. 9, метод 16 (черт. 9).

Измерительный прибор закрепляют на рабочих салазках на уровне, обеспечивающем измерение на участке последней трети хода рабочих салазок.

При проверке в поперечной плоскости полуавтомата измерения проводят три расположении угольника у переднего торца стола.

2.11. Постоянство расстояния между траекторией перемещения и рабочей поверхностью рабочих салазок

Черт. 10

Допуск 40 мкм на длине 1000 мм.

Измерение - по ГОСТ 22267, разд. 24, метод 2 (черт. 10).

Рабочие салазки перемещают на заданную длину.

Измерения проводят на уровне рабочей поверхности стола в двух продольных сечениях рабочих салазок в начале и конце рабочего хода.

2.12. Постоянство расстояния между траекторией перемещения и боковой упорной поверхностью рабочих салазок

Черт. 11

Допуск 40 мкм на длине 1000 мм.

Измерение - по ГОСТ 22267, разд. 24, метод 2 (черт. 11).

Рабочие салазки перемещают на заданную длину.

2.13. Перпендикулярность оси продольного паза стола к рабочей поверхности салазок

Черт. 12

Допуск 20 мкм на длине 300 мм.

На рабочей поверхности рабочих салазок 1 (черт. 12) устанавливают поверочный угольник 2 одной из своих рабочих поверхностей. При этом другая рабочая поверхность угольника совпадает с направлением продольного шпоночного паза стола.

На рабочую поверхность стола 3 в центральный шпоночный паз устанавливают основание с показывающим прибором 4. Основание с показывающим прибором прижимают к одной из боковых сторон шпоночного паза и перемещают от заднего торца стола на заданную длину. Показания прибора фиксируют в начале и конце перемещения. Второе измерение проводят при прижиме к другой стороне шпоночного паза.

За результат измерения для каждой стороны шпоночного паза принимают алгебраическую разность показаний измерительного прибора в начале и конце перемещения.

Отклонение от перпендикулярности равно средней алгебраической величине результатов измерений для каждой стороны шпоночного паза.

2.14. Дополнительные проверки плоскостности поверхности рабочих салазок, параллельности перемещения рабочих салазок относительно ее поверхности, перпендикулярности нижней поверхности шпонки относительно боковой упорной планки, параллельности шпоночных пазов рабочего стола относительно рабочих салазок, регламентированные в международном стандарте ИСО 6481-81, приведены в приложении 2.

3. ТОЧНОСТЬ ОБРАЗЦА ИЗДЕЛИЯ
(проверяется при приемочных испытаниях)

3.1. Общие требования к образцу изделия - по ГОСТ 25443.

3.2. Образец из стали с временным сопротивлением не ниже 450 - 550 МПа или чугуна, подготовленный под обработку в соответствии с требованиями черт. 13 и 14, протягивают на полуавтомате.

ПОЛУАВТОМАТЫ ДЛЯ ВНУТРЕННЕГО ПРОТЯГИВАНИЯ

3.3. Торцовое биение опорной поверхности образца изделия относительно оси протянутого отверстия

 ³ l,5; d ³ 0,5dнаиб.,

где dнаиб. - наибольший диаметр обрабатываемого отверстия на полуавтомате

Черт. 13

Допуск 50 мкм на диаметре 200 мм.

Измерение - по ГОСТ 26542, метод 2.

Измерительный наконечник измерительного прибора должен отстоять от оси образца на радиусе 100 мм.

Образец поворачивают на 360°.

ПОЛУАВТОМАТЫ ДЛЯ НАРУЖНОГО ПРОТЯГИВАНИЯ

3.4. Перпендикулярность протянутой поверхности к опорной поверхности образца изделия

 ³ l,5; Pz ³ 0,3 Рном.,

где Pz - сила резания на участке работы черновых зубьев протяжки; Рном. - номинальное тяговое усилие полуавтомата

Черт. 14

Допуск 40 мкм на длине 300 мм.

Измерение - по ГОСТ 25889.3, метод 2.

4. ЖЕСТКОСТЬ ПОЛУАВТОМАТОВ

4.1. Общие условия испытаний полуавтоматов на жесткость - по ГОСТ 8.

4.2. Положение узлов полуавтомата, направление действия нагружающей силы F должно соответствовать указанным на черт. 15, 16 и в табл. 6 и 8.

4.3. Значение нагружающей силы F должно соответствовать, а измеренные перемещения не должны превышать значений, указанных в табл. 5 и 7.

ПОЛУАВТОМАТЫ ДЛЯ ВНУТРЕННЕГО ПРОТЯГИВАНИЯ

4.4. Угловое перемещение под нагрузкой оси испытательной оправки относительно рабочей поверхности планшайбы в продольной плоскости полуавтомата.

d - диаметр опорной детали; d1 - диаметр нагрузочной оправки; d2 - диаметр испытательной оправки; l - длина испытательной оправки до сферической опоры; l1 - длина нагрузочной оправки до рабочей поверхности стопа

Черт. 15

Опорную деталь 1 диаметра d (табл. 6) устанавливают на планшайбу 2 полуавтомата. Нагрузочную оправку диаметром d1 вставляют в рабочий патрон 4. Измерительные приборы 5 и 6 устанавливают на свободном конце испытательной оправки 7 так, чтобы их измерительные наконечники касались планки 8 опорной детали и были перпендикулярны к ней.

Таблица 5

Номинальное тяговое усилие, кН

40

63

100

160

250

400

Нагружающая сила F, кН

30

48

75

120

190

300

Допускаемые угловые перемещения, мкм, на 200 мм

28

38

45

54

68

76

Испытательная оправка 7 диаметром d2 жестко соединена с нагрузочной оправкой 3 у рабочего патрона и имеет сферическую опору в опорной детали 1.

Положение рабочих салазок определяется длиной l1 оправки (табл. 6).

Нагружение осуществляют силой F в направлении хода рабочих салазок. После достижения заданного значения силы F фиксируют показания измерительных приборов 5 и 6.

Перед каждым нагружением осуществляют обратный ход рабочих салазок на 5 - 20 мм.

Результат измерения для каждого нагружения равен алгебраической разности показаний измерительных приборов 5 и 6.

Угловое перемещение оси испытательной оправки относительно рабочей поверхности планшайбы равно средней арифметической величине результатов двух измерений.

Таблица 6

Номинальное тяговое усилие, кН

40

63

100

160

250

400

d, мм

180

200

245

280

d1, мм

32

42

55

62

70

85

d2, мм

20

30

l, мм

635

900

110

l1, мм

715

980

1190

ПОЛУАВТОМАТЫ ДЛЯ НАРУЖНОГО ПРОТЯГИВАНИЯ

4.5. Относительное перемещение под нагрузкой стола и рабочих салазок.

b - расстояние от торца стола до точки приложения нагрузки; h - расстояние от рабочей- поверхности стола до точки приложения нагрузки

Черт. 16

Таблица 7

Номинальное тяговое усилие, кН

40

63

100

160

250

400

Нагружающая сила F, кН

30

48

75

120

190

300

Допускаемые значения показывающих приборов, мкм

прибор 1

70

100

135

190

255

340

прибор 2

90

115

160

220

300

410

На столе 3 (черт. 16) и рабочих салазках 4 устанавливают упоры для передачи нагрузки. Рабочие салазки устанавливают на расстоянии 0,7 ... 0,8 длины хода от крайнего верхнего положения, а стол - в рабочей позиции.

Между упорами стола и салазок устанавливают рабочий динамометр 5 с показывающим устройством для измерения нагружающей силы.

Измерительные приборы 1 и 2 устанавливают на столе или упоре стола так, чтобы измерительные наконечники касались рабочих салазок и были перпендикулярны им.

Приводом рабочих салазок создают плавно возрастающую до заданного значения нагружающую силу F в продольной плоскости полуавтомата под углом a = 30° к вертикали и регистрируют показания показывающих приборов 1 и 2.

За величину относительных перемещений принимают среднюю арифметическую величину показаний каждого измерительного прибора из результатов двух измерений.

Примечание. Испытание станков с поворотными столами производят в каждой рабочей позиции.

Таблица 8

Номинальное тяговое усилие, кН

40

63

100

160

250

400

b, мм

23

32

40

42

50

h, мм

120

150

190

250

240

ПРИЛОЖЕНИЕ 1

Справочное

ИСО 6779-81 «УСЛОВИЯ ПРИЕМКИ ВЕРТИКАЛЬНО-ПРОТЯЖНЫХ СТАНКОВ ДЛЯ ВНУТРЕННЕГО ПРОТЯГИВАНИЯ НОРМЫ ТОЧНОСТИ»

Проверка геометрической точности и терминология

1. Проверка геометрической точности

Таблица 1

Номер проверки

Схема

Проверка

Допускаемое отклонение, мм

Измерительный инструмент

Примечание и ссылки на пункты ИСО Р/230

G2

Проверка перпендикулярности перемещения вспомогательных салазок к рабочему столу:

а) в продольном направлении;

б) в поперечном направлении

а и б 0,05/300

Индикатор, угольник

П. 5.522.2

Индикатор закрепляют на вспомогательном патроне. Угольник устанавливают напротив рабочего стола.

Вспомогательный патрон перемещают вниз и фиксируют отклонения в положениях а и б.

Данная проверка не проводится на станках с плавающим вспомогательным патроном.

2. ТЕРМИНОЛОГИЯ

Черт. 17

Таблица 2

Номер позиции

Русский язык

Английский язык

Французский язык

1

Основание

Base

Socle

2

Станина

Column

Bati

3

Тумба

Table base

Support du plateau de fixation

4

Стол

Work table

Plateau de fixation (ou table)

5

Отверстие под планшайбу

Table location bore or register

Centrage du support de piece

6

Рабочие салазки

Pull slide

Coulisseau de traction

7

Кронштейн рабочих салазок

Pull block

Traverse de traction

8

Рабочий патрон

Pull chuck

Tete d¢accrochage

9

Вспомогательные салазки

Retriever slide

Coulisseau de relevage

10

Направляющие вспомогательных салазок

Retriever slide guide

Guidage du coulisseau de relevage

11

Кронштейн вспомогательных салазок

Retriever block

Chariot d¢amenage

12

Вспомогательный патрон

Retriever chick

Tete d¢accorchage arriere


ПРИЛОЖЕНИЕ 2

Справочное

ИСО 6481-81 «УСЛОВИЯ ПРИЕМКИ ВЕРТИКАЛЬНО-ПРОТЯЖНЫХ СТАНКОВ ДЛЯ НАРУЖНОГО ПРОТЯГИВАНИЯ. НОРМЫ ТОЧНОСТИ»

Проверка геометрической точности и терминология

1. Проверка геометрической точности

Таблица 3

Номер проверки

Схема

Проверка

Допускаемое отклонение, мм

Измерительный инструмент

Примечание и ссылки на пункты ИСО Р/230

G2

Проверка плоскостности поверхности рабочих салазок в вертикальной плоскости

0,04 на расстоянии 1000

Уровень

П. 5.323

Спиртовой уровень устанавливают в нескольких положениях и фиксируют отклонения.

G3

Проверка плоскостности поверхности рабочих салазок в горизонтальной плоскости

0,025 на расстоянии 500

Максимальное отклонение 0,04

 

П. 5.412

Специальную опору последовательно устанавливают в верхнее, среднее и нижнее положения на поверхности салазок. Индикатор перемещают по специальной опоре в горизонтальной плоскости и измеряют отклонения.

G4

Проверка параллельности перемещения салазок рабочих относительно ее поверхности

0,025 на длине измерения 1000

Максимальное отклонение 0,050

Индикатор, линейка и концевые меры

П. 5.422.21

Индикатор закрепляют на рабочем столе, который находится в нижнем положении. Каретку перемещают вниз.

G7

Проверка перпендикулярности нижней поверхности шпонки относительно боковой упорной планки

0,03/300

Угольник и концевые меры или индикатор

П. 5.512.2

Вместо концевых мер индикатор перемещают по выравнивающей рейке или по угольнику

G9

Проверка параллельности шпоночных пазов по всей ширине рабочего стола относительно рабочих салазок

0,025 на длине измерения 300

Индикатор или линейка и концевые меры

П. 5.422


2. ТЕРМИНОЛОГИЯ

Примечание. Станки изготавливают с боковой упорной планкой 8 или со шпоночной канавкой 9.

Черт. 18

Таблица 4

Номер позиции

Русский язык

Английский язык

Французский язык

1

Основание

Base box

Socle

2

Станина

Column

Bati arriere

3

Тумба

Table base

Bati avant

4

Стол

Work table

Plateau de fixation

5

Рабочие салазки

Tool slide

Coulisseau porte-outil

6

Направляющая рабочих салазок

Tool slide guide

Guidage du coulisseay porte-outil

7

Шпонка

Cross tenon

Clavette d¢entratnement

8

Боковая упорная планка

Stop rail

Regle de degauchissage

9

Шпоночная канавка

Vertical keyway

Rainure de degauchissage

 

ИНФОРМАЦИОННЫЕ ДАННЫЕ

1. РАЗРАБОТАН И ВНЕСЕН Техническим Комитетом по стандартизации «Станки» (ТК70 «Станки»)

РАЗРАБОТЧИКИ

В. Ф. Скиженок, В. А. Футлик, В. К. Савченко, А. В. Безенсон, В. В. Лагуновский

2. УТВЕРЖДЕН И ВВЕДЕН В ДЕЙСТВИЕ Постановлением Комитета стандартизации и метрологии СССР от 13.11.91 № 1737

3. Срок проверки 1996 г., периодичность проверки - 5 лет

4. Стандарт соответствует международным стандартам ИСО 6779-83 и ИСО 6481-81 в части норм точности и терминологии

5. ВЗАМЕН ГОСТ 10647-82, ГОСТ 16025-83

6. ССЫЛОЧНЫЕ НОРМАТИВНО-ТЕХНИЧЕСКИЕ ДОКУМЕНТЫ

Обозначение НТД, на который дана ссылка

Номер пункта

ГОСТ 8-82

2.1; 4.1

ГОСТ 6636-69

1.1

ГОСТ 22267-76

2.3; 2.4; 2.5; 2.6; 2.7; 2.9; 2.10; 2.11; 2.12

ГОСТ 25443-82

3.1

ГОСТ 25557-82

1.1

ГОСТ 25889.3-83

3.4

ГОСТ 26542-85

3.3

 

СОДЕРЖАНИЕ

1. Основные параметры и размеры.. 1

2. Точность полуавтоматов. 4

Полуавтоматы для внутреннего протягивания. 4

Полуавтоматы для наружного протягивания. 7

3. Точность образца изделия (проверяется при приемочных испытаниях) 10

Полуавтоматы для внутреннего протягивания. 10

Полуавтоматы для наружного протягивания. 10

4. Жесткость полуавтоматов. 11

Полуавтоматы для внутреннего протягивания. 11

Полуавтоматы для наружного протягивания. 12

Приложение 1 Исо 6779-81 «условия приемки вертикально-протяжных станков для внутреннего протягивания нормы точности». 13

Приложение 2 Исо 6481-81 «условия приемки вертикально-протяжных станков для наружного протягивания. Нормы точности». 15

 

 



© 2013 Ёшкин Кот :-)