Информационная система
«Ёшкин Кот»

XXXecatmenu

ГОСУДАРСТВЕННЫЙ СТАНДАРТ СОЮЗА ССР

КОНЦЫ ТРУБ РАЗВАЛЬЦОВАННЫЕ ДЛЯ СОЕДИНЕНИЙ ТРУБОПРОВОДОВ ПО НАРУЖНОМУ КОНУСУ

Конструкция и размеры

Flared pipe ends for tube connections on external cone.
Construction and dimensions

ГОСТ
13954-74*

Взамен
ГОСТ 13954-68

Постановлением Государственного комитета стандартов Совета Министров СССР от 10 сентября 1974 г. № 2124 срок введения установлен

с 01.07.75

Проверен в 1985 г.

Несоблюдение стандарта преследуется по закону

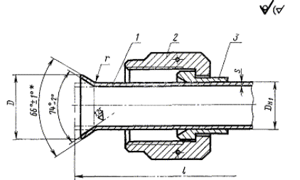
1. Конструкция и размеры развальцованных концов труб должны соответствовать указанным на черт. 1 и в табл. 1.

* Размер обеспечивают инструментом

1 - труба; 2 - гайка накидная по ГОСТ 13957-74; 3 - ниппель по ГОСТ 13956-74

Черт. 1

2. Действительный диаметр трубы DН1 перед развальцовкой на длине l не должен превышать верхнего отклонения поля допуска d9.

(Измененная редакция, Изм. № 1).

3. Трубы, действительный диаметр которых превышает верхнее отклонение поля допуска d9, калибруют до размера, находящегося в пределах от верхнего отклонения поля допуска d9 до нижнего отклонения труб в состоянии поставки. Форма и размеры калиброванных труб должны соответствовать указанным на черт. 2 и в табл. 1.

Примечание. Допускается применение труб из стали марки 12Х18Н10Т с диаметром DH1, превышающим верхнее отклонение поля допуска d9, при этом диаметральный натяг ниппеля на трубе не должен превышать 0,16 мм.

* Размер для справок.

Черт. 2

Таблица 1

Размеры в мм

DH

D

r

l

a

Предельные отклонения

по js 14

-0,3

±1

3

5,8

1,0

30

4

6,5

6

9,0

2,0

8

11,0

35

10

13,5

12

16,3

40

14

18,6

16

20,5

45

18

23,5

20

26,5

22

29,0

50

25

28

35,0

2,5

55

30

35,5

32

38,0

60

34

41,0

36

44,0

38

2, 3. (Измененная редакция, Изм. № 1, 2).

4. При развальцовке труб в ниппель радиус r контролировать только по нижнему отклонению.

5. Для труб из стали марок 20А и 20, подвергающихся пескоструйной обработке, параметр шероховатости внутренней поверхности конуса развальцованной части должен быть не более Ra 2,5 мкм ГОСТ 2789-73.

6. На внутренней поверхности конуса развальцованной части трубы не допускаются продольные и кольцевые риски, царапины, забоины и трещины.

7. Глубина отпечатков от матриц (ниппелей) и продольные риски на внешней поверхности конуса развальцованной части трубы не должны превышать 0,03 мм, но не должны выходить за пределы допуска на толщину стенки.

Глубина отпечатков от матриц (ниппелей) на остальных внешних поверхностях труб не должна выходить за пределы допуска на толщину стенки.

8. Переход внутренней конусной поверхности развальцованной части трубы в цилиндрическую должен быть плавным, без поперечного кольцевого наплыва. Допускается резкий переход без образования кольцевого наплыва.

Для труб из алюминиевого сплава с Dн £ 10 мм допускается незначительный наплыв.

Переход внутренней и наружной конусной части в цилиндрическую при калибровке должен быть плавным.

Примечание. Снятие резанием кольцевого наплыва на переходе внутренней конусной поверхности развальцованной части трубы в цилиндрическую не допускается.

9. Кромка конуса развальцованной части трубы не должна иметь трещин, заусенцев и должна быть закруглена.

10. Толщина стенки у края конусной развальцованной части трубы не должна быть менее 70 % толщины стенки цилиндрической части трубы. Для труб из алюминиевого сплава с Dн 8 мм допускается уменьшение стенки до 55 - 60 %.

11. Угол перекоса развальцованной части трубы относительно оси трубопровода не должен превышать 1° 30’.

12. Огранка конусных поверхностей развальцованной части трубы не допускается.

13. Для повышения вибропрочности трубопроводов допускается перед развальцовкой труб производить их размерно-чистовое упрочнение или гидродробеструйную обработку в местах соединений или по всей длине.

14. Для развальцовки должны применяться трубы с наружным диаметром, толщиной стенки и из материала, указанными в табл. 2.

Таблица 2

Размеры в мм

Dн

Марка материала

Толщина стенки, S

0,5

0,6

0,75

0,8

1,0

1,2

1,4

1,5

Масса 1 м, кг

3

М2

0,035

-

-

-

-

-

-

-

4

0,049

-

-

-

-

-

-

-

20, 20А

0,043

0,050

-

0,063

-

-

-

-

12Х18Н10Т (Х18Н10Т)

0,044

0,051

-

0,064

-

-

-

-

6

М2

-

-

-

0,110

0,140

-

-

-

АМг2М

-

 

0,035

-

0,044

-

-

-

20

-

0,080

-

0,103

0,123

-

-

-

20А

-

-

0,142

-

-

12Х18Н10Т (Х18Н10Т)

-

0,081

-

0,105

0,125

0,145

-

-

8

М2

-

-

-

0,152

0,196

-

-

0,273

АМг2М

-

-

0,048

-

0,062

-

-

0,086

20

-

-

-

0,142

0,173

-

-

-

20А

-

-

-

0,202

(0,227)

-

12Х18Н10Т (Х18Н10Т)

-

0,110

-

0,145

0,176

0,205

(0,232)

-

10

М2

-

-

-

0,194

0,252

-

-

0,356

АМг2М

-

-

0,061

-

0,079

-

-

0,112

20

-

-

-

0,182

0,222

-

-

-

20А

-

-

-

0,261

0,296

-

12Х18Н10Т (Х18Н10Т)

-

-

-

0,185

0,226

0,266

0,303

-

12

М2

-

-

-

-

0,307

-

-

0,440

АМг2М

-

-

-

-

0,097

-

-

0,139

20

-

-

-

-

0,271

-

-

-

20А

-

-

-

-

0,320

0,365

-

12Х18Н10Т (X18H10T)

-

0,170

-

-

0,276

0,326

0,373

-

14

М2

-

-

-

-

0,363

-

-

0,524

АМг2М

-

-

-

-

0,114

-

-

0,165

20

-

-

-

-

0,321

-

-

-

20А

-

-

-

-

0,379

0,434

-

12Х18Н10Т (Х18Н10Т)

-

-

-

-

0,327

0,382

0,454

-

16

М2

-

-

-

-

0,419

-

-

0,608

АМг2М

-

-

-

-

0,132

-

-

0,191

20

-

-

-

-

0,370

-

-

-

20А

-

-

-

-

 

0,438

0,503

-

12Х18Н10Т (Х18Н10Т)

-

-

-

0,301

0,376

0,447

0,508

0,539

18

М2

-

-

-

-

0,475

-

-

0,692

АМг2М

-

-

-

-

0,150

-

-

0,218

20

-

-

-

-

0,419

-

-

-

20А

-

-

-

-

 

0,497

0,572

-

12Х18Н10Т (Х18Н10Т)

-

-

-

0,341

0,427

0,506

0,585

-

20

М2

-

-

-

-

0,531

-

-

0,775

АМг2М

-

-

-

-

0,167

-

-

0,244

20

-

-

-

-

0,469

-

-

-

20А

-

-

-

-

 

0,556

0,642

-

12Х18Н10Т (Х18Н10Т)

-

-

-

0,380

0,478

0,568

0,654

-

22

АМг2М

-

-

-

-

0,185

-

-

0,270

20

-

-

-

-

0,518

-

-

-

20А

-

-

-

-

 

0,616

0,710

-

12Х18Н10Т (Х18Н10Т)

-

-

-

0,420

0,528

0,627

0,726

-

25

АМг2М

-

-

-

-

0,211

-

-

0,310

20

-

-

-

-

0,592

-

-

-

20А

-

-

-

-

 

0,703

0,813

-

12Х18Н10Т (Х18Н10Т)

-

-

-

0,480

0,595

0,708

0,821

-

28

АМг2М

-

-

-

-

0,238

-

-

0,350

20

-

-

-

-

0,666

-

-

-

20А

-

-

-

-

 

0,792

0,916

-

12Х18Н10Т (Х18Н10Т)

-

-

-

0,540

0,670

0,797

0,926

-

30

АМг2М

-

-

-

-

0,255

-

-

0,376

20

-

-

-

-

0,715

-

-

-

20А

-

-

-

-

 

0,851

0,986

-

I2X18H10T (Х18Н10Т)

-

-

-

0,578

0,729

0,866

1,020

-

32

АМг2М

-

-

-

-

0,273

-

-

0,402

20

-

-

-

-

0,755

-

-

-

20А

-

-

-

-

 

0,910

1,053

-

12Х18Н10Т (Х18Н10Т)

-

-

-

0,618

0,768

0,916

1,065

-

34

АМг2М

 

-

-

-

0,290

-

-

0,429

20

-

-

-

-

0,814

-

-

-

20А

-

-

-

0,658

 

0,968

-

-

12Х18Н10Т (Х18Н10Т)

-

-

-

 

0,819

0,975

1,135

-

36

АМг2М

-

-

-

-

0,308

-

-

0,455

20

-

-

-

-

0,863

-

-

-

20А

-

-

-

-

 

1,027

1,192

-

12X18H10T (Х18Н10Т)

-

-

-

-

0,868

1,035

1,204

-

38

АМг2М

-

-

-

-

0,325

-

-

0,482

20

-

-

-

-

0,918

-

-

-

20А

-

-

-

-

 

1,087

1,260

-

 

12Х18Н10Т (Х18Н10Т)

-

-

-

-

0,920

1,110

1,290

-

Примечания:

1. Не рекомендуется применять в пневматических системах трубы из стали марки 12Х18Н10Т диаметром свыше Dн = 16 мм и трубы из алюминиевого сплава марки АМг2М диаметром свыше Dн = 18 мм.

2. Трубы диаметрами Dн = 30 мм и Dн = 34 мм допускается применять в технически обоснованных случаях.

(Измененная редакция, Изм. № 1, 2).

15. Технические условия - по ГОСТ 13977-74.

 

 



© 2013 Ёшкин Кот :-)