Информационная система
«Ёшкин Кот»

XXXecatmenu

РОССИЙСКОЕ АКЦИОНЕРНОЕ ОБЩЕСТВО ЭНЕРГЕТИКИ
И ЭЛЕКТРИФИКАЦИИ
«ЕЭС РОССИИ»

ТИПОВАЯ ИНСТРУКЦИЯ
ПО СОДЕРЖАНИЮ И ПРИМЕНЕНИЮ
ПЕРВИЧНЫХ СРЕДСТВ ПОЖАРОТУШЕНИЯ
НА ОБЪЕКТАХ ЭНЕРГЕТИЧЕСКОЙ
ОТРАСЛИ

РД 34.49.503-94

СЛУЖБА ПЕРЕДОВОГО ОПЫТА ОРГРЭС

МОСКВА 1994

РАЗРАБОТАНО акционерным обществом открытого типа «Фирма по наладке, совершенствованию технологии и эксплуатации электростанций и сетей ОРГРЭС»

ИСПОЛНИТЕЛИ В.С. Зайцева, Д.А. Замыслов, А.С. Козлов, В.М. Стариков

УТВЕРЖДЕНО Департаментом Генеральной инспекции по эксплуатации электростанций и сетей РАО «ЕЭС России» 14.03.94 г.

Начальник Н.Ф. ГОРЕВ

ТИПОВАЯ ИНСТРУКЦИЯ
ПО СОДЕРЖАНИЮ И ПРИМЕНЕНИЮ
ПЕРВИЧНЫХ СРЕДСТВ ПОЖАРОТУШЕНИЯ
НА ОБЪЕКТАХ ЭНЕРГЕТИЧЕСКОЙ ОТРАСЛИ

РД 34.49.503-94

Срок действия установлен

с 01.09.94 г.

(Измененная редакция, Изм. № 1).

В Типовой инструкции приведены основные технические характеристики по содержанию и применению первичных средств пожаротушения на энергетических объектах.

С выходом настоящей Типовой инструкции утрачивает силу «Типовая инструкция по содержанию и применению первичных средств пожаротушения на предприятиях Минэнерго СССР: ТИ 34-00-063-87» (М.: СПО Союзтехэнерго, 1987).

1. ОБЩИЕ ПОЛОЖЕНИЯ

1.1. Настоящая Типовая инструкция определяет основные требования к содержанию и применению на энергетических объектах первичных средств пожаротушения и обязательна для всех работников энергетической отрасли.

Помимо требований настоящей Типовой инструкции следует руководствоваться технической и эксплуатационной документацией заводов-изготовителей средств пожаротушения, «Правилами пожарной безопасности для энергетических предприятий» (РД 153.-34.0-03.301-00) и Нормами пожарной безопасности «Пожарная техника. Огнетушители. Требования к эксплуатации» (НПБ 166-97).

(Измененная редакция, Изм. № 1).

1.2. Знание устройства и эффективности первичных средств пожаротушения, а также порядок их применения приобретают особое значение при тушении пожаров на энергетических предприятиях, насыщенность которых сложным технологическим оборудованием и пожароопасными материалами при ограниченности площадей зданий и сооружений определяет необходимость обязательного применения средств противопожарной защиты.

1.3. Производственные, административные, вспомогательные и складские здания, сооружения и помещения, а также открытые производственные площадки или участки должны быть обеспечены первичными средствами пожаротушения в соответствии с действующими нормами, устанавливаемыми отраслевыми правилами пожарной безопасности.

К первичным средствам пожаротушения относятся все виды переносных и передвижных огнетушителей, оборудование пожарных кранов, ящики с порошковыми составами (песок, перлит и т.п.), а также огнестойкие ткани (асбестовое полотно, кошма, войлок и т.п.).

1.4. Первичные средства пожаротушения для их размещения, сохранности, организации, содержания, технического надзора и поддержания в постоянной готовности к использованию, передаются соответствующим руководителям цехов, мастерских, складов, участков и других подразделений.

1.5. Лица, ответственные за содержание и готовность к использованию средств пожаротушения, обязаны организовать их регулярный осмотр не реже одного раза в полугодие, а также внеочередной осмотр после происшедших аварий и пожаров на объекте.

Результаты осмотра состояния средств пожаротушения заносятся в специальный журнал (приложение 1).

1.6. Первичные средства пожаротушения должны размещаться в легкодоступных местах и не должны быть помехой и препятствием при эвакуации персонала из помещений.

Допускается установка огнетушителей в тумбах или шкафах, конструкция которых должна позволять визуально определить тип огнетушителя и осуществить быстрый доступ к нему для использования при пожаре.

1.7. Запрещается использование пожарного инвентаря и других средств пожаротушения для хозяйственных, производственных и других нужд.

Кроме прямого назначения разрешается использовать средства пожаротушения при ликвидации стихийных бедствий и катастроф, а также при обучении персонала и добровольных пожарных формирований объекта.

За нарушение этих положений должностные или иные лица несут ответственность вплоть до уголовной в соответствии с действующим законодательством.

1.8. Использованные или неисправные огнетушители (повреждение корпуса, раструба, предохранительных клапанов, отсутствие пломбы, недостаток огнетушащего вещества или газа и др.) должны быть немедленно убраны (особенно после пожара) из защищаемого помещения, от технологического оборудования и производственных площадок и заменены исправными.

1.9. Выявленные при регулярных осмотрах неисправности огнетушителей, пожарных кранов и других средств пожаротушения должны устраняться в кратчайшие сроки.

1.10. Снятие с эксплуатации и списание огнетушителей, пожарных рукавов и других средств пожаротушения, в том числе отбракованных при их испытании, производится по акту специальной комиссией, назначаемой руководителем объекта или организации.

1.11. Для размещения первичных средств пожаротушения в производственных помещениях, а также на территории предприятий или строительств, как правило, должны устанавливаться специальные пожарные щиты (посты).

Одиночное размещение огнетушителей допускается в небольших помещениях.

1.12. Размещение огнетушителей и пожарного инвентаря, а также их количество не определяется проектом, а устанавливается руководством соответствующих подразделений объекта или организаций, на основании отраслевых правил пожарной безопасности и норм расчета первичных средств пожаротушения.

2. ПОЖАРНЫЕ ЩИТЫ ПЕРВИЧНЫХ СРЕДСТВ ПОЖАРОТУШЕНИЯ

2.1. Пожарные щиты предназначены для концентрации и размещения в определенном месте ручных огнетушителей, немеханизированного пожарного инвентаря и инструмента, применяемого при ликвидации загораний на объектах, в складских помещениях и на строительных площадках.

2.2. Щиты могут быть промышленного изготовления (деревянные ЩПД, металлические - ЩПМ) или изготовленные на месте.

Пожарные щиты должны иметь габаритные размеры не менее 1200´600 мм и должны быть окрашены в соответствии с требованиями государственного стандарта.

2.3. Допускается установка пожарных щитов в виде навесных шкафов с закрывающимися дверцами, которые должны позволять визуально определять вид хранящихся средств пожаротушения и инвентаря.

Дверцы должны быть опломбированы и открываться без ключа и больших усилий.

2.4. Крепление средств пожаротушения и инвентаря на щитах должно обеспечивать быстрое их снятие без специальных приспособлений или инструмента.

2.5. Количество пожарных щитов на объекте или строительной площадке не регламентируется и определяется только спецификой местных условий, а также удобством пользования и надзора за их содержанием для персонала.

3. ОГНЕТУШИТЕЛИ

3.1. Классификация огнетушителей и требования к их содержанию

3.1.1. Огнетушители предназначаются для тушения очагов горения в начальной их стадии, а также для противопожарной защиты небольших сооружений, машин и механизмов.

Огнетушители бывают ручные и передвижные. К ручным огнетушителям относятся все их типы с объемом корпуса, вмещающим до 10 л заряда. Огнетушители с большим объемом заряда относятся к передвижным, их корпуса устанавливаются на специальные тележки.

3.1.2. Огнетушители различаются по конструкции и типу используемого огнетушащего средства.

В соответствии с применяемым огнетушащим средством огнетушители могут быть:

водные;

пенные (химические, химические воздушно-пенные, воздушно-пенные);

газовые (углекислотные, хладоновые, бромхладоновые);

порошковые.

Наибольшее распространение получили пенные, газовые и порошковые огнетушители. Водные огнетушители (ранцевой конструкции) применяются только в лесной отрасли и для подразделений разведки пожарной охраны и поэтому в данной Типовой инструкции не рассматриваются.

3.1.3. В местах установки огнетушителей температура окружающей среды должна быть не ниже 5 °С, за исключением газовых и порошковых огнетушителей, которые работоспособны при отрицательных температурах.

При наступлении похолоданий и на осенне-зимний период пенные огнетушители следует перенести в отапливаемое помещение, а на месте их постоянной установки вывешивается табличка с указанием нового местонахождения.

3.1.4. Огнетушители не допускается размещать вблизи отопительных и нагревательных приборов, а также в местах, не защищенных от действия солнечных лучей и атмосферных осадков.

3.1.5. Запорная арматура огнетушителей (краны, клапаны, рукоятки, крышки горловин и т.п.) должна после зарядки пломбироваться, к ней должна прикрепляться бирка с указанием даты зарядки и лица, ее производившего.

3.1.6. Регулярно огнетушители необходимо осматривать, очищать от грязи и пыли. Во время осмотров необходимо проверять состояние мембран и спрыска (пенные огнетушители), целостность пломбы и бирки. Огнетушители с неисправными узлами, глубокими вмятинами и коррозией на корпусе должны сниматься с эксплуатации.

3.1.7. Огнетушители, использованные во время пожара, а также во время занятий персонала или добровольных пожарных формирований на объекте, необходимо в кратчайшие сроки убрать из помещений для последующей их зарядки.

Для проведения занятий с применением огнетушителей рекомендуется использовать огнетушители, у которых наступил срок очередной перезарядки.

3.1.8. Не допускается одновременно отправлять на перезарядку более 50 % огнетушителей, находящихся в эксплуатации. Зарядка и проверка огнетушителей должны быть произведены в сжатые сроки.

3.1.9. Перед транспортировкой огнетушители необходимо упаковать таким образом, чтобы исключить удары корпуса о корпус.

3.2. Ручные химические пенные и химические воздушно-пенные огнетушители

3.2.1. Химические пенные (ОХП-10) и химические воздушно-пенные (ОХВП-10) огнетушители предназначаются для тушения различных горящих твердых материалов и горючих жидкостей. Категорически запрещается их использование для тушения горящих кабелей и проводов, находящихся под напряжением, а также щелочных материалов.

3.2.2. Заряд химических пенных огнетушителей ОХП-10 состоит из водного раствора щелочи (бикарбонат натрия) и кислоты (серная кислота).

Заряд химических воздушно-пенных огнетушителей ОХВП-10 состоит из аналогичных веществ, но в щелочную часть ОХВП-10 добавляется 500 см3 пенообразователя (ПО-1, ПО-6к, ПО-ЗАИ и т.п.) для увеличения выхода пены и повышения ее эффективности при тушении.

3.2.3. Конструктивно ОХП-10 (рис. 1) и ОХВП-10 одинаковы, но их внешнее различие состоит в том, что на ОХВП-10 устанавливается пенный насадок (малогабаритный пеногенератор - рис. 2) для увеличения кратности выходящей пены.

Описание: Без имени-1копирование

Рис. 1. Огнетушитель ОХП-10:

1 - корпус огнетушителя; 2 - кислотный стакан; 3 - предохранительная мембрана; 4 - спрыск;
5 - крышка огнетушителя; 6 - шток; 7 - рукоятка; 8 и 9 - резиновые прокладки; 10 - пружина;
11 - горловина; 12 - верх огнетушителя; 13 - резиновый клапан; 14 - боковая ручка; 15 - днище

Описание: Без имени-1

Рис. 2. Пенный насадок:

1 - распылитель; 2 - латунная сетка; 3 - предохранительная мембрана;
4 - корпус насадка; 5 - огнетушитель ОХВП-10

3.2.4. Для приведения огнетушителя ОХП-10 (см. рис. 1) в действие необходимо:

снять огнетушитель с крепления или вынуть из шкафа и, используя боковую ручку, поднести его в вертикальном положении к очагу пожара;

установить огнетушитель на пол и прочистить спрыск 4 шпилькой (подвешивается к ручке огнетушителя), если он не закрыт предохранительной мембраной 3;

перевернуть рукоятку 7 на 180° от первоначального положения;

взяться одной рукой за боковую ручку 14 и приподнять огнетушитель от пола, после чего, придерживая другой рукой огнетушитель за днище, перевернуть его горловиной вниз;

выходящую струю пены направить на очаг горения твердых веществ или, начиная с ближнего края, покрыть пеной поверхность горящей жидкости.

Для лучшего пенообразования в начальный момент действия огнетушителя рекомендуется встряхнуть его корпус, что обеспечит лучшее взаимодействие кислоты и водного раствора щелочи.

3.2.5. Если во время работы огнетушителя произошло засорение спрыска 4 (см. рис. 1), и прочистить шпилькой его не удалось, необходимо положить огнетушитель в безопасное для персонала место, так как до окончательного снижения давления выходящего газа не исключена опасность разрыва корпуса или срыва крышки горловины с резьбы.

3.2.6. Порядок применения огнетушителей ОХВП-10 при тушении пожара аналогичен действиям с огнетушителем ОХП-10.

3.2.7. Перезарядка огнетушителей ОХП-10 и ОХВП-10 производится ежегодно. Одновременно осуществляется осмотр корпуса огнетушителя для выявления дефектов.

Огнетушители должны сниматься с эксплуатации при сильной коррозии корпуса, неисправности пускового механизма, сорванной резьбе крышки или горловины корпуса.

Накладка заплат или заварка свищей на корпусе огнетушителя не допускается. Такие огнетушители должны быть сняты с эксплуатации с оформлением соответствующего акта.

3.2.8. Порядок зарядки огнетушителей ОХП-10 и ОХВП-10 следующий (см. рис. 1):

3.2.8.1. Рукоятку 7 перевернуть на 180° от первоначального положения и открутить крышку 5 огнетушителя.

3.2.8.2. Вынуть из корпуса кислотный стакан 2 и слить из корпуса щелочную часть заряда.

3.2.8.3. Промыть корпус огнетушителя и залить в него щелочной раствор (5 л чистой воды и 450 г соды). Для огнетушителя ОХВП-10 дополнительно влить 0,5 л пенообразователя (ПО-1, ПО-6к и др.) в щелочной раствор, после этого в корпус добавить чистой воды (около 3 л) и весь раствор перемешать.

3.2.8.4. В кислотный стакан залить 200 г чистой серной кислоты и поместить его в корпус огнетушителя.

3.2.8.5. Закрутить крышкой горловину огнетушителя, опломбировать запорную рукоятку в исходном положении и повесить бирку.

3.2.9. При перезарядке огнетушителей необходимо соблюдать требования по безопасности труда при работе с кислотами и щелочами на производстве.

3.2.10. Тактико-технические характеристики огнетушителей приведены в приложении 2.

3.3. Воздушно-пенные огнетушители

3.3.1. Воздушно-пенные огнетушители предназначены для тушения пожаров и загораний твердых веществ и горючих жидкостей.

Запрещается применение этих огнетушителей для тушения горящих электроустановок, находящихся под напряжением, а также щелочных металлов.

3.3.2. Воздушно-пенные огнетушители выпускаются ручные ОВП-10 (рис. 3), передвижные ОВП-100 (рис. 4) и стационарно установленные УВП-250 (рис. 5) - соответственно на 10; 100 и 250 л объема заряда.

Описание: Без имени-1

Рис. 3. Ручной воздушно-пенный огнетушитель ОВП-10:

1 - рукав; 2 - пломба; 3 - сифонная трубка; 4 - корпус; 5 - ствол-распылитель; 6 - рукоятка; 7 - кронштейн;
8 - рычаг; 9 - колпак; 10 - предохранительный клапан; 11 - напорно-пусковое устройство

Описание: Без имени-1

Рис. 4. Передвижной воздушно-пенный огнетушитель ОВП-100:

1 - корпус огнетушителя; 2 - тележка; 3 - крышка; 4 - пеногенератор; 5 - предохранительный клапан;
6 - запорное устройство; 7 - баллон высокого давления; 8 - резиновый шланг

Описание: Без имени-1

Рис. 5. Стационарный воздушно-пенный огнетушитель ОВПУ-250 (УВП-250):

1 - резиновый шланг с вращающейся катушкой; 2 - предохранительный клапан;
3 - пеногенератор; 4 - корпус; 5 - пусковой баллон

Ранее выпускались огнетушители ОВП-5 (на 5 л) и ОВПУ-250, аналогичный УВП-250.

3.3.3. В качестве огнетушащего вещества в огнетушителях используется водный раствор специального пенообразователя (ПО-1; ПО-6к; ПО-ЗАИ и др.), который составляет 4 - 6 % объема заряда.

Для подачи пены в огнетушителях устанавливаются пусковые газовые баллоны (углекислота, воздух, азот и др.) вместимостью, соответствующей его заряду.

3.3.4. Для приведения в действие ручного огнетушителя ОВП-10 (см. рис. 3) необходимо:

снять с помощью транспортной рукоятки 6 огнетушитель и поднести его к месту горения;

сорвать пломбу и нажать на рычаг запорно-пускового устройства 8, при этом игла вскрывает баллончик с рабочим газом, под действием которого повышается давление в корпусе и раствор пенообразователя подается через сифонную трубку и шланг к стволу-распылителю 5, где, смешиваясь с подсасываемым воздухом, образуется воздушно-механическая пена средней кратности;

направить пену на очаг горения.

При работе огнетушитель необходимо держать в вертикальном положении.

3.3.5. Для приведения в действие передвижного огнетушителя ОВП-100 (см. рис. 4) необходимо:

установить тележку в вертикальном положении в 5 - 6 м от очага горения и размотать шланг, не допуская перегибов и скручиваний;

сорвать пломбу и открыть до отказа запорное устройство (вентиль или рычаг) пускового баллона;

направить струю пены на очаг горения.

3.3.6. Для приведения в действие огнетушителя ОВПУ-250 (УВП-250) (см. рис. 5) необходимо:

размотать шланг 1 с пеногенератором 3 и направить на очаг пожара;

сорвать пломбу и до отказа открыть запорное устройство (вентиль или рычаг) пускового баллона 5.

3.3.7. Тактико-технические характеристики воздушно-пенных огнетушителей приведены в приложении 2.

3.3.8. Перезарядка огнетушителей производится ежегодно, заменяется водный раствор пенообразователя, проверяется вместимость пускового баллона путем его взвешивания (ОВП-100 и УВП-250).

Баллоны с рычажным запорным устройством проверяются один раз в год, а с вентильным запором - один раз в квартал путем взвешивания. Если утечка газа из пускового баллона составляет более 5 % массы заряда, то баллон должен быть заменен или отправлен на перезарядку.

Масса газа заряженного пускового баллона определяется как разность масс пустого и заряженного баллона (значения массы оттеснены на горловине баллона).

3.3.9. При периодических осмотрах следует обращать внимание на целость шлангов, чистоту пеногенераторов, состояние пусковых баллонов (ОВП-100 и УВП-250), а также транспортных колес (ОВП-100).

3.3.10. Не рекомендуется устанавливать воздушно-пенные огнетушители вблизи источников с высокой температурой, так как для водного раствора пенообразователя оптимальной температурой является 20 °С, при которой он дольше сохраняет свои огнетушащие свойства.

3.4. Газовые огнетушители

3.4.1. В газовых огнетушителях в качестве огнетушащего средства применяются негорючие газы (двуокись углерода) или галоидуглеводородные соединения (бромэтил, хладон).

В зависимости от применяемого огнетушащего средства огнетушители называются углекислотными, хладоновыми, бромхладоновыми и т.п.

3.4.2. Углекислотные огнетушители (ОУ) получили наибольшее распространение из-за их универсального применения, компактности и эффективности тушения.

3.4.3. Углекислотные огнетушители (рис. 6 - 9) могут быть ручными (ОУ-2, ОУ-5 и ОУ-8), передвижными (ОУ-25 и ОУ-80), а также возимыми (ОУ-400).

Возимые огнетушители ОУ-400 устанавливаются на автомобильном одноосном шасси. Они не нашли широкого применения из-за необходимости транспортирования их автотранспортом, сложности эксплуатации, ограниченного применения для тушения пожаров в производственных зданиях и поэтому не рассматриваются в данной Типовой инструкции.

Описание: Без имени-1

Рис. 6. Ручной углекислотный огнетушитель ОУ-2:

1 - маховичок; 2 - вентиль; 3 - баллон; 4 - раструб; 5 - сифонная трубка; 6 - кронштейн

Описание: Без имени-1

Рис. 7. Ручной углекислотный огнетушитель ОУ-5 (ОУ-8):

1 - баллон; 2 - поворотный раструб; 3 - опорная головка; 4 - сифонная трубка;
5 - хомут; 6 - крюк; 7 - упор; 8 - ручка; 9 - чека

Описание: Без имени-1копирование

Рис. 8. Передвижной углекислотный огнетушитель ОУ-25:

1 - баллон; 2 - запорный вентиль; 3 - шланг; 4 - раструб; 5 - тележка

3.4.4. Огнетушители типа ОУ различаются объемом заряда (2; 5; 8; 25 и 80 л), а также конструкцией запорного устройства (вентильное или рычажное).

3.4.5. Углекислотные огнетушители предназначены для тушения загораний различных веществ и материалов, а также электроустановок, кабелей и проводов, находящихся под напряжением до 10 кВ (10000 В).

3.4.6. Заряд углекислотных огнетушителей находится под высоким давлением, поэтому корпуса (баллоны) снабжаются предохранительными мембранами, а заполнение диоксидом углерода допускается до 75 %.

3.4.7. Запрещается эксплуатация углекислотных огнетушителей без предохранительных мембран, а также установка транспортных баллонов на передвижные тележки вместо штатных.

3.4.8. Для приведения в действие ручных углекислотных огнетушителей ОУ-2, ОУ-5 и ОУ-8 (см. рис. 6 и 7) необходимо:

используя транспортную рукоятку, снять и поднести огнетушитель к месту горения;

направить раструб на очаг горения и открыть запорно-пусковое устройство (вентиль или рычаг).

Запорно-пусковое устройство позволяет прерывать подачу углекислоты.

Описание: Без имени-1копирование

Рис. 9. Передвижной углекислотный огнетушитель ОУ-80

3.4.9. При работе углекислотных огнетушителей всех типов запрещается держать раструб незащищенной рукой, так как при выходе углекислоты образуется снегообразная масса с температурой минус 80 °С.

У передвижных огнетушителей ОУ-25 и ОУ-80 на раструбе имеется специальная изолированная ручка, которой следует пользоваться при тушении пожара.

3.4.10. При использовании огнетушителей ОУ необходимо иметь в виду, что углекислота в больших концентрациях к объему помещения может вызвать отравления персонала, поэтому после применения углекислотных огнетушителей небольшие помещения следует проветрить.

3.4.11. Для приведения в действие передвижных огнетушителей ОУ-25 и ОУ-80 (см. рис. 8 и 9) необходимо:

подкатить тележку к месту пожара и установить их в рабочее положение (вертикально для ОУ-25 и наклонно для ОУ-80);

размотать шланг и открыть запорно-пусковое устройство;

держа раструб за специальную изолированную ручку, направить снежную массу на очаг пожара.

3.4.12. Не допускается располагать огнетушители ОУ вблизи отопительных приборов, где температура может быть более 50 °С, следует избегать прямого попадания солнечных лучей на баллоны.

3.4.13. Углекислотные огнетушители с запорно-пусковым устройством рычажного типа УН-52 (рис. 10) следует проверять не реже одного раза в год, а с вентильным запором - один раз в квартал путем взвешивания.

Из полученной массы вычитается масса пустого баллона с запорным устройством, которая указывается в паспорте огнетушителя и выбита на его корпусе.

Утечка заряда из баллона не должна быть более 5 % исходного количества в год.

3.4.14. Хладоновые огнетушители (рис. 11) и их разновидности: бромхладоновые (ОБХ), углекислотно-бромэтиловые (ОУБ); аэрозольные хладоновые (ОХ, ОАХ) и другие - предназначены для тушения загораний горючих жидкостей и тушения электроустановок, находящихся под напряжением до 0,4 кВ.

Описание: Без имени-1копирование

Рис. 10. Запорно-пусковое устройство рычажного типа УН-52:

1 - рычаг; 2 - пружина; 3 - прокладка; 4 - седло клапана; 5 - гайка; 6 - хвостовик;
7 - манжета; 8 - шток клапана; 9 - ось рычага; 10 - пломба

Запрещается применять эти огнетушители для тушения щелочных металлов.

3.4.15. Хладоновые огнетушители по эффективности тушения превосходят углекислотные огнетушители, т.е. для тушения требуется меньше огнедышащего состава огнетушителя по массе и объему.

Заряд этих огнетушителей токсичен, поэтому тушить загорание в закрытых помещениях объемом менее 50 м3 следует через дверные проемы или вентиляционные отверстия. После тушения загорания помещение следует тщательно проветрить.

Из-за небольших габаритных размеров эти огнетушители используются для тушения загораний автотранспорта, судов и других транспортных механизмов.

3.4.16. Для приведения в действие хладоновых огнетушителей или их разновидностей следует поднести их за ручку к очагу пожара и, нажимая на кнопку или рычаг запорно-пускового устройства, вскрыть предохранительную мембрану и направить струю на пламя.

Описание: Без имени-1

Рис. 11. Хладоновый огнетушитель ОУБ-3А (ОУБ-7А):

1 - пусковой рычаг; 2 - запорная головка; 3 - рукоятка; 4 - крепление; 5 - баллон;
6 - кронштейн; 7 - распыливающее устройство; 8 - предохранительный колпак

3.4.17. Испытание и освидетельствование газовых огнетушителей следует осуществлять в соответствии с паспортами заводов-изготовителей и действующими Правилами устройства и безопасной эксплуатации сосудов, работающих под давлением.

3.5. Порошковые огнетушители

3.5.1. Порошковые огнетушители (ОП) предназначены для тушения пожаров твердых, жидких и газообразных веществ (в зависимости от марки используемого огнетушащего порошка), а также электроустановок, находящихся под напряжением до 1 кВ (1000 В).

Ручные порошковые огнетушители (рис. 12) выпускаются с массами заряда 1; 2; 5 и 10 кг, передвижные (рис. 13) - 50 и 100 кг, стационарные автоматические огнетушители (рис. 14) - 50 и 100 кг.

Описание: Без имени-1

Рис. 12. Общий вид ручного порошкового огнетушителя ОП-5:

1 - пистолет; 2 - рычаг; 3 - рукав; 4 - пломба; 5 - сифонная труба; 6 - баллончик;
7 - игла; 8 - корпус; 9 - чека

Описание: Без имени-1

Рис. 13. Общий вид передвижного порошкового огнетушителя ОП-100:

1 - корпус для порошка; 2 - баллон для рабочего газа; 3 - шланг; 4 - выпускной клапан с насадкой;
5 - регулятор давления; 6 - 8 - трубопроводы; 9 - предохранительный клапан; 10 - манометр;
11 - запорная головка

3.5.2. Для приведения в действие ручных порошковых огнетушителей ОП-2, ОП-5 (см. рис. 12) и ОП-10 необходимо поднести огнетушитель к очагу пожара, выдернуть клин или чеку 9, нажать на рычаг 2 и направить струю порошка в огонь. Для прекращения подачи струи порошка достаточно опустить рычаг.

Допускается многократное пользование и прерывистое действие.

Описание: Без имени-1копирование

Рис. 14. Схема устройства стационарного автоматического огнетушителя ОПА:

1 - корпус огнетушителя; 2 - баллон для сжатого газа; 3 - направляющая труба для груза;
4 - пусковой груз; 5 - пусковой многозвенник; 6 - тросовая система ручного пуска;
7, 13 и 14 - направляющие ролики; 8 - рукоятка ручного пуска; 9 - предохранительная чека;
10 - пороговый клапан; 11 - тросовая система автоматического пуска; 12 - легкоплавкий и
легковыжигаемый замки; 15 - кронштейн; 16 - распределительная сеть; 17 - соединительная муфта;
18 - 21 - тройники; 22 - 24 - контргайки; 25 - угольник; 26 - распылитель; 27 - диктующий участок
трубопровода; 28 - узел автоматического пуска; 29 - узел ручного пуска; 30 - запорно-пусковое
устройство; 31 - чека блокировки пускового груза

В рабочем положении огнетушитель следует держать строго вертикально, не переворачивая его.

3.5.3. Передвижные огнетушители ОП-50 и ОП-100 (см. рис. 13) имеют транспортную тележку, рабочий и пусковой баллоны, а также шланг подачи порошка в зону пожара.

Для приведения огнетушителя в действие необходимо выполнить следующее:

подкатить огнетушитель без резкого опрокидывания на расстояние 5 - 10 м к очагу пожара и установить строго в вертикальном положении;

снять и проложить без перегибов и скручиваний шланг подачи порошка;

сорвать пломбу и повернуть рычаг запорной головки до отказа;

открыв выпускной клапан, направить струю порошка в зону пожара зигзагообразными движениями для достижения большего охвата пламени порошковым облаком.

Допускается многократное открытие и закрытие выпускного клапана при тушении пожара.

После окончания тушения давление в огнетушителе должно быть снижено за счет открытия выпускного клапана.

3.5.4. Запрещается разбирать огнетушитель, находящийся под давлением, для снижения давления.

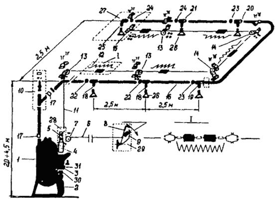
3.5.5. Автоматические порошковые огнетушители ОПА-50 и ОПА-100 (см. рис. 14) используются для защиты технологических установок или небольших помещений. Конструкция огнетушителей позволяет использовать их в качестве автоматических установок пожаротушения модульного типа (рис. 15). Номинальная длина распределительной сети составляет 24 м, а число распылителей не более шести.

Описание: Без имени-1копирование

Рис. 15. Принципиальная схема монтажа УПМ на базе огнетушителей ОПА-100 модульного типа с централизованным источником рабочего газа:

1 - пожарный извещатель; 2 - установка автоматической пожарной сигнализации;
3 - устройство звуковой сигнализации; 4 - баллон с рабочим газом; 5 - коллектор;
6 - 9 - огнетушители ОПЛ-100 модульного типа; 10 - предохранительный клапан;
11 - распределительная сеть; 12 - распылители; 13 - кнопка ручного пуска;
14 - запорно-пусковое устройство; 15 - подставка огнетушителя

Конструкция огнетушителей ОПА аналогична передвижным ОП-50 и ОП-100, но для приведения в действие используется тросовая система с легкоплавкими замками, которая дублируется ручным приводом.

3.5.6. Не допускается располагать огнетушители вблизи отопительных приборов, где температура может быть более 50 °С, а также в местах с прямым воздействием солнечных лучей.

3.5.7. В зависимости от применяемой марки порошка и заряда пускового баллона следует проводить проверку, техническое освидетельствование и испытание в соответствии с заводским паспортом.

3.5.8. При заряде порошка следует особое внимание уделять его сыпучести и отсутствию комков.

Тактико-технические характеристики порошковых огнетушителей изложены в приложении 2.

4. ВСПОМОГАТЕЛЬНЫЕ СРЕДСТВА И ИНВЕНТАРЬ

4.1. Песок

4.1.1. Ящики вместимостью 0,5 м3 с песком и лопатами (совками) устанавливаются только на основных отметках обслуживания турбогенераторов, у трансформаторов и масляных реакторов открытой установки, монтажных площадок, мазутных насосных, на эстакадах слива мазута, маслоаппаратных и т.п.

4.1.2. Тушение песком должно производиться путем разбрасывания его по горящей поверхности, чем достигается механическое воздействие на пламя и его частичная изоляция.

4.1.3. Песок, который хранится в металлических ящиках вместимостью 0,5 м3, должен быть постоянно сухим, сыпучим, без комков. Один раз в год его необходимо перемешивать и удалять комки.

4.1.4. Допускается применять песок для предотвращения растекания горючих жидкостей, а также для их засыпки с последующей уборкой помещения.

4.2. Асбестовое полотно, войлок, кошма

4.2.1. Асбестовое полотно, войлок, кошма должны размещаться только в тех местах, где их необходимо применять для защиты отдельного оборудования от огня или изоляции от искр и очагов загорания при аварийной ситуации.

4.2.2. При небольших пожарах асбестовое полотно, войлок, кошма набрасываются на горящую поверхность, изолируя ее от доступа воздуха.

4.2.3. Асбестовое полотно следует хранить в закрытом металлическом ящике, проверка состояния готовности к действию должна производиться не реже двух раз в год.

4.3. Внутренние пожарные краны

4.3.1. Пожарные краны должны быть оборудованы пожарными рукавами и стволами, размещаться в пломбируемых шкафах. На дверце шкафа должен быть указан буквенный индекс «ПК», порядковый номер пожарного крана, номер телефона вызова пожарной помощи.

4.3.2. Пожарные рукава следует хранить сухими, хорошо скатанными и присоединенными к кранам и стволам. Один раз в год рукава необходимо перематывать, изменяя места складок.

4.3.3. Работоспособность пожарных кранов проверяется не реже одного раза в 6 мес. посредством пуска воды, результаты проверки регистрируются в специальном журнале. Исправная задвижка должна плотно закрываться без больших усилий и применения ручного инструмента.

4.3.4. Внутренние пожарные краны укомплектовываются пожарными напорными рукавами диаметром 51 мм и длиной от 15 до 20 м, а также стволами. Напорные рукава рассчитаны на рабочее давление 0,7 МПа.

4.3.5. Пожарные шкафы могут быть навесными или встроенными в стену. При установке шкафов на топливоподачах их конструкция не должна допускать скопления пыли.

В пожарных шкафах допускается устанавливать ручные огнетушители.

4.4. Пожарные топоры, багры, ведра и другой инвентарь

4.4.1. Пожарные топоры, ведра и другой инвентарь предназначены для вскрытия конструкций или растаскивания горящих материалов. Этот инвентарь навешивается на пожарных щитах, устанавливаемых на строительных площадках, складах и других вспомогательных сооружениях.

Использование этого инвентаря в помещениях электростанций и подстанций не требуется.

(Раздел 5 исключен, Изм. № 1.)

Приложение 1

Журнал контроля состояния первичных средств пожаротушения

___________________________________________________________

наименование цеха, подразделения

№ п.п.

Наименование первичных средств пожаротушения

Присвоенный номер

Дата контроля

Обнаруженные неисправности

Состояние огнетушащего вещества

Масса, кг

Подпись ответственного лица

порожнего рабочего баллона

заряда

общая

Примечание. На огнетушителях всех типов должны быть бирки с указанием вида огнетушащего вещества. На бирках углекислотных и бромхладоновых огнетушителей, рабочих баллонов, воздушно-пенных и порошковых должна быть указана масса заряда, масса баллона и общая масса баллонов (ОВП-100, УВП-250, ОП-100).

Приложение 2

Тактико-технические характеристики огнетушителей

Тип, марка огнетушителя

Вид огнетушащего средства

Объем корпуса, л

Масса заряда, кг

Рабочее давление баллона, МПа

Длина струи, м

Продолжительность действия, с

Диапазон рабочих температур, °С

Средний срок службы, лет

1. Химический пенный:

ОХП-10

Кислотно-щелочной состав

8,7

10

1,4

6

60

+1 ¸ +40

10

2. Химический воздушно-пенный:

ОХВП-10

Химический заряд, пенообразователь ПО-1

10

9

1,4

4

50

+5 ¸ +45

8

3. Воздушно-пенные:

ОВП-10

Пенообразователь ПО-6к, ПО-1

10

9

1,4

4,5

45

+5 ¸ +45

10

ОВП-100

Пенообразователь ПО-1, ПО-6к, ПО-ЗАИ и др.

100

90

0,8

6,5

65

+5 ¸ +50

5

УВП-250 (ОВП-250)

Пенообразователь ПО-1, ПО-6к, ПО-ЗАИ и др.

275

250

1,0

8,0

125

+5 ¸ +50

8

4. Газовые н углекислотные:

ОУ-2

Двуокись углерода сжиженная

2,0

1,4

6,0

1,5

8

-40 ¸ +50

10

ОУ-5

То же

5,0

3,5

15,0

2,0

9

-40 ¸ +50

10

ОУ-10

- » -

10,0

7,0

15,0

3,0

12

-40 ¸ +50

10

ОУ-25

- » -

25

17,5

15,0

4,0

15,0

-40 ¸ +50

10

ОУ-80

- » -

80

28

15,0

4,0

15,0

-40 ¸ +50

10

ОБХ-3

Хладон

3,0

3,5

15,0

4,0

20,0

-60 ¸ +55

10

ОУБ-7

Бромистый этил - 97 %; двуокись углерода - 3 %

7,0

3,8

15,0

4,0

30,0

-60 ¸ +55

10

ОАХ

Хладон 128, 114 В2 и азот

0,48

0,545

0,8

2,0

12,0

-20 ¸ +50

5

ОБХ-3

Хладон 114 В2 или 12В1

3,0

1,20

0,8

5,0

7,0

-60 ¸ +60

8

5. Порошковые:

ОП-1

Порошок ПСБ, пирант и др.

1,0

0,9

1,4

2,0

10

-25 ¸ +35

10

ОП-5

Порошок ПСБ, пирант, П-2АП и др.

5,0

5,0

1,4

5,0

15

-50 ¸ +50

10

ОП-10

Порошок ПСБ-3 и др.

10

10

1,6

3,5

20

-40 ¸ +50

10

ОП-100

Порошок ПСБ-3, пирант, П-2АП, ПФ

100

90

0,7

12,0

45

-35 ¸ +50

5

ОПА-100

Порошок ПСБ-3, пирант, П-2АП, ПФ и др.

100

80

0,7

Защищаемая площадь 40 м2

25

-15 ¸ +50

10

СОДЕРЖАНИЕ

1. Общие положения. 1

2. Пожарные щиты первичных средств пожаротушения. 3

3. Огнетушители. 3

3.1. Классификация огнетушителей и требования к их содержанию.. 3

3.2. Ручные химические пенные и химические воздушно-пенные огнетушители. 4

3.3. Воздушно-пенные огнетушители. 6

3.4. Газовые огнетушители. 9

3.5. Порошковые огнетушители. 13

4. Вспомогательные средства и инвентарь. 16

4.1. Песок. 16

4.2. Асбестовое полотно, войлок, кошма. 17

4.3. Внутренние пожарные краны.. 17

4.4. Пожарные топоры, багры, ведра и другой инвентарь. 17

5. Тушение пожаров на электроустановках электростанций и подстанций. 17

Приложение 1. Журнал контроля состояния первичных средств пожаротушения. 18

Приложение 2. Тактико-технические характеристики огнетушителей. 19

 

 



© 2013 Ёшкин Кот :-)