Информационная система
«Ёшкин Кот»

XXXecatmenu

ГОСУДАРСТВЕННЫЙ ПРОЕКТНО-ТЕХНОЛОГИЧЕСКИЙ ТРЕСТ
«ОРГТЕХСТРОЙ-11»

СХЕМЫ
ВХОДНОГО И ОПЕРАЦИОННОГО КОНТРОЛЯ КАЧЕСТВА СТРОИТЕЛЬНО-МОНТАЖНЫХ РАБОТ

ЧАСТЬ I, ВЫПУСК 1

ЗЕМЛЯНЫЕ СООРУЖЕНИЯ, ОСНОВАНИЯ И ФУНДАМЕНТЫ,
БЕТОННЫЕ РАБОТЫ, КАМЕННЫЕ КОНСТРУКЦИИ

МОСКВА 2001

Разработаны Государственным проектно-технологическим трестом
«Оргтехстрой-11» Департамента нормативно-правового обеспечения
Минатом России
(лицензия ФЛЦ № 000721-1)

Директор треста «Оргтехстрой-11»

(тел. 237-6400, тел. секретаря 237-38-14)                      О.Ф. Капура

1-й заместитель директора

(тел. 237-64-02)                                                                   А.В. Бетлий

Исполнитель

(тел. 237-38-04)                                                                   А.С. Каревский

СОДЕРЖАНИЕ

Содержание. 1

Пояснительная записка. 1

Земляные сооружения, основания и фундаменты.. 4

Внеплощадочные и внутриплощадочные подготовительные работы.. 4

Построение геодезической разбивочной основы для строительства. 7

Геодезические работы при устройстве земляных сооружений. 14

Общие технические требования. 14

Геодезические работы при устройстве котлована. 19

Геодезические работы при устройстве насыпей и выемок. 22

Геодезические работы при выносе в натуру проекта вертикальной планировки. 25

Разработка выемок, вертикальная планировка. 25

Общие технические требования. 25

Земляные работы в просадочных, набухающих и других грунтах, меняющих свои свойства под влиянием атмосферной влаги и подземных вод. 33

Земляные работы в прочих особых условиях. 34

Устройство насыпей и обратных засыпок. 34

Общие технические требования. 34

Земляные работы в просадочных, набухающих и других грунтах, меняющих свои свойства под влиянием атмосферной влаги и подземных вод. 41

Земляные работы в прочих особых условиях. 41

Уплотнение грунта. 42

Общие технические требования. 42

Опытное уплотнение. 45

Уплотнение грунтов. 47

Водопонижение и водоотвод. 53

Водоотлив из котлованов и траншей. 55

Устройство дренажей. 56

Водопонизительные скважины.. 57

Иглофильтровые системы.. 59

Водоотвод. 60

Приемка работ. 63

Геодезические работы при устройстве фундаментов. 64

Монтаж сборных ленточных фундаментов. 66

Разбивка фундаментов стаканного типа. 67

Устройство монолитных фундаментов. 67

Устройство свайных фундаментов. 68

Исполнительные съемки. 68

Устройство свайных фундаментов. 70

Общие технические требования. 70

Ростверки и безростверковые свайные фундаменты.. 81

Монтаж сборных ленточных фундаментов. 83

Монтаж сборных фундаментов стаканного типа. 91

Устройство гидроизоляционных покрытий фундаментов. 97

Общие технические требования. 97

Подготовка бетонной поверхности. 102

Подготовка и приготовление гидроизоляционных составов. 103

Устройство гидроизоляции из рулонных материалов. 104

Устройство гидроизоляции из полимерных и эмульсионно-битумных составов. 106

Устройство гидроизоляции из цементных растворов и горячих асфальтовых смесей. 106

Серия 1.010-1 выпуск 0-4 «гидроизоляция фундаментов и подземных конструкций от воздействия агрессивных подземных вод». 107

Узлы гидроизоляции фундаментов и подземных конструкций по серии 1.010-1. 111

Монтаж железобетонных фундаментных балок. 121

Геодезические работы на исходном горизонте. 128

Устройство наземных рельсовых крановых путей. 132

Общие технические требования. 132

Геодезические работы при устройстве наземных рельсовых крановых путей. 138

Требования к эксплуатации. 139

Бетонные работы.. 142

Бетонные смеси. 142

Укладка бетонных смесей. 146

Общие технические требования. 146

Производство бетонных работ при отрицательных температурах воздуха. 149

Производство бетонных работ при температуре воздуха выше 25 °c. 151

Транспортировка и укладка бетонной смеси в монолитные конструкции с помощью автобетоносмесителей и автобетононасосов. 152

Контроль качества бетона. 154

Опалубочные работы.. 160

Арматурные работы.. 171

Приемка бетонных и железзобетонных конструкций или частей сооружений. 181

Каменные конструкции. 183

Входной контроль стеновых материалов. 183

Гост 530-95 «кирпич и камни керамические. Технические условия». 183

Гост 7484-78 «кирпич и камни керамические лицевые. Технические условия». 186

Гост 379-95 «кирпич и камни силикатные. Технические условия». 188

Гост 6133-84 «камни бетонные стеновые. Технические условия». 190

Входной контроль строительных растворов. 193

Гост 28013-98 «растворы строительные. Общие технические условия». 193

Сп 82-101-98 «приготовление и применение растворов строительных». 196

Снип 3.03.01-87 «несущие и ограждающие конструкции». 202

Геодезические работы на монтажном горизонте. 204

Каменная кладка. 213

Общие технические требования. 213

Кладка из керамического и силикатного кирпича, из керамических, бетонных, силикатных и природных камней правильной формы.. 219

Облицовка стен в процессе возведения кладки. 221

Особенности кладки арок и сводов. 221

Кладка из бутового камня и бутобетона. 222

Дополнительные требования к производству работ в сейсмических районах. 223

Возведение каменных конструкций в зимних условиях. 224

Кладка с противоморозными добавками. 225

Кладка на растворах без противоморозных добавок с последующим упрочнением конструкций прогревом.. 226

Кладка способом замораживания. 227

Контроль качества работ в зимних условиях. 228

Усиление каменных конструкций реконструируемых и поврежденных зданий. 229

Приемка каменных конструкций. 230

Узлы кладки стен по серии 2.130-1 выпуск 28. 233

Узлы кладки стен толщиной 380 мм цепной и многорядной перевязки из кирпича толщиной 65 мм.. 233

Узлы кладки стен толщиной 510 мм цепной и многорядной перевязки из кирпича толщиной 65 мм.. 235

Узлы кладки стен толщиной 640 мм цепной и многорядной перевязки из кирпича толщиной 65 мм.. 236

Узлы кладки стен толщиной 380 мм из кирпича толщиной 65 мм с лицевой кладкой из керамических камней. 237

Узлы сопряжения наружных и внутренних стен при цепной и многорядной перевязке. 238

Узлы кладки столбов и узких простенков. 239

Технические решения теплоэффективных кирпичных наружных стен при количестве градусо-суток отопительного периода 4000 и 8000 (фрагменты кладки) 240

Монтаж многопустотных плит перекрытий с опиранием на кирпичную стену. 248

ПОЯСНИТЕЛЬНАЯ ЗАПИСКА

Схемы входного и операционного контроля качества СМР составлены в соответствии с требованиями СНиП 3.01.01-85* «Организация строительного производства».

Схемы входного и операционного контроля предназначены для линейных инженерно-технических работников, бригадиров и рабочих, работников отдела контроля качества СМР, работников лабораторной, геодезической и сварочной служб, осуществляющих самоконтроль, входной, операционный и приемочный контроль качества СМР.

Схемы могут быть использованы:

- работниками служб по подготовке строительного производства в качестве типовых для включения их в проекты производства СМР или разработки на их основе схем, отражающих специфику конкретных проектов зданий и сооружений;

- работниками служб по подготовке кадров в качестве учебного пособия при подготовке, переподготовке и повышении квалификации рабочих и ИТР;

- преподавательским составом высших и средних технических учебных заведений при подготовке инженерно-технических работников строительного профиля;

- руководителями подразделений, основных функциональных отделов и служб, а также руководством строительных организаций при проверке знаний проектов и нормативных требований по качеству выполнения СМР у линейного персонала, а также при осуществлении инспекционного контроля качества СМР;

- работниками авторского надзора проектных организаций,

- работниками технического надзора заказчика, осуществляющими приемку выполненных работ, работниками служб архитектурно-строительного надзора, федеральных и региональных центров по лицензированию строительной деятельности и других организаций, осуществляющих надзор за строительством.

Схемы входного и операционного контроля качества СМР составлены на основании требований строительных норм и правил, государственных стандартов, технических условий, типовой проектной документации и содержат:

- основные требования к качеству применяемых материалов, конструкций и деталей;

- перечень технологических операций, подлежащих контролю в процессе выполнения строительно-монтажных работ;

- перечень технических требований, подлежащих соблюдению при выполнении строительно-монтажных работ;

- схемы основных монтажных узлов;

- основные требования к качеству при приемке законченных этапов видов работ.

Строительные конструкции, изделия, материалы и инженерное оборудование, поступающие на строительную площадку, должны пройти входной контроль. Производители работ (мастера) обязаны проверять путем внешнего осмотра и выполнения необходимых замеров соответствие качества поступающих конструкций, изделий, материалов и инженерного оборудования требованиям рабочих чертежей, государственных стандартов, технических условий.

При выполнении входного контроля на комплектовочных базах прорабу (мастеру) должны быть представлены документы (паспорта, сертификаты, акты и т.д.), подтверждающие качество поставляемых материалов и изделий. При возникновении сомнений в качестве поставляемых материалов прораб (мастер) обязан потребовать контрольной проверки поступивших материалов и изделий.

Входной контроль должен предотвратить запуск в производство материалов, конструкций и изделий, не соответствующих требованиям проектной и нормативно-технической документации. На строительной площадке входной контроль должен выполняться прорабом или мастером с привлечением в необходимых случаях лабораторной и других служб. Операционный контроль должен осуществляться в процессе выполнения строительно-монтажных работ и обеспечивать своевременное выявление дефектов и причин их возникновения, а также своевременное принятие мер по их устранению и предупреждению.

При осуществлении операционного контроля должны проверяться:

- соблюдение заданной в проектах производства работ и технологических картах технологии производства работ;

- соответствие качества выполняемых работ требованиям проекта и нормативно-технической документации.

Операционный контроль должен осуществляться производителем работ (мастером), инженером (лаборантом) строительной лаборатории, геодезистом, работником сварочной службы или лаборатории сварки. Участие той или иной службы в осуществлении операционного контроля должно быть регламентировано технологической картой на конкретный технологический процесс.

Приемочный контроль должен осуществляться по завершении этапов или отдельных видов работ, а также ответственных конструкций. Приемка оформляется актами освидетельствования скрытых работ, актами приемки отдельных этапов или видов работ, а также ответственных конструкций.

Приемка должна производиться прорабом, работниками отдела контроля качества СМР с привлечением в необходимых случаях работников лабораторной, геодезической или сварочной служб, и представителями технического надзора заказчика.

При осуществлении производственного контроля надлежит пользоваться измерительным инструментом и приборами, прошедшими метрологическую поверку в установленные сроки.

Ссылки на нормативную литературу даны по состоянию на 25.12.2000 г. Данные о новой нормативной документации и изменениях действующей приводятся в информационных указателях Госстандарта и Госстроя России.

ЗЕМЛЯНЫЕ СООРУЖЕНИЯ, ОСНОВАНИЯ И ФУНДАМЕНТЫ

Внеплощадочные и внутриплощадочные подготовительные работы

Подготовка строительного производства должна обеспечивать планомерное развертывание строительно-монтажных работ и взаимоувязанную деятельность всех участников строительства объекта.

Общая организационно-техническая подготовка должна выполняться в соответствии с Правилами о договорах подряда на капитальное строительство и включать в том числе: обеспечение стройки проектно-сметной документацией, отвод в натуре площадки (трассы) для строительства, оформление финансирования строительства, заключение договоров подряда и субподряда на строительство, оформление разрешений и допусков на производство работ, решение вопросов о переселении лиц и организаций, размещенных в подлежащих сносу зданиях, обеспечение строительства подъездными путями, электро-, водо- и теплоснабжением, системой связи и помещениями бытового обслуживания кадров строителей, организацию поставки на строительство оборудования, конструкций, материалов и готовых изделий.

Подготовка к строительству каждого объекта должна предусматривать изучение инженерно-техническим персоналом проектно-сметной документации (включая документацию по результатам технического обследования конструкций при реконструкции действующего предприятия), детальное ознакомление с условиями строительства, разработку проектов производства работ на внеплощадочные и внутриплощадочные подготовительные работы, возведение зданий, сооружений и их частей, а также выполнение самих работ подготовительного периода с учетом природоохранных требований и требований по безопасности труда.

Внеплощадочные подготовительные работы должны включать строительство подъездных путей и причалов, линий электропередач с трансформаторными подстанциями, сетей водоснабжения с водозаборными сооружениями, канализационных коллекторов с очистными сооружениями, жилых поселков для строителей, необходимых сооружений по развитию производственной базы строительной организации, а также сооружений и устройств связи для управления строительством.

Внутриплощадочные подготовительные работы должны предусматривать сдачу-приемку геодезической разбивочной основы для строительства и геодезические разбивочные работы для прокладки инженерных сетей, дорог и возведения зданий и сооружений, освобождение строительной площадки для производства строительно-монтажных работ (расчистка территории, снос строений и др.), планировку территории, искусственное понижение (в необходимых случаях) уровня грунтовых вод, перекладку существующих и прокладку новых инженерных сетей, устройство постоянных и временных дорог, инвентарных временных ограждений строительной площадки с организацией в необходимых случаях контрольно-пропускного режима, размещение мобильных (инвентарных) зданий и сооружений производственного, складского, вспомогательного, бытового и общественного назначения, устройство складских площадок и помещений для материалов, конструкций и оборудования, организацию связи для оперативно-диспетчерского управления производством работ, обеспечение строительной площадки противопожарным водоснабжением и инвентарем, освещением и средствами сигнализации.

В подготовительный период должны быть также возведены постоянные здания и сооружения, используемые для нужд строительства, или приспособлены для этих целей существующие.

Строительство временных неинвентарных зданий и сооружений допускается только в виде исключения при соответствующем обосновании.

Устройство временных внеплощадочных и внутриплощадочных дорог допускается только в случаях нецелесообразности или невозможности использования для нужд строительства постоянных существующих и запроектированных дорог. Конструкция всех дорог, используемых в качестве временных, должна обеспечивать движение строительной техники и перевозку максимальных по массе и габаритам строительных грузов.

Обеспечение строительства водой, теплом, паром, сжатым воздухом и электроэнергией, как правило, должно осуществляться от действующих систем, сетей и установок с использованием для нужд строительства запроектированных постоянных инженерных сетей и сооружений.

Конкретный объем и сроки выполнения работ, выполняемых в подготовительный период, определяются проектами организации строительства и производства работ, разрабатываемыми в соответствии с требованиями СНиП 3.01.01-85* «Организация строительного производства».

Запрещается осуществление строительно-монтажных работ без утвержденных проекта организации строительства и проекта производства работ.

Не допускается отступления от решений проектов организации строительства и проектов производства работ без согласования с организациями, разработавшими и утвердившими их.

До начала земляных работ на строительной площадке должны быть выполнены следующие подготовительные работы:

разработаны проекты производства работ по устройству земляных сооружений;

переданы и приняты закрепленные на местности знаки геодезической разбивки земляных сооружений;

отведены и закреплены на местности площади с учетом необходимой ширины полосы земли для производства работ, под грунтовые карьеры и резервы, под постоянные и временные отвалы грунта и вскрышных пород, под временные землевозные дороги, трубопроводы, линии электропередач, а также площади, необходимые при работах способом гидромеханизации для устройства водоемов и отстойников;

выполнены работы по расчистке территории от леса, камней и валунов, осушению и отводу поверхностных вод, устройству временных инвентарных зданий, складских площадок и др.

Плодородный слой почвы в основании насыпей и на площади, занимаемой разными выемками, до начала основных земляных работ должен быть снят в размерах, установленных проектом организации строительства и перемещен в отвалы для последующего использования его при рекультивации или повышении плодородия малопродуктивных угодий.

Допускается не снимать плодородный слой:

при толщине плодородного слоя менее 10 см;

на болотах, заболоченных и обводненных участках;

на почвах с низким плодородием в соответствии с ГОСТ 17.5.3.05-84 «Охрана природы. Рекультивация земель. Общие требования к землеванию», ГОСТ 17.4.3.02-85 «Охрана природы. Почвы. Требования к охране плодородного слоя почвы при производстве земляных работ», ГОСТ 17.5.3.06-85 «Охрана природы. Земля. Требования к определению норм снятия плодородного слоя почвы при производстве земляных работ»;

при разработке траншей шириной по верху 1 м и менее.

Необходимость снятия и мощность снимаемого плодородного слоя устанавливаются в проекте организации строительства с учетом уровня плодородия, природной зоны в соответствии с требованиями действующих стандартов и требованиями предыдущего абзаца.

Снятие и нанесение плодородного слоя следует производить, когда грунт находится в немерзлом состоянии.

Хранение плодородного грунта должно осуществляться в соответствии с ГОСТ 17.4.3.02-85 и ГОСТ 17.5.3.04-83*. Способы хранения грунта и защиты буртов от эрозии, подтопления, загрязнения должны быть установлены в проекте организации строительства.

Окончание внеплощадочных и внутриплощадочных подготовительных работ в объеме, обеспечивающем строительство объекта запроектированными темпами, должно быть подтверждено актом, составленным заказчиком и генподрядчиком с участием субподрядной организации, выполняющей работы в подготовительный период, и профсоюзного комитета генподрядчика.

Приложение 8 к СНиП 3.01.01-85*

АКТ

об окончании внеплощадочных и внутриплощадочных подготовительных

работ и готовности объекта ___________________________________________

(предприятия, здания, сооружения, их комплекса)

к началу строительства.

«__» ___________ 19 __ г.

Комиссия в составе:

руководителя дирекции строящегося предприятия (технического надзора заказчика-застройщика) ______________________________________________________________

(фамилия, инициалы, должность)

руководителя генеральной подрядной организации ___________________________

(фамилия, инициалы, должность)

руководителя субподрядной специализированной организации, выполняющей работы в подготовительный период ____________________________________________

(фамилия, инициалы, должность)

председателя профсоюзного комитета генеральной подрядной строительной организации _______________________________________________________________

(фамилия, инициалы, должность)

произвела освидетельствование внеплощадочных и внутриплощадочных подготовительных работ, в том числе по обеспечению санитарно-бытового обслуживания работающих, выполненных по состоянию на «__» _____ 19 __ г.

1. К освидетельствованию предъявлены работы _______________________________

(наименование внеплощадочных и внутриплощадочных подготовительных работ, в том числе по обеспечению санитарно-бытового обслуживания работающих)

2. Работы выполнены в объемах, установленных проектом организации строительства и предусмотренных проектами производства работ _________________

__________________________________________________________________________

(наименование организаций, разработавших ПОС, ППР, № чертежей и дата их составления)

3. При выполнении работ отсутствуют (или допущены) отклонения от проекта организации строительства и проектов производства работ

___________________________________________________________________________

(при наличии отклонений указывается, кем согласованы, № чертежей и дата согласования)

Решение комиссии

Работы выполнены в объемах и в сроки в соответствии с проектом организации строительства и проектами производства работ. На основании изложенного разрешается производство основных строительных, монтажных и специальных строительных работ по строительству объекта ___________________________________

(предприятия, здания, сооружения, их комплекса)

Руководитель дирекции строящегося предприятия

(технического надзора заказчика-застройщика) __________________________________

(подпись)

Руководитель генеральной подрядной организации _______________________________

(подпись)

Руководитель субподрядной специализированной организации _____________________

(подпись)

Председатель профсоюзного комитета генеральной

подрядной строительной организации __________________________________________

(подпись)

СНиП 3.01.01-85* «Организация строительного производства»

Пособие по разработке проекта организации строительства и проектов производства работ для жилищно-гражданского строительства (к СНиП 3.01.01-85)

СНиП 3.01.03-84 «Геодезические работы в строительстве»

Пособие по производству геодезических работ в строительстве (к СНиП 3.01.03-84)

Построение геодезической разбивочной основы для строительства

Для перенесения проектных параметров здания (сооружения) в натуру, производства детальных разбивочных работ и исполнительных съемок на строительной площадке создается геодезическая разбивочная основа для строительства, включающая построение разбивочной сети строительной площадки и внешней разбивочной сети здания (сооружения).

Создание геодезической разбивочной основы для строительства и геодезические измерения деформаций оснований, конструкций зданий (сооружений) и их частей в процессе строительства являются обязанностью заказчика.

Разбивочная сеть строительной площадки создается для выноса в натуру основных или главных разбивочных осей здания (сооружения), а также при необходимости построения внешней разбивочной сети здания (сооружения), производства исполнительных съемок.

Внешняя разбивочная сеть здания (сооружения) создается для перенесения в натуру и закрепления проектных параметров здания (сооружения), производства детальных разбивочных работ и исполнительных съемок.

Геодезическую разбивочную основу для строительства следует создавать в виде сети закрепленных знаками геодезических пунктов, определяющих положение здания (сооружения) на местности и обеспечивающих выполнение дальнейших построений и измерений в процессе строительства с наименьшими затратами и необходимой точностью.

Геодезическую разбивочную основу для строительства надлежит создавать с привязкой к имеющимся в районе строительства пунктам геодезических сетей.

Работы по построению геодезической разбивочной основы для строительства следует выполнять по проекту (чертежу), составленному на основе генерального плана и стройгенплана объекта строительства.

На стройгенплане следует показывать места расположения знаков, закрепляющих следующие оси:

основные, определяющие габариты здания (сооружения);

главные оси симметрии здания (сооружения);

промежуточные в местах температурных (деформационных) швов, расположенные через 50 - 60 м.

Количество разбивочных осей или их параллелей, закрепляемых геодезическими знаками, схема закрепления определяются с учетом конфигурации и размеров здания (сооружения) и уточняются при разработке ППР.

В исключительных случаях, когда нет возможности показать закрепление всех разбивочных осей, для небольших зданий, сооружений допускается показывать закрепление не менее двух разбивочных осей (одной продольной, другой поперечной).

При строительстве отдельно стоящих зданий и сооружений, простых по конфигурации, следует показывать осевые знаки, закрепляющие основные оси.

Знаки закрепления разбивочных осей зданий круглой формы целесообразно размещать по направлениям главных осей от его проектного центра.

Каждая основная и промежуточная разбивочные оси должны закрепляться двумя осевыми знаками - по одному знаку с каждой стороны здания (сооружения).

Главные разбивочные оси следует закреплять четырьмя знаками - по два знака с каждой стороны здания (сооружения).

Расстояние между парными осевыми знаками принимается в пределах от 15 до 50 м, для линейных сооружений - до 100 м.

В зависимости от условий строительной площадки при невозможности закрепить главные разбивочные оси четырьмя знаками допускается показывать два знака - по одному с каждой стороны здания (сооружения).

При строительстве группы зданий, сооружений на стройгенплане следует показывать нивелирные реперы из расчета один репер для каждого здания. Расстояние между реперами 200 - 300 м.

При строительстве отдельно стоящих зданий, сооружений следует показываать два репера для каждого здания.

При строительстве инженерных сетей один репер показывается через 0,5 км.

Реперы, как правило, совмещают с осевыми знаками.

Осевые знаки, как правило, следует показывать на расстоянии 15 - 30 м от контура здания.

Наименьшее расстояние допускается 3 м от бровки котлована, границы призмы обрушения грунта; наибольшее - полуторная высота здания (сооружения), но не более 50 м.

Расстояние между осевыми знаками, закрепляющими промежуточные поперечные оси, может достигать 50 - 100 м.

В составе проекта должны быть: разбивочный чертеж, каталоги координат и отметок исходных пунктов и каталоги (ведомости) проектных координат и отметок, чертежи геодезических знаков, пояснительная записка с обоснованием точности построения геодезической разбивочной основы для строительства.

Разработку проекта (чертежа) геодезической разбивочной основы для строительства следует выполнять в порядке и сроки, соответствующие принятым стадиям проектирования и очередям строительства.

СХЕМЫ РАЗБИВОЧНЫХ СЕТЕЙ СТРОИТЕЛЬНОЙ ПЛОЩАДКИ

а) в виде строительной сетки; б) в виде красных линий; в) в виде центральной системы

 - пункты разбивочной сети строительной площадки;- пункты государственной геодезической сети;  - строительная площадка;  - проектируемые здания

СХЕМА ВНЕШНЕЙ РАЗБИВОЧНОЙ СЕТИ ЗДАНИЯ

Условные обозначения:

  - репер, совмещенный с осевым знаком

  - временный осевой знак

  - постоянные осевые знаки

  - осевой знак на здании

  - пункты разбивочной сети стройплощадки

  - пункты государственной геодезической сети

Чертеж геодезической разбивочной основы следует составлять в масштабе генерального плана строительной площадки.

Геодезическую разбивочную основу для строительства следует создавать с учетом:

проектного и существующего размещений зданий (сооружений) и инженерных сетей на строительной площадке;

обеспечения сохранности и устойчивости знаков, закрепляющих пункты разбивочной основы;

геологических, температурных, динамических процессов и других воздействий в районе строительства, которые могут оказать неблагоприятное влияние на качество построения разбивочной основы;

использования создаваемой геодезической разбивочной основы в процессе эксплуатации построенного объекта, его расширения и реконструкции.

Плановую разбивочную сеть строительной площадки следует создавать в виде:

а) красных или других линий регулирования застройки;

б) строительной сетки, как правило, с размерами сторон 50, 100, 200 м и других видов геодезических сетей.

Внешнюю разбивочную сеть здания (сооружения) следует создавать в виде геодезической сети, пункты которой закрепляют на местности основные (главные) разбивочные оси, а также углы здания (сооружения), образованные пересечением основных разбивочных осей.

Нивелирные сети строительной площадки и внешней разбивочной сети здания (сооружения) необходимо создавать в виде нивелирных ходов, опирающихся не менее чем на два репера геодезической сети.

Пункты нивелирной и плановой разбивочных сетей, как правило, следует совмещать.

Построение геодезической разбивочной основы для строительства следует производить методами триангуляции, полигонометрии, геодезических ходов, засечек и другими методами.

Точность построения разбивочной сети строительной площадки, а также внешней разбивочной сети здания (сооружения), в том числе вынос основных или главных разбивочных осей следует принимать соответственно данным, приведенным в нижеследующих таблицах.

Точность построения разбивочной сети строительной площадки

Характеристика объектов строительства

Величины средних квадратических погрешностей построения разбивочной сети строительной площадки

угловые измерения, с

линейные измерения

определение превышения на 1 км хода, мм

Предприятия и группы зданий (сооружений) на участках площадью более 1 км2; отдельно стоящие здания (сооружения) с площадью застройки более 100 тыс. м2

3

1/25000

4

Предприятия и группы зданий (сооружений) на участках площадью менее 1 км2; отдельно стоящие здания (сооружения) с площадью застройки от 10 до 100 тыс. м2

5

1/10000

6

Отдельностоящие здания (сооружения) с площадью застройки менее 10 тыс.м2; дороги, инженерные сети в пределах застраиваемых территорий

10

1/5000

10

Дороги, инженерные сети вне застраиваемых территорий; земляные сооружения, в том числе вертикальная планировка

30

1/2000

15

Точность построения внешней разбивочной сети здания (сооружения)

Характеристика зданий, сооружений

Величины средних квадратических погрешностей построения внешней разбивочной сети здания (сооружения)

линейные измерения

угловые измерения, с

определение превышения на станции, мм

Сооружения высотой св. 100 до 120 м или с пролетами св. 30 до 36 м

1/15000

5

1

Здания св. 15 этажей, сооружения высотой св. 60 до 100 м или с пролетами св. 18 до 30 м

1/10000

10

2

Здания св. 5 до 15 этажей, сооружения высотой св. 15 до 60 м или с пролетами св. 6 до 18 м

1/5000

20

2,5

Здания до 5 этажей, сооружения высотой до 15 м или с пролетами до 6 м

1/3000

30

3

Конструкции из дерева; инженерные сети, дороги, подъездные пути

1/2000

30

5

Земляные сооружения:

в том числе вертикальная планировка

1/1000

45

10

Разбивочная сеть строительной площадки в виде строительной сетки представляет собой систему квадратов или прямоугольников, покрывающих строительную площадку. Направление осей строительной сетки выбирают параллельно осям зданий и сооружений или красных линий застройки.

В зависимости от назначения строительная сетка строится из основных и дополнительных фигур. Длины сторон основных фигур составляют 50, 100, 200 и 400 м. При строительстве многоэтажных зданий стороны основной строительной сетки принимаются равными 25, 30, 50 м. При проведении работ по вертикальной планировке строительную сетку дополнительно разбивают на квадраты со сторонами 20 - 40 м в зависимости от характера рельефа и размещения застройки. Стороны строительных сеток должны быть кратными длине мерных приборов - проволок, лент, рулеток и т.д.

Строительная сетка может использоваться для решения задач горизонтальной и вертикальной планировки, создания внешней разбивочной сети здания, сооружения, производства контрольных наблюдений и ведения исполнительной съемки.

Пункты сетки намечают в местах, обеспечивающих их достаточную устойчивость и удобство выполнения геодезических работ вне зоны производства земляных работ.

Системы координат для строительных площадок устанавливаются в период проектирования объектов и показываются на проектных чертежах. Привязки элементов зданий, сооружений, необходимые данные для производства разбивочных работ на проектных чертежах даются относительно осей в установленной для данной строительной площадки системе координат.

Для выполнения геодезических работ координаты пунктов строительной сетки могут вычисляться в государственной системе координат. Для этого от пунктов государственной сети координаты передают на пункты строительной сетки.

Для удобства составления разбивочных чертежей и ведения геодезических работ пункты строительной сетки чаще всего вычисляют в условной системе координат. Одной из вершин присваивают условные координаты так, чтобы координаты всех остальных пунктов сети были положительными. Направление главных осей сетки совмещают с направлениями осей абсцисс и ординат. Пунктам сетки присваивают порядковую нумерацию. Перевычисление координат из условной системы в государственную и наоборот выполняют по формулам аналитической геометрии.

Вынос точек строительной сетки в натуру производится от пунктов геодезической сети или от твердых местных предметов и контуров. Сначала на местности определяют исходное направление методами: полярным, угловых или линейных засечек, промеров от твердых контуров. Для контроля выносят не менее трех точек исходного направления. Линейные измерения выполняют с точностью 1:1000 - 1:2000, угловые - 30 - 60”. Точки исходного направления закрепляют деревянными или бетонными знаками. После определения точных координат пунктов строительной сетки временные знаки заменяют на постоянные.

Высотная разбивочная основа на территории строительства должна быть закреплена постоянными знаками с таким расчетом, чтобы отметки передавались на объекты строительства от двух реперов не более чем с трех станций нивелирного хода.

Нивелирные знаки закладываются в стены капитальных зданий и сооружений, построенных не менее чем за два года до закладки знака. Марки закладываются на высоте 0,3 - 0,6 м над поверхностью земли (тротуара, отмостки и т.д.). Грунтовые реперы закладываются только при отсутствии капитальных зданий и сооружений.

Стенные марки и реперы нивелируются через трое суток, а грунтовые через 10 суток после их закладки. В районах вечной мерзлоты грунтовые реперы нивелируются: при котлованном способе закладки - в следующий полевой сезон; при закладке бурением - через 10 дней; при закладке с протаиванием грунта - через два месяца.

Внешняя разбивочная сеть здания (сооружения) создается в виде сети плановых (осевых) и высотных знаков, закрепляющих разбивочные оси (главные, основные) и нивелирные пункты на местности.

При сложной конфигурации зданий, при значительных размерах, а также, когда здания или сооружения одной группы тесно связаны между собой технологическими процессами, разбиваются главные оси. При строительстве небольших зданий и сооружений разбиваются основные оси.

Разбивку главных и основных осей здания и сооружения следует выполнять на основании генерального плана строительной площадки, на котором должны быть указаны привязки осей зданий и сооружений к пунктам плановой и высотной разбивочных сетей, (красным линиям, пунктам строительной сетки и др.).

Главные или основные оси разбиваются на местности от пунктов плановой разбивочной сети строительной площадки.

Разбивку осей начинают с выноса двух крайних точек, определяющих положение наиболее длинной продольной оси. Вынос осуществляется способом прямоугольных или полярных координат, линейных или угловых засечек.

Поперечные оси разбиваются с ранее вынесенных точек оси путем построения прямых углов. Точки пересечения вынесенных поперечных осей с продольной осью определяются линейными измерениями.

Для контроля перенесения в натуру разбивочных осей прокладывают полигонометрический или теодолитный ход, или выполняют контрольные промеры до сторон и пунктов основы, а также измерением диагоналей и сторон прямоугольника, образованного осями.

При возведении современных промышленных сооружений, когда возникает необходимость увязки высокой точности технологических линий и целых комплексов зданий, следует развивать специальные разбивочные сети, пункты которых совмещаются с точками закрепления главных и основных осей.

Метод определения координат точек сети (микротриангуляция, микротрелатерация, полигонометрия, засечки, параллактический) зависит от требуемой точности разбивочных работ, размеров строительной площадки, условий работы на ней и формы сооружения.

После уравнивания результатов выполненных геодезических измерений и вычисления координат точек закрепления осей их сравнивают с проектными значениями и находят величины линейных редукций. В случае недопустимых значений редукций изменяют положения центров осевых знаков на местности. После редуцирования производятся угловые и линейные контрольные измерения.

Закрепление пунктов геодезической разбивочной основы для строительства надлежит выполнять в соответствии с требованиями нормативных документов по геодезическому обеспечению строительства, утвержденных в установленном порядке.

Главные и основные оси зданий и сооружений могут быть закреплены знаками в виде забетонированных рельс, штырей, труб, вбитых в землю деревянных кольев с гвоздями, специальных марок на капитальных зданиях.

Основные требования к местоположению знаков закрепления разбивочных осей (осевых знаков) следующие:

должна быть видимость от знака до здания, для чего необходимо предусматривать свободные полосы шириной 1 м;

положение знака должно оставаться неизменным на весь период строительства, особенно на период строительства подземной части здания, сооружения; принятые знаки геодезической разбивочной основы в период строительства должны находиться под наблюдением за сохранностью и устойчивостью и проверяться инструментально не реже двух раз в год (в весенний и осенне-зимний периоды);

должна обеспечиваться возможность выполнения геодезических измерений при соблюдении требований техники безопасности при производстве строительно-монтажных работ.

Осевые знаки следует размещать за пределами котлована в местах, свободных от постоянных и временных зданий, сооружений, в том числе подземных и наземных коммуникаций, дорог, строительных конструкций, материалов, изделий и оборудования, складских площадок, механизмов.

Осевые знаки не должны попадать в зону, где нарушается грунт при выполнении строительно-монтажных работ.

Размещение осевых знаков увязывают с проектными решениями по организации земляных и строительно-монтажных работ.

В целях лучшей сохранности осевых знаков их следует размещать на газонах, обочинах дорог, вдоль заборов и др.

В зоне местоположения знака складирование строительных конструкций, материалов должно быть не ближе 2 м от центра знака.

При невозможности определить местоположение знака, обеспечивающее неизменность его на период строительства подземной части здания, следует предусмотреть перенос знака на устойчивое место, о чем указывается в ПОС.

Заказчик обязан создать геодезическую разбивочную основу для строительства и не менее чем за 10 дней до начала выполнения строительно-монтажных работ передать поэтапно подрядчику техническую документацию на нее и закрепленные на площадке строительства пункты основы, в том числе:

а) знаки разбивочной сети строительной площадки;

б) плановые (осевые) знаки внешней разбивочной сети здания (сооружения) в количестве не менее четырех на каждую ось, в том числе знаки, определяющие точки пересечения основных разбивочных осей всех углов здания (сооружения); количество разбивочных осей, закрепляемых осевыми знаками, следует определять с учетом конфигурации и размеров здания (сооружения); на местности следует закреплять основные разбивочные оси, определяющие габариты здания (сооружения), и оси в местах температурных (деформационных) швов, главные оси гидротехнических и сложных инженерных сооружений;

в) плановые (осевые) знаки линейных сооружений, определяющие ось начало - конец трассы, колодцы (камеры), закрепленные на прямых участках не менее чем через 0,5 км и на углах поворота трассы;

г) нивелирные реперы по границам и внутри застраиваемой территории у каждого здания (сооружения) не менее одного, вдоль осей инженерных сетей не реже чем через 0,5 км;

д) каталоги координат, высот и абрисы всех пунктов геодезической разбивочной основы.

Приемку геодезической разбивочной основы для строительства следует оформлять актом (согласно обязательному приложению 12 СНиП 3.01.03-84).

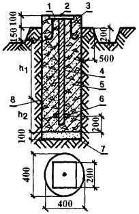
ЗАКРЕПЛЕНИЕ ОСНОВНЫХ ИЛИ ГЛАВНЫХ РАЗБИВОЧНЫХ ОСЕЙ ЗДАНИЯ ДО 5 ЭТАЖЕЙ, СООРУЖЕНИЯ ВЫСОТОЙ ДО 15 м С ПРОДОЛЖИТЕЛЬНОСТЬЮ СТРОИТЕЛЬСТВА ДО 0,5 ГОДА, ВНУТРИПЛОЩАДОЧНЫХ ИНЖЕНЕРНЫХ СЕТЕЙ

а) геодезический знак

б) ограждение знака

1 - металлический стержень Æ 16 мм

2 - бетон класса В7,5

3 - деревянный столб размером 1800 ´ 80 ´ 80

4 - доска размером 1500 ´ 80 ´ 80 или металлический уголок размером 25 ´ 25 ´ 2 мм

ЗАКРЕПЛЕНИЕ ОСНОВНЫХ ИЛИ ГЛАВНЫХ РАЗБИВОЧНЫХ ОСЕЙ ЗДАНИЯ СВЫШЕ 5 ЭТАЖЕЙ, СООРУЖЕНИЯ ВЫСОТОЙ СВЫШЕ 15 м С ПРОДОЛЖИТЕЛЬНОСТЬЮ СТРОИТЕЛЬСТВА ДО 0,5 ГОДА.

1 - деревянная крышка

2 - металлическая пластина размером 200 ´ 200 ´ 10 мм

3 - металлическая труба Æ 30 мм

4 - якорь

5 - бетон класса В7,5

6 - песок

ЗАКРЕПЛЕНИЕ ОСНОВНЫХ ИЛИ ГЛАВНЫХ РАЗБИВОЧНЫХ ОСЕЙ ЗДАНИЯ (СООРУЖЕНИЯ) С ПРОДОЛЖИТЕЛЬНОСТЬЮ СТРОИТЕЛЬСТВА БОЛЕЕ 0,5 ГОДА

1 - металлическая пластина размером 200 ´ 200 ´ 15 мм

2 - заклепка из металла

3 - анкер Æ 15 мм

4 - металлическая труба Æ 50 - 70 мм

5 - бетон классов В7,5 - В12,5

6 - якорь

7 - песок

8 - два слоя рубероида РЧ-320

h1 - - наибольшая глубина промерзания грунта;

h2 - по таблице

h1

грунт

0,6

0,8

1,0

1,2

1,4

1,6

1,8

2,0

h2

грунт песчаный

0,1

0,2

0,2

0,3

0,4

0,5

0,6

0,7

грунт суглинистый

0,6

0,9

1,1

1,4

1,6

1,8

2,0

2,1

Приложение 12 к СНиП 3.01.03-84 (обязательное)

АКТ

приемки геодезической разбивочной основы для строительства

__________________________________________________________________________

(наименование объекта строительства)

г. _________________________                                 «_____» ________________ 19 ___ г.

Комиссия в составе:

ответственного представителя заказчика _______________________________________,

(фамилия, инициалы, должность)

ответственных представителей генподрядной строительно-монтажной организации

___________________________________________________________________________

(фамилии, инициалы, должности)

рассмотрела представленную техническую документацию на геодезическую разбивочную основу для строительства _________________________________________

(наименование объекта строительства)

и произвела осмотр закрепленных на местности знаков этой основы.

Предъявленные к приемке знаки геодезической разбивочной основы для строительства, их координаты, отметки, места установки и способы закрепления соответствуют представленной технической документации ________________________

(наименование проектной организации, номера чертежей, дата выпуска)

и выполнены с соблюдением заданной точности построения и измерений.

На основании изложенного комиссия считает, что заказчик сдал, а подрядчик принял знаки геодезической разбивочной основы для строительства (наименование объекта, или его отдельных цехов, зданий, сооружений)

Приложения: ______________________________________________________________

(чертежи, схемы, ведомости и т.п.)

Представитель заказчика: _____________________________________________________

(подпись)

Представитель подрядчика: производитель работ ________________________________

(подпись)

работник геодезической службы: ____________________________________________

(подпись)

Геодезические работы при устройстве земляных сооружений

Общие технические требования

СНиП 3.01.01-85* «Организация строительного производства»

Пособие по разработке проекта организации строительства и проектов производства работ для жилищно-гражданского строительства (к СНиП 3.01.01-85).

СНиП 3.01.03-84 «Геодезические работы в строительстве»

Пособие по производству геодезических работ в строительстве (к СНиП 3.01.03-84).

Геодезические работы должны выполняться в соответствии с требованиями СНиП 3.01.01-85*, СНиП 3.01.03-84, ППР, ППГР и другой технологической документации, утвержденной в установленном порядке.

Для составления геодезической части проекта производства работ в жилищно-гражданском строительстве исходными данными служат: генеральный план существующей и проектируемой застройки; данные о геодезической основе строительной площадки, в том числе о красных линиях, и разбивочной основе строящихся зданий; строительный генеральный план застраиваемого участка; проект вертикальной планировки: данные о этажности и конструкциях зданий; планы и разрезы фундаментов и типовых этажей.

В задании на разработку геодезической части проекта производства работ следует указывать: наименование организаций - заказчика, генподрядчика, субподрядчиков; наименование, местоположение объекта, его характеристики и назначение; данные о разбивочной основе; виды работ, подлежащих включению в геодезическую часть проекта производства работ; специальные требования, не отраженные в нормативной документации, по точности строительно-монтажных работ; перечень материалов геодезической части проекта производства работ (текстовые, расчетные, графические); очередность составления геодезической части проекта производства работ на отдельные здания, сроки выдачи материалов.

При разработке геодезической части проекта производства работ рекомендуется предусматривать примерно следующую очередность выполнения работ.

1. Для подготовительного периода:

создание планового и высотного обоснования; закрепление выносок основных осей знаками; установка и определение отметок реперов; разбивка и закрепление промежуточных осей сооружения.

2. Для подземной части здания:

разбивка контура котлована и перенос осей и высот на дно котлована; передача осей и высот на обноски; разбивочные работы при устройстве фундаментов и свайных полей.

3. Для надземной части здания:

передача основных осей и отметок на цоколь и монтажные горизонты; детальная разбивка и закрепление осей и отметок на монтажном горизонте; разбивка и закрепление рисок под монтаж элементов; установка маяков; выверка в процессе установки строительных конструкций в проектное положение; производство исполнительной съемки и составление отчетной документации.

4. Для инженерных сетей:

плановая разбивка сетей; контроль за глубиной отрывки траншей, плановой и высотной установкой коммуникаций; исполнительные съемки проложенных сетей.

5. Для монтажа технологического оборудования:

определение проектного положения оборудования; контроль при установке и закреплении; исполнительные съемки.

6. Для вертикальной планировки:

определение и закрепление линий нулевых работ; трассирование линий заданного уклона, закрепление точек; перенос и закрепление в натуре проектных плоскостей; исполнительные съемки спланированных территорий.

В геодезической части проекта производства работ особое место должно уделяться составу и содержанию документации, в которую входят: исполнительные геодезические схемы, чертежи, профили, разрезы; акты геодезических разбивок и готовности работ; журнал геодезического контроля; акты геодезической проверки; полевые журналы.

Исполнительная геодезическая документация подразделяется на внутреннюю и приемо-сдаточную. Внутренняя исполнительная документация составляется на завершенный строительно-монтажный этап и является одним из оснований для выдачи главным инженером строительного управления (и приравненных к нему организаций) разрешения на производство строительно-монтажных работ. К внутренней исполнительной документации относятся: исполнительные схемы по разбивке контуров котлованов; акты и исполнительные схемы по разбивке промежуточный осей; акты разбивки свайных полей; акты и исполнительные схемы по подготовленным к бетонированию опалубкам; акты детальной геодезической разбивки на монтажных горизонтах под монтаж яруса, цоколя, этажа; исполнительные схемы нивелировки бетонных подготовок под полы; рабочие схемы по установке маяков.

Внутренняя исполнительная документация может быть составлена и на другие подготовительные виды работ. Порядок ее оформления устанавливает главный инженер строительно-монтажной организации. Она не предъявляется рабочей и Государственной комиссиям при сдаче объекта в эксплуатацию.

Приемосдаточная исполнительная документация составляется на завершенный этап строительно-монтажных работ и предъявляется авторскому надзору, органам Госархстройнадзора, генподрядным (субподрядным) организациям, заказчику, рабочим и государственным комиссиям по приемке объекта в эксплуатацию.

Приемосдаточная исполнительная документация включает в себя: планово-высотные схемы по всем видам инженерных коммуникаций; планово-высотные схемы и акты по готовому котловану, земляному полотну дорог и другим земляным сооружениям; планово-высотные схемы свайных полей; планово-высотные схемы и акты готовых фундаментов (свайных, сборных, монолитных и др.); планово-высотные схемы колонн; поэтапные планово-высотные схемы зданий и сооружений в кирпичном, крупноблочном, крупнопанельном исполнении; планово-высотные схемы по лифтовым шахтам; планово-высотные схемы и акты дорог; планово-высотные схемы по благоустройству.

Геодезическая исполнительная документация должна находиться в производственно-техническом отделе строительно-монтажной организации и у заказчика. При сдаче объекта в эксплуатацию предъявляется экземпляр, находящийся в производственно-техническом отделе.

При строительстве сложных и крупных объектов, а также зданий выше девяти этажей подрядчиком (генподрядчиком или субподрядчиком, в зависимости от того, кто выполняет строительно-монтажные работы) или по его поручению специализированными организациями, имеющими лицензию на выполнение проектно-технологических работ, разрабатывается проект производства геодезических работ (ППГР).

ППГР определяет содержание, объем, методы, точность, сроки и стоимость геодезических работ, обеспечивающих строительство при минимальных трудовых и материальных затратах.

Основанием для разработки ППГР специализированной организацией является техническое задание, составленное по установленной форме, а при разработке в составе ППР - частное задание группы подготовки производства работ строительно-монтажной организации. Задание должно содержать данные об объемах и сроках разработки.

Содержание ППГР согласовывается с технической и экономической сторонами ПОС и ППР. При пересмотре проектно-сметной документации на производство строительно-монтажных работ все изменения вносятся в ППГР. Разработка производится за счет накладных расходов в строительстве.

ППГР разрабатывается на основе последних достижений науки и техники в области геодезического обеспечения строительно-монтажных работ и передовых методов геодезических работ.

Основными нормативными документами при разработке ППГР являются государственные стандарты, строительные нормы и правила, действующие инструкции, проекты и указания к проектированию, производству и обеспечению геометрической точности в строительстве.

ППГР согласовывается с геодезической службой строительно-монтажной организации, утверждается руководителями организации-исполнителя и заказчика проекта, подписывается главным инженером генподрядной строительно-монтажной организации и передается в производство за два месяца до начала работ.

Организация-разработчик несет ответственность за обоснованность включенных в ППГР положений и осуществляет авторский надзор за его внедрением.

ППГР следует разрабатывать на несколько периодов строительства (реконструкции) объекта: подготовительный; возведения объекта; наблюдения за перемещениями и деформациями зданий и сооружений, если это предусмотрено в проектной документации.

В ППГР дополнительно к требованиям по разработке проектов организации строительства и проектов производства работ должны приводиться:

на подготовительный период строительства: схема расположения и закрепления знаков внешней разбивочной сети здания (сооружения), потребность в материальных и людских ресурсах, график выполнения геодезических работ;

на возведение объекта: точность и метод создания внутренней разбивочной сети здания (сооружения), схема расположения и закрепления знаков сети, типы центров знаков; точность и методы выполнения детальных разбивочных работ, контрольных измерений, исполнительных съемок; потребность в материальных и людских ресурсах, график выполнения геодезических работ;

на период наблюдения за перемещениями и деформациями зданий и сооружений: точность, методы, средства и порядок производства наблюдений за перемещениями и деформациями объектов строительства, схема геодезической сети, точность и методы ее построения, типы центров, знаков, график выполнения работ.

В ППГР должны излагаться порядок передачи материалов ППГР в производство, приводиться рекомендации по поверкам и юстировкам геодезических приборов и инструментов, прилагаться альбом рекомендуемых образцов исполнительных схем и указываться наименование организации, осуществляющей авторский надзор за внедрением ППГР в производство.

К схеме внешней разбивочной сети здания (сооружения) должны прилагаться:

схема закрепления сети;

данные о точности и методика построения внешней разбивочной сети здания (сооружения) с учетом требований строительных норм и правил или государственных стандартов;

конструкции рекомендуемых знаков для закрепления разбивочных осей.

ППГР на строительство подземной части здания (сооружения) должен содержать помимо основных положений, изложенных выше, следующее:

точность детальных разбивочных работ;

методы выполнения детальных разбивочных работ;

технологию выноса и закрепления в натуре контура котлована здания (сооружения), трасс инженерных сетей;

технологию геодезического контроля при производстве земляных и строительно-монтажных работ;

технологию производства исполнительных съемок и составление исполнительской документации.

В ППГР как на отдельные объекты, так и на все строительство в целом по производственным подразделениям должны указываться нормокомплекты геодезических приборов и приспособлений.

Разбивочные работы в строительстве должны обеспечивать вынос в натуру от пунктов геодезической разбивочной основы с заданной точностью осей и отметок, определяющих в соответствии с проектной документацией положение в плане и по высоте частей и конструктивных элементов зданий (сооружений).

До начала выполнения геодезических работ на строительной площадке рабочие чертежи, используемые при разбивочных работах, должны быть проверены в части взаимной увязки размеров, координат и отметок (высот) и разрешены к производству работ техническим надзором заказчика.

Геодезические работы следует выполнять средствами измерений необходимой точности.

Точность разбивочных работ при производстве земляных работ следует принимать, руководствуясь данными, приведенными в нижеследующей таблице, если другие данные не обоснованы в ППР (ППГР).

В случаях строительства по проектной документации, содержащей допуски на изготовление и возведение конструкций зданий (сооружений), не предусмотренные стандартами, нормами и правилами, необходимую точность разбивочных работ следует определять специальными расчетами по условиям, заложенным в проектной документации.

Точность построения внутренней разбивочной сети здания (сооружения)

Характеристика сооружений

Величины средних квадратических погрешностей построения внутренней разбивочной сети здания (сооружения)

линейные измерения

угловые измерения с

определение превышения на станции мм

Земляные сооружения:

в том числе вертикальная планировка

1/1000

45

10

Геодезические работы следует выполнять после предусмотренной проектной документацией расчистки территории, освобождения ее от строений, подлежащих сносу, и, как правило, вертикальной планировки.

Непосредственно перед выполнением разбивочных работ исполнитель должен проверить неизменность положения знаков разбивочной сети здания (сооружения) путем повторных измерений элементов сети.

При устройстве фундаментов зданий (сооружений), а также инженерных сетей разбивочные оси следует переносить на обноску или на другое устройство для временного закрепления осей. Вид обноски и место ее расположения следует указывать на схеме размещения знаков.

Обноску делают сплошную, разреженную или створную.

Сплошная обноска окаймляет все сооружение. Ее применяют при устройстве монолитных фундаментов с большим объемом опалубочных работ, при сложной конфигурации опалубки, при значительном числе устанавливаемых анкерных болтов, закладных деталей, арматурных выпусков.

Разреженную или створную обноску устанавливают по основным и межсекционным осям, температурным швам на расстоянии 18 - 24 м одна от другой. Такие обноски применяют при устройстве сборных и свайных фундаментов, а также при возведении столбчатых монолитных фундаментов, расположенных на расстоянии 12 м и более один от другого.

Обноску устанавливают в 2 - 3 м от верхней бровки котлована. При котлованах глубиной 3 м и более обноску часто располагают в котловане вдоль его нижней бровки.

Детальную разбивку промежуточных осей производят двумя способами.

Первый способ - разбивка промежуточных осей по обноске. Способ в основном применяется при сплошной обноске, стороны которой устанавливают прямолинейно и параллельно соответствующим продольным и поперечным осям сооружения, а верх обрезной доски располагают на одной отметке. При сплошной обноске легко производить линейные измерения.

На построенную обноску с точек закрепления осей выносят при помощи теодолита главные, или основные оси. От вынесенных на обноску осей производят линейные измерения. Промежуточные оси на обноске по мере производства линейных измерений фиксируют карандашом и краской.

Второй способ - разбивка промежуточных осей по дну котлована с производством линейных измерений по деревянным кольям с последующим выносом осей на разреженную или створную обноску. Способ не требует соблюдения условий прямолинейности сторон обноски и параллельности ее разбивочным осям.

При этом способе линейные измерения, в основном, производят по главной продольной оси здания, положение которой определяют от вынесенных на дно котлована основных осей. По створу главной продольной оси на расстоянии длины мерного прибора и в местах прохождения промежуточных осей, которые будут выноситься на обноски, забивают деревянные колья. По кольям производят линейные измерения. Промежуточные оси на кольях фиксируют карандашом.

При закрепленных главных осях здания линейные измерения производят от центральной точки пересечения главных осей, которую предварительно определяют с точек закрепления главных осей.

Над точками пересечения главной оси с промежуточными, полученными в результате линейных измерений, центрируют теодолит, наводят на крайнюю, наиболее удаленную точку закрепления главной оси и откладывают угол 90° при двух положениях вертикального круга с закреплением проекции визирного луча на разреженной или створной обноске по обе стороны котлована. За окончательное положение промежуточной оси берут среднее из двух проекций.

Контролируемые операции

Состав и средства контроля

Документация

Подготовительные работы

Проверить:

 

- наличие геодезической разбивочной основы и технической документации на нее; наличие закрепленных на площадке строительства пунктов основы с разрешением на производство работ;

Акт приемки, техническая документация

- сохранность знаков, закрепляющих пункты геодезической разбивочной основы, и неизменность их положения (путем повторных измерений элементов сети не реже двух раз в год); восстановление утерянных знаков;

Общий журнал работ

- рабочие чертежи в части взаимной увязки размеров координат и отметок (высот);

- завершение подготовительных внеплощадочных и внутриплощадочных работ.

Акт об окончании подготовительных работ и готовности объекта

Геодезические работы при устройстве земляных сооружений

Контролировать:

 

- соблюдение заданной в ППР (ППГР) технологии выполнения разбивочных геодезических работ;

- вынос в натуру с заданной точностью и закрепление осей и характерных основных и промежуточных точек земляных сооружений;

- соблюдение заданной в ППР (ППГР) технологии геодезического контроля за производством работ при устройстве земляных сооружений и исполнительных съемок.

Журнал геодезических работ

Приемка

Проверить:

 

- соответствие выполненных разбивочных и контрольных работ геодезических работ требованиям проекта, ППР (ППГР) и нормативных документов;

- составление и надлежащее оформление приемосдаточной исполнительной документации

Акты и исполнительные схемы по разбивочным работам

Планово-высотные схемы земляных сооружений

Входной и операционный контроль осуществляют: мастер (прораб), геодезист - в процессе выполнения работ.

Приемочный контроль осуществляют прораб (мастер), геодезист, работники отдела контроля качества СМР, представители технадзора заказчика

КИП: нивелир, теодолит и др. геодезические приборы и инструмент

Геодезические работы при устройстве котлована

В состав геодезических работ при устройстве котлованов входят:

проверка геодезических данных на рабочих чертежах проекта;

разбивка и закрепление в натуре контуров котлована (нижнего контура и верхней бровки);

предварительное нивелирование дневной поверхности в пределах контура котлована;

передача разбивочных осей и высотных отметок на дно котлована;

периодические исполнительные съемки для подсчета объемов земляных масс;

окончательная плановая и высотная исполнительные съемки отрытого котлована.

Разбивку контуров котлована следует производить в соответствии с рабочими чертежами, на которых должны быть указаны оси здания (сооружения) и все размеры, определяющие расположение контуров котлована относительно осей здания (сооружения), способами прямоугольных и полярных координат, угловых засечек, промеров, при помощи теодолита, мерной ленты или рулетки. Вынесенные в натуру внутренние и внешние бровки котлована должны быть закреплены знаками. Места расположения знаков, способ их закрепления должны быть указаны в ППР (ППГР).

Нивелирование дневной поверхности следует производить способом параллельных линий или по квадратам со сторонами, равными проектным. Стороны квадратов должны совпадать с направлением поперечников, располагаемых перпендикулярно оси сооружения. Концы поперечников следует закреплять кольями.

После нивелирования следует составлять поперечный профиль в крупном масштабе (1:100 - 1:200), одинаковом в горизонтальном и вертикальном направлениях. На основании поперечных профилей следует подсчитывать объемы земляных работ.

При нивелировании дневной поверхности и при исполнительных съемках разработанного котлована следует определять отметки одних и тех же плановых точек.

Контроль точности отрывки котлована следует осуществлять как в плане, так и по высоте.

Объемы контроля в плане принимают не менее 10 % от числа точек, выносимых при разбивке котлована (вершин квадратов картограммы, габаритов котлованов).

Если возникает необходимость контроля земляных оснований под фундаменты, зачищаемых вручную, то применяют сплошной контроль.

Контроль точности высотного положения земляных работ производят с помощью геометрического, тригонометрического нивелирования или визирок.

При рытье глубоких и широких котлованов по мере их углубления отметки от рабочего репера (строительного нуля) постепенно передают по уступам на дно геометрическим нивелированием, причем для контроля передача осуществляется или дважды одним способом, или двумя различными способами. Неглубокие котлованы контролируются геометрическим нивелированием с одной станции с применением трех- или четырехметровых реек.

Контроль глубины разработки при помощи визирок выполняется в следующем порядке. За 2 - 3 м от верхней бровки котлована на противоположных его сторонах на одной отметке Hв, укрепляют две постоянные визирки.

Длину l контрольной визирки рассчитывают по проектной отметке Hо дна котлована и отметке верха постоянных визирок Н, по формуле:

l = Hв - Hо.

Изготовив визирку расчетной длины l, периодически в процессе углубления котлована контролируют его глубину. Такой способ применяется при сравнительно неглубоких и нешироких котлованах.

Если котлован имеет значительные размеры, то эффективным контролем глубины является тригонометрическое нивелирование. Оно имеет значительные преимущества перед геометрическим (экономия времени, удобство и простота измерений, определение отметок нескольких точек с одной станции). При контроле тригонометрическим нивелированием для определения глубины котлована h измеряют вертикальный угол v и горизонтальное расстояние d с одной станции прибора.

Тогда:

h = d·tgv + v - i,

где: l - высота прибора; v -высота визирования на рейку.

На практике всегда высота визирования равна высоте прибора, поэтому формула примет вид:

h = d·tgv.

При небольшой глубине котлована контроль за его разработкой следует осуществлять нивелиром и 3-4 метровой рейкой. Контроль осуществляется по проектной высоте, расчитанной от горизонта инструмента.

После исполнительной съемки котлована и установления соответствия котлована проекту на дно котлована переносятся оси.

Перенесение осей здания (сооружения) на дно котлована производится способом створных засечек с точек закрепления осей, расположенных вне зоны земляных работ, или с помощью обноски, струн и отвесов.

При способе створных засечек теодолит устанавливают над точкой закрепления оси здания (сооружения) или над обноской на поверхности. Визируют на противоположную точку оси и, наклонив трубу, закрепляют створ в котловане двумя точками. Для контроля проектирование выполняют в обратном направлении. Таким образом переносят все оси здания (сооружения) и на дне котлована по этим точкам натягивают струны. При необходимости створ сдвигают на наружные грани конструкций фундамента.

В глубоких котлованах на дне строят обноску на высоте 0,8 - 1,5 м над основанием котлована и на нее створными засечками передают основные оси со знаков их закрепления так же, как это делают на поверхности земли. Дальнейшую разбивку фундамента выполняют по обноске. В этом случае обноску на поверхности не строят.

СХЕМА ПЕРЕНОСА ОСЕЙ В КОТЛОВАН

СХЕМА ПЕРЕДАЧИ ОТМЕТОК В КОТЛОВАН

Основным способом точной передачи отметок в котлован является способ геометрического нивелирования. Если в результате постоянного контроля за выемкой грунта установлено, что до проектной отметки осталось в пределах 10 см, то выполняют точную передачу отметки в котлован. Перед этим на дне котлована закладывают не менее двух грунтовых временных реперов или марок. На бровке укрепляют кронштейн или наклонный брусок для подвеса рулетки. К нижнему концу рулетки подвешивают груз и опускают его в сосуд с жидкостью для предотвращения колебаний. Отметку передают с помощью одного переносного или двух нивелиров. На рабочий репер Р1 и на репер на дне котлована Р2 устанавливают рейки. Посередине между рулеткой и реперами устанавливают нивелир (или два нивелира). Берут отсчеты по рейкам а и б и одновременно отсчеты по рулетке с и d. Отметку репера Р2 вычисляют по формуле:

Нр2 = Нр1 + а – б - (с - d).

Для контроля измерения повторяют, изменив высоту прибора.

Контролируют точность передачи отметки, прокладывая нивелирный ход между двумя реперам по дну котлована.

Передача отметок на дно котлована производится также проложением замкнутого нивелирного хода IV класса по въезду в котлован от реперов разбивочной сети здания (сооружения).

После окончательной зачистки дна котлована выполняют исполнительную съемку.

Места, точки, параметры, методы, порядок проведения и объем съемок устанавливают в соответствии с проектной документацией или ППР (ППГР).

В качестве исходной геодезической основы для выполнения съемки принимаются знаки геодезической разбивочной основы для строительства, знаки закрепления осей. До начала съемки проверяют неизменность положения знаков исходной основы.

Для составления исполнительных схем используют рабочие чертежи проектов, на которые наносятся данные исполнительной съемки.

При исполнительной съемке котлованов подлежат съемке в плане бровки котлованов и границы планировочных оформляющих плоскостей. Верхняя и нижняя бровки снимаются при глубине свыше 3 м. В остальных случаях допускается снимать только нижнюю бровку.

Съемке по высоте подлежат контуры котлована, перепады (изменения) отметок оснований под фундаменты.

После окончания работ по устройству котлована должны быть оформлены:

акт готовности котлована;

плановая и высотная исполнительные схемы готового котлована (состав и содержание исполнительной геодезической документации устанавливается ППР (ППГР).

Геодезические работы при устройстве насыпей и выемок

В состав геодезических работ при устройстве насыпи (выемки) входят:

проверка геодезических данных на рабочих чертежах проекта;

разбивка и закрепление в натуре оси насыпи или выемки;

разбивка и закрепление в натуре границ контуров основания и верхней (нижней) бровки;

нивелирование дневной поверхности по оси и на поперечниках;

контроль за соблюдением геометрической формы сооружения в процессе строительства;

плановая и высотная исполнительные съемки устроенной насыпи (выемки).

Для осуществления разбивки и закрепления в натуре оси насыпи (выемки) необходимо иметь:

координаты и отметки точек государственной геодезической или разбивочной сети на район насыпи (выемки);

координаты точек начала и конца насыпи (выемки), вершин углов поворота;

длины прямых участков насыпи (выемки);

элементы привязок.

Выбор метода перенесения в натуру зависит от характера застройки, протяженности насыпи (выемки), заданной точности и от наличия пунктов и знаков геодезической сети или разбивочной сети строительной площадки.

При графическом методе в качестве данных для перенесения насыпи (выемки) в натуру используются угловые и линейные величины, непосредственно полученные с топографического плана, используемого для проектирования.

В качестве твердых контуров используются углы и выступы капитальных зданий, точки вдоль фасадов зданий, положение которых определяется промерами от углов зданий или других твердых контуров. Линейные промеры берутся только от контуров, снятых инструментально.

При отсутствии твердых контуров межкду полигонометрическими знаками вблизи насыпи (выемки) прокладывается теодолитный ход.

При аналитическом методе вынос в натуру осуществляется от геодезических сетей, красных линий, точек теодолитных ходов, от оси проезда или от строительной сетки.

При наличии закрепленных в натуре осей проездов или красных линий перенесение производится непосредственно от них.

Необходимые данные для перенесения трассы насыпи (выемки) - длины полярных расстояний и углы поворота - вычисляют по координатам точек поворота трассы и геодезической сети.

Промежуточные точки выносятся, как створные.

Дирекционные углы и длины сторон между точками поворота вычисляются по координатам, полученным графически.

Геодезические работы по перенесению трасс насыпи (выемки) на местность начинаются с выноса точек поворота и продольной оси прокладки.

Перенесение в натуру осуществляется полярным способом с контролем от ближайшей вынесенной в натуру точки; способом линейных или створных засечек и способом перпендикуляров.

Полярный способ применяется при разбивках на открытой местности и возможности производства угловых и линейных измерений с одной точки стояния прибора.

Для измерения расстояний могут использоваться мерные ленты, металлические рулетки, оптические и нитяные дальномеры.

При выносе точек трассы, близко расположенных к пунктам геодезической или разбивочной сети, к капитальной застройке рекомендуется способ линейных засечек. При этом длина сторон засечки не должна быть более длины мерного прибора, а число засечек должно быть не менее трех. Углы при вершине засечки должны быть в пределах от 30 до 120°.

При наличии достаточного числа точек с известными координатами может применяться способ створных засечек.

Способ перпендикуляров рационален в случае расположения трасс вдоль геодезической сети, специально проложенного теодолитного хода или створной линии между зданиями.

Длина перпендикуляра не должна превышать 4 м. При длине перпендикуляров более 4 м вынос в натуру должен контролироваться засечкой.

При построении на местности отрезков линий заданной длины, полученных по координатам или непосредственно взятых с плана, в них вводят поправки на наклон (при угле наклона более 1,5°), температуру и компарирование.

Перенесение отрезков линий в натуру должно быть осуществлено с относительной ошибкой не более 1:2000.

При перенесении в натуру трассы насыпей (выемок) на местности закрепляют начало (НТ) и конец (КТ) трассы, вершины углов поворотов (ВУП), начало (НЗ) и конец (КЗ) закругления, начало (НКК), середину (СКК) и конец (ККК) круговой кривой, начало (НПК) и конец (КПК) переходных кривых, пикеты (ПК) и характерные промежуточные (плюсовые) точки (ПК+), нулевые места (НМ), т.е. точки с нулевыми земляными работами, точки пересечения оси насыпи (выемки) с осями существующих и проектируемых сооружений, точки перелома фактического и проектного профилей.

Все перечисленные выше точки должны иметь пикетажное наименование.

Высотное положение трассы насыпей (выемок) закрепляют временными реперами, связываемыми двойным нивелированием между постоянными реперами. Закрепление в плане и по высоте выносят за пределы зоны земляных работ и в журнале отмечают расстояния, на которые они вынесены. Выноски делают обычно теодолитом перпендикулярно к оси в виде створов из двух столбов или кольев, которые устанавливают по возможности постоянными на расстояниях от оси ближайшего столба или кола 30 - 50 м. Колья, столбы и реперы окапывают неглубокими канавками, чтобы их можно было быстрее обнаружить на местности.

Вынос и закрепление элементов земляных сооружений выполняют следующим образом:

отметки оси сооружения - колышками и высокими вехами (длиной 2 - 2,5 м) с выносом их за пределы зоны работ землеройно-транспортных машин и указанием расстояния выноски. На прямых участках колышки и вехи располагают не менее чем через 100 м, на кривых - не менее чем через 20 м;

границы насыпи, выемки и отвалов - колышками через 25 ÷ 50 м;

углы поворота трассы - прочно вкопанными угловыми столбами с надписью (диаметр столба не менее 0,1 м и высота 0,5...0,75 м над землей). Столбы располагают на продолжении биссектрисы угла в 0,5 м от его вершины. Надпись обращают к вершине, которую отмечают колышком. На кривых с малыми биссектрисами устанавливают на продолжении тангенсов (вне предела производства работ машинами) по две вехи через 20 м от вершины угла;

пикеты - колышками (после двойного промера) с выносом их за пределы зоны работ, с указанием расстояния выноски. При расхождении с изыскательским пикетажом более чем на 1 м устанавливают рубленые пикеты для увязки точек с проектным продольным профилем;

водоотводные канавы - колышками вдоль их осей с указанием глубины в местах их установки;

резервы - колышками через каждые 10 - 50 м с надписью на них глубины разработки. При широких резервах колышки устанавливают также по оси резерва;

полосу отвода земель - столбами, вкопанными на каждой стороне от оси земляного сооружения. Столбы устанавливают и маркируют с участием местных земельных органов;

зону производства работ машин - колышками или вехами для обозначения линии первого зарезания землеройной машины; границ подошвы насыпи или выемки; границ снятия растительного слоя и мест его размещения в отвалах; створа, обозначающего направление движения экскаватора, и др.

Допускается закрепление положения оси выемок с использованием обноски, устраиваемой на прямолинейных участках, устанавливаемой вдоль трассы на расстоянии 40 - 50 м одна от другой, а также в местах поворота.

Ось трассы проектируется в выемку (траншею, канаву) теодолитом или отвесом от натянутой проволоки между створными точками оси или точками поворота.

Разбивка проектного уклона дна выемки (траншеи, канавы) производится с помощью постоянных и ходовых визирок, оптических нивелиров и лазерных уклонофиксаторов. Отметки постоянных визирок, прикрепленных к обноске гвоздями, выносятся нивелиром с учетом проектного уклона дна выемки (траншеи, канавы). Разность отметок постоянных визирок определяется по формуле Dh = il, где i - проектный уклон траншеи; l - расстояние между визирками. Высота (длина) ходовой визирки определяется как разность отметок верха постоянной визирки и дна траншеи.

Правильность выполнения разбивки трассы в натуре контролируется от красных линий, осей проездов, от существующих твердых контурных точек и от специально проложенных теодолитных ходов.

Для выполнения земляных работ производят детальную разбивку земляного полотна (разбивку строительных поперечников). Эта разбивка состоит в обозначении на местности в плане и по высоте всех характерных точек поперечного профиля полотна: оси, бровок, кюветов, подошвы насыпей и т.д.

Порядок работ при детальной разбивке земляного полотна следующий.

Намечают положение поперечников на каждом пикете, плюсовых точках и в местах нулевых работ. На криволинейных (в плане) участках поперечники разбивают с интервалом детальной разбивки кривой по линии, перпендикулярной к касательной. На вертикальных сопряжениях продольного профиля разбивку производят через 20 м на выпуклых кривых и через 10 м - на вогнутых.

Используя положение осевых точек трассы, створных точек их закрепления, рабочие отметки продольного профиля и геометрические размеры привязанных типовых поперечных профилей, на местность переносят проекции бровок земляного полотна, границы заложения откосов насыпей, выемок, резервов и водоотводных сооружений. В полученных точках плановой разбивки устанавливают вешки-визирки или другие знаки, на которые обычно геометрическим нивелированием передают высотные элементы разбиваемого полотна.

Закрепляют разбивку поперечников створными выносками (кольями, столбами, вешками или другими знаками) на обрезах или за их пределами в 2 - 3 м от зоны работы землеройных и транспортных машин.

В процессе отсыпки насыпи (устройства выемки) контролируют соответствие проектным положения оси насыпи (выемки), ширину насыпей (положение бровок) после отсыпки каждого слоя грунта и ширину выемок после разработки каждого его горизонта, высоту возведения насыпей, глубину разработки выемок и водоотводов, крутизну откосов. Такой контроль производят от выносок закрепления разбивки земляного полотна. При этом пользуются линейными и угловыми данными, отметками точек, указанными в разбивочном журнале или схеме разбивки.

Крутизну откосов проверяют откосниками (откосными лекалами). Высоту насыпи до 3 м можно контролировать нивелиром методом геометрического нивелирования. Нивелир устанавливают на насыпь и по рейке, поставленной на выноске, берут отсчет а. Высота отсыпанной части насыпи h вычисляется по формуле:

h = а - v,

где v - высота инструмента.

Возведение насыпей высотой более 3 м контролируют при помощи откосников, или же теодолита способом наклонного луча визирования и тригонометрическим нивелированием.

Разработку неглубоких выемок (до 4 м) можно контролировать с помощью откосников, а также визирками, вешками-визирками или нивелиром относительно выносок.

При глубоких выемках разработку можно контролировать теодолитом с помощью наклонного луча визирования.

Уклон дна выемки (траншеи, канавы) можно контролировать посредством теодолита, нивелира или при помощи визирок.

После завершения земляных работ выполняют исполнительную съемку.

Места, точки, параметры, методы, порядок проведения и объем съемок устанавливают в соответствии с проектной документацией или ППР (ППГР).

В качестве исходной геодезической основы для выполнения съемки принимаются знаки геодезической разбивочной основы для строительства, знаки закрепления осей. До начала съемки проверяют неизменность положения знаков исходной основы.

Для составления исполнительных схем используют рабочие чертежи проектов, на которые наносятся данные исполнительной съемки.

При исполнительной съемке насыпей (выемок) подлежат съемке в плане бровки сооружений и границы планировочных оформляющих плоскостей. Верхняя и нижняя бровки снимаются при глубине выемок или высоте насыпей свыше 3 м. В остальных случаях допускается снимать только нижнюю бровку.

Съемке по высоте подлежат контуры насыпей (выемок), перепады (изменения) отметок оснований.

После окончания работ по устройству насыпей (выемок) должны быть оформлены:

акт готовности насыпей (выемок);

плановая и высотная исполнительные схемы готовых насыпей (выемок) (состав и содержание исполнительной геодезической документации устанавливается ППР (ППГР)).

Геодезические работы при выносе в натуру проекта вертикальной планировки

В состав геодезических работ при вертикальной планировке территории входят:

проверка геодезических данных на рабочих чертежах проекта;

нивелирование дневной поверхности планируемой территории;

разбивка и закрепление в натуре линии нулевых работ и линий равных отсыпок (в зоне насыпи) и срезок (в зоне выемки);

геодезический контроль правильности выполнения земляных работ и окончательная геодезическая исполнительная съемка спланированной территории.

По окончании работ по вертикальной планировке территории следует представлять следующую геодезическую исполнительную документацию:

акт о завершении работ по вертикальной планировке территории;

планово-высотную исполнительную схему спланированной территории (состав и содержание исполнительной геодезической документации устанавливается ППР (ППГР).

Разработка выемок, вертикальная планировка

Общие технические требования

СНиП 3.01.01-85* «Организация строительного производства»

СНиП 3.02.01-87 «Земляные сооружения, основания и фундаменты»

Пособие по производству работ при устройстве оснований и фундаментов (к СНиП 3.02.01-87)

СНиП III-4-80* «Техника безопасности в строительстве»

Строительство каждого объекта допускается осуществлять только на основе предварительно разработанных решений по организации строительства и технологии производства работ, которые должны быть приняты в проекте организации строительства и проектах производства работ (ППР).

До начала производства работ заказчик должен оформить и передать подрядной строительной организации разрешение на производство строительных работ.

К основным работам по строительству объекта или его части разрешается приступать только после отвода в натуре площадки (трассы) для его строительства, создания разбивочной геодезической сети (см. СОКК «Построение геодезической разбивочной основы для строительства»), окончания внеплощадочных и внутриплощадочных подготовительных работ (см. СОКК «Внеплощадочные и внутриплощадочные подготовительные работы»).

Разработку выемок следует производить в соответствии с требованиями СНиП 3.02.01-87, СНиП 3.01.01-85*, проекта, ППР, технологических карт и схем операционного контроля качества.

Земляные работы должны выполнять строительные организации, получившие лицензию на выполнение этих работ в Федеральных или местных органах по лицензированию строительной деятельности.

Земляные работы должны выполняться квалифицированным персоналом, прошедшим специальную подготовку и обладающим надлежащими навыками по выполнению земляных работ.

При производстве земляных работ должно быть обеспечено соблюдение строительных норм и правил, проекта и ППР.

Возведение земляных сооружений должно производиться по утвержденному проекту производства работ (ППР).

Запрещается осуществление земляных работ без утвержденного проекта производства работ. Не допускаются отступления от решений проектов производства работ без согласования с организациями, разработавшими и утвердившими их.

Контролируемые операции

Состав и средства контроля

Документация

Подготовительные работы

Проверить:

 

- наличие утвержденной проектно-сметной документации с разрешением заказчика на производство работ;

ПСД

- наличие геодезической разбивочной основы и технической документации на нее; наличие закрепленных на площадке строительства пунктов основы;

Акт приемки, техническая документация

- наличие ППР, технологических карт, схем операционного котроля качества земляных работ;

ППР, технологические карты, СОКК

- завершение подготовительных внеплощадочных и внутриплощадочных работ;

- завершение геодезических разбивочных работ по выносу в натуру и закреплению осей и характерных основных и промежуточных точек земляных сооружений.

Акт

Разработка выемок, вертикальная планировка

Контролировать:

 

- соблюдение заданной ППР (технологическими картами) технологии разработки выемок и вертикальной планировки;

- крутизну откосов и габариты выемок; отметки дна выемок и спланированной поверхности.

Общий и специальные журналы работ

Исполнительные геодезические схемы

Приемка

Проверить:

 

- соответствие плановых и высотных отметок выемок и спланированной поверхности требованиям проекта и нормативных документов;

Исполнительные геодезические схемы

- соответствие фактического напластования и свойств грунтов оснований требованиям проекта и нормативных документов;

Протоколы (акты) испытаний

- составление и надлежащее оформление актов освидетельствования скрытых работ, актов приемки оснований, выемок и спланированной поверхности и др. приемо-сдаточной документации.

Акты освидетельствования скрытых работ;

Акты приемки оснований, выемок и спланированной поверхности

Входной и операционный контроль осуществляют: мастер (прораб), геодезист, лаборант (инженер) строительной или геотехнической лаборатории - в процессе выполнения работ.

Приемочный контроль осуществляют прораб (мастер), геодезист, работники отдела контроля качества СМР, представители технадзора заказчика.

КИП: нивелир, теодолит и др. геодезические приборы и инструмент, лабораторные приборы

Разработка выемок, и вскрытие подземных коммуникаций в пределах охранных зон допускаются при наличии письменного разрешения эксплуатирующих организаций.

До начала производства земляных работ в местах расположения действующих подземных коммуникаций расположение последних на местности должно быть обозначено соответствующими знаками или надписями.

Производство земляных работ в зоне действующих подземных коммуникаций следует осуществлять под непосредственным руководством прораба или мастера, а в охранной зоне кабелей, находящихся под напряжением, или действующего газопровода, кроме того, под наблюдением работников электро- или газового хозяйства.

В случае обнаружения не указанных в проекте коммуникаций, подземных сооружений или обозначающих их знаков земляные работы должны быть приостановлены, на место работ вызваны представители заказчика и организаций, эксплуатирующих обнаруженные коммуникации, и приняты меры по предохранению обнаруженных подземных устройств от повреждения. При невозможности установления эксплуатирующих организаций следует вызвать представителей местной администрации.

Перед началом производства земляных работ на участках с возможным патогенным заражением почвы (свалка, скотомогильники, кладбища и т.п.) необходимо разрешение органов Государственно-санитарного надзора.

Котлованы и траншеи, разрабатываемые на улицах, проездах, во дворах населенных пунктов, а также местах, где происходит движение людей или транспорта, должны быть ограждены защитным ограждением с учетом требований ГОСТ 23407-78. На ограждении необходимо устанавливать предупредительные надписи и знаки, а в ночное время - сигнальное освещение.

Места прохода людей через траншеи должны быть оборудованы переходными мостиками, освещаемыми в ночное время.

Грунт, извлеченный из котлована или траншеи, следует размещать на расстоянии не менее 0,5 м от бровки выемки.

Разрабатывать грунт в котлованах и траншеях «подкопом» не допускается.

Валуны и камни, а также отслоения грунта, обнаруженные на откосах, должны быть удалены.

Рытье котлованов и траншей с вертикальными стенками без креплений в нескальных и незамерзших грунтах выше уровня грунтовых вод и при отсутствии вблизи подземных сооружений допускается на глубину не более, м:

1,0 - в насыпных, песчаных и крупнообломочных грунтах;

1,25 - в супесях;

1,50 - в суглинках и глинах.

Наибольшую высоту вертикальных стенок выемок в мерзлых грунтах, кроме сыпучемерзлых, при среднесуточной температуре воздуха ниже минус 2 °С допускается увеличивать по сравнению с вышеприведенной на величину глубины промерзания грунта, но не более чем до 2 м.

Рытье котлованов и траншей с откосами без креплений в нескальных грунтах выше уровня грунтовых вод (с учетом капиллярного поднятия) или в грунтах, осушенных с помощью искусственного водопонижения, допускается при глубине выемки и крутизне откосов согласно нижеприведенной таблице.

Вид грунтов

Крутизна откоса (отношение его высоты к заложению и градусы) при глубине выемки, м, не более

1,5

3

5

Насыпные неуплотненные

Песчаные гравийные

Супесь

Суглинок

Глина

Лессы и лессовидные

При напластовании различных видов грунтов крутизну откосов для всех пластов надлежит назначать по наиболее слабому виду грунта.

Крутизна откосов выемок глубиной более 5 м во всех случаях и глубиной менее 5 м при гидрогеологических условиях и видах грунтов, не предусмотренных в вышеприведенной таблице, должна устанавливаться проектом.

При высоте откосов более 5 м в однородных грунтах их крутизну допускается принимать по графикам приложения 3 СНиП 3.02.01-87, но не круче указанных в вышеприведенной таблице для глубины выемки 5 м и во всех грунтах (включая скальные) не более 80°. Крутизна откосов выемок, разрабатываемых в скальных грунтах с применением взрывных работ, должна быть установлена в проекте.

В проекте должна быть установлена крутизна откосов грунтовых карьеров, резервов и постоянных отвалов после окончания земляных работ в зависимости от направления рекультивации и способов закрепления поверхности откосов.

В проекте должна быть установлена необходимость временного крепления вертикальных стенок траншей и котлованов в зависимости от глубины выемки, вида и состояния грунта, гидрогеологических условий: величины и характера временных нагрузок на бровке и других местных условий.

При установке креплений верхняя часть их должна выступать над бровкой выемки не менее чем на 15 см.

Устанавливать крепления необходимо в направлении сверху вниз по мере разработки выемки на глубину не более 0,5 м.

Разборку креплений следует производить в направлении снизу вверх по мере обратной засыпки выемки.

Разработка роторными и траншейными экскаваторами в связных грунтах (суглинках, глинах) траншей с вертикальными стенами без крепления допускается на глубину не более 3 м. В местах, где требуется пребывание рабочих, должны устраиваться крепления траншей или откосов.

Производство работ в котлованах и траншеях с откосами, подвергшимися увлажнению, разрешается только после тщательного осмотра производителем работ (мастером) состояния грунта откосов и обрушения неустойчивого грунта в местах, где обнаружены «козырьки» или трещины (отслоения).

При наличии в период производства работ подземных вод в пределах выемок или вблизи их дна мокрыми следует считать не только грунты, расположенные ниже уровня грунтовых вод, но и грунты, расположенные выше этого уровня на величину капиллярного поднятия, которую следует принимать:

0,3 м - для крупных, средней крупности и мелких песков;

0,5 м - для пылеватых песков и супесей;

1,0 - для суглинков и глин.

Котлованы и траншеи, разработанные в зимнее время, при наступлении оттепели должны быть осмотрены, а по результатам осмотра должны быть приняты меры к обеспечению устойчивости откосов и креплений.

Перед допуском рабочих в котлованы или траншеи глубиной более 1,3 м должна быть проверена устойчивость откосов и креплений.

Число и размеры уступов и местных углублений в пределах выемки должны быть минимальными и обеспечивать механизированную зачистку основания и технологичность возведения сооружения. Для котлованов под жилые дома число уступов и местных углублений в скальных грунтах не должно превышать трех, в прочих грунтах - пяти. Отношение высоты уступа к его длине устанавливается проектом, но должно быть не менее 1:2 - в глинистых грунтах, 1:3 - в песчаных грунтах.

При необходимости разработки выемок в непосредственной близости и ниже подошвы фундаментов существующих зданий и сооружений проектом должны быть предусмотрены технические решения по обеспечению их сохранности.

При пересечении разрабатываемых траншей с действующими коммуникациями, не защищенными от механических повреждений, разработка грунта землеройными машинами разрешается на следующих минимальных расстояниях:

для подземных и воздушных линий связи и электрических, магистральных трубопроводов и других коммуникаций, для которых существуют правила охраны - в соответствии с требованиями этих правил;

для стальных сварных, керамических, чугунных и асбестоцементных трубопроводов, каналов и коллекторов, при использовании гидравлических экскаваторов - 0,5 м от боковой поверхности и 0,5 м над верхом коммуникаций с предварительным их обнаружением с точностью до 0,25 м;

для прочих подземных коммуникаций и средств механизации, а также для валунных и глыбовых грунтов независимо от вида коммуникаций и средств механизации - 2 м от боковой поверхности и 1 м над верхом коммуникаций с предварительным их обнаружением с точностью до 1 м;

на болотах и в грунтах текучепластичной консистенции механизированная разработка грунта над коммуникациями не разрешается.

Оставшийся грунт должен разрабатываться с применением ручных безударных инструментов или специальных средств механизации.

Места наложения разрабатываемых выемок или отсыпаемых насыпей на охранные зоны существующих подземных и воздушных коммуникаций, а также подземных сооружений должны быть обозначены в проекте с указанием величины охранной зоны.

Ширину вскрытия полос дорог и городских проездов при разработке траншей следует принимать: при бетонном покрытии или асфальтовом покрытии по бетонному основанию - на 10 см больше ширины траншеи по верху с каждой стороны с учетом креплений; при других конструкциях дорожных покрытий - на 25 см.

При дорожных покрытиях из сборных железобетонных плит ширина вскрытия должна быть кратной размеру плиты.

При разработке грунтов, содержащих негабаритные включения, в проекте должны быть предусмотрены мероприятия по их разрушению или удалению за пределы площадки. Негабаритными считаются валуны, камни, куски разрыхленного мерзлого и скального грунта, наибольший размер которых превышает:

2/3 ширины ковша - для экскаваторов, оборудованных обратной лопатой или оборудованием прямого копания;

1/2 ширины ковша - для экскаваторов, оборудованных драглайном;

2/3 наибольшей конструктивной глубины копания - для скреперов;

1/2 высоты отвала - для бульдозеров и грейдеров;

1/2 ширины кузова и по весу половину паспортной грузоподъемности - для транспортных средств;

3/4 меньшей стороны приемного отверстия - для дробилки;

30 см - при разработке вручную с удалением подъемными кранами.

При необходимости передвижения людей в пазухе расстояние между поверхностью откоса и боковой поверхностью возводимого в выемке сооружения (кроме искусственных оснований трубопроводов, коллекторов и т.п.) должно быть в свету не менее 0,6 м.

Размеры выемок, принимаемые в проекте, должны обеспечивать размещение конструкций и механизированное производство работ по забивке свай, монтажу фундаментов, устройству изоляции, водопонижению и водоотливу и других работ, выполняемых в выемке, а также возможность перемещения людей в пазухе.

        Размеры выемок по дну в натуре должны быть не менее, установленных проектом.

Крутизна откосов должна быть не более установленных проектом.

Минимальная ширина траншей должна приниматься в проекте наибольшей из числа величин, удовлетворяющих следующим требованиям:

под ленточные фундаменты и другие подземные конструкции - должна включать ширину конструкции с учетом опалубки, толщины изоляции и креплений с добавлением 0,2 м с каждой стороны;

при устройстве искусственных оснований под трубопроводы, кроме грунтовых подсыпок, коллекторы и подземные каналы - не менее ширины основания с добавлением 0,2 м с каждой стороны;

разрабатываемых одноковшовыми экскаваторами - не менее ширины режущей кромки ковша с добавлением 0,15 м в песках и супесях, 0,1 м в глинистых грунтах, 0,4 м в разрыхленных скальных и мерзлых грунтах;

разрабатываемых траншейными экскаваторами - не менее номинальной ширины копания.

В котлованах, траншеях и профильных выемках разработку элювиальных грунтов, меняющих свои свойства под влиянием атмосферных воздействий, следует осуществлять, оставляя защитный слой, величина которого и допустимая продолжительность контакта вскрытого основания с атмосферой устанавливаются проектом. Защитный слой удаляется непосредственно перед началом возведения сооружения.

Выемки в грунтах, кроме валунных, скальных и элювиальных, следует разрабатывать, как правило, до проектной отметки с сохранением природного сложения грунтов основания. Допускается разработка выемок в два этапа: черновая - с отклонениями, приведенными в пунктах 1 ÷ 4 нижеследующей таблицы, и окончательная (непосредственно перед возведением конструкций) - с отклонениями, приведенными в пункте 5 этой же таблицы.

Доработку недоборов до проектной отметки следует производить с сохранением природного сложения грунтов оснований.

Восполнение переборов в местах устройства фундаментов и укладки трубопроводов должно быть выполнено местным грунтом с уплотнением до плотности грунта естественного заложения основания или малосжимаемым грунтом (модуль деформаций не менее 20 МПа). В просадочных грунтах II типа не допускается применение дренирующего грунта.

Способ восстановления оснований, нарушенных в результате промерзания, затопления, а также переборов глубиной более 50 см, должен быть согласован с проектной организацией.

При искусственном засолении грунтов не допускается концентрация соли в поровой влаге свыше 10 % при наличии или предполагаемой укладке неизолированных металлических или железобетонных конструкций на расстоянии менее 10 м от места засоления.

При оттаивании грунта вблизи от подземных коммуникаций температура нагрева не должна превышать величины, вызывающей повреждение их оболочки или изоляции. Предельно допустимая температура должна быть указана эксплуатирующей организацией при выдаче разрешения на разработку выемки.

Ширина проезжей части подъездных путей в пределах разрабатываемых выемок и грунтовых карьеров должна быть для самосвалов грузоподъемностью до 12 т при двухстороннем движении 7 м, при одностороннем - 3,5 м.

При грузоподъемности самосвалов более 12 т, а также при использовании других транспортных средств ширина проезжей части определяется проектом организации строительства.

Сроки и способы производства земляных работ в вечномерзлых грунтах, используемых по 1 принципу, должны обеспечивать сохранение вечной мерзлоты в основаниях сооружений. Соответствующие защитные мероприятия должны быть предусмотрены проектом.

При производстве работ по разработке выемок и устройству естественных оснований состав контролируемых показателей, допустимые отклонения, объем и методы контроля должны соответствовать нижеприведенной таблице.

Технические требования

Предельные отклонения

Контроль (метод и объем)

1. Отклонения отметок дна выемок от проектных (кроме выемок в валунных, скальных и вечномерзлых грунтах) при черновой разработке:

Для экскаваторов с механическим приводом по видам рабочего оборудования:

Измерительный, точки измерений устанавливаются случайным образом; число измерений на принимаемый участок должно быть не менее:

а)   одноковшовыми экскаваторами, оснащенными ковшами с зубьями

драглайн +25 см

20

прямого копания +10 см

15

обратная лопата +15 см

10

Для экскаваторов с гидравлическим приводом + 10 см

10

б)   одноковшовыми экскаваторами, оснащенными планировочными ковшами, зачистным оборудованием и другим специальным оборудованием для планировочных работ, экскаваторами-планировщиками

+5 см

5

в)   бульдозерами

+10 см

15

г)    траншейными экскаваторами

+10 см

10

д)   скреперами

+10 см

10

2. Отклонения отметок дна выемок от проектных при черновой разработке в скальных и вечномерзлых грунтах, кроме планировочных выемок:

 

Измерительный, при числе измерений на сдаваемый участок не менее 20 в наиболее высоких местах, установленных визуальным осмотром

а)   недоборы

Не допускаются

 

б)   переборы

По нижеследующей табл.

 

3. То же планировочных выемок:

 

То же

а)   недоборы

10 см

 

б)   переборы

20 см

 

4. То же без рыхления валунных и глыбовых грунтов:

 

То же

а)   недоборы

Не допускаются

 

б)   переборы

Не более величины максимального диаметра валунов (глыб), содержащихся в грунте в количестве свыше 15 % по объему, но не более 0,4 м

 

5. Отклонения отметок дна выемок в местах устройства фундаментов и укладки конструкций при окончательной разработке или после доработки недоборов и восполнения переборов

±15 см

Измерительный, по углам и центру котлована, на пересечениях осей здания, в местах изменения отметок, но не реже чем через 50 м и не менее 10 измерений на принимаемый участок

6. Вид и характеристики вскрытого грунта естественных оснований под фундаменты и земляные сооружения

Должны соответствовать проекту. Не допускается размыв, размягчение, разрыхление или промерзание верхнего слоя основания толщиной более 3 см

Технический осмотр всей поверхности основания

7. Отклонения от проектного продольного уклона дна водоотводных канав и других выемок с уклонами

Не должны превышать ±0,0005

Измерительный, в местах поворотов, примыканий и т.п., но не реже чем через 50 м

8. Отклонения уклона спланированной поверхности от проектного, кроме орошаемых земель

Не должны превышать ±0,001 при отсутствии замкнутых понижений

Визуальный (наблюдения за стоком атмосферных осадков) или измерительный, по сетке 50 ´ 50 м

9. Отклонения отметок спланированной поверхности от проектных, кроме орошаемых земель

Не должны превышать:

Измерительный, по сетке 50 ´ 50 м

а)   в нескальных грунтах

±5 см

 

б)   в скальных грунтах

От +10 до -20 см

 

Допустимые величины переборов

Разновидность грунта в соответствии с ГОСТ 25100-82* и модулем трещиноватости

Допустимые величины переборов, см, при рыхлении способом

взрывным

механическим

методом скважинных зарядов

методом шпуровых зарядов

Прочные и очень прочные при модуле трещиноватости менее 1,0

20

10

5

Прочие скальные грунты, вечномерзлые грунты

40

20

10

Примечание. Модуль трещиноватости - среднее число трещин на один метр линии измерения, расположенной на поверхности забоя перпендикулярно главной или главным системам трещин.

Состав контролируемых операций, объем, сроки и способы контроля, осуществляемого в процессе разработки выемок и вертикальной планировки, участие в нем геодезической службы, строительной и геотехнической лаборатории и других функциональных служб должно быть определено технологическими картами на выполнение этих работ.

Отклонение отметок дна выемок от проектных осуществляется инструментально геодезическими методами, изложенными в СОКК «Геодезические работы при устройстве земляных сооружений».

Отсутствие нарушений природных свойств грунтов основания и соответствие этих свойств предусмотренным в проекте допускается проверять визуально (технический осмотр). В сомнительных случаях следует применять пенетрацию, зондирование, отбор образцов грунта для испытаний и др.

При больших отклонениях от проектных данных должно быть выполнено, кроме того, испытание грунтов пробными нагрузками и принято решение о необходимости разработки поправок либо к проекту оснований и фундаментов, либо к проекту производства работ.

Проверку однородности и достаточности выполненного уплотнения грунтов в естественном залегании следует осуществлять полевыми методами (зондированием, радиоизотопными методами и пр.) и выборочным определением плотности сухого грунта по отобранным образцам из каждого уплотненного слоя грунта.

При контроле качества выполнения земляных работ по разработке выемок и вертикальной планировке следует обращать внимание на:

соблюдение необходимых недоборов грунта, недопущение переборов и нарушения структуры грунта основания;

недопущение нарушения структуры грунта при срезке недоборов и подготовке оснований;

предохранение грунтов оснований от подтапливания подземными и поверхностными водами с размягчением и размывом верхних слоев основания;

соответствие характеристик вскрытых грунтов основания предусмотренным в проекте;

достижение достаточного и однородного уплотнения песчаных подушек.

Результаты операционного контроля качества выполняемых земляных работ фиксируются в общих и специальных журналах работ, журналах геотехнического контроля, исполнительных геодезических схемах, чертежах и других документах, предусмотренных технологическими картами и действующей в данной организации системой управления качеством.

При приемке земляных работ по разработке выемок и вертикальной планировке производятся исполнительные съемки. По результатам съемок составляются исполнительные планово-высотные схемы, которые должны входить в состав приемо-сдаточной исполнительной документации, предъявляемой при приемке выполненных земляных работ.

В состав приемо-сдаточной исполнительной документации входят также акты освидетельствования скрытых работ , примерный перечень которых приведен ниже.

Приемка выполненных земляных работ оформляется соответствующим актом.

ПРИМЕРНЫЙ ПЕРЕЧЕНЬ СКРЫТЫХ РАБОТ ПРИ ПРОИЗВОДСТВЕ ЗЕМЛЯНЫХ РАБОТ, ОСНОВАНИЙ И ФУНДАМЕНТОВ.

1. ЗЕМЛЯНЫЕ РАБОТЫ:

а) устройство естественных оснований под земляные сооружения, фундаменты;

б) выполнение предусмотренных проектом или назначенных по результатам осмотра вскрытых оснований инженерных мероприятий по закреплению грунтов и подготовке оснований (цементация и т.п., замачивание, дренирование оснований, устройство термических или грунтовых свай, заглушение ключей, заделка трещин, устройство грунтовых подушек и др.);

в) конструкции, входящие в тело земляного сооружения; установленные проектом границы зон раскладки грунтов с отличающимися физико-механическими характеристиками; элементы дренажей (дренажные слои и их основания, колодцы, трубопроводы и их обсыпка); диафрагмы; экраны; ядра; подстилающие слои при установке контрольно-измерительной аппаратуры;

г) обратные засыпки выемок в местах пересечения с дорогами, тротуарами и иными территориями с дорожным покрытием;

д) насыпные основания под полы, грунтовые подушки;

е) обратные засыпки в просадочных грунтах (при наличии указаний в проекте);

ж) мероприятия, необходимые для возобновления работ при перерывах в ведении работ более месяца, при консервации и расконсервации работ.

2. УСТРОЙСТВО ОСНОВАНИЙ И ФУНДАМЕНТОВ:

а) устройство искусственных оснований под фундаменты, включая дно котлованов (в том числе после предварительного замачивания), оснований опускных колодцев, кессонов, оснований буронабивных свай и т.д.;

б) втрамбовывание в дно котлованов жесткого материала (щебень, гравий);

в) устройство вертикальных дрен и всех видов дренажей и дренажных завес.

Приложение 6 к СНиП 3.01.01-85*

АКТ ОСВИДЕТЕЛЬСТВОВАНИЯ СКРЫТЫХ РАБОТ

___________________________________________________________________________

(наименование работ)

выполненных в _____________________________________________________________

(наименование и место расположения объекта)

«____» __________ 19 ___ г.

Комиссия в составе:

представителя строительно-монтажной организации _____________________________

(фамилия, инициалы, должность)

представителя технического надзора заказчика __________________________________

(фамилия, инициалы, должность)

произвела осмотр работ, выполненных _________________________________________

(наименование строительно-монтажной организации)

и составила настоящий акт о нижеследующем:

1. К освидетельствованию предъявлены следующие работы _____________________

(наименование скрытых работ)

2. Работы выполнены по проектно-сметной документации ______________________

(наименование проектной организации, № чертежей и дата их составления)

3. При выполнении работ применены ________________________________________

(наименование материалов, конструкций, изделий со ссылкой на сертификаты или другие документы, подтверждающие качество)

4. При выполнении работ отсутствуют (или допущены) отклонения от проектно-сметной документации ______________________________________________________

(при наличии отклонений указывается, кем согласованы, № чертежей и дата согласования)

5. Дата: начала работ ______________________________________________________

окончания работ ___________________________________________________

Решение комиссии

Работы выполнены в соответствии с проектно-сметной документацией, стандартами, строительными нормами и правилами и отвечают требованиям их приемки.

На основании изложенного разрешается производство последующих работ по устройству (монтажу) ________________________________________________________

(наименование работ и конструкций)

Представитель технического

надзора заказчика ___________________________________________________________

                                                                                                           (подпись)

Представитель строительно-

монтажной организации ______________________________________________________

                                                                                                                 (подпись)

Земляные работы в просадочных, набухающих и других грунтах, меняющих свои свойства под влиянием атмосферной влаги и подземных вод

Разработку котлованов в просадочных и набухающих грунтах разрешается производить только после выполнения мероприятий, обеспечивающих отвод поверхностных вод из котлована и прилегающей территории, размеры которой превышают с каждой стороны размеры разрабатываемой выемки по верху на величину:

для просадочных грунтов - не менее величины просадочной толщи, указанной в проекте, а при отсутствии указаний в проекте - на 15 м при I типе и 25 м при II типе грунтовых условий по просадочности;

для набухающих грунтов - не менее 15 м.

При производстве земляных работ в грунтовых условиях II типа по просадочности водоприемники и водоотводные устройства должны быть рассчитаны на приток воды 5 % обеспеченности от таяния снегов и выпадения осадков, принимая наибольшую из указанных величин.

Земляные работы в прочих особых условиях

При производстве земляных работ на болотах с несущей способностью грунтов менее 0,3 МПа в забоях, на временных дорогах и по поверхности отвалов по указаниям проекта должны быть выполнены мероприятия, обеспечивающие работу и проезд строительной техники и транспорта (подсыпка дренирующего слоя грунта, применение геотекстильных материалов и др.). При отсутствии в проекте соответствующих указаний толщина подсыпки из дренирующих грунтов должна приниматься не менее 0,5 м и уточняться в процессе производства работ.

При использовании слабых грунтов (по СНиП 2.05.02-85) в качестве оснований дорог и площадок дерновый слой удалять не следует.

При выполнении земляных работ в районах подвижных песков в проекте организации строительства должны быть предусмотрены мероприятия по защите выемок от заносов и выдувания на период строительства.

Запрещается производство работ на склонах и прилегающих участках при наличии трещин, заколов до выполнения соответствующих противооползневых мероприятий.

Устройство насыпей и обратных засыпок

Общие технические требования

СНиП 3.01.01-85* «Организация строительного производства»

СНиП 3.02.01-87 «Земляные сооружения, основания и фундаменты»

Пособие по производству работ при устройстве оснований и фундаментов (к СНиП 3.02.01-83)

СНиП III-4-80* «Техника безопасности в строительстве»

Строительство каждого объекта допускается осуществлять только на основе предварительно разработанных решений по организации строительства и технологии производства работ, которые должны быть приняты в проекте организации строительства и проектах производства работ (ППР).

До начала производства работ заказчик должен оформить и передать подрядной строительной организации разрешение на производство строительных работ.

К основным работам по строительству объекта или его части разрешается приступать только после отвода в натуре площадки (трассы) для его строительства, создания разбивочной геодезической сети (см. СОКК «Построение геодезической разбивочной основы для строительства»), окончания внеплощадочных и внутриплощадочных подготовительных работ (см. СОКК «Внеплощадочные и внутриплощадочные подготовительные работы»).

Устройство насыпей и обратных засыпок следует производить в соответствии с требованиями СНиП 3.02.01-87, СНиП 3.01.01-85*, проекта, ППР, технологических карт и схем операционного контроля качества.

Земляные работы должны выполнять строительные организации, получившие лицензию на выполнение этих работ в Федеральных или местных органах по лицензированию строительной деятельности.

Земляные работы должны выполняться квалифицированным персоналом, прошедшим специальную подготовку и обладающим надлежащими навыками по выполнению земляных работ.

При производстве земляных работ должно быть обеспечено соблюдение строительных норм и правил, проекта и ППР.

Возведение земляных сооружений должно производиться по утвержденному проекту производства работ (ППР).

Запрещается осуществление земляных работ без утвержденного проекта производства работ. Не допускаются отступления от решений проектов производства работ без согласования с организациями, разработавшими и утвердившими их.

Контролируемые операции

Состав и средства контроля

Документация

Подготовительные работы

Проверить:

 

-  наличие утвержденной проектно-сметной документации с разрешением заказчика на производство работ;

ПСД

-  наличие геодезической разбивочной основы и технической документации на нее; наличие закрепленных на площадке строительства пунктов основы;

Акт приемки, техническая документация

-  наличие ППР, технологических карт, схем операционного контроля качества земляных работ;

ППР, технологические карты, СОКК

-  завершение подготовительных внеплощадочных и внутриплощадочных работ;

-  завершение геодезических разбивочных работ по выносу в натуру и закреплению осей и характерных основных и промежуточных точек земляных сооружений;

Акт

-  наличие акта приемки основания.

Акт приемки основания

Устройство насыпей и обратных засыпок

Контролировать:

 

-  соблюдение заданной ППР (технологическими картами) технологии устройства насыпей и обратных засыпок; типы и физико-механические свойства отсыпаемых грунтов, степень их уплотнения;

-  геометрические размеры насыпей.

Общий и специальные журналы работ

Исполнительные геодезические схемы

Приемка

Проверить:

 

-  соответствие геометрических размеров насыпей требованиям проекта и нормативных документов;

-  соответствие фактического напластования и свойств грунтов, степени их уплотнения требованиям проекта и нормативных документов;

Исполнительные геодезические схемы

Протоколы (акты) испытаний

-  составление и надлежащее оформление актов освидетельствования скрытых работ, актов приемки насыпей и другой приемо-сдаточной документации.

Акты освидетельствования скрытых работ; Акты приемки насыпей

Входной и операционный контроль осуществляют: мастер (прораб), геодезист, лаборант (инженер) строительной или геотехнической лаборатории - в процессе выполнения работ

Приемочный контроль осуществляют прораб (мастер), геодезист, работники отдела контроля качества СМР, представители технадзора заказчика

КИП: нивелир, теодолит и др. геодезические приборы и инструмент, лабораторные приборы

В проекте должны быть указаны типы и физико-механические характеристики грунтов, предназначенных для возведения насыпей и устройства обратных засыпок, и специальные требования к ним, требуемая степень уплотнения (плотность сухого грунта или коэффициент уплотнения), границы частей насыпи, возводимых из грунтов с разными физико-механическими характеристиками.

По согласованию с заказчиком и проектной организацией грунты насыпей и обратных засыпок при необходимости могут быть заменены.

Для устройства грунтовых подушек, обратных засыпок котлованов, траншей, планировочных насыпей и подсыпок при строительстве следует использовать местные глинистые и песчаные грунты, а также отвалы отходов различных производств, располагающихся в районе строительства.

Использование привозных грунтов допускается при соответствующем технико-экономическом обосновании в связи с необходимостью получения повышенных характеристик уплотненных грунтов в случаях, когда местные грунты не могут быть использованы вследствие заторфованности, наличия строительного мусора или органики, высокой природной влажности, превышающей влажность на границе раскатывания.

Песчаные грунты и аналогичные им отходы производств для устройства грунтовых подушек, обратных засыпок котлованов, траншей, планировочных насыпей и подсыпок допускается использовать только при строительстве на слабых глинистых, водонасыщенных песчаных и просадочных грунтах с I типом грунтовых условий при применении мероприятий по устранению просадочных свойств грунтов или их прорезке свайными фундаментами.

На просадочных грунтах со II типом грунтовых условий в связи с необходимостью выполнения водозащитных мероприятий и создания маловодопроницаемых экранов применение песчаных и других дренирующих зернистых материалов не допускается.

При использовании в одной насыпи грунтов разных типов необходимо выполнять следующие требования:

использовать в одном слое грунты разных типов не допускается, если это не предусмотрено проектом;

поверхность слоев из менее дренирующих грунтов, располагаемых под слоями из более дренирующих, должна иметь уклон в пределах 0,04 - 0,1 от оси насыпи к краям.

Применение грунтов с концентрацией растворимых солей в поровой влаге свыше 10 % не допускается для засыпки на расстоянии менее 10 м от существующих или проектируемых неизолированных металлических или железобетонных конструкций.

При использовании для насыпей и засыпок грунтов, содержащих в допускаемых пределах твердые включения, последние должны быть равномерно распределены в отсыпаемом грунте и расположены не ближе 0,2 м от изолированных конструкций, а мерзлые комья, кроме того, не ближе 1 м от откоса насыпи.

При укладке грунта «насухо», за исключением дорожных насыпей, уплотнение следует производить, как правило, при влажности W, которая должна быть в пределах АWо £ W £ ВWо, где Wо - оптимальная влажность, определяемая в приборе стандартного уплотнения по ГОСТ 22733-77. Коэффициенты А и В следует принимать по нижеследующей таблице.

Тип грунта

Величина коэффициентов А и В при коэффициенте уплотнения K сот

0,98

0,96

0,92

А

В

А

В

А

В

Пески крупные, средние, мелкие

Не ограничивается

Пески пылеватые

0,60

1,35

0,50

1,45

0,40

1,60

Супеси

0,80

1,20

0,75

1,35

0,56

1,40

Суглинки

0,85

1,15

0,80

1,20

0,70

1,30

Глины

0,90

1,10

0,85

1,15

0,75

1,20

При применении крупнообломочных грунтов с глинистым заполнителем влажность на границе раскатывания и текучести определяются по мелкозернистому (менее 2 мм) заполнителю и пересчитываются на грунтовую смесь.

При недостатке в районе строительства карьеров с грунтами, укладываемыми «насухо», и если по климатическим условиям района строительства естественная подсушка грунта невозможна, а подсушка грунта в специальных установках экономически нецелесообразна, для укладки в насыпи допускается применять грунт повышенной влажности с внесением соответствующих изменений в проект.

Основным работам по уплотнению грунтов и устройству грунтовых подушек должно предшествовать опытное уплотнение, в ходе которого должны быть установлены технологические параметры (толщина слоев отсыпки, оптимальная влажность, число проходов уплотняющих машин, ударов трамбовки и другие, указанные в проекте), обеспечивающие получение требуемых проектом значений плотности уплотненного грунта, а также контрольные величины показателей, подлежащих операционному контролю в ходе работ (понижение отметки уплотняемой поверхности, осадки марок и др.).

Опытное уплотнение грунтов насыпей и обратных засыпок следует производить при наличии указаний в проекте, а при отсутствии специальных указаний - при объеме поверхностного уплотнения на объекте 10 тыс. м3 и более.

Опытное уплотнение следует выполнять по программе, учитывающей гидрогеологические условия площадки, предусмотренные проектом средства уплотнения, сезон производства работ и другие факторы, влияющие на технологию и результаты работ.

В результате опытного уплотнения должны быть установлены:

а) толщина отсыпаемых слоев, число проходов уплотняющих машин по одному следу, продолжительность воздействия вибрационных и других рабочих органов на грунт, число ударов и высота сбрасывания трамбовок и другие технологические параметры, обеспечивающие проектную плотность грунта;

б) величины косвенных показателей качества уплотнения, подлежащих операционному контролю («отказа» для уплотнения трамбованием, числа ударов динамического плотномера и др.).

Если опытное уплотнение предусмотрено проводить в пределах возводимой насыпи, места выполнения работ должны быть указаны в проекте.

При уплотнении насыпей и обратных засыпок грунтовыми сваями, гидровиброуплотнением, пригрузом с вертикальными дренами, а также уплотнении грунтовых подушек опытное уплотнение следует производить в соответствии с СОКК «Уплотнение грунтов».

При возведении насыпей, ширина которых по верху не позволяет производить разворот или разъезд транспортных средств, насыпь необходимо отсыпать с местными уширениями для устройства разворотных или разъездных площадок. Дополнительные объемы земляных работ должны быть учтены в проекте организации строительства.

Засыпку траншей с уложенными трубопроводами в непросадочных грунтах следует производить в две стадии.

На первой стадии выполняется засыпка нижней зоны немерзлым грунтом, не содержащим твердых включений размером свыше 1/10 диаметра асбестоцементных, пластмассовых, керамических и железобетонных труб на высоту 0,5 м над верхом трубы, а для прочих труб - грунтом без включений размером свыше 1/4 их диаметра на высоту 0,2 м над верхом трубы с подбивкой пазух и равномерным послойным его уплотнением до проектной плотности с обеих сторон трубы. При засыпке не должна повреждаться изоляция труб. Стыки напорных трубопроводов засыпаются после проведения предварительных испытаний коммуникаций на прочность и герметичность в соответствии с требованиями СНиП 3.05.04-85.

На второй стадии выполняется засыпка верхней зоны траншеи грунтом, не содержащим твердых включений размером свыше диаметра трубы. При этом должна обеспечиваться сохранность трубопровода и плотность грунта, установленная проектом.

Засыпку траншей с непроходными подземными каналами в непросадочных грунтах следует производить в две стадии.

На первой стадии выполняется засыпка нижней зоны траншеи на высоту 0,2 м над верхом канала немерзлым грунтом, не содержащим твердых включений размером свыше 1/4 высоты канала, но не более 20 см, с послойным его уплотнением до проектной плотности с обеих сторон канала.

На второй стадии выполняется засыпка верхней зоны траншеи грунтом, не содержащим твердых включений размером свыше 1/2 высоты канала. При этом должна обеспечиваться сохранность канала и плотность грунта, установленная проектом.

Обратную засыпку траншей, на которые не передаются дополнительные нагрузки (кроме собственного веса грунта), можно выполнять без уплотнения грунта, но с отсыпкой по трассе траншеи валика, размеры которого следует определять с учетом последующей естественной осадки грунта. Наличие валика не должно препятствовать использованию территории в соответствии с ее назначением.

Траншеи и котлованы, кроме разрабатываемых в просадочных грунтах II типа, на участках пересечения с существующими дорогами и другими территориями, имеющими дорожные покрытия, следует засыпать на всю глубину песчаным, галечниковым грунтом, отсевом щебня или другими аналогичными малосжимаемыми (модуль деформаций 20 МПа и более) местными материалами, не обладающими цементирующими свойствами, с уплотнением. При отсутствии в районе строительства указанных материалов допускается совместным решением заказчика, подрядчика и проектной организации использовать для обратных засыпок супеси и суглинки при условии обеспечения их уплотнения до проектной плотности.

Засыпку траншей на участках, на которых проектом предусмотрено устройство земляного полотна железных и автомобильных дорог, оснований аэродромных и других покрытий аналогичного типа, гидротехнических насыпей, надлежит выполнять в соответствии с требованиями соответствующих СНиП.

На участке пересечения траншей, кроме разрабатываемых в просадочных грунтах, с действующими подземными коммуникациями (трубопроводами, кабелями и др.), проходящими в пределах глубины траншей, должна быть выполнена подсыпка под действующие коммуникации немерзлым песком или другим малосжимаемым (модуль деформаций 20 МПа и более) грунтом по всему поперечному сечению траншеи на высоту до половины диаметра пересекаемого трубопровода (кабеля) или его защитной оболочки с послойным уплотнением грунта. Вдоль траншеи размер подсыпки по верху должен быть на 0,5 м больше с каждой стороны пересекаемого трубопровода (кабеля) или его защитной оболочки, а откосы подсыпки должны быть не круче 1:1.

Если проектом предусмотрены устройства, обеспечивающие неизменяемость положения и сохранность пересекаемых коммуникаций, обратная засыпка траншеи должна осуществляться в две стадии, как показано выше.

Обратную засыпку (за исключением выполняемых в просадочных грунтах II типа) узких пазух, где невозможно обеспечить уплотнение грунта до требуемой плотности имеющимися средствами, следует выполнять только малосжимаемыми (модуль деформаций 20 МПа и более) грунтами (щебнем, гравийно-галечниковыми и песчано-гравийными грунтами, песками крупными и средней крупности) или аналогичными промышленными отходами с проливкой водой, если в проекте не предусмотрено другое решение.

В насыпях с жестким креплением откосов и в других случаях, когда плотность грунта на откосе должна быть равна плотности в теле насыпи, насыпь следует отсыпать с технологическим уширением, величина которого устанавливается в проекте в зависимости от крутизны откоса, толщины отсыпаемых слоев, естественного откоса рыхло отсыпаемого грунта и минимально допустимого приближения уплотняющего механизма к бровке насыпи. Срезаемый с откосов грунт может повторно укладываться в тело насыпи.

Для организации проездов по отсыпаемой каменной наброске по всей площади необходимо отсыпать выравнивающий слой из мелкого скального грунта (размер куска до 50 мм) или песка.

При возведении насыпей, вечномерзлые основания которых запроектированы по I принципу, кроме гидротехнических, следует производить отсыпку грунта при отрицательной температуре воздуха на мерзлое основание. Толщина слоя насыпи, отсыпанного при отрицательной температуре на мерзлое основание, должна быть не меньше глубины его сезонного оттаивания.

При устройстве насыпей на сильнопучинистых основаниях нижняя часть насыпи должна быть отсыпана на высоту не менее глубины промерзания до наступления устойчивых отрицательных температур воздуха.

Насыпи, возводимые без уплотнения, следует отсыпать с запасом по высоте на осадку по указаниям проекта. При отсутствии в проекте указаний величину запаса следует принимать: при отсыпке из скальных грунтов - 6 %, из нескальных - 9 %.

При использовании грунтов повышенной влажности проектом должны быть предусмотрены зоны насыпей, отсыпаемых из дренирующего материала, обеспечивающего дренирование уложенного грунта повышенной влажности при его консолидации под действием собственного веса и возможность перемещения транспортных средств и механизмов по картам отсыпки.

Потери грунта при транспортировании в земляные сооружения автотранспортом, скреперами и землевозами следует учитывать в размере, %: при транспортировании на расстояние до 1 км - 0,5 , при больших расстояниях - 1,0.

Потери грунта при перемещении его бульдозерами по основанию, сложенному грунтом другого типа, следует учитывать в размере, %: при обратной засыпке траншей и котлованов - 1,5, при укладке в насыпи - 2,5.

Допускается принимать больший процент потерь по совместному решению заказчика и подрядчика.

Мерзлый грунт с поверхности въездов и съездов, устраиваемых в пределах проектного профиля насыпей, перед засыпкой в зимний период должен быть удален. Засыпку следует выполнять немерзлым грунтом с уплотнением.

При производстве работ по устройству насыпей и обратных засыпок состав контролируемых показателей, предельные отклонения, объем и методы контроля должны соответствовать приведенным ниже. Точки определения показателей характеристик грунта должны быть равномерно распределены по площади и глубине.

Технические требования

Предельные отклонения

Контроль (метод и объем)

1. Гранулометрический состав грунта, предназначенного для устройства насыпей и обратных засыпок (при наличии специальных указаний в проекте)

Должен соответствовать проекту. Выход за пределы диапазона, установленного проектом, допускается не более чем в 20 % определений

Измерительный и регистрационный по указаниям проекта

2. Содержание в грунте, предназначенном для устройства насыпей и обратных засыпок:

 

 

а) древесины, волокнистых материалов, гниющего или легкосжимаемого строительного мусора

Не допускается

Ежесменный, визуальный

б) растворимых солей в случае применения засоленных грунтов

Количество не должно превышать указанного в проекте

Измерительный по указаниям проекта, но не реже чем одно определение на 10 тыс. м3 грунта

3. Содержание мерзлых комьев в насыпях (кроме гидротехнических) и обратных засыпках от общего объема отсыпаемого грунта:

Не должно превышать, %:

Визуальный, периодический (устанавливается в ППР)

а) для наружных пазух зданий и верхних зон траншей с уложенными коммуникациями

20

 

б) для насыпей, уплотняемых укаткой

20

 

в) для насыпей, уплотняемых трамбованием

30

 

г) для насыпей, возводимых без уплотнения

50

 

д) для пазух и подсыпок внутри зданий

Не допускается

 

е) для грунтовых подушек

15 %

 

4. Размер твердых включений, в т.ч. мерзлых комьев, в насыпях и обратных засыпках

Не должен превышать 2/3 толщины уплотненного слоя, но не более 15 см для грунтовых подушек и 30 см для прочих насыпей и обратных засыпок

Визуальный, периодический (устанавливается в ППР)

5. Наличие снега и льда в насыпях, обратных засыпках и их основаниях

Не допускается

То же

6. Температура грунта, отсыпаемого и уплотняемого при отрицательной температуре воздуха

Должна обеспечивать сохранение немерзлого или пластичного состояния грунта до конца его уплотнения

Измерительный, периодический (устанавливается в ППР)

7. Средняя по проверяемому участку плотность сухого грунта обратных засыпок

Не ниже проектной, а при отсутствии в проекте указаний должна быть не ниже плотности, соответствующей контрольным значениям коэффициента уплотнения, приведенным в следующей таблице. Допускаются значения плотности сухого грунта ниже проектных на 0,06 г/см3 в отдельных определениях, но не более чем в 20 % определений

То же, объем устанавливается проверяющей организацией

8. Средняя по принимаемому участку плотность сухого грунта для дорожных, гидротехнических насыпей, грунтовых подушек под фундаменты

Не ниже проектной. Допускаются значения плотности сухого грунта ниже проектных не более чем в 10 % определений при летней отсыпке и в 20 % при зимней отсыпке

То же, по указаниям проекта, а при отсутствии указаний - ежесменно, но не реже чем одно определение на 300 м3 насыпи

9. Средняя по проверяемому участку плотность сухого грунта планировочных и других уплотняемых насыпей, для которых эта величина не задана проектом

Не ниже плотности сухого грунта, соответствующей контрольным значениям коэффициента уплотнения, приведенным в нижеследующей таблице

Измерительный, объем устанавливается проверяющей организацией

10. Средняя по принимаемому участку плотность сухого грунта насыпных грунтовых оснований под полы

Не ниже проектной. Допускаются значения плотности сухого грунта ниже проектных не более чем в 20 % определений

То же, по указаниям проекта, но не реже чем одно определение на 200 м2 основания при толщине подсыпки до 1 м или на 300 м3 подсыпки - при большей толщине

11. Степень влажности при устройстве насыпи из грунтов повышенной влажности

Не более 0,85. Допускаются значения более 0,85 в отдельных измерениях но не более чем в 20 % определений

То же, по указаниям проекта, а при отсутствии таких указаний - ежесменно, но не менее одного определения на 300 м3 насыпи

12. Влажность грунта в теле насыпи

Должна быть в пределах, установленных проектом. Допускаются отклонения значений влажности за пределы, установленные проектом, не более чем в 10 % определений

То же, по указаниям проекта, но не менее одного определения на 20 - 50 тыс. м3 насыпи

13. Коэффициент фильтрации ядер, экранов, понуров и других противофильтрационных элементов насыпей

Должен соответствовать проекту. Допускаются отклонения выше проектных значений не более чем в 10 % определений

Измерительный, по указаниям проекта

 

 

 

14. Прочие характеристики грунтов, контроль которых предусмотрен проектом

Должны соответствовать проекту

По указаниям проекта

15. Отклонения геометрических размеров насыпей:

 

 

а) положения оси насыпей железных дорог

±10 см

Измерительный, в местах размещения знаков разбивки, но не реже чем через 100 м на прямолинейных участках и 50 м на криволинейных участках

б) то же автомобильных дорог

±20 см

То же

в) ширины насыпей по верху и по низу

±15 см

То же

г) отметок поверхностей насыпей

±5 см

Измерительный, через 100 м на прямолинейных участках, 50 м - на криволинейных участках и для планировочных насыпей. Для грунтовых подушек: по углам и центру котлована, на пересечениях осей здания, в местах изменения отметок, но не менее 10 измерений на принимаемый участок

д) крутизны откосов насыпей

Увеличение не допускается

Измерительный, через 100 м

 

Тип грунта

Контрольные значения коэффициента уплотнения Kсот при нагрузке на поверхность уплотненного грунта, МПа (кгс/см2) при общей толщине отсыпки, м

0

0,05 - 0,2 (0,5 - 2)

св. 0,2 (2)

до 2

2,01 - 4

4,01 - 6

св. 6

до 2

2,01 - 4

4,01 - 6

св. 6

до 2

2,01 - 4

4,01 - 6

св. 6

Глинистые

0,92

0,93

0,94

0,95

0,94

0,95

0,96

0,97

0,95

0,96

0,97

0,98

Песчаные

0,91

0,92

0,93

0,94

0,93

0,94

0,95

0,96

0,94

0,95

0,96

0,97

Примечание: Коэффициентом уплотнения называется отношение достигнутой плотности сухого грунта к максимальной плотности сухого грунта, полученной в приборе стандартного уплотнения по ГОСТ 22733-77.

Состав контролируемых операций, объем, сроки и способы контроля, осуществляемого в процессе устройства насыпей и обратных засыпок, участие в нем геодезической службы, строительной и геотехнической лаборатории и других функциональных служб должно быть определено технологическими картами на выполнение этих работ.

Отклонение отметок насыпей от проектных осуществляется инструментально геодезическими методами, изложенными в СОКК «Геодезические работы при устройстве земляных сооружений».

Проверку однородности и достаточности выполненного уплотнения грунтов в естественном залегании или грунтовых подушек следует осуществлять полевыми методами (зондирование, радиоизотопными методами и пр.) и выборочным определением плотности сухого грунта по отобранным образцам из каждого уплотненного слоя грунта.

Результаты операционного контроля качества выполняемых земляных работ фиксируются в общих и специальных журналах работ, журналах геотехнического контроля, исполнительных геодезических схемах, чертежах и других документах, предусмотренных технологическими картами и действующей в данной организации системой управления качеством.

При приемке земляных работ по устройству насыпей производятся исполнительные съемки. По результатам съемок составляются исполнительные планово-высотные схемы, которые должны входить в состав приемо-сдаточной исполнительной документации, предъявляемой при приемке выполненных земляных работ.

В состав приемо-сдаточной исполнительной документации входят также акты освидетельствования скрытых работ , примерный перечень которых приведен ниже.

Приемка выполненных земляных работ оформляется соответствующим актом.

ПРИМЕРНЫЙ ПЕРЕЧЕНЬ СКРЫТЫХ РАБОТ ПРИ ПРОИЗВОДСТВЕ ЗЕМЛЯНЫХ РАБОТ, ОСНОВАНИЙ И ФУНДАМЕНТОВ.

ЗЕМЛЯНЫЕ РАБОТЫ:

а) устройство естественных оснований под земляные сооружения, фундаменты;

б) выполнение предусмотренных проектом или назначенных по результатам осмотра вскрытых оснований инженерных мероприятий по закреплению грунтов и подготовке оснований (цементация и т.п., замачивание, дренирование оснований, устройство термических или грунтовых свай, заглушение ключей, заделка трещин, устройство грунтовых подушек и др.);

в) конструкции, входящие в тело земляного сооружения; установленные проектом границы зон раскладки грунтов с отличающимися физико-механическими характеристиками; элементы дренажей (дренажные слои и их основания, колодцы, трубопроводы и их обсыпка); диафрагмы; экраны; ядра; подстилающие слои при установке контрольно-измерительной аппаратуры;

г) обратные засыпки выемок в местах пересечения с дорогами, тротуарами и иными территориями с дорожным покрытием;

д) насыпные основания под полы, грунтовые подушки;

е) обратные засыпки в просадочных грунтах (при наличии указаний в проекте);

ж) мероприятия, необходимые для возобновления работ при перерывах в ведении работ более месяца, при консервации и расконсервации работ.

Форма акта освидетельствования скрытых работ приведена в СОКК «Разработка выемок, вертикальная планировка».

Земляные работы в просадочных, набухающих и других грунтах, меняющих свои свойства под влиянием атмосферной влаги и подземных вод

Обратные засыпки выемок в грунтовых условиях II типа по просадочности, в том числе на пересечениях с действующими коммуникациями, а также под дорогами с покрытиями усовершенствованного типа следует производить глинистыми грунтами с послойным уплотнением сразу после устройства фундаментов и коммуникаций. Использование дренирующих грунтов не допускается.

При обратной засыпке котлованов в набухающих грунтах следует применять ненабухающий грунт по всей ширине пазухи или в пределах прилегающего к конструкции вертикального демпфирующего слоя, поглощающего деформации набухания. Ширина демпфирующего слоя грунта устанавливается проектом.

Набухающий грунт допускается использовать для засыпки траншей с коммуникациями, а в местах наложения на них дорог и территорий с дорожным покрытием - только ненабухающий грунт.

Земляные работы в прочих особых условиях

При производстве земляных работ на болотах с несущей способностью грунтов менее 0,3 МПа в забоях, на временных дорогах и по поверхности отвалов по указаниям проекта должны быть выполнены мероприятия, обеспечивающие работу и проезд строительной техники и транспорта (подсыпка дренирующего слоя грунта, применение геотекстильных материалов и др.). При отсутствии в проекте соответствующих указаний толщина подсыпки из дренирующих грунтов должна приниматься не менее 0,5 м и уточняться в процессе производства работ.

Режим возведения насыпи на слабом основании должен устанавливаться проектом.

При использовании слабых грунтов (по СНиП 2.05.02-85) в качестве оснований дорог и площадок дерновый слой удалять не следует.

При возведении насыпей на слабых грунтах, а также при наличии уклонов дна болота на характерных участках по согласованию с заказчиком и проектной организацией следует устанавливать поверхностные и глубинные марки для проведения наблюдений за деформациями насыпи, а также уточнения фактических объемов работ.

При производстве работ в сухой период года в засушливых районах на засоленных грунтах в проекте организации строительства должно быть предусмотрено дублирование трасс временных дорог.

Верхний слой засоленного грунта толщиной не менее 5 см должен быть удален с поверхности основания насыпи, резервов и карьеров.

При выполнении земляных работ в районах подвижных песков в проекте организации строительства должны быть предусмотрены мероприятия по защите насыпей от заносов и выдувания на период строительства (порядок разработки резервов, опережающее устройство защитных слоев и др.).

Защитные от выдувания слои из глинистого грунта поверх песка следует укладывать полосами с перекрытием на 0,5 - 1,5 м, в связи с чем в проекте необходимо предусматривать дополнительный объем грунта в размере 10 - 15 % общего объема защитного слоя.

При возведении насыпей в районах подвижных песков потери грунта на выдувание следует принимать в проекте с учетом эффективности предусмотренных мероприятий против выдувания по данным аналогов или специальных исследований, но не более 30 %.

При устройстве насыпей и обратных засыпок в засушливых районах допускается использовать для увлажнения грунта минерализованную воду при условии, что суммарное количество растворимых солей в грунте после уплотнения не будет превышать допустимых пределов, установленных проектом.

В проекте организации строительства на оползнеопасных склонах должны быть установлены: границы оползнеопасной зоны, режим разработки грунта, интенсивность разработки или отсыпки во времени, увязка последовательности устройства насыпей и их частей с инженерными мероприятиями, обеспечивающими общую устойчивость склона, средства и режим контроля положения и наступления опасного состояния склона.

Запрещается производство работ на склонах и прилегающих участках при наличии трещин, заколов до выполнения соответствующих противооползневых мероприятий.

Уплотнение грунта

Общие технические требования

СНиП 3.01.01-85* «Организация строительного производства»

СНиП 3.02.01-87 «Земляные сооружения, основания и фундаменты»

Пособие по производству работ при устройстве оснований и фундаментов (к СНиП 3.02.01-83)

СНиП III-4-80* «Техника безопасности в строительстве»

Строительство каждого объекта допускается осуществлять только на основе предварительно разработанных решений по организации строительства и технологии производства работ, которые должны быть приняты в проекте организации строительства и проектах производства работ (ППР).

До начала производства работ заказчик должен оформить и передать подрядной строительной организации разрешение на производство строительных работ.

К основным работам по строительству объекта или его части разрешается приступать только после отвода в натуре площадки (трассы) для его строительства, создания разбивочной геодезической сети (см. СОКК «Построение геодезической разбивочной основы для строительства»), окончания внеплощадочных и внутриплощадочных подготовительных работ (см. СОКК «Внеплощадочные и внутриплощадочные подготовительные работы»).

Уплотнение грунтов следует производить в соответствии с требованиями СНиП 3.02.01-87, СНиП 3.01.01-85*, проекта, ППР, технологических карт и схем операционного контроля качества.

Земляные работы должны выполнять строительные организации, получившие лицензию на выполнение этих работ в Федеральных или местных органах по лицензированию строительной деятельности.

Земляные работы должны выполняться квалифицированным персоналом, прошедшим специальную подготовку и обладающим надлежащими навыками по выполнению земляных работ.

При производстве земляных работ должно быть обеспечено соблюдение строительных норм и правил, проекта и ППР.

Возведение земляных сооружений должно производиться по утвержденному проекту производства работ (ППР).

Запрещается осуществление земляных работ без утвержденного проекта производства работ. Не допускаются отступления от решений проектов производства работ без согласования с организациями, разработавшими и утвердившими их.

Контролируемые операции

Состав и средства контроля

Документация

Подготовительные работы

Проверить:

 

- наличие утвержденной проектно-сметной документации с разрешением заказчика на производство работ;

ПСД

- наличие геодезической разбивочной основы и технической документации на нее; наличие закрепленных на площадке строительства пунктов основы;

Акт приемки, техническая документация

- наличие ППР, технологических карт, схем операционного контроля качества земляных работ;

ППР, технологические карты, СОКК

- завершение геодезических разбивочных работ по выносу в натуру и закреплению осей и характерных основных и промежуточных точек земляных сооружений

- завершение и приемка земляных работ, предшествующих уплотнению грунта

Акт освидетельствования скрытых работ

Уплотнение грунта

Контролировать:

 

- соблюдение заданной ППР (технологическими картами) технологии уплотнения грунта; типы и физико-механические свойства отсыпаемых грунтов; степень их уплотнения; величину понижения поверхности грунта (отказа); осадку марок;

- геометрические размеры котлованов.

Общий и специальные журналы работ

Акты лабораторных испытаний

Геодезические схемы

Приемка

Проверить:

 

- соответствие геометрических размеров уплотненных оснований требованиям проекта и нормативных документов;

- соответствие фактического напластования и свойств грунтов, степени их уплотнения требованиям проекта и нормативных документов;

Исполнительные геодезические схемы

Протоколы (акты) испытаний

- составление и надлежащее оформление актов освидетельствования скрытых работ, актов приемки оснований и другой приемосдаточной документации.

Акты освидетельствования скрытых работ; Акты приемки оснований

Входной и операционный контроль осуществляют: мастер (прораб), геодезист, лаборант (инженер) строительной или геотехнической лаборатории - в процессе выполнения работ

Приемочный контроль осуществляют: прораб (мастер), геодезист, работники отдела контроля качества СМР, представители технадзора заказчика

КИП: нивелир, теодолит и др. геодезические приборы и инструмент, лабораторные приборы

Для уплотнения слабых глинистых, рыхлых песчаных и просадочных грунтов необходимо применять следующие способы:

в пределах деформируемой зоны основания или ее части - поверхностное уплотнение тяжелыми трамбовками, устройство грунтовых подушек и вытрамбовывание котлованов заданной формы и глубины;

в пределах всей толщи рыхлых, песчаных, водонасыщенных или просадочных грунтов основания - глубинное уплотнение виброустановкой, глубинное уплотнение грунтовыми сваями, предварительное замачивание и замачивание с глубинными взрывами.

Выбор одного или сочетание нескольких способов уплотнения определяется проектом. Уширение уплотненной зоны по периметру здания или сооружения за наружные грани фундаментов принимается не менее 3 м.

Проектные решения по уплотнению грунтов должны содержать:

а) для всех способов уплотнения - исходные и требуемые значения показателей качества уплотнения (плотность сухого грунта или коэффициент уплотнения), величина понижения поверхности и др., подлежащие проверке в составе операционного и приемочного контроля, а также перечень технологических параметров и показателей качества, подлежащих уточнению в ходе опытного уплотнения;

б) при поверхностном уплотнении грунтов естественного залегания трамбовками - план и разрезы котлована с размерами уплотняемой площади и контурами фундаментов; указания о необходимой глубине уплотнения, требуемой плотности и оптимальной влажности грунта, по выбору типа грунтоуплотняющего механизма, о необходимом количестве ударов трамбовки или проходов уплотняющей машины по одному следу, величине понижения трамбуемой поверхности;

в) при устройстве грунтовых подушек - планы и разрезы котлованов; физико-механические характеристики отсыпаемого грунта; указания по толщине отсыпаемых слоев, рекомендуемым машинам для уплотнения грунта и режимам работы, а также плотность сухого грунта в подушках;

г) при вытрамбовывании котлованов - план котлована под здание или сооружение с отметками, с которых следует производить вытрамбовывание котлованов под фундаменты, размеры в плане и глубину отдельно вытрамбованных котлованов, конструкцию фундаментов с предельными нагрузками на основание, размеры, форму, массу и высоту сбрасывания трамбовки и ориентировочное число ударов при вытрамбовывании котлованов на заданную глубину; допустимый диапазон изменения влажности грунтов, минимально допустимые расстояния между вытрамбованными котлованами, размеры уширений в их основании, а также объем и вид жесткого грунтового материала (щебень, гравий, песчано-гравийная смесь и т.д.), втрамбовываемого в дно котлована, число порций и объем одной порции;

д) при уплотнении грунтовыми сваями - план размещения свай с указанием их диаметра и глубины, требования к влажности уплотняемых грунтов, характеристику применяемого оборудования, общее количество грунта и отдельных порций, засыпаемых в скважины, а также высоту разрыхленного верхнего (буферного) слоя грунта и способ его уплотнения;

е) при уплотнении предварительным замачиванием и замачиванием с глубинными взрывами - план разбивки уплотняемой площадки на отдельные участки (карты) с указанием их глубины и очередности замачивания, расположение и конструкции поверхностных и глубинных марок, схему сети водовода, данные по среднесуточному расходу воды на 1 м2 уплотняемой площадки и времени замачивания каждого котлована или участка (карты), величину условной стабилизации просадки, а в случае замачивания через скважины, дополнительно - план расположения скважин с указанием их глубины, диаметра, способа проходки и вида дренирующего материала для засыпки, способы уплотнения верхнего недоуплотненного (буферного) слоя грунта. При уплотнении просадочных грунтов замачиванием и глубинными взрывами дополнительно должно быть приведена технология взрывных работ с указанием противосейсмических мероприятий и техники безопасности производства взрывных работ;

ж) при глубинном виброуплотнении - план площадки с указанием глубины уплотнения, схему уплотнения и режим работы виброустановки, расчетное значение показателя уплотнения грунта, допустимое расстояние от работающей установки до существующих зданий, сооружений и коммуникаций;

з) при предпостроечном уплотнении слабых водонасыщенных грунтов пригрузкой с вертикальными дренами - данные об объемах уплотняемых массивов, план участка с указанием его контура, величину временной нагрузки от нагрузочной насыпи, форму и размеры временной нагрузочной насыпи, план расположения вертикальных дрен, сечение дрен, расстояние между осями дрен (шаг), размер дрен и план расположения поверхностных и глубинных марок, расчетную величину конечной осадки основания от временной нагрузочной насыпи и величину упругого подъема после снятия нагрузки, схему производства работ по погружению дрен, устройству и снятию нагрузочной насыпи с указанием применяемого оборудования, режим нагружения и снятия временной нагрузки.

Основным работам по уплотнению просадочных грунтов и устройству грунтовых подушек должно предшествовать опытное уплотнение, в ходе которого должны быть установлены технологические параметры (толщина слоев отсыпки, оптимальная влажность, число проходов уплотняющих машин, ударов трамбовки и другие, указанные в проекте), обеспечивающие получение требуемых проектом значений плотности уплотненного грунта, а также контрольные величины показателей, подлежащих операционному контролю в ходе работ (понижение отметки уплотняемой поверхности, осадки марок и др.).

Опытное уплотнение грунтов насыпей и обратных засыпок следует производить при наличии указаний в проекте, а при отсутствии специальных указаний - при объеме поверхностного уплотнения на объекте 10 тыс. м3 и более.

Опытное уплотнение следует выполнять по программе, учитывающей гидрогеологические условия: площадки, предусмотренные проектом средства уплотнения, сезон производства работ и другие факторы, влияющие на технологию и результаты работ.

В результате опытного уплотнения должны быть установлены:

а) толщина отсыпаемых слоев, число проходов уплотняющих машин по одному следу, продолжительность воздействия вибрационных и других рабочих органов на грунт, число ударов и высота сбрасывания трамбовок и другие технологические параметры, обеспечивающие проектную плотность грунта;

б) величины косвенных показателей качества уплотнения, подлежащих операционному контролю («отказа» для уплотнения трамбованием, числа ударов динамического плотномера и др.).

Если опытное уплотнение предусмотрено проводить в пределах возводимой насыпи, места выполнения работ должны быть указаны в проекте.

При уплотнении насыпей и обратных засыпок грунтовыми сваями, гидровиброуплотнением, пригрузом с вертикальными дренами, а также уплотнении грунтовых подушек опытное уплотнение следует производить в соответствии с нижеприведенными указаниями.

Опытное уплотнение

Опытное уплотнение грунтов выполняется с целью уточнения технологических параметров и режимов работы уплотняющих машин: толщины отсыпаемых слоев, глубины уплотнения, расстояний между точками погружения уплотняющих рабочих органов (при глубинном уплотнении), минимальных расстояний от уплотняющих рабочих органов до строительных конструкций.

Опытное уплотнение грунтов естественного залегания следует производить в зависимости от геологического строения грунтов на стройплощадке по указаниям проекта:

при однородном напластовании грунта - в одном месте;

при однородном напластовании грунта, но при значительном изменении влажности - в двух местах;

при разнородном напластовании грунтов - в двух местах.

Размеры участка для опытного уплотнения должны быть не менее трех диаметров трамбовки или двойной ширины рабочего органа трамбующей машины при уплотнении трамбованием, не менее 6 ´ 12 м при уплотнении укаткой и 10 ´ 10 м при виброуплотнении. Опытные котлованы следует вытрамбовывать из расчета по одному котловану на каждый типоразмер используемой трамбовки.

При глубинном уплотнении просадочных грунтов грунтовыми сваями опытный участок уплотняется не менее чем тремя смежными сваями, расположенными в плане в вершинах равностороннего треугольника на расстоянии согласно проекту.

Опытное уплотнение просадочных грунтов предварительным замачиванием осуществляется в опытном котловане глубиной 0,8 м, шириной, равной толщине слоя просадочного грунта, но не менее 20 м.

При уплотнении грунтов трамбовками через два удара трамбовки (прохода трамбующей машины) по забитым в грунт штырям нивелированием определяется понижение уплотняемой поверхности. Для контрольного определения толщины уплотненного слоя в центре уплотненной площади на глубину, равную двум диаметрам трамбовки (через 0,25 м по глубине), следует определять плотность и влажность грунта.

При устройстве грунтовых подушек опытное уплотнение производится при трех вариантах: числе проходов катка 6, 8 и 10 или ударов трамбовки (проходов трамбующей машины) по одному следу - 8, 10 и 12. Уплотнение производится для всех разновидностей применяемых грунтов не менее чем при трех значениях их влажности, равных 1,2 Wр; 1,0 Wр и 0,8 Wр (Wр - влажность на границе раскатывания).

После уплотнения грунта на опытном участке надлежит определить плотность и влажность уплотненного грунта на двух горизонтах, соответствующих верхней и нижней части уплотненного слоя по ГОСТ 22733-77.

Определение плотности сухого грунта следует производить методом режущих колец по ГОСТ 5180-84. Допускается производить контроль плотности экспресс-методами (зондированием по ГОСТ 19912-81 и ГОСТ 20069-81, радиоизотопным по ГОСТ 23061-90 и др.). При использовании экспресс-методов 5 % общего числа измерений следует выполнять методом режущих колец.

Для установления результатов опытного глубинного уплотнения грунтовыми сваями на строительной площадке следует отрывать контрольный шурф на глубину не менее 0,7 просадочной толщи с определением влажности и плотности грунта через каждые 0,5 м на глубину 3 м, а ниже - через каждый метр. На каждом горизонте определяется плотность сухого грунта в двух точках в пределах каждой грунтовой сваи и в межсвайном пространстве.

Для наблюдения за просадкой уплотняемого грунта в процессе опытного замачивания следует установить на дне котлована и за его пределами по двум взаимноперпендикулярным сторонам котлована поверхностные марки через 3 м на расстоянии, равном полуторной толщине слоя просадочного грунта, а в центре котлована - куст глубинных марок в пределах всей просадочной толщи через 3 м по глубине.

Опытное виброуплотнение водонасыщенных песчаных грунтов следует производить в пределах площадки, имеющей наиболее характерный гранулометрический состав грунта, без «рыхления» - в семи точках, с «рыхлением» - в шести. Оценка гидровиброуплотнения производится по показателю плотности сухого грунта с отбором проб.

Результаты опытного уплотнения, используемые в качестве основных документов для уточнения проекта производства работ по уплотнению и их приемке, необходимо заносить в журнал и оформлять актом.

В журнале и акте на опытное уплотнение должны быть указаны: влажность, плотность и вид уплотняемого грунта; толщина уплотняемого слоя грунта; вес, размеры и высота сбрасывания трамбовки; число ударов по одному следу; достигнутая глубина уплотнения; величина отказа и недобора грунта до проектной отметки заложения фундаментов.

В журнале и акте опытных работ по устройству грунтовых подушек следует указать: вид грунта; толщину отсыпаемого слоя; число проходов грунтоуплотняющего механизма; среднюю плотность грунта в уплотненном слое; оптимальную влажность и предел ее изменения.

Результаты опытных работ по вытрамбовыванию котлованов заносят в журнал и оформляют актом. К акту прилагаются:

схема размещения опытной площадки с вытрамбованными котлованами;

графики понижения трамбуемой поверхности в зависимости от количества ударов трамбовок и втрамбовывания жесткого материала;

характеристики режима вытрамбовывания котлованов (масса, размеры, удельное статическое давление, высота сбрасывания трамбовки);

результаты определений вертикальных и горизонтальных перемещений грунтов при вытрамбовывании котлованов под ленточные прерывистые фундаменты и минимально допустимые расстояния между ними;

результаты определения плотности сухих уплотненных грунтов и размеров уплотненных зон и уширений в основании;

значения прочностных характеристик уплотненных грунтов с указанием плотности сухого грунта, при которой они определялись.

В журнале и акте опытного уплотнения грунтовыми сваями должны быть приведены:

глубина уплотнения;

тип оборудования и вес ударного снаряда;

вид и влажность засыпаемого в скважину грунта;

вес и число порций грунта, засыпаемых в скважину;

число ударов на одну порцию грунта;

плотность и влажность уплотненного грунта между сваями и в теле грунтовых свай;

толщина разрыхленного (буферного) верхнего слоя и способ его уплотнения.

Результаты опытного уплотнения просадочных грунтов предварительным замачиванием оформляют актом, в котором должны быть приведены:

исполнительный чертеж опытного котлована с указанием расположения глубинных и поверхностных марок;

ведомость нивелирования марок;

графики просадки глубинных и прилегающих к ним поверхностных марок во времени;

графики суточного и полного расхода воды;

профили просадки поверхности грунта по сторонам расположения поверхностных марок;

зарисовки просадочных трещин и результаты определения влажности после замачивания в пределах всей толщи.

Работы, выполненные по опытному уплотнению песчаного грунта, заносятся в журнал и оформляются актом, в котором приводятся:

технологический режим уплотнения;

графики зондирования;

гранулометрический состав грунта;

удельный вес сухого грунта и относительная плотность.

Журналы заполняются в процессе производства работ, а акты - после окончания опытного уплотнения.

На основе актов проектная организация уточняет проект производства работ по уплотнению грунтов оснований.

Уплотнение грунтов

До начала работ по уплотнению необходимо уточнить природную влажность и плотность сухого грунта на глубину, определяемую проектом по ГОСТ 5180-84 или экспресс-методами (зондированием по ГОСТ 19912-81 и ГОСТ 20069-81, радиоизотопным по ГОСТ 23061-90 и др.).

Если природная влажность грунта окажется ниже оптимальной на 0,05 и более, надлежит производить его доувлажнение расчетным количеством воды.

Поверхностное уплотнение грунтов трамбованием включает следующие процессы:

отрыв котлована или траншей;

подготовку основания для уплотнения, включая планировку и при необходимости друвлажнение грунта до оптимальной влажности;

уплотнение грунта основания;

проверку качества уплотнения.

Выполнять поверхностное уплотнение грунтов трамбованием следует с соблюдением следующих требований:

а) при различной глубине заложения фундаментов уплотнение грунта следует производить, начиная с более высоких отметок;

б) по окончании поверхностного уплотнения верхний недоуплотненный слой грунта необходимо доуплотнить по указанию проекта;

в) уплотнение грунта трамбованием в зимнее время допускается при немерзлом состоянии грунта и естественной влажности. Необходимая глубина уплотнения при влажности грунта ниже оптимальной достигается увеличением веса, диаметра или высоты сбрасывания трамбовки;

г) контрольное определение отказа производится двумя ударами трамбовки при сбрасывании ее с высоты, принятой при производстве работ, но не менее 6 м. Уплотнение признается удовлетворительным, если понижение уплотняемой поверхности под действием двух ударов не превышает величины, установленной при опытном уплотнении.

Устройство грунтовых подушек включает:

разработку котлована;

планировку и уплотнение его дна;

отсыпку, планировку и уплотнение каждого слоя до требуемой плотности;

проверку качества уплотнения грунта в каждом слое.

Грунтовые подушки устраиваются в котлованах, отрытых ниже проектной отметки заложени.я фундаментов на глубину, равную толщине грунтовой подушки, с соблюдением следующих требований:

а) грунт для устройства грунтовой подушки должен уплотняться при оптимальной влажности W, которая должна быть в пределах АWо £ W £ ВWо, где Wo - оптимальная влажность, определяемая в приборе стандартного уплотнения по ГОСТ 22733-77. Коэффициенты А и В следует принимать по нижеследующей таблице.

Тип грунта

Величина коэффициентов А и В при коэффициенте уплотнения K сот

0,98

0,96

0,92

А

В

А

В

А

В

Пески крупные, средние, мелкие

Не ограничивается

Пески пылеватые

0,60

1,35

0,50

1,45

0,40

1,60

Супеси

0,80

1,20

0,75

1,35

0,56

1,40

Суглинки

0,85

1,15

0,80

1,20

0,70

1,30

Глины

0,90

1,10

0,85

1,15

0,75

1,20

б) отсыпку каждого последующего слоя надлежит производить только после проверки качества уплотнения и получения проектной плотности по предыдущему слою;

в) устройство грунтовых подушек в зимнее время допускается из талых грунтов с содержанием мерзлых комьев размером не более 15 см и не более 15 % общего объема при среднесуточной температуре воздуха не ниже минус 10 °С. В случае понижения температуры или перерывов в работе подготовленные, но не уплотненные участки котлована должны укрываться теплоизоляционными материалами или рыхлым сухим грунтом.

Отсыпка грунта на промороженный слой допускается как исключение при толщине мерзлого слоя не более 0,4 м, когда влажность отсыпаемого грунта не превышает 0,9 влажности на границе раскатывания; в противном случае промороженный грунт должен быть удален.

В процессе производства работ по поверхностному уплотнению трамбованием и укаткой ведут журналы, в которых указывают:

вид уплотняемого грунта;

толщину уплотняемого слоя;

вес, размер и высоту сбрасывания трамбовок, тип грузоуплотняющих механизмов;

число ударов трамбовок или проходов грузоуплотняющих механизмов;

плотность и влажность уплотняемого грунта.

Вытрамбовывание котлованов состоит из следующих процессов:

отрывка и подготовка котлована для вытрамбовывания;

вытрамбовывание котлованов;

втрамбовывание жесткого материала в дно котлована.

Выполнять вытрамбовывание котлованов под фундаменты следует с соблюдением следующих требований:

а) вытрамбовывание котлована под отдельно стоящие фундаменты надлежит выполнять сразу на всю глубину котлована без изменения положения направляющей штанги трамбующего механизма;

б) доувлажнение грунта в необходимых случаях следует производить от отметки дна котлована на глубину не менее полуторной ширины котлована;

в) втрамбовывание в дно котлована жесткого материала для создания уширенного основания следует производить сразу же после вытрамбовывания котлована;

г) фундаменты, как правило, устраиваются сразу же после приемки вытрамбованных котлованов. Максимальный перерыв между вытрамбовыванием и бетонированием - одни сутки. При этом толщина дефектного (промороженного, размокшего и т.п.) слоя на стенах и дне котлована не должна превышать 3 см;

д) бетонирование фундамента следует производить враспор;

е) вытрамбовывание котлованов в зимнее время следует производить при талом состоянии грунта. Промерзание грунта с поверхности допускается на глубину не более 20 см.

Оттаивание мерзлого грунта следует производить на всю глубину промерзания в пределах площадки, стороны которой равны полуторным размерам сторон котлована; вытрамбовывание котлована при отрицательной температуре воздуха следует производить без дополнительного увлажнения грунта;

ж) при массе трамбовок 3 т и выше запрещается вытрамбовывать котлованы на расстояниях менее: 10 м - от эксплуатируемых зданий и сооружений, не имеющих деформаций, и 15 м - от зданий и сооружений, имеющих трещины в стенах, а также от инженерных коммуникаций, выполненных из чугунных, железобетонных, керамических, асбестоцементных и пластмассовых труб. При массе трамбовок менее 3 т указанные расстояния могут быть уменьшены в 1,5 раза.

Готовность котлована для производства работ по вытрамбовыванию оформляется актом на скрытые работы. К акту прилагается исполнительная схема котлована с указанием проектных и фактических размеров и отметок, данных по разбивке осей зданий и центров будущих фундаментов.

В процессе вытрамбовывания котлованов ведется журнал производства работ.

Приемка котлованов выполняется на основе исполнительной схемы с указанием проектных и фактических отметок и расположения котлованов, журнала производства работ, осмотра состояния котлованов на месте и оформляется актом на скрытые работы.

Глубинное уплотнение грунтовыми сваями состоит из следующих этапов:

вертикальной планировки площадки с удалением растительного слоя;

разбивки сетки грунтовых свай;

пробивки скважин до проектной глубины;

доставки грунта и засыпки его в скважины отдельными порциями с послойным уплотнением до проектной плотности;

поэтапного контроля за пробивкой скважин, толщиной отсыпаемого слоя грунта в скважину и качеством уплотнения. Число одновременно работающих станков принимают исходя из размеров уплотняемой площадки.

Выполняют глубинное уплотнение грунтовыми сваями с соблюдением следующих требований:

а) пробивка скважин станками ударно-канатного бурения должна производиться с поверхности дна котлована при природной влажности грунта;

б) расширение скважин с помощью взрыва допускается при природной влажности грунта, равной влажности на пределе раскатывания, а при меньшей влажности грунт должен быть доувлажнен;

в) скважины надлежит устраивать через одну, а пропущенные - только после засыпки и уплотнения ранее пройденных;

г) перед засыпкой каждой скважины, полученной взрывом, должны производиться замеры ее глубины; при образовании завала высотой до двух диаметров скважины он должен быть уплотнен 20 ударами трамбующего снаряда с удельной энергией удара 250 - 350 кДж/м2, более двух диаметров - делается новая скважина;

д) скважины заполняют грунтом порциями, каждая из которых уплотняется, в качестве грунтового материала используются суглинки и супеси (без включений растительных остатков и строительного мусора), имеющие оптимальную влажность; объем грунта в порции назначают из расчета получения столба рыхлого грунта в скважине высотой не более двух ее диаметров, но не более 0,2 м;

е) засыпку скважин при отрицательной температуре воздуха необходимо производить только немерзлым грунтом.

Перед производством работ следует провести контрольное определение влажности грунта по образцам, отобранным из разведочных скважин через 1 м по глубине.

При уплотнении просадочных грунтов предварительным замачиванием последовательно выполняются следующие этапы:

подготовка котлованов - карт для замачивания;

замачивание грунта в котлованах;

доуплотнение верхнего растительного слоя грунта после окончания замачивания.

Уплотнение грунтов предварительным замачиванием следует выполнять с соблюдением требований:

а) замачивание надлежит выполнять путем затопления котлована водой с поддержанием глубины воды 0,3 - 0,5 м и продолжать до тех пор, пока не будут достигнуты промачивание до проектной влажности всей толщи просадочных грунтов и условная стабилизация просадки, за которую принимается просадка менее 1 см в неделю;

б) в процессе предварительного замачивания необходимо вести систематические наблюдения за осадкой поверхностных и глубинных марок, а также расходом воды; нивелирование марок необходимо производить не реже одного раза в 5 - 7 дн;

в) фактическую глубину замачивания следует устанавливать по результатам определения влажности грунта через 1 м по глубине на всю просадочную толщу;

г) при отрицательных температурах воздуха предварительное замачивание следует производить с сохранением дна затопляемого котлована в немерзлом состоянии и подачей воды под лед.

При уплотнении просадочных грунтов замачиванием и энергией глубинных взрывов должны последовательно выполняться следующие операции:

срезка растительного слоя и подготовка котлована или распределительных траншей для замачивания;

бурение дренажных, взрывных или совмещенных скважин, а также скважин для глубинных геодезических марок;

устройство взрывных или совмещенных скважин;

засыпка дренажным материалом скважин, траншей и дна котлована;

устройство глубинных и поверхностных марок;

монтаж подводящего водопровода и водомерного узла;

устройство гасителей напора водяной струи в виде приямков, заполненных щебнем или гравием;

нивелирование поверхностных и глубинных марок с привязкой к стационарному реперу;

замачивание уплотняемого массива грунта;

нивелирование марок по окончании замачивания;

производство взрывных работ;

нивелирование марок в течение последующих 15 - 20 сут;

поверхностное осушение территории;

доуплотнение верхнего слоя.

Уплотнение просадочных грунтов замачиванием и энергией взрыва следует выполнять с соблюдением требований:

а) замачивание необходимо выполнять через дно котлована, дренажные, взрывные или совмещенные скважины, заполненные дренирующим материалом, и продолжать до промачивания всей просадочной толщи до проектной влажности;

б) по окончании замачивания и после производства взрывных работ следует проводить наблюдения за осадкой поверхностных и глубинных марок. Нивелирование после взрыва зарядов ВВ надлежит производить в течение последующих 15 - 20 сут;

в) глубину котлована или распределительных траншей, отрываемых за счет срезки грунта, следует назначать из условия сохранения слоя воды при замачивании 0,3 - 0,5 м.

В зимнее время уровень воды в котловане и траншеях следует поддерживать на одной отметке;

г) в необходимых случаях, когда уплотнение грунта производится на больших площадях, допускается предусматривать устройство песчано-гравийных подушек, позволяющих ускорить начало строительно-монтажных работ на уплотненном участке;

д) разрыв между окончанием замачивания и взрывами зарядов ВВ, в зависимости от размеров площадки, должен составлять не более 3 - 8 ч.

После предварительного замачивания оснований и замачивания с глубинными взрывами зарядов ВВ следует производить уплотнение верхнего слоя грунта.

Виброуплотнение водонасыщенных песчаных грунтов включает последовательное выполнение следующих операций:

планировка площадки (удаление растительного слоя грунта);

разбивка точек погружения уплотнителя;

водонасыщение песчаного грунта при уровне грунтовых вод ниже 0,5 м от дна котлована;

уплотнение грунта до проектной глубины.

Виброуплотнение водонасыщенных песчаных грунтов следует выполнять с соблюдением требований:

а) точки погружения уплотнителя должны быть размещены по треугольной сетке со сторонами до 3 м для крупного и средней крупности песков и до 2 м для мелкого песка;

б) уровень подземных вод должен быть не ниже чем 0,5 м от дна котлована;

в) полный цикл уплотнения на глубину до 6 м в одной точке должен продолжаться не менее 15 мин и состоять из 4 - 5 чередующихся погружений и подъемов уплотнителя; при большей глубине продолжительность цикла должна быть установлена проектом.

Предпостроечное уплотнение водонасыщенных грунтов временной нагрузкой с вертикальными дренами следует выполнять с соблюдением требований:

а) песчаный дренирующий слой должен быть толщиной 0,4 - 0,5 м;

б) толщина слоев временной нагрузочной насыпи не должна превышать 1 - 1,5 м;

в) после устройства нагрузочной насыпи следует производить наблюдения за осадками поверхностных марок. Перед снятием временной насыпи на данной площадке составляется акт, где приводятся проектные и фактические значения конечных осадок поверхностных марок.

Результаты работ по уплотнению просадочных грунтов должны фиксироваться в соответствующих журналах.

Качество работ по уплотнению грунтов надлежит проверять путем определения плотности грунта при уплотнении трамбованием через 0,25 - 0,5 м по глубине, а при послойном уплотнении укаткой - в середине каждого слоя; количество пунктов определения плотности устанавливается из расчета один пункт на каждые 300 м2 уплотненной площади и берется не менее 2 проб при уплотнении трамбованием и 3 проб в каждом слое при послойном уплотнении укаткой. При уплотнении тяжелыми трамбовками грунтов с оптимальной влажностью качество уплотнения допускается проверять контрольным определением отказа из расчета одно определение на каждые 300 м2 уплотненного грунта.

Качество работ при уплотнении грунтовыми сваями проверяется определением плотности уплотненных грунтов на отметке заложения фундаментов в пределах участков между тремя грунтовыми сваями, расположенными в плане по вершинам равностороннего треугольника; количество пунктов устанавливается из расчета один на каждые 500 м2 уплотненной площади. Фактическое расстояние и глубина их должны соответствовать проекту. Если расстояние между центрами грунтовых свай окажется больше проектного на 0,4 диаметра, устраиваются дополнительные грунтовые сваи.

Качество работ по предварительному замачиванию, в том числе с применением энергии глубинных взрывов, проверяется наблюдением за просадками поверхностных и глубинных марок и определением плотности грунта через 1 - 2 м в пределах всей уплотняемой его толщи. Количество мест определения влажности и плотности грунта назначается не менее одного на каждые 500 м2 площади уплотненного основания.

Качество уплотнения грунта при любом способе производства работ признается удовлетворительным, если средняя плотность грунтов в уплотненном основании соответствует проекту. Допустимое отклонение в сторону уменьшения плотности, принятой в проекте, не должно превышать 0,05 т/м3 в количестве не менее 10 % общего числа определений.

Приемка работ по уплотнению просадочных грунтов производится по данным определения плотности и влажности уплотненных грунтов с составлением акта.

Приемка работ по поверхностному уплотнению грунтов тяжелыми трамбовками производится только после дополнительного уплотнения разрыхленного верхнего слоя грунта.

Уплотнение признается удовлетворительным, если понижение отметки дна котлована под действием ударов трамбовки не превышает величины установленного отказа.

Контрольное определение отказа производится двумя ударами трамбовки при сбрасывании ее с высоты, примятой при производстве работ, но не менее 6 м.

Если, по данным контрольного трамбования и определения качества выполненных работ, уплотнение окажется неудовлетворительным, производится дополнительное уплотнение.

При контрольной проверке качества уплотнения составляется акт приемки работ по уплотнению основания или устройству грунтовой подушки.

Приемка работ по вытрамбовыванию котлованов и возведению в них фундаментов производится на основе:

акта выполнения опытных работ;

исполнительной схемы расположения котлованов в плане, журнала производства работ;

двухстороннего акта на скрытые работы.

Изготовление грунтовых свай в пределах отдельных фундаментов должно сопровождаться составлением технической документации в виде журнала глубинного уплотнения оснований.

Для этого необходимо иметь нумерацию свай, позволяющую легко отыскивать и проверять показатели их изготовления.

Журнал заполняется в процессе производства работ.

По окончании работ по глубинному уплотнению оснований составляется схема фактического расположения грунтовых свай с указанием их порядкового номера и глубины.

Приемка законченных работ по подготовке оснований должна осуществляться на основании следующих материалов:

журналов и актов производства работ по изготовлению грунтовых свай;

исполнительной схемы расположения грунтовых свай с указанием фактической их глубины;

результатов контроля качества уплотнения по шурфам.

Приемка работ по уплотнению просадочных грунтов предварительным замачиванием должна осуществляться по результатам:

замера осадки глубинных и поверхностных марок;

контрольного определения влажности грунта в пределах всей замоченной толщи.

В случае, если толща недостаточно увлажнена, производится повторное замачивание до получения условной стабилизации просадки. При необходимости рекомендуется изменить методику замачивания, а именно: изменить число, глубину и расположение дренажных скважин.

Производство работ по уплотнению грунтов замачиванием и энергией глубинных взрывов следует осуществлять под постоянным контролем строительных лабораторий, которые должны документально фиксировать:

расположение скважин относительно разбивочных осей зданий и сооружений, их глубину и диаметр;

качество дренирующего материала;

конструкцию транспортных труб и взрывных камер и их установку в проектное положение (длина, внутренний диаметр, герметичность);

количество заливаемой воды и сроки замачивания;

глубину расположения заряда, его массу, качество забойки, количество взорванных зарядов;

выполнение в срок и результаты геодезических наблюдений за осадками поверхностных и глубинных марок; исследование образцов грунта, отобранных до и после уплотнения.

При производстве работ по уплотнению грунтов естественного залегания и устройству грунтовых подушек состав контролируемых показателей, предельные отклонения, объем и методы контроля должны соответствовать приведенным в нижеследующей таблице.

Технические требования

Предельные отклонения

Контроль (метод и объем)

1. Влажность уплотняемого грунта

Должна быть в пределах, установленных проектом

Измерительный, по указаниям проекта

2. Поверхностное уплотнение:

 

 

а) средняя по принимаемому участку плотность уплотненного грунта

То же, не ниже проектной. Допускается снижение плотности сухого грунта на 0,05 т/м3 не более чем в 10 % определений

То же, по указаниям проекта, а при отсутствии указаний один пункт на 300 м2 уплотненной площади с измерениями в пределах всей уплотненной толщи через 0,25 м по глубине при толщине уплотненного слоя до 1 м и через 0,5 м при большей толщине; числе проб в каждой точке не менее двух

б) величина понижения поверхности грунта (отказа) при уплотнении тяжелыми трамбовками

Не должна превышать установленной при опытном уплотнении

Измерительный, одно определение на 300 м2 уплотняемой площади

3. Средняя по принимаемому участку плотность сухого грунта при устройстстве грунтовых подушек

Должна быть не ниже установленной проектом. Допускается снижение плотности на 0,05 т/м3 не более чем в 10 % определений

То же, один пункт на каждые 300 м2 площади подушки, не менее трех измерений в каждом слое

4. Устройство фундаментов в вытрамбованных котлованах

 

 

а) положение котлована относительно центра и осей фундамента

Отклонения от проектного не должны превышать: центра ±3см, разворот осей ±5°

Измерительный, каждый котлован

б) глубина вытрамбованного котлована

Отклонение от проектной не должно превышать ±5 см

То же

в) высота сбрасывания трамбовки, общее число ударов, объем и число порций засыпаемого жесткого материала, число ударов для вытрамбовывания каждой порции

Должны соответствовать величинам, определенным в результате опытного вытрамбовывания

То же

5. Глубинное уплотнение грунтов грунтовыми сваями, в т.ч. с помощью взрыва:

 

 

а) влажность грунта в уплотняемом массиве:

 

 

при проходке скважин с помощью взрыва

Должна быть не ниже влажности на границе раскатывания

Измерительный, одно определение на 1000 м2 уплотняемой площади

при проходке скважин другими способами

То же, в пределах, установленных проектом

б) влажность грунта, засыпаемого в скважину

Допускаются отклонения от оптимальной влажности не более ±0,04

Измерительный, ежесменно

в) глубина и состояние скважин

Высота завалов не должна превышать двух диаметров скважин

То же, каждая скважина

г) плотность грунта, уплотненного в массиве

Средняя плотность сухого грунта на отметке заложения фундаментов должна быть не ниже проектной. Допускается снижение плотности на 0,05 т/м3 не более чем в 10 % определений

То же, один пункт на 500 м2 уплотненной площади

д) расположение грунтовых свай в плане

Отклонения от проектного положения не должны превышать 0,4 м

То же, каждая свая

6. Уплотнение просадочных грунтов замачиванием, а также водонасыщенных грунтов временной нагрузкой с вертикальными дренами:

 

 

а) осадка поверхностных и глубинных марок

Должна соответствовать проекту

То же, по указаниям проекта

б) плотность и влажность в пределах зоны уплотнения

Должны быть не ниже проектных значений

То же, один пункт на 500 м2 площади с определением не реже чем через 2 м по глубине в пределах всей уплотненной толщи

7. Виброуплотнение песчаных грунтов

Средняя по принимаемому участку плотность сухого грунта должна быть не ниже проектной. Допускается снижение плотности на 0,05 т/м3 не более чем в 10 % определений

То же, зондированием или радиоизотопным способом, одно определение не реже чем на 500 м2 уплотненной площади

Водопонижение и водоотвод

СНиП 3.01.01-85* «Организация строительного производства»

СНиП 3.02.01-87 «Земляные сооружения, основания и фундаменты»

Пособие по производству работ при устройстве оснований и фундаментов (к СНиП 3.02.01-83)

СНиП 2.02.01-83 «Основания зданий и сооружений».

Строительство каждого объекта допускается осуществлять только на основе предварительно разработанных решений по организации строительства и технологии производства работ, которые должны быть приняты в проекте организации строительства и проектах производства работ (ППР).

До начала производства работ заказчик должен оформить и передать подрядной строительной организации разрешение на производство строительных работ.

К основным работам по строительству объекта или его части разрешается приступать только после отвода в натуре площадки (трассы) для его строительства, создания разбивочной геодезической сети (см. СОКК «Построение геодезической разбивочной основы для строительства»), окончания внеплощадочных и внутриплощадочных подготовительных работ (см. СОКК «Внеплощадочные и внутриплощадочные подготовительные работы»). В необходимых случаях работы по исскуственному понижению уровня грунтовых вод (водопонижению) должны входить в состав внутриплощадочных подготовительных работ.

Работы по водопонижению и водоотводу следует производить в соответствии с требованиями СНиП 3.02.01-87, СНиП 3.01.01-85*, проекта, ППР, технологических карт и схем операционного контроля качества.

Земляные работы должны выполнять строительные организации, получившие лицензию на выполнение этих работ в Федеральных или местных органах по лицензированию строительной деятельности.

Земляные работы должны выполняться квалифицированным персоналом, прошедшим специальную подготовку и обладающим надлежащими навыками по выполнению земляных работ.

При производстве земляных работ должно быть обеспечено соблюдение строительных норм и правил, проекта и ППР.

Возведение земляных сооружений должно производиться по утвержденному проекту производства работ (ППР).

Запрещается осуществление земляных работ без утвержденного проекта производства работ. Не допускаются отступления от решений проектов производства работ без согласования с организациями, разработавшими и утвердившими их.

Контролируемые операции

Состав и средства контроля

Документация

Подготовительные работы

Проверить:

 

- наличие утвержденной проектно-сметной документации с разрешением заказчика на производство работ;

ПСД

- наличие геодезической разбивочной основы и технической документации на нее; наличие закрепленных на площадке строительства пунктов основы;

Акт приемки, техническая документация

- наличие ППР, технологических карт, схем операционного контроля качества земляных работ;

ППР, технологические карты, СОКК

- завершение геодезических разбивочных работ по выносу в натуру и закреплению осей и характерных основных и промежуточных точек земляных сооружений

- завершение и приемка земляных работ, предшествующих проведению водопонизительных работ

Акт освидетельствования скрытых работ

Водопонижение и водоотвод

Контролировать:

 

- соблюдение заданной ППР (технологическими картами) технологии работ по водопонижению и водоотводу; состояние откосов и дна котлована и траншей; уровень воды в наблюдательных скважинах, котловане, водстоках; расход откачиваемой воды и работу насосов; осадку грунтов и зданий (сооружений); химический состав воды.

Общий и специальные журналы работ

Акты лабораторных испытаний

Геодезические и геологические схемы и разрезы

Приемка

Проверить:

 

- соответствие устройств водопонизительной системы требованиям проекта и нормативных документов; готовность и пригодность водопонизительных устройств к работе в течение требуемого срока службы;

- соответствие выполненых работ по водопонижению и водоотводу требованиям проекта и нормативных документов;

- составление и надлежащее оформление актов освидетельствования скрытых работ, актов приемки оснований и другой приемосдаточной технической документации.

Акты освидетельствования скрытых работ; акт готовности

Акт о выполненных работах; исполнительная документация

Входной и операционный контроль осуществляют: мастер (прораб), геодезист, лаборант (инженер) строительной или геотехнической лаборатории - в процессе выполнения работ.

Приемочный контроль осуществляют: прораб (мастер), геодезист, работники отдела контроля качества СМР, представители технадзора заказчика

КИП: нивелир, теодолит и др. геодезические приборы и инструмент, лабораторные приборы

Строительное водопонижение должно выполняться по проекту (составляемому как часть основного проекта), который должен отвечать требованиям СНиП 2.02.01-83 и СНиП 3.02.01-87, в соответствии с требованиями проекта производства водопонизительных работ, разрабатываемому на базе основного проекта водопонижения во взаимосвязи с проектом производства земляных и других общестроительных работ.

Проект производства работ должен отвечать требованиям СНиП 3.01.01-85* и включать:

данные о составе и объемах строительно-монтажных водопонизительных работ;

стройгенплан;

календарный план производства строительно-монтажных водопонизительных работ;

технологические карты и схемы операционного контроля качества водопонизительных работ, предусмотренных в основном проекте;

программу и техническую документацию для ведения гидрогеологических и геодезических наблюдений в период строительства, а также наблюдений за работой водопонизительных устройств и установок;

проектные решения по необходимым вспомогательным и временным сооружениям, коммуникациям и временному энергоснабжению системы строительного водопонижения;

проектные решения по ликвидации систем строительного водопонижения;

спецификации и графики доставки на площадку необходимых материалов и оборудования для выполнения строительно-монтажных водопонизительных работ.

До начала работ по водопонижению необходимо обследовать техническое состояние зданий и сооружений, находящихся в зоне работ, а также уточнить расположение существующих подземных коммуникаций.

Обследование зданий, сооружений и подземного хозяйства следует производить, в основном, перед составлением проекта водопонижения. В результате должны быть получены сведения, необходимые для принятия решения о мерах по обеспечению сохранности всех промышленных и гражданских объектов в зоне водопонизительных работ в процессе их производства. Надлежащее внимание должно быть уделено и объектам водоснабжения, питающимся подземными водами, уровень которых предполагается понизить.

Одновременно необходимо получить согласие и разрешение соответствующих организаций на производство буровых и водопонизительных работ. Проведение указанных обследований и получение разрешения на производство работ входит в обязанности основного заказчика (программу необходимых обследований следует согласовывать с проектной организацией).

Данные, полученные в результате обследования зданий и сооружений, должны приниматься во внимание при составлении проектов производства работ. При этом строительная организация должна проверить соответствие действительного состояния зданий, сооружений и коммуникаций принятому за основу в проекте и установить возможность соблюдения действующих правил техники безопасности (бурения и прокладки трубопровода вблизи существующих кабелей и трубопроводов, проложенных в земле; безопасного приближения буровых установок к воздушным линиям электропередачи и др.).

Водоотлив из котлованов и траншей

Для водоотлива в котлованах и траншеях устраиваются специальные зумпфы (водосборники), к которым вода поступает по канавкам и водостокам, каптирующим фильтрационный приток через откосы и дно выработки.

ОТКРЫТЫЙ ВОДООТЛИВ В КОТЛОВАНЕ

1. Дренажная канава 2. Зумпф 3. Пониженный уровень подземных вод 4. Дренажная пригрузка 5. Насос

Вместимость зумпфа должна быть не менее пятиминутного притока воды к нему.

Разработка крупных и глубоких котлованов с водоотливом осуществляется ярусами. Разработка каждого яруса начинается с проходки пионерной (разрезной) траншеи глубиной, несколько превышающей высоту яруса. Уклон траншеи принимается противоположным направлению движения экскаватора. При этом в начале траншеи (вблизи съезда) устраивается водоприемный зумпф для сбора фильтрующей воды. Насосы для откачки воды устанавливаются вблизи зумпфа на дне траншеи или у верхней бровки траншеи на поверхности земли. Последнее рекомендуется при больших притоках. Высота яруса регламентируется фактической высотой всасывания насосов и не превышает 3 - 4 м.

По окончании разработки траншеи на уровне ее дна в месте расположения зумпфа устраивается насосная станция, действующая в течение всего периода разработки яруса.

По окончании выемки земли по контуру дна выработки устраиваются водосборные траншеи.

При проведении водопонизительных работ следует предусматривать меры то предотвращению разуплотнения грунтов, а также нарушению устойчивости откосов котлована и оснований расположенных рядом сооружений.

При применении водоотлива из котлованов и траншей фильтрующие откосы и дно, при необходимости, следует пригружать слоем песчано-гравийного материала, толщина которого назначается в проекте.

При откачке воды из котлована, разработанного подводным способом, скорость понижения воды в нем во избежание нарушения устойчивости дна и откосов должна соответствовать скорости понижения уровня подземных вод за его пределами.

Устройство дренажей

Дренажи того или иного вида, имеющие непрерывное простирание (траншейные, трубчатые, пластовые и др.) могут применяться для различных задач водопонижения в разнообразных природных условиях.

Простейшим видом траншейных дренажей, применяемых для строительного водопонижения, являются канавки и передовые траншеи, устраиваемые в котлованах при водоотливе из них.

Когда территория позволяет разместить дренажные траншеи вне котлованов сооружений, траншейный дренаж может быть использован для осушения значительных площадей, на которых необходимо вести работы ниже уровня подземных вод на протяжении длительного времени.

В малоустойчивых грунтах нижняя, затопленная часть канав и траншей может быть заполнена фильтрующим материалом (камнем, щебнем, гравием). При необходимости использования площади, занятой канавами или траншеями, последние после укладки фильтрующего материала могут быть засыпаны грунтом с постепенным переходом в материале засыпки от крупных фракций к мелким (т.е. с устройством обратного фильтра) для предохранения от засорения его водопроводящей части, образуя таким образом закрытый беструбчатый дренаж.

Трубчатые дренажи могут быть использованы для строительного водопонижения в тех случаях, когда они предусматриваются для постоянных дренажных систем. В этом случае они должны быть выполнены заблаговременно с целью защиты заглубленного сооружения не только в период эксплуатации, но и в период его строительства. Однако трубчатые дренажи могут применяться и только на период строительства, например, на откосах долго существующих котлованов и в других случаях, когда это оправдано экономически.

ДРЕНАЖ НА ОТКОСАХ КОТЛОВАНА

1. Пониженные уровни подземных вод 2. Песчаная пригрузка 3. Дренажная труба 4. Засыпки гравием

При устройстве трубчатых дренажей, после отрывки траншеи, необходимо отобрать пробы окружающего грунта, уточнить его гранулометрический состав и соответствующий ему состав песчано-гравийной обсыпки, требования к материалу для нее и при необходимости - к материалу фильтровых покрытий.

При устройстве дренажей земляные работы следует начинать со сбросных участков с продвижением в сторону более высоких отметок, а укладку труб и фильтрующих материалов - с водораздельных участков с продвижением в сторону сброса или насосной установки (постоянной или временной) для исключения пропуска по дренажу неосветленных вод.

Пластовый дренаж (развитый по площади слой фильтрующего материала) применяется в сочетании с трубчатыми дренами (или беструбчатыми закрытыми дренами) при строительном водопонижении на откосах котлованов, а также в основаниях сооружений (например, когда необходимо забетонировать фундаментную плиту и нельзя предотвратить фильтрацию через дно котлована) и в основаниях грунтовых отвалов.

При устройстве пластового дренажа в основаниях грунтовых отвалов отвод воды от них допускается осуществлять с помощью систематически расположенных дрен-канав, устраиваемых под слоем пластового дренажа. Площадь сечения дрен-канав должна быть не менее 0,1 м2. Дрены заполняются каменным или щебеночным материалом или блоками из беспесчаного бетона. По дренам вода отводится в канаву, выполняемую вдоль фронта отвалов.

Устройство пластового дренажа в котловане включает следующие (по порядку выполнения) виды работ: срезку, зачистку и планировку дна котлована до проектных отметок, укладку трубчатых дрен (или устройство беструбчатых дрен-канав), включая подготовку под них и фильтровую обсыпку, укладку по дну котлована песчаного слоя с уплотнением его легкими катками, укладку поверх песчаного слоя гравия или щебня.

При устройстве платовых дренажей недопустимы нарушения в сопряжении щебеночного слоя постели со щебеночной обсыпкой труб.

Каптируемые дренажами подземные воды отводятся к пониженным местам территории, в овраги, речки, водоемы, если есть такие возможности в районе строительства, или к специальным водосборникам (зумпфам), у которых устраиваются перекачные насосные станции.

Укладку дренажных труб, устройство смотровых колодцев и монтаж оборудования дренажных насосных станций необходимо производить с соблюдением требований СНиП 3.07.03-85 и СНиП 3.05.05-84.

Водопонизительные скважины

При строительном водопонижении применяются открытые (сообщающиеся с атмосферой) и вакуумные (герметически закрытые) водопонизительные скважины, оборудованные насосами, самоизливающиеся и водопоглощающие скважины и сквозные фильтры.

Открытые водопонизительные скважины, оборудованные насосами, применяются, в основном, при больших (более 4 м) глубинах гравитационного водопонижения в грунтах с коэффициентом фильтрации св. 2 м/сут при достаточной толщине водоносного слоя, при которой может быть обеспечена необходимая производительность водопонизительных скважин. Они могут применяться в грунтах с коэффициентом фильтрации менее 2 м/сут, когда их эффективность подтверждается опытными данными, и при водопонижении менее 4 м, если это оправдывается технико-экономическими соображениями.

Самоизливающиеся скважины (с изливом через устье) применяются тогда, когда возможен излив из них на достаточно более низкую отметку, чем должен иметь пониженный уровень подземных вод.

Самоизливающиеся скважины выполняются вертикальными и под разными углами к вертикали и забуриваются с разных горизонтов: с поверхности земли, с берм на откосах, со дна котлована, из подземных выработок - в зависимости от принятого порядка производства работ и от их назначения. Они могут служить основным средством снятия напора, когда излив из них обеспечивает достаточное снижение пьезометрического уровня подземных вод в водоносном слое, и применяться в качестве резервного мероприятия, когда напор снимается с помощью скважин, оборудованных насосами, на случай аварийных перерывов в их работе, а также использоваться для других целей в различных водопонизительных системах.

Самоизливающиеся скважины должны быть заглублены в достаточно водообильную зону водоносного слоя для снятия напора в нем.

Самоизливающаяся скважина, в которой осаждается грунт, должна иметь ниже фильтрового звена отстойник, а устье скважины должно быть защищено от попадания в нее случайных предметов и грунта.

В случае прекращения самоизлива необходимо установить, не связано ли это с засорением или повреждением скважины. При необходимости следует принять срочные меры к ее восстановлению.

Самоизливающиеся горизонтальные или слабо наклонные к горизонту скважины, устраиваемые с берм на откосах или на природных склонах, предназначаются для забора воды из глубины грунтового массива и устранения открытой фильтрации через грунт. Они иногда оказываются более эффективными или менее сложными в исполнении, чем устройство дренажа, пригрузок на откосах и т.п.

Системы радиальных самоизливающихся скважин, забирающих воду из водоносного слоя и отводящих ее в центральный водосборный колодец, представляют собой лучевые водозаборы, используемые при крупных и длительных водопонизительных работах.

В подземных выработках самоизливающиеся скважины применяются любого направления и используются для водопонижения во всех слоях, окружающих выработки. При необходимости повышения их эффективности они могут быть переустроены в вакуумные подключением к ним насосных установок.

Водопоглощающие скважины применяются на тех участках, где слой, в котором требуется понизить воду, хорошо ее отдает и имеет достаточную толщину ниже требуемого пониженного уровня подземных вод, а нижележащие слои грунта обладают надлежащей поглощающей способностью.

Сквозные фильтры применяются для строительного водопонижения в сочетании с дренажными галереями (или другими подземными выработками) там, где такие системы предусматриваются для работы в эксплуатационный период.

Вода, сбрасываемая по сквозным фильтрам в дренажные галереи и подземные выработки, отводится по ним к устью и далее к наружному водоотводу или к водосборникам подземной насосной станции, откуда откачивается на поверхность.

Вакуумные скважины с погружными насосами и герметически закрытым устьем, предусматриваемые для вакуумного водопонижения (при котором в фильтрах скважин поддерживается вакуум до 7 - 8 м водяного столба в грунтах с коэффициентами фильтрации ниже 2 м/сут) могут выполняться с поверхности, а также из открытых и подземных горных выработок. Они оборудуются дополнительно наземными вакуум-насосами (или эжекторами) для откачки воздуха.

Устройство открытых и вакуумных водопонизительных скважин, оборудуемых насосами, самоизливающихся скважин, забуриваемых с поверхности или из выработок; водопоглощающих скважин и сквозных фильтров возможно с помощью механического и гидравлического бурения с последующим погружением в буровую скважину фильтровой колонны и устройством обсыпки, непосредственно гидравлическим погружением фильтра в грунт, гидропневматическим погружением фильтров и обсадных труб. Допускается задавливание, забивка и вибропогружение труб. Наиболее распространено механическое бурение с применением вращательного способа с прямой и обратной промывками, грейферного и ударного способов.

Бурение водопонизительных скважин и последующая установка в них фильтров выполняются с соблюдением следующих требований:

а) низ обсадной трубы при бурении скважин ударно-канатным способом должен опережать уровень разрабатываемого забоя не менее чем на 0,5 м, а подъем буровой желонки должен производиться со скоростью, исключающей подсасывание грунта через нижний конец обсадной трубы; при бурении в грунтах, в которых возможно образование пробок, в полости обсадной трубы необходимо поддерживать уровень воды, превышающий уровень подземных вод;

б) бурение водопонизительных скважин с глинистой промывкой допускается, если предварительно выполнено опытное бурение и установленная эффективность разглинизации отвечает требованиям проекта;

в) перед опусканием фильтров и извлечением обсадных труб скважины должны быть очищены от бурового шлама; в скважинах, пробуренных в супесях, а также в переслаивающихся водоносных и водоупорных слоях внутренняя полость обсадной трубы должна быть промыта водой; контрольный замер глубины скважины следует производить непосредственно перед установкой фильтра;

г) при бурении скважин необходимо отбирать пробы для уточнения границ водоносных слоев и гранулометрического состава грунтов.

При погружении в грунт гидравлическим способом фильтровой колонны или обсадных труб следует обеспечивать непрерывность подачи воды, а при наличии сильно поглощающих воду грунтов следует дополнительно подавать в забой сжатый воздух.

Обсыпку фильтров надлежит производить равномерно слоями высотой не более 30-кратной толщины обсыпки. После каждого очередного подъема трубы над ее нижней кромкой должен оставаться слой обсыпки высотой не менее 0,5 м.

Монтаж насосов в скважинах следует производить после проверки скважин на проходимость шаблоном диаметром, превышающим диаметр насоса.

После ввода водопонизительной системы в действие откачку следует производить непрерывно.

Насосные агрегаты, установленные в резервных скважинах, а также резервные насосы открытых установок должны периодически включаться в работу в целях поддержания их в рабочем состоянии.

Водопонизительные системы следует оборудовать устройствами автоматического отключения любого агрегата при понижении уровня воды в водоприемнике ниже допустимого.

Все постоянные водопонизительные и водоотводящие устройства, используемые в период строительства, при сдаче в постоянную эксплуатацию должны соответствовать требованиям проекта.

При эксплуатации водопонизительных систем в зимнее время должно быть обеспечено утепление насосного оборудования и коммуникаций, а также предусмотрена возможность их опорожнения при перерывах в работе.

Иглофильтровые системы

Иглофильтровый способ водопонижения заключается в использовании для забора воды из грунта часто расположенных скважин с трубчатыми водоприемниками малого диаметра - иглофильтров, соединенных общим всасывающим (в случае легких иглофильтров) или напорным (в случае эжекторных иглофильтров) коллектором с центральной (для группы иглофильтров) насосной установкой. Иглофильтры чаще всего погружаются гидравлическим способом. При этом образуется скважина, диаметр которой значительно больше диаметра иглофильтра. Зазор в скважине между грунтом и иглофильтром, как правило, следует заполнять песчано-гравийной обсыпкой. При гравитационном водопонижении в достаточно крупнозернистых грунтах, не требующих применения обсыпки (с коэффициентом фильтрации более 5 м/сут), допускается заполнение зазора в скважине оплывающим грунтом, если это не опасно для вблизи расположенных сооружений.

При наличии в толще грунта, прорезаемого иглофильтрами, трудноразмываемых слоев, иглофильтры устанавливаются в предварительно пробуренные скважины. Скважины бурятся также для относимых к иглофильтрам вакуум-концентрических водоприемников.

Извлечение иглофильтров производится с подмывом для уменьшения сил трения по боковой поверхности иглы. Иглофильтры применяются в виде линейных и кольцевых систем, которые могут быть совершенными (доходящими до водоупора) и несовершенными (не доходящими до водоупора).

Иглофильтры могут применяться для понижения уровня подземных вод в виде ступенчатой схемы с применением ярусных водопонизительных систем при расположении иглофильтров на двух или нескольких уровнях по высоте. Вначале вводится в действие самый верхний (ближайший к поверхности земли) ярус иглофильтров. Под его защитой отрывается первый (верхний) уступ котлована и монтируется второй (считая сверху вниз) ярус иглофильтров, после ввода в действие которого отрывается второй уступ котлована и т.д. Во многих случаях при вводе в действие каждого последующего яруса иглофильтров предыдущий ярус может быть выключен из работы и демонтирован. Иногда, например при больших расстояниях по горизонтали между рядами иглофильтров разных ярусов или при наличии малопроницаемых прослоек между двумя уровнями установки иглофильтров, приходится содержать в работе одновременно иглофильтры двух и более ярусов.

Применение иглофильтров может оказаться целесообразным и при необходимости водопонижения в слабопроницаемых грунтах, ниже которых залегает более водопроницаемый слой. В таких случаях иглофильтры следует заглублять в нижний слой с обязательным выполнением обсыпки по всей высоте скважины.

Гидравлическое погружение иглофильтров применяется в любых песках: от мелких до крупных и гравелистых.

При наличии гравелистых прослоек, сильно поглощающих воду, к трубе, по которой подается вода для размыва грунта, присоединяют шланг для подачи от компрессора сжатого воздуха.

Перед погружением иглофильтр устанавливают вертикально. При длине иглофильтра до 5 м его установку можно производить вручную, при длине более 5 м - с помощью крана. Для лучшей промывки затрубного пространства рекомендуется периодически несколько замедлять погружение иглофильтра, придерживая его на весу.

Контроль за установкой фильтра осуществляется наблюдением за выносимым из устья скважины грунтом и скоростью погружения иглофильтра.

При гидравлическом погружении иглофильтров и необходимости устройства обсыпки расход подмывной струи и скорость опускания иглофильтра подбирается так, чтобы диаметр каверны по всей высоте был не менее 150 мм. По окончании погружения иглофильтра разработанную размывом каверну вокруг иглофильтра, установленного на проектной глубине, следует промыть в течение нескольких минут. Затем расход воды сокращается до минимально возможного, при котором еще продолжается излив воды из устья, а в затрубный зазор равномерно засыпается песчано-гравийная смесь. Если таким способом выполнить обсыпку не удается, то возможно предварительно погрузить в грунт гидравлическим способом обсадную трубу диаметром не менее 150 мм. В эту трубу опускается собранный иглофильтр, кольцевое пространство между трубой и иглофильтром постепенно заполняется обсыпкой, а затем труба извлекается. Сверху вокруг иглофильтра на глубину 1 м должен быть устроен глиняный тампон.

Верхняя граница обсыпки вакуумной концентрической скважины должна располагаться не более, чем на 1 м выше отметки верхней кромки фильтра, а над обсыпкой до поверхности земли должен устраиваться глиняный тампон.

Для проверки годности установленных иглофильтров в них наливают воду и наблюдают за скоростью снижения столба воды. Иглофильтры, уровень воды в которых не понижается, следует извлечь, промыть и снова погрузить в грунт.

Установленные в грунт иглофильтры присоединяются к всасывающему коллектору с помощью инвентарных соединительных шлангов, имеющих на концах овальные фланцы. Резьбовые соединения уплотняются пенькой и суриком, фланцевые - резиновыми прокладками.

Трубопроводы иглофильтровых установок должны укладываться на инвентарных опорах по спланированной поверхности. Уклон трубопроводов иглофильтровых установок должен быть не менее:

всасывающих - 0,005 от насоса,

напорных распределительных - 0,001 от насоса.

Трубопроводы после их монтажа должны быть продуты воздухом или промыты водой под давлением до 1 МПа, которое не должно снижаться в течение 15 мин.

Водоотвод

Перед началом производства земляных работ небходимо обеспечить отвод поверхностных и подземных вод с помощью временных или постоянных устройств, не нарушая при этом сохранность существующих сооружений.

При отводе поверхностных и подземных вод необходимо:

а) с верховой стороны выемок для перехвата потока поверхностных вод использовать кавальеры и резервы, устраиваемые сплошным контуром, а также постоянные водосборные и водоотводящие сооружения или временные канавы и обвалования; канавы, в случае необходимости, могут иметь защитные крепления от размыва или фильтрационных утечек;

б) кавальеры с низовой стороны выемок отсыпать с разрывом, преимущественно в пониженных местах, но не реже чем через каждые 50 м; ширина разрывов по низу должна быть не менее 3 м;

в) грунт из нагорных и водоотводящих канав, устраиваемых на косогорах, укладывать в виде призмы вдоль канав с низовой их стороны;

г) при расположении нагорных и водоотводящих канав в непосредственной близости от линейных выемок между выемкой и канавой выполнять банкет с уклоном его поверхности 0,02 - 0,04 в сторону нагорной канавы.

При пересечении откосом котлована водоупорных грунтов, залегающих под водоносным слоем, на кровле водоупора следует делать берму с канавой для отвода воды (если в проекте не предусмотрен на этом уровне дренаж).

При отводе подземных и поверхностных вод следует исключать подтопление сооружений, образование оползней, размыв грунта, заболачивание местности.

Демонтаж водопонизительных установок следует начинать с нижнего яруса после завершения работ по обратной засыпке котлованов и траншей или непосредственно перед их затоплением.

При производстве работ по водопонижению, организации поверхностного стока и водоотводу состав контролируемых показателей, предельные отклонения, объем и методы контроля должны соответствовать приведенным ниже.

Технические требования

Предельные отклонения

Контроль (метод и объем)

1. Отклонение от вертикали при бурении водопонизительных скважин под установку глубинных насосов с трансмиссионным валом

Не более 0,5 % Н (Н - глубина скважины на уровне замера)

Измерительный, каждая скважина

2. Контрольное давление воды при проверке герметичности системы трубопроводов

Выше расчетного значения на 50 % и более

То же, каждая система

3. Уклон трубопроводов иглофильтровых установок:

Не менее:

Измерительный, 1/3 всех трубопроводов

всасывающих

0,005 от насоса

 

напорных распределительных

0,001 от насоса

 

водосборных

0,005 в сторону циркуляционного бака

 

4. Фильтры водопонизительных скважин

Не допускаются обрывы нитей, неплотные стыки, трещины и др.

Визуальный, каждый элемент

5. Отклонение продольного уклона водоотводных канав от проектного значения

Не более ±0,0005

Измерительный. Нивелирование трассы на участках между поворотами, примыканиями, но не менее чем через 50 м

6. Концентрация химических веществ и взвесей в воде, сбрасываемой в естественные водотоки и водоемы

Не более предельно допустимых концентраций, установленных «Правилами охраны поверхностных вод от загрязнения сточными водами»

Лабораторные исследования не реже двух раз в месяц

7. Контроль работы водопонизительных установок

По данным заводского паспорта на оборудование

Измерительный по показаниям приборов, ежесменно

8. Контроль за положением статического и динамического уровней воды

Согласно проекту

То же, ежедневно

9. Контроль за состоянием откосов и дна котлованов и траншей

Не допускаются сосредоточенная фильтрация, вынос грунта и оплывание откосов

Визуальные наблюдения, ежедневно

10. Контроль за осадками зданий и сооружений

Осадки не должны превышать величин, установленных СНиП 2.02.01-83

Нивелирование по маркам, установленным на здании или сооружении

В течение всего периода производства строительного водопонижения необходимо вести гидрогеологические, а при долговременном и глубоком водопонижении также гидрологические и геодезические наблюдения по наблюдательным скважинам, постам, реперам и маркам, предусмотренным в проекте. Кроме того, необходимо вести систематические наблюдения за состоянием откосов и дна котлована.

Наблюдения позволяют оценивать качество работ и при необходимости вносить в проект корректировки по согласованию с проектной организацией и заказчиком.

Наблюдения за водоотливом с целью определения притока воды к котловану и водопонизительной системе состоят в измерении расхода всех водопонизительных средств.

Измерение расходов откачиваемой воды может производиться с помощью:

мерных резервуаров при небольших расходах (достаточная точность измерения обеспечивается при наполнении емкости не менее чем за 12 - 15 с и двукратном измерении расхода);

треугольных и трапециевидных водосливов, устанавливаемых на открытых водотоках (лотках, канавах и т.п.);

различных расходомеров, устанавливаемых на напорных трубопроводах.

При гидромеханическом способе разработки грунтов о величине водоотлива можно судить по скорости повышения уровня воды в котловане во время отключения средств откачки.

Для того чтобы судить о работе насосов, одновременно с измерением расходов необходимо фиксировать показания манометров и вакуумметров (в период между измерениями вакуумметры и манометры должны быть отключены). Значительные и частые колебания показаний этих приборов свидетельствуют о неправильном режиме работы насосов. Все данные о работе насосов вносятся в журнал.

Контроль за положением поверхности подземных вод должен охватывать территорию, на которую распространяется влияние водопонижения. Он ведется путем измерения уровней воды в наблюдательных скважинах, котловане, ближайших водотоках и водоемах.

Попутно с измерениями уровней следует вести наблюдения за температурой и химическим составом подземных вод.

Все эти наблюдения необходимы для получения данных о развитии водопонижения и о влиянии на него различных факторов: атмосферных осадков, изменений уровней в водотоках и водоемах, потерь промышленных и бытовых вод, а также гидравлической взаимосвязи отдельных водоносных слоев между собой. В результате наблюдений устанавливают эффективность работы водопонизительной системы и получают данные для своевременной корректировки ее параметров.

Наблюдательные скважины должны устраиваться во всех водоносных слоях, из которых производится откачка подземных вод. Размещение наблюдательных скважин внутри контура водопонижения, на контуре и за его пределами определяется гидрогеологическими условиями с учетом расчетной схемы фильтрации.

Скважины внутри контура водопонижения располагаются в расчетных точках или створах так, чтобы оценить результаты действия водопонизительной системы в целом или ее отдельных участков.

Наблюдательные скважины на контуре водопонижения располагаются, как правило, в середине между водопонизительными скважинами.

Скважины за пределами водопонизительного контура целесообразно размещать по створам, соответствующим направлению фильтрационного потока следующим образом:

при полого залегающих водоносных слоях - по направлению потока и вкрест потока (природного), в направлении наиболее вероятных областей питания, в направлении соседних систем водопонижения (водоснабжения, водоотлива);

при крутопадающих водоносных слоях - по простиранию и вкрест простирания слоев, в направлении вероятных источников питания и соседних систем водопонижения (водоснабжения, водоотлива).

При протяженных водопонизительных системах (осушение траншей) лучи направляются перпендикулярно оси выработки.

Возможно использование для наблюдений отдельных наблюдательных скважин. Все же при значительных по объему водопонизительных работах следует предусматривать не менее двух лучей наблюдательных скважин.

Минимальное количество скважин на луче - две, из которых одна располагается на контуре, а вторая - вне его в выбранной расчетной точке. В однородных условиях при больших размерах депрессионной воронки количество скважин на луче в интересующем водоносном слое принимается от трех [одна на контуре, две другие на расстояниях от него 0,15(R - А) и 0,6(R - А)] до пяти [одна на контуре и другие на расстоянии от него 0,1(R - А), 0,25(R - А), 0,5(R - А) и 0,9(R - А) или вблизи границы области питания (на берегу реки, озера и т.п.)].

Частота измерений уровней подземных вод должна соответcтвовать динамике развития водопонижения. При начальном снижении уровня подземных вод, при вводе в действие дополнительных средств водопонижения и в других случаях неустановившегося режима фильтрации измерения производятся один раз в смену или в сутки. При установившемся режиме измерения проводятся реже, например, один раз в неделю а в дальних скважинах 1 - 2 раза в месяц.

Химические анализы также выполняются с частотой (обычно устанавливаемой в процессе производства работ), соответствующей динамике их изменений (не реже двух раз в месяц).

Наблюдения за состоянием откосов и дна котлована должны включать ежесменные осмотры откосов котлована и его дна. Эти наблюдения ведут визуально с верхней бровки котлована, с его откосов и дна. При наблюдениях сверху необходимо обратить внимание на появление закольных трещин, их длину по фронту откоса и скорость раскрытия. При осмотре откосов со стороны котлована (со дна, с берм, с лодки, понтона) главное внимание должно быть обращено на высоту слоя высачивания воды в откосе, на установление участков сосредоточенной фильтрации, на обнаружение явлений суффозии (каверны, пещеры), появление конусов выноса грунта, сопровождающееся образованием оплывин и обрушений в откосах. Все особенности поведения откосов в процессе снижения уровня воды в котловане, в том числе и отсутствие каких-либо неблагоприятных явлений, следует ежесменно фиксировать в журналах наблюдений, а при необходимости фотографировать. Фотографии должны иметь привязку на плане котлована и сопровождаться на снимке каким-либо масштабным предметом (геодезическая рейка или другой предмет известной длины).

По результатам наблюдений необходимо принимать меры для обеспечения устойчивости откосов: уменьшениие скорости понижения уровня воды в котловане, укладка дренажных пригрузок на участках суффозии, включение дополнительных водопонизительных установок и т.п.

На последнем этапе земляных работ следует вести наблюдения и за состоянием дна котлована. В случае появления ключей (грифонов) необходимо немедленно принять меры для обеспечения устойчивости дна путем пригрузки грифонов обратными фильтрами, устройства разгрузочных скважин, усиления работы водопонизительной системы по снятию напора на дно котлована и т.п.

При производстве водопонизительных работ вблизи сооружений следует вести инструментальные наблюдения за осадками грунтов и деформациями конструкций в пределах зоны влияния водопонизительной системы. При обнаружении деформаций, угрожающих нормальной эксплуатации сооружений, предохранительные меры принимаются по согласованию с проектной организацией.

Приемка работ

Приемку водопонизительных работ следует выполнять дважды:

1) перед вводом в действие устройств водопонизительной системы, когда составляется акт о готовности водопонизительного устройства и пригодности его к работе в течение требуемого срока службы;

2) после окончания работ по строительному водопонижению, когда составляется акт о выполненных работах с приложением исполнительной документации, актов на скрытые работы и актов о годности к эксплуатации устройств, остающихся на эксплуатационный период, и данных по режиму подземных вод на момент сдачи работ.

Исполнительная документация по водопонижению должна включать:

для открытого водоотлива - расположение в плане и отметки водопонизительных и водоотводящих устройств, наблюдательных скважин, характеристики насосных установок;

для горизонтального дренажа - расположение дрен с указанием их типов, нумерацию смотровых колодцев, продольные профили дрен, конструкцию фильтров и характеристики насосных станций;

для иглофильтровой установки - способ погружения иглофильтров, отметки фильтровых звеньев, способ устройства обсыпки, отметка оси насосного агрегата, расположение наблюдательных скважин, данные пробной откачки;

для эжекторной установки (в том числе с вакуумными концентрическими скважинами) - способ устройства скважин, конструкции фильтра и скважины, способ устройства обсыпки, отметки расположения фильтровой части и рабочих органов эжекторов, расположение контрольно-измерительной аппаратуры, а также пьезометров и наблюдательных скважин с указанием уровня воды в них, данные пробной откачки;

для открытых водопонизительных скважин - расположение и отметки скважин, способы их устройства, конструкция фильтров и способ устройства обсыпки, тип насосов и отметки расположения их всасывающих и сливных патрубков, расположение контрольных пьезометров и наблюдательных скважин с указанием уровня воды в них, данные пробной откачки.

Скрытые работы оформляются двусторонними актами с участием представителей заказчика и подрядчика, выполняющего водопонизительные работы. К актам прилагается исполнительная техническая документация (планы, профили, разрезы по скважинам, таблицы и др.).

В актах должны фиксироваться:

а) при строительстве дренажей:

1) исполнительный продольный профиль по лотку труб - нивелировка (или по дну траншеи - для дренажей без труб);

2) тип, диаметр, толщина стенок и ГОСТ (ТУ) дренажных труб, количество и размеры отверстий на одну трубу (1 м трубы);

3) гранулометрический состав материала дренажной обсыпки и заполнителя дрен - анализы следует проводить через 50 м по трассе дренажа;

б) при устройстве легких и эжекторных иглофильтров:

1) продольный профиль по линии установки игл с указанием отметок верха и низа фильтрового звена для каждой иглы;

2) фактический геологический разрез;

в) при устройстве водопонизительних скважин, оборудованных насосами, и сквозных фильтров:

1) вертикальный геологический разрез с указанием отметок границ слоев и прослоек;

2) результаты измерений кривизны скважины (сквозных фильтров), желательно в зенитном и азимутальном направлениях;

3) погружение обсадных труб с указанием отметок башмаков колонн;

4) установка фильтровых каркасов (с чертежами каркасов и указанием антикоррозионных покрытий, уплотняющих и центрирующих устройств);

5) извлечение обсадных труб;

6) устройство песчано-гравийной обсыпки (данные измерения гранулометрического состава, отметки верхней и нижней границ, объем);

7) прокачка скважины и опытная откачка;

8) установка выпуска (для сквозных фильтров) в подземной выработке;

9) постепенный ввод в строй водопонизительной скважины (сквозного фильтра);

г) при устройстве горизонтальных и наклонных самоизливающихся скважин:

1) геологический разрез скважины, угол наклона ее к горизонту;

2) установка фильтра ( в т.ч. чертеж конструкции фильтра);

3) оборудование устья скважины;

д) при демонтаже водопонизительной системы - оформляется акт на скрытые работы по ликвидации скважин с указанием мест заложения скважин (фильтров), способом их ликвидации, объемов работ и т.п., а также акт на скрытые работы по устройству тампонажа.

Геодезические работы при устройстве фундаментов

СНиП 3.01.01-85* «Организация строительного производства»

СНиП 3.01.03-84 «Геодезические работы в строительстве»

Пособие по производству геодезических работ в строительстве (к СНиП 3.01.03-84)

Геодезические работы должны выполняться в соответствии с требованиями СНиП 3.01.01-85*, СНиП 3.01.03-84, ППР, ППГР и другой технологической документации, утвержденной в установленном порядке.

При строительстве сложных и крупных объектов, а также зданий выше девяти этажей подрядчиком (генподрядчиком или субподрядчиком, в зависимости от того, кто выполняет строительно-монтажные работы) или по его поручению специализированными организациями, имеющими лицензию на выполнение проектно-технологических работ, разрабатывается проект производства геодезических работ (ППГР).

ППГР определяет содержание, объем, методы, точность, сроки и стоимость геодезических работ, обеспечивающих строительство при минимальных трудовых и материальных затратах.

Основанием для разработки ППГР специализированной организацией является техническое задание, составленное по установленной форме , а при разработке в составе ППР - частное задание группы подготовки производства работ строительно-монтажной организации. Задание должно содержать данные об объемах и сроках разработки.

Содержание ППГР согласовывается с технической и экономической сторонами ПОС и ППР. При пересмотре проектно-сметной документации на производство строительно-монтажных работ все изменения вносятся в ППГР.

ППГР согласовывается с геодезической службой строительно-монтажной организации, утверждается руководителями организации-исполнителя и заказчика проекта, подписывается главным инженером генподрядной строительно-монтажной организации и передается в производство за два месяца до начала работ.

Запрещается осуществление строительно-монтажных работ без утвержденного проекта производства работ. Не допускаются отступления от решений проектов производства работ без согласования с организациями, разработавшими и утвердившими их.

Контролируемые операции

Состав и средства контроля

Документация

Подготовительные работы

Проверить:

 

-  завершение и надлежащее оформление предшествующих земляных работ (наличие актов освидетельствования скрытых работ, геодезических исполнительных схем и другой приемо-сдаточной документации);

Акт приемки, акты освидетельствования скрытых работ; исполнительные схемы

-  сохранность знаков, закрепляющих пункты геодезической разбивочной основы, и неизменность их положения; восстановление утерянных знаков;

-  наличие ППР (ППГР); рабочие чертежи в части взаимной увязки размеров координат и отметок (высот);

-  наличие необходимых геодезических приборов, инструментов и приспособлений.

Общий журнал работ

Геодезические работы при устройстве фундаментов

Контролировать:

 

-  соблюдение заданной ППР (ППГР) технологии детальных разбивочных работ по выносу и закреплению в натуре осей и отметок, определяющих проектное положение фундаментов; точность выполнения разбивочных работ;

-  соблюдение технологии геодезического контроля точности монтажа фундаментов и выполнения исполнительных геодезических съемок.

Общий и специальный журналы работ

Приемка

Проверить:

 

-  соответствие выполненных геодезических разбивочных работ, геодезических работ при монтаже фундаментов, исполнительных геодезических съемок требованиям проекта и нормативных документов;

-  составление и надлежащее оформление приемо-сдаточной документации (актов приемки фундаментов, актов освидетельствования скрытых работ, исполнительных геодезических схем).

Акты приемки фундаментов, акты освидетельствования скрытых работ, исполнительные схемы

Входной и операционный контроль осуществляют: мастер (прораб), геодезист - в процессе выполнения работ.

Приемочный контроль осуществляют: прораб (мастер), геодезист, работники отдела контроля качества СМР, представители технадзора заказчика.

КИП: нивелир, теодолит и др. геодезические приборы и инструмент

Разбивочные работы в строительстве должны обеспечивать вынос в натуру от пунктов геодезической разбивочной основы с заданной точностью осей и отметок, определяющих в соответствии с проектной документацией положение в плане и по высоте частей и конструктивных элементов зданий (сооружений).

До начала выполнения геодезических работ на строительной площадке рабочие чертежи, используемые при разбивочных работах, должны быть проверены в части взаимной увязки размеров, координат и отметок (высот) и разрешены к производству работ техническим надзором заказчика.

Геодезические работы следует выполнять средствами измерений необходимой точности.

Точность разбивочных работ при производстве земляных работ следует принимать, руководствуясь данными, приведенными в нижеследующей таблице, если другие данные не обоснованы в ППР (ППГР).

Точность построения внешней разбивочной сети здания (сооружения)

Характеристика зданий, сооружений

Величины средних квадратических погрешностей построения внешней разбивочной сети здания (сооружения)

линейные измерения

угловые измерения с

определение превышения на станции мм

Сооружения высотой св. 100 до 120 м или с пролетами св. 30 до 36 м

1/15000

5

1

Здания св. 15 этажей, сооружения высотой св. 60 до 100 м или с пролетами св. 18 до 30 м

1/10000

10

2

Здания св. 5 до 15 этажей, сооружения высотой св. 15 до 60 м или с пролетами св. 6 до 18 м

1/5000

20

2,5

Здания до 5 этажей, сооружения высотой до 15 м или с пролетами до 6 м

1/3000

30

3

В случаях строительства по проектной документации, содержащей допуски на изготовление и возведение конструкций зданий (сооружений), не предусмотренные стандартами, нормами и правилами, необходимую точность разбивочных работ следует определять специальными расчетами по условиям, заложенным в проектной документации.

Геодезические работы следует выполнять после предусмотренной проектной документацией расчистки территории, освобождения ее от строений, подлежащих сносу, и, как правило, вертикальной планировки.

Непосредственно перед выполнением разбивочных работ исполнитель должен проверить неизменность положения знаков разбивочной сети здания (сооружения) путем повторных измерений элементов сети.

При устройстве фундаментов зданий (сооружений) разбивочные оси следует переносить на обноску или на другое устройство для временного закрепления осей. Вид обноски и место ее расположения следует указывать на схеме размещения знаков.

Обноску делают сплошную, разреженную или створную.

ВИДЫ ОБНОСКИ

Сплошная обноска окаймляет все сооружение. Ее применяют при устройстве монолитных фундаментов с большим объемом опалубочных работ, при сложной конфигурации опалубки, при значительном числе устанавливаемых анкерных болтов, закладных деталей, арматурных выпусков.

Разреженную или створную обноску устанавливают по основным и межсекционным осям, температурным швам на расстоянии 18 - 24 м одна от другой. Такие обноски применяют при устройстве сборных и свайных фундаментов, а также при возведении столбчатых монолитных фундаментов, расположенных на расстоянии 12 м и более один от другого.

Обноску устанавливают в 2 - 3 м от верхней бровки котлована. При котлованах глубиной 3 м и более обноску часто располагают в котловане вдоль его нижней бровки.

Выбор рациональной методики и последовательности производства геодезических разбивочных работ при монтаже фундаментов зависит от конструкции фундамента, методов и средств монтажа, технологии строительно-монтажных работ.

Монтаж сборных ленточных фундаментов

Монтаж фундаментных блоков ведут в соответствии с разбивкой на дне котлована или «под теодолит».

При монтаже сборных фундаментов между одноименными осями, закрепленными на обноске, натягивают струны (тонкая проволока, леска). От отвесов, подвешенных на струнах, линейным отмером определяют положение осей и закрепляют их на дне колышками.

1. Отвес 2. Проволока (леска) 3. Обноска 4. Штыри, закрепляющие положение фундаментной плиты

От осей, обозначенных на дне котлована висящими отвесами или колышками, с помощью шаблона или промером определяют плановое положение угловых и маячных фундаментных плит (блоков), которое фиксируется штырями. После снятия струн плиты (блоки) монтируются. По граням угловых и маячных блоков натягивают шнур-причалку и монтируют все промежуточные плиты (блоки).

Вдоль осей натягивают струны по обноске и от отвесов на струнах определяют и закрепляют откраской на фундаментных плитах местоположение граней угловых и маячных стеновых блоков. Струны снимают и по вынесенным граням монтируют угловые и маячные стеновые блоки. По шнурам-причалкам производят монтаж всех промежуточных стеновых блоков.

При монтаже фундаментных плит (блоков) «под теодолит» предварительно размечают подошвы фундаментов, для чего на подошве наносят несмываемой краской риски, фиксирующие положение осей подошвы фундаментов. Теодолит устанавливают над точкой закрепленной оси и крест стенки нитей зрительной трубы теодолита наводят на закрепленную точку противоположного конца оси. Наклонным лучом теодолита ось передают на укладываемый блок. Совпадение риски фундамента с вертикальной нитью сетки зрительной трубы показывает, что укладываемый блок принял проектное положение по одному из двух взаимно перпендикулярных направлений. Так же ориентируют блок и по второй оси.

Угловые плиты (блоки) устанавливают при помощи двух теодолитов, а для маячных используют один теодолит и промеры рулеткой по створу от угловых плит (блоков).

После окончательной выверки в плане и по высоте угловых и маячных плит (блоков) между ними натягивают шнур-причалку на расстоянии 15 - 20 мм от граней. Промежуточные плиты (блоки) укладывают ориентируясь по шнуру-причалке.

После монтажа первого ряда фундаментных блоков, а также каждого последующего ряда производят их нивелирование с целью выравнивания монтажного горизонта с помощью маяков и подстилающего бетонного слоя.

Соосность рядов укладываемых блоков, а также вертикальность их кладки проверяют при помощи отвеса.

Разбивка фундаментов стаканного типа

Основанием для фундаментов стаканного типа могут быть естественные основания, бетонная подготовка и бетонные плиты. Плановое положение бетонной подготовки под сборный фундамент стаканного типа определяется линейным промером от отвесов на струнах, натянутых по основным и промежуточным осям.

На внутренние стороны установленной опалубки бетонной подготовки выносят и закрепляют откраской или гвоздем отметку верха бетона, по которой и производят его выравнивание (затирку).

Если башмак сборного фундамента укладывается на плиту заводского изготовления, то ее устанавливают в плане относительно висящих на струнах отвесов, а по высоте - под нивелир на проектную отметку.

Размечают стаканы фундаментов, для чего три их стороны делят пополам, а четвертую размечают по крестообразному прямоугольному шаблону. Три стороны шаблона совмещают с рисками размеченных сторон, а по четвертой наносят риску на неразмеченной стороне стакана фундамента.

Монтаж сборных фундаментов одного из рядов ведут при помощи двух теодолитов, установленных и ориентированных по перпендикулярным осям. Фундамент передвигают по бетонной подготовке в двух взаимно перпендикулярных направлениях до тех пор, пока риски, нанесенные на фундаменте, не совпадут с линиями визирования теодолитов. Далее монтаж производят при помощи теодолита и рулетки. По теодолиту устанавливают фундамент относительно одной (продольной или поперечной) оси, а по другой взаимно перпендикулярной оси фундамент устанавливают по линейному отмеру, который производится от рисок ранее установленного фундамента.

Через 2 - 3 ряда установленных фундаментов производят контроль их монтажа теодолитом по двум взаимноперпендикулярным осям, закрепленным на обноске.

При устройстве монолитных фундаментов стаканного типа арматуру и опалубку в плане устанавливают в соответствии с их привязкой к осям.

Оси, по которым воздвигают отдельные столбчатые фундаменты, предварительно разбивают, если они не закреплены на разреженной створной обноске. Разбивку производят со знаков закрепления осей теодолитом и рулеткой. Местоположение разбитых осей фиксируют штырями непосредственно на верхней бровке котлована фундамента. По штырям натягивают струну, на которой подвешивают отвесы.

Относительно отвесов монтируют и закрепляют щиты опалубки в плане. Установку опалубки можно производить также при помощи двух теодолитов, установленных на перпендикулярных осях.

Нивелированием проверяют установку арматуры по высоте, а также выносят на опалубку и закрепляют с внутренней ее стороны гвоздем или откраской отметку верха бетонирования.

Устройство монолитных фундаментов

Геодезические разбивочные работы при устройстве монолитных ленточных фундаментов заключаются в установке опалубки в проектное положение в плане и по высоте.

При устройстве монолитных фумдаментов арматуру и опалубку в плане устанавливают в соответствии с их привязкой к осям. По осям, закрепленным на обноске, натягивают струны и подвешивают отвесы, от которых линейным отмером находят плановое положение арматуры и опалубки.

Нивелированием проверяют установку арматуры по высоте, а также выносят на опалубку и закрепляют с внутренней ее стороны гвоздем или откраской отметку верха бетонирования.

При наличии в фундаменте анкерных болтов, арматурных выпусков и закладных деталей их установку производят по микрообноске. Для создания микрообноски на установленную и закрепленную обноску фундамента выносят продольные и поперечные разбивочные оси и закрепляют их гвоздями и откраской. По закрепленным осям на опалубке натягивают проволоку, от которой непосредственно и определяют местоположение элементов фундамента в плане. Для установки анкерных болтов рекомендуется применять шаблоны.

Установка анкерных болтов и закладных деталей по высоте производится с использованием нивелира.

Для соблюдения горизонтальности поверхности бетонирования при устройстве монолитных плит к арматуре приваривают штыри-маяки, верхние торцы которых устанавливают на отметку бетонирования. При наличии арматурных выпусков на них также выносится проектная отметка бетонирования.

Перед бетонированием производят исполнительную планово-высотную съемку установленной опалубки, а также элементов фундамента (анкерных болтов, арматурных выпусков, закладных деталей).

При бетонировании следят за планово-высотным положением опалубки и элементов фундамента.

Устройство свайных фундаментов

Различные типы свай и схемы их погружения определяют последовательность геодезических разбивочных работ.

Разбивку свайного поля производят от точек пересечения осей, вынесенных теодолитом на колышки в котлован.

Теодолит последовательно центрируют над точками пересечения осей, ориентируют по створу оси и по данному направлению откладывают проектные расстояния до центров свай. Местоположение свай закрепляют металлическими штырями. Для свай, расположенных не на осях, положение центров определяют от осей способом перпендикуляров (двумя рулетками, или шаблоном).

При кустовом расположении свай вначале производят разметку местоположения центров кустов, а затем разметку положения свай в кусте. Разметку положения свай в кусте рекомендуется производить по шаблону или с помощью трех рулеток, две из которых натягивают вдоль двух взаимно перпендикулярных осей через центр куста, а третьей определяют положение каждой сваи в кусте.

Если кусты или ряды свай располагаются на большом расстоянии от разбивочных осей, то выполняют параллельный перенос осей для приближения или совмещения их с осями свай.

Сваи перед забивкой должны быть установлены вертикально. Вертикальность проверяют по теодолиту в двух взаимно перпендикулярных плоскостях или по рейке-отвесу и контролируют в процессе забивки.

При устройстве безростверковых свайных фундаментов все сваи забивают на проектную отметку, которую контролируют с помощью нивелира или лазерного прибора.

При устройстве монолитных ростверков несколько свай забивают на проектную отметку. Данные сваи служат своеобразными визирками для забивки остальных свай на отметку, близкую к проектной.

По окончании забивки свай производят их нивелировку до срубки и, зная длину свай, определяют отметку погружения свай. Определение отметки погружения свай оформляют исполнительной схемой.

Для устройства монолитного ростверка на сваи выносят отметку срубки. После срубки свай выполняют планово-высотную съемку свайного поля, и на сваи, находящиеся на пересечении осей, выносят разбивочные оси. Относительно вынесенных осей устанавливают опалубку и укладывают арматуру. На внутреннюю сторону установленной опалубки выносят отметку бетонирования (верх ростверка), которую закрепляют откраской или гвоздями.

При устройстве безростверковых свайных фундаментов после забивки свай на них выносят отметку низа оголовков. По данной отметке крепятся поддерживающие оголовки хомуты. Установка оголовков на сваи в плане производится с учетом планового смещения свай.

Исполнительные съемки

В процессе возведения и по окончании устройства фундаментов производится исполнительная геодезическая съемка планового и высотного положения фундаментов.

Места, точки, параметры, методы, порядок проведения и объем съемок должны быть установлены проектом производства работ.

Плановое и высотное положение фундаментов, их вертикальность следует определять от знаков геодезической разбивочной основы для строительства, знаков закрепления осей и временных реперов, установленных на дне котлована в непосредсвенной близости от возводимого сооружения.

До начала исполнительной съемки неоходимо проверить неизменность знаков исходной основы.

Погрешность измерений в процессе исполнительных съемок должна быть не более 0,2 величины отклонений, допускаемых строительными нормами и правилами, государственными стандартами или проектной документацией.

При исполнительной съемке сборных ленточных фундаментов и на исполнительных схемах показывают отклонения от совмещения установочных ориентиров фундаментных блоков с рисками разбивочных осей, отклонения блоков от проектных отметок и отклонение от вертикали верха плоскосей фундаментных блоков. С этой целью на поверхность фундамента снова переносят оси и измеряют отклонения оси фундамента от разбивочной оси, поверхность фундамента нивелируют и определяют отклонения блоков от проектной отметки.

При исполнительной съемке сборных фундаментов стаканного типа проверяют непосредственными промерами рулеткой или измерительной линейкой длину и ширину стаканов, а также смещение осей стаканов фундаментов относительно разбивочных осей. Для таких измерений можно воспользоваться теодолитом и измерительной линейкой (нивелирной рейкой). При этом зрительную трубу теодолита направляют по осевому створу, а по вертикальной нити берут отсчеты по линейке (нивелирной рейке), которая должна прикладываться нулевым делением к граням стакана и располагаться перпендикулярно линии визирования. Разность между полученным отсчетом и проектной величиной и будет характеризовать величину действительного отклонения оси стакана от разбивочной оси.

Отклонения отметок опорной поверхности дна стаканов фундаментов от проектных проверяется геометрическим нивелированием. С этой целью определяют отметки дна стаканов до устройства выравнивающего цементно-песчаного слоя или армобетонных прокладок по дну стакана и после. Сравнивая полученные отметки с проектными получают действительные отклонения, которые не должны превышать предельных отклонений, установленных нормативными документами.

Результаты исполнительных съемок должны найти отображение в исполнительных схемах.

ФРАГМЕНТ ИСПОЛНИТЕЛЬНОЙ СХЕМЫ

При устройстве свайных фундаментов и однорядном расположении свай диаметром или стороной сечения до 0,5 м включ. съемке подлежат все сваи с измерением их отклонений вдоль и поперек оси свайного ряда.

При двух- и трехрядном расположении свай диаметром или стороной сечения до 0,5 м включ. съемке подлежат крайние сваи с измерением их отклонений поперек оси свайного поля и вдоль свайного ряда, а остальные сваи - вдоль свайного ряда.

При сплошном свайном поле съемке подлежат крайние и средние сваи.

Результаты исполнительных съемок должны найти отображение в исполнительных схемах.

ФРАГМЕНТ ИСПОЛНИТЕЛЬНОЙ СХЕМЫ

Стрелками показаны смещения центров свай от проектного положения в см

Цифры со знаком «-»и «+» показывают отклонения оголовка свай от проектной отметки

При исполнительной съемке монолитных фундаментов на фундамент вновь переносят оси здания; положение вспомогательных осей определяют промерами от вынесенных струнным или оптическим способом основных осей; если закреплены на обноске и вспомогательные оси, то их также выносят оптическим путем или при помощи струны. При исполнительной съемке снимают и на исполнительной схеме отображают отклонения от проектных значений: уклона опорных поверхностей фундаментов, отметок дна стаканов, размеров фундаментов, положения анкерных болтов, отметок закладных изделий, горизонтальных поверхностей, вертикальности или наклона плоскостей и линий их пересечения и другие показатели, предусмотренные проектом.

Устройство свайных фундаментов

Общие технические требования

ГОСТ 19804-91 «Сваи железобетонные. Технические условия».

Входной контроль свай должен осуществляться в соответствии с требованиями ГОСТ 19804-91, ГОСТ 13015.0-83*, ГОСТ 13015.3-81* и технологической документации, утвержденной в установленном порядке.

ГОСТ 19804-91 «СВАИ ЖЕЛЕЗОБЕТОННЫЕ. ТЕХНИЧЕСКИЕ УСЛОВИЯ».

Данный стандарт распространяется на железобетонные забивные, буроопускные и опускные сваи, изготовляемые из тяжелого бетона и предназначаемые для свайных фундаментов зданий или сооружений.

Сваи должны быть изготовлены в соответствии с требованиями данного стандарта; технологической документации, утвержденной предприятием-изготовителем, по рабочим чертежам серий 1.011.1-9, 1.011.1-10, УД-40-88, 3.500.1-1, 3.501.1 и ГОСТ 19804.2-79* ÷ ГОСТ 19804.7-83.

Допускается изготовлять сваи, отличающиеся типами и размерами от приведенных в данном стандарте, по техническим условиям и рабочим чертежам, согласованным с институтом «Фундаментпроект» и утвержденным в установленном порядке.

Сваи подразделяют на следующие типы:

С - квадратного сплошного сечения, цельные и составные, с поперечным армированием ствола;

СП - квадратного сечения с круглой полостью, цельные;

СК - полые круглого сечения диаметрами 400 - 800 мм, цельные и составные;

СО - сваи - оболочки диаметрами 1000 - 3000 мм, цельные и составные;

1СД - сваи - колонны квадратного сплошного сечения, двух-консольные, расположенные по крайним осям здания;

2СД - то же, расположенные по средним осям здания;

СЦ - квадратного сплошного сечения, цельные, без поперечного армирования ствола, с напрягаемой арматурой в центре сваи.

Форма и основные размеры свай должны соответствовать указанным в нижеследующей таблице.

Тип и характеристика свай

Эскиз сваи

Основные размеры сваи, мм

Обозначение стандарта или серии рабочих чертежей

b или d

l

Тип С. Цельная с ненапрягаемой арматурой

200

3000 - 6000

Серия 1.011.1-10 вып. 1; УД-40-88; 3.500.1-1

250

4500 - 6000

300

3000 - 12000

350

4000 - 16000

400

4000 - 18000

Тип С. Цельная с напрягаемой арматурой

200

3000 - 6000

ГОСТ 19804.2-79*

Серия 3.500.1-1

250

4500 - 6000

300

3000 - 12000

350

8000 - 20000

400

13000 - 20000

Тип С. Составная с ненапрягаемой арматурой

300

14000 - 24000

Серия 1.011.1-10 вып. 8;

350

14000 - 28000

400

14000 - 28000

Тип С. Составная с напрягаемой арматурой

300

14000 - 20000

Серия 1.011.1-9

350

14000 - 24000

400

14000 - 28000

Тип СП. Цельная с ненапрягаемой и напрягаемой арматурой

300

3000 - 12000

ГОСТ 19804.3-80*

400

3000 - 12000

Тип СК. Цельная с ненапрягаемой арматурой

400

4000 - 18000

ГОСТ 19804.5-83

Серия 3.501.1

500

4000 - 18000

600

4000 - 18000

800

4000 - 12000

1000

6000 - 12000

Тип СО. Цельная с ненапрягаемой арматурой

1200

6000 - 12000

1500

6000 - 12000

1600

6000 - 12000

3000

6000 - 12000

Тип СК. Составная с ненапрягаемой арматурой

400

14000 - 26000

ГОСТ 19804.6-83

Серия 3.501.1

500

14000 - 30000

600

14000 - 40000

800

14000 - 48000

1000

14000 - 48000

Тип СО. Составная с ненапрягаемой арматурой

1200

14000 - 48000

1500

14000 - 48000

1600

14000 - 48000

3000

14000 - 48000

Тип 1СД

200

5000 - 6000

ГОСТ 19804.7-83

300

5000 - 7500

Тип 2СД

300

5000 - 7500

ГОСТ 19804.7-83

Тип СЦ

250

5000 - 6000

ГОСТ 19804.4-78*

300

3000 - 9000

Сваи обозначают марками. Марка сваи состоит из буквенно-цифровых групп, разделенных дефисами.

В первой группе указывают обозначение типа сваи, ее длину в дециметрах и размер стороны (диаметр) поперечного сечения в сантиметрах; для сваи типа СД после длины дополнительно указывают размер от верха сваи до ее консоли в дециметрах.

Во второй группе указывают: для предварительно напряженной сваи - класс напрягаемой арматурной стали; для сваи с ненапрягаемой арматурой - порядковый номер варианта армирования в соответствии с рабочими чертежами.

В третьей группе указывают:

для сваи типа СК или СО - наличие наконечника, обозначаемое строчной буквой «н»;

для составной сваи - тип стыка, обозначаемый строчными буквами: б - болтовой стык, св - сварной стык, с - стаканный стык;

для свай всех типов (при необходимости) - дополнительные характеристики, отражающие особые условия применения или конструктивные особенности.

Пример условного обозначения (марки), сваи типа С длиной 6000 мм, размером поперечного сечения 350 мм, с напрягаемой арматурной сталью класса А-V:

С 60.35-АV

То же, типа СО длиной 14000 мм, диаметром 1000 мм, третьего варианта армирования, с болтовыми стыками:

СО 140.100-3-b

То же, типа 1СД длиной 7500 мм, размером от верха сваи до ее консоли 3500 мм, размером поперечного сечения 300 мм, четвертого варианта армирования:

1СД 75.35.30-4

Сваи должны удовлетворять требованиям ГОСТ 13015.0-83*:

по показателям фактической прочности бетона: в проектном возрасте, передаточной и отпускной;

по морозостойкости и водонепроницаемости бетона;

к маркам сталей для арматурных и закладных изделий, в том числе для монтажных петель;

по защите от коррозии.

Значения действительных отклонений геометрических параметров свай не должны превышать предельных, указанных в нижеследующей таблице.

мм

Наименование отклонения геометрического параметра сваи

Наименование геометрического параметра сваи

Пред. откл.

Отклонение от линейного размера

Длина призматической (цилиндрической части сваи с ненапрягаемой арматурой

 

при длине сваи: до 8000 включ.

±25

св. 8000 до 16000 включ.

±30

св. 16000

±40

То же, свай с напрягаемой арматурой

±50

Размер (наружный диаметр) поперечного сечения сваи:

 

до 250 включ.

+15; -6

св. 350 до 500 включ.

+20; -8

св. 500 до 1000 включ.

+25; -10

св.1000 до 1600 включ.

+30; -12

св.1600 до 2500 включ.

+40; -15

св.2500

+50; -16

Толщина стенки сваи типов СП, СК и СО

 

до 120 включ.

+10; -5

св. 120 до 250 включ.

+25, -6

Длина острия или наконечника

±30

Расстояние от центра острия или наконечника до боковой поверхности сваи

15

Расстояние от центра подъемной (монтажной) петли, штыря, втулки и отметки для строповки до концов сваи

50

Отклонение от прямолинейности профиля боковых граней призматической части ствола (направляющих цилиндрической поверхности) сваи на всей длине:

 

 

до 8000 включ.

 

±25

св. 8000 до 16000 включ.

 

±30

св.16000

 

±40

Отклонение от перпендикулярности торцевой плоскости:

 

 

в голове сваи и сваи-оболочки

-

0,015 размера поперечного сечения сваи

в зоне стыка составной сваи сплошного квадратного сечения

-

0,01 размера поперечного сечения сваи

в зоне стыка составной сваи-оболочки

-

0,005 размера поперечного сечения сваи

На поверхности свай не допускаются:

обнажение рабочей и конструктивной арматуры. Концы напрягаемой арматуры, после отпуска натяжения должны быть срезаны заподлицо с торцевой поверхностью сваи;

жировые и ржавые пятна;

участки неуплотненного бетона;

трещины, за исключением усадочных и других поверхностных технологических трещин, ширина которых не должна превышать, мм:

- 0,1 в конструкциях из тяжелого бетона, подвергаемых попеременному замораживанию и оттаиванию в водонасыщенном состоянии или в условиях эпизодического водонасыщения; в предварительно напряженных железобетонных сваях; колоннах;

- 0,2 в остальных видах свай;

наплывы бетона на торцевой поверхности свай более 5 мм.

Размеры раковин, местных впадин на бетонной поверхности и околов бетона ребер свай не должны превышать, мм:

диаметр или наибольший размер раковины                                                   20

глубина впадины                                                                                                10

глубина окола бетона ребра                                                                              20

суммарная длина околов бетона на 1 м ребра, за исключением

открытой поверхности (выравниваемой в процессе вибрирования)

трапецеидальных свай                                                                                          100

суммарная длина околов бетона на 1 м ребра

отрытой поверхности трапецеидальных свай                     не регламентируется

Составные сваи должны поставляться потребителю в комплекте с соединительными изделиями, указанными в стандартах или рабочих чертежах на сваи.

Маркировочные надписи и знаки должны быть нанесены на боковых поверхностях свай на расстоянии 500 мм от торца или на торце свай.

Сваи следует хранить в штабелях горизонтальными рядами с одинаковой ориентацией торцов свай.

Между горизонтальными рядами свай (при складировании и транспортировании) должны быть уложены прокладки, расположенные рядом с подъемными петлями, или, в случае отсутствия петель, в местах, предусмотренных для захвата свай при их транспортировании. При складировании полых круглых свай и свай-оболочек на концах прокладок должны быть укреплены брусья, препятствующие скатыванию свай.

Высота штабеля свай не должна превышать ширину штабеля более чем в два раза и не должна быть более:

2,5 м - для свай квадратного сечения;

4 рядов - для полых круглых свай диаметром 400 - 600 мм;

2 рядов - для полых круглых свай диаметром 800 мм и свай-оболочек.

Погрузку и разгрузку свай квадратного сечения следует производить за подъемные петли.

Подъем свай квадратного сечения на копер следует производить стропом, закрепленным за сваю у фиксирующего штыря или у верхней подъемной петли, если это допускается требованиями рабочих чертежей на сваи конкретного типа, при этом строповка непосредственно за подъемную петлю запрещается.

Подъем буроопускных свай для погружения в грунт осуществляется тросом, продетым в отверстие, образованное металлической втулкой и расположенное на расстоянии 250 мм от верхнего торца сваи.

Погрузку, разгрузку и подъем полых свай круглого сечения и свай-оболочек на копер следует производить захватами в местах, отмеченных краской в соответствии со схемами, приведенными в рабочих чертежах на сваи конкретного типа.

При спланированной поверхности строительной площадки допускается перемещение сваи к копру на расстояние не более 6 м.

Сваи должны сопровождаться документом о качестве, в котором должны быть указаны: наименование и адрес предприятия-изготовителя; номер и дата выдачи документа; номер партии; наименование и марки свай; число свай каждой марки; дата изготовления свай; класс или марка бетона по прочности; отпускная прочность бетона (нормируемая, требуемая с учетом фактической однородности бетона и фактическая); марка бетона по морозостойкости и водонепроницаемости (если эти показатели оговорены в заказе на изготовление свай); обозначение стандарта. Документ о качестве должен быть подписан работником, ответственным за технический контроль предприятия-изготовителя.

На строительной площадке в процессе входного контроля:

необходимо проверить наличие сопроводительной документации и полноту содержащихся в них данных;

по имеющейся сопроводительной документации, маркировке необходимо убедиться в соответствии поступивших свай требованиям проекта;

необходимо проверить наличие на сваях штампа ОТК;

необходимо путем внешнего осмотра проверить отсутствие на сваях недопустимых дефектов внешнего вида;

необходимо провести соответствующие замеры при возникновении сомнений в соответствии геометрических параметров свай требованиям проекта и нормативных документов; при возникновении каких-либо других сомнений в качестве поступивших свай должны быть вызваны представители строительной лаборатории или функциональных служб, ответственных за поставку свай.

Устройство свайных фундаментов следует осуществлять в соответствии с требованиями СНиП 3.02.01-87, СНиП 3.01.01-85*, СНиП 3.01.03-84, проекта, ППР, технологических карт, схем операционного контроля качества и другой технологической документации, утвержденной в установленном порядке.

Работы по устройству свайных фундаментов должны выполнять строительные организации, получившие лицензию на выполнение этих работ в Федеральных или местных органах по лицензированию строительной деятельности.

Работы по устройству свайных фундаментов должны выполняться квалифицированным персоналом, прошедшим специальную подготовку и обладающим надлежащими навыками по выполнению земляных работ.

При производстве работ по устройству свайных фундаментов должно быть обеспечено соблюдение строительных норм и правил, проекта и ППР.

Работы по устройству свайных фундаментов должны производиться по утвержденному проекту производства работ (ППР).

Запрещается осуществление земляных работ без утвержденного проекта производства работ. Не допускаются отступления от решений проектов производства работ без согласования с организациями, разработавшими и утвердившими их.

Основным работам по устройству свайных фундаментов должны предшествовать подготовительные работы:

а) завершение внеплощадочных и внутриплощадочных подготовительных работ, оформленное актом (см. СОКК «Внеплощадочные и внутриплощадочные подготовительные работы»);

б) завершение предшествующих земляных работ (см. СОКК «Разработка выемок, вертикальная планировка»);

в) выбор оборудования для погружения свай и свай-оболочек;

г) детальная разбивка свайного фундамента (см. СОКК «Геодезические работы при устройстве фундаментов»);

д) завоз и складирование свай и свай-оболочек;

е) входной контроль поступивших на строительную площадку свай;

ж) полная или частичная сборка свай и свай-оболочек;

з) разметка свай и свай-оболочек по длине.

Разбивка осей свайных фундаментов должна производиться от базисной линии. За основные линии разбивки должны приниматься оси сооружений, а в набережных - линии кордона.

Контролируемые операции

Состав и средства контроля

Документация

Подготовительные работы

Проверить:

 

-  завершение и надлежащее оформление предшествующих земляных работ (наличие актов освидетельствования скрытых работ, геодезических исполнительных схем и другой приемо-сдаточной документации);

Акт приемки, акты освидетельствования скрытых работ; исполнительные схемы

-  завершение и надлежащее оформление предшествующих работ по детальной разбивке свайного фундамента;

Исполнительная схема

-  наличие проекта, ППР, технологических карт и схем операционного контроля качества работ по устройству свайных фундаментов;

ППР, технологические карты, СОКК

-  наличие паспортов и полноту содержащихся в них данных на поступившие на строительную площадку сваи, оголовки и другие железобетонные изделия, соответствие их требованиям проекта; маркировку свай и наличие штампа ОТК;

Паспорта

-  внешним осмотром отсутствие недопустимых дефектов внешнего вида свай; завершение работ по полной или частичной сборке свай, их разметке;

-  подготовку оборудования для погружения свай и бурения скважин.

Общий журнал работ

Устройство свайных фундаментов

Контролировать:

 

-  соблюдение заданной ППР технологии устройства свайных фундаментов;

Общий и специальные журналы работ

-  установку свай и ростверков в проектное положение

Исполнительные схемы

Приемка

Проверить:

 

-  соответствие фактического положения свай требованиям проекта и нормативных документов;

-  составление и надлежащее оформление приемо-сдаточной документации (актов приемки фундаментов, актов освидетельствования скрытых работ, исполнительных геодезических схем).

Акты приемки фундаментов, акты освидетельствования скрытых работ, исполнительные схемы

Входной и операционный контроль осуществляют: мастер (прораб), лаборант (инженер), геодезист - в процессе выполнения работ.

Приемочный контроль осуществляют: прораб (мастер), геодезист, работники отдела контроля качества СМР, представители технадзора заказчика

КИП: нивелир, теодолит и др. геодезические и лабораторные приборы и инструмент

В качестве реперов для зданий и сооружений следует, как правило, использовать забивные сваи, расположенные на расстоянии от наружных осей не ближе 10 м.

Разбивка осей фундамента, или опоры из свай и свай-оболочек, должна производиться с надежным закреплением на местности положений осей всех рядов свай и свай-оболочек.

Разбивка рядов свай при забивке их с подмостей должна сопровождаться закреплением их осей на подмостях.

Положение осей рядов свай и свай-оболочек на местности, покрытой водой, закрепляется путем установки необходимых знаков на берегу или с помощью каркасов.

Разбивка осей фундамента или опоры из свай и свай-оболочек, свайного ряда должна оформляться актом, к которому прилагаются схемы расположения знаков разбивки, данные о привязке к базисной и высотной опорной сети.

Правильность разбивки осей должна систематически проверяться в процессе производства работ, а также в каждом случае смещения точек, закрепляющих оси.

Выбор оборудования для погружения свайных элементов длиной до 25 м следует производить в соответствии с указаниями обязательных приложений 5 и 6 СНиП 3.02.01-87 исходя из необходимости обеспечения предусмотренных проектом фундамента несущей способности и заглубления в грунт свай и свай-оболочек на заданные проектные отметки. Выбор оборудования для забивки свай длиной свыше 25 м выполняется с использованием программ, основанных на волновой теории удара.

Дополнительные меры, облегчающие погружение свай (подмыв, лидерные скважины и др.), следует применять по согласованию с проектной организацией при отказе забиваемых элементов менее 0,2 см или скорости вибропогружения менее 5 см/мин.

Применение подмыва для облегчения погружения свай допускается на участках, удаленных не менее чем на 20 м от существующих зданий и сооружений, и не менее удвоенной глубины погружения свай.

В конце погружения подмыв следует прекратить, после чего сваю необходимо допогрузить молотом или вибропогружателем до получения расчетного отказа без применения подмыва.

Не допускается погружение свай сечением до 40 ´ 40 см на расстоянии менее 5 м и полых круглых свай диаметром до 0,6 м - 10 м до подземных стальных трубопроводов с внутренним давлением не более 2 МПа. Погружение свай и шпунта около подземных трубопроводов с внутренним давлением свыше 2 МПа или на меньших расстояниях можно производить только с учетом данных обследования и при соответствующем обосновании в проекте.

При применении для погружения свай молотов или вибропогружателей вблизи существующих зданий и сооружений необходимо оценить опасность для них динамических воздействий исходя из влияния колебаний на деформации грунтов оснований, технологические приборы и оборудование, а также допустимости уровня колебаний по санитарным нормам.

Оценку влияния динамических воздействий на деформации оснований, сложенных горизонтальными, выдержанными по толщине слоями (допускается уклон не более 0,2) песка, кроме водонасыщенных мелких и пылеватых, можно не производить при забивке свай молотами массой до 7 т на расстоянии свыше 15 м, при вибропогружении свай - 25 м до зданий и сооружений. В случае необходимости погружения свай и шпунта на меньших расстояниях до зданий и сооружений должны быть приняты меры по уменьшению уровня и непрерывной продолжительности динамических воздействий (погружение свай в лидерные скважины, снижение высоты подъема молота, чередующаяся забивка ближайших и более удаленных свай от зданий и др.) и проводиться геодезические наблюдения за осадками зданий и сооружений.

Сваи длиной до 10 м, недопогруженные более чем на 15 % проектной глубины, и сваи большей длины, недопогруженные более чем на 10 % проектной глубины, а для мостов и транспортных гидротехнических сооружений также сваи, недопогруженные более чем на 25 см до проектного уровня, при их длине до 10 м и недопогруженные свыше 50 см при длине свай более 10 м, но давшие отказ равный или менее расчетного, должны быть подвергнуты обследованию для выяснения причин, затрудняющих погружение, и принято решение о возможности использования имеющихся свай или погружений дополнительных.

Работы по погружению свайных элементов в пределах акватории допускается производить при волнении не более одного балла, если применяют плавучие краны и копры водоизмещением до 500 т, и не более 2 баллов - при большем водоизмещении, а самоподъемные платформы - при волнении не более 4 баллов.

Секции свайных элементов, используемые для наращивания погружаемых свай или свай-оболочек, подлежат контрольному стыкованию на строительной площадке для проверки их соосности и соответствия проекту закладных деталей стыков (в пределах установленных допусков) и должны быть замаркированы и размечены несмываемой краской для правильного их присоединения (стыкования) на месте погружения.

В начале производства работ по забивке свай следует забивать 5 - 20 пробных свай (число устанавливается проектом), расположенных в разных точках строительной площадки с регистрацией числа ударов на каждый метр погружения. Подсчет общего числа ударов на погружение остальных свай не производится. Однако для свай длиной более 25 м дополнительно должна производиться регистрация числа ударов на каждый метр на последних трех метрах погружения. Результаты измерений должны фиксироваться в журнале работ.

В конце погружения, когда фактическое значение отказа близко к расчетному, производят его измерение. Отказ свай в конце забивки или при добивке следует измерять с точностью до 0,1 см.

При забивке свай паровоздушными одиночного действия или дизельными молотами последний залог следует принимать равным 30 ударам, а отказ определять как среднее значение из 10 последних ударов в залоге. При забивке свай молотами двойного действия продолжительность последнего залога должна приниматься равной 3 мин, а отказ следует определять как среднее значение глубины погружения сваи от одного удара в течение последней минуты в залоге.

Сваи с отказом больше расчетного должны подвергаться контрольной добивке после «отдыха» их в грунте в соответствии с ГОСТ 5686-78*. В том случае, если отказ при контрольной добивке превышает расчетный, проектная организация должна установить необходимость контрольных испытаний свай статической нагрузкой и корректировки проекта свайного фундамента или его части.

При вибропогружении свай или свай-оболочек продолжительность последнего залога принимается равной 3 мин. В течение последней минуты в залоге необходимо замерить потребляемую мощность вибропогружателя, скорость погружения с точностью до 1 см/мин и амплитуду колебания сваи или сваи-оболочки с точностью до 0,1 см - для возможности определения ее несущей способности.

При вибропогружении железобетонных свай-оболочек и открытых снизу полых круглых свай следует принимать меры по защите их железобетонных стенок от образования продольных трещин в результате воздействия на них гидродинамического давления, возникающего в полости свайных элементов при вибропогружении в воду или слабый разжиженный грунт. Мероприятия по предотвращению появления трещин должны быть разработаны в ППР и проверены в период погружения первых свай-оболочек.

На последнем этапе погружения сваи-оболочки в целях предотвращения разуплотнения грунта основания в полости свай-оболочек необходимо оставлять грунтовое ядро высотой по проекту, но не менее 2 м от низа ножа оболочки в случае применения гидромеханизации и не менее 0,5 м при применении механического способа удаления грунта.

Погружение висячих свай в вечномерзлые грунты, используемые по I принципу (в мерзлом состоянии), осуществляется буроопускным, опускным и бурозабивным способами.

Буроопускной способ погружения свай применяется при средней температуре вечномерзлого грунта по длине сваи минус 0,5 °С (и ниже); сваи погружаются в предварительно пробуренные скважины, диаметр которых превышает (на 5 см и более) наибольший размер поперечного сечения сваи; полость между стенками скважины и сваей заполняется грунтовым или специальным раствором.

Скважины перед погружением в них свай должны быть очищены от воды, шлама, льда или снега. Толщина слоя жидкого шлама или воды на дне скважины при погружении свай не должна превышать 15 см. Наличие на дне скважины замерзшего или сухого шлама, льда или вывалов грунта не допускается.

Сваи перед погружением в скважины следует очищать ото льда, снега, комьев мерзлого грунта и жировых пятен.

Сваи должны быть погружены в сроки, исключающие оплывание стенок скважин, как правило, не позднее чем через 4 ч после их зачистки и приемки.

Заливать в скважину грунтовый или специальный раствор следует, как правило, непосредственно перед погружением сваи. После погружения сваи проверяется соответствие отметки нижнего конца сваи проектной отметке, а также правильность расположения сваи в плане и по вертикали.

При буроопускном способе погружения висячих свай должны быть приняты меры, обеспечивающие полное заполнение пазух между стенками скважины и сваей грунтовым раствором (погружение свай методом вытеснения предварительно залитого грунтового раствора, дополнительное уплотнение раствора вибрацией и др.).

Опускной способ погружения свай применяется в твердомерзлых глинистых грунтах, мелких и пылевидных песках, содержащих не более 15 % крупнообломочных включений со средней температурой вечномерзлых грунтов по длине сваи от минус 1,5 °С и ниже.

Сваи погружаются с оттаиванием грунта, причем диаметр зоны оттаивания должен быть не более удвоенного размера большей стороны поперечного сечения свай. Для ускорения вмерзания свай допускается применять искусственное охлаждение грунтов.

Железобетонные сваи допускается погружать в оттаянные грунты зимой не ранее чем через 20 ч после окончания оттаивания, летом не ранее чем через 12 ч.

Оттаивать вечномерзлый грунт следует открытыми или закрытыми нагревателями с помощью пара, воды, электрического тока и др.

Бурозабивной способ погружения свай допускается применять в пластичномерзлых грунтах без крупнообломочных включений. Сваи погружаются забивкой в предварительно пробуренные скважины диаметром на 1 - 2 см меньше наименьшего размера поперечного сечения сваи.

Возможность применения бурозабивного способа устанавливается по материалам инженерно-геокриологических изысканий, а также пробной забивки свай с измерением температуры грунтов на день забивки.

Контрольная добивка свай после их вмерзания не допускается.

Бурозабивным способом следует погружать только сваи со сплошным поперечным сечением.

В зимнее время не допускается, чтобы перед погружением бурозабивных свай грунт на стенках скважины перешел из пластичномерзлого в твердомерзлое состояние.

Расчетная загрузка свайных фундаментов допускается только после достижения расчетного температурного режима грунтов оснований.

При погружении в вечномерзлые грунты, используемые по II принципу, буроопускным способом свай-стоек диаметр скважин должен превышать наибольший размер поперечного сечения сваи не менее чем на 15 см. При этом минимальное заглубление дна скважины под сваи-стойки в практически несжимаемые при оттаивании грунты определяется проектом, но должно быть не менее 0,5 м. Зазор между стенкой скважины и боковой поверхностью сваи-стойки в пределах заглубления ее в практически несжимаемые грунты должен заполняться цементным, цементно-песчаным или другими растворами согласно проекту.

При бурении скважин под сваи-стойки следует производить дополнительный контроль скважин, заключающийся в том, что с глубины, соответствующей проектной глубине залегания практически несжимаемых при оттаивании грунтов, отбираются образцы грунта, которые маркируются и сохраняются до оформления акта приемки скважин. В случае несоответствия полученных результатов проектным данным следует изменить проектную глубину скважины или способы заделки нижнего конца сваи в практически несжимаемый при оттаивании грунт (по согласованию с проектной организацией).

При производстве работ по устройству свайных фундаментов состав контролируемых при операционном и приемочном контроле показателей, объем и методы контроля должны соответствовать приведенным в нижеследующей таблице.

Приемка работ по устройству свайных фундаментов должна производиться на основании:

проектов свайных фундаментов;

паспортов заводов-изготовителей на сваи;

актов геодезической разбивки осей фундаментов;

исполнительных схем расположения свай с указанием их отклонений в плане и по высоте;

журналов забивки или погружения свай или свай-оболочек, журналов бурения.

Скрытые работы по погружению свай и свай-оболочек; работы, связанные со стыкованием свай и свай-оболочек, а также бурением всех видов скважин, и другие работы в соответствии с требованиями ППР должны быть освидельствованы с составлением актов. Освидельствование скрытых работ и составление актов в случаях, когда последующие работы должны начинаться после перерыва, следует производить непосредственно перед производством последующих работ.

Запрещается выполнение последующих работ при отсутствии актов освидетельствования скрытых работ во всех случаях.

Свайные фундаменты в соответствии с требованиями ППР должны быть приняты по акту комиссией.

Технические требования

Предельные отклонения

Контроль (метод и объем)

1. Установка на место погружения свай размером по диагонали или диаметру, м

 

Измерительный, каждая свая

 

Без кондуктора мм

С кондуктором, мм

до 0,5

±10

±5

0,6 - 1,0

±20

±10

св. 1,0

±30

±12

2. Величина отказа забиваемых свай

Не должна превышать расчетной величины

То же

3. Амплитуда колебаний в конце вибропогружения свай и свай-оболочек

То же

То же

4. Положение в плане забивных свай диаметром или стороной сечения до 0,5 м включ.:

 

То же

а) однорядное расположение свай:

 

поперек оси свайного ряда

±0,2 d

вдоль оси свайного ряда

±0,3 d

б) кустов и лент с расположением свай в два и три ряда:

 

крайних свай поперек оси свайного ряда

±0,2 d

остальных свай и крайних вдоль свайного ряда

±0,3 d

в) сплошное свайное поле под всем зданием или сооружением:

 

крайние сваи

±0,2 d

средние сваи

±0,4 d

г) одиночные сваи

±5 см

д) сваи-колонны

±3 см

5. Положение в плане забивных свай диаметром более 0,5 м:

 

То же

а) поперек ряда

±10 см

б) вдоль ряда при кустовом расположении свай

±15 см

в) для одиночных полых круглых свай под колонны

±8 см

6. Положение свай, расположенных по фасаду моста:

В плане

Наклон оси

То же

в уровне поверхности суши

в уровне акватории

а) в два ряда и более

±0,05 d

±0,1 d

100:1

б) в один ряд

±0,02 d

±0,04 d

200:1

7. Отметки голов свай:

 

То же

а) с монолитным ростверком

±3 см

б) со сборным ростверком

±1 см

в) безростверковый фундамент со сборным оголовком

±5 см

г) сваи-колонны

-3 см

8. Вертикальность оси забивных свай, кроме свай-стоек

±2 %

Измерительный, 20 % свай выбранных случайным образом

9. Глубина скважин под сваи-стойки, устанавливаемые буроопускным способом, для ростверка:

Отклонения не должны превышать, см:

Измерительный, каждая свая по отметке головы сваи, установленной в скважину

а) монолитного

+5; -20

 

б) сборного

+3; -20

 

10. Требования к головам свай, кроме свай, на которые нагрузки передаются непосредственно без оголовка (платформенный стык)

Торцы должны быть горизонтальными с отклонениями не более 5°, ширина сколов бетона по периметру сваи не должна превышать 50 мм, клиновидные сколы по углам должны быть не глубже 35 мм и длиной не менее чем на 30 мм короче глубины заделки

Технический осмотр, каждая свая

11. Требования к головам свай на которые нагрузки передаются непосредственно без оголовка (платформенный стык)

Торцы должны быть горизонтальными с отклонениями не более 0,02, не иметь сколов бетона по периметру шириной более 25 мм, клиновидных сколов углов на глубину более 15 мм

То же


ПРЕДЕЛЬНОЕ ОТКЛОНЕНИЕ ПОЛОЖЕНИЯ В ПЛАНЕ ЗАБИВНЫХ СВАЙ ДИАМЕТРОМ ИЛИ СТОРОНОЙ СЕЧЕНИЯ ДО 0,5 м ВКЛЮЧИТЕЛЬНО


Ростверки и безростверковые свайные фундаменты

Работам по устройству ростверков должна предшествовать приемка заглубленных в грунт и срезанных на проектном уровне свай, свай-оболочек или буровых свай и возведенных ограждений котлованов (при их наличии).

Фактическое положение погруженных свай (в плане и по высоте) должно быть подтверждено актом приемки свайного поля, актами освидетельствования скрытых работ и исполнительными схемами свайного поля.

Сваи с поперечными и наклонными трещинами шириной раскрытия более 0,3 мм должны быть усилены железобетонной обоймой с толщиной стенок не менее 100 мм или заменены.

В случае недобивки свай или повреждения голов при забивке, головы свай должны срезаться методами, исключающими нарушение защитного слоя бетона сваи ниже ее среза.

Для устройства монолитного ростверка на сваи выносят отметку срубки. После срубки свай выполняют планово-высотную съемку свайного поля, и на сваи, находящиеся на пересечении осей, выносят разбивочные оси. Относительно вынесенных осей устанавливают опалубку и укладывают арматуру. На внутреннюю сторону установленной опалубки выносят отметку бетонирования, (верх ростверка), которую закрепляют откраской или гвоздями.

При устройстве безростверковых фундаментов или сборных ростверков после забивки свай на них с помощью нивелира выносят отметку низа оголовков. По данной отметке крепятся поддерживающие оголовки хомуты. Установка оголовков на сваи в плане производится с учетом планового смещения свай.

При опирании ростверков на сваи через промежуточные элементы-оголовки стаканного типа следует сопряжения оголовков и свай выполнять посредством заделки их в оголовок на глубину по проекту, но не менее 100 мм.

Раствор маяков при монтаже сборных элементов ростверков и безростверковых фундаментов должен быть на один класс ниже предусмотренного проектом для устройства постели.

Не допускается незаполненный раствором промежуток между ростверком и оголовком (сваей).

Возможность нагружения выполненных сборных и монолитных конструкций свайных ростверков и безростверковых фундаментов должна решаться в соответствии с требованиями СНиП 3.03.01-87 «Несущие и ограждающие конструкции». Согласно этим строительным нормам и правилам:

класс бетона и марка раствора для замоноличивания стыков и швов должны быть указаны в проекте;

бетонные смеси, применяемые для замоноличивания стыков, должны отвечать требованиям ГОСТ 7473-85*;

для приготовления бетонных смесей следует применять быстротвердеющие портландцементы или портландцементы М400 и выше. С целью интенсификации твердения бетонной смеси в стыках необходимо применять химические добавки - ускорители твердения. Наибольший размер зерен крупного заполнителя в бетонной смеси не должен превышать 1/3 наименьшего размера сечения и 3/4 наименьшего расстояния в свету между стержнями арматуры. Для улучшения удобоукладываемости в смеси следует вводить пластифицирующие добавки;

прочность бетона или раствора в стыках ко времени распалубки должна соответствовать указанной в проекте, а при отсутствии такого указания - должна быть не менее 50 % проектной прочности на сжатие;

фактическую прочность уложенного бетона (раствора) следует контролировать испытанием серии образцов, изготовленных на месте замоноличивания. Для проверки прочности следует изготовлять не менее трех образцов на группу стыков, бетонируемых в течение данной смены. Испытания образцов необходимо производить по ГОСТ 10180-90 и ГОСТ 5802-86;

методы предварительного обогрева стыкуемых поверхностей и прогрева замоноличенных стыков и швов, продолжительность и температурно-влажностный режим выдерживания бетона (раствора), способы утепления, сроки и порядок распалубливания и загружения конструкций с учетом особенностей выполнения работ в зимних условиях должны быть указаны в ППР.

При устройстве монолитных ростверков необходимо соблюдать требования раздела 2 СНиП 3.03.01-87 (см. СОКК «Бетонирование монолитных бетонных и железобетонных конструкций»).

При поломке свай и в случае вынужденного погружения ниже проектной отметки следует по согласованию с проектной организацией нарастить их монолитным железобетоном.

Ограждаемые котлованы для устройства ростверков следует выполнять с соблюдением правил:

а) при невозможности осушить котлован (для производства работ по устройству ростверков) разработку грунта до проектных отметок следует производить подводным способом (эрлифтами, гидроэлеваторами, грейферами). Для предотвращения поступления воды снизу на дно котлована следует уложить способом вертикально перемещаемой трубы (ВПТ) бетонный тампонажный слой. Толщина слоя бетона, определенная расчетом на давление воды снизу, должна быть не менее 1 м в случае, если предусмотрена укладка его на железобетонную плиту ограждения котлована и не менее 1,5 м - при неровностях грунтового дна котлована до 0,5 м при подводной разработке;

б) верх ограждений котлованов необходимо располагать не менее чем на 0,7 м над рабочим уровнем воды с учетом высоты волны и нагона или на 0,3 м над уровнем ледостава. За рабочий уровень воды (ледостава) в ППР следует принимать наивысший возможный в период выполнения данного вида работ сезонный уровень воды (ледостава), соответствующий расчетному с вероятностью превышения 10 %. При этом должны учитываться также возможные превышения уровня от воздействия нагонных ветров или заторов льда. На реках с регулируемым стоком рабочий уровень назначают на основе сведений от организаций, регулирующих сток;

в) откачку воды из ограждения котлована и работы по возведению ростверка допускается производить после приобретения бетоном тампонажного слоя прочности, указанной в проекте, но не менее 2,5 МПа.

При производстве работ по устройству свайных ростверков состав контролируемых при операционном и приемочном контроле показателей, объем и методы контроля должны соответствовать приведенным в нижеследующей таблице.

Приемка свайных ростверков должна оформляться актом приемки или актом освидетельствования скрытых работ с приложением необходимой исполнительной документации.

Технические требования

Предельные отклонения

Контроль (метод и объем)

 

 

 

Монтаж сборных ростверков

Смещение относительно разбивочных осей мм

Смещение в отметках поверхностей мм

Измерительный, каждый ростверк

а) фундаменты жилых

±10

±5

и общественных зданий

±20

±10

Смещение осей оголовка относительно осей свай

±10 мм

То же, каждый оголовок

Требования к головам свай, кроме свай, на которые нагрузки передаются непосредственно без оголовка (платформенный стык)

Торцы должны быть горизонтальными с отклонениями не более 5°, ширина сколов бетона по периметру сваи не должна превышать 50 мм, клиновидные сколы по углам должны быть не глубже 35 мм и длиной не менее чем на 30 мм короче глубины заделки

Технический осмотр, каждая свая

Требования к головам свай, на которые нагрузки передаются непосредственно без оголовка (платформенный стык)

Торцы должны быть горизонтальными с отклонениями не более 0,02, не иметь сколов бетона по периметру шириной более 25 мм, клиновидных сколов углов на глубину более 15 мм

То же

Толщина растворного шва между ростверком и оголовком

Не более 30 мм

Измерительный, каждый оголовок

Толщина шва после монтажа при платформенном опирании

Не должна превышать 8 мм

То же

Толщина зазора между поверхностью грунта и нижней плоскостью ростверка в набухающих грунтах

Не менее установленной в проекте

Измерительный, каждый ростверк

Толщина растворного шва безростверковых свайных фундаментов:

Должна быть, мм, не более:

То же

между плитой и оголовком

30

между стеновой панелью и оголовком

20

Монтаж сборных ленточных фундаментов

ГОСТ 13580-85 «Плиты железобетонные ленточных фундаментов. Технические условия».

ГОСТ 13579-78* «Блоки бетонные для стен подвалов. Технические условия».

Входной контроль плит и блоков должен осуществляться в соответствии с требованиями ГОСТ 13580-85, ГОСТ 13579-78*, ГОСТ 13015.0-83*, ГОСТ 13015.3-81* и технологической документации, утвержденной в установленном порядке.

ГОСТ 13580-85 «ПЛИТЫ ЖЕЛЕЗОБЕТОННЫЕ ЛЕНТОЧНЫХ ФУНДАМЕНТОВ. ТЕХНИЧЕСКИЕ УСЛОВИЯ».

Данный стандарт распространяется на железобетонные плиты из тяжелого бетона для ленточных фундаментов зданий и сооружений, предназначенных для применения в сухих и водонасыщенных грунтах, при расчетной температуре наружного воздуха до минус 40 °С включительно, в зданиях и сооружениях с расчетной сейсмичностью до 9 баллов включительно, в грунтах и грунтовых водах с неагрессивной степенью воздействия на железобетонные конструкции.

Допускается применять плиты при расчетной температуре наружного воздуха ниже минус 40 °С, а также в грунтах и грунтовых водах с агрессивной степенью воздействия на железобетонные конструкции при соблюдении дополнительных требований, установленных проектной документацией на конкретное здание или сооружение и указаных в заказе на изготовление плит.

Плиты подразделяют на четыре группы по несущей способности при загружении их равномерной погонной нагрузкой от стены по оси ленточного фундамента.

Марка плиты состоит из буквенно-цифровых групп, разделенных дефисами.

Первая группа содержит обозначение наименования конструкции (ФЛ), ее ширину и длину в дециметрах (значение длины округляют до целого числа).

Во второй группе указывают группу плиты по несущей способности.

Для плит, эксплуатируемых в условиях воздействия агрессивной среды, в третью группу марки включают показатель проницаемости бетона, обозначаемый прописной буквой: Н - нормальной проницаемости, П - пониженной проницаемости, О - особо низкой проницаемости.

В третью группу, в случае необходимости, включают также дополнительные конструктивные характеристики (наличие закладных изделий и выпусков арматуры), обозначаемые в марке арабскими цифрами или строчными буквами.

Пример условного обозначения (марки) плиты шириной 1600 мм, длиной 2380 мм, второй группы по несущей способности, на среднее давление на основание 0,25 МПа (2,5 кгс/см2), при толщине стены 160 мм:

ФЛ 16.24-2

То же, плиты шириной 1000 мм, длиной 1180 мм, третьей группы по несущей способности, на среднее давление на основание 0,45 МПа (4,5 кгс/см2), при толщине стены 300 мм, из бетона пониженной проницаемости:

ФЛ 10.12-3-П

Марка плиты

Основные размеры плиты, мм

b

I

h

a

ФЛ 6.24-4

600

2380

300

-

ФЛ 6.12-4

600

1180

300

-

ФЛ 8.24-1; 3; 4

800

2380

300

150

ФЛ 8.12-1; 3; 4

800

1180

300

150

ФЛ 10.30-1; 2; 3; 4

1000

2980

300

250

ФЛ 10.24-1; 2; 3; 4

1000

2380

300

250

ФЛ 10.12-1; 2; 3; 4

1000

1180

300

250

ФЛ 10.8-1; 2; 3; 4

1000

780

300

250

ФЛ 12.30-1; 2; 3; 4

1200

2980

300

350

ФЛ 12.24-1; 2; 3; 4

1200

2380

300

350

ФЛ 12.12-1; 2; 3; 4

1200

1180

300

350

ФЛ 12.8-1; 2; 3; 4

1200

780

300

350

ФЛ 14.30-1; 2; 3; 4

1400

2980

300

400

ФЛ 14.24-1; 2; 3; 4

1400

2380

300

400

ФЛ 14.12-1; 2; 3; 4

1400

1180

300

400

ФЛ 14.8-1; 2; 3; 4

1600

780

300

400

ФЛ 16.30-1; 2; 3; 4

1600

2980

300

500

ФЛ 16.24-1; 2; 3; 4

1600

2380

300

500

ФЛ 16.12-1; 2; 3; 4

1600

1180

300

500

ФЛ 16.8 -1; 2; 3; 4

1600

780

300

500

ФЛ 20.30-1; 2; 3; 4

2000

2980

500

700

ФЛ 20.24-1; 2; 3; 4

2000

2380

500

700

ФЛ 20.12-1; 2; 3; 4

2000

1180

500

700

ФЛ 20.8-1; 2; 3; 4

2000

780

500

700

ФЛ 24.30-1; 2; 3; 4

2400

2980

500

900

ФЛ 24.24-1; 2; 3; 4

2400

2380

500

900

ФЛ 24.12-1; 2; 3; 4

2400

1180

500

900

ФЛ 24.8-1; 2; 3; 4

2400

780

500

900

ФЛ 28.24-1; 2; 3; 4

2800

2380

500

1000

ФЛ 28.12-1; 2; 3; 4

2800

1180

500

1000

ФЛ 28.8-1; 2; 3; 4

2800

780

500

1000

ФЛ 32.12-1; 2; 3; 4

3200

1180

500

1200

ФЛ 32.8-1; 2; 3; 4

3200

780

500

1200

 

Ширина плиты, мм

Толщина стены не менее, мм

Наибольшее допускаемое давление на основание, МПа (кгс/см2), для групп по несущей способности

1

2

3

4

600

160

0,45 (4,5)

600

300

0,60 (6,0)

800

160

0,15(1,5)

0,35 (3,5)

0,45 (4,5)

800

300

0,25 (2,5)

0,57 (5,7)

0,60 (6,0)

800

500

0,60 (6,0)

1000

160

0,15 (1,5)

0,25 (2,5)

0,35 (3,5)

0,45 (4,5)

1000

300

0,22 (2,2)

0,36 (3,6)

0,45 (4,5)

0,50 (5,0)

1200 - 3200

160

0,15 (1,5)

0,25 (2,5)

0,35 (3,5)

0,45 (4,5)

Плиты должны быть изготовлены из тяжелого бетона (средней плотности более 2200 до 2500 кг/м3 включительно) класса по прочности на сжатие, указанного в нижеследующей таблице.

Ширина плиты в мм

Класс бетона по прочности на сжатие плиты для групп по несущей способности

1

2

3

4

600

По группе 4

В10

800

В10

По группе 3

В12,5

В12,5

1000, 1200

В10

1400

В12,5

В15

В15

1600

В25

2000

В15

2400

В20

2800

В12,5

В15

В20

В25

3200

В20

В25

-

Плиты должны удовлетворять требованиям ГОСТ 13015.0-83*:

по заводской готовности;

по показателям фактической прочности (в проектном возрасте и отпускной);

по морозостойкости бетона;

по водонепроницаемости и водопоглощению бетона (для плит, эксплуатируемых в условиях воздействия агрессивной среды);

по защите от коррозии.

Значения действительных отклонений геометрических параметров плиты не должны превышать предельных, мм, указанных в нижеследующей таблице.

Наименование отклонения

Наименование геометрического параметра

Пред. откл.

Отклонение от линейного размера

Длина и ширина плиты: до 1000

±10

св. 1000 до 1600

±12

св. 1600 до 3200

±15

Высота плиты

±10

Размер, определяющий положение монтажной петли над плоскостью плиты

+10; -5

Размер, определяющий положение элементов стальных закладных изделий:

 

в плоскости плиты

10

из плоскости плиты

3

Отклонение от прямолинейности

Прямолинейность профиля верхней горизонтальной поверхности плиты в любом сечении на всей длине или ширине:

 

до 1000

2,5

св. 1000 до 1600

3,0

св. 1600 до 3000

4,0

Категория бетонных поверхностей плиты - А7. Диаметр или наибольший размер раковин не должен превышать 20 мм, глубина окола бетона на ребре, измеряемая по поверхности конструкции не должна превышать 20 мм.

На поверхности плит не допускаются:

обнажение рабочей и конструктивной арматуры;

жировые и ржавые пятна;

участки неуплотненного бетона;

трещины, за исключением усадочных и других поверхностных технологических трещин, ширина которых не должна превышать, мм:

- 0,1 в конструкциях из тяжелого бетона, подвергаемых попеременному замораживанию и оттаиванию в водонасыщенном состоянии или в условиях эпизодического водонасыщения;

- 0,2 в остальных видах конструкций.

Плиты должны сопровождаться документом о качестве, в котором должны быть указаны: наименование и адрес предприятия-изготовителя; номер и дата выдачи документа; номер партии; наименование и марки плит; число плит каждой марки; дата изготовления плит; класс или марка бетона по прочности; отпускная прочность бетона (нормируемая, требуемая с учетом фактической однородности бетона и фактическая); марка бетона по морозостойкости; марка бетона по водонепроницаемости и водопоглощению (если эти показатели оговорены в заказе на изготовление плит); обозначение стандарта. Документ о качестве должен быть подписан работником, ответственным за технический контроль предприятия-изготовителя.

Маркировочные надписи и знаки должны быть нанесены на боковые грани каждой плиты.

Плиты следует транспортировать и хранить в горизонтальном положении в штабелях.

Высота штабеля плит не должна превышать 2 м.

Подкладки под плитами и прокладки между ними в штабеле следует располагать в поперечном направлении (в направлении ширины) плит на расстояниях от торцов плит, мм:

750 - при длине плиты 2980 мм;

600 - при длине плиты 2380 мм;

300 - при длине плиты 1180 мм;

200 - при длине плиты 780 мм.

ГОСТ 13579-78* «БЛОКИ БЕТОННЫЕ ДЛЯ СТЕН ПОДВАЛОВ. ТЕХНИЧЕСКИЕ УСЛОВИЯ»

Данный стандарт распространяется на блоки, изготовляемые из тяжелого бетона, а также керамзитобетона и плотного силикатобетона средней плотности (в высушенном до постоянного массы состоянии) не менее 1800 кг/см2, и предназначаемые для стен подвалов и технических подпольев зданий.

Сплошные блоки (ФБС) допускается применять для фундаментов.

Блоки подразделяют на три типа:

ФБС - сплошные;

ФБВ - сплошные с вырезом для укладки перемычек и пропуска коммуникаций под потолками подвалов и технических подпольев;

ФБП - пустотные ( с открытыми вниз пустотами).

Размеры блоков должны соответствовать указанным в нижеследующей таблице.

Тип блока

Основные размеры блока, мм

Длина l

Ширина b

Высота h

ФБС

2380

300

580

400

500

600

ФБС

1180

400

580

500

600

400

280

500

600

880

300

580

400

500

600

ФБВ

400

500

600

ФБП

2380

400

580

500

600

Пример условного обозначения блока ФБС, длиной 2380 мм, шириной 400 мм и высотой 580 мм, из тяжелого бетона:

ФБС 24.4.6-Т ГОСТ 13579-78

То же, типа ФБВ, длиной 880 мм, шириной 400 мм и высотой 580 мм, из бетона на пористых заполнителях (керамзитобетона):

ФБВ 9.4.6-П ГОСТ 13579-78

То же, блока ФБП, длиной 2380 мм, шириной 500 мм и высотой 580 мм, из плотного силикатного бетона:

ФБП 24.5.6-С ГОСТ 13579-78

Блоки ФБС и ФБВ должны выпускаться из тяжелого бетона или керамзитобетона класса В7,5, блоки ФБП - из тяжелого бетона или керамзитобетона класса В12,5.

Блоки из плотного силикатного бетона должны выпускаться из бетона класса В15.

Допускается применение блоков из бетонов с иными проектными классами бетонов по прочности на сжатие. При этом во всех случаях класс бетона по прочности на сжатие должен приниматься не более В15 и не менее:

В3,5 - для блоков из тяжелого бетона и керамзитобетона;

В12,5 - для блоков из плотного силикатного бетона.

Поставка блоков потребителю должна производиться после достижения бетоном требуемой отпускной прочности.

Значение нормируемой отпускной прочности бетонов блоков в процентах от класса по прочности на сжатие следует принимать равным:

50 - для тяжелого бетона и керамзитобетона класса В12,5 и выше;

70 - для тяжелого бетона класса В10 и ниже;

80 - для керамзитобетона класса В10 и ниже;

100 - для плотного силикатного бетона.

При поставке блоков в холодный период года допускается повышать значение нормируемой отпускной прочности бетона в процентах от класса по прочности на сжатие, но не более:

70 - для бетона класса В12,5 и выше;

90 - для бетона класса В10 и ниже.

Отклонения в мм проектных размеров блоков не должны превышать:

по длине                                                                                        ±13

по ширине и высоте                                                                     ±8

по размерам вырезов                                                                   ±5

Отклонения от прямолинейности профиля поверхностей блока не должно превышать 3 мм на всю длину и ширину блока.

На поверхности плит не допускаются:

обнажение рабочей и конструктивной арматуры;

жировые и ржавые пятна;

участки неуплотненного бетона;

трещины, за исключением усадочных и других поверхностных технологических трещин, ширина которых не должна превышать, мм:

- 0,1 в блоках из тяжелого и плотного силикатного бетона;

- 0,2 в блоках из керамзитобетона.

Установлены следующие категории бетонных поверхностей блоков:

А3 - лицевой, предназначенной под окраску;

А5 - лицевой, предназначенной под отделку керамическими плитками, укладываемыми по слою раствора;

А6 - лицевой неотделываемой;

А7 - нелицевой, невидимой в условиях эксплуатации.

Размеры раковин, местных наплывов и впадин на бетонной поверхности и околов бетона ребер блоков не должны превышать значений, приведенных в нижеследующей таблице.

Категория поверхности

Предельные размеры, мм

Диаметр или наибольший размер раковины

Высота местного наплыва (выступа) или глубина впадины

околов бетона

Глубина

Суммарная длина на 1 м ребра

А3

4

2

5

50

А5

не регламентируется

3

10

100

А6

15

5

10

100

А7

20

не регламентируется

20

не регламентируется

Блоки должны сопровождаться документом о качестве, в котором должны быть указаны: наименование и адрес предприятия-изготовителя; номер и дата выдачи документа; номер партии; наименование и марки блоков; число блоков каждой марки; дата изготовления блоков; класс или марка бетона по прочности; отпускная прочность бетона (нормируемая, требуемая с учетом фактической однородности бетона и фактическая); марка бетона по морозостойкости; марка бетона по водонепроницаемости и водопоглощению (если эти показатели оговорены в заказе на изготовление плит); обозначение стандарта. Документ о качестве должен быть подписан работником, ответственным за технический контроль предприятия-изготовителя.

Маркировочные надписи должны быть нанесены на боковую поверхность блока.

Блоки должны храниться в штабелях рассортированными по маркам и партиям и уложенными вплотную друг к другу.

Высота штабеля из блоков должна быть не более 2,5 м.

При хранении и транспортировании каждый блок должен укладываться на деревянные прокладки, расположенные по вертикали одна над другой между рядами блоков.

Прокладки под нижний ряд блоков должны укладываться по плотному, тщательно выровненному основанию.

Толщина прокладок должна быть не менее 30 мм.

Транспортирование блоков должно производиться с надежным закреплением, предохраняющим их от смещения.

Высота штабеля при транспортировании устанавливается в зависимости от грузоподъемности транспортных средств и допускаемых габаритов погрузки.

Погрузка, транспортирование, разгрузка и хранение блоков должны производиться с соблюдением мер, исключающих возможность их повреждения.

На строительной площадке в процессе входного контроля:

необходимо проверить наличие сопроводительной документации и полноту содержащихся в них данных;

по имеющейся сопроводительной документации, маркировке необходимо убедиться в соответствии поступивших блоков требованиям проекта;

необходимо проверить наличие на блоках штампа ОТК;

необходимо путем внешнего осмотра проверить отсутствие на блоках недопустимых дефектов внешнего вида;

необходимо провести соответствующие замеры при возникновении сомнений в соответствии геометрических параметров блоков требованиям проекта и нормативных документов; при возникновении каких-либо других сомнений в качестве поступивших блоков должны быть вызваны представители строительной лаборатории или функциональных служб, ответственных за поставку блоков.

Контролируемые операции

Состав и средства контроля

Документация

Подготовительные работы

Проверить:

 

-   завершение и надлежащее оформление предшествующих земляных работ (наличие актов освидетельствования скрытых работ, геодезических исполнительных схем и другой приемо-сдаточной документации);

Акт приемки, акты освидетельствования скрытых работ; исполнительные схемы

-   завершение и надлежащее оформление предшествующих работ по детальной разбивке ленточного фундамента;

Исполнительная схема

-   наличие проекта, ППР, технологических карт и схем операционного контроля качества работ по устройству ленточных фундаментов;

ППР, технологические карты, СОКК

-   наличие паспортов и полноту содержащихся в них данных на поступившие на строительную площадку плиты и блоки, соответствие их требованиям проекта; маркировку плит и блоков и наличие штампа ОТК;

Паспорта

-   внешним осмотром отсутствие недопустимых дефектов внешнего вида плит и блоков; очистку опорных поверхностей от загрязнений, их разметку.

Общий журнал работ

Устройство ленточных фундаментов

Контролировать:

 

-   соблюдение заданной ППР технологии устройства ленточных фундаментов;

Общий и специальные журналы работ

-   установку плит и блоков в проектное положение.

Исполнительные схемы

Приемка

Проверить:

 

-   соответствие фактического положения плит и блоков требованиям проекта и нормативных документов;

-   составление и надлежащее оформление приемо-сдаточной документации (актов приемки фундаментов, актов освидетельствования скрытых работ, исполнительных геодезических схем).

Акты приемки фундаментов, акты освидетельствования скрытых работ, исполнительные схемы

Входной и операционный контроль осуществляют: мастер (прораб), лаборант (инженер), геодезист - в процессе выполнения работ.

Приемочный контроль осуществляют: прораб (мастер), геодезист, работники отдела контроля качества СМР, представители технадзора заказчика.

КИП: нивелир, теодолит и др. геодезические и лабораторные приборы и инструмент

Монтаж ленточных фундаментов следует осуществлять в соответствии с требованиями СНиП 3.03.01-87, СНиП 3.01.01-85*, СНиП 3.01.03-84, проекта, ППР, технологических карт, схем операционного контроля качества и другой технологической документации, утвержденной в установленном порядке.

Работы по устройству ленточных фундаментов должны выполнять строительные организации, получившие лицензию на выполнение этих работ в Федеральных или местных органах по лицензированию строительной деятельности.

Работы по устройству ленточных фундаментов должны выполняться квалифицированным персоналом, прошедшим специальную подготовку и обладающим надлежащими навыками по выполнению строительно-монтажных работ.

При производстве работ по устройству ленточных фундаментов должно быть обеспечено соблюдение строительных норм и правил, проекта и ППР.

Работы по устройству ленточных фундаментов должны производиться по утвержденному проекту производства работ (ППР).

Запрещается осуществление строительно-монтажных работ без утвержденного проекта производства работ. Не допускаются отступления от решений проектов производства работ без согласования с организациями, разработавшими и утвердившими их.

Основным работам по устройству ленточных фундаментов должны предшествовать подготовительные работы:

а) завершение внеплощадочных и внутриплощадочных подготовительных работ, оформленное актом (см. СОКК «Внеплощадочные и внутриплощадочные подготовительные работы»);

б) завершение предшествующих земляных работ (см. СОКК «Разработка выемок, вертикальная планировка»);

в) детальная разбивка ленточного фундамента (см. СОКК «Геодезические работы при устройстве фундаментов»);

г) завоз и складирование плит и блоков;

д) входной контроль поступивших на строительную площадку плит и блоков;

з) разметка плит и блоков.

До начала работ по устройству фундаментов подготовленное основание должно быть принято по акту комиссией с участием заказчика и подрядчика, а при необходимости - представителя проектной организации, в том числе геолога.

Комиссия должна установить соответствие расположения, размеров, отметок дна котлована, фактического напластования и свойств грунтов указанным в проекте, а также возможность заложения фундаментов на проектной или измененной отметке.

Проверка отсутствия нарушений природных свойств грунтов основания или качества их уплотнения должна при необходимости сопровождаться отбором образцов для лабораторных испытаний, зондированием, пенетрацией и др.

В случае если комиссией установлены значительные расхождения между фактическими и проектными характеристиками грунта основания и необходимость пересмотра проекта, решение о проведении дальнейших работ должно приниматься при обязательном участии представителя проектной организации и заказчика.

Устройство фундаментов надлежит производить немедленно после приемки основания комиссией и подписания акта, разрешающего приступить к устройству фундамента.

Не допускаются перерывы более двух суток между окончанием разработки котлованов и устройством фундамента. При более длительных перерывах должны быть приняты меры против обводнения котлованов поверхностными водами, промораживания талых пучинистых грунтов, а также изменения температурного режима основания из вечномерзлых грунтов, если проектом предусмотрено сохранение их в мерзлом состоянии.

Монтаж сборных фундаментов должен выполняться кранами, расположенными за пределами подготовленных участков основания.

Поверхность основания, сложенного глинистыми грунтами, должна быть выровнена до проектной отметки подсыпкой из горизонтально спланированного песка (кроме пылеватого) слоем 5 - 10 см. Поверхность песчаного основания планируется с использованием того же песка.

Предельное отклонение отметки выравнивающего слоя песка от проектной не должно превышать минус 15 мм.

Установка плит и блоков фундаментов на покрытые водой или снегом основания не допускается.

Перед укладкой плит или блоков необходимо нанести на их грани установочные риски. Если плиты или блоки располагаются симметрично от оси, то риски наносят на середине плиты или блока, если несимметрично, то риски наносят, отмеряя на всех плитах или блоках одинаковую величину от одних и тех же ребер.

Установку плит и блоков ленточных фундаментов и стен подвалов следует производить, начиная с установки маячных плит и блоков в углах зданий и на пересечении осей. Маячные блоки устанавливают, совмещая их осевые риски с рисками разбивочных осей, по двум взаимно перпендикулярным направлениям. К установке рядовых плит и блоков следует приступать после выверки положения маячных плит и блоков в плане и по высоте.

Требуемая точность установки плит и блоков в проектное положение должна обеспечиваться детальными разбивочными работами и постоянным геодезическим (инструментальным) контролем точности выполнения монтажных операций, которые входят в технологический процесс монтажа ленточных фундаментов (см. СОКК «Геодезические работы при устройстве фундаментов»).

Фундаменты монтируют согласно разбивочным осям, закрепленным на обносках у верхней бровки котлована или в котловане вдоль его нижней бровки.

Между одноименными осями, закрепленными на обноске, натягивают струны (тонкая проволока, леска). От отвесов, подвешенных на струнах, линейным отмером определяют положение осей и закрепляют их на дне колышками.

1. Проволоки (лески), фиксирующие оси 2. Отвес 3. Колышки, закрепляющие точки перечения осей 4. Местоположение фундаментной плиты

От осей, обозначенных на дне котлована висящими отвесами или колышками, с помощью шаблона или промером определяют плановое положение угловых и маячных фундаментных плит (блоков), которое фиксируется штырями. После снятия струн плиты (блоки) монтируются. По граням угловых и маячных блоков натягивают шнур-причалку и монтируют все промежуточные плиты (блоки).

Предельные отклонения от совмещения установочных ориентиров фундаментных плит (блоков) с рисками разбивочных осей 12 мм (контроль - измерительный, каждая плита (блок), регистрация отклонений в геодезической исполнительной схеме).

Вдоль осей натягивают струны по обноске и от отвесов на струнах определяют и закрепляют откраской на фундаментных плитах местоположение граней угловых и маячных стеновых блоков. Струны снимают и по вынесенным граням монтируют угловые и маячные стеновые блоки. По шнурам-причалкам производят монтаж всех промежуточных стеновых блоков.

Установку блоков стен подвала следует выполнять с соблюдением перевязки. Рядовые блоки следует устанавливать, ориентируя низ по обрезу блоков нижнего ряда, верх - по разбивочной оси. Блоки наружных стен, устанавливаемые ниже уровня грунта, необходимо выравнивать по внутренней стороне стены, а выше - по наружной. Вертикальные и горизонтальные швы между блоками должны быть заполнены раствором и расшиты с двух сторон.

После монтажа первого ряда фундаментных блоков, а также каждого последующего ряда производят их нивелирование с целью выравнивания монтажного горизонта с помощью маяков и подстилающего бетонного слоя.

Предельные отклонения рядов кладки от горизонтали на 10 м длины стены 15 мм (регистрация отклонений в геодезической исполнительной схеме).

Соосность рядов укладываемых блоков, а также вертикальность их кладки проверяют при помощи отвеса. Предельные отклонения смещения осей от разбивочных осей 10 мм. Предельные отклонения поверхностей и углов кладки от вертикали на один этаж 10 мм (контроль измерительный, регистрация отклонений в геодезической исполнительной схеме).

Неровности на вертикальной поверхности кладки, обнаруженные при накладывании рейки длиной 2 м не должны превышать 10 мм.

По окончании монтажа плит и блоков выполняют их планово-высотную геодезическую съемку. Данные высотной съемки используют для выравнивания горизонта перекрытия подземной части подстилающим раствором.

Работы по монтажу фундаментов должны быть оформлены актом-приемки или актом освидетельствования скрытых работ.

Монтаж сборных фундаментов стаканного типа

ГОСТ 24476-80* «Фундаменты железобетонные сборные под колонны каркаса межвидового применения для многоэтажных зданий. Технические условия».

Входной контроль сборных железобетонных фундаментов стаканного типа должен осуществляться в соответствии с требованиями ГОСТ 24476-80*, ГОСТ 13015.0-83*, ГОСТ 13015.3-81* и технологической документации, утвержденной в установленном порядке.

ГОСТ 24476-80* «ФУНДАМЕНТЫ ЖЕЛЕЗОБЕТОННЫЕ СБОРНЫЕ ПОД КОЛОННЫ КАРКАСА МЕЖВИДОВОГО ПРИМЕНЕНИЯ ДЛЯ МНОГОЭТАЖНЫХ ЗДАНИЙ. ТЕХНИЧЕСКИЕ УСЛОВИЯ».

Стандарт распространяется на сборные железобетонные фундаменты стаканного типа, изготовляемые из тяжелого бетона и предназначенные для применения в многоэтажных каркасно-панельных общественных зданиях, производственных и вспомогательных зданиях промышленных предприятий из конструкций серий 1.020-1/83, 1.020.1-2с и возводимых в несейсмических и сейсмических районах, в грунтах и грунтовых водах при неагрессивной, слабо- и среднеагрессивной степенях воздействия на железобетонные конструкции.

Стандарт не распространяется на фундаменты, предназначенные для применения в зданиях, возводимых на просадочных и вечномерзлых грунтах и на подрабатываемых территориях.

Фундаменты подразделяют на типы:

1Ф - фундаменты под колонны с поперечным сечением размерами 300 ´ 300 мм;

2Ф - то же, под колонны с поперечным сечением размерами 400 ´ 400 мм.

Марка фундаментов состоит из двух буквенно-цифровых групп, разделенных тире.

Первая группа содержит обозначение типа фундамента, длину (ширину) подошвы и высоту фундамента в дециметрах (значение высоты округляют до целого числа).

Вторая группа содержит обозначение несущей способности фундамента, а для фундаментов, предназначенных для эксплуатации в агрессивной среде, дополнительно содержит показатель проницаемости бетона, обозначаемый буквой: Н - нормальной проницаемости, П - пониженной проницаемости.

Пример условного обозначения (марки) фундамента типа 1Ф с подошвой размерами 1800 ´ 1800 мм, высотой 750 мм, первой несущей способности, предназначенного для эксплуатации в неагрессивной среде:

1Ф18.8-1

То же, типа 2Ф с подошвой размерами 1500 ´ 1500 мм, высотой 900 мм, второй несущей способности, из бетона пониженной проницаемости:

2Ф15.9-2П

Размеры фундаментов должны соответствовать приведенным в нижеследующей таблице.

Марка фундамента

Размеры фундамента, мм

Марка бетона по прочности на сжатие

l

h

a1

а2

а3

a4

a5

1Ф12.8-1

1200

750

450

225

-

240

-

М200

1Ф12.8-2

М300

1Ф12.8-3

М200

1Ф15.8-1

1500

260

390

80

1Ф15.8-2

1Ф15.8-3

М300

1Ф15.9-1

900

М200

1Ф18.8-1

1800

750

410

540

1Ф18.8-2

1Ф18.9-1

1Ф18.9-2

900

1Ф18.9-3

М300

1Ф21.8-1

2100

750

560

690

М200

1Ф21.8-2

1Ф21.9-1

900

100

М300

2Ф12.9-1

1200

550

175

-

220

 

М200

2Ф12.9-2

М300

2Ф15.9-1

1500

260

370

80

М200

2Ф15.9-2

М300

2Ф18.9-1

1800

410

520

М200

2Ф18.9-2

2Ф18.9-3

М300

2Ф18.11-1

1050

100

М200

2Ф21.9-1

2100

900

560

670

2Ф21.9-2

2Ф21.9-3

М300

2Ф21.11-1

1050

Значение нормируемой отпускной прочности бетона фундаментов должно быть равно 70 % марки бетона по прочности на сжатие. При поставке фундаментов в холодный период года значение нормируемой отпускной прочности бетона может быть повышено, но не более 90 % марки по прочности на сжатие. Значение нормируемой отпускной прочности бетона должно соответствовать указанному в проектной документации на конкретное здание и в заказе на изготовление фундаментов.

Отклонения фактических размеров фундаментов от номинальных, приведенных в рабочих чертежах, не должны превышать, мм:

по длине (ширине)                                                                            ±16

по высоте                                                                                           ±10

Отклонения от номинальных размеров стакана под колонну и выступов фундамента не должны превышать ±5 мм.

Отклонение от плоскостности подошвы фундаментов не должно превышать ±5 мм.

На поверхности фундаментов не допускаются:

обнажение рабочей и конструктивной арматуры;

жировые и ржавые пятна;

участки неуплотненного бетона;

трещины, за исключением усадочных и других поверхностных технологических трещин, ширина которых не должна превышать, мм:

- 0,1 в конструкциях из тяжелого бетона, подвергаемых попеременному замораживанию и оттаиванию в водонасыщенном состоянии или в условиях эпизодического водонасыщения;

- 0,2 в остальных видах конструкций.

Категория бетонных поверхностей фундаментов А7.

Размеры раковин и околов бетона ребер фундаментов не должны превышать, мм:

диаметр или наибольший размер раковины                                   20

глубина окола бетона ребра                                                              20

Маркировочные надписи и знаки должны быть нанесены на боковых гранях фундаментов.

Фундаменты должны сопровождаться документом о качестве, в котором должны быть указаны: наименование и адрес предприятия-изготовителя; номер и дата выдачи документа; номер партии; марка фундаментов; число фундаментов каждой марки; дата изготовления фундаментов; класс или марка бетона по прочности; отпускная прочность бетона (нормируемая, требуемая с учетом фактической однородности бетона и фактическая); марка бетона по морозостойкости и для фундаментов, предназначенных для эксплуатации в агрессивной среде, водонепроницаемость бетона (если эти показатели оговорены в заказе на изготовление фундаментов); обозначение стандарта. Документ о качестве должен быть подписан работником, ответственным за технический контроль предприятия-изготовителя.

Фундаменты следует хранить и транспортировать в рабочем положении.

Фундаменты должны храниться в штабелях рассортированными по маркам и партиям. Высота штабеля фундаментов не должна превышать двух рядов.

При хранении каждый фундамент должен укладываться на деревянные прокладки и подкладки. Толщина прокладок должна быть не менее 100 мм, подкладок - не менее 30 мм. Прокладки и подкладки в штабеле должны располагаться по одной вертикали.

Подкладки под нижний ряд фундаментов следует укладывать по плотному, тщательно выровненному основанию.

Транспортировка фундаментов должна производиться в один ряд на деревянных подкладках с надежным закреплением изделий, предохраняющим их от смещения во время перевозки.

На строительной площадке в процессе входного контроля:

необходимо проверить наличие сопроводительной документации и полноту содержащихся в них данных;

по имеющейся сопроводительной документации и маркировке необходимо убедиться в соответствии поступивших фундаментов требованиям проекта;

необходимо проверить наличие на фундаментах штампа ОТК;

необходимо путем внешнего осмотра проверить отсутствие на фундаментах недопустимых дефектов внешнего вида;

необходимо провести соответствующие замеры при возникновении сомнений в соответствии геометрических параметров блоков требованиям проекта и нормативных документов; при возникновении каких-либо других сомнений в качестве поступивших блоков должны быть вызваны представители строительной лаборатории или функциональных служб, ответственных за поставку блоков.

Контролируемые операции

Состав и средства контроля

Документация

Подготовительные работы

Проверить:

 

-   завершение и надлежащее оформление предшествующих земляных работ (наличие актов освидетельствования скрытых работ, геодезических исполнительных схем и другой приемо-сдаточной документации);

Акт приемки, акты освидетельствования скрытых работ; исполнительные схемы

-   завершение и надлежащее оформление предшествующих работ по детальной разбивке фундамента;

Исполнительная схема

-   наличие проекта, ППР, технологических карт и схем операционного контроля качества работ по устройству фундаментов стаканного типа;

ППР, технологические карты, СОКК

-   наличие паспортов и полноту содержащихся в них данных на поступившие на строительную площадку фундаменты, соответствие их требованиям проекта; маркировку фундаментов и наличие штампа ОТК;

Паспорта

-   внешним осмотром отсутствие недопустимых дефектов внешнего вида фундаментов; очистку опорных поверхностей от загрязнений, их разметку.

Общий журнал работ

Устройство фундаментов стаканного типа

Контролировать:

 

-   соблюдение заданной ППР технологии устройства ленточных фундаментов;

Общий и специальные журналы работ

-   установку фундаментов в проектное положение.

Исполнительные схемы

Приемка

Проверить:

 

-   соответствие фактического положения фундаментов требованиям проекта и нормативных документов;

-   составление и надлежащее оформление приемо-сдаточной документации (актов приемки фундаментов, актов освидетельствования скрытых работ, исполнительных геодезических схем).

Акты приемки фундаментов, акты освидетельствования скрытых работ, исполнительные схемы

Входной и операционный контроль осуществляют: мастер (прораб), лаборант (инженер), геодезист - в процессе выполнения работ.

Приемочный контроль осуществляют: прораб (мастер), геодезист, работники отдела контроля качества СМР, представители технадзора заказчика.

КИП: нивелир, теодолит и др. геодезические и лабораторные приборы и инструмент

Монтаж сборного фундамента стаканного типа следует осуществлять в соответствии с требованиями СНиП 3.03.01-87, СНиП 3.01.01-85*, СНиП 3.01.03-84, проекта, ППР, технологических карт, схем операционного контроля качества и другой технологической документации, утвержденной в установленном порядке.

Работы по монтажу сборного фундамента стаканного типа должны выполнять строительные организации, получившие лицензию на выполнение этих работ в Федеральных или местных органах по лицензированию строительной деятельности.

Работы по монтажу сборного фундамента стаканного типа должны выполняться квалифицированным персоналом, прошедшим специальную подготовку и обладающим надлежащими навыками по выполнению строительно-монтажных работ.

При производстве работ по устройству фундаментов стаканного типа должно быть обеспечено соблюдение строительных норм и правил, проекта и ППР.

Работы по монтажу сборного фундамента стаканного типа должны производиться по утвержденному проекту производства работ (ППР).

Запрещается осуществление строительно-монтажных работ без утвержденного проекта производства работ. Не допускаются отступления от решений проектов производства работ без согласования с организациями, разработавшими и утвердившими их.

Основным работам по устройству сборных фундаментов стаканного типа должны предшествовать подготовительные работы:

а) завершение внеплощадочных и внутриплощадочных подготовительных работ, оформленное актом (см. СОКК «Внеплощадочные и внутриплощадочные подготовительные работы»);

б) завершение предшествующих земляных работ и приемка оснований под фундаменты (см. СОКК «Разработка выемок, вертикальная планировка» в альбоме I-I и «Разработка котлованов» в данном альбоме).

в) детальная разбивка сборного фундамента (см. СОКК «Геодезические работы при устройстве фундаментов»);

г) завоз и складирование фундаментов;

д) входной контроль поступивших на строительную площадку фундаментов;

з) разметка фундаментов.

До начала работ по устройству фундаментов подготовленное основание должно быть принято по акту комиссией с участием заказчика и подрядчика, а при необходимости - представителя проектной организации, в том числе геолога.

Комиссия должна установить соответствие расположения, размеров, отметок дна котлована, фактического напластования и свойств грунтов указанным в проекте, а также возможность заложения фундаментов на проектной или измененной отметке.

Проверка отсутствия нарушений природных свойств грунтов основания или качества их уплотнения должна при необходимости сопровождаться отбором образцов для лабораторных испытаний, зондированием, пенетрацией и др.

В случае если комиссией установлены значительные расхождения между фактическими и проектными характеристиками грунта основания и необходимость пересмотра проекта, решение о проведении дальнейших работ должно приниматься при обязательном участии представителя проектной организации и заказчика.

Устройство фундаментов надлежит производить немедленно после приемки основания комиссией и подписания акта, разрешающего приступить к устройству фундамента.

Не допускаются перерывы более двух суток между окончанием разработки котлованов и устройством фундамента. При более длительных перерывах должны быть приняты меры против обводнения котлованов поверхностными водами, промораживания талых пучинистых грунтов, а также изменения температурного режима основания из вечномерзлых грунтов, если проектом предусмотрено сохранение их в мерзлом состоянии.

Водоотвод осуществляется в течение всего периода монтажа фундаментов до окончания гидроизоляционных работ. При поверхностном разжижении грунта основания фундаментов атмосферными или грунтовыми водами разжиженный грунт и вода должна быть удалены со дна котлована или траншеи, а грунт уплотнен втрамбовыванием в него щебня, гравия или крупного песка слоями толщиной 6 - 8 мм.

При установке сборных фундаментов в зимнее время необходимо защищать основания фундаментов от промерзания способами, указанными в проекте производсва работ.

Установка плит и блоков фундаментов на покрытые водой или снегом основания не допускается.

Монтаж сборных фундаментов должен выполняться кранами, расположенными за пределами подготовленных участков основания.

В состав работ по монтажу фундаментов стаканного типа входят:

выравнивание земляного основания путем зачистки при песчаных грунтах или подсыпки песка, если фундаменты сооружаются на других грунтах;

разбивка места установки фундаментов на подготовленном основании;

разметка осей фундаментов;

строповка и подача фундаментов к месту установки;

установка фундаментов в проектное положение и их расстроповка;

проверка положения блоков в плане.

Ослабленный грунтовыми водами и атмосферными осадками верхний слой основания в месте укладки бетона предварительно уплотняют щебнем или гравием, насыпанным слоями по 5 - 8 см, и утрамбовывают.

Поверхность основания, сложенного глинистыми грунтами, должна быть выровнена до проектной отметки подсыпкой из горизонтально спланированного песка (кроме пылеватого) слоем 5 - 10 см. Поверхность песчаного основания планируется с использованием того же песка.

Толщина песчаной подсыпки для выравнивания земляного основания перед укладкой блоков должна быть не менее 5 и не более 15 см. Для этой цели применяется крупный песок без илистых и пылеватых частиц.

Поверхность подготовки проверяется нивелиром. Размеры подготовки в плане предусматриваются большими на 300 мм, чем ширина и длина подошвы фундамента во избежание неполного опирания фундамента на подготовку.

Предельное отклонение отметки выравнивающего слоя песка от проектной не должно превышать минус 15 мм.

Стаканы фундаментов и опорные поверхности должны быть защищены от загрязнения.

Фундаменты монтируют согласно разбивочным осям, закрепленным на обносках у верхней бровки котлована или в котловане вдоль его нижней бровки.

Требуемая точность установки плит и блоков в проектное положение должна обеспечиваться детальными разбивочными работами и постоянным геодезическим (инструментальным) контролем точности выполнения монтажных операций, которые входят в технологический процесс монтажа ленточных фундаментов (см. СОКК «Геодезические работы при устройстве фундаментов»).

Для разбивки мест установки фундаментов между обносками по поперечным и продольным осям натягивают проволоку, с которой спускаются тяжелые отвесы. Положение осей фиксируется рисками и окрашивается краской на верхушках кольев или скобах, забитых в землю.

Перед монтажом на грани фундаментов наносят и окрашивают масляной краской установочные риски, фиксирующие: на верхнем элементе (стакане) - середину сторон отверстия стакана, на нижнем элементе (подошве) - середину боковых граней.

Строповку фундаментов следует производить при помощи двух- или четырехветвевых стропов.

Установку блоков фундаментов стаканного типа в плане следует производить относительно разбивочных осей по двум взаимно перпендикулярным направлениям, совмещая осевые риски фундаментов с ориентирами, закрепленными на основании, или контролируя правильность установки геодезическими приборами.

Установку фундамента необходимо проводит сразу в проектное положение, при этом поверхность основания не должна быть нарушена.

При неправильной установке фундаментов их следует поднять, исправить основание, а затем установить в проектное положение.

1. Проволоки (лески), фиксирующие оси 2. Отвес 3. Колышки, закрепляющие точки перечения осей 4. Местоположение фундаментной плиты

Предельные отклонения от совмещения ориентиров при установке фундаментов стаканного типа должны быть указаны в проекте.

При отсутствии в проекте специальных указаний предельные отклонения положения фундаментов от проектных не должны превышать по СНиП 3.03.01-87 следующих величин:

отклонение от совмещения установочных ориентиров фундаментных блоков и стаканов фундаментов с рисками разбивочных осей 12 мм (контроль измерительный, каждый фундамент, регистрация отклонений в геодезической исполнительной схеме);

отклонение отметок опорной поверхности дна стакана фундаментов от проектных до устройства выравнивающего слоя по дну стакана минус 20 мм (контроль измерительный, каждый фундамент, регистрация отклонений в геодезической исполнительной схеме).

Правильность установки фундаментов проверяется теодолитом по двум взаимно перпендикулярным осям, закрепленным на обноске, и нивелиром.

По окончании устройства фундаментов производится исполнительная геодезическая съемка планового и высотного положения фундаментов, по результатам которой составляется планово-высотная исполнительная схема, которая входит в состав исполнительной документации при приемке работ по устройству фундаментов.

При исполнительной съемке сборных фундаментов стаканного типа проверяют непосредственными промерами рулеткой или измерительной линейкой длину и ширину стаканов, а также смещение осей стаканов фундаментов относительно разбивочных осей. Для таких измерений можно воспользоваться теодолитом и измерительной линейкой (нивелирной рейкой). При этом зрительную трубу теодолита направляют по осевому створу, а по вертикальной нити берут отсчеты по линейке (нивелирной рейке), которая должна прикладываться нулевым делением к граням стакана и располагаться перпендикулярно линии визирования. Разность между полученным отсчетом и проектной величиной и будет характеризовать величину действительного отклонения оси стакана от разбивочной оси.

Отклонения отметок опорной поверхности дна стаканов фундаментов от проектных проверяется геометрическим нивелированием. С этой целью определяют отметки дна стаканов до устройства выравнивающего цементно-песчаного слоя или армобетонных прокладок по дну стакана и после. Сравнивая полученные отметки с проектными получают действительные отклонения, которые не должны превышать предельных отклонений, установленных нормативными документами.

Соответствие планово-высотного положения фундаментов проектному в пределах требований нормативных документов отражается в акте промежуточной приемки фундаментов.

При приемочном контроле фундаментов кроме исполнительных схем планово-высотного положения фундаментов должна быть представлена также следующая документация:

исполнительные чертежи с внесенными (при их наличии) отступлениями, допущенными предприятием - изготовителем фундаментов, а также монтажной организацией, согласованными с проектными организациями - разработчиками чертежей, и документы об их согласовании;

заводские паспорта на фундаменты; акты освидетельствования скрытых работ;

акт промежуточной приемки фундаментов; журналы работ.

Устройство гидроизоляционных покрытий фундаментов

Общие технические требования

Перечень гидроизоляционных материалов

ГОСТ 30547-97 Материалы рулонные кровельные и гидроизоляционные. Общие технические условия.

ГОСТ 10923-93* Рубероид. Технические условия.

ГОСТ 10296-79* Изол. Технические условия.

ГОСТ 7415-86* Гидроизол. Технические условия.

ГОСТ 20429-84* Фольгоизол. Технические условия.

ГОСТ 15879-70* Стеклорубероид. Технические условия.

ТУ 5774-004-00289973-96 Материал рулонный кровельный и гидроизоляционный наплавляемый «Стеклоизол».

ТУ 5774-010-05108038-99 Гидростеклоизол гидроизоляционный.

ТУ 400-1-51-83 Гидростеклоизол

ТУ 5774-026-00287776-97 Материал рулонный кровельный и гидроизоляционный наплавляемый битумно-полимерный «Крунам-СТ».

ТУ 5774-008-05108038-99 Материал рулонный кровельный и гидроизоляционный наплавляемый битумно-полимерный «Филизол».

ТУ 21-5744710-505-90 Материал рулонный кровельный и гидроизоляционный наплавляемый «Рубемаст».

ТУ 21-5744710-507-91 Материал рулонный полимерный кровельный и гидроизоляционный «Гидробутил».

ТУ 21-5744710-510-91 Пластины из немерных кусков рулонных кровельных и гидроизоляционных материалов.

ТУ 21-5744710-515-92 Материал рулонный кровельный и гидроизоляционный на стекловолокнистой основе «Стеклобит».

ТУ 21-5744710-518-92 Материал рулонный кровельный и гидроизоляционный наплавляемый «Рубестек».

ТУ 21-5744710-519-92 Материал рулонный кровельный и гидроизоляционный наплавляемый «Стекломаст».

ТУ 38.605-15ОД-7-95 Рулонный гидроизоляционный материал «Бутерол».

ТУ 5770-531-00284718-93 Материал рулонный кровельный и гидроизоляционный наплавляемый битумно-полимерный «Днепрофлекс».

ТУ 5770-537-00284718-93 Материал рулонный кровельный и гидроизоляционный наплавляемый битумно-полимерный «Полимаст».

ТУ 5774-002-00287852-98 Материал рулонный кровельный и гидроизоляционный наплавляемый битумно-полимерный водостойкий «Экофлекс».

ТУ 5774-010-05766480-99 Материал рулонный кровельный и гидроизоляционный битумно-полимерный «Кинепласт».

ТУ 5774-540-00284718-93 Материал рулонный полимерный кровельный и гидроизоляционный вулканизированный ВСП 50.

ТУ 5770-528-00284718-94 Материал рулонный кровельный наплавляемый битумно-полимерный «Элабит».

ТУ 5770-530-00284718-94 Материал рулонный битумно-полимерный наплавляемый кровельный и гидроизоляционный «Эластомаст».

ТУ 5770-541-00284718-94 Материал рулонный кровельный и гидроизоляционный наплавляемый битумно-полимерный «Бикроэласт».

ТУ 5770-543-00284718-94 Материал рулонный кровельный и гидроизоляционный наплавляемый битумно-полимерный «Стекломаст термопластичный».

ТУ 5774-544-00284718-96 Материал рулонный кровельный и гидроизоляционный наплавляемый битумно-полимерный «Термофлекс».

ТУ 5774-545-00284718-96 Материал рулонный кровельный и гидроизоляционный наплавляемый битумно-полимерный «Атаклон».

ТУ 5770-001-07509505-94 Материал рулонный кровельный и гидроизоляционный наплавляемый битумно-полимерный «Помаласт».

ТУ 5774-001-04000706-95 Материалы кровельные и гидроизоляционные «Крома» (мембраны).

ТУ 5774-001-04678851-95 Материал рулонный полимерный кровельный и гидроизоляционный «Изолен».

ТУ 5774-002-04001232-94 Полимерное битумное покрытие «КВЕ 45К».

ТУ 5774-001-1806333-95 Материал рулонный кровельный и гидроизоляционный наплавляемый битумно-полимерный «Люберит».

ТУ 5774-003-00289973-95 Материал рулонный кровельный и гидроизоляционный наплавляемый битумно-полимерный «Рубитекс».

ТУ 5774-005-05766480-95 Материал рулонный кровельный и гидроизоляционный наплавляемый битумно-полимерный «Изопласт».

ТУ 5774-007-05766480-96 Материал рулонный кровельный и гидроизоляционный наплавляемый битумно-полимерный «Изоэласт».

ТУ 5774-001-29659211-95 Материал рулонный кровельный и гидроизоляционный «Изолин» марок Э, К, Г.

ТУ 5774-058-11322110-95 Материал рулонный кровельный и гидроизоляционный «Левизол».

ТУ 95-25048396-054-93 Материал рулонный кровельный на основе поливинилхлорида «Кровлелон».

ТУ 66-30.1-02-91 Материал полимерный кровельный и гидроизоляционный «Армополихром».

ТУ 2543-060-05766801-96 Материал рулонный бутилкор.

ТУ 66-30.1-03-91 Армобит

ТУ 5774-004-00287823-99 Армогидрокров У.

ТУ 38.108044-94 Материал рулонный полимерный кровельный и гидроизоляционный «Армогидрокром».

ТУ 2310-201-08610940-97 Покрытие для защиты бетонных поверхностей «Бетарол».

ТУ 2310-202-08610940-97 Покрытие для гидроизоляции бетонных поверхностей «Бетазол».

ТУ 2310-002-08610940-97 Системы защиты бетонных поверхностей «Бетал».

ГОСТ 2889-80 Мастика битумная кровельная горячая. Технические условия.

ГОСТ 15836-79 Мастика битумно-резиновая изоляционная. Технические условия.

ТУ 5774-017-17187505-97 Мастика полимерная кровельная «Гермокров».

ТУ 5774-001-17187505-95 Мастика битумно-полимерная кровельная и гидроизоляционная «Битурэл».

ТУ 5775-001-11753429-95 Мастика полимерно-битумная ПБМ.

ТУ 5775-001-13216173-95 Мастика битумно-полимерная универсальная.

ТУ 5775-001-10691301-93 Мастика битумно-полимерная универсальная.

ТУ 5775-001-29659211-96 Мастики кровельные и гидроизоляционные эмульсионные битумные и битумно-полимерные.

ТУ 5775-023-17187505-95 Мастика полимерная гидроизоляционная «Гидрофор».

ТУ 5772-011-17187505-97 Полимерные полиуретановые композиции «Полур».

ТУ 5775-001-11313564-96 Мастика полимерная защитная «Поликров-Л».

ТУ 5775-003-11313564-96 Мастика полимерная защитная «Поликров-М».

ТУ 5774-002-11313564-96 Материал рулонный полимерный «Поликров».

ТУ 6-49-00203536-01-95 Полимерная фильтрующая оболочка «Дрениз».

ТУ 2311-001-17660092-95 Композиция битумно-полимерная «Антикор МПБ-2».

ТУ 21-5744710-512-91 Мастика битумно-бутилкаучуковая холодная кровельная и гидроизоляционная «Вента-У».

ТУ 5775-001-26607828-93 Мастика битумно-каучуко-резиновая кровельная и гидроизоляционная.

ТУ 5775-001-05192702-95 Мастика битумно-тальковая изоляционная.

ТУ 2384-008-13238275-97 Каучуко-битумная гидроизоляционная мастика «БКМ-200».

ТУ 5775-011-1328275-97 Мастика битумно-каучуковая кровельная и гидроизоляционная «Ребакс-М».

ТУ 5775-001-10616742-93 Мастики битумно-эмульсионные кровельные и гидроизоляционные холодные на твердых эмульгаторах.

ТУ 5775-106-01265733-94 Мастики латексные.

ТУ 5775-201-01265733-94 Мастика резино-битумная.

ТУ 5775-001-33529333-95 Мастика полимерная резинобитумная (холодная) «Поликон».

ТУ 5775-066-16810126-97 Мастика каучуковая изоляционная.

ТУ 5775-552-03986987-93 Мастика гидроизоляционная холодная асфальтовая БСХА.

ТУ 5770-003-23463180-94 Мастика бутилкаучуковая холодная цветная кровельная и гидроизоляционная «УНИКС».

ТУ 5775-001-29258624-96 Композиция ПСП.

ТУ 5775-002-29258624-97 Композиция ОСП.

ТУ 5775-003-29258624-97 Композиция МСП.

ТУ 5775-001-39504194-96 Материал «Пенетрол».

ТУ 5772-001-40205189-95 Мастика гидроизоляционная и герметизирующая холодного отверждения МГХ.

ТУ 21-27-16-68 Мастики битумные холодные.

ТУ 21-27-37-89 Мастика «Изол».

ТУ 21-27-40-83 Мастики битумно-каучуковые горячие кровельные и гидроизоляционные.

ТУ 21-27-42-77 Мастика эпоксидно-каменоугольная.

ТУ 21-27-76-88 Мастика битумно-латексная эмульсионная кровельная и гидроизоляционная БЛЭМ-20.

ТУ 21-27-90-83 Мастика бутилкаучуковая холодная МБК.

ТУ 21-27-126-88 Мастика хлорсульфополиэтиленбитумная отверждающаяся кровельная гидроизоляционная «Кровлелит Б-3».

ТУ 21-27-132-89 Мастика латексная парогидроизоляционная «Изолакт» ЛСП-901.

ТУ 204-УССР 329-91 Мастика бутилкаучуковая модифицированная «Гермабутил-С».

ТУ 204-УССР 330-91 Мастика бутилкаучуковая модифицированная «Бутислан-К».

ТУ 66-14-03-83 Мастика битумно-асбестовая эмульсионная (БАЭМ).

ТУ 67-05-264-90 Мастика битумно-асбестовая модифицированная изоляционная БАМИ.

ТУ 67-13-303-89 Мастики битумно-кукерсольные и битумно-латексно-кукерсольные холодные.

ТУ 67-13-306-89 Мастика безбитумная.

ТУ 2513-001-20504464-99 Герметик «Гермокронгидро».

ГОСТ 10354-82* Пленка полиэтиленовая. Технические условия.

ГОСТ 16272-79* Пленка поливинилхлоридная пластифицированная техническая. Технические условия.

ТУ 38-10264-83 Пленка полипропиленовая.

Стандарты и технические условия на полимерные, эмульсионно-мастичные и рулонные гидроизоляционные материалы, асфальтовые смеси и цементные растворы для асфальтовой и литой гидроизоляции, армирующие стеклосетки, стеклоткань и другие материалы, предусмотренные проектом.

СНиП 3.04.01-87 Изоляционные и отделочные покрытия.

СНиП 3.04.03-85 Защита строительных конструкций от коррозии.

СНиП 3.01.01-85* Организация строительного производства.

Серия 1.010-1 Гидроизоляция подземных частей зданий и сооружений.

Устройство гидроизоляционных покрытий следует осуществлять в соответствии с требованиями проекта, СНиП 3.04.01-87, СНиП 3.01.01-85*, СНиП 3.04.03-85, стандартов и технических условий на гидроизоляционные материалы конкретных видов, предусмотренных проектом, ППР, технологических карт, схем операционного контроля качества и другой технологической документации, утвержденной в установленном порядке.

Работы по устройству гидроизоляционных покрытий должны выполнять строительно-монтажные организации, получившие лицензию на выполнение этих работ в Федеральном или региональных органах по лицензированию строительной деятельности.

Работы по устройству гидроизоляционных покрытий должны выполняться квалифицированным персоналом, прошедшим специальную подготовку и обладающим надлежащими навыками по выполнению гидроизоляционных работ.

При производстве гидроизоляционных работ должно быть обеспечено соблюдение требований строительных норм и правил, проекта и ППР.

Работы по устройству гидроизоляционных покрытий должны производиться по утвержденному проекту производства работ (ППР).

Запрещается осуществление строительно-монтажных работ без утвержденного проекта производства работ. Не допускаются отступления от решений проектов производства работ без согласования с организациями, разработавшими и утвердившими их. Замена предусмотренных проектом материалов, изделий и составов допускается только по согласованию с проектной организацией и заказчиком.

Основным работам по устройству гидроизоляционных покрытий должны предшествовать подготовительные работы:

а) завершение, надлежащее оформление и приемка предшествующих работ по устройству сборных или монолитных фундаментов, а также стен подвалов (см. СОКК «Монтаж сборных фундаментов стаканного типа», «Монтаж сборных ленточных фундаментов» и «Устройство монолитных конструкций»);

б) входной контроль поступивших на строительную площадку гидроизоляционных материалов;

в) подготовка и приготовление изоляционных составов;

г) подготовка бетонной поверхности и устройство выравнивающих стяжек, оштукатуривание вертикальной поверхности каменных конструкций на высоту примыкания рулонного ковра изоляции.

Входной контроль качества полимерных, эмульсионно-мастичных и рулонных гидроизоляционных материалов, а также материалов для асфальтовой и литой гидроизоляции должен осуществляться в соответствии с требованиями проекта, с техническими требованиями стандартов и технических условий на конкретные виды материалов, предусмотренные проектом.

На строительной площадке в процессе входного контроля необходимо:

проверить наличие сопроводительной документации (документов о качестве, паспортов) и полноту содержащихся в ней данных;

по имеющейся сопроводительной документации, маркировке убедиться в соответствии поступивших гидроизоляционных материалов требованиям проекта;

путем внешнего осмотра проверить отсутствие на материалах недопустимых дефектов внешнего вида;

по истечении гарантийного срока хранения гидроизоляционные материалы перед применением должны быть проверены на соответствие их требованиям стандартов и технических условий;

при возникновении каких-либо сомнений в качестве поступивших материалов должны быть вызваны представители строительной лаборатории или функциональных служб, ответственных за поставку гидроизоляционных материалов.

При проектировании фундаментов в соответствии с требованиями СНиП 2.03.11-85 «Защита строительных конструкций от коррозии» предусматривают следующую защиту бетонных и железобетонных конструкций:

лакокрасочными толстостенными (мастичными) покрытиями - при действии жидких сред, при непосредственном контакте покрытия с твердой агрессивной средой;

оклеенными покрытиями - при действии жидких сред, в грунтах, в качестве непроницаемого подслоя в облицовочных покрытиях;

облицовочными покрытиями, в том числе из полимербетонов - при действии жидких сред, в грунтах, в качестве защиты от механических повреждений оклеенного покрытия.

Типы защитных покрытий в зависимости от агрессивности среды определяются по нижеследующей таблице.

ЗАЩИТА НАРУЖНЫХ ПОВЕРХНОСТЕЙ ПОДЗЕМНЫХ БЕТОННЫХ И ЖЕЛЕЗОБЕТОННЫХ КОНСТРУКЦИЙ

Конструкции

Номер варианта

Защитное покрытие при степени агрессивного воздействия среды

группа покрытий

слабая

группа покрытий

средняя

группа покрытий

сильная

Массивные фундаменты толщиной свыше 0,5 м

1

I

Битумно-латексные эмульсии

II

Битумные покрытия холодные и горячие

III

Полимерные покрытия на основе лака ХП-734

2

II

Битумно-латексные1 покрытия

II

Битумно-латексные1 мастики

III

То же, на основе полиизоцианата К

3

II

Битумно-полимерные покрытия

II

Битумно-полимерные покрытия

III

Оклеечные битумные рулонные материалы с защитной стенкой

4

II

Битумные покрытия холодные и горячие

III

Асфальтовые1 мастики холодные и горячие

III

Полимеррастворы на основе термореактивных синтетических смол

Тонкостенные конструкции и фундаменты толщиной менее 0,5 м

1

II

Битумно-латексные1 мастики

III

Асфальтовые1 мастики холодные и горячие

IV

Полимерные покрытия эпоксидные

2

II

Битумные покрытия горячие

III

Полимерные покрытия на основе лака ХП-734

III

Оклеечные битумные рулонные материалы с защитной стенкой

3

II

Битумно-полимерные покрытия и мастики

III

Тоже, на основе полиизоцианата К

IV

Оклеечные полимерные рулонные материалы

4

 

 

III

Оклеечные битумные рулонные материалы с защитной стенкой

IV

Полимерные покрытия, армированные стеклотканью

1 - при защите вертикальных поверхностей необходимо устройство защитной стенки.

Гидроизоляцию конструкций необходимо предусматривать выше максимального уровня грунтовых вод не менее чем на 0,5 м.

Решающим фактором при определении типа гидроизоляции является величина гидростатического напора.

Типы гидроизоляции в зависимости от гидростатического напора приведены в нижеследующей таблице.

Свойства гидроизоляции

Типы гидроизоляции

окрасочная

штукатурная

литая асфальтовая

оклеечная

листовая из полимерных материалов

металлическая

битумная

полимерная

цементная

асфальтовая

Гидростатический напор, м

2*

5

20

30

30

30

30

не огранич.

* - при соответствующем обосновании и при обеспечении доступа для периодического ремонта.

Выше максимального уровня грунтовых вод конструкции должны быть изолированы от капиллярной влаги.

Средние значения максимального поднятия капиллярной воды (м) в зависимости от вида грунта:

пески:

крупнозернистые                                                                           0,03 ÷ 0,15

среднезернистые                                                                            0,15 ÷ 0,35

мелкозернистые                                                                             0,35 ÷ 1,1

суглинки:

легкие                                                                                              2 ÷ 2,5

средние и тяжелые                                                                         3,5 ÷ 6,5

лессовые и глинистые грунты                                                         4 и более

глины                                                                                                  до 12

илы                                                                                                      до 25

Лакокрасочные и оклеенные покрытия в соответствии с их защитными свойствами подразделяются на четыре группы (защитные свойства групп покрытий повышаются от первой к четвертой).

Для защиты подошвы бетонных и железобетонных фундаментов предусматривается устройство изоляции, стойкой к воздействию агрессивной среды.

Боковые поверхности фундаментов, контактирующих с агрессивной грунтовой водой или грунтом, следует защищать согласно приведенной выше таблице.

При наличии в грунтах водорастворимых солей свыше 1 % массы грунта для районов со средней месячной температурой самого жаркого месяца свыше 25 °С при средней месячной относительной влажности воздуха менее 40 % необходимо устройство гидроизоляции всех поверхностей фундаментов. Для цокольной части зданий, эксплуатирующихся в указанных условиях, следует принимать бетон марки по водонепроницаемости не менее W6.

Подготовка бетонной поверхности

В основаниях под гидроизоляцию в соответствии с проектом необходимо выполнить следующие работы:

срезать монтажные приспособления;

очистить, закруглить острые углы радиусом не менее 10 мм;

срезать или заполнить раствором, промыть, обеспылить, заделать швы кладки и неровности, просушить их;

заделать швы между сборными плитами;

устроить температурно-усадочные швы;

смонтировать закладные элементы;

оштукатурить участки вертикальных поверхностей каменных конструкций на высоту примыкания рулонного или эмульсионно-мастичного ковра гидроизоляции.

Бетонная поверхность, подготовленная к нанесению антикоррозионной защиты, не должна иметь выступающей арматуры, раковин, наплывов, околов ребер, масляных пятен, грязи и пыли.

Закладные изделия должны быть жестко закреплены в бетоне, фартуки закладных изделий должны быть установлены заподлицо с защищаемой поверхностью.

Подготовленная бетонная поверхность в зависимости от вида защитного покрытия должна соответствовать нижеприведенным требованиям.

Контролируемые операции

Состав и средства контроля

Документация

Подготовительные работы

Проверить:

 

- завершение и надлежащее оформление предшествующих монтажных работ по устройству фундамента (наличие актов освидетельствования скрытых работ, геодезических исполнительных схем и другой приемо-сдаточной документации);

Акт приемки, акты освидетельствования скрытых работ, исполнительные схемы

- наличие проекта, ППР, технологических карт и схем операционного контроля качества работ по устройству гидроизоляционных покрытий;

ППР, технологические карты, СОКК

- наличие паспортов и полноту содержащихся в них данных на поступившие на строительную площадку гидроизоляционные материалы, соответствие их требованиям проекта;

Паспорта

- внешним осмотром отсутствие недопустимых дефектов внешнего вида на гидроизоляционных материалах;

- подготовку бетонных и растворных поверхностей под устройство гидроизоляционных поверхностей.

Общий журнал работ

Устройство гидроизоляционных покрытий фундаментов

Контролировать:

 

- соблюдение заданной ППР технологии устройства гидроизоляционных покрытий;

Общий и специальные журналы

- качество выполнения гидроизоляционных работ и качество наносимых покрытий;

- освидельствование промежуточных видов гидроизоляционных работ и промежуточных покрытий

Акты лабораторных испытаний, акты освидетельствования скрытых работ

Приемка

Проверить:

 

- соответствие готовых гидроизоляционных покрытий требованиям проекта и нормативных документов;

- составление и надлежащее оформление приемо-сдаточной документации (акта приемки готовых гидроизоляционных покрытий, актов освидетельствования скрытых работ).

Акт приемки гидроизоляционных покрытий

Входной и операционный контроль осуществляют: мастер (прораб), лаборант (инженер) строительной лаборатории - в процессе выполнения работ.

Приемочный контроль осуществляют: прораб (мастер), работники отдела контроля качества СМР, представители технадзора заказчика.

КИП: лабораторные приборы и инструмент

 

ПОКАЗАТЕЛИ

Значение показателей качества поверхности, подготовленной под защитные покрытия

Мастичные

Оклеечные

1. Шероховатость:

 

 

класс шероховатости

2-III

3-III

суммарная площадь отдельных раковин и углублений на 1 м2, %, при глубине раковин до 0,3 мм

до 0,2

до 0,2

поверхностная пористость, % по массе

до 20

до 10

2. Влажность оснований, % по массе:

 

 

бетонных

4

4

цементно-песчаных

5

5

(контроль - измерительный, не менее 5 измерений равномерно на каждые 50 - 70 м2 основания, регистрация результатов - в журнале работ)

Класс шероховатости определяется по нижеследующей таблице.

Класс шероховатости

Расстояние между выступами и впадинами, мм

2-III

Свыше 1,2 до 2,5

3-III

Свыше 0,6 до 1,2

Обеспыливание оснований необходимо выполнять перед нанесением огрунтовочных и изоляционных составов, включая приклеивающие клеи и мастики.

Огрунтовка поверхности перед нанесением приклеивающих и изоляционных составов должна быть выполнена сплошной без пропусков и разрывов. Огрунтовку стяжек, выполненных из цементо-песчаных растворов, следует выполнять не позднее чем через 4 ч после их укладки, применяя грунтовки на медленно испаряющихся растворителях.

Грунтовка должна иметь прочное сцепление с основанием, на приложенном к ней тампоне не должно оставаться следов вяжущего.

При подготовке поверхности основания необходимо соблюдать нижеприведенные требования.

Технические требования

Предельные отклонения

Контроль (метод, объем, вид регистрации)

Допускаемые отклонения поверхности основания при рулонной и безрулонной эмульсионной и мастичной изоляции:

 

Измерительный, технический осмотр, не менее 5 измерений на каждые 70 - 100 м2 поверхности или на участке меньшей площади в местах, определяемых визуальным осмотром

на горизонтальной поверхности

±5 мм

на вертикальной поверхности

±10 мм

Толщина элемента конструкции (от проектной)

10 %

То же

Число неровностей (плавного очертания протяженностью не более 150 мм) на площади поверхности 4 м2

не более 2

То же

Толщина грунтовки, мм:

 

 

при огрунтовке отвердевшей стяжки - 0,3

5 %

То же

при огрунтовке стяжек в течение 4 ч после нанесения раствора - 0,6

10 %

То же

Влажность основания перед нанесением грунтовки не должна превышать величин, указанных выше. По влажным основаниям допускается наносить только грунтовки или изоляционные составы на водной основе, если влага, выступающая на поверхности основания, не нарушает целостности пленки покрытия.

Подготовка и приготовление гидроизоляционных составов

При подготовке и приготовлении гидроизоляционных составов следует соблюдать нижеприведенные требования.

Технические требования

Предельные отклонения

Контроль (метод, объем, вид регистрации)

Битум и деготь (пек) необходимо применять очищенными от примесей и обезвоженными. Нагрев не должен превышать, °С:

 

Измерительный, периодический, не менее 4 раз в смену, журнал работ

битума - 180

±5 %

дегтя (пека) - 140

±7 %

Наполнители (заполнители) должны быть просеяными через сито с размерами ячеек, мм:

 

То же

для песка - 1,5

 

для пылевидных - 2

 

для волокнистых - 4

 

Допустимая влажность наполнителей (заполнителей):

 

Измерительный, периодический, не менее 4 раз в смену, журнал работ

для песка

До 2 %

для составов с уплотняющими добавками

До 5 %

для других составов

До 3 %

Температура эмульсий и их составляющих. °С:

 

То же, не менее 5 - 6 раз в смену, журнал работ

битума - 110

+10 °С

раствора эмульгатора - 90

+7 °С

латекса (при введении в эмульсию) - 70

Минус 10 °С

Устройство гидроизоляции из рулонных материалов

Нанесение оклеенных защитных покрытий должно выполняться в следующей технологической последовательности:

подготовка рулонных материалов;

нанесение и сушка грунтовок;

послойное наклеивание материалов.

Работы по нанесению оклеечных защитных покрытий на основе битумно-рулонных материалов следует выполнять, как правило, при температуре окружающего воздуха, защитных материалов и защищаемых поверхностей не ниже 10 °С.

Рулонные изоляционные материалы при производстве работ при отрицательных температурах необходимо в течение 20 ч отогреть до температуры не менее 15 °С, перемотать и доставить к месту укладки в утепленной таре. Рулонные материалы перед наклейкой необходимо разметить по месту укладки; раскладка полотнищ рулонных материалов должна обеспечивать соблюдение величин их нахлестки при наклейке.

Горизонтальная гидроизоляция цоколя стен из двух слоев толя, уложенного насухо повыровненной цементной стяжке

Горизонтальная гидроизоляция цоколя стен из двух слоев рубероида (гидроизола), наклеенного на повыровненное основание битумной мастикой

На защищаемую поверхность перед наклейкой рулонных материалов на битумных мастиках должны быть нанесены грунтовки на основе битума, на синтетических клеях - грунтовки из этих же клеев.

Сушку первого слоя грунтовок на основе битума следует производить до отлипа, второго - в течение 1 - 2 ч. Сушку первого слоя грунтовок из синтетического клея следует производить в течение 40 - 60 мин, второго - до отлипа. Сушку полимерных и битумно-полимерных грунтовок - до отлипа.

Перед наклейкой на защищаемую поверхность рулонные материалы должны быть очищены от минеральной посыпки.

При нанесении рулонных материалов на битумной мастике ее слой не должен превышать 3 мм, на клеях - 1 мм.

При наклейке рулонных материалов из гидроизола, рубероида и стеклорубероида величина нахлестки полотнищ должна быть 100 мм.

Мастика должна в соответствии с проектом наноситься равномерным сплошным, без пропусков или полосовым способом.

При устройстве рулонной гидроизоляции с применением клеящих составов горячие мастики должны наноситься на огрунтованное основание непосредственно перед наклейкой полотнищ. Холодные мастики (клеи) следует наносить на основание или полотнища заблаговременно. Между нанесением приклеивающих составов и приклейкой полотнищ необходимо соблюдать технологические перерывы, обеспечивающие прочное сцепление приклеивающих составов с основанием.

Каждый слой следует укладывать после отвердения мастик и достижения прочного сцепления с основанием предыдущего слоя.

Защитные покрытия из рулонных материалов, наклеенных на битумных составах, должны быть прошпатлеваны битумными мастиками. На горизонтальные покрытия мастики следует наносить слоями толщиной не более 10 мм, на вертикальные - слоями толщиной 2 - 3 мм.

Покрытия, подлежащие последующей защите материалами на основе силикатных и цементных составов, должны быть затерты по слою из битумной неостывшей мастики или синтетических смол крупноразмерным кварцевым песком.

Гидроизоляция наружных поверхностей фундамента полимерными и эмульсионно-битумными составами и цоколя рулонными материалами

Гидроизоляция наружных вертикальных поверхностей фундамента из рулонных материалов с устройством защитной стенки

Устройство гидроизоляции из полимерных и эмульсионно-битумных составов.

Гидроизоляционные работы допускается выполнять при температуре окружающей среды от 60 до минус 30 °С (производство работ с применением горячих мастик - при температуре окружающего воздуха не ниже минус 20 °С).

Способ нанесения, состав, число и толщина отдельных слоев, влажность воздуха и время сушки каждого слоя, общая толщина гидроизоляционного покрытия определяется ППР, технологическими картами и технической документацией, разработанной в соответствии с ГОСТ 21.513-83.

Гидроизоляционные работы выполняются, как правило, в следующей технологической последовательности: нанесение грунтовок, сушка грунтовочных слоев, нанесение шпаклевок (при необходимости), сушка шпаклевочных слоев, нанесение окрасочных слоев с их сушкой, выдерживание или термическая обработка покрытия.

При устройстве гидроизоляции из эмульсионно-мастичных составов каждый слой изоляционного ковра должен наноситься сплошным, без разрывов, равномерной толщины после отвердения грунтовки или нижнего слоя.

Мастичные покрытия, приготовленные на составах из природных и синтетических смол, должны наноситься слоями толщиной не более 3 мм каждый.

Защитное покрытие на основе горячих битумных или каменноугольных мастик должно быть предохранено от внешних механических воздействий до достижения температуры окружающего воздуха.

При устройстве гидроизоляции из полимерных составов типа «Кровлелит» и «Вента» их необходимо наносить агрегатами высокого давления, обеспечивающими плотность, равномерную толщину покрытия и прочность сцепления покрытия с основанием не менее 0,5 МПа. При применении холодных асфальтовых эмульсионных мастик подача и нанесение составов должны осуществляться агрегатами с винтовыми насосами (механического действия), обеспечивающими прочность сцепления покрытия с основанием не менее 0,4 МПа.

При устройстве гидроизоляции из эмульсионно-мастичных составов, армированных фибрами стекловолокна, их нанесение должно выполняться агрегатами, обеспечивающими получение фибр одинаковой длины, равномерное распределение в составе и плотность изоляционного покрытия.

При устройстве рулонной изоляции и устройстве изоляции из полимерных и эмульсионно-мастичных составов должны соблюдаться нижеприведенные требования.

Технические требования

Предельные отклонения

Контроль (метод, объем, вид регистрации)

Температура при нанесении горячих мастик, °С:

 

Измерительный, периодический, не менее 4 раз в смену, журнал работ

битумных - 160

+20 °С

дегтевых - 130

+10 °С

Толщина слоя мастик при наклейке рулонного ковра, мм:

 

Измерительный, технический осмотр, не менее 5 измерений на каждые 70 - 100 м2 в местах, определяемых визуальным осмотром, журнал работ

горячих битумных - 2,0

±10 %

промежуточных слоев - 1,5

±10 %

холодных битумных - 0,8

±10 %

Толщина одного слоя изоляции, мм:

-

Измерительный, технический осмотр, не менее 5 измерений на каждые 70 - 100 м2 в местах, определяемых визуальным осмотром, журнал работ

холодных асфальтовых мастик - 7

 

цементных растворов - 10

 

эмульсий - 3

 

полимерных составов (типа «Кровлелит» и «Вента») - 1

 

Устройство гидроизоляции из цементных растворов и горячих асфальтовых смесей

При устройстве цементной гидроизоляции из растворов с применением водонепроницаемых расширяющихся цементов (ВРЦ), водонепроницаемых безусадочных цементов (ВБЦ) или портландцемента с уплотняющими добавками составы следует наносить на смоченную водой поверхность.

Каждый последующий слой должен наноситься не позднее чем через 30 мин (при применении составов ВРЦ и ВБЦ) или не более чем через сутки (при применении составов на портландцементе с уплотняющими добавками) после отвердения предыдущего слоя.

Цементная гидроизоляция в течение двух суток после нанесения (1 ч при применений ВРЦ и ВБЦ) должна предохраняться от механических воздействий.

Увлажнение цементной гидроизоляции во время твердения должно осуществляться распыленной струей воды без напора при применении составов:

ВРЦ и ВБЦ - через 1 ч после нанесения и через каждые 3 ч в течение суток;

на портландцементе с уплотняющими добавками - через 6 - 12 ч после нанесения, а затем 2 - 3 раза в сутки в течение 14 дней.

При устройстве гидроизоляции из цементных растворов и горячих асфальтовых смесей, мастик и битумов следует соблюдать нижеприведенные требования.

Технические требования

Предельные отклонения

Контроль (метод, объем, вид регистрации)

Допускаемые отклонения поверхности (при проверке двухметровой рейкой):

 

Измерительный, не менее 5 измерений на каждые 50 - 100 м2 поверхности или на участке меньшей площади в местах, определяемых визуальным осмотром

по горизонтали

±5 мм

по вертикали

-5 ... +10 мм

плоскости элемента от заданного уклона - 0,2 %

Не более 150 мм

толщины элемента покрытия - -5 ... +10 %

Не более 3,0 мм

Подвижность составов (смесей) без пластификатора, см:

 

Измерительный, не менее 3 измерений на каждые 70 - 100 м2 поверхности покрытия

при нанесении вручную - 10

+2 см

при нанесении установками с поршневыми или винтовыми насосами - 5

+4 см

при применении пластификаторов - 10

+2 см

Температура горячих асфальтовых смесей при нанесении - 120 °С

-

Измерительный, периодический, не менее 8 раз в смену, журнал работ

При устройстве гидроизоляции из цементных растворов, армированных фибрами стекловолокна, их нанесение должно выполняться агрегатами, обеспечивающими получение фибр одинаковой длины, равномерное распределение в составе и плотность изоляционного покрытия.

Готовые гидроизоляционные покрытия должны отвечать нижеприведенным требованиям.

Технические требования

Контроль (метод, объем, вид регистрации)

Прочность сцепления с основанием и между собой гидроизоляционного ковра из рулонных материалов по сплошной мастичной клеящей прослойке эмульсионных составов с основанием - не менее 0,5 МПа

Измерительный, 5 измерений на 120 - 150 м2 поверхности покрытия ( при простукивании не должен изменяться характер звука); при разрыве приклеенных материалов не должны наблюдаться отслоения по мастике (разрыв должен происходить внутри рулонного полотнища), акт приемки.

Теплостойкость и составы мастик для приклейки рулонных материалов, а также прочность и составы клеящей прослойки должны соответствовать проектным. Отступления от проекта - 5 %

Технический осмотр, акт приемки

Пузыри, вздутия, воздушные мешки, разрывы, вмятины, проколы, губчатое строение, потеки и наплывы на поверхности покрытия гидроизоляции не допускаются

Технический осмотр, акт приемки

Увеличение влажности оснований, промежуточных элементов - не более 5 %

Измерительный, 5 измерений на 50 - 70 м2 поверхности покрытия или на отдельных участках меньшей площади в местах, выявленных визуальным осмотром, акт приемки

При приемке готовой гидроизоляции необходимо проверять качество заполнения стыков и отверстий в сооружениях из сборных элементов уплотняющими материалами. Отступления от проекта не допускаются

Технический осмотр, акт приемки

Серия 1.010-1 выпуск 0-4 «Гидроизоляция фундаментов и подземных конструкций от воздействия агрессивных подземных вод»

Выпуск содержит рабочие чертежи устройства безрулонной (окрасочной, асфальтовой и литой) и рулонной гидроизоляции. Асфальтовая и литая гидроизоляция разработаны только для применения на горизонтальных поверхностях подземных конструкций.

Защитные покрытия (типы I...VIII) разработаны в зависимости от степени агрессивного воздействия подземных вод.

Типы покрытия гидроизоляции в зависимости от степени агрессивного воздействия подземных вод (плюс (+) - рекомендуется; минус (-) - не допускается; * - при соответствующем обосновании)

Тип покрытия

Наименование защитного покрытия

Степень агрессивного воздействия подземных вод

слабая

средняя

сильная

 

1. Окрасочные покрытия

 

 

 

I

Битумные покрытия холодные и горячие

+

-

-

II

Битумно-полимерные покрытия

+

+

-

III

Полимерные лакокрасочные покрытия

+*

+

+

IV

Полимерные покрытия эпоксидные

+*

+*

+

 

2. Штукатурные асфальтовые и литые покрытия

 

 

 

V

Штукатурные асфальтовые покрытия

+*

+

-

VI

Литые асфальтовые покрытия

+*

+

-

 

3. Оклеечные покрытия

 

 

 

VII

Оклеечные битумные (рулонные) покрытия

+*

+*

+

VIII

Оклеечное полимерное (рулонное) покрытие

+*

+*

+

Выбор типа покрытия применительно к определенному виду железобетонных конструкций следует производить согласно данных нижеследующей таблицы.

Наименование подземных конструкций

Степень воздействия агрессивных подземных вод

слабая

средняя

сильная

Массивные фундаменты (фундаменты оборудования, колонн зданий и сооружений, фундаментные плиты толщиной более 0,5 м и др.)

I

II, V

III, VII

Сборные и монолитные конструкции толщиной менее 0,5 м (подпорные стены, фундаментные плиты, свайные ростверки и пр.)

II

III, VI

IV, VIII

Сваи, фундаментные и цокольные балки и др.

I

III

IV

Выбор типа гидроизоляции в зависимости от гидростатического напора следует производить по данным нижеследующей таблицы.

Свойства гидроизоляции

Типы гидроизоляции

окрасочная

штукатурная

литая асфальтовая

оклеечная

битумная

полимерная

цементная

асфальтовая

Гидростатический напор в м

2*

5

20

30

30

30

Гидроизоляцию конструкций необходимо предусматривать выше максимального уровня грунтовых вод не менее чем на 0,5 м.

Фундамент под стену

В узлах серии приняты следующие конструкции подготовки:

- при неагрессивной среде - бетонная из бетона класса В12,5;

- при агрессивной среде - асфальтовая толщиной 40 мм по слою щебня толщиной 60 мм.

Фундамент под колонну

Свайный фундамент

Цокольная балка

Фундаментная балка

Узлы гидроизоляции фундаментов и подземных конструкций по серии 1.010-1

УЗЕЛ 1

УЗЕЛ 2

УЗЕЛ 3

УЗЕЛ 4

УЗЕЛ 5

1 - подготовка из щебня, пропитанного битумом - 100 мм

2 - выравнивающий слой из цементного раствора марки 100 - 10 мм

3 - грунтовка

4 - окрасочная гидроизоляция (тип I...IV)

5 - стяжка из цементного раствора марки 100 - 30 мм

6 - затирка цементным раствором марки 100 - 10 мм

7 - армирующий слой (слой стеклоткани)

8 - изолируемая конструкция

УЗЕЛ 6

1 - подготовка из щебня, пропитанного битумом - 100 мм

2 - грунтовка

3 - асфальтовая гидроизоляция (тип V)

4 - стяжка из цементного раствора марки 100 - 30 мм

5 - затирка цементным раствором марки 100 - 10 мм

6 - армирующий слой (слой стеклоткани)

7 - окрасочная гидроизоляция (тип II)

8 - изолируемая конструкция

УЗЕЛ 7

1 - подготовка из щебня, пропитанного битумом - 100 мм

2 - литая асфальтовая гидроизоляция (тип VI)

3 - стяжка из цементного раствора марки 100

4 - затирка цементным раствором марки 100 - 10 мм

5 - грунтовка

6 - армирующий слой (слой стеклоткани)

7 - окрасочная гидроизоляция (тип III)

8 - изолируемая конструкция

УЗЕЛ 8

1 - подготовка из щебня, пропитанного битумом - 100 мм

2 - уплотненный асфальтобетон - 40 мм

3 - грунтовка

4 - оклеечная гидроизоляция (типы VII и VIII)

5 - стяжка из цементного раствора марки 100

6 - армирующий слой

7 - затирка цементным раствором марки 100 - 10 мм

8 - цементный раствор марки 100

9 - защитная стенка

10 - изолируемая конструкция

УЗЕЛ 9

УЗЕЛ 10

УЗЕЛ 11

1 - затирка цементным раствором марки 100 - 10 мм

2 - грунтовка

3 - окрасочная гидроизоляция (типы (I...IV)

4 - изолируемая конструкция

5 - окраска битумом за два раза

УЗЕЛ 12

1 - затирка цементным раствором марки 100 - 10 мм

2 - грунтовка

3 - оклеечная гидроизоляция (типы VII и VIII)

4 - цементный раствор марки 100

5 - защитная стенка

6 - окрасочная гидроизоляция (типа III и IV)

7 - изолируемая конструкция

8 - окраска битумом за два раза

УЗЕЛ 13

1 - подготовка из щебня, пропитанного битумом - 100 мм

2 - выравнивающий слой из цементного раствора марки 100 - 10 мм

3 - грунтовка

4 - окрасочная гидроизоляция (тип I...IV)

5 - стяжка из цементного раствора марки 100 - 30 мм

6 - затирка цементным раствором марки 100 - 10 мм

7 - армирующий слой (слой стеклоткани)

8 - изолируемая конструкция

УЗЕЛ 14

1 - подготовка из щебня, пропитанного битумом - 100 мм

2 - грунтовка

3 - асфальтовая гидроизоляция (тип V)

4 - стяжка из цементного раствора марки 100

5 - затирка цементным раствором марки 100 - 10 мм

6 - армирующий слой (слой стеклоткани)

7 - окрасочная гидроизоляция (тип II)

8 - изолируемая конструкция

УЗЕЛ 15

1 - подготовка из щебня, пропитанного битумом - 100 мм

2 - литая асфальтовая гидроизоляция (тип VI)

3 - стяжка из цементного раствора марки 100

4 - затирка цементным раствором марки 100 - 10 мм

5 - грунтовка

6 - армирующий слой (слой стеклоткани)

7 - окрасочная гидроизоляция (тип III)

8 - изолируемая конструкция

УЗЕЛ 16

1 - подготовка из щебня, пропитанного битумом - 100 мм

2 - уплотненный асфальтобетон - 40 мм

3 - грунтовка

4 - оклеечная гидроизоляция (типы VII и VIII)

5 - стяжка из цементного раствора марки 100

6 - армирующий слой

7 - затирка цементным раствором марки 100 - 10 мм

8 - цементный раствор марки 100

9 - защитная стенка

10 - изолируемая конструкция

УЗЕЛ 17

УЗЕЛ 18

УЗЕЛ 19

В узлах серии приняты следующие конструкции защитных ограждений:

- на горизонтальных поверхностях - цементно-песчаная стяжка толщиной 30 мм из раствора марки 100;

- на вертикальных поверхностях:

а) из глиняного кирпича М75 на цементном растворе М50 толщиной 120 мм;

б) из бетонных блоков толщиной ~ 300 мм;

в) из плоских асбестоцементных листов - 8 мм.

В серии высота готовой защитной стенки без ее засыпки допускается не более 3 м. При высоте сооружения более 3 м защитные конструкции возводятся ярусами с одновременной засыпкой грунтом.

ОКРАСОЧНАЯ ГИДРОИЗОЛЯЦИЯ

Окрасочная гидроизоляция представляет собой сплошное многослойное (2 - 4 слоя) водонепроницаемое покрытие, выполненное окрасочным способом и имеющее общую толщину 3 ÷ 6 мм. Окраска является наиболее распространенным, наиболее механизированным, дешевым способом гидроизоляции и антикоррозионной защиты поверхностей бетонных и железобетонных сооружений. Однако область применения ограничивается недостаточной долговечностью окрасочных покрытий.

Окрасочную гидроизоляцию следует применять в основном для защиты от капиллярной влаги в дренирующих грунтах (песчаных, галечных, скальных и т.д.). При гидростатическом напоре ее можно применять, если нет деформационных швов и если будет создана возможность периодического осмотра и ремонта гидроизоляции, а напор не будет превышать 2 м. При постоянном обводнении и при наличии агрессивных вод применяют композиции на основе эпоксидных смол.

Окрасочная гидроизоляция применяется как внутри помещения, так и под землей и только со стороны воздействия воды.

По составу исходных материалов различают следующие типы окрасочных покрытий:

1) битумные:

а) из растворенных и горячих битумов;

б) из битумных эмульсий и паст.

Битумные материалы изготавливают в виде растворов битума и пеков, водобитумных и водопековых эмульсий, применяемых как с наполнителями и спецдобавками, так и без них.

2) битумно-полимерные:

а) из битумно-латексных мастик;

б) из битумно-наиритовых мастик;

в) из битумно-каучуковых мастик;

г) из битумно-бутилкаучуковых мастик;

д) из битумно-полиэтиленовых мастик.

Битумно-полимерные композиции применяются в виде расплавов, растворов или водоэмульсионные, обладают повышенной деформативной способностью и водостойкостью, однако гидрозащитные покрытия на их основе более многодельные по сравнению с покрытиями на основе битумных эмульсионных мастик.

3) полимерные:

а) из синтетических смол;

б) из лакокрасочных материалов.

Полимерные материалы изготавливают на основе синтетических каучуков и смол (хлоркаучуковые, бутилкаучуковые, алкидные, полиуретановые, эпоксидные и другие мастики и краски).

4) полимерцементные - из цементно-латексных составов.

Полимерцементные материалы приготавливаются на основе цемента и синтетического латекса. При приготовлении полимерцементных составов применяются: цемент, песок, синтетический латекс, жидкое стекло, эмульгатор.

При выборе типа изоляции необходимо, чтобы прочность гидроизоляции (растяжение, сдвиг) соответствовала деформативности (раскрытию трещин) конструкции. Для конструкций с раскрытием трещин 0,2 мм и более применять битумную окрасочную гидроизоляцию не рекомендуется. Углы поворота, сопряжения и т.д. окрасочных покрытий необходимо армировать стеклотканью, стеклосеткой и т.д.

При применении окрасочной гидроизоляции для защиты подземных сооружений в зданиях с мокрыми процессами, а также для защиты сооружений, расположенных вне здания, от атмосферных осадков, необходимо применять комбинированную изоляцию - окрасочную и оклеечную.

ШТУКАТУРНАЯ ГИДРОИЗОЛЯЦИЯ

Штукатурная гидроизоляция (асфальтовая и цементно-песчаная) представляет собой многослойное покрытие из растворов, содержащих наполнители и заполнители, наносится толщиной от нескольких миллиметров до нескольких сантиметров (6 ÷ 50 мм).

Надежность работы штукатурной гидроизоляции зависит от жесткости изолируемой конструкции, поэтому штукатурную гидроизоляцию необходимо применять на поверхностях жестких сооружений, не подвергающихся деформациям (прекратившиеся осадки) и вибрациям любого происхождения.

По составу исходных материалов различают следующие виды штукатурной гидроизоляции:

1) на основе неорганических вяжущих:

а) цементные:

- из торкет-бетона или пневмобетона;

- из цементно-песчаных растворов с уплотняющими добавками;

- из коллоидно-цементного раствора.

2) на основе органических вяжущих:

а) битумные:

- из холодных асфальтовых мастик;

- из горячих асфальтовых мастик;

- из горячих асфальтовых растворов.

б) из полимербетонов и полимеррастворов.

Штукатурную цементную гидроизоляцию следует выполнять в виде покрытия из цементно-песчаного раствора (состава цемент:песок 1:1 или 1:2), наносимого механизированным (торкретирование) или ручным способом.

Торкретирование следует применять, как правило, для защиты ограждающих конструкций из монолитного бетона или сборно-монолитного железобетона при воздействии гидростатического напора.

Горячая асфальтовая штукатурная гидроизоляция представляет собой водонепроницаемое, пластичное и высокопрочное покрытие толщиной 5 ÷ 25 мм, состоящее из нескольких слоев или наметов асфальтового раствора или мастики, наносимых на горизонтальные поверхности разливом, а на вертикальные - набрызгом в нагретом состоянии при рабочей температуре 150 ÷ 200 °С.

Преимуществом горячей штукатурной гидроизоляции является возможность применения ее с пластификаторами, полимерными добавками, а также армирования ее стеклосетками. Благодаря этому горячей штукатурной гидроизоляцией можно защищать железобетонные конструкции с расчетным раскрытием трещин до 2 мм. Недостатком гидроизоляции является применение материалов в горячем состоянии, что усложняет гидроизоляционные работы, повышает их трудоемкость, требует сушки основания.

Холодная асфальтовая штукатурная гидроизоляция представляет собой водонепроницаемое и пластичное покрытие толщиной 5 ÷ 25 мм, выполняемое штукатурным способом, отдельными наметами толщиной по 5 ÷ 7 мм из холодной асфальтовой мастики-смеси водной эмульсионной пасты битума с минеральным наполнителем.

Холодная гидроизоляция отличается простотой устройства, надежностью. Ее выполняют без нагрева материалов при высокой механизации всего процесса; покрытия из нее можно устраивать на влажном основании, без защитных ограждений, причем обеспечивается высокая водо-, тепло-, и солестойкость мастики.

ЛИТАЯ ГИДРОИЗОЛЯЦИЯ

Литая гидроизоляция представляет собой сплошной водонепроницаемый слой, образованный разливом, разравниванием, поярусной заливкой растворов и мастик в щель между поверхностью сооружения и ограждения.

В зависимости от температуры материала различают горячую или холодную литую гидроизоляцию. Мастики и растворы при применении должны быть жидкотекучими, а затем затвердевать и создавать водонепроницаемый слой.

Литая гидроизоляция может быть армирована металлической сеткой или стеклотканью.

На горизонтальных поверхностях литая гидроизоляция устраивается только на жестком монолитном основании и состоит из одного-двух слоев. Толщина каждого слоя должна быть: для растворов - не менее 12 мм, для мастик - не менее 5 мм.

Материалом для литой гидроизоляции могут служить холодная или горячая асфальтовая мастики или литые асфальтовые растворы. Литая гидроизоляция на горизонтальной поверхности защищается стяжкой из цементно-песчаного раствора толщиной 30 мм.

Литую гидроизоляцию рекомендуется применять на горизонтальных поверхностях, а на вертикальных поверхностях она очень трудоемка и сложна.

Состав асфальтовой гидроизоляции следует принимать по ГОСТ 9128-97.

ОКЛЕЕЧНАЯ ГИДРОИЗОЛЯЦИЯ

Оклеечная гидроизоляция представляет собой сплошной водонепроницаемый ковер рулонных, пленочных гидроизоляционных материалов, наклеиваемых послойно мастиками на огрунтованную поверхность изолируемой конструкции или защитного ограждения.

Оклеечная гидроизоляция должна проектироваться только из гнилостойких материалов.

Оклеечные покрытия по составу применяемых материалов подразделяются на две подгруппы:

1) покрытия из битумных рулонных материалов:

- изол (ГОСТ 10296-79*);

- гидроизол (ГОСТ 7415-86);

- фольгоизол (ГОСТ 20429-84*);

- армобитэп (ТУ 21-27-50-76);

- экарбит (ТУ 21-27-50-76);

- рубероид (ГОСТ 10923-93);

- стеклорубероид (ГОСТ 15879-70*);

- фольгоизол (ГОСТ 20429-84*);

- гидробутил (ТУ 21-5744710-507-91) и др.

2) покрытия из синтетических полимерных материалов:

- полиэтиленовая пленка (ГОСТ 10354-82*);

- поливинилхлоридная пленка (ГОСТ 16272-79*);

- полипропиленовая пленка (ТУ 38-10264-83).

Гидроизоляционный ковер из рулонных битумных материалов наклеивают послойно по наружным поверхностям конструкции со стороны воздействия воды.

Количество слоев оклеечной гидроизоляции

Свойства гидроизоляции

Количество слоев рулонного материала при относительной влажности помещений, %

менее 60

60 ÷ 75

свыше 75

Против капиллярной влаги и просачивающейся воды

3

2

-

Против гидростатического напора до 5 м

4

3

2

То же, более 5 м

5

4

3

Оклеечная гидроизоляция не должна подвергаться постоянно действующим сдвигающим и растягивающим нагрузкам.

Для предохранения от механических повреждений и оползней она должна быть защищена и зажата защитной конструкцией из бетона, железобетона, кирпича и т.д. При невозможности обеспечить прижим, оклеечную гидроизоляцию применять не рекомендуется.

Нанесение оклеечной гидроизоляции должно выполняться по СНиП 3.04.01-87 в следующей технологической последовательности:

- нанесение и сушка грунтовок;

- послойное наклеивание материалов;

- обработка стыков (сварка или склейка);

- сушка (выдержка) оклеечного покрытия.

Монтаж железобетонных фундаментных балок

ГОСТ 28737-90 «Балки фундаментные железобетонные для стен зданий промышленных и сельскохозяйственных предприятий. Технические условия»

Входной контроль железобетонных фундаментных балок должен осуществляться в соответствии с требованиями ГОСТ 28737-90, ГОСТ 13015.0-83*, ГОСТ 13015.3-81* и технологической документации, утвержденной в установленном порядке.

ГОСТ 28737-90 «БАЛКИ ФУНДАМЕНТНЫЕ ЖЕЛЕЗОБЕТОННЫЕ ДЛЯ СТЕН ЗДАНИЙ ПРОМЫШЛЕННЫХ И СЕЛЬСКОХОЗЯЙСТВЕННЫХ ПРЕДПРИЯТИЙ. ТЕХНИЧЕСКИЕ УСЛОВИЯ»

Стандарт распространяется на железобетонные фундаментные балки, изготовляемые из тяжелого бетона и предназначаемые для опирания наружных и внутренних стен зданий промышленных и сельскохозяйственных предприятий.

Балки изготовляются по рабочим чертежам серий 1.415.1-2 и 1.815.1-1.

Балки в зависимости от ширины поперечного сечения по верху подразделяют на типы:

- для стен зданий с шагом колонн до 6000 мм включ.:

1БФ - при ширине 200 мм,

2БФ - при ширине 300 мм,

3БФ - при ширине 400 мм,

4БФ - при ширине 520 мм,

- для стен зданий с шагом колонн до 12000 мм:

5БФ - при ширине 320 мм,

6БФ - при ширине 400 мм.

Балки для стен зданий промышленных предприятий, за исключением балок типоразмеров 1БФ40 - 1БФ60, изготовляют как предварительно напряженными, так и без предварительного напряжения продольной арматуры. Балки для стен зданий сельскохозяйственных предприятий и балки типоразмеров 1БФ40 - 1БФ60 для стен зданий промышленных предприятий изготовляют только с ненапрягаемой арматурой.

Основные размеры балок должны соответствовать приведенным в нижеследующей таблице.

Типоразмер балок

Эскиз поперечного сечения балки

Длина балки, мм

Обозначение серии рабочих чертежей балок

1БФ60

5950

1.415.1-2

1.815.1-1

1БФ55

5500

1БФ51

5050

1БФ48

4750

1БФ45

4450

1БФ43

4300

1БФ40

4000

1БФ30

2950

1БФ24

2350

1БФ15

1450

2БФ60

5950

1415.1-2

2БФ55

5550

2БФ51

5050

2БФ48

4750

2БФ45

4450

2БФ43

4300

2БФ40

4000

2БФ60

5950

1.815.1-1

2БФ30

2950

2БФ24

2350

2БФ15

1450

3БФ60

5950

1.415.1-2

3БФ55

5550

3БФ51

5050

3БФ48

4750

3БФ45

4450

3БФ43

4300

3БФ40

4000

3БФ60

5950

1815.1-1

3БФ30

2950

3БФ24

2350

3БФ15

1450

4БФ60

5950

1.415.1-2

4БФ55

5500

4БФ51

5050

4БФ48

4750

4БФ45

4450

4БФ43

4300

4БФ40

4000

4БФ60

5950

1.815.1-1

4БФ30

2950

4БФ24

2350

4БФ15

1450

5БФ120

11950

1.415.1-2

5БФ111

11050

5БФ108

10750

5БФ105

10450

5БФ103

10300

6БФ120

11950

1.415.1-2

6БФ111

11050

6БФ108

10750

6БФ105

10450

6БФ103

10300

Марка балки состоит из буквенно-цифровых групп, разделенных тире.

В первой группе указывают обозначение типоразмера балки. Буквы и цифры перед буквами обозначают тип балки, а цифры после букв - длину балки в дециметрах (округленную до целого числа).

Во второй группе указывают:

порядковый номер балки по несущей способности;

класс напрягаемой арматуры (только для предварительно напряженных балок).

В третьей группе, при необходимости, указывают дополнительные характеристики, отражающие особые условия применения балок, например, их стойкость к воздействию агрессивных сред, а также конструктивные особенности балок - наличие монтажных петель или закладных изделий.

Пример условного обозначения (марки) балки типоразмера 2БФ60, третьей по несущей способности, с напрягаемой арматурной сталью класса А-IV:

2БФ60-3АIV

То же, типоразмера 4БФ48, четвертой по несущей способности, с напрягаемой арматурной сталью класса Ат-VСК, при замене строповочных отверстий монтажными петлями, изготовленной из бетона нормальной проницаемости (Н) и предназначенной для применения в условиях воздействия слабоагрессивной среды:

4БФ48-4Ат VСК-На

Балки должны удовлетворять требованиям ГОСТ 13015.0-83*:

по показателям фактической прочности бетона (передаточной, отпускной и в проектном возрасте);

по морозостойкости, а для балок, эксплуатируемых в условиях воздействия агрессивной среды, - также по водонепроницаемости бетона;

к маркам сталей для арматурных и закладных изделий, в том числе для монтажных петель;

по толщине защитного слоя бетона до арматуры;

по защите от коррозии.

Нормируемая отпускная прочность бетона предварительно напряженных балок должна быть равна нормируемой передаточной прочности бетона на сжатие, а балок с ненапрягаемой арматурой - 70 % прочности бетона на сжатие, соответствующей его классу.

Значения действительных отклонений геометрических параметров балок не должны превышать предельных, мм, указанных в нижеследующей таблице.

Наименование отклонения геометрического параметра

Наименование геометрического параметра

Пред. откл.

Отклонение от линейного размера

Длина балки:

 

1450

±5

2350

±6

2950, 4000

±8

от 4300 до 5950 включ.

±10

10300 и более

±12

Ширина балки

±6

Высота балки

±8

Размер, определяющий положение строповочного отверстия в балках длиной:

 

до 5950 включ.

15

10300 и более

20

Отклонение от прямолинейности профиля верхней поверхности балки на всей ее длине:

 

 

до 2350 включ.

 

10

св. 2350 до 4000

 

12

св. 4000 до 5950

 

15

св. 5950

 

20

Требования к качеству поверхностей и внешнему виду балок - по ГОСТ 13015.0-83*. При этом качество бетонных поверхностей балок должно удовлетворять требованиям, установленным для категории А6. По согласованию изготовителя с потребителем верхняя поверхность балок может быть категории А7.

На поверхности балок не допускаются:

обнажение рабочей и конструктивной арматуры;

жировые и ржавые пятна;

участки неуплотненного бетона;

трещины, за исключением усадочных и других поверхностных технологических трещин, ширина которых не должна превышать 0,2 мм.

Открытые поверхности стальных закладных изделий, выпуски арматуры, монтажные петли и строповочные отверстия должны быть очищены от наплывов бетона или раствора.

Размеры раковин, местных наплывов и впадин на бетонной поверхности и околов бетона ребер блоков не должны превышать значений, приведенных в нижеследующей таблице.

Категория поверхности

Предельные размеры, мм

Диаметр или наибольший размер раковины

Высота местного наплыва (выступа) или глубина впадины

Околов бетона

Глубина

Суммарная длина на 1 м ребра

А6

15

5

10

100

А7

20

не регламентируется

20

не регламентируется

Балки должны сопровождаться документом о качестве, в котором должны быть указаны: наименование и адрес предприятия-изготовителя; номер и дата выдачи документа; номер партии; наименование и марки балок; число балок каждой марки; дата изготовления балок; класс или марка бетона по прочности; отпускная прочность бетона (нормируемая, требуемая с учетом фактической однородности бетона и фактическая); марка бетона по морозостойкости; марка бетона по водонепроницаемости для балок, предназначенных для эксплуатации в агрессивных средах (если эти показатели оговорены в заказе на изготовление балок); обозначение стандарта. Документ о качестве должен быть подписан работником, ответственным за технический контроль предприятия-изготовителя.

Маркировочные надписи и знаки должны быть нанесены на торцевую сторону или на боковую грань у торца балки.

Балки следует транспортировать и хранить в рабочем положении.

Подкладки и прокладки между рядами балок следует устанавливать на расстоянии от торца балки не более 300 мм для балок длиной до 6000 мм и 600 мм - для балок длиной св.6000 мм. Толщина прокладок должна быть не менее 30 мм; ширину прокладок назначают, исходя из прочности материала прокладок на смятие.

Высота штабеля не должна превышать 2000 мм.

На строительной площадке в процессе входного контроля:

необходимо проверить наличие сопроводительной документации и полноту содержащихся в них данных;

по имеющейся сопроводительной документации, маркировке необходимо убедиться в соответствии поступивших балок требованиям проекта;

необходимо проверить наличие на балках штампа ОТК;

необходимо путем внешнего осмотра проверить отсутствие на балках недопустимых дефектов внешнего вида;

необходимо провести соответствующие замеры при возникновении сомнений в соответствии геометрических параметров балок требованиям проекта и нормативных документов; при возникновении каких-либо других сомнений в качестве поступивших балок должны быть вызваны представители строительной лаборатории или функциональных служб, ответственных за поставку балок.

Монтаж фундаментных балок следует осуществлять в соответствии с требованиями СНиП 3.03.01-87, СНиП 3.01.01-85*, СНиП 3.01.03-84, проекта, ППР, технологических карт, схем операционного контроля качества и другой технологической документации, утвержденной в установленном порядке.

Работы по монтажу фундаментных балок должны выполнять строительные организации, получившие лицензию на выполнение этих работ в Федеральных или местных органах по лицензированию строительной деятельности.

Работы по монтажу фундаментных балок должны выполняться квалифицированным персоналом, прошедшим специальную подготовку и обладающим надлежащими навыками по выполнению строительно-монтажных работ.

При производстве работ по устройству фундаментных балок должно быть обеспечено соблюдение строительных норм и правил, проекта и ППР.

Работы по монтажу фундаментных балок должны производиться по утвержденному проекту производства работ (ППР).

Запрещается осуществление строительно-монтажных работ без утвержденного проекта производства работ. Не допускаются отступления от решений проектов производства работ без согласования с организациями, разработавшими и утвердившими их.

Основным работам по монтажу фундаментных балок должны предшествовать подготовительные работы:

а) завершение, надлежащее оформление и приемка предшествующих работ по устройству сборных или монолитных фундаментов, а также оснований под фундаментные балки (бетонных столбиков (набетонки) (см. СОКК «Монтаж сборных фундаментов стаканного типа» и «Устройство монолитных конструкций»);

б) детальная разбивка фундамента и оснований под фундаментные балки (см. СОКК «Геодезические работы при устройстве фундаментов»);

в) завоз и складирование фундаментых балок;

г) входной контроль поступивших на строительную площадку фундаментных балок;

д ) разметка фундаментных балок.

В состав работ по монтажу фундаментных балок входят:

разбивка места установки фундаментов на подготовленном основании;

разметка осей фундаментных балок;

строповка и подача фундаментных балок к месту установки;

установка фундаментных балок в проектное положение и их расстроповка;

проверка положения блоков в плане.

Фундаментные балки монтируют согласно разбивочным осям, закрепленным на обносках у верхней бровки котлована или в котловане вдоль его нижней бровки.

Требуемая точность установки фундаментных балок в проектное положение должна обеспечиваться детальными разбивочными работами и постоянным геодезическим (инструментальным) контролем точности выполнения монтажных операций, которые входят в технологический процесс монтажа фундаментных балок.

Для разбивки мест установки фундаментных балок, монтируемых по периметру здания (сооружения), от основных осей путем отмера проектных расстояний разбивают установочные оси, параллельные основным. Положение осей фиксируется рисками и окрашивается краской на гранях бетонных столбиков, служащих основанием для фундаментных балок. Осями для фундаментных балок, монтируемых между колоннами, служат оси для установки колонн.

Перед монтажом на торцевые стороны фундаментных балок наносят и окрашивают масляной краской установочные риски, фиксирующие середину сторон.

Перед подъемом балок следует очистить опорные поверхности балок от грязи, снега и наледи.

Строповку монтируемых балок надлежит производить в местах, указанных в рабочих чертежах, а подъем и подачу к месту установки - в положении близком к проектному. При необходимости изменения мест строповки они должны быть согласованы с организацией - разработчиком рабочих чертежей.

Запрещается строповка балок в произвольных местах, а также за выпуски арматуры.

Монтируемые балки следует поднимать плавно, без рывков, раскачивания и вращения, как правило, с применением оттяжек.

Поднимать балки следует в два приема: сначала на высоту 20 - 30 см, затем, после проверки надежности строповки, производить дальнейший подъем.

Марки растворов, применяемых при монтаже фундаментных балок для устройства постели, должны быть указаны в проекте. Подвижность раствора должна составлять 5 - 7 см по глубине погружения стандартного конуса, за исключением случаев специально оговоренных в проекте.

Применение раствора, процесс схватывания которого уже начался, а также восстановление его пластичности путем добавления воды не допускается.

Укладку балок в направлении перекрываемого пролета надлежит выполнять с соблюдением установленных проектом размеров глубины опирания их на опорные конструкции или зазоров между сопрягаемыми элементами.

Установку балок в поперечном направлении следует выполнять:

межколонных балок - совмещая риски продольных осей устанавливаемых балок с рисками осей колонн на опорах;

балок по периметру здания (сооружения) - совмещая риски, фиксирующие геометрические оси нижних поясов балок, с рисками разбивочных осей на опорах.

Применение не предусмотренных проектом подкладок для выравнивания положения укладываемых балок по отметкам без согласования с проектной организацией не допускается.

Контролируемые операции

Состав и средства контроля

Документация

Подготовительные работы

Проверить:

 

-  завершение и надлежащее оформление предшествующих монтажных работ по устройству фундамента и опорных конструкций для фундаментных балок (наличие актов освидетельствования скрытых работ, геодезических исполнительных схем и другой приемо-сдаточной документации);

Акт приемки, акты освидетельствования скрытых работ, исполнительные схемы

-  наличие проекта, ППР, технологических карт и схем операционного контроля качества работ по монтажу фундаментных балок;

ППР, технологические карты, СОКК

-  наличие паспортов и полноту содержащихся в них данных на поступившие на строительную площадку фудаментные балки, соответствие их требованиям проекта; маркировку балок и наличие штампа ОТК;

Паспорта

-  внешним осмотром отсутствие недопустимых дефектов внешнего вида на фундаментных балках; очистку опорных поверхностей от загрязнений; разметку балок и разбивку опорных поверхностей.

Общий журнал работ

Монтаж фундаментых балок

Контролировать:

 

-  соблюдение заданной ППР технологии монтажа фундаментных балок;

Общий и специальные журналы

-  установку фундаментных балок в проектное положение;

-  качество заделки стыков, качество сварочных и антикоррозионных работ

Исполнительные схемы

Приемка

Проверить:

 

-  соответствие фактического положения фундаментных балок требованиям проекта и нормативных документов;

-  соответствие качества сварочных и антикоррозионных работ, а также работ по замоноличиванию стыков требованиям проекта и нормативных документов;

-  составление и надлежащее оформление приемо-сдаточной документации (актов приемки фундаментов, актов освидетельствования скрытых работ, исполнительных геодезических схем).

Акты приемки фундаментных балок, акты освидетельствования скрытых работ, исполнительные схемы

Входной и операционный контроль осуществляют: мастер (прораб), лаборант (инженер), геодезист - в процессе выполнения работ.

Приемочный контроль осуществляют: прораб (мастер), геодезист, работники отдела контроля качества СМР, представители технадзора заказчика.

КИП: нивелир, теодолит и др. геодезические и лабораторные приборы и инструмент

Предельные отклонения от совмещения ориентиров при установке фундаментных балок должны быть указаны в проекте.

При отсутствии в проекте специальных указаний предельные отклонения положения фундаментных балок от проектных не должны превышать по СНиП 3.03.01-87 следующих величин:


 


отклонение от симметричности (половина разности глубины опирания концов балки) при установке балок в направлении перекрываемого пролета при длине балки:

до 4м                                                                                                   5 мм

св. 4 до 8 м                                                                                         6 мм

св. 8 до 16 м                                                                                       8 мм

(контроль - измерительный; каждая балка; регистрация в журнале работ).

По окончании монтажа фундаментных балок производится исполнительная геодезическая съемка планового и высотного положения фундаментных балок, по результатам которой составляется планово-высотная исполнительная схема, которая входит в состав исполнительной документации при приемке работ по устройству фундаментных балок.

Соответствие планово-высотного положения фундаментных балок проектному в пределах требований нормативных документов отражается в акте промежуточной приемки фундаментных балок.

При приемочном контроле фундаментных балок кроме исполнительных схем планово-высотного положения фундаментных балок должна быть представлена также следующая документация:

исполнительные чертежи с внесенными (при их наличии) отступлениями, допущенными предприятием - изготовителем фундаментных балок, а также монтажной организацией, согласованными с проектными организациями - разработчиками чертежей, и документы об их согласовании;

заводские паспорта на фундаментные балки;

акты освидетельствования скрытых работ;

журналы работ;

акт промежуточной приемки фундаментных балок.

Геодезические работы на исходном горизонте

СНиП 3.01.01-85* «Организация строительного производства»

СНиП 3.01.03-84 «Геодезические работы в строительстве»

Пособие по производству геодезических работ в строительстве (к СНиП 3.01.03-84)

Геодезические работы должны выполняться в соответствии с требованиями СНиП 3.01.01-85*, СНиП 3.01.03-84, ППР, ППГР и другой технологической документации, утвержденной в установленном порядке.

При строительстве сложных и крупных объектов, а также зданий выше девяти этажей подрядчиком (генподрядчиком или субподрядчиком, в зависимости от того, кто выполняет строительно-монтажные работы) или по его поручению специализированными организациями, имеющими лицензию на выполнение проектно-технологических работ, разрабатывается проект производства геодезических работ (ППГР).

ППГР определяет содержание, объем, методы, точность, сроки и стоимость геодезических работ, обеспечивающих строительство при минимальных трудовых и материальных затратах.

Основанием для разработки ППГР специализированной организацией является техническое задание, составленное по установленной форме, а при разработке в составе ППР - частное задание группы подготовки производства работ строительно-монтажной организации. Задание должно содержать данные об объемах и сроках разработки.

Содержание ППГР согласовывается с технической и экономической сторонами ПОС и ППР. При пересмотре проектно-сметной документации на производство строительно-монтажных работ все изменения вносятся в ППГР.

ППГР согласовывается с геодезической службой строительно-монтажной организации, утверждается руководителями организации-исполнителя и заказчика проекта, подписывается главным инженером генподрядной строительно-монтажной организации и передается в производство за два месяца до начала работ.

Запрещается осуществление строительно-монтажных работ без утвержденного проекта производства работ. Не допускаются отступления от решений проектов производства работ без согласования с организациями, разработавшими и утвердившими их.

Контролируемые операции

Состав и средства контроля

Документация

Подготовительные работы

Проверить:

 

-   завершение и надлежащее оформление предшествующих работ по устройству фундаментов (наличие акта приемки и актов освидетельствования скрытых работ, геодезических исполнительных схем и другой приемо-сдаточной документации);

Акт приемки, акты освидетельствования скрытых работ; исполнительные схемы

-   сохранность знаков, закрепляющих пункты геодезической разбивочной основы, и неизменность их положения; восстановление утерянных знаков;

-   наличие ППР (ППГР); рабочие чертежи в части взаимной увязки размеров координат и отметок (высот);

-   наличие необходимых геодезических приборов, инструментов и приспособлений.

Общий журнал работ

Геодезические работы на исходном горизонте

Контролировать:

 

-   соблюдение заданной ППР (ППГР) технологии построения разбивочной сети на исходном горизонте (выноса на исходный монтажный горизонт главных или основных осей; построения основных точек плановой сети; контрольных измерений; уравнивания сети и вычисления координат основных точек; редукции их; окончательного определения и закрепления точек на исходном горизонте);

-   передачу отметок на исходный горизонт и закрепление их двумя реперами.

Общий и специальный журналы работ

Приемка

Проверить:

 

-   соответствие выполненных геодезических разбивочных работ на исходном горизонте и вынесенных точек требованиям проекта и нормативных документов;

-   составление и надлежащее оформление приемо-сдаточной документации

Акт приемки Исполнительный чертеж (схема)

Входной и операционный контроль осуществляют: мастер (прораб), геодезист - в процессе выполнения работ.

Приемочный контроль осуществляют: прораб (мастер), геодезист, работники отдела контроля качества СМР, представители технадзора заказчика

КИП: нивелир, теодолит и др. геодезические приборы и инструмент

Разбивочные работы в строительстве должны обеспечивать вынос в натуру от пунктов геодезической разбивочной основы с заданной точностью осей и отметок, определяющих в соответствии с проектной документацией положение в плане и по высоте частей и конструктивных элементов зданий (сооружений).

До начала выполнения геодезических работ на строительной площадке рабочие чертежи, используемые при разбивочных работах, должны быть проверены в части взаимной увязки размеров, координат и отметок (высот) и разрешены к производству работ техническим надзором заказчика.

Геодезические работы следует выполнять средствами измерений необходимой точности.

Точность разбивочных работ при производстве земляных работ следует принимать, руководствуясь данными, приведенными в нижеследующей таблице, если другие данные не обоснованы в ППР (ППГР).

Точность построения внешней разбивочной сети здания (сооружения)

Характеристика зданий, сооружений

Величины средних квадратических погрешностей построения внутренней разбивочной сети здания (сооружения)

линейные измерения

угловые измерения с

определение превышения на станции мм

Сооружения высотой св. 100 до 120 м или с пролетами св. 30 до 36 м

1/15000

5

1

Здания св. 15 этажей, сооружения высотой св. 60 до 100 м или с пролетами св. 18 до 30 м

1/10000

10

2

Здания св. 5 до 15 этажей, сооружения высотой св. 15 до 60 м или с пролетами св. 6 до 18 м

1/5000

20

2,5

Здания до 5 этажей, сооружения высотой до 15 м или с пролетами до 6 м

1/3000

30

3

В случаях строительства по проектной документации, содержащей допуски на изготовление и возведение конструкций зданий (сооружений), не предусмотренные стандартами, нормами и правилами, необходимую точность разбивочных работ следует определять специальными расчетами по условиям, заложенным в проектной документации.

Геодезические работы на исходном горизонте следует выполнять после завершения и надлежащего оформления предусмотренных проектной документацией работ по устройству фундаментов.

Создание внутренней разбивочной сети здания (сооружения) на исходном горизонте следует выполнять с привязкой к пунктам внешней разбивочной сети.

Непосредственно перед выполнением разбивочных работ исполнитель должен проверить неизменность положения знаков внешней разбивочной сети здания (сооружения) путем повторных измерений элементов сети.

Внутренние разбивочные сети здания (сооружения) при строительстве сравнительно простых по геометрической форме промышленных и гражданских зданий (сооружений) строят в виде четырехугольников, рядов из ромбов, центральных систем. Измерения в них выполняются методом трилатерации или линейно-угловым.

При строительстве уникальных зданий и сложных сооружений развивают специальные высокоточные радиально-кольцевые и линейные сети. Методика построения таких сетей обосновывается в ППГР.

В линейных и кольцевых сетях взаимное поперечное положение смежных пунктов определяют с высокой точностью. С увеличением числа треугольников точность определения пунктов понижается. Для повышения точности взаимного поперечного положения удаленных пунктов дополнительно измеряют углы, создавая линейно-угловые сети.

Построение плановой внутренней разбивочной сети здания (сооружения) начинается с перенесения разбивочных осей на исходный горизонт. Исходным горизонтом считается плоскость, проходящая через опорные площадки последних по высоте несущих конструкций подземной части перекрытия подвала, бетонная подготовка или блоки фундамента. Выбор точек плановой разбивочной сети здания, сооружения, принимаемых в качестве исходных для передачи на монтажные горизонты, определяется возможностью вертикального проектирования.

Число опорных точек, передаваемых на монтажные горизонты, должно быть не менее трех.

При строительстве зданий небольшой этажности основные их оси закрепляют непосредственно на верхнем срезе цоколя будущего здания. Для этого от створных знаков, закрепляющих на местности основные оси, теодолитом при двух кругах на цоколе намечают осевые риски карандашом или острым предметом. Осевые риски закрепляют штрихами, проведенными с обеих сторон риски на одинаковом расстоянии масляной краской. Если цоколь невысокий и позволяет установить видимость между противоположными створными знаками, закрепляющими оси, то визируют через цоколь на веху. В противном случае створ задается двумя знаками, расположенными с одной стороны цоколя.

Откраска осей (а, б) и отметок (в) на конструкциях зданий и сооружений

При возведении зданий повышенной этажности или в зданиях и сооружениях с высокими требованиями к точности возведения, на нулевом монтажном горизонте создается внутренняя разбивочная основа в виде правильных геометрических фигур. Базисные фигуры разбивочных сетей строятся на исходном горизонте так, что они по своей форме повторяют конфигурацию здания и состоят, в основном, из типовых правильных геометрических фигур, стороны которых располагают параллельно осям здания так, чтобы разбивка осей выполнялась непосредственно линейными промерами вдоль сторон базисной фигуры или методом построения створов. Простейшей разбивочной сетью является закрепленная створная линия (для вытянутых зданий), строго параллельная продольным осям. Для зданий и сооружений, имеющих значительную ширину и выступы, сети строятся из треугольников, геодезических четырехугольников, центральных систем и их комбинаций.

Для построения внутренней разбивочной сети на нулевом монтажном горизонте сначала на него выносят главные или основные оси. От вынесенных осей намечают местоположение пунктов разбивочной сети. Для закрепления пунктов на нулевом монтажном горизонте используют металлические закладные части перекрытия или приваривают к арматуре перекрытия специальные пластинки, на которых керном делают углубление. Положение центров выбирают из условия удобства центрирования прибора и обеспечения видимости между соседними знаками в процессе установки конструкций на этаже в проектное положение.

После предварительной разбивки центров внутренней геодезической опорной сети выполняют высокоточные угловые и линейные измерения всех ее элементов (углов и линий). Уравнивают сеть и вычисляют координаты центров в системе координат строительной сетки. В общем случае вычисленные координаты не будут равны проектным, поэтому вычисляют элементы редукций и сдвигают на их величину накерненные центры (делают новые углубления керном в местах, соответствующих проектному положению центров).

При переносе осей методом вертикального проектирования точки допускается закреплять вне корпуса здания и проектировать их по вертикали на площадки (палетки), укрепленные на выносных кронштейнах.

При наклонном проектировании осей на монтажные горизонты разбивочная сеть создается на исходном горизонте таким образом, чтобы точки пересечения продольных и поперечных осей располагались как можно ближе к внешним габаритам здания.

Построение плановой разбивочной сети на исходном горизонте выполняется в следующем порядке:

построение основных (угловых) точек плановой сети;

проложение основного хода по исходным точкам (или измерение сторон и диагоналей при трилатерационных способах);

редуцирование основных точек плановой разбивочной сети;

контрольные измерения;

построение промежуточных точек.

Взаимное положение вершин базисной фигуры определяется в результате выполнения измерений. Длины сторон базисной фигуры измеряются компарированной рулеткой с миллиметровыми делениями. Угловые измерения выполняются оптическими теодолитами. Длина сторон базисной фигуры обычно не превышает 50 м.

На прямоугольных фундаментах разбивочную плановую сеть удобнее строить в виде прямоугольных четырехугольников, вершины которых находятся на пересечениях параллельно смещенных основных осей.

Для редуцирования точек базисной фигуры в проектное положение прокладывается полигонометрический ход или координаты точек определяются методом микротрилатерации. Для упрощения вычислений применяют условную систему координат, принимая координаты одной из точек сети за начальные, а направление осей координат параллельное продольной и поперечной осям.

В полигонометрических ходах измерение углов и линий выполняется в зависимости от класса точности построения базисной сети. Для получения значений редукций вычисляются теоретические и фактические координаты точек сети.

Для введения редукций составляются редукционные листы на миллиметровой бумаге, содержащие номер точки, фактическое положение точки, теоретическое положение точки, направление не менее чем на два пункта сети, линейное и угловое значение редукций.

Редукции вводят в натуру, совмещая изображение действительное положения точки на редукционном листе с положением точки в натуре. Далее редукционный лист ориентируют по одному направлению, а контролируют ориентировку по другим направлениям.

Теоретическое положение точки с редукционного листа переносят на пластины. По линейному и угловому значениям редукции контролируют положение точки на исходном горизонте и окончательно закрепляют ее.

По отредуцированным точкам сети прокладывается контрольный полигонометрический ход, точность которого такая же, как у основного полигонометрического хода.

По результатам измерений контрольного хода вычисляют окончательные значения координат точек плановой разбивочной сети на исходном горизонте.

Расхождение проектных координат и полученных по данным контрольного хода δх,у не должно превышать величины:

δх,у = S/2Т,

где: S - расстояние по оси между наиболее удаленными точками; Т - знаменатель предельной относительной погрешности построения сети.

При строительстве зданий башенного типа, когда стороны базисной фигуры на исходном горизонте не превышают длины мерного прибора, и возникают трудности в измерении горизонтальных углов из-за коротких линий, рекомендуется создавать и редуцировать базисную сеть на исходном горизонте методом трилатерации, т.е. измерять все линии и диагонали в базисной сети.

Окончательно определенные точки внутренней разбивочной сети на исходном горизонте надежно закрепляют и маркируют несмываемой краской.

На исходный монтажный горизонт методом геометрического нивелирования передают отметки от рабочих реперов и закрепляют двумя реперами, между которыми прокладывают контрольный нивелирный ход. Данные реперы служат для привязки к ним всех высотных разбивок на монтажном горизонте.

Результаты измерений и построений при создании внутренней разбивочной сети на исходном горизонте следует фиксировать путем составления схем местоположения знаков, закрепляющих оси, отметки и ориентиры.

При передаче отдельных частей здания (сооружения) от одной строительно-монтажной организации другой необходимые для выполнения последующих геодезических работ знаки, закрепляющие оси, отметки, ориентиры и материалы исполнительных съемок должны быть переданы по акту.

Устройство наземных рельсовых крановых путей

Общие технические требования

ГОСТ Р 51248-99 Пути наземные рельсовые крановые. Общие технические требования.

ПБ-10-14-92 Правила устройства и безопасной эксплуатации грузоподъемных кранов.

Устройство наземных рельсовых крановых путей должно осуществляться на основе предварительно разработанных решений по организации строительства и технологии производства работ, которые должны быть приняты в проекте организации строительства и проектах производства работ (ППР), в соответствии с требованиями ГОСТ Р 51248-99, СНиП 3.02.01-87, ПБ 10-14-92 «Правила устройства и безопасной эксплуатации грузоподъемных кранов», Правил устройства электроустановок и другой технологической документации, утвержденной в установленном порядке.

Строительные организации, осуществляющие устройство наземных рельсовых крановых путей, должны иметь лицензии на соответствующие виды деятельности, выданные Федеральным или региональными органами по лицензированию строительной деятельности.

Работы по устройству наземных рельсовых крановых путей должны выполняться квалифицированным персоналом, прошедшим специальную подготовку и обладающим надлежащими навыками по выполнению данных работ.

До начала производства работ заказчик должен оформить и передать подрядной строительной организации разрешение на производство строительных работ.

К основным работам по строительству объекта или его части разрешается приступать только после отвода в натуре площадки (трассы) для его строительства, создания разбивочной геодезической сети (см. СОКК «Построение геодезической разбивочной основы для строительства» в данном альбоме), окончания внеплощадочных и внутриплощадочных подготовительных работ (см. СОКК «Вне-площадочные и внутриплощадочные подготовительные работы» в данном альбоме).

Рельсовый путь включает: нижнее и верхнее строения, путевое оборудование.

В состав нижнего строения рельсового пути входят: земляное полотно и водоотводное устройство.

Контролируемые операции

Состав и средства контроля

Документация

Подготовительные работы

Проверить:

 

-   наличие проекта, ППР, технологических карт, схем операционного контроля качества;

Проект, ППР, схемы операционного контроля качества

-   завершение всех, предусмотренных проектом, предшествующих работ и надлежащее их оформление;

-   наличие паспортов, сертификатов и другой товаросопроводительной документации на комплектующие изделия и материалы, входящие в состав рельсового пути;

Акты на скрытые работы, схемы разбивки рельсовых путей

-   полноту содержащихся в документации данных, комплектность и соответствие поступивших изделий, материалов и узлов требованиям проекта;

-   внешним осмотром сохранность и отсутствие недопустимых дефектов внешнего вида на поступивших изделиях и материалах.

Паспорта, сертификаты

Устройство наземных рельсовых крановых путей

Контролировать:

 

-   соблюдение заданной ППР (технологической картой) технологии устройства наземных рельсовых крановых путей;

Общий и специальный журналы работ

-   установку подрельсовых опорных элементов, рельс, стыковых и промежуточных скреплений, путевого оборудования в проектное положение;

-   соблюдение технологии и качество выполнения болтовых и других, предусмотренных проектом, соединений;

-   устранение просадки пути и другие дефекты, выявленные при обкатке пути.

Исполнительная геодезическая схема (чертежи, профили, разрезы)

Приемка

Проверить:

 

-   соответствие фактического положения рельсового кранового пути требованиям проекта и нормативных документов;

Общий и специальный журналы работ

- выполнение требований проекта и ППР к качеству болтовых и других соединений;

-   составление и надлежащее оформление исполнительной документации (акта сдачи-приемки пути)

Исполнительный чертеж

Акт сдачи-приемки

Входной и операционный контроль осуществляют: мастер (прораб), геодезист - в процессе производства работ.

Приемочный контроль осуществляют: прораб (мастер) представители генподрядчика и технадзора заказчика

КИП - линейка и рулетка измерительные металлические, геодезические приборы (теодолит, нивелир, струна, лазерные приборы)

В состав верхнего строения рельсового пути входят: балластная призма, подрельсовые опорные элементы, рельсы, стыковые и промежуточные скрепления.

В состав путевого оборудования рельсового пути входят: тупиковые упоры, лотки для предотвращения износа кабеля, питающего электроэнергией кран, ограничители передвижения, ограждение, заземление и предупреждающие знаки.

В составе проектной документации на рельсовый путь должны быть приведены:

выкопировка из стройгенплана;

проект рельсового пути;

проект производства работ на устройство рельсового пути;

требования по эксплуатации рельсового пути.

Проект рельсового пути должен содержать:

план рельсового пути с указанием основных размеров и участка для стоянки крана в нерабочем положении;

конструкцию верхнего строения рельсового пути;

конструкцию земляного полотна (поперечный профиль с размерами, расположение и тип водоотводных устройств, степень уплотнения земляного полотна);

допуски, контролируемые при устройстве и эксплуатации;

конструкцию тупиковых упоров, схему заземления рельсового пути;

конструкцию переезда через рельсовые пути для автомобильного транспорта (при необходимости);

указания о месте монтажа крана и регламенте обкатки рельсового пути (обкатку рельсового пути следует производить краном, башня которого смонтирована на минимальное исполнение, согласно паспортной характеристике);

пояснительную записку с расчетами и обоснованиями проектных и конструкторских решений.

Конструкция верхнего строения рельсового пути должна определять:

тип рельсов;

тип, сечение и длину полушпал;

расстояние между полушпалами;

способ крепления рельсов между собой и к полушпалам;

наличие подкладок между рельсами и полушпалами, конструкцию подкладок и способ их установки;

зазор между рельсами;

материал и размер балластного слоя;

минимальный допустимый радиус кривой на криволинейных участках пути;

предельно допустимые величины общего продольного уклона, упругой просадки под колесами и допуски на ширину колеи и на разность уровня головок рельсов;

конструкцию тупиковых упоров;

устройство заземления рельсового пути.

Проект производства работ (ППР) по устройству рельсового пути должен содержать:

состав и способы производства работ;

методы контроля;

браковочные требования на элементы рельсового пути;

способы устранения отклонений рельсового пути в плане и в вертикальной плоскости от нормативных значений;

периодичность обследования и технического обслуживания.

К нижнему строению рельсового пути предъявляются следующие требования:

- перед устройством земляного полотна под рельсовые пути должны быть выполнены все работы по прокладке инженерных сетей и коммуникаций;

- подземные коммуникации, расположенные в зоне крановых нагрузок, следует проверить расчетом на прочность и, при необходимости, защитить от деформации и разрушения;

- продольный уклон земляного полотна должен быть не более 0,003;

- поперечный уклон земляного полотна, сложенного из недренирующего грунта, должен быть в пределах 0,008 - 0,01 в сторону от обслуживаемого объекта;

- земляное полотно, сложенное из дренирующего грунта, допускается выполнять горизонтальным;

- плотность грунта земляного полотна (выемки и нулевого места) должна быть в пределах 1,55 - 1,75 г/см3, коэффициент уплотнения насыпного грунта земляного полотна - не менее 0,95. Способы уплотнения грунта и методы контроля за его плотностью определяются проектом;

- земляное полотно должно иметь эффективное водоотводящее устройство;

- устройство земляного полотна в зимний период должно осуществляться по отдельным требованиям к проекту кранового пути с учетом специфики климатических зон. При устойчивой отрицательной температуре окружающего воздуха во время нахождения крана на объекте допускается укладывать балластный слой без предварительного уплотнения грунтового основания.


Общий вид и основные контролируемые параметры наземных рельсовых крановых путей

1 - рельсовый путь; 2 - башенный кран; 3 - водоотводное устройство; 4 - ограждение; 5 - возводимое здание.


Поперечный профиль пути

Контролируемые параметры:

А - ширина земляного полотна;

Б = (R - 0,5·K) + 0,7 м - минимальное расстояние от выступающей части здания (штабеля) до оси рельса;

В - база крана;

K - колея пути;

R - наибольший радиус поворотной части крана;

I = (hу/R) - поперечный уклон пути;

hб - толщина балласта;

S - отклонение от прямолинейности рельсового пути;

L - расстояние от оси (торца) рельса до ограждения (не менее размера Б)

К верхнему строению рельсового пути предъявляются следующие требования:

- верхнее строение рельсового пути может возводиться как из отдельных элементов, так и с использованием инвентарных секций;

- в качестве подрельсовых опорных элементов могут применяться деревянные полушпалы, брусья или железобетонные балки;

- толщина балластного слоя определяется проектом на основании расчетов и зависит от нагрузки на колесо крана, вида грунтового основания, материала балласта и конструкции подрельсовых опорных элементов.

Ориентировочная толщина балласта (для составления технико-экономического обоснования проекта) приведена в нижеследующей таблице.

При устройстве рельсового пути с полушпалами стыки рельсов следует располагать между полушпалами, а с железобетонными продольными подрельсовыми элементами - над их стыками.

Конструкции болтовых соединений рельсов должны исключать ослабление затяжки (должны применяться пружинные шайбы, шплинты и т.п.).

Величина зазора в рельсовом стыке не должна превышать 12 мм. Смещение торцов стыкуемых рельсов не должно превышать в плане 2 мм и по высоте 3 мм.

Длина балластной призмы должна превышать длину рельсовой нитки на 1 м в каждую сторону.

Нагрузка от колеса на рельс, кН

Ориентировочная толщина балласта hб, мм

щебеночного под железобетонными балками

песчаного под железобетонными балками

щебеночного под деревянными полушпалами

при земляном полотне из глинистого, суглинистого, или супесчаного грунта и рельсах типов

при земляном полотне из песчаного грунта и рельсах типов

при земляном полотне из глинистого, суглинистого, или супесчаного грунта и рельсах типов

при земляном полотне из песчаного грунта и рельсах типов

при земляном полотне из глинистого, суглинистого, или супесчаного грунта и рельсах типов

при земляном полотне из песчаного грунта и рельсах типов

 

Р50

Р65

Р50

Р65

Р50

Р65

Р50

Р65

Р50

Р65

Р50

Р65

До 200

100

100

100

100

100

100

100

100

270

230

100

100

От 200 до 225

100

100

100

100

100

100

100

100

320

280

100

100

От 225 до 250

140

120

100

100

150

130

100

100

370

330

100

100

От 250 до 275

210

190

100

100

220

200

100

100

420

380

100

100

От 275 до 300

300

280

130

110

350

330

130

110

-

-

-

-

От 300 до 325

430

360

150

130

530

520

210

190

-

-

-

-

Примечания

1. При нагрузке на колесо более 275 кН рекомендуется применять железобетонные опорные подрельсовые элементы.

2. Расстояние между осями полушпал следует принимать 500 мм с допускаемыми отклонениями ±50 мм.

3. В качестве щебеночного балласта следует применять щебень из естественного камня фракции 25 - 60 мм, гравий и гравийно-песчаную смесь фракции 3 - 60 мм (гравий) и 0,63 - 3 мм (песок) по массе не более 20 %.

4. Для изготовления подкрановых рельсовых путей должны применяться новые или старогодные рельсы I и II групп годности.

При применении железобетонных подрельсовых опорных элементов (балки, плиты, шпалы) между рельсами и поверхностями этих опорных элементов должны устанавливаться прокладки соответствующей упругости.

Допускаемые отклонения размеров рельсовых путей от проектного значения при их устройстве приведены ниже.

Расстояния по горизонтали между выступающими частями крана и строениями, штабелями грузов и другими предметами, расположенными на высоте до 2000 мм от уровня земли или рабочих площадок, должно быть не менее 700 мм, а на высоте более 2000 мм - не менее 400 мм. Расстояние по вертикали от консоли противовеса или от противовеса, расположенного под консолью башенного крана, до площадок, на которых могут находиться люди, должно быть не менее 2000 мм.

Допускаемые отклонения размеров рельсовых путей от проектного значения при их устройстве

Параметры

Предельная величина отклонения при

устройстве

эксплуатации

Продольный и поперечный уклоны рельсового пути*

Не более 0,004

Не более 0,01

Колея рельсового пути

±10 мм от номинального размера

±15 мм от номинального размера

Прямолинейность рельсового пути на участке длиной 10 м для кранов:

 

 

с жесткими ходовыми рамами

Не более 15 мм

Не более 20 мм

с балансирными тележками

Не более 20 мм

Не более 25 мм

Упругая просадка рельсового пути при максимальной нагрузке на колесо крана и конструкции верхнего строения:

 

 

на деревянных полушпалах

Не более 7 мм

Не более 7 мм

на железобетонных балках

Не более 5 мм

Не более 5 мм

* На участке пути, равном по длине двум базам крана (2В), поперечные знакопеременные уклоны в указанных значениях не допускаются.

К путевому оборудованию рельсового пути предъявляют следующие требования:

- на концах рельсового пути (на расстоянии не менее 0,5 м) должны быть установлены тупиковые упоры, предназначенные для гашения остаточной скорости крана и предотвращения его схода с концевых участков кранового пути в аварийных ситуациях, при отказе ограничителя передвижения или тормозов механизма передвижения крана;

- упоры должны быть установлены таким образом, чтобы наезд крана на упоры был одновременным;

- рельсовые пути должны иметь в поперечном направлении фиксирующие элементы (стяжки-распорки), которые устанавливаются в начале и конце рельсового пути, а в промежутке - не менее одного на инвентарную секцию или с шагом не более 6,25 м;

- ограничители передвижения должны быть установлены таким образом, чтобы отключение двигателя механизма передвижения крана происходило на расстоянии не менее тормозного пути до тупикового упора;

- устройство заземления пути необходимо выполнять в соответствии с требованиями Правил устройства электроустановок;

- знаки безопасности должны выставляться в соответствии с требованиями ГОСТ 12.4.026-76*;

- ограждение рельсового пути следует выполнять по ГОСТ 23407-78. На рельсовом пути участок стоянки крана в нерабочем состоянии должен быть обозначен табличкой «Место стоянки крана»;

- ограничители передвижения и тупиковые упоры должны быть окрашены в соответствии с требованиями ГОСТ 12.4.026-76*. Металлические детали должны быть предохранены от коррозии.

Кроме изложенных выше общих требований к устройству рельсовых путей следует руководствоваться также условиями на укладку рельсового пути, которые должны содержаться в паспорте крана, соответствующем требованиям международного стандарта ИСО 4310.

Геодезические работы при устройстве наземных рельсовых крановых путей

Разбивочные работы при устройстве наземных рельсовых крановых путей осуществляются в соответствии с требованиями технических условий на монтаж конкретного крана.

Измерения нижнего строения наземного подкранового пути состоят из нивелирования площадки, выполняемого перед устройством земляного полотна, и нивелирования земляного полотна, выполняемого после его возведения. Для этого нивелируемую поверхность разбивают на квадраты со сторонами, равными ширине пути.

Для определения отметок применяют нивелиры Н-3 или другие равноточные инструменты согласно требований ППР или технологической карты, которые должны быть поверены и при необходимости исправлены. Отсчеты выполняют по двум сторонам (черной и красной) рейки РН-3 при одной установке нивелира или по одной стороне (черной) рейки при двух установках нивелира, с изменением его горизонта.

За исходный пункт принимают репер или любую закрепленную точку, абсолютная высотная отметка которой известна. Допускается принимать отметку исходной точки в условной системе высот.

На исполнительной схеме показывают размеры земляного полотна, его поперечный и продольный уклоны, величину откосов полотна, размеры и уклоны водоотвода, профиль и размеры земляного полотна на криволинейных участках.

Измерения верхнего строения пути включают исполнительную геодезическую съемку планово-высотного положения пути, выполняемую по полной и сокращенной схеме, или только съемку высотного положения.

Исполнительную съемку по полной схеме выполняют перед сдачей подкранового пути в эксплуатацию. Съемке подлежат:

- расстояние от выступающих частей строящегося или существующего здания и сооружения до оси ближайшего к зданию или сооружению рельса;

- расстояние от края балластной призмы (нижнего) до края дна котлована;

- поперечное сечение одной-двух полушпал, их длина и расстояние между ними (их осями), а также расстояние между металлическими стяжками;

- тип рельса, вертикальный, горизонтальный и приведенный износ головок рельса;

- расстояние между рельсовыми стыками и зазоры в стыках;

- размер колеи через каждые 6,25 м (или другие промежутки, установленные ППР или технологической картой) на всем протяжении подкранового пути;

- прямолинейность рельсов подкранового пути;

- отметки головок рельсов подкранового пути через каждые 6,25 м (или другие промежутки, установленные ППР или технологической картой);

- величина упругой просадки головки рельсов.

Съемку пути по сокращенной схеме выполняют через каждые 24 рабочие смены крана. При этом определяют геометрические параметры (размер колеи, прямолинейность рельсов подкранового пути и отметки головок рельсов подкранового пути) и записывают результаты в вахтенный журнал крановщика. Особое внимание следует обратить на состояние звена для стоянки башенного крана в нерабочее время.

Нивелирование подкранового пути, т.е. съемку его высотного положения, выполняют не реже одного раза в месяц, а в период оттаивания грунта - через 5 - 10 дней и каждый раз после ливневых дождей (периодичность нивелирования должна устанавливаться в инструкции по техническому надзору за состоянием кранового пути).

Измерения геометрических параметров, выполняемые рулетками, обычно не вызывают затруднений. Для измерения размера колеи и прямолинейности рельсов применяют теодолит, нивелирную рейку и рулетку. На расстоянии 0,5 - 1 м от оси рельса на одном конце пути забивают штырь и центрируют над ним теодолит. Далее визирную ось зрительной трубы теодолита наводят на второй штырь, установленный на таком же удалении от оси рельса на другом конце пути, равном 10 м. Затем прикладывают нивелирную рейку перпендикулярно оси рельса в заданных точках и берут по ней отсчеты по вертикальной нити зрительной трубы теодолита с точностью до 1 мм. По полученным данным вычисляют отклонения первого рельса от его оси, т.е. прямолинейность первого рельса. Затем параллельно оси первого рельса на расстоянии 0,5 - 1 м от второго рельса забивают два других штыря и выполняют такие же измерения и в той же последовательности, как и у первого рельса. По полученным данным вычисляют прямолинейность второго рельса и ширину колеи.

Размер колеи проверяют также стальной рулеткой с ценой деления 1 мм в заданных точках рельсового пути (как правило, на каждом рельсовом звене в его средней части и в зоне болтовых стыков). По полученным данным вычисляют отклонения размера колеи от номинальных и сравнивают их с допускаемыми значениями.

Прямолинейность рельсового пути проверяют также с помощью натянутой вдоль головки рельсов струны. По полученным данным вычисляют отклонения рельсового пути от прямолинейности на длине 10 м и сравнивают их с допускаемыми значениями.

Высотные отметки головок рельсов определяют геометрическим нивелированием с установкой рейки в заданных точках рельса (как правило, на каждой инвентарной секции в средней части и в зоне болтовых стыков).

Для контроля монтажа подкрановых путей и исполнительных съемок рекомендуется применять лазерные приборы.

Лазерный пучок, направленный на некоторой высоте вдоль оси подкранового рельса, является базисной линией, относительно которой с помощью экрана-марки определяется правильность монтажа и деформации головки рельса как в плане, так и по высоте.

При контроле точности монтажа элементов подкранового пути по лазерному пучку на подготовленном к монтажу рельсе в заданной точке закрепляют магнитную марку таким образом, чтобы центр марки совпадал с осью монтируемого элемента. При монтаже рельса следят, чтобы луч лазера попал в центр марки, что будет соответствовать проектному положению рельса. Далее магнитную марку переставляют в другую точку рельса и корректируют его положение по лучу лазера.

При монтаже частей подкранового пути марку переставляют поочередно на следующий рельс и по отклонениям лазерного пучка от центра марки определяют положение рельсов и необходимость их выверки.

При выполнении исполнительной съемки подкрановых путей создание разбивочной основы и приведение прибора в рабочее положение остаются такие же, как и при монтаже. При выполнении по лучу лазера исполнительной съемки положения рельсов подкранового пути используют разграфленную экран-марку с сеткой квадратов 5 ´ 5 мм. Для визуальной регистрации положения рельса относительно луча лазера экран-марку необходимо устанавливать на головку рельса в вертикальное положение по круглому уровню. В процессе выполнения съемки марку-экран устанавливают в заданные точки рельсового пути.

В каждой контролируемой точке берут два отсчета, один, характеризующий положение лазерного луча относительно горизонтальных линий сетки экрана, другой - характеризующий отклонение лазерного луча от осевой вертикальной линии сетки. Первый отсчет записывается в журнал нивелирования, второй - в журнал определения прямолинейности рельса.

Измерения на каждом рельсе необходимо выполнять дважды: при движении в прямом и обратном направлениях. Расхождения между двумя измерениями не должно превышать 2 - 3 мм. Из двух значений вычисляют среднее.

Результаты нивелирования поперечного и продольного профилей рельсового пути, проверки размера колеи, прямолинейности, просадки прилагаются к акту сдачи-приемки пути.

Рельсовый путь перед сдачей - приемкой подлежит обкатке. Обкатка пути производится не менее 10 раз краном без груза и не менее 5 раз с максимальным рабочим грузом. Просадки пути и выявленные дефекты устраняются.

Готовность рельсового пути к эксплуатации подтверждается актом сдачи-приемки пути по форме в соответствии с приложением 8 ПБ 10-14 или актом комплексного обследования крановых путей.

Разрешение на эксплуатацию рельсового пути выдается на основании акта сдачи-приемки или акта комплексного обследования крановых путей инженерно-техническим работником, ответственным за безопасную эксплуатацию грузоподъемных машин (согласно требованиям ст. 7.4.2 ПБ-10-14-92).

Требования к эксплуатации

Рельсовые пути, находящиеся в эксплуатации, должны подвергаться постоянной проверке, периодическому комплексному обследованию, обслуживанию и ремонту.

Проверка состояния рельсового пути включает:

- ежесменный осмотр;

- плановую или внеочередную проверку.

Ежесменный осмотр рельсового пути осуществляется машинистом крана в объеме, предусмотренном производственной инструкцией.

В случае обнаружения неисправностей в известность ставится лицо, ответственное за безопасную эксплуатацию грузоподъемных машин.

Плановая проверка состояния рельсового пути проводится после каждых 24 смен работы крана и осуществляется под руководством лица, ответственного за безопасную эксплуатацию грузоподъемных машин.

Плановая проверка устанавливает соответствие контролируемых параметров рельсовых путей требованиям настоящего стандарта, проектной и конструкторской документации, и подтверждает, что состояние верхнего строения и путевого оборудования обеспечивают безопасную работу крана.

Результаты плановых проверок заносятся в вахтенный журнал крановщика.

Внеочередную проверку рельсовых путей проводят после особо неблагоприятных эксплуатационных условий (ливни, продолжительные оттепели и т.д.), отрицательно влияющих на состояние земляного полотна и балластного слоя, а также при замечаниях машиниста крана.

Периодическое комплексное обследование рельсовых путей проводится в соответствии с требованиями РД 10-138-97 специализированными организациями, имеющими государственную лицензию на этот вид деятельности, и включает выполнение следующего комплекса работ:

- проверку наличия и состояния эксплуатационной службы и службы надзора за качеством рельсовых путей;

- проверку наличия проектной и эксплуатационной документации;

- поэлементное обследование рельсовых путей, включая оценку фактического состояния и остаточного ресурса основных элементов верхнего строения рельсового пути;

- подготовку результатов комплексного обследования: инструментальные замеры, данные упругой просадки, ведомость дефектов и др.

Результаты комплексного обследования оформляются актом.

Периодичность комплексного обследования рельсовых путей определяется проектом, но должна проводиться не реже 1 раза в 3 года (допускается по согласованию с органами Госгортехнадзора увеличивать до 5 лет периодичность комплексного обследования кранов с временем использования не более 500 маш.-ч/год).

По результатам плановых или внеочередных проверок и комплексного обследования рельсовых путей проводятся работы по их техническому обслуживанию и устранению выявленных дефектов, включая:

- восстановление земляного полотна и балластной призмы до проектных значений;

- рихтовку и выправку пути по уровню;

- подтяжку ослабленных болтовых и винтовых соединений, а также креплений с помощью костылей;

- регулировку зазоров в стыках рельсов и выключающих линеек;

- восстановление поврежденных участков верхнего строения и контуров заземления;

- замену дефектных элементов верхнего строения и путевого оборудования рельсового пути;

- очистку водоотводящего устройства.

Не допускается эксплуатация рельсового пути при следующих дефектах:

- на рабочих поверхностях имеются вмятины, лыски и волнистость более 0,5 см,

- в болтовых соединениях рельсового пути отсутствуют исправные стопорные детали (пружинные шайбы, шплинты и т.п.) или они затянуты с нарушением момента затяжки, указанного в конструкторской документации,

- наличие трещин в рельсах, в тупиковых упорах, в том числе в сварных швах,

- коррозия деталей рельсового пути в глубину более 4 мм,

- уменьшение площади опирания нижней поверхности подрельсовых опорных элементов - полушпал и балок рельсового пути на площади более 10 %,

- в железобетонных подрельсовых элементах имеются обнажения и обрывы арматуры, сплошные опоясывающие и продольные длиной более 300 мм трещины с раскрытием более 0,3 мм, сколы бетона более 100 мм для полушпал и 250 мм для балок,

- в деревянных полушпалах имеются: излом, поперечные трещины длиной по торцу более его половины, продольные трещины глубиной более 50 мм и длиной более 300 мм, поверхностная гниль более 20 мм под подкладками и более 60 мм на остальных поверхностях деревянных элементов.

Эксплуатация и контроль за устройствами заземления должны осуществляться в соответствии с Правилами технической эксплуатации электроустановок.

Предельные значения отклонений элементов верхнего строения и тупикового оборудования, при которых дальнейшая эксплуатация рельсового пути не допускается, приведены выше.

При установке на рельсовых путях грузоподъемных кранов, изготовленных за рубежом, представляется заключение специализированных организаций, имеющих право комплексного обследования крановых путей грузоподъемных машин.

Приложение 8 к ПБ-10-14-92

ФОРМА АКТА

сдачи-приемки кранового рельсового пути в эксплуатацию

___________________________________________________________________________

(организация)

«___» __________ 19___ г.

Адрес объекта ______________________________________________________________

Тип, заводской и регистрационный номер крана ________________________________

___________________________________________________________________________

Рельсовый путь

Длина пути ________________________________________________________________

Наличие проектной документации ____________________________________________

___________________________________________________________________________

(разработчик проекта)

Соответствие рельсового пути проектной документации __________________________

___________________________________________________________________________

Наличие акта сдачи-приемки земляного полотна под устройство верхнего строения пути ______________________________________________________________________

Произведена обкатка пути проходами крана:

без груза ________________________________________________________________

с максимальным рабочим грузом ___________________________________________

Результаты измерений:

размер колеи, мм _________________________________________________________

прямолинейность _________________________________________________________

продольный уклон ________________________________________________________

поперечный уклон ________________________________________________________

упругая посадка, мм ______________________________________________________

Наличие и исправность выключающих линеек __________________________________

Наличие и исправность тупиковых упоров ______________________________________

Заземление пути

Конструкция заземления _____________________________________________________

Место расположения и длина заземления _______________________________________

Наименование, тип и номер прибора для измерения сопротивления заземления

___________________________________________________________________________

Место измерения ___________________________________________________________

Погода в течение последних трех дней и в день производства измерений

___________________________________________________________________________

Сопротивление заземления, Ом _______________________________________________

Заземление пути:

удовлетворяет нормам _____________________________________________________

не удовлетворяет нормам __________________________________________________

Заземление рельсового пути выполнил _________________________________________

                                                                                                                               (организация, должность,

___________________________________________________________________________

фамилия, подпись)

Измерение сопротивления заземления выполнил _________________________________

                                                                                                                               (организация, должность,

___________________________________________________________________________

фамилия, подпись)

Работу по устройству кранового пути

выполнил и сдал ______________________

(организация, должность,

_____________________________________

фамилия, подпись)

Крановый путь принял в экплуатацию

_____________________________________

(организация, должность, фамилия, подпись)

БЕТОННЫЕ РАБОТЫ

Бетонные смеси

ГОСТ 7473-94 «Смеси бетонные. Технические условия»

СНиП 3.03.01-87 «Несущие и ограждающие конструкции»

Бетонные смеси конструкционных тяжелых и легких бетонов должны приготовляться в соответствии с требованиями ГОСТ 7473-94, СНиП 3.03.01-87 по технологическому регламенту, утвержденному в установленном порядке.

ГОСТ 7473-94 «СМЕСИ БЕТОННЫЕ. ТЕХНИЧЕСКИЕ УСЛОВИЯ»

Данный стандарт распространяется на бетонные смеси конструкционных тяжелых и легких бетонов плотной, поризованной и крупнопористой структуры на цементных вяжущих, плотных и пористых крупных и мелких заполнителях, отпускаемые потребителю для возведения монолитных и сборно-монолитных конструкций и сооружений или используемые на предприятии для изготовления сборных бетонных и железобетонных конструкций и изделий.

Стандарт не распространяется на бетонные смеси специальных бетонов и конструкционных бетонов на основе известковых, шлаковых, гипсовых и специальных вяжущих и бетонов на специальных заполнителях.

По степени готовности бетонные смеси подразделяют на:

бетонные смеси, готовые к употреблению (БСГ);

бетонные сухие смеси (БСС).

В зависимости от показателя удобоукладываемости бетонные смеси подразделяют на три группы: сверхжесткие (СЖ), жесткие (Ж) и подвижные (П). Группы подразделяют на марки по удобоукладываемости. Марки по удобоукладываемости групп Ж и П приведены ниже.

Марка по удобоукладываемости

Норма удобоукладываемости по показателю

жесткости, с

подвижности, см

осадка конуса

расплыв конуса

Ж4

31 - 60

-

-

Ж3

21 - 30

-

-

Ж2

11 - 20

-

-

Ж1

5 - 10

-

-

П1

4 и менее

1 - 4

-

П2

-

5 - 9

-

П3

-

10 - 15

-

П4

-

16 - 20

26 - 30

П5

-

21 и более

31 и более

Условное обозначение бетонной смеси при заказе должно состоять из сокращенного обозначения бетонной смеси с указанием степени готовности, типа бетона и его класса по прочности, марки по удобоукладываемости, морозостойкости, водонепроницаемости, средней плотности (для легкого бетона) и обозначения стандарта.

Пример условного обозначения готовой к употреблению бетонной смеси тяжелого бетона класса бетона по прочности на сжатие В25, марок по удобоукладываемости П1, морозостойкости F200 и водонепроницаемости W4:

БСГ В25 П1 F200 W4 ГОСТ 7473-94

То же, для сухой бетонной смеси тяжелого бетона:

БСС В25 П1 F200 W4 ГОСТ 7473-94

То же, для бетонной смеси, готовой к употреблению, легкого бетона класса по прочности В12,5, марок по удобоукладываемости П2, морозостойкости F200, водонепроницаемости W2 и средней плотности Д900:

БСГ В12,5 П2 F200 W2 Д900 ГОСТ 7473-94

То же, для сухой бетонной смеси легкого бетона:

БСС В12,5 П2 F200 W2 Д900 ГОСТ 7473-94

Бетонные смеси должны приготовляться в соответствии с требованиями данного стандарта по технологическому регламенту, утвержденному в установленном порядке, и характеризоваться показателями:

удобоукладываемостью;

средней плотностью;

объемом вовлеченного воздуха;

расслаиваемости (при необходимости);

сохраняемостью свойств во времени: удобоукладываемости, расслаиваемости, объема вовлеченного воздуха (при необходимости).

Бетонные смеси должны обеспечивать получение бетонов с заданными показателями по прочности, средней плотности, морозостойкости и водонепроницаемости (при необходимости) и другими нормируемыми показателями качества бетона.

Изготовитель должен приготавливать бетонную смесь в соответствии с характеристиками бетонной смеси и бетона, а также условиями транспортирования, указанными заказчиком в договоре.

Расслаиваемость бетонной смеси (значения водоотделения и раствороотделения) не должна превышать значений, приведенных в нижеследующей таблице.

Марка по удобоукладываемости

Расслаиваемость, %

Водоотделение

Раствороотделение

тяжелых бетонов

легких бетонов

Ж4 - Ж1

До - 0,2

3

4

П1 - П2

До - 0,4

3

4

П3 - П5

До - 0,8

4

6

Бетонные смеси с лучшими показателями по сравнению с указанными в таблице готовят с высокодисперсными активными минеральными добавками (золы-уноса, микрокремнезема) в сочетании с пластифицирующими добавками.

При необходимости транспортирования на дальние расстояния устанавливают требования к сохраняемости свойств бетонных смесей во времени (удобоукладываемость, воздухововлечение, расслаиваемость).

Сохраняемость свойств бетонных смесей повышают применением химических пластифицирующих добавок, а также замедлителей сроков схватывания.

Бетонные смеси для бетонов, к которым предъявляют специальные требования по долговечности (высокая морозостойкость и водонепроницаемость), готовят с воздухововлекающими или пластифицирующе-воздухововлекающими химическими добавками в тех случаях, когда бетон без добавок заданного класса по прочности не удовлетворяет требованиям по долговечности.

Состав бетонной смеси подбирают по ГОСТ 27006-86.

Бетонные смеси приготавливают с использованием цементов, заполнителей и добавок по стандартам и техническим условиям на материалы конкретных видов в соответствии с ГОСТ 26633-91 и ГОСТ 25820-83*.

Вода для затворения бетонных смесей и приготовления добавок - по ГОСТ 23732-79.

Влажность составляющих компонентов для сухих бетонных смесей не должна превышать 0,1 %.

Удельная эффективная активность естественных радионуклидов Аэфф сырьевых материалов, применяемых для приготовления бетонных смесей, не должна превышать предельных значений в Бк/кг, в зависимости от области применения бетонных смесей (приложение А ГОСТ 30108-94*).

Сыпучие исходные материалы для бетонной смеси дозируют по массе (кроме пористых заполнителей, которые дозируют по объему с коррекцией по массе).

Жидкие составляющие дозируют по массе или объему.

Погрешность дозирования исходных материалов весовыми дозаторами цикличного и непрерывного действия не должна превышать для цемента, воды, сухих химических добавок рабочего раствора жидких химических добавок ±1 %, заполнителей ±2 %.

Погрешность дозирования пористых заполнителей не должна превышать ±2 % по объему.

Для бетоносмесительных установок производительностью до 5 м3/ч допускается объемное дозирование сыпучих материалов с теми же погрешностями дозирования.

Бетонные смеси всех марок по удобоукладываемости для всех видов бетонов приготавливают в смесителях принудительного действия.

Бетонные смеси для тяжелого бетона марок П1 - П5, Ж1 и для легкого бетона класса В12,5 и выше средней плотностью D1600 и выше, марок по удобоукладываемости П1 - П5 и Ж1 допускается приготавливать в гравитационных смесителях.

Сухие бетонные смеси приготавливают в смесителях принудительного действия.

Исходные материалы в работающий смеситель загружают, как правило, одновременно.

В бетонную смесь для тяжелого бетона рабочий раствор химической добавки вводят вместе с водой затворения.

В бетонную смесь для легкого бетона, приготавливаемую с жидкой химической добавкой, одновременно с цементом и заполнителями вводят 50 - 70 % расчетного количества воды, перемешивают их в течение 30 с, затем вводят рабочий раствор добавки одновременно с оставшейся частью воды.

При необходимости использования горячей воды или цемента, их температура не должна превышать 70 °С, а последовательность загрузки должна быть следующей:

при использовании горячей воды - заполнитель, горячая вода, цемент;

при использовании горячего цемента - мелкий заполнитель, цемент, крупный заполнитель, вода, химическая добавка.

Продолжительность перемешивания в стационарном циклическом смесителе (время от момента окончания загрузки всех материалов в работающий смеситель до начала выгрузки готовой смеси) может быть принята для бетонной смеси на плотных заполнителях в соответствии с нижеприведенными данными или по технологическому регламенту.

РЕКОМЕНДУЕМАЯ ПРОДОЛЖИТЕЛЬНОСТЬ ПЕРЕМЕШИВАНИЯ БЕТОННЫХ СМЕСЕЙ НА ПЛОТНЫХ ЗАПОЛНИТЕЛЯХ В СТАЦИОНАРНЫХ СМЕСИТЕЛЯХ

Вместимость смесителя при загрузке, л

Продолжительность перемешивания, с, не менее

В гравитационных смесителях для смесей марок по удобоукладываемости

В смесителях принудительного действия (для всех смесей)

Ж1, П1

П2

П3 - П5

750 и менее

90

75

60

50

Св. 750 до 1500

120

105

90

50

Св. 1500

150

135

120

50

Продолжительность перемешивания в гравитационных смесителях для легких бетонов принимается по данной таблице.

Бетонные смеси должны быть приняты техническим контролем изготовителя.

Результаты испытаний контрольных образцов бетона в проектном или другом требуемом возрасте изготовитель обязан сообщить потребителю по его требованию не позднее чем через 3 сут после проведения испытаний.

При неподтверждении нормируемого показателя качества бетона изготовитель обязан в день получения результатов испытаний сообщить об этом потребителю.

Маркируют только сухие смеси.

На тару для сухих смесей должны быть нанесены надписи:

- условное обозначение бетонной смеси;

- наименование или товарный знак изготовителя;

- знак соответствия (в случае, когда бетонная смесь сертифицирована на соответствие требованиям стандарта);

- класс материалов, использованных для приготовления сухой смеси, по удельной эффективной активности естественных радионуклидов и цифровое значение Аэфф;

- класс (марка) бетона по прочности на сжатие, МПа (кгс/см2);

- объем воды, необходимый для приготовления бетонной смеси, л;

- вид и количество добавки, кг/л; наибольшая крупность заполнителя, мм;

- срок хранения, мес; масса, кг; дата изготовления.

Каждая партия бетонной смеси, отправленная потребителю, должна иметь документ о качестве согласно обязательному приложению Г ГОСТ 7473-94, в котором должны быть указаны:

изготовитель; потребитель;

вид бетонной смеси и ее условное обозначение;

удобоукладываемость бетонной смеси на заводе-изготовителе и у места укладки, см (с);

номер состава бетонной смеси;

знак соответствия (в случае, когда бетонная смесь сертифицирована на соответствие требованиям стандарта);

дата и время отправки бетонной смеси;

класс (марка) бетона по прочности на сжатие в заданном возрасте;

другие показатели качества (при необходимости);

коэффициент вариации прочности бетона, %;

требуемая прочность бетона МПа (кгс/см2);

проектная марка по средней плотности (для легкого бетона), кг/м3;

коэффициент вариации средней плотности, %;

наименование, масса (объем) добавки, кг/л;

класс материалов по удельной эффективной активности естественных радионуклидов и цифровое значение Аэфф, Бк/кг;

наибольшая крупность заполнителя, мм;

номер документа о качестве;

дата выдачи документа о качестве бетонной смеси.

Документ о качестве должен быть подписан начальником цеха (мастером) и начальником лабораториии.

По согласованию изготовителя с потребителем допускается выдавать документ о качестве бетонной смеси одного вида не реже одного раза в месяц.

Сухие бетонные смеси упаковывают в пакеты из полиэтиленовой пленки по ГОСТ 10354-82* массой до 8 кг или бумажные мешки по ГОСТ 2226-88* массой до 40 кг.

Готовые бетонные смеси должны доставляться потребителю транспортом специализированных видов, предназначенным для доставки смеси.

По согласованию изготовителя с потребителем допускается доставлять бетонные смеси автосамосвалами.

Сухие смеси доставляют в мешках, пакетах транспортом всех видов.

Применяемые способы транспортирования бетонных смесей должны исключать возможность попадания в них атмосферных осадков, нарушения однородности, потери цементного раствора, а также обеспечивать предохранение смеси в пути от воздействия ветра и солнечных лучей.

Максимально допустимая продолжительность транспортирования бетонной смеси, готовой к употреблению, при условии сохранения своих свойств, при температуре воздуха от 20 до 30 °С (смеси ... 18 - 20 °С) приведена ниже.

Марка по удобоукладываемости

Вид дорожного покрытия

Средняя скорость транспортирования, км/ч

Продолжительность транспортирования, мин

автобетоносмесителем

автосамосвалом

Ж2 - Ж1, П1

Жесткое (асфальтоцементное, асфальтобетонное, бетонное

30

210

60

П2

150

40

П3 - П5

90

20

Ж2 - Ж1

Мягкое, грунтовое

15

60

40

П1

45

30

П2

30

20

П3 - П5

20

не рекомендуется

При изменении температуры смеси или окружающей среды максимально допустимую продолжительность транспортирования определяют опытным путем.

СНиП 3.03.01-87 НЕСУЩИЕ И ОГРАЖДАЮЩИЕ КОНСТРУКЦИИ

Дозирование компонентов бетонных смесей следует производить по массе. Допускается дозирование по объему воды, добавок, вводимых в бетонную смесь в виде водных растворов. Соотношение компонентов определяется для каждой партии цемента и заполнителей, при приготовлении бетона требуемой прочности и подвижности. Дозировку компонентов следует корректировать в процессе приготовления бетонной смеси с учетом данных контроля показателей свойств цемента, влажности, гранулометрии заполнителей и контроля прочности.

Порядок загрузки компонентов, продолжительность перемешивания бетонной смеси должны быть установлены для конкретных материалов и условий применяемого бетоносмесительного оборудования путем оценки подвижности, однородности и прочности бетона в конкретном замесе. При введении отрезков волокнистых материалов (фибр) следует предусматривать такой способ их введения, чтобы они не образовывали комков и неоднородностей.

При приготовлении бетонной смеси по раздельной технологии надлежит соблюдать следующий порядок:

- в работающий скоростной смеситель дозируется вода, часть песка, тонкомолотый минеральный наполнитель (в случае его применения) и цемент, где все перемешивается;

- полученную смесь подают в бетоносмеситель, предварительно загруженный оставшейся частью заполнителей и воды, и еще раз все перемешивают.

Транспортирование и подачу бетонных смесей следует осуществлять специализированными средствами, обеспечивающими сохранение заданных свойств бетонной смеси. Запрещается добавлять воду на месте укладки бетонной смеси для увеличения ее подвижности.

Требования к составу, приготовлению и транспортированию бетонных смесей приведены в нижеследующей таблице.

Параметр

Величина параметра

Контроль (метод, объем, вид регистрации)

Число фракций крупного заполнителя при крупности зерен, мм:

 

Измерительный по ГОСТ 8267-93*, журнал работ

до 40

Не менее двух

свыше 40

Не менее трех

Наибольшая крупность заполнителей для:

 

То же

железобетонных конструкций

Не более 2/3 наименьшего расстояния между стержнями арматуры

плит

Не более 1/2 толщины плиты

тонкостенных конструкций

Не более 1/3-1/2 толщины изделия

при перекачивании бетононасосом

Не более 0,33 внутреннего диаметра трубопровода

в т.ч. зерен наибольшего размера лещадной и игловатой форм

Не более 15 % по массе

песка крупностью менее, мм:

 

Измерительный по ГОСТ 8736-93*

Журнал работ

0,14

5 - 7 %

0,3

15 - 20 %

Укладка бетонных смесей

Общие технические требования

ГОСТ 7473-94 «Смеси бетонные. Технические условия»

СНиП 3.03.01-87 «Несущие и ограждающие конструкции»

Укладка бетонных смесей должна осуществляться в соответствии с требованиями СНиП 3.03.01-87, СНиП 3.01.01-85*, проекта, ППР, технологических карт, схем операционного контроля качества и другой технологической документации, утвержденной в установленном порядке.

Работы по укладке бетонных смесей должны выполнять строительные организации, получившие лицензию на выполнение этих работ в Федеральных или местных органах по лицензированию строительной деятельности.

Работы по укладке бетонных смесей должны выполняться квалифицированным персоналом, прошедшим специальную подготовку и обладающим надлежащими навыками по возведению монолитных бетонных и железобетонных конструкций.

При производстве бетонных работ должно быть обеспечено соблюдение строительных норм и правил, проекта и ППР.

Работы по укладке бетонных смесей должны производиться по утвержденному проекту производства работ (ППР).

Запрещается осуществление строительно-монтажных работ без утвержденного проекта производства работ.

Не допускаются отступления от решений проектов производства работ без согласования с организациями, разработавшими и утвердившими их.

Основным работам по укладке бетонных смесей должны предшествовать подготовительные работы:

а) завершение, надлежащее оформление и приемка предшествующих работ по монтажу всех конструкций и их элементов, закрываемых в процессе последующего производства работ (подготовленные основания конструкций, арматура, закладные изделия и др.);

б) проверка правильности установки и закрепления опалубки и поддерживающих ее элементов; приемка опалубки;

в) очистка скальных оснований, горизонтальных и наклонных бетонных поверхностей рабочих швов от мусора, грязи, масел, снега и льда, цементной пленки и др.

Контролируемые операции

Состав и средства контроля

Документация

Подготовительные работы

Проверить:

 

-  завершение и надлежащее оформление предшествующих работ по устройству оснований и монтажу всех конструкций и их элементов, закрываемых при укладке бетонных смесей (наличие акта приемки или актов освидетельствования скрытых работ, геодезических исполнительных схем и другой приемо-сдаточной документации);

Акт приемки, акты освидетельствования скрытых работ; исполнительные схемы

-  правильность установки и надлежащее закрепление опалубки и поддерживающих ее конструкций;

Акт приемки

Общий журнал работ

-  наличие ППР, технологических карт и схем операционного контроля качества;

-  готовность к работе всех средств механизации укладки бетонных смесей;

ППР, технологические карты, СОКК

-  очистку скальных оснований, бетонных поверхностей, арматуры, заделку щелей в деревянной опалубке, смазку опалубки.

Общий и специальный журналы работ

Укладка бетонных смесей

Контролировать:

 

-  соблюдение заданной ППР технологии укладки и уплотнения бетонных смесей; распалубливания конструкций; выдерживания и ухода за бетоном;

Общий и специальный журналы работ

-  соответствие бетонных смесей требованиям проекта и нормативных документов;

Документ о качестве бетонной смеси

-  отбор образцов бетона и условия их твердения;

-  прочность бетона и другие требуемые показатели;

-  состояние опалубки и лесов при укладке бетонной смеси

Акт освидетельствования скрытых работ

Приемка

Проверить:

 

-  соответствие уложенного бетона требованиям проекта и нормативных документов;

-  составление и надлежащее оформление приемо-сдаточной документации

Акт приемки

Акты лабораторных испытаний

Входной и операционный контроль осуществляют: мастер (прораб), лаборант (инженер) - в процессе выполнения работ.

Приемочный контроль осуществляют: прораб (мастер), работники отдела контроля качества СМР, представители технадзора заказчика

КИП: лабораторные приборы и оборудование

Непосредственно перед укладкой бетонной смеси должны быть выполнены следующие работы:

очищенные поверхности скальных оснований, горизонтальных и наклонных бетонных поверхностей рабочих швов должны быть промыты водой и просушены струей воздуха;

опалубка должна быть очищена от мусора и грязи, а арматура от отслаивающейся ржавчины; щели в деревянной опалубке должны быть заделаны; поверхность опалубки следует покрыть смазкой, которая не должна ухудшать прочностных качеств железобетонных конструкций и оставлять следов на их поверхности, ухудшающих внешний вид;

осуществлен входной контроль бетонной смеси, при котором необходимо:

- проверить наличие документа о качестве бетонной смеси и требуемых в нем данных; проверить соответствие вида бетонной смеси, а также других показателей требованиям проекта;

- путем внешнего осмотра, а при необходимости и измерений убедиться в отсутствии признаков расслоения бетонной смеси, наличия требуемых фракций заполнителя, соответствия ее удобоукладываемости требованиям проекта и т.д.;

- при возникающих сомнениях в качестве бетонной смеси требовать контрольной проверки ее соответствия требованиям проекта и нормативных документов (см. СОКК «Смеси бетонные»).

Бетонные смеси, их приготовление и доставка должны отвечать требованиям ГОСТ 7473-94 (см. СОКК «Смеси бетонные»). Доставка бетонных смесей должна осуществляться в соответствии с требованиями технологических карт, привязанных к конкретным условиям строительства и утвержденных в установленном порядке. При разработке технологических карт могут быть использованы «Рекомендации по доставке бетонных смесей автотранспортными средствами» (ЦНИИОМТП, М, 1988).

Основные показатели качества бетонной смеси и бетона должны контролироваться в сответствии с нижеприведенными требованиями.

Параметр

Величина параметра

Контроль (метод, объем, вид регистрации)

1. Расслоение, не более

6 %

Измерительный по ГОСТ 10181.4-81, 2 раза в смену, журнал работ

2. Прочность бетона (в момент распалубки конструкций), не ниже:

 

Измерительный по ГОСТ 10180-90 и ГОСТ 18105-86*, не менее одного раза на весь объем распалубки, журнал работ

теплоизоляционного

0,5 МПа

конструкционно-теплоизоляционного

1,5 МПа

армированного

3,5 МПа, но не менее 50 % проектной прочности

предварительно напряженного

14,0 МПа, но не менее 70 % проектной прочности

Укладка бетонных смесей должна осуществляться в соответствии с требованиями технологических карт, привязанных к конкретным условиям строительства и утвержденных в установленном порядке.

Укладка бетонной смеси включает следующие процессы: подачу бетонной смеси в бетонируемую конструкцию, распределение (разравнивание) и уплотнение ее.

Бетонные смеси следует укладывать в бетонируемые конструкции горизонтальными слоями одинаковой толщины без разрывов, с последовательным направлением укладки в одну сторону во всех слоях.

При уплотнении бетонной смеси не допускается опирание вибраторов на арматуру и закладные изделия, тяжи и другие элементы крепления опалубки. Глубина погружения глубинного вибратора в бетонную смесь должна обеспечивать углубление его в ранее уложенный слой на 5 - 10 см. Шаг перестановки глубинных вибраторов не должен превышать полуторного радиуса их действия, поверхностных вибраторов - должен обеспечивать перекрытие на 100 мм площадкой вибратора границы уже провибрированного участка.

Укладка следующего слоя бетонной смеси допускается до начала схватывания бетона предыдущего слоя. Продолжительность перерыва между укладкой смежных слоев бетонной смеси без образования рабочего шва устанавливается строительной лабораторией. Верхний уровень уложенной бетонной смеси должен быть на 50 - 70 мм ниже верха щитов опалубки.

Поверхность рабочих швов, устраиваемых при укладке бетонной смеси с перерывами, должна быть перпендикулярна оси бетонируемых колонн и балок, поверхности плит и стен. Возобновление бетонирования допускается производить по достижении бетоном прочности не менее 1,5 МПа. Рабочие швы по согласованию с проектной организацией допускается устраивать при бетонировании:

колонн - на отметке верха фундамента, низа прогонов, балок и подкрановых консолей, верха подкрановых балок, низа капителей колонн;

балок больших размеров, монолитно соединенных с плитами - на 20 - 30 мм ниже отметки нижней поверхности плиты, а при наличии в плите вутов - на отметке низа вута плиты;

плоских плит - в любом месте параллельно меньшей стороне плиты;

ребристых перекрытий - в направлении, параллельном второстепенным балкам;

отдельных балок - в пределах средней трети пролета балок, в направлении, параллельном главным балкам (прогонам) в пределах двух средних четвертей пролета прогонов и плит;

массивов, арок, сводов, резервуаров, бункеров, гидротехнических сооружений, мостов и других сложных инженерных сооружений и конструкций - в местах, указанных в проектах.

Требования к укладке и уплотнению бетонных смесей даны в нижеследующей таблице.

Параметр

Величина параметра

Контроль (метод, объем, вид регистрации)

1. Прочность поверхностей бетонных оснований при очистке от цементной пленки:

Не менее, МПа:

Измерительный по ГОСТ 10180-90, ГОСТ 18105-86*, ГОСТ 22690-88, журнал работ

водной и воздушной струей

0,3

механической металлической щеткой

1,5

гидропескоструйной или механической фрезой

5,0

2. Высота свободного сбрасывания бетонной смеси в опалубку конструкций:

Не более, м:

Измерительный, 2 раза в смену, журнал работ

колонн

5,0

перекрытий

1,0

стен

4,5

неармированных конструкций

6,0

слабоармированных подземных конструкций в сухих и связных грунтах

4,5

густоармированных

3,0

3. Толщина укладываемых слоев бетонной смеси:

 

Измерительный, 2 раза в смену, журнал работ

при уплотнении смеси тяжелыми подвесными вертикально расположенными вибраторами

На 5 - 10 см меньше длины рабочей части вибратора

при уплотнении смеси подвесными вибраторами, расположенными под углом к вертикали (до 30°)

Не более вертикальной проекции длины рабочей части вибратора

при уплотнении смеси поверхностными вибраторами в конструкциях:

Не более, см:

неармированных

40

с одиночной арматурой

25

с двойной

12

В начальный период твердения бетон необходимо защищать от попадания атмосферных осадков или потерь влаги, в последующем поддерживать температурно-влажностный режим с созданием условий, обеспечивающих нарастание его прочности.

Мероприятия по уходу за бетоном, порядок и сроки их проведения, контроль за их выполнением и сроки распалубки конструкций должны устанавливаться ППР.

Движение людей по забетонированным конструкциям и установка опалубки вышележащих конструкций допускаются после достижения бетоном прочности не менее 1,5 МПа.

Производство бетонных работ при отрицательных температурах воздуха

Данные правила выполняются в период производства бетонных работ при ожидаемой среднесуточной температуре наружного воздуха ниже 5 °С и минимальной суточной температуре ниже 0 °С.

Приготовление бетонной смеси следует производить в обогреваемых бетоносмесительных установках, применяя подогретую воду, оттаянные или подогретые заполнители, обеспечивающие получение бетонной смеси с температурой не ниже требуемой по расчету. Допускается применение неотогретых сухих заполнителей, не содержащих наледи на зернах и смерзшихся комьев. При этом продолжительность перемешивания бетонной смеси должна быть увеличена не менее чем на 25 % по сравнению с летними условиями.

Способы и средства транспортирования должны обеспечивать предотвращение снижения температуры бетонной смеси ниже требуемой по расчету.

Состояние основания, на которое укладывается бетонная смесь, а также температура основания и способ укладки должны исключать возможность замерзания смеси в зоне контакта с основанием. При выдерживании бетона в конструкции методом термоса, при предварительном разогреве бетонной смеси, а также при применении бетона с противоморозными добавками допускается укладывать смесь на неотогретое непучинистое основание или старый бетон, если по расчету в зоне контакта на протяжении расчетного периода выдерживания бетона не произойдет его замерзания. При температуре воздуха ниже минус 10 °С бетонирование густоармированных конструкций с арматурой диаметром больше 24 мм, арматурой из жестких прокатных профилей или с крупными металлическими закладными частями следует выполнять с предварительным отогревом металла до положительной температуры или местным вибрированием смеси в приарматурной и опалубочной зонах, за исключением случаев укладки предварительно разогретых бетонных смесей (при температуре смеси выше 45 °С). Продолжительность вибрирования бетонной смеси должна быть увеличена не менее чем на 25 % по сравнению с летними условиями.

При бетонировании элементов каркасных и рамных конструкций в сооружениях с жестким сопряжением узлов (опор) необходимость устройства разрывов в пролетах в зависимости от температуры тепловой обработки, с учетом возникающих температурных напряжений, следует согласовывать с проектной организацией. Неопалубленные поверхности конструкций следует укрывать паро- и теплоизоляционными материалами непосредственно по окончании бетонирования.

Выпуски арматуры забетонированных конструкций должны быть укрыты или утеплены на высоту (длину) не менее чем 0,5 м.

Перед укладкой бетонной (растворной) смеси поверхности полостей стыков сборных железобетонных элементов должны быть очищены от снега и наледи.

Бетонирование конструкций на вечмомерзлых грунтах следует производить в соответствии со СНиП 2.02.04-88.

Ускорение твердения бетона при бетонировании монолитных буронабивных свай и замоноличивании буроопускных следует достигать путем введения в бетонную смесь комплексных противоморозных добавок, не снижающих прочность смерзания бетона с вечномерзлым грунтом.

Выбор способа выдерживания бетона при зимнем бетонировании монолитных конструкций следует производить в соответствии с нижеприведенными рекомендациями.

Контроль прочности бетона следует осуществлять, как правило, испытанием образцов, изготовленных у места укладки бетонной смеси. Образцы, хранящиеся на морозе, перед испытанием надлежит выдерживать 2 - 4 ч при температуре 15 - 20 °С.

Допускается контроль прочности производить по температуре бетона в процессе его выдерживания.

Выбор наиболее экономичного метода выдерживания бетона при зимнем бетонировании монолитных конструкций

Вид конструкций

Минимальная температура воздуха, °С, до

Способ бетонирования

Массивные бетонные и железобетонные фундаменты, блоки и плиты с модулем поверхности до 3

-16

Термос

-25

Термос с применением ускорителей твердения бетона.

Термос с применением противоморозных добавок*

Фундаменты под конструкции зданий и оборудование, массивные стены и т.п. с модулем поверхности 3 - 6

-15

Термос, в том числе с применением противоморозных* добавок и ускорителей твердения

-25

Обогрев в греющей опалубке.

Предварительный разогрев бетонной смеси

-40

Обогрев в греющей опалубке.

Периферийный электропрогрев

Колонны, балки, прогоны, элементы рамных конструкций, свайные ростверки, стены, перекрытия с модулем поверхности 6 - 10

-15

Термос с применением противоморозных добавок*, обогрев в греющей опалубке нагревательными проводами. Предварительный разогрев бетонной смеси, индукционный нагрев

-40

Обогрев в греющей опалубке, нагревательными проводами и термоактивными гибкими покрытиями (ТАГП) с применением противоморозных добавок

Полы, перегородки, плиты перекрытий, тонкостенные конструкции с модулем поверхности 10 - 20

-40

То же

* Противоморозные добавки, как правило, следует применять в комплексе с пластифицирующими.

Требования к производству работ при отрицательных температурах воздуха приведены в нижеследующей таблице.

Параметр

Величина параметра

Контроль (метод, объем, вид регистрации)

1. Прочность бетона монолитных и сборно-монолитных конструкций без противоморозных добавок к моменту замерзания:

 

Измерительный по ГОСТ 18105-86*, журнал работ

конструкций, эксплуатирующихся внутри зданий, фундаментов под оборудование, не подвергающихся динамическим воздействиям, подземных конструкций

Не менее 5 МПа

конструкций, подвергающихся атмосферным воздействиям в процессе эксплуатации, для класса:

Не менее, % проектной прочности:

В7,5 - В10

50

В12,5 - В25

40

В30 и выше

30

конструкций, подвергающихся по окончании выдерживания переменному замораживанию и оттаиванию в водонасыщенном состоянии или расположенных в зоне сезонного оттаивания вечномерзлых грунтов при условии введения в бетон воздухововлекающих или газообразующих ПАВ

70

в преднапряженных конструкциях

80

2. Прочность бетона монолитных и сборно-монолитных конструкций с противоморозными добавками к моменту охлаждения бетона до температуры, на которую расчитано количество добавок

Не менее 20 % проектной прочности

Измерительный по ГОСТ 18105-86*, журнал работ

3. Загружение конструкций расчетной нагрузкой допускается после достижения бетоном прочности

Не менее 100 % проектной

 

4. Температура воды и бетонной смеси на выходе из смесителя, приготовленной:

 

Измерительный, 2 раза в смену, журнал работ

на портландцементе, шлакопортландцементе, пуццолановом портландцементе марок ниже М600

Воды не более 70 °С, смеси не более 35 °С

на быстротвердеющем портландцементе и портландцементе марки М600 и выше

Воды не более 60 °С, смеси не более 30 °С

на глиноземистом портландцементе

Воды не более 40 °С, смеси не более 25 °С

5. Температура бетонной смеси, уложенной в опалубку, к началу выдерживания или термообработки:

 

Измерительный, в местах, определенных ППР, журнал работ

при методе термоса - устанавливается расчетом

не ниже 5 °С

с противоморозными добавками

Не менее чем на 5 °С выше температуры замерзания раствора затворения

при тепловой обработке

Не ниже 0 °С

6. Температура в процессе выдерживания и тепловой обработки для бетона на:

Определяется расчетом, но не выше, °С:

При термообработке - через каждые 2 ч в период подъема температуры или в первые сутки. В последующие трое суток и без термообработки - не реже 2 раз в смену. В остальное время выдерживания - один раз в сутки.

портландцементе

80

шлакопортландцементе

90

7. Скорость подъема температуры при тепловой обработке бетона:

 

Измерительный, через каждые 2 ч, журнал работ

для конструкций с модулем поверхности:

Не более, °С/ч:

до 4

5

от 5 до 10

10

св. 10

15

для стыков

20

8. Скорость остывания бетона по окончании тепловой обработки для конструкций с модулем поверхности:

 

Измерительный, журнал работ

до 4

Определяется расчетом

от 5 до 10

Не более 5 °С/ч

св. 10

Не более 10 °С/ч

9. Разность температур наружных слоев бетона и воздуха при распалубке с коэффициентом армирования до 1 %, до 3 % и более 3 % должна быть соответственно для конструкций с модулем поверхности:

 

То же

от 2 до 5

Не более 20, 30, 40 °С

св. 5

Не более 30, 40, 50 °С

Производство бетонных работ при температуре воздуха выше 25 °C

При производстве бетонных работ при температуре воздуха выше 25 °С и относительной влажности менее 50 % должны применяться быстротвердеющие портландцементы, марка которых должна превышать марочную прочность бетона не менее чем в 1,5 раза. Для бетонов класса В22,5 и выше допускается применять цементы, марка которых превышает марочную прочность бетона менее чем в 1,5 раза при условии применения пластифицированных портландцементов или введения пластифицирующих добавок.

Не допускается применение пуццоланового портландцемента, шлакопортландцемента ниже М400 и глиноземистого цемента для бетонирования надземных конструкций, за исключением случаев, предусмотренных проектом. Цементы не должны обладать ложным схватыванием, иметь температуру выше 50 °С, нормальная густота цементного теста не должна превышать 27 %.

Температура бетонной смеси при бетонировании конструкций с модулем поверхности более 3 не должна превышать 30 - 35 °С, а для массивных конструкций с модулем поверхности менее 3 - 20 °С.

При появлении на поверхности уложенного бетона трещин вследствие пластической усадки допускается его повторное поверхностное вибрирование не позднее чем через 0,5 - 1 ч после окончания его укладки.

Уход за свежеуложенным бетоном следует начинать сразу после окончания укладки бетонной смеси и осуществлять до достижения, как правило, 70 % проектной прочности, а при соответствующем обосновании - 50 %.

Свежеуложенная бетонная смесь в начальный период ухода должна быть защищена от обезвоживания.

При достижении бетоном прочности 0,5 МПа последующий уход за ним должен заключаться в обеспечении влажного состояния поверхности путем устройства влагоемкого покрытия и его увлажнения, выдерживания открытых поверхностей бетона под слоем воды, непрерывного распыления влаги над поверхностью конструкций. При этом периодический полив водой открытых поверхностей твердеющих бетонных и железобетонных конструкций не допускается.

Для интенсификации твердения бетона следует использовать солнечную радиацию путем укрытия конструкций рулонным или листовым светопрозрачным влагонепроницаемым материалом, покрытия их пленкообразующими составами или укладывать бетонную смесь с температурой 50 - 60 °С.

Во избежание возможного возникновения термонапряженного состояния в монолитных конструкциях при прямом воздействии солнечных лучей свежеуложенный бетон следует защищать саморазрушающимися полимерными пенами, инвентарными тепловлагоизоляционными покрытиями, полимерной пленкой с коэффициентом отражения более 50 % или любым другим теплоизоляционным материалом.

Транспортировка и укладка бетонной смеси в монолитные конструкции с помощью автобетоносмесителей и автобетононасосов

(согласно Инструкции по транспортировке и укладке бетонной смеси в монолитные конструкции с помощью автобетоносмесителей и автобетононасосов на объектах Главмоспромстроя - ВСН-011-84)

Бетонная смесь, предназначенная для перекачки по трубопроводам, должна подбираться расчетно-экспериментальным путем. Гранулометрический состав, пластичность и однородность смеси должны обеспечивать проектные характеристики бетона конструкции.

Бетонные смеси должны готовиться только на портландцементе с нормальными или замедленными сроками схватывания; по возможности смеси должны быть пластифицированными. Минимальный расход цемента без добавок должен составлять не менее 300 кг/м3 при марке бетона не менее М200.

В качестве крупного заполнителя лучше применять гравий. Использование щебня ухудшает перемещение бетонной смеси по трубопроводу и приводит к ускоренному износу деталей бетононасоса.

Максимальный размер крупного заполнителя не должен превышать 20 мм.

Бетонная смесь на известняковом щебне обладает меньшей подвижностью и удобоукладываемостью, чем бетонная смесь на щебне из твердых пород при равных расходах цемента и воды.

Количество пылевидной части песка крупностью до 0,15 мм рекомендуется доводить до 5 %, а мелкого песка крупностью до 0,3 мм - должно находиться в пределах 20 % от общего веса песка. Добавление пылевидного и мелкого песка сверх указанного количества может привести к образованию пробок в бетоноводе из-за отощания смеси. По данным фирмы «Stetter» лучше всего перекачивать свежеприготовленную смесь, включающую одну часть песка крупностью до 0,3 мм на каждые три части цемента (по весу).

Бетонные смеси должны содержать от 32 до 45 % мелких (песчаная мелочь и пылевидные частицы) и крупных заполнителей (гравий до 55 % или щебень до 60 - 65 %) по весу от их общего количества.

Перекачиваемость бетонных смесей может быть улучшена за счет применения пластифицирующих добавок. Рекомендуется применять следующие добавки:

- суперпластификаторы: С-3; МФ-АР; 10-03; 40-03;

- пластификаторы: НИЛ-20; СДБ; ЛСТМ-2 и др.

Ориентировочные составы бетонных смесей, пригодных для транспортирования по трубопроводам автобетононасосами, приведены в нижеследующей таблице.

Основные характеристики бетонных смесей

Един. изм.

Диаметр трубопровода, мм

100

150

Количество крупного заполнителя

%

 

 

Æ 5 - 10 мм

 

40 - 60

30 - 40

Æ 10 - 20 мм

 

40 - 60

50 - 60

Æ 20 - 40 мм

 

-

до 10

Расход цемента

кг/м3

300 - 400

300 - 400

Расход песка

кг/м3

730 - 1000

600 - 800

Расход щебня (гравия)

кг/м3

850 - 1050

1000 - 1200

 

0,4 - 0,7

0,32 - 0,45

Осадка стандартного конуса

см

8 - 14

6 - 14

Высокие требования к качеству бетонной смеси являются гарантией надежной эксплуатации автобетононасосов.

Жесткие малоподвижные бетонные смеси, а также литые несвязанные для перекачивания по трубопроводам не пригодны, т.к. в этих случаях в трубопроводах могут образовываться пробки. При перекачивании малоподвижных смесей пробки образовываются за счет сопротивления перемещению (трение), превышающего величину давления, развиваемого бетононасосом. При перемещении литых смесей - в результате их расслаивания. Кроме того, литой бетон не может транспортироваться по вертикали. Транпортировка литой смеси сопровождается характерным треском (пульсацией) в трубопроводе, который вызывается гидравлическими ударами при каждом новом продвижении бетона.

При оптимальном гранулометрическом составе заполнителей расход цемента в бетонной смеси, предназначенной для перекачивания бетононасососами, не отличается от расхода цемента для приготовления бетонных смесей, укладываемых другими методами.

На строительной площадке в процессе контроля качества бетонной смеси производятся:

определение подвижности бетонной смеси (отбор проб производится при загрузке бетонной смеси в приемный бункер бетононасоса; продолжительность взятия пробы не должна превышать 10 сек.; испытание должно быть произведено не позднее, чем через 5 мин. после взятия пробы; испытания производятся в соответствии с требованиями ГОСТ 10181.1-81);

отбор проб бетонной смеси для последующего определения физико-механических характеристик бетона по ГОСТ 10180-90 (отбор проб производится на выходе бетонной смеси из бетоновода; оценка прочности бетона с учетом его однородности производятся по ГОСТ 18105-86*).

Бетонные смеси транспортируются только в автобетоносмесителях.

Максимальное время транспортирования готовых бетонных смесей в автобетоносмесителях - 2 часа.

В целях исключения расслоения и снижения подвижности бетонной смеси во время транспортирования к объекту рекомендуется периодическое включение и выключение барабана автобетоносмесителя.

Перед разгрузкой на стройплощадке необходимо домешивание бетона в барабане автобетоносмесителя при 10 - 12 об/мин в течение 3 мин.

Бетонная смесь по бетоноводу подается непосредственно к месту укладки. Высота свободного падения бетонной смеси не должна превышать 2 м.

Транспортирование бетонной смеси от смесительного узла до места укладки бетона в опалубку при температуре до минус 15 °С можно осуществлять в автобетоносмесителях и автобетононасосами обычного (летнего) исполнения, без утепления, но с обязательной очисткой барабана и бункеров от наледи и снега.

При температуре ниже минус 15 °С барабаны автобетоносмесителей, бункера автобетононасосов и бетоноводы должны быть утеплены.

При транспортировании смеси допускается не более одной перегрузки - из автобетоносмесителя в бункер бетононасоса. Место перегрузки должно быть защищено от ветра. Бункер бетононасоса должен быть защищен от атмосферных осадков.

Температура бетонной смеси при загрузке в барабан автобетоносмесителя на бетонном заводе должна быть не менее плюс 10 °С, но не более плюс 40 °С и определяться расчетным путем.

В начальный момент работы автобетононасоса температура пускового раствора и первых порций бетонной смеси в объеме, достаточном для заполнения бетоновода по всей его длине, должна быть в зависимости от температуры наружного воздуха не ниже 30 - 50 °С.

Непосредственно перед началом транспортирования бетонной смеси трубопровод должен быть прогрет горячей водой, паром или теплым воздухом, пропускаемым по трубопроводу.

Средняя температура бетонной смеси в процессе транспортирования по трубопроводу, включая периоды остановки бетононасоса, не должна опускаться ниже величин, обеспечивающих температуру уложенного в конструкцию бетона перед началом выдерживания или прогрева:

- при выдерживании бетона по способу термоса - по расчету;

- при применении различных способов электротермообработки - не ниже плюс 2 °С;

- при использовании бетона с противоморозными добавками - не менее чем на 5 °С выше температуры замерзания раствора затворения.

Возможно транпортирование бетонной смеси с противоморозной добавкой нитрита натрия.

Транспортирование бетонных смесей с добавками хлористых солей не допускается во избежание интенсивной коррозии деталей бетононасоса и трубопроводов. Не допускается также применение поташа, который способствует быстрому загустеванию бетонной смеси.

При транспортировании бетонной смеси по неутепленному трубопроводу остановка автобетононасоса допускается не более 15 минут. При более длительной остановке необходимо принять меры для удаления бетонной смеси из трубопровода. В случае утепленного трубопровода допускается остановка автобетононасоса продолжительностью 20 - 30 минут.

Контроль качества бетона

Контроль качества бетона заключается в проверке соответствия показателей его качества требованиям проекта и нормативных документов.

Требования к качеству конструкционных бетонов плотной структуры, приготавливаемых на цементном вяжущем, плотных крупных и мелких заполнителях (тяжелые бетоны), устанавливаются в соответствии с требованиями ГОСТ 25192-82*:

в ГОСТ 26633-91 «Бетоны тяжелые и мелкозернистые. Технические условия»;

в рабочих чертежах монолитных бетонных и железобетонных конструкций.

Качество бетона должно соответствовать требованиям ГОСТ 26633-91 и обеспечивать изготовление монолитных бетонных и железобетонных конструкций, удовлетворяющих требованиям проектной документации.

Основными показателями качества бетона являются прочность бетона на сжатие, осевое растяжение, растяжение при изгибе, морозостойкость и водонепроницаемость.

Прочность бетона в проектном возрасте характеризуют классами прочности на сжатие, осевое растяжение, растяжение при изгибе.

Для бетонов конструкций, подвергающихся в процессе эксплуатации попеременному замораживанию и оттаиванию, назначают марки бетона по морозостойкости, а для бетонов конструкций, к которым предъявляются требования ограничения проницаемости или повышенной плотности и коррозионной стойкости - марки по водонепроницаемости.

Классы бетона по прочности, марки по моростойкости и водонепроницаемости бетонов в конструкциях конкретных видов устанавливают в соответствии с нормами проектирования и указывают в стандартах, технических условиях и в проектной документации на эти конструкции.

Технические требования к бетону, перечисленные выше, должны быть обеспечены изготовителем конструкций в проектном возрасте, который указывают в проектной документации на эти конструкции и назначают в соответствии с нормами проектирования в зависимости от условий твердения бетона, способов возведения и сроков фактического загружения этих конструкций. Если проектный возраст не указан, технические требования к бетону должны быть обеспечены в возрасте 28 сут.

Качество бетонных смесей и технология их приготовления должны обеспечивать получение бетонов, удовлетворяющих требованиям по всем нормируемым показателям качества.

Состав бетона должен подбираться по ГОСТ 27006-86.

Требуемые значения водоцементного отношения и объема вовлеченного воздуха в бетонных смесях устанавливают для отдельных видов бетона в зависимости от условий работы конструкций.

Для дорожных и аэродромных покрытий объем вовлеченного воздуха в бетонной смеси должен соответствовать указанному в нижеследующей таблице.

Конструктивный слой покрытия

Объем вовлеченного воздуха в бетонной смеси, %, для бетона

тяжелого

мелкозернистого

Однослойные и верхний слой двухслойных покрытий

5 - 7

2 - 7

Нижний слой двухслойных покрытий

3 - 5

1 - 12

Для гидротехнических сооружений с нормированной морозостойкостью F200 и выше, эксплуатируемых в условиях насыщения морской или минерализированной водой, объем вовлеченного воздуха в бетонной смеси должен соответствовать указанному в нижеследующей таблице.

Максимальная крупность заполнителя, мм

Объем вовлеченного воздуха в бетонной смеси, %, при В/Ц

менее 0,41

0,41 - 0,50

Более 0,50

10

2 - 4

3 - 5

5 - 7

20

 

2 - 4

4 - 6

40

1 - 3

1 - 3

2 - 4

Объем вовлеченного воздуха в бетонной смеси для бетонов мостовых конструкций с нормированной морозостойкостью принимают по стандартам и техническим условиям на бетон конструкции конкретного вида; он не должен превышать, %:

2 - 5 ... для мостовых бетонных и железобетонных конструкций;

5 - 6 ... для покрытий проезжей части мостов.

Для дорожных и аэродромных однослойных и верхнего слоя двухслойных покрытий водоцементное отношение в бетонной смеси должно быть не более 0,50, а для нижнего слоя двухслойных покрытий - не более 0,60.

Минимальный расход цементов по ГОСТ 10178-85* и ГОСТ 22266-94 принимают в соответствии с нижеследующей таблицей.

Вид конструкции

Условия эксплуатации

Вид и расход цементов, кг/см3

ПЦ-Д0, ПЦ-Д5

ССПЦ-Д0

ПЦ-Д20

ССПЦ-Д20

ШПЦ, ПуццПЦ

ССШПЦ

Неармированные

Без атмосферных воздействий

Не нормируют

При атмосферных воздействиях

150

170

170

Армированные с ненапрягаемой арматурой

Без атмосферных воздействий

150

170

180

При атмосферных воздействиях

200

220

240

Армированные с преднапряженной арматурой

Без атмосферных воздействий

220

240

270

При атмосферных воздействиях

240

270

300

Допускается изготовление армированных бетонов с расходом цемента менее минимально допустимого при условии предварительной проверки обеспечения защитных свойств бетона по отношению к стальной арматуре.

Минимальный расход цемента других видов устанавливают на основании результатов оценки защитных свойств бетона на этих цементах по отношению к стальной арматуре.

Минимальный расход цемента для бетонов конструкций, эксплуатирующихся в агрессивных средах, определяют с учетом требований СНиП 2.03.11-85.

Для снижения расхода цемента и заполнителей при приготовлении бетонных смесей рекомендуется использовать золы-уноса, шлаки и золошлаковые смеси ТЭЦ, отвечающие требованиям ГОСТ 25592-91**, ГОСТ 25818-91** и ГОСТ 26644-85.

Для регулирования и улучшения свойств бетонной смеси и бетона, снижения расхода цемента и энергетических затрат следует применять химические добавки, удовлетворяющие требованиям ГОСТ 24211-91.

Перечень добавок приведен в конце данной СОКК.

Бетоны марки по морозостойкости F200 и выше, а также бетоны марки по морозостойкости F100 и выше для дорожных и аэродромных покрытий, гидротехнических сооружений следует изготовлять с обязательным применением воздухововлекающих или газообразующих добавок.

Бетонные смеси марок по удобоукладываемости П4 и П5 для монолитных и сборномонолитных конструкций должны приготовляться с обязательным применением пластифицирующих добавок.

Приготовление и транспортирование бетонных смесей должно производиться в соответствии с требованиями ГОСТ 7473-94.

Приемку бетона по качеству для монолитных конструкций производят по прочности, по морозостойкости, водонепроницаемости и другим нормируемым показателям, установленным проектом, - в соответствии с нормами по организации, производству и приемке работ.

Бетоны по морозостойкости, водонепроницаемости, средней плотности, истираемости, водопоглощению оценивают при подборе каждого нового номинального состава бетона по ГОСТ 27006-86, а в дальнейшем не реже одного раза в 6 мес, а также при изменении состава бетона, технологии производства и качества используемых материалов.

Прочность бетона на сжатие и растяжение по контрольным образцам определяют по ГОСТ 10180-90; по образцам, отобранным из конструкций - по ГОСТ 28570-90; механическими методами неразрушающего контроля - по ГОСТ 22690-88; ультразвуковым методом - по ГОСТ 17624-87; методом ускоренного определения прочности на сжатие - по ГОСТ 22783-77.

Морозостойкость бетона базовым и ускоренными методами определяют по ГОСТ 10060.0-95 ÷ ГОСТ 10060.4-95; ультразвуковым методом - по ГОСТ 26134-84*; водонепроницаемость - по ГОСТ 12730.1-78.

Другие показатели качества бетонов, установленные проектом, определяют в соответствии с требованиями, установленными в стандартах и технических условиях на бетон конструкций конкретных видов:

среднюю плотность - по ГОСТ 12730.1-78;

влажность - по ГОСТ 12730.2-78;

водопоглощение - по ГОСТ 12730.3-78;

показатели пористости - по ГОСТ 12730.4-78;

истираемость - по ГОСТ 13087-81;

призменную прочность, модуль упругости и коэффициент Пуассона - по ГОСТ 24452-80;

деформации усадки и ползучести - по ГОСТ 24544-81*;

выносливость - по ГОСТ 24545-81;

тепловыделение - по ГОСТ 24316-80.

Качество бетонной смеси определяют по ГОСТ 10181.0 - 81 ÷ ГОСТ 10181.4-81.

Показатели качества крупного и мелкого заполнителя для тяжелых бетонов регламентируются ГОСТ 26633-91, а также ГОСТ 8267-93* - для щебня и гравия из плотных горных пород, ГОСТ 8736-93* - для песка, ГОСТ 25592-91** - для золошлаковых смесей; методы испытаний крупного заполнителя регламентируются ГОСТ 8269.0-97, мелкого заполнителя - ГОСТ 8735-88*.

Прочность бетона контролируют и оценивают по ГОСТ 18105-86*.

На строительных площадках при бетонировании монолитных конструкций должен производиться статистический контроль и приемка бетона по прочности с учетом его однородности.

Приемка бетона путем сравнения его фактической прочности с нормируемой без учета характеристик однородности прочности не допускается.

В монолитных конструкциях контролю подлежат:

передаточная прочность бетона - для предварительно напряженных конструкций;

прочность бетона в установленном проектной документацией промежуточном возрасте - при снятии несущей опалубки и т.д.;

прочность бетона в проектном возрасте.

В случае, когда нормируемая передаточная прочность бетона составляет 90 % и более от установленной для данного класса (марки), контроль прочности в проектном возрасте не производят.

Контроль прочности бетона по каждому виду нормируемой прочности производят с использованием данных контроля предыдущих партий в следующем порядке:

определяют прочность бетона в каждой из партий, изготовленных в течение установленного стандартом периода (анализируемого);

вычисляют характеристики однородности прочности бетона за анализируемый период;

определяют по характеристикам однородности прочности бетона в анализируемом периоде требуемую прочность бетона для последующего контролируемого периода;

определяют прочность бетона в данной контролируемой партии, сравнивают ее с требуемой прочностью и принимают решение о приемке этой партии.

Определение прочности бетона в партии производят в соответствии с ГОСТ 18105-86* на основе результатов испытаний образцов бетона согласно ГОСТ 10180-90, либо неразрушающими методами по действующим государственным стандартам на эти методы.

При определении прочности бетона монолитных конструкций неразрушающими методами должны применяться или ультразвуковой метод по ГОСТ 17624-87 при сквозном прозвучивании или метод отрыва со скалыванием по ГОСТ 22690-88. Применение других методов неразрушающего контроля допускается по согласованию с головными научно-исследовательскими организациями.

Определение прочности бетона на растяжение производят только по образцам.

В качестве характеристики однородности, используемой при контроле для определения требуемой прочности бетона Rт, вычисляют средний коэффициент вариации прочности Vп по всем партиям бетона за анализируемый период.

Одновременно с определением требуемой прочности вычисляют средний уровень прочности бетона Rу для использования при подборе состава бетона в соответствии с ГОСТ 27006-86 на предстоящий контролируемый период.

При этом, если средний уровень прочности бетона в предстоящем контролируемом периоде снижается по сравнению с предыдущим (за счет получения бетона с более высокой однородностью), то должен быть соответственно сокращен расход цемента.

В состав партии следует включать бетон монолитных конструкций, формуемых на одном технологическом комплексе из бетонной смеси одного номинального состава по ГОСТ 27006-86 по одной технологии в течение не менее одной смены и не более одной недели.

Допускается в состав партии объединять бетоны одного класса (марки) по прочности разного номинального состава, если выполняются следующие условия:

максимальный из средних значений партионного коэффициента вариации прочности бетона за анализируемый период объединенных составов не превышает 12 %;

разность между максимальными и минимальными значениями партионного коэффициента вариации прочности бетона за анализируемый период по объединенным составам не превышает 2 %;

наибольшая крупность заполнителя и показатель удобоукладываемости объединенных составов отличаются не более чем в два раза, а расход цемента в этих составах отличается не более чем на 15 % от среднего значения.

Регламентируемые условия объединения проверяют один раз в год по результатам определения статистических характеристик однородности бетона по прочности отдельно по каждому номинальному составу за последние два контролируемых периода.

При объединении в партию различных составов значение коэффициента вариации прочности бетона в первый контролируемый период определяют как среднее арифметическое значение усредненных значений коэффициентов вариации по отдельным номинальным составам.

При контроле по образцам для определения прочности бетона из произвольно выбранных замесов в соответствии с ГОСТ 10181.0-81 отбирают не менее двух проб бетонной смеси от каждой партии бетона и не менее одной пробы:

в 1 сут - на предприятии - изготовителе бетонной смеси для монолитных конструкций;

в 1 сут - на строительной площадке для монолитных конструкций.

По согласованию с проектной организацией, осуществляющей авторский надзор, пробы бетонной смеси на месте укладки их в монолитную конструкцию допускается не отбирать, а оценивать прочность бетона по данным контроля предприятия - изготовителя бетонной смеси.

Из каждой пробы бетонной смеси изготавливают в соответствии с ГОСТ 10180-90 по одной серии образцов бетона для контроля:

передаточной прочности;

прочности бетона в промежуточном возрасте;

прочности бетона в проектном возрасте.

Контрольные образцы бетона монолитных конструкций на предприятии -изготовителе бетонной смеси должны твердеть в нормальных условиях, а на строительной площадке - в условиях, одинаковых с условиями твердения конструкций.

Для определения прочности бетона монолитных конструкций неразрушающими методами в промежуточном возрасте контролируют не менее одной конструкции из объема бетона, уложенного в течение каждых суток (или часть конструкции в случае, когда ее бетонирование производится более 1 сут).

На каждой монолитной конструкции, отобранной для определения прочности бетона неразрушающими методами, назначают не менее четырех контролируемых участков.

Число и расположение контролируемых участков должно указываться проектной организацией в рабочих чертежах конструкций в зависимости от геометрических размеров, назначения и технологии их изготовления и быть не менее:

для линейных конструкций - одного участка на 4 м длины;

для плоских конструкций, за исключением монолитных конструкций сплошных стен, - одного участка на 4 м2 площади;

для монолитных конструкций сплошных стен - одного участка на 8 м2 площади.

При отсутствии указаний в рабочих чертежах контролируемые участки устанавливаются изготовителем по согласованию с проектной или научно-исследовательской организацией.

Число измерений, выполняемых на каждом контролируемом участке, принимают по действующим стандартам на методы неразрушающего контроля.

Прочность бетона в партии Rm, МПа, вычисляют по формуле

,

где Ri - единичное значение прочности бетона, МПа;

n - общее число единичных значений прочности бетона в партии.

За единичное значение прочности принимают:

при контроле по образцам - среднюю прочность бетона в одной серии образцов, определенную по ГОСТ 10180-90;

при контроле неразрушающими методами - среднюю прочность бетона конструкции или среднюю прочность бетона контролируемого участка конструкции, определенную по действующим государственным стандартам на методы неразрушающего контроля.

При контроле прочности бетона на строительной площадке коэффициент вариации прочности бетона принимают по документу о качестве бетонной смеси предприятия-изготовителя.

Требуемую прочность бетона (передаточную, в промежуточном или в проектном возрастах) при нормировании прочность по классам Rт, вычисляют по формуле

Rт = Kт·Внорм,

где Внорм - нормируемое значение прочности бетона, МПа (передаточной, в промежуточном или в проектном возрасте) для бетона данного класса по прочности на сжатие, осевое растяжение или растяжение при изгибе;

Kт - коэффициент требуемой прочности для всех видов бетонов, принимаемый в соответствии с нижеприведенной таблицей в зависимости от среднего коэффициента вариации прочности бетона Vп по всем партиям за анализируемый период.

При использовании неразрушающих методов контроля прочности бетона в случае, когда за единичное значение принимают прочность бетона контролируемого участка конструкции, правую часть вышеприведенной формулы следует умножать на коэффициент 0,95.

Требуемую прочность бетона при нормировании прочности по маркам определяют в соответствии с обязательным приложением 3 ГОСТ 18105-86*.

В начальный период до накопления необходимого для ведения статистического контроля числа результатов испытаний требуемую прочность бетона Rт определяют по формуле

.

Vп, %

Kт

для всех видов бетонов, кроме массивных гидротехнических

для массивных гидротехнических конструкций

6 и менее

1,07

1,09

7

1,08

1,10

8

1,09

1,11

9

1,11

1,13

10

1,14

1,14

11

1,18

1,16

12

1,23

1,18

13

1,28

1,20

14

1,33

1,22

15

1,38

1,23

16

1,43

1,25

17

Область

1,28

18

1,32

19

недопустимых

1,36

20

1,39

21 и более

значений

Приемка партий бетона монолитных конструкций проводится по прочности бетона в проектном возрасте.

Партия бетона подлежит приемке, если фактическая прочность бетона в партии Rm будет не ниже требуемой прочности Rт, т.е.

Rm ³ Rт.

Значения фактической и требуемой прочности бетона должны быть указаны в документе о качестве бетонной смеси по ГОСТ 7473-85 и в журнале бетонных работ для монолитных конструкций.

Средний для контролируемого периода уровень прочности (в промежуточном и в проектном возрасте для монолитных конструкций) бетона Rу, МПа, определяется по формуле

Rу = Rт/Kм.п.,

где Км.п. - коэффициент, принимаемый по нижеследующей таблице в зависимости от среднего за анализируемый период коэффициента вариации Vп.

Vп, %

6 и менее

От 6 до 7

От 7 до 8

От 8 до 10

От 10 до 12

От 12 до 14

14 и более

Км.п.

1,03

1,04

1,05

1,07

1,09

1,12

1,15

При этом значение Км.п. должно приниматься для тяжелого бетона не более 1,10.

Верхняя предупредительная граница средней прочности бетона в контролируемой партии , МПа, превышение которой свидетельствует о завышении фактической прочности, расчитывается по формуле

,

где Vм.п. - коэффициент межпартионной вариации прочности, принимаемый равным 0,5Vп.

Если прочность бетона в трех партиях подряд выше  или фактический средний уровень прочности за контролируемый период превышает средний уровень прочности, расчитанный по вышеприведенной формуле, то должны быть приняты меры по снижению прочности бетона и сокращению расхода цемента.

ОСНОВНЫЕ ДОБАВКИ ДЛЯ БЕТОНОВ

Вид добавки

Наименование

Условная марка

Нормативный документ

Пластифицирующие

Разжижитель

С-3

ТУ 6-36-0204229-625-90

Меламиноформальдегидная анионактивная смола

МФ-АР (б. МФАС-Р-100п)

ТУ 6-05-1926-82

Дофен

ДФ

ТУ 6-188 УССР-81

10-03

10-03

ТУ 44-3-874-86

НКНС 40-03

40-03

ТУ 38-4-0258-90

Разжижитель СМФ

СМФ

ТУ 6-14-929-85

Водорастворимый препарат

ВРП-1

ТУ 64.11.02-87

Лигносульфонаты технические

ЛСТ

ТУ 13-0281036-05-89

Лигносульфонаты технические модифицированные

ЛСТМ-2

ОСТ 13-287-85

Монолит-1

М-1

ТУ 69 БССР-350-82

Этилсиликонат натрия

ГКЖ-10

ТУ 6-02-696-76

Метилсиликонат натрия

ГКЖ-11

ТУ 6-02-696-76

Стабилизирующая

Гипан

ГПН

ТУ 6-01-166-89

Водоудерживающие

Метилцеллюлоза

МЦ

ТУ 6-05-1857-78

Бентонитовая глина

БГ

ТУ 39-01-08-658-81

Воздухововлекающие

Смола древесная омыленная

СДО

ТУ 13-05-02-83

Клей талловый пековый

КТП

ОСТ 13-145-82

Сульфанол

С

ТУ 6-01-1001-75

Газообразующая

Полигидросилоксаны

136-157М

ТУ 6-02-694-76

Уплотняющая

Сульфат алюминия

СА

ГОСТ 12966-85*

Полиаминная смола № 89

С-89

ТУ 6-05-1224-76

Алифатическая эпоксидная смола

ДЭГ-1

ТУ 6-05-1823-77

Замедляющие схватывание

Кормовая сахарная патока (меласса)

КП

ТУ 18 РСФСР-409-71

Нитрилотриметиленфосфоновая кислота

НТФ

ТУ 6-02-1171-79

ТУ 6-4919-80

Ускоряющие твердение

Хлорид кальция

ХК

ГОСТ 450-77*

Нитрат кальция

НК

ГОСТ 4142-77*

Нитрит-нитрат-хлорид кальция

ННХК

ТУ 6-18-194-76

Поташ (калий углекислый, карбонат калия)

П

ГОСТ 10690-73*

Нитрит-нитрат кальция

ННК

ТУ 6-18-194-76

Хлорид натрия

ХН

ГОСТ 13830-91

ТУ 6-13-5-75

ТУ 6-13-14-77

Карбамид (мочевина)

М

ГОСТ 2081-92

Противоморозная

Нитрит натрия

НН

ГОСТ 19906-74*

Гидрофобизирующие

Фенил этоксисилосан

1113-6-3 (ФЭС-52)

ТУ 6-02-995-80

Алюмометилсиликонат натрия

АМСР

ТУ 6-02-700-76

Допускается применение других добавок, отвечающих требованиям ГОСТ 24211-91.

Опалубочные работы

ГОСТ 23478-79 «Опалубка для возведения монолитных бетонных и железобетонных конструкций. Классификация и общие технические требования»

ГОСТ 23477-79 «Опалубка разборно-переставная мелкощитовая инвентарная для возведения монолитных бетонных и железобетонных конструкций. Технические условия»

Технические условия на опалубку конкретных видов

СНиП 3.03.01-87 «Несущие и ограждающие конструкции»

СНиП 3.01.01-85 «Организация строительного производства»

Типы опалубок следует применять в соответствии с ГОСТ 23478-79.

ГОСТ 23478-79 «ОПАЛУБКА ДЛЯ ВОЗВЕДЕНИЯ МОНОЛИТНЫХ БЕТОННЫХ И ЖЕЛЕЗОБЕТОННЫХ КОНСТРУКЦИЙ. КЛАССИФИКАЦИЯ И ОБЩИЕ ТЕХНИЧЕСКИЕ ТРЕБОВАНИЯ»

Опалубка подразделяется по:

конструктивным признакам;

материалам формообразующих элементов;

применяемости при различной температуре окружающего воздуха и характеру воздействия ее на бетон конструкций.

По конструктивным признакам опалубка подразделяется на:

разборно-переставную мелкощитовую;

разборно-переставную крупнощитовую;

подъемно-переставную;

блочную;

объемно-переставную;

скользящую;

горизонтально-перемещаемую (катучую, тоннельную);

пневматическую;

несъемную.

По материалам формообразующих элементов опалубка подразделяется на:

металлическую;

деревянную;

пластмассовую.

Контролируемые операции

Состав и средства контроля

Документация

Подготовительные работы

Проверить:

 

-   завершение и надлежащее оформление предшествующих работ по устройству оснований или монтажу конструкций и их элементов, скрываемых при выполнении опалубочных и бетонных работ, и принять их;

Акты приемки, акты освидетельствования скрытых работ

-   завершение и надлежащее оформление геодезических разбивочных работ;

Акт разбивки, исполнительная схема

-   наличие ПНР, технологических карт и схем операционного контроля качества опалубочых работ;

ППР, технологические карты, СОКК

-   доставку требуемого количества комплектов опалубки и их комплектность; завершение укрупнительной сборки элементов опалубки;

Общий и специальный журналы работ

-   наличие паспорта и инструкции по монтажу и эксплуатации опалубки; соответствие опалубки требованиям проекта, стандартов или технических условий

Журнал работ

Опалубочные работы

Контролировать:

 

-   соответствие технологии опалубочных работ требованиям ППР и технологических карт;

Журнал работ

-   надежность крепления и точность установки опалубки;

-   соблюдение сроков распалубливания конструкций;

-   соблюдение технологии распалубливания; состояние опалубки после демонтажа и правильность складирования элементов опалубки

Исполнительная схема

Приемка

Проверить:

 

-   соответствие установленной опалубки требованиям проекта и нормативных документов;

-   составление и надлежащее оформление акта приемки смонтированной и подготовленной к бетонированию опалубки и прилагаемой к нему приемо-сдаточной документации

Акт приемки опалубки, исполнительная геодезическая схема

Входной и операционный контроль осуществляют: мастер (прораб), лаборант (инженер), геодезист - в процессе выполнения работ.

Приемочный контроль осуществляют: прораб (мастер), геодезист, работники отдела контроля качества СМР, представители технадзора заказчика

КИП: нивелир, теодолит и др. геодезические приборы и инструмент

По применяемости при различной температуре наружного воздуха и характеру ее воздействия на бетон опалубка подразделяется на:

неутепленную;

утепленную;

греющую (термоактивную).

Нагрузки на опалубку следует рассчитывать в соответствии с требованиями обязательного приложения 1 СНиП 3.03.01-87.

Опалубка должна изготовляться в соответствии с требованиями ГОСТ 23478-79 и стандартов или технических условий на опалубку конкретных типов.

Опалубка должна обладать прочностью, жесткостью, неизменяемостью формы и устойчивостью в рабочем положении, а также в условиях монтажа и транспортирования.

Конструкция опалубки должна обеспечивать:

проектную точность геометрических размеров монолитных конструкций и заданное качество их поверхности;

быстроразъемность соединительных элементов и возможность устранения зазоров в ее элементах, появляющихся в процессе длительной эксплуатации;

удобство ремонта и замены элементов, вышедших из строя;

быструю установку и разборку ее без повреждения монолитных конструкций и элементов опалубки;

минимальное сцепление с бетоном (кроме несъемной);

фиксацию закладных частей в проектном положении с точностью, приведенной в рабочих чертежах на монолитные конструкции или в соответствующих государственных стандартах;

возможность укрупнительной сборки и переналадки (изменения габаритных размеров или конфигурации) в условиях строительной площадки, а также заданную оборачиваемость;

температурно-влажностный режим, необходимый для твердения и набора бетоном проектной прочности.

Поверхности инвентарной опалубки (кроме пневматической), не соприкасающиеся с бетоном, должны быть окрашены красками, стойкими к окружающей среде в условиях эксплуатации. Рабочие поверхности металлической опалубки и детали при необходимости длительного хранения должны подвергаться консервации по ГОСТ 9.014-78* и СТ СЭВ 992-78.

Разборно-переставная крупнощитовая, блочная и обьемно-переставная опалубка, а также опалубочные панели и блоки, собранные из элементов разборно-переставной опалубки, должны иметь устройства для предварительного отделения их от поверхности забетонированных конструкций. Применение подъемных механизмов для срыва опалубки с бетона запрещается.

Конструкция греющей опалубки должна обеспечивать:

равномерную температуру на палубе щита. Температурные перепады не должны превышать 5 °С;

возможность замены нагревательных элементов в случае выхода их из строя в процессе эксплуатации; контроль и регулирование режимов прогрева; стабильность теплотехнических свойств щитов.

Оборачиваемость элементов инвентарной опалубки должна быть не менее приведенной в нижеследующей таблице.

Тип опалубки

Оборачиваемость опалубки, единиц оборотов

Палуба

Поддерживающие элементы из стали

металлическая (из стали)

фанерная

деревянная

Разборно-переставная мелкощитовая

100

30

20

200

Разборно-переставная крупнощитовая

120

120

Подъемно-переставная

Блочная

Объемно-переставная

200

200

Скользящая, пог. м

300

60

30

600

Горизонтально-перемещаемая (катучая, тоннельная), пог. м

400

80

40

800

Для получения бетонных поверхностей, готовых под окраску или оклейку обоями, должны применяться, как правило, крупноразмерные конструкции опалубок с минимальным количеством стыковых соединений.

На палубе щитов из металла, фанеры или пластмасс не допускаются трещины, заусенцы и местные отклонения глубиной более 2 мм, на палубе из древесины - более 3 мм в количестве более 3 на 1 м2.

Палуба крупноразмерных конструкций опалубки (крупнощитовая, объемно-переставная, блочная), применяемой для получения поверхностей, готовых под окраску или оклейку обоями, должна изготовляться из целых листов. При изготовлении из двух или нескольких листов стыковые соединения палубы должны опираться на несущие конструкции каркаса щита; сварные швы и герметизирующая обмазка должны быть зачищены заподлицо с основной поверхностью.

Для поддерживающих металлических элементов опалубки (схваток, стоек, рам, ферм и т.п.) и каркасов щитов должна применяться сталь марки ВСт.3 по ГОСТ 380-94. Для металлических палуб должна применяться листовая сталь марки ВСт.3 по ГОСТ 380-94, ГОСТ 16523-97, ГОСТ 146637-89*.

Устройства для подъема опалубки (петли, штыри и др.) должны изготовляться из стали марки ВСт.3пс любой категории по ГОСТ 380-94 или стали марки 20 по ГОСТ 1050-88*.

Детали, подвергающиеся износу (пальцы, замки, втулки, шарниры и т.д.), должны изготовляться из стали не ниже марки 45 по ГОСТ 1050-88* и подвергаться термической обработке.

Для деревянных поддерживающих элементов должны применяться лесоматериалы круглые хвойных пород не ниже II сорта по ГОСТ 9463-88*, пиломатериалы хвойных пород не ниже II сорта по ГОСТ 8486-86*; для палубы - пиломатериалы хвойных пород по ГОСТ 8486-86* и лиственных пород по ГОСТ 2695-83* не ниже II сорта.

Доски палубы должны иметь ширину не более 150 мм.

Влажность древесины, применяемой для поддерживающих элементов, должна быть не более 22 %, для палубы - не более 18 %.

Для щитов должны применяться древесностружечные плиты по ГОСТ 10632-89*, древесноволокнистые плиты по ГОСТ 4598-86*, фанера бакелизированная по ГОСТ 11539-83*, марки ФСФ по ГОСТ 3916.1-96 и ГОСТ 3916.2-96. Плиты и фанера марки ФСФ должны быть защищены водостойким покрытием.

Торцевые поверхности неметаллической палубы (деревянной, фанерной) должны быть защищены от влаги водостойким герметиком.

Пластмассовые палубы должны изготовляться из материалов, удовлетворяющих требованиям стандартов или ТУ на эти материалы.

В качестве утеплителя греющей и утепленной опалубки должны применяться теплоизоляционные материалы плотностью до 200 кг/м3.

Плотность утеплителя не должна превышать паспортную более чем на 15 %, а влажность - на 6 %.

В греющей опалубке электрическое сопротивление изоляции нагревателей и коммутирующей разводки не должно быть менее 6,5 МОм.

Элементы опалубки должны плотно прилегать друг к другу при сборке. Щели в стыковых соединениях не должны быть более 2 мм.

Клеевые соединения деревянной опалубки должны соответствовать ГОСТ 19414-90.

Люфт в шарнирных сочленениях элементов опалубки не должен превышать 1 мм. Соединения элементов опалубки (замки, с клиновым, винтовым, эксцентриковым запором) должны обладать надежностью в эксплуатации и быть устойчивыми против воздействия вибрации при уплотнении бетонной смеси.

ГОСТ 23477-79 ОПАЛУБКА РАЗБОРНО-ПЕРЕСТАВНАЯ МЕЛКОЩИТОВАЯ ИНВЕНТАРНАЯ ДЛЯ ВОЗВЕДЕНИЯ МОНОЛИТНЫХ БЕТОННЫХ И ЖЕЛЕЗОБЕТОННЫХ КОНСТРУКЦИЙ. ТЕХНИЧЕСКИЕ УСЛОВИЯ

Опалубка должна удовлетворять требованиям ГОСТ 23478-79.

Длина щитов опалубки должна быть 1200, 1500, 1800 мм, ширина - 300 и 600 мм. По согласованию с потребителем допускается изготовление щитов шириной 400 и 500 мм.

Опалубка должна поставляться изготовителем комплектно с элементами крепления и с запасными частями к ним. Состав комплекта и класс точности изготовления элементов опалубки определяется заказом потребителя. При этом допускается предусматривать запас элементов крепления в расчете на год эксплуатации опалубки в пределах 10 %.

Греющая опалубка должна поставляться с электронагревательными элементами, коммутирующей электроразводкой и приборами контроля и регулирования.

На элементах опалубки должны быть нанесены несмываемой краской при помощи трафарета или штампов следующие маркировочные знаки: товарный знак предприятия-изготовителя или его краткое наименование; марка элемента; масса элемента; дата изготовления; штамп технического контроля; величина удельного омического сопротивления и мощности нагревателей (для греющей опалубки).

Элементы опалубки маркируют буквами и цифрами, которые означают:

первая буква - наименование элемента: Щ - щит, Сх - схватка, Б - балка, Р - ригель, Ст - стойка;

вторая буква - материал (только для формообразующих элементов): М - металл, Д - дерево, Ф - фанера, П - пластмасса, К - комбинированный;

третья буква (только для греющей опалубки) Гр - греющая;

цифры после букв - размеры элементов опалубки в м.

Примеры маркировки опалубки:

ЩМГр 1,2 ´ 0,6 - щит металлический греющий размером 1,2 ´ 0,6 м.

Ст 3,0 - стойка длиной 3,0 м;

Ст 3,0-4,0 - стойка переменной длины (телескопическая) от 3 до 4 м.

Подлежащие транспортированию элементы опалубки должны быть увязаны в пакеты раздельно по маркам, а элементы крепления - упакованы в ящики на которых наносится марка и указывается количество упакованных элементов. Транспортировать и хранить щиты греющей опалубки следует в вертикальном положении.

Предприятие-изготовитель должно сопровождать отгружаемую партию опалубки паспортом, в котором указывают:

наименование и адрес изготовителя;

номер и дату выдачи паспорта;

номенклатуру и количество элементов опалубки;

дату изготовления опалубки;

гарантийное обязательство;

обозначение настоящего стандарта.

К паспорту должна быть приложена инструкция по монтажу и эксплуатации опалубки.

Изготовитель должен гарантировать соответствие опалубки требованиям настоящего стандарта. Гарантийный срок эксплуатации опалубки - не менее 12 месяцев со дня отгрузки ее заказчику при условии оборачиваемости за это время не выше нормативной и соблюдения потребителем условий транспортирования, хранения и эксплуатации, установленных стандартом и предприятием-изготовителем. В течение гарантийного срока предприятие-изготовитель осуществляет замену и ремонт вышедших из строя элементов опалубки.

На строительной площадке в процессе входного контроля:

необходимо проверить наличие паспорта и инструкции по монтажу и эксплуатации опалубки;

по имеющемуся паспорту и маркировке на элементах опалубки необходимо убедиться в соответствии поступившей опалубки требованиям проекта;

необходимо проверить комплектность опалубки, наличие элементов крепления и запасных частей к ним, наличие на элементах опалубки штампа ОТК;

необходимо путем внешнего осмотра проверить отсутствие на элементах опалубки недопустимых дефектов внешнего вида;

необходимо провести соответствующую контрольную проверку соответствия элементов опалубки требованиям нормативной документации при возникновении каких-либо сомнений в их качестве; для этой цели должны быть вызваны представители строительной лаборатории или функциональных служб, ответственных за поставку опалубки.

Опалубочные работы должны производиться в соответствии с требованиями проекта, СНиП 3.03.01-87, ППР, технологических карт и схем операционного контроля качества.

Запрещается осуществление строительно-монтажных работ без утвержденного проекта производства работ. Не допускаются отступления от решений проектов производства работ без согласования с организациями, разработавшими и утвердившими их.

Установка и приемка опалубки, распалубливание монолитных конструкций, очистка и смазка производятся по ППР.

Древесные, металлические, пластмассовые и другие материалы для опалубки должны отвечать требованиям ГОСТ 23478-79; деревянные клееные конструкции - ГОСТ 20850-84 или ТУ; фанера ламинированная - ТУ 18-649-82; ткани пневматических опалубок - утвержденным техническим условиям. Материалы несъемных опалубок должны удовлетворять требованиям проекта в зависимости от функционального назначения (облицовка, утеплитель, изоляция, защита от коррозии и т.д.). При использовании опалубки в качестве облицовки она должна удовлетворять требованиям соответствующих облицовочных поверхностей.

Комплектность определяется заказом потребителя.

Завод - изготовитель опалубки должен производить контрольную сборку фрагмента на заводе. Схема фрагмента определяется заказчиком по согласованию с заводом-изготовителем.

Испытания элементов опалубки и собранных фрагментов на прочность и деформацию проводятся при изготовлении первых комплектов опалубки, а также замене материалов и профилей. Программу испытаний разрабатывают организация - разработчик опалубки, завод-изготовитель и заказчик.

Требования СНиП 3.03.01-87 к опалубке, а также к допустимой прочности бетона при распалубке приведены в нижеследующей таблице.

При установке промежуточных опор в пролете перекрытия при частичном или последовательном удалении опалубки прочность бетона может быть снижена. В этом случае прочность бетона, свободный пролет перекрытия, число, место и способ установки опор определяются ППР и согласовываются с проектной организацией. Снятие всех типов опалубки следует производить после предварительного отрыва от бетона.

Параметр

Величина параметра

Контроль (метод, объем, вид регистрации)

1. Точность изготовления опалубки:

 

Технический осмотр, регистрационный

инвентарной

По рабочим чертежам и техническим условиям - не ниже Н14; h14;

 - по ГОСТ 25346-89 и ГОСТ 25347-82*;

для формообразующих элементов - h14

пневматической

По техническим условиям

2. Уровень дефектности

Не более 1,5 % при нормальном уровне контроля

Измерительный по ГОСТ 18242-72*

3. Точность установки инвентарной опалубки,

в том числе:

 - по ГОСТ 25346-89 и ГОСТ 25347-82*;

Измерительный, всех элементов, журнал

уникальных и специальных сооружений

Определяется проектом

малооборачиваемой и (или) не инвентарной при возведении конструкций, к поверхности которых не предъявляются требования точности

По согласованию с заказчиком может быть ниже

для конструкций, готовых под окраску без шпатлевки

Перепады поверхностей, в том числе стыковых, не более 2 мм

для конструкций, готовых под оклейку обоями

То же, не более 1 мм

4. Точность установки и качество поверхности несъемной опалубки - облицовки

Определяется качеством поверхности облицовки

Измерительный, всех элементов, журнал работ

5. Точность установки несъемной опалубки, выполняющей функции внешнего армирования

Определяется проектом

То же

6. Оборачиваемость опалубки

ГОСТ 23478-79

Регистрационный, журнал работ

7. Прогиб собранной опалубки:

 

Контролируются при заводских испытаниях и на строительной площадке

вертикальных поверхностей

1/400 пролета

перекрытий

1/500 пролета

8. Минимальная прочность бетона незагруженных монолитных конструкций при распалубке поверхностей:

 

Измерительный по ГОСТ 10180-90, ГОСТ 18105-86*, журнал работ

вертикальных из условия сохранения формы горизонтальных и наклонных при пролете:

0,2 ÷ 0,3 МПа

до 6 м

70 % проектной

св. 6 м

80 % проектной

9. Минимальная прочность бетона при распалубке загруженных конструкций, в том числе от вышележащего бетона (бетонной смеси)

Определяется ППР и согласовывается с проектной организацией

То же

Числовые значения отклонений при изготовлении и установке инвентарной опалубки размерами до 3150 мм приведены в нижеследующей таблице.

Интервалы размеров мм

Допускаемые отклонения, мм

при изготовлении

при установке

30 - 50

±0,31

±0,80

50 - 80

±0,37

±0,85

80 - 120

±0,44

±1,10

120 - 180

±0,50

±1,25

180 - 250

±0,58

±1,45

250 - 315

±0,65

±1,60

310 - 400

±0,70

±1,80

400 - 500

±0,78

±2,00

500 - 630

±0,88

±2,20

630 - 800

±1,00

±2,50

800 - 1000

±1,15

±2,80

1000 - 1250

±1,30

±3,30

1250 - 1600

±1,55

±3,80

1600 - 2000

±1,85

±4,60

2000 - 2500

±2,20

±5,50

2500 - 3150

±2,70

±6,75

Точность установки опалубки обеспечивается детальными разбивочными работами и контрольными геодезическими измерениями.

Перед монтажом опалубки на основании (фундаментной плите, монолитном ростверке) производят разметку откраской мест установки опалубки. Разметку производят от осей, закрепленных на фундаменте, путем отложения проектных расстояний.

Монтаж опалубки производится предварительно собранными крупноразмерными блоками (коробами). Короба устанавливают горизонтально на подкладках так, чтобы низ щитов был на 2 - 3 см выше самой высокой отметки фундамента. Наивысшую отметку получают из предварительного нивелирования фундаментной плиты.

В процессе монтажа опалубки контролируется смещение установочных осей опалубки относительно разбивочных осей, нанесенных на фундаментной плите.

Контроль смещения производится с помощью теодолита или лазерного геодезического прибора методом створов.

В процессе монтажа проверяют высотные отметки и горизонтальность кружал. Проверка выполняется при помощи нивелира или лазерного прибора, задающего горизонтальную плоскость. Рейка устанавливается в местах крепления кружал. Горизонтальность кружал добиваются при помощи подкладок. Положение верхних и нижних кружал относительно вертикальной плоскости проверяют отвесом во время сборки.

При скользящей опалубке проверяют геометрические параметры коробок опалубки, конусность щитов опалубки, а также горизонтальность рабочего пола опалубки. Опалубку устанавливают по маякам с учетом отметки самой высокой точки фундаментной плиты.

Геометрические параметры (прямоугольность, размеры) коробки опалубки проверяют теодолитом и рулеткой, конусность - при помощи отвеса, а горизонтальность рабочего пола - нивелированием.

После монтажа щитов опалубки на них устанавливают и закрепляют домкратные рамы, выдерживая вертикальность рам и места их посадки. Контроль установки производится с помощью отвеса и теодолита. После установки домкратных рам еще раз проверяют конусность щитов опалубки и расстояние между рамами.

Проверку конусности выполняют около домкратных рам, а на круглых формах также и между рамами.

После установки опалубки производят планово-высотную съемку и оформляют исполнительную схему.

Для высотного контроля за устройством проемов, технологических отверстий, установкой закладных деталей между щитами скользящей опалубки вертикально устанавливают не менее трех деревянных реек, которые крепят к арматуре. Рейки изготовляют из брусьев сечением 30 ´ 30 мм и длиной 3 м. На рейке нивелиром наносят одну и ту же отметку, от которой рейки размечаются на метры и сантиметры в соответствии с проектными отметками. Рейки систематически наращивают по мере движения опалубки, в результате на монтажном горизонте всегда имеются высотные реперы.

Местоположение проемов, технологических отверстий, закладных деталей определяют от граней щитов коробок опалубки и закрепляют яркой краской на рабочем полу опалубки.

Контроль вертикальности движения скользящей опалубки осуществляется методом вертикального проектирования с помощью зенит-приборов (оптических или лазерных), механических отвесов и методом наклонного проектирования.

При выполнении контроля механическими отвесами по периметру на корпусе опалубки жестко укрепляют кронштейны с блоками. Через блоки пропускают трос или струну с подвешенным грузом массой 8 - 10 кг. Для гашения возникающих колебаний груз опускают в сосуд с вязкой жидкостью.

По мере подъема опалубки трос удлиняется, разматываясь с барабана.

Для снятия отсчетов на исходном горизонте к стене укрепляют кронштейн с рамкой. Прямоугольная рамка имеет две подвижные планки и оцифрованные счетные шкалы для измерения координат нити отвеса. Стороны установленной рамки должны быть параллельны стенам здания. По положению отвеса получают уклонения стен от вертикали в условной координатной системе.

Контроль вертикальности движения опалубки с помощью механических отвесов трудоемок. Точность такого способа составляет 10 мм на 20 м высоты.

Контроль вертикальности и кручения опалубки с помощью отвеса

1. Отвес 2. Блок 3. Лебедка 4. Координамометр (рамка)

Контроль вертикальности методом наклонного проектирования выполняют с помощью теодолита. До начала возведения здания на щитах опалубки закрепляют визирные марки (риски), а на уровне исходного горизонта на возведенном участке стены укрепляют отсчетные шкалы (линейки). Ноль шкалы совмещают с риской на опалубке.

По мере подъема опалубки теодолит устанавливают в плоскость, перпендикулярную к стене. При двух положениях круга теодолита проектируют риску на шкалу, средний отсчет по шкале показывает величину отклонения опалубки от вертикали. В зависимости от знака отсчета судят о направлении отклонения.

Контроль вертикальности подъема опалубки методом вертикального проектирования производят с помощью зенит-приборов.

До начала бетонирования и подъема опалубки на исходном горизонте закладывают контрольные знаки (в зависимости от формы опалубки). При прямоугольной форме здания знаки располагают по его углам, при круглой - внутри опалубки, используя при этом технологические отверстия (лифтовые шахты, мусоропроводы и т.д.). Во всех случаях знаки закладывают с учетом удобства работы и свободного доступа к прибору, центрируемому над ними.

На жесткой раме опалубки устанавливают кронштейны, на которых крепят визирные палетки. Визирную палетку крепят таким образом, чтобы центр совпал с вертикальной осью контрольного знака. Визирную палетку изготовляют из листа белого или полупрозрачного плотного материала размером 250 ´ 250 ´ 5 мм, на который нарезают и подкрашивают координатную сетку со стороной квадрата 10 мм и разделяют на четыре четверти (каждую из частей нумеруют соответственно 1, 2, 3, 4).

Визирную палетку прикрепляют так, чтобы ее первая четверть была расположена в углу жесткой рамы опалубки.

Вертикальность движения опалубки контролируют зенит-прибором в следующем порядке:

прибор центрируют над контрольным знаком и приводят в рабочее положение;

при четырех положениях окуляра прибора (0°, 90°, 180°, 270°) по горизонтальной линии сетки нитей выполняют четыре отсчета по координатной сетке палетки;

по измеренным координатам получают положение проекции контрольного знака на палетке как среднее значение координат из четырех измерений.

Направление сдвига опалубки определяют по условным координатам, измеренным по визирным палеткам.

В зависимости от того, в какую четверть визирной палетки попадает отсчет, ему придается знак плюс или минус.

Контроль вертикальности движения опалубки производится через каждые 1 - 3 м подъема. После каждого измерения вертикальности движения необходимо составлять исполнительную схему, на которую наносятся векторы планового смещения опалубки.

Контроль вертикальности и кручения опалубки с помощью лазерного прибора

1. Лазерный прибор 2. Уголковый отражатель 3. Палетка

Согласно требованиям СНиП 3.03.01-87 для стен зданий и сооружений, возводимых в скользящей опалубке, при отсутствии промежуточных перекрытий допускается отклонение от вертикали на 1/500 высоты сооружения, но не более 100 мм, а при наличии промежуточных перекрытий на 1/1000 высоты сооружения, но не более 50 мм.

Контроль горизонтальности рабочего пола опалубки осуществляется с помощью оптического или лазерного нивелира (удобно применять лазерный прибор, задающий горизонтальную плоскость).

В процессе нивелирования рейку устанавливают на траверсы домкратов. Отклонения домкратов по высоте определяют относительно одного из них, отметку которого принимают за условный нуль.

Домкраты для нивелирования выбирают с таким расчетом, чтобы они равномерно располагались по всему рабочему полу и давали наиболее достоверную картину его наклона.

Устранение отклонений от горизонтальной плоскости производят последовательным отключением движения домкратов, имеющих превышения относительно условного нуля со знаком плюс до тех пор, пока домкраты, имеющие превышения относительно условного нуля со знаком минус, не достигнут условного горизонта.

Контроль горизонтальности рабочего пола выполняют ежедневно, но не реже, чем через 1 - 3 м высоты здания.

В процессе подъема опалубки определяют ее деформацию, измеряя стороны и диагонали каждой ячейки, расстояния между щитами и определяя конусность, а также общие габариты опалубки.

Контроль точности определения деформаций и соосности скользящей опалубки осуществляется повторным измерением ее габаритов вдоль сторон плановой разбивочной сети на монтажном горизонте.

Измерения производят стальной компарированной рулеткой до начала или сразу после окончания контроля за вертикальностью подъема опалубки.

Точность определения деформаций должна соответствовать точности детальных разбивочных работ.

При исполнительной съемке опалубки и поддерживающих лесов снимают и на схемах показывают отклонения:

в расстояниях между опорами изгибаемых элементов, связями вертикальных поддерживающих конструкций на 1 м длины и на весь пролет с интервалом через 1 м;

расстояний от вертикали или проектного наклона плоскостей опалубки и линий их пересечений на 1 м и на всю высоту конструкций с интервалом не реже, чем через 1 м;

осей опалубки фундаментов, стен, колонн, балок, прогонов, арок;

в положении стоек домкратных рам и осей домкратов от вертикали;

осей перемещаемой или переставляемой опалубки относительно осей сооружения;

внутренних размеров опалубок балок, колонн, стен от проектных размеров.

На схемах показывают разность отметок плоскостей верхних кружал или поверхности рабочего пола скользящей опалубки, конусность скользящей опалубки, а в особо оговоренных в проекте случаях - местные неровности опалубки на двухметровых интервалах. Замеры в последнем случае производят от плоскости двухметровой рейки с одновременным запиранием плоскостности в определяемом направлении, прикладывая двухметровую рейку к проверяемой плоскости в такой последовательности: 0 - 2-й метр, 1-й - 3-й метр; 2-й - 4-й и т.д.

При центрально-симметричном или симметричном относительно продольной либо поперечной оси плане здания монтажные элементы опалубки (кроме крупнощитовой опалубки стен) на каждом последующем этаже должны располагаться в последовательности, обратной последовательности монтажа на предыдущем этаже (с целью компенсации ошибок и допусков при монтаже и исключения их накопления).

При монтаже опалубки вначале монтируют монтажные единицы, образующие формовочную полость наружных стен или определяющие в дальнейшем положение опалубки наружных стен, и выверяют их по линии фасада. Во вторую очередь монтируют опалубку лифтовой шахты, выверяя ее относительно вертикальной оси шахты. Затем монтируют опалубку, расположенную между этими монтажными единицами.

При такой последовательности монтажа ошибки и допуски компенсируются в зоне наименее ответственных в этом отношении конструкций.

Монтажные единицы следует выверять с помощью геодезических инструментов. Выверяют каждую монтажную единицу в отдельности до начала монтажа следующей, примыкающей к данной. По окончании выверки монтажную единицу (за исключением столов крупнощитовой опалубки перекрытий) жестко фиксируют стяжками к ранее установленным.

При работе с крупнощитовой опалубкой стен должен соблюдаться следующий порядок выполнения технологических операций:

- разбивка осей стен и нанесение разметочных линий установки щитов и панелей;

- чистка, смазка и комплектация панелей элементами электропроводки, каналообразователями, вкладышами и закладными деталями;

- установка панелей вдоль разметочной линии по одну сторону от оси стены и соединение смежных панелей между собой струбцинами;

- установка проемообразователей и нижних фиксаторов толщины стен;

- установка панелей, противостоящих ранее установленным, и соединение их между собой струбцинами;

-установка щитов торцов стен;

- установка и затяжка стяжек и угловых щитов;

- бетонирование стен;

- демонтаж после твердения бетона стяжек, крепежных элементов, вкладышей и проемообразователей;

- освобождение замков угловых щитов;

- снятие струбцин, соединяющих смежные панели;

- распалубка стен путем отклонения панелей с помощью подкосов;

- перемещение панелей вместе с угловыми щитами на очередную технологическую захватку;

- извлечение и перенос проемообразователей на очередную технологическую захватку.

При работе с крупнощитовой опалубкой перекрытий должен соблюдаться следующий порядок выполнения технологических операций:

- установка столов со смонтированными на них бортами и площадками обслуживания между предварительно возведенными стенами;

- выверка положения столов по нивелиру домкратами телескопических стоек;

- поджатие щитов к стенам по торцам панели специальным устройством;

- армирование, бетонирование, выдержка бетона до набора распалубочной прочности;

- распалубка путем сжатия устройства, поджимающего панель к стенам, вывинчивание домкратов на стойках и переопирания столов на колеса телескопических стоек;

- извлечение методом последовательной перестроповки опалубки из-под готового перекрытия и подача ее на пост чистки, смазки и комплектации. При этом, как правило, перекрытие следует временно опирать на инвентарные стойки.

При работе с блочной опалубкой стен должен соблюдаться следующий порядок выполнения технологических операций:

- блок устанавливают на горизонтальную площадку у здания. Допускается установка блока на готовое перекрытие на соседней захватке;

- устанавливают рычажный распалубочный механизм в монтажное (рабочее) положение, при котором сжатие блока исключено. При монолитной конструкции наружной стены навешивают оконные проемообразователи, стропят блок за монтажные петли и подают к месту установки;

- устанавливают первый блок в плане по разбивочным рискам, нанесенным на перекрытии, или по специальным фиксирующим элементам, выступающим над перекрытием, выверяют в плане и растроповывают;

- домкратами выверяют положение блока, контролируя выверку геодезическим инструментом;

- армируют стены и устанавливают проемообразователи, вкладыши, трубную разводку или каналообразователи для электрических и слаботочных сетей (при монолитной конструкции наружной стены эту операцию производят с подмостей);

- устанавливают нижние фиксаторы толщины стен;

- устанавливают соседний блок;

- устанавливают верхние фиксаторы толщины стен;

- крепят щиты противостоящих блоков стяжками;

- устанавливают щит торца стены;

- зазоры между щитами и перекрытиями заделывают раствором.

Блоки опалубки в лестничной клетке и лифтовой шахте устанавливают на опорные площадки.

Демонтаж блочной опалубки производят в следующей последовательности:

- снимают щиты торцов стен, стяжки, фиксаторы, крепежные элементы вкладышей и проемообразователей;

- при монолитной конструкции наружных стен демонтируют опалубочную панель наружной стены;

- переводят рычажный распалубочный механизм в положение распалубки;

- с помощью рычажных механизмом отрывают щиты от стен;

- стропят опалубку за монтажные петли 4-ветвевым стропом, затем извлекают ее из отформованной ячейки;

- извлекают проемообразователи, вкладыши.

В лифтовом узле после демонтажа блочно-щитовой опалубки опорная площадка переставляется на вышележащий этаж, а проем в нижележащем перекрытии ограждается.

Объемно-переставная опалубка позволяет возводить продольные, поперечные стены и перекрытия одновременно - совмещенным методом либо поэтапным, при котором сначала возводят в крупнощитовой опалубке продольные стены, а затем в объемно-переставной - поперечные стены и перекрытия.

Наружные стены независимо от их конструкции возводят с отставанием на один-два этажа.

При совмещенном методе здание возводят в следующей последовательности:

- чистка, смазка, комплектация монтажных единиц элементами скрытой электропроводки, слаботочной сети, вкладышами, каналообразователями и закладными деталями;

- установка монтажных единиц между цоколями стен предыдущего этажа одновременно с монтажом проемообразователей и армированием стен, установка верхних и нижних фиксаторов толщины стен;

- выверка положения опалубки с помощью домкратов, что контролируется геодезическим инструментом, и соединение вертикальных щитов стяжками;

- установка щитов торцов стен и бортов;

- комплектация (при необходимости) щитов перекрытия элементами скрытой электропроводки и закладными деталями, армирование перекрытий;

- установка и закрепление опалубки цоколей.

По достижении бетоном перекрытия распалубочной прочности вывинчивают домкраты, отрывают монтажные единицы от бетонных конструкций, извлекают монтажные единицы из забетонированных ячеек и транспортируют их на очередную технологическую захватку.

При поэтапном методе до начала основных операций возводят продольные стены здания в крупнощитовой опалубке и монтируют опалубку перекрытия для возведения перекрытий над продольными стенами (при монолитной конструкции перекрытия).

Демонтаж опалубки выполняют в следующей последовательности:

- извлечение полутуннелей и туннелей с помощью траверсы типа «утиный нос»;

- перемещение секций туннелей или полутуннелей на выкатные подмости и последующая транспортировка их грузоподъемными средствами;

- извлечение туннелей с помощью специальной траверсы с регулируемой длиной строп.

Арматурные работы

ГОСТ 10922-90 Арматурные и закладные изделия сварные, соединения сварные арматуры и закладных изделий железобетонных конструкций. Общие технические условия.

ГОСТ 5781-82* Сталь горячекатанная для армирования железобетонных конструкций. Технические условия.

ГОСТ 10884-94 Сталь арматурная термомеханически и термически упрочненная периодического профиля. Технические условия.

ТУ 0908-006-07828469-97 Сталь арматурная холоднокатанная и проволока холоднокатанная для армирования железобетонных конструкций.

ГОСТ 6727-80* Проволока из низкоуглеродистой стали холоднотянутая для армирования железобетонных конструкций. Технические условия.

ТУ 14-4-1322-85 Проволока из низкоуглеродистой стали холоднотянутая периодического профиля повышенной прочности класса Врп-1 для армирования железобетонных конструкций.

ГОСТ 7348-81* Проволока из углеродистой стали для армирования предварительно напряженных железобетонных конструкций.

ТУ 14-170-197-93 Проволока холоднодеформированная с периодическими профилем для армирования железобетонных конструкций.

ТУ 14-4-1362-85 Проволока стальная хрупкая стабилизированная для арматуры предварительно напряженных железобетонных конструкций.

ГОСТ 8478-81 Сетки сварные для железобетонных конструкций. Технические условия.

ГОСТ 23279-85 Сетки арматурные сварные для железобетонных конструкций и изделий. Общие технические условия.

ТУ 1276-002-04000706-96 Сетки арматурные плоские сварные с шагом поперечных стержней 50 ÷ 200 мм.

ТУ 14-170-184-93 Сетки арматурные сварные для железобетонных конструкций.

ГОСТ 7566-94 Прокат и изделия дальнейшего передела. Правила приемки, маркировки, упаковки, транспортирования и хранения.

Стандарты и технические условия на арматурную сталь и арматурные изделия, предусмотренные проектом.

СНиП 3.03.01-87 Несущие и ограждающие конструкции.

Арматурная сталь (стержневая, проволочная) и сортовой прокат, арматурные изделия и закладные элементы должны соответствовать проекту и требованиям соответствующих стандартов и технических условий.

Контролируемые операции

Состав и средства контроля

Документация

Подготовительные работы

Проверить:

 

-  наличие проекта, ППР, технологических карт, схем операционного контроля качества (СОКК);

Проект, ППР, технологические карты, СОКК

-  завершение и надлежащее оформление предшествующих работ по устройству оснований и монтажу всех конструкций и их элементов, закрываемых при укладке бетонных смесей (наличие акта приемки или актов освидетельствования скрытых работ, геодезических исполнительных схем и другой приемосдаточной документации);

Акт приемки, акты на скрытые работы, исполнительные схемы

-  правильность установки и надлежащее закрепление опалубки и поддерживающих ее конструкций;

Акт приемки

Общий журнал работ

-  наличие паспортов, сертификатов и другой товаросопроводительной документации на поставляемые арматурные изделия и закладные элементы; соответствие их требованиям проекта и нормативной документации;

-  очистку арматурных и закладных изделий, а также сварных соединений от ржавчины, окалины, следов масла и других загрязнений.

Документы о качестве

Арматурные работы

Контролировать:

 

-  соблюдение заданной ППР (технологической картой) технологии арматурных работ (укрупнительной сборки армокаркасов, монтажа арматурных конструкций с обеспечением фиксации защитного слоя бетона и т.д.);

Общий и специальный журналы работ

-  соблюдение заданной ППР технологии сварочных работ;

-  качество сварных соединений (визуальным осмотром и измерениями, механическими испытаниями контрольных образцов).

Акт визуального осмотра и измерений сварных соединений, протокол испытаний

Приемка

Проверить:

 

-  соответствие выполненных арматурных работ требованиям проекта и нормативных документов;

-  составление и надлежащее оформление приемо-сдаточной документации.

Акт освидетельствования скрытых работ

Входной и операционный контроль осуществляют: мастер (прораб), лаборант (инженер) - в процессе производства работ.

Приемочный контроль осуществляют: прораб (мастер), представители технадзора заказчика.

КИП - линейка и рулетка измерительные металлические, лабораторные приборы и оборудование

ГОСТ 10922-90 «АРМАТУРНЫЕ И ЗАКЛАДНЫЕ ИЗДЕЛИЯ СВАРНЫЕ, СОЕДИНЕНИЯ СВАРНЫЕ АРМАТУРЫ И ЗАКЛАДНЫХ ИЗДЕЛИЙ ЖЕЛЕЗОБЕТОННЫХ КОНСТРУКЦИЙ. ОБЩИЕ ТЕХНИЧЕСКИЕ УСЛОВИЯ».

Данный стандарт распространяется на сварные арматурные и закладные изделия железобетонных конструкций и сварные соединения арматуры и закладных изделий, выполняемые при возведении монолитных железобетонных конструкций.

Стандарт устанавливает требования к арматурным изделиям из стержневой арматурной стали и арматурной проволоки диаметром 3 мм и более.

Стандарт не распространяется на закладные изделия, не имеющие анкерных стержней из арматурной стали.

Сварные арматурные изделия подразделяют на типы:

арматурные сетки;

арматурные каркасы;

отдельные стержни арматуры со сварными стыковыми соединениями по длине стержня.

Сварные арматурные сетки изготовляют из стержней, расположенных в двух взаимно перпендикулярных направлениях и соединенных в местах пересечений сваркой (крестообразное соединение).

Сетки изготовляют с квадратными или прямоугольными ячейками.

В одном направлении сетки имеют стержни одинакового диаметра.

Сетки изготовляют с расположением рабочей арматуры:

в одном направлении (продольном или поперечном) и распределительной арматурой в другом направлении;

в обоих направлениях.

Сетки изготовляют плоскими или рулонными. Рулонными изготовляют сетки с продольными стержнями из арматурной проволоки диаметрами до 5 мм включ. при поперечных стержнях диаметрами до 10 мм включительно.

Сетки с продольными и поперечными стержнями диаметрами от 3 до 10 мм включ. изготовляют с поперечными стержнями на всю ширину сетки или со смещенными поперечными стержнями.

Сварные арматурные каркасы изготовляют из продольных и поперечных стержней, соединенных в местах пересечений сваркой (крестообразное соединение). Продольные и поперечные стержни каркасов в одном направлении имеют стержни одинакового или разных диаметров.

Каркасы изготовляют плоскими или пространственными. Плоские каркасы имеют поперечные стержни, расположенные в одной плоскости и предназначенные для армирования линейных изгибаемых или растянутых железобетонных элементов и конструкций с малой шириной поперечного сечения.

Пространственные каркасы изготовляют с поперечными стержнями, расположенными в разных плоскостях.

Сварные закладные изделия подразделяют на два основных типа: открытые и закрытые.

В зависимости от расположения анкерных стержней относительно плоского элемента различают закладные изделия с перпендикулярным, наклонным, параллельным или смешанным расположением анкерных стержней.

Форма и размеры сварных арматурных сеток и каркасов, отдельных стержней арматуры со сварными стыковыми соединениями по длине стержня, закладных изделий, а также тип сварного соединения и способ сварки должны соответствовать установленным стандартами, техническими условиями или проектной документацией на железобетонные конструкции или арматурные и закладные изделия.

Сварные плоские и рулонные арматурные сетки, изготовляемые предприятиями строительной индустрии на многоэлектродных сварочных машинах, должны соответствовать требованиям ГОСТ 23279-85.

Сварные рулонные сетки, изготовляемые метизной промышленностью из арматурной проволоки диаметром 5 мм, - по ГОСТ 8478-81*.

Конструкция сварных соединений, выполняемых в заводских условиях и при возведении монолитных железобетонных конструкций, должна соответствовать ГОСТ 14098-91.

Крестообразные соединения типов К1 и К2 по ГОСТ 14098-91, которые должны обеспечивать восприятие арматурной сеток и каркасов напряжений не менее ее расчетных сопротивлений, подлежат выполнению с нормируемой прочностью.

Соединения с нормируемой прочностью должны быть указаны в рабочих чертежах арматурных изделий.

К сварным крестообразным соединениям с ненормируемой прочностью, применяемым для обеспечения взаимного расположения стержней арматурных изделий в процессе их транспортирования, изготовления и бетонирования конструкций (при отсутствии указаний о нормируемой прочности этих соединений в рабочих чертежах изделий), относят:

соединения в плоских и рулонных сетках с рабочей арматурой из арматурной стали периодического профиля, независимо от ее класса и диаметра;

соединения в местах пересечения продольной арматуры пространственных каркасов с поперечной арматурой в виде непрерывной спирали или замкнутых хомутов;

соединения в местах пересечения продольных или поперечных стержней плоских каркасов, и в местах пересечения стержней сеток со стержнями, объединяющими их в пространственные каркасы, если последние применяют для армирования изгибаемых железобетонных элементов, не работающих на кручение.

Сварные арматурные и закладные изделия должны быть изготовлены, а сварные соединения арматуры и закладных изделий выполнены в соответствии с требованиями данного стандарта по нормативно-технической документации на железобетонные конструкции или арматурные и закладные изделия и по технологической документации, утвержденной в установленном порядке.

Вид и марки арматурной стали, а также марки металлопроката из углеродистой стали обыкновенного качества или низколегированной стали, применяемых для изготовления арматурных и закладных изделий, должны соответствовать установленным стандартами, техническими условиями или проектной документацией на конструкции или изделия.

Арматурные и закладные изделия должны быть изготовлены из арматурной стали и металлопроката, удовлетворяющих требованиям стандартов или технических условий на арматурную сталь и металлопрокат.

Действительные отклонения линейных размеров сварных арматурных и закладных изделий не должны превышать отклонений, указанных в проектной документации. При отсутствии таких указаний в проектной документации действительные отклонения линейных размеров не должны превышать предельных, установленных нижеследующей таблицей.

Линейный размер изделия и его номинальное значение, мм

Предельное отклонение размеров изделий, мм, применяемых в железобетонных монолитных конструкциях

1. Длина отдельных стержней ненапрягаемой арматуры, расстояние между крайними стержнями по длине, ширине или высоте изделия при их значениях:

 

до 60 включ.

±4,0

св. 60 до 120 включ.

±5,0

св. 120 до 250 включ.

±6,0

св. 250 до 500 включ.

±8,0

св. 500 до 1000 включ.

±10

св. 1000 до 1600 включ.

+10; -14

св. 1600 до 2500 включ.

+12; -18

св. 2500 до 4000 включ.

+15; -30

св. 4000 до 8000 включ.

+20; -40

св. 8000 до 16000 включ.

+30; -50

св. 16000

+45; -65

2. Расстояние от крайнего стержня одного направления до торца стержня другого направления (длина выпуска стержня) в арматурных изделиях при длине выпуска:

 

до 60 включ.

±4,0

св. 60 до 120 включ.

±5,0

св. 120 до 250 включ.

±6,0

св. 250 до 500 включ.

±8,0

св. 500 до 1000 включ.

±12

св. 1000

±18

3. Расстояние между двумя соседними продольными стержнями (кроме крайних) в арматурных каркасах при его значениях:

 

до 60 включ.

±6,0

св. 60 до 120 включ.

±8,0

св. 120 до 250 включ.

±10

св. 250 до 500 включ.

±12

св. 500 до 1000 включ.

±15

св. 1000

±20

4. Длина и ширина плоского элемента закладного изделия:

 

до 250 включ.

±6,0

св. 250 до 500 включ.

±8,0

св. 500

±10

5. То же, при равенстве размеров плоского элемента закладного изделия и поперечного сечения железобетонной конструкции:

 

до 250 включ.

-5,0

св. 250 до 500 включ.

-6,0

св. 500

-8,0

6. Расстояние от края плоского элемента закладного изделия до ближайшей точки поверхности анкерного стержня:

 

до 60 включ.

+6,0

св. 60 до 120 включ.

+8,0

св. 120 до 250 включ.

+10

св. 250

+12

7. Расстояние между наружными поверхностями плоских элементов закладных изделий закрытого типа при его значении:

 

до 250 включ.

±6,0

св. 250 до 500 включ.

±8,0

св. 500

±10

8. Длина анкерных стержней закладных изделий открытого типа при ее значении:

 

до 250 включ.

±10

св. 250 до 500 включ.

±12

св. 500

±15

Отклонение от плоскостности наружных лицевых поверхностей плоских элементов закладных изделий не должно превышать 3 мм.

Угол между поверхностью плоского элемента и анкерным стержнем закладной детали должен быть в пределах, установленных ГОСТ 14098-91, т.е. 85-90°.

Кромки плоских элементов закладных изделий должны быть очищены от грата и шлака после огневой резки.

На элементах арматурных и закладных изделий, а также сварных соединений не должно быть отслаивающейся ржавчины и окалины, следов масла и других загрязнений.

Перелом осей стержней арматуры в стыковых соединениях (для соединений типов С5 - С19 в плоскости, параллельной стенкам инвентарных форм или стальных скоб-накладок, и для соединений типа С21 по ГОСТ 14098-91 в плоскости, перпендикулярной к плоскости, проходящей через продольные оси накладок из стержней) не должен быть более 12 мм на базе 250 мм.

Стыковые и крестообразные соединения, выполненные контактной сваркой, должны быть окружены гратом. Смятие стержней электродами на глубину более 0,1 номинального диаметра стержня, подплавление и поджоги ребер периодического профиля стержней не допускаются.

Кольцевой венчик наплавленного металла при дуговой сварке под флюсом тавровых соединений анкерных стержней закладных изделий должен быть без разрывов. Допускаются разность высоты венчика в двух любых точках по его окружности до 7 мм и несимметричное расположение венчика относительно анкерного стержня при условии, что расстояние от края венчика до ближайшей точки на поверхности стержня должно быть не менее 0,5 мм для анкеров диаметром до 14 мм включ. и не менее 2 мм для больших диаметров стержней.

Соединения, выполненные дуговой, ванной и ванно-шовной сваркой, подлежат очистке от шлака, а соединения типов С5 - С10, С14 - С20 по ГОСТ 14098-91 - и от брызг металла.

Отклонения установленных ГОСТ 14098-91 или указанных в нормативно-технической документации размеров конструктивных элементов сварных соединений и их взаимного расположения не должны превышать предельных, приведенных в нижеследующей таблице.

Геометрический параметр

Пред. откл.

1. Соосность стержней в стыковых соединениях, выполненных контактной сваркой, при номинальном диаметре стержней, мм:

 

10 - 28

0,10 dн

32 - 40

0,05 dн

45 - 86

0,03 dн

2. То же, выполненных ванной сваркой в инвентарных формах, ванно-шовной и дуговой на стальной скобе-накладке, а также дуговой сваркой многослойными швами, при номинальном диаметре стержней, мм:

 

20 - 28

0,15 dн

32 - 40

0,10 dн

45 - 60

0,05 dн

70 - 80

0,03 dн

3. То же, выполненных дуговой сваркой швами с накладками из стержней (типов С21 и С22 по ГОСТ 14098-91), при арматурной стали классов:

 

А-I, А-II и Ас-II диаметрами 10 - 40 мм

0,3 dн

А-II диаметрами 45 - 80 мм, А-III диаметрами 10 - 40 мм, А-IV и А-VI диаметрами 10 - 22 мм, Ат-IVС, Ат-IVК, А-V и Ат-V диаметрами 10 - 32 мм, Ат-IIIС и Ат-VСК диаметрами 10 - 28 мм

0,2 dн

4. Створность накладок из стержней и стыкуемой арматуры в стыковых соединениях типов С21 и С22 при номинальном диаметре стержней, мм:

 

10 - 28

0,5 dн

32 - 40

0,3 dн

45 - 60

0,2 dн

70 - 80

0,1 dн

5. Симметричность расположения накладки из стержня и стальной скобы-накладки относительно сварного стыка в продольном направлении (за исключением стыков со смещенными накладками) при длине накладки:

 

2 dн

±0,10 dн

3 dн

±0,15 dн

4 dн

±0,20 dн

6 dн

±0,30 dн

8 dн

±0,40 dн

10 dн

±0,50 dн

6. Длина накладки из стержня и стальной скобы-накладки

±0,50 dн

7. Длина сварного шва в стыковых соединениях типа С22 по ГОСТ 14098-91

±0,5 dн

8. Длина нахлестки в соединениях типов С23 и Н1 по ГОСТ 14098-91 при длине нахлестки:

 

3 dн - 4 dн

±0,5 dн

5 dн - 6 dн

+0,2 dн

8 dн - 10 dн

+0,1 dн

9. Ширина валиковых швов при номинальном диаметре свариваемых стержней, мм:

 

10 - 16

+0,2 dн; -0,1 dн

18 - 20

±0,1 dн

Примечания:

1. При стыковой сварке стержней разного диаметра за номинальный принимают меньший диаметр стержня.

2. dн - номинальный диаметр стержня.

Наплавленный металл в соединениях и основной металл в околошовных зонах не должен иметь трещин. Переход от наплавленного металла к основному должен осуществляться без подрезов основного металла. Все кратеры должны быть заварены.

Не допускаются перерывы наплавленного металла и шлаковые включения в нем, прожоги плоских элементов закладных изделий, свищи, поверхностные поджоги основного металла и непровары.

Размеры и число наружных дефектов в сварных соединениях, выполненных дуговой, ванной и ванно-шовной сваркой, не должны превышать указанных в нижеследующей таблице.

Наименование дефекта

Допускаемые дефекты при диаметре свариваемых стержней, мм

10 - 28

32 - 40

45 - 80

1. Число отдельных пор диаметром до 2 мм в соединениях, выполненных:

 

 

 

дуговой сваркой протяженными швами на длине шва 100 мм

2

4

5

при сварке другими способами

4

5

7

2. Цепочки пор диаметром до 2 мм и длиной до 50 мм в соединениях, выполненных:

 

 

 

дуговой сваркой протяженными швами

Не допускаются

2

3

при сварке другими способами

 

1

2

3. Глубина усадочных раковин наплавленного металла при выполнении стыковых соединений ванной, ванно-шовной и дуговой сваркой, мм

2

3

5

Каждый пакет сварных плоских арматурных сеток и каркасов, каждая пачка отдельных стержней арматуры со сварными стыковыми соединениями, а также контейнер (ящик) со сварными закладными изделиями должны иметь ярлык, на котором указывают:

марку или условное обозначение арматурных или закладных изделий;

число арматурных изделий в пакете (пачке) или закладных изделий в контейнере (ящике);

номер партии и дату изготовления изделий;

отметку ОТК о приемке партии изделий.

К каждому рулону сварных арматурных сеток и штабелю пространственных арматурных каркасов должен быть прикреплен ярлык с указанием:

условного обозначения сетки или марки пространственного каркаса;

номера партии и даты изготовления изделий;

массы рулона, т (для рулонных арматурных сеток);

отметки ОТК о приемке партии изделий.

Для арматурных и закладных изделий, поставляемых за пределы предприятия-изготовителя, в ярлыке дополнительно необходимо указать наименование или товарный знак предприятия- изготовителя.

Арматурные и закладные изделия, сварные соединения арматуры и закладных изделий, выполненные при изготовлении и возведении монолитных железобетонных конструкций, должны быть приняты службой контроля предприятия-изготовителя или строительно-монтажной организации по результатам визуального осмотра, измерений, механических испытаний или ультразвукового контроля в соответствии с требованиями данного стандарта и СНиП 3.03.01-87.

Приемку готовых сварных арматурных и закладных изделий и сварных соединений арматуры и закладных изделий следует осуществлять партиями.

Партия готовых сварных арматурных и закладных изделий должна состоять из изделий одного типоразмера (одной марки), изготовленных по единой технологии одним сварщиком.

При изготовлении и применении сварных арматурных и закладных изделий производственными участками одного предприятия в одну партию допускается включать следующие изделия, выполненные одним сварщиком:

1) при крестообразных соединениях с ненормируемой прочностью, выполненных контактной точечной сваркой (типов К1 и К2 по ГОСТ 14098-91):

сетки или каркасы независимо от классов и диаметров входящих в них стержней при рабочей арматуре периодического профиля;

плоские каркасы из проволоки класса Вр-1 с продольными стержнями одинакового диаметра;

плоские или рулонные сетки из проволоки класса Вр-1, рабочая арматура которых не отличается по диаметру;

2) при крестообразных соединениях с ненормируемой прочностью, выполненных дуговой сваркой прихватками (типа КЗ по ГОСТ 14098-91), сетки или плоские каркасы со стержнями рабочей арматуры из арматурной стали одного класса и диаметра;

3) при крестообразных соединениях с нормируемой прочностью:

плоские или пространственные каркасы с поперечными стержнями (хомутами) из арматурной стали одного класса, диаметры которых могут отличаться, но не более чем на один номер профиля арматуры;

сетки из арматурной стали класса А-1, в которых более тонкие стержни имеют одинаковый диаметр;

4) отдельные стержни арматуры из арматурной стали одного класса с соединениями, выполненными контактной стыковой сваркой, с постоянным поперечным сечением по длине, отличающиеся друг от друга по диаметру, но не более чем на один номер профиля арматуры;

5) закладные изделия с однотипными тавровыми соединениями анкерных стержней, выполненными дуговой сваркой в отверстие;

6) закладные изделия с однотипными сварными соединениями анкерных стержней из арматурной стали одного класса, диаметр которых может отличаться, но не более чем на один номер профиля арматуры.

Партия сварных стыковых соединений выпусков стержней арматуры монолитных конструкций должна состоять из однотипных по конструкции соединений арматурной стали одного класса и диаметра, выполненных одним сварщиком по единой технологии.

Допускается включать в одну партию сварные соединения, выполненные несколькими сварщиками, при наличии исполнительной схемы сварки или их личного клейма на соединениях, а также соединения стержней, отличающихся по диаметру, но не более чем на один номер профиля арматуры.

Соединения, выполненные дуговой сваркой протяженными швами, включают в одну партию, независимо от класса и диаметра свариваемой арматуры.

Обьем партии, сформированной из сварных арматурных и закладных изделий, изготовленных одним сварщиком на производственном участке одного предприятия, не должен превышать числа изделий, изготовленных в течение одной смены. При изготовлении продукции на автоматических линиях или с применением оборудования, обеспечивающего автоматизацию цикла сварки, объем партии допускается увеличивать до числа изделий, изготовленных в течение двух смен работы.

Объем партии сварных стыковых соединений выпусков стержней арматуры и соединений, выполненных дуговой сваркой протяженными швами, не должен превышать 200 соединений. В случае приемки подряд пяти таких партий с первого предъявления, объем партии может быть увеличен, но не более чем до 400 соединений. Первое забракование партии увеличенного объема влечет за собой возврат к формированию и приемке партий объемом до 200 соединений.

Соответствие арматурных и закладных изделий, а также сварных соединений требованиям данного стандарта устанавливают по результатам выборочного контроля, который должен производиться:

1) при изготовлении товарных арматурных и закладных изделий - до передачи их на склад готовой продукции;

2) при изготовлении и применении сварных арматурных и закладных изделий производственными участками одного предприятия - до установки изделий в опалубку;

3) при выполнении сварных соединений на строительных площадках - до бетонирования монолитных конструкций.

Выборку следует производить методом случайного отбора (без преднамеренного отбора изделий и сварных соединений по какому-либо определенному признаку).

Соответствие арматурных и закладных изделий и сварных соединений типов К1 - К3 с ненормируемой прочностью, С21 - С23, Н1, Т8, Т9 должно проверяться путем визуального осмотра и измерений готовых изделий и сварных соединений, отобранных из контролируемой партии.

Число изделий, отбираемых из партии для визуального осмотра и измерений, должно быть не менее 3 шт.

Число сварных стыковых соединений арматуры монолитных железобетонных конструкций, отбираемых из партии для визуального осмотра и измерений, должно составлять не менее 10 % их общего числа в партии.

В каждом отобранном арматурном изделии следует проверять:

1) класс, диаметры и марку арматурной стали по данным документа о качестве, а при его отсутствии - по результатам лабораторных испытаний арматурной стали;

2) длину отдельных стержней, расстояние между крайними стержнями по ширине, длине или высоте изделия, длину выпусков стержней в изделии, а также расстояние между двумя соседними продольными стержнями в арматурных каркасах;

3) все сварные соединения, выполненные дуговой, а также контактной стыковой сваркой, и не менее пяти соединений, выполненных контактной точечной сваркой.

В каждом отобранном закладном изделии необходимо проверить:

1) марку стали плоских элементов, класс и диаметр анкерных стержней по данным документа о качестве, а при его отсутствии - по результатам лабораторных испытаний стали;

2) отклонение от плоскостности лицевых поверхностей изделия;

3) линейные размеры плоских элементов, размещение и длину анкерных стержней;

4) расстояние между наружными плоскостями в изделиях закрытого типа;

5) состояние кромок плоских элементов и размер углов между плоскими элементами и анкерными стержнями;

6) все сварные соединения.

При осмотре сварных соединений должны быть проверены размеры их конструктивных элементов; наличие грата в соединениях, выполненных контактной сваркой; относительная осадка в крестообразных соединениях и дефекты, перечисленные в вышеприведенных таблицах.

Если в результате визуального осмотра и измерений арматурных и закладных изделий, а также сварных соединений их элементов хотя бы одно изделие или одно соединение не будет соответствовать требованиям данного стандарта, то проводят повторную проверку удвоенного числа изделий.

Если при повторной проверке хотя бы одно изделие или сварное соединение его элементов не будет удовлетворять требованиям данного стандарта, то все изделия этой партии подлежат поштучной приемке и исправлению.

Если в результате визуального осмотра и измерений сварных соединений элементов арматуры монолитных железобетонных конструкций будет выявлено хотя бы одно соединение, не отвечающее требованиям данного стандарта, то производят поштучную приемку соединений.

Соединения с дефектами должны быть исправлены или усилены по согласованию с проектной организацией.

Результаты визуального осмотра и измерений должны быть оформлены актом.

Соответствие сварных соединений элементов арматурных и закладных изделий (кроме соединений типов К1 - К3 с ненормируемой прочностью, а также типов С21 - С23, Н1, Т8, Т9 по ГОСТ 14098-91 и основного металла стержней рабочей арматуры (после сварки крестообразных соединений) требованиям стандарта должно проверяться механическими испытаниями контрольных образцов, отбираемых от партий изделий, принятых по результатам визуального осмотра и измерений.

Каждая партия товарных арматурных и закладных изделий, поставляемых за пределы предприятия-изготовителя, должна сопровождаться документом о качестве, в котором указывают:

наименование и адрес предприятия-изготовителя;

номер и дату выдачи документа;

номер партии;

наименование изделий с указанием их марок и числа в партии;

дату изготовления.

Документ о качестве должен быть подписан работником, ответственным за приемочный контроль.

Арматурные и закладные изделия должны транспортироваться с соблюдением мер, исключающих появление остаточных деформаций в стержнях и механические повреждения изделий.

Плоские сварные арматурные сетки и каркасы следует транспортировать в горизонтальном положении связанными в пакеты.

Пакет должен состоять из изделий одной марки.

Массу пакета устанавливает предприятие-изготовитель.

Закладные изделия транспортируют в контейнерах (ящиках) рассортированными по маркам. В каждом контейнере (ящике) должны находиться изделия одной марки.

Арматурные и закладные изделия в пределах одного предприятия транспортируют наличными средствами.

Арматурные и закладные изделия, поставляемые за пределы предприятия-изготовителя, транспортируют автомобильным или железнодорожным транспортом в соответствии с правилами перевозок грузов, действующими на транспорте данного вида, а также техническими условиями погрузки и крепления грузов, утвержденными Министерством путей сообщения.

Транспортирование по железной дороге производится повагонными или мелкими отправками в открытых или закрытых вагонах.

Загрузка и выгрузка вагонов должна осуществляться механизированным способом: открытых вагонов - кранами, крытых вагонов - автопогрузчиками.

При мелких отправках в крытых вагонах партиями не более 10 т для предохранения транспортных средств и грузов от механических повреждений рулоны арматурных сеток и их торцы должны быть обернуты бумагой по ГОСТ 8828-89 и упаковочной тканью по ГОСТ 5530-81* или другими упаковочными материалами, не ухудшающими качество упаковки.

Транспортная маркировка должна содержать основные, дополнительные и информационные надписи по ГОСТ 14192-96 «Маркировка грузов».

Способы выполнения погрузочно-разгрузочных работ должны соответствовать предусмотренным правилами техники безопасности.

Арматурные и закладные изделия должны храниться в крытых помещениях.

Пакеты плоских арматурных сеток и каркасов следует хранить раздельно по маркам в штабелях высотой не более 2 м. Рулоны сеток должны складироваться не более чем в три яруса.

При складировании между штабелями изделий должен быть обеспечен свободный проход шириной не менее 0,5 м.

На строительной площадке в процессе входного контроля:

- должно быть проверено наличие документов о качестве, ярлыков и других сопроводительных документов, а также полнота содержащихся в них данных;

- по сопроводительным документам (документам о качестве, паспортам и другим документам), маркировке, ярлыкам должно быть определено соответствие поступивших арматурных и закладных изделий требованиям проекта;

- должен быть произведен внешний осмотр и необходимые измерения поступивших арматурных и закладных изделий с целью проверки соответствия их требованиям стандартов, технических условий или других нормативно-технических документов и обнаружения недопустимых дефектов;

- при возникновении каких-либо сомнений в качестве поступивших арматурных и закладных изделий или документов должны быть вызваны представители строительной лаборатории или функциональных служб, ответственных за поставку материалов.

Арматурные работы следует производить в соответствии с требованиями СНиП 3.03.01-87, СНиП 3.01.01-85*, проекта, ППР, технологических карт и схем операционного контроля качества.

Арматурные работы должны выполнять строительные организации, получившие лицензии на выполнение этих работ в Федеральных или местных органах по лицензированию строительной деятельности.

Арматурные работы должны выполняться квалифицированным персоналом, прошедшим специальную подготовку и обладающим надлежащими навыками по выполнению арматурных работ.

При производстве арматурных работ должно быть обеспечено соблюдение строительных норм и правил, проекта и ППР.

Выполнение арматурных работ должно производиться по утвержденному проекту производства работ (ППР).

Запрещается осуществление арматурных работ без утвержденного проекта производства работ. Не допускаются отступления от решений проектов производства работ без согласования с организациями, разработавшими и утвердившими их. Расчленение пространственных крупногабаритных арматурных изделий, а также замена предусмотренной проектом арматурной стали должны быть согласованы с заказчиком и проектной организацией.

Транспортирование и хранение арматурной стали следует выполнять по ГОСТ 7566-94.

Заготовку стержней мерной длины из стержневой и проволочной арматуры и изготовление ненапрягаемых арматурных изделий следует выполнять в соответствии с требованиями СНиП 3.09.01-85 «Производство сборных железобетонных конструкций и изделий», а изготовление несущих арматурных каркасов из стержней диаметром более 32 мм прокатных профилей - согласно разд. 8 СНиП 3.03.01-87 и ГОСТ 14098-91.

Заготовку стержней из арматурной проволоки и горячекатанной арматуры круглой и периодического профиля, поставляемой в мотках, согласно СНиП 3.09.01-85 необходимо производить на правильно-отрезных станках-автоматах, а поставляемой в прутках - как правило, на безотходных механизированных линиях.

Резку стержневой и проволочной арматуры и сеток следует производить механическими, гидравлическими или пневматическими ножницами, пилами трения, а также плазменными горелками.

Гибку арматурных стержней и сварных сеток необходимо производить, как правило, на приводных гибочных станках.

Арматурные элементы следует изготовлять с соблюдением установленных технологических правил с точностью, соответствующей требованиям ГОСТ 10922-90.

Изготовление пространственных крупногабаритных арматурных изделий следует производить в сборочных кондукторах.

Заготовку (резку, сварку, образование анкерных устройств), установку и натяжение напрягаемой арматуры следует выполнять по проекту в соответствии со СНиП 3.09.01-85.

Монтаж арматурных конструкций следует производить преимущественно из крупноразмерных блоков или унифицированных сеток заводского изготовления с обеспечением фиксации защитного слоя согласно требований, приведенных в нижеследующей таблице.

Установку на арматурных конструкциях пешеходных, транспортных или монтажных устройств следует осуществлять в соответствии с ППР, по согласованию с проектной организацией.

Бессварочные соединения стержней следует производить:

стыковые - внахлестку или обжимными гильзами и винтовыми муфтами с обеспечением равнопрочности стыка;

крестообразные - вязкой отожженной проволокой. Допускается применение специальных соединительных элементов (пластмассовых и проволочных фиксаторов).

Стыковые и крестообразные сварные соединения следует выполнять по проекту в соответствии с ГОСТ 14098-91.

При устройстве арматурных конструкций следует соблюдать требования, приведенные в нижеследующей таблице.

Параметр

Величина параметра, мм

Контроль, (метод, объем, вид регистрации)

1. Отклонение в расстоянии между отдельно установленными рабочими стержнями для:

 

Технический осмотр всех элементов, журнал работ

колонн и балок

±10

плит и стен фундаментов

±20

массивных конструкций

±30

2. Отклонение в расстоянии между рядами арматуры для:

 

То же

плит и балок толщиной до 1 м

±10

конструкций толщиной более 1 м

±20

3. Отклонение от проектной толщины защитного слоя бетона не должно превышать:

 

То же

при толщине защитного слоя до 15 мм и линейных размерах поперечного сечения конструкции, мм:

 

до 100

+4

от 101 до 200

+5

при толщине защитного слоя от 16 до 20 мм включ. и линейных размерах поперечного сечения конструкций, мм:

 

до 100

+4; -3

от 101 до 200

+8; -3

от 201 до 300

+10; -3

св. 300

+15; -5

при толщине защитного слоя свыше 20 мм и линейных размерах поперечного сечения конструкций, мм:

 

до 100

+4; -5

от 101 до 200

+8; -5

от 201 до 300

+10; -5

св. 300

+15; -5

На элементах арматурных и закладных изделий, а также сварных соединений не должно быть отслаивающейся ржавчины и окалины, следов масла и других загрязнений.

Приемка бетонных и железзобетонных конструкций или частей сооружений

Приемочный контроль выполненных сварных стыковых соединений арматуры должен предусматривать внешний осмотр и комплекс испытаний, проводимых в соответствии с ГОСТ 10922-90 и ГОСТ 23858-79.

Результаты визуального осмотра и измерений должны быть оформлены актом.

Результаты механических испытаний контрольных образцов должны быть занесены в протокол по форме приложения 3 ГОСТ 10922-90.

Бетонирование конструкции до получения результатов оценки качества сварных соединений не разрешается.

Соответствие выполненных арматурных работ требованиям проекта и нормативных документов оформляется актом освидетельствования скрытых работ.

Приемочный контроль качества законченных монолитных бетонных и железобетоннных конструкций или частей сооружений должен осуществляться в соответствии с требованиями СНиП 3.01.01-85* и СНиП 3.03.01-87.

При приемке законченных монолитных бетонных и железобетонных конструкций или частей сооружений следует проверять:

соответствие конструкций рабочим чертежам и требованиям СНиП 3.03.01-87 и другой нормативно-технической документации, утвержденной в установленном порядке;

качество бетона по прочности, а в необходимых случаях по морозостойкости, водонепроницаемости и другим показателям, указанным в проекте, СНиП 3.03.01-87, ППР и другой нормативно-технической документации, утвержденной в установленном порядке;

качество применяемых в конструкции материалов, полуфабрикатов и изделий.

При приемочном контроле должна быть представлена следующая документация:

исполнительные чертежи с внесенными (при их наличии) отступлениями, допущенными предприятием - изготовителем конструкций, а также монтажной организацией, согласованными с проектными организациями-разработчиками чертежей, и документы об их согласовании;

заводские технические паспорта на стальные, железобетонные и деревянные конструкции; паспорт на комплект опалубки;

документы (сертификаты, паспорта), удостоверяющие качество материалов, примененных при производстве строительно-монтажных работ;

акты освидетельствования скрытых работ;

акты на приемку работ субподрядных организаций;

акты промежуточной приемки ответственных конструкций;

исполнительные геодезические схемы положения конструкций;

журналы работ;

документы о контроле качества сварных соединений; акты лабораторных испытаний и анализов;

другие документы, указанные в рабочих чертежах, ППР и дополнительных правилах.

Скрытые работы подлежат освидетельствованию с составлением актов по форме, приведенной в прил. 6 СНиП 3.01.01-85*. Акт освидетельствования скрытых работ должен составляться на завершенный процесс, выполненный самостоятельным подразделением исполнителей.

Освидетельствование скрытых работ и составление акта в случаях, когда последующие работы должны начинаться после перерыва, следует производить непосредственно перед производством последующих работ.

Запрещается выполнение последующих работ при отсутствии актов освидетельствования предшествующих скрытых работ во всех случаях.

Ответственные конструкции по мере их готовности подлежат приемке в процессе строительства (с участием представителя проектной организации или авторского надзора) с составлением акта промежуточной приемки этих конструкций по форме, приведенной в прил. 7 СНиП 3.01.01-85*.

При возведении сложных и уникальных объектов акты приемки ответственных конструкций и освидетельствования скрытых работ должны составляться с учетом особых указаний и технических условий проекта (рабочего проекта).

При отсутствии в рабочих чертежах специальных требований, предъявляемых к законченным монолитным бетонным и железобетоннным конструкциям или частям сооружений, последние не должны превышать значений, приведенных в нижеследующей таблице.

Параметр

Предельные отклонения

Контроль (метод, объем, вид регистрации)

1. Отклонение линий плоскостей пересечения от вертикали или проектного наклона на всю высоту конструкций для:

 

 

фундаментов

20 мм

Измерительный, каждый конструктивный элемент, журнал работ

стен и колонн, поддерживающих монолитные покрытия и перекрытия

15 мм

То же

стен и колонн, поддерживающих сборные балочные конструкции

10 мм

То же

стен зданий и сооружений, возводимых в скользящей опалубке, при отсутствии промежуточных перекрытий

1/500 высоты сооружения, но не более 100 мм

Измерительный, всех стен и линий их пересечения, журнал работ

стен зданий и сооружений, возводимых в скользящей опалубке, при наличии промежуточных перекрытий

1/1000 высоты сооружения, но не более 50 мм

То же

2. Отклонение горизонтальных плоскостей на всю длину выверяемого участка

20 мм

Измерительный, не менее 5 измерений на каждые 50 - 100 м, журнал работ

3. Местные неровности поверхности бетона при проверке двухметровой рейкой, кроме опорных поверхностей

5 мм

То же

4. Длина или пролет элементов

±20 мм

Измерительный, каждый элемент, журнал работ

5. Размер поперечного сечения элементов

+6 мм; -3 мм

То же

6. Отметки поверхностей и закладных изделий, служащих опорами для стальных или сборных железобетонных колонн и других сборных элементов

-5 мм

Измерительный, каждый опорный элемент, исполнительная схема

7. Уклон опорных поверхностей фундаментов при опирании стальных колонн без подливки

0,0007

То же, каждый фундамент, исполнительная схема

8. Расположение анкерных болтов:

 

 

в плане внутри контура опоры

5 мм

То же, каждый фундаментный болт, исполнительная схема

в плане вне контура опоры

10 мм

по высоте

+20 мм

9. Разница отметок по высоте на стыке двух смежных поверхностей

3 мм

То же, каждый стык, исполнительная схема

КАМЕННЫЕ КОНСТРУКЦИИ

Входной контроль стеновых материалов

ГОСТ 530-95 «Кирпич и камни керамические. Технические условия»

ГОСТ 7484-78 «Кирпич и камни керамические лицевые. Технические условия»

ГОСТ 379-95 «Кирпич и камни силикатные. Технические условия»

ГОСТ 4001-84 «Камни стеновые из горных пород. Технические условия»

ГОСТ 6133-84 «Камни бетонные стеновые. Технические условия»

ГОСТ 21520-89 «Блоки из ячеистых бетонов стеновые мелкие. Технические условия»

ГОСТ 19010-82* «Блоки стеновые бетонные и железобетонные для зданий. Общие технические условия»

Стандарты и технические условия на стеновые материалы.

Входной контроль качества стеновых материалов должен осуществляться в соответствии с требованиями СНиП 3.01.01-85*, СНиП 3.03.01-87, требованиями государственных и отраслевых стандартов, технических условий, ППР и другой технологической документации, утвержденной в установленном порядке.

На строительной площадке и на комплектовочных базах в процессе входного контроля:

должно быть проверено наличие и содержание паспортов и документов о качестве (а также маркировка материалов) с целью определения соответствия поступивших стеновых материалов требованиям проекта (по сопроводительной документации должно быть проверено соответствие видов, марок, типов, размеров и других характеристик стеновых материалов требованиям рабочей документации, по которой должно осуществляться возведение каменных конструкций);

должен быть произведен внешний осмотр стеновых материалов с целью проверки соответствия их требованиям стандартов, технических условий или других нормативно-технических документов и обнаружения недопустимых дефектов внешнего вида;

при возникновении каких-либо сомнений в качестве поступивших изделий или документов должны быть вызваны представители строительной лаборатории или функциональных служб, ответственных за поставку материалов.

ГОСТ 530-95 «Кирпич и камни керамические. Технические условия»

Стандарт распространяется на керамические кирпич и камни, изготовляемые способом полусухого прессования или пластического формования из глинистых и кремнеземистых (трепел, диатомит) осадочных пород и промышленных отходов (угледобычи и углеобогащения зол) и обожженных в печах.

Кирпич и камни следует применять для кладки каменных и армокаменных наружных и внутренних стен зданий и сооружений, а также для кладки фундаментов из полнотелого кирпича.

Кирпич и камни керамические (далее - изделия) изготовляют в форме параллелепипеда и в зависимости от размеров подразделяются на виды, указанные в нижеследующей таблице.

Вид изделий

Размеры в мм

Длина

Ширина

Толщина

Кирпич одинарный

250

120

65

Кирпич утолщенный

250

120

88

Кирпич модульных размеров одинарный

288

138

63

Кирпич модульных размеров утолщенный

288

138

88

Кирпич утолщенный с горизонтальным расположением пустот

250

120

88

Камень

250

120

138

Камень модульных размеров

288

138

138

Камень модульных размеров укрупненный

288

288

88

Камень укрупненный

250

250

138

250

250

188

180

250

138

Камень укрупненный с горизонтальным расположением пустот

250

250

120

250

200

80

Примечание - Допускается по согласованию с потребителем выпускать укрупненные камни размерами: 380 ´ 180 ´ 138; 380 ´ 255 ´ 188; 380 ´ 250 ´ 138.

Предельные отклонения от номинальных размеров в миллиметрах не должны превышать:

- для изделий пластического формования из лессов, трепелов, диатомитов ±7 - по длине; ±5 - по ширине;

- для изделий пластического формования и полусухого прессования ±5 - по длине; ±4 - по ширине; ±3 - по толщине - для кирпича; ±4 - по толщине - для камня.

Отклонение от перпендикулярности граней в миллиметрах не должно превышать: ±4 - для изделий пластического формования из лессов, трепелов, диатомитов; ±3 - для изделий пластического формования и полусухого прессования.

Одинарный и утолщенный кирпич изготовляют полнотелым (без пустот и с технологическими пустотами, объем которых составляет не более 13 %) и пустотелым, а камни - только пустотелыми.

Толщина наружных стенок пустотелого изделия должна быть не менее 12 мм.

Пустоты в изделиях должны располагаться перпендикулярно или параллельно постели и могут быть сквозными и несквозными.

Ширина щелевидных пустот должна быть не более 16 мм, а диаметр цилиндрических сквозных пустот и размер стороны квадратных пустот - не более 20 мм.

Для укрупненных камней допускаются пустоты (для захвата при кладке) с площадью сечения пустот не более 13 % от площади основания.

Диаметр несквозных пустот и размеры горизонтальных пустот не регламентируются.

По прочности изделия с вертикально расположенными пустотами изготовляют марок: 75, 100, 125, 150, 175, 200, 250, 300, а с горизонтально расположенными пустотами - 25, 35, 50, 100.

По морозостойкости изделия подразделяют на марки: F15, F25, F35, F50.

Условное обозначение керамических изделий должно состоять из названия, вида, марки по прочности и морозостойкости, обозначения данного стандарта.

Примеры условных обозначений.

Кирпич керамический полнотелый одинарный марки по прочности 100, марки по морозостойкости F15:

Кирпич К-100/1/15/ГОСТ 530-95

Кирпич керамический пустотелый одинарный марки по прочности 100, по морозостойкости F15:

Кирпич КП-О 150/15/ГОСТ 530-95

Кирпич керамический утолщенный марки по прочности 125, по морозостойкости F25:

Кирпич КП-У 125/25/ГОСТ 530-95

Камень керамический марки по прочности 100, по морозостойкости F15:

Камень К100/15/ГОСТ 530-95

Камень керамический укрупненный марки по прочности 150, по морозостойкости F15:

Камень КУК 150/15/ГОСТ 530-95

Камень керамический модульных размеров марки по прочности 175, по морозостойкости F15:

Камень КМ 175/15/ГОСТ 530-95

Камень керамический укрупненный с горизонтальным расположением пустот марки по прочности 50, по морозостойкости F15:

Камень КУГ 50/15/ГОСТ 530-95

Камень керамический укрупненный с горизонтальным расположением пустот марки по прочности 100, по морозостойкости F15:

Камень КУГ 100/15/ГОСТ 530-95

Поверхность граней изделий должна быть плоской, ребра - прямолинейными.

Допускается изготовление изделий с закругленными вертикальными ребрами с радиусом закругления не более 15 мм.

По фактуре поверхности (ложковой, тычковой) изделия могут быть гладкими или рифлеными.

На изделии не допускаются дефекты внешнего вида, размеры и число которых превышают указанные в нижеследующей таблице.

Вид дефекта

Число дефектов

1. Отбитости углов глубиной от 10 до 15 мм

2

2. Отбитости и притупленности ребер глубиной не более 10 мм и длиной от 10 до 15 мм

2

3. Трещины протяженностью до 30 мм по постели полнотелого кирпича и пустотелых изделий не более чем до первого ряда пустот (глубиной на всю толщу кирпича или на 1/2 толщины тычковой или ложковой грани камней):

 

на ложковых гранях

1

на тычковых гранях

1

Известковые включения, вызывающие после пропаривания изделий разрушение поверхностей и отколы глубиной более 6 мм, не допускаются.

На поверхности изделий допускается наличие отколов по наибольшему измерению от 3 до 10 мм числом не более 3 шт.

Количество половняка в партии не должно быть более 5 %.

Не допускается поставка потребителю недожженных и пережженных изделий.

Марка камня по прочности устанавливается по значению предела прочности при сжатии, а кирпича - по значению пределов прочности при сжатии и изгибе. Предел прочности при сжатии изделий приведен в нижеследующей таблице.

Марка изделий

Предел прочности, МПа (кгс/см2) при сжатии

средний для 5 образцов

наименьший для отдельного образца

 

Для всех видов изделий

300

30,0 (300)

25,0 (250)

250

25,0 (250)

20,0 (200)

200

20,0 (200)

17,5 (175)

175

17,5 (175)

15,0 (150)

150

15,0 (150)

12,5 (125)

125

12,5 (125)

10,0 (100)

100

10,0 (100)

7,5 (75)

75

7,5 (75)

5,0 (50)

 

Для кирпича и камней с горизонтальным расположением пустот

100

10,0 (100)

7,5 (75)

75

7,5 (75)

5,0 (50)

50

5,0 (50)

3,5 (35)

35

3,5 (35)

2,5 (25)

25

2,5 (25)

1,5 (15)

Водопоглощение не должно быть для полнотелого кирпича менее 8 %, для пустотелых изделий - менее 6 %.

Масса кирпича в высушенном состоянии не должна быть более 4,3 кг, камней - не более 16 кг.

Удельная эффективная активность естественных радионуклеидов в изделиях не должна быть более 370 Бк/кг.

Изделия должны маркироваться в каждом пакете по одному в среднем ряду. Товарный знак предприятия-изготовителя должен бывать нанесен на тычковую поверхность изделия несмываемой краской при помощи трафарета (штампа) или оттиска клейма в процессе изготовления.

Каждая партия поставляемых изделий должна сопровождаться документом о качестве, в котором указывают: наименование предприятия-изготовителя и (или) его товарный знак; наименование и условное обозначение изделий; номер и дату выдачи документа; номер партии и количество отгружаемых изделий; массу кирпича и камней; водопоглощение; предел прочности при изгибе для кирпича марок 75 и 100; удельную эффективную активность естественных радионуклеидов; теплопроводность изделий; обозначение данного стандарта.

Транспортирование изделий должно производиться с применением в качестве средств пакетирования поддонов типа «ПОД» по ГОСТ 18343-80. Допускается транспортирование изделий автомобильным транспортом технологическими (разреженными) пакетами без поддонов с применением в качестве средств пакетирования скрепляющих устройств (съемных и стационарных) в кузовах автотранспортных средств. Погрузка и выгрузка пакетов изделий должны производиться механизированным способом при помощи специальных грузозахватных устройств. На поддонах изделия должны быть уложены в «елку» или «на плашок» и «на ребро» с перекрестной перевязкой. Масса одного пакета должна быть не более 0,85 т. Пакеты кирпича, уложенные с перекрестной перевязкой, должны быть упакованы металлической лентой, термоусадочной или растягивающейся пленкой.

Погрузка изделий навалом (набрасыванием) и выгрузка их сбрасыванием не допускаются.

Изделия должны храниться пакетами на поддонах раздельно по маркам и видам в сплошных одноленточных штабелях в один ярус. Допускается установка пакета друг на друга не выше двух ярусов.

Допускается хранение изделий на ровных площадках с твердым покрытием в одноленточных штабелях пакетами без поддонов.

ГОСТ 7484-78 «Кирпич и камни керамические лицевые. Технические условия»

Стандарт распространяется на кирпич и камни керамические лицевые, изготовляемые из глин, трепелов и диатомитов методами пластического формования или полусухого прессования с добавками или без них, с нанесением фактурного слоя или без него.

Кирпич и камни предназначаются для кладки и одновременной облицовки наружных и внутренних стен зданий и сооружений.

По форме, размерам и объемной массе кирпич и камни должны соответствовать требованиям ГОСТ 530-95.

По соглашению предприятия-изготовителя с потребителем могут выпускаться камни других размеров, а также профильные изделия, форма и размеры которых указываются в заказе.

По прочности кирпич и камни подразделяют на марки: 300, 250, 200, 150, 125, 100 и 75.

Кирпич и камни марки 75 допускается выпускать на отдельных предприятиях по согласованию с потребителями.

По морозостойкости кирпич и камни подразделяют на марки: Мрз 25, Мрз 35 и Мрз 50.

По виду лицевой поверхности кирпич и камни подразделяются:

- с гладкой лицевой поверхностью;

- с рельефной лицевой поверхностью;

- с офактуренной лицевой поверхностью.

Кирпич и камни изготовляют:

- с гладкой и рельефной лицевой поверхностью естественного цвета или окрашенными в массе путем ввода в сырьевые материалы добавок;

- с офактуренной лицевой поверхностью - торкретированием минеральной крошкой, ангобированием, глазурованием или двухслойным формованием.

Кирпич и камни по форме, размерам и расположению пустот в изделиях, толщине наружных стенок, диаметру цилиндрических пустот, ширине щелевых пустот, трещинам в межпустотных перегородках, недожогу и пережогу, отклонениям для нелицевой поверхности изделий по внешним признакам (неперпендикулярность поверхностей и ребер, отбитость и притупленность углов и ребер, наличие трещин) должны отвечать требованиям ГОСТ 530-95.

Трещины на лицевой поверхности кирпича и камней, а также трещины и расслоения по контакту фактурного слоя с основной массой изделий не допускаются.

Кирпич и камни должны иметь две лицевые поверхности - тычковую и ложковую.

По согласованию предприятия изготовителя с потребителем допускается выпускать кирпич и камни с одной лицевой поверхностью.

На лицевой поверхности кирпича и камней не должно быть отколов, в том числе от известковых включений, пятен, выцветов и других дефектов, видимых на расстоянии 10 м на открытой площадке при дневном освещении.

Цвет, рисунок рельефа и другие показатели внешнего вида лицевой поверхности изделий должны соответствовать утвержденному в установленном порядке образцу-эталону.

Допускаемые отклонения от номинальных размеров и показателей внешнего вида лицевой поверхности кирпича и камней не должны превышать на одном изделии следующих значений.

Отклонения от размеров, мм, не более: по длине ...... ±4; по ширине ...... ±3; по толщине ...... +3; -2.

Непрямолинейность лицевых поверхностей и ребер, мм, не более: по ложку ...... 3; по тычку ...... 2.

Неперпендикулярность граней и ребер кирпича и камня, отнесенная к длине 120 мм, мм, не более ...... 2.

Отбитость или притупленность углов и ребер длиной от 5 до 15 мм, шт, не более ...... 1.

Отдельные посечки шириной не более 0,5 и длиной до 40 мм на 1 дм2 лицевой поверхности, шт, не более ...... 2.

Глазурованные поверхности кирпича и камней по показателям внешнего вида должны соответствовать требованиям, указанным в нижеследующей таблице.

Наименование показателя

Норма

Наплывы и волнистость глазури, засорение, неравномерность окраски глазури, видимые с расстояния 10 м

Не допускаются

Наколы (углубления в глазури) диаметром более 2 мм

Не допускаются

Пузыри (вздутия) общей площадью более 2 см2 для кирпича и более 4 см2 для камня

Не допускаются

Мушки (темные точки) диаметром более 3 мм отдельные рассеянные, не более:

 

для кирпича

3 шт

для камня

6 шт

Плешины общей площадью более 2 см2 для кирпича и более 4 см2 для камня

Не допускаются

Сухость глазури общей площадью более 2 см2 для кирпича и более 4 см2 для камня

Не допускается

Слипыш зашлифованный общей площадью более 2 см2 для кирпича и более 4 см2 для камня

Не допускается

Щербины и зазубрины на кромках глазурованной поверхности шириной более 4 мм и длиной более 10 мм

Не допускаются более 4 шт.

Общее количество кирпича и камней с отбитостями, превышающими допустимые данным стандартом, включая парный половняк, не должно быть более 5 %.

Предел прочности при сжатии кирпичей и предел прочности при сжатии камней (без вычета площади пустот) должен быть не менее величин, указанных в нижеследующей таблице.

Марка кирпича и камней

Предел прочности, МПа (кгс/см2), при сжатии

средний для 5 образцов

наименьший для отдельного образца

300

30,0 (300)

25,0 (250)

250

25,0 (250)

20,0 (200)

200

20,0 (200)

15,0 (150)

150

15,0 (150)

12,5 (125)

125

12,5 (125)

10,0 (100)

100

10,0 (100)

7,5 (75)

75

7,5 (75)

5,0 (50)

Водопоглощение кирпича и камней должно быть не менее 6 % и для кирпича и для камней, изготовляемых из беложгущихся глин, не более 12 % - из карбонатосодержащих глин и глин с добавкой карбонатов (содержание которых в пересчете на СаСО3 не менее 10 %) и из глин с добавкой трепелов и диатомитов не более 20 %, из остальных глин - не более 14 %, из трепелов и диатомитов - не более 28 % от массы этих изделий, высушенных до постоянной массы.

Кирпич и камни должны быть морозостойкими и в насыщенном водой состоянии должны выдерживать без каких-либо признаков видимых повреждений (расслоение, шелушение, растрескивание, выкрашивание) не менее:

25 циклов попеременного замораживания и оттаивания - для марки Мрз 25;

35 циклов - для марки Мрз 35;

50 циклов - для марки Мрз 50.

Кирпич и камни из карбонатосодержащих глин с водопоглощением более 14 % и из трепелов и диатомитов должны иметь марку не менее Мрз 35.

Кирпич и камни должны иметь на одной нелицевой поверхности оттиск - клеймо с обозначением марки предприятия-изготовителя.

Предприятие-изготовитель обязано сопровождать партию кирпича и камней паспортом, в котором должно быть указано:

наименование и адрес предприятия-изготовителя;

номер партии, количество отгружаемой продукции;

марки кирпича по прочности при сжатии и изгибе, марка камней по прочности при сжатии;

результаты испытаний на водопоглощение и гарантированная марка по морозостойкости;

дата выдачи паспорта.

Кирпич и камни должны храниться в клетках на подкладках, поддонах или в контейнерах раздельно по маркам, виду и цвету лицевых поверхностей.

При хранении не разрешается устанавливать поддоны с кирпичом или камнями друг на друга выше двух рядов.

Перевозку кирпича и камней в транспортных средствах (автомобили, железнодорожные платформы и вагоны, суда) должны производить на поддонах или в контейнерах.

На поддон кирпич и камни должны укладываться «елочкой» или другим способом, обеспечивающим устойчивость пакета в процессе транспортирования.

При укладке глазурованных кирпича и камней на поддон или в контейнер между глазурованными поверхностями должна прокладываться плотная бумага по ГОСТ 2228-81* или ГОСТ 8273-75*.

При погрузке, транспортировании и выгрузке кирпича и камней должны быть приняты меры, обеспечивающие их сохранность от механических повреждений и загрязнения.

Погрузку и выгрузку кирпича и камней должны производить механизированным способом с помощью специальных захватов и механизмов.

Погрузка кирпича и камней навалом (набрасыванием) и выгрузка их сбрасыванием запрещаются.

ГОСТ 379-95 «Кирпич и камни силикатные. Технические условия»

Стандарт распространяется на силикатные кирпич и камни (далее - изделия), изготовляемые способом прессования увлажненной смеси из кремнеземистых материалов и извести или других известесодержащих вяжущих с применением пигментов и без них с последующим твердением под действием насыщенного пара в автоклаве.

Кирпич и камни следует применять для кладки каменных и армокаменных наружных и внутренних стен зданий и сооружений, а также для облицовки из лицевых изделий.

Кирпич и камни должны изготовляться в форме прямоугольного параллелепипеда размером, указанным в нижеследующей таблице.

Вид изделия

Длина, мм

Ширина, мм

Высота, мм

Кирпич одинарный

250

120

65

Камень

250

120

138

Примечание - По согласованию с потребителем допускается выпускать утолщенный кирпич размерами 250 ´ 120 ´ 88 мм.

Предельные отклонения от номинальных размеров и геометрической формы изделия не должны превышать, мм:

- по длине, толщине и ширине ±2;

- по непараллельности граней +2.

Одинарный и утолщенный кирпич изготовляют полнотелым и пустотелым, камни только пустотелыми.

Отверстия в изделиях должны быть несквозными и расположены перпендикулярно постели. Толщина наружных стенок пустотелых изделий должна быть не менее 10 мм.

По прочности изделия изготовляют марок 75, 100, 125, 150, 175, 200, 250, 300.

По морозостойкости изделия изготовляют марок F15, F25, F35, F50.

Марка по морозостойкости лицевых изделий должна быть не менее F25.

В зависимости от средней плотности полнотелые изделия подразделяют на:

- пористые со средней плотностью до 1500 кг/м3;

- плотные свыше 1500 кг/м3.

В зависимости от назначения изделия изготовляют лицевыми и рядовыми.

Условное обозначение силикатных изделий должно состоять из названия, вида и назначения изделия, марки по прочности и морозостойкости, обозначения данного стандарта.

Примеры условных обозначений:

Кирпич силикатный одинарный рядовой марки по прочности 150, марки по морозостойкости F15:

Кирпич СОР-150/15, ГОСТ 379-95

Кирпич силикатный утолщенный рядовой марки по прочности 175, марки по морозостойкости F25:

Кирпич СУР-175/25 ГОСТ 379-95

Кирпич силикатный утолщенный лицевой марки по прочности 200, марки по морозостойкости F35:

Кирпич СУЛ-200/35 ГОСТ 379-95

Кирпич силикатный лицевой декоративный марки по прочности 150, марки по морозостойкости F25:

Кирпич СЛД-150/25 ГОСТ 379-95

Камень силикатный рядовой марки по прочности 125, марки по морозостойкости F15:

Камень СР-125/15 ГОСТ 379-95

Изделия должны изготовляться в соответствии с требованиями данного стандарта по технологическому регламенту, утвержденному предприятием-изготовителем.

По фактуре лицевой поверхности лицевые изделия изготовляют гладкими с декоративным покрытием; по цвету - неокрашенными, имеющими цвет сырья, из которого они изготовлены, или окрашенными - из окрашенной смеси или с поверхностной окраской лицевых граней.

Лицевые изделия должны иметь две лицевые поверхности: тычковую и ложковую.

По согласованию с потребителем допускается выпускать изделия с одной лицевой поверхностью.

Поверхность граней изделия должна быть плоской, ребра - прямолинейными.

Допускается выпускать лицевые изделия с закругленными вертикальными ребрами радиусом не более 6 мм.

Цвет (оттенок цвета) лицевых изделий должен соответствовать образцу-эталону.

Пятна на лицевой поверхности изделий не допускаются.

На рядовом изделии не допускаются дефекты внешнего вида, размеры и количество которых превышают указанные в нижеследующей таблице.

Отбитости и притупленности углов и ребер, шероховатости, трещины и другие повреждения на лицевых поверхностях лицевых изделий не допускаются.

Вид дефекта

Значение

1. Отбитости углов глубиной от 10 до 15 мм, шт.

3

2. Отбитости, притупленности ребер глубиной от 5 до 10 мм, шт.

3

3. Шероховатости или срыв грани глубиной, мм

5

4. Трещины на всю толщину изделия протяженностью по постели до 40 мм, шт.

1

Проколы постели пустотелых изделий размером более 10 мм, а также дефекты изделий (вздутие и шелушение поверхности, увеличение объема, наличие сетки мелких трещин от непогасившейся силикатной смеси) не допускаются.

В рядовом изделии не допускается наличие в изломе или на поверхности глины, песка, извести и посторонних включений размером свыше 5 мм в количестве более 3.

Для лицевых изделий наличие указанных включений на поверхности не допускается, в изломе - допускаются не более 3.

Количество половняка в партии должно быть не более 5 % для рядовых изделий, 2 % - для лицевых изделий.

Марку камня по прочности устанавливают по значению предела прочности при сжатии, а кирпича - по значению пределов прочности при сжатии и изгибе. Предел прочности на сжатие камня и кирпича в зависимости от марки приведен в нижеследующей таблице.

Прочность сцепления декоративного покрытия с поверхностью лицевых изделий должна быть не менее 0,6 МПа (6 кгс/см2).

Водопоглощение изделий должно быть не менее 6 %.

Удельная эффективная активность естественных радионуклеидов в изделии должна быть не более 370 Бк/кг.

Изделия должны маркироваться в каждом штабеле (пакете) по одному в среднем ряду.

На изделие должен наноситься несмываемой краской при помощи трафарета или штампа товарный знак предприятия-изготовителя.

Каждое грузовое место (пакет) должно иметь транспортную маркировку по ГОСТ 14192-96.

Марка изделий

Предел прочности, МПа (кгс/см2) при сжатии

средний для 5 образцов

наименьший для отдельного образца

300

30,0 (300)

25,0 (250)

250

25,0 (250)

20,0 (200)

200

20,0 (200)

17,5 (175)

175

17,5 (175)

15,0 (150)

150

15,0 (150)

12,5 (125)

125

12,5 (125)

10,0 (100)

100

10,0 (100)

7,5 (75)

75

7,5 (75)

5,0 (50)

Марка по прочности лицевого кирпича должна быть не менее 125, лицевых камней - 100.

Каждая партия поставляемых изделий должна сопровождаться документом о качестве, в котором указывают:

- наименование предприятия-изготовителя и его условное обозначение;

- наименование изделия и его условное обозначение;

- номер и дату выдачи документа;

- номер партии и количество отгружаемых изделий;

- массу утолщенного кирпича;

- водопоглощение;

- предел прочности при изгибе для кирпича марок 75 и 100;

- удельную эффективную активность естественных радионуклеидов;

- теплопроводность изделий;

- обозначение данного стандарта.

Силикатные изделия должны храниться технологическими штабелями на ровных, очищенных от мусора площадках с твердым покрытием, раздельно по видам и маркам, а лицевые изделия, кроме того - раздельно по цвету и фактуре лицевой поверхности.

Изделия могут транспортироваться транспортом всех видов в соответствии с Правилами перевозок, действующими на данном виде транспорта, и требованиями документации по погрузке и креплению грузов, утвержденной в установленном порядке.

Транспортирование изделий должно осуществляться пакетами. Установка технологических штабелей на средства пакетирования должна проводиться механизированно с использованием специальных двух- и четырехсторонних захватов. По согласованию с потребителем допускается транспортировать кирпич в непакетированном виде.

Погрузка изделий навалом (набрасыванием) и выгрузка их сбрасыванием не допускается.

ГОСТ 6133-84 «Камни бетонные стеновые. Технические условия»

Данный стандарт распространяется на полнотелые и пустотелые, рядовые и лицевые стеновые камни, изготовленные вибропрессованием, литьем или другими способами из легких и тяжелых бетонов на цементном, известковом, шлаковом и гипсовом вяжущих, твердеющих в естественных условиях, при пропаривании или автоклавной обработке.

Камни применяют в соответствии со строительными нормами и правилами для несущих и ограждающих конструкций жилых, общественных, промышленных и сельскохозяйственных зданий, в основном при малоэтажном строительстве.

Камни изготавливают в виде полнотелых и пустотелых прямоугольных параллепипедов и подразделяют на следующие типы:

СКЦ - на цементном вяжущем;

СКИ - на известковом вяжущем;

СКШ - на шлаковом вяжущем;

СКГ - на гипсовом вяжущем.

Камни подразделяют на целые, продольные половинки и перегородочные.

Основные типы и размеры бетонных стеновых камней должны соответствовать приведенным в нижеследующей таблице.

Типоразмер камней

Характеристика типа

Марка камней по прочности на сжатие

Размеры, мм ;

Длина

Ширина

Высота

СКЦ-1

СКИ-1

СКШ-1

Целый камень

(8 пустот)

25, 35, 50, 75, 100, 125, 150, 200

390

190

188

СКЦ-2

СКИ-2

СКШ-2

Продольная половина

(3 пустоты)

25, 35, 50, 75, 100, 125, 150, 200

390

90

188

СКЦ-3

СКИ-3

СКШ-3

Перегородочный камень

(4 пустоты)

25, 35, 50

590

90

188

СКГ-1

Целый камень

(8 пустот)

25, 35, 50, 75

390

190

188

СКГ-1А

410

215

190

СКГ-2

Продольная половинка

390

90

188

Допускается изготовление камней размерами 410 ´ 200 ´ 200; 288 ´ 288 ´ 138 и 288 ´ 138 ´ 138 мм.

По согласованию с потребителем и базовой организацией по стандартизации пустотелые камни допускается изготовлять с другим числом, расположением и формой пустот при условии обеспечения средней плотности камней не более 1650 кг/см3.

Толщина наружных стенок пустотелых камней не должна быть менее 20 мм.

Толщина горизонтальной диафрагмы в наиболее тонкой части не должна быть менее 10 мм.

По прочности на сжатие камни подразделяют на марки: 200, 150, 125, 100, 75, 50, 35, 25.

По морозостойкости камни подразделяют на марки: Мрз 50, Мрз 35, Мрз 25 и Мрз 15.

Морозостойкость перегородочных камней и камней на гипсовом вяжущем не регламентируют.

Камни подразделяют на рядовые (Р) и лицевые (Л). Лицевые камни изготовляют с неокрашенными или окрашенными лицевыми поверхностями с маркой по прочности на сжатие не менее 75, по морозостойкости - не менее 25.

Средняя плотность пустотелых камней не должна быть более 1650 кг/м3, а полнотелых камней - 2200 кг/м3.

По средней плотности и теплопроводности камни подразделяют на эффективные - плотностью до 1400 кг/м3, условно-эффективные - плотностью от 1401 до 1650 кг/м3 и тяжелые - плотностью более 1650 кг/м3.

Теплопроводность некоторых видов легких бетонов, а также эффективных и условно-эффективных камней (типов СКЦ, СКИ и СКШ), используемых при кладке наружных стен, приведена в табл. 1 - 3 справочного приложения 1 к данному стандарту.

Масса одного камня не должна быть более 31 кг.

В зависимости от типов, марок, плотности и морозостойкости бетонным камням присваивают условные обозначения.

Пример условного обозначения стенового бетонного лицевого камня на цементном вяжущем, размером 390 ´ 190 ´ 188 мм, марки 125, плотностью 1600 кг/м3, морозостойкостью Мрз 25:

СКЦ-1Л 125/1600/25 ГОСТ 6133-84

То же, рядового, на известковом вяжущем, размером 390 ´ 90 ´ 188, марки 75, плотностью 1500 кг/м3, морозостойкостью Мрз 15:

СКИ-1Р 75/1500/15 ГОСТ 6133-84

То же, рядового, на гипсовом вяжущем, размером 410 ´ 215 ´ 190 мм, марки 75, плотностью 1300 кг/м3:

СКГ-2Р 75/1300 ГОСТ 6133-84

Размеры раковин, местных наплывов и впадин на бетонных поверхностях лицевых камней должны соответствовать требованиям ГОСТ 13015.0-83* для категории поверхности А6; диаметр раковин - не более 6 мм, глубина раковин, впадин и высота наплывов - не более 3 мм.

Цвет лицевых поверхностей лицевых камней должен соответствовать образцам-эталонам, утвержденным в установленном порядке.

Жировые или другие пятна размером более 10 мм на лицевых поверхностях камней не допускаются.

Отклонения от номинальных размеров камней и показателей их внешнего вида не должны превышать указанных в нижеследующей таблице.

Наименования показателей

Значения отклонений

Рядовые камни

Лицевые камни

Отклонения от размеров, мм:

 

 

по длине

±4

±4

по ширине

±3

±3

по высоте

±4

±4

Отклонения от прямолинейности ребер и плоскостности граней, мм

6

4

Число отбитых и притупленных ребер и углов на одном изделии, глубиной до 20 мм и протяженностью по ребру до 100 мм

3

2

Число камней с трещинами, пересекающими одно или два смежных ребра, а также половняка, % от партии, не более

10

5

Предел прочности камней при сжатии в зависимости от марки по прочности не должен быть меньше значений, указанных в нижеследующей таблице.

Марка камней

Предел прочности при сжатии по сечению (без вычета площади пустот для пустотелых изделий) МПа (кгс/см2), не менее

средний для трех образцов

наименьший для отдельных образцов

200

20,0 (200)

15,0 (150)

150

15,0 (150)

12,5 (125)

125

12,5 (125)

10,0 (100)

100

10,0 (100)

7,5 (75)

75

7,5 (75)

5,0 (50)

50

5,0 (50)

3,5 (35)

35

3,5 (35)

2,5 (25)

25

2,5 (25)

2,0 (20)

Отпуск камней потребителю должен производиться только по достижении ими отпускной прочности при сжатии, определяемой при испытании целых камней или контрольных образцов-кубов. При этом отпускная прочность в процентах от проектной марки по прочности на сжатие не должна быть менее:

50 - для камней марок 100 и выше;

75 - для камней марок 75 и ниже;

100 - для камней марки 25 и камней из бетонов, изготовленных с автоклавной обработкой.

Предприятие-изготовитель при отпуске камней с прочностью ниже их проектной марки обязано гарантировать достижение ими проектной марки в возрасте 28 сут со дня изготовления, а для гипсобетонных камней - в высушенном до постоянной массы состоянии.

В зависимости от марок по морозостойкости, приведенных выше, камни или образцы-кубы в насыщенном водой состоянии должны выдерживать без каких-либо признаков видимых повреждений (шелушения, расслоения, выкрашивания) не менее 50, 35, 25, 15 циклов замораживания и оттаивания соответственно.

Потеря прочности при сжатии образцов, испытанных на морозостойкость, не должна превышать 25 % марочной прочности контрольных образцов, а потеря массы не дожна превышать 5 %.

Отпускная влажность гипсобетонных камней не должна быть более 12 %.

По согласованию изготовителя с потребителем допускается выпускать гипсобетонные камни с отпускной влажностью до 25 %.

На торцевой поверхности камней должны быть нанесены несмываемой краской при помощи трафарета или штампа товарный знак предприятия-изготовителя. Камни должны маркироваться в каждом штабеле по одному в верхнем, среднем и нижнем рядах.

Предприятие-изготовитель обязано сопровождать каждую партию документами о качестве по ГОСТ 13015.3-81*, в которых должны быть указаны:

наименование и адрес предприятия-изготовителя;

номер и дата выдачи документа;

номер партии;

типы камней (типоразмер) и их марка по прочности на сжатие, по морозостойкости, по плотности;

число камней каждого типа (типоразмера) и марки;

дата изготовления камней;

отпускная прочность бетона;

обозначение стандарта или технических условий.

Документ о качестве должен быть подписан представителем предприятия-изготовителя, ответственным за технический контроль.

Камни должны храниться в штабелях уложенными на ровные площадки с водоотводами раздельно по типам и маркам. Высота штабеля не должна быть более 2,5 м. Верхний ряд пустотелых камней укладывают пустотами вниз.

Транспортируют камни, на специализированных многооборотных плоских поддонах, или пакетами с помощью полуавтоматических захватов автомобильным, железнодорожным, морским и речным транспортом в соответствии с Правилами перевозок грузов, действующими на этих видах транспорта, утвержденными в установленном порядке.

Камни на гипсовых вяжущих при хранении и транспортировании должны быть защищены от увлажнения атмосферными осадками.

Входной контроль строительных растворов

ГОСТ 28013-98 Растворы строительные. Общие технические условия.

ТУ 5745-006-11322110-97 Смеси сухие цементно-песчаные специализированные для производства кладочных работ.

ТУ 5745-001-05668056-93 Смеси сухие монтажные специализированные.

ТУ 5745-001-50876007-99 Смеси сухие строительные (Плитонит).

ТУ 5745-001-46478149-99 Смеси сухие строительные штукатурно-плиточные клеевые, универсальные, шпаклевочные, кладочные и монтажные.

ТУ 5745-005-368874298-96 Смеси сухие (клеящие, кладочные, выравнивающие).

ТУ 5745-001-42645900-97 Сухие штукатурные и кладочные смеси, цементно-песчаные растворы.

ТУ 5731-001-10058093-96 Смесь золоцементная сухая для бетонов и растворов строительных.

ТУ 5745-001-07828469-97 Смеси сухие цементные, цементно-известковые, известково-песчаные.

ТУ 5745-002-02069579-97 Смеси растворные сухие известково-песчаные.

ТУ 5745-011-12027642-97 Сухие растворные смеси.

Технические условия на строительные растворы конкретных видов, предусмотренные проектом.

СНиП 3.03.01-87 Несущие и ограждающие конструкции.

СП 82-101-98 Приготовление и применение растворов строительных.

Входной контроль качества строительных растворов должен осуществляться в соответствии с требованиями проекта, СНиП 3.01.01-85*, СНиП 3.03.01-87, ГОСТ 28013-98, требованиями технических условий на растворы конкретных видов, ППР и другой технологической документации, утвержденной в установленном порядке.

ГОСТ 28013-98 Растворы строительные. Общие технические условия.

Данный стандарт распространяется на строительные растворы на минеральных вяжущих, применяемые для каменной кладки и монтажа строительных конструкций при возведении зданий и сооружений, крепления облицовочных изделий, штукатурки.

Стандарт не распространяется на специальные растворы (жаростойкие, химически стойкие, огнестойкие, тепло- и гидроизоляционные, тампонажные, декоративные, напрягающие и др.).

Строительные растворы классифицируют по:

- основному назначению;

- применяемому вяжущему;

- средней плотности.

По основному назначению растворы подразделяют на:

- кладочные (в том числе и для монтажных работ);

- облицовочные;

- штукатурные.

По применяемым вяжущим растворы подразделяются на:

- простые (на вяжущем одного вида);

- сложные (на смешанных вяжущих).

По средней плотности растворы подразделяют на тяжелые и легкие.

Условное обозначение строительного раствора при заказе должно состоять из сокращенного обозначения с указанием степени готовности (для сухих растворных смесей), назначения, вида применяемого вяжущего, марок по прочности и подвижности, средней плотности (для легких растворов) и обозначения данного стандарта.

Пример условного обозначения тяжелого раствора, готового к применению, кладочного, на известково-гипсовом вяжущем, марки по прочности М100, по подвижности - Пк2:

Раствор кладочный, известково-гипсовый, М100, Пк2, ГОСТ 28013-98.

Растворы строительные должны приготавливаться в соответствии с требованиями данного стандарта по технологическому регламенту, утвержденному предприятием -изготовителем.

Свойства строительных растворов включают свойства растворных смесей и затвердевшего раствора.

Основные свойства растворных смесей:

- подвижность;

- водоудерживающая способность;

- расслаиваемость;

- температура применения;

- средняя плотность;

- влажность (для сухих растворных смесей).

Основные свойства затвердевшего раствора:

- прочность на сжатие;

- морозостойкость;

- средняя плотность.

В зависимости от подвижности растворные смеси подразделяются на марки в соответствии с нижеприведенной таблицей.

Марка по подвижности Пк

Норма подвижности, см

Назначение растворной смеси (рекомендуемая подвижность по глубине погружения конуса, см)

Пк1

От 1 до 4 включ.

Вибрированная бутовая кладка (1 - 3)

Пк2

Св. 4 до 8 включ.

Бутовая кладка невибрированная (4 - 6), кладка из пустотелого кирпича и керамических камней (7 - 8), устройство постели при монтаже стен из крупных бетонных блоков и панелей, расшивка горизонтальных и вертикальных швов в стенах из панелей и крупных бетонных блоков (5 - 7)

Пк3

Св. 8 до 12 включ.

Кладка из полнотелого кирпича, керамических камней, бетонных камней или камней из легких пород (8 - 12)

Пк4

Св. 12 до 14 включ.

Заливка пустот в кладке и подача растворонасосом (13 - 14)

Водоудерживающая способность растворных смесей должна быть не менее 90 %, глиносодержащих растворов - не менее 93 %.

Расслаиваемость свежеприготовленных смесей не должна превышать 10 %.

Растворная смесь не должна содержать золы-уноса более 20 % от массы цемента.

Влажность сухих растворных смесей не должна превышать 0,1 % по массе.

Температура кладочных растворов для наружных работ в момент использования должна быть не ниже указанной в нижеследующей таблице.

Нормируемые показатели качества затвердевшего раствора должны быть обеспечены в проектном возрасте.

За проектный возраст раствора, если иное не установлено проектной документацией, следует принимать, сут:

- для растворов, приготовленных без применения гидравлических вяжущих ... 7;

- для растворов, приготовленных с применением гидравлических вяжущих ... 28.

Среднесуточная температура наружного воздуха, °С

Температура растворной смеси, °С, не менее

Кладочный материал

кирпич

камни

при скорости ветра, м/с

до 6

св. 6

до 6

св. 6

До минус 10

10

10

10

15

От минус 10 до минус 20

10

15

15

20

Ниже минус 20

15

20

20

25

Примечание - Для кладочных растворных смесей при производстве монтажных работ температура смеси должна быть на 10 °С выше указанной в таблице.

Прочность растворов на сжатие в проектном возрасте характеризуют марками: М4, М10, М25, М50, М75, М100, М150, М200.

Марку по прочности на сжатие назначают и контролируют для всех видов растворов.

Морозостойкость растворов характеризуют марками.

Для растворов установлены следующие марки по морозостойкости: F10, F15, F25, F35, F50, F75, F100, F150, F200.

Для растворов марок по прочности на сжатие М4 и М10, а также для растворов, приготовленных без применения гидравлических вяжущих, марки по морозостойкости не назначают и не контролируют.

Средняя плотность, D, затвердевших растворов в проектном возрасте должна быть, кг/м3: для тяжелых растворов - 1500 и более, для легких растворов - менее 1500.

Нормируемое значение средней плотности растворов устанавливает потребитель в соответствии с проектом работ.

Увеличение средней плотности растворов допускается на величину не более 10 % от проектной.

Материалы, применяемые для приготовления строительных растворов, должны соответствовать требованиям стандартов или технических условий на эти материалы и требованиям данного стандарта.

Сыпучие исходные материалы для растворных смесей дозируют по массе, жидкие составляющие дозируют по массе или объему.

Погрешность дозирования не должна превышать для вяжущих материалов, воды и добавок ±1 %, заполнителей ±2 %.

Для растворосмесительных установок производительностью до 5 м3/ч допускается объемное дозирование всех материалов с теми же погрешностями.

Химические добавки должны соответствовать требованиям ГОСТ 24211-91.

Добавки вводят в растворные смеси, готовые к применению, в виде водных растворов или водных суспензий, в сухие растворные смеси - в виде водорастворимого порошка или гранул.

Сухие растворные смеси упаковывают в пакеты из полиэтиленовой пленки по ГОСТ 10354-82* массой до 8 кг или бумажные мешки по ГОСТ 2226-88* массой до 50 кг.

Упакованные сухие растворные смеси следует маркировать на каждой упаковке. Маркировка должна быть четко нанесена на упаковку несмываемой краской.

Растворные смеси должны иметь документ о качестве.

Сухую растворную смесь предприятие-изготовитель должно сопровождать этикеткой или маркировкой, наносимыми на упаковку, а растворную смесь, готовую к употреблению, отпускаемую в транспортное средство, - документом о качестве, которые должны содержать следующие данные:

- наименование или товарный знак и адрес предприятия-изготовителя;

- условное обозначение строительного раствора;

- класс материалов, использованных для приготовления смеси, по удельной эффективной активности естественных радионуклидов и цифровое значение Аэфф;

- марку по прочности на сжатие;

- марку по подвижности (Пк);

- объем воды, необходимой для приготовления растворной смеси, л/кг (для сухих растворных смесей);

- вид и количество введенной добавки (% массы вяжущего);

- срок хранения (для сухих растворных смесей), мес;

- массу (для сухих растворных смесей), кг;

- количество смеси (для растворных смесей, готовых к употреблению), м3;

- дату приготовления;

- температуру применения, °С;

- обозначение данного стандарта.

При необходимости маркировка и документ о качестве могут содержать дополнительные данные.

Документ о качестве должен быть подписан должностным лицом предприятия-изготовителя, ответственным за технический контроль.

Растворные смеси, готовые к применению, должны доставляться потребителю в транспортных средствах, специально предназначенных для их перевозки.

При согласии потребителя допускается перевозка смесей в бункерах (бадьях).

Применяемые способы транспортирования растворных смесей должны исключать потери вяжущего теста, попадания в смесь атмосферных осадков и посторонних примесей.

Упакованные сухие растворные смеси транспортируют автомобильным, железнодорожным и другими видами транспорта в соответствии с правилами перевозки и крепления грузов, действующими на данном виде транспорта.

Доставленные на строительную площадку растворные смеси, готовые к применению, должны быть перегружены в перегружатели-смесители или в другие емкости при условии сохранения заданных свойств смесей.

Упакованные растворные сухие смеси должны храниться в крытых сухих помещениях.

Мешки с сухой смесью должны храниться при температуре не ниже 5 °С в условиях, обеспечивающих сохранность упаковки и предохранение от увлажнения.

Срок хранения сухой растворной смеси - 6 мес со дня приготовления.

По истечении срока хранения смесь должна быть проверена на соответствие требованиям настоящего стандарта. В случае соответствия смесь может быть использована по назначению.

СП 82-101-98 «Приготовление и применение растворов строительных»

Требования данного свода правил распространяются на приготовление растворов, применяемых при возведении конструкций зданий из каменных мелкоштучных изделий, монтаже крупноблочных и крупнопанельных зданий и сооружений, растворов штукатурных, для крепления облицовочных плиток, специальных (инъекционных, жаростойких, кислотостойких) и растворов, перекачиваемых по трубопроводам.

При приготовлении и применении растворов для возведения объектов в районах с особыми природными условиями (сейсмические, вечномерзлые грунты и др.), а также с особыми эксплуатационными условиями (влажные и мокрые цехи и др.) кроме требований данного свода правил следует учитывать требования соответствующих строительных норм и правил и других нормативных документов.

Растворы, как правило, должны приготавливаться централизованно на растворных заводах (узлах).

Доставка растворов на объекты должна производиться растворовозами или специально приспособленными автосамосвалами.

Составляющие растворов (вяжущие, заполнители, добавки, вода) должны удовлетворять требованиям соответствующих нормативных документов на эти материалы.

Вода для затворения растворов должна быть проверена лабораторными анализами на предмет выявления вредных примесей, препятствующих нормальному твердению вяжущего. Вода из системы питьевого водоснабжения может применяться без предварительной проверки.

Качество исходных материалов должно быть подтверждено паспортами предприятий-поставщиков или при необходимости результатами лабораторных испытаний завода- изготовителя раствора.

Растворы в период срока их годности должны обладать заданной проектной подвижностью и водоудерживающей способностью.

Растворы, расслоившиеся при перевозке, должны быть перемешаны до подачи на рабочее место. Применение схватившихся растворов, не обладающих заданной подвижностью, не допускается. Также не допускается добавлять воду и цемент в схватившиеся растворные смеси.

При производстве работ в жаркую и сухую погоду (при относительной влажности воздуха менее 50 % и температуре выше 30 °С) должны обеспечиваться влажностные условия твердения растворов за счет введения в их состав специальных добавок (извести, глины и др.) и смачивания водой каменных стеновых материалов, а также поверхностей крупных блоков и панелей, соприкасающихся с раствором монтажных швов.

Средние значения прочности цементных и смешанных растворов на сжатие в различные сроки твердения (до 90 суток) в % их прочности в возрасте 28 суток при температуре твердения 20 ± 3 °С приведены в нижеследующей таблице.

Возраст, сут

3

7

14

28

60

90

Прочность, %

33

55

80

100

120

130

Средние значения прочности растворов на портландцементах, твердеющих при различной температуре, различное время в % их прочности в возрасте 28 суток твердения при температуре 20 ± 3 °С приведены в нижеследующей таблице.

Возраст, сут

Прочность раствора, %, при температуре твердения, °С

1

5

10

20

30

40

50

1

1

4

6

13

23

32

43

2

3

8

12

23

38

54

76

3

5

11

18

33

49

66

85

7

15

25

37

55

72

87

100

14

31

45

60

80

92

100

-

21

42

58

74

92

100

-

-

28

52

68

83

100

-

-

-

При применении растворов, изготовленных на шлакопортландцементе, пуццолановом портландцементе и цементах для строительных растворов, следует учитывать замедление нарастания их прочности при температуре твердения ниже 15 °С.

Величина относительной прочности этих растворов определяется умножением значений, приведенных в таблице, на коэффициенты: 0,3 - при температуре твердения 0 °С; 0,7 - при 5 °С; 0,9 - при 10 °С; 1 - при 15 °С и выше.

Для промежуточных значений температуры твердения и промежуточных значений возраста раствора прочность его определяют линейной интерполяцией.

Для повышения технико-экономических показателей качества растворов в их состав следует вводить минеральные (известь, глина) и химические добавки по ГОСТ 24211-91.

Состав раствора заданной марки с применением различных видов вяжущих должен рассчитываться в соответствии с приведенными в данном своде правил указаниями и корректироваться по результатам испытаний подобранного состава на его соответствие всем нормируемым показателям качества по ГОСТ 28013-98.

Выбор вяжущих при приготовлении растворов для каменных кладок, монтажа крупноблочных и крупнопанельных бетонных стен и других конструкций при твердении раствора при положительной температуре следует производить по нижеследующей таблице.

Условия эксплуатации конструкций

Вид вяжущего

1. Для надземных конструкций при относительной влажности воздуха помещений до 60 % и для фундаментов, возводимых в маловлажных грунтах

Портландцемент, пластифицированный и гидрофобный портландцементы, шлакопортландцемент, пуццолановый портландцемент, цемент для растворов, известково-шлаковое вяжущее

2. Для надземных конструкций при относительной влажности воздуха помещений свыше 60 % и для фундаментов, возводимых во влажных грунтах

Пуццолановый портландцемент, пластифицированный и гидрофобный портландцементы, шлакопортландцемент, портландцемент, цемент для растворов, известково-шлаковые вяжущие

3. Для фундаментов при агрессивных сульфатных водах

Сульфатостойкие портландцементы, пуццолановый портландцемент

Составы цементно-известковых, цементно-глиняных и цементных растворов приведены в нижеследующей таблице.

Марка раствора

Составы растворов в объемной дозировке при марке вяжущего

500

400

300

200

150

Составы цементно-известковых и цементно-глиняных растворов для надземных конструкций при относительной влажности воздуха помещений до 60 % и для фундаментов в маловлажных грунтах

300

1:0,15:2,1

1:0,07:1,8

-

-

-

200

1:0,20:3

1:0,10:2,5

-

-

-

150

1:0,30:4

1:0,20:3

1:0,10:2,5

-

-

100

1:0,50:5,5

1:0,40:4,5

1:0,20:3,5

-

-

75

1:0,80:7

1:0,50:5,5

1:0,30:4

1:0,10:2,5

-

50

-

1:0,90:8

1:0,60:6

1:0,30:4

-

25

-

-

1:1,4:10,5

1:0,80:7

1:0,30:4

10

-

-

-

-

1:1,2:9,5

Составы цементно-известковых и цементно-глиняных растворов для надземных конструкций при относительной влажности воздуха помещений свыше 60 % и для фундаментов во влажных грунтах

300

1:0,15:2,1

1:0,07:1,8

-

-

-

200

1:0,20:3

1:0,10:2,5

-

-

-

150

1:0,30:4

1:0,20:3

1:0,10:2,5

-

-

100

1:0,50:5,5

1:0,40:4,5

1:0,20:3,5

-

-

75

1:0,80:7

1:0,50:5,5

1:0,30:4

1:0,10:2,5

-

50

-

1:0,90:8

1:0,60:6

1:0,30:4

-

25

-

-

1:1:10,5

1:1:9*

1:0,80:7

1:0,30:4

10

-

-

-

-

1:1:9

1:0,8:7*

Составы цементных растворов для фундаментов и других конструкций, расположенных в насыщенных водой грунтах и ниже уровня грунтовых вод

300

1:0,15:2,1

1:0,07:1,8

-

-

-

200

1:0,20:3

1:0,10:2,5

-

-

-

150

1:0,30:4

1:0,20:3

1:0,10:2,5

-

-

100

1:0,50:5,5

1:0,40:4,5

1:0,20:3,5

-

-

75

1:0,80:7

1:0,50:5,5

1:0,30:4

1:0,10:2,5

-

50

-

1:0,90:8

1:0,60:6

1:0,30:4

-

Примечания:

1. Над чертой - составы цементно-известковых растворов, под чертой - цементно-глиняных.

2. Песок принят по ГОСТ 8736-93* с естественной влажностью 3 - 7 %.

Применение известково-шлаковых вяжущих при температуре воздуха ниже 10 °С не допускается вследствие сильного замедления твердения раствора. Для ускорения твердения и сохранения прочности растворов на указанных вяжущих во времени рекомендуется добавка портландцемента в количестве 15 - 25 % по объему вяжущего с одновременным увеличением дозировки песка на 15 - 25 %.

Для конструкций, возводимых в зимних условиях способом замораживания (из панелей, крупных блоков и обычной кладки), применяются цементно-известковые, цементно-глиняные и цементные растворы с органическими пластификаторами-микропенообразователями. В качестве вяжущего для растворов рекомендуется портландцемент. Допускается также применение шлакопортландцемента и пуццоланового портландцемента.

Предел прочности на сжатие указанных выше растворов в стадии оттаивания принимается равным: 2 кгс/см2 - растворов марки 25 и выше на портландцементе (при толщине стен и столбов 38 см и более); 0 кгс/см2 - растворов на шлакопортландцементе и пуццолановом портландцементе, независимо от толщины стен и столбов, а также растворов на портландцементе, если толщина стен менее 38 см.

При возведении каменных, крупноблочных и крупнопанельных конструкций в зимних условиях без искусственного прогрева в тех случаях, когда это необходимо для повышения их несущей способности, рекомендуется применять растворы марки 50 и выше на портландцементе марки не ниже 300 с противоморозными химическими добавками (в сочетании с сетчатым армированием или без него), обеспечивающими их твердение при отрицательной температуре. Добавки не должны вызывать вредных последствий в период эксплуатации конструкций (разрушение каменных материалов, коррозии арматуры, анкеров, повышения влажности кладки и т.п.).

В качестве противоморозных химических добавок при беспрогревном методе возведения зданий следует применять поташ, нитрит натрия и комплексную химическую добавку, состоящую из нитрата кальция и мочевины. Нормативное количество добавок в % по массе цемента в пересчете на сухое вещество при разных отрицательных температурах приведено в нижеследующей таблице.

Вид добавки

Среднесуточная температура воздуха, °С

Количество добавок, % от массы цемента

Соотношение между компонентами добавки по массе в пересчете на сухое вещество

Поташ

От 0 до -5

5

-

От -6 до -15

10

-

От -16 до -30

15

-

Нитрит натрия

От 0 до -5

5

-

От -6 до -9

8

-

От -10 до -15

10

-

Нитрат кальция с мочевиной (НКМ)

От 0 до -5

5

НК:М - 1:1

От -6 до -15

10

НК:М - 2:1

От -16 до -25

15

НК:М - 3:1

Примечания:

1. В случаях, когда не требуется интенсивного твердения растворов с химическими добавками, допускается их использование при температуре наружного воздуха ниже указанной в таблице, а именно: до минус 20 °С - при добавке 10 % нитрита натрия; до минус 30 °С - при добавке 15 % НКМ; до минус 35 °С - при добавке 15 % поташа.

2. Добавка поташа в растворы при возведении конструкций из силикатных материалов допускается в количестве не более 10 % от массы цемента.

3. Допускается применение других противоморозных добавок, удовлетворяющих требованиям ГОСТ 24211-91.

При подземной неармированной кладке (фундаменты, подпорные стены и т.д.) с целью понижения температуры замерзания раствора допускается применение хлористого кальция, хлористого натрия, хлористого аммония или смеси хлористого натрия и хлористого кальция (в равных долях) в количестве 4 - 7 % от массы цемента. Применение растворов с указанными добавками для кладки стен жилых и общественных зданий запрещается.

Расчетная прочность растворов марки 50 и выше с добавками поташа, нитрита натрия и НКМ, приготовленными на портландцементе марки 300 и выше и твердеющими при отрицательной температуре, приведена в нижеследующей таблице.

Вид добавки

Среднесуточная температура воздуха, °С

Количество добавок, % от массы цемента

Прочность раствора, % от марки, при твердении на морозе

3 сут

7 сут

28 сут

90 сут

Поташ

От 0 до -5

5

15

25

60

80

От -6 до -15

10

10

20

50

65

От -16 до -30

15

5

10

35

50

Нитрит натрия

От 0 до -5

5

5

10

40

55

От -6 до -15

8 - 10

3

5

30

40

Нитрат кальция с мочевиной (НКМ)

От 0 до -5

5

20

30

50

90

От -6 до -15

10

10

15

40

70

От -16 до -25

15

5

10

30

50

Примечание - При использовании нитрита натрия в виде жидкого продукта, а также при применении шлакопортландцемента и пуццоланового портландцемента приведенные в таблице данные снижаются на 20 %.

В целях повышения пластичности растворов с добавками поташа в их состав рекомендуется вводить глиняное тесто в объеме не более 40 % от объема цемента. Известь в этих растворах применять не следует. При использовании растворов с добавками нитрита натрия и нитрата кальция с мочевиной в качестве пластификаторов могут использоваться известковое и глиняное тесто.

В зимних условиях надежность конструкций при строительстве каменных, крупноблочных и крупнопанельных зданий на растворах с химическими добавками должна обеспечиваться систематическим контролем величин фактической прочности, накапливаемой конструкциями в зимний период. Величина фактической прочности растворов должна быть не ниже требуемой для восприятия нагрузок от возведенной части здания.

Запрещается применение растворов с добавками поташа, нитрита натрия или нитрата кальция с мочевиной при строительстве зданий и сооружений, эксплуатируемых в условиях повышенной (выше 60 %) влажности воздуха (бани, прачечные, влажные цехи) или повышенной (выше 40 °С) температуры (дымовые и вентиляционные трубы, горячие цехи), а также работающих в условиях воздействия на их конструкции агрессивных сред, вызывающих разрушение растворов (химические цехи отдельных заводов).

Не допускается:

- применять растворы с добавками поташа, нитрита натрия и НКМ для возведения конструкций, расположенных в зоне переменного уровня воды или под водой и не имеющих специальной защитной гидроизоляции;

- вводить добавки поташа в растворы с заполнителями, содержащими реакционноспособный кремнезем (опал, халцедон и др.);

- применять растворы с добавками поташа при возведении элементов конструкций из силикатных материалов, подверженных увлажнению (карнизы, цоколи и т.п.), а также для облицовки стен из силикатного кирпича и блоков марки 75 и ниже.

Доставка растворных смесей заводского приготовления на строительные объекты должна производиться в специальных растворовозах или приспособленных для этих целей автосамосвалах. Выгрузка - в приемно-расходные бункера или в контейнеры-ящики, в которых растворная смесь должна подаваться к рабочему месту.

Растворы, содержащие цемент, при отсутствии добавок, изменяющих их свойства, должны быть израсходованы не позднее чем через 2 часа после приготовления, а растворы, не содержащие цемент, - в день приготовления.

Запрещается перевозка растворных смесей в неприспособленных автосамосвалах, а также в обычных кузовах бортовых автомобилей и выгрузка их на землю.

Растворная смесь должна доставляться на строительный объект с учетом возможности ее использования до начала схватывания.

При расположении растворного завода на значительном расстоянии следует обеспечить централизованное приготовление и поставку на строительные объекты сухих растворных смесей с последующим их затворением на месте производства работ. Сухие растворные смеси должны быть снабжены паспортом по ГОСТ 28013-98. Применение сухих растворных смесей с влажностью более 0,1 % не допускается.

При приготовлении растворных смесей следует обеспечить обязательные условия:

- дозировка составных частей раствора производится по массе и корректируется при изменении вида, плотности и активности вяжущего, влажности и плотности заполнителя, вида пластифицирующих добавок и т.п.;

- подвижность раствора отвечает заданной величине;

- тщательное перемешивание составляющих.

Погрешность дозирования материалов, составляющих растворную смесь, не должна превышать:

1 % - при дозировании вяжущих, воды и добавок;

2 % - при дозировании песка.

При применении неорганических пластификаторов (извести или глины), а также при приготовлении цементных и сложных растворов следует в растворосмеситель вначале подавать воду, а затем загружать заполнитель, вяжущее и пластификатор.

При приготовлении растворов с органическими пластификаторами-микропенообразователями вначале перемешивают пластификатор с водой в течение 30 - 45 с, затем загружают остальные материалы.

Перемешивание всех указанных выше растворов продолжается до получения однородной массы, но не менее 1 мин.

Приготавливать растворы в зимних условиях без химических добавок при средней температуре наружного воздуха ниже 5 °С и минимальной суточной температуре ниже 0 °С следует в отапливаемом помещении.

Песок, применяемый для приготовления раствора, не должен содержать смерзшихся комьев размером более 1 см, а также льда. При подогреве песка его температура должна быть не выше 60 °С.

Известковое и глиняное тесто следует применять только не подвергавшееся замерзанию и имеющее температуру не ниже 5 °С.

Температура воды должна быть не выше 80 °С.

Раствор, приготовленный для обычной кладки, в момент укладки должен иметь температуру 10 °С и выше, 15 °С - при температуре наружного воздуха от минус 11 до минус 20 °С и 20 °С - при температуре наружного воздуха ниже минус 20 °С.

Температура раствора, применяемого для монтажных швов крупноблочных и крупнопанельных стен, в момент его разравнивания на месте укладки должна быть на 10 °С выше, чем температура для обычной кладки.

Растворы с химическими добавками приготавливают как обычные растворы с тем лишь отличием, что затворение их производится водными растворами химических добавок. Песок может применяться холодный, но не смерзшийся в комья.

Заполнитель и химические добавки загружаются в растворосмеситель и перемешиваются в течение 1,5 - 2 мин, после чего засыпается цемент и перемешивание продолжается еще в течение 2 - 3 мин.

При применении поташа на растворных заводах рекомендуется приготавливать сухие растворные смеси с последующим затворением их холодной водой и введением добавок поташа на передвижных или приобъектных смесительных установках. Рабочая смесь должна доставляться на рабочее место немедленно после приготовления и должна быть израсходована в установленный для нее срок. Подогрев растворных смесей с поташом запрещается.

Растворы с нитритом натрия и с нитратом кальция с мочевиной приготовляются так же, как и растворы без химических добавок. Температура раствора с химическими добавками в момент укладки допускается от 0 до 5 °С. В случае необходимости замедления схватывания растворных смесей с поташом в них вводится раствор СДБ или другие замедлители. Необходимое количество СДБ устанавливается на пробных замесах, но должно быть не более 1 % от массы вяжущего в растворах на портландцементе и не более 2,5 % - в растворах на шлакопортландцементе (в пересчете на сухое вещество).

Водные растворы солей допускается приготавливать заранее при условии их хранения в плотно закрытой емкости. Для предотвращения выпадения кристаллов солей водные растворы следует периодически перемешивать с проверкой соответствия требуемой плотности. Приготовление водных растворов солей следует производить в металлической или деревянной емкости, а также в специальных установках-солерастворителях.

В целях экономии емкостей водные растворы солей рекомендуется применять плотностью (по ареометру) 1,375 кг/л для раствора поташа и 1,29 кг/л для раствора нитрита натрия, содержащие 0,5 кг безводной соли в 1 л водного раствора.

В связи с различным количеством дозировки нитрата кальция и мочевины приготовление водных растворов указанных добавок рекомендуется производить раздельно. В целях экономии емкостей допускается водный раствор каждой добавки готовить концентрированным, а именно нитрата кальция плотностью 1,34 кг/л (50 %-ный раствор) и мочевины плотностью 1,085 кг/л (30 %-ный раствор).

Подвижность раствора характеризуется глубиной погружения в него стандартного конуса. Глубина погружения конуса в зависимости от назначения раствора в летних и зимних условиях принимается следующей:

- для растворов, применяемых для монтажа стен из крупных бетонных блоков и панелей и для расшивки горизонтальных и вертикальных швов в стенах из панелей и крупных блоков ... 5 - 7см;

- для растворов, применяемых при подаче растворонасосом ... 14 см;

- для растворов, применяемых для кладки из обыкновенного кирпича, бетонных камней и камней из легких пород (туф и др.) ... 9 - 13 см;

- для растворов, применяемых для обычной кладки из пустотелого кирпича или керамических камней ... 7 - 8 см;

- для растворов, применяемых для обычной бутовой кладки ... 4 - 6 см, для заливки пустот в ней ... 13 - 14 см, для вибрированной бутовой кладки ... 1 - 3 см.

Большие из приведенных выше величин погружения конуса принимают при сухих и пористых бетонных и каменных материалах при кладке в жаркую погоду, а меньшие - при кладке из плотных бетонных и каменных материалов или хорошо смоченных пористых, а также при влажной погоде и при производстве работ в зимних условиях.

Контроль качества растворов производится в соответствии с требованиями ГОСТ 5802-86 и состоит из определения следующих основных показателей:

- подвижности растворной смеси;

- расслаиваемости растворной смеси;

- водоудерживающей способности растворной смеси;

- плотности растворной смеси и затвердевшего раствора;

- предела прочности на сжатие (марки) раствора;

- морозостойкости раствора.

Подвижность растворной смеси определяется для каждого состава раствора, а также при всяком изменении качества материалов: вида вяжущего, крупности и влажности песка, вида добавок и т.п. При одном и том же качестве материалов подвижность растворной смеси определяется не менее 1 раза в смену.

Расслаиваемость растворной смеси определяется в тех случаях, когда ее хранение или транспортирование (автомобилями, вагонетками и другими транспортными средствами) может вызвать расслоение и нарушение однородности.

Водоудерживающая способность растворной смеси определяется с целью установления состава раствора, обеспечивающего получение расчетной прочности (марки) раствора в условиях отсоса из него воды кирпичом или камнем.

Плотность растворной смеси и отвердевшего раствора определяется в случаях, когда она нормируется.

Прочность раствора (марка) должна определяться у изготовителя:

- по ранее выполненным подборам составов растворов и данным контрольных испытаний;

- при изменении качества материалов (вяжущего, заполнителя, добавки) и состава раствора, но не реже 1 раза в смену.

Морозостойкость раствора определяется (когда это оговорено в проекте) не реже 1 раза в 6 месяцев.

Предел прочности раствора с химическими добавками определяется при возведении каменных, крупноблочных и крупнопанельных конструкций в зимних условиях, для чего изготовляются контрольные образцы-кубы в соответствии с требованиями ГОСТ 5802-86. Количество образцов-кубов должно быть не менее 9 с каждого этажа при односекционных домах. При двух секциях или более следует изготавливать не менее 18 контрольных образцов (по 9 образцов в двух разных секциях). Образцы должны храниться на открытом воздухе в тех же условиях, что и конструкции. Сверху образцы закрываются толем или другими рулонными материалами для защиты от попадания на них воды или снега.

Следует производить также контрольные испытания проб раствора, отбираемых в виде пластинок непосредственно из горизонтальных швов кладки и монтажных швов крупноблочных и крупнопанельных конструкций.

Испытания контрольных кубов раствора, твердевших при отрицательных температурах окружающего воздуха, должно производиться после 2 - 3-часового оттаивания в сроки, необходимые для определения несущей способности конструкций, а также по истечении 28 суток твердения раствора при отрицательной температуре. Кроме того, следует изготовить дополнительно три образца, которые должны храниться в зимний и осенний периоды на открытом воздухе и испытываться при положительной температуре после их твердения в течение 28 суток.

Прочность раствора в горизонтальных швах летней и отвердевшей зимней кладки, а также в монтажных швах крупноблочных и крупнопанельных стен следует определять испытанием на сжатие образцов-кубов с размерами ребер 3 - 4 см. Образцы изготавливаются из двух пластинок раствора, вынутых из горизонтальных швов в виде квадрата, сторона которого в 1,5 раза превышает толщину пластинки, равную толщине шва. Склеивание пластинок раствора для получения кубов с ребрами 3 - 4 см и выравнивание их поверхностей производятся при помощи тонкого слоя гипсового теста (1 - 2 мм). Образцы-кубы следует испытывать через сутки после их изготовления. Прочность раствора определяется как средняя арифметическая результатов испытаний пяти образцов-кубов.

Для определения прочности раствора в образцах-кубах с ребрами 7,07 см следует результаты испытаний образцов-кубов летних растворов с ребрами 3 - 4 см умножать на коэффициент 0,8. Результаты испытаний образцов-кубов зимних растворов, отвердевших после оттаивания, умножаются на коэффициент 0,65.

Прочность летних и зимних отвердевших растворов допускается определять путем испытания отдельных пластинок, поверхности которых выровнены тонким слоем гипсового теста через сутки после их изготовления. Нагрузка на пластинку передается через 30 - 40-миллиметровый стержень, установленный на ее середине. Сторона основания или диаметр стержня должны быть равны толщине пластинки. Прочность раствора на сжатие определяется делением разрушающей нагрузки на площадь сечения стержня.

Прочность раствора в кубах с ребрами 7,07 см определяется по результатам испытаний пластинок из отвердевших в летних условиях растворов умножением на коэффициент 0,5, а пластинок из отвердевших в зимних условиях - на коэффициент 0,4.

При применении в зимних условиях растворов с химическими добавками следует руководствоваться действующими правилами охраны труда и техники безопасности.

СНиП 3.03.01-87 «Несущие и ограждающие конструкции»

При выборе вяжущих для кладочных строительных растворов и требуемой марки раствора с учетом условий эксплуатации конструкций необходимо руководствоваться требованиями нижеприведенных таблиц.

Раствор, применяемый при возведении каменных конструкций, следует использовать до начала схватывания и периодически перемешивать во время использования. Применение обезвоженных растворов не допускается.

Применяемые и допускаемые к применению вяжущие для растворов с учетом условий эксплуатации каменных конструкций.

Вид конструкций

Вяжущие

применяемые

допускаемые к применению

Наземные конструкции при относительной влажности воздуха помещений до 60 % и фундаменты, возводимые в маловлажных грунтах

Растворы марки 25 и выше

Портландцемент

Пластифицированный и гидрофобный портландцементы

Шлакопортланд-цемент

Пуццолановый портландцемент

Цемент для строительных растворов

Известково-шлаковые вяжущие

Растворы марки 10

Известь гидравлическая

Известково-шлаковые вяжущие

Цемент для строительных растворов

Известково-пуццолановые и известково-зольные вяжущие

Наземные конструкции при относительной влажности воздуха помещений более 60 % и фундаменты, возводимые во влажных грунтах

Растворы марки 25 и выше

Пуццолановый портландцемент

Шлакопортландцемент

Пластифицированный и гидрофобный портландцементы

Портландцемент

Цемент для строительных растворов

Известково-шлаковые вяжущие

Растворы марки 10

Цемент для строительных растворов

Известково-шлаковые вяжущие

Известково-пуццолановые и известково-зольные вяжущие

Известь гидравлическая

Фундаменты при агрессивных сульфатных водах (независимо от марки растворов

Сульфатостойкий портландцемент

Пуццолановый портландцемент

Крупноблочные и крупнопанельные бетонные и каменные стены (монтаж) (растворы марки 25 и выше)

Портландцемент

Пластифицированный и гидрофобный портландцементы

Шлакопортландцемент

Пуццолановый портландцемент

Составы цементно-известковых, цементно-глиняных и цементных растворов для каменных конструкций

Марка вяжущего

Объемная дозировка для растворов марок

200

150

100

75

50

25

10

4

Составы цементно-известковых растворов для надземных конструкций (цемент:известь:песок) при относительной влажности воздуха помещений до 60 % и для фундаментов в маловлажных грунтах

500

1:0,2:3

1:0,3:4

1:0,5:5,5

1:0,8:7

-

-

-

-

400

1:0,1:2,5

1:0,2:3

1:0,4:4,5

1:0,5:5,5

1:0,9:8

-

-

-

300

-

1:0,1:2,5

1:0,2:3,5

1:0,3:4

1:0,6:6

1:1,4:10,5

-

-

200

-

-

-

1:0,1:2,5

1:0,3:4

1:0,8:7

-

-

150

-

-

-

-

-

1:0,3:4

1:1,2:9,5

-

100

-

-

-

-

-

1:0,1:2

1:0,5:5

-

50

-

-

-

-

-

-

1:0,1:2,5

1:0,7:6

25

-

-

-

-

-

-

-

1:0,2:3

Составы цементно-известковых и цементно-глиняных растворов для надземных конструкций (цемент:известь:песок или глина) при относительной влажности воздуха помещений более 60 % и для фундаментов во влажных грунтах

500

1:0,2:3

1:0,3:4

1:0,5:5,5

1:0,8:7

-

-

-

-

400

1:0,1:2,5

1:0,2:3

1:0,4:4,5

1:0,5:5,5

1:0,9:8

-

-

-

300

-

1:0,1:2,5

1:0,2:3,5

1:0,3:4

1:0,6:6

1:1:10,5

1:1:9*

-

-

200

-

-

-

1:0,1:2,5

1:0,3:4

1:0,8:7

-

-

150

-

-

-

-

-

1:0,3:4

1:1:9

1:0,8:7*

-

100

-

-

-

-

-

1:0,1:2

1:0,5:5

-

Составы цементных растворов для фундаментов и других конструкций (цемент:известь:песок), расположенных в водонасыщенных грунтах и ниже уровня грунтовых вод

500

1:0:3

1:0:4

1:0:5,5

1:0:6

-

-

-

-

400

1:0:2,5

1:0:3

1:0:4,5

1:0:5,5

-

-

-

-

300

-

1:0:2,5

1:0:3

1:0:4

1:0:6

-

-

-

200

-

-

-

1:0:2,5

1:0:4

-

-

-

* - над чертой приведены составы цементно-известковых растворов, под чертой - цементно-глиняных растворов.

При применении растворов на шлакопортландцементе и пуццолановом портландцементе для надземных конструкций в жаркую и сухую погоду необходимо строго соблюдать влажностный режим твердения путем увеличения дозировки воды и смачивания водой стеновых каменных материалов.

Цемент для строительных растворов, а также известково-шлаковые, известково-пуццолановые и известково-зольные вяжущие следует применять для растворов низких марок (25 и ниже), строго соблюдая влажностный режим твердения раствора.

Применение известково-шлаковых, известково-пуццолановых и известково-зольных вяжущих при температуре воздуха ниже 10 °С не допускается.

Доставленный на строительную площадку раствор должен разгружаться в емкости. В случае расслоения его необходимо перемешивать.

При возведении каменных конструкций в жаркую и сухую погоду (при температуре воздуха 25 °С и выше и относительной влажности воздуха менее 50 %) следует выполнять дополнительные требования:

- водопотребность растворов, приготовленных на шлакопортладцементе и пуццолановых портландцементах, необходимо обеспечивать путем подбора в лаборатории соответствующей консистенции раствора и поддержания кладки в увлажненном состоянии в течении жаркого периода суток способами, предусмотренными ППР;

- водоудерживающую способность растворов следует устанавливать на месте производства работ один раз в смену для каждого состава раствора путем определения показателя водоудерживающей способности, равного не менее 75 % водоудерживающей способности, установленной в лабораторных условиях;

- при кладке стен в сухую погоду при температуре воздуха 25 °С и более из каменных материалов с водопоглощением до 15 % необходимо перед укладкой кирпич и камни увлажнить, а материалы с водопоглощением более 15 % - увлажнять с минутной выдержкой;

- при перерывах в работе на верхний ряд кладки не следует укладывать раствор. После перерыва кладку необходимо увлажнять.

Уход за выполненной кладкой в жаркую и сухую погоду следует производить по рекомендациям строительных лабораторий.

Кладку каменных конструкций в зимних условиях следует выполнять на цементных, цементно-известковых и цементно-глиняных растворах.

Состав строительного раствора заданной марки (обыкновенного и с противоморозными добавками) для зимних работ, подвижность раствора и сроки сохранения подвижности устанавливает предварительно строительная лаборатория в соответствии с требованиями действующих нормативных документов и корректирует с учетом применяемых материалов.

Для зимней кладки следует применять растворы подвижностью: 9 ÷ 13 см - для кладки из обычного кирпича и 7 ÷ 8 см - для кладки из кирпича с пустотами и из природного камня.

Область применения добавок приведена в нижеследующей таблице.

Вид конструкций и условия их эксплуатации

Добавки

НН

П

НН + П

Конструкции без специальной защиты по стали

+

+

+

С цинковыми покрытиями по стали

+

-

-

С алюминиевыми покрытиями по стали

-

-

-

С комбинированными покрытиями по металлической основе

+

+

+

Геодезические работы на монтажном горизонте

СНиП 3.01.01-85* Организация строительного производства.

СНиП 3.01.03-84 Геодезические работы в строительстве.

Пособие по производству геодезических работ в строительстве (к СНиП 3.01.03-84).

Геодезические работы на монтажном горизонте должны выполняться в соответствии с требованиями СНиП 3.01.01-85*, СНиП 3.01.03-84, ППР, ППГР и другой технологической документации, утвержденной в установленном порядке.

При строительстве сложных и крупных объектов, а также зданий свыше девяти этажей подрядчиком (генподрядчиком или субподрядчиком, в зависимости от того, кто выполняет строительно-монтажные работы) или по его поручению специализированными организациями, имеющими лизензию на выполнение проектно-технологических работ, разрабатывается проект производства геодезических работ (ППГР).

ППГР определяет содержание, объем, методы, точность, сроки и стоимость геодезических работ, обеспечивающих строительство при минимальных трудовых и материальных затратах.

Основанием для разработки ППГР специализированной организацией является техническое задание, составленное по установленной форме, а при разработке в составе ППР - частное задание группы подготовки производства работ строительно-монтажной организации. Задание должно содержать данные об объемах и сроках разработки.

Содержание ППГР согласовывается с технической и экономической сторонами ПОС и ППР. При пересмотре проектно-сметной документации на производство строительно-монтажных работ все изменения вносятся в ППГР.

ППГР согласовывается с геодезической службой строительно-монтажной организации, утверждается руководителями организации-исполнителя и заказчика проекта, подписывается главным инженером генподрядной строительно-монтажной организации и передается в производство за два месяца до начала работ.

Запрещается осуществление строительно-монтажных работ без утвержденного проекта производства работ.

Не допускаются отступления от решений проектов производства работ без согласования с организациями, разработавшими и утвердившими их.

Контролируемые операции

Состав и средства контроля

Документация

Подготовительные работы

Проверить:

 

-   завершение и надлежащее оформление предшествующих работ по устройству фундаментов (наличие акта приемки и актов освидетельствования скрытых работ, геодезических исполнительных схем и другой приемо-сдаточной документации);

Акт приемки, акты освидетельствования скрытых работ, исполнительные схемы

-   сохранность знаков, закрепляющих пункты геодезической разбивочной основы, и неизменность их положения; восстановление утерянных знаков;

- наличие ППР (ППГР); рабочие чертежи в части взаимной увязки размеров координат и отметок (высот);

-   наличие необходимых геодезических приборов, прошедших метрологическую поверку, инструментов и приспособлений.

Общий журнал работ

Геодезические работы на монтажном горизонте

Контролировать:

 

-   соблюдение заданной ППР (ППГР) технологии передачи и закрепления на монтажном горизонте плановой сети (выноса на монтажный горизонт главных или основных осей; контрольных измерений; уравнивания сети и вычисления координат основных точек; редукции их; окончательного определения и закрепления точек на монтажном горизонте, разбивки промежуточных и вспомогательных осей);

-   передачу отметок на монтажный горизонт и закрепление их двумя реперами, разметку установочных рисок.

Общий и специальный журналы работ

Приемка

Проверить:

 

-   соответствие выполненных геодезических разбивочных работ на монтажном горизонте и вынесенных точек требованиям проекта и нормативных документов;

-   составление и надлежащее оформление приемо-сдаточной документации

Акт приемки

Исполнительный чертеж (схема)

Входной и операционный контроль осуществляют: мастер (прораб), геодезист - в процессе производства работ.

Приемочный контроль осуществляют: прораб (мастер), представители технадзора заказчика.

КИП - нивелир, теодолит и другие геодезические приборы и инструмент

ППГР на строительство надземной части здания (сооружения) должен содержать следующее:

точность построения внутренней разбивочной сети здания (сооружения) на монтажных горизонтах, точность детальных разбивочных работ;

методы передачи разбивочных осей на монтажные горизонты и методы производства геодезических работ при детальных разбивках;

схемы расположения пунктов разбивочной сети, монтажных рисок, маяков и способы их закрепления;

технологию геодезического контроля при производстве работ по возведению каменных конструкций;

конструкции геодезических знаков;

технологию производства исполнительных съемок и перечень исполнительной геодезической документации.

В состав геодезических работ на монтажном горизонте входят:

определение монтажного горизонта на этажах;

создание внутренней разбивочной сети на монтажном горизонте здания (сооружения), т.е. передача точек внутренней разбивочной сети исходного горизонта на монтажный горизонт;

детальная разбивка и закрепление осей и отметок;

разбивка и закрепление рисок под монтаж элементов;

выверка в процессе установки строительных конструкций в проектное положение;

производство исполнительных съемок и составление исполнительной документации.

Создание внутренней разбивочной сети здания (сооружения) на монтажном горизонте следует выполнять с привязкой к пунктам внутренней разбивочной сети исходного горизонта.

Вид, схему, точность, способ закрепленияя пунктов внутренней разбивочной основы здания (сооружения) должны быть приведены в проекте производства работ или в ППГР.

Точность построения внутренней разбивочной сети здания (сооружения) следует принимать, руководствуясь данными, приведенными в нижеследующей таблице, если другие данные не обоснованы в ППР (ППГР).

Правильность выполнения разбивочныз работ должна проверяться путем проложения контрольных геодезических ходов (в направлениях, не совпадающих с принятыми при разбивке) с точностью не ниже, чем при разбивке.

Предельные (допустимые) отклонения δ следует определять по формуле:

δ = tm,

где: t - величина, равная 2; 2,5; 3; определяется при разработке проекта производства работ или ППГР;

m - средняя квадратическая погрешность, принимаемая по нижеследующей таблице.

Точность построения внутренней разбивочной сети здания (сооружения)

Характеристика зданий, сооружений

Величины средних квадратических погрешностей построения внутренней разбивочной сети здания (сооружения)

линейные измерения

угловые измерения с

определение превышения на станции мм

Соружения высотой св. 100 до 120 м или с пролетами св. 30 до 36 м

1/15000

5

1

Здания св. 15 этажей, сооружения высотой св. 60 до 100 м или с пролетами св. 18 до 30 м

1/10000

10

2

Здания св. 5 до 15 этажей, сооружения высотой св. 15 до 60 м или с пролетами св. 6 до 18 м

1/5000

20

2,5

Здания до 5 этажей, сооружения высотой до 15 м или с пролетами до 6 м

1/3000

30

3

В случаях строительства по проектной документации, содержащей допуски на изготовление и возведение конструкций зданий (сооружений), не предусмотренные стандартами, нормами и правилами, необходимую точность разбивочных работ следует определять специальными расчетами по условиям, заложенным в проектной документации.

Непосредственно перед выполнением разбивочных работ исполнитель должен проверить неизменность положения знаков внешней разбивочной сети здания (сооружения) путем повторных измерений элементов сети.

Построение плановой внутренней разбивочной сети здания (сооружения) на монтажном горизонте состоит в передаче точек плановой внутренней разбивочной сети здания (сооружения) с исходного на монтажный горизонт. Исходным горизонтом считается плоскость, проходящая через опорные площадки последних по высоте несущих конструкций подземной части перекрытия подвала, бетонная подготовка или блоки фундамента. Выбор точек плановой разбивочной сети здания, сооружения, принимаемых в качестве исходных для передачи на монтажные горизонты, определяется возможностью вертикального проектирования.

Передачу точек плановой внутренней разбивочной сети здания (сооружения) с исходного на монтажный горизонт следует выполнять методами наклонного или вертикального проектирования (проецирования) в зависимости от высоты здания (сооружения) и его конструктивных особенностей согласно нижеприведенных таблиц.

УСЛОВИЯ ОБЕСПЕЧЕНИЯ ТОЧНОСТИ ПЕРЕДАЧИ ТОЧЕК И ОСЕЙ ПО ВЕРТИКАЛИ

Процессы, условия измерений, тип приборов

Средние квадратические погрешности передачи точек, осей по вертикали, мм

2

2,5

3

4

Высота проецирования, м

До 15

Св. 15 до 60

Св. 60 до 100

Св. 100 до 120

Центрирование прибора

Оптическим центриром или нитяным отвесом

Оптическим центриром

Фиксация точек

Карандашом на гладкой поверхности, палетке

Керном на исходном горизонте и карандашом по палетке

Минимальное расстояние от визирного луча до строительной конструкции, м

0,2

0,1

Количество приемов, не менее

1

2

Типы приборов или им равноточных

Т30

Т2, ПИЛ-1

Ц0-1, ПЗЛ

УСЛОВИЯ ОБЕСПЕЧЕНИЯ ТОЧНОСТИ ВЫСОТНЫХ ИЗМЕРЕНИЙ

Условия измерений, тип приборов

Средние квадратические погрешности превышения на станции, мм

1

2 - 3

5

10

Неравенство плеч на станции, м, не более

4

7

10

15

Высота визирного луча над препятствием, м, не менее

0,3

0,2

Типы нивелиров по ГОСТ 10528-90 или им равноточные

Н-05 и модификации

Н-3 и модификации

Н-10 и модификации

Типы реек для нивелиров по ГОСТ 10528-90 или им равноточных

РН-05

РН-3

РН-10

Типы лазерных приборов или им равноточные

 

 

ПИЛ-1 (ТУ ОД0.397.202)

ЛВ-5М (ТУ 2.787.001)

УКЛ-1 (ТУ-ЛУШФ2.404.000)

Типы реек для лазерных приборов

 

 

Рейка с фотоприемником;

РН-3 для ЛВ-5М

УСЛОВИЯ ОБЕСПЕЧЕНИЯ ТОЧНОСТИ ПЕРЕДАЧИ ОТМЕТОК ПО ВЫСОТЕ

Условия измерений, типы приборов

Средние квадратические погрешности определения отметок на монтажном горизонте относительно исходного, мм

3

4

5

6

15

Высота монтажного горизонта, м

До 15

Св. 15 до 60

Св. 60 до 100

Св. 100 до 120

-

Неравенство плеч на станции, м, не более

5

15

Высота визирного луча над препятствием, м, не менее

0,2

0,3

0,1

Методика работы

Взятие отсчета на монтажном горизонте

Одновременное взятие отсчетов на верхнем и нижнем горизонтах

Взятие отсчета на монтажном горизонте

Типы нивелиров, реек, теодолитов или им равноточных

Н-3 и модификации; РН-3

Н-05 и модификации; РН-05

Н-10 и модификации; РН-10 Т-5, Т-30

Типы рулеток

ОПК2-20 АНТ/1, ОПК2-30 АНТ/1

ОПК3-20 АНТ/10

Натяжение рулеток, Н(кгс)

100 (10)

50 (5)

Точность передачи точек плановой внутренней разбивочной сети здания (сооружения) с исходного на монтажный горизонт следует контролировать путем сравнения расстояний и углов между соответствующими пунктами исходного и монтажного горизонтов.

Передачу основных осей с исходного на монтажный горизонт производят методом наклонного проецирования теодолитом при возведении зданий (сооружений) малой и средней этажности (до 12 этажей), а также при наличии больших свободных территорий в границах строительной площадки.

Передачу основных осей с исходного горизонта на монтажный в условиях стесненной строительной площадки, а также при возведении зданий (сооружений) повышенной этажности производят методом вертикального проецирования.

В зависимости от условий строительной площадки и конструктивных особенностей зданий применяют различные методы монтажного переноса осей при наклонном проецировании.

Первый, так называемый способ бокового нивелирования обычно применяется при возведении протяженных зданий, не имеющих деталей, препятствующих свободному визированию вдоль фасада, а также в стесненных условиях строительной площадки. При переносе осей теодолит центрируют над марками, закрепляющими на местности вспомогательные оси, параллельные основным крайним продольным и поперечным осям здания. Направление оси проецируют на линейки, приложенные к перекрытию или к оголовкам колонн. По указанию наблюдателя линейки перемещают до получения отсчета, равного смещению вспомогательной оси от основной. Положение нулевого деления, соответствующее положению разбивочной оси, отмечают прочерчиванием риски на перекрытии или грани колонны.

При втором способе теодолит устанавливают по линии переносимой основной оси на удалении от здания не менее его высоты. Теодолит центрируют над осевым знаком, а трубу наводят на риску, закрепляющую переносимую ось на цоколе здания, или на другой осевой знак. Для проецирования переносимой оси на перекрытие примерно в створе переносимой оси на перекрытии устанавливают визирную цель - треногу со штанговым или тяжелым нитяным отвесом, либо теодолит, оснащенный оптический уровнем. В последнем случае визируют на острие карандаша, установленного над центром крышки объектива или окуляра выверенного теодолита. По указанию наблюдателя визирную цель перемещают до попадания ее в створ переносимой оси. Положение оси с помощью оптического или механического отвеса переносят на перекрытие и отмечают прочерчиванием риски. Все операции по переносу осей необходимо выполнять при двух положениях вертикального круга.

Таким же образом переносят оси на оголовки колонн.

Среднюю квадратическую погрешность проектирования точки плановой сети на монтажный горизонт mпр при двух положениях вертикального круга теодолита вычисляют по формуле

,

где: h - высота, на которую проектируется точка; S - расстояние от теодолита до проектируемой точки; t - цена деления цилиндрического уровня при горизонтальном круге теодолита; I - отклонение проектируемой точки от вертикали, проходящей через точку плановой основы; V - увеличение зрительной трубы теодолита; mств, mф - средние квадратические погрешности установки теодолита в створ и фиксации проектируемой точки на монтажном горизонте; ρ = 206265”.

Для передачи основных осей на монтажный горизонт методом вертикального проецирования используются приборы вертикального проецирования или лазерные геодезические приборы, которые устанавливаются либо внутри здания под отверстиями в перекрытиях диаметром 150 - 300 мм, либо вне контура здания над проецируемыми точками переносимой оси.

Передачу точки переносимой оси с исходного горизонта на монтажный производят путем отсчитывания на палетке, установленной на монтажном горизонте.

Палетка представляет собой координатную сетку, нанесенную на кальку и наклееную на органическое стекло разграфкой вниз.

Проектирование точки выполняют при четырех положениях прибора: 0°, 90°, 180° и 270°. Найденное из четырех отсчетов положение плановой точки фиксируют на палетке и закрепляют створными рисками на перекрытии.

Среднюю квадратическую погрешность положения спроектированной точки mпр можно вычислить по формуле

,

где: h - превышение между исходным и монтажным горизонтами; v - увеличение зрительной трубы; mо - погрешность приведения визирной оси прибора в отвесное положение; mц - погрешность центрирования прибора над проектируемой точкой; mф - погрешность фиксации точки на палетке.

Погрешность приведения визирной оси в отвесное положение для приборов с компенсаторами берут из паспорта прибора, для приборов с цилиндрическим уровнем вычисляют по формуле mо = 0,5·t, где t - цена деления уровня.

Точность передачи точек плановой основы контролируют путем сравнения измеренного расстояния между полученными точками на монтажном горизонте Sм с расстоянием между этими же точками на исходном горизонте Sи. Контрольные измерения должны быть выполнены с той же точностью, что и разбивка плановой основы на исходном горизонте. Допустимое расхождение Dе между расстояниями Sм и Sи определяют по формуле

,

где: mпр - средняя квадратическая погрешность передачи точки плановой основы на монтажный горизонт; 1/Tпр - относительная средняя квадратическая погрешность разбивки осей на исходном горизонте.

При недопустимом расхождении проектирование точек повторяют.

Перенесение осей на монтажный горизонт с помощью лазерного прибора производится в такой последовательности:

прибор приближенно устанавливают над знаком и приводят его в рабочее положение;

направляют лазерный пучок прибора в «надир» и с помощью центрировочного столика наводят этот пучок на центр знака;

переключают пентапризму прибора и направляют лазерный пучок в «зенит», в этот момент лазерный пучок попадает на экран мишени, закрепленной на монтажном горизонте. Центр лазерного пятна на экране марки есть проекция центра знака на монтажном горизонте.

Для повышения точности перенесения осей и исключения ошибок на наклон лазерного пучка проектирование выполняют четырмя приемами с перестановкой прибора на 90°.

Точность вертикального проектирования m лазерным геодезическим прибором с визуальной регистрацией пятна, вычисляется по формуле

,

где: mц - погрешность центрирования прибора; mц.п - погрешность определения центра пятна; mф - погрешность фиксации центра пятна на мишени; mо - погрешность приведения лазерного пучка в отвесное положение; mн - погрешность наклона оси вращения прибора.

Перенесение отметок с исходного горизонта на монтажный, как правило, следует выполнять методом геометрического нивелирования или другим методом, обеспечивающим соответствующую точность, от реперов разбивочной сети здания (сооружения). Количество реперов, от которых переносятся отметки должно быть не менее двух.

При выполнении работ по передаче отметок с исходного горизонта на монтажный отметки реперов на исходном горизонте здания (сооружения) надлежит принимать неизменными независимо от осадок основания. Отступление от этого требования допустимо при наличии специальных обоснований в проектной документации.

Перенесение отметок осуществляется или непосредственным измерением по вертикально установленным конструкциям от репера на исходном горизонте до монтажного горизонта, или методом геометрического нивелирования с помощью двух нивелиров и подвешенной рулетки.

Отметку рабочего репера на монтажном горизонте Hb определяют по формуле

Hb = Ha + a + (d - c) - b,

где: Ha - отметка репера на исходном горизонте; a - отсчет по рейке, установленной на репере исходного горизонта; d - отсчет по рулетке на монтажном горизонте; c - отсчет по рулетке на исходном горизонте; b - отсчет по рейке, установленной на репере монтажного горизонта.

К рулетке подвешивают гирю массой до 10 кг и опускают в ведро с водой, перемешанной с опилками. Наблюдения желательно вести при двух положениях горизонта прибора, соблюдая равенство расстояний от прибора до рейки и рулетки.

В результаты измерений d - c вводят поправки на компарирование рулетки, растяжение и температуру. Поправку на растяжение от подвешенного груза вычисляют по формуле

,

где: E - модуль упругости (для стали E = 20·107 Па); I = d - c - длина рулетки; ω - площадь ее поперечного сечения; P - вес груза.

Схема передачи отметки на монтажный горизонт

Поправка на температуру Dt определяется из выражения:

Dt = a(t-to)I,

где: a - коэффициент термического расширения рулетки (для стали a = 0,0000125); t - температура рулетки в процессе измерений; to - температура компарирования.

Температуру t определяют на первой и второй станциях и за окончательное ее значение принимают среднее.

Для передачи отметок на монтажные горизонты может быть использован лазерный прибор ПИЛ-1 с фотоприемником и стальной рулеткой, подвешенной к кронштейну. На монтажном горизонте измерения производят по рулетке визуально и по фотоприемнику, укрепленному на специальной рейке, установленной на репере.

На каждой станции измерения производят при двух горизонтах прибора ПИЛ-1.

В отсчеты, сделанные по рулетке, вводят поправки на компарирование, растяжение и температуру.

Допускается применение тригонометрического нивелирования для передачи больших превышений с высокой точностью в условиях, когда нет возможности применить геометрическое нивелирование.

Перенесенные на монтажный горизонт отметки должны быть в пределах отклонений, определяемых по формуле: δ = tm, где t - величина, равная 2; 2,5; 3; определяется при разработке проекта производства работ или проекта производства геодезических работ; m - средняя квадратическая погрешность, приведенная на второй странице данной схемы.

За отметку монтажного горизонта, как правило, принимается среднее значение величин перенесенных отметок.

Проектирование точек внутренней разбивочной сети здания с исходного на монтажные горизонты приводит к смещению точек базисной фигуры, поэтому на монтажных горизонтах выполняют повторные измерения.

В этой ситуации возможны три случая:

отклонения всех измеренных элементов от соответствующих измерений, выполненных на исходном горизонте, не выходят за пределы погрешностей измерений;

отклонения измеренных элементов выходят за пределы погрешностей измерений, но остаются в границах совместного действия погрешностей измерений и погрешностей проектирования;

хотя бы одно измерение отличается от измерения, выполненного на исходном горизонте, на величину, выходящую за пределы погрешностей измерений и проектирования.

В первом случае рекомендуется оставить точки базисной фигуры на монтажном горизонте без изменения; во втором - выполнить уравнивание измерений на монтажном горизонте и редуцировать фигуру до проектной; в третьем случае необходимо повторить проектирование с исходного горизонта.

Результаты измерений и построений при создании внутренней разбивочной сети на монтажном горизонте следует фиксировать путем составления схем местоположения знаков, закрепляющих оси, отметки и ориентиры.

Детальные разбивочные работы на монтажном горизонте заключаются в нанесении разбивочных осей, монтажных рисок на смонтированные опорные конструкции, в определении отметок опорных поверхностей.

Детальные разбивочные работы выполняют от переданной на монтажный горизонт плановой сети с помощью теодолита и линейных промеров рулеткой.

Определение отметок опорных плоскостей, а также вынос проектных отметок на возводимые конструкции осуществляют нивелированием.

Способы разбивки промежуточных осей принимаются в зависимости от числа выносимых на этаж основных осей, которое устанавливается в зависимости от конструктивных особенностей здания и условий строительной площадки.

В зданиях большой протяженности, имеющих ширину до 18 м, а также в том случае, когда применяется метод вертикального проецирования, может поэтажно переноситься одна продольная ось. В этом случае для разбивки промежуточных осей теодолит центрируют над одной из точек, закрепляющей вынесенную ось, а трубу наводят на вторую точку, находящуюся на противоположном конце оси.

Отложив в обе стороны угол 90°, рисками отмечают направление поперечной оси. Такую же операцию выполняют, перенося теодолит на вторую точку. В створе полученных направлений поперечных осей укладывают ленту, с помощью которой от точек вынесенной основной оси откладывают расстояния, соответствующие разбиваемым продольным осям. Положение поперечных осей определяют путем отложения соответствующих расстояний от полученных точек пересечения крайних поперечных и продольных осей. Точность разбивки проверяется измерением углов и расстояний между разбитыми осями.

При возведении надземной части зданий (сооружений) в кирпичном исполнении на перекрытия выносят и закрепляют рисками внутренние грани стен в местах пересечений осей.

При возведении крупноблочных зданий детальная разбивка заключается в разметке мест установки блоков, т.е. в нанесении установочных рисок от пунктов и осей плановой сети. Разбивочные риски наносятся по контуру устанавливаемых блоков для выверки блоков в поперечном направлении, в местах установки маячных блоков (угловых и промежуточных), простеночных, подоконных, перемычечных и поясных блоков.

Горизонтальность основания под каждый блок выверяется по уровню. Маячные блоки устанавливаются по разбивочным рискам. После установки маячных угловых и промежуточных блоков с помощью скоб укрепляется и натягивается причалка, по которой устанавливаются все остальные блоки. Для установки первого ряда блоков наружных стен причалку натягивают по внутренней стороне стены. При монтаже следующих рядов причалку натягивают по верхней грани устанавливаемых блоков. Правильность положения боковых граней простеночных блоков проверяют рейкой-отвесом, а также теодолитом визированием на ранее установленные блоки.

В процессе возведения зданий (сооружений) строительно-монтажной организацией (генподрядчиком, субподрядчиком) следует проводить геодезический контроль точности геометрических параметров зданий (сооружений), который должен входить в технологический процесс производства работ и являться обязательной составной частью производственного контроля качества.

Геодезический контроль точности геометрических параметров зданий (сооружений) заключается в:

а) геодезической (инструментальной) проверке соответствия положения элементов, конструкций и частей зданий (сооружений) требованиям проекта и нормативных документов в процессе их монтажа (при операционном контроле);

б) исполнительной геодезической съемке планового и высотного положения элементов, конструкций и частей зданий (сооружений), постоянно закрепленных по окончании монтажа (приемочный контроль).

Контролируемые в процессе производства строительно-монтажных работ геометрические параметры каменных конструкций, методы геодезического контроля, порядок и объем его проведения должны быть установлены проектом производства геодезических работ (или ППР).

Перечень ответственных конструкций и частей зданий (сооружений), подлежащих исполнительной геодезической съемке при выполнении приемочного контроля, должен быть определен проектной организацией.

Плановое и высотное положение элементов, каменных конструкций и частей зданий (сооружений), их вертикальность следует определять от знаков внутренней разбивочной сети здания (сооружения) или ориентиров, которые использовались при выполнении работ. Перед началом работ необходимо проверить неизменность положения пунктов сети и ориентиров.

Погрешность измерений в процессе геодезического контроля точности геометрических параметров зданий (сооружений) должна быть не более 0,2 величины отклонений, допускаемых строительными нормами и правилами, государственными стандартами и проектной документацией.

Контроль точности положения каменных конструкций осуществляется в плане и по высоте.

В плане контролируют:

толщину конструкций;

ширину простенков;

ширину проемов;

смещение осей конструкций от разбивочных осей;

размеры сечения вентиляционных каналов.

По высоте контролируют отметки опорных поверхностей под установку последующих элементов. Высотное положение элементов монтажного горизонта определяют геометрическим нивелированием.

Вертикальность кладки стен в пределах двух этажей рекомендуется проверять отвесом, а для более высоких стен следует применять прибор-отвес на блоке. От нити отвеса перпендикулярными измерениями следует определять расстояние до стены. Измерения следует выполнять линейкой в наиболее характерных точках стены или через равные промежутки. Постоянство расстояний от нити отвеса до соответствующих частей стены здания будет указывать на вертикальность плоскости стены.

Вертикальность граней и углов кладки из кирпича и камней, горизонтальность ее рядов необходимо проверять по ходу выполнения кладки (через 0,5 - 0,6 м) с устранением обнаруженных отклонений в пределах яруса.

Отклонение рядов кладки от горизонтали на 10 м длины стены проверяется геометрическим нивелированием.

Результаты геодезической (инструментальной) проверки при операционном контроле должны быь зафиксированы в общем журнале работ.

При исполнительной съемке каменных конструкций снимают и на геодезических исполнительных схемах показывают смещение осей конструкций от разбивочных осей, отклонения поверхностей и углов кладки от вертикали, отклонения рядов кладки от горизонтали на 10 м длины стены.

Перечень приборов, инструментов и приспособлений

Теодолит типа Т-2, Т-15, Т-30 со штативом типа ШР-40 (ГОСТ 10529-96 и ГОСТ 11897-78*)

Нивелир типа Н-0,5, Н-3, Н-5 со штативом типа ШР-120 (или ШР-140), рейка РН-05, РН-3, РН-10 (ГОСТ 10528-90)

Рулетки измерительные металлические по ГОСТ 7502-89* длиной 2, 10, 20 и 50 м

Уровень строительный по ГОСТ 9416-83 типа УС3-500

Отвес стальной строительный по ГОСТ 7948-80 типа ОТ-600 и ОТ-1000

Рейка с отвесом

Угольник стальной (ГОСТ 3749-77*)

Линейка стальная металлическая по ГОСТ 427-75* длиной 100 и 500 мм

Кисть флейцовая типа кф (ГОСТ 10597-87*)

Кернер 2 (ГОСТ 7213-72*)

Рейка контрольная длиной 2 м

Шнур причальный

Порядовка

Каменная кладка

Общие технические требования

ГОСТ 530-95 Кирпич и камни керамические. Технические условия.

ГОСТ 7484-78 Кирпич и камни керамические лицевые. Технические условия.

ТУ 5710-014-25057366-98 Кирпич лицевой прессованный.

ГОСТ 379-95 Кирпич и камни силикатные. Технические условия.

ТУ 5741-003-21173147-98 Кирпич силикатный полнотелый эффективный.

ГОСТ 4001-84 Камни стеновые из горных пород. Технические условия.

ГОСТ 6133-84 Камни бетонные стеновые. Технические условия.

ТУ 5701-001-33698518-96 Камни стеновые опилкобетонные.

ТУ 5741-034-04001232-97 Камни бетонные.

ТУ 5741-064-01227705-96 Камни керамзитобетонные стеновые.

ТУ 5741-002-03989974-98 Камни стеновые бетонные.

ГОСТ 21520-89 Блоки из ячеистых бетонов стеновые мелкие. Технические условия.

ТУ 5836-003-03946456-96 Блоки стеновые из ячеистых бетонов автоклавного твердения.

ГОСТ 19010-82* Блоки стеновые бетонные и железобетонные для зданий. Общие технические условия.

ТУ 5741-001-25765910-97 Блоки бетонные для индустриального строительства (стеновые и облицовочные).

ТУ 5741-159-00284807-96 Блоки стеновые из полистиролбетона.

ГОСТ 28013-98 Растворы строительные. Общие технические условия.

Стандарты и технические условия на стеновые материалы и строительные растворы, предусмотренные проектом.

СНиП 3.03.01-87 Несущие и ограждающие конструкции.

СНиП II-22-81* Каменные и армокаменные конструкции.

Пособие по проектированию каменных и армокаменных конструкций (к СНиП II-22-81).

Входной контроль качества стеновых материалов и кладочных растворов должен осуществляться в соответствии с требованиями проекта, СНиП 3.01.01-85*, СНиП 3.03.01-87, требованиями стандартов, технических условий, ППР и другой технологической документации, утвержденной в установленном порядке.

Технические требования к стеновым материалам и кладочным растворам приведены в данном альбоме в СОКК «Входной контроль стеновых материалов» и «Входной контроль строительных растворов».

Контролируемые операции

Состав и средства контроля

Документация

Подготовительные работы

Проверить:

 

-  наличие проекта, ППР, технологических карт, схем операционного контроля качества работ по возведению каменных конструкций (СОКК);

Проект, ППР, технологические карты, СОКК

-  завершение и надлежащее оформление предшествующих монтажных работ по устройству фундамента или несущих конструкций перекрытий возведенного этажа (наличие акта приемки или освидетельствования скрытых работ, геодезических исполнительных схем и другой приемо-сдаточной документации);

Акт приемки, акты на скрытые работы, исполнительные схемы

-  наличие документов о качестве (паспортов) и полноту содержащихся в них данных на поступившие на строительную площадку стеновые и другие материалы, соответствие их требованиям проекта;

-  внешним осмотром отсутствие недопустимых дефектов внешнего вида стеновых и других материалов; соответствие их качества требованиям нормативной документации;

-  завершение и надлежащее оформление разбивочных геодезических работ.

Документы о качестве

Возведение каменных конструкций

Контролировать:

 

-  соблюдение заданной ППР (технологической картой) технологии возведения каменных конструкций; - соответствие проекту и нормативным документам геометрических размеров и положения конструкций;

-  качество неоштукатуриваемых и облицованных поверхностей каменных конструкций;

-  температуру и подвижность раствора, прочность раствора и прочность сцепления раствора со стеновыми каменными материалами и т.д.

Общий и специальный журналы работ Исполнительные схемы

Приемка

Проверить:

 

-  соответствие фактического положения и размеров каменных конструкций требованиям проекта и нормативных документов;

-  соответствие проекту и нормативным документам элементов каменных конструкций, скрытых в процессе производства строительно-монтажных работ;

-  составление и надлежащее оформление приемо-сдаточной документации.

Акт приемки, акты освидетельствования скрытых работ, исполнительные схемы

Входной и операционный контроль осуществляют: мастер (прораб), лаборант (инженер), геодезист - в процессе производства работ.

Приемочный контроль осуществляют: прораб (мастер), геодезист, представители технадзора заказчика

КИП - порядовка, причалка, уровень строительный, отвес, правило, линейка и рулетка измерительные металлические, геодезические и лабораторные приборы и оборудование

На строительной площадке в процессе входного контроля:

должно быть проверено наличие документов о качестве (паспортов) на поступившие стеновые материалы и кладочные растворы и полнота содержащихся в них данных;

по сопроводительным документам и маркировке должно быть определено соответствие поступивших материалов требованиям проекта;

должны быть произведены внешний осмотр и предусмотренные регламентом входного контроля контрольные замеры и лабораторные испытания материалов с целью обнаружения недопустимых дефектов внешнего вида и определения соответствия материалов требованиям нормативной документации;

при возникновении каких-либо сомнений в качестве стеновых материалов и кладочных растворов должен быть вызван представитель строительной лаборатории или функциональных служб, ответственных за их поставку.

Работы по возведению каменных конструкций должны выполняться в соответствии с требованиями проекта, СНиП 3.03.01-87, СНиП 3.01.01-85*, требованиями ППР, технологических карт и схем операционного контроля качества.

Работы по возведению каменных конструкций должны выполнять строительно-монтажные организации, получившие лицензию на выполнение этих работ в Федеральных или местных органах по лицензированию строительной деятельности.

Каменная кладка должна выполняться квалифицированным персоналом, прошедшим специальную подготовку и обладающим надлежащими навыками по возведению каменных конструкций.

При производстве работ по возведению каменных конструкций должно быть обеспечено соблюдение строительных норм и правил, проекта и ППР.

Работы по возведению каменных конструкций должны производиться по утвержденному проекту производства работ (ППР).

Запрещается осуществление строительно-монтажных работ без утвержденного проекта производства работ. Не допускаются отступления от решений проектов производства работ без согласования с организациями, разработавшими и утвердившими их.

Основным работам по возведению каменных конструкций должны предшествовать следующие работы:

завершение, освидетельствование и надлежащее оформление ранее выполненных строительно-монтажных работ либо промежуточная приемка ранее выполненных ответственных конструкций;

разработка проекта производства работ на возведение каменных конструкций, технологических карт и схем операционного контроля;

выполнение детальных разбивочных работ на исходном и монтажном горизонтах;

входной контроль проектно-сметной документации, стеновых материалов, кладочных растворов и других материалов, предусмотренных проектом;

изучение инженерно-техническим персоналом проектной и технологической документации, обучение мастеров и рабочих передовым методам труда.

Ранее выполненные скрытые работы подлежат освидетельствованию с составлением актов по форме, приведенной в приложении 6 СНиП 3.01.01-85* и в СОКК «Разработка выемок. Вертикальная планировка». Акт освидетельствования скрытых работ должен составляться на завершенный процесс, выполненный самостоятельным подразделением исполнителей.

Освидетельствование скрытых работ и составление акта в случаях, когда последующие работы должны начинаться после перерыва, следует производить непосредственно перед производством последующих работ.

Запрещается выполнение последующих работ при отсутствии актов освидетельствования предшествующих скрытых работ во всех случаях.

Ранее завершенные ответственные конструкции подлежат приемке в процессе строительства (с участием представителя проектной организации или авторского надзора) с составлением акта промежуточной приемки этих конструкций по форме, приведенной в приложении 7 СНиП 3.01.01-85* и СОКК «Приемка бетонных и железобетонных конструкций или частей сооружений».

Детальные разбивочные работы на исходном и монтажном горизонтах должны выполняться в соответствии с требованиями СНиП 3.01.03-84, СОКК «Геодезические работы на исходном горизонте» и СОКК «Геодезические работы на монтажном горизонте».

При входном контроле рабочей документации должна производиться проверка ее комплектности и достаточности содержащейся в ней технической информации для производства работ по возведению каменных конструкций.

Входной контроль стеновых материалов, кладочных растворов и других материалов и изделий, предусмотренных проектом, должен производиться в соответствии с требованиями соответствующих стандартов, технических условий, технологических карт и другой технологической документации, утвержденной в установленном порядке. Технические требования к стеновым материалам и строительным растворам приведены в СОКК «Входной контроль стеновых материалов» и СОКК «Входной контроль строительных растворов».

Доставляемые на строительство каменные материалы должны иметь заводской паспорт, содержащий сведения о пределе прочности (марке) и морозостойкости, а для легких и теплоизоляционных материалов - и по плотности (объемной массе). При отсутствии паспорта строительная лаборатория до применения этих материалов должна произвести необходимые испытания.

При проектировании каменных и армокаменных конструкций должны, как правило, предусматриваться следующие конструктивные решения, изделия и материалы:

а) наружные стены из: пустотелых керамических и бетонных камней и кирпича; облегченной кирпичной кладки с плитным утеплителем или засыпкой из пористых заполнителей; сплошных камней и блоков из бетона на пористых заполнителях, поризованных и ячеистых бетонов. Применение сплошной кладки из полнотелого глиняного или силикатного кирпича для наружных стен помещений с сухим и нормальным влажностным режимом допускается только при необходимости обеспечения их прочности;

б) стены из панелей и крупных блоков, изготовленных из бетонов различных видов, а также из кирпича или камней;

в) кирпич и камни марок по прочности на сжатие 150 и более в зданиях высотой более пяти этажей;

г) местные природные каменные материалы;

д) растворы с противоморозными химическими добавками для зимней кладки.

При соответствующем обосновании допускается применять конструктивные решения, изделия и материалы, не предусмотренные данным перечнем.

Применение силикатных кирпича, камней и блоков; камней и блоков из ячеистых бетонов; пустотелого кирпича и керамических камней; глиняного кирпича полусухого прессования допускается для наружных стен помещений с влажным режимом при условии нанесения на их внутренние поверхности пароизоляционного покрытия. Применение указанных материалов для стен помещений с мокрым режимом, а также для наружных стен подвалов и цоколей не допускается.

Марки растворов по пределу прочности на сжатие и другие требования ГОСТ 28013-98 и СП 82-101-98 подробно приведены в СОКК «Входной контроль строительных растворов».

Прочность раствора зависит от температуры твердения. При температуре твердения, отличающейся от 20 ± 3 °С, средняя прочность раствора в % от его прочности в возрасте 28 сут при твердении при температуре 20 ± 3 °С определяется по нижеприведенной таблице.

Возраст, сут

Прочность раствора, %, при температуре твердения, °С

1

5

10

20

30

40

50

1

1

4

6

13

23

32

43

2

3

8

12

23

38

54

76

3

5

11

18

33

49

66

85

7

15

25

37

55

72

87

100

14

31

45

60

80

92

100

-

21

42

58

74

92

100

-

-

28

52

68

83

100

-

-

-

Приведенные выше данные относятся к растворам на портландцементе. При применении растворов, изготовленных на шлакопортландцементе, пуццолановом портландцементе и цементах для строительных растворов, следует учитывать замедление нарастания их прочности при температуре твердения ниже 15 °С. Величина относительной прочности этих растворов определяется умножением значений, приведенных в таблице, на коэффициенты: 0,3 - при температуре твердения 0 °С; 0,7 - при 5 °С; 0,9 - при 10 °С; 1 - при 15 °С и выше.

Для промежуточных значений температуры твердения и промежуточных значений возраста раствора прочность его определяют линейной интерполяцией.

По структуре стены разделяются:

на стены из сплошной кладки из одного какого-либо вида каменного материала;

многослойные, состоящие из двух или более слоев, выполненных из одного или разных материалов и из облегченной кладки, в которой часть основного несущего материала заменяется воздушной прослойкой, теплоизоляционными плитами, камнями из легких и ячеистых бетонов, минеральными засыпками и т.п.

Наружные стены зданий, возводимые в различных районах, помимо прочности, удовлетворяющей требованиям СНиП II-22-81*, должны также отвечать требованиям СНиП II-3-79* в отношении сопротивления теплопередаче, теплоустойчивости, сопротивления воздухонепроницаемости и влажностного режима, а также климатических условий района строительства.

Камни и блоки из ячеистых бетонов применяются в несущих стенах зданий высотой 5 этажей и менее и в самонесущих стенах в зданиях высотой до 9 этажей.

Легкие каменные материалы и облегченные кладки рекомендуется использовать, как правило, для ограждения помещений сухих и с нормальной влажностью воздуха.

Наружные стены помещений с мокрым режимом эксплуатации должны проектироваться из кирпича глиняного полнотелого пластического прессования или из сплошных камней из бетона (за исключением бетонов на топливных шлаках) с объемной массой более 1800 кг/м3.

Сплошная кирпичная кладка может выполняться по многорядной или однорядной системе перевязки. В летних условиях, а также в зимних условиях при производстве работ с химическими добавками в растворе рекомендуется выполнять кладку с многорядной системой перевязки, требующую меньших затрат труда.

Кладку стен, выполняемую на обычных растворах методом замораживания, следует производить с однорядной перевязкой.

Кладка из сплошных и пустотелых бетонных или природных камней перевязывается, как правило, тычковыми рядами. Тычковые ряды могут выполняться также из сплошных продольных половинок.

Перевязка кладки из пустотелых камней с щелевидными пустотами осуществляется чередованием целых камней и продольных половинок. Кладка из этих камней при отсутствии продольных половинок может выполняться только из целых камней с перевязкой тычковыми рядами через два ложковых ряда.

При необходимости повышения термического сопротивления кирпичных стен сплошной кладки с многорядной перевязкой допускается выполнение кладки с уширенным швом шириной не более 50 мм. Уширенный шов заполняется теплоизоляционным материалом.

Кладка из бетонных камней также может выполняться с уширенным швом шириной не более 40 мм.

Перевязки кладок стен, простенков, столбов, карнизов и других элементов из кирпича и керамических камней приведены в серии 2.130-1 вып. 28 «Кирпичные стены сплошной кладки» (основные узлы кладки приведены в конце данной СОКК). Толщины наружных стен приняты из следующего ряда размеров: 380, 510, 640 и дополнительно, 420, 550, 680 мм с уширенным швом.

Проекты должны, как правило, быть разработаны из условий применения кирпича толщиной 65 мм со следующими параметрами порядовок: при высоте этажа 2,8 м - 36 рядов кладки на этаж при средней толщине горизонтального растворного шва 12,7 мм; при высоте этажа 3,0 м - 39 ÷ 40 рядов кладки на этаж при средней толщине горизонтального растворного шва 10 ÷ 11,9 мм. При применении кирпича толщиной 88 мм средняя толщина горизонтального растворного шва равна 12 мм.

Наружные стены сплошной кладки следует выполнять преимущественно из эффективных в теплотехническом отношении кирпича или камней.

Для сплошной кладки должны быть предусмотрены следующие минимальные требования к перевязке:

а) для кладки из обыкновенного кирпича толщиной 65 мм - один тычковый ряд на шесть рядов кладки;

б) из кирпича толщиной 88 мм - один тычковый ряд на четыре ряда кладки;

в) в стенах из керамических камней должна применяться цепная (однорядная) система перевязки, обеспечивающая наиболее высокое сопротивление теплопередаче стен.

При необходимости повышения термического сопротивления кирпичных стен сплошной кладки с многорядной перевязкой допускается выполнение кладки с уширенным швом шириной не более 50 мм. Уширенный шов заполняется теплоизоляционным материалом или раствором с кирпичным щебнем. Толщины стен в этом случае принимаются из следующего ряда размеров: 420, 550, 680 мм.

Конструкция наружных стен сплошной кладки принимается однослойной (из одного вида материалов) или двухслойной (с облицовкой).

Для облицовки стен могут применяться керамические лицевые кирпич и камни и силикатные кирпич и камни (например, лицевой кирпич применять в сочетании с кладкой из кирпича или из керамических камней, лицевые керамические камни - с кладкой из керамических камней и др.).

Марка облицовочного материала, принимаемая в проекте, должна быть, как правило, на одну ступень выше марки материала основной кладки стены.

При облицовке стен с применением многорядной системы необходимо соблюдать следующие минимальные требования к перевязке:

- при лицевом слое из кирпича толщиной 65 мм:

а) в кладке из полнотелого кирпича толщиной 65 мм - 1 тычковый ряд на 6 рядов лицевой кладки;

б) в кладке из пустотелого кирпича толщиной 65 мм - 1 тычковый ряд на 4 ряда лицевой кладки;

в) в кладке из кирпича толщиной 88 мм - 1 тычковый ряд на 6 рядов лицевой кладки;

г) в кладке из керамических камней толщиной 138 мм - 2 тычковых ряда на 6 рядов лицевой кладки;

- при лицевом слое из кирпича толщиной 88 мм;

в кладке из кирпича толщиной 65 мм - 1 тычковый ряд на 4 ряда лицевой кладки;

- при лицевом слое из керамических камней толщиной 138 мм - 1 тычковый ряд на 6 рядов лицевой кладки.

В наружных стенах зданий наряду с кладкой из пустотелого кирпича и камней следует применять облегченную кладку с эффективными плитными утеплителями или минеральными засыпками.

В конце данной СОКК приведены основные узлы теплоэффективных кирпичных наружных стен, разработанные НТК Центром по заданию Минстроя России для жилых зданий, строящихся в климатических районах с количеством градусо-суток отопительного периода 4000 и 8000.

Конструкции предназначены для зданий с высотой этажа до 3 м. При разработке конструкций стен приняты следующие характеристики кирпичной кладки:

кирпич глиняный обыкновенный (ГОСТ 530-95) на цементно-песчаном растворе плотностью 1800 кг/м3, с коэффициентом теплопроводности 0,7 Вт/м °С;

кирпич глиняный пустотный (ГОСТ 530-95) на цементно-песчаном растворе плотностью 1400 кг/м3, с коэффициентом теплопроводности 0,52 Вт/м °С;

кирпич силикатный (ГОСТ 379-95) на цементно-песчаном растворе плотностью 1800 кг/м3, с коэффициентом теплопроводности 0,76 Вт/м °С;

кирпич силикатный пустотный (ГОСТ 379-95) на цементно-песчаном растворе плотностью 1500 кг/м3, с коэффициентом теплопроводности 0,7 Вт/м °С.

Марка цементно-песчаного раствора принимается на основании расчета несущей способности стен и простенков, но не ниже М50. Кирпич должен применяться марки не ниже 75.

В конструкциях стен приняты конкретные типы утеплителей со следующими коэффициентами теплопроводности:

пенополистирол (ГОСТ 15588-86) плотностью 40 кг/м3, с коэффициентом теплопроводности 0,041 Вт/м °С;

плиты минераловатные жесткие (ГОСТ 9573-96; ГОСТ 10140-80) плотностью 200 кг/м3 с коэффициентом теплопроводности 0,076 Вт/м °С;

засыпка керамзитовым гравием (ГОСТ 9757-90) плотностью 400 кг/м3, с коэффициентом теплопроводности 0,13 Вт/м°С (коэффициент связанной засыпки 0,155 Вт/м °С);

плиты из местных материалов (например, плиты камышитовые плотностью 200 кг/м3 или плиты торфяные теплоизоляционные плотностью 300 кг/м3 с коэффициентом теплопроводности 0,07 Вт/м °С.

В технические решения включены следующие варианты кирпичных трехслойных наружных стен:

- облегченная кладка с жесткими связями в виде вертикальных диафрагм с плитным и засыпным утеплителями для одноэтажных зданий с мансардой;

- облегченная кладка с гибкими связями с плитным и засыпным утеплителями для жилых зданий высотой до 2-х этажей с мансардой;

- облегченная кладка с жесткими связями в виде вертикальных диафрагм с плитным и засыпным утеплителями для зданий высотой до 4-х этажей.

Толщина внутреннего слоя наружных стен облегченной кладки принята 120 мм для одноэтажных зданий и 250 мм для зданий высотой два-четыре этажа. Толщина наружного слоя во всех вариантах кладки принята 120 мм.

Кладку кирпичных цоколей зданий необходимо выполнять из полнотелого керамического кирпича. Применение для этих целей силикатного кирпича не допускается.

Не допускается ослабление каменных конструкций отверстиями, бороздами, нишами, монтажными проемами, не предусмотренными проектом.

Каменную кладку заполнения каркасов следует выполнять в соответствии с требованиями, предъявляемыми к возведению несущих каменных конструкций.

Толщина горизонтальных швов кладки из кирпича и камней правильной формы должна составлять 12 мм, вертикальных швов - 10 мм.

При вынужденных разрывах кладку необходимо выполнять в виде наклонной или вертикальной штрабы.

При выполнении разрыва кладки вертикальной штрабой в швы кладки штрабы следует заложить сетку (арматуру) из продольных стержней диаметром не более 6 мм, из поперечных стержней - не более 3 мм с расстоянием до 1,5 м по высоте кладки, а также в уровне каждого перекрытия.

Число продольных стержней арматуры принимается из расчета одного стержня на каждые 12 см толщины стены, но не менее двух при толщине стены 12 см.

Разность высот возводимой кладки на смежных захватках и при кладке примыканий наружных и внутренних стен не должна превышать высоты этажа, разность высот между смежными участками кладки фундаментов - не превышать 1,2 м.

Установку креплений в местах примыкания железобетонных конструкций к кладке следует выполнять в соответствии с проектом.

Возведение каменных конструкций последующего этажа допускается только после укладки несущих конструкций перекрытий возведенного этажа, анкеровки стен и замоноличивания швов между плитами перекрытий. Предельная высота возведения свободно стоящих каменных стен (без укладки перекрытий или покрытий) не должна превышать значений, указанных в нижеследующей таблице. При необходимости возведения свободно стоящих стен большей высоты следует применять временные крепления.

При возведении стены (перегородки), связанной с поперечными стенами (перегородками) или с другими жесткими конструкциями при расстоянии между этими конструкциями, не превышающем 3,5 H (где H - высота стены, указанная в нижеследующей таблице), допускаемую высоту возводимой стены можно увеличивать на 15 %, при расстояниии не более 2,5 H - на 25 % и не более 1,5 H - на 40 %.

Высота каменных неармированных перегородок, не раскрепленных перекрытиями или временными креплениями, не должна превышать 1,5 м для перегородок толщиной 9 см, выполненных из камней и кирпича на ребро толщиной 88 мм, и 1,8 м - для перегородок толщиной 12 см, выполненных из кирпича.

Предельная высота возведения свободно стоящих каменных стен

Толщина стен, см

Объемная масса (плотность) кладки, кг/м3

Допустимая высота стен, м, при скоростном напоре ветра, Н/м2 (скорости ветра, м/с)

до 150 (15)

270 (21)

450 (27)

1000 (40)

25

Более 1600

3,8

2,6

1,6

-

От 1000 до 1300

2,3

1,6

1,3

-

От 1300 до 1600

3,0

2,1

1,4

-

38

Более 1600

5,2

4,7

4,0

1,7

От 1000 до 1300

4,5

4,0

2,4

1,3

От 1300 до 1600

4,8

4,3

3,1

1,5

51

Более 1600

6,5

6,3

6,0

3,1

От 1000 до 1300

6,0

5,7

4,3

2,0

От 1300 до 1600

6,3

6,0

5,6

2,5

64

Более 1600

7,7

7,4

7,0

4,3

От 1000 до 1300

7,0

6,6

6,0

2,7

От 1300 до 1600

7,4

7,0

6,5

3,5

Примечание. При скоростных напорах ветра, имеющих промежуточные значения, допускаемые высоты свободно стоящих стен определяются интерполяцией.

При связи перегородки с поперечными стенами или перегородками, а также с другими жесткими конструкциями допускаемые их высоты принимаются в соответствии с вышеизложенными указаниями.

Вертикальность граней и углов кладки из кирпича и камней, горизонтальность ее рядов необходимо проверять по ходу выполнения кладки (через 0,5 - 0,6 м) с устранением обнаруженных отклонений в пределах яруса.

После окончания кладки каждого этажа следует производить инструментальную проверку горизонтальности и отметок верха кладки независимо от промежуточных проверок горизонтальности ее рядов.

Кладка из керамического и силикатного кирпича, из керамических, бетонных, силикатных и природных камней правильной формы

Тычковые ряды в кладке необходимо укладывать из целых кирпичей и камней всех видов. Независимо от принятой системы перевязки швов укладка тычковых рядов является обязательной в нижнем (первом) и верхнем (последнем) рядах возводимых конструкций, на уровне обрезов стен и столбов, в выступающих рядах кладки (карнизах, поясах и т.д.).

При многорядной перевязке швов укладка тычковых рядов под опорные части балок, прогонов, плит перекрытий, балконов, под мауэрлаты и другие сборные конструкции является обязательной. При однорядной (цепной) перевязке швов допускается опирание сборных конструкций на ложковые ряды кладки.

Кирпичные столбы, пилястры и простенки шириной в два с половиной кирпича и менее, рядовые кирпичные перемычки и карнизы следует возводить из отборного целого кирпича.

Применение кирпича-половняка допускается только в кладке забутовочных рядов и мало нагруженных каменных конструкций (участки стен под окнами и т.п.) в количестве не более 10 %.

Горизонтальные и поперечные вертикальные швы кирпичной кладки стен, а также швы (горизонтальные, поперечные и продольные вертикальные) в перемычках, простенках и столбах следует заполнять раствором, за исключением кладки впустошовку.

При кладке впустошовку глубина не заполненных раствором швов с лицевой стороны не должна превышать 15 мм в стенах и 10 мм (только вертикальных швов) в столбах.

Участки стен между рядовыми кирпичными перемычками при простенках шириной менее 1 м необходимо выкладывать на том же растворе, что и перемычки.

Стальную арматуру рядовых кирпичных перемычек следует укладывать по опалубке в слое раствора под нижний ряд кирпичей. Число стержней устанавливается проектом, но должно быть не менее трех. Гладкие стержни для армирования перемычек должны иметь диаметр не менее 6 мм, заканчиваться крюками и заделываться в простенки не менее чем на 25 см. Стержни периодического профиля крюками не отгибаются. При выдерживании кирпичных перемычек в опалубке необходимо соблюдать сроки, указанные в нижеследующей таблице.

Конструкции перемычек

Температура наружного воздуха, °С, в период выдерживания перемычек

Марка раствора

Продолжительность выдерживания перемычек на опалубке, сут, не менее

Рядовые и армокирпичные

До 5

М25 и выше

24

До 10

18

До 15

12

До 20

8

Св. 20

5

Арочные и клинчатые

До 5

Тоже

10

До 10

8

Св. 10

5

Кличатые перемычки из обыкновенного кирпича следует выкладывать с клинообразными швами толщиной не менее 5 мм внизу и не более 25 мм вверху. Кладку необходимо производить одновременно с двух сторон в направлении от пят к середине.

Кладку карнизов следует выполнять в соответствии с проектом. При этом свес каждого ряда кирпичной кладки в карнизах не должен превышать 1/3 длины кирпича, а общий вынос кирпичного неармированного карниза должен составлять не более половины толщины стены.

Кладку анкеруемых карнизов допускается выполнять после достижения кладкой стены, в которую заделываются анкеры, проектной прочности.

При устройстве карнизов после окончания кладки стены их устойчивость необходимо обеспечивать временными креплениями.

Все закладные железобетонные сборные элементы (карнизы, пояски, балконы и др.) должны обеспечиваться временными креплениями до их защемления вышележащей кладкой. Срок снятия временных креплений должен быть указан в рабочих чертежах.

При возведении стен из керамических камней в свешивающихся рядах карнизов, поясков, парапетов, брандмауэров, где требуется теска кирпича, должен применяться полнотелый или специальный (профильный) лицевой кирпич морозостойкостью не менее Мрз 25 с защитой от увлажнения.

Вентиляционные каналы в стенах следует выполнять из керамического полнотелого кирпича марки не ниже 75 или силикатного марки 100 до уровня чердачного перекрытия, а выше - из полнотелого керамического кирпича марки 100.

При армированной кладке необходимо соблюдать следующие требования:

толщина швов в армированной кладке должна превышать сумму диаметров пересекающейся арматуры не менее чем на 4 мм при толщине шва не более 16 мм;

при поперечном армировании столбов и простенков сетки следует изготавливать и укладывать так, чтобы было не менее двух арматурных стержней (из которых сделана сетка), выступающих на 2 - 3 мм на внутреннюю поверхность простенка или на две стороны столба;

при продольном армировании кладки стальные стержни арматуры по длине следует соединять между собой сваркой;

при устройстве стыков арматуры без сварки концы гладких стержней должны заканчиваться крюками и связываться проволокой с перехлестом стержней на 20 диаметров.

Возведение стен из облегченной кирпичной кладки необходимо выполнять в соответствии с рабочими чертежами и следующими требованиями:

все швы наружного и внутреннего слоя стен облегченной кладки следует тщательно заполнять раствором с расшивкой фасадных швов и затиркой внутренних швов при обязательном выполнении мокрой штукатурки поверхности стен со стороны помещения;

плитный утеплитель следует укладывать с обеспечением плотного примыкания к кладке;

металлические связи, устанавливаемые в кладку, необходимо защищать от коррозии;

засыпной утеплитель или легкий бетон заполнения следует укладывать слоями с уплотнением каждого слоя по мере возведения кладки. В кладках с вертикальными поперечными кирпичными диафрагмами пустоты следует заполнять засыпкой или легким бетоном слоями на высоту не более 1,2 м;

подоконные участки наружных стен необходимо защищать от увлажнения путем устройства отливов по проекту;

в процессе производства работ в период выпадения атмосферных осадков и при перерыве в работе следует принимать меры по защите утеплителя от намокания.

Обрез кирпичного цоколя и другие выступающие части кладки после их возведения следует защищать от попадания атмосферной влаги, следуя указаниям в проекте, при отсутствии указаний в проекте - цементно-песчаным раствором марки не ниже М100 и Мрз 50.

Облицовка стен в процессе возведения кладки

Для облицовочных работ следует применять цементно-песчаные растворы на портландцементе и пуццолановых цементах. Содержание щелочей в цементе не должно превышать 0,6 %. Подвижность раствора, определяемая погружением стандартного конуса, должна быть не более 7 см, а для заполнения вертикального зазора между стеной и плиткой, в случае крепления плитки на стальных связях, - не более 8 см.

При облицовке кирпичных стен крупными бетонными плитами, выполняемой одновременно с кладкой, необходимо соблюдать следующие требования:

облицовку следует начинать с укладки в уровне междуэтажного перекрытия опорного Г-образного ряда облицовочных плит, заделываемого в кладку, затем устанавливать рядовые плоские плиты с креплением их к стене;

при толщине облицовочных плит более 40 мм облицовочный ряд должен ставиться раньше, чем выполняется кладка, на высоту ряда облицовки;

при толщине плит менее 40 мм необходимо сначала выполнять кладку на высоту ряда плиты, затем устанавливать облицовочную плиту;

установка тонких плит до возведения кладки стены разрешается только в случае установки креплений, удерживающих плиты;

не допускается установка облицовочных плит любой толщины выше кладки стены более чем на два ряда плит.

Облицовочные плиты необходимо устанавливать с растворными швами по контуру плит или вплотную друг к другу. В последнем случае стыкуемые грани плит должны быть прошлифованы.

Возведение стен с одновременной их облицовкой, жестко связанной со стеной (лицевым кирпичом и камнем, плитами из силикатного и тяжелого бетона), при отрицательных температурах следует, как правило, выполнять на растворе с противоморозной добавкой нитрита натрия. Кладку с облицовкой лицевым керамическим и силикатным кирпичом и камнем можно производить методом замораживания по указаниям подраздела «Возведение каменных конструкций в зимних условиях». При этом марка раствора для кладки и облицовки должна быть не ниже М50.

Особенности кладки арок и сводов

Кладку арок (в том числе арочных перемычек в стенах) и сводов необходимо выполнять из кирпича или камней правильной формы на цементном или смешанном растворе.

Для кладки арок, сводов и их пят следует применять растворы на портландцементе. Применение шлакопортландцемента и пуццоланового портландцемента, а также других видов цементов, медленно твердеющих при пониженных положительных температурах, не допускается.

Кладку арок и сводов следует выполнять по проекту, содержащему рабочие чертежи опалубки для кладки сводов двоякой кривизны.

Отклонения размеров опалубки сводов двоякой кривизны от проектных не должны превышать: по стреле подъема в любой точке свода 1/200 подъема, по смещению опалубки от вертикальной плоскости в среднем сечении 1/200 стрелы подъема свода, по ширине волны свода - 10 мм.

Кладку волн сводов двоякой кривизны необходимо выполнять по устанавливаемым на опалубке передвижным шаблонам.

Кладку арок и сводов следует производить от пят к замку одновременно с обеих сторон. Швы кладки необходимо полностью заполнять раствором. Верхнюю поверхность сводов двоякой кривизны толщиной в 1/4 кирпича в процессе кладки следует затирать раствором. При большей толщине сводов из кирпича или камней швы кладки необходимо дополнительно заливать жидким раствором, при этом затирка раствором верхней поверхности сводов не производится.

Кладку сводов двоякой кривизны следует начинать не ранее чем через 7 сут после окончания устройства их пят при температуре наружного воздуха выше 10 °С. При температуре воздуха от 10 до 5 °С этот срок увеличивается в 1,5 раза, от 5 до 1 °С - в 2 раза.

Кладку сводов с затяжками, в пятах которых установлены сборные железобетонные элементы или стальные каркасы, допускается начинать сразу после окончания устройства пят.

Грани примыкания смежных волн сводов двоякой кривизны выдерживаются на опалубке не менее 12 ч при температуре наружного воздуха выше 10° С. При более низких положительных температурах продолжительность выдерживания сводов на опалубке увеличивается в соответствии с вышеизложенными указаниями.

Загрузка распалубленных арок и сводов при температуре воздуха выше 10° С допускается не ранее чем через 7 сут после окончания кладки. При более низких положительных температурах сроки выдерживания увеличиваются согласно вышеизложенным указаниям.

Утеплитель по сводам следует укладывать симметрично от опор к замку, не допуская односторонней нагрузки сводов.

Натяжение затяжек в арках и сводах следует производить сразу после окончания кладки.

Возведение арок, сводов и их пят в зимних условиях допускается при среднесуточной температуре не ниже минус 15 °С на растворах с противоморозными добавками (подраздел «Возведение каменных конструкций в зимних условиях»). Волны сводов, возведенные при отрицательной температуре, выдерживаются в опалубке не менее 3 сут.

Кладка из бутового камня и бутобетона

Каменные конструкции из бута и бутобетона допускается возводить с применением бутового камня неправильной формы, за исключением внешних сторон кладки, для которых следует применять постелистый камень.

Бутовую кладку следует выполнять горизонтальными рядами высотой до 25 см с околом камня лицевой стороны кладки, расщебенкой и заполнением раствором пустот, а также перевязкой швов.

Бутовая кладка с заливкой литым раствором швов между камнями допускается только для конструкций в зданиях высотой до 10 м, возводимых в непросадочных грунтах.

При выполнении облицовки бутовой кладки кирпичом или камнем правильной формы одновременно с кладкой облицовку следует перевязывать с кладкой тычковым рядом через каждые 4 - 6 ложковых рядов, но не более чем через 0,6 м. Горизонтальные швы бутовой кладки должны совпадать с перевязочными тычковыми рядами облицовки.

Перерывы в кладке из бутового камня допускаются после заполнения раствором промежутков между камнями верхнего ряда. Возобновление работ необходимо начинать с расстилки раствора по поверхности камней верхнего ряда.

Конструкции из бутобетона необходимо возводить с соблюдением следующих правил:

укладку бетонной смеси следует производить горизонтальными слоями высотой не более 0,25 м;

размер камней, втапливаемых в бетон, не должен превышать 1/3 толщины возводимой конструкции;

втапливание камней в бетон следует производить непосредственно за укладкой бетона в процессе его уплотнения;

возведение бутобетонных фундаментов в траншеях с отвесными стенами допускается выполнять без опалубки враспор;

перерывы в работе допускаются лишь после укладки ряда камней в последний (верхний) слой бетонной смеси; возобновление работы после перерыва начинается с укладки бетонной смеси.

За конструкциями из бута и бутобетона, возводимыми в сухую и жаркую погоду, следует организовать уход как за монолитными бетонными конструкциями.

Дополнительные требования к производству работ в сейсмических районах

Несущие кирпичные и каменные стены должны возводиться, как правило, из кирпичной или каменной кладки на растворах со специальными добавками, повышающими сцепление раствора с кирпичом или камнем.

При расчетной сейсмичности 7 баллов допускается возведение несущих стен зданий из кладки на растворах с пластификаторами без применения специальных добавок, повышающих сцепление раствора с кирпичом или камнем.

Выполнение кирпичной и каменной кладки вручную при отрицательной температуре для несущих и самонесущих стен (в том числе усиленных армированием или железобетонными включениями) при расчетной сейсмичности 9 и более баллов запрещается.

При расчетной сейсмичности 8 и менее баллов допускается выполнение зимней кладки вручную с обязательным включением в раствор добавок, обеспечивающих твердение раствора при отрицательных температурах.

Для кладки несущих и самонесущих стен или заполнения каркаса следует применять следующие изделия и материалы:

а) кирпич полнотелый или пустотный марки не ниже 75 с отверстиями размером до 14 мм; при расчетной сейсмичности 7 баллов допускается применение керамических камней марки не ниже 75;

б) бетонные камни, сплошные и пустотелые блоки (в том числе из легкого бетона плотностью не менее 1200 кг/м3) марки 50 и выше;

в) камни или блоки из ракушечников, известняков марки не менее 35 или туфов (кроме фельзитового) марки 50 и выше.

Штучная кладка стен должна выполняться на смешанных цементных растворах марки не ниже 25 в летних условиях и не ниже 50 - в зимних. Для кладки блоков и панелей следует применять раствор марки не ниже 50.

Кирпичные столбы допускаются только при расчетной сейсмичности 7 баллов. При этом марка раствора должна быть не ниже 50, а высота столбов - не более 4 м.

Кладку из кирпича и керамических щелевых камней необходимо выполнять с соблюдением следующих требований:

кладку каменных конструкций следует производить на всю толщину конструкции в каждом ряду;

кладка стен должна выполняться с применением однорядной (цепной) перевязки;

горизонтальные, вертикальные, поперечные и продольные швы кладки следует заполнять раствором полностью с подрезкой раствора на наружных сторонах кладки;

временные (монтажные) разрывы в возводимой кладке следует оканчивать только наклонной штрабой и располагать вне мест конструктивного армирования стен.

Не допускается применение кирпича и керамических камней с большим содержанием солей, выступающих на их поверхностях.

Поверхность кирпича, камня и блоков перед укладкой необходимо очищать от пыли и грязи:

для кладки на обычных растворах в районах с жарким климатом - струей воды;

для кладки на полимерцементных растворах - с помощью щеток или сжатым воздухом.

При отрицательных температурах наружного воздуха монтаж крупных блоков следует производить на растворах с противоморозными добавками. При этом необходимо соблюдать следующие требования:

- до начала кладочных работ следует определять оптимальное соотношение между величиной предварительного увлажнения стенового материала и водосодержанием растворной смеси;

- обычные растворы необходимо применять с высокой водоудерживающей способностью (водоотделение не более 2 %).

Для приготовления растворов, как правило, следует применять портландцемент. Использование для полимерцементных растворов шлакопортландцемента и пуццоланового портландцемента не допускается.

Для приготовления растворов следует применять песок, удовлетворяющий требованиям ГОСТ 8736-93*. Другие виды мелких заполнителей можно использовать после проведения исследований прочностных и деформативных свойств растворов на их основе, а также прочности сцепления с материалами кладки. В полимерцементных растворах нельзя применять пески с повышенным содержанием мелкозернистых глинистых и пылеватых частиц.

При выполнении кладки на полимерцементных растворах кирпич перед укладкой, а также кладку в период набора прочности увлажнять не следует.

Контроль прочности нормального сцепления раствора при ручной кладке следует производить в возрасте 7 сут. Величина сцепления должна составлять примерно 50 % прочности в 28-дневном возрасте. При несоответствии прочности сцепления в каменной кладке проектной величине необходимо прекратить производство работ до решения вопроса проектной организацией.

При возведении зданий не допускается загрязнение раствором и строительным мусором ниш и разрывов в стенах, промежутков между плитами перекрытий и других мест, предназначенных для железобетонных включений, поясов и обвязок, а также расположенной в них арматуры.

Запрещается уменьшать ширину антисейсмических швов, указанную в проекте.

Антисейсмические швы необходимо освобождать от опалубки и строительного мусора. Запрещается заделывать антисейсмические швы кирпичом, раствором, пиломатериалами и др. При необходимости антисейсмические швы можно закрывать фартуками или заклеивать гибкими материалами.

При установке перемычечных и обвязочных блоков следует обеспечить возможность свободного пропуска вертикальной арматуры через предусмотренные проектом отверстия в перемычечных блоках.

Возведение каменных конструкций в зимних условиях

Выполнение зимней кладки из кирпича, камней правильной формы и крупных блоков следует предусматривать одним из следующих способов:

а) на растворах не ниже марки 50 с противоморозными химическими добавками, не вызывающими коррозии материалов кладки (поташ, нитрит натрия, смешанные добавки), твердеющих на морозе без обогрева;

б) способом замораживания на обыкновенных растворах не ниже марки 10 без химических добавок. При этом элементы конструкций должны иметь достаточную прочность и устойчивость как в период их первого оттаивания (при наименьшей прочности свежеоттаявшего раствора), так и в последующий период эксплуатации зданий. Высота каменных конструкций, возводимых способом замораживания, не должна превышать 15 м. Допускается выполнение способом замораживания фундаментов малоэтажных зданий (до трех этажей включительно) из постелистого камня, укладываемого «враспор» со стенками траншей на растворах марки не ниже 25;

в) способом замораживания на обыкновенных растворах не ниже марки 50 без химических добавок с обогревом возводимых конструкций в течение времени, за которое кладка достигает несущей способности, достаточной для нагружения вышележащими конструкциями зданий.

В проектах каменных зданий, возводимых в зимних условиях, должны быть указаны:

- марка кирпича и раствора, а также указания по армированию;

- величины минимальной требуемой прочности раствора швов при различной стадии готовности здания;

- предельные высоты конструкций, которые могут быть допущены в период оттаивания;

- конструкции временных креплений, если они требуются по расчету на период оттаивания.

В проектах каменных зданий, возводимых в зимних условиях на обыкновенных (без противоморозных добавок) растворах, должна быть указана предельно допустимая высота здания. Прочность оттаявшего раствора принимается равной 0 или 0,2 МПа.

Кладку каменных конструкций в зимних условиях следует выполнять на цементных, цементно-известковых и цементно-глиняных растворах.

Состав строительного раствора заданной марки (обыкновенного и с противоморозными добавками) для зимних работ, подвижность раствора и сроки сохранения подвижности устанавливает предварительно строительная лаборатория в соответствии с требованиями действующих нормативных документов и корректирует с учетом применяемых материалов.

Для зимней кладки следует применять растворы подвижностью: 9 ÷ 13 см - для кладки из обычного кирпича и 7 ÷ 8 см - для кладки из кирпича с пустотами и из природного камня.

Каменная кладка в зимнее время может осуществляться с использованием всех применяемых в летнее время систем перевязок. При выполнении кладки на растворах без противоморозных добавок следует выполнять однорядную перевязку.

При многорядной системе перевязки вертикальные продольные швы перевязывают не реже чем через каждые три ряда при кладке из кирпича и через два ряда при кладке из керамического и силикатного камня толщиной 138 мм. Кирпич и камень следует укладывать с полным заполнением вертикальных и горизонтальных швов.

Возведение стен и столбов по периметру здания или в пределах между осадочными швами следует выполнять равномерно, не допуская разрывов по высоте более чем на 1/2 этажа.

При кладке глухих участков стен и углов разрывы допускаются высотой не более 1/2 этажа и выполняются штрабой.

Не допускается при перерывах в работе укладывать раствор на верхний ряд кладки. Для предохранения от обледенения и заноса снегом на время перерыва в работе верх кладки следует накрывать.

Применяемый в кладочных растворах песок не должен содержать льда и мерзлых комьев размером более 1 см, известковое и глиняное тесто должно иметь температуру не ниже 5 °С и не должно подвергаться замораживанию.

Конструкции из кирпича, камней правильной формы и крупных блоков в зимних условиях допускается возводить следующими способами:

с противоморозными добавками на растворах не ниже марки М50;

на обыкновенных без противоморозных добавок растворах с последующим своевременным упрочнением кладки прогревом;

способом замораживания на обыкновенных (без противоморозных добавок) растворах не ниже марки 10 при условии обеспечения достаточной несущей способности конструкций в период оттаивания (при нулевой прочности раствора).

Кладка с противоморозными добавками

При приготовлении растворов с противоморозными добавками следует руководствоваться ГОСТ 28013-98, СП 82-101-98 и справочным приложением 16 к СНиП 3.03.01-87 (приведены в СОКК «Входной контроль строительных растворов»), устанавливающими область применения и расход добавок, а также ожидаемую прочность растворов в зависимости от сроков твердения растворов на морозе.

Проектная прочность (марка) растворов с противоморозными добавками, твердеющих при отрицательных температурах должна достигаться для данного вида и количества добавок после оттаивания и твердения при температуре не ниже 20 ± 5 °С и естественной влажности воздуха в течение 28 суток.

Твердение растворов при отрицательных температурах приводит к снижению их конечной прочности, что должно учитываться при назначении марки раствора.

Конечная фактическая прочность раствора в конструкциях должна быть подтверждена результатами испытаний контрольных образцов.

При возведении зданий в зимних условиях на растворах с противоморозными добавками должен периодически проводиться контроль фактической прочности, накопленной раствором за период твердения. Результаты контроля должны подтверждать наличие требуемой проектом минимальной прочности раствора.

В случаях, когда по результатам испытаний прочность раствора окажется ниже требуемой для данной стадии готовности здания, строительные работы должны быть прекращены до набора им требуемой прочности.

При возведении зданий на растворах с противоморозными добавками в проекте производства работ должны указываться: марка раствора, наименование и количество противоморозных добавок с учетом вида возводимых конструкций и условий их последующей эксплуатации.

График производства работ по возведению здания должен быть увязан со скоростью набора раствором необратимой прочности.

Для обеспечения надежности конструкций при любой стадии готовности здания рост прочности раствора в швах каменных зданий должен опережать приращение напряжений от возрастающей нагрузки.

Марки растворов с противоморозными добавками назначаются:

равными проектным (летним) маркам раствора, если каменная кладка будет выполняться при среднесуточной температуре воздуха не ниже минус 20 °С;

на одну марку выше проектных, если каменная кладка будет выполняться при среднесуточной температуре воздуха ниже минус 20 °С.

Не требуется повышать марки растворов в конструкциях, работающих с неполным использованием расчетной несущей способности, например, в верхних этажах зданий при соответствующем обосновании расчетом. В случае необходимости повышения несущей способности отдельных каменных конструкций, выполняемых в зимних условиях, допускается взамен повышения марки раствора применять кирпич повышенной марки или армирование при соответствующем обосновании.

Мероприятия, обеспечивающие необходимую конечную прочность конструкций, возводимых в зимних условиях (повышение марок раствора, применение кирпича и камней повышенной прочности или в отдельных случаях применение сетчатого армирования), должны указываться в рабочих чертежах. При кладке, выполняемой на растворах с химическими добавками, указанные мероприятия применяются для элементов кладки, несущая способность которых используется более чем на 90 %, при кладке, выполняемой способом замораживания, - для элементов, несущая способность которых используется более чем на 70 %.

Кладка на растворах без противоморозных добавок с последующим упрочнением конструкций прогревом

При возведении зданий на растворах без противоморозных добавок с последующим упрочнением конструкций искусственным обогревом порядок производства работ следует предусматривать в рабочих чертежах.

Кладку способом прогрева конструкций необходимо выполнять с соблюдением следующих требований:

утепленная часть сооружения должна оборудоваться вентиляцией, обеспечивающей влажность воздуха в период прогрева не более 70 %;

нагружение прогретой кладки допускается только после контрольных испытаний и установления требуемой прочности раствора отогретой кладки;

температура внутри прогреваемой части здания в наиболее охлажденных местах - у наружных стен на высоте 0,5 м от пола - должна быть не ниже 10 °С.

Глубина оттаивания кладки в конструкциях при обогреве их теплым воздухом с одной стороны, продолжительность оттаивания кладки с начальной температурой минус 5 °С при двухстороннем отогревании, при обогреве с четырех сторон (столбов) принимаются по нижеследующим таблицам.

ПРОДОЛЖИТЕЛЬНОСТЬ ОТТАИВАНИЯ КЛАДКИ С НАЧАЛЬНОЙ ТЕМПЕРАТУРОЙ МИНУС 5 °С ПРИ ДВУХСТОРОННЕМ ОТОГРЕВАНИИ

Характеристика кладки

Температура обогревающего воздуха, °С

Продолжительность, сут, оттаивания кладки при толщине стен в кирпичах

1,5

2

2,5

Из красного кирпича на растворе:

 

 

 

 

тяжелом

15

1,5

2,5

4

25

1

1,5

2,5

легком

15

2,5

4

6

25

2

3

4

Из силикатного кирпича на растворе:

 

 

 

 

тяжелом

15

2

3,5

5

25

1,5

2

3

легком

15

3,5

4,5

6,5

25

2,5

3

4

При обогреве с четырех сторон (столбов) данные вышеприведенной таблицы необходимо уменьшать в 1,5 раза.

Прочность растворов, твердеющих при различных температурах, приведена в СОКК «Входной контроль строительных растворов».

ГЛУБИНА ОТТАИВАНИЯ КЛАДКИ В КОНСТРУКЦИЯХ ПРИ ОБОГРЕВЕ ИХ ТЕПЛЫМ ВОЗДУХОМ С ОДНОЙ СТОРОНЫ

Расчетная температура воздуха, °С

Толщина стен в кирпичах

2

2,5

3

Глубина оттаивания при длительности отогрева, сут

наружного

внутреннего

5

10

15

5

10

15

5

10

15

-5

15

50

40

60

60

70

60

45

45

60

55

60

70

40

30

50

45

55

50

-5

25

70

50

80

70

80

80

55

45

70

60

75

70

50

40

65

55

75

65

-15

25

50

40

50

50

50

50

40

30

45

40

55

45

40

30

45

45

50

45

-15

35

60

60

60

60

60

60

55

45

60

55

60

55

45

30

60

45

60

45

-25

35

45

40

50

40

50

40

45

40

50

40

50

45

40

30

45

40

45

45

-25

50

55

50

60

50

60

50

55

45

60

55

60

55

50

45

50

50

50

50

-35

50

40

30

40

30

40

30

40

30

40

30

40

30

40

25

40

30

40

30

-35

50

50

40

50

40

50

40

45

40

45

45

45

45

40

40

45

45

45

45

Примечания: 1. Над чертой - глубина оттаивания кладки (% толщины стены) из сухого керамического кирпича, под чертой - то же, из силикатного или влажного керамического кирпича.

2. При определении глубины оттаивания мерзлой кладки стен, отогреваемых с одной стороны, расчетная величина весовой влажности кладки принята: 6 % - для кладки из сухого керамического кирпича, 10 % - для кладки из силикатного или керамического влажного (осенней заготовки) кирпича.

Кладка способом замораживания

Способом замораживания на обыкновенных (без противоморозных добавок) растворах в течение зимнего периода разрешается, при соответствующем обосновании расчетом, возводить здания высотой не более четырех этажей и не выше 15 м.

Требования к кладке, выполненной способом замораживания, распространяются также на конструкции из кирпичных блоков, выполненных из керамического кирпича положительной температуры, замороженных до набора кладкой блоков отпускной прочности и неотогретых до их нагружения. Предел прочности при сжатии кладки из таких блоков в стадии оттаивания определяется из расчета прочности раствора, равной 0,5 МПа.

Не допускается выполнение способом замораживания бутовой кладки из рваного бута.

При кладке способом замораживания растворов (без противоморозных добавок) необходимо соблюдать следующие требования:

температура раствора в момент его укладки должна соответствовать температуре, указанной в нижеследующей таблице;

Среднесуточная температура наружного воздуха, °С

Положительная температура раствора, °С, на рабочем месте для кладки

из кирпича и камней правильной формы

из крупных блоков

при скорости ветра, м/с

до 6

св. 6

до 6

св. 6

До минус 10

5

10

10

15

От минус 11 до минус 20

10

15

10

20

Ниже минус 20

15

20

20

25

Примечание. Для получения необходимой температуры раствора может применяться подогретая (до 80 °С) вода, а также подогретый песок (не выше 60 °С).

выполнение работы следует осуществлять одновременно по всей захватке;

во избежание замерзания раствора его следует укладывать не более чем на два смежных кирпича при выполнении версты и не более чем на 6 - 8 кирпичей при выполнении забутовки;

на рабочем месте каменщика допускается запас раствора не более чем на 30 - 40 мин. Ящик для раствора необходимо утеплять или подогревать.

Использование замерзшего или отогретого горячей водой раствора не допускается.

При расчете несущей способности конструкций, возводимых способом замораживания на обыкновенных (без противоморозных добавок) растворах, должны производиться:

основной расчет для законченного здания по истечении 28 сут после оттаивания и твердения при температуре не ниже 20 ± 5 °С и естественной влажности воздуха;

дополнительная проверка несущей способности конструкций на период оттаивания. Расчетная прочность раствора в этом случае принимается равной 0,2 МПа (2 кгс/см2) при растворе на портландцементе и толщине стен и столбов 38 см и более. При применении шлакопортландцемента, пуццолановых портландцементов или толщине стен и столбов менее 38 см расчетная прочность раствора принимается равной нулю.

Перед наступлением оттепели до начала оттаивания кладки следует выполнять по всем этажам здания все предусмотренные проектом производства работ мероприятия по разгрузке, временному креплению или усилению перенапряженных ее участков (столбов, простенков, опор, ферм и прогонов и т.п.). С перекрытий необходимо удалять случайные, не предусмотренные проектом нагрузки (строительный мусор, строительные материалы).

Контроль качества работ в зимних условиях

Контроль качества работ по возведению каменных зданий в зимних условиях следует осуществлять на всех этапах строительства.

В журнале производства работ помимо обычных записей о составе выполняемых работ следует фиксировать: температуру наружного воздуха, количество добавки в растворе, температуру раствора в момент укладки и другие данные, влияющие на процесс твердения раствора.

Возведение здания может производиться без проверки фактической прочности раствора в кладке до тех пор, пока возведенная часть здания по расчету не вызывает перегрузки нижележащих конструкций в период оттаивания. Дальнейшее возведение здания разрешается производить только после того, как раствор приобретет прочность (подтвержденную данными лабораторных испытаний) не ниже требуемой по расчету, указанной в рабочих чертежах для возведения здания в зимних условиях.

Для проведения последующего контроля прочности раствора с противоморозными добавками необходимо при возведении конструкций изготавливать образцы-кубы размером 7,07 ´ 7,07 ´ 7,07 см на отсасывающем воду основании непосредственно на объекте.

При возведении одно-двухсекционных домов число контрольных образцов на каждом этаже (за исключением трех верхних) должно быть не менее 12. При числе секций более двух должно быть не менее 12 контрольных образцов на каждые две секции.

Образцы, не менее трех, испытывают после 3-часового оттаивания при температуре не ниже 20 ± 5 °С.

Контрольные образцы-кубы следует испытывать в сроки, необходимые для поэтажного контроля прочности раствора при возведении конструкций.

Образцы следует хранить в тех же условиях, что и возводимая конструкция, и предохранять от попадания на них воды и снега.

Для определения конечной прочности раствора три контрольных образца необходимо испытывать после их оттаивания в естественных условиях и последующего 28-суточного твердения при температуре наружного воздуха не ниже 20 ± 5 °С.

В дополнение к испытаниям кубов, а также в случае их отсутствия разрешается определять прочность раствора испытанием образцов с ребром 3 - 4 см, изготовленных из двух пластинок раствора, отобранных из горизонтальных швов.

При возведении зданий способом замораживания на обыкновенных (без противоморозных добавок) растворах с последующим упрочением кладки искусственным прогревом необходимо осуществлять постоянный контроль за температурными условиями твердения раствора с фиксацией их в журнале. Температура воздуха в помещениях при обогреве замеряется регулярно, не реже трех раз в сутки: в 1, 9 и 17 ч. Контроль температуры воздуха следует производить не менее чем в 5 - 6 точках вблизи наружных стен обогреваемого этажа на расстоянии 0,5 м от пола.

Среднесуточная температура воздуха в обогреваемом этаже определяется как среднее арифметическое из частных замеров.

Перед приближением весны и в период длительных оттепелей необходимо усилить контроль за состоянием всех несущих конструкций зданий, возведенных в осенне-зимний период, независимо от их этажности и разработать мероприятия по удалению дополнительных нагрузок, устройству временных креплений и определению условий для дальнейшего продолжения строительных работ.

Во время естественного оттаивания, а также искусственного прогрева конструкций следует организовывать постоянные наблюдения за величиной и равномерностью осадок стен, развитием деформаций наиболее напряженных участков кладки, твердением раствора.

Наблюдение необходимо вести в течение всего периода твердения до набора раствором проектной (или близкой к ней) прочности.

В случае обнаружения признаков перенапряжения кладки в виде деформации, трещин или отклонений от вертикали следует принимать срочные меры по временному или постоянному усилению конструкций.

Усиление каменных конструкций реконструируемых и поврежденных зданий

Производство работ по усилению каменных конструкций реконструируемых и поврежденных зданий производится в соответствии с рабочими чертежами и проектом производства работ.

Перед усилением каменных конструкций следует подготовить поверхность: произвести визуальный осмотр и простукивание кладки молотком, очистить поверхность кладки от грязи и старой штукатурки, удалить частично разрушенную (размороженную) кладку.

Усиление каменных конструкций методом инъекций в зависимости от степени повреждений или требуемого повышения несущей способности конструкций следует выполнять на цементно-песчаных, беспесчаных или цементно-полимерных растворах. Для цементных и цементно-полимерных растворов необходимо применять портландцемент марки М400 или М500 с тонкостью помола не менее 2400 см2/г. Цементное тесто должно быть нормальной густоты в пределах 20 - 25 %.

При изготовлении инъекционного раствора необходимо производить контроль его вязкости и водоотделения. Вязкость определяют вискозиметром ВЗ-4. Она должна быть для цементных растворов 13 - 17 с, для эпоксидных - 3 - 4 мин. Водоотделение, определяемое выдержкой раствора в течение 3 ч, не должно превышать 5 % общего объема пробы растворной смеси.

При усилении каменных конструкций стальными обоймами (уголками с хомутами) установку металлических уголков следует выполнять одним из следующих способов:

первый - на усиляемый элемент в местах установки уголков обоймы наносят слой цементного раствора марки не ниже М100. Затем устанавливают уголки с хомутами и создают в хомутах предварительное натяжение усилием 10 - 15 кН;

второй - уголки устанавливают без раствора с зазором 15 - 20 мм, зафиксированным стальными или деревянными клиньями, создают в хомутах натяжение усилием 10 - 15 кН. Зазор зачеканивают жестким раствором, удаляют клинья и производят полное натяжение хомутов до 30 - 40 кН.

При обоих способах установки металлических обойм создают полное натяжение хомутов через 3 сут после их натяжения.

Усиление каменных конструкций железобетонными или армированными растворными обоймами следует выполнять с соблюдением следующих требований:

армирование выполнять связанными каркасами. Каркасы усиления должны фиксироваться в проектном положении при помощи скоб или крюков, забиваемых в швы кладки с шагом 0,8 - 1,0 м в шахматном порядке. Не допускается соединять плоские каркасы в пространственные точечной сваркой вручную;

для опалубки следует применять разборно-переставную опалубку, щиты опалубки должны быть соединены жестко между собой и обеспечивать плотность и неизменяемость конструкции в целом;

бетонную смесь укладывать ровными слоями и уплотнять вибратором, не допуская повреждения монолитности усиливаемого участка кладки;

бетонная смесь должна иметь осадку конуса 5 - 6 см, фракция щебня - не более 20 мм;

распалубку обойм производить после достижения бетоном 50 % проектной прочности.

При усилении каменных стен стальными полосами при наличии штукатурного слоя необходимо выполнить в нем горизонтальные штрабы глубиной, равной толщине штукатурного слоя, и шириной, равной ширине металлической полосы 20 мм.

При усилении каменных стен внутренними анкерами необходимо отверстия в стене под анкера инъекцировать раствором.

Основные скважины под анкера следует располагать в шахматном порядке с шагом 50 - 100 см при ширине раскрытия трещин 0,3 - 1 мм и 100 - 200 см при раскрытии трещин 3 мм и более. В местах концентрации мелких трещин следует располагать дополнительные скважины.

Скважины необходимо сверлить на глубину 10 - 30 см, но не более 1/2 толщины стены.

При усилении каменных стен стальными предварительно напряженными тяжами точное усилие натяжения тяжей следует контролировать при помощи динамометрического ключа или измерением деформаций индикатором часового типа с ценой деления 0,001 мм.

При установке тяжей в зимнее время в неотапливаемых помещениях необходимо летом подтянуть тяжи с учетом перепада температур.

Замену простенков и столбов новой кладкой следует начинать с постановки временных креплений и демонтажа оконных заполнений в соответствии с рабочими чертежами и проектом производства работ. Новую кладку простенка необходимо выполнять тщательно, с плотным осаживанием кирпича для получения тонкого шва.

Новую кладку следует не доводить до старой на 3 - 4 см. Зазор должен тщательно зачеканиваться жестким раствором марки не ниже 100. Временное крепление допускается снимать после достижения новой кладкой не менее 70 % проектной прочности.

При усилении каменной кладки контролю подлежат:

качество подготовки поверхности каменной кладки;

соответствие конструкций усиления проекту;

качество сварки крепежных деталей после напряжения элементов конструкций;

наличие и качество антикоррозионной защиты конструкций усиления.

Приемка каменных конструкций

Приемку выполненных работ по возведению каменных конструкций необходимо производить до оштукатуривания их поверхностей.

Элементы каменных конструкций, скрытых в процессе производства строительно-монтажных работ, в том числе:

места опирания ферм, прогонов, балок, плит перекрытий на стены, столбы и пилястры и их заделка в кладке;

закрепление в кладке сборных железобетонных изделий: карнизов, балконов и других консольных конструкций;

закладные детали и их антикоррозионная защита;

уложенная в каменные конструкции арматура;

осадочные деформационные швы, антисейсмические швы;

гидропароизоляция кладки, -

следует принимать по документам, удостоверяющим их соответствие проекту и нормативно-технической документации.

При приемке законченных работ по возведению каменных конструкций необходимо проверять:

правильность перевязки швов, их толщину и заполнение, а также горизонтальность рядов и вертикальность углов кладки;

правильность устройства деформационных швов;

правильность устройства дымовых и вентиляционных каналов в стенах;

качество поверхностей фасадных неоштукатуриваемых стен из кирпича;

качество фасадных поверхностей, облицованных керамическими, бетонными и другими видами камней и плит;

геометрические размеры и положение конструкций.

При приемке каменных конструкций, выполняемых в сейсмических районах, дополнительно контролируется устройство:

армированного пояса в уровне верха фундаментов;

поэтажных антисейсмических поясов;

крепления тонких стен и перегородок к капитальным стенам, каркасу и перекрытиям;

усиления каменных стен включениями в кладку монолитных и сборных железобетонных элементов;

анкеровки элементов, выступающих выше чердачного перекрытия, а также прочность сцепления раствора со стеновым каменным материалом.

Горизонтальность рядов кладки контролируют порядовками, размеченными по толщине кирпича и растворного шва. Между порядовками натягивают шнур, который показывает линию кладки.

Отклонения рядов кладки от горизонтали на 10 м длины стены при исполнительной съемке определяют геометрическим нивелированием.

Вертикальность кладки стен в пределах двух этажей рекомендуется проверять отвесом, а для более высоких стен следует применять прибор-отвес на блоке. От нити отвеса перпендикулярными измерениями следует определять расстояние до стены. Измерения следует выполнять линейкой в наиболее характерных точках стены или через равные промежутки. Постоянство расстояний от нити отвеса до соответствующих частей стены здания будет указывать на вертикальность плоскости стены. Вертикальность поверхностей и углов кладки, горизонтальность ее рядов следует проверять через 0,5 - 0,6 м с устранением обнаруженных отклонений в пределах яруса.

По окончании кладки каждого этажа следует производить инструментальную проверку горизонтальности и отметок верха кладки независимо от промежуточных проверок горизонтальности ее рядов.

Толщину возводимых стен при возведении здания, сооружения в кирпичном исполнении проверяют шаблоном-рейкой с вырезом на толщину стены или линейными измерениями.

Контроль планового положения кладки стен следует осуществлять линейными измерениями от продольных и поперечных разбивочных осей здания (сооружения).

При исполнительной съемке каменных конструкций регистрируют в журнале работ отклонения размеров (толщин) конструкций, ширины простенков и проемов, отметок опорных поверхностей, смещений вертикальных осей оконных проемов от вертикали, отклонения толщины горизонтальных и вертикальных швов кладки, неровности на вертикальной поверхности кладки, обнаруженные при накладывании рейки длиной 2 м, отклонения размеров сечения вентиляционных каналов.

Контролируемые в процессе производства работ по возведению зданий геометрические параметры зданий (сооружений), методы геодезического контроля, порядок и объем его проведения должны быть установлены проектом производства геодезических работ (ППГР) или проектом производства работ (ППР).

Перечень ответственных конструкций и частей зданий (сооружений), подлежащих исполнительной геодезической съемке при выполнении приемочного контроля, должен быть определен проектной организацией.

До начала съемки должна быть проверена неизменность положения знаков исходной геодезической основы.

На геодезических исполнительных схемах показывают смещение осей конструкций от разбивочных осей, отклонения поверхностей и углов кладки от вертикали, отклонения рядов кладки от горизонтали на 10 м длины стены.


Предельные отклонения толщины швов кладки из кирпича: горизонтальных .... -2; +3; вертикальных .... -2 ; +2


Отклонения в размерах и положении каменных конструкций от проектных не должны превышать указанных в нижеследующей таблице.

Проверяемые конструкции (детали)

Предельные отклонения, мм

Контроль (метод, вид регистрации)

стен

столбов

фундамента

стен

столбов

из кирпича, керамических и природных камней правильной формы, из крупных блоков

из бута и бутобетона

Толщина конструкций

±15

±10

±30

±20

±20

Измерительный, журнал работ

Отметки опорных поверхностей

-10

-10

-25

-15

-15

То же

Ширина простенков

-15

-

-

-20

-

То же

Ширина проемов

+15

-

-

+20

-

То же

Смещение вертикальных осей оконных проемов от вертикали

20

-

-

20

-

То же

Размеры сечения вентиляционных каналов

±5

-

-

-

-

То же

Смещение осей конструкций от разбивочных осей

10 (10)

10

20

15

10

Измерительный, геодезическая исполнительная схема

Отклонения поверхностей и углов кладки от вертикали:

 

 

 

 

 

Измерительный, геодзическая исполнительная схема

на один этаж

10 (5)

10

-

20

15

на здание высотой более двух этажей

30 (30)

30

30

30

30

Толщина швов кладки:

 

 

 

 

 

Измерительный, журнал работ

горизонтальных

-2; +3

-2; +3

-

-

-

вертикальных

-2; +2

-2; +2

-

-

-

Отклонения рядов кладки от горизонтали на 10 м длины стены

15 (15)

-

30

20

-

Технический осмотр, геодезическая исполнительная схема

Неровности на вертикальной поверхности кладки, обнаруженные при накладывании рейки длиной 2 м

10

5

-

15

15

Технический осмотр, журнал работ

Примечание. В скобках приведены размеры допускаемых отклонений для конструкций из вибрированных кирпичных, керамических и каменных блоков и панелей.

Узлы кладки стен по серии 2.130-1 выпуск 28

Узлы кладки стен толщиной 380 мм цепной и многорядной перевязки из кирпича толщиной 65 мм

УЗЛЫ КЛАДКИ СТЕН ТОЛЩИНОЙ 380 мм ЦЕПНОЙ ПЕРЕВЯЗКИ ИЗ КИРПИЧА ТОЛЩИНОЙ 65 мм


УЗЛЫ КЛАДКИ СТЕН ТОЛЩИНОЙ 380 мм МНОГОРЯДНОЙ ПЕРЕВЯЗКИ ИЗ КИРПИЧА ТОЛЩИНОЙ 65 мм

Узлы кладки стен толщиной 510 мм цепной и многорядной перевязки из кирпича толщиной 65 мм

УЗЛЫ КЛАДКИ СТЕН ТОЛЩИНОЙ 510 мм ЦЕПНОЙ ПЕРЕВЯЗКИ ИЗ КИРПИЧА ТОЛЩИНОЙ 65 мм

УЗЛЫ КЛАДКИ СТЕН ТОЛЩИНОЙ 510 мм МНОГОРЯДНОЙ ПЕРЕВЯЗКИ ИЗ КИРПИЧА ТОЛЩИНОЙ 65 мм

Узлы кладки стен толщиной 640 мм цепной и многорядной перевязки из кирпича толщиной 65 мм

УЗЛЫ КЛАДКИ СТЕН ТОЛЩИНОЙ 640 мм ЦЕПНОЙ ПЕРЕВЯЗКИ ИЗ КИРПИЧА ТОЛЩИНОЙ 65 мм

УЗЛЫ КЛАДКИ СТЕН ТОЛЩИНОЙ 640 мм МНОГОРЯДНОЙ ПЕРЕВЯЗКИ ИЗ КИРПИЧА ТОЛЩИНОЙ 65 мм

Узлы кладки стен толщиной 380 мм из кирпича толщиной 65 мм с лицевой кладкой из керамических камней

Узел 40 Стены толщиной 380 мм из кирпича с лицевой кладкой из керамических камней. Система перевязки многорядная

Узлы сопряжения наружных и внутренних стен при цепной и многорядной перевязке

УЗЛЫ 73 ÷ 76 СОПРЯЖЕНИЯ НАРУЖНЫХ И ВНУТРЕННИХ СТЕН. СИСТЕМА ПЕРЕВЯЗКИ ЦЕПНАЯ

УЗЛЫ 79 и 80 СОПРЯЖЕНИЯ НАРУЖНЫХ И ВНУТРЕННИХ СТЕН. СИСТЕМА ПЕРЕВЯЗКИ МНОГОРЯДНАЯ

Узлы кладки столбов и узких простенков

УЗЛЫ 63 ÷ 67 КИРПИЧНЫЕ СТОЛБЫ СЕЧЕНИЕМ 380 ´ 380, 380 ´ 510, 510 ´ 510, 640 ´ 510, 640 ´ 640

Технические решения теплоэффективных кирпичных наружных стен при количестве градусо-суток отопительного периода 4000 и 8000 (фрагменты кладки)

ТЕХНИЧЕСКИЕ РЕШЕНИЯ ТЕПЛОЭФФЕКТИВНЫХ КИРПИЧНЫХ НАРУЖНЫХ СТЕН ПРИ КОЛИЧЕСТВЕ ГРАДУСО-СУТОК ОТОПИТЕЛЬНОГО ПЕРИОДА 4000

ОБЛЕГЧЕННАЯ КЛАДКА С ЖЕСТКИМИ СВЯЗЯМИ ИЗ ГЛИНЯНОГО ПУСТОТНОГО КИРПИЧА ДЛЯ ОДНОЭТАЖНЫХ ЗДАНИЙ

ФРАГМЕНТ КЛАДКИ

ОБЛЕГЧЕННАЯ КЛАДКА С ЖЕСТКИМИ СВЯЗЯМИ ИЗ ГЛИНЯНОГО СПЛОШНОГО КИРПИЧА (ИЛИ СИЛИКАТНОГО ПУСТОТНОГО) ДЛЯ ОДНОЭТАЖНЫХ ЗДАНИЙ

ФРАГМЕНТ КЛАДКИ

ОБЛЕГЧЕННАЯ КЛАДКА С ЖЕСТКИМИ СВЯЗЯМИ ИЗ СИЛИКАТНОГО СПЛОШНОГО КИРПИЧА ДЛЯ ОДНОЭТАЖНЫХ ЗДАНИЙ

ФРАГМЕНТ КЛАДКИ

ОБЛЕГЧЕННАЯ КЛАДКА С ЖЕСТКИМИ СВЯЗЯМИ ИЗ ГЛИНЯНОГО ПУСТОТНОГО КИРПИЧА ДЛЯ ЗДАНИЙ ВЫСОТОЙ ДО 4 ЭТАЖЕЙ

ФРАГМЕНТ КЛАДКИ

ОБЛЕГЧЕННАЯ КЛАДКА С ЖЕСТКИМИ СВЯЗЯМИ ИЗ ГЛИНЯНОГО СПЛОШНОГО КИРПИЧА (ИЛИ СИЛИКАТНОГО ПУСТОТНОГО) ДЛЯ ЗДАНИЙ ВЫСОТОЙ ДО 4 ЭТАЖЕЙ

ФРАГМЕНТ КЛАДКИ

ОБЛЕГЧЕННАЯ КЛАДКА С ЖЕСТКИМИ СВЯЗЯМИ ИЗ СИЛИКАТНОГО СПЛОШНОГО КИРПИЧА ДЛЯ ЗДАНИЙ ВЫСОТОЙ ДО 4 ЭТАЖЕЙ

ФРАГМЕНТ КЛАДКИ

ОБЛЕГЧЕННАЯ КЛАДКА С ГИБКИМИ СВЯЗЯМИ ИЗ ГЛИНЯНОГО ПУСТОТНОГО КИРПИЧА ДЛЯ ЗДАНИЙ ВЫСОТОЙ ДО 2 ЭТАЖЕЙ

ФРАГМЕНТ КЛАДКИ

Гибкие связи устанавливать с шагом не более 600 мм

Утеплитель

В, мм

С, мм

Пенополистирол

450

80

Минераловатная плита

520

150

Камышит, торфоплита

510

140

ОБЛЕГЧЕННАЯ КЛАДКА С ГИБКИМИ СВЯЗЯМИ ИЗ ГЛИНЯНОГО СПЛОШНОГО КИРПИЧА (ИЛИ СИЛИКАТНОГО ПУСТОТНОГО И СИЛИКАТНОГО СПЛОШНОГО) ДЛЯ ЗДАНИЙ ВЫСОТОЙ ДО 2 ЭТАЖЕЙ

ФРАГМЕНТ КЛАДКИ

Гибкие связи устанавливать с шагом не более 600 мм

Утеплитель

В, мм

С, мм

Пенополистирол

460/470*

90/100*

Минераловатная плита

540/550*

170/180*

Камышит, торфоплита

520/530*

150/160*

* - в числителе данные для силикатного пустотного и глиняного сплошного кирпича, в знаменателе - для силикатного сплошного

ТЕХНИЧЕСКИЕ РЕШЕНИЯ ТЕПЛОЭФФЕКТИВНЫХ КИРПИЧНЫХ НАРУЖНЫХ СТЕН ПРИ КОЛИЧЕСТВЕ ГРАДУСО-СУТОК ОТОПИТЕЛЬНОГО ПЕРИОДА 8000

ФРАГМЕНТ ОБЛЕГЧЕННОЙ КЛАДКИ С ЖЕСТКИМИ СВЯЗЯМИ ИЗ ГЛИНЯНОГО ПУСТОТНОГО КИРПИЧА (ГЛИНЯНОГО СПЛОШНОГО И СИЛИКАТНОГО ПУСТОТНОГО) ДЛЯ ОДНОЭТАЖНЫХ ЗДАНИЙ

Утеплитель

В, мм

С, мм

а, мм

Пенополистирол

640/640*

300/310*

100/90*

Минераловатная плита

770/770*

480/510*

50/20*

Камышит, торфоплита

770/770*

470/500*

60/30*

* - в числителе значения для глиняного пустотного кирпича, в знаменателе - для силикатного пустотного и глиняного сплошного

ФРАГМЕНТ ОБЛЕГЧЕННОЙ КЛАДКИ С ЖЕСТКИМИ СВЯЗЯМИ ИЗ СИЛИКАТНОГО СПЛОШНОГО КИРПИЧА ДЛЯ ОДНОЭТАЖНЫХ ЗДАНИЙ

Утеплитель

В, мм

С, мм

а, мм

Пенополистирол

640

320

80

Минераловатная плита

790

530

20

Камышит, торфоплита

790

520

30

ОБЛЕГЧЕННАЯ КЛАДКА С ЖЕСТКИМИ СВЯЗЯМИ ИЗ ГЛИНЯНОГО ПУСТОТНОГО КИРПИЧА ДЛЯ ЗДАНИЙ ВЫСОТОЙ ДО 4 ЭТАЖЕЙ

ФРАГМЕНТ КЛАДКИ

ОБЛЕГЧЕННАЯ КЛАДКА С ЖЕСТКИМИ СВЯЗЯМИ ИЗ ГЛИНЯНОГО СПЛОШНОГО ИЛИ СИЛИКАТНОГО ПУСТОТНОГО КИРПИЧА ДЛЯ ЗДАНИЙ ВЫСОТОЙ ДО 4 ЭТАЖЕЙ

ФРАГМЕНТ КЛАДКИ

ОБЛЕГЧЕННАЯ КЛАДКА С ЖЕСТКИМИ СВЯЗЯМИ ИЗ СИЛИКАТНОГО СПЛОШНОГО КИРПИЧА ДЛЯ ЗДАНИЙ ВЫСОТОЙ ДО 4 ЭТАЖЕЙ

ФРАГМЕНТ КЛАДКИ

Утеплитель

В, мм

С, мм

а, мм

Пенополистирол

770

310

90

Минераловатная плита

900

500

30

Камышит, торфоплита

900

490

40

ОБЛЕГЧЕННАЯ КЛАДКА С ГИБКИМИ СВЯЗЯМИ ИЗ ГЛИНЯНОГО ПУСТОТНОГО И СПЛОШНОГО КИРПИЧА И СИЛИКАТНОГО ПУСТОТНОГО И СПЛОШНОГО КИРПИЧА ДЛЯ ЗДАНИЙ ВЫСОТОЙ ДО 2 ЭТАЖЕЙ

ФРАГМЕНТ КЛАДКИ

Утеплитель

В, мм

С, мм

глиняный пустотный

силикатный пустотный и глиняный сплошной

силикатный сплошной

глиняный пустотный

силикатный пустотный и глиняный сплошной

силикатный сплошной

Пенополистирол

510

520

530

140

150

160

Минераловатная плита

630

640

650

260

270

280

Камышит, торфоплита

610

620

630

240

250

260


Монтаж многопустотных плит перекрытий с опиранием на кирпичную стену

ГОСТ 9561-91 Плиты перекрытий железобетонные многопустотные для зданий и сооружений. Технические условия.

ГОСТ 28013-98 Растворы строительные. Общие технические условия.

СНиП 3.03.01-87 Несущие и ограждающие конструкции.

СНиП II-22-81 Каменные и армокаменные конструкции.

СНиП 3.01.01-85* Организация строительного производства.

Входной контроль качества железобетонных многопустотных плит перекрытий должен осуществляться в соответствии с требованиями ГОСТ 9561-91, ГОСТ 13015.0-83*, ГОСТ 13015.3-81* и технологической документации, утвержденной в установленном порядке.

ГОСТ 9561-91 ПЛИТЫ ПЕРЕКРЫТИЙ ЖЕЛЕЗОБЕТОННЫЕ МНОГОПУСТОТНЫЕ ДЛЯ ЗДАНИЙ И СООРУЖЕНИЙ. ТЕХНИЧЕСКИЕ УСЛОВИЯ

Стандарт распространяется на железобетонные многопустотные плиты, изготовляемые из тяжелого, легкого и плотного силикатного бетонов и предназначаемые для несущей части перекрытий зданий и сооружений различного назначения.

Плиты применяют в соответствии с указаниями рабочих чертежей плит и дополнительными требованиями, оговариваемыми при заказе этих конструкций.

Плиты подразделяют на типы:

1ПК - толщиной 220 мм с круглыми пустотами диаметром 159 мм, предназначенные для опирания по двум сторонам;

1ПКТ - то же, для опирания по трем сторонам;

1ПКК - то же, для опирания по четырем сторонам;

2ПК - толщиной 220 мм с круглыми пустотами диаметром 140 мм, предназначенные для опирания по двум сторонам;

2ПКТ - то же, для опирания по трем сторонам;

2ПКК - то же, для опирания по четырем сторонам;

3ПК - толщиной 220 мм с круглыми пустотами диаметром 127 мм, предназначенные для опирания по двум сторонам;

3ПКТ - то же, для опирания по трем сторонам;

3ПКК - то же, для опирания по четырем сторонам;

4ПК - толщиной 260 мм с круглыми пустотами диаметром 159 мм и вырезами в верхней зоне по контуру, предназначенные для опирания по двум сторонам;

5ПК - толщиной 260 мм с круглыми пустотами диаметром 180 мм, предназначенные для опирания по двум сторонам;

6ПК - толщиной 300 мм с круглыми пустотами диаметром 203 мм, предназначенные для опирания по двум сторонам;

7П - толщиной 160 мм с круглыми пустотами диаметром 114 мм, предназначенные для опирания по двум сторонам;

ПГ - толщиной 260 мм с грушевидными пустотами, предназначенные для опирания по двум сторонам;

ПБ - толщиной 220 мм, изготовляемые методом непрерывного формования на длинных стендах и предназначенные для опирания по двум сторонам.

Плиты типов 1ПК, 1ПКТ, 1ПКК, 2ПК, 2ПКТ, 2ПКК, 7ПК и ПБ предназначены для опирания на кирпичные и каменные стены.

Форма и координационные длина и ширина плит (за исключением плит типа ПБ) должны соответствовать приведенным ниже.

Тип плиты

Координационные размеры плиты, мм

Длина

Ширина

1ПК, 2ПК

От 2400 до 6600 включительно с интервалом 300, 7200

1000, 1200, 1500, 1800, 2400, 3000, 3600

1ПКТ, 2ПКТ

От 3600 до 6600 включительно с интервалом 300, 7200

От 2400 до 3600 включительно с интервалом 300

1ПКК, 2ПКК

От 2400 до 3600 включительно с интервалом 300

От 4800 до 6600 включительно с интервалом 300, 7200

7ПК

От 3600 до 6300 включительно с интервалом 300

1000, 1200, 1500

Конструктивные длину и ширину плит (за исключением плит типа ПБ) следует принимать равными соответствующему координационному размеру из приведенной выше таблицы, уменьшенному на величину а1 (зазор между смежными плитами) или а2 (расстояние между смежными плитами при наличии между ними разделяющего элемента). Значение а1 по длине плит для зданий (сооружений) со стенами из кирпича, камней и блоков, за исключением зданий (сооружений) при расчетной сейсмичности 7 - 9 баллов равно 20 мм. Для зданий (сооружений) при расчетной сейсмичности 7 - 9 баллов а1 равно 20 мм или а2 равно 140 мм.

Значение а1 для ширины плит равно 10 мм для плит координационной шириной менее 2400 и 20 мм - для плит координационной шириной 2400 и более.

За длину плит принимают:

размер стороны плиты, не опираемой на несущие конструкции здания (сооружения) - для плит, предназначенных для опирания по двум или трем сторонам;

меньший из размеров плиты в плане - для плит, предназначенных для опирания по контуру.

Для зданий (сооружений) с расчетной сейсмичностью 7 баллов и более допускается изготовлять плиты, имеющие форму, отличающуюся от указанной на нижеприведенном рисунке.

Пустоты в плитах, предназначенных для опирания по двум или трем сторонам, должны располагаться параллельно направлению, по которому определяется длина плит. В плитах, предназначенных для опирания по четырем сторонам, пустоты могут располагаться параллельно любой из сторон контура плиты.

Номинальное расстояние между центами пустот в плитах типов 1ПК, 1ПКТ, 1ПКК, 2ПК, 2ПКТ, 2ПКК должно быть не менее 185 мм, в плитах 7ПК - не менее 139 мм.

Плиты должны изготовляться с углублениями и пазами на боковых гранях для образования после замоноличивания прерывистых или непрерывных шпонок, обеспечивающих совместную работу плит перекрытий на сдвиг в горизонтальном и вертикальном направлениях.

По согласованию изготовителя с потребителем и проектной организацией - автором проекта конкретного здания (сооружения) допускается изготовлять плиты без углублений или пазов для образования шпонок.

Плиты, предназначенные для опирания по двум или трем сторонам, должны изготовляться предварительно напряженными. Плиты толщиной 220 мм, длиной менее 4780 мм, с пустотами диаметрами 159 и 140 мм и плиты толщиной 260 мм, длиной менее 5680 мм, а также плиты толщиной 220 мм, любой длины, с пустотами диаметром 127 мм допускается изготовлять с ненапрягаемой арматурой.

Плиты должны изготовляться с усиленными торцами. Усиление торцов достигается уменьшением поперечного сечения пустот на опорах или заполнением пустот бетоном или бетонными вкладышами. При расчетной нагрузке на торцы плит в зоне опирания стен, не превышающей 1,67 МПа (17 кгс/см2), допускается по согласованию изготовителя с потребителем поставлять плиты с неусиленными торцами.

ПЛИТЫ ТИПОВ 1ПК, 2ПК, 7ПК

ПЛИТЫ ТИПОВ 1ПКТ, 2ПКТ

ПЛИТЫ ТИПОВ 1ПКК, 2ПКК

Способы усиления и минимальные размеры заделок устанавливают в рабочих чертежах или указывают при заказе плит.

В случаях, предусмотренных рабочими чертежами конкретного здания (сооружения), плиты могут иметь закладные изделия, выпуски арматуры, местные вырезы, отверстия и другие дополнительные конструктивные детали.

Плиты должны обозначать марками в соответствии с требованиями ГОСТ 23009-78*. Марка плиты состоит из буквенно-цифровых групп, разделенных дефисами.

В первой группе указывают обозначение типа плиты, длину и ширину плиты в дециметрах, значения которых округляют до целого числа.

Во второй группе указывают:

расчетную нагрузку на плиту в килопаскалях (килограмм-сила на квадратный метр) или порядковый номер плиты по несущей способности;

класс стали напрягаемой арматуры (для предварительно напряженных плит);

вид бетона (Л - легкий бетон, С - плотный силикатный бетон; тяжелый бетон не обозначают).

В третьей группе, при необходимости, указывают дополнительные характеристики, отражающие особые условия применения плит (например, их стойкость к воздействию агрессивных газообразных сред, сейсмическим воздействиям), а также обозначения конструктивных особенностей плит (например, наличие дополнительных закладных изделий).

Пример условного обозначения (марки) плиты типа 1ПК длиной 6280 мм, шириной 1490 мм, рассчитанной под расчетную нагрузку 6 кПа, изготовленной из легкого бетона с напрягаемой арматурой класса Ат-V:

1ПК63.15-6Ат

То же, изготовленной из тяжелого бетона и предназначенной для применения в зданиях с расчетной сейсмичностью 7 баллов:

1ПК63.15-6 АтV-С7

Плиты должны удовлетворять установленным при проектировании требованиям по прочности, жесткости, трещиностойкости и при испытании их нагружением в случаях, предусмотренных рабочими чертежами, выдерживать контрольные нагрузки.

Плиты должны удовлетворять требованиям ГОСТ 13015.0-83*:

по показателям фактической прочности бетона (в проектном возрасте, передаточной и отпускной);

по морозостойкости бетона, а для плит, эксплуатируемых в условиях воздействия агрессивной газообразной среды, также по водонепроницаемости бетона;

по средней плотности легкого бетона;

к маркам сталей для арматурных и закладных изделий, в том числе монтажных петель;

по отклонениям толщины защитного слоя бетона до арматуры;

по защите от коррозии.

Плиты, применяемые в качестве несущей части лоджий, должны удовлетворять также дополнительным требованиям ГОСТ 25697-83*.

Плиты должны изготовляться из тяжелого бетона по ГОСТ 26633-91, конструкционного легкого бетона плотной структуры средней плотности не менее 1400 кг/м2 по ГОСТ 25820-81* или плотного силикатного бетона средней плотности не менее 1800 кг/м2 по ГОСТ 25214-82 классов или марок по прочности на сжатие, указанных в рабочих чертежах этих плит.

Нормируемая передаточная прочность бетона предварительно напряженных плит в зависимости от класса или марки бетона по прочности на сжатие, вида и класса напрягаемой арматурной стали должна соответствовать указанной в рабочих чертежах этих плит.

Нормируемая отпускная прочность бетона предварительно напряженных плит из тяжелого или легкого бетона для теплого периода года должна быть равна нормируемой передаточной прочности бетона, а плит с ненапрягаемой арматурой - 70 % прочности бетона на сжатие, соответствующей его классу или марке. При поставке этих плит в холодный период года или для обеспечения сохранности их при перевозке железнодорожным транспортом в теплый период года (по согласованию между изготовителем и потребителем плит) нормируемая отпускная прочность бетона может быть повышена до 85 % прочности бетона на сжатие, соответствующей его классу или марке.

Нормируемая отпускная прочность бетона плит из плотного силикатного бетона должна быть равна 100 % прочности бетона на сжатие, соответствующей его классу или марке.

Требования к качеству бетонных поверхностей и внешнему виду плит (в том числе требования к допустимой ширине раскрытия технологических трещин) - по ГОСТ 13015.0-83* и данному стандарту.

Качество бетонных поверхностей плит должно удовлетворять требованиям, установленным для категорий:

А3 - нижней (потолочной);

А7 - верхней и боковых.

По согласованию изготовителя с потребителем плит могут быть установлены вместо указанных следующие категории поверхностей:

А2 - нижняя (потолочная), подготовленная под окраску;

А4 - то же, подготовленная под оклейку обоями или декоративную отделку пастообразными составами, и верхняя, подготовленная под покрытие линолеумом;

А6 - нижняя (потолочная), к которой не предъявляются требования по качеству отделки.

Значения действительных отклонений геометрических параметров плит не должны превышать предельных, указанных в нижеследующей таблице.

Наименование отклонения геометрического параметра

Предельное отклонение, мм

Отклонение от линейного размера:

 

длины и ширины плиты:

 

до 2500 включ.

±6

св. 2500 до 4000 включ.

±8

св. 4000 до 8000 включ.

±10

св. 8000

±12

толщины плиты

±5

размера, определяющего положение:

 

отверстий и вырезов

10

закладных изделий:

 

в плоскости плиты

10

из плоскости плиты

5*

Отклонение от прямолинейности профиля верхней поверхности плиты, предназначаемой под непосредственную наклейку линолеума, а также профиля боковых граней плиты на длине 2000

5

Отклонение от плоскостности лицевой нижней (потолочной) поверхности плиты при измерениях от условной плоскости, проходящей через три угловых точки плиты длиной:

 

до 8000

8

св. 8000

10

* - отклонение от размера, определяющего положение закладного изделия из верхней плоскости плит, предназначенных под непосредственную наклейку линолеума, должно быть только во внутрь плиты

Размеры раковин, местных наплывов и впадин на бетонной поверхности и околов бетона ребер конструкций не должны превышать значений, приведенных в нижеследующей таблице.

Категория поверхности

Предельные размеры, мм

диаметр или наибольший размер раковины

высота местных наплывов и глубина впадин

Глубина окола бетона на ребре

Суммарная длина околов бетона на 1 м ребра

А2

1

1

5

50

А3

4

2

5

50

А4

10

1

5

50

А6

15

5

10

100

А7

20

-

20

-

Примечания: допускаются отдельные (не более 1шт. на 1 м2 поверхности) раковины диаметром или наибольшим размером не более, мм:

2 - для категории поверхности А2; 6 - для категории поверхности А3; 15 - для категории поверхности А4

В бетоне плит, поставляемых потребителю, трещины не допускаются, за исключением усадочных и других поверхностных технологических трещин шириной не более 0,3 мм на верхней поверхности плит и не более 0,2 мм - на боковых и нижней поверхностях плит.

На лицевых поверхностях плит не допускаются:

жировые и ржавые пятна;

участки неуплотненного бетона;

обнажение арматуры, за исключением выпусков арматуры или концов напрягаемой арматуры, которые не должны выступать за торцовые поверхности плит более чем на 10 мм и должны быть защищены слоем цементно-песчаного раствора или битумным лаком;

наплывы бетона или раствора на открытых поверхностях стальных закладных изделий, выпусках арматуры, монтажных петлях и строповочных отверстиях.

Маркировочные надписи и знаки должны быть нанесены на боковые грани или верхнюю поверхность плит.

На верхней поверхности плиты, опираемой по трем сторонам, должны быть нанесены знаки «Место опирания» по ГОСТ 13015.2-81*, располагаемые посередине у каждой стороны опирания плиты.

В документе о качестве плит должны быть указаны:

наименование и адрес предприятия-изготовителя;

номер и дата выдачи документа;

номер партии; наименование и марка плит; число плит каждой марки;

дата изготовления плит;

класс или марка бетона по прочности; отпускная прочность бетона (нормируемая, требуемая и фактическая);

обозначение данного стандарта.

В документе о качестве плит, предназначенных для эксплуатации в условиях воздействия агрессивных сред, дополнительно должна быть приведена марка бетона по водонепроницаемости (если этот показатель оговорен в заказе на изготовление плит).

Плиты должны транспортироваться и храниться в штабелях, уложенными в горизонтальное положение. На специализированных транспортных средствах допускается перевозка плит в наклонном или вертикальном положении.

Высота штабеля плит не должна быть более 2,5 м.

Подкладки под нижний ряд плит и прокладки между ними в штабеле следует располагать вблизи монтажных петель.

На строительной площадке в процессе входного контроля:

необходимо проверить наличие сопроводительной документации (документы о качестве, паспорта, сертификаты) и полноту содержащихся в них данных;

по имеющейся сопроводительной документации, маркировке, необходимо убедиться в соответствии поступивших плит и других материалов требованиям проекта;

необходимо проверить наличие штампа ОТК на плитах;

необходимо путем внешнего осмотра проверить отсутствие недопустимых дефектов внешнего вида у плит и других материалов.

Монтаж железобетонных плит перекрытий должен осуществляться в соответствии с требованиями проекта, СНиП 3.03.01-87 «Несущие и ограждающие конструкции», ППР, технологических карт, схем операционного контроля качества СМР и другой технологической документации, утвержденной в установленном порядке.

Работы по монтажу плит перекрытий должны производиться по утвержденному проекту производства работ (ППР).

Запрещается осуществление строительно-монтажных работ без утвержденного проекта производства работ. Не допускаются отступления от решений проектов производства работ без согласования с организациями, разработавшими и утвердившими их.

Перед подъемом каждой плиты необходимо проверить:

соответствие ее проектной марке;

состояние закладных изделий и установочных рисок, отсутствие грязи, снега, наледи, повреждений отделки.

Строповку монтируемых плит надлежит производить в местах, указанных в рабочих чертежах, и обеспечить их подъем и подачу к месту установки в положении, близком к проектному. При необходимости изменения мест строповки они должны быть согласованы с организацией - разработчиком рабочих чертежей.

Запрещается строповка конструкций в произвольных местах, а также за выпуски арматуры.

Монтируемые плиты следует поднимать плавно, без рывков, раскачивания и вращения, как правило, с применением оттяжек.

Поднимать конструкции следует в два приема: сначала на высоту 20 - 30 см, затем, после проверки надежности строповки, производить дальнейший подъем.

При установке плит должны быть обеспечены:

устойчивость и неизменяемость их положения на всех стадиях монтажа;

безопасность производства работ;

точность их положения с помощью постоянного геодезического контроля;

прочность монтажных соединений.

Плиты следует устанавливать в проектное пололжение по принятым в ППР ориентирам (рискам, граням и т.д.).

Плиты перекрытий необходимо укладывать на слой раствора толщиной не более 20 мм, совмещая поверхности смежных плит вдоль шва со стороны потолка.

Марки растворов, применяемых при монтаже плит перекрытий для устройства постели, должны быть указаны в проекте. Подвижность раствора должна составлять 5 - 7 см по глубине погружения стандартного конуса, за исключением случаев специально оговоренных в проекте.

Применение раствора, процесс схватывания которого уже начался, а также восстановление его пластичности путем добавления воды не допускаются.

Смещение в плане плит относительно их проектного положения на опорных поверхностях (вдоль опорных сторон плит) .... согласно проекта

Размеры глубины опирания и зазоров между сопрягаемыми плитами .... согласно проекта

Отклонение от симметричности (половина разности глубины опирания концов плит) при установке плит в направлении перекрываемого пролета при длине плит, м, не более:

до 4                                                                                                      5 мм

св. 4 до 8                                                                                             6 мм

св. 8 до 16                                                                                           8 мм

Установку плит перекрытий в поперечном направлении перекрываемого пролета следует выполнять по разметке, определяющей их проектное положение на опорах.

Применение не предусмотренных проектом подкладок для выравнивания положения укладываемых плит по отметкам без согласования с проектной организацией не допускается.

Замоноличивание стыков плит следует выполнять после проверки правильности установки плит, приемки соединений элементов в узлах сопряжений и выполнения антикоррозионного покрытия сварных соединений и поврежденных участков покрытия закладных изделий.

Класс бетона и марка раствора для замоноличивания стыков и швов должны быть указаны в проекте.

Бетонные смеси, применяемые для замоноличивания стыков, должны отвечать требованиям ГОСТ 7473-94.

Для приготовления бетонных смесей следует применять быстротвердеющие портландцементы или портландцементы М400 и выше. С целью интенсификации твердения бетонной смеси в стыках необходимо применять химические добавки - ускорители твердения. Наибольший размер зерен крупного заполнителя в бетонной смеси не должен превышать 1/3 наименьшего размера сечения стыка и 3/4 наименьшего расстояния в свету между стержнями арматуры. Для улучшения удобоукладываемости в смеси следует вводить пластифицирующие добавки.

Элементы каменных конструкций, скрытые в процессе производства строительно-монтажных работ, такие как места опирания плит перекрытий на стены и столбы и их заделка в кладке, закладные детали и их антикоррозионная защита должны приниматься по акту освидетельствования скрытых работ.



© 2013 Ёшкин Кот :-)