Информационная система
«Ёшкин Кот»

XXXecatmenu

РАЗРАБОТАНЫ

ОАО «494 УНР»

Генеральный директор

А.И. Ким

СОГЛАСОВАНО

ФГУП «СОЮЗДОРНИИ»

Генеральный директор

В.М. Юмашев

ПРИНЦИПИАЛЬНЫЕ СХЕМЫ
КОНСТРУКТИВНО-ТЕХНОЛОГИЧЕСКИХ РЕШЕНИЙ

ПО ПРИМЕНЕНИЮ ОБЪЕМНЫХ ГЕОРЕШЕТОК «ПРУДОН-494»
И ПРИМЕРЫ ИХ РЕАЛИЗАЦИИ В ТРАНСПОРТНЫХ СООРУЖЕНИЯХ

2002 год.

ПРЕДИСЛОВИЕ

В настоящем издании по инициативе ОАО «УНР 494» впервые собраны и обобщены материалы, связанные с отечественным опытом применения объемных пластиковых георешеток «ПРУДОН-494» в области транспортного строительства.

Приведенные в альбоме принципиальные схемы конструктивно-технологических решений и примеры реализации их в опытном порядке отражают современные направления в развитии и внедрении этих прогрессивных решений и, несомненно, должны вызвать интерес у специалистов.

Вместе с тем, для обеспечения возможности широкого внедрения рассматриваемых решений необходимо дальнейшее расширение их опытного применения при научно-техническом сопровождении научно-исследовательских институтов, обеспечивающее необходимое качество работ на всех этапах (начиная с проектирования), а также методически правильно поставленные наблюдения при строительстве и эксплуатации опытных конструкций и обобщение результатов этих наблюдений.

Наряду с этим, отдельные решения, приведенные в альбоме, например, конструкции укрепленных откосов, опыт применения которых насчитывает более семи лет, могут, при соответствующих минимальных усилиях и затратах, переведены в категорию типовых решений при оформлении этого акта в соответствии с требованиями действующих нормативных документов.

В целом, приведенные в альбоме конструктивно-технологические решения направлены на повышение надежности и долговечности дорожных конструкций.

Замечания и предложения по настоящему выпуску альбома просим направлять в адрес ОАО «УНР 494».

Генеральный директор

ОАО «494 УНР»

Ким А.И.

Генеральный директор

ФГУП «СОЮЗДОРНИИ»

Юмашев В.М.

СОДЕРЖАНИЕ

Введение. 2

I. Общие положения. 2

II. Техническая характеристика георешетки «ПРУДОН-494», крепежных элементов и схема закрепления георешетки. 3

III. Применение объемных георешеток «ПРУДОН-494» для укрепления земляного полотна, оснований и покрытий автомобильных дорог. 7

III-1. Основные направления по разработке конструкций дорожных одежд для их применения в строительстве автомобильных дорог. 8

III-2. Поперечные профили земляного полотна автодороги на слабом основании с использованием георешетки «ПРУДОН-494». 9

III-3. Конструкции дорожных одежд автомобильных дорог на слабом основании. 14

III-4. Технологическая схема укладки рулонного геотекстильного материала и георешетки «ПРУДОН-494» в основании земляного полотна. 17

IV. Применение георешетки «ПРУДОН-494» при уширении автомобильных дорог. 18

IV-1. Схема уширения дорожного полотна с использованием георешетки «ПРУДОН-494». 20

V. Поперечные профили земляного полотна и дорожных одежд, рекомендуемых к применению при строительстве внутрипромысловых автомобильных дорог в 1-ой дорожно-климатической зоне. 20

VI. Применение георешетки «ПРУДОН-494» для укрепления конусов мостов и путепроводов. 25

VI-1. Типовая конструкция укрепления конусов мостов и путепроводов георешеткой «ПРУДОН-494». 26

VI-2. Технология выполнения работ по укреплению конусов мостов и путепроводов георешеткой «ПРУДОН-494». 27

VII. Применение георешетки «ПРУДОН-494» для укрепления откосов насыпных сооружений. 30

VII-1. Типовая схема укрепления откосов насыпных сооружений георешеткой «ПРУДОН-494». 31

VII-2. Технология выполнения работ по укреплению откосов насыпных сооружений георешеткой «ПРУДОН-494». 31

VIII. Подпорные стены из грунта, армированного георешетками «ПРУДОН-494». 34

VIII-1. Технологическая схема возведения подпорных стен с применением георешетки «ПРУДОН-494». 36

IX. Армогрунтовые конструкции земляного полотна. 47

IX-1. Типовая технологическая схема возведения армогрунтовой насыпи с применением георешетки «ПРУДОН-494». 50

IX-2. Схемы армирования откосов высоких насыпей с применением георешеток «ПРУДОН-494». 51

X. Армогрунтовые обоймы металлических гофрированных водопропускных труб. 53

XI. Сопряжение устоя моста или путепровода с применением георешеток «ПРУДОН-494». 57

XII. Устройство сопряжения моста с насыпью с применением георешеток «ПРУДОН-494». 57

XIII. Георешетка «ПРУДОН-494» для укрепления берегов постоянных водотоков. 58

XIV. Применение георешеток «ПРУДОН-494» для усиления подбалластного слоя при строительстве, ремонте и реконструкции железных дорог. 61

XV. Строительство водопропускных труб из георешеток «ПРУДОН-494». 64

ВВЕДЕНИЕ

Настоящие технические решения по объемному армированию конструкций земляного полотна и дорожных одежд автомобильных дорог предназначены для использования при строительстве, ремонте или реконструкции участков автомобильных дорог с одеждами жесткого и нежесткого типа в районах с неблагоприятными климатическими и гидрогеологическими условиями (болота I-III типа, вечная мерзлота, несвязные грунты пустынь и т.п.), укреплении конусов мостов и путепроводов, откосов насыпных сооружений для защиты от водной и ветровой эрозии, устройстве подпорных стенок, укреплении берегов и русел постоянных водотоков.

Технические решения разработаны с учетом действующих нормативных документов, методических указаний и рекомендаций. Предлагаемые решения были использованы при строительстве и реконструкции таких автомагистралей, как Московская кольцевая автомобильная дорога (МКАД), Москва - Минск, Москва - Нижний Новгород, Москва - Кашира, Урай - Советский, Третье транспортное кольцо в г. Москве. Кроме этого георешетка «ПРУДОН-494» применялась при строительстве автодорог в Западной Сибири.

В данных технических решениях рассматриваются вопросы повышения эксплуатационной надежности и сроков службы автомобильных и железных дорог и искусственных сооружений на них, а также возможности снижения затрат на их содержание и текущий ремонт.

Отдельные решения, приведенные в данном альбоме, прошли большую проверку практикой и могут быть отнесены к типовым. К типовым решениям можно отнести, например, конструкции укрепления объемными георешетками «ПРУДОН-494» откосов насыпных сооружений и конусов мостов и путепроводов. На сегодняшний день реализовано более 250 таких объектов, срок их эксплуатации составляет до 8 лет.

Технические решения разработаны ОАО «494 УHP».

В разработке предлагаемых решений принимали участие: Заслуженный строитель РСФСР, Почетный строитель РФ Ким А.И., Почетный строитель РФ Кондаков Е.И., Бубновский В.В., Андриянова С.Г.

В работе использованы материалы исследований к.т.н. Семендяева Л.И. («СОЮЗДОРНИИ»), Аливера Ю.А. (26 ЦНИИ МО РФ), Лукачева Н.Н. («Лукойлнефтегазстрой»), д.т.н. Переселенкова Г.С. (ЦНИИС), к.т.н. Соколова А.Д. (НИЦ «Мосты» ЦНИИС), д.т.н. Солодунина А.Н. (Союздорпроект), к.т.н. Петряева А.В. (ПГУПС), Медреса Е.П. («Петербург-Дорсервис»), Казакова А.А. («Южниигипрогаз»), к.т.н. Устяна Н.А. (Военно-транспортный университет ЖДВ РФ), Милованова В.И. (ВНИПИгаздобыча).

Редактирование альбома выполнено ФГУП «Союздорнии» по договору № 63-02 ДО от 27 марта 2002 г.

I. ОБЩИЕ ПОЛОЖЕНИЯ

Настоящие технические решения разработаны для их применения при проектировании, строительстве, ремонте и реконструкции автомобильных дорог и искусственных сооружений на них. При разработке конструкций максимально учтено следующее:

1. Условия поставки и транспортировки материалов.

2. Продолжительность строительства.

3. Грунтово-гидрологические условия строительства.

4. Использование местных строительных материалов и грунтов.

5. Максимальное уменьшение потребности строительных материалов.

При конструировании земляного полотна решена задача стабилизации его нижней части независимо от типов грунта, слагающих подошву полотна, что позволяет уменьшить мощность возводимой насыпи (сокращение объемов земляных работ) и обеспечить повышенные прочностные показатели верхней части земляного полотна с максимальным сокращением материалоемкости дорожной одежды. Для этого на участках проложения трассы автомобильной дороги по болотам и слабым грунтам в основании насыпи предусмотрено использование теплоизоляционных слоев.

При конструировании дорожной одежды приняты все конструкции нежесткого и жесткого типа с применением как привозных материалов, так и местных, с их обработкой вяжущими в передвижных смесительных установках. При этом учитывались их высокие эксплуатационные характеристики, в том числе проведение ремонтно-восстановительных работ и возможность их усиления минимальными ресурсами по мере эксплуатации. Особое внимание уделено применению геотекстильных и геосинтетических материалов, обеспечивающих увеличение прочностных показателей местных грунтов в 1,74 раза, а также минимальные транспортные затраты на их доставку к месту производства работ.

При выборе конструкций земляного полотна и дорожной одежды автомобильных дорог необходимо использовать данные инженерно-геологических изысканий.

При разработке альбома использовалась следующая нормативно-методическая литература:

- ОДН 218.046-01 «Проектирование нежестких дорожных одежд»;

- СНиП 2.05.02-85 «Автомобильные дороги. Нормы проектирования»;

- ТСКИиУ сер. 3.503-71/88;

- ВСН 26 ЦНИИ МО, «УНР 494» «Применение синтетических материалов при устройстве нежестких одежд автомобильных дорог»;

- ВСН 49 - 86 «Указания по повышению несущей способности земляного полотна и дорожных одежд с применением синтетических материалов»;

- Л.И. Семендяев «Методика расчета насыпей, армированных различными материалами»;

- «Методические рекомендации по проектированию и строительству грунтовых насыпей на торфяном основании, армированных георешетками «ПРУДОН-494» в условиях Западной Сибири», ЦНИИС;

- Стандартные проектные решения и технология усиления подбалластного слоя объемными георешетками «ПРУДОН-494», ПГУПС;

- Разработка предложений для включения в методические рекомендации по расчету и конструированию армогрунтовой обоймы гофрированных водопропускных труб с использованием объемных георешеток, ЦНИИС.

II. ТЕХНИЧЕСКАЯ ХАРАКТЕРИСТИКА ГЕОРЕШЕТКИ «ПРУДОН-494», КРЕПЕЖНЫХ ЭЛЕМЕНТОВ И СХЕМА ЗАКРЕПЛЕНИЯ ГЕОРЕШЕТКИ

ОБЩИЙ ВИД ГЕОРЕШЕТКИ «ПРУДОН-494»

Рис. 1 Общий вид георешетки в рабочем (растянутом) положении

Рис. 2 Георешетка в транспортном (сложенном) положении

Рис. 3 Схема соединения листов СМ. Вид сверху.

«ПРУДОН-494» ГЕОТЕХНИЧЕСКАЯ РЕШЕТКА ПЛАСТИКОВАЯ

ТУ 2246-002-07859300-97 С ИЗМЕНЕНИЕМ № 1

РАЗМЕРЫ И МАССЫ ГЕОРЕШЕТОК

ФИЗИКО-МЕХАНИЧЕСКИЕ СВОЙСТВА

Тип георешетки

Высота (Н), мм

Длина, мм

Сложена/Растянута

0/А)

Ширина, мм

Сложена/Растянута (В0/В)

Ширина ячейки, мм

Сложена/Растянута

0/А)

Толщина ребер (δ), мм

Масса, кг

№№ п/п

Наименование показателя

Показатель

1

2

3

4

5

6

7

1

2

3

ОР1

50

81

6120

3400

2430

330

200

1,35

13

1

Максимальная нагрузка, кгс/5 см:

 

- пластина

146

- шов

73

ОР2

100

81

6120

3400

2430

510

300

1,35

20

2

Удлинение ленты при максимальной нагрузке, %

25

ОР3

100

81

6120

3400

2430

680

400

1,35

15

3

Удлинение ленты при разрыве, %

180 ÷ 500

AP1

100

81

6120

3400

2430

330

200

1,35

25

4

Жесткость ребер георешетки по ГОСТ 8977-74, не менее сН

500

АР2

150

81

6120

3400

2430

330

200

1,35

38

5

Стойкость к воздействию температур, °С

+55

-60

АР3

200

81

6120

3400

2430

330

200

1,35

50

6

Химическая стойкость, рН

4 ÷ 11

ЧТО НЕОБХОДИМО ДЛЯ УКЛАДКИ ГЕОРЕШЕТКИ «ПРУДОН-494»

Персонал

ИТР - 1 чел

Геодезист - 1 чел

Рабочие - 8 чел.

Материалы

Георешетка «ПРУДОН-494»

Геотекстиль

Арматурные штыри

Инструменты

Нивелир - 1 шт.

Лопаты - 6 шт.

Кувалды - 3 шт.

Рулетки - 2 шт.

Молотки - 2 шт.

Шнур - 400 п.м.

КРЕПЕЖНЫЕ ЭЛЕМЕНТЫ ДЛЯ ГЕОРЕШЕТКИ «ПРУДОН-494»

Для фиксации георешетки перед засыпкой

Арматура A-I Æ12

Г-образный штырь (анкер) для крепления георешетки при укреплении конусов мостов и путепроводов, откосов насыпей, оснований дорог

П-образный штырь (анкер) для крепления георешетки при устройстве оснований автомобильных дорог в зимний период

П-образный шаблон, используемый при укладке георешетки «ПРУДОН-494» типа АР-3 (h = 200 мм) в основании автомобильных дорог

КРЕПЛЕНИЕ ГЕОРЕШЕТОК

1. Монтажные анкеры имеют Г-образный вид (рис.). Их изготавливают из стальной арматуры диаметром 10 - 14 мм, длиной 50 - 120 см (в соответствии с проектом). Монтажные анкеры служат для фиксации георешетки в растянутом (рабочем) положении и соединения модулей георешеток между собой. После заполнения ячеек грунтовым материалом часть монтажных анкеров может быть извлечена, остальные выполняют функцию несущих анкеров.

2. Несущие анкеры имеют конструкцию, аналогичную монтажным, и служат для крепления георешеток на поверхности грунта. Их устанавливают равномерно по площади в соответствии с проектом с шагом 1,0 - 2,0 м. При защите откосов от эрозии в качестве несущих анкеров могут использоваться деревянные колышки соответствующей длины.

3. Стальные П-образные скрепки используются для соединения с помощью степлера ребер соседних модулей георешеток между собой.

4. П-образный шаблон (рис.) используется для фиксации георешетки в растянутом положении (2430 мм).

5. Полимерный трос служит для дополнительного закрепления георешеток на крутых подтопляемых откосах, сложенных тяжелыми грунтами. Трос из высокопрочных полиэфирных волокон, максимальная деформация троса не должна превышать 20 %.

6. Сборные анкеры состоят из стального или полимерного стержня и оголовка, содержащего канавки (ручьи) для пропуска и фиксации полимерного троса. Сборные анкеры выполняют функцию несущих анкеров.

СХЕМА КРЕПЛЕНИЯ ГЕОРЕШЕТКИ «ПРУДОН-494» ПРИ УКЛАДКЕ В ОСНОВАНИИ АВТОМОБИЛЬНОЙ ДОРОГИ

Г-образный анкер для крепления георешеток «ПРУДОН-494»

СХЕМА СОЕДИНЕНИЯ МОДУЛЕЙ ГЕОРЕШЕТКИ «ПРУДОН-494» МЕЖДУ СОБОЙ С ПОМОЩЬЮ СТЕПЛЕРОВ

III. ПРИМЕНЕНИЕ ОБЪЕМНЫХ ГЕОРЕШЕТОК «ПРУДОН-494» ДЛЯ УКРЕПЛЕНИЯ ЗЕМЛЯНОГО ПОЛОТНА, ОСНОВАНИЙ И ПОКРЫТИЙ АВТОМОБИЛЬНЫХ ДОРОГ

Конструкции насыпей на слабых основаниях (болотах), методы их расчета и способы строительства существенно отличаются от применяемых на минеральных грунтах, что связано с высокой сжимаемостью и малым сопротивлением сдвигу торфов, обводненностью и низкой проходимостью болот.

Согласно строительной классификации болота по характеру деформирования под нагрузкой насыпи делятся на три типа:

- преимущественное сжатие (тип I);

- сжатие и выдавливание (тип II);

- преимущественное выдавливание (тип III).

Практика дорожного строительства выработала два подхода к устройству земляного полотна на болотах:

- замена торфа привозными минеральными грунтами (метод полного или частичного выторфовывания);

- использование торфа в основании и теле насыпи при условии применения соответствующих инженерных мероприятий.

Методы полного выторфовывания и посадки на минеральное дно болота позволяют получить устойчивое земляное полотно с момента его возведения, не требующее каких-либо специальных расчетов устойчивости насыпи. Однако этот метод приводит к исключительно большим объемам земляных работ (до 80 тыс. м3 на 1 км) и, следовательно, повышает стоимость и трудоемкость строительства. Конструкцию земляного полотна с полным выторфовыванием рекомендуется применять на болотах I и II типов глубиной до 4 м на дорогах с усовершенствованными капитальными покрытиями.

Земляное полотно с частичным выторфовыванием предусматривают на болотах I и II типов глубиной более 3 м в тех случаях, когда упругие деформации превышают допустимую величину или необходимо уменьшить величину конечной осадки. Частичное выторфовывание особенно эффективно, если плотность торфяной залежи увеличивается по глубине. Такое сложение залежей характерно, например, для болот Западной Сибири.

На болотах I и II типов возможно также возведение насыпей без выторфовывания при строительстве подъездных и вдольтрассовых дорог в районах с высокой заболоченностью, большой дальностью транспортирования грунта. Примером может служить массивная насыпь, отсыпаемая непосредственно на поверхность болота и называемая «плавающей». Насыпь может быть сооружена как полностью из песчаного грунта, так и с использованием в нижней части местного торфа, что экономически более выгодно. Возведение «плавающих» насыпей на болотах III типа возможно при условии детального расчета устойчивости конструкции земляного полотна, величины конечной осадки с учетом гидрогеологических условий местности.

Учитывая высокую эффективность безвыторфовочных методов возведения земляного полотна, использование для укрепления насыпи пластиковой георешетки «ПРУДОН-494» позволит значительно расширить возможность сооружения «плавающих» насыпей, что экономически наиболее выгодно.

III-1. ОСНОВНЫЕ НАПРАВЛЕНИЯ ПО РАЗРАБОТКЕ КОНСТРУКЦИЙ ДОРОЖНЫХ ОДЕЖД ДЛЯ ИХ ПРИМЕНЕНИЯ В СТРОИТЕЛЬСТВЕ АВТОМОБИЛЬНЫХ ДОРОГ

Намечаемые материалы, полуфабрикаты и конструктивные элементы для устройства слоев дорожной одежды.

УСТРОЙСТВО ОСНОВАНИЙ.

1.     Из грунта, обработанного цементом или комплексным вяжущим.

2.     Из холодных смесей грунта, обработанного жидким органическим или эмульгированным вяжущим.

3.     Из холодного черного щебня Фр. 20 - 40 мм с расклинцовкой поверхности черным щебнем Фр. 5 - 20 мм.

4.     Щебеночные, устроенные по способу пропитки органическим вяжущим.

5.     Щебеночные из неоптимальных смесей активных и высокоактивных шлаков.

УСТРОЙСТВО ПОКРЫТИЙ.

1.     Щебеночные, устроенные по способу пропитки органическим вяжущим.

2.     Из холодных черных щебеночных смесей с подобранным гранулометрическим составом.

3.     Из органоминеральных смесей.

4.     Из эмульсионно-минеральных смесей.

5.     Из фракционированного черного щебня с пропиткой цементным раствором на комплексном вяжущем.

6.     Из щебня активных и высокоактивных шлаков из неоптимальных смесей, обработанных цементом.

7.     Из сборных железобетонных дорожных плит

УСТРОЙСТВО ЗАЩИТНЫХ СЛОЕВ.

1. Поверхностная обработка

Способы получения полуфабрикатов.

1.       Непосредственно на дороге с использованием самоходных смесительных установок типа «Ресайклер».

2.       По железной дороге, с использованием стационарных производственных баз.

3.       С передвижных районных производственных баз, установленных в карьерах по добыче песка.

4.       С передвижных производственных баз, установленных в притрассовых карьерах песчаного грунта.

Вяжущие материалы.

1. Битумные эмульсии: - ЭБК, - ЭБА.

2. Нефтяное вяжущее.

3. Жидкий битум.

4. Цемент.

5. Комплексное вяжущее.

Способы подготовки инертных материалов.

1. Разделение по фракциям.

2. Мойка или механическая очистка от пылеватых и глинистых частиц.

3. Введение химических соединений, нейтрализующих отрицательное действие пыли и глины на физико-механические свойства смесей.

III-2. ПОПЕРЕЧНЫЕ ПРОФИЛИ ЗЕМЛЯНОГО ПОЛОТНА АВТОДОРОГИ НА СЛАБОМ ОСНОВАНИИ С ИСПОЛЬЗОВАНИЕМ ГЕОРЕШЕТКИ «ПРУДОН-494»

Проведенные исследования показали, что применение объемных георешеток «ПРУДОН-494» наиболее эффективно на участках дорог, расположенных на слабых грунтах (переувлажненных, заторфованных, сыпучих и т.д.). При этом улучшаются условия консолидации насыпи, обеспечивается прочность и устойчивость слоев дорожной одежды из несвязных строительных материалов, а также повышается эксплуатационная надежность и сроки службы дорожных покрытий.

Применение объемных георешеток «ПРУДОН-494» значительно повышает надежность дорожных конструкций, снижает объем использования естественных зернистых материалов, дает возможность разрабатывать новые проектные решения, компенсирует недостатки грунтов и используемых дорожно-строительных материалов, повысив их механические свойства, а в некоторых случаях - превратив их в совершенно новый материал. Автомобильные дороги, построенные на основании, укрепленном георешетками, практически не требуют ремонта в течение, как минимум, пяти лет.


Конструкция выемки на участке ПК 785+55…787+60 с георешеткой «Прудон в основании»


Конструкция дорожной одежды

I стадия строительства

Расход материалов на 1000 кв. м (I стадия строительства)

Наименование

Ед. изм.

Расход материалов

Основание

Защитный слой

 

Георешетка «Прудон-494» тип АР 810.243.20.20 ТУ 2246-002-07859300-97

м2

1025

-

-

шт.

52

-

-

Щебень из сталеплавильных шлаков фракции до 40 мм Мо° > 1 по ТУ 14-105-584-95

м3

306

153

-

Щебень из сталеплавильных шлаков фракции 10 - 20 мм Мо° > 1 по ТУ 14-105-584-95

м3

-

20,40

-

Вода

м3

32,40

18,20

-

Металлические скрепки

шт.

16640

-

-

Песок среднезернистый ГОСТ 8736-93*

м3

-

-

253

II стадия строительства

Расход материалов на 1000 кв. м (II стадия строительства)

Наименование

Ед. изм.

Расход материалов

Примечание

Выравнивающий слой

Покрытие

Обочина

нижний слой

верхний слой

Щебень из сталеплавильных шпаков фракции до 40 мм Мо° > 1 по ТУ 14-105-584-95

м3

153

-

-

-

27-28-1

Щебень из сталеплавильных шлаков фракции 10 - 20 мм Мо° > 1 по ТУ 14-105-584-95

м3

20,40

-

-

124

27-28-1

Асфальтобетон теплый пористый крупнозернистый марки II

т

-

185,30

-

-

27-53-6

27-54-6

Асфальтобетон теплый плотный мелкозернистый тип А, марки II

т

-

-

169,20

-

27-53-1

27-54-1

Розлив битума

л

 

824

824

-

27-72-1

Вода

м3

18,20

-

-

13

27-28-1

27-63-14

На второй стадии защитный слой подлежит восстановлению с одновременным устройством выравнивающего слоя под асфальтобетонное покрытие.

Щебень из сталеплавильных шлаков соответствует ТУ 14-105-581-95 «Щебень фракционированный из сталеплавильных шлаков для дорожного строительства».

Георешетка «Прудон-494» тип АР 810.243.20.20-ТУ2246-002-0785930097, размер ячейки 200 мм, размер секции 8,10´2,43´0,20 м, площадь секции 19,68 кв. м, масса 66,5 кг, изготавливается по согласованию с потребителем.

III-3. КОНСТРУКЦИИ ДОРОЖНЫХ ОДЕЖД АВТОМОБИЛЬНЫХ ДОРОГ НА СЛАБОМ ОСНОВАНИИ

Конструкция дорожной одежды «Д-1-1(1)»

Интенсивность движения - до 300 авт/сут.

(Первая стадия)

Покрытие - Рядовая неоптимальная смесь из высокоактивных (активных) материалов с максимальной крупностью 70 мм. М > 800 (Доменный шлак)

Песчаный подстилающий слой - Песок (песчаный грунт) с Кф. > 1 м/сут, армируемый Георешеткой «ПРУДОН-494» тип АР-1

Разделительная прослойка - Геосинтетика

Дренажно - разделительная прослойка - Геосинтетика

Земляное полотно (См. Конструкции земляного полотна)

1. Тип геосинтетического материала определяется водно-тепловым режимом земляного полотна (свойствами грунта земляного полотна, условиями проложения трассы дороги, свойствами песка песчаного слоя).

Конструкция дорожной одежды «Д-1-1»

Интенсивность движения - до 750 авт/сут.

Покрытие - Рядовая неоптимальная смесь из высокоактивных (активных) материалов с максимальной крупностью 70 мм. М > 800 (доменный шлак), укрепленная цементом (6 %), армируемая Георешеткой «ПРУДОН-494» тип АР-1.

Разделительная прослойка - нетканый геотекстиль

Песчаный подстилающий слой - Песок (песчаный грунт) с Кф. > 1 м/сут.

Дренажно - разделительная прослойка - нетканый геотекстиль

Земляное полотно (См. Конструкции земляного полотна)

1. Тип геосинтетического материала определяется водно-тепловым режимом земляного полотна (свойствами грунта земляного полотна, условиями проложения трассы дороги, свойствами песка песчаного слоя).

Конструкция дорожной одежды «Д-1-0(1)»

Интенсивность движения - до 200 (300) авт/сут.

Покрытие - Песчаный грунт, армируемый георешеткой «ПРУДОН-494» АР-2 -150 мм. (АР-3 - 200 мм.), с втапливанием щебня Фр. 40 - 70.

Разделительная прослойка - нетканый геотекстиль

Песчаный подстилающий слой - Песок (песчаный грунт) с Кф. > 1 м/сут.

Разделительная прослойка - нетканый геотекстиль

Земляное полотно (См. Конструкции земляного полотна)

1. Тип геосинтетического материала определяется водно-тепловым режимом земляного полотна (свойствами грунта земляного полотна, условиями проложения трассы дороги, свойствами песка песчаного слоя).

Конструкция дорожной одежды «Д-1-2»

Интенсивность движения - до 750 авт/сут.

Двойная поверхностная обработка.

Покрытие - Щебень Фр. 40 - 70, армируемый Георешеткой «ПРУДОН-494» тип АР-1 (100 мм), устроенное по способу пропитки органическим вяжущим

Разделительная прослойка - нетканый геотекстиль

Песчаный подстилающий слой - песок (песчаный грунт) с Кф. > 1 м/сут.

Дренажно - разделительная прослойка - нетканый геотекстиль

Земляное полотно (См. Конструкции земляного полотна)

1. Тип геосинтетического материала определяется водно-тепловым режимом земляного полотна (свойствами грунта земляного полотна, условиями проложения трассы дороги, свойствами песка песчаного слоя).


III-4. ТЕХНОЛОГИЧЕСКАЯ СХЕМА УКЛАДКИ РУЛОННОГО ГЕОТЕКСТИЛЬНОГО МАТЕРИАЛА И ГЕОРЕШЕТКИ «ПРУДОН-494» В ОСНОВАНИИ ЗЕМЛЯНОГО ПОЛОТНА

(ВСН «Применение синтетических материалов при устройстве нежестких одежд автомобильных дорог»)

1 - рулонный геосинтетический материал; 2 - «ПРУДОН-494»; 3 - песок.


IV. ПРИМЕНЕНИЕ ГЕОРЕШЕТКИ «ПРУДОН-494» ПРИ УШИРЕНИИ АВТОМОБИЛЬНЫХ ДОРОГ

Георешетка «ПРУДОН-494» применяется не только при строительстве новых автомобильных дорог, но и при реконструкции существующих. При этом она используется для укрепления подстилающего песчаного слоя, расположенного на слабом основании. Такая конструкция была применена при реконструкции участка автомобильной магистрали Москва - Минск. Реконструкцию дороги начали с удаления асфальтобетонного покрытия. Затем на уширяемых участках удалили верхний слой грунта насыпи, не пригодного для использования его в основании дороги. На подготовленное выровненное и уплотненное основание сначала выполнялась укладка нетканого геотекстиля, необходимого для предотвращения смешивания грунта, слагающего насыпь, и материала основания дорожной одежды. Поверх геотекстиля производилась укладка отдельных модулей георешетки «ПРУДОН-494» с высотой ячеек 20 см, каждый из которых закреплялся специальными Г-образными штырями (анкерами), выполненными из арматуры диаметром 12 мм. Ячейки георешетки заполнялись песком средней крупности на такую высоту, чтобы после уплотнения песчаный слой поверх георешетки составлял 10 см. Уплотнение заполненных георешеток выполнялось катками на пневмоколесном ходу. Устройство основного несущего слоя основания дорожной одежды было выполнено уже по обычной технологии.

В результате принята следующая конструкция дорожной одежды на участке уширения федеральной автомобильной магистрали Москва - Минск:

- земляное полотно, сложенное из тугопластичного суглинка;

- прослойка из нетканого геотекстиля;

- георешетка «ПРУДОН-494» высотой 0,2 м, заполненная среднезернистым песком (h = 0,3 м);

- нижний слой основания из щебня гранитного марки 1200, высота слоя 0,24 м;

- верхний слой основания из горячей пористой крупнозернистой смеси высотой 0,08 м;

- нижний слой покрытия из горячей крупнозернистой а/б смеси высотой 6 см;

- верхний слой смеси из горячей мелкозернистой а/б смеси на модифицированном битуме высотой 0,4 м.


УКРЕПЛЕНИЕ ОСНОВАНИЯ ОБОЧИНЫ ПРИ УШИРЕНИИ АВТОМАГИСТРАЛИ М-1 «БЕЛАРУСЬ» МОСКВА - МИНСК НА УЧАСТКЕ КМ 48,2 - 64,0


IV-1. СХЕМА УШИРЕНИЯ ДОРОЖНОГО ПОЛОТНА С ИСПОЛЬЗОВАНИЕМ ГЕОРЕШЕТКИ «ПРУДОН-494»

V. ПОПЕРЕЧНЫЕ ПРОФИЛИ ЗЕМЛЯНОГО ПОЛОТНА И ДОРОЖНЫХ ОДЕЖД, РЕКОМЕНДУЕМЫХ К ПРИМЕНЕНИЮ ПРИ СТРОИТЕЛЬСТВЕ ВНУТРИПРОМЫСЛОВЫХ АВТОМОБИЛЬНЫХ ДОРОГ В 1-ОЙ ДОРОЖНО-КЛИМАТИЧЕСКОЙ ЗОНЕ

Поставленной задачей предусматривается строительство внутрипромысловых автомобильных дорог в зоне вечной мерзлоты в 1-ой дорожно-климатической зоне в 1-ой подзоне. Данная зона характеризуется: сплошным распространением мерзлых грунтов на глубину 100 - 500 м с температурой вечномерзлых грунтов от -1,5 °С до -7 °С; мощностью сезонно оттаивающего слоя 0,6 - 0,3 м; характерными криогенными процессами являются пучение, морозобойное растрескивание, наледообразование на реках.

Участки болот характеризуются отсутствием мерзлых грунтов (торфяных) в верхней части из-за подтока тепла как снизу, так и сверху. При воздействии нагрузки от земляного полотна на торфяные грунты происходит, помимо их сжатия, выдавливание торфяных грунтов за пределы подошвы земляного полотна по глубине болота. Практически осадка земляного полотна на болотах происходит до достижения трехосного равновесного состояния системы.

Глубина оттаивания и промерзания зависит от свойств мохо-растительного слоя и наличия снегового покрова на поверхности (дороги). Основным условием сохранения несущей способности грунтового основания является сохранение его в мерзлотном состоянии, при котором глубина промерзания превышает величину оттаивания, которое определяется теплофизическими свойствами вышележащей конструкции дорожной одежды. Сложность состоит в соблюдении теплового режима земляного полотна и подстилающих земляное полотно грунтов службой эксплуатации автомобильной дороги, что может быть не всегда обеспечено из-за закатывания снегового покрова и погодными условиями зимнего периода.

Практика говорит, что при возведении насыпи на участках болот происходит ее осадка, равная половине глубины болота, что так же подтверждается нормативными данными (ВСН 84-89).

При обосновании конструкций поперечных профилей земляного полотна и дорожной одежды принималось во внимание, что эксплуатация автомобильной дороги на участках болот будет осуществляться в режиме, аналогично эксплуатации зимников, кроме процесса промораживания основания, а на участках с вечной мерзлотой со снегоуборкой проезжей части с обеспечением возвышения бровки земляного полотна над расчетным уровнем снегового покрова (по данным местной метеостанции) не менее чем на 0,5 м. (Тип 1).

При применении поперечников земляного полотна на болотах (Тип 2 - Тип 4) решается вопрос с водоперепускными сооружениями (для выравнивания уровня воды по обеим сторонам автомобильной дороги) и требованиям экологических органов по контакту биологических сред.

Ширина проезжей части равна ширине земляного полотна, и ее величина определена из расчета: безопасного движения автомобильного транспорта (уположенные откосы и бермы из торфа); возможной остановки одиночного автомобиля; предохранения бровки земляного полотна от размыва водой атмосферных осадков. Ширина проезжей части принята равной 9 м.

Минимальное возвышение земляного полотна над поверхностью болота, для дорог с асфальтобетонным покрытием, должно быть не менее 1,0 м (Указания по повышению несущей способности земляного полотна и дорожных одежд, с применением синтетических материалов ВСН 49-86). Это вызвано необходимостью исключения упругих колебаний в теле земляного полотна от проходящего транспорта. При применении шлака для устройства дорожного полотна, из-за его незначительного веса, высота насыпи увеличивается до 1,2 м.

Поперечные профили на болотах возможно использовать и на участках с вечной мерзлотой при дополнительном теплотехническом расчете его элементов на основании конкретных данных о ее строении и принятой конструкции земляного полотна на основании экономических соображений.

Предлагаемые поперечные профили на болотах возможно использовать и на участках с вечной мерзлотой при дополнительном теплотехническом расчете его элементов на основании конкретных данных о ее строении и принятой конструкции земляного полотна на основании экономических соображений.

Основным принципом определения конструкции поперечных профилей на болотах принят принцип максимального снижения веса насыпи, при котором суммарный вес от: насыпи; полезной нагрузки и снега меньше чем вес объема воды соответствующий объему конструкции дороги с учетом: несущей способности торфяных грунтов основания и минимального возвышения бровки земляного полотна над уровнем земли.

При конструировании поперечников принята совместная работа дорожной одежды и земляного полотна с развитием их сечения по высоте, путем создания поясов из объемной Георешетки в сочетании с Геосинтетическим материалом по границам системы. Это обеспечит жесткость всей конструкции и распределение нагрузки на участки земляного полотна значительной протяженности. Совместное применение с поясами активного и высокоактивного шлакового щебня с небольшим объемным весом дополнительно позволит усилить всю конструкцию.

Для устройства опорной части земляного полотна, распределяющей нагрузку на слабое грунтовое основание и удерживающей насыпь в проектном положении, предусматривается применение: обойм из синтетических материалов, заполненных торфом; обойм из синтетических материалов, заполненных пенополистиролом как гранулированным так и плитным; смесью торфа и гранул пенополистирола, имеющих повышенную ширину - более 20 м. Технология строительства, при применении обойм, заполненных торфом, предусматривает применение местного материала - торфа. Раскладка Геосинтетики производится поперек земляного полотна со сваркой стыков. Заполнение торфом производится «с головы» с разравниванием подготовленного торфа бульдозером на широких гусеницах с одновременным его уплотнением.

Для сокращения стоимости строительства (за счет уменьшения транспортных расходов на доставку строительных материалов и максимального сокращения объемов их применения) предусмотрено: применение «песка» пенополистирола (ППС) из-за возможности получения гранул ППС необходимой плотности, на месте с последующей их обработкой жидким битумом, в установке для придания ему необходимых технологических свойств и применение местных материалов путем использования смеси гранул ППС, обработанных жидким битумом и высушенного торфа.

Производя общую экономическую оценку данных предложений, можно сказать, что применение данной разработки приведет к уменьшению объемов земляных работ, относительно стандартных конструкций, более чем в 3-4 раза, в зависимости от типа болот. А использование принципа их эксплуатации в сочетании с зимниками, с учетом оптимизированных ширин проезжей части и земляного полотна, так же даст возможность использовать поперечные профили на болотах и на участках вечной мерзлоты, что повлечет за собой значительный эффект и улучшит условия их эксплуатации. Помимо этого сокращается продолжительность строительства дорожных объектов.

Данная разработка может служить базой для выдачи технического задания проектной организации со снижением стоимости проектных работ за счет частичной разработки проектных решений.


Поперечный профиль земляного полотна и дорожной одежды для применения при строительстве межпромысловых автомобильных дорог в 1-ой дорожно-климатической зоне

Тип 1

(Высота насыпи от 2,2 м до h*нас.)

1. h*нас. = Нпромерз. - Глубина ВГВМ от поверхности земли.

2. При разработке поперечника использовались действующие нормативные документы:

1. ВСН 84-89

2. ТМП 503-0-49м.87

3. Высота насыпи корректируется по условиям прохождения трассы на местности.

Поперечный профиль земляного полотна и дорожной одежды для применения при строительстве межпромысловых автомобильных дорог в 1-ой дорожно-климатической зоне

Тип 2

I - III Тип болот.

Поперечные профили земляного полотна и дорожной одежды для применения при строительстве межпромысловых автомобильных дорог в 1-ой дорожно-климатической зоне

Расчет конструкции земляного полотна производится исходя из необходимой величины возвышения бровки земляного полотна над поверхностью земли.


VI. ПРИМЕНЕНИЕ ГЕОРЕШЕТКИ «ПРУДОН-494» ДЛЯ УКРЕПЛЕНИЯ КОНУСОВ МОСТОВ И ПУТЕПРОВОДОВ

Типовая конструкция укрепления конусов мостов и путепроводов представляет собой верхний армированный георешеткой «ПРУДОН-494» слой в виде сплошного гибкого покрытия, которое плавно повторяет рельеф поверхности и формируется на предварительно подготовленном нижнем слое и, в общем случае, содержит (рис.):

- модули георешеток «ПРУДОН-494»;

- разделительную прослойку из нетканого геотекстиля;

- монтажные и несущие анкеры;

- материал заполнителя из щебня;

- материал заполнителя из бетона;

- бетонный упор;

- водоотводные лотки.

Эта современная конструкция по сравнению с традиционным укрепления конусов позволяет:

- обеспечить немедленную защиту конуса от эрозии;

- уменьшить расход строительных материалов и значительно снизить транспортные расходы;

- снизить расходы на содержание конструкции укрепления;

- обеспечить долговечность работы в условиях агрессивного воздействия окружающей среды;

- обеспечить современный дизайн конструкции укрепления за счет использования мозаичной структуры поверхности, образованной ячейками георешеток и выбора заполнителя из щебня ярких расцветок.

В период с 1995 года по настоящее время силами ОАО «494 УHP» укреплены десятки конусов мостов и путепроводов на Московской Кольцевой Автомобильной Дороге (МКАД) и Третьем транспортном кольце г. Москвы, на лучевых магистралях московского региона, при строительстве Кольцевой автодороги (КАД) г. Санкт-Петербурга, в других регионах России.


VI-1. ТИПОВАЯ КОНСТРУКЦИЯ УКРЕПЛЕНИЯ КОНУСОВ МОСТОВ И ПУТЕПРОВОДОВ ГЕОРЕШЕТКОЙ «ПРУДОН-494»

Примечание: при необходимости применяется георешетка «ПРУДОН-494» с перфорированными стенками (определяется гидравлическим расчетом)


VI-2. ТЕХНОЛОГИЯ ВЫПОЛНЕНИЯ РАБОТ ПО УКРЕПЛЕНИЮ КОНУСОВ МОСТОВ И ПУТЕПРОВОДОВ ГЕОРЕШЕТКОЙ «ПРУДОН-494»

№ п/п

Наименование операций

I

Планировка поверхности конусов

1

Планировка поверхности конусов производится ручным инструментом: лопатами и скребками-гладилками.

2

Послойное уплотнение грунта и песка электрическими трамбовками.

II

Укладка полотнища нетканого геотекстиля

1

Полотнище геотекстиля укладывается на всю поверхность конусов на криволинейных участках отдельными рулонами, раскатанными сверху вниз с перехлестом в поперечном направлении 40 - 50 см.

2

Крепление полотнища металлическими анкерами в верхней части из арматуры A-I Æ12 длиной 90 см, частота установки которых назначается в зависимости от условий местности и рельефа.

3

Нижние концы полотнища заводятся в траншею для упора. Размер траншеи 40´50 см.

III

Установка георешеток «Прудон-494»

1

Георешетки устанавливаются отдельными секциями размером 6,1´2,43 м в растянутом состоянии. Секции растягиваются до необходимого положения и временно закрепляются углы и края.

2

Крепление георешеток анкерами из арматуры A-I Æ12 длиной 90 см.

3

В верхней части откосов закрепление в каждую ячейку с запуском георешетки на 20 - 30 см под шкафную стенку.

4

Крепление секций между собой анкерами в каждую ячейку в направлении сверху вниз, через ячейку в поперечном направлении.

5

Установка георешеток в пределах границ укрепления конусов.

6

Нижние концы георешеток заводятся в траншею для бетонирования конусов.

IV

Засыпка георешеток «Прудон-494» гранитным щебнем

1

Заполнение ячеек георешетки механизированным способом непосредственно с автосамосвалов и вручную сверху путем засыпки на всю толщину георешетки и поверх решеток на 5 см гранитным щебнем фракции 5 - 20 мм.

2

Выравнивание и планировка щебня.

3

Уплотнение щебня, устранение излишков.

V

Бетонирование георешеток и упоров

1

Бетонирование упоров размером 50´50 см бетононасосом непосредственно в опалубку с уплотнением глубинным вибратором.

2

Возле упоров бетонирование прилегания георешеток полосами 0,8 - 1,0 м. Толщина слоя бетона 15 см.

3

Бетонирование площадок на устоях и возле шкафной стенки шириной 0,8 - 1,0 м, толщина слоя 15 см.

4

Выравнивание, заглаживание бетона. Бетон В30, F300, W8.


Укрепление откосов пластиковыми георешетками

Укрепление может видоизменяться в зависимости от требований заказчика, конкретно смотри планы сооружений по каждому объекту.

Укрепление георешетками осуществляет специализированное предприятие УНР 494.

Укрепление конусов и подходов

1. Поперечные профили конструкций земляного полотна и дорожной одежды на подходах приведены на черт. 1522Р/1-АД, листы 5, 6.

2. Конструкция лестничных сходов - на черт. 1522Р/1-АД, лист 4.


Объемы основных работ

Наименование

Материал

Ед. изм.

Колич.

Укрепление конусов

 

 

 

Укрепление бетонными блоками П-1М

Бетон В20 F300 W6

м3

18,26

Укрепление ж.б. плитами 3000´2500´150

Бетон В20 F300 W6

м3

945

Установка бетонных блоков У-1М, У-3М

Бетон В20 F300 W6

м3

71,4

Монолитные участки укрепления

Бетон В20 F300 W6

м3

7,60

Монолитные упоры

Бетон В20 F300 W6

м3

70

Отсыпка конусов дренирующим грунтом

Песок

м3

50750

Каменная

Камень рваный d = 10 см

м3

430

Подготовка и укрепление из щебня

Щебень

м3

1060

Укрепление подходов

 

 

 

Укладка геотекстиля в тело насыпи

Дорнит Ф-2

м3

25460

Укладка георешетки «Прудон-494», тип АР2

Пластик

м3

10840

Отсыпка подходов

Песок

м3

36100

Укрепление щебнем

Щебень

м3

150

Срезание грунта

Грунт

м3

2800

Дорожная одежда, укрепление обочин

Щебень фракционированный

м3

10,70

Основание дорожной одежды

Смесь 1 ГОСТ 23558-79

м3

120

Барьерное ограждение

Сталь 15ХСНД-2 ГОСТ 6713-91

м

63,0

Спецификация элементов конусов и подходов

Поз.

Обозначение

Наименование

Кол.

Масса ед., кг

Примечание

 

 

Сборные конструкции

 

 

 

1

3501.1-15б.1-04

Блок П-1М

160

55

0,026 м3

2

Мод. М750 л.18

Плита 3000´2500´150

840

2750

1,125 м3

3

3501.1-15б.1-01

Блок У-1М

232

720

0,3 м3

4

3501.1-15б.1-04

Блок У-3М

4

1125

0,45 м3

 

 

Монолитные конструкции

 

 

 

5

 

Монолитный бетон укрепления

-

-

7,6 м3

6

 

Монолитный упор 300´400

-

-

70 м3

 

 

Барьерное ограждение

 

 

 

7

ГОСТ 26804-86

Барьерное ограждение ПДО-3.1 = 36000

4

3375

 

 

 

Материалы

 

 

 

 

 

Дорнит Ф-2

-

-

25460 м3

 

ТУ 2246-002-07859300-97

Прудон-494, тип ДР2

-

-

10840 м3

VII. ПРИМЕНЕНИЕ ГЕОРЕШЕТКИ «ПРУДОН-494» ДЛЯ УКРЕПЛЕНИЯ ОТКОСОВ НАСЫПНЫХ СООРУЖЕНИЙ

Типовая конструкция укрепления откоса представляет собой сплошной ковер из георешеток «ПРУДОН-494», заполненных растительным грунтом или торфо-песчаной смесью (ТПС) и покрывающих верхнюю и нижнюю части откосов, берму, русло водоотводного ручья и, в общем случае, включает в себя (рис.):

- объемные пластиковые георешетки «ПРУДОН-494»;

- разделительную прослойку (согласно проекта);

- монтажные и несущие анкеры;

- заполнитель ячеек из растительного грунта, ТПС, щебня или ЩГПС;

- дополнительные элементы (упоры устанавливают в местах вероятных размывов откосов, водоотводные лотки и др.).

Крепление георешеток на откосе и соединение их между собой осуществляют с помощью Г-образных анкеров, скрепок и полимерных тросов, параметры которых и схема их установки определяется проектом.

Разделительную прослойку из нетканого геотекстиля устраивают только на подтапливаемой части откоса. В этой зоне применяют также георешетки преимущественно с перфорированными стенками, которые могут заполняться щебнем или ЩГПС (в соответствии с гидравлическим расчетом).

Упоры и водоотводные лотки могут выполняться упрощенной конструкции, используя гибкость георешеток.

При выборе параметром конструкции укрепления откоса следует учитывать:

- физико-механические свойства грунтов, слагающих откос;

- погодно-климатические факторы региона строительства;

- гидрологический режим подтопления откоса, а также гидрогеологический режим;

- высоту и крутизну откоса.

Применение георешеток обеспечивает надежное и немедленное закрепление грунта на откосе до образования устойчивого дернового покрова, а также препятствует выносу частичек грунта ветром и водой, замедляет скорость течения поверхностных вод на быстротоках.

В период с 1995 года по настоящее время силами ОАО «494 УНР» укреплено более 200 тыс. м2 откосов в различных регионах России, в том числе на МКАД и Третьем транспортном кольце г. Москвы, КАД г. Санкт-Петербурга, Тюменской и Новгородской областях, Ханты-Мансийском АО и других.

VII-1. ТИПОВАЯ СХЕМА УКРЕПЛЕНИЯ ОТКОСОВ НАСЫПНЫХ СООРУЖЕНИЙ ГЕОРЕШЕТКОЙ «ПРУДОН-494»

Примечание: при необходимости применяется георешетка «ПРУДОН-494» с перфорированными стенками (определяется гидравлическим расчетом).

VII-2. ТЕХНОЛОГИЯ ВЫПОЛНЕНИЯ РАБОТ ПО УКРЕПЛЕНИЮ ОТКОСОВ НАСЫПНЫХ СООРУЖЕНИЙ ГЕОРЕШЕТКОЙ «ПРУДОН-494»

№ п/п

Наименование операций

I

Планировка поверхности конусов

1

Планировка поверхности откосов производится ручным инструментом: лопатами и скребками-гладилками.

2

Послойное уплотнение грунта и песка электрическими трамбовками.

II

Укладка георешеток «ПРУДОН-494»

1

Георешетка устанавливается отдельными секциями размером 6,1´2,43 м в растянутом состоянии. Секции растягиваются до необходимого положения и временно закрепляются углы и края.

2

Крепление георешеток анкерами из арматуры A-I Æ10 - 14 мм длиной 0,5 - 1,2 м.

3

В верхней части откосов устраивается углубление размером 0,8´0,3 м для запуска георешетки. Затем производится обратная засыпка.

4

Крепление секций между собой анкерами в каждую ячейку в направлении сверху вниз, через ячейку в поперечном направлении.

6

В нижней части откоса устраивается траншея глубиной 0,5 м. Георешетка укладывается с запуском в траншею с последующей засыпкой растительным грунтом.

7

По площади модуль георешетки крепится анкерами в шахматном порядке.

8

По днищу водоотводного лотка георешетка укладывается, соблюдая конфигурацию сечения по всей площади днища и стенок.

III

Устройство щебеночного основания стенок и днища водоотводного лотка (если предусмотрено проектом)

1

Укладка щебеночного основания стенок и днища лотка из гранитного щебня фракции 10 - 20 мм общей толщиной 15 см механизированным способом, доработка вручную.

2

Уплотнение щебеночного основания.

IV

Бетонирование стенок и днища водоотводного лотка (если предусмотрено проектом)

1

Бетонирование лотка механизированным способом с подачей бетононасосом с укладкой в георешетку толщиной 15 см по направляющим из обрезной доски.

2

Выравнивание бетона, заглаживание и железнение.

V

Засыпка георешеток «ПРУДОН-494» растительным грунтом с посевом многолетних трав

1

Заполнение ячеек георешетки механизированным способом непосредственно с автосамосвалов и вручную сверху путем засыпки на всю толщину георешетки и поверх решеток на 5 см растительным грунтом.

2

Выравнивание, планировка грунта, уплотнение и устранение излишков.

3

Посев семян многолетних трав, укрытие мешковиной и поливка водой.

Укрепление откосов земполотна с применением георешеток. Тип 2

КОНСТРУКЦИЯ УКРЕПЛЕНИЯ ОТКОСОВ ЗЕМЛЯНОГО ПОЛОТНА С ПРИМЕНЕНИЕМ ГЕОРЕШЕТОК

ТИП 2

ТЕХНИЧЕСКИЕ ХАРАКТЕРИСТИКИ ИСПОЛЬЗУЕМЫХ МАТЕРИАЛОВ

1. Синтетический нетканый материал (дорнит):

- предел прочности на растяжение, Н/см - не менее 100;

- условный модуль деформации при растяжении, Н/см - 300;

- общее относительное удлинение при разрыве, % - не более 50;

- ширина полотна, принятая в расчетах, м - 2,5;

- нахлест полотен при укладке, см - 10-15.

2. Георешетка «Прудон-494»:

- прочность на разрыв, МПа - 150;

- размер ячейки, см - 20´20;

- высота ячеек, см - 15;

- размер секции, м - 6,1´2,43.

3. Анкеры стальные (А-1):

- марка стали - ВС3ТСП3;

- защита анкеров от коррозии - эмаль ВЛ-515 (ТУ 6-10-1062-75);

- диаметр стержня, мм - 12;

- длина анкера, мм - 600;

- шаг анкеров, м: - в местах стыков полотна - через одну ячейку;

- по полотну - через 1 м в шахматном порядке.

4. Торфопесчаная смесь: - состав, %, 1. песок - 40;

2. торф - 60.

5. Семена трав для посева:

- состав травосмеси, %, 1. костер безостый - 30;

2. мятлик луговой - 30;

3. пырей ползучий -40.

- норма высева на 100 кв. м откоса, кг - 5,4;

- норма внесения удобрений при посеве (аммофос) на 100 кв. м откоса, кг - 6,0.

6. Бетон заполнения упорной призмы, класс - В15, марка F-300, марка - W6.

ПРИНЦИП ПРОИЗВОДСТВА РАЗБИВОЧНЫХ РАБОТ:

1. Обозначение мест расположения огор. дорожных знаков и указателей.

2. Обозначение по относу с помощью шнура и маркеров направления, перпендикулярного оси дороги.

3. Маркеры располагаются:

- в продольном к оси дороги направлении с шагом, равным ширине секции георешетки (2,43 м);

- в поперечном направлении (вниз по откосу) с шагом, равным длине секции (6,1 м).

Разметка маркерами должна обозначить на откосе углы четырехугольников размерами 2,43´6,1 м.

4. В процессе растягивания георешеток необходимо контролировать параллельность сторон. Для выполнения этой операции сверху на растянутую георешетку устанавливается настил из досок.

5. Ширину захватки, как правило, следует принимать равной высоте откоса.

ВЕДОМОСТЬ ОБЪЕМОВ РАБОТ НА 100 м2 УКРЕПЛЕНИЯ ПРИ СРЕДНЕЙ ДЛИНЕ ОТКОСА 10 м

 

Наименование работ

Ед. изм.

Количест.

1

Планировка откоса насыпи

м2

100

2

Уплотнение поверхности откоса

м3

50

3

Рытье траншеи на обочине

м3

2,5

4

Рытье траншеи у подошвы насыпи

м3

5,0

5

Укладка геотекстиля с закладкой в траншеи

м2

120

6

Укладка георешеток с закладкой в траншеи

м2

120

7

Закрепление георешеток анкерами

кг

180

8

Заполнение конечных ячеек георешетки в траншее на обочине монолитным бетоном кл. В15

м3

0,3

9

Засыпка грунтом траншеи на обочине с уплотнением

м3

2,2

10

Заполнение траншеи у подошвы насыпи бетоном В15 с уплотнением

м3

2,5

11

Заполнение траншеи у подошвы насыпи щебнем без уплотнения

м3

2,8

12

Заполнение георешетки растительным грунтом

м3

17

13

Планировка по откосу растительного грунта

м2

100

14

Укрепление растительностью: - засев трав

кг

5,4

 

- Уход за посевом трав с поливом водой

м3

17

 

- Уплотнение грунта после посева трав

м3

17

Примечания:

1. Объемы работ см. «Сводную ведомость объемов работ».

2. Конструктивно-технологические решения согласованы с ОАО 494 УНР (г. Бронницы Московская обл.), обладающей опытом производства и применения георешеток.

Укрепление откосов земляного полотна георешеткой км 100

Конструкции укрепления откосов

Георешетка «Прудон-494» ОРЗ ТУ 2246-002-07859300-97, размер ячейки 40´40 см, размер секции 6,10´2,43´0,10, площадь 14,82 кв. м, масса 15 кг.

Расход материала на 1000 кв. м укрепления

Наименование

Ед. изм.

Количество

Вес ед. изд., кг

Общий вес, т

Тип 1

 

 

 

 

Торфо-песчаная смесь

м3

87,5

-

-

Тип 3

 

 

 

 

«Прудон-494» ОРЗ ТУ 2246-002-07859300-97

м2

1029

15

15,44

Арматура А-I Æ12 мм, L = 900 мм

шт.

3503

0,888

3,111

Торфо-песчаная смесь

м3

187,5

-

-

Геотекстиль «Дорнит-Ф-2» ТУ 63.032-19-89

м2

1250

-

-

Тип 3-К

 

 

 

 

«Прудон-494» ОРЗ ТУ 2246-002-07859300-97

м2

1029

15

15,44

Арматура А-I Æ12 мм, L = 900 мм

шт.

3503

0,888

3,111

Щебень ГОСТ 8267-96* фракция 40 - 70 мм, марка 1000

м3

150

-

-

Геотекстиль «Дорнит-Ф-2» ТУ 63.032-19-89

м2

1250

-

-

VIII. ПОДПОРНЫЕ СТЕНЫ ИЗ ГРУНТА, АРМИРОВАННОГО ГЕОРЕШЕТКАМИ «ПРУДОН-494»

Подпорные стенки применяют для увеличения крутизны откосов и сокращения объемов работ, они удерживают грунтовый массив, откос которого имеет крутизну большую, чем предельная, по условиям устойчивости. Иногда подпорные стены служат не только для закрепления откосов, но и для проложения по ним участка автодороги, являясь основной частью насыпи.

Подпорные стены из армированного грунта характеризуются экономичностью и простотой возведения, причем эффективность их возрастает с увеличением высоты. Податливость стен за счет деформативности грунта делает их нечувствительными к осадкам основания. Такие подпорные стены лучше приспособлены к неравномерным осадкам, лучше компенсируют температурные и усадочные напряжения.

Конструкция армогрунтовой подпорной стенки с применением георешетки «ПРУДОН-494» представляет собой многослойную конструкцию, в которой георешетки расположены одна над другой. Заполнение ячеек георешетки производится, как правило, песчаным грунтом с добавлением не более 15 % каменных материалов. Материал засыпки должен обладать хорошими дренирующими свойствами и иметь угол внутреннего трения не менее 25°.

Опыт строительства армогрунтовых подпорных стенок с использованием «ПРУДОН-494» значителен. Достаточно назвать такие объекты, как реконструкция III Внутреннего городского транспортного кольца на участке Автозаводский мост - Москва-Сити (ПК 364+80), строительство подпорной стенки на Кутузовской развязке (ПК 78-80), где заказчиком выступает Правительство Москвы. Выполнено также строительство подпорных стенок при реконструкции автодороги МКАД - Кашира и благоустройстве микрорайона 8Г в Митино.

Интересным вариантом использования пластиковых георешеток «ПРУДОН-494» является подпорная стенка высотой 4 - 6 м в г. Бронницы, выполненная методом многослойного армирования. Строительство данной подпорной стенки начиналось с устройства железобетонного свайного фундамента. Сваи в верхней их части были объединены с помощью ж/б ростверка. Укладка слоев георешетки высотой 200 мм выполнялась со сдвигом каждого последующего слоя. Закрепление слоев георешетки между собой осуществлялось арматурными стержнями d = 12 mm, L = 80 см по контуру в каждую ячейку, внутри модуля через три ячейки в шахматном порядке. Заполнение ячеек георешетки было выполнено растительным грунтом с последующим посевом по поверхности стенки семян трав, что в результате дополнительно укрепило поверхность, а также дало возможность получить необычный дизайн.

Модули георешетки, выполненные из гибких полиэтиленовых лент, дают возможность возведения армогрунтовых подпорных стенок в местности с любым рельефом, различной конфигурации, а крутизна укрепляемого склона не ограничена, вплоть до вертикального. Кроме того возведение стенок может быть выполнено в несколько ярусов. Это позволяет добиться наибольшей устойчивости склона, дает возможность более рационально использовать строительную технику, так как ширина яруса достаточна для ее размещения.


VIII-1. ТЕХНОЛОГИЧЕСКАЯ СХЕМА ВОЗВЕДЕНИЯ ПОДПОРНЫХ СТЕН С ПРИМЕНЕНИЕМ ГЕОРЕШЕТКИ «ПРУДОН-494»


УЗЕЛ СОЕДИНЕНИЯ ЖЕЛЕЗОБЕТОННОГО РОСТВЕРКА С АРМОГРУНТОВОЙ ПОДПОРНОЙ СТЕНКОЙ

Технология сооружения подпорных стен из армированного грунта отличается тем, что нет необходимости применения сложных строительных машин и привозных инертных материалов. Большая часть работы выполняется вручную, а при заполнении ячеек можно использовать местные грунты, удовлетворяющие определенным требованиям, исключая тем самым затраты на транспортировку.

Сооружение подпорной стенки из грунта, армированного георешеткой «ПРУДОН-494», начинается с устройства железобетонного ростверка на буронабивных сваях, мощность которого зависит от нагрузки, которую должна воспринимать подпорная стенка. Затем выполняется послойная укладка модулей георешетки с прослойкой из нетканого геотекстильного рулонного материала и заполнением ячеек грунтом на толщину, превышающую высоту ячеек на 25 - 30 %. Уплотнение грунта лучше производить катком на пневмошинах. Крайние ячейки георешетки заполняются растительным грунтом с последующим посевом трав. Возможен также вариант последующей облицовки подпорной стенки блоками из вибропрессованного бетона, изготавливаемыми по технологии ОАО «494 УНР». Это обычно выполняется в городских условиях для придания определенного дизайна. В данном случае возможно сооружение практически вертикальных стен таких, как подпорная стенка на участке 3-его транспортного кольца на Кутузовской развязке.


СХЕМА УСТРОЙСТВА ПОДПОРНОЙ СТЕНКИ НА ПК 165+40 - ПК 165+50 (правая сторона)

АВТОМАГИСТРАЛИ МОСКВА - НИЖНИЙ НОВГОРОД


ПОСЛЕДОВАТЕЛЬНОСТЬ ВЫПОЛНЕНИЯ ОПЕРАЦИЙ:

1. Бетонирование фундамента, бетон В30, F300, W8.

2. Установка стержней из арматуры A-III диам. 20 мм длиной max 4,0 м на расстоянии 0,2 м друг от друга по всей длине подпорной стенки.

3. Укладка полотнища нетканого геотекстильного материала.

4. Модули георешетки «ПРУДОН-494» крайними ячейками надевают на крайние арматурные стержни, растягивают и закрепляют Г-образными штырями: в каждую ячейку - по контуру модуля; в шахматном порядке с шагом в 1 м - внутри модуля. Расход - 3,11 кг/м2. С внешней стороны укладываются арматурные тяжи длиной 2 м.

5. Заполнение ячеек георешетки щебнем за исключением двух крайних рядов ячеек.

6. Сетка из арматуры надевается на арматурные стержни и закрепляется.

7. Второй слой георешеток «ПРУДОН-494» укладывается со сдвижкой, на арматурные стрежни не надевается.

8. Заполнение ячеек георешетки второго слоя аналогично первому - щебнем, за исключением крайнего ряда ячеек.

9. Укладка разделительной прослойки из нетканого геотекстильного материала.

10. Третий слой георешеток надевается на крайние арматурные стержни, закрепляется.

11. Заполнение третьего (нечетного) слоя георешеток: два крайних ряда ячеек не заполняются; следующие три ряда заполняются щебнем для обеспечения дренажа; все остальные ячейки заполняются песком.

12. Четвертый (четный) слой георешеток укладывается на уровне второго слоя. Не заполняется крайний ряд ячеек, далее - три ряда щебня, остальные ячейки - песок.

13. Далее укладка нечетного и четного слоя выполняется аналогично до достижения проектной отметки.

14. Установка опалубки для бетонирования.

15. Бетонирование производится в несколько этапов после укладки и заполнения каждого пятого слоя георешеток.


Подпорная стенка на ГК78 ÷ ГК80

Схема расположения элементов


Расположение подпорной стенки в координатной системе см. черт. МИП.

Работы по сооружению подпорной стенки из облицовочных камней выполнять при научно-техническом сопровождении НИЦ Мосты.

Засыпку и уплотнение грунта производить послойно из песка ср. кр. Купл = 0,98 j = 35° g = 1,8 т/м3.

Отметки, пикетаж и расстояния - в м, размеры - в м.

Объем ж/б дорожной плиты, покрытия, ограждения, шумозащитной стенки не учтен.

Основные объемы

№№ п/п

Наименование

Ед. из.

Колич.

1

Отрывка котлована

м3

1210

2

Щебеночная подготовка

м3

50

3

Монолитный ж/б фунд.

м3

131,2

4

Стеновые блоки

м3

288

5

Анкер - «ПРУДОН-494»

м2

8640

6

Бетон заполнения

м3

57,6

7

Арматурные элементы

т

8,1

8

Монолитный ж/б упор

м3

2,9

9

Дренгрунт засыпки

м3

1728*)

10

Ткань ровинговая ТР-0,7

м2

9090

*) в пределах георешетки


Подпорная стенка на ГК78 ÷ ГК80

Анкерующие элементы


Расход стали на секцию СС - 1 кг.

 

NN поз.

Сечение, мм

Длина поз., мм

Вес 1-ой поз., кг

Колич. на С-1 и СС-1

Общий вес, кг

Примеч.

С-1

3

Æ10 AIII

1900

1,2

2/68

82,0

 

4

Æ10 AIII

160

0,1

19/646

65,0

 

отд. ст.

1

Æ12 AIII

1920

1,7

-/60

102,0

3 шт. по гориз.

2

Æ20 AIII

7000

17,3

-/16

277,0

 

 

 

 

 

ИТОГО

526,0

сталь 25Г2С

 

Voб. бетонир. = 2,8 м3

Вязальн. провол. 2,6 кг

 

1. Позицию 1 уточнить по размерам стенового блока.

2. Все размеры - в мм.


Подпорная стенка

Поперечный разрез. Объемы основные

1. Объем песчаного грунта учтен в пределах границ укладки георешетки «Прудон-494».

2. Облицовочные стеновые блоки выполняются из прессованного бетона по техническим условиям УНР-494. Бетон В25 F300 (с испытанием в солях) W-4 с обязательным нанесением водозащитного покрытия.


Основные объемы

№№ пп

Наименование

Ед. изм.

Колич.

1

Разработка насыпи

м3

2800

2

Отрывка котлована под ф-т

м3

1490

3

Плиты ПАГ-14и

шт/м3

18/30,4

4

Георешетка «Прудон-494»

м2

40300

5

Дорнит

м2

8740

6

Песчано-гравийная смесь

м3

600

7

Песчаный грунт насыпи

м3

12800

8

Ж/б пазух

м3

184

9

Облицов. стеновые блоки

м3

160

10

Гидроизоляция

м2

2300

11

Защитный слой δ = 3 см

м2

910


Мероприятия по стабилизации грунтового откоса. Поперечный профиль 1-1. Ведомость объемов работ


IX. АРМОГРУНТОВЫЕ КОНСТРУКЦИИ ЗЕМЛЯНОГО ПОЛОТНА

Принципиальная идея конструкции типа армогрунт заключается в помещении в грунтовой насыпи гибкого, обеспечивающего анкеровку (в теле насыпи) армирующего материала, воспринимающего растягивающие напряжения, которые грунт воспринимать не может.

Применение армированного грунта для получения крутых откосов земляных сооружений получило широкое распространение в мировой практике. Примером может служить конструкция армогрунтовой насыпи при уширении подходов к путепроводу на км 16+260 автомобильной магистрали Москва - Нижний Новгород, предложенная ОАО «ЦНИИС». Откосы насыпи имеют крутизну 1:1,5 и 1:0,5.

При использовании армированного грунта для строительства насыпей на слабых грунтах, что как раз и имело место в описываемом случае, возникают три основные проблемы, требующие решения:

1. Обеспечение устойчивости насыпи на слабом основании.

2. Исключение недопустимых осадок основания насыпи после ее сооружения и сдачи в эксплуатацию.

3. Обеспечение динамической устойчивости в процессе длительной эксплуатации земляного полотна подходов.

Для решения этих проблем армирующие прослойки, используемые при сооружении насыпи, должны обладать следующими свойствами и обеспечивать:

- армирование;

- водопроницаемость;

- свойство фильтра;

- стойкость материала к химическим воздействиям;

- разделение слоев.

На подошве насыпи со слабым основанием устраивается разделяющая армирующая прослойка, которая, кроме своей прямой функции - усиление несущей способности основания, исключает взаимное проникание и перемешивание грунта насыпи и слабых слоев в процессе строительства и эксплуатации, обеспечивая долговечность конструкции и стабильное сохранение ее геометрических контуров при обеспечении требуемого уровня несущей способности.

Применение в армогрунтовой насыпи на различных уровнях слоев из объемных георешеток «ПРУДОН-494» в обойме из геоткани (SG 80/80, Stabilenka 150/45 и др.) за счет собственной прочности и сопротивления растяжению, препятствует сдвигу одних частей грунтового массива относительно других и, работая совместно с грунтом, вызывает перераспределение напряжений с перегруженных зон на соседние недогруженные участки, вовлекая их в работу. При этом устойчивость насыпи повышается за счет работы объемной георешетки с грунтом в обойме из геоткани. Это в свою очередь существенно снижает неравномерность осадок насыпи и напряжения в основании.


Примечания:

1. Ширина основания армогрунтовой насыпи с усилением двумя слоями объемной георешетки «Прудон» (h = 200 мм) должна составлять 6,0 м.

2. Для сопряжения армогрунтовой насыпи с существующей армогрунтовые слои должны опираться на уступ, врезаемый в существующую насыпь на глубину не менее 1,0 м.

3. В местах перелома откоса (изменение заложения c 1:0,5 и 1:1,5) армогрунтовый слой устраивается использованием георешетки «Прудон-494».

4. Откосы армогрунтовой насыпи защищаются сеткой Tensar Mat 400 с отсыпкой растительным грунтом с семенами трав.

Устройство дренажа и основания под армогрунтовую насыпь ПК 163 + 77.82 - ПК 166 + 50 (право)

Примечание: вертикальная линия по краю армогрунтовой насыпи совпадает с центром дренажной трубы Æ160 мм.


IX-1. ТИПОВАЯ ТЕХНОЛОГИЧЕСКАЯ СХЕМА ВОЗВЕДЕНИЯ АРМОГРУНТОВОЙ НАСЫПИ С ПРИМЕНЕНИЕМ ГЕОРЕШЕТКИ «ПРУДОН-494»

УСЛОВНЫЕ ОБОЗНАЧЕНИЯ:

- экскаватор ЭО-4225

- рулонный нетканый геотекстильный

- бульдозер ДЗ-171 (вид спереди и вид сверху)

- рулонный высокопрочный геосинтетик

- погрузчик ТО-18

- объемная георешетка «ПРУДОН-494» тип АР-3

- автосамосвал

- заполнение георешетки гранитным щебнем

- каток комбинированный «Bitteli»

- песчаный слой


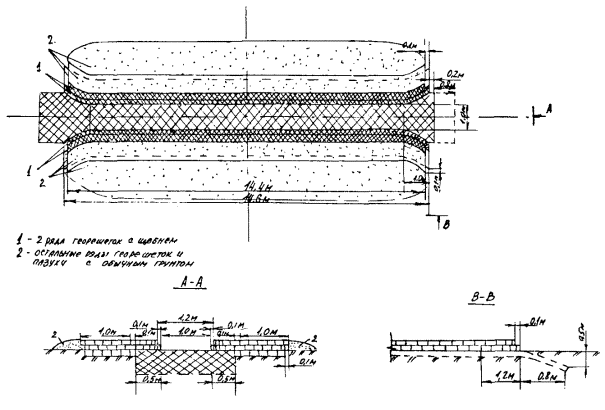
IX-2. СХЕМЫ АРМИРОВАНИЯ ОТКОСОВ ВЫСОКИХ НАСЫПЕЙ С ПРИМЕНЕНИЕМ ГЕОРЕШЕТОК «ПРУДОН-494»

На представленных рисунках приведены схемы армирования откосов с уклоном 45° с применением георешеток «ПРУДОН-494». При этом в качестве мероприятий по закреплению поверхностных частей откоса предусмотрено их сплошное армирование георешетками типа «ПРУДОН-494». В соответствии с результатами проведенных расчетов определены горизонты, на которых вместо более прочных армирующих материалов (типа STABILENKA 200/45) могут быть применены георешетки. Расчеты проводились в предложении устойчивого недеформируемого основания, отсутствие внешней нагрузки. Схемы армирования откосов рассчитывались исходя из условия обеспечения прочности Ктр = 1,3.

Из проведенных расчетов следует, что в насыпи имеются горизонты, на которых вместо высокопрочных рулонных синтетических материалов можно применить объемную георешетку «ПРУДОН-494». В «Методике расчета насыпей, армированных различными материалами», изданной ОАО «494 УНР» в 2001 г., изложен новый подход к решению задачи расчета армогрунтовых насыпей. Расчет построен на непосредственном учете совместной работы грунта и армирующих прослоек на каждом горизонте, учете совместной работы потенциальных поверхностей обрушения левого и правого откосов насыпи. Кроме того, определен состав задач, результаты последовательного решения которых позволяют обосновать надежную и экономическую схему армирования конструкции различными материалами.


Рис. Схема армирования насыпи с углом заложения откоса 45°

1 - расчетные поверхности скольжения; 2 - георешетки «Прудон-494»; 3 - геотекстильный материал

Все размеры указаны в метрах.


X. АРМОГРУНТОВЫЕ ОБОЙМЫ МЕТАЛЛИЧЕСКИХ ГОФРИРОВАННЫХ ВОДОПРОПУСКНЫХ ТРУБ

Объемные георешетки «ПРУДОН-494» применяются на новых железных и автомобильных дорогах при сооружении металлических гофрированных труб, которые используются как для пропуска периодически действующих водотоков, так и для пропуска постоянных водотоков. Георешетка «ПРУДОН-494» - материал, работающий как армирующий, ограничивает сдвиговые деформации, укрепляет грунт, создавая ячеистую структурную основу, в которой грунтовая масса в каждой ячейке как в обойме, способна выдержать большое давление.

КОНСТРУКТИВНЫЕ СХЕМЫ АРМОГРУНТОВОЙ ОБОЙМЫ.

Конструктивные схемы использования георешетки при проектировании и строительстве водопропускных сооружений из гофрированных металлических элементов, а также путепроводов и сооружений снеголавинных и скальнообвальных защитных галерей формируются исходя из целей усиления грунтовой обоймы армированием и расчетных предпосылок. Основные комбинации гофрированных структур и армирования обоймы георешетками имеют 4 основные модификации:

1. Усиление основания с использованием объемных георешеток для создания мембраны, обеспечивающей равномерное распределение нагрузки от насыпи (рис. 1);

2. Усиление армированием грунтовой обоймы с созданием «упоров» в местах, препятствующих возможной деформации контуров сооружения из гофрированного металла (рис. 2);

3. Устойчивость мембраны над щелыгой свода гофрированной арки (трубы) для равномерного распределения нагрузки от насыпи и для усиления несущей способности армированной грунтовой обоймы (рис. 3);

4. Создание усиления грунтовой обоймы над щелыгой свода в случае ограниченной высоты засыпки для восприятия воздействия от временной нагрузки (рис. 4).

Рис. 1

Рис. 2

Рис. 3

Рис. 4

На основе этих модификаций могут быть разработаны различные комбинации конструктивных вариантов в зависимости от внешних условий.


Федеральная автодорога «Амур» в читинской области

Поперечный профиль по трубе км 735 ПК 219+30

Ремонт моста через реку Шитка на км 102+760 автомобильной магистрали Москва - Нижний Новгород

Разрез по оси трубы

Конструкция дорожной одежды и земполотна

Тип 1

ПКО+0.00÷ПКО+15.000 (ПКО+41.000÷ПКО+56.000)

Примечания:

1.* - средняя ширина полосы на существующей автодороге.

2. Чертеж смотреть совместно с 199-ТР2-2.


XI. СОПРЯЖЕНИЕ УСТОЯ МОСТА ИЛИ ПУТЕПРОВОДА С ПРИМЕНЕНИЕМ ГЕОРЕШЕТОК «ПРУДОН-494»

1 - диванный блок; 2 - пролетное строение; 3 - армогрунтовая конструкция; 4 - дренирующий грунт; 5 - армирующие элементы (георешетка «ПРУДОН-494»); 6 - лицевое ограждение; 7 - фундамент; 8 - шкафная стенка; 9 - переходная плита; 10 - лежень; 11 - щебеночная подушка; 12 - насыпь; 13 - стеновые блоки; 14 - ребра; 15 - пазы; 16 - каркасные решетки; 17, 18 - продольные и поперечные стержни; 19 - крепежные гнезда; 20 - геотекстильные полотна; 21 - клинообразная щебеночная подушка; 22 - дренажная труба; 23 - дренажная призма; 24 - горфы; 25 - щебеночная подготовка.

Фиг. 1

Изобретение устоя моста может быть использовано для сопряжения моста с насыпью при строительстве мостов и путепроводов на территориях, исключающих сооружение фундаментов глубокого заложения на сваях. Задачей изобретения является упрощение строительства, сокращение его сроков и увеличение технологичности при одновременном обеспечении эксплуатационной надежности, долговечности и устойчивости. Устой моста содержит расположенную под углом к горизонту армогрунтовую конструкцию. Между основанием диванного блока и армогрунтовой конструкцией образована клинообразная щебеночная подушка, а за лицевым ограждением в нижний слой уплотненного дренирующего грунта засыпки встроена дренажная трубка, а в остальные слои - дренажные призмы из щебня.

XII. УСТРОЙСТВО СОПРЯЖЕНИЯ МОСТА С НАСЫПЬЮ С ПРИМЕНЕНИЕМ ГЕОРЕШЕТОК «ПРУДОН-494»

1 - устройство для восприятия вертикальной нагрузки; 2 - пролетное строение; 3 - фундамент; 4 - опора; 5 - оголовок; 6 - переходная плита; 7 - шкафная стенка; 8 - щебеночная подушка; 9 - подпорная стенка; 10 - грунт насыпи; 11 - зазор; 12 - фронтальная сторона; 13 - упругое основание; 14, 15 - верхний и нижние пояса; 16 - объемные георешетки «ПРУДОН-494»; 17 - уплотненный гравий; 18 - уплотненный дренирующий грунт; 19 - геотекстильный материал; 20 - анкерные валики; 21 - уплотненный гравий; 22 - откос; 23 - геотекстильный материал; 24 - уплотненный дренирующий грунт; 25 - дренаж; 26 - сваи; 27 - ростверк; 28 - торцы; 29 - дренажные призмы; 30 - дренирующий геотекстиль; 31 - дополнительные наклонные сваи; 32 - открылки.

Фиг. 1

Сопряжение моста с насыпью отличается тем, что оно снабжено упругим основанием, на котором расположена подпорная стенка. Причем упругое основание выполнено в виде двух поясов объемных георешеток, заполненных уплотненным гравием, и расположено между поясами слоя уплотненного дренирующего грунта, заключенного в перекрашивающиеся вдоль и поперек ряды геотекстильного материала. Нижний пояс объемных георешеток расположен на слое уплотненного гравия. При этом подпорная стенка выполнена с откосом с фронтальной стороны.

XIII. ГЕОРЕШЕТКА «ПРУДОН-494» ДЛЯ УКРЕПЛЕНИЯ БЕРЕГОВ ПОСТОЯННЫХ ВОДОТОКОВ

В геотехническом строительстве с использованием геосинтетических материалов решаются задачи гидроизоляции и дренажа, армирования и стабилизации откосов набережных, русел водотоков, защиты их от эрозии и размыва.

Применение георешеток, как показали исследования, позволяет обеспечить длительную защиту водоотводных канав с заданной степенью жесткости и стабильности. Благодаря пластичности и гибкости георешетки возможно создание укрепления, точно повторяющего конфигурацию существующих русел или водоотводных канав.

В качестве заполнителя ячеек георешетки возможно применение различных материалов. Тип заполнителя выбирается в зависимости от интенсивности потока воды:

- при небольшой интенсивности течения или кратковременных потоках воды для укрепления предлагается конструкция с использованием в качестве заполнителя ячеек георешетки растительный грунт. В этом случае допустимая неразмывающая скорость воды равна 5,5 м/сек (глубина потока 0,4 м);

- при скорости потока воды от 5,5 м/сек до 6,6 м/сек заполнение ячеек георешетки целесообразно выполнять щебнем или каменной наброской;

- при высокоинтенсивном продолжительном течении целесообразно использование конструкции с заполнением ячеек георешетки бетоном М200. При этом допустимая неразмывающая скорость при глубине потока 0,4 м составляет 13 м/сек.

В случае необходимости укрепления крутых склонов, подверженных интенсивному воздействию волн, или укрепления каналов, берега которых сложены из неустойчивых размываемых грунтов, целесообразно применение другого варианта укрепления, когда модули георешетки укладываются послойно друг на друга (подпорные стенки). Такой вид укрепления позволяет достигнуть значительно большей устойчивости русел глубоких водотоков. Заполнение ячеек георешетки при большой интенсивности потока воды лучше выполнять щебнем или каменной наброской. Крутизна укрепляемых откосов при этом не ограничена, вплоть до вертикального.

Для заполнения ячеек георешетки при укреплении берегов рек, прудов, каналов можно также использовать бетонную мозаику, изготавливаемую по размеру ячеек. Цвет мозаики может быть различным, позволяющим при заполнении ячеек создать интересный дизайн. Мозаичное заполнение может быть как сплошным, так и отдельными элементами.


ТИПОВАЯ КОНСТРУКЦИЯ УКРЕПЛЕНИЯ ПОДТАПЛИВАЕМЫХ ОТКОСОВ


Заполнение ячеек георешетки «ПРУДОН-494» щебнем производится следующим образом:

1. Нижняя часть ячеек заполняется щебнем фракции 5 - 20 мм.

2. Верхняя часть ячеек - щебнем фракции 20 - 60 мм.

Укрепление канав

Схема раскладки «Дорнита»

Схема укладки георешеток

Анкер для закрепления геокаркасов

(размеры в миллиметрах)

М 1:10

Георешетка «Прудон-494»

1. Для крепления георешеток анкера устанавливаются через ячейку по краям канавы и 1 анкер на 2 кв. м площади.

2. Скрепление георешеток между собой производится специальным степлером.

3. Для заполнения ячеек георешеток используется гравийно-песчаная смесь.

4. Размеры на чертеже даны в метрах.

Таблица расхода материалов

п/п

Наименование материалов и изделий

Единица измерения

Количество

1.

Георешетки «Прудон-494»

шт.

218

2.

Анкер металлический

шт./т

5060/5438

3.

Синтетический материал «Дорнит»

м2/рул.

4060/212

4.

Гравийно-песчаная смесь

м3

359

5.

Деревянный брус сеч. 5´5 см

м/м3

53524/134

6.

Деревянные колья размером 3´3´25 см

шт./м3

1467/033

7.

Деревянные колья размером 5´5´40 см

шт./м3

2097/21

XIV. ПРИМЕНЕНИЕ ГЕОРЕШЕТОК «ПРУДОН-494» ДЛЯ УСИЛЕНИЯ ПОДБАЛЛАСТНОГО СЛОЯ ПРИ СТРОИТЕЛЬСТВЕ, РЕМОНТЕ И РЕКОНСТРУКЦИИ ЖЕЛЕЗНЫХ ДОРОГ

Для устойчивой и безопасной работы пути должна быть обеспечена бездеформативность и равноупругость подрельсового основания на всем ее протяжении. В ряде случаев поставленная задача может быть решена путем усиления подбалластного слоя.

Усиление подбалластного слоя путем его армирования георешетками «ПРУДОН-494» может быть рекомендовано в следующих случаях:

- при недостаточной несущей способности основной площадки земляного полотна, проявляющейся в виде выплесков и просадок;

- в зонах примыкания земляного полотна к искусственным сооружениям. В данном случае армированный георешетками подбалластный слой обеспечивает плавное изменение жесткости, которое обеспечивается различным количеством слоев армирования на протяжении переходного участка;

- в выемках, проходящих в зоне переувлажненных грунтов. Применение георешеток для армирования подбалластного слоя, в данном случае не только повысит несущую способность основной площадки, но и снизит вибродинамическое воздействие на грунты, слагающие откосы выемки;

- в зонах уравнительных пролетов при бесстыковом пути;

- в случаях, когда земляное полотно располагается на слабых основаниях или болотах, возможна укладка георешеток совместно с геотекстилем, играющим роль как разделительного, так и защитного слоя;

- при удлинении станционных и приемоотправочных путей.

Технология армирования подбалластного слоя георешетками «ПРУДОН-494» хорошо совмещается с другими методами оздоровления земляного полотна. При необходимости совместно с георешетками может укладываться пенополистирол или геотекстиль.

При реконструкции железнодорожного пути производится без снятия путевой решетки машинами RM-80, СЧУ-600, СЧУ-800. На спланированный, с уклоном в сторону водоотвода или откоса насыпи, подбалластный слой укладывается объемная георешетка с высотой ячеек 0,2 м и шириной 4,0 м от подошвы шпалы. Ячейки засыпаются очищенным балластом. Балластной призме придается проектное очертание. Толщина очищенного балласта под подошвой шпалы составляет 0,4 м, что обеспечивает беспрепятственную работу тяжелых путевых машин и предотвращает повреждение георешеток. При необходимости под георешетки может укладываться пенополистирол или геотекстиль. Устройство многослойной конструкции осуществляется как машиной СЧУ-800 в режиме санации, так и машинами RM-80, СЧУ-6.

Преимуществом приведенного технического решения является возможность его реализации как в комплексе с усиленным капитальным, так и на отдельном локальном участке, требующем усиления.


Типовой поперечный профиль балластной призмы с усиленным георешеткой «Прудон-494» подбалластным основанием


XV. СТРОИТЕЛЬСТВО ВОДОПРОПУСКНЫХ ТРУБ ИЗ ГЕОРЕШЕТОК «ПРУДОН-494»

Проведенные экспериментальные исследования показали, что георешетка «ПРУДОН-494» эффективна при всех рабочих диапазонах нагрузок на железнодорожную насыпь, в частности, на водопропускные трубы.

Благодаря большой несущей способности и сравнительно малой деформации георешетка «ПРУДОН-494» может быть использована в качестве несущей конструкции, в частности, несущих стен водопропускной трубы на временных обходах барьерных мест. Это обусловлено тем, что георешетка «ПРУДОН-494» технологична при работе, легко перевозится, при строительстве не требует высокой квалификации рабочих, специальных машин, механизмов. Сооружение водопропускных труб возможно на самых различных грунтах, даже не имея под рукой никакой техники, что очень важно при временном строительстве и восстановлении. Кроме того, применении георешеток «ПРУДОН-494» можно применять при строительстве в различных климатических и инженерно-геологических условиях.

Испытания показали, что георешетка «ПРУДОН-494» полностью соответствует предъявляемым требованиям при строительстве труб. Восстановление труб из геосинтетического материала «ПРУДОН-494» по продолжительности в три раза меньше, чем металлическая гофрированная труба и в 6 раз железобетонная труба. По трудозатратам также намного экономичнее, это обстоятельство дает возможность сделать заключение о том, что георешетка «ПРУДОН-494» может быть предложена в виде основного материала для временного и краткосрочного восстановления.

Рис. Схема укладки основания трубы с входом и выходом

Рис. Схема укладки I и II слоев вертикальных стенок трубы и засыпка щебнем первых двух рядов ячеек георешеток от оси трубы

Рис. Устройство вертикальных стенок из георешетки «Прудон-494» без V слоя

Рис. Схема укладки V слоя вертикальных стенок трубы из «Прудон-494».

Рис. Схема устройства перекрытия из шпал и укладка изолирующего слоя

Рис. Схема засыпки тела трубы

Рис. Вид трубы из георешетки «Прудон-494» с торца

Рис. Вид трубы из георешетки «Прудон-494» сверху

Рис. Вид трубы из георешетки «Прудон-494» в продольном разрезе



© 2013 Ёшкин Кот :-)