Информационная система
«Ёшкин Кот»

XXXecatmenu

РЕСПУБЛИКАНСКИЕ СТРОИТЕЛЬНЫЕ НОРМЫ

ИСПЫТАНИЕ НАРУЖНЫХ
ОГРАЖДАЮЩИХ КОНСТРУКЦИЙ
ЗДАНИЙ НА ВОДО- И
ВОЗДУХОПРОНИЦАЕМОСТЬ

РСН 52-91

Госстрой БССР

Государственный комитет Белорусской ССР
по архитектуре и строительству

Минск 1991

РАЗРАБОТАНЫ:        Белорусским ордена Трудового Красного Знамени политехническим институтом Министерства народного образования БССР

ИСПОЛНИТЕЛИ:       О.И. Юрков, канд. техн. наук (руководитель темы); В.И. Гирдюк; А.Н. Рыжечкин; И.Ф. Фиалко, канд. техн. наук

ВНЕСЕНЫ:                  Белорусским ордена Трудового Красного Знамени политехническим институтом Министерства народного образования БССР

ПОДГОТОВЛЕНЫ

К УТВЕРЖДЕНИЮ:  Госстройинспекцией Госстроя БССР, А.Ф. Лахтанов, Отделом строительных материалов Главного Управления стройиндустрии Госстроя БССР А.В. Козлов

С введением в действие республиканских строительных норм «Испытание наружных ограждающих конструкций зданий на водо- и воздухопроницаемость» РСИ 52-91/Госстроя БССР утрачивают силу республиканские строительные нормы «Инструкция по испытанию на водо- и воздухопроницаемость стыков наружных стен крупнопанельных и объемно-блочных жилых зданий в натурных условиях» РСН 52-82/ Госстроя БССР.

Государственный комитет Белорусской ССР по архитектуре и строительству

Республиканские строительные нормы

Испытание наружных ограждающих конструкций зданий на водо- и воздухопроницаемость

РСН 52-91

Госстрой БССР

Взамен

РСН 52-82

Госстрой БССР

Настоящие нормы распространяются на наружные ограждающие конструкции жилых, общественных и производственных зданий (стены, заполнения оконных и балконных проемов) и стыки крупнопанельных и объемно-блочных зданий и устанавливают методы стендовых и натурных испытаний на водо- и воздухопроницаемость.

1. ОБЩИЕ ПОЛОЖЕНИЯ

1.1. Испытания наружных ограждающих конструкций на водо- и воздухопроницаемость проводятся в соответствии с требованиями СНиП II-3-79** ГОСТ 11024-34, настоящих норм, а также требованиями, указанными в проектах и технических условиях на конкретные виды конструкций.

1.2. Испытания должны проводиться подразделениями строительных организаций и предприятий-изготовителей, на которые возложен технический контроль, а также подразделениями других организаций, оказывающих услуги, связанные с качеством строительства и аттестованные в установленном порядке.

По требованию государственной приемочной комиссии при сдаче здания в эксплуатацию могут быть проведены выборочные испытания.

1.3. При выявлении протечек, а также при несоответствии требованиям СНиП II-3-79** хотя бы в одном образце следует проверить соответствие по воздухопроницаемости проектным решениям, выявить и устранить дефекты провести повторные испытания на удвоенном количестве образцов.

Внесены Белорусским ордена Трудового Красного Знамени политехническим институтом Министерства народного образования БССР

Утверждено постановлением Государственного комитета Белорусской ССР по архитектуре и строительству

от 14 июня 1991 г. № 14

Введены в действие с
1 октября
1991 г.

2. ОТБОР ОБРАЗЦОВ

2.1. Стендовые испытания следует проводить на образцах: изделия заводского изготовления (панелях стен, оконных и балконных блоках) или фрагментах ограждающих конструкций.

2.2. Порядок отбора образцов, подлежащих стендовым испытаниям и их количество устанавливается стандартами или техническими условиями на конкретные ограждающие конструкции. Если указанными документами не установлено количество образцов, то испытанию подлежит не менее трех однотипных образцов.

2.3. Стендовые испытания на водо- и воздухопроницаемость допускается проводить на одних и тех же образцах.

При этом, в первую очередь следует провести испытания на воздухопроницаемость.

2.4. Натурные испытания следует проводить на зданиях, подлежащих сдаче в эксплуатацию, не менее чем на трех образцах каждого вида ограждающей конструкции в каждой секции здания.

2.5. При выборе на здании месторасположения образцов для проведения натурных испытаний предпочтение следует отдавать зонам ограждающих конструкций, находящимся в наиболее тяжелых условиях воздействий дождя и ветра (обращенным в сторону преобладающих ветров, расположенным на верхних этажах и углах здания).

3. ИСПЫТАНИЯ НА ВОДОПРОНИЦАЕМОСТЬ

3.1. Испытания ограждающих конструкций на водопроницаемость следует проводить путем искусственного дождевания образцов через перфорированные трубки, размещенные сверху у наружной поверхности образцов.

3.2. Стендовые испытания.

Испытания следует проводить в помещении при температуре воздуха в нем в пределах от +10 до +35 °С.

3.2.1. Аппаратура и оборудование.

Испытания следует проводить на стенде, схема которого приведена в рекомендуемом приложении 1.

Стенд состоит из:

- камеры с проемом для установки испытываемого образца, оборудованной устройством для его закрепления. Размеры проема должны соответствовать размерам образца;

- дождевальной трубки с внутренним диаметром 15 - 20 мм, размещенной в верхней части камеры и перфорированной отверстиями диаметром 2 мм с шагом 50 мм, направленными в сторону образца;

- измерителя расхода воды - одного или нескольких ротаметров типа РУ по ГОСТ 13045-81 с верхним пределом измерения 1,0 м3/ч и основной допускаемой погрешностью ±2,5 %;

- измерителя перепада давления воздуха - микроманометра типа ММН по ГОСТ 11161-84 с верхним пределом измерения 2000 Па и основной допускаемой погрешностью ±1 %;

- измерителя расхода воздуха - одного или нескольких ротаметров типа РМ по ГОСТ 13045-81 с верхним пределом измерения от 1,0 до 40,0 м3/ч в зависимости от вида испытуемого образца и основной допускаемой погрешностью ±2,5 %;

- воздушного насоса - вентилятора типа Ц14-46 № 1 по ГОСТ 10616-90 с максимальным расходом воздуха 150 м3/ч и давлением 350 Па;

- регулятора расхода воды - крана регулирующего дроссельного типа КРД по ГОСТ 10944-75;

- регулятора расхода воздуха - кран регулирующий типа КРД по ГОСТ 10944-75;

- барометра по ОСТ 251117-83 для измерения атмосферного давления;

- термометра по ГОСТ 112-73 Е для измерения температуры воздуха;

- стальной рулетки по ГОСТ 7502-89 для измерения размеров образца;

- полых цилиндров из водонепроницаемого материала внутренним диаметром 100 мм и высотой 100 мм с паронепроницаемыми крышками;

- измерительной линейки по ГОСТ 427-75 для измерения изменения уровня воды в цилиндрах.

В стенде допускается применять и другие средства измерений и оборудование, обеспечивающие выполнение вышеуказанных требований.

3.2.2. Подготовка к испытаниям.

Перед испытаниями необходимо выполнить следующие работы:

- произвести внешний осмотр образца, проверить его соответствие проектной документации, наличие дефектов и повреждений;

- установить образец на стенд наружной поверхностью к испытательной камере и загерметизировать примыкание образца к камере;

- проверить герметичность соединений стенда путем пробного включения воздушного насоса и обмыливания проверяемых соединений;

- произвести подготовку измерительных приборов в соответствии с заводскими инструкциями по их эксплуатации.

Виды и периодичность проверок измерительных приборов - в соответствии с требованиями ГОСТ 8.002-86.

Проверку термометра следует производить в соответствии с требованиями ГОСТ 8.317-78.

Поверку ротаметров следует производить в соответствии с требованиями ГОСТ 8.122-85.

Поверку микроманометра следует производить в соответствии с требованиями ГОСТ 8.302-78*.

3.2.3. Проведение испытаний.

Установить требуемый расход воды через дождевальную трубку по ротаметру в зависимости от ее длины и высоты здания, для которого предназначена испытываемая конструкция в соответствии с обязательным приложением 2.

Установить избыточное давление воздуха в камере по микроманометру в зависимости от высоты здания и региона его строительства в соответствии с обязательным приложением 3.

Продолжительность дождевания следует устанавливать в соответствии с обязательным приложением 4 и контролировать по часам.

Испытания на водопроницаемость наружных стен следует проводить в два этапа.

На первом этапе необходимо произвести дождевание образца на стенде по методике, изложенной выше в настоящем пункте.

При отсутствии протечек через образец в течение 24 час в после дождевания следует проводить второй этап испытаний. При этом образец следует расположить горизонтально наружной стороной вверх, установить на него полые цилиндры, загерметизировать примыкание последних к образцу, заполнить цилиндры водой до верха и закрыть крышками.

Количество устанавливаемых цилиндров должно быть не менее одного на 1 м2 поверхности образца. Цилиндры следует размещать равномерно по всей поверхности образца. Продолжительность испытаний на втором этапе - 48 часов. По истечении указанного срока следует измерить снижение уровня воды в цилиндрах.

3.3. Натурные испытания.

3.3.1. Натурные испытания на водопроницаемость следует проводить при температуре наружного воздуха не ниже +1 °С. Не рекомендуется проводить испытания при косых дождях, направленных на поверхность испытываемой конструкции.

3.3.2. Аппаратура и оборудование.

Испытания следует проводить с помощью прямых и угловых дождевальных трубок длиной 2 м и внутренним диаметром 15...20 мм, перфорированных с одной стороны отверстиями диаметром 2 мм с шагом 50 мм. Дождевальные трубки должны быть снабжены штуцерами для подключения к системе водоснабжения и кронштейнами для закрепления над испытываемым участком.

Для регулирования и измерения расхода воды следует применять аппаратуру, указанную в п. 3.1.1. настоящих норм.

3.3.3. Подготовка к испытаниям.

Установить дождевальные трубки снаружи над испытываемым участком в выбранных согласно п. 2.5 настоящих норм местах здания, расположив их перфорацией в сторону ограждающей конструкции на расстоянии от ее поверхности не более 50 мм.

Дождевальные трубки следует устанавливать, как правило, выше перекрытия последнего этажа. При отсутствии технической возможности выполнения этого требования допускается устанавливать дождевальные трубки на уровне окна последнего этажа.

Схемы размещения и установки дождевальных трубок приведены в рекомендуемых приложениях 5 - 7.

Соединить дождевальные трубки с аппаратурой для регулирования и расхода воды и системой водоснабжения.

Подготовку и проверку измерительных приборов производить в соответствии с п. 3.2.2. настоящих норм.

3.3.4. Проведение испытаний.

Установить требуемый расход воды через дождевальную трубку по ротаметру в зависимости от ее длины и высоты здания в соответствии с требованиями обязательного приложения 2.

Продолжительность дождевания следует устанавливать в соответствии с требованиями обязательного приложения 4 и контролировать по часам.

3.4. Обработка результатов испытаний.

3.4.1. Ограждающую конструкцию следует считать невыдержавшей испытания, если на внутренних поверхностях ее или прилежащих к ней конструкциях за время дождевания или в течение 24 часов после него будут выявлены протечки.

3.4.2. Наружные стены следует считать невыдержавшими стендовые испытания, если на втором этапе испытаний уровень воды хотя бы в одном из цилиндров снизится более чем на 5 мм.

3.4.3. Результаты испытаний следует оформлять протоколами. Содержание протокола приведено в рекомендуемом приложении 8.

3.4.5. К протоколу стендовых испытаний следует прилагать схемы образцов, на которых отмечаются места появления протечек при их наличии или места расположения цилиндров с водой.

3.4.6. К протоколу натурных испытаний следует прилагать схему фрагмента здания с указанием мест размещения дождевальных трубок, мест и времени появления протечек, пример которой приведен в рекомендуемом приложении 9.

4. ИСПЫТАНИЯ НА ВОЗДУХОПРОНИЦАЕМОСТЬ

4.1. Для испытаний на воздухопроницаемость следует создать перепад давлений воздуха на наружной и внутренней поверхностях ограждающей конструкции и определить расход проходящего через образец воздуха.

4.2. При необходимости определения сопротивления воздухопроницанию ограждающих конструкций следует руководствоваться ГОСТ 25891-83.

4.3. Стендовые испытания.

Условия проведения испытаний - в соответствии с п. 3.2 настоящих норм.

4.3.1. Аппаратура и оборудование.

Испытания следует проводить на стенде, схема которого приведена в рекомендуемом приложении 1. Описание стенда приведено в п. 3.1.1. настоящих норм.

4.3.2. Подготовка к испытаниям.

Подготовку к стендовым испытаниям на воздухопроницаемость следует проводить в соответствии с п. 3.1.2. настоящих норм.

Дополнительно следует определить размеры образца и загерметизировать его поверхности, находящиеся за пределами проекции проема испытательной камеры.

Размеры образцов следует определять:

- для окон и дверей - по проему в свету при размещении их в стеновой панели, или по наружному обмеру коробок при испытании отдельного изделия;

- для стендовых панелей, фрагментов окон - по проему испытательной камеры;

- для стыков - по длине стыка в пределах проема камеры.

4.3.3. Проведение испытаний.

Установить избыточное давление воздуха в камере с помощью регулятора по микроманометру в зависимости от высоты здания, для которого предназначена испытываемая конструкция, и региона его строительства в соответствии с обязательным приложением 3.

После стабилизации показаний микроманометра следует произвести отсчет показаний измерителя расхода воздуха, определить температуру воздуха на его входе и измерить атмосферное давление.

Испытания наружной стеновой панели с оконным или балконным проемом следует проводить в два этапа. На первом этапе необходимо испытать панель в целом, а перед проведением второго этапа оконный (балконный) проем следует загерметизировать, закрыв его оболочкой из воздухонепроницаемого материала.

4.4. Натурные испытания.

4.4.1. Аппаратура и оборудование.

Испытания следует проводить с помощью обойм, чертежи которых приведены в рекомендуемом приложении 10.

Для создания и регулирования перепада давлений и измерения параметров и расхода воздуха следует использовать аппаратуру, указанную в п. 3.2.1. настоящих норм. Кроме того, допускается применять установку для испытания воздухопроницаемости строительных конструкций типа ВСК-1 разработанную ИСиА Госстроя БССР.

4.4.2. Подготовка к испытаниям.

Установить испытательную обойму снаружи на испытываемую конструкцию и произвести герметизацию примыкания обоймы к конструкции с помощью герметизирующей мастики или пластичной глины. Кроме того, мастикой или глиной следует покрыть прилегающие к обойме участки конструкции на расстоянии не менее 500 мм.

При испытании заполнений оконного или балконного проема обойму допускается устанавливать изнутри.

Собрать схему установки в соответствии с рекомендуемыми приложениями 11 или 12.

Проверить герметичность соединений установки путем пробного включения воздушного насоса и обмыливания проверяемых соединений.

4.4.3. Проведение испытаний.

Испытания следует проводить в соответствии с требованиями п. 4.1.3. настоящих норм.

Испытания заполнения оконных или балконных проемов с размещением испытательной обоймы изнутри следует проводить при скорости ветра не более 1 м/сек. При этом в объеме испытательной обоймы следует создавать разрежение.

4.5. Обработка результатов испытаний.

4.5.1. Измеренный при испытаниях объемный расход воздуха Q в м3/ч следует пересчитать в массовый расход G в кг/ч по формуле

G = KrQ,                                                                      (1)

где К - поправочный коэффициент, учитывающий атмосферное давление и температуру воздуха во время испытаний, определяемый по формуле

                                                               (2)

где P0 и Р - атмосферные давления соответственно при градуировке ротометра и во время испытаний, Па (мм. рт. ст.);

t и t0 - температура воздуха соответственно при градуировке и во время испытаний, °С;

r - плотность воздуха, кг/м3, определяемая по формуле

                                                                 (3)

Допускается определять поправочный коэффициент К и плотность воздуха r по справочным приложениям 13 и 14 настоящих норм.

4.5.2. Воздухопроницаемость испытываемой конструкции следует определять по формуле:

для стен и заполнений оконных или балконных проемов, Gк, кг/(м2×ч)

                                                                  (4)

где F - площадь образца в пределах проемов испытательной камеры или обоймы, м2;

для стыков, Gк, (кг/(м×ч)

                                                                  (5)

где l - длина стыка в пределах испытательной камеры или обоймы, м.

4.5.3. Ограждающую конструкцию следует считать выдержавшей испытания, если ее воздухопроницаемость Gк не превышает нормативной воздухопроницаемости Gн, установленной СНиП II-3-79**.

4.5.4. Результаты испытаний следует оформлять протоколом, содержание которого приведено в рекомендуемом приложении 8.

4.5.5. К протоколу натурных испытаний следует прилагать схему фрагмента здания с указанием мест размещения испытательной обоймы.

5. ТРЕБОВАНИЯ БЕЗОПАСНОСТИ

5.1. При проведении испытаний должны соблюдаться требования безопасности по СНиП III-4-80 и ГОСТ 12.1.013-78.

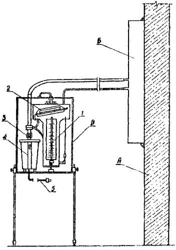
ПРИЛОЖЕНИЕ 1.

Рекомендуемое

Схема стенда для испытания ограждающих конструкций на водо- и воздухопроницаемость

1 - испытываемый образец; 2 - камера; 3 - дождевальная трубка; 4 - вентилятор; 5 - ротаметр для измерения расхода воздуха; 6 - ротаметр для измерения расхода воды; 7 - микроманометр; 8 - кран для регулирования давления в камере; 9 - герметизирующая мастика; 10 - шланг для подключения к водопроводу; 11 - кран для регулирования расхода воды; 12 - гидрозатвор.

ПРИЛОЖЕНИЕ 2

Обязательное

Удельный расход воды через дождевальные трубки при испытаниях на водопроницаемость

Высота здания (высота установки дождевальной трубки), м

Удельный расход воды, л/(мин.пм)

До 3

1,0

Свыше 3 до 6

2,0

Свыше 6 до 9

3,0

Свыше 9 до 12

4,0

" 12 до 15

5,0

" 15 до 18

6,0

" 18 до 21

7,0

" 21 до 24

8,0

" 24 до 27

9,0

" 27 до 30

10,0

" 30 до 33

11,0

" 33 до 36

12,0

" 36 до 39

13,0

" 39 до 42

14,0

" 42 до 45

15,0

" 45 до 48

16,0

" 48 до 51

17,0

" 51 до 54

18,0

" 54 до 57

19,0

" 57 до 60

20,0

" 60 до 63

21,0

" 63 до 66

22,0

" 66 до 69

23,0

" 69 до 72

24,0

" 72 до 75

25,0

ПРИЛОЖЕНИЕ 3

Обязательное

Перепад давлений воздуха при испытаниях на водо- и воздухопроницаемость

Высота здания, м

Перепад давлений, Па (мм. вод. ст.) для областей

Витебская, Минская

Брестская, Гомельская, Гродненская, Могилевская

До 10

30 (3,0)

30 (3,0)

Свыше 10 до 20

40 (4,0)

40 (4,0)

" 20 до 30

60 (6,0)

50 (5,0)

" 30 до 40

70 (7,0)

60 (6,0)

" 40 до 50

80 (8,0)

70 (7,0)

" 50 до 60

90 (9,0)

80 (8,0)

" 60 до 70

100 (10,0)

90 (9,0)

" 70 до 80

110 (11,0)

100 (10,0)

ПРИЛОЖЕНИЕ 4

Обязательное

Продолжительность дождевания при испытаниях на водопроницаемость

Наименование пунктов

Продолжительность дождевания, мин

Борисов, Минск, Полоцк

60

Брест, Вилейка, Лепель

 

Могилев, Минск, Слуцк

75

Волиовыск, Гомель

90

Горки, Василевичи, Лида

100

Барановичи, Витебск, Гродно

110

Примечание: Продолжительность дождевания в пунктах, не указанных в таблице, принимается такой же, как для ближайшего пункта, указанного в таблице.

ПРИЛОЖЕНИЕ 5

Рекомендуемое

Схема размещения дождевальных трубок при натурных испытаниях на водопроницаемость

1 - дождевальная трубка

ПРИЛОЖЕНИЕ 6

Рекомендуемое

Схема установки дождевальных трубок на парапете здания

1 - дождевальная трубка; 2 - струбцина; 3 - кронштейн; 4 - шланг для подключения к водопроводу

ПРИЛОЖЕНИЕ 7

Рекомендуемое

Схема установки дождевальных трубок на окне

1 - дождевальная трубка; 2 - струбцина; 3 - кронштейн; 4 - шланг для подключения к водопроводу

ПРИЛОЖЕНИЕ 8

Рекомендуемое

СОДЕРЖАНИЕ ПРОТОКОЛА ИСПЫТАНИЙ

Основные данные об испытываемых образцах (наименование, тип, серия, год постройки, завод-изготовитель и т.д.):

- дата проведения испытаний;

- условия проведения испытаний (температура окружающего воздуха, атмосферное давление);

- параметры испытаний (расход воды на дождевание, л/мин на 1 п.м. трубки, продолжительность дождевания, испытательное давление);

- перечень средств измерений;

Результаты испытаний (наличие или отсутствие протечек, количественная оценка воздухопроницаемости).

Приложения: схемы фрагментов зданий с указанием мест размещения испытательных обойм, дождевальных трубок, времени и мест появления протечек и т.д.

Заключение о соответствии полученных результатов нормативным требованиям.

Рекомендации.

Подпись лица, производившего испытания с указанием фамилии и должности.

ПРИЛОЖЕНИЕ 9

Рекомендуемое

Пример схемы фрагмента здания с указанием мест расположения дождевальных трубок и протечек

ПРИЛОЖЕНИЕ 10

Рекомендуемое

Обоймы для натурных испытаний на воздухопроницаемость

А, Б - обоймы для испытания стыков; В - обойма для испытания стен и пересечений стыков

ПРИЛОЖЕНИЕ 11

Рекомендуемое

Схема установки для натурных испытаний на воздухопроницаемость

1 - окно; 2 - воздухонепроницаемая оболочка; 3 - герметизирующая мастика; 4 - вентилятор; 5 - ротаметр; 6 - микроманометр; 7 - кран для регулирования перепада давлений

ПРИЛОЖЕНИЕ 12

Рекомендуемое

Схема подключения установки ВСК-1 для испытания строительных конструкций на воздухопроницаемость

А - испытываемая конструкция; Б - испытательная обойма; В - установка ВСК-1;

1 - расходометр воздуха; 2 - микроманометр; 3 - регулятор давления; 4 - вентилятор; 5 - шнур для подключения к электросети

ПРИЛОЖЕНИЕ 13

Справочное

Поправочный коэффициент К, учитывающий параметры воздуха при испытаниях

Атмосферное давление, мм. рт. ст.

Температура воздуха

0

5

10

15

20

25

30

720

0,991

1,001

1,010

1,019

1,028

1,037

1,046

725

0,988

0,997

1,006

1,015

1,025

1,032

1,041

730

0,985

0,993

1,002

1,011

1,020

1,029

1,037

735

0,978

0,990

0,999

1,008

1,017

1,025

1,034

740

0,975

0,987

0,996

1,005

1,013

1,022

1,030

745

0,972

0,983

0,993

1,001

1,010

1,018

1,027

750

0,968

0,980

0,989

0,998

1,007

1,015

1,024

755

0,965

0,977

0,986

0,995

1,003

1,012

1,020

760

0,962

0,974

0,983

0,991

1,000

1,008

1,017

ПРИЛОЖЕНИЕ 14

Справочное

Плотность воздуха, r, кг/м3

Температура, °С

0

2

4

6

8

10

Плотность, кг/м3

1,293

1,284

1,274

1,265

1,256

1,247

Температура, °С

12

14

16

18

20

22

Плотность, кг/м3

1,235

1,229

1,221

1,213

1,205

1,197

Температура, °С

24

26

29

30

 

 

Плотность, кг/м3

1,188

1,181

1,173

1,165

 

 

СОДЕРЖАНИЕ

1. Общие положения. 1

2. Отбор образцов. 2

3. Испытания на водопроницаемость. 2

4. Испытания на воздухопроницаемость. 4

5. Требования безопасности. 6

Приложение 1 Схема стенда для испытания ограждающих конструкций на водо- и воздухопроницаемость. 6

Приложение 2 Удельный расход воды через дождевальные трубки при испытаниях на водопроницаемость. 6

Приложение 3 Перепад давлений воздуха при испытаниях на водо- и воздухопроницаемость. 7

Приложение 4 Продолжительность дождевания при испытаниях на водопроницаемость. 7

Приложение 5 Схема размещения дождевальных трубок при натурных испытаниях на водопроницаемость. 7

Приложение 6 Схема установки дождевальных трубок на парапете здания. 8

Приложение 7 Схема установки дождевальных трубок на окне. 8

Приложение 8 Содержание протокола испытаний. 9

Приложение 9 Пример схемы фрагмента здания с указанием мест расположения дождевальных трубок и протечек. 9

Приложение 10 Обоймы для натурных испытаний на воздухопроницаемость. 10

Приложение 11 Схема установки для натурных испытаний на воздухопроницаемость. 10

Приложение 12 Схема подключения установки ВСК-1 для испытания строительных конструкций на воздухопроницаемость. 11

Приложение 13 Поправочный коэффициент К, учитывающий параметры воздуха при испытаниях. 11

Приложение 14 Плотность воздуха, r, кг/м3 11

 



© 2013 Ёшкин Кот :-)