Информационная система
«Ёшкин Кот»

XXXecatmenu

Всесоюзный ордена Ленина проектно-изыскательский и научно-исследовательский институт «Гидропроект» им. С. Я. Жука Минэнерго СССР

Всесоюзный ордена Трудового Красного Знамени научно-исследовательский институт гидротехники им Б. Е. Веденеева (ВНИИГ им. Б. Е. Веденеева) Минэнерго СССР

Государственный институт проектирования на речном транспорте (Гипроречтранс) Минречфлота РСФСР

 

РУКОВОДСТВО
ПО ПРОЕКТИРОВАНИЮ БЕТОННЫХ
И ЖЕЛЕЗОБЕТОННЫХ КОНСТРУКЦИЙ
ГИДРОТЕХНИЧЕСКИХ СООРУЖЕНИЙ

 

 

 

Москва Стройиздат 1983

 

Рекомендовано к изданию комиссией технического совета института Гидропроект им. С. Я. Жука.

Содержит основные положения, рекомендации и примеры расчета бетонных и железобетонных конструкций гидротехнических сооружений без предварительного напряжения, по конструированию арматуры речных гидротехнических сооружений без предварительного напряжения и по расчету и конструированию тонкостенных предварительно-напряженных железобетонных элементов со стержневой арматурой.

Для инженерно-технических работников проектных, проектно-изыскательских, строительных и научно-исследовательских организаций.

ПРЕДИСЛОВИЕ

Настоящее Руководство составлено к главе СНиП II-56-77 «Бетонные и железобетонные конструкции гидротехнических сооружений» и распространяется на проектирование несущих бетонных и железобетонных конструкций гидротехнических сооружений, находящихся постоянно или периодически под воздействием водной среды. Бетонные и железобетонные конструкции, не подвергающиеся воздействию водной среды, рекомендуется проектировать в соответствии с главой СНиП II-21-75 «Бетонные и железобетонные конструкции».

Руководство содержит основные положения и рекомендации по расчету бетонных и железобетонных конструкций и конструированию арматуры железобетонных конструкций. Приводятся примеры расчетов, выполненных для элементов реальных конструкций.

Руководство разработано институтом Гидропроект им. С. Я. Жука Минэнерго СССР (глава 1 и прил. 1 - 10 - д-ром техн. наук С. А. Фридом, инженерами Е. С. Палкиным, Т. И. Сергеевой, Л. М. Харьковой; глава 2 и прил. 11 - 13, 16 - 17 - инженерами Я. Н. Добужским, Т. И. Сергеевой) совместно с ВНИИГ им. Б. Е. Веденеева Минэнерго СССР (глава 1 - канд. техн. наук A. В. Швецовым) и институтом Гипроречтранс Минречфлота РСФСР (глава 3 и прил. 14 - инж. И. П. Афанасьевой) при участии ГрузНИИЭГС Минэнерго СССР (разд. 4 - канд. техн. наук Г. П. Вербецким) и Ленморниипроект Минморфлота СССР (глава 3 и прил. 15 - канд. техн. наук А. А. Долинским).

В Руководстве использованы материалы НИС Гидропроекта (канд. техн. наук А. Д. Осипов, инж. Ю. З. Ерусалимский), ВНИИГ им. Б. Е. Веденеева (кандидаты техн. наук В. А. Логунова, B. Б. Судаков, инж. Г. А. Лесина).

ОСНОВНЫЕ БУКВЕННЫЕ ОБОЗНАЧЕНИЯ

УСИЛИЯ ОТ ВНЕШНИХ НАГРУЗОК И ВОЗДЕЙСТВИЙ В ПОПЕРЕЧНОМ СЕЧЕНИИ ЭЛЕМЕНТА

M - изгибающий момент или момент внешних сил относительно центра тяжести приведенного сечения;

N - продольная сила;

Q - поперечная сила;

Mк - крутящий момент;

Mкр, Mдл, Mп - изгибающие моменты соответственно от кратковременных нагрузок, от постоянных и длительных нагрузок и от полной нагрузки, включающей постоянную, длительную и кратковременную нагрузки.

ХАРАКТЕРИСТИКИ ПРЕДВАРИТЕЛЬНО-НАПРЯЖЕННОГО ЭЛЕМЕНТА

N0 - усилие предварительного обжатия, определяемое по формуле (200), с учетом потерь предварительного напряжения в арматуре, соответствующих рассматриваемой стадии работы элемента;

s0 и s'0 - предварительные напряжения соответственно в напрягаемой арматуре A и A' до обжатия бетона (при натяжении арматуры на упоры) либо в момент снижения величины предварительного напряжения в бетоне до нуля воздействием на элемент внешних фактических или условных сил, определяемые согласно пп. 9.13 и 9.14 с учетом потерь предварительного напряжения в арматуре, соответствующих рассматриваемой стадии работы элемента;

sб.н - сжимающие напряжения в бетоне в стадии предварительного обжатия, определяемые согласно пп. 9.20 и 9.23, с учетом потерь предварительного напряжения в арматуре, соответствующих рассматриваемой стадии работы элемента;

тт - коэффициент точности натяжения арматуры, определяемый согласно п. 9.17.

ХАРАКТЕРИСТИКИ МАТЕРИАЛОВ

Rпр и RпрII - расчетные сопротивления бетона осевому сжатию для предельных состояний соответственно первой и второй групп;

Rр и RрII - расчетные сопротивления бетона осевому растяжению для предельных состояний соответственно первой и второй групп;

R0 - передаточная прочность бетона, назначаемая в соответствии с указаниями п. 9.22;

Rа - расчетное сопротивление арматуры растяжению для предельных состояний первой группы: продольной; поперечной при расчете сечений, наклонных к продольной оси элемента, на действие изгибающего момента;

Rа.х - расчетное сопротивление поперечной арматуры растяжению для предельных состояний первой группы при расчете сечений, наклонных к продольной оси элемента, на действие поперечной силы;

Rа.с и RаII - расчетные сопротивления арматуры соответственно сжатию для предельных состояний первой группы и растяжению для предельных состояний второй группы;

Eб - начальный модуль упругости бетона при сжатии и растяжении;

Eа - модуль упругости арматуры;

п - отношение соответствующих модулей упругости арматуры Eа и бетона Eб.

ХАРАКТЕРИСТИКИ ПОЛОЖЕНИЯ ПРОДОЛЬНОЙ АРМАТУРЫ В ПОПЕРЕЧНОМ СЕЧЕНИИ ЭЛЕМЕНТА

A - продольная арматура:

при наличии сжатой и растянутой от действия внешней нагрузки зон сечения, расположенная в растянутой зоне;

при полностью сжатом от действия внешней нагрузки сечения, расположенная у менее сжатой грани сечения;

при полностью растянутом от действия внешней нагрузки сечении: для внецентренно-растянутых элементов, расположенная у более растянутой грани сечения; для центрально-растянутых элементов - вся в поперечном сечении элемента.

A' - продольная арматура:

при наличии сжатой и растянутой от действия внешней нагрузки зон сечения, расположенная в сжатой зоне;

при полностью сжатом от действия внешней нагрузки сечении, расположенная у более сжатой грани сечения;

при полностью растянутом от действия внешней нагрузки сечении внецентренно-растянутых элементов, расположенная у менее растянутой грани сечения.

ГЕОМЕТРИЧЕСКИЕ ХАРАКТЕРИСТИКИ

b - ширина прямоугольного сечения ребра таврового и двутаврового сечений;

bп и b'п - ширина полок таврового и двутаврового сечений соответственно в растянутой и сжатой зонах;

h - высота прямоугольного, таврового и двутаврового сечений;

hп и h'п - высота полок таврового и двутаврового сечений соответственно в растянутой и сжатой зонах;

D - диаметр кольца или круглого сечения;

Fн и F'н - площадь сечения напрягаемой части арматуры соответственно A и A';

Fа и F'а - площадь сечения ненапрягаемой части арматуры соответственно A и A';

а и a' - расстояния от равнодействующей усилий до ближайшей грани сечения соответственно в арматуре A и A';

аа и a'а - расстояния от равнодействующей усилий до ближайшей грани сечения в арматуре соответственно площадью Fа и F'а;

ан и a'н - расстояния от равнодействующей усилий до ближайшей грани сечения в арматуре соответственно площадью Fн и F'н;

h0 и h'0 - рабочая высота сечения (h0 = h - a; h'0 = h - a');

х - высота сжатой зоны бетона;

ξ - относительная высота сжатой зоны бетона, равная x/h0;

U - расстояние между хомутами, измеренное по длине элемента;

U0 - расстояние между плоскостями отогнутых стержней, измеренное по нормали к ним;

е0 - эксцентрицитет продольной силы N относительно центра тяжести приведенного сечения, равный M/N;

е - эксцентрицитет усилия предварительного обжатия N0 относительно центра тяжести приведенного сечения, определяемый в соответствии с п. 9.16;

е - эксцентрицитет равнодействующей продольной силы N и усилия предварительного обжатия N0 относительно центра тяжести приведенного сечения;

е и e' - расстояния от точки приложения продольной силы N до равнодействующей усилий соответственно в арматуре A и A';

еа и eа.н - расстояния от точки приложения соответственно продольной силы N и усилия предварительного обжатия N0 до центра тяжести площади сечения арматуры A;

l - пролет элемента;

l0 - расчетная длина элемента, подвергающегося действию сжимающей продольной силы;

r - радиус инерции поперечного сечения элемента относительно центра тяжести сечения;

d - номинальный диаметр арматурных стержней;

Fх - площадь сечения хомутов, расположенных в одной, нормальной к продольной оси элемента плоскости, пересекающей наклонное сечение;

F0 - площадь сечения отогнутых стержней, расположенных в одной наклонной к продольной оси элемента плоскости, пересекающей наклонное сечение;

Fх - площадь сечения одного стержня хомута;

μ - коэффициент армирования, определяемый как отношение площади сечения арматуры A к площади поперечного сечения элемента bh0 без учета сжатых и растянутых полок;

F - площадь всего бетона в поперечном сечении;

Fб - площадь сечения сжатой зоны бетона;

Fп - площадь приведенного сечения элемента, включающая площадь бетона, а также площадь всей продольной арматуры, умноженную на отношение модулей упругости арматуры и бетона;

I - момент инерции сечения бетона относительно центра тяжести сечения элемента;

Iп - момент инерции приведенного сечения элемента относительно его центра тяжести;

Iа - момент инерции площади сечения арматуры относительно центра тяжести сечения элемента;

Wп - момент сопротивления приведенного сечения элемента для крайнего растянутого волокна, определяемый как для упругого материала;

Wр и Wс - моменты сопротивления соответственно для растянутой и сжатой граней сечения;

Sб - статический момент площади сечения сжатой зоны бетона относительно оси, проходящей через точку приложения равнодействующей усилий в арматуре A;

Sа и S'а - статические моменты площади сечения всей продольной арматуры относительно точки приложения равнодействующей усилий соответственно в арматуре A и A'.

Глава 1

ПРОЕКТИРОВАНИЕ БЕТОННЫХ И ЖЕЛЕЗОБЕТОННЫХ КОНСТРУКЦИЙ ГИДРОТЕХНИЧЕСКИХ СООРУЖЕНИЙ БЕЗ ПРЕДВАРИТЕЛЬНОГО НАПРЯЖЕНИЯ

1. ОСНОВНЫЕ ПОЛОЖЕНИЯ ПО РАСЧЕТУ. НАГРУЗКИ И ВОЗДЕЙСТВИЯ

1.1. Бетонные и железобетонные конструкции должны удовлетворять требованиям расчета по несущей способности (предельным состояниям первой группы) и по пригодности к нормальной эксплуатации (предельным состояниям второй группы).

Бетонные конструкции рассчитываются:

а) по предельным состояниям первой группы: по несущей способности - на прочность с проверкой устойчивости положения и формы конструкции;

б) по предельным состояниям второй группы: по образованию трещин в соответствии с разд. 5 настоящего Руководства.

Железобетонные конструкции рассчитываются:

а) по предельным состояниям первой группы: по несущей способности - на прочность с проверкой устойчивости положения и формы конструкции, на выносливость в случае многократно повторяющейся нагрузки;

б) по предельным состояниям второй группы:

по деформациям - в случаях, когда величина перемещений может ограничить возможность нормальной эксплуатации конструкции или находящихся на ней механизмов;

по образованию трещин - в случаях, когда по условиям нормальной эксплуатации сооружения не допускается их образование, или по ограничению величины раскрытия трещин.

Бетонные и железобетонные конструкции должны удовлетворять требованиям расчета по первой группе предельных состояний при всех сочетаниях нагрузок и воздействий, а по второй группе - только при основном сочетании нагрузок и воздействий, за исключением случаев, перечисленных в п. 5.1, б.

Расчет по предельным состояниям, как правило, производится для всех стадий возведения, транспортирования, монтажа и эксплуатации конструкции.

1.2. Оценка наступления предельных состояний первой группы для бетонных и железобетонных конструкций гидротехнических сооружений производится из условия

kнnсNр £ mR,                                                                  (1)

где kн - коэффициент надежности, учитывающий степень ответственности, капитальность сооружения и значимость последствий при наступлении предельных состояний, принимаемый для сооружений I класса - 1,25; II класса - 1,2; III класса - 1,15; IV класса - 1,1;

пс - коэффициент сочетания нагрузок, принимаемый для основного сочетания нагрузок пс = 1; для особого сочетания нагрузок пс = 0,9; для строительного и ремонтного периодов пс = 0,95;

Таблица 1

Группа предельных состояний

Нагрузки и воздействия

Коэффициент перегрузки п

Первая (за исключением расчета на выносливость)

Собственный вес сооружения

1,05 (0,95)

Собственный вес обделок туннелей

1,2 (0,9)

Вертикальное давление от веса грунта

1,1 (0,9)

Боковое давление грунта

1,2 (0,8)

Давление наносов

1,2

Гидростатическое и волновое давления, а также давление фильтрационных вод по подземному контуру сооружения, в швах и расчетных сечениях бетонных и железобетонных конструкций (противодавление)

1

Гидростатическое давление подземных вод на обделку туннелей

1,1 (0,9)

Вертикальные и горизонтальные нагрузки от подъемных, погрузочных и транспортных механизмов, а также от веса людей, складируемых грузов и стационарного оборудования

Принимается по главе СНиП II-6-74 «Нагрузки и воздействия», а также в соответствии с нормами технологического проектирования

Снеговые нагрузки

1,4

Ветровые нагрузки

1,2

Ледовые нагрузки

1,1

Нагрузки от судов

1,2

Температурные и влажностные воздействия

1,1

Сейсмические воздействия

1

Первая при расчете на выносливость

Все виды нагрузок и воздействий

1

Вторая

То же

1

Примечания: 1. Коэффициент перегрузки для нагрузок от подвижного состава железных и автомобильных дорог надлежит принимать по нормам проектирования мостов.

2. Значения коэффициентов перегрузки для горного давления принимаются по строительным нормам на проектирование гидротехнических туннелей.

3. Коэффициенты перегрузки п допускается принимать равными единице для собственного веса сооружения, если объемный вес бетона определен лабораторными исследованиями при подборе состава бетона; для вертикального давления от веса засыпки грунтом, если вес ее не превышает 20 % общего веса сооружения; для всех грунтовых нагрузок при использовании расчетных параметров грунтов, определяемых в соответствии с главой СНиП II-16-76 «Основания гидротехнических сооружений», а также для температурных воздействий при определении их на основе обработки материалов многолетних наблюдений.

4. Указанные в скобках коэффициенты перегрузки относятся к случаям, когда применение минимальных значений коэффициентов приводит к невыгодному загружению сооружения.

Nр - расчетное значение обобщенного силового воздействия (в частности, напряжения), определяемое с учетом коэффициентов перегрузки п, приведенных в табл. 1, а для морских гидротехнических сооружений - в соответствии с инструкцией по проектированию морских причальных сооружений;

т - коэффициент условий работы, учитывающий предельное состояние, приближенность расчетных схем, тип сооружения (конструкции), вид материала и другие факторы, принимаемый по табл. 8 и 16. В необходимых случаях учитываются коэффициенты условий работы согласно указаниям соответствующих нормативных документов;

R - расчетное значение обобщенной несущей способности конструкции или ее сечения (в частности, расчетного сопротивления материала), определяемое с учетом коэффициента безопасности по материалам k.

1.3. Деформации железобетонных конструкций и их элементов, определяемые с учетом длительного действия нагрузок, не должны превышать величин, устанавливаемых проектом, исходя из требований нормальной эксплуатации оборудования и механизмов, а также величин, указанных в прил. 1.

Расчет по деформациям конструкций и их элементов допускается не производить, если на основании опыта эксплуатации сооружений установлено, что жесткость аналогичных конструкций и их элементов достаточна для обеспечения нормальной эксплуатации проектируемого сооружения.

1.4. Основными характеристиками нагрузок являются их нормативные величины, устанавливаемые в соответствии с действующими нормативными документами, а в необходимых случаях - на основании результатов теоретических и экспериментальных исследований.

Расчетные нагрузки определяются как произведение нормативной нагрузки на коэффициент перегрузки п, учитывающий возможное отклонение нагрузок в неблагоприятную сторону от нормативных значений и устанавливаемый в зависимости от вида предельного состояния.

1.5. В зависимости от продолжительности действия нагрузки подразделяются на постоянные и временные - длительные, кратковременные, особые.

К постоянным нагрузкам относятся: вес частей зданий и сооружений, технологического оборудования, расположение которого на сооружении не меняется в процессе эксплуатации (гидроагрегатов, трансформаторов и др.); вес и давление грунтов (насыпей, засыпок); горное давление; гидростатическое, фильтрационное, поровое давления воды и противодавление в расчетных сечениях и строительных швах при нормальном подпорном уровне и нормальной работе противофильтрационных и дренажных устройств; воздействия предварительного напряжения конструкции.

К временным длительным нагрузкам и воздействиям относятся: дополнительное давление грунта (сверх основного давления грунта), возникающее вследствие деформации основания и конструкций или от температурных воздействий: давление отложившихся наносов, температурные воздействия, нагрузки от кранового оборудования и складируемых на причалах грузов.

К кратковременным нагрузкам и воздействиям относятся: снеговые и ветровые нагрузки; нагрузки от судов (навал, швартовые и ударные); ледовые и волновые нагрузки; нагрузки от подъемных, перегрузочных и транспортных устройств и других конструкций и механизмов (мостовых и подвесных кранов и т.п.); нагрузки от плавающих тел; давление от гидравлического удара в период нормальной эксплуатации; пульсационные нагрузки в безнапорных и напорных водоводах; вес людей, ремонтных материалов в зонах обслуживания и ремонта оборудования.

К особым нагрузкам и воздействиям относятся: сейсмические и взрывные воздействия; дополнительное гидростатическое давление, поровое давление воды и противодавление в расчетных сечениях и строительных швах при форсированном уровне; дополнительное фильтрационное давление воды, возникающее в результате нарушения нормальной работы противофильтрационных и дренажных устройств; давление от гидравлического удара при полном сбросе нагрузки; ледовые нагрузки при прорыве заторов и зимних пропусках воды в нижний бьеф.

1.6. В зависимости от состава учитываемых нагрузок различаются следующие их сочетания:

основные, состоящие из постоянных, временных длительных и кратковременных нагрузок и воздействий;

особые, состоящие из постоянных, временных длительных, отдельных кратковременных и одной из особых нагрузок и воздействий.

Нагрузки и воздействия принимаются в наиболее неблагоприятных, но возможных сочетаниях отдельно для эксплуатационного, строительного и ремонтного периодов. Отнесение той или иной нагрузки к основному и особому сочетанию уточняется нормами проектирования отдельных видов сооружений.

1.7. Бетонные и железобетонные конструкции, в которых условия наступления предельного состояния не могут быть выражены через усилия в сечении (гравитационные и арочные плотины, контрфорсы, толстые плиты, балки-стенки и др.), рекомендуется рассчитывать методами механики сплошных сред с учетом в необходимых случаях неупругих деформаций и трещин в бетоне.

В отдельных случаях расчет перечисленных конструкций допускается производить методом сопротивления материалов в соответствии с нормами проектирования отдельных видов гидротехнических сооружений (например, с главой СНиП II-54-77 «Плотины бетонные и железобетонные»).

Таблица 2

Расчет

Расчетная схема работы сечения без учета силы противодавления

Схема действия противодавления

1. Прочности нормальных сечений растянутых железобетонных элементов с однозначной эпюрой напряжений

2. Прочности сечений, наклонных к продольной оси железобетонных элементов

3. По образованию трещин

4. Прочности элементов, рассчитываемых без учета работы растянутой зоны (примеч. 1 и 2)

5. Прочности сжатых элементов с однозначной эпюрой напряжений

Противодавление не учитывается

Примечания: 1. Для трещиностойких элементов высота сжатой зоны определяется в предположении линейной эпюры сжимающих и растягивающих напряжений в сечении (т.е. с учетом работы бетона растянутой зоны сечения).

2. Для нетрещиностойких железобетонных элементов высотой 2 м и менее допускается определять высоту сжатой зоны в предположении прямоугольной эпюры сжимающих напряжений (а не треугольной), т.е. из расчета прочности сечения без учета противодавления.

3. Для бетонных элементов эпюра противодавления определяется:

а) при расчете по образованию трещин - по поз. 3 настоящей таблицы;

б) при расчете на прочность - по последней схеме поз. 4 настоящей таблицы. При этом для трещиностойких элементов высота сжатой зоны определяется согласно примеч. 1, для нетрещиностойких - по формуле x = 3(0,5h - M/N) = 3(0,5h - e0), где e0 £ 0,45h.

Для бетонных конструкций сжимающие напряжения при расчетных нагрузках не должны превышать значений соответствующих расчетных сопротивлений бетона; для железобетонных конструкций сжимающие напряжения в бетоне не должны превышать расчетных сопротивлений бетона на сжатие, а растягивающие усилия в сечении при напряжениях в бетоне, превышающих величину его расчетных сопротивлений, должны быть полностью восприняты арматурой, если выход из работы растянутой зоны бетона может привести к потере несущей способности элемента, при этом следует принимать расчетные коэффициенты в соответствии с п. 1.2.

1.8. Величина противодавления воды в расчетных сечениях элементов определяется с учетом фактических условий работы конструкции в эксплуатационный период, а также с учетом конструктивных и технологических мероприятий в соответствии с п. 1.7 главы СНиП II-56-77 «Бетонные и железобетонные конструкции гидротехнических сооружений», способствующих повышению водонепроницаемости бетона и уменьшению противодавления.

В элементах напорных и подводных бетонных и железобетонных конструкций гидротехнических сооружений, рассчитываемых в соответствии с п. 1.7, противодавление воды учитывается как объемная сила (см. п. 1.9).

В остальных элементах противодавление воды учитывается как растягивающая сила, приложенная в рассматриваемом расчетном сечении (табл. 2).

Противодавление воды учитывается одинаково как при расчете сечений, совпадающих со швами бетонирования, так и при расчете монолитных сечений.

При расчете прочности центрально-растянутых и внецентренно-растянутых элементов с однозначной эпюрой напряжений, сечений железобетонных элементов, наклонных к продольной оси элемента, а также при расчете железобетонных элементов по образованию трещин для всех видов напряженного состояния противодавление воды принимается изменяющимся по линейному закону в пределах всей высоты сечения.

В сечениях изгибаемых, внецентренно-сжатых и внецентренно-растянутых элементов с двузначной эпюрой напряжений, рассчитываемых по прочности без учета работы бетона растянутой зоны сечения, противодавление воды учитывается в пределах растянутой зоны в виде полного гидростатического давления со стороны растянутой грани и не учитывается в пределах сжатой зоны.

В сечениях элементов с однозначной эпюрой сжимающих напряжений противодавление воды не учитывается (только при расчетах прочности сечения).

Высота сжатой зоны бетона сечения определяется исходя из гипотезы плоских сечений, при этом в нетрещиностойких элементах работа растянутого бетона не учитывается и форма эпюры напряжений бетона в сжатой зоне сечения принимается треугольной (см. п. 4.20 настоящего Руководства).

В элементах с применением конструктивных и технологических мероприятий, с сечением сложной конфигурации, а также в элементах, рассчитываемых в соответствии с п. 1.7, значение силы противодавления воды рекомендуется определять на основе результатов экспериментальных исследований или фильтрационных расчетов.

Примечание. Вид напряженного состояния элемента устанавливается первоначально исходя из гипотезы плоских сечений без учета силы противодавления воды (см. пример 1 и табл. 2).

1.9. При учете силового воздействия фильтрующей воды как объемной силы бетон рассматривается как изотропная, однородная (в пределах данной зоны элемента), слитно-пористая среда, характеризуемая коэффициентом эффективной пористости a2. Величина этого коэффициента зависит от напряженного состояния бетона и определяется экспериментальными исследованиями. Принимаемая в расчетах величина a2 должна удовлетворять условию 1 ³ a2 ³ 0,15. Минимальное значение коэффициента a2 допускается принимать для зон, где бетон испытывает всестороннее сжатие. В зонах, где хотя бы в одном направлении действуют растягивающие напряжения, величина коэффициента a2 принимается равной 1.

1.10. При расчете сборных конструкций на усилия, возникающие при их подъеме, транспортировании и монтаже, нагрузку от собственного веса элемента рекомендуется вводить с коэффициентом динамичности, равным 1,3, и коэффициентом перегрузки к собственному весу, равным 1.

При надлежащем обосновании коэффициент динамичности может приниматься более 1,3, но не более 1,5.

1.11. Расчет сборно-монолитных конструкций рекомендуется производить согласно пп. 3.85 - 3.88 настоящего Руководства.

1.12. Расчет элементов конструкций на выносливость рекомендуется производить согласно пп. 3.75 - 3.84 настоящего Руководства.

1.13. При определении усилий в статически неопределимых железобетонных конструкциях, вызванных температурными воздействиями или осадкой опор, а также при определении реактивного давления грунта жесткость элементов определяется с учетом образования в них трещин и ползучести бетона согласно пп. 4.17 и 4.18 настоящего Руководства.

В предварительных расчетах допускается принимать кратковременную жесткость при изгибе и растяжении нетрещиностойких элементов равной 0,4 величины жесткости при изгибе и растяжении, определяемой при начальном модуле упругости в соответствии с п. 4.19 настоящего Руководства.

1.14. Определение усилий и расчеты прочности сечения статически неопределимых конструкций, работающих совместно с основанием и засыпкой, для сооружений I и II классов на стадиях технического проекта и рабочих чертежей рекомендуется выполнять на ЭВМ по программам, учитывающим физическую и кинематическую нелинейность задачи расчета указанных конструкций.

Пример расчета к п. 1.8

Пример 1. Дано. Консольная стена переменного сечения высотой l = 15 м, воспринимающая давление воды (рис. 1).

Рис. 1. К примеру расчета 1

Высота сечения 1-1 на расстоянии l1 = 5 м от верха стены и уровня воды h1 = 1 м; высота корневого сечения 2-2 h2 = 3 м; a = a' = 0,15 м; класс сооружения III - kн = 1,15; сочетание нагрузок основное - пс = 1; бетон марки М 200, арматура класса А-III.

Требуется определить величину противодавления в сечениях 1-1 и 2-2.

Расчет. Рассматриваем элемент шириной b = 1 м.

Без учета противодавления в сечении 1-1

Nсж = gбbh1H1 = 2,4·1·1·5 = 12 тс;

В сечении 2-2:

Проверяем трещиностойкость сечений по формуле (167).

Принимаем эпюру противодавления по линейному закону в соответствии с поз. 3 табл. 2, тогда в сечении 1-1:

Nпр = 1/2·5·1·1 = 2,5 тс; ΣNсж = 12 - 2,5 = 9,5 тс; дополнительный момент Mпр = 2,5(0,5 - 0,33) = 0,425 тс·м; ΣM = 20,8 + 0,425 = 21,225 тс·м.

Примем

Fа = 0; Fп = Fб = 1·1 = 1 м2;

g = 1,75;

mhgRрII = 1·1,75·115 = 201 тс/м2.

Так как 117,5 < 201, сечение 1-1 трещиностойкое.

Для трещиностойкого сечения в соответствии с примеч. 1 к табл. 2 при расчете прочности сечения определяем высоту сжатой зоны с учетом работы бетона растянутой зоны сечения, т.е.

Величина противодавления для расчета прочности сечения 1-1 определяется в соответствии с поз. 4 табл. 2 как прямоугольная эпюра на высоте h - x, т.е. Nпр = 5·0,46 = 2,3 тс (вместо 2,5 тс, принятых в расчете трещиностойкости) и Mпр = 2,3(0,5 - 0,23) = 0,62 тс·м (вместо 0,425 тс·м). Таким образом, арматуру в нормальном сечении 1-1 рассчитываем на M = 20,8 + 0,62 = 21,42 тс·м и Nсж = 12,0 - 2,3 = 9,7 тс.

Наклонное сечение 1'-1 проверяем по формуле (99).

Так как kнrсQ = 1,15·1·12,5 = 14,4 тс < mб4Rрbh0 = 0,9·75·1·0,9 = 60,7 тс, расчет поперечной арматуры не производится.

В сечении 2-2:

Nпр = 1/2·15·1·3 = 22,5 тс; ΣNсж = 60 - 22,5 = 37,5 тс; Mпр = 22,5(1,5 - 1) = 11,25 тс·м; ΣM = 530,5 + 11,25 = 541,75 тс·м; Fп = Fб = 1·3 = 3 м2;

mhgRрII = 0,93·1,75·115 = 187 тс/м2.

Так как 348,5 > 187, сечение 2-2 нетрещиностойкое.

Для нетрещиностойкого сечения при расчете прочности высоту сжатой зоны для нахождения величины противодавления определяем без учета растянутой зоны, принимая эпюру сжимающих напряжений треугольной, по рис. 2 прил. 8 или по формуле (189).

Для этого необходимо определить площадь растянутой арматуры (без учета противодавления), т.е. на M = 530,5 тс·м и Nсж = 60 тс;

По формуле (57) определяем

По формуле (58)

Eб = 2,4·105 кгс/см2; Eа = 2·106 кгс/см2;

По рис. 2 прил. 8

x = 0,173h0 = 49,4 см; h - x = 3 - 0,494 = 2,506 м.

Усилия от противодавления воды Nпр = 15·2,506·1 = 37,6 тс; Mпр = 37,6(1,5 - 1,253) = 9,3 тс·м.

Таким образом, арматуру в нормальном сечении 2-2 рассчитываем на M = 530,5 + 9,3 = 540 тс·м; Nсж = 60 - 37,6 = 22,4 тс.

Наклонное сечение 2'-2 проверяется по условию (99) на Q = 112,5 тс аналогично сечению 1'-1.

В случае, если условие (99) не соблюдается, площадь поперечной арматуры определяется в соответствии с пп. 3.45, 3.46, 3.56, 3.57 настоящего Руководства, при этом эпюра противодавления для наклонного сечения принимается треугольной согласно поз. 2 табл. 2, т.е. в формуле (107) Wcosb = 1/2·15,1c (где c - проекция наклонного сечения на вертикаль).

2. МАТЕРИАЛЫ ДЛЯ БЕТОННЫХ И ЖЕЛЕЗОБЕТОННЫХ КОНСТРУКЦИЙ

Бетон

2.1. При проектировании бетонных и железобетонных конструкций гидротехнических сооружений рекомендуется предусматривать тяжелые бетоны, отвечающие требованиям главы СНиП II-56-77 и ГОСТ 4795-68. В проектах рекомендуется применять следующие проектные марки бетонов:

а) по прочности на сжатие - М 75, М 100, М 150, М 200, М 250, М 300, М 350, М 400, М 450, М 500, М 600;

б) по прочности на осевое растяжение - Р 10, Р 15, Р 20, Р 25, Р 30, Р 35, Р 40;

в) по морозостойкости - Мрз 50, Мрз 75, Мрз 100, Мрз 150, Мрз 200, Мрз 300, Мрз 400, Мрз 500.

В обоснованных случаях могут применяться бетоны, имеющие морозостойкость выше Мрз 500;

г) по водонепроницаемости - В2, В4, В6, В8, В10, В12.

Примечания: 1. Проектной маркой бетона по какому-либо признаку называется значение соответствующей характеристики бетона, задаваемое при проектировании.

2. Соответствие фактического значения характеристики бетона его проектной марке или, при статистическом контроле прочности, достижение постоянства нормированной обеспеченности нормативных сопротивлений устанавливается на основании результатов испытаний согласно требованиям соответствующих стандартов.

2.2. Для массивных бетонных сооружений с объемом бетона более 1 млн. м3 в проекте допускается устанавливать промежуточные значения нормативных сопротивлений бетона, отличающиеся от установленной в п. 2.1 градации марок по прочности на сжатие, с округлением до 10 кгс/см2 в большую сторону.

2.3. К бетону конструкций гидротехнических сооружений предъявляются следующие дополнительные требования, устанавливаемые в проекте и подтверждаемые экспериментальными исследованиями:

по предельной растяжимости;

по стойкости против агрессивного воздействия воды;

по отсутствию вредного взаимодействия щелочей цемента с заполнителями;

по сопротивляемости истиранию потоком воды с донными и взвешенными наносами;

по стойкости против кавитации;

по стойкости против химического воздействия;

по тепловыделению при твердении бетона.

Примечание. В необходимых случаях, главным образом для немассивных конструкций, может быть предъявлено требование по минимальной усадке бетона.

2.4. Срок твердения (возраст) бетона, отвечающий его проектным маркам по прочности на сжатие, прочности на осевое растяжение и водонепроницаемости, принимается, как правило, для конструкций речных гидротехнических сооружений 180 дней, для сборных и монолитных конструкций морских и сборных конструкций речных транспортных сооружений - 28 дней. Срок твердения (возраст) бетона, отвечающий его проектной марке по морозостойкости, принимается 28 дней.

Если известны сроки фактического загружения конструкций, способы их возведения, условия твердения бетона, вид и качество применяемого цемента, допускается устанавливать проектную марку бетона в ином возрасте.

Для сборных конструкций отпускная прочность бетона принимается по проекту, но не менее 70 % прочности соответствующей проектной марки.

2.5. За марку по прочности на осевое сжатие (кубиковую прочность) принимается сопротивление осевому сжатию эталонного образца-куба.

Эта характеристика является основной и указывается в проектах во всех случаях на основании расчета конструкции.

Для железобетонных конструкций не допускается применение бетона проектной марки ниже М 100.

Для железобетонных элементов из тяжелого бетона, рассчитываемых на воздействие многократно повторяющейся нагрузки, и железобетонных сжатых элементов стержневых конструкций (набережные типа эстакад на сваях, сваях-оболочках и т.п.) рекомендуется применять проектную марку бетона не ниже М 200.

Для железобетонных элементов, погружаемых в грунт забивкой или вибрированием, проектная марка бетона должна быть не менее М 400.

2.6. За марку но прочности на осевое растяжение принимается сопротивление осевому растяжению контрольных образцов. Эта характеристика должна назначаться в тех случаях, когда она имеет главенствующее значение, т.е. когда эксплуатационные качества конструкции или ее элементов определяются работой растянутого бетона или образование трещин в элементах конструкции не допускается.

2.7. За марку по морозостойкости принимается число циклов попеременного замораживания и оттаивания, выдерживаемых испытуемыми образцами в 28-дневном возрасте без снижения прочности более чем на 15 %.

Эта характеристика назначается в зависимости от климатических условий и числа расчетных циклов попеременного замораживания и оттаивания в течение года (по данным долгосрочных наблюдений) с учетом эксплуатационных условий.

Для подводного бетона и бетона внутренней зоны массивных конструкций не требуется специальной проверки качества на морозостойкость. Морозостойкость этих бетонов должна обеспечиваться выбором материалов с учетом возможного воздействия температур на бетон в течение строительного периода.

Для неделимых конструктивных элементов, расположенных в нескольких зонах сооружения, требования по морозостойкости устанавливаются по наиболее опасной зоне.

Марки по морозостойкости гидротехнического бетона зоны переменного уровня воды и водосливной грани речных гидротехнических сооружений назначаются в проекте согласно табл. 3.

Таблица 3

Климатические условия

Марка бетона по морозостойкости при наибольшем числе циклов попеременного замораживания и оттаивания

до 50

от 50 до 75

от 75 до 100

от 100 до 150

от 150 до 200

> 200

1

2

3

4

5

6

7

Умеренные

Мрз 50

Мрз 100

Мрз 150

Мрз 200

Мрз 300*

Мрз 400

Суровые

Мрз 100

Мрз 150

Мрз 200

Мрз 300*

Мрз 400*

Мрз 500

Особо суровые

Мрз 150

Мрз 200

Мрз 300

Мрз 400

Мрз 500

Мрз 600

* Для водосливной грани плотины, к которой не предъявляется требование по кавитационной стойкости, марка по морозостойкости принимается равной Мрз 200.

Примечание. Климатические условия, указанные в табл. 3, характеризуются среднемесячной температурой наиболее холодного месяца:

умеренные - от 0 до минус 10 °С;

суровые - от минус 10 до минус 20 °С;

особо суровые - ниже минус 20 °С.

Для надводной зоны речных сооружений марки бетона по морозостойкости назначаются с учетом атмосферных воздействий, но не ниже Мрз 50 - для умеренных, Мрз 100 - для суровых, Мрз 200 - для особо суровых климатических условий.

Для морских гидротехнических сооружений марки бетона по морозостойкости назначаются согласно табл. 4.

Таблица 4

Гидрометеорологические условия эксплуатации морских сооружений

Зона переменного уровня воды

Надводная зона

железобетонные конструкции с содержанием арматуры более 0,5 %

бетонные и железобетонные конструкции с содержанием арматуры менее 0,5 %

железобетонные конструкции с содержанием арматуры более 0,5 %

бетонные и железобетонные конструкции с содержанием арматуры менее 0,5 %

Марка бетона по морозостойкости, не ниже

1

2

3

4

5

Легкие

Мрз 100

Мрз 150

Требования по морозостойкости не предъявляются

Средние

Мрз 200

Мрз 150

Мрз 100

Мрз 100

Тяжелые

Мрз 300

с обязательным применением теплогидроизоляции

Мрз 200

Мрз 150

Примечание. Приморские районы СССР относятся к районам с тяжелыми, средними и легкими гидрометеорологическими условиями эксплуатации в соответствии с указаниями по обеспечению долговечности бетонных и железобетонных конструкций гидротехнических сооружений.

2.8. За марку по водонепроницаемости принимается наибольшее давление воды, при котором еще не наблюдается просачивание воды при испытании образцов, в соответствии с требованиями государственных стандартов.

Эта характеристика назначается в зависимости от напорного градиента, определяемого как отношение максимального напора, м, к толщине конструкции, м (при отсутствии зональной разрезки), или к толщине бетона наружной зоны конструкции (при наличии зональной разрезки), в соответствии с табл. 5.

Таблица 5

Напорный градиент

До 5

От 5 до 10

От 10 до 15

От 15 до 20

От 20 до 30

Марка бетона по водонепроницаемости

В4

В6

В8

В10

В12

В нетрещиностойких безнапорных конструкциях морских сооружений проектная марка бетона по водонепроницаемости должна быть не ниже В4.

2.9. При предварительном выборе проектных марок бетона допускается при отсутствии данных испытаний пользоваться табл. 6, устанавливающей ориентировочную взаимосвязь основных свойств бетона на портландцементе без применения ПАВ.

Таблица 6

Свойства бетона

Ориентировочная взаимосвязь свойств бетона

По водонепроницаемости

В2

В4

В6

В8

В10

В12

По морозостойкости

Мрз 50

Мрз 100

Мрз 150

Мрз 200

Мрз 300

Мрз 400

По прочности на осевое сжатие

М 150

М 200

М 250

М 300

М 400

М 400

2.10. Для замоноличивания стыков элементов сборных конструкций, которые в процессе эксплуатации могут подвергаться воздействию отрицательных температур наружного воздуха или воздействию агрессивной воды, рекомендуется применять бетоны проектных марок по морозостойкости и водонепроницаемости на одну марку выше марки бетона стыкуемых элементов.

2.11. При приготовлении бетонов и растворов рекомендуется применять добавки поверхностно-активных веществ (СДБ, СНВ и др.), а также активную минеральную добавку золы-уноса тепловых электростанций и другие тонкодисперсные добавки, отвечающие требованиям соответствующих документов.

Примечание. В зонах конструкций, подвергающихся попеременному замораживанию и оттаиванию, использование золы-уноса или других тонкодисперсных минеральных добавок к бетону не допускается, за исключением конструкций, для которых требование к морозостойкости бетона предъявляется только в период строительства.

Кроме перечисленных добавок рекомендуется применять добавки ГКЖ-94.

2.12. Допускается применение бетона на пористых заполнителях, проектные марки которого принимаются в соответствии с главой СНиП II-21-75 «Бетонные и железобетонные конструкции», если по технико-экономическим соображениям целесообразно снижение нагрузки от собственного веса конструкции.

НОРМАТИВНЫЕ И РАСЧЕТНЫЕ ХАРАКТЕРИСТИКИ БЕТОНА

2.13. Величины нормативных и расчетных сопротивлений бетона в зависимости от проектных марок бетона по прочности на сжатие и на осевое растяжение принимаются по табл. 7.

Таблица 7

Проектная марка тяжелого бетона

Вид сопротивления бетона, кгс/см2

нормативное и расчетное для предельных состояний второй группы

расчетное для предельных состояний первой группы

сжатие осевое (призменная прочность)

Rнпр и RпрII

растяжение осевое

Rнр и RрII

сжатие осевое (призменная прочность)

Rпр

растяжение осевое

Rр

По прочности на сжатие

М 75

45

5,8

35

3,8

М 100

60

7,2

45

4,8

М 150

85

9,5

70

6,3

М 200

115

11,5

90

7,5

М 250

145

13

110

8,8

М 300

170

15

135

10

М 350

200

16,5

155

11

М 400

225

18

175

12

М 450

255

19

195

12,8

М 500

280

20

215

13,5

М 600

340

22

245

14,5

По прочности на растяжение

Р 10

-

7,8

-

6

Р 15

-

11,7

-

9

Р 20

-

15,6

-

12

Р 25

-

19,5

-

15

Р 30

-

23,5

-

18

Р 35

-

27

-

21

Р 40

-

31

-

24

Примечание. Обеспеченность значений нормативных сопротивлений, указанных в табл. 7, установлена равной 0,95 (при базовом коэффициенте вариации 0,135), кроме массивных гидротехнических сооружений: гравитационных, арочных, массивно-контрфорсных плотин и т.п., - для которых обеспеченность нормативных сопротивлений установлена 0,9 (при базовом коэффициенте вариации 0,17).

2.14. Коэффициенты условий работы бетона ms для расчета конструкций по предельным состояниям первой группы принимаются по табл. 8.

При расчете по предельным состояниям второй группы коэффициент условий работы бетона принимается равным 1, за исключением расчета при действии многократно повторяющейся нагрузки.

2.15. Расчетные сопротивления бетона при расчете железобетонных конструкций на выносливость R'пр и R'р вычисляются в соответствии с п. 3.78.

2.16. Нормативное сопротивление бетона при всестороннем сжатии Rноб определяется по формуле

Rноб = Rнпр + A(1 - a2)s1,                                              (2)

Таблица 8

Факторы, обусловливающие введение коэффициента условий работы бетона

Коэффициент условий работы бетона mб

условное обозначение

значение

1. Особые сочетания нагрузок для бетонных конструкций

mб1

1,1

2. Многократное повторение нагрузки

mб2

Принимается по табл. 29

3. Железобетонные конструкции плитные и ребристые при толщине плиты (ребра), см:

60 и более

mб3

1,15

менее 60

mб3

1

4. Бетонные конструкции

mб4

0,9

Примечания: 1. При наличии нескольких фактором, действующих одновременно, в расчете учитывается произведение соответствующих коэффициентов условий работы.

2. В необходимых случаях коэффициенты условий работы бетона принимаются согласно указаниям соответствующих нормативных документов (например, для плотин по табл. 3 и 11 главы СНиП II-54-77).

где A - коэффициент эффективности бокового давления, принимаемый на основании результатов экспериментальных исследований; при их отсутствии для бетонов проектных марок М 200, М 250, М 300 и М 350 коэффициент A определяется по формуле

                                                             (3)

s1 - наименьшее по абсолютной величине главное напряжение, кгс/см2;

s2 - коэффициент эффективной пористости, определяемый экспериментальным путем (см. п. 1.9).

Расчетные сопротивления определяются по табл. 7 в зависимости от значения Rноб интерполяцией.

Примечание. При наличии экспериментальных данных разрешается уточнять нормативное сопротивление бетона сжатию и при других видах напряженного состояния.

2.17. Величина начального модуля упругости бетона при сжатии и растяжении Eб принимается по табл. 9.

В зависимости от фактических значений модуля упругости крупного заполнителя Eз рекомендуется умножать значения начального модуля упругости бетона Eб, на коэффициенты, принимаемые по табл. 10.

В зависимости от фактической крупности заполнителя рекомендуется пользоваться коэффициентами к значениям Eб, принимаемыми по табл. 11.

Таблица 9

Условия твердения бетона

Начальные модули упругости тяжелого бетона при сжатии и растяжении Eб·10-3, кгс/см2, при проектной марке по прочности на сжатие

М 100

М 150

М 200

М 250

М 300

М 350

М 400

М 450

М 500

М 600

Естественное твердение

170

210

240

265

290

310

330

345

360

380

При тепловой обработке в условиях атмосферного давления

155

190

215

240

260

280

300

310

325

340

При автоклавной обработке

125

160

180

200

220

230

250

260

270

285

Примечания: 1. Значения начального модуля упругости бетона Eб установлены для тяжелого бетона на плотных заполнителях с модулем упругости Eз = 600·103 кгс/см2 и крупности заполнителя 80 мм.

2. Значения начального модуля упругости бетона для сооружений I класса уточняются по результатам экспериментальных исследований.

Таблица 10

Модуль упругости заполнителя бетона Eз·10-3, кгс/см2

800

700

600

500

400

300

200

Коэффициент

1,15

1,08

1

0,91

0,79

0,66

0,49

Таблица 11

Крупность заполнителя бетона, мм

120

80

40

20

Коэффициент

1,02

1

0,95

0,89

При установлении марки бетона по прочности на сжатие и начального модуля упругости Eб в возрасте 180 дней значения модуля упругости в меньшем возрасте рекомендуется определять умножением значений Eб, принимаемых по табл. 9, на коэффициенты, приведенные в табл. 12, а также в соответствии с п. 5.21.

Начальный коэффициент поперечной деформации бетона μ = 0,15, модуль сдвига G = 0,4 Eб.

Объемный вес тяжелого бетона при отсутствии опытных данных допускается принимать равным 2,3 - 2,5 тс/м3.

Для уточнения объемного веса бетона рекомендуется пользоваться табл. 13.

Таблица 12

Вид цемента, используемого для приготовления бетона

Коэффициент при возрасте бетона, сут

3

 

14

28

90

180

Портландцемент

0,62

0,71

0,78

0,86

0,96

1

Пуццолановый и шлакопортландцемент

0,49

0,6

0,68

0,81

0,95

1

Таблица 13

Плотность заполнителя, тс/м3

Объемный вес бетона, т/м3, при наибольшей крупности заполнителей, мм

10

20

40

80

120

2,6 - 2,65

2,26

2,32

2,37

2,41

2,43

2,65 - 2,7

2,3

2,36

2,4

2,45

2,47

2,7 - 2,75

2,33

2,39

2,44

2,49

2,5

Примеры расчета к пп. 2.1 - 2.15

Пример 2. Дано. Доковая конструкция судопропускного сооружения защиты Ленинграда от наводнения. Сооружение I класса - kн = 1,25; сочетание нагрузок и воздействий основное - nс = 1. При расчете прочности учтены собственный вес бетона, боковое давление грунта, давление воды в камере и в засыпке за стенами, температурные воздействия для года со средней амплитудой изменений средних месячных температур воздуха, противодавление воды в расчетных сечениях.

Максимальные расчетные напряжения на сжатие в днище sмакс = 68 кгс/см2. Требуется подобрать (назначить) марку бетона для днища, находящегося в эксплуатационных условиях под уровнем воды, и для стенового элемента, находящегося в зоне переменного уровня.

Расчет. Для днища доковой конструкции оценку прочности бетона производим по формуле (1) при mб3 = 1,15:

По табл. 7 интерполяцией получаем Rнпр = 91 кгс/см2. Так как объем бетона в рассматриваемом сооружении менее 1 млн. м3, принимаем для подбора состава стандартную марку бетона М 200.

При объеме бетона в сооружении более 1 млн. м3 в соответствии с п. 2.2 можно принять контролируемую прочность бетона на сжатие Rнпр = 100 кгс/см2, что соответствует условной марке бетона М 180 и дает определенный экономический эффект.

Перейдем к рассмотрению требований по водонепроницаемости.

Минимальная толщина бетона от основания сооружения до дна сухой потерны 3,1 м; давление фильтрационной воды снизу при опорожненной камере 21,5 м.

Градиент напора получаем равным 21,5 : 3,1 = 6,9 < 10. По табл. 5 принимаем марку бетона по водонепроницаемости В6.

Согласно табл. 6, определять состав бетона будет требование В6, при этом марка бетона по прочности М 200 получится автоматически.

Для стенового элемента, находящегося в зоне переменного уровня воды, определяющей является марка бетона по морозостойкости. Сооружение массивное, содержание арматуры менее 0,5 %. Район строительства относится к средним гидрометеорологическим условиям эксплуатации сооружений, и потому по графе 3 табл. 4 принимаем марку бетона Мрз 150. Так как напор в рассматриваемой зоне не превышает 5 м, а толщина сечения более 3 м, градиент напора 5 : 3 < 5; согласно п. 2.8, назначаем марку бетона по водонепроницаемости В4. Учитывая, что напряженное состояние в рассмотренной зоне практически не отличается от состояния днища, рассмотренного ранее, окончательно принимаем марку бетона для зоны переменного уровня воды М 200, Мрз 150, В4.

В соответствии с табл. 6 определять состав бетона будет требование Мрз 150.

Пример 3. Дано. Арочно-гравитационная плотина I класса - kн = 1,25 (п. 1.2); сочетание нагрузок основное - пс = 1 (п. 1.2); главные сжимающие напряжения в расчетной точке верховой грани s3 = 73 кгс/см2, s2 = 25,2 кгс/см2; радиальные s1 = 6 кгс/см2. Зона плотины, где находится рассматриваемая точка, возведена из бетона марки М 250, Rнпр = 145 кгс/см2; Rпр = 110 кгс/см2; mпл = 0,9; mар1 = 0,9 (табл. 3 и 11 главы СНиП II-54-77).

На основании исследований для напорной зоны плотины принимаем a2 = 0,15.

Требуется определить нормативное и расчетное сопротивления бетона с учетом всестороннего сжатия бетона в расчетной точке и проверить прочность бетона в расчетной зоне плотины.

Расчет. По формуле (3) определяем значение коэффициента A:

По формуле (2) определяем Rноб:

Rноб = Rнпр + A(1 - a2)s1 = 145 + 8,3(1 - 0,15)6 = 187 кгс/см2.

По табл. 7 для Rнпр = 187 кгс/см2 интерполяцией получаем расчетное сопротивление Rпр = 147 кгс/см2, т.е. Rноб = 187 кгс/см2 соответствует Rоб = 147 кгс/см2.

Оценку прочности бетона производим по формуле (1):

kнnсs3 = 1,25·1·73 = 91,2 кгс/см2;

mплmар1Rоб = 0,9·0,9·147 = 119 кгс/см2;

91,2 кгс/см2 < 119 кгс/см2.

Таким образом, марка бетона М 250 в рассматриваемой области арочно-гравитационной плотины назначена со значительным запасом.

Определим необходимую марку бетона, исходя из критерия прочности kнnсs3 £ mплmар1Rоб:

По табл. 7 найдем интерполяцией

Далее рекомендуется прибегнуть к методу итераций.

Приняв в первом приближении A = A1 = 10, найдем

Rнпр = Rноб - A(1 - a2)s1 = 148 - 10(1 - 0,15)6 = 97 кгс/см2,

которому по табл. 7 соответствует марка бетона М 170.

При марке бетона М 170

Далее для бетона марки М 170 найдем:

Rноб = 97 + 10,15(1 - 0,15)6 = 149 кгс/см2;

Rоб = 114 кгс/см2;

kнnсs3 = 1,25·1·73 = 91,2 кгс/см2 < mплmар1Rоб = 0,9·0,9·114 = 92,3 кгс/см2.

Следовательно, условиям задачи удовлетворяет бетон марки М 170.

Арматура

2.18. Для армирования железобетонных конструкций гидротехнических сооружений без предварительного напряжения применяется арматура следующих видов и классов:

а) стержневая горячекатаная: гладкая класса А-I, периодического профиля классов А-II, А-III;

б) обыкновенная холоднотянутая арматурная проволока периодического профиля класса Вр-I.

Для закладных деталей и соединительных накладок применяется, как правило, прокатная углеродистая сталь класса С 38/23.

2.19. В качестве ненапрягаемой расчетной арматуры железобетонных конструкций преимущественно применяется горячекатаная арматурная сталь класса А-III; горячекатаную арматурную сталь класса А-II рекомендуется применять в основном для поперечной, распределительной и конструктивной арматуры, а для продольной расчетной арматуры - в случаях, когда использование арматуры класса А-III не допускается или нецелесообразно. Сталь класса А-I рекомендуется применять для монтажной арматуры.

2.20. При выборе вида и марок стали для арматуры, устанавливаемой по расчету, а также прокатных сталей для закладных деталей должны учитываться тип конструкции, температурные условия эксплуатации конструкций и характер их нагружения согласно прил. 2 и 3.

При возведении конструкций в условиях расчетной зимней температуры наружного воздуха ниже минус 40 °С с арматурой, допускаемой для использования только в отапливаемых зданиях, должна быть проверена несущая способность конструкции на стадии ее возведения при расчетном сопротивлении арматуры с дополнительным коэффициентом mа = 0,7 и расчетной нагрузке с коэффициентом перегрузки n = 1.

2.21. Для монтажных (подъемных) петель элементов сборных железобетонных и бетонных конструкций применяется горячекатаная арматурная сталь класса А-II, марки 10ГТ и класса А-I марок ВСт3сп2 и ВСт3пс2.

При монтаже конструкций при расчетной зимней температуре ниже минус 40 °С для монтажных петель не допускается применять сталь марки ВСт3пс2.

НОРМАТИВНЫЕ И РАСЧЕТНЫЕ ХАРАКТЕРИСТИКИ АРМАТУРЫ

2.22. За нормативное сопротивление арматуры Rна принимаются наименьшие контролируемые значения:

для стержневой арматуры - предела текучести физического или условного (равного величине напряжений, соответствующих остаточному относительному удлинению 0,2 %);

для проволочной арматуры - временного сопротивления разрыву.

Указанные контролируемые характеристики арматуры принимаются в соответствии с государственными стандартами или техническими условиями на арматурные стали и гарантируются с вероятностью не менее 0,95.

Расчетные сопротивления арматуры растяжению Rа для предельных состояний первой и второй групп определяются по формуле

                                                                     (4)

где kа - коэффициент безопасности по арматуре, принимаемый по табл. 14.

Таблица 14

Вид и класс арматуры

Коэффициент безопасности по арматуре kа при расчете конструкций по предельным состояниям

первой группы

второй группы

Стержневая арматура классов:

 

 

А-I, А-II

1,05

1

А-III диаметром, мм:

 

 

6 - 8

1,1

1

10 - 40

1,07

1

Проволочная арматура класса Вр-I

1,1

1

2.23. Величины нормативных и расчетных сопротивлений основных видов арматуры, применяемой в железобетонных конструкциях гидротехнических сооружений, в зависимости от класса арматуры принимаются по табл. 15.

Таблица 15

Вид и класс арматуры

Нормативные сопротивления растяжению Rна и расчетные сопротивления растяжению для предельных состояний второй группы

RаII кгс/см2

Расчетные сопротивления арматуры для предельных состояний первой группы, кгс/см2

растяжению

сжатию Rа.с

продольной, поперечной (хомутов и отогнутых стержней) при расчете наклонных сечений на действие изгибающего момента Rа

поперечной (хомутов и отогнутых стержней) при расчете наклонных сечений на действие поперечной силы Rа.х

Стержневая арматура классов:

 

 

 

 

А-I

2400

2300

1800

2300

А-II

3000

2850

2220

2850

А-III диаметром, мм:

 

 

 

 

6 - 8

4000

3600

2900*

3600

10 - 40

4000

3750

3000*

3750

Проволочная арматура класса В-I диаметром, мм:

 

 

 

 

3

4200

3850

3100 (3200)

3850

4

4150

3750

3000 (3100)

3750

5

4050

3700

2950 (3050)

3700

* В сварных каркасах для хомутов из арматуры класса А-III, диаметр которых меньше 1/3 диаметра продольных стержней, Rа.х = 2500 кгс/см2 при диаметре хомутов 6 - 8 мм и Rа.х = 2600 кгс/см2 при диаметре хомутов 10 - 40 мм.

Примечания: 1. Величины Rа.х в скобках даны для случая применения арматуры класса В-I в вязаных каркасах.

2. При отсутствии сцепления арматуры с бетоном значения Rа.с принимаются равными нулю.

2.24. Расчетные сопротивления арматуры для предельных состояний первой группы повышаются или снижаются путем умножения на соответствующие коэффициенты условий работы mа.

Коэффициенты условий работы ненапрягаемой арматуры принимаются по табл. 16.

Таблица 16

Факторы, обусловливающие введение коэффициентов условий работы арматуры

Коэффициент условий работы арматуры mа

условное обозначение

значение

Многократное повторение нагрузки

mа1

Определяется по формуле (157)

Железобетонные элементы, содержащие в поперечном сечении стержней рабочей арматуры:

 

 

менее 10

mа2

1,1

10 и более

1,15

Сталежелезобетонные конструкции (открытые и подземные)

mа3

0,8

Примечания: 1. При наличии нескольких факторов, действующих одновременно, в расчет вводится произведение соответствующих коэффициентов условий работы.

2. В необходимых случаях коэффициенты условий работы арматуры принимаются по соответствующим нормативным документам (например, для плотин по поз. 5 табл. 3 главы СНиП II-54-77).

3. Коэффициенты условий работы арматуры mа2 для сооружений III и IV классов принимаются уменьшенными на 0,05.

4. При расчете железобетонных элементов сооружений I и II классов рекомендуется принимать коэффициент условий работы арматуры mа2 = 1,1 независимо от количества рабочих стержней в поперечном сечении.

Коэффициент условий работы арматуры mа для расчетов по предельным состояниям второй группы принимается равным 1.

2.25. Расчетные сопротивления R'а растянутой стержневой арматуры при расчете железобетонных конструкций на выносливость определяются согласно п. 3.79 настоящего Руководства.

2.26. Величины модуля упругости ненапрягаемой арматуры принимаются по табл. 17.

Таблица 17

Вид и класс арматуры

Модуль упругости арматуры Eа, кгс/см2

Стержневая арматура классов:

 

А-I, А-II

2100000

А-III

2000000

Арматурная проволока класса

 

Вр-I

1700000

3. РАСЧЕТ ЭЛЕМЕНТОВ БЕТОННЫХ И ЖЕЛЕЗОБЕТОННЫХ КОНСТРУКЦИЙ ПО ПРЕДЕЛЬНЫМ СОСТОЯНИЯМ ПЕРВОЙ ГРУППЫ

Расчет по прочности бетонных элементов

3.1. Расчет по прочности бетонных элементов производится для сечений, нормальных к их продольной оси, а элементов, рассчитываемых в соответствии с п. 1.7, для площадок действия главных напряжений.

В зависимости от условий работы элементы рассчитываются без учета и с учетом сопротивления бетона растянутой зоны сечения.

Без учета сопротивления бетона растянутой зоны сечения рассчитываются внецентренно-сжатые элементы, в которых по условиям эксплуатации допускается образование трещин.

С учетом сопротивления бетона растянутой зоны сечения рассчитываются все изгибаемые элементы, а также внецентренно-сжатые элементы, в которых по условиям эксплуатации не допускается образование трещин.

В случаях действия в расчетных сечениях значительных по величине поперечных сил, когда вероятно образование наклонных трещин, рекомендуется производить расчет бетонных элементов из условия

kнnсsг.р £ mбRр,                                                            (5)

где sг.р - главные растягивающие напряжения в бетоне, действующие по наклонным площадкам, определяемые как для упругого тела.

Примечания: 1. В общем случае продольной осью элемента следует считать линию, равноудаленную от его граней. Разрешается принимать ось элементов вертикальной или горизонтальной. Например, на рис. 2 показана локальная (относящаяся к сечению) вертикальная ось «консоли» арочной плотины.

2. Главные растягивающие напряжения, действующие по наклонным площадкам, определяются на уровне нейтральной оси, на уровне центра тяжести сечения, а также в местах резкого изменения ширины сечения b (например, для тавровых, двутавровых, коробчатых и других сечений).

3.2. Бетонные конструкции, прочность которых определяется прочностью бетона растянутой зоны сечения, допускаются к применению в том случае, если образование трещин в них не приводит к разрушению, к недопустимым деформациям или к нарушению водонепроницаемости конструкции. При этом является обязательной проверка трещиностойкости элементов таких конструкций с учетом температурно-влажностных воздействий в соответствии с разд. 5 настоящего Руководства.

Рис. 2. Схема консоли арочной плотины

i-i - расчетное сечение; θ1, θ2 - углы между осью и гранями элемента соответственно верховой и низовой для сечения i-i

Применение изгибаемых бетонных конструкций простейшего вида (балки на двух опорах, консоли и др.) допускается в том случае, если они лежат на упругом основании, рассчитываются только на нагрузку от собственного веса и под ними не могут находиться люди и оборудование, а также когда расчетом с учетом температурно-влажностных воздействий в соответствии с разд. 5 настоящего Руководства доказана трещиностойкость таких конструкций.

Для внецентренно-сжатых элементов необходимо проверять прочность бетона сжатой зоны в предположении образования трещин и устойчивость свободно стоящих элементов на опрокидывание.

ИЗГИБАЕМЫЕ ЭЛЕМЕНТЫ

3.3. Расчет бетонных изгибаемых элементов производится по формуле

kнnсM £ mhmбRрWт,                                                      (6)

где mh - коэффициент, определяемый в зависимости от высоты сечения по табл. 18;

Таблица 18

Высота сечения h, см

100 и менее

Св. 100

Коэффициент тh

1

0,9 + 10/h

Рис. 3. Схема усилий и эпюра напряжений в сечении, нормальном к продольной оси изгибаемого бетонного элемента прямоугольного сечения

Wт - момент сопротивления для растянутой грани сечения, определяемый с учетом упругих свойств бетона по формуле

Wт = gWр,                                                                     (7)

g - коэффициент учитывающий влияние пластических деформаций бетона в зависимости от формы и соотношения размеров сечения, принимаемый по прил. 4;

Wр - момент сопротивления для растянутой грани сечения, определяемый как для упругого материала.

Для сечений более сложной формы в отличие от данных, приведенных в прил. 4, Wт определяется в соответствии с п. 3.5 главы СНиП II-21-75.

На рис. 3 приведены схема усилий и эпюра напряжений в сечении, нормальном к продольной оси изгибаемого бетонного элемента прямоугольного сечения.

ВНЕЦЕНТРЕННО-СЖАТЫЕ ЭЛЕМЕНТЫ

3.4. Расчет внецентренно-сжатых бетонных элементов без учета сопротивления бетона растянутой зоны сечения производится по сопротивлению бетона сжатию, которое условно характеризуется напряжениями, равными Rпр, умноженными на коэффициенты условий работы бетона тб.

3.5. Влияние прогиба внецентренно-сжатых бетонных элементов на их несущую способность учитывается умножением величины предельного усилия, воспринимаемого сечением, на коэффициент j, принимаемый по табл. 19.

Таблица 19

Значения l0/b для сечения прямоугольной формы

Значения l0/r для сечения произвольной формы

Коэффициент j

< 4

< 14

1

4

14

0,98

6

21

0,96

8

28

0,91

10

35

0,86

Примечание. l0 - расчетная длина элемента; b - наименьший размер прямоугольного сечения; r - наименьший радиус инерции сечения.

При расчете гибких бетонных элементов при l0/b > 10 или l0/r > 35 учитывается влияние длительного действия нагрузки на несущую способность конструкции в соответствии с главой СНиП II-21-75 с введением расчетных коэффициентов, принимаемых по главе СНиП II-56-77.

Расчетная длина элемента l0 принимается в зависимости от характера закрепления концов элемента по табл. 22 настоящего Руководства.

Для арок расчетная длина элемента l0 определяется умножением геометрической длины L на коэффициент ψг, определяемый по формулам:

а) для бесшарнирных арок с жестко заделанными пятами

                                                          (8)

б) для двухшарнирных арок

                                                      (9)

где L - длина арки по оси;

ρ - радиус дуги круга, проведенного через центры замкового и пятового сечений арки.

3.6. Внецентренно-сжатые бетонные элементы, не подверженные действию агрессивной воды и не воспринимающие напор воды, рассчитываются без учета сопротивления бетона растянутой зоны сечения в предположении прямоугольной формы эпюры сжимающих напряжений (рис. 4, а) по формуле

kнnсN £ jmбRпрFб,                                                       (10)

где Fб - площадь сечения сжатой зоны бетона, определяемая из условия совпадения ее центра тяжести с точкой приложения равнодействующей внешних сил.

Примечание. В сечениях, рассчитываемых по формуле (10), величина эксцентрицитета e0 расчетного усилия относительно центра тяжести сечения не должна превышать 0,9 расстояния y от центра тяжести сечения до его наиболее напряженной грани.

Прямоугольные сечения рассчитываются по формуле

kнnсN £ 2b(0,5h - e0)jmбRпр                                              (11)

Рис. 4. Схема усилий и эпюра напряжений в сечении, нормальном к продольной оси внецентренно-сжатого бетонного элемента, рассчитываемого без учета сопротивления бетона растянутой зоны

а - в предположении прямоугольной эпюры сжимающих напряжений; б - в предположении треугольной эпюры сжимающих напряжений

3.7. Внецентренно-сжатые элементы бетонных конструкций, подверженные действию агрессивной воды или воспринимающие напор воды, без учета сопротивления растянутой зоны сечения рассчитываются в предположении треугольной эпюры сжимающих напряжений (рис. 4, б); при этом краевое сжимающее напряжение а должно удовлетворять условию

                                                                  (12)

Прямоугольные сечения рассчитываются по формуле

                                                 (13)

3.8. Внецентренно-сжатые элементы бетонных конструкций при учете сопротивления растянутой зоны сечения рассчитываются из условия ограничения величины краевых растягивающих и сжимающих напряжений по формулам:

                                                  (14)

                                                (15)

где Wр и Wс - моменты сопротивления соответственно для растянутой и сжатой граней сечения.

По формуле (15) допускается рассчитывать также внецентренно-сжатые бетонные конструкции с однозначной эпюрой напряжения.

Формулы (6), (10) - (15) составлены для элементов с постоянной высотой сечения (т.е. призматических стержней). Этими формулами можно пользоваться и в том случае, когда угол между гранями элемента θ £ arctg 0,2 » 11°. В этом случае, если продольная ось элемента параллельна одной из граней, краевое главное напряжение принимается с погрешностью δ £ 5 %, что допустимо в статическом расчете.

Множитель 0,8 при члене M/Wс в формуле (15) приближенно учитывает нелинейный характер эпюры напряжений в сжатой зоне бетонного элемента при действии момента М.

В практических расчетах элементов бетонных конструкций приходится иметь дело со случаями, когда в расчетной схеме ось элемента не параллельна одной или обеим граням (см. рис. 2) и нельзя пренебречь углами θ1 и θ2. При этом без учета противодавления воды в сечении i-i формулы (14) и (15) заменяются следующими:

                         (16)

                       (17)

где gв - объемный вес воды;

H и h - заглубления соответственно верховой и низовой точек (А и В на рис. 2) под уровнями воды верхнего и нижнего бьефов.

Примеры расчета к пп. 3.1 - 3.8

Пример 4. Дано. Изгибаемый бетонный элемент прямоугольного сечения (рис. 3).

Требуется вывести расчетную формулу.

Расчет. Из условия равновесия элемента малой длины ds имеем

Для прямоугольного сечения bh2/6 = Wр; 1,75 = g по прил. 4, т.е. 1,75bh2/6 = gWр = Wт.

Таким образом, в предельном состоянии с учетом расчетных коэффициентов получаем формулу (6) - kнnсM = mhmбRрWт.

Пример 5. Дано. Элемент бетонной конструкции (mб = 0,9) с сечением b = 1 м, h = 2 м (рис. 5); класс III - kн = 1,15; бетон марки М 200, Rпр = 90 кгс/см2; q = 25,2 тс/м (боковое давление грунта qн = 21 тс/м; n = 1,2 - коэффициент перегрузки); сочетание нагрузок основное - nс = 1; элемент не подвержен действию агрессивной воды и не воспринимает напор воды. Продольный изгиб конструкции возможен только в плоскости чертежа.

Требуется проверить прочность сечения 1-1.

Расчет. Из статического расчета элемента как рамы с жесткими вставками находим для сечения 1-1 M = 134 тс·м; Nс = 151 тс (сечение внецентренно сжато).

Отсюда эксцентрицитет продольной силы N относительно центра тяжести сечения 1-1

Так как концы стержней рамы полностью защемлены в жесткие вставки, по табл. 22 l0 = 0,5 l = 0,5·8 = 4 м. При

по табл. 19 настоящего Руководства j = 1.

Так как элемент безнапорный и не подвержен действию агрессивной воды, прочность его определяется по формуле (11):

kнnсN = 1,15·1·151 = 174 тс < 2b(0,5h - e0) < jmбRпр = 2·1(0,5·2 - 0,89)1·0,9·900 = 178 тс.

Условие прочности выполнено.

Пример 6. Дано. Элемент бетонной конструкции, показанный на рис. 5, подвержен действию агрессивной воды, но не воспринимает напор. Остальные условия те же, что и в примере 5.

Требуется определить предельно допустимое значение интенсивности бокового давления грунта q по условию прочности сечения 1-1.

Рис. 5. К примерам 5 и 6

Расчет.

Из формулы (13) находим для предельного состояния

Отсюда предельно допустимое значение q равно

Пример 7. Дано. Бетонная подпорная стена высотой 10 м и сечением у основания h = 3 м, mб = 0,9; класс сооружения III - kн = 1,15; сочетание нагрузок основное - пс = 1. По условиям эксплуатации трещины не допускаются. Суммарные усилия в сечении у основания стены M = 145,7 тс·м и Nс = 69,4 тс; бетон марки М 150, Rпр = 70 кгс/см2; Rр = 6,3 кг/см2.

Требуется проверить прочность стены.

Расчет. Так как по условиям эксплуатации трещины не допускаются, расчет производим с учетом работы бетона растянутой зоны в соответствии с. п. 3.8. F = bh = 1·3 = 3 м2; Wр = Wс = bh2/6 = 1·32/6 = 1,5 м3; l0 = 2l = 2·10 = 20 м; l0/h = 20/3 = 6,7; j = 0,945  (табл. 19); mh = 0,9 + 10/300 = 0,933 (табл. 18); g = 1,75 (прил. 4).

Для растянутого волокна проверяем условие прочности по формуле (14):

Условие удовлетворено.

Для сжатого волокна проверяем условие прочности по формуле (15):

Условие удовлетворяется с большим запасом.

Пример 8. Дано. Бетонная конструкция - прямоугольная пластина толщиной δ = 1 м, ослабленная круговым отверстием, давления рх и pу (рис. 6). Размеры: lх = lу = 5 м; r = 0,8 м; бетон марки М 250; класс сооружения I - kн = 1,25; сочетание нагрузок основное - пс = 1.

Требуется проверить прочность конструкции при рх = 76 тс/м2; pу = 290 тс/м2.

Расчет. Конструкция представляет собой балку-стенку, предельное состояние которой не может быть выражено через усилия в каких-либо сечениях.

Балку-стенку рассчитываем в соответствии с п. 1.7 настоящего Руководства методами механики сплошных сред.

Рис. 6. К примеру 8

Рис. 7. К примеру 9

При lх : 2r = lу : 2r = 5 : 1,6 = 3,1 > 3 размеры пластины можно принимать бесконечно большими. В этом случае напряженное состояние может быть определено по классическому решению теории упругости (задача Кирша).

Наибольшее значение главных сжимающих напряжений (в точке А)

sА.с = |sА| = |pх - 3pу| = |76 - 3·290| = 794 тс/м2 = 79,4 кгс/см2.

Наибольшее значение главных растягивающих напряжений (в точке В)

sВ = sВ = pу - 3pх = 290 - 3·76 = 62 тс/м2 = 6,2 кгс/см2.

Критерии прочности в соответствии с п. 1.2:

kнnсsА £ mбRпр; 1,25·1·79,4 = 99 кгс/см2 = 0,9·110 = 99 кгс/см2;

kнnсsВ £ mбRр; 1,25·1·6,2 = 7,75 кгс/см2 < 0,9·8,8 = 7,92 кгс/см2.

Условия прочности удовлетворяются практически точно. В зоне действия главных растягивающих напряжений рекомендуется поставить конструктивную арматуру 4 Æ 20 А-II на 1 м.

Пример 9. Дано. Конструкция докового типа (рис. 7), h = 3 м, mб = 0,9, g = 1,75, mh = 0,93, j = 1; бетон марки М 250, Rр = 8,8 кгс/см2; M = 160 тс·м; Nс = 40 тс; Q = 80 тс; класс сооружения II - kн = 1,2, сочетание нагрузок основное - пс = 1.

Требуется проверить прочность сечения i-i.

Расчет. Фундаментная плита дока может быть принята бетонной, так как выполняется условие (14).

Рис. 8. К примеру 10

Рекомендуется выполнить расчет по главным растягивающим напряжениям на нейтральной оси и в центре тяжести сечения i-i. Нейтральная ось расположена на расстоянии 1,31 м, центр тяжести - на расстоянии 1,5 м от подошвы фундаментной плиты.

На нейтральной оси

sх = 0; sу = -0,2 кгс/см2;

По формуле (5) kнnсsг.р = 1,2´1·3,9 = 4,7 кгс/см2 < тбRр = 0,9·8,8 = 7,9 кгс/см2.

Поскольку на нейтральной оси имеется большой запас sг.р, проверка sг.р в центре тяжести сечения в данном случае излишняя (результат будет практически тот же).

Таким образом, условие прочности выполняется, сечение i-i можно принять бетонным.

Пример 10. Дано. В сечениях 1-1, 2-2, …, 5-5 бетонной конструкции водосброса методом конечных элементов определены краевые значения sг.с, кгс/см2, приведенные на рис. 8. Напряжения по сечениям изменяются практически по линейному закону. Класс сооружения I - kн = 1,25; сочетание нагрузок основное - nс = 1; h3 = 6 м, h4 = 6,6 м.

Требуется определить необходимую марку бетона по прочности на сжатие.

Расчет. Согласно п. 3.8, допускается внецентренно-сжатые бетонные конструкции с однозначной эпюрой напряжений рассчитывать по формуле (15). В данном случае рассмотрим сечение 3-3 как наиболее напряженное. Градиент напряжений по сечению 3-3, равный (103,3 - 37,5)/600 = 0,11 кгс/см3, меньше градиента по сечению 4-4, равного (98,9 - 20,5)/660 = 0,118 кгс/см3.

Пользуясь размерностями м и тс, найдем для сечения 3-3 при b = 1 м (перпендикулярно чертежу) величину сжимающей силы, пренебрегая малыми значениями углов θ:

M = Ne0 = 4220·0,47 = 1980 тс·м;

Из формулы (15) определяем

Условию прочности удовлетворяет бетон марки М 300.

Расчет по прочности железобетонных элементов

3.9. Расчет железобетонных элементов по прочности производится для сечений, нормальных к их продольной оси, а также для наклонных к ней сечений наиболее опасного направления. При наличии крутящих моментов проверяется прочность пространственных сечений, ограниченных в растянутой зоне спиральной трещиной наиболее опасного из возможных направлений (см. п. 3.69). Кроме того, производится расчет элементов на местное действие нагрузки (смятие, продавливание) согласно пп. 3.62 - 3.65.

3.10. При установке в сечении элемента арматуры разных видов и классов в расчет прочности вводится арматура с соответствующими расчетными сопротивлениями.

РАСЧЕТ ПО ПРОЧНОСТИ СЕЧЕНИЙ, НОРМАЛЬНЫХ К ПРОДОЛЬНОЙ ОСИ ЭЛЕМЕНТА

3.11. Предельные усилия в сечении, нормальном к продольной оси элемента, определяются в предположении выхода из работы растянутой зоны бетона, условно принимая напряжения в сжатой зоне распределенными по прямоугольной эпюре и равными mбRпр, а напряжения в арматуре - не более mаRа и mаRа.с соответственно для растянутой и сжатой арматуры.

3.12. Для изгибаемых, внецентренно-сжатых и внецентренно-растянутых с большими эксцентрицитетами элементов расчет сечений, нормальных к продольной оси элемента, когда внешняя сила действует в плоскости оси симметрии сечения и арматура сосредоточена у перпендикулярных к указанной плоскости граней элемента, производится в зависимости от соотношения между величиной относительной высоты сжатой зоны ξ = x/h0, определяемой из условий равновесия, и граничным значением относительной высоты сжатой зоны ξR, при котором предельное состояние элемента наступает одновременно с достижением в растянутой арматуре напряжения, равного расчетному сопротивлению mаRа.

Для элементов, симметричных относительно плоскости действия момента и нормальной силы, армированных ненапрягаемой арматурой, граничные значения ξR принимаются по табл. 20.

Таблица 20

Класс арматуры

Граничные значения ξR при марке бетона

М 150

М 200, М 250, М 300

³ М 350

А-I А-II, А-III

0,7

0,65

0,6

Вр-I

0,65

0,6

0,5

3.13. Изгибаемые, внецентренно-сжатые и внецентренно-растянутые с большими эксцентрицитетами железобетонные элементы, как правило, должны удовлетворять условию ξ £ ξR.

Для изгибаемых элементов невыполнение этого условия можно допустить лишь в случае, когда площадь сечения растянутой арматуры определена из расчета по предельным состояниям второй группы или принята по конструктивным соображениям.

3.14. При высоте сжатой зоны, определенной без учета сжатой арматуры, менее 2a' сжатая арматура в расчете не учитывается. Расчетную сжатую арматуру рекомендуется применять при ограниченной высоте сечения, невозможности повышения марки бетона или при каких-либо особых требованиях.

ИЗГИБАЕМЫЕ ЭЛЕМЕНТЫ

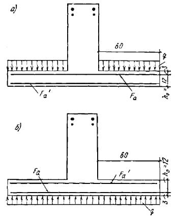
3.15. Расчет изгибаемых железобетонных элементов любой симметричной формы (рис. 9, а) производится по формулам:

kнnсM £ mбRпрSб + mаRа.сSа;                                                 (18)

mаRаFа - mаRа.сF'а = mбRпрFб.                                               (19)

РАСЧЕТ ПРЯМОУГОЛЬНЫХ СЕЧЕНИЙ

3.16. Изгибаемые элементы прямоугольного сечения (рис. 9, б) рассчитываются при ξ £ ξR по формулам:

kнnсM £ mбRпрbx(h0 - 0,5x) + mаRа.с F'а(h0 - a');                               (20)

mаRаFа - mаRа.сF'а = mбRпрbx.                                             (21)

При ξ £ ξR расчет производится по тем же формулам при x = ξRh0.

3.17. Площадь сечения продольной арматуры определяется следующим образом.

Вычисляется высота сжатой зоны сечения из условия (20)

при F'а = 0:

Рис. 9. Схема усилий и эпюра напряжений в сечении, нормальном к продольной оси изгибаемого железобетонного сечения, при расчете его по прочности

а - любой симметричной формы; б - прямоугольного сечения

.                                                     (22)

Далее различают следующие схемы расчета:

1) в случае, если x < 2а' и ξ £ ξR, расчет производится как для сечения с одиночной арматурой при F'а = 0 по формуле

;                                                             (23)

2) в случае, если 2а' £ x £ ξRh0, при известной площади сечения сжатой арматуры F'а высота сжатой зоны бетона уточняется по формуле

.                                (24)

Площадь сечения растянутой продольной арматуры определяется из условия (21):

.                                              (25)

Если высота сжатой зоны x, определенная по формуле (24), x < 2а', а также если сечение F'а неизвестно или равно Fа (сечение с симметричной арматурой), количество продольной арматуры допускается определять по формуле

;                                                         (26)

3) в случае, если x > ξRh0, рекомендуется увеличить сечение, повысить марку бетона или поставить сжатую арматуру в количестве

                                       (27)

Растянутая продольная арматура в этом случае определяется по формуле

.                                                   (28)

3.18. Подбор площади продольной арматуры можно производить по табл. 21 следующим образом.

Вычисляется значение A0:

                                                           (29)

Если A0 £ AR = ξR(1 - 0,5ξR), сжатая арматура по расчету не требуется.

В зависимости от значения A0 по табл. 21 определяется υ и вычисляется

                                                             (30)

Если A0 > AR, рекомендуется увеличить сечение или поставить расчетную сжатую арматуру, определяемую по формуле (27), и растянутую арматуру, определяемую по формуле (28).

При известной площади сечения сжатой арматуры F'а значение A0 вычисляется по формуле

                                               (31)

после чего определяется площадь сечения продольной растянутой арматуры

                                                  (32)

3.19. Проверка прочности прямоугольного сечения с одиночной арматурой производится в зависимости от высоты сжатой зоны x, вычисляемой из формулы (23), следующим образом:

Таблица 21

ξ

υ

A0

ξ

υ

A0

ξ

υ

A0

0,01

0,995

0,01

0,26

0,87

0,226

0,51

0,745

0,38

0,02

0,99

0,02

0,27

0,865

0,234

0,52

0,74

0,385

0,03

0,985

0,03

0,28

0,86

0,241

0,53

0,735

0,39

0,04

0,98

0,039

0,29

0,855

0,248

0,54

0,73

0,394

0,05

0,975

0,049

0,3

0,85

0,255

0,55

0,725

0,399

0,06

0,97

0,058

0,31

0,845

0,262

0,56

0,72

0,403

0,07

0,965

0,068

0,32

0,84

0,269

0,57

0,715

0,407

0,08

0,96

0,077

0,33

0,835

0,276

0,58

0,71

0,412

0,09

0,955

0,086

0,34

0,83

0,282

0,59

0,705

0,416

0,1

0,95

0,095

0,35

0,825

0,289

0,6

0,7

0,42

0,11

0,945

0,104

0,36

0,82

0,295

0,62

0,69

0,428

0,12

0,94

0,113

0,37

0,815

0,302

0,64

0,68

0,435

0,13

0,935

0,122

0,38

0,81

0,308

0,66

0,67

0,442

0,14

0,93

0,13

0,39

0,805

0,314

0,68

0,66

0,443

0,15

0,925

0,139

0,4

0,8

0,32

0,7

0,65

0,455

0,16

0,92

0,147

0,41

0,795

0,326

0,72

0,64

0,461

0,17

0,915

0,156

0,42

0,79

0,332

0,74

0,63

0,466

0,18

0,91

0,164

0,43

0,785

0,338

0,76

0,62

0,471

0,19

0,905

0,172

0,44

0,78

0,343

0,78

0,61

0,476

0,2

0,9

0,18

0,45

0,775

0,349

0,8

0,6

0,48

0,21

0,895

0,188

0,46

0,77

0,354

0,85

0,575

0,489

0,22

0,89

0,196

0,47

0,765

0,36

0,9

0,55

0,495

0,23

0,885

0,204

0,48

0,76

0,365

0,95

0,525

0,499

0,24

0,88

0,211

0,49

0,755

0,37

1

0,5

0,5

0,25

0,875

0,219

0,5

0,75

0,375

-

-

-

Примечание. Для изгибаемых элементов прямоугольного сечения:

  A0 = ξ(1 - 0,5ξ); AR = ξR(1 - 0,5ξR); υ = 1 - 0,5ξ.

1) при x £ ξRh0 - из условия

kнnсM £ mбRпрbx(h0 - 0,5x);                                           (33)

2) при x > ξRh0 - из условия

kнnсM £ mбRпрξR(1 - 0,5ξR)bh0                                                                         (34)

При невыполнении условия (34) рекомендуется увеличить сечение, повысить марку бетона или поставить сжатую арматуру в соответствии с п. 3.17.

3.20. Проверка прочности прямоугольного сечения с двойной арматурой производится в зависимости от высоты сжатой зоны x, вычисляемой из формулы (21)

следующим образом:

1) при x £ ξRh0 - из условия (20);

2) при x > ξRh0 - из условия

kнnсM £ mбRпрξR(1 - 0,5ξR)bh02 + mаRа.сF'а(h0 - a')                             (35)

или из условия (21) с подстановкой x = ξRh0;

3) при x £ 0 - из условия (26)

kнnсM £ mаRаFа(h0 - a').

При невыполнении условий прочности (20), (26) и (35) рекомендуется увеличить сечение или повысить марку бетона.

РАСЧЕТ ТАВРОВЫХ (ДВУТАВРОВЫХ) СЕЧЕНИЙ

3.21. Расчет изгибаемых элементов таврового (двутаврового) сечения производится в зависимости от положения границы сжатой зоны:

а) если граница сжатой зоны проходит в полке (рис. 10, а), т.е. при соблюдении условия

kнnсM £ mбRпрb'пh'п(h0 - 0,5h'п)                                               (36)

расчет производится как для прямоугольного сечения шириной b = b'п в соответствии с пп. 3.16 - 3.20;

б) если граница сжатой зоны проходит в ребре (рис. 10, б), т.е. условие (36) не выполняется, расчет производится из условия

kнnсM £ mбRпрbx(h0 - 0,5x) + mбRпр(b'п - b)h'п(h0 - 0,5 h'п) + mаRа.сF'а(h0 - a').            (37)

3.22. Подбор площади сечения продольной арматуры производится следующим образом.

Рис. 10. Форма сжатой зоны в поперечном сечении таврового железобетонного элемента со сжатой полкой

a - при расположении границы сжатой зоны в полке; б - то же, в ребре

Вычисляется высота сжатой зоны бетона при одиночной арматуре по формуле

                         (38)

При x £ ξRh0 необходимая площадь сечения растянутой арматуры определяется по формуле

                                          (39)

Если высота сжатой зоны x, вычисленная по формуле (38), находится в пределах 2а' £ x £ ξRh0, то при неизвестной площади сечения сжатой арматуры допускается площадь сечения растянутой арматуры Fа определять по формуле

                                               (40)

с последующим ее уточнением по формулам (41) и (42).

При заданной площади сечения сжатой арматуры F'а высота сжатой зоны бетона x определяется по формуле

              (41)

и при x £ ξRh0

                                 (42)

Если высота сжатой зоны, вычисленная по формулам (39) и (41), x > ξRh0, рекомендуется увеличить сечение, повысить марку бетона или поставить сжатую арматуру в количестве

              (43)

В последнем случае количество растянутой продольной арматуры определяется по формуле (42) при x = ξRh0.

Примечания: 1. При переменной высоте свесов полки допускается принимать значение h'п равным средней высоте свесов.

2. Ширина сжатой полки b'п, вводимая в расчет, принимается из условия, что ширина свеса bсв в каждую сторону от ребра должна быть не более 1/6 пролета элемента и не более:

а) при наличии поперечных ребер - 1/2 расстояния в свету между продольными ребрами;

б) при отсутствии поперечных ребер или при расстояниях между ними больших, чем расстояние между продольными ребрами, и hп < 0,1h                                             - 6h'п;

в) при консольных свесах полки:

при h'п ³ 0,1h                                                                                         - 6h'п;

» 0,05h £ h'п < 0,1h                                                                               - 3h'п;

» h'п < 0,05h - свесы не учитываются.

3.23. Проверка прочности таврового (двутаврового) сечения с одиночной арматурой производится:

а) при mаRаFа £ mбRпрb'пh'п, как для прямоугольного сечения шириной b = b'п в соответствии с п. 3.19;

б) при mаRаFа > mбRпрb'пh'п в зависимости от высоты сжатой зоны, вычисляемой из формулы (39)

следующим образом:

1) при x £ ξRh0 - из условия

kнnсM £ mбRпрbx(h0 - 0,5x) + mбRпр(b'п - b)h'п(h0 - 0,5h'п);                           (44)

2) при x > ξRh0 - из условия

kнnсM £ mбRпрξR(1 - 0,5ξR)bh02 + mбRпр(b'п - b)h'п(h0 - 0,5h'п).                          (45)

При невыполнении условия (45) рекомендуется увеличить сечение, повысить марку бетона или поставить сжатую арматуру в соответствии с п. 3.22.

3.24. Проверка прочности таврового (двутаврового) сечения с двойной арматурой производится:

а) при mаRаFа £ mбRпрb'пh'п + mаRа.сF'а как для прямоугольного сечения шириной b = b'п в соответствии с п. 3.20;

б) при mаRаFа > mбRпрb'пh'п + mаRа.сF'а в зависимости от высоты сжатой зоны, определяемой из формулы (42)

следующим образом:

1) при x £ ξRh0 - из условия (37);

2) при x > ξRh0 - из условия (43)

kнnсM £ mбRпрξR(1 - 0,5ξR)bh02 + mбRпр(b'п - b)h'п(h0 - 0,5h'п) + mаRа.сF'а(h0 - a');

3) при x £ 0 - из условия (26)

kнnсM £ mаRа.Fа(h0 - a').

При невыполнении условий (26), (37), (43) рекомендуется увеличить сечение или повысить марку бетона.

Примеры расчета к пп. 3.15 - 3.24*

* Расчетные сопротивления арматуры, использованные в примерах расчета, приняты по главе СНиП II-56-77 без учета изменений, утвержденных постановлением Госстроя СССР от 31 декабря 1981 г. № 283 и опубликованных в «Бюллетене строительной техники», № 4, 1982 г.

Пример 11. Дано. Изгибаемый железобетонный элемент прямоугольного сечения, h = 2 м, h0 = 1,85 м, a = a' = 0,15 м, b = 1 м. Расчетный изгибающий момент M = 156 тс·м; бетон марки М 200, Rпр = 90 кгс/см2, mб = 1,15 (табл. 8); арматура класса А-III, Rа = 3600 кгс/см2, mа = 1,15 (табл. 16); сооружение II класса - kн = 1,2; основное сочетание нагрузок - nс = 1.

Требуется определить площадь сечения продольной арматуры.

Расчет. Определяем высоту сжатой зоны сечения из условия (22)

ξ = x/h0 = 10,1/185 = 0,05 < ξR = 0,6 (табл. 20).

Так как x = 10,1 см < 2а' = 30 см, площадь сечения растянутой арматуры определяется из условия (23) без учета сжатой арматуры:

Принимаем Æ 36 А-III через 40 см, на 1 м 2,5 Æ36 А-III (Fа = 25,4 см2).

Подбор продольной арматуры можно произвести и по табл. 21. Для этого вычисляем значение A0 по формуле (29)

где AR = ξR(1 - 0,5ξR) = 0,6(1 - 0,5·0,6) = 0,42.

По табл. 21 при A0 = 0,053 υ = 0,973.

При A0 £ 0,1 допускается υ определять по формуле

υ = 1 - A0/2 = 0,973.

Необходимую площадь продольной арматуры определяем по формуле (30)

Пример 12. Дано. Железобетонный элемент прямоугольного сечения, b = 50 см, h = 25 см, a = a' = 4 см, h0 = 21 см; бетон марки М 300, Rпр = 135 кгс/см2, mб = 1 (табл. 8); арматура класса А-II, Rа = 2700 кгс/см2, mа = 1,1, (табл. 16), F'а = 4,52 см2 (4 Æ 12); M = 9,5 тс·м; сооружение III класса - kн = 1,15; основное сочетание нагрузок - nс = 1.

Требуется определить площадь сечения растянутой арматуры.

Расчет. Высоту сжатой зоны бетона определяем из условия (22) без учета площади сжатой арматуры:

Так как x = 10,2 см > 2а' = 8 см, определяем высоту сжатой зоны бетона с учетом сжатой арматуры из условия (24):

Так как ξ = x/h0 = 7,4/21 = 0,352 < ξR = 0,6, площадь растянутой арматуры определяем по формуле (25):

Так как x = 7,4 см < 2а' = 8 см, допускается площадь растянутой арматуры определять по формуле (26):

Принимаем Fа = 24,63 см2 (4 Æ 28 А-II).

Пример 13. Дано. Железобетонный элемент прямоугольного сечения, b = 50 см, h = 40 см, a = a' = 4 см, h0 = 36 см; бетон марки М 300, Rпр = 135 кгс/см2, mб = 1 (табл. 8); арматура симметричная класса А-III, Rа = Rа.с = 3600 кгс/см2, mа = 1,1 (табл. 16); M = 20 тс·м; сооружение III класса - kн = 1,15; сочетание нагрузок основное - nс = 1.

Требуется определить площадь сечения арматуры.

Расчет. Определяем высоту сжатой зоны по формуле (22) без учета сжатой арматуры:

Так как x = 11,2 см > 2а' = 8 см и x < ξRh0 = 0,6·36 = 21,6 см, продольную арматуру подбираем по формуле (26):

Принимаем Fа = F'а = 18,47 см2 (3 Æ 28 А-III).

Пример 14. Дано. Железобетонный элемент прямоугольного сечения, b = 50 см, h = 40 см, a = 5 см, a' = 3 см, h0 = 35 см; бетон марки М 300, Rпр = 135 кгс/см2, mб = 1 (табл. 8); арматура класса А-III, Rа = 3600 кгс/см2, площадь сечения растянутой арматуры Fа = 40,72 см2 (4 Æ 36), сжатой арматуры F'а = 3,14 см2 (4 Æ 10), mа = 1,1 (табл. 16); M = 30 тс·м; сооружение III класса - kн = 1,15; основное сочетание нагрузок - nс = 1.

Требуется проверить прочность сечения.

Расчет. Определяем высоту сжатой зоны бетона из формулы (21)

Так как x = 22 см > ξRh0 = 0,6·35 = 21 см, прочность сечения проверяем из условия (20) при x = ξRh0 = 21 см:

kнnсM £ mбRпрbx(h0 - 0,5x) + mаRа.сF'а(h0 - a');

1,15·1·20·105 £ 1·135·50·21(35 - 0,5·21) + 1,1·3600·3,14(35 - 3); 23·105 кгс·см < 38,7·105 кгс·см, т.е. прочность сечения обеспечена, площадь сечения растянутой арматуры завышена.

Для обеспечения прочности по предельному состоянию первой группы достаточно иметь Fа при

Пример 15. Дано. Прямоугольное сечение с одиночной арматурой, b = 100 см, h = 80 см, a = 6 см, h0 = 74 см; бетон марки М 300, Rпр = 135 кгс/см2, mб = 1,15 (табл. 8); арматура класса А-III, Rа = 3600 кгс/см2, mа = 1,15 (табл. 16); M = 320 тс·м; сооружение III класса - kн = 1,15; сочетание нагрузок основное - nс = 1.

Требуется определить площадь сечения растянутой арматуры.

Расчет. Высоту сжатой зоны бетона определяем по формуле (22)

Так как x > ξRh0 = 0,6·74 = 44,4 см, в соответствии с п. 3.17 рекомендуется увеличить высоту сечения или поставить сжатую арматуру. Поставим сжатую арматуру класса А-II, примем a¢ = 6 см. Площадь сечения сжатой арматуры определим по формуле (27)

Примем F'а = 7,07 см2 (9 Æ 10).

Площадь сечения растянутой арматуры определим из условия (28)

Примем Fа = 176 см2 (14 Æ 40 А-III),  Процент армирования очень велик; арматуру разместить в одном ряду не удается. Увеличим сечение до h = 90 см и примем a = 9,5 см (минимально допустимое значение при двух рядах арматуры d = 40 мм).

При F'а = 0 по условию (22)

x = 38,8 см < ξRh0 = 0,6·80,5 = 48,3 см.

Площадь сечения растянутой арматуры определим из условия (28)

Принимаем Fа = 151 см2 (2 ряда по 6 Æ 40 А-III);

Пример 16. Дано. Железобетонный элемент таврового сечения: b'п = 3 м, h'п = 1,2 м, h = 6 м, a = a' = 0,15 м, h0 = 5,85 м, b = 1,5 м; M = 1560 тс·м; бетон марки М 200, Rпр = 90 кгс/см2, mб = 1,15 (табл. 8); арматура класса А-II, Rа = 2700 кгс/см2, mа = 1,15 (табл. 16); сооружение I класса - kн = 1,25; основное сочетание нагрузок - nс = 1.

Требуется подобрать продольную арматуру.

Расчет. Проверяем условие (36)

kнnсM £ mбRпрb'пh'п(h0 - 0,5h'п);

1,25·1·1560·105 < 1,15·90·300·120(585 - 0,5·120);

1950 тс·м < 19600 тс·м. Условие выполняется, т.е. граница сжатой зоны проходит в полке. Сечение рассчитывается как прямоугольное шириной b = b'п = 300 см.

Высоту сжатой зоны определяем из условия (22)

ξ = x/h0 = 0,11/5,85 = 0,019 < ξR = 0,6 (табл. 20).

Так как x = 0,11 м < 2а' = 0,3 м, площадь сечения растянутой арматуры определяется без учета сжатой арматуры из условия

Принимаем 4 Æ 60 А-II (Fа = 113,1 см2) на 1 м ширины сечения.

Пример 17. Дано. Железобетонный элемент таврового сечения, h = 45 см, h'п = 15 см, b'п = 60 см, b = 30 см, a = a' = 5 см, h0 = 40 см; бетон марки М 400, Rпр = 175 кгс/см2, mб = 1 (табл. 8); арматура класса А-III, Rа = Rа.с = 3600 кгс/см2, mа = 1,1 (табл. 16); расчетные изгибающие моменты со стороны ребра M1 = 15 тс·м, со стороны полки M2 = 30 тс·м; сооружение III класса - kн = 1,15; основное сочетание нагрузок - nс = 1.

Требуется определить площадь сечения продольной арматуры.

Расчет. Определяем продольную арматуру в ребре. Расчет производим согласно п. 3.21, проверяем условие (36):

kнnсM1 £ mбRпрb'пh'п(h0 - 0,5h'п);

1,15·1·15·105 < 1·175·60·15(40 - 0,5·15);

17,3 тс·м < 51,2 тс·м, т.е. граница сжатой зоны проходит в полке расчет производим как для прямоугольного сечения шириной b'п. Вычисляем высоту сжатей зоны бетона без учета сжатой арматуры по формуле (22):

Так как x = 4,4 см < 2а' = 10 см и x < ξRh0 = 0,5·40 = 20 см, площадь сечения растянутой арматуры в ребре определяем без учета площади сечения сжатой арматуры из условия

Принимаем Fа = 12,3 см2 (2 Æ 28 А-III).

Далее определяем продольную арматуру в полке. Расчет производим как для прямоугольного сечения шириной b = 30 см, потому что полка находится в растянутой зоне.

Высоту сжатой зоны определяем по формуле (22) без учета площади сжатой арматуры

Так как x > 2а' = 2·5 = 10 см, рекомендуется определить высоту сжатой зоны бетона с учетом площади сжатой арматуры по формуле (24)

Так как x = 9,4 см < ξRh0 = 0,5·40 = 20 см, площадь сечения растянутой арматуры в полке определяем из условия (25)

Принимаем Fа = 24,6 см2 (4 Æ 28 А-III).

Пример 18. Дано. Железобетонный элемент таврового сечения, h = 70 см, b'п = 70 см, h'п = 10 см, b = 30 см, a = a' = 5 см, h0 = 65 см; бетон марки М 200, Rпр = 90 кгс/см2, mб = 1 (табл. 8); арматура класса А-III, Rа = Rа.с = 3600 кгс/см2, mа = 1,1 (табл. 16); F'а = 4,52 см2 (4 Æ 12); Fа = 24,1 см2 (3 Æ 32); расчетный изгибающий момент со стороны ребра M = 45 тс·м, класс сооружения III - kн = 1,15; сочетание нагрузок основное - nс = 1.

Требуется проверить прочность сечения.

Расчет. Определяем положение границы сжатой зоны согласно п. 3.24.

Так как mаRаFа = 1,1·3600·24,1 = 95500 кгс > mбRпрb'пh'п + mаRа.сF'а = 1·90·70·10 + 1,1·3600·4,52 = 80800 кгс, граница сжатой зоны проходит в ребре.

Высоту сжатой зоны определяем из условия (42)

x < ξRh0 = 0,60·65 = 39 см.

Прочность сечения проверяем по формуле (37).

Так как kнnсM = 1,15·1·45·105 = 51,75 тс·м < mбRпрbx(h0 - 0,5x) + mбRпр(b'п - b)h'п(h0 - 0,5h'п) + mаRа.сF¢а(h0 - a') = 1·90·30·15,4(65 - 0,5·15,4) + 1·90(70 - 30)10(65 - 0,5×10) + 1,1·3600·4,52(65 - 5) = 56,2 тс·м, прочность сечения обеспечена.

ВНЕЦЕНТРЕННО-СЖАТЫЕ ЭЛЕМЕНТЫ

3.25. Расчет сечений внецентренно-сжатых железобетонных элементов любой симметричной формы (рис. 11, а) при ξ £ ξR производится по формулам:

kнnсNe £ mбRпрSб + mаRа.сSа;                                                   (46)

kнnсN = mбRпрFб + mаRа.сF'а - mаRаFа.                                         (47)

3.26. Внецентренно-сжатые элементы прямоугольного сечения (рис. 11, б) рассчитываются при ξ £ ξR для бетона марки М 400 и ниже по формулам:

kнnсNe £ mбRпрbx(h0 - 0,5x) + mаRа.сF'а(h0 - a');                                (48)

kнnсN = mбRпрbx + mаRа.сF'а - mаRаFа;                                           (49)

при ξ > ξR - по формуле (48) и по формулам:

kнnсN = mбRпрbx + mаRа.сF'а - mаsаFа;                                        (50)

.                                                          (51)

Рис. 11. Схема усилий и эпюра напряжений в сечении, нормальном к продольной оси внецентренно-сжатого железобетонного элемента, при расчете его по прочности

а - любой симметричной формы; б - прямоугольного сечения

3.27. Расчет внецентренно-сжатых линейных элементов любой формы при гибкости l0/r ³ 35 и элементов прямоугольного сечения при l0/h ³ 10 производится с учетом прогиба в плоскости эксцентрицитета продольного усилия и в нормальной к ней плоскости.

Расчет из плоскости эксцентрицитета продольной силы можно не производить, если гибкость элемента l0/r (для прямоугольного сечения l0/h) в плоскости эксцентрицитета превышает гибкость в нормальной к ней плоскости.

Влияние прогиба учитывается умножением эксцентрицитета продольного усилия относительно центра тяжести сечения элемента e0 = M/N на коэффициент η, определяемый по формуле

                                                              (52)

где Nкр - условная критическая сила, вычисляемая по формуле

                                      (53)

где l0 - принимается по табл. 22;

kдл - коэффициент, учитывающий влияние длительного действия нагрузки на прогиб элемента в предельном состоянии, равный

kдл = 1 + M1дл/M1,                                                            (54)

M1 и M1дл - моменты относительно оси, проходящей через центр тяжести крайнего ряда арматуры, расположенного у растянутой или менее сжатой грани параллельно этой грани, соответственно от действия полной нагрузки (постоянной, длительной и кратковременной) и от действия постоянной и длительной нагрузок;

t - коэффициент, принимаемый равным e0/h, но не менее величины

tмин = 0,5 - 0,01l0/h - 0,001mбRпр,                                             (55)

здесь Rпр принимается в кгс/см2.

Таблица 22

Опирание элементов

Расчетная длина l0

При полном защемлении обоих концов

0,5l

При полном защемлении одного конца и шарнирно неподвижном закреплении другого

0,7l

При шарнирно неподвижном закреплении обоих концов

l

При одном полностью защемленном и одном свободном конце

2l

Примечание. l - геометрическая длина элемента.

Для прямоугольных сечений формула (53) примет вид

                                (56)

где μ - суммарный коэффициент армирования, равный

При N > Nкр рекомендуется увеличить размеры сечения.

Влияние прогиба можно не учитывать в следующих случаях:

а) для сечений любой формы при l0/r < 35;

б) для сечений прямоугольной формы при l0/h < 10;

в) для круглых и кольцевых сечений при l0/D < 8;

г) для тавровых (двутавровых) сечений при l0/h < 35ν.

Значения коэффициента ν принимаются по табл. 23.

При расчете из плоскости эксцентрицитета продольной силы значение e0 принимается равным величине случайного эксцентрицитета e0сл. Эксцентрицитет e0сл в любом случае принимается не менее 1/600 всей длины элемента или длины его части (между точками закрепления), учитываемой в расчете; 1/30 высоты сечения элемента; 1 см.

Таблица 23

h'п/h

Значения ν при b'п/b, равном

2

3

5

10

15

20

0,1

0,3

0,33

0,32

0,31

0,29

0,27

0,2

0,3

0,31

0,29

0,26

0,23

0,21

0,3

0,3

0,3

0,27

0,23

0,2

0,19

0,4

0,29

0,28

0,25

0,21

0,19

0,18

0,5

0,27

0,26

0,23

0,2

0,19

-

Расчет прямоугольных сечений (рис. 11, б)

3.28. Площадь сечения продольной арматуры определяется следующим образом.

Вычисляется высота сжатой зоны бетона из условия

                                                   (57)

где е = е0η + h/2 - a (см. п. 3.27).

1) В случае, если x < 2a' и ξ < ξR, расчет производится как для сечения с одиночной арматурой при F'а = 0 по формуле

                                                 (58)

2) В случае, если 2a' £ x £ ξRh0 при наличии известной сжатой арматуры Fаф, уточняется высота сжатой зоны бетона по формуле

                              (59)

Количество растянутой продольной арматуры определяется из условия (49)

Если сечение сжатой арматуры F'а неизвестно или равно Fа (сечение с симметричной арматурой), площадь сечения продольной арматуры допускается определять по формуле

                                                   (60)

где e' = e - h0 + a'.

3) В случае, если x > ξRh0, рекомендуется увеличить сечение, повысить марку бетона или поставить сжатую арматуру в количестве

                                    (61)

Растянутая продольная арматура в этом случае определяется по формуле

                                      (62)

Если Fа, вычисленная по формуле (62), отрицательна, ее принимают минимальной из конструктивных соображений, а площадь сечения F'а определяют по формуле

                                         (63)

где ξ0 = 0,85 - 0,0008mбRпр.

Если фактическая площадь сжатой арматуры F'аф из конструктивных соображений принята уменьшенной по сравнению со значением F'а, вычисленным по формуле (61), площадь сечения растянутой (менее сжатой) арматуры, Fа определяется из формулы (50) при F'а = F'аф

Если sа и Fа получаются отрицательными, сжатой арматуры F'аф поставлено недостаточно и рекомендуется увеличить сечение или повысить марку бетона.

Если sа отрицательна, а Fа положительна, арматура принимается по конструктивным соображениям.

3.29. Подбор площади продольной арматуры можно выполнять и по табл. 21 следующим образом.

Вычисляется значение А0

                                                        (64)

Если A0 £ AR = ξR(1 - 0,5ξR), сжатая арматура по расчету не требуется.

В зависимости от значения А0 по табл. 21 определяется υ и вычисляется Fа

                                                   (65)

Если А > AR, рекомендуется увеличить сечение или поставить расчетную сжатую арматуру, определяемую по формуле (61), и растянутую арматуру, определяемую по формуле (62).

3.30. Проверка прочности прямоугольного сечения с одиночной арматурой производится в зависимости от высоты сжатой зоны x, вычисляемой из формулы (58)

следующим образом:

1) при x £ ξRh0 - из условия

kнnсNe £ mбRпрbx(h0 - 0,5x);                                               (66)

2) при x > ξRh0 - из условия

kнnсNe £ mбRпрξR(1 - 0,5ξR)bh02.                                           (67)

При невыполнении условия (67) рекомендуется увеличить сечение, повысить марку бетона или поставить сжатую арматуру в соответствии с п. 3.28.

3.31. Проверка прочности прямоугольного сечения с двойной арматурой производится в зависимости от высоты сжатой зоны x, вычисляемой из формулы (49)

следующим образом:

1) при x £ ξRh0 - из условия (48);

2) при x > ξRh0 - из условия (61)

kнnсNe £ mбRпрξR(1 - 0,5ξR) bh02 + mаRа.сF'а(h0 - a')

или из условия

kнnсNe £ mбRпрbx1(h0 - 0,5x1) + mаRа.сF'а(h0 - a'),                                   (68)

где

                                   (69)

При невыполнении условий (61) и (68) рекомендуется увеличить сечение или повысить марку бетона.

Расчет тавровых (двутавровых) сечений

3.32. Расчет внецентренно-сжатых элементов таврового (двутаврового) сечения производится в зависимости от положения границы сжатой зоны:

а) если граница сжатой зоны проходит в пределах полки (рис. 10, а), т.е. при соблюдании условия

kнnсNe £ mбRпрb'пh'п(h0 - 0,5h'п)                                        (70)

расчет производится как для прямоугольного сечения шириной b = b'п в соответствии с пп. 3.26 - 3.31;

б) если граница сжатой зоны проходит в ребре (рис. 10, б), т.е. условие (70) не выполняется, расчет производится из условия

kнnсNe £ mбRпрbx(h0 - 0,5x) + mбRпр(b'п - b)h'п(h0 - 0,5h'п) + mаRа.сF'а(h0 - a').    (71)

3.33. Подбор продольной арматуры производится следующим образом.

Вычисляется высота сжатой зоны бетона при одиночной арматуре по формуле

                            (72)

При x £ ξRh0 необходимая площадь растянутой арматуры определяется по формуле

                             (73)

При неизвестной площади сечения сжатой арматуры допускается площадь сечения растянутой арматуры Fа определять по формуле

                                                       (74)

с последующим ее уточнением по формулам (75) и (76).

При наличии известной сжатой арматуры F'аф, высота сжатой зоны определяется по формуле

          (75)

и при x £ ξRh0

                    (76)

Если высота сжатой зоны, вычисленная по формулам (72) и (75), x > ξRh0, рекомендуется увеличить сечение, повысить марку бетона или поставить сжатую арматуру в количестве

.                  (77)

Площадь сечения растянутой арматуры определяется по формуле (76) при x = ξRh0.

Если Fа получится отрицательной, она ставится из конструктивных соображений или уточняется из условия

                                (78)

где x вычисляется по формуле (76), а sа - по формуле (51).

Если sа и Fа получаются отрицательными, сжатой арматуры F'аф поставлено недостаточно и рекомендуется увеличить сечение или повысить марку бетона.

Если sа отрицательна, а Fа положительна, арматура принимается по конструктивным соображениям.

3.34. Проверка прочности таврового (двутаврового) сечения с одиночной арматурой производится:

а) при kнnсN + mаRаFа £ mбRпрb'пh'п - как для прямоугольного сечения шириной b = b'п в соответствии с п. 3.30;

б) при kнnсN + mаRаFа > mбRпрb'пh'п - в зависимости от высоты сжатой зоны, вычисляемой из формулы (73),

следующим образом:

1) при x £ ξRh0 - из условия

kнnсNe £ mбRпрbx(h0 - 0,5x) + mбRпр(b'п - b)h'п(h0 - 0,5h'п);                 (79)

2) при x > ξRh0 - из условия

kнnсNe £ mбRпрξR(1 - 0,5ξR)bh02 + mбRпр(b'п - b)h'п(h0 - 0,5h'п).                  (80)

При невыполнении условия (80) рекомендуется увеличить сечение, повысить марку бетона или поставить сжатую арматуру в соответствии с п. 3.33.

3.35. Проверка прочности элементов таврового (двутаврового) сечения с двойной арматурой производится:

а) при kнnсN + mаRаFа £ mбRпрb'пh'п + mаRа.сF'а - как для прямоугольного сечения шириной b = b'п в соответствии с п. 3.31;

б) при kнnсN + mаRаFа > mбRпрb'пh'п + mаRа.сF'а - в зависимости от высоты сжатой зоны, определяемой из формулы (76)

,

следующим образом:

1) при x £ ξRh0 - из условия (71);

2) при x > ξRh0 - из условия (77)

kнnсNe £ mбRпрξR(1 - 0,5ξR)bh02 + mбRпр(b'п - b)h'п(h0 - 0,5h'п) + mаRа.сF'а(h0 - a')

или из условия

kнnсNe £ mбRпрbx1(h0 - 0,5x1) + mбRпр(b'п - b)h'п(h0 - 0,5h'п) + mаRа.сF'а(h0 - a'),         (81)

где

.                  (82)

При невыполнении условий (77) и (81) рекомендуется увеличить сечение или повысить марку бетона.

Примеры расчета к пп. 3.25 - 3.35

Пример 19. Дано. Внецентренно-сжатый железобетонный элемент прямоугольного сечения, h = 2 м, h0 = 1,85 м, a = a' = 0,15 м, b = 1 м; расчетные усилия: M = 156 тс·м, N = 48 тс; бетон марки М 200, Rпр = 90 кгс/см2, mб = 1,15 (табл. 8); арматура класса А-III, Rа = 3600 кгс/см2, mа = 1,15 (табл. 16); сооружение I класса - kн = 1,25 (п. 1.2); основное сочетание нагрузок - nс = 1 (п. 1.2); гибкость l0/h < 10 (η = 1).

Требуется определить площадь сечения продольной арматуры.

Расчет. Определяем эксцентрицитет

е0 = M/N = 156/48 = 3,25 м; е = e0η + h/2 - a = 3,25·1 + 1 - 0,15 = 4,1 м.

Определяем высоту сжатой зоны бетона без учета сжатой арматуры по формуле (57)

ξ = x/h0 = 13,3/185 = 0,07 < ξR = 0,6 (табл. 20).

Так как x = 13,3 см < 2а' = 30 см, площадь сечения растянутой арматуры определяем из условия (58)

Принимаем 3 Æ 28 А-III (18,5 см2).

Пример 20. Дано. Внецентренно-сжатый железобетонный элемент прямоугольного сечения, h = 2 м; h0 = 1,9 м, a = a' = 0,1 м; b = 1 м; M = 810 тс·м, N = 660 тс; бетон марки М 200, Rпр = 90 кгс/см2, mб = 1,15 (табл. 8); арматура класса А-II, Rа = 2700 кгс/см2, mа = 1,15 (табл. 16); сооружение I класса - kн = 1,25 (п. 1.2); основное сочетание нагрузок - nс = 1 (п. 1.2); гибкость l0/h < 10 (η = 1).

Требуется определить площадь сечения продольной арматуры.

Расчет. Определяем эксцентрицитет

е0 = M/N = 810/660 = 1,23 м; е = e0η + h/2 - a = 1,23·1 + 2/2 - 0,1 = 2,13 м.

Определяем высоту сжатой зоны бетона как для сечения с одиночной арматурой из условия (57)

Так как x = 1,44 м > ξRh0 = 0,6·1,9 = 1,14 м, в соответствии с п. 3.28 рекомендуется увеличить сечение, повысить марку бетона или поставить сжатую арматуру в количестве

Площадь растянутой арматуры определяем из условия (62)

Принимаем F'а = 40,7 см2 (4 Æ 36 А-II); Fа = 157,1 см2 (8 Æ 50 А-II).

Пример 21. Дано. Внецентренно-сжатый железобетонный элемент прямоугольного сечения, b = 50 см, h = 40 см, a = a' = 4 см, h0 = 36 см; бетон марки М 300, Rпр = 135 кгс/см2, Eб = 290000 кгс/см2, mб = 1; арматура класса А-III, Rа = Rа.с = 3600 кгс/см2, Eа = 2000000 кгс/см2, mа = 1,1; Fа = 19,64 см2 (4 Æ25); F'а = 9,82 см2 (2 Æ 25); продольная сила и изгибающий момент от постоянных и длительных нагрузок N = 16 тс; M = 20 тс·м; расчетная длина l0 = 8 м; сооружение III класса - kн = 1,15; основное сочетание нагрузок - nс = 1.

Требуется проверить прочность сечения.

Расчет. Определяем гибкости в плоскости действия момента

l0/h = 800/40 = 20 > 10

и в плоскости, перпендикулярной плоскости действия момента,

l0/b = 800/50 = 16 > 10.

Гибкость в плоскости действия момента (в плоскости эксцентрицитета продольной силы) превышает гибкость в нормальной к ней плоскости и превышает критическую величину. Согласно п. 3.27, расчет производим с учетом прогиба элемента только в плоскости действия момента.

Для определения Nкр вычисляем

e0 = M/N = 20·105/16·103 = 125 см.

Так как

t = e0/h = 125/40 = 3,1 > tмин = 0,5 - 0,01l0/h - 0,001mбRпр = 0,5 - 0,01·800/40 - 0,001·1·135 = 0,165,

принимаем t = 3,1;

M1 = M1дл = 20 тс·м.

Тогда по формуле (56)

Определяем коэффициент η по формуле (52)

тогда эксцентрицитет с учетом прогиба

е = e0η + h/2 - a = 125·1,087 + 40/2 - 4 = 151,9 см.

Высоту сжатой зоны определяем из условия (49)

Так как x < ξRh0 = 0,6·36 = 21,6 см, прочность сечения проверяем из условия (48)

mбRпрbx(h0 - 0,5x) + mаRа.сF'а(h0 - a') ³ kнnсNe; [1·135·50·8,4(36 - 0,5·8,4) + 1,1·3600·9,82(36 - 4)] 10-5 = 30,3 тс·м > 1,15·1·16·1,519 = 27,9 тс·м, т.е. прочность сечения обеспечена.

Пример 22. Дано. Внецентренно-сжатый железобетонный элемент прямоугольного сечения, b = 60 см, h = 50 см, a = a' = 4 см, h0 = 46 см; бетон марки М 300, Rпр = 135 кгс/см2, mб = 1, Eб = 290000 кгс/см2; арматура симметричная класса А-III, Rа = Rа.с = 3600 кгс/см2, mа = 1,1, Eа = 2000000 кгс/см2; продольная сила и изгибающий момент от постоянных и длительных нагрузок N = 70 тс; M = 30 тс·м; расчетная длина l0 = 6 м; сооружение III класса - kн = 1,15; основное сочетание нагрузок - nс = 1.

Требуется определить площадь сечения арматуры.

Расчет. Определяем гибкости

l0/h = 600/50 = 12 > 10 и l0/b = 600/60 = 10.

Так как l0/h = 12 > l0/b и l0/h > 10, расчет производим с учетом прогиба элемента в плоскости эксцентрицитета.

Для определения Nкр вычисляем

e0 = M/N = 3000000/70000 = 42,9 см; t = e0/h = 42,9/50 = 0,86;

tмин = 0,5 - 0,01l0/h - 0,001mбRпр = 0,5 - 0,01·600/50 - 0,001·1·135 = 0,245,

так как t > tмин, принимаем t = 0,86;

n = Еа/Еб = 2000000/290000 = 6,9; M1 = M1дл = M = 30 тс·м,

поскольку площадь сечения арматуры неизвестна, в первом приближении примем μ = 0,01.

Тогда по формуле (56)

Определяем коэффициент η по формуле (52)

тогда эксцентрицитет с учетом прогиба

e = e0η + h/2 - a = 42,9·1,095 + 50/2 - 4 = 68 см;

е' = e - h0 + a' = 68 - 46 + 4 = 26 см.

Определяем высоту сжатой зоны по формуле (57)

x = 18,3 см > 2a' = 2·4 = 8 см; x < ξRh0 = 0,6·46 = 27,6 см.

Площадь сечения арматуры определяем по формуле (60)

Определяем , т.е. полученное армирование почти не отличается от принятого в первом приближении при определении Nкр (μ = 0,01).

Принимаем Fа = F'а = 14,7 см2 (3 Æ 25 А-III).

Пример 23. Дано. Железобетонный элемент таврового сечения, b = 30 см, h = 80 см, b¢п = 150 см, h¢п = 15 см, a = a' = 5 см, h0 = 75 см; бетон марки М 300, Rпр = 135 кгс/см2, mб = 1, Eб = 290000 кгс/см2; арматура класса А-III, Rа = Rа.с = 3600 кгс/см2, Eа = 2000000 кгс/см2, mа = 1,1; расчетная длина l0 = 10 м; сооружение III класса - kн = 1,15; сочетание нагрузок основное - nс = 1.

Расчетные усилия:

со стороны ребра - изгибающий момент, растягивающий ребро, Mр = 55 тс·м;

со стороны полки - изгибающий момент, растягивающий полку, от постоянных и длительных нагрузок Mпдл = 50 тс·м, от кратковременных нагрузок Mпкв = 30 тс·м; продольная сила; от постоянных и длительных нагрузок Nдл = 60 тс, от кратковременных нагрузок Nкв = 10 тс.

Требуется определить площади растянутой арматуры.

Расчет. Определяем площадь сечения растянутой арматуры в ребре.

Сечение рассчитываем как тавровое с полкой в сжатой зоне.

Проверяем условие (36).

Так как mбRпрb'пh'п(h0 - 0,5h'п) = 1·135·150·15(75 - 0,5´15)10-5 = 205 тс·м > kнnсMр = 1,15·1·55 = 63,4 тс·м, расчет производим как для прямоугольного сечения шириной b = b'п = 150 см. Высоту сжатой зоны бетона определяем без учета сжатой арматуры по формуле (22)

Так как x < 2а' = 2·5 = 10 см, площадь сечения растянутой арматуры определяем без учета сжатой арматуры по формуле (23)

Принимаем в ребре Fа = 24,18 см2 (3 Æ32 А-III). Определяем площадь сечения растянутой арматуры в полке. Сечение рассчитываем как прямоугольное шириной b = 30 см, поскольку полка тавра находится в растянутой зоне.

Так как l0/h = 1000/80 = 12,5 > 35ν = 10,3 (см. табл. 23 и п. 3.27), расчет производим с учетом прогиба элемента.

Для определения Nкр вычисляем:

F = 150·15 + 30·65 = 4200 см2;

статически и момент относительно нижней грани полки S = 150·15·7,5 + 30·65·47,5 = 109500 см3;

расстояние от нижней грани полки до центра тяжести сечения

y1 = S/F = 109500/4200 = 26 см;

усилия от полной нагрузки (постоянной, длительной и кратковременной)

N = Nдл + Nкв = 60 + 10 = 70 тс; M = Mпдл + Mпкв = 50 + 30 = 80 тс·м;

e0 = M/N = 8000000/70000 = 114,3 см; t = e0/h = 114,3/80 = 1,43;

tмин = 0,5 - 0,01l0/h - 0,001mбRпр = 0,5 - 0,01·1000/80 - 0,001·1·135 = 0,24.

Так как t = e0/h > tмин, принимаем t = 1,43;

I = 150·153/12 + 150·15(26 - 15/2)2 + 30·653/12 + 30·65(80 - 26 - 65/2)2 = 2400200 см4;

Задаемся площадью сечения арматуры, расположенной со стороны растянутой грани сечения Fа = 20 см2;

Iа = 24,13(80 - 26 - 5)2 + 20(26 - 5)2 = 66820 см4,

n = Eа/Eб = 2000000/290000 = 6,9;

моменты внешних сил относительно растянутой арматуры соответственно от полной и длительных нагрузок M1 = M + N(y1 - a) = 80 + 70(0,26 - 0,05) = 94,7 тс·м; M1дл = Mпдл + Nдл(y1 - a) = 50 + 60(0,26 - 0,05) = 62,6 тс·м, тогда

Определяем коэффициент η

Эксцентрицитет с учетом прогиба

e = e0η + y1 - a = 114,3·1,05 + 26 - 5 = 141 см.

Высоту сжатой зоны определяем с учетом сжатой арматуры по формуле (59)

Так как x < ξRh0 = 0,6·75 = 45 см, площадь сечения арматуры определяем по формуле (49)

Принимаем Fа = 22,8 см2 (6 Æ 22 А-III), что примерно равно ранее принятой Fа = 20 см2.

Окончательно принимаем арматуру в ребре Fа.р = 24,13 см2 (3 Æ 32 А-III), в полке Fа.п = 22,8 см2 (6 Æ 22 А-III).

ЦЕНТРАЛЬНО-РАСТЯНУТЫЕ ЭЛЕМЕНТЫ

3.36. Расчет центрально-растянутых железобетонных элементов производится по формуле

kнnсN £ таRаFа.                                                       (83)

3.37. Расчет прочности на растяжение сталежелезобетонных оболочек круглых водоводов при действии равномерного внутреннего давления воды производится по формуле

kнnсN £ та(RаFа + RF0)                                                  (84)

где N - усилие в оболочке от гидростатического давления с учетом гидродинамической составляющей;

F0 и R - соответственно площадь сечения и расчетное сопротивление растяжению стальной оболочки, определяемое в соответствии с главой СНиП II-23-81 «Стальные конструкции. Нормы проектирования».

Рекомендуется принимать F0 минимальной по условиям транспортирования и монтажа оболочки. Если принятая минимальная толщина стальной оболочки воспринимает 100 % напора и более (например, на верхних участках водоводов), арматура ставится по конструктивным соображениям в соответствии с п. 6.17 главы СНиП II-56-77 или п. 6.20 настоящего Руководства.

ВНЕЦЕНТРЕННО-РАСТЯНУТЫЕ ЭЛЕМЕНТЫ

3.38. Расчет внецентренно-растянутых железобетонных элементов любой симметричной формы производится:

а) при малых эксцентрицитетах, если сила N приложена между равнодействующими усилий в арматуре (рис. 12, а), по формулам:

kнnсNe £ таRаSа;                                                               (85)

kнnсNe' £ таRаS'а.                                                              (86)

Рис. 12. Схема усилий и эпюра напряжений в сечении, нормальном к продольной оси внецентренно-растянутого железобетонного элемента, при расчете его по прочности

а - продольная сила N приложена между равнодействующими усилий в арматуре А и А'; б - продольная сила N приложена за пределами расстояния между равнодействующими усилий в арматуре А и А'

б) при больших эксцентрицитетах, если сила N приложена за пределами расстояния между равнодействующими усилий в арматуре (рис. 12, б), по формулам:

kнnсNe £ mбRпрSб + таRа.сSа;                                        (87)

kнnсN = таRаFа - таRа.сF'а - mбRпрFб.                                (88)

РАСЧЕТ ПРЯМОУГОЛЬНЫХ СЕЧЕНИЙ

3.39. Расчет внецентренно-растянутых элементов прямоугольного сечения производится:

а) при малых эксцентрицитетах, если сила N приложена между равнодействующими усилий в арматуре, по формулам:

kнnсNe £ таRаF'а(h0 - a');                                                  (89)

kнnсNe' £ таRаFа(h0 - a'),                                                  (90)

где

e = h/2 - e0 - a; e' = e0 + h/2 - a';

б) при больших эксцентрицитетах, если сила N приложена за пределами расстояния между равнодействующими усилий в арматуре, в зависимости от соотношения

ξ = x/h0;

при ξ £ ξR по формулам:

kнnсNe £ mбRпрbx(h0 - 0,5x) + таRа.сF'а(h0 - a');                               (91)

kнnсN = таRаFа - таRа.сF'а - mбRпрbx;                                               (92)

при ξ > ξR - по тем же формулам, принимая x = ξR/h0.

3.40. Количество продольной арматуры в сечениях с большими эксцентрицитетами определяется следующим образом.

Вычисляется высота сжатой зоны бетона из условия (57)

, где e = e0 - h/2 + a.

Далее возможны три варианта расчета:

1) в случае, если x < 2а' и ξ < ξR, расчет производится как для сечения с одиночной арматурой при F'а = 0 по формуле

                                                    (93)

2) в случае, если 2а' £ x £ ξRh0 при заданной площади сечения сжатой арматуры F'а, уточняется высота сжатой зоны бетона по формуле

Количество растянутой продольной арматуры определяется из условия (92)

Если сечение сжатой арматуры F'а неизвестно или равно Fа (сечение с симметричной арматурой), площадь сечения продольной арматуры допускается определять по формуле

                                                  (94)

3) если x > ξRh0, рекомендуется увеличить сечение, повысить марку бетона или поставить сжатую арматуру, определяемую по формуле (61).

Площадь сечения растянутой арматуры определяется из условия

                                  (95)

3.41. Подбор площади предельной арматуры можно выполнять и по табл. 21 следующим образом.

Вычисляется значение A0 по формуле (64).

Если A0 £ AR = ξR(1 - 0,5ξR), сжатая арматура по расчету не требуется.

В зависимости от значения А0 по табл. 21 определяется ν и вычисляется

                                                      (96)

Если A0 > АR, рекомендуется увеличить сечение или поставить сжатую арматуру, определяемую по формуле (61), и растянутую арматуру, определяемую по формуле (95).

3.42. Проверка прочности прямоугольного сечения с одиночной арматурой при большом эксцентрицитете производится в зависимости от высоты сжатой зоны бетона, вычисляемой из условия (93)

следующим образом:

1) при x < 0 рекомендуется увеличить площадь сечения арматуры Fа;

2) при 0 < x < 2а' - из условия

kнnсN(e + h0 - 0,5x) £ таRаFа(h0 - 0,5x);                                        (97)

3) при 2a' £ x £ ξRh0 - из условия (66);

4) при x > ξRh0 - из условия (67).

При невыполнении условия (67) рекомендуется увеличить сечение или поставить сжатую арматуру в соответствии с п. 3.40.

3.43. Проверка прочности прямоугольного сечения с двойной арматурой при большом эксцентрицитете производится в зависимости от высоты сжатой зоны бетона, вычисляемой из формулы (92)

следующим образом:

1) при x < 2a' - из условия (94)

kнnсN(e + h0 - a') £ таRаFа(h0 - a');

2) при 2а' £ x £ ξRh0 - из условия (91);

3) при x > ξRh0 - из условия (61)

kнnсNe £ mбRпрξR(1 - 0,5ξR)bh02 + таRа.сF'а(h0 - a').

При невыполнении условия (61) рекомендуется увеличить сечение.

Примеры расчета к пп. 3.36 - 3.43

Пример 24. Дано. Внецентренно-растянутый железобетонный элемент прямоугольного сечения, h = 2 м, h0 = 1,85 м, a = a' = 0,15 м, b = 1 м; расчетные усилия Nр = 125 тс, M = 75 тс·м; бетон марки М 200, Rпр = 90 кгс/см2, mб = 1,15 (табл. 8); арматура класса А-III, Rа = 3600 кгс/см2, mа = 1,15 (табл. 16); сооружение I класса - kн = 1,25 (п. 1.2); основное сочетание нагрузок - nс = 1 (п. 1.2).

Требуется определить площадь сечения продольной арматуры.

Расчет. Определяем эксцентрицитет

e0 = M/N = 75/125 = 0,6 м < h/2 - a = 2/2 - 0,15 = 0,85 м,

т.е. сила приложена между центрами тяжести арматуры Fа и F'а

e' = h/2 + e0 - a' = 1 + 0,6 - 0,15 = 1,45 м;

e = h/2 - e0 - a = 1 - 0,6 - 0,15 = 0,25 м.

Площади сечения растянутой арматуры определяются по формулам (89) и (90):

Принимаем Fа = 34 см2 (3,33 Æ 36 А-III); F'а = 6,7 см2 (3,33 Æ 16 А-III).

Пример 25. Дано. Внецентренно-растянутый железобетонный элемент прямоугольного сечения, h = 2 м, h0 = 1,85 м, a = a' = 1,15 м; b = 1 м; N = 118,8 тс (с учетом противодавления); M = 224 тс·м; бетон марки М 200, Rпр = 90 кгс/см2; mб = 1,15 (табл. 8); арматура класса А-II; Rа = 2700 кгс/см2; mа = 1,15 (табл. 16); сооружение II класса - kн = 1,2 (п. 1.2); сочетание нагрузок строительного периода - nс = 0,95 (п. 1.2).

Требуется определить площадь сечения продольной арматуры.

Расчет. Определяем эксцентрицитет

e0 = M/N = 224/118,8 = 1,89 м > h/2 - a = 0,85 м,

т.е. сила N приложена за пределами расстояния между равнодействующими усилий в арматуре Fа и F'а;

e = e0 - h/2 + a = 1,89 - 2/2 + 0,15 = 1,04 м.

Определяем высоту сжатой зоны бетона из условия (57), как для сечения с одиночной арматурой

Так как x = 7,3 см < 2а' = 30 см < ξRh0 = 0,6·185 = 111 см, необходимая площадь растянутой арматуры определяется по формуле (93)

Принимаем Fа = 70,7 см2 (2,5 Æ 60 А-II).

Пример 26. Дано. Напорный сталежелезобетонный трубопровод (рис. 13), rн = 5,25 м, r0 = 3,75 м, класс сооружения I - kн = 1,25 (п. 1.2); сочетание нагрузок основное - nс = 0,95 (п. 1.2); арматура класса А-II; Rа = 2700 кгс/см2, mа = 1,15 (табл. 16); оболочка трубопровода из стали марки 09Г2, R = 2700 кгс/см2, mа3 = 0,8 (табл. 16).

Требуется определить площадь сечения кольцевой арматуры и стальной оболочки трубопровода.

Расчет. Суммарную площадь сечения кольцевой арматуры и стальной оболочки трубопровода определяем из формулы (84), принимая в первом приближении R = Rа (в данном случае R09Г2 = RаII = 2700 кгс/см2),

Таблица 24

Сечение

qст, тс/м2

qд, тс/м2

q = qст + qд, тс/м2

N, тс/м

F, см2

F0, см2

Fа, см2

1-1

89,4

11,8

101,2

379,5

191

140

51

2-2

156,4

24,3

180,7

677,6

341

160

181

3-3

216,4

37,2

253,6

951

478,6

250

228,6

Растягивающее усилие в стенке трубопровода на 1 м длины определяется по формуле N = qr0,

где q - внутреннее равномерное давление, принимаемое равным q = qст + nqд,

здесь qст - статическое давление воды в рассматриваемом сечении трубопровода, определяемое глубиной погружения данного сечения под уровнем верхнего бьефа;

qд - гидродинамическое давление воды при гидродинамическом ударе, возникающее в процессе закрывания направляющего аппарата;

п - коэффициент перегрузки для гидродинамического давления n = 1;

mа = mа2·mа3 = 1,15·0,8 = 0,92;

F0 рекомендуется принимать минимальной по условиям транспортирования и монтажа.

Расчет сведен в табл. 24.

При толщине трубопровода 1,5 м процент армирования не превышает 1,5 %.

Рис. 13. К примеру 26

1 - кольцевая арматура; 2 - стальная оболочка

РАСЧЕТ ПО ПРОЧНОСТИ СЕЧЕНИЙ, НАКЛОННЫХ К ПРОДОЛЬНОЙ ОСИ ЭЛЕМЕНТА, НА ДЕЙСТВИЕ ПОПЕРЕЧНОЙ СИЛЫ

ОБЩИЕ ПОЛОЖЕНИЯ РАСЧЕТА ЭЛЕМЕНТОВ ПОСТОЯННОЙ ВЫСОТЫ

3.44. При расчете по прочности сечений, наклонных к продольной оси элемента, на действие поперечной силы достаточность размеров сечения проверяется из условия

kнnсQ £ 0,25mб3Rпрbh0,                                                                                     (98)

где b - минимальная ширина сечения.

При переменной ширине b по высоте элемента в формулу (98) и все последующие допускается вводить ширину элемента на уровне середины высоты сечения (без учета полок).

При несоблюдении условия (98) рекомендуется увеличить сечение или повысить марку бетона.

3.45. Расчет поперечной арматуры не производится, если соблюдаются условия:

а) для плитных конструкций, работающих пространственно, а также для плитных конструкций на упругом основании

kнnсQ £ mб4Rрbh0;                                                            (99)

б) для всех остальных конструкций

kнnсQ £ mб3Qб,                                                           (100)

где Qб - поперечное усилие, воспринимаемое бетоном сжатой зоны в наклонном сечении, равное

Qб = kRрbh0tgb.                                                             (101)

Формулу (101) можно представить в виде

Qб = kRрbh02/c,

где c = h0/tgb - длина проекции рабочей части наклонного сечения на продольную ось элемента;

k - коэффициент, принимаемый равным

k = 0,5 + 2ξ.                                                              (102)

Относительная высота сжатой зоны сечения ξ определяется по формулам:

для изгибаемых элементов

                                                      (103)

для внецентренно-сжатых и внецентренно-растянутых с большим эксцентрицитетом элементов

                                                           (104)

Знак «плюс» принимается для внецентренно-сжатых, а знак «минус» - для внецентренно-растянутых элементов.

Угол b между наклонным сечением и продольной осью элемента определяется по формуле

                                                            (105)

В формулах (98) - (100), (105)

M и Q - соответственно изгибающий момент и поперечная сила в нормальном сечении, проходящем через конец наклонного сечения в сжатой зоне.

При распределенной нагрузке концы наклонных сечений принимаются:

в защемленных элементах (при жесткой связи между элементами рам, пролетами неразрезных балок и т.п.) - в точках пересечения сжатых граней элементов с плоскостями заделок (рис. 14, а, б);

в свободно опертых балках - под центрами тяжести эпюр нагрузок на участках изменения изгибающих моментов одного знака от M = 0 до |M| = |M|макс, но на расстоянии от опорного сечения не более 2h, т.е. tgb = 0,5 (рис. 14, в).

При загружении сосредоточенными силами дополнительно к указанным сечениям рекомендуется рассматривать возможность образования наклонных сечений с концом под сосредоточенной силой (рис. 14, а, в).

Рис. 14. Схемы для определения угла наклонного сечения

а - в статически неопределимых конструкциях; б - в консоли; в - в свободно опертой балке;

1 - эпюра моментов; 2 - эпюра поперечных сил; 3 - центр тяжести площади эпюры нагрузки на длине l (от M = 0 до Mмакс)

Величина tgb, определяемая по формуле (105), принимается

0,5 £ tgb £ 1,5.

Рекомендуется принимать tgb = 0,5 при tgb < 0,5 и tgb = 1,5 при tgb > 1,5.

Величина Qб, определяемая по формуле (101), для элементов с сечением высотой h ³ 60 см уменьшается в 1,2 раза.

Для внецентренно-растянутых элементов с малыми эксцентрицитетами принимается Qб = 0.

Если в элементах статически неопределимых конструкций величина проекции наклонного сечения c превышает длину участка эпюры изгибающих моментов от опоры до нулевой точки l0, рекомендуется принимать c = l0 и проверять необходимость армирования следующего наклонного сечения, начало которого совпадает с нормальным сечением, проходящим через нулевую точку эпюры моментов l0 (см. рис. 14, а). Если армирование второго наклонного сечения не требуется, а величина поперечной силы в нормальном сечении, проходящем через нулевую точку эпюры изгибающих моментов, превышает величину Qб определенную по формуле (101) при c = l0, рекомендуется увеличить длину армирования поперечной арматурой до величины, равной расстоянию от опоры до сечения, где Q = Qб при той же суммарной площади поперечной арматуры (суммарной площади арматуры, определенной при c = l0).

Рис. 15. Схема усилий, действующих в наклонном сечении элемента постоянной высоты с поперечной арматурой, и определение расчетного значения поперечной силы

а - в защемленной балке при действии нагрузки в пределах наклонного сечения в сторону балки; б - то же, при действии нагрузки в сторону от балки; в - в свободно опертой балке при действии нагрузки в сторону балки; 1 - начало наклонного сечения; 2 - конец наклонного сечения

3.46. При несоблюдении условий (99) или (100) расчет поперечной арматуры в наклонных сечениях элементов постоянной высоты производится по формуле

kнnсQ1 £ ΣmаRа.хFх + ΣmаRахF0sina + mбQб,                              (106)

где Q1 - поперечная сила, действующая в наклонном сечении, т.е. равнодействующая всех поперечных сил от внешней нагрузки, расположенных по одну сторону от рассматриваемого наклонного сечения (рис. 15), определяемая по формуле

Q1 = Q - Q0 + Wcosb,                                                 (107)

здесь Q - наибольшая величина поперечной силы в пределах наклонного сечения (для первого от опоры наклонного сечения - величина поперечной силы в опорном сечении);

Q0 - равнодействующая внешней нагрузки, действующей на элемент в пределах длины проекции наклонного сечения c, на продольную ось элемента. Внешняя нагрузка учитывается полностью, если она не может быть смещена (например, гидростатическое давление) и действует в сторону элемента (рис. 15, а, в). Равномерно распределенная нагрузка от собственного веса в пределах наклонного сечения учитывается с коэффициентом 0,5 (0,5pс). Если внешняя нагрузка на отдельных участках пролета может отсутствовать (например, временная нагрузка на перекрытие), она учитывается с коэффициентом 0,5. Если внешняя нагрузка приложена в сторону от элемента (подвесная нагрузка, рис. 15, б), она не учитывается, т.е. Q0 = 0;

W - величина силы противодавления, действующей в наклонном сечении, определяемая в соответствии с п. 1.8 и табл. 2 по линейному закону;

mаRа.хFх; mаRа.хF0sina - сумма поперечных усилий, воспринимаемых соответственно хомутами и отогнутыми стержнями, пересекающими наклонное сечение;

a - угол наклона плоскости отогнутых стержней к продольной оси элемента в наклонном сечении.

3.47. Расстояние между поперечными стержнями (хомутами), между концом предыдущего и началом последующего отгиба, а также между опорой и концом отгиба, ближайшего к опоре, принимается не более величины uмакс, определяемой по формуле

                                                            (108)

3.48. При отношении расчетной длины элемента к его высоте менее 5, расчет железобетонных элементов на действие поперечной силы производится по главным растягивающим напряжениям в соответствии с п. 1.7.

При отношении расчетной длины элемента к его высоте в пределах 3 £ l/h < 5 допускается расчет железобетонных элементов на действие поперечной силы производить в соответствии с пп. 3.45 и 3.46.

Примечания: 1. Рекомендации п. 3.48 распространяются на несущие элементы железобетонных конструкций, в которых не удовлетворяется условие (99). Допускается определять главные растягивающие напряжения по формулам (158) - (160), при этом величину противодавления воды допускается принимать как растягивающую силу, приложенную в рассматриваемом сечении, в соответствии с п. 1.8 и табл. 2.

2. Для рам, эстакад и т.п. рекомендуется принимать в качестве расчетной длину элементов в свету.

РАСЧЕТ ЭЛЕМЕНТОВ, АРМИРОВАННЫХ ХОМУТАМИ БЕЗ ОТОГНУТЫХ СТЕРЖНЕЙ

3.49. Расчет изгибаемых и внецентренно-сжатых элементов постоянной высоты, армированных хомутами (без отогнутых стержней), допускается производить из условия минимальной несущей способности невыгоднейшего наклонного сечения (рис. 16) по формуле

kнnсQ £ Qх.б,                                                                                                     (109)

где Q - поперечная сила в нормальном сечении у опоры и в местах изменения интенсивности поперечного армирования;

Qх.б - предельная поперечная сила, воспринимаемая бетоном и хомутами в невыгоднейшем наклонном сечении, определяемая по формуле

                                                      (110)

k - коэффициент, определяемый по п. 3.45;

qх - усилие в хомутах на единицу длины элемента в пределах наклонного сечения, определяемого по формуле

qх = mаRа.хFх/u.                                                         (111)

Рис. 16. Места расположения невыгоднейших наклонных сечений при расчете по поперечной силе

а - при армировании хомутами; б - при армировании хомутами и отогнутыми стержнями; в - при армировании только отогнутыми стержнями; 1 - 4 - невыгоднейшие наклонные сечения; 5 - начало отгибов Fо1 и Fо2

Длина проекции невыгоднейшего наклонного сечения с0 определяется по формуле

                                                        (112)

Интенсивность усилий в хомутах qх вычисляется по формуле

                                                        (113)

откуда площадь сечения одной ветви хомута (поперечного стержня) fх равна

                                                           (114)

где nх - число ветвей хомутов в пределах расчетной ширины элемента b;

и - шаг хомутов в направлении длины (пролета) элемента (рис. 16, а, б).

При расчете плитных конструкций число ветвей хомутов на 1 м ширины

nх = b/aх,

где ах - шаг хомутов в направлении ширины элемента (рис. 15, а).

В балках, кроме того, проверяется условие

qх ³ mбRрb/2.                                                          (115)

3.50. При расчете элемента на действие равномерно распределенной нагрузки p, приложенной по грани элемента и действующей в его сторону, в формулы (110), (112) и (113) вместо величины qх подставляется величина qх + kнnсp1, где p1 определяется следующим образом:

а) если нагрузка на отдельных участках пролета может отсутствовать и эпюра M от принятой в расчете равномерно распределенной нагрузки p всегда огибает любую действительную эпюру M (например, нагрузка на перекрытия), то p1 = 0,5p;

б) если нагрузка фиксированная и сплошная (например, гидростатическое давление), то p1 = p без учета противодавления и p1 = 0,5p с учетом противодавления, при этом собственный вес, входящий в нагрузку p1, учитывается с коэффициентом 0,5;

в) в остальных случаях p1 = 0 (рис. 15, б).

3.51. При действии фиксированной сосредоточенной силы Рi, приложенной к грани элемента в пределах невыгоднейшего наклонного сечения с длиной проекции на ось элемента с0 и направленной в сторону элемента, расчет допускается производить из условия (109) на действие поперечной силы, равной Q - Pi (рис. 15, в), при обязательной проверке условия

kнnсQ £ qхci + kmбRрbh02/ci.                                          (116)

3.52. При изменении интенсивности хомутов по длине элемента с qх1 на qх2 (например, увеличении шага хомутов) участок с интенсивностью qх1 принимается до сечения, в котором поперечная сила Q становится равной усилию Qх.б2, воспринимаемому бетоном и хомутами при интенсивности хомутов qх2, т.е.

l1 = (Q - Pi) - Qх.б2/p,                                          (117)

где Q - наибольшая поперечная сила на участке l1 (у опоры);

p и Pi - соответственно равномерно распределенная и сосредоточенная нагрузки, действующие в пределах длины l1.

Рекомендации по конструированию хомутов приведены в п. 8.39 настоящего Руководства.

РАСЧЕТ ЭЛЕМЕНТОВ С ОТОГНУТЫМИ СТЕРЖНЯМИ

3.53. Проверка прочности по поперечной силе производится для невыгоднейших наклонных сечений, проходящих через грань опоры и начало отогнутых стержней (рис. 16, б, в), из условия (106) или из условия

kнnсQ £ Qх.б + mаRа.хF0sina,                                             (118)

где Q - поперечная сила в нормальном сечении у опоры или у начала отгиба;

F0 - площадь сечения отогнутых стержней в пределах принятого (данного) наклонного сечения;

a - угол наклона плоскости отогнутых стержней к оси элемента;

Qх.б - по пп. 3.49 - 3.51.

3.54. Необходимое сечение отогнутых стержней, расположенных в одной плоскости F0, определяется из условия

                                                             (119)

При этом поперечная сила Q принимается:

а) для первой от опоры плоскости отогнутых стержней равной поперечной силе у опоры;

б) для отогнутых стержней каждой из последующих плоскостей равной поперечной силе у начала предыдущей (по отношению к опоре) плоскости отогнутых стержней (рис. 16, б, в).

Расположение отгибов должно удовлетворять требованиям п. 8.30 настоящего Руководства.

3.55. В элементах с поперечной арматурой только в виде отогнутых стержней расчет по поперечной силе производится из условия (106) при ΣmаRаFх = 0.

Расположение невыгоднейших сечений в элементах, армированных только отогнутыми стержнями, показано на рис. 16, в.

РАСЧЕТ ЭЛЕМЕНТОВ ПЕРЕМЕННОЙ ВЫСОТЫ СЕЧЕНИЯ НА ДЕЙСТВИЕ ПОПЕРЕЧНОЙ СИЛЫ

3.56. Расчет элементов переменной высоты сечения на действие поперечной силы производится в соответствии с пп. 3.44 - 3.55, а также согласно следующим рекомендациям:

а) если одна из граней элемента горизонтальна или вертикальна, а вторая наклонна, ось элемента принимается соответственно горизонтальной или вертикальной, в этом случае в качестве рабочей высоты наклонного сечения принимается проекция рабочей части наклонного сечения на нормаль к оси элемента: для элемента с наклонной сжатой гранью - у конца наклонного сечения в сжатой зоне (рис. 17, а, в); для элементов с наклонной растянутой гранью - у начала наклонного сечения в растянутой зоне (рис. 17, б, г).

В элементах с наклонной сжатой гранью:

в статически неопределимых конструкциях и консолях (рис. 17, а) рабочая высота h0 = h0оп, где h0оп - рабочая высота сечения на опоре;

Рис. 17. Схемы к определению рабочей высоты сечения в элементах с переменной высотой

а - в защемленной балке и консоли с наклонной сжатой гранью; б - то же с наклонной растянутой гранью; в - в свободно опертой балке с наклонной сжатой гранью; г - то же, с наклонной растянутой гранью; 1 - наклонная грань сжата; 2 - наклонная грань растянута; 3 - горизонтальная (или вертикальная) плоскость

в свободно опертых балках (рис. 17, в) рабочая высота h0 определяется по формуле

где b - угол между плоскостью наклонного сечения и горизонтальной (или вертикальной) плоскостью (осью элемента);

g - угол наклона сжатой грани к горизонтальной (или вертикальной) плоскости (оси элемента).

В элементах с наклонной растянутой гранью:

в статически неопределимых конструкциях и консолях (рис. 17, б) рабочая высота сечения h0 определяется по формуле

где θ - угол наклона растянутой грани к горизонтальной (или вертикальной) плоскости (оси элемента);

в свободно опертых балках (рис. 17, г) h0 = h0оп;

б) если обе грани элемента наклонные, за ось элемента принимается геометрическое место точек, равноудаленных от граней элемента. В качестве рабочей высоты сечения h0 принимается проекция рабочей части наклонного сечения на нормаль к оси элемента.

Рис. 18. Схема усилий, действующих в наклонном сечении элемента переменной высоты с наклонной растянутой гранью, при расчете его по прочности на действие поперечной силы

Примечание. Длина проекции наклонного сечения на ось элемента во всех случаях равна c = h0/tgb.

3.57. Для элементов переменной высоты с наклонной растянутой гранью (рис. 18) в правую часть формулы (106) вводится дополнительное поперечное усилие Qа, равное проекции усилия в продольной арматуре, расположенной у наклонной грани, на нормаль к оси элемента, определяемое:

для статически неопределимых конструкций и консолей по формуле

Qа = Mtgb/z,                                                      (120)

где M - изгибающий момент в нормальном сечении элемента, проходящем через начало наклонного сечения в растянутой зоне;

z - расстояние от равнодействующей усилий в арматуре А до равнодействующей усилий в сжатой зоне бетона в том же нормальном сечении, определяемое из расчета прочности этого сечения;

θ - угол наклона арматуры А к оси элемента;

для свободно опертых балок по формуле

,                                    (121)

где M - изгибающий момент в нормальном сечении, проходящем через конец наклонного сечения в сжатой зоне;

zх, z0 - расстояния от плоскостей расположения соответственно хомутов и отогнутых стержней до оси, проходящей через точку приложения равнодействующей усилий в сжатой зоне и перпендикулярной плоскости действия момента.

При уменьшении высоты элемента с увеличением изгибающего момента значение Qа принимается со знаком «минус».

РАСЧЕТ КОРОТКИХ КОНСОЛЕЙ, НЕ ЛЕЖАЩИХ НА УПРУГОМ ОСНОВАНИИ

3.58. Расчет коротких консолей, не лежащих на упругом основании, т.е. консолей, длина lк которых равна или меньше их высоты в опорном сечении h, рекомендуется производить методом теории упругости как для однородного изотропного тела.

Определенные расчетом растягивающие усилия в сечениях консоли должны быть полностью восприняты арматурой при напряжениях, не превышающих расчетных сопротивлений Rа с учетом коэффициентов, принимаемых по табл. 16.

Расчет по определению напряженного состояния короткой консоли и зоны ее заделки целесообразно производить численными методами, например методом конечных элементов, или другими известными способами с учетом требований п. 1.7. На основании произведенного расчета строятся эпюры напряжений в характерных сечениях. При этом, если консоль является трещиностойкой, т.е. если псsг.р £ RрII + 300 Fа/Fб площадь сечения арматуры, устанавливаемой в виде горизонтальных стержней по боковым и верхней граням консоли, определяется по формуле

kнпсSbDh £ mаRаFа,                                          (122)

где b - ширина консоли;

Dh - расстояние по вертикали между узлами сетки при расчете методом конечных элементов;

 - средняя величина главных растягивающих напряжений на данном отрезке вертикального сечения.

Если консоль является нетрещиностойкой, т.е. если псsг.р > RрII + 300Fа/Fб, допускается армирование коротких консолей производить следующим образом:

а) продольная горизонтальная арматура Fа рассчитывается в корневом сечении консоли в соответствии с пп. 3.16 - 3.18, 3.28, 3.29, 3.39 - 3.41;

б) поперечная арматура рассчитывается по главным растягивающим напряжениям sг.р, определенным в соответствии с пп. 3.82, 3.83;

при kнnсsг.р £ 0,9Rр (рис. 19, а) по боковым граням консоли устанавливается конструктивная арматура класса А-II, шагом 25 - 30 см, диаметром 20 - 25 мм горизонтального и диаметром 16 мм вертикального направления;

при kнnсsг.р > 0,9RР (рис. 19, б) суммарная площадь хомутов (горизонтальных), пересекающих 2/3 высоты корневого сечения, или отгибов определяется по формулам:

                                                        (123)

или

SF0 = 0,71SFх,                                                    (124)

при этом проверка на раскрытие трещин является обязательной.

Для консолей с постоянной или переменной высотой сечения при lк £ 2 м допускается принимать эпюры главных растягивающих напряжений в опорном сечении в виде треугольника с ориентацией главных напряжений под углом 45° по отношению к опорному сечению.

Рис. 19. Схемы армирования коротких консолей, не лежащих на упругом основании

а - при kнnсsг.р £ 0,9Rр; б - при kнnсsг.р > 0,9Rр

Площадь сечения арматуры Fа, устанавливаемой в виде горизонтальных стержней по боковым и верхней граням консоли, определяется по формуле

                                  (125)

где Р - равнодействующая внешней нагрузки;

a - расстояние от равнодействующей внешней нагрузки до опорного сечения.

При замене горизонтальных хомутов (горизонтальная арматура по боковым граням, за исключением верхнего ряда, рис. 19, б) отгибами под углом 45° площадь сечения отгибов определяется по формуле (124).

Расчет коротких консолей с кручением выполняется в соответствии п. 1.7, т.е. по главным растягивающим напряжениям. В особо ответственных случаях рекомендуется выполнять экспериментальные исследования. Для сооружений III и IV классов допускается расчет коротких консолей с кручением производить в соответствии с пп. 3.67, 3.68, принимая за хомуты горизонтальную арматуру, пересекающую корневое сечение консоли.

РАСЧЕТ ПО ПРОЧНОСТИ СЕЧЕНИЙ, НАКЛОННЫХ К ПРОДОЛЬНОЙ ОСИ ЭЛЕМЕНТА, НА ДЕЙСТВИЕ ИЗГИБАЮЩЕГО МОМЕНТА

3.59. Расчет по прочности сечений, наклонных к продольной оси элемента, на действие изгибающего момента производится по формуле

kнnсM £ mаRаFаz + ΣmаRаF0z0 + ΣmаRаFхzх,                                   (126)

где M - момент всех внешних сил с учетом противодавления, расположенных по одну сторону от рассматриваемого наклонного сечения, относительно оси, проходящей через точку приложения равнодействующей усилий в сжатой зоне и перпендикулярной плоскости действия момента;

mаRаFаz; ΣmаRаF0z0; ΣmаRаFхzх - сумма моментов относительно той же оси от усилий соответственно в продольной арматуре, в отогнутых стержнях и хомутах, пересекающих растянутую зону наклонного сечения;

z, z0, zх - плечи усилий в продольной арматуре, в отогнутых стержнях и хомутах относительно той же оси (рис. 20).

Высота сжатой зоны в наклонном сечении, измеренная по нормали к продольной оси элемента, определяется в соответствии с пп. 3.14 - 3.43.

Расчет по формуле (126) производится для сечений, проверяемых на прочность при действии поперечных сил, а также:

в сечениях, проходящих через точки изменения площади продольной растянутой арматуры (точки теоретического обрыва арматуры или изменения ее диаметра, точки отгиба продольной арматуры);

в местах резкого изменения размеров поперечного сечения элемента (высоты);

в пределах длины анкеровки продольной арматуры у свободных опор.

Рис. 20. Схема усилий, действующих в наклонном сечении, при расчете по изгибающему моменту

а - в защемленной балке; б - в свободно опертой балке

3.60. Элементы с постоянной или плавно изменяющейся высотой сечения не рассчитываются по прочности наклонного сечения на действие изгибающего момента в одном из следующих случаев:

а) если вся продольная арматура доводится до опоры или до конца элемента и имеет достаточную анкеровку;

б) если железобетонные элементы рассчитываются в соответствии с п. 1.7;

в) если наклонное сечение пересекает растянутую грань элемента на участках, обеспеченных от образования нормальных трещин, т.е. там, где момент M от внешней нагрузки меньше или равен моменту трещинообразования Mт, определяемому по формуле (165), принимая в ней Rр вместо RрII;

г) в плитных конструкциях, работающих пространственно, а также конструкциях на упругом основании, за исключением подпорных стен (это относится к расчету плитных конструкций, работающих в двух направлениях, а также к конструкциям, лежащим на упругом основании, которые не могут опрокинуться после образования в них наклонной трещины. Таким образом, эти рекомендации не распространяются на большинство подпорных стен консольного типа);

д) если продольные растянутые стержни, обрываемые по длине элемента, заводятся за нормальное сечение, в котором они не требуются по расчету, на длину ω, определяемую по формуле

ω = (kнnсQ - 0,75mаRаF0sina)/1,5qх.ω + 5d,                                 (127)

где Q - поперечная сила в нормальном сечении, проходящем через точку теоретического обрыва стержня;

F0, a - соответственно площадь сечения и угол наклона отогнутых стержней, расположенных в пределах участка длиной ω;

qх.ω - усилие в хомутах на единицу длины элемента на участке длиной ω, определяемое по формуле

qх.ω = mаRаFх/u;                                                        (128)

d - диаметр обрываемого стержня, см.

3.61. В угловых сопряжениях массивных железобетонных конструкций (рис. 21) необходимое количество расчетной арматуры F0 определяется из условия прочности наклонного сечения, проходящего по биссектрисе входящего угла, на действие изгибающего момента. При этом плечо внутренней пары сил z в наклонном сечении принимается равным плечу внутренней пары сил наименьшего по высоте h2 корневого сечения сопрягаемых элементов.

При практических расчетах рекомендуется площадь арматуры принимать равной наибольшей площади арматуры в сечениях 1-1 и 2-2 и располагать ее от сжатого волокна на расстоянии не менее наименьшего по высоте h2 корневого сечения. В этом случае проверка прочности углового сопряжения не производится.

Примеры расчета к пп. 3.44 - 3.60

Пример 27. Дано. Железобетонный изгибаемый элемент прямоугольного сечения фундаментной плиты здания ГЭС (рис. 22), h = 4 м, h0 = 3,85 м, a = a' = 0,15 м; b = 1 м; нагрузки pгр = 22 тс/м2, pпротив. = 24 тс/м2, pс.в = 10 тс/м2; расчетные усилия M = 893 тс/м; Q = 396 тс; продольная арматура Fан = 96,2 см2; Fав = 49 см2; бетон марки М 200; Rпр = 90 кгс/см2; Rр = 7,5 кгс/см2, mб3 = 1,15 (табл. 8), арматура класса А-II: Rа = 2700 кгс/см2; Rа.х = 2150 кгс/см2; mа = 1,15 (табл. 16); сооружение I класса - kн = 1,25 (п. 1.2); сочетание нагрузок основное - nс = 1 (п. 1.2).

Требуется определить площадь сечения поперечной арматуры.

Расчет. Проверяем условие (98) достаточности размеров сечения.

Так как kнnсQ = 1,25·1·396 = 495 тс < 0,25mб3Rпрbh0 = 0,25·1,15·90·100·385·10-3 = 995 тс, размеры сечения достаточны.

Рис. 21. Схема армирования угловых сопряжений массивных железобетонных конструкций

Рис. 22. К примеру 27

1 - начало наклонного сечения; 2 - конец наклонного сечения

Проверяем условие (99) необходимости расчета поперечного армирования (конструкция представляет собой плиту на упругом основании).

Так как kнnсQ = 1,25·1·396 = 495 тс > mб4Rпрbh0 = 0,9·7,5·100·385·10-3 = 260 тс, необходимо произвести расчет поперечного армирования.

Определяем проекцию длины наклонного сечения на ось элемента

c = h0/tgb = 3,85/1,26 = 3,1 м < 3,4 м = l0, где по формуле (105)

Определяем величину поперечной силы Qi, действующей в наклонном сечении, по формуле (107)

Q1 = Q - Q0 + Wcosb,

где

Q0 = (pгр + pпротив - pс.в/2)c = (22 + 24 - 10/2)3,1 = 127 тс;

Wcosb = 1/2pпротив·c·cosb/cosb = 1/2pпротивc = 1/2·24·3,1 = 37,4 тс;

Q1 = 396 - 127 + 37,4 = 306,4 тс;

kнnсQ1 = 1,25·1·306,4 = 384 тс.

Для определения поперечной силы Qб, воспринимаемой бетоном, вычисляем

по формуле (103) -

по формуле (102) - k = 0,5 + 2ξ = 0,5 + 2·0,075 = 0,65.

Так как h > 60 см, величина Qб, определяемая по формуле (101), уменьшается в 1,2 раза, т.е.

Qб = kRрbh0tgb/1,2 = 0,65·7,5·100·385·1,26·10-3/1,2 = 198 тс.

Необходимая площадь сечения хомутов (без отгибов) на длине c = 3,1 м определяется по формуле (106)

Площадь сечения хомута при шаге 40 ´ 80 см равна

При армировании отгибами (без хомутов) поперечная арматура определяется по формуле (106)

Так как Qб = 198 т < Q = 220 тс при c = 3,1 м, проверяем необходимость расчета армирования при возможном образовании второй трещины с концом в точке, удаленной от опоры на 3,1 м, по условию (99).

Так как kнnсQс = 3,1 = 1,25·1·220 = 275 тс > mб4Rрbh0 = 0,9·75·1·3,85 = 260 тс, необходимо произвести расчет поперечного армирования.

Угол наклона второй трещины b определяем по формуле (105)

где M = 79 тс×м и Q = 220 тс - соответственно по эпюрам моментов и поперечных сил на расстоянии c = 3,1 м от опоры (см. рис. 22).

Так как tgb = 1,83 > 1,5, принимаем tgb = 1,5 для определения c.

Длина армирования второго участка

c2 = h0/tgb = 3,85/1,5 = 2,57 м.

Так как проекция двух наклонных участков Σс = 3,1 + 2,57 = 5,67 м больше длины участка эпюры M до нулевой точки, равной 3,4 м, в соответствии с п. 3.45 проверяем возможность образования наклонной трещины с началом в нормальном сечении, проходящем через нулевую точку эпюры моментов.

По условию (99), так как kнnсQс = 3,4 = 1,25·1·200 = 250 тс < mб4Rрbh0 = 260 тс, расчет поперечного армирования не требуется, поэтому определим Qб и необходимое количество поперечной арматуры на участке c = l0 = 3,4 м.

По формуле (101)

Qб = kRрbh0tgb/1,2 = kRрbh02/(1,2c) = 0,65·7,5·100·3852·10-3/1,2·340 = 177 тс.

По формуле (107)

Q1 = 396 - (22 + 24 - 10/2)3,4 + 1/2·24·3,4 = 297,3 тс.

Необходимая площадь хомутов ΣFх на длине c = 3,4 м

ΣFх = (1,25·1·297,3 - 1,15·177)103/1,15·2150 = 68,2 см2.

Длину участка армирования поперечной арматурой принимаем равной c1 = 3,9 м, где Qэп = Qб = 177 тс.

Принимаем хомуты Æ 28 А-II (fх = 6,16 см2) с шагом 40 ´ 80 см на длине 3,1 м, далее Æ 28 А-II с шагом 80 ´ 80 см на длине 3,9 - 3,1 = 0,8 м, т.е.

ΣFх = fх(3,1/0,4 + 1 + 0,8/0,8)1,25 = 69,4 см2 > 68,2 см2.

Проверка на изгибающий момент не нужна, так как конструкция представляет собой плиту на упругом основании.

Пример 28. Дано. Железобетонное перекрытие здания ГЭС (пространственно работающая плитная конструкция); h = 2 м, h0 = 1,85 м, a = a' = 0,15 м, b = 1 м; pв = 14,9 тс/м2, pс.в = 5 тс/м2; расчетные усилия приведены на рис. 23. Fан = 39 см2, бетон марки М 200; Rпр = 90 кгс/см2; Rр = 7,5 кгс/см2, mб3 = 1,15 (табл. 8), арматура класса А-II; Rа = 2700 кгс/см2; Rа.х = 2150 кгс/см2; mа = 1,15 (табл. 16); сооружение I класса - kн = 1,25 (п. 1.2); сочетание нагрузок ремонтного случая - nс = 0,95 (п. 1.2).

Требуется определить площадь сечения поперечной арматуры.

Расчет. Проверяем условие (98) достаточности размеров сечения.

Рис. 23. К примеру 28

Так как kнnсQ = 1,25·0,95·130 = 154 тс < 0,25mб3Rпрbh0 = 0,25·1,15·90·100·185·10-3 = 480 тс, размеры сечения достаточны.

Проверяем условие (99) необходимости расчета армирования.

Так как kнnсQ = 1,25·0,95·130 = 154 тс > mб4Rрbh0 = 0,9·7,5·100·185·10-3 = 125 тс, необходимо произвести расчет поперечного армирования.

Вычисляем по формуле (105)

c = h0/tgb = 1,85/0,98 = 1,89 м.

Так как c = 1,89 м > 1,8 м длины участка эпюры M одного знака до нулевой точки, принимаем c = 1,8 м.

Определяем поперечную силу Q1, действующую в наклонном сечении, по формуле (107)

Q1 = Q - Q0 + Wcosb = Qоп - 1/2рс.вc - pвc + 0,5 pвc = 130 - 1/2·5·1,8 - 14,9·1,8 + 1/2·14,9·1,8 = 112,1 тс.

Для определения Qб вычисляем:

по формуле (104)

по формуле (102) - k = 0,5 + 2ξ = 0,5 + 2·0,1045 = 0,709.

Тогда по формуле (101) при h = 200 см > 60 см

Qб = kRрbh0tgb/1,2 = 0,709·7,5·100·185·0,98·10-3/1,2 = 80 тс.

Необходимую площадь хомутов определяем по формуле (106)

Величина поперечной силы на расстоянии 1,8 от опоры равна 92 тс, т.е. больше Qб = 80 тс. Поперечная сила Qэп = 80 тс на расстоянии 2,35 м от опоры. Рекомендуется длину армирования принять 2,35 м при суммарной площади ΣFх = 16,7 см2, т.е. при шаге хомутов 40 ´ 80 см в соответствии с п. 3.45:

Принимаем Æ 18 А-II (fх = 2,5 см2) при шаге 40 ´ 80 см на длине 2,35 м.

Пример 29. Дано. Железобетонное перекрытие здания ГЭС; h = 2 м, h0 = 1,85 м, a = a' = 0,15 м, b = 1 м; нагрузки и расчетные усилия приведены на рис. 24; на опоре Fав = 39 см2; Fан = 69 см2; в пролете Fав = 49 см2, Fан = 39 см2; бетон марки М 200; Rпр = 90 кгс/см2; Rр = 7,5 кгс/см2, mб3 = 1,15; mб4 = 0,9; арматура класса А-II; Rа = 2700 кгс/см2; Rа.х = 2150 кгс/см2; mа = 1,15; сооружение I класса - kн = 1,25 (п. 1.2); сочетание нагрузок ремонтного случая - nс = 0,95 (п. 1.2).

Требуется определить площадь сечения поперечной арматуры.

Расчет. Проверяем условие (98) достаточности размеров сечения.

Так как kнnсQ = 1,25·0,95·79 = 94 тс < 0,25mб3Rпрbh0 = 0,25·1,15·90·100·185·10-3 = 480 тс, размеры сечения достаточны.

Проверяем условие (99) необходимости расчета армирования.

Так как kнnсQ = 1,25·0,95·79 = 94 тс < mб4Rрbh0 = 0,9·7,5·100·185·10-3 = 125 тс, расчет поперечной арматуры не производится; поперечное армирование конструктивное (в соответствии с п. 8.38 настоящего Руководства допускается поперечную арматуру не устанавливать).

Наклонное сечение на действие изгибающего момента не рассчитывается, так как конструкция перекрытия представляет собой изгибаемую в двух направлениях (пространственно работающую) плиту.

Пример 30. Дано. Железобетонная консоль (рис. 25); h = 5 м; h0 = 4,9 м; b = 1 м; нагрузки pгр = 2,5 тс/м (грунт); pв = 20 тс/м (вода); расчетные усилия в корне консоли с учетом противодавления и собственного веса M = 2120 тс·м, Q = 360 тс, Nр = 78 тс; площадь продольной арматуры Fа = 190,1 см2 (8 Æ 55 А-II); бетон марки М 200; Rпр = 90 кгс/см2; Rр = 7,5 кгс/см2, mб3 = 1,15; поперечная арматура класса А-II; Rр = 2700 кгс/см2; Rа.х = 2150 кгс/см2; mа = 1,15; сооружение I класса - kн = 1,25 (п. 1.2); сочетание нагрузок строительного периода - nс = 0,95.

Требуется определить площадь сечения поперечной арматуры.

Расчет. Определяем относительную высоту сжатой зоны сечения по формуле (104)

Рис. 24. К примеру 29

Рис. 25. К примеру 30

Рис. 26. К примеру 31

Коэффициент k = 0,5 + 2ξ = 0,5 + 2·0,0987 = 0,697.

Угол между наклонным сечением и горизонталью определяем по формуле (105)

 b = 42°.

Так как высота сечения h > 60 см, поперечное усилие, воспринимаемое бетоном сжатой зоны в наклонном сечении, уменьшается в 1,2 раза.

По формуле (101)

Qб = kRрbh0tgb/1,2 = 0,697·75·1·4,9·0,91/1,2 = 194,5 тс.

Так как по формуле (100) kнnсQ = 1,25·0,95·360 = 427 тс > mб3Qб = 1,15·194,5 = 224 тс, необходимо рассчитать поперечную арматуру.

Длина проекции наклонного сечения на горизонталь

c = h0/tgb = 4,9/0,91 = 5,4 м.

Расчетная величина поперечной силы в наклонном сечении по формуле (107)

Q1 = Q - Q0 + Wcosb = Q - (pгр + pв)c - 1/2·pс.вс + 1/2·pвс = 360 - (2,5 + 20)5,4 - 1/2·2,4·5·5,4 + 1/2·20·5,4 = 260,1 тс.

Необходимую поперечную арматуру при армировании отгибами, поставленными под углом a = 45º, на длине c = 5,4 м определяем по формуле (106)

Поставим две плоскости отгибов, в каждой плоскости

F0 = ΣF0/2 = 47,6/2 = 23,8 см2.

Принимаем в каждой плоскости Æ 55 А-II (23,8 см2).

Проверим возможность образования второго наклонного сечения, конец которого совпадает с нормальным сечением, проходящим через начало первой наклонной трещины (см. рис. 25).

Значение поперечной силы и изгибающего момента в сечении, проходящем через начало первой наклонной трещины, расположенном на расстоянии c = 5,4 м от опорного сечения, Q = 188 тс, M = 625 тс·м (с учетом противодавления), Nр = 50 тс, h0 = 1,5 - 0,1 + 3,5·6,6/12 = 3,32 м;

k = 0,5 + 2ξ = 0,5 + 2·0,155 = 0,81;

 b = 45°;

Qб = kRрbh0tgb/1,2 = 0,81·75·1·3,32·1/1,2 = 168 тс.

kнnсQ = 1,25·0,95·188 = 223 тс > mб3Qб = 1,15·168 = 193 тс,

следовательно необходимо рассчитать поперечную арматуру аналогично проведенному расчету.

Пример 31. Дано. Исходные данные предыдущего примера, меняется только направление нагрузок, принятое условно перпендикулярно сжатой грани (рис. 26).

Требуется определить площадь сечения поперечной арматуры.

Расчет. Из предыдущего примера: ξ = 0,0987; k = 0,697; tgb = 0,91; b = 42°.

Рабочая высота в начале наклонного сечения

где

tgq = (5 - 1,5)/12 = 0,292.

Так как высота сечения больше 60 см, поперечное усилие, воспринимаемое бетоном сжатой зоны в наклонном сечении, уменьшается в 1,2 раза.

По формуле (101)

Qб = kRрbh0tgb/1,2 = 0,697·75·1·3,7·0,91/1,2 = 146 тс.

Длина проекции наклонного сечения на горизонталь

c = h0/tgb = 3,7/0,91 = 4,1 м.

Расчетная величина поперечной силы по формуле (107)

Q1 = Q - Q0 + Wcosb = Q - (ргр + pв)c - 1/2×pс.вс + 1/2×рвс = 360 - (2,5 + 20)4,1 - 1/2·2,4·5·4,1 + 1/2·20·4,1 = 285,2 тс.

В сечении, проходящем через начало наклонного сечения, M = 880 тс·м (с учетом противодавления); Nр = 60 тс; Q = 228 тс.

Высота сжатой зоны бетона по формуле (57)

где e = e0 - h/2 + a = 880/60 - 3,8/2 + 0,1 = 12,9 м.

Плечо внутренней пары

z = h0 - x/2 = 3,7 - 0,25/2 = 3,575 м.

Поперечное усилие, воспринимаемое продольной растянутой арматурой, определяем по формуле (120)

Необходимая поперечная арматура на длине c = 4,1 м при армировании отгибами при a = 45°, согласно п. 3.57,

Поставим две плоскости отгибов на длине 4,1 м от опоры; в каждой плоскости

F0 = ΣF0/2 = 49,6/2 = 24,8 см2.

Принимаем в каждой плоскости 2 Æ 40 А-II (25,1 см2).

Необходимо проверить возможность образования второго наклонного сечения, конец которого совпадает с нормальным сечением, проходящим через начало первой наклонной трещины. Для этого определяем поперечную силу и изгибающий момент на расстоянии c = 4,1 м от опоры и проверяем условие (100) (см. пример 30). Далее, если условие (100) не удовлетворяется, производим расчет второго наклонного сечения, аналогично проведенному расчету.

Пример 32. Дано. Изгибаемая железобетонная балка прямоугольного сечения; b = 50 см; h = 40 см; a = 4 см; h0 = 36 см; бетон марки М 300; Rпр = 135 кгс/см2; Rр = 10 кгс/см2; mб3 = 1; балка армирована двумя плоскими каркасами с поперечными стержнями из арматуры класса А-II диаметром 10 мм (fх = 1,131 см2), шагом u = 15 см, mа = 1,1; продольная арматура класса А-III, Fа = 12,56 см2; изгибающий момент в нормальном сечении, проходящем через конец наклонного сечения в сжатой зоне; M = 11 тс·м; поперечная сила в том же нормальном сечении Q = 14 тс; класс сооружения III - kн = 1,15; основное сочетание нагрузок - nс = 1.

Требуется проверить прочность наклонного сечения по поперечной силе.

Расчет. Проверяем условие (98). Так как kнnсQ = 1,15·1·14 = 16,1 тс < 0,25mб3Rпрbh0 = 0,25·1·135·50·36·10-3 = 60,7 тс, принятые размеры поперечного сечения достаточны.

Проверяем условие (100) необходимости установки расчетной поперечной арматуры.

Для этого определяем по формулам (102), (103) и (105):

k = 0,5 + 2ξ = 0,5 + 2·0,185 = 0,87;

что удовлетворяет требованию п. 3.45, т.е. 0,5 < tgb < 1,5.

Так как условие (100) не удовлетворяется, т.е. mб3Qб = mб3kRрbh0tgb = 1·0,87·10·50·36·0,628 = 9,8 тс < kнnсQ = 16,1 тс, поперечная арматура должна быть расчетной.

Так как балка изгибаемая с постоянной высотой сечения, проверку прочности наклонного сечения производим по условию (106). Для этого определяем длину проекции наклонного сечения на продольную ось элемента

c = h0/tgb = 36/0,628 = 57,3 см.

Число поперечных стержней, пересекающих наклонное сечение с каждой стороны балки,

c/u = 57,3/15 = 3,8 шт., т.е. 4 шт.

Так как хомуты двухсрезные, число хомутов, пересекающих наклонное сечение, 8 шт.

Условие (106) удовлетворяется, так как ΣmаRа.хFх + mбQб = (1,1·2150·8·1,131 + 1·9800)10-3 = 31 тс > 16,1 тс = kнnсQ. Следовательно, прочность наклонного сечения обеспечена.

В соответствии с п. 3.49 проверку прочности изгибаемых элементов, армированных хомутами, разрешается производить по формуле (109) kнnсQ £ Qх.

Определяем по формуле (114) усилие в поперечных стержнях на единицу длины элемента

qх = mаRа.хfхn/u = 1,1·2150·1,131·2/15 = 356 кгс/см2.

По формуле (110) вычисляем

Так как Qх.б = 28,3 тс > 16,1 тс = kнnсQ условие (109) удовлетворяется. Следовательно, прочность наклонного сечения обеспечена.

В соответствии с п. 3.49 в балке, армированной хомутами, необходимо проверить условие (115). В данном случае qх = 356 кгс/см2 > mбRрb/2 = 1×10×50/2 = 250 кгс/см2, т.е. условие (115) удовлетворяется.

Проверяем, удовлетворяет ли принятый шаг поперечных стержней условию (108) и конструктивным требованиям.

Условие (108)

удовлетворяется.

В соответствии с п. 8.39 настоящего Руководства шаг хомутов не должен превышать h/2 = 40/2 = 20 см и должен быть не более 15 см, так как высота балки h < 45 см.

Таким образом, принятое армирование удовлетворяет всем требованиям.

Пример 33. Дано. Железобетонная балка на упругом основании, нагруженная равномерно распределенной нагрузкой p = 1,5 тс/м; размеры поперечного сечения приведены на рис. 27; бетон марки М 400; Rпр = 175 кгс/см2; Rр = = 12 кгс/см2; mб3 = 1; поперечная арматура класса А-II; Rа.х = 2150 кгс/см2; продольная арматура класса А-III; Rа = 3600 кгс/см2; mа = mа2 = 1,1; максимальная поперечная сила Q = 14 тс, изгибающий момент в сечении с максимальной поперечной силой M = 14 тс·м; класс сооружения III - kн = 1,15; основное сочетание нагрузок - nс = 1.

Требуется определить диаметр и шаг поперечных стержней.

Расчет. Проверяем условие (98) 0,25mб3Rпрbh0 = 0,25·1·175·30·40·10-3 = 52,5 тс > kнnсQ = 15·1·14 = 16,1 тс, т.е. принятые размеры сечения балки достаточны.

Так как балка на упругом основании, необходимость расчета наклонного сечения по прочности определяем по условию (99) mб4Rрbh0 = 0,9·12·30·40·10-3 = 13 тс < kнnсQ = 16,1 тс, т.е. необходимо рассчитать поперечную арматуру.

Расчет поперечной арматуры производим из условия (109) kнnсQ £ Qх.

Определим усилие в хомутах на единицу длины элемента по формуле (113) с учетом рекомендаций п. 3.50.

Для этого вычислим: k = 0,5 + 2ξ = 0,5 + 2·0,34 = 1,18,

где

qх = 95,3 - kнnсp1 = 95,3 - 1,15·1·15 = 78,05 кгс/см.

По формуле (112)

Q1 = Q - p1c0 = 14000 - 15·84,5 = 12730 кгс по формуле (107).

Рис. 27. К примеру 33

По формуле (108)

В соответствии с рекомендациями п. 8.39 настоящего Руководства при h £ 45 см максимальное расстояние между поперечными стержнями принимаем u = 15 см.

Площадь сечения хомутов в одной нормальной к продольной оси плоскости

Кроме того, из условий (111) и (115) для балок

Принимаем два поперечных стержня в сечении диаметром 10 мм (Fх = 1,57 см2).

По всей длине балки принимаем поперечные стержни Æ 10 А-II, шагом u = 15 см (fх = 0,785).

Расчет поперечной арматуры можно произвести и из условия (106) kнnсQ1 £ ΣmаRа.хFх + mбQб.

Для этого определяем:

по формуле (105)

c = h0/tgb = 40/0,57 = 70 см;

по формуле (101) Qб = kRрbh0tgb = 1,18·12·30·40·0,57·10-3 = 9,7 тс;

по формуле (107) Q1 = Q - Q0 + Wcosb = 14000 - p1c + 0 = 14000 - 15·70 = 12950 кгс;

по формуле (106)

по формуле (108)

По конструктивным требованиям расстояние между поперечными стержнями должно быть не менее 15 см.

Принимаем u = 15 см.

Определим число поперечных стержней, пересекающих наклонное сечение,

c/u + 1 = 70/15 + 1 @ 6.

При двух срезах поперечных стержней в сечении

По конструктивным соображениям принимаем армирование балки двумя каркасами с поперечной арматурой класса А-II, диаметром 10 мм, шагом 15 см (fх = 0,785 см2).

Пример 34. Дано. Верхняя часть и консоль быка плотины, размеры приведены на рис. 28; на консоль действует сосредоточенная нагрузка от подкрановой балки Р = 800 тс и собственный вес при gб = 2,4 тс/м3; сооружение II класса - kн = 1,2; сочетание нагрузок основное - пс = 1; бетон марки М 200, Rпр = 90 кгс/см2, Rр = 7,5 кгс/см2, тб = 1,15; арматура класса А-II, Rа = 2700 кгс/см2, mа = 1,15.

Требуется рассчитать верхнюю часть быка плотины с консолью и дать схему армирования.

Рис. 28. К примеру 34

1 - штраба под подкрановую балку; 2 - место приложения нагрузки

Рис. 29. Величины и направления главных напряжений sг

«+» - растяжение; «-» - сжатие

Рис. 30. Эпюры главных напряжений sг в сечениях

«+» - растяжение; «-» - сжатие

Рис. 31. Схема армирования короткой консоли

Расчет. Статический расчет выполняется методом конечных элементов по стандартной программе 1.

1 Ю. Н. Ефимов, Л. Б. Сапожников, А. П. Троицкий. Программа статического и динамического расчета сооружений по методу конечных элементов для ЭВМ типа М-220. Л., 1972.

Программа, разработанная ОМАТИ НИС Гидропроекта для ЭВМ БЭСМ-6 и др.

За расчетную область принимается верхняя часть быка вместе с консолью высотой 26 м, которая представлена набором 817 треугольных элементов, связанных в 452 узловых точках, при одинаковом шаге между углами в вертикальном и горизонтальном направлениях, равном 1 м. Расчет произведен для плосконапряженного состояния при коэффициенте поперечной деформации μ = 0,15.

На рис. 29 показаны величины и направления полученных расчетом на ЭВМ главных напряжений sг, тс/м2, на рис. 30 - эпюры главных напряжений sг, тс/м2, в характерных (опорном и двух смежных с ним) сечениях, а на рис. 31 - схема армирования консоли.

Так как nсsг.р = 1·4,73 = 4,73 кгс/см2 < RрII = 11,5 кгс/см2, конструкция трещиностойкая, и в соответствии с п. 3.58 площадь горизонтальной арматуры определяется по формуле (122) с помощью рис. 30 по огибающей эпюре трех приведенных сечений (1-1, 2-2, 3-3).

В коротких консолях, не лежащих на упругом основании, главные растягивающие напряжения независимо от их величины должны быть полностью восприняты горизонтальной арматурой (или отгибами по направлению главных растягивающих напряжений)

Арматура распределяется по высоте растянутой зоны быка в соответствии с огибающей эпюрой следующим образом:

Получено  Fа1 = 50,2 см2  - поставлено  54    см2  (11 Æ 25 А-II)

»        Fа2 = 40,6 »                 »          39,3  »     (8 Æ 25 А-II)

»        Fа3 = 34,8 »                 »          39,3  »     (8 Æ 25 А-II)

»        Fа4 = 29,3 »                 »          39,3  »     (8 Æ 25 А-II)

»        Fа5 = 30,4 »                 »          39,3  »     (8 Æ 25 А-II)

»        Fа6 = 25,6 »                 »          25,1  »     (8 Æ 20 А-II)

»        Fа7 = 18,7 »                 »          25,1  »     (8 Æ 20 А-II)

»        Fа8 = 11,9 »                 »          25,1  »     (8 Æ 20 А-II)

»        Fа9 = 6,5   »                 »          25,1  »     (8 Æ 20 А-II)

»        Fа10 = 3,7  »                 »          25,1  »     (8 Æ 20 А-II)

Так как расчетные площади арматуры Fа7 - Fа10 меньше рекомендуемой п. 3.58 конструктивной арматуры, примем в этих сечениях конструктивную арматуру Æ 20 А-II шагом 25 см, т.е. по двум боковым граням в сумме 8 Æ 20 А-II на 1 м.

В данном случае площадь всей расчетной арматуры не превышает площади конструктивной арматуры в соответствии с п. 3.58 настоящего Руководства.

Растянутую горизонтальную арматуру рекомендуется заделывать в сжатую зону или при наличии растягивающих напряжений во всей верхней зоне быка, что имеет место в данном примере, за наклонное сечение О = О' (см. рис. 31), проходящее через конец опорного сечения в сжатой зоне и отсекающее такой объем бетона, который создает удерживающий момент от собственного веса (и всех сил, приложенных на этом участке), равный моменту от нагрузки на консоль и от собственного веса консоли относительно точки О, т.е.

M0 = -800·3,5 - 2,4(36·7·3,5 + 0,5·3·7·7·7/3 - 2·3,02·2,7·3,15) + 2,4(3·13·13·6,5 - 0,5·3·13·9,3·13/3) = -2800 - 1342 + 4160 = -4142 + 4160 > 0.

Длину заделки, согласно п. 8.48 настоящего Руководства, определяем по формуле (196)

lан = (mан·Rа/Rпр + Dλан)d = (0,7·2700/90 + 11)d = 30d.

Анкеровку растянутой горизонтальной арматуры можно осуществить и вертикальной (распределительной) арматурой, заделанной в сжатую зону горизонтальных сечений 4-4, 5-5, 6-6 при наличии равнопрочных стыков крестообразных сечений арматуры (см. п. 7.14 настоящего Руководства).

Так как главные растягивающие напряжения в верхней зоне быка правее сечения 3-3 значительно меньше Rр = 7,5 кгс/см2 и выход из работы растянутой зоны бетона в указанных сечениях не приводит к потере несущей способности конструкции, армирование этой зоны быка (при отсутствии других нагрузок) конструктивное в соответствии с п. 3.58 настоящего Руководства (см. п. 6.17 главы СНиП II-56-77) и «Временным руководством по конструктивному армированию бетонных плотин» .

Если на консоль, приведенную на рис. 28, действует сила Р = 3600 тс, то в корневом сечении 2-2 с учетом собственного веса консоли (Рс.в = 440 тс) sг.р, определенные в соответствии с пп. 3.48 и 3.83 по формуле (161), равны

где z = 0,9h0 и h0 = 1250 см.

Так как nсsг.р = 1·11,95 кгс/см2 > RрII = 11,5 кгс/см2, сечение 2-2 (см. рис. 30) консоли нетрещиностойкое, поэтому в соответствии с п. 3.58 рассчитываем его следующим образом:

а) определяем продольную горизонтальную арматуру по формуле (23), для чего определяем высоту сжатой зоны сечения по формуле (22).

Изгибающий момент в сечении 2-2

M = P×3,5 + Mс.в = 3600·3,5 + 1342 = 13942 тс·м,

где Mс.в = 2,4(6·7·3·3,5 - 2,7·3,02·2·3,15 + 0,5·7·7·3·7/3) = 1342 тс·м;

по верхней и двум боковым граням на высоте 1 м поставим арматуру 11 Æ 70 А-II или 16 Æ 60 А-II (вместо 11 Æ 25 А-II, см. рис. 31);

б) так как kнnсsг.р = 1,2·1·11,95 = 14,35 кгс/см2 > 0,9Rр = 0,9·7,5 = 6,75 кгс/см2, на высоте 2/3·13 ≈ 9 м необходимо поставить горизонтальную арматуру (хомуты), определяемую по формуле (123)

т.е. при шаге стержней 25 см площадь сечения одного стержня

Поставим на высоте 4 м арматуру 32 Æ 60 А-II (907 см2) вместо 32 Æ 25 А-II и на высоте следующих 4 м 32 Æ 50 А-II (628 см2) вместо 32 Æ 20 А-II (см. рис. 31), далее 4 Æ 20 А-II на 1 м с каждой стороны.

Вертикальную арматуру примем 4 Æ 20 А-II на 1 м вместо 4 Æ 16 А-II.

Необходимо проверить величину раскрытия трещин.

При наличии по высоте сечения эпюры главных растягивающих напряжений величина раскрытия трещин определяется по формуле (169) как для центрально-растянутого сечения, т.е. при k = 1,2 и с напряжением в арматуре sа, определенным при коэффициенте перегрузки n = 1 и kн = 1.

В данном случае средний коэффициент перегрузки nср = 1,2 и kн = 1,2, т.е. для верхнего метра сечения консоли при поставленной арматуре 11 Æ 70 А-II (423 см2)

sнач = 0;

Тогда

так как верхняя метровая зона консоли находится на открытом воздухе и не подвержена воздействию воды (см. табл. 1а главы СНиП II-21-75).

Для следующих 4 м по высоте сечения консоли при

sг.рнорм = 11,95/1,2 = 9,97 кгс/см2

Nнорм = sг.рнорм bh = 9,97·300·100 = 298500 кгс = 298,5 тс.

При поставленной арматуре 8 Æ 60 А-II (308 см2) по формуле (171)

sа = N/Fа = 298500/308 = 970 кгс/см2;

так как эта зона консоли находится в зоне переменного уровня воды и подвержена периодическому замораживанию и оттаиванию при числе циклов в год менее 50, сооружение II класса и диаметр арматуры более 40 мм (см. табл. 34).

При армировании 1 м высоты сечения 8 Æ 50 А-II (157 см2) получаем соответственно

sа = 298·500/157 = 1390 кгс/см2;

Величина раскрытия трещин меньше допустимой по всей высоте сечения 2-2 консоли.

Кроме того, необходимо рассчитать сечение консоли под сосредоточенной силой (сечение 1-1) аналогично корневому сечению 2-2.

Пример 35. Дано. Перекрытие спиральной камеры здания ГЭС, пролет в свету l = 7,5 м, h = 3 м, a = a¢ = 0,1 м; расчетные нагрузки: равномерно распределенная от собственного веса и веса оборудования q = 10 тс/м2 и сосредоточенная от колонн Рк = 500 тс, несущих крановую нагрузку и вес верхнего строения здания ГЭС; сооружение I класса - kн = 1,25; случай ремонтный - nс = 0,95; марка бетона М 200, Rпр = 90 кгс/см2, Rр = 7,5 кгс/см2; арматура класса А-II, Rа = 2700 кгс/см2.

Требуется определить площадь поперечной арматуры.

Расчет. Так как отношение расчетной длины элемента к его высоте l/h = 7,5/3 = 2,5 < 3, в соответствии с п. 3.48 расчет на действие поперечной силы производится по главным растягивающим напряжениям.

Воспользуемся готовым решением для плит. По «Таблицам для расчета прямоугольных плит» (под редакцией П. М. Варвака. К., 1959) наибольшие изгибающие моменты и поперечные силы на 1 м ширины плиты Mоп = 146 тс·м; Mпрол = 161 тс·м; RА = QА = 79 тс; RВ = QВ = 252 тс.

Продольная арматура (верхняя и нижняя) подбирается по формулам (22) и (23) на изгибающие моменты соответственно 146 тс·м и 161 тс·м.

Fав = 20 см2/м; Fан = 23,3 см2/м. Принимаем 4 Æ 28 А-II на 1 м (24,6 см2).

Проверяем условие (99)

Для опоры A kнnсQА = 1,25·0,95·79 = 94 тс < mб4Rрbh0 = 0,9·7,5·1·2,9 = 196 тс, т.е. расчетной арматуры на поперечную силу на опоре А не требуется;

для опоры В kнnсQВ = 1,25·0,95·252 = 300 тс > mб4Rрbh0 = = 196 тс, т.е. на опоре В требуется поперечное армирование. В соответствии с прим. 1 к п. 3.48 и формулой (161) для изгибаемых элементов прямоугольного сечения

Эпюру Q примем для простоты прямолинейной, длина ее равна 4 м со стороны опоры В (рис. 32).

Длина участка, на которой требуется поставить поперечную арматуру,

При наличии в сечении продольной арматуры часть эпюры главных растягивающих напряжений - в данном случае 20 % площади эпюры, так как имеет место сосредоточенная нагрузка (40 % при распределенной нагрузке), - можно передать на продольную арматуру.

На поперечную арматуру передадим 80 % (60 %) площади эпюры Q, т.е. усилие, передаваемое на хомуты, равно

Рис. 32. Эпюра sг.р

1 - площадь эпюры, воспринимаемая бетоном; 2 - то же, воспринимаемая продольной арматурой

Суммарная площадь хомутов на площади 1 ´ 0,9 м равна

При шаге хомутов 40 ´ 80 см площадь одного хомута

.

Рис. 33. Балка-стенка, жестко закрепленная боковыми кромками

а - расчетная схема; б - напряжения s1

Принимаем Æ 28 А-II (6,16 см2). Вместо хомутов можно поставить отгибы. Площадь отгибов F0 = 0,71Fх = 0,71·23,7 = 16,8 см2.

Кроме того, необходимо произвести проверку на продавливание в соответствии с п. 3.64 настоящего Руководства.

При размере колонны 1 ´ 1 м и h0 = 2,9 м bср - среднее арифметическое величин периметров верхнего и нижнего оснований пирамиды продавливания равно

Проверяем условие (131) kнnсP £ mбRрbсрh0; 1,25·0,95·500 = 593 тс < 1,15·75·15,6·2,9 = 3890 тс, т.е. дополнительного расчетного армирования вертикальной арматурой по периметру колонны не требуется.

Пример 36. Дано. Балка-стенка, жестко закрепленная боковыми кромками (рис. 33, а); задача плоская; b = 1 м; класс сооружения I - kн = 1,25; случай строительный, nс = 0,95; бетон марки М 200, Rр = 7,5 кгс/см2; арматура класса А-III.

Требуется подобрать расчетную арматуру.

Расчет. Значения напряжений sх, sу и tху можно определить по табл. 461 справочника Д. В. Вайнберга и Е. Д. Вайнберга «Пластины, диски, балки-стенки» (К., 1959).

В табл. 25 приводятся результаты указанного расчета для 45 точек; кроме того, приводятся значения главных напряжений s1 и s2 и углов наклона a1 направлений главных напряжений s1 к оси Ох, отсчитываемых от оси Ох против часовой стрелки.

Определяем изгибающие моменты:

в сечении 1-9

в сечении 37-45

Определяем площадь сечения продольной арматуры при h0 = h - a = 4 - 0,1 = 3,9 м;

в сечении 1-9

по табл. 21 ξ = 0,023; υ = 0,9845;

Таблица 25

№ точки

Напряжения, тс/м2

угол a1,

град, мин

sх

sу

tху

s1

s2

1

-138

-100

0

-100

-138

90

2

-88,5

-96,3

0

-88,5

-96,3

0

3

-53,2

-85,2

0

-53,2

-85,2

0

4

-28,2

-69,3

0

-28,2

-69,3

0

5

-8,3

-50

0

-8,3

-50

0

6

+11,5

-30,7

0

11,5

-30,7

0

7

36,6

-14,8

0

36,6

-14,8

0

8

71,8

-3,7

0

71,8

-3,7

0

9

121

0

0

121

0

0

10

-120

-100

0

-100

-120

90

11

-73,3

-96,7

15,3

-65,7

-104

26°15'

12

-42,2

-85,6

28,6

-28

-99,8

26°24'

13

-22,9

-69,4

36,3

-3

-89,3

28°40'

14

-8,3

-50

38,9

15

-73,3

30°54'

15

6,2

-30,6

36,3

28,5

-52,9

31°33'

16

26,1

-14,4

28,6

40,9

-29,2

27°20'

17

56,6

-3,3

15,3

60,3

-7

13°30'

18

104

0

0

104

0

0

19

-59,8

-100

0

-59,8

-100

0

20

-25,9

-97,6

30,4

-14,7

-109

20°10'

21

-10,9

-86

57,8

20,5

-117

28°25'

22

-7,1

-69

73

41,3

-117

33°30'

23

-8,3

-50

78,1

51,7

-110

37°30'

24

-9,5

-30,9

73

53,6

-94

40°50'

25

-5,8

-14

57,8

48,1

-67,9

43°

26

9,2

-2,3

30,4

34,4

-27,5

39°35'

27

43,1

0

0

43,1

0

0

28

55,7

-100

0

55,7

-100

0

29

59,6

-95,7

48,8

73,6

-110

16°03'

30

39,8

-82,1

88,2

86

-128

27°40'

31

15,8

-66,3

108

90,2

-141

34°35'

32

-8,3

-50,9

112

84,4

-144

39°40'

33

-32,5

-33,7

108

74,9

-141

44°55'

34

-56,5

-17,9

88,2

53,1

-127,5

51°10'

35

-76,3

-4,3

48,8

20,4

-101

63°10'

36

-72,3

0

0

0

-72,3

90

37

305

-100

0

305

-100

0

38

167

-96

65,6

182,5

-111,5

13°15'

39

101

-90,4

112,5

153

-142

24°45'

40

47,6

-70,4

141

141

-164

33°40'

41

-8,3

-50

150

122

-181

41°05'

42

-64,3

-29,6

141

95,1

-189

48°30'

43

-118

-9,6

112,5

61,1

-189

57°55'

44

-183

-3,7

65,6

17,7

-204

71°57'

45

-322

0

0

0

-322

90

в сечении 37-45

по табл. 21 ξ = 0,053; υ = 0,9735;

Поскольку l/h = 8/4 = 2 < 3, в соответствии с п. 3.48 расчет на действие поперечной силы производится по главным растягивающим напряжениям (рис. 33, б).

На поперечную арматуру передаем растягивающие усилия при напряжениях в бетоне, превышающих величину

Линия s1 = 72,7 тс/м2 показана на рис. 33, б пунктиром.

С помощью продольной арматуры в заделке (Fа = 52 см2) может быть воспринята равнодействующая sг.р в области толщиной 0,85 м, считая от верхней грани, поэтому требуется постановка расчетной поперечной арматуры в области размерами 1,4 ´ 1,95 м (рис. 33, б).

Угол наклона sг.р к оси балки-стенки (горизонтали) в расчетной области изменяется от 25 до 50°, составляя примерно 35°.

Наиболее экономичной будет расчетная арматура, наклоненная к оси балки-стенки под углом a0 = 35°. Наиболее простые конструктивные решения получаются при армировании горизонтальными или вертикальными хомутами. Возможны различные комбинированные решения. В области, где sг.р < 72,7 тс/м2 = 7,3 кгс/см2, требуется постановка конструктивной арматуры.

Подбор сечений поперечной арматуры производится аналогично тому, как это сделано в примере 34.

РАСЧЕТ ЖЕЛЕЗОБЕТОННЫХ ЭЛЕМЕНТОВ НА МЕСТНОЕ ДЕЙСТВИЕ НАГРУЗОК

РАСЧЕТ НА МЕСТНОЕ СЖАТИЕ

3.62. Расчет на местное сжатие (смятие) элементов производится по формуле

kнnсN £ μсмmбRсмFсм,                                                   (129)

где N - продольная сжимающая сила от местной нагрузки;

μсм - коэффициент, принимаемый равным 1 при равномерном распределении местной нагрузки на площади смятия; 0,75 - при неравномерном распределении местной нагрузки на площади смятия (под концами балок, прогонов, перемычек);

mб - коэффициент условий работы, принимаемый по табл. 8 в случае без косвенного армирования mб4 = 0,9 (как для бетонных конструкций), с косвенным армированием mб3 (как для железобетонных конструкций);

Rсм - расчетное сопротивление бетона смятию, определяемое по формуле

Rсм = gбRпр,                                                                   (130)

Таблица 26

Схемы приложения нагрузки

gб

При местной нагрузке по всей ширине элемента

а

2,5

При местной нагрузке в местах опирания концов прогонов и балок

б

2,5

в

2,5

При местной нагрузке, приложенной на части длины и ширины элемента

г

2,5

При местной нагрузке, расположенной в пределах выступа стены

д

2,5

При местной краевой нагрузке по всей ширине элемента

е

1

При местной краевой нагрузке на угол элемента

ж

1

При местной нагрузке, расположенной в пределах выступа стены

и

1

где но не более значений, указанных в табл. 26 в зависимости от схемы приложения нагрузки;

Fр - расчетная площадь, определяемая по п. 3.63;

Fсм - площадь смятия.

3.63. В расчетную площадь Fр включается участок, симметричный по отношению к площади смятия (табл. 26). При этом должны выполняться следующие правила:

при местной нагрузке по всей ширине элемента t в расчетную площадь включается участок длиной не более t в каждую сторону от границы местной нагрузки (поз. а табл. 26);

при местной нагрузке в местах опирания концов прогонов и балок в расчетную площадь включается участок шириной, равной глубине заделки прогона или балки, и длиной не более расстояния между серединами примыкающих к балке пролетов (поз. б табл. 26), если расстояние между балками превышает двойную ширину элемента, длина расчетной площади определяется как сумма ширины балки и удвоенной ширины элемента (поз. в табл. 26);

при местной нагрузке, приложенной на части длины и ширины элемента, расчетная площадь принимается согласно поз. г табл. 26;

при определении расчетной площади для сечений сложной формы не должны учитываться участки, связь которых с загруженным участком не обеспечена с необходимой надежностью (поз. д табл. 26).

Расчетная площадь Fр равна площади смятия Fсм:

при местной краевой нагрузке по всей ширине элемента (поз. е табл. 26);

при местной краевой нагрузке на угол элемента (поз. ж табл. 26);

при местной краевой нагрузке, расположенной в пределах выступа стены (пилястры) или простенка таврового сечения (поз. и табл. 26).

РАСЧЕТ НА ПРОДАВЛИВАНИЕ

3.64. Расчет на продавливание плитных конструкций (без поперечной арматуры) от действия сил, равномерно распределенных на ограниченной площади, производится из условия

kнnсP £ μсмmбbсрh0,                                                       (131)

где P - продавливающая сила;

mб - коэффициент условий работы, принимаемый по табл. 8, в случае армирования плиты только нижней арматурой mб = mб4 = 0,9, при армировании плиты верхней и нижней арматурой mб = mб3;

bср - среднее арифметическое величин периметров верхнего и нижнего оснований пирамиды, образующейся при продавливании в пределах рабочей высоты сечения h0.

При определении величин bср и P предполагается, что продавливание происходит по боковой поверхности пирамиды, меньшим основанием которой служит площадь действия продавливающей силы, а боковые грани наклонены под углом 45° к горизонтали (рис. 34, а).

Рис. 34. Схема пирамиды продавливания при угле наклона ее боковых граней к горизонтали

а - равном 45°, б - более 45°

Величина продавливающей силы Р принимается равной величине продольной силы N, действующей на пирамиду продавливания, за вычетом нагрузок, приложенных к большему основанию пирамиды продавливания (считая до плоскости расположения растянутой арматуры) и сопротивляющихся продавливанию.

Если схема опирания такова, что продавливание может происходить только по поверхности пирамиды с углом наклона боковых граней более 45°, например, в свайных ростверках (рис. 34 б), правая часть условия (131) умножается на величину h0/c, но не более 2,5 (где c - длина горизонтальной проекции боковой грани пирамиды продавливания).

При установке в пределах пирамиды продавливания поперечной арматуры расчет производится из условий:

kнnсP £ 1,4mбRрbсрh0;                                                   (132)

kнnсP £ mаRа.хFх.п,                                                         (133)

где Fх.п - суммарная площадь сечения поперечной арматуры пересекающей боковые грани пирамиды продавливания.

Кроме расчета на продавливание производится расчет на действие поперечных сил.

3.65. Для центрально нагруженных прямоугольных, а также внецентренно нагруженных квадратных и прямоугольных фундаментов расчет на продавливание производится отдельно для каждой грани пирамиды продавливания из условия

                                          (134)

Рис. 35. Схема образования пирамиды продавливания в фундаменте

где F - площадь основания фундамента, ограниченная нижним основанием рассматриваемой грани пирамиды продавливания и продолжением соответствующих ребер (многоугольник ABCDEG, рис. 35);

Pгр - наибольшее краевое давление на грунт при расчете в плоскости эксцентрицитета, а при расчете в перпендикулярной плоскости pгр - среднее давление на грунт в пределах расчетной площади F (многоугольник BCFK), причем наибольшее краевое давление на грунт определяется по формуле

pгр = N/Fф + M/Wф,                                                      (135)

где Fф и Wф - соответственно площадь и момент сопротивления подошвы фундамента;

(bв + bн)/2 - средний размер грани.

Для ступенчатых фундаментов производится проверка на продавливание от каждой вышележащей ступени.

РАСЧЕТ ПО ПРОЧНОСТИ ПРОСТРАНСТВЕННЫХ СЕЧЕНИЙ (ЭЛЕМЕНТЫ, РАБОТАЮЩИЕ НА КРУЧЕНИЕ С ИЗГИБОМ)

3.66. При расчете пространственных сечений предельные усилия определяются исходя из следующих предпосылок:

сопротивление бетона растяжению принимается равным нулю;

сжатая зона пространственного сечения условно представляется плоскостью, расположенной под углом a к продольной оси элемента, а сопротивление бетона сжатию - напряжениями mбRпрsin2a, равномерно распределенными по сжатой зоне;

растягивающие напряжения в продольной и поперечной арматуре, пересекающей растянутую зону рассматриваемого пространственного сечения, принимаются равными расчетным сопротивлениям соответственно mаRаи mаRа.х;

напряжение в арматуре, расположенной в сжатой зоне, принимается равным mаRа.с.

ЭЛЕМЕНТЫ ПРЯМОУГОЛЬНОГО СЕЧЕНИЯ

3.67. При расчете элементов на кручение с изгибом проверяется условие

kнnсMк £ 0,1mбRпрb2h,                                                  (136)

где b и h - соответственно меньший и больший размеры граней элемента.

При этом значение Rпр для бетонов проектных марок выше М 400 принимается как для бетона марки М 400.

При невыполнении условия (136) рекомендуется повысить марку бетона или увеличить размеры сечения.

3.68. Для участков элемента, в которых Mк £ 0,5Qb, производится расчет сечений, наклонных к продольной оси элемента, на действие поперечной силы и крутящего момента из условия

kнnс(Q + 3Mк/b) £ Qх.б,                                                 (137)

где Q и Mк - принимаются наибольшими на рассматриваемом участке элемента;

Qх.б - определяется по формуле (110), при этом расчет наклонных и нормальных сечений на действие изгибающего момента производится без учета кручения.

Если удовлетворяется условие

Mк £ 0,25Qb,                                                                (138)

и при наличии отогнутых стержней, расчет производится из условия

kнnс(Q + 3Mк/b) £ Qх.б + ΣmаRа.хF0sina.                               (139)

Для участков элемента, в которых Mк > 0,5Qb (где b - размер грани, перпендикулярной плоскости действия изгибающего момента), расчет пространственных сечений производится по пп. 3.69 - 3.73.

3.69. При расчете пространственного сечения (рис. 36) по прочности проверяется достаточность продольной и поперечной арматуры, установленной у грани элемента, противоположной сжатой зоне пространственного сечения. Рассматриваются три возможные расчетные схемы расположения сжатой зоны пространственного сечения:

Рис. 36. Схема усилий в пространственном сечении железобетонного элемента

1-я схема - у сжатой от изгиба грани элемента (рис. 37, а);

2-я схема - у грани элемента, параллельной плоскости действия изгибающего момента (рис. 37, б);

3-я схема - у растянутой от изгиба грани элемента (рис. 37, в).

Рис. 37. Расчетные схемы расположения сжатой зоны пространственного сечения

а - у сжатой от изгиба грани элемента; б - у грани элемента, параллельной плоскости действия изгибающего момента; в - у растянутой от изгиба грани элемента

Расчет по прочности пространственных сечений (см. рис. 36) для любой из схем производится из условия

                                              (140)

где высота сжатой зоны x определяется из условия (21).

При этом, если x < 2a', в условии (140) принимается х = 2а'. Если x > ξRh0, прочность нормального сечения проверяется по п. 3.16.

В формулах (21) и (140):

Fа и F¢б - площадь поперечного сечения продольной арматуры, расположенной при данной расчетной схеме соответственно в растянутой и сжатой зонах;

b и h - размеры граней элемента, соответственно параллельных и перпендикулярных линий, ограничивающей сжатую зону;

b = c/b;

c - длина проекции линии, ограничивающей сжатую зону, на продольную ось элемента; расчет производится для наиболее опасного значения c, определяемого последовательным приближением и принимаемого не более 2h + b и не более длины участка элемента, на котором учитываемые в расчете усилия (M, Mк и Q) не меняют знаки. Для некоторых частных случаев значение c определяется по пп. 3.72 и 3.73;

x и k - коэффициенты, характеризующие соотношение между действующими усилиями Mк, M и Q, принимаются при расчете по

1-й схеме χ = M/Mк, k = 1;

2-й схеме χ = 0, ;

3-й схеме χ = -M/Mк, k = 1;

g - коэффициент, характеризующий соотношение между поперечной и продольной арматурой, равный

                                                                 (141)

где fх - площадь сечения одного стержня хомута, расположенного у грани, являющейся растянутой для рассматриваемой расчетной схемы;

u - расстояние между указанными выше хомутами.

При этом значение g принимает не менее

                                                           (142)

и не более

                                                         (143)

Если g > gмакс, принимается gмакс; при g < gмин величина усилия таRаFа в формуле (140) умножается на отношение g/gмин. Допускается в этом случае значение x не корректировать.

Крутящий момент Mк, изгибающий момент M и поперечная сила Q принимаются в сечении, нормальном к продольной оси элемента и проходящем через центр тяжести сжатой зоны пространственного сечения (рис. 38).

Рис. 38. Определение действующих в пространственном сечении изгибающего и крутящего моментов, а также поперечной силы при расчете на прочность железобетонного элемента, работающего на изгиб с кручением

а - по 1-й и 3-й схемам; б - по 2-й схеме

Расчет по 3-й схеме не производится, если удовлетворяется условие

                                                              (144)

УПРОЩЕННЫЕ СПОСОБЫ РАСЧЕТА ПРОСТРАНСТВЕННОГО СЕЧЕНИЯ

3.70. Необходимую интенсивность поперечной арматуры fх/u, расположенной у грани, параллельной плоскости изгиба (шириной h, рис. 39), допускается определять по 2-й схеме из условия

                                                          (145)

где значение g принимается равным

                                                              (146)

но не менее .

Здесь

Mк и Q - максимальные значения соответственно крутящего момента и поперечной силы на рассматриваемом участке;

Fа2 - площадь сечения всех продольных стержней, расположенных у грани элемента шириной h (параллельной плоскости изгиба);

а2 - см. рис. 39.

При этом должно удовлетворяться условие

                                                            (147)

Если условие (147) не выполняется, рекомендуется увеличить арматуру Fа2, или размер b.

Если усилия Mк и Q линейно уменьшаются от опоры к пролету, значение g рекомендуется определять с учетом разгружающего влияния внешней нагрузки

                                                           (148)

и принимать не менее

Рис. 39. Поперечное сечение железобетонного элемента при упрощенном способе расчета пространственного сечения

где ; тк = M/l0; p = Q/l0 - уменьшение усилий Mк и Q на единице длины элемента; в этом случае условие (147) заменяется условием

                                                           (149)

3.71. Для элементов, в которых изгибающий момент уменьшается от опоры к пролету (опорных зон защемленных и неразрезных балок, консолей), проверку прочности по продольной и поперечной арматуре, расположенной у растянутой от изгиба грани элемента шириной b (1-я расчетная схема), допускается производить из условий:

kнnсM0 £ mаk1RаFа(h0 - 0,5x);                                           (150)

                                       (151)

где Fа, fх, b, h0, x - значения, соответствующие 1-й расчетной схеме согласно рис. 37, а. Значение x определяется по формуле (21);

М0 и Mк - соответственно изгибающий и крутящий моменты в опорном сечении;

k1 и k2 - соответственно коэффициенты, определяемые по табл. 27 и 28 в зависимости от значений  и

(Q - поперечная сила в опорном сечении).

Таблица 27

χ

Коэффициент k1 при значениях λ

0,9 - 0,7

0,5

0,4

0,3

9

1

0,95

0,93

0,9

7

0,98

0,94

0,91

0,88

5

0,97

0,92

0,89

0,84

4

0,97

0,91

0,87

0,82

3

0,96

0,88

0,84

0,77

Таблица 28

b/h

Коэффициент k2 при значениях χ

³ 20

10

5

3 при λ

³ 0,9

0,7

0,5

0,3

1,35

1,26

1,2

1,4

1,3

1,2

0,5

1,7

1,6

1,5

1,65

1,54

1,44

0,7

1,94

1,85

1,72

1,82

1,72

1,64

При значениях λ > 0,9 проверка прочности из условий (150) и (151) может не производиться.

При этом интенсивность поперечного армирования fх/u по грани шириной b должна быть не менее интенсивности поперечного армирования по грани шириной h, подобранной в соответствии с п. 3.70.

3.72. Проверку прочности по 1-й расчетной схеме, согласно п. 3.69, рекомендуется производить в следующих случаях:

а) если в пролетном поперечном сечении с максимальным изгибающим моментом имеет место крутящий момент, в этом случае рассчитывается пространственное сечение с серединой его проекции в этом поперечном сечении, а также ряд других пространственных сечений с большими крутящими моментами, если изгибающие моменты в середине этих сечений близки к максимальному;

б) если имеют место участки с крутящими моментами, превышающими опорные крутящие моменты, в этом случае рассчитывается пространственное сечение с серединой его проекции в поперечном сечении с максимальным крутящим моментом.

В обоих случаях значение b = c/b принимается равным

                                                       (152)

но не более 1/δ. При этом пространственное сечение с длиной проекции c = bb не должно выходить за пределы длины элемента.

3.73. Проверку прочности по 3-й расчетной схеме рекомендуется производить следующим образом:

а) для неразрезных и защемленных балок рассматривается пространственное сечение с серединой его проекции в нулевой точке эпюры M и проверяется армирование у менее армированной грани, нормальной плоскости изгиба.

В этом случае прочность проверяется из условий:

если g £ 0,5,

                                (153)

если g > 0,5,

kнnсMк £ mаRаFа(h0 - a')                                    (154)

 

где Mк принимается по сечению в нулевой точке эпюры M.

Длина проекции пространственного сечения равна

где g принимается не менее 0,5.

Если расположение нулевой точки эпюры M может изменяться при различных комбинациях нагрузок, то в расчете из условий (153) и (154) учитывают такое расположение нулевой точки, при котором расстояние ее от опоры а равно или больше c/2, а усилие Mк имеет максимальное значение. Если нулевая точка не может отстоять от опоры дальше, чем на расстояние c/2, расчет по 3-й расчетной схеме производится общим методом по п. 3.69, принимая b = 2а/b;

б) для шарнирно-опертых балок рассматривается пространственное сечение, начинающееся у опоры.

В этом случае прочность проверяется из условия

                                   (155)

при

λ ³ 0,35

при

λ < 0,35  

Усилия Q и Mк принимаются по опорному сечению. Значения fх принимаются по сжатой от изгиба грани.

3.74. Элементы таврового, двутаврового и других сечений разбиваются на ряд прямоугольников, при этом если высота свесов полок или ширина ребра переменны, рекомендуется принимать среднюю высоту свесов или ширину ребра.

Если в пределах высоты сечения имеются полки (выступы), нижние и верхние грани которых не являются продолжением соответствующих граней элемента, расчет ведется без учета этих полок как для элемента прямоугольного сечения.

Пример расчета к пп. 3.66 - 3.74

Пример 37. Дано. Ригель перекрытия с поперечным сечением приопорного участка, эпюры крутящих и изгибающих моментов и поперечных сил приведены на рис. 40; бетон марки М 300, Rпр = 135 кгс/см2, mб = 1; продольная и поперечная арматура класса А-III, Rа = Rа.с = 3600 кгс/см2, Rа.х = 2900 кгс/см2, mа = 1,1; основное сочетание нагрузок - nс = 1; класс сооружения IV - kн = 1,1.

Рис. 40. К примеру 37

Требуется подобрать шаг и диаметр поперечных стержней и проверить прочность ригеля на совместное действие кручения и изгиба.

Расчет. Разобьем сечение на два прямоугольника с размерами 80 ´ 30 и 15,5 ´ 25 см и проверим сечение по условию (136). Так как kнnсMк = 1,1·1·8,56 = 9,4 тс·м < 0,1mбRпрΣb2h = 0,1·1·135(302·80 + 15,52·25)10-5 = 10,5 тс·м, условие удовлетворяется.

Расчет прочности ведем как для прямоугольного сечения с размерами b = 30 см и h = 80 см.

Так как 0,5Qb = 0,5·47,2·0,3 = 7,1 тс·м < Mк = 8,56 тс·м, производим расчет пространственных сечений.

Определим интенсивность вертикальных хомутов fх/u из 2-й расчетной схемы, для этого определим коэффициенты δ1, A, g:

где Fа2 = 20,36 + 1,54 + 3,8 + 6,16 = 31,86 см2 (2 Æ 36 + Æ 14 + Æ 22 + Æ 28).

Так как Mк и Q линейно уменьшаются от опоры к пролету, значение g определим по формуле (148), предварительно вычислив коэффициент k.

Уменьшение усилий Mк и Q на единице длины элемента равно

mк = Mк/l0 = 8,56/2,45 = 3,49 тс;

p = Q/l0 = 47,2/3 = 15,75 тс/м;

Так как

принимаем g = 0,274.

Проверим условие (149).

Так как

А = 0,681 <

условие (149) удовлетворяется.

Необходимую интенсивность хомутов определим по формуле

Принимая шаг вертикальных хомутов u = 10 см, находим их диаметр dх

fх = 0,134·10 = 1,34 см2.

Принимаем dх = 14 мм, fх = 1,54 см2.

Проверим достаточность продольной и поперечной арматуры, установленной у верхней растянутой грани приопорного участка ригеля, по 1-й расчетной схеме. Шаг и диаметр хомутов, расположенных у этой грани, принимаем такими же, как для вертикальных хомутов, т.е. u = 10 см, fх = 1,54 см2.

Вычисляем

Fа = 40,72 + 3,08 = 43,8 см2 (4 Æ 36 + 2 Æ 14) и

Fа = 7,6 + 12,32 = 19,92 см2 (2 Æ 22 + 2 Æ 28).

Определим высоту сжатой зоны

Определим χ и λ:

χ = M0/Mк = 50/8,56 = 5,8;

b/h = 30/80 = 0,375.

По табл. 27 и 28 находим k1 и k2:

k1 = 0,974, k2 = 1,325.

Проверим условия (150) и (151) при h0 = 80 - 9 = 71 см:

kнnсM0 £ mаk1RаFа(h0 - 0,5x);

1,1·1·50 < 1,1·0,974·3600·43,8(71 - 0,5·23,4)10-5;

55 тс·м < 100 тс·м;

1,1·1·8,56 < 1,1·1,325·2900·30/10·(71 - 0,5·23,4)10-5;

9,4 тс·м < 11,6 тс·м.

Условия (150) и (151) выполнены, т.е. прочность по 1-й расчетной схеме обеспечена.

Проверим прочность пространственного сечения по 3-й расчетной схеме по п. 3.73, а, принимая середину проекции пространственного сечения в нулевой точке эпюры M.

Поскольку нижняя грань ригеля менее армирована, принимаем Fа = 7,6 + 12,32 = 19,92 см2 (2 Æ 22 + 2 Æ 28).

Шаг и диаметр хомутов, расположенных у нижней грани, принимаем такими же, как и для вертикальных хомутов, т.е. u = 10 см и fх = 1,54 см2.

Вычислим значения g, δ и c:

так как g = 0,186 < 0,5, прочность проверяется из условия (153) kнnсMк £ таRаFа(h0 - a')2g, где

 при g = 0,5

в соответствии с п. 3.73.

На рис. 40, б видно, что левая нулевая точка эпюры M отстоит от опоры дальше, чем на c/2 = 106,7/2 = 53,3 см.

Принимаем невыгоднейшее расположение нулевой точки на расстоянии C/2 = 53,3 см от опоры.

Значение Mк на этом расстоянии равно

Mк = 8,56(2,45 - 0,533)/2,45 = 6,7 тс·м.

Тогда при h0 = 80 - 5 = 75 см и а' = 9 см, так как 1,1·1·6,7 = 7,4 тс·м < 1,1·3600·19,92(75 - 9)2·0,186 = 10,85 тс·м, прочность по 3-й расчетной схеме обеспечена.

РАСЧЕТ ЖЕЛЕЗОБЕТОННЫХ ЭЛЕМЕНТОВ НА ВЫНОСЛИВОСТЬ ПРИ ДЕЙСТВИИ МНОГОКРАТНО ПОВТОРЯЮЩЕЙСЯ НАГРУЗКИ

3.75. Расчет железобетонных элементов на выносливость производится при числе циклов изменения нагрузки 2 ´ 106 и более за весь расчетный срок эксплуатации сооружения (проточных частей гидроагрегатов, водосбросов, плит водобоя, подгенераторных конструкций и др.).

3.76. Расчет на выносливость сечений, нормальных к продольной оси элемента, производится сравнением краевых напряжений в бетоне и растянутой арматуре с соответствующими расчетными сопротивлениями бетона R'б и арматуры R'а, определяемыми в соответствии с пп. 3.78 и 3.79.

При этом краевые напряжения в бетоне и растянутой арматуре умножаются на коэффициенты надежности kн и сочетаний нагрузок пс, принимаемые по п. 1.2.

Сжатая арматура на выносливость не рассчитывается.

3.77. В трещиностойких элементах краевые напряжения в бетоне и арматуре определяются по расчету как для упругого тела по приведенным сечениям в соответствии с п. 3.80.

В нетрещиностойких элементах площадь и момент сопротивления приведенного сечения определяются без учета растянутой зоны бетона и при треугольной эпюре напряжений в сжатой зоне (по второй стадии) исходя из гипотезы плоских сечений. При этом высота сжатой зоны бетона определяется по п. 4.20. Напряжение в арматуре определяется по п. 4.6.

3.78. Расчетные сопротивления бетона при расчете железобетонных конструкций на выносливость R'пр и R¢р вычисляются умножением соответствующих значений сопротивления бетона Rпр и Rр на коэффициент условий работы mб2, принимаемый по табл. 29, и тб3, принимаемый по табл. 8.

Таблица 29

Состояние бетона по влажности

Коэффициент условий работы бетона mб2 при многократно повторяющейся нагрузке и коэффициенте асимметрии цикла ρб, равном

0 - 0,1

0,2

0,3

0,4

0,5

0,6

0,7

³ 0,8

Естественной влажности

0,65

0,7

0,75

0,8

0,85

0,9

0,95

1

Водонасыщенный

0,45

0,5

0,6

0,7

0,8

0,85

0,95

1

ρs = sбмин/sбмакс, где sбмин и sбмакс - соответственно наименьшее и наибольшее напряжения в бетоне в пределах цикла изменения нагрузки. При знакопеременной нагрузке коэффициент тб2 принимается равным 0,65 для бетона естественной влажности и 0,45 - для водонасыщенного бетона.

Примечание. Значения коэффициента тб2 для бетонов, марка которых установлена в возрасте 28 дней, принимаются во главе СНиП II-21-75.

3.79. Расчетное сопротивление ненапрягаемой растянутой стержневой арматуры R¢а при расчете железобетонных конструкций на выносливость определяется по формуле

R'а = mаmа1Rа,                                                           (156)

где та - коэффициент условий работы, принимаемый по табл. 16, для железобетонных конструкций mа2, для сталежелезобетонных конструкций mа3;

та1 - коэффициент условий работы, вычисляемый по формуле

                                                 (157)

здесь k0 - коэффициент, учитывающий класс арматуры, принимаемый по табл. 30;

kд - коэффициент, учитывающий диаметр арматуры, принимаемый по табл. 31;

kс - коэффициент, учитывающий тип сварного стыка, принимаемый по табл. 32;

Таблица 30

Класс арматуры

А-I

А-II

А-III

Коэффициент k0

0,44

0,32

0,28

Таблица 31

Диаметр арматуры, мм

20

30

40

60

Коэффициент kд

1

0,9

0,85

0,8

Примечание. Для промежуточных значений диаметра арматуры величина коэффициента kд принимается интерполяцией.

Таблица 32

Тип сварного соединения стержневой арматуры

Коэффициент kс

Контактные стыковые по ГОСТ 14098-68 и ГОСТ 19293-73 типов:

 

КС-М (с механической зачисткой)

1

КС-О (без механической зачистки)

0,8

Стыковое, выполненное способом ванной одноэлектродной сварки на стальной подкладке при его длине:

0,8

5 диаметров и более наименьшего из стыкуемых стержней

0,8

1,5 - 3 диаметра наименьшего из стыкуемых стержней

0,6

Стыковое с парными симметричными накладками по ГОСТ 19293-73

0,55

Примечание. Для арматуры, не имеющей стыковых соединений, значение kс принимается равным единице.

ρа = ±|sамин/sамакс| - коэффициент асимметрии цикла,

где sамин и sамакс - соответственно наименьшее и наибольшее напряжения в растянутой арматуре. Знак «плюс» принимается при однозначных напряжениях, знак «минус» - при напряжениях разного знака.

Растянутая арматура на выносливость не рассчитывается, если величина коэффициента mа1, определяемая по формуле (157), больше 1.

3.80. При расчете железобетонных конструкций на выносливость неупругие деформации в сжатой зоне бетона учитываются снижением величины модуля упругости бетона, принимая коэффициенты приведения арматуры к бетону п' по табл. 33.

Таблица 33

Проектная марка бетона

М 200

М 250

М 300

М 350

М 400

М 500

М 600

Коэффициент приведения п'

25

23

20

18

15

10

10

ρб = sбмин/sбмакс,

где sбмин и sбмакс - соответственно наименьшее и наибольшее напряжения в бетоне в пределах цикла изменения нагрузки. При знакопеременной нагрузке коэффициент тб2 принимается равным 0,65 для бетона естественной влажности и 0,45 - для водонасыщенного бетона.

Примечание. Значения коэффициента mб2 для бетонов, марка которых установлена в возрасте 28 дней, принимаются по главе СНиП II-21-75.

3.81. Расчетные сопротивления арматуры на выносливость предварительно напряженных конструкций определяются по главе СНиП II-21-75.

3.82. В элементах железобетонных конструкций при расчете на выносливость наклонных сечений главные растягивающие напряжения, умноженные на коэффициенты kн и пс, воспринимаются бетоном, если их величина не превышает R'р. Если главные растягивающие напряжения превышают R'р, их равнодействующая полностью передается на поперечную арматуру при напряжениях в ней, равных расчетным сопротивлениям R'а.

3.83. Величина главных растягивающих напряжений определяется по формулам:

                                                        (158)

                                                              (159)

                                                                    (160)

В формулах (158) - (160):

M, Q и N - усилия, определенные при значении коэффициента перегрузки, равном единице;

sх и t - соответственно нормальное и касательное напряжения в бетоне;

Iп - момент инерции приведенного сечения относительно его центра тяжести;

Sп - статический момент части приведенного сечения, лежащей по одну сторону от оси, на уровне которой определяются касательные напряжения, относительно оси, проходящей через центр тяжести приведенного сечения;

y - расстояние от центра тяжести приведенного сечения до линии, на уровне которой определяется напряжение;

b - ширина сечения на том же уровне.

Для изгибаемых элементов прямоугольного сечения главные растягивающие напряжения sргл допускается определять по формуле

sргл = t = ,                                                       (161)

где z = 0,9h0.

В формуле (158) растягивающие напряжения вводятся со знаком «плюс», а сжимающие - со знаком «минус».

В формуле (159) знак «минус» принимается для внецентренно-сжатых элементов, знак «плюс» - для внецентренно-растянутых.

При учете нормальных напряжений, действующих в направлении, перпендикулярном оси элемента, главные растягивающие напряжения sгл определяются по формуле

                                     (162)

где sх - нормальное напряжение в бетоне на площадке, перпендикулярной продольной оси элемента, от внешней нагрузки;

sу - нормальное напряжение в бетоне на площадке, параллельной продольной оси элемента, от местного действия опорных реакций, сосредоточенных сил и распределенной нагрузки;

tху - касательные напряжения в бетоне от внешней нагрузки.

Напряжения sх, sу и tху определяются как для упругого тела.

Напряжения sх и sу подставляются в формулу (162) со знаком «плюс», если они растягивающие, и со знаком «минус», если сжимающие.

3.84. Расчет по образованию трещин при действии многократно повторяющейся нагрузки производится из условия

nсsр < mб2RрII,                                                               (163)

где sр - максимальное нормальное растягивающее напряжение в бетоне, определяемое расчетом как для упругого тела по приведенным сечениям с учетом п. 3.80.

Примеры расчета к пп. 3.75 - 3.84

Пример 38. Дано. Железобетонное сечение диффузора отсасывающей трубы, h = 1,2 м, h0 = 1,15 м, b = 1 м; М 200, арматура класса А-II; сооружение I класса - kн = 1,25.

Нагрузки:

статические - собственный вес ригеля, превышение давления в трубе при аварийном сбросе нагрузки, температурные воздействия (равномерный нагрев или охлаждение);

динамические - пульсационное давление, вызванное нестационарностью гидравлического режима в трубе.

При расчете по статической схеме:

  

Площадь рабочей арматуры Fа = 33,15 см2, F'а = 26,31 см2; поперечное армирование отсутствует.

При расчете по динамической схеме:

момент меняется от 31,5 тс·м до минус 9,5 тс·м (характеристика цикла ρ отрицательна), поперечная сила меняется от 16 тс до 0, Nр = 0,1 тс;

число циклов загружения N = 5,8·108 > 2·106.

Требуется рассчитать на выносливость железобетонное сечение.

Расчет. Проверяем трещиностойкость сечения в соответствии с п. 3.84 как для упругого изгибаемого элемента (силой сжатия пренебрегаем ввиду ее малого значения).

Для этого определим приведенные характеристики сечения как для упругого тела:

где n' = 25 (по табл. 33);

Iп = 1·1,23/12 + 1·1,2(0,6 - 0,58)2 + 25(0,003315·0,532 + 0,002631·0,572) = 0,189 м4;

Wп = 0,189/0,58 = 0,326 м2.

Так как

nсsр = nсM/Wп = 1·31,5/0,326 = 97 тc/м2 > mб2RрII = 0,65·115 = 75 тс/м2,

где mб2 = 0,65 по табл. 29 при знакопеременной нагрузке, сечение нетрещиностойкое, поэтому в дальнейшем расчет сечения будем производить без учета работы растянутой зоны бетона в предположении треугольной эпюры напряжений в сжатой зоне в соответствии с п. 3.77, т.е. высоту сжатой зоны бетона х определяем из условия

Sп = bx2/2 - n'Fа(h0 - x) + n'F'а(x - a') = 0.

1. При Mмакс = 31,5 тс·м (N ≈ 0)

x2/2 - 25·0,003315(1,15 - x) + 25·0,002631(x - 0,05) = 0,

откуда x = 0,32 м;

Iп = bx3/3 + n'F'а(x - a')2 + nFа(h0 - x)2 =

 = 1·0,323/3 + 25·0,00263(0,32 - 0,05)2 + 25·0,003315(1,15 - 0,32)2 = 0,0729 м4;

напряжение в бетоне

sбмакс = M·x/Iп = 31,5·0,32/0,0729 = 138 тс/м2 = 13,8 кгс/см2.

В соответствии с примечанием к табл. 8 расчетное сопротивление умножается на произведение соответствующих коэффициентов условий работы, в данном случае на mб2 = 0,65 и mб3 = 1,15, т.е.

R'б = mб2mб3Rпр = 0,65·1,15·90 = 67,3 кгс/см2.

Выносливость бетона на сжатие обеспечена, так как при наибольшей величине момента M = 31,5 тс·м

kнnсsбмакс = 1,25·1·13,8 = 17,2 кгс/см2 < R'б = 67,3 кгс/см2.

Напряжение в растянутой (нижней) арматуре

sамакс = n'M(h0 - x)/Iп = 25·31,5·105(115 - 32)/7,29·106 = 900 кгс/см2

или в соответствии с п. 3.77 по формуле (170)

где

z = h0 - x/3 = 115 - 32/3 = 105 см.

Напряжение в сжатой (верхней) арматуре

s'амин = n'M(x - a')/Iп = -25·31,5·105(32 - 5)/7,29·106 = -292 кгс/см2.

2. При Mмин = -9,5 тс·м (N ≈ 0)

x2/2 - 25·0,002631(1,15 - x) + 25·0,003315(х - 0,05) = 0,

откуда x = 0,28 м;

Iп = 1·0,283/3 + 25·0,003315(0,28 - 0,05)2 + 25·0,002631(1,15 - 0,28)2 = 0,006139 м4;

напряжение в сжатой (нижней) арматуре

sамин = n'M(x - a')/Iп = -25·9,5·105(28 - 5)/6,14·106 = -89,2 кгс/см2;

напряжение в растянутой (верхней) арматуре

s'амакс = n'M(h0 - x)/Iп = 25·9,5·105(115 - 28)/6,14·106 = 337 кгс/см2.

Проверяем прочность арматуры:

а) нижней

ρа = sамин/sамакс = -89,2/900 = -0,099;

по формуле (157)

где k0 = 0,32, kд = 0,89 (Æ 32), kс = 0,8 (ванный стык) соответственно по табл. 30, 31, 32.

В соответствии с примечанием к табл. 16 расчетное сопротивление умножается на произведение соответствующих коэффициентов условий работы, в данном случае на та1 = 0,376 и mа2 = 1,15, т.е.

R'а = mа1 mа2Rа = 0,376·1,15·2700 = 1165 кгс/см2.

Так как

kнnсsамакс = 1,25·1·900 = 1125 кгс/см2 < R'а = 1165 кгс/см2.

прочность нижней арматуры обеспечена;

б) верхней

ρа = s'амин/s'амакс = -292/337 = -0,866;

R'а = mа1mа2Rа = 0,234·1,15·2700 = 728 кгс/см2.

Так как

kнnсs'амакс = 1,25·1·337 = 421 кгс/см2 < R'а = 728 кгс/см2,

прочность верхней арматуры обеспечена.

Проверка наклонного сечения

ρб = 0/16 = 0, т.е. mб2 = 0,65 по табл. 29.

По формуле (161)

sргл = t =  = 15,5 тс/м2 = 1,55 кгс/см2.

Так как kнnсsгл = 1,25·1·1,55 = 1,94 кгс/см2 < R'р = mб2mб3Rр = 0,65·1,15·7,5 = 5,6 кгс/см2, поперечная арматура не требуется, главные растягивающие напряжения полностью воспринимаются бетоном.

Пример 39. Дано. Перекрытие водосброса здания ГЭС, h = 2 м, h0 = 1,85 м, а = а' = 0,15 м; b = 1 м, бетон марки М 200; арматура класса А-II, сооружение I класса - kн = 1,25; число циклов N = 3·106 > 2·106; в расчетном нетрещиностойком сечении на статическую нагрузку поставлена Fав = 39 см2/м, Fан = 65 см2/м (Æ 50 А-II), хомуты Æ 20 А-II шагом 40 ´ 80 см на длине 1,8 м от опоры; при динамической нагрузке момент в сечении меняется от плюс 170 до минус 100 тс·м, поперечная сила от плюс 90 до минус 50 тс, продольная сила от 30 тс сжатия до 18 тс растяжения.

Требуется рассчитать на выносливость наклонное сечение.

Расчет. Определим величину главных растягивающих напряжений, для чего найдем геометрические характеристики сечения без учета растянутой зоны бетона и при треугольной эпюре напряжений в сжатой зоне.

1) При M = 170 тс·м, Nсж = 30 тс, Q = 90 тс, e0 = 5,66 м, e = 6,51 м, e' = 4,81 м, Fа = 39 см2, F'а = 65 см2.

Для внецентренно-сжатого сечения высота сжатой зоны определяется по формуле (186) или по рис. 2 прил. 8:

x3 - 3x2(185 - 651) + (39·651 + 65·481)x - (39·651·185 + 65·481·185) = 0,

откуда х = 78 см.

Определим xs (рис. 41):

Рис. 41. К примеру 39

1 - нейтральная ось; 2 - центральная ось (центр тяжести приведенного сечения)

Fпр = 1,04 м2;

Sпр.ц = bx(xs - x/2) + n'F'а(xs - a') = 1·0,78 (0,49 - 0,39) + 25·0,0065(0,49 - 0,15) = 0,133 м3;

Iпр.ц = bx3/12 + bx(xs - x/2)2 + n'F'а(xs - a')2 + n'Fа(h0 - xs)2 = 1·0,783/12 + 1·0,78(0,49 - 0,39)2 + 25·0,0065(0,49 - 0,15)2 + 25·0,0039(1,85 - 0,49)2 = 0,246 м4.

На нейтральной оси sх = 0.

sргл1 = t1 =  = 48,7 тс/м2 = 4,87 кгс/см2.

2) При M = -100 тс·м, Nр = 18 тс, Q = 50 тс, е0 = 5,55 м, е = 4,7 м, е' = 6,4 м, Fа = 65 см2, F'а = 39 см2.

Для внецентренно-растянутого сечения высота сжатой зоны определяется по формуле (187) или по рис. 3 прил. 8:

x3 - 3x2(185 + 470) - (65·470 + 39·640)x + (65·470·185 + 39·640·185) = 0,

откуда х = 71 см;

Fпр = 0,97 м2; Snp.ц = 1·0,71(0,585 - 0,355) + 25·0,0039(0,585 - 0,15) = 0,205 м3;

Iпр.ц = 1·0,713/12 + 1·0,71 (0,585 - 0,355)2 + 25·0,0039(0,585 - 0,015)2 + 25·0,0065(1,85 - 0,585)2 = 0,346 м4.

На нейтральной оси sх = 0.

sргл2 = t2 =

ρб = -sрглмин/sрглмакс = -2,98/4,87 = -0,61,

по табл. 29 mб2 = 0,65.

Так как

kнnсsрглмакс = 1,25·1·4,87 = 6,1 кгс/см2 > R'р = mб2mб3Rр = 0,65·1,15·7,5 = 5,6 кгс/см2, равнодействующая главных растягивающих напряжений должна быть воспринята поперечной арматурой.

При знакопеременной нагрузке армировать отгибами неэкономично, так как требуются отгибы двух направлений.

При армировании хомутами коэффициент асимметрии цикла равен нулю при знакопеременной нагрузке, так как хомуты независимо от направления нагрузки работают на растяжение, т.е. ρа = 0,

где k0 = 0,32; kд = 1 (Æ 20); kс = 1 соответственно по табл. 30, 31, 32.

Равнодействующая главных растягивающих напряжений при длине эпюры поперечных сил, равной 6 м,

Tх = sрглмаксbl = ·4,87·100·600 = 146000 кгс = 146 тс;

Примем шаг хомутов 20 ´ 40 см и продлим армирование хомутами до 2,6 м от опоры, тогда  что соответствует диаметру хомутов Æ 20 А-II.

РАСЧЕТ НЕСУЩИХ ЖЕЛЕЗОБЕТОННЫХ БАЛОК В СБОРНО-МОНОЛИТНЫХ КОНСТРУКЦИЯХ

3.85. Сборно-монолитные конструкции, а также монолитные конструкции с несущей арматурой рассчитываются по прочности, деформациям, образованию и раскрытию трещин на следующие две стадии работы конструкции:

а) до приобретения бетоном, уложенным на месте использования конструкции, заданной прочности - на воздействие нагрузки от собственного веса этого бетона и других нагрузок, действующих на данном этапе возведения конструкции;

б) после приобретения бетоном, уложенным на месте использования конструкции, заданной прочности - на нагрузки, действующие при эксплуатации конструкции, включая собственный вес.

3.86. Расчет по первой группе предельных состояний (по прочности) производится на расчетные нагрузки раздельно по двум стадиям без суммирования усилий и напряжений.

При этом принимается следующий порядок расчета:

1) рассчитывается конструкция на полную эксплуатационную нагрузку с учетом собственного веса при полной высоте сечения с соответствующими коэффициентами перегрузки п и коэффициентами kн, пс, т (Fаэкспл);

2) подбирается высота сборных железобетонных балок на нагрузки строительного периода (на вес свежеуложенного бетона) таким образом, чтобы арматура этого этапа Fа1 не превышала арматуру эксплуатационного периода (Fа1 < Fаэкспл) при

ξ1 = x1/h0I £ ξR.

Нагрузки строительного периода определяются в соответствии с прил. 1 к главе СНиП III-15-76 «Бетонные и железобетонные конструкции монолитные».

Разрешается расчет строительного периода производить при gб = gжб = 2,5 тс/м3 для сборного и для монолитного бетона при едином коэффициенте перегрузки n = 1,2 и коэффициентах kн = nс = mа = mб = 1.

Кроме того, высоту и ширину ребра сборных несущих железобетонных балок рекомендуется назначать так, чтобы не требовалась дополнительная арматура на восприятие поперечной силы строительного периода. При этом, если сборная балка в дальнейшем будет входить в перекрытие (плитную конструкцию), разрешается не армировать ее поперечной арматурой при условии, что QI £ 0,9Rрbрh0I.

Если же сборная балка представляет собой первый ярус подкрановой или забральной балки (балочной конструкции), соответственно QI £ 0,6Rрbрh0I.

Если перечисленные условия не соблюдаются, целесообразно увеличить высоту (ширину) ребра балки, если это позволяет грузоподъемность механизмов, или разбить строительный этап на два (или более) этапа. При этом площадь арматуры каждого этапа, рассчитанная только на нагрузки этого этапа, не должна превышать площади арматуры эксплуатационного периода при обязательном соблюдении условия ξэ £ ξR.

3.87. Расчет по второй группе предельных состояний допускается ограничить проверкой величины прогиба сборного элемента на нормативные нагрузки строительного периода (первый этап). При этом, если hI/l > 1/22, проверку прогиба сборного элемента разрешается не производить.

Величину раскрытия трещин допускается проверять только в эксплуатационный период при напряжениях в арматуре, равных Rа, определенных из расчета прочности.

3.88. В наклонных перекрытиях (перекрытиях отсасывающих труб) полная нагрузка раскладывается на нагрузку, действующую нормально к нижней грани перекрытия, и на нагрузку, действующую в плоскости перекрытия параллельно нижней грани.

Пример расчета к пп. 3.85 - 3.88

Пример 40. Дано. Перекрытие здания ГЭС высотой h = 3 м и пролетом в свету 11 м возводится с помощью типовых для данного здания ГЭС сборных балок высотой h = 65 см, h0 = 55 см, bп = 140 см, bр = 100 см (рис. 42), принятых по условиям производства работ и грузоподъемности крана 25 т; расчетный пролет балки 11,15 м; арматура сборных балок, подобранная из расчета перекрытия на эксплуатационные нагрузки, Fа = 65,5 см2/м (3,3 Æ 50 А-II); расчетные усилия на 1 м ширины перекрытия с учетом противодавления и коэффициентов kн = 1,2, nс = 1, mа = mб = 1,15, M = 260 тс·м, Np = 130 тс; бетон марки М 250, Rпр = 110 кгс/см2, Rр = 8,8 кгс/см2; монолитный бетон перекрытия марки М 200; Rпр = 90 кгс/см2, Rр = 7,5 кгс/см2.

Требуется определить порядок возведения перекрытия здания ГЭС, величины прогибов и раскрытия трещин перекрытия при заданных арматуре и высоте сборных балок.

Расчет. Определим возможную высоту бетонирования (высоту первого яруса) при заданных арматуре и высоте балки при п = 1,2 и kн = nс = mа = mб = 1, в соответствии с п. 3.86.

Для этого определим несущую способность балки.

Высота сжатой зоны при расчетной ширине b = 1,5 м и Fа = 65,5·1,5 = 98,3 см2

 = 16 см < ξRh0 = 0,6·55 = 33 см;

из условия (33)

kнnсM £ mбRпрbx(h0 - 0,5х) = 1·110·150·16(55 - 0,5·16) = 123,8·105 кгс·см = 123,8 тс·м,

т.е. при kн = nс = 1 несущая способность балки M = 123,8 тс·м.

Для шарнирно-опертой балки M = ql2/8 отсюда

Вес балки и монолитного бетона q = пgбНb, отсюда

Принимаем высоту первого яруса бетонирования Н1 = 1,5.

Рис. 42. К примеру 40

Расчет сборной железобетонной балки на нагрузку первого яруса бетонирования

В соответствии с п. 3.86 принимаем коэффициент перегрузки n = 1,2 и kн = пс = та = mб = 1.

Нормативная нагрузка q1н = gбН1b = 2,5·1,5·1,5 = 5,63 тс/м.

Расчетная нагрузка q1 = n q1н = 1,2·5,63 = 6,75 тс/м.

Расчетные усилия

M = q1l2/8 = 6,75·11,152/8 = 105 тс·м;

Q = q1l/2 = 6,75·11,15/2 = 37,7 тс.

Площадь сечения продольной арматуры равна

ξ = x/h0 = 21,9/55 = 0,4 < 0,6 = ξR.

Проверяем условие Q £ 0,9Rрbрh0, поскольку сборные балки в дальнейшем войдут в перекрытие.

Так как Q = 37,7 тс < 0,9·88·1·0,55 = 43,6 тс, армирование на поперечную силу не требуется.

Определяем прогиб сборной балки.

Для этого вычисляем

Мн = q1нl2/2 = 5,63·11,152/8 = 87 тс/м;

высоту сжатой зоны бетона (при треугольной эпюре напряжений) определяем из формулы (188)

где

n = Eа/Eб = 2,1·106/2,65·105 = 7,9;

z = h0 - x/3 = 55 - 22/3 = 48 см;

nμ = 7,9·0,018 = 0,14;

по рис. 2 прил. 7 при sа = 1850 кгс/см2 и nμ = 0,14 - ψа = 0,95.

Жесткость Bк =  = 3,4·1011 кгс/см2 = 3,4·104 тс·м2.

Прогиб

у/l = 0,033/11,15 = 1/338, т.е. l/338 < l/250 согласно прил. 1.

Так как h1/l = 65/1115 = 1/17 > 1/22, проверку прогиба можно было и не производить в соответствии с п. 3.87.

Расчет железобетонного элемента высотой 1,5 м на нагрузку второго яруса бетонирования высотой Н = 1,5 м

Дополнительная нормативная нагрузка qн = 2,5·1,5·2,5 = 5,6 тс/м.

Дополнительная расчетная нагрузка q = 1,2·5,6 = 6,75 тс/м.

Полная расчетная нагрузка q2 = q1 + q = 6,75 + 6,75 = 13,5 тс/м.

Расчетные усилия:

M = q2l2/8 = 13,5·11,152/8 = 210 тс·м;

Q = q2l/2 = 13,5·11,15/2 = 75,5 тс.

ξ = x/h0 = 11,6/140 = 0,08 < 0,6 = ξR.

Работы по выполнению второго яруса бетонирования можно начинать после достижения бетоном первого яруса марки М 100, так как Q = 75,5 тс < 0,9·48·1,5·1,4 = 90,6 тс.

Таким образом, армирование на поперечную силу не требуется.

Определение величины раскрытия трещин

В соответствии с п. 3.87 величину раскрытия трещин определяем только в эксплуатационный период при напряжениях в арматуре Rа. По формуле (169)

где k = 1,2 - элемент внецентренно растянут;

Cд = 1,3 - нагрузки длительные;

η = 1 - арматура периодического профиля;

sа = Rа = 2700 кгс/см2;

sнач = 200 кгс/см2;

aт = 1,2·1,3·17(4 - 100·0,00226) = 0,346 мм.

Предельная величина раскрытия трещин при градиенте напора i = 26,5/3 ≈ 9, II классе сооружения и d > 40 мм по табл. 34

атпред = 1,3·0,25·1,25 = 0,41 мм, т.е. aт = 0,346 мм < атпред = 0,41 мм.

Таким образом, принятые размеры сборной балки удовлетворяют грузоподъемности крана и дают возможность без увеличения продольной и поперечной арматуры перекрытия, подобранной на эксплуатационные нагрузки, забетонировать его в два этапа.

4. РАСЧЕТ ЭЛЕМЕНТОВ ЖЕЛЕЗОБЕТОННЫХ КОНСТРУКЦИЙ ПО ПРЕДЕЛЬНЫМ СОСТОЯНИЯМ ВТОРОЙ ГРУППЫ

Расчет железобетонных элементов по образованию трещин

4.1. Расчет железобетонных элементов по образованию трещин производится:

для напорных элементов, находящихся в зоне переменного уровня воды и подвергающихся периодическому замораживанию и оттаиванию, а также для элементов, к которым предъявляется требование водонепроницаемости;

для напорных конструкций при среднегодовом значении бикарбонатной щелочности воды - среды, меньшей 0,25 мг-экв/л, и при отсутствии защитных мероприятий;

при наличии специальных требований норм проектирования отдельных видов гидротехнических сооружений.

Перечисленные выше конструкции должны удовлетворять условию трещиностойкости.

4.2. Расчет по образованию трещин (нормальных к продольной оси элемента) производится:

а) для центрально-растянутых элементов по формуле

nсN £ RрIIFб + 300Fа;                                                         (164)

б) для изгибаемых элементов по формуле

псМ £ mhgRрIIWп,                                                          (165)

где mh и g - коэффициенты, принимаемые по п. 3.3;

Wп - момент сопротивления приведенного сечения, определяемый по формуле

                                                           (166)

Iп - момент инерции приведенного сечения;

yс - расстояние от центра тяжести приведенного сечения до сжатой грани;

в) для внецентренно-сжатых элементов по формуле

                                        (167)

где Fп - площадь приведенного сечения;

г) для внецентренно-растянутых элементов по формуле

                                         (168)

4.3. Расчет по образованию трещин при действии многократно повторяющейся нагрузки производится в соответствии с п. 3.84.

Расчет железобетонных элементов по раскрытию трещин

4.4. Элементы железобетонных конструкций, не удовлетворяющие условию трещиностойкости, рассчитываются по раскрытию трещин с целью обеспечения требуемой надежности и долговечности сооружения.

4.5. Ширина раскрытия трещин aт, мм, нормальных к продольной оси элемента, определяется по формуле

                                       (169)

где k - коэффициент, принимаемый равным:

для изгибаемых и внецентренно-сжатых элементов - 1; для центрально и внецентренно-растянутых элементов - 1,2; при многорядном расположении арматуры - 1,2;

Cд - коэффициент, принимаемый равным при учете:

временного действия нагрузок - 1; при Мдлп < 2/3 - 1; при Mдлп ³ 2/3 - 1,3, где Мп и Мдл - наибольшие изгибающие моменты соответственно от действия полной нагрузки (постоянной, длительной, кратковременной) и от действия постоянной и длительной нагрузок; многократно повторяющейся нагрузки: при воздушно-сухом состоянии бетона Сд = 2 - ρа, где ρа - коэффициент асимметрии цикла; при водонасыщенном состоянии бетона - 1,1;

η - коэффициент, принимаемый равным:

при стержневой арматуре: периодического профиля - 1; гладкой - 1,4;

при проволочной арматуре: периодического профиля - 1,2; гладкой - 1,5;

sа - напряжение в растянутой арматуре, определяемое в соответствии с п. 4.6, без учета сопротивления бетона растянутой зоны сечения;

sнач - начальное растягивающее напряжение в арматуре от набухания бетона; для конструкций, находящихся в воде, sнач = 200 кгс/см2; для конструкций, подверженных длительному высыханию, в том числе во время строительства, sнач = 0;

μ - коэффициент армирования сечения, принимаемый равным для прямоугольных сечений  для тавровых и двутавровых сечении  но не более 0,02;

d - диаметр стержней арматуры, мм; при различных диаметрах стержней значение d принимается равным

4.6. Напряжения в арматуре определяются по формулам:

для изгибаемых элементов

                                                                (170)

для центрально-растянутых элементов

                                                                  (171)

для внецентренно-растянутых и внецентренно-сжатых элементов при больших эксцентрицитетах

                                                        (172)

для внецентренно-растянутых элементов при малых эксцентрицитетах:

для арматуры А

                                                     (173)

для арматуры А'

                                                    (174)

В формулах (170) и (172) z - плечо внутренней пары сил; разрешается принимать по результатам расчета сечения на прочность при расчетных нагрузках.

В формуле (172) знак «плюс» принимается при внецентренном растяжении, а знак «минус» - при внецентренном сжатии.

4.7. Для определения величины раскрытия трещин при известных напряжениях в арматуре, проценте армирования и диаметре арматуры можно пользоваться рис. 1 - 4 прил. 5.

Для промежуточных значений напряжений в арматуре величины раскрытия трещин определяются интерполяцией.

4.8. Ширина раскрытия трещин, определенная расчетом или по графикам прил. 5, при отсутствии специальных защитных мероприятий должна быть не более величин, приведенных в табл. 34, ограничивающих расчетную величину допускаемого раскрытия трещин по условиям долговечности бетона, сохранности арматуры и ограничения фильтрационного расхода воды через сооружение.

Таблица 34

Характеристика конструкций и условия их работы

Предельная ширина раскрытия трещин aт, мм

1. Безнапорные конструкции, находящиеся постоянно под водой, а также напорные сталежелезобетонные конструкции независимо от класса сооружения

0,3

2. Напорные конструкции, кроме центрально-растянутых, при градиенте напора: 20 и менее

0,25

св. 20

0,2

3. Центрально- и внецентренно-растянутые (с малым эксцентрицитетом) подводные напорные конструкции при градиенте напора:

20 и менее

0,15

св. 20

0,1

4. Все конструкции, находящиеся в зоне переменного уровня воды, не подверженные периодическому замораживанию и оттаиванию

0,15

5. Безнапорные конструкции, находящиеся в зоне переменного уровня воды и подверженные периодическому замораживанию и оттаиванию при числе циклов в год:

 

менее 50

0,1

50 и более

0,05

6. Все конструкции, находящиеся в зоне переменного уровня морской воды

0,05

Примечания: 1. Приведенные в табл. 34 предельные значения умножаются на коэффициенты: для сооружений I класса - 1; II класса - 1,3; III класса - 1,6; IV класса - 2, кроме сталежелезобетонных конструкций.

При диаметрах арматуры 40 мм и более допускается предельные значения aт увеличивать на 25 %. При этом во всех случаях значения aт должны приниматься не более 0,5 мм.

2. Для элементов конструкций гидротехнических сооружений, подверженных воздействию морской и другой сильно минерализованной воды, предельные значения aт должны приниматься с учетом требований главы СНиП II-28-73* «Защита строительных конструкций от коррозии», но не более чем по табл. 34.

3. При бикарбонатной щелочности воды-среды менее 1 мг-экв/л или суммарной концентрации ионов Cl' и SO"4 более 1000 мг/л предельные значения aт по поз. 1 - 5 табл. 34 уменьшаются в 2 раза, а при бикарбонатной щелочности воды-среды менее 0,25 мг-экв/л напорные конструкции проектируются трещиностойкими или предусматриваются специальные защитные мероприятия.

4. Предельные значения aт при использовании защитных мероприятий устанавливаются на основании специальных исследований.

Таблица 35

Бикарбонатная щелочность воды-среды, мг-экв/л

Предельная ширина раскрытия трещин at, мм

Напор Н, м

10

50

200

Максимальное В/Ц бетона

0,25 и менее

Не допускается

0,5

0,48

0,45

0,4

0,05

0,55

0,5

0,45

0,4

0,1

0,48

0,45

0,42

0,8

0,05

0,63

0,58

0,52

0,8

0,1

0,59

0,55

0,5

0,8

0,15

0,56

0,52

0,48

0,8

0,2

0,54

0,5

0,46

0,8

0,25

0,52

0,49

0,45

0,8

0,35

0,5

0,47

0,44

0,8

0,5

0,48

0,45

0,43

1,6

0,05

0,7

0,69

0,64

1,6

0,1

0,7

0,66

0,62

1,6

0,15

0,68

0,64

0,6

1,6

0,2

0,66

0,62

0,58

1,6

0,25

0,64

0,6

0,57

1,6

0,35

0,62

0,58

0,55

1,6

0,5

0,6

0,56

0,53

2,4

0,05

0,7

0,7

0,7

2,4

0,1

0,7

0,7

0,69

2,4

0,15

0,7

0,7

0,66

2,4

0,2

0,7

0,68

0,64

2,4

0,25

0,7

0,66

0,62

2,4

0,35

0,68

0,64

0,6

2,4

0,5

0,66

0,62

0,59

3,2 и более

Не ограничивается

0,7

0,7

0,64

При этом величина В/Ц бетона не должна превышать значений, приведенных в табл. 35.

Так как принятые в табл. 34 величины удовлетворяют наихудшей комбинации внешних и внутренних факторов, при более благоприятных условиях возможны излишние запасы в определении допустимой величины раскрытия трещин.

Поэтому, если полученная расчетом по формуле (169) ширина раскрытия трещин превышает допустимую по табл. 34 величину, рекомендуется определять расчетную допускаемую ширину раскрытия трещин по наименьшему значению из трех величин, нормируемых отдельно по условиям долговечности бетона, сохранности арматуры и ограничения фильтрационного расхода воды через сооружение согласно пп. 4.9 - 4.14.

4.9. Предельные величины раскрытия трещин по условию долговечности бетона определяются:

для напорных железобетонных конструкций речных гидротехнических сооружений I класса в центрально- и внецентренно-растянутых с малыми эксцентрицитетами элементах (сквозные трещины) - по табл. 35; в элементах с двузначной эпюрой (несквозные трещины) ширина трещин не ограничивается, при этом максимальные значения В/Ц принимаются по табл. 35 для aт = 0,05 мм;

для безнапорных железобетонных конструкций ширина раскрытия сквозных и несквозных трещин не ограничивается, при этом максимальные значения В/Ц принимаются по табл. 35 для aт = 0,05 мм и напора 10 м.

В частях конструкций, подверженных периодическому замораживанию и оттаиванию, ширина раскрытия трещин при удовлетворении требований табл. 35 не должна превышать, мм:

для бетона марок Мрз 100 - Мрз 200 при числе циклов в год:

менее 50                   0,1

св. 50                         0,05

для бетона марок Мрз 400 и выше при числе циклов в год:

менее 50                   0,15

50 - 100          0,1

св. 100                       0,05

При использовании защитных мероприятий, а также при наличии особых условий эксплуатации сооружения ширина допускаемого раскрытия трещин назначается на основании специальных исследований.

Примечания: 1. Ширина раскрытия сквозных клиновидных трещин при ее ограничении по условию долговечности принимается по более узкому их сечению.

2. Значения В/Ц > 0,6 разрешается назначать по табл. 35 в случаях, когда концентрация химических веществ в воде, определяющая степень ее агрессивности по отношению к бетону по признакам коррозии II и III видов, не превышает одной четверти концентрации этих веществ в воде, нормируемой по главе СНиП II-28-73* как неагрессивная для бетона нормальной плотности (табл. 2 и 3 прил. 6). При более высоких их концентрациях требования к плотности бетона определяются в соответствии с табл. 6 прил. 6, причем значения В/Ц принимаются не более приведенных в табл. 35.

4.10. Предельные величины раскрытия трещин по условию сохранности арматуры для железобетонных конструкций речных гидротехнических сооружений I класса определяются по табл. 36.

При суммарной концентрации ионов Cl' и SO"4, превышающей величины, для которых построена табл. 36, предельная величина раскрытия трещин определяется по табл. 5 прил. 6.

4.11. Для сооружений II - IV классов предельная ширина раскрытия трещин определяется умножением приведенных в табл. 35 и 36 значений aт, мм, на коэффициенты, равные соответственно 1,3; 1,6 и 2. При этом ширина раскрытия трещин принимается не более 0,5 мм.

Примечание. Ширина раскрытия сквозных клиновидных трещин при ее ограничении по условию коррозии арматуры принимается на уровне оси арматуры.

Таблица 36

Условия воздействия водной среды на конструкцию

Градиент напора, I

Предельная ширина раскрытия трещин aт, мм, при суммарной концентрации ионов Cl' и SO"4 в воде-среде, мг/л

менее 50

100

200

400 - 1000

1

2

3

4

5

6

1. Постоянное водонасыщение

До 5

0,5

0,4

0,35

0,3

50

0,45

0,35

0,3

0,25

300

0,4

0,3

0,25

0,2

2. Периодическое насыщение водой при числе циклов в год:

 

 

 

 

 

менее 100

До 5

0,3

0,25

0,2

0,15

50

0,3

0,2

0,15

0,1

300

0,3

0,2

0,1

0,05

200 - 1000

До 5

0,25

0,2

0,15

0,1

50

0,2

0,15

0,1

0,05

300

0,2

0,1

0,1

0,05

3. Капиллярный подсос, брызги, туман

-

0,2

0,15

0,1

0,05

4.12. Предельные величины раскрытия трещин по условию ограничения фильтрационного расхода воды определяются по формуле

                                            (175)

где q0 - расход через 1 см фронта потока воды в трещине в начальный период фильтрации принимается равным допускаемому расходу, мл/(с·см), устанавливаемому в зависимости от назначения конструкции;

l = (H1 - H2)/L - градиент напора, равный отношению перепада напора к толщине конструкции (или длине пути фильтрации) L.

Предельная ширина раскрытия несквозных трещин в безнапорных конструкциях по условию фильтрации воды не ограничивается.

4.13. Оценка плотности бетона в трещиностойких и нетрещиностойких конструкциях производится в соответствии с табл. 6 прил. 6.

4.14. При действии воды-среды на бетон конструкций коррозионные процессы подразделяются на три основных вида:

а) I - выщелачивание растворимых компонентов бетона;

б) II - образование растворимых соединений или продуктов, не обладающих вяжущими свойствами, в результате обменных реакций между компонентами цементного камня и жидкой агрессивной средой;

в) III - образование и накопление в бетоне малорастворимых солей, характеризующихся увеличением объема при переходе в твердую фазу.

Оценка агрессивности воды-среды к бетону производится:

по признакам коррозии I вида - по заданной бикарбонатной щелочности воды W, мг-экв/л, - по табл. 1 прил. 6;

по признакам коррозии II вида - по водородному показателю рН, по содержанию свободной углекислоты СО2, по содержанию магнезиальных солей - по табл. 2 и 4 прил. 6;

по признакам коррозии III вида - по заданной концентрации сульфатов SO"4 - по табл. 3 прил. 6.

Примеры расчета к пп. 4.1 - 4.14

Пример 41. Дано. Тавровый шпунт, b = 30 см, h = 60 см, bп = 150 см, hп = 150 см, hп = 15 см, а = а' = 5 см, бетон марки М 300, RрII = 15 кгс/см2, Eб = 290000 кгс/см2; арматура класса А-III, Eа = 2000000 кгс/см2; F'а = 16,08 см2, Fа = 26,61 см2; изгибающий момент, определенный с коэффициентами перегрузки n = 1, M = 14 тс·м; сочетание нагрузок основное - nс = 1.

Требуется произвести расчет по образованию трещин.

Расчет. Определим геометрические характеристики приведенного сечения при

Fп = 150·15 + 30(60 - 15) + 26,61·6,9 + 16,08·6,9 = 3894,6 см2;

Sп = 150·15·7,5 + 30(60 - 15)37,5 + 26,61·6,9·5 + 16,08·6,9·55 = 74520,4 см3;

расстояние от нижней грани полки до центра тяжести приведенного сечения

yс = h - y = 60 - 19,1 = 40,9 см;

Iп = 150·153/12 + 150·15·11,62 + 30·453/12 + 30·45·18,42 + 26,61·6,9·14,12 + 16,08·6,9·35,92 = 1209315 см4;

Так как h = 60 см, mh = 1 (по табл. 18).

Определяем g по прил. 4 для таврового сечения с полкой в растянутой зоне g = 1,75, так как bп/b = 150/30 = 5 > 2 и hп/h = 15/60 = 0,25 > 0,2. Проверяем условие (165).

Так как mhgRрIIWп = 1·1,75·15·63315·10-3 = 16,6 тс·м > nсM = 1·14 = 14 тс·м, трещиностойкость сечения обеспечена.

Пример 42. Дано. Железобетонный элемент, находящийся в период эксплуатации под водой, h = 150 см, h0 = 135 см, b = 100 см; бетон марки М 200; Fа = 50,9 см2 (5 Æ 36 А-III); изгибающий момент при длительном действии нагрузок Мн и коэффициенте перегрузки n = 1, Мн = 194 тс/м; класс сооружения II - kн = 1,2.

Требуется определить ширину раскрытия трещин, нормальных к продольной оси элемента.

Расчет. Определяем ширину раскрытия трещин по формуле (169), для чего вычисляем напряжения в арматуре.

В соответствии с п. 4.6 плечо внутренней пары z в формуле (170) разрешается определять из расчета прочности сечения при расчетных нагрузках, т.е. высота сжатой зоны бетона по формуле (23)

тогда z = h0 - x/2 = 135 - 20/2 = 125 см и

Предельная ширина раскрытия трещин по табл. 34 для сооружения II класса при градиенте напора 20 и менее, т.е. при напоре Н £ Ih = 20·1,5 = 30, aт = 0,25·1,3 = 0,325 мм.

Таким образом, 0,284 мм < 0,325 мм.

При большем напоре допускаемая ширина раскрытия трещин равна 0,2·1,3 = 0,26 мм, т.е. требование табл. 34 не удовлетворяется.

Производим проверку раздельно по условиям долговечности бетона и коррозии арматуры. Для этого используем данные о химическом составе воды-среды: бикарбонатная щелочность W = 1,2 мг-экв/л; концентрация ионов хлора 20 мг/л; сульфата 50 мг/л; напор H = 60 м; I = H/h = 60 : 1,5 = 40.

а) Проверка по условию долговечности бетона (табл. 35).

Концентрация сульфатов составляет менее 1/4 величины 250 мг/л, нормируемой по табл. 3 прил. 6 как неагрессивная для бетонов нормальной плотности, поэтому максимальная величина В/Ц бетона в соответствии с примечанием 2 к п. 4.9 может быть принята в пределах В/Ц £ 0,7. Поскольку ширина раскрытия несквозных трещин по условию долговечности бетона не ограничивается, необходимо удовлетворить рекомендации табл. 6 прил. 6 для бетонов нормальной плотности.

При этом максимальную величину В/Ц в соответствии с примечанием к табл. 1 прил. 6 определяем по табл. 35 при H = 10 м и aт £ 0,05 мм. Для W = 1,2 мг-экв/л интерполяцией между соответствующими значениями для W = 0,8 и W = 1,6 имеем В/Ц = 0,5(0,63 + 0,7) = 0,66.

б) Проверка по условию коррозии арматуры (табл. 36).

Для условий постоянного водонасыщения при I = 40 < 50 и [Cl'] + [SO"4] = 20 + 50 = 70 мг/л интерполяцией между графами 3 и 4 получаем aтдоп = 0,41 мм.

Для сооружения II класса aтдоп = 0,41·1,3 = 0,53 мм > 0,5 мм.

Принимаем aтдоп = 0,5 мм.

в) Проверка по условию водопроницаемости сооружения.

Ширина раскрытия несквозных трещин не ограничивается. Таким образом путем раздельного определения получили aтдоп = 0,5 мм при В/Ц £ 0,66.

Расчетная величина aт = 0,284 мм < 0,5 мм = aтдоп.

Пример 43. Дано. Сечение h = 1,4 м, h0 = 1,3 м, b = 1 м; арматура класса А-III, Fа = 62,83 см2 (5 Æ 40); бетон марки М 200; длительное действие нагрузки; расчетные усилия при коэффициенте перегрузки n = 1 Мн = 200 тс·м, Nнсж = 100 тс; сооружение II класса - kн = 1,2; основное сочетание нагрузок - nс = 1.

Требуется определить ширину раскрытия трещин, нормальных к продольной оси элемента.

Расчет. Вычисляем

e0 = M/N = 220/100 = 2,2 м;

e = e0 + h/2 - a = 2,2 + 1,4/2 - 0,1 = 2,8 м;

высоту сжатой зоны бетона - в соответствии с п. 4.6 по формуле (49):

z = h0 - x/2 = 130 - 35/2 = 112 см;

напряжение в арматуре - по формуле (172):

Тогда ширина раскрытия трещин по формуле (169)

Предельная ширина раскрытия трещин aт = 0,25·1,3·1,25 = 0,4 мм (см. прим. 1 к табл. 34).

Таким образом, 0,22 мм < 0,4 мм.

Пример 44. Дано. Сечение h = 1,4 м, h0 = 1,3 м, b = 1 м; Fа = 59,4 см2 (2,5 Æ 55 А-II); бетон марки М 200; кратковременное действие нагрузки; расчетные усилия при коэффициенте перегрузки n = 1; Mн = 122,5 тс·м, Nнр = 84 тс; сооружение I класса - kн = 1,25; основное сочетание нагрузок - nс = 1.

Требуется определить ширину раскрытия трещин, нормальных к продольной оси элемента.

Расчет. Вычисляем

e0 = M/N = 122,5/83 = 1,48 м;

e = e0 - h/2 + a = 1,48 - 1,4/2 + 0,1 = 0,88 м;

высоту сжатой зоны бетона - в соответствии с п. 4.6 по формуле (92)

z = h0 - x/2 = 1,30 - 0,078/2 = 1,26 м;

напряжение в арматуре - по формуле (172)

ширину раскрытия трещин по формуле (169)

Предельная ширина раскрытия трещин aт = 0,25 мм·1,25 = 0,314 мм (см. примеч. 1 к табл. 34).

Таким образом, 0,227 мм < 0,314 мм.

Пример 45. Дано. Железобетонная фундаментная плита, постоянно находящаяся под уровнем грунтовой воды и не воспринимающая перепада напора; под расчетной нагрузкой в нижней растянутой зоне плиты образуются вертикальные клиновидные суживающиеся кверху несквозные трещины; среднегодовая концентрация химических веществ в воде, мг/л: НСО'3 - 36 (W = 0,6 мг-экв/л); Cl' - 30; SO"4 - 120; Сä - 50;  - 10, |Na' + K'| - 10; свободная углекислота - 55; рН = 6.

Требуется определить предельную ширину раскрытия трещин.

Расчет. 1. Производим оценку агрессивности воды-среды для бетона по прил. 6.

По признакам коррозии I и II видов для безнапорных сооружений (табл. 1 прил. 6 при W = 0,6 мг-экв/л и табл. 2 прил. 6 при рН = 6) вода слабоагрессивна к бетону повышенной плотности (В/Ц £ 0,55) и неагрессивна по признаку коррозии III вида (табл. 3 прил. 6) при содержании Cl' и SO"4 150 мг/л к бетону нормальной плотности (В/Ц £ 0,6). Допуская слабоагрессивное воздействие, применяем по совокупности признаков бетон повышенной плотности с (В/Ц £ 0,55).

2. Предельная ширина раскрытия трещин по условию долговечности бетона в безнапорных конструкциях, в соответствии с п. 4.9 не нормируется.

3. Предельную ширину раскрытия трещин по условию сохранности арматуры определяем по табл. 36.

При суммарном содержании Cl' и SO"4 150 мг/л, постоянном водонасыщении и I = 0 (до 5) интерполяцией определяем предельную aт = 0,375 мм.

4. Предельная ширина раскрытия трещин в безнапорных конструкциях по условию фильтрации воды не ограничивается.

Таким образом, предельная ширина раскрытия трещин, лимитируемая в данном случае условиями сохранности арматуры, равна в сооружениях I класса - 0,375 мм, II класса - 0,48 мм, III и IV классов - 0,5 мм вместо соответственно aт = 0,3; 0,39; 0,38; 0,5 мм, определяемых по табл. 34.

Пример 46. Дано. К железобетонной фундаментной плите здания ГЭС снизу приложен напор H = 10 м (I = 10); трещины в плите образуются клиновидные, суживающиеся кверху, несквозные; среднегодовая концентрация химических веществ в воде-среде, мг/л: НСО'3 - 170 (W = 2,8 мг-экв/л), Cl' - 30; SO"4 - 45; Сä - 60;  - 10, |Na' + K'| - 15; свободная СО2 - 6, рН = 7,2.

Требуется определить предельную ширину раскрытия трещин.

Расчет. 1. Производим оценку агрессивности воды-среды к бетону.

По признакам коррозии I - III видов вода заданного состава неагрессивна по отношению к бетону нормальной плотности (см. табл. 1 прил. 6 при W = 2,8 мг-экв/л, табл. 2 прил. 6 при рН = 7,2, табл. 3 прил. 6 при суммарном содержании Cl' и SO"4 75 мг/л).

2. Предельная ширина раскрытия несквозных трещин по условию долговечности бетона, в соответствии с п. 4.9 не нормируется.

3. Предельную ширину раскрытия трещин по условию сохранности арматуры определяем по табл. 36.

Для условий постоянного водонасыщения конструкции при I = 10 и суммарной концентрации Cl' и SO"4, равной 75 мг/л, предельная ширина раскрытия трещин aт = 0,44 мм.

4. Ширина раскрытия несквозных трещин по условию фильтрации воды не ограничивается.

Таким образом, предельная ширина раскрытия трещин, лимитируемая в данном случае условиями сохранности арматуры, равна в сооружениях I класса 0,44 мм, II - IV классов - 0,5 мм.

Пример 47. Дано. Напорная железобетонная стена здания ГЭС испытывает растягивающие напряжения, и в ней при эксплуатационной нагрузке образуются сквозные трещины; допускаемый фильтрационный расход воды через трещины в стене ограничивается величиной 0,01 л/с на 1 м длины трещины; напор в нижней части стены H = 40 м, градиент напора I = 80; среднегодовой состав воды в водохранилище, мг/л: НСО'3 - 100 (W = 1,6 мг-экв/л), Cl' - 20, SO"4 - 55, Сä - 40,  - 12, |Na' + K'| - 5, свободная СО2 - 20, рН = 7,2.

Требуется определить предельную ширину раскрытия трещин.

Расчет. 1. Производим оценку агрессивности воды-среды к бетону.

По признакам коррозии I вида (см. табл. 1 прил. 6 при W = 1,6 мг-экв/л) вода слабоагрессивна к бетону нормальной плотности. По признакам коррозии II и III вида (см. табл. 2 прил. 6 при рН = 7,2 и табл. 3 при суммарном содержании Cl' и SO"4, равном 75 мг/л) вода неагрессивна.

2. Предельную ширину раскрытия трещин по условию долговечности бетона определяем по табл. 35.

При бикарбонатной щелочности W = 1,6 мг-экв/л, H = 40 м и В/Ц = 0,6 (нормальная плотность бетона) предельная ширина раскрытия трещин aт = 0,3 мм.

3. Предельную ширину раскрытия трещин по условию сохранности арматуры определяем по табл. 36.

При I = 80, суммарной концентрации Cl' и SO"4, равной 75 мг/л, при постоянном водонасыщении предельная ширина раскрытия трещин aт = 0,39 мм.

4. Предельную ширину раскрытия трещин по условию фильтрации воды определяем по формуле (175) при q0 = 0,01 л/с·м = 0,1 мл/с·см;

Таким образом, предельная ширина раскрытия трещин, ограничиваемая по условию фильтрации воды, равна aт = 0,13 мм, что больше aт = 0,1, получаемой по табл. 34 при имеющихся исходных данных. Величина эта не зависит от класса сооружения и определяется заданным допускаемым фильтрационным расходом воды через трещины.

Пример 48. Дано. Железобетонный напорный водовод с внутренней стальной оболочкой; фильтрация воды через стенки водовода исключена; железобетонная оболочка омывается безнапорными грунтовыми водами следующего состава, мг/л: НСO'3 - 122, (W = 2 мг-экв/л), Cl' - 220, SO"4 - 4500, Сä - 1600,   - 200; |Na' + K'| - 70, свободная CO2 - 92, рН = 6,2.

Требуется определить предельную ширину раскрытия трещин.

Расчет. Производим оценку агрессивности воды-среды к бетону.

По признаку коррозии I вида (см. табл. 1 прил. 6 при W = 2 мг-экв/л) вода неагрессивна к бетону нормальной плотности.

По признаку коррозии II вида (см. табл. 2 прил. 6 при рН = 6,2) вода слабоагрессивна к бетону нормальной плотности.

При допущении слабоагрессивного воздействия воды на бетон нормальной плотности содержание в воде свободной углекислоты не должно превышать а [Сä] + b + 40 мг/л. Подставляя значения а = 0,03 и b = 18 из табл. 4 прил. 6, получим 0,03·1600 + 18 + 40 = 106 мг/л.

Так как заданная концентрация СО2 меньше допустимой (92 < 106 мг/л), возможно применение бетона нормальной плотности.

По табл. 2 прил. 6 по признаку магнезиальной коррозии вода неагрессивна к бетону нормальной плотности (концентрация  = 200 < 1000 мг/л).

По признаку коррозии III вида (см. табл. 3 прил. 6 при заданной концентрации сульфатов SO"4, равной 4500 мг/л), вода слабоагрессивна к бетону повышенной плотности на сульфатостойком портландцементе.

Таким образом, необходимо применение бетона повышенной плотности (В/Ц £ 0,55) на сульфатостойком портландцементе.

2. Предельная ширина раскрытия трещин по условию долговечности бетона в конструкциях, не воспринимающих напор, в соответствии с п. 4.9 не нормируется.

3. Предельную ширину раскрытия трещин по условию сохранности арматуры определяем по табл. 5 прил. 6, так как суммарная концентрация ионов Cl' и SO"4 в воде превышает величины, для которых построена табл. 36. Для заданных условий при допущении слабоагрессивного воздействия среды и применении бетона повышенной плотности (В/Ц = 0,55) и арматуры класса А-II принимаем предельную величину aт = 0,15 мм.

4. Предельная ширина раскрытия трещин по условию фильтрации воды в сталежелезобетонных конструкциях не ограничивается.

Таким образом, предельная ширина раскрытия трещин, лимитируемая условиями сохранности арматуры, равна, мм, в сооружениях I класса - 0,15, II класса - 0,2, III класса - 0,24, IV класса - 0,3.

Расчет элементов железобетонных конструкций по деформациям

4.15. Расчет элементов железобетонных конструкций по деформациям производится:

а) когда перемещения элементов конструкции ограничиваются технологическими требованиями, например условиями монтажа и эксплуатации оборудования, устанавливаемого на строительных конструкциях и элементах сооружений;

б) для сборных элементов с соотношением h/l < 1/22 (здания ГЭС, судоходные сооружения и т.п.);

в) по эстетическим соображениям, устанавливаемым архитектурной частью проекта.

Расчет в случаях «а» и «б» производится на действие постоянных, длительных и кратковременных нагрузок, в случае «в» - только на действие постоянных и длительных нагрузок и воздействий.

4.16. При расчете статически неопределимых конструкций сооружений необходимо учитывать последовательность возведения и загружения, а также изменение жесткости после образования трещин в отдельных элементах. При учете изменения жесткости элементов после образования трещин расчет статически неопределимых конструкций, лежащих на упругом основании, производится в нелинейной постановке. Такой расчет рекомендуется выполнять на ЭВМ для камер судоходных шлюзов, подпорных стен, обделок туннелей и подземных зданий ГЭС.

4.17. При расчете железобетонных конструкций по деформациям, а также при определении усилий в элементах статически неопределимых конструкций деформации (прогибы и углы поворота) элементов определяются по формулам строительной механики.

При кратковременном действии нагрузки жесткость элементов Вк определяется по формулам:

для трещиностойких элементов или их участков

Вк = 0,8ЕбIп;                                                             (176)

для нетрещиностойких участков элементов, рассчитываемых по раскрытию трещин,

                                                     (177)

где ψа - коэффициент, учитывающий работу бетона между трещинами, принимаемый по прил. 7. При определении деформаций в элементах, рассчитываемых на выносливость, коэффициент ψа принимается равным единице; х - высота сжатой зоны сечения после образования трещин, определяемая при треугольной эпюре напряжений в сжатой зоне (см. п. 4.20 и прил. 8).

При расчете конструкций на упругом основании для элементов прямоугольного сечения с наименьшим размером более 1 м при коэффициенте армирования µ < 0,008 допускается жесткость элементов определять по формуле

                                                 (178)

Примечания: 1. На рис. 1 - 4 прил. 7 значения ψа даны для кратковременного действия нагрузок. Значениями ψа, приведенными на графике 2 прил. 7, допускается пользоваться для элементов с двойной арматурой и элементов таврового сечения с полкой в сжатой зоне. Область, лежащая ниже кривой ψа = 0,4, соответствует значению ψа = 0,4.

2. Формула (177) неприменима для внецентренно-растянутых элементов с малыми эксцентрицитетами. Разрешается определять изгибную жесткость Вк для внецентренно-растянутых элементов с малыми эксцентрицитетами по формуле (178), принимая µ = Fа/bh0, где Fа - площадь наиболее растянутой арматуры.

4.18. При расчетах железобетонных конструкций гидротехнических сооружений по деформациям большинство нагрузок и воздействий являются длительными.

При длительном действии нагрузок жесткость нетрещиностойких элементов конструкций В определяется по формулам:

                                                             (179)

где q - длительно действующая нагрузка;

р - кратковременно действующая нагрузка;

δ - коэффициент снижения жесткости, принимаемый для тавровых сечений с полкой: в сжатой зоне - 1,5; в растянутой зоне - 2,5; для прямоугольных, двутавровых, коробчатых и тому подобных сечений - 2;

или

                                                     (180)

где

Для трещиностойких конструкций B = Bк = 0,8ЕбIп.

Примечание. Величину ψадл рекомендуется уточнять экспериментальным путем.

4.19. При определении усилий в статически неопределимых железобетонных конструкциях, вызванных температурными воздействиями или осадкой опор, а также при определении реактивного давления грунта жесткость элементов принимается с учетом образования в них трещин и ползучести бетона в соответствии с пп. 4.17 и 4.18.

В предварительных расчетах допускается определять кратковременную жесткость нетрещиностойких элементов при изгибе и растяжении соответственно по формулам:

Вк = 0,4EбIп;                                                                (181)

Ск = 0,4EбFп,                                                               (182)

где Cк - жесткость при растяжении.

В случае действия длительных нагрузок

В = 0,2EбIп;                                                                 (183)

С = 0,2EбFп.                                                                (184)

Примечание. При отсутствии специальных обоснований жесткость при растяжении разрешается определять по формулам (182) и (184) при выполнении окончательных расчетов.

4.20. Входящая в формулы (177) и (180) величина х определяется по формулам:

а) для изгибаемых элементов

                                 (185)

где n = Eа/Eб;

б) для внецентренно-сжатых с большим эксцентрицитетом элементов

        (186)

где е = е0 + h/2 - a = M/N + h/2 - a;

в) для внецентренно-растянутых с большим эксцентрицитетом элементов

           (187)

где е = е0 - h/2 + a = M/N - h/2 + a.

Разрешается принимать в расчетах F'а = 0, при этом формулы (185) - (187) принимают вид:

а) для изгибаемых элементов

                                                 (188)

б) для внецентренно-сжатых элементов с большим эксцентрицитетом

                                     (189)

в) для внецентренно-растянутых элементов с большим эксцентрицитетом

.                                   (190)

Кубические уравнения рекомендуется решать подбором, принимая в первом приближении х = (0,2 - 0,3)h0.

Высоту сжатой зоны железобетонных элементов прямоугольного сечения с одиночной арматурой можно определять по графикам прил. 8.

5. РАСЧЕТ ЭЛЕМЕНТОВ БЕТОННЫХ И ЖЕЛЕЗОБЕТОННЫХ КОНСТРУКЦИЙ НА ТЕМПЕРАТУРНЫЕ И ВЛАЖНОСТНЫЕ ВОЗДЕЙСТВИЯ

5.1. Учет температурных воздействий производится:

а) при расчете несущей способности бетонных конструкций в соответствии с п. 3.1, а также расчете их на трещиностойкость в случаях, когда нарушение монолитности этих конструкций может изменить статическую схему их работы, вызвать дополнительные внешние силовые воздействия или увеличение противодавления;

б) при расчете несущей способности статически неопределимых железобетонных конструкций, а также при расчете железобетонных конструкций по образованию трещин в случаях, указанных в п. 4.1;

в) при определении деформаций и перемещений элементов сооружений для назначения конструкций температурно-усадочных швов и противофильтрационных уплотнений;

г) при назначении температурных режимов, требуемых по условиям возведения бетонного сооружения и нормальной его эксплуатации.

Примечания: 1. Расчет на температурные воздействия допускается не производить для тонкостенных конструкций, свобода перемещений которых практически обеспечена.

2. При расчете бетонных конструкций температурные воздействия допускается включать в основное сочетание нагрузок и воздействий при надлежащем обосновании.

5.2. В соответствии с п. 5.1, а рассчитываются бетонные плотины всех видов: определяются расстояние между температурными швами, изменение напряженного состояния плотин с учетом раскрытия строительных швов, напряженное состояние арочных и многоарочных плотин и температурные усилия, возникающие в элементах этих сооружений; определяется прочность бетонных конструкций типа массивных сводов, массивных подпорных стен и т.п.

В соответствии с п. 5.1, б рассчитываются статически неопределимые конструкции железобетонных плотин на нескальных основаниях, зданий ГЭС и насосных станций, определяется температурная часть полного давления грунта на подпорные стены и стены шлюзов.

В соответствии с п. 5.1, в определяют величину раскрытия температурных швов в бетонных плотинах или подпорных стенах, если для назначения конструкции уплотнений таких швов требуется расчетное обоснование, и температурные перемещения сооружений, например плотин, возводимых в суровом климате.

В соответствии с п. 5.1, г рассчитываются температурный режим и трещиностойкость бетонной кладки в процессе строительства с целью обоснования технологических и производственных мер, обеспечивающих необходимую монолитность сооружений, определяются расстояния между швами бетонных облицовок каналов и других откосов, производятся расчеты тепловой защиты сооружений.

5.3. Расчет раздельных стенок в нижнем бьефе ГЭС, расположенных на нескальном основании, при обосновании их конструкции, если они не содержат внутренних проемов, производится согласно рекомендациям примеч. 1 к п. 5.1.

Согласно примеч. 2 к п. 5.1, температурные воздействия включаются в основное сочетание нагрузок и воздействий при проектировании бетонных плотин всех типов и конструкций в соответствии с главой СНиП II-54-77, a также при расчетах прочности и устойчивости подпорных стен, прочности конструкций камер и голов судоходных шлюзов и т.п.

5.4. При расчете конструкций на температурные воздействия учитываются:

а) сезонные изменения температуры наружного воздуха и воды в водоеме;

б) изменение температуры основания сооружения;

в) рассеивание начального запаса тепла конструкции (или прогрев конструкции, если температура укладываемого бетона ниже температуры воздуха);

г) тепловыделение бетона (экзотермия);

д) перепад температуры между соседними частями сооружения;

е) изменение состояния конструкции от температуры замыкания строительных швов до средней эксплуатационной температуры;

ж) влияние искусственных мероприятий, направленных на регулирование температурного режима конструкции (охлаждение бетонной кладки водой по системе труб или водяной рубашкой, прогрев бетона паром, калориферами, электропрогрев поверхности и т.д.).

Сезонные изменения температуры и влажности наружного воздуха принимаются по данным метеорологических наблюдений в районе строительства. При отсутствии таких наблюдений данные о температуре и влажности наружного воздуха рекомендуется принимать по главе СНиП II-А.6-72 «Строительная климатология и геофизика» и официальным документам, опубликованным ГУГМС.

Температура воды в водоемах определяется на основе специальных расчетов и по аналогам.

5.5. При проектировании сооружений I и II классов для стадии технического проекта и рабочих чертежей необходимо иметь данные наблюдений за температурой воздуха не менее чем за 20 лет, с тем, чтобы для расчетов были обоснованы следующие характеристики температуры воздуха в створе сооружений:

а) средняя многолетняя температура воздуха;

б) средняя и максимальная амплитуды колебания среднемесячных температур воздуха за многолетний ряд;

в) среднесуточные температуры для года со средней и максимальной амплитудами колебаний температуры воздуха.

Для сооружений III и IV классов при отсутствии указанных наблюдений по метеопостам в районе строительства допускается обосновывать перечисленные данные по главе СНиП II-А.6-72.

В зависимости от температуры воздуха климатические условия района строительства можно разделить на три вида:

1 - благоприятные со средней многолетней температурой воздуха Тср.год > 10 °С и амплитудой колебаний средних месячных температур Aт < 10 °С и умеренные при Тср.год = (+ 10) - (+ 3) °С и Aт = 10 - 13 °С;

2 - суровые при Тср.год = (+ 2) - (-2) °С и Aт = 14 - 18 °С;

3 - особо суровые при Тср.год ниже -3 °С и Aт > 18 °С.

При расчетном обосновании температуры воды в будущем водохранилище и подборе водоемов-аналогов кроме глубины водохранилища и климатических условий района рекомендуется обращать внимание на проточность водохранилища и расположение водосбросных отверстий у поверхности или на глубине. Специально рекомендуется рассматривать период наполнения водохранилища.

Примечание. Характеристика района строительства принимается худшей из определяемых по двум критериям.

Рис. 43. График изменения температуры воздуха и воды в зоне переменного уровня

5.6. Температура основания сооружений в строительный и эксплуатационный периоды определяется в зависимости от наличия и уровня грунтовой воды. Уровень и температура грунтовой воды устанавливаются на основании материалов изысканий с учетом результатов прогнозирования температуры воды в водохранилище.

5.7. Тепловыделение в бетоне принимается по материалам лабораторных исследований: для массивных сооружений I и II классов - по данным подбора состава бетона в адиабатических калориметрах; для немассивных сооружений тех же классов - по данным подбора состава бетона в изотермических калориметрах.

При проектировании бетонных плотин тепловыделение, определенное лабораторными исследованиями, рекомендуется уточнять по данным наблюдений за температурой бетонной кладки в начальный период строительства.

Расчетная величина тепловыделения принимается в зависимости от температуры бетона.

5.8. При установлении средней эксплуатационной температуры по высоте и ширине сооружения или конструкции (в расчетных сечениях) необходимо исходить из средней многолетней темпеpaтуры наружного воздуха со стороны свободных граней, средней температуры воздуха в помещениях и средней годовой температуры воды в водохранилище. В зоне переменного уровня воды средняя годовая температура среды устанавливается с учетом реального нахождения сечения выше или ниже уровня воды в процессе регулярной эксплуатации или наполнения водохранилища в пусковой период (рис. 43).

5.9. Температура замыкания строительных швов назначается близкой к минимальной средней эксплуатационной температуре сооружения с учетом напряженного состояния, возникающего в сооружениях от всех видов нагрузок и воздействий, в том числе и температурных, с тем чтобы получить наиболее благоприятное общее напряженное состояние сооружения с учетом напряжений, возникающих при переходе от температуры замыкания к средней эксплуатационной температуре.

5.10. При расчете конструкций на влажностные воздействия допускается не учитывать усадку бетона для конструкций, находящихся под водой, контактирующих с водой или засыпанных грунтом, если были приняты меры по предотвращению высыхания бетона в период строительства.

Для конструкций, находящихся под водой или контактирующих с ней, рекомендуется учитывать влияние набухания бетона по данным специальных исследований.

При отсутствии данных специальных исследований по учету набухания бетона в конкретных условиях эксплуатации данного сооружения допускается производить приближенный учет этого явления с помощью эквивалентной температуры Tw. Набухание бетона вызывает сжимающие напряжения у поверхности, непосредственно соприкасающейся с водой, постепенно уменьшающиеся по мере удаления от поверхности, по величине равные напряжениям, которые возникнут в этом же сооружении или конструкции при нагреве рассматриваемой поверхности на 4 - 5°. Такой способ учета набухания бетона дает наименьшие значения сжимающих напряжений, которые могут возникнуть в данном сечении.

Например, при Eб = 2,2·105 кгс/см2, a = 0,9·10-5 1/°С сжимающие напряжения на напорной грани плотины после наполнения водохранилища от набухания бетона равны

sw = aTwEб = 0,9·10-5·4·2,2·105 = 8 кгс/см2.

5.11. Значения тепловлагофизических характеристик бетона, необходимых для расчета конструкций на температурные и влажностные воздействия, и характеристики тепловыделения бетона при его твердении в адиабатических условиях принимаются соответственно по табл. 1 и 2 прил. 9.

Табл. 1 и 2 прил. 9 содержат осредненные данные по тепло- и влагофизическим характеристикам бетона; рекомендуется уточнять их специальными исследованиями. Приводим некоторые дополнительные материалы по перечисленным характеристикам бетона: коэффициент линейного расширения бетона a при положительной температуре меняется для разных бетонов в пределах от 0,75·10-5 1/°С до 1,1·10-5 1/°С. При понижении температуры бетона ниже 0 °С коэффициент линейного расширения бетона возрастает на 20 - 40 %, и его значение рекомендуется уточнять по литературным данным, а в особо ответственных случаях - специальными исследованиями.

Теплопроводность бетона λ и его температуропроводность изменяются с возрастом и температурой. На рис. 44 показан график, характеризующий изменение теплопроводности бетона с возрастом, а на рис. 45 - графики изменения температуропроводности и теплопроводности с изменением температуры бетона.

Теплоемкость бетона после замерзания также изменяется. Но в отличие от теплопроводности она понижается, чем и объясняется более быстрое падение коэффициента температуропроводности с повышением температуры, чем падение теплопроводности.

Коэффициент теплоотдачи бетона воздуху зависит главным образом от скорости ветра. При ветре средней скорости до 2 м/с он равен 5 - 7 ккал/(м2·ч·°С), при ветре 2 - 4 м/с - 13 - 15 ккал/(м2·ч·°С), при более сильном - 20 ккал/(м2·ч·°С) и более.

При выполнении температурных расчетов сооружений термическое сопротивление опалубки допускается приводить к коэффициенту теплоотдачи.

5.12. Температурные и влажностные поля конструкций рассчитываются методами строительной физики с использованием основных положений, принятых для нестационарных процессов.

Усилия, напряжения и перемещения в бетонных и железобетонных конструкциях от температурных и влажностных воздействий определяются в соответствии с пп. 1.7, 1.14, 4.17 и 4.18.

Рис. 44. Изменение теплопроводности бетона с возрастом

Рис. 45. Зависимость теплофизических характеристик гидротехнических бетонов от температуры

Для сооружений I класса деформативные характеристики бетона для учета переменного во времени модуля упругости и ползучести бетона рекомендуется определять экспериментальными исследованиями или принимать по аналогам.

5.13. В настоящее время в эксплуатации имеется несколько программ, позволяющих выполнять расчеты нестационарного температурного поля сооружений и конструкций для большинства возникающих в практике проектирования задач строительного и эксплуатационного периодов. Программы, рекомендуемые для использования, перечислены в каталогах Ленгидропроекта, ВНИИГа и НИС Гидропроекта. Такие расчеты обязательны для стадии технического проекта и рабочих чертежей всех бетонных сооружений и железобетонных конструкций I и II классов.

Для конструкций и сооружений III и IV классов допускается использовать приближенные оценки температурного режима, допускается принимать изменения температуры воздуха по гармоническому закону, а температуру воды - по аналогам.

5.14. Для конструкций или их элементов толщиной менее 2,5 м при расчетах, выполняемых без учета тепловыделения, т.е. для периода после замыкания конструкции, допускается использование приближенного приема - эпюра температуры в любой момент времени принимается линейной. Граничные температуры на контуре элемента равны температуре среды, если этой средой является вода. Если граничной средой является воздух, при построении используется понятие фиктивного слоя d, равного d1 = 0,35 м при практическом отсутствии ветра, и d2 = 0,1 м при ветре средней силы и сильном (рис. 46). Для указанных конструкций, возводимых в континентальном климате, рекомендуется учитывать суточные колебания температуры воздуха.

Рис. 46. Схема для учета фиктивного слоя

Рис. 47. Схема к определению средней температуры и среднего перепада

5.15. Усилия в сложных статически неопределимых и пространственных стержневых конструкциях определяются методами строительной механики по одной из имеющихся программ для ЭВМ. Желательно использование программ, алгоритм которых учитывает все основные виды деформации стержней - изгиб, продольные деформации и деформации сдвига.

Для расчета стержневых конструкций гидротехнических сооружений рекомендуется схема с так называемыми жесткими вставками на пересечении стержневых элементов.

5.16. Для определения усилий в стержневых системах на основании расчетов температурных полей определяются расчетные температуры Тр и расчетные перепады температур DТр.

Под расчетной температурой в данном сечении Тр понимают изменение средней температуры в этом сечении Тср за расчетный период tp, т.е. Тср = Тср2 - Тср1 где Тср1 и Тср2 - средние температуры в рассматриваемом сечении соответственно в начальный tнач и конечный tкон моменты расчетного периода. Под расчетным перепадом температуры DТр в данном сечении понимают изменение среднего перепада температуры между гранями элемента в этом сечении за расчетный период времени, т.е.

DТср = DТср2 - DТср1.

Средняя температура и средний перепад температуры определяются по трапецеидальной эпюре температуры, статически эквивалентной действительной эпюре температуры в данный момент времени (рис. 47).

Если при расчете стержневых систем требуется определить величину полных температурных напряжений, например, для оценки опасности образования трещин температурного происхождения, к эпюрам напряжений, полученным по расчетным температурам Тр и расчетным перепадам температур DТр, добавляется статически уравновешенная эпюра напряжений, вызываемая криволинейным изменением температуры по сечению.

5.17. Для конструкций, не приводящихся к стержневым (плотин, балок-стенок, блоков бетонирования на жестком основании и т.п.), расчеты напряженного состояния рекомендуется производить методами теории упругости по специальным программам. В последнее время нашли распространение программы, реализующие решение разнообразных задач теории упругости методом конечных элементов. Достаточно часто используются программы, реализующие алгоритмы, основанные на аналитических решениях тех или иных задач, или различные модификации численных методов решения задач теории упругости.

5.18. При определении температурных усилий и напряжений в конструкциях и сооружениях, возникающих до момента замыкания швов, рекомендуется учитывать изменение модуля упругости бетона E с возрастом t по п. 5.21, а для особо ответственных сооружений I класса - по данным экспериментальных исследований при подборе состава бетона.

Рис. 48. Кривая изменения модуля упругости бетона в зависимости от возраста бетона

Характерная кривая изменения модуля упругости бетона показана на рис. 48. При выполнении аналогичных расчетов после замыкания швов разрешается принимать модуль упругости бетона Е постоянным независимо от возраста бетона.

5.19. При расчетах температурных усилий и напряжений независимо от возраста бетона рекомендуется учитывать его ползучесть.

При расчетах температурных напряжений методами механики сплошной среды желательно учет ползучести бетона вводить непосредственно в алгоритм используемых программ. При отсутствии таких программ, а также во всех случаях выполнения расчетов стержневых систем допускается ползучесть бетона учитывать коэффициентами релаксации напряжений kр(t, t), показывающими, насколько уменьшаются температурные напряжения, возникшие в момент времени tнач, за расчетный промежуток времени tкон - tнач. Под релаксацией напряжений понимается процесс уменьшения напряжений в данной точке или усилий в данном сечении, возникающих при температурных воздействиях, если перемещения или деформации элементов стеснены (ограничены).

Коэффициент релаксации вводится множителем к значению упругих напряжений, возникающих за элементарный период времени Dt, и, как и мера ползучести бетона, зависит от возраста бетона t и времени действия нагрузки tкон - tнач.

Для этого промежуток времени tкон - tнач разбивается на п временных интервалов. Тогда температурные напряжения, сформировавшиеся к моменту времени tкон будут равны сумме напряжений, возникающих в каждом интервале

                                         (191)

где ti (i = 1, 2, 3,…, n) - временные интервалы.

При расчете температурных напряжений в системе последовательно укладываемых блоков бетонирования рекомендуется учитывать различие модулей упругости в каждом блоке как следствие разного возраста бетона.

5.20. Значения коэффициентов релаксации kp рекомендуется определять экспериментальными исследованиями. При отсутствии этих данных рекомендуется пользоваться графиком осредненных значений kp, приведенным в прил. 10. Для более зрелого возраста бетона рекомендуется пользоваться значениями, приведенными в табл. 37.

Таблица 37

Возраст бетона в момент загружения, сут

Коэффициент kp при расчетном периоде, мес

3

6

365

0,85

0,81

700

0,87

0,83

1100

0,88

0,85

2200

0,88

0,86

3000

0,89

0,86

Поскольку в указанном зрелом возрасте температурные напряжения определяются, как правило, только изменением температуры окружающей среды, имеющим годовой цикл, указанные выше расчетные периоды считаются характерными при расчете температурных напряжений.

5.21. Расчет по образованию трещин бетонных и железобетонных конструкций от температурных и влажностных воздействий производится по формуле

kнnсs(t) £ eпр(t)Е(t),                                                      (192)

где s(t) - напряжения в бетоне в рассматриваемый момент времени с учетом ползучести;

eпр(t) - предельная растяжимость бетона, принимаемая по табл. 38;

Е(t) - модуль упругости бетона, кгс/см2, в возрасте t, сут, определяемый по п. 2.17 для возраста бетона до 180 дней, экспериментальными исследованиями или по формуле

                                                    (193)

где а - коэффициент, принимаемый по табл. 39.

Таблица 38

Марка бетона

Предельная растяжимость бетона eпр·104 в возрасте 60 дней

М 150, М 200

0,7

М 250

0,8

М 300 и более

0,9

Примечание. При выполнении расчетов для сооружений I класса, а также II класса при объеме бетона свыше 1 млн. м3 (особенно при расчете трещиностойкости бетонных плотин) величина предельной растяжимости бетона уточняется экспериментальными исследованиями.

Таблица 39

Марка бетона на сжатие

М 75

М 100

М 150

М 200

М 250

М 300

М 350

М 400

М 450

М 500

М 600

Коэффициент a

14

17

23

28

34

40

46

52

58

64

75

5.22. Определенная в лаборатории предельная растяжимость бетона епр уточняется в производственных условиях в строительной лаборатории. Предельная растяжимость бетона, как и другие его прочностные характеристики, зависит от возраста бетона. Характер изменения предельной растяжимости бетона с возрастом показан на рис. 49.

Рис. 49. Кривые изменения прочностных и деформативных характеристик бетона в зависимости от его возраста

1 - модуль упругости Eп/Eб0; 2 - предельная растяжимость eп/eб0; 3 - прочность на растяжение Rп/Rб0

В правую часть формулы (192) подставляется значение предельной растяжимости для возраста бетона, для которого производится расчет по образованию трещин. При назначении расчетной величины предельной растяжимости за основу принимаются данные лабораторных испытаний образцов на осевое растяжение.

5.23. Расчетную величину предельной растяжимости бетона рекомендуется уточнять в зависимости от градиента температурных деформаций, определенных с учетом уравновешенной части эпюры, возникающей как следствие криволинейности эпюры температур.

При этом предельная растяжимость бетона для крайнего волокна (для поверхности бетона) определяется по формуле

eгпр = eпрkг.                                                              (194)

Рис. 50. График зависимости коэффициента Kг от градиента температурных деформаций Гe

Значение коэффициента kг определяется по графику рис. 50. Для определения kг рекомендуется следующий прием. Вычерчивается эпюра температуры Т по поперечному сечению элемента, определенная расчетом. Затем на оси, нормальной к грани элемента, отмечается точка на расстоянии 10 см от грани и по эпюре температуры отсчитывается разность между температурой грани и в точке на расстоянии 10 см. Разность, град, деленная на 10 см, численно равна градиенту Гe·105 при a = 10-5. По значению Гe определяются kг и расчетная величина eгпр (рис. 51).

Для сооружений, возводимых в суровых и особо суровых условиях, рекомендуется учитывать влияние крупности заполнителя коэффициентом kд. При крупности заполнителя до 60 мм kд = 1; при крупности заполнителя 80 мм kд = 0,9 и при крупности заполнителя более 80 мм kд = 0,8 (см. пример расчета 49).

Рис. 51. Определение предельной растяжимости бетона с учетом градиента температурных деформаций

5.24. При проектировании конструкций, испытывающих температурные и влажностные воздействия, необходимо предусматривать конструктивные решения и технологические мероприятия:

выбор наиболее оптимальной конструкции в данных природных условиях;

рациональную разрезку конструкции постоянными и временными температурно-усадочными швами;

устройство теплоизоляции на наружных бетонных поверхностях;

снижение тепловыделения бетона применением низкотермичных марок цемента, уменьшением расхода цемента за счет использования воздухововлекающих и пластифицирующих добавок, камнебетона, золы-уноса и др.;

максимальное рассеивание начального тепла и экзотермии наиболее выгодным сочетанием высоты ярусов бетонирования и интервалов между укладкой ярусов при заданной интенсивности роста сооружения;

регулирование температуры бетонной смеси подогревом или искусственным охлаждением ее составляющих;

регулирование температурного и влажностного режимов поверхностей бетонных массивов с целью защиты их от резких колебаний температуры среды в холодное время года, сохранение во влажном состоянии в теплое время постоянной или временной теплоизоляцией или теплогидроизоляцией, поливкой водой, устройством шатров с кондиционированием климата и т.д.;

применение трубного охлаждения бетонной кладки;

повышение однородности бетона, обеспечение его высокой растяжимости, повышение предела прочности на осевое растяжение;

замыкание статически неопределимых конструкций, а также омоноличивание массивных конструкций при температурах бетона, близких к его минимальным эксплуатационным температурам.

Арматуру, воспринимающую температурные и усадочные усилия, допускается предусматривать только в тех случаях, когда другие конструктивные решения и технологические мероприятия не обеспечивают несущей способности или требуемой по условиям эксплуатации монолитности сооружения.

Специальные конструктивные решения и мероприятия, в том числе с учетом очередности, оказываются особо необходимыми при проектировании сооружений для суровых и особо суровых климатических условий.

При оценке эффективности армирования необходимо учитывать, что арматурные сетки локализуют развитие образовавшихся трещин, а также швов-надрезов, задаваемых в сооружении, а арматура повышает трещиностойкость поверхностного слоя бетона на 15 - 25 %.

5.25. Существенную роль в регулировании температурных напряжений играют швы-надрезы и правильный выбор температуры замыкания швов, позволяющий в известных пределах изменять напряженное состояние конструкций в нужном направлении. Так, омоноличивание объемных швов плотин бетонированием позволяет проводить его при температурах бетона ниже эксплуатационной, что обеспечивает некоторое предварительное обжатие бетонной кладки.

Для ответственных сооружений рекомендуется назначать температуру замыкания с учетом общего напряженного состояния конструкции с целью его возможного улучшения и обеспечения наибольшей монолитности.

Примеры расчета к пп. 5.1 - 5.23

Пример 49. Дано. Расчетная эпюра температуры (см. рис. 51); температура грани равна минус 4 °С, на расстоянии 10 см температура бетона равна плюс 12 °С.

Требуется определить предельную растяжимость бетона.

Расчет. Разность температур DТ = 12 - (-4) = 16 °С; Гe = 16/10 = 1,6. При указанной разности температур и при a = 1·10-5 разность температурных деформаций δe = 16·10-5.

По графику рис. 50 kг = 1,3; для бетона марки М 250 по табл. 38 eпр = 0,8·10-4. Тогда по формуле (194) eгпр = 0,8·10-4·1,3 = 1,04·10-4.

Таким образом, в рассмотренном примере при максимальной крупности заполнителя до 80 мм расчетная величина eгпр = 1,04·10-4·0,9 = 0,93·10-4 (см. п. 5.23).

Пример 50. Дано. Элемент вертикального трубопровода (рис. 52); внутреннее давление воды q = 75 тс/м2; нагрузки и воздействия длительные; дополнительно действуют изменения температуры: охлаждение внутреннего волокна на 10 °С и нагрев наружного волокна на 20 °С (в пределах сечения температура изменяется по линейному закону; бетон марки М 200; арматура класса А-II; класс сооружения - kн = 1,25; сочетание нагрузок основное - nс = 1.

Требуется подобрать продольную арматуру по условию прочности нормальных сечений.

Расчет. Так как lсв/h = 8,1/2,7 = 3, рассчитываем раму как стержневую систему (рама с жесткими вставками). От действия внутреннего давления воды в любом стержне рамы получаем эпюры силовых факторов (рис. 53, а).

Принимаем в первом приближении, что конструкция нетрещиностойкая. При длительном действии нагрузок в соответствии с п. 4.19

B = 0,2ЕбIб = 0,2·2,4·106·1·2,73/12 = 7,87·105 тс·м2;

C = 0,2EбFб = 0,2·2,4·106·1·2,7 = 12,95·105 тс.

Рис. 52. К примеру 50

Рис. 53. К примеру 50

а - эпюры силовых факторов от действия внутреннего давления воды; б - эпюра изгибающих моментов от воздействия температуры; в - суммарные эпюры силовых факторов; г - эпюра жесткостей; д - окончательные эпюры силовых факторов

Равномерное нагревание замкнутой свободной рамы на величину t0 = (t1 + t2)/2 = (20 - 10)/2 = 5 °C = не вызывает в ней усилия.

Рассчитываем раму только на градиент температуры по толщине элемента, вызывающий изгиб стержней,

DTр/h = (t1 - t2)/h = (20 - (-10))/2,7 = 11,1 °С/м.

Усилия в раме, вызванные температурой,  = -1·10-5·11,1·7,87·105 = -87,3 тс·м, знак «минус» указывает, что растянуто внутреннее волокно стержня, т.е. со стороны наименее нагретой грани (рис. 53, б).

Qt = Nt = 0.

Суммарные эпюры силовых факторов приведены на рис. 53, в.

Подбираем продольную арматуру. В опорном сечении M = 497,3 тс·м, Nр = 304 тс, а = а' = 0,15 м, h0 = 2,7 - 0,15 = 2,55 м, e0 = M/N = 497,3/304 = 1,64 м > h/2 - a = 1,35 - 0,15 = 1,2 м, т.е. случай внецентренного растяжения с большим эксцентрицитетом,

e = e0 - h/2 + a = 1,64 - 2,7/2 + 0,15 = 0,44 м;

по формуле (57)

Так как х = 0,07 м < 2 а' = 0,3 м, сжатую арматуру не учитываем.

По формуле (93)

В сечении M = 0 и Nр = 304 тс по формуле (83)

.

В пролетном сечении M = 117,7 тс·м, Nр = 304 тс,

e0 = M/N = 117,7/304 = 0,387 м < h/2 - a = 1,2 м,

т.е. случай внецентренного растяжения с малым эксцентрицитетом,

e = h/2 - e0 - a = 1,35 - 0,387 - 0,15 = 0,813 м,

е' = h/2 + e0 - а' = 1,35 + 0,387 - 0,15 = 1,587 м;

по формулам (89) и (90)

Уточняем жесткость по формулам (178) и (179).

В опорном сечении

B = 0,5Bк = 7,7·105 тс·м2.

В сечении с M = 0

В пролетном сечении

Эпюра жесткостей приведена на рис. 53, г.

Уточняем момент от изменения температуры по длине стержня.

В опорном сечении Мtоп = -1·10-5·11,1·7,7·105 = - 85,5 тс·м.

В пролетном сечении Mtпрол = -1·105·11,1·6,47·105 = -71,7 тс·м.

Окончательные эпюры силовых факторов приведены на рис. 53, д.

Расчетное количество арматуры принимаем: на опоре Fа = 144 см2; в пролете Fа = 83,5 см2 и F'а = 39 см2.

Глава 2

КОНСТРУИРОВАНИЕ АРМАТУРЫ ЖЕЛЕЗОБЕТОННЫХ КОНСТРУКЦИЙ РЕЧНЫХ ГИДРОТЕХНИЧЕСКИХ СООРУЖЕНИЙ БЕЗ ПРЕДВАРИТЕЛЬНОГО НАПРЯЖЕНИЯ

6. СХЕМЫ АРМИРОВАНИЯ СООРУЖЕНИЙ

Основные положения

6.1. Схемы армирования сооружений зависят от:

статических условий работы сооружения;

типа, назначения и конструктивных особенностей сооружения (монолитное, сборно-монолитное или сборное);

принятой схемы организации производства бетонных и железобетонных работ;

очередности производства работ;

типа применяемых арматурных конструкций (пакеты, сетки, армокаркасы, армофермы, армоблоки и т.д.).

6.2. Арматуру железобетонных конструкций рекомендуется предусматривать преимущественно в виде армоконструкций: армоферм, армопакетов, сварных каркасов и сеток. Рекомендуется применять пространственные армокаркасы (армоблоки), а также армопанельные плиты, содержащие частично или полностью рабочую арматуру данного конструктивного элемента.

6.3. При возведении сооружений из монолитного бетона для армирования горизонтальных и вертикальных элементов рекомендуется применять сборные железобетонные балки, плиты, несущие армофермы и армоблоки, на которые навешивается опалубка.

6.4. При возведении сооружения из сборно-монолитного бетона с применением армопанельных конструкций армирование вертикальных элементов и перекрытий существенно упрощается, так как вместо армоферм и армоблоков применяются пакеты и сетки, которыми армируются формообразующие несущие плиты и балки.

Рекомендуемые схемы армирования элементов сооружения

АРМИРОВАНИЕ ФУНДАМЕНТНЫХ ПЛИТ

6.5. Армирование фундаментных плит рекомендуется выполнять по трем схемам:

1 - раздельное армирование нижнего и верхнего контуров плиты (или только верхнего) в виде сеток (рис. 54, а) или в виде пакетов в зависимости от назначения плиты, месторасположения и несущей способности (рис. 54, б);

2 - объединение в армофермы всей рабочей арматуры: отогнутой и рабочей в направлении поперек потока русла. Рабочую арматуру вдоль потока целесообразно выполнять в виде укрупненных пакетов (рис. 54, в);

Рис. 54. Схемы армирования фундаментных плит

а - двустороннее армирование сетками; б - одностороннее армирование сетками (пакетами); в - армирование фундаментной плиты на нескальном основании пакетами и армофермами; С - сетка; ПА - пакет; ФА-Г - армоферма горизонтальная; АБ - армоблок

3 - объединение в армофермы отогнутой арматуры и части расчетной арматуры в направлении поперек потока. Остальная часть арматуры (поперек потока и вся арматура вдоль потока) объединяется в пакеты или сетки (рис. 54, в).

По схеме 1 армируются элементы при отсутствии поперечной арматуры.

По схеме 2 армируются элементы небольшой высоты. По схеме 3 армирование осуществляется поярусно, при этом отсутствие верхней сетки, устанавливаемой перед бетонированием верхнего яруса, обеспечивает лучшие условия укладки бетона и свободное бетонирование нижележащего яруса.

Установка в блоке арматурных изделий (сеток, каркасов) в процессе бетонирования, как правило, должна быть исключена.

Для удобства бетонирования (прохода рабочих с инструментом и подачи бетона) рекомендуется оставлять в верхних сетках просветы (окна) размером 70 ´ 70 см и располагать их в плане в соответствии со схемой производства работ.

АРМИРОВАНИЕ ВЕРТИКАЛЬНЫХ КОНСТРУКЦИЙ

6.6. Вертикальные элементы железобетонных конструкций рекомендуется армировать по следующим схемам:

1 - вертикальные армофермы с горизонтальными армопакетами;

2 - горизонтальные и наклонные армофермы с вертикальными армопакетами;

3 - армоблоки, в которых объединяется рабочая арматура всех направлений (рис. 54, в, разрез 1-1);

4 - армопанели, включающие рабочую арматуру двух направлений, спаренные армопанели или односторонние в зависимости от грузоподъемности кранов, опирающиеся на вертикальные армофермы или подкосы.

Армирование вертикальных элементов сооружения армопакетами из стержней диаметром более 40 мм производится с установкой монтажных конструкций (колонн), соединенных прогонами из уголков или швеллеров, на которые навешиваются вертикальные пакеты.

Из первых трех предлагаемых схем 1, 2, 3 наилучшей для массивных вертикальных элементов является схема армирования 3 с применением армоблоков, при этом вес монтажной арматуры составляет примерно 5 - 10 %, монтаж конструкции резко ускоряется при максимальном использовании грузоподъемности кранов.

В схеме 1 - армирование вертикальными армофермами, монтажная арматура составляет ориентировочно 12 - 15 %.

В схеме 2 - армирование горизонтальными и наклонными армофермами, монтажная арматура составляет ориентировочно 18 - 22%.

Армирование спаренными армопанелями по схеме 4 обладает достоинствами армоблоков и исключает необходимость возведения специальной опалубки и ее распалубливания.

АРМИРОВАНИЕ ПЕРЕКРЫТИЙ И ДРУГИХ ГОРИЗОНТАЛЬНЫХ ЭЛЕМЕНТОВ

6.7. Бетонирование перекрытий целесообразно осуществлять с помощью:

а) несущих сборных железобетонных элементов (рис. 55);

б) несущих армоферм с подвешенной к нижнему поясу фермы опалубкой или омоноличенным нижним поясом (рис. 56 и рис. 1 и 2 прил. 11).

Возведение перекрытий на поддерживающих лесах должно быть, как правило, из практики проектирования и строительства исключено как неэкономичное и трудоемкое.

6.8. Для восприятия веса бетонной смеси при возведении перекрытий, забральных и подкрановых балок зданий гидроэлектростанций и других гидротехнических сооружений рекомендуется применять несущие сборные железобетонные балки таврового сечения (см. рис. 55).

Рис. 55. Конструкция сборных несущих железобетонных балок таврового сечения

а - при отсутствии рабочей арматуры поперечного направления; б - при наличии рабочей арматуры поперечного направления; 1 - сборная балка; 2 - опорное ребро балки; 3 - выравнивающий слой 2 - 5 см; 4 - распределительная арматура при hб £ 0,5 м или hб £ 0,5 hперекр; 5 - дополнительный каркас распределительной арматуры; 6 - ванная сварка

Рис. 56. Несущая армоферма с подвешенной к нижнему поясу опалубкой

1 - места подвески опалубки; 2 - связи Æ 16 А-I в опорных сечениях и по оси симметрии; 3 - опалубка

Применение сборных железобетонных балок весьма эффективно, так как позволяет отказаться от устройства специальных подмостей и дает возможность сэкономить металл по сравнению с применением несущих металлических ферм с омоноличенным нижним поясом за счет исключения металла верхних поясов, стоек и раскосов ферм.

Расчет сборно-монолитных железобетонных конструкций производится в соответствии с пп. 3.85 - 3.88.

При необходимости выпуски продольной арматуры из сборной балки наращиваются в соответствии с расчетом на эксплуатационные нагрузки.

При наличии расчетной (рабочей) арматуры другого направления стыкование этой арматуры осуществляется сваркой, перепуском или петлевыми стыками. В этом случае между балками устраиваются зазоры 10 - 25 см, которые перекрываются инвентарными нащельниками с уплотнениями. При отсутствии расчетной арматуры другого направления распределительная арматура ставится в пределах 10 - 15 % рабочей продольной арматуры.

Балки рекомендуется устанавливать на выровненную поверхность. Площадь опирания определяется из расчета на смятие. Глубина опирания из удобства производства работ назначается в пределах 12 - 20 см с каждой стороны балки.

Для исключения скола полок сборных элементов на опорах ставятся в балках по три хомута из арматуры класса А-II Æ 10 мм шагом 10 см.

Поверхность контакта для лучшего сцепления сборных балок с монолитным бетоном рекомендуется делать шероховатой (см. табл. 44).

6.9. Если по конструктивным и технологическим соображениям, подтвержденным результатами технико-экономического анализа, вместо несущих железобетонных балок окажется целесообразным применить несущие армофермы, их рекомендуется рассчитывать в соответствии с п. 3.85 и прил. 11.

АРМИРОВАНИЕ СПИРАЛЬНЫХ КАМЕР И ВОДОВОДОВ

Спиральные камеры

6.10. В зависимости от параметра HD (произведение напора на диаметр входного сечения спиральной камеры, проходящего через центр тяжести первой колонны статора) спиральные камеры имеют круглое или трапецеидальное сечение. Стены и перекрытия спиральных камер трапецеидального сечения армируются отдельно в соответствии с пп. 6.6 - 6.9.

6.11. Спиральные камеры для высоконапорных радиально-осевых турбин подразделяются на следующие три типа:

первый - стальные, отделенные мягкой прокладкой от бетона агрегатного блока (рис. 57);

второй - сталежелезобетонные без устройства мягкой прокладки, в которых стальная оболочка и арматурный каркас воспринимают усилия совместно с бетоном агрегатного блока (рис. 58);

третий - сталежелезобетонные с устройством мягкой прокладки в верхней части между бетоном агрегатного блока и сталежелезобетонной оболочкой (рис. 59).

6.12. Стальная спиральная камера, целиком воспринимающая гидравлическое давление, является наиболее простой, надежной и рациональной конструкцией при условии возможности применения для ее изготовления обычных сталей. В этом типе спиральной камеры агрегатный блок армируется конструктивно сетками из арматуры класса А-II (см. рис. 57).

Рис. 57. Схема армирования стальной спиральной камеры с мягкой прокладкой

1 - конструктивная арматура Æ 25 А-II; 2 - мягкая прокладка; 3 - стальная оболочка

Рис. 58. Схема армирования сталежелезобетонной спиральной камеры без мягкой прокладки

1 - статор турбины; 2 - дисперсное армирование Æ 25 - 32 А-II, шаг 20 - 25 см; 3 - стальная оболочка; 4 - армокаркас

6.13. В агрегатных блоках со спиральной камерой сталежелезобетонной конструкции в массиве блока устанавливается расчетная арматура, обеспечивающая лимитированное трещинообразование в бетоне и раскрытие швов бетонирования до 0,3 мм. С этой же целью по периметру агрегатного блока применяется дисперсное армирование в виде спаренных сеток арматуры со стержнями диаметром 25 - 32 мм и шагом 20 - 25 мм (см. рис. 58). От стальной оболочки сталежелезобетонной спиральной камеры на расстоянии, равном 4 - 6 диаметрам арматуры, устанавливается кольцевая арматура, замкнутая на статор турбины. По поверхности кольцевой арматуры устанавливается продольная арматура. Площади сечения кольцевой и продольной арматуры определяются расчетом. В случае многорядной арматуры расстояние между рядами стержней принимается равным 4 - 6 диаметрам кольцевой арматуры.

К статору турбины привариваются вертикальные стержни арматуры, являющиеся основой для формирования армокаркаса шахты турбины. Если шахта турбины имеет стальную облицовку, к ней привариваются анкеры, заводимые за армокаркас шахты.

Рис. 59. Схема армирования сталежелезобетонной спиральной камеры с мягкой прокладкой

1 - конструктивная арматура; 2 - мягкая прокладка; 3 - стальная оболочка; 4 - железобетонное кольцо; 5 - торцевая арматура; 6 - кольцевая арматура

6.14. Железобетонная оболочка сталежелезобетонной спиральной камеры с мягкой прокладкой армируется сетками, расположенными одна от другой на расстоянии 25 - 40 см. Нижняя арматурная сетка располагается на расстоянии 20 см от стальной оболочки (см. рис. 59).

6.15. Все арматурные сетки, устанавливаемые по периметру агрегатного блока в углах, сопрягаются между собой, а верхние сетки - с армокаркасами шахты турбины.

Вертикальные стержни армокаркаса железобетонной шахты генератора заводятся за горизонтальные сетки верхней плоскости блока на расстояние, обеспечивающее заделку шахты генератора в массив агрегатного блока.

Водоводы

6.16. Турбинные трубопроводы могут быть со стальной, железобетонной и сталежелезобетонной оболочками.

В приплотинных ГЭС и ГАЭС независимо от расхода воды рекомендуется применять сталежелезобетонные трубопроводы, обладающие повышенной надежностью и долговечностью (рис. 60).

Толщину стальной оболочки в сталежелезобетонных трубопроводах рекомендуется принимать минимальной по условиям монтажа и транспортирования. Для стальной оболочки применяется листовая сталь марок МСт-3, М16С и 09ГС, а в качестве расчетной арматуры - сталь классов А-III и А-II.

Расчет сталежелезобетонных водоводов производится в соответствии с п. 3.37.

Рис. 60. Схема армирования сталежелезобетонных трубопроводов

а - выносного; б - встроенного; 1 - распределительная арматура Æ 25 А-II, шаг 50 см; 2 - стальная оболочка; 3 - рабочая арматура; 4 - армокаркас; 5 - конструктивная арматура Æ 25 А-II; 6 - уголковые связи; 7 - секция плотины

6.17. Сталежелезобетонные трубопроводы ГАЭС могут изготовляться непосредственно на трассе или монтироваться отдельными секциями, бетонируемыми в заводских условиях. В первом случае тонкая стальная оболочка усиливается двух- или многорядной кольцевой арматурой, в отдельных точках привариваемой к стальной оболочке для придания ей необходимой жесткости в период транспортирования и монтажа, для предотвращения потери устойчивости в момент бетонирования, а в забетонированном состоянии - для сопротивления скоростному потоку и образующемуся вакууму при опорожненном водоводе. При стендовом изготовлении отдельных звеньев раскрепление арматурного каркаса на стальную оболочку может не производиться.

АРМИРОВАНИЕ ШАХТЫ ГЕНЕРАТОРА

6.18. Армирование шахты генератора производится по контуру двойной арматурой, сетками или армокаркасами (рис. 61).

В отдельных наиболее напряженных зонах при необходимости устанавливается расчетная поперечная арматура. Вокруг отверстий в шахте устанавливается дополнительная компенсирующая арматура в соответствии с п. 8.26.

С целью максимальной индустриализации строительных работ армирование шахты допускается производить в виде кольцевого армокаркаса.

Применение армокаркасов позволяет перенести все основные работы по армированию на армозаводы, сведя к минимуму монтаж в блоке при обеспечении высокого качества изготовления арматурных изделий.

На рис. 61 приведена схема армирования шахты генератора.

Каркас изготовлялся полностью на армозаводе, разрезался на шесть частей и в таком виде доставлялся к месту монтажа.

Основу каркаса составляли вертикальные фермы, расположенные радиально через 0,75 м по окружности кольца фермы, состоявшие из двух вертикальных уголков, скрепленных горизонтальными и диагональными связями. К полкам вертикальных уголков ферм присоединялась на сварке горизонтальная кольцевая арматура каркаса, к которой в свою очередь точечной сваркой прикреплялась вертикальная арматура.

Для обеспечения необходимой жесткости и неизменяемости к секциям каркаса при транспортировании присоединялись дополнительные временные связи, которые после окончания монтажа каркаса снимались.

Рис. 61. Схема армирования шахты генератора

а - разрезка каркаса на секции (шестерки); б - секция каркаса (шестерка); 1 - наружный контур шахты; 2 - стальной лист δ = 6 мм; 3 - выпуски арматуры из массива

АРМИРОВАНИЕ МАССИВНЫХ КОНСТРУКЦИЙ И ПОДПОРНЫХ СТЕН

6.19. В массивных бетонных конструкциях гидротехнических сооружений: массивно-контрфорсных плотинах, в высоких арочных и арочно-гравитационных плотинах, массивных гравитационных устоях плотин и головах судоходных шлюзов - расчетная арматура, как правило, не устанавливается.

Исключением являются отдельные элементы: быки, оголовки плотин, подпорные стены, фундаментные плиты и т.п., в которых требуется расчетная арматура, конструирование которой осуществляется в соответствии с настоящим Руководством.

6.20. Открытые поверхности бетонных сооружений, подвергающиеся одновременному воздействию низких температур наружного воздуха и попеременному увлажнению и высыханию в суровых климатических условиях, армируются сеткой из арматуры класса А-II диаметром 20 - 25 мм для горизонтального направления и диаметром 16 мм - для вертикального (наклонного) направления, шагом 25 см в каждом направлении. Для сооружений, предназначенных для остальных климатических условий, диаметр горизонтальных стержней сетки рекомендуется принимать 20 мм, а вертикальных (наклонных) - 16 мм.

Рис. 62. Схема армирования подпорных стен

а - армокаркасами; б - сетками;

6.21. Поверхности контакта бетона со скалой, грунтом засыпок, а также межсекционные швы подпорных стен, блоков и быков зданий ГЭС конструктивному армированию не подлежат.

6.22. В каждом конкретном случае при решении вопроса о конструктивном армировании бетонных массивов необходимо пользоваться «Временным руководством по конструктивному армированию бетонных плотин» (П-633-76/Гидропроект).

6.23. Подпорные стены рекомендуется армировать сварными армоконструкциями (сетками, каркасами или армоблоками), см. рис. 62.

7. ПРИНЦИПЫ ПРОЕКТИРОВАНИЯ АРМОКОНСТРУКЦИЙ

Общие указания

7.1. Арматуру железобетонных конструкций рекомендуется проектировать в виде укрупненных блоков и пространственных каркасов. Необходимо стремиться к унификации арматуры и закладных деталей, минимальному количеству разных марок и диаметров арматурной стали, типов арматурных элементов: сеток и каркасов, шагов продольных и поперечных стержней.

Монтажная арматура в арматурных конструкциях должна максимально использоваться в качестве расчетной арматуры железобетонного элемента.

Штучную арматуру допускается применять лишь как исключение.

Таблица 40

Изделия (элементы)

Буквенные обозначения

Изделия (элементы)

Буквенные обозначения

Армоблоки

АБ

Каркасы арматурные для элементов железобетонных конструкций плоские

КР

Фермы арматурные горизонтальные

ФА-Г

Фермы арматурные вертикальные

ФА-В

Арки

А

Каркасы арматурные для элементов железобетонных конструкций пространственные

КП

Балки

Б

Балки фундаментные

БФ

Блоки туннелей, каналов, колодцев

БТ

Блоки фундаментные

ФБ

Колонны

К

Изделия арматурные (комплект)

МА

Оболочки

ОБ

Изделия закладные для элементов железобетонных конструкций

МН

Пакеты арматурные (армопакеты)

ПА

Изделия соединительные для элементов железобетонных конструкций

МС

Сетки арматурные для элементов железобетонных конструкций

С

Примечание. Для марок элементов монолитных железобетонных конструкций принимают обозначения, предусмотренные табл. 40, с дополнительным индексом М (например, БМ - балки монолитные железобетонные, КМ - колонны монолитные).

7.2. Типовые изделия (элементы конструкций) обозначаются марками, присвоенными соответствующими стандартами, чертежами типовых изделий или каталогами. Если типовые изделия применяют с изменениями, например с дополнительными закладными деталями, мелкими отверстиями, к маркам, присвоенным типовым изделиям, добавляют буквенные индексы в алфавитном порядке, например ФБ 6 - 4, а - блоки фундаментные.

Нетиповые изделия обозначаются марками, состоящими из буквенных обозначений изделий в соответствии с табл. 40, с добавлением порядкового номера в пределах данного обозначения, например балки Б1, Б2. Нетиповые изделия в нескольких исполнениях, имеющих различия, не влияющие на их основную характеристику, обозначают теми же марками, что и изделия в основном исполнении, но с добавлением буквенных индексов, например Б1, а, Б1, б.

7.3. Типы армоконструкций должны назначаться с учетом принятого способа производства работ и обеспечивать возможность механизированной подачи бетона и тщательной его проработки.

7.4. При проектировании армоконструкций всех видов должны быть обеспечены возможность восприятия ими расчетных нагрузок и неизменяемость (жесткость) конструкций при их транспортировании, монтаже и в процессе укладки бетонной смеси.

7.5. Членение арматуры для образования армоконструкций рекомендуется производить преимущественно вдоль основных рабочих стержней, по осям опор, а в пролете - по сечениям, где действуют минимальные изгибающие моменты.

Ограничение размеров армоконструкций размерами блока бетонирования не обязательно. По соображениям производства работ допускается применять армоконструкции, пересекающие строительные швы между блоками бетонирования.

7.6. Форма армоконструкций, их размеры и вес должны увязываться с технологией изготовления, условиями транспортирования и монтажа, т.е. грузоподъемностью кранового оборудования и транспортных средств. При проектировании армоконструкций следует предусматривать как можно меньше сварки при монтаже в блоках бетонирования, возможность скорейшего освобождения кранов после подачи армоконструкций для монтажа, обеспечение устойчивого положения арматуры в блоках бетонирования и необходимые удобства при выполнении работ по подготовке блоков и укладке бетонной смеси вибраторами.

Ненесущие армоконструкции

7.7. Ненесущие армоконструкции (пакеты, сетки и армокаркасы) - рекомендуется применять в тех блоках бетонирования, где опалубка подвергается лишь боковому давлению бетонной смеси и не требует устройства лесов и других поддерживающих конструкций, т.е. в массивах, плитах, не перекрывающих пролетов, - плитах флютбетов, понуров, рисберм; в быках, устоях, водосливах, опорных конусах и цилиндрах и в других подобных сооружениях.

7.8. Формы армоконструкций должны обеспечивать возможность сборки и сварки (соединения) плоских и пространственных элементов по возможности без их кантовки.

ПАКЕТЫ И СЕТКИ

7.9. Арматурные пакеты состоят из рабочих стержней, располагаемых параллельно в одном направлении и соединенных поперечными монтажными элементами электросваркой.

Расстояние между рабочими стержнями может быть в пределах 100 - 600 мм.

Для изготовления арматурных пакетов из стержневой арматуры рекомендуется точечная контактная сварка. При ручной сварке в качестве монтажных элементов желательно применение угловой или швеллерной стали, что обеспечивает большую прочность при сварке пересечений «вкрест».

7.10. Максимальные размеры арматурных пакетов определяются условиями транспортирования и монтажа в блоке бетонирования.

Длина пакетов из условия допускаемой гибкости их при монтаже не должна превышать 400d и 20 м.

Применение пакетов шириной более 3,2 м не рекомендуется.

7.11. Поперечные связи армопакетов рекомендуется выполнять из уголков или арматурной стали.

Расстояние между связями допускается принимать равным 100d и не более 500 см. Стержни пакетов привариваются к уголковым связям на полную длину примыкания. Подбор сечения уголковых связей допускается производить по табл. 41.

При диаметре арматуры пакетов менее 50 мм допускается принимать связи из арматурной стали диаметром, равным половине диаметра рабочей арматуры.

При длине пакетов более 4 м в начале и конце пакета рекомендуется устанавливать диагональные крестовые связи-растяжки из стержней арматуры Æ 12 мм, которые привариваются к каждому стержню точечной сваркой.

Более рационально применение рулонных пакетов на накладках из полосовой стали толщиной δ = 3 - 5 мм, что позволяет увеличить их ширину и исключить повреждение стержней при транспортировании.

7.12. При проектировании сеток следует учитывать требования унификации габаритных размеров, шагов, диаметров продольной и поперечной арматуры. Сетки должны быть удобны для транспортирования и укладки их в блок бетонирования.

7.13. Для изготовления сварных сеток с использованием контактной точечной сварки применяется арматура классов А-I, А-II, А-III. Допускается сварка стержней при любых сочетаниях указанных классов арматурной стали.

7.14. В сетках с нормируемой прочностью крестообразных соединений, например принимаемых для армирования балок, сварка всех мест пересечения стержней (узлов) обязательна.

В сетках с рабочей арматурой периодического профиля, применяемых для армирования плит, допускается предусматривать сварку не всех пересечений стержней, при этом должны быть сварены все пересечения стержней в двух крайних рядах по периметру сетки, остальные узлы могут быть сварены через узел в шахматном порядке.

7.15. В зависимости от назначения арматурных сеток, конструктивных особенностей ячейки сетки могут иметь форму квадратов или прямоугольников с отношением сторон до 1:4. Стержни меньшего диаметра располагаются вдоль короткой стороны сетки.

Таблица 41

Шаг стержней, см

Диаметр стержней пакета, мм

Расстояние между связями, см

Размер уголка

Расстояние между связями, см

Размер уголка

Расстояние между связями, см

Размер уголка

Расстояние между связями, см

Размер уголка

Ширина пакета В, см

320

240

160

120

20

20 - 32

200 - 320

45´5

200 - 320

45´5

200 - 320

45´5

200 - 320

45´5

36 - 40

360 - 400

63´6

360 - 400

45´5

360 - 400

45´5

360 - 400

45´5

50

500

70´6

500

63´6

500

45´5

500

45´5

60

500

80´8

600

70´6

500

63´6

500

45´5

70

500

90´9

700

80´8

500

63´6

500

45´5

40

20 - 40

200 - 400

45´5

200 - 400

45´5

200 - 400

45´5

200 - 400

45´5

45 - 60

450 - 500

63´6

450 - 500

63´6

450 - 500

45´5

450 - 500

45´5

70

500

70´6

500

63´6

500

63´6

500

45´5

 

 

Ширина пакета В, см

300

250

200

150

25

20 - 32

200 - 320

45´5

200 - 320

45´5

200 - 320

45´5

200 - 320

45´5

36 - 50

360 - 500

63´6

360 - 500

63´6

360 - 500

45´5

360 - 500

45´5

60

500

70´6

500

70´6

500

45´5

500

45´5

70

500

80´8

500

80´8

500

63´6

500

45´5

50

20 - 45

200 - 450

45´5

200 - 450

45´5

200 - 450

45´5

200 - 450

45´5

50 - 60

500

63´6

500

63´6

500

45´5

500

45´5

70

500

70´6

500

70´6

500

45´5

500

45´5

 

 

Ширина пакета В, см

300

240

150

120

15

20 - 28

200 - 280

45´5

200 - 280

45´5

200 - 280

45´5

200 - 280

45´5

32 - 40

320 - 400

63´6

320 - 400

63´6

320 - 400

45´5

320 - 400

45´5

45

450

70´6

450

63´6

450

45´5

450

45´5

50

500

80´8

500

70´6

500

63´6

500

45´5

60

500

90´9

500

80´8

500

63´6

500

63´6

70

500

100´8

500

90´9

500

63´6

500

63´6

30

20 - 32

200 - 320

45´5

200 - 320

45´5

200 - 320

45´5

200 - 320

45´5

36 - 40

360 - 400

45´5

360 - 400

45´5

360 - 400

45´5

360 - 400

45´5

50

500

63´6

500

63´6

500

45´5

500

45´5

60

600

70´6

500

63´6

500

45´5

500

45´5

70

700

80´8

500

70´6

500

45´5

500

45´5

Сетки применяются для армирования плоских горизонтальных и вертикальных элементов сооружений, железобетонных плит, креплений напорных откосов земляных плотин, облицовок каналов, подпорных стен.

Рис. 63. Схема расположения поддерживающих конструкций

1 - пакеты расчетной арматуры (привариваются через один к ригелям); 2 - пакеты распределительной арматуры; 3 - ригели из швеллеров; 4 - стойки из уголков; 5 - связи; А - расстояние между уголками вдоль армопакетов расчетной арматуры (между ригелями из швеллеров); В - расстояние между уголками поперек укладываемых армопакетов расчетной арматуры

7.16. В стенах сетки и пакеты могут устанавливаться в проектное положение с помощью фиксаторов либо навешиваться на армофермы, если последние могут быть обоснованы расчетом.

На рабочих чертежах арматурных изделий и в случае необходимости на чертежах общих видов армирования железобетонных элементов показывается расположение поддерживающих конструкций (фиксаторов) для верхних сеток и пакетов, а в спецификациях предусматривается расход стали на их изготовление (рис. 63 и табл. 42, 43).

Таблица 42

Диаметр d, мм

20

25

28

32

36

40

50

60

70

Расстояние А, см

275

300

330

360

375

400

440

490

520

Таблица 43

Нагрузка q на 1 м ригеля, кгс/м

В, см

№ швеллера для ригеля

Размер уголка для стойки в зависимости от высоты h, см

400

350

300

250

200

100

800

12

70´6

63´6

63´6

63´6

45´5

600

8

70´6

63´6

63´6

45´5

45´5

200

600

12

70´6

63´6

63´6

63´6

63´6

500

10

70´6

63´6

63´6

63´6

63´6

400

600

16

80´8

80´8

70´6

70´6

63´6

500

14

80´8

70´6

63´6

63´6

63´6

400

12

70´6

63´6

63´6

63´6

63´6

600

500

16

90´9

80´8

80´8

80´8

70´6

400

14

80´8

80´8

70´6

70´6

63´6

350

12

80´8

80´8

70´6

63´6

63´6

300

10

80´8

80´8

70´6

63´6

63´6

800

450

16

90´9

80´8

80´8

80´8

70´6

400

16

90´9

80´8

80´8

70´6

70´6

350

14

90´9

80´8

80´8

70´6

63´6

300

12

80´8

80´8

80´8

70´6

63´6

1000

400

16

90´9

80´8

80´8

80´8

80´8

350

14

90´9

80´8

80´8

80´8

70´6

300

14

80´8

80´8

80´8

80´8

70´6

1200

370

16

90´9

90´9

90´9

80´8

80´8

350

16

90´9

90´9

90´9

80´8

80´8

300

14

90´9

80´8

80´8

80´8

70´6

7.17. Стыкование стержней сварных сеток в блоке бетонирования производится в соответствии с пп. 8.51 - 8.59. В сетках во всех случаях рекомендуется иметь стержни не более двух диаметров.

7.18. Сварные сетки, как правило, применяются со взаимно перпендикулярным расположением рабочих и распределительных стержней и без крюков на концах.

Рис. 64. Сварная сетка с гнутыми стержнями

7.19. Сварные сетки с гнутыми стержнями (рис. 64) при сгибании после сварки выполняются таким образом, чтобы места сварки находились вне пределов загиба и не ближе 3d от его концов.

АРМОКАРКАСЫ

7.20. Армокаркасы конструируются из рабочих стержней, расположенных у граней элемента и связанных между собой косыми или поперечными стержнями, необходимыми по схеме армирования, а также поперечными стержнями, заменяющими опалубочные тяжи или монтажные стойки, поддерживающие арматуру.

7.21. Схема вертикальных армокаркасов в стенах должна обеспечивать возможность крепления вертикальной опалубки к их узлам без тяжей. Сварка армокаркасов с выпусками из нижележащего бетона или заделка в нижележащий бетон обязательна.

7.22. В одном плоском арматурном каркасе рекомендуется применять продольные стержни не более двух различных диаметров, а поперечные стержни - одного диаметра.

7.23. Сварные каркасы должны быть, как правило, сварены во всех точках пересечения продольных и поперечных стержней.

7.24. Пространственные каркасы следует конструировать достаточно жесткими для возможности их складирования, перевозки и соблюдения проектного положения в блоке бетонирования. Пространственная жесткость каркасов обеспечивается постановкой в необходимых случаях связей на сварке в виде диагональных стержней, планок и т.п.

Несущие армоконструкции

7.25. Применение несущих сварных армоконструкций, содержащих рабочую арматуру и воспринимающих производственные нагрузки (от веса свежеуложенного бетона, строительных механизмов, транспортных машин и т.п.), допускается в случае, когда целесообразность такого использования подтверждается технико-экономическими расчетами по сравнению со сборными железобетонными элементами.

Увеличение площади сечения арматуры, определенной расчетом на эксплуатационные нагрузки, для восприятия нагрузок строительного периода не допускается.

7.26. Несущие арматурные конструкции представляют собой решетчатые сварные элементы, обладающие прочностью и жесткостью, достаточной для восприятия всех нагрузок, действующих на бетонируемую конструкцию до получения бетоном необходимой прочности.

7.27. Пространственные армофермы объединяют в себе две плоские фермы и более. С целью обеспечения жесткости и геометрической неизменяемости армоферм для основных элементов (стоек и поясов), работающих на сжатие, целесообразно применять сталь прокатных профилей, которая включается в расчетные сечения рабочих стержней арматуры при прочностном расчете железобетонных элементов.

7.28. Несущие армофермы рекомендуется применять для армирования отдельных балок, колонн, консолей подпорных стен, быков, устоев и других массивных сооружений.

7.29. Армофермам рекомендуется придавать форму и размеры, соответствующие сечению железобетонных элементов.

Расположение стержней в армофермах должно соответствовать целесообразному их использованию в железобетонном сечении. Например, в решетках ферм рекомендуется нисходящие раскосы использовать в качестве расчетной поперечной арматуры железобетонного элемента.

7.30. При назначении сечений элементов армокаркасов рекомендуется выполнять все растянутые элементы из круглой арматурной стали, а сжатые элементы - из уголковой (профильной) стали.

Нерасчетные элементы решетки необходимо стремиться выполнять из стержневой арматурной стали.

Стержни несущих легких армоферм должны быть преимущественно одиночными из круглой арматурной стали. В крупных армофермах, для сжатых поясов и стоек, допускаются стержни составных сечений из круглой стали и стали прокатных профилей.

7.31. В армофермах рекомендуется применять узлы с центральным присоединением раскосов и стоек к поясу (см. рис. 1 и 2 прил. 11).

7.32. Присоединение решетки к поясам фермы в виде змейки, как правило, осуществляется двусторонними сварными швами, рассчитанными на разность усилий в смежных панелях пояса. Разрезка стержней в вершине волны змейки не допускается. Стыки змейки должны делаться внахлестку и располагаться на прямых участках.

7.33. Присоединение стержней решетки к поясам армофермы фасонками рекомендуется только для наиболее ответственных несущих армоферм. Размеры фасонки должны обеспечивать равнопрочность ее с присоединяемыми стержнями, считая по наименьшему измерению фасонки.

7.34. Сварные швы, присоединяющие фасовку узла к поясному стержню, рассчитываются на усилие, равное разности осевых усилий двух смежных панелей, разделяемых данным узлом.

7.35. Вертикальные армофермы применяются для армирования колонн, подпорных стен, быков и т.д.

В отдельных случаях армофермы могут быть использованы для монтажа на них постоянного оборудования до бетонирования конструкции.

7.36. При высоте горизонтальной армофермы менее 1/8 ее пролета допускается придавать армоферме конструктивный строительный подъем.

Прогиб армофермы допускается определять приближенно, принимая момент инерции армофермы по сечению поясов, расстояние между которыми предполагается неизменным.

7.37. В балках-стенках высоту армоферм допускается назначать значительно меньше высоты балки-стенки, причем армоферма располагается в ее нижней зоне. При этом рекомендуется делать строительный шов в бетоне над верхним поясом армофермы и бетонировать балку-стенку в две - три очереди, с тем, чтобы вес бетонной смеси, укладываемой во вторую очередь, воспринимался железобетонным сечением ее нижней части.

Армопанельные конструкции

7.38. Преимущества армопанельных конструкций заключаются в экономии опалубки и монтажной арматуры, в ускорении монтажа и в улучшении условий бетонирования, в снижении трудозатрат и затрат кранового времени.

Рис. 65. Армирование плоской армопанели

1 - петли; 2 - закладная деталь; 3 - цилиндрические вмятины (показаны пунктиром); 4 - выпуски Æ 16 А-I

Применение армопанельных конструкций должно быть обосновано технико-экономическим сравнением вариантов.

7.39. Арматура армопанелей включает в себя рабочую и распределительную арматуру участка конструкций, соответствующего данной панели (рис. 65, 66).

7.40. Размеры армопанелей по длине и ширине рекомендуется принимать максимальными с учетом особенностей конструкции сооружений, технологии изготовления, условий транспортирования и монтажа, а толщину - наименьшей по условиям прочности и жесткости.

Рис. 66 Армирование ребристой армопанели

7.41. При расположении всей рабочей арматуры в армопанелях необходимо обеспечивать надежную связь армопанелей с бетоном заполнения. Образование трещин по контакту не допускается, что достигается соблюдением следующих требований:

а) расчетное сопротивление на срез необработанных швов-контактов принимается равным 11 кгс/см2;

б) расчетное сопротивление на срез швов с обработанной контактной поверхностью 21 кгс/см2;

в) если скалывающие напряжения не превосходят расчетного сопротивления, указанного в подпункте «а», допускается не обрабатывать контактные поверхности швов в сжатой и растянутой зонах;

г) при действии в сечении со швом-контактом сжимающих напряжений, нормальных к плоскости шва, расчетное сопротивление на срез рекомендуется увеличивать на величину, равную произведению сжимающих напряжений на коэффициент 0,65;

д) приведенные расчетные сопротивления относятся к бетонам марки не ниже М 200, жесткостью, характеризуемой ОНК не более 10 см для трещиностойких конструкций и более 5 см для нетрещиностойких конструкций;

е) при применении пластичных и литых бетонных смесей обязательна обработка контактных поверхностей.

Рекомендуемые способы обработки контактных поверхностей в зависимости от длительности перерыва в бетонировании приведены в табл. 44; при этом обеспечивается расчетное сопротивление шва Rшва: при сдвиге Rшва ³ 20 кгс/см2, при отрыве Rшва ³ 0,5Rр кгс/см2.

Таблица 44

Способ обработки

Возраст бетона 1-й очереди, сут

Площадь обработки Fшва %

Рекомендуемая консистенция нового бетона, см

Примечание

t = 0,3

t = 0,3 - 5

t > 5

Без обработки

+

-

-

0

1 - 3

-

Механическое удаление цементной пленки

-

+

-

100

3 - 5

Щетками снимается слой 3 - 4 мм для обнажения зерен крупного заполнителя

Нанесение замедлителей схватывания

-

+

-

100

3 - 5

Сетчатая опалубка с мешковиной

-

+

+

100

3 - 5

-

Нанесение виброактивных цементных клеев

-

+

+

100

1 - 3

-

Формование цилиндрических штраб (вмятин)

-

-

+

25

6 - 7

Глубина штраб 40 мм, диаметр более 3 диаметров зерен крупного заполнителя

Формование призматических штраб («гробиков»)

-

-

+

25

5 - 7

8. ОБЩИЕ ПОЛОЖЕНИЯ ПО КОНСТРУИРОВАНИЮ И СТЫКОВАНИЮ АРМАТУРЫ

Классификация и применение арматуры

8.1. Арматура по своему назначению подразделяется на рабочую (расчетную и конструктивную), распределительную и монтажную.

Рабочая арматура воспринимает растягивающие или сжимающие усилия. При этом необходимость установки и количество расчетной арматуры определяются расчетами конструкций, предусмотренными действующими нормативными документами. Конструктивная арматура устанавливается без расчетного обоснования для уменьшения величины раскрытия трещин и ограничения их развития в глубину бетонного массива.

Распределительная арматура (главным образом в плитах) обеспечивает совместную работу стержней рабочей арматуры.

Монтажная арматура устанавливается дополнительно к рабочей арматуре для сборки арматурного каркаса и обеспечивает неизменное положение рабочих стержней в том случае, если такая сборка не может быть произведена за счет использования рабочей арматуры.

8.2. Для армирования железобетонных конструкций речных гидротехнических сооружений без предварительного напряжения применяется арматурная сталь в соответствии с главой СНиП II-21-75 и ГОСТ 5781-81 следующих видов:

горячекатаная гладкая класса А-I, диаметром от 6 до 40 мм;

горячекатаная периодического профиля класса А-II, диаметром от 10 до 80 мм;

горячекатаная периодического профиля класса А-III, диаметром от 6 до 40 мм;

обыкновенная арматурная проволока периодического профиля, класса Вр-I, диаметром 3 - 5 мм по ГОСТ 6727-80.

8.3. В качестве ненапрягаемой расчетной арматуры железобетонных конструкций следует преимущественно применять горячекатаную арматурную сталь класса А-III; горячекатаную арматурную сталь класса А-II рекомендуется применять в основном для поперечной, распределительной и конструктивной арматуры, а для продольной расчетной арматуры - в случаях, когда использование арматуры класса А-III не допускается или нецелесообразно.

Сталь класса А-I рекомендуется применять для монтажной арматуры.

В зависимости от условий эксплуатации железобетонных конструкций и характера нагрузок рекомендуется применять арматурную сталь класса и марки в соответствии с прил. 2. Площади поперечных сечений и вес (масса) стержневой арматуры приведены в прил. 12.

В целях упорядочения производства арматурных изделий при проектировании железобетонных конструкций для объектов энергетического строительства следует руководствоваться сокращенным сортаментом арматурной стали согласно прил. 17.

Размещение арматуры. Особенности армирования

ЗАЩИТНЫЙ СЛОЙ БЕТОНА

8.4. Защитный слой бетона для рабочей арматуры обеспечивает совместную работу арматуры с бетоном на всех стадиях работы конструкции, а также защиту арматуры от внешних атмосферных, температурных и подобных воздействий.

8.5. Толщина защитного слоя бетона принимается: не менее 30 мм для рабочей арматуры и 20 мм - для распределительной арматуры и хомутов в балках и плитах высотой до 1 м, а также в колоннах с наименьшим размером сечения до 1 м; не менее 60 мм и не менее диаметра стержня - для рабочей и распределительной арматуры массивных конструкций с минимальным размером сечения более 1 м.

Расстояние от поверхности продольной арматуры до поверхности бетонной подготовки принимается не менее 35 мм.

8.6. Для сборных железобетонных элементов заводского изготовления проектной марки М 200 и выше толщина защитного слоя может быть уменьшена на 10 мм против указанных выше величин, но не менее диаметра стержня, уменьшенного на 5 мм.

8.7. При эксплуатации железобетонных конструкций в условиях агрессивной среды толщина защитного слоя бетона назначается с учетом требований главы СНиП II-28-73* «Защита строительных конструкций от коррозии» и принимается не менее 25 мм в слабоагрессивной среде, 30 мм - в среднеагрессивной и 35 мм - в сильноагрессивной среде для любой арматуры.

РАССТОЯНИЕ МЕЖДУ СТЕРЖНЯМИ

8.8. Расстояние в свету между арматурными стержнями по высоте и ширине сечения должно обеспечивать совместную работу арматуры с бетоном и назначаться с учетом удобства укладки и уплотнения бетонной смеси.

Расстояние в свету между стержнями для немассивных конструкций принимается не менее наибольшего диаметра стержня, а также:

а) если стержни при бетонировании занимают горизонтальное или наклонное положение, не менее для нижней арматуры 25 мм и верхней - 30 мм; при расположении нижней арматуры более чем в два ряда по высоте расстояния между стержнями в горизонтальном направлении (кроме стержней двух нижних рядов) не менее 50 мм;

б) если стержни при бетонировании занимают вертикальное положение, не менее 50 мм.

В массивных железобетонных конструкциях расстояние в свету между стержнями рабочей арматуры по ширине сечения определяется крупностью заполнителя бетона, но принимается не менее 2,5d.

8.9. При стесненных условиях допускается располагать арматурные стержни попарно без зазора. При назначении расстояний между спаренными стержнями, при определении длины их анкеровки и нахлестки они рассматриваются как условный стержень с приведенным диаметром , где d1 и d2 - номинальные диаметры сближаемых стержней.

При стержнях одинакового диаметра dпр = 1,41d.

8.10. Указанные в пп. 8.8 и 8.9 расстояния в свету между стержнями периодического профиля принимаются по номинальному диаметру без учета выступов и ребер.

При компоновке расположения арматуры в сечении со стесненными условиями диаметры стержней принимаются с учетом выступов и ребер.

8.11. Вертикальные арматурные стержни в быках, стенах, колоннах, а также горизонтальные стержни в плитах рекомендуется располагать равномерно, на равных расстояниях один от другого.

Стержни верхней арматуры плит толщиной более 1,5 м по условиям проработки укладываемой бетонной смеси рекомендуется располагать таким образом, чтобы в любом направлении на расстоянии 2,5 - 4 м (в зависимости от конструкции), между ними оставались свободные просветы (окна) размером не менее 0,7´0,7 м.

8.12. Расстояние в свету между армофермами и армоблоками при отсутствии между ними штучных стержней, сеток, пакетов должно быть не более 1 м.

В случае заполнения промежутков сетками, пакетами или дополнительными стержнями наибольшее расстояние не ограничивается. При этом следует стремиться к возможной равномерности в распределении арматуры.

8.13. В массивных железобетонных плитах и стенах высотой 60 см и более при коэффициенте армирования μ £ 0,008, рассчитываемых по раскрытию трещин, допускается при надлежащем обосновании рассредоточенное распределение арматуры по сечению элемента, способствующее уменьшению максимальной ширины раскрытия трещин по высоте сечения, если такое армирование не приводит к повышенному расходу арматуры.

8.14. Число рядов стержней одного направления в нижней, верхней или вертикальной арматуре рекомендуется назначать в горизонтальных элементах с высотой сечения до 150 см - не более двух, а при высоте сечения свыше 150 см - не более трех. Расстояние в свету между рядами арматуры должно быть не менее наибольшего диаметра стержня и не менее 50 мм.

8.15. При ограниченной допускаемой величине раскрытия трещин, если все стержни одного диаметра не могут быть размещены в два ряда, допускается в первом (наружном) ряду размещать стержни меньшего диаметра, а во втором ряду устанавливать стержни более крупного диаметра, определенного из условия получения суммарной площади сечений, необходимой по расчету прочности. При этом диаметры стержней первого и второго рядов должны отличаться не более чем на 40 %.

ПРОДОЛЬНОЕ АРМИРОВАНИЕ

8.16. Площадь сечения продольной арматуры в железобетонных элементах принимается не менее 0,05 % площади расчетного сечения бетона. Элементы с меньшим количеством арматуры относятся к бетонным элементам.

Указанное требование не распространяется на армирование, определяемое расчетом элемента для стадии транспортирования и возведения; в этом случае площадь сечения арматуры определяется только расчетом по прочности.

8.17. Диаметр продольных стержней внецентренно-сжатых элементов монолитных конструкций принимается не менее 12 мм. В колоннах с размером меньшей стороны более 250 мм диаметр продольных стержней рекомендуется назначать не менее 16 мм.

8.18. Диаметр продольных стержней внецентренно-сжатых элементов с расчетной сжатой арматурой для бетона марок ниже М 300 принимается не более 40 мм.

Для особо мощных колонн при бетоне марки выше М 200 и соответствующем технологическом обеспечении (резка, сварка и т.п.), а также в массивных внецентренно-сжатых элементах высотой сечения h ³ 1 м могут применяться стержни диаметром более 40 мм.

8.19. Во внецентренно-сжатых элементах, несущая способность которых при заданном эксцентрицитете продольной силы используется менее чем на 50 %, а также в элементах с гибкостью l0/r < 17, где по расчету сжатая арматура не требуется, а количество растянутой арматуры не превышает 0,3 %, допускается не устанавливать продольную и поперечную арматуру по граням, параллельным плоскости изгиба.

8.20. В линейных внецентренно-сжатых элементах с расчетной сжатой арматурой расстояния между осями стержней продольной арматуры принимаются не более 400 мм.

При расстоянии между рабочими (сжатыми) стержнями более 400 мм рекомендуется ставить конструктивную арматуру диаметром d ³ 12 мм, с тем, чтобы расстояния между продольными стержнями были не более 400 мм, за исключением элементов, предусмотренных в п. 8.19.

8.21. В балках и ребрах шириной более 150 мм число продольных стержней, доводимых до опоры, должно быть не менее двух. В балках и ребрах шириной 150 мм и менее допускается доведение до опоры одного продольного стержня.

8.22. В плитах площадь сечения стержней на 1 м ширины плиты, доводимых до опоры, должна составлять не менее 1/3 площади сечения стержней в пролете, определенной расчетом по наибольшему изгибающему моменту.

В плитах толщиной менее 350 мм расстояние между стержнями не должно превышать 400 мм.

8.23. Расстояние между осями рабочих стержней в средней части пролета плиты и над опорой (вверху) должно быть не более 200 мм при толщине плиты до 150 мм и не более 1,5h и 500 мм при толщине плиты более 150 мм, где h - толщина плиты.

8.24. При прохождении рабочей арматуры плиты параллельно ребру необходимо укладывать перпендикулярную ему дополнительную арматуру сечением не менее 1/3 наибольшего сечения рабочей арматуры плиты в пролете, заводя ее в плиту в каждую сторону от грани ребра на длину не менее 1/4 расчетного пролета плиты. Если рабочая арматура плиты над опорой проходит перпендикулярно ребру, следует обрывать ее не ближе чем на расстоянии 1/4 расчетного пролета плиты от грани ребра.

8.25. В изгибаемых балочных элементах при высоте сечения более 700 мм, за исключением армированных армофермами, у боковых граней устанавливаются конструктивные продольные стержни на расстоянии между ними по высоте не более 400 мм и площадью сечения не менее 0,1 % площади сечения бетона с размерами, равными по высоте элемента - расстоянию между этими стержнями, по ширине элемента - половине ширины ребра элемента, но не более 200 мм.

АРМИРОВАНИЕ В МЕСТАХ ОТВЕРСТИЙ

8.26. Отверстия значительных размеров (более 500´500 мм) в железобетонных плитах, панелях и т.п. окаймляются дополнительной арматурой сечением не менее сечения рабочей арматуры (того же направления), которая требуется по расчету плиты как сплошной. Дополнительная арматура заводится за края отверстия на длину не менее длины перепуска lн = λнd (см. табл. 49).

8.27. Отверстия размером до 500 ´ 500 мм при раскладке сеток могут не учитываться, на чертеже делается примечание: «Отверстие вырезать по месту». При больших отверстиях плиту, стену в зоне отверстия рекомендуется армировать отдельно, не нарушая унификации сеток и армоконструкций.

ПОПЕРЕЧНОЕ АРМИРОВАНИЕ

8.28. В массивных железобетонных конструкциях гидротехнических сооружений расчетная поперечная арматура может выполняться в виде косых стержней (отгибов) и хомутов.

8.29. В балках или плитах толщиной не более 1,5 м рекомендуется предусматривать отгибы для перевода рабочего стержня арматуры из нижней зоны в верхнюю и наоборот с использованием наклонного участка в качестве косого стержня, воспринимающего поперечную силу. При высоте сечения балки или плиты более 1,5 м продольные рабочие стержни арматуры должны быть преимущественно прямыми. В этом случае отгибы (косые стержни), воспринимающие поперечное усилие, могут быть поставлены отдельно и должны быть приварены к продольной верхней и нижней арматуре равнопрочным швом.

8.30. Отгибы стержней арматуры осуществляются по дуге окружности радиусом не менее 10d. На концах отогнутых стержней устраиваются прямые участки длиной не менее 0,8lан, принимаемой по п. 8.48, но не менее 20d в растянутой и 10d в сжатой зонах. Прямые участки отогнутых гладких стержней класса А-I заканчиваются крюками. Начало отгиба в растянутой зоне должно отстоять от нормального сечения, в котором отгибаемый стержень используется по расчету, не менее чем на 0,5h0, а конец отгиба должен быть расположен не ближе того нормального сечения, в котором отгиб не требуется по расчету (рис. 67).

8.31. Угол наклона отгибов к продольной оси элемента, как правило, принимается равным 45°. В элементах высотой более 800 мм и в балках-стенках допускается увеличивать угол наклона отгибов до 60°, а в низких балках и в плитах уменьшать до 30°.

Стержни с отгибами рекомендуется располагать на расстоянии не менее 2d от боковых граней элемента, где d - диаметр отгибаемого стержня.

Расстояние от грани свободной опоры до верхнего конца первого отгиба (считая от опоры) должно быть не более 50 мм (см. рис. 67).

8.32. У всех поверхностей железобетонных элементов, вблизи которых ставится сжатая продольная арматура, предусматривается также поперечная арматура, обеспечивающая закрепление сжатых стержней от их бокового выпучивания в любом направлении, за исключением элементов, предусмотренных в п. 8.19.

Расстояние между поперечными стержнями у каждой поверхности должно быть не более удвоенной ширины грани элемента (удвоенной высоты) или не более 500 мм.

Рис. 67. Конструирование отгибов арматуры

1 - отогнутый стержень; 2 - эпюра моментов; 3 - эпюра материалов

8.33. Во внецентренно-сжатых линейных элементах, а также в сжатой зоне изгибаемых элементов при наличии учитываемой в расчете сжатой продольной арматуры хомуты ставятся на расстоянии не более 15d при вязаных и 20d при сварных каркасах, но не более 500 мм. В местах стыкования рабочей арматуры внахлестку без сварки или если общее насыщение внецентренно-сжатого элемента продольной арматурой составляет более 3 %, расстояние между хомутами должно быть не более 10d, но не более 300 мм.

8.34. Конструкция хомутов во внецентренно-сжатых элементах при наличии учитываемой в расчете сжатой продольной арматуры должна быть такова, чтобы продольные стержни (по крайней мере через один) располагались в местах перегиба хомутов, а эти перегибы - на расстоянии не более 400 мм по ширине грани элемента. При числе продольных стержней у грани не более четырех и ширине грани элемента не более 500 мм при сварных и не более 400 мм при вязаных каркасах допускается охват всех продольных стержней одним хомутом (рис. 68).

8.35. В массивных внецентренно-сжатых элементах, рассчитанных без учета сжатой арматуры, расстояние между конструктивными поперечными связями (хомутами) допускается увеличить до двух высот (ширин) элемента (рис. 69).

8.36. Диаметр хомутов в каркасах внецентренно-сжатых элементов принимается не менее 0,25d, где d - наибольший диаметр продольных стержней.

8.37. Для обеспечения анкеровки поперечной арматуры соединения продольных и поперечных стержней в сварных каркасах выполняются в соответствии с пп. 8.51 - 8.58. В вязаных каркасах хомуты конструируются таким образом, чтобы в местах их перегиба обязательно располагались продольные стержни.

При этом как в сварных, так и в вязаных каркасах диаметр продольных стержней должен быть более диаметра поперечных.

8.38. В балках и ребрах высотой более 150 мм, а также в многопустотных сборных плитах высотой более 300 мм необходимо устанавливать поперечную арматуру.

В сплошных плитах любой толщины, а также в балках и ребрах высотой 150 мм и менее, в многопустотных сборных плитах высотой 300 мм и менее допускается поперечную арматуру не устанавливать, если она не требуется по расчету.

Рис. 68. Конструирование сварных и вязаных хомутов во внецентренно-сжатых элементах с расчетной сжатой арматурой

а - армирование сварными каркасами; б - армирование вязаными каркасами; 1 - плоские сварные каркасы; 2 - соединительные стержни; 3 - вязаный хомут; 4 - промежуточный плоский сварной каркас; 5 - шпилька

Рис. 69. Конструкция поперечных связей в массивных внецентренно-сжатых элементах, рассчитываемых без учета сжатой арматуры

1 - рабочая арматура; 2 - поперечные связи

8.39. Расстояние между вертикальными поперечными стержнями в элементах, не имеющих отогнутой арматуры, в случаях, когда поперечная арматура требуется по расчету, принимается:

а) на приопорных участках (не менее 1/4 пролета) при высоте сечения h £ 450 мм - не более h/2 и не более 150 мм; при высоте 450 < h < 2000 мм - не более h/3 и не более 500 мм; при высоте сечения h ³ 2000 мм - не более h/3;

б) на остальной части пролета при высоте сечения 300 мм < h < 2000 мм - не более 3/4h и не более 500 мм; при высоте сечения h ³ 2000 мм - не более 3/4h.

8.40. В элементах, работающих на изгиб с кручением, при сварных каркасах все поперечные стержни обоих направлений должны быть приварены к угловым продольным стержням, образуя замкнутый контур, а вязаные хомуты должны быть замкнутыми, с перепуском их концов на 30d, где d - диаметр хомута (рис. 70).

Рекомендации настоящего пункта относятся к крайним балкам, к которым второстепенные балки или плиты примыкают лишь с одной стороны, а также к средним балкам, для которых расчетные нагрузки, передающиеся на балку от примыкающих к ней пролетов, различны и отличаются одна от другой более чем в два раза.

Рис. 70. Армирование балок, работающих на изгиб с кручением

а - вязаной арматурой; б - сварным каркасом

8.41. Поперечная арматура, устанавливаемая в зоне продавливания, должна иметь анкеровку по концам, выполненную приваркой или охватом продольной арматуры. Расстояние между поперечными стержнями принимается не более 1/3h, ширина зоны постановки поперечной арматуры должна быть не менее 1,5h, где h - толщина плиты.

РАСПРЕДЕЛИТЕЛЬНАЯ И МОНТАЖНАЯ АРМАТУРА

8.42. Распределительная арматура для элементов, работающих в одном направлении, назначается не более 10 % площади рабочей арматуры.

В балочных плитах распределительную арматуру рекомендуется устанавливать со стороны ближайшей к наружным поверхностям конструкции.

8.43. Площадь сечения распределительной арматуры в балочных плитах должна составлять не менее 10 % площади сечения рабочей арматуры в месте наибольшего изгибающего момента.

Рекомендуемые соотношения между диаметрами рабочей и распределительной арматуры приведены в табл. 45.

8.44. Монтажную арматуру в арматурных конструкциях необходимо максимально использовать в качестве расчетной арматуры железобетонного элемента, в остальных случаях необходимость ее постановки должна быть обоснована.

Таблица 45

Диаметр, мм

Площадь, см2

Фактический процент принятой распределительной арматуры к рабочей

Наименьший диаметр распределительной арматуры, мм

рабочей арматуры

распределительной арматуры

рабочей арматуры

10 %-ная рабочей арматуры

принятой распределительной арматуры

60

20

28,27

2,83

3,14

11,1

16

55

18

23,76

2,38

2,55

10,7

16

50

16

19,64

2

2,01

10,2

16

45

16

15,9

1,6

2,01

12,6

16

40

14

12,57

1,26

1,54

12,2

10

36

12

10,18

1,02

1,13

11,1

10

32

10

8,04

0,8

0,79

9,8

8

28

10

6,16

0,62

0,79

12,8

8

25

8

4,91

0,5

0,5

10,1

8

22

8

3,8

0,4

0,5

13,2

6

20

6

3,14

0,31

0,28

8,9

6

18

6

2,55

0,26

0,28

11

6

16

6

2,01

0,2

0,28

13,9

6

Примечания: 1. Соотношения между диаметрами рабочей и распределительной арматуры определены для армосеток железобетонных конструкций с одинаковым шагом в обоих направлениях.

2. Рекомендуется увеличивать шаг распределительной арматуры до двух - трех стержней на 1 м.

Анкеровка арматуры

8.45. При проектировании железобетонных конструкций необходимо обеспечить надежную анкеровку арматуры в бетоне, препятствующую их взаимному смещению.

Анкеровка арматуры может осуществляться одним из следующих способов или их сочетанием (рис. 71):

сцеплением прямых стержней с бетоном;

крюками или лапками;

петлями;

приваркой поперечных стержней;

особыми приспособлениями (анкерами).

8.46. Стержни периодического профиля, а также гладкие арматурные стержни, применяемые в сварных каркасах и сетках, выполняются без крюков.

Растянутые гладкие стержни вязаных каркасов и вязаных сеток должны заканчиваться крюками, лапками или петлями.

Рис. 71. Способы анкеровки арматуры

а - сцеплением прямых стержней с бетоном; б - крюками и лапками; в - петлями; г - приваркой поперечных стержней; д - анкерами

Рис. 72. Размеры крюков и лапок на концах гладких стержней рабочей арматуры

а - крюк; б - лапка

Размеры крюков и лапок для анкеровки гладких стержней арматуры принимаются по рис. 72.

8.47. При проектировании гнутых стержней диаметры и углы загиба принимаются по табл. 46.

Таблица 46

Класс арматуры

Минимальный диаметр загиба в свету при диаметре стержня d, мм

Максимальный угол загиба, град

до 20

20 и более

А-I, В-I

2,5d

2,5d

Не ограничен

А-II

4d

6d

90

А-III

6d

8d

90

8.48. Продольные стержни растянутой и сжатой арматуры заводятся за нормальное или наклонное к продольной оси элемента сечение, в котором они учитываются с полным расчетным сопротивлением, на длину не менее lан, определяемую по формуле

                                                       (195)

но не менее lан = λанd где значения mан, Dλан, λан, а также допускаемые минимальные величины lан определяются по табл. 47. При этом гладкие арматурные стержни оканчиваются крюками, выполненными в соответствии с п. 8.46, или должны иметь приваренную поперечную арматуру по длине заделки.

Величины относительной длины анкеровки λан = lан/d, вычисленной по формуле (195) для разных марок бетона и для разных классов арматуры, приведены в табл. 48.

Если анкеруемые стержни поставлены с запасом по площади сечения против требуемой расчетом по прочности, длину анкеровки lан можно уменьшить, вычисляя ее по формуле (195) с умножением Rа, на отношение необходимой по расчету и фактической площади сечения арматуры.

Продольная растянутая арматура железобетонных элементов, анкеруемая в смежных бетонных массивах (например, консоли бычков зданий ГЭС и плотин, конструкции типа подпорных стен и др.), заводится в сжатую зону на длину lан, определенную по формуле (195). Определение границы сжатой зоны производится по п. 1.10 главы СНиП II-56-77.

Таблица 47

Условия работы арматуры

Параметры для определения длины анкеровкн арматуры

периодического профиля

гладкой

mан

Dλан

λан

lан, мм

mан

Dλан

λан

lан, мм

не менее

не менее

Заделка растянутой арматуры в растянутом бетоне

0,7

11

20

250

1,2

11

20

250

Заделка сжатой или растянутой арматуры в сжатом бетоне

0,5

8

12

200

0,8

8

15

200

Таблица 48

Условия работы

Класс арматуры

Относительная длина анкеровки арматуры при марке бетона

М 150

М 200

М 250

М 300

М 350

М 400

М 450

М 500

М 600

В растянутом бетоне lан ³ 250 мм

А-I

47

39

34

30

27

25

24

23

21

А-II

38

32

28

25

23

22

21

20

20

А-III

45

37

33

29

26

25

23

22

21

В сжатом бетоне lан ³ 200 мм

А-I

32

27

23

21

19

18

17

16

15

А-II

27

23

20

18

17

16

15

14

13

А-III

32

27

24

21

19

18

17

16

15

Допускается заводить растянутую арматуру на длину lан, рассчитанную по формуле (195) с параметрами по верхней строке табл. 47, за плоскость, проведенную под углом 45° из сжатой зоны анкеруемого элемента в глубину бетонного массива (рис. 73, е).

8.49. При невозможности выполнения рекомендаций п. 8.48 необходимо применять специальные меры по анкеровке продольных стержней (рис. 73, б - д):

а) устраивать на концах стержней специальные анкеры в виде пластин, уголков и т.п.; в этом случае площадь контакта анкера с бетоном из условия прочности бетона на смятие должна быть не менее Na/2,5Rпр, где Na - усилие, приходящееся на анкеруемый стержень; толщину анкеруемой пластины следует принимать не менее 0,2d анкеруемого стержня и не менее 6 мм, длину заделки стержня следует определять расчетом на выкалывание и принимать не менее 10d;

Рис. 73. Анкеровка арматуры на защемленных опорах

а, е - запуском стержней на длину lан; б - приваркой анкерующих стержней; в - приваркой стержней к закладным деталям; г - отгибом стержней; д - отгибом стержней и постановкой дополнительных хомутов; 1 - анкерующая деталь; 2 - закладная деталь; 3 - дополнительные хомуты, препятствующие разгибанию стержня; 4 - граница сжатой зоны; 5 - бетонный массив

Рис. 74. Анкеровка арматуры на свободных опорах

а - при отсутствии расчетной поперечной арматуры; б - при наличии расчетной поперечной арматуры; 1 - анкерующие стержни; 2 - анкерующая пластина

б) отгибать анкеруемый стержень на 90° по дуге круга радиусом в свету не менее 5d, при этом длину прямого участка у начала заделки следует принимать не менее 0,5lан;

в) приваривать на длине заделки не менее двух поперечных анкерующих стержней диаметром не менее 0,5d продольных стержней. В этом случае длину анкеровки lан, определенную по п. 8.48 для стержней периодического профиля, рекомендуется уменьшать на 5d, а гладкие стержни выполнять без крюков.

Дополнительные сведения об анкеровке арматуры угловых сопряжений элементов приведены в пп. 8.70 и 8.71.

8.50. В тонкостенных конструкциях для обеспечения анкеровки всех продольных стержней арматуры, доходящих до опоры, на крайних свободных опорах изгибаемых элементов необходимо выполнять следующие требования:

а) если поперечная арматура не требуется по расчету, длину запуска растянутых стержней за внутреннюю грань свободней опоры lан следует принимать не менее 5d. В сварных сетках и каркасах с продольной рабочей арматурой из гладких стержней к каждому растянутому продольному стержню на длине lан должен быть приварен хотя бы один поперечный (анкерующий) стержень, расположенный от конца каркаса (сетки) на расстоянии с ³ 1,5d. Диаметр анкерующего стержня dа в балках и ребрах должен быть не менее половины диаметра продольных стержней (рис. 74, а);

б) если поперечная арматура требуется по расчету, длину запуска стержней за внутреннюю грань свободной опоры следует принимать не менее 10d. При применении гладких стержней на длине lан к каждому продольному стержню приваривается не менее двух поперечных (анкерующих) стержней диаметром dа ³ 0,5d, при этом расстояние от крайнего анкерующего стержня до конца каркаса принимается не более 1,5d (рис. 74, б).

Если длина запуска стержней на свободной опоре, определенная в соответствии с п. 8.48 и табл. 47, меньше 10d, а также при приварке концов стержней к надежно заанкерованным закладным деталям разрешается принимать lан < 10d, но не менее 5d (рис. 74).

Стыки арматуры

СВАРНЫЕ СТЫКИ

8.51. Арматура из горячекатаной стали периодического профиля, горячекатаной гладкой стали, как правило, изготавливается с применением для соединений стержней контактной сварки - точечной и стыковой, а также в указанных ниже случаях дуговой (ванной и протяженными швами).

Типы сварных соединений арматуры назначаются и выполняются в соответствии с государственными стандартами и нормативными документами на сварную арматуру и закладные детали для железобетонных конструкций (см. прил. 13).

Соединения, не предусмотренные государственными стандартами, допускается выполнять по рабочим чертежам, утвержденным в установленном порядке.

8.52. Контактная точечная сварка применяется при изготовлении сварных каркасов, сеток и закладных деталей с нахлесточными соединениями стержней.

8.53. Контактная стыковая сварка применяется для соединения по длине заготовок арматурных стержней. Диаметр соединяемых стержней принимается не менее 10 мм.

Контактную сварку стержней диаметром менее 10 мм допускается применять только в заводских условиях при наличии специального оборудования.

8.54. Для соединения встык горизонтальных и вертикальных стержней диаметром 20 мм и более при монтаже арматуры и сборных железобетонных конструкций рекомендуется предусматривать ванную сварку в инвентарных съемных формах (поз. 3 - 6 прил. 13), а для соединения встык стержней диаметром менее 20 мм - дуговую сварку швами с накладками из круглой стали или внахлестку (поз. 7, 8 прил. 13).

При этим в спецификацию арматуры включаются накладки (подкладки) для стыкования стержней.

8.55. Дуговая сварка протяженными швами применяется:

а) для соединения стержней арматуры из горячекатаных сталей диаметром более 8 мм между собой и с сортовым прокатом (закладными деталями) в условиях монтажа арматурных изделий, а также с анкерными и закрепляющими устройствами;

б) при изготовлении стальных закладных деталей и для соединения их на монтаже между собой в стыках сборных железобетонных конструкций.

8.56. При отсутствии оборудования для контактной сварки допускается применять дуговую сварку в следующих случаях:

а) для соединения по длине заготовок арматурных стержней из горячекатаной стали диаметром 8 мм и более;

б) при выполнении сварных соединений, рассчитываемых по прочности, в сетках и каркасах с обязательными дополнительными конструктивными элементами в местах соединения стержней продольной и поперечной арматуры (косынками, лапками, крюками и т.п.);

в) при выполнении не рассчитываемых по прочности крестовых соединений, арматурных сеток из стержней диаметром 8 мм и более.

8.57. Крестовые соединения арматуры железобетонных конструкций можно выполнить дуговой сваркой с принудительным формированием шва в соответствии с «Рекомендациями по проектированию дуговой сварки крестовых соединений арматуры железобетонных конструкций», разработанных ЦНИИСК им. В. А. Кучеренко Госстроя СССР (М., 1973).

8.58. При изготовлении сварных сеток и каркасов контактной точечной сваркой угол между пересекающимися свариваемыми стержнями рекомендуется принимать прямым. При изготовлении сеток на многоточечных машинах этот угол может отличаться от прямого, но должен быть не менее 60°.

Дуговую сварку пересекающихся рабочих арматурных стержней из стали класса А-II, марки Ст. 5 и 18Г2С, а также из стали класса А-III, марки 35ГС применять не рекомендуется.

8.59. Допускается стыкование стержней сваркой в любом сечении по длине изделия. Стыки, осуществляемые дуговой сваркой, рекомендуется располагать таким образом, чтобы они не препятствовали бетонированию, т.е. устраивать их в местах, менее насыщенных арматурой, избегать устройства нескольких стыков в одном сечении и т.п.

8.60. В конструкциях, рассчитываемых на выносливость, допускается стыковать в одном сечении до 100 % стыков при условии постановки дополнительных плавающих стержней, площадь сечения которых определяется равнопрочностью сечения со стыками сечению без стыков в соответствии с формулой (156), и длиной заделки не менее 30d. Применение стыков внахлестку (без сварки и со сваркой) для растянутой рабочей арматуры в этих конструкциях не рекомендуется.

СТЫКИ АРМАТУРЫ ВНАХЛЕСТКУ (БЕЗ СВАРКИ)

8.61. Стыки рабочей арматуры внахлестку применяются при стыковании сварных и вязаных каркасов и сеток, при этом диаметр рабочей арматуры принимается не более 36 мм.

Стыки стержневой рабочей арматуры внахлестку не рекомендуется располагать в растянутой зоне изгибаемых и внецентренно-растянутых элементов в местах полного использования арматуры. Такие стыки не допускаются в линейных элементах, сечение которых полностью растянуто.

8.62. Стыки растянутой или сжатой рабочей арматуры, а также сварных сеток и каркасов в рабочем направлении должны иметь длину перепуска (нахлестки) lн не менее величины, определяемой по формуле

                                                       (196)

где sа - напряжение в арматуре в месте стыка внахлестку с наиболее напряженной стороны.

Значения тн и Dλн, а также минимальные значения lн и λн для определения длины перепуска стыков арматуры внахлестку приведены в табл. 49.

Таблица 49

Условия работы

Параметры для определения длины стыка арматуры внахлестку

периодического профиля

гладкой

тн

Dλн

λн

lн, мм

тн

Dλн

λн

lн, мм

не менее

не менее

Стык в бетоне:

 

 

 

 

 

 

 

 

растянутом

0,9

11

20

250

1,55

11

20

250

сжатом

0,65

8

15

200

1

8

15

200

В случае спаренного расположения стержней длина нахлестки устанавливается по формуле (196), принимая значение d = dпр, определяемое по п. 8.9.

8.63. Стыки сварных сеток и каркасов, а также растянутых стержней вязаных каркасов и сеток внахлестку без сварки, как правило, располагаются вразбежку. При этом площадь сечения рабочих стержней, стыкуемых в одном месте или на расстоянии менее длины перепуска lн, должна составлять не более 50 % общей площади сечения растянутой арматуры при стержнях периодического профиля и не более 25 % при гладких стержнях.

Смещение середины стыков, расположенных в разных местах, должно быть не менее 1,5lн.

Стыкование отдельных стержней, сварных сеток и каркасов без разбежки допускается при конструктивном армировании (без расчета), а также на тех участках, где арматура используется не более чем на 50 %.

8.64. В каждой из стыкуемых в растянутой зоне сварных сеток с рабочими стержнями из гладкой стали на длине нахлестки должно быть не менее двух поперечных стержней, приваренных ко всем продольным стержням сетки (рис. 75).

Стыки сварных сеток в направлении рабочей арматуры периодического профиля классов А-II и А-III выполняются без поперечных стержней в пределах стыка в одной или в обеих стыкуемых сетках (рис. 76).

Рис. 75. Стыки сеток внахлестку (без сварки) в направлении рабочей арматуры класса А-I

а - с расположением распределительных (поперечных) стержней в одной плоскости; б, в - то же, в разных плоскостях

Рис. 76. Стыки сварных сеток внахлестку (без сварки) в направлении рабочей арматуры классов А-II и A-III

а - без анкерующих поперечных стержней в пределах стыка на двух сетках; б - то же, на одной сетке; в - с одним анкерующим стержнем в пределах стыка на двух сетках; г - с двумя анкерующими стержнями в пределах стыка на двух сетках

Рис. 77. Стыки сварных сеток внахлестку (без сварки) в направлении распределительной арматуры

а - стык c расположением рабочих стержней в одной плоскости; б - то же, в разных плоскостях; в - стык впритык с наложением дополнительном стыковой сетки при диаметре рабочей арматуры 16 мм и более

8.65. При стыковании внахлестку сварных и вязаных каркасов центрально- и внецентренно-сжатых колонн в пределах стыка ставятся дополнительные хомуты на расстоянии не более 10d.

8.66. Стыки сварных сеток в направлении распределительной арматуры выполняются внахлестку с перепуском на 100 мм, считая между крайними рабочими стержнями сеток (рис. 77, а, б).

При диаметре рабочей арматуры 16 мм и более сварные сетки в нерабочем направлении допускается укладывать впритык одна к другой, перекрывая стык специальными стыковыми сетками, укладываемыми с перепуском в каждую сторону от стыка не менее 15 диаметров распределительной арматуры и не менее 100 мм (рис. 77, в). Стыки сварных сеток в нерабочем направлении допускается укладывать впритык без нахлестки и без дополнительных стыковых сеток в следующих случаях:

а) при укладке сварных полосовых сеток в двух взаимно перпендикулярных направлениях;

б) при наличии в местах стыков дополнительного конструктивного армирования в направлении распределительной арматуры.

8.67. При стыке внахлестку стыкуемые стержни располагаются по возможности вплотную один к другому, расстояние в свету между стыкуемыми стержнями не должно превышать 4d. Стыки внахлестку не следует располагать близко один к другому. Расстояние между ними в свету должно быть не менее 2d (d - диаметр стыкуемых стержней) и не менее 30 мм.

8.68. Стыки сварных сеток в рабочем направлении можно выполнять внахлестку с расположением распределительных стержней в одной или разных плоскостях.

Армирование угловых сопряжений

8.69. Во входящих углах сопряжений железобетонных элементов в растянутой зоне рекомендуется предусматривать установку дополнительной арматуры в виде коротышей, которые привариваются к основной арматуре и заводятся в обе стороны от вершины входящего угла на расстояние не менее 0,3 высоты элемента. Площадь сечения коротышей должна составлять 20 % площади сечения основной рабочей арматуры (рис. 78).

Рис. 78. Схема армирования входящего угла сопряжения железобетонных элементов в растянутой зоне

Рис. 79. Схемы армирования угловых сопряжений железобетонных конструкций

а - при отсутствии сжатой арматуры; б - при наличии сжатой арматуры; в - при массивных конструкциях; 1 - неравнобокие уголки (приварить); 2 - армосетка; 3 - сжатая арматура; 4 - сварка

8.70. Расчетную (рабочую) арматуру в углах сопряжения элементов следует надежно анкеровать в соответствии с пп. 8.48 и 8.49.

8.71. В уголковых подпорных стенах высотой более 12 м расчетная арматура граней, образующих входящий угол, анкеруется в сжатой зоне смежного элемента (рис. 79) на величину, определяемую по табл. 48.

Величину сжатой зоны элемента разрешается определять методом сопротивления материалов. Если длина анкеровки lан получится больше величины сжатой зоны, рекомендуется:

а) при отсутствии сжатой арматуры - приваривать к концам анкеруемых стержней коротыши из арматурной стали длиной 6d или из уголков с размером полки не менее 4d (рис. 79, а);

б) при наличии сжатой арматуры - приваривать рабочие растянутые стержни к сжатой арматуре (рис. 79, б).

8.72. Угловые сопряжения массивных железобетонных конструкций рекомендуется конструировать в соответствии с рис. 79, в.

Глава 3

ПРОЕКТИРОВАНИЕ ТОНКОСТЕННЫХ ПРЕДВАРИТЕЛЬНО НАПРЯЖЕННЫХ ЖЕЛЕЗОБЕТОННЫХ ЭЛЕМЕНТОВ СО СТЕРЖНЕВОЙ АРМАТУРОЙ

9. ОБЩИЕ ПОЛОЖЕНИЯ

9.1. Настоящая глава Руководства распространяется на проектирование предварительно напряженных железобетонных конструкций гидротехнических сооружений, армированных стержневой горячекатаной арматурой периодического профиля с натяжением ее на упоры до бетонирования элементов.

9.2. Предварительное напряжение железобетонных элементов следует применять при необходимости:

а) увеличения сопротивления конструкций образованию трещин в бетоне или ограничения их раскрытия;

б) повышения жесткости конструкций;

в) повышения выносливости конструкций, работающих на воздействие многократно повторяющейся нагрузки;

г) снижения расхода арматурной стали (за счет применения высокопрочной стали);

д) уменьшения расхода бетона и снижения веса конструкций (за счет применения бетона высоких марок).

9.3. В рабочих чертежах предварительно напряженных конструкций рекомендуется указывать марку бетона, вид арматуры, величину усилий или контролируемых напряжений и последовательность напряжения арматуры, прочность бетона к моменту обжатия (передаточную прочность), условия и порядок отпуска натянутой арматуры, разность температур напрягаемой арматуры и натяжных устройств при термообработке (пропаривании) элементов, принятую для определения потерь предварительного напряжения, допустимую степень обжатия бетона и требуемый момент трещинообразования (для элементов, рассчитываемых на трещиностойкость), а также места для захвата элементов при подъеме и монтаже, места их опирания при транспортировании и складировании, монтажную прочность элементов, схему поверочных испытаний.

Основные положения по расчету

9.4. Предварительно напряженные железобетонные конструкции должны удовлетворять требованиям расчета по несущей способности (предельным состояниям первой группы) при всех сочетаниях нагрузок и воздействий и по пригодности к нормальной эксплуатации (предельным состояниям второй группы) только при основном сочетании нагрузок и воздействий.

Расчет по предельным состояниям первой группы включает: расчет на прочность с проверкой устойчивости положения и формы конструкции; расчет на выносливость конструкций, находящихся под воздействием многократно повторяющейся нагрузки.

Расчет по предельным состояниям второй группы включает: расчет по образованию трещин в случаях, когда по условиям нормальной эксплуатации сооружения не допускается образование трещин, или по раскрытию трещин; расчет по деформациям в случаях, когда величина перемещений (прогибов, углов поворота) может ограничить возможность нормальной эксплуатации конструкции или находящихся на ней механизмов.

Примечание. Расчет по деформациям производится по рекомендациям главы 1. При этом жесткость элементов Вк при кратковременном действии нагрузок определяется по формулам:

для трещиностойких предварительно напряженных элементов

Вк = 0,8EбIп;                                                                        (197)

для участков элементов, рассчитываемых по раскрытию трещин,

Вк = 0,7EбIп.                                                                        (198)

При длительном действии нагрузок жесткость конструкции В определяется по формуле (179)

9.5. Расчет на прочность, а также по образованию или раскрытию трещин следует производить для всех стадий: изготовление, транспортирование, монтаж и эксплуатация.

Расчет предварительно напряженных элементов в стадии изготовления производится на воздействие усилия от обжатия напрягаемой арматурой и собственного веса элемента при его подъеме. При этом расчетное сопротивление бетона принимается равным его прочности в момент обжатия.

Расчет элементов на выносливость производится для стадии эксплуатации.

Расчет по деформациям допускается не производить, если на основании опытной проверки или практики применения железобетонных конструкций установлено, что жесткость конструкций в стадии эксплуатации достаточна.

9.6. Оценка наступления предельных состояний первой группы железобетонных конструкций гидротехнических сооружений производится из условия (1) kнnсNр £ mR.

Коэффициент условий работы т принимается по табл. 52 и 55.

9.7. Рекомендации по классификации и учету нагрузок и воздействий приведены в пп. 1.4 - 1.6 и 1.8.

При отнесении температурных воздействий к особому сочетанию нагрузок их рекомендуется учитывать при расчете конструкций по второму предельному состоянию, к которым предъявляется требование трещиностойкости.

9.8. При расчете конструкций по первому предельному состоянию нагрузки принимаются с коэффициентами перегрузки в соответствии с п. 1.2.

При расчете конструкций на выносливость и по предельным состояниям второй группы коэффициенты перегрузки принимаются равными 1.

9.9. При расчете сборных предварительно напряженных конструкций на усилия, возникающие при их подъеме, транспортировании и монтаже, нагрузка от собственного веса элемента вводится в расчет с коэффициентом динамичности, равным 1,3, при этом коэффициент перегрузки к собственному весу принимается равным 1.

При надлежащем обосновании коэффициент динамичности может приниматься равным 1,5.

Таблица 50

Факторы, вызывающие потери предварительного напряжения арматуры

Величина потерь предварительного напряжения, кгс/см2

Примечание

А. Первые потери

1. Релаксация напряжений арматуры при механическом способе натяжения стержневой арматуры из горячекатаной стали классов А-IV и А-V

0,1s0 - 200 (здесь s0 принимается без учета потерь)

Для горячекатаной арматурной стали класса А-IIIв, упрочненной вытяжкой до натяжения арматуры, потери напряжения от релаксации принимают равными нулю

2. Температурный перепад (разность температур натянутой арматуры и устройства, воспринимающего усилие натяжения при пропаривании или прогреве бетона)

12,5Dt, где Dt - разность между температурой арматуры и упоров, воспринимающих усилие натяжения, град

При передаче усилия от натяжения арматуры на стальные опорные балки или несущую конструкцию опалубки, расположенные внутри камер пропаривания, или на металлическую опалубку потери напряжения арматуры от температурного перепада можно принимать равными нулю (Dt = 0). Расчетная величина Dt при отсутствии точных данных принимается равной 65 °С - для конструкций, рассчитываемых по прочности, и 50 °С - для конструкций, рассчитываемых по трещиностойкости

3. Деформация анкеров, расположенных у натяжных устройств

, где l - обжатие спрессованных шайб, смятие высаженных головок и т.п., принимаемое равным 2 мм; l - длина натягиваемого стержня (расстояние между наружными гранями упоров формы или стенда), мм

При наличии на стенде надежного контроля за отсутствием потерь от обжатия анкерующих устройств потери от деформации анкеров можно принимать равными нулю

4. Деформация стальной формы при изготовлении предварительно напряженных железобетонных конструкций

, где k - коэффициент, определяемый при натяжении арматуры домкратом по формуле k = (t - 1)/2; Dl - сближение упоров по линии действия усилия N0, определяемое из расчета деформации формы; l - расстояние между наружными гранями упоров; t - число групп стержней, натягиваемых неодновременно

При одновременном натяжении всех стержней, опирающихся на одну упорную конструкцию, потери предварительного напряжения от ее деформации принимаются равными нулю. При отсутствии данных о технологии изготовления элементов и конструкции формы потери предварительного напряжения от деформации форм принимаются равными 300 кгс/см2

5. Быстронатекающая ползучесть бетона:

а) естественного твердения

 при

300 + 1500

при  > 0,6, где sб.н - определяется по формулам (205) и (206) на уровне центров тяжести продольной арматуры А и А¢ с учетом потерь по поз. 1 - 4 настоящей таблицы

-

б) подвергнутого тепловой обработке

Потери вычисляются по формулам поз. 5, а настоящей таблицы с умножением полученного результата на коэффициент 0,85

-

Б. Вторые потери

6. Усадка бетона тяжелого проектной марки:

Для бетона естественного твердения:

Для бетона, подвергнутого тепловой обработке при атмосферном давлении:

Дополнительные рекомендации по определению потерь предварительного напряжения от усадки и ползучести бетона см. п. 9.15

а) М 400 и ниже

400

350

б) М 500

500

400

в) М 600 и выше

600

500

7. Ползучесть бетона

 где sб.н - см. поз. 5 настоящей таблицы

То же, что для бетона естественного твердения, с умножением полученного результата на коэффициент 0,85

-

9.10. В случае, если при эксплуатационных нагрузках сжатая зона предварительно напряженных элементов не обеспечена расчетом в стадии изготовления, транспортирования и монтажа от образования трещин, нормальных к продольной оси, рекомендуется учитывать снижение трещиностойкости растянутой при эксплуатации зоны элемента (пп. 12.9 и 12.19).

Для элементов, рассчитываемых на воздействие многократно повторяющейся нагрузки, образование таких трещин не допускается.

9.11. При определении усилий в статически неопределимых железобетонных конструкциях, вызванных температурными воздействиями или осадкой опор, а также при определении реактивного давления грунта жесткость элементов определяется по формулам (197) и (198).

9.12. При расчете предварительно напряженных конструкций помимо усилий от внешних нагрузок рекомендуется учитывать усилия в арматуре и бетоне, возникающие от предварительного напряжения арматуры.

9.13. Принимаемые в расчетах величины предварительного напряжения s0 и s0¢ соответственно в напрягаемой части арматуры А и А¢ без учета потерь для стержневой арматуры должны составлять не более 0,95RаII.

9.14. При расчете предварительно напряженных элементов рекомендуется учитывать потери предварительного напряжения арматуры, проявляющиеся в период изготовления элементов (первые потери) и в период их хранения и эксплуатации (вторые потери).

Величину потерь предварительного напряжения при натяжении арматуры на упоры рекомендуется определять по табл. 50. Суммарная величина потерь, принимаемая в расчетах конструкций, для стадии эксплуатации должна быть не менее 1000 кгс/см2.

Рис. 80. Схема усилий предварительного напряжения арматуры в поперечном сечении железобетонного элемента

9.15. При определении потерь предварительного напряжения от усадки и ползучести бетона рекомендуется учитывать следующие положения:

а) величины потерь от усадки и ползучести бетона, определяемые по табл. 50, могут быть уточнены, если известна продолжительность периода со дня изготовления элемента до его испытания, загружения эксплуатационной нагрузкой или погружения в воду. Уточнение величины потерь производят путем умножения на коэффициент b, определяемый по формуле

                                                              (199)

но принимаемый не более 1.

В формуле (199) t - время в сутках, отсчитываемое при определении потерь от ползучести - со дня обжатия бетона, от усадки - со дня окончания бетонирования;

б) для конструкций, находящихся в период эксплуатации в воде, но до этого длительное время (более 3 мес) остающихся на воздухе, коэффициент b рекомендуется принимать равным 1, вводя дополнительно в расчет восстановление напряжений от последующего набухания бетона в размере 200 кгс/см2 (уменьшая на эту величину потери от усадки бетона);

в) при расчете конструкций, предназначенных для эксплуатации в районе IV А, согласно главе СНиП по строительной климатологии и геофизике, потери предварительного напряжения от усадки и ползучести бетона рекомендуется увеличивать на 25 %;

г) величину потерь от усадки и ползучести бетона допускается принимать по экспериментальным данным.

9.16. Усилие предварительного обжатия N0 и эксцентрицитет точки приложения этой силы относительно центра тяжести приведенного сечения (рис. 80) определяются по формулам:

N0 = s0Fн + s'0F'н - sаFа - s'аF'а;                                           (200)

                                     (201)

где sа и s'а - определяются по п. 9.19.

При расчетах по образованию и раскрытию трещин и на выносливость усилие N0 учитывается как внешняя сжимающая сила.

Примечание. При несимметричном сечении и двустороннем напряжении арматуры направление эксцентрицитета принимается условно, при этом отрицательное значение величины eо.н, полученное по формуле (201), означает, что сила N0 расположена от центральной оси сечения в сторону арматуры А¢.

9.17. Величина N0 вводится в расчет с коэффициентом точности натяжения арматуры

mт = 1 ± Dmт.                                                           (202)

Знак «плюс» принимается при неблагоприятном влиянии предварительного напряжения (т.е. когда на данной стадии работы конструкции на рассматриваемом участке элемента предварительное напряжение снижает несущую способность, способствует образованию трещин и т.п.), знак «минус» - при благоприятном.

Значение Dmт при механическом способе натяжения арматуры принимается равным 0,1.

При определении потерь предварительного напряжения арматуры, а также при расчете по раскрытию трещин и по деформациям значения Dmт принимаются равными нулю.

При изготовлении элементов на заводах железобетонных конструкций, оборудованных средствами автоматического контроля натяжения арматуры, значения mт допускается принимать по результатам статистической обработки опытных данных при обеспеченности 0,95 и точности 0,04.

Значения mт при механическом способе натяжения арматуры принимаются:

а) mт = 0,9 - при расчете по образованию или раскрытию трещин предварительно обжатых граней сечения и при расчете на поперечные силы;

б) mт = 1,1 - при расчете по образованию или раскрытию трещин предварительно растянутых граней сечения, а также при расчете на прочность для арматуры, расположенной в сжатой зоне сечения;

в) mт = 1 - в остальных случаях.

9.18. Величины напряжений арматуры s0 и s0¢ принимают:

а) в стадии изготовления - с учетом первых потерь;

б) в стадии транспортирования, монтажа и эксплуатации - с учетом первых и вторых потерь.

Для элементов с напрягаемой арматурой без анкеров на длине зоны передачи напряжений lп.н значения s0 и s0¢ снижаются путем умножения их на отношение lх/lп.н, где lх - расстояние от начала зоны передачи напряжений до рассматриваемого сечения.

Значение lп.н определяется для элементов конструкций, эксплуатируемых при расчетных зимних температурах наружного воздуха t ³ минус 40 °С по формуле

                                                     (203)

при t < минус 40 °С по формуле

                                                     (204)

Здесь s0 принимается с учетом первых потерь по поз. 1 - 4 табл. 50.

При мгновенной передаче усилия обжатия на бетон значение lп.н увеличивается в 1,25 раза. При диаметре стержней более 18 мм мгновенная передача усилий не допускается.

Для стержневой арматуры периодического профиля всех классов величина lп.н принимается не менее 15d.

9.19. Величины сжимающих напряжений в ненапрягаемой арматуре sа и sа¢ принимаются численно равными:

а) для стадий эксплуатации, транспортирования и монтажа - сумме потерь напряжения от усадки и ползучести бетона (поз. 5 - 7 табл. 50);

б) для стадии изготовления - потерям напряжения от быстронатекающей ползучести (поз. 5 табл. 50);

в) при определении потерь от быстронатекающей ползучести - нулю.

Если ненапрягаемая арматура А¢ расположена в растянутой при предварительном обжатии зоне, напряжение sа¢ принимается равным нулю.

9.20. Величины напряжений в бетоне sб.н и s'б.н, создающиеся от обжатия его предварительно напряженной арматурой, определяются в предположении упругой работы элемента, при этом усилие предварительного обжатия N0 рассматривается как внешняя сжимающая сила:

                                                     (205)

                                                      (206)

где y - расстояние от центра тяжести приведенного сечения до рассматриваемого волокна.

9.21. При определении геометрических характеристик приведенного сечения в расчет вводят полное сечение бетона с учетом ослабления его пазами, отверстиями и т.д., а также площадь сечения всей продольной напрягаемой и ненапрягаемой арматуры, умноженную на коэффициент приведения, принимаемый равным n = Eа/Eб.

Геометрические характеристики приведенного сечения (рис. 81) определяются по формулам:

площадь приведенного сечения

Fп = F + nFн + nF'н + nFа + nF'а;                                               (207)

статический момент приведенного сечения относительно растянутой грани

Sп = S + nFнaн + nF'н(h - a'н) + nFаaа + nF'а(h - a'а);                                 (208)

расстояние от центра тяжести приведенного сечения до растянутой грани

Рис. 81. Поперечное сечение элемента

                                                                        (209)

момент инерции приведенного сечения относительно его центра тяжести

Iп = I + nFнyн2 + nF'нy'н2 + nFаyа2 + nF'аy'а2,                                         (210)

здесь S - статический момент бетонного сечения относительно растянутой грани.

9.22. Сжимающие напряжения в бетоне sб.н в стадии предварительного обжатия не должны превышать величин (в долях от передаточной прочности бетона R0), указанных в табл. 51.

Таблица 51

Напряженное состояние сечения

Сжимающие напряжения в бетоне в стадии предварительного обжатия в долях передаточной прочности бетона sб.н/R0 не более

при расчетной зимней температуре наружного воздуха, °С

минус 40 и выше

минус 40 и ниже

при обжатии

центральном

внецентренном

центральном

внецентренном

Напряжение sб.н уменьшается или не изменяется при действии внешних нагрузок

0,65

0,75

0,55

0,65

Напряжение sб.н увеличивается при действии внешних нагрузок

0,5

0,55

0,4

0,45

Примечания: 1. Величины sб.н/R0, указанные в настоящей таблице, для бетона в водонасыщенном состоянии при расчетной температуре ниже минус 40 °С рекомендуется принимать на 0,05 меньше.

2. Расчетная зимняя температура наружного воздуха определяется как средняя температура наиболее холодной пятидневки.

Передаточную прочность бетона R0 следует принимать не менее 70 % соответствующей проектной марки бетона по прочности на сжатие (R0 ³ 0,7R).

Величины sб.н определяются на уровне крайнего сжатого волокна бетона с учетом первых потерь по поз. 1 - 4 табл. 50 с коэффициентом точности натяжения арматуры mт = 1.

При превышении сжимающих напряжений sб.н величин табл. 51 рекомендуется повышать передаточную прочность бетона или увеличивать размеры сечения.

9.23. Величины напряжений sк и s'к в напрягаемой арматуре А и А¢, контролируемые по окончании натяжения и указываемые на рабочих чертежах, принимаются равными величинам s0 и s'0 (п. 9.13) за вычетом потерь, определяемых по поз. 3 табл. 50.

10. МАТЕРИАЛЫ ДЛЯ ЖЕЛЕЗОБЕТОННЫХ КОНСТРУКЦИЙ

Бетон

10.1. При проектировании предварительно напряженных железобетонных конструкций гидротехнических сооружений рекомендуется предусматривать тяжелые бетоны в соответствии с разд. 2.

10.2. Для изделий из предварительно напряженного железобетона срок твердения (возраст) бетона, отвечающий его проектным маркам по прочности, морозостойкости и водонепроницаемости, принимается 28 дней.

Передаточную прочность бетона R0 рекомендуется принимать не менее 70 % принятой проектной марки бетона.

10.3. Проектную марку бетона по прочности на сжатие рекомендуется принимать не менее 200, а для элементов, погружаемых в грунт забивкой или вибрированием, - не менее 400.

10.4. Марка бетона по водонепроницаемости должна быть не ниже В4, в конструкциях морских гидротехнических сооружений - не ниже В6.

НОРМАТИВНЫЕ И РАСЧЕТНЫЕ ХАРАКТЕРИСТИКИ БЕТОНА

10.5. Величины нормативных и расчетных сопротивлений бетона в зависимости от проектных марок бетона по прочности на сжатие и на осевое растяжение рекомендуется принимать по табл. 7.

10.6. Коэффициенты условий работы бетона mб для расчета конструкций по предельным состояниям первой группы рекомендуется принимать по табл. 52.

Таблица 52

Факторы, обусловливающие введение коэффициентов условий работы бетона

Коэффициент условий работы бетона mб

условное обозначение

значение

1. Многократное повторение нагрузки

mб1

Принимается в соответствии с главой СНиП II-21-75

2. Железобетонные конструкции плитные и ребристые при толщине плиты (ребра) 60 см и более

mб2

1,15

3. То же, при толщине плиты (ребра) менее 60 см

mб2

1

Примечания: 1. При наличии нескольких факторов, действующих одновременно, в расчет вводится произведение соответствующих коэффициентов условий работы.

2. В необходимых случаях коэффициенты условий работы принимаются согласно указаниям соответствующих нормативных документов.

При расчете по предельным состояниям второй группы коэффициент условий работы бетона принимается равным 1, за исключением расчета при действии многократно повторяющейся нагрузки.

10.7. Расчетные сопротивления бетона при расчете железобетонных конструкций на выносливость R'пр и R'р принимаются в соответствии с главой СНиП II-21-75.

10.8. Величина начального модуля упругости бетона при сжатии и растяжении Eб принимается по табл. 9.

10.9. Начальный коэффициент поперечной деформации бетона m принимается равным 0,15, а модуль сдвига бетона - равным G = 0,4Eб.

Объемный вес тяжелого бетона при отсутствии опытных данных допускается принимать равным 2,3 - 2,5 тс/м3.

Арматура

10.10. Для армирования предварительно напряженных железобетонных конструкций гидротехнических сооружений применяется арматура следующих видов и классов:

а) стержневая горячекатаная - гладкая класса А-I; периодического профиля классов А-II, А-III, А-IV, А-V;

б) упрочненная вытяжкой - периодического профиля класса А-IIIв.

Для закладных деталей и соединительных накладок применяется, как правило, прокатная углеродистая сталь класса С 38/23.

10.11. В качестве напрягаемой арматуры тонкостенных предварительно напряженных железобетонных элементов рекомендуется преимущественно применять горячекатаную арматурную сталь классов А-V, А-IV и упрочненную вытяжкой арматуру класса А-IIIв.

В качестве напрягаемой арматуры предварительно напряженных элементов, находящихся под воздействием агрессивной среды, рекомендуется преимущественно применять горячекатаную арматурную сталь классов А-IV и А-IIIв.

Ненапрягаемая арматура принимается по рекомендациям пп. 2.17 и 2.21.

10.12. Выбор вида и марок стали для арматуры, а также прокатных сталей для закладных деталей производится в соответствии с прил. 2 и 3.

НОРМАТИВНЫЕ И РАСЧЕТНЫЕ ХАРАКТЕРИСТИКИ АРМАТУРЫ

10.13. Расчетные сопротивления арматуры растяжению для предельных состояний первой и второй групп определяются по формуле (4)

Коэффициент безопасности по арматуре kа принимается по табл. 53.

10.14. Величины нормативных и расчетных сопротивлений основных видов рабочей арматуры, применяемой в тонкостенных предварительно напряженных железобетонных конструкциях гидротехнических сооружений, рекомендуется принимать по табл. 54, остальных видов арматуры - по табл. 15.

Таблица 53

Вид и класс арматуры

Коэффициент безопасности по арматуре kа, при расчете конструкций по предельным состояниям

первой группы

второй группы

Стержневая арматура классов:

 

 

А-IV, А-V

1,15

1

Стержневая арматура, упрочненная вытяжкой, класса А-IIIв с контролем:

 

 

напряжений и удлинений

1,1

1

только удлинений

1,2

1

Таблица 54

Вид и класс арматуры

Нормативные сопротивления растяжению и расчетные сопротивления растяжению для предельных состояний второй группы RаII, кгс/см2

Расчетные сопротивления арматуры для предельных состояний первой группы, кгс/см2

растяжению

сжатию Rа.с

продольной, поперечной (хомутов и отогнутых стержней) при расчете наклонных сечений на действие изгибающего момента Rа

поперечной (хомутов и отогнутых стержней) при расчете наклонных сечений на действие поперечной силы Rа.х

Горячекатаная периодического профиля класса:

 

 

 

 

А-IV

6000

5200

4200

4000

А-V

8000

6950

5550

4000

Упрочненная вытяжкой класса А-IIIв с контролем:

 

 

 

 

напряжений и удлинений

5500

5000

3600

4000

только удлинений

5500

4500

3200

4000

10.15. Расчетные сопротивления арматуры для предельных состояний первой группы повышаются или снижаются путем умножения на соответствующие коэффициенты условий работы.

Коэффициенты условий работы арматуры рекомендуется принимать по табл. 55.

Таблица 55

Факторы, обусловливающие введение коэффициентов условий работы арматуры

Коэффициент условий работы арматуры

условное обозначение

значение

Многократное повторение нагрузки

mа1

Принимается в соответствии с главой СНиП II-21-75

Железобетонные элементы, содержащие в поперечном сечении стержней рабочей арматуры:

 

 

менее 10

mа2

1,1

10 и более

mа2

1,15

Примечания: 1. При наличии нескольких факторов, действующих одновременно, в расчет вводится произведение соответствующих коэффициентов условий работы.

2. В необходимых случаях коэффициенты условий работы арматуры принимаются согласно соответствующим нормативным документам.

3. Коэффициенты условий работы арматуры та2 для сооружений III и IV классов с рабочей арматурой классов А-IV и А-V принимаются уменьшенными на 0,05.

4. Коэффициент условий работы арматуры для расчетов по предельным состояниям второй группы принимается равным 1.

10.16. Расчетные сопротивления напрягаемой растянутой стержневой арматуры при расчете железобетонных конструкций на выносливость определяются согласно главе СНиП II-21-75.

10.17. Величины модуля упругости стержневой напрягаемой арматуры принимаются по табл. 56, ненапрягаемой - по табл. 17.

Таблица 56

Класс стержневой арматуры

Модуль упругости арматуры Eа, кгс/см2

А-IIIв, А-IV

2000000

А-V

1900000

11. РАСЧЕТ ЭЛЕМЕНТОВ ЖЕЛЕЗОБЕТОННЫХ КОНСТРУКЦИЙ ПО ПРЕДЕЛЬНЫМ СОСТОЯНИЯМ ПЕРВОЙ ГРУППЫ

Расчет по прочности железобетонных элементов

11.1. Расчет по прочности элементов железобетонных конструкций должен производиться для сечений, нормальных к их продольной оси, а также для наклонных к ней сечений наиболее опасного направления. Кроме того, должен производиться расчет элементов на местное действие нагрузки (смятие, продавливание, отрыв) в соответствии с главой СНиП II-21-75.

11.2. Допускается установка в сечении элемента арматуры из сталей разных видов и классов. Арматура каждого вида и класса вводится в расчет по прочности со своим расчетным сопротивлением. При этом содержащиеся в формулах данного раздела произведения RаFа, Rа.сFа и т.д. следует рассматривать как суммы произведений расчетных сопротивлений каждого вида арматуры на ее площадь.

РАСЧЕТ ПО ПРОЧНОСТИ СЕЧЕНИЙ, НОРМАЛЬНЫХ К ПРОДОЛЬНОЙ ОСИ ЭЛЕМЕНТА

ОБЩИЕ ПОЛОЖЕНИЯ

11.3. Расчет сечений, нормальных к продольной оси элемента, когда внешняя сила действует в плоскости оси симметрии сечения и арматура сосредоточена у перпендикулярных указанной плоскости граней элемента, должен производиться в зависимости от соотношения между величиной относительной высоты сжатой зоны бетона x = x/h0, определяемой из соответствующих условий равновесия, и граничным значением относительной высоты сжатой зоны бетона x, при котором предельное состояние элемента наступает одновременно с достижением в растянутой арматуре напряжения, равного расчетному сопротивлению Rа.

11.4. Величина xR определяется по формуле

                                                    (211)

где x0 - характеристика сжатой зоны бетона, равная для тяжелого бетона и бетона на пористых заполнителях

x0 = 0,85 - 0,0008 Rпр;                                               (212)

Rпр - значения принимаются по табл. 7;

sА - напряжение в арматуре растянутой зоны, кгс/см2, принимаемое равным:

для напрягаемой арматуры классов А-IV и А-V

sА = mаRа + 4000 - s0;                                                (213)

для напрягаемой арматуры класса А-IIIв

sА = mаRа - s0;                                                      (214)

s0 - определяется при коэффициенте mт, меньшем 1 (при механическом способе натяжения арматуры mт = 0,9), с учетом потерь, соответствующих рассматриваемой стадии работы элемента.

Допускается значения xR для тяжелого бетона принимать по табл. 57.

Таблица 57

Класс растянутой арматуры

Граничные значения xR при марке бетона

М 300

М 400

М 500

М 600

А-I

0,65

0,60

0,56

0,54

А-II и А-III

0,60

0,56

0,52

0,50

А-IIIв

0,67

0,63

0,60

0,57

А-IV и А-V

0,51

0,48

0,44

0,42

Примечание. При s0 < 0,95 RаII значение xR следует определять по формуле (211).

11.5. Напрягаемая арматура, расположенная в сжатой от действия внешних сил зоне и имеющая сцепление с бетоном, вводится в расчет с напряжением sс, равным (4000 - mтs¢0) кгс/см2, но не более Rа.с, где s'0 определяется с учетом всех потерь, проявляющихся в стадии, для которой производится расчет (см. п. 9.14), здесь mт принимается больше единицы, для механического способа натяжения арматуры mт = 1,1.

В расчетах по определению количества продольной напрягаемой арматуры, т.е. когда площадь сечения арматуры Fн и F'н неизвестна, допускается в первом приближении при вычислении s'0 принимать величину потерь, равную 1000 кгс/см2.

При расчетах элементов на усилия, действующие в стадии их обжатия, напряжение в предварительно напряженной арматуре, расположенной в сжатой зоне сечения, принимается sс = (3300 - mтs'0) кгс/см2, и при определении s'0 учитываются только первые потери.

11.6. Если для элементов, к которым предъявляются требования недопущения трещин или ограничения их раскрытия (для стадий изготовления, транспортирования и монтажа), из расчета по прочности на эксплуатационные нагрузки установка предварительно напряженной арматуры F'н не требуется, ее рекомендуется устанавливать конструктивно в пределах 20 - 30 % площади сечения арматуры Fн.

ИЗГИБАЕМЫЕ ЭЛЕМЕНТЫ

11.7. Изгибаемые элементы рекомендуется проектировать так, чтобы обеспечить выполнение условия x £ xR. Невыполнение этого условия можно допустить лишь в том случае, когда площадь сечения растянутой арматуры определена из расчета по предельным состояниям второй группы или принята конструктивно.

Рис. 82. Схема усилий и эпюра напряжений в сечении, нормальном к продольной оси изгибаемого железобетонного предварительно напряженного элемента, при расчете его по прочности

а - любой симметричной формы; б - прямоугольной формы

11.8. Расчет изгибаемых железобетонных элементов любой симметричной формы (рис. 82, а), кроме элементов кольцевого сечения с арматурой, равномерно распределенной по окружности, при соблюдении условия x £ xR следует производить из условия

kнnсM £ mбRпрS0 + mаRа.сF'а (h0 - a'а) + mаsсF'н (h0 - a'н),                (215)

при этом высота сжатой зоны x определяется из условия

mаRаFа + mаRаFн - mаRа.сF'а - mаsсF'н = mбRпрFб.                    (216)

11.9. При высоте сжатой зоны бетона x, определенной по формулам (215) и (216), менее 2a', расчет рекомендуется производить без учета сжатой арматуры.

11.10. Если вновь определенная высота сжатой зоны по формулам (215) и (216) без учета сжатой арматуры более 2a' расчет следует производить из условия (220).

ПРЯМОУГОЛЬНЫЕ СЕЧЕНИЯ

11.11. Расчет прямоугольных сечений с арматурой, сосредоточенной у сжатой и растянутой граней сечения (рис. 82, б) при x £ xRh0 производится по формулам:

kнnсM £ mбRпрbx(h0 - 0,5x) + mаRа.сF'а(h0 - a'а) + mаsсF'н(h - a'н),        (217)

mаRаFа + mаRаFн - mаRа.сF'а - mаsсF'н = mбRпрbx.                    (218)

11.12. Прочность прямоугольных сечений проверяется в зависимости от высоты сжатой зоны следующим образом.

Определяется высота сжатой зоны бетона по формуле

                                    (219)

а) при х < 0 прочность сечения проверяется из условия

kнnсM £ (mаRаFн + mаRаFа)(h0 - a'),                                    (220)

б) при х £ 2a' арматура F'а и F'н в расчете не учитывается.

Высота сжатой зоны бетона определяется вновь по формуле (219) без учета арматуры F'н и F'а, а прочность проверяется из условия

kнnсM £ mбRпрbx(h0 - 0,5x).                                              (221)

Если вновь определенная высота сжатой зоны будет равна х > 2a', расчет рекомендуется производить в соответствии с п. 11.10;

в) при 2a' < x £ xRh0 должно соблюдаться условие (217);

г) при x > xRh0 прочность сечения определяется из условия

kнnсM £ mбRпрxR(1 - 0,5xR)bh02 + mаRа.сF'а(h0 - a') + mаsсF'н(hо - a'н),       (222)

При невыполнении условия (222) рекомендуется повысить марку бетона либо увеличить размеры сечения, либо увеличить площадь сечения сжатой ненапрягаемой арматуры, определив требуемую площадь сечения по формуле

                      (223)

11.13. Прочность прямоугольных сечений с двойной симметричной арматурой проверяется в зависимости от высоты сжатой зоны, определенной по формуле (219) без учета арматуры F'н и F'а, при х £ 2a' - из условия (221); при 2a' < x < xRh0 - из условия

kнnсM £ mаRаFн(h0 - a'н) + mаRаFа(h0 - a'а).                                (224)

11.14. Подбор продольной напрягаемой арматуры Fн для сечений прямоугольной формы при заданной площади сечения арматуры Fа, F'а и F¢н производится следующим образом. Вычисляется величина х по формуле

;                         (225)

а) при х £ 2a' в соответствии с пп. 11.9 и 11.10 арматура F'н и Fа в расчете не учитывается. Высоту сжатой зоны бетона рекомендуется пересчитывать без учета арматуры F'н и F'а по формуле

                                                   (226)

при этом площадь сечения арматуры Fн при х < 2a' определяется по формуле

                                                   (227)

если высота сжатой зоны, определенная по формуле (226), получится х > 2a', площадь сечения арматуры Fн рекомендуется определять по формуле (230);

б) при 2a' < x £ xRh0 площадь сечения напрягаемой арматуры, расположенной в растянутой зоне, вычисляется по формуле

                                (228)

в) при x > xRh0 требуется увеличить площадь сечения или повысить марку бетона, или увеличить сжатую ненапрягаемую арматуру. Требуемая площадь сечения сжатой арматуры определяется по формуле (223). Площадь сечения напрягаемой арматуры определяется при этом по формуле

.                                 (229)

Если принятая площадь сечения сжатой арматуры F'а из конструктивных соображений значительно превышает ее требуемое значение, площадь сечения напрягаемой арматуры растянутой зоны определяется с учетом фактического значения F'аф.

11.15. Если площадь сечения сжатой арматуры не задана, а величина сжатой зоны бетона х, определенная по формуле (226), больше 2a', допускается в предварительных расчетах площадь сечения растянутой арматуры определять по формуле

.                                                 (230)

11.16. Подбор продольной арматуры для сечений прямоугольной формы с двойной симметричной арматурой при х £ 2a', определенном по формуле (226), производится по формуле (227); при 2a' < x £ xRh0 по формуле

.                                                 (231)

11.17. Продольную ненапрягаемую арматуру, расположенную в сжатой зоне (если ее сечение не задано), рекомендуется подбирать по формуле (223). Если величина F'а получается равной нулю или отрицательной, это означает, что она по расчету не требуется и может быть поставлена конструктивно.

ТАВРОВЫЕ И ДВУТАВРОВЫЕ СЕЧЕНИЯ

11.18. Расчет сечений, имеющих полку в сжатой зоне (тавровых, двутавровых и т.п.), должен производиться в зависимости от положения границы сжатой зоны:

Рис. 83. Форма сжатой зоны в сечении изгибаемого предварительно напряженного железобетонного элемента с полкой в сжатой зоне

а - при расположении границы сжатой зоны в полке; б - то же, в ребре

а) если граница сжатой зоны проходит в полке (рис. 83, а), т.е. соблюдается условие

mаRаFн + mаRаFа £ mбRпрb'пh'п + mаRа.сF'а + mаsсF'н,                       (232)

расчет производится как для прямоугольного сечения шириной b¢п в соответствии с пп. 10.12 и 10.13;

б) если граница сжатой зоны проходит в ребре (рис. 83, б), т.е. условие (232) не соблюдается, расчет производится в зависимости от высоты сжатой зоны по формуле

                     (233)

при x £ xRh0 - из условия

kнnсM £ mбRпрbx(h0 - 0,5x) + mбRпр(b'п - b)h'п(h0 - 0,5h'п) +

+ mаRа.сF'а(h0 - a'а) + mаsсF'н(h - a'н),                                   (234)

при x > xRh0 - из условия

kнnсM £ mбRпрxR(1 - 0,5xR)bh02 + mбRпр(b'п - b)h'п(h0 - 0,5h'п) +

 + mаRа.сF'а(h0 - a'а) + mаsсF'н(h - a'н).                                  (235)

При невыполнении условия (235) рекомендуется увеличить размеры сечения либо повысить марку бетона, либо увеличить количество сжатой ненапрягаемой арматуры.

При этом требуемая площадь сечения сжатой ненапрягаемой арматуры определяется по формуле

 (236)

Примечания: 1. При переменной высоте свесов полки допускается принимать значение h'п равным средней высоте свесов.

2. Ширина сжатой полки b'п, вводимая в расчет, не должна превышать величин, указанных в п. 11.20.

11.19. Требуемая площадь сечения напрягаемой арматуры, расположенной в растянутой зоне, определяется следующим образом:

а) если граница сжатой зоны бетона проходит в полке, т.е. соблюдается условие

kнnсM £ mбRпрb'пh'п(h0 - 0,5h'п) + mаRа.сF'а(h0 - a'а) + mаsсF'н(h - a'н),             (237)

площадь сечения напрягаемой арматуры, расположенной в растянутой зоне, определяется как для прямоугольного сечения шириной b'п в соответствии с пп. 10.14 - 10.16;

б) если граница сжатой зоны проходит в ребре, т.е. условие (237) не соблюдается, площадь сечения напрягаемой арматуры, расположенной в растянутой зоне, при заданной площади сечения арматуры Fа, F'а и F'н определяется в зависимости от высоты сжатой зоны

 (238)

при x £ xRh0 - по формуле

                      (239)

при x > xRh0 требуется увеличить площадь сечения или повысить марку бетона, или увеличить площадь сечения ненапрягаемой сжатой арматуры, определив ее по формуле (236).

Площадь сечения арматуры Fн рекомендуется определять по формуле

.                    (240)

11.20. Вводимая в расчет ширина свесов полки b'п принимается из условия, что ширина свеса в каждую сторону от ребра должна быть не более 1/6 пролета элемента и не более:

а) при наличии поперечных ребер - 1/2 расстояния в свету между продольными ребрами;

б) при отсутствии поперечных ребер или при расстояниях между ними больших, чем расстояния между продольными ребрами и h'п < 0,1h, - 6h'п;

в) при консольных свесах полки:

при             h'п ³ 0,1h                                         6h'п

»          0,05h £ h¢п < 0,1h                            3h'п

»          h'п < 0,05h                                       свесы не учитываются

КОЛЬЦЕВЫЕ СЕЧЕНИЯ

11.21. Расчет изгибаемых элементов кольцевого сечения при соотношении внутреннего и наружного радиусов r1/r2 ³ 0,5 с арматурой, равномерно распределенной по длине окружности (при числе продольных стержней не менее 6), рекомендуется производить как для внецентренно-сжатых элементов в соответствии с п. 11.32, принимая в формулах (257) и (263) величину продольной силы N = 0 и подставляя в формулу (256) вместо Ne0 значение изгибающего момента М.

Примеры расчета к пп. 11.7 - 11.20

Пример 51. Дано. Железобетонный элемент таврового сечения (рис. 84) с размерами: h = 60 см, hп = 15 см, bп = 150 см, b = 30 см, aн = 5,5 см, aа = 5 см, a'а = 10 см, a'н = 5,5 см, l = 10 м; бетон марки М 400, Rпр = 175 кгс/см2, Eб = 300000 кгс/см2, mб = 1; предварительно напряженная арматура класса А-IV, Rа = 5000 кгс/см2, Rа.с = 4000 кгс/см2, RаII = 6000 кгс/см2, Eа = 2000000 кгс/см2; ненапрягаемая арматура класса А-II, Rа = Rа.с = 2700 кгс/см2, mа = 1,1; площадь сечения ненапрягаемой арматуры сжатой F'а = 1,57 см2 (2 Æ 10), растянутой - Fа = 4,71 см2 (6 Æ 10). Натяжение всех стержней напрягаемой арматуры производится одновременно механическим способом. Опорные балки, воспринимающие усилия от натяжения арматуры, располагаются внутри камеры пропаривания. Расчетные изгибающие моменты: со стороны ребра M1 = 30 тс×м; со стороны полки М2 = 44 тс×м. Сооружение III класса - kн = 1,15, сочетание нагрузок основное - пс = 1.

Рис. 84. К примеру 51

Требуется определить площадь сечения напрягаемой продольной арматуры.

Расчет: h0 = h - aн = 60 - 5,5 = 54,5 см.

1. Определяем продольную арматуру в ребре. Расчет ведем согласно п. 11.19. Проверяем условие (237) без учета площади напрягаемой сжатой арматуры mбRпрb'пh'п(h0 - 0,5h'п) + mаRа.сF'а(h0 - a'а) = 1×175×150×15(54,5 - 0,5×15) + 1,1×2700×4,71(54,5 - 5) = 192 тс×м > kнnсM = 1,15×1×30 = 34,5 тс×м, т.е. граница сжатой зоны проходит в полке. Расчет производим как для прямоугольного сечения шириной b = b'п = 150 см в соответствии с п. 11.14.

По формуле (226) без учета сжатой арматуры определяем высоту сжатой зоны бетона:

х < 2a' = 11 см, следовательно, сжатая арматура не учтена правильно, x < xRh0 = 0,48×54,5 = 26,16 см, где xR определено по табл. 57.

Площадь сечения напрягаемой арматуры, расположенной в ребре, определяем по формуле (227)

Принимаем F'н = 12,32 см2 (2 Æ 28).

2. Определяем продольную арматуру в полке. Расчет ведем как для прямоугольного сечения, так как полка находится в растянутой зоне. По формуле (225) определяем высоту сжатой зоны бетона.

Для определения входящей в формулу (225) величины sс принимаем (в соответствии с рекомендациями п. 11.5) суммарные потери Ssп = 1000 кгс/см2.

Определяем предварительное напряжение в напрягаемой арматуре сжатой зоны (см. п. 9.13) s¢0 = 0,95RаII - Ssп = 0,95×6000 - 1000 = 5700 - 1000 = 4700 кгс/см2.

По п. 11.5 определяем sс:

sс = 4000 - ттs¢0 = 4000 - 1,1×4700 = -1170 кгс/см2.

Определяем высоту сжатой зоны бетона:

x = 25,7 < xRh0 = 0,48×54,5 = 26,2 см.

Площадь сечения напрягаемой арматуры определяем по формуле (228)

Принимаем Fн = 22,81 см2 (6 Æ 22).

Далее следует уточнить принятую величину потерь напряжения (Ssп = 1000 кгс/см2), для чего определяем по формулам (207) - (210) геометрические характеристики сечения.

Fп = 150×15 + 45×30 + n22,81 + n14,71 + n12,32 + n11,57 = 3878,3 см2.

n = Eа/Eб = 2000000/300000 = 6,67; n1 = Eа/Eб = 2100000/300000 = 7;

Статический момент приведенного сечения относительно нижней грани сечения равен

Sп = 150×15×7,5 + 45×30×37,5 + 6,67×22,81×5,5 + 7×4,71×5 + 6,67×12,32×54,5 + 7×1,57×50 = 73531,5 см3.

Расстояние от нижней грани полки до центра тяжести приведенного сечения равно

Момент инерции приведенного сечения равен

Iп = 150×153/12 + 150×15×11,52 + 30×453/12 + 30×45×18,52 + 6,67×22,81×13,52 + 7×4,71×142 + 6,67×12,32×35,52 + 7×1,57×312 = 1177912 см4.

Определяем потери напряжения по табл. 50.

а) Первые потери:

1. от релаксации

sп1 = 0,1s0 - 200 = 0,1×5700 - 200 = 370 кгс/см2;

2. от деформации анкеров

Потери от температурного перепада и деформации формы (п. 2 и 4 табл. 50) при принятой технологии изготовления железобетонных элементов принимаются равными нулю;

3. от быстронатекающей ползучести.

Для определения указанных потерь вычисляем s0, N0, eо.н и sб.н (см. пп. 9.16 и 9.20) с учетом потерь (sп1 + sп2):

s0 = 0,95RаII - (sп1 + sп2) = 5700 - (370 + 400) = 4930 кгс/см2;

N0 = (Fн + F'н)s0 = (22,81 + 12,32)4930 = 173190,9 кгс;

напряжения в бетоне на уровне арматуры соответственно Fн и F'н:

Передаточную прочность бетона R0 принимаем равной R0 = 0,7R = 0,7×400 = 280 кгс/см2.

Так как s¢б.н/R0 = 64,0/280 = 0,23 < 0,6, потери определяем по формуле

s¢п4 = 0,85×500s¢б.н/R0 = 0,85×500×0,23 = 97,1 кгс/см2.

б) Вторые потери:

4. от усадки бетона

sп4 = 350 кгс/см2.

5. от ползучести бетона

sп5 = 0,85×2000s¢б.н/R0 = 0,85×2000×0,23 = 391 кгс/см2.

Суммарные потери, проявляющиеся в стадии эксплуатации, равны

Ssп = 370 + 400 + 97,1 + 350 + 391 = 1608 кгс/см2.

Вычисляем s¢0 и sс c учетом определенных потерь:

s¢0 = 0,95RаII - Ssп = 5700 - 1608 = 4092 кгс/см2;

sс = 4000 - mтs¢0 = 4000 - 1,1×4092 = -501,2 кгс/см2.

Определяем вновь высоту сжатой зоны бетона при уточненном значении напряжения sс в сжатой арматуре

x < xRh0 = 26,2 - площадь сечения напрягаемой арматуры определяем по формуле (228)

Окончательно принимаем Fн = 18,85 см2 (6 Æ 20).

Проверяем требования п. 9.22, для чего определяем величину N0 с учетом потерь по поз. 1 - 4 табл. 50.

N0 = (Fн + F'н)s0 = (18,85 + 12,32)4930 = 153668,1 кгс.

.

Напряжения в бетоне на уровне крайнего сжатого волокна равны

sб.н/R0 = 71,2/280 = 0,25 < 0,55 (см табл. 51),

т.е. величина обжатия бетона в пределах допустимого.

Пример 52. Дано. Железобетонная предварительно напряженная балка двутаврового сечения (рис. 85, а), h = 140 см, h0 = 127,5 см, b = 25 см, bп = b'п = 60 см, hп = 25 см, h'п = 20 см, aн1 = a'н = a'а1 = 5,5 см, a'а2 = 14,5 см, aн2 = 19,5 см, бетон марки М 400, Rпр = 175 кгс/см2, mб = 1, арматура напрягаемая класса A-IV, F'н = 24,13 см2 (3 Æ 32), Rа = 5000 кгс/см2, RаII = 6000 кгс/см2, Rа.с = 4000 кгс/см2; ненапрягаемая арматура класса А-II, F'а1 = 2,26 см2 (2 Æ12), F'а2 = 2,26 см2 (2 Æ 12), R'а = Rа.с = 2700 кгс/см2; mа = 1,1.

Потери предварительного напряжения Ssп для стадии эксплуатации составляют 1000 кгс/см2. Натяжение арматуры производится механическим способом. Расчетный изгибающий момент M = 336 тс×м. Сооружение III класса - kн = 1,15; сочетание нагрузок основное - nс = l. Требуется определить площадь сечения напрягаемой продольной арматуры в растянутой зоне.

Рис. 85. К примеру 52

а - предварительное армирование; б - окончательное армирование

Расчет. Расчет ведем согласно п. 11.19.

Для проверки условия (237) определяем по п. 11.5 напряжение sс = 4000 - mтs¢0, где s¢0 = 0,95RаII - Ssп = 0,95×6000 - 1000 = 4700 кгс/см2.

sс = 4000 - 1,1×4700 = -1170 кгс/см2.

Проверяем условие (237):

mбRпрb'пh'п(h0 - 0,5h'п) + mаRа.сF'а(h0 - a'а) + mаsсF'н(h0 - a'н) = 1×175×60×20(127,5 - 0,5×20) + 1,1×2700×4,52(127,5 - 10) - 1,1×1170×24,13(127,5 - 5,5) = 22463619 кгс×см < kнnсM = 1,15×1×33600000 = 38640000 кгс×см, т.е. граница сжатой зоны проходит в ребре. Определяем высоту сжатой зоны бетона с учетом свесов полок в сжатой зоне по формуле (238)

x = 63 > xRh0 = 0,48×127,5 = 61,2 см.

В соответствии с п. 11.19, б следует увеличить площадь сечения арматуры F'а, расположенной в сжатой зоне сечения:

Принимаем F'а = 6,16 см2 (4 Æ 14).

Площадь сечения напрягаемой арматуры определяем по формуле (240):

Принимаем Fн = 73,9 см2 (12 Æ 28).

Принятое в результате расчета армирование дано на рис. 85, б.

Пример 53. Дано. Железобетонный элемент прямоугольного сечения, b = 50 см, h = 35 см, h0 = 30 см, aн = a'н = 5 см; бетон марки М 400, Rпр = 175 кгс/см2, mб = 1; арматура симметричная из горячекатаной стали класса А-IIIв, Rа = 4500 кгс/см2, mа = 1,1; площадь сечения растянутой и сжатой арматуры Fн = F'н = 24,63 см2 (4 Æ 28); расчетный изгибающий момент М = 25 тс×м; сооружение III класса - kн = 1,15; основное сочетание нагрузок - nс = 1.

Требуется проверить прочность сечения.

Расчет. По формуле (219) без учета площади сжатой арматуры вычисляем высоту сжатой зоны бетона

xR = 0,48 (табл. 57).

2a' < x < xRh0 = 0,48×30 = 14,4 см.

В соответствии с рекомендациями п. 11.13 прочность сечения проверяем по условию (224):

kнnсM £ mаRаFн(h0 - a'н) + mаRаFа(h0 - a'а);

1,15×1×2500000 < 1,1×4500×24,63(30 - 5),

2875000 < 3047962 кгс×см, т.е. прочность сечения обеспечена.

ВНЕЦЕНТРЕННО-СЖАТЫЕ ЭЛЕМЕНТЫ

11.22. Расчет внецентренно-сжатых предварительно напряженных элементов прямоугольного, таврового и двутаврового сечений с арматурой, сосредоточенной у наиболее сжатой и у растянутой граней, и кольцевого сечения с арматурой, равномерно распределенной по окружности, производится согласно пп. 11.26 - 11.32.

При этом граничные значения относительной высоты сжатой зоны xR и напряжение sс в напрягаемой арматуре, расположенной в сжатой зоне, определяются как для изгибаемых элементов согласно пп. 11.4 и 11.5.

Для других видов сечений, а также при косом внецентренном сжатии расчет нормальных сечений производится по формулам общего случая расчета нормального сечения в соответствии с п. 11.28 главы СНиП II-21-75.

11.23. Расчет внецентренно-сжатых элементов должен производиться с учетом влияния прогиба элемента в плоскости изгиба и в нормальной к ней плоскости. В последнем случае принимается, что продольная сила приложена с эксцентрицитетом e0, равным случайному эксцентрицитету e0сл.

Значение e0сл принимается не менее 1/600 всей длины элемента или длины его части между точками закрепления элемента, учитываемой в расчете, 1/30 высоты сечения элемента, 1 см.

Расчет из плоскости изгиба можно не производить, если гибкость элемента l0/r (для прямоугольных сечений l0/h) в плоскости изгиба превышает гибкость в плоскости нормальной плоскости изгиба.

11.24. Влияние прогиба элемента в плоскости изгиба на величину эксцентрицитета продольного усилия рекомендуется учитывать, как правило, расчетом конструкций по деформированной схеме, принимая во внимание неупругие деформации материалов и наличие трещин.

Допускается производить расчет конструкций по недеформированной схеме, учитывая влияние прогиба элемента путем умножения эксцентрицитета e0 на коэффициент h, определяемый по формуле (52):

где Nкр - условная критическая сила, определяемая по формуле

                                   (241)

здесь kн.а - коэффициент, учитывающий влияние предварительного напряжения арматуры на жесткость элемента, определяемый по формуле

                                                            (242)

где sб.н - напряжения обжатия в бетоне на уровне центральной оси с учетом всех потерь при коэффициенте mт < 1; при механическом способе натяжения арматуры mт = 0,9;

e0/h - принимается не более 0,25.

Для кольцевых сечений значения h в формулах (55) и (242) заменяются на D.

При N > Nкр рекомендуется увеличивать размеры сечения.

Влияние прогиба может не учитываться в случаях, перечисленных в п. 3.27 а - г.

11.25. Расчет внецентренно-сжатых железобетонных элементов (любой симметричной формы) при действии продольной силы в плоскости оси симметрии должен производиться из условий:

kнnсNe £ mбRпрSб + mаRа.сF'а(h0 - a'а) + mаsсF'н(h0 - a'н);                    (243)

kнnсN = mбRпрFб + mаRа.сF'а + mаsсF'н - mаRаFн - mаRаFа.                   (244)

Значение e вычисляется по формуле

e = e0h + y,                                                               (245)

где y - расстояние от центра тяжести приведенного сечения до равнодействующей усилий в растянутой или наименее сжатой арматуре.

Для прямоугольных сечений значение e вычисляется по формуле

e = e0h + h/2 - a.                                                      (246)

При расчетах по формулам (243) и (244) необходимо учитывать рекомендации пп. 11.9 и 11.10.

ПРЯМОУГОЛЬНЫЕ СЕЧЕНИЯ

11.26. Расчет прямоугольных сечений (рис. 86) с арматурой, сосредоточенной у наиболее сжатой и у растянутой (наименее сжатой) граней элемента, при x £ xRh0 производится по формулам:

kнnсNe £ mбRпрbx(h0 - 0,5x) + mаRа.сF'а(h0 - a'а) + mаsсF'н(h0 - a'н);            (247)

kнnсN + mаRаFн + mаRаFа - mаRа.сF'а - mаsсF'н = mбRпрbx.                      (248)

11.27. Прочность прямоугольных сечений проверяется в зависимости от высоты сжатой зоны по формуле

                             (249)

при x £ xRh0 - из условия (247) с учетом п. 11.12;

при x > xRh0 - из условия

kнnсNe £ mбRпрxR(1 - 0,5xR)bh02 + mаRа.сF'а(h0 - a'а) + mаsсF'н(h0 - a'н).           (250)

Рис. 86. Схема усилий и эпюра напряжений в сечении, нормальном к продольной оси внецентренно-сжатого железобетонного предварительно напряженного элемента, при расчете его по прочности

При невыполнении условия (250) рекомендуется расчет производить по формулам общего случая, приведенным в главе СНиП II-21-75, либо установить сжатую арматуру, определив необходимую площадь сечения по формуле

                             (251)

11.28. Для проверки прочности прямоугольных сечений с двойной симметричной арматурой определяется высота сжатой зоны бетона х по формуле (249) без учета сжатой арматуры F'а и F'н. При x £ 2a' должно соблюдаться условие

kнnсNe £ mбRпрbx(h0 - 0,5x),                                         (252)

при 2a' < x £ xRh0 прочность проверяется из условия

kнnсNe £ mаRаFн(h0 - a'н) + mаRаFа(h0 - a'а).                                 (253)

11.29. Подбор продольной напрягаемой арматуры, расположенной в растянутой (менее обжатой) зоне сечения, при заданных площадях сечения арматуры Fа, F'н и F'а производится в зависимости от высоты сжатой зоны х, определяемой по формуле

                  (254)

при x £ xRh0 Fн определяется с учетом рекомендаций п. 11.14 по формуле

                      (255)

при x > xRh0 - в соответствии с п. 11.27.

11.30. Подбор продольной арматуры при незаданных площадях сечения сжатой арматуры, а также подбор арматуры для прямоугольных сечений с двойной симметричной арматурой при х > 2a' производится соответственно по формулам (230) и (231) для изгибаемых элементов с заменой в формулах М на Ne.

ТАВРОВЫЕ И ДВУТАВРОВЫЕ СЕЧЕНИЯ

11.31. Расчет тавровых и двутавровых сечений с арматурой, сосредоточенной у сжатой и растянутой (менее сжатой) граней сечения, производится по аналогии с изгибаемыми элементами с использованием формул (232) - (240) и с соблюдением рекомендаций, изложенных в пп. 11.18 - 11.20.

В левую часть формулы (232) следует добавить kнnсM; в формулах (234) - (238) М заменить на Ne; в числитель формул (233) со знаком «плюс», (239) и (240) - со знаком «минус» добавить kнnсN.

КОЛЬЦЕВЫЕ СЕЧЕНИЯ

11.32. Расчет элементов кольцевого сечения при соотношении внутреннего и наружного радиусов r1/r2 ³ 0,5 с арматурой, равномерно распределенной по окружности (при числе продольных стержней не менее 6), рекомендуется производить из условия

kнnсNe0 £ (mбRпрFrср+mаRа.сFн.кrн + mаRа.сFа.нrа)sinpaк/p + mаRаFн.кkсzн+mаRаFа.кkаzа, (256)

при этом величина относительной площади сжатой зоны бетона aк определяется по формуле

,           (257)

где rср = (r1 + r2)/2 - средний радиус кольцевого сечения;

Fн.к - площадь сечения всей напрягаемой продольной арматуры;

Fа.к - площадь сечения всей ненапрягаемой продольной арматуры классов А-I, А-II и А-III;

rн и rа - радиусы окружностей, проходящие через центры тяжести стержней, соответственно площадью Fн.к и Fа.к;

Aн - коэффициент для напрягаемой арматуры классов А-IIIв, А-IV, определяемый по формуле

Aн = 1,1 - mтs0/Rа;                                                      (258)

Dн(а) = 1,5 + 6mаRа10-5,                                                  (259)

(здесь Rа принимается в кгс/см2);

s0 - определяется при коэффициенте mт > 1, при механическом способе натяжения арматуры mт = 1,1;

zн и zа - расстояния от равнодействующей в арматуре растянутой зоны соответственно напрягаемой и ненапрягаемой арматуры до центра тяжести сечения, определяемые по формуле

zн(а) = (0,2 + 1,3aк)rн(а);                                                   (260)

kс и kа - коэффициенты, принимаемые равными

kс = Aн(1 - Dнaк);                                                         (261)

kа = 1 - Dаaк,                                                             (262)

но не менее нуля.

Если kс £ 0 либо kа £ 0, значение aк снова вычисляется по формуле (257), принимая соответственно Ан = 0 либо Аа = 0.

Если aк < 0,15, в условие (256) подставляется значение aк, определяемое по формуле

,                                      (263)

При этом значения zн, zа, kс и kа определяются по формулам (260) - (262).

Эксцентрицитет силы N относительно центра тяжести сечения e0 определяется с учетом прогиба элемента согласно п. 11.24.

Примеры расчета к пп. 11.22 - 11.32

Пример 54. Дано. Железобетонный элемент таврового сечения (рис. 87), h = 70 см, b = 30 см, bп = 160 см, hп = 15 см, h0 = 64 см, a = a' = 6 см; расчетные усилия: продольная сила от постоянных и длительных нагрузок N = 40 тс, изгибающий момент от постоянных и длительных нагрузок, действующий со стороны полки, M = 50 тс×м; бетон марки М 400, Rпр = 175 кгс/см2, mб = 1, Eб = 300000 кгс/см2, RпрII = 225 кгс/см2; арматура напрягаемая класса А-IIIв, Rа = 4500 кгс/см2, RаII = 5500 кгс/см2, Eа = 2000000 кгс/см2, mа = 1,1; длина элемента = l0 = 10 м. Натяжение арматуры производится механическим способом. Опорные балки, на которые передаются усилия от натяжения арматуры, располагаются в камере пропаривания.

Сооружение III класса - kн = 1,15; сочетание нагрузок основное - nс = 1. Требуется подобрать продольную арматуру элемента.

Расчет. По табл. 23 определяем значение величины n:

bп/b = 160/40 = 4 и hп/h = 15/70 = 0,21 - n = 0,3,

l0/h = 1000/70 = 14,3 > 35n = 35×0,3 = 10,5,

следовательно, расчет ведем с учетом прогиба элемента в соответствии с п. 11.24.

Рис. 87. К примеру 54

Для определения критической силы Nкр необходимо знать площадь сечения арматуры. Предварительно задаемся процентом армирования сечения m = 0,01 и определяем площадь сечения арматуры, принимая F'н = 0,3Fн (см. п. 11.6).

Так как

Fн = 0,01×30×64 = 19,2 см; F'н = 0,3×Fн = 0,3×19,2 = 5,8 см2.

Площадь сечения бетона F = 160×15 + 30×55 = 4050 см2.

Приведенная площадь сечения при

Fп = 4050 + 6,67(19,2 + 5,8) = 4217 см2.

Статический момент приведенного сечения относительно нижней грани полки

Sп = 160×15×7,5 + 30×55(70 - 55/2) + 6,67×19,2×6 + 6,67×5,8(70 - 6) = 91369 см3.

Расстояние от нижней грани полки до центра тяжести приведенного сечения

Момент инерции бетонного сечения

I = 160×153/12 + 160×15(21,6 - 7,5)2 + 30×553/12 + 30×55(70 - 21,6 - 27,5)2 = 1658813 см4.

Момент инерции арматуры nIа = 6,67×19,2(21,6 - 6)2 + 6,67×5,8(70 - 21,6 - 6)2 = 100714 см4.

Момент инерции приведенного сечения Iп = I + nIа = 1658813 + 100714 = 1759532 см4.

При действии только длительных и постоянных нагрузок

M1 = M1дл и kдл = 1 + M1дл/M1 = 2; e0 = M/N = 5000000/40000 = 125;

e0/h = 125/70 = 1,79; tмин = 0,5 - 0,01l0/h - 0,001mбRпр = 0,5 - 0,01×14,3 - 0,001×1×170 = 0,187.

Так как e0/h > tмин, принимаем t = 1,79.

Поскольку арматура неизвестна, принимаем в соответствии с п. 11.5 величину потерь Ssп = 1000 кгс/см2. Предварительное напряжение с учетом всех потерь s0 = s0¢ = 0,95 RаII - Ssп = 0,95×5500 - 1000 = 4225 кгс/см2.

Сила предварительного обжатия N0 = s0(Fн + F'н) = 4225(19,2 + 5,8) = 105625 кгс.

Напряжение обжатия в бетоне на уровне центральной оси при mт = 0,9

sб.н = mтN0/Fп = 0,9×105625/4217 = 22,5 кгс/см2.

Определяем коэффициент

где e0/h = 1,79 > 0,25. Принято e0/h = 0,25.

Определяем критическую силу по формуле

Определяем:

коэффициент h

эксцентрицитет приложения силы N с учетом коэффициента h

e = e0h + yц = 125×l,08 + (21,6 - 6) = 150,8 см.

Поскольку полка расположена в растянутой зоне, определяем высоту сжатой зоны по формулам прямоугольного сечения с учетом принятой сжатой арматуры в соответствии с п. 11.29:

sс = 4000 - mтs¢0 = 4000 - 1,1×4225 = -647,5 кгс/см2;

х < xRh0 = 0,48 - 64 = 30,7 см.

Продольную арматуру в растянутой зоне определяем по формуле (255):

Принимаем Fн = 18,85 см2 (6 Æ 20), F'н = 6,28 см2 (2 Æ 20).

Поскольку определенная в результате расчета площадь сечения продольной арматуры незначительно отличается от предварительно принятой, пересчет величины коэффициента и приведенных характеристик сечения производить не следует.

Определяем фактическую величину потерь.

а) Первые потери:

1. от обжатия шайб натяжных устройств:

2. от деформации форм: sп2 = 300 кгс/см2;

3. от быстронатекающей ползучести:

s0 = s¢0 = 0,95RаII - Ssп = 0,95×5500 - (400 + 300) = 4525 кгс/см2.

N0 = s0(Fн + F'н) = (18,85 + 6,28)4525 = 113713 кгс.

Напряжение в бетоне на уровне арматуры Fн и F'н

Передаточная прочность бетона R0 = 0,7R = 0,7×400 = 280 кгс/см2. Так как sб.н/R0 = 28,1/280 = 0,1 < 0,6, потери для арматуры Fн и F'н определяются по формулам:

sп3 = 0,85×500 sб.н/R0 = 0,85×500×0,1 = 42,7 кгс/см2;

s¢п3 = 0,85×500 s¢б.н/R0 = 0,85×500×24/280 = 36,4 кгс/см2.

б) Вторые потери:

4. от усадки бетона:

sп4 = 350 - 200 = 150 кгс/см2, так как в период эксплуатации элемент постоянно будет находиться в воде и после изготовления более трех месяцев остается на воздухе (см. п. 9.15, б).

5. от ползучести бетона.

Так как s¢б.н/R0 = 0,09 < 0,6, потери определяются по формуле

s¢п5 = 0,85×2000 s¢б.н/R0 = 0,85×2000×24/280 = 145,7 кгс/см2.

Суммарные потери, проявляющиеся на стадии эксплуатации на уровне арматуры F'н, Ss¢п = 400 + 300 + 36,4 + 150 + 145,7 = 1032 кгс/см2.

Уточненные потери напряжения практически не отличаются от принятых вначале. Необходимая площадь сечения арматуры не изменится.

Проверим величину обжатия бетона в крайнем волокне наиболее обжатой зоны с учетом потерь sп1 и sп2 (см. п. 9.22):

sб.н = 28,5 < 0,75R0 = 0,75×280 = 210 кгс/см2, т.е. значительно меньше допустимой.

Окончательно принимаем: Fн = 18,85 см2; F'н = 6,28 см2.

Пример 55. Дано. Железобетонная предварительно напряженная свая-оболочка (рис. 88) диаметром D = 160 см, r1 = 65 см, r2 = 80 см; rн = 72,5 см; бетон марки М 300, Rпр = 135 кгс/см2, Eб = 260000 кгс/см2, mб = 1; арматура напрягаемая класса А-IV, Fн.к = 91,22 см2 (24 Æ 22), распределена равномерно по окружности кольца, Rа = 5000 кгс/см2, Rа.с = 4000 кгс/см2, RаII = 6000 кгс/см2; Eа = 2000000 кгс/см2, mа = 1,1; продольная сжимающая сила от постоянных и длительных нагрузок N = 100 тc; изгибающий момент от постоянных и длительных нагрузок M = 150 тс×м; расчетная длина оболочки l0 = 12 м. Напряжение арматуры производится механическим способом. До эксплуатации оболочки находятся на воздухе более трех месяцев, а в период эксплуатации постоянно находятся в воде. Сооружение III класса - kн = 1,15, сочетание нагрузок основное - пс = 1. Требуется проверить прочность сечения.

Расчет. r1/r2 = 65/80 = 0,8 > 0,5, следовательно, расчет можно производить по рекомендациям п. 11.32.

Рис. 88. К примеру 55

Гибкость элемента l0/D = 1200/160 = 7,5 < 8, т.е. прогиба можно не учитывать (см. п. 3.27, в).

Определяем aк по формуле (257). Для этого вычисляем:

а) s0 с учетом всех потерь:

1. от релаксации sп1 = 0,1s0 - 200 = 0,1 (0,95×6000) - 200 = 370 кгс/см2;

2. от температурного перепада sп2 = 0;

3. от обжатия шайб

4. от деформации форм sп4 = 300 кгс/см2;

5. от быстронатекающей ползучести:

sп1-4 = 370 + 333 + 300 = 1003 кгс/см2;

s0 = s¢0 = 0,95RаII - sп1-4 = 0,95×6000 - 1003 = 4697 кгс/см2;

N0 = Fн.кs0 = 91,22×4697 = 428460,3 кгс;

напряжение в бетоне от силы N0 равно

где Fп = p(r22 - r12) + nFн.к = 3,14(802 - 652) + 2000000×91,22/260000 = 7531,2 см2;

передаточная прочность бетона равна

R0 = 0,7R = 0,7×300 = 210 кгс/см2.

Так как sб.н/R0 = 56,9/210 = 0,27 < 0,6, потери от быстронатекающей ползучести определяются по формуле

sп5 = 0,85×500s¢б.н/R0 = 0,85×500×0,27 = 115 кгс/см2,

6. от усадки бетона

sп6 = 350 - 200 = 150 кгс/см2;

7. от ползучести бетона

так как sб.н/R0 < 0,6, sп7 = 0,85×2000×0,27 = 459 кгс/см2;

суммарные потери:

Ssп = 370 + 333 + 300 + 115 + 150 + 459 = 1727 кгс/см2.

s0 = 0,95RаII - Ssп = 0,95×6000 - 1727 = 3973 кгс/см2;

б) Aн = 1,1 - mтs0/Rа = 1,1 - 1,1×3973/5000 = 0,23;

в) F = p(r22 - r12) = 3,14(802 - 652) = 6829,5 см2;

г) Dн = 1,5 + 6mаRа×10-5 = l,5 + 6×1,1×5000×10-5 = 1,83.

,

Прочность сечения проверяем по условию (256), для этого определяем rср, kс, zн, e0:

kс = Aн(1 - Dнaк) = 0,23(1 - 1,83×0,39) = 0,066;

zн = (0,2 + 1,3aк)rн = (0,2 + 1,3×0,39)72,5 = 51,3 см;

e0 = M/N = 15000000/100000 = 150 см;

(mбRпрFrср + mаRа.сFн.кrн) + mаRаFн.кkсzн =

 = (1×135×6829,5×72,5 + 1,1×4000×91,22×72,5)× +

 + 1,1×5000×91,22×0,066×51,3 = 30481563 кгс×см =

 = 304,8 тс×м > kнnсNe0 = 1,15×1×100000×150 = 172,5 тс×м,

т.е. прочность сечения обеспечена.

ЦЕНТРАЛЬНО-РАСТЯНУТЫЕ ЭЛЕМЕНТЫ

11.33. При расчете сечений центрально-растянутых железобетонных элементов должно соблюдаться условие

kнnсN £ mаRаFн + mаRаFа,                                              (264)

где Fн и Fа - площади сечения всей продольной соответственно напрягаемой и ненапрягаемой арматуры.

ВНЕЦЕНТРЕННО-РАСТЯНУТЫЕ ЭЛЕМЕНТЫ

11.34. Расчет прямоугольных сечений внецентренно-растянутых элементов при расположении продольной силы в плоскости симметрии с арматурой, сосредоточенной у наиболее растянутой и у сжатой (менее растянутой) граней, должен производиться в зависимости от положения продольной силы N:

а) если продольная сила N приложена между равнодействующими усилий в арматуре А и А¢ (рис. 82, а), т.е. при e' £ h0 - a' - из условия

kнnсNe £ (mаRаF'н + mаRаF'а)(h0 - a') и                                  (265)

kнnсNe' £ (mаRаFн + mаRаFа)(h0 - a'),                                      (266)

где e' = e0 + h/2 - a'; e = e0 - h/2 + a.

При симметричном армировании используется только условие (266);

Рис. 89. Схема усилий и эпюра напряжений в сечении, нормальном к продольной оси внецентренно-растянутого железобетонного элемента, при расчете его по прочности

а - продольная сила N приложена между равнодействующими усилий в арматуре А и А¢; б - то же, за пределами расстояния между равнодействующими усилий в арматуре А к А¢

б) если продольная сила N приложена за пределами расстояния между равнодействующими усилий в арматуре А и А¢ (рис. 89, б), т.е. при e' > h0 - a' - из условия

kнnсNe £ mбRпрbx(h0 - 0,5x) + mаRа.сF'а(h0 - a'а) + mаsсF'н(h0 - a'н),               (267)

при этом высота сжатой зоны х определяется по формуле

                            (268)

Если полученная из расчета по формуле (268) величина х > xRh0, в условие (267) подставляется значение х = xRh0, где xR - определяется по табл. 57.

Если х < 0, то прочность сечения проверяется из условия (265).

Если при e' > h0 - a' высота сжатой зоны, определенная по формуле (268), меньше 2a', высоту сжатой зоны следует определить вновь без учета сжатой арматуры А¢ по формуле

                                                (269)

При этом, если высота сжатой зоны получится меньше 2a', расчет следует производить по формуле (267) без учета сжатой арматуры; если больше 2a', расчет рекомендуется производить из условия

kнnсNe £ (mаRаFн + mаRаFа)(h0 - a'),                                      (270)

11.35. Требуемое количество продольной арматуры рекомендуется определять следующим образом:

а) при e' £ h0 - a' площади сечения напрягаемой арматуры А и А¢ определятся соответственно по формулам:

                                       (271)

                                          (272)

Подбор симметричной арматуры производится по формуле (271);

б) при e' > h0 - a' площадь сечения напрягаемой арматуры А определяется по формуле

                            (273)

где                      (274)

При этом должно удовлетворяться условие х £ xRh0. В противном случае рекомендуется увеличить площадь сечения ненапрягаемой арматуры F'а, повысить марку бетона или увеличить размеры сечения. При x £ 2a' следует учитывать рекомендации п. 11.14.

Если х < 0, площадь сечения напрягаемой арматуры определяется по формуле (271).

Подбор симметричной арматуры производится по формуле

                                          (275)

при этом высота сжатой зоны определяется по формуле

                                 (276)

Пример расчета к пп. 11.34 и 11.35

Пример 56. Дано. Железобетонная свая прямоугольного сечения, h = b = 40 см, a = a' = 5 см, h0 = 35 см; арматура горячекатаная периодического профиля, класса А-IIIв, Fн = F'н = 18,47 см2, Rа = 4500 кгс/см2, Eа = 2000000 кгс/см2, mа = 1,1; бетон марки М 400, Rпр = 175 кгс/см2, Eб = 300000 кгс/см2, mб = 1; расчетные усилия: изгибающий момент М = 5 тс×м, растягивающая сила N = 40 тс; сооружение III класса - kн = 1,15; сочетание нагрузок основноеm - nс = 1. Требуется проверить прочность сечения.

Расчет. e0 = M/N = 500000/40000 = 12,5 см; e' = e0 + h/2 - a' = 12,5 + 40/2 - 5 = 27,5 см.

Так как e' = 27,5 см < h0 - a' = 35 - 5 = 30 см, прочность проверяем из условия (266): (mаRаFн + mаRаFа)(h0 - a') = 1,1×4500×18,47(35 - 5) = 2742795 кгс×см > kнnсNe' = 1,15×1×40000×27,5 = 1265000 кгс×см, т.е. прочность сечения обеспечена.

РАСЧЕТ ЭЛЕМЕНТОВ НА ВОЗДЕЙСТВИЕ ПРЕДВАРИТЕЛЬНОГО ОБЖАТИЯ

11.36. Расчет элементов на воздействие предварительного обжатия производится с учетом собственного веса, при этом усилие в напрягаемой арматуре вводится в расчет как внешняя сжимающая сила. Это усилие определяется по формуле

Nн = (ттs¢0 - 3300)F'н,                                                  (277)

где F'н - площадь сечения напрягаемой арматуры, расположенной в наиболее обжатой зоне сечения;

3300 - принимается в кгс/см2;

s¢0 - определяется при коэффициенте тт > 1 с учетом первых потерь; при механическом способе натяжения арматуры тт = 1,1.

Примечание. При центральном обжатии элемента расчет на воздействие предварительного обжатия может не производиться.

11.37. Для элементов прямоугольного, таврового и двутаврового сечений с полкой в наименее обжатой зоне (рис. 90, а) расчет прочности на действие предварительного обжатия при расположении силы Nн в плоскости оси симметрии сечения производится в зависимости от высоты сжатой зоны.

                                       (278)

а) при х £ xRh0 - из условия

Nнe £ mбRпрbx(h0 - 0,5x) + mаRа.сF'а(h0 - a'а);                               (279)

б) при х > xRh0 - из условия

Nнe £ mбRпрbh02xR(1 - 0,5xR) + mаRа.сF'а(h0 - a'а),                            (280)

здесь Rпр - расчетное сопротивление бетона, соответствующее его передаточной прочности R0;

xR - принимается по табл. 57 в зависимости от класса арматуры, расположенной в менее обжатой зоне сечения (при наличии напрягаемой арматуры в зависимости от класса арматуры Fн);

Рис. 90. Схема усилий и эпюра напряжений в сечении, нормальном к продольной оси железобетонного элемента, при расчете его на действие предварительного обжатия

а - с полкой в наименее обжатой зоне; б - с полкой в наиболее обжатой зоне

e - определяется по формуле

e = h0 - a'н ± M/Nн,                                                        (281)

здесь М - момент от собственного веса элемента, принимается со знаком «плюс», если момент от усилия Nн относительно арматуры А и момент от собственного веса совпадают по направлению, и со знаком «минус», если направления этих моментов противоположны.

11.38. При высоте сжатой зоны х, определенной по формуле (278) без учета сжатой арматуры менее 2a'а, расчет производится по формуле (279) также без учета сжатой арматуры.

11.39. Для элементов таврового и двутаврового сечений с полкой в наиболее обжатой зоне (рис. 90, б) расчет прочности на действие предварительного обжатия производится следующим образом:

если соблюдается условие

Nн £ mбRпрb'пh'п - mаRаFн - mаRаFа + mаRа.сF'а,                            (282)

т.е. граница сжатой зоны проходит в полке, расчет производится в соответствии с п. 11.37, принимая b = b'п;

если условие (282) не соблюдается, т.е. граница сжатой зоны проходит в ребре, расчет производится в зависимости от высоты сжатой зоны

                       (283)

при х £ xRh0 - из условия

Nнe £ mбRпрbx(h0 - 0,5x) + mбRпр(b'п - b)h'п(h0 - 0,5h'п) + mаRа.сFа(h0 - a'а);    (284)

при х > xRh0 - из условия

Nнe £ mбRпрbh02xR(1 - 0,5xR) + mбRпр(b'п - b)h'п(h0 - 0,5h'п) + mаRа.сF'а(h0 - a'а);   (285)

Пример расчета к пп. 11.36 - 11.39

Пример 57. Дано. Железобетонный элемент таврового сечения (рис. 91); h = 60 см, b = 30 см, bп = 150 см, hп = 15 см; h0 = 55 см; напрягаемая арматура из горячекатаной стали класса А-IIIв, Rа = 4500 кгс/см2, Fн = 36,95 см2 (6 Æ 28), F'н = 24,13 см2 (3 Æ 32); предварительное напряжение с учетом первых потерь s¢0 = 4470 кгс/см2; ненапрягаемая арматура класса А-II, Rа = 2700 кгс/см2, Fа = 4,52 см2 (4 Æ 12), та = 1,1; бетон марки М 400, передаточная прочность бетона R0 = 250 кгс/см2, Rпр = 125 кгс/см2. Сечение наиболее обжато со стороны ребра. Момент от собственного веса, растягивающий полку, с учетом коэффициента динамичности kд = 1,5 - М = 6 тс×м. Натяжение стержней производится механическим способом.

Требуется рассчитать элемент на воздействие предварительного обжатия.

Расчет. Расчет производим в соответствии с пп. 11.36, 11.37.

Усилие в напрягаемой арматуре

Nн = (ттs¢0 - 3300)F'н = (1,1×4470 - 3300)×24,13 = 39018 кгс.

Эксцентрицитет приложения силы Nн равен

e = h0 - a'н + M/Nн = 55 - 7 + 600000/39018 = 63,4 см.

По формуле (278) определяем высоту сжатой зоны:

Рис. 91. К примеру 57

Так как х > xRh0 = 0,48×55 = 26,4 см, прочность сечения проверяем из условия (280)

mбRпрbh02xR(1 - 0,5xR) + mаRа.сF'а(h0 - a'а) = 1×125×30×552×0,48(1 - 0,5×0,48) = 4138200 кгс×см > Nнe = 39018×63,4 = 2473741 кгс×см, т.е. условие прочности соблюдается.

РАСЧЕТ ПО ПРОЧНОСТИ СЕЧЕНИЙ, НАКЛОННЫХ К ПРОДОЛЬНОЙ ОСИ ЭЛЕМЕНТА

11.40. Все элементы железобетонных конструкций, испытывающие воздействие поперечных сил при изгибе, внецентренном сжатии или внецентренном растяжении, должны рассчитываться на прочность по наклонным сечениям.

11.41. Расчет по прочности наклонных сечений железобетонных элементов производится на действие поперечной силы и на действие изгибающего момента

РАСЧЕТ СЕЧЕНИЙ НА ДЕЙСТВИЕ ПОПЕРЕЧНОЙ СИЛЫ

11.42. Расчет сечений на действие поперечной силы должен производиться:

а) в сечениях, проходящих через грань опоры (рис. 92, сечение a);

б) в местах изменения интенсивности расстановки хомутов (рис. 92, сечение b);

в) в сечениях, проходящих через расположенные в растянутой зоне точки перегиба отогнутых стержней (рис. 92, сечение с).

11.43. При расчете элементов на действие поперечной силы должно соблюдаться условие

kнnсQ £ 0,35mбRпрbh0,                                                   (286)

при этом значение Rпр для бетонов проектных марок выше М 400 принимается как для М 400.

При переменной ширине b по высоте сечения в расчет вводится ширина элемента на уровне середины высоты сечения (без учета полок).

Рис. 92. Места расположения расчетных наклонных сечений a, в, с при расчете железобетонного элемента по прочности на действие поперечной силы

При невыполнении условия (286) рекомендуется увеличить размеры сечения или повысить марку бетона.

11.44. Расчет на действие поперечной силы не производится, если соблюдается условие

kнnсQ £ k1mбRрbh0,                                                  (287)

где k1 - коэффициент, принимаемый равным: для линейных элементов (балок, шпунта и т.д.) 0,6; для сплошных плоских плит - 0,75.

При соблюдении условия (287) поперечная арматура ставится конструктивно в соответствии с пп. 13.25 - 13.29. Если условие не удовлетворяется, производится расчет элементов с поперечной арматурой по пп. 11.45 - 11.50; без поперечной арматуры по п. 11.51.

Рис. 93. Сечение, наклонное к продольной оси железобетонного элемента, при расчете его по прочности на действие поперечной силы

а - схема усилий; б - схема нагрузок (нагрузки q и Рi учитываются, нагрузка Ti - не учитывается, т.е. Q0 = qc + Pi); в - эпюра поперечных сил

Кроме того, на концевых участках элементов рекомендуется устанавливать дополнительные, не учитываемые в расчете на поперечные силы хомуты в соответствии с п. 13.31.

Примечание. Под поперечной арматурой имеются в виду хомуты и отогнутые стержни. Термин «хомуты» включает поперечные стержни сварных каркасов и хомуты вязаных каркасов.

11.45. Расчет элементов с поперечной арматурой (рис 93) рекомендуется производить из условия

kнnсQ £ SmаRа.хFх + SmаRа.хF0 sina + Qб,                                    (288)

где Q - поперечная сила от внешней нагрузки, действующая в наклонном сечении, т.е. равнодействующая всех поперечных сил, расположенных по одну сторону от рассматриваемого наклонного сечения;

SRа.хFх и SRа.хF0sina - сумма поперечных усилий, воспринимаемых соответственно хомутами и отогнутыми стержнями, пересекающими наклонное сечение;

a - угол наклона отогнутых стержней к продольной оси элемента в наклонном сечении;

Qб - поперечное усилие, воспринимаемое бетоном в наклонном сечении.

Расчетная величина силы Q определяется по формуле

Q = Q1 - Q0 + Wcosb;                                                                                        (289)

здесь Q1 - поперечная сила в сечении, нормальном к оси элемента, проведенном через ближайшее к опоре начало наклонного сечения в рассматриваемой части элемента, отсеченной наклонной трещиной, т.е. наибольшая поперечная сила в пределах наклонного сечения;

Q0 - сумма внешних нагрузок, действующих на элемент в пределах длины проекции наклонного сечения (рис. 93). При этом нагрузки учитываются, если они действуют на данном участке постоянно и не могут быть смещены, кроме того, приложены к грани элемента и действуют в его сторону.

Распределенную нагрузку р от собственного веса вводят в расчет в пределах длины проекции наклонного сечения с коэффициентом 0,5, гидростатическое давление с коэффициентом 1;

W - величина силы противодавления, действующей в наклонном сечении, определяемая в соответствии с пп. 1.8 и 1.9.

Значение Qб для изгибаемых и внецентренно-сжатых элементов определяется по формуле

                                                            (290)

здесь с - длина проекции наклонного сечения на продольную ось элемента.

Расстояния между хомутами и, между концом предыдущего и началом последующего отгибов u1, а также между опорой и концом отгиба, ближайшего к опоре u0 (рис. 92), должны быть не более величины

.                                                          (291)

Кроме того, поперечное армирование элемента независимо от расчета должно удовлетворять конструктивным требованиям, приведенным в пп. 13.25 - 13.29.

11.46. Проверка прочности по поперечной силе изгибаемых и внецентренно-сжатых элементов постоянной высоты производится из условия (109):

kнnсQ £ Qх.б,

где Qх.б - предельная поперечная сила, воспринимаемая бетоном и хомутами в невыгоднейшем наклонном сечении, определяемая по формуле

                                                     (292)

здесь qх - усилие в хомутах на единицу длины элемента в пределах наклонного сечения, определяемое по формуле (111):

При этом должно соблюдаться условие (115), т.е.

,

и шаг хомутов и должен быть не более величин, указанных в п. 13.29, и не более имакс (см. п. 11.45).

Длина проекции невыгоднейшего наклонного сечения определяется по формуле

                                                    (293)

11.47. Требуемая интенсивность хомутов для элементов, армированных хомутами без отгибов, определяется по формуле

                                                        (294)

При этом шаг хомутов и должен быть не более величин, указанных в п. 13.29, и не более имакс (см. п. 11.45).

Площадь сечения хомутов, расположенных в одной нормальной к оси элемента плоскости, пересекающей рассматриваемое наклонное сечение, определяется по формуле

                                                         (295)

При этом должно соблюдаться условие

                                                           (296)

Площадь сечения одного стержня хомута определяется по формуле (114):

где n - число ветвей хомутов, расположенных в одной плоскости нормальной к продольной оси элемента.

11.48. Расчетные хомуты должны быть установлены до сечения, в котором поперечная сила kнnсQ £ k1mбRрbh0, далее поперечное армирование элемента должно быть выполнено в соответствии с. п. 13.29.

На участке элемента, где требуется расчетная поперечная арматура, интенсивность расстановки хомутов (шаг хомутов) может меняться в зависимости от величины поперечной силы на отдельных участках (рис. 94).

11.49. Проверка прочности по поперечной силе элементов постоянного сечения, армированных хомутами и отогнутыми стержнями (отгибами), производится для невыгоднейших наклонных сечений, начинающихся у опоры и у начала отгибов (рис. 92), из условия (118):

kнnсQ £ Qх.б + mаRа.хF0sina,

где F0 - площадь сечения отогнутых стержней в ближайшей за началом рассматриваемого наклонного сечения плоскости отгиба;

a - угол наклона плоскости отгибов к оси элемента;

Qх.б - принимаемая в соответствии с п. 11.46.

Рис. 94. Расстановка хомутов в зависимости от величины поперечной силы

а - эпюра поперечных сил; б - схема расстановки хомутов

Рис. 95. Эпюра поперечных сил и схема расстановки отгибов при расчете железобетонного элемента по поперечной силе

1, 2 - номера отгибов; Q1 и Q2 - поперечные силы, на которые рассчитываются отгибы, соответственно 1 и 2

При наличии распределенных сил или фиксированных сосредоточенных нагрузок допускается учитывать рекомендации п. 11.45 по определению величины Q.

11.50. Необходимое сечение отгибов, расположенных в одной плоскости, определяется по формуле (119)

При этом поперечная сила Q принимается:

а) при расчете отгибов первой (от опоры) плоскости, равной поперечной силе у опоры;

б) при расчете отгибов каждой из последующих плоскостей, равной поперечной силе у начала предыдущей плоскости отгибов (рис. 95).

Нижний конец наиболее удаленного от опоры отгиба должен располагаться не ближе к опоре, чем то сечение, в котором поперечная сила Q становится меньше усилия, воспринимаемого бетоном и хомутами Qх.б.

Кроме того, расположение отгибов должно удовлетворять требованиям п. 11.45.

11.51. Расчет элементов постоянного сечения без поперечной арматуры (см. п. 13.28) не производится при соблюдении условия (287), т.е. при

kнnсQмакс £ k1mбRрbh0,

При невыполнении условия (287) должен производиться расчет по поперечной силе из условий:

kнnсQмакс £ k2mбRрbh0;                                                (297)

,                                                     (298)

где Qмакс - максимальная поперечная сила у грани опоры;

Q - принимается в соответствии с п. 11.45;

с - длина проекции наклонного сечения, проходящего через опору, принимаемая не более 2h0. При проверке условия (298) задаются рядом значений с, равных или меньших 2h0;

k1 - принимается в соответствии с п. 11.44;

k2 и k3 - коэффициенты, принимаемые равными для сплошных плоских плит k2 = 2,5, k3 = 1,5; в остальных случаях k2 = 2, k3 = 1,2.

11.52. Расчет наклонных сечений внецентренно-растянутых элементов на действие поперечной силы производится как для изгибаемых элементов согласно пп. 11.45 - 11.48, при этом значения Rр во всех этих пунктах умножаются на коэффициент kN, равный

                                                      (299)

но принимаемый не менее 0,2.

Примеры расчета к пп. 11.40 - 11.52

Пример 58. Дано. Железобетонная слиповая двутавровая балка с размерами и арматурой, принимаемыми из примера 52 (см. рис. 85, б), с подвижной нагрузкой (рис. 96, а).

Величина предварительного напряжения в арматуре А с учетом потерь, принимаемых по поз. 1 - 4 табл. 50, равна s0 = 5025 кгс/см2; передаточная прочность бетона R0 = 280 кгс/см2; поперечная арматура в виде сварных хомутов класса А-II, Rа.х = 2150 кгс/см2; коэффициенты условий работы: mа = 1,1; mб = 1, сооружение III класса - kн = 1,15; сочетание нагрузок основное - nс = 1.

Требуется рассчитать элемент на прочность по наклонным сечениям.

Расчет. Проверяем условие (286): 0,35mбRрbh0 = 0,35×1×175×25×127,5 = 195234 > kнnсQ = l,15×1×107,7 = 123855 кгс. Условие соблюдается, следовательно, принятые размеры сечения достаточны.

Проверяем условие (287): k1mбRрbh0 = 0,6×1×12×25×127,5 = 22950 < kнnсQ = 123855 кгс. Условие (287) не выполняется, поперечную арматуру подбираем из расчета по прочности

Сечение на опоре (сеч. 1-1, рис. 96, а)

Требуемая интенсивность хомутов qх по формуле (294) при максимальной поперечной силе в пределах наклонного сечения Q = 107,7 тс равна

Рис. 96. К примеру 58

а - расчетная схема; б - эпюра Q (без учета собственного веса); в - схема расстановки хомутов (дополнительные хомуты на концевых участках не показаны)

Интенсивность хомутов можно несколько уменьшить, если учесть рекомендации п. 11.45 в части определения расчетной величины силы Q [см. формулу (289)].

Определяем длину проекции невыгоднейшего наклонного сечения по формуле (293):

Зная длину трещины, уменьшаем величину силы Q по формуле (289): Q = Q1 - Q0 + Wcosb, где Q1 = Q = 107700 кгс:

Q0 = qc + pi = Fc0g = 0,5(20×60 + 25×60 + 95×25)157,5×0,0025 = 999 кгс (учтен только собственный вес балки в пределах длины наклонного сечения, поскольку нагрузка pi подвижная).

Q = 107700 - 999 = 106701 кгс.

В соответствии с п. 13.29 расстояние между поперечными стержнями на приопорном участке, равном 1/4 пролета при сосредоточенных нагрузках, должно быть не более h/3 = 46,7 см и 50 см, а в пролете - не более 3/4h = 105 см и 50 см.

Определяем максимально допустимое расстояние между хомутами по формуле (291):

Принимаем шаг хомутов u = 25 см.

Площадь сечения хомутов Fх, расположенных в одной нормальной к оси элемента плоскости, равна

Проверяем условие (296):

условие соблюдается.

Принимаем в поперечном сечении двухсрезный хомут диаметром 16 мм (Fх = 4,02 см2).

В соответствии с п. 13.31 на концевых участках балки длиной 0,6lп.н устанавливаем дополнительную поперечную арматуру.

Определяем длину зоны передачи напряжений по п. 9.18.

и не менее 15d = 15×2,8 = 42 см.

Принимаем lп.н = 43 см.

Длина участка, на котором следует устанавливать дополнительную поперечную арматуру, должна быть не менее 0,6lп.н = 0,6×43 = 25,8 см и 20 см.

Суммарную площадь сечения дополнительной поперечной арматуры определяем по формуле

Принимаем хомуты в сечении двухсрезные из арматуры диаметром 16 мм и определяем их количество

Принимаем 10 дополнительных хомутов с расстоянием между ними 5 см на участке длиной 45 см.

Примем в средней части пролета расстояние между хомутами u2 = 50 см и определим расстояние от опор, где будет находиться этот участок.

Интенсивность хомутов qх при u2 = 50 см и двухсрезных хомутах из арматуры диаметром 16 мм равна

Предельная поперечная сила, воспринимаемая бетоном и хомутами в невыгоднейшем наклонном сечении, равна

Длина проекции наклонного сечения равна

Поперечная сила, воспринимаемая бетоном и хомутами, с u2 = 50 см расположена на расстоянии 100 см от опоры (Q = 80,2 тс, рис. 96, в).

Расстояние от опоры, на котором шаг хомутов можно увеличить до 50 см, составляет 100 + 226 = 326 см.

Окончательно принимаем поперечное армирование (см. рис. 96, в) из арматуры класса А-II, диаметром 16 мм на приопорных участках длиной 350 см, с шагом 25 см; в середине пролета с шагом 50 см.

Кроме того, по концам балки на участках длиной 45 см устанавливаются дополнительные хомуты с шагом 5 см.

Пример 59. Дано. Изгибаемый железобетонный шпунт таврового сечения h = 65 см, b = 30 см, bп = 150 см, hп = 15 см, h0 = 59,5 см; бетон марки М 300, Rпр = 135 кгс/см2, Rр = 10 кгс/см2, mб = 1.

Шпунт заармирован по длине двухсрезными хомутами из стали класса А-II, Rа.х = 2150 кгс/см2, Fх = 2,26 см2 (2 Æ 12) с шагом u = 25 см, mа = 1,1.

Максимальная поперечная расчетная сила от внешней нагрузки, действующая в наклонном сечении у опоры, Q = 27,5 тc.

Сооружение III класса - kн = 1,15; сочетание нагрузок основное - nс = 1. Требуется проверить прочность наклонного сечения по поперечной силе.

Расчет. Проверяем условие (286): 0,35mбRпрbh0 = 0,35×1×135×30×59,5 = 84341 кгс > kнnсQ = 1,15×1×27500 = 31625 кгс - условие выполняется.

Так как, k1mбRпрbh0 = 0,6×1×10×30×59,6 = 10710 кгс < kнnсQ = 1,15×1×27500 = 31625 кгс; согласно п. 11.44, поперечную арматуру подбираем из расчета по прочности.

Поскольку шпунт заармирован только хомутами, проверку прочности по поперечной силе производим по условию (109): kнnсQ £ Qх.б. Для этого определим усилие в хомутах на единицу длины по формуле (111):

т.е. прочность наклонного сечения обеспечена.

Проверим условие (115):

mбRпрb/2 = 1×10×30/2 = 150 < qх = 213,8 кгс/см2,

т.е. условие удовлетворяется.

Максимально допустимый шаг хомутов, согласно формуле (291), равен

РАСЧЕТ СЕЧЕНИЙ НА ДЕЙСТВИЕ ИЗГИБАЮЩЕГО МОМЕНТА

11.53. Расчет наклонных сечений по изгибающему моменту следует производить:

а) для сечений, проверяемых на прочность при действии поперечных сил;

Рис. 97. Схема усилий в сечении, наклонном к продольной оси железобетонного элемента, при расчете его по прочности на действие изгибающего момента

б) в сечениях, проходящих через точки изменения площади продольной растянутой арматуры (точки теоретического обрыва арматуры);

в) в местах резкого уменьшения ширины или высоты сечения элемента.

11.54. Расчет наклонных сечений по изгибающему моменту (рис. 97) должен производиться из условия

kнnсM £ (mаRаFа + mаRаFн)z + SmаRаF0z0 + SmаRаFхzх,                        (300)

где М - момент всех внешних сил, действующих по одну сторону от рассматриваемого наклонного сечения относительно оси, проходящей через точку приложения равнодействующей усилий в сжатой зоне и перпендикулярной плоскости действия момента;

z(mаRаFа + mаRаFн)    - момент относительно той же оси усилий в продольной арматуре;

SmаRаF0z0 и SmаRаFхzх - сумма моментов, относительно той же оси соответственно от усилий в отгибах и хомутах, пересекающих растянутую зону наклонного сечения;

z, z0 и zх    - расстояния от плоскостей расположения соответственно продольной арматуры, отгибов и хомутов до указанной выше оси.

Высота сжатой зоны в наклонном сечении, измеренная по нормали к продольной оси элемента, определяется из условия равновесия проекций усилий в бетоне и арматуре наклонного сечения на продольную ось элемента согласно п. 11.3.

Длина проекции наклонного сечения на продольную ось элемента определяется для элементов с постоянной высотой сечения по формуле

                                                 (301)

где Q1 - поперечная сила в нормальном сечении, проходящем через начало наклонного сечения в растянутой зоне.

Проверка на действие изгибающего момента не производится для наклонных сечений, пересекающих растянутую грань элемента на участках, обеспеченных от образования нормальных трещин, т.е. там, где момент М от внешней нагрузки, на которую ведется расчет по прочности (с коэффициентами перегрузки по табл. 1), меньше или равен моменту трещинообразования Mт, определяемому по формулам (306), (309) и (310) с заменой в формулах значения RрII на Rр.

Если наклонное сечение пересекает в растянутой зоне предварительно напряженную арматуру на длине зоны передачи напряжений (см. п. 9.18) либо ненапрягаемую арматуру без анкеров на длине зоны анкеровки (см. п. 13.16), расчетное сопротивление соответствующей арматуры принимается сниженным путем умножения его на коэффициент, равный lх/lп.н (lх/lа.н), где lх - расстояние от начала зоны передачи напряжений до рассматриваемого сечения; lп.н, lа.н - длина соответственно зоны передачи напряжений и зоны анкеровки арматуры.

11.55. Проверку наклонных сечений по изгибающему моменту для элементов с постоянной или плавно меняющейся высотой допускается не производить в сечениях, для которых выполняются условия п. 11.54, и в одном из следующих случаев:

а) если продольную арматуру растянутой зоны можно учитывать с полным расчетным сопротивлением, т.е. если на концах имеются анкеры, или, если при отсутствии анкеров изгибающий момент в нормальном сечении, проходящем через конец зоны передачи напряжений (см. п. 9.18), меньше момента трещинообразования Мт, определенного по формулам (306), (309) и (310) с заменой RрII на Rр;

б) в плитах, пространственно работающих конструкциях и в конструкциях на упругом основании;

в) если продольные растянутые стержни, обрываемые по длине элемента, заводятся за нормальное сечение, в котором они не требуются по расчету, на длине w, определяемую по формуле

                                           (302)

где Q - поперечная сила в нормальном сечении, проходящем через точку теоретического обрыва стержня;

F0, a - соответственно площадь сечения и угол наклона отгибов, пересекающих указанное выше сечение;

d - диаметр обрываемого стержня;

qх.w - усилие в хомутах на единицу длины элемента на рассматриваемом участке длиной w, определяемое по формуле (128):

Пример расчета к пп. 11.53 - 11.55

Пример 60. Дано. Железобетонный изгибаемый шпунт с размерами, приведенными на рис. 98.

Продольная арматура напрягаемая из стали класса А-IIIв, Fн = 29,45 см (6 Æ 25), F'н = 14,73 см2 (3 Æ 25), Rа = 4500 кгс/см2; ненапрягаемая - из стали класса А-II, F'а1 = 9,05 см2 (8 Æ 12) и Fа2 = 5,65 см2 (5 Æ 12), F'а = 6,28 см2 (2 Æ 20), Rа = 2700 кгс/см2, та = 1,1; усилие предварительного обжатия N0 = 163613 кгс, эксцентрицитет приложения этой силы eо.н = 2,2 см; поперечная арматура из двухсрезных хомутов из стали класса А-II, Fх = 2,26 cм2 (2 Æ 12), u = 25 см; бетон марки М 300, Rр = 10 кгс/см2, mб = 1, геометрические характеристики приведенного сечения: Fп = 4260 см2, Wп = 36086 см3 (относительно нижней грани ребра).

Рис. 98. К примеру 60

а - расчетное сечение, нормальное к продольной оси шпунта; б - эпюра нагрузок на 1 м длины, тс/м2; в - эпюра М (на шпунт), тс×м; г - эпюра Q (на шпунт), тс; д - расчетное сечение, наклонное к продольной оси шпунта

Эпюры нагрузок даны на рис. 98. Требуется проверить прочность наклонного сечения по изгибающему моменту.

Расчет. Согласно п. 11.53, проверяем прочность наклонного сечения, проходящего через грань опоры.

Определим необходимость расчета сечения на действие изгибающего момента в соответствии с п. 11.55.

Момент трещинообразования Мт в ребре с заменой в формуле (306) RрII на Rр при g = 1,75, mб = 1 равен

Мт = mhgRрWп + mтN0Wп/Fп + mтN0eо.н = 1,75×1×10×36086 + 0,9×163613×36086/4260 + 0,9×163613×2,2 = 2202812 кгс×см = 22 тс×м < М = 23,5 тс×м,

т.е. проверка сечения на действие изгибающего момента необходима.

Проверку осуществляем по условию (300):

kнnсM £ (mаRаFа + mаRаFн)z + SmаRаF0z0 + SmаRаFхzх.

Для определения длины проекции наклонного сечения вычислим интенсивность хомутов по формуле (111):

Длина проекции наклонного сечения

При учете внешней нагрузки, приложенной к грани шпунта в пределах наклонного сечения,

Наклоннее сечение пересекает 4 хомута с расстояниями до начала наклонного сечения zх1 = 15 см, zх2 = 40 см, zх3 = 65 см и zх4 = 90 см.

С помощью табл. 59 при  определяем z = ch0 = 0,88×59,5 = 52,4 см. (m1RаFа + mаRаFн)z + SmаRаFхzх = (1,1×2700×6,28 + 1,1×4500×14,73)52,4 + 1,1×2700×2,26(15 + 40 + 65 + 90) = 62 тс×м > kнnсМ = 1,15×1×23,5 = 27 тс×м, т.е. условие прочности выполняется.

12. РАСЧЕТ ЭЛЕМЕНТОВ ЖЕЛЕЗОБЕТОННЫХ КОНСТРУКЦИЙ ПО ПРЕДЕЛЬНЫМ СОСТОЯНИЯМ ВТОРОЙ ГРУППЫ

Расчет железобетонных элементов по образованию трещин

12.1. Железобетонные элементы рассчитываются по образованию трещин:

нормальных к продольной оси элемента;

наклонных к продольной оси элемента.

12.2. Расчет железобетонных элементов по образованию трещин следует производить:

для напорных и безнапорных элементов, находящихся в зоне переменного уровня воды и подвергающихся периодическому замораживанию и оттаиванию, при невозможности устройства необходимых защитных мероприятий;

для конструкций, к которым предъявляется требование водонепроницаемости, в тех случаях, когда это требование невозможно обеспечить технологическими мероприятиями;

для элементов причальных набережных, погружаемых в грунт забивкой или вибрированием;

для лицевых элементов причальных набережных, свай и свай-оболочек для стадий изготовления, транспортирования и монтажа;

при наличии специальных требований норм проектирования отдельных видов гидротехнических сооружений.

РАСЧЕТ ПО ОБРАЗОВАНИЮ ТРЕЩИН, НОРМАЛЬНЫХ К ПРОДОЛЬНОЙ ОСИ ЭЛЕМЕНТА

12.3. Расчет предварительно-напряженных центрально-обжатых элементов (e0 = 0) при центральном растяжении должен производиться из условия

nсN £ Nт,                                                                 (303)

где N - определяется с коэффициентами перегрузки n = 1;

Nт - усилие, воспринимаемое сечением, нормальным к продольной оси элемента, при образовании трещин и определяемое по формуле

;                                        (304)

Рис. 99. Схемы усилий и эпюры напряжений в поперечном сечении элемента при расчете его по образованию трещин, нормальных к продольной оси элемента, в зоне сечения, растянутой от действия внешних нагрузок

а - при изгибе; б - при внецентренном сжатии; в - при внецентренном растяжении; 1 - центр тяжести приведенного сечения

Рис. 100. Схема усилий и эпюра напряжений в поперечном сечении элемента при расчете его по образованию трещин, нормальных к продольной оси элемента, в зоне сечения, растянутой от действия усилия предварительного обжатия (1 - центр тяжести приведенного сечения)

здесь Fн и Fа - площадь соответственно всей напрягаемой и ненапрягаемой арматуры;

N0 - определяется с учетом первых и вторых потерь по формуле (200);

тт - коэффициент точности натяжения арматуры, принимаемый менее единицы; при механическом способе натяжения тт = 0,9.

12.4. Расчет изгибаемых элементов (рис. 99, а) производится из условия

псМ £ Мт,                                                                (305)

где М - определяется с коэффициентами перегрузки n = 1;

Мт - момент, воспринимаемый сечением, нормальным к продольной оси элемента, при образовании трещин и определяемый по формуле

                                     (306)

здесь mh - коэффициент, определяемый в зависимости от высоты сечения по табл. 18;

g - коэффициент, учитывающий влияние пластических деформаций бетона в зависимости от формы и соотношения размеров сечения, принимаемый по прил. 4;

Wп - момент сопротивления приведенного сечения для крайнего растянутого волокна, определяемый как для упругого материала по формуле

,                                                              (307)

где yс - расстояние от центра тяжести приведенного сечения до сжатой грани;

тт и N0 - определяются в соответствии с п. 12.3.

12.5. Расчет внецентренно-сжатых элементов (рис. 99, б) производится из условий:

nсNe0 £ Mт;                                                                 (308)

.                             (309)

12.6. Расчет внецентренно-растянутых элементов (рис. 99, в) производится из условия (308), при этом Mт определяется по формуле

.                       (310)

12.7. В формулах (306), (309) и (310) знак «плюс» принимается, когда усилие N0 сжимает растянутую зону, знак «минус» - когда оно растягивает эту зону. Если вычисленная по этим формулам величина Mт имеет отрицательное значение, это означает, что трещина образована до приложения внешней нагрузки.

12.8. При расчете по образованию начальных трещин в зоне сечения, растянутой от действия усилия предварительного обжатия (рис. 100), на стадии изготовления должно соблюдаться условие

,                                       (311)

где тт - принимается больше единицы; при механическом способе натяжения арматуры тт = 1,1;

N0 - определяется с учетом потерь по поз. 1 - 5 табл. 50;

М - момент внешних сил, действующих на элемент в рассматриваемой стадии (например, от собственного веса). Знак «плюс» принимается, когда направления этого момента и момента усилия совпадают, знак «минус» - когда направления противоположны;

 - значение  при марке бетона, равной передаточной прочности R0.

12.9. При расчете по образованию трещин на участках элементов с начальными трещинами в сжатой зоне (см. п. 12.8) величину Mт для зоны, растянутой от действия внешней нагрузки, определенную по формулам (306), (309) и (310), необходимо снижать путем умножения на коэффициент, равный (1 - q).

Значение q определяется по формуле

,                                                    (312)

причем при отрицательных значениях коэффициент q принимается равным нулю.

В формуле (312)

,                                               (313)

но не более 1,4;

здесь yс - определяется в соответствии с п. 12.4;

т - определяется для зоны с начальными трещинами по формуле

                                                       (314)

и принимается не менее 0,45.

В формуле (314) обозначения и правила знаков те же, что и в формуле (311).

Примеры расчета к пп. 12.3 - 12.9

Пример 61. Дано. Изгибаемый железобетонный элемент таврового сечения с размерами и арматурой по примеру 51 (см. рис. 84), Fн = 22,8 см2 (6 Æ 22), F'н = 12,32 см2 (2 Æ 28); бетон марки М 400, RрII = 18 кгс/см2; геометрические характеристики приведенного сечения: Fп = 3878,3 см2, yц = 19 см, момент сопротивления приведенного сечения для крайнего волокна полки элемента Wп = 61995 см3; усилие предварительного обжатия N0 = 144552 кгс, эксцентрицитет приложения этой силы относительно центра тяжести приведенного сечения eо.н = 3,2 см, расположен от центральной оси сечения в сторону арматуры F'н; изгибающий момент, определенный с коэффициентами перегрузки п = 1, растягивающий нижнюю грань полки, M = 35 тс×м; сочетание нагрузок основное nс = 1.

Требуется проверить сечение по образованию трещин, нормальных к продольной оси элемента.

Расчет. Расчет производим согласно п. 12.4.

Момент, воспринимаемый сечением при образовании трещин, определяем по формуле (306) при коэффициенте точности напряжения mт = 0,9:

 = 3616143 кгс×см = 36,2 тс×м > псМ = 1×35 = 35 тс×м,

т.е. трещиностойкость сечения обеспечена.

В формуле (306) принято mh = 1 (по табл. 18); g = 1,75 при  и (по прил. 4).

Пример 62. Дано. Внецентренно-сжатый элемент прямоугольного сечения 25 ´ 50 см; бетон марки М 400, RрII = 18 кгс/см2, предварительно напряженная симметричная арматура класса А-IV, площадью сечения Fн = F'н = 24,63 см2 (4 Æ 28), aн = a'н = 5,5 см; геометрические характеристики приведенного сечения: площадь сечения Fп = 1580 см2, момент сопротивления крайнего растянутого волокна Wп = 6495 см3; усилие предварительного обжатия с учетом всех потерь N0 = 40 тс, эксцентрицитет приложения этой силы eо.н = 0; в сечении действуют продольная сила N = 50 тс и изгибающий момент 3 тс×м, определенные с коэффициентом перегрузки n = 1; сочетание нагрузок основное - пс = 1.

Требуется проверить сечение по образованию трещин.

Расчет. Эксцентрицитет внешней продольной силы относительно центра тяжести приведенного сечения

По формуле (309) определяем момент, воспринимаемый сечением при образовании трещин, при mh = 1 и g = 1,75:

= 558118 кгс×см = 5,6 тс×м.

Проверяем условие трещинообразования (308):

nсNe0 = 1×50000×6 = 300000 кгс×см = 3 тс×м < Mт = 5,6 тс×м, т.е. трещиностойкость сечения обеспечена.

РАСЧЕТ ПО ОБРАЗОВАНИЮ ТРЕЩИН, НАКЛОННЫХ К ПРОДОЛЬНОЙ ОСИ ЭЛЕМЕНТА

12.10. Расчет по образованию трещин, наклонных к продольной оси элемента, должен производиться из условий:

при                                                            sг.с £ m1RпрII

sг.р £ RрII;                                                  (315)

при sг.с > m1RпрII

,                                             (316)

где m1 и т2 - коэффициенты, определяемые по табл. 58.

Таблица 58

Марка бетона

Коэффициенты для расчета по образованию наклонных трещин

т1

т2

М 400 и ниже

0,5

2

М 500

0,375

1,6

М 600

0,25

1,33

Величины главных растягивающих и сжимающих напряжений в бетоне sг.р и sг.с определяются по формуле

                                    (317)

где sх - нормальное напряжение в бетоне на площадке, перпендикулярной продольной оси элемента, от внешней нагрузки и усилия предварительного обжатия N0;

sу - нормальное напряжение в бетоне на площадке, параллельной продольной оси элемента, от местного действия опорных реакций, сосредоточенных сил и распределительной нагрузки (например, нагрузки, приложенной с внутренней стороны элемента таврового сечения, рис. 101);

tху - касательные напряжения в бетоне от внешней нагрузки.

Рис. 101. Схема нагрузки в поперечном сечении элемента при расчете его по образованию трещин, наклонных к продольной оси элемента

Напряжения sх и sу подставляются в формулу (317) со знаком «плюс», если они растягивающие, и со знаком «минус» - если сжимающие. Напряжения sг.с в условиях (315) и (316) принимаются по абсолютной величине.

Проверка условий (315) и (316) производится в центре тяжести приведенного сечения и в местах резкого изменения ширины сечения. По длине элемента проверяются сечения с максимальными ординатами перерезывающих сил и в местах уменьшения ширины или высоты сечения.

При расчете элементов с предварительно напряженной арматурой без анкеров должно учитываться снижение предварительного напряжения s0 и s¢0 на длине зоны передачи напряжений lп.н (п. 9.18) путем умножения его на коэффициент, равный lх/lп.н.

12.11. Нормальное напряжение sх определяется по формуле

                                                  (318)

где sб.н - определяется в соответствии с п. 9.20 с учетом первых и вторых потерь, при этом коэффициент точности натяжения арматуры тт принимается меньше единицы для предварительно обжатых граней сечения и больше единицы для предварительно растянутых граней (при механическом способе натяжения соответственно принимается тт = 0,9 и тт = 1,1);

N и М - расчетные усилия от внешней нагрузки при коэффициентах перегрузки n = 1;

y - расстояние от центра тяжести сечения до уровня, на котором определяются главные напряжения.

В формуле (318) знак «плюс» соответствует растягивающим, знак «минус» - сжимающим напряжениям.

Примечание. На уровне центра тяжести сечения y = 0 и

.                                                                                (319)

12.12. Нормальное напряжение sу определяется (см. рис. 101) по формуле

.                                                           (320)

12.13. Значение tху для любой формы сечения определяется по формуле

                                                              (321)

где Sп - статический момент части приведенного сечения, лежащей выше или ниже уровня, на котором определяются главные напряжения, относительно оси, проходящей через центр тяжести приведенного сечения;

b - ширина элемента на рассматриваемом уровне;

Q - поперечная сила от внешней нагрузки в рассматриваемом сечении.

12.14. Для изгибаемых элементов расчет по образованию трещин, наклонных к продольной оси, может не производиться, если соблюдается условие

nсQ £ k1RFIIbh0,                                                                (322)

где k1 - коэффициент, принимаемый равным: для линейных элементов (балок, шпунтов и т.п.) 0,6; для сплошных плоских плит - 0,75.

Пример расчета к пп. 12.10 - 12.14

Пример 63. Дано. Железобетонная балка двутаврового сечения с размерами и арматурой по примеру 52.

Усилие предварительного обжатия с учетом всех потерь N0 = 363400 кгс, эксцентрицитет приложения этой силы относительно центра тяжести приведенного сечения eо.н = 19,2 см и направлен в сторону арматуры Fн; геометрические характеристики: площадь приведённого сечения Fп = 5760 см2, момент инерции приведенного сечения Iп = 13502419 см4, расстояние от центра тяжести приведенного сечения до нижней грани yц = 65,75 см; максимальная перерезывающая сила, определенная с коэффициентами перегрузки п = 1, действующая в опорном сечении, Q = 90 тс; момент от внешней нагрузки в этом сечении М = 0.

Требуется проверить опорное сечение по образованию трещин, наклонных к продольной оси балки.

Расчет. Определим необходимость расчета по образованию наклонных трещин в соответствии с п. 12.14.

k1RрIIbh0 = 0,6×18×25×127,5 = 34,4 тс < nсQ = 1×90 = 90 тс, т.е. расчет по образованию наклонных трещин необходим.

Проверку сечения производим по центру тяжести и на уровне примыкания верхней полки к ребру.

1. На уровне центра тяжести приведенного сечения y = 0.

Определим величины напряжений от обжатия бетона в соответствии с п. 9.20:

По формуле (318) определим нормальные напряжения:

sх = sб.н = 56,8 кгс/см2; sу = 0.

Касательные напряжения определим по формуле (321):

где статический момент нижней части приведенного сечения относительно центральной оси равен

Sп = 25×60×53,25 + 40,76×25×20,375 + 6,67×73,9×53,25 = 126880 см3.

По формуле (317) определим главные растягивающие и сжимающие напряжения в бетоне:

sг.р = 15,7 кгс/см2; sг.с = 72,5 кгс/см2.

Проверку на образование трещин, наклонных к продольной оси элемента, производим из условия (315). Так как

m1RпрII = 0,6·225 = 112,5 > sг.р = 72,5 кгс/см2,

sг.р = 15,7 кгс/см2 < RпрII = 18 кгс/см2,

условие прочности соблюдается.

2. На уровне сопряжения верхней полки с ребром y = 54,25 см.

sу = 0;

Sп = 20×60×64,25 + 6,67×24,13×68,75 + 6,67×4,52×64,25 = 90102,1 см2.

 =

sг.р = 13 кгс/см2; sг.с = 44,5 кгс/см2.

Так как

m1RпрII = 0,5·225 = 112,5 > sг.с = 44,5 кгс/см2,

sг.р = 13 < RпрII = 18 кгс/см2

- условие прочности соблюдается.

В сечении на опоре трещины, наклонные к продольной оси балки, не образуются.

Расчет железобетонных элементов по раскрытию трещин

12.15. Элементы железобетонных конструкций, к которым не предъявляются требования трещиностойкости, рассчитываются по раскрытию трещин с целью обеспечения требуемой надежности и долговечности сооружения.

Ограничение ширины раскрытия трещин назначается из условия предотвращения опасной коррозии арматуры и бетона при воздействии воды-среды и климатических факторов для обеспечения сцепления арматуры с бетоном, а также для уменьшения фильтрации воды в растянутых элементах.

Определяемая расчетом ширина раскрытия трещин при отсутствии специальных защитных мероприятий должна быть не более величин, приведенных в табл. 34.

12.16. Для гидротехнических сооружений, подверженных воздействию морской и других сильно минерализованных вод, допускаемую ширину раскрытия трещин следует принимать с учетом указаний главы СНиП по защите строительных конструкций от коррозии, но не более величин, указанных в табл. 34.

Допускаемая ширина раскрытия трещин в железобетонных элементах при использовании защитных мероприятий устанавливается на основании специальных исследований, а также нормами проектирования отдельных видов гидротехнических сооружений.

12.17. Железобетонные элементы рассчитываются по раскрытию трещин, нормальных и наклонных к продольной оси элемента.

Проверка ширины раскрытия трещин не требуется, если выполняется условие (303) для центрально-растянутых элементов и условия (305) и (308) для изгибаемых, внецентренно-сжатых и внецентренно-растянутых элементов.

РАСЧЕТ ПО РАСКРЫТИЮ ТРЕЩИН, НОРМАЛЬНЫХ К ПРОДОЛЬНОЙ ОСИ ЭЛЕМЕНТА

12.18. Ширину раскрытия трещин, нормальных к продольной оси элемента, aт, мм, следует определять по формуле (169):

где k, сд, h, sнач - принимаются в соответствии с п. 4.5;

sа - приращение напряжений в растянутей арматуре А от действия внешней нагрузки, определяемое согласно п. 12.19;

m - коэффициент армирования сечения, принимаемый равным отношению площади сечения арматуры А к площади сечения бетона (при рабочей высоте без учета сжатых свесов полок), но не более 0,02.

Для прямоугольных, тавровых и двутавровых сечений

                                                      (323)

Если во внецентренно-растянутых элементах сила расположена между центрами тяжести арматуры А и А¢, при определении m рабочая высота h0 принимается от точки приложения силы N до менее растянутой грани. Для центрально-растянутых элементов

                                                                (324)

здесь Fн + Fа - площадь сечения всей продольной арматуры;

d - диаметр растянутой арматуры, мм; при различных диаметрах стержней значение d принимается равным

                                                       (325)

d1, …, dk - диаметры стержней растянутой арматуры;

n1, …, nk - число стержней с диаметром соответственно d1, …, dk.

12.19. Приращение напряжений в растянутой арматуре для стадии эксплуатации изгибаемых, внецентренно-сжатых и внецентренно-растянутых элементов определяется из условия равенства нулю суммы моментов внешних и внутренних усилий относительно оси, проходящей через точку приложения равнодействующей усилий в сжатой или менее растянутой зоне, по формулам:

а) для изгибаемых элементов (рис. 102, а)

                                                   (326)

б) для внецентренно-сжатых элементов (рис. 102, б)

                                         (327)

в) для внецентренно-растянутых элементов (рис. 102, в) при

Рис. 102. Схемы усилий в поперечном сечении элемента при расчете его по раскрытию трещин, нормальных к продольной оси элемента, в зоне сечения, растянутой от действия внешних нагрузок

а - при изгибе; б - при внецентренном сжатии; в - при внецентренном растяжении при eо.с ³ 0,8h0; г - при внецентренном растяжении при eо.с < 0,8h0; 1 - центр тяжести сжатой зоны бетона; 2 - центр тяжести приведенного сечения; 3 - линия центра тяжести арматуры

                                              (328)

                                            (329)

г) для внецентренно-растянутых элементов (рис. 102, г) при

eо.с < 0,8h0

                                        (330)

где z - расстояние от центра тяжести площади сечения арматуры А до точки приложения равнодействующей усилий в сжатой зоне сечения над трещиной, определяемое по стадии упругой работы без учета растянутой зоны бетона. Величину z допускается принимать равной: для прямоугольных, тавровых, двутавровых и коробчатых сечений с одиночной и двойной арматурой z = ch0 (где c - коэффициент, принимаемый по табл. 59); для круглых и кольцевых сечений z = 1,6(r2 - a) (где r2 - внешний радиус кольца или радиус круга). Величину z допускается также принимать по результатам расчета сечения на прочность (с прямоугольной эпюрой напряжений в бетоне сжатой зоны);

Таблица 59

0,5

1

1,5

2 и более

c

0,85

0,8

0,75

0,7

N0 - определяется с учетом всех потерь;

zа - расстояние между центрами тяжести арматуры А и А¢.

В формулах (329) и (330) знак «минус» принимается при расположении растягивающей силы между центрами тяжести арматуры А и А¢, знак «плюс» - при расположении силы N вне расстояния между арматурами А и А¢.

На участках элементов, имеющих начальные трещины в сжатой зоне (см. п. 12.8), величину усилия предварительного обжатия N0 рекомендуется снижать путем умножения на коэффициент, равный (1 - q), где q - определяется в соответствии с п. 12.9.

12.20. Приращение напряжений в растянутой арматуре для стадии эксплуатации в центрально-растянутых элементах определяется по формуле

                                                          (331)

где Fн + Fа - площадь сечения всей продольной арматуры.

12.21. Ширина раскрытия начальных трещин в зоне сечения растянутой от действия усилия предварительного обжатия в стадии изготовления, транспортирования и монтажа, определяется по формуле (169), принимая величины m и d для арматуры, расположенной в указанной зоне (рис. 103). При этом напряжение в данной арматуре или (при наличии предварительного напряжения) приращение напряжений sа определяется по формуле

                                                      (332)

Рис. 103. Схема усилий в поперечном сечении элемента при расчете его по раскрытию трещин, нормальных к продольной оси элемента, в зоне сечения, растянутой от действия усилия предварительного обжатия

где М - момент от нагрузок, действующих на элемент в рассматриваемой стадии; в формуле (332) за положительный принимается момент, растягивающий грань элемента, для которой производится проверка ширины раскрытия трещин (рис. 103);

z - определяется в соответствии с п. 12.19;

N0 - принимается с учетом первых потерь (см. табл. 50).

В рассматриваемой стадии усилие N0 и момент М принимаются как действующие кратковременно.

12.22. Глубина начальных трещин определяется по формуле

hт = h - 0,5(1,2 + m)h0,                                                    (333)

но должна быть не более 0,5h.

Величина т определяется по формуле (314).

Примеры расчета к пп. 12.18 - 12.22

Пример 64. Дано. Железобетонная балка таврового сечения (рис. 104) h = 45 см, b = 30 см, bп = 60 см, hп = 15 см, aн = aа = 5 см, a'н = 5 см, a'а = 10 см, h0 = 40 см; расчетные усилия: продольная сила и изгибающий момент от постоянных и длительных нагрузок, определенные с коэффициентами перегрузки n = 1, N = 8000 кгс, М = 1400000 кгс×см; бетон марки М 400, Eб = 300000 кгс/см2; арматура: напрягаемая класса А-IIIв, RаII = 5500 кгс/см2, Eа = 2000000 кгс/см2, Fн = 8,04 см2 (4 Æ 16), F'н = 9,82 см2 (2 Æ 25), ненапрягаемая класса А-II, Fа = 2,26 см2 (2 Æ 12), F'а = 2,26 см2 (2 Æ 12), Eа = 2100000 кгс/см2; начальное растягивающее напряжение в арматуре sнач = 0.

Длина балки l = 12 м. Натяжение стержней производится одновременно, усилия от натяжения передаются на стальные опорные балки, расположенные внутри камеры пропаривания.

В период эксплуатации балка находится в зоне переменного уровня воды и подвержена периодическому замораживанию и оттаиванию при числе циклов в год более 50.

Рис. 104. К примеру 64

Сочетание нагрузок основное - nс = 1, сооружение III класса.

Требуется рассчитать балку по раскрытию трещин, нормальных к продольной оси.

Расчет. По формулам п. 9.21 определяем геометрические характеристики приведенного сечения:

Fп = 15×60 + 30×30 + 6,67(9,82 + 8,04) + 7(2,26 + 2,26) = 1951 см2,

Sп = 15×60×7,5 + 30×30(45 - 15) + 6,67×9,82(45 - 5) + 6,67×8,04×5 + 7×2,26(45 - 10) + 7×2,26×5 = 37271 см3;

В соответствии с п. 9.14 определяем потери на стадии эксплуатации.

а) Первые потери:

1. От релаксации для стали класса А-IIIв sп1 = 0;

2. От температурного перепада и от деформации форм при принятой технологии изготовления балок sп2 = 0, sп4 = 0;

3. От обжатия шайб натяжных устройств

4. От быстронатекающей ползучести. Эти потери определяются в зависимости от отношения  с учетом потерь по поз. 1 - 4 табл. 50 при sа = 0.

Потери Σσп1-4 = 333 кгс/см2.

Напряжения в напрягаемой арматуре с учетом потерь

s0 = s'0 = 0,95RаII - Σσп1-4 = 0,95·5500 - 333 = 4892 кгс/см2.

Сила обжатия с учетом потерь Σσп1-4

N0 = (Fн + F'н)s0 = (8,04 + 9,82)4892 = 87371 кгс.

Эксцентрицитет силы N0

Напряжения в бетоне на уровне арматуры Fн и F'н от действия силы N0 при mт = 1:

Принимаем передаточную прочность бетона

R0 = 0,7R = 0,7×400 = 280 кгс/см2, тогда

= 0,097 < 0,6 и

s'п5 = 0,85·500·0,25 = 107,7 кгс/см2.

б) Вторые потери:

6. От усадки бетона

sп6 = 350 кгс/см2;

7. От ползучести бетона

Суммарные потери:

Σsп = Σsп1-4 + sп5 + sп6 + sп7 = 333 + 41,18 + 350 + 164,9 = 889,1 < 1000, принимаем sп = 1000 кгс/см2; Σs'п = 333 + 107,7 + 350 + 425 = 1216,7 кгс/см2.

Определяем напряжения в арматуре:

s0 = 0,95RаII - Σsп = 0,95·5500 - 1000 = 4225 кгс/см2;

s'0 = 0,95RаII - Σs'п = 0,95·5500 - 1216,7 = 4008,3 кгс/см2;

sа = sп5 + sп6 + sп7 = 41,18 + 350 + 164,9 = 556,1 кгс/см2;

s'а = s'п5 + s'п6 + s'п7 = 107,7 + 350 + 425 = 882,7 кгс/см2.

По формулам (200) и (201) определяем силу обжатия и ее эксцентрицитет с учетом всех потерь:

N0 = s0Fн + s'0F'н - sаFа - s'аF'а = 4225·8,04 + 4008,3×9,82·- 556,1·2,26 - 882,7·2,26 = 70079 кгс;

eа.н = yц - eо.н - a = 19,1 - (-4,7) - 5 = 18,8 см.

По формуле (323) вычисляем коэффициент армирования:

По табл. 59 определяем величину c. В зависимости от отношения

c = 0,815 (по интерполяции) и z = ch0 = 0,815×40 = 32,6 см. В соответствии с п. 12.19 определяем величину приращения напряжений в растянутой арматуре:

где

eа = yц  а + eо = 19,08 - 5 + 175 = 189,1 см.

По формуле (169) определяем ширину раскрытия трещин, принимая коэффициенты k = 1; сд = 1,3; h = 1:

Допустимая ширина раскрытия трещин по поз. 5 и прим. 1 к табл. 34. aтдоп = 0,05×1,6 = 0,08 мм, aт = 0,05 < aтдоп = 0,08 мм, т.е. ширина раскрытия трещин в пределах допустимого.

Пример 65. Дано. Железобетонная балка двутаврового сечения (см. рис. 85, б), h = 140 см, b = 25 см, h'п = 20 см, a = a' = 5,5 см, bп = b'п = 60 см, hп = 25 см, a2 = 19,5 см, a'2 = 14,5 см, h0 = 127,5 см; расчетный изгибающий момент, определенный с коэффициентами перегрузки п = 1, растягивающий нижнюю полку, M = 300 тс×м; бетон марки М 400; арматура класса А-IV, F'н = 24,13 см2 (3 Æ 32), F'а = 4,52 см2 (4 Æ 12), Fн = 73,89 см2 (12 Æ 28), Eа = 2000000 кгс/см2; величина предварительного обжатия N0 = 428020 кгс/см2, расстояние от точки приложения усилия N0 до центра тяжести арматуры А еа.н = 28,7 см; начальное растягивающее напряжение в арматуре sнач = 0; длина балки l = 12 м.

Сочетание нагрузок основное - пс = 1; сооружение III класса. Допустимая ширина раскрытия трещин по табл. 34 для сооружения III класса aтдоп = 0,05×1,6 = 0,08 мм.

Требуется рассчитать балку по раскрытию трещин, нормальных к продольной оси.

Расчет. Ширину раскрытия трещин определяем по формуле (169), принимая коэффициенты k = 1, сд = 1,3, h = 1. Вычисляем коэффициент армирования по формуле (323):

В соответствии с п. 12.19 определяем величину приращения напряжений в растянутой арматуре sа. Для этого с помощью табл. 59 определяем величину z = ch0 в зависимости от отношения

По табл. 59 c = 0,7; тогда z = 0,7×127,5 = 89,25 см;

Определяем ширину раскрытия трещин

т.е. ширина раскрытия трещин в пределах допустимого.

Пример 66. Дано. Железобетонный элемент таврового сечения (рис. 105), h = 70 см; b = 30 см; bп = 160 см; hп = 14 см; a = a¢ = 6 см; h0 = 64 см, бетон марки М 400, Eб = 300000 кгс/см2, арматура класса А-IIIв, Eа = 2000000 кгс/см2, Fн = 36,95 см2 (6 Æ 28), F'н = 12,32 см2 (2 Æ 28), RаII = 5500 кгс/см2; начальное растягивающее напряжение в арматуре sнач = 0, длина элемента l = 10 м.

Расчетные усилия: усилие предварительного обжатия N0 и изгибающий момент от собственного веса элемента, растягивающий верхнюю грань сечения. С учетом коэффициента динамичности 1,3 момент от собственного веса M = 10,4 тс×м, класс сооружения III. Для стадии изготовления коэффициент сочетания нагрузок nс = 0,95 (см. п. 9.6).

Рис. 105. К примеру 66

Требуется проверить сечение элемента по раскрытию трещин, нормальных к продольной оси, в период его подъема и транспортирования.

Расчет. По формулам п. 9.21 определяем геометрические характеристики приведенного сечения:

Fп = 160×15 + 30×55 + 6,67×(36,95 + 12,32) = 4378,6 см2;

Sп = 160×15×7,5 + 30×55(70 - 0,5×55) + 6,67×36,95×6 + 6,67×12,32(70 - 6) = 94862,9 см3;

+ 30×55(70 - 21,67 - 27,5)2 + 6,67×36,95(21,67 - 6)2 +

+ 6,67×12,32(70 - 21,67 - 6)2 = 1866507 см4.

В соответствии с п. 9.14 определяем потери, проявляющиеся в стадии изготовления:

1. от релаксации для стали класса А-IIIв sп1 = 0;

2. от температурного перепада при принятой технологии изготовления элементов sп2 = 0;

3. от обжатия шайб натяжных устройств

4. от деформации форм приняты sп4 = 300 кгс/см2;

5. от быстронатекающей ползучести с учетом потерь, перечисленных в пп. 1 - 4, равных Σσп1-4 = 400 + 300 = 700 кгс/см2.

Напряжение в арматуре с учетом потерь s0 = s'0 = 0,95RаII - Σσп1-4 = 0,95×5500 - 700 = 4525 кгс/см2.

Сила обжатия с учетом потерь Σσп1-4

N0 = (Fн + F'н)s0 = (36,95 + 12,32)4525 = 222946,8 кгс.

Эксцентрицитет силы N0

Напряжения в бетоне на уровне арматуры Fн и F'н от действия силы N0 при mт = 1:

Принимаем передаточную прочность бетона

R0 = 0,7R = 0,7×400 = 280 кгс/см2.

Вычисляем потери:

  0,85×500×0,19 = 80,63 кгс/см2;

s¢п5 = 0,85×500×0,161 = 68,3 кгс/см2.

Вычисляем суммарные потери, проявляющиеся в стадии изготовления:

Σsп = Σsп1-4 + sп5 = 700 + 80,63 = 780,6 кгс/см2;

Σs'п = Σs'п1-4 + s'п5 = 700 + 68,3 = 768,3 кгс/см2.

Определяем силу обжатия с учетом потерь изготовления, для этого определим напряжения в арматуре:

s0 = 0,95RаII - Σsп = 0,95·5500 - 780,6 = 4444,4 кгс/см2;

s'0 = 0,95RаII - Σs'п = 0,95·5500 - 768,3 = 4456,7 кгс/см2;

N0 = s0Fн + s'0F'н = 4444,4×36,95 + 4456,7×12,32 = 219127 кгс;

eа.н = yц - eо.н - a = 21,67 - 1,14 - 6 = 14,53 см.

По формуле (323) определяем коэффициент армирования:

С помощью табл. 59 определяем величину z = ch0.

При 100 = 0,64 c = 0,835 и z = 0,835×64 = 53,4 см.

По формуле (332) определяем приращение напряжений в арматуре:

Получили отрицательную величину напряжений, т.е. растягивающие напряжения в ребре не могут возникнуть, сечение трещиностойкое.

РАСЧЕТ ПО РАСКРЫТИЮ ТРЕЩИН, НАКЛОННЫХ К ПРОДОЛЬНОЙ ОСИ ЭЛЕМЕНТА

12.23. Проверку ширины раскрытия трещин можно не производить, если соблюдается условие (322).

12.24. Ширина раскрытия трещин, наклонных к продольной оси элемента, aт, мм, для изгибаемых элементов, армированных ненапряженной поперечной арматурой, определяется по формуле

                                           (334)

где сд и h - принимаемые в соответствии с п. 4.5;

k = (20 - 1200mп)103 (но не менее 8×103);

dмакс - наибольший из диаметров хомутов и отогнутых стержней, мм;

h0 - принимается в мм;

mп - коэффициент насыщения элемента поперечной арматурой, равный

mп = mх + m0,                                                              (335)

здесь mх - коэффициент насыщения элемента хомутами

,                                                                  (336)

m0 - коэффициент насыщения элемента отогнутыми стержнями

,                                                                 (337)

где u0 - расстояние между плоскостями отгибов, измеренное по нормали к ним (рис. 106, а). При одном отгибе за и0 принимается расстояние между этим отгибом и гранью опоры (рис. 106, б);

                                                         (338)

где Q - наибольшая поперечная сила на рассматриваемом участке элемента с постоянным насыщением поперечной арматурой.

Вблизи свободных опор рассматриваются сечения, расположенные от этих опор на расстоянии не менее h0.

Расчет производится для каждого участка с постоянным насыщением поперечными и наклонными стержнями (рис. 107).

Рис. 106. Расстояния между поперечной арматурой

а - между хомутами и отгибами; б - между хомутами, отгибом и гранью опоры

Рис. 107. Расположение расчетных сечений 1-1, 2-2

Допускается уменьшать величину aт в 1,5 раза по сравнению с определенной по формуле (334), если элемент заармирован поперечными стержнями, нормальными к оси элемента, и продольными стержнями того же диаметра, расставленными по высоте сечения на тех же расстояниях, что и поперечные стержни.

13. КОНСТРУКТИВНЫЕ ТРЕБОВАНИЯ

13.1. Конструирование предварительно напряженных железобетонных элементов рекомендуется выполнять в соответствии с требованиями настоящего раздела и главы II.

13.2. Выбор размеров и формы сечения предварительно напряженных элементов производится на основании экономических соображений с учетом эксплуатационных, транспортных и монтажных требований, а также условий принятой технологии изготовления. При этом следует предельно ограничивать число типоразмеров сборных элементов и по возможности их укрупнять.

13.3. Наименьшие размеры сечения элементов, если они не обусловлены расчетом на прочность или по образованию трещин, принимаются исходя из возможности размещения расчетной рабочей и необходимой распределительной арматуры с соблюдением рекомендаций пп. 13.8, 13.9 и 13.13.

13.4. Очертание элементов рекомендуется принимать с учетом способа бетонирования и конструкции опалубки (формы).

Во внешних острых углах во избежание откалывания бетона рекомендуется устраивать скосы или закругления.

13.5. В случае, когда по условиям производства работ, транспортирования или монтажа не представляется возможным выполнить предварительно напряженную конструкцию в виде целого элемента, она может быть расчленена на отдельные блоки, которые стыкуются на месте установки. Стыкование должно быть осуществлено стальными закладными деталями.

13.6. Ненапрягаемую арматуру рекомендуется преимущественно проектировать в виде арматурных изделий: сеток, плоских и пространственных каркасов - с применением для соединения стержней контактной сварки - точечной и стыковой. При этом продольную напрягаемую арматуру заводят внутрь пространственного каркаса и закрепляют в захватах натяжных устройств без соединения с поперечной арматурой.

Рекомендуется арматурные изделия максимально укрупнять с учетом возможности использования серийно выпускаемого оборудования для арматурного производства, а также сборных кондукторов и шаблонов.

13.7. Необходимо стремиться к унификации арматуры и закладных деталей в отдельных конструкциях, небольшому количеству разных марок и диаметров стали, типов арматурных элементов - сеток и каркасов, шагов продольных и поперечных стержней.

ЗАЩИТНЫЙ СЛОЙ БЕТОНА

13.8. Толщину защитного слоя бетона рекомендуется принимать не менее: для продольной рабочей напрягаемой стержневой арматуры без анкеров 1,5d и 40 мм; для продольной рабочей ненапрягаемой арматуры 30 мм; для распределительной арматуры и хомутов 20 мм.

Толщину защитного слоя бетона в железобетонных конструкциях морских гидротехнических сооружений рекомендуется принимать не менее: для рабочей продольной и поперечной арматуры - 50 мм; для распределительной арматуры и хомутов 30 мм.

Для сборных железобетонных элементов заводского изготовления толщина защитного слоя может быть уменьшена на 10 мм против указанных выше величин.

13.9. Толщина защитного слоя бетона у концов предварительно напряженных элементов на участке зоны передачи напряжений (см. п. 9.18) должна составлять не менее: для напрягаемой арматуры классов А-IIIв и А-IV 2d, для напрягаемой арматуры класса А-V 3d.

Кроме того, толщина защитного слоя бетона на указанном участке длины элемента для напрягаемой арматуры независимо от класса и диаметра должна быть не менее 40 мм.

Допускается защитный слой бетона для сечений у опоры принимать таким же, как для сечений в пролете для предварительно напряженных элементов с сосредоточенной передачей опорных усилий при наличии стальной опорной детали и косвенной арматуры (сварных поперечных сеток или охватывающих продольную арматуру хомутов).

13.10. В полых элементах кольцевого или коробчатого сечения расстояние от стержней продольной арматуры до внутренней поверхности бетона должно удовлетворять требованиям п. 13.8.

13.11. Для конструкций, работающих в агрессивных средах, толщину защитного слоя бетона следует назначать с учетом требований главы СНиП II-28-73*.

МИНИМАЛЬНЫЕ РАССТОЯНИЯ МЕЖДУ СТЕРЖНЯМИ АРМАТУРЫ

13.12. Расстояния в свету между стержнями арматуры по высоте и ширине сечения должны обеспечивать совместную работу арматуры с бетоном и назначаться с учетом удобства укладки и уплотнения бетонной смеси, а также с учетом степени местного обжатия бетона, габаритов натяжного оборудования (домкратов, зажимов и т.п.) и концевых технологических анкеров на стержнях (см. 13.15).

13.13. По условию бетонирования расстояния в свету между отдельными стержнями продольной ненапрягаемой и напрягаемой арматуры, а также между продольными стержнями соседних плоских сварных каркасов должны приниматься не менее наибольшего диаметра стержня, а также:

а) если стержни при бетонировании занимают горизонтальное или наклонное положение - не менее: для нижней арматуры - 25 мм и для верхней арматуры - 30 мм; при расположении нижней арматуры более чем в два ряда по высоте расстояния между стержнями в горизонтальном направлении (кроме стержней двух нижних рядов) должны приниматься не менее 50 мм;

б) если стержни при бетонировании занимают вертикальное положение - не менее 50 мм.

В элементах с большим насыщением арматурой или закладными деталями, изготовляемых без применения виброплощадок или вибраторов, укрепленных на опалубке, должны предусматриваться зоны, где свободные расстояния в свету между арматурными стержнями составляют не менее 60 мм для прохождения между арматурными стержнями наконечников глубинных вибраторов, уплотняющих бетонную смесь; расстояние между такими зонами, а также их удаление от граней элемента должно быть не более 500 мм.

Рис. 108. Анкеры технологические

а - высаженная головка; б - обжатая шайба; в - приваренные коротыши; 1 - стержень; 2 - высаженная головка; 3 - опорная шайба; 4 - обжатая шайба; 5 - коротыши

АНКЕРОВКА НАПРЯГАЕМОЙ АРМАТУРЫ

13.14. При применении в качестве напрягаемой рабочей арматуры горячекатаной стержневой арматуры периодического профиля, натягиваемой на упоры, и соблюдении требований п. 13.31 установка постоянных анкеров у концов элемента не требуется.

13.15. Временные технологические анкеры для стержневой арматуры рекомендуется применять следующих типов:

в виде высаженных головок (рис. 108, а);

в виде обжатых шайб (рис. 108, б);

в виде приваренных коротышей (рис. 108, в).

Габариты анкерных устройств должны учитываться при назначении расстояний между осями натягиваемых стержней.

Примечание. Приварка коротышей к арматуре упрочненной вытяжкой (класса А-IIIв) должна производиться до ее вытяжки.

АНКЕРОВКА НЕНАПРЯГАЕМОЙ АРМАТУРЫ

13.16. Продольные стержни растянутой и сжатой ненапрягаемой арматуры должны быть заведены за нормальное к продольной оси элемента сечение, в котором они учитываются с полным расчетным сопротивлением на длину не менее lа.н, определяемую по формуле (195):

,

но не менее lа.н = lа.нd, где значения mа.н, Dlа.н, lа.н, а также допускаемые минимальные величины lа.н определяются по табл. 47. При этом гладкие арматурные стержни должны оканчиваться крюками или иметь приваренную поперечную арматуру по длине заделки.

Если вдоль анкеруемых стержней образуются трещины от растяжения бетона, стержни должны быть заделаны в сжатую зону бетона на длину lа.н, определяемую по формуле (195).

Если анкеруемые стержни поставлены с запасом по площади сечения против требуемой расчетом по прочности, при определении lа.н по формуле (195) значения Rа рекомендуется умножать на величину, равную отношению необходимой по расчету и фактической площадей сечения арматуры.

При невозможности выполнения этих требований должны быть приняты меры по анкеровке продольных стержней для обеспечения их работы с полным расчетным сопротивлением в рассматриваемом сечении (постановка косвенной арматуры, приварка к концам стержней анкерующих пластин или закладных деталей, отгиб анкерующих стержней). При этом величина lа.н должна быть не менее 10d.

ПРОДОЛЬНОЕ АРМИРОВАНИЕ ЭЛЕМЕНТОВ

13.17. Часть продольной рабочей арматуры элемента допускается применять без предварительного напряжения, если при этом удовлетворяются требования расчета по трещиностойкости и по деформациям.

13.18. Диаметр арматуры из условия долговечности гидротехнических сооружений рекомендуется принимать: для рабочей стержневой арматуры из горячекатаной стали, а также для распределительной арматуры и хомутов - не менее 10 мм; для спиралей и для распределительной арматуры каркасов и сеток вязаных либо изготовленных с применением контактной сварки - не менее 6 мм.

13.19. Стержневую напрягаемую арматуру в ребристых элементах рекомендуется располагать, как правило, по оси каждого ребра элемента или симметрично ей.

13.20. Соединение по длине заготовок арматурных стержней из горячекатаной стали периодического профиля диаметром 10 мм и более, как правило, производится с применением контактной стыковой сварки.

При отсутствии оборудования для контактной сварки допускается применять дуговую сварку.

Стержни арматуры, упроченные вытяжкой (класса А-IIIв), необходимо сваривать до вытяжки.

Сварные стыки растянутых стержней не рекомендуется располагать в местах наибольших усилий.

13.21. Приварка и прихватка к натянутой арматуре каких-либо деталей не допускаются.

Примечание. Это требование не распространяется на приварку деталей к концам напрягаемой арматуры, выступающим из изделия, после передачи усилия обжатия на бетон.

13.22. В изгибаемых элементах при высоте сечения более 700 мм у боковых граней должны ставиться конструктивные продольные стержни с расстоянием между ними по высоте не более 400 мм и площадью сечения не менее 0,1 % площади сечения бетона с размерами: по высоте элемента - равным расстоянию между этими стержнями, а по ширине элемента - равным половине ширины ребра элемента, но не более 200 мм.

13.23. Продольную ненапрягаемую арматуру рекомендуется располагать ближе к наружным поверхностям элемента так, чтобы поперечная арматура (хомуты) охватывала напрягаемую арматуру.

13.24. Отверстия значительных размеров в железобетонных плитах должны окаймляться дополнительной арматурой сечением не менее сечения рабочей арматуры (того же направления), которая требуется по расчету плиты как сплошной.

Небольшие отверстия в железобетонных элементах следует располагать в пределах ячеек, арматурных сеток и каркасов так, чтобы не нужно было перерезать арматуру и вводить дополнительное местное армирование.

ПОПЕРЕЧНОЕ АРМИРОВАНИЕ ЭЛЕМЕНТОВ

13.25. У всех поверхностей железобетонных элементов, вблизи которых ставится продольная арматура, должна предусматриваться также поперечная арматура, охватывающая крайние продольные стержни. При этом расстояния между поперечными стержнями у каждой поверхности элемента должны быть не более 500 мм и не более удвоенной ширины грани элемента.

Во внецентренно-сжатых элементах, армированных центрально-расположенной напрягаемой продольной арматурой (например, в сваях), постановка поперечной арматуры не требуется, если сопротивление действию поперечных сил обеспечивается одним бетоном (т.е. выполняется требование п. 11.44).

13.26. Во внецентренно-сжатых линейных элементах, а также в сжатой зоне изгибаемых элементов при наличии учитываемой в расчете сжатой продольной арматуры ненапрягаемой при Rа.с £ 4000 кгс/см2 или напрягаемой с напряжением s'0 > 0 хомуты должны ставиться на расстоянии не более 500 мм и при вязаных каркасах не более 15d, а при сварных не более 20d, где d - наименьший диаметр сжатых продольных стержней. При этом конструкция поперечной арматуры должна обеспечивать закрепление сжатых продольных стержней от их бокового выпучивания в любом направлении.

Если общее насыщение элемента продольной арматуры составляет более 3 %, хомуты должны устанавливаться на расстоянии не более 10d и не более 300 мм.

При проверке соблюдения требований настоящего пункта продольные сжатые стержни, не учитываемые расчетом, не должны приниматься во внимание, если диаметр этих стержней не превышает 12 мм и не более половины толщины защитного слоя бетона.

13.27. Соотношение диаметров поперечных и продольных стержней в сварных каркасах и сварных сетках устанавливается из условия сварки (см. прил. 13).

Диаметр хомутов в вязаных каркасах принимается в соответствии с п. 13.18.

13.28. В балках и ребрах высотой более 150 мм должна всегда устанавливаться вертикальная поперечная арматура.

В сплошных плитах, а также в балках и ребрах высотой 150 мм и менее допускается поперечную арматуру не устанавливать. При этом должны быть обеспечены требования расчета согласно п. 11.51.

13.29. Расстояние между вертикальными поперечными стержнями в элементах, не имеющих отогнутой арматуры, в случаях, когда поперечная арматура требуется по расчету либо по конструктивным соображениям, указанным в п. 13.28, должно приниматься:

а) на приопорных участках (равных при равномерной нагрузке 1/4 пролета, а при сосредоточенных нагрузках - расстоянию от опоры до ближайшего груза, но не менее 1/4 пролета);

при высоте сечения h £ 450 мм - не более h/2 и не более 150 мм;

при высоте сечения h > 450 мм - не более h/3 и не более 500 мм;

б) на остальной части пролета при высоте сечения h > 300 мм - не более 3/4h и не более 500 мм.

13.30. В элементах, работающих на изгиб с кручением, вязаные хомуты должны быть замкнутыми с перепуском их концов на 30d, где d - диаметр хомута, и при сварных каркасах все поперечные стержни обоих направлений должны быть приварены к угловым продольным стержням, образуя замкнутый контур.

АРМИРОВАНИЕ КОНЦОВ ПРЕДВАРИТЕЛЬНО НАПРЯЖЕННЫХ ЭЛЕМЕНТОВ

13.31. У концов предварительно напряженных элементов должна быть установлена дополнительная поперечная арматура (сварные сетки, охватывающие все продольные стержни арматуры, хомуты и т.п. с шагом 5 - 10 см) на длине участка не менее 0,6lп.н (см. п. 9.18) и не менее 20 см.

При этом, если напрягаемая продольная арматура у торцов элемента располагается сосредоточенно у верхней и нижней граней, необходимо предусматривать на концевых участках поперечную арматуру (не учитываемую в расчете на поперечные силы), суммарное значение которой в состоянии воспринять:

в конструкциях, не рассчитываемых на выносливость, - 20 %; в конструкциях, рассчитываемых на выносливость, - 30 % усилия натяжения в продольной напрягаемой арматуре, расположенной у одной грани сечения, с учетом первых потерь.

Суммарная площадь сечения дополнительной поперечной арматуры определяется по формулам:

а) для конструкций, не рассчитываемых на выносливость,

                                                           (339)

б) для конструкций, рассчитываемых на выносливость,

                                                          (340)

где Fн - большая из площадей сечения напрягаемой продольной арматуры, расположенной внутри хомутов у одной грани сечения;

s0 принимается с учетом потерь по поз. 1 - 4 табл. 50.

13.32. Дополнительную поперечную арматуру рекомендуется предусматривать в виде сварных замкнутых хомутов из арматурной стали периодического профиля класса А-II или А-III.

Если из условия опирания элемента на его концевом участке устанавливают стальную опорную плиту, следует соединять с ней дополнительную поперечную арматуру сваркой.

ПРИЛОЖЕНИЕ 1

ПРЕДЕЛЬНО ДОПУСТИМЫЕ ПРОГИБЫ ЭЛЕМЕНТОВ ЖЕЛЕЗОБЕТОННЫХ КОНСТРУКЦИЙ

Элементы конструкций

Предельно допустимые прогибы

1. Подкрановые балки при кранах:

 

а) ручных

l/500

б) электрических

l/600

2. Элементы перекрытия с плоским потолком и элементы покрытия при пролетах длиной, м:

 

а) l < 6

l/200

б) 6 £ l £ 7,5

3 см

в) l > 7,5

l/250

3. Элементы перекрытия с ребристым потолком и элементы лестниц при пролетах длиной, м:

 

а) l < 5

l/200

б) 5 £ l £ 10

2,5 см

в) l > 10

l/400

4. Навесные стеновые панели (при расчете из плоскости) при пролетах длиной, м:

 

а) l < 6

l/200

б) 6 £ l £ 7,5

3 см

в) l > 7,5

l/250

Примечания: 1. Для конструкций, не предусмотренных таблицей, величины предельно допустимых прогибов устанавливаются в соответствии со специальными требованиями, но при этом они не должны превышать 1/150 пролета элемента и 1/75 вылета консоли.

2. Принято l - пролет балок или плит, для консолей принимают l = 2l1, где l1 - вылет консоли.

ПРИЛОЖЕНИЕ 2

ОСНОВНЫЕ ВИДЫ АРМАТУРНЫХ СТАЛЕЙ И ОБЛАСТИ ИХ ПРИМЕНЕНИЯ В ЖЕЛЕЗОБЕТОННЫХ КОНСТРУКЦИЯХ В ЗАВИСИМОСТИ ОТ ХАРАКТЕРА НАГРУЗОК И РАСЧЕТНОЙ ТЕМПЕРАТУРЫ

Вид арматуры

Класс арматуры

Марка стали

Диаметр, мм

Нагрузки

статические

динамические и многократно повторяющиеся

условия эксплуатации конструкций

в отапливаемых зданиях

на открытом воздухе и в неотапливаемых зданиях при расчетной температуре, °С

в отапливаемых зданиях

на открытом воздухе и в неотапливаемых зданиях при расчетной температуре, °С

до -30 включительно

от -30 до -40 включительно

от -40 до -55 включительно

от -55 до -70 включительно

от -30 включительно

от -30 до -40 включительно

от -40 до -55 включительно

от -55 до -70 включительно

Стержневая горячекатаная гладкая (ГОСТ 5781-81)

А-I

Ст3сп3

6 - 40

+

+

+

+

+1

+

+

-

-

-

Ст3пс3

6 - 40

+

+

+

-

-

+

+

-

-

-

Ст3кп3

6 - 40

+

+

-

-

-

+

+

-

-

-

ВСт3сп2

6 - 40

+

+

+

+

+

+

+

+

+

+

ВСт3пс2

6 - 40

+

+

+

-

-

+

+

+

-

-

ВСт3кп2

6 - 40

+

+

-

-

-

+

+

-

-

-

ВСт3Гпс2

6 - 18

+

+

+

+

+1

+

+

+

+

+1

Стержневая горячекатаная периодического профиля (ГОСТ 5781-81)

А-II

ВСт5сп2

10 - 40

+

+

+

+1

+1

+

+

+1

-

-

ВСт5пс2

10 - 16

+

+

+

+1

-

+

+

+1

-

-

ВСт5пс2

18 - 40

+

+

-

-

-

+

+1

-

-

-

А-II

18Г2С

40 - 80

+

+

+

+

+1

+

+

+

+

+1

Ас-II

10ГТ

10 - 40

+

+

+

+

-

+

+

+

+

+

А-III

35ГС

6 - 8

+

+

+

+1

-

+

+

+1

-

-

25Г2С

6 - 8

+

+

+

+

+1

+

+

+

+1

-

А-IV

80С

10 - 18

+

+

-

-

-

+

-

-

-

-

20ХГ2Ц

10 - 22

+

+

+

+2

+2

+

+

+

+2

-

А-V

23Х2Г2Т

10 - 22

+

+

+

+

+2

+

+

+

+

+2

Стержневая горячекатаная периодического профиля (ГОСТ 5781-81)

А-III

35ГС

10 - 40

+

+

+

+1

-

+

+

+1

-

-

25Г2С

10 - 40

+

+

+

+

+1

+

+

+

+1

-

Стержневая, упрочненная вытяжкой периодического профиля

А-IIIв

35ГС

10 - 40

+

+

-

-

-

+

-

-

-

-

25Г2С

10 - 40

+

+

+

-

-

+

+

-

-

-

Обыкновенная арматурная проволока периодического профиля (ГОСТ 6727-80)

Вр-1

-

3 - 5

+

+

+

+

+

+

+

+

+

+

1 Допускается применять только в вязаных каркасах и сетках.

2 Следует применять только в виде целых стержней мерной длины.

3 Арматурная сталь класса Ас-II (для северных районов) марки 10ГТ, диаметром 36 - 40 мм поставляется по согласованию с изготовителем.

Примечания: 1. Знак «+» означает «допускается», знак «-» означает «не допускается».

2. За расчетную температуру принимается средняя температура воздуха наиболее холодной пятидневки, при которой конструкции эксплуатируются согласно главе СНиП по строительной климатологии и геофизике.

3. В данной таблице к динамическим относятся нагрузки, если доля этих нагрузок при расчете конструкций по прочности превышает 0,1 статической нагрузки; к многократно повторяющимся нагрузкам - нагрузки, при которых коэффициент условий работы mа1, определяемый по формуле (157) настоящего Руководства или по табл. 25 главы СНиП II-21-75, меньше единицы.

4. Качество упрочненной вытяжкой арматурной стали класса А-IIIв регламентируется прил. 2 «Руководства по технологии изготовления предварительно-напряженных железобетонных конструкций» (М., Стройиздат, 1975).

ПРИЛОЖЕНИЕ 3

ОБЛАСТЬ ПРИМЕНЕНИЯ УГЛЕРОДИСТЫХ СТАЛЕЙ ДЛЯ ЗАКЛАДНЫХ ДЕТАЛЕЙ ЖЕЛЕЗОБЕТОННЫХ И БЕТОННЫХ КОНСТРУКЦИЙ

Характеристика закладных деталей

Класс стали

Расчетная температура эксплуатации конструкций, °С

до минус 30 включительно

от минус 30 до минус 40 включительно

марка стали (по ГОСТ 380-71*)

толщина проката, мм

марка стали (по ГОСТ 380-71*)

толщина проката, мм

1. Рассчитываемые на усилия от статических нагрузок

С 38/23

ВСт3кп2

4 - 30

ВСт3пс6

4 - 25

2. Рассчитываемые на усилия от динамических и многократно повторяющихся нагрузок

С 38/23

ВСт3пс6

4 - 10

ВСт3пс6

4 - 10

ВСт3Гпс5

11 - 30

ВСт3Гпс5

11 - 30

ВСт3пс5

11 - 25

ВСт3сп5

11 - 25

3. Конструктивные, не рассчитываемые на силовые воздействия

С 38/23

БСт3кп2

4 - 10

БСт3кп2

4 - 10

ВСт3кп2

4 - 30

ВСт3кп2

4 - 30

Примечания: 1. Марка стали устанавливается по главе СНиП II-23-81.

2. За расчетную температуру принимается средняя температура наиболее холодной пятидневки, при которой конструкции эксплуатируются согласно главе СНиП по строительной климатологии и геофизике. Расчетные технологические температуры устанавливаются заданием на проектирование.

3. При температуре ниже минус 40 °С выбор марки стали для закладных деталей производится как для стальных сварных конструкций по главе СНиП II-23-81.

ПРИЛОЖЕНИЕ 4

ЗНАЧЕНИЯ КОЭФФИЦИЕНТА g

Характеристика сечения

g

Форма поперечного сечения

1. Прямоугольное

1,75

2. Тавровое с полкой, расположенной в сжатой зоне

1,75

3. Тавровое с полкой (уширением), расположенной в растянутой зоне:

 

а) при bп/b £ 2 независимо от отношения hп/h

1,75

б) при bп/b > 2 и hп/h ³ 0,2

1,75

в) при bп/b > 2 и hп/h < 0,2

1,5

4. Двухтавровое симметричное (коробчатое):

 

b'п = b h'п = h

а) при b'п/b = bп/b £ 2 независимо от отношении h'п/h = hп/h

1,75

б) при 2 < b'п/b = bп/b £ 6 независимо от отношений h'п/h = hп/h

1,5

в) при b'п/b = bп/b > 6 и h'п/h = hп/h ³ 0,2

1,5

г) при 6 < b'п/b = bп/b £ 15 и h'п/h = hп/h < 0,2

1,25

д) при b'п/b = bп/b > 15 и h'п/h = hп/h < 0,1

1,1

5. Двутавровое несимметричное, удовлетворяющее условию b'п/b £ 3:

1,75

а) при bп/b £ 2 независимо от отношения hп/h

 

б) при 2 < bп/b £ 6 независимо от отношения hп/h

1,5

в) при bп/b > 6 и hп/h > 0,1

1,5

6. Двутавровое несимметричное, удовлетворяющее условию 3 < b'п/b < 8:

 

а) при bп/b £ 4 независимо от отношения hп/h

1,5

б) при bп/b > 4 и hп/h ³ 0,2

1,5

в) при bп/b > 4 и hп/h < 0,2

1,25

7. Двутавровое несимметричное, удовлетворяющее условию b'п/b ³ 8:

 

а) при hп/h > 0,3

1,5

б) при hп/h £ 0,3

1,25

8. Кольцевое и круговое

2 - 0,4D1/D

9. Крестовое:

а) при bп/b ³ 2 и 0,9 ³ h'п/h > 0,2

2

б) в остальных случаях

1,75

Примечание. В таблице обозначения bп и hп соответствуют размерам полки, которая при расчете по образованию трещин является растянутой, а b'п и h'п - размерам полки, которая для этого случая расчета является сжатой.

ПРИЛОЖЕНИЕ 5

ГРАФИКИ ДЛЯ ОПРЕДЕЛЕНИЯ ВЕЛИЧИНЫ РАСКРЫТИЯ ТРЕЩИН aт

Рис. 1. Величина раскрытия трещин в изгибаемых и внецентренно-сжатых элементах при кратковременном действии нагрузок (sнач = 200 кгс/см2)

Рис. 2. Величина раскрытия трещин в изгибаемых и внецентренно сжатых элементах при длительном действии нагрузок (sнач = 200 кгс/см2)

Рис. 3. Величина раскрытия трещин в центрально- и внецентренно-растянутых элементах при кратковременном действии нагрузок (sнач = 200 кгс/см2)

Рис. 4. Величина раскрытия трещин в центрально- и внецентренно-растянутых элементах при длительном действии нагрузок (sнач = 200 кгс/см2)


ПРИЛОЖЕНИЕ 6

ОПРЕДЕЛЕНИЕ СТЕПЕНИ АГРЕССИВНОГО ВОЗДЕЙСТВИЯ ВОДЫ-СРЕДЫ НА БЕТОН КОНСТРУКЦИЙ, ТРЕБОВАНИЯ К ЖЕЛЕЗОБЕТОННЫМ КОНСТРУКЦИЯМ, ЭКСПЛУАТИРУЕМЫМ В ЖИДКОЙ СРЕДЕ, И ПОКАЗАТЕЛИ ПЛОТНОСТИ БЕТОНА

Таблица 1

Степень агрессивного воздействия воды-среды на бетон конструкций в зависимости от показателя агрессивности среды, характеризующего процессы коррозии I вида

Показатели агрессивности среды, характеризующие процессы коррозии I вида

Степень агрессивного воздействия среды

Сооружения1

безнапорные

напорные

сильно- и среднефильтрующие грунты (Кф ³ 0,1 м/сут) и открытый водоем

слабофильтрующие грунты (Кф < 0,1 м/сут)

плотность бетона

нормальная

повышенная

особо плотный

нормальная

повышенная

особо плотный

нормальная

повышенная

особо плотный

Бикарбонатная щелочность, мг-экв/л или град

Неагрессивная

³ 1,4 (4°)

³ 0,7 (2°)

Не нормируется

³ 2 (5,6°)

³ 1,07 (3°)

³ 1,07 (3°)

Слабоагрессивная

< 1,4 (4°) - 0,7 (2°)

< 0,7 (2°) - 0

То же

< 2 (5,6°) - 1,07 (3°)

< 1,07 (3°) - 0

< 0,7 (2°) - 0

То же

Среднеагрессивная

< 0,7 (2°) - 0

Не нормируется

< 1,07 (3°)

Не нормируется

Сильноагрессивная

Не нормируется

То же

Не нормируется

То же

1 Оценка агрессивного воздействия воды-среды дана в интервале температур 0 - 50 °С.

Примечание. При концентрации химических веществ в воде, не превышающей 1/4 их концентрации, нормируемой по табл. 2 и 3 прил. 6 как агрессивная для бетона нормальной плотности, максимальные значения В/Ц разрешается принимать по табл. 35.

Таблица 2

Степень агрессивного воздействия воды-среды на бетон конструкций в зависимости от показателя агрессивности среды, характеризующего процессы коррозии II вида

Показатели агрессивности среды, характеризующие процессы коррозии II вида

Степень агрессивного воздействия среды

Сооружения

безнапорные

напорные

сильно- и среднефильтрующие грунты (Кф ³ 0,1 м/сут) и открытый водоем

слабофильтрующие грунты (Кф < 0,1 м/сут)

плотность бетона

нормальная

повышенная

особо плотный

нормальная

повышенная

особо плотный

нормальная

повышенная

особо плотный

Водородный показатель pН

Неагрессивная

> 6,5

> 5,9

> 4,9

> 5

> 5

> 3,9

> 6,5

> 5,9

> 5,4

Слабоагрессивная

6,5 - 6

5,9 - 5

4,9 - 4

5 - 4

5 - 4

3,9 - 3

6,5 - 6

5,9 - 5,5

5,4 - 5

Среднеагрессивная

5,9 - 5

4,9 - 4

3,9 - 2

3,9 - 3

3,9 - 3

2,9 - 1

5,9 - 5,5

5,4 - 5

4,9 - 4

Сильноагрессивная

< 5

< 4

< 2

< 3

< 3

< 1

< 5,5

< 5

< 4

Содержание свободной углекислоты, мг/л

Неагрессивная

< a[Сä] + b

a[Сä] + b -

< a[Сä] + b + 40

³ a[Сä] + b + 40

Не нормируется То же

< a[Сä] + b + 40

³ a[Сä] + b + 40

Не нормируется

То же

< a[Сä] + b

a[Сä] + b -

< a[Сä] + b

a[Сä] + b -

£ a[Сä] + b + 40

 > a[Сä] + b + 40

Слабоагрессивная

-a[Сä] + b + 40

 

 

 

 

-a[Сä] + b + 40

-a[Сä] + b + 40

 

Среднеагрессивная

< a[Сä] + b + 40

Не нормируется

»

Не нормируется

»

То же

 > a[Сä] + b + 40

Не нормируется

Сильноагрессивная

Не допускается к применению

То же

»

Не допускается к применению

»

Не допускается к применению

Не нормируется

То же

Содержание магнезиальных солей, мг/л, в пересчете на ион Mg2+

Неагрессивная

£ 1000

£ 1500

£ 2000

£ 2000

£ 2500

£ 3000

£ 1000

£ 1500

£ 2000

Слабоагрессивная

1001 - 1500

1501 - 2000

2001 - 3000

2001 - 2500

2501 - 3000

3001 - 4000

1001 - 1500

1501 - 2000

2001 - 3000

Среднеагрессивная

1501 - 2000

2001 - 3000

3001 - 4000

2501 - 3000

3001 - 4000

4001 - 5000

1500 - 2000

2001 - 3000

3001 - 4000

Сильноагрессивная

> 2000

> 3000

> 4000

> 3000

> 4000

> 5000

> 2000

> 3000

> 4000

Содержание едких щелочей, г/л, в пересчете на ион Na+

Неагрессивная

£ 50

£ 60

£ 80

£ 80

£ 90

£ 100

£ 30

£ 50

£ 60

Слабоагрессивная

51 - 60

61 - 80

81 - 100

81 - 90

91 - 100

101 - 120

31 - 50

51 - 60

61 - 80

Среднеагрессивная

61 - 80

81 - 100

101 - 150

91 - 100

101 - 120

121 - 170

51 - 60

61 - 80

81 - 120

Сильноагрессивная

> 80

> 100

> 150

> 100

> 120

> 170

> 60

> 80

> 120

Примечания: 1. Значения коэффициентов a и b для определения содержания свободной углекислоты приведены в табл. 4 прил. 6.

2. При оценке степени агрессивного воздействия воды-среды на бетон массивных малоармированных конструкций величина водородного показателя рН принимается для бетонов нормальной плотности как для бетонов повышенной плотности данной таблицы, а для бетонов повышенной плотности как для особо плотных бетонов.

Таблица 3

Степень агрессивного воздействия воды-среды на бетон конструкций в зависимости от показателя агрессивности среды, характеризующего процессы коррозии III вида

Показатели агрессивности среды, характеризующие процессы коррозии III вида

Степень агрессивного воздействия среды

Сооружения

безнапорные

напорные

сильно- и среднефильтрующие грунты (Кф ³ 0,1 м/сут) и открытый водоем

слабофильтрующие грунты (Кф < 0,1 м/сут)

плотность бетона

нормальная

повышенная

особо плотный

нормальная

повышенная

особо плотный

нормальная

повышенная

особо плотный

Содержание сульфатов, мг/л, в пересчете на ионы SO"4 для:

 

 

 

 

 

 

 

 

 

 

а) портландцемента и шлакопортландцемента

Неагрессивная

< 300

< 400

< 500

< 300

< 500

< 600

< 250

< 400

< 500

Слабоагрессивная

300 - 400

400 - 500

500 - 800

300 - 500

500 - 600

600 - 800

250 - 400

400 - 500

500 - 800

Среднеагрессивная

401 - 500

501 - 800

801 - 1200

501 - 600

601 - 800

801 - 1200

401 - 500

501 - 800

801 - 1200

Сильноагрессивная

> 500

> 800

> 1200

> 600

> 800

> 1200

> 500

> 800

> 1200

б) сульфатостойких: портландцемента, пуццоланового портландцемента, шлакопортландцемента и портландцемента с минеральными добавками

Неагрессивная

< 3000

< 4000

< 5000

< 3000

< 5000

< 6000

< 3000

< 4000

< 5000

Слабоагрессивная

3000 - 4000

4000 - 5000

5000 - 7000

3000 - 5000

5000 - 6000

6000 - 8000

3000 - 4000

4000 - 5000

5000 - 7000

Среднеагрессивная

4001 - 5000

5001 - 7000

7001 - 10000

5001 - 6000

6001 - 8000

8001 - 12000

4001 - 5000

5000 - 7000

7001 -10000

Сильноагрессивная

> 5000

> 7000

> 10000

> 6000

> 8000

> 12000

> 5000

> 7000

> 10000


Таблица 4

Значения коэффициентов a и b для определения содержания свободной углекислоты в воде-среде

Бикарбонатная щелочность

Суммарное содержание ионов Сl¢ и SO4", мг/л

град

мг-экв/л

0 - 200

201 - 400

401 - 600

601 - 800

801 - 1000

св. 1000

a

b

a

b

a

b

a

b

a

b

a

b

3

1

0

15

-

-

-

-

-

-

-

-

-

-

4

1,4

0,01

16

0,01

17

0,01

17

0

17

0

17

0

17

5

1,8

0,04

17

0,04

18

0,03

17

0,02

18

0,02

18

0,02

18

6

2,1

0,07

19

0,06

19

0,05

18

0,04

18

0,04

18

0,04

19

7

2,5

0,1

21

0,08

20

0,07

19

0,06

18

0,06

18

0,05

18

8

2,9

0,13

23

0,11

21

0,09

19

0,08

18

0,07

18

0,07

18

9

3,2

0,16

25

0,14

22

0,11

20

0,1

19

0,09

18

0,08

18

10

3,6

0,2

27

0,17

23

0,14

21

0,12

19

0,11

18

0,1

18

Таблица 5

Требования к железобетонным конструкциям, эксплуатируемым в жидкой среде

Степень агрессивного воздействия жидкой среды на железобетон

Категория требований по трещиностойкости (числитель) и предельная ширина раскрытия трещин (знаменатель)*, мм

Толщина защитного слоя бетона**, мм не менее

Плотность бетона конструкций, армированных сталью классов

для ненапрягаемой арматуры классов А-I, А-II, А-III

для напрягаемой арматуры классов*****

А-I, А-II, А-III, А-IV

В-II, Вр-II и изделий из них

Ат-IV, Ат-V, Ат-VI, А-V

А-IV

А-V, Ат-IV, Ат-V, Ат-VI

В-II, Вр-II и изделий из них

Слабоагрессивная

-

0,15 (0,72)

3

0,1 (0,15)

2

-(0,1)

2

-(0,1)

25

П***

П***

П

Среднеагрессивная

-

0,1 (0,15)

3

0,05 (0,1)

1

-

2****

-(0,05)

30

П

П

О

Сильноагрессивная

-

0,05 (0,1)

2

-(0,05)

Не допускается к применению

1

-

35

О

О

Не допускается к применению

* В знаменателе приведена ширина длительного раскрытия трещин, в скобках - ширина кратковременного раскрытия трещин.

** Толщина защитного слоя бетона приведена для конструкций, на которых возможно возобновление защитных покрытий в процессе эксплуатации; для конструкций, на которых возобновление защитных покрытий невозможно (фундаменты, сваи и др.), толщина защитного слоя принимается на 5 мм больше величин, приведенных в таблице. Толщина защитного слоя для нижней арматуры монолитных фундаментов при отсутствии подготовки принимается не менее 80 мм, а при наличии подготовки увеличивается на 15 мм по сравнению с приведенными в таблице величинами.

*** При применении оцинкованной арматуры допускается бетон нормальной плотности.

**** При диаметре проволоки менее 4 мм конструкции должны быть отнесены к I категории требований по трещиностойкости или должна применяться оцинкованная арматура.

***** Не допускается применение предварительно-напряженных конструкций, армированных сталью классов А-V, Ат-IV, Ат-V, Ат-VI, при воздействии кислот, азотнокислых, роданистых и хлористых солей.

Примечание. Требования настоящей таблицы должны соблюдаться при проектировании конструкций из тяжелых бетонов и конструктивных легких бетонов той же плотности.

Таблица 6

Показатели плотности бетона

Характеристика бетона по плотности

Условные обозначения

Показатели плотности бетона

марка по водонепроницаемости

водопоглощение, % по весу

водоцементное отношение В/Ц, не более

Нормальный

Н

В4

Св. 4,7 до 5,7

0,6

Повышенный

п

В6

Св. 4,2 до 4,7

0,55

Особо плотный

о

В8

До 4,2

0,45

Примечания: 1. Марка бетона по водонепроницаемости и водопоглощение бетона определяются по ГОСТ 12730.0-78, коэффициент фильтрации по ГОСТ 19426-74.

2. Показатели водопоглощения и водоцементного отношения приведены для тяжелого бетона. Для бетонов на пористых заполнителях приведенные в таблице величины водопоглощения необходимо умножать на отношение объемного веса тяжелого бетона к объемному весу бетона на пористых заполнителях.

3. Для бетонов на пористых заполнителях приведенные в таблице величины водоцементного отношения умножаются на коэффициент, равный 0,75.

ПРИЛОЖЕНИЕ 7

ГРАФИКИ ДЛЯ ОПРЕДЕЛЕНИЯ КОЭФФИЦИЕНТА yа

Рис. 1. Центрально-растянутые элементы

Рис. 2. Изгибаемые элементы прямоугольного сечения (см. прим. 1 к п. 4.17)

Рис. 3. Изгибаемые элементы таврового сечения с полкой в растянутой зоне

Рис. 4. Изгибаемые элементы двутаврового и коробчатого сечений

ПРИЛОЖЕНИЕ 8

ГРАФИКИ ДЛЯ ОПРЕДЕЛЕНИЯ ВЫСОТЫ СЖАТОЙ ЗОНЫ БЕТОНА

Рис. 1. Изгибаемые элементы прямоугольного сечения с одиночной арматурой

Рис. 2. Внецентренно-сжатые элементы прямоугольного сечения с одиночной арматурой

Рис. 3. Внецентренно-растянутые элементы прямоугольного сечения с одиночной арматурой

ПРИЛОЖЕНИЕ 9

ХАРАКТЕРИСТИКИ БЕТОНА ДЛЯ РАСЧЕТА КОНСТРУКЦИЙ НА ТЕМПЕРАТУРНЫЕ И ВЛАЖНОСТНЫЕ ВОЗДЕЙСТВИЯ

Таблица 1

Тепло- и влагофизические характеристики бетона

Тепло- и влагофизические характеристики бетона

Величина

1. Коэффициент линейного расширения a, 1/°С

1×10-5

2. Коэффициент теплопроводности: l, ккал/(м×ч×°С)

 

в строительный период

2,2

» эксплуатационный »

1,7

3. Удельная теплоемкость с, ккал/(кг×°С)

0,24

4. Коэффициент температуропроводности aт, м2

4×10-3

5. Коэффициент теплоотдачи с открытой поверхности бетона b ккал/(м2×ч×°С):

 

в воздух

20

выходящей внутрь полых швов, шахт, тепляков

От 6 до 10

омываемой водой

µ

6. Коэффициент линейной усадки aу, мм/мм

г/г

3×10-2

7. Коэффициент линейного набухания aнг, мм/мм

г/г

 

при гигроскопическом увлажнении бетона

3×10-2

при непосредственном контакте бетона с водой

5×10-3

8. Коэффициент диффузии влаги aв, м2

5×10-6

9. Коэффициент влагоотдачи с открытой поверхности бетона в воздух bв, м/ч

2×10-4

Примечание. Эксплуатационный период начинается с момента начала наполнения водохранилища при условии, что возраст бетона сооружения превышает к этому моменту 4 мес.

Таблица 2

Средние величины тепловыделения в бетоне

Тип цемента

Марка цемента

Тепловыделение бетона, ккал на 1 кг цемента, за время, сут

3

7

28

90

Портландцемент

500

70

80

92

95

То же

400

60

70

82

85

»

300

50

60

70

72

Пуццолановый портландцемент

400

50

63

77

80

То же

300

42

55

65

67

Шлакопортландцемент

400

50

63

77

80

То же

300

42

55

65

67

Примечание. При выполнении расчетов для сооружений I класса приведенные в таблице величины тепловыделения бетона следует уточнять по результатам экспериментальных исследований.

ПРИЛОЖЕНИЕ 10

ИЗМЕНЕНИЕ СРЕДНИХ ЗНАЧЕНИЙ КОЭФФИЦИЕНТОВ РЕЛАКСАЦИИ (ЗАТУХАНИЯ) ТЕМПЕРАТУРНЫХ НАПРЯЖЕНИЙ

ПРИЛОЖЕНИЕ 11

РАСЧЕТ НЕСУЩИХ АРМОКОНСТРУКЦИЙ

Несущие армоконструкции (армофермы) (рис. 1 и 2) рассчитываются раздельно по двум стадиям их работы.

Рис. 1. Несущая армоферма ФА-Г

а - геометрическая и расчетная схемы, размеры, см; нагрузки, тс; «+» - растяжение; «-» - сжатие; б - общий вид армофермы

Рис. 2. Узлы несущей армофермы ФА-Г (узлы 7 - 10 не показаны)

Первая стадия - армофермы работают как стальные конструкции, воспринимающие нагрузки от собственного веса, веса опалубки и уложенной бетонной смеси, монтажной нагрузки при бетонировании, давления ветра на поверхность опалубки и др.

Вторая стадия - армофермы работают совместно с бетоном как обычная арматура в железобетонном сечении, воспринимающем полную расчетную нагрузку.

Расчет начинается со второй стадии, т.е. на эксплуатационные нагрузки, в соответствии с разд. 3.

При расчете по второй стадии начальные напряжения в элементах армофермы от работы по первой стадии не учитываются.

Высота армофермы и разбивка на блоки бетонирования предусматриваются такими, чтобы на строительные нагрузки не было увеличения площади сечения растянутого пояса армофермы по сравнению с площадью растянутой продольной арматуры, полученной расчетом на эксплуатационные нагрузки.

Армофермы состоят из несущих элементов, необходимых для первой стадии работы, и дополнительной арматуры, требуемой для работы по второй стадии.

Дополнительную расчетную арматуру рекомендуется приваривать к несущим армофермам при их изготовлении.

ПОДБОР СЕЧЕНИЯ ЭЛЕМЕНТОВ НЕСУЩИХ АРМОКОНСТРУКЦИЙ

При расчете несущих армоконструкций нагрузки принимаются по прил. 1 главы СНиП III-15-76 «Бетонные и железобетонные конструкции монолитные. Правила производства и приемки работ».

Усилия в стержнях армоконструкций определяются методами статики сооружения, принятыми для расчета стержневых сквозных ферм.

При определении усилий узлы армоферм разрешается рассматривать как шарнирные. В случае внеузловой нагрузки последняя заменяется в расчете армофермы ее реакциями на близлежащих узлах с учетом изгибающего момента в панели пояса, причем каждую панель пояса разрешается рассматривать как свободно опертую балку.

Расчет элементов армоконструкций рекомендуется производить по формулам:

при центральном растяжении

;                                                                    (1)

при центральном сжатии

;                                                                   (2)

при изгибе в одной из главных плоскостей

;                                                                    (3)

при изгибе в двух главных плоскостях

;                                                           (4)

при внецентренном растяжении и внецентренном сжатии

.                                                      (5)

В формулах (1) - (5):

N - расчетное осевое усилие растяжения или сжатия;

М, Мх, Му - абсолютные значения расчетных изгибающих моментов;

R - расчетное сопротивление стали растяжению или сжатию;

Fнт - площадь сечения элемента нетто;

F - площадь сечения элемента брутто;

j - коэффициент продольного изгиба, принимаемый в функции наибольшей гибкости

;                                                                       (6)

l0 - расчетная длина отдельной ветви элемента фермы;

r - радиус инерции сечения стержня относительно оси перпендикулярной плоскости, в которой определяется гибкость;

Wнтп - пластический момент сопротивления ослабленного сечения. Пластический момент сопротивления Wп равен удвоенному статическому моменту половины площади сечения относительно оси, проходящей через центр тяжести сечения. Вводимая в расчет величина Wп не должна превышать 1,2W.

Jх.нт, Jу.нт - моменты инерции сечения нетто относительно осей соответственно х-х и y-y;

х, y - координаты рассматриваемой точки сечения относительно его главных осей.

Расчетные сопротивления прокатной и арматурной стали приведены в табл. 1.

Таблица 1

Напряженное состояние

Расчетные сопротивления, кгс/см2, стали классов

А-I

А-II

А-III

Æ 10 - 40

С 38/23

С 44/29

С 46/33

С 52/40

Растяжение, сжатие, изгиб

2300

2850

3750

2100

2600

2900

3400

Гибкость элементов армоферм, работающих временно лишь в период строительства (для поддержания жидкого несхватившегося бетона), допускается принимать по табл. 2.

Таблица 2

Элементы несущих армоконструкций

Максимальная допускаемая гибкость l

Сжатые пояса, опорные раскосы и стойки ферм, передающие опорные реакции

150

Прочие сжатые элементы ферм

200

Стержни, служащие для уменьшения расчетной длины сжатых стержней, и другие неработающие элементы

220

Для всех растянутых элементов армоферм при воздействии на конструкцию статических нагрузок

400

Примечания: 1. Предельная гибкость сжатых раскосов (кроме опорных) пространственных, решетчатых конструкций из одиночных уголков принимается: при использовании несущей способности раскосов до 50 % - равной 220; при использовании несущей способности от 50 до 100 % определяется интерполяцией между значениями 220 и 200.

2. При проверке гибкости растянутых стержней перекрестной решетки из одиночных равнобоких уголков радиус инерции сечения уголка принимается относительно оси, параллельной полке уголка.

3. Для растянутых раскосов ферм с незначительными усилиями, в которых при неблагоприятном расположении нагрузки может измениться знак усилия, предельная гибкость принимается как для сжатых элементов, при этом соединительные прокладки должны устанавливаться не реже чем через 40 ч.

Для составных центрально-сжатых стержней, ветви которых соединены планками или решетками, коэффициент продольного изгиба относительно свободной оси (перпендикулярной плоскости планок или решеток) определяется по приведенной гибкости lпр, вычисляемой по формулам табл. 3.

Расчетные длины l0 при определении гибкости элементов с симметричными относительно плоскости ферм сечениями, за исключением пересекающихся стержней ферм с перекрестной решеткой, принимаются по табл. 4.

Расчетные длины l0 пересекающихся стержней фермы с перекрестной решеткой при определении их гибкости принимаются: в плоскости фермы - равными расстоянию от центра узла фермы до точки их пересечения (l0 = l); из плоскости фермы - по табл. 5.

Таблица 3

Сечение стержня

Соединительные элементы

Приведенные гибкости lпр

Планки

Решетки

Планки

Решетки

Обозначения, принятые в таблице:

lу - гибкость всего стержня относительно свободной оси;

l - наибольшая гибкость всего стержня;

l1; l2 - гибкость отдельных ветвей относительно осей соответственно 1-1 и 2-2 на участках между приваренными планками (в свету);

F - площадь сечения всего стержня;

Fр1; Fр2 - площади сечения раскосов решеток, лежащих в плоскостях, перпендикулярных осям, соответственно 1-1 и 2-2;

К1; К2 - коэффициенты, принимаемые в зависимости от значений углов a1 или a2 между раскосом решетки и ветвью в плоскостях соответствующих решеток:

 

a1 (a2), град

30

40

45 - 60

K1 (K2)

45

31

27

Примечание. Гибкость отдельных ветвей l1 и l2 на участках между планками должны быть не более 40 ч.

Таблица 4

Направление продольного эскиза

Расчетная длина l0

поя

опорных раскосов и опорных стоек

прочих элементов решетки

В плоскости фермы

l

l

0,8l

В направлении, перпендикулярном плоскости ферм (из плоскости фермы)

l1

l1

l1

Обозначения, принятые в таблице:

l - геометрическая длина элемента (расстояние между центрами узлов) в плоскости фермы;

l1 - расстояние между узлами, закрепленными от смещения из плоскости фермы (поясами ферм, специальными связями; жесткими плитами покрытий, прикрепленными к поясу сварными швами или болтами и т.п.).

Примечания: 1. Для отдельных элементов решетки из одиночных уголков расчетная длина l0 принимается равной их геометрической длине.

2. Если по длине l1 элемента действуют сжимающие усилия N1 и N2 < N1, устойчивость этого элемента из плоскости фермы проверяется на большее усилие N1 при расчетной длине l0 = l1(0,75 + 0,25N2/N1).

Таблица 5

Характеристика узла пересечения стержней решетки

Расчетная длина l0, если поддерживающий стержень

растянут

не работает

сжат

Оба стержня не прерываются

l

0,7l1

l1

Поддерживающий стержень прерывается и перекрывается фасонкой

0,7l1

l1

1,4l1

Обозначения, принятые в таблице 5:

l - расстояние от центра узла фермы до пересечения стержней,

l1 - полная геометрическая длина сжатого стержня.

Радиусы инерции сечений сжатых элементов из одиночных уголков при этом принимаются: при l = l0 - rмин; при l0 = 0,7l1 и l0 = l1 - относительно оси сечения уголка, параллельной плоскости фермы.

Для стоек и колонн постоянного сечения с четко выраженными условиями закрепления расчетная длина принимается равной

l0 = ml,                                                                       (7)

где l - длина колонны;

m - коэффициент для определения расчетных длин колонн и стоек (значения коэффициента m определяются по п. 6.10 главы СНиП II-23-81).

Коэффициенты продольного изгиба j принимаются по табл. 6.

Таблица 6

Коэффициенты j продольного изгиба центрально-сжатых элементов

Гибкость элемента l

Коэффициенты j для элементов из стали классов

A-I и С 38/23

A-II и С 41/29

С 46/33

A-III и С 52/40

0

1

1

1

1

10

0,988

0,987

0,986

0,985

20

0,97

0,968

0,965

0,962

30

0,943

0,935

0,932

0,927

40

0,905

0,892

0,888

0,878

50

0,867

0,843

0,837

0,823

60

0,82

0,792

0,78

0,764

70

0,77

0,73

0,71

0,682

80

0,715

0,66

0,637

0,604

90

0,655

0,592

0,503

0,523

100

0,582

0,515

0,482

0,437

110

0,512

0,44

0,413

0,37

120

0,448

0,383

0,35

0,315

130

0,397

0,33

0,302

0,264

140

0,348

0,285

0,256

0,228

150

0,305

0,25

0,226

0,198

160

0,27

0,22

0,2

0,176

170

0,24

0,195

0,178

0,156

180

0,216

0,175

0,16

0,139

190

0,196

0,158

0,142

0,126

200

0,175

0,142

0,129

0,112

210

0,16

0,13

0,118

0,102

220

0,146

0,119

0,108

0,093

РАСЧЕТ СВАРНЫХ СОЕДИНЕНИЙ

Расчетное усилие, воспринимаемое сварным угловым швом, при соединении элементов одного с другим и с плоскими поверхностями

N £ (bhш)lшRусв,                                                           (8)

где hш - толщина углового шва, принимаемая равной катету вписанного равнобедренного треугольника;

b - коэффициент, принимаемый в зависимости от вида сварки, которая должна быть оговорена в проекте:

для ручной сварки b = 0,7; для полуавтоматической b = 0,8; для автоматической сварки b = 0,9 - 1;

lш - расчетная длина шва, равная его полной длине за вычетом 10 мм;

Rусв - расчетное сопротивление углового шва, принимаемое по табл. 7.

Таблица 7

Сварные соединения

Напряженное состояние

Расчетное сопротивление Rусв, кгс/см2 в конструкциях из стали классов

A-I и С 38/23

A-II и С 44/29

С 46/23

A-III и С 52/40

Угловые швы

Срез

1500

1800

2000

2200

С 01.01.82. взамен главы СНиП II-В3-72*, в соответствии с которой выполнено данное приложение, введена глава СНиП II-23-81, поэтому условные обозначения, марки стали и расчетные сопротивления должны быть откорректированы в соответствии с действующей главой СНиП.

ПРИЛОЖЕНИЕ 12

Сортамент горячекатаной стержневой арматуры

Номинальный диаметр, мм

Наружный диаметр стержней периодического профиля

Расчетная площадь поперечного сечения, см2, при числе стержней

Теоретический вес 1 м, кг

Прокатываемые диаметры из арматуры классов

1

2

3

4

5

6

7

8

9

А-I

А-II

А-III

6

6,75

0,283

0,57

0,85

1,13

1,41

1,7

1,98

2,26

2,54

0,222

 

 

 

 

 

8

9

0,503

1,01

1,51

2,01

2,51

3,02

3,52

4,02

4,52

0,395

 

 

 

 

 

10

11,3

0,785

1,57

2,36

3,14

3,93

4,71

5,5

6,28

7,07

0,617

 

 

 

 

 

 

12

13,5

1,131

2,26

3,39

4,52

5,65

6,79

7,92

9,05

10,18

0,888

 

 

 

 

 

 

14

15,5

1,539

3,08

4,62

6,16

7,69

9,23

10,77

12,31

13,85

1,208

 

 

 

 

 

 

16

18

2,011

4,02

6,03

8,04

10,05

12,06

14,07

16,08

18,1

1,578

 

 

 

 

 

 

18

20

2,545

5,09

7,63

10,18

12,72

15,27

17,81

20,36

22,9

1,998

 

 

 

 

 

 

20

22

3,142

6,28

9,42

12,56

15,71

18,85

21,99

25,13

28,27

2,466

 

 

 

 

 

 

22

24

3,801

7,6

11,4

15,2

19

22,81

26,61

30,41

34,21

2,984

 

 

 

 

 

 

25

27

4,909

9,82

14,73

19,64

24,54

29,45

34,36

39,27

44,18

3,85

 

 

 

 

 

 

28

30,5

6,158

12,32

18,47

24,63

30,79

36,95

43,1

49,26

55,42

4,83

 

 

 

 

 

 

32

34,5

8,043

16,09

24,13

32,17

40,21

48,26

56,3

64,34

72,38

6,31

 

 

 

 

 

 

36

39,5

10,179

20,36

30,54

40,72

50,89

61,07

71,25

81,43

91,61

7,99

 

 

 

 

 

 

40

43,5

12,566

25,13

37,7

50,27

62,83

75,4

87,96

100,53

113,1

9,87

 

 

 

 

 

 

45

49

15,904

31,81

47,71

63,62

79,52

95,42

111,33

127,23

143,13

12,49

 

 

 

 

50

54

19,635

39,27

58,91

78,54

98,18

117,82

137,45

157,08

176,72

15,41

 

 

 

 

55

59

23,76

47,52

71,28

95,04

118,8

142,56

166,32

190,08

213,84

18,65

 

 

 

 

60

64

28,27

56,54

84,81

113,08

141,35

169,62

197,89

226,16

254,43

22,19

 

 

 

 

70

74

38,48

76,96

115,44

153,92

192,4

230,88

269,36

307,84

346,32

30,21

 

 

 

 

80

83,5

50,27

100,55

150,81

201,08

251,35

301,62

351,9

402,15

452,43

39,46

 

 

 

 

ПРИЛОЖЕНИЕ 13

ОСНОВНЫЕ ТИПЫ СВАРНЫХ СОЕДИНЕНИЙ СТЕРЖНЕВОЙ АРМАТУРЫ

Тип соединения

Условное обозначение типов соединений

Схема конструкции соединения

Положение стержней при сварке

Способ сварки

Класс арматуры

Диаметр стержней, мм

Дополнительные указания

1. Крестообразное (ГОСТ 14098-68)

КТ-2

Горизонтальное

Контактная точечная

А-I

А-II

А-III

Вр-I

6 - 40

10 - 80

6 - 40

3 - 5

В соединениях типов КТ-2 и КТ-3 отношение меньшего диаметра стержня к большему составляет 0,25 - 1.

В соединениях типа КТ-3 отношение меньшего диаметра среднего стержня к одному из одинаковых крайних стержней большего диаметра принимается не менее 0,5. Возможно вертикальное положение стержней, как правило, при сварке подвесными клещами

КТ-3

То же

То же

А-I А-II А-III

6 - 40

10 - 80

6 - 40

2. Стыковое (ГОСТ 14098-68 и ГОСТ 19293-73)

кс-о

Горизонтальное

Контактная стыковая

А-I

А-II

10 - 40

10 - 80

-

КС-Р

То же

То же

А-III

А-IV

А-V

10 - 40

10 - 22

10 - 22

кс-м

»

»

А-II

А-III

А-IV

А-V

10 - 80

10 - 40

10 - 22

10 - 22

ВО-Б

»

Ванная одноэлектродная

А-I

А-II

А-III

20 - 40

20 - 40

20 - 40

Сварка выполняется в инвентарных формах

3. Стыковое (ГОСТ 14098-68)

вп-г

«

Ванная полуавтоматическая под флюсом

А-I

А-II

А-III

20 - 40

20 - 40

20 - 40

То же

ВМ-1

«

Ванная многоэлектродная

А-I

А-II

А-III

20 - 40

20 - 80

20 - 40

вп-в

Вертикальное

Ванная полуавтоматическая под флюсом

А-I

А-II

А-III

20 - 40

-

ВМ-2

Горизонтальное

Ванная многоэлектродная

А-I

А-II

А-III

20 - 40

20 - 80

20 - 40

Сварка выполняется в инвентарных формах.

Рекомендуется также применение одноэлектродной ванной сварки

4. Стыковое

-

То же

Ванная одноэлектродная с желобчатой подкладкой

А-I

А-II

А-III

20 - 32

20 - 32

20 - 32

-

5. Стыковое

-

Горизонтальное

Ванная шовная с желобчатой подкладкой

 

 

 

Горизонтальное и вертикальное

Полуавтоматическая многослойными швами с желобчатой накладкой

А-I

А-II

А-III

20 - 40

20 - 80

20 - 40

Сварка открытой дугой голой проволокой допускается для стержней диаметром 25 - 70 мм

6. То же

-

Вертикальное

Многослойными швами с желобчатой подкладкой и без нее

А-I

А-II

А-III

20 - 40

20 - 80

20 - 40

-

7. Стыковое (ГОСТ 19293-73)

-

Горизонтальное и вертикальное

Дуговая фланговыми швами

А-I

А-II

А-III

А-IV

А-V

10 - 40

10 - 80

10 - 40

10 - 22

10 - 22

hш = 0,25d, но не менее 4 мм, bш = 0,5d, но не менее 10 мм

Длина швов: 6d и 3d - для стали классов А-I и А-II, марки 10ГТ; 8d и 4d - для стали класса А-II, марки Ст.5 и класса А-III (см. примечание к таблице)

Горизонтальное

То же

А-I

А-II

А-III

10 - 40

10 - 80

10 - 40

8. Нахлесточное

-

Горизонтальное и вертикальное

То же

А-I

А-II

А-III

10 - 40

10 - 25

10 - 25

Допускается двусторонние фланговые швы длиной 4d для соединений стержней из стали классов А-I и А-II

9. То же

-

То же

«

А-I

А-II

А-III

А-IV

А-V

10 - 40

10 - 40

10 - 40

10 - 22

10 - 22

-

10. Нахлесточ-ное (ГОСТ 19292-73)

Н-1

Горизонтальное

Контактная рельефная

А-I

А-II

А-III

6 - 14

10 - 14

6 - 14

-

Н-2

То же

То же

А-I

А-II

А-III

6 - 16

10 - 16

6 - 16

-

11. Тавровое из плоскости пластины (ГОСТ 19292-73)

Т-1

Вертикальное

Под флюсом без присадочного электродного материала

А-I

А-II

А-III

8 - 40

10 - 40

8 - 40

-

Примечание. На схемах поз. 7 суммарную площадь круглых накладок рекомендуется назначать в рабочих чертежах или рассчитывать по формуле , где Fн и Fа.н - общая площадь поперечного сечения и расчетное сопротивление стали накладок; Fа и Rа - площадь поперечного сечения и расчетное сопротивление стали стыкуемых стержней; g - коэффициент, учитывающий условия работы накладок и равный: 1,5 - для арматуры классов А-I и А-II (диаметром 10 - 40 мм); 2 - для арматуры классов А-II (диаметры 45 - 80 мм), А-III, А-IV и А-V.

ПРИЛОЖЕНИЕ 14

ПРИМЕР РАСЧЕТА ЖЕЛЕЗОБЕТОННОГО ПРЕДВАРИТЕЛЬНО НАПРЯЖЕННОГО ШПУНТА ТАВРОВОГО СЕЧЕНИЯ

Дано. Железобетонный предварительно напряженный шпунт таврового сечения (рис. 1) с размерами h = 80 см, hп = 15 см, bп = 150 см, b = 30 см, aн = 5,5 см, a'н = 5,5 см, h0 = 74,5 см, l = 14,5 м. Бетон марки М 400: Rпр = 175 кгс/см2, RпрII = 225 кгс/см2, Rр = 12 кгс/см2, RрII = 18 кгс/см2, Eб = 300000 кгс/см2, mб = 1. Продольная предварительно нагруженная арматура класса А-V: RаII = 8000 кгс/см2; Rа = 6400 кгс/см2, Rа.с = 4000 кгс/см2, Rа.х = 5100 кгс/см2, Eа = 1900000 кгс/см2, mа = 1,1. Продольная ненапрягаемая арматура конструктивная класса А-II, Rа = Rа.с = 2700 кгс/см2, Eа = 2100000 кгс/см2, mа = 1,1. Поперечная арматура класса А-II - Rа.х = 2150 кгс/см2. Опорные балки, воспринимающие усилия от натяжения арматуры, располагаются внутри камеры пропаривания. Напряжение стержней производится одновременно механическим способом. Расчетные изгибающие моменты на шпунт, определенные с коэффициентами перегрузки по табл. 1: в полке MIп = 85 тс×м, в ребре MIp = 50 тс×м. Расчетные изгибающие моменты, определенные с коэффициентами перегрузки n = 1; в полке MIIп = 55 тс×м, в ребре MIIp = 50 тс×м. Поперечные силы приведены на рис. 2. Сооружение III класса - kн = 1,15. Сочетание нагрузок основное - nс = 1. Образование трещин в период изготовления, транспортирования и монтажа не допускается. Образование трещин в период эксплуатации со стороны полки не допускается, со стороны ребра величина раскрытия трещин не должна превышать 0,08 мм (см. поз. 5 и прим. 1 к табл. 34).

Рис. 1. Расчетное сечение

Рис. 2. Расчетные усилия

а - с коэффициентами перегрузки по табл. 1 настоящего Руководства; б - с коэффициентами перегрузки n = 1; 1 - эпюра нагрузки, тс/м2; 2- эпюра моментов (на шпунт), тс×м; 3 - эпюра Q на 1 м длины, тс

Требуется произвести расчет шпунта по I и II предельным состояниям.

РАСЧЕТ СЕЧЕНИЙ, НОРМАЛЬНЫХ К ПРОДОЛЬНОЙ ОСИ ЭЛЕМЕНТА

1. Расчет по прочности

Определим площадь сечения продольной арматуры в ребре. Расчет производим в соответствии с п. 11.19. Проверим условие (237) без учета площади сечения сжатой арматуры:

mбRпрb'пh'п(h0 - 0,5h'п) = 1×175×150×15(74,5 - 0,5×15) = 263,8 тс×м > kнnсМ = 57,5 тс×м, т.е. граница сжатой зоны проходит в полке. Расчет производим по формулам для прямоугольного сечения шириной b'п = 150 см.

Определим высоту сжатой зоны бетона без учета сжатой арматуры по формуле (226):

Так как х < 2a' = 2×5,5 = 11 см, сжатая арматура при определении величины х не учтена правильно.

Площадь сечения арматуры в ребре Fн определим по формуле (227):

Принимаем в ребре 3 Æ 22 (Fн = 11,4 см2).

Определяем площадь сечения продольной арматуры в полке для чего по формуле (225) вычисляем величину х. Для определения входящей в формулу (225) величины sс предварительно принимаем в соответствии с рекомендациями п. 11.5 потери в сжатой напрягаемой арматуре, равными Ssп = 1000 кгс/см2, поскольку площадь сечения всей напрягаемой арматуры неизвестна.

sс = 4000 - mтs¢0 = 4000 - 1,1×6600 = -3260 кгс/см2.

где mт = 1,1 (см. п. 11.5);

s¢1 = 0,95RаII - Ssп = 0,95×8000 - 1000 = 6600 кгс/см2;

Поскольку x > xRh0 = 0,48×74,5 = 35,8 см, поставим сжатую ненапрягаемую арматуру (см. п. 11.14, в), определив ее площадь по формуле (223) при a'а = 11 см:

Принимаем продольную ненапрягаемую арматуру в ребре 2 Æ 28 А-II (F'а = 12,32 см2).

Вновь определим высоту сжатой зоны бетона с учетом фактической ненапрягаемой арматуры F'а:

Площадь сечения напрягаемой арматуры в полке

Принимаем 7 Æ 22 (Fн = 26,61 см2).

Далее для определения величины истинных потерь напряжения и усилия обжатия вычислим геометрические характеристики сечения в соответствии с п. 9.21.

Коэффициенты приведения равны: для арматуры класса А-V

n = Eа/Eб = 1900000/300000 = 6,33;

для арматуры класса А-II

n = 2100000/300000 = 7.

Площадь приведенного сечения (см. рис. 1 настоящего приложения) равна

Fп = 150×15 + 30(80 - 15) + 26,61×6,33 + 11,4×6,33 + 12,32×7 = 4527 см2.

Статический момент приведенного сечения относительно нижней грани полки равен

Sп = 150×15×7,5 + 30×65(15 + 65/2) + 26,61×6,33×5,5 + 11,4×6,33×74,5 + 12,32×7×69 = 121753 см3.

Расстояние от центра тяжести приведенного сечения до нижней грани полки равно

yц = Sп/Fп = 121753/4527 = 26,9 см.

Расстояние от центра тяжести приведенного сечения до верхней грани ребра равно

yс = h - yц = 80 - 26,9 = 53,1 см.

Момент инерции приведенного сечения относительно его центра тяжести равен

Iп = 150×153/12 + 150×15(26,9 - 7,5)2 + 30×653/12 + + 30×65(53,1 - 65/2)2 + 6,33×26,61(26,9 - 5,5)2 + 6,33×11,4(53,1 - 5,5)2 + 7×12,32(53,1 - 11)2 = 2796556 см4.

Определяем потери предварительного напряжения по табл. 50.

а) Первые потери:

от релаксации напряжений

sп1 = 0,1s0 - 200 = 0,1×7600 - 200 = 560 кгс/см2,

где напряжения в арматуре без учета потерь s0 = s¢0 = 0,95RаII = 0,95×8000 = 7600 кгс/см2;

от температурного перепада для принятой технологии изготовления sп2 = 0;

от деформации анкеров.

Примем расстояние от торца шпунтины до наружной грани упора равным 500 мм, тогда l = 14500 + 2×500 = 15500 мм, а

от деформации стальной формы для принятой технологии изготовления шпунта sп4 = 0.

Напряжения в арматуре с учетом потерь Ssп1-4 = 560 + 245 = 805 кгс/см2

s0 = s¢0 = 7600 - 805 = 6795 кгс/см2.

Усилие предварительного обжатия N0 с учетом потерь Ssп1-4 (см. п. 9.16) и без учета сжимающих напряжений в ненапрягаемой арматуре (см. п. 9.19, в)

N0 = s0Fн + s¢0F'н = 6795(26,61 + 11,4) = 258278 кгс.

Эксцентрицитет силы

Напряжения в бетоне на уровне арматуры Fн и F'н от действия силы N0 с коэффициентом точности натяжения арматуры mт = 1:

.

В соответствии с п. 9.22 проверим допустимость обжатия бетона по нижней грани шпунта с mт = 1:

При отпускной передаточной прочности бетона R0 = 0,7R = 0,7×400 = 280 кгс/см2 предельно допустимые напряжения обжатия в бетоне в стадии предварительного обжатия при расчетной зимней температуре наружного воздуха выше минус 40 °С и уменьшении обжатия при действии внешних нагрузок

 = 0,75R0 = 0,75×280 = 210 кгс/см2 (табл. 51), т.е.  - условие ограничения величины обжатия бетона по нижней грани шпунта удовлетворено.

Проверим допустимость величины обжатия бетона по верхней грани шпунта (по грани ребра):

 = 0,55R0 = 0,55×280 = 154 кгс/см2 (табл. 51 для случая увеличения напряжения обжатия при действии внешних нагрузок).

 - условие ограничения величины обжатия бетона по верхней грани шпунта удовлетворено.

Далее определяем потери от быстронатекающей ползучести:

для арматуры Fн

 -

расчет рекомендуется производить по формуле

sп5 = 0,85×500sб.н/R0 = 0,85×500×0,21 = 89,3 кгс/см2;

для арматуры F'н

 -

s¢п5 = 0,85×500s¢б.н/R0 = 0,85×500×0,19 = 80,8 кгс/см2;

Первые потери:

в арматуре FнSsп1-5 = 560 + 245 + 89,3 = 894,3 кгс/см2;

в арматуре F'нSs¢п1-5 = 560 + 245 + 80,4 = 885,4 кгс/см2.

Напряжения в напрягаемой арматуре с учетом первых потерь:

s0 = 0,95RаII - Ssп1-5 = 0,95×8000 - 894,3 = 6705,7 кгс/см2;

s¢0 = 0,95RаII - Ss¢п1-5 = 0,95×8000 - 885,4 = 6714,6 кгс/см2.

Вторые потери, проявляющиеся в период эксплуатации:

от усадки бетона sп6 = 350 кгс/см2;

от ползучести бетона:

для арматуры Fн при

sп7 = 0,85×2000sб.н/R0 = 0,85×2000×0,21 = 357 кгс/см2;

для арматуры F'н при

s¢п7 = 0,85×2000s¢б.н/R0 = 0,85×2000×0,19 = 323 кгс/см2.

Суммарные потери:

для арматуры Fн

Ssп = 560 + 245 + 89,3 + 350 + 357 = 1601 кгс/см2;

для арматуры F'н

Ss¢п = 560 + 245 + 80,4 + 350 + 323 = 1558 кгс/см2.

Напряжения в напрягаемой арматуре с учетом всех потерь.

s0 = 0,95RаII - Ssп = 0,95×8000 - 1601 = 5999 кгс/см2;

s¢0 = 0,95RаII - Ss¢п = 0,95×8000 - 1558 = 6042 кгс/см2.

Определим вновь площадь сечения продольной арматуры в полке с учетом фактических потерь напряжения в напрягаемой арматуре сжатой зоны

sс = 4000 - mтs¢0 = 4000 - 1,1×6042 = -2646 кгс/см2.

Определим необходимую площадь сечения ненапрягаемой арматуры, исходя из допустимой величины обжатия бетона;

Принимаем F'а = 2 Æ 22 (F'а = 7,6 см2).

Предельно допустимая высота сжатой зоны бетона

x = xRh0 = 0,48×74,5 = 35,8 см.

Площадь сечения напрягаемой арматуры в полке

Окончательно принимаем:

в полке - 7 Æ 22 А-V (Fн = 26,61 см2);

в ребре - 3 Æ 22 А-V (F'н = 11,4 см2) и 2 Æ 22 А-II (Fа = 7,6 см2).

Поскольку высота сечения 800 мм, в соответствии с требованиями п. 13.22 у боковых граней элемента рекомендуется установить дополнительную продольную арматуру. У каждой боковой грани поставим по два стержня на расстоянии по высоте l = 300 мм. Необходимая площадь сечения дополнительных продольных стержней

0,001lb/2 = 0,001×30×30/2 = 0,45 см2.

Примем стержни диаметром 12 мм (Fа = 4,52 см2).

2. Расчет на воздействие предварительного обжатия

Расчет производим в соответствии с п.п. 11.36 - 11.39.

Равномерно распределенная нагрузка от собственного веса шпунта

p = Fg = [1,5×0,15 + 0,3(0,8 - 0,15)]2,5 = 1,05 тс/м.

Момент от собственного веса на консоли с учетом коэффициента динамичности kд = 1,5.

Сечение наиболее обжато со стороны полки. Усилие в напрягаемой арматуре F'н полки (см. рис. 3)

Рис. 3. К расчету на действие предварительного обжатия

а - схема опирания шпунта; б - расчетное сечение

Nн = (mтs0 - 3300)F'н = (1,1 - 6705,7 - 3300)26,61 = 108470 кгс,

где

s0 = 0,95RаII - Ssп1-5 = 0,95×8000 - 894,3 = 6705,7 кгс/см2.

Эксцентрицитет приложения силы Nн

e = h0 - a'н + M/N = 74,5 - 5,5 + 709000/108470 = 75,5 см.

Поскольку полка находится в сжатой зоне, проверим в соответствии с п. 11.39 условие (282). Расчетное сопротивление бетона, соответствующее его передаточной прочности R0 = 280 кгс/см2, составляет Rпр = 125 кгс/см2.

mбRпрb'пh'п - mаRаFн - mаRаFа = 1×125×150×15 - 1,1×6400×11,4 - 1,1×2700×7,6 = 178422 кгс > Nн = 108470, т.е. расчет рекомендуется производить как для прямоугольного сечения, принимая

b = b¢п = 150 см.

Проверим условие (279):

mбRпрbx(h0 - 0,5x) = 1×125×150×11,3(74,5 - 0,5×11,3) = 145,9 тс×м > Nнe = 108,47×0,755 = 81,9 тс×м, т.е. прочность сечения в период изготовления шпунта обеспечена.

3. Расчет по образованию трещин

Сечение в пролете - полка в период эксплуатации растянута.

а) Расчет на эксплуатационные нагрузки

Расчет производим в соответствии с п. 12.4. Определим усилие предварительного обжатия N0 по формуле (200) с учетом первых и вторых потерь, для чего в соответствии п. 9.19 определим сжимающие напряжения s¢а в ненапрягаемой арматуре:

s¢а = Ssп5-7 = 80,4 + 350 + 323 = 753,4 кгс/см2.

N0 = s0Fн + s¢0F - sаFа - s¢аF'а = 5999×26,61 + 6042×11,4 - 753,4×7,6 = 222786 кгс.

Эксцентрицитет усилия предварительного обжатия N0 относительно центра тяжести приведенного сечения определим по формуле (201):

Момент сопротивления приведенного сечения для крайнего растянутого волокна равен

mh = 1 (см. табл. 18).

g = 1,5, так как bп/b = 150/30 = 5 > 2 и hп/h = 15/80 = 0,19 < 0,2; mт = 0,9.

Определим момент образования трещин по формуле (306):

т.е. трещиностойкость сечения в период эксплуатации обеспечена.

б) Расчет полки на действие усилия предварительного обжатия в стадии изготовления не производим, так как сечение со стороны полки от этого усилия сжато.

Сечение в заделке - ребро в период эксплуатации растянуто.

К этому сечению требования трещиностойкости в период эксплуатации не предъявляются, но должна быть обеспечена трещиностойкость в период изготовления (см. исходные данные).

Расчет производим в соответствии с п. 12.8.

Коэффициент точности натяжения арматуры mт = 1,1.

Усилие обжатия N0 с учетом первых потерь

N0 = s0Fн + s¢0F'н - sаFа - s¢аF'а = 6705,7×26,61 + 6714,6×11,4 - 80,8×7,6 = 254371 кгс

Величина s¢а = 80,8 кгс/см2 принята в соответствии с рекомендациями п. 9.19, б.

Эксцентрицитет приложения силы N0

Момент от собственного веса при подъеме шпунта с коэффициентом динамичности 1,5М = 7,09 тс×м

mh = 1 (табл. 18) g = 1,75 (прил. 4).  = 14 кгс/см2 - для марки бетона, равной передаточной прочности R0 = 280 кгс/см2.

Проверим условие (311):

т.е. сечение полностью обжато и трещиностойкость сечения обеспечена.

4. Расчет по раскрытию трещин

СЕЧЕНИЕ В ЗАДЕЛКЕ

Расчет производим в соответствии с пп. 12.18 и 12.19.

По формуле (326) определим приращение напряжений в растянутой арматуре, для чего определим входящие в эту формулу величины: nс = 1; M = MIIp = 50 тс×м; N0 = 222786 кгс; z = ch0 = 0,815×74,5 = 60,7 см; c = 0,815

при

(см. табл. 59).

Определим расстояние от равнодействующей усилий в арматуре А до грани сечения:

Расстояние от точки приложения усилия N0 до центра тяжести площади сечения арматуры A eа.н = eо.н + h - yц - a = 1,7 + 80 - 26,9 - 6,7 = 48,1 см.

т.е. сечение обжато и раскрытия трещин не произойдет.

РАСЧЕТ СЕЧЕНИЙ, НАКЛОННЫХ К ПРОДОЛЬНОЙ ОСИ ЭЛЕМЕНТА

1. Расчет по прочности на действие поперечной силы

Максимальная величина расчетной поперечной силы на шпунтину (см. рис. 2, а, сечение I-I) Q = 1,5×38 = 57 тс.

Проверяем рекомендации п. 11.43:

0,35mбRпрbh0 = 0,35×1×175×30×74,5 = 136894 кгс > kнnсQ = 1,15 1×57000 = 65550 кгс.

Так как k1mбRрbh0 = 0,6×1×12×30×74,5 = 16092 кгс < kнnсQ = 65550 кгс, согласно п. 11.44, поперечную арматуру подбираем из расчета по прочности.

Определим по формуле (294) требуемую интенсивность хомутов при максимальной поперечной силе Q = 57 тс;

Этой интенсивности соответствует невыгоднейшее сечение с длиной проекции, равной

Согласно формуле (289), расчетную величину Q можно уменьшить, учтя на длине наклонной трещины распределенную нагрузку от давления грунта Q = 1,5×18 = 27 тс (см. рис. 2, а).

Требуемая интенсивность хомутов

Так как условие (115) не удовлетворяется, принимаем

Согласно п. 13.29, шаг хомутов у опоры должен быть не более h/3 = 27 и 50 см, а в пролете не более 3/4h = 60 и 50 см. Максимально допустимый шаг хомутов, согласно формуле (291),

Принимаем шаг хомутов по всей длине шпунта u = 25 см.

Площадь сечения хомутов в одном нормальном к оси балки сечении равна

Принимаем в поперечном сечении два хомута диаметром 12 мм (Fх = 2,26 см2).

В соответствии с п. 13.31 на концевых участках шпунта длиной, равной 0,6lп.н, установим дополнительную поперечную арматуру.

Длина зоны передачи напряжений (см. п. 9.18)

и должна быть не менее 15d = 15×2,2 = 33 см.

Принимаем lп.н = 38 см.

Минимальная длина участка, на котором должна быть установлена дополнительная поперечная арматура, равна 0,6lп.н = 0,6´38 = 22,8 см.

Суммарная площадь сечения дополнительной поперечной арматуры

Приняв хомуты в сечении двухсрезные из арматуры диаметром 12 мм, определим их число

Примем на концевых участках по четыре дополнительных хомута с расстоянием между ними 10 см, диаметром 12 мм из арматуры класса А-II.

2. Расчет по прочности на действие изгибающего момента

Определим необходимость расчета по изгибающему моменту в соответствии с п. 11.55, а.

Момент трещинообразования в ребре с заменой в формуле (306) RрII на Rр

где mh = 1; g = 1,75, так как полка расположена в сжатой зоне;

Момент, проходящий через конец зоны передачи напряжения (см. рис. 2, а) M = 9 тс×м < Mт = 43,2 тс×м, т.е. расчет прочности наклонного сечения по изгибающему моменту не требуется.

3. Расчет по образованию трещин

В соответствии с п. 12.10 проверку условий (315) и (316) производим в сечении I-I (см. рис. 2, б)

Сечение I-I

М = 27,3 тс×м; Q = 25×1,50 = 37,5 тс.

Определим необходимость расчета по образованию наклонных трещин (см. п. 12.14).

k1RрIIbh0 = 0,6×18×30×74,5 = 24,1 тс < nсQ = 1×37,5 = 37,5 тс, т.е. расчет по образованию наклонных трещин необходим.

а) проверка по центру тяжести сечения

Нормальное напряжение sх равно величине напряжения в бетоне от обжатия напрягаемой арматурой

Нормальное напряжение sу (рис. 2б)

.

Касательные напряжения

 где

Sп = 30×53,1×53,1/2 + 11,4×6×33×47,6 + 7,6×7×42,1 = 47969 см3.

Величина главных растягивающих напряжений

Величина главных сжимающих напряжений

Так как m1RпрII = 0,5×225 = 112,5 > sг.с = 52,8 кгс/см2, должно соблюдаться условие (315): RпрII = 18 > sг.р = 13,7 кгс/см2, т.е. требование условия (315) выполняется.

б) Проверка в месте примыкания полки к ребру

sу = 5,2 кгс/см2;

Sп = 30×65×65/2 + 11,4×6,33×59,5 + 7,6×7×54 = 70541 см3;

sг.с < m1RрII = 112,5 кгс/см2, тогда должно выполняться условие (315): sг.р = 19,1 > RрII = 18 кгс/см2, т.е. условие обеспечения трещиностойкости наклонного сечения не выполняется. Поскольку требование трещиностойкости к данному сечению не предъявляется (см. исходные данные), рекомендуется произвести проверку ширины раскрытия трещин. Ширину раскрытия трещин определяем по формуле (334).

Определим значения входящих в формулу величин: сд = 1,3, h = 1(см. п. 4.5);

K = (20 - 1200mп)103 = (20 - 1200×0,003)103 = 16,4×103,

где  для двухсрезных хомутов диаметром 12 мм, шагом u = 25 см;

для h0 = 74,5 см и F = 150×15 + 30(80 - 15) = 4200 см2.

что меньше допустимого aтдоп = 0,08 мм.

РАСЧЕТ ПОЛКИ ШПУНТА В ПОПЕРЕЧНОМ НАПРАВЛЕНИИ

1. Расчет по прочности нормальных сечений (рис. 4)

1. Расчет по прочности нормальных сечений (рис. 4)

а) Со стороны засыпки

Давление грунта в месте крепления анкерной тяги на участке длиной 2 м осредняется (см. рис. 2, a) qср = 13,4 тс/м2.

Изгибающий момент в месте примыкания полки к ребру на 1 м длины полки (рис. 4, а)

Высота сжатой зоны бетона без учета сжатой арматуры

х < 2a' = 2×3 = 6 см, т.е. сжатая арматура не учтена правильно.

Принимаем стержни диаметром 12 мм. На 1 м длины устанавливается при шаге 100 мм 10 стержней (Fа = 11,31 см2).

б) Со стороны акватории (рис. 4, б)

Поскольку интенсивность нагрузки в нижней части шпунта от расчетных нагрузок, определенных с коэффициентом перегрузки, не равными единице, меньше интенсивности давления от расчетных нагрузок, определенных с коэффициентами перегрузки, равными единице, максимальное давление принимаем по большей величине.

Максимальное давление на полку осредняем на участке высотой 2 м (рис. 4, б) qср = 17,8 тс/м2.

Рис. 4. Схема нагрузки при расчете полки шпунта в поперечном направлении

а - со стороны засыпки; б - со стороны акватории

х < 2a' = 2×3 = 6 см.

Нижняя арматура в полке также принимается Æ 12 мм, шагом 100 мм (Fа = 11,31 см2).

2. Расчет по раскрытию трещин нормальных сечений

Расчет производим в соответствии с требованиями главы 1.

а) Со стороны засыпки

qср = 13 тс/м2 (см. рис. 2, б);

k = 1; cд = 1,3; h = 1;

d = 12 мм;

sнач = 0;

что равно предельно допустимому значению aтпр = 0,05×1,6 = 0,08 мм.

б) Со стороны акватории

Поскольку участок шпунта, для которого определяется величина раскрытия трещин, постоянно находится под водой, предельно допустимое значение раскрытия трещин aтпр = 0,3×1,6 = 0,48 мм, т.е. значительно больше полученного.

3. Расчет по прочности наклонных сечений

В соответствии с п. 13.28 поперечную арматуру можно не устанавливать, т.е. при

Проверяем необходимость расчета по поперечной силе при Qмакс = ql = 17,8×0,6 = 10,08 тс:

k1mбRрbh0 = 0,6×1×12×100×12 = 8640 кгс < 10680 кгс,

следовательно, расчет по прочности необходим. Прочность проверяем по условиям (297) и (298).

Рис. 5. Схема армирования сечения

k2mбRрbh0 = 2×1×12×100×12 = 28800 кгс > Qмакс = 10680 кгс,

т.е. условие (297) выполняется.

Для проверки условия (298) принимаем в соответствии с п. 11.51 с = 2h0 = 2×12 = 24 см.

Поперечная сила в конце рассматриваемого наклонного сечения

Q = Qмакс - qc = 10,68 - 17,8×0,24 = 6,41 тс.

Принимаем еще одно значение с = h0 = 12 см.

Q = Qмакс - qc = 10,68 - 17,8×0,12 = 8,54 тс.

,

т.е. условие (298) выполняется и прочность плиты от поперечной силы обеспечена без поперечной арматуры.

В соответствии с п. 11.55, б расчет наклонных сечений по изгибающему моменту не производим.

4. Расчет по раскрытию трещин наклонных сечений

(см. пп. 12.22 и 12.23)

Проверим условие (322):

k1mбRрIIbh0 = 0,75×18×100×12 = 16200 кгс > nсQ = 1×10680 = 10680 кгс, т.е. сечение трещиностойкое, расчет по раскрытию трещин не производится.

Полученное в результате расчета сечение приведено на рис. 5.

ПРИЛОЖЕНИЕ 15

ТРЕБОВАНИЯ К КОНТРОЛЮ И ОЦЕНКЕ ПРОЧНОСТИ БЕТОНА И ТРЕЩИНОСТОЙКОСТИ ПРЕДВАРИТЕЛЬНО НАПРЯЖЕННЫХ КОНСТРУКЦИЙ, АРМИРОВАННЫХ СИММЕТРИЧНОЙ АРМАТУРОЙ

1. Контроль и оценка однородности и прочности бетона при сжатии должны производиться с применением предусмотренного ГОСТ 18105.0-80 статистического метода в целях достижения постоянства принятой при расчете изделий обеспеченности нормативных сопротивлений бетона по прочности при сжатии. Изготовление и испытание образцов производятся по ГОСТ 10180-78.

2. Наряду с разрушающими методами определения прочности бетона могут применяться неразрушающие методы испытания бетона в конструкциях (элементах).

3. Допускается определение прочности в изделиях ультразвуковым импульсным методом в соответствии с ГОСТ 17624-78 и методом, позволяющим автоматизировать процесс измерения, основанный на определении статического модуля упругости по измеренным упругопластическим деформациям бетона, возникающим в момент передачи контролируемого усилия натяжения арматуры на бетон.

4. При оценке трещиностойкости изделий статистическим методом подлежат установлению требуемый на производстве  и средний  моменты трещинообразования, а также минимальное значение в процентах требуемого момента относительно нормируемого момента трещинообразования Мтт.

5. Требуемый момент трещинообразования определяется по формуле

                                                    (1)

где Мт - момент, воспринимаемый сечением, нормальным к продольной оси элементов, при образовании трещин, определяемый по формуле (306), при e0 = 0;

u - изменчивость (коэффициент вариации) момента трещинообразования в контролируемой партии;

mт - коэффициент условий работы, характеризующий точность натяжения арматуры;

t - полуширина доверительного интервала, выраженного в долях средней квадратичной ошибки, равная 1,64 для доверительной вероятности 0,95.

6. Коэффициент вариации u вычисляется по формуле

                                                   (2)

где  - частные значения момента трещинообразования, полученные с помощью средств контроля, при этом определение частных значений должно производиться в соответствии с ведомственными строительными нормами;

п - число испытаний;

 - среднее значение момента трещинообразования, определяемое по формуле

.                                             (3)

7. Коэффициент условий работы mт определяется в соответствии с п. 9.17, а для сборных предварительно напряженных конструкций, изготовляемых на заводах или специально оборудованных полигонах, степень натяжения арматуры которых подвергается систематическому контролю в процессе всего цикла изготовления изделий, разрешается установление повышенного против приведенного в п. 9.17 значения коэффициента точности натяжения арматуры mт, порядок установления которого должен производиться в этом случае по ведомственным строительным нормам.

Для симметричного армирования конструкций, подвергаемых систематическому контролю, коэффициент точности натяжения арматуры вычисляется по формуле

                                                               (4)

где  - наименьшее из средних значений напряжений в арматуре, расположенной у рабочих граней элемента;

 - среднее значение напряжения во всей рабочей арматуре.

8. Нормируемый момент трещинообразования  определяется по формуле (1), в которой значения t, u и mт принимаются соответственно равными 1,64; 0,135 и 09.

9. Требуемый средний момент трещинообразования , выраженный в процентах к нормируемому моменту Мтт, указанного в проекте, не должен быть менее значения, определяемого по табл. 1, в зависимости от партионного коэффициента вариации и числа испытуемых в партии изделий.

Таблица 1

Требуемый средний момент трещинообразования в партии в процентах к нормируемому

Партионный коэффициент вариации u

()100 при n, равном

4

6

10

30 и более

0,05

83

83

82

81

0,06

85

85

84

83

0,07

87

87

86

85

0,08

90

89

89

87

0,09

92

92

91

89

0,10

95

94

94

91

0,11

98

97

96

93

0,12

101

100

99

96

0,13

104

103

102

99

0,14

107

106

105

102

0,15

111

110

108

105

10. В случаях, когда контроль трещиностойкости изделий производится без применения статистического метода, оценку трещиностойкости рекомендуется осуществлять в соответствии с ГОСТ 8829-77.

ПРИМЕР ОБРАБОТКИ ДАННЫХ ИСПЫТАНИЙ ПРЕДВАРИТЕЛЬНО-НАПРЯЖЕННЫХ ЖЕЛЕЗОБЕТОННЫХ ШПУНТОВ СЕЧЕНИЕМ 50 ´ 45 см АРМИРОВАННЫХ ДЕСЯТЬЮ СТЕРЖНЯМИ ДИАМЕТРОМ 28 мм
ИЗ СТАЛИ КЛАССА А-IIВ

1. Исходные данные

Определенный по формуле (306) момент, воспринимаемый сечением, нормальным к продольной оси элемента, при образовании трещин Mт, величина которого указана в проекте, равен 22,5 тс×м.

Нормируемый момент трещинообразования Мтт, определенный по формуле (1) настоящего приложения при значениях t, υ и тт соответственно равных 1,64; 0,135 и 0,9, равен 32,1 тс×м.

Статистические данные испытаний, необходимые для определения среднего значения момента трещинообразования  и изменчивости υ, приведены в табл. 2 настоящего приложения, а коэффициент условий работы mт - в табл. 3.

2. Оценка трещиностойкости изделий статистическим методом

По данным табл. 2 настоящего приложения определяем среднее значение момента трещинообразования.

Таблица 2

Статистические данные испытаний для определения момента трещинообразования  и изменчивости υ

№ п.п.

Mтi

Mтi -

(Mтi - )2

№ п.п.

Mтi

Mтi -

(Mтi - )2

1

32,8

0,8

0,64

22

33,1

1,1

1,21

2

33

1

1

23

31,4

-0,6

0,36

3

32,6

0,6

0,36

24

31,4

-0,6

0,36

4

33,4

1,4

1,96

25

32

0

0

5

32,5

0,5

0,25

26

32

0

0

6

29,8

-2,2

4,84

27

33,4

1,4

1,96

7

32,6

0,6

0,36

28

29,1

-2,9

8,41

8

28,5

-3,5

12,25

29

32,7

0,7

0,49

9

31,4

-0,6

0,36

30

29,7

-2,3

5,29

10

32,5

0,5

0,25

31

29,7

-2,3

5,29

11

32,5

0,5

0,25

32

32,3

0,3

0,09

12

32,1

0,1

0,01

33

34,6

2,6

6,76

13

31,3

-0,7

0,49

34

32,9

0,9

0,81

14

31,3

-0,7

0,49

35

31,4

-0,6

0,36

15

34,3

2,3

5,29

36

30

-2

4

16

34,2

2,2

4,84

37

31,3

-0,7

0,49

17

33,6

1,6

2,56

38

33,6

1,6

2,56

18

32

0

0

39

31,1

-0,9

0,81

19

33,5

1,5

2,25

40

33,8

1,8

3,24

20

32,3

0,3

0,09

41

29,2

-2,8

7,84

21

32,6

0,6

0,36

42

33,9

1,9

3,61

 

SMтi = 1347,4

S(Mтi - )2 = 92,84

.

Коэффициент вариации υ определяем по формуле (2) и табл. 2 настоящего приложения:

Коэффициент условий работы тт определяем по формуле (4) настоящего приложения, используя данные табл. 3.

В графах 3 и 4 табл. 3 приведены средние значения эффективных напряжений в арматуре, расположенной у рабочих граней шпунтовых свай (номера стержней в группах 1 - 5, 6 - 10), а в графе 5 - средние значения эффективных напряжений по всей рабочей арматуре; в графе 6 - отношения средних минимальных напряжений к средним во всей напряженной арматуре.

Таблица 3

Статистические данные для определения коэффициента условий работы тт

№ п.п.

№ свай

1

2

3

4

5

6

1

91

48,4

42,6

45,5

42,6/45,5 = 0,936

2

92 - 93

39

35,3

37,3

35,3/37,3 = 0,947

3

100 - 101

38,6

33,6

35,9

0,925

4

106 - 107

43,3

40

41,7

0,96

5

114 - 115

42,4

36,2

39,3

0,919

6

112 - 113

40

37,4

38,7

0,967

7

116 - 117

44,4

41,9

43,15

0,968

8

127 - 128

47,6

46,8

47,2

0,992

9

124 - 125

47,4

44

45,7

0,937

10

122 - 123

43,2

42

42,6

0,986

11

118 - 119

45,3

42,8

44,05

0,972

12

132 - 133

45,2

40,4

42,8

0,958

13

94 - 95

37,1

37,3

37,2

0,995

14

106 - 107

46,6

42,8

44,7

0,955

15

110 - 111

41,9

38,9

40,4

0,963

16

114 - 115

41

41

41

1

17

136 - 137

44,8

41,4

43,1

0,962

18

25 - 26

45

40,4

42,7

0,947

19

5 - 6

45,4

41,4

43,4

0,954

20

7 - 8

46,3

45,9

46,1

0,989

21

11 - 12

40

38,8

39,4

0,985

22

126-127

40

38,6

39,3

0,983

23

141 - 142

45,2

43,8

44,5

0,985

24

147 - 148

43

41

42

0,977

25

155 - 156

50

48,8

49,4

0,988

26

166 - 167

45,8

40,2

43

0,935

27

171 - 172

46,3

47,5

46,9

0,968

 

 

 

 

 

mт = 25,953/27 = 0,961.

В соответствии с формулой (1) настоящего приложения определяем требуемое значение момента трещинообразования:

.

Производим сравнение требуемого момента трещинообразования в процентах от нормируемого со значением, указанным в табл. 1 настоящего приложения, для υ, равным 0,05, с числом испытаний п более 30

В связи с тем, что требуемое значение в процентах получилось меньше аналогичного значения, указанного в табл. 1, для υ равного 0,05, минимальное значение  принимаем равным 81 % нормируемого, т.е. 26 тс×м (32,1 ´ 0,81).

2.6. Окончательную оценку пригодности изделий по трещиностойкости производим по результатам сравнения требуемого и среднего моментов трещинообразования

.                                                                         (5)

Так как неравенство (5) удовлетворяется (26 < 32), партия шпунта, подвергнутая статистическому контролю по трещиностойкости, считается выдержавшей испытания.

ПРИЛОЖЕНИЕ 16

ТРЕБОВАНИЯ, УКАЗЫВАЕМЫЕ НА РАБОЧИХ ЧЕРТЕЖАХ ЖЕЛЕЗОБЕТОННЫХ КОНСТРУКЦИЙ

ОБЩИЕ ТРЕБОВАНИЯ

1. В рабочих чертежах монолитных железобетонных конструкций должны быть указаны:

проектная марка бетона по прочности на осевое сжатие и, в необходимых случаях, марка бетона по морозостойкости, водонепроницаемости и по прочности на осевое растяжение;

вид арматуры (стержневая или проволочная) и ее профиль; класс арматуры, а в необходимых случаях (например, для конструкций, работающих при низких температурах или рассчитываемых на выносливость) и марка стали; номер ГОСТа, а при его отсутствии - номер технических условий на данный вид стали; соответствующие нормативные документы по сварке; в сложных случаях - методы изготовления пространственного (армоблока) арматурного каркаса и порядок его сборки;

мероприятия по антикоррозионной защите и по защите от воздействия высоких температур (если таковые необходимы);

толщина защитного слоя бетона для рабочей арматуры, а также необходимость установки соответствующих фиксаторов, обеспечивающих проектное положение арматуры;

в случае отсутствия специальных расчетных листов расчетные схемы, нагрузки, по возможности - нормативные и расчетные усилия в основных сечениях.

Кроме того, в рабочих чертежах элементов сборных конструкций должны быть указаны:

наименьшие размеры опорных участков;

степень (качество) отделки поверхности (при необходимости);

места для захвата элементов при подъеме и монтаже (в случае необходимости), места их опирания при транспортировании и складировании;

требования о нанесении заводом-изготовителем меток (рисок), необходимых для обеспечения качественной укрупнительной сборки;

при необходимости схемы испытания, величины нагрузок, прогибов и других контролирующих величин;

вес сборного элемента.

ТРЕБОВАНИЯ К АРМАТУРНЫМ ЧЕРТЕЖАМ

Арматурные чертежи делятся на чертежи, по которым ведется изготовление арматурных конструкций (изделий), и монтажные, по которым монтируется арматура в блоке бетонирования сооружения.

Если армирование ведется с применением армоконструкций (армосеток, армокаркасов, армоферм и т.п.), на них составляют чертежи (форматки).

Чертежи армоконструкций выполняют, как правило, на листах формата 24. В отдельных случаях допускается применение других форматов в соответствии с ЕСКД 2.301-68*.

Армосетки, армопакеты и плоские армокаркасы можно вычерчивать на листах формата 11.

Арматура в фасадах и разрезах, видимая сбоку, показывается одной линией толщиной 2/5S, а в сечениях - точкой. Хомуты показываются линиями толщиной S/2, а в сечениях вычерчиваются с крюками только из арматуры класса А-I.

На сборочном чертеже армоконструкции показываются условными буквенными обозначениями.

Нумерация арматурных изделий в железобетонных монолитных конструкциях принимается сквозной для всего сооружения или его части.

Вычерчивание арматурных стержней в две линии запрещается, кроме деталей, изображаемых в крупных масштабах (1:5).

Сварка на чертеже показывается только монтажная с указанием длины и толщины швов и способа ее производства. Сварные соединения арматуры показываются на чертежах принятыми условными обозначениями.

В примечаниях на чертежах арматурных изделий должны быть указаны способы производства электросварки армоконструкций, стыков арматуры и соединений арматурной стали с прокатной или сделана ссылка на соответствующий нормативный документ.

При армировании отдельными стержнями на планах, сечениях или фасадах даются от каждого стержня выноски. В спецификациях и выборках арматуры указывается класс стали по позициям, а в необходимых случаях и марка арматурной стали.

Если в разных блоках, относящихся к одному сооружению, имеются одинаковые арматурные изделия, марка этих изделий сохраняется для всех блоков.

Арматурные изделия рекомендуется изображать на готовых типографских бланках.

Для простых армосеток могут применяться бланки с изображением сетки, на элементах которой проставляются необходимые размеры.

Сетка на бланке должна быть прямоугольной формы без отверстий, перегибов и стержней, выступающих из плоскости сетки. Арматура сетки должна иметь не более двух различных диаметров стержней.

На арматурных чертежах помещаются:

спецификация элементов к маркировочной схеме;

ведомость стержней на один элемент;

выборка стали на один элемент;

основные показатели блока.

При переменном значении длины стержня одного и того же номера на эскизе показываются пределы длин от l1 до l2, а в ведомости стержней дается средняя длина lср.

Масштаб изображений на арматурных чертежах принимают М 1:20 и М 1:50 в зависимости от габарита конструкции и ее сложности. Выносные изображения (узлы) могут выполняться в масштабе М 1:5, М 1:10, сечения элементов в масштабе М 1:10, М 1:20.

Нумерация армоконструкций и штучных стержней для каждого сборочного чертежа должна начинаться с первого номера.

ПРИЛОЖЕНИЕ 17

СОКРАЩЕННЫЙ СОРТАМЕНТ АРМАТУРНОЙ СТАЛИ ПРИ ПРОЕКТИРОВАНИИ ЖЕЛЕЗОБЕТОННЫХ КОНСТРУКЦИЙ ДЛЯ ОБЪЕКТОВ ЭНЕРГЕТИЧЕСКОГО СТРОИТЕЛЬСТВА

Вид арматуры

Класс арматуры

Диаметры, мм

3

4

5

6

8

10

12

14

16

18

20

22

25

28

32

36

40

50

60

Стержневая горячекатаная гладкая ГОСТ 5781-81

А-I

 

 

 

+

+

+

+

+

+

+

-

+

-

-

-

-

-

 

 

Стержневая горячекатаная периодического профиля ГОСТ 5781-81

А-II

 

 

 

 

 

+

+

+

+

+

+

+

+

+

+

-

+

+

+

А-III

 

 

 

+

+

+

+

+

+

+

+

+

+

+

+

+

+

 

 

А-IV

 

 

 

 

 

+

+

+

+

+

0

0

0

0

0

 

 

 

 

А-V

 

 

 

 

 

+

+

+

+

+

+

+

0

0

0

 

 

 

 

Обыкновенная арматурная проволока периодического профиля ГОСТ 6727-80

Вр-I

+

+

+

 

 

 

 

 

 

 

 

 

 

 

 

 

 

 

 

Примечание. Знаками (+) обозначаются рекомендуемые к применению диаметры арматуры; «-» - исключенные из сортамента; «0» - диаметры, производство которых подлежит освоению.

СОДЕРЖАНИЕ

Предисловие. 1

Основные буквенные обозначения. 2

Глава 1 Проектирование бетонных и железобетонных конструкций гидротехнических сооружений без предварительного напряжения. 4

1. Основные положения по расчету. Нагрузки и воздействия. 4

Пример расчета к п. 1.8. 10

2. Материалы для бетонных и железобетонных конструкций. 12

Бетон. 12

Нормативные и расчетные характеристики бетона. 16

Примеры расчета к пп. 2.1 - 2.15. 18

Арматура. 20

Нормативные и расчетные характеристики арматуры.. 20

3. Расчет элементов бетонных и железобетонных конструкций по предельным состояниям первой группы.. 22

Расчет по прочности бетонных элементов. 22

Изгибаемые элементы.. 23

Внецентренно-сжатые элементы.. 24

Примеры расчета к пп. 3.1 - 3.8. 27

Расчет по прочности железобетонных элементов. 31

Расчет по прочности сечений, нормальных к продольной оси элемента. 32

Изгибаемые элементы.. 32

Расчет прямоугольных сечений. 32

Расчет тавровых (двутавровых) сечений. 35

Примеры расчета к пп. 3.15 - 3.24. 38

Внецентренно-сжатые элементы.. 43

Расчет прямоугольных сечений. 45

Расчет тавровых (двутавровых) сечений. 47

Примеры расчета к пп. 3.25 - 3.35. 49

Центрально-растянутые элементы.. 54

Внецентренно-растянутые элементы.. 55

Расчет прямоугольных сечений. 55

Примеры расчета к пп. 3.36 - 3.43. 57

Расчет по прочности сечений, наклонных к продольной оси элемента, на действие поперечной силы.. 60

Общие положения расчета элементов постоянной высоты.. 60

Расчет элементов, армированных хомутами без отогнутых стержней. 63

Расчет элементов с отогнутыми стержнями. 65

Расчет элементов переменной высоты сечения на действие поперечной силы.. 66

Расчет коротких консолей, не лежащих на упругом основании. 68

Расчет по прочности сечений, наклонных к продольной оси элемента, на действие изгибающего момента. 69

Примеры расчета к пп. 3.44 - 3.60. 71

Расчет железобетонных элементов на местное действие нагрузок. 92

Расчет на местное сжатие. 92

Расчет на продавливание. 93

Расчет по прочности пространственных сечений (элементы, работающие на кручение с изгибом) 95

Элементы прямоугольного сечения. 95

Упрощенные способы расчета пространственного сечения. 98

Пример расчета к пп. 3.66 - 3.74. 101

Расчет железобетонных элементов на выносливость при действии многократно повторяющейся нагрузки. 104

Примеры расчета к пп. 3.75 - 3.84. 107

Расчет несущих железобетонных балок в сборно-монолитных конструкциях. 112

Пример расчета к пп. 3.85 - 3.88. 113

4. Расчет элементов железобетонных конструкций по предельным состояниям второй группы.. 116

Расчет железобетонных элементов по образованию трещин. 116

Расчет железобетонных элементов по раскрытию трещин. 117

Примеры расчета к пп. 4.1 - 4.14. 121

Расчет элементов железобетонных конструкций по деформациям.. 127

5. Расчет элементов бетонных и железобетонных конструкций на температурные и влажностные воздействия. 129

Примеры расчета к пп. 5.1 - 5.23. 140

Глава 2 Конструирование арматуры железобетонных конструкций речных гидротехнических сооружений без предварительного напряжения. 143

6. Схемы армирования сооружений. 143

Основные положения. 143

Рекомендуемые схемы армирования элементов сооружения. 143

Армирование фундаментных плит. 143

Армирование вертикальных конструкций. 144

Армирование перекрытий и других горизонтальных элементов. 145

Армирование спиральных камер и водоводов. 147

Спиральные камеры.. 147

Водоводы.. 149

Армирование шахты генератора. 150

Армирование массивных конструкций и подпорных стен. 151

7. Принципы проектирования армоконструкций. 152

Общие указания. 152

Ненесущие армоконструкции. 153

Пакеты и сетки. 154

Армокаркасы.. 157

Несущие армоконструкции. 158

Армопанельные конструкции. 159

8. Общие положения по конструированию и стыкованию арматуры.. 161

Классификация и применение арматуры.. 161

Размещение арматуры. Особенности армирования. 162

Защитный слой бетона. 162

Расстояние между стержнями. 162

Продольное армирование. 163

Армирование в местах отверстий. 164

Поперечное армирование. 164

Распределительная и монтажная арматура. 167

Анкеровка арматуры.. 168

Стыки арматуры.. 171

Сварные стыки. 171

Стыки арматуры внахлестку (без сварки) 172

Армирование угловых сопряжений. 175

Глава 3 Проектирование тонкостенных предварительно напряженных железобетонных элементов со стержневой арматурой. 176

9. Общие положения. 176

Основные положения по расчету. 176

10. Материалы для железобетонных конструкций. 183

Бетон. 183

Нормативные и расчетные характеристики бетона. 183

Арматура. 184

Нормативные и расчетные характеристики арматуры.. 184

11. Расчет элементов железобетонных конструкций по предельным состояниям первой группы.. 186

Расчет по прочности железобетонных элементов. 186

Расчет по прочности сечений, нормальных к продольной оси элемента. 186

Общие положения. 186

Изгибаемые элементы.. 187

Прямоугольные сечения. 188

Тавровые и двутавровые сечения. 190

Кольцевые сечения. 192

Примеры расчета к пп. 11.7 - 11.20. 192

Внецентренно-сжатые элементы.. 198

Прямоугольные сечения. 199

Тавровые и двутавровые сечения. 200

Кольцевые сечения. 200

Примеры расчета к пп. 11.22 - 11.32. 201

Центрально-растянутые элементы.. 206

Внецентренно-растянутые элементы.. 206

Пример расчета к пп. 11.34 и 11.35. 208

Расчет элементов на воздействие предварительного обжатия. 209

Пример расчета к пп. 11.36 - 11.39. 211

Расчет по прочности сечений, наклонных к продольной оси элемента. 211

Расчет сечений на действие поперечной силы.. 212

Примеры расчета к пп. 11.40 - 11.52. 217

Расчет сечений на действие изгибающего момента. 220

Пример расчета к пп. 11.53 - 11.55. 222

12. Расчет элементов железобетонных конструкций по предельным состояниям второй группы.. 223

Расчет железобетонных элементов по образованию трещин. 223

Расчет по образованию трещин, нормальных к продольной оси элемента. 223

Примеры расчета к пп. 12.3 - 12.9. 226

Расчет по образованию трещин, наклонных к продольной оси элемента. 227

Пример расчета к пп. 12.10 - 12.14. 229

Расчет железобетонных элементов по раскрытию трещин. 231

Расчет по раскрытию трещин, нормальных к продольной оси элемента. 231

Примеры расчета к пп. 12.18 - 12.22. 234

Расчет по раскрытию трещин, наклонных к продольной оси элемента. 240

13. Конструктивные требования. 242

Приложение 1 Предельно допустимые прогибы элементов железобетонных конструкций. 247

Приложение 2 Основные виды арматурных сталей и области их применения в железобетонных конструкциях в зависимости от характера нагрузок и расчетной температуры.. 248

Приложение 3 Область применения углеродистых сталей для закладных деталей железобетонных и бетонных конструкций. 249

Приложение 4 Значения коэффициента g. 250

приложение 5 Графики для определения величины раскрытия трещин aт 251

Приложение 6 Определение степени агрессивного воздействия воды-среды на бетон конструкций, требования к железобетонным конструкциям, эксплуатируемым в жидкой среде, и показатели плотности бетона. 255

Приложение 7 Графики для определения коэффициента yа 259

Приложение 8 Графики для определения высоты сжатой зоны бетона. 261

Приложение 9 Характеристики бетона для расчета конструкций на температурные и влажностные воздействия. 263

Приложение 10 Изменение средних значений коэффициентов релаксации (затухания) температурных напряжений. 264

Приложение 11 Расчет несущих армоконструкций. 264

Приложение 12 Сортамент горячекатаной стержневой арматуры.. 270

Приложение 13 Основные типы сварных соединений стержневой арматуры.. 270

Приложение 14 Пример расчета железобетонного предварительно напряженного шпунта таврового сечения. 273

Приложение 15 Требования к контролю и оценке прочности бетона и трещиностойкости предварительно напряженных конструкций, армированных симметричной арматурой. 289

Приложение 16 Требования, указываемые на рабочих чертежах железобетонных конструкций. 293

Приложение 17 Сокращенный сортамент арматурной стали при проектировании железобетонных конструкций для объектов энергетического строительства  294

 



© 2013 Ёшкин Кот :-)