Информационная система
«Ёшкин Кот»

XXXecatmenu

- АКЦИОНЕРНАЯ КОМПАНИЯ "ТРАНСНЕФТЬ" -

- ВСЕРОССИЙСКИЙ НАУЧНО-ИССЛЕДОВАТЕЛЬСКИЙ ИНСТИТУТ -

ПО СТРОИТЕЛЬСТВУ ТРУБОПРОВОДОВ (АО ВНИИСТ)

УТВЕРЖДАЮ:

Первый Вице-президент

АО ВНИИСТ

_________ В.И. Хоменко

УТВЕРЖДАЮ:

Первый Вице-президент

АК "Транснефть"

____________ А.С. Кумылганов

ИНСТРУКЦИЯ
по применению современных сварочных материалов и оборудования при капитальном ремонте магистральных нефтепроводов

- Москва 1997 г. -

Инструкция разработана Центром сварки и испытаний труб АО ВНИИСТ

Зав. Центром сварки и испытаний труб                                                 С.В. Головин

Зав. лабораторией сварочных материалов и технологии сварки       Н.Г. Блехерова

Зав. лабораторией автоматических методов сварки                            А.П. Ладыжанский

Ст. научный сотрудник                                                                           В.А. Данильсон

Ст. научный сотрудник                                                                           В.В. Прохоров

Научный сотрудник                                                                                 И.М. Захаров

СОДЕРЖАНИЕ

1. Общие положения. 2

2. Аттестация технологии сварки с применением различных видов сварочных материалов (основные положения). 2

3. Аттестация сварщиков и сварка допускных стыков (основные положения). 4

4. Принципы выбора, область применения и технические характеристики сварочных материалов. 4

5. Хранение и подготовка сварочных материалов к сварке. 8

6. Применение современных электродов отечественного и импортного производства для ручной дуговой сварки. 10

6.1. Предварительный подогрев и сборка стыков. 10

6.2. Технологические особенности применения электродов с основным и целлюлозным видом покрытия при капитальном ремонте магистральных нефтепроводов. 11

6.3. Сварочно-технологические показатели электродов и характеристики механических свойств сварных соединений, выполненных электродами с основным и целлюлозным видами покрытий. 14

6.4. Применение сварочных материалов при проведении специальных сварочных работ. 17

6.5. Применение сварочных электродов при заварке повреждений металла труб, обнаруженных в ходе капремонта нефтепровода с заменой изоляции. 18

6.6. Порядок применения сварочных электродов при ремонте сварных соединений. 20

7. Применение самозащитной порошковой проволоки типа иннершилд для полуавтоматической сварки неповоротных стыков труб в нитку трубопровода. 21

7.1. Характеристика способа сварки. 21

7.2. Технологические варианты и особенности процесса сварки. 22

8. Применение комбинаций проволока-флюс (плавленый и агломерированный) для автоматической (механизированной) сварки секций труб. 25

8.1. Общие положения. 25

8.2. Сварочные материалы для односторонней механизированной сварки под флюсом поворотных стыков труб. 25

8.3. Особенности односторонней автоматической сварки под плавлеными и агломерированными флюсами. 29

Часть ii Рекомендации по применению современного сварочного оборудования при капитальном ремонте магистральных нефтепроводов. 32

Общие положения. 32

9. Источники питания для ручной, полуавтоматической и автоматической сварки. 32

9.1. Общие требования к сварочным источникам. 32

9.2. Сварочные выпрямители. 33

9.2.1. Требования к сварочным выпрямителям. 33

9.2.2. Сварочные тиристорные выпрямители. 33

9.2.3. Сварочные выпрямители инверторного типа. 38

9.3. Сварочные генераторы применяемые при сварке трубопроводов. 44

9.4. Автономные самоходные и передвижные агрегаты питания, применяемые при сварке трубопроводов. 46

9.4.1. Агрегаты питания на базе сварочных выпрямителей. 46

9.4.2. Агрегаты питания на базе сварочных генераторов. 48

9.4.3. Агрегаты питания зарубежных фирм. 49

10. Оборудование для автоматической сварки неповоротных стыков труб в среде защитных газов. 50

10.1. Оборудование и технологический процесс crc-evans. 51

10.2. Сварочные материалы. 52

10.3. Показатели производительности. 52

10.4. Качество сварных соединений. 53

11. Передвижная мобильная трубосварочная база для односторонней автоматической сварки под флюсом поворотных стыков труб. 53

11.1. Назначение. 53

11.2. Технические характеристики и комплектация. 53

11.3. Особенности конструкции и схема организации работы пмтб. 55

11.4. Основные преимущества и технико-экономические показатели применения пмтб. 57

12. Оборудование для полуавтоматической сварки самозащитной порошковой проволоки типа иннершилд. 58

ЧАСТЬ I

ПРИМЕНЕНИЕ СОВРЕМЕННЫХ СВАРОЧНЫХ МАТЕРИАЛОВ С ИСПОЛЬЗОВАНИЕМ СООТВЕТСТВУЮЩЕГО ОБОРУДОВАНИЯ ПРИ КАПИТАЛЬНОМ РЕМОНТЕ МАГИСТРАЛЬНЫХ НЕФТЕПРОВОДОВ

1. ОБЩИЕ ПОЛОЖЕНИЯ.

1.1. Настоящая инструкция предназначена для работников АК "Транснефть" и определяет порядок применения сварочных материалов и оборудования при капитальном ремонте магистральных нефтепроводов.

1.2. Инструкция распространяется на сварку неповоротных и поворотных стыков труб диаметром 426-1220 мм из малоуглеродистых низколегированных сталей прочностных классов К38-К60 с нормативным временным сопротивлением разрыву металла труб до 588 Н/мм2 при выполнении следующих видов работ:

- капитальный ремонт нефтепровода с заменой труб;

- капитальный ремонт с зачисткой поверхности труб, заваркой выявленных дефектов и заменой изоляции;

- врезка катушек при сварке захлестов, удалении вмятин, гофр и других недопустимых дефектов труб;

- ремонт дефектов выявленных в сварных соединениях труб по результатам неразрушающего контроля;

- сварка труб с деталями трубопроводов, крановыми узлами.

1.3. Инструкция регламентирует применение:

- сварочных электродов с различными типами покрытий для ручной дуговой сварки;

- самозащитной порошковой проволоки типа Иннершилд со свободным формированием шва для полуавтоматической сварки неповоротных стыков

- комбинации флюс-проволока - для автоматической сварки под флюсом поворотных стыков труб на установках типа ССТ-ПАУ.

1.4. Положения инструкции определяют особенности, принципы выбора и применения сварочных материалов при различных видах ремонтных работ. Разделы Инструкции включают требования к сварочным материалам для сварки и ремонта стыков нефтепроводов, содержат технические характеристики современных электродов, флюсов, проволок, специально разработанных для сварки трубопроводов, определяют предпочтительность применения различных видов электродных покрытий и конкретных марок электродов, флюсов, проволок для ремонтных работ.

Инструкция определяет только те положения из всего цикла подготовительных и сборочно-сварочных работ, которые непосредственно связаны с применением сварочных материалов.

Настоящая Инструкция не является документом, регламентирующим технологию выполнения каждого из включенных в рассмотрение видов ремонтных работ. Ее главная задача - ориентирование специалистов АК "Транснефть" на использование современных сварочных материалов, технологий и оборудования, наиболее полно отвечающих условиям сварки при реконструкции и ремонте нефтепроводов. Для каждого из объектов капитального ремонта должна быть составлена соответствующая Инструкция и комплект технологических карт по видам сварочных работ, осуществляемых на данном объекте.

2. АТТЕСТАЦИЯ ТЕХНОЛОГИИ СВАРКИ С ПРИМЕНЕНИЕМ РАЗЛИЧНЫХ ВИДОВ СВАРОЧНЫХ МАТЕРИАЛОВ (ОСНОВНЫЕ ПОЛОЖЕНИЯ).

2.1. Специализированные организации перед началом производства работ по капитальному ремонту данного объекта должны провести аттестацию технологии сварки, рекомендуемой к использованию на данном объекте, включая сварку линейной части, ремонт, специальные сварочные работы.

2.2. Технология сварки должна быть представлена в виде технологической Инструкции и карт по видам работ, в которых должно быть указано:

- наименование объекта;

- процесс сварки;

- характеристика труб (диаметр, толщина стенки, класс прочности, марка, ТУ или ГОСТ на поставку);

- схема сборки стыков и последовательность выполнения слоев;

- применяемые сварочные материалы;

- перечень и содержание операций сборки и сварки, включая используемые оборудование и инструмент;

- контролируемые параметры, методы и приборы для их контроля;

- объем контроля стыков физическими методами.

2.3. Аттестация проводится подразделениями АК "Транснефть", непосредственно занятыми ремонтом данного объекта, при участии представителя технадзора Заказчика и Госгортехнадзора (по согласованию).

2.4. Для аттестации технологии сварки необходимо сварить полноразмерное кольцевое стыковое соединение (приемочный стык) в полном соответствии с технологической документацией в условиях, тождественным трассовым, с использованием выбранных сварочных материалов и оборудования. Аттестацию технологии сварки захлестов и других специальных сварочных работ допускается производить на катушках.

Аттестация технологии выполнения ремонтных работ производится методом имитации ремонта на ранее сваренных стыках.

2.5. В процессе и после сварки стык подвергают пооперационному и визуальному контролю, контролю неразрушающими физическими методами, а также испытанию механических свойств сварного соединения.

2.6. Для оценки механических свойств сварных соединений испытывают образцы на статическое растяжение, статический и ударный изгиб.

2.7. Аттестация должна быть проведена для каждого технологического варианта сварки. Акт аттестации технологии сварки может включать как отдельные так и все процессы сварки, используемые на данном объекте.

2.8. Технологический процесс сварки считается аттестованным, если по данным визуального и радиографического контроля, результатам испытаний механических свойств сварные соединения удовлетворяют требованиям нормативной документации.

2.9. Переаттестация технологии сварки производится в следующих случаях:

- изменилась прочностная группа стали (табл. 1);

- изменилась группа диаметров труб (табл. 2);

- изменился тип покрытия электрода;

- изменился тип флюса (плавленый или агломерированный);

- изменилось оборудование, приводящее к изменению технологии сварки;

- потребовалось проведение послесварочной термообработки.

Таблица 1

Классификация трубных сталей по прочности

Группа стали

Класс прочности

Нормативное значение временного сопротивления разрыву металла труб, МПа (кгс/мм2)

1

до К50

до 490 (50)

2

К50 - К54

490 (50) - 530 (54)

3

К55-К60

540 (55) - 588 (60)

Таблица 2

Группы по диаметрам труб

Группа

Диаметр труб, мм

1

200 и менее

2

свыше 200 до 720

3

свыше 720 до 1420

2.10. По результатам испытания приемочных стыков составляется Акт приемки технологии сварки, который должен содержать: состав комиссии, полный состав бригады, клейма и фамилии сварщиков, выполнивших приемочный стык, номер технологической карты, по которой выполнена сварка, конкретные марки сварочных материалов и режимы сварки, результаты визуального контроля, протоколы неразрушающего контроля. К Акту прилагаются протоколы механических испытаний сварных соединений, копии технологических карт.

2.11. Акты аттестации технологии сварки хранятся в подрядной организации и передаются Заказчику вместе с исполнительной документацией.

3. АТТЕСТАЦИЯ СВАРЩИКОВ И СВАРКА ДОПУСКНЫХ СТЫКОВ (ОСНОВНЫЕ ПОЛОЖЕНИЯ).

3.1. Целью аттестационных испытаний является определение способности сварщика выполнить качественное сварное соединение при использовании технологического процесса сварки, прошедшего аттестацию согласно разделу 2 настоящей Инструкции.

3.2. В процессе аттестации каждый сварщик должен сварить допускной стык или половину стыка диам. 1020-1420 мм. Стык подвергается визуальному осмотру и замеру геометрических параметров соединения в соответствии с Технологическими картами на сварку, радиографическому контролю, механическим испытаниям на угол изгиба.

3.3. Переаттестация сварщика производится в случаях, оговоренных в п. 2.9. и если сварщик имел перерыв в работе более 3 месяцев.

3.4. Сварка допускных стыков производится с использованием катушек, соответствующих типоразмеру свариваемых труб .

3.5. Сварщики, участвовавшие и успешно выполнившие сварку приемочных стыков при аттестации технологии сварки, освобождаются от сварки аналогичных допускных стыков и могут быть аттестованы по результатам, полученным при аттестации технологии сварки.

3.6. Аттестация сварщиков на выполнение работ по заварке дефектов поверхности труб и ремонт дефектов сварных соединений осуществляется на катушках труб, имитирующих соответствующие повреждения поверхности или имеющих имитаторы дефектов в сварных стыках катушек.

3.7. По результатам сварки допускных стыков составляется Акт, который должен содержать списки сварщиков с указанием сварочных процедур (технологий), к выполнению которых данный сварщик допущен. К Акту должны быть приложены протоколы с указанием клейм и фамилий сварщиков, выполнивших сварку допускных стыков; номера технологических карт по которым выполнена сварка; конкретных марок сварочных материалов и режимов сварки, заключений по результатам визуального контроля и радиографии.

3.8. Если по какому-либо показателю допускной стык не удовлетворяет предъявленным к нему требованиям, то сварщик признается не выдержавшим аттестационные испытания.

4. ПРИНЦИПЫ ВЫБОРА, ОБЛАСТЬ ПРИМЕНЕНИЯ И ТЕХНИЧЕСКИЕ ХАРАКТЕРИСТИКИ СВАРОЧНЫХ МАТЕРИАЛОВ.

4.1. Для сварки кольцевых стыков магистральных нефтепроводов могут быть использованы следующие сварочные материалы:

- электроды с основным и целлюлозным видами покрытия для ручной дуговой сварки;

-флюсы плавленые и агломерированные для автоматической сварки поворотных стыков;

- сварочные проволоки сплошного сечения для автоматической сварки под флюсом и в среде защитных газов;

- самозащитные порошковые проволоки для полуавтоматической сварки со свободным формированием шва.

- порошковые проволоки для сварки в среде защитных газов.

4.2. Общая характеристика электродных покрытий основного и целлюлозного вида представлена в п.п. 4.2.1. и 4.2.2.

4.2.1. Основу покрытия основного вида составляют карбонат кальция и плавиковый шпат. В состав покрытия входят также минеральные силикаты и несколько раскислителей.

Диссоциация карбонатов основного покрытия обеспечивает газовую защиту расплавленного металла, а основной шлак - десульфурацию и дефосфорацию металла. Физические свойства основного шлака определяют достаточно интенсивное удаление из металла шва неметаллических включений. Радикальное раскисление и модифицирование металла шва осуществляется за счет использования активных раскислителей.

Сравнительно небольшое содержание оксидных включений в металле шва в сочетании с благоприятным составом сульфидной и фосфидной фаз обусловливают высокие вязко-пластические свойства металла шва и его хорошую сопротивляемость образованию горячих трещин.

Возможность осуществления радикальной прокалки электродов с основным видом покрытия предопределило низкий уровень содержания водорода в металле шва и, соответственно, нечувствительность к образованию холодных трещин.

К недостаткам традиционного покрытия основного вида относится чувствительность к порообразованию при увлажнении покрытия, а также при наличии следов влаги и ржавчины на свариваемых кромках.

4.2.2. Основу покрытия целлюлозного вида составляет целлюлоза (30-40%) и рутил (30-40%). Среди остальных компонентов - минеральные силикаты и ферромарганец.

Для электродов характерны ярко выраженные газозащитные свойства при высоком содержании водорода в атмосфере дуги, определяющем высокое давление плазменных потоков.

В результате электроды с целлюлозным покрытием характеризуются высокой проплавляющей способностью и повышенной скоростью расплавления (скоростью сварки).

К недостаткам целлюлозного покрытия относится высокое содержание диффузионного водорода в металле шва, что увеличивает опасность возникновения холодных трещин и более низкие, чем при сварке электродами с основным видом покрытия служебные характеристики металла шва, в частности хладностойкость, ударная вязкость, усталостная прочность.

Широкое применение целлюлозных электродов в мировой практике трубопроводного строительства для сварки всех слоев шва, включая корневой, обусловлено их значительными преимуществами, отмеченными выше.

В практике отечественного трубопроводного строительства применение целлюлозных электродов может быть ограничено лишь в тех случаях, когда к служебным характеристикам сварных соединений предъявляются специальные, особо жесткие требования по хладностойкости, сопротивлению воздействию.

4.3. Для сварки трубопроводов должны применяться сварочные материалы, аттестованные для применения в трубопроводном строительстве и отвечающие специальным требованиям к качеству их изготовления, сварочно-технологическим характеристикам и обеспечивающие высокий уровень вязко-пластических свойств сварных соединений.

4.4. Электроды общего назначения, выпускаемые в соответствии с ГОСТ 9466-75, который не учитывает специфические условия сварки магистральных нефтепроводов, не могут использоваться для этих целей без специальной проверки и аттестации.

4.5. Основными приемо-сдаточными показателями, характеризующими качество изготовления электродов и возможность их использования для сварки газопроводов, являются:

· разнотолщинность покрытия - показатель, ответственный за образование "козырька" в процессе сварки. Для электродов с основным видом покрытия диам. 3,25 мм разнотолщинность должна быть не выше 0,08 мм; для диам. 4,0 мм - не выше 0,10 мм. Для электродов с целлюлозным видом покрытия диам. 4,0 мм максимально допустимая разнотолщинность - 0,08 мм;

· качество поверхности покрытия. Покрытие электродов должно быть однородным, плотным, прочным, без вздутий, наплывов, надрывов и трещин, допускаются поверхностные волосные трещины;

· наличие ионизирующего покрытия на торце электрода, облегчающего зажигание дуги и снижающего опасность образование дефектов в момент зажигания дуги;

· уровень остаточной влажности покрытия непосредственно перед упаковкой должен быть не выше 0,2% для электродов с основным видом покрытия и в пределах 1,5-4,5 % для электродов с целлюлозным видом покрытия;

· упаковка электродов. Электроды с целлюлозным видом покрытия должны быть упакованы в запаенные металлические банки (пеналы). Для электродов с основным видом покрытия предпочтительной упаковкой также являются металлические банки, однако допускается упаковка в коробки из специального картона, обтянутые термоусадочной пленкой;

· соответствие химического состава и механических свойств требованиям спецификации на электроды или технических условий на данную марку электрода. При этом для электродов с основным видом покрытия суммарное содержание в металле шва вредных примесей - серы и фосфора должно быть не более 0,035%.

· возможность сварки во всех пространственных положениях при обеспечении качественного выполнения сварного шва.

4.6. Выбор сварочных материалов должен осуществляться в зависимости от:

- вида ремонтных работ (п. 1.2.);

- класса прочности и типоразмера свариваемых труб;

- сварочно-технологических свойств конкретных марок сварочных материалов;

- требований по уровню вязкопластических свойств сварных соединений.

Для ручной дуговой сварки корневого слоя шва стыков труб из сталей групп прочности 1, 2, 3 (табл. 1) и автоматической сварки под флюсом на базе типа ПАУ, должны применяться "мягкие" электроды с основным видом покрытия, соответствующим по классификации ГОСТ 9467-75 типу Э50А (Е7016 по американскому стандарту AWS А 5.5) либо электроды с целлюлозным видом покрытия типа Э42 и Э46 по ГОСТ 9467-75 (Е6010) - табл. 3.

Таблица 3

Сварочные электроды для сварки поворотных и неповоротных стыков труб магистральных нефтепроводов

Область применения

Вид покрытия, тип по ГОСТ, обозначение согласно AWS A5.5

Группа прочности свариваемой стали, нормативный предел прочности, МПа, (кгс/мм2)

Сварка корневого слоя шва неповоротных и поворотных стыков труб

основной Э50А, Е7016

1, 2, 3

до 588 (60)

включительно

целлюлозный Э42, Э46 Е6010

Сварка "горячего прохода" неповоротных и поворотных стыков труб

целлюлозный Э42, Э46 . Е6010

1,2,

до 529 (54) вкл.

целлюлозный Э50 Е7010

3

от 539 (55) до 588 (60) вкл.

Сварка заполняющих слоев шва неповоротных стыков труб

основной Э50А Е7016

1, 2

до 529 (54) вкл.

основной Э60 E8018-G E8016-D3

3 от 539 (55) до 5 88 (60) вкл.

Сварочные материалы для сварки заполняющих слоев должны обеспечивать равнопрочность металла шва с основным металлом свариваемой стали. Для групп прочности 1 и 2 должны применяться электроды типа Э50А или соответствующие комбинации флюс-проволока (табл. 3 и 26); для групп прочности 3 - электроды типа Э60 (ГОСТ 9467-75) в соответствии с табл. 3 либо комбинации флюс-проволока в соответствии с табл. 26.

4.7. В случае сварки стыков труб из сталей различных групп прочности сварочные материалы должны выбираться исходя из следующего:

· при различных значениях толщин стенок стыкуемых труб - по трубе более высокого класса прочности;

· при одинаковых значениях толщин стенок стыкуемых труб по трубе менее высокого класса прочности.

4.8. Приоритетным требованием к сварочным материалам для сварки корневого слоя шва является обеспечение высоких сварочно-технологических характеристик и линейной скорости сварки.

Необходимым условием их использования является, кроме того, соблюдение требований по химическому составу и механическим свойствам металла корневого слоя.

4.9. Основными сварочно-технологическими характеристиками, определяющими пригодность сварочных материалов к сварке корневого слоя шва являются:

· стабильное горение дуги в зазоре;

· способность обеспечивать полное проплавление свариваемых кромок и формирование обратного валика при сварке во всех пространственных положениях;

· отсутствие склонности к образованию несплавлений, подрезов, провисов и пор, в том числе и стартовой пористости;

· благоприятная форма корневого шва, создающая хорошую "подложку" для сварки последующих слоев.

4.10. Для сварки корневого слоя шва могут применяться электроды с целлюлозным и основным видами покрытия, специально разработанные для сварки трубопроводов и отвечающие требованиям п.п. 4.5, 4.8, 4.9.

4.11. К преимуществам, применения целлюлозных электродов для сварки корневого слоя шва при капремонте МН относятся:

· высокая линейная скорость сварки при возможности осуществления процесса способом сверху-вниз;

· высокое проплавляющее действие дуги и, как результат, полное проплавление свариваемых кромок с образованием обратного валика;

· сравнительная простота техники сварки;

· отсутствие необходимости сушки электродов перед использованием.

4.12. К факторам, осложняющим применение целлюлозных электродов для сварки корневого слоя шва относятся:

· необходимость при любой, в том числе положительной температуре воздуха, осуществлять предварительный подогрев свариваемых кромок (см. раздел 6.1.);

· необходимость тщательной шлифовки корневого слоя шва перед выполнением второго слоя - "горячего прохода";

· выполнение следующего слоя ("горячего прохода") непосредственно после окончания сварки корневого слоя шва;

· повышенное разбрызгивание при сварке;

· требуются источники тока, обеспечивающие специальные характеристики дуги.

4.13. К преимуществам электродов с основным видом покрытия, специально разработанных для сварки корневого слоя шва, относятся:

· мягкость горения дуги, формирование мелкочешуйчатого шва благоприятной формы;

· высокие вязкопластические свойства металла шва.

4.14. Основными недостатками электродов с основным видом покрытия при сварке корневого слоя шва следует считать:

· низкую линейную скорость сварки при ведении процесса методом на подъем;

· сложность достижения гарантированного проплавления кромок во всех пространственных положениях и высокая вероятность образования провисов, подрезов и несплавлений преимущественно в потолочном части стыка. Последнее обстоятельство влечет за собой необходимость подварки изнутри отдельных участков шва по периметру трубы (для труб большого диаметра);

· повышенная склонность к образованию пор при увлажнении покрытия или свариваемых кромок.

4.15. Перечень аттестованных и рекомендованных к применению марок электродов с основным и целлюлозным видами покрытия представлен в табл. 4 и 5.

4.16. Перечень комбинаций "флюс-проволока" для сварки под флюсом поворотных стыков труб различных прочностных классов, особенности выбора и применения, технические характеристики и параметры процесса сварки приведены в разделе 8 настоящей Инструкции.

Таблица 4

Электроды с покрытием основного вида для сварки и ремонта неповоротных стыков нефтепроводов

№№ п/п

Назначение (группы сталей)

Марка

Диаметр, мм

Фирма-поставщик

1.

Для сварки и ремонта корневого слоя шва стыков труб. из стали с нормативным пределом прочности ли до 588 Мпа вкл (1, 2 и 3 группы)

ЛБ-52У

(LВ - 52U)

2,6; 3,2

Kobe Steel (завод в г. Кобе)

2.

Линкольн 16П

(Lincoln 16P)

2,5; 3,2

Lincoln Electric

3.

ОК 53.70

2,5; 3,2

ESAB AB

4.

Феникс К50Р Мод (Phoenix K50R Mod)

2,5; 3,2

Thyssen

5.

Фирма 5520Р Мод

(Firma 5520R Mod)

2,5; 3,2

Klockner

6.

Для сварки и ремонта заполняющих и облицовочного слоев шва стыков труб из сталей с нормативным пределом прочности от 539 до 588 МПа включительно (3 группа)

ОК 74.70

3,2; 4,0

ESAB AB

7.

Кессель 5520 Мо

(Kessel 5520 Мо)

4,0

Klockner

8.

Шварц - 3К Мод (*)

(Schwarz - 3К Mod)

4,0

Thyssen

9.

Линкольн 18П

(Lincoln 18Р)

3,2; 4,0

Lincoln Electric

10.

ВСФ - 65М

4,0

ОСПАЗ

11.

Для сварки и ремонта заполняющих и облицовочного слоев шва стыков труб из стали с нормативным пределом прочности до 530 МПа вкл. (1 и 2 группы)

УОНИ 13/55М

3,0; 4,0

ОСПАЗ

12.

ОК 53.70

3,2; 4,0

ESAB AB

13.

ОК 4-8.04

3,0; 4,0

Завод сварочных электродов СИБЭС (РАО "Газпром")

14.

Фирма 5520Р Мод

3,2; 4.0

Klockner

15.

Линкольн 16П

3,2; 4,0

Lincoln Electric

16.

Феникс К50Р Мод

3,2; 4,0

Thyssen

Примечание: (*) - для данной марки электродов требуется переаттестация в установленном порядке;

Таблица 5

Электроды с покрытием целлюлозного вида для сварки стыков нефтепроводов

№ п/п

Назначение (группы сталей)

Марка

Диаметр, мм

Фирма-поставщик

1.

Для сварки корневого слоя шва стыков труб из сталей с нормативным пределом прочности до 588 МПа включительно (1, 2 и 3 группы) и "горячего прохода" стыков труб с нормативным пределе; прочности до 530 МПа включительно (1 и 2 группы)

Фокс-Цель

(Fox Сеl)

4,0

Bohler

2.

Кобе 6010(*)

(Kobe 6010)

4,0

Kobe Steel

3.

Пайпвелд 6010 (Pipeweld 6010)

4,0

ESAB AB

4.

Тиссен Цель 70 (Thyssen Cel 70)

4,0

Thyssen

5.

: Флитвелд 5П+ (Fleetweld 5P+)

4,0

Lincoln Electric

6.

Флитвелд 5П (Fleetweld 5P)

4,0

Lincoln Electric

7.

ВСЦ-4М (**)

4,0

ОСПАЗ

8.

Для сварки "горячего прохода" стыков труб из сталей с нормативным пределом прочности от 539 до 588 МПа включительно (3 группа)

Фокс Цель Мо

(Fox Cel Мо)

4,0

Bohler

9.

Кобе 7010 (*) (Коbе7010)

4,0

Kobe Steel

10.

Пайпвелд 7010 (Pipeweld 7010)

4,0

ESAB AB

11.

Флитвелд 5П+ (Fleetweld 5P+)

4,0

Lincoln Electric

Примечание: (*) - для данных марок электродов требуется переаттестация в установленном порядке.

(**) - для данной марки электродов требуется согласование технических условий на производство с последующей аттестацией в установленном порядке.

4.17. Характеристика, особенности процесса сварки самозащитной порошковой проволокой типа Иннершилд неповоротных стыков труб, преимущества и недостатки данного способа в сравнении с ручной дуговой сваркой, а также технологические параметры процесса сварки приведены в разделе 7 настоящей Инструкции.

5. ХРАНЕНИЕ И ПОДГОТОВКА СВАРОЧНЫХ МАТЕРИАЛОВ К СВАРКЕ.

5.1. Все сварочные материалы по мере их поступления должны проходить входной контроль, включающий:

· проверку наличия сертификатов качества фирмы (завода- изготовителя);

· проверку сохранности упаковки электродов, флюсов и проволок;

· проверку соответствия электродов требованиям спецификаций на электроды (технических условий);

· проверку сварочно-технологических свойств электродов.

5.2. Сварочные материалы в соответствии с требованиями изготовителя следует хранить в условиях, предупреждающих их увлажнение и гарантирующих сохранность и герметичность упаковки;

5.3. Электроды, порошковая проволока, сварочная проволока сплошного сечения, флюсы в герметичной упаковке при централизованном складировании в специально оборудованном помещении могут храниться без дополнительной проверки в течение одного года.

5.4. Если упаковка электродов негерметична или повреждена, то электроды должны подвергаться дополнительной проверке их свойств и использоваться в первую очередь. Дальнейшему длительному хранению такие электроды не подлежат.

5.5. Сварочные электроды с покрытием основного вида, упакованные в картонные коробки, обтянутые термоусадочной пленкой должны быть прокалены перед сваркой при температуре 300-350 °С в течение 1,0-1,5 час. с последующим размещением в термостатах. В случае, если по какой-либо причине прокаленные электроды находились в негерметичной емкости в течение более 8 час. требуется их повторная прокалка. Допускается повторная прокалка до 5 раз при общем времени прокалки не более 10 час.

Сварочные электроды с покрытием основного вида, упакованные в герметичные металлические банки, не следует прокаливать перед сваркой. Однако, в случае, если электроды из открытой металлической банки не были использованы в течение рабочей смены (~ 8 час.), они должны быть прокалены.

5.6. Сварочные электроды с целлюлозным покрытием зарубежного производства поставляются в металлических герметичных банках-пеналах и не требуют предварительной сушки перед использованием. Открытые упаковки с электродами необходимо тщательно закрывать во время перерывов в сварке. При этом условии электроды пригодны к сварке в течение 24 час. (при температуре воздуха ~ +20 °С). Если целлюлозные электроды по какой-либо причине не были использованы в течение этого промежутка времени, то они не подлежат дальнейшему использованию.

Исключение составляют целлюлозные электроды фирмы "Линкольн Электрик". В случае длительного хранения на открытом воздухе и чрезмерного увлажнения, разрешается их сушка перед использованием при температуре 80-90 °С в течение 10-20 мин.

5.7. Сварочную проволоку следует хранить в сухих складских помещениях в упаковке завода-изготовителя. Каждая партия проволоки должна иметь сертификат с указанием завода-изготовителя, ее марки, диаметра, номера плавки и химического состава. К каждому мотку (бухте) проволоки должна быть прикреплена бирка с указанием завода-изготовителя, номера ее плавки, марки и диаметра проволоки по ГОСТ 2246-70. Проволока, поставляемая по импорту, должна быть в мотках с рядной намоткой прямоугольного сечения массой не более 30 кг, размещенных в двойной упаковке "полиэтилен + картонная коробка".

5.8. Сварочная проволока должна выдаваться для использования в количестве, необходимом для односменной работы трубосварочной базы. Поверхность сварочной проволоки должна быть свободной от ржавчины, окалины, следов смазки и загрязнений. При их наличии проволоку следует очистить на станке типа МОН-52 с последующей рядной намоткой проволоки на съемные катушки сварочной головки. При очистке и перемотке проволоки не следует допускать ее резких перегибов. Масса катушки с проволокой не должна превышать 30 кг.

5.9. В случае поставки проволоки заводом-изготовителем в мотках (бухтах) без рядной намотки и/или массой более 30 кг следует осуществить ее перемотку в мотки с рядной намоткой массой не более 30 кг.

5.10. Плавленый сварочный флюс следует хранить в сухих складских помещениях в герметичной упаковке завода-изготовителя (мешках из многослойной крафт-бумаги или металлических емкостях-контейнерах). На упаковке должны быть указаны завод-изготовитель, марка флюса, номер ГОСТа или технических условий, масса, номер партии. Каждая партия флюса должна иметь сертификат с указанием завода-изготовителя, марки флюса, номера партии и приемо-сдаточных характеристик (состав флюса, насыпная плотность, размер зерен)

5.11. Зарубежные агломерированные флюсы обычно поставляются упакованными по согласованию с потребителем в многослойные мешки из крафт-бумаги или в двойные мешки из полиэтилена и крафт-бумаги. На упаковке указаны фирма-изготовитель, марка флюса, номер партии, его классификация по международным стандартам и установленные фирмой-изготовителем основные приемо-сдаточные характеристики. Масса мешка с флюсом не должна превышать 25 кг. К каждой партии флюса прилагается сертификат контроля качества (Inspection Certificate) или сертификат соответствия (Certificate of Conformance) В сертификате контроля качества указаны наименования фирмы-изготовителя и потребителя, марка и количество флюса, номер партии и приемо-сдаточные характеристики флюса. В сертификате соответствия указаны наименование фирмы-изготовителя, марка флюса и результаты аттестации флюса в комбинации с проволокой согласно требованиям стандарта AWS A5.23 (химический состав проволоки и наплавленного металла, параметры режима сварки, механические характеристики металла шва). Условия хранения флюсов должны соответствовать п. 5.10 настоящей Инструкции.

5.12. В случае повреждения упаковки флюса его следует поместить для хранения в герметичную емкость, на которой необходимо указать марку флюса, номер партии и сертификата, завод(фирму)-изготовитель.

5.13. Запрещается смешивать флюсы разных марок, партий поставки и заводов-изготовителей.

5.14. Флюс выдается для применения в количестве, необходимом для односменной работы трубосварочной базы. Непосредственно перед использованием плавленые флюсы (АН-348А, АНЦ-1 и АН-47) должны быть прокалены при температуре 300-350 °С в течение 1,5 часов, агломерированный флюс - при температуре 300 °С в течение 2 часов. Высота слоя флюса при прокалке - не более 6 см. Для выполнения прокалки запрещается использование самодельных сушильно-прокалочных устройств.

5.15. Самозащитная порошковая проволока типа Иннершилд для полуавтоматической сварки поставляется на кассетах с рядной намоткой весом 6,35 кг. В упаковке из толстого полиэтиленового мешка размещается четыре кассеты. Полиэтиленовый мешок с кассетами помещается в герметичные пластмассовые ведра. Внутри ведра имеются пакеты с влагопоглощающим компонентом. Общий вес упаковки 25,4 кг. Проволока не требует предварительной сушки-прокалки перед использованием.

5.16. Поверхность проволоки не должна иметь вмятин, надрывов и следов коррозии. Порошок-наполнитель не должен высыпаться при обломе проволоки.

Проволока должна легко обламываться руками, при этом ее конец (место излома) быть готовым к сварке без последующей правки.

6. ПРИМЕНЕНИЕ СОВРЕМЕННЫХ ЭЛЕКТРОДОВ ОТЕЧЕСТВЕННОГО И ИМПОРТНОГО ПРОИЗВОДСТВА ДЛЯ РУЧНОЙ ДУГОВОЙ СВАРКИ.

6.1. ПРЕДВАРИТЕЛЬНЫЙ ПОДОГРЕВ И СБОРКА СТЫКОВ.

6.1.1. Режим предварительного подогрева определяется:

· видом покрытия электрода, предназначенного для сварки;

· эквивалентом углерода и толщиной стенки свариваемой стали;

· температурой окружающего воздуха.

6.1.2. Режимы предварительного подогрева стыков труб нефтяного сортамента, изготовленных из сталей прочностного класса К52-К60 марок 13Г1С-У, 13ГС-У, 17Г1С, 17Г1С-У, 12ГСБ, 12Г2СБ с эквивалентом углерода 0,42-0,46%, при сварке корневого слоя шва электродами с основным видом покрытия должны соответствовать данным табл. 6.

Таблица 6

Температура предварительного подогрева кромок перед прихваткой и сваркой корневого слоя шва электродами с покрытием основного вида (С)экв=0,42-0,46%

Температура окружающего воздуха, °С

Необходимость предварительного подогрева и минимальная температура нагрева кромок, °С в зависимости от толщины стенок трубы, мм

до 12,0

12,1 - 14,0

14,1 - 16,0

от +20 до +5

не требуется

не требуется

не требуется

от +5 до -10

не требуется

не требуется

100

от -10 и ниже

не требуется

100

100

* При эквиваленте углерода свариваемых труб (С)экв = 0,38 % и менее подогрев свариваемых кромок до 100 °С необходим для толщин стенок 14,1-16,0 мм при температуре воздуха ниже минус 30 °С.

6.1.3. При сварке электродами с целлюлозным видом покрытия труб прочностого класса К52-К60 из стали марок, поименованных в п. 6.1.2. и имеющих эквивалент углерода стали 0,42-0,46 %, свариваемые кромки должны быть подогреты непосредственно перед сваркой независимо от температуры окружающего воздуха до температуры 100 °С при толщине стенки трубы 8,0-12,0 мм и до температуры 150 °С при толщине стенок 12,5-16,0 мм.

При эквиваленте углерода свариваемых труб (С)экв=0,38% подогрев должен осуществляться до температуры 100 °С независимо от температуры окружающего воздуха при толщине стенки трубы 10 мм и более.

6.1.4. При отсутствии необходимости предварительного подогрева должна осуществляться просушка концов труб до температуры 50 °С в случае наличия влаги на кромках труб и при температуре воздуха +5 °С и ниже.

6.1.5. Ширина зоны контролируемого подогрева непосредственна перед прихваткой и сваркой - не менее 150 мм (75 мм в каждую сторону от стыка).

6.1.6. Стыки труб должны собираться с зазором, величина которого зависит от вида покрытия электрода, применяемого для сварки корневого слоя шва:

- при сварке электродами с целлюлозным видом покрытия 1,5 - 2,0 мм;

- при сварке электродами с основным видом покрытия 2,5 - 3,5 мм.

6.1.7. Прихватки выполняются тем же электродом, что и сварка корневого слоя шва. При использовании электродов с целлюлозным покрытием и сборке на внутреннем центраторе не рекомендуется выполнять отдельные прихватки.

6.1.8. В случае применения прихваток, начало и конец каждой из них должны быть тщательно зачищены шлифовальным кругом.

6.1.9. В связи с тем, что способ сварки порошковой проволокой типа Иннершилд, а также механизированная сварка под флюсом поворотных стыков труб предусматривают использование электродов с целлюлозным или основным видом покрытия для сварки корневого слоя шва температура предварительного подогрева для этих способов сварки выбирается в соответствии с п.п. 6.1.2. и 6.1.3. настоящей Инструкции.

6.2. ТЕХНОЛОГИЧЕСКИЕ ОСОБЕННОСТИ ПРИМЕНЕНИЯ ЭЛЕКТРОДОВ С ОСНОВНЫМ И ЦЕЛЛЮЛОЗНЫМ ВИДОМ ПОКРЫТИЯ ПРИ КАПИТАЛЬНОМ РЕМОНТЕ МАГИСТРАЛЬНЫХ НЕФТЕПРОВОДОВ.

6.2.1. Любые сварочные работы при капитальном ремонте МН следует выполнять только с применением электродов, марки которых регламентированы настоящей Инструкцией.

6.2.2. Запрещается осуществлять сварку с применением любых присадок, непосредственно подаваемых в дугу или предварительно заложенных в разделку.

6.2.3. Запрещается зажигать дугу на поверхности трубы, дуга должна зажигаться только в разделке кромок.

6.2.4. Сварка первого (корневого) слоя шва электродами с основным видом покрытия осуществляется на постоянном токе прямой или обратной полярности при минимально возможной длине дуги.

Рекомендуется применение тока прямой полярности, что позволяет увеличить проплавляющее действие дуги, обеспечить более полное проплавление свариваемых кромок по сравнению с током обратной полярности. Величина и форма образующегося обратного валика зависит от сварочно-технологических свойств конкретной марки электрода и техники сварки. Сварка осуществляется способом на подъем с незначительными поперечными колебаниями электрода при его наклоне практически перпендикулярно к поверхности трубы в месте сварки.

При соблюдении рекомендуемых условий сборки в отношении величины зазора по периметру стыка и величины притупления процесс сварки на токе обратной полярности обеспечивает качественное выполнение корневого слоя шва, однако проплавляющее действие дуги ниже, чем при сварке током прямой полярности. Величину проплавления при сварке на обратной полярности можно увеличить с помощью изменения угла наклона электрода (ближе к перпендикулярному к поверхности трубы), увеличения тока на 10-20 А, уменьшения величины поперечных колебаний и длины дуги.

6.2.5. Сварка первого (корневого) слоя шва должна осуществляться электродами диам. 2,5 или 3,2 мм. Для тонкостенных труб с толщиной стенки до 7 мм следует использовать только электроды диам. 2,5 мм.

6.2.6. Рекомендуемые значения сварочного тока для электродов с основным видом покрытия, предназначенных для сварки корневого слоя шва (сварка на постоянном токе обратной полярности) приведены в табл. 7.

Таблица 7

Величина тока при сварке корневого слоя шва электродами с основным видом покрытия

Диаметр электрода, мм

Пространственное положение сварки

нижнее

вертикальное

потолочное

2,5

50-80

70-90

80-90

3,25

80-90

80-100

90-110

6.2.7. Сварка корневого слоя шва электродами с целлюлозным видом покрытия осуществляется методом сверху-вниз на постоянном токе обратной или прямой полярности от источников питания, имеющих специальные характеристики (см. раздел 9).

Применение тока прямой полярности предпочтительнее, т.к. позволяет увеличить проплавляющее действие дуги, уменьшить вероятность образования подрезов и исключить образование вытянутой полой поры в обратном валике.

6.2.8. Для труб диам. 530 мм и выше с толщиной стенки свыше 7 мм при сварке корневого слоя шва целлюлозными электродами следует использовать электрод диам. 4,0 мм.

6.2.9. Сварка "горячего прохода" выполняется только на токе обратной полярности (-+).

6.2.10. Величина тока при сварке зависит от конкретной марки и диаметра электрода, толщины стенки свариваемой трубы, пространственного положения при сварке и навыков сварщика.

Рекомендуемые значения сварочного тока для сварки корневого слоя шва и горячего прохода электродами с целлюлозным видом покрытия диаметром 4,0 мм представлены в таблице 8.

6.2.11. Сварка корневого слоя шва электродами с целлюлозным покрытием должна осуществляться способом сверху вниз, без колебательных движений при опирании втулочки электрода на свариваемые кромки. При этом в свариваемых кромках образуется отверстие (технологическое окно) размером, соответствующим диаметру электродного стержня.

6.2.12. Скорость сварки должна быть максимально возможной (14 - 18 м/час) позволяющей избежать прожогов и формировать валик шва над технологическим окном.

Таблица 8

Режимы при сварке электродами целлюлозного вида

Марка электрода

Корневой слой

Горячий проход

Род тока, полярность

Величина тока, А

Род тока полярность

Величина тока, А

Флитвелд 5П

=-(+)

130-150

=+

150-170

Флитвелд 5П+

=-(+)

120-140

=+

140-160

Тиссен Цель 70

=-(+)

130-160

=+

170-190

Пайпвелд 6010

=-(+)

120 -140

=+

140-160

Фоке Цель

=-(+)

120-15.0

=+

150-180

= -(+) - постоянный ток прямой (обратной) полярности

6.2.13. При правильном осуществлении процесса, сварочная дуга проникает сквозь зазор между свариваемыми кромками так, что газовый поток дуги и брызги шлака направлены внутрь трубы и видны с наружной поверхности, при этом обеспечивается сквозное проплавление свариваемых кромок.

6.2.14. Угол наклона электрода при сварке должен быть близок к перпендикуляру к поверхности трубы в месте сварки (угол наклона 10 град, рис. 1). При этом наклоне электрода образуется технологическое окно круглой формы над которым легко формируется валик шва. При большем угле наклона (свыше 10 градусов) образуется отверстие овальной формы большего размера, что приводит к нарушению процесса образования валика стабильного размера.

6.2.15. Для сварки корневого слоя целлюлозными электродами характерно образование зашлакованных подрезов по обеим сторонам шва. Валик шва с наружной стороны имеет значительное усиление по центру. Для обеспечения качества сварного шва после завершения сварки корневого слоя требуется шлифовка, раскрывающая зашлакованные подрезы (карманы) и снимающая чрезмерное усиление валика шва.

Рис. 1. Угол наклона электрода при сварке электродами с целлюлозным видом покрытия:

а - корневой слой;

б - горячий проход

6.2.16. Сварка "горячего прохода" должна осуществляться не позднее пяти минут после окончания сварки корневого слоя шва.

Это связано с тем, что для сварных швов, выполненных электродами с целлюлозным видом покрытия характерно высокое содержание диффузионно-подвижного водорода , увеличивающего опасность образования холодных трещин в металле шва и зоне термического влияния (ЗТВ). В связи с высокой скоростью диффузии водорода в различные потенциально опасные для зарождения трещины участки ЗТВ, диффузионно-подвижный водород должен быть незамедлительно удален из металла корневого слоя шва.

Этой цели служит "горячий проход", который должен выполняться непосредственно после окончания сварки корневого слоя шва. Таким образом основной целью "горячего прохода" является:

· удалить диффузионно-подвижный водород из металла предыдущего слоя;

· выплавить шлак из карманов, раскрытых после шлифовки корневого слоя шва.

6.2.17. Особенность техники сварки "горячего прохода" состоит в следующем:

- сварка должна выполняться на максимально допустимом для конкретной марки электродов сварочном токе;

- электрод не должен опираться на свариваемые кромки, а должен быть оторван от сварочной ванны на короткое время, а затем погружен в ванну снова в месте нижней границы кратера;

- в течение манипуляции, описанной выше, электроду придается вращательное движение, при переменной длине дуги, позволяющее выплавить шлак из зоны сварки;

- угол наклона электрода зависит от пространственного положения сварки и составляет в вертикальном положении (3 час) 70 - 80 градусов, в горизонтальном -30...40 градусов и в потолочном -10 градусов (рис. 1).

При правильной технике сварки " горячего прохода" сварщик легко выплавляет шлак из "раскрытых" при шлифовке корневого слоя зашлакованных подрезов (карманов) и обеспечивает плоскую ровную поверхность шва для последующей сварки.

6.2.18. Основные дефекты, возникающие при сварке корневого слоя шва электродами с целлюлозным и основным видами покрытий и при сварке "горячего прохода" электродами с целлюлозным покрытием приведены в табл. 9.

Таблица 9

Дефекты и причины их возникновения при сварке корневого слоя шва и "горячего прохода"

Дефект

Причины возникновения дефекта

(1)

(2)

Непровар по кромкам в корневом слое

- мал зазор между кромками

- велико притупление

- наличие смещения кромок

- низкий ток

- высокая скорость сварки

Подрез в корневом слое

- велик зазор между кромками

- большой ток

- слишком длинная дуга

- неправильная техника сварки

- полярность тока (примените прямую полярность )

Образование продольной полости в обратном валике (усадочной раковины)

- слишком мал зазор (дегазация затруднена интенсивным растворением наплавленного металла в металле основы)

- слишком велико притупление

Провис изнутри трубы при сварке корневого слоя шва

- слишком большой ток

- слишком резко сварщик прерывает дугу

- слишком велик зазор между кромками

Шлаковые включения между корневым слоем и "горячим проходом"

- недостаточно сошлифовано усиление шва

- остался шлак в "карманах"

- слишком низкий ток

- неправильный угол наклона электрода

Пористость при сварке "горячего прохода"

- слишком большое усиление корневого слоя шва

- остался шлак в "карманах"

- слишком высокий ток

- слишком длинная дуга

6.3. СВАРОЧНО-ТЕХНОЛОГИЧЕСКИЕ ПОКАЗАТЕЛИ ЭЛЕКТРОДОВ И ХАРАКТЕРИСТИКИ МЕХАНИЧЕСКИХ СВОЙСТВ СВАРНЫХ СОЕДИНЕНИЙ, ВЫПОЛНЕННЫХ ЭЛЕКТРОДАМИ С ОСНОВНЫМ И ЦЕЛЛЮЛОЗНЫМ ВИДАМИ ПОКРЫТИЙ.

6.3.1. Сварочно-технологические свойства различных марок электродов с основным видом покрытия типа Э50А (Е7016), рекомендованные для сварки корневого слоя шва, представлены в табл. 10.

Оценка осуществлена по результатам аттестационных испытаний электродов, а также обобщения опыта их применения при сварке неповоротных стыков, трубопроводов различных диаметров, толщин стенок и условий сборки. Наивысший балл - 5.

Приведенные данные носят справочный характер.

6.3.2. Сварочно-технологические свойства электродов с целлюлозным видом покрытия типа Э42 и Э46 (Е6010), рекомендованных для сварки корневого слоя шва представлены в табл. 11.

6.3.3. Химический состав и механические свойства электродов с основным и целлюлозным видами покрытий, предназначенные для сварки корневого слоя шва представлены в табл. 12 и 13.

Таблица 10

Сварочно-технологические свойства электродов с основным видом покрытия диам. 3,2 мм для сварки корневого слоя шва

Сварочно-технологические показатели

ЛБ-52У

Феникс К50Р

Мод

Линкольн 16П

OK 53.70

Фирма 5520 Р Мод

УОНИ 13/55М (по ТУ 14-170-167-90)

Технологичность электрода

5

4

5

4

4

3

Проплавляющая способность дуги, отсутствие склонности к образованию непроваров и подрезов

5

4

4

4

4

3

Мягкость и стабильность горения дуги

5

5

5

5

5

3

Форма и поверхность корневого слоя шва со стороны разделки

5

4

5

5

4

3

Отделимость шлака

5

5

5

5

5

3

Склонность к образованию пор при колебаниях величины зазора

5

4

5

4

3

3

Таблица 11

Сварочно-технологические свойства электродов с осцеллюлозным покрытием диам. 4,0 мм для сварки корневого слоя шва

Сварочно-технологические показатели

Фоке Цель

Тиссен Цель 70

Флитвелд 5П+

Пайпвелд 6010

Кобе 6010

Проплавляющая способность дуги, формирование обратного валика

5

5

5

4

5

Форма обратного валика

5

5

5

5

4

Отсутствие склонности к образованию непроваров и подрезов

5

5

5

4

4

Отсутствие склонности к образованию продольной полости в обратном валике

5

5

5

5

3

Склонность к залипанию дуги в процессе сварки

4

4

5

3

3

Таблица 12

Химический состав и механические свойства электродов с покрытием основного вида для сварки корневого, заполняющих и облицовочного слоев стыков труб из сталей 1-2 групп прочности

Марка электрода тип по ГОСТ и AWS

Типичный химический состав наплавленного металла

Типичные механические свойства металла шва

Предел прочности, sВ, МПа

Предел текучести, sТ, МПа

Относительное удлинение, %

Поперечное сужение, %

Ударная вязкость, KCV, Дж/см2

-20

-40

ЛБ-52У

Э50А

Е7016

С 0,08

Мn 0,86

Si 0,64

563

447

24

65

40

20

Линкольн 16П

Э50А

Е7016

С 0,07

Мn 1,15

Si 0,60

530

417

29

70

88

48

Феникс К50Р Мод

Э50А

Е7016

С 0,07

Мn 1,28

Si 0,51

520

418

28

63

73

47

ОК 53.70

Э50А

Е7016

С 0,05

Мn 1,34

Si 0,29

524

420

32

75

121

59

Фирма 5520Р Мод

Э50А

Е7018

С 0,05

Мn 1,07

Si 0,56

525

410

27

76

72

35

ОК 48.04*

350А

Е7018

С 0,06

Мn 1,15

Si 0,5

504

418

30

79

90

55

*- сварка только заполняющих слоев

Таблица 13

Химический состав и механические свойства металла, наплавленного электродами с покрытием целлюлозного вида

Марка электрода тип по ГОСТ и AWS

Типичный химический состав наплавленного металла

Типичные механические свойства металла шва

Предел прочности, Н/мм

Предел текучести, Н/мм

Относительное удлинение, %

Поперечное сужение, %

Ударная вязкость, KCV, Дж/см

-20

-40

(1)

(2)

(3)

(4)

(5)

(6)

(7)

(8)

Фоке Цель

Э46

Е6010

С 0,12

Si 0,14

Mn 0,50

495

425

26

66

65

-

Флитвелд 5П+

Э46

Е6010

С 0,13

Si 0,22

Mn 0, 78

520

410

29

67

72

46

Пайпвелд 6010

Э42

Е6010

С 0,12

Si 0,20

Mn 0, 45

450

360

30

58

45

30

Пайпвелд 7010

Э50

Е7010

С 0,12

Si 0,14

Mn 0, 72

Ni 0,20

Mo 0,25

565

435

25

57

48

27

Тиссен Цель 70

Э46

Е6010

С 0,15

Si 0,18

Mn 0, 58

505

385

25

61

25

13

Флитвелд 5П

Э46

Е6010

С 0,15

Si 0,20

Mn 0,44

505

385

25

61

25

13

6.3.4. Приведенные в табл. 10-13 данные свидетельствуют о том, что электроды с наиболее высоким баллом по сварочно-технологическим свойствам имеют при этом довольно низкий уровень вязкопластических свойств металла шва. В свою очередь высокие значения ударной вязкости металла шва, характерные для некоторых марок электродов, не сочетаются с такими же показателями по сварочно-технологическим свойствам. Таким образом, выбор электродов должен осуществляться исходя из конкретных задач и условий ремонта - вида прокладки нефтепровода, климатических условий проведения ремонтных работ, наличия или отсутствия специальных требований к сварным соединениям нефтепровода по уровню вязкопластических свойств (например, ударной вязкости) и т.д.

6.3.5. Электроды, предназначенные для сварки заполняющих и облицовочного слоев, также должны отвечать специальным требованиям по сварочно-технологическим показателям, механическим свойствам и производительности наплавки. Среди сварочно-технологических характеристик основными следует считать:

· проплавляющее действие дуги и способность выплавлять дефекты предыдущего слоя;

· производительность наплавки;

· отделимость шлака;

· технологичность электрода при сварке облицовочного слоя;

· коэффициент разбрызгивания.

Основным требованием по механическим свойствам является обеспечение равнопрочности металла шва с основным металлом. Это означает, что фактический предел прочности металла шва должен быть не ниже нормативного временного значения прочности свариваемой трубной стали, обозначенного в соответствующих технических условиях на трубы или детали трубопроводов. Дополнительным требованием является обеспечение требуемого уровня вязкопластических свойств, если к сварным соединениям конкретного нефтепровода таковые предъявляются.

6.3.6. В табл. 14 приведены химический состав и механические свойства электродов, предназначенных для сварки заполняющих и облицовочного слоев стыков труб из сталей повышенной прочности, а в табл. 15 производительность наплавки электродов для сварки заполняющих слоев стыков труб из сталей прочностных групп (1-3).

6.3.7. Сварка заполняющих слоев шва электродами с основным видом покрытия осуществляется на токе обратной полярности при величине тока 140-170 А.

Таблица 14

Химический состав и механические свойства электродов с покрытием основного вида для сварки заполняющих и облицовочного слоев стыков труб из сталей повышенной прочности (3-я группы)

Марка электрода тип по ГОСТ и AWS

Типичный химический состав наплавленного металла

Типичные механические свойства металла шва

Предел прочности, sВ, МПа

Предел текучести, sТ, МПа

Относительное удлинение, %

Поперечное сужение, %

Ударная вязкость, KCV, Дж/см2

-20

-40

Кессель 5520 Мо

Э60

Е8018-А1

С 0,08

Мn 1,2

Si 0,3

Мо 0,5

640

523

24

66

-

38

OK 74.70

Э60

E8016-D3

С 0,07

Mn 1,43

Si 0,41

Мо 0,38

625

525

27

72

79

51

Линкольн 18П

Э60

E8018-G

С 0,05

Mn 1,33

Si 0,3

Мо 0,32

Ni 0,77

645

535

27

71

85

66

Шварц 3К Мод

Э60

Е8015-А1

С 0,08

Mn 1,20

Si 0,30

Мо 0, 45

620

530

23

68

53

39

Таблица 15

Производительность наплавки электродов для сварки заполняющих слоев стыков труб 1-3 прочностных групп (для электродов диам. 4,0 мм).

Производительность наплавки, 1 кг/ч

Марка электрода

ОК53.70

Линкольн 16П

Феникс К50Р Мод

OK 48.04

Кессель

5520 Мо

OK 74.70

Линкольн 18П

Шварц 3К Мод

ВСФ-65М

Величина тока при сварке 160 А

Величина тока при сварке 180 А

1,34

1,27

1.45

1,54

1,50

1,40

1,65

1,50

1,42

6.3.8. Сварку заполняющих слоев следует осуществлять без перерывов. При этом необходимо контролировать межслойную температуру, которая должна находиться в пределах 20-120 °С.

6.3.9. Послойную зачистку слоев следует осуществлять с помощью шлифмашинок с круглыми металлическими щетками.

6.3.10. Облицовочный слой должен иметь усиление величиной 1-3 мм. Ширина облицовочного слоя определяется шириной раскрытия кромок плюс 1,0-1,5 мм перекрытия основного металла с каждой стороны.

6.4. ПРИМЕНЕНИЕ СВАРОЧНЫХ МАТЕРИАЛОВ ПРИ ПРОВЕДЕНИИ СПЕЦИАЛЬНЫХ СВАРОЧНЫХ РАБОТ.

6.4.1. При необходимости вварки катушки в случае выборочного ремонта трубы или выполнения захлесточного соединения особое внимание уделяется сборке сварных соединений и сварке корневого слоя шва.

6.4.2. Выбор сварочных материалов должен осуществляться исходя из следующих условий:

· диаметра и толщины стенки стыкуемых труб;

· параметров сборки - величины зазора и смещений по периметру трубы в результате необходимости подгонки "по месту" и в условиях отсутствия возможности использования внутреннего центратора;

· возможности соблюдения требований по предварительному подогреву.

6.4.3. При вварке катушек или выполнении захлесточных соединений на трубах малого диаметра (до 530 мм) с толщиной стенки до 7-8 мм, сварку корневого слоя шва следует производить электродом с целлюлозным видом покрытия диам. 3,25 мм способом снизу-вверх одновременно двумя сварщиками. В этом случае удается обеспечить проплавление свариваемых кромок и сформировать качественный корневой слой в условиях переменных величин зазора, притупления и возможных смещений кромок. Допускается применение электродов с основным видом покрытия в соответствии с п. 6.4.6.

6.4.4. Предпочтительными марками электродов в этом случае является Фоке Цель, Флитвелд 5П+, Тиссен Цель 70.

Условия сборки стыков, предварительный подогрев, особенности техники и режимы сварки приведены в разделах 6.1. и 6.2. настоящей Инструкции.

6.4.5. "Горячий проход" и последующие слои в случае сварки труб малого диаметра и толщины стенки следует выполнять электродами с основным видом покрытия непосредственно после выполнения и тщательной зачистки корневого слоя шва.

Рекомендуемые марки электродов: Линкольн 16П, Феникс К50Р Мод диам. 3,25 мм.

6.4.6. Если условия выполнения захлеста позволяют осуществить сборку на уровне требований, характерных для обычных "линейных" стыков, тогда для сварки корневого слоя шва могут использоваться электроды с основным видом покрытия. Наиболее предпочтительной является марка ЛБ-52У. Возможно использование электродов Линкольн 16П, Феникс К50Р Мод, ОК 53.70 (марки указаны в порядке уменьшения предпочтительности).

6.4.7. Сварку корневого слоя шва захлесточного соединения или вварку катушки на трубах диам. свыше 530 мм следует производить электродами с основным или целлюлозным видами покрытия. Выбор типа покрытия следует осуществлять в зависимости от конкретных условий сборки стыка, условий монтажа участка трубопровода, технологической дисциплины бригады (четкое соблюдение рекомендаций по предварительному подогреву), квалификации бригадира и сварщиков.

6.4.8. Сварку корневого слоя шва в соответствии с п. 6.4.7. в случае использования электродов с основным видом покрытия следует осуществлять марками электродов, указанных в п. 6.4.6.

6.4.9. Сварку целлюлозными электродами в соответствии с п. 6.4.7. следует осуществлять способом снизу-вверх одновременно двумя или (по возможности) четырьмя сварщиками. Сварку "горячего прохода" также следует производить электродами с целлюлозным видом покрытия способом сверху-вниз двумя или четырьмя сварщиками непосредственно после выполнения и зачистки корневого слоя шва.

Выбор марок электродов осуществляется в соответствии с рекомендациями п. 6.4.4.

6.4.10. Сварка последующих слоев должна выполняться электродами с основным покрытием марок, рекомендуемых п. 6.4.6. для стыков труб 1, 2 групп прочности или марками Кессель 5520 Мо, ОК 74.70, Линкольн 18П для стыков труб из сталей 3-ей группы прочности.

6.4.11. Для сварки заполняющих и облицовочного слоев шва при выполнении захлесточных соединений и вварке катушек рекомендуется применение способа сварки самозащитной порошковой проволокой типа Иннершилд (см. раздел 7 настоящей Инструкции).

6.4.12. Выбор сварочных электродов для выполнения таких специальные видов работ как, например, приварка запорной арматуры должен осуществляться после изучения технической документации на арматуру в отношении класса прочности трубы и привариваеых концов, их химического состава, наличия специальных требований к сварному соединению (ударная вязкость металла шва при отрицательных температурах, твердость шва и ЗТВ и т.д.).

Выбор марки электрода с основным видом покрытия и процедуры выполнения работ должны осуществляться для каждого конкретного случая и предусматривать применение как электродов в соответствии с п.п. 6.4.6 и табл. 4 (п.п. 6-9 и 12-16) так и использование специальных марок электродов, например содержащих в своем составе никель.

6.5. ПРИМЕНЕНИЕ СВАРОЧНЫХ ЭЛЕКТРОДОВ ПРИ ЗАВАРКЕ ПОВРЕЖДЕНИЙ МЕТАЛЛА ТРУБ, ОБНАРУЖЕННЫХ В ХОДЕ КАПРЕМОНТА НЕФТЕПРОВОДА С ЗАМЕНОЙ ИЗОЛЯЦИИ.

Ручную дуговую сварку электродами с основным видом покрытия следует использовать для заварки дефектов тела трубы, размеры которых приведены в табл. 16.

Таблица 16

Допустимые размеры дефектов, подлежащих ремонту с помощью ручной дуговой сварки

Нормативный предел прочности трубы, МПа (класс прочности)

Максимальная глубина дефекта (% от толщины стенки)

Размер дефекта (условный диаметр), (мм) при толщине стенки, мм

7-9

9,5-14

>14

До 510 (К52)

40

30

50

60

60

20

30

35

Свыше 510 (К52)

до 539 (К55)

30

20

25

30

6.5.2. Ремонту с помощью ручной дуговой сварки штучными электродами следует подвергать трубы, имеющие отдельно расположенные единичные дефекты. При этом единичными дефектами следует считать дефекты, расстояние между которыми составляет:

· не менее 300 мм при максимальном размере дефекта менее или равном 35 мм;

· не менее 500 мм при максимальном размере дефекта от 35 до 60 мм.

При этом количество дефектов на один погонный метр трубы не должно превышать двух;

6.5.3. Ремонту сваркой не подлежат:

· дефекты, размеры которых превышают значения, указанные в табл. 16;

· коррозионные каверны, раковины, расположенные на деталях трубопроводов и запорной арматуре;

· дефекты, расположенные на расстоянии менее 300 мм от сварных швов (продольных, кольцевых);

· дефекты, имеющие трещины или визуально определяемое расслоение металла.

6.5.4. Перед сваркой дефектное место должно быть обработано механическим способом (фрезой или шлифмашинкой) в соответствии с рис. 3 с целью:

· получения формы кратера, обеспечивающего равномерное и качественное наложение валиков;

· полного удаления продуктов коррозии и возможных поверхностных микротрещин.

Рис. 3. Дефектные участки на трубах (а) и механическая обработка каверн (б).

Прилегающие к кратеру участки должны быть зачищены до металлического блеска на ширину не менее 15 мм. Предварительно с поверхности трубы должны быть удалены остатки изоляции, грязь, масло.

6.5.5. Необходимость и параметры подогрева металла трубы перед сваркой устанавливаются согласно табл. 17.

Таблица 17

Предварительный подогрев металла

Нормативный предел прочности трубы, МПа (кгс/мм2)

Толщина стенки трубы

Температура и условия подогрева

До 510 (52)

до 12 мм включительно

до 100 °С при температуре воздуха - 20 °С и ниже

свыше 12 мм

до 100 °С при отрицательной температуре воздуха

Свыше 510 (52)

до 550 (56) включительно

7-9

до 100 °С при отрицательной температуре воздуха

9,5-14

до 100 °С при любой температуре воздуха

>14

до 150 °С при любой температуре воздуха

6.5.6. Процедура выполнения сварочных работ при заварке дефекта тела трубы должна осуществляться в следующей последовательности:

· выполнение первого наплавочного слоя;

· выполнение заполняющих слоев (их число определяется глубиной дефектного участка - каверны);

· выполнение контурного шва;

· выполнение облицовочного слоя шва.

6.5.7. Количество наплавляемых слоев без учета контурного шва должно быть не менее двух (при глубине подготовленного к ремонту участка (каверны) не менее 5 мм).

6.5.6. Сварочные электроды, применяемые для выполнения ремонта дефектов тела трубы, по своим сварочно-технологическим свойствам должны отвечать следующим требованиям:

· обеспечивать минимальное проплавление и, соответственно, разбавление шва основным металлом;

· осуществлять стабильный процесс сварки на низких диапазонах тока, характерного для данного диаметра электрода;

· обеспечивать мягкое горение дуги при минимальном разбрызгивании;

· формировать сварочные швы (валики), отличающиеся гладкой, плотной, мелкочешуйчатой и ровной поверхностью.

6.5.9. Рекомендуемые марки электродов, в наибольшей степени отвечающие представленным выше требованиям: ЛБ-52У, Фирма 5520 Р Мод, Линкольн 16П, ОК 53.70 (в порядке убывающей предпочтительности).

6.5.10. Первый наплавочный и контурные швы должны выполняться электродами диам. 2,5 мм, заполняющие (облицовочный) швы - диам. 2,5-3,25 мм (в зависимости от размера дефектного участка).

6.5.11. Сварка электродами диам. 2,5 мм должна выполняться на токе 60-80А, электродами диам. 3,25 мм на токе 80-110 А.

6.5.12. Сварку следует осуществлять валиками шириной не более 15 мм с взаимным перекрытием 2-3 мм. Контурный шов должен выполняться с колебаниями перпендикулярно к граничной линии (рис. 4). Ширина контурного шва L=6...12 мм.

Рис. 4. Схема выполнения швов при заварке дефектного участка.

6.5.13. Начало и концы швов должны зачищаться шлифовальным кругом. Кратеры шва должны быть тщательно заплавлены.

6.5.14. Контурный шов должен иметь плавный переход к основному металлу при полном отсутствии подрезов.

6.5.15. После завершения сварки дефектного участка поверхность облицовочного и контурного слоев должна быть обработана шлифовальным кругом до ровной поверхности и иметь усиление 0,5-1,0 мм.

6.5.16. Отремонтированный сваркой участок не должен иметь дефектов, обнаруживаемых радиографическим контролем.

6.6. ПОРЯДОК ПРИМЕНЕНИЯ СВАРОЧНЫХ ЭЛЕКТРОДОВ ПРИ РЕМОНТЕ СВАРНЫХ СОЕДИНЕНИЙ.

6.6.1. Ремонт дефектов кольцевых сварных стыков нефтепроводов производите как снаружи так и изнутри трубы (при диаметре труб свыше 1020 мм).

6.6.2. Ремонт дефектов, расположенных в корневом слое (поры, непровары, провисы, трещины) осуществляется со сплошным пропилом снаружи трубы (при отсутствии подварочного слоя). Выборка дефекта производится абразивным кругом шириной 2,0-3,0 мм. Зазор при сквозном пропиле должен составлять 2, 3,0 мм исходя из условий качественного выполнения корневого слоя шва.

6.6.3. При ремонте дефектов корневого слоя типа зашлакованных карманов ремонт осуществляется без сквозного пропила выборкой дефектов абразивным кругов шириной 4,0 мм.

6.6.4. Ремонт дефектов заполняющих и облицовочного слоев (поры, шлаковые включения, несплавления по кромкам) осуществляется путем выборки дефектного участка шлифовальным кругом. Глубина вышлифованного участка должна быть равна глубине залегания дефекта плюс 1...2 мм.

6.6.5. Перед заваркой дефектного участка необходимо произвести предварительный подогрев до температуры 100 °С.

6.6.6. Сварка дефектных участков сварного шва осуществляется только электродами с основным видом покрытия.

6.6.7. К электродам, предназначенным для выполнения ремонтного шва, предъявляются требования:

· обеспечение возможности сварки в достаточно широком диапазоне тока для данного диаметра электрода;

· возможность формирования обратного валика при сварке корневого слоя (при ремонте дефектов с помощью сквозного пропила);

· обеспечение благоприятной формы шва с плавным переходом к основному металлу и плоской поверхностью;

· высокое проплавляющее действие дуги, обеспечивающее отсутствие подрезов по кромкам в заполняющих слоях.

6.6.8. Сварка корневого слоя ремонтного шва при ремонте со сквозным пропилом труб 1-3 групп прочности должна осуществляться электродами Э50А (Е7016) диам. 2,5-3,25 мм. Величина тока для электродов диам. 2,5 мм - 60...80 А, для электродов диам. 3,25 мм - 80...110 А. Сварку следует осуществлять на постоянном токе прямой (обратной) полярности. Рекомендуется применение электродов ЛБ-52У. Могут быть использованы также электроды марок Линкольн 16П, Феникс К50Р Мод, ОК 53.70.

6.6.9. После выборки дефектов, расположенных в заполняющих слоях шва труб обычной прочности (1 и 2 группы прочности), сварка дефектных участков должна выполняться следующим образом:

· первый заполняющий слой электродами диам. 2,5 (3,25) мм типа Е7016;

· последующие слои - электродами диам. 3,25 (4,0) мм типа Е7016.

Величина тока для электродов диам. 4,0 мм - 140... 160 А. Полярность во всех случаях - обратная.

Рекомендуется применение электродов марки Линкольн 16П. Могут быть использованы электроды марок Феникс К50Р Мод, ОК 53.70.

6.6.10. При ремонте дефектов труб в заполняющих слоях стыков труб из сталей повышенной прочности (третья группа прочности) необходимо использовать электроды диам. 3,25 мм марок ОК 74.70 и Линкольн 18П (первый заполняющий слой) и электроды диам. 3,25 - 4,0 мм (все последующие слои) типа Е8018.

6.6.11. В процессе ремонта необходимо производить межслойную и окончательную зачистку слоев шва от шлака и брызг.

6.6.12. Высота каждого слоя при заварке дефектного участка не должна превышать 3,0-4,0 мм.

6.6.13. Не разрешается повторный ремонт одного и того же дефекта.

6.6.14. На одном стыке ремонтные работы от начала до конца должен осуществлять один и тот же сварщик.

6.6.15. Детальная технология проведения ремонтных работ сваркой с указанием марок применяемых электродов, режимов сварки, количества и последовательности выполнения слоев, протяженности ремонтируемого участка должна быть отражена в технологической карте на данный вид работы, составленной с учетом всех особенностей объекта.

6.6.16. Информация о сварке и результатах контроля ремонтируемых стыков должна отражаться в сварочном журнале.

7. ПРИМЕНЕНИЕ САМОЗАЩИТНОЙ ПОРОШКОВОЙ ПРОВОЛОКИ ТИПА ИННЕРШИЛД ДЛЯ ПОЛУАВТОМАТИЧЕСКОЙ СВАРКИ НЕПОВОРОТНЫХ СТЫКОВ ТРУБ В НИТКУ ТРУБОПРОВОДА

7.1. ХАРАКТЕРИСТИКА СПОСОБА СВАРКИ.

7.1.1. Порошковая проволока - сварочный материал, представляющий собой стальную оболочку, заполненную порошкообразным наполнителем. В состав наполнителя порошковой проволоки входят следующие компоненты:

· газообразующие - обеспечивают защиту расплавленных капель и сварочной ванны от азота и кислорода воздуха (мрамор, целлюлоза и карбонаты Са, Na, Mg);

· шлакообразующие - соединения, образующие шлаковую защиту (рутиловый концентрат, флюоритовый концентрат, алюмосиликаты);

· раскислители - участвуют в металлургических процессах, протекающих в сварочной ванне, обеспечивая металлургическое качество сварного шва (ферромарганец, ферротитан);

· металлические составляющие - повышают производительность наплавки (металлический порошок, соединения железа).

7.1.2. Для сварки трубопроводов могут быть использованы два вида порошковых проволок - проволоки для сварки в среде защитных газов и самозащитные порошковые проволоки, не требующие внешней газовой защиты сварочной ванны. Для сварки в полевых условиях последние имеют ряд преимуществ.

7.1.3. Среди фирм-производителей сварочных материалов фирма "Линкольн электрик" (США) является единственной, успешно разработавшей и выпускающей серию самозащитных порошковых проволок для сварки во всех пространственных положениях корневого, заполняющих и облицовочного слоев шва под торговой маркой Иннершилд.

Комплекс сварочно-технологических свойств, необходимых для сварки, неповоротных стыков труб достигается за счет введения в состав наполнителя проволоки ряда нетрадиционных компонентов - фторида лития, фторида бария и алюминия.

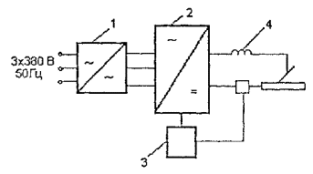
7.1.4. В состав комплекта оборудования для сварки самозащитной порошковой проволокой Иннершилд входят три функциональных блока - источник питания, устройство подачи проволоки и сварочная горелка. К источникам питания предъявляются специальные требования в отношении характеристики дуги и обеспечения требуемых жестко заданных режимов сварки. Марки, технические характеристики источников питания, механизма подачи проволоки и сварочной горелки приведены в разделах 9 и 12 настоящей Инструкции.

7.1.5. Процесс сварки порошковой проволокой имеет следующие преимущества перед сваркой штучными электродами:

¨ высокая линейная скорость сварки (14-18 м/ч по сравнению с 4-8 м/ч для электродов с основным видом покрытия);

¨ техника сварки порошковой проволокой достаточно проста и позволяет сварщикам 5-6-го разрядов, имеющим опыт сварки целлюлозными электродами, сварить допускной стык после обучения и тренировки в течении 1-2 недель;

¨ повышенная производительность наплавки, составляющая 1,6-1,9 кг/ч для проволоки диам. 1,7 мм (аналогична производительности наплавки электродом диам. 4,5 мм) и еще более высокая производительность наплавки для проволоки диам. 2,0 мм;

¨ большая эффективность работы оператора в связи с отсутствием необходимости останавливать процесс для смены электрода;

¨ снижение объемов зачистных работ (после сварки первого прохода порошковой проволокой требуется зачистка абразивным кругом; при зачистке всех последующих слоев шлак удаляется движением конца мундштука горелки;

¨ отсутствие необходимости сушки проволоки перед использованием;

¨ возможность осуществления сварки при сильном ветре (за счет особой системы защиты капель расплавленного металла и ванны);

¨ возможность использования способа для сварки захлестов и специальных сварочных работ;

¨ повышенное значение коэффициента отношения массы наплавленного металла к массе расплавленного металла (0,7-0,75 по сравнению с 0,6-0,65 для электродов), что означает больший коэффициент полезного использования сварочного материала;

¨ большая вероятность выплавления дефектов предыдущего слоя за счет высокой плотности тока;

¨ устраняется значительное количество дефектов, имеющих место при обрыве и зажигании дуги при смене электрода, т.к. сварщик имеет возможность выполнить один непрерывный шов;

¨ высокая устойчивость к растрескиванию сварных швов в результате десульфурации сварочной ванны, происходящей за счет специальных добавок в шихту наполнителя проволоки.

7.1.6. Для сварки трубопроводов предназначены следующие марки проволок:

¨ NR-204H - сварка корневого слоя шва стыков труб из сталей 1, 2 и 3 груш прочности;

¨ NR-207 и NR-207H (модификация проволоки NR-207, позволяющая иметь наплавленный металл с меньшим содержанием водорода) - сварка заполняющих и облицовочного слоев шва стыков труб из сталей 1 и 2 групп прочности;

¨ NR-208Н - сварка заполняющих и облицовочного слоев шва стыков труб из сталей 3 группы прочности.

7.1.7. Химический состав наплавленного металла и механические свойств металла шва должны соответствовать данным табл. 18 и 19.

Таблица 18

Химический состав наплавленного металла

Марка проволоки

Содержание элементов, %

С

Mn

Si

Al

Ni

P

S

Mo

NR-204H*

0,12-0,20

0,5-1,0

0,1-0,4

0,5-1,0

0,10 max

0,015 max

0,015 max

0,10 max

NR-207

0,04

0,98

0,28

0,97

0,94

0,005

0,002

0,03

NR-208H

0,03

1,80

0,26

1,05

0,86

0,012

0,006

0,02

* - данные каталога

Таблица 19

Механические свойства наплавленного металла

Марка проволоки

Предел прочности, МПа

Относительное удлинение, %

Ударная вязкость (Шарпи)**, Дж/см2 при температуре, °С

-20

-40

NR-204H*

>480

не регламентируются

NR-207

530-610

28-31

65-80

45-65

NR-208H

620-660

22-24

50-90

20-50

* - данные каталога; ** - данные для металла шва

7.2. ТЕХНОЛОГИЧЕСКИЕ ВАРИАНТЫ И ОСОБЕННОСТИ ПРОЦЕССА СВАРКИ.

7.2.1. Проволока типа Иннершилд может быть использована для следующих технологических вариантов сварки:

· сварка корневого и всех последующих слоев;

· сварка корневого слоя электродами с основным видом покрытия и всех последующих слоев проволокой типа Иннершилд;

· сварка корневого слоя шва электродами с целлюлозным видом покрытия, "горячего прохода" и всех последующих слоев проволокой типа Иннершилд.

Для сварки нефтепроводов наиболее целесообразны второй и третий технологические варианты.

7.2.2. При сварке согласно второму технологическому варианту корневой слой шва должен выполняться электродами типа Э50А (Е7016) марок ЛБ-52У, Линкольн 16П, Феникс К50Р Мод и др. (табл. 4).

7.2.3. При сварке согласно третьему технологическому варианту корневой слой шва выполняется электродами типа Э42-Э50 (Е6010-Е7010) марок Флитвелд 5П+, Пайпвелд 6010 и др. (табл. 5).

Сварку "горячего прохода" и всех последующих слоев следует выполнять проволокой типа Иннершилд. Применение проволоки для сварки "горячего прохода" взамен целлюлозных электродов позволяет повысить качество сварного шва за счет использования более высоких значений плотности тока и, соответственно, эффективного удаления шлака из "карманов".

7.2.4. В процессе работы следует учитывать следующие технологические особенности сварки порошковой проволокой:

· процесс осуществляется способом сверху-вниз;

· скорость сварки 14-18 м/ч при выполнении "горячего прохода" и заполняющих слоев; 10-14 м/ч при сварке облицовочного слоя. Не допускается снижение скорости сварки - ниже рекомендуемой, т.к. это может привести к пористости и увеличивает вероятность образования шлаковых включений;

· вылет проволоки должен поддерживаться в интервале 15-20 мм. Уменьшение вылета приводит к увеличению сварочного тока, перегреву и закипанию ванны и, как следствие, к появлению пористости. Увеличение вылета приводит к недостаточному разогреву конца проволоки, проволока начинает "стучать" по трубе и процесс сварки становится нестабильным;

· сварка порошковой проволокой всех слоев шва осуществляется на прямой полярности;

· перед началом сварки оператор устанавливает заданные значения напряжения и скорости подачи проволоки. Сочетания этих двух параметров различны: одно из них предназначено для сварки "горячего прохода", второе для сварки заполняющих и облицовочного слоев;

· установленные значения напряжения и скорости подачи проволоки остаются постоянными во всех пространственных положениях и не подлежат корректировке в процессе работы;

· сварщик вынужден прерывать процесс сварки для того, чтобы занять более удобную позицию относительно трубы только один-два раза в зависимости от диаметра трубы;

· после сварки корневого слоя шва требуется зачистка шлифовальным кругом, после сварки всех последующих слоев шлак отделяется довольно легко концом мундштука или дисковой металлической щеткой;

· при сварке всех слоев и практически во всех пространственных положениях сварщик осуществляет процесс под углом 45-60 град. от перпендикуляра к поверхности трубы (рис. 5) как бы отгоняя от зоны горения дуги расплавленный металл, покрытый быстро затвердевающим шлаком.

Рис. 5. Положение мундштука при сварке.

Исключение составляет лишь сварка облицовочного слоя в потолочном положении, когда сварщик начиная с положения 5 час. сначала доводит положение мундштука до перпендикулярного к поверхности трубы, а затем (примерно в положении 5.30) изменяет наклон мундштука на обратный под углом 10-15 град.:

· сварка "горячего прохода" и первого заполняющего слоя выполняется без колебаний;

· в процессе сварки второго заполняющего и всех последующих слоев перемещение мундштука следует осуществлять с одной кромки на другую, при этом траектория движения должна соответствовать рис. 6.

Рис. 6. Типовая траектория движения мундштука с проволокой при сварке заполняющих и облицовочного слоев.

· межслойная температура должна находиться в диапазоне 50...150 °С;

· для толщин стенок трубы до 16 мм облицовочный слой выполняется в один проход;

· при сварке проволокой типа Иннершилд необходимо использовать специальную одежду, защищающую от горячих капель разбрызгиваемого в процессе сварки металла.

7.2.5. В связи с неравномерностью заполнения разделки по периметру стыка и ослаблением сечения шва, в вертикальном положении выполняется корректирующий (дополнительный) слой.

7.2.6. Общее количество слоев шва изменяется в зависимости от толщины стенки трубы и формы разделки кромок.

В табл. 20 приведено необходимое число слоев для различных толщин стенок при сварке по второму технологическому варианту.

Количество слоев при сварке по третьему технологическому варианту для каждой толщины стенки ориентировочно на один меньше.

7.2.7. Параметры сварки проволокой Иннершилд жестко задаются и любое отклонение от них может привести к появлению дефектов.

Требуемые значения скорости подачи проволоки (дюйм/мин) и напряжения (В) устанавливаются поворотом тумблера на панели устройства для подачи проволоки в соответствующее положение.

В табл. 21 приведены режимы сварки проволокой NR-207 диам. 1,7 мм.

Таблица 20

Количество слоев при сварке проволокой Иннершилд

Толщина стенки

Наименование слоя

горячий проход

заполняющий

корректирующий (зона наложения слоя, час)

облицовочный

6

1

-

-

1

7

1

-

1 (2-4)

1

8

1

-

1 (1-5)

1

9

1

1

1 (2-4)

1

10

1

1

1 (2-4)

1

12

1

2

1 (2-4)

1

14

1

2

1 (1-5)

1

Таблица 21

Параметры режимов при сварке проволокой NR-207 диам. 1,7 мм

Наименование слоя

Скорость подачи проволоки, дюймов/мин

Напряжение, В

горячий проход

110

19-20

заполняющие

95

18-19

корректирующие

95

18-19

облицовочный

95

18-19

Примечание:

1. При сварке труб с толщинами 12...14 мм допускается изменение параметре режима сварки на следующие: скорость подачи проволоки 115-120 дюймов/мин, напряжение. 20-21 В.

2. В процессе сварки допускаются колебания напряжения ±1 В (из-за нестабильности вылета электрода).

7.2.8. Основные дефекты, возникающие при сварке проволокой типа Иннершилд и причины их возникновения приведены в табл. 22.

Таблица 22

Основные дефекты и причины их возникновения при сварке проволокой типа Иннершилд

Дефект (проблема сварки)

Причина возникновения

Чрезмерное разбрызгивание сварочной ванны

- Малая скорость сварки;

- Большая сварочная ванна;

- Большая скорость подачи проволоки;

- Большое напряжение

Пористость

- Высокое напряжение для данной скорости подачи проволоки;

- Короткий вылет электрода;

- Малая скорость сварки (большая сварочная ванна)

- Загрязнение стыка (вода, масло, грязь, остатки изоляции)

Горбление валика в потолочном положении

- Большая скорость сварки;

- Короткий вылет электрода;

- Неправильный угол сварки;

- Высокая скорость подачи проволоки

Неравномерное сплавление кромок

- Малая скорость сварки (слишком большая ванна);

- Большой вылет электрода

8. ПРИМЕНЕНИЕ КОМБИНАЦИЙ ПРОВОЛОКА-ФЛЮС (ПЛАВЛЕНЫЙ И АГЛОМЕРИРОВАННЫЙ) ДЛЯ АВТОМАТИЧЕСКОЙ (МЕХАНИЗИРОВАННОЙ) СВАРКИ СЕКЦИЙ ТРУБ.

8.1. Общие положения.

Для изготовления двух- и трехтрубных секций диаметром 530-1220 мм при капитальном ремонте магистральных нефтепроводов следует применять одностороннюю механизированную сварку под флюсом на трубосварочных базах типа ССТ-ПАУ (для труб диам. 1020-1220 мм) и БНС (для труб диам. 530-820 мм).

Сварка под флюсом в данном случае производится по корневому слою шва, выполненному ручной дуговой сваркой электродами с покрытием основного вида, или по корневому слою шва и "горячему проходу", выполненным электродами с покрытием целлюлозного вида.

8.2. Сварочные материалы для односторонней механизированной сварки под флюсом поворотных стыков труб.

8.2.1. Все применяемые сварочные материалы должны быть аттестованы в установленном порядке на право использования в трубопроводном строительстве.

8.2.2. Для сварки поворотных стыков труб применяются:

¨ плавленые флюсы по ГОСТ 9087-81 или специальным техническим условиям;

¨ агломерированные флюсы импортной поставки по стандарту AWS A5.17;

¨ низкоуглеродистые и легированные проволоки сплошного сечения отечественной (по ГОСТ 2246-70 и техническим условиям) и импортной поставки (по стандартам DIN 8557 и AWS A5.17);

¨ электроды с покрытием основного вида, изготовленные по специальным техническим условиям, или импортной поставки;

¨ электроды с покрытием целлюлозного вида, изготовленные по специальным техническим условиям, или импортной поставки.

8.2.3. Номенклатура электродов с основным покрытием, предназначенных для сварки корневого слоя шва и для подварки стыков изнутри, представлена в таблице 4 настоящей Инструкции.

8.2.4. Перечень марок электродов с целлюлозным покрытием, предназначенных для сварки корневого слоя и "горячего прохода", указан в таблице 5 настоящей Инструкции.

8.2.5 Номенклатура электродов с основным покрытием, предназначенных для сварки дополнительных заполняющих слоев шва, представлена в таблице 4 настоящей Инструкции.

8.2.6. Плавленые сварочные флюсы.

Для сварки трубопроводов применяются флюсы, изготовленные как в электрических, так и в газопламенных печах. При выборе флюса предпочтение следует отдавать флюсам, изготовленным в электропечах. Химический состав конкретной партии флюса, указанный в сертификате завода-изготовителя, должен соответствовать требованиям ГОСТ 9087-81, которые представлены в таблице 23.

Таблица 23

Химический состав плавленых флюсов по ГОСТ 9087-81

Массовая доля, %

Марка флюса

АН-348А

АНЦ-1 *

АН-47

Оксид кремния (IV)

41-44

35-44

28-32

Оксид марганца (II)

34-38

26-38

14-18

Оксид кальция

не более 10

10-18

13-17

Оксид магния

не более 7

не более 6

6-10

Оксид алюминия

не более 6

не более 6

9-13

Кальций фтористый

4-6

3-6

9-13

Оксид (калия + натрия)

-

0,5 - 3,0

-

Оксид титана (IV)

-

-

4-7

Оксид циркония (IV)

-

-

1,0-2,5

Оксид железа (III)

0,5 - 2,0

не более 2

0,5-3,0

Оксиды марганца (III, IV)

-

не более 4

-

Сера

не более 0,12

не более 0,13

не более 0,05

Фосфор

не более 0,12

не более 0,11

не более 0,08

(*) - флюс производится по ТУ 108.1424-86

По химическому составу флюса может быть определена степень его основности "В", которая рассчитывается по специальной формуле как отношение суммарного процентного содержания основных окислов к суммарному содержанию кислых (кислотообразующих) окислов. При В<1 флюсы классифицируются как кислые, при В>1 - как основные и при В~1 - как нейтральные.

При выборе флюса для сварки труб необходимо учитывать, что кислые флюсы-силикаты отличаются наилучшими сварочно-технологическими свойствами (устойчивость горения дуги в широком диапазоне токовых нагрузок, формирование шва на криволинейной поверхности, стойкость против порообразования, отделимость шлака), однако не способствуют улучшению механических характеристик металла шва, особенно его вязко- пластических свойств. Плавленые флюсы с высокой основностью позволяют добиться наилучших механических характеристик металла шва, но при этом, как правило, отличаются весьма посредственными сварочно-технологическими свойствами.

По критерию основности флюсы АН-348А и АНЦ-1 - это кислые флюсы, флюс АН-47 близок к флюсам нейтрального типа.

При выполнении входного контроля или оценке качества изготовления флюсов предметом анализа являются их приемо-сдаточные характеристики, которые представлены в таблице 24.

Таблица 24

Приемо-сдаточные характеристики плавленых флюсов по ГОСТ 9087-81 и техническим условиям

Марка флюса

Строение зерен

Цвет зерен

Размеры зерен, мм

Насыпная плотность, кг/дм3

Влажность флюса, % от массы

АН-348А

стекловидное

от желтого до коричневого всех оттенков

0,25-2,8

1,3-1,8

не более 0,10

АНЦ-1

стекловидное

от желтого до коричневого всех оттенков

0,25-3,0

1,3-1,8

не более 0,10

АН-47

стекловидное

от темно-коричневого до черного всех оттенков

0,25-2,5

1,4-1,8

не более 0,10

Примечание: 1. Содержание инородных частиц (нерастворившихся частиц сырьевых материалов, футеровки, угля, графита, кокса, металлических частиц и др.) должно быть не более 0,5% от массы флюса для марок АН-348А и АНЦ-1 и не более 0,3% - для марки АН-47.

2. Для флюсов АН-47 и АНЦ-1 допускается наличие в их составе зерен с цветом, отличающимся от указанного в таблице, в количестве до 3% и до 5% соответственно. Для флюса АН-348А не допускается наличие белых непрозрачных зерен в количестве более 10% от его массы.

3. Не допускается наличие более 3% от массы флюсов зерен с размером, превышающим максимальный размер (2,5; 2,8; 3,0 мм), и более 3% от массы - с размером менее 0,25 мм.

К числу основных достоинств плавленых флюсов, применяемых для сварки трубопроводов, следует отнести:

¨ высокую однородность и прочность зерен;

¨ широкий диапазон технологических возможностей (токовые нагрузки, диапазон скоростей сварки, возможность сварки труб различных диаметров);

¨ высокую производительность сварки.

8.2.7. Сварочные проволоки.

Химический состав низкоуглеродистых легированных проволок по ГОСТ 2246-70 и техническим условиям, применяемых для сварки трубопроводов, представлен в таблице 25.

Таблица 25

Химический состав проволок по ГОСТ 2246-70

Химический состав, %

Марка проволоки

Св-08

Св-08А

Св-08АА

Св-08ГА

Св-08ХМ

Св-08МХ

Св-08ГНМ

Углерод

Кремний

£0,10

£0,03

£0,10

£0,03

£0,10

£0,03

£0,10

£0,03

06-0,10

0,12-0,30

0,06-0,10 0,12-0,30

£0,09

0,20-0,40

Марганец

0,35-0,6

0,35-0,6

0,35-0,6

0,8-1,1

0,5-0,60

0,35-0,60

0,60-1,00

Хром

£0,15

£0,12

£С,10

£0,10

-1,20

0,45-0,65

£0,03

Никель

£0,30

£0,25

£0,25

£0,25

£0,30

£0,30

0,60-0,85

Молибден

-

-

-

-

0,50-0,70

0,40-0,60

0,90-1,10

Титан

-

-

-

-

-

-

£0,040

Сера

£0,040

£0,030

£0,020

 0,025

£0,025

 £0,025

£0,015

Фосфор

£0,040

£0,030

£0,020

< 0,030

£0,030

£0,030

 £0,020

Прочие элементы

Al

£0,01

Al

£0,01

Al

£0,01

Al

£0,05

-

-

A1£0,05;

Сu£0,25

Примечание: 1. Содержание азота в проволоке Св-8АА не должно превышать 0,008%, в проволоках Св-08А, Св-08ГА - 0,0 0%; в проволоках Св-08ХМ и Св-08МХ-0,012%.

При оценке качества конкретной партии сварочной проволоки следует проверять соответствие ее химического состава, указанного в сертификате, требованиям ГОСТа или технических условий.

Для сварки поворотных стыков труб применяются проволоки диаметром 2 мм, 3 мм и 4 мм. В соответствии с ГОСТ 2246-70 предельные отклонения от номинального диаметра составляют минус 0,12 мм для диаметров 2,0 и 3,0 мм и минус 0,16 мм - для диаметра 4 мм. Временное сопротивление разрыву легированных проволок должно составлять 80-120 кгс/мм2 (785-1177 Н/мм2) для диаметра 2 мм и 70-105 кгс/мм2 (687-1030 Н/мм2) для диаметров 3 и 4 мм.

Поверхность проволоки должна быть чистой и гладкой, без трещин, расслоений, плен, закатов, раковин, забоин, окалины, ржавчины, масла и других загрязнений. На поверхности проволоки допускаются риски, царапины, местная рябизна и отдельные вмятины. Глубина указанных дефектов не должна превышать предельного отклонения по диаметру проволоки, а по требованию - потребителя половины предельного отклонения.

Проволоки должны поставляться с омедненным покрытием. Остаточное содержание меди в проволоках, не легированных медью, должно составлять не более 0,25%, а по требованию потребителя - не более 0,20%. Омедненное покрытие не защищает проволоку от атмосферной коррозии, поэтому следует отдельно согласовывать с заводом-изготовителем требования к упаковке поставляемой проволоки. Технические условия ТУ 14-4-1686-91 регламентируют изготовление проволок Св-08ГА, Св-08ХМ Св-08МХ диаметром 2-4 мм с никель-медным покрытием, значительно повышающим стойкость против атмосферной коррозии и улучшающим ряд характеристик процесса сварки. Технические условия, разработанные применительно к условиям производства Ревдинского метизно-металлургического завода, предусматривают поставка проволоки в мотках прямоугольного сечения с рядной намоткой массой 30-40 кг, что исключает необходимость перемотки проволоки на катушки сварочное головки.

8.2.8. Зарубежные агломерированные флюсы и сварочные проволоки.

Главным отличием агломерированных флюсов от плавленых является тот факт, что зерна агломерированных флюсов состоят из прочно соединенных частичек, отдельных компонентов сырья, которые присутствуют во флюсе практически в своем исходном виде и на стадии сварки более интенсивно участвуют в реакциях с металлом.

Основными достоинствами агломерированных флюсов являются:

¨ возможность легирования металла шва;

¨ стабильность процесса сварки;

¨ хорошая отделимость шлаковой корки, в т.ч. при сварке в узкую разделку;

¨ обеспечение в комбинации со стандартными сварочными проволоками более высоких служебных характеристик металла шва (в сравнении с плавлеными флюсами);

¨ низкий расход флюса (на 30-40% ниже, чем плавленых флюсов).

Для сварки поворотных стыков труб рекомендуются к применению следующие комбинации "агломерированный флюс+проволока":

¨ флюс ОК Флакс 10.71 (OK Flux 10.71) + проволока марки ОК Аутрод 12.24 (OK Autrod 12.24) диаметром 4 мм производства фирмы ЭСАБ (Швеция)

¨ флюс Ликольнвэлд 860 (Lincolnweld 860) + проволока марки Л-70 (L-70) диаметром 3,2 мм производства фирмы "Линкольн Электрик" (США).

Флюс OK Flux 10.71 - это агломерированный флюс алюминатно-основного типа, слабо легированный кремнием и марганцем. Химический состав флюса: Аl2О3nO=35%; СаО+MgO=25%; SiO2+TiO2=20%; СаF2=15%. Индекс основности В=1,6. Насыпная плотность =1,2 кг/дм3. Размер зерен =0,2-1,6 мм. Цвет зерен - темно-серый с коричневым оттенком. Влажность флюса в состоянии поставки - не более 0,05%.

Проволока марки OK Autrod 12.24 - это омедненная сварочная проволока, легированная марганцем и молибденом. Типичный химический состав: С=0,08%; Si=0,1%; Mn=l,3%; Мо=0,4%. Проволока соответствует типу S2Mo по стандарту DIN 8557.

Флюс Линкольнвэлд 860 (Lincolnweld 860) производства фирмы "Линкольн Электрик" (США) - это основный нелегированный агломерированный флюс. Индекс основности флюса В=1,5. Насыпная плотность =1,2 кг/дм 3. Цвет зерен - темно-серый.

Проволока L-70 - это омедненная сварочная проволока с системой легирования Мn-Мо. Химический состав по стандарту AWS А5.17/5.23: С=0,07-0,17%; Mn=0,65-1,0%; Si<0,2%; Mo=0,45-0,65%; P<0,025%; S<0,030%. Проволока соответствует типу ЕА1 по стандарту AWS A5.17/5.23.

8.2.9. Перечень комбинаций "флюс + проволока" для сварки под флюсом поворотных стыков труб различных прочностных классов представлен в табл. 26.

8.2.10. Флюс, оставшийся по окончании смены в бункере сварочной головки, должен быть удален из бункера и помещен до следующей смены в герметичную тару.

Таблица 26

Сварочные материалы для односторонней автоматической сварки под флюсом

п/п

Комбинация "флюс + проволока"

Группа прочности трубной стали (нормативный предел прочности, Н/мм2)

Вид прокладки нефтепровода

1.

АН-348А + Св-08

1

(до 490)

Подземная

2.

АН-348А + Св-08А

3.

АН-348А + Св-08АА

4.

(АН-348А + Св-08ГА)

5.

АНЦ-1 + Св-08

6.

АНЦ-1 + Св-08А

7.

АНЦ-1 + Св-08АА

8.

(АНЦ-1 + Св-08ГА)

9.

АН-47 + Св-08

1

(до 490)

Подземная

10.

АН-47 + Св-08А

11.

АН-47 + Св-08АА

12.

(АН-47 + Св-08ГА)

13.

АН-348А + Св-08ГА

2

(490 - 530)

Подземная

14.

АНЦ-1 + Св-08ГА

15.

АН-47 + Св-08ГА

2

(490-530)

Любая

16.

АН-47 + Св-08ХМ

3

(540 - 588)

Любая

17.

АН-47 + Св-08МХ

18.

АН-47 + Св-08ГНМ

19.

АН-47 + S2Mo

20.

OK Flux 10.71+ OK Autrod 12.24*

21.

Lincolnweld 860 + L-70

Примечание: 1. Комбинации "флюс + проволока", указанные в скобках, могут быть использованы для сварки труб из сталей прочностных классов К48 и К50 (с нормативным пределом прочности 471 и 490 Н/мм2 соответственно).

2. * - для данной комбинации "агломерированный флюс + проволока" производства фирмы ESAB (Швеция) необходима дополнительная аттестация технологического процесса в установленном порядке.

8.3. Особенности односторонней автоматической сварки под плавлеными и агломерированными флюсами.

8.3.1. Сборка, предварительный подогрев и сварка корневого слоя шва электродами с покрытием основного вида должны осуществляться в соответствии с разделом 6 настоящей Инструкции.

8.3.2. Сборка, предварительный подогрев, сварка корневого слоя и "горячего прохода" электродами с целлюлозным покрытием должны производиться в соответствии с разделом настоящей Инструкции. При этом сварку обоих слоев следует производить на одном стенде без перекатывания трубной секции.

8.3.3. При сварке корневого слоя электродами с покрытием основного вида допускается периодический поворот свариваемой секции без освобождения жимков центратора в удобное для сварщиков положение. Перекатывание секции на промежуточный стеллаж разрешается только после завершения сварки корневого слоя по всему периметру стыка.

8.3.4. С целью улучшения отделимости шлаковой корки с первого автоматного слоя допускается после окончания сварки корневого слоя (или корневого слоя с "горячим проходом") по всему периметру стыка выполнение вручную дополнительных заполняющих(его) слоев (слоя) электродами с покрытием основного вида.

8.3.5. Для труб большого диаметра следует производить подварку корня шва изнутри трубы ручной дуговой сваркой (электродами с покрытием основного вида) или автоматической сваркой под флюсом (с использованием комбинации "флюс+проволока", рекомендованной для сварки заполняющих слоев шва). Электроды для подварки изнутри следует выбирать в соответствии с таблицей 4 настоящей Инструкции.

8.3.6. Подварка стыка изнутри может быть выполнена после окончания сварки корневого слоя (или корневого слоя с "горячим проходом") или после сварки заполняющих и облицовочного слоев шва. Подварку следует выполнять в один слой по всему периметру стыка. Режимы автоматической подварки корневого слоя шва с использованием комбинации "плавленый флюс+проволока" представлены в таблице 27.

8.3.7. Ориентировочные режимы автоматической подварки корневого слоя шва с использованием комбинации "агломерированный флюс+проволока" представлены в таблице 8.

Таблица 27

Режимы автоматической подварки корневого слоя шва с использованием комбинации "плавленый флюс+проволока"

Схема выполнения подварки

Диаметр проволоки, мм

Сварочный ток, А

Напряжение на дуге, В

Скорость сварки, м/ч

Вылет электрода, мм

После сварки корневого слоя шва или корневого слоя с "горячим проходом

3,2

 400 - 450

42-44

25-30

30-35

4,0

500 - 550

44-46

30-40

40-50

После сварки всех наружных слоев шва

3,2

550 - 600

44-46

30-40

30-35

4,0

600 - 650

44-46

35-40

40-50

Примечания:

1. Смещение с надира в направлении вращения трубы = 30-50 мм.

2. Режимы даны для сварки на постоянном токе обратной полярности при угле наклона электрода, равном нулю.

3. Подварку корневого слоя шва термически упрочненных труб следует выполнять проволокой диаметром 3 мм при значениях погонной энергии не более 23 кДж/см2.

8.3.8. В случае, если подварку выполняют после сварки корневого слоя шва или после сварки корневого слоя с "горячим проходом", интервал времени между окончанием сварки ручных слоев и началом сварки подварочного слоя не должен превышать 40 мин.

8.3.9. В случае, если подварку выполняют после завершения сварки наружных слоев шва, интервал времени между окончанием сварки корневого слоя (или корневого слоя с "горячим проходом") и началом выполнения подварочного слоя не должен превышать 1,5 часа.

Таблица 28

Ориентировочные режимы автоматической подварки корневого слоя шва с использованием комбинации "агломерированный флюс+проволока"

Схема выполнения подварки

Диаметр проволоки, мм

Сварочный ток, А

Напряжение на дуге, В

Скорость сварки, м/ч

Вылет электрода, мм

После сварки корневого слоя шва

3,2

450 - 500

29-31

40-45

30-35

4,0

450 - 500

30-32

30-35

30-35

После сварки всех наружных слоев шва

3,2

580 -630

30-32

40-45

30-35

4,0

600 - 650

30-32

30-35

30-35

Примечания: 1. Смещение с надира трубы в направлении ее вращения =30-50 мм;

2. Режимы даны для сварки на постоянном токе обратной полярности при угле наклона электрода, равном нулю.

8.3.10. Подварочный слой, выполненный автоматической сваркой, должен иметь усиление в пределах 1-3 мм и ширину:

¨ не более 15 мм - для труб с толщиной стенки 9,0-12,0 мм,

¨ не более 21 мм - для труб с толщиной стенки 12,1-16,0 мм.

8.3.11. Глубина проплавления при автоматической подварке должна иметь величину:

¨ не более 6 мм - для труб с толщиной стенки 9,0-12,0 мм,

¨ не более 7 мм - для труб с толщиной стенки 12,1-16,0 мм.

8.3.12. Отношение ширины подварочного слоя (ВП) к величине глубины проплавления (hП) должно составлять BП/hП>2.

8.3.13. Смещение осей наружных и внутреннего слоев шва от условной оси стыка не должно превышать ±1,0 мм.

8.3.14. Контроль геометрических параметров подварочного слоя в соответствии с п.п. 8.3.10-8.3.13 следует осуществлять на макрошлифах (рис. 7), изготовленных из каждого 200-ого стыка. В случае отклонения геометрических параметров от заданных сварку следует прекратить, отладить оборудование и скорректировать режимы сварки. Остальные 199 стыков, предшествующие вырезанному, следует считать годными, если по результатам радиографического контроля в них не обнаружено недопустимых дефектов.

Рис. 7. Макрошлиф из сварного шва контрольного стыка:

1 - ось наружных слоев шва; 2 - ось подварочного слоя шва; 3 - условная ось стыка; с - смещение осей наружных и подварочного слоев шва от условной оси стыка (с= ±1 мм); ВП - ширина подварочного слоя шва; hП - глубина проплавления подварочного слоя шва.

8.3.15. Автоматическую сварку под флюсом заполняющих и облицовочного слоев шва поворотных стыков труб с использованием комбинации "плавленый флюс+проволока" следует выполнять на режимах, представленных в таблице 29.

8.3.16. Ориентировочные режимы сварки поворотных стыков труб диаметром 1020-1220 мм из сталей повышенной прочности (группа 3) с использованием комбинации "агломерированный флюс + проволока" представлены в таблице 30.

8.3.17. Число слоев (без учета подварочного слоя), выполненных автоматической сваркой под флюсом - не менее 2.

8.3.18. Ширина облицовочного слоя шва должна находиться в пределах 10-18 мм при толщине стенки труб от 6 до 8 мм, 16-24 мм - при толщине стенки труб от 8,1 до 12 мм, 20-28 мм - при толщине стенки от 12,1 до 16 мм. Усиление облицовочного слоя шва должно находиться в пределах 1-3 мм.

8.3.19. Интервал времени между сваркой предыдущего и каждого из последующих наружных слоев шва не должен превышать 2 часов.

8.3.20. Стыки трубных секций большого диаметра разрешается оставлять в конце смены незаконченными в том случае, если не сварен только один облицовочный слой шва, но при этом выполнена подварка изнутри. Стыки трубных секций на базах типа БНС (база наружной сварки) оставлять незаконченными не разрешается. При невыполнении указанных требований стыки подлежат вырезке.

Таблица 29

Режимы односторонней автоматической сварки с использованием комбинации "плавленый флюс + проволока"

ДТРУБЫ, мм

SСТЕНКИ, мм

ДПР., мм

Слой шва

ICB., А

UД., В

VСВ., м/ч

ZЭЛ., мм

530-820

6-12,5

2

Первый

400-500

42-44

35-40

60-80

Последующие

500-550

42-46

35-40

40-50

3

Первый

550-650

42-44

35-50

40-60

Последующие

700-750

44-46

35-50

30-40

530-820

Более 12,5

3

Первый

550-650

42-44

35-50

40-60

Последующие

680-750

44-46

35-50

30-40

1020-1220

7-12,5

3

Первый

550-650

44-46

40-50

60-80

Последующие

650-750

46-48

40-50

40-60

4

Первый

800-900

44-46

45-50

60-80

Последующие

900-950

46-48

45-55

40-60

1020-1220

Более 12,5

3

Первый

750-800

44-46

45-55

60-80

Последующие

800-850

46-48

40-55

40-60

 

 

4

Первый

800-900

44-46

45-55

60-80

Последующие

1000-1100

46-48

70-90

40-60

Облицовочный

800-900

46-48

40-50

40-60

Условные обозначения: ДТРУБЫ - диаметр свариваемых труб; SСТЕНКИ - толщина стенки свариваемых труб; ДПР. - диаметр сварочной проволоки; IСВ. - сварочный ток; UД. - напряжение на дуге; VСВ. - скорость сварки; ZЭЛ. - смещение электрода с зенита трубы.

Примечания:

1. Режимы указаны применительно к сварке на постоянном токе обратной полярности.

2. Вылет электрода диаметром 2 мм = 30-35 мм, диаметром 3 мм = 40-45 мм, диаметром 4 мм = 40-50 мм.

3. Угол наклона электрода "вперед" - до 30°.

4. При сварке термически упрочненных труб запрещается применять сварочную проволоку диаметром 4 мм.

Таблица 30

Ориентировочные режимы односторонней автоматической сварки с использованием комбинации "агломерированный флюс + проволока"

ДТРУБЫ, мм

SСТЕНКИ, мм

ДПР., мм

Слой шва

ICB., А

UД., В

VСВ., м/ч

ZЭЛ., мм

 

 

Комбинация Lincolnweld 860 + L-70

3,2

Первый

500-550

27-29

45-50

50-70

Последующие

550-600

29-32

40-45

50-70

Облицовочный

600-650

31-33

30-35

40-60

Комбинация OK Flux 10.71 + OK Autrod 12.24

1020-1220

Более 12,5

4

Первый

450-550

26-27

30-35

50-70

Последующие

550-650

29-31

27-32

50-70

Облицовочный

650-750

32-34

25-30

40-60

Условные обозначения: ДТРУБЫ - диаметр свариваемых труб; SСТЕНКИ - толщина стенки свариваемых труб; ДПР. - диаметр сварочной проволоки; IСВ. - сварочный ток; UД. - напряжение на дуге; VСВ. - скорость сварки; ZЭЛ. - смещение электрода с зенита трубы.

Примечания: 1. Режимы указаны применительно к сварке на постоянном токе обратной полярности.

2. Вылет электрода диаметром 3 мм = 30-40 мм, диаметром 4 мм = 30-35 мм.

3. Угол наклона электрода "вперед" - 10-30°.

ЧАСТЬ II

РЕКОМЕНДАЦИИ ПО ПРИМЕНЕНИЮ СОВРЕМЕННОГО СВАРОЧНОГО ОБОРУДОВАНИЯ ПРИ КАПИТАЛЬНОМ РЕМОНТЕ МАГИСТРАЛЬНЫХ НЕФТЕПРОВОДОВ.

ОБЩИЕ ПОЛОЖЕНИЯ

Положения Части 2 Инструкции определяют основные требование предъявляемые к оборудованию и источникам сварочного тока, содержат рекомендации по применению оборудования и организации сварочно-монтажных работ при капитальном ремонте нефтепроводов.

9. ИСТОЧНИКИ ПИТАНИЯ ДЛЯ РУЧНОЙ, ПОЛУАВТОМАТИЧЕСКОЙ И АВТОМАТИЧЕСКОЙ СВАРКИ.

9.1. Общие требования к сварочным источникам.

На основании анализа опыта эксплуатации, причин аварийности отечественных магистральных и промысловых нефтегазопроводов сформулированы требования к качеству сварных соединений современных трубопроводов. В частности, в сравнении с ВСН 006-89 введены дополнительные ограничения по допустимым размерам наиболее опасных дефектов типа непроваров, несплавлений, подрезов. Более жестко регламентирована технология неразрушающего контроля сварных стыков.

Повышение общего уровня требований к качеству сварных соединений объективно определили новые подходы к разработке технологии сварки, заключающиеся, в частности, в следующем:

· использование электродов малого диаметра для сварки корневого и облицовочного слоев;

· дифференцированный подход к выбору диаметра электрода в зависимости от пространственного положения и толщины стенки трубы;

· применение прямой полярности при сварке корневого шва электродами с основным и целлюлозным видами покрытия как равноправного технологического варианта;

· регулирование динамических характеристик источника тока в зависимости от вида покрытия электрода, слоя и пространственного положения;

· применение плавного регулирования сварочного тока, не обрывая дуги, с дискретностью не более 5-10 Ампер, в процессе смены пространственного положения.

· применение модулированного тока, позволяющего, обеспечивающего упрощение техники сварки и эффективное регулирование геометрических параметров сварного шва.

· более жесткая регламентация техники сварки, преимущественное применение для корня шва сварки «опиранием» с определенным, в зависимости от пространственного положения, изменением угла наклона электрода;

· как универсальный подход при сварке современных трубных сталей, регламентация тепловложений при сварке отдельных слоев, задаваемая количеством слоев при сварке различных толщин;

Для реализации вышеизложенных подходов ВНИИСТом сформулированы следующие основные требования к источникам сварочного тока для сварки трубопроводов:

· возможность сварки электродами с различным металлургическим типом покрытия, применяемыми в трубопроводном строительстве;

· устойчивая работа источника при ручной дуговой сварке во всем диапазоне рабочих токов, начиная с 40-50 А при номинальных значениях 200А, 250А, 315А;

· возможность регулирования внешних вольтамперных характеристик и динамических свойств источников, в зависимости от типа покрытия электрода, при сварке различных слоев шва и в разных пространственных положениях;

· наличие малогабаритных дистанционных регуляторов сварочного тока, удобно размещаемых в руке сварщика и обеспечивающих возможность регулирования тока, не обрывая дуги;

· возможность использования источников тока в составе передвижных и самодных агрегатов питания при воздействии низких температур и динамических нагрузок, а также при пониженном качестве автономной электросети переменного тока, характерного для сетей ограниченной мощности;

· возможность использования источников тока при компоновке многопостовых систем питания сварочным током с отработкой возмущений по взаимному влиянию постов. Колебания сварочного тока при этом должны находиться в пределах ±10% от номинального значения;

· температура эксплуатации источников в диапазоне от -40°С до +40°С.

Приведенные требования реализованы при создании ряда отечественных источников сварочного тока, особенности применения которых рассмотрены в данном разделе.

Приведены также данные по источникам сварочного тока ведущих зарубежных фирм.

9.2. Сварочные выпрямители.

9.2.1. Требования к сварочным выпрямителям.

Общие базовые требования, изложенные в разделе 9.1, конкретизированы при разработке специализированных выпрямителей для сварки трубопроводов:

· номинальный сварочный ток при ПВ = 60% не менее 250 Ампер;

· пределы регулирования сварочного тока от 40 до 250 Ампер;

· возможность непрерывного регулирования сварочного тока, не обрывая дуги;

· для надежного возбуждения и стабильного горения при сварке электродами с различным металлургическим типом покрытия напряжение холостого хода должно быть не менее 70 Вольт (или источники должны иметь устройство подачи импульса высокого напряжения в начале процесса сварки);

· возможность изменения характеристик в диапазоне 0,4 В/А - 0,7 В/А для области рабочих токов;

· ограничение напряжения холостого хода в течение 1 секунды с момента обрыва дуги до величины напряжения не более 12 Вольт;

· при колебаниях напряжения питающей сети от +10% до -10% от номинального значения, изменение установленной величины тока не должно превышать +2% и -5%.

· номинальное рабочее напряжение 30-35 Вольт;

Учитывая, что выпрямители могут использоваться как стационарно, так и в составе автономных агрегатов питания, накладываются дополнительные требования по стойкости к воздействию внешних климатических и механических факторов. Выпрямители должны быть работоспособны при воздействии следующих основных факторов:

· температура окружающей среды (рабочее значение) от -40° С до -40° С;

· относительная влажность окружающей среды 80% при t=+20° С;

· синусоидальная вибрация с максимальной амплитудой ускорения 2,0 g в диапазоне частот 0,5 - 200 Гц;

· предельные рабочие значения частот от 0,5 - 500 Гц;

· удары многократного действия (при передвижении агрегатов) с пиковым значением ударного ускорения 15g при длительности воздействия 2-20 мс;

· удары одиночного действия (при передвижении агрегатов) с пиковым значением ударного ускорения 20g при длительности 2-15 мс;

9.2.2. Сварочные тиристорные выпрямители.

В настоящее время развитие электроники позволяет использовать полупроводниковые выпрямительные элементы большой мощности для сварочных выпрямителей.

В современных сварочных выпрямителях применяется трехфазная мостовая схема выпрямления, что позволяет получить сглаженную форму кривой сварочного тока, при которой дуга горит более устойчиво, чем при однофазной схеме выпрямления.

Типовая структурная схема сварочного тиристорного выпрямителя приведена на рис. 8.

Выпрямитель состоит из трехфазного понижающего силового трансформатора, силового блока выпрямления низкого напряжения, дросселя в сварочной цепи, блока управления, блока защиты от короткого замыкания, блока управления вентилятором.

9.2.2.1. Тиристорные выпрямители отечественного производства.

Специально для сварки трубопроводов в соответствии с требованиями, изложенными в разделе 9.2.1, Институтом сварки России и ВНИИСТом разработан четырехпостовой тиристорный выпрямитель ВДМ -4х301.

Технические характеристики выпрямителя приведены в таблице 31.

Рис. 8. Структурная схема тиристорного выпрямителя.

1 - силовой трансформатор, 2 - силовой блок тиристоров, 3 - блок управления тиристорами, 4 - дроссель в сварочной цепи.

Выпрямитель построен по следующей схеме: один силовой трехфазный трансформатор и четыре комплекта силовых тиристоров с блоками управления.

Выпрямитель имеет падающие внешние вольтамперные характеристики с разными наклонами. В диапазоне токов 60-315 А каждый пост обеспечивает ступенчатое изменение крутизны наклона статических характеристик, что дает возможность применять электроды с основным и целлюлозным видом покрытия.

Регулирование сварочного тока поста плавное во всем диапазоне. Выпрямитель обеспечивает дистанционное регулирование тока и включение нагрузки каждого поста.

Источник снабжен устройством автоматического ограничения напряжения холостого хода до значения 12 Вольт в течение 1 секунды после прекращения сварки.

Выпрямитель может работать как двухпостовой источник питания. При этом каждый пост образуется за счет параллельного соединения двух постов четырехпостового варианта.

Этот выпрямитель используется в самоходных сварочных агрегатах АС-82 и АЭП-53.

При строительстве трубопроводов достаточно широко используются выпрямители общего назначения, в т.ч. разработанные Институтом электросварки России управляемые тиристорные выпрямители ВДУ-505, ВДУ-506 и неуправляемые выпрямители серии ВДМ: ВДМ 1001 и ВДМ 1201.

Выпрямители ВДУ-505 и ВДУ-506 являются универсальными и имеют крутопадающие и жесткие (пологопадающие) внешние характеристики. Вид типичных внешних характеристик приведен на рис. 9. Техническая характеристика выпрямителей приведена в таблице 31.

Плавное регулирование сварочного тока (при падающих) и напряжения (при жестких внешних характеристиках) осуществляется как с источника, так и с пульта дистанционного управления.

Таблица 31.

Техническая характеристика тиристорных выпрямителей отечественного производства.

Наименование параметров

Марка источника тока

ВДМ-4х301, четырехпостовой

ВДУ -505, однопостовой

ВДУ-506, однопостовой

Номинальный сварочный ток при ПВ 60%, А

315*

500

500

Пределы регулирования сварочного тока, А

60-31,5*

60 - 500

50-500

Напряжение холостого хода, В

80-100*

80

80

Номинальное рабочее напряжение, В

32*

22-46

22-46

Напряжение питающей сети, В

3´380, 50Гц

3´220 или 3´380 50 Гц

3´220 или 3´380 50Гц

КПД, %

70

65

65

Масса, кг

710

340

310

Габаритные размеры, мм

1400´785´1220

950´816´940

820´620´1100

Категория исполнения

УЗ

УЗ

УЗ

Назначение источника

Ручная сварка

Ручная сварка, сварка в среде углекислого газа, сварка под флюсом

Ручная сварка, сварка в среде углекислого газа, сварка под флюсом

*- значения указаны для одного поста.

Выпрямители этих серий выпускаются Калининградским заводом электросварочного оборудования.

Имеется значительный опыт их эксплуатации в составе самоходных агрегатов питания на базе трелевочных тракторов Т-4. Эти агрегаты использовались для энергообеспечения постов автоматической сварки порошковой проволокой с принудительным формированием (оборудование «Стык») и постов ручной дуговой сварки при строительстве более 3000 км трубопроводов. Агрегаты питания выпускаются Каховским заводом электросварочного оборудования (Украина).

9.2.2.2. Тиристорные выпрямители зарубежных фирм.

С точки зрения схемотехники, зарубежные тиристорные выпрямители аналогичны тиристорным выпрямителям, выпускаемым в России. Но за счет использования более совершенных силовых тиристоров и электротехнических материалов, выпрямители зарубежного производства имеют меньшую массу и меньшие габаритные размеры.

Рис. 9. Внешние вольтамперные характеристики тиристорного выпрямителя.

а) падающие характеристики, б) жесткие характеристики

9.2.2.2.1. Шведская фирма «ESAB» выпускает серию тиристорных выпрямителей LHF 400, LHF 630, LHF 830 для ручной сварки электродами с различными типами покрытия. Специально для сварки трубопроводов выпускается выпрямитель «LHL 400 Pipeweld-c», который позволяет вести сварку электродами с различными видами покрытия и аргонодуговую неплавящимся электродом. Техническая характеристика выпрямителя приведена в таблице 32.

Таблица 32.

Технические характеристики зарубежных тиристорных выпрямителей.

Наименование параметров

Марка источника тока

LHF 400 Pipeweld-c ESAB

DC 400 LINCOLN

DC 600 LINCOLN

Номинальный сварочный ток при ПВ 60%, А

300

450

650

Пределы регулирования сварочного тока, А

5-400

60-500

90-650

Напряжение холостого хода, В

76

54

54

Номинальное рабочее напряжение, В

20-32

22-42

22-42

Напряжение питающей сети, В

3´220-240 или 3´380-415 50/60 Гц

3´220-380-440 50/60 Гц

3´220-380-440 50/60 Гц

КПД, %

71

72

72

Масса, кг

170

215

237

Габаритные размеры, мм

885´510´485

840´561´698

965´565´781

Категория исполнения

ЕР23

IP23

IP23

Назначение источника

Ручная сварка: покрытыми электродами, аргонодуговая неплавящимся электродом

Ручная сварка покрытыми электродами, аргонодуговая неплавящимся электродом, сварка в среде защитных газов, сварка под флюсом

Ручная сварка покрытыми электродами, аргонодуговая неплавящимся электродом, сварка в среде защитных газов, под флюсом

Выпрямитель имеет падающие внешние вольтамперные характеристики с четырьмя разными наклонами для сварки:

· аргонодуговая неплавящимся электродом;

· электродами с основным видом покрытия;

· электродами с целлюлозным видом покрытия;

· электродами с плохими технологическими свойствами.

Крутизна характеристики регулируется ступенчато переключателем, расположенным на лицевой панели выпрямителя.

Высокое значение напряжения холостого хода и устройство «Горячий Старт» обеспечивают легкое зажигание дуги в начале сварки.

Плавное регулирование тока сварки по всему диапазону осуществляется как с источника, так и с пульта дистанционного управления. При использовании приставки РНА 5, источник может работать в импульсном режиме с длительностью импульсов от 0,3 до 2 секунд.

Система стабилизации заданных параметров сварки обеспечивает незначительное изменение установленного тока сварки (±0,2 %) при колебаниях питающего напряжения в пределах ±10 %.

Выпрямители легко монтируются при компоновке многопостовых систем питания.

9.2.2.2.2. Американская фирма LINCOLN ELECTRIC выпускает серию универсальных тиристорных выпрямителей «IDEALARC»: DC-250, DC-400, DC-600, DC-750 и DC-1000.

Выпрямитель DC-400 в наибольшей степени отвечает требованиям, изложенным в разделе 9.2.1.

Технические характеристики приведены в таблице 32.

DC-400 является универсальным выпрямителем, обеспечивающим возможность следующих видов сварки:

· ручная электродами с различными видами покрытия;

· аргонодуговая неплавящимся электродом;

· полуавтоматическая / автоматическая в защитных газах;

· полуавтоматическая / автоматическая порошковой проволокой;

· полуавтоматическая / автоматическая под слоем флюса.

Источник может применяться для воздушно-дуговой строжки угольным электродом диаметром до 8 мм.

Выбор типов внешних характеристик осуществляется переключателем, расположенным на лицевой панели источника, который имеет три положения:

· Stick/TIG - сварка покрытыми электродами и аргонодуговая неплавящимся электродом (падающие внешние характеристики);

· FCAW/GMAW - сварка плавящимся электродом в защитных газах и сварка порошковой проволокой (жесткие внешние характеристики);

· SMAW - сварка под флюсом (жесткие внешние характеристики);

Регулировка выходного тока или напряжения (в зависимости от режима работы) осуществляется непрерывно по всему диапазону как с самого источника, так и с пульта дистанционного управления. Контролировать режимы процесса сварки можно с помощью встроенных амперметра и вольтметра.

В режиме Stick/TIG выпрямитель обеспечивает регулировку тока сварки в диапазоне 60 - 500 А и динамики выходных характеристик. Это дает возможность оптимизировать процесс сварки в разных пространственных положениях электродами с различными типами покрытия.

В режимах FCAW/GMAW и SMAW выпрямитель обеспечивает регулировку напряжения в диапазоне 12-42 В. При этом можно ступенчато регулировать индуктивность («пинч-эффект»), что позволяет оптимизировать параметры переноса электродного металла, уменьшить степень разбрызгивания и, тем самым, добиться высокого качества сварных соединений при применении разных проволок и защитных газов.

Источник отрабатывает колебания напряжения в питающей сети ±10 %. Дополнительно выпрямитель может комплектоваться трехпозиционным переключателем сварочных кабелей («Multiprocess Switch»). Переключатель необходим при совместном использовании ручной и полуавтоматической / автоматической сварки. Он позволяет изменять полярность при полуавтоматической / автоматической сварке и обеспечивает подачу сварочного тока либо на кабели ручной сварки, либо на кабели полуавтоматической сварки без их отключения от клемм выпрямителя.

Выпрямитель имеет выход переменных напряжений 42 и 115 Вольт для питания механизмов подачи проволоки при полуавтоматической и автоматической сварке.

Высокие потребительские качества источников, возможность их эксплуатации в самых неблагоприятных климатических условиях, позволяют их использовать в самоходных сварочных агрегатах для ручной и автоматической сварки. При этом выпрямители эксплуатируются на открытом воздухе без дополнительных укрытий. Агрегат на базе выпрямителей DC-400 представлен на рис. 10.

Рис. 10. Внешний вид самоходного агрегата питания, укомплектованного шестью выпрямителями DC-400.

Выпрямитель DC-600 по своим характеристикам аналогичен DC-400, но рассчитан на большую выходную мощность. Техническая характеристика выпрямителя DC-600 дана в таблице 32.

9.2.3. Сварочные выпрямители инверторного типа.

Интенсивное развитие электроники и полупроводниковой техники в последнее десятилетие обеспечило качественно новый уровень развития сварочного оборудования, в том числе и источников тока. Появились принципиально новые и весьма перспективные сварочные источники питания - инверторные выпрямители, характерной особенностью которых является значительное увеличение в процессе преобразования частоты сетевого напряжения до десятков кГц. Если в традиционных выпрямителях напряжение переменного тока сети поступает на понижающий трансформатор и затем выпрямляется, то в инверторных источниках оно претерпевает, как правило, тройное преобразование.

Принцип устройства и работу инверторного источника можно рассмотреть на примере инвертора PS 3500 фирмы КЕМРРI (Финляндия), блок-схема которого приведена на рисунке 11.

Вначале переменный ток от сети напряжением 380 В 50 Гц выпрямляется диодным мостом 1 и фильтруется блоком конденсаторов 2. Затем инвертором 3 постоянный ток высокого напряжения преобразуется в переменный ток прямоугольной формы с максимальной частотой 5000 Гц. После этого высокое напряжение понижается трансформатором 4 и далее ток выпрямляется мостом 5. Пульсации на выходе инвертора сглаживаются дросселем 6. Формирование вольтамперных характеристик источника, модуляция тока при импульсной сварке и другие дополнительные функции осуществляются дистанционными электронными блоками 7 и 8.

Рис. 11. Блок-схема инвертора PS 3500

Применение тока высокой частоты позволяет резко сократить размеры и массу понижающего трансформатора, а, следовательно, габаритные размеры и массу самого источника. При высокой частоте 20-40 кГц металлический сердечник заменяют ферритовым. При этом значительно сокращаются потери электроэнергии и резко повышается КПД, в отдельных случаях до 90% и выше. Наличие электронных систем управления позволяет без особых усилий формировать любые требуемые вольтамперные характеристики, в случае необходимости обеспечить постоянство выделяемой мощности (рис. 12) или ее изменение по определенному закону при изменении длины дугового промежутка и возникновении возмущений со стороны нагрузки, а с помощью различных функциональных блоков достигать необходимых сварочно-технологических свойств. Практически полное отсутствие пульсаций напряжения на выходе источника стабилизирует сварочную дугу, а регулируемая величина индуктивности способствует существенному снижению разбрызгивания.

9.2.3.1. Отечественные инверторные выпрямители.

Технические данные отечественных инверторных выпрямителей, прошедших испытания при сварке трубопроводов, приведены в таблице 33.

Рис. 12. Внешние характеристики источников тока для ручной дуговой сварки.

а) управляемый тиристорный выпрямитель,

б) выпрямитель инверторного типа (при изменении длины дуги мощность, выделяемая в дуговом пространстве, постоянна).

Таблица 33.

Технические параметры отечественных инверторов

Наименование параметров

Марка источника тока

ВДУЧ-16

ВДУЧ-30

КС 250 МЭИ

ДС 250-1 Технотрон Чебоксары

ВДЧИ-2501 ВНИИЭСО

Номинальный сварочный ток при ПВ 60%, А

160

315

300

250

250

Пределы регулирования сварочного тока, А

20-160

20-315

30-300

30-250

30-250

Напряжение холостого хода, В

36*

36*

90

- 70

65

Пределы регулирования тока импульса, А

-

-

30-250

30-250

30-250

Пределы регулирования тока паузы, А

-

-

30-150

30-200

30-100

Напряжение питающей сети, В

1´220 50 Гц

3´380 50 Гц

3´380 50 Гц

3´380 50 Гц

3´380 50 Гц

КПД, %

70

84

80

85

76

Масса, кг

20

36

55

32

48

Габаритные размеры, мм

580´280´330

640´330´460

350´500´650

600´250´500

680´335´450

Категория исполнения

У3.1

У3.1

У3

У3

У3

Назначение источника

Ручная покрытым электродом, аргонодуговая неплавящимся электродом

Ручная покрытым электродом, аргонодуговая неплавящимся электродом

Ручная дуговая сварка гладким током и в импульсном режиме

Ручная дуговая сварка гладким током и в импульсном режиме

Ручная дуговая сварки гладким током и в импульсном режиме

Элементная база

Тиристорный

Тиристорный

Тиристорный

Тиристорный

Транзисторный

*- возбуждение дуги в начале сварки обеспечивается за счет подачи импульс повышенного напряжения в момент касания электрода об изделие.

Источник ВДУЧ-16 использовался для комплектации многопостового агрегата питания АЭП-52 и эксплуатировался при строительстве трубопроводов диаметрах 114-426 мм.

Недостатком источника является возможность его эксплуатации только в закрытых пылезащищенных помещениях в условиях умеренного климата при температурах от -10° С до +40° град С.

Низкий рабочий ток ограничивает возможность его интенсивного использования при сварке электродами диаметром 4 мм. Изготавливается Харьковским заводом «Коммунар».

Инверторы ВДЧИ-2501 (разработка Института электросварки России совместно с ВНИИСТом) и КС-250 (разработка Московского энергетического института совместно с ВНИИСТом) созданы специально для использования в составе автономных самоходных и передвижных агрегатов питания для сварки трубопроводов и прошли испытания в полевых условиях.

Они обеспечивают возможность сварки электродами с основным и целлюлозным типом покрытия, имеют дистанционные регуляторы сварочного тока и ступенчатого изменения наклона вольтамперных характеристик.

Источник ВДЧИ-2501 для получения тока 250А имеет в силовой части 60 маломощных транзисторов, что определяет его невысокую надежность и трудность диагностирования при возникновении отказов.

Разработанный Московским энергетическим институтом совместно с ВНИИСТом инвертор КС-250 изготавливается малыми партиями на опытном производстве МЭИ и может быть рекомендован для использования при строительстве трубопроводов только после освоения его серийного производства в условиях завода.

Перспективным является применение тиристорного инвертора ДС 250-1, однако окончательные рекомендации могут быть даны только после проведения полевых испытаний.

9.2.3.2. Инверторные сварочные выпрямители зарубежных фирм.

За рубежом достигнуты значительные успехи в разработке и производстве инверторных источников тока. Известными во всем мире фирмами-изготовителями сварочного оборудования, такими как KEMPPI (Финляндия), ESAB (Швеция), LINCOLN ELECTRIC (США), FRONIUS (Австрия), TELWIN (Италия), HOBART (США) и др. разработаны и выпускаются оригинальные источники и целые системы на их основе для выполнения практически всех видов дуговой сварки, разрабатываются компьютеризированные системы , способные полностью автоматизировать сварочные технологические процессы.

Технические данные инверторных выпрямителей, применяемых или имеющих перспективы применения при строительстве и ремонте трубопроводов, приведены в табл. 34.

Все указанные источники комплектуются малогабаритными пультами дистанционного управления и устройствами формирования импульсов тока низкой частоты.

В тоже время следует отметить, что общим недостатком большинства инверторных источников являются ограничения по климатическому исполнению. В соответствии со стандартом EN 60974-1, которым руководствуются фирмы изготовители, значения температур окружающей среды, при которых источники должны быть работоспособны, лежат в пределах от -20° С до +40° С. Существенно снижает общую надежность источников отказы, связанные с пониженным качеством электросети переменного тока в автономных агрегатах питания (ненормированное повышение напряжения, колебания частоты переменного тока).

9.2.3.2.1. Инверторные выпрямители фирмы «KEMPPI».

Финляндской фирмой KEMPPI разработаны семейства инверторных источников марки PS-PS 2800, 3500, 5000, марки PSS-PSS 3500, 5000, на основе которых созданы мультисистемы для сварки всеми дуговыми методами на постоянном и переменном токе.

В настоящее время фирмой KEMPPI выпускаются также Инверторные выпрямители серии «Master» - 1500, 2200, 2800, 3500, 5000. Эта серия включает в себя ряд выпрямителей на сварочный ток от 150 Ампер до 500 Ампер. Благодаря высокому напряжению холостого хода, контролируемому импульсу тока возбуждения дуги и возможности регулирования динамики сварки, обеспечивается возможность работы электродами с различными видами покрытия. По своему конструктивному исполнению и безопасности выпрямители этой серии соответствуют требованиям норм IEC 974-1 и EN 60974-1.

Источники этой фирмы прошли наибольшую апробацию в составе автономных многопостовых самоходных и передвижных агрегатов питания при строительстве трубопроводов.

Источники PS 3500 и PS 5000 применялись в составе агрегатов АЭП-52 и АС-42 для сварки труб диаметром 1220-1420 мм.

Источники Master 3500 в настоящее время используются российской строительной организацией для комплектации четырехпостовых агрегатов питания на базе тракторов К-700А и К-701 на строительстве трубопровода диаметром 900 мм в Финляндии.

Следует отметить, что в результате совместных работ ВНИИСТа и фирмы KEMPPI источники адаптированы к сетям переменного тока автономных агрегатов питания.

На базе инверторных источников KEMPPI разработан ряд оригинальных технологий, внедренных при сварке трубопроводов.

9.2.3.2.2. Инверторные выпрямители фирмы LINCOLN ELECTRIC.

Универсальный инверторный выпрямитель марки «INVERTEC V300-1», имеющий падающие и жесткие внешние характеристики, предназначен для следующих методов сварки:

· ручной дуговой покрытыми электродами;

· неплавящимся и плавящимся электродом в среде защитных газов;

· полуавтоматической сварки самозащитной порошковой проволокой типа «Иннершилд».

Он также может применяться для воздушно-дуговой строжки угольным электродом.

Наиболее важными функциями источника применительно к сварке трубопроводов являются: возможность его использования при ручной дуговой сварке электродами с основным и целлюлозным типом покрытия, а также специально для питания дуги и механизма подачи при полуавтоматической сварке самозащитной порошковой проволокой типа «Иннершилд» .

Регулировка выходного тока или напряжения (в зависимости от режима работы) осуществляется плавно по всему диапазону. Контролировать режимы процесса сварки можно с помощью встроенного цифрового ампервольтметра.

Выбор типов внешних характеристик осуществляется переключателем, расположенным на лицевой панели источника, который имеет пять положений:

· GTAW - аргонодуговая сварка неплавящимся электродом;

· SMAW SOFT - сварка штучными электродами с целлюлозным и рутиловым видами покрытия;

· SMAW CPISP - сварка штучными электродами с основным видом покрытия и электродами с железным порошком в обмазке;

· FCAW - этот режим оптимизирован для сварки порошковыми проволоками типа «Иннершилд» и «Аутершилд»;

· GMAW - полуавтоматическая сварка плавящимся электродом в защитных газах.

В режимах ручной сварки можно регулировать динамику процесса для оптимизации сварки электродами с различными типами покрытия.

В режимах полуавтоматической сварки в защитных газах - регулируется индуктивность («пинч-эффект»), что позволяет оптимизировать параметры переноса электродного металла, уменьшить степень разбрызгивания и, тем самым, добиться высокого качества сварных соединений при применении разных проволок и защитных газов.

Производятся инверторы в соответствии со стандартом ISO 9002.

Инверторные выпрямители «Invertec V300-1» успешно эксплуатируются в российских строительных организациях при сварке трубопроводов.

9.2.3.2.3. Инверторные источники фирмы «ESAB».

Шведской фирмой ESAB разработаны инверторы LHN 140 (Caddy 140), LHN 200 (Caddy 200), LUA 400, которые по предварительной оценке, могут быть использованы при строительстве и ремонте трубопроводов.

Миниатюрные инверторные источники серии «Caddy» выпускаются в одинаковых корпусах (снабженных ремнями для ношения через плечо) обеспечивающих степень защиты элементов источника IP 23 и двойную изоляцию, исключающую поражение сварщика электрическим током. Это дает возможность эксплуатации инверторов как внутри помещений, так и снаружи. «Caddy» имеют малые габариты и массу равную 11 килограмм, что обеспечивает легкость их перемещения и удобное размещение в стесненных условиях.

Источники «Caddy» предназначены для процессов сварки покрытыми электродами и аргонодуговой неплавящимся электродом.

Системы «горячего старта», устранения залипания электрода и регулировки динамических характеристик позволяют работать с широкой гаммой разнотипных электродов. Caddy 140 обеспечивает возможность сварки электродами диаметром от 1,6 мм до 3,2 мм, Caddy 200 - до 4 мм.

При необходимости, указанные источники комплектуются пультами дистанционного управления и приставками для формирования импульсов тока низкой частоты, которые подключаются посредством кабелей длиной от 5 до 25 метров.

Источник LUA 400 рассчитан на сварку электродами с основным типом покрытия, аргонодуговую неплавящимся электродом, полуавтоматическую плавящимся электродом в среде защитных газов и воздушно-дуговую строжку угольным электродом. Диаметр покрытых электродов, которыми возможно вести сварку от этого источника, варьируется в диапазоне 1,6-6,0 мм; диаметр проволоки - от 0,6 мм до 1,6 мм; диаметр угольных электродов - до 8 мм.

Все вышеназванные инверторные выпрямители работоспособны при температурах от -20 С до + 40° С в соответствии с Европейским стандартом EN60974-1.

9.2.3.2.4. Фирма «Fronius» (Австрия) выпускает серию инверторных источников «TRANSPOKET» - 145, 200, 330, 450 и 450/IР44. Источники TRANSPOKET 450 и 450/IP рассчитаны на сварку основными, рутиловыми и целлюлозными электродами (напряжение холостого хода 100 В), а также на аргонодуговую сварку неплавящимся электродом и воздушно-дуговую строжку. Выбор режимов работы и регулирование динамики осуществляется регулятором динамики с источника или с пульта дистанционного управления. На пульте дистанционного управления расположен регулятор устройства «горячий старт», которое позволяет улучшить зажигание дуги. Кабели для подключения пульта дистанционного управления имеют длину 5, 10 и 20 метров. Дополнительно источники могут комплектоваться следующим оборудованием:

· устройством «Soft-Start» для зажигания дуги касанием при аргонодуговой сварке неплавящимся электродом;

· прибором для беспроводного (радиоуправляющего) дистанционного регулирования тока сварки;

· электронным устройством изменения полярности дуги с пульта дистанционного управления.

Источник TRANSPOKET450/IP44 разработан специально для эксплуатации в местах с высокой влажностью. Источники фирмы «Fronius» сертифицированы по стандарту качества ISO 9001 и соответствуют нормам EN 60974-1 в части стойкости к климатическим и механическим воздействиям.


Таблица 34.

Технические параметры зарубежных инверторов.

Наименование параметров

Марка источника тока

PS 2800 KEMPPI

PS 3500 KEMPPI

Master 2800 KEMPPI

Master 3500 KEMPPI

INVERTEC V 300-1 LINCOLN

LHN 200 ESAB

LUA 400 ESAB

TRANSPOCКЕТ 450/IР44 FRONIUS

INVERTARC 200 TELWIN

Номинальный сварочный ток при ПВ 60%, А

280

350

213

267

300

150

315

450

180

Пределы регулирования сварочного тока, А

25-280

40-350

15-280

15-350

5-350

5-200

30-400

3-450

10-200

Напряжение холостого хода, В

65

65

70

70

.75

75

75

100

90

Пределы регулирования тока импульса, А

10-280

20-350

10-280

20-350

5-350

5-200 -

30-400

3-450

10-200

Пределы per. тока паузы, А

10-280

20-350

10-280

20-250

5-300.

5-150

30-350

3-400

10-150

Напряжение питающей сети, В

3´380-415, 50/60 Гц

3´380-415, 50/60 Гц

3´380-415, 50/60 Гц

3´380-415, 50/60 Гц

3´380-415 50/60 Гц

3´400 50/60 Гц

3´380 50/60 Гц

3´380-415± 10% 50/60 Гц

3´380±10% 50/60 Гц

КПД, %

80

80

87

87

89

82

78

90

85

Масса, кг

33

55

22

25

29

11

48

112

15

Габаритные размеры, мм

460´260´440

640´310´500

540´215´350

590´215´350

564´274´475

427´142´256

610´295´420

615´400´430

435´200´335

Категория исполнения

IP23

IP23 .

IP23

IP23

IP21

IP23

IP23

IP44

IP21

Назначение источника

Ручная покрытыми электродами; аргонодуговая неплавящимся электродом; плавящимся электродом в защитных газах

Ручная покрытыми электродами; аргонодуговая сварка неплавящимся электродом.

Ручная покр. элект., аргонодуг, полуавтомат. проволоками порошк. н сплош. сеч.

Ручная покр. элект. аргонодуговая неплавящимся электродом

Ручная покр. электр., aproнодуг. непл. электр., полуавт. в защитных газах

Ручная покрытыми электродами, аргонодуговая неплавящимся электродом

Элементная база

Тиристорный

Тиристорный

Транзисторный

Транзисторный

Транзисторный

Транзисторный

Тиристорный

Транзисторный

Транзисторный


9.3. Сварочные генераторы применяемые при сварке трубопроводов.

Электромашинные источники для дуговой электросварки, применяемые при сварке трубопроводов, могут быть классифицированы в соответствии со схемой, приведенной на рис. 13.

Рис. 13. Классификация электромашинных источников для дуговой электросварки.

В качестве генераторов постоянного тока со щеточно-коллекторным токосъемом, наибольшее применение для сварки трубопроводов нашли однопостовые генераторы общего назначения ГСО-300А и ГСО-300, использовавшиеся для комплектации четырехпостовых агрегатов питания УС-41 и выпускаемых до на стоящего времени двухпостовых агрегатов питания УСТ-21.

Однако, несмотря на простоту исполнения, они показали невысокую надежность при эксплуатации в условиях вибрационных нагрузок.

Поэтому, несмотря на отличные сварочные качества, ввиду дефицита меди, значительной трудоемкости изготовления, недостаточно высокой надежности при использовании в составе самоходных (на базе гусеничных тракторов) агрегатов питания, а также в связи с промышленным освоением силовых выпрямителей щеточно-коллекторные машины в трубопроводном строительстве уступили место электромашинным источникам с бесщеточными генераторами.

В качестве бесщеточных электромашинных источников переменного тока для питания сварочной дуги применяют как переменно - полюсные, так и индукторные синхронные генераторы. При этом для сварки на постоянном токе генераторы оснащаются встроенными полупроводниковыми выпрямительными устройствами.

Специально для применения в составе автономных агрегатов питания для сварки трубопроводов разработаны бесколлекторные генераторы постоянного тока ГД 4´250, ГД 4´2502, ГД 2´2501 и ГД 2´2502 в однокорпусном исполнении. Генераторы этой серии состоят из трехфазной индукторной машины повышенной частоты (400 Гц), выпрямительного устройства и аппаратуры управления. (Рис. 14.).

Рис. 14. Генератор ГД 4´250 с блоками-регуляторами и пультами дистанционного управления.

Разработаны модификации генераторов для привода от вала отбора мощности двигателей тракторов, а также от автономных двигателей внутреннего сгорания.

В корпусе генератора уложены сварочные обмотки в количестве, соответствующем числу сварочных постов, обмотка питания электроинструмента и электрической печки для просушки или прокалки сварочных материалов, а также обмотка питания цепей управления.

Генератор ГД-2´2504 (УСТ-22,23) предназначен для питания двух постов ручной дуговой сварки, генератор ГД-4´2504 - для питания четырех постов, а при параллельном соединении - поста автоматической сварки под флюсом. Типичные внешние характеристики поста приведены на рис. 15. Они могут ступенчато изменяться для сварки в различных пространственных положениях.

Генераторы снабжены стационарными регулировочными устройствами, а также дистанционными регуляторами сварочного тока каждого поста. В качестве дистанционных регуляторов могут также использоваться разработанные ВНИИСТом малогабаритные устройства, удобно размещаемые в руке сварщика и позволяющие плавно регулировать сварочный ток, не обрывая дуги (рис. 16).

Генераторы этой серии стали базовыми при создании самоходных и передвижных агрегатов питания для сварки трубопроводов.

Рис. 15. Внешние вольтамперные характеристики поста генератора ГД 4´2504.

а) для сварки в нижнем положении, б) для сварки в потолочном и вертикальном положениях

Рис. 16. Пульты дистанционного управления, разработанные ВНИИСТом.

9.4. Автономные самоходные и передвижные агрегаты питания, применяемые при сварке трубопроводов.

На основании опыта строительства магистральных газонефтепроводов были сформулированы следующие основные требования к автономным агрегатам питания постов ручной дуговой сварки:

· колебания режимов сварки, вызываемое взаимным влиянием постов при многопостовом питании, не более ±10% от номинальных значений тока и напряжения;

· наличие дистанционных регуляторов режимов сварки для каждого поста;

· обязательное оснащение агрегатов вспомогательным источником тока для питания электроинструмента, печей для прокалки электродов, освещения рабочего места сварщика;

· наличие в составе самоходных агрегатов питания защитной палатки, подвешиваемой на гидрофицированной грузоподъемной стреле, обеспечивающей установку палатки на свариваемый стык;

· работоспособность агрегатов в диапазоне температур от +40°С до -40°С.

В соответствии с этими требованиями разработана гамма агрегатов питания для сварки трубопроводов.

По типу источников сварочного тока устанавливаемых в агрегатах питания, они подразделяются на две основные группы:

· на базе машинных сварочных преобразователей (генераторов) (рис. 17);

· на базе сварочных выпрямителей (рис. 18).

Отечественной промышленностью выпускаются агрегаты в передвижном (на прицепе) и самоходном (на тракторе) исполнении.

Техническая характеристика агрегатов приведена в таблице 35.

9.4.1. Агрегаты питания на базе сварочных выпрямителей.

9.4.1.1. Четырехпостовой самоходный агрегат питания АЭП-52.

В качестве источника сварочного тока применен неуправляемый выпрямитель ВДМ-1001, питаемый от генератора переменного тока мощностью 100 кВт.

Конструктивно агрегат выполнен на базе трактора Т-130, с валом отбора мощности которого соединен генератор переменного тока мощностью 100 кВт, смонтированный за кабиной трактора. В сцепленном с трактором кунге установлен неуправляемый выпрямитель ВДМ-1001, четыре балластных реостата для регулирования сварочного тока и печь для сушки электродов.

Основными недостатками агрегата является невысокая проходимость в условиях пересеченной местности, и повышенное взаимное влияние постов, характерное для многопостовых систем с балластным регулированием, созданных на базе мощных однопостовых выпрямителей.

Разработана и выпускается модификация агрегата на базе 4-х постового управляемого тиристорного выпрямителя В ДМ-4´301.

а) самоходный вариант исполнения

1 - двигатель базового трактора, 2 - вал отбора мощности, 3 - генератор сварочного тока, 4 - регулятор тока сварки поста.

б) передвижной вариант исполнения

1 - дизельный двигатель, 2 - генератор сварочного тока, 3 - регулятор тока сварки поста.

Рис. 17. Структурная схема агрегата питания на базе вентильного генератора.

1 - двигатель базового трактора; 2 - вал отбора мощности; 3 - генератор переменного тока; 4 - выпрямитель сварочного тока; 5 - балластный реостат.

Рис. 18. Структурная схема самоходного агрегата питания на базе сварочного выпрямителя.

Таблица 35.

Технические характеристики автономных сварочных агрегатов, разработанных для сварки трубопроводов.

Наименование показателя

На базе вентильных сварочных генераторов

На базе сварочного выпрямителя

передвижные

самоходные

самоходный

самоходный

модель

АДД-4´2501

АДД-2´2501

AC-41 (AC-42)

УСТ-22 (УСТ-23)

АЭП52

АС81

количество постов

4

2

4

2

4

8

номинальный сварочный ток , А

4´250

2´250

4´250

2´250

1000

1600

номинальное рабочее напряжение, В

30

30

30

30

60

60

пределы регулирования сварочного тока одного поста, А

60-300

60-300

60-300

60-300

60-300

60-300

наибольшая мощность сварочного агрегата, кВт

38

22,2

38

22,2

64

100

номинальная частота вращения сварочного генератора, об/мин

2200

1800

1900

1800 (1900)

 

 

тип приводного двигателя / трактора

Д240Л дизельный

Д144-69 дизельный

К-701 (Т-150К) дизельный

ДТ-75 дизельный

Т-130 дизельный

К-701 дизельный

номинальная мощность вспомогательного источника питания, кВт

6

3

6

4

8

 

номинальное напряжение вспомогательного источника, В

220

220

220

220

220

220

род тока

пост.

пост.

пост.

пост.

пост.

пост.

взаимное влияние постов, % (не более)

10

10

10

10

10

10

масса, кг (не более)

5300

4180

18500 (13500)

8250

23000

19250

габаритные размеры, мм

 

 

 

 

 

 

длина

6600

5200

9520 (7000)

5700

13500

9120

ширина

2350

2340

3100 (2500)

2200

2500

3100

высота

2740

2300

4350 (3800)

2955

3400

4350

9.4.1.2. Восьмипостовой самоходный агрегат питания AC-81.

В качестве источника сварочного тока применен неуправляемый выпрямитель ВДМ-1601, питаемый от генератора переменного тока мощностью 200 кВт.

Конструктивно агрегат выполнен в укрытии, смонтированном на шасси трактора К-701. Генератор переменного тока приводится во вращение от вала отбор мощности двигателя трактора. В укрытии установлены также восемь балластных реостатов для регулирования сварочного тока и печь для сушки электродов.

Основной недостаток агрегата связан с невозможностью работы одновременно восемью постами из-за повышенного взаимного влияния постов, характерного для многопостовых систем на базе мощного однопостового выпрямителя.

Разработана и выпускается модификации агрегата АС-81 на базе выпрямителя ВДМ-1201 и четырехпостового управляемого тиристорного выпрямителя ВДМ-4´301.

9.4.2. Агрегаты питания на базе сварочных генераторов.

Агрегаты этого типа выполнены, как правило, на базе однокорпусных многопостовых бесколлекторных генераторов серии ГД.

9.4.2.1. Передвижные четырехпостовой агрегат АДД-4´2501 и двухпостовой агрегат АДД-2´2501, (Рис. 19).

Рис. 19. Передвижной четырехпостовой агрегат АДД-4´2501

Генератор и приводной двигатель смонтированы на общей раме, установленной на прицеп. Генератор соединен с приводным двигателем упругой муфтой.

На агрегате установлена печь для сушки электродов. Вспомогательный источник постоянного тока смонтирован в корпусе генератора.

Агрегаты снабжены дистанционными регуляторами тока.

Технические данные агрегата приведены в таблице 35.

9.4.2.2. Самоходные четырехпостовые агрегаты АС-41 и АС-42 на базе колесных тракторов.

В качестве источика сварочного тока применен однокорпусный четырехпостовой бесколлекторный сварочный генератор ГД-4´2502, приводимый во вращение от вала отбора мощности базового трактора.

Конструктивно агрегат АС-41 выполнен в укрытии, смонтированном на шасси трактора К-701. В укрытии установлена также печь для сварки электродов.

Агрегат АС-42 выполнен на базе трактора Т-150К.

9.4.2.3. Самоходные агрегаты УСТ-22 и УСТ-23 на базе гусеничного трактора.

В качестве источника сварочного тока применены однокорпусные двухпостовые бесколлекторные сварочные генераторы различной модификации, приводимые во вращение от вала отбора мощности дизеля трактора.

Конструктивно агрегат выполнен на шасси трактора ДТ-75. На агрегате смонтирована печь для сушки электродов.

9.4.3. Агрегаты питания зарубежных фирм.

9.4.3.1. В настоящее время одним из ведущих в мире разработчиков и производителей широкой номенклатуры источников и агрегатов питания, в том числе для сварки трубопроводов, является фирма «Линкольн Электрик» (США).

Двухпостовые сварочные агрегаты этой фирмы широко применялись при строительстве такого объекта повышенной опасности, как аммиакопровод Тольятти-Одесса.

Из выпускаемых в настоящее время, наиболее адаптированными для выполнения сварки неповоротных стыков труб в монтажных условиях являются следующие модели дизельных агрегатов: SAM-400 и COMMANDER 400 - многофункциональные источники питания, предназначенные как для ручной сварки, так и для полуавтоматических способов сварки самозащитной порошковой проволокой типа Иннершилд, проволокой сплошного сечения и порошковой проволокой в среде защитных газов.

Серия многофункциональных агрегатов питания CLASSIC, включающая модели: CLASSIC I - предназначен для ручной электродуговой сварки электродами с целлюлозным и основным покрытиями; CLASSIC II и CLASSIC III - многофункциональные источники, предназначенные как для ручной электродуговой, так и для полуавтоматической сварки самозащитной порошковой проволокой типа Иннершилд и неплавящимся электродом в аргоне.

Источники CLASSIC имеют повышенную стойкость к коррозии, вызванной атмосферными воздействиями.

Предусмотрены также варианты исполнения источников с бензиновым двигателем. Источники могут поставляться на металлической раме или на колесном ходу (на прицепе).

Технические характеристики агрегатов представлены в таблице 36.

Таблица 36.

Технические характеристики сварочных агрегатов фирмы LINCOLN.

Наименование характеристики

Марка агрегата

SAM-400

COMMANDER 400

CLASSIC I

CLASSIC II

CLASSIC IIID

Число постов

1

1

1

1

1

Относительная продолжительность нагрузки, %

60

60-100

60

60

50

Номинальный сварочный ток, А

400

500

200

250

300

Пределы регулирования сварочного тока, А

60-500

50-575

40-300

40-325

40-350

Номинальное напряжение, В

36

40

40

30

32

Мощность вспомогательного источника электроэнергии (115/230), кВт

3

10 (20/240 В)

1,75

3

3

Все указанные в таблице 36 агрегаты удовлетворяют современным требованиям, предъявляемым к источникам питания для электродуговой сварки неповоротных стыков труб. Электрические схемы источников гарантируют возможность изменения наклона вольтамперной характеристики в широком диапазоне, что позволяет обеспечить их высокие динамические и технологические свойства в процессе сварки всего периметра кольцевого стыка. Все источники - однопостовые, что исключает колебания сварочного тока при работе, характерные для многопостовых источников. Настройка, контроль и корректировка параметров выполняется как с источника, так и с пульта дистанционного управления. Для быстрого изменения полярности предусмотрен специальный переключатель. Для обеспечения надежности работы дизельных двигателей предусмотрена система отключения при перегреве и низком давлении масла; а также система обеспечивающая легкий запуск при отрицательных температурах.

Все перечисленные характеристики и особенности дизельных агрегатов позволяют сделать вывод о возможности их стабильной и надежной работы в полевых условиях при строительстве и ремонте нефтепроводов, что подтверждает и весьма продолжительный период гарантийного срока - 3 года.

9.4.3.2. Сварочные агрегаты фирмы «Cubota».

Японская фирма «Cubota» выпускает серию мобильных агрегатов питания для ручной дуговой сварки.

Технические характеристики приведены в таблице 37.

Таблица 37.

Технические характеристики агрегатов фирмы «Cubota».

Наименование характеристики

Марка агрегата

W 330

W 500

F-230

F-270

F-330

Число постов

1

1

1

1

1

Относительная продолжительность нагрузки, %

60

60

60

60

50

Номинальный сварочный ток, А

250

400

160

200

240

Пределы регулирования сварочного тока, А

50-330

60-500

60-230

60-270

60-330

Номинальное напряжение, В

30

36

28,5

32,5

35

Напряжение холостого хода, В

60-75

60-75

60-85

60-85

60-85

Мощность вспомогательного источника электроэнергии (115/230), кВт

3,0

4,0

3,5

3,5

3,5

Масса, кг

750

950

320

390

430

Габаритные размеры, мм

1600´780´1245

1850´850´1300

1410´650´810

1500´700´910

1640´700´910

Агрегаты выполнены на базе сварочных генераторов постоянного тока (генераторы постоянного тока с третьей щеткой, компаунд генераторы).

В качестве приводных используются четырехтактные дизельные двигатели с водяным охлаждением.

Сварочные генераторы обеспечивают напряжение холостого хода до 85 Вольт и, за счет этого, могут использоваться для сварки трубопроводов электродами с основным и целлюлозным типами покрытия.

Агрегаты снабжены дистанционными регуляторами тока.

Имеется положительный опыт применения агрегатов питания фирмы «Cubota» при строительстве нефтепроводов в северных регионах России.

10. ОБОРУДОВАНИЕ ДЛЯ АВТОМАТИЧЕСКОЙ СВАРКИ НЕПОВОРОТНЫХ СТЫКОВ ТРУБ В СРЕДЕ ЗАЩИТНЫХ ГАЗОВ.

Мировым лидером по производству комплексов и применению технологического процесса автоматической сварки в среде защитных газов неповоротных стыков магистральных нефтегазопроводов является американская фирма «CRC-Evans AW».

Технологический процесс и оборудование CRC-Evans были использованы при сооружении в разных странах более 30000 километров трубопроводов диаметром от 400 до 1520 мм с толщиной стенки до 32 мм. Система была апробирована в экстремальных природных условиях, в том числе при температурах до -40° С на Аляске, в Канаде и в России, а также при строительстве подводных трубопроводов с использованием трубоукладочных судов в Северном море, Индийском океане и Мексиканском заливе.

Технологический процесс CRC-Evans, включая материалы и оборудование, прошел квалификационные испытания во ВНИИСТе. По результатам испытаний процесс признан обеспечивающим свойства сварных соединений неповоротных стыков трубопроводов, отвечающие требованиям СНиП III-42-80, ВСН 006-89 и ВСН 012-89.

Госгортехнадзором РФ выдано разрешение на использование оборудования и технологического процесса при строительстве трубопроводов на территории России.

10.1. Оборудование и технологический процесс CRC-Evans.

Система автоматической сварки CRC-Evans специально разработана для двусторонней сварки неповоротных стыков труб. В ней реализован процесс сварки тонкой электродной проволокой в защитных газах. В конструкции и составе оборудования осуществлен комплексный подход к автоматизации сварки неповоротных стыков трубопроводов, основанный на следующих принципах:

· повышение производительности за счет уменьшения площади разделки в сочетании с повышенным коэффициентом наплавки при сварке тонкой электродной проволокой;

· обеспечение высокого темпа производства работ за счет высокой скорости и совмещения сварки корневого шва и первого наружного шва (горячего прохода);

· компенсация неточностей сборки, обеспечение высокого качества корневого слоя и всего шва в целом за счет применения процесса двусторонней сварки.

10.1.1. Комплекс оборудования CRC-Evans состоит из следующих основных установок:

· станков для обработки кромок труб под специальную разделку кромок (PFM);

· установки внутренней сварки, представляющая собой самоходный внутренний центратор с многоголовочным сварочным автоматом для сварки изнутри трубы, встроенным между рядами жимков (IWM);

· агрегата энергообеспечения установки внутренней сварки (D-70224);

· автоматов наружной сварки (EWMs);

· направляющих поясов для автоматов наружной сварки;

· агрегатов энергообеспечения постов наружной сварки (D -70310);

· передвижной мастерской для наладки и ремонта оборудования и хранения запасных частей.

10.1.2. Технологический процесс автоматической сварки неповоротных стыков трубопроводов, разработанный фирмой CRC-Evans состоит из следующих основных операций:

· Раскладка труб. Трубы или трубные секции укладывают на бровке траншеи на инвентарных лежках под углом к оси траншеи таким образом, чтобы к торцам труб был свободный доступ.

· Обработка торцов труб. Обработку торцов труб с целью изменения их геометрии производят специальными кромкострогальными станками. В результате этой операции в зависимости от толщины стенки трубы на 27-33% уменьшается количество наплавленного металла.

Обработка торцов непосредственно перед сваркой позволяет обеспечить высокое качество разделки и устранить повреждения; возникшие в процессе транспортировки труб с заводов-изготовителей до места строительства.

· Установка на концах труб по специальным шаблонам направляющих поясов для перемещения наружных автоматов;

· Сборка стыка и сварка внутреннего корневого шва и первого наружного слоя ("горячего прохода").

Сборку стыка осуществляют без зазора и прихваток с помощью внутреннего самоходного пневматического центратора.

Сварку корневого шва выполняют изнутри трубы многоголовочным автоматом, расположенным между рядами жимков внутреннего центратора. Это позволяет упростить решение вопроса формирования равномерного обратного валика и провара корня во всех пространственных положениях, а также существенно форсировать скорость сварки. В зависимости от диаметра трубопровода на центраторе устанавливают 4 или 6 сварочных головок. Сварку начинают в момент окончания сборки стыка и ведут попеременно сначала левой группой головок, а затем правой, т.е. сваривают сначала левую, а затем правую половину стыка.

Сварку первого наружного шва ("горячего прохода") на каждом полупериметре трубы производят двумя наружные автоматами, передвигающимися по установленному ранее направляющему поясу. Сварку начинают еще до окончания сварки внутреннего шва. Каждый наружный автомат сваривает половину стыка.

После завершения сварки корневого шва и горячего прохода внутренний центратор и пост сварки горячего прохода переезжают на следующую позицию сборки.

Регулируя время между сваркой корневого слоя и горячего прохода, задают определенную скорость их охлаждения, что позволяет при сварке высокопрочных сталей избежать возникновения хрупких разрушений, снизить температуру и продолжительность предварительного подогрева.

Совмещение операций сборки и сварки корневого шва и горячего прохода, а также сокращение времени сварки корневого слоя за счет использования многоголовочного внутреннего автомата позволили значительно увеличить темп движения всей монтажной колонны.

· Сварка заполняющих и облицовочного слоев шва.

Сварку всех наружных слоев выполняют "на спуск" с поперечными колебаниями электродной проволоки поточно-расчлененным методом. Каждый пост настроен на сварку определенного слоя.

· Осмотр шва и ремонт наружных дефектов.

Для обеспечения необходимого темпа и синхронизации работ по внутренней и наружной сварке в сварочно-монтажной колонне могут работать несколько звеньев по сварке конкретного заполняющего или облицовочного слоев.

Для защиты от осадков и во избежание сдувания ветром потока защитного газа сварку наружных слоев шва выполняют в укрытии.

Отличительной особенностью технологии сварки, разработанной фирмой CRC-Evans является применение режимов и параметров сварки, не зависящих от пространственного положения и устанавливаемых заранее до начала сварки. Сварщики-операторы наружной сварки не имеют возможности изменять режимы в процессе работы и выполняют только две регулировочные операции - корректировку положения электродной проволоки поперек стыка и вылета электрода.

10.2. Сварочные материалы.

10.2.1. Электродная проволока.

В технологическом процессе CRC-Evans для сварки всего сечения шва используют омедненную сварочную проволоку марки K-Nova типа ER70S-6 по AWS A5.18, специально разработанную для этого процесса фирмой Тиссен. Диаметр проволоки 0,9 мм.

Химический состав электродной проволоки, по данным фирмы Тиссен следующий:

С - 0,07%, Si - 0,75%, Mn - 1,57%, P - 0,005%, S - 0,011%, Ti - 0,05%.

Проволока поставляется в катушках с порядной намоткой, специально разработанных для оборудования CRC-Evans.

Для внутренних сварочных головок проволока поставляется в катушках весом 1,47 кг, для наружной сварки - в катушках весом 2,71 кг. Для защиты от атмосферных воздействий катушки завернуты в полиэтиленовые пакеты и уложены в металлические или картонные коробки.

10.2.3. Защитные газы.

В качестве защитного газа при сварке внутреннего корневого и облицовочного швов используют смесь, состоящую из 75% аргона и 25% углекислого газа, при сварке остальных слоев - углекислый газ.

Используемые для сварки газы должны удовлетворять следующим требованиям:

· аргон - чистота 99,995%

· углекислый газ - чистота 95,5%, влажность газа 0,0066%.

10.3. Показатели производительности.

Производительность работ по сварке трубопроводов при использовании оборудования CRC AW зависит от следующих факторов:

- диаметра труб;

- темпа работ в головном звене по сборке стыков и сварке внутреннего корневого слоя и горячего прохода;

- наличия достаточного количества постов наружной сварки для обеспечения синхронной работы звеньев внутренней и наружной сварки.

Реальные показатели производительности, основанные на опыте сварки в полевых условиях; в зависимости от диаметра труб колеблются от 6 до 15 стыков в час.

В процессе строительства газопровода "Союз" на территории бывшего СССР (Æ1420´19 мм) средняя дневная производительность бригад автоматической сварки CRC Evans на различных участках составляла от 60 до 80 стыков. При строительстве трубопровода Æ1220´13 мм за рубежом российскими строительными организациями была достигнута средняя производительность 80 стыков за 10 часов работы.

10.4. Качество сварных соединений.

Технологический процесс сварки тонкой электродной проволокой в защитных газах неповоротных стыков труб, реализуемый на оборудовании CRC-Evans, обеспечивает высокое качество сварных соединений.

Объем ремонта сварных соединений может составлять 6-8% в период освоения технологии и оборудования и затем снижается до 2-5% в период стабильной эксплуатации.

Воспроизводимость качества сварных соединений обеспечивается следующими факторами:

· отработанностью конструктивных решений и высоким качеством изготовления оборудования;

· обученностью и опытом персонала, занятого наладкой и настройкой оборудования, а также сварщиков - операторов;

· высоким запасом устойчивости технологического процесса двусторонней сварки к различным возмущениям и, прежде всего, к отклонениям геометрических параметров сборки от номинальных;

· постоянством размеров разделки кромок от стыка к стыку за счет ее качественной обработки непосредственно перед сваркой;

· систематическим пооперационным контролем каждого слоя шва;

· регистрацией с автоматической записью параметров режима сварки каждого слоя;

· применением усредненных режимов сварки для разных пространственных положений и, за счет этого, малым количеством параметров, подлежащих регулировке сварщиком-оператором (вылет электрода, положение электрода относительно оси стыка);

· использованием укрытий (палаток) для защиты зоны сварки от ветра и атмосферных осадков.

11. ПЕРЕДВИЖНАЯ МОБИЛЬНАЯ ТРУБОСВАРОЧНАЯ БАЗА ДЛЯ ОДНОСТОРОННЕЙ АВТОМАТИЧЕСКОЙ СВАРКИ ПОД ФЛЮСОМ ПОВОРОТНЫХ СТЫКОВ ТРУБ.

11.1. Назначение

Передвижная мобильная трубосварочная база (ПМТБ) предназначена для механизированной сварки под флюсом поворотных стыков труб в полевых (трассовых) условиях. В зависимости от условий строительства и диаметра труб ПМТБ позволяет изготавливать непосредственно на строительной полосе 2-х, 3-х или 4-х трубные секции.

11.2. Технические характеристики и комплектация.

11.2.1. Вариант исполнения ПМТБ определяется диаметром свариваемых труб:

- вариант I - для труб диам. 325-530 мм;

- вариант II - для труб диам. 720-1020 мм;

- вариант III - для труб диам. 1220-1420 мм.

Варианты отличаются габаритами несущих узлов и конструкций. Кинематика и принципиальная схема работы механизмов одинакова для всех трех вариантов.

11.2.2. ПМТБ состоит из 2 идентичных по комплектации линий сборки и сварки (см. прилагаемую схему на рис. 20). В состав каждой линии входят:

1 - передвижная несущая площадка с приводом вращения труб;

2 - несущая площадка с кареткой продольного осевого перемещения трубы №2;

3 - пост центровки, сборки и сварки труб (наружный центратор, сварочная головка или сварочный трактор);

4 - двухпостовой передвижной сварочный агрегат;

5 - самоходный энергопоезд (электростанция, сварочный выпрямитель типа ВДУ-1201);

6 - передвижной блок-бокс (стеллаж для складирования сварочных материалов, электропечь для сушки-прокалки электродов и флюсов);

7 - поперечный портал;

8 - поворотная консоль (телескопическая стрела для подвески и перемещения сварочной головки или сварочного трактора).


Рис. 20. Схема передвижной мобильной трубосварочной базы (ПМТБ):

1 - передвижная несущая площадка с приводом вращения труб; 2 - несущая площадка с кареткой осевого перемещения труб; 3 - пост центровки, сборки и сварки труб; 4 - двухпостовой передвижной сварочный агрегат; 5 - самоходный энергопоезд (электростанция, сварочный выпрямитель); 6 - передвижной блок-бокс (стеллаж для хранения сварочных материалов, электропечь для сушки-прокалкн электродов и сварочных флюсов); 7 - поперечный портал; 8 - поворотная консоль (телескопическая стрела для подвески и перемещения сварочной головки; 9 - тросовая сцепка.


Площадки 1 и 2, пост сварки 3 смонтированы на каркасах санного типа, установлены по одной оси и соединены тросовой сцепкой 9. Расстояние между I-ой и II-ой линиями, расположенными параллельно друг другу, составляет 3-3,5 м. Тип электросварочного и вспомогательного оборудования определяется вариантом исполнения ПМТБ и видом комбинированной технологии сварки.

11.3. Особенности конструкции и схема организации работы ПМТБ.

11.3.1. Главной особенностью ПМТБ является возможность быстрой и точной центровки (сборки) труб за счет перемещения их концов как в вертикальной, так и в горизонтальной плоскостях с помощью рам специальной конструкции. Сборка может осуществляться в условиях реального микрорельефа поверхности земли.

11.3.2. Общая схема размещения ПМТБ и организации ее работы представлена на рис. 21 и в табл. 38. Одиночные трубы доставляются из пункта разгрузки непосредственно на трассу и укладываются в штабели (стеллажи) через каждые 400-450 м. Количество труб в стеллаже рассчитывается исходя из нормы сменной выработки. База устанавливается вдоль полосы отвода под строительство рядом с двумя стеллажами труб и производит сварку трубных секций. После сменной выработки труб на данных стеллажах ПМТБ с помощью трактора перемещается к следующим стеллажам. Секции труб непосредственно после сварки доставляются трубоукладчиком к месту работы потолочной бригады.

Как следует из таблицы 38, сборка и сварка трубных секций выполняется одновременно на 2 линиях за счет последовательного переноса операций с первой линии на вторую. Данная циклограмма описывает работу ПМТБ при сварке двухтрубных секций.

11.3.3. При сварке труб большого диаметра целесообразно использовать третью дополнительную линию, на которой производится сборка и сварка двухтрубных секций в длинномерные четырехтрубные секции (поз. 2 на рис. 21)


Рис. 21. Общая схема размещения и организации работы ПМТБ:

1 - линии сборки и сварки двухтрубных секций; 2 - дополнительная линия сборки и сварки четырехтрубных секций; 3 - стеллажи одиночных труб; 4 - готовые четырехтрубные секции; 5 - трактор-трубоукладчик.


Таблица 38

Последовательность технологических операций (циклограмма) работы ПМТБ

№ цикла

Интервал

I-ая линия ПМТБ

II-ая линия ПМТБ

цикла

 

1 цикл

t1

Доставка труб со стеллажа

Ожидание запуска

 

 

Погрузка труб на площадки

 

Зачистка концов труб

 

t2

Сборка стыка, предварительный подогрев (при необходимости)

Доставка труб со стеллажа

1 цикл

 

Выполнение прихваток

 

t3

Ручная электродуговая сварка (или п/автоматическая в среде защитных газов) корневого слоя

Погрузка труб на площадки

 

Зачистка концов труб

 

Сборка стыка, предварительный подогрев (при необходимости)

 

t4

Односторонняя автоматическая сварка под флюсом заполняющих и облицовочного слоев шва.

Выполнение прихваток

 

Ручная электродуговая сварка (или п/автоматическая в среде защитных газов) корневого слоя

Выгрузка двухтрубной секции

 

2 цикл

Доставка труб со стеллажа

 

Погрузка труб на площадки

 

t5

Зачистка концов труб

Односторонняя автоматическая сварка под флюсом заполняющих и облицовочного слоев шва.

 

Сборка стыка, предварительный подогрев (при необходимости) Выполнение прихваток

Выгрузка двухтрубной секции

 

 

*- далее см. перечень операций 1-ого цикла

**- далее начинаются операции 2-ого цикла

 

 

Примечание: 1. Технологические перерывы в работе ПМТБ используются для подготовки к сварке сварочных электродов, флюса, проволоки, а также для наладки сварочного оборудования.

Состав бригады ПМТБ (для сварки двухтрубных секций):

1. Бригадир (слесарь-сборщик)                                                                             - 1 чел.

2. Слесарь-стропальщик                                                                                         - 1 чел.

3. Тракторист-трубоукладчик                                                                                - 2 чел.

4. Сварщик ручной электродуговой сварки 5-6 разряда                                     - 2 чел.

5. Сварщик - "автоматчик" 5 разряда                                                                    - 1 чел.

6. Сварщик- "автоматчик" 3 разряда                                                                     - 1 чел.

7. Дизелист                                                                                                              - 1 чел.

11.4. Основные преимущества и технико-экономические показатели применения ПМТБ.

В сравнении со схемой выполнения работ на стационарных трубосварочных базах типа ПАУ и БНС и последующей ручной сваркой неповоротных стыков применение передвижной мобильной трубосварочной базы позволяет обеспечить:

¨ повышение эффективности сварочно-монтажных работ;

¨ уменьшение объема ручной дуговой сварки неповоротных стыков за счет применения длинномерных (48 м) секций труб;

¨ сокращение объемов погрузочно-разгрузочных операций и расстояний транспортировки труб за счет ликвидации пунктов промежуточного складирования труб и трубных секций;

¨ отсутствие дополнительных организационно-технических мероприятий (отвод и обустройство земли, планировка площадок, установка фундаментов, сооружение подъездных путей и линий электропередачи), выполняемых при развертывании стационарных трубосварочных баз;

¨ значительное снижение металлоемкости конструкций трубосварочной базы, возможность быстрой консервации и перебазирования ПМТБ в любое место обычными грузовиками, время расконсервации и запуска в работу - от 2 до 4 час.

¨ возможность комплектации ПМТБ практически любым сборочно-сварочным оборудованием и источниками питания, предназначенными для сварки стыков трубопроводов в рамках технологий, регламентированных действующей нормативной документацией.

12. ОБОРУДОВАНИЕ ДЛЯ ПОЛУАВТОМАТИЧЕСКОЙ СВАРКИ САМОЗАЩИТНОЙ ПОРОШКОВОЙ ПРОВОЛОКИ ТИПА ИННЕРШИЛД.

12.1. Процесс полуавтоматической сварки порошковой проволокой типа Иннершилд может быть осуществлен только при использовании комплекта оборудования и сварочных материалов фирмы-разработчика "Линкольн Электрик". Замена какого-либо из ниже перечисленных блоков на аналоги других фирм не позволит осуществить процесс сварки.

12.2. В состав комплекта оборудования должны входить три основных блока - источник питания сварочным током, устройство подачи проволоки и сварочная горелка со шлангами.

Устройство подачи проволоки подключается через адаптер к источнику питания сварочным током. Проволока в горелку подается из бухты, закрепленной на механизме подачи проволоки. Сварочный ток подводится к проволоке через закрепленный в горелке контактный наконечник. При контакте со свариваемой деталью (при нажатой клавише горелки) дуга инициируется самопроизвольно.

12.3. К источникам питания для сварки самозащитной порошковой проволокой предъявляются следующие специальные требования:

· обеспечение процесса сварки при жесткой характеристике дуги;

· возможность осуществления процесса сварки при постоянном напряжении на дуге;

· возможность осуществления процесса сварки при низком напряжении дуги (17-21 В) и максимально допустимой величине колебаний ± 0,5 В;

· обеспечение процесса сварки на токе до 300 А.

Только строгое соблюдение приведенных выше требований может гарантировать отсутствие дефектов при сварке.

12.4. С учетом приведенных в п. 12.3. требований, для полуавтоматической сварки стыков нефтепроводов проволокой типа Иннершилд рекомендуются следующие модели источников питания:

- дизельные (SAM-400, Commander 400, Classic II или Classic 111D);

- выпрямитель DC-400;

- инвертор Invertec V300-1.

Технические характеристики указанных выше моделей приведены в разделе 9.

12.5. Использование источников питания с дизельным приводом рекомендуется в следующих случаях:

· при сварке протяженных участков нефтепроводов мелкими бригадами;

· при проведении ремонтных работ, связанных с вваркой катушек, специальных сварочных работах - сварке захлестов, приварке запорной арматуры, ликвидации аварий.

12.6. При сварке проволокой Иннершилд от источников питания с дизельным приводом переключатель на панелях управления следует установить в положение CV, соответствующем работе источника при постоянном напряжении (положение СС соответствует работе на постоянном токе и не используется при рассматриваемом способе сварки).

12.7. Сварочные выпрямители модели DC-400 или инверторные источники модели Invertec V300-1 рекомендуются для широкого использования при способе сварки проволокой Иннершилд. В этом случае указанные выше источники в количестве два, четыре... устанавливаются непосредственно на сварочном агрегате (AC-81, AC-42 и т.п.). При этом следует учитывать мощность, потребляемую одним источником - 8...10 кВт.

12.8. Процедура установки и настройки переключателей панели управления источников питания DC-400 и Invertec V300-1 на сварку порошковой проволокой Иннершилд состоит в следующем (на рис. 22 и рис. 23 приведены панели управления источников):

· установить процесс сварки на прямой полярности повернув, в случае сварки от DC-400, ручку переключения полярности (№1) в правое положение и подсоединив, в случае сварки от конверторного источника, сварочные кабели к разъёмам (№1) таким образом, чтобы разъем "+" соединялся со свариваемым изделием;

· установить переключатель режимов (№2) в позицию "сварка самозащитной порошковой проволокой" (вторая позиция по часовой стрелке для выпрямителя и четвертая для инвертора). При этом указатель переключателя должен показывать на условный знак самозащитной порошковой проволоки с английской абревиатурой Flux Cored Arc Welding (FCAW):

· установить необходимую силу (жесткость) дуги, повернув на инверторном источнике ручку изменения индуктивности (№3) со знаками в положение 10 или, в случае использования выпрямителя DC-400, ручку контроля дуги (№3) с теми же знаками в положение 3;

· установить переключатель местного/дистанционного контроля (№4) в положение "дистанционное управление" ();

· установить переключатель выходных клемм (№5) в положение "дистанционное управление" (). При этом напряжение на проволоку будет подаваться только после нажатия кнопки подачи проволоки на горелке.

IDEALARC DC-400

1 - переключатель полярности;

2 - переключатель режимов;

3 - ручка контроля дуги;

4 - переключатель местный/дистанционный контроль;

5 - переключатель выходных клемм

Рис. 22. Общий вид источника питания DC-400

INVERTEC V300-1

1 - разъемы "+" и "-";

2 - переключатель режимов;

3 - ручка изменения индуктивности;

4 - переключатель местный/дистанционный контроль;

5 - переключатель выходных клемм

Рис. 23. Общий вид источника питания Invertec V300-1

12.9. Подача проволоки в зону сварки должна осуществляться с помощью специальных механизмов подачи проволоки - полуавтоматов. Фирма Линкольн Электрик выпускает ряд моделей полуавтоматов - LN-23P, LN-25, LN-7 и др.

Для сварки стыков труб в полевых условиях рекомендуется использовать модель LN-23P.

Полуавтомат представляет собой портативное устройство для подачи проволоки диаметром .068", .072" и 5/64" (1.73, 1.83 и 1.98 мм) и состоит из следующих узлов:

- подачи проволоки;

- блока управления;

- барабана для катушки с проволокой.

Общий вид полуавтомата LN-23P приведен на рис. 24.

Управление процессом сварки осуществляется с помощью двух регуляторов: скорости подачи проволоки и напряжения на дуге.

Все электронные платы блока управления залиты специальным герметизирующим составом, что позволяет использовать оборудование в полевых условиях.

12.10. Соединение электрических цепей источника питания с механизмом подачи проволоки осуществляется через специальное устройство - адаптер. Соединение любых из рассмотренных выше моделей источников с механизмом подачи проволоки LN-23P осуществляется с помощью адаптера модели К350. Адаптер устанавливается на боковой стенке источника питания или автономно, однако таким образом, чтобы иметь возможность управляющий кабель адаптера подключить к соединительной колодке источника. Схема конструкции адаптера приведена на рис. 25.

12.11. Для подачи проволоки от полуавтомата LN-23P к зоне сварки предусмотрено применение горелок (в комплекте со шлангом и кабелями) моделей К345-10 или К355-10.

Рекомендуется использование горелки модели К345-10, рассчитанной на 350А. Рукоятка этой модели нагревается в значительно меньшей степени, чем при использовании модели К345-10, рассчитанной на 250А.

12.12. Стандартная длина шланга от полуавтомата до горелки составляет 3 м. Конструкция горелки позволяет благодаря небольшому весу и легкости в обращении осуществлять сварку во всех пространственных положениях, аналогично сварке штучными электродами.

Рис. 24. Общий вид полуавтомата LN-23P;

1 - устройство подачи проволоки;

2 - блок управления;

3 - регулятор скорости подачи проволоки;

4 - регулятор напряжения;

5 - вольтметр;

6 - сварочная горелка;

7 - барабан с проволокой

Рис. 25. Конструкция адаптера.

Адаптер К-350

Поз.

Наименование и описание

1

Сварной корпус

2

Крышка корпуса

4

Соединительная колодка

5

Стойка для антиударного крепления адаптера

6

Плата для антиударного крепления адаптера

8

Реле

9

Наклейка с маркировкой

10

Наклейка с маркировкой

11

Трансформатор

12

Печатная плата (релейная схема)

13

Соединительная колодка

15

Соединитель для подключения блока управления

17

Управляющий кабель

На горелке имеется двухпозиционный переключатель режимов сварки. В стандартном положении переключателя сварка осуществляется в соответствии с предварительно установленными на блоке управления полуавтомата LN-23P величинами напряжения на дуге и скорости подачи проволоки. Установленный режим следует поддерживать при сварке стыков труб в положении 0...5 час. При установке переключателя во второе положение скорость подачи проволоки и напряжение снижается (примерно на 20%), что отвечает необходимым параметрам сварки стыков труб в положении 5...6 час.

12.13. В табл. 39 приведен перечень наиболее часто встречающихся при сварке проволокой Иннершилд отказов в работе оборудования, сбоев в управлении режимами сварки и возможных причин их возникновения.

Таблица 39

Таблица неисправностей и их возможных причин

Неисправность

Возможная причина

(1)

(2)

1. Не работает электродвигатель полуавтомата

- Сработал автоматический выключатель;

- Напряжение холостого хода выше 50 В;

- Перепутана полярность;

- Привод дистанционного измерения напряжения не соединен с объектом сварки;

- Управляющий кабель неправильно подсоединен к источнику питания или адаптеру;

- Неисправен спусковой рычаг сварочной горелки или есть обрыв в цепи управления;

- Неисправна схема управления;

- Неисправен источник питания или адаптер

2. Подача электродной проволоки отсутствует или нестабильна

- Кабель подачи проволоки чрезмерно изогнут;

- Кабель подачи проволоки загрязнен;

- Петля проволоки зацепилась внутри полуавтомата за изогнутый торцевой конец сердечника катушки;

- Изношены подающие ролики;

- Неправильно отрегулировано натяжение ролика холостого хода

3. Дуга нестабильна

- Изношен контактный наконечник;

- Неправильно установлена скорость подачи проволоки или величина напряжения;

- Плохо подключен кабель к объекту сварки

4. Неэффективное управление скоростью подачи проволоки

- Ошибка в печатной плате;

- Неисправен реостат или электродвигатель

5. Не удается получить требуемую величину напряжения

- Брак у источника питания;

- На дизельных источниках питания регулятор режима работы не переключен в положение работы при постоянном напряжении;

- В сварочных источниках DC-400 и Invertec должен быть включен переключатель "дистанционное управление";

- Обрыв одного из проводов (№75-76-77) в цепи управления;

- Неисправен регулятор напряжения

12.8. При использовании комплекта оборудования, предусматривающего использование источников питания марки DC-400 или Invertec V300-1 полуавтомат может быть установлен непосредственно на землю (рис. 26а). Рекомендуется вариант подвешивания полуавтомата непосредственно над зоной сварки (рис. 26б).

При использовании комплекта оборудования с дизельным источником питания полуавтомат следует установить на прицепе рядом с источником питания (рис. 26в).

Рис. 26. Варианты расположения полуавтомата:

а - на земле; б - на стреле; в - на прицепе



© 2013 Ёшкин Кот :-)